|
|
|
МИНИСТЕРСТВО МОНТАЖНЫХ И СПЕЦИАЛЬНЫХ СТРОИТЕЛЬНЫХ ИНСТРУКЦИЯ ВСН 164-82 ММСС СССР
Москва ЭНЕРГОАТОМИЗДАТ 1984 Составители: Н. Н. Дзекцер, 3. Н. Богданова, Е. В. Николаева, В. Л. Фукс, Н. А. Воропаева Инструкция разработана ЛенПЭО ВНИИпроектэлектромонтажа. Распространяется на разборные и неразборные контактные соединения шин из алюминия и его сплавов, меди и стали, а также на соединения этих шин с выводами электротехнических устройств. Предназначена для инженерно-технических работников и рабочих строительно-монтажных и специализированных монтажных организаций. С введением в действие настоящей Инструкции отменяется Инструкция МСН 164-67/ММСС СССР
1. ОБЩИЕ ПОЛОЖЕНИЯ1.1. Настоящая Инструкция разработана в развитие основных положений ГОСТ 10434-82, 17441-78, действующих Правил устройства электроустановок (ПУЭ) и строительных норм и правил (СНиП). 1.2. Инструкция распространяется на разборные и неразборные контактные соединения1 шин, гибких шин и профилей2 (швеллерного, корытного, "двойного Т" и др.) из алюминия (алюминиевого сплава), твердого алюминиевого сплава АД31Т13, меди и стали, а также на соединения шин с выводами электротехнических устройств. 1 Пояснение терминов приведено в приложении 1 2 В дальнейшем именуется "шина". 3 В дальнейшем именуется "алюминиевый сплав". 1.3. Неразборными (сварными) должны быть выполнены соединения между собой шин из однородных материалов, ответвления от этих шин и соединения алюминиевых шин и шин из алюминиевого сплава с выводами из алюминия и из алюминиевых сплавов. Разборные (болтовые) контактные соединения следует применять при соединении шин из разнородных материалов и в случаях, когда по условиям эксплуатации необходима периодическая разборка соединений. 1.4. Контактные соединения в зависимости от технических требований, предъявляемых к ним по ГОСТ 10434-82, разделяют на 1, 2 и 3-й классы. Классы контактных соединений в зависимости от области их применения приведены в приложении 2. Линейные контактные соединения силовых цепей необходимо выполнять 1-го класса. В стандартах и технических условиях на конкретные виды электротехнических устройств указывают только 2-й и 3-й классы. 1.5. Инструкция предназначена для проектных, монтажных и эксплуатирующих организаций.
2. ТРЕБОВАНИЯ К ПРОЕКТНОЙ ДОКУМЕНТАЦИИВ электрической части проектной документации или в проектах производства электромонтажных работ должны быть указаны: класс контактных соединений; материал шин; конструкция контактных соединений при соединении шин между собой и с выводами (разборное, неразборные, комплектность и т.п.); класс или группа прочности крепежных деталей, вид их покрытия по ГОСТ 14623-69 и толщина покрытия по ГОСТ 9.073-77; исполнение и категория размещения электротехнических устройств по ГОСТ 15150-69*, 16350-80 и 17412-72*; наименование и толщина антикоррозионных металлических покрытий контактных соединений по ГОСТ 9.073-77. 3. ТЕХНИЧЕСКИЕ ТРЕБОВАНИЯ К КОНТАКТНЫМ СОЕДИНЕНИЯМ3.1. Контактные соединения должны соответствовать требованиям стандартов, технических условий, СНиП III-33-76* чертежей и настоящей инструкции. 3.2. В неразборных соединениях: при сварке поверхность швов должна быть равномерно-чешуйчатой без наплывов. Швы не должны иметь трещин, прожогов, непроваров длиной более 10% длины шва (но не белее 30 мм), незаплавленных кратеров и подрезов глубиной 0,1 толщины шины (но не более 3 мм). Сварные соединения компенсаторов не должны иметь подрезов и непроваров на лентах основного пакета; при опрессовке хвостовик наконечника, гильзы, зажима в месте опрессовки не должен иметь трещин; лунки должны быть расположены симметрично и соосно, геометрические размеры спрессованной части соединения должны соответствовать требованиям стандартов, технических условий или технологических инструкций. 3.3. В разборных соединениях контактные поверхности должны плотно прилегать друг к другу. В контактных соединениях шин различной электрической проводимости сравнение производят с шиной меньшей электрической проводимости.
Сопротивление контактных соединений 2-го и 3-го классов указывают в стандартах и ТУ на конкретные виды электротехнических устройств. 3.7. При протекании номинального тока температура нагрева разборных и неразборных контактных соединений 1-го и 2-го классов не должна превышать значений, указанных в табл. 1. Температуру нагрева контактных соединений 3-го класса устанавливают в стандартах и ТУ на конкретные виды электротехнических устройств. Таблица 1
3.8. Температура контактных соединений при испытании на стойкость при сквозных токах должна быть не более 200°С у соединений шин из алюминия и его сплавов, а также у соединений этих шин с медными и 300°С у соединений медных шин. 3.9. Контактные соединения должны выдерживать напряжения, возникающие от воздействия статических осевых нагрузок на растяжение, не менее 90% временного сопротивления разрыву целой гибкой шины для соединений, работающих на растяжение, и 30% для сварных и спрессованных соединений, не работающих на растяжение. 3.10. После испытаний на стойкость при сквозных токах контактные соединения не должны иметь механических повреждений, препятствующих их дальнейшей эксплуатации. 3.11. В контактных соединениях применяют крепежные детали прочностью не ниже указанного класса или группы прочности (ГОСТ 1759-70): Болты, винты, шпильки из углеродистых или легированных сталей.......... 5,8 Гайки из углеродистых или легированных сталей........................................ 5 Болты, винты, шпильки и гайки из цветных сплавов................................... 32 3.12. Разборные контактные соединения шин с выводами, а также разборные линейные контактные соединения, подверженные вибрации или находящиеся во взрывоопасных и пожароопасных помещениях, предохраняют от самоотвинчивания контргайками или пружинными шайбами. 3.13. Контактные соединения в соответствии с их исполнением и категорией размещения согласно ГОСТ 15150-69* должны выдерживать воздействие климатических факторов внешней среды, указанных в этом стандарте, а также ГОСТ 15543-70*, 15963-79, 16350-80, 17412-72* или в стандартах и ТУ на конкретные виды электротехнических устройств. 3.14. В зависимости от климатического исполнения и категории размещения электротехнических устройств по ГОСТ 15150-69* контактные соединения в соответствии с ГОСТ 10434-82 подразделяются на группы А и Б. К группе А относятся контактные соединения электротехнических устройств всех исполнений, размещенных в помещениях с кондиционированным или частично кондиционированным воздухом (категория размещения 4.1), и электротехнических устройств исполнений У, ХЛ и ТС, размещенных в закрытых помещениях (металлических с теплоизоляцией, каменных, бетонных, деревянных) с естественной вентиляцией без искусственно регулируемых климатических условий (категория размещения 3) и в помещениях с искусственно регулируемыми климатическими условиями (категория размещения 4) при атмосфере типов I и II по ГОСТ 15150-69*. К группе Б относятся контактные соединения электротехнических устройств других исполнений и категорий размещения при атмосфере типов I и II и электротехнических устройств всех исполнений и категорий размещения при атмосфере типов III и IV. 3.16. Болты, винты, гайки, шайбы и другие крепежные детали для контактных соединений должны иметь защитное металлическое покрытие по ГОСТ 14623-69. Толщину покрытия следует определять по ГОСТ 9.073-77. При соединении шин из однородных металлов в сухих помещениях допускают применение вороненых стальных болтов, гаек, шайб. 4. СОЕДИНЕНИЯ И ОТВЕТВЛЕНИЯ ШИННеразборные соединения4.1. Неразборные (сварные) соединения шин следует выполнять согласно требованиям ГОСТ 23792-79, Руководства [1], Инструкции [2]. Способы сварки приведены в табл. 2, наиболее распространенные виды сварных соединений и ответвлений - на рис. 1. Таблица 2
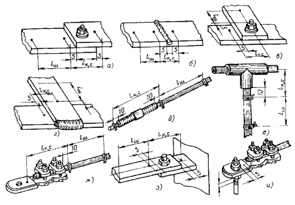
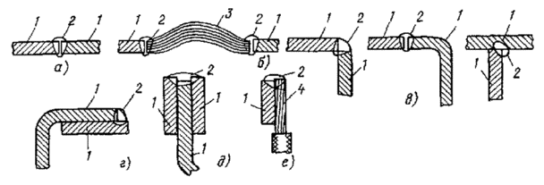
* В скобках приведены толщины шин, которые сваривать данным способом можно, но экономически нецелесообразно. Профили соединяют между собой сваркой. Если по условиям эксплуатации при ответвлении от шины сложного профиля необходимо иметь разъем, то следует предусмотреть приварку в месте разъема отрезка шины с отверстием под болты. Рис. 1. Виды сварных соединений и ответвлений шин: а - соединение шин встык; б - соединение шин путем вваривания температурного компенсатора; в - ответвление от шин, расположенных плашмя; г, д - ответвление от шин, расположенных на ребро; е - ответвление от шины многопроволочной жилы; 1 - шина; 2 - шов; 3 - пакет гибких лент (температурный компенсатор); 4 - жила гибкой шины Разборные соединенияа) без средств стабилизации электрического сопротивления; б) со средствами стабилизации электрического сопротивления. 4.3. Контактные соединения шин из материалов медь-медь, алюминиевый сплав-алюминиевый сплав, медь-сталь, сталь-сталь для групп А и Б, а также из материалов алюминиевый сплав-медь и алюминиевый сплав-сталь для группы Б не требуют применения средств стабилизации сопротивления. Соединения следует выполнять непосредственно с помощью стальных крепежных деталей (рис. 2, а). Рис. 2. Разборные контактные соединения: 1 - медная шина из алюминиевого сплава или стали; 2 - алюминиевая шина; 3 - стальная шайба; 4 - тарельчатая пружина; 5 - стальной болт; 6 - стальная гайка; 7 - болт из цветного металла; 8 - гайка из цветного металла; 9 - шайба из цветного металла; 10 - металлопокрытие; 11 - медная шина, алюминиевая, из алюминиевого сплава или стали; 12 - медно-алюминиевая пластина; 13 - пластина из алюминиевого сплава; 14 - шина из алюминиевого сплава 4.4. Контактные соединения шин из материалов алюминий-алюминий, алюминиевый сплав-алюминий для групп А и Б, а также из материалов алюминий-медь и алюминий-сталь для группы А следует выполнять с помощью одного из следующих средств стабилизации сопротивления: а) тарельчатых пружин по ГОСТ 17279-71 или 3057-79 (рис. 2, б); б) крепежных изделий из меди или ее сплава (рис. 2, в); в) защитных металлических покрытий по ГОСТ 9.073-77 (приложение 3), наносимых на рабочие поверхности шин (рис. 2, г); г) переходных медно-алюминиевых пластин по ГОСТ 19357-81 (рис. 2, д); д) переходных пластин из алюминиевого сплава (рис. 2, е). 4.5. Для группы Б контактные соединения шин из материалов алюминиевый сплав-медь, алюминиевый сплав-сталь следует выполнять, как показано на рис. 2, а, д, е, из материалов алюминий-медь, алюминий-сталь - как показано на рис. 2, б, в, д, е. Рабочие поверхности шин и пластин из алюминиевого сплава должны иметь защитные металлопокрытия. 4.6. Пластины из алюминиевого сплава и алюминиевые части медно-алюминиевых пластин необходимо соединять с алюминиевыми шинами сваркой. Разборные соединения переходных пластин с медными шинами следует выполнять с помощью стальных крепежных деталей. Таблица 3
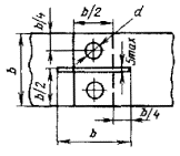
Рис. 3. Предохранение контактных соединений от самоотвинчивания: а - контргайкой; б - пружинной шайбой; 1,2 - шина; 3 - шайба; 4 - болт; 5 - гайка; 6 - контргайка; 7 - пружинная шайба 4.7. Расположение и диаметр отверстий для соединения шин шириной до 120 мм приведены в табл. 3. Зависимость диаметра отверстия в прямоугольных шинах от диаметра стягивающих болтов следующая:
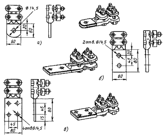
4.8. Контактные участки шин шириной 60 мм и более, имеющие два отверстия в поперечном ряду, рекомендуется выполнять с продольными разрезами. Ширина разреза зависит от способа его выполнения и должна быть не более 5 мм. 4.9. Для предохранения соединений от самоотвинчивания необходимо применять контргайки или пружинные шайбы (рис. 3). Пружинные шайбы используют в соединениях с болтами до М8 включительно. В соединениях с тарельчатыми пружинами контргайки и пружинные шайбы ставить не нужно. 5. СОЕДИНЕНИЯ ШИН С ВЫВОДАМИ5.1. Выводы электротехнических устройств согласно ГОСТ 21242-75* могут быть плоскими или штыревыми. Размеры выводов приведены в приложении 3. 5.2. Если выводы и шины сделаны из алюминия и его сплава, соединения сваривают. Соединения выполняют согласно указаниям, приведенным в разд. 4. 5.3. Сварное соединение медного вывода с шиной из алюминия и его сплавов необходимо выполнять с применением переходной медно-алюминиевой пластины. 5.4. Разборные (болтовые) соединения шин с плоскими выводами в зависимости от материала выводов, шин и от климатических факторов внешней среды следует выполнять одним из способов, указанных в п. 4.2-4.9. 5.5. При соединении шин с плоскими выводами применение средств, предохраняющих от самоотвинчивания, обязательно. 5.6. Для группы А контактные соединения шин со штыревыми выводами в зависимости от материала шин и номинального тока выводов должны выполняться: а) для шин из меди, стали и алюминиевого сплава - непосредственно стальными гайками1 (рис. 4, а); 1 Во всех случаях для штыревых выводов на номинальный ток выше 40 А упорные гайки должны применяться из меди или ее сплавов. б) для шин из алюминия с выводом на номинальный ток до 630 А - непосредственно гайками из меди и ее сплавов по ГОСТ 5916-70* (рис. 4, б), на номинальный ток выше 630 А - непосредственно стальными гайками с защитным металлопокрытием рабочей поверхности шины (рис. 4, в) или с помощью переходных медно-алюминиевых пластин по ГОСТ 19357-81 (рис. 4, г), или переходных пластин из алюминиевого сплава (рис. 4, д). 5.7. Для группы Б контактные соединения шин со штыревыми выводами в зависимости от материала шин должны выполняться: а) шин из меди - непосредственно специальными гайками (рис. 4, а); б) шин из алюминия и алюминиевого сплава - с помощью переходных медно-алюминиевых пластин по ГОСТ 19357-81 (рис. 4, г) или переходных пластин из алюминиевого сплава (рис. 4, д), при этом переходные пластины из алюминиевого сплава должны иметь защитное металлопокрытие. Рис. 4. Соединения со штыревыми выводами: 1 - вывод из меди или ее сплава; 2 - стальная гайка; 3 - медная шина из алюминиевого сплава или стали; 4 - гайка из меди или ее сплавов; 5 - шина алюминиевая или из алюминиевого сплава; 6 - металлопокрытие; 7 - медно-алюминиевая пластина; 8 - пластина из алюминиевого сплава; 9 - шина из алюминиевого сплава 5.8. Размеры отверстий в шинах должны соответствовать диаметру штыревого вывода:
5.9. Размер "под ключ" увеличенных гаек для штыревых выводов различного диаметра составляет:
6. СОЕДИНЕНИЯ ГИБКИХ ШИН МЕЖДУ СОБОЙ И С ВЫВОДАМИ В ОТКРЫТЫХ РАСПРЕДЕЛИТЕЛЬНЫХ УСТРОЙСТВАХ6.1. Соединения и ответвления на медных, стальных, алюминиевых и сталеалюминиевых гибких шинах открытых распределительных устройств выполняют обжатием, опрессованием, с помощью петлевых или ответвительных болтовых зажимов. Ответвления алюминиевых и сталеалюминиевых шин необходимо выполнять преимущественно пропанокислородной сваркой. Оконцевания следует выполнять аппаратными зажимами, соединяемыми с гибкой шиной опрессованием, болтами или сваркой. 6.2. Болтовые петлевые и ответвительные зажимы изготовляют для алюминиевых и сталеалюминиевых шин из алюминиевых сплавов, для медных из латуни, для стальных из стали (рис. 5, 6). В болтовые петлевые зажимы, предназначенные для соединения медных шин с алюминиевыми, на заводе-изготовителе впаивают луженые медные желобки. Рис. 5. Петлевой зажим 6.3. Болтовые аппаратные зажимы рассчитаны на затяжку шин с помощью плашек (рис. 7). Для медных шин их изготавливают из латуни, для алюминиевых - из алюминиевых сплавов. В конструкции аппаратных зажимов, предназначенных для алюминиевых шин, предусмотрены переходные медные пластины, скрепленные с корпусом зажима пайкой или сваркой. Эти пластины обеспечивают лучший контакт при соединении алюминиевого аппаратного зажима с медным или с алюминиевым выводом, плакированным либо армированным медью. Если алюминиевый аппаратный зажим соединяют с алюминиевым выводом болтами или сваркой, медные пластины следует удалить. Аппаратные зажимы имеют одно, два или четыре отверстия для присоединения к выводам аппаратов или шинам. 6.4. Аппаратные зажимы, имеющие в лапке одно отверстие диаметром 14,5 мм, допускается рассверливать по диаметру штыревого вывода, но не свыше 30 мм. 6.5. Шины в зажиме следует закреплять в следующем порядке: заложить шину в соответствующие желобки зажима (медная шина должна соприкасаться с луженым медным желобком, а алюминиевая - с алюминиевым); установить плашки; покрыть нарезанную часть болтов смазкой АМС-1, не допуская попадания ее на контактную поверхность: затянуть болты. Рис. 6. Ответвительный зажим Рис. 7. Аппаратные болтовые зажимы: а - для присоединения к стержневому выводу и плоскому, имеющему одно отверстие; б, в - для присоединения к плоским выводам, имеющим два и четыре отверстия Затяжку болтов гайками необходимо производить равномерно, чтобы все части зажима испытывали одинаковое давление по длине контакта. После полной затяжки болтов между плашками должен оставаться зазор 3-4 мм. Сближение плашек вплотную указывает на то, что размеры желобков не соответствуют данной шине и требуемое давление в контакте не обеспечено. Такие зажимы подлежат замене. 6.6. Оконцевание гибких шин аппаратными зажимами для соединения с плоскими выводами аппаратов следует производить в соответствии с конструкцией вывода. 6.7. Соединения гибких шин, оконцованных аппаратными зажимами, с плоскими выводами аппаратов следует выполнять непосредственно. 6.8. Соединения гибких шин, оконцованных аппаратными зажимами, со штыревыми выводами аппаратов нужно выполнять: медных, оконцованных аппаратным зажимом с одним отверстием, при диаметре вывода до 28 мм - непосредственно, при диаметре вывода свыше 28 мм - через медные планки; медных, оконцованных аппаратными зажимами с двумя и четырьмя отверстиями, - через медные планки; алюминиевых и сталеалюминиевых, оконцованных аппаратными зажимами, - через медные планки. 7. ПОДГОТОВКА И СБОРКА КОНТАКТНЫХ СОЕДИНЕНИЙСварные соединения7.1. Подготовка шин к сварке кроме рихтовки и резки по размеру должна включать обработку их кромок для обеспечения необходимых размеров разделки и зачистку мест соединения проволочной щеткой на участке длиной не менее 30 мм от свариваемых торцов. Перед сваркой шин в защитном газе кромки их после сборки необходимо обезжирить ацетоном, бензином или уайт-спиритом. 7.2. Обработка кромок шин и зазор, необходимый для сварки, должны соответствовать приведенным в ГОСТ 23792-79. Болтовые соединения7.3. Подготовка шин для болтового соединения должна состоять из следующих операций: выполнение отверстий под болты, обработка контактных поверхностей и, при необходимости, нанесение металлопокрытия. 7.4. Расположение и размеры отверстий под болты должны соответствовать указанным в п. 4.7. 7.5. При массовой заготовке шин рекомендуется вырубку отверстий производить на прессах. Для этой цели применяют пресс ПРУ-1. Одновременная вырубка нескольких отверстий может быть осуществлена с помощью специальных приспособлений. При вырубке отверстий с применением упора и кондукторов разметку производить не следует. 7.6. Длину болтов для соединения пакета шин нужно выбирать согласно данным табл. 4. На болтах после сборки и затяжки соединений должно оставаться не менее двух ниток свободной резьбы. 7.7. Контактные поверхности шин нужно обрабатывать в следующем порядке: удалить бензином, ацетоном или уайт-спиритом грязь и консервирующую смазку. У сильно загрязненных шин гибкой ошиновки кроме очистки внешних повивов после расплетки следует очистить внутренние повивы; выправить и обработать под линейку на шинофрезерном станке (при наличии вмятин, раковин и неровностей); удалить посторонние пленки стальной щеткой, диском с кардолентой или драчевым напильником. Таблица 4
Зачистку шин в мастерских электромонтажных заготовок необходимо производить на станке ЗШ-120. При зачистке алюминия применять шлифовальные круги не допускается, так как в обрабатываемую поверхность могут вкрапливаться крупинки камня. Ни следует применять напильники и стальные щетки для одновременной обработки шин из различных материалов во избежание загрязнения материала контактов соединяемых шин опилками иного материала. 7.9. Сведения о металлопокрытии контактной поверхности даны в приложении 4. Наиболее надежным является гальваническое покрытие, но его можно выполнять только в заводских условиях. В монтажных условиях металлопокрытие шин следует производить методами натирания (абразивное лужение) или окунания. Технология нанесения металлопокрытия на шины приведена в приложении 4. 7.10. Поверхности, имеющие защитные металлические покрытия, в случае загрязнения нужно промыть перед сборкой органическими растворителями. Луженые медные желобки, предназначенные для закрепления медных шин в петлевых зажимах, следует промыть растворителем и покрыть слоем нейтральной смазки (вазелином КВ-3/103 по ГОСТ 15975-70* смазкой ЦИАТИМ-221 по ГОСТ 9433-60* или ЦИАТИМ-201 по ГОСТ 6267-74). Зачищать такие желобки наждачной бумагой не следует. 7.11. Допускается наносить металлопокрытия на отрезки шин (пластин), которые затем приваривают к шинам на монтаже. Длина покрываемого отрезка шины (пластины) в зависимости от длины сечения этого отрезка должна быть следующая:
При отсутствии моментных ключей болты контактных соединений медных, стальных шин и шин из алюминиевого сплава следует затягивать гаечными ключами при нормальном усилии руки (150-200 Н). На соединениях алюминиевых шин нужно предварительно обжать шины путем затяжки болтов диаметром М12 и выше при полном усилии руки (около 400 Н), затем соединение ослабить и вторично затянуть болты при нормальном усилии. При диаметрах болтов 6-10 мм делать обжатие не следует. Затягивать соединения с тарельчатыми пружинами необходимо в два приема. Вначале болт нужно затянуть до полного сжатия тарельчатой пружины, затем соединение ослабить поворотом ключа в обратную сторону на 1/4 оборота (на угол 90°) для болтов Мб и М12 и на 1/6 оборота (на угол 60°) для стальных болтов. При этом давление, создаваемое тарельчатой пружиной, будет равно приблизительно 65% максимального, что и необходимо при сборке контактного соединения. 8. КОНСЕРВАЦИЯ КОНТАКТНЫХ СОЕДИНЕНИЙ8.1. Соединения, выполненные сваркой в защитном газе, не требуют последующей обработки. тщательно удалить остатки флюса металлической щеткой; окрасить места сварки в сухих помещениях теми же красками, что и шины, в наружных установках, а также в сырых и влажных помещениях - фосфатирующими или глифталевыми грунтами, а затем эпоксидной шпатлевкой, пентофталевой или эпоксидной эмалями. 8.3. Болтовые контактные соединения без металлопокрытий после сборки следует консервировать защитными смазками - вазелином КВ-3/10Э, смазкой ЦИАТИМ-221 или лаками, красками, компаундами (приложение 5). Во влажных помещениях и в агрессивной среде защитное лакокрасочное покрытие следует наносить по ГОСТ 9.032-74 *. Краски, эмали, шпатлевки следует наносить кистью. Если необходимо нанести покрытия на шины при температуре воздуха ниже 5°С, следует предварительно нагреть места, подлежащие окраске, до 40-60°С пламенем пропановоздушной горелки или паяльной лампы. 9. КОНТРОЛЬ КАЧЕСТВА КОНТАКТНЫХ СОЕДИНЕНИЙ9.1. При монтаже контактных соединений контролируют их соответствие требованиям ГОСТ 10434-82* ТУ на конкретные виды электротехнических устройств или требованиям настоящей Инструкции. 9.2. Контактные соединения подвергают испытаниям (табл. 5). Таблица 5. Виды и периодичность испытаний
1 Проводят по ГОСТ 17441-78. Количество испытываемых образцов - не менее 10 шт. одного типоразмера. 9.4. Контактные соединения считают выдержавшими испытания, если все испытанные образцы соответствуют требованиям настоящей Инструкции. Контактные соединения, не выдержавшие какие-либо испытания по п. 9.3, проходят повторные испытания на удвоенном количестве образцов. Если при повторных испытаниях контактные соединения не удовлетворяют предъявляемым требованиям, то они должны быть забракованы и переданы на переделку с последующими испытаниями. 9.5. Оформлять приемо-сдаточные испытания контактных соединений, выполненных на объекте монтажа, необходимо по инструкции ВСН 123-79/ММСС СССР [3]. 9.6. Внешний осмотр неразборных сварных соединений должен производиться визуально. При осмотре необходимо проконтролировать соответствие сварных швов требованиям, приведенным в п. 3.2. Рис. 8. Контролируемые элементы спрессованных соединений 9.7. При осмотре неразборных соединений, выполненных опрессовкой, необходимо проконтролировав их соответствие требованиям, приведенным в п. 3.2, при этом визуально нужно проверить соосность лунок и отсутствие в них трещин. У двух-трех соединений с помощью штангенциркуля или другого аналогичного инструмента следует проконтролировать геометрические размеры спрессованной части соединения. Размеры, подлежащие измерению, приведены на рис. 8. 9.8. Контроль разборных (болтовых) соединений включает: проверку комплектности (согласно п. 3.1 настоящей Инструкции) визуально; проверку плотности прилегания контактных поверхностей (у двух-трех плоских соединений). Соединения считают удовлетворяющими требованиям, приведенным в п. 3.3, если щуп толщиной 0,03 мм входит между сопрягаемыми плоскостями токоведущих шин не далее зоны, ограниченной периметром шайбы или гайки. При наличии шайб разного диаметра зона определяется диаметром меньшей шайбы (рис. 9). Допустимая глубина вхождения щупа равна l £ (b - d) /2; проверку качества затяжки болтов (у двух-трех соединений). Моменты затяжки (см. п. 7.12) нужно проверять с помощью моментного индикаторного ключа или обычными ключами; проверку качества подготовки контактных поверхностей (у двух-трех соединений). Производят разборку соединений, после чего определяют, зачищены ли контактные поверхности и имеется ли на них смазка согласно п. 7.8, 8.2 и 8.3; визуальную проверку качества металлопокрытий по п. 3.15-3.17. При типовых испытаниях выборочно на двух-трех образцах проверку производят по ГОСТ 9.302-79* (СТ СЭВ 990-78). 9.9. Измерять электрическое сопротивление нужно на контактном соединении в изделии, в блоках линейных соединений или на модели на участке между точками, показанными на рис. 10. В цепи должно быть контрольное сопротивление (участка шины, длина которого равна условной длине контактного соединения). На гибких шинах в местах измерения сопротивления следует наложить бандажи из трех-четырех витков медной луженой проволоки диаметром 0,5-1,5 мм. Сопротивление (падение напряжения) необходимо измерять методом вольтметра-амперметра, микроомметром или двойным мостом, используя электроизмерительные приборы класса точности не ниже 0,5. Сопротивление соединений гибких шин следует измерять только методом вольтметра-амперметра. Измерения должны производиться при температуре окружающей среды 20±10°С с помощью щупов с острыми иглами, разрушающими окисную пленку. 9.10. Отношение среднего сопротивления 10 испытанных однотипных плоских контактных соединений к сопротивлению контрольного участка шины должно соответствовать требованиям, приведенным в п. 3.4. Среднее сопротивление 10 штыревых контактных соединений должно соответствовать приведенному в п. 3.5. Рис. 9. Контактное соединение шины с шайбами разного диаметра Рис. 10. Точки измерения сопротивления: а - болтовое соединение шин; б - сварное соединение шин; в - болтовое ответвление от шин; г - сварное ответвление от шин; д - соединение гибких шин; е - ответвление от гибкой шины; ж - оконцевание гибкой шины; з - соединение шины с плоским выводом; и - соединение шины со штыревым выводом 9.11. Испытанию на нагревание подвергаются контактные соединения в изделии либо отдельные блоки линейных соединений, прошедшие испытание и удовлетворяющие требованиям, изложенным в п. 9.5-9.9 Инструкции. Нагревание проводят постоянным или переменным током. Линейные контактные соединения собирают в последовательную цепь. Длина шин, соединяющих контактные соединения, должна быть не менее: при площади сечения до 120 мм2 включительно - 2 м, свыше 120 мм2 - 3 м. Контактные соединения считают выдержавшими испытание, если их установившаяся температура соответствует требованиям, приведенным в п. 3.7. 9.12. Ускоренным испытаниям подвергают макеты контактных соединений, прошедшие испытания по п. 9.10 и удовлетворяющие требованиям, приведенным в п. 9.11. Длина отрезков шин должна быть 250-300 мм. Ускоренное испытание состоит в попеременном (циклическом) нагревании контактных соединений током до 120±10°С и последующем их охлаждении до температуры окружающего воздуха, но не выше 30°С. Ток испытания устанавливают опытным путем из расчета времени нагревания 3-10 мин. Для ускорения испытания допускается охлаждение соединений обдувом. Количество циклов нагревание-охлаждение должно быть не менее 500. В процессе испытания периодически, через каждые 50 циклов, измеряют сопротивление контактных соединений при температуре окружающей среды и определяют среднеарифметическое значение сопротивления группы одинаковых соединений. Контактные соединения считают выдержавшими испытания, если рост среднеарифметического значения сопротивления 10 испытанных контактов соответствует требованиям, указанным в п. 3.6. 10. ТРЕБОВАНИЯ БЕЗОПАСНОСТИ ТРУДА10.1. При производстве работ по сварке и монтажу контактных соединений следует руководствоваться СНиП III-4-80, а также другими правилами, утвержденными в установленном порядке. 10.2. К работам по сварке следует допускать сварщиков не ниже 3-го разряда, прошедших специальное обучение, сдавших технологическую пробу и аттестованных в соответствии с "Положением об обучении и проверке знаний сварщиков", утвержденным Главэлектромонтажем 30 июня 1965 г., а также имеющих квалификационную группу по технике безопасности не ниже II. 11. ИНСТРУМЕНТЫ И МАТЕРИАЛЫ11.1. Для выполнения контактных соединений следует применять инструменты и приспособления, необходимые для сварочных и слесарных работ, а также малярные щетинные кисти. Сварочный флюс нужно хранить и приготовлять только в стеклянной, фарфоровой или пластмассовой посуде. 11.2. Расходы вспомогательных материалов на одно сварное соединение указаны в табл. 6, на сто болтовых соединений - в табл. 7. Таблица 6. Расход материалов на одно сварное соединение шин между собой или с выводами электротехнического устройства на 100 мм шва
Таблица 7. Расход вспомогательных материалов на 100 болтовых соединений шин
ПРИЛОЖЕНИЕ 1. ТЕРМИНЫ, УПОМЯНУТЫЕ В ИНСТРУКЦИИ
ПРИЛОЖЕНИЕ 2. КЛАССЫ КОНТАКТНЫХ СОЕДИНЕНИЙ
ПРИЛОЖЕНИЕ 3. ПЛОСКИЕ И ШТЫРЕВЫЕ КОНТАКТНЫЕ ВЫВОДЫ ЭЛЕКТРОТЕХНИЧЕСКИХ УСТРОЙСТВ (ГОСТ 21242-75*)1. Размеры плоских выводов
2. Размеры (резьба) штыревых выводов
1 Допускается применение других материалов, обеспечивающих надежный контакт. ПРИЛОЖЕНИЕ 4. МЕТАЛЛОПОКРЫТИЯ1. Металлопокрытия контактных
участков шин
2. Технология нанесения металлопокрытия горячим способом на алюминиевые, медные и стальные шины
1 Температура лужения меди и стали 330°С, алюминия и его сплавов 400-425°С. 2 Состав паяльного жира: канифоль (ГОСТ 19113-73*) 10-15 массовых частей, животный жир или стеарин (ГОСТ 6484-64*) 5-6 массовых частей, нашатырный спирт (ГОСТ 2210-73*) 2 массовые части, хлористый цинк (ГОСТ 7345-78) - 1 массовая часть, дистиллированная вода (ГОСТ 6709-72) - 1 массовая часть. Жир выпускается Михневским опытным заводом специальных электроизделий треста "Электромонтажконструкция" Минмонтажспецстроя СССР. ПРИЛОЖЕНИЕ 5. ЖИРОВЫЕ
СМАЗКИ И ПАСТЫ.
|
|||||||||||||||||||||||||||||||||||||||||||||||||||||||||||||||||||||||||||||||||||||||||||||||||||||||||||||||||||||||||||||||||||||||||||||||||||||||||||||||||||||||||||||||||||||||||||||||||||||||||||||||||||||||||||||||||||||||||||||||||||||||||||||||||||||||||||||||||||||||||||||||||||||||||||||||||||||||||||||||||||||||||||||||||||||||||||||||||||||||||||||||||||||||||||||||||||||||||||||||||||||||||||||||||||||||||||||||||||||||||||||||||||||||||||||||||||||||||||||||||||||||||||||||||||||||||||||||||||||||||||||||||||||||||||||||||||||||||||||||||||||||||||||||||||||||||||||||||||||||||||||||||||||||||||||||||||||||||||||||||||||||||||||||||||||||||||||||||||||||||||||||||||||||||||||||||||||||||||||||||||||||||||||||||||||||||||||||||||||||||||||||||||||||||||||||||||||||||||||||||||||||||||||||||||||||||||||||||||||||||||||||||||||||||||||||||||||||||||||||||||||||||||||||||||||||||||||||||||||||||||||||||||||||||||||||||||||||||||||||||||||||||||||||||||||||||||||||||||||||
|
Размеры, мм |
Масса, 1 м, кг |
Размеры, мм |
Масса, 1 м, кг |
||
|
медных |
алюминиевых или из сплава алюминия |
медных |
алюминиевых или из сплава алюминия |
||
|
3 ´ 10 |
0,29 |
0,08 |
4 ´ 10 |
0,37 |
0,11 |
|
3 ´ 12 |
- |
0,10 |
4 ´ 12 |
- |
0,13 |
|
3 ´ 12,5 |
0,32 |
- |
4 ´ 12,5 |
0,43 |
- |
|
3 ´ 15 |
- |
0,12 |
4 ´ 15 |
0,53 |
0,18 |
|
3 ´ 20 |
0,53 |
0,16 |
4 ´ 20 |
0,71 |
0,22 |
|
3 ´ 25 |
0,67 |
0,20 |
4 ´ 25 |
0,89 |
0,27 |
|
3 ´ 30 |
0,80 |
0,24 |
4 ´ 30 |
1,07 |
0,32 |
|
3 ´ 40 |
1,07 |
0,32 |
4 ´ 40 |
1,42 |
0,43 |
Продолжение прилож. 6
|
Размеры, мм |
Масса, 1м, кг |
Размеры, мм |
Масса, 1 м, кг |
||
|
медных |
алюминиевых или из сплава алюминия |
медных |
алюминиевых или из сплава алюминия |
||
|
5 ´ 3О |
1,34 |
0,40 |
6 ´ 80 |
4,27 |
1,30 |
|
5 ´ 40 |
1,78 |
0,54 |
6 ´ 100 |
5,34 |
1,62 |
|
5 ´ 50 |
2,25 |
0,68 |
8 ´ 60 |
4,27 |
1,30 |
|
5 ´ 60 |
2,67 |
0,81 |
8 ´ 80 |
5,70 |
1,73 |
|
5 ´ 80 |
2,84 |
0,86 |
8 ´ 100 |
7,12 |
2,17 |
|
6 ´ 50 |
2,67 |
0,81 |
8 ´ 120 |
8,54 |
2,60 |
|
6 ´ 60 |
3,20 |
0,97 |
10 ´ 80 |
7,12 |
2,16 |
|
|
|
|
10 ´ 100 |
8,90 |
2,70 |
|
|
|
|
10 ´ 120 |
10,68 |
3,24 |
|
|
|
|
12 ´ 120 |
- |
3,88 |
|
|
|
|
12,5 ´ 120 |
12,8 |
- |
2. Стальные прямоугольные шины (ГОСТ 4405-75*)
|
Размеры, мм |
Масса 1 м, кг |
Размеры, мм |
Масса 1 м, кг |
Размеры, мм |
Масса 1 м, кг |
|
3 ´ 20 |
0,47 |
3 ´ 70 |
1,65 |
4 ´ 40 |
1,26 |
|
3 ´ 25 |
0,59 |
3 ´ 80 |
1,88 |
4 ´ 50 |
1,57 |
|
3 ´ 30 |
0,71 |
3 ´ 100 |
2,35 |
4 ´ 60 |
1,88 |
|
3 ´ 40 |
0,94 |
4 ´ 20 |
0,63 |
4 ´ 70 |
2,20 |
|
3 ´ 50 |
1,18 |
4 ´ 25 |
0,79 |
4 ´ 80 |
2,51 |
|
3 ´ 60 |
1,41 |
4 ´ 30 |
0,94 |
4 ´ 100 |
3,14 |
3. Трубчатые медные шины (ГОСТ 617-72)
|
Размеры, мм |
Сечение, мм2 |
Масса 1 м, кг |
Размеры, мм |
Сечение, мм |
Масса 1 м, кг |
||
|
Диаметр |
Толщина |
Диаметр |
Толщина |
||||
|
15 |
1,5 |
63 |
0,57 |
45 |
2,5 |
337 |
3,00 |
|
18 |
2,0 |
100 |
0,90 |
50 |
2,5 |
378 |
3,34 |
|
20 |
2,0 |
113 |
1,01 |
55 |
3,0 |
490 |
4,35 |
|
22 |
2,0 |
126 |
1,12 |
60 |
3,5 |
622 |
5,54 |
|
24 |
2,0 |
138 |
1,24 |
70 |
4,0 |
829 |
7,42 |
|
26 |
2,0 |
151 |
1,35 |
80 |
4,0 |
955 |
8,55 |
|
30 |
2,5 |
217 |
1,93 |
85 |
5,0 |
1256 |
11,25 |
|
34 |
2,5 |
250 |
2,21 |
95 |
2,5 |
725 |
6,5 |
|
40 |
2,5 |
297 |
2,64 |
100 |
3,5 |
1061 |
9,44 |
4. Профили из алюминия и его сплава (ГОСТ 15175-70*)
|
Номер профиля |
Размеры, мм |
Сечение, мм |
Масса 1 м, кг |
||
|
В |
Н |
S |
|||
|
Швеллер (см. рисунок а) |
|||||
|
52 |
25 |
15 |
1,5 |
79,5 |
0,215 |
|
65 |
30 |
15 |
1,5 |
87,0 |
0,236 |
|
108 |
30 |
20 |
2,0 |
133,5 |
0,362 |
|
112 |
35 |
20 |
2,5 |
177,0 |
0,480 |
|
156 |
25 |
25 |
5,0 |
325,0 |
0,881 |
|
168 |
40 |
25 |
3,0 |
254,9 |
0,691 |
|
182 |
55 |
25 |
5,0 |
481,9 |
1,306 |
|
188 |
60 |
25 |
4,0 |
413,1 |
1,120 |
|
306 |
80 |
35 |
4,5 |
641,4 |
1,738 |
|
338 |
80 |
40 |
4,0 |
613,1 |
1,662 |
|
366 |
75 |
45 |
5,0 |
783,1 |
2,122 |
|
Корытный (см. рисунок б) |
|||||
|
299 |
75 |
35 |
4,0 |
520 |
1,411 |
|
301 |
75 |
35 |
5,5 |
595 |
1,885 |
|
368 |
100 |
45 |
4,5 |
775 |
2,100 |
|
370 |
100 |
45 |
6,0 |
1011 |
2,741 |
|
443 |
125 |
55 |
6,5 |
1370 |
3,710 |
|
445 |
125 |
55 |
8,0 |
1655 |
4,487 |
|
470 |
150 |
65 |
7,0 |
1781 |
4,826 |
|
528 |
175 |
80 |
8,0 |
2442 |
6,618 |
|
549 |
200 |
90 |
10,0 |
3437 |
9,314 |
|
551 |
200 |
90 |
12,0 |
4045 |
10,963 |
|
570 |
225 |
105 |
12,5 |
4866 |
13,242 |
|
575 |
225 |
105 |
17,5 |
6568 |
17,800 |
|
577 |
250 |
115 |
12,5 |
5450 |
14,766 |
|
581 |
275 |
120 |
12,5 |
5886 |
15,952 |
|
П-образный (см. рисунок в) |
|||||
|
505 |
75 |
75 |
4 |
840 |
2,278 |
|
507 |
75 |
75 |
6 |
1232 |
3,338 |
|
555 |
100 |
100 |
5 |
1405 |
3,807 |
|
557 |
100 |
100 |
7 |
1933 |
5,238 |
|
583 |
125 |
125 |
7,5 |
2612 |
7,077 |
|
585 |
150 |
150 |
8 |
3376 |
9,149 |
|
587 |
175 |
175 |
9,5 |
4670 |
12,657 |
|
589 |
200 |
200 |
11,5 |
6441 |
17,454 |
|
591 |
200 |
200 |
13,5 |
7472 |
20,249 |
|
593 |
225 |
225 |
14,5 |
9078 |
24,600 |
|
595 |
250 |
250 |
15 |
10500 |
28,455 |
|
597 |
275 |
275 |
15 |
11622 |
31,497 |

5. Трубы
Полутруба (см. рисунок г)
|
Номер профиля |
Размеры, мм |
Сечение, мм2 |
Масса 1 м, кг |
|
|
D, В |
S |
|||
|
6 |
280 |
15 |
5944 |
16,107 |
|
8 |
280 |
12 |
4811 |
13,039 |
|
7 |
280 |
10 |
4041 |
10,951 |
|
10 |
280 |
8 |
3258 |
8,829 |
|
19 |
350 |
15 |
7292 |
19,761 |
|
21 |
350 |
10 |
4940 |
13,387 |
|
23 |
420 |
15 |
8942 |
24,232 |
|
25 |
420 |
10 |
6040 |
16,367 |
|
31 |
490 |
15 |
10591 |
28,702 |
|
33 |
490 |
10 |
7140 |
19,348 |
|
36 |
520 |
15 |
11298 |
30,618 |
|
37 |
520 |
10 |
7611 |
20,625 |
Квадратная труба (см. рисунок е)
|
Размеры, мм |
Сечение, мм2 |
Масса 1 м, кг |
|
|
D, В |
S |
||
|
70 |
4 |
1014,8 |
2,750 |
|
75 |
5 |
1335,6 |
3,619 |
|
80 |
5 |
1435,6 |
3,890 |
|
90 |
6 |
1635,6 |
4,432 |
Круглая труба (см. рисунок д)
|
Размеры, мм |
Сечение, мм2 |
Масса 1 м, кг |
|
|
D, В |
S |
||
|
10 |
1 |
28,5 |
0,077 |
|
14 |
1,5 |
59 |
0,160 |
|
16 |
2 |
88 |
0,238 |
|
18 |
2 |
100 |
0,271 |
|
20 |
2 |
114 |
0,309 |
|
22 |
2 |
127 |
0,344 |
|
24 |
2 |
139 |
0,377 |
|
26 |
2 |
152 |
0,412 |
|
30 |
2,5 |
217 |
0,588 |
|
34 |
2,5 |
250 |
0,678 |
|
40 |
2,5 |
297 |
0,805 |
|
45 |
2,5 |
337 |
0,913 |
|
50 |
2,5 |
378 |
1,024 |
|
52 |
3 |
480 |
1,301 |
|
55 |
2,5 |
418 |
1,133 |
|
60 |
2,5 |
457 |
1,338 |
|
65 |
2,5 |
495 |
1,341 |
|
70 |
2,5 |
535 |
1,450 |
|
75 |
2,5 |
575 |
1,558 |
|
80 |
2,5 |
615 |
1,667 |
|
80 |
4 |
960 |
2,602 |
|
85 |
2,5 |
650 |
1,762 |
|
85 |
3 |
775 |
2,100 |
|
85 |
5 |
1256 |
3,404 |
|
95 |
2,5 |
725 |
1,963 |
|
100 |
5 |
1500 |
4,065 |
|
140 |
10 |
4082 |
11,062 |
|
140 |
15 |
5900 |
15,989 |
|
210 |
10 |
6200 |
16,802 |
|
210 |
15 |
8600 |
23,306 |
|
250 |
10 |
7500 |
20,325 |
|
250 |
15 |
11000 |
29,810 |
6. Равнобокий уголок (см. рисунок ж)
|
Номер профиля |
Размеры, мм |
Сечение, мм2 |
Масса 1 м, кг |
|
|
l |
S |
|||
|
429 |
50 |
8 |
752,7 |
2,040 |
|
431 |
50 |
10 |
926,1 |
2,510 |
|
515 |
75 |
10 |
1426,1 |
3,838 |
|
567 |
100 |
12 |
2293,6 |
6,216 |
7. Профиль "двойное Т" (см. рисунок з)
|
Номер профиля |
Размеры, мм |
Сечение, мм2 |
Масса 1 м, кг |
|||||
|
H |
В |
h |
h1 |
S |
S1 |
|||
|
3 |
70 |
60 |
20 |
30 |
6 |
4 |
1288 |
3,490 |
|
7 |
100 |
80 |
30 |
40 |
8 |
6 |
2488 |
6,742 |
|
9 |
130 |
100 |
45 |
40 |
8 |
6 |
3468 |
9,398 |
|
13 |
150 |
120 |
55 |
40 |
10 |
8 |
5240 |
14,200 |
|
15 |
180 |
150 |
66 |
48 |
10 |
8 |
6520 |
17,669 |
|
17 |
200 |
200 |
75 |
50 |
10 |
8 |
8040 |
21,788 |
|
27 |
250 |
200 |
95 |
60 |
10 |
8 |
9240 |
25,040 |
|
35 |
270 |
250 |
100 |
70 |
10 |
8 |
10600 |
28,726 |
|
41 |
320 |
250 |
125 |
70 |
10 |
8 |
12000 |
32,520 |
|
Длина болта, мм |
Масса 1000 шт. (стальных), кг, при диаметре резьбы, мм |
|||||
|
М6 |
М8 |
М10 |
М12 |
М16 |
М20 |
|
|
Болты с шестигранной головкой (ГОСТ 7798-70*) |
||||||
|
16 |
5,930 |
11,80 |
22,70 |
32,57 |
- |
- |
|
20 |
6,742 |
13,25 |
24,97 |
35,85 |
68,49 |
- |
|
25 |
7,871 |
15,07 |
27,82 |
39,95 |
75,87 |
136,4 |
|
30 |
8,981 |
17,35 |
30,66 |
44,05 |
83,24 |
147,9 |
|
32 |
9,426 |
18,140 |
32,03 |
45,68 |
86,19 |
152,5 |
|
35 |
10,090 |
19,32 |
33,88 |
48,43 |
90,62 |
159,4 |
|
40 |
11,200 |
21,30 |
36,96 |
52,87 |
97,99 |
170,9 |
|
45 |
12,310 |
23,27 |
40,05 |
57,31 |
105,70 |
182,5 |
|
50 |
13,42 |
25,25 |
43,13 |
61,76 |
113,60 |
194,0 |
|
55 |
14,53 |
27,22 |
46,22 |
66,20 |
121,50 |
206,8 |
|
60 |
15,64 |
29,200 |
49,30 |
70,64 |
129,40 |
219,1 |
|
65 |
16,76 |
31,170 |
52,39 |
75,08 |
137,30 |
231,5 |
|
70 |
17,87 |
33,14 |
55,47 |
79,53 |
145,20 |
249,8 |
|
75 |
18,98 |
35,12 |
58,56 |
83,97 |
153,10 |
258,1 |
|
80 |
20,09 |
37,69 |
61,64 |
88,42 |
161,00 |
268,1 |
|
85 |
21,20 |
39,07 |
64,73 |
92,86 |
168,90 |
280,8 |
|
90 |
22,31 |
41,04 |
67,81 |
97,29 |
176,80 |
293,2 |
|
95 |
- |
43,02 |
70,80 |
101,70 |
184,70 |
305,5 |
|
100 |
- |
44,99 |
73,98 |
106,20 |
192,60 |
317,8 |
|
Гайки шестигранные нормальной точности (ГОСТ 5915-70*) |
||||||
|
|
- |
9,65 |
16,31 |
30,08 |
59,90 |
117,1 |
|
Гайки шестигранные, низкие, нормальной точности (ГОСТ 5916-70*) |
||||||
|
|
0,948 |
4,011 |
8,478 |
10,610 |
19,58 |
34,68 |
Примечания: 1. Для определения массы болтов и гаек из алюминиевого сплава и латуни массу, указанную в таблице, следует умножить на 0,359 для алюминиевых сплавов и на 1,083 для латуни.
2. Стальные метизы должны быть оцинкованы или должны иметь другое равноценное покрытие.
|
Диаметр болта, мм |
Шайбы |
|||
|
Диаметр, мм |
Толщина, мм |
Масса 1000 стальных шайб, кг |
||
|
внутренний |
наружный |
|||
|
По ГОСТ 11371-781 |
||||
|
6 |
6,4 |
12,5 |
1,2 |
0,853 |
|
8 |
8,4 |
17,5 |
1,6 |
2,320 |
|
10 |
10,5 |
21,0 |
2,0 |
4,080 |
|
12 |
13,0 |
24,0 |
2,5 |
6,270 |
|
16 |
17,0 |
30,0 |
3,0 |
11,300 |
|
20 |
21,0 |
37,0 |
4,0 |
32,900 |
|
По ГОСТ 6958-782 |
||||
|
6 |
6,4 |
18,0 |
1,6 |
2,79 |
|
8 |
8,4 |
24,0 |
2,0 |
6,23 |
|
10 |
10,5 |
30,0 |
3,0 |
14,60 |
|
12 |
13,0 |
36,0 |
3,0 |
20,80 |
|
16 |
17,0 |
48,0 |
4,0 |
49,60 |
|
20 |
21,0 |
60,0 |
5,0 |
97,40 |
1 В соответствии с п. 2 ГОСТ 11371-78 допускается по соглашению сторон изготовление шайб большей толщины.
2 Для определения массы шайб из алюминиевого сплава и латуни массу, указанную в таблице, следует умножить на 0,356 для алюминиевого сплава и на 1,083 для латуни.
|
Тип |
Толщина, мм |
Ширина, мм |
Длина, мм |
Масса, кг |
|
|
медной части |
алюминиевой части |
||||
|
Медно-алюминиевые (ГОСТ 19357-81) |
|||||
|
МА40 ´ 4 |
4 |
40 |
60 |
100 |
0,13 |
|
МА60 ´ 6 |
6 |
50 |
60 |
100 |
0,24 |
|
МА60 ´ 8 |
8 |
60 |
80 |
160 |
0,56 |
|
МА80 ´ 8 |
8 |
80 |
90 |
160 |
0,79 |
|
МА100 ´ 10 |
10 |
100 |
110 |
160 |
1,41 |
|
МА120 ´ 10 |
10 |
120 |
140 |
190 |
2,10 |
|
МА100 ´ 12 |
12 |
100 |
140 |
190 |
2,10 |
|
Из алюминиевого сплава (ТУ 36-931-67) |
|||||
|
АП-40 ´ 4 (К 181) |
4 |
40 |
160 |
0,07 |
|
|
АП-50 ´ 6 (К 182) |
6 |
50 |
160 |
0,13 |
|
|
АП-60 ´ 8 (К 183) |
8 |
60 |
240 |
0,31 |
|
|
АП-80 ´ 8 (К 184) |
8 |
80 |
250 |
0,43 |
|
|
АП-100 ´ 10 (К 185) |
10 |
100 |
270 |
0,73 |
|
|
АП-120 ´ 10 (К 186) |
10 |
120 |
330 |
1,07 |
|
|
Номинальное сечение, мм2 |
Масса 1 км провода, кг |
Номинальное сечение, мм2 |
Масса 1 км провода, кг |
||
|
медного марки М |
алюминиевого марки А |
медного марки М |
алюминиевого марки А |
||
|
4 |
35 |
- |
120 |
1058 |
321 |
|
6 |
52 |
- |
150 |
1338 |
406 |
|
10 |
88 |
- |
185 |
1659 |
502 |
|
16 |
142 |
43 |
240 |
2124 |
655 |
|
25 |
224 |
68 |
300 |
2614 |
794 |
|
|
|
|
350 |
3135 |
952 |
|
35 |
311 |
94 |
400 |
3528 |
1072 |
|
50 |
444 |
135 |
500 |
- |
1378 |
|
70 |
612 |
189 |
600 |
- |
1618 |
|
95 |
850 |
252 |
|
|
|
|
Номинальное сечение, мм2 |
Число проволок |
Диаметр, мм |
Масса провода (без смазки), кг/км |
|||
|
алюминиевых |
в стальном сердечнике |
провода |
стального сердечника |
|||
|
10/1,8 |
6 |
1 |
4,5 |
1,5 |
42,7 |
|
|
16/2,7 |
6 |
1 |
5,6 |
1,9 |
65 |
|
|
25/4,2 |
6 |
1 |
6,9 |
2,3 |
100 |
|
|
35/6,2 |
6 |
1 |
8,4 |
2,8 |
149 |
|
|
50/8 |
6 |
1 |
9,6 |
3,2 |
194 |
|
|
70/11 |
6 |
1 |
11,4 |
3,8 |
274 |
|
|
70/72 |
18 |
19 |
15,4 |
11,0 |
735 |
|
|
95/16 |
6 |
1 |
13,5 |
4,5 |
384 |
|
|
95/15 |
26 |
7 |
13,5 |
5,0 |
370 |
|
|
95/140 |
24 |
37 |
19,8 |
15,4 |
1357 |
|
|
120/19 |
26 |
7 |
15,2 |
5,6 |
471 |
|
|
120/27 |
30 |
7 |
15,5 |
6,6 |
526 |
|
|
150/19 |
24 |
7 |
16,8 |
5,5 |
554 |
|
|
150/24 |
26 |
7 |
17,1 |
6,3 |
600 |
|
|
150/34 |
30 |
7 |
17,5 |
7,5 |
675 |
|
|
185/24 |
24 |
7 |
18,9 |
6,3 |
705 |
|
|
185/29 |
26 |
7 |
18,8 |
6,9 |
728 |
|
|
185/43 |
30 |
7 |
19,6 |
8,4 |
846 |
|
|
185/128 |
54 |
37 |
23,1 |
14,7 |
1525 |
|
|
240/32 |
24 |
7 |
21,6 |
7,2 |
921 |
|
|
240/39 |
26 |
7 |
21,6 |
8,0 |
952 |
|
|
240/56 |
30 |
7 |
22,4 |
9,6 |
1106 |
|
|
300/39 |
24 |
7 |
24,0 |
8,0 |
1132 |
|
|
300/48 |
26 |
7 |
24,1 |
8,9 |
1186 |
|
|
300/66 |
30 |
19 |
24,5 |
10,5 |
1313 |
|
|
300/204 |
54 |
37 |
29,2 |
18,6 |
2428 |
|
|
400/22 |
76 |
7 |
26,6 |
6,0 |
1261 |
|
|
400/51 |
54 |
7 |
27,5 |
9,2 |
1490 |
|
|
400/64 |
26 |
7 |
27,7 |
10,2 |
1572 |
|
|
400/93 |
30 |
19 |
29,1 |
12,5 |
1851 |
|
|
500/27 |
76 |
7 |
29,4 |
8,6 |
1537 |
|
|
500/64 |
54 |
7 |
30,6 |
10,2 |
1852 |
|
|
500/336 |
54 |
61 |
37,5 |
23,9 |
4005 |
|
|
600/72 |
54 |
19 |
33,2 |
11,0 |
2170 |
|
|
700/86 |
96 |
19 |
36,2 |
12,0 |
2575 |
|
|
800/105 |
96 |
19 |
39,7 |
13,3 |
3092 |
|
1. Руководство по термитной сварке. М.: Энергия, 1977. 112 с.
2.
Инструкция по сварке цветных металлов в электромонтажном производстве
. М.: Энергия, 1978. 140 с.
СОДЕРЖАНИЕ
|
ГОСТЫ, СТРОИТЕЛЬНЫЕ и ТЕХНИЧЕСКИЕ НОРМАТИВЫ. Некоммерческая онлайн система, содержащая все Российские Госты, национальные Стандарты и нормативы. В Системе содержится более 150000 файлов нормативно-технической документации, действующей на территории РФ. Система предназначена для широкого круга инженерно-технических специалистов. Copyright © www.gostrf.com, 2008 - 2026 |