Крупнейшая бесплатная информационно-справочная система онлайн доступа к полному собранию технических нормативно-правовых актов РФ. Огромная база технических нормативов (более 150 тысяч документов) и полное собрание национальных стандартов, аутентичное официальной базе Госстандарта. GOSTRF.com - это более 1 Терабайта бесплатной технической информации для всех пользователей интернета. Все электронные копии представленных здесь документов могут распространяться без каких-либо ограничений. Поощряется распространение информации с этого сайта на любых других ресурсах. Каждый человек имеет право на неограниченный доступ к этим документам! Каждый человек имеет право на знание требований, изложенных в данных нормативно-правовых актах!

  


 

МИНИСТЕРСТВО МОРСКОГО ФЛОТА СССР

МЕТОДИКА РАСЧЕТА
И КОНСТРУИРОВАНИЯ
ЖЕСТКИХ ПОКРЫТИЙ
ТЕРРИТОРИЙ МОРСКИХ ПОРТОВ

РД 31.31.46-88

Москва 1989

МИНИСТЕРСТВО
МОРСКОГО ФЛОТА СССР
(МИНМОРФЛОТ СССР)

РУКОВОДИТЕЛЯМ ПРЕДПРИЯТИЙ И
ОРГАНИЗАЦИЙ МИНМОРФЛОТА СССР

(по списку)

103759 Москва, Жданова, 1/4

от 24.03.88, № 52

О введении в действие Методики расчета и конструирования жестких покрытий территорий морских портов

Ленинградским филиалом Союздорнии совместно с Ленморниипроектом разработана Методика расчета и конструирования жестких покрытий территорий морских портов, позволяющая сократить сроки строительства и расход основных строительных материалов. Методика согласована с Министерством транспортного строительства СССР.

ПРЕДЛАГАЮ:

1. Ввести в действие с 01.07.88 РД 31.31.46-88 «Методика расчета и конструирования жестких покрытий территории морских портов» (прилагается).

2. Руководителям предприятий и организаций ММФ при проектировании и строительстве руководствоваться указаниями РД.

3.  Контроль за исполнением возложить на В/О «Морстройзагранпоставка».

Заместитель министра                                                                                         Л.П. Недяк

МИНИСТЕРСТВО МОРСКОГО ФЛОТА СССР

Приложение к письму ММФ

от 24.03.88 № 52

МЕТОДИКА РАСЧЕТА И КОНСТРУИРОВАНИЯ
ЖЕСТКИХ ПОКРЫТИЙ ТЕРРИТОРИЙ МОРСКИХ
ПОРТОВ

РД 31.31.46-88

Москва 1989

РАЗРАБОТАН         Ленинградским филиалом Государственного всесоюзного дорожного научно-исследовательского института

Директор                                               Ю.М. Васильев

Руководитель темы и разработки, ст. науч. сотр., канд. техн. наук                                     Н.И. Брагинская

Ленинградским филиалом Государственного проектно-изыскательского и научно-исследовательского института морского транспорта

И. о. главного инженера                      В.И. Шабанов

Руководитель разработки                     Ю.А. Новиков

Исполнители: Н.И. Брагинская, М.П. Костромкина, Ю.А. Новиков, А.Д. Чистухин

Ведущий инженер по стандартизации  Б.Е. Керштейн

СОГЛАСОВАН      Министерством транспортного строительства СССР

Заместитель министра                         В.В. Алексеев

УТВЕРЖДЕН          Министерством морского флота СССР

Заместитель министра                         Л.П. Недяк

МЕТОДИКА РАСЧЕТА И КОНСТРУИРОВАНИЯ ЖЕСТКИХ ПОКРЫТИЙ ТЕРРИТОРИЙ МОРСКИХ ПОРТОВ

РД 31.31.46-88

Вводится впервые

Срок введения в действие
установлен с 01.07.88

Настоящая методика распространяется на проектирование жестких покрытий строящихся морских и речных портов, а также контейнерных терминалов железнодорожных станций.

1. ОБЩИЕ ПОЛОЖЕНИЯ

1.1. При проектировании бетонных и железобетонных конструкций жестких покрытий портовых территорий необходимо руководствоваться СНиП, ГОСТ и другими общесоюзными и ведомственными нормативными документами, регламентирующими требования к материалам, правилам производства строительных работ и к защите конструкций от коррозии при наличии агрессивных сред.

1.2. При проектировании необходимо предусматривать такие бетонные и железобетонные конструкции покрытий (монолитные цементобетонные неармированные или армированные, сборные железобетонные, в том числе дисперсно-армированные), применение которых обеспечивает индустриализацию и механизацию работ, снижение трудоемкости, сокращение продолжительности и снижение стоимости строительства.

1.3. При проектировании покрытий в портах, строящихся на вновь образованных территориях, необходимо предусматривать мероприятия по улучшению механических свойств грунтовых оснований.

Особое внимание следует обращать на улучшение гидрологического режима территории в месте строительства площадок, расположенных вблизи причальных сооружений.

2. НОРМАТИВНЫЕ И РАСЧЕТНЫЕ НАГРУЗКИ

2.1. Нормативные нагрузки на покрытия портовых территорий, за исключением контейнерных терминалов с многоярусной схемой хранения контейнеров, определяют по «Нормам технологического проектирования морских портов» РД 31.31.37-78 в зависимости от технологического назначения площадок и в соответствии с табл. 1.

Таблица 1

Схема нагрузки

Статическая нагрузка, кН

Нормативная нагрузка, кН

Расчетное давление, МПа (кгс/см2)

Диаметр следа колеса Dр, м

КВ-70

350

400

0,85 (8,5)

0,77

КВ-35

175

200

0,85 (8,5)

0,55

Тc

135

155

0,80 (8,0)

0,50

Н-30

60

69

0,59 (5,9)

0,39

Н-10

47,5

55

0,50 (5,0)

0,36

Примечания: 1. Нормативная нагрузка - произведение величины статической нагрузки на коэффициент динамичности, равный 1,15.

2. Расчетное давление - результат деления расчетной нагрузки, равной по величине нормативной, на площадь отпечатка колеса.

3. Для операционной зоны принимают нагрузки по схемам КВ-70 или КВ-35, для проездов - по схеме Тc.

2.2. Нормативные нагрузки на покрытия площадок многоярусного (более двух) складирования контейнеров определяют в зависимости от количества устанавливаемых в ярусы контейнеров.

2.3. Расчетную нагрузку от многоярусного складирования контейнеров, воспринимаемую фитингом площадью поперечного сечения, (0,0225 м2) вычисляют по формуле

Pp = Pngfg1c,

где     Р - нормативная нагрузка на фитинг при складировании контейнеров (определяют по табл. 2 в зависимости от количества ярусов);

gf - коэффициент надежности по нагрузке, равный единице;

g1c - коэффициент, учитывающий степень полноты загрузки контейнеров (принимают равным 0,9, 0,8 и 0,7 для групп контейнеров, устанавливаемых в 3, 4 и 5 ярусов соответственно).

2.4. Схемы взаимного расположения технологического транспорта и контейнеров, а также расстановки контейнеров при их многоярусном складировании приведены на рис. 1 и 2.

Таблица 2

Количество ярусов контейнеров

Нагрузка на фитинг контейнера, кН (тс)

Расчетное давление на покрытие, МПа (кгс/см2)

нормативная

расчетная

3

4

5

Примечания: 1. В числителе - значения нагрузки, передаваемой на фитинг контейнера типа 1А ГОСТ 20259-80, в знаменателе - типа 1С.

2. Расчетное давление - результат деления расчетной нагрузки на площадь круга, равновеликого площади фитинга.

3. Диаметр Dp площади круга, равновеликого площади фитинга (0,0225 м2), равен 0,17 м.

3. МАТЕРИАЛЫ ДЛЯ ЖЕСТКИХ ПОКРЫТИЙ ПОРТОВЫХ ТЕРРИТОРИЙ

3.1. Бетон

3.1.1. Для устройства покрытий специализированных комплексов портовых контейнерных терминалов применяют тяжелые бетоны, отвечающие требованиям соответствующих ГОСТов.

3.1.2. Основным контролируемым показателем качества бетона жестких покрытий является прочность на сжатие, определяемая в проектном возрасте.

По прочности на сжатие следует применять бетон:

- класса В30 для монолитных цементобетонных покрытий;

- класса В27,5 для монолитных и сборных железобетонных покрытий.

Прочность бетона на сжатие, растяжение при изгибе и другие механические характеристики, а также марки по морозостойкости приведены в обязательном приложении 6.

3.2. Арматура

3.2.1. Для армирования монолитных железобетонных покрытий и сборных покрытий из плит с ненапрягаемой арматурой следует применять арматуру в соответствии с СНиП 2.03.01-84 «Бетонные и железобетонные конструкции», СНиП 2.03.11-85 «Защита строительных конструкций от коррозии», действующими ГОСТами и техническими условиями.

Рис. 1. Схемы нагрузок КВ-70 и КВ-35

Рис. 2. Схема расстановки контейнеров на складской площадке для их хранения

Нормативные и расчетные характеристики арматуры следует принимать в соответствии с указаниями СНиП 2.03.01-84.

4. МАТЕРИАЛЫ ДЛЯ УСТРОЙСТВА ОСНОВАНИЙ ЖЕСТКИХ ПОКРЫТИЙ ПОРТОВЫХ ТЕРРИТОРИЙ

4.1. Верхние слои основания

4.1.1. Для верхних слоев основания следует использовать:

каменные материалы 1 - 3-го классов прочности, уложенные по способу заклинки;

щебень, гравий, песчано-гравийные смеси;

грунты, укрепленные цементом, активной золой уноса, известью, фосфатными и другими вяжущими;

однородные по качеству активные гранулированные шлаки с подобранным гранулометрическим составом.

В особо сложных случаях, например при устройстве покрытий на намывных или насыпных грунтах, подстилаемых естественными слабыми грунтами, необходимость устройства дополнительных слоев определяют на основании технико-экономических расчетов.

4.2. Грунтовое основание

4.2.1. Для устройства грунтового основания надводной части территории следует использовать грунты, соответствующие требованиям СНиП 2.05.02-85 «Автомобильные дороги» и СН 449-72 «Указания по проектированию земляного полотна железных и автомобильных дорог».

4.2.2. Требуемая степень уплотнения грунтового основания, характеризуемая коэффициентом уплотнения грунта, равным отношению плотности скелета грунта в основании к максимальной плотности того же грунта при стандартном уплотнении, назначается по ГОСТ 22733-77 и в соответствии с таблицей обязательного приложения 3.

4.2.3. Используемые в расчетах покрытий механические характеристики песчаных грунтов следует назначать в соответствии с указаниями, приведенными в справочном приложении 4.

5. КОНСТРУИРОВАНИЕ ЖЕСТКИХ ПОКРЫТИЙ

5.1. Технические требования

5.1.1. Конструирование покрытий необходимо осуществлять с учетом анализа величин и характера приложения нагрузок (подвижной или статической), климатических и гидрогеологических условий строительства, наличия местных дорожно-строительных материалов.

Для площадок, расположенных вблизи строящихся причальных сооружений распорного типа, следует учитывать возможность повышения уровня грунтовых вод после завершения строительства причальных сооружений и площадок.

5.1.2. Конструирование покрытия следует начинать с назначения типа покрытия, оценки целесообразности каждого слоя и выбора материалов.

5.1.3. Жесткие покрытия следует назначать из монолитного армированного или неармированного цементобетона во всех случаях.

5.1.4. Покрытия со сборными железобетонными плитами следует применять в качестве временных, а также в качестве постоянных в зонах прокладки инженерных сетей и коммуникаций.

5.1.5. Плиты укладывают на выравнивающий слой толщиной 5 см, предназначенный для устранения неровностей основания. Для выравнивающего слоя рекомендуют использовать сухую пескоцементную смесь, обработанный битумом песок или битумоминеральную смесь, а также необработанный песок с укладкой на него двух слоев битуминизированной бумаги.

5.1.6. Основание следует назначать из одного или нескольких слоев по принципу уменьшения жесткости с глубиной.

5.1.7. Грунтовые основания жестких покрытий необходимо конструировать с учетом вида и свойства грунта в районе строительства и распределения морских портов по дорожно-климатическим зонам, приведенным в справочном приложении 5.

5.1.8. Грунтовые основания в подводной части портовых территорий должны отвечать требованиям РД 31.31.37-78 «Нормы технологического проектирования морских портов» и СН 449-77 «Указания по проектированию земляного полотна железных и автомобильных дорог».

5.1.9. Для устройства грунтового основания надводной территории должны назначаться грунты, соответствующие требованиям СН 449-77.

5.1.10. Систему поверхностного водоотвода следует проектировать в соответствии с РД 31.31.37-78.

5.2. Искусственные основания

5.2.1. Материалы для устройства искусственных оснований должны удовлетворять требованиям нормативных документов на соответствующие материалы.

5.2.2. Наименьшие толщины слоев искусственных оснований из разных материалов в уплотненном состоянии приведены в табл. 3.

Таблица 3

Материалы слоев искусственных оснований

Толщина, см

Каменные материалы (щебень, гравий, песчаногравийные смеси), грунты, обработанные в установках

8

Каменные материалы, обработанные по способу пропитки

8

То же по способу полупропитки

4

"    по способу смешения на месте

8

Малопрочные каменные материалы и грунты, обработанные вяжущими по способу смешения на месте

10

Каменные материалы, не обработанные вяжущими:

 

на песке

15

на укрепленном вяжущими грунте

8

5.3. Монолитные бетонные покрытия

5.3.1. Требуемая толщина покрытия определяется расчетом, но принимается не менее 16 см. Максимальная толщина однослойных бетонных покрытий не должна быть более 36 см.

В случаях, когда по расчету требуемая толщина цементобетонного покрытия превышает максимальную, следует предусматривать армирование покрытия ненапрягаемой арматурой. Армирование покрытий операционной зоны причала, проездов и складских площадок в два яруса следует предусматривать по всей площади, а на складских площадках многоярусного хранения контейнеров при условии определения строго фиксированных зон опирания фитингов складируемых контейнеров (опорных полос) допускается армирование только покрытия опорных полос.

5.3.2. Уклоны покрытия следует назначать в пределах 15 - 20 %, а на складских площадках для хранения контейнеров - до 10 %.

5.3.3. Монолитные бетонные покрытия следует разделять на отдельные плиты продольными и поперечными (расширения или сжатия) деформационными швами.

5.3.4. Расстояние между швами сжатия не должно превышать:

для цементобетонных неармированных покрытий - 6 м;

для цементобетонных армированных покрытий - 20 м.

5.3.5. Расстояния между швами расширения, как правило, должны быть кратными расстояниям между швами сжатия, но не более приведенных ниже.

Толщина покрытия, м

Максимальное расстояние между швами расширения, м

0,18 - 0,22

24

0,24 - 0,26

48

0,28 - 0,30

72

0,32 - 0,36

96

5.3.6. На складских площадках для многоярусного хранения контейнеров с установленными фиксированными зонами опирания фитингов (опорными полосами) деформационные поперечные швы не должны совмещаться с осями опорных полос.

5.3.7. Во всех швах следует предусматривать соединения в виде стальных штырей, предназначенных для исключения образования уступов между плитами и частично - для передачи нагрузки с одной плиты на другую.

Штыри изготавливаются из гладкой арматурной стали класса А-1. Параметры штыревых соединений приведены в табл. 4.

Таблица 4

Толщина покрытия, м

Диаметр штырей, мм

Длина штырей, м

Расстояние между штырями в швах, м

продольных

сжатия

расширения

Менее 0,20

20

0,4

1,0

0,30

0,22 - 0,30

22 - 28

0,5

 

 

 

0,32 - 0,36

30 - 32

0,6

 

 

 

*Числитель - покрытия на основании из материалов, укрепленных вяжущими; знаменатель - на основании из материалов, не укрепленных вяжущими.

5.3.8. Конструкции деформационных швов монолитных бетонных покрытий принимают по ВСН 197-83/Минтрансстроя («Инструкция по проектированию жестких дорожных одежд»).

5.3.9. Для армирования монолитных покрытий следует применять плоские сварные сетки с рабочей арматурой из горячекатаной стали периодического профиля класса АП-АШ (ГОСТ 5781-82).

Минимально допустимый диаметр рабочей ненапряженной арматуры равен 12 мм. Необходимая площадь арматуры определяется расчетом в соответствии с методикой, приведенной в разделе 6.

При конструировании плоских сварных сеток следует руководствоваться требованиями:

продольные и поперечные стержни должны быть одного диаметра;

расстояние между стержнями в зависимости от площади арматуры и принятого диаметра стержней принимают в пределах 0,1 - 0,4 м.

5.3.10. В плитах любой длины сетки располагают в нижней трети толщины покрытия, при этом толщина защитного слоя должна быть не менее 30 мм. В плане сетки необходимо размещать равномерно по площади покрытия с перепуском (нахлестом) до 30 см в местах стыков в продольном и поперечном направлениях.

В покрытиях опорных полос складских площадок многоярусного хранения контейнеров используют сетки шириной, равной ширине опорной полосы.

5.4. Покрытия из сборных железобетонных плит

5.4.1. Требуемую толщину сборных плит и необходимую площадь рабочей арматуры определяют расчетом (см. раздел 6).

Для армирования сборных плит следует применять пространственные арматурные каркасы, выполненные из плоских сеток путем приварки к продольным стержням соединительных стержней или поперечных стержней сеток другого направления, а также с применением гнутых сеток.

5.4.2. Арматура нижней сетки сварного каркаса является рабочей, ее размеры определяют расчетом. Арматура верхней сетки - конструктивная и предназначена для сохранения проектного положения и целостности плиты в опалубочной форме, а также при складировании, перевозке и монтаже конструкций покрытий.

Толщина защитного слоя в сборных плитах должна быть не менее 40 мм для верхней арматуры и 30 мм - для нижней.

В сборных покрытиях устраивают температурные швы расширения, расстояния между которыми в продольном и поперечном направлениях следует принимать:

при годовой амплитуде среднемесячных температур 40 °С и более - 12 м;

при годовой амплитуде среднемесячных температур 20 °С и менее - 32 м;

для промежуточных значений амплитуд температур расстояния между швами устанавливают по интерполяции.

Швы сжатия заполняют на 2/3 глубины пескоцементом и на 1/3 - мастикой.

Швы расширения заполняют на всю глубину мастикой. Размеры плит в плане определяют расчетом, принятой технологией строительно-монтажных работ и условиями эксплуатации покрытий, при этом максимальный размер плиты не должен превышать 6 м.

Для оснований и подстилающих грунтов (грунтовых оснований) покрытий из сборных железобетонных плит территории порта следует назначать те же материалы и использовать те же принципы конструирования, что и для монолитных покрытий.

6. РАСЧЕТ ЖЕСТКИХ ПОКРЫТИЙ

6.1. Общие принципы

6.1.1. Покрытия портовых территорий следует рассчитывать по методу предельных состояний на воздействие вертикальных нагрузок от технологического транспорта или установленных в ярусы контейнеров. При определении нагрузок следует пользоваться указаниями раздела 2.

Расчетными предельными состояниями жестких покрытий являются:

предельное состояние по прочности (для расчета всех видов жестких покрытий);

предельное состояние по раскрытию трещин (для расчета железобетонных, армированных ненапрягаемой арматурой покрытий);

предельное состояние по сдвигу в грунтовом основании.

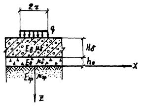
6.1.2. В качестве расчетной схемы принимают слоистое упругое полупространство (жесткое покрытие - основание - подстилающий грунт). Жесткое покрытие рассматривается как слой, разделенный деформационными швами на отдельные плиты.

За расчетное сечение расположения нагрузки от колеса транспортного средства или фитинга контейнера на поверхности покрытия принимают середину края плиты со стыковым соединением, работающим как шарнирное сочленение.

6.2. Условие предельного состояния по прочности и раскрытию трещин при расчете жестких покрытий

6.2.1. При расчете жестких покрытий портовых территорий по прочности плит должно удовлетворяться условие

sp £ Rpu,                                                                (1)

где       sp - расчетное максимальное растягивающее напряжение на подошве цементобетонной плиты от изгиба, возникающее под воздействием расчетной нагрузки, МПа;

Rpu - расчетная прочность бетона на растяжение при изгибе, МПа, определяемая по формуле

Rpu = Рuk1k2,                                                            (2)

где Рu - нормативная прочность бетона на растяжение при изгибе, МПа, принимаемая в соответствии с обязательным приложением 6;

k1 - коэффициент, учитывающий повторяемость и длительность воздействия нагрузки, принимаемый:

для нагрузки от фитингов k1 = 0,75;

для нагрузки от технологического транспорта, k1 определяется по графику (см. ниже);

N - суточная интенсивность движения расчетного транспортного средства;

k2 - комплексный коэффициент условий работы бетона, учитывающий:

снижение прочности материала под воздействием воды и мороза;

снижение трещиностойкости плит покрытия из-за температурных растягивающих напряжений, возникающих при суточных и сезонных колебаниях температуры;

снижение несущей способности монолитного бетонного покрытия из-за неравномерных вертикальных остаточных деформаций в конструктивных слоях;

нарастание прочности бетона во времени;

повышенную прочность бетона в плите покрытия при ее изгибе по двум осям по сравнению с нормативной прочностью, устанавливаемой на балочках при их изгибе по одной оси;

пространственную неоднородность бетона.

Значения k2 принимают по табл. 5.

Таблица 5

Дорожно-климатическая зона

Значения коэффициента k2 для различных видов покрытия и условий приложения нагрузки

Монолитное цементобетонное и железобетонное покрытие

Сборное железобетонное покрытие

от колес технологического транспорта

от фитингов контейнеров

от колес технологического транспорта

от фитингов контейнеров

I

0,70

0,94

0,74

0,99

II

0,74

0,99

0,79

1,05

III

0,79

1,05

0,84

1,12

IV - V

0,83

1,11

0,88

1,18

6.2.2. Расчетное максимальное растягивающее напряжение sp в плите покрытия определяется:

при центральном загружении плиты

;                                                                     (3)

при загружении края плиты

,                                                                 (4)

где       - относительная величина максимального растягивающего напряжения в цементобетонной плите на двухслойном основании при центральном ее загружении определяется по номограммам (рис. 3 - 5). При большем количестве слоев основания необходимо приводить многослойную систему к двухслойной;

q - удельное давление на покрытие, создаваемое расчетной нагрузкой Рp, распределенной по площади круга диаметром Dp, МПа. Определяется по табл. 1 и 2;

kL - коэффициент, учитывающий увеличение расчетного напряжения на краю плиты со стыковым соединением при приложении к нему нагрузки. Определяется по графику (рис. 6) в зависимости от величины упругой характеристики плиты L.

Упругая характеристика плиты L определяется по формуле

,                                                    (5)

где hб - толщина цементобетонной плиты, м;

Еб - модуль упругости материала плиты покрытия - бетона, МПа;

mб - коэффициент Пуассона материала плиты покрытия;

Еобщ - общий (эквивалентный) модуль упругости на поверхности многослойного основания, подстилающего плиту, МПа;

mобщ - среднее арифметическое значение коэффициента Пуассона слоев основания, подстилающего плиту.

Рис. 6. График определения коэффициента kL

Еобщ определяется по формуле

,                                         (6)

где Еn, hn - соответственно модуль упругости материала и толщина n-го слоя.

Общий модуль упругости на поверхности двухслойного основания определяется по формуле М.Б. Корсунского

,                                    (7)

где     h1 - толщина верхнего слоя двухслойного основания, м;

Е1, Е2 - модуль упругости соответственно верхнего и нижнего слоев основания, МПа;

Dp - расчетный диаметр площади распределения нагрузки, м;

hэ - эквивалентная толщина двухслойного основания. Определяется по формуле

.                                                          (8)

6.2.3. Если условие (1) удовлетворено, считается, что предельное состояние по прочности покрытия будет обеспечено, т.е. конструкция выбрана правильно.

6.2.4. Если условие (1) не удовлетворено, необходимо принять один из следующих вариантов:

1. Увеличить толщину конструктивных слоев и повторить расчет.

2. Предусмотреть армирование плит покрытия и перейти к расчету по условию предельного состояния по прочности и раскрытию трещин для железобетонных, армированных ненапрягаемой арматурой сечений с целью определения необходимой площади рабочей арматуры.

6.2.5. Допускается подбирать необходимую площадь рабочей арматуры без расчета в зависимости от величины возникающих на подошве плиты растягивающих напряжений sp по укрупненным показателям расхода арматуры, приведенным в таблице справочного приложения 7.

6.2.6. Расчет по предельным состояниям по прочности и раскрытию трещин железобетонных, армированных ненапрягаемой арматурой покрытий следует производить в соответствии с главой СНиП 2.03.01-84 «Бетонные и железобетонные конструкции».

6.3. Условие предельного состояния по сдвигу в грунтовом основании

6.3.1. При расчете толщины основания по сдвигу в грунтовом основании должно удовлетворяться условие:

tам £ tпр,                                                               (9)

где tам - активное (за вычетом сил, обусловленных внутренним трением) напряжение сдвига в расчетной точке на глубине z от контакта покрытия с основанием, МПа;

tпр - предельное активное напряжение сдвига в расчетной точке на глубине z от контакта покрытия с основанием, МПа.

6.3.2. Активное напряжение сдвига tам, возникающее под воздействием расчетной нагрузки в расчетной точке определяют по номограмме (рис. 7) для принятого расчетного сечения - середина края плиты со стыковым соединением, работающим как шарнирное сочленение.

Рис. 7. Номограмма для определения активных напряжений сдвига tам при шарнирном сопряжении плит в швах

----- ; ____ L; Eгр, jгр, mгр, сгр, - соответственно модуль упругости, угол внутреннего трения, коэффициент Пуассона и сцепление в грунте или слое основания

При пользовании номограммой необходимо вычислить упругую характеристику плиты L:

а) для цементобетонной плиты по формуле (5) с заменой Еобщ на Егр;

б) для цементобетонной плиты, армированной ненапрягаемой арматурой, по формуле

,                                                        (10)

где b - расчетная ширина сечения плиты, принимаемая равной 1 м;

В - жесткость сечения железобетонной плиты, армированной ненапрягаемой арматурой. Определяется по формуле

,                                                     (11)

где

,                                                               (12)

,                                                      (13)

,                                                               (14)

,                                                                   (15)

Eа, Eб - соответственно модули упругости арматуры и бетона, МПа. Принимаются соответственно по табл. 29 СНиП 2.02.05-85;

Fа - площадь сечения растянутой арматуры, см2. Принимается по табл. приложения 7, либо по расчету в соответствии со СНиП 2.02.05-85;

h0 - рабочая высота сечения, м;

hб - толщина плиты, м;

x - высота сжатой зоны бетона в сечении, м;

n - коэффициент армирования;

d - диаметр арматуры, см;

yа - коэффициент, учитывающий работу растянутого бетона между трещинами, принимается равным 0,2;

yб - коэффициент, учитывающий неравномерность распределения деформаций крайнего волокна сжатой грани сечения на участке между трещинами принимаемый в зависимости от отношения шага арматуры lа, параллельной рассматриваемому сечению, к толщине плиты hб.

                                                                                                 yб

              0,5................................................................................... 0,79

              0,75................................................................................. 0,67

              1,0................................................................................... 0,59

              1,25................................................................................. 0,53

              1,5 и более..................................................................... 0,48

6.3.3. Предельное активное напряжение сдвига в расчетной точке определяют по формуле

tпр = k3k4cгр + tав,                                                            (16)

где k3 - комплексный коэффициент условий работы несущих слоев основания. При материалах основания

укрепленных вяжущими k3 = 0,65;

не укрепленных вяжущими k3 = 0,55;

k4 - коэффициент, учитывающий повторность приложения нагрузки (табл. 6);

cгр - сцепление в грунте или слабосвязанном материале основания, МПа;

tав - активное напряжение сдвига от действия собственного веса конструктивных слоев, лежащих выше рассматриваемого уровня Н = hб + z (hб - толщина плиты покрытия). Определяется по номограмме (рис. 8) с тем же знаком.

Рис. 8. Номограмма для определения напряжений сдвига tав от действия собственного веса конструкций покрытия толщиной Н = hб + z

Таблица 6

Нормативная нагрузка

Значение коэффициента k4 для технологических зон

операционная зона причала, проезды

складские площадки для хранения контейнеров в 2 яруса

складские площадки для многоярусного хранения контейнеров

КВ-70

1,0

1,2

-

КВ-35

1,2

1,4

-

Н-30, Тc

1,2

1,4

-

Установленные в ярусы контейнеры

-

-

1,6

6.3.4. В случае, когда условие (9) не выполняется, рекомендуется верхнюю часть искусственного основания устраивать из материала, укрепленного вяжущим, а нижнюю - из слабосвязных материалов.

Приложение 1

Справочное

ПРИМЕРЫ РАСЧЕТА КОНСТРУКЦИЙ ПОКРЫТИЯ СКЛАДСКИХ ПЛОЩАДОК

Пример 1

Требуется рассчитать конструкцию покрытия складской площадки контейнерного терминала с монолитным бетонным покрытием. Предусматривается складирование контейнеров в два яруса с помощью контейнеровозов портального типа по схеме КВ-35. Суточная интенсивность движения контейнеровоза КВ-35 составляет N = 100 авт./сут.

Рассматриваемый объект расположен во II дорожно-климатической зоне, местность по условиям увлажнения относится к 1 типу. Грунтовое основание - мелкий песок. Для устройства искусственного основания используется фракционированный щебень 1 - 3-го классов прочности, укладываемый по способу заклинки.

1. Определение параметров расчетной нагрузки

В соответствии с табл. 1, расчетные нагрузки Pp, давление на покрытие q и диаметр следа колеса Dp составляют соответственно 200 кН, 0,85 МПа и 0,55 м.

2. Предполагаемая конструкция дорожной одежды (исходные данные)

2.1. Покрытие из монолитного цементобетона толщиной h = 0,3 м.

2.2. Выравнивающий слой из необработанного песка толщиной h = 0,05 м.

2.3. Искусственное основание из фракционированного щебня 1 - 3-го классов прочности, укладываемое по способу заклинки толщиной h = 0,30 м.

2.4. Грунтовое основание из мелкого песка.

3. Определение расчетных характеристик материалов конструктивных слоев и подстилающего грунта

3.1. Покрытие. Принимаем прочность бетона покрытия на сжатие по классу В30. Соответствующие этому классу прочность на растяжение при изгибе Рu и остальные характеристики, используемые в расчете, принимаем по справочному приложению 6u = 5,0 МПа; Еб = 32,5×103 МПа; mб = 0,2).

В соответствии с формулой (2)

Rpu = Рuk1k2 = 5,0×100-0,04×0,74 = 3,08 МПа.

3.2. Искусственное основание. Щебень фракционированный 1 - 3-го классов прочности, уложенный по способу заклинки. Механические характеристики принимаем по табл. 2 справочного приложения 4 (Е = 450 МПа; m0 = 0,25).

3.3. Грунтовое основание из мелкого песка. В соответствии с табл. 1 и 2 приложения 4 принимаем Егр = 100 МПа; mгр = 0,35; jгр = 38° и Сгр = 0,005 МПа.

4. Расчет бетонного покрытия

Определяется максимальное расчетное растягивающее напряжение sр на подошве цементобетонного покрытия в расчетном сечении по формуле (4).

Для определения  вычисляются следующие исходные данные:

;

;

;

.

По номограмме (см. рис. 3) для приведенных исходных данных определяется значение .

Для определения значения коэффициента kL (см. рис. 6), учитывающего увеличение расчетного напряжения на краю плиты со стыковым соединением при приложении к нему нагрузки, необходимо найти:

Еобщ - общий (эквивалентный) модуль упругости на поверхности двухслойного основания, подстилающего плиту (формулы 6, 7);

L - упругую характеристику плиты (формула 5):

;

;

;

.

По графику (см. рис. 6) определяется значение коэффициента kL = 0,92. Подставляя значения  и kL в формулу (3), получим

sр = 1,4×2,57×0,85×0,92 = 2,81 МПа.

Сравнивая значения расчетного максимального растягивающего напряжения на подошве цементобетонного покрытия sр и расчетной прочности бетона на растяжение при изгибе Rpu по формуле (1) 2,81 МПа < 3,08 МПа, получаем, что условие предельного состояния по прочности цементобетонного покрытия sр £ Rpu удовлетворяется.

5. Расчет грунтового основания

Определяется активное (за вычетом сил, обусловленных внутренним трением) напряжение сдвига tам в расчетном сечении грунтового основания на глубине z = 0,30 м от контакта бетонного покрытия с основанием (от нижней поверхности плиты покрытия) по номограмме (см. рис. 7) с использованием следующих исходных данных:

z = 0,30 м;

L = 1,11 м - упругая характеристика определяется по формуле (5) с заменой Еобщ на Егр;

Па = 0,162 МПа; jгр = 38°.

Для приведенных исходных данных tам = 0,0074 МПа. Предельное активное напряжение сдвига в расчетной точке расчетного сечения определяется по формуле (16)

tпр = k3k4cгр + tав,

где tав = 0,0038 МПа - активное напряжение сдвига от действия собственного веса конструктивных слоев, лежащих выше уровня Н = hб + z = 0,6 м (определяется по номограмме рис. 8).

Удельное сцепление грунта cгр равно 0,005 МПа, коэффициенты k3 и k4 соответственно равны 0,55 и 1,4 (см. 6.3.3):

tпр = 0,55×1,4×0,005 + 0,0038 = 0,0077 МПа.

Подставив вычисленные значения tам и tпр в формулу (9), получим 0,0074 МПа < 0,0077 МПа, т.е. условие предельного состояния по сдвигу в грунтовом основании tам £ tпр удовлетворяется. Таким образом, конструкция покрытия складской площадки контейнерного терминала (hб = 30 см, h0 = 30 см) удовлетворяет всем условиям прочности.

Пример 2

Требуется рассчитать конструкцию покрытия складской площадки многоярусного хранения контейнеров с бетонным покрытием. На площадке предусматривается складирование контейнеров типа 1А в 5 ярусов с помощью козлового контейнерного перегружателя. Рассматриваемый объект расположен во II дорожно-климатической зоне, местность по условиям увлажнения относится к 1 типу. Грунтовое основание - мелкий песок. Для устройства искусственного основания используется фракционированный щебень 1 - 3-го классов прочности, укладываемый по способу заклинки.

Расчет конструкции производится в последовательности, указанной в примере 1.

Исходные данные по климатическим и гидрологическим условиям строительства объекта, а также по используемым дорожно-строительным материалам в данном случае принимаются такими же, как в примере 1. Это дает возможность сопоставить полученные в результате конструкции и наглядно оценить степень влияния и характера воздействия нагрузки на толщину конструктивных слоев.

1. Определение расчетной нагрузки

За расчетную, для установленных в 5 ярусов контейнеров типа 1А, принимается нагрузка, распределенная по площади круга, равновеликого площади фитинга с диаметром Dp = 0,17 м, и равная Рp = 263 кН (см. табл. 2). Расчетное удельное давление на покрытие, создаваемое данной нагрузкой, составляет q = 11,6 МПа.

Расчетная прочность бетона на растяжение при изгибе определяется по формуле (2)

Rpu = Рuk1k2 = 3,71 МПа,

где k1 = 0,75; k2 = 0,99; Рu = 5,0.

Принятая конструкция дорожной одежды и расчетные характеристики материалов конструктивных слоев и подстилающего грунта приведены в таблице.

Конструкция дорожной одежды

Толщина слоя h, м

Расчетные характеристики материалов конструктивных слоев и подстилающего грунта

Е, МПа

m

Rpu, МПа

cгр, МПа

Монолитное цементобетонное покрытие

0,30

33000

0,2

3,71

-

-

Выравнивающий слой

0,05

-

-

-

-

-

Основание из фракционированного щебня 1 - 3-го классов прочности, уложенного по способу заклинки

0,30

450,0

0,25

-

-

-

Грунтовое основание из мелкого песка

-

100,0

0,35

-

38

0,005

2. Расчет бетонного покрытия

Монолитное цементобетонное покрытие устраивается на двухслойном основании: верхний слой - искусственное основание из щебня, нижний слой - грунтовое основание из мелкого песка. Максимальное расчетное растягивающее напряжение sр определяется по формуле (4).

Исходные данные для определения :

;

.

По номограмме (см. рис. 5) для приведенных исходных данных определяется значение = 0,382.

Исходные данные для определения kL:

Eобщ = 307 мпа (формулы 6, 7);

L = 0,77 м (формула 5).

По графику (см. рис. 6) определяется значение коэффициента kL = 0,87.

Подставив значения  и kL в формулу (3), получим:

sр = 1,4××q×kL = 1,4×0,382×11,6×0,87 = 5,40 МПа.

При расчете цементобетонных покрытий по прочности должно удовлетворяться условие sр £ Rpu. Однако в данном случае оно не удовлетворено: 5,40 > 3,71.

Далее возможен один из следующих вариантов последовательности расчета.

1. Увеличить толщину цементобетонного покрытия и повторить расчет.

2. Предусмотреть армирование плит покрытия ненапрягаемой арматурой и перейти к расчету по условию предельного состояния по прочности и раскрытию трещин для железобетонного покрытия с целью определения необходимой площади рабочей арматуры.

Выберем 2-й вариант.

Расчет по предельным состояниям по прочности и раскрытию трещин железобетонных, армированных ненапрягаемой арматурой покрытий следует производить по методике СНиП 2.03.01-84. Однако допускается подбирать необходимую арматуру и без расчета по данным таблицы приложения 7.

Исходные данные для подбора арматуры:

sр - максимальное расчетное растягивающее напряжение на подошве цементобетонной плиты покрытия при центральном ее загружении: sр = q = 0,382×11,6 = 4,43 МПа, арматура стальная горячекатаная периодического профиля класса А-II, диаметром d = 18 мм.

По таблице приложения 7 для приведенных исходных данных подбираем необходимую площадь сечения растянутой арматуры на один метр ширины расчетного сечения покрытия.

При sр = 4,0 МПа:

Fa = 20,36 см2 (продольная арматура);

Fa = 12,72 см2 (поперечная арматура).

При sр = 5,0 МПа:

Fa =25,44 см2 (продольная арматура);

Fa = 17,81 см2 (поперечная арматура).

При sр = 4,43 МПа площадь арматуры устанавливается по интерполяции и составляет:

Fa = 2,39 см2 (продольная арматура);

Fa = 14,76 см2 (поперечная арматура).

3. Расчет грунтового основания

Исходные данные для определения активного напряжения сдвига в расчетном сечении грунтового основания на глубине z = 0,30 м от контакта бетонного покрытия с основанием: L = 1,07 - упругая характеристика. Определяется по формуле (5)

м,

где ;

;

;

;

;

 Па = 0,230 МПа;

jгр = 38°.

По номограмме (см. рис. 7) для приведенных исходных данных определяем tам = 0,0112 МПа.

Предельное активное напряжение сдвига в расчетной точке расчетного сечения определяется по формуле (16)

tпр = k3k4сгр + tав = 0,0082 МПа.

tав = + 0,0038 МПа по номограмме (см. рис. 8) при Н = hв + z = 0,6 м;

сгр = 0,005 МПа, k3 = 0,55, k4 = 1,6 (см. 6.3.3.).

Подставив вычисленные значения tам и tпр в формулу (9), получим tам (0,0112 МПа) > tпр (0,0082 МПа).

Принимается следующая конструкция покрытия:

плита покрытия - монолитный железобетон, армированный ненапряженной арматурой, стальной горячекатаной периодического профиля класса А-II диаметром d = 18 мм. Расход арматуры на 1 м ширины покрытия: продольной - 22,39 см2; поперечной - 14,76 см2.

Бетон класса В30, толщина покрытия - 30 см.

Основание - двухслойное:

песок мелкий, укрепленный цементом 1 класса прочности; толщина слоя - 20 см;

щебень фракционированный, толщина слоя - 20 см.

Грунтовое основание - песок мелкий.

L = 1,07 (упругая характеристика не изменится), z = 0,5 м,  МПа.

По номограмме (см. рис. 7) для новых исходных данных tам = 0,090 МПа.

Предельное активное напряжение сдвига в расчетной точке tпр = k3k4сгр + tав = 0,0052 + 0,004 = 0,0092;

tав = 0,004 по номограмме (см. рис. 8) при Н = hб + z = 0,7 м;

сгр = 0,005 МПа, k3 = 0,65, k4 = 1,6 (см. 6.3.3.).

Подставив вычисленные значения tам и tпр в формулу (8), получим tам (0,090) < tпр (0,0092), т.е. условие предельного состояния по сдвигу в грунтовом основании tам £ tпр удовлетворяется.

Вывод

Принимается новая конструкция (hб = 30 см,  = 20 см,  = 20 см), которая удовлетворяет всем условиям прочности.

Приложение 2

Справочное

СХЕМА КОНСТРУКЦИИ И РАСЧЕТНАЯ СХЕМА ДОРОЖНОЙ ОДЕЖДЫ

СХЕМА КОНСТРУКЦИИ

РАСЧЕТНАЯ СХЕМА

Приложение 3

Обязательное

Минимальные коэффициенты уплотнения грунта в насыпи территорий портовых контейнерных терминалов по дорожно-климатическим зонам

Виды грунтового основания

Часть грунтового основания

Глубина расположения от поверхности покрытия, м

Коэффициент уплотнения грунта в случае применения покрытий жесткого типа для зон

II, III

IV, V

Насыпи

Верхняя

До 1,5

0,98

0,98

Нижняя

Более 1,5

0,98

0,98

Низкие насыпи из грунтов естественного залегания

В слое сезонного промерзания

До 1,2*

1,0

0,98

Ниже слоя сезонного промерзания

До 1,2*

0,95

0,95

* В IV и V дорожно-климатических зонах следует принимать 0,8 м.

Приложение 4

Справочное

МЕХАНИЧЕСКИЕ ХАРАКТЕРИСТИКИ ГРУНТОВ

Для стадии разработки проекта механические характеристики песчаных грунтов, используемые в расчетах, допускается принимать по табл. 1.

Таблица 1

Грунт

Егр, МПа

Песок крупный гравелистый

130

42

Песок средней крупности

120

40

Песок мелкий

100

38

Примечания: 1. Значение сцепления Сгр принимается равным 0,005 МПа.

2. Значение коэффициента Пуассона mгр принимается равным 0,35.

Для стадии рабочей документации механические характеристики песчаных грунтов устанавливаются по результатам испытаний образцов грунта в лаборатории или в полевых условиях в месте их непосредственного залегания в соответствии с «Инструкцией по проектированию дорожных одежд нежесткого типа» ВСН 46-83/Минтрансстрой.

Механические характеристики дорожно-строительных материалов, неукрепленных и укрепленных вяжущими методом смещения в установке принимаются для всех стадий разработки проекта по табл. 2.

Таблица 2

Материалы

Значения характеристик естественных и укрепленных вяжущими материалов и грунтов

Модуль упругости Е, МПа

Прочность на растяжение при изгибе R, МПа

1

Щебень и гравий, укрепленные цементом

 

 

марки 75

1000

0,7

марки 60

900

0,6

марки 40

700

0,5

2

Крупнообломочные грунты и песчано-гравийные смеси оптимального или близкого к оптимальному составов:

 

 

- укрепленные комплексными вяжущими:

 

 

1-го класса прочности

900 - 700

0,55 - 0,45

2-го класса прочности

650 - 500

0,42 - 0,35

3-го класса прочности

450 - 300

0,32 - 0,25

- укрепленные цементом:

 

 

1-го класса прочности

800 - 550

0,46 - 0,34

2-го класса прочности

530 - 350

0,33 - 0,25

- укрепленные активной золой уноса или гранулированным шлаком, известью, фосфатными вяжущими и другими композиционными вяжущими из них с добавками или без добавок ПАВ:

 

 

1-го класса прочности

700 - 530

0,40 - 0,32

2-го класса прочности

500 - 330

0,31 - 0,22

3

Крупнообломочные грунты и песчано-гравийные смеси неоптимального состава, пески (кроме мелких, пылеватых и одноразмерных), супеси легкие крупные, щебень малопрочных пород и отходы камнедробления:

 

 

- укрепленные комплексными вяжущими:

 

 

1-го класса прочности

800 - 650

0,50 - 0,42

2-го класса прочности

600 - 450

0,40 - 0,32

- укрепленные активной золой уноса или гранулированным шлаком, известью, фосфатными вяжущими и др. композиционными вяжущими из них с добавками или без добавок ПАВ:

 

 

2-го класса прочности

450 - 300

0,25 - 0,17

4

Пески мелкие и пылеватые, супесь мелкая и пылеватая:

 

 

- укрепленные комплексными вяжущими:

 

 

1-го класса прочности

750 - 600

0,47 - 0,40

2-го класса прочности

550 - 400

0,37 - 0,30

- укрепленные цементом:

 

 

1-го класса прочности

650 - 480

0,35 - 0,26

2-го класса прочности

450 - 300

0,25 - 0,18

5

Побочные продукты промышленности (каменные материалы и крупнообломочные грунты, сопутствующие разным ископаемым, золошлаковые смеси, формовочные смеси, фосфоритные «хвосты» и т.п.):

 

 

- укрепленные комплексными вяжущими:

 

 

1-го класса прочности

700 - 550

0,45 - 0,37

2-го класса прочности

530 - 350

0,36 - 0,28

- укрепленные цементом

 

 

1-го класса прочности

600 - 420

0,30 - 0,22

6

Супеси тяжелые пылеватые, суглинки легкие:

 

 

- укрепленные комплексными вяжущими:

 

 

1-го класса прочности

600 - 500

0,40 - 0,35

2-го класса прочности

450 - 300

0,32 - 0,25

- укрепленные цементом, золой уноса или гранулированными шлаками:

 

 

1-го класса прочности

500 - 350

0,22 - 0,16

7

Щебень фракционированный 1 - 3-го классов прочности, уложенный по способу заклинки из прочных осадочных и изверженных пород

450 - 350

-

8

Фракционированный щебень, укрепленный цементопесчаной смесью по способу пропитки

500

-

9

Шлак 1 - 4-го классов прочности однородный по качеству с подобранным гранулометрическим составом, активный

450 - 350

-

Примечания: 1. В пп. 1 - 6 - характеристики материалов и грунтов, укрепленных методом смешения в установке.

2. Все материалы таблицы следует использовать при устройстве однослойного или верхнего слоя многослойного основания.

Таблица 3

Характеристики дорожно-строительных материалов, неукрепленных и укрепленных вяжущими методом смешения их на месте

Материалы

Характеристики естественных и укрепленных методом смешения на месте слоев материалов и грунтов

Угол внутреннего трения, град.

Сцепление С, МПа

Модуль упругости Е, МПа

1

Шлак 1 - 4-го классов прочности однородный по качеству с подобранным гранулометрическим составом, малоактивный

-

-

200 - 300

2

Рядовой шлаковый щебень

-

-

150 - 200

3

Супесь непылеватая, укрепленная жидким битумом

25 - 35

0,02 - 0,035

150 - 200

4

Супесь пылеватая, суглинок

15 - 25

0,02 - 0,035

80 - 150

Примечания: 1. В пп. 3 - 4 - высшие значения при смешении в установке и применении битумной эмульсии.

2. Материалы таблицы следует использовать для устройства нижних слоев многослойных оснований.

Приложение 5

Справочное

Распределение морских портов по дорожно-климатическим зонам

Наименование портов

Климатическая зона

Характеристика зоны

Все порты Северного бассейна, за исключением Архангельского, Онежского, Беломорского и Кандалакшского портов, и порты Дальневосточного бассейна, расположенные севернее линии, проходящей по портам: Де Кастри, Александровск-Сахалинский, Усть-Камчатск

I

Зона вечной мерзлоты

Батуми, Архангельск, Онежск, Беломорск, Кандалакша, все порты Балтийского бассейна, расположенные южнее линии, включающей порты Де Кастри, Александровск-Сахалинский и Усть-Камчатск

II

Зона избыточного увлажнения

Новороссийск и все порты, расположенные на восточном побережье Азовского моря

III

Зона со значительным увлажнением в отдельные годы

Порты Черноморского бассейна, за исключением Батуми

IV

Зона недостаточного увлажнения

Все порты Каспийского бассейна

V

Засушливая зона

Приложение 6

Обязательное

Минимальные классы бетона по прочности, марки по морозостойкости и соответствующие классам значения модуля упругости бетона

Тип покрытия

Класс бетона по прочности

Марки бетона по морозостойкости для районов со среднемесячной температурой воздуха наиболее холодного месяца, °С

на сжатие

на растяжение при изгибе

0 ... - 5

- 5 ... - 15

- 15 и ниже

Монолитное цементобетонное

В30

Рu50

F100

F150

F200

Монолитное и сборное железобетонное

В27,5

Рu45

F100

F150

F200

Примечания: 1. Значения модуля упругости для классов бетона по прочности В27,5 и В30 соответственно равны 31,0×103 и 32,5×103 МПа.

2. Коэффициент Пуассона в соответствии со СТ СЭВ 1406-78 «Конструкции бетонные и железобетонные» для всех классов бетона принимается равным 0,2.

Приложение 7

Справочное

Площади поперечного сечения продольной и поперечной арматуры, назначаемые в зависимости от максимальных растягивающих напряжений sр и толщины покрытия hб

hб, м

sр, МПа

Диаметр арматуры, мм

16

18

20

22

24

0,24

3,0

12,06

12,72

12,57

11,40

-

8,04

7,63

9,42

11,40

4,0

16,08

17,81

15,71

15,21

-

12,06

10,18

9,42

11,40

5,0

20,10

20,35

21,99

22,81

-

14,07

15,27

12,56

15,21

0,30

3,0

14,07

15,27

15,71

15,21

13,57

12,06

10,18

9,42

15,21

13,57

4,0

20,11

20,36

21,99

22,81

22,62

14,07

12,72

12,57

15,21

13,57

5,0

-

25,44

25,13

26,61

27,14

17,81

18,84

15,21

18,10

6,0

-

-

31,41

30,41

31,67

21,99

22,80

18,10

0,36

3,0

-

17,81

18,85

19,01

22,62

12,72

12,57

15,21

13,57

4,0

-

25,44

25,13

26,61

27,14

17,81

18,85

15,20

18,10

5,0

-

-

31,42

34,21

31,67

21,99

22,81

27,14

6,0

-

-

-

38,01

40,71

26,61

27,14

Примечание. Числитель - площадь продольной растянутой арматуры, см2, знаменатель - поперечной арматуры.

Приложение 8

Справочное

Рекомендуемые конструкции покрытий, складских площадок контейнерного терминала

Условные обозначения:

1 - монолитное цементо- или железобетонное покрытие;

2 - материалы, укрепленные неорганическими вяжущими 1-го класса прочности (подобранные щебеночные и гравийные материалы, гравийные и песчано-гравийные смеси, пески);

3 - подстилающий грунт (пески крупные гравелистые, средней крупности, мелкие);

4 - грунты, укрепленные неорганическими вяжущими, 1-го класса прочности (крупнообломочные гравийные, дресвяные, щебеночные, пески крупные, средние, мелкие, супеси);

5 - материалы, укрепленные неорганическими вяжущими 2-го класса прочности (подобранные щебеночные и гравийные материалы, гравийные и песчано-гравийные смеси, пески);

6 - грунты, укрепленные неорганическими вяжущими 2-го класса прочности (крупнообломочные, гравийные, дресвяные, щебеночные, пески крупные, средние, мелкие, супеси);

7 - выравнивающий слой (песок, укрепленный органическими вяжущими);

8 - слои из фракционированного щебня 1-го класса прочности, устраиваемые по способу заклинки.

Приложение 9

Справочное

ПЕРЕЧЕНЬ НОРМАТИВНО-ТЕХНИЧЕСКИХ ДОКУМЕНТОВ, НА КОТОРЫЕ ИМЕЮТСЯ ССЫЛКИ В РД

СТ СЭВ 1406-78

Конструкции бетонные и железобетонные

ГОСТ 5781-82

Сталь горячекатаная для армирования железобетонных конструкций. Технические условия

ГОСТ 22733-77

Грунты. Метод лабораторного определения максимальной плотности

СНиП 2.03.01-84

Бетонные и железобетонные конструкции

СНиП 2.03.11-85

Защита строительных конструкций от коррозии

СНиП 2.05.02-85

Автомобильные дороги

ВСН 46-83 / Минтрансстрой

Инструкция по проектированию дорожных одежд нежесткого типа

ВСН 197-83 / Минтрансстрой

Инструкция по проектированию жестких дорожных одежд

СН 449-72

Указания по проектированию земляного полотна железных и автомобильных дорог

РД 31.31.37-78

Нормы технологического проектирования морских портов

 

 


Рис. 3. Номограмма для определения максимальных растягивающих напряжений при изгибе неограниченной в плане плиты на упругом двухслойном основании (hб/Dр = 0,20 ¸ 0,60):

1 - бетонное покрытие; Еб, mб, hб - соответственно модуль упругости, коэффициент Пуассона, толщина бетонного покрытия; 2 - верхний слой основания; Ео, mо, hо - соответственно модуль упругости, коэффициент Пуассона, толщина слоя; 3 - многослойное основание; Еобщ, Мобщ - соответственно модуль упругости, коэффициент (общий) Пуассона основания

Рис. 4. Номограмма для определения максимальных растягивающих напряжений при изгибе неограниченной в плане плиты на упругом двухслойном основании (hб/Dр = 0,60 ¸ 1,50)

Рис. 5. Номограмма для определения максимальных растягивающих напряжений при изгибе неограниченной в плане плиты на упругом двухслойном основании (hб/Dр = 1,5 ¸ 5,0)


СОДЕРЖАНИЕ

1. ОБЩИЕ ПОЛОЖЕНИЯ

2. НОРМАТИВНЫЕ И РАСЧЕТНЫЕ НАГРУЗКИ

3. МАТЕРИАЛЫ ДЛЯ ЖЕСТКИХ ПОКРЫТИЙ ПОРТОВЫХ ТЕРРИТОРИЙ

4. МАТЕРИАЛЫ ДЛЯ УСТРОЙСТВА ОСНОВАНИЙ ЖЕСТКИХ ПОКРЫТИЙ ПОРТОВЫХ ТЕРРИТОРИЙ

5. КОНСТРУИРОВАНИЕ ЖЕСТКИХ ПОКРЫТИЙ

6. РАСЧЕТ ЖЕСТКИХ ПОКРЫТИЙ

Приложение 1 ПРИМЕРЫ РАСЧЕТА КОНСТРУКЦИЙ ПОКРЫТИЯ СКЛАДСКИХ ПЛОЩАДОК

Приложение 2 СХЕМА КОНСТРУКЦИИ И РАСЧЕТНАЯ СХЕМА ДОРОЖНОЙ ОДЕЖДЫ

Приложение 3 Минимальные коэффициенты уплотнения грунта в насыпи территорий портовых контейнерных терминалов по дорожно-климатическим зонам

Приложение 4 МЕХАНИЧЕСКИЕ ХАРАКТЕРИСТИКИ ГРУНТОВ

Приложение 5 Распределение морских портов по дорожно-климатическим зонам

Приложение 6 Минимальные классы бетона по прочности, марки по морозостойкости и соответствующие классам значения модуля упругости бетона

Приложение 7 Площади поперечного сечения продольной и поперечной арматуры, назначаемые в зависимости от максимальных растягивающих напряжений sр и толщины покрытия hб

Приложение 8 Рекомендуемые конструкции покрытий, складских площадок контейнерного терминала

Приложение 9 ПЕРЕЧЕНЬ НОРМАТИВНО-ТЕХНИЧЕСКИХ ДОКУМЕНТОВ, НА КОТОРЫЕ ИМЕЮТСЯ ССЫЛКИ В РД

 

 




ГОСТЫ, СТРОИТЕЛЬНЫЕ и ТЕХНИЧЕСКИЕ НОРМАТИВЫ.
Некоммерческая онлайн система, содержащая все Российские Госты, национальные Стандарты и нормативы.
В Системе содержится более 150000 файлов нормативно-технической документации, действующей на территории РФ.
Система предназначена для широкого круга инженерно-технических специалистов.

Рейтинг@Mail.ru Яндекс цитирования

Copyright © www.gostrf.com, 2008 - 2026