Крупнейшая бесплатная информационно-справочная система онлайн доступа к полному собранию технических нормативно-правовых актов РФ. Огромная база технических нормативов (более 150 тысяч документов) и полное собрание национальных стандартов, аутентичное официальной базе Госстандарта. GOSTRF.com - это более 1 Терабайта бесплатной технической информации для всех пользователей интернета. Все электронные копии представленных здесь документов могут распространяться без каких-либо ограничений. Поощряется распространение информации с этого сайта на любых других ресурсах. Каждый человек имеет право на неограниченный доступ к этим документам! Каждый человек имеет право на знание требований, изложенных в данных нормативно-правовых актах!

  


 

ГОСУДАРСТВЕННЫЙ КОМИТЕТ
РОССИЙСКОЙ
ФЕДЕРАЦИИ
ПО
СТРОИТЕЛЬСТВУ И
ЖИЛИЩНО-КОММУНАЛЬНОМУ
КОМПЛЕКСУ
(ГОССТРОЙ
РОССИИ)

ДЕПАРТАМЕНТ
ЭНЕРГЕТИЧЕСКОГО
НАДЗОРА,
ЛИЦЕНЗИРОВАНИЯ
И
ЭНЕРГОЭФФЕКТИВНОСТИ
МИНЭНЕРГО
РОССИИ

УТВЕРЖДЕНА
приказом Госстроя России
от
29.11.02 № 284

УТВЕРЖДЕНА

распоряжением Департамента
энергетического надзора,
лицензирования и энергоэффективности
Минэнерго России

от 05.02.035-р

РУКОВОДЯЩИЙ ДОКУМЕНТ

ТИПОВАЯ ИНСТРУКЦИЯ
ПО ЗАЩИТЕ ТРУБОПРОВОДОВ ТЕПЛОВЫХ СЕТЕЙ
ОТ
НАРУЖНОЙ КОРРОЗИИ

РД 153-34.0-20.518-2003

СОГЛАСОВАНА
Управлением по котлонадзору
и надзору за подъемными механизмами
Госгортехн
адзора России

СОГЛАСОВАНА
Департаментом стратегии развития
и научно-технической политики
РАО «ЕЭС России»

Издательство «Новости теплоснабжения»

Москва 2002

РАЗРАБОТАНА - ОАО «Фирма по наладке, совершенствованию технологии и эксплуатации электростанций и сетей ОРГРЭС» (вводная часть, разделы 2, 5, 6, 12, приложения А, Д, Ю; исполнитель Р. М. Соколов);

- ГУП «Академия коммунального хозяйства им. К.Д. Памфилова» (разделы: 3, 4, 7 - 11, приложения Б - Г, И - Э; исполнители М. А. Сурис, Е. Г. Кузнецова);

- ЗАО Научно-производственным комплексом «Вектор» (разделы: 1, приложения Е, Ж; исполнитель О. С. Усачева);

- РАО «Роскоммунэнерго» (исполнитель А. С. Толмасов);

под общей редакцией: В. Г. Семенова (издательство «Новости теплоснабжения») и Г. М. Скольника (РАО «Роскоммунэнерго»).

РАССМОТРЕНА - секцией «Коммунальная энергетика» Научно-технического совета Госстроя России (протокол от 24.09.0201-НС-14/1).

СОГЛАСОВАНА - Управлением по котлонадзору и надзору за подъемными механизмами Госгортехнадзора России (начальник Управления В. С. Котельников);

- Департаментом стратегии развития и научно-технической политики РАО «ЕЭС России» (первый заместитель начальника Департамента А. П. Ливинский).

УТВЕРЖДЕНА - Государственным комитетом Российской Федерации по строительству и жилищно-коммунальному комплексу (приказ от 29.11.02284);

- Департаментом энергетического надзора, лицензирования и энергоэффективности Минэнерго России (распоряжение от 05.02.035-р).

С введением настоящей Типовой инструкции утрачивают силу «Типовая инструкция по защите тепловых сетей от наружной коррозии: РД 34.20.518-95», утвержденная РАО «ЕЭС России» 26.06.95 г., и «Правила и нормы по защите трубопроводов тепловых сетей от электрохимической коррозии: РД 34.20.520-96», утвержденная РАО «ЕЭС России» 27.06.96 г.

Срок первой проверки - февраль 2008 года.

Ключевые слова: наружная коррозия, тепловые сети, защитные антикоррозионные покрытия, устройства электрохимической защиты, технические решения, эксплуатация.

РД 153-34.0-20.518-2003

Типовая инструкция
по защите трубопроводов тепловых сетей от наружной коррозии

Вводится в действие
с
5 февраля 2003 года

«Типовая инструкция по защите трубопроводов тепловых сетей от наружной коррозии» (далее - Типовая инструкция) устанавливает методы защиты стальных трубопроводов тепловых сетей и элементов трубопроводов от наружной коррозии*, порядок применения средств защиты и требования к защитным антикоррозионным покрытиям и устройствам электрохимической защиты (ЭХЗ), порядок приемки и ремонта защитных антикоррозионных покрытий и устройств ЭХЗ, правила эксплуатации ЭХЗ в зависимости от способа прокладки тепловых сетей, типа теплоизоляционных конструкций, условий эксплуатации, а также порядок организации работ по защите от наружной коррозии вновь сооружаемых, реконструируемых и действующих тепловых сетей.

* В данной Типовой инструкции вопросы внутренней коррозии трубопроводов тепловых сетей не затрагиваются.

Типовая инструкция разработана с соблюдением основных требований нормативно-технических документов (НТД), определяющих методы и средства защиты от наружной коррозии трубопроводов тепловых сетей и их элементов, а также организации работ по защите их от наружной коррозии.

При составлении Типовой инструкции учтены также современные научно-технические достижения и производственный опыт организаций, эксплуатирующих тепловые сети (ОЭТС)*.

* Аббревиатура принята в соответствии с [2].

Типовая инструкция предназначена для применения организациями, осуществляющими эксплуатацию тепловых сетей (систем транспорта и распределения тепловой энергии), независимо от организационно-правовой формы, имеющими тепловые сети в собственности или на иных законных основаниях, а также организациями, выполняющими проектирование, строительство, монтаж, ремонт, пуск, испытания и техническое освидетельствование трубопроводов тепловых сетей (в части защиты их от наружной коррозии) и средств защиты.

Решением руководителя организации, оформленным распорядительным документом, Типовая инструкция может использоваться непосредственно в полном объеме или в ее части, определяемой по конкретным условиям данной организации.

На основании Типовой инструкции в ОЭТС, могут разрабатываться местные инструкции с учетом технических особенностей и конкретных условий без снижения требований, установленных настоящей Типовой инструкцией.

Контроль соблюдения требований Типовой и местных инструкций, обеспечивающих безопасную эксплуатацию трубопроводов тепловых сетей, осуществляют ведомственные и государственные (Госгортехнадзор России, Госэнергонадзор России) органы технического и энергетического надзора в соответствии с компетенцией этих органов.

Типовая инструкция направлена на повышение эксплуатационной надежности тепловых сетей: обеспечение расчетного срока службы* вновь сооружаемых и реконструируемых тепловых сетей и продление срока службы действующих тепловых сетей.

* Термины и определения приведены в приложении А.

1. Организация работ по защите трубопроводов тепловых сетей и их элементов от наружной коррозии

1.1 Требования по защите тепловых сетей от наружной коррозии при разработке проектов прокладки и электрохимзащиты

1.1.1 Перед разработкой проекта вновь сооружаемых и реконструируемых тепловых сетей для учета реальных условий их прокладки эксплуатационной, проектной или специализированной организацией должны проводиться предпроектные обследования участков теплопроводов с целью подготовки исходных данных для проекта прокладки и мероприятий по защите от наружной коррозии трубопроводов тепловых сетей.

В ходе предпроектных обследований проводятся:

1. уточнение местоположения сопутствующих теплопроводу подземных коммуникаций, расположения установок электрохимзащиты (ЭХЗ) и контрольно-измерительных пунктов (КИП) на них, а также возможности совместной защиты трубопроводов тепловых сетей и смежных подземных сооружений;

2. уточнение данных о расположении рельсовой сети электрифицированного транспорта и тяговых подстанций, пунктов присоединения отрицательных питающих линий к рельсам;

3. уточнение сведений о других возможных источниках блуждающих токов, находящихся в зоне трассы проектируемой сети;

4. уточнение результатов коррозионных изысканий:

а) электрических измерений для определения опасности наружной коррозии;

б) фактического уровня грунтовых вод;

в) уровня затопления водой и заноса грунтом каналов (при разработке проекта капитального ремонта действующих тепловых сетей).

Примечание. Электрические измерения для определения опасности наружной коррозии на трубопроводах тепловых сетей, проложенных бесканально и в каналах, проводятся с целью:

а) выявления участков теплотрассы, находящихся в зоне с повышенной коррозионной агрессивностью грунтов (для бесканальной прокладки);

б) выявления участков тепловых сетей, находящихся в зоне опасного влияния блуждающих токов;

в) определения основных источников опасности в случае одновременного действия нескольких источников блуждающих токов;

г) выявления влияния электрозащитных устройств, установленных на смежных сооружениях, а также возможности устройства совместной защиты;

д) проверки эффективности мероприятий по снижению утечек токов с рельсовых путей электротранспорта в землю;

е) определения исходных параметров для проектирования ЭХЗ на коррозионно-опасных участках тепловых сетей.

1.1.2 Для проектов вновь сооружаемых тепловых сетей в техническом задании на проектирование, выдаваемом проектной организации руководителем ОЭТС, указывается предполагаемый способ прокладки трубопроводов.

1.1.3 Для проектов реконструкции действующих тепловых сетей в техническом задании на проектирование лицом, ответственным в ОЭТС за исправное состояние и безопасную эксплуатацию трубопроводов тепловых сетей, указываются особые требования и условия проектирования:

¨     способ прокладки трубопровода;

¨     реальные условия эксплуатации (затопление каналов грунтовыми, поверхностными, канализационными и т.п. водами, заноса каналов грунтом, наличие смежных подземных металлических сооружений);

¨     характер и причины повреждений трубопроводов, состояние теплоизоляционной и строительной конструкций в течение эксплуатационного периода;

¨     срок службы трубопровода до реконструкции и причины, сократившие расчетный срок службы.

Примечание. Для определения причин, сокративших расчетный срок службы трубопровода, ОЭТС обязана провести техническое освидетельствование фактического состояния действующих трубопроводов тепловых сетей в соответствии с [8]. При проведении технического освидетельствования во время наружного осмотра и инструментального контроля состояния трубопроводов в тепловых камерах, смотровых колодцах, проходных и полупроходных каналах, центральных (ДТП) и индивидуальных (ИТП) тепловых пунктах, подвалах домов и других точках доступа к трубопроводам, а также в местах контрольного вскрытия теплотрасс, должно быть обследовано:

¨     состояние металла труб;

¨     состояние антикоррозионного покрытия и теплоизоляционной конструкции в целом;

¨     состояние дренажей и вентиляции;

¨     состояние арматуры и др. элементов оборудования;

¨     состояние конструктивных элементов канала;

¨     коррозионные факторы воздействия на металл трубопроводов.

По результатам осмотра должны быть выявлены причины, сократившие расчетный срок службы трубопровода.

На основании освидетельствования трубопроводов тепловых сетей должно быть составлено техническое заключение о состоянии трубопроводов, в котором определены мероприятия, необходимые для защиты от наружной коррозии и обеспечения расчетного срока службы трубопроводов.

Техническое задание на проектирование разрабатывается с учетом данного технического заключения.

1.1.4 Техническое задание на защиту от электрохимической коррозии разрабатывается подразделением по защите от коррозии (ПЗК - см. п.п. 1.3.4 - 1.3.6 настоящей Типовой инструкции) или специализированной организацией и выдается проектной организации, осуществляющей проектирование устройств ЭХЗ.

1.1.5 Техническое задание на проектирование ЭХЗ тепловых сетей от наружной коррозии должно включать следующие данные:

1. характеристику трубопровода тепловой сети, подлежащего защите:

¨     диаметр трубопровода;

¨     температура теплоносителя;

¨     способ прокладки (канальная, бесканальная);

¨     наличие, тип и качество антикоррозионных покрытий;

¨     тип теплоизоляционной конструкции;

¨     условия эксплуатации (возможность затопления, заноса грунтом, наличие близко расположенного электрифицированного транспорта и т.д.);

¨     протяженность участка, защищаемого с помощью средств ЭХЗ;

¨     границы защиты;

¨     наличие средств ЭХЗ в данном районе на трубопроводах тепловых сетей и смежных подземных сооружениях (указываются характеристики и зоны воздействия);

2. основание для проектирования защиты:

¨     год ввода в эксплуатацию и наличие коррозионных повреждений (указываются адреса, даты выявления повреждений, причины коррозионных разрушений) - для действующих тепловых сетей;

¨     сведения о коррозионной агрессивности грунта по трассам трубопроводов тепловой сети (для бесканальных прокладок тепловых сетей);

¨     данные электрических измерений для определения опасности наружной коррозии - сводятся в таблицу и прикладываются к технической характеристике;

3. особые требования к разработке проекта ЭХЗ: ОЭТС должна указать предполагаемый срок службы трубопровода с технико-экономическим обоснованием его величины.

1.1.6 В проекте вновь сооружаемых и реконструируемых тепловых сетей должен быть указан расчетный срок службы с его технико-экономическим обоснованием на основе реальных условий эксплуатации и разработанных мероприятий по защите от наружной коррозии (антикоррозионные покрытия, ЭХЗ, вентиляция тепловых камер и каналов).

1.1.7 За выбор способа прокладки, системы дренажа, мероприятий по защите от наружной коррозии, расчетного срока службы теплопровода, а также за соответствие проекта требованиям Правил [11] и настоящей Типовой инструкции отвечают организации, разрабатывающие проект вновь сооружаемых и реконструируемых тепловых сетей.

1.2 Требования по защите от наружной коррозии при техническом надзоре за сооружением и по приемке в эксплуатацию трубопроводов тепловых сетей и устройств защиты

1.2.1 Строительно-монтажные, антикоррозионные и теплоизоляционные работы должны выполняться в соответствии с разработанными техническими решениями проекта прокладки тепловых сетей и мероприятиями по защите от наружной коррозии.

После вскрытия теплопровода необходимо проверить соответствие фактической трассы проекту и при необходимости внести корректировки в проект без снижения требований по защите тепловых сетей от наружной коррозии.

Любые отступления от разработанного проекта должны быть согласованны с авторами проекта и Заказчиком.

1.2.2 Организации, специалисты, разрабатывающие проект по прокладке вновь сооружаемых и реконструируемых тепловых сетей, обязаны осуществлять авторский надзор на каждом этапе проведения строительно-монтажных работ, намеченных в проекте.

1.2.3 Представитель ОЭТС, осуществляющий технический надзор за проведением строительно-монтажных работ, должен проверять:

1.2.3.1 соответствие проекту антикоррозионного покрытия на трубах и стыковых соединений (вид, марка материалов, число слоев), качество покрытий (контроль качества включает наружный осмотр, контроль сплошности, проверку адгезии, определение толщины покрытия и должен проводиться согласно разделу 6.9 настоящей Типовой инструкции);

1.2.3.2 соответствие проекту и качество выполнения теплоизоляционных конструкций на трубопроводах, качество теплоизоляции сварных швов;

1.2.3.3 наличие выпусков из каналов и дренажей в водосток, состояние дренажей;

1.2.3.4 состояние систем вентиляции каналов;

1.2.3.5 качество выполнения гидроизоляции днища, боковых поверхностей и перекрытий каналов и камер, заделки бетоном металлических конструкций камер; соответствие проекту марки мастики, применяемой при гидроизоляции;

1.2.3.6 качество очистки каналов и камер от строительного мусора и грязи;

1.2.3.7 качество выполнения строительно-монтажных работ при сооружении средств ЭХЗ, соответствие проекту и качество оборудования контрольно-измерительных пунктов для контроля эффективности ЭХЗ (в соответствии с разделом 10 настоящей Типовой инструкцией);

1.2.3.8 качество засыпки траншей и котлованов, пригодность применяемого для засыпки грунта, качество планировки трассы.

Примечание. Все замечания, выявленные при производстве работ, должны быть записаны в журнал производства работ и указаны сроки их устранения.

1.2.4 При приемке в эксплуатацию тепловых сетей в акте должно быть указано, что все мероприятия по защите от наружной коррозии, обеспечивающие расчетный срок службы, выполнены в соответствии с проектом.

1.2.5 Технический надзор за сооружением средств защиты трубопроводов тепловых сетей от наружной коррозии должен осуществляться ОЭТС (Заказчиком), в лице подразделения по защите от коррозии (ПЗК - см. раздел 10 настоящей Типовой инструкции).

1.2.6 Приемка скрытых работ по ЭХЗ трубопроводов тепловых сетей от наружной коррозии должна осуществляться в процессе производства работ с оформлением акта при обязательном присутствии представителя ОЭТС (заказчика).

1.2.7 К моменту окончания строительно-монтажных работ по сооружению установок ЭХЗ ОЭТС должна обеспечить заключение договора на потребление электроэнергии и (при отсутствии возможности обслуживания собственными силами) передачу на обслуживание энергоснабжающей организации силового участка электросети до отключающего устройства на установке ЭХЗ.

1.2.8 После выполнения строительно-монтажных работ и проверки технической документации ОЭТС, как Заказчик средств защиты трубопроводов тепловых сетей от наружной коррозии, должна созвать комиссию для приемки строительно-монтажных работ.

1.2.9 Строительная организация должна передать ОЭТС исполнительную техническую документацию и оформленный акт на приемку строительно-монтажных работ по защите трубопроводов тепловых сетей от наружной коррозии (см. приложение У).

1.2.10 Окончательную приемку устройств ЭХЗ в соответствии с разделом 10 настоящей Типовой инструкции приемочная комиссия производит после выполнения строительно-монтажных и наладочных работ и проверки электрических параметров защиты. В случае совместной с другими подземными сооружениями электрической защиты акт приемки должен быть подписан также владельцами этих сооружений (см. приложение У).

1.3 Организация работ по защите от наружной коррозии трубопроводов и их элементов тепловых сетей при эксплуатации

1.3.1 Для контроля состояния трубопроводов тепловых сетей и определения признаков опасности наружной коррозии оперативным персоналом [15], [75] должны производиться наружные осмотры трубопроводов по графику, составленному лицом, ответственным за исправное состояние и безопасную эксплуатацию. График наружного осмотра должен предусматривать осуществление контроля состояния, как оперативным персоналом, так и лицом, ответственным за исправное состояние и безопасную эксплуатацию трубопроводов тепловых сетей.

1.3.2 При наружном осмотре трубопроводов тепловых сетей в местах доступа обследуются:

а) изменения в планировке и состоянии поверхности земли по всей трассе (для предотвращения затопления трубопроводов поверхностными водами производится своевременная подсыпка земли и ремонт наружного покрытия);

б) наличие и уровень затопления водой тепловых камер и каналов - уровень воды в камерах ни при каких обстоятельствах не должен быть выше основания канала, примыкающего к камере, а при бесканальной прокладке - не выше отметки, отстоящей на 400 мм от теплоизоляционной конструкции теплопровода (скапливающаяся вода должна периодически или непрерывно удаляться с помощью передвижных или стационарных насосных установок);

в) наличие капели с плит перекрытий в тепловых камерах и проходных каналах (при появлении необходимо впредь до устранения причин капели сделать защитное покрытие над трубопроводами и оборудованием и отвод воды в приямок);

г) наличие участков трубопроводов с разрушенной тепловой изоляцией, антикоррозионным и гидроизоляционным покрытиями (для защиты от наружной коррозии должны быть восстановлены);

д) состояние попутного дренажа (ежегодно после окончания отопительного сезона трубопроводы попутного дренажа должны подвергаться прочистке механическим способом); смотровые дренажные колодцы попутного дренажа должны осматриваться и очищаться от заносов по мере необходимости;

е) вентиляция каналов и тепловых камер (при запаривании каналов и тепловых камер и при отсутствии приточно-вытяжной вентиляции, непредусмотренной проектом или несмонтированной, снижение температуры воздуха до 32 °С необходимо производить передвижными вентиляционными установками);

ж) состояние строительных металлических конструкций (окраска в доступных местах металлических конструкций тепловых сетей антикоррозионными покрытиями производится не реже одного раза в два года).

Результаты наружного осмотра заносятся в рапорт оперативного персонала (см. приложение 16 [12]), а затем лицом, ответственным за исправное состояние и безопасную эксплуатацию, в паспорт трубопровода (см. приложение 15 [12]) и журнал учета осмотров.

1.3.3 В ОЭТС в паспорте трубопровода должны систематически отмечаться (см. приложение 15 [12]):

¨     затопляемые участки трубопроводов;

¨     места, где наблюдались коррозионные и другие повреждения трубопроводов;

¨     места, где проводились контрольные вскрытия трубопроводов;

¨     участки, где производились текущие и капитальные ремонты трубопроводов;

¨     результаты технического освидетельствования.

Также в ОЭТС должна быть специальная эксплуатационная схема тепловых сетей, на которой должны быть отмечены:

¨     места затоплений теплопроводов;

¨     участки теплопроводов, подверженные влиянию блуждающих токов;

¨     места аварийных повреждений;

¨     места контрольных вскрытий трубопроводов;

¨     места текущих и капитальных ремонтов трубопроводов;

¨     участки теплопроводов, находящиеся в аварийном состоянии.

На схему должны быть нанесены также рельсовые пути электрифицированного транспорта, смежные подземные сооружения, места расположения установок ЭХЗ на трубопроводах тепловых сетей и смежных подземных сооружениях.

1.3.4 Для повышения уровня технического обслуживания ОЭТС трубопроводов тепловых сетей и для разработки мероприятий по защите от наружной коррозии вновь сооружаемых и действующих трубопроводов должны быть организованы подразделения по защите от коррозии (ПЗК). В зависимости от местных условий и производственной необходимости такими подразделениями могут быть служба, отдел, производственная лаборатория, группа. При необходимости может быть заключен договор со специализированной организацией, выполняющей данные виды работ.

Примечание. В малых ОЭТС должен быть назначен инженерно-технический работник, ответственный за организацию и контроль работ по защите от наружной коррозии.

1.3.5 Задачами ПЗК при защите трубопроводов тепловых сетей от наружной коррозии являются:

1.     участие в проведении наружных осмотров трубопроводов при периодическом техническом освидетельствовании;

2.     контроль коррозионного состояния трубопроводов и оценка интенсивности коррозионных разрушений труб тепловых сетей на участках, где зафиксирована опасность наружной коррозии трубопроводов путем установки индикаторов коррозии (см. приложение К), измерения остаточной толщины стенок трубы, инженерной диагностики коррозионного состояния трубопроводов и т.п.;

3.     выявление вредных факторов, влияющих на процессы коррозии, с составлением карт их распределения, определение причин их возникновения и разработка мероприятий по их предотвращению;

4.     регистрация и анализ причин коррозионных повреждений тепловых сетей;

5.     проведение электрических измерений согласно п. 1.1.1 настоящей Типовой инструкции;

6.     участие в контрольных и аварийных вскрытиях тепловых сетей;

7.     разработка мероприятий, препятствующих коррозионным процессам, и контроль выполнения;

8.     выдача технических заданий на разработку мероприятий по защите от наружной коррозии в проектах тепловых сетей и на проектирование ЭХЗ при строительстве новых и реконструкции действующих тепловых сетей с отражением комплексного подхода к защите от коррозии на всем территориальном участке, а в отдельных случаях самостоятельная разработка проекта защиты;

9.     подготовка технических заданий на реконструкцию тепловых сетей с учетом реальных условий их эксплуатации и анализа причин сокращения расчетного срока службы;

10.  согласование проектов тепловых сетей и проектов ЭХЗ от наружной коррозии, разработанных проектными организациями;

11.  осуществление технического надзора за строительно-монтажными работами на тепловых сетях по защите трубопроводов от наружной коррозии;

12.  участие в пусконаладочных работах устройств ЭХЗ;

13.  приемка в эксплуатацию защитных антикоррозионных покрытий трубопроводов и их элементов, устройств ЭХЗ, а также всей конструкции в целом;

14.  эксплуатационное обслуживание устройств ЭХЗ с проведением регламентных работ в сроки и в объемах, определенных производственными нормативно-техническими документами (НТД), разработанными на основании настоящей Типовой инструкции;

15.  организация работ по ремонту защитных антикоррозионных покрытий и устройств ЭХЗ с привлечением специализированных подразделений ОЭТС или сторонних специализированных организаций;

16.  ведение и хранение технической документации по защите тепловых сетей от наружной коррозии.

1.3.6 Каждое ПЗК должно быть оснащено специальными контрольно-измерительными приборами и аппаратурой, необходимыми для проведения коррозионных измерений в полевых и лабораторных условиях, перечни которых приведены в соответствующих разделах настоящей Типовой инструкции, а также приборами контроля качества антикоррозионных покрытий (см. раздел 6 настоящей Типовой инструкции) и приборами для обследования коррозионного состояния трубопроводов. В крупных организациях (предприятиях) рекомендуется иметь специальные передвижные лаборатории по защите от коррозии.

1.3.7 Для контроля состояния подземных трубопроводов, теплоизоляционных и строительных конструкций следует периодически производить контрольные вскрытия на тепловых сетях.

Вскрытие для наружного осмотра теплопроводов, проложенных в непроходных каналах и бесканально, следует производить в первую очередь в местах, где, согласно разделу 3 настоящей Типовой инструкции, имеются признаки опасности наружной коррозии трубопроводов.

Кроме этих участков вскрытие подземных теплопроводов для наружного осмотра следует также производить в указанных ниже неблагоприятных местах, где возможно возникновение процессов наружной коррозии трубопроводов:

¨     вблизи мест, где при эксплуатации наблюдались коррозионные повреждения трубопроводов;

¨     на участках, расположенных вблизи линий канализаций и водопровода или в местах пересечения с этими сооружениями;

¨     в местах, где по результатам тепловизионного обследования наблюдаются повышенные тепловые потери;

¨     в местах, где по результатам технического обследования и инженерной диагностики коррозионного состояния трубопроводов тепловых сетей обнаружены участки с максимальным утонением стенки трубопровода.

1.3.8 Наружный осмотр вскрытого участка теплопровода проводится в соответствии с указаниями [9] и приложением 28 [12]. По мере осмотра каждого вскрытия заполняется акт (см. приложение 27 [12]).

При оценке коррозионного процесса на трубах рекомендуется исходить из следующего:

¨     пылевидная коррозия, а также равномерная пленочная коррозия с толщиной коррозионных пленок до 3 мм, под которой не обнаружено язв, могут считаться неопасными;

¨     пленочная коррозия с толщиной пленок более 3 мм, а также пленочная коррозия, под которой обнаружены язвы, или местная язвенная коррозия, считаются опасными;

¨     наличие каверн конической формы без продуктов коррозии по краям указывает на протекание процесса электрокоррозии и считается опасным.

В местах, где наблюдаются опасные коррозионные процессы, должны быть вырезаны образцы труб для принятия решения о необходимости проведения ремонта.

При земляных работах, а также при вскрытии участка теплопровода инженером ПЗК отбираются пробы грунта и тепловой изоляции для лабораторных анализов.

По окончании осмотра инженером ПЗК измеряется потенциал «трубопровод-земля» и фактическая толщина стенок труб.

Результаты измерений и лабораторных анализов за подписью исполнителя прикладываются к акту в виде приложения (см. приложение 27 [12]).

Оформленные акты сброшюровываются по годам, хранятся в ПЗК.

По результатам контрольных вскрытий должны быть намечены мероприятия по обеспечению расчетного срока службы трубопровода, а также сроки их выполнения.

1.3.9 После проведения контрольного вскрытия обязательно должны быть полностью восстановлены теплоизоляционные и строительные конструкции:

¨     трубы защищены антикоррозионным покрытием, соответствующим требованиям настоящей Типовой инструкции;

¨     восстановлены основной слой теплоизоляции, покровный слой, стыки с прилегающими участками теплоизоляционной конструкции;

¨     произведена очистка канала от грунтовых заносов и остатков разрушенных теплоизоляционных и других материалов в месте вскрытия;

¨     установлены плиты перекрытия канала с заменой поломанных плит новыми, произведены цементирование и гидроизоляция швов.

Проведенные восстановительные работы освещаются в соответствующем разделе акта (см. приложение 27 [12]).

Места вскрытий теплопроводов в течение ближайших 3 - 4 месяцев после засыпки должны находиться под усиленным надзором оперативного персонала. По мере необходимости следует подсыпать грунт и планировать поверхность земли для отвода поверхностных вод от теплопроводов.

1.3.10 Обследование теплопроводов при ликвидации повреждений производится так же, как и при контрольных вскрытиях (см. п. 1.3.8 настоящей Типовой инструкции).

При утечках теплоносителя в местах устранения повреждений, как правило, бывает полное разрушение теплоизоляционной конструкции и размыв окружающего грунта, что значительно затрудняет определение причин коррозионных повреждений. В этих случаях рекомендуется увеличить размер шурфа по длине прокладки на 5 - 10 м, а при необходимости для обеспечения расчетного срока службы трубопроводов тепловых сетей и более - до размеров, определенных приборными методами.

1.3.11 При обнаружении наружной коррозии следует тщательно осмотреть участки труб, прилегающие к поврежденному участку, проверить организацию отвода сточных вод с поверхности земли над теплотрассой, плотность швов плит перекрытия каналов, состояние изоляции, антикоррозионных покрытий, а также дренажных устройств. Особое внимание следует обратить на места установки неподвижных и подвижных опор и на прокладки в стальных футлярах, а также на места пересечения с водопроводом, канализацией, водостоком. В результате осмотра должна быть установлена причина возникновения коррозионного повреждения.

Результаты осмотра места повреждения трубопровода фиксируются инженером ПЗК в акте осмотра поврежденного трубопровода (см. приложение 1 [74]), который является формой первичного учета повреждений, и хранятся в техническом архиве ПЗК.

1.3.12 При ликвидации коррозионного повреждения на замененный или отремонтированный участок трубопроводов должно быть нанесено антикоррозионное покрытие, соответствующее требованиям настоящей Типовой инструкции, агрессивные теплоизоляция или грунт заменены инертными и приняты меры по предотвращению попадания влаги на трубопроводы (выполнен отвод с трассы тепловой сети грунтовых, ливневых и др. вод, уплотнены швы перекрытия каналов и камер), а также меры по защите теплопроводов от воздействия блуждающих токов.

Для предупреждения повторного повреждения участки теплопровода, на которых выявлена интенсивная наружная коррозия, в процессе дальнейшей эксплуатации должны подвергаться контролю.

В случае возникновения повторного повреждения на данном участке должна быть организована комиссия, которая составляет акт о выявлении причин неоднократных повреждений трубопроводов с указанием мероприятий и сроков по их устранению.

2. Основные требования к выбору методов защиты трубопроводов тепловых сетей от наружной коррозии

2.1 Методы защиты трубопроводов тепловых сетей от наружной коррозии должны выбираться в зависимости от:

¨     способа прокладки тепловых сетей (подземная канальная, подземная бесканальная, надземная);

¨     максимальной температуры теплоносителя (за которую принимается расчетная температура сетевой воды в подающем трубопроводе по температурному графику тепловой сети, принятому для данной системы централизованного теплоснабжения);

¨     вида тепловой изоляции и типа теплоизоляционной конструкции;

¨     условий эксплуатации, определяемых по результатам периодических наружных осмотров и технического обследования коррозионного состояния (для канальной прокладки - подверженность каналов затоплению, заносу грунтом, подверженность теплоизоляционной конструкции увлажнению капельной влагой; для бесканальной прокладки - коррозионная агрессивность грунтов, опасное влияние блуждающих токов);

¨     срока эксплуатации и типа коррозионных повреждений (для действующих тепловых сетей).

2.2 В качестве средств защиты от наружной коррозии трубопроводов тепловых сетей, а также их элементов (участков сварных соединений, углов поворотов, тройников и др.), должны применяться защитные антикоррозионные покрытия, наносимые на внешнюю поверхность труб под тепловую изоляцию.

При наличии признаков опасности наружной коррозии подземных трубопроводов тепловых сетей (раздел 3 настоящей Типовой инструкции) в качестве средств защиты должна применяться электрохимическая защита путем катодной поляризации труб с помощью установок катодной, электродренажной защиты (поляризованных или усиленных электродренажей) или протекторов. Наличие хотя бы по одному из признаков опасности наружной коррозии для того или иного способа прокладки указывает на необходимость применения средств ЭХЗ.

2.3 Для трубопроводов тепловых сетей, проложенных с использованием теплоизоляционных конструкций высокой заводской готовности (например, трубопроводов с изоляцией из пенополиуретана и трубой-оболочкой из полиэтилена высокой плотности, оборудованных системой оперативного дистанционного контроля (ОДК), сигнализирующей о повреждениях и наличии влаги в изоляции, а также для трубопроводов с другими видами теплоизоляционных конструкций, не уступающих указанной выше конструкции по эксплуатационным свойствам), защитные антикоррозионные покрытия не применяются.

2.4 При надземной прокладке для трубопроводов тепловых сетей должны применяться только защитные антикоррозионные покрытия.

2.5 Для трубопроводов тепловых сетей, транспортирующих пар, при подземной прокладке и наличии признаков опасности наружной коррозии (см. раздел 3 настоящей Типовой инструкции) кроме защитных антикоррозионных покрытий стальных труб должны предусматриваться средства электрохимической защиты для тех сетей, в которых могут быть разовые перерывы в подаче пара продолжительностью более одного месяца.

2.6 Выбор типа защитных антикоррозионных покрытий для трубопроводов тепловых сетей должен производиться по максимальной температуре теплоносителя с учетом способа прокладки тепловых сетей, вида тепловой изоляции, состояния защищаемой поверхности труб, располагаемых технологий ее подготовки, условий нанесения покрытия по рекомендациям, приведенным в разделах 5, 6 настоящей Типовой инструкции.

При выпуске защитных антикоррозионных покрытий с лучшими технико-экономическими показателями, удовлетворяющими требованиям работы на тепловых сетях (см. п.п. 5.5, 5.7 настоящей Типовой инструкции), следует применять эти покрытия взамен указанных в таблице 2 настоящей Типовой инструкции (после проведения стендовых испытаний согласно [7] и получения положительных результатов).

2.7 Электрохимическая защита (ЭХЗ) может осуществляться с помощью станций катодной защиты (СКЗ), электродренажных установок и гальванических анодов (протекторов). СКЗ и электродренажные установки могут применяться как для бесканальной, так и канальной прокладок тепловых сетей. В последнем случае при использовании СКЗ их анодные заземлители (АЗ) могут размещаться как за пределами каналов, так и непосредственно в каналах. Гальваническая (протекторная) защита может применяться только при канальной прокладке тепловых сетей с их размещением у дна канала или на поверхности трубопроводов. В случаях наличия защитных антикоррозионных покрытий, обладающих протекторными свойствами (например, металлизационного алюминиевого покрытия), ЭХЗ применяется лишь при опасном воздействии блуждающих постоянных токов или переменных токов (см. раздел 7 настоящей Типовой инструкции).

2.8 Защита от коррозии стальных опорных строительных конструкций под трубопроводы тепловых сетей должна предусматриваться в соответствии с [1].

Для указанных конструкций могут применяться лакокрасочные защитные покрытия, приведенные в таблице 2 настоящей Типовой инструкции.

3. Критерии (признаки) опасности наружной коррозии подземных трубопроводов тепловых сетей

3.1 Критерии (признаки) опасности наружной коррозии трубопроводов тепловых сетей обусловлены способом их прокладки, конструктивными особенностями и условиями эксплуатации, которые определяются на основании фактических данных о коррозионном состоянии металла труб, полученных при периодических осмотрах и техническом освидетельствовании в соответствии [8].

Для трубопроводов тепловых сетей бесканальной прокладки критериями опасности коррозии являются:

¨     высокая коррозионная агрессивность грунта;

¨     опасное влияние блуждающего постоянного тока;

¨     опасное влияние переменного тока.

Примечание 1.

1. На участках трубопроводов, находящихся в тепловых камерах, смотровых колодцах, подвалах и т.д., критерии опасности коррозии те же, как и для трубопроводов канальной прокладки.

2. На трубопроводы тепловых сетей с пенополиуретановой тепловой изоляцией и трубой-оболочкой из жесткого полиэтилена (конструкция «труба в трубе») и аналогичной теплоизоляционной конструкцией на стыках труб, отводах и углах поворотов, имеющих действующую систему ОДК состояния изоляции трубопроводов, указанные критерии опасности коррозии не распространяются.

Для трубопроводов тепловых сетей канальной прокладки критериями опасности коррозии являются:

¨     наличие воды в канале или занос канала грунтом, когда вода или грунт достигают изоляционной конструкции или поверхности трубопровода;

¨     увлажнение теплоизоляционной конструкции влагой, достигающей поверхности труб: капельной с перекрытий канала или стекающей по щитовой опоре, а также попадающей в тепловую камеру через неплотности крышек смотровых колодцев и тепловых камер.

Примечание. При наличии воды или грунта в канале, которые достигают изоляционной конструкции или поверхности трубопровода, опасное влияние блуждающего постоянного тока и переменного тока увеличивает скорость коррозии наружной поверхности трубопроводов, контактирующей с водой или грунтом заноса в канале.

3.2 Коррозионная агрессивность грунта по отношению к углеродистым и низколегированным сталям, из которых изготавливаются трубы тепловых сетей, характеризуется двумя показателями:

¨     удельным электрическим сопротивлением грунта (УЭС), определенным в полевых условиях;

¨     УЭС грунта, определенным в лабораторных условиях.

Если один из показателей свидетельствует о высокой агрессивности грунта (см. таблицу 1), то грунт считается агрессивным и определение второго показателя не требуется.

Таблица 1. Коррозионная агрессивность грунта по отношению к углеродистым и низколегированным сталям

Коррозионная агрессивность грунта

Удельное электрическое сопротивление грунта, Ом*м

Низкая

Свыше 50

Средняя

От 20 до 50

Высокая

Менее 20

3.3 Возможность опасного влияния блуждающего постоянного тока на действующие подземные стальные трубопроводы тепловых сетей определяется по наличию изменяющегося по знаку и по величине смещения потенциала трубопровода по отношению к его стационарному потенциалу (знакопеременная зона) или по наличию только положительного смещения потенциала изменяющегося по величине (анодная зона). Для вновь сооружаемых теплопроводов оно определяется по наличию блуждающих токов в земле.

Примечание. Стационарный потенциал трубопровода - это разность потенциалов между трубопроводом и неполяризующимся электродом сравнения при отсутствии блуждающих токов и поляризации от внешних источников тока.

3.4 Возможность опасного влияния переменного тока на стальные подземные трубопроводы тепловых сетей определяется по смещению среднего значения потенциала трубопровода в отрицательную сторону не менее, чем на 10 мВ, по отношению к стационарному потенциалу, либо по наличию переменного тока плотностью более 1 мА/см2 (10 А/м2) на вспомогательном электроде.

4. Определение опасности наружной коррозии трубопроводов тепловых сетей

4.1 Для определения опасности наружной коррозии трубопроводов тепловых сетей должны систематически проводиться осмотры трубопроводов подземных тепловых сетей и электрические измерения для определения коррозионной агрессивности грунтов и опасного действия блуждающих токов.

4.2 Электрические измерения на тепловых сетях, находящихся в эксплуатации, должны производиться ПЗК ОЭТС (см. п.п. 1.3.4 - 1.3.6 настоящей Типовой инструкции). К этим работам могут привлекаться также специализированные организации.

4.3 Электрические измерения (см. п. 1.1.1 настоящей Типовой инструкции) на трассах вновь сооружаемых и реконструируемых тепловых сетей должны производиться, как правило, организациями, разрабатывающими проект прокладки или капитального ремонта тепловых сетей, или специализированными организациями, разрабатывающими технические решения по защите тепловых сетей от наружной коррозии.

Определение коррозионной агрессивности грунтов в полевых и лабораторных условиях

4.4 Измерения УЭС грунта производятся для выявления участков трассы тепловых сетей бесканальной прокладки в грунте с высокой коррозионной агрессивностью, а также для выбора типа, конструкции и расчета анодного заземлителя при необходимости ЭХЗ (катодной защиты) трубопроводов тепловых сетей.

4.5 Коррозионная агрессивность грунта по их УЭС определяется в полевых и лабораторных условиях.

4.6 Измерение УЭС грунта в полевых условиях на действующих тепловых сетях должно производиться вдоль трассы тепловой сети через каждые 100 - 200 м на расстоянии 2 - 4 м от ее оси.

На трассах вновь сооружаемых тепловых сетей УЭС грунта производится вдоль оси предполагаемой трассы через каждые 100 - 200 м.

4.7 Измерение УЭС должно производиться в период отсутствия промерзания грунта на глубине заложения трубопроводов тепловых сетей по четырехэлектродной схеме (рис. 1) с помощью измерителей сопротивления типа М-416, Ф-416, Ф 4103-М1, аппаратуры ГУП «Парсек» или других приборов. В качестве электродов применяют стальные стержни длиной 250 - 350 мм и диаметром 15 - 20 мм.

Схема определения удельного электрического сопротивления грунта в полевых условиях

1 - стальные электроды; 2 - измерительный прибор

Рис. 1

Расстояния между смежными электродами принимаются одинаковыми, глубина забивки электродов в грунт должна быть не более 1/20 расстояния между смежными электродами.

4.8 УЭС грунта ρ(Ом·м) вычисляют по формуле:

ρ = 2·π·R·a,                                                            (4.1)

где R - величина электрического сопротивления, измеренная по прибору, Ом;

а - расстояние между смежными электродами, принимаемое равным глубине прокладки трубопроводов, м.

Результаты измерения и расчетов заносят в протокол (приложение Б).

4.9 Для определения УЭС грунта в лабораторных условиях необходимо произвести отбор и обработку проб испытываемого грунта.

Пробы грунта отбирают в шурфах, скважинах или траншеях из слоев, расположенных на глубине прокладки трубопроводов, с интервалом 50 ÷ 200 м на расстоянии 0,5 ÷ 0,7 м от боковой стенки труб. Для пробы берут 1,5 ÷ 2,0 кг грунта, удаляя твердые включения размером более 3 мм. Отобранную пробу помещают в полиэтиленовый пакет и снабжают паспортом, в котором указываются номера объекта и пробы, место и глубина отбора пробы.

4.10 Для определения коррозионной агрессивности грунта по отношению к стали в лабораторных условиях рекомендуется использовать специальные устройства и приборы, например, УЛПК-1 и АКГК. Приборы снабжены инструкцией по эксплуатации, ячейками, электродами, предназначенными для определения УЭС грунта.

4.11 Определение УЭС грунта в лабораторных условиях проводится по 4-х электродной схеме (рис. 2). Сущность метода в том, что внешние электроды с одинаковой площадью рабочей поверхности S поляризуют током определенной силы J и измеряют падение напряжения U на двух внутренних электродах при расстоянии L между ними. Если измерения проводят на постоянном токе, то используют 3 разных значения силы тока. Сопротивление грунта R рассчитывают по формуле:

R = U/J                                                                (4.2)

Удельное электрическое сопротивление грунта р, Ом м, вычисляют по формуле:

ρ = R(S/L),                                                         (4.3)

где R - измеренное сопротивление, Ом;

S - площадь поверхности рабочего электрода, м2;

L - расстояние между внутренними электродами, м.

Схема установки для определения удельного электрического сопротивления грунта в лабораторных условиях

1 - измерительная ячейка; 2 - внешние электроды; 3 - внутренние электроды; 4 - прибор для определения УЭС грунта (воды); 5 - клеммник для подключения к прибору соответствующих электродов.

Рис. 2

Внешние электроды представляют собой прямоугольные пластины (из углеродистой или нержавеющей стали) с ножкой, к которой крепится или припаивается проводник - токоподвод. Размеры электродов 44 × 40 мм, где 40 - высота электрода. Одну сторону электродов, которая примыкает к торцевой поверхности ячейки, изолируют.

Внутренние электроды изготавливают из медной проволоки или стержня диаметром 1 - 3 мм и длиной более высоты ячейки.

Ячейка выполняется прямоугольной формы, из материала с диэлектрическими свойствами (стекло, фарфор, пластмасса). Внутренние размеры ячейки рекомендуются 100 × 45 × 45 мм.

Отобранную пробу песчаных грунтов смачивают до полного влагонасыщения, а глинистых грунтов - до достижения мягкопластичного состояния. Если уровень грунтовых вод ниже уровня отбора проб, смачивание проводят дистиллированной водой, а если выше - грунтовой водой. Электроды зачищают шлифовальной шкуркой ГОСТ 6456 [72] зернистостью 40 и менее, обезжиривают ацетоном, промывают дистиллированной водой. Внешние электроды устанавливают вплотную к торцевым поверхностям внутри ячейки. В ячейку укладывают грунт, послойно утрамбовывая его, на высоту меньше высоты ячейки на 4 мм. Затем устанавливают внутренние электроды вертикально, опуская их до дна по центральной линии ячейки на расстоянии 50 мм друг от друга и 25 мм от торцевых стенок ячейки.

Измерения при определении УЭС грунта производят в соответствии с инструкцией, прилагаемой к прибору.

Результаты заносят в протокол (приложение Б).

Определение наличия блуждающих постоянных токов в земле для вновь сооружаемых трубопроводов тепловых сетей

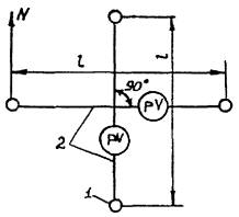
4.12 Определение наличия блуждающих постоянных токов по трассе вновь сооружаемых теплопроводов при отсутствии проложенных смежных подземных металлических сооружений следует проводить, измеряя разность потенциалов между двумя точками земли через каждые 1000 м по двум взаимно перпендикулярным направлениям при разносе измерительных электродов на 100 м. Схема измерений приведена на рис. 3.

Схема электрических измерений для обнаружения блуждающих токов в земле

1 - медносульфатные электроды сравнения; 2 - изолированные проводники; pV - вольтметр; l - расстояние между электродами сравнения.

Рис. 3

4.13 При наличии подземных металлических сооружений, проложенных вблизи трассы вновь сооружаемых теплопроводов на расстоянии не более 100 м, определение наличия блуждающих токов осуществляется путем измерения разности потенциалов между существующим сооружением и землей с шагом измерений не более 200 м.

4.14 Для измерения напряжения и силы тока используются показывающие и регистрирующие приборы классом точности не ниже 1,5. Следует применять вольтметры с внутренним сопротивлением не менее 200 кОм/В. Среди рекомендуемых приборов можно указать: ЭВ 2234; мультиметр цифровой специализированный 43313.1; прибор для измерения параметров установок защиты от коррозии подземных металлических сооружений ПКИ-02.

4.15 При измерениях используют переносные медносульфатные электроды сравнения (МЭС), которые подбирают так, чтобы разность потенциалов между двумя электродами не превышала 10 мВ, что должно быть определено в лабораторных условиях.

Переносной медносульфатный электрод сравнения (рис. 4) состоит из неметаллического полого корпуса с пористым дном и навинчивающейся крышкой с укрепленным в ней стержнем из красной меди. В корпус заливают насыщенный раствор медного купороса CuSO4·5H2O.

При сборке переносных медносульфатных электродов необходимо:

¨     очистить медный стержень от загрязнений и окисных пленок либо механически (наждачной бумагой), либо травлением азотной кислотой. После травления стержень тщательно промыть дистиллированной или кипяченой водой. Попадание кислоты в сосуд электрода недопустимо;

¨     залить электрод насыщенным раствором чистого медного купороса в дистиллированной или кипяченой воде с добавлением кристаллов купороса. Заливать электроды следует за сутки до начала измерений. После заливки все электроды установить в один сосуд (стеклянный или эмалированный) с насыщенным раствором медного купороса так, чтобы пористое дно электродов было полностью погружено в раствор.

Переносной медносульфатный электрод сравнения

1 - корпус; 2 - стержень из красной меди; 3 - крышка для крепления стержня; 4 - наконечник проводника; 5 - контактный зажим; 6 - полость, заполняемая насыщенным раствором медного купороса; 7 - нижняя крышка; 8 - пористое дно.

Рис. 4

4.16 Измерения в каждом пункте должны проводиться не менее 10 мин. с непрерывной регистрацией или с ручной записью результатов через каждые 10 с (приложение В).

В зоне блуждающих токов трамвая с частотой движения 15 - 20 пар в 1 ч измерения необходимо производить в часы утренней или вечерней пиковой нагрузки электротранспорта.

В зоне влияния блуждающих токов электрифицированных железных дорог период измерения должен охватывать пусковые моменты и время прохождения электропоездов в обе стороны между двумя ближайшими станциями.

4.17 Если наибольший размах колебаний разности потенциалов (между наибольшим и наименьшим ее значениями) превышает 0,04 В, это характеризует наличие блуждающих токов (как в отсутствии, так и при наличии других подземных сооружений, проложенных вблизи трассы вновь сооружаемых теплопроводов).

Примечание. При измерениях в зоне действия блуждающих токов и амплитуде колебаний разности потенциалов, превышающей 0,5 В, вместо медносульфатных могут быть использованы стальные электроды, аналогичные описанным в п. 4.7 настоящей Типовой инструкции.

Определение опасного влияния блуждающего постоянного тока для действующих трубопроводов тепловых сетей

4.18 Опасное влияние блуждающего постоянного тока выявляют, определяя изменение потенциала трубопровода под действием блуждающего тока по отношению к стационарному потенциалу трубопровода. Измерения выполняются с шагом не более 200 м.

4.19 Измерения производят в стационарных контрольно-измерительных пунктах (КИП), оборудованных электродами сравнения длительного действия (см. приложение Т), или на нестационарных КИП, устанавливая электроды сравнения на дне камеры, в шурфах или на поверхности земли на минимально возможном расстоянии (в плане) от трубопроводов.

4.20 Для проведения измерений используют вольтметры в соответствии с п.4.14 настоящей Типовой инструкции. Положительную клемму измерительного прибора присоединяют к трубопроводу, отрицательную - к электроду сравнения.

4.21 Режим измерений должен соответствовать условиям, изложенным в п.4.16 настоящей Типовой инструкции.

Результаты ручной записи измерений заносят в протокол (приложение В).

В тех случаях, когда наибольший размах колебаний потенциала трубопроводов, измеряемого относительно МЭС (разность между наибольшим и наименьшим абсолютными значениями этого потенциала) не превышает 0,04 В, колебания потенциала не характеризуют опасного влияния блуждающих постоянных токов.

4.22 Стационарный потенциал трубопроводов Uст следует определять при выключенных средствах ЭХЗ путем непрерывного измерения и регистрации разности потенциалов между трубопроводом (подающим или обратным) и МЭС в течение достаточно длительного времени - вплоть до выявления практически не изменяющегося во времени пределах 0,04 В) значения потенциала, относящемуся к периоду перерыва в движении электрифицированного транспорта, когда блуждающий ток отсутствует (как правило, в ночное время суток). За стационарный потенциал трубопровода принимается среднее значение потенциала при различии измерявшихся значений не более, чем на 40 мВ. При отсутствии возможности измерения стационарного потенциала трубопровода его значение принимают равным минус 0,7 В относительно МЭС.

Примечание. При определении опасного влияния блуждающего постоянного тока на теплопроводы канальной прокладки электроды сравнения следует устанавливать в зоне затопления или заиливания канала.

4.23 Разность между измеренным потенциалом трубопровода и его стационарным потенциалом определяется по формуле:

U = Uизм - Uст,                                                       (4.4)

где Uизм - наименее отрицательная и наиболее положительная за период измерений разность потенциалов между трубопроводом и МЭС.

Результат вычислений заносят в протокол (приложение В).

Для теплопроводов бесканальной прокладки, проложенных в грунтах высокой коррозионной агрессивности, влияние блуждающих токов признается опасным при наличии за период измерений положительного смещения потенциала; в грунтах средней и низкой коррозионной агрессивности влияние блуждающего тока признается опасным при суммарной продолжительности положительных смещений потенциала относительно стационарного потенциала за время измерений в пересчете на сутки более 4 мин./сутки.

Для теплопроводов канальной прокладки на участках их затопления или заиливания влияние блуждающих постоянных токов признается опасным при наличии за период измерений положительного смещения потенциала (см. примечание к п. 3.1 настоящей Типовой инструкции).

Определение опасного влияния переменного тока

4.24 Зоны опасного влияния переменного тока определяют на участках трубопроводов, на которых выявлены значения напряжения переменного тока между трубопроводом и МЭС, превышающие 0,3 В.

4.25 Смещение потенциала трубопровода, вызываемое переменным током, измеряют на вспомогательном электроде (ВЭ) относительно переносного МЭС до и после подключения ВЭ к трубопроводу через конденсатор емкостью 4 мкф. ВЭ представляет собой пластину, изготовленную из стали ст. 3 размером 25 × 25 мм, толщиной 1,5 - 2,0 мм.

Примечания.

1. На участке трубопровода, оборудованного ЭХЗ, измерения выполняют при отключенных средствах ЭХЗ.

2. На теплопроводах канальной прокладки опасное влияние переменного тока определяют лишь на участках затопления или заиливания каналов.

3. На трубопроводах тепловых сетей бесканальной прокладки с пенополиуретановой тепловой изоляцией и трубой-оболочкой из жесткого полиэтилена (конструкция «труба в трубе») и аналогичной теплоизоляционной конструкцией на стыках труб, отводах и углах поворотов, имеющих действующую систему оперативного дистанционного контроля (ОДК) состояния изоляции трубопроводов, контроль опасности влияния переменного и постоянного тока не производится.

4.26 ВЭ устанавливают в специально подготовленном шурфе, подготовку и установку которого производят в следующем порядке.

В намеченном пункте измерений над теплопроводом или в максимальном приближении к нему (в плане) в месте отсутствия дорожного покрытия делают шурф глубиной 300 - 350 мм и диаметром 180 - 200 мм.

Перед установкой в грунт ВЭ зачищают шлифовальной шкуркой ГОСТ 6456 [72] зернистостью 40 и насухо протирают. Предварительно из взятой со дна шурфа части грунта, контактирующего с ВЭ, должны быть удалены твердые включения размером более 3 мм. На выровненное дно шурфа насыпают слой грунта толщиной 30 мм, на нем укладывают ВЭ рабочей (неизолированной) поверхностью вниз и засыпают его грунтом слоем 60 - 80 мм от дна шурфа. Грунт над ВЭ утрамбовывают с усилием 3 - 4 кг на площадь ВЭ. Сверху устанавливают переносной МЭС и засыпают грунтом. Переносной МЭС подготавливают по п. 4.15 настоящей Типовой инструкции. При наличии атмосферных осадков предусматривают меры против увлажнения грунта и попадания влаги в шурф.

4.27 Для проведения измерений собирают схему, приведенную на рис. 5. Используют вольтметр с входным сопротивлением не менее 1 МОм (например, типа 43313.1, ПКИ-02).

Измерения производят в такой последовательности:

¨     измеряют стационарный потенциал ВЭ относительно МЭС через 10 мин. после его установки в грунт;

¨     после стабилизации значения стационарного потенциала ВЭ в пределах 1 - 2 мВ в течение 5 мин. подключают ВЭ к трубопроводу по схеме рис. 5 и через 10 мин. снимают первое показание вольтметра;

¨     показания непрерывно записывают в память соответствующего измерительного прибора (например, ПКИ-02) или снимают через 10 с в течение не менее 10 мин.

Схема измерения смещения стационарного потенциала трубопровода под влиянием переменного тока

1 - трубопровод; 2 - датчик потенциала; 3 - переносной медносульфатный электрод сравнения; 4 - шурф; 5 - вольтметр постоянного тока; 6 - конденсатор; 7 - выключатель; 8 - амперметр переменного тока.

Рис. 5

Среднее смещение потенциала ВЭ за период измерений определяют по компьютерной программе (например, используемой при камеральной работе с прибором ПКИ-02) или по формуле:

                                       (4.5)

где ΣUi - сумма значений потенциала, измеренного при подключении ВЭ к трубопроводу, мВ; Uст - стационарный потенциал ВЭ; m - общее число измерений.

Действие переменного тока признается опасным при среднем значении смещения потенциала в отрицательную сторону не менее, чем на 10 мВ по отношению к стационарному потенциалу.

Результаты измерений оформляют в виде протокола (приложение Г).

4.28 Для дополнительной оценки опасности коррозии стальных трубопроводов под воздействием переменного тока измеряют силу переменного тока ВЭ при подключении его к трубопроводу. Для этой цели в цепи ВЭ - конденсатор - трубопровод дополнительно включают амперметр переменного тока с пределами измерений от 0,01 мА (1·105 А) (рис. 5). После подключения ВЭ к трубопроводу измеряют силу переменного тока в течение 10 мин. через каждые 10 - 20 с с записью по форме приложения Г.

Среднюю плотность переменного тока рассчитывают по формуле:

j = J/6,25, mA/см2,                                                   (4.6)

где J - среднее значение силы переменного тока за время измерений, мВ;

6,25 - площадь ВЭ, см2.

Действие переменного тока признается опасным при средней плотности тока более 1 мА/см2(10 А/м2).

При использовании мультиметров, позволяющих измерять напряжение и силу тока, допускается сначала измерить смещение потенциала ВЭ по п. 4.27 настоящей Типовой инструкции, а затем, включив прибор в цепь в качестве амперметра, измерить силу переменного тока на ВЭ.

При наличии амперметра и вольтметра одновременно измеряют смещение потенциала ВЭ и силу переменного тока после присоединения ВЭ к трубопроводу.

Эксплуатационный контроль опасности коррозии трубопроводов

4.29 Определение опасности действия постоянных блуждающих токов (по п.п. 4.18 - 4.28 настоящей Типовой инструкции) в зонах их влияния на трубопроводы тепловых сетей бесканальной прокладки на участках, ранее не требовавших ЭХЗ, проводится 1 раз в 2 года, а также после каждого значительного изменения режима работы систем электроснабжения электрифицированного транспорта, изменения условий, связанных с развитием сети источников блуждающих токов.

4.30 Определение опасности действия блуждающих постоянных токов в зонах их влияния на трубопроводы тепловых сетей канальной прокладки на участках, ранее не требовавших ЭХЗ, проводится после получения от ОЭТС сведений о наличии воды в канале или заносе канала грунтом, когда вода или грунт достигают теплоизоляционной конструкции.

Оценка коррозионной агрессивности грунтов (по п.п. 4.4. - 4.11 настоящей Типовой инструкции) по трассе трубопроводов тепловых сетей бесканальной прокладки, ранее не требовавших ЭХЗ, проводится не реже 1 раза в 5 лет, а также при каждом изменении коррозионных условий.

5. Требования к защитным антикоррозионным покрытиям для трубопроводов тепловых сетей и элементов трубопроводов. Методы контроля защитных свойств покрытий

5.1 Все стальные трубопроводы тепловых сетей и элементы трубопроводов должны быть защищены от наружной коррозии с помощью защитных антикоррозионных покрытий, которые наносятся на наружную поверхность труб, за исключением случаев, отмеченных в п. 2.3 настоящей Типовой инструкции.

Защитное антикоррозионное покрытие должно обладать высокими защитными свойствами и сохранять их в условиях эксплуатации (воздействие тепла, влаги, одновременное воздействие тепла и влаги, агрессивных сред, блуждающих токов), обеспечивая защиту трубопроводов в течение расчетного срока службы.

5.2 Выбор защитных антикоррозионных покрытий для вновь сооружаемых тепловых сетей должен производиться в зависимости от способа прокладки тепловых сетей, вида и температуры теплоносителя.

Для действующих тепловых сетей при выборе защитного покрытия и технологии его нанесения необходимо руководствоваться, в дополнение к изложенному, состоянием защищаемой поверхности трубопровода, возможностью применения механизированных способов очистки защищаемой поверхности и нанесения покрытия.

5.3 Покрытия, рекомендуемые для защиты от наружной коррозии трубопроводов тепловых сетей и их элементов, приведены в таблице 2 (раздел 6 настоящей Типовой инструкции).

5.4 Покрытия, которые предполагается применять для трубопроводов тепловых сетей, но не включенные в таблицу 2, должны предварительно проходить комплексные стендовые испытания согласно методическим указаниям [7] и отвечать предъявляемым требованиям (см. п.п. 5.5, 5.7 настоящей Типовой инструкции). Комплекс испытаний, включенных в методические указания, позволяет оценивать основные физико-механические, диэлектрические и прочие свойства защитных антикоррозионных покрытий и тенденцию покрытий к старению в жестких коррозионных условиях, характерных для работы подземных тепловых сетей. С этой целью ряд показателей защитных свойств покрытий должен определяться как до начала испытаний, так и после их завершения.

Свойства покрытий, которые наносятся как в заводских, так и полевых условиях, должны определяться на образцах с различной степенью подготовки поверхности ГОСТ 9.402 [34], что отвечает реальным условиям их нанесения в полевых условиях.

Учитывая возможность изменения рецептур и технологии производства лакокрасочных покрытий, следует проводить не реже 1 раза в 5 лет, повторные стендовые испытания защитных свойств покрытий.

Основные методические положения стендовых испытаний защитных антикоррозионных покрытий для подземных теплопроводов приведены в приложении Д.

Для проведения работ по испытаниям защитных антикоррозионных покрытий выполняющая их организация должна быть аттестована и иметь соответствующее разрешение (лицензию), полученное в установленном порядке.

5.5 Антикоррозионные покрытия, предназначенные для защиты трубопроводов водяных тепловых сетей от наружной коррозии, должны отвечать следующим требованиям:

термостойкость: 1875 ч при температуре 145 - 150 °С;

термовлагостойкость: 50 циклов «увлажнение-сушка» (один цикл включает одно полное увлажнение тепловой изоляции, нанесенной на трубу с покрытием, с последующей сушкой при температуре 75 - 80 °С в течение пяти суток);

стойкость в агрессивных средах: сохранение покрытием защитных свойств под воздействием кислого раствора рН = 2,5 в течение 3000 ч и щелочного раствора рН = 10,5 в течение 3000 ч (для металлизационных алюминиевых покрытий при рН = 4,5 и рН = 9,5);

стойкость к воздействию приложенных электрических потенциалов: анодных плюс 0,5 В и плюс 1,0 В по 1500 ч при каждом значении и катодных минус 0,5 В и минус 1,0 В по 1500 ч при каждом значении.

Покрытия, предназначенные для применения в бесканальных прокладках тепловых сетей, кроме того, должны быть устойчивы к истиранию (см. приложение Д).

5.6 Пригодность покрытия для защиты от наружной коррозии трубопроводов тепловых сетей должна оцениваться по следующим основным показателям:

¨     удельному объемному электрическому сопротивлению;

¨     сплошности;

¨     прочности при ударе;

¨     адгезии;

¨     гибкости;

¨     водопоглощению.

Примечание. При выборе защитных антикоррозионных покрытий необходимо учитывать технологии их нанесения для сохранения максимальных показателей вышеперечисленных характеристик при нанесении покрытий в полевых условиях.

5.7 После полного цикла стендовых испытаний защитное антикоррозионное покрытие должно сохранять целостность (отсутствие разрушений покрытия и коррозии металла образцов), а физико-механические показатели его должны быть следующими:

удельное объемное электрическое сопротивление (УОЭС) не ниже ρv ≥ 1·108 Ом·см (на металлизационные покрытия и на лакокрасочные покрытия, включающие металлические наполнители и являющиеся электропроводными, не распространяется).

Примечание. Значение УОЭС является одним из основных показателей, по которому оцениваются защитные свойства покрытия и, главным образом, динамика их изменения в процессе воздействия внешних факторов;

сплошность - 100 %;

прочность при ударе - для покрытий лакокрасочных и металлизационных - не ниже 30 кгс·см, для силикатноэмалевых покрытий - не ниже 7 кгс·см;

адгезия - с оценкой «удовлетворительная»;

гибкость - отсутствие излома на оправке диаметром не более 100 мм (на силикатноэмалевые покрытия не распространяется);

водопоглощение - не более 0,6 % после 120 ч нахождения в воде (на силикатноэмалевые покрытия не распространяется).

5.8 Защитные антикоррозионные покрытия, свойства которых не отвечают предъявляемым требованиям, применять для защиты от наружной коррозии трубопроводов тепловых сетей и элементов трубопроводов не допускается.

5.9 Определение удельного объемного электрического сопротивления защитных антикоррозионных покрытий производится согласно ГОСТ 6433.2 [54]. Для защитных антикоррозионных покрытий, применяемых для трубопроводов тепловых сетей, определение УОЭС допускается производить по методу ВНИИГ им. Б. Веденеева*.

* Метод опробован рядом научно-исследовательских и эксплуатационных организаций (ВНИИГ, ОРГРЭС, АКХ) и применяется при испытаниях защитных антикоррозионных покрытий для наружной поверхности стальных труб тепловых сетей. Точность получаемых по этому методу результатов несколько ниже, чем при измерениях по ГОСТ 6433.2 [54], но этот метод дает возможность производить измерения на образцах, проходящих испытания, и на трубах в заводских и полевых условиях.

Измерения рекомендуется производить с помощью тераомметров с основной погрешностью на рабочих поддиапазонах от 3·108 до 1011 Ом не более ±4 %; от 3·1011 до 1012 Ом не более ±6 %; на рабочем поддиапазоне 1013 Ом не более ±10 % (например, типа Е6-13 А).

Значение УОЭС ρv (Ом·см) следует определять по формуле:

                                                              (5.1)

где Rv - переходное электрическое сопротивление покрытия, измеренное тераомметром, Ом;

Sv - площадь покрытия, контактирующая с измерительным электродом, см2;

b - среднее арифметическое значение толщины покрытия, см.

5.10 Проверка сплошности защитных антикоррозионных покрытий должна производиться электроискровым или электроконтактным методом для всех видов покрытий, кроме металлизационных и лакокрасочных, включающих металлические наполнители и являющихся электропроводными.

Сплошность покрытий проверяется методом электрического неразрушающего контроля с помощью специально предназначенных для этого дефектоскопов.

Сплошность покровных силикатноэмалевых покрытий рекомендуется проверять искровым дефектоскопом постоянного тока. Подаваемое напряжение должно составлять 2 кВ на 1 мм толщины покрытия.

Сплошность безгрунтовых силикатноэмалевых и лакокрасочных покрытий толщиной до 0,5 мм рекомендуется проверять с помощью электроконтактных дефектоскопов (например, типа ЛКД-1 с питанием от аккумуляторных батарей с номинальным напряжением 8,4 В).

Для лакокрасочных покрытий толщиной более 0,5 мм рекомендуется применять электроискровой дефектоскоп с напряжением на щупе до 20 кВ (например, «Крона - 1р»). Лакокрасочные покрытия при толщине, соответственно, 200 мкм - при 2 кВ, 300 мкм - при 3 кВ, 400 мкм - при 4 кВ, 500 мкм - при 5 кВ.

Сплошность металлизационных покрытий определяется визуально (не должно быть участков, где отсутствует покрытие).

5.11 Определение ударной прочности защитных антикоррозионных покрытий должно производиться по ГОСТ 4765 [55].

За ударную прочность покрытия принимается наибольшая высота, при свободном падении с которой груз массой 1 кг не вызывает разрушения покрытия. Ударная прочность выражается в кгс·см.

За результат испытания должно приниматься среднее арифметическое трех определений, проводимых последовательно на разных участках образца. Отклонение от среднего значения должно быть не более 1 кгс·см.

5.12 Адгезию лакокрасочных защитных антикоррозионных покрытий рекомендуется определять по методу решетчатых надрезов в соответствии с ГОСТ 15140 [41]. Сущность метода заключается в нанесении на лакокрасочном покрытии решетчатых надрезов до металла (взаимно перпендикулярно) и визуальной оценке по четырехбалльной системе состояния покрытия после нанесения надрезов.

Размер единичного квадрата должен выбираться в зависимости от толщины покрытия: при толщине менее 60 мкм – 1 × 1 мм, при толщине от 60 до 120 мкм – 2 × 2 мм, при толщине от 120 до 200 мкм – 3 × 3 мм. Адгезия в баллах оценивается по состоянию решетки надрезов.

Адгезия, оцененная в 1 и 2 балла, считается удовлетворительной (1 балл - края надрезов гладкие, без признаков отслаивания; 2 балла - незначительное отслаивание покрытия в местах пересечения линий решетки не более чем на 5 % поверхности решетки).

5.13 Определение гибкости защитных антикоррозионных покрытий следует производить по ГОСТ 6806 [56] с помощью стандартной шкалы гибкости с дополнительными оправками диаметром 30-50-75-100-150 мм.

5.14 Определение водопоглощения защитных антикоррозионных покрытий следует производить по ГОСТ 21513 [57].

Водопоглощение характеризуется количеством воды, сорбированной единицей массы покрытия при нахождении его в воде в течение установленного срока (для защитных антикоррозионных покрытий, предназначенных для труб тепловых сетей, после 120 часов).

5.15 Измерение толщины защитных антикоррозионных покрытий в диапазоне от 0 до 3 мм рекомендуется производить с помощью магнитных измерителей толщины, погрешность которых в диапазоне от 60 до 250 мкм не должна превышать ±(0,2 Ах + 2) мкм, в диапазоне от 250 мкм и более ±(0,2 Ах + 5) мкм, где Ах - номинальное значение измеряемой величины, (например, типов МТ41-МЦ, МИП-10 или др.). Для измерения толщины более 3 мм следует использовать штангенциркуль с погрешностью измерений 0,05 мм.

6. Покрытия, рекомендуемые для защиты от наружной коррозии трубопроводов и их элементов тепловых сетей. Краткая технология их нанесения. Контроль качества нанесения покрытий

6.1 В зависимости от способа прокладки тепловых сетей, вида теплоносителя и его максимальной температуры, технологий нанесения покрытий рекомендуется применять защитные антикоррозионные покрытия, приведенные в таблице 2.


Таблица 2. Покрытия, рекомендуемые для защиты от наружной коррозии трубопроводов тепловых сетей и прошедшие стендовые испытания до 2002 года

Наименование защитного покрытия

Вид покрытия

Структура покрытия по слоям. ГОСТ, ТУ на материалы и изделия (см. Прил. Ю)

Общая толщина, мм

Степень очистки

Способ прокладки. Вид теплоносителя

Вид тепловой изоляции

Максимально допустимая тем-ра теплоносителя, °С

1

2

3

4

5

6

7

8

1. Органосиликатное покрытие ОС-51-03 (с термообработкой)*

Лакокрасочное

Три слоя органосиликатной краски ОС-51-03. ТУ 84-725-83 [29]. Термообработка при температуре 200 °С

0,25 - 0,30

Первая и вторая

Подземная в непроходных каналах.

Вода

Все виды подвесной тепловой изоляции

180

2. Органосиликатное покрытие ОС-51-03 с отвердителем

Лакокрасочное

Четыре слоя органосиликатной краски ОС-51-03 (ТУ 84-725-83 [29]) с отвердителем (естественная сушка)

0,45

Первая и вторая

Подземная в непроходных каналах.

Вода

Все виды подвесной тепловой изоляции

150

3. Эпоксидное покрытие ЭП-969

Лакокрасочное

Три покровных слоя эпоксидной эмали ЭП-969. ТУ 6-10-1985-84 [30]

0,1

Вторая

Подземная в непроходных каналах.

Вода

Все виды подвесной тепловой изоляции

150

4. Кремнийорганическое покрытие КО*

Лакокрасочное

Три покровных слоя покрытия из кремнийорганической композиции КО с отвердителем (естественная сушка). ТУ 88.УССР.0.88.001-91 [22]

0,25

Вторая

Подземная в непроходных каналах.

Вода

Все виды подвесной тепловой изоляции

150

5. Комплексное полиуретановое покрытие «Вектор»

Лакокрасочное

Два грунтовочных слоя мастики «Вектор 1236» ТУ 5775-002-17045751-99 [32]. Один покровный слой мастики «Вектор 1214» ТУ 5775-003-17045751-99 [33] (см. примеч. 3)

не менее 0,13

Вторая и третья

Подземная в непроходных каналах; подземная бесканальная.

Вода

Все виды тепловой изоляции

150

6. Силикатноэмалевое покрытие из безгрунтовой эмали 155Т*

Силикатноэмалевое

Два слоя эмали 155Т. ТУ 88-106-86 БССР (гранулят стеклоэмали безгрунтовой марки 155Т БССР) [35], (ТУ 1390-001-01297858-96 [63]

0,5 - 0,6

Первая

Подземная в непроходных каналах; подземная бесканальная.

Вода и пар

Все виды тепловой изоляции

300

7. Силикатноэмалевое покрытие из эмали МК-5*

Силикатноэмалевое

Два слоя покровной эмали МК-5. ТУ 2367-002-05282012-2000 [36]

0,5 - 0,6

Первая

Подземная в непроходных каналах; подземная бесканальная.

Вода и пар

Все виды тепловой изоляции

300

8. Металлизационное алюминиевое покрытие*

Металлизационное

Два покровных слоя металлизационного алюминиевого покрытия. ГОСТ 9.304 [65]

0,25 - 0,30

Первая

Подземная в непроходных каналах и в тоннелях, подземная бесканальная; по стенам снаружи зданий, в технических подпольях.

Вода

Все виды тепловой изоляции

150

9. Алюмокерамическое покрытие*

Металлизационное

Один слой покрытия плазменного нанесения из смеси порошков алюминия - ПА-4 (или ПА-3) ГОСТ 6058 [37] - 85 % (по массе) и ильменитового концентрата ТУ 48-4236-91 [38] - 15 %

0,2 - 0,3

Первая

Подземная в непроходных каналах; подземная бесканальная.

Вода и пар

Все виды тепловой изоляции

300

Примечания

1. Покрытия, отмеченные знаком *, наносятся на трубы только в заводских условиях.

2. Металлизационное алюминиевое покрытие следует применять для трубопроводов с теплоизоляцией из материалов, имеющих рН не ниже 4,5 и не выше 9,5.

3. Для комплексного полиуретанового покрытия «Вектор» в качестве грунтовочных слоев допускается применять мастику «Вектор 1025» ТУ 5775-004-17045751-99 [31].

4. Графа 5 таблицы - согласно ГОСТ 9.402 [34]:

Первая степень очистки характеризует поверхность, при осмотре которой через лупу с 6-кратным увеличением продукты коррозии не просматриваются.

Вторая степень очистки характеризует поверхность, при осмотре которой невооруженным глазом продукты коррозии, пригар, остатки формовочной земли и другие загрязнения не обнаруживаются.

Третья степень очистки характеризует поверхность, до 5 % площади которой покрыто прочно сцепленной окалиной, литейной коркой.

5. Рекомендации по применению защитных антикоррозионных покрытий с учетом вида проводимых работ на тепловых сетях приведены в приложение Е.


6.2 Органосиликатные защитные покрытия

6.2.1 Органосиликатные защитные покрытия ОС-51-03 [29] рекомендуются для защиты от коррозии наружной поверхности трубопроводов тепловых сетей (и элементов трубопроводов) при подземной прокладке в непроходных каналах для всех видов подвесной тепловой изоляции.

Органосиликатное защитное покрытие ОС-51-03 с термообработкой должно наноситься на трубы только в заводских условиях. Это покрытие отличается повышенной термостойкостью и рекомендуется для защиты от наружной коррозии трубопроводов водяных тепловых сетей при температурах теплоносителя до 180 °С.

Органосиликатное защитное покрытие ОС-51-03 с отвердителем (естественная сушка) рекомендуется для защиты от наружной коррозии трубопроводов водяных тепловых сетей указанного выше способа прокладки, но при температурах теплоносителя до 150 °С. Это покрытие рекомендуется также для защиты в полевых условиях участков сварных стыковых соединений трубопроводов с защитным покрытием ОС-51-03 горячего отверждения (с термообработкой), а также элементов трубопроводов тепловых сетей. Покрытие в полевых условиях наносится кистью на предварительно очищенную в соответствии с ГОСТ 9.402 [34] и обезжиренную поверхность металла (см. п. 6.2.4 настоящей Типовой инструкции).

6.2.2 Для органосиликатных защитных покрытий ОС-51-03 (с термообработкой и с отвердителем) используется органосиликатная краска ОС-51-03; толуол (как растворитель); бутиловый эфир ортотитановой кислоты - тетрабутоксититан (ТБТ) в качестве отвердителя (для покрытия естественной сушки).

6.2.3 Перед употреблением органосиликатная краска ОС-51-03 должна быть подвергнута тщательному перемешиванию в таре завода-изготовителя до получения однородной консистенции по всему объему. Перемешивание производится в течение 3 - 4 ч (до полного растворения осадка) с применением мешалки типа «пьяная бочка» с частотой вращения 100 - 120 об/мин. После перемешивания должна определяться вязкость краски, которая должна находиться в пределах 18 - 24 с по вискозиметру ВЗ-4 при температуре окружающего воздуха 20 °С. В случае, если вязкость выше указанной, в краску добавляется растворитель (толуол) и производится дополнительное перемешивание в течение 1 ч.

6.2.4 Наружная поверхность стальных труб перед нанесением защитного покрытия ОС-51-03 должна быть очищена от окалины, продуктов коррозии, жиров и др. загрязнений в соответствии с ГОСТ 9.402 [34]. Методы очистки: пескоструйный, дробеструйный, механический (стальными щетками). Степень очистки - первая и вторая ГОСТ 9.402 [34]. Обезжиривание производится толуолом. После обезжиривания, перед нанесением первого слоя покрытия поверхность трубы должна быть высушена при температуре помещения в течение 30 мин.

6.2.5 Защитное покрытие ОС-51-03 с термообработкой. Покрытие наносится на поверхность труб пневматическим распылением с помощью краскораспылителя при давлении подаваемого воздуха 90 - 150 кПа (0,9 - 1,5 кгс/см2). Сопло должно быть настроено на круглую струю. Диаметр сопла должен быть 1,5 - 2 мм. Расстояние от сопла краскораспылителя до окрашиваемой поверхности при нанесении покрытия должно быть в пределах 150 - 300 мм в зависимости от давления воздуха.

Для нанесения покрытия трубы устанавливаются на специальную установку, обеспечивающую им вращательное движение. Частота вращения выбирается в зависимости от диаметра труб.

Краска наносится на окрашиваемую поверхность в три слоя с послойной сушкой в течение 1 ч при температуре окружающего воздуха 20 - 25 °С.

Отверждение покрытия на трубах производится путем термической обработки в сушильных камерах по следующему режиму:

¨     подъем температуры до 60 °С, выдержка 2 ч;

¨     подъем температуры до 100 °С, выдержка 2 ч;

¨     подъем температуры до 150 °С, выдержка 2 ч;

¨     подъем температуры до 200 °С, выдержка 2 ч.

Скорость подъема температуры не должна превышать 30 °С в 1 ч. Толщина сформированного трехслойного покрытия после термообработки должна быть не менее 250 мкм.

6.2.6 Защитное покрытие ОС-51-03 с отвердителем (естественная сушка). Перед нанесением покрытия на трубы должны быть произведены очистка (степень очистки - первая и вторая ГОСТ 9.402 [34]), обезжиривание наружной поверхности труб и первоначальная подготовка краски, как указано в п.п. 6.2.3 и 6.2.4 настоящей Типовой инструкции.

6.2.7 После доведения краски до рабочей вязкости в нее вводится отвердитель, количество которого определяется следующим образом: в паспорте на органосиликатную краску ОС-51-03 указывается масса «нетто» для данной тары завода-изготовителя и фактический сухой остаток в процентах; по этим данным рассчитывается количество отвердителя, необходимое для введения в данную емкость.

Количество отвердителя принимается равным 1 % от массы сухого остатка в данной емкости.

Пример расчета:

масса краски «нетто» в «тарном месте» по паспорту - 20 кг;

сухой остаток по паспорту - 55 %;

масса сухого остатка (А) в «тарном месте» определяется по соотношению:

масса отвердителя (Б), вводимого в «тарное место», определяется по соотношению:

6.2.8 Перед нанесением на трубы краска с введенным отвердителем должна быть перемешана с помощью пропеллерной мешалки, вальцов или других приспособлений в течение 2 - 3 ч (это связано с тем, что после введения отвердителя краска свертывается, превращаясь в комкообразную студенистую массу). В процессе перемешивания должна контролироваться вязкость краски, значение которой должно составлять 18 - 25 с по вискозиметру ВЗ-4 при температуре воздуха 20 °С.

В случае необходимости в краску добавляется толуол и производится дополнительное перемешивание в течение 1 ч. Для поддержания однородной консистенции краска должна периодически перемешиваться.

Необходимо учитывать, что краска ОС-51-03 естественной сушки после введения отвердителя пригодна для применения в течение не более 48 ч.

6.2.9 Покрытие с отвердителем наносится на поверхность труб пневматическим распылением с помощью краскораспылителя, как это указано в п. 6.2.5 настоящей Типовой инструкции.

Покрытие наносится в четыре слоя. Перед нанесением каждого последующего слоя должна быть произведена сушка предыдущего слоя при температуре помещения в течение 1 ч.

Суммарная толщина сформированного четырехслойного покрытия должна быть не менее 250 мкм. Расход краски около 400 г/м2.

6.2.10 Защита участков сварных соединений труб с органосиликатными защитными покрытиями ОС-51-03 как холодного, так и горячего отверждения, а также элементов трубопроводов тепловых сетей, производится покрытием ОС-51-03 с отвердителем, которое наносится кистевым способом в четыре слоя на предварительно очищенную (степень очистки - первая и вторая ГОСТ 9.402 [34]) и обезжиренную поверхность этих участков.

6.2.11 После нанесения на трубопроводы и их элементы защитного покрытия ОС-51-03 должна быть произведена проверка сплошности покрытия с помощью дефектоскопа (например, электроконтактного дефектоскопа ЛКД-1 и др.).

6.2.12 Органосиликатная краска ОС-51-03 должна храниться в сухом помещении в закрытой таре, защищенной от прямого воздействия солнечных лучей и попадания влаги, при температуре плюс 4 - 20 °С. Срок годности органосиликатных красок при хранении в складских условиях 1 год. По истечении указанного срока органосиликатная краска должна быть подвергнута испытаниям в соответствии с ТУ 84-725 [29].

6.3 Эпоксидное защитное покрытие

6.3.1 Эпоксидное защитное покрытие ЭП-969 рекомендуется для защиты от наружной коррозии трубопроводов водяных тепловых сетей (и элементов трубопроводов) при подземных прокладках в непроходных каналах для всех видов подвесной тепловой изоляции при температурах теплоносителя до 150 °С.

6.3.2 Эпоксидное защитное покрытие ЭП-969 должно наноситься на трубы в базовых (стационарных) условиях.

На участки сварных стыковых соединений и элементы трубопроводов покрытие может наноситься в полевых условиях.

Нанесение покрытия должно производиться с соблюдением технологических требований, приведенных ниже.

6.3.3 Для эпоксидного защитного покрытия ЭП-969 применяется эмаль ЭП-969 (салатовая) по ТУ 6-10-1985-84 [30], которая выпускается и поставляется комплектно в виде двух компонентов: полуфабриката эмали (суспензии пигментов и наполнителей в растворе эпоксидной смолы ЭД-20 и сополимера БМК-5) и отвердителя № 3 [69] из расчета 73 части полуфабриката и 27 частей отвердителя (по массе).

6.3.4 Перед применением в полуфабрикат эмали вводится отвердитель № 3 [69] в соотношении 27 частей отвердителя и 73 части полуфабриката (по массе).

После введения отвердителя и тщательного перемешивания эмаль перед нанесением на трубы должна быть выдержана в течение 30 мин. при температуре 20 ± 2 °С и, в случае необходимости, разбавлена растворителем Р-5 ГОСТ 7827 [70] до рабочей вязкости не более 20 - 22 с по вискозиметру ВЗ-4 при температуре 20 °С.

Приготовленная эмаль должна быть использована в течение 8 ч после смешения компонентов (это так называемая «жизнеспособность» лакокрасочного материала [16]).

6.3.5 Наружная поверхность стальных труб перед нанесением эпоксидного защитного покрытия должна быть очищена от окалины, продуктов коррозии, жиров и др. загрязнений. Очистка производится пескоструйным или дробеструйным способом; обезжиривание - первоначально толуолом, а затем ацетоном [25]. Степень очистки - вторая. Подготовка поверхности труб должна осуществляться в соответствии с ГОСТ 9.402 [34].

6.3.6 Эпоксидное защитное покрытие ЭП-969 наносится на трубы в три слоя, причем каждый последующий слой может наноситься без выдержки на полимеризацию («мокрый по мокрому»). Сушка покрытия производится после нанесения всех трех слоев. Время высыхания покрытия - 20 мин. при температуре 20 ± 2 °С.

Методы нанесения: пневмораспыление, кистевой, полив, окунание.

6.3.7 Эпоксидное защитное покрытие ЭП-969 в процессе подготовки и нанесения является взрывоопасным, пожароопасным и токсичным материалом, что обусловлено свойствами растворителей, входящих в его состав, и свойствами исходного сырья.

Высушенное покрытие не оказывает вредного влияния на организм человека.

6.4 Кремнийорганическое защитное покрытие

6.4.1 Кремнийорганическое покрытие КО рекомендуется для защиты от наружной коррозии трубопроводов водяных тепловых сетей (и элементов трубопроводов) при подземных прокладках в непроходных каналах и любых видах подвесной тепловой изоляции при температурах теплоносителя до 150 °С.

6.4.2 Кремнийорганическое защитное покрытие КО должно наноситься на трубы только в заводских условиях методом электростатического напыления в закрытой камере, автоматически, без присутствия человека.

6.4.3. Для кремнийорганического защитного покрытия применяется кремнийорганическая композиция КО, представляющая собой суспензию измельченных оксидов в растворе кремнийорганического полимера с добавлением растворителей и отвердителя, которая должна соответствовать требованиям ТУ 88.088.001-91 [22]. Композиция КО поставляется в комплекте с отвердителем АГМ-9 по ТУ 6-02-724-77 [71].

6.4.4. Перед применением композиция КО разбавляется до рабочей вязкости толуолом (ГОСТ 9880 [67] или ГОСТ 14710 [66]). Для нанесения покрытия краскораспылителем в электростатическом поле композиция КО разбавляется до рабочей вязкости разбавителем РЭ-4В ГОСТ 18187 [64].

6.4.5 Композиция КО является токсичной и пожароопасной (относится к третьему классу опасности по ГОСТ 12.1.007 [20]), что обусловлено свойствами растворителей, входящих в ее состав (толуол, сольвент, этилцеллозольв), в связи с чем при производстве, применении и испытании композиции КО должны строго соблюдаться правила техники безопасности и промышленной санитарии по ГОСТ 12.3.005 [21].

В помещениях, где защитное покрытие наносится на трубы, должна быть обеспечена пожарная безопасность согласно ГОСТ 12.1.004 [40], которая предусматривает систему предотвращения пожара и систему пожарной защиты.

6.4.6 Наружная поверхность труб перед нанесением защитного покрытия КО должна быть очищена от продуктов коррозии, окалины, жиров и др. загрязнений в соответствии с ГОСТ 9.402 [34]. Методы очистки: пескоструйный, дробеструйный. Степень очистки - вторая ГОСТ 9.402 [34].

6.4.7 Перед покраской композиция КО должна быть тщательно перемешана и разбавлена до рабочей вязкости 40 - 60 с по вискозиметру ВЗ-246 при температуре 20 °С толуолом или разбавителем РЭ-4В. Затем вводится отвердитель АГМ-9.

6.4.8 Окраска труб производится краскораспылителем в окрасочной камере при температуре 15 - 35 °С и относительной влажности 45 - 75 %.

Защитное покрытие из композиции КО наносится на трубы в три слоя.

При покраске должно быть обеспечено перекрестное нанесение композиции путем перемещения краскораспылителя вдоль и поперек оси трубы.

6.4.9 Отверждение покрытия производится на воздухе после введения отвердителя при температуре 15 - 35 °С в течение 24 ч.

6.4.10. Для защиты участков сварных соединений и элементов трубопроводов тепловых сетей в полевых условиях покрытие из композиции КО наносится кистевым способом на предварительно очищенную и обезжиренную поверхность этих участков (степень очистки - вторая ГОСТ 9.402 [34]).

6.5 Комплексное полиуретановое защитное покрытие «Вектор»

6.5.1 Комплексное защитное покрытие «Вектор» рекомендуется для защиты от наружной коррозии трубопроводов тепловых сетей (и элементов трубопроводов) при подземных прокладках в непроходных каналах и бесканальных прокладках для всех видов тепловой изоляции при температуре теплоносителя до 150 °С.

6.5.2 Для формирования комплексного покрытия применяются двухкомпонентные мастики «Вектор». Мастика «Вектор 1236» (серебристо-серая) [32] наносится в качестве грунтовочных слоев (два слоя общей толщиной 0,08 - 0,1 мм). Допускается применение в качестве грунтовочных слоев мастики «Вектор 1025» (коричневая) [31].

В качестве покровного слоя наносится мастика «Вектор 1214» [33] (один слой толщиной 0,05 - 0,075 мм).

Общая толщина покрытия должна составлять не менее 0,13 мм.

6.5.3 Комплексное защитное покрытие «Вектор» должно наноситься на трубы, как правило, в стационарных условиях на трубозаготовительных заводах, производственных базах строительно-монтажных предприятий или специально оборудованных участках. Покрытие может наноситься и в полевых условиях при защите участков сварных соединений труб, элементов трубопроводов (отводов, конусных переходов, тройников и др.), а также для устранения дефектов покрытия.

6.5.4 Процесс нанесения на трубы и элементы трубопровода комплексного защитного покрытия «Вектор» включает: подготовку поверхности, приготовление мастики для грунтовочных и покровных слоев, нанесение грунтовочных слоев, нанесение покровного слоя, контроль сплошности, устранение обнаруженных дефектов защитного покрытия.

6.5.5 Подготовка поверхности труб заключается в механическом удалении окалины, слабо сцепленных продуктов коррозии, грязи. Очистка производится механическими стальными щетками (в полевых условиях: ручными металлическими щетками, скребками, наждачной бумагой). Сварочные швы и околошовную зону следует зачищать от остатков шлама и сварочных брызг. Степень очистки - вторая (при нанесении покрытия в стационарных условиях) и третья (при нанесении покрытия в полевых условиях) по ГОСТ 9.402 [34].

6.5.6 При наличии на металле жировых загрязнений они должны быть удалены путем двукратной протирки одним из указанных растворителей: бензином, ацетоном [25], растворителем 646. Наличие на поверхности видимых следов влаги не допускается.

6.5.7 Грунт «Вектор 1236» (серебристо-серый) поставляется как комплект из двух жидких полимерных частей (компонент № 1 и компонент № 2). Компоненты упакованы в полиэтиленовую тару и смешиваются непосредственно перед нанесением мастики. Смешивание компонентов № 1 и № 2 производится в соотношении 1:2 по массе, соответственно.

Примечание. Для удобства приготовления мастики в полевых условиях, как правило, применяется мелкая двухтарная расфасовка компонентов, где масса компонента № 1 (первое тарное место) пропорциональна массе компонента № 2 (второе тарное место).

6.5.8 Для получения мастики каждый из компонентов должен быть тщательно перемешан до получения однородной массы. Компонент из меньшей емкости полностью переливается в большую емкость со вторым компонентом, где и производится их смешивание с применением механических или электрических мешалок, а при малых объемах вручную. Полученная смесь компонентов должна быть однородной по цвету и консистенции.

6.5.9 Вязкость мастики должна составлять не менее 25 с по вискозиметру ВЗ-4. Для уменьшения вязкости мастики допускается ее разбавление после смешивания ксилолом ГОСТ 9949 [23] или сольвентом (нефрасом) ТУ 38101809-90 [26]. Количество вводимого растворителя должно составлять не более 10 % от общей массы подготовленной мастики. Жизнеспособность мастики после смешивания компонентов составляет не менее 8 ч при условии хранения в закрытой таре. Время отверждения мастики после нанесения на защищаемую поверхность составляет не более 24 ч при температуре 20 °С.

6.5.10 Методы нанесения мастики: пневмораспыление, безвоздушное распыление, кистевой. Перед нанесением последующего слоя должна быть произведена сушка предыдущего слоя в течение 2 - 3 ч (до отлипа).

6.5.11 Покровный слой мастики «Вектор 1214» наносится в один слой по загрунтованной двумя слоями мастики «Вектор 1236» поверхности.

Композиция «Вектор 1214» (двухкомпонентная мастика холодного отверждения на основе синтетических смол) поставляется как комплект из двух жидких полимерных частей (компонент № 1 и компонент № 2).

Подготовка мастики к нанесению аналогична изложенной в пунктах 6.5.7 - 6.5.9.

Покровный слой мастики «Вектор 1214» наносится, как и грунтовочные слои пневмораспылением, безвоздушным распылением, кистевым способом.

Общая толщина защитного покрытия должна быть не менее 0,13 мм.

Время отверждения мастики на защищаемой поверхности составляет 18 - 20 ч при температуре 20 °С.

6.5.12 Мастики «Вектор» в процессе подготовки и нанесения являются пожароопасными и токсичными материалами, что обусловлено свойствами растворителей (сольвент, ацетон), входящих в их состав. После отверждения покрытие не оказывает вредного влияния на организм человека.

6.6 Силикатноэмалевые защитные покрытия

6.6.1 Силикатноэмалевые антикоррозионные покрытия отличаются наиболее высокими защитными свойствами и, главным образом, высокой термостойкостью. Эти покрытия рекомендуются для защиты от наружной коррозии трубопроводов тепловых сетей при любых способах прокладки и видах тепловой изоляции, в любых грунтовых условиях, для любого вида теплоносителя (вода, пар) при температурах до 300 °С.

6.6.2 Силикатноэмалевые защитные покрытия должны наноситься на трубы в заводских условиях на специальных эмалировочных установках.

Степень подготовки поверхности стальных труб перед нанесением силикатноэмалевых покрытий - первая по ГОСТ 9.402 [34].

6.6.3 Силикатноэмалевые защитные покрытия должны быть не менее, чем двухслойными, оптимальная толщина двухслойного покрытия должна быть 0,5 - 0,6 мм.

6.6.4 Силикатноэмалевое защитное покрытие, нанесенное на наружную поверхность стальных труб, должно иметь стопроцентную сплошность, не иметь пузырей, пор, отколов, трещин и других дефектов, обнажающих первый слой эмали или металл.

6.6.5 При работах с эмалированными трубами следует иметь в виду низкую, по сравнению с другими защитными антикоррозионными покрытиями, ударную прочность силикатных эмалей. Работы, связанные с транспортировкой, погрузкой, разгрузкой эмалированных труб и их монтажом на трассе, следует производить способами, исключающими повреждение покрытия (механизировано с использованием специальных приспособлений).

6.6.6 Трубы с наружным силикатноэмалевым защитным покрытием должны транспортироваться к месту строительства на специальных трубовозах, оборудованных крепежными устройствами. Ложементы трубовозов должны иметь резиновые или войлочные прокладки.

Для сохранения целостности наружной поверхности силикатноэмалевых покрытий от механических повреждений при транспортировке и проведении строительно-монтажных работ трубы с силикатноэмалевым покрытием рекомендуется поставлять с нанесенной в заводских условиях тепловой изоляцией.

6.6.7 При проведении сварочных работ при монтаже эмалированных труб соседние с завариваемыми стыками участки эмалированных труб должны быть защищены экранами, исключающими попадание брызг металла на силикатоэмалевое покрытие.

6.6.8 Участки сварных стыковых соединений трубопроводов, выполненных из эмалированных труб, а также места с поврежденным покрытием и элементы трубопроводов тепловых сетей, должны эмалироваться на трассе с использованием специальных передвижных эмалировочных установок. При отсутствии таких установок защита участков сварных стыковых соединений и элементов трубопроводов с теплоносителем - вода с температурой до 150 °С должна производиться органосиликатным покрытием ОС-51-03 с отвердителем (естественной сушки) с соблюдением технологических указаний, приведенных в разделе 6.2 настоящей Типовой инструкции.

6.7 Металлизационное алюминиевое защитное покрытие

6.7.1 Металлизационное алюминиевое покрытие (с пропиткой) рекомендуется для защиты от наружной коррозии трубопроводов и элементов трубопроводов водяных тепловых сетей при подземных прокладках в непроходных каналах и тоннелях, при надземных прокладках, а также при прокладках по стенам снаружи зданий и в технических подпольях при температуре теплоносителя до 150 °С. Покрытие может применяться со всеми видами тепловой изоляции в подземных канальных прокладках теплоизоляционными конструкциями бесканальных прокладок при условии, если материалы, входящие в тепловую изоляцию, имеют рН не ниже 4,5 и не выше 9,5.

6.7.2 Металлизационное алюминиевое защитное покрытие должно наноситься на трубы в заводских условиях газотермическим методом с помощью газопламенных или электродуговых металлизационных аппаратов в два слоя, суммарная толщина которых должна составлять 0,25 - 0,3 мм.

6.7.3 Подготовка наружной поверхности труб перед металлизацией должна производиться дробеструйной или дробеметной обработкой. Степень очистки - первая по ГОСТ 9.402 [34]. Оптимальная шероховатость поверхности должна находиться в пределах 12,5 ÷ 25,0 мкм. Шероховатость поверхности следует определять в соответствии с ГОСТ 2789 [68]. Перерыв между окончанием подготовки поверхности и началом металлизации не должен превышать 6 ч.

6.7.4 Поверх двух слоев металлизационного алюминиевого покрытия для перекрытия пористости должен быть нанесен один слой пропиточного материала. В качестве пропиточного материала рекомендуется использовать органосиликатную краску ОС-51-03 с отвердителем, которая должна наноситься в один слой в соответствии с ТУ 84-725-83 [29] и п.п. 6.2.6 - 6.2.9 настоящей Типовой инструкции. Допускается для пропиточного слоя применять один из следующих лакокрасочных материалов: эпоксидную эмаль ЭП-969 (салатовую ТУ 6-10-1985-84 [30]), кремнийорганическую композицию КО-198М ТУ 6-02-821-74 [28], кремнийорганическую композицию КО-921 ГОСТ 16508 [27].

6.7.5 Защита участков сварных соединений трубопроводов с металлизационным алюминиевым покрытием, а также элементов трубопроводов тепловых сетей, в полевых условиях должна производиться ручными газопламенными или электродуговыми металлизаторами с соблюдение п. 6.7.3 настоящей Типовой инструкции.

Участок сварного шва шириной 30 - 40 мм должен быть подвергнут механической очистке с помощью шлифовальной машины или механических щеток. Степень очистки - первая по ГОСТ 9.402 [34]. Перерыв между окончанием очистки и началом металлизации в полевых условиях должен быть не более 3 ч в сухую погоду и не более 30 мин. при работе в сырую погоду. Участки сварных соединений и элементы трубопроводов тепловых сетей, изолируемые металлизационным алюминиевым покрытием в полевых условиях, должны быть защищены от атмосферных осадков.

6.8 Алюмокерамическое защитное покрытие

6.8.1 Алюмокерамическое защитное покрытие рекомендуется для защиты от наружной коррозии трубопроводов (и элементов трубопроводов) водяных тепловых сетей при подземных прокладках в непроходных каналах и бесканальных прокладках, для всех видов тепловой изоляции и при температурах теплоносителя до 150 °С.

Покрытие может применяться также для защиты от наружной коррозии паропроводов с температурой до 300 °С.

6.8.2 Алюмокерамическое защитное покрытие должно наноситься на трубы только в заводских условиях методом плазменного напыления. Покрытие наносится в один слой, толщина которого должна быть не менее 0,2 мм.

6.8.3 В качестве исходного материала для покрытия используется механическая смесь порошков алюминия ПА-4 (или ПА-3) ГОСТ 6058 [37] - 85 % (по массе) и природного материала - ильменитового концентрата ТУ 48-4236-91 [38] (включающего TiO2, Fe2O3, и другие компоненты) - 15 %. Порошковая смесь с помощью транспортирующего газа подается в высокоскоростную плазменную струю продуктов сгорания природного газа с воздухом, где частицы порошка нагреваются до температуры плавления при скорости потока 300 м/с и выше.

6.8.4 Наружная поверхность труб перед нанесением покрытия должна быть очищена от продуктов коррозии, окалины и обезжирена. Очистка производится пескоструйным или дробеструйным способом.

Перед очисткой наружная поверхность труб должна быть подвергнута черновому отжигу при температуре 300 °С для удаления льда, снега, воды и органических загрязнений и предотвращения попадания загрязнений в дробь и в стальной песок при дробеметной, дробеструйной и пескоструйной очистке.

Контроль качества абразивной очистки поверхности производится согласно ГОСТ 9.402 [34]. Степень очистки - первая.

Продолжительность периода между окончанием подготовки поверхности и началом нанесения покрытия не должна превышать 6 ч.

6.8.5 Защита участков сварных стыковых соединений трубопроводов с алюмокерамическим защитным покрытием, а также элементов трубопроводов тепловых сетей, в полевых условиях должна производиться либо металлизационным алюминиевым покрытием с применением ручных газопламенных или электродуговых металлизаторов и ручных плазмотронов с последующей пропиткой согласно п. 6.7.4 настоящей Типовой инструкции, либо органосиликатной краской ОС-51-03 с отвердителем.

6.9 Общие требования к нанесению защитных антикоррозионных покрытий на трубы и элементы трубопроводов тепловых сетей. Контроль качества нанесения покрытий

6.9.1 Защитные антикоррозионные покрытия должны, как правило, наноситься на стальные трубопроводы тепловых сетей механизированным способом в стационарных условиях на трубозаготовительных заводах и производственных базах строительно-монтажных организаций, покрытия могут также наноситься в полевых условиях механизированным и ручным способами. Защита в полевых условиях сварных соединений, арматуры, мелких элементов трубопроводов, исправление мест повреждений покрытий выполняется, как правило, лакокрасочными покрытиями.

6.9.2 При нанесении защитных антикоррозионных покрытий должна быть обеспечена соответствующая подготовка поверхности трубопроводов по ГОСТ 9.402 [34] (таблица 2 раздела 6 настоящей Типовой инструкции).

6.9.3 Для обеспечения заданных свойств защитных антикоррозионных покрытий должен производиться контроль основных показателей их качества, подтверждаемый актом приемки (см. приложение Ж).

Контроль качества должен включать наружный осмотр, измерение толщины покрытия, проверку сплошности и адгезии. Все обнаруженные дефекты должны быть устранены в соответствии с требованиями инструкции по ремонту (восстановлению) покрытия.

6.9.4 Качество защитного антикоррозионного покрытия линейной части трубопровода должно проверяться в полевых условиях до начала строительно-монтажных работ, а также после гидравлического испытания трубопровода на прочность и плотность и нанесения защитного покрытия на сварные стыковые соединения.

6.9.5 При нанесении защитных антикоррозионных покрытий в заводских условиях следует соблюдать требования к правилам приемки, методам контроля качества покрытий в соответствии с ТУ на трубы с данным видом покрытия.

6.9.6 Толщина покрытия измеряется магнитными толщиномерами типа МИП-10 или МТ-41 НЦ, или другими толщиномерами с классом точности не ниже +10 %.

6.9.7 Контроль сплошности покрытия должен производиться на каждой трубе и на элементах трубопровода по всей поверхности с использованием приборов типа ИДС-1, Крона -М, ЛКД-1 и др. (электроискровым или электроконтактным методами).

6.9.8 Определение удельного объемного электрического сопротивления покрытия производится методом мокрого контакта с применением электрода-бандажа, смоченного раствором электролита, на двух трубах от партии.

6.9.9 Определение ударной прочности покрытия производится с применением прибора УТ-1 на двух трубах от партии.

6.9.10 Определение адгезии покрытия производится для каждой марки материала, применяемого для изготовления покрытия.

6.9.11 При неудовлетворительных результатах приемочных испытаний хотя бы по одному показателю, производится повторное испытание по этому показателю на удвоенном количестве труб или элементов трубопроводов. При неудовлетворительных результатах повторных испытаний производится контроль каждой трубы, отбракованные трубы и детали отправляются на повторное нанесение покрытия.

6.9.12 На каждую партию труб и элементов трубопроводов, на которую защитное покрытие наносится в заводских или базовых условиях, изготовитель должен выдать Сертификат с результатами приемочных испытаний по показателям, указанным в действующих Технических условиях на трубы с покрытием.

6.9.13 Качество защитных антикоррозионных покрытий, наносимых в полевых условиях механизированным или ручным способами, проверяется в процессе нанесения покрытий, как на линейную часть трубопровода, так и на сварные соединения, включая качество подготовки поверхности и послойного формирования покрытия с составлением Актов скрытых работ и с занесением результатов контроля качества в Журнал производства антикоррозионных работ (см. приложение Ж). Методы проверки качества защитного покрытия и устранения обнаруженных дефектов приведены в таблице 3.

Таблица 3. Методы проверки в полевых условиях основных показателей качества защитных покрытий. Устранение обнаруженных дефектов

Вид покрытия

Показатели качества

Методы проверки

Допустимые отклонения

Возможные методы устранения обнаруженных дефектов

1.

Внешний вид

Визуальный осмотр

Не допускаются потеки, пузырьки, посторонние включения, механические повреждения в виде отслоений, трещин, вздутий

Удаление покрытий с дефектных участков механическим способом, подготовка поверхности к повторному окрашиванию, окрашивание

Толщина

Магнитными толщиномерами типа МИП-10, МТ-41 НЦ или другими толщиномерами с классом точности не ниже 10 % в соответствии с [39]

Допускается отклонение по толщине на локальных участках в пределах ±20 %

На участки с недостаточной толщиной покрытия наносится дополнительный слой лакокрасочного материала. На участках с превышением толщины покрытия необходимо удалить покрытие, подготовить поверхность и нанести покрытие требуемой толщины

Сплошность

Электроискровой метод. Приборы типа ИДС-1, ДИ-74

-

При наличии дефектов любого вида производится их устранение путем окрашивания поверхностей

Адгезия

Метод решетчатых надрезов в соответствии с ГОСТ 15140 [41] (для лакокрасочных защитных покрытий)

В соответствии с требованиями инструкции по нанесению покрытия

Удаление покрытий с дефектных участков механическим способом, подготовка поверхности к повторному окрашиванию, окрашивание

2. Металлизационные алюминиевые и алюмокерамические

Внешний вид

Визуальный осмотр

Покрытие должно быть сплошным, однородного цвета, без включений крупных частиц металла, без трещин, отслоений (вздутий), следов местной коррозии. Допускаются отдельные включения частиц размером до 0,5 мм (не более одного на 50 см2) [65].

Ликвидация дефектов производится с применением органосиликатных и кремнийорганических лакокрасочных материалов (таблица 2) в соответствии с технологической инструкцией по изоляции стыковых соединений и ремонту (восстановлению) покрытия

Толщина

Магнитными толщиномерами типа МИП-10, МТ-41 НЦ или другими толщиномерами с классом точности не ниже 10 % в соответствии с [39]

Допускается отклонение от заданной толщины покрытий в пределах ±20 %

При отклонении толщины покрытия от допустимых значений данная труба подлежит возврату на завод-изготовитель

3. Силикатноэмалевые

Внешний вид

Визуальный осмотр

Покрытие должно быть сплошным, не иметь пузырей, сквозных пор и других дефектов, обнажающих первый слой эмали или металл

Ликвидация дефектов производится с применением органосиликатных и кремнийорганических лакокрасочных материалов (таблица 2) в соответствии с технологической инструкцией по изоляции стыковых соединений и ремонту (восстановлению) покрытия

Толщина

Магнитными толщиномерами типа МИП-10, МТ-41 НЦ или другими толщиномерами с классом точности не ниже 10 % в соответствии с [39]

Допускается отклонение от заданной толщины покрытий в пределах ±20 %

При отклонении толщины покрытия от допустимых значений данная труба подлежит возврату на завод-изготовитель

Сплошность

Электроискровой метод. Приборы типа ИДС-1, ДИ-74

Согласно требованиям [63]

При несоответствии требованиям ТУ данная труба подлежит возврату на завод-изготовитель. В отдельных случаях по согласованию с заводом-изготовителем возможно восстановление сплошности покрытия с применением лакокрасочных материалов

6.9.14 При приемке в эксплуатацию трубопроводов тепловых сетей, смонтированных из труб с защитным антикоррозионным покрытием, должно быть проверено наличие и комплектность следующей документации на защитное покрытие и на производство антикоррозионных работ:

¨     сертификаты или паспорта на применяемые материалы (компоненты покрытия, растворители, отвердители и т.п.);

¨     обоснование возможности применения данного защитного покрытия для трубопроводов тепловых сетей (ссылки на СНиП, РД или Заключение специализированной организации о возможности применения данного защитного покрытия);

¨     на трубы с защитным антикоррозионным покрытием заводского нанесения кроме сертификата, подтверждающего соответствие качества покрытия требованиям ТУ (выходной контроль), должен иметься документ о входном контроле качества покрытия на трассе, оформленный приемщиком;

¨     подтверждение подрядчика о возможности выполнять работы по антикоррозионной защите трубопроводов тепловых сетей (лицензия, протокол обучения персонала);

¨     проект производства работ (ППР);

¨     технологические инструкции по нанесению покрытия (включая инструкции по защите сварных стыковых соединений, ремонту (восстановлению) мест повреждения покрытия);

¨     журнал производства антикоррозионных работ (см. приложение Ж).

6.9.15 На каждую партию труб с защитным покрытием, отправляемую на объекты строительства, а также на трубопроводы с нанесенным в полевых условиях покрытием, должен быть оформлен Паспорт, в котором указываются вид покрытия, его толщина, сплошность, адгезия с поверхностью труб.

7. Технические решения по ЭХЗ вновь сооружаемых, реконструируемых и действующих тепловых сетей методом катодной поляризации. Контроль эффективности ЭХЗ

7.1. Требования к ЭХЗ трубопроводов тепловых сетей бесканальной прокладки

7.1.1 Катодная поляризация трубопроводов тепловых сетей бесканальной прокладки обязательна:

¨     при прокладке в грунтах высокой коррозионной агрессивности (защита от почвенной коррозии);

¨     при наличии опасного влияния постоянных блуждающих токов и переменных токов (для вновь сооружаемых трубопроводов - при наличии постоянных блуждающих токов в земле).

Примечания.

1. На трубопроводах тепловых сетей бесканальной прокладки с пенополиуретановой тепловой изоляцией и трубой-оболочкой из жесткого полиэтилена (конструкция «труба в трубе») и аналогичной теплоизоляционной конструкцией на стыках труб, отводах и углах поворотов, имеющих систему действующего ОДК состояния изоляции трубопроводов, ЭХЗ не применяется.

2. На трубопроводах тепловых сетей бесканальной и канальной прокладки с защитным металлизационным алюминиевым и алюмокерамическим покрытиями средства ЭХЗ необходимо применять лишь при опасном действии блуждающих токов. На участках прокладки трубопроводов с указанными защитными покрытиями, проложенных в футлярах, средства ЭХЗ не применяются.

3. В зонах стыковых соединений трубопроводов с указанными в п. 2 примечания покрытиями с трубопроводами, оборудованными средствами ЭХЗ, на последних должны поддерживаться лишь минимальные значения защитных потенциалов (п.п. 7.1.2, 7.1.5, 7.2.2, 7.2.4, 7.2.5).

7.1.2 При защите от почвенной коррозии катодная поляризации трубопроводов тепловых сетей бесканальной прокладки должна осуществляться таким образом, чтобы значение разности потенциалов между трубопроводом и МЭС находились в пределах от минус 1,1 до минус 2,5 В.

При отсутствии антикоррозионного покрытия на наружной поверхности трубопроводов значения разности потенциалов между трубопроводами и МЭС могут находиться в пределах от минус 1,1 до минус 3,5 В.

7.1.3 При защите трубопроводов от коррозии под воздействием постоянных блуждающих токов катодная поляризация должна осуществляться таким образом, чтобы обеспечивалось отсутствие на трубопроводах анодных и знакопеременных зон.

Примечание. Допускается суммарная продолжительность положительных смещений потенциала относительно стационарного потенциала за время измерений в пересчете на сутки не более 4 мин. в сутки.

7.1.4 При защите трубопроводов тепловых сетей бесканальной прокладки в грунтах высокой коррозионной агрессивности и одновременном опасном влиянии постоянных блуждающих токов значения разности потенциалов должны находиться в пределах, указанных в п. 7.1.2 настоящей Типовой инструкции. При этом мгновенные значения потенциалов по абсолютной величине должны быть не менее значения стационарного потенциала, а при отсутствии возможности его определения не менее минус 0,7 В.

7.1.5 Защита трубопроводов тепловых сетей от наружной коррозии, вызываемой переменным током, осуществляется в опасных зонах независимо от коррозионной агрессивности грунта методом катодной поляризации. Катодная поляризация должна осуществляться таким образом, чтобы значения разности потенциалов между трубопроводом и МЭС находились в пределах от минус 1,1 до минус 2,5 В.

При отсутствии антикоррозионного покрытия на наружной поверхности трубопроводов значения разности потенциалов между трубопроводами и МЭС могут находиться в пределах от минус 1,1 до минус 3,5 В.

7.2. Требования к ЭХЗ трубопроводов тепловых сетей канальной прокладки

7.2.1 Катодная поляризация реконструируемых действующих трубопроводов тепловых сетей канальной прокладки обязательна при наличии воды в канале или заносе канала грунтом, когда вода или грунт достигают теплоизоляционной конструкции или поверхности трубопровода (для вновь сооружаемых трубопроводов - при наличии зон предполагаемого затопления канала).

7.2.2 Катодная поляризация трубопроводов в отсутствие опасного влияния блуждающих токов при расположении анодных заземлителей (АЗ) за пределами канала должна осуществляться таким образом, чтобы значения разности потенциалов между трубопроводами и МЭС находились в пределах от минус 1,1 до минус 2,5 В (см. примечание 2 к п. 7.1.1 настоящей Типовой инструкции).

При отсутствии антикоррозионного покрытия на наружной поверхности трубопроводов значения разности потенциалов между трубопроводами и МЭС могут находиться в пределах от минус 1,1 до минус 3,5 В.

7.2.3 При одновременном опасном влиянии блуждающих постоянных токов и переменных токов средние значения разности потенциалов должны соответствовать указанным в п. 7.2.2 настоящей Типовой инструкции значениям. При этом мгновенные (абсолютные) значения потенциалов должны быть не менее значения стационарного потенциала, а при отсутствии возможности его определения не менее минус 0,7 В.

7.2.4 Катодная поляризация трубопроводов тепловых сетей канальной прокладки (независимо от наличия или отсутствия опасного влияния блуждающих токов) при расположении АЗ в канале должна осуществляться таким образом, чтобы потенциал трубы, измеренный относительно установленного у поверхности трубопровода вспомогательного (стального) электрода (ВЭ), был на 0,3 ÷ 0,8 В отрицательнее, чем потенциал трубы относительно этого электрода, измеренный при отсутствии катодной поляризации трубы.

7.2.5 При отсутствии влияния блуждающих токов катодная поляризация трубопроводов (на участках длиной до 50 ÷ 60 м) может осуществляться с помощью протекторов, устанавливаемых на дне или стенках каналов. Смещение разности потенциалов между трубопроводом и установленным на поверхности трубопровода или теплоизоляционной конструкции измерительным электродом в сторону отрицательных значений должна быть не менее 0,2 В.

7.2.6 Схема вспомогательного электрода (ВЭ) и схема его расположения на поверхности изоляционной конструкции теплопровода приведены на рис. 6 и 7.

Расстояния между ВЭ, которые устанавливаются в одном сечении на подающем и обратном трубопроводах, должны быть не более 50 м.

Схема вспомогательного электрода (ВЭ) для контроля эффективности действия ЭХЗ трубопроводов тепловых сетей при затоплении или заиливании канала

1 - пластина вспомогательного электрода из нержавеющей стали Х18Н9Т или Х18Н10Т; 2 - диэлектрическая прокладка (фторопласт); 3 - ножка из фторопласта; 4 - прорези в ножках; 5 - изоляция пункта присоединения контрольного проводника 7 к ВЭ; 6 - отверстие в ножке для крепления ВЭ к трубопроводу.

Рис. 6

7.2.7 Катодная поляризация подземных трубопроводов тепловых сетей осуществляется с помощью установок катодной и электродренажной защиты, а также гальванических анодов (протекторов).

Установки катодной защиты (станции катодной защиты - СКЗ) применяются при всех критериях опасности коррозии на трубопроводах тепловой сети, а в случаях опасного воздействия постоянных блуждающих токов, когда смещение потенциалов трубопроводов могут быть скомпенсированы токами установок катодной защиты (см. п.п. 7.1.3, 7.1.4, 7.2.3).

Катодная поляризация трубопроводов тепловых сетей при увлажнении теплоизоляционной конструкции капельной влагой, достигающей поверхности труб, а также трубопроводов на участках прокладки в стальных футлярах (при канальной и бесканальной прокладках), может осуществляться с помощью протекторов стержневого типа.

Электродренажная защита (с помощью поляризованных или усиленных электродренажей) применяется при защите от опасного воздействия на трубопроводы тепловых сетей постоянных блуждающих токов.

7.2.8 Катодная поляризация подземных тепловых сетей должна осуществляться так, чтобы исключить вредное влияние ее на смежные подземные металлические сооружения.

Схема расположения вспомогательного электрода (ВЭ) на поверхности подающего и обратного теплопроводов (ПТ и ОТ) с теплоизоляцией )) и без теплоизоляции ))

1 - вспомогательный электрод (ВЭ); 2 - трубопровод; 3 - теплоизоляция; 4 - крепежный провод ВЭ; 5 - клеммник КИПа для присоединения контрольных проводников 6 от ПТ и ОТ.

Рис. 7

Примечание. Вредным влиянием катодной поляризации защищаемых трубопроводов тепловых сетей на смежные подземные металлические сооружения считаются:

¨      уменьшение по абсолютной величине потенциала по отношению к минимальному или увеличение по абсолютной величине потенциала по отношению к максимальному защитному потенциалу на соседних подземных металлических сооружениях, защищенных катодной поляризацией;

¨      появление опасности коррозии на соседних подземных металлических сооружениях, ранее не требовавших защиты от нее;

¨      смещение потенциала в любую сторону от стационарного значения на кабелях связи в металлической оболочке, не защищенных катодной поляризацией.

В случае, когда при осуществлении ЭХЗ возникает вредное влияние на смежные сооружения, необходимо применить меры по устранению вредного влияния или осуществить совместную защиту этих сооружений.

7.3. Проектирование электрохимической защиты. Общие положения

7.3.1 Основанием для проектирования ЭХЗ вновь сооружаемых, реконструируемых и действующих трубопроводов бесканальной прокладки являются требования, изложенные в п. 7.1. настоящей Типовой инструкции.

7.3.2 Основанием для проектирования ЭХЗ вновь сооружаемых, реконструируемых и действующих трубопроводов канальной прокладки являются требования, изложенные в п. 7.2. настоящей Типовой инструкции.

7.3.3 Данные о наличии коррозионной опасности могут быть получены в результате изысканий ПЗК ОЭТС, организации-разработчика проекта подземных теплопроводов, либо специализированной организации, привлекаемой на субподрядных началах. Проектирование ЭХЗ должно осуществляться на основе технического задания, выдаваемого специализированными предприятиями по защите от коррозии или ОЭТС (см. п. 1.1.4 настоящей Типовой инструкции).

7.3.4 Объем измерительных работ, выполняемых при определении коррозионной агрессивности грунта, наличия блуждающих постоянных токов и переменных токов и зон их опасного влияния определен в разделе 4 настоящей Типовой инструкции.

7.3.5 При разработке проекта согласовывают:

¨     подключение установок ЭХЗ к сетям переменного тока с организациями, эксплуатирующими эти сети;

¨     размещение установок и элементов системы ЭХЗ (анодных заземлителей и контрольно-измерительных пунктов, располагаемых за пределами тепловых каналов, воздушных и кабельных линий) - с держателями геофонда, землепользования и организациями, эксплуатирующими смежные подземные сооружения;

¨     выполнение работ с выходом на проезжую часть в крупных городах - с местными управлениями дорожного хозяйства и ГИБДД.

7.3.6 Исходными данными при проектировании ЭХЗ для вновь сооружаемых теплопроводов является ситуационный план в масштабе 1:500 или 1:2000 вновь сооружаемых теплопроводов и существующих подземных сооружений, а для действующих сооружений - их ситуационный план с выделением теплопроводов и тех сооружений, для которых проектируется ЭХЗ.

Во всех случаях на плане должны быть указаны: диаметры сооружений; рельсовые сети электрифицированного транспорта; действующие установки ЭХЗ; точки подключения к рельсовым путям отсасывающих кабелей и существующих дренажных установок.

7.3.7 В соответствии со СНиП 11-01 [61] в состав проектной документации по ЭХЗ входят:

1.     ситуационный план по п. 7.3.6 настоящей Типовой инструкции;

2.     рабочие чертежи с согласованиями по п. 7.3.5 настоящей Типовой инструкции, включая рабочий план в масштабе 1:500;

3.     заключение специализированной организации о гидрогеологических условиях для проектирования глубинных анодных заземлителей (АЗ), включающее при необходимости геофизический разрез местности (при размещении АЗ за пределами теплового канала);

4.     проект электроснабжения;

5.     проект организации движения (при выходе на проезжую часть);

6.     проект организации строительства;

7.     спецификация оборудования;

8.     паспорт проекта;

9.     сметная документация;

10.  пояснительная записка, которая содержит:

¨     основание для разработки проекта;

¨     характеристику защищаемых подземных сооружений;

¨     сведения об источниках блуждающих токов;

¨     оценку коррозионных условий;

¨     технико-экономическое обоснование выбора установок ЭХЗ (при отсутствии соответствующих указаний в техническом задании);

¨     количество и параметры установок ЭХЗ (сводная таблица);

¨     сведения о проведенных согласованиях и соответствии проекта требованиям нормативных документов;

¨     сведения о соответствии проекта рекомендациям по охране природы (при размещении АЗ за пределами теплофикационного канала).

7.3.8 Проектом ЭХЗ должна быть предусмотрена установка стационарных контрольно-измерительных пунктов (КИПов) с интервалом не более 200 м для теплопроводов бесканальной прокладки и не более 50 м для теплопроводов канальной прокладки.

КИПы должны быть установлены:

¨     в пунктах подключения кабеля к трубопроводам от станций катодной защиты (СКЗ);

¨     в концах заданных зон защиты;

¨     в местах максимального сближения с анодным заземлителем, устанавливаемым за пределами канала.

Рекомендуется также установка КИПов:

¨     в местах пересечения трубопроводов с рельсами электрифицированного транспорта;

¨     в местах пересечения трубопроводов со смежными подземными сооружениями, не включенными в систему совместной защиты.

7.3.9 Сборочный чертеж КИПа приведен в Альбоме 2 МГНП 01-99 «Узлы и детали электрозащиты инженерных сетей от коррозии» (АО институт «Мосгазниипроект», М. 1999, стр. 67, 79, 81, 83, 85).

7.3.10 Для прямой оценки опасности коррозии, а при наличии средств ЭХЗ для оценки эффективности ее действия, рекомендуется предусматривать установку индикаторов скорости коррозии типа БПИ-1 или БПИ-2 (приложение К):

1) типа БПИ-1 - на трубопроводах канальной прокладки с ЭХЗ в пунктах установки вспомогательных электродов (ВЭ), а также в тепловых камерах независимо от наличия или отсутствия средств ЭХЗ (в обоих случаях при наличии доступа к БПИ-1);

2) типа БПИ-2 - независимо от наличия или отсутствия ЭХЗ - на участках прокладки трубопроводов в футлярах (кроме трубопроводов в ППУ-изоляции с действующей системой ОДК) на поверхности трубопровода внутри футляра на расстоянии 0,2 ÷ 0,3 м от места входа или выхода из футляра.

7.3.11 С целью ограничения натекания на трубопроводы тепловых сетей блуждающих постоянных токов в проекте должна быть предусмотрена установка электроизолирующих фланцевых соединений (ЭИС) на надземном участке ввода подающего и обратного трубопроводов на объекты, являющиеся источником блуждающих токов (депо, ремонтные базы и др.). ЭИС, кроме диэлектрической прокладки между фланцами, должно иметь на внутренней поверхности участков труб, примыкающих к фланцевому соединению, диэлектрическое термостойкое водонепроницаемое покрытие, длина которого на каждом участке труб должна быть не менее величины диаметра труб (рис. 8).

Электроизолирующее фланцевое соединение на трубопроводах тепловых сетей

1 - труба; 2 - диэлектрическое антикоррозионное покрытие; 3 - фланец; 4 - изолирующая прокладка; 5 - изолирующая шайба; 6 - изолирующая втулка.

Рис. 8

При наличии постоянных блуждающих токов по трассам вновь сооружаемых и реконструируемых тепловых сетей следует применять диэлектрические подвижные и неподвижные опоры в соответствии с рекомендациями [62] и КИП (см. п. 7.3.8).

7.4. Выбор способа ЭХЗ

7.4.1 Катодную защиту трубопроводов тепловых сетей бесканальной прокладки с помощью СКЗ применяют при опасности почвенной коррозии и коррозии блуждающими постоянными токами и переменными токами, если включением электродренажей не обеспечивается защита трубопроводов.

Защиту поляризованными или усиленными дренажами применяют при наличии опасного воздействия только блуждающих постоянных токов на участках сближения защищаемых трубопроводов (бесканальной прокладки) с рельсовой сетью электрифицированных на постоянном токе железных дорог или трамвая при устойчивых отрицательных потенциалах рельсов (или знакопеременных потенциалах рельсов трамвая).

7.4.2 Катодную защиту с помощью СКЗ трубопроводов тепловых сетей канальной прокладки применяют при уровне затопления канала, достигающем нижней образующей трубопроводов, а также при опасном воздействии в указанных условиях блуждающих постоянных токов и переменных токов.

7.4.3 Гальваническая защита с помощью протекторов может применяться на участках трубопроводов канальной прокладки длиной до 50 - 60 м при установке протекторов непосредственно в каналах, а также на участках трубопроводов, проложенных в футлярах, с установкой протекторов на поверхности трубопроводов или теплоизоляционной конструкции.

7.4.4 Стальные футляры трубопроводов под автомобильными дорогами, железнодорожными и трамвайными путями при бестраншейной прокладке (прокол, продавливание) должны быть, как правило, защищены средствами ЭХЗ, при прокладке открытым способом - защитными антикоррозионными покрытиями и ЭХЗ.

В качестве футляров рекомендуется использовать трубы с внутренним покрытием (например, покрытия силикатноэмалевое, эпоксидное или полиуретановое «Вектор»).

7.5. Основные требования к преобразователям для катодной защиты и электродренажам

1. Неавтоматические преобразователи для катодной и дренажной защиты должны иметь ручное плавное или ступенчатое регулирование выходных параметров по напряжению и току в пределах от 10 до 100 % номинальных значений.

2. Автоматические преобразователи для катодной и дренажной защиты должны обеспечивать стабильные потенциалы трубопроводов или тока защиты с погрешностью, не превышающей 2,5 % от заданного значения.

3. Коэффициент полезного действия преобразователей и усиленных электродренажей в номинальном режиме должен быть не менее 75 %.

4. Коэффициент мощности преобразователей и усиленных электродренажей в номинальном режиме должен быть не менее 0,7.

5. Уровень шума, создаваемый средствами катодной и электродренажной защиты, применяемых в городах и населенных пунктах, на всех частотах не должен превышать 60 дБ.

6. Технический ресурс преобразователей, усиленных и поляризованных электродренажей должен быть не менее 50000 ч.

7. Все новые средства ЭХЗ (преобразователи, усиленные и поляризованные дренажи) должны быть подвергнуты эксплуатационным испытаниям продолжительностью не менее одного года на соответствие вышеприведенным требованиям независимой экспертной комиссией по программам, согласованным с потребителем.

8. Коэффициент пульсации выходного напряжения преобразователей и усиленных дренажей определяется требованиями потребителя (не более 3 % во всем диапазоне изменения нагрузки).

7.6. Анодные заземлители (АЗ) для катодной защиты трубопроводов тепловых сетей бесканальной и канальной прокладок

7.6.1 В качестве АЗ установок катодной защиты трубопроводов тепловых сетей бесканальной и канальной прокладок (при расположении АЗ за пределами канала) применяют сосредоточенные железокремнистые, углеграфитовые, стальные оксидно железо-титановые и чугунные электроды, помещенные в большинстве случаев в коксовую засыпку. При расположении АЗ непосредственно в каналах могут применяться те же электроды и, кроме того, электроды кабельного типа из токопроводящих эластомеров (без коксовой обсыпки).

7.6.2 Технико-экономический расчет АЗ заключается в определении оптимальных конструктивных параметров и числа электродов анодных заземлителей, обеспечивающих минимальные суммарные затраты и эффективность ЭХЗ (приведенные к одному году эксплуатации).

7.6.3 Сосредоточенные АЗ при ЭХЗ трубопроводов тепловых сетей бесканальной прокладки следует размещать на максимально возможном удалении от защищаемых трубопроводов и в грунтах с минимальным удельным электросопротивлением ниже уровня их промерзания. При ЭХЗ трубопроводов тепловых сетей канальной прокладки сосредоточенные АЗ, располагаемые за пределами канала, устанавливают в зонах затопления или заиливания каналов на расстоянии 20 - 30 м.

7.7. Гальваническая (протекторная) защита трубопроводов тепловых сетей канальной прокладки

7.7.1 Для гальванической защиты трубопроводов тепловых сетей канальной прокладки (с помощью протекторов) рекомендуется применять протекторы из магниевых сплавов, располагаемые в каналах, тепловых камерах или непосредственно на поверхности трубопроводов или теплоизоляционных конструкций.

При прокладке теплопроводов в футлярах следует применять протекторы стержневого типа, устанавливаемые на поверхности трубопроводов при их прокладке, или на поверхности теплоизоляционной конструкции действующих тепловых сетей. Примерные расчетные схемы размещения и количество магниевых протекторов стержневого типа (например, типа ПМ-2,7) в сечении трубопровода на его поверхности с защитным диэлектрическим покрытием, без покрытия, а также при расположении протекторов на поверхности теплоизоляционной конструкции, приведены на рис. Л.1 приложения Л.

7.8. Проектирование ЭХЗ вновь сооружаемых и реконструируемых трубопроводов тепловых сетей бесканальной и канальной прокладок

7.8.1 Проектирование ЭХЗ вновь сооружаемых трубопроводов тепловых сетей бесканальной прокладки должно осуществляться одновременно с проектированием трубопроводов.

Объем измерительных работ, выполняемых при определении коррозионной агрессивности грунта, наличия блуждающих постоянных и переменных токов и зон их опасного влияния, определяется в соответствии с условиями, изложенными в разделе 4 настоящей Типовой инструкции.

7.8.2 Параметры системы ЭХЗ определяются расчетным путем. При проведении расчетов должны быть определены количество, параметры и места расположения СКЗ, электродренажных установок и анодных заземлителей.

7.8.3 Расчет ЭХЗ может производиться по ведомственным методикам, основанным на статистическом материале (например, о защитных плотностях тока на единицу поверхности трубопровода), собранном эксплуатационными и проектными организациями.

7.8.4 Расчет ЭХЗ при совместной защите сооружений различного назначения может производиться в соответствии с рекомендациями, изложенными в приложении М.

Методика основана на вычислении средней плотности защитного тока для всех сооружений на данной территории с учетом площади поверхности сооружений каждого типа, площади территории, среднего удельного сопротивления грунта. При использовании данной методики ток защитных установок и радиус их действия вычисляют по соответствующим формулам.

7.8.5 Исходными данными для выбора АЗ является значение тока катодной защиты и среднее значение УЭС грунта на площадке, где предполагается разместить АЗ. Выбор оптимальных параметров АЗ может производиться в соответствии с методикой, изложенной в приложении 13 [58].

7.8.6 Для вновь сооружаемых и реконструируемых тепловых сетей канальной и бесканальной прокладок в зоне влияния блуждающих токов должно предусматриваться применение диэлектрических подвижных и неподвижных опор, а также КИП, схемы которых приведены в Альбоме 2 МГНП 01-99 «Узлы и детали электрозащиты инженерных сетей от коррозии» (АО институт «Мосгазниипроект», М. 1999).

7.8.7 Для вновь сооружаемых и реконструируемых магистральных тепловых сетей канальной прокладки решение о необходимости ЭХЗ принимается проектной организацией или ОЭТС на основании опыта эксплуатации тепловых сетей до капитального ремонта и прогнозирования возможности их сезонного или постоянного затопления или заноса грунтом на определенных участках.

Проектирование ЭХЗ с расположением АЗ в каналах производится расчетным методом, изложенным в п.п. 7.9.29 - 7.9.39 настоящей Типовой инструкции.

7.8.8 Для вновь сооружаемых и реконструируемых распределительных тепловых сетей канальной прокладки решение о необходимости их ЭХЗ целесообразно принимать ОЭТС в процессе эксплуатации тепловых сетей на основе данных о состоянии каналов.

Определение параметров ЭХЗ производится на основе результатов опытного включения катодной или дренажной защиты (см. п.п. 7.9.2 - 7.9.28 настоящей Типовой инструкции).

7.8.9 Электрохимическая защита наружной поверхности трубопроводов тепловых сетей на участках их прокладки в футлярах, а также при увлажнении теплоизоляционной конструкции капельной влагой, осуществляется с помощью протекторов стержневого типа, устанавливаемых непосредственно на поверхности трубопроводов в тепловой изоляции или на поверхности теплоизоляционной конструкции. Примерные расчетные схемы размещения и количества магниевых протекторов стержневого типа, например, типа ПМ-2,7, в сечении трубопровода (на поверхности трубопровода с защитным диэлектрическим покрытием и без него, на поверхности теплоизоляционной конструкции трубопровода без защитного покрытия) приведены в приложении Л.

7.8.10 В целях ограничения натекания блуждающих токов на трубопроводы тепловых сетей на вводах их в трамвайные и железнодорожные депо, тяговые подстанции, ремонтные базы и т.п. на трубопроводах тепловых сетей следует предусматривать установку электроизолирующих фланцевых соединений.

7.9. Проектирование ЭХЗ действующих трубопроводов тепловых сетей бесканальной и канальной прокладок

7.9.1. Решение о необходимости ЭХЗ действующих подземных тепловых сетей должно приниматься ОЭТС на основании результатов их обследования, выявивших опасность наружной коррозии по критериям, указанным в разделе 3 настоящей Типовой инструкции. На основании принятого решения проектной организации выдается техническое задание на проектирование ЭХЗ тепловых сетей на заданном участке с указанием координат защитной зоны.

Примечания.

1. ЭХЗ тепловых сетей, длительное время эксплуатировавшихся в коррозионно-опасных условиях и имеющих коррозионные повреждения, осуществляется после оценки их технического состояния в соответствии с [8] и [9]. На основании результатов оценки технического состояния трубопроводов и рекомендаций по применению средств ЭХЗ (приложение И) принимаются решения о целесообразности их устройства.

2. При наличии на поверхности тепловой изоляции трубопроводов тепловых сетей канальной прокладки покровного слоя [73] в виде металлического кожуха, фольги, пленок на основе синтетических и природных полимеров эффективность ЭХЗ может быть не обеспечена. С целью обеспечения эффективности ЭХЗ рекомендуется перфорация покровного слоя: при ЭХЗ с помощью преобразователей катодной защиты и усиленных электродренажей - одно отверстие диаметром 10 - 12 мм на 4 дм покровного слоя; при ЭХЗ с помощью протекторов - одно отверстие диаметром 10 - 12 мм на 1 дм покровного слоя (в обоих случаях до уровня затопления трубопровода). Перфорация должна производиться при согласовании с ОЭТС.

7.9.2. Определение параметров ЭХЗ действующих тепловых сетей производится на основе результатов опытного включения установок катодной и электродренажной защиты. Для проведения опытного опробования установок катодной защиты необходимо оформить ордер на устройство временного АЗ с предварительным согласованием со всеми заинтересованными организациями.

Возможен расчетный метод определения параметров ЭХЗ в случаях применения катодной защиты тепловых сетей канальной прокладки диаметром от 300 мм и более при наличии возможности расположения анодных заземлителей непосредственно в канале (см. п.п. 7.9.29 - 7.9.39 настоящей Типовой инструкции).

7.9.3 На основе результатов опытного включения определяют тип ЭХЗ (электродренажная, катодная) и основные ее параметры, пункты присоединения дренажных кабелей к трубопроводам тепловых сетей и источникам блуждающих токов или места установки анодных заземлителей: зону действия защиты; характер влияния защиты на смежные сооружения; необходимость и возможность осуществления совместной защиты.

7.9.4 При небольшом удалении тепловых сетей от источника блуждающих токов, для защиты от коррозии, вызываемой блуждающими токами, следует применять электродренажную защиту (поляризованные или усиленные электродренажи). Усиленные дренажи применяются в тех случаях, когда применение поляризованных дренажей неэффективно.

7.9.5 Объем измерений, выполняемых при опытном включении, определяется организацией, проектирующей защиту. Порядок проведения измерений излагается в программе, составленной перед началом работ, в которой указывается: режим работы защиты при опытном включении, пункты измерения на трубопроводах и смежных сооружениях и продолжительность измерений в каждом пункте.

Измерения потенциалов смежных сооружений в период опытного включения установок ЭХЗ, как правило, выполняются организациями, эксплуатирующими эти сооружения. Указанные работы также могут выполняться организацией, проектирующей защиту, в присутствии представителей эксплуатационных организаций, в ведении которых находятся смежные сооружения.

7.9.6 Опытное включение установок ЭХЗ может производиться с помощью специальных передвижных лабораторий по защите подземных сооружений от коррозии. При отсутствии передвижных лабораторий могут быть использованы выпускаемые стандартные установки ЭХЗ.

7.9.7 При защите от блуждающих токов с помощью электродренажей пункт подключения кабеля к трубопроводам выбирается на участке, где средние значения положительных потенциалов по отношению к земле максимальны.

Кроме того, пункт подключения дренажного кабеля к трубопроводу выбирается с учетом наименьшего расстояния от пункта присоединения к источнику блуждающих токов (рельсам, дроссель-трансформаторам, отсасывающим пунктам) и возможности доступа к трубопроводу без его вскрытия (в тепловых камерах, смотровых колодцах и т.п.).

При возможности выбора нескольких мест присоединения предпочтение отдается участкам сетей с возможно большими диаметрами при прочих равных условиях.

7.9.8 Дренажный кабель присоединяется к рельсам трамвая или к отсасывающим пунктам. Не допускается непосредственное присоединение установок дренажной защиты к отрицательным шинам тяговых подстанций трамвая, а также к сборке отрицательных линий этих подстанций. Не допускается присоединять усиленный дренаж в анодных зонах рельсовой сети, а также к рельсам путей депо.

7.9.9 При влиянии на тепловые сети нескольких источников блуждающих токов (электрифицированная железная дорога, трамвай, метрополитен и др.) необходимо выявить источник преимущественного влияния, на который следует осуществлять дренирование блуждающих токов.

7.9.10 При опытном включении в качестве дренажного кабеля могут быть использованы шланговые кабели сечением 16 - 120 мм.

При присоединении дренажного кабеля к трубопроводам и элементам отсасывающей сети электротранспорта для исключения искрообразования должен быть обеспечен надежный электрический контакт.

Подключение к рельсам трамвая и железных дорог может выполняться при помощи специальной струбцины, обжимающей подошву рельса или болтовых соединений. При сварных стыках используются отверстия, имеющиеся в шейках рельсов.

Подключение дренажного кабеля к отсасывающему пункту, сборке отсасывающих кабелей и средней точке путевого дросселя выполняется с использованием существующего болтового соединения с применением дополнительной гайки.

7.9.11 На опытное включение дренажной установки должно быть получено разрешение организации, в чьем ведении находится данный вид транспорта. Представитель ведомства при опытном включении присоединяет дренажный кабель к сооружениям источников блуждающих токов.

7.9.12 Подключение усиленного дренажа к рельсовым путям электрифицированных на постоянном токе железных дорог не должно приводить в часы интенсивного движения поездов к тому, чтобы в отсасывающем пункте появлялись устойчивые положительные потенциалы.

Среднечасовой ток всех установок дренажной защиты, подключенных к рельсовому пути или сборке отрицательных питающих линий тяговой подстанции магистральных участков электрифицированных дорог постоянного тока, не должен превышать 25 % общей нагрузки данной тяговой подстанции.

7.9.13 Поляризованные и усиленные дренажи, подключаемые к рельсовым путям электрифицированных железных дорог с автоблокировкой, не должны нарушать нормальную работу рельсовых цепей системы централизованной блокировки во всех режимах.

Места и условия подключения поляризованных и усиленных дренажей согласовываются с соответствующими службами МПС.

7.9.14 Продолжительность работы опытной дренажной защиты зависит от местных условий и может составлять от нескольких десятков минут до нескольких часов. При этом, как правило, должен быть охвачен период максимальных нагрузок электротранспорта.

7.9.15 Измерение силы тока дренажа, потенциалов на защищаемых трубопроводах тепловой сети, смежных подземных сооружениях и рельсах электротранспорта производится в соответствии с намеченными программой режимами работ защиты.

7.9.16 Если в результате измерений установлено, что зона эффективного действия поляризованной дренажной установки не распространяется на весь район выявленной опасности, пункт дренирования перемещают или одновременно включают несколько дренажных установок в различных пунктах.

При недостаточной эффективности принятых мер производят опытное включение усиленных дренажных установок или комплекс дренажных установок с катодной станцией.

В последнем случае опытное включение катодной станции производят после окончательного выбора параметров дренажных установок.

7.9.17 При проведении испытаний ЭХЗ должны быть приняты меры по исключению вредного влияния на смежные сооружения.

7.9.18 При опытном включении катодной защиты для установки АЗ, как правило, выбираются участки, на которых впоследствии предполагается разместить и стационарные заземления.

7.9.19 Временный АЗ представляет собой ряд металлических электродов, помещенных вертикально в грунт на расстоянии 2 - 3 м друг от друга в один или два ряда. В качестве электродов применяются винтовые (шнековые) электроды или некондиционные трубы диаметром 25 - 50 мм и длиной 1,5 - 2 м, которые забиваются в землю на глубину 1 - 1,5 м.

7.9.20 При ЭХЗ тепловых сетей бесканальной прокладки АЗ следует относить от трубопроводов тепловой сети на максимально возможное в городских условиях расстояние. В отдельных случаях, при отсутствии достаточной площади для размещения АЗ, применяются распределенные заземлители, состоящие из двух и более групп электродов, расположенных на отдельных участках. Группы электродов соединяются кабелем между собой либо индивидуально подключаются к катодной станции.

Для повышения эффективности действия катодной защиты целесообразно выбирать участки, на которых между защищаемыми тепловыми сетями и АЗ отсутствуют прокладки других подземных металлических сооружений.

По возможности АЗ следует размещать на участках с минимальным удельным электрическим сопротивлением грунта (газоны, скверы, пойменные участки рек, прудов и т.п.).

7.9.21 При ЭХЗ тепловых сетей канальной прокладки АЗ следует располагать в зонах затопления (заноса грунтом) канала на расстоянии 20 - 30 м от трубопроводов. Группы электродов соединяются между собой или индивидуально подключаются к установке катодной защиты.

7.9.22 Электрические измерения по определению эффективности действия катодной защиты и характера ее влияния на смежные подземные сооружения аналогичны измерениям при опытном включении электродренажей.

7.9.23 Как правило, при опытном включении ЭХЗ определяется основной ее параметр - среднее значение силы тока в цепи электрозащиты.

Остальные параметры защиты (сопротивление дренажного кабеля, сопротивление растеканию АЗ, напряжение на зажимах катодной станции или вольтодобавочного устройства усиленного электродренажа) либо рассчитываются, либо выбираются с учетом технико-экономических показателей различных вариантов соотношения параметров.

7.9.24 Значение сопротивление кабеля Rдк (Ом) проектируемого электродренажа может быть определено по формуле:

Rдк = [∆Uт-р - (Ioд - Rду)]/Ioд,                                          (7.1)

где ∆Uт-р - средняя величина разности потенциалов между точками присоединения дренажа к трубопроводам тепловой сети и рельсам за время опытного дренирования, В;

Ioд - среднее значение дренажного тока за время опытного дренирования, А;

Rду - сопротивление проектируемого дренажного устройства, определяемое по вольтамперной характеристике (с включением 20 - 30 % сопротивления дренажного реостата), Ом.

Сечение дренажного кабеля (мм2) определяется по формуле:

S = ρ·L/ Rдк,                                                                (7.2)

где ρ - удельное электрическое сопротивление металла токопроводящих жил кабеля, Ом·мм2/мм;

L - общая длина проектируемого дренажного кабеля, м.

7.9.25 Значение сопротивления дренажного кабеля при усиленном электродренаже может быть определена по формуле:

Rдк = Roдк - [(Uoуд - Uуд)/Ioуд],                                                (7.3)

где Roдк - сопротивление дренажного кабеля при опытном дренировании, Ом;

Ioуд - среднее значение тока усиленного дренажа при опытном дренировании, А;

Uoуд - напряжение на зажимах усиленного дренажа при опытном дренировании, В;

Uуд - напряжение на зажимах проектируемого усиленного дренажа (принимается равным 6 или 12 В в зависимости от требуемой мощности дренажа), В.

Для наиболее экономически выгодного соотношения капитальных и эксплуатационных затрат определяется оптимальное значение сопротивления дренажного кабеля, которое не должно быть выше значения Rдк, рассчитанного по формуле (7.1).

7.9.26 Исходными данными для выбора АЗ являются величина тока катодной защиты и среднее значение удельного сопротивления грунта на площадке, где предполагается разместить АЗ.

Выбор оптимальных параметров АЗ, расположенного за пределами канала, может производиться в соответствии с методикой, рекомендованной в п. 7.8.5 настоящей Типовой инструкции.

7.9.27 Совместная защита от коррозии подземных металлических сооружений может осуществляться:

¨     4 подсоединением отдельных электрических дренажей различных сооружений на общую дренажную сборку, соединенную с отсасывающими пунктами рельсового электротранспорта;

¨     подсоединением ряда различных сооружений непосредственно к общим защитным установкам.

7.9.28 Для включения в систему совместной защиты трубопроводов тепловых сетей с целью улучшения их электрической проводимости следует применять шунтирующие перемычки на задвижках и компенсаторах.

Включение в систему совместной защиты с помощью перемычек трубопроводов тепловых сетей и силовых кабелей не допускается.

7.9.29 Катодную поляризацию тепловых сетей диаметром от 300 мм и более при затоплении или заносе каналов грунтом рекомендуется осуществлять с использованием распределенных АЗ, располагаемых непосредственно в каналах (при наличии возможности их установки).

Применение распределенных анодных заземлителей позволяет обеспечить:

¨     равномерное распределение тока защиты вдоль требующих ЭХЗ участков тепловых сетей;

¨     снижение в два - три раза потребления электроэнергии на единицу длины защищаемой тепловой сети;

¨     локализацию образования дополнительных полей блуждающих токов и вместе с этим устранение вредного влияния ЭХЗ на смежные подземные сооружения;

¨     исключение необходимости в отводе земельной площади для установки анодных заземлителей.

7.9.30 Для распределенных анодных заземлителей рекомендуется использовать электроды стержневого (штыревого) типа из токопроводящих эластомеров или ферросилидов, электродов кабельного типа из токопроводящих эластомеров или стальных труб.

Технические характеристики электродов для АЗ из токопроводящих эластомеров и ферросилидов приведены в таблицах Н.1 и Н.2 приложения Н.

7.9.31 Электроды АЗ стержневого типа при диаметре трубопроводов более 700 мм могут располагаться на дне канала перпендикулярно его оси, а при диаметрах трубопроводов от 300 мм и более - на дне канала вдоль его оси.

Электроды кабельного типа или из стальных труб диаметром 100 - 150 мм прокладываются вдоль оси канала.

Схемы расположения электродов АЗ стержневого и кабельного типов в канале приведены на рис. П.1, П.2 и П.3 приложения П.

На указанных рисунках отмечены пункты установки вспомогательных электродов и КИПов, узлы присоединения токовводов электродов АЗ к распределительному кабелю от положительной клеммы станции катодной защиты.

Примечание. В качестве АЗ целесообразно использовать трубы диаметром 100 - 150 мм, бывшие в эксплуатации, предварительно очистив их от защитного антикоррозионного покрытия и продуктов коррозии.

7.9.32 Определение параметров ЭХЗ с использованием распределенных анодов стержневого или кабельного типа производится расчетным методом.

7.9.33 Значение требуемого тока защиты Iзащ (А) на участке тепловой сети, подлежащем ЭХЗ, может быть получено исходя из значения общей поверхности трубопроводов, контактирующей с водой (грунтом) в канале.

При расчете общей поверхности трубопроводов, подлежащих защите, должен учитываться максимально возможный на данном объекте уровень затопления (заноса грунтом) канала.

Iзащ = 1,25·j·S = 1,25·j·π·Дн·L·К, А                                      (7.4)

где j - требуемая плотность тока, А/м2;

S - суммарная поверхность подающего и обратного трубопроводов, подверженных затоплению (заносу грунтом), м2;

Дн - наружный диаметр трубопроводов, м;

L - длина трубопроводов на участке затопления (заноса грунтом) в однотрубном исчислении, м;

К - коэффициент, учитывающий максимально возможную глубину погружения в воду (грунт) трубопроводов (от нижней образующей трубы до уровня затопления или заноса грунтом). Например, при полном затоплении трубопровода К принимается равным 1, при затопления до оси трубопровода К = 0,5.

Требуемая плотность тока защиты должна быть не ниже значений, принимаемых при ЭХЗ стальных непокрытых (без защитных покрытий) поверхностей во влажных грунтах, т.е. j ³ 0,05 А/м2.

7.9.34. Количество электродов n анодного заземлителя при использовании электродов стержневого типа рассчитывается по формуле:

n = Iзащ/i                                                                       (7.5)

где i - допустимая токовая нагрузка на один электрода, А.

7.9.35 Расстояние l между электродами штыревого типа определяется из соотношения

l = L/2n, м                                                                    (7.6)

При ЭХЗ тепловых сетей диаметром более 700 мм при наличии двух труб в канале, уложенных на одном уровне, устанавливается два электрода в одну линию. В этом случае количество стержневых электродов n в соотношении (7.6) уменьшается в два раза.

Расстояние l не должно превышать 2,0 м.

7.9.36 Напряжение (В) постоянного тока на выходе преобразователя (выпрямителя) для катодной защиты определяется по формуле:

Uвых = Iзащ(Rаз + Rрт)                                                    (7.7)

где Raз - сопротивление растеканию тока с анодного заземлителя, Ом;

Rрт - сопротивление растеканию тока с трубопровода тепловой сети, Ом.

Учитывая, что Rрт << Rаз, значением Rрт можно пренебречь и величину Uвых (В) определять по формуле:

Uвых = Iзащ·Rаз,                                                              (7.8)

Значение Uвых не должно превышать 12 В. В случае получения больших значений необходимо снижение Rаз путем увеличения количества электродов анодного заземлителя.

7.9.37 Сопротивление (Ом) растеканию тока с горизонтального электрода анодного заземлителя, расположенного на дне канала (см. рис. 9), рассчитывается по формуле:

Rэл = [ρ/(π·а)]·ln·(2а/d), Ом,                                                 (7.9)

где ρ - удельное электрическое сопротивление грунта (воды), Ом*м (значение ρ определяется из отобранной пробы грунта (воды) на участке тепловой сети, подлежащем ЭХЗ);

а - длина электрода анодного заземлителя, м;

d - диаметр электрода, м.

В тех случаях, когда два электрода штыревого типа в анодном заземлителе устанавливаются в одну линию, длина электрода «а» удваивается.

7.9.38 Сопротивление растеканию тока со всего анодного заземлителя определяется по формуле:

Rаз = (Rэл/n)F, Ом                                                        (7.10)

где F - коэффициент взаимовлияния;

n - количество электродов в анодном заземлителе (уменьшается в два раза при установке двух электродов в одну линию).

F = 1 + [ρ/(π·l·Rэл)]·Ln(0,n),                                               (7.11)

где l - расстояние между смежными электродами (или группами электродов), м.

Если два электрода устанавливают в одну линию, то n равно половине от общего количества электродов в заземлителе.

7.9.39 При использовании для анодного заземлителя электродов кабельного или стержневого типов, а также электродов из стальных труб количество линий заземлителя определяется из условий требуемого тока защиты и допустимой токовой нагрузки электрода (см. приложение М). При ЭХЗ тепловых сетей диаметром до 300 мм может быть применена одна линия электрода, прокладываемая по дну канала между трубопроводами. При больших диаметрах труб прокладывается не менее двух линий электродов заземлителя.

Схема для расчета электрода анодного заземлителя стержневого типа, расположенного на дне канала

Рис. 9

При прокладке электродов АЗ вдоль оси трубопроводов определение Rаз не требуется.

При использовании для АЗ электродов кабельного типа из токопроводящих эластомеров расстояния между контактными устройствами на АЗ не должны превышать 50 м, при использовании стальных труб - не более 70 м.

7.9.40 Параметры преобразователей для катодной защиты определяются из условий токовой нагрузки равной 1,3·Iзащ при напряжении на выходе преобразования Uвых 12 В.

На участках трубопроводов тепловых сетей канальной прокладки длиной до 40 - 50 м, подвергающихся периодическому или постоянному затоплению, ЭХЗ может осуществляться с помощью гальванических анодов (протекторов) из магниевых сплавов (при наличии доступа к пунктам установки протекторов).

Схема расположения протекторов в тепловом канале приведена на рис. Р.1 приложения Р.

Технические данные магниевых гальванических анодов приведены в приложении С.

7.9.41 Расчетные таблицы параметров средств ЭХЗ трубопроводов тепловых сетей канальной прокладки различных диаметров в зависимости от уровня затопления трубопроводов и удельного электросопротивления среды в канале (воды, грунта заноса) с применением различных типов электродов АЗ и протекторов, расположенных в каналах и футлярах, а также средства контроля эффективности ЭХЗ приведены в «Типовом проекте по электрохимической защите от наружной коррозии на локальных участках» (СКТБ ВКТ филиал АО «Мосэнерго»).

8. Производство строительно-монтажных работ по электрохимической защите трубопроводов тепловых сетей

8.1 Перед началом строительства проект должен быть зарегистрирован Подрядчиком в административной технической инспекции.

Регистрирующая проект организация проверяет действительность на текущий момент согласований проекта, определяет соответствие предусмотренных проектом мероприятий возможностям и требованиям текущего периода, необходимость реализации проекта к моменту регистрации.

Необходимые изменения, вносящиеся в проект на этой стадии, должны быть согласованы со всеми заинтересованными организациями, согласовавшими проект при его разработке, и новыми организациями, чьи интересы затрагиваются при внесении этих изменений в проект.

8.2 До начала строительно-монтажных работ строительная организация получает в соответствующих местных органах власти разрешение на производство работ, после чего вызывает на место производства работ все заинтересованные организации, уточняет с их помощью наличие и местоположение в зоне производства работ подземных сооружений и коммуникаций, согласовывает с ними план производства работ.

От организации, чьи подземные сооружения или коммуникации находятся в непосредственной (до 5 м) близости к местам производства работ, должны быть получены письменные уведомления с привязками этих сооружений или коммуникаций и особыми требованиями к организации производства работ, если они имеются.

Примечание.

1. При ЭХЗ трубопроводов тепловых сетей канальной прокладки с расположением АЗ непосредственно в каналах требования п. 8.2 настоящей Типовой инструкции могут не учитываться.

2. Местными органами власти может быть установлен и другой порядок организации подготовки к строительно-монтажным работам, в соответствии с которым Подрядчик получает уведомления от непосредственно заинтересованных организаций. В этих случаях необходимость вызова их представителей на место производства работ определяется при получении уведомления.

8.3 Перед началом строительно-монтажных работ Подрядчик извещает о дате начала работ Заказчика, проектную организацию, организацию, осуществляющую технический надзор за строительством, и организацию, на обслуживание которой будет передаваться строящиеся защитные установки.

Сроки извещения о начале строительно-монтажных работ определяются указанными организациями.

8.4 Строительно-монтажные работы на объектах строительства установок ЭХЗ должны осуществляться по технологиям, предусмотренным проектами производства работ.

8.5 Строительство и монтаж узлов и деталей установок ЭХЗ рекомендуется осуществлять с использованием типовых чертежей альбома МГНП 01-99 «Узлы и детали электрозащиты инженерных сетей от коррозии» (АО института «МосгазНИИпроект»).

Допускается строительство и монтаж отдельных узлов и деталей установок ЭХЗ по чертежам, разработанным специализированными проектными организациями, и согласованным с Заказчиком, эксплуатационной организацией и подрядными строительными организациями

8.6 На каждом объекте строительства установок ЭХЗ Подрядчиком заводится журнал авторского и технического надзора, в который должны заносить свои замечания и сведения о контроле производства работ те организации, которые осуществляют технический надзор за строительством, авторский надзор и приемку отдельных узлов.

8.7 Отступления от проектных решений в процессе строительства допускаются после согласований с проектными организациями, эксплуатационными организациями и Заказчиками, а также с территориальными организациями - держателями геофонда, в случаях, когда отступления связаны с размещением подземных сооружений.

Если отступления затрагивают интересы других организаций, они должны быть предварительно с ними согласованы.

8.8 Приварку контактных устройств, электроперемычек и контрольных проводников к действующим трубопроводам осуществляют организации, которые эксплуатируют эти трубопроводы, по договорам с Подрядчиками.

Приварку контактных устройство, электроперемычек и контрольных проводников к строящимся трубопроводам осуществляют специализированные строительные организации.

Все работы, связанные с присоединениями дренажных кабелей к соответствующим устройствам сети электрифицированного транспорта, производят в соответствии с предписаниями эксплуатационных организаций (железных дорог и трамвая) и в присутствии представителей этих организаций.

8.9 Восстановление теплоизоляционной конструкции на трубопроводах после приварки контактных устройств, электроперемычек или контрольных проводников осуществляют ОЭТС или с их согласия специализированные организации по договорам с Подрядчиками.

8.10 Используемые в качестве стационарных медносульфатные электроды сравнения, например, типа ЭНЕС, ЭСН-МС, должны быть заполнены незамерзающим электролитом в соответствии с сертификатом качества. Схема и технические характеристики электродов приведены в приложении Т.

Перед оборудованием контрольно-измерительных пунктов стационарными медно-сульфатными электродами сравнения необходимо проводить лабораторный предустановочный контроль последних, в процессе которого строительной организацией проверяется переходное сопротивление «электрод - влагонасыщенный песок», которое должно быть не более 15 кОм.

Стационарный электрод сравнения устанавливают в КИПе так, чтобы дно корпуса находилось на уровне нижней образующей подающего трубопровода и на расстоянии 100 мм от его боковой поверхности (в плане) или от стенки канала со стороны подающего трубопровода (при расположении АЗ за пределами канала).

Медносульфатные электроды сравнения после установки (так же, как контрольно-измерительные пункты, электроперемычки, контактные устройства, индикаторы коррозии и др.) необходимо засыпать вручную.

8.11 Технологический процесс монтажа контактных устройств, электроперемычек, контрольно-измерительных пунктов и АЗ должен осуществляться под пооперационным контролем представителей организаций, осуществляющих технический надзор за строительством ЭХЗ установок с оформлением соответствующих актов приемки.

8.12 Прокладки кабелей по стенкам зданий и опорам, монтаж электрических щитков и подключения к действующим сетям электропитания должны осуществляться в соответствии с требованиями [49], [59] и [60]. Условия присоединения к действующим сетям электропитания должны удовлетворять также техническим требованиям энергоснабжающей организации, полученным на стадии разработки проекта.

8.13 Прокладка кабелей в земле осуществляется в соответствии с требованиями [49]. Засыпка уложенных в траншеи кабелей производится после их приемки представителем технического надзора с оформлением соответствующих актов.

8.14 Оборудование для установок ЭХЗ должно проходить предустановочный (предмонтажный) контроль на соответствие показателям качества с оформлением соответствующих актов. Предустановочный контроль выполняется Заказчиком или по договору с ним Подрядчиком или эксплуатационной организацией.

8.15 Проверка работоспособности и надежности преобразователей различных типов проводится согласно схеме рис. 10.

В качестве нагрузки могут быть использованы проволочные или ленточные сопротивления, в частности, намотанные на изолированную трубу. Эти сопротивления по номинальному току и напряжению должны соответствовать номинальным параметрам испытываемого преобразователя.

Все преобразователи проверяются в режиме ручного управления. С помощью ручки переменного резистора проверяются: возможность установки номинальных выходных параметров, диапазон регулирования выходного напряжения, значение которого должно меняться в пределах, указанных в паспорте.

При номинальном напряжении устанавливается номинальный ток и производится трехкратное отключение и включение питающего напряжения, затем проверяется работоспособность преобразователя при работе в номинальном режиме. Время испытаний должно быть не менее суммы времени установления стабильной температуры внутри преобразователя или наиболее нагретого её элемента плюс 1 ч.

Указанные выше испытания проводятся на обеих ступенях выходного напряжения преобразователя.

Схема проверки работы преобразователя в ручном и автоматическом режимах

Номинальное выходное напряжение, В

R1, кОм ±10 %

R2, кОм ±10 %

24

6,2

1,5

48

13

1,5

Рис. 10

Затем автоматические преобразователи переводятся в режим автоматического поддержания разности потенциалов между трубопроводом и электродом сравнения. Согласно схеме к преобразователю подключается делитель напряжения на резисторах. Поочередно устанавливается заданная разность потенциалов 0,8; 2,0 и 3,5 В и измеряется разность потенциалов на клеммах блока управления. Измерения производятся прибором с входным сопротивлением не менее 200 кОм. Разница между значениями измеряемой и заданной разности потенциалов не должна превышать указанных в паспорте значений.

На преобразователи, не выдержавшие испытаний предустановочного контроля, составляется акт-рекламация, который представляется заводу-изготовителю.

8.16 Преобразователи установок ЭХЗ монтируются на соответствующих фундаментах или металлических каркасах, которые не должны иметь контактов с фундаментами или другими элементами зданий.

8.17 Корпуса преобразователей установок ЭХЗ во избежание поражения людей электрическим током должны быть заземлены или занулены в соответствии с требованиями [49].

8.18 После завершения строительно-монтажных работ Подрядчиком составляется «Акт на приемку строительно-монтажных работ» (см. приложение У) на каждую установку отдельно, который подписывается Заказчиком, Подрядчиком, представителями технического надзора и представителями проектной организации.

8.19 Исполнительные чертежи на построенные установки ЭХЗ составляются строительными организациями в процессе производства работ до засыпки кабельных прокладок и всех узлов, заверяются представителями Заказчика и эксплуатационных организаций, которым передаются установки. После проверки соответствия их проекту и на основании промеров и осмотров до засыпки.

8.20 Заверенные представителями Заказчиков и эксплуатационной организации должны сдаваться в территориальные геодезические организации - держатели геофонда, которые осуществляют их приемку после контрольных геодезических съемок в открытых траншеях и котлованах (см. п. 1 примечания к п. 8.2 настоящей Типовой инструкции).

8.21 После завершения строительно-монтажных работ в полном объеме строительные организации передают Заказчикам для организации выполнения наладочных работ следующую документацию:

¨     Проект со всеми согласованиями отступлений от него, допущенных в ходе строительно-монтажных работ

1 экз.

¨     Исполнительные чертежи масштаб 1:500 на кальке с отметкой о приемке их в геофонд

1 экз.

и в копиях

3 экз.

¨     Журнал авторского и технического надзора

1 экз.

¨     Справки от смежных организаций о выполнении работ в полном объеме, если такие работы были предусмотрены проектами

1 экз.

¨     Технические паспорта на преобразователи, дренажные устройства и сертификаты качества предприятий-изготовителей на гальванические аноды (протекторы), анодные заземлители, медно-сульфатные электроды сравнения и др. комплектующие изделия

1 экз.

¨     Акты приемки электромонтажных работ

1 экз.

¨     Акты приемки контактных устройств, электроперемычек, контрольных пунктов

 

¨     Акты приемки скрытых работ

1 экз.

¨     Акты проверки сопротивления растеканию контуров анодных заземлений

1 экз.

¨     Протоколы измерений сопротивления изоляции кабелей

1 экз.

¨     Протоколы измерений сопротивления петли «фаза-ноль» или сопротивления защитного заземления

2 экз.

¨     Акты предустановочного контроля преобразователей

1 экз.

¨     Акты пневматических и электрических (заводских) испытаний изолирующих фланцев

1 экз.

¨     Акты приемки установленных изолирующих соединений

1 экз.

¨     Справки о выполненном благоустройстве территорий, на которых производились строительно-монтажные работы, от владельцев этих территорий

1 экз.

Рекомендуемые формы приемо-сдаточной документации приведены в приложении У.

8.22 Указанная документация по поручению Заказчиков может передаваться сразу непосредственно эксплуатационным организациям в случаях, когда наладочные работы будут выполняться этими организациями.

8.23 После приемки документации от строительных организаций в полном объеме Заказчик заключает договора с энергоснабжающими организациями на пользование электроэнергией, заключает с ними акты разграничения балансовой принадлежности и ответственности за эксплуатацию линий электропитания и получает от местных органов Госгортехнадзора в установленном ими порядке разрешения на допуск установок ЭХЗ в эксплуатацию.

9. Пуско-наладочные работы

9.1 Пуско-наладочные работы проводятся перед приемкой ЭХЗ и включают осмотр и проверку всех доступных элементов ЭХЗ и контроль потенциала трубопровода во всех пунктах измерений, указанных в проекте ЭХЗ.

Наладка установок ЭХЗ выполняется специализированными организациями.

9.2 Заказчик передает наладочной организации следующую документацию:

¨      Проектную документацию с согласованными в ходе строительства изменениями в полном объеме

1 экз.

¨      Копии исполнительных чертежей на каждую установку

1 экз.

¨      Акты приемки строительно-монтажных работ на каждую установку

1 экз.

¨      Акты допуска Госгортехнадзором электроустановок в эксплуатацию на каждую установку передает заказчик

1 экз.

9.3 В процессе наладочных работ преобразователи установок ЭХЗ должны пройти тщательный технический осмотр, проверку правильности всех внешних подключений и проверку плотности всех контактов. Выявленные в ходе осмотра и проверки недостатки устраняются работниками наладочных организаций, а выявленные неверные внешние подключения исправляются работниками строительно-монтажных организаций.

9.4 После проверки преобразователей производится осмотр и проверка всех элементов ЭХЗ. Все выявленные в ходе этой проверки дефекты устраняются строительно-монтажной организацией.

9.5 Установки ЭХЗ включаются в работу с токовыми нагрузками, соответствующими проектным параметра, не менее чем за 72 ч до начала пуско-наладочных работ, при обязательной проверке правильности внешних подключений.

Примечание. Для установок ЭХЗ с АЗ, проложенными в каналах тепловой сети, наладочные работы с проверкой токовых нагрузок и измерениями смещения потенциалов трубопроводов осуществляется только при наличии затопления или заиливания защищаемых участков.

9.6 О начале пуско-наладочных работ извещаются владельцы защищаемых сооружений, эксплуатационные организации, которым будут передаваться защитные установки, и владельцы смежных подземных коммуникаций.

9.7 На первом этапе наладочных работ производятся измерения потенциалов защищаемых сооружений при проектных режимах работы установок ЭХЗ.

9.8 Измерения производятся во всех пунктах измерений, предусмотренных проектом. Это пункты с наиболее высокими положительными и знакопеременными потенциалами, зафиксированными в ходе коррозионных изысканий; пункты в местах на трубопроводах, наиболее приближенных к источникам блуждающих токов, высоковольтным кабелям и линиям электропередач, а также наиболее удаленные и наиболее приближенные к анодным заземлителям.

9.9 Измерения должны производиться с использованием приборов и технологий, изложенных в разделе 4 настоящей Типовой инструкции.

9.10 Измерения при наладке дренажных защитных установок должны производиться приборами, обеспечивающими, по возможности, синхронные измерения потенциалов «труба-земля» и «рельс-земля» с длительностью записи не менее 1 ч.

9.11 Полученные результаты измерений первого этапа с учетом измерений на смежных коммуникациях анализируются и принимаются решения по корректировке режимов работы установок защиты.

9.12 В случае необходимости изменения режимов работы ЭХЗ измерения повторяются во всех пунктах, находящихся в зонах действия защитных установок с измененными режимами работы.

9.13 Корректировка режимов работы ЭХЗ может производиться неоднократно до достижения желаемых результатов.

9.14 В конечном итоге на защитных установках должны быть установлены минимально возможные защитные токи. При которых на защищаемых сооружениях во всех пунктах измерений достигаются защитные потенциалы, по абсолютной величине не ниже минимально допустимых и не более максимально допустимых.

9.15 Окончательно установленные режимы работы защитных установок должны быть согласованы со всеми организациями, имеющими подземные сооружения в зонах действия налаживаемых установок, о чем они дают подтверждения в своих заключениях (справках).

9.16 В случаях, когда в ходе наладочных работ не удается достигнуть на защищаемых сооружениях требуемых защитных потенциалов во всех пунктах измерений, наладочная организация совместно с проектной и эксплуатационной организациями разрабатывает перечень необходимых дополнительных мероприятий и направляет их Заказчику для принятия соответствующих мер.

9.17 До реализации дополнительных мероприятий зона эффективной защиты подземных сооружений остается уменьшенной.

9.18 Завершаются наладочные работы оформлением технического отчета по наладке установок ЭХЗ, который должен включать:

¨     полные сведения о:

1. защищаемых и смежных подземных сооружениях;

2. действующих источниках блуждающих токов;

3. критериях коррозионной опасности;

4. о построенных и ранее действующих (если такие имеются) установках ЭХЗ;

5. установленных на сооружениях электроперемычках;

6. действующих и вновь построенных КИП;

7. электроизолирующих соединениях;

¨     полную информацию о выполненных работах и ее результатах;

¨     таблицу с окончательно установленными параметрами работы установок ЭХЗ;

¨     таблицу потенциалов защищаемых сооружений в установленных окончательно режимах работы установок ЭХЗ;

¨     справки (заключения) владельцев смежных сооружений;

¨     заключение по наладке установок ЭХЗ;

¨     рекомендации по дополнительным мероприятиям по защите подземных сооружений от коррозии.

10. Порядок приемки и ввода в эксплуатацию установок электрохимической защиты

10.1 Установки ЭХЗ вводятся в эксплуатацию после завершения пусконаладочных работ и испытания на стабильность в течение 72 ч.

10.2 Установки ЭХЗ принимает в эксплуатацию комиссия, в состав которой входят представители следующих организаций: Заказчика; проектной (по необходимости); строительной; эксплуатационной, на баланс которой будет передана построенная установка ЭХЗ; предприятия по защите от коррозии (службы защиты); органов Госгортехнадзора России, органов Госэнергонадзора России (при необходимости); городских (сельских) электросетей.

10.3 Данные проверки готовности объектов к сдаче заказчик сообщает организациям, входящим в состав приемной комиссии не менее, чем за сутки.

10.4 Заказчик предъявляет приемной комиссии: проект на устройство ЭХЗ и документы, указанные в Приложении У.

10.5 После ознакомления с исполнительной документацией и техническим отчетом о пусконаладочных работах приемная комиссия выборочно проверяет выполнение запроектированных работ - средств и узлов ЭХЗ, в том числе изолирующих фланцевых соединений, контрольно-измерительных пунктов, перемычек и других узлов, а также эффективность действия установок ЭХЗ. Для этого измеряют электрические параметры установок и потенциалы трубопровода на участках, где в соответствии с проектом зафиксирован минимальный и максимальный защитный потенциал, а при защите только от блуждающих токов предусмотрено отсутствие положительных потенциалов.

Установки ЭХЗ, не соответствующие проектным параметрам, не должны подлежать приемке.

10.6 Установку ЭХЗ вводят в эксплуатацию только после подписания комиссией акта о приемке.

В случае необходимости может быть осуществлена приемка ЭХЗ во временную эксплуатацию на незаконченном строительством трубопроводе.

После окончания строительства ЭХЗ подлежит повторной приемке в постоянную эксплуатацию.

10.7 При приемке ЭХЗ на трубопроводах тепловых сетей бесканальной прокладки, пролежавших в грунтах более 6 месяцев, необходимо проверить их техническое состояние и при наличии повреждений установить сроки их устранения.

10.8 Каждой принятой установке ЭХЗ присваивают порядковый номер и заводят специальный паспорт установки, в который заносят все данные приемочных испытаний (см. приложение Ф).

11. Эксплуатация установок ЭХЗ

11.1 Эксплуатационный контроль установок ЭХЗ включает периодический технический осмотр, проверку эффективности их работы.

На каждой защитной установке необходимо иметь журнал контроля, в который заносятся результаты осмотра и измерений (см. приложение Х).

11.2 Обслуживание установок ЭХЗ в процессе эксплуатации должно осуществляться в соответствии с графиком технических осмотров и планово-предупредительных ремонтов. График профилактических осмотров и планово-предупредительных ремонтов должен включать определение видов и объемов технических осмотров и ремонтных работ, сроки их проведения, указания по организации учета и отчетности о выполненных работах.

Основное назначение работ по профилактическим осмотрам и планово-предупредительным ремонтам - содержание установок ЭХЗ защиты в состоянии полной работоспособности, предупреждение их преждевременного износа и отказов в работе.

11.3 Технический осмотр включает:

¨     осмотр всех элементов установки с целью выявления внешних дефектов, проверку плотности контактов, исправности монтажа, отсутствия механических повреждений отдельных элементов, отсутствия подгаров и следов перегревов, отсутствия раскопок на трассе дренажных кабелей и анодных заземлений;

¨     проверку исправности предохранителей (если они имеются);

¨     очистку корпуса дренажного и катодного преобразователя, блока совместной защиты снаружи и внутри;

¨     измерение тока и напряжения на выходе преобразователя или между гальваническими анодами (протекторами) и трубами;

¨     измерение потенциала трубопровода в точке подключения установки;

¨     производство записи в журнале установки о результатах выполненной работы.

11.4 Технический осмотр с проверкой эффективности защиты включает:

¨     все работы по техническому осмотру;

¨     измерения потенциалов в постоянно закрепленных опорных пунктах.

11.5 Текущий ремонт включает:

¨     все работы по техническому осмотру с проверкой эффективности;

¨     измерение сопротивления изоляции питающих кабелей;

¨     одну или две из указанных ниже работ: ремонт линий питания (до 20 % протяженности), ремонт выпрямительного блока, ремонт блока управления, ремонт измерительного блока, ремонт корпуса установки и узлов крепления, ремонт дренажного кабеля (до 20 % протяженности), ремонт контактного устройства контура анодного заземления, ремонт контура анодного заземления (в объеме менее 20 %).

11.6 Капитальный ремонт включает:

¨     все работы по техническому осмотру с проверкой эффективности действия ЭХЗ;

¨     более двух работ из перечня ремонтов, перечисленных в пункте 11.5, либо ремонт в объеме более 20 % - линия питания, дренажного кабеля, контура анодного заземления.

11.7 Внеплановый ремонт - вид ремонта, вызванный отказом в работе оборудования и не предусмотренный годовым планом ремонта.

Отказ в работе оборудования должен быть зафиксирован аварийным актом, в котором указываются причины аварии и подлежащие устранению дефекты.

11.8 Рекомендуемые сроки проведения технических осмотров и планово-предупредительных ремонтов:

¨     технический осмотр - 2 раза в месяц для катодных, 4 раза в месяц - для дренажных установок и 1 раз в 3 месяца - для установок гальванической защиты (при отсутствии средств телемеханического контроля). При наличии средств телемеханического контроля сроки проведения технических осмотров устанавливаются руководством ОЭТС с учетом данных о надежности устройств телемеханики;

¨     технический осмотр с проверкой эффективности - 1 раз в 6 месяцев;

¨     текущий ремонт - 1 раз в год;

¨     капитальный ремонт - в зависимости от условий эксплуатации (ориентировочно 1 раз в 5 лет).

11.9 С целью оперативного выполнения внеплановых ремонтов и сокращения перерывов в работе ЭХЗ в организациях, эксплуатирующих устройства ЭХЗ, целесообразно иметь резервный фонд преобразователей для катодной и дренажной защиты из расчета 1 резервный преобразователь на 10 действующих.

11.10 При проверке параметров электродренажной защиты измеряют дренажный ток, устанавливают отсутствие тока в цепи дренажа при перемене полярности трубопровода относительно рельсов, определяют порог срабатывания дренажа (при наличии реле в цепи дренажа или цепи управления), а также сопротивление в цепи электродренажа.

11.11 При проверке параметров работы катодной станции измеряют ток катодной защиты, напряжение на выходных клеммах катодной станции и потенциал трубопровода на контактном устройстве.

11.12 При проверке параметров установки гальванической защиты (при расположении протекторов в каналах или камерах) измеряют:

1) силу тока в цепи между секциями протекторов и трубопроводами;

2) величину смещения разности потенциалов между трубопроводом и измерительными электродами до и после подключения секций протекторов к трубопроводам.

11.13 Контроль эффективности ЭХЗ трубопроводов тепловых сетей производят не реже, чем 2 раза в год (с интервалом не менее 4 месяцев), а также при изменении параметров работы установок ЭХЗ и при изменении коррозионных условий, связанных с:

¨     прокладкой новых подземных сооружений;

¨     в связи с проведением ремонтных работ на тепловых сетях;

¨     установкой ЭХЗ на смежных подземных коммуникациях.

Примечание. Контроль эффективности действия средств ЭХЗ при расположении АЗ и протекторов в каналах производится лишь при затоплении (заиливании) каналов, достигающих поверхности теплоизоляционной конструкции.

11.14 Методы контроля эффективности ЭХЗ обусловлены типом прокладки теплопроводов (бесканальная или канальная) и расположением АЗ при канальной прокладке - непосредственно в канале или за его пределами.

11.15 Контроль эффективности действия средств ЭХЗ на трубопроводах тепловых сетей бесканальной и канальной прокладок с размещением АЗ за пределами канала осуществляется по разности потенциалов между трубопроводом и медносульфатным электродом сравнения (МЭС), установленным в стационарном или нестационарном КИПе (в последнем случае с помощью переносного МЭС).

11.15.1 Схема переносного МЭС приведена на рис. 4, схема и технические характеристики МЭС типа ЭНЕС и ЭСН-МС, устанавливаемых в стационарных КИП, приведены в приложении Т. Типовые чертежи конструкций стационарных КИП приведены в альбоме МГНПИ-99 «Узлы и детали электрозащиты инженерных сетей от коррозии» (АО института «МОСГАЗНИИПРОЕКТ»).

11.15.2 Стационарные КИПы должны устанавливаться на участках тепловых сетей, где ожидаются минимально и максимально допустимые значения защитных потенциалов, в местах пересечения тепловых сетей с рельсами электрифицированного транспорта.

11.15.3 При отсутствии стационарных КИПов переносный МЭС устанавливают на поверхности земли между трубопроводами (в плане) на дне тепловой камеры (при наличии в ней воды). Перед установкой электродов грунт должен быть разрыхлен на глубину 4 - 5 см и из него должны быть удалены твердые включения размером более 3 мм. Если грунт сухой, его следует увлажнить до полного водонасыщения водопроводной водой.

11.15.4 Для проведения измерений используют приборы типа ЭВ 2234, 43313.1, ПКИ-02.

Продолжительность измерений при отсутствии блуждающих токов должна составлять не менее 10 минут. Продолжительность и режимы измерительных работ при наличии блуждающих токов изложены в п. 4.16 настоящей Типовой инструкции.

11.15.5 Значения разности потенциалов между трубопроводами и МЭС в зоне действия защиты приведены в разделе 7.1. настоящей Типовой инструкции.

11.15.6 Среднее значение разности потенциалов Ucp (В) вычисляют по формуле:

                                                        (11.1)

где ΣUi - сумма значений разности потенциалов; n - общее число отсчетов.

Результаты измерений заносят в протокол (приложение Ц), а также фиксируют на картах-схемах тепловых сетей.

11.15.7 При обнаружении неэффективной работы установок катодной или дренажной защиты (сокращены зоны их действия, потенциалы отличаются от допустимых защитных) необходимо произвести регулирование режима работы установок ЭХЗ.

11.15.8 Сопротивление растеканию тока АЗ следует определять во всех случаях, когда режим работы катодной станции резко меняется, но не реже 1 раза в год.

Сопротивление растеканию тока АЗ определяют, как частное от деления напряжения на выходе катодной установки на ее выходной ток или при расположении АЗ за пределами канала с помощью приборов М-416, Ф-416, Ф 4103-M1 и стальных электродов по схеме, приведенной на рис. 11. Измерения следует производить в наиболее сухое время года. Дренажный провод (6) на время измерений следует отключить. При длине Lаз питающий электрод (5) относят на расстояние в Lаз, вспомогательный электрод (4) - на расстояние а Lаз.

Измерение сопротивления растеканию анодного заземления

1 - анодные заземлители; 2 - контрольно-измерительный пункт; 3 - измерительный прибор; 4 - вспомогательный электрод; 5 - питающий электрод; 6 - дренажный провод.

Рис. 11

При расположении АЗ в каналах сопротивление растеканию тока АЗ определяют при затоплении или заиливании канала до уровня изоляционной конструкции труб. При наличии нескольких плеч АЗ их сопротивление растеканию тока определяют раздельно.

11.16 Контроль эффективности действия средств ЭХЗ на трубопроводах тепловых сетей канальной прокладки при расположении АЗ и гальванических анодов (протекторов) непосредственно в каналах, осуществляется по значению смещения разности потенциалов между трубопроводом и установленным на его поверхности (или теплоизоляционной конструкции) вспомогательным электродом (ВЭ) в сторону отрицательных значений в пределах от 0,3 до 0,8 В.

При ЭХЗ с помощью протекторов из магниевого сплава смещение разности потенциалов между ВЭ и трубопроводом должно быть не менее 0,2 В.

11.16.1 До начала проведения измерительных работ в заданной зоне ЭХЗ определяются уровни затопления канала и камер при наличии возможности визуально или инструментальным методом. В последнем случае определяется уровень затопления, достигающий пунктов установки ВЭ на подающем и обратном трубопроводах - на уровне нижней образующей теплоизоляционной конструкции (см. рис. 7).

11.16.2 Проверка наличия воды на уровне установки ВЭ производится в такой последовательности:

1) отключают станции катодной защиты (протекторы при их применении не отключают);

2) к проводнику от трубопровода на КИПе и ВЭ подключают мегаомметр;

3) при снятой на КИПе перемычке между трубопроводом и ВЭ измеряют электрическое сопротивление R.

Значение R 10,0 кОм указывает на наличие воды в канале (камера) на уровне установки ВЭ или выше него.

Аналогичные измерения производят в других пунктах, где установлены ВЭ.

11.16.3 Измерение потенциала трубопроводов по отношению к ВЭ на участках, где затопление канала на уровне установки ВЭ или выше него (после технического осмотра установок ЭХЗ) производится в такой последовательности:

1) При выключенной СКЗ подключить вольтметр к клеммам контрольного пункта: положительный зажим вольтметра - к клемме «Т» (трубопровод), отрицательный - к клемме вспомогательного электрода. Для измерений используют вольтметр с входным сопротивлением не ниже 200 кОм на 1 В шкалы прибора (мультиметр типа 43313.1, вольтамперметр типа ЭВ 2234 и др.). Тумблер или перемычка должны быть разомкнуты.

2) Не менее, чем через 30 мин. после отключения СКЗ зафиксировать исходное значение разности потенциалов между трубопроводом и ВЭ (∆Иисх.) с учетом полярности (знака).

3) Включить СКЗ, установив режим ее работы при минимальных значениях силы тока и напряжения.

4) Увеличением силы тока в цепи СКЗ установить ее значение при достижении разности потенциалов между трубопроводом и ВЭ: И'т-в.э. в пределах от минус 600 до минус 900 мВ (не ранее, чем через 10 мин. после установки значения силы тока).

5) Вычислить Ит-в.э. с учетом ∆Иисх.

Ит-в.э. = И'т-в.э. - ∆Иисх., мВ

Пример расчета 1.

∆Иисх. = -120 мВ, U'т-в.э. = -800 мВ.

Ит-в.э. = -800 - (-120) = -680 мВ.

Пример расчета 2.

∆Иисх. = +120 мВ, И'т-в.э. = -800 мВ

Ит-в.э. - 800 - (120) = -920 мВ.

11.16.4 Если полученные значения Ит-в.э. на КИП зоны действия защиты (на участках затопления или заноса канала грунтом) не находятся в пределах значений минус 300 - 800 мВ, производится регулировка силы тока преобразователя.

Примечание. Увеличение силы тока преобразователя должно производиться с учетом предельно допустимого значения напряжения на выходе преобразователя, равного 12,0 В.

11.16.5 По окончании измерительных работ производят замыкание ВЭ с трубопроводом.

11.16.6 При неисправностях ВЭ (повреждения проводников, крепления к трубопроводу ВЭ) в доступных пунктах устанавливают у поверхности теплоизоляционной конструкции переносной ВЭ, с помощью которого производят изложенные выше измерительные работы.

11.16.7 При обнаружении участков трубопроводов, не подверженных затоплению и не контактирующих с грунтом заноса в зоне отдельного плеча анодного заземлителя, указанный участок (плечо) целесообразно отключить из системы ЭХЗ до момента обнаружения затопления канала на этом участке. После отключения указанного участка необходима дополнительная регулировка режима работы СКЗ.

Целесообразно также переоборудовать СКЗ, применив устройство для автоматического включения или отключения СКЗ (или отдельных участков трубопроводов) в зависимости от уровня затопления канала.

11.17 Контроль эффективности действия ЭХЗ с применением гальванических анодов (протекторов) из магниевых сплавов, размещенных на дне или стенках каналов.

11.17.1 До начала проведения измерительных работ в заданной зоне ЭХЗ выполняются работы, перечисленные в п. 11.16.1. и 11.16.2 настоящей Типовой инструкции.

11.17.2 При фиксации затопления канала на участке установки ВЭ производится проверка действия протекторной защиты измерением:

1) силы тока в цепи звена (группы) «протекторы-трубопровод»;

2) потенциала протектора или группы протекторов, отключенных от трубопровода, относительно медносульфатного электрода сравнения, установленного на дне канала (при наличии возможности) или над каналом в зоне установки контролируемой группы протекторов;

3) потенциала трубопровода по отношению к ВЭ при отключенной и включенной группе протекторов. Данные заносят в протокол (приложение Ш).

Измерения указанных параметров производят лишь при наличии возможности отключения группы протекторов от трубопроводов и подключения измерительных приборов.

11.17.3 Оценка значений измеренных параметров:

1) наличие тока в цепи «протекторы-трубопровод» свидетельствует о целостности указанной цепи;

2) потенциалы протекторов, отключенных от трубопровода, значения которых (по абсолютной величине) не ниже 1,2 В, характеризуют протекторы, как исправные (потенциалы протекторов измеряют лишь при наличии электролитического контакта протекторов с электролитом - водой на дне канала);

3) разность потенциалов между трубопроводом и ВЭ при включенной и выключенной группе протекторов, составляющая не менее 0,2 В, характеризует эффективностью действия протекторной защиты трубопроводов.

11.18 Прямая оценка опасности коррозии и эффективности действия ЭХЗ трубопроводов тепловых сетей канальной прокладки и на участках их прокладки в футлярах может производиться с помощью индикаторов скорости коррозии типа БПИ-1 или БПИ-2 (см. п. 7.3.10 настоящей Типовой инструкции).

Сущность метода прямой оценки опасности коррозии и эффективности действия ЭХЗ, методов обработки данных при обследовании состояния поверхности БПИ-1, при срабатывании БПИ-2 изложены в приложении К.

11.19 Исправность электроизолирующих фланцевых соединений проверяют не реже 1 раза в год. Для этой цели используют специальные сертифицированные индикаторы качества электроизолирующих соединений.

При отсутствии таких индикаторов измеряют падение напряжения на электроизолирующем соединении или синхронно потенциалы трубы по обеим сторонам электроизолирующего соединения. Измерения проводят при помощи двух милливольтметров. При исправном электроизолирующем соединении синхронное измерение показывает скачок потенциала.

Результаты проверки оформляют протоколом согласно приложению Э.

11.20 Если на действующей установке ЭХЗ в течение года наблюдалось 6 и более отказов в работе преобразователя, последний подлежит замене. Для определения возможности дальнейшего использования преобразователя необходимо провести его испытание в объеме, предусмотренном требованиями предустановочного контроля.

11.21 В случае, если за все время эксплуатации установки ЭХЗ общее количество отказов в ее работе превысит 12, необходимо провести обследование технического состояния трубопроводов по всей длине защитной зоны.

11.22 Суммарная продолжительность перерывов в работе установок ЭХЗ не должна превышать 14 суток в течение года.

11.23 В тех случаях, когда в зоне действия вышедшей из строя установки ЭХЗ защитный потенциал трубопровода обеспечивается соседними установками ЭХЗ (перекрывание зон защиты), то срок устранения неисправности определяется руководством эксплуатационной организации.

11.24 Организации, осуществляющие эксплуатацию установок ЭХЗ, должны ежегодно составлять отчет об отказах в их работе.

12. Требования безопасности при работах с защитными антикоррозионными покрытиями и при эксплуатации устройств электрохимической защиты

12.1 При выполнении работ по защите трубопроводов тепловой сети от наружной коррозии с помощью защитных антикоррозионных покрытий должны строго соблюдаться требования безопасности, приведенные в технических условиях на антикоррозионные материалы и защитные антикоррозионные покрытия, а также в ГОСТ 12.3.005 [21], ГОСТ 12.3.016 [42], СНиП III-4-80 [43], РД 34.03.201-97 [44].

12.2 К выполнению работ по нанесению на трубы защитных антикоррозионных покрытий могут допускаться только лица, обученные безопасным методам работы, прошедшие инструктаж и сдавшие экзамен в установленном порядке.

12.3 Рабочий персонал должен быть осведомлен о степени токсичности применяемых веществ, способах защиты от их воздействия и мерах оказания первой помощи при отравлениях.

12.4 При применении и испытаниях защитных антикоррозионных покрытий, содержащих токсичные материалы (толуол, сольвет, этилцеллозольв и др.), должны соблюдаться правила техники безопасности и промышленной санитарии по ГОСТ 12.3.005 [21], санитарные и гигиенические требования к производственному оборудованию [45].

12.5 При применении защитных антикоррозионных покрытий, приведенных в таблице 2 (раздел 6 настоящей Типовой инструкции), необходимо учитывать, что ряд из них относится к категории токсичных, что обусловлено свойствами растворителей, входящих в их состав или применяемых в технологическом процессе [20]:

кремнийорганические защитные покрытия - толуол, этилцеллозольв (III класс опасности), сольвент (IV класс опасности);

органосиликатные защитные покрытия ОС-51-03 с термической обработкой и с отвердителем (естественная сушка) - толуол (III класс опасности);

эпоксидное защитное покрытие ЭП-969 (растворитель Р-5) - ксилол и этилцеллозольв (III класс опасности), ацетон (IV класс опасности);

комплексное полиуретановое защитное покрытие «Вектор» - ксилол (III класс опасности), ацетон, сольвент (IV класс опасности).

12.6 Содержание вредных веществ в воздухе рабочей зоны при нанесении защитных антикоррозионных покрытий на трубы не должно превышать ПДК, согласно ГОСТ 12.1.005 [46]:

толуол - 50 мг/м3, сольвент - 100 мг/м3, алюминий - 2 мг/м3, оксид алюминия - 6 мг/м3, этилцеллозольв - 10 мг/м3, ксилол - 50 мг/м3, бензин - 100 мг/м3, ацетон - 200 мг/м3, уайт-спирит - 300 мг/м3.

12.7 Все работы, связанные с нанесением защитных антикоррозионных покрытий, содержащих токсичные вещества, должны производиться в цехах, оборудованных приточно-вытяжной и местной вентиляцией в соответствии с ГОСТ 12.3.005 [21].

12.8 При работах с защитными антикоррозионными покрытиями, содержащими токсичные вещества, следует применять индивидуальные средства защиты от попадания токсичных веществ на кожные покровы, на слизистые оболочки, в органы дыхания и пищеварения согласно ГОСТ 12.4.011 [47] и ГОСТ 12.4.103 [48].

12.9 При производстве на тепловых сетях работ по монтажу, ремонту, наладке установок ЭХЗ и электрическим измерениям необходимо соблюдать требования РД 34.03.201-97 [44], ПУЭ [49], ГОСТ 9.602 [6], СНиП III.11.70 [50].

12.10 При проведении технического осмотра установок ЭХЗ должно быть отключено напряжение питающей сети и разомкнута цепь дренажа. На завершающей стадии технического осмотра включают напряжение питающей сети, замыкают цепь дренажа и производят работы, указанные в п.п. 11.3 и 11.4 настоящей Типовой инструкции.

12.11 В течение всего периода работы опытной станции катодной защиты, включаемой на период испытаний (2 - 3 часа), у контура анодного заземлителя должен находиться дежурный, не допускающий посторонних лиц к анодному заземлителю, и должны быть установлены предупредительные знаки в соответствии с ГОСТ 12.4.026 [51].

12.12 При электрохимической защите трубопроводов тепловых сетей с расположением анодных заземлителей непосредственно в каналах напряжение постоянного тока на выходе станции катодной защиты (преобразователя, выпрямителя) не должно превышать 12 В.

12.13 На участках трубопроводов тепловых сетей, к которым подключена станция катодной защиты, а анодные заземлители установлены непосредственно в каналах, под крышками люков тепловых камер на видном месте должны быть установлены таблички с надписью «Внимание! В каналах действует катодная защита».

Приложение А

Термины и определения

Термины

Определения, НТД

Адгезия

Совокупность сил связи между высохшей пленкой и окрашиваемой поверхностью [16]

Анодная зона

Участок подземного стального трубопровода, потенциал которого смещается относительно стационарного потенциала данного трубопровода только в сторону положительных значений [4], [5], [58]

Анодный заземлитель (анод)

Проводник, погруженный в грунт или раствор электролита и подключенный к положительному полюсу источника постоянного тока [4], [5], [58]

Блуждающий ток

Постоянный электрический ток, протекающий вне предназначенной для него цепи [4], [5], [58]

Внешний слой покрытия

Слой покрытия, поверхность которого соприкасается с окружающей средой [17]

Газотермический способ получения покрытия

Получение покрытия распылением газовой струей нагретого до жидкого или вязкотекучего состояния диспергированного материала [17]

Газотермическое покрытие

- (пояснений не требует [17])

Гальванический анод (протектор)

Электрод из металла с более отрицательным потенциалом, чем защищаемое металлическое сооружение. Подключается к сооружению при его гальванической защите [4], [5], [58]

Гальваническая (протекторная) защита

Электрохимическая защита металлического сооружения путем подключения к нему гальванического анода [4], [5], [58]

Горячий способ получения покрытия

Получение покрытия погружением основного покрываемого металла в расплавленный металл [17]

Горячая сушка лакокрасочного покрытия

Сушка лакокрасочного покрытия с применением принудительного нагрева.

Примечание. Горячая сушка может осуществляться путем индукционного, конвективного, терморадиационного и др. нагрева [18]

Грунтование

Нанесение промежуточных слоев лакокрасочного материала, обладающего хорошей адгезией к окрашиваемой поверхности и следующему слою лакокрасочного покрытия и предназначенного для повышения защитных свойств системы покрытия [18]

Дефект

Каждое отдельное несоответствие продукции установленным требованиям [14], [10]

Диффузионное покрытие

- (пояснения не требует [17])

Долговечность лакокрасочного покрытия

Способность лакокрасочного покрытия сохранять заданные свойства в течение заданного срока [18]

Естественная сушка лакокрасочного покрытия

Сушка лакокрасочного покрытия в нормальных условиях [18]

Жизнеспособность

Максимальное время, в течение которого продукт, состоящий из отдельных компонентов, должен быть использован после смешения компонентов [16]

Защитное (антикоррозионное) покрытие

Слой или система слоев веществ, наносимые на поверхность металлического сооружения для защиты металла от коррозии [58]

Защитный потенциал

Потенциал, при котором электрохимическая защита обеспечивает необходимую коррозионную стойкость металла [58]

Знакопеременная зона

Участок подземного стального трубопровода, потенциал которого смещается относительно стационарного потенциала и к более положительным, и к более отрицательным значениям [58]

Катодная зона

Участок подземного стального трубопровода, потенциал которого смещается относительно стационарного потенциала к более отрицательным значениям [58]

Катодная поляризация

Электрохимическая защита стального трубопровода путем смещения потенциала коррозии в сторону отрицательных значений [4], [5]

Катодное покрытие

Металлическое покрытие, имеющее в данной среде электродный потенциал более отрицательный, чем у основного металла [17]

Консервационное лакокрасочное покрытие

Лакокрасочное покрытие, предназначенное для временной антикоррозионной защиты окрашенной поверхности в процессе производства, транспортирования и хранения изделий [18]

Композиционное покрытие

Покрытие, состоящее из включений металлических и неметаллических составляющих [17]

Коррозионная агрессивность грунта

Совокупность свойств (характеристик) грунта, которые влияют на коррозию металла в грунте [4], [5], [58]

Коррозионная стойкость

Способность металла труб противостоять коррозии в данной коррозионной системе [52]

Коррозия металла труб

Разрушение металла труб вследствие химического или электрохимического взаимодействия их с коррозионной средой [53], [4], [5]

Крацевание

Обработка поверхности основного покрываемого металла и (или) покрытия щетками для удаления окислов, загрязнений, уплотнения покрытия или нанесения декоративного штриха [17]

Критерии опасности наружной коррозии

Признаки, определяющие опасность наружной коррозии трубопровода тепловой сети [6], [4]

Критерий предельного состояния

Признак (совокупность признаков) предельного состояния объекта, установленный нормативно-технической и (или) конструкторской (проектной) документацией [10]

Лакокрасочное защитное покрытие

Покрытие, получаемое при нанесении на поверхность труб лакокрасочных материалов

Ложемент

Приспособление с рядом полукруглых выемок для укладки труб, которое исключает возможность соприкосновения труб друг с другом и позволяет предотвратить повреждения покрытия при перевозке труб на автомашинах с прицепом [5]

Медносульфатный электрод сравнения

Электрод сравнения, представляющий собой медный стержень, помещенный в насыщенный раствор медного купороса. Это наиболее часто применяемый электрод сравнения для измерения потенциала между подземными металлическими трубопроводами и грунтом [52]

Металлизационное покрытие

Покрытие, полученное распылением расплавленного металла [17]

Металлизация распылением

Получение покрытия распылением расплавленного металла [17]

Многослойное покрытие

Покрытие, состоящее из двух и более последовательно полученных слоев [17]

Надежность

Свойства объекта сохранять во времени в установленных пределах значения всех параметров, характеризующих способность выполнять требуемые функции в заданных режимах и условиях применения, технического обслуживания, хранения и транспортирования

Примечание. Надежность является комплексным свойством, которое в зависимости от назначения объекта и условий его применения может включать безотказность, долговечность, ремонтопригодность и сохраняемость или определенное сочетание этих свойств [10]

Окрашивание

Нанесение лакокрасочного материала на окрашиваемую поверхность [18]

Окрашивание валиком

- (пояснения не требует [16])

Окрашивание кистью

- (пояснения не требует [16])

Окрашивание пневматическим распылением

- (пояснения не требует [16])

Пассивирование

Обработка основного покрываемого металла и (или) покрытия химическим или электрохимическим способом, в результате которой на его поверхности образуется пассивная пленка [17]

Плазменный способ получения покрытия

Получение покрытия распылением плазменной струей расплавленного металла [17]

Плазменное покрытие

- (пояснения не требует [17])

Подвесная тепловая изоляция

Тепловая изоляция на трубопроводе, проложенном в непроходном канале с воздушным зазором между поверхностью изоляции и стенками канала [5]

Подслой

Каждый из слоев многослойного покрытия, расположенный под внешним слоем покрытия [17]

Покрытие

Слой или несколько слоев материала, искусственно полученных на покрываемой поверхности [17]

Получение лакокрасочного покрытия

Технологический процесс, включающий операции подготовки окрашиваемой поверхности, окрашивания и сушки [18]

Предельно-допустимая концентрация (ПДК) вредных веществ в воздухе рабочей зоны

Концентрации, которые при ежедневной (кроме выходных дней) работе в течение 8 ч или другой продолжительности, но не более 41 ч в неделю, в течение всего рабочего стажа не могут вызвать заболеваний или отклонений в состоянии здоровья, обнаруживаемых современными методами исследований, в процессе работы или в отдаленные сроки жизни настоящего или последующих поколений [46]

Предельное состояние

Состояние объекта, при котором его дальнейшая эксплуатация недопустима или нецелесообразна либо восстановление его работоспособного состояния невозможно или нецелесообразно [10]

Пропитка покрытия

Обработка покрытия заполнением пор веществом, не взаимодействующим химически с материалом покрытия [17]

Рабочая зона

Пространство, ограниченное по высоте 2 м над уровнем пола или площадки, на которых находятся места постоянного (временного) пребывания работающих [46]

Разбавитель для лакокрасочных материалов

Летучая жидкость одно- или многокомпонентная, которая, не являясь растворителем для пленкообразующего, может быть использована в сочетании с растворителем, не вызывая нежелательных эффектов [16]

Разжижитель для лакокрасочных материалов

Летучая жидкость одно- или многокомпонентная, которая, добавляется в продукт для снижения вязкости [16]

Разность потенциалов между трубой и грунтом (потенциал «труба-земля»)

Напряжение между трубой и электродом сравнения, находящимися в грунте [58]

Растворитель для лакокрасочных материалов

Жидкость одно- или многокомпонентная, летучая в условиях сушки, в которой пленкообразующее полностью растворяется [16]

Расчетная температура среды

Максимальная температура горячей воды или пара в трубопроводе или его фасонной детали [11]

Расчетный срок службы

Срок службы в календарных годах со дня ввода в эксплуатацию, по истечении которого следует провести экспертное обследование технического состояния трубопровода, с целью определения допустимости, параметров и условий дальнейшей эксплуатации трубопровода или необходимости его демонтажа[11] (устанавливается проектными организациями)

Сварное соединение

Неразъемное соединение деталей, выполненное сваркой и включающее в себя шов и зону термического влияния [24]

Силикатно-эмалевое покрытие

Покрытие, получаемое на поверхности трубопровода путем расплавления неметаллического порошка, состоящего преимущественно из силикатных продуктов

Смещение разности потенциалов

Значение изменения разности потенциалов между трубой и электродом сравнения до и после воздействия внешнего источника тока [4], [5]

Сочетаемость слоев лакокрасочного покрытия

Способность слоев лакокрасочного материала образовывать покрытие [18]

Срок службы

Календарная продолжительность эксплуатации от начала эксплуатации объекта или ее возобновления после ремонта до перехода в предельное состояние [10]

Срок службы лакокрасочного покрытия

Срок, в течение которого лакокрасочное покрытие сохраняет заданные свойства [18]

Старение лакокрасочного покрытия

Процесс необратимого изменения строения и (или) состава лакокрасочного покрытия, происходящий с течением времени [18]

Стационарный потенциал

Потенциал стального трубопровода, измеренный при отсутствии блуждающих токов и воздействия других внешних источников тока [6]

Стойкость лакокрасочного покрытия

Способность лакокрасочного покрытия сохранять заданные свойства [18]

Твердость покрытия

Способность высохшей пленки покрытия сопротивляться механическим воздействиям: удару, вдавливанию, царапанью [16]

Температура сушки лакокрасочного покрытия

Температура, обеспечивающая формирование лакокрасочного покрытия с заданными свойствами [18]

Термовлагостойкость защитного антикоррозионного покрытия

Сохранение защитным антикоррозионным покрытием защитных свойств и установленных физико-механических показателей после полных многократных увлажнений окружающей трубу тепловой изоляции с последующей сушкой при температуре на поверхности трубы 75 - 80 °С в соответствии с [7], [5]

Термостойкость защитного антикоррозионного покрытия

Сохранение защитным антикоррозионным покрытием защитных свойств и установленных физико-механических показателей после испытаний в соответствии с [7] при температуре на поверхности трубы 145 - 150 °С [5]

Толщина покрытия

Расстояние по нормали между поверхностью основного покрываемого металла и поверхностью внешнего слоя покрытия [17]

Установка (станция) катодной защиты

Совокупность устройств, требуемых для электрохимической защиты от коррозии подземных трубопроводов методом катодной поляризации с питанием от постороннего источника постоянного тока (преобразователь для катодной защиты, анодный заземлитель, соединительные кабели) [4], [5]

Формирование лакокрасочного покрытия

Физический или химический процесс образования покрытия.

Примечание. Примером физического процесса является испарение растворителя, примером химического процесса является поликонденсация, полимеризация, полиприсоединение и др. [18]

Фосфатирование

Обработка основного покрываемого металла и (или) покрытия химическим или электрохимическим способом, в результате которой на его поверхности образуется фосфатная пленка [17]

Шпатлевание

Выравнивание окрашиваемой или окрашенной поверхности с помощью шпатлевки [18]

Эластичность (Ндп «гибкость»)

Способность отвержденной пленки выдерживать без разрушения деформацию поверхности, на которую она нанесена [16]

Электрический дефектоскоп

Прибор электрического неразрушающего контроля, предназначенный для обнаружения несплошностей и неоднородностей в объекте контроля [19]

Электрическая дефектоскопия

Совокупность методов и средств электрического неразрушающего контроля, предназначенных для обнаружения дефектов в объекте контроля [19]

Электрический неразрушающий контроль

Неразрушающий контроль, основанный на регистрации параметров электрического поля, взаимодействующего с объектом контроля или возникающего в объекте контроля в результате внешнего воздействия [19]

Электродренажная (дренажная) защита

Электрохимическая защита подземных трубопроводов от коррозии блуждающими токами, осуществляемая устранением анодного смещения потенциала путем отвода блуждающих токов к их источнику [4], [5]

Электроизолирующее соединение

Конструктивный элемент для прерывания электрической проводимости трубопроводов [4], [5]

Электроискровой метод контроля (электроискровой метод)

Метод электрического неразрушающего контроля, основанные на регистрации возникновения электрического пробоя и (или) изменений его параметров в окружающий объект контроля среде или его участке [19]

Электрохимическая защита

Защита металла от коррозии в электролитической среде, осуществляемая установлением на нем защитного потенциала или устранением анодного смещения потенциала от стационарного потенциала [58]

Элемент трубопровода

Сборочная единица трубопровода горячей воды или пара, предназначенная для выполнения одной из основных функций трубопровода (например, прямолинейный участок, колено, тройник, конусный переход, фланец и др.) [11]

Эмалирование

Получение покрытия расплавлением силикатных материалов на поверхности основного покрываемого металла [17]

Приложение Б

Протокол определения удельного электрического сопротивления грунта в полевых условиях

Прибором типа ________________________

Заводской номер ______________________

Дата измерения _______________________

Погодные условия _____________________

№ п/п

Адрес пункта измерения

№ пункта измерения по схеме

Расстояние между электродами, м

Измеренное сопротивление, Ом

Удельное электрическое сопротивление грунта, Ом*м

Коррозионная агрессивность грунта

1

2

3

4

5

6

7

Измерил _____________________________

Проверил ____________________________

Протокол определения удельного электрического сопротивления грунта в лабораторных условиях

№ п/п

Адрес пункта отбора проб

№ пункта по схеме

Электрическое сопротивление грунта R, кОм

Удельное электрическое сопротивление, ρ Ом*м

Коррозионная агрессивность грунта

1

2

3

4

5

6

Анализ провел _____________________

«_____» _______ _________ год

Приложение В

Протокол измерений разности потенциалов при определении наличия постоянных блуждающих токов в земле

Город _____________________________

Вид подземного сооружения и пункта измерения _____________________________

Дата ______________________________

Время измерения начало _____________, конец _______________________________

Тип и № прибора __________________________________________________________

Класс точности прибора не ниже 1,5

Результаты измерений, в мВ

t, мин./с

0

10

20

30

40

50

1      Uизм.

 

 

 

 

 

 

2      Uизм.

 

 

 

 

 

 

3      Uизм.

 

 

 

 

 

 

4      Uизм.

 

 

 

 

 

 

5      Uизм.

 

 

 

 

 

 

6      Uизм.

 

 

 

 

 

 

7      Uизм.

 

 

 

 

 

 

8      Uизм.

 

 

 

 

 

 

9      Uизм.

 

 

 

 

 

 

10    Uизм.

 

 

 

 

 

 

Протокол измерений потенциала трубопровода при определении опасности постоянных блуждающих токов для действующих трубопроводов

Город ____________________________

Вид подземного сооружения и пункта измерения _____________________________

Дата _____________________________

Время измерения начало ____________, конец ________________________________

Тип и № прибора __________________________________________________________

Класс точности прибора не ниже 1,5

Измеренное значение стационарного потенциала вспомогательного электрода ВЭ относительно МЭС ________________________________________________________

Результаты измерений, в мВ

t, мин./с

0

10

20

30

40

50

1      Uизм.

 

 

 

 

 

 

2      Uизм.

 

 

 

 

 

 

3      Uизм.

 

 

 

 

 

 

4      Uизм.

 

 

 

 

 

 

5      Uизм.

 

 

 

 

 

 

6      Uизм.

 

 

 

 

 

 

7      Uизм.

 

 

 

 

 

 

8      Uизм.

 

 

 

 

 

 

9      Uизм.

 

 

 

 

 

 

10    Uизм.

 

 

 

 

 

 

 

U = Uизм. - Uст, В

Оценка опасности коррозии

при Uизм. наиболее отрицательном

при Uизм. наиболее положительном

1

2

3

Приложение Г

Протокол измерений смещения потенциала трубопровода при определении опасного влияния переменного тока

Город _______________________________

Вид подземного сооружения и пункта измерения _____________________________

Дата ________________________________

Время измерения начало _______________, конец _____________________________

Тип и номер прибора __________________

Класс точности прибора не ниже 1,5

Измеренное значение стационарного потенциала вспомогательного электрода ВЭ относительно МЭС ________________________________________________________

Результаты измерений, мВ

t, мин/с

0

10

20

30

40

50

1

 

 

 

 

 

 

2

 

 

 

 

 

 

3

 

 

 

 

 

 

4

 

 

 

 

 

 

5

 

 

 

 

 

 

6

 

 

 

 

 

 

7

 

 

 

 

 

 

8

 

 

 

 

 

 

9

 

 

 

 

 

 

10

 

 

 

 

 

 

Камеральная обработка измерений

Число измерений

Сумма мгновенных значений

Средняя величина

Среднее значение смещения

1

2

3

4

Оценка опасности коррозии под действием переменного тока

__________________________________________________________________________

(опасно, неопасно)

Измерил __________________                                            Проверил _________________

Обработал ________________

Протокол измерений плотности переменного тока при определении опасного влияния переменного тока

Город _______________________________

Вид подземного сооружения и пункта измерения _____________________________

Дата ________________________________

Время измерения начало ______________, конец _____________________________

Тип и номер прибора __________________

Класс точности прибора не ниже 1,5

Результаты измерений мгновенной силы переменного тока, мА

t, мин/с

0

10

20

30

40

50

1

 

 

 

 

 

 

2

 

 

 

 

 

 

3

 

 

 

 

 

 

4

 

 

 

 

 

 

5

 

 

 

 

 

 

6

 

 

 

 

 

 

7

 

 

 

 

 

 

8

 

 

 

 

 

 

9

 

 

 

 

 

 

10

 

 

 

 

 

 

Камеральная обработка измерений

Число измерений

Сумма мгновенных значений силы переменного тока, J, мА

Среднее значение силы переменного тока, J, мА

Среднее значение плотности переменного тока, j, мА/см2

1

2

3

4

Оценка опасности коррозии под действием переменного тока

________________________________________________________________________

(опасно, неопасно)

Измерил __________________                                            Проверил_________________

Обработал ________________

Приложение Д

Основные положения методических указаний по стендовым испытаниям защитных антикоррозионных покрытий для подземных стальных теплопроводов

1 Стендовые испытания защитных антикоррозионных покрытий для подземных трубопроводов [7] имеет целью в относительно короткий срок выявить защитные свойства покрытий для сопоставительной оценки и отбора наиболее эффективных из них.

2 Защитное антикоррозионное покрытие, нанесенное на наружную поверхность стальных труб под тепловую изоляцию, должно обладать высокими защитными свойствами, чтобы в условиях характерных для эксплуатации подземных тепловых сетей (под воздействием тепла, влаги, одновременным воздействием тепла и влаги, воздействием агрессивных сред и блуждающих токов), обеспечивая надежную защиту трубопроводов от наружной коррозии в течение всего расчетного срока службы тепловой сети, который в методических указаниях [7] принят равным 25 годам. Оценка стойкости покрытия применительно к условиям такой длительной эксплуатации возможна лишь путем ускоренных испытаний. Продолжительность испытаний может быть сокращена за счет проведения их при более жестких, чем эксплуатационные, режимах по температуре, влажности и другим факторам.

3 Стендовые испытания не могут в полной мере моделировать эксплуатационные условия работы защитного антикоррозионного покрытия на трубопроводах тепловой сети и, особенно, длительность воздействия тех или иных факторов. Поэтому результаты, получаемые при стендовых испытаниях покрытия на старение, позволяют дать лишь сравнительную оценку защитных свойств покрытия. В задачу испытаний входит не определение срока службы того или иного покрытия, а сопоставительная оценка и отбор наиболее стойких покрытий, способных в течение длительного времени сохранять защитные свойства в эксплуатационных условиях.

4 Стендовые испытания защитного покрытия на старение включают следующие основные виды испытаний:

¨     на термостойкость;

¨     на термовлагостойкость;

¨     на воздействие агрессивных сред;

¨     на воздействие блуждающих токов.

Дополнительно покрытие может быть подвергнуто испытаниям на истирание, в случае если оно предназначено к применению в бесканальных прокладках тепловых сетей.

5 Стендовые испытания защитного антикоррозионного покрытия включают два этапа: предварительные (оценочные) испытания и испытания по полной программе.

Предварительные (оценочные) испытания предусматривают проверку термостойкости защитного покрытия в сушильных шкафах (термостатах) и термовлагостойкости в гигростатах. Испытания проводятся на плоских образцах.

Испытаниям по полной программе подвергаются защитные покрытия, удовлетворительно выдержавшие оценочные испытания.

6 В основу расчета режима испытаний на термостойкость по полной программе положен наиболее распространенный температурный график работы водяных тепловых сетей 150/70 °С и продолжительность стояния минимальных температур наружного воздуха, характерная для средней полосы европейской части России. Анализ климатологических данных показывает, что продолжительность работы водяной тепловой сети с максимальной температурой теплоносителя 147 - 150 °С для средней полосы составляет, в среднем, около 60 ч в год. За период расчетного срока службы тепловой сети продолжительность работы тепловой сети с максимальной температурой теплоносителя составляет ~ 1500 ч. Для ужесточения условий испытаний защитного покрытия на термостойкость продолжительность испытаний принята на 25 % больше - 1875 ч, а температура равной 150 °С.

Испытания на термостойкость проводятся на моделях труб с тепловой изоляцией и на плоских образцах без тепловой изоляции. Режим испытаний предусматривает периодические (один раз в сутки) снижения температуры до 20 - 25 °С.

Проверка защитного покрытия на термостойкость проводится на 10 моделях труб, имеющих внутренний электрообогрев. Осмотр покрытия производится через 500, 1000, 1500 и 1875 ч. При каждом осмотре две трубы снимаются с дальнейших испытаний, с них удаляется тепловая изоляция, и защитное покрытие подвергается осмотру, при котором определяется изменение внешнего вида покрытия, фиксируется наличие и характер разрушений, проверяется сплошность и адгезия, дается общая оценка состояния покрытия на момент осмотра.

Параллельно с испытаниями на моделях труб термостойкость покрытия проверяется на плоских образцах без тепловой изоляции. Основной задачей этих испытаний является проверка изменения физико-механических показателей покрытия при длительном воздействии тепла при высоких температурах. Режим испытаний на плоских образцах аналогичен режиму испытаний на моделях труб; продолжительность испытаний составляет 1875 ч. Осмотр и определение физико-механических показателей производится через каждые 250 ч. На всех образцах проверяется сплошность защитного покрытия, измеряется удельное объемное электрическое сопротивление (УОЭС). При осмотрах с испытаний снимается 5 образцов, на которых проверяется ударная прочность, адгезия, гибкость.

7 Продолжительность испытаний защитного покрытия на термовлагостойкость по полной программе определяется из расчета двух полных увлажнений тепловой изоляции в год (это соответствует весеннему и осеннему периодам работы тепловой сети), что за расчетный срок службы тепловой сети, принятый равным 25 годам, составляет 50 циклов «увлажнение-сушка». Испытания проводятся на моделях труб с тепловой изоляцией. При испытаниях продолжительность одного цикла увлажнения и последующего высыхания тепловой изоляции, нанесенной на образец, принята равной одной неделе. Полное увлажнение тепловой изоляции на моделях труб достигается погружением образцов в сосуды с водой.

Для испытаний на термовлагостойкость принята температура 75 °С, при которой в условиях подземных прокладок тепловых сетей скорость коррозии стальных трубопроводов достигает максимального значения.

Испытания защитного покрытия на термовлагостойкость проводится параллельно на 10 моделях труб и на плоских образцах. Осмотры защитного покрытия на моделях труб производятся через 5, 10, 15 … 50 циклов. При каждом осмотре с испытаний снимаются и освобождаются от тепловой изоляции две трубы. При осмотре определяется изменение внешнего вида покрытия, наличие и характер разрушений покрытия, отмечается наличие и характер коррозии металла под покрытием, проверяется сплошность и адгезия покрытия, дается общая оценка состояния покрытия на момент осмотра.

Параллельно с испытаниями на моделях труб термовлагостойкость покрытия проверяется на плоских образцах без тепловой изоляции. В задачу этих испытаний входит определение изменений физико-механических показателей покрытия при одновременном воздействии на него тепла и влаги. Режим испытаний на плоских образцах аналогичен режиму испытаний на моделях труб. Суммарная продолжительность испытаний покрытия на термовлагостойкость в гигростате на плоских образцах составляет 1500 ч. Осмотр и оценка состояния покрытия на образцах производится через каждые 200 ч. На всех образцах проверяется сплошность покрытия, измеряется УОЭС; на части образцов проверяется ударная прочность и адгезия.

8 Испытания защитного покрытия на стойкость к воздействию агрессивных сред проводятся в растворе соляной кислоты со значением водородного показателя рН, равного 2,5, в растворе едкого натра со значением рН, равным 10,5, и в 3 %-ном растворе хлористого калия. Продолжительность испытания в каждой из сред принимается равной 3000 ч. Испытания проводятся при комнатной температуре. Осмотр образцов производится через 250 - 500 - 1000 - 1500 … 3000 ч.

9 Испытания под воздействием приложенных электрических потенциалов проводятся при значениях потенциалов, равных плюс 0,5 В; плюс 1,0 В; минус 0,5 В; минус 1,0 В. Продолжительность испытаний при каждом из указанных режимов составляет 1500 ч. Испытания проводятся при комнатной температуре. В качестве электролита при испытаниях применяется 3 %-ый раствор хлористого калия. Осмотр образцов производится через 250 - 500 - 1000 - 1500 ч.

10 При проведении стендовых испытаний защитного покрытия отклонения от заданных режимных параметров должны быть не более:

по температуре при испытаниях на термостойкость - 5 °С;

по температуре при испытаниях на термовлагостойкость ±5 °С;

по водородному показателю рН при испытаниях в кислых и щелочных средах ±0,5;

по напряжению при испытаниях с приложенными электрическими потенциалами ±0,05 В.

11 После полного цикла стендовых испытаний защитное антикоррозионное покрытие должно сохранять физико-механические показатели, приведенные в п. 5.7 настоящей Типовой инструкции.

12 Защитные антикоррозионные покрытия, имеющие первоначальные (до начала испытаний) физико-механические показатели, не соответствующие указанным выше техническим требованиям, стендовым испытаниям не подлежат.

13 Особенности испытаний защитных антикоррозионных покрытий для условий применения в бесканальных прокладках теплопроводов, а также силикатноэмалевых покрытий, подробно освещены в [7].

Для испытаний силикатноэмалевых покрытий, для которых в связи с технологическими особенностями их нанесения не представляется возможным подготовить типовые образцы (модели труб с фланцами и пластины), образцы изготавливаются из стальных эмалированных труб диаметром 325/310 мм.

Режимы испытаний и схемы установок для испытаний силикатноэмалевых покрытий указаны в [7].

Защитные антикоррозионные покрытия, предназначенные для применения в бесканальных прокладках тепловых сетей, должны быть подвергнуты испытаниям на истирание. Испытания проводятся на трубе диаметром 108 × 4 мм длиной 1500 мм. В трубе при испытаниях создается циркуляция воды с температурой 70 - 80 °С. Продолжительность испытания составляет 500 ч.

Покрытия должны сохранять защитные свойства после поступательно-возвратных перемещений трубы с покрытием при суммарной длине перемещений 250 м, под нагрузкой на трубу от давления грунта 2300 кгс/м2. В качестве грунта применяется смесь речного песка с 10 - 15 % (по массе) гравийно-щебеночных включений.

Осмотр покрытия производится после полного срока испытаний. При осмотре контролируется сплошность и измеряется толщина покрытия в закоординированных точках.

Приложение Е

Рекомендации по применению защитных антикоррозионных покрытий при проведении строительно-монтажных и ремонтно-восстановительных работ на тепловых сетях

Целесообразность применения того или иного защитного покрытия определяется назначением* теплопровода и видами проводимых работ, которые направлены на обеспечение эксплуатационной надежности тепловых сетей (таблица Е.1).

Таблица Е.1

Виды работ, проводимых на тепловых сетях

Назначение тепловых сетей и вид рекомендуемых покрытий

Магистральные тепловые сети

 

Сети центрального отопления

Сети горячего водоснабжения

Антикоррозионная защита вновь сооружаемых тепловых сетей

Лакокрасочные

Силикатноэмалевые**

Металлизационное**

Алюмокерамическое**

 

Лакокрасочные

Лакокрасочные

Силикатноэмалевые**

Антикоррозионная защита при реконструкции тепловых сетей

Лакокрасочные

Силикатноэмалевые**

Металлизационное**

Алюмокерамическое**

 

Лакокрасочные

Лакокрасочные

Силикатноэмалевые**

Антикоррозионная защита при текущем ремонте и ликвидациях повреждений тепловых сетей

Лакокрасочные

 

Лакокрасочные

Лакокрасочные

Примечания.

* В рамках данной Типовой инструкции применяется следующее разделение тепловых сетей в зависимости от их назначения:

магистральные тепловые сети, обслуживающие крупные жилые территории и группы промышленных предприятий - от источника тепла до центрального (ЦТП) или индивидуального (ИТП) теплового пункта;

квартальные (распределительные) тепловые сети (системы горячего водоснабжения и системы центрального отопления), обслуживающие группу зданий или промышленное предприятие - от центрального (ЦТП) или индивидуального (ИТП) теплового пункта до присоединения к сетям отдельных зданий.

** При применении данных покрытий требуется последующая антикоррозионная защита сварных соединений и элементов трубопроводов тепловых сетей лакокрасочными материалами.

Приложение Ж

АКТ приемки защитного антикоррозионного покрытия.

г. __________________                                               «_____» _______________200 _ года

Объект __________________________________________________________________

Комиссия в составе представителей:

строительно-монтажной организации _________________________________________

__________________________________________________________________________

(наименование организации, должность, инициалы, фамилия)

Заказчика ________________________________________________________________

_________________________________________________________________________

(наименование организации, должность, инициалы, фамилия)

Генерального подрядчика ___________________________________________________

__________________________________________________________________________

(наименование организации, должность, инициалы, фамилия)

составила настоящий акт о нижеследующем:

1.________________________________________________________________________

(наименование сооружения, строительных конструкций, их краткая техническая характеристика)

2. ________________________________________________________________________

(описание выполненного защитного покрытия)

3. Объем выполненных работ ________________________________________________

4. Дата начала работ ________________________________________________________

5. Дата окончания работ _____________________________________________________

Работы выполнены в соответствии с ППР, технологической инструкцией по нанесению покрытия и отвечают требованиям их приемки. Документация на покрытие представлена в полном (неполном) объеме.

___________________________________________________________________________

___________________________________________________________________________

___________________________________________________________________________

Качество выполненных работ:

Толщина антикоррозионного покрытия на трубопроводе

Подающий _________________________________________________________________

Обратный __________________________________________________________________

Адгезия антикоррозионного покрытия к металлу трубопровода

Подающий ________________________________________________________________

Обратный _________________________________________________________________

Сплошность антикоррозионного покрытия

Подающий ________________________________________________________________

Обратный _________________________________________________________________

Видимые дефекты антикоррозионного покрытия на трубопроводе

Подающий ________________________________________________________________

Обратный _________________________________________________________________

Качество антикоррозионного покрытия на трубопроводе проверил __________________________________________________________________________

(Ф. И. О., должность)

Представитель строительно-монтажной организации                                                                        ________________________

Представитель Заказчика                                                     ________________________

Представитель Генерального подрядчика                        _________________________

Журнал производства антикоррозионных работ

Наименование объекта ____________________________________________________

Основание для выполнения работ __________________________________________

(договор, наряд)

Производитель работ ______________________________________________________

Начало ___________________________________________________________________

Окончание _______________________________________________________________

В журнале пронумеровано ______________________ страниц.

М. Подпись администрации организации, выдавшей журнал

 

Дата (число, месяц, год), смена

Наименование работ и применяемых материалов (пооперационно)

Объем работ

Температура во время выполнения работ, °С

ГОСТ, ОСТ, ТУ на применяемые материалы

Число нанесенных слоев и их толщина, мм

Температура, °С, и продолжительность сушки отдельных слоев покрытия, ч

Фамилия и инициалы бригадира (специалиста), выполнявшего защитное покрытие

Дата и номер акта освидетельствования выполненных работ

Фамилия, инициалы и подпись лица, принимающего покрытие

Примечание

На поверхности

Окружающего воздуха на расстоянии не более 1 м от поверхности

 

 

 

 

 

 

 

 

 

 

 

 

 

 

 

 

 

 

 

 

 

 

 

 

 

 

 

 

 

 

 

 

 

 

 

 

Приложение И

Рекомендации по применению средств ЭХЗ от наружной коррозии трубопроводов действующих тепловых сетей в зависимости от продолжительности эксплуатации теплопроводов в коррозионноопасных условиях

Условный диаметр трубопровода, мм

Первоначальная толщина стенки трубы, мм

Предельная продолжительность эксплуатации теплопроводов в коррозионноопасных условиях, до которой целесообразно применение средств ЭХЗ* τ, лет

100 - 200

3,5 - 6,0

2 - 3

300 - 400

6,0 - 7,0

3 - 4

500 - 700

7,0 - 8,0

4 - 5

800 - 1000

8,0 - 10,0

5 - 7

1200 - 1400

11,0 - 14,0

7 - 8

*Примечания.

1. Указанные предельные значения приняты исходя из средней скорости наружной коррозии трубопроводов тепловых сетей 1,1 мм/год при непрерывном контакте поверхности трубопроводов с увлажненной теплоизоляцией.

2. Допускается корректировка τ в сторону увеличения или уменьшения с учетом коррозионного состояния трубопроводов при условии проведения их технического освидетельствования [8], анализа коррозионных повреждений и вызывающих их факторов.

Приложение К

Блоки пластин-индикаторов скорости коррозии

Прямая оценка возможности коррозии может производиться с помощью блоков пластин-индикаторов типа БПИ-1 и БПИ-2. Первые применяются на трубопроводах канальной прокладки с ЭХЗ в пунктах установки вспомогательных электродов (ВЭ), вторые независимо от наличия или отсутствия ЭХЗ на участках прокладки трубопроводов в футлярах на поверхности трубопроводов внутри футляра, а также в тепловых камерах.

1. БПИ-1 (рис. К.1) состоит из двух пластин квадратной формы, изготовленных из стали ст. 3 толщиной 1,5 ÷ 2,0 мм, закрепленных на диэлектрической пластине из фторопласта. Одна из пластин с помощью приварки имеет контакт с трубопроводом. На рис. К.2 приведены схемы и зоны установки БПИ-1 непосредственно на поверхности подающего и обратного трубопроводов.

Блок пластин-индикаторов БПИ-1 для инструментального контроля эффективности ЭХЗ трубопроводов тепловых сетей канальной прокладки

1 - монтажная диэлектрическая пластина из фторпласта; 2 - контрольная пластина без контакта с трубопроводом; 3 - то же, с контактом с трубопроводом; 4 - крепежный винт; 5 - диэлектрическая втулка; 6 - участок электросварки пластины 3 с трубопроводом; 7 - термостойкое антикоррозионное покрытие.

Рис. К.1

1.1 Количество устанавливаемых БПИ-1 в зоне нижней образующей трубопроводов на участке «пять часов» (см. рис К.2) должно быть не менее двух.

Рис. К.2

Кроме того, в том же сечении трубопровода (подающего или обратного) на его поверхности (или на поверхности теплоизоляционной конструкции) при постоянном отсутствии ее затопления также устанавливают один блок пластин-индикаторов. В случаях полного затопления трубопровода в указанном сечении на поверхности его теплоизоляционной конструкции устанавливают диэлектрическую прокладку, толщина которой должна исключать возможность затопления БПИ-1.

Установка указанного БПИ-1 обусловлена необходимостью количественной оценки и характера возможного протекания процесса атмосферной коррозии на поверхности трубопроводов.

1.2 Одну из пластин каждого БПИ-1, устанавливаемых в районе нижней образующей трубопроводов, присоединяют непосредственно к трубопроводу на точечной сварке отводов от пластин-индикаторов (рис. К.2).

Отвод от пластин-индикаторов, устанавливаемых на верхней образующей трубопроводов, должен быть отогнут от поверхности трубы или удален, т.к. в указанной зоне индикаторы не должны иметь электрического контакта с трубопроводом или металлической сеткой.

1.3 После установки БПИ-1 их пластины обезжиривают ацетоном, промывают дистиллированной (или кипяченой) водой и удаляют влагу.

1.4 Составляют протокол на установку БПИ-1 с указанием:

¨     пункта установки БПИ-1 с привязками;

¨     даты установки;

¨     толщины пластин-индикаторов δисх, измеренной после зачистки шлифовальной шкуркой микрометром типа МК с ценой деления 0,01 мм.

1.5 Для установления периода снятия (демонтажа) с трубопроводов БПИ-1 должна контролироваться (ориентировочно) суммарная продолжительность затопления канала (тепловой камеры) в зонах установки БПИ-1, при которой уровень воды достигает нижней образующей трубопроводов.

1.6 Контроль наличия или отсутствия затопления канала в зоне установки БПИ-1 должен производиться не реже двух раз в месяц, что совпадает с периодичностью технического осмотра катодных установок в соответствии с требованиями нормативно-технической документации.

1.7 Время демонтажа первого БПИ-1 определяется в зависимости от суммарной продолжительности затопления каналов (камер) до уровня установки БПИ-1.

Исходя из величины средней скорости коррозии подающих трубопроводов тепловых сетей 1,1 мм/год с теплоизоляционной конструкцией и 1,25 мм/год без теплоизоляционной конструкции время демонтажа первого блока пластин-индикаторов должно наступить через 350 - 400 дней суммарной продолжительности затопления БПИ-1.

Демонтаж второго блока БПИ-1 производят при суммарной продолжительности затопления 600 - 650 дней.

1.8 Время демонтажа может корректироваться на основе данных визуального осмотра БПИ-1, если осмотр дает достаточную информацию о коррозионном состоянии пластин. Например, если толщина продуктов коррозии на пластине, присоединенной к трубопроводу, не превышает толщины слоя продуктов коррозии на пластине блока, установленного выше уровня затопления канала. В том случае, если толщина слоя продуктов коррозии превышает 1,5 мм, следует принять решение о демонтаже одного БПИ-1.

1.9 БПИ-1, установленный в зоне нижней образующей трубопровода, отгибают от трубопровода, затем отпиливают ножовкой по металлу или срубают зубилом.

Блок, установленный в зоне отсутствия затопления трубопровода, освобождают от крепления хомутом, затем снимают одну из пластин, устанавливают блок на прежнее место и закрепляют его хомутом.

1.10 В лабораторных условиях поверхности пластин с помощью деревянного шпателя очищают от рыхлых продуктов коррозии и подвергают катодному травлению в 8 %-ном растворе гидрата окиси натрия при плотности тока 15 - 20 А/дм2 до полного удаления продуктов коррозии.

Катодное травление производят в эмалированной емкости с размерами 200 × 150 × 80 мм и объемом электролита 2,0 - 2,5 л, где размещают одну или две пластины (катод) и стальную пластину (анод). К пластинам-индикаторам подключают отрицательный полюс источника постоянного тока, к пластине-аноду - положительный полюс. При установке силы тока в цепи «анод-катод» следует учитывать общую площадь пластин-индикаторов.

После удаления продуктов коррозии пластины-индикаторы промывают дистиллированной водой и высушивают.

1.11 Оценку коррозионного состояния пластин-индикаторов производят путем измерения остаточной толщины пластин и глубины их коррозионных повреждений (язвы, каверны, питтинги).

Измерения остаточной толщины пластин δост производят с помощью микрометра типа МК с ценой деления 0,01 мм. Глубину локальных коррозионных повреждений L определяют с помощью прибора - глубиномера игольчатого типа с ценой деления 0,01 мм.

1.12 Вычисляют уменьшение толщины пластины-индикатора вследствие атмосферной коррозии по разности начальной (исходной) и остаточной толщины пластины-индикатора 1, снятой с блока пластин-индикаторов, располагавшегося в зоне, не подвергавшейся затоплению трубопровода по формуле (К.1):

(1) = δ(1)исх - δ(1)ост, мм                                                  (К.1)

1.13 Вычисляют уменьшение толщины пластины-индикатора 2, не имевшей электрического контакта с трубой, вследствие атмосферной коррозии в периоды отсутствия затопления трубопровода и коррозии в результате ее контакта с водой при затоплении трубопровода по формуле (К.2):

(2) = δ(2)исх - δ(2)ост, мм                                                     .2)

1.14 Вычисляют максимальную глубину проникновения коррозии на пластине-индикаторе 2 по формуле (К.3):

L(2)макс = (2) + L(2)макс.изм., мм                                                   (К.3)

где L(2)макс.изм. - измеренная величина глубины проникновения коррозии с помощью глубиномера относительно δ(2)ост., мм.

1.15 Вычисляют по формуле (К.4) уменьшение толщины пластины-индикатора 3, имевшей электрический контакт с трубой, вследствие атмосферной коррозии, в периоды отсутствия затопления трубопровода, а также вследствие отключения станции катодной защиты или недостаточной эффективности ее действия при наличии затопления трубопровода:

(3) = δ(3)исх - δ(3)ост, мм                                                       (К.4)

1.16 Вычисляют максимальную глубину проникновения коррозии на пластине-индикаторе 3 по формуле (К.5):

L(3)макс = (3) + L(3)макс.изм., мм,                                               (К.5)

где L(3)макс.изм. - измеренная величина проникновения коррозии с помощью глубиномера относительно δ(3)ост., мм.

1.17 Действие ЭХЗ трубопроводов (при отсутствии отказов в работе ЭХЗ) может быть признано эффективным, если полученные значения (3) не превышают значения (1) более, чем на 50 %, а значение L(3)макс составляет не более 20 % от значения L(2)макс.

Указанные допущения обусловлены возможностью протекания процесса коррозии на уровне ватерлинии при действии средств ЭХЗ.

1.18 Перед установкой БПИ-1 на действующих теплопроводах, а также перед проведением визуального обследования и демонтажа блоков пластин-индикаторов следует отключать станции катодной защиты.

2 Сущность метода прямой оценки возможности коррозии с применением БПИ-2 заключается в том, что с помощью набора пластин-индикаторов, имеющих разные толщины, оценивается порядок скорости коррозии, как при наличии, так и при отсутствии средств ЭХЗ трубопроводов в месте установки БПИ-2 по времени от момента его установки до потери продольной электропроводимости пластин в результате коррозии.

2.1 БПИ-2 (рис. К.3) состоит из трех пластин, изготовленных из стали Ст. 3 толщиной 0,3; 0,4 и 0,5 мм, рабочей длиной около 20 мм и шириной по 2 мм. Расстояние между пластинами 2 мм.

Пластины-индикаторы 2 с помощью пайки или контактной сварки укреплены на контрольной пластине 1. К свободным концам пластин-индикаторов и контрольной пластине присоединены изолированные проводники 3. БПИ-2 вмонтирован в пластмассовый корпус таким образом, что внутренние поверхности пластин изолированы от внешней среды.

БПИ-2 может быть установлен непосредственно на поверхности трубопровода или теплоизоляционной конструкции (рис. К.4), либо на корпусе стационарного медносульфатного электрода сравнения типа ЭСН-МС или ЭНЕС-1 (рис. К.5).

Блок индикаторов БПИ-2 (без корпуса)

1 - контрольная пластина; 2 - пластина-индикатор; 3 - контрольные проводники; 4 - указатель толщины пластины-индикатора.

Рис. К.3

2.2 В обоих вариантах установки проводники от пластин БПИ-2, трубопровода и (во втором варианте установки) от электрода сравнения присоединяются к специальному клеммнику, располагаемому либо в горловине фальшколодца, КИПе, либо в металлическом корпусе на стене здания. Схема клеммника с присоединенными к нему контрольными проводниками, приведена на рис. К.4 и рис. К.5. Электроперемычка между контрольными проводниками от трубопровода (клемма «Т») и от контрольных пластин размыкается лишь на период измерений потенциала трубопровода.

2.3 Методика измерений на месте установки БПИ-2 сводится к определению электросопротивления в цепях «индикаторы-трубопровод» с помощью омметра (например, мультиметра типа 43313.1) и не зависит от способа установки БПИ-2 (на поверхности трубопровода или на корпусе электрода сравнения).

2.4 Порядок измерений:

Подключают измерительные провода к клеммам «КП» и «03». Устанавливают переключатель мультиметра в положение, соответствующее измерению сопротивления в диапазоне 0 - 200 Ом.

Схема контроля электропроводимости индикаторов при установке блока индикаторов БПИ-2 на поверхности трубопровода

1 - блок индикаторов; 2 - крепежный хомут; 3 - защитная трубка; 4 - клеммник; 5 - контрольные проводники от трубопровода, контрольной пластины блока индикаторов, пластин-индикаторов; 6 - омметр.

Рис. К.4

Схема контроля электропроводимости индикаторов и измерения потенциала трубопровода при установке блока индикаторов БПИ-2 на стационарном электроде сравнения

1 - стационарный медносульфатный электрод сравнения; 2 - блок индикаторов (датчик потенциала) с толщиной пластин 0,3; 0,4; 0,5 мм; 3 - защитная трубка; 4 - клеммник в контрольно-измерительном пункте; 5 - прибор типа 43313.1; 6 - омметр; 7 - контрольные проводники от трубопровода, электрода сравнения, контрольной пластины блока индикаторов, пластин-индикаторов; 8 - электроперемычка.

Примечание. При использовании прибора типа ПКИ-02 проводник от трубопровода присоединяют к клемме прибора

Рис. К.5

Подключают измерительные провода к гнездам мультиметра для измерений электросопротивления, например: /C и */ИЭ в приборе 43313.1.

Включает мультиметр, например, 43313.1 - нажатием кнопки 1/0. При этом на ЦОУ (цифровом отсчетном устройстве) должна появиться индикация.

Значение сопротивления менее и более 10 Ом свидетельствует о том, что пластина толщиной 0,3 мм, соответственно, не разрушена и разрушена. Если пластина толщиной 0,3 мм разрушена, аналогичные измерения проводят на пластинах толщиной 0,4 и 0,5 мм. Если разрушена и пластина толщиной 0,4 мм, измерения продолжают на пластине толщиной 0,5 мм.

2.5 Измерения в местах, где установлены БПИ-2, начинают в день установки БПИ-2 и далее с периодичностью в 6 месяцев.

После срабатывания одной из пластин-индикаторов на данном КИП измерительные работы производятся через каждые 2 месяца.

2.6 Определение скорости коррозии (К) после фиксации коррозионного разрушения пластины-индикатора производится по формуле (К.6):

К ≈ (365·δ)/τ, мм/год                                                            (К.6)

где: δ - толщина пластины, мм;

τ - число суток от момента установки блока индикаторов до первой фиксации разрушения индикаторов, сут.

Примечание. При срабатывании более одной пластины в расчете К принимается 5 пластины, имеющей большую толщину.

2.7 При срабатывании всех пластин-индикаторов в тех случаях, когда осуществлялась ЭХЗ с помощью протекторов стержневого типа, установленных в зазоре между трубопроводом и футляром, необходима замена протекторов. В случаях отсутствия средств ЭХЗ следует предусмотреть (при наличии технической возможности) установку протекторов в зазоре между трубопроводом и футляром.

Приложение Л

Примерные расчетные схемы размещения и количества магниевых протекторов стержневого типа в сечении трубопровода

Рис. Л.1

Примечание. Полный альбом расчетных схем смотри в «Типовом проекте по электрохимической защите от наружной коррозии на локальных участках» (СКТБ ВКТ филиал АО «Мосэнерго»)

Приложение М

Рекомендации по определению расчетным методом параметров ЭХЗ вновь сооружаемых и реконструируемых тепловых сетей канальной и бесканальной прокладок при совместной защите подземных сооружений различного назначения

1 При определении параметров ЭХЗ за основной расчетный параметр принимается средняя плотность защитного тока, представляющая собой отношение значения тока защитной установки к суммарной поверхности трубопроводов, защищаемых данной установкой.

2 Исходными данными для расчета параметров катодной защиты являются технические характеристики (диаметр, протяженность) защищаемых подземных сооружений, а также удельное электрическое сопротивление грунта по трассе вновь сооружаемых тепловых сетей.

3 Площадь поверхности (м2) каждого из трубопроводов, которые имеют между собой соединения, обеспечивающие электрический контакт, либо соединяемые специальными перемычками, определяется по формуле:

                                                        (М.1)

где di - диаметр трубопровода, мм;

li - длина участка трубопровода, имеющего диаметр di, м.

По формуле (М.1) определяют площади поверхности трубопроводов тепловых сетей, проложенных в каналах, Sтеп, газопроводов Sг, водопроводов Sв. Поверхность трубопроводов тепловых сетей бесканальной прокладки суммируется с поверхностью водопроводов, поэтому здесь и ниже величина Sтеп относится к действующим трубопроводам тепловых сетей канальной прокладки.

Суммарная площадь поверхности всех совместно защищаемых трубопроводов, в т.ч. вновь сооружаемых (или реконструируемых трубопроводов тепловых сетей бесканальной прокладки), электрически связанных между собой, равна:

ΣS = Sтеп + Sг + Sв                                                                                            (М.2)

4 Доля поверхности каждого из трубопроводов в общей массе подземных сооружений, %, определяется по формулам:

трубопроводов тепловых сетей

                                                                (М.3)

водопроводов

                                                                               (М.4)

газопроводов

                                                               (М.5)

5 Плотность поверхности каждого из сооружений, приходящуюся на единицу поверхности территории (зоны защиты), м2/га, определяется по формулам:

трубопроводов тепловых сетей

                                                                   (М.6)

газопроводов

                                                                                   (М.7)

водопроводов

                                                                                   (М.8)

где Sтер - площадь территории, занимаемой защищаемыми сооружениями, га.

6 Средняя плотность тока, необходимая для защиты трубопроводов, определяется по формуле:

j = 30 - (100в + 128c + 34d + 3e + 0,6f + 5ρ)·103, мА/м2,                    (М.9)

где ρ - удельное электрическое сопротивление грунта, Ом·м.

7 Если значение средней плотности защитного тока, полученное по формуле (М.9), менее 10 мА, то в дальнейших расчетах следует принимать j = 10 мА/м2.

8 Значение суммарного защитного тока, который необходим для обеспечения катодной поляризации подземных сооружений, расположенных в данной зоне, равно:

Iзащ = 1,j·ΣS, А                                                      .10)

9 Выбор способа ЭХЗ производится из условий наличия опасности коррозии вновь сооружаемых трубопроводов тепловых сетей бесканальной прокладки и смежных сооружений. При прокладке тепловых сетей в грунтах высокой коррозионной агрессивности и при значительном удалении от рельсовой сети электрифицированного транспорта, работающего на постоянном токе (более 200 м), ЭХЗ целесообразно осуществлять с помощью преобразователей для катодной защиты.

Число преобразователей определяется из соотношения:

n = Iзащ/Iпр,                                                         .11)

где Iзащ - значение тока защиты, найденное по формуле (М.10);

Iпр - номинальное значение выходного тока преобразователя, А.

При определении числа преобразователей следует учитывать условия оптимального размещения анодных заземлителей (наличие площадок, удобных для размещения заземлителей), наличие источников питания и т.д.

10 После размещения преобразователей на совмещенном плане необходимо произвести расчет зоны действия каждого из них.

Радиус действия преобразователя определяют по формуле:

                                               .12)

где Iпр - ток преобразователя, для которого определяется радиус действия, А;

j - плотность защитного тока, А/м2;

К - удельная плотность подземных сооружений

                                                                     .13)

11 Если площади окружностей, радиусы которых соответствуют радиусам действия преобразователей (М.12), а центры находятся в точках размещения АЗ, не охватывают всей необходимой зоны защиты, следует изменить либо места расположения катодных установок, либо значения их токов защиты и вновь выполнить проверку, указанную в п. 9.

12 Тип преобразователя для катодной установки выбирается с таким расчетом, чтобы допустимое значение напряжения было на 30 % выше расчетного с учетом перспективного развития сети трубопроводов, старения защитных покрытий и АЗ.

13 Выбор оптимальных параметров анодного заземлителя следует производить согласно рекомендациям п. 7.8.5 настоящей Типовой инструкции.

14 В случаях сближения подземных трубопроводов с рельсовой сетью электрифицированных железных дорог, работающих на постоянном токе (на участках с устойчивыми отрицательными потенциалами рельсов относительно земли), или с рельсовой сетью трамвая (имеющей устойчивый отрицательный или знакопеременный потенциал), применяется усиленный автоматический электродренаж.

15 Радиус действия одного усиленного дренажа может быть ориентировочно определен по формуле:

                                                  (M.14)

где Iдр - среднее значение тока усиленного дренажа, А;

j - плотность защитного тока, А/м2;

К - удельная плотность подземных сооружений, определяемая по формуле (М.13).

16 Ток электродренажа определяется по формуле:

                                                   (М.15)

где Uдр - номинальное напряжение на выходе дренажной установки, В;

Rкаб - сопротивление дренажного кабеля, Ом;

0,05 - входное сопротивление защищаемых трубопроводов, Ом.

17 Участки трубопроводов за пределами радиуса действия усиленного дренажа защищаются с помощью преобразователей для катодной защиты.

Приложение Н

Таблица Н.1 - Технические характеристики токопроводящих эластомеров для распределенных заземлителей

Наименование параметров

Тип электрода

электрод штыревого типа ЭР-1

электрод кабельного типа ЭР-5

Электрод кабельного типа ЭР-6

электрод кабельного типа ЭР-6М

Скорость анодного растворения, кг/А.год

0,5

0,3

0,3

0,5

Допускаемая токовая нагрузка, А

0,5 - 0,8

на 1 электрод

0,7 - 0,9

на 1 п. м

0,4

на 1 п. м

0,4

на 1 п. м

Длина, м

1,67

56

120

 

Диаметр, мм

47

45

30

40

Масса, кг

5

-

-

 

Таблица Н.2 - Технические характеристики электродов из ферросилидов для анодных заземлителей

Наименование параметров

Тип электрода анодного заземлителя

АЗМ-ЗХ

ЭЖК-1000

Максимальный рабочий ток на 1 электрод, А

5

5

Длина электрода, м

1,5

1,0

Диаметр, мм

65

65

Масса, кг

35

23

Приложение П

Схема размещения в тепловом канале распределенных анодных заземлителей стержневого типа, расположенных перпендикулярно оси трубопроводов

1 - электроды АЗ стержневого типа; 2 - вспомогательные электроды; 3 - трубопровод; 4 - распределительный кабель; 5 - КИП у станции катодной защиты; 6 - электроперемычка; 7 - станция катодной защиты (преобразователь); 8 - КИП; 9 - уровень затопления канала; 10 - диэлектрические опоры.

Рис. П.1

Схема размещения в тепловом канале распределенных анодных заземлителей катодного типа из токопроводящих эластомеров или стальных трубопроводов

1 - электроды АЗ*; 2 - вспомогательные электроды; 3 - трубопровод; 4 - распределительный кабель; 5 - КИП у станции катодной защиты (СКЗ); 6 - электроперемычка; 7 - СКЗ (преобразователь); 8 - КИП; 9 - уровень затопления канала; 10 - диэлектрические опоры; 11 - электроперемычка между электродами АЗ.

Рис. П.2

Схема расположения в тепловом канале распределенных анодных заземлителей стержневого типа из ферросилидов, укладываемых вдоль канала

1 - электроды АЗ стержневого типа*; 2 - вспомогательный электрод; 3 - трубопровод; 4 - распределительный кабель; 5 - КИП у станции катодной защиты; 6 - электроперемычка; 7 - станция катодной защиты (преобразователь); 8 - КИП; 9 - уровень затопления канала; 10 - диэлектрические опоры.

* Количество секций электродов в сечении канала и их расположение определяется расчетным методом.

Рис. П.3

Приложение Р

Схема расположения протекторов в тепловом канале

1 - магниевые протекторы; 2 - вспомогательный электрод; 3 - трубопровод; 4 - распределительный кабель; 5 - КИП; 6 - электроперемычка; 7 - магниевые протекторы стержневого типа; 8 - диэлектрические опоры.

Рис. Р.1

Приложение С

Таблица С.1 - Технические данные магниевых гальванических анодов (без активаторов)

Тип анода

Габаритные размеры, мм

Масса, кг

В сечении

Длина

ПМ-5

75 × 100

500

5,0

ПМ-10

100 × 130

600

10,0

ПМ-20

155 × 175

610

20,0

ПМ-2,7

50 × 55

540

2,68

Приложение Т

Стационарные медносульфатные электроды длительного действия

1. Стационарные медносульфатные электроды длительного действия типа ЭНЕС и ЭСН-МС (рис. Т.1) состоят из пластмассового корпуса 1, заполненного в заводских условиях электролитом 2, незамерзающим при температуре окружающей среды до минус 40 °С, медного стержня 3, ионообменной мембраны 4 (одной или двух) с защитной сеткой 5, предохранительной трубки 6 с проводниками 7 от медного стержня 3 и наконечников 9. Электроды оснащены датчиком потенциала 8, представляющим собой пластину из ст. 3 размером 25 × 25 мм, вмонтированную в пластмассовое гнездо, закрепленное на корпусе электрода.

2. Основные параметры и размеры электрода ЭНЕС и ЭСН-МС следующие:

Переходное электрическое сопротивление электрода, кОм, в пределах         0,2 ÷ 15

Потенциал по отношению к хлорсеребряному электроду, мВ                          120 ± 30

Диаметр корпуса внутренний, мм, не более                                                       83

Количество электролита в корпусе, см3                                                               290 ÷ 300

Длина проводников, мм                                                                                         2000 ÷ 3000

Масса электрода полная, кг, не более                                                                  0,65

3. Таблица Т.1 - Состав незамерзающего электролита для заполнения электродов ЭНЕС и ЭСН-МС

Обозначение документа

Наименование составной части, единица измерения

Величина

ГОСТ 6709-72

Вода дистиллированная, см

200 ± 3

ГОСТ 4165-78*

Медь сернокислая хч или чда, растворяемая в воде, г

Сухой порошок сернокислой меди, г

65 ± 1,5

30 ± 1,5

ГОСТ 19710-83Е

Этиленгликоль первого или высшего сорта, см

100,0 ± 1,5

Стационарный медносульфатный электрод сравнения типа ЭСН-МС или ЭНЕС-1

1 - корпус; 2 - электролит; 3 - стержень из красной меди; 4 - ионообменная мембрана; 5 - защитная сетка; 6 - предохранительная трубка; 7 - проводники; 8 - датчик потенциала; 9 - наконечники.

Примечание. При контроле эффективности ЭХЗ трубопроводов тепловых сетей датчик потенциала не используется.

Рис. Т.1

Приложение У

Рекомендуемые формы приемо-сдаточной документации

АКТ
приемки строительно-монтажных работ

_______________________                                                           «___» _________ 200 __ г.

(регион)

По адресу _________________________________________________________________

Работы выполнены по проекту _______________________________________________

(наименование организации и № проекта)

Мы, нижеподписавшиеся:

От Заказчика ______________________________________________________________

(должность, фамилия)

От эксплуатирующей организации ____________________________________________

(должность, фамилия)

От строительной организации ________________________________________________

(должность, фамилия)

От технического надзора ____________________________________________________

(должность, фамилия)

От проектной организации ___________________________________________________

(должность, фамилия)

составили настоящий акт в том, что ___________________________________________

_________________________________________ выполнены в соответствии с проектом.

Комиссии были предъявлены следующие узлы строительно-монтажных работ:

1. Кабельные прокладки

а) кабель от преобразователя до АЗ марки ______________ уложен в траншее на глубине _______м, длиной __________м и защищен _____________________________

__________________________________________________________________________

(покрыт кирпичом, в трубах и т.д.)

По стене здания ____________________________________________________________

(способ прокладки, марка кабеля и длина)

В подвале здания ___________________________________________________________

(способ прокладки, марка кабеля и длина)

б) кабель от преобразователя до КУ марки ______________ уложен в траншее на глубине _______ м, длиной _________ м и защищен _____________________________

_________________________________________________________________________

(покрыт кирпичом, в трубах и т.д.)

По стене здания ____________________________________________________________

(способ прокладки, марка кабеля и длина)

В подвале здания ___________________________________________________________

(способ прокладки, марка кабеля и длина)

2. Анодное заземление

Выполнено по чертежу ______________________________________________________

а) электроды заземления выполнены из ________________________________________

(материал, профиль, сечение)

длиной __________ м, в количестве __________ шт. _____________________________

(с обсыпкой или без обсыпки)

б) внутренний электрод выполнен из __________________________________________

(материал, профиль, сечение)

_________________________________________________________________________

(наличие активатора или обсыпки)

в) общее сопротивление растеканию __________________________________________

3. Контактные устройства

а) КУ на ___________________ выполнено из __________________________________

(вид сооружения)

__________________________________________________________________________________

(материал, сечение, профиль)

По чертежу № ___________. Контакт с защищаемым сооружением осуществлен путем

__________________________________________________________________________

__________________________________________________________________________

Антикоррозионное покрытие на защищаемом сооружении ________________________

__________________________________________________________________________

б) КУ на __________________ выполнено из ___________________________________

(вид сооружения)

__________________________________________________________________________

(материал, сечение, профиль)

По чертежу № ___________. Контакт с защищаемым сооружением осуществлен путем

_________________________________________________________________________

_________________________________________________________________________

Антикоррозионное покрытие на защищаемом сооружении _______________________

_________________________________________________________________________

4. Электромонтажные работы

1. Установка ___________________ питается от сети переменного тока напряжением

___________ В, размещена __________________________________________________

_________________________________________________________________________

(место, метод крепления)

2. Электропроводка переменного тока выполнен _______________________________

__________________________________________________________________________

(марка, сечение, длина кабеля, провод)

Монтаж проводки осуществлен _______________________________________________

(по фасаду, в подвале, в земле и т.д.)

Место подключения ________________________________________________________

Устройство учета эл. Энергии _______________________________________________

3. Отключающее устройство выполнено _______________________________________

4. Защитное заземление выполнено по чертежу № _______________________________

5. Сопротивление растекания защ. заземления __________________________________

6. Электромонтажные работы выполнены в соответствии с актом приемки и сдачи электромонтажных работ ___________________________________________________

5. Прочие устройства

__________________________________________________________________________

_________________________________________________________________________

6. Замечания по строительно-монтажным работам

__________________________________________________________________________

__________________________________________________________________________

Подписи:

От Заказчика                                                                                                      ________________________

От эксплуатирующей организации                                                                                                      ________________________

От строительной организации                                                                                                      ________________________

От технического надзора                                                                                                      ________________________

От проектной организации                                                                                                      ________________________

АКТ
приемки и сдачи электромонтажных работ

_____________________.                                                              «___» __________ 200 _ г.

(регион)

Заказчик _________________________________________________________________

Объект ___________________________________________________________________

Комиссия в составе:

От Заказчика                                                    _____________________________________

(должность, фамилия)

От электромонтажной организации              _____________________________________

(должность, фамилия)

От эксплуатационной организации               _____________________________________

(должность, фамилия)

Произведена проверка и осмотр выполненных работ по __________________________

__________________________________________________________________________

1. К сдаче предъявлено ___________________________________________________

__________________________________________________________________________

__________________________________________________________________________

2. Электромонтажные работы выполнены по проекту, разработанному и согласованному с Территориальным Управлением «Госэнергонадзора» и «Энергосбыта» ____________________________________________________________

__________________________________________________________________________

3. Отступление от проекта ________________________________________________

__________________________________________________________________________

4. Электромонтажные работы выполнены (оценка) ____________________________

5. Оставшиеся недоделки __________________________________________________

__________________________________________________________________________

не препятствуют нормальной эксплуатации и подлежат устранению электромонтажной организацией до ____________________________________________________________

__________________________________________________________________________

ЗАКЛЮЧЕНИЕ:

Электрооборудование, перечисленное в п. № 1 настоящего акта, считать принятым в нормальную эксплуатацию после пуско-наладочных работ.

К акту прилагается:

1. Протокол измерения сопротивления изоляции кабелей.

2. Протокол измерения полного сопротивления петли «Фаза-О».

3. Протокол проверки наличия цепи между заземлителями и заземляемыми элементами электрооборудования.

4. Протокол измерения сопротивления растекания тока заземляющих устройств.

СДАЛ: ________________________                         ПРИНЯЛ ______________________

АКТ
приемки в эксплуатацию контактных устройств, потенциалоуравнивающих перемычек и контрольно-измерительных пунктов

(ненужное зачеркнуть)

г. ________________________                                           «____» _____________200 ___ г.

Комиссия в составе представителей:

От строительной организации                              __________________________________

(должность, фамилия)

От технического надзора                                       __________________________________

(должность, фамилия)

От эксплуатационной организации                     __________________________________

(должность, фамилия)

произвела осмотр и проверку выполненных работ ________________________________

___________________________________________________________________________

по адресу __________________________________________________________________

на трубопроводе ____________________________________________________________

___________________________________________________________________________

Работы выполнены по проекту ________________________________________________

В соответствии с типовым чертежом ___________________________________________

Глубина залегания трубопровода ______________________________________________

КУ, ПТ, КИП оборудован _____________________________________________________

(электродом сравнения)

Привязки указаны на исполнительном чертеже __________________________________

___________________________________________________________________________

Подписи:

От строительной организации                                        ___________________________

От технического надзора                                                 ___________________________

Заключение об исправности сдаваемого сооружения:

эксплуатационная организация, проводящая проверку__________________________

___________________________________________________________________________

проверка производилась методом ___________________________________________

с помощью прибора ______________________________________________________

результат проверки _______________________________________________________

___________________________________________________________________________

__________________________________________________________________________

Должность, Ф. И. О.                                                                             Подпись

Печать                                                                                «____» ____________ 200 ___ г.

АКТ
гидравлических
и электрических испытаний изолирующих фланцев с условным проходом Dу - ___________________________________

Испытания изолирующего фланцевого соединения на прочность

«____» _____________ 200___ г. проведено гидравлическое испытание изолирующего фланцевого соединения (____) на прочность давлением _______ МПа с выдержкой 10 мин. с последующим осмотром.

При осмотре дефектов и утечек не обнаружено.

Изолирующее фланцевое соединение испытание на прочность выдержано.

Производитель работ                                               _________________________________

(должность, Ф. И. О., подпись)

Представитель ОТК                                                _________________________________

(должность, Ф. И. О., подпись)

Испытания изолирующего фланцевого соединения на плотность

«____» ___________ 200___ г. проведено гидравлическое испытание изолирующего фланцевого соединения (___) на прочность давлением ________ МПа с выдержкой 5 мин. с последующим осмотром и измерением падения давления по манометру.

Утечек и видимого падения давления по манометру не обнаружено.

Изолирующее фланцевое соединение испытание на плотность выдержано.

Производитель работ                                               _________________________________

(должность, Ф.И.О., подпись)

Представитель ОТК                                                _________________________________

(должность, Ф.И.О., подпись)

Электрические испытания изолирующего фланцевого соединения

(действительны в течение 3-х месяцев)

«___» _____________ 200___ г. проведены электрические испытания изолирующего фланцевого соединения (______).

При испытании в сухом помещении мегометром типа М-1101 при напряжении 1 кВ короткое замыкание не зафиксировано.

Измеренное сопротивление изолирующего фланцевого соединения _______________

Изолирующее фланцевое соединение электрические испытания выдержало.

После установки фланца на трубопровод тепловой сети вызвать представителя эксплуатационной организации для приемки.

Производитель работ                                             _________________________________

(должность, Ф.И.О., подпись)

Представитель ОТК                                              _________________________________

(должность, Ф.И.О., подпись)

Справка

О приемке изолирующего соединения ______________________________________ шт.

по ________________________________________________________________________

(адрес)

Произведена проверка исправности электроизолирующего соединения по вызову от __

___________________________________________________________________________

(наименование организации)

Предприятие-изготовитель ___________________________________________________

Установка изолирующего соединения выполнена по проекту № ____________________

___________________________________________________________________________

(наименование проектной организации)

Проверка производилась методом _____________________________________________

с помощью прибора _________________________________________________________

При приемке представлены следующие документы:

а) акты гидравлических и электрических испытаний;

б) эскиз трубопровода.

Результаты проверки ________________________________________________________

___________________________________________________________________________

___________________________________________________________________________

Заключение ________________________________________________________________

___________________________________________________________________________

___________________________________________________________________________

Представитель эксплуатационной организации

Должность _______________________ Подпись ________________________________

(Ф. И. О.)

«____________ 200 _ г.

АКТ
приемки строительно-монтажных работ гальванической (протекторной) защиты

_______________________                                                         «___» ___________ 200__ г.

(регион)

Работы по защите ________________________________________________________

(наименование сооружения)

по адресу _____________________________________ выполнялись по проекту № _____

(наименование организации, обозначение проекта)

Мы, нижеподписавшиеся:

От Заказчика                                                   ______________________________________

(должность, фамилия)

От эксплуатирующей организации              ______________________________________

(должность, фамилия)

От строительной организации                     _____________________________________

(должность, фамилия)

От технического надзора                              ______________________________________

(должность, фамилия)

От проектной организации                           ______________________________________

(должность, фамилия)

составили настоящий акт в том, что ____________________________________________

_________________________________________ выполнены в соответствии с проектом.

Комиссии были предъявлены следующие узлы строительно-монтажных работ:

1. Гальванические аноды (протекторы)

а) типа _________ длиной ________ мм, массой ________ кг в количестве ________ шт., установлены группами по ______ шт. в каждой. Общее количество групп _______;

б) расстояние между гальваническими анодами (протекторами) в группах _______ м.

Расстояние между гальваническими анодами (протекторами) и защищаемым сооружением:

в 1-ой группе __________ м, во 2-ой группе __________ м, в 3-ей группе _________ м;

в) глубина заложения гальванических анодов (протекторов) в скважинах (шурфах) ______________ м с поверхности до верха протектора.

2. Кабельные прокладки

Соединительная магистраль в группах выполнена кабелем _____________________ сечением _______________ в траншеях глубиной _________ м, длиной ____________ м и защищена _______________________________________________________________

(покрыта кирпичом, в трубах и т.д.)

Проводники от гальванических анодов (протекторов) к общей магистрали выполнены проводом марки ______________, способ соединения проводника с магистралью ______________________________________________________________

(зажимы, скрутки, термитная сварка)

Места присоединения изолированы от земли _________________________________

__________________________________________________________________________

(способ изоляции)

3. Контактные устройства

Контакт с ___________________________________________ выполнен по типовому

(вид сооружения)

чертежу (нормали) __________________________________________________________

(обозначение документа)

путем _____________________________________________________________________

(сварки, болтового присоединения)

4. Прочие узлы

___________________________________________________________________________

___________________________________________________________________________

___________________________________________________________________________

5. Замечания по строительно-монтажным работам

__________________________________________________________________________

__________________________________________________________________________

Подписи:

От Заказчика                                                            ________________________________

От эксплуатирующей организации                     ________________________________

От строительной организации                              ________________________________

От технического надзора                                       ________________________________

От проектной организации                                   ________________________________

АКТ
приемки в эксплуатацию установок электрохимической защиты в районе __________________________________

г. ___________________                                                               «___» __________ 200__ г.

Комиссия в составе представителей:

От Заказчика                                                   ______________________________________

(должность, фамилия)

От эксплуатирующей организации              ______________________________________

(должность, фамилия)

От строительной организации                     _____________________________________

(должность, фамилия)

От технического надзора                              ______________________________________

(должность, фамилия)

От проектной организации                           ______________________________________

(должность, фамилия)

От технического надзора                              ______________________________________

(должность, фамилия)

От Госэнергонадзора                                     ______________________________________

(должность, фамилия)

Ознакомившись с технической документацией, установила следующее:

1. Установки ЭХЗ построены по проекту

__________________________________________________________________________

2. Техдокументация согласована со всеми заинтересованными организациями без замечаний.

3. Характеристика установок ЭХЗ

№ п/п

Адрес установки защиты

Тип установки защиты

Тип преобразователя

Тип блока совместной защиты

Анодное заземление

м

шт.

 

 

 

 

 

 

 

4. Параметры установок ЭХЗ

№ п/п

Ток

(А)

Напряжение

(В)

Сопротивление растеканию

(см)

Токи в электроперемычках и протяженность защищаемых сооружений

Газопровод

Водопровод

Кабели связи

Теплопровод

 

 

 

 

 

 

 

 

5. Замечания по проекту, монтажу, наладке

__________________________________________________________________________

6. Комиссия постановила принять в эксплуатацию установки ЭХЗ с _________ года.

Подписи:

От Заказчика                                                               _______________________________

От строительной организации                                 _______________________________

От эксплуатационной организации                        _______________________________

От проектной организации                                       _______________________________

От технического надзора                                           _______________________________

От Госэнергонадзора                                                  _______________________________

Приложение Ф

Паспорт установки электрохимической защиты

__________________________________________________________________________

(преобразователь катодной защиты, преобразователь дренажной защиты)

№ __________________________________

Адрес _____________________________________________________________________

1. Тип установки _________________________________________________________

(дата выпуска, заводской номер)

2. Способ крепления ______________________________________________________

3. Дата ввода в эксплуатацию ______________________________________________

4. Характеристика узлов защиты:

кабель __________________________________________________________________

(марка, сечение, длина)

анодный заземлитель _____________________________________________________

(материал, конструкция, число электродов)

сопротивление растеканию тока ____________________________________________

место подключения дренажа _______________________________________________

защитное заземление _____________________________________________________

прочие устройства ________________________________________________________

5. Проектные параметры защиты:

напряжение источника питания установки ___________________________________

сила выходного тока ______________________________________________________

выходное напряжение _____________________________________________________

сопротивление цепи ______________________________________________________

разность потенциалов на контактном устройстве КУ:

максимальная ___________________ средняя _________________________________

срок службы анодного заземления __________________________________________

6. Протяженность защищаемых сооружений __________________________________

Перечень контрольно-измерительных пунктов

Номер п.п.

Вид контрольно-измерительного пункта

Электрод сравнения

Адрес

Дата установки

Сведения о техническом состоянии

1

2

3

4

5

6

 

 

 

 

 

 

Составил ___________________________

«____» __________________ 200___ г.

Приложение Х

Журнал проверки эффективности работы установки ЭХЗ

Дата измерения ____________________ Электрод сравнения _____________________

Номер контрольного пункта

Время измерения

Параметры установки

Потенциал трубопровода относительно земли, В

Примечание

Суммарный

Ток, А

Напряжение, В

максимальный

средний

минимальный

 

 

 

 

 

 

 

 

Проверил __________________________

Приложение Ц

Протокол измерений потенциалов трубопровода при контроле эффективности электрохимической защиты показывающими приборами

Город __________________________________

Вид подземного сооружения и пункта измерения _____________________________

Дата «_____» ____________________________ год

Время измерений: начало ________________ конец ____________________________

Адрес пункта измерений ___________________________________________________

Вид измерения (разность потенциалов) ______________________________________

Режим измерения _________________________________________________________

(без защиты, с включенной защитой)

Тип и № прибора ________________ Предел измерений ________________________

Класс точности прибора не ниже 1,5

Результаты измерений, В

t, мин/с

0

10

20

30

40

50

1

 

 

 

 

 

 

2

 

 

 

 

 

 

3

 

 

 

 

 

 

4

 

 

 

 

 

 

5

 

 

 

 

 

 

6

 

 

 

 

 

 

7

 

 

 

 

 

 

8

 

 

 

 

 

 

9

 

 

 

 

 

 

10

 

 

 

 

 

 

Камеральная обработка результатов измерений

№ пункта измерения по схеме

Адрес пункта измерения

Число измерений

Сумма измеренных значений потенциала

Среднее значение защитного потенциала

Минимальное (по абсолютной величине) значение защитного потенциала

1

2

3

4

5

6

Измерил _____________________              Обработал ___________________________

Проверил ____________________

Примечание. Если при измерениях в зоне действия блуждающих токов определено мгновенное значение потенциала трубопровода положительнее его стационарного потенциала, то следует выполнять измерения с учетом примечания к п. 7.1.4 настоящей Типовой инструкции.

Протокол измерения потенциалов при контроле эффективности ЭХЗ регистрирующими приборами

Город ____________________________

Вид подземного сооружения ________________________________________________

Дата _______________________

Адрес пункта измерения ___________________________________________________

Время измерения: начало _____ ч ______ мин., конец ____ ч ____ мин.

Вид измерения ____________________________________________________________

Режим измерения __________________________________________________________

Тип и номер прибора ____________________ Предел измерений _________________

Класс точности прибора не ниже 1,5

Тип электрода _____________________________________________________________

Камеральная обработка лент автоматической записи

Знак

Отсчитанная площадь, см2

Длина обработанного участка ленты, см

Среднее значение регистрируемой величины, см

(+)

 

 

 

(-)

 

 

 

Разность потенциалов, В

Положительный (+)

Отрицательный (-)

Максимальный

Средний

Минимальный

Максимальный

Средний

Минимальный

 

 

 

 

 

 

Камеральная обработка измерений

Разность потенциалов, В

Сумма

Максимум

Среднее значение

Минимум

Число измерений

Положительная

(+)

 

 

 

 

 

Отрицательная

(-)

 

 

 

 

 

Замечания _________________________________________________________________

___________________________________________________________________________

___________________________________________________________________________

Выводы ___________________________________________________________________

___________________________________________________________________________

Измерил _________________________ Обработал ______________________________

Проверил ____________________________

Приложение Ш

Протокол измерений смещения потенциалов трубопровода (подающего, обратного) при контроле эффективности ЭХЗ с помощью станций катодной защиты или гальванических анодов

Город ____________________________________________________________________

Вид подземного сооружения ________________________________________________

Дата «______» ______________________ год

Время измерений: начало _______________________ конец ____________________

Адрес пункта измерений ________________________________________________

Вид измерений: разность потенциалов «трубопровод-ВЭ» до и после включения защиты (∆Uисх и U'т-в.э.) ______________________________________________________

Тип и № прибора ____________________ Предел измерений _________________

Класс точности не ниже 1,5

Результаты измерений, В

Т, мин/с

0

10

20

30

40

50

1

 

 

 

 

 

 

2

 

 

 

 

 

 

3

 

 

 

 

 

 

4

 

 

 

 

 

 

5

 

 

 

 

 

 

6

 

 

 

 

 

 

7

 

 

 

 

 

 

8

 

 

 

 

 

 

9

 

 

 

 

 

 

10

 

 

 

 

 

 

Камеральная обработка результатов измерений

№ пункта измерений по схеме

Адрес пункта измерений

Число измерений

Сумма измеренных значений

Uисх

Сумма значений U'т-в.э.

Среднее значение

Uт-в.э.

 

 

 

 

 

 

Измерил _____________________________ Обработал ___________________________

Проверил _____________________________

Приложение Э

Протокол определения исправности электроизолирующих соединений (ЭИС)

Город ______________________________________

Тип прибора ________________________________

Дата измерения «______» __________________ год

Погодные условия ___________________________

№ п/п

№ пункта по схеме

Адрес установки ЭИС

Вид установленного ЭИС

Uт-э до ЭИС, В

Uт-э после ЭИС, В

U = Uт-э до ЭИС - Uт-э после ЭИС

Исправность ЭИС

1

2

3

4

5

6

7

8

Измерения провел _____________________________

Приложение Ю

Список использованной литературы

1           1 СНиП 2.04.07-86*. Тепловые сети. - М.: Минстрой РФ, 1996 (п. 2.8).

2           Правила технической эксплуатации электрических станций и сетей Российской Федерации: РД 34.20.501-95. - М.: СПО ОРГРЭС, 1996 (вводная часть, раздел 1).

3           Типовая инструкция по технической эксплуатации тепловых сетей систем коммунального теплоснабжения. - М.: ООО «Сопротэк-11», 2001 (раздел 1).

4           Типовая инструкция по защите тепловых сетей от наружной коррозии: РД 34.20.518-95. - М.: СПО ОРГРЭС, 1997 (прил. А).

5           Правила и нормы по защите трубопроводов тепловых сетей от электрохимической коррозии: РД 34.20.520-96. - М.: СПО ОРГРЭС, 1998 (прил. А).

6           ГОСТ 9.602-89. Единая система защиты от коррозии и старения. Сооружения подземные. - М.: Издательство стандартов, 1991 (п. 1.2.9, прил. А).

7           Методические указания по стендовым испытаниям антикоррозионных покрытий для подземных теплопроводов: МУ 34-70-151-86. - М.: СПО Союзтехэнерго, 1987 (п.п. 2.6, 5.4, прил. А, Д).

8           Типовая инструкция по периодическому техническому освидетельствованию трубопроводов тепловых сетей в процессе эксплуатации. - М.: СПО ОРГРЭС, 2000 (п.п. 1.1.3, 3.1, 7.9.1, прил. И).

9           Методические указания по проведению шурфовок в тепловых сетях: МУ 34-70-149-86. - М.: СПО Союзтехэнерго, 1987 (п.п. 1.3.8, 7.9.1).

10       ГОСТ 27.002-89. Надежность в технике. Основные понятия. Термины и определения (прил. А).

11       Правила устройства и безопасной эксплуатации трубопроводов пара и горячей воды: ПБ 03-75-94 (с изменениями № 1). - М.: ПИО ОБТ, 2000 (п. 1.1.7, прил. А).

12       Типовая инструкция по технической эксплуатации систем транспорта и распределения тепловой энергии (тепловых сетей): РД 153-34.0-20.507-98. - М.: СПО ОРГРЭС, 1999 (п.п. 1.3.2, 1.3.3, 1.3.8, 1.3.9).

13       Правила эксплуатации теплопотребляющих установок и тепловых сетей потребителей и Правила техники безопасности при эксплуатации теплопотребляющих установок и тепловых сетей потребителей. - М.: Энергосервис, 2001 (раздел 1).

14       ГОСТ 15467-79. Управление качеством продукции. Основные понятия. Термины и определения (прил. А).

15       Правила работы с персоналом в организациях электроэнергетики РФ. - Утв. Минтопэнерго РФ от 19.02.2000 (п. 1.3.1).

16       ГОСТ 28246-89. (ИСО 4618/1-3). Краски и лаки. Термины и определения (п. 6.3.4, прил. А).

17       ГОСТ 9.008-82. Единая система защиты от коррозии и старения. Покрытия металлические и неметаллические неорганические. Термины и определения (прил. А).

18       ГОСТ 9.072-77. Единая система защиты от коррозии и старения. Покрытия лакокрасочные. Термины и определения (прил. А).

19       ГОСТ 25315-82. Контроль неразрушающий электрический. Термины и определения (прил. А).

20       ГОСТ 12.1.007-76. ССБТ. Вредные вещества. Классификация и общие требования безопасности (п.п. 6.4.5, 12.5).

21       ГОСТ 12.3.005-75. ССБТ. Работы окрасочные. Общие требования безопасности (п.п. 6.4.5, 12.1, 12.4, 12.7).

22       ТУ 88.УССР.088.001. Композиция кремнийорганическая. Технические условия (табл. 2, п. 6.4.3).

23       ГОСТ 9949-76. Ксилол каменноугольный. Технические условия (п. 6.5.9).

24       Котлы паровые и водогрейные, трубопроводы пара и горячей воды. Сварные соединения. Контроль качества: РД 2730-940.103-92 - М.: НПО ЦНИИТМАШ, 1993 (прил. А).

25       ГОСТ 2768-84. Ацетон технический. Технические условия (п.п. 6.3.5, 6.5.6).

26       ТУ 38101809-90. Сольвент (нефрас). Технические условия (п. 6.5.9).

27       ГОСТ 16508-70. Лаки кремнийорганические электроизоляционные. Технические условия (п. 6.7.4).

28       ТУ 6-02-821-74. Кремнийорганическая композиция КО 198М (п. 6.7.4).

29       ТУ 84-725-83. Органо-силикатные материалы (табл. 2, п.п. 6.2.1, 6.2.12, 6.7.4).

30       ТУ 6-10-1985-84. Эмаль ЭП-969 (табл. 2, п.п. 6.3.3, 6.7.4).

31       ТУ 5775-004-17045751-99 - Антикоррозионная мастика «Вектор 1025», 1999 (табл. 2, п. 6.5.2).

32       ТУ 5775-002-17045751-99 - Антикоррозионная мастика «Вектор 1236», 1999 (табл. 2, п. 6.5.2).

33       ТУ 5775-003-17045751-99 - Антикоррозионная мастика «Вектор 1214», 1999 (табл. 2, п. 6.5.2).

34       ГОСТ 9.402-80 ЕСЗКС. Покрытия лакокрасочные. Подготовка металлических поверхностей перед окрашиванием (п.п. 5.4, 6.2.1, 6.2.4, 6.2.6, 6.2.10, 6.3.5, 6.4.6, 6.4.10, 6.5.5, 6.6.2, 6.7.3, 6.7.5, 6.8.4, 6.9.2, табл. 2).

35       ТУ 88-106-86 БССР. Гранулянт стеклоэмали безгрунтовой марки 155 Т. БССР (табл. 2).

36       ТУ 2367-002-05282012-2000. Эмали силикатные (фритты) безгрунтовые марок МК-5, МК-5Р (табл. 2).

37       ГОСТ 6058-73. Порошок алюминиевый. Технические условия (табл. 2).

38       ТУ 48-4236-91. Концентрат ильменитовый. Технические условия (табл. 2, п. 6.8.3).

39       ИСО 2178. Покрытия немагнитные на магнитных основаниях. Измерение толщины покрытия. Магнитный метод (табл. 3).

40       ГОСТ 12.1.004.91 ССБТ. Работы окрасочные. Общие требования (п. 6.4.5).

41       ГОСТ 15140-78. Материалы лакокрасочные. Методы определения адгезии (п. 5.12, табл. 3).

42       ГОСТ 12.3.016-87. ССБТ. Строительство. Работы антикоррозионные. Требования безопасности (п. 12.1).

43       СНиП III-4-80. Правила производства и приемки работ. Техника безопасности в строительстве (п. 12.1).

44       РД 34.03.201-97. Правила техники безопасности при эксплуатации тепломеханического оборудования электростанций и тепловых сетей РД 34.03.201-97. - М.: НЦ «Энас», 1997 (п.п. 12.1, 12.9).

45       Требования 1042-73. Санитарные и гигиенические требования к производственному оборудованию (п. 12.4).

46       ГОСТ 12.1.005-88. ССБТ. Общие санитарно-гигиенические требования к воздуху рабочей зоны (п. 12.6, прил. А).

47       ГОСТ 12.4.011-89. ССБТ. Средства защиты работающих. Общие требования и классификация (п. 12.8).

48       ГОСТ 12.4.103-83. ССБТ. Одежда специальная защитная, средства индивидуальной защиты ног и рук. Классификация (п. 12.8).

49       ПУЭ. Правила устройства электроустановок (шестое издание, дополненное и исправленное). - М.: ЗАО «Энергосервис», 2000 (п.п. 8.12, 8.13, 12.9).

50       СНиП III.11.70. Техника безопасности в строительстве (М.: Стройиздат, 1976). Сборник изменений и дополнений главы СНиП III-А.11.70.: Стройиздат, 1977) (п. 12.9).

51       ГОСТ 12.4.026-76. ССБТ. Цвета сигнальные и знаки безопасности (п. 12.11).

52       ИСО 8044. Международный стандарт. Коррозия металлов и сплавов (прил. А).

53       ГОСТ 5272-68. Коррозия металлов. Термины (прил. А).

54       ГОСТ 6433.2-71. Материалы электроизоляционные твердые. Методы определения электрического сопротивления при постоянном напряжении (п. 5.9).

55       ГОСТ 4765-73. Материалы лакокрасочные. Методы определения прочности пленок при ударе (п. 5.11).

56       ГОСТ 6806-73. Материалы лакокрасочные. Методы определения эластичности пленки при изгибе (п. 5.13).

57       ГОСТ 21513-76. Материалы лакокрасочные. Методы водо- и влагопоглощения лакокрасочной пленкой (п. 5.14).

58       Инструкция по защите городских подземных трубопроводов от коррозии: РД 153-39.4-091-01 - Министерство энергетики РФ, 2001 (п. 7.8.5, прил. А).

59       Правила эксплуатации электроустановок потребителей. /Госэнергонадзор Минтопэнерго РФ/ - 5-е изд. перераб. и доп. - М.: Энергоиздат, 1992 (п. 8.12).

60       Межотраслевые правила по охране труда (Правила безопасности) при эксплуатации электроустановок: РД 153-34.0-03.150-00. (ПО ТРМ-016-201). - М.: НЦ «Энас», 2001 (п. 8.12).

61       СНиП 11-01-95. Инструкция о порядке разработки, согласования, утверждения и составе проектной документации на строительство предприятий, зданий и сооружений. - М.: Минстрой России, 1995 (п. 7.3.7).

62       Водяные тепловые сети - справочное пособие по проектированию. - М.: Энергоатомиздат, 1988 (п. 7.3.11).

63       ТУ 1390-001-01297858-96. Трубы стальные с двухсторонним силикатноэмалевым покрытием. Технические условия (табл. 2, 3).

64       ГОСТ 18187-72. Разбавитель для электрокраски РЭ. Технические условия (п. 6.4.4).

65       ГОСТ 9.304-87 (СТ СЭВ 4202-83) ЕСЗКС. Покрытия газотермические. Общие требования и методы контроля, 1988 (табл. 2, 3).

66       ГОСТ 14710-78Е. Толуол нефтяной. Технические условия (п. 6.4.4).

67       ГОСТ 9880-76Е. Толуол каменноугольный сланцевый. Технические условия (п. 6.4.4).

68       ГОСТ 2789-73. Шероховатость поверхности. Параметры и характеристики (п. 6.7.3).

69       ТУ 10-1091-96. Отвердители (п.п. 6.3.3, 6.3.4).

70       ГОСТ 7827-74. Растворители марок Р-4, Р-5, Р-12, Р-24 для лакокрасочных материалов. Технические условия (п. 6.3.4).

71       ТУ 6-02-724-77. Продукт АГМ-9. Технические условия (п. 6.4.3).

72       ГОСТ 6456-82. Шкурка шлифовальная бумажная. Технические условия (п.п. 4.11, 4.26).

73       СНиП 2.04.14-88*. Тепловая изоляция оборудования и трубопроводов - М.: Госстрой России, 1999 (п. 7.9.1).

74       Методические указания по определению характера коррозионного повреждения металла трубопроводов тепловых сетей: РД 34.17.430-94. - М.: ВТИ, 1995 (п. 1.3.11).

75       Особенности работы с персоналом энергетических организаций системы жилищно-коммунального хозяйства Российской Федерации. - Утв. Госстрой РФ от 21.06.2000 (приказ 141) (п. 1.3.1).

76       Правила разработки предписаний, циркуляров, оперативных указаний, руководящих документов и информационных писем в электроэнергетике: РД 153-34.0-01.103-2000. - М.: СПО ОРГРЭС, 2000 (оформление Типовой инструкции).

СОДЕРЖАНИЕ

1. Организация работ по защите трубопроводов тепловых сетей и их элементов от наружной коррозии. 3

1.1 Требования по защите тепловых сетей от наружной коррозии при разработке проектов прокладки и электрохимзащиты.. 3

1.2 Требования по защите от наружной коррозии при техническом надзоре за сооружением и по приемке в эксплуатацию трубопроводов тепловых сетей и устройств защиты.. 5

1.3 Организация работ по защите от наружной коррозии трубопроводов и их элементов тепловых сетей при эксплуатации. 6

2. Основные требования к выбору методов защиты трубопроводов тепловых сетей от наружной коррозии. 9

3. Критерии (признаки) опасности наружной коррозии подземных трубопроводов тепловых сетей. 10

4. Определение опасности наружной коррозии трубопроводов тепловых сетей. 11

Определение коррозионной агрессивности грунтов в полевых и лабораторных условиях. 12

Определение наличия блуждающих постоянных токов в земле для вновь сооружаемых трубопроводов тепловых сетей. 14

Определение опасного влияния блуждающего постоянного тока для действующих трубопроводов тепловых сетей. 15

Определение опасного влияния переменного тока. 16

Эксплуатационный контроль опасности коррозии трубопроводов. 18

5. Требования к защитным антикоррозионным покрытиям для трубопроводов тепловых сетей и элементов трубопроводов. Методы контроля защитных свойств покрытий. 18

6. Покрытия, рекомендуемые для защиты от наружной коррозии трубопроводов и их элементов тепловых сетей. Краткая технология их нанесения. Контроль качества нанесения покрытий. 21

6.1. Таблица 2. 22

6.2 Органосиликатные защитные покрытия. 24

6.3 Эпоксидное защитное покрытие. 25

6.4 Кремнийорганическое защитное покрытие. 26

6.5 Комплексное полиуретановое защитное покрытие «Вектор». 27

6.6 Силикатноэмалевые защитные покрытия. 28

6.7 Металлизационное алюминиевое защитное покрытие. 29

6.8 Алюмокерамическое защитное покрытие. 30

6.9 Общие требования к нанесению защитных антикоррозионных покрытий на трубы и элементы трубопроводов тепловых сетей. Контроль качества нанесения покрытий. 30

7. Технические решения по ЭХЗ вновь сооружаемых, реконструируемых и действующих тепловых сетей методом катодной поляризации. Контроль эффективности ЭХЗ. 33

7.1. Требования к ЭХЗ трубопроводов тепловых сетей бесканальной прокладки. 33

7.2. Требования к ЭХЗ трубопроводов тепловых сетей канальной прокладки. 34

7.3. Проектирование электрохимической защиты. Общие положения. 36

7.4. Выбор способа ЭХЗ. 38

7.5. Основные требования к преобразователям для катодной защиты и электродренажам.. 38

7.6. Анодные заземлители (АЗ) для катодной защиты трубопроводов тепловых сетей бесканальной и канальной прокладок. 39

7.7. Гальваническая (протекторная) защита трубопроводов тепловых сетей канальной прокладки. 39

7.8. Проектирование ЭХЗ вновь сооружаемых и реконструируемых трубопроводов тепловых сетей бесканальной и канальной прокладок. 39

7.9. Проектирование ЭХЗ действующих трубопроводов тепловых сетей бесканальной и канальной прокладок. 40

8. Производство строительно-монтажных работ по электрохимической защите трубопроводов тепловых сетей. 46

9. Пуско-наладочные работы.. 50

10. Порядок приемки и ввода в эксплуатацию установок электрохимической защиты.. 51

11. Эксплуатация установок ЭХЗ. 52

12. Требования безопасности при работах с защитными антикоррозионными покрытиями и при эксплуатации устройств электрохимической защиты.. 56

Приложение А. Термины и определения. 58

Приложение Б. Протокол определения удельного электрического сопротивления грунта в полевых условиях. 61

Протокол определения удельного электрического сопротивления грунта в лабораторных условиях. 61

Приложение В. Протокол измерений разности потенциалов при определении наличия постоянных блуждающих токов в земле. 62

Протокол измерений потенциала трубопровода при определении опасности постоянных блуждающих токов для действующих трубопроводов. 62

Приложение Г. Протокол измерений смещения потенциала трубопровода при определении опасного влияния переменного тока. 63

Протокол измерений плотности переменного тока при определении опасного влияния переменного тока. 63

Приложение Д. Основные положения методических указаний по стендовым испытаниям защитных антикоррозионных покрытий для подземных стальных теплопроводов. 64

Приложение Е. Рекомендации по применению защитных антикоррозионных покрытий при проведении строительно-монтажных и ремонтно-восстановительных работ на тепловых сетях. 66

Приложение Ж. Акт приемки защитного антикоррозионного покрытия. 67

Журнал производства антикоррозионных работ. 68

Приложение И. Рекомендации по применению средств ЭХЗ от наружной коррозии трубопроводов действующих тепловых сетей в зависимости от продолжительности эксплуатации теплопроводов в коррозионноопасных условиях. 68

Приложение К. Блоки пластин-индикаторов скорости коррозии. 68

Приложение Л. Примерные расчетные схемы размещения и количества магниевых протекторов стержневого типа в сечении трубопровода. 74

Приложение М. Рекомендации по определению расчетным методом параметров ЭХЗ вновь сооружаемых и реконструируемых тепловых сетей канальной и бесканальной прокладок при совместной защите подземных сооружений различного назначения. 75

Приложение Н. Технические характеристики токопроводящих эластомеров для распределенных заземлителей (таблица Н.1). 77

Технические характеристики электродов из ферросилидов для анодных заземлителей (таблица Н.2) 77

Приложение П. Схема размещения в тепловом канале распределенных анодных заземлителей стержневого и кабельного типов (рис. П.1, П.2 и П.3) 77

Приложение Р. Схема расположения протекторов в тепловом канале (рис. Р.1) 79

Приложение С. Технические данные магниевых гальванических анодов (без активаторов) 79

Приложение Т. Стационарные медносульфатные электроды длительного действия. 80

Приложение У. Рекомендуемые формы приемо-сдаточной документации. 81

Приложение Ф. Паспорт установки электрохимической защиты.. 86

Приложение Х. Журнал проверки эффективности работы установки ЭХЗ. 87

Приложение Ц. Протокол измерений потенциалов трубопровода при контроле эффективности электрохимической защиты показывающими приборами. 87

Протокол измерения потенциалов при контроле эффективности ЭХЗ регистрирующими приборами. 87

Приложение Ш. Протокол измерений смещения потенциалов трубопровода (подающего, обратного) при контроле эффективности ЭХЗ с помощью станций катодной защиты или гальванических анодов. 88

Приложение Э. Протокол определения исправности электроизолирующих соединений (ЭИС) 88

Приложение Ю. Список использованной литературы.. 88

 

 




ГОСТЫ, СТРОИТЕЛЬНЫЕ и ТЕХНИЧЕСКИЕ НОРМАТИВЫ.
Некоммерческая онлайн система, содержащая все Российские Госты, национальные Стандарты и нормативы.
В Системе содержится более 150000 файлов нормативно-технической документации, действующей на территории РФ.
Система предназначена для широкого круга инженерно-технических специалистов.

Рейтинг@Mail.ru Яндекс цитирования

Copyright © www.gostrf.com, 2008 - 2026