Крупнейшая бесплатная информационно-справочная система онлайн доступа к полному собранию технических нормативно-правовых актов РФ. Огромная база технических нормативов (более 150 тысяч документов) и полное собрание национальных стандартов, аутентичное официальной базе Госстандарта. GOSTRF.com - это более 1 Терабайта бесплатной технической информации для всех пользователей интернета. Все электронные копии представленных здесь документов могут распространяться без каких-либо ограничений. Поощряется распространение информации с этого сайта на любых других ресурсах. Каждый человек имеет право на неограниченный доступ к этим документам! Каждый человек имеет право на знание требований, изложенных в данных нормативно-правовых актах!

  


 

ГОСУДАРСТВЕННЫЙ СТАНДАРТ СОЮЗА ССР

ПОЛИВИНИЛХЛОРИД
СУСПЕНЗИОННЫЙ

ТЕХНИЧЕСКИЕ УСЛОВИЯ

ГОСТ 14332-78

ИПК ИЗДАТЕЛЬСТВО СТАНДАРТОВ

Москва

ГОСУДАРСТВЕННЫЙ СТАНДАРТ СОЮЗА ССР

ПОЛИВИНИЛХЛОРИД СУСПЕНЗИОННЫЙ

Технические условия

Suspension polyvinylchloride.

Specifications

ГОСТ
14332-78

Дата введения 01.01.80

Настоящий стандарт распространяется на суспензионный поливинилхлорид, представляющий собой продукт суспензионной полимеризации винилхлорида, изготовляемый для нужд народного хозяйства и экспорта.

Суспензионный поливинилхлорид предназначается для изготовления изделий методами экструзии, каландрования, прессования, вальцевания, литья под давлением.

Обязательные требования к суспензионному поливинилхлориду, направленные на обеспечение его безопасности для жизни, здоровья и имущества населения и охраны окружающей среды, изложены в п. 12 табл. 2.

(Измененная редакция, Изм. № 5, 6).

1. ТЕХНИЧЕСКИЕ ТРЕБОВАНИЯ

1.1. В зависимости от свойств и назначения марки суспензионного поливинилхлорида коды ОКП для каждой марки и сорта по Общесоюзному классификатору промышленной и сельскохозяйственной продукции приведены в табл. 1.

Таблица 1

Марка, сорт

Код ОКП

Применяемость

ПВХ-С-8939-М

ПВХ-С-7459-М

Высший сорт

Первый сорт

22 1211 2700 10

22 1211 0100 03

22 1211 0101 02

22 1211 0102 01

Специальные виды кабельного пластиката, пленки и другие виды продукции специального назначения

ПВХ-С-7059-М

22 1211 0200 00

Ответственные пластифицированные изделия типа светотермостойкого кабельного пластиката, медицинский пластикат, пленочные материалы, искусственная кожа, высокопрочные трубы

ПВХ-С-7058-М

22 1211 0300 08

Ответственные пластифицированные изделия типа светотермостойкого кабельного пластиката, высокопрочные трубы, спецлинолеум, пластифицированные пленки и искусственная кожа

ПВХ-С-7056-М

22 1211 0400 05

Пластифицированные и полужесткие изделия общего назначения и высокопрочные трубы

ПВХ-С-6359-М

ПВХ-С-6358-М

22 1211 0700 07

22 1211 0800 04

Пластифицированные и полужесткие изделия общего назначения (линолеум, искусственная кожа, пластифицированные пленки) и листы специального назначения

ПВХ-С-6346-М

22 1211 0900 01

Пластифицированные и полужесткие изделия общего назначения (линолеум, пластифицированные пленки и листы, искусственная кожа)

ПВХ-С-6388-Ж

ПВХ-С-6370-Ж

22 1211 1000 02

22 1211 1800 00

Жесткие изделия (винипласт)

ПВХ-С-5868-ПЖ

Высший сорт

Первый сорт

22 1211 1600 06

22 1211 1601 05

22 1211 1602 04

Пленки и объемная полимерная тара для упаковки пищевых продуктов и товаров народного потребления

ПВХ-С-4700 Ж

22 1211 2600 02

Низковязкий хлорированный поливинилхлорид

(Измененная редакция, Изм. № 1, 2, 3, 5, 6).

1.2. Суспензионный поливинилхлорид должен изготовляться в соответствии с требованиями настоящего стандарта по технологическому регламенту, утвержденному в установленном порядке.

1.3. Суспензионный поливинилхлорид должен соответствовать нормам, указанным в табл. 2.

(Измененная редакция, Изм. № 3, 4, 5, 6).

1.4. Условное обозначение марок поливинилхлорида состоит из наименования продукта - ПВХ и следующих обозначений:

способа полимеризации - С (суспензионная); нижнего предела диапазона величины К - первые две цифры; показателя насыпной плотности - третья цифра по табл. 3; показателя остатка после просева на сите с сеткой № 0063 - четвертая цифра по табл. 4; применяемости суспензионного поливинилхлорида - по табл. 5.

Таблица 2

Наименование показателя

Норма для марки и сорта

ПВХ-С-8939-М

ПВХ-С-7459-М

ПВХ-С-7059-М

ПВХ-С-7058-М

Высший сорт

1-й сорт

1. Внешний вид:

 

 

 

 

 

цвет

Однородный порошок белого цвета

количество загрязнений и посторонних

 

 

 

 

 

веществ, шт., не более

20

6

20

6

16

2. Количество прозрачных точек («рыбий глаз») в 0,1 см3, шт., не более

20

2

15

2

15

3. Значение К

89-91

74-76

74-76

70-73

70-73

4. Насыпная плотность, г/см3

0,40 - 0,50

0,45 - 0,52

0,45 - 0,55

0,45 - 0,55

0,45 - 0,55

5. Остаток после просева на сите с сеткой:

 

 

 

 

 

№ 04, %, не более

0,5

Не нормируют

№ 0315, %, не более

Не нормируют

Отсутствие

0,5

Отсутствие

0,5

№ 0063, %, не менее

90

90

90

95

85

6. Сыпучесть, с, не более

20

20

25

20

20

7. (Исключен, Изм. № 6)

 

 

 

 

 

8. Масса поглощения пластификатора, г на 100 г поливинилхлорида, не менее

22

Не менее 24

Не менее 22

24

22

9. Термостабильность пленки при 160 °С, мин, не менее

Не нормируют

10

5

10. Массовая доля влаги и летучих веществ, %, не более

0,4

0,3

0,4

0,3

0,3

11. Удельное объемное электрическое сопротивление при 20 °С после выдержки в дистиллированной воде в течение 2 ч, Ом×см, не менее

5×1013

12. Массовая доля винилхлорида, млн-1, не более

10

Продолжение табл. 2

Наименование показателя

Норма для марки и сорта

ПВХ-С-7056-М

ПВХ-С-6359-М

ПВХ-С-6358-М

1 ПВХ-С-6346-М

ПВХ-С-6388-Ж

ПВХ-С-6370-Ж

1. Внешний вид:

 

 

 

 

 

 

цвет

Однородный порошок белого цвета

количество загрязнений и посторонних веществ, шт., не более

40

6

16

40

20

40

2. Количество прозрачных точек («рыбий глаз») в 0,1 см3, шт., не более

Не нормируют

2

15

Не нормируют

3. Значение К

70 - 73

63 - 65

63 - 65

63 - 65

63 - 65

63 - 65

4. Насыпная плотность, г/см3

0,45 - 0,55

0,45 - 0,55

0,45 - 0,55

0,45 - 0,60

0,60 - 0,70

0,55 - 0,65

5. Остаток после просева на сите с сеткой:

 

 

 

 

 

 

№ 04, %, не более

 

Не нормируют

0,5

1,0

№ 0315, %, не более

0,5

0,5

0,5

1,0

Не нормируют

№ 0063, %, не менее

65

90

90

65

80

Не нормируют

6. Сыпучесть, с, не более

Не нормируют

16

16

Не нормируют

25

Не нормируют

7. (Исключен, Изм. № 6)

 

 

 

 

 

 

8. Масса поглощения пластификатора, г на 100 г поливинилхлорида, не менее

17

18

18

17

Не нормируют

9. Термостабильность пленки при 160 °С, мин, не менее

Не нормируют

10

5

Не нормируют

10. Массовая доля влаги и летучих веществ, %, не более

0,5

0,3

0,3

0,5

0,4

0,5

11. Удельное объемное электрическое сопротивление при 20 °С после выдержки в дистиллированной воде в течение 2 ч, Ом×см, не менее

Не нормируют

12. Массовая доля винилхлорида, млн-1, не более

10

Продолжение табл. 2

Наименование показателя

Норма для марки и сорта

Метод испытания

ПВХ-С-5868-ПЖ

Высший сорт

1-й сорт

ПВХ-С-4700-Ж

1. Внешний вид:

 

 

 

По ГОСТ 25138 и п. 3.4 настоящего стандарта

цвет

Однородный порошок белого цвета

количество загрязнений и посторонних веществ, шт., не более

10

20

40

 

2. Количество прозрачных точек («рыбий глаз») в 0,1 см3, шт., не более

3

20

Не нормируют

По п. 3.5

3. Значение К

58 - 60

58 - 60

47 - 50

По ГОСТ 14040

4. Насыпная плотность, г/см3

0,50 - 0,60

0,50 - 0.60

Не нормируют

По ГОСТ 11035, метод А

5. Остаток после просева на сите с сеткой:

 

 

 

По п. 3.6

№ 04, %, не более

Отсутствие

Отсутствие

1,0

 

№ 0315, %, не более

Не нормируют

Не нормируют

 

№ 0063, %, не менее

90

85

Не нормируют

 

6. Сыпучесть, с, не более

14

Не нормируют

Не нормируют

По ГОСТ 25139 и п. 3.7 настоящего стандарта

7. (Исключен, Изм. № 6)

 

 

 

 

8. Масса поглощения пластификатора, г на 100 г поливинилхлорида, не менее

17

15

Не нормируют

По ГОСТ 25265

9. Термостабильность пленки при 160 °С, мин, не менее

10

10

Не нормируют

По п. 3.10

10. Массовая доля влаги и летучих веществ, %, не более

0,3

0,5

0,5

По ГОСТ 14043

11. Удельное объемное электрическое сопротивление при 20 °С после выдержки в дистиллированной воде в течение 2 ч, Ом×см, не менее

Не нормируют

Не нормируют

По ГОСТ 6433.2 и п. 3.11 настоящего стандарта

12. Массовая доля винилхлорида, млн-1, не более

5

10

10

По ГОСТ 25737

Примечания:

1. (Исключено, Изм. № 5).

2. Для продукции, предназначенной для экспорта, массовая доля винилхлорида должна быть не более 5 млн-1. Допускается по согласованию с В/О «Союзхимэкспорт» массовая доля винилхлорида не более 10 млн-1.

3. Норма по показателю «массовая доля железа» приведена в приложении 1.

Таблица 3

Третья цифра условного обозначения

Насыпная плотность, г/см3

0

Без данных

1

0,30 - 0,40

2

0,35 - 0,45

3

0,40 - 0,50

4

0,40 - 0,65

5

0,45 - 0,55

6

0,50 - 0,60

7

0,55 - 0,65

8

0,60 - 0,70

9

Более 0,65

Таблица 4

Четвертая цифра условного обозначения

Остаток после просева на сите с сеткой № 0063, %

0

Без данных

1

Менее или равно 1

2

1 - 10

3

5 - 20

4

10 - 50

5

30 - 70

6

50 - 90

7

70 - 100

8

80 - 100

9

90 - 100

Таблица 5

Условное обозначение

Применяемость

Ж

Переработка без пластификаторов для (жестких изделий)

м

Переработка с пластификаторами (для пластифицированных изделий)

У

Переработка с пластификаторами или без них (для жестких, полужестких или пластифицированных изделий)

После обозначения марки суспензионного поливинилхлорида указывают сорт.

Пример условного обозначения суспензионного поливинилхлорида, изготовленного суспензионной полимеризацией, с величиной К от 70 до 73, с насыпной плотностью от 0,45 до 0,55 г/см3, с остатком после просева на сите с сеткой № 0063-90 %, для изготовления пластифицированных изделий:

ПВХ-С-7059-М ГОСТ 14332-78

(Измененная редакция, Изм. № 2, 3).

2. ПРАВИЛА ПРИЕМКИ

2.1. Суспензионный поливинилхлорид принимают партиями. Партией считают количество суспензионного поливинилхлорида одной марки и сорта, сопровождаемое одним документом о качестве.

Масса партии в мешках и контейнерах должна быть не менее 4 т. При транспортировании поливинилхлорида в цистернах и вагонах для полимеров партией считают каждую цистерну или вагон. Допускается у изготовителя за партию считать продукцию в емкости готовой продукции вместимостью не более 500 т.

Допускается за партию принимать объем готовой продукции в хранилищах вместимостью не более 500 т.

Каждая партия суспензионного поливинилхлорида должна сопровождаться документом, удостоверяющим соответствие его качества требованиям настоящего стандарта.

Документ должен содержать:

наименование предприятия-изготовителя и его товарный знак или его условное обозначение;

условное обозначение продукта;

массу нетто;

номер партии и количество мест в партии;

результаты проведенных испытаний и подтверждение о соответствии партии продукта требованиям настоящего стандарта;

дату изготовления.

(Измененная редакция, Изм. № 4, 5).

2.2. Для контроля качества суспензионного поливинилхлорида пробы отбирают от каждой цистерны, вагона для полимеров, емкости готовой продукции или от 10 % мешков или контейнеров.

(Измененная редакция, Изм. № 5).

2.3. Удельное объемное электрическое сопротивление определяют только для поливинилхлорида, предназначенного для производства кабельного пластиката.

2.3а. По показателям 3, 4, 5 (№ 0063), 10 и 12 изготовитель проводит периодические испытания не реже одного раза в месяц, а по показателю 6 - типовые на партии, прошедшей приемо-сдаточные испытания.

(Введен дополнительно, Изм. № 6).

2.4. При получении неудовлетворительных результатов испытаний хотя бы по одному из показателей по нему проводят повторные испытания удвоенного количества мешков той же партии или удвоенного количества проб, отобранных от контейнеров или цистерны. Результаты повторного испытания распространяются на всю партию.

3. МЕТОДЫ ИСПЫТАНИЙ

3.1. Точечные пробы суспензионного поливинилхлорида отбирают шупом, погружая его не менее чем на  глубины мешка или контейнера по вертикальной оси. Масса точечной пробы из каждого мешка или контейнера должна быть не более 0,2 кг.

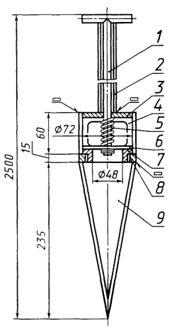
Из цистерны пробы отбирают пробоотборником (чертеж рекомендуемого приложения 2), изготовленным из нержавеющей стали, не менее чем из трех мест по ее длине и высоте.

Допускается отбирать пробы у изготовителя при затаривании поливинилхлорида в мешки и контейнеры и заполнении цистерны, вагона для полимеров или емкости готовой продукции.

(Измененная редакция, Изм. № 5).

3.2. Точечные пробы соединяют вместе, тщательно перемешивают и отбирают среднюю пробу массой не менее 500 г, которую помещают в чистую сухую банку с притертой (обязательное условие при отборе пробы для определения винилхлорида) или завинчивающейся пробкой или полиэтиленовый (пластиковый) мешочек, герметично закрытый.

(Измененная редакция, Изм. № 6).

3.3. На банку или мешочек со средней пробой наклеивают этикетку с указанием условного обозначения продукта, сорта, номера партии, отбора пробы.

3.4. Определение внешнего вида

3.4.1. Цвет определяют визуально.

3.4.2. Количество загрязнений и посторонних веществ определяют по ГОСТ 25138. (Измененная редакция, Изм. № 2, 3).

3.4.3. Допускается по согласованию с потребителем для марок ПВХ-С-7056-М, ПВХ-С-6346-М, ПВХ-С-6370-Ж, ПВХ-С-4700-Ж внешний вид определять сравнением с образцом, утвержденным в установленном порядке и изготовленным в соответствии с приложением ГОСТ 25138.

(Измененная редакция, Изм. № 2, 3, 5).

3.5. Определение количества прозрачных точек («рыбьих глаз»)

3.5.1. Оборудование, приборы и материалы

Смеситель с обогревом вместимостью 250 - 500 см3.

Вальцы лабораторные с электро- или паровым обогревом диаметром валков 200 мм, длиной рабочей поверхности 450 мм, с частотой вращения переднего валка 15 - 25 мин-1, фракцией 1:1,26.

Допускаются другие размеры вальцев, обеспечивающие воспроизводимость результатов. При разногласиях, возникших в оценке определения данного показателя, применяют вальцы с указанными выше размерами.

Ящик световой, в раму наклонной крышки которого вставлено матовое стекло размером 50 ´ 50 ´ 4,5 ± 0,5 мм. На стекло нанесена сетка из 25 квадратов, сторона квадрата 10 мм. Снизу на расстоянии 100 ± 10 мм стекло освещается лампой мощностью 40 Вт.

Толщиномер с погрешностью измерения на более 0,01 мм.

Секундомер.

Пластификатор ДОФ по ГОСТ 8728 1-го сорта.

Сажа газовая по ГОСТ 7885 марки П-234 или другой марки, обеспечивающей воспроизводимость результатов испытания.

Кальция стеарат, ч.

(Измененная редакция, Изм. № 2, 3, 5).

3.5.2. Проведение испытания

100 м. ч. поливинилхлорида смешивают в смесителе с 45 м. ч. пластификатора и 1,5 м. ч. стеарата кальция в течение 40 - 45 мин при (90 ± 1) ºС.

Допускается проводить смешение в стакане В, Н-1, 2-400, 600 ТС, ТХС, ХС по ГОСТ 25336. При возникновении разногласий в оценке количества прозрачных точек смешение проводят в смесителе.

К готовой смеси добавляют 0,15 - 0,30 м.ч. газовой сажи, тщательно перемешивают и вальцуют две пленки толщиной 0,2 ± 0,02 мм в течение 5 мин с момента загрузки композиции, подрезая пленку 9 - 10 раз, при температуре, указанной в табл. 6.

Количество смеси для вальцевания одной пленки зависит от размеров применяемых вальцев.

Таблица 6

Значение К

Температура вальцевания. °С

переднего валка

заднего валка

58 - 62

143 ± 2

140 ± 2

63 - 65

143 ± 2

140 ± 2

66 - 69

148 ± 2

145 ± 2

70 - 73

153 ± 2

150 ± 2

74 - 76

155 ± 2

152 ± 2

90

160 ± 2

157 ± 2

Температуру измеряют в центральной части валка термокомплектом с погрешностью не более 2 °С.

Полученную пленку помещают на стекло с подсветом и подсчитывают количество «рыбьих глаз» в 25 квадратах сетки. Подсчет производят на расстоянии глаз контролера от стекла около 300 мм в течение не более 2 мин.

(Измененная редакция, Изм. № 2, 3).

3.5.3. Обработка результатов

Количество прозрачных точек 1) в штуках в 0,1 см3 пленки вычисляют по формуле

,

где А - количество прозрачных точек в 25 квадратах сетки, шт.;

h - толщина пленки, мм.

За результат испытания принимают среднее арифметическое результатов двух параллельных определений, записанных с точностью до первого десятичного знака, допускаемое расхождение между которыми в зависимости от количества прозрачных точек приведено в табл. 7. Среднее арифметическое значение округляют до целого числа.

Таблица 7

Количество прозрачных точек в 0,1 см3, шт.

Допускаемое расхождение между результатами параллельных определений при доверительной вероятности 0,95, шт.

От 0 до 3

0,6

» 4 » 20

3,5

(Измененная редакция, Изм. № 6).

3.6. Определение остатка после просева на сите

3.6.1 Приборы, посуда и материалы

Сита с контрольными сетками по ГОСТ 6613 № 04, № 0315, № 0063 диаметром 200 мм, высотой обечайки 40 - 60 мм.

Допускается другой диаметр и высота обечайки сита. Сита должны быть хорошо натянуты и плотно соединены с обечайкой. Обечайка каждого сита должна плотно соединяться с другими ситами, поддоном и крышкой.

Прибор для определения гранулометрического состава материала типа 029, имеющий частоту вращения эксцентрического вала 300 мин-1, частоту ударов рычага по верхней крышке сита 180 в минуту или любой другой прибор аналогичного типа.

Стакан В, Н-1, 2-50, 150, 250 ТС, ТХС, ХС по ГОСТ 25336.

Сажа газовая по ГОСТ 7885 марки ДГ-100 или другой марки, обеспечивающей такие же результаты.

Ткань хлопчатобумажная, бязь, фланель или бельтинг диаметром 200 мм.

Лист бумаги размером 40 ´ (30 ± 5) см.

Весы лабораторные равноплечные типа ВЛА-200-М или АДВ-200 по ГОСТ 24104 2-го класса точности или другие с аналогичными метрологическими характеристиками.

Весы лабораторные квадрантные типа ВЛТК-500 или ВЛТК-500-М по ГОСТ 24104 4-го класса точности или другие с аналогичными метрологическими характеристиками.

(Измененная редакция, Изм. № 2, 3, 6).

3.6.2. Проведение испытания

Предварительно очищенные сухие и взвешенные сита собирают в набор по убывающему размеру ячейки сетки. Нижнее сито плотно соединяют с поддоном, на дне которого для уменьшения электризации укладывают намоченную водой и хорошо отжатую ткань.

В зависимости от марки испытуемого поливинилхлорида в набор собирают сита с сетками соответствующих размеров ячеек.

В стакане взвешивают 50 г поливинилхлорида с погрешностью не более 0,1 г и 0,25 г газовой сажи с погрешностью не более 0,01 г для снятия заряда с частиц полимера. Смесь тщательно перемешивают и осторожно высыпают на верхнее сито. Сито накрывают крышкой, включают прибор и проводят рассев в течение 20 мин.

Допускается проводить рассев поливинилхлорида вручную. В этом случае рассев проводят до постоянной массы на ситах. По окончании рассева набор сит снимают с машины, сита разъединяют, начиная с верхнего. Содержимое верхнего сита (№ 04 или № 0315) высыпают на лист бумаги и осторожно переносят в предварительно взвешенный стаканчик. Взвешивают с точностью до четвертого десятичного знака. Нижнее сито (№ 0063) взвешивают с содержимым до первого десятичного знака.

Около 25 г смеси взвешивают с погрешностью не более 0,1 г и осторожно высыпают на верхнее сито. Сито накрывают крышкой, включают прибор и проводят рассев в течение 20 мин.

Допускается проводить рассев поливинилхлорида вручную. Рассев проводят до постоянной массы на ситах.

По окончании рассева набор снимают с машины. Сита разъединяют, начиная с верхнего, и взвешивают с погрешностью не более 0,1 г.

Остаток на сите 2) в процентах вычисляют по формуле

,

где т - масса остатка на сите, г;

m1 - масса навески поливинилхлорида, взятая для рассева, г.

За результат испытания принимают среднее арифметическое результатов двух параллельных определений, допускаемое расхождение между которыми при доверительной вероятности Р = 0,95 для сита с сеткой № 04 и № 0315 не должно превышать 0,05 % при стандартном отклонении 0,02 %, для сита с сеткой № 0063 - 3 % при стандартном отклонении 1 %.

(Измененная редакция, Изм. № 6).

3.6.3. Обработка результатов

3.6.3.1. Остаток на верхнем сите (X1) в процентах вычисляют по формуле

,

где т - масса навески поливинилхлорида, г;

m1 - масса остатка на сите, г.

За результат испытания принимают среднее арифметическое результатов двух параллельных определений, записанных с точностью до второго десятичного знака, допускаемое расхождение между которыми не должно превышать 0,11 % при доверительной вероятности 0,95. Среднее арифметическое округляют до первого десятичного знака.

При остатке на сите меньше или равном 0,1 % результат записывают как «отсутствие».

3.6.3.2. Остаток на нижнем сите 2) в процентах вычисляют по формуле

,

где т - масса навески поливинилхлорида, г;

т2 - масса остатка на сите, г.

За результат испытания принимают среднее арифметическое результатов двух параллельных определений, записанных с точностью до первого десятичного знака, допускаемое расхождение между которыми не должно превышать 6 % при доверительной вероятности 0,95. Среднее арифметическое округляют до целого числа.

3.6.3 - 3.6.3.2. (Введены дополнительно, Изм. № 6).

3.7. Сыпучесть определяют по ГОСТ 25139 при температуре 15 - 35 ºС и относительной влажности 45 - 75 % на воронках диаметром выходного отверстия 14,0 мм.

(Измененная редакция, Изм. № 2, 3, 6).

3.7.1, 3.7.2. (Исключены, Изм. № 3).

3.8 - 3.8.2. (Исключены, Изм. № 6).

3.9 - 3.9.3. (Исключены, Изм. № 3).

3.10. Определение термостабильности пленки

3.10.1. Аппаратура, посуда и материалы

Термостат масляный.

Стакан В, Н-1, 2-400, 600 ТС, ТХС, ХС по ГОСТ 25336.

Пробирки П1 14-120 ТС, ТХС, ХС по ГОСТ 25336.

Пластификатор ДОФ по ГОСТ 8728 1-го сорта.

Кадмия стеарат.

Масло вазелиное медицинское по ГОСТ 3164 или силиконовая жидкость марки ФЭС-5 по ГОСТ 13004 в количестве 1,5 дм3, предварительно профильтрованное через слой 60 - 70 мм (200 г) селикагеля марки МСМК по ГОСТ 3956.

Допускается десятикратное использование одной порции вазелинового медицинского масла.

(Измененная редакция, Изм. № 3).

3.10.2. Подготовка к испытанию

100 м.ч. поливинилхлорида и 50 м. ч. пластификатора, взвешенных с погрешностью не более 0,01 г, 0,305 м. ч. стеарата кадмия, взвешенного с погрешностью не более 0,001 г, перемешивают в стакане с помощью шпателя до однородной массы и нагревают 30 - 40 мин на водяной бане при 80 - 90 ºС.

Приготовленную смесь загружают на вальцы, предварительно нагретые до (160 ± 2)°С, и вальцуют пленку толщиной (2 ± 0,2) мм в течение 2 - 4 мин при зазоре между валками 0,4 - 0,5 мм. Затем корректируют зазор в соответствии с толщиной и вальцуют 5 мин.

В процессе вальцевания лист периодически подрезают на менее двух раз в минуту, последнюю минуту вальцуют без подреза.

(Измененная редакция, Изм. № 2).

3.10.3. Проведение испытания

Из пленки нарезают 8 - 10 образцов размером 6 ´ 40 ´ (2 ± 0,2) мм. Пробирки заполняют на 50 мм по ее высоте вазелиновым маслом и помещают в термостат на 15 мин при (160 ± 1) °С, следя за тем, чтобы уровень масла в бане был выше уровня масла в пробирке примерно на 10 мм. Затем в каждую пробирку одновременно погружают по одному образцу.

Образцы вынимают последовательно через каждые 5 мин, охлаждают и сравнивают между собой, предварительно прикрепив на диаграмму с указанием времени испытания.

За результат испытания принимают максимальное время в минутах, за которое цвет испытуемого образца не изменился по сравнению с контрольным образцом.

3.11. Определение удельного объемного электрического сопротивления

3.11.1. Оборудование, приборы и материалы

Пресс, обеспечивающий удельное давление на образец или заготовку 7×106 - 12×106 Па.

Вальцы лабораторные с фрикцией 1,1 : 1,5, обеспечивающие температуру (160 ± 5) °С.

Измерительное устройство по ГОСТ 6433.2.

Смеситель с обогревом вместимостью 250 - 500 см3

Свинец сернокислый трехосновный.

Пластификатор ДОФ по ГОСТ 8728 1-го сорта.

Спирт этиловый по ГОСТ 17299.

Вода дистиллированная по ГОСТ 6709.

Кальций стеариновокислый (стеарат кальция).

3.11.2. Подготовка к испытанию

Образцы для испытания изготовляют вальцево-прессовым методом.

75 м. ч. поливинилхлорида смешивают в смесителе с 35 м. ч. пластификатора, 1 м. ч. стеарата кальция и 3 м. ч. трехосновного сернокислого свинца в течение 40 - 45 мин при (90 ± 1) °С.

Приготовленную смесь вальцуют на лабораторных вальцах в течение 10 мин. Температура рабочего валка должна быть (165 ± 5) °С, температура холостого валка должна быть на 5 °С ниже температуры рабочего валка.

В течение первых 5 мин вальцевание проводят при зазоре между валками 0,4 - 0,5 мм, затем корректируют его до (1,2 ± 0,1) мм и продолжают вальцевание. В процессе вальцевания лист периодически подрезают не менее двух раз в 1 мин, последнюю минуту вальцуют без подрезов.

Вальцованные листы или вырезанные из листа образцы прессуют до толщины (1 ± 0,1) мм в съемных пресс-формах по ГОСТ 12019 (черт. 1) или в рамках, помещенных между плитами обогрева, поверхность которых обработана по 8-му классу чистоты. Отпрессованные или вырезанные из пластин образцы должны иметь форму диска диаметром (150 ± 1) мм.

Подготовленную пресс-форму или рамку с образцом устанавливают в пресс между плитами обогрева, нагретыми до (170 ± 5) °С. Плиты пресса сближают так, чтобы образцы находились под давлением 0,5×106 - 1,0×106 Па. Затем давление снимают и образцы выдерживают без давления при сомкнутых плитах в течение 3 мин. После этого давление поднимают до 7×106 - 12×106 Па и выдерживают образцы при нем в течение 2 мин. Не снимая давления, производят охлаждение со средней скоростью 15 - 20 °С в 1 мин до 30 - 40 ºС. Затем давление снимают и образцы вынимают.

Перед испытанием образцы выдерживают по ГОСТ 6433.1 в течение 2 ч при (20 ± 2) °С в дистиллированной воде. Затем удаляют воду с образцов так, чтобы не осталось ворса, и протирают образцы этиловым спиртом. Испытание проводят не позднее чем через 5 мин после извлечения образцов из воды.

3.11.3. Проведение испытания

Удельное необъемное электрическое сопротивление определяют по ГОСТ 6433.2 при (20 ± 2)°С и постоянном напряжении на трех образцах, применяя металлические электроды с диаметром измерительного электрода (75 ± 0,2) мм при нагрузке на образец 0,01 ± 106 Па.

Величину напряжения выбирают из диапазона 100 - 1000 В. При возникновении разногласий в оценке удельного объемного электрического сопротивления испытания проводят при напряжении 1000 В. Допускаемое расхождение между тремя параллельными определениями не должно превышать 20 % при доверительной вероятности Р = 0,95.

3.11.1 - 3.11.3. (Измененная редакция, Изм. № 2, 3).

4. УПАКОВКА, МАРКИРОВКА, ТРАНСПОРТИРОВАНИЕ И ХРАНЕНИЕ

4.1. Суспензионный поливинилхлорид упаковывают: в трех-шестислойные бумажные мешки марок ПМ, ВМ и ВМП по ГОСТ 2226; в трех-шестислойные открытые бумажные мешки марки НМ по ГОСТ 2226 с полиэтиленовым или поливинилхлоридным вкладышем по нормативной документации; в полиэтиленовые мешки М 5,6-0,190 по ГОСТ 17811; в специализированные мягкие контейнеры типов МКР-1,0 С и МКО-1,0 С по нормативной документации.

Допускается суспензионный поливинилхлорид упаковывать в импортные бумажные или полиэтиленовые мешки, по качеству не уступающие установленным в стандарте.

По согласованию с потребителем допускается суспензионный поливинилхлорид для производства кабельных пластикатов упаковывать в мешки.

4.2. Суспензионный поливинилхлорид, предназначенный для экспорта, упаковывают в соответствии с требованиями внешнеэкономических организаций.

4.3. Суспензионный поливинилхлорид, предназначенный для длительного хранения, упаковывают в специализированные мягкие контейнеры типа МКР-1,0 С или МКО-1,0 С по нормативной документации.

4.4. Масса нетто суспензионного поливинилхлорида в мешке (20,0 - 30,0) ± 0,3 кг, в мягком специализированном контейнере - не более (550 ± 10) кг.

Масса нетто поливинилхлорида в мешках или мягких контейнерах одной партии должна быть одинаковой.

4.5. Укупоривание открытых бумажных мешков производят согласно ГОСТ 2226 с применением крепированной ленты, полиэтиленовые вкладыши и мешки заваривают.

Допускается полиэтиленовый вкладыш мешка прошивать вместе с бумажным мешком, а полиэтиленовый вкладыш контейнера завязывать шпагатом по ГОСТ 17308 (горловину вкладыша собирают в пучок, завязывают шпагатом, затем перегибают и снова завязывают).

4.6. Суспензионный поливинилхлорид, упакованный в мешки, дополнительно помещают в универсальные контейнеры по ГОСТ 18477 (при перевозке водным транспортом) или формируют в транспортные пакеты.

Основные параметры и размеры пакетов - по ГОСТ 24597.

Пакетирование осуществляют при повагонных отправках железнодорожным транспортом на плоских поддонах по ГОСТ 9078, ГОСТ 9557, ГОСТ 26381 или без них, при мелких и малотоннажных отправках железнодорожным транспортом - в разборных (складных) ящичных поддонах с крышкой и цельными стенками 4Я-840 ´ 1240 по ГОСТ 9570.

Способ укладывания на поддоне - по ГОСТ 21140.

Средства скрепления - по ГОСТ 21650.

4.7 Потребительская маркировка упакованной продукции должна содержать следующие данные:

манипуляционные знаки «Беречь от влаги» и «Беречь от нагрева» по ГОСТ 14192;

товарный знак и наименование предприятия-изготовителя или его условное обозначение;

условное обозначение продукта;

номер партии;

массу нетто и брутто;

дату изготовления.

(Измененная редакция, Изм. № 6).

4.8. Потребительскую маркировку наносят на тару или упаковку, или ярлык, выполненный из бумаги, картона или других материалов, обеспечивающих сохранность маркировки.

Размеры ярлыка, размеры знаков, способы нанесения маркировки, крепления ярлыка и краска для маркировки - по ГОСТ 14192. Маркировочные надписи должны быть выполнены контрастным цветом.

Допускается вкладывать ярлык в тару или упаковочную единицу так, чтобы маркировка была видна.

На пакеты, сформированные без поддонов или на двух-четырехзаходных поддонах, маркировку наносят на соседние боковую и торцовую поверхности.

Допускается по согласованию с потребителем на мешки, из которых сформирован пакет, потребительскую маркировку не наносить.

4.9. Маркировку суспензионного поливинилхлорида, предназначенного для экспорта, наносят в соответствии с требованиями внешнеэкономических организаций.

4.10. Транспортная маркировка суспензионного поливинилхлорида при мелких и малотоннажных отправках осуществляется по ГОСТ 14192 с указанием манипуляционных знаков «Беречь от влаги», «Беречь от нагрева». (Измененная редакция, Изм. № 6). (Поправка. ИУС 1-2005 г.).

4.11. Транспортную маркировку поливинилхлорида, предназначенного для экспорта, наносят в соответствии с требованиями внешнеэкономических организаций.

4.12. Суспензионный поливинилхлорид, упакованный в мешки, транспортируют железнодорожным, автомобильным и водным транспортом в крытых транспортных средствах в соответствии с правилами перевозки грузов, действующими на транспорте данного вида.

Допускается по согласованию с потребителем транспортирование поливинилхлорида автомобильным транспортом в открытых транспортных средствах.

4.13. Суспензионный поливинилхлорид, в том числе предназначенный для производства кабельных пластикатов, транспортируют насыпью железнодорожным транспортом в специальных цистернах и вагонах для гранулированных полимеров грузоотправителя-грузополучателя.

4.14. Суспензионный поливинилхлорид, упакованный в специализированные мягкие контейнеры, транспортируют на открытом подвижном составе без перегрузок в пути следования.

Допускается по согласованию с потребителем транспортирование поливинилхлорида, упакованного в специализированные мягкие контейнеры, в крытых железнодорожных вагонах.

4.15. Транспортирование суспензионного поливинилхлорида транспортными пакетами - по правилам перевозки грузов, утвержденным соответствующими ведомствами.

4.16. Суспензионный поливинилхлорид транспортируют в пакетированном виде. (Измененная редакция, Изм. № 6).

4.17. Поливинилхлорид, предназначенный для экспорта, транспортируют в соответствии с требованиями внешнеэкономических организаций.

4.18. Суспензионный поливинилхлорид, предназначенный для длительного хранения, транспортируют в крытых железнодорожных вагонах.

4.19. Суспензионный поливинилхлорид должен храниться в закрытом помещении, исключающем попадание прямых солнечных лучей, на расстоянии не менее 1 м от нагревательных приборов при температуре не выше 35 ºС и относительной влажности воздуха не более 75 %, а в специализированных мягких контейнерах и пакетах, скрепленных полиэтиленовой термоусадочной пленкой, - на площадках под навесом.

Раздел 4. (Измененная редакция, Изм. № 5).

5. ГАРАНТИИ ИЗГОТОВИТЕЛЯ

5.1. Изготовитель должен гарантировать соответствие суспензионного поливинилхлорида требованиям настоящего стандарта при соблюдении условий транспортирования и хранения, установленных стандартом.

5.2. Гарантийный срок хранения суспензионного поливинилхлорида - один год со дня изготовления. По истечении гарантийного срока хранения суспензионный поливинилхлорид перед применением должен быть проверен на соответствие требованиям настоящего стандарта.

5.3. Гарантийный срок хранения суспензионного поливинилхлорида, предназначенного для длительного хранения, - 5 лет со дня изготовления.

6. ТРЕБОВАНИЯ БЕЗОПАСНОСТИ

6.1. Суспензионный поливинилхлорид представляет собой белый порошок без вкуса и запаха. По воздействию на организм человека он относится к умеренно опасным веществам 3-го класса.

6.2. (Исключен, Изм. № 2).

6.3. При нагревании выше 150 °С суспензионный поливинилхлорид частично распадается с выделением хлористого водорода и окиси углерода.

Предельно допустимые концентрации в воздухе рабочей зоны, мг/м3:

винилхлорида - 5/1;

хлористого водорода - 5;

окиси углерода - 20.

(Измененная редакция, Изм. № 5).

6.4. Предельно допустимая концентрация пыли поливинилхлорида в воздухе рабочей зоны производственных помещений 6 мг/м3.

Поливинилхлорид относится к горючим веществам. Температура воспламенения 310 - 330 ºС, температура самовоспламенения 470 - 490 °С. Пылевоздушные смеси поливинилхлорида взрывобезопасны. Распространение пламени по пылевоздушной смеси не наблюдается до концентрации 300 г/м3 при любой дисперсности. При контакте с водой, кислотами, щелочами и кислородом воздуха поливинилхлорид не горит и взрывобезопасен. Показатели пожаровзрывоопасности определены по ГОСТ 12.1.044. Проверку показателей пожаровзрывобезопасности проводят при пересмотре стандарта.

(Измененная редакция, Изм. № 2, 6).

6.5. Производственные помещения, связанные с сушкой, рассевом, дроблением, упаковкой поливинилхлорида, по пожароопасности должны соответствовать категории В, класс помещения по ПУЭ П-11.

Средства пожаротушения: распыленная пода, пена, кошма, песок. Уборку пыли в производственных помещениях проводят с помощью вакуумной пылеуборки.

6.6. Производственные помещения должны быть оснащены приточно-вытяжной вентиляцией и соответствовать требованиям санитарных норм. Место отбора проб должно быть оборудовано дополнительно местной вентиляцией.

Аппараты, реакторы должны быть заземлены с целью защиты от статического электричества.

6.7. Индивидуальные средства защиты: спецодежда, респиратор типа «Лепесток», противогаз марки БКФ по ГОСТ 12.4.121, биологические перчатки (силиконовый крем).

6.6, 6.7. (Измененная редакция, Изм. № 6).

6.8. Процесс получения поливинилхлорида относится к малоотходным производствам. Поливинилхлорид токсичных соединений в воздушной среде и сточных водах не образует.

(Введен дополнительно, Изм. № 6).

ПРИЛОЖЕНИЕ 1

Справочное

1.1. Массовая доля железа в суспензионном поливинилхлориде не должна превышать 0,002 %.

(Измененная редакция, Изм. № 3).

ПРИЛОЖЕНИЕ 2

Рекомендуемое

2 - направляющая трубка, в которой перемешается шток 1; 3, 7 - верхний и нижний резьбовые фланцы; 4 - цилиндрический корпус с окнами; 5 - пружина; 6 - шайба для перекрывания отверстия; 8 - резьбовая шайба; 9 - полый конус

ИНФОРМАЦИОННЫЕ ДАННЫЕ

1. РАЗРАБОТАН И ВНЕСЕН Министерством химической промышленности СССР

РАЗРАБОТЧИКИ

В.В. Гузеев, Е.П. Шварев, В.И. Афанасьева, А.Я. Песина, В.Д. Карагодина, М.И. Котрушева

2. УТВЕРЖДЕН И ВВЕДЕН В ДЕЙСТВИЕ Постановлением Государственного комитета СССР по стандартам от 05.06.78 № 1526

Изменение № 6 ГОСТ 14332-78 принято Межгосударственным Советом по стандартизации, метрологии и сертификации (протокол № 9 от 12.04.96)

За принятие проголосовали:

Наименование государства

Наименование национального органа по стандартизации

Азербайджанская Республика

Азгосстандарт

Республика Армения

Армгосстандарт

Республика Белоруссия

Госстандарт Белоруссии

Республика Казахстан

Госстандарт Республики Казахстан

Республика Молдова

Молдовастандарт

Российская Федерация

Госстандарт России

Республика Таджикистан

Таджикгосстандарт

Туркменистан

Главная государственная инспекция Туркменистана

Украина

Госстандарт Украины

3. ВЗАМЕН ГОСТ 14332-69

4. Стандарт унифицирован с ТГЛ 28475/01-05

5. ССЫЛОЧНЫЕ НОРМАТИВНО-ТЕХНИЧЕСКИЕ ДОКУМЕНТЫ

Обозначение НТД, на который дана ссылка

Номер пункта

ГОСТ 12.4.121-83

6.7

ГОСТ 2226-88

4.1; 4.5

ГОСТ 3164-78

3.10.1

ГОСТ 3956-76

3.10.1

ГОСТ 6433.1-71

3.11.2

ГОСТ 6433.2-71

1.3; 3.11.1; 3.11.3

ГОСТ 6613-86

3.6.1

ГОСТ 6709-72

3.11.1

ГОСТ 7885-86

3.5.1; 3.6.1

ГОСТ 8728-88

3.5.1; 3.10.1; 3.11.1

ГОСТ 9078-84

4.6

ГОСТ 9557-87

4.6

ГОСТ 9570-84

4.6

ГОСТ 11035-64

1.3

ГОСТ 13004-77

3.10.1

ГОСТ 14040-82

1.3

ГОСТ 14043-78

1.3

ГОСТ 14192-96

4.7; 4.8; 4.10

ГОСТ .17299-78

3.11.1

ГОСТ 17308-88

4.5

ГОСТ 17811-78

4.1

ГОСТ 18477-79

4.6

ГОСТ 19433-88

4.7; 4.10

ГОСТ 21140-88

4.6

ГОСТ 21650-76

4.6

ГОСТ 24104-88

3.6.1

ГОСТ 24597-81

4.6

ГОСТ 25138-93

1.3; 3.4.2; 3.4.3

ГОСТ 25139-93

1.3; 3.7

ГОСТ 25265-91

1.3

ГОСТ 25336-82

3.5.2; 3.6.1; 3.10.1

ГОСТ 25737-91

1.3

ГОСТ 26381-84

4.6

6. Ограничение срока действия снято Постановлением Госстандарта от 28.09.92 № 1284

7. ПЕРЕИЗДАНИЕ (декабрь 1997 г.) с Изменениями № 1, 2, 3, 4, 5, 6, утвержденными в апреле 1980 г., мае 1982 г., январе 1984 г., октябре 1986 г., июне 1989 г., апреле 1996 г. (ИУС 6-80, 8-82, 5-84, 1-87, 10-89, 12-96)

СОДЕРЖАНИЕ

 

 




ГОСТЫ, СТРОИТЕЛЬНЫЕ и ТЕХНИЧЕСКИЕ НОРМАТИВЫ.
Некоммерческая онлайн система, содержащая все Российские Госты, национальные Стандарты и нормативы.
В Системе содержится более 150000 файлов нормативно-технической документации, действующей на территории РФ.
Система предназначена для широкого круга инженерно-технических специалистов.

Рейтинг@Mail.ru Яндекс цитирования

Copyright © www.gostrf.com, 2008 - 2026