Крупнейшая бесплатная информационно-справочная система онлайн доступа к полному собранию технических нормативно-правовых актов РФ. Огромная база технических нормативов (более 150 тысяч документов) и полное собрание национальных стандартов, аутентичное официальной базе Госстандарта. GOSTRF.com - это более 1 Терабайта бесплатной технической информации для всех пользователей интернета. Все электронные копии представленных здесь документов могут распространяться без каких-либо ограничений. Поощряется распространение информации с этого сайта на любых других ресурсах. Каждый человек имеет право на неограниченный доступ к этим документам! Каждый человек имеет право на знание требований, изложенных в данных нормативно-правовых актах!

  


 

ГОСУДАРСТВЕННЫЙ СТАНДАРТ СОЮЗА ССР

СОЕДИНЕНИЯ ТРУБОПРОВОДОВ
С ШАРОВЫМ НИППЕЛЕМ

конструкция

ГОСТ 24486-80

ГОССТАНДАРТ РОССИИ

Москва

ГОСУДАРСТВЕННЫЙ СТАНДАРТ СОЮЗА ССР

СОЕДИНЕНИЯ ТРУБОПРОВОДОВ С ШАРОВЫМ
НИППЕЛЕМ ПЕРЕХОДНЫЕ

Конструкция

Reducing tube connections with ball nipple.
Construction

ГОСТ
24486-80

Срок действия с 01.01.1982

до 01.01.2000

1. Настоящий стандарт распространяется на переходные соединения трубопроводов с шаровым ниппелем, с углом конуса штуцера 24°.

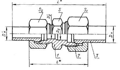
2. Конструкция и основные размеры соединений трубопроводов должны соответствовать указанным на чертеже и в таблице.

* Размеры для справок

1 - штуцер по ГОСТ 21857-78; 2 - накидная гайка по ГОСТ 23353-78; 3 - шаровой ниппель по ГОСТ 23355-78

Размеры, мм

Группа

Наружный диаметр трубы Dн× Dн́

Условный проход Dу× Dу́

L

l

Размеры под «ключ»

Масса 1000 шт., кг, не более

S

S1

S2

1

5´4

3´2,5

69

32

12

12

10

22

2

8´6

6´4

81

43

14

17

14

57

10´8

8´6

87

45

17

19

17

82

12´10

10´8

92

46

19

22

19

110

15´10

12´8

95

47

22

27

151

(16´10)

24

30

173

15´12

12´10

97

22

27

22

169

(16´12)

24

30

189

18´15

15´12

104

53

27

32

27

244

(18´16)

30

262

22´18

20´15

108

57

32

36

32

344

28´22

25´20

111

61

41

41

36

473

(34´28)

32´25

119

68

46

50

41

686

35´28

677

(12´34)

40´32

123

71

55

60

50

1000

42´35

1004

3

10´6

5´3

90

51

19

22

17

127

12´8

6´4

96

53

22

24

19

151

14´12

8´6

104

57

24

27

21

227

16´14

10´8

108

60

27

30

27

286

20´14

12´8

114

67

32

36

396

20´16

12´10

30

407

25´20

15´12

123

76

41

46

36

706

30´25

20´15

129

82

46

50

46

1020

38´30

25´20

138

92

55

60

50

1511

Примечание. Размеры, приведенные в скобках, непредпочтительны.

Пример условного обозначения соединения группы 1 с Dн = 5 мм на Dн́ = 4 мм:

Соединение 1-5´4 ГОСТ 24486-80

1, 2. (Измененная редакция, Изм. № 1).

3. Условные давления для каждой группы соединений приведены в рекомендуемом приложении 1 к ГОСТ 22525-77.

4. Технические требования, правила приемки, методы испытаний, маркировка, упаковка, транспортирование и хранение - по ГОСТ 15763-91.

ИНФОРМАЦИОННЫЕ ДАННЫЕ

1. РАЗРАБОТАН И ВНЕСЕН Государственным комитетом СССР по стандартам

РАЗРАБОТЧИКИ

Б.В. Максимовский; Г.В. Поляков, канд. техн. наук; С.А. Суховодова

2. УТВЕРЖДЕН И ВВЕДЕН В ДЕЙСТВИЕ Постановлением Государственного комитета СССР по стандартам от 30.12.80 № 6078

3. Срок проверки - 1998 г.

4. ВЗАМЕН ГОСТ 20970-75; ГОСТ 22873-77

5. ССЫЛОЧНЫЕ НОРМАТИВНО-ТЕХНИЧЕСКИЕ ДОКУМЕНТЫ

Обозначение НТД, на который дана ссылка

Номер пункта

ГОСТ 15763-91

4

ГОСТ 21857-78

2

ГОСТ 22525-77

3

ГОСТ 23353-78

2

ГОСТ 23355-78

2

6. Проверен в 1989 г. Срок действия продлен до 01.01.2000 Постановлением Госстандарта СССР от 25.10.89 № 3180

7. Переиздание (май 1991 г.) с Изменением № 1, утвержденным в октябре 1989 г. (ИУС 2-90)

 




ГОСТЫ, СТРОИТЕЛЬНЫЕ и ТЕХНИЧЕСКИЕ НОРМАТИВЫ.
Некоммерческая онлайн система, содержащая все Российские Госты, национальные Стандарты и нормативы.
В Системе содержится более 150000 файлов нормативно-технической документации, действующей на территории РФ.
Система предназначена для широкого круга инженерно-технических специалистов.

Рейтинг@Mail.ru Яндекс цитирования

Copyright © www.gostrf.com, 2008 - 2026