Крупнейшая бесплатная информационно-справочная система онлайн доступа к полному собранию технических нормативно-правовых актов РФ. Огромная база технических нормативов (более 150 тысяч документов) и полное собрание национальных стандартов, аутентичное официальной базе Госстандарта. GOSTRF.com - это более 1 Терабайта бесплатной технической информации для всех пользователей интернета. Все электронные копии представленных здесь документов могут распространяться без каких-либо ограничений. Поощряется распространение информации с этого сайта на любых других ресурсах. Каждый человек имеет право на неограниченный доступ к этим документам! Каждый человек имеет право на знание требований, изложенных в данных нормативно-правовых актах!

  


 

ГОСУДАРСТВЕННЫЙ СТАНДАРТ СОЮЗА ССР

СОЕДИНЕНИЯ ТРУБОПРОВОДОВ
С ШАРОВЫМ НИППЕЛЕМ

конструкция

ГОСТ 24488-80

ГОССТАНДАРТ РОССИИ

Москва

ГОСУДАРСТВЕННЫЙ СТАНДАРТ СОЮЗА ССР

СОЕДИНЕНИЯ ТРУБОПРОВОДОВ С ШАРОВЫМ
НИППЕЛЕМ
ВВЕРТНЫЕ

Конструкция

End tube connections with ball nipple.
Construction

ГОСТ
24488-80

Срок действия с 01.01.1982

до 01.01.2000

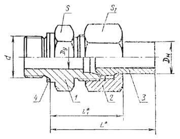
1. Настоящий стандарт распространяется на ввертные соединения трубопроводов с шаровым ниппелем с углом конуса штуцера 24°.

2. Конструкция и основные размеры соединений трубопровода должны соответствовать указанным на чертеже и в таблице

* Размеры для справок

1 - штуцер по ГОСТ 21858-78; 2 - накидная гайка по ГОСТ 23353-78; 3 - шаровой ниппель по ГОСТ 23355-78; 4 - прокладка по ГОСТ 23358-87

Размеры, мм

Группа

Наружный диаметр трубы Dн

Условный проход Dу

Резьба d

L

l

Размеры «под ключ»

Масса 1000 шт., кг, не более

метрическая

трубная

S для резьбы

S

метрической

трубной

1

4

2,5

М8´1

G 1/8

38

20

12

10

14

2

5

3

12

18

6

4

M10´1

G 1/8

42

24

14

14

30

8

6

М12´1,5

G 1/4

46

26

17

19

17

49

10

8

М14´1,5

49

27

19

19

65

12

10

М16´1,5

G 3/8

52

28

22

22

90

15

12

M18´1,5

G 1/2

58

32

24

22

27

135

(16)

М22´1,5

56

30

27

30

170

18

15

58

32

32

176

22

20

М27´2

G 3/4

60

36

32

36

251

28

25

М33´2

G 1

63

38

41

41

358

(34)

32

М42´2

G 11/4

68

42

50

50

560

35

581

42

40

М48´2

G 1 1/2

70

44

55

60

784

3

6

3

M12´1,5

G 1/4

47

29

17

19

17

57

8

4

М14´1,5

51

31

19

19

76

10

5

M16´1,5

G 3/8

53

32

22

22

105

12

6

M18´1,5

57

34

24

22

24

134

14

8

M20´1,5

G 1/2

62

38

27

27

192

16

10

M22´1,5

30

208

20

12

M27´2

G 3/4

68

45

32

36

324

25

15

M33´2

G 1

74

49

41

46

579

30

20

M42´2

G 1 1/4

76

52

50

50

843

38

25

M18´2

G 1 1/2

82

60

55

60

1205

Примечания:

1. Размеры, приведенные в скобках, непредпочтительны.

2. При новом проектировании трубную резьбу применять не допускается.

3. Масса приведена для соединения с метрической резьбой и медной прокладкой.

Пример условного обозначения соединения группы 1 с Dн = 5 мм с метрической резьбой ввертной части М8´1:

Соединение 1-5-М8´1 ГОСТ 24488-80

То же, с трубной резьбой ввертной части G 1/8:

Соединение 1-5-G 1/8 ГОСТ 24488-80

1, 2. (Измененная редакция, Изм. № 1).

3. Условные давления для каждой группы соединений приведены в рекомендуемом приложении 1 к ГОСТ 22525-77.

4. Технические требования, правила приемки, методы испытаний, маркировка, упаковка, транспортирование и хранение - по ГОСТ 15763-91.

ИНФОРМАЦИОННЫЕ ДАННЫЕ

1. РАЗРАБОТАН И ВНЕСЕН Государственным комитетом СССР по стандартам

РАЗРАБОТЧИКИ

Б.В. Максимовский; Г.В. Поляков, канд. техн. наук; С.А. Суховодова

2. УТВЕРЖДЕН И ВВЕДЕН В ДЕЙСТВИЕ Постановлением Государственного комитета СССР по стандартам от 30.12.80 № 6078

3. Срок проверки - 1998 г.

4. ВЗАМЕН ГОСТ 20971-75; ГОСТ 22874-77

5. ССЫЛОЧНЫЕ НОРМАТИВНО-ТЕХНИЧЕСКИЕ ДОКУМЕНТЫ

Обозначение НТД, на который дана ссылка

Номер пункта

ГОСТ 15763-91

4

ГОСТ 21858-78

2

ГОСТ 22525-77

3

ГОСТ 23353-78

2

ГОСТ 23355-78

2

ГОСТ 23358-87

2

6. Проверен в 1989 г. Срок действия продлен до 01.01.2000 Постановлением Госстандарта СССР от 25.10.89 № 3180

7. Переиздание (май 1991 г.) с Изменением № 1, утвержденным в октябре 1989 г. (ИУС 2-90)

 




ГОСТЫ, СТРОИТЕЛЬНЫЕ и ТЕХНИЧЕСКИЕ НОРМАТИВЫ.
Некоммерческая онлайн система, содержащая все Российские Госты, национальные Стандарты и нормативы.
В Системе содержится более 150000 файлов нормативно-технической документации, действующей на территории РФ.
Система предназначена для широкого круга инженерно-технических специалистов.

Рейтинг@Mail.ru Яндекс цитирования

Copyright © www.gostrf.com, 2008 - 2026