Крупнейшая бесплатная информационно-справочная система онлайн доступа к полному собранию технических нормативно-правовых актов РФ. Огромная база технических нормативов (более 150 тысяч документов) и полное собрание национальных стандартов, аутентичное официальной базе Госстандарта. GOSTRF.com - это более 1 Терабайта бесплатной технической информации для всех пользователей интернета. Все электронные копии представленных здесь документов могут распространяться без каких-либо ограничений. Поощряется распространение информации с этого сайта на любых других ресурсах. Каждый человек имеет право на неограниченный доступ к этим документам! Каждый человек имеет право на знание требований, изложенных в данных нормативно-правовых актах!

  


 

ГОСУДАРСТВЕННЫЙ СТАНДАРТ СОЮЗА ССР

СОЕДИНЕНИЯ ТРУБОПРОВОДОВ
С ШАРОВЫМ НИППЕЛЕМ

конструкция

ГОСТ 24489-80

ГОССТАНДАРТ РОССИИ

Москва

ГОСУДАРСТВЕННЫЙ СТАНДАРТ СОЮЗА ССР

СОЕДИНЕНИЯ ТРУБОПРОВОДОВ С ШАРОВЫМ
НИППЕЛЕМ
УГЛОВЫЕ ПРОХОДНЫЕ

Конструкция

Elbow passage tube connections with ball nipple.
Construction

ГОСТ
24489-80

Срок действия с 01.01.1982

до 01.01.2000

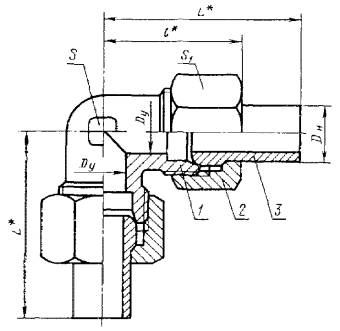
1. Настоящий стандарт распространяется на угловые проходные соединения трубопроводов с шаровым ниппелем с углом конуса угольника 24°.

2. Конструкция и основные размеры соединений трубопроводов должны соответствовать указанным на чертеже и в таблице.

*Размеры для справок

1 - угольник по ГОСТ 21859-78; 2 - накидная гайка по ГОСТ 23353-78; 3 - шаровой ниппель по ГОСТ 23355-78

Размеры, мм

Группа

Наружный диаметр трубы Dн

Условный проход Dу

L

l

Размеры под «ключ»

Масса 1000 шт., кг, не более

S

S1

1

4

2,5

40

21

7

10

25

5

3,0

9

12

33

2

6

4,0

46

28

12

14

51

8

6,0

50

30

17

81

10

8,0

53

31

14

19

100

12

10,0

57

33

17

22

140

15

12,0

63

37

19

27

233

(16)

24

30

296

18

15,0

67

41

32

337

22

20,0

71

47

27

36

444

28

25,0

76

51

36

41

607

(34)

32,0

85

59

41

50

976

35

962

42

40,0

91

65

50

60

1460

3

6

3,0

50

32

12

17

85

8

4.0

53

33

14

19

108

10

5.0

56

35

17

22

161

12

6,0

62

39

24

202

14

8,0

65

41

19

27

275

16

10,0

68

44

24

30

331

20

12.0

74

51

27

36

525

25

15,0

80

56

36

46

937

30

20,0

87

64

41

50

1317

38

25,0

97

75

50

60

2089

Примечание. Размеры, приведенные в скобках, непредпочтительны.

Пример условного обозначения соединения группы 1 с Dн = 5 мм:

Соединение 1-5 ГОСТ 24489-80

1, 2. (Измененная редакция, Изм. № 1).

3. Условные давления для каждой группы соединений приведены в рекомендуемом приложении 1 к ГОСТ 22525-77.

4. Технические требования, правила приемки, методы испытаний, маркировка, упаковка, транспортирование и хранение - по ГОСТ 15763-91.

ИНФОРМАЦИОННЫЕ ДАННЫЕ

1. РАЗРАБОТАН И ВНЕСЕН Государственным комитетом СССР по стандартам

РАЗРАБОТЧИКИ

Б.В. Максимовский; Г.В. Поляков, канд. техн. наук; С.А. Суховодова

2. УТВЕРЖДЕН И ВВЕДЕН В ДЕЙСТВИЕ Постановлением Государственного комитета СССР по стандартам от 30.12.80 № 6078

3. Срок проверки - 1998 г.

4. ВЗАМЕН ГОСТ 20972-75; ГОСТ 22875-77

5. ССЫЛОЧНЫЕ НОРМАТИВНО-ТЕХНИЧЕСКИЕ ДОКУМЕНТЫ

Обозначение НТД, на который дана ссылка

Номер пункта

ГОСТ 15763-91

4

ГОСТ 21859-78

2

ГОСТ 22525-77

3

ГОСТ 23353-78

2

ГОСТ 23355-78

2

6. Проверен в 1989 г. Срок действия продлен до 01.01.2000 Постановлением Госстандарта СССР от 25.10.89 № 3180

7. Переиздание (май 1991 г.) с Изменением № 1, утвержденным в октябре 1989 г. (ИУС 2-90)

 




ГОСТЫ, СТРОИТЕЛЬНЫЕ и ТЕХНИЧЕСКИЕ НОРМАТИВЫ.
Некоммерческая онлайн система, содержащая все Российские Госты, национальные Стандарты и нормативы.
В Системе содержится более 150000 файлов нормативно-технической документации, действующей на территории РФ.
Система предназначена для широкого круга инженерно-технических специалистов.

Рейтинг@Mail.ru Яндекс цитирования

Copyright © www.gostrf.com, 2008 - 2026