Крупнейшая бесплатная информационно-справочная система онлайн доступа к полному собранию технических нормативно-правовых актов РФ. Огромная база технических нормативов (более 150 тысяч документов) и полное собрание национальных стандартов, аутентичное официальной базе Госстандарта. GOSTRF.com - это более 1 Терабайта бесплатной технической информации для всех пользователей интернета. Все электронные копии представленных здесь документов могут распространяться без каких-либо ограничений. Поощряется распространение информации с этого сайта на любых других ресурсах. Каждый человек имеет право на неограниченный доступ к этим документам! Каждый человек имеет право на знание требований, изложенных в данных нормативно-правовых актах!

  


 

ГОСУДАРСТВЕННЫЙ СТАНДАРТ СОЮЗА ССР

СОЕДИНЕНИЯ ТРУБОПРОВОДОВ
С ШАРОВЫМ НИППЕЛЕМ

конструкция

ГОСТ 24493-80

ГОССТАНДАРТ РОССИИ

Москва

ГОСУДАРСТВЕННЫЙ СТАНДАРТ СОЮЗА ССР

СОЕДИНЕНИЯ ТРУБОПРОВОДОВ С ШАРОВЫМ
НИППЕЛЕМ
ТРОЙНИКОВЫЕ ПЕРЕХОДНЫЕ

Конструкция

Tee reducing tube connections with ball nipple.
Construction

ГОСТ
24493-80

Срок действия с 01.01.1982

до 01.01.2000

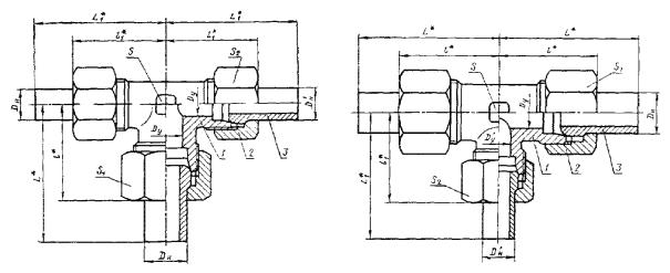
1. Настоящий стандарт распространяется на тройниковые переходные соединения трубопроводов с шаровым ниппелем с углом конуса тройника 24°.

2. Конструкции и основные размеры соединений трубопроводов должны соответствовать указанным на чертеже и в таблице.

Исполнение 1

Исполнение 2

___________

* Размеры для справок

1 - тройник по ГОСТ 21863-78; 2 - накидная гайка по ГОСТ 23353-78; 3 - шаровой ниппель по ГОСТ 23355-78

Размеры, мм

Группа

Наружный диаметр трубы Dн× Dн́

Условный проход Dу× Dу́

L

l

L1

l1

Размеры «под ключ»

Масса 1000 шт., кг, не более, для исполнений

 

S

S1

S2

1

2

 

1

5´4

3´2,5

40

21

40

21

9

12

10

35

39

 

2

8´6

6´4

50

30

46

28

12

17

14

82

98

 

10´8

8´6

53

31

50

30

14

19

17

121

133

 

12´10

10´8

57

33

53

31

17

22

19

167

185

 

15´10

12´8

63

37

19

27

219

276

 

(16´10)

24

30

245

342

 

15´12

12´10

57

33

19

27

22

259

301

 

(16´12)

24

30

283

359

 

18´15

15´12

67

11

63

37

32

27

375

418

 

(18´16)

30

420

444

 

22´18

20´15

71

47

67

41

27

36

32

512

566

 

28´22

25´20

76

51

71

47

36

41

36

729

835

 

(34´28)

32´25

85

59

76

51

41

50

41

1022

1139

 

35´28

1063

1178

 

(42´34)

40´32

91

65

85

59

50

60

50

1620

1823

 

42´35

1602

1811

 

3

10´6

5´3

56

35

50

32

17

22

17

158

197

 

12´8

6´4

62

39

53

33

24

19

206

250

 

14´12

8´6

65

41

62

39

19

27

24

316

354

 

16´14

10´8

68

44

65

41

24

30

27

416

456

 

20´14

12´8

74

51

27

36

507

631

 

20´16

12´10

68

44

30

562

611

 

25´20

15´12

80

56

71

51

36

46

36

927

1129

 

30´25

20´15

87

64

80

56

41

50

46

1481

1667

 

38´30

25´20

97

75

87

64

50

60

50

2130

2467

 

Примечание. Размеры, приведенные в скобках, непредпочтительны.

Пример условного обозначения соединения группы 1 в исполнении 1 с Dн = 5 мм на Dн́ = 4 мм:

Соединение 1-1-5´4 ГОСТ 24493-80

То же, в исполнении 2:

Соединение 1-2-5´4 ГОСТ 24493-80

1, 2. (Измененная редакция, Изм. № 1).

3. Условные давления для каждой группы соединений приведены в рекомендуемом приложении 1 к ГОСТ 22525-77.

4. Технические требования, правила приемки, методы испытаний, маркировка, упаковка, транспортирование и хранение - по ГОСТ 15763-91.

ИНФОРМАЦИОННЫЕ ДАННЫЕ

1. РАЗРАБОТАН И ВНЕСЕН Государственным комитетом СССР по стандартам

РАЗРАБОТЧИКИ

Б.В. Максимовский; Г.В. Поляков, канд. техн. наук; С.А. Суховодова

2. УТВЕРЖДЕН И ВВЕДЕН В ДЕЙСТВИЕ Постановлением Государственного комитета СССР по стандартам от 30.12.80 № 6079

3. Срок проверки - 1998 г.

4. ВЗАМЕН ГОСТ 20976-75; ГОСТ 22879-77

5. ССЫЛОЧНЫЕ НОРМАТИВНО-ТЕХНИЧЕСКИЕ ДОКУМЕНТЫ

Обозначение НТД, на который дана ссылка

Номер пункта

ГОСТ 15763-91

4

ГОСТ 21863-78

2

ГОСТ 22525-77

3

ГОСТ 23353-78

2

ГОСТ 23355-78

2

6. Проверен в 1989 г. Срок действия продлен до 01.01.2000 Постановлением Госстандарта СССР от 25.10.89 № 3180

7. Переиздание (май 1991 г.) с Изменением № 1, утвержденным в октябре 1989 г. (ИУС 2-90)

 




ГОСТЫ, СТРОИТЕЛЬНЫЕ и ТЕХНИЧЕСКИЕ НОРМАТИВЫ.
Некоммерческая онлайн система, содержащая все Российские Госты, национальные Стандарты и нормативы.
В Системе содержится более 150000 файлов нормативно-технической документации, действующей на территории РФ.
Система предназначена для широкого круга инженерно-технических специалистов.

Рейтинг@Mail.ru Яндекс цитирования

Copyright © www.gostrf.com, 2008 - 2026