Крупнейшая бесплатная информационно-справочная система онлайн доступа к полному собранию технических нормативно-правовых актов РФ. Огромная база технических нормативов (более 150 тысяч документов) и полное собрание национальных стандартов, аутентичное официальной базе Госстандарта. GOSTRF.com - это более 1 Терабайта бесплатной технической информации для всех пользователей интернета. Все электронные копии представленных здесь документов могут распространяться без каких-либо ограничений. Поощряется распространение информации с этого сайта на любых других ресурсах. Каждый человек имеет право на неограниченный доступ к этим документам! Каждый человек имеет право на знание требований, изложенных в данных нормативно-правовых актах!

  


 

ГОСТ Р 50746-2000

ГОСУДАРСТВЕННЫЙ СТАНДАРТ РОССИЙСКОЙ ФЕДЕРАЦИИ

Совместимость технических средств электромагнитная

ТЕХНИЧЕСКИЕ СРЕДСТВА
ДЛЯ АТОМНЫХ СТАНЦИЙ

Требования и методы испытаний

ГОССТАНДАРТ РОССИИ
Москва

Предисловие

1 РАЗРАБОТАН ВНИИАЭС, ЭНИЦ-ИНВЕСТ, Техническим комитетом по стандартизации в области электромагнитной совместимости технических средств (ТК 30) и Техническим комитетом по стандартизации «Атомная техника» (ТК 322)

ВНЕСЕН Министерством Российской Федерации по атомной энергии

2 ПРИНЯТ И ВВЕДЕН В ДЕЙСТВИЕ Постановлением Госстандарта России от 8 декабря 2000 г. № 350-ст

3 Настоящий стандарт в части требований электромагнитной совместимости и методов испытаний соответствует международным стандартам: МЭК 61000-3-2-95; МЭК 61000-3-3-94; МЭК 61000-4-2-95; МЭК 61000-4-3-95; МЭК 61000-4-4-95; МЭК 61000-4-5-95; МЭК 61000-4-6-96; МЭК 61000-4-8-93; МЭК 61000-4-9-93; МЭК 61000-4-10-93; МЭК 61000-4-11-94; МЭК 61000-4-12-97; МЭК 61000-4-14-99; МЭК 61000-4-16-98; МЭК 61000-4-28-99; СИСПР 11-97; СИСПР 14-1-93; СИСПР 22-97

4 ВЗАМЕН ГОСТ Р 50746-95

СОДЕРЖАНИЕ

1 Область применения. 2

2 Нормативные ссылки. 2

3 Определения. 4

4 Требования. 5

4.1 Общие положения. 5

4.2 Требования устойчивости к помехам.. 6

4.3 Нормы помехоэмиссии. 16

5 Методы испытаний. 17

5.1 Общие положения. 17

5.2 Испытания на помехоустойчивость. 19

5.3 Испытания на помехоэмиссию.. 24

5.4 Оценка результатов испытаний. 24

6 Требования безопасности. 25

Приложение А Критерии качества функционирования ТС АС при испытаниях на помехоустойчивость. 25

Приложение Б Качественные признаки классификации жесткости электромагнитной обстановки в помещениях для размещения ТС АС.. 25

Приложение В Порядок проведения испытаний и оценки соответствия ТС АС, находящихся в эксплуатации, требованиям помехоустойчивости. 27

Приложение Г Форма протокола испытаний ТС АС на помехоустойчивость. 28

Приложение Д Методы испытаний ТС АС на устойчивость к магнитному полю при локальном воздействии. 29

Приложение Е Сведения о введении в действие стандартов ЭМС, указанных в разделе «Нормативные ссылки», и отмене действующих стандартов. 30

Приложение Ж Библиография. 30

ГОСТ Р 50746-2000

ГОСУДАРСТВЕННЫЙ СТАНДАРТ РОССИЙСКОЙ ФЕДЕРАЦИИ

Совместимость технических средств электромагнитная

ТЕХНИЧЕСКИЕ СРЕДСТВА ДЛЯ АТОМНЫХ СТАНЦИЙ

Требования и методы испытаний

Electromagnetic compatibility of technical equipment. Technical equipment for nuclear power plants.
Requirements and test methods

Дата введения:

для вновь разрабатываемых, модернизируемых и импортируемых ТС АС

2002-01-01

для серийно изготавливаемых ТС АС

2002-07-01

1 Область применения

Настоящий стандарт распространяется на электротехнические, электронные и радиоэлектронные изделия (оборудование, аппаратуру) (в том числе, электрические приводы различного назначения), а также на изделия (оборудование, аппаратуру), содержащие электрические, электронные и радиоэлектронные компоненты (схемы) (далее в тексте - технические средства), поставляемые на ядерно- и радиационно опасные объекты народнохозяйственного назначения, в том числе атомные станции.

Стандарт применяется для конструктивно завершенных технических средств, поставляемых на ядерно- и радиационноопасные объекты народнохозяйственного назначения, в том числе атомные станции (далее в тексте - ТС АС).

Настоящий стандарт устанавливает требования к ТС АС по обеспечению электромагнитной совместимости, включая требования устойчивости к электромагнитным помехам (далее в тексте - помехи) и нормы помехоэмиссии, а также соответствующие методы испытаний.

Стандарт не распространяется на токопроводы, плавкие предохранители, устройства подсоединения, аккумуляторы и батареи.

Требования настоящего стандарта являются обязательными.

2 Нормативные ссылки

В настоящем стандарте использованы ссылки на [1] - [3] и следующие стандарты:

ГОСТ 13109-97 Электрическая энергия. Совместимость технических средств электромагнитная. Нормы качества электрической энергии в системах электроснабжения общего назначения

ГОСТ 14777-76 Радиопомехи индустриальные. Термины и определения

ГОСТ 15150-69 Машины, приборы и другие технические изделия. Исполнения для различных климатических районов. Категории, условия эксплуатации, хранения и транспортирования в части воздействия климатических факторов внешней среды

ГОСТ 16504-81 Система государственных испытаний продукции. Испытания и контроль качества продукции. Основные термины и определения

ГОСТ 23875-88 Качество электрической энергии. Термины и определения

ГОСТ 29075-91 Системы ядерного приборостроения для атомных станций. Общие требования

ГОСТ 30372-95 / ГОСТ Р 50397-92 Совместимость технических средств электромагнитная. Термины и определения

ГОСТ Р 50648-94 (МЭК 1000-4-8-93) Совместимость технических средств электромагнитная. Устойчивость к магнитному полю промышленной частоты. Технические требования и методы испытаний

ГОСТ 30336-95 / ГОСТ Р 50649-94 (МЭК 1000-4-9-93) Совместимость технических средств электромагнитная. Устойчивость к импульсному магнитному полю. Технические требования и методы испытаний

ГОСТ Р 50652-94 (МЭК 61000-4-10-93) Совместимость технических средств электромагнитная. Устойчивость к затухающему колебательному магнитному полю. Технические требования и методы испытаний

ГОСТ Р 51317.3.2-99 (МЭК 61000-3-2-95) Совместимость технических средств электромагнитная. Эмиссия гармонических составляющих тока техническими средствами с потребляемым током не более 16 А (в одной фазе). Нормы и методы испытаний

ГОСТ Р 51317.3.3-99 (МЭК 61000-3-3-94) Совместимость технических средств электромагнитная. Колебания напряжения и фликер, вызываемые техническими средствами с потребляемым током не более 16 А (в одной фазе), подключаемыми к низковольтным системам электроснабжения. Нормы и методы испытаний

ГОСТ Р 51317.4.2-99 (МЭК 61000-4-2-95) Совместимость технических средств электромагнитная. Устойчивость к электростатическим разрядам. Требования и методы испытаний

ГОСТ Р 51317.4.3-99 (МЭК 61000-4-3-95) Совместимость технических средств электромагнитная. Устойчивость к радиочастотному электромагнитному полю. Требования и методы испытаний

ГОСТ Р 51317.4.4-99 (МЭК 61000-4-4-95) Совместимость технических средств электромагнитная. Устойчивость к наносекундным импульсным помехам. Требования и методы испытаний

ГОСТ Р 51317.4.5-99 (МЭК 61000-4-5-95) Совместимость технических средств электромагнитная. Устойчивость к микросекундным импульсным помехам большой энергии. Требования и методы испытаний

ГОСТ Р 51317.4.6-99 (МЭК 61000-4-6-96) Совместимость технических средств электромагнитная. Устойчивость к кондуктивным помехам, наведенным радиочастотными электромагнитными полями. Требования и методы испытаний

ГОСТ Р 51317.4.11-99 (МЭК 61000-4-11-94) Совместимость технических средств электромагнитная. Устойчивость к динамическим изменениям напряжения электропитания. Требования и методы испытаний

ГОСТ Р 51317.4.12-99 (МЭК 61000-4-12-97) Совместимость технических средств электромагнитная. Устойчивость к колебательным затухающим помехам. Требования и методы испытаний

ГОСТ Р 51317.4.14-2000 (МЭК 61000-4-14-99) Совместимость технических средств электромагнитная. Устойчивость к колебаниям напряжения электропитания. Требования и методы испытаний

ГОСТ Р 51317.4.16-2000 (МЭК 61000-4-16-98) Совместимость технических средств электромагнитная. Устойчивость к кондуктивным помехам в полосе частот от 0 до 150 кГц. Требования и методы испытаний

ГОСТ Р 51317.4.28-2000 (МЭК 61000-4-28-99) Совместимость технических средств электромагнитная. Устойчивость к изменениям частоты питающего напряжения. Требования и методы испытаний

ГОСТ Р 51318.11-99 (СИСПР 11-97) Совместимость технических средств электромагнитная. Радиопомехи индустриальные от промышленных, научных, медицинских и бытовых (ПНМБ) высокочастотных устройств. Нормы и методы испытаний

ГОСТ Р 51318.14.1-99 (СИСПР 14-1-93) Совместимость технических средств электромагнитная. Радиопомехи индустриальные от бытовых приборов, электрических инструментов и аналогичных устройств. Нормы и методы испытаний

ГОСТ Р 51318.22-99 (СИСПР 22-97) Совместимость технических средств электромагнитная. Радиопомехи индустриальные от оборудования информационных технологий. Нормы и методы испытаний

ГОСТ Р 51319-99 Совместимость технических средств электромагнитная. Приборы для измерения индустриальных радиопомех. Технические требования и методы испытаний

ГОСТ Р 51320-99 Совместимость технических средств электромагнитная. Радиопомехи индустриальные. Методы испытаний технических средств - источников индустриальных радиопомех

ГОСТ Р 51516-99 (МЭК 60255-22-4-92) Совместимость технических средств электромагнитная. Устойчивость измерительных реле и устройств защиты к наносекундным импульсным помехам. Требования и методы испытаний

ГОСТ Р 51525-99 (МЭК 60255-22-2-96) Совместимость технических средств электромагнитная. Устойчивость измерительных реле и устройств защиты к электростатическим разрядам. Требования и методы испытаний

3 Определения

В настоящем стандарте применяют термины, установленные в ГОСТ 13109, ГОСТ 14777, ГОСТ 16504, ГОСТ 23875, ГОСТ 29075, ГОСТ 30372 / ГОСТ Р 50397, [1], а также следующие:

- порт - граница между ТС АС и внешней электромагнитной средой (зажим, разъем, клемма и т.п.) (рисунок 1);

- порт корпуса - физическая граница ТС АС, через которую могут излучаться создаваемые ТС АС или проникать внешние электромагнитные поля;

- порт подключения кабеля - порт, в котором проводник или кабель подключают к ТС АС (примерами являются порты электропитания, сигнальные порты, порты управления, порты ввода-вывода, порты заземления);

- порт заземления - порт для подключения ТС АС к заземлению различного вида;

- степень жесткости испытаний ТС АС на помехоустойчивость - условный номер, отражающий интенсивность воздействующей помехи с параметрами, регламентированными в нормативной документации;

- критерий качества функционирования ТС АС при испытаниях на помехоустойчивость - совокупность свойств и параметров, характеризующих работоспособность ТС АС при воздействии помех;

- жесткость электромагнитной обстановки в местах размещения ТС АС - обобщенная характеристика электромагнитной обстановки, зависящая от интенсивности кондуктивных и излучаемых помех, действующих в месте размещения, определяемая условиями размещения, установки и монтажа ТС АС;

- динамическое изменение напряжения электропитания (провал, прерывание, выброс) - помеха ТС АС, представляющая собой кратковременное отклонение напряжения электропитания за регламентированный нижний или верхний пределы, длительностью от полупериода частоты переменного тока до нескольких секунд с последующим возвращением к исходному значению;

- наносекундная импульсная помеха - импульсная помеха ТС АС, длительность которой находится в пределах от одной наносекунды до одной микросекунды;

- микросекундная импульсная помеха - импульсная помеха ТС АС, длительность которой находится в пределах от одной микросекунды до одной миллисекунды.

Рисунок 1 - Примеры портов ТС АС

4 Требования

4.1 Общие положения

4.1.1 ТС АС должны удовлетворять требованиям устойчивости к помехам (помехоустойчивости), установленным в настоящем стандарте применительно к различным портам ТС АС, при воздействии помех видов, указанных в 4.1.1.1 - 4.1.1.16.

В технически обоснованных случаях допускается, по согласованию с эксплуатирующей организацией и надзорными органами, исключать отдельные требования из перечисленных в 4.1.1.1 - 4.1.1.16.

4.1.1.1 Микросекундные импульсные помехи большой энергии по ГОСТ Р 51317.4.5.

4.1.1.2 Динамические изменения напряжения электропитания по ГОСТ Р 51317.4.11.

4.1.1.3 Наносекундные импульсные помехи по ГОСТ Р 51317.4.4.

4.1.1.4 Электростатические разряды по ГОСТ Р 51317.4.2.

4.1.1.5 Радиочастотное электромагнитное поле по ГОСТ Р 51317.4.3.

4.1.1.6 Магнитное поле промышленной частоты по ГОСТ Р 50648.

4.1.1.7 Импульсное магнитное поле по ГОСТ 30336 / ГОСТ Р 50649.

4.1.1.8 Кондуктивные помехи, наведенные радиочастотными электромагнитными полями, по ГОСТ Р 51317.4.6.

4.1.1.9 Колебательные затухающие помехи по ГОСТ Р 51317.4.12.

4.1.1.10 Колебания напряжения электропитания по ГОСТ Р 51317.4.14.

4.1.1.11 Кондуктивные помехи в полосе частот от 0 до 150 кГц по ГОСТ Р 51317.4.16.

4.1.1.12 Изменения частоты питающего напряжения по ГОСТ Р 51317.4.28.

4.1.1.13 Токи кратковременных синусоидальных помех частотой 50 Гц в цепях защитного и сигнального заземления по 4.2.1.13, 5.2.13.

4.1.1.14 Токи микросекундных импульсных помех в цепях защитного и сигнального заземления по 4.2.1.14, 5.2.14.

4.1.1.15 Искажения синусоидальности напряжения электропитания по [3].

4.1.1.16 Затухающее колебательное магнитное поле по ГОСТ Р 50652.

4.1.2 ТС АС должны удовлетворять нормам помехоэмиссии, установленным в настоящем стандарте применительно к различным портам ТС АС, для помех видов, указанных в 4.1.2.1 - 4.1.2.3.

4.1.2.1 Индустриальные радиопомехи по ГОСТ Р 51318.11, ГОСТ Р 51318.22.

4.1.2.2 Гармонические составляющие тока, потребляемого ТС АС из сети электропитания по ГОСТ Р 51317.3.2.

4.1.2.3 Колебания напряжения, вызываемые ТС АС в сети электропитания по ГОСТ Р 51317.3.3.

4.1.3 При задании требований помехоустойчивости устанавливают степени жесткости испытаний ТС АС на устойчивость к помехам видов, указанных в 4.1.1.1 -4.1.1.16 (далее в тексте - испытания на помехоустойчивость), и критерии качества функционирования ТС АС при испытаниях на помехоустойчивость.

Критерии качества функционирования ТС АС при испытаниях на помехоустойчивость установлены в приложении А.

4.1.4 В зависимости от назначения и влияния ТС АС на безопасность и от жесткости электромагнитной обстановки при эксплуатации ТС АС устанавливают I, II, III, IV и особую группы исполнения ТС АС по устойчивости к помехам.

Группу исполнения ТС АС конкретного типа по устойчивости к помехам устанавливают в соответствии с таблицей 1 в ТЗ или в документе, его заменяющем.

Таблица 1 - Порядок установления группы исполнения ТС АС по устойчивости к помехам

Категория ТС АС по влиянию на безопасность в соответствии с [1]

Группа исполнения ТС АС по устойчивости к помехам для классов жесткости электромагнитной обстановки в местах размещения ТС АС

Легкая электромагнитная обстановка

Электромагнитная обстановка средней жесткости

Жесткая электромагнитная обстановка

Крайне жесткая электромагнитная обстановка

Элементы (системы) класса безопасности 2

III

IV

*

*

Элементы (системы) класса безопасности 3

II

III

IV

*

Элементы (системы) класса безопасности 4

I

II

III

IV

Примечания

1 Знаком «*» обозначена особая группа исполнения ТС АС, для которой по согласованию между заказчиком и разработчиком ТС АС могут быть установлены более высокие требования устойчивости к помехам, чем для ТС АС IV группы исполнения.

2 Качественные признаки классификации жесткости электромагнитной обстановки в помещениях для размещения ТС АС указаны в приложении Б.

4.1.5 Установленные в соответствии с настоящим стандартом группы исполнения ТС АС по устойчивости к помехам, степени жесткости испытаний на помехоустойчивость применительно к помехам видов, указанных в 4.1.1, критерии качества функционирования при испытаниях на помехоустойчивость, а также нормы индустриальных радиопомех, гармонических составляющих тока, потребляемого из сети электропитания и колебаний напряжения, вызываемых в сети электропитания, должны быть указаны в стандартах на ТС АС конкретного вида, а также в ТЗ, ТУ и эксплуатационной документации на ТС АС.

При этом показатели качества функционирования ТС АС при испытаниях на помехоустойчивость, соответствующие критериям качества функционирования А или В (С) по приложению А, должны быть детализированы с учетом назначения, особенностей применения и режимов работы ТС АС конкретного типа.

4.1.6 Для ТС АС одной и той же категории по назначению и влиянию на безопасность допускается применять особую группу исполнения по устойчивости к помехам в условиях, определенных для I, II, III и IV групп исполнения; IV группу исполнения в условиях, определенных для I, II и III групп исполнения; III группу исполнения в условиях, определенных для I и II групп исполнения; II группу исполнения в условиях, определенных для I группы исполнения.

4.2 Требования устойчивости к помехам

4.2.1 Степени жесткости испытаний на помехоустойчивость и характеристики помех видов, указанных в 4.1.1.1 - 4.1.1.16, воздействующих на различные порты ТС АС I, II, III и IV групп исполнения, приведены в 4.2.1.1 - 4.2.1.16.

Требования к ТС АС устанавливают только при наличии соответствующих портов.

Характеристики испытательных воздействий, приведенные в 4.2.1.1 - 4.2.1.16, учитывают при нормировании помех в сетях электропитания, линиях связи, контурах заземления, помещениях для размещения ТС АС в процессе разработки и проектирования ТС АС.

4.2.1.1 Устойчивость к микросекундным импульсным помехам большой энергии по ГОСТ Р 51317.4.5

Степени жесткости испытаний ТС АС на помехоустойчивость при воздействии микросекундных импульсных помех большой энергии по ГОСТ Р 51317.4.5 на входные и выходные порты, в том числе электропитания переменного тока, электропитания постоянного тока, сигнальные порты, порты управления и ввода-вывода, устанавливают в соответствии с таблицей 2.

Таблица 1 - Микросекундные импульсные помехи большой энергии

Наименование порта

Группа исполнения ТС АС по устойчивости к помехам

I

II

III

IV

Степень жесткости испытаний1)

Значение импульса напряжения на ненагруженном выходе испытательного генератора, кВ

Степень жесткости испытаний1)

Значение импульса напряжения на ненагруженном выходе испытательного генератора, кВ

Степень жесткости испытаний1)

Значение импульса напряжения на ненагруженном выходе испытательного генератора, кВ

Степень жесткости испытаний1)

Значение импульса напряжения на ненагруженном выходе испытательного генератора, кВ

Входные и выходные порты электропитания переменного тока:

 

 

 

 

 

 

 

 

подача помехи по схеме «провод-провод»

Требования не устанавливают

-

1

0,5

2

1

3

2

подача помехи по схеме «провод-земля»

1

0,5

2

1

3

2

4

4

Входные и выходные порты электропитания постоянного тока:

 

 

 

 

 

 

 

 

подача помехи по схеме «провод-провод»

Требования не устанавливают

-

Требования не устанавливают

-

12)

0,5

22)

1

подача помехи по схеме «провод-земля»

То же

-

То же

-

22)

1

32)

2

Сигнальные порты, порты управления, порты ввода-вывода (подача помехи по схеме «провод-земля»)

Требования не устанавливают

-

13)

0,5

23)

1

33)

2

1) При подаче помехи на порты электропитания переменного и постоянного тока, а также сигнальные порты, порты управления и ввода-вывода, не подключаемые к линиям проводной связи или подключаемые к линиям проводной связи, проходящим внутри здания, применяют комбинированный испытательный генератор микросекундных импульсных помех 1/50 мкс - 6,4/16 мкс по ГОСТ Р 51317.4.5. При подаче помех на сигнальные порты, порты управления и ввода-вывода, подключаемые к линиям проводной связи, проходящим вне зданий, применяют испытательный генератор микросекундных импульсных помех 10/700 мкс - 4/300 мкс по ГОСТ Р 51317.4.5.

2) Требование устанавливают для портов, у которых длина постоянно подключенных кабелей в соответствии с технической документацией на ТС АС может превышать 10 м.

3) Требование устанавливают для портов, у которых длина постоянно подключенных кабелей в соответствии с технической документацией на ТС АС может превышать 3 м

4.2.1.2 Устойчивость к динамическим изменениям напряжения электропитания по ГОСТ Р 51317.4.11

Степени жесткости испытаний ТС АС на помехоустойчивость при воздействии динамических изменений напряжения электропитания (провалов, прерываний и выбросов напряжения) по ГОСТ Р 51317.4.11 на входные порты электропитания переменного тока устанавливают в соответствии с таблицей 3.

Требования устанавливают для ТС с номинальным потребляемым током не более 16 А (в одной фазе).

Таблица 3 - Динамические изменения напряжения электропитания

Вид динамических изменений напряжений электропитания

Группа исполнения ТС АС по устойчивости к помехам

I

II

III

IV

Степень жесткости испытаний

Испытательное напряжение, % Uн1) длительность изменений напряжения, периодов/мс

Степень жесткости испытаний

Испытательное напряжение, % Uн1) длительность изменений напряжения, периодов/мс

Степень жесткости испытаний

Испытательное напряжение, % Uн1) длительность изменений напряжения, периодов/мс

Степень жесткости испытаний

Испытательное напряжение, % Uн1) длительность изменений напряжения, периодов/мс

Провалы напряжения

1

2

3

4

Прерывания напряжения

1

1

2

3

Выбросы напряжения

1

2

3

4

1) Uн - номинальное напряжение электропитания ТС АС

4.2.1.3 Устойчивость к наносекундным импульсным помехам по ГОСТ Р 51317.4.4

Степени жесткости испытаний ТС АС на помехоустойчивость при воздействии наносекундных импульсных помех по ГОСТ Р 51317.4.4 на входные и выходные порты, в том числе электропитания переменного тока, электропитания постоянного тока, сигнальные порты, порты управления и ввода-вывода, устанавливают в соответствии с таблицей 4.

Таблица 4 - Наносекундные импульсные помехи

Наименование порта

Группа исполнения ТС АС по устойчивости к помехам

1

II

III

IV

Степень жесткости испытаний

Выходное напряжение испытательного генератора в режиме холостого хода, кВ

Степень жесткости испытаний

Выходное напряжение испытательного генератора в режиме холостого хода, кВ

Степень жесткости испытаний

Выходное напряжение испытательного генератора в режиме холостого хода, кВ

Степень жесткости испытаний

Выходное напряжение испытательного генератора в режиме холостого хода, кВ

Входные и выходные порты электропитания переменного тока:

1

0,5

2

1

3

2

4

4

Входные и выходные порты электропитания постоянного тока

Требования не устанавливают

-

1

0,5

2

1

3

2

Входные и выходные сигнальные порты, порты управления, порты ввода-вывода1)

1

0,25

2

0,5

3

1

4

2

1) Требование устанавливают для портов, у которых длина постоянно подключенных кабелей в соответствии с технической документацией на ТС АС может превышать 3 м

4.2.1.4 Устойчивость к электростатическим разрядам по ГОСТ Р 51317.4.2

Степени жесткости испытаний ТС АС на помехоустойчивость при воздействии контактных и воздушных электростатических разрядов по ГОСТ Р 51317.4.2 на порт корпуса устанавливают в соответствии с таблицей 5.

Таблица 5 - Электростатические разряды

Группа исполнения ТС АС по устойчивости к помехам

I

II

III

IV

Степень жесткости испытаний

Напряжение на накопительном конденсаторе испытательного генератора, кВ

Степень жесткости испытаний

Напряжение на накопительном конденсаторе испытательного генератора, кВ

Степень жесткости испытаний

Напряжение на накопительном конденсаторе испытательного генератора, кВ

Степень жесткости испытаний

Напряжение на накопительном конденсаторе испытательного генератора, кВ

1

2 (контактный разряд)

2

4 (контактный разряд)

3

6 (контактный разряд)

4

8 (контактный разряд)

2 (воздушный разряд)

4 (воздушный разряд)

8 (воздушный разряд)

15 (воздушный разряд)

4.2.1.5 Устойчивость к радиочастотному электромагнитному полю по ГОСТ Р 51317.4.3

Степени жесткости испытаний ТС АС на помехоустойчивость при воздействии на порт корпуса радиочастотного электромагнитного поля по ГОСТ Р 51317.4.3 в полосе частот 80 - 1000 и 1400 - 2000 МГц устанавливают в соответствии с таблицей 6.

Таблица 6 - Радиочастотное электромагнитное поле

Полоса частот, МГц

Группа исполнения ТС АС по устойчивости к помехам

I

II

III

IV

Степень жесткости испытаний

Напряженность испытательного поля, В/м (дБ относительно 1 мкВ/м)

Степень жесткости испытаний

Напряженность испытательного поля, В/м (дБ относительно 1 мкВ/м)

Степень жесткости испытаний

Напряженность испытательного поля, В/м (дБ относительно 1 мкВ/м)

Степень жесткости испытаний

Напряженность испытательного поля, В/м (дБ относительно 1 мкВ/м)

80 - 1000

1

1 (120)

2

3 (130)

3

10 (140)

3

10 (140)

800 - 960, 1400 - 2000

2

3 (130)

3

10 (140)

4

30 (150)

4

30 (150)

Примечание - Требования помехоустойчивости ТС АС при воздействии радиочастотного электромагнитного поля в полосе частот 800 - 960 и 1400 - 2000 МГц допускается не устанавливать, если в технической документации на ТС АС предусмотрено запрещение применения мобильных радиотелефонных систем в местах размещения указанных ТС АС

4.2.1.6 Устойчивость к магнитному полю промышленной частоты по ГОСТ Р 50648

Степени жесткости испытаний ТС АС на помехоустойчивость при длительном и кратковременном воздействии на порт корпуса магнитного поля промышленной частоты по ГОСТ Р 50648 устанавливают в соответствии с таблицей 7.

Требования не устанавливают для ТС АС, имеющих в своем составе измерительные устройства, основанные на измерении параметров магнитного поля.

Таблица 7 - Магнитное поле промышленной частоты

Вид испытательного магнитного поля

Группа исполнения ТС АС по устойчивости к помехам

I

II

III

IV

Степень жесткости испытаний

Напряженность испытательного магнитного поля, А/м

Степень жесткости испытаний

Напряженность испытательного магнитного поля, А/м

Степень жесткости испытаний

Напряженность испытательного магнитного поля, А/м

Степень жесткости испытаний

Напряженность испытательного магнитного поля, А/м

Длительное магнитное поле

2

3

3

10

4

30

5

40

Кратковременное магнитное поле длительностью 3 с

Требования не устанавливают

-

4/

4001)

4

4001)

5

600

1) Напряженность испытательного кратковременного магнитного поля 400 А/м установлена в соответствии с требованиями ГОСТ 29075

4.2.1.7 Устойчивость к импульсному магнитному полю по ГОСТ 30336 / ГОСТ Р 50649

Степени жесткости испытаний ТС АС на помехоустойчивость при воздействии на порт корпуса импульсного магнитного поля по ГОСТ 30336 / ГОСТ Р 50649 устанавливают в соответствии с таблицей 8.

Таблица 8 - Импульсное магнитное поле

Группа исполнения ТС АС по устойчивости к помехам

I

II

III

IV

Степень жесткости испытаний

Напряженность испытательного магнитного поля, А/м

Степень жесткости испытаний

Напряженность испытательного магнитного поля, А/м

Степень жесткости испытаний

Напряженность испытательного магнитного поля, А/м

Степень жесткости испытаний

Напряженность испытательного магнитного поля, А/м

Требования не устанавливают

-

3

100

4

300

5

600

Примечание - Требования не устанавливают для ТС, имеющих в своем составе измерительные устройства, основанные на измерении параметров магнитного поля

4.2.1.8 Устойчивость к кондуктивным помехам, наведенным радиочастотными электромагнитными полями, по ГОСТ Р 51317.4.6

Степени жесткости испытаний ТС АС на помехоустойчивость при воздействии кондуктивных помех, наведенных радиочастотными электромагнитными полями, по ГОСТ Р 51317.4.6 в полосе частот 0,15 - 80 МГц на входные и выходные порты, в том числе электропитания переменного тока, электропитания постоянного тока, сигнальные порты, порты управления и ввода-вывода, устанавливают в соответствии с таблицей 9.

Таблица 9 - Кондуктивные помехи, наведенные радиочастотными электромагнитными полями

Группа исполнения ТС АС по устойчивости к помехам

I

II

III

IV

Степень жесткости испытаний

Испытательное напряжение, В (дБ относительно 1 мкВ)

Степень жесткости испытаний

Испытательное напряжение, В (дБ относительно 1 мкВ)

Степень жесткости испытаний

Испытательное напряжение, В (дБ относительно 1 мкВ)

Степень жесткости испытаний

Испытательное напряжение, В (дБ относительно 1 мкВ)

I

1 (120)

2

3 (130)

3

10 (140)

3

10 (140)

4.2.1.9 Устойчивость к колебательным затухающим помехам по ГОСТ Р 51317.4.12

Степени жесткости испытаний ТС АС на помехоустойчивость при воздействии колебательных затухающих помех по ГОСТ Р 51317.4.12 на входные и выходные порты электропитания переменного и постоянного тока устанавливают в соответствии с таблицей 10.

Таблица 10 - Колебательные затухающие помехи

Вид помехи, наименование порта

Группа исполнения ТС АС по устойчивости к помехам

I

II

III

IV

Степень жесткости испытаний

Испытательное напряжение, кВ

Степень жесткости испытаний

Испытательное напряжение, кВ

Степень жесткости испытаний

Испытательное напряжение, кВ

Степень жесткости испытаний

Испытательное напряжение, кВ

Одиночные колебательные затухающие помехи

 

 

 

 

 

 

 

 

Входные порты электропитания переменного и постоянного тока:

 

 

 

 

 

 

 

 

подача помехи по схеме «провод-земля»

1

0,5

2

1

3

2

4

4

подача помехи по схеме «провод-провод»

1

0,25

2

0,5

3

1

4

2

Выходные порты электропитания переменного и постоянного тока:

 

 

 

 

 

 

 

 

подача помехи по схеме «провод-земля»

Требования не устанавливают

-

1

0,5

2

1

3

2

подача помехи по схеме «провод-провод»

То же

-

1

0,25

2

0,5

3

1

Повторяющиеся колебательные затухающие помехи1)

 

 

 

 

 

 

 

 

Входные порты электропитания переменного тока:

 

 

 

 

 

 

 

 

подача помехи по схеме «провод-земля»

1

0,5

2

1

3

2

3

2,5

подача помехи по схеме «провод-провод»

1

0,25

2

0,5

3

1

3

1

Выходные порты электропитания переменного и постоянного тока:

 

 

 

 

 

 

 

 

подача помехи по схеме «провод-земля»

Требования не устанавливают

-

1

0,5

2

1

3

2

подача помехи по схеме «провод-провод»

Требования не устанавливают

-

1

0,25

2

0,5

3

1

1) Требования устанавливают для ТС АС, применяемых на электрических подстанциях среднего (6 - 35 кВ) и высокого (выше 35 кВ) напряжения

4.2.1.10 Устойчивость к колебаниям напряжения электропитания по ГОСТ Р 51317.4.14

Степени жесткости испытаний ТС АС на помехоустойчивость при воздействии ступенчатых изменений напряжения электропитания по ГОСТ Р 51317.4.14 на входные порты электропитания переменного тока устанавливают в соответствии с таблицей 11.

Таблица 11 - Колебания напряжения электропитания

Группа исполнения ТС АС по устойчивости к помехам

I

II

III

IV

Степень жесткости испытаний

Величина ступени изменения напряжения, % Uн

Степень жесткости испытаний

Величина ступени изменения напряжения, % Uн

Степень жесткости испытаний

Величина ступени изменения напряжения, % Uн

Степень жесткости испытаний

Величина ступени изменения напряжения, % Uн

1

Требования не устанавливают

2

± 8

3

± 12

Специальная

± 20

4.2.1.11 Устойчивость к кондуктивным помехам в полосе частот от 0 до 150 кГц по ГОСТ Р 51317.4.16

Степени жесткости испытаний ТС АС на помехоустойчивость при воздействии кондуктивных помех, представляющих собой общие несимметричные напряжения в полосе частот 0 - 150 кГц, по ГОСТ Р 51317.4.16, на входные и выходные порты электропитания переменного и постоянного тока, сигнальные порты, порты управления и ввода-вывода устанавливают в соответствии с таблицей 12.

Требования устанавливают для ТС АС, являющихся составными элементами электрических установок значительной мощности.

Таблица 12 - Кондуктивные помехи в полосе частот от 0 до 150 кГц

Вид помехи

Группа исполнения ТС АС по устойчивости к помехам

I

II

III

IV

Степень жесткости испытаний

Выходное напряжение испытательного генератора в режиме холостого хода, В

Степень жесткости испытаний

Выходное напряжение испытательного генератора в режиме холостого хода, В

Степень жесткости испытаний

Выходное напряжение испытательного генератора в режиме холостого хода, В

Степень жесткости испытаний

Выходное напряжение испытательного генератора в режиме холостого хода, В

Длительные помехи на частоте 50 Гц

1

1

2

3

3

10

4

30

Кратковременные помехи на частоте 50 Гц

1

3

2

10

3

30

4

100

Длительные помехи в полосе частот 15 Гц - 150 кГц, в том числе:

 

 

 

 

 

 

 

 

в полосе частот 15 - 150 Гц

1

1 - 0,12)

2

3 - 0,32)

3

10 - 12)

4

30 - 32)

в полосе частот 150 Гц - 1,5 кГц

1

0,1

2

0,3

3

1

4

3

в полосе частот 1,5 - 15 кГц

1

0,1 - 13)

2

0,3 - 33)

3

1 - 103)

4

3 - 303)

в полосе частот 15 - 150 кГц

1

1

2

3

3

10

4

30

1) Требования устанавливают для ТС АС, к портам которых в соответствии с технической документацией на ТС АС могут быть подключены кабели длиной более 20 м.

2) Испытательное напряжение уменьшается на 20 дБ/декада.

3) Испытательное напряжение возрастает на 20 дБ/декада

4.2.1.12 Устойчивость к изменениям частоты в системах электроснабжения по ГОСТ Р 51317.4.28

Степени жесткости испытаний ТС АС на помехоустойчивость при воздействии изменений частоты питающего напряжения по ГОСТ Р 51317.4.28 на входные порты электропитания переменного тока устанавливают в соответствии с таблицей 13.

Требования устанавливают для ТС АС с номинальным потребляемым током не более 16 А (в одной фазе).

Таблица 13 - Изменения частоты в системах электроснабжения

Группа исполнения ТС АС по устойчивости к помехам

I

II

III

IV

Степень жесткости испытаний

Относительное изменение частоты, Df/f1, %

Степень жесткости испытаний

Относительное изменение частоты, Df/f1, %

Степень жесткости испытаний

Относительное изменение частоты, Df/f1, %

Степень жесткости испытаний

Относительное изменение частоты, Df/f1, %

1

± 3

2

+ 4, - 6

3

± 15

3

± 15

Примечание - Df - изменение частоты; f1 - основная частота в системе электроснабжения

4.2.1.13 Устойчивость к токам кратковременных синусоидальных помех частотой 50 Гц в цепях защитного и сигнального заземления

Степени жесткости испытаний ТС АС на помехоустойчивость при воздействии синусоидальных токов кратковременных помех частотой 50 Гц в цепях защитного и сигнального заземления по 5.2.13 устанавливают в соответствии с таблицей 14.

Таблица 14 - Токи кратковременных синусоидальных помех в цепях защитного и сигнального заземления

Группа исполнения ТС АС по устойчивости к помехам

I

II

III

IV

Степень жесткости испытаний

Амплитуда посылок тока на короткозамкнутом выходе испытательного генератора, А

Степень жесткости испытаний

Амплитуда посылок тока на короткозамкнутом выходе испытательного генератора, А

Степень жесткости испытаний

Амплитуда посылок тока на короткозамкнутом выходе испытательного генератора, А

Степень жесткости испытаний

Амплитуда посылок тока на короткозамкнутом выходе испытательного генератора, А

1

50

2

100

3

150

4

200

Примечание - Требования устанавливают для ТС АС, которые в соответствии с технической документацией на ТС АС должны быть подключены к сигнальному (измерительному) контуру заземления

4.2.1.14 Устойчивость к токам микросекундных импульсных помех в цепях защитного и сигнального заземления

Степени жесткости испытаний ТС АС на помехоустойчивость при воздействии токов микросекундных импульсных помех в цепях защитного и сигнального заземления по 5.2.14 устанавливают в соответствии с таблицей 15.

Таблица 15 - Токи микросекундных импульсных помех в цепях защитного и сигнального заземления

Группа исполнения ТС АС по устойчивости к помехам

I

II

III

IV

Степень жесткости испытаний

Амплитуда импульса тока на короткозамкнутом выходе испытательного генератора, А

Степень жесткости испытаний

Амплитуда импульса тока на короткозамкнутом выходе испытательного генератора, А

Степень жесткости испытаний

Амплитуда импульса тока на короткозамкнутом выходе испытательного генератора, А

Степень жесткости испытаний

Амплитуда импульса тока на короткозамкнутом выходе испытательного генератора, А

1

50

2

100

3

150

4

200

Примечание - Требования устанавливают для ТС АС, которые в соответствии с технической документацией на ТС АС должны быть подключены к сигнальному (измерительному) контуру заземления

4.2.1.15 Устойчивость к искажению синусоидальности напряжения электропитания по [3]

Степени жесткости испытаний ТС АС на помехоустойчивость в условиях искажения синусоидальности напряжения электропитания при воздействии гармоник и интергармоник питающего напряжения [3] устанавливают в соответствии с таблицами 16 - 19.

Требования устанавливают для ТС АС с номинальным потребляемым током не более 16 А (в одной фазе).

Таблица 16 - Нечетные гармоники питающего напряжения, не кратные трем (в процентах от номинального значения напряжения основной составляющей)

Номер гармоники

Группа исполнения ТС АС по устойчивости к помехам

I

II

III

IV

5

Требования не устанавливают

9

12

Уровень гармоники устанавливают в ТЗ на ТС АС

7

То же

7,5

10

То же

11

Требования не устанавливают

5

7

Уровень гармоники устанавливают в ТЗ на ТС АС

13

То же

4,5

7

То же

17

»

3

6

»

19

»

2

6

»

23

»

2

6

»

25

»

2

6

»

29

»

1,5

6

»

31

»

1,5

3

»

35

»

1,5

3

»

37

»

1,5

3

»

Таблица 17 - Нечетные гармоники питающего напряжения, кратные трем (в процентах от номинального значения напряжения основной составляющей)

Номер гармоники

Группа исполнения ТС АС по устойчивости к помехам

I

II

III

IV

3

Требования не устанавливают

8

9

Уровень гармоники устанавливают в ТЗ на ТС АС

9

То же

2,5

4

То же

15

»

Требования не устанавливают

3

»

21

»

То же

2

»

27

»

»

2

»

33

»

»

2

»

39

»

»

2

»

Таблица 18 - Четные гармоники питающего напряжения (в процентах от номинального значения напряжения основной составляющей)

Номер гармоники

Группа исполнения ТС АС по устойчивости к помехам

I

II

III

IV

2

Требования не устанавливают

3

5

Уровень гармоники устанавливают в ТЗ на ТС АС

4

То же

1,5

2

То же

6

»

Требования не устанавливают

1,5

»

8

»

То же

1,5

»

10

»

»

1,5

»

12 - 40

»

»

1,5

»

Таблица 19 - Гармонические составляющие с частотами, расположенными между частотами гармоник (в процентах от номинального значения напряжения основной составляющей)

Полоса частот, Гц

Группа исполнения ТС АС по устойчивости к помехам

I

II

III

IV

16 - 100

Требования не устанавливают

2,5

4

Уровень гармоники устанавливают в ТЗ на ТС АС

100 - 500

То же

5

9

То же

500 - 750

»

3,5

5

»

750 - 1000

»

2

3

»

1000 - 2000

»

1,5

2

»

4.2.1.16 Устойчивость к затухающему колебательному магнитному полю по ГОСТ Р 50652-94

Степени жесткости испытаний ТС АС на помехоустойчивость при воздействии на порт корпуса затухающего колебательного магнитного поля по ГОСТ Р 50652 устанавливают в соответствии с таблицей 20.

Таблица 20 - Затухающее колебательное магнитное поле

Группа исполнения ТС АС по устойчивости к помехам

I

II

III

IV

Степень жесткости испытаний

Напряженность магнитного поля, А/м

Степень жесткости испытаний

Напряженность магнитного поля, А/м

Степень жесткости испытаний

Напряженность магнитного поля, А/м

Степень жесткости испытаний

Напряженность магнитного поля, А/м

Требования не устанавливают

-

3

10

4

30

5

100

Примечание - Требования устанавливают для ТС АС, применяемых на электрических подстанциях среднего (6 - 35 кВ) и высокого (выше 35 кВ) напряжения

4.2.2 ТС АС, относящиеся к элементам (системам) безопасности и к элементам (системам) нормальной эксплуатации, важным для безопасности, должны удовлетворять критерию качества функционирования А при воздействии помех видов, указанных в 4.1.1.1 - 4.1.1.16.

Для ТС АС, относящихся к элементам (системам) нормальной эксплуатации, важным для безопасности, допускается критерий В, если возникающие при этом отклонения качества функционирования от заданных по техническим условиям (или технологическому регламенту АС) не могут привести к инцидентам на АЭС выше уровня «0» по шкале ядерных событий [2].

4.2.3 Для ТС АС, относящихся к элементам (системам) нормальной эксплуатации, не влияющим на безопасность, виды испытательных воздействий из указанных в 4.1.1.1 - 4.1.1.16 и критерии качества функционирования А или В (С) при испытаниях на помехоустойчивость устанавливают по согласованию между заказчиком и изготовителем ТС АС.

4.3 Нормы помехоэмиссии

4.3.1 Нормы индустриальных радиопомех

ТС АС, относящиеся к оборудованию информационных технологий в соответствии с 3.1 ГОСТ Р 51318.22, должны удовлетворять нормам индустриальных радиопомех класса А, установленным в таблицах 1, 5 ГОСТ Р 51318.22.

ТС АС всех назначений, не относящиеся к оборудованию информационных технологий, должны удовлетворять нормам индустриальных радиопомех, приведенным в таблицах 21, 22 (нормы соответствуют установленным в ГОСТ Р 51318.11, класс А, группа 1).

Таблица 21 - Нормы напряженности поля индустриальных радиопомех от ТС АС, не относящихся к оборудованию информационных технологий, при измерительном расстоянии 30 м

Наименование порта

Полоса частот, МГц

Напряженность поля, дБ (мкВ/м) (квазипиковое значение)

Порт корпуса

30 - 230

30

230 - 1000

37

Примечания

1 Нормы устанавливают для ТС АС с номинальным напряжением электропитания менее 1000 В.

2 Измерения допускается проводить при измерительном расстоянии 10 м с применением норм, установленных в настоящей таблице (см. 7.1.3 ГОСТ Р 51318.11).

3 Для стационарных или крупногабаритных ТС АС, которые не могут быть испытаны в условиях испытательной лаборатории, допускается проведение испытаний на соответствие нормам, приведенным в настоящей таблице, на месте размещения на расстоянии 10 м от наружной стены здания, в котором установлено ТС АС.

4 На граничной частоте нормой является меньшее значение напряженности поля индустриальных радиопомех

Таблица 22 - Нормы напряжения индустриальных радиопомех от ТС АС, не относящихся к оборудованию информационных технологий

Наименование порта

Полоса частот, МГц

Напряжение, дБ (мкВ)

Входные порты электропитания переменного тока

0,15 - 0,5

79 (квазипиковое значение)

66 (среднее значение)

0,5 - 30

73 (квазипиковое значение)

60 (среднее значение)

Примечания

1 Для стационарных или крупногабаритных ТС АС, которые не могут быть испытаны в условиях испытательной лаборатории, допускается проведение испытаний на соответствие нормам, приведенным в таблице, на месте размещения ТС АС.

2 На граничной частоте нормой является меньшее значение напряжения индустриальных радиопомех.

3 Кратковременные индустриальные радиопомехи, создаваемые ТС АС при частоте повторения менее пяти в минуту, не учитывают. Для кратковременных индустриальных радиопомех с частотой повторения более 30 в минуту применяют нормы, приведенные в настоящей таблице. Для кратковременных индустриальных радиопомех с частотой повторения от 5 до 30 в минуту допускается ослабление норм на 20 lg 30/N (где N - число кратковременных индустриальных радиопомех в минуту). Критерии отнесения индустриальных радиопомех к кратковременным установлены в ГОСТ Р 51318.14.1

4.3.2 Нормы гармонических составляющих потребляемого тока

ТС АС с потребляемым током не более 16 А (в одной фазе), получающие электропитание от общей с другими ТС АС электрической сети при номинальном напряжении 220/380 В, должны удовлетворять нормам эмиссии гармонических составляющих потребляемого тока, установленным в ГОСТ Р 51317.3.2 (раздел 7).

4.3.3 Нормы колебаний напряжения, вызываемых ТС АС

ТС АС с потребляемым током не более 16 А (в одной фазе), получающие электропитание от общей с другими ТС АС электрической сети при номинальном напряжении 220/380 В, должны удовлетворять следующим нормам колебаний напряжения, вызываемых в сети, установленным в ГОСТ Р 51317.3.3 (раздел 5):

- установившееся относительное изменение напряжения - не более 3 %;

- максимальное относительное изменение напряжения - не более 4 %;

- характеристика относительного изменения напряжения - не более 3 % для интервала времени изменения напряжения, большего 0,2 с.

5 Методы испытаний

5.1 Общие положения

5.1.1 Для оценки соответствия установленным в настоящем стандарте требованиям ТС АС подлежат испытаниям на помехоустойчивость и испытаниям на помехоэмиссию.

5.1.2 Испытания на помехоустойчивость и испытания на помехоэмиссию проводят:

- серийно изготовляемых ТС АС - при сертификационных и типовых испытаниях;

- вновь разрабатываемых и модернизируемых ТС АС - при приемочных испытаниях;

- импортируемых ТС АС - при сертификационных испытаниях.

Необходимость проведения испытаний на помехоустойчивость и помехоэмиссию при приемосдаточных и периодических испытаниях устанавливают в стандартах и ТУ на ТС АС конкретного типа.

Испытания на помехоустойчивость эксплуатируемых ТС АС рекомендуется проводить периодически в процессе эксплуатации не реже одного раза в 3 года и после модернизации (реконструкции, усовершенствования, доработки).

Порядок проведения испытаний и оценки соответствия ТС АС, находящихся в эксплуатации, требованиям помехоустойчивости - в соответствии с приложением В.

5.1.3 Сертификационные испытания ТС АС на соответствие требованиям настоящего стандарта проводят испытательные лаборатории (центры), аккредитованные в установленном порядке.

5.1.4 Количество образцов ТС АС для испытаний на помехоустойчивость должно соответствовать следующим требованиям:

- при сертификационных испытаниях ТС АС с годовым выпуском (импортом), не превышающим 100 шт., выбирают три образца1); при годовом выпуске (импорте), равном или превышающем 100 шт., число образцов выбирают из ряда: 7, 14; ТС АС единичного производства (импорта) испытывают каждое в отдельности;

1) По согласованию с органом по сертификации при испытаниях крупногабаритных или дорогостоящих ТС АС число образцов может быть уменьшено

- при испытаниях опытных ТС АС количество образцов для испытаний на помехоустойчивость уточняется в программах и методиках испытаний, согласованных в установленном порядке.

5.1.5 Количество образцов ТС АС для испытаний на помехоэмиссию устанавливают:

- при сертификационных испытаниях ТС АС и испытаниях опытных ТС АС на индустриальные радиопомехи - по ГОСТ Р 51320;

- при сертификационных испытаниях ТС АС и испытаниях опытных ТС АС на соответствие нормам гармонических составляющих потребляемого тока и колебаний, вызываемых в сети электропитания, - по 5.1.4.

5.1.6 Количество ТС АС, подвергаемых испытаниям на помехоустойчивость и помехоэмиссию при приемосдаточных и периодических испытаниях, устанавливают в ТЗ и ТУ на ТС АС конкретного типа, при типовых испытаниях - в программе испытаний.

5.1.7 ТС АС испытывают на помехоустойчивость и помехоэмиссию совместно с минимально необходимым комплектом технических средств, функционально взаимодействующих с испытуемым ТС АС. Испытания ТС АС проводят в режиме функционирования, предусмотренном в технической документации на ТС АС.

Испытуемое ТС АС устанавливают и подключают к сети электропитания, линиям ввода-вывода, контурам защитного и сигнального заземления в соответствии с технической документацией на ТС АС. Дополнительное непроектное заземление ТС АС не допускается.

Расположение испытуемого ТС АС, функционально взаимодействующих технических средств и кабелей должно соответствовать условиям, приведенным в технической документации на ТС АС. Если расположение технических средств и кабелей не указано, то при испытаниях выбирают такое, которое соответствует типовому применению.

Состав технических средств, функционально взаимодействующих с испытуемым ТС АС, режимы функционирования ТС АС при испытаниях на помехоустойчивость, цепи ТС АС, подвергаемые воздействию помех, а также порядок оценки качества функционирования ТС АС при испытаниях и его соответствия установленному критерию указывают:

- для опытных образцов и в условиях эксплуатации - в программе и методике испытаний;

- для серийных изделий - в ТУ;

- для сертифицируемых ТС АС - в методике испытаний, разрабатываемой аккредитованной испытательной лабораторией (центром).

5.1.8 Технические средства, функционально взаимодействующие с испытуемым ТС АС, или источники сигналов, необходимые для обеспечения функционирования ТС АС при проведении испытаний на помехоустойчивость, могут быть заменены имитаторами.

5.1.9 При проведении испытаний ТС АС на помехоустойчивость интенсивность помехи плавно или ступенчато увеличивают без превышения регламентированного значения для выбранной группы исполнения ТС АС. Качество функционирования ТС АС при испытаниях должно соответствовать установленному критерию при заданной степени жесткости испытаний и при степенях жесткости испытаний более низких, чем заданная.

При необходимости проводят испытания ТС АС для уточнения методики испытаний на помехоустойчивость.

5.1.10 В случае применения для контроля ТС АС при испытаниях на помехоустойчивость вспомогательных технических средств последние должны быть защищены от влияния испытательных воздействий.

5.1.11 Испытания ТС АС на помехоустойчивость и помехоэмиссию проводят при нормальных климатических условиях:

- температуре окружающего воздуха - (25 ± 10) °С;

- относительной влажности воздуха - 45 - 80 %;

- атмосферном давлении 84 - 106,7 кПа (630 - 800 мм рт. ст.),

если иные требования не установлены в стандартах на ТС АС конкретного вида.

5.1.12 Подготовку ТС АС к испытаниям на помехоустойчивость и помехоэмиссию проводят в соответствии с основополагающими стандартами на методы испытаний, указанными в разделе 2 и 5.2.1 - 5.2.16, 5.3.1 - 5.3.4.

5.1.13 Протоколы испытаний оформляют в соответствии с ГОСТ Р 51320 и приложением Г.

5.2 Испытания на помехоустойчивость

5.2.1 Испытания на устойчивость к микросекундным импульсным помехам большой энергии

Испытательное оборудование и методы испытаний - в соответствии с требованиями ГОСТ Р 51317.4.5.

При испытаниях для каждой степени жесткости испытаний подают на порт ТС АС, подвергаемый воздействию, по 15 импульсов положительной и отрицательной полярности, в том числе по 5 импульсов в моменты прохождения кривой напряжения сети электропитания через нуль и амплитудные значения положительной и отрицательной полярности.

5.2.2 Испытания на устойчивость к динамическим изменениям напряжения электропитания

Испытательное оборудование и методы испытаний - в соответствии с требованиями ГОСТ Р 51317.4.11.

При испытаниях ТС АС осуществляют для каждой степени жесткости испытаний по пять динамических изменений напряжения каждого вида при фазовых углах 0, 90 и 270°.

5.2.3 Испытания на устойчивость к наносекундным импульсным помехам

Испытательное оборудование и методы испытаний - в соответствии с требованиями ГОСТ Р 51317.4.4, ГОСТ Р 51516.

При испытаниях устанавливают для порта, подвергаемого воздействию, и каждой степени жесткости испытаний длительность наносекундных импульсных помех положительной и отрицательной полярности, равную 1 мин.

5.2.4 Испытания на устойчивость к электростатическим разрядам

Испытательное оборудование и методы испытаний - в соответствии с требованиями ГОСТ Р 51317.4.2, ГОСТ Р 51525.

При испытаниях подают на каждую точку воздействия электростатическими разрядами по 10 одиночных разрядов с полярностью, соответствующей наибольшей восприимчивости испытуемого ТС АС.

5.2.5 Испытания на устойчивость к радиочастотному электромагнитному полю

Испытательное оборудование и методы испытаний - в соответствии с требованиями ГОСТ Р 51317.4.3.

Рекомендуется применять модифицированную полубезэховую камеру и излучающие антенны: биконическую, логопериодическую и рупорную. Испытательное поле модулируют по амплитуде синусоидальным сигналом частотой 1 кГц при глубине модуляции 80 %. При шаговой перестройке частоты величина шага не должна превышать 1 % ранее установленного значения частоты. Испытания проводят также при импульсной модуляции несущей с частотой 200 Гц и скважностью 2. При необходимости дополнительно проводят испытания ТС АС на частотах, на которых ожидается его повышенная восприимчивость к помехе [например, на тактовой частоте (частотах)].

5.2.6 Испытания на устойчивость к магнитному полю промышленной частоты

Испытательное оборудование и методы испытаний - в соответствии с ГОСТ Р 50648.

Для крупногабаритных (с наибольшим размером свыше 1,5 м) и стационарных ТС АС допускается проводить испытания на устойчивость к длительному и кратковременному (3 с) магнитному полю промышленной частоты с использованием излучающих катушек, размещаемых перед каждой из сторон испытуемого ТС АС. Характеристики излучающих катушек и методика проведения испытаний установлены в приложении Д.

5.2.7 Испытания на устойчивость к импульсному магнитному полю

Испытательное оборудование и методы испытаний - в соответствии с требованиями ГОСТ 30336 / ГОСТ Р 50649.

Для крупногабаритных (с наибольшим размером свыше 1,5 м) ТС АС допускается проведение испытаний на устойчивость к импульсному магнитному полю с использованием излучающих катушек, размещаемых перед каждой из сторон испытуемого ТС АС. Характеристики излучающих катушек и методика проведения испытаний приведены в приложении Д.

5.2.8 Испытания на устойчивость к кондуктивным помехам, наведенным радиочастотными электромагнитными полями

Испытательное оборудование и методы испытаний - в соответствии с требованиями ГОСТ Р 51317.4.6.

Испытательный сигнал модулируют по амплитуде синусоидальным напряжением частотой 1 кГц при глубине модуляции 80 %. При шаговой перестройке частоты величина шага не должна превышать 1 % ранее установленного значения частоты. При необходимости дополнительно проводят испытания ТС АС на частотах, на которых ожидается его повышенная восприимчивость к помехе [например, на тактовой частоте (частотах)].

5.2.9 Устойчивость к колебательным затухающим помехам

Испытательное оборудование и методы испытаний - в соответствии с требованиями ГОСТ Р 51317.4.12.

При испытаниях на устойчивость к одиночным колебательным затухающим помехам для каждой степени жесткости испытаний на ТС АС подают по пятнадцать колебательных помех положительной и отрицательной полярности, в том числе по 5 воздействий при фазовых углах 0, 90 и 270°.

При испытаниях на устойчивость к повторяющимся колебательным затухающим помехам используют частоты колебаний 100 кГц и 1 МГц. Продолжительность воздействия помехи для каждой степени жесткости испытаний устанавливают равной 10 с. Помехи не синхронизируют с частотой сети электропитания.

5.2.10 Устойчивость к колебаниям напряжения электропитания

Испытательное оборудование и методы испытаний - в соответствии с требованиями ГОСТ Р 51317.4.14.

Испытания проводят при длительности ступенчатых изменений напряжения 2 с, периоде повторения изменений напряжения 5 с, для трех значений напряжений электропитания: U = Uн; U= 0,9Uн; U = 1,1Uн, где Uн - номинальное напряжение электропитания ТС АС.

Напряжение электропитания при испытаниях не должно быть меньше минимального напряжения и больше максимального напряжения, установленных в технической документации на ТС АС.

5.2.11 Устойчивость к кондуктивным помехам в полосе частот от 0 до 150 кГц

Испытательное оборудование и методы испытаний - в соответствии с требованиями ГОСТ Р 51317.4.16.

При испытаниях на устойчивость к кратковременным помехам частотой 50 Гц подают на порты ТС АС по десять помех длительностью 1 с при каждой степени жесткости испытаний. При испытаниях на устойчивость к помехам в полосе частот от 15 Гц до 150 кГц шаг перестройки частоты должен составлять 10 % от ранее установленного значения частоты.

5.2.12 Устойчивость к изменениям частоты в системах электроснабжения

Испытательное оборудование и методы испытаний - в соответствии с требованиями ГОСТ Р 51317.4.28.

При каждой степени жесткости испытаний изменение частоты осуществляют три раза.

5.2.13 Испытания на устойчивость к токам кратковременных синусоидальных помех частотой 50 Гц в цепях защитного и сигнального заземления

5.2.13.1 Испытательное оборудование

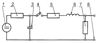
Испытательное оборудование включает испытательный генератор (ИГ) кратковременных синусоидальных токов частотой 50 Гц, обеспечивающий создание в режиме короткого замыкания (сопротивление нагрузки не более 0,1 Ом) посылок тока амплитудой от 50 до 200 А.

Упрощенная схема ИГ приведена на рисунке 2.

Характеристики ИГ должны быть следующими:

Длительность посылок тока, с.................................................................................................. 3±10 %

Период повторения посылок тока, мин................................................................................... Не менее 1

Амплитуда посылок тока при степени жесткости испытаний, А:

1............................................................................................................................................... 50 ± 20 %

2............................................................................................................................................... 100 ± 20 %

3............................................................................................................................................... 150 ± 20 %

4............................................................................................................................................... 200 ± 20 %

Эффективное внутреннее сопротивление ИГ [отношение пикового значения

импульса напряжения на выходе ИГ в режиме холостого хода (сопротивление

нагрузки более 10 кОм) к пиковому значению импульса тока в режиме короткого

замыкания], Ом............................................................................................................................ 15 × 10-3 ± 50 %.

Выход ИГ должен быть незаземленным.

1 - к сети питания переменного тока; 2 - автотрансформатор; 3 - коммутатор; 4 - блок управления; 5 - понижающий трансформатор; 6 - к испытуемой цепи ТС АС

Рисунок 2 - Упрощенная схема ИГ кратковременных токов помех промышленной частоты

5.2.13.2 Проведение испытаний

Испытательные посылки тока подают на зажимы цепей заземления ТС АС в зависимости от наличия и исполнения цепей защитного и сигнального заземления.

Для случая, когда каждая стойка снабжена незамкнутыми между собой в пределах стойки цепями защитного и сигнального заземления, а вне стоек эти цепи соответственно соединены с системами сигнального и защитного заземления всего изделия, замкнутыми между собой в одной (или нескольких) точке (вариант 1), испытательные посылки тока поочередно подают между зажимами сигнального и защитного заземления каждой стойки в соответствии с рисунком 3.

1 - первая стойка испытуемого ТС АС; 2 - линия связи между стойками; 3 - опорный узел заземления ТС АС; 4 - п стойка испытуемого ТС АС; 5 - подключение ИГ к п-ой стойке испытуемого ТС АС; 6 - цепь связи с физической землей; 7 - перемычки между сигнальной и защитной системами заземления; 8 - подключение ИГ к первой стойке испытуемого ТС АС

Рисунок 3 - Схема подачи кратковременных посылок тока на цепи защитного и сигнального заземления испытуемого ТС АС (вариант 1)

Для случая, когда каждая стойка изделия снабжена замкнутыми между собой в пределах стойки цепями защитного и сигнального заземления, а вне стоек эти цепи соединены с общим контуром или специальной магистралью защитного заземления (вариант 2), испытательные посылки тока поочередно подают между зажимами защитного заземления каждой пары стоек в соответствии с рисунком 4, если между испытуемыми стойками имеются линии связи.

1 - первая стойка испытуемого ТС АС; 2, 6 - перемычки между сигнальной и защитной системами заземления в стойке; 3 - линии связи между стойками; 4 - опорный узел заземления ТС АС; 5 - п-я стойка испытуемого ТС АС; 7 - подключение ИГ к зажимам защитного заземления двух стоек; 8 - цепь связи с физической землей; 9 - подключение ИГ к зажиму защитного заземления стойки и к опорному узлу заземления

Рисунок 4 - Схема подачи кратковременных синусоидальных посылок тока на цепи защитного и сигнального заземления испытуемого ТС АС (вариант 2)

Если монтаж системы заземления выполнен таким образом, что имеется опорный узел заземления всех стоек, то испытательные посылки тока подают также между этим узлом и зажимами защитного заземления стоек, отстоящих от узла не далее 3 м (см. рисунок 4).

Для случая, когда цепи сигнального заземления в нескольких или во всех стойках изделия гальванически развязаны от защитного заземления, испытательные посылки тока подают так, как указано на рисунке 3.

Для каждой степени жесткости испытаний подают по десять посылок тока длительностью 3 с.

5.2.14 Испытания на устойчивость к токам микросекундных импульсных помех в цепях защитного и сигнального заземления

5.2.14.1 Испытательное оборудование

Испытательное оборудование включает ИГ токов микросекундных импульсных помех, обеспечивающий создание в режиме короткого замыкания на выходе (сопротивление нагрузки не более 0,1 Ом) импульсов тока длительностью 300 мкс при длительности фронта 4 мкс амплитудой от 50 до 200 А.

Упрощенная схема ИГ приведена на рисунке 5.

1 - источник высокого напряжения; 2 - зарядный резистор; 3 - зарядный конденсатор; 4 - коммутирующий ключ; 5 - резистор цепи формирования длительности импульса, определяющий внутреннее сопротивление ИГ; 6 - индуктивность цепи формирования длительности фронта импульса; 7 - резистор цепи формирования длительности импульса; 8 - к испытуемой цепи ТС АС

Рисунок 5 - Упрощенная схема ИГ токов микросекундных импульсных помех

Характеристики ИГ должны быть следующими:

Длительность фронта импульса тока, мкс........................................................................................... 4 ± 30 %

Длительность импульса тока, мкс.................................................................................................... 300 ± 20 %

Период повторения импульсов тока, мин.......................................................................................... Не менее 1

Амплитуда импульса тока при степени жесткости испытаний, А:

1....................................................................................................................................................... 50 ± 20 %

2..................................................................................................................................................... 100 ± 20 %

3..................................................................................................................................................... 150 ± 20 %

4..................................................................................................................................................... 200 ± 20 %

Форма импульса тока.......................................................................................... В соответствии с рисунком 6

Полярность импульса тока........................................................................... Положительная и отрицательная

Эффективное внутреннее сопротивление ИГ [отношение пикового значения импульса

напряжения на выходе ИГ в режиме холостого хода (сопротивление нагрузки - более

10 кОм) к пиковому значению импульса тока в режиме короткого замыкания], Ом.................. 2 ± 30 %.

Выход ИГ должен быть незаземленным.

Рисунок 6 - Форма импульса тока в режиме короткого замыкания на выходе ИГ

5.2.14.2 Проведение испытаний

Порядок подачи испытательных импульсов тока на зажимы защитного и сигнального заземления ТС АС - в соответствии с 5.2.13.2. Для каждой степени жесткости испытаний подают на ТС АС по десять импульсов тока положительной и отрицательной полярности.

5.2.15 Устойчивость к искажениям синусоидальности кривой напряжения

Испытательное оборудование и методы испытаний - в соответствии с [3].

5.2.16 Испытания на устойчивость к затухающему колебательному магнитному полю

Испытательное оборудование и методы испытаний - в соответствии с ГОСТ Р 50652.

Для крупногабаритных (с наибольшим размером свыше 1,5 м) и стационарных ТС АС допускается проводить испытания на устойчивость к затухающему колебательному магнитному полю длительностью не более 10 с с использованием излучающих катушек, размещаемых перед каждой из сторон испытуемого ТС АС. Характеристики излучающих катушек и методика проведения испытаний приведены в приложении Д.

5.3 Испытания на помехоэмиссию

5.3.1 Испытания на индустриальные радиопомехи

Измерительная аппаратура и методы испытаний - по ГОСТ Р 51318.11, ГОСТ Р 51318.14.1, ГОСТ Р 51318.22, ГОСТ Р 51319, ГОСТ Р 51320.

5.3.2 Испытания на гармонические составляющие тока, потребляемого ТС АС

Измерительная аппаратура и методы испытаний - по ГОСТ Р 51317.3.2.

5.3.3 Испытания на колебания напряжения, вызываемые ТС АС в сети электропитания

Измерительная аппаратура и методы испытаний - по ГОСТ Р 51317.3.3.

5.4 Оценка результатов испытаний

5.4.1 Оценку результатов испытаний ТС АС на индустриальные радиопомехи проводят в соответствии с ГОСТ Р 51320.

5.4.2 Требования помехоустойчивости, а также нормы гармонических составляющих потребляемого тока и колебаний напряжения, вызываемых в сети электропитания, серийно изготовляемых ТС АС при числе испытанных образцов, равном или меньшем 7, а также ТС АС единичного производства считают выполненными, если для всех видов помех вышеуказанных видов помехоэмиссии все испытательные образцы соответствуют требованиям настоящего стандарта. При числе испытанных образцов, равном четырнадцати, допускается несоответствие одного образца требованиям устойчивости к одному из видов помех.

6 Требования безопасности

Испытания ТС АС на помехоустойчивость и помехоэмиссию должны проводиться с соблюдением требований безопасности, установленных в стандартах системы ССБТ и в стандартах на методы испытаний.

Сведения о введении в действие стандартов ЭМС, указанных в разделе «Нормативные ссылки», и отмене действующих стандартов приведены в приложении Е.

ПРИЛОЖЕНИЕ А

(обязательное)

Критерии качества функционирования ТС АС при испытаниях на помехоустойчивость

Критерии качества функционирования ТС АС при испытаниях на помехоустойчивость приведены в таблице А.1.

Таблица А.1 - Критерий качества функционирования ТС АС при испытаниях па помехоустойчивость

Критерий качества функционирования ТС АС при испытаниях на помехоустойчивость

Качество функционирования ТС АС при испытаниях на помехоустойчивость

А

Нормальное функционирование в соответствии с ТУ и ТЗ на ТС АС конкретного типа

В

После снятия воздействия помехи ТС АС нормально функционирует в соответствии с ТУ или ТЗ. Воздействие помехи вызывает кратковременное нарушение функционирования ТС АС с последующим восстановлением нормального функционирования без вмешательства оператора после прекращения помехи

С

Временное нарушение функционирования ТС АС, требующее вмешательства оператора для восстановления нормального функционирования после прекращения помехи

ПРИЛОЖЕНИЕ Б

(обязательное)

Качественные признаки классификации жесткости электромагнитной обстановки в помещениях для размещения ТС АС

Качественные признаки классификации жесткости электромагнитной обстановки в местах размещения ТС АС приведены в таблице Б.1.

Таблица Б.1 - Качественные признаки классификации жесткости электромагнитной обстановки

Условия размещения, установки и монтажа ТС АС

Жесткость электромагнитной обстановки

Легкая электромагнитная обстановка

Электромагнитная обстановка средней жесткости

Жесткая электромагнитная обстановка

Крайне жесткая электромагнитная обстановка

Система заземления

ТС АС снабжены специально спроектированными системами сигнального и защитного заземления

ТС АС снабжены специально спроектированной системой сигнального заземления и присоединены к общей системе защитного заземления

ТС АС имеют общую систему защитного заземления с энергетическим оборудованием

Отсутствует специально спроектированная система заземления для ТС АС, и они заземляются неупорядоченно

Экранирующие свойства помещения

Стены, пол и потолок помещения обладают удовлетворительными экранирующими свойствами. Коэффициент ослабления помех в полосе 0,15 - 30 МГц не менее 20 - 30 дБ

Помещение не обладает экранирующими свойствами. Коэффициент ослабления помех в полосе 0,15 - 30 МГц не превышает 10 дБ

Требования к экранированию помещения не предъявляют

Требования к экранированию помещения не предъявляют

Система питания

ТС АС питаются от источника бесперебойного питания или автономного фидера

ТС АС получают питание от сети через развязывающие трансформаторы или от источника бесперебойного питания, или автономного фидера

ТС АС получают питание от общей с другим оборудованием (в том числе силовым) сети

ТС АС получают питание от общей с другим оборудованием (в том числе силовым) сети

Установочно-монтажные условия в помещении

Коммутируемые индуктивные нагрузки снабжены помехоподавляющими средствами. Питающие и информационные линии экранированы, и экраны на обоих концах подсоединены к системе заземления. Питающие линии содержат сетевые фильтры и защиту от перенапряжения

Индуктивные нагрузки, коммутируемые контактами реле, не снабжены средствами помехоподавления. Нагрузки, коммутируемые контакторами, защищены. Линии с разными уровнями сигналов и напряжений неудовлетворительно разнесены между собой. Имеются кабели, содержащие вместе линии питания, информационные линии, линии управления и связи. Линии питания содержат средства защиты от перенапряжений

Коммутируемые кондуктивные нагрузки не снабжены средствами помехоподавления. Отсутствует разнос между линиями с различными уровнями сигналов и напряжений. Не разнесены кабели питания, управления, информационные и связи. Применяются кабели, содержащие линии различного назначения. Кабели не экранированы и не защищены от перенапряжений

Коммутируемые индуктивные нагрузки не снабжены средствами помехоподавления. Отсутствует разнос между линиями с различными уровнями сигналов и напряжений. Не разнесены кабели питания, управления, информационные и связи. Применяются кабели, содержащие линии различного назначения. Кабели не экранированы и не защищены от перенапряжений

Условия размещения ТС АС

ТС АС размещены в одном помещении. Внешние информационные кабели, подсоединяемые к ТС АС, защищены от перенапряжений и гальванически развязаны

Часть ТС АС расположена в других помещениях того же здания. Информационные связи, идущие к указанным частям ТС АС, гальванически развязаны. Связи от аппаратуры, выходящие за пределы здания, защищены от перенапряжений и гальванически развязаны

ТС АС расположена за пределами основного здания. Сосредоточенные части ТС АС гальванически развязаны друг от друга. Кабели связи, выходящие за пределы основного здания, защищены от перенапряжений

ТС АС расположены в основном здании и вне его. Не все удаленные друг от друга части аппаратуры гальванически развязаны друг от друга. Не все информационные кабели защищены от перенапряжений. Имеются информационные кабели, выходящие за пределы основного здания

Наличие постороннего оборудования в помещении

В помещении нет постороннего оборудования, подключенного к сети питания ТС АС. Освещение - лампами накаливания или люминесцентными лампами от отдельной сети питания

В помещении имеется другое оборудование, подсоединенное к той же сети питания, что и ТС АС. К виду и питанию светильников требования не предъявляют. В помещении могут быть высоковольтное оборудование и источники электростатических разрядов

В помещении имеется другое оборудование, подсоединенное к той же сети питания, что и ТС АС. К виду и питанию светильников требования не предъявляют. В помещении могут быть высоковольтное оборудование и источники электростатических разрядов

В помещении имеется другое оборудование, подсоединенное к той же сети питания, что и ТС АС. К виду и питанию светильников требования не предъявляют. В помещении могут быть высоковольтное оборудование и источники электростатических разрядов

Применение переносных радиотелефонных систем и радиостанций в местах размещения ТС АС

Применение переносных радиотелефонов и радиостанций запрещено

Ограниченное использование переносных радиотелефонов и радиостанций мощностью не более 2 Вт при расстоянии до ТС АС или подключенных к ним кабелей связи/электропитания не менее 5 м

Возможно использование переносных радиотелефонов и радиостанций мощностью не более 12 Вт

Возможно неограниченное использование переносных радиотелефонов и радиостанций. Поблизости могут находиться мощные радиопередатчики

Примечание - Электромагнитную обстановку в помещении для размещения ТС АС относят к более жесткой при наличии хотя бы одного условия установки, размещения и монтажа ТС АС, характеризующего более жесткую обстановку

ПРИЛОЖЕНИЕ В

(обязательное)

Порядок проведения испытаний и оценки соответствия ТС АС, находящихся в эксплуатации, требованиям помехоустойчивости

В.1 Оценку соответствия ТС АС, находящихся в эксплуатации, требованиям помехоустойчивости, установленным настоящим стандартом, осуществляют по результатам испытаний ТС АС на помехоустойчивость. Методы испытаний - в соответствии с разделом 5 настоящего стандарта.

В.2 Испытания проводят не реже одного раза в 3 года в периоды ремонтных работ на АС.

В.3 Испытания проводят в соответствии с программами и методиками, согласованными в установленном порядке.

В программах и методиках испытаний устанавливают состав ТС АС, подлежащих испытаниям, объем испытаний, а также порядок проведения испытаний и оценки помехоустойчивости штатных систем АС по результатам испытаний ТС АС, входящих в эти системы.

В.4 Для каждого ТС АС, подлежащего испытаниям, в соответствии с таблицей 1 настоящего стандарта определяют необходимую группу исполнения по устойчивости к помехам применительно к категории ТС АС по назначению и влиянию на безопасность и к классу жесткости электромагнитной обстановки по приложению Б.

В.5 Испытания ТС АС на помехоустойчивость проводят при воздействии помех видов, установленных в методике испытаний с учетом конкретных условий электромагнитной обстановки в местах размещения ТС АС. Степени жесткости испытаний на помехоустойчивость устанавливают по таблицам 2 - 20 настоящего стандарта для выбранной группы исполнения. При испытаниях выявляют фактическое соответствие качества функционирования ТС АС критериям по приложению А.

В.6 Испытуемое ТС АС, относящееся к элементам (системам) безопасности, к элементам (системам) нормальной эксплуатации, важным для безопасности, и к элементам (системам) нормальной эксплуатации, не влияющим на безопасность, считают соответствующим требованиям устойчивости к помехам в условиях эксплуатации, если фактически установленные в результате испытаний критерии качества функционирования соответствуют установленным в 4.2.2 - 4.2.3 или (для ТС АС, разработанных и изготовленных до введения настоящего стандарта) соответствуют критериям, установленным в программе и методике испытаний.

В.7 В случае несоответствия конкретного образца ТС АС, эксплуатируемого на АС, требованиям устойчивости к помехам решение о дальнейшей эксплуатации указанного ТС АС принимается в установленном порядке.

ПРИЛОЖЕНИЕ Г

(рекомендуемое)

Форма протокола испытаний ТС АС на помехоустойчивость

_____________________________________________________

Наименование организации, проводившей испытания

ПРОТОКОЛ № ____________
испытаний на помехоустойчивость

1. Характеристика испытуемого ТС АС (наименование, тип, опытные или серийные образцы), наименование предприятия-изготовителя, его почтовый адрес, номер по системе нумерации предприятия-изготовителя, дата изготовления, код ОКП, класс безопасности по ОПБ-88/97, обозначение НД на ТС АС, краткое описание ТС АС (включая вид исполнения - настольное, напольное, комбинированное и наименования изделий, входящих в состав ТС АС, группу исполнения ТС АС по устойчивости к воздействию помех).

2. Цель испытаний ТС АС (категория испытаний, обозначение НД, на соответствие которому проводятся испытания, с указанием пунктов, устанавливающих требования к ТС АС по помехоустойчивости, и методы испытаний).

3. Дата проведения испытаний ТС АС (год, месяц, число проведения испытаний) и место испытаний (открытая площадка, экранированное помещение).

4. Испытательное оборудование и средства измерений (наименование, тип, номер оборудования, сведения об его аттестации и поверке).

5. Испытательные воздействия ТС АС (порты ТС АС, подлежащие проверке, и степени жесткости испытаний для каждого вида помех).

6. Режимы работы испытуемого ТС АС при проведении испытаний для каждого вида помех (условия электропитания, заземления, подачи сигналов на цепи ввода-вывода, характер рабочего цикла, применяемые имитаторы, используемые тестовые программы, функции безопасности, приемочные критерии).

7. Результаты испытаний для каждого испытанного образца ТС АС (в виде таблицы, содержащей регламентируемые и фактические параметры испытательных воздействий применительно к видам помех, результаты воздействия помех, выводы о фактических критериях качества функционирования испытуемого ТС АС, сведения об отклонениях качества функционирования испытуемого ТС АС от установленного в его технической документации и статистическую оценку результатов испытаний).

ЗАКЛЮЧЕНИЕ

__________________________________________________________________________

соответствие показателей помехоустойчивости испытуемого ТС АС требованиям НД

Приложения. Схемы испытаний (при их несоответствии требованиям государственных стандартов или типовых методик испытаний), а также любые, относящиеся к испытуемым ТС АС, материалы, необходимость помещения которых определяет испытательная организация или заказчик.

Испытания выполнили

___________________                   __________________                                                         __________________

          должности                                        фамилии                                         подписи

Испытания проводились в присутствии

___________________                   __________________                                                         __________________

          должности                                        фамилии                                         подписи

ПРИЛОЖЕНИЕ Д

(обязательное)

Методы испытаний ТС АС на устойчивость к магнитному полю при локальном воздействии

Методы испытаний предназначены для оценки устойчивости к магнитному полю крупногабаритных (с наибольшим размером свыше 1,5 м) и стационарных ТС АС.

Д.1 Метод испытаний ТС АС, не устанавливаемых в шкафах и стойках

Д.1.1 Испытательная аппаратура

Источник тока, обеспечивающий достаточный ток в излучающей катушке.

Излучающая катушка, имеющая следующие характеристики (допуски ± 5 %):

- диаметр - 0,5 м;

- число витков - 20 (в один слой);

- провод - медный, диаметром 1,25 мм;

- напряженность магнитного поля - 32I А/м на расстоянии 0,1 м от центра катушки, где I - ток, протекающий в катушке, А.

Измеритель силы тока.

Д.1.2 Проведение испытаний

Центр катушки размещают на расстоянии (0,1 ± 0,005) м от передней стороны испытуемого ТС АС. Плоскость катушки должна быть параллельна плоскости поверхности испытуемой аппаратуры. Катушку запитывают током, обеспечивающим напряженность испытательного магнитного поля, указанную в 4.2. Катушку устанавливают последовательно перед каждой стороной испытуемого ТС АС. Перемещая катушку по поверхности испытуемой аппаратуры, подтверждают, что уровень устойчивости соответствует требованиям настоящего стандарта.

Д.2 Метод испытаний ТС АС, установленных в шкафах и стойках

Д.2.1 Испытательная аппаратура

Источник тока, обеспечивающий достаточный ток катушки.

Излучающая рамка, имеющая следующие характеристики [допуски ± 5 % (см. рисунок Д.1)]:

- диаметр - 13,3 см;

- число витков - 36 в 4 слоя по 9 витков;

- провод - медный, диаметром 1,25 мм;

- напряженность магнитного поля - 138,5I А/м на расстоянии 5 см от плоскости рамки.

Измеритель силы тока.

Д.2.2 Проведение испытаний

Излучающую катушку размещают на расстоянии (5 ± 0,25) см от каждой стороны испытуемого ТС АС. Плоскость катушки должна быть параллельна плоскости поверхности испытуемой ТС АС. Катушку запитывают током, обеспечивающим напряженность испытательного магнитного поля, указанную в 4.2. Перемещая катушку по поверхности испытуемой аппаратуры, подтверждают, что уровень устойчивости соответствует требованиям настоящего стандарта.

Испытания ТС АС на устойчивость к магнитному полю в случае расположения шкафов вплотную друг к другу по месту монтажа проводят по методике, согласованной в установленном порядке.

1 - симметричные выводы катушки; 2 - соединение с экраном; 3 - ручка; 4 - плоскость А; 5 - размер 12 мм; 6 - обмотка; 7 - промежуток, предотвращающий экранирующее действие короткозамкнутого витка; 8 - экран электростатический; 9 - размер 50 мм; 10 - плоскость А; 11 - диаметр 133 мм

Рисунок Д.1 - Конструкция излучающей катушки

ПРИЛОЖЕНИЕ Е

(информационное)

Сведения о введении в действие стандартов ЭМС, указанных в разделе «Нормативные ссылки», и отмене действующих стандартов

Обозначение стандарта ЭМС, принятого в 1999 г.

Дата введения

Обозначение отменяемого стандарта

ГОСТ Р 51317.3.2-99 (МЭК 61000-3-2-95)

01.01.2002 г.

-

ГОСТ Р 51317.3.3-99 (МЭК 61000-3-3-94)

01.01.2002 г.

-

ГОСТ Р 51317.4.2-99 (МЭК 61000-4-2-95)

01.01.2001 г.

ГОСТ 29191-91

ГОСТ Р 51317.4.3-99 (МЭК 61000-4-3-95)

01.01.2002 г.

ГОСТ 30375-95 / ГОСТ Р 50008-92

ГОСТ Р 51317.4.4-99 (МЭК 61000-4-4-95)

01.01.2001 г.

ГОСТ 29156-91

ГОСТ Р 51317.4.5-99 (МЭК 61000-4-5-95)

01.01.2001 г.

ГОСТ 30374-95 / ГОСТ Р 50007-92

ГОСТ Р 51317.4.6-99 (МЭК 61000-4-6-96)

01.01.2002 г.

-

ГОСТ Р 51317.4.11-99 (МЭК 61000-4-11-94)

01.01.2001 г.

ГОСТ 30376-95 / ГОСТ Р 50627-93

ГОСТ Р 51317.4.12-99 (МЭК 61000-4-12-97)

01.01.2001 г.

-

ГОСТ Р 51317.4.14-00 (МЭК 61000-4-14-98)

01.01.2002 г.

-

ГОСТ Р 51317.4.16-00 (МЭК 61000-4-16-99)

01.01.2002 г.

-

ГОСТ Р 51317.4.28-00 (МЭК 61000-4-28-00)

01.01.2002 г.

-

ГОСТ Р 51318.11-99 (СИСПР 11-97)

01.07.2001 г.

ГОСТ 23450-79

ГОСТ Р 51318.14.1-99 (СИСПР 14-1-93)

01.01.2001 г.

ГОСТ 23511-79,

ГОСТ 30320-95 / ГОСТ Р 50033-92

ГОСТ Р 51318.22-99 (СИСПР 22-97)

01.01.2001 г.

ГОСТ 29216-91

ГОСТ Р 51319-99

01.01.2001 г.

ГОСТ 11001-80

ГОСТ Р 51320-99

01.01.2001 г.

ГОСТ 16842-82

ГОСТ Р 51516-99 (МЭК 60255-22-4-94)

01.01.2001 г.

-

ГОСТ Р 51525-99 (МЭК 60255-22-2-96)

01.01.2001 г.

-

ПРИЛОЖЕНИЕ Ж

(справочное)

Библиография

[1] ПН АЭ Г-1-011-97 (ОПБ-88/97) Общие положения обеспечения безопасности атомных станций при проектировании, сооружении и эксплуатации. Госатомнадзор России, 1997

[2] Международная шкала ядерных событий. ИНЕС. Руководство для пользователей, Вена, МАГАТЭ, 1993. Введена в действие в отрасли Указанием Министерства по атомной энергии Российской Федерации № 02-138 УК от 07.09.93

[3] ОСТ 36417.4.1-2001 Совместимость технических средств для атомных станций электромагнитная. Устойчивость к искажениям синусоидальности напряжения электропитания. Требования и методы испытаний. Министерство Российской Федерации по атомной энергии

Ключевые слова: электромагнитная совместимость; ядерная безопасность; техническое средство для атомных станций; ядерно- и/или радиационно опасные объекты; устойчивость к электромагнитным помехам; эмиссия помех; электромагнитная обстановка; требования; методы испытаний

 




ГОСТЫ, СТРОИТЕЛЬНЫЕ и ТЕХНИЧЕСКИЕ НОРМАТИВЫ.
Некоммерческая онлайн система, содержащая все Российские Госты, национальные Стандарты и нормативы.
В Системе содержится более 150000 файлов нормативно-технической документации, действующей на территории РФ.
Система предназначена для широкого круга инженерно-технических специалистов.

Рейтинг@Mail.ru Яндекс цитирования

Copyright © www.gostrf.com, 2008 - 2026