Крупнейшая бесплатная информационно-справочная система онлайн доступа к полному собранию технических нормативно-правовых актов РФ. Огромная база технических нормативов (более 150 тысяч документов) и полное собрание национальных стандартов, аутентичное официальной базе Госстандарта. GOSTRF.com - это более 1 Терабайта бесплатной технической информации для всех пользователей интернета. Все электронные копии представленных здесь документов могут распространяться без каких-либо ограничений. Поощряется распространение информации с этого сайта на любых других ресурсах. Каждый человек имеет право на неограниченный доступ к этим документам! Каждый человек имеет право на знание требований, изложенных в данных нормативно-правовых актах!

  


 

ПРАВИТЕЛЬСТВО МОСКВЫ

МОСКОМАРХИТЕКТУРА

ПОСОБИЕ
к МГСН 2.01-99

ЭНЕРГОСБЕРЕЖЕНИЕ
В ЗДАНИЯХ

Выпуск 1

ПРОЕКТИРОВАНИЕ ТЕПЛОЗАЩИТЫ
ЖИЛЫХ И ОБЩЕСТВЕННЫХ ЗДАНИЙ

2000

ПРЕДИСЛОВИЕ

1. РАЗРАБОТАНО НИИ Строительной Физики РААСН (Матросов Ю. А. - научный руководитель; Бутовский И. Н.); Мосгосэкспертизой (Ливчак В. И.); МНИИТЭП Грудзинский М. М.; Управлением развития Генплана КПР г. Москвы (Дмитриев А. Н.).

Приложение Д разработано ЦНИИЭПжилища (Дыховичная Н. А., Любимова М. С.), приложение Е - ИНСОЛАРИНВЕСТ (Иванов Г. С.)

2. ПОДГОТОВЛЕНО к утверждению и изданию Управлением перспективного проектирования и нормативов Москомархитектуры (Щипанов Ю. Б. и Ионин В. А.)

УТВЕРЖДЕНО Указанием Москомархитектуры от 01.02.2000 № 6

СОДЕРЖАНИЕ

Введение. 2

1. Рекомендации по выбору уровня теплозащиты зданий. 2

2. Расчет приведенного сопротивления теплопередаче. 10

2.1. Непрозрачные ограждающие конструкции. 10

2.2. Расчет ограждающих конструкций теплых чердаков. 14

2.3. Расчет ограждающих конструкций «теплых» подвалов. 16

2.4. Светопрозрачные ограждающие конструкции. 18

3. Правила расчета площадей и приведенных сопротивлений теплопередач. 18

4. Рекомендации по определению параметров энергетического паспорта. 19

5. Электронный энергетический паспорт. 22

5.1. Методика заполнения и расчета параметров электронного энергетического паспорта жилого здания. 23

5.2. Методика заполнения и расчета параметров электронного энергетического паспорта общественного здания. 32

Список литературы.. 40

Приложение А Методика определения приведенного сопротивления теплопередаче ограждающих конструкций на основе расчета температурных полей. 40

Приложение Б Расчет коэффициента теплотехнической однородности ограждающих конструкций по табличным значениям.. 47

Приложение В Примеры расчета ограждающих конструкций теплых чердаков и подвалов. 53

Приложение Г Температура точки росы td, °С, для различных значений температур tint и относительной влажности φint, воздуха в помещении. 57

Приложение Д Расчет требуемого сопротивления теплопередаче наружных стен полносборных крупнопанельных и каркасно-панельных зданий по минимуму приведенных затрат с использованием коэффициента дисконтирования. 57

Приложение Е Расчет требуемого сопротивления теплопередаче наружных стен полносборных крупнопанельных и каркасно-панельных зданий по методу приведенных затрат с использованием в качестве критерия срока окупаемости дополнительных капиталовложений на утепление зданий. 62

ВВЕДЕНИЕ

Настоящее Пособие разработано к МГСН 2.01-99 «Энергосбережение в зданиях. Нормативы по теплозащите и тепловодоэлектроснабжению». В нем содержатся методические материалы и примеры по теплотехническому расчету и проектированию теплозащиты жилых и общественных зданий.

Особое внимание в Пособии уделено вопросам, которые вызывают затруднение при практическом использовании МГСН 2.01-99, например процедура установления уровня теплозащиты, расчеты: приведенного сопротивления теплопередаче неоднородных ограждающих конструкций с теплопроводными включениями сложной формы, ограждающих конструкций чердаков и подвалов.

В Пособии даны методика заполнения Энергетического паспорта здания, в частности, правила определения площадей и объемов зданий для проведения теплотехнических и энергетических расчетов, рекомендации по определению параметров энергетического паспорта, правила заполнения электронной версии Энергетического паспорта. Электронная версия Энергетического паспорта предназначена для быстрого определения энергетических характеристик здания на различных стадиях вариантного проектирования, экспертизы проекта и эксплуатации здания. Распространяется по заявкам заинтересованных организаций НИИСФ, адрес: 127238, Москва, Локомотивный пр., 21, тел./факс 482-37-10.

В приложениях даны примеры расчета приведенного сопротивления теплопередаче ограждающих конструкций с использованием различных вспомогательных коэффициентов, облегчающих проведение расчетов, примеры расчета теплых чердаков и «теплых» подвалов.

Настоящее пособие построено в виде комментариев, разъясняющих и развивающих содержание отдельных пунктов МГСН 2.01-99 «Энергосбережение в зданиях. Нормативы по теплозащите и тепловодоснабжению». Структурно каждый раздел построен следующим образом: курсивом приведен текст нуждающегося в пояснениях пункта МГСН 2.01-99 или ссылка на раздел и пункт МГСН 2.01-99, к которым обычным шрифтом даются соответствующие разъяснения или рекомендации.

1. Рекомендации по выбору уровня теплозащиты зданий

3.6.1. Проектирование ограждающей оболочки здания на основе требований по теплозащите здания в целом выполняют в нижеприведенной последовательности:

п. 3.6.1.а. Выбирают требуемые климатические параметры согласно подразделу 3.2;

п. 3.6.1.б. Выбирают параметры воздуха внутри здания и условия комфортности согласно подразделу 3.2 и назначению здания;

п. 3.6.1.в. Разрабатывают объемно-планировочное решение и рассчитывают его геометрические размеры;

При расчете площадей пола и ограждающих конструкций следует руководствоваться указаниями раздела 3 настоящего пособия. Поскольку величины площадей имеют существенное влияние на конечный результат, то работу по их определению следует выполнить особенно тщательно.

п. 3.6.1.г. Определяют согласно подразделу 3.3 требуемое значение удельного расхода тепловой энергии системы отопления здания qhreq в зависимости от типа здания и его этажности;

Таблица 3.3

Требуемый удельный расход тепловой энергии системой отопления здания qhreq, кВт · ч2, за отопительный период

Типы зданий

Этажность зданий:

1 - 3

4 - 5

6 - 9

10 и более

жилые

160

130

110

95

общеобразовательные, лечебные учреждения, поликлиники

175

165

155

-

дошкольные учреждения

245

-

-

-

Выбор значений осуществляют согласно приведенной табл. 3.3 МГСН 2.01-99. Промежуточные значения qhreq следует определять путем линейной интерполяции.

Примеры.

1. Требуется определить требуемый удельный расход тепловой энергии для многосекционного жилого здания высотой 17 этажей. Согласно табл. 3.3 требуемый qhreq равен 95 кВт · ч/м2.

2. Для жилых зданий высотой в 4 этажа qhreq равен 145 кВт · ч/м2, для зданий 5 этажей - 130, 6 этажей - 125, 7 этажей - 120, 8 этажей 115, 9 этажей 110, 10 этажей - 105, 11 этажей - 100 кВт · ч/м2.

п. 3.6.1. Определяют требуемые сопротивления теплопередаче ограждающих конструкций (стен, покрытий, чердачных перекрытий, цокольных перекрытий, окон и фонарей, наружных дверей и ворот) согласно пп. 3.3.3 и 3.3.4 исходя из минимальных требований по условиям комфорта и недопустимости образования конденсата, и рассчитывают приведенные сопротивления теплопередаче Ror этих ограждающих конструкций, добиваясь выполнения условия RorRoreq.

При определений минимально допустимого требуемого сопротивления теплопередаче ограждающих конструкций по формуле (3.2) коэффициент n, устанавливается в зависимости от положения наружной поверхности ограждающей конструкции отапливаемого помещения по отношению к расчетной температуре наружного воздуха, в общем виде определяется по формуле;

n = (tint - tintc) / (tint - text)                                             (1.1)

где tint - расчетная температура внутреннего воздуха, °С, принимаемая согласно ГОСТ 30494-96;

tintc - температура воздуха, °С, в пространстве, расположенном между отапливаемыми помещениями и наружной средой (в чердаке, подвале или другом подобном помещении);

text - расчетная температура наружного воздуха, °С, равная средней температуре наиболее холодной пятидневки обеспеченностью 0,92 по СНиП 2.01.01-82.

Температура tintc определяется на основе расчета теплового баланса чердака или подвала при расчетных условиях внутренней и наружной среды (рис. 1). При этом сопротивление теплопередаче покрытия теплого чердака, фризовых и цокольных стен назначается из условия невыпадения конденсата на их внутренней поверхности. Сопротивление теплопередаче полов по грунту и стен, расположенных ниже уровня земли, следует определять согласно прил. 9 СНиП 2.04.05-91* (изд. 1998 г.).

Методика расчета температуры воздуха на чердаке или в подвале из условий теплового баланса этого помещения приведена в [1].

Приведенное сопротивление теплопередаче Ror, м2 · °Ст, неоднородной ограждающей конструкции (или ее участка) определяется согласно раздела 2 настоящего пособия по формуле (2.4)

Главным в расчете приведенного сопротивления теплопередаче является определение теплового потока Q, проходящего через ограждающую конструкцию в условиях эксплуатации в течение отопительного периода. Величина Q определяется на основе численного расчета на ЭВМ температурного поля конструкции на основе специальных программ для расчета двухмерных или трехмерных температурных полей.

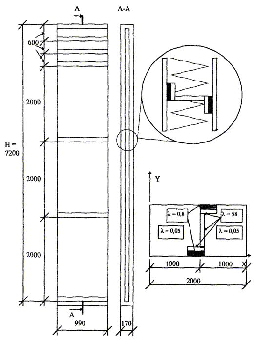
Рис. 1. Схема распределения тепловых потоков в теплом чердаке (А) и подвале (Б) многоэтажного жилого дома для расчета температуры tintc на основе теплового баланса

Для этой цели в выбранной ограждающей конструкции (или ее участке) определяют характерные сечения, каждое из которых вычерчивают в определенном масштабе, выделяют участки с различными теплопроводностями, указывают условия теплообмена на границах (температуры воздуха контактирующего с поверхностями ограждения и их коэффициенты теплопередачи). Полностью порядок подготовки к расчету температурных полей приведен в прил. 14 [2].

Другой метод определения приведенного сопротивления теплопередаче Ror базируется на определении коэффициента теплотехнической однородности r ограждающей конструкции. В этом случае Ror определяется по формуле (2.6) настоящего пособия.

Установлено, что влияние теплотехнической неоднородности на искажение температурного поля поверхности ограждающей конструкции в большинстве случаев сказывается на расстоянии, не превышающем двух толщин ограждения от края теплотехнической неоднородности. Поэтому площадь зоны влияния в каждом случае устанавливается исходя из этого условия.

Сопротивление теплопередаче ограждающей конструкции (или ее участка) в удалении от теплотехнических неоднородностей (на участке, где температурное поле на поверхности не искажено влиянием неоднородностей), м2 · °Ст, определяется по формуле

Ro = 1 / αi + Σδj / λj + 1 / αe                                                (1.2)

где αi - коэффициент теплоотдачи внутренней поверхности ограждающей конструкции, Вт/(м2C), для стен αi = 8,7 Вт/(м2C);

δj - толщина j- го слоя многослойной ограждающей конструкции, м;

λj - расчетный коэффициент теплопроводности материала j-го слоя, Вт/(м.°С), принимаемый по прил. 3 СНиП II-3-79* (изд. 1998 г.) для условий эксплуатации Б или согласно протоколов испытаний, выполненных аккредитованными в установленном порядке испытательными лабораториями; в отдельных случаях допускается расчетный коэффициент теплопроводности теплоизоляционных материалов для проектирования ограждающих конструкций принимать по значениям утвержденных в установленном порядке Технических Условий с учетом влажностного режима ограждающих конструкций в условиях установившегося эксплуатационного состояния здания;

αe - коэффициент теплоотдачи наружной поверхности ограждающей конструкции, Вт/(м2 · °С), для стен αe = 23 Вт/(м2 · °С).

Для предварительной оценки эффективности различных типов трехслойных стеновых панелей установлены значения приведенного сопротивления теплопередаче конструкций с утеплителем из пенополистирола и минераловатных плит (табл. 1.1).

Примечание к п. 3.6.1. Для полносборных крупнопанельных и каркасно-панельных зданий допускается определять требуемое сопротивление теплопередаче наружных стен Roreq по минимуму приведенных затрат, но не менее значений, установленных в табл. 1а СНиП II-3-79* (изд. 1998 г.) для первого этапа внедрения.

Согласно методике приложения Д или методике приложения Е

Таблица 1.1

Приведенное сопротивление теплопередаче трехслойных стеновых панелей

Наружные стены

Приведенное сопротивление теплопередаче Ror, м2 · °С/Вт

1

2

1. Из трехслойных железобетонных панелей на гибких металлических связях или малогабаритных железобетонных шпонках с утеплителем из пенополистирола:

- плотностью 40 кг/м3, λБ = 0,05 Вт/(м.°С), прил. 3* СНиП II-3-79* (изд. 1998 г.)

 

панели толщиной 300 мм

2,3

толщиной 350 мм

3,0

- плотностью 15 - 17 кг/м3, λБ = 0,042 Вт/(м.°С) (сертификат)

 

панели толщиной 300 мм

2,7

толщиной 350 мм

3,5

2. Из трехслойных железобетонных панелей на гибких металлических связях или малогабаритных железобетонных шпонках с утеплителем из минераловатных плит «Роквул» плотностью 100 кг/м3, λБ = 0,045 Вт/(м.°С) (сертификат)

 

панели толщиной 300 мм

2,5

толщиной 350 мм

3,3

3. Из трехслойных панелей на деревянном каркасе с листовыми обшивками: с утеплителем из минераловатных прошивных матов плотностью 40 кг/м3, λБ = 0,05 Вт/(м.°С) прил. 3* СНиП II-3-79* (изд. 1998 г.)

 

панели толщиной 300 мм

2,5

- из минераловатных плит «Роквул» плотностью 100 кг/м3, λБ = 0,045 Вт/(м.°С) (сертификат)

 

панели толщиной 300 мм

3,0

толщиной 350 мм

3,75

В случае определения приведенного сопротивления теплопередаче по формулам (2.4) и (2.6) участков ограждающей конструкции (например, стеновой панели) ее приведенное сопротивление теплопередаче Ropr определяется по формуле

                                                   (1.3)

где  - общая площадь стеновой панели, м2;

Ai - площадь i-го участка стеновой панели, м2;

Roir - приведенное сопротивление теплопередаче i-го участка стеновой панели, м2 · °С/Вт;

m - число участков, на которое разбита стеновая панель.

Рис. 2. Принципиальная схема разбивки площадей расчетных участков стеновой панели для определения Ror

Рис. 3. Пример расположения различных типов стеновых панелей на здании

1 (1а) - одномодульная (двухмодульная) рядовая панель; 2 - одномодульная панель с рядовыми и наружным угловым стыками; 3 (3а) - одномодульная (двухмодульная) рядовая панель с примыканием к цокольному перекрытию; 4 (4а) - одномодульная (двухмодульная) рядовая панель с примыканием к покрытию; 5 - одномодульная панель с рядовым и наружным угловым стыками и примыканием к цокольному перекрытию; 6 - одномодульная панель с рядовым и наружным угловым стыками и примыканием к покрытию; 7 - одномодульная панель с двумя внутренними угловыми стыками; 8 - одномодульная панель с двумя внутренними угловыми стыками и примыканием к цокольному перекрытию; 9 - одномодульная панель с двумя внутренними угловыми стыками в примыканием к покрытию; 10 - узкая глухая панель с наружным и внутренним угловыми стыками; 11 - узкая глухая панель с наружным и внутренним угловыми стыками и примыканием к цокольному перекрытию; 12 - узкая глухая панель с наружным и внутренним угловыми стыками и примыканием к покрытию; 13 - двухмодульная глухая панель с рядовым и наружным угловым стыками; 14 - двухмодульная глухая панель с рядовым и наружным угловым стыками и примыканием к цокольному перекрытию; 15 - двухмодульная глухая панель с рядовым и наружным угловым стыками и примыканием к покрытию.

Примечание. В формулах (1.2), (1.3) и далее по тексту: индекс i означает порядковый номер участка или панели ограждающей конструкции; индекс j - порядковый номер слоя многослойной ограждающей конструкции.

Так, например, для стеновой панели с оконным проемом схема разбивки на расчетные участки приведена на рис. 2. Общая площадь панели определяется по осям вертикальных и горизонтальных стыков за вычетом площади проема, размеры которого устанавливаются в свету.

В реальном здании могут применяться различные типы стеновых панелей (рис. 3):

·     рядовые, когда соединение панели примыкает в одной плоскости с расчетной;

·     угловые, когда одна панель или две соседние по этажу панели примыкают под углом, причем угол может быть как наружный, так и внутренний. Здесь могут встретиться следующие варианты:

- панель с рядовым и наружным угловым стыками;

- панель с рядовым и внутренним угловыми стыками;

- панель с двумя наружными угловыми стыками;

- панель с двумя внутренними угловыми стыками;

- панель с наружным и внутренним угловым стыками;

·     карнизные, когда панель примыкает к покрытию или чердачному перекрытию;

·     панели первого этажа, когда они примыкают к цокольному (над подвалом) перекрытию.

Кроме того панели первого и последнего этажа могут иметь все варианты угловых стыков. Помимо панелей с проемами в здании могут быть применены глухие панели.

Все эти типы панелей различаются по приведенному сопротивлению теплопередаче. Поэтому варьируя конфигурацией фасада здания и номенклатурой применяемых типов панелей можно изменять приведенное сопротивление теплопередаче фасада здания Rofr которое может быть определено по формуле:

                             (1.4)

где Af - площадь всех фасадов здания за вычетом площади проемов, м2;

Api - площадь i-ой панели фасада здания, м2;

Ropir - приведенное сопротивление теплопередаче i-ой панели фасада здания, м2 · °С/Вт;

roi - коэффициент теплотехнической однородности i-ой панели здания;

Rop - сопротивление теплопередаче панели вдали от термических неоднородностей, м2 · °С/Вт.

Аналогично может быть определено приведенное сопротивление теплопередаче фасадов кирпичных, брусчатых, монолитных зданий, в которых лишь будут отсутствовать стыки, характерные для панельных зданий, а все остальные виды теплотехнических неоднородностей будут иметь место.

п. 3.6.1.е. Назначают требуемый воздухообмен согласно СНиП 2.08.01-89*, СНиП 2.08.02-89*, МГСН 3.01-96, МГСН 4.06-96, МГСН 4.07-97.

Для жилых зданий предусмотрены следующие нормативы воздухообмена: 3 м3 на 1 м2 жилых помещений;

кухня с электроплитами - не менее 60 м3/ч;

кухня с газовыми плитами:

2-конфорочными - не менее 60 м3/ч;

3-конфорочными - не менее 75 м3;

4-конфорочными - не менее 90 м3/ч;

ванная и уборная - 50 м3/ч.

СНиП 2.08-01-89* предусматривает осуществление вытяжной вентиляции жилых комнат через вытяжные каналы кухонь, уборных, ванных, воздух идущий из жилых помещений к вентиляционным каналам, одновременно вентилирует помещения кухонь, уборных, ванных. Поэтому определяется количество воздуха, необходимое для вентиляции жилых помещений, затем количество воздуха, необходимое для вентиляции кухонь, уборных, ванных; из полученных значений выбирается наибольшее и делится на объем квартиры (за исключением объема внутренних ограждающих конструкций). Таким образом определяется кратность воздухообмена квартиры и жилого дома в целом.

Основная норма воздухообмена в учебных помещениях общеобразовательных учреждений - 16 м3/ч на 1 человека. Такую норму для общеобразовательных учреждений массовой застройки обеспечивает кратность воздухообмена 1 1/ч.

В дошкольных учреждениях требуемая кратность воздухообмена - 1,5 1/ч, в помещениях больниц - 2 1/ч.

п. 3.6.3. Светопрозрачные ограждающие конструкции следует подбирать по следующей методике:

Чтобы избежать возможную путаницу из-за разночтения в терминах по светопрозрачным конструкциям, приведенных в МГСН 2.01-99 и ГОСТ 23166-78, приводится таблица соответствия терминов. Терминология по окнам, приведенная в п. 3.5.3 МГСН 2.01-99 соответствует СНиП 2.04.05-91* (изд. 1998), а в табл. 3.4 МГСН 2.01-99 - соответствует СНиП II-3-79* (изд. 1998).

Таблица 1.2

ГОСТ 23166-78

МГСН 2.01-99, п. 3.5.3

МГСН 2.01-99, табл. 3.4

одинарная конструкция с одним (двумя) рядами остекления

одинарное окно

двухслойные стеклопакеты в одинарных переплетах

спаренная конструкция с двумя (тремя) рядами остекления

окно со спаренными переплетами

двойное остекление в спаренных переплетах

раздельная конструкция с двумя рядами остекления

окно с раздельными переплетами

двойное остекление в раздельных переплетах; двухслойные стеклопакеты и одинарное остекление в раздельных переплетах

раздельно-спаренная конструкция с тремя и четырьмя рядами остекления

окно с тройными переплетами

тройное остекление в раздельно-спаренных переплетах

Могут быть рекомендованы окна как в деревянных, так и в пластмассовых переплетах со следующими заполнениями (см. Прил. 6*, СНиП II-3-79*зд. 1998 г.):

- тройное остекление в раздельно-спаренных переплетах Ror = 0,55 м2 · °Ст;

- однокамерные стеклопакеты с мягким селективным (с тепловой эмиссией менее 0,15) покрытием Ror = 0,56 м2 · °Ст;

- двухкамерные стеклопакеты с твердым селективным (с тепловой эмиссией более 0,15) покрытием Ror = 0,58 м2 · °Ст;

- обычное стекло и однокамерные стеклопакеты в раздельных переплетах Ror = 0,56 м2 · °С/Вт.

п. 3.6.3.ж. В случае RaRareg, выбранная светопрозрачная конструкция удовлетворяет требованиям СНиП II-3-79* (изд. 1998 г.) по сопротивлению воздухопроницанию.

Пример расчета сопротивления воздухопроницанию окна жилого здания

А. Исходные данные.

Определить, удовлетворяют ли требованиям по воздухопроницаемости согласно СНиП II-3-79* (изд. 1998 г.) пластмассовые окна с двухкамерными стеклопакетами (ТУ 9139-001-05844398-95) в 12-этажном жилом доме высотой Н = 34,8 м в г. Москве. Воздухопроницаемость оконного блока согласно сертификата G = 3,94 кг/2.ч) при Δp =10 Па; показатель режима фильтрации n = 0,54.

Б. Порядок расчета.

Для г. Москва согласно МГСН 2.01-99 средняя температура наиболее холодной пятидневки при обеспеченности 0,92 равна -26 °С, а расчетная температура внутреннего воздуха равна 20 °С.

Вычисляем удельный вес наружного и внутреннего воздуха по формуле (31) СНиП II-3-79* (изд. 1998 г.)

γext = 3463 / [273 + (-26)] = 14,02 Н/м3

γint = 3463 / (273 + 20) = 11,82 Н/м3

Определяем по СНиП 2.01.01-82 максимальную из средних скоростей по румбам за январь, повторяемость которых 16 % и более, v = 4,9 м/с.

Определяем расчетную разность давлений воздуха на наружной и внутренней поверхностях окна на первом этаже здания по формуле (30) СНиП II-3-79* (изд. 1998 г.).

Δp = 0,55 · 34,8 (14,02 - 11,82) + 0,03 · 14,02 · 4,92 = 52,21 Па

Находим требуемое сопротивление воздухопроницанию окон в рассматриваемом доме по формуле (3.13) МГСН 2.01-99:

Rareg = (1 / 5) (52,21 / 10)2/3 = 0,605 м2 · ч/кг

Сопротивление воздухопроницанию оконного блока по ТУ 9139-001-05844398-95 определим по формуле (3.14) МГСН 2.01-99:

Ra = (1 / 3,94)(52,21 / 10)0,54 = 0,62 м2 · ч/кг

Таким образом, выбранный оконный блок удовлетворяет требованиям СНиП II-3-79* (изд. 1998 г.) по воздухопроницаемости.

п. 3.5.2. Приведенный трансмиссионный коэффициент теплопередачи Kmtr, Вт/(м2 · °С), совокупности ограждающих конструкций здания следует определять по приведенным сопротивлениям теплопередаче Ror.

2. Расчет приведенного сопротивления теплопередаче

Наружные ограждающие конструкции зданий должны удовлетворять:

- требуемому сопротивлению теплопередаче Roreq для однородных конструкций наружного ограждения - по Ro в соответствии с п. 2.1* СНиП II-3-79* (изд. 1998 г.), для неоднородных конструкций - по приведенному сопротивлению теплопередаче Ror; при этом должно соблюдаться условие Ro (или Ror) ≥ Roreq

- минимальной температуре не ниже температуры точки росы td на всех участках внутренних поверхностей наружных ограждений с температурами τint в соответствии с п. 2.10* и примечанием 3 прил. 6* СНиП II-3-79* (изд. 1998 г.); при этом должно соблюдаться условие τinttd.

Приведенное сопротивление теплопередаче Ror для наружных стен следует рассчитывать для фасада здания либо для одного промежуточного этажа с учетом откосов проемов без учета их заполнений.

2.1. Непрозрачные ограждающие конструкции

2.1.1. Термическое сопротивление R, м2 · °С/Вт, однородного слоя многослойной ограждающей конструкции, а также однослойной ограждающей конструкции следует определять по формуле

R = δ / λ                                                              (2.1)

где δ - толщина слоя, м;

λ - расчетный коэффициент теплопроводности материала слоя, Вт/(м · °С), принимаемый по прил. 3* СНиП II-3-79* (изд. 1998 г.).

Термическое сопротивление Rk, м2 · °С/Вт, ограждающей конструкции с последовательно расположенными однородными слоями следует определять как сумму термических сопротивлений отдельных слоев:

Rk = R1 + R2 + ... + Rn + Rа.l                                               (2.2)

где R1, R2, ..., Rn - термические сопротивления отдельных слоев ограждающей конструкции, м2 · °С/Вт, определяемые по формуле (2.1);

Rа.l - термическое сопротивление замкнутой воздушной прослойки, принимаемое по прил. 4 СНиП II-3-79* (изд. 1998 г.).

2.1.2. Сопротивление теплопередаче Ro, м2 · °С/Вт, однородной однослойной или многослойной ограждающей конструкции с однородными слоями следует определять по формуле

Ro = Rsi + Rk + Rse                                                        (2.3)

где Rsi = 1 / αi, αi - коэффициент теплоотдачи внутренней поверхности ограждающих конструкций, Вт/(м2 · °С), принимаемый по табл. 4* СНиП II-3-79* (изд. 1998 г.);

Rse = 1 / αe, αe - коэффициент теплоотдачи наружной поверхности ограждающей конструкции для условий холодного периода, Вт/(м2 · °С), принимаемый по табл. 6* СНиП II-3-79* (изд. 1998 г.);

Rk - то же, что в формуле (2.2).

При наличии в ограждающей конструкции прослойки, вентилируемой наружным воздухом, Ro определяется с учетом примечания 2 к п. 2.4 СНиП II-3-79* (изд. 1998 г.) и коэффициента теплоотдачи αe, равного 10,8 Вт/(м2 · °С).

2.1.3. Приведенное сопротивление теплопередаче Ror, м2 · °С/Вт, неоднородной ограждающей конструкции или ее участка (фрагмента) следует определять по формуле

Ror = п (tint - text) A / Q                                                 (2.4)

где А - площадь неоднородной ограждающей конструкции или ее фрагмента, м2, по размерам с внутренней стороны;

Q - тепловой поток через конструкцию или ее фрагмент, определяемый на основе расчета температурного поля на ЭВМ, либо измеряемый экспериментально по ГОСТ 26254-84 или ГОСТ 26602-85, Вт, с внутренней стороны;

n, tint, text - то же, что в формуле (3.2) МГСН 2.01-99.

Методика и примеры определения приведенного сопротивления теплопередаче ограждающих конструкций на основе расчета температурных полей на компьютере приведены в прил. А.

Определение приведенного сопротивления теплопередаче фрагментов или участков ограждающей конструкции Ror, а также всей ограждающей конструкции осуществляется по формуле

                                                (2.5)

где Ai, Ro,i - соответственно площадь i-го участка характерной части ограждающей конструкции, м2, и его приведенное сопротивление теплопередаче, м2 · °С/Вт;

А - общая площадь конструкции, равная сумме площадей отдельных участков, м2;

m - число участков ограждающей конструкции с различным приведенным сопротивлением теплопередаче.

2.1.4. Допускается приведенное сопротивление характерного i-го участка ограждающей конструкции Ror определять одним из следующих методов:

а) по формуле

Ror = Roconr                                                             (2.6)

где Rocon - сопротивление теплопередаче i-го участка однородной ограждающей конструкции, определяемое по формулам (2.2) и (2.3), м2 · °С/Вт;

r - коэффициент теплотехнической однородности i-го участка ограждающей конструкции, учитывающий влияние стыков, откосов проемов, обрамляющих ребер, гибких связей и других теплопроводных включений, определяемый по пп. 2.1.5 - 2.1.7.

б) по формуле (2.3), где Rk следует заменить на приведенное термическое сопротивление участка Rkr, рассчитываемое по п. 2.1.8 либо п. 2.1.9;

в) согласно п. 2.1.3 для участка конструкций, не приведенных в п. 2.1.5 - 2.1.9.

2.1.5. Для плоских неоднородных ограждающих конструкций, содержащих приведенные в прил. 5* СНиП II-3-79* (изд. 1998 г.) теплопроводные включения, коэффициент теплотехнической однородности r допускается определять по формуле

                                  (2.7)

где А - то же, что и в формуле (2.5);

m - число теплопроводных включений конструкции;

ai, Li - соответственно ширина и длина i-го теплопроводного включения, м;

ki - коэффициент, зависящий от типа i-го теплопроводного включения принимаемый для неметаллических теплопроводных включений по табл. Б.1 прил. Б, для металлических по формуле

ki = 1 + Ψiδi2 / (λiaiRo,icon)                                              (2.8)

где Ψi - коэффициент, зависящий от типа теплопроводного включения, принимаемый по табл. Б.2 прил. Б;

δi, λi - толщина, м, и коэффициент теплопроводности, Вт/(м · °С), утеплителя в зоне i-го теплопроводного включения;

Ro,i, Ro,icon - сопротивление теплопередаче ограждающей конструкции, м2 · °Ст, соответственно в местах i-го теплопроводного включения и вне этого места, определяемого по формуле (2.3).

Пример определения Ror ограждающей конструкции с помощью формул (2.7 и 2.8) приведен в прил. Б.

2.1.6. Для трехслойных железобетонных ограждающих конструкций с эффективным утеплителем на гибких металлических связях, железобетонных шпонках, сквозных и перекрестных ребрах коэффициент теплотехнической однородности r следует определять по формуле

                                        (2.9)

где А, m - то же, что и в формуле (2.5);

Ai, fi - площадь зоны, м2, и коэффициент влияния i-го теплопроводного включения, определяемые для отдельных элементов по формулам (2.10)-(2.13) и по табл. Б.3 прил. Б.

Площадь Ai зоны влияния i-го теплопроводного включения при толщине панели δe, м, определяется по формулам

а) для стыков длиной l, м

Ai = e                                                              (2.10)

б) для горизонтальных и вертикальных оконных откосов длиной соответственно l1, l2, м

Ai = 2δe(l1 + l2) + πδe2                                               (2.11)

в) для теплопроводных включений прямоугольного сечения шириной a и высотой b, м

Ai = (a + 2δe)(b + 2δe)                                               (2.12)

г) для теплопроводных включений типа «гибких связей» (распорки - шпильки, распорки - стержни и пр.)

Ai = 4δe2                                                           (2.13)

2.1.7. Для бетонных панелей с термовкладышами коэффициент теплотехнической однородности r допускается определять по прил. 13 СНиП II-3-79* (изд. 1998 г.)

2.1.8. Для плоских ограждающих конструкций с теплопроводными включениями, с толщиной большей 50 % толщины ограждения, теплопроводность которых не превышает теплопроводность основного материала более чем в 40 раз, приведенное термическое сопротивление определяется следующим образом:

а) плоскостями, параллельными направлению, теплового потока, ограждающая конструкция (или часть ее) условно разрезается на участки, из которых одни участки могут быть однородными (однослойными) - из одного материала, а другие неоднородными - из слоев с различными материалами, и термическое сопротивление ограждающей конструкции RaT, м2 · °Ст, определяется по формуле (2.5), где термическое сопротивление отдельных однородных участков конструкции определяется по формуле (2.1) или по формуле (2.2) для многослойных участков;

б) плоскостями, перпендикулярными направлению теплового потока, ограждающая конструкция (или часть ее, принятая для определения RaT) условно разрезается на слои, из которых одни слои могут быть однородными - из одного материала, а другие неоднородными - из разных материалов. Термическое сопротивление однородных слоев определяется по формуле (2.1), неоднородных слоев - по формуле (2.5) и термическое сопротивление ограждающей конструкции RT - как сумма термических сопротивлений отдельных однородных и неоднородных слоев - по формуле (2.2).

Приведенное термическое сопротивление Rkr ограждающей конструкции следует определять по формуле

Rkr = (RaT + 2RT) / 3                                                  (2.14)

Если величина RaT превышает величину RT более чем на 25 % или ограждающая конструкция не является плоской (имеет выступы на поверхности), то приведенное сопротивление теплопередаче ограждающей конструкции следует определять в соответствии с п. 2.1.4.

2.1.9. Приведенное сопротивление теплопередаче заполнений световых проемов (окон, балконных дверей и фонарей) Rfr, м2 · °С/Вт, определяют согласно п. 2.1.3 на основании расчета температурного поля, либо экспериментально по ГОСТ 26602. Допускается определять RFr приближенно по формуле (2.5), учитывая площади и сопротивления теплопередаче непрозрачной части и термически однородных зон остекления, установленных в соответствии с ГОСТ 26602.

2.1.10. Приведенное сопротивление теплопередаче конструкций стен и покрытий со световыми проемами Rr следует определять по формуле (2.5), учитывая площади и приведенные сопротивления теплопередаче световых проемов по п. 2.1.9 и непрозрачных участков стен и покрытий по п. 2.1.4.

2.1.11. Приведенное сопротивление теплопередаче Rsr, м2 · °Ст, полов на грунте, полов на лагах, а также стен подвальных этажей и технических подвалов, расположенных ниже уровня земли, следует определять по прил. 9 СНиП 2.04.05-91* (изд. 1998 г.) с учетом п. 1.7 СНиП II-3-79* (изд. 1998 г.). Для теплых подвалов и чердаков, Ror чердачных и цокольных перекрытий определяется из условий теплового баланса.

Примеры расчета ограждающих конструкций теплых чердаков и подвалов приведены в прил. В.

п. 3.3.6. Температура внутренней поверхности ограждающей конструкции в зоне теплопроводных включений (диафрагм, сквозных швов из раствора, стыков панелей, ребер и гибких связей в многослойных панелях, жестких связей облегченной кладки и др.), в углах и оконных откосах должна быть не ниже температуры точки росы внутреннего воздуха, принимаемой согласно табл. 3.1.

2.1.12. Температуру внутренней поверхности τsi, °С, однородной однослойной или многослойной ограждающей конструкции с однородными слоями следует определять по формуле

τsi = tint - [n (tint - text)] / (Ro · αi)                                     (2.15)

где n, tint, text, αi - то же, что в формуле (3.2) МГСН 2.01-99;

Ro - то же, что в формуле (2.3).

Температуру внутренней поверхности τsi, °С, неоднородной ограждающей конструкции по теплопроводному включению необходимо принимать на основании расчета на ЭВМ температурного поля, либо экспериментально по ГОСТ 26254-84 или ГОСТ 26602-85.

2.1.13. Для неоднородных ограждающих конструкций, содержащих приведенные в прил. 5* СНиП II-3-79* (изд. 1998 г.) теплопроводные включения, температуру внутренней поверхности по теплопроводному включению, °С, допускается определять:

- для неметаллических теплопроводных включений по формуле

τsi′ = tint - [n (tint - text) / (Roconαi)] · [1 + η (Rocon / R′o - 1)]          (2.16)

- для металлических теплопроводных включений по формуле

τsi′ = tint - [n (tint - text) / (Roconαi)] · (1 + ξRoconαi)                         (2.17)

В формулах (2.16) и (2.17):

n, tint, text, αi - то же, что в формуле (3.2) МГСН 2.01-99;

Ro, Rocon - сопротивление теплопередаче по сечению ограждающей конструкции, м2 · °С/Вт, соответственно в местах теплопроводных включений и вне этих мест, определяемое по формуле (2.3);

η, ξ - коэффициенты, принимаемые по табл. 7* и 8* СНиП II-3-79* (изд. 1998 г.).

2.1.14. Температуру точки росы td, °С, в зависимости от различных сочетаний температуры tint и относительной влажности φint, %, воздуха помещения следует определять по прил. Г.

п. 3.3.3. Примечание 1. ... для теплых чердаков и подвалов (с разводкой в них трубопроводов систем отопления и горячего водоснабжения) эту температуру следует принимать по расчету теплового баланса (но не менее плюс 2 °С для подвалов при расчетных условиях и не более плюс 14 °С для чердаков и подвалов).

2.2. Расчет ограждающих конструкций теплых чердаков

2.2.1. Требуемое сопротивление теплопередаче перекрытая теплого чердака Rog.f, м2 · °С/Вт, определяют по формуле

Rog.f = n · Roreq                                                    (2.18)

где Roreq - требуемое сопротивление теплопередаче покрытия, определяемое по табл. 16 СНиП II-3-79* (изд. 1998 г.) в зависимости от градусосуток отопительного периода для различных типов зданий;

n - коэффициент, определяемый по формуле

n = (tint - tintg) / (tint - text)                                        (2.19)

tint, text - то же, что в формуле (3.2) МГСН 2.01-99,

tintg -расчетная температура воздуха в чердаке, °С, равная не более плюс 14 °С при расчетных условиях.

2.2.2. Проверяют условие ΔtΔtn для перекрытия по формуле

Δt = (tint - tintg) / (Rog.f · αi)                                      (2.20)

где tint, tintg, Rog.f - то же, что в п. 2.2.1;

αi - коэффициент теплоотдачи внутренней поверхности ограждающей конструкции, принимаемый согласно п. 2.2 СНиП II-3-79* (изд. 1998 г.);

Δtn - нормативный температурный перепад, принимаемый согласно п. 2.2 СНиП II-3-79* (изд. 1998 г.), равным 3 °С.

Если условие ΔtΔtn не выполняется, то следует увеличить сопротивление теплопередаче перекрытия Rog.f до значения, обеспечивающего это условие.

2.2.3. Требуемое сопротивление теплопередаче покрытия Rog.c, м2 · °Ст, чердака определяют по формуле

                                                                                                                                           (2.21)

где text - то же, что в формуле (3.2) МГСН 2.01-99;

tintg - то же, что и в п. 2.2.1;

tint - расчетная температура воздуха в помещениях верхнего этажа, °С;

Gven - приведенный (отнесенный к 1 м2 пола чердака) расход воздуха в системе вентиляции, кг/(м2 · ч), определяемый по табл. 2.1;

Таблица 2.1

Этажность здания

Приведенный расход воздуха, кг/(м2 · ч), при наличии в квартирах

газовых плит

электроплит

5

12

9,6

9

19,2

15,6

12

-

20,4

16

-

26,4

22

-

35,2

25

-

39,5

с - удельная теплоемкость воздуха, равная 1 кДж/(кг · °С);

tven - температура воздуха, выходящего из вентиляционных каналов, °С, определяется по формуле

tven = tint + 1,5                                                          (2.22)

Rog.f - требуемое сопротивление теплопередаче чердачного перекрытия теплого чердака, м2 · °Ст, устанавливаемое согласно п. 2.2.1;

qpi - нормативная плотность теплового потока через поверхность теплоизоляции, приходящаяся на 1 п.м трубопровода i-го диаметра с учетом теплопотерь через изолированные опоры, фланцевые соединения и арматуру, Вт/м; принимается по СНиП 2.04.14-88*; для чердаков и подвалов значения qpi приведены в табл. 2.2;

lpi - длина трубопровода i-го диаметра, м, принимается по проекту;

text - то же, что в формуле (3.2) МГСН 2.01-99;

tintg - то же, что в п. 2.2.1;

Rog.c - расчетное сопротивление теплопередаче покрытия теплого чердака, м2 · °С/Вт;

ag.w - приведенная (отнесенная к 1 м3 пола чердака) площадь наружных стен теплого чердака, м2/м2, определяемая по формуле

ag.w = Ag.w / Ag.f                                                     (2.23)

Ag.w - площадь наружных стен чердака, м2;

Ag.f - площадь перекрытия теплого чердака, м2;

Rog.w - требуемое сопротивление теплопередаче наружных стен теплого чердака, м2 · °Cт, определяемого согласно п. 2.2.4.

Таблица 2.2

Условный диаметр трубопровода, мм

Средняя температура теплоносителя, °С

60

70

95

105

125

Линейная плотность теплового потока qpi, Вт/м

10

7,7

9,4

13,6

15,1

18

15

9,1

11

15,8

17,8

21,6

20

10,6

12,7

18,1

20,4

25,2

25

12

14,4

20,4

22,8

27,6

32

13,3

15,8

22,2

24,7

30

40

14,6

17,3

23,9

26,6

32,4

50

14,9

17,7

25

28

34,2

70

17

20,3

28,3

31,7

38,4

80

19,2

22,8

31,8

35,4

42,6

100

20,9

25

35,2

39,2

47,4

125

24,7

29

39,8

44,2

52,8

150

27,6

32,4

44,4

49,1

58,2

2.2.4. Требуемое сопротивление теплопередаче наружных стен теплого чердака Rog.w, м2 · °Ст, определяют согласно табл. 16 СНиП II-3-79* (изд. 1998 г.); в зависимости от градусосуток отопительного периода климатического района строительства при расчетной температуре воздуха в чердаке tintg.

2.2.5. Проверяют наружные ограждающие конструкции на невыпадение конденсата на их внутренних поверхностях. Температуру внутренней поверхности согласно п. 2.1.12 стен τsig.w, перекрытий τsig.f и покрытий τsig.c чердака следует определять по формуле

τsi = tintg - [(tintg - text) / (Ro · αig)]                                      (2.24)

где tintg, text - то же, что в п. 2.2.1;

αig - коэффициент теплоотдачи внутренней поверхности наружного ограждения теплого чердака, Вт/(м2 · °С), принимаемый: для стен - 8,7; для покрытий 9-этажных домов - 9,9; 12-этажных - 10,5; 16-этажных и более - 12 Вт/(м2 · °С).

Ro - требуемое сопротивление теплопередаче наружных стен Rog.w, перекрытий Rog.f и покрытий Rog.c теплого чердака, м2 · °С/Вт.

Температура точки росы td определяется по влагосодержанию воздуха чердака по формуле

fg = fext + Δf                                                           (2.25)

где fext - влагосодержание наружного воздуха, г/м3, при расчетной температуре text, определяется по формуле

fext = 0,794eext / (1 + text / 273)                                          (2.26)

Δf - приращение влагосодержания за счет поступления влаги с воздухом из вентиляционных каналов, г/м3, принимается: для домов с газовыми плитами - 4,0 г/м3, для домов с электроплитами - 3,6 г/м3;

- рассчитывается упругость водяного пара воздуха в теплом чердаке еg, гПа, по формуле

еg = fg (1 + tintg / 273) / 0,794                                            (2.27)

- по таблицам максимальной упругости водяного пара согласно приложения 8 [2] определяется температура точки росы td по значению Е = еg

- полученное значение td сопоставляется с соответствующим значением τsi (стен τsig.w, перекрытий τsig.f и покрытий τsig.c) на удовлетворение условия td < τsi.

Пример расчета теплого чердака приведен в приложении В.

2.3. Расчет ограждающих конструкций «теплых» подвалов

2.3.1. Под «теплыми» подвалами понимают подвалы при наличии в них нижней разводки труб систем отопления, горячего водоснабжения, а также труб системы водоснабжения и канализации.

Расчет ограждающих конструкций таких подвалов следует выполнять в приведенной в пп. 2.3.2 - 2.3.6 последовательности.

2.3.2. Требуемое сопротивление теплопередаче Rob.w, м2 · °С/Вт, части цокольной стены, расположенной выше планировочной отметки грунта, определяют по табл. 1б СНиП II-3-79* (изд. 1998 г.). При этом в качестве расчетной температуры внутреннего воздуха принимают расчетную температуру воздуха в подвале tintb, °С, равную не менее плюс 2 °С при расчетных условиях.

2.3.3. Определяют приведенное сопротивление теплопередаче Ros, м2 · °Ст, ограждающих конструкций заглубленной части подвала, расположенных ниже уровня земли.

Для неутепленных полов на грунте в случае, когда материалы пола и стены имеют расчетные коэффициенты теплопроводности λ ≥ 1,2 Вт/(м · °С), приведенное сопротивление теплопередаче Ros определяют по табл. 2.3 в зависимости от суммарной длины l, м, включающей ширину подвала и две высоты части наружных стен, заглубленных в грунт.

Таблица 2.3

Приведенное сопротивление теплопередаче Ros для ограждений подвала, заглубленных в грунт, м2 · °С/Вт, при l в м

l

4

8

10

12

14

16

Ros

2,15

2,86

3,31

3,69

4,13

4,52

Для утепленных полов на грунте в случае, когда материалы пола и стены имеют расчетные коэффициенты теплопроводности λ < 1,2 Вт/(м · °С), приведенное сопротивление теплопередаче Ros определяют согласно прил. 9 СНиП 2.04.05-91*.

2.3.4. Требуемое сопротивление теплопередаче цокольного перекрытия над «теплым» подвалом Rob.c, м2 · °Ст, определяют по формуле

Rob.c = n · Roreq                                                      (2.28)

где Roreq - требуемое сопротивление теплопередаче перекрытий над подвалами, определяемое по табл. 1б СНиП II-3-79* (изд. 1998 г.) в зависимости от градусосуток отопительного периода климатического района строительства;

n - коэффициент, определяемый по формуле

n = (tint - tintb) / (tint - text)                                            (2.29)

tint, text - то же, что в формуле (3.2) МГСН 2.01-99;

tintb - то же, что в п. 2.3.3.

2.3.5. Определяют температуру воздуха в подвале tintb, °С, по формуле

                                                                                                                                            (2.30)

где tint - расчетная температура воздуха в помещении над подвалом, °С;

text, qpi, lpi, c - то же, что в формуле (2.22);

Ab - площадь подвала (цокольного перекрытия), м2;

Rob.c - требуемое сопротивление теплопередаче цокольного перекрытия, м2 · °Ст, устанавливаемое согласно п. 2.3.4;

Vb - объем воздуха, заполняющего пространство подвала, м3;

n - кратность воздухообмена в подвале, 1/ч: при прокладке в подвале газовых труб I = 1 1/ч, в остальных случаях I = 0;5 1/ч;

γ - плотность воздуха в подвале, принимаемая равной γ = 1,2 кг3;

As - площадь пола и стен подвала, контактирующих с грунтом, м2;

Ros - то же, что в п. 2.3.2;

Ab.w - площадь наружных стен подвала над уровнем земли, м2;

Rob.w - то же, что в п. 2.3.3.

Если tintb отличается от первоначально заданной температуры, расчет повторяют по пп. 2.3.3 - 2.3.5 до получения равенства величин в предыдущем и последующем вариантах расчета.

2.3.6. Проверяют по формуле (1) СНиП II-3-79* (изд. 1998 г.) полученное расчетом требуемое сопротивление теплопередаче цокольного перекрытия на удовлетворение требования по нормативному температурному перепаду для пола первого этажа, равному Δtn = 2 °С (таблица 2* СНиП II-3-79* (изд. 1998 г.)).

Пример расчета «теплого» подвала приведен в приложении В.

п. 3.3.4. Требуемое сопротивление теплопередаче Roreq светопрозрачных конструкций и наружных дверей следует принимать: 0,54 м2 · °С/Вт для окон, балконных дверей и витражей; 0,81 м2 · °Ст для глухой части балконных дверей.

2.4. Светопрозрачные ограждающие конструкции

Светопрозрачные ограждающие конструкции различных типов зданий следует подбирать по следующей методике:

2.4.1. Требуемое сопротивление теплопередаче Roreq светопрозрачных конструкций следует определять по таблице 1б* СНиП II-3-79* (изд. 1998 г.). При этом сначала определяют количество градусосуток отопительного периода Dd по табл. 3.2 МГСН 2.01-99. В зависимости от величины Dd и типа проектируемого здания по колонкам 6 и 7 вышеупомянутой таблицы определяется значение Roreq. Для промежуточных значений Dd величина Roreq определяется интерполяцией.

2.4.2. Выбор светопрозрачной конструкции осуществляется по значению приведенного сопротивления теплопередаче Ror, полученному в результате сертификационных испытаний. Если приведенное сопротивление теплопередаче выбранной светопрозрачной конструкции Ror, больше или равно Roreq, то эта конструкция удовлетворяет требованиям норм.

2.4.3. При отсутствии сертифицированных данных допускается использовать при проектировании значения Ror, приведенные в приложении 6* СНиП II-3-79* (изд. 1998 г.). Значения Ror в этом приложении даны для случаев, когда отношение площади остекления к площади заполнения светового проема β равно 0,75. При использовании светопрозрачных конструкций с другими значениями β следует корректировать значение Ror следующим образом: для конструкций с деревянными или пластмассовыми переплетами при каждом увеличении β на величину 0,1 следует уменьшать значение Ror на 5 % и наоборот - при каждом уменьшении β на величину 0,1 следует увеличить значение Ror на 5 %.

2.4.4. В отдельных случаях при обосновании допускается применять конструкции окон, балконных дверей и фонарей с Ror ниже на 5 % требуемых значений, установленных по табл. 1б* СНиП II-3-79* (изд. 1998 г.).

2.4.5. При проверке требования по обеспечению минимальной температуры на внутренней поверхности светопрозрачных ограждений согласно примечания 3 прил. 6* СНиП II-3-79* (изд. 1998 г.) температуру τint этих ограждений следует определять по формуле (2.15) как для остекления, так и непрозрачных элементов. Если в результате расчета окажется, что τint < 3 °С, то следует выбрать другое конструктивное решение заполнения светопроема с целью обеспечения этого требования.

П. 3.5. Теплоэнергетические параметры

3. Правила расчета площадей и приведенных сопротивлений теплопередач

При расчетах теплоэнергетических параметров здания следует руководствоваться следующими правилами:

3.1. Общую площадь квартир жилого дома следует определять как сумму площадей их помещений, встроенных шкафов, а также лоджий, балконов, террас и холодных кладовых, подсчитываемых со следующими пониженными коэффициентами: для лоджий - 0,5, для балконов и террас - 0,3, для веранд и холодных кладовых - 1,0.

Полезную площадь общественного здания следует определять как сумму площадей всех размещаемых в нем помещений, а также балконов и антресолей в залах, фойе и т.п.

В общую площадь квартир жилого дома и полезную площадь общественного здания не включается площадь технических этажей, подвала (подполья), чердака или его части, не занятой под мансарду, лестничных клеток, лифтовых шахт, внутренних открытых лестниц и пандусов.

3.2. При определении площади мансардного этажа учитывается площадь с высотой до наклонного потолка 1,2 м при наклоне 30° к горизонту; 0,8 м - при 45° - 60°; при 60° и более площадь измеряется до плинтуса рил. 2 СНиП 2.08.01-89*).

3.3. Жилая площадь здания подсчитывается как сумма площадей всех общих комнат (гостиных) и спален.

3.4. Отапливаемый объем здания определяется как произведение площади этажа на внутреннюю высоту, измеряемую от поверхности пола первого этажа до поверхности потолка последнего этажа.

При сложных формах внутреннего объема здания отапливаемый объем определяется как объем пространства, ограниченного внутренними поверхностями наружных ограждений (стен, покрытия или чердачного перекрытия, цокольного перекрытия).

Для определения объема воздуха, заполняющего здание, отапливаемый объем умножается на коэффициент 0,85.

3.5. Площадь наружных ограждающих конструкций определяется по внутренним размерам здания. Общая площадь наружных стен (с учетом оконных и дверных проемов) определяется как произведение периметра наружных стен по внутренней поверхности на внутреннюю высоту здания, измеряемую от поверхности пола первого этажа до поверхности потолка последнего этажа. Суммарная площадь окон определяется по размерам проемов в свету. Площадь наружных стен (непрозрачной части) определяется как разность общей площади наружных стен и площади окон.

3.6. Площадь горизонтальных наружных ограждений (покрытия, чердачного и цокольного перекрытия) определяется как площадь этажа здания (в пределах внутренних поверхностей наружных стен).

При наклонных поверхностях потолков последнего этажа площадь покрытия, чердачного перекрытия определяется как площадь внутренней поверхности потолка.

3.7. При расчете приведенного сопротивления теплопередаче ограждающей конструкции следует руководствоваться указаниями раздела 2. Сопротивление теплопередаче для полов по грунту следует определять по зонам исходя из разделения их на зоны согласно СНиП 2.04.05-91*; при этом вместо показателя п = 0,5 следует использовать n = 1.

п. 6.3.2. Расчетные показатели и характеристики

4. Рекомендации по определению параметров энергетического паспорта

4.1. Расчету теплотехнических показателей энергоемкости зданий предшествует определение инфильтрационной составляющей тепловых теплопотерь и установление величины тепловыделений в зданиях.

4.2. Определение величины приведенного инфильтрационного (условного) коэффициента теплопередачи здания осуществляется с учетом его типа, требований воздухообмена и т.д.

Для жилых зданий с естественной системой вытяжной вентиляции и неорганизованным притоком наружного воздуха принимается, что требуемый воздухообмен в квартирах обуславливается необходимостью подачи свежего воздуха в объеме 3 м3/ч на 1 м2 жилых комнат (по СНиП 2.04.05-91*) при высоте этажа не более 3 м и 30 м3/ч на человека, проживающего в квартире с большей высотой этажа (по МГСН 3.01-96).

Нагрев поступающего объема наружного воздуха обеспечивается системой отопления и входит в качестве составляющей теплопотерь здания при определении приведенного инфильтрационного (условного) коэффициента теплопередачи в соответствии с п. 3.5.3 МГСН 2.01-99.

В квартирах жилищ I категории величина воздухообмена на одного проживающего устанавливается инвестором - заказчиком в задании на проектирование, в котором могут быть дополнительные условия по применению энергосберегающих технических решений (утилизации тепла вытяжного вентиляционного воздуха, использование нетрадиционных источников энергии и т.п.).

Примечания:

1. В случаях, когда расчетный объем вытяжки из помещений кухни и санузла превышает необходимый приток воздуха, это не принимается во внимание, т.к. объем воздуха удаляемого из кухни рассчитан на период приготовления пищи, а в остальное время он может быть уменьшен.

2. Поскольку приток наружного воздуха в объеме нормативного воздухообмена может обеспечиваться за счет приоткрывания створок окон или через специальные шумозащитные вентиляционные клапаны, а это действие является периодичным, то в закрытом состоянии через окна будет проникать только часть воздуха, и избыточное тепло, поступающее от отопительных приборов, рассчитанных на обеспечение нагрева всего объема наружного воздуха, может быть снято термостатами. Поэтому, в жилых зданиях, оборудованных системой отопления с термостатами на отопительных приборах, допускается при определении годового теплопотребления на отопление вводить понижающий коэффициент одновременности действия вентиляции Kv = 0,75 в уравнение (3.8) п. 3.5.5 МГСН 2.01-99. Тогда это уравнение будет иметь следующий вид:

Qht = 0,024 · (Kmtr + 0,75Kminf) · Dd · Alsum                                                           (4.1)

Для общественных и административных зданий с неорганизованным притоком наружного воздуха (отсутствием принудительной вентиляции с подогревом воздуха).

Принимается, что требуемый воздухообмен в рабочих помещениях (относящихся при подсчете к расчетной площади здания) обуславливается необходимостью обеспечения однократного воздухообмена в течение рабочего времени Gпр (8 или 12 часов при 5-ти или 6-ти дневной рабочей неделе), а в остальное время объем инфильтрационного воздуха исходя из фактических (по данным сертификата) сопротивлений, воздухопроницанию проемов в наружных ограждениях (окна, витражи, фонари, наружные двери и ворота) и стыков панелей, и расчетной разности давлений воздуха на наружной и внутренней поверхностях ограждающих конструкций под действием теплового и ветрового напоров, определяемого по СНиП II-3-79*. Причем при определении разности, давлений для входных наружных дверей или для ограждений 1-го нежилого этажа в многоэтажном жилом доме в формуле 30 вместо коэффициента 0,55 подставлять 1,0.

Часовой расход инфильтрующегося воздуха при этом определяем по формуле

GinfΔp = AF · (Δp / 10)0,67 / RFu + Ad (Δp / 10)0,5 / Rdu + Δp · 0,5 · l                  (4.2)

где под индексом F включены окна, витражи, фонари, d - двери и ворота, l - означает длину стыков панелей наружных стен.

Указанный объем наружного воздуха должен быть нагрет системой отопления. Поэтому при определении установленной мощности системы отопления принимается больший расход воздуха - исходя из кратности воздухообмена (при подсчете инфильтрационного коэффициента теплопередачи). А при определении количества потребленного тепла за отопительный период - с учетом рабочего времени в неделе, считая что в рабочее время для вентиляции будут приоткрыты створки окон и отопительные приборы обеспечат нагрев наружного воздуха в объеме однократного воздухообмена, а во внерабочее время створки окон будут закрыты и термостаты на отопительных приборах сократят подачу тепла до обеспечения нагрева только инфильтрующегося воздуха через неплотности ограждений.

Тогда, объем воздуха, необходимого, например, для нагрева в час средних за отопительный период суток при длительности рабочего дня 8 часов при 5-ти дневной рабочей неделе, находится из следующего выражения:

Ginf = (Gnp · 8 · 5 / 7 + GinfΔp · 16 · 8 / 7) / 24,                                (4.3)

а при длительности рабочего дня 12 часов при 6-ти дневной рабочей неделе:

Ginf = (Gnp · 12 · 6 / 7 + GinfΔp · 12 · 8 / 7) / 24,                               (4.4)

Этот объем воздуха подставляется в формулы (3.6) и (3.7) МГСН 2.01-99 при определении общих теплопотерь здания через оболочку за отопительный период по п. 3.5.5 МГСН 2.01-99.

Для общественных зданий с организованным притоком и нагревом наружного воздуха (при наличии принудительной приточной вентиляции).

Принимается, что объем воздуха, инфильтрирующегося через неплотности наружных ограждений, обеспечивается нагревом от системы водяного отопления и определяется исходя из расчетной разности давлений воздуха на наружной и внутренней поверхностях ограждающих конструкций под действием теплового и ветрового напоров при закрытых окнах. В таком объеме он принимается при определении установленной мощности системы водяного отопления и годового теплопотребления на отопление с учетом продолжительности нерабочего времени - (в формулах определения Ginf подставляется Gnp = 0).

Но для оценки принятой теплозащиты таких зданий условно принимается, что в рабочее время требуемый воздухообмен в здании определяется, как для зданий с неорганизованным притоком наружного воздуха. И также проводится сравнение с требуемым удельным расходом тепла на отопление за отопительный период по графе «общеобразовательные» учреждения табл. 3.3 МГСН 2.01-99. Если расчетный расход тепла оказался выше требуемого, необходимо повысить теплозащиту наружных ограждений зданий, либо предусмотреть более эффективные решения по автоматизации системы отопления.

Для дошкольных учреждений определяется расчетный удельный расход тепловой энергии на отопление и вентиляцию (потребность на отопление по п. 2.5.3 Энергетического паспорта суммируется с годовым расходом тепла на принудительную вентиляцию) и сравнивается с требуемым по табл. 3.3 МГСН 2.01-99.

4.3. Определение величины внутренних теплопоступлений в зданиях.

·     для жилых зданий принимать удельную величину бытовых тепловыделений: муниципальные здания с заселенностью квартир до 20 м2 общей площади на человека - 17 Вт/м2 жилой площади квартир, с пропорциональным понижением этой величины до 10 Вт/м2 при заселенности в 45 м2 общей площади на 1 чел.

·     для общественных и административных зданий:

При определении установленной мощности системы отопления внутренние тепловыделения не учитываются.

При определении годового теплопотребления внутренние тепловыделения учитываются в объеме теплопоступления от людей, от осветительных приборов и пользования оргтехникой.

Тепловыделения от людей принимаются в размере 90 Вт на 1 чел. и по расчетному количеству сотрудников, учеников, посетителей и т.д. с учетом длительности рабочего времени или пребывания в помещении.

Теплопоступления от освещения - по максимально допустимой мощности для соответствующих групп помещений согласно табл. 8.2 МГСН 2.01-99 при использовании 50 % рабочего времени, при 8-ми часовом рабочем дне и 75 % при 12-ти часовом и более.

Тепловыделения от оргтехники следует принимать по технологическим нормам.

Например, удельные внутренние тепловыделения в час за средние сутки отопительного периода для административного здания с расчетной площадью 1000 м2 установленной мощности компьютеров, принтеров, ксероксов и др. 10 кВт с использованием их на 70 % по времени и расчетной численностью сотрудников 100 чел. и продолжительности рабочего дня 8 час при 5-ти дневной рабочей неделе составят:

qint = [(25 · 1000 · 0,5 + 10000 · 0,7 + 90 · 100) · 8 · 5 / 7] / (24 · 1000) = 6,79 Вт/м2

4.3. Расчет потребности тепловой энергии на отопление здания в течение отопительного периода в соответствии с п. 3.5.6 МГСН 2.01-99 и приводимой в п. 2.5.3 Энергетического паспорта (не следует путать с п. 2.4.1, где приводится базовый расход тепловой энергии на отопление, определяемый по п. 5.1.6 МГСН 2.01-99).

Введение потребительского подхода позволяет стимулировать применение более эффективной системы авторегулирования отопления для наиболее полного использования теплопоступлений с внутренними тепловыделениями и с солнечной радиацией.

Считается, что максимальная эффективность достигается в системе отопления с термостатами при пофасадном авторегулировании на вводе или поквартирной горизонтальной разводкой трубопроводов, когда исключаются остаточная теплоотдача отопительных приборов при закрытых термостатах и теплопоступления от стояков, проложенных в комнатах при вертикальной системе отопления.

Далее, при элеваторном присоединении систем отопления без авторегулирования на вводе с прикрытием термостатов расход сетевой воды через сопло элеватора остается практически неизменным, что приводит к повышению температуры воды, поступающей в систему отопления и стояки.

Поэтому в дополнение МГСН 2.01-99 рекомендуется ввести дополнительный коэффициент η - эффективности авторегулирования подачи тепла на отопление, после чего формула (3.9) п. 3.5.6 будет иметь вид:

Qhy = [Qhty - (Qinty + Qsy) · ν · η] · βhi                                        (4.5)

Где η = 1,0 - в системе отопления с термостатами и с пофасадным авторегулированием на вводе или поквартирной горизонтальной разводкой;

η = 0,9 - в системе отопления с термостатами и с центральным авторегулированием на вводе (из-за остаточной теплоотдачи отопительных приборов и частичном теплопоступлении от стояков) или в системе отопления без термостатов и с пофасадным авторегулированием на вводе;

η = 0,85 - в системе отопления с термостатами и без авторегулирования на вводе (неиспользованная до 50 % возможная экономия тепла из-за остаточной теплоотдачи отопительных приборов и теплопоступлении от стояков, возрастающее с прикрытием термостатов);

η = 0,95 - в 2-х трубной системе отопления с термостатами и с центральным авторегулированием на вводе (во всех предыдущих примерах принималась однотрубная система отопления);

η = 0,7 - в системе отопления без термостатов и с центральным авторегулированием на вводе с коррекцией по температуре внутреннего воздуха.

η = 0,5 - в системе отопления без термостатов и без авторегулирования на вводе - регулирование центральное в ЦТП или котельной.

П. 6.6. Форма для заполнения энергетического паспорта

5. Электронный энергетический паспорт

Электронный энергетический паспорт (ЭЭП) написан на EXCEL5 в виде электронной рабочей книги и может выполняться под управлением WINDOWS 3.1 или WINDOWS 95. Текущую версию ЭЭП для московских организаций на 3,5″ дискете можно получить в НИИСФ. Имя файла EEP-N.XLS, где N - номер текущей версии.

Для установки ЭЭП на персональном компьютере следует проделать следующие операции:

а. Определить рабочую директорию (или ее завести) для записи файла ЭЭП в системе EXCEL. Например, директория WK.

б. Вставить дискету с ЭЭП в дисковод A или B и переписать файл EEP-N.XLS с дискеты в рабочую директорию, например в директорию WK системы EXCEL.

в. Запустить систему EXCEL и вызвать программу ЭЭП. Например, EEP-N.

Внимание. Программу ЭЭП можно использовать только для расчетов по заданному алгоритму, поскольку она заблокирована по паролю от возможных случайных и преднамеренных изменений.

При работе с ЭЭП:

а. Следует выбрать параметры из раскрывающихся списков, помеченных перевернутым зачерненым треугольником ▼ в квадрате.

б. Заполнить ячейки, помеченные желтым цветом, требующимися в каждом конкретном случае числовыми значениями.

в. Результаты расчета получаются правильными только при условии заполнения всех ячеек, поименованных в пп. а и б.

г. Результаты расчета ЭЭП могут быть выведены на печать с 1 по 9 страницу средствами EXCEL.

5.1. Методика заполнения и расчета параметров электронного энергетического паспорта жилого здания

Требуется составить энергетический паспорт 17-этажного 4-х секционного жилого здания серии П44/17, состоящего из двух торцевых, одной рядовой и одной угловой секций. Нумерация разделов приведена согласно формы энергетического паспорта МГСН 2.01-99.

1. Нормативные параметры теплозащиты здания

Нормативные параметры теплозащиты здания в электронном энергетическом паспорте ЭЭП устанавливаются автоматически нажатием на значок вверху таблицы в зависимости от типа здания.

Ниже приведена методика заполнения ЭЭП:

1.1. Требуемое сопротивление теплопередаче наружных ограждающих конструкций устанавливается согласно табл. (2-ой этап) СНиП II-3-79* (изд. 1998 г.) в зависимости от градусосуток отопительного периода. Для жилого здания в Москве - 5027 °С · сут.

1.2. Требуемый приведенный коэффициент теплопередаче здания МГСН 2.01-99 не регламентируется.

1.3. Требуемая воздухопроницаемость наружных ограждающих конструкций устанавливается по табл. 12* СНиП II-3-79* (изд. 1998 г.)

1.4. Требуемый удельный расход тепловой энергии системами отопления здания за отопительный период qhreq, кВт · ч/м2, устанавливается по табл. 3.3 МГСН 2.01-99. Для 17-ти этажного жилого здания qhreq = 95 кВт · ч/м2.

1.5. Требуемый показатель компактности жилого здания kereq устанавливается по п. 3.5.1 МГСН 2.01-99 в зависимости от этажности здания. По ЭЭП величина kereq выбирается нажатием на значок в графе 1.5. Для 17-ти этажного жилого дома kereq = 0,25.

1.6. Требуемая кратность воздухообмена жилого здания пa, 1/ч, устанавливается из расчета 3 м3 воздуха в 1 час на 1 м2 жилой площади по формуле:

пa = 3Ar / (βv · Vh)                                                           (5.1)

где Аr - площадь жилых помещений, м2, определяется по проекту или по формуле

Аr = 0,6 Аh = 0,6 · 17232 = 10339 м2                                         (5.2)

Аh - отапливаемая полезная площадь здания, м2;

βv - коэффициент снижения при определении объема воздуха в здании, учитывающий наличие внутренних ограждающих конструкций. При отсутствии данных принимают βv = 0,85;

Vh - отапливаемый объем здания, равный объему, ограниченному внутренними поверхностями наружных ограждений здания, м3.

Для 4-х секционного жилого здания П44/17:

na = (3 · 10339) / (0,85 · 48815) = 0,75

2. Расчетные показатели и характеристики здания

2.1. Объемно-планировочные характеристики здания устанавливаются по данным проекта в соответствии с правилами подсчета площадей согласно раздела 3:

2.1.1. Отапливаемый объем здания Vh, м3, вычисляется как произведение площади этажа, Ast, м2, (площади, ограниченной внутренними поверхностями наружных стен) на высоту Hh, м, этого объема, представляющую собой расстояние от пола первого этажа до потолка последнего этажа.

Vh = Ast · Hh = 1067 · 45,75 = 48815 м3                                     (5.3)

2.1.4. Общая площадь квартир (отапливаемая площадь нежилого этажа) Ah, м2, определяется по формуле

Ah = 0,95 · Ast · nst                                                      (5.4)

где пst - количество этажей в здании

Ah = 0,95 · 1067 · 17 = 17232 м2

2.1.7. Общая площадь наружных ограждающих конструкций здания Аesum, м2, устанавливается по внутренним размерам «в свету» (расстояния между внутренними поверхностями наружных ограждающих конструкций, противостоящих друг другу)

Площадь стен, включающих окна, балконные и входные двери в здание, витражи, Aw+F+ed, м2, определяется по формуле

Aw+F+ed = pst · Hh                                                        (5.5)

где pst - длина периметра внутренней поверхности наружных стен этажа, м

Aw+F+ed = 273,33 · 45,75 = 12505 м2

Площадь наружных стен Aw, м2, определяется по формуле

Aw = Aw+F+ed - AF                                                       (5.6)

где АF - площадь окон, определяется как сумма площадей всех оконных проемов.

Для рассматриваемого здания АF = 2251 м2.

Тогда Аw = 12505 - 2251 = 10254 м2.

Площадь окон не должна превышать 18 % площади Aw+F+ed согласно п. 3.3.11 МГСН 2.01-99. Контроль этого требования осуществляется в п. 2.1.9 ЭЭП.

Площадь покрытия Ac, м2, и площадь перекрытия над подвалом Аf, м2, равны площади этажа Ast

Ac = Af = Ast = 1067 м2

Общая площадь наружных ограждений Aesum определяется по формуле

Aesum = Aw+F+ed + Ac + Af = 12505 + 1067 + 1067 = 14640 м2

2.1.8. - 2.1.10. Показатели объемно-планировочного решения здания определяются по формулам

- отношение площади наружных ограждающих конструкций отапливаемой части здания к общей площади квартир k:

k = Aesum / Ah = 14640 / 17232 = 0,85

- коэффициент остекленности фасадов здания p

p = AF / Aw+F+ed = 2251 / 12505 = 0,18

- показатель компактности здания kedes

kedes = Aesum / Vh = 14640 / 48815 = 0,3 > kereg = 0,25

Показатель kedes превышает нормируемое значение kereg (что и отмечено в ЭЭП текстом «Больше нормы!»), поскольку проект был разработан до утверждения МГСН 2.01-99.

2.2. Уровень теплозащиты определяется по расчетным значениям.

2.2.1. Согласно СНиП II-3-79* (изд. 1998 г.) приведенное сопротивление теплопередаче Ror, м2 · °Ст, наружных ограждений должно приниматься не ниже требуемых значений.

Однако согласно МГСН 2.01-99 в случае удовлетворения главному требованию по удельному энергопотреблению qhdes < qhreq Ror для отдельных элементов наружных ограждений могут приниматься ниже требуемых значений. В нашем случае для стен здания П44/17 принято Rwr = 2,7 м2 · °Ст, что ниже требуемых значений согласно СНиП II-3-79* (изд. 1998 г.) Ro,wreq = 3,16 м2 · °С/Вт.

Другие наружные ограждения: окна, покрытия и перекрытия соответствуют требованиям СНиП II-3: 0,55; 4,7 и 4,1 м2 · °С/Вт соответственно.

Численные значения приведенных сопротивлений теплопередач вводятся в ЭЭП вручную. Для чердачных перекрытий и перекрытий над неотапливаемыми подвалами и подпольями в ЭЭП предусмотрено введение понижающих коэффициентов и нажатием значка ▼.

2.2.2. Приведенный трансмиссионный коэффициент теплопередачи Kmtr, Вт/(м2 · °С), определяется согласно формулы (3.4) МГСН 2.01-99

Kmtr = 1,13 (10254 / 2,7 + 2251 / 0,55 + 1067 / 4,7 + 1067 / 4,1) / 14640 = 0,647 Вт/(м2 · °С)

2.2.4. Коэффициент учета влияния встречного теплового потока k в ЭЭП выбирается нажатием значка ▼. При применении окон с тройным остеклением в раздельно-спаренных переплетах k = 0,7.

2.2.5. Приведенный инфильтрационный (условный) коэффициент теплопередачи здания Kminf, Вт/(м2 · °С), определяется по формуле (3.6) МГСН 2.01-99.

Kminf = 0,28 · 1 · 0,75 · 0,85 · 48815 · 1,2 · 0,7 / 14640 = 0,498 Вт/(м2 · °С)

2.2.6. Общий коэффициент теплопередачи здания Km, Вт/(м2 · °С), определяется по формуле (3.7) МГСН 2.01-99

Km = Kmtr + Kminf = 0,647 + 0,5 = 1,145 Вт/(м2 · °С)

2.3. Энергетические нагрузки здания устанавливаются согласно раздела 5 МГСН 2.01-99.

2.3.1. Установленная мощность системы отопления Qh, кВт, определяется по часовому расходу тепловой энергии на отопление по формуле

Qh = (Qht + Qinf - Qint) · βht                                                (5.8)

где Qht - трансмиссионные теплопотери через оболочку здания, кВт, определяются по формуле (5.2) МГСН 2.01-99

Qht = 0,647 · (18 + 26) · 14640 · 10-3 = 416,8 кВт

Qinf - расход теплоты на нагрев инфильтрующегося наружного воздуха, кВт, определяется по формуле (5.3) МГСН 2.01-99

Qinf = 0,498 · (18 + 26) · 14640 · 103 = 320,8 кВт

Qint - бытовые теплопоступления, кВт, определяются по формуле (5.4) МГСН 2.01-99

Qint = 10 · 10339 · 10-3 = 103,4 кВт

Тогда                          Qh = (416,8 + 320,8 - 103,4) · 1,13 = 717 кВт

Установленная мощность системы горячего водоснабжения Qhwmax, кВт, определяется по максимальному часовому расходу тепловой энергии на эти цели по формуле (5.11) МГСН 2.01-99

Qhwmax = Qhw(khl + kh) / (1 + khl)                                       (5.9)

где Qhw - среднечасовой за отопительный период расход тепла на горячее водоснабжение, кВт, определяется по формуле (5.10) МГСН 2.01-99

Qhw = [115 · 768 · 10-3 · (55 - 5)(1 + 0,25) · 1 · 4,2 / 3,6] / 24 = 268,3 кВт

kh - коэффициент часовой неравномерности водопотребления; в ЭЭП устанавливается автоматически нажатием значка в зависимости от числа пользователей, для П44/17 число жителей равно 700.

khl - коэффициент, учитывающий потери теплоты трубопроводами, вводится нажатием в п. 2.3.2 значка в зависимости от наличия сетей горячего водоснабжения и полотенцесушителей согласно таблице 5.1 МГСН 2.01-99

Тогда                      Qhwmax = 268,3 · (0,25 + 3,5) / (1 + 0,25) = 805 кВт

2.3.3. Средний суточный расход горячей воды для жилых зданий Vhw, м3ут, определяется по формуле (5.9) МГСН 2.01-99. При этом в ЭЭП следует выбрать строку нажатием значка в зависимости от этажности здания, в случае здания П44/17 «Выше 12 этажей»

Vhw = 115 · 768 · 103 = 88,3 м3/ч

2.3.4. Удельный максимальный часовой расход тепловой энергии на отопление qh, Вт/м2, определяется по формуле (5.6) МГСН 2.01-99

qh = 717 · 103 / 17232 = 41,6 Вт/м2

Удельный максимальный часовой расход тепловой энергии на вентиляцию qv, Вт/м2, определяется по формуле

qv = Qv · 103 / Ah                                                        (5.10)

где Qv - установленная мощность системы принудительной вентиляции, кВт, установлена согласно п. 2.3.1 ЭП равной 10 кВт

qv = 10 · 103 / 17232 = 0,6 Вт/м2

2.3.5. Удельная тепловая характеристика здания qm, Вт/(м3 · °С), определяется по формуле (5.5) МГСН 2.01-99

qm = 717 · 103 / [48815 · (18 + 26)] = 0,33 Вт/(м3 · °С)

Эта величина в МГСН 2.01-99 не нормирована.

2.4. Показатели эксплуатационной энергоемкости здания за год устанавливаются согласно раздела 5 МГСН 2.01-99.

2.4.1. Расход тепловой энергии на отопление за отопительный период Qh.basy, МВт · ч, определяется по формуле (5.7) МГСН 2.01-99

Qh.basy = 24 · 717 · 213 · (20 + 3,6) / (18 + 26) · 10-3 = 1966 МВт · ч

Годовой расход тепловой энергии на горячее водоснабжение Qhwy, МВт · ч, определяется по формуле (5.13) МГСН 2.01-99

Qhwy = [24 · 268,3 / (1 + 0,25)] · [344 · 0,25 + 213 + 0,8 · (344 - 213)(55 - 15) / (55 - 5) · 10-3 = 1972 МВт · ч

Годовой расход тепловой энергии на принудительную вентиляцию Qvy, МВт · ч, определяется по формуле

Qvy = [Qv · u · Dd / (tinth - text)] · 10-3                                   (5.11)

где Qv - то же, что в формуле (5.10);

u - число часов работы вентиляционной установки в сутки, для рассматриваемого здания принято 10 часов;

Dd - градусосутки отопительного периода Dd = 5027, tinth = 18 °С

text = -26 °С

Qvy = [10 · 10 · 5027 / (18 + 26)] · 10-3 = 11,4 МВт · ч

2.4.2. Годовой удельный базовый расход тепловой энергии на отопление за отопительный период qh.basy, кВт · ч/м2, определяется по формуле (5.8) МГСН 2.01-99

qh.basy = (1966 / 17232) · 103 = 114 кВт · ч2

Годовой удельный расход тепловой энергии на горячее водоснабжение qhwy, кВт · ч/м2, определяется по формуле (5.14) МГСН 2.01-99

qhwy = (1972 / 17232) · 103 = 114,5 кВт · ч/м2

Годовой удельный расход тепловой энергии на принудительную вентиляцию qvy, кВт · ч/м2, определяется по формуле

qvy = (Qvy / Ah) · 103                                                  (5.12)

где Qvy - то же, что в формуле (5.11)

Тогда                            qvy = (11,4 / 17232) · 103 = 0,7 кВт · ч/м2

2.4.3. Удельная тепловая энергоемкость здания qy, кВт · ч/м2, определяется по формуле (5.17) МГСН 2.01-99

qy = (Qy / Ah) · 103                                                    (5.13)

где Qy - базовое количество теплоты, потребляемое зданием за год, МВт · ч, определяется по формуле

Qy = Qh.basy + Qhwy + Qvy                                               (5.14)

Qy = 1966 + 1972 + 11,4 = 3949,4 МВт · ч

Тогда                                qy = (3949,4 / 17232) · 103 = 229 кВт · ч/м2

или                                           qy = 229 / 7,721 = 29,7 кг у.т./м2

2.5. Теплоэнергетические параметры теплозащиты здания

2.5.1. Общие теплопотери через оболочку здания за отопительный период Qhty, кВт · ч, определяются по формуле (3.8) МГСН 2.01-99

Qhty = 0,024 · 1,145 · 5027 · 14640 = 2022311 кВт · ч

2.5.2. Бытовые теплопоступления в здание Qinty, кВт · ч/год, определяются по формуле (3.10) МГСН 2.01-99 за отопительный период

Qinty = 0,024 · 10 · 213 · 10339 = 528530 кВт · ч/год

Теплопоступления от солнечной радиации Qsy, кВт · ч/год, принимаются в зависимости от распределения окон по фасадам здания и его ориентации. Принято меридиональное расположение здания с ориентацией С. В ЭЭП расположение здания вводится автоматически нажатием значка ▼ и вводом строки «С/Ю». Площади окон, ориентированные на север 625 м2 (I1 = 12 кВт · ч/м2), на восток - 500 м2 (I2 = 232 кВт · ч/м2), на юг - 626 м2 (I3 = 551 кВт · ч/м2), на запад - 500 м2 (I4 = 232 кВт · ч/м2) вводятся в ЭЭП вручную, интенсивности солнечной радиации вводятся автоматически. Коэффициенты затенения светового проема и относительного проникания солнечной радиации вводятся согласно табл. 3.4 МГСН 2.01-99 вручную.

Теплопоступления от солнечной радиации Qsy определяется по формуле (3.11) МГСН 2.01-99 за отопительный период

Qsy = 0,5 · 0,83 (12 · 625 + 232 · 500 + 551 · 626 + 232 · 500) = 242537 кВт · ч/год

2.5.3. Коэффициент, учитывающий дополнительное теплопотребление системы отопления, вводится автоматически в ЭЭП нажатием значка ▼ в зависимости от типа здания - в данном случае тип здания «Многосекционный».

Потребность в тепловой энергии на отопление здания Qhy, кВт · ч/м3, определяется по формуле (3.9) МГСН 2.01-99

Qhy = [2025931 - (528530 - 242537)0,8] 1,13 = 1588168 кВт · ч

Расчетный удельный расход тепловой энергии на отопление здания за отопительный период qhdes, кВт · ч/м2, определяется по формуле (3.12) МГСН 2.01-99

qhdes = 1592257 / 17232 = 92,2 кВт · ч/м2 < qhreq = 95 кВт · ч/м2

Пример заполнения ЭЭП для жилого здания приведен ниже.

Еер-10

Электронный Энергетический паспорт здания                                   НИИСФ

10 эт. и более жилые здания                                           Матросов Ю(095) 4823710

Общая информация о проекте

Дата запол. исло, м-ц, год): 01.12.99

Адрес знания

Москва

Тип здания

Жилое здание

17 этажное, 4 секционное, крупнопанельное

трехслойные панели с утеплителем

Разработчик проекта

МНИИТЭП

Адрес и телефон разработчика

Москва, Столешников пер.

Год разработки проекта

1997

Шифр проекта

П44/17

 

Параметры

Обозначения

Ед. измер.

Величина

Замечания

1

2

3

4

1. Нормативные параметры теплозащиты здания

 

1.1 Требуемое сопротивление теплопередаче:

Roreq

м2 · °Ст

 

- наружных стен

Ro,wreq

м2 · °Ст

3,16

- окон и балконных дверей

Ro,Freq

м2 · °Ст

0,54

- покрытий

Ro,creq

м2 · °Ст

4,71

- чердачных перекрытий с холодным чердаком

Ro,rreq

м2 · °Ст

4,16

- перекрытий над проездами (под эркерами)

Ro,freq

м2 · °Ст

4,71

- перекрытий над неотапливаемыми подвалами и подпольями

Ro,freq

м2 · °Ст

4,16

- входных дверей и ворот

Ro,edreq

м2 · °Ст

1,2

1.2 Требуемый приведенный коэффициент теплопередачи здания (расчетный)

Kmreq

Вт/(м2 · °С)

--

не нормирован

1.3 Требуемая воздухопроницаемость ограждающих конструкций

Gmreq

кг/(м2 · ч)

 

не нормирован

- наружных стен (в т.ч. стыки)

Gm,wreq

кг/(м2 · ч)

0,5

- окон и балкон, дверей: в пластм. и алюм. переп

Gm,Freq

кг/(м2 · ч)

5

в деревян. переплет.

Gm,Freq

кг/(м2 · ч)

6

- покрытий и цокольных перекрытий 1-го этажа

Gm,creq

кг/(м2 · ч)

0,5

- входных дверей в квартиры

Gm,dreq

кг/(м2 · ч)

1,5

1.4 Требуемый удельный расход тепловой энергии системами отопления здания за отопительный период

qhreq

кВт · ч2

95

1.5 Требуемый показатель компактности жил. зданий

kereq

16 и выше                  

0,25

1.6 Требуемая кратность воздухообмена: жил. здания

na

1/ч

0,75

общественных зданий

1,00

2. Расчетные показатели и характеристики здания

2.1. Объемно-планировочные и заселения

2.1.1. Строительный объем,

Vo

м3

 

Ввести число

в том числе отапливаемой части

Vh

м3

48815

2.1.2. Количество квартир

-

шт

256

2.1.3. Расчетное количество жителей в жилых зданиях и расчетное количество людей, исходя из расчетных показателей зданий

-

чел

768

2.1.4. Общая площадь квартир (без летних помещений) и полезная площадь нежилого этажа; для общественных зданий - полезная площадь

Ah

м2

17232

2.1.5. Площадь жилых помещений; для общественных зданий - расчетная площадь

Ar

м2

10339

2.1.6. Высота этажа:

h

м

 

- от пола до пола

 

 

2,8

- от пола до потолка

 

 

2,6

2.1.7. Общая площадь наружных ограждающих конструкций отапливаемой части здания, в том числе:

Aesum

м2

14640

- стен, включая окна, балконные и входные двери в здание, витражи

Aw+F+ed

м2

12505

- стен

Aw

м2

10254

- окон и балконных дверей

AF

м2

2251

- наружных (входных) дверей и ворот, витражей

Aed

м2

0

- покрытий

Ac

м2

1067

- чердачных перекрытий

Ac

м2

0

- перекрытий теплых чердаков

Ac

м2

0

- перекрытий над неотапливаемыми подвалами и подпольями

Af

м2

1067

- перекрытий над проездами и под эркерами

Af

м2

0

- полов по грунту - всего:

Af

 

0

2.1.8. Отношение площади наружных ограждающих конструкций отапливаемой части здания к площади квартир Aesum / Ah

k

-

0,85

2.1.9. Отношение площади окон и балконных дверей к площади стен, включая окна и балконные двери АF / Aw+F+ed

p

-

0,18

2.1.10. Компактность здания Aesum / Vh

kedes

 

0,30

Больше нормы!

Удовлетворяет ли kedes требованиям МГСН?

 

 

НЕТ

2.2. Уровень теплозащиты

2.2.1. Приведенное сопротивление теплопередаче:

 

 

 

- стен

Rwr

м2 · °С/Вт

2,70

- окон и балконных дверей

RFr

м2 · °С/Вт

0,55

- наружных дверей и ворот, витражей

Redr

м2 · °С/Вт

-

- покрытий

Rcr

м2 · °С/Вт

4,70

- чердачных перекрытий                 n                                                            0,9

Rcr

м2 · °С/Вт

-

- перекрытий теплых чердаков

Rcr

м2 · °С/Вт

-

- перекрытий над неотапливаемыми подвалами и подпольями                                       n                   1

Rfr

м2 · °С/Вт

4,10

- перекрытий над проездами и под эркерами

Rfr

м2 · °С/Вт

-

- полов по грунту

Rfr

м2 · °С/Вт

0

2.2.2. Приведенный трансмиссионный коэффициент теплопередачи здания

Kmtr

Вт/(м2 · °С)

0,647

2.2.3. Сопротивление воздухопроницанию наружных ограждающих конструкций:

 

 

 

- стен (в т.ч. стыки)

Ra,w

м2 · чг

 

Ввести число

- окон и балконных дверей

Ra,F

м2 · чг

 

Ввести число

- перекрытий над техподпольем, подвалом

Ra,f

м2 · чг

 

Ввести число

- входных дверей в квартиры

Ra,ed

м2 · чг

 

Ввести число

- стыков элементов стен

Ra,j

м2 · чг

 

Ввести число

2.2.4. Приведенная воздухопроницаемость ограждающих конструкций здания (при разности давлений 10 Па)

Gmr

кг/(м2 · ч)

 

Нет в МГСН

Коэффициент учета влияния встречного теплового потока                                                                                 0,7

k

-

0,7

2.2.5. Приведенный инфильтрационный (условный) коэффициент теплопередачи здания

Kminf

Вт/(м2 · °С)

0,498

2.2.6. Общий коэффициент теплопередачи здания

Km

Вт/(м2 · °С)

1,145

2.3 Энергетические нагрузки здания

2.3.1 Установленная мощность систем инженерного оборудования:

 

 

 

- отопления

Qh

кВт

716,6

- горячего водоснабжения; число жителей                                                                                 700

Qhwmax

кВт

805

- принудительной вентиляции

Qv

кВт

10

число часов работы вент. установки в сутки

u

час

10

- воздушно тепловые завесы

Q

кВт

0

- электроснабжения, в том числе:

Ne

кВт

0

- на общедомовое освещение

Nt

кВт

0

- в квартирах, в помещениях обществ, зданий

Na

кВт

0

- на силовое оборудование

Np

кВт

0

- на отопление и вентиляцию

Nh

кВт

0

- на водоснабжение и канализацию

Nw

кВт

0

- других систем (каждой отдельно)

N

кВт

0

2.3.2. Среднечасовой за отопительный период расход тепла на горячее водоснабжение

Qhw

кВт

268,3

Коэффициент khl - изолир. стояки с п.сушит.     

 

 

0,25

2.3.3. Средние суточные расходы:

 

 

 

- природного газа

Vnq

м3ут

 

Ввести число

- холодной воды

Vcw

м3/сут

 

Ввести число

- горячей воды: для жилых зданий

Выше 12 этажей                                                                                     

Vhw

м3/сут

88,3

 

для прочих зданий согласно СНиП 2.04.01-85*

 

л/сут

 

Ввести число

- электроэнергии

Nav

кВт · ч

 

Ввести число

2.3.4. Удельный максимальный часовой расход тепловой энергии на 1 м2 общей площади квартир:

 

 

 

 

- на отопление

qh

Вт/м2

41,6

 

- вентиляцию

qv

Вт/м2

0,6

 

2.3.5. Удельная тепловая характеристика здания

qm

Вт/(м3 · °С)

0,33

не нормирована

2.4. Показатели эксплуатационной энергоемкости здания за год

2.4.1. Годовые расходы конечных видов энергоносителей на здание:

 

 

 

- тепловой энергии на отопление за отопительный период

Qh.basy

МВт · ч

1965

- тепловой энергии на горячее водоснабжение

Qhwy

МВт · ч

1972

- тепловой энергии на принудительную вентиляцию

Qvy

МВт · ч

11

- тепловой энергии других систем (раздельно)

Qy

МВт · ч

0

- электрической энергии, в том числе:

Ey

МВт · ч

0

- на общедомовое освещение

Ely

МВт · ч

 

Ввести число

- в квартирах, в помещениях общественных зданий

Eay

МВт · ч

 

Ввести число

- на силовое оборудование

Epy

МВт · ч

 

Ввести число

- на отопление и вентиляцию

Ehy

МВт · ч

 

Ввести число

- на водоснабжение и канализацию

Ew

МВт · ч

 

Ввести число

- природного газа

Qngy

тыс. м3

0

 

2.4.2. Годовые удельные базовые расходы конечных видов энергоносителей:

 

 

 

 

- тепловой энергии на отопление за отопительный период

qh.basy

кВт · ч2

114,0

 

- тепловой энергии на горячее водоснабжение

qhwy

кВт · ч2

114,5

 

- тепловой энергии на принудительную вентиляцию

qvy

кВт · ч2

0,7

 

- тепловой энергии других систем (раздельно)

qy

кВт · ч2

0,0

 

- электрической энергии

qey

кВт · ч2

0,0

 

- природного газа

qngy

м3/м2

0,0

 

2.4.3. Удельная тепловая энергоемкость

qy

кВт · ч/м2

229

 

здания (1000 кг у.т. = 7721 кВт · ч)

 

кг у.т./м2

29,7

 

2.5. Теплоэнергетические параметры теплозащиты здания

 

2.5.1. Общие теплопотери через оболочку здания за отопительный период

Qhty

кВт · ч

2022311

 

2.5.2. Теплопоступления в здание за отопительный период:

 

 

 

 

- удельные бытовые тепловыделения

qint

Вт2

10

 

- бытовые теплопоступления в здание

Qinty

кВт · ч/год

528530

 

- теплопоступления от солнечной радиации:

Qsy

кВт · ч/год

242537

 

Светопрозрачные конструкции

Площадь A, м2

Ориентация фасадов (I)

A * I, кВт · ч

 

Ориентация здания                                                                                С/Ю                                                                           

 

Окна на фасадах:

2251

 

 

 

- первом

625

С (12)

7500

 

- втором

500

В (232)

116000

 

- третьем

626

Ю (551)

344926

 

- четвертом

500

З (232)

116000

 

Зенитные фонари

0

288

 

 

- коэффициент, учитывающий затенение окна непрозрачными элементами

tayF

-

0,5

 

- коэффициент, учитывающий затенение зенитных фонарей непрозрачными элементами

tayscy

-

-

 

- коэффициент относительного проникания солнечной радиации через окно

kF

-

0,83

 

- коэффициент относительного проникания солнечной радиации через зенитные фонари

kscy

-

-

 

2.5.3. Потребность в тепловой энергии на отопление здания за отопительный период:

 

 

 

 

- коэффициент, учитывающий дополнительное теплопотребление системы отопления

beta hi

Многосекционного     

-

1,13

 

- потребность в тепловой энергии

Qhy

кВт · ч

1588168

 

Расчетный удельный расход тепловой энергии на отопление здания за отопительный период

qhdes

кВт · ч/м2

92,2

 

2.5.4. Проверка на соответствие проекта теплозащиты требованиям МГСН:

 

 

 

 

Нормируемый удельный расход тепловой энергии системой отопления здания

qhreq

кВт · ч/м2

95

 

Соответствует ли проект теплозащиты требованиям МГСН?

 

 

ДА

 

2.6 Расчетные условия

 

Расчетная температура внутреннего воздуха для расчета теплозащиты

tint

°С

20

 

Расчетная температура внутреннего воздуха для расчета систем отопления и вентиляции

tinth

°С

18

 

Расчетная температура наружного воздуха

text

°С

-26

 

Расчетная температура теплого чердака

tcint

°С

14

 

Расчетная температура «теплого» подвала

tcint

°С

2

 

Продолжительность отопительного периода

zht

сут

213

 

Средняя температура наружного воздуха за отопительный период

tht

°С

-3,6

 

Градусосутки отопительного периода

Dd

°С · сут

5027

 

 

Паспорт заполнен

 

Организация

НИИСФ

Адрес и телефон

Москва, Локомотивный проезд, 21 (095) 4823710

Ответственный исполнитель

Матросов Ю. А.

5.2. Методика заполнения и расчета параметров электронного энергетического паспорта общественного здания

Требуется заполнить энергетический паспорт поликлиники для взрослого населения на 1100 посещений. Поликлиника занимает 9-ти этажное здание с используемым подвалом и техническим этажом в чердачном помещении. Высота подвала 3,6 м, надземных этажей - 3,3 м, а всего здание от пола подвала до верха кровли имеет высоту - 37 м.

В подвале расположены гардеробы, буфет и служебные комнаты для персонала, кладовые мединвентаря, тепловой пункт и венткамеры.

На первом этаже: вестибюль с гардеробом уличной одежды для посетителей, помещения службы регистратуры, отделение водолечения и травматологический пункт.

На втором этаже: женское отделение и инфекционное отделение с изолированным входом.

На третьем этаже размещается терапевтическое отделение;

Четвертый этаж отведен под отделение функциональной диагностики и под клинико-диагностическую лабораторию;

С пятого по восьмой этажи - отделения и кабинеты специальных врачей;

Девятый этаж - ЦСО, административные помещения и конференц-зал;

На техническом этаже размещаются венткамеры, машинное отделение лифтов и технические помещения.

Строительный объем здания, включая подземную часть 42660 м3, он же является и отапливаемым объемом. Полезная площадь помещений - 12483 м2, расчетная площадь - 8106 м2.

Здание поликлиники каркасно-панельное с навесными стеновыми панелями, трехслойными с утеплителем, ленточными.

1. Нормативные параметры теплозащиты здания

Нормативные параметры теплозащиты здания в электронном энергетическом паспорте ЭЭП устанавливаются автоматически нажатием значка вверху таблицы в зависимости от типа здания. В нашем случае выбирается графа «поликлиники».

Ниже приведена методика заполнения ЭЭП. Нумерация разделов приведена согласно формы энергетического паспорта МГСН 2.01-99:

1.1. Требуемое сопротивление теплопередаче наружных ограждающих конструкций устанавливается по табл. (2-ой этап) СНиП II-3-79* (изд. 1998 г.) в зависимости от градусосуток отопительного периода. Для поликлиники в Москве - 5451 °С · сут.

1.3. Требуемое воздухопроницаемость наружных ограждающих конструкций устанавливается по табл. 12* СНиП II-3-79* (изд. 1998 г.)

1.4. Требуемый удельный расход тепловой энергии системами отопления здания за отопительный период qhreq, кВт · ч/м2, устанавливается по табл. 3.3 МГСН 2.01-99. Для поликлиники qhreq = 155 кВт · ч/м2.

1.6. Требуемая кратность воздухообмена nа, 1/ч, поликлиники определяется из условий нормирования воздухообмена в основных помещениях поликлиники (с расчетной площадью 8106 м2 или 0,65 отапливаемого объема) - в них должен обеспечиваться 1,5-кратный обмен воздуха. Кроме того во всех помещениях здания происходит инфильтрация наружного воздуха через неплотности наружных ограждений под действием ветрового и гравитационного напоров в объеме 0,5-кратного воздухообмена. Учитывая, что поликлиника работает 12 часов в сутки, среднесуточная кратность воздухообмена в поликлинике составит

na = [0,65 (1,5 + 0,5) + 0,45 · 0,5 + 0,5] / 2 1 ч-1

2. Расчетные показатели и характеристики здания

2.1. Объемно-планировочные характеристики здания устанавливаются по проекту, в соответствии с правилами подсчета площадей согласно раздела 3.

2.1.7. Общая площадь наружных ограждений Aesum, м2, определяется по формуле

Aesum = Aw+F+ed + Ac + Af = 6030 + 1550 + 2496 = 10076 м2                      (5.15)

2.1.8. - 2.1.10. Показатели объемно планировочного решения здания определяется по формулам:

- отношение площади наружных ограждающих конструкций отапливаемой части здания к полезной площади k:

k = Aesum / Ah = 10076 / 12483 = 0,81                                     (5.16)

- коэффициент остекленности фасадов здания р:

p = AF / Aw+F+ed = 1071 / 6030 = 0,18                                      (5.17)

- показатель компактности здания kedes:

kedes = Aesum / Vh = 10076 / 42660 = 0,24                                   (5.18)

2.2. Уровень теплозащиты

2.2.1. Расчет теплотехнических характеристик наружных ограждающих конструкций.

Наружные стены - трехслойные керамзитобетонные ρ = 1400 кг/м3 с наружным слоем толщиной 80 мм и внутренним 110 мм с соединением на шпонках. Внутри утеплитель пенополистирол плотностью 40 кг/м3 и расчетной теплопроводностью 0,05 Вт/(м · °С), толщиной 150 мм.

Сопротивление теплопередаче по определяющему сечению составляет:

Rw = (1 / 8,7 + 0,11 / 0,65 + 0,15 / 0,05 + 0,08 / 0,65 + 1 / 23) = 3,455 м2 · °С/Вт

По расчетам данных панелей в НИИ Мосстрое приведенное сопротивление теплопередаче Rwr равно 2,4 м2 · °С/Вт следовательно, коэффициент однородности r принят r = 2,4 / 3,455 = 0,7, что ближе к трехслойным панелям с гибкими связями.

Окна и витражи - из алюминиевых сплавов «Виндал-прогресс» с тройным остеклением в раздельно-спаренных переплетах. Приведенное сопротивление теплопередаче по СНиП II-3-79* (изд. 1998 г.) RFr = 0,46 м2 · °С/Вт (Прил. 6, п. 7).

Кровельное покрытие технического этажа включает в себя железобетонную плиту толщиной 220 мм по пароизоляции укладывается утеплитель - «стирофом» толщиной 100 мм с теплопроводностью 0,035 Вт/(м2 · °С), затем керамзитовый гравий толщиной от 0 до 160 мм (для создания уклона), цементная стяжка толщиной 40 мм и мастичные покрытия.

Приведенное сопротивление теплопередаче покрытия будет:

Rcr = (1 / 8,7 + 0,22 / 2,04 + 0,1 / 0,035 + 0,08 / 0,2 + 0,04 / 0,93 + 0,005 / 0,17 + 1 / 23) = 3,236 м2 · °Ст

Приведенное сопротивление теплопередаче заглубленных в землю стен цокольного этажа и пола по грунту определяется исходя из разделения их на зоны со значениями сопротивления теплопередаче, принимаемыми согласно прил. 9 СНиП 2.04.05-91*

1 зона: А1 = 624 м2,                                                     R1 = 2,1 м2 · °Ст;

1 зона: А2 = 534 м2,                                                     R2 = 4,3 м2 · °Ст;

1 зона: А3 = 398 м2,                                                     R3 = 8,6 м2 · °Ст;

1 зона: А4 = 940 м2,                                                     R4 = 14,2 м2 · °Ст;

Rfr = 2496 / (624 / 2,1 + 534 / 4,3 + 398 / 8,6 + 940 / 14,2) = 4,68 м2 · °Ст

2.2.2. Приведенный трансмиссионный коэффициент теплопередачи совокупности наружных ограждений Kmtr, Вт/(м2 · °С), определяется согласно формулы (3.4) МГСН 2.01-99. Для пола по грунту коэффициент n принят равным 1.

Kmtr = 1,1(4959 / 2,4 + 1071 / 0,46 + 1550 / 3,24 + 2496 / 4,68) / 10076 = 0,591 Вт/(м2 · °С)

2.2.4. Коэффициент учета влияния встречного теплового потока k в ЭЭП выбирается нажатием значка . При применении алюминиевых окон с тройным остеклением в раздельно-спаренных переплетах k = 0,8.

2.2.5. Приведенный инфильтрационный (условный) коэффициент теплопередачи здания Kminf, Вт/(м2 · °С), определяется по формуле (3.6) МГСН 2.01-99

Kminf = 0,28 · 1 · 1 · 0,85 · 42660 · 1,2 · 0,8 / 10076 = 0,967 Вт/(м2 · °С)

2.2.6. Общий коэффициент теплопередачи здания Km, Вт/(м2 · °С), определяется по формуле (3.7) МГСН 2.01-99.

Km = Kmtr + Kminf = 0,591 + 0,967 = 1,558 Вт/(м2 · °С)

2.3. Энергетические нагрузки здания устанавливаются согласно раздела 5 МГСН 2.01-99.

2.3.1. Установленная мощность системы отопления Qh, кВт, определяется по часовому расходу тепловой энергии на отопление по формуле

Qh = (Qht + Qinf - Qint) · βhi                                               (5.19)

где Qht - трансмиссионные теплопотери через оболочку здания, кВт, определяются по формуле (5.2) МГСН 2.01-99

Qht = 0,591 (18 + 26) · 10076 · 10-3 = 262 кВт

Qinf - расход теплоты на нагрев инфильтрующегося наружного воздуха, кВт, определяется по формуле (5.3) МГСН 2.01-99

Qinf = 0,967(18 + 26) · 10076 · 10-3 = 428,7 кВт

Qint - бытовые теплопоступления, кВт, определяются по формуле (5.4) МГСН 2.01-99

Qint = 10 · 8106 · 10-3 = 81,1 кВт

Тогда

Qh = (262 + 428,7 - 81,1) · 1,13 = 688,8 кВт

Установленная мощность системы горячего водоснабжения Qhwтаx, кВт, определяется по максимальному часовому расходу тепловой энергии на эти цели формуле (5.11) МГСН 2.01-99.

Qhwmax = Qhw(khi + kh) / (1 + khi)                                            (5.20)

где Qhw - среднечасовой за отопительный период расход тепла на горячее водоснабжение, кВт, определяется по формуле (5.10) МГСН 2.01-99

Qhw = [6,24 · 1100 · 10-3(55 - 5)(1 + 0,25) · 1 · 4,2 / 3,6] / 24 = 20,9 кВт

kh - коэффициент часовой неравномерности водопотребления; в ЭЭП устанавливается автоматически путем нажатия значка в зависимости от числа пользователей, для поликлиники - 1000.

khi - коэффициент, учитывающий потери теплоты трубопроводами, вводится нажатием в п. 2.3.2 значка в зависимости от наличия сетей горячего водоснабжения и полотенцесушителей согласно таблице 5.1 МГСН 2.01-99.

Тогда

Qhwmax = 20,9(0,25 + 3,27) / (1 + 0,25) = 59 кВт

2.3.3. Средний суточный расход горячей воды Vhw, м3ут, определяется по формуле (5.9) МГСН 2.01-99. При этом в ЭЭП следует выбрать строку «Прочие здания» нажатием значка и ввести величину g = 6,24 л/сут для прочих зданий согласно СНиП 2.04.01-85*.

Vhw = 6,24 · 1100 · 10-3 = 6,9 м3ут

2.3.4. Удельный максимальный часовой расход тепловой энергии на отопление qh, Вт/м2, определяется по формуле (5.6) МГСН 2.01-99

qh = 688,8 · 103 / 12483 = 55,2 Вт/м2

Удельный максимальный часовой расход тепловой энергии на вентиляцию qv, Вт/м2, определяется по формуле

qv = Qv · 103 / Ah                                                        (5.21)

где Qv - установленная мощность системы принудительной вентиляции, кВт, установлена согласно п. 2.3.1 ЭЭП равной 10 кВт

qv = 10 · 103 / 12483 = 0,8 Вт/м2

2.3.5. Удельная тепловая характеристика здания qm, Вт/(м3 · °С), определяется по формуле (5.5) МГСН 2.01-99

qm = 688,8 · 103 / [42660 (18 + 26)] = 0,37 Вт/(м3 · °С)

2.4. Показатели эксплуатационной энергоемкости здания за год устанавливаются согласно раздела 5 МГСН 2.01-99

2.4.1. Расход тепловой энергии на отопление за отопительный период Qh.basy, МВт · ч, определяется по формуле (5.7) МГСН 2.01-99

Qh.basy = [24 · 688,8 · 230 (21 + 2,7) / (18 + 26)] · 10-3 = 2048 МВт · ч

Годовой расход тепловой энергии на горячее водоснабжение Qhwy, МВт · ч, определяется по формулам (5.13) МГСН 2.01-99

Qhwy = [24 · 20,9 / (1 + 0,25)] · [344 · 0,25 + 230 + 1,0 (344 - 230)(55 - 15) / (55 - 5)] · 10-3 = 163,4 МВт · ч

Годовой расход тепловой энергии на принудительную вентиляцию Qvy, МВт · ч, определяется по формуле

Qvy = [Qv · u · Dd / (tinth - text)] · 10-3                                   (5.22)

где Qv - то же, что в формуле (5.21);

u - число часов работы вентиляционной установки в сутки, для поликлиники принято - 12 часов;

Dd - градусосутки отопительного периода Dd = 5451; tinth = 18 °С; text = -26 °С

Qvy = [10 · 12 · 5451 / (18 + 26)] · 10-3 = 14,9 МВт

2.4.2. Годовой удельный базовый расход тепловой энергии на отопление за отопительный период (qh.basy, кВт · ч/м2, определяется по формуле (5.8) МГСН 2.01-99

qh.basy = (2048 / 12483) · 103 = 164 кВт · ч/м2

Годовой удельный расход тепловой энергии на горячее водоснабжение qhwy, кВт · ч/м2, определяется по формуле (5.14) МГСН 2.01-99

qhwy = (163 / 12483) · 103 = 13 кВт · ч/м2

Годовой удельный расход тепловой энергий на принудительную вентиляцию qvy, кВт · ч/м2, определяется по формуле

qvy = (Qvy / Ah) · 103                                                (5.23)

где Qvy - то же, что в формуле (5.22)

Тогда

qvy = (14,9 / 12483) · 103 = 1,2 кВт · ч/м2

2.4.3. Удельная тепловая энергоемкость здания qy, кВт · ч/м2, определяется по формуле (5.17) МГСН 2.01-99

qy = (Qy / Ah) · 103                                                   (5.24)

где Qy - базовое количество теплоты, потребляемое зданием за год, МВт · ч, определяется по формуле

Qy = Qh.basy + Qhwy + Qvy                                              (5.25)

Qy = 2048 + 163 + 14,9 = 2225,9 МВт · ч

Тогда                               qy = (2225,9 / 12483) · 103 = 178,3 кВт · ч/м2

или

qy = 178,3 / 7,721 = 23,1 кг у.т./м2

2.5. Теплоэнергетические параметры теплозащиты здания

2.5.1. Общие теплопотери через оболочку здания за отопительный период Qhty, кВт · ч, определяется по формуле (3.8) МГСН 2.01-99

Qhty = 0,024 · 1,558 · 5451 · 10076 = 2053729 кВт · ч

2.5.2. Бытовые теплопоступления в здание Qinty, кВт · ч/год, определяются по формуле (3.10) МГСН 2.01-99 за отопительный период

Qinty = 0,024 · 10 · 230 · 8106 = 447451 кВт · ч/год

Теплопоступления от солнечной радиации Qsy, кВт · ч/год, принимаются в зависимости от распределения окон по фасадам здания и его ориентации. Принято расположение здания СЗ/ЮВ. В ЭЭП расположение здания вводится автоматически нажатием значка и вводом строки «СЗ/ЮВ». Площади окон, ориентированных на СЗ - 536 м2 (I = 71 кВт · ч/м2), на ЮВ - 535 м2 (429 кВт · ч/м2) вводятся в ЭЭП вручную. Интенсивности солнечной радиации вводятся автоматически. Коэффициенты затенения светового проема и относительного проникания солнечной радиации вводятся согласно табл. 3.4 МГСН 2.01-99 вручную.

Теплопоступления от солнечной радиации Qsy определяются по формуле (3.11) МГСН 2.01-99 за отопительный период

Qsy = 0,7 · 0,83(71 · 536 + 429 · 535) = 155459 кВт · ч/год

2.5.3. Коэффициент, учитывающий дополнительное теплопотребление системы отопления, вводится автоматически в ЭЭП нажатием значка в зависимости от типа здания - принят «Многосекционный» тип здания.

Потребность в тепловой энергии на отопление здания Qhy, кВт · ч/м2, определяется по формуле (3.9) МГСН 2.01-99

Qhy = [2053729 - (447451 + 155459) · 0,8] · 1,13 = 1775683 кВт · ч

Расчетный удельный расход тепловой энергии на отопление здания за отопительный период qhdes, кВт · ч/м2, определяется по формуле (3.12) МГСН 2.01-99

qhdes = 1775683 / 12483 = 142,2 кВт · ч/м2 < qhreq = 155 кВт · ч2

Пример заполнения ЭЭП для поликлиники приведен ниже.

Еер-11

Электронный Энергетический паспорт здания                                   НИИСФ

поликлиники                                                                    Матросов Ю(095) 4823710

Общая информация о проекте

Дата запол. исло, м-ц, год): 01.12.99

Адрес знания

Москва

Тип здания

Здание поликлиники

9 этажное, трехслойные

панели с утеплителем

Разработчик проекта

 

Адрес и телефон разработчика

 

Год разработки проекта

 

Шифр проекта

 

 

Параметры

Обозначения

Ед. измер.

Величина

Замечания

1

2

3

4

1. Нормативные параметры теплозащиты здания

 

1.1 Требуемое сопротивление теплопередаче:

Roreq

м2 · °Ст

 

- наружных стен

Ro,wreq

м2 · °Ст

3,31

- окон и балконных дверей

Ro,Freq

м2 · °Ст

0,56

- покрытий

Ro,creq

м2 · °Ст

4,93

- чердачных перекрытий с холодным чердаком

Ro,rreq

м2 · °Ст

4,35

- перекрытий над проездами (под эркерами)

Ro,freq

м2 · °Ст

4,93

- перекрытий над неотапливаемыми подвалами и подпольями

Ro,freq

м2 · °Ст

4,35

- входных дверей и ворот

Ro,edreq

м2 · °Ст

1,2

1.2 Требуемый приведенный коэффициент теплопередачи здания (расчетный)

Kmreq

Вт/(м2 · °С)

--

не нормирован

1.3 Требуемая воздухопроницаемость ограждающих конструкций

Gmreq

кг/(м2 · ч)

 

не нормирован

- наружных стен (в т.ч. стыки)

Gm,wreq

кг/(м2 · ч)

0,5

- окон и балкон, дверей: в пластм. и алюм. переп

Gm,Freq

кг/(м2 · ч)

5

в деревян. переплет.

Gm,Freq

кг/(м2 · ч)

6

- покрытий и цокольных перекрытий 1-го этажа

Gm,creq

кг/(м2 · ч)

0,5

- входных дверей в квартиры

Gm,dreq

кг/(м2 · ч)

1,5

1.4 Требуемый удельный расход тепловой энергии системами отопления здания за отопительный период

qhreq

кВт · ч2

155

1.5 Требуемый показатель компактности жил. зданий

kereq

Общест.                  

не нормир.

1.6 Требуемая кратность воздухообмена: жил. зданий

na

1/ч

-

общественных зданий

1,00

2. Расчетные показатели и характеристики здания

2.1. Объемно-планировочные и заселения

2.1.1. Строительный объем,

Vo

м3

42660

в том числе отапливаемой части

Vh

м3

42660

2.1.2. Количество квартир

-

шт

-

Ввести число

2.1.3. Расчетное количество жителей в жилых зданиях и расчетное количество людей, исходя из расчетных показателей зданий

-

чел

110

2.1.4. Общая площадь квартир (без летних помещений) и полезная площадь нежилого этажа; для общественных зданий - полезная площадь

Ah

м2

12483

2.1.5. Площадь жилых помещений; для общественных зданий - расчетная площадь

Ar

м2

8106

2.1.6. Высота этажа:

h

м

 

- от пола до пола

 

 

3,3

- от пола до потолка

 

 

3,0

2.1.7. Общая площадь наружных ограждающих конструкций отапливаемой части здания, в том числе:

Aesum

м2

10076

- стен, включая окна, балконные и входные двери в здание, витражи

Aw+F+ed

м2

6030

- стен

Aw

м2

4959

- окон и балконных дверей

AF

м2

1071

- наружных (входных) дверей и ворот, витражей

Aed

м2

0

- покрытий

Ac

м2

1550

- чердачных перекрытий

Ac

м2

0

- перекрытий теплых чердаков

Ac

м2

0

- перекрытий над неотапливаемыми подвалами и подпольями

Af

м2

0

- перекрытий над проездами и под эркерами

Af

м2

0

- полов по грунту - всего:

Af

 

2496

2.1.8. Отношение площади наружных ограждающих конструкций отапливаемой части здания к площади квартир Aesum / Ah

k

-

0,81

2.1.9. Отношение площади окон и балконных дверей к площади стен, включая окна и балконные двери АF / Aw+F+ed

p

-

0,18

2.1.10. Компактность здания Aesum / Vh

kedes

 

0,24

Удовлетворяет ли kedes требованиям МГСН?

 

 

не нормир.

2.2. Уровень теплозащиты

2.2.1. Приведенное сопротивление теплопередаче:

 

 

 

- стен

Rwr

м2 · °С/Вт

2,40

- окон и балконных дверей

RFr

м2 · °С/Вт

0,46

- наружных дверей и ворот, витражей

Redr

м2 · °С/Вт

-

- покрытий

Rcr

м2 · °С/Вт

3,24

- чердачных перекрытий                 n                                                            0,9

Rcr

м2 · °С/Вт

-

- перекрытий теплых чердаков

Rcr

м2 · °С/Вт

-

- перекрытий над неотапливаемыми подвалами и подпольями                                       n                                                            0,4

Rfr

м2 · °С/Вт

4,10

- перекрытий над проездами и под эркерами

Rfr

м2 · °С/Вт

-

- полов по грунту

Rfr

м2 · °С/Вт

4,68

2.2.2. Приведенный трансмиссионный коэффициент теплопередачи здания

Kmtr

Вт/(м2 · °С)

0,590

2.2.3. Сопротивление воздухопроницанию наружных ограждающих конструкций:

 

 

 

- стен (в т.ч. стыки)

Ra,w

м2 · чг

 

Ввести число

- окон и балконных дверей

Ra,F

м2 · чг

 

Ввести число

- перекрытий над техподпольем, подвалом

Ra,f

м2 · чг

 

Ввести число

- входных дверей в квартиры

Ra,ed

м2 · чг

 

Ввести число

- стыков элементов стен

Ra,j

м2 · чг

 

Ввести число

2.2.4. Приведенная воздухопроницаемость ограждающих конструкций здания (при разности давлений 10 Па)

Gmr

кг/(м2 · ч)

 

Нет в МГСН

Коэффициент учета влияния встречного теплового потока                                                                                 0,8

k

-

0,8

2.2.5. Приведенный инфильтрационный (условный) коэффициент теплопередачи здания

Kminf

Вт/(м2 · °С)

0,967

2.2.6. Общий коэффициент теплопередачи здания

Km

Вт/(м2 · °С)

1,558

2.3 Энергетические нагрузки здания

2.3.1 Установленная мощность систем инженерного оборудования:

 

 

 

- отопления

Qh

кВт

688,7

- горячего водоснабжения; число жителей                                                                                1000

Qhwmax

кВт

59

- принудительной вентиляции

Qv

кВт

10

число часов работы вент. установки в сутки

u

час

12

- воздушно тепловые завесы

Q

кВт

0

- электроснабжения, в том числе:

Ne

кВт

0

- на общедомовое освещение

Nt

кВт

0

- в квартирах, в помещениях обществ, зданий

Na

кВт

0

- на силовое оборудование

Np

кВт

0

- на отопление и вентиляцию

Nh

кВт

0

- на водоснабжение и канализацию

Nw

кВт

0

- других систем (каждой отдельно)

N

кВт

0

2.3.2. Среднечасовой за отопительный период расход тепла на горячее водоснабжение

Qhw

кВт

20,9

Коэффициент khl - изолир. стояки с п.сушит.     

 

 

0,25

2.3.3. Средние суточные расходы:

 

 

 

- природного газа

Vnq

м3ут

 

Ввести число

- холодной воды

Vcw

м3/сут

 

Ввести число

- горячей воды: для жилых зданий прочие здания                                                                                     

Vhw

м3/сут

6,9

 

для прочих зданий согласно СНиП 2.04.01-85*

 

л/сут

6,24

 

- электроэнергии

Nav

кВт · ч

 

Ввести число

2.3.4. Удельный максимальный часовой расход тепловой энергии на 1 м2 общей площади квартир:

 

 

 

 

- на отопление

qh

Вт/м2

55,2

 

- вентиляцию

qv

Вт/м2

0,8

 

2.3.5. Удельная тепловая характеристика здания

qm

Вт/(м3 · °С)

0,37

не нормирована

2.4. Показатели эксплуатационной энергоемкости здания за год

 

2.4.1. Годовые расходы конечных видов энергоносителей на здание:

 

 

 

 

- тепловой энергии на отопление за отопительный период

Qh.basy

МВт · ч

2048

 

- тепловой энергии на горячее водоснабжение

Qhwy

МВт · ч

163

 

- тепловой энергии на принудительную вентиляцию

Qvy

МВт · ч

15

 

- тепловой энергии других систем (раздельно)

Qy

МВт · ч

0

 

- электрической энергии, в том числе:

Ey

МВт · ч

0

 

- на общедомовое освещение

Ely

МВт · ч

 

Ввести число

- в квартирах, в помещениях общественных зданий

Eay

МВт · ч

 

Ввести число

- на силовое оборудование

Epy

МВт · ч

 

Ввести число

- на отопление и вентиляцию

Ehy

МВт · ч

 

Ввести число

- на водоснабжение и канализацию

Ew

МВт · ч

 

Ввести число

- природного газа

Qngy

тыс. м3

0

 

2.4.2. Годовые удельные базовые расходы конечных видов энергоносителей:

 

 

 

 

- тепловой энергии на отопление за отопительный период

qh.basy

кВт · ч2

164,0

 

- тепловой энергии на горячее водоснабжение

qhwy

кВт · ч2

13,1

 

- тепловой энергии на принудительную вентиляцию

qvy

кВт · ч2

1,2

 

- тепловой энергии других систем (раздельно)

qy

кВт · ч2

0,0

 

- электрической энергии

qey

кВт · ч2

0,0

 

- природного газа

qngy

м3/м2

0,0

 

2.4.3. Удельная тепловая энергоемкость

qy

кВт · ч/м2

178

 

здания (1000 кг у.т. = 7721 кВт · ч)

 

кг у.т./м2

23,1

 

2.5. Теплоэнергетические параметры теплозащиты здания

 

2.5.1. Общие теплопотери через оболочку здания за отопительный период

Qhty

кВт · ч

2053128

 

2.5.2. Теплопоступления в здание за отопительный период:

 

 

 

 

- удельные бытовые тепловыделения

qint

Вт2

10

 

- бытовые теплопоступления в здание

Qinty

кВт · ч/год

447451

 

- теплопоступления от солнечной радиации:

Qsy

кВт · ч/год

155459

 

Светопрозрачные конструкции

Площадь A, м2

Ориентация фасадов (I)

A * I, кВт · ч

 

Ориентация здания                                        СЗ/ЮВ                                                                        

 

Окна на фасадах:

1071

 

 

 

- первом

536

СЗ (71)

38056

 

- втором

0

СВ (71)

0

 

- третьем

535

ЮВ (429)

229515

 

- четвертом

0

ЮЗ (429)

0

 

Зенитные фонари

0

288

 

 

- коэффициент, учитывающий затенение окна непрозрачными элементами

tayF

-

0,7

 

- коэффициент, учитывающий затенение зенитных фонарей непрозрачными элементами

tayscy

-

-

 

- коэффициент относительного проникания солнечной радиации через окно

kF

-

0,83

 

- коэффициент относительного проникания солнечной радиации через зенитные фонари

kscy

-

-

 

2.5.3. Потребность в тепловой энергии на отопление здания за отопительный период:

 

 

 

 

- коэффициент, учитывающий дополнительное теплопотребление системы отопления

beta hi

Многосекционного     

-

1,13

 

- потребность в тепловой энергии

Qhy

кВт · ч

1775004

 

Расчетный удельный расход тепловой энергии на отопление здания за отопительный период

qhdes

кВт · ч/м2

142,2

 

2.5.4. Проверка на соответствие проекта теплозащиты требованиям МГСН:

 

 

 

 

Нормируемый удельный расход тепловой энергии системой отопления здания

qhreq

кВт · ч/м2

155

 

Соответствует ли проект теплозащиты требованиям МГСН?

 

 

ДА

 

2.6 Расчетные условия

 

Расчетная температура внутреннего воздуха для расчета теплозащиты

tint

°С

21

 

Расчетная температура внутреннего воздуха для расчета систем отопления и вентиляции

tinth

°С

18

 

Расчетная температура наружного воздуха

text

°С

-26

 

Расчетная температура теплого чердака

tcint

°С

14

 

Расчетная температура «теплого» подвала

tcint

°С

2

 

Продолжительность отопительного периода

zht

сут

230

 

Средняя температура наружного воздуха за отопительный период

tht

°С

-2,7

 

Градусосутки отопительного периода

Dd

°С · сут

5451

 

 

Паспорт заполнен

 

Организация

НИИСФ

Адрес и телефон

Москва, Локомотивный проезд, 21 (095) 4823710

Ответственный исполнитель

Матросов Ю. А.

Список литературы

1.  Фокин К.Ф. Строительная теплотехника ограждающих частей зданий. Стройиздат, М., 1973, стр. 52 - 53.

2.  Расчет и проектирование ограждающих конструкций зданий. Справочное пособие к СНиП. Стройиздат, М., 1990, стр. 196 - 220.

ПРИЛОЖЕНИЯ

Приложение А

Методика определения приведенного сопротивления теплопередаче ограждающих конструкций на основе расчета температурных полей

А.1. Ограждающую конструкцию разбивают на расчетные (двухмерные или трехмерные в отношения распределения температур) участки.

А.2. При определении сопротивления теплопередаче Ro, м2 · °Ст, по данным расчета на персональном компьютере (ПК) стационарного двухмерного температурного поля различают два случая:

а) Исследуемая область, выделенная для расчета температурного поля, представляет собой фрагмент ограждающей конструкции, для которого надлежит определить величину Ro.

б) Исследуемая область, для которой рассчитывается температурное поле, меньше по размеру, чем анализируемый фрагмент ограждающей конструкции.

В первом случае искомая величина Ro вычисляется по формуле:

Ro = (tint - text) L / ΣQ                                                   (А.1)

где

ΣQ - сумма тепловых потоков, пересекающих исследуемую область, Вт/м2, определенная в результате расчета температурного поля;

tint и text - соответственно температура внутреннего и наружного воздуха, °С;

L - протяженность, м, исследуемой области.

Во втором случае Ro определяют по формуле:

Ro = (tint - text) L / [ΣQ + (tint - text) Lcon / Rocon]                              (А.2)

где

Lcon - протяженность, м, однородной части фрагмента ограждающей конструкции, отсеченной от исследуемой области в ходе подготовки данных к расчету температурного поля;

Rocon - сопротивление теплопередаче однородной ограждающей конструкции, м2 °С.

А.3. При расчете двухмерного температурного поля выбранный участок вычерчивают в определенном масштабе и на основании чертежа составляют схему расчета, упрощая ее для удобства разбиения на участки и блоки. При этом:

а) заменяют сложные конфигурации участков, например криволинейные, более простыми, если эта конфигурация имеет незначительное влияние в теплотехническом отношении;

б) наносят на чертеж границы области исследования и оси координат (x, y или r, z). Выделяют участки с различными теплопроводностями и указывают условия теплообмена на границах. Проставляют все необходимые размеры;

в) расчленяют область исследования на элементарные блоки, выделяя отдельно участки с различными коэффициентами теплопроводности. Вычерчивают в масштабе схему расчленения исследуемой области и проставляют размеры всех блоков;

г) вычерчивают область исследования в условной системе координат x′, y, когда все блоки принимаются одного и того же размера. Проставляют координаты вершин полигонов, ограничивающих участки области с различными теплопроводностями, и координаты вершин многоугольников, образующих границы исследуемой области. Нумеруют участки и границы исследуемой области и подписывают вершины областей теплопроводностей, температур (или тепловых потоков) на границах или окружающего воздуха и коэффициентов теплоотдачи;

д) пользуясь двумя чертежами, выполненными по пп. «в» и «г», и руководствуясь стандартной (обычной) последовательностью расположения, составляют комплект численных значений исходных данных для ввода в ПК.

Пример расчета 1

Требуется определить приведенное сопротивление теплопередаче трехслойной металлической стеновой панели из листовых материалов.

А. Исходные данные

1. Конструкция панели изображена на рис. А.1. Она состоит из двух стальных профилированных листов с коэффициентом теплопроводности 58 Вт/(м · °С), между которыми размещены минераловатные плиты «Роквул» плотностью 200 кг/м3, с коэффициентом теплопроводности 0,05 Вт/(м · °С). Листы соединяются между собой стальными профилями через бакелизированные фанерные прокладки толщиной 8 мм, с коэффициентом теплопроводности 0,81 Вт/(м · °С).

2. В расчете приняты следующие условия на сторонах ограждения:

снаружи - text = -26 °С и αext = 23 Вт/(м2 · °С);

внутри - tint = 20 °С и αint = 8,7 Вт/(м2 · °С).

Б. Порядок расчета

На процесс теплопередачи в рассматриваемой конструкции оказывают существенное влияние стальные профили, соединяющие профилированные листы обшивки друг с другом и образующие так называемые мостики холода. Для разрыва этих мостиков холода профили присоединены к листам через фанерные прокладки. Участок конструкции с ребром по середине возможно выделить для расчета температурного поля.

Температурное поле рассматриваемого участка двухмерно, так как распределение температуры во всех плоскостях, параллельных плоскости поперечного сечения конструкции, одинаково. Профили в основной части находятся на расстоянии 2 м один от другого, поэтому при расчете можно учесть ось симметрии посредине этого расстояния.

Рис. А.1. Конструкция трехслойной панели из листовых материалов и чертеж исследуемой области

1 - минераловатные плиты; 2 - профилированные стальные листы; 3 - стальные профили; 4 - фанерные прокладки

Исследуемая область (см. рис. А.1) имеет форму прямоугольника, две стороны которого являются естественными границами ограждающей конструкции, на которых задаются условия теплообмена с окружающей средой, а остальные две - осями симметрии, на которых возможно задавать условия полной теплоизоляции, т.е. тепловой поток в направлении оси ox равный нулю.

Исследуемая область для расчета согласно п. А.3 была расчленена на 1215 элементарных блоков с неравномерными интервалами.

В результате расчета двухмерного температурного поля на ПК получен осредненный тепловой поток, проходящий через рассчитанный участок ограждающей конструкции, равный Q = 32,66 Вт. Площадь рассчитанного участка составляет A = 2 м2.

Приведенное сопротивление теплопередаче рассчитанного фрагмента по формуле (2.4)

Ror = (20 + 26) (2 / 32,66) = 2,82 м2 · °С/Вт

Для сравнения сопротивление теплопередаче вне теплопроводного включения по формуле

Ro = 1 / 23 + 0,008 / 58 + 0,17 / 0,05 + 0,008 / 58 + 1 / 8,7 = 3,56 м2 · °С/ Вт

Температура внутренней поверхности в зоне теплопроводного включения по расчету на ПК равна 9,85 °С. Проверим на условие выпадания конденсата при tint = 20 °С и φint = 55 % согласно прил. Г температура точки росы td = 10,7 °С, что выше температуры поверхности по теплопроводному включению, следовательно при расчетной температуре наружного воздуха -26 °С, будет выпадение конденсата и конструкция нуждается в доработке.

Расчетная температура наружного воздуха, при которой не будет выпадение конденсата, следует определять по формуле

t′ext = tint - [(tint - text) / (tint - τ′int)] (tint - td) =

= 20 - [(20 + 26) / (20 - 9,85)] (20 - 10,7) = -22,15 °С

А.4. При подготовке к решению задач о стационарном трехмерном температурном поле необходимо выполнить следующую последовательность работ:

а) выбирают требуемый для расчета участок ограждающей конструкции, трехмерный в отношении распределения температур. Вычерчивают в масштабе три проекции ограждающей конструкции и проставляют все размеры;

б) составляют схему расчета, вычерчивая в аксонометрической проекции и определенном масштабе изучаемую часть ограждающей конструкции. При этом сложные конфигурации участков заменяют более простыми, состоящими из параллелепипедов. При такой замене необходимо учитывать влияющие в теплотехническом отношении детали конструкции. Наносят на чертеж границы области исследования и оси координат, выделяют в виде параллелепипедов участки с различными теплопроводностями, указывают условия теплообмена на границах и проставляют все размеры;

в) расчленяют область исследования на элементарные параллелепипеды плоскостями, параллельными координатным плоскостям XOY, ZOY, YOZ, выделяя отдельно участки с различной теплопроводностью, вычерчивают в масштабе схему расчленения исследуемой области на элементарные параллелепипеды и проставляют размеры;

г) вычерчивают три проекции области исследования на координатные плоскости в условной системе координат x, y, z, пользуясь схемами, приведенными в пп. «б» и «в». Когда все элементарные параллелепипеды принимаются одного и того же размера, проставляют координаты вершин проекций параллелепипедов, ограничивающих; участки области с различными теплопроводностями, и проекции плоскостей, образующих границы исследуемой области. Подписывают величины теплопроводностей, температуру на границах или окружающего воздуха и коэффициенты теплоотдачи;

д) составляют комплект исходных данных, пользуясь схемами пп. «б», «в», «г», для ввода в ПК.

Пример расчета 2

Определить приведенное сопротивление теплопередаче панели покрытия, выполненной из ребристых железобетонных скорлуп.

А. Исходные данные

1. Конструкция панели покрытия (рис. А.2) размером 3180×3480×270 мм представляет в сечении трехслойную структуру. Наружный и внутренний слои толщиной 50 и 60 мм выполнены из железобетона с коэффициентом теплопроводности 2,04 Вт/(м · °С). Средний теплоизоляционный слой из пенополистирольных плит с коэффициентом теплопроводности 0,05 Вт/м · °С. Каждая из оболочек имеет параллельные один другому на расстоянии 700 мм ребра по 60 и 40 мм, доходящие до середины теплоизоляционного слоя. Ребра оболочек взаимно перпендикулярны и, таким образом, каждое ребро одной оболочки примыкает к ребру другой оболочки на площадке 60×40 мм.

2. В расчете приняты следующие условия на поверхностях ограждения

снаружи - text = -26 °С и αext = 23 Вт/(м2 · °С);

внутри - tint = 20 °С и αint = 8,7 Вт/(м2 · °С).

Рис. А.2. Конструкция (а) и схема расчета (б) конструкции панели совмещенной крыши

Б. Порядок расчета

Процесс теплопередачи такой ограждающей конструкции трехмерен, так как распределение температур определяется не только потоками тепла, перпендикулярными плоскости ограждения, но и потоками тепла в его плоскости. Поле температур симметрично относительно координатных плоскостей, поэтому для расчета возможно вырезать исследуемую область конструкции плоскостями, параллельными координатным (на рис. А.2а помечено буквами ADBC). На рис. А.2б представлено аксонометрическое изображение этой части конструкции. Условия теплообмена: на плоскостях AODD, CCOA, BBDD, CCBB тепловые потоки, перпендикулярные осям координат OX и OY, равны нулю; на плоскостях ACBD и OCBD’ возможно задать граничные условия второго рода - для плоскости ACBD text = -26 °С и αext = 23 Вт/(м2 · °С), для плоскости OCBDtint = 20 °С и αint = 8,7 Вт/(м2 · °С).

Согласно принятой методике расчета трехмерного температурного поля исследуемая область расчленяется на 3528 элементарных параллелепипедов. Расчет выполняется на ПК. В результате расчета получаем осредненный тепловой поток Q = 2,465 Вт. Площадь рассчитанного фрагмента A = 0,35×0,35 = 0,1225 м2.

Приведенное сопротивление теплопередаче рассчитанного участка и всей панели определяется по формуле (2.4)

Ror = [(20 + 26) 0,1225] / 2,465 = 2,286 м2 · °С/Вт.

Приложение Б

Расчет коэффициента теплотехнической однородности ограждающих конструкций по табличным значениям

1. Расчет коэффициента теплотехнической однородности r по формуле (2.7)

Таблица Б.1

Таблица для определения коэффициента ki

Схема теплопроводного включения

λm / λ

Коэффициент ki при α / δ

0,1

0,2

0,4

0,6

0,8

1

1,5

2

I

2

1,02

1,01

1,01

1,01

1

1

1

1

5

1,16

1,11

1,07

1,05

1,04

1,03

1,02

1,01

10

1,33

1,25

1,15

1,1

1,08

1,06

1,04

1,03

30

1,63

1,47

1,27

1,18

1,14

1,11

1,07

1,05

II

10 - 40

2,65

2,2

1,77

1,6

1,55

-

-

-

III при c / δ

0,25

2

1,02

1,01

1,01

1,01

1,01

1,01

1,01

1

5

1,12

1,08

1,05

1,04

1,03

1,03

1,02

1,01

10

1,18

1,13

1,07

1,05

1,04

1,04

1,03

1,02

30

1,21

1,16

1,1

1,07

1,05

1,04

1,03

1,02

0,5

2

1,05

1,04

1,03

1,02

1,01

1,01

1,01

1,01

5

1,28

1,21

1,13

1,09

1,07

1,06

1,04

1,03

10

1,42

1,34

1,22

1,14

1,11

1,09

1,07

1,05

30

1,62

1,49

1,3

1,19

1,14

1,12

1,09

1,06

0,75

2

1,06

1,04

1,03

1,02

1,02

1,01

1,01

1,01

5

1,25

1,2

1,14

1,1

1,08

1,07

1,05

1,03

10

1,53

1,42

1,25

1,16

1,12

1,11

1,08

1,05

30

1,85

1,65

1,38

1,24

1,18

1,15

1,11

1,08

IV при c / δ

0,25

2

1,03

1,02

1,02

1,01

1,01

1,01

1

1

5

1,12

1,10

1,07

1,05

1,04

1,03

1,02

1,01

10

1,2

1,16

1,1

1,07

1,06

1,05

1,03

1,02

30

1,28

1,22

1,14

1,09

1,07

1,06

1,04

1,03

0,5

2

1,07

1,05

1,04

1,03

1,02

1,02

1,01

1,01

5

1,32

1,25

1,17

1,13

1,1

1,08

1,06

1,04

10

1,54

1,42

1,27

1,19

1,14

1,12

1,09

1,06

30

1,79

1,61

1,38

1,26

1,19

1,16

1,12

1,08

0,75

2

1,07

1,05

1,04

1,03

1,02

1,02

1,01

1,01

5

1,36

1,28

1,18

1,14

1,11

1,09

1,07

1,05

10

1,64

1,51

1,33

1,23

1,18

1,15

1,11

1,08

30

2,05

1,82

1,5

1,33

1,25

1,21

1,16

1,11

Примечание. Обозначения и схемы приняты по прил. 5* СНиП II-3-79* (изд. 1998 г.)

Таблица Б.2

Таблица для определения коэффициента ψ

Схема теплопроводно го включения

Значения коэффициента ψ при αλt / δisol λisol

0,25

0,5

1

2

5

10

20

50

150

I

0,024

0,041

0,066

0,093

0,121

0,137

0,147

0,155

0,19

IIб

-

-

-

0,09

0,231

0,43

0,665

1,254

2,491

III при c / δ

0,25

0,016

0,02

0,023

0,026

0,028

0,029

0,03

0,03

0,031

0,5

0,036

0,054

0,072

0,083

0,096

0,102

0,107

0,109

0,11

0,75

0,044

0,066

0,095

0,122

0,146

0,161

0,168

0,178

0,194

IV при c / δ

0,25

0,015

0,02

0,024

0,026

0,029

0,031

0,033

0,039

0,048

0,5

0,037

0,056

0,076

0,09

0,103

0,12

0,128

0,136

0,15

0,75

0,041

0,067

0,01

0,13

0,16

0,176

0,188

0,205

0,22

Примечание. Обозначения и схемы приняты по прил. 5* СНиП II-3-79* (изд. 1998 г.)

Пример расчета

Определить приведенное сопротивление теплопередаче панели с эффективным утеплителем (пенополистирол) и стальными обшивками общественного здания.

А. Исходные данные

Размеры панели 6×2 м. Конструктивные и теплотехнические характеристики панели:

толщина стальных обшивок 0,001 м, коэффициент теплопроводности λ = 58 Вт/(м · °С), толщина пенополистирольного утеплителя 0,2 м, коэффициент теплопроводности 0,04 Вт/(м · °С).

Отбортовка листового материала вдоль протяженных сторон панели приводит к образованию теплопроводного включения типа IIб (прил. 5* СНиП II-3-79* (изд. 1998 г.)), имеющего ширину a = 0,002 м.

Б. Порядок расчета

Сопротивления теплопередаче вдали от включения Rocon и по теплопроводному включению Ro:

Rocon = 1 / 8,7 + 2(0,001 / 58) + 0,2 / 0,04 + 1 / 23 = 5,16 м2 · °Ст;

Ro = 1 / 8,7 + (2 · 0,001 + 0,2) / 58 + 1 / 23 = 0,162 м2 · °С.

Значение безразмерного параметра теплопроводного включения для табл. Б.2

aλt / δisolλisol = 0002 · 58 / (0,2 · 0,04) = 14,5

По табл. Б.2 по интерполяции определяем величину ψ

ψ = 0,43 + [(0,665 - 0,665) · 4,5] / 10 = 0,536

Коэффициент ki по формуле (2.8)

ki = 1 + 0,536 [0,22 / (0,04 · 0,002 · 5,16)] = 52,94

Коэффициент теплотехнической однородности панели по формуле (2.7)

r = 1 / {[5,16 / (12 · 0,162)] 0,002 · 6 · 52,94} = 0,593

Приведенное сопротивление теплопередаче по формуле (2.6)

Ror = 0,593 · 5,16 = 3,06 м2 · °Ст.

2. Расчет коэффициента теплотехнической однородности r по формуле (2.9)

Таблица Б.3

Таблица для определения коэффициента влияния fi

Вид теплопроводного включения

Коэффициент влияния fi

Стыки

без примыкания внутренних ограждений

с примыканием внутренних ограждений

без ребер

с ребрами толщиной, мм

10

20

Rcm / Rkcon:

 

 

 

 

1 и более

-

-

0,07

0,12

0,9

-

0,1

0,14

0,17

0,8

0,01

0,13

0,17

0,19

0,7

0,02

0,2

0,24

0,26

0,6

0,03

0,27

0,31

0,34

0,5

0,04

0,33

0,38

0,41

0,4

0,05

0,39

0,45

0,48

0,3

0,06

0,45

0,52

0,55

Оконные откосы

без ребер

с ребрами толщиной

 

 

10 мм

20 мм

δF / δw:

 

 

 

0,2

0,45

0,58

0,67

0,3

0,41

0,54

0,62

0,4

0,35

0,47

0,55

0,5

0,29

0,41

0,48

0,6

0,23

0,34

0,41

0,7

0,17

0,28

0,35

0,8

0,11

0,21

0,28

Утолщение внутреннего железобетонного слоя

 

 

 

Ry / Rkcon:

 

 

 

0,9

0,02

-

-

0,8

0,12

-

-

0,7

0,28

-

-

0,6

0,51

-

-

0,5

0,78

-

-

Гибкие связи диаметром, мм:

 

 

 

4

0,05

-

-

6

0,1

-

-

8

0,16

-

-

10

0,21

-

-

12

0,25

-

-

14

0,33

-

-

16

0,43

-

-

18

0,54

-

-

20

0,67

-

-

Примечания:

1. В таблице приведены Rkcon, Rcm, Ry - термические сопротивления, м2 · °С/Вт, соответственно панели вне теплопроводного включения, стыка, утолщения внутреннего железобетонного слоя, определяемые по формуле (2.2); δF и δw - расстояния, м, от продольной оси оконной коробки до ее края и до внутренней поверхности панели.

2. Промежуточные значения следует определять интерполяцией.

Пример расчета

Определить приведенное сопротивление теплопередаче Ror одномодульной трехслойной железобетонной панели на гибких связях с оконным проемом крупнопанельного жилого дома серии III.

А. Исходные данные

Панель толщиной 300 мм содержит наружный и внутренний железобетонные слои, которые соединены между собой двумя подвесками (в простенках), подкосом, расположенным в нижней зоне подоконного участка, и распорками: 10 - у горизонтальных стыков и 2 - в зоне оконного откоса (рис. Б.1).

Рис. Б.1. Конструкция трехслойной панели на гибких связях

1 - распорки; 2 - петля; 3 - подвески; 4 - бетонные утолщения (δ = 75 мм внутреннего железобетонного слоя); 5 - подкос

В табл. Б.4 приведены расчетные параметры панели.

В зоне подвесок и петель внутренний бетонный слой имеет утолщения, заменяющие часть слоя утеплителя.

Таблица Б.4

Материал слоя

γo, кг/м3

λБ, Вт/м · °С

Толщина слоя, мм

вдали от включений

в зоне подвески и петли

горизонтальный стык

вертикальный стык

Наружный железобетонный слой

2500

2,04

65

65

65

65

Теплоизоляционный слой - пенополистирол

40

0,042

135

60

-

-

Минераловатные вкладыши

150

0,047

-

-

135

60

Внутренний железобетонный слой

2500

2,04

100

175

100

175

Б. Порядок расчета

Конструкция ограждения содержит следующие теплопроводные включения: горизонтальные и вертикальные стыки, оконные откосы, утолщения внутреннего железобетонного слоя и гибкие связи (подвески, подкос, распорки).

Для определения коэффициента влияния отдельных теплопроводных включений предварительно рассчитаем по формуле (2.2) термические сопротивления отдельных участков панели:

в зоне утолщения внутреннего железобетонного слоя

Ry = 0,175 / 2,04 + 0,06 / 0,042 + 0,065 / 2,04 = 1,546 м2 · °С/Вт;

по горизонтальному стыку

Rjng = 0,1 / 2,04 + 0,135 / 0,047 + 0,065 / 2,04 = 2,95 м2 · °С/Вт;

по вертикальному стыку

Rjnv = 0,175 / 2,04 + 0,06 / 0,047 + 0,065 / 2,04 = 1,394 м2 · °С/Вт;

термическое сопротивление панели вдали от теплопроводных включений

Rkcon = 0,1 / 2,04 + 0,135 / 0,042 + 0,065 / 2,04 = 3,295 м2 · °С/Вт.

Условное сопротивление теплопередаче вдали от теплопроводных включений

Rocon = 1 / 8,7 + 3,295 + 1 / 23 = 3,453 м2 · °С/Вт.

Так как панель имеет вертикальную ось симметрии, то определение последующих величин осуществляем для половины панели:

Определим площадь половины панели без учета проема окна

Ao = 0,5 · (2,8 · 2,7 - 1,48 · 1,51) = 2,66 м2.

Толщина панели δw = 0,3 м.

Определим площадь зон влияния Ai и коэффициент fi для каждого теплопроводного включения панели:

для горизонтального стыка

Rjng / Rkcon = 2,95 / 3,295 = 0,895

По табл. Б.3 fi = 0,1. Площадь зоны влияния по формуле (2.10)

Ai = 0,3 · 2 · 1,25 = 0,75 м2;

для вертикального стыка

Rjnv / Rkcon = 1,394 / 3,295 = 0,423

По табл. Б.3 fi = 0,375. Площадь зоны влияния по формуле (2.10)

Ai = 0,3 · 2,8 = 0,84 м2.

для оконных откосов при δF = 0,065 м и δw = 0,18 м, по табл. Б.3 fi = 0,374. Площадь зоны влияния половины оконного проема с учетом угловых участков определяется по формуле (2.11)

Ai = 0,5 · [2 · 0,3 · (1,53 + 1,56) + 3,14 · 0,32] = 1,069 м2;

для бетонных утолщений внутреннего железобетонного слоя в зоне подвески и петли при Ry / Rkcon = 1,546 / 3,295 = 0,469, по табл. Б.3 fi = 0,78. Суммарную площадь зоны влияния утолщений подвески и петли находим по формуле (2.12)

Ai = (0,6 + 2 · 0,3)(0,47 + 0,1) + (0,2 + 0,3 + 0,1)(0,42 + 0,3 + 0,075) = 1,161 м2;

для подвески (диаметр стержня 8 мм) по табл. Г.3 fi = 0,16, площадь зовы влияния по формуле (2.12)

Ai = (0,13 + 0,3 + 0,14)(0,4 + 2 · 0,3) = 0,57 м2;

для подкоса (диаметр стержня 8 мм) по табл. Б.3 fi = 0,16, по формуле (2.12)

Ai = (0,13 + 0,3)(0,22 + 0,3 + 0,09) = 0,227 м2.

для распорок (диаметр стержня 4 мм) по табл. Б.3 fi = 0,05.

При определении суммарной площади зоны влияния пяти распорок следует учитывать, что ширина зоны влияния со стороны стыка ограничена краем панели и составляет 0,09 м. По формуле (2.13):

Ai = 5(0,3 + 0,3)(0,3 + 0,09) = 1,17 м2.

Рассчитаем r по формуле (2.9)

r = 1 / {1 + [2 / (3,453 · 2,66)] · (0,84 · 0,375 + 0,75 · 0,1 + 1,069 · 0,374 + 1,161 · 0,78 + 0,57 · 0,16 + 0,227 · 0,16 + 1,17 · 0,05)} = 0,71

Приведенное сопротивление теплопередаче панели определим по формуле (2.6)

Ror = 0,71 · 3,453 = 2,45 м2 · °Ст.

Приложение В

Примеры расчета ограждающих конструкций теплых чердаков и подвалов

Пример 1

Теплотехнический расчет теплого чердака

А. Исходные данные.

Место строительства - Москва, text = -26 °С; Dd = 5027 °С · сут.

Тип здания - рядовая секция 17-этажного жилого дома.

Кухни в квартирах с электроплитами.

Площади покрытия (кровли) над теплым чердаком Ag.c = 252,8 м2, перекрытия теплого чердака Ag.f = 252,8 м2, наружных стен теплого чердака Ag.w = 109,6 м2. Приведенную площадь определяем по формуле (2.23) ag.w = 109,6 / 252,8 = 0,4335.

Сопротивление теплопередаче Rog.w = 1,8 м2 · °Ст.

В теплом чердаке размещена верхняя разводка труб систем отопления и горячего водоснабжения. Расчетные температуры системы: отопления с верхним розливом 95 °С, горячего водоснабжения 60 °С. Длина трубопроводов верхнего розлива системы отопление составила:

dpi, мм

80

50

32

25

20

lpi, м

15

17

19,3

27,4

6,3

Длина трубопроводов горячего водоснабжения составила:

dpi, мм

80

50

32

25

lpi, м

3,5

16

12,4

6

Температура воздуха в помещениях верхнего этажа tint = 20 °С.

Температура воздуха, поступающего в теплый чердак из вентиляционных каналов tven = 21,5 °С.

Б. Порядок расчета

1. Согласно табл. 1б СНиП II-3-79* (изд. 1998 г.) требуемое сопротивление теплопередаче покрытия жилого здания Roreq для Dd = 5027 °С · сут равно 4,71 м2 · °Ст.

Определим согласно п. 2.2.1 величину требуемого сопротивления теплопередаче перекрытия теплого чердака Rog.f по формуле

Rog.f = n · Roreq

предварительно вычислив коэффициент n по формуле (2.19), приняв температуру воздуха в теплом чердаке tintg = 14 °С.

n = (tint - tintg) / (tint - text) = (20 - 14) / (20 + 26) = 0,13

Тогда Rog.f = 0,13 · 4,71 = 0,61 м2 · °Ст.

Проверим согласно п. 2.2.2 выполнение условия ΔtΔtn для потолков помещений последнего этажа при Δtn = 3 °С

Δt = (tint - tintg) / (Rog.f · αi) = (20 - 14) / (0,61 · 8,7) = 1,1 °С < Δtn

2. Вычислим согласно п. 2.2.3 величину сопротивления теплопередаче перекрытия чердака Rog.c, предварительно определив следующие величины:

Требуемое сопротивление теплопередаче наружных стен чердака по данным табл. 1а СНиП II-3-79* (изд. 1998 г.) и градусосуткам Dd = 5027 °С · сут, равное 1,8 м2 · °С/Вт.

Приведенный расход воздуха в системе вентиляции определяют по табл. 2.1 Gven = 26,4 кг/(м2 · ч) - для 17-этажного дома с электроплитами.

Приведенные теплопоступления от трубопроводов систем отопления и горячего водоснабжения определяют на основе исходных данных для труб и соответствующих значений qpi по табл. 2.2:

Вт/м2

Тогда сопротивление теплопередаче перекрытия чердака Rog.c равно

Rog.c = (14 + 26) / [0,28 · 26,4(21,5 - 14) + (20 - 14) / 0,61 + 10,07 - (14 + 26) · 0,4335 / 1,81 = 40 / 65,71 = 0,61 м2 · °С/Вт

3. Проверим наружные ограждающие конструкции чердака на условие невыпадения конденсата на их внутренней поверхности. С этой целью рассчитывают согласно п. 2.2.4 температуры на внутренней поверхности покрытия τsig.c и стен τsig.w чердака по формуле (2.24)

τsig.c = 14 - [(14 + 26) / (12 · 0,61)] = 8,54 °С

τsig.w = 14 - [(14 + 26) / (8,7 · 1,8)] = 11,45 °С

Определим температуру точки росы td воздуха в чердаке:

Средняя упругость водяного пара за январь для Москвы согласно СНиП 2.01.01-82 равна eн = 2,8 гПа. Влагосодержание наружного воздуха fext определяют по формуле (2.26)

fext = 0,794 · 2,8 / (1 - 26 / 273) = 2,455 г/м3

Влагосодержание воздуха теплого чердака fg определяют по формуле (2.25) для домов с электроплитами

fg = 2,455 + 3,6 = 6,055 г/м3

Упругость водяного пара воздуха в чердаке eg определяют по формуле (2.27)

eg = 6,055(1 + 14 / 273) / 0,794 = 8,017 гПа

По прил. 8 [2] находим температуру точки росы td = 3,8 °С, что значительно меньше минимальной температуры поверхности (в данном случае покрытия) 8,54 °С. Следовательно конденсат на покрытии и стенах чердака выпадать не будет.

Суммарное сопротивление теплопередаче горизонтальных ограждений теплого чердака составляет Rog.c + Rog.f = 0,61 + 0,61 = 1,22 м2 · °С/Вт при требуемом согласно СНиП II-3-79* (изд. 1998 г.) сопротивлении теплопередаче обычного покрытия здания Roreq = 4,71 м2 · °Ст. Таким образом, в теплом чердаке эквивалентная требованию теплозащита СНиП II-3-79* (изд. 1998 г.) обеспечивается не только ограждениями (стенами, перекрытиями и покрытиями), а и за счет утилизации тепла внутреннего воздуха, выбрасываемого в чердак, и теплопотерь трубопроводов систем отопления и горячего водоснабжения.

Пример 2

Теплотехнический расчет «теплого» подвала

А. Исходные данные

Тип здания - рядовая секция 17-этажного жилого дома при наличии нижней разводки труб систем отопления и горячего водоснабжения.

Место строительства - Москва, text = -26 °С; Dd = 5027 °С · сут.

Площадь цокольного перекрытия (над подвалом) Ab = 281 м2.

Ширина подвала - 13,8 м; площадь пола подвала - 281 м2.

Высота наружной стены подвала, заглубленной в грунт - 1,04 м. Площадь наружных стен подвала, заглубленных в грунт - 48,9 м2.

Суммарная длина l поперечного сечения ограждений подвала, заглубленных в грунт

l = 13,8 + 2 · 1,04 = 15,88 м

Высота наружной стены подвала над уровнем земли - 1,2 м.

Площадь наружных стен над уровнем земли Ab.w = 53,3 м2.

Объем подвала Vb = 646 м3.

Расчетные температуры системы отопления нижней разводки 70 °С, горячего водоснабжения 60 °С.

Длина трубопроводов нижнего розлива lpi системы отопления составила

dpi, мм

80

70

50

40

32

25

20

lpi, м

3,5

10,5

11,5

4,0

17,0

14,5

6,3

Длина трубопроводов горячего водоснабжения составляет:

dpi, мм

40

25

lpi, м

47

22

Труб для транспортировки газа в подвале нет, поэтому кратность воздухообмена в подвале I = 0,5 1/ч.

Температура воздуха в помещениях первого этажа tint = 20 °С.

Б. Порядок расчета

1. Сопротивление теплопередаче наружных стен подвала над уровнем земли принимают согласно п. 2.3.2 равным сопротивлению теплопередаче наружных стен Rob.w = 3,16 м2 · °С/Вт.

2. Приведенное сопротивление теплопередаче ограждающих конструкций заглубленной части подвала определим согласно п. 2.3.3 как для утепленных полов на грунте, состоящей термических сопротивлений стены, равного 3 м2 · °С/Вт, и участков пола подвала. Сопротивление теплопередаче участков пола подвала (начиная от стены до середины подвала): шириной 1 м - 2,1 м2 · °С/Вт; 2 м - 4,3 м2 · °С/Вт; 2 м - 8,6 м2 · °С/Вт; 1,9 м - 14,2 м2 · °Ст. Соответственно площадь этих участков для части подвала длиной 1 м будет равна 1,04 м2, 1 м2, 2 м2, 2 м2, 1,9 м2.

Таким образом сопротивление теплопередаче заглубленной части стен подвала равно

Ros = 2,1 + 3 = 5,1 м2 · °Ст;

Вычислим приведенное сопротивление теплопередаче ограждений заглубленной части подвала

Ros = 7,94 / [(1,04 / 5,1 + 1 / 2,1 + 2 / 4,3 + 2 / 8,6 + 1,9 / 14,2] = 5,25 м2 · °С/Вт

3. Согласно табл. 1б СНиП II-3-79* (изд. 1998 г.) требуемое сопротивление теплопередаче перекрытия над подвалом жилого здания Roreq для Dd = 5027 °С · сут равно 4,16 м2 · °С/Вт.

Согласно п. 2.3.4 определим значение требуемого сопротивления теплопередаче цокольного перекрытия над «теплым» подвалом Rob.c по формуле

Rob.c = n · Roreq

где n - коэффициент, определяемый при принятой минимальной температуре воздуха в подвале tintb = 2 °С

n = (tint - tintb) / (tint - text) = (20 - 2) / (20 + 26) = 0,391

Тогда Rob.c = 0,391 · 4,16 = 1,63 м2 · °Ст.

4. Определим температуру воздуха в подвале tintb согласно п. 2.3.5.

Предварительно определим значение членов формулы (2.30), касающихся тепловыделений от труб систем отопления и горячего водоснабжения, используя данные табл. 2.2

Вт

Рассчитаем значение температуры tintb из уравнения теплового баланса при назначенной температуре подвала 2 °С

tintb = [(20 · 281 / 1,63 + 2073 - 0,28 · 646 · 0,5 · 1,2 · 26 - 26 · 329,9 / 5,25 - 26 · 53,3 / 3,16)] / [(281 / 1,63 + 0,28 · 646 · 0,5 · 1,2 + 329,9 / 5,25 + 53,3 / 3,16)] = 626,8 / 360,6 = 1,74 °С

Тепловой поток через цокольное перекрытие составил

qb.c = (20 - 1,74) / 1,63 = 11,2 Вт/м2

5. Проверим удовлетворяет ли теплозащита перекрытия над подвалом требованию нормативного перепада Δtn = 2 °С для пола первого этажа.

По формуле (1) СНиП II-3-79* (изд. 1998 г.) определим требуемое сопротивление теплопередаче

Roreq = (20 - 2) / (2 · 8,7) = 1,03 м2 · °С/Вт < Rob.c = 1,63 м2 · °Ст

Требуемое сопротивление теплопередаче цокольного перекрытия над «теплым» подвалом составляет 1,63 м2 · °Ст при требуемом согласно СНиП II-3-79* (изд. 1998 г.) сопротивлении теплопередаче перекрытий над подвалами 4,16 м2 · °Ст. Таким образом в «теплом» подвале эквивалентная требованиям СНиП II-3-79* (изд. 1998 г.) теплозащита обеспечивается не только цокольным перекрытием, но и контактирующими с грунтом ограждениями (стенами и полом) подвала, и за счет утилизации тепла от трубопроводов систем отопления и горячего водоснабжения.

Приложение Г

Температура точки росы td, °С, для различных значений температур tint и относительной влажности φint, воздуха в помещении

tint, °С

φint, %

 

40

45

50

55

60

65

70

75

80

85

90

95

-5

-15,3

-14,04

-12,9

-11,84

-10,83

-9,96

-9,11

-8,31

-7,62

-6,89

-6,24

-5,6

-4

-14,4

-13,1

-11,93

-10,84

-9,89

-8,99

-8,11

-7,34

-6,62

-5,89

-5,24

-4,6

-3

-13,42

-12,16

-10,98

-9,91

-8,95

-7,99

-7,16

-6,37

-5,62

-4,9

-4,24

-3,6

-2

-12,58

-11,22

-10,04

-8,98

-7,95

-7,04

-6,21

-5,4

-4,62

-3,9

-3,34

-2,6

-1

-11,61

-10,28

-9,1

-7,98

-7,0

-6,09

-5,21

-4,43

-3,66

-2,94

-2,34

-1,6

0

-10,65

-9,34

-8,16

-7,05

-6,06

-5,14

-4,26

-3,46

-2,7

-1,96

-1,34

-0,62

1

-9,85

-8,52

-7,32

-6,22

-5,21

-4,26

-3,4

-2,58

-1,82

-1,08

-0,41

0,31

2

-9,07

-7,72

-6,52

-5,39

-4,38

-3,44

-2,56

-1,74

-0,97

-0,24

0,52

1,29

3

-8,22

-6,88

-5,66

-4,53

-3,52

-2,57

-1,69

-0,88

-0,08

0,74

1,52

2,29

4

-7,45

-6,07

-4,84

-3,74

-2,7

-1,75

-0,87

-0,01

0,87

1,72

2,5

3,26

5

-6,66

-5,26

-4,03

-2,91

-1,87

-0,92

-0,01

0,94

1,83

2,68

3,49

4,26

6

-5,81

-4,45

-3,22

-2,08

-1,04

-0,08

0,94

1,89

2,8

3,68

4,48

5,25

7

-5,01

-3,64

-2,39

-1,25

-0,21

0,87

1,9

2,85

3,77

4,66

5,47

6,25

8

-4,21

-2,83

-1,56

-0,42

-0,72

1,82

2,86

3,85

4,77

5,64

6,46

7,24

9

-3,41

-2,02

-0,78

0,46

1,66

2,77

3,82

4,81

5,74

6,62

7,45

8,24

10

-2,62

-1,22

0,08

1,39

2,6

3,72

4,78

5,77

7,71

7,6

8,44

9,23

11

-1,83

-0,42

0,98

1,32

3,54

4,68

5,74

6,74

7,68

8,58

9,43

10,23

12

-1,04

0,44

1,9

3,25

4,48

5,63

6,7

7,71

8,65

9,56

10,42

11,22

13

-0,25

1,35

2,82

4,18

5,42

6,58

7,66

8,68

9,62

10,54

11,41

12,21

14

0,63

2,26

3,76

5,11

6,36

7,53

8,62

9,64

10,59

11,52

12,4

13,21

15

1,51

3,17

4,68

6,04

7,3

8,48

9,58

10,6

11,59

12,5

13,38

14,21

16

2,41

4,08

5,6

6,97

8,24

9,43

10,54

11,57

12,56

13,48

14,36

15,2

17

3,31

4,99

6,52

7,9

9,18

10,37

11,5

12,54

13,53

14,46

15,36

16,19

18

4,2

5,9

7,44

8,83

10,12

11,32

12,46

13,51

14,5

15,44

16,34

17,19

19

5,09

6,81

8,36

9,76

11,06

12,27

13,42

14,48

15,47

16,42

17,32

18,19

20

6,0

7,72

9,28

10,69

12,0

13,22

14,38

15,44

16,44

17,4

18,32

19,18

21

6,9

8,62

10,2

11,62

12,94

14,17

15,33

16,4

17,41

18,38

19,3

20,18

22

7,69

9,52

11,12

12,56

13,88

15,12

16,28

17,37

18,38

19,36

20,3

21,6

23

8,68

10,43

12,03

13,48

14,82

16,07

17,23

18,34

19,38

20,34

21,28

22,15

24

9,57

11,34

12,94

14,41

15,76

17,02

18,19

19,3

20,35

21,32

22,26

23,15

25

10,46

12,75

13,86

15,34

16,7

17,97

19,15

20,26

21,32

22,3

23,24

24,14

26

11,35

13,15

14,78

16,27

17,64

18,95

20,11

21,22

22,29

23,28

24,22

25,14

27

12,24

14,05

15,7

17,19

18,57

19,87

21,06

22,18

23,26

24,26

25,22

26,13

28

13,13

14,95

16,61

18,11

19,5

20,81

22,01

23,14

24,23

25,24

26,2

27,12

29

14,02

15,86

17,52

19,04

20,44

21,75

22,96

24,11

25,2

26,22

27,2

28,12

30

14,92

16,77

18,44

19,97

21,38

22,69

23,92

25,08

26,17

27,2

28,18

29,11

31

15,82

17,68

1936

20,9

22,32

23,64

24,88

26,04

27,14

28,08

29,16

30,1

32

16,71

18,58

20,27

21,83

23,26

24,59

25,83

27,0

28,11

29,16

30,16

31,19

33

17,6

19,48

21,18

22,76

24,2

25,54

26,78

27,97

29,08

30,14

31,14

32,19

34

18,49

20,38

22,1

23,68

25,14

26,49

27,74

28,94

30,05

31,12

32,12

33,08

35

19,38

21,28

23,02

24,6

26,08

27,64

28,7

29,91

31,02

32,1

33,12

34,08

Приложение Д

Расчет требуемого сопротивления теплопередаче наружных стен полносборных крупнопанельных и каркасно-панельных зданий по минимуму приведенных затрат с использованием коэффициента дисконтирования

Д.1. Общие положения

Д.1.1. Методика разработана в развитие примечания к п. 3.6.1.д МГСН 2.01-99 «Энергосбережение в зданиях» для расчета требуемого (экономически целесообразного) сопротивления теплопередаче наружных ограждающих конструкций, по минимуму приведенных затрат, что обеспечивает возможность уточнения рациональных уровней теплозащиты зданий и последующую разработку экономичных решений наружных стен, цокольных и чердачных перекрытий.

Д.1.2. Методика предназначается для расчетов и обоснований рациональных уровней теплозащиты зданий при:

- разработке конструктивных решений крупнопанельных и каркаснопанельных зданий;

- разработке мероприятий по совершенствованию заводского производства ограждающих конструкций;

- определении основных направлений эффективного использования капитальных вложений, направляемых на обеспечение экономии топливно-энергетических ресурсов.

Д.1.3. Методика определения оптимального сопротивления теплопередаче ограждающих конструкций основана на минимизации суммарных затрат, связанных с ожидаемым уровнем теплозащиты зданий, а именно затрат на создание ограждающих конструкций (единовременные затраты) с одной стороны и экономии топлива на отопление зданий (текущие затраты) - с другой.

Д.1.4. Оценка предстоящих затрат и результатов осуществляется в пределах расчетного периода, продолжительность которого принимается с учетом:

- продолжительности эксплуатации зданий;

- нормативного срока службы основного технологического оборудования.

Д.1.5. Стоимостная оценка составляющих затрат осуществляется в базисных ценах, т.е. в ценах, сложившихся в народном хозяйстве на определенный момент времени. Базисная цена на продукцию или ресурсы считается неизменной в течение всего расчетного периода1).

1) см. «Методические рекомендации по оценке эффективности инвестиционных проектов и их отбору для финансирования», Москва, 1994 г., раздел 2.

Д.1.6. Приведение разновременных, текущих затрат к одному (исходному) моменту времени осуществляется на основе метода дисконтирования.

Д.2. Последовательность определения оптимального сопротивлении теплопередаче ограждающих конструкций

Д.2.1. Применительно к условиям строительства в г. Москве устанавливаются следующие исходные данные для проектирования теплозащиты:

- расчетная температура наружного воздуха в холодный период года text = -26 °С;

- расчетные температуры внутреннего воздуха tint для:

а) жилых домов, общеобразовательных учреждений плюс 20 °С;

б) поликлиник, лечебных учреждений, домов-интернатов плюс 21 °С;

в) дошкольных учреждений плюс 22 °С.

- градусо-сутки отопительного периода для:

а) жилых домов, общеобразовательных учреждений 5027 °С · сут;

б) поликлиник, лечебных учреждений, домов-интернатов 5451 °С · сут;

в) дошкольных учреждений 5681 °С · сут.

Д.2.2. Определяется минимально допустимое сопротивление теплопередаче непрозрачных ограждающих конструкций, м2 · °Ст, по формуле (3.2) МГСН 2.01-99

Roreq = [n (tint - text)] / (Δtn · αint)                                           (Д.1)

где n - коэффициент равный 1 для наружных стен, °С;

tint - расчетная температура внутреннего воздуха, °С;

text - расчетная температура наружного воздуха в холодный период, °С;

Δtn - нормативный температурный перепад, °С;

αint - коэффициент теплообмена внутренней поверхности ограждающей конструкции, Вт/(м2 · °С).

Д.2.3. Устанавливаются виды затрат и состав показателей, необходимых для определения этих затрат:

а) единовременные1):

- материал, расчетный коэффициент теплопроводности (λ), стоимость утеплителя (или нескольких видов утеплителей);

- дополнительные капитальные вложения в модернизацию завода, изготавливающего соответствующие ограждающие конструкции. Эти затраты учитываются в том случае, если получение экономически целесообразного сопротивления теплопередаче требует модернизации парка форм и некоторых других переделов завода-изготовителя.

б) текущие (эксплуатационные)2):

- расходы на отопление - в натуральном и стоимостном измерениях.

Примечания:

1) Затраты, связанные с возможными некоторыми изменениями в отопительной системе здания и наружных тепловых сетях при увеличении сопротивления теплопередаче ограждений в расчетах не учитываются в связи с незначительным их влиянием на величину единовременных затрат. В расчетах не учитываются также сопряженные капитальные вложения (в промышленность строительных материалов и изделий, в добычу топлива и др.) поскольку эти вложения учтены при формировании цен на соответствующую продукцию.

2) Эксплуатационные затраты на реновацию и ремонт ограждений и систем отопления в расчетах не учитываются в связи с незначительным их влиянием на величину эксплуатационных затрат при изменении сопротивления теплопередаче ограждений.

Д.2.4. Определяется тип применяемого утеплителя, расчетный коэффициент теплопроводности, стоимость утеплителя и единицы тепла.

По формулам (Д.6) и (Д.7) определяется оптимальное (экономически целесообразное) сопротивление теплопередаче Roins утеплителя.

Оптимальной называется величина сопротивления теплопередаче ограждения, при которой обеспечивается минимум приведенных затрат P, руб.

P = δins · Cins + Qhty · Ch · 9,5 min                                        (Д.2)

где δins - толщина утеплителя, м;

Cins - стоимость 1 м3 утеплителя, руб/м3;

Qhty - расход тепловой энергии на отопление за отопительный период, кВт · ч;

Ch - стоимость 1 кВт · ч тепловой энергии, руб.;

9,5 - коэффициент учета эксплуатационных затрат с приведением (дисконтированием) затрат будущих лет к начальному периоду времени.

Д.2.4.1. Приведение затрат к базисному моменту производится путем умножения годовых текущих затрат на коэффициент дисконтирования α

где E - норматив приведения, E = 0,1;

n - число лет, в течение которых определяются эксплуатационные затраты;

t = 1, 2, ..., n - порядковый номер года в интервале от первого до n-го года эксплуатации.

Согласно постановлению Правительства Москвы ( 1036) расчетный период учета эксплуатационных затрат следует принимать равным 30 годам,

тогда                                            

Д.2.4.2. Трансмиссионные теплопотери за отопительный период через 1 м2 наружной ограждающей конструкции, в нашем случае стены, следует определять на основе формулы (3.8) МГСН 2.01-99:

Qhty = 0,024 · (1 / Rw) · Dd · β                                            (Д.3)

где Rw - сопротивление теплопередаче по глади наружных стен, м2 · °Ст;

β - коэффициент, учитывающий дополнительные теплопотери, связанные с ориентацией по странам горизонта: для жилых зданий β = 1,13, для общественных 1,1;

Dd - градусосутки отопительного периода, принимаемые в зависимости от типа здания (п. 2.1).

Д.2.4.3. С учетом изложенного формула (Д.2) преобразуется в следующий вид:

а) для жилых зданий и общеобразовательных учреждений, руб

P = Rw · λins · Cins + [(0,024 · 1,13 · 5027) / Rw] · Ch · 9,5 = Rw · λins · Cins + (136,3 / Rw) · Ch · 9,5                                                                     (Д.4)

б) для поликлиник, домов-интернатов, руб

P = Rw · λins · Cins + (143,9 / Rw) · Ch · 9,5                                  (Д.5)

Стоимость тепловой энергии в соответствии с рекомендацией Правительства Москвы ( 959 РП) следует принимать равной 30 долларов за 1 МВт · ч (0,03 доллара США за 1 кВт · ч).

Оптимальное термическое сопротивление утеплителя Rins определяется путем дифференцирования формулы (Д.4) или (Д.5) по переменной величине Rw и приравнивания производной нулю. В результате получают:

а) для жилых зданий и общеобразовательных учреждений

(Д.6)

где λins - коэффициент теплопроводности утеплителя Вт/(м · °С);

Cins - стоимость 1 м3 утеплителя франко завод - изготовитель наружных стен, руб;

Ch - стоимость 1 кВт · ч (равные 0,03 доллара США);

б) для поликлиник и домов интернатов

                                        (Д.7)

Толщина утеплителя, соответствующая оптимальному сопротивлению теплопередаче, составляет:

δins = Row · λins                                                            (Д.8)

Д.2.4.4. Оптимальное сопротивление теплопередаче стены (Row) определяется по формуле:

Row = (Rins + Rins + 0,158) · r                                               (Д.9)

где Rcon - термическое сопротивление наружного и внутреннего бетонных слоев, м2 · °С/Вт;

r - коэффициент теплотехнической однородности стены, принимается по расчету температурных полей.

Д.2.4.5. Производится проверка соответствия условию: оптимальное сопротивление теплопередаче ограждения должно быть не менее значения, приведенного в п. 2.1 табл. 1а СНиП II-3-79* (изд. 1998 г.), первого этапа внедрения для ограждающих конструкций (за исключением светопрозрачных) в зависимости от вида здания.

Оптимальное сопротивление теплопередаче Row должно быть больше минимально допустимого по санитарно-гигиеническим и комфортным условиям п. 3.3.3 (МГСН 2.01-99).

Row > Roreq; Row > R для первого этапа теплозащиты.

Д.2.4.6. Определяются приведенные затраты по трем вариантам толщин утеплителя:

δins; δins - 2 см и δins + 2 см, что соответствует Pe, P1 и P2.

В том случае, если Pe будет меньше P1 и P2 сопротивление теплопередаче стены является экономически целесообразным.

Д.2.4.7. В том случае, если при переходе к производству нового типа стены Row) требуется реконструкция или замена парка форм, а также переоборудование других переделов завода в состав приведённых затрат включаются дополнительные затраты по реконструкции, отнесенные на объем выпуска продукции (руб/м2 конструкции) с учетом нормативного срока окупаемости капитальных вложений (СН-509, Инструкция по оценке эффективности новой техники в строительстве).

Пример расчета 1

1. Определить Row и δins слоя утеплителя в трехслойной наружной панели для крупнопанельного жилого дома.

2. Конструктивное решение панели: наружный и внутренний бетонные слои (тяжелый бетон γ = 2400 кг/м3, λ = 1,86) толщиной соответственно 80 и 70 мм; утеплитель - пенополистирол λins = 0,05 Вт/(м · °С). Стоимость утеплителя (в конструкции ) 700 руб/м3.

3. Исходные данные для проектирования теплозащиты для условий г. Москвы:

- расчетная температура наружного воздуха в холодный период года text = минус 26 °С;

- расчетная температура внутреннего воздуха tint = 20 °С;

- градусо-сутки отопительного периода Dd = 5027.

4. Стоимость единицы теплоты - 30 долларов США за МВт · ч, или 0,03 доллара за кВт · ч или при курсе доллара 25 руб. - 0,75 руб. за кВт · ч, 870 руб. за Гкал.

5. Оптимальное термическое сопротивление теплопередаче утеплителя определяется по формулам (Д.6) - (Д.9), м2 · °С /Вт.

 м2 · °С/Вт

Термическое сопротивление бетонных слоев

Rcon = δ / λ = 0,15 / 1,86 = 0,08 м2 · °Ст

Коэффициент теплотехнической однородности стены r = 0,658 (r - определяется расчетом температурных полей)

δins = 5,25 · 0,05 = 0,26 м

6. Оптимальное сопротивление теплопередаче наружной стены определяется по формуле (Д.9)

Row = (0,08 + 5,25 + 0,158) · 0,658 = 3,6 м2 · °Ст

7. Проверка выполненного расчета

Pe = Rw · λins · Cins + (136,3 / Rw) · Ch · 9,5 = 5,25 · 0,05 · 700 + (136,3 / 3,6) · 0,75 · 9,5 = 453,5 руб.

Определяются приведенные затраты по двум вариантам толщин утеплителей - 0,24 м и 0,28 м

P1 = 0,24 · 700 + (136,3 / 3,4) · 0,75 · 9,5 = 455,3 руб.

P2 = 0,28 · 700 + (136,3 / 3,74) · 0,75 · 9,5 = 455,7 руб.

Следовательно, P1 > Pe < P2 и Pe - являются минимальными.

8. Определяется минимально допустимое сопротивление теплопередаче ограждения (п. 2.2)

Roreq = n(tint - text) / (Δtn · αint) = 1 · (20 + 2,6) / (8,7 · 4) = 1,32

Следовательно, Roreq < Row > R1этапа, что отвечает требованиям МГСН 2.01-99.

Замечание. В рассмотренном примере принята относительно низкая цена утеплителя. В том случае, если стоимость одного м3 утеплителя окажется выше, то оптимальное сопротивление теплопередаче ограждения снизится. Например, при применении импортного утеплителя типа «Rockwool» при λ = 0,04 Вт/(м · °С), стоимостью 1100 руб/м3 оптимальное сопротивление теплопередаче стены составит:

; δут = 4,2 · 0,04 = 0,21 м.

Row = (0,08 + 4,2 + 0,158) · 0,716 = 3,2 м2 · °С/Вт

Пример расчета 2

1. Определить оптимальные значения Row и δins слоя утеплителя в трехслойной наружной панели для каркасно-панельного лечебного учреждения.

2. Конструктивное решение панели - наружный и внутренний бетонные слои (тяжелый бетон λ = 1,86 Вт/(м · °С)) - 80 и 70 мм,

утеплитель - минераловатные плиты λins = 0,04, стоимость 1 м3 - 800 руб.

3. Исходные данные для проектирования теплозащиты для условий Москвы:

- расчетная температура наружного воздуха text минус 26 °С;

- расчетная температура внутреннего воздуха tint 21 °С;

- градусоутки отопительного периода Dd 5451 °С · сут.

4. Стоимость единицы теплоты - 30 долларов США за МВт · ч или 0,03 доллара за кВт · ч.

5. Оптимальное сопротивление теплопередаче утеплителя определяется по формуле (Д.5)

 м2 · °С/Вт

δins = 5,65 · 0,04 = 0,23 м

Rcon = δ / λ = 0,15 / 1,86 = 0,08 м2 · °Ст

Коэффициент теплотехнической однородности стены r = 0,69.

6. Оптимальное сопротивление теплопередаче наружной стены определяется по формуле (Д.9)

Row = (0,08 + 5,65 + 0,158) · 0,69 = 4,06 м2 · °Ст

7. Проверка выполненного расчета

Pe = Rw · λins · Cins + (143,9 / Rw) · Ch · 9,5

Pe = 5,65 · 0,04 · 800 + (143,9 / 4,06) · 0,75 · 9,5 = 433,3 руб.

Определяются приведенные затраты по двум вариантам толщин утеплителей - 0,21 м и 0,25 м

Rins1 = 0,21 / 0,04 = 5,25 м2 · °Ст

Rins2 = 0,25 / 0,04 = 6,25 м2 · °Ст

P1 = 0,21 · 800 + (143,9 / 3,84) · 0,75 · 9,5 = 435,0 руб.

P2 = 0,25 · 800 + (143,9 / 4,35) · 0,75 · 9,5 = 435,7 руб.

Следовательно, поскольку выполнено условие P1 > Pe < P2 приведенные затраты Pe являются оптимальными.

Приложение Е

Расчет требуемого сопротивления теплопередаче наружных стен полносборных крупнопанельных и каркасно-панельных зданий по методу приведенных затрат с использованием в качестве критерия срока окупаемости дополнительных капиталовложений на утепление зданий

Е.1. Методика базируется на использовании следующей расчетной экономической модели: толщина дополнительного и связанного с ним экономически целесообразного сопротивления теплопередаче зависит от значения коэффициента m и обладает стоимостью C(m), которая определяет размер требуемых дополнительных инвестиций на утепление здания. Дополнительный слой теплоизоляции позволяет снизить потери тепла через ограждающие конструкции, т.е. получить прибыль P(m) за счет стоимости тепловой энергии, сбереженной в течение одного отопительного периода в годовом цикле эксплуатации здания.

Е.2. Прибыль от утепления ограждений или стоимость сбереженной тепловой энергии, руб/2 · год), за счет дополнительного слоя теплоизоляции определяют по формуле

P(m) = (m · Ct / R1 · r2)(1 / n - 1 / m)

где M = (tv - ton) · Zon · 0,024 - характеристика отопительного периода, тысяч градусо-часов;

- Сt - цена- тариф, руб/кВт · ч, тепловой энергии;

- R1 - сопротивление теплопередаче, по формуле (3.2) МГСН 2.01-99;

- n - r1 / r2 - отношение коэффициентов теплотехнической однородности конструкций с уровнями теплозащиты R1 и Roэк,

- Roэк - экономически целесообразное требуемое сопротивление теплопередаче

Roэк = R1 · m

Е.3. Стоимость дополнительного слоя теплоизоляции C(m) складывается из стоимости материала утеплителя толщиной d(m) = R1 · (m - 1) · λ и единовременных дополнительных затрат Cp, не зависящих от толщины d(m) (разработка и изготовление новой технологической оснастки, инструмента, приспособлений, переработка технической документации и т.п.), необходимых для организации производства ограждающих конструкций с повышенным уровнем теплозащиты Roэк или утепления стен реконструируемых зданий:

C(m) = R1 · (m - 1) · λ · Cn + Cp

Е.4. Оптимальное значение коэффициента m из условия приведенных затрат определяется по формуле:

где λ - теплопроводность, Вт/(м · К), материала утеплителя дополнительного слоя;

Cn - цена материала утеплителя, руб/м3.

Рекомендуется принять при анализе энергоэффективности вариантов зданий значения периода N, лет:

для кирпичных и сборно-монолитных стен - 30;

для трехслойных железобетонных панелей с металлическими связями -20.

Е.5. Критерием оптимального соотношения указанных величин является срок окупаемости дополнительных капиталовложений на утепление (за счет дополнительного слоя теплозащиты) ограждающих конструкций tm ≥ 10 лет.

t(m) = C(m) / P(m)

 




ГОСТЫ, СТРОИТЕЛЬНЫЕ и ТЕХНИЧЕСКИЕ НОРМАТИВЫ.
Некоммерческая онлайн система, содержащая все Российские Госты, национальные Стандарты и нормативы.
В Системе содержится более 150000 файлов нормативно-технической документации, действующей на территории РФ.
Система предназначена для широкого круга инженерно-технических специалистов.

Рейтинг@Mail.ru Яндекс цитирования

Copyright © www.gostrf.com, 2008 - 2026