Крупнейшая бесплатная информационно-справочная система онлайн доступа к полному собранию технических нормативно-правовых актов РФ. Огромная база технических нормативов (более 150 тысяч документов) и полное собрание национальных стандартов, аутентичное официальной базе Госстандарта. GOSTRF.com - это более 1 Терабайта бесплатной технической информации для всех пользователей интернета. Все электронные копии представленных здесь документов могут распространяться без каких-либо ограничений. Поощряется распространение информации с этого сайта на любых других ресурсах. Каждый человек имеет право на неограниченный доступ к этим документам! Каждый человек имеет право на знание требований, изложенных в данных нормативно-правовых актах!

  


 

МИНИСТЕРСТВО ТРАНСПОРТНОГО СТРОИТЕЛЬСТВА
ГОСУДАРСТВЕННЫЙ ВСЕСОЮЗНЫЙ ДОРОЖНЫЙ
НАУЧНО-ИССЛЕДОВАТЕЛЬСКИЙ ИНСТИТУТ
МИНТРАНССТРОЯ (СОЮЗДОРНИИ)

РУКОВОДСТВО
ПО СТРОИТЕЛЬСТВУ
ДОРОЖНЫХ АСФАЛЬТОБЕТОННЫХ ПОКРЫТИЙ

МОСКВА «ТРАНСПОРТ» 1978

Руководство по строительству дорожных асфальтобетонных покрытий разработано в развитие ГОСТ 9128-76 «Смеси асфальтобетонные, аэродромные и асфальтобетон. Технические условия», ГОСТ 12801-77 «Смеси асфальтобетонные дорожные, аэродромные и асфальтобетон. Методы испытаний» и главы СНиП III-40-78 «Автомобильные дороги. Правила производства и приемки работ». В нем приведены сведения, детализирующие правила производства работ по строительству асфальтобетонных покрытий и приготовлению асфальтобетонных смесей, область применения различных асфальтобетонов. Описаны современные конструкции дорожных одежд с асфальтобетонными покрытиями, методы испытаний асфальтобетонов, принципы проектирования асфальтобетонных смесей, применяемые добавки поверхностно-активных веществ и полимеров, способы физико-химической активации используемых минеральных материалов.

Руководство одобрено Главным техническим управлением Минтрансстроя и предназначено для инженерно-технических работников.

ПРЕДИСЛОВИЕ

За время, прошедшее после выхода в свет «Инструкции по строительству дорожных асфальтобетонных покрытий» - ВСН 93-73, утвержден ГОСТ 9128-76 «Смеси асфальтобетонные дорожные, аэродромные и асфальтобетон. Технические условия». Помимо того, что новый ГОСТ объединяет требования ко всем видам асфальтобетонных смесей, в эти требования внесены уточнения и изменения.

За прошедший период введены в действие также новые ГОСТы на методы испытаний асфальтобетона, на битумы и на некоторые минеральные материалы, используемые в асфальтобетоне. Расширен опыт применения новых конструкций дорожных одежд, проведены исследования, связанные с совершенствованием технологии строительства и повышением качества асфальтобетонных покрытий.

Все это обусловило необходимость разработки «Руководства по строительству дорожных асфальтобетонных покрытий». В нем детализируются правила производства работ по приготовлению асфальтобетонных смесей, применяемых в горячем, теплом и холодном состоянии, и строительству дорожных асфальтобетонных покрытий, изложенные в главе СНиП III-40-78. «Автомобильные дороги. Правила производства и приемки работ». Наряду с этим в Руководстве изложены сведения, относящиеся к материалам, применяемым для производства асфальтобетонных смесей; современным конструкциям дорожных одежд с асфальтобетонными покрытиями; способам введения в асфальтобетонные смеси добавок поверхностно-активных веществ и полимеров; методам производства и применения активированных минеральных материалов; способам обеспечения надлежащей шероховатости асфальтобетонных покрытий; методам испытаний асфальтобетона и способам оценки эксплуатационных свойств готовых покрытий. Приведен пример проектирования состава асфальтобетонной смеси. Руководство разработано взамен инструкции ВСН 93-73.

Руководство составили сотрудники Союздорнии: доктора техн. наук Л.Б. Гезенцвей и А.А. Калерт, кандидаты техн. наук Н.В. Горелышев, К.Я. Лобзова, Э.А. Казарновская, И.А. Плотникова, Е.Н. Козлова, В.Н. Сотникова, Ю.Н. Питецкий, М. И. Вейнман, Л.М. Гохман, Б.М. Слепая, Д.И. Гегелия, Н.Б. Перлова, В.А. Астров, А.Ю. Гольштейн, В.М. Юмашев, инженеры М.Б. Сокальская, Н.С. Ценюга, Д.С. Шемонаева, Б.В. Маркин, Ю.А. Никаноров.

Общее редактирование выполнено Л.Б. Гезенцвеем.

1. ОПРЕДЕЛЕНИЕ, КЛАССИФИКАЦИЯ И ТРЕБОВАНИЯ, ПРЕДЪЯВЛЯЕМЫЕ К АСФАЛЬТОБЕТОНУ

1.1. Асфальтобетоном называется материал, который получается после уплотнения асфальтобетонной смеси, приготовленной путем смешения в смесителях в нагретом состоянии щебня (гравия) различной крупности, природного или дробленого песка, минерального порошка и нефтяного дорожного битума, взятых в определенных соотношениях. Свойства асфальтобетонных смесей и асфальтобетона должны соответствовать требованиям ГОСТ 9128-76.

1.2. В зависимости от вида каменного материала асфальтобетоны подразделяются на: щебеночные, состоящие из щебня, песка, минерального порошка и битума; гравийные, состоящие из гравия, песка или песчано-гравийного материала, минерального порошка и битума; песчаные, состоящие из песка, минерального порошка и битума.

1.3. Асфальтобетоны в зависимости от вязкости применяемого в них битума и температуры асфальтобетонных смесей при укладке в конструктивный слой подразделяются на горячие, теплые и холодные.

Горячие асфальтобетонные смеси приготовляют с применением вязких нефтяных дорожных битумов марок БНД 90/130, БНД 60/90, БНД 40/60, БН 90/130, БН 60/90 согласно ГОСТ 22245-76. Температура горячих смесей при укладке должна быть не ниже 100 - 120° С. Формирование покрытия из таких смесей закапчивается в основном после остывания уплотненного слоя асфальтобетона.

Теплые асфальтобетонные смеси приготовляют с применением вязких нефтяных дорожных битумов марок БНД 200/300, БНД 130/200, БН 200/300 и БН 130/200 согласно ГОСТ 22245-76, а также с применением жидких битумов марок БГ 70/130 и СГ 130/200 согласно ГОСТ 11955-74. Температура теплых смесей при укладке должна быть не ниже 70 - 80 °С. Продолжительность формирования покрытия из таких смесей может колебаться от нескольких часов до нескольких недель в зависимости от вида битума (разжиженного или вязкого) и минерального порошка (активированного или неактивированного), погодных условий, температуры смеси при укладке, а также от состава и интенсивности движения автомобилей, их грузоподъемности.

Холодные асфальтобетонные смеси приготовляют с применением жидкого битума, густеющего со средней скоростью, марки СГ 70/130 или медленногустеющего марки МГ 70/130 согласно ГОСТ 11955-74.

Холодные асфальтобетонные смеси до их укладки в покрытие можно хранить на складе до 4 - 8 мес (в зависимости от класса применяемого жидкого битума). Холодные смеси укладывают при температуре окружающего воздуха не ниже 5 °С весной и не ниже 10 °С осенью.

Формирование покрытия из таких смесей протекает медленно (20 - 40 сут) и зависит от класса жидкого битума, вида минерального порошка (активированного или неактивированного), погодных условий, интенсивности движения автомобилей и их грузоподъемности.

Применение активированного минерального порошка способствует сокращению срока формирования покрытий из холодного асфальтобетона до 10 - 15 сут.

1.4. Горячие и теплые асфальтобетоны (щебеночные и гравийные) в зависимости от наибольшего размера зерен щебня (гравия) подразделяются на: крупнозернистые с зернами размером до 40 мм; среднезернистые - до 20 мм; мелкозернистые с зернами размером до 15 (10) мм.

Песчаные асфальтобетоны содержат зерна размером до 5 мм.

1.5. Максимальная крупность щебня не должна превышать 0,6 конструктивной толщины верхнего слоя покрытия в уплотненном состоянии и 0,75 нижнего слоя покрытия.

1.6. Горячие и теплые асфальтобетоны с учетом их назначения подразделяются на:

а) плотный асфальтобетон, обладающий остаточной пористостью 2,5 - 5 %, применяемый в верхнем слое покрытия, обязательно содержащий минеральный порошок;

б) пористый асфальтобетон, обладающий остаточной пористостью 5 - 10 %, применяемый в нижнем слое покрытия и в основании.

Таблица 1.1

Типы асфальтобетона в зависимости от содержания щебня или песка

Тип асфальтобетона

Количество щебня (гравия) или песка в асфальтобетонной смеси

 

Горячие и теплые

А

50 - 65 % щебня

Б

35 - 50 %       »     (гравия)

в

20 - 35 %       »           »

г

Не менее 33 % фракции 1,25 - 5 мм в дробленом песке

Д

Не менее 14 % фракции 1,25 - 5 мм в природном песке (или в смеси природного и дробленого песков)

 

Холодные

Бх

35 - 50 % щебня (гравия)

Вх

20 - 35 %       »         »

Дх

Не менее 33 % фракции 1,25 - 5 мм в дробленом песке

 

Не менее 15 % фракции 1,25 - 5 мм в природном песке (или в смеси природного и дробленого песков)

Таблица 1.2

Минеральные материалы для горячих и теплых асфальтобетонов с учетом их марки (извлечение из ГОСТ 9128-76)

Марка асфальтобетона

Тип асфальтобетона

Минеральные материалы

Щебень (гравий)

Песок

Минеральный порошок

Наименование горных пород и материалов

Марка по прочности или класс, не ниже

I

А, Б

Изверженные и метаморфические

1200

Природный и дробленый с Мк не менее 2, а также природный активированный с Мк не менее 1,7

Преимущественно активированный, а также неактивированный согласно ГОСТ 16557-71

В

То же

1000

А, Б

Осадочные некарбонатные

1000

В

Осадочные некарбонатные

800

В

Осадочные карбонатные

1000

Б

Шлаки металлургические

1

В

То же

2

Б

Щебень из гравия

Др. 8

В

То же

Др. 12

 

Г

-

-

Дробленый с Мк не менее 2 из горных пород, применяемых в виде щебня в I марке типа А

То же

II

А, Б

Изверженные и метаморфические

1000

Природный и дробленый с Мк не менее 2, а также природный активированный с Мк не менее 1,7

Активированный и неактивированный согласно ГОСТ 16557-71, а также тонкомолотые основные металлургические шлаки

В

То же

800

А

Осадочные некарбонатные

1000

Б

То же

800

В

»

600

Б

Осадочные карбонатные

800

В

То же

600

А, Б

Шлаки металлургические

2

В

То же

3

А

Щебень из гравия

Др. 8

Б, В

То же

Др. 12

 

Г

-

-

Дробленый с Мк не менее 2 из горных пород, применяемых в виде щебня во II марке типа А

То же

 

Д

-

 

Природный с Мк не менее 2 или смесь природного с дробленым

»

III

Б, В

Изверженные и метаморфические

800

Природный с Мк не менее 1, а также дробленый

Тонкомолотые карбонатные горные породы согласно ГОСТ 16557-71 и основные металлургические шлаки, порошкообразные отходы промышленности

Б

Осадочные карбонатные и некарбонатные

800

В

То же

600

Б, В

Шлаки металлургические

3

Б

Щебень из гравия и гравий

Др. 12

В

То же

Др. 16

Д

-

-

Природный с Мк не менее 1,0

То же

IV

Б

Изверженные и метаморфические

800

То же

Тонкомолотые карбонатные и некарбонатные горные породы, порошкообразные отходы промышленности

В

То же

600

Б

Осадочные карбонатные и некарбонатные

600

В

То же

300

Б

Шлаки металлургические

3

В

То же

4

Б

Щебень из гравия и гравий

Др. 16

В

То же

Др. 24

Д

-

-

»

То же

Примечание. Допускается применять в асфальтобетонах низких марок минеральные материалы, предусмотренные для асфальтобетонов высших марок при условии технико-экономической целесообразности.

Таблица 1.3

Минеральные материалы для холодных асфальтобетонов в зависимости от марки асфальтобетона (извлечение из ГОСТ 9128-76)

Марка асфальтобетона

Класс битума

Тип асфальтобетона

Щебень (гравий)

Песок

Минеральный порошок

Наименование горных пород и материалов

Марка по прочности или класс, не ниже

I

СГ

Бх

Изверженные и метаморфические

1000

Природный и дробленый с Мк не менее 2, а также природный активированный с Мк не менее 1,7

Преимущественно активированный, а также неактивированный согласно ГОСТ 16557-71, тонкомолотые основные металлургические шлаки

Вх

То же

800

Бх

Осадочные карбонатные и некарбонатные

800

Вх

То же

600

Бх

Шлаки металлургические

1

Вх

То же

2

Бх

Щебень из гравия

Др. 8

Вх

То же

Др. 12

Г

СГ

Дх

-

-

Дробленый с Мк не менее 2, природный активированный с Мк не менее 1,7 и их смесь

Преимущественно активированный, а также неактивированный согласно ГОСТ 16557-71, тонкомолотые основные металлургические шлаки

II

СГ

Бх

Изверженные и метаморфические

800

Природный и дробленый с Мк не менее 2, а также природный активированный с Мк не менее 1,7

Неактивированный и активированный согласно ГОСТ 16557-71, тонкомолотые основные металлургические шлаки

МГ

Вх

То же

600

 

Бх

Осадочные карбонатные и некарбонатные

800

 

Вх

То же

600

 

Бх

Шлаки металлургические

2

 

Вх

То же

3

 

Бх

Щебень из гравия и гравий

Др. 12

 

Вх

То же

Др. 16

 

Дх

-

-

То же

То же

Примечание. Допускается применение в асфальтобетонах низких марок минеральных материалов, предусмотренных для асфальтобетонов высших марок, при условии технико-экономической целесообразности.

Таблица 1.4

Показатели физико-механических свойств плотного горячего и теплого асфальтобетона (извлечение из ГОСТ 9128-76)

Показатели

Нормы по маркам асфальтобетонов

I

II

III

IV

Пористость минерального остова, % по объему для асфальтобетонов типов:

 

 

 

 

А и Б

15 - 19

15 - 19

15 - 19

15 - 19

В и Г

18 - 22

18 - 22

18 - 22

18 - 22

Д

-

-

Не более 22

Не более 22

Остаточная пористость, % по объему

2,5 - 4,5

2,5 - 4,5

2,5 - 4,5 / 3,0 - 5,0

2,5 - 4,5 / 3,0 - 5,0

Водонасыщение, % по объему для асфальтобетонов типов:

 

 

 

 

А

2,0 - 4,5

2,0 - 4,5

-

-

Б и Г

1,5 - 3,5

1,5 - 3,5

1,5 - 3,5 / 1,5 - 4,0

1,5 - 3,5 / 1,5 - 4,0

В и Д

1,5 - 3,0

1,5 - 3,0

1,0 - 3,0 / 1,5 - 4,0

1,0 - 3,0 / 1,5 - 4,0

Набухание, % по объему, не более

0,5

1,0

1,0

1,5

Предел прочности при сжатии, Па (кгс/см2), не менее, при температурах:

 

 

 

 

а) 20 °С для всех типов асфальтобетонов

24 × 105 (24) / 20 × 105 (20)

22 × 105 (22) / 18 × 105 (18)

20 × 105 (20) / 18 × 105 (18)

16 × 105 (16) / 14 × 105 (14)

б) 50 °С для асфальтобетонов типов:

 

 

 

 

А

9 × 105 (9) / 8 × 105 (8)

8 × 105 (8) / 7 × 105 (7)

-

-

Б и В

10 × 105 (10) / 9 × 105 (9)

9 × 105 (9) / 8 × 105 (8)

9 × 105 (9) / 8 × 105 (8)

8 × 105 (8) / 6 × 105 (6)

Г

14 × 105 (14) / 10 × 105 (10)

12 × 105 (12) / 9 × 105 (9)

-

-

Д

-

12 × 105 (12) / 9 × 105 (9)

10 × 105 (10) / 8 × 105 (8)

8 × 105 (8) / 6 × 105 (6)

в) 0 °С для всех типов горячих смесей, не более

120 × 105 (120)

120 × 105 (120)

120 × 105 (120)

120 × 105 (120)

Коэффициент водостойкости, не менее

0,9

0,85

0,8 / 0,7

0,7 / 0,6

Коэффициент водостойкости, при длительном водонасыщении (15 сут), не менее

0,85 / 0,80

0,75 / 0,60

0,70 / 0,60

0,60 / 0,50

Сцепление битума с минеральной частью асфальтобетонной смеси

Выдерживает (для всех марок)

Примечания. 1. В районах с избыточным увлажнением следует придерживаться нижних пределов водонасыщения и остаточной пористости.

2. В числителе приведены показатели свойств для горячих асфальтобетонов, в знаменателе - для теплых.

3. Для районов, относящихся к IV и V дорожно-климатическим зонам, показатель прочности при t = 50 °С увеличивается для асфальтобетонов с применением щебня на 20 %, с применением гравия и песка - на 30 %.

4. Для районов, относящихся к I и II дорожно-климатическим зонам, показатель прочности при t = 0 °С не должен превышать 90 × 105 Па (90 кгс/см2).

Таблица 1.5

Показатели физико-механических свойств холодного асфальтобетона (извлечение из ГОСТ 9128-76)

Показатели

Нормы по маркам асфальтобетонов

I

II

Пористость минерального остова, % по объему, не более, для асфальтобетонов типов:

 

 

Бх

18

18

Вх

20

20

Дх

21

21

Остаточная пористость, % по объему

6 - 10

6 - 10

Водонасыщение, % по объему

5 - 9

5 - 9

Набухание, % по объему, не более

1,2

2,0

Предел прочности при сжатии, Па (кгс/см2), не менее, при температуре 20 °С:

 

 

а) до прогрева асфальтобетона

 

 

водонасыщенного

11 × 105 (11) / 12 × 105 (12)

7 × 105 (7) / 8 × 105 (8)

сухого

15 × 105 (15) / 17 × 105 (17)

10 × 105 (10) / 12 × 105 (12)

б) после прогрева асфальтобетона

 

 

водонасыщенного

16 × 105 (16) / 18 × 105 (18)

10 × 105 (10) / 12 × 105 (12)

сухого

18 × 105 (18) / 20 × 105 (20)

13 × 105 (13) / 15 × 105 (15)

Коэффициент водостойкости, не менее:

 

 

а) до прогрева

0,75

0,60

б) после прогрева

0,9

0,80

Коэффициент водостойкости при длительном водонасыщении, не менее:

 

 

а) до прогрева

0,5

0,4

б) после прогрева

0,75

0,65

Слеживаемость по числу ударов, не более

10

10

Сцепление битума с минеральной частью асфальтобетонной смеси

Выдерживает

Примечание. В числителе приведены показатели прочности для мелкозернистых, в знаменателе для песчаных асфальтобетонов.

Таблица 1.6

Дополнительно рекомендуемые показатели физико-механических свойств горячих и теплых асфальтобетонов для верхнего слоя покрытия

Показатели

Нормы по видам и маркам асфальтобетонов

Горячих

Теплых

I

II

I

II

Набухание при длительном водонасыщении, % объема, не более

1,5

1,8

1,8

2,0

Испытания по методу Маршалла:

 

 

 

 

а) устойчивость при 60 °С, Н (кгс), не менее, для смесей типов:

 

 

 

 

А и Б

6000

(600)

5000

(500)

5000

(500)

4000

(400)

В и Г

5000

(500)

4500

(450)

4000

(400)

4000

(400)

Д

-

4000

(400)

-

3500

(350)

б) показатель условной пластичности 1/10 мм

£ 40

£ 40

25 - 40

25 - 40

в) показатель условной жесткости, Н/мм (кгс/мм), не менее, для смесей типов:

 

 

 

 

А и Б

2000

(200)

1700

(170)

1700

(170)

1500

(150)

В и Г

1700

(170)

1700

(170)

1500

(150)

1500

(150)

Д

-

1300

(130)

-

1300

(130)

Примечания. 1. Дополнительно рекомендуемые показатели свойств асфальтобетонов являются ориентировочными и не должны служить браковочным признаком при оценке качества выпускаемых смесей или асфальтобетона из покрытия.

2. Для горячих и теплых асфальтобетонов III и IV марок и для холодных асфальтобетонов показатели, приведенные в таблице, не нормируются, а определяются для накопления данных.

Таблица 1.7

Показатели свойств пористого асфальтобетона (извлечение из ГОСТ 9128-76)

Показатели

Норма

Пористость минерального остова, % по объему, не более

24

Остаточная пористость, % по объему

5 - 10

Водонасыщение, % по объему

3 - 9

Набухание, % по объему, не более

1,5

Таблица 1.8

Зерновой (гранулометрический) состав минеральной части горячих и теплых асфальтобетонных смесей и содержание в них битума (извлечение из ГОСТ 9128-76)

Наименование асфальтобетонных смесей и тип асфальтобетона

Содержание зерен минерального материала, %, мельче данного размера, мм

40

20

15

10

5

2,5

1,25

0,63

0,315

0,14

0,071

Примерный расход битума, % от массы минеральной части

1

2

3

4

5

6

7

8

9

10

11

12

13

I. Асфальтобетонные смеси для плотного асфальтобетона, применяемого в верхнем слое покрытия

 

 

 

 

 

 

 

 

 

 

 

 

 

Непрерывная гранулометрия

Среднезернистые типов:

 

 

 

 

 

 

 

 

 

 

 

 

А

-

95 - 100

78 - 85

60 - 70

35 - 50

24 - 38

17 - 28

12 - 20

9 - 15

6 - 11

4 - 10

5,0 - 6,0

Б

-

95 - 100

85 - 91

70 - 80

50 - 65

38 - 52

28 - 39

20 - 29

14 - 22

9 - 16

6 - 12

5,0 - 6,0

В

-

95 - 100

91 - 96

80 - 90

65 - 80

52 - 66

39 - 53

29 - 40

20 - 28

12 - 20

8 - 14

6,0 - 7,0

Мелкозернистые типов:

 

 

 

 

 

 

 

 

 

 

 

 

А

-

-

95 - 100

63 - 75

35 - 50

24 - 38

17 - 28

12 - 20

9 - 15

6 - 11

4 - 10

5,0 - 6,0

А

-

-

-

95 - 100

35 - 50

24 - 38

17 - 28

12 - 20

9 - 15

6 - 11

4 - 10

5,0 - 6,0

Б

-

-

95 - 100

75 - 85

50 - 65

38 - 52

28 - 39

20 - 29

14 - 22

9 - 16

6 - 12

5,5 - 7,0

Б

-

-

-

95 - 100

50 - 65

38 - 52

28 - 39

20 - 29

14 - 22

9 - 16

6 - 12

5,5 - 7,0

В

-

-

95 - 100

85 - 93

65 - 80

52 - 66

39 - 53

29 - 40

20 - 28

12 - 20

8 - 14

6,0 - 7,0

В

-

-

-

95 - 100

65 - 80

52 - 66

39 - 53

29 - 40

20 - 28

12 - 20

8 - 14

6,0 - 7,0

Песчаные типов:

 

 

 

 

 

 

 

 

 

 

 

 

Г

-

-

-

-

95 - 100

68 - 83

45 - 67

28 - 50

18 - 35

11 - 23

8 - 14

7,0 - 9,0

Д

-

-

-

-

95 - 100

74 - 93

53 - 86

37 - 75

27 - 55

17 - 33

10 - 16

7,0 - 9,0

 

Прерывистая гранулометрия

Среднезернистые типов:

 

 

 

 

 

 

 

 

 

 

 

 

А

-

95 - 100

78 - 85

60 - 70

35 - 50

35 - 50

35 - 50

35 - 50

17 - 28

8 - 15

4 - 10

5,0 - 6,5

Б

-

95 - 100

85 - 91

70 - 80

50 - 65

50 - 65

50 - 65

50 - 65

28 - 40

14 - 23

6 - 12

5,0 - 6,5

Мелкозернистые типов:

 

 

 

 

 

 

 

 

 

 

 

 

-

-

95 - 100

63 - 75

35 - 50

35 - 50

35 - 50

35 - 50

17 - 28

8 - 15

4 - 10

5,0 - 6,5

А

-

-

-

95 - 100

35 - 50

35 - 50

35 - 50

35 - 50

17 - 28

8 - 15

4 - 10

5,0 - 6,5

Б

-

-

95 - 100

75 - 80

50 - 65

50 - 65

50 - 65

50 - 65

28 - 40

14 - 23

6 - 12

5,5 - 7,0

Б

-

-

-

95 - 100

50 - 65

50 - 65

50 - 65

50 - 65

28 - 40

14 - 23

6 - 12

5,5 - 7,0

II. Асфальтобетонные смеси для пористого асфальтобетона, применяемого в нижних слоях покрытий и в основаниях.

 

 

 

 

 

 

 

 

 

 

 

 

 

Непрерывная гранулометрия

Крупнозернистые

95 - 100

-

57 - 80

45 - 73

27 - 60

18 - 48

10 - 37

7 - 26

4 - 19

2 - 12

0 - 4

4,0 - 6,0

Среднезернистые

-

95 - 100

68 - 85

52 - 76

27 - 60

18 - 48

10 - 37

7 - 26

4 - 19

2 - 12

0 - 4

4,0 - 6,0

Мелкозернистые

-

-

95 - 100

67 - 85

35 - 65

27 - 50

18 - 38

12 - 27

6 - 18

2 - 13

0 - 6

4,0 - 6,5

 

Прерывистая гранулометрия

Крупнозернистые

95 - 100

62 - 82

52 - 72

42 - 60

30 - 50

30 - 50

30 - 50

30 - 50

20 - 32

10 - 18

0 - 4

4,0 - 6,0

Среднезернистые

-

95 - 100

72 - 88

60 - 80

35 - 65

35 - 65

35 - 65

35 - 65

22 - 44

10 - 25

0 - 4

4,0 - 6,0

Мелкозернистые

-

-

95 - 100

70 - 88

35 - 65

35 - 65

35 - 65

35 - 65

22 - 44

10 - 25

0 - 6

4,0 - 6,5

Примечания. 1. Увеличивать содержание щебня в смесях (в рекомендуемых таблицей пределах) следует при наличии природного песка, уменьшать - в случае применения дробленого песка.

2. В случае применения активированных минеральных порошков пределы примерного расхода битума, указанные в таблице, должны быть снижены на 0,5 - 1,0 %.

3. Для нижних слоев покрытий, а также для оснований допускается применять асфальтобетонные смеси, рекомендуемые для верхних слоев покрытия при соответствующем технико-экономическом обосновании.

4. При особо тяжелых нагрузках на дорогах количество минерального порошка в смесях для нижнего слоя может быть повышено до 8 %.

Таблица 1.9

Зерновой (гранулометрический) состав минеральной части холодных асфальтобетонных смесей и содержание в них битума (извлечение из ГОСТ 9128-76)

Наименование асфальтобетонной смеси и тип асфальтобетона

Содержание зерен минерального материала, %, мельче данного размера, мм

15

10

5

2,5

1,25

0,63

0,315

0,14

0,071

Примерный расход битума, % от массы минеральной части

Мелкозернистые:

 

 

 

 

 

 

 

 

 

 

тип Бх

95 - 100

79 - 85

50 - 65

33 - 53

21 - 39

14 - 29

10 - 22

9 - 16

8 - 12

3,5 - 5,5

То же

-

95 - 100

65 - 75

43 - 53

27 - 38

19 - 29

13 - 22

10 - 16

9 - 13

тип Вх

95 - 100

85 - 90

65 - 80

53 - 60

39 - 49

29 - 38

22 - 31

12 - 22

13 - 17

4,0 - 6,0

То же

-

95 - 100

75 - 82

53 - 66

38 - 55

29 - 44

22 - 35

16 - 25

13 - 19

Песчаные:

 

 

 

 

 

 

 

 

 

 

тип Дх

-

-

95 - 100

65 - 82

42 - 68

26 - 54

18 - 43

14 - 30

12 - 20

4,5 - 6,5

Примечания. 1. Увеличивать содержание щебня (в рекомендуемых пределах) следует при применении природного песка, уменьшать - в случае применения дробленого песка.

2. В случае применения активированных минеральных порошков пределы примерного расхода битума, указанные в таблице, должны снижаться на 0,5 - 1 %.

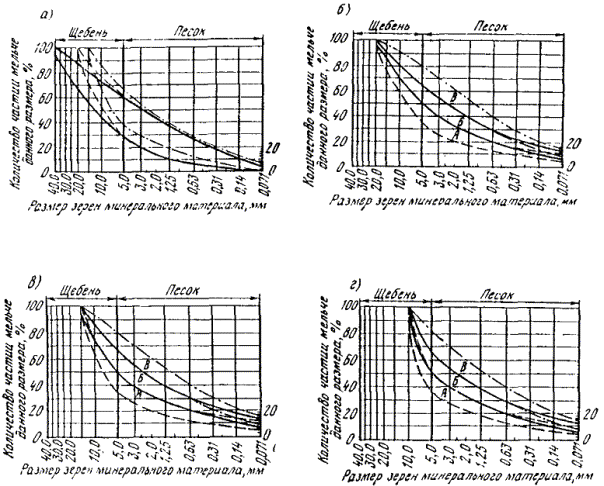
Рис. 1.1. Зерновые составы минеральной части горячих и теплых асфальтобетонных смесей с непрерывной гранулометрией:

а - крупно-, средне- и мелкозернистые (для нижнего слоя покрытия и для основания); б, в, г - средне- и мелкозернистые (для верхнего слоя покрытия)

Рис. 1.2. Зерновые составы минеральной части горячих и теплых песчаных смесей

Рис. 1.3. Зерновые составы минеральной части горячих и теплых асфальтобетонных смесей с прерывистой гранулометрией:

а - крупно-, средне- и мелкозернистые (для нижнего слоя покрытия и для основания); б, в - средне- и мелкозернистые (для верхнего слоя покрытия)

Рис. 1.4. Зерновые составы минеральной части холодных асфальтобетонных смесей:

а и б - мелкозернистых; в - песчаных

Холодный асфальтобетон в начале эксплуатации покрытий, как правило, имеет пористость более 5 %, но со временем она становится примерно такой же, как у плотного горячего и теплого асфальтобетонов. Холодный асфальтобетон применяют только в верхнем слое покрытия.

1.7. Плотные асфальтобетоны по содержанию в них щебня или песка (природного или дробленого) разделяются на типы, указанные в табл. 1.1.

1.8. Асфальтобетоны плотные (горячие и теплые) в зависимости от качества применяемых в них минеральных материалов, количества щебня (гравия) и физико-механических показателей подразделяются на марки, указанные в табл. 1.2 и 1.4.

Холодные асфальтобетоны в зависимости от качества применяемых в них минеральных материалов, класса жидких битумов и физико-механических показателей подразделяются на марки, указанные в табл. 1.3 и 1.5.

Показатели физико-механических свойств и структуры горячих и теплых асфальтобетонов для верхних слоев покрытий должны удовлетворять требованиям табл. 1.4 и 1.6, холодных - табл. 1.5. Показатели свойств горячего и теплого пористого асфальтобетона для нижних слоев покрытий и для оснований должны отвечать требованиям табл. 1.7.

1.9. Зерновой (гранулометрический) состав минеральной части горячих и теплых асфальтобетонных смесей и содержание в них битума должны соответствовать требованиям табл. 1.8, холодных смесей - табл. 1.9 и предельным кривым зернового состава (рис. 1.1 - 1.4).

1.10. Асфальтобетону I марки, приготовленному на основе активированных минеральных порошков и обладающему пористостью минерального остова на 2 % ниже требований стандарта, в установленном порядке, может быть присвоен Государственный знак качества.

2. ТИПЫ КОНСТРУКЦИЙ ДОРОЖНЫХ ОДЕЖД С АСФАЛЬТОБЕТОННЫМИ ПОКРЫТИЯМИ, ОБЛАСТЬ И УСЛОВИЯ ИХ ПРИМЕНЕНИЯ

2.1. Асфальтобетоны применяют для устройства усовершенствованных капитальных и облегченных покрытий на автомобильных дорогах I - IV категорий.

Для устройства усовершенствованных капитальных покрытий применяют асфальтобетоны горячие I и II марок и теплые I марки; для устройства усовершенствованных облегченных покрытий применяют горячие III и IV, теплые II - IV, холодные - I и II марок.

Рекомендуемая область применения различных видов асфальтобетонов для верхнего слоя покрытия приведена в табл. 2.1.

Горячий асфальтобетон применяют для устройства покрытий и оснований на проезжей части автомобильных дорог I - IV категорий, а также на подъездных дорогах промышленных предприятий III-п и IV-п категорий.

Теплый асфальтобетон применяют для устройства покрытий на дорогах III, IV и IV-п категорий во II - V дорожно-климатических зонах, а в I дорожно-климатической зоне - на дорогах I - IV, III-п; IV-п категорий.

Холодный асфальтобетон применяют для устройства покрытий на дорогах III, IV и IV-п категорий во II - V дорожно-климатических зонах.

При устройстве покрытий в городах марку и тип асфальтобетона следует выбирать в зависимости от назначения городских дорог и улиц в соответствии с указаниями СНиП II-60-75 (табл. 49 п. 9.38).

2.2. Конструкция дорожной одежды и толщины слоев покрытий и оснований определяются проектом. На рис. 2.1 приведены примеры типовых конструкций дорожных одежд с асфальтобетонными покрытиями в соответствии с альбомом «Типовых проектных решений дорожных одежд автомобильных дорог общей сети Союза ССР» (серия 503-0-11, Союздорпроект, 1976 г.).

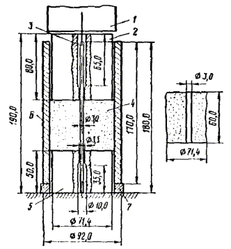
Рис. 2.1. Примеры типовых конструкций дорожных одежд с асфальтобетонными покрытиями:

I - верхний слой покрытия - горячий, теплый, холодный асфальтобетоны; II - нижний слой покрытия - горячий пористый асфальтобетон крупно-, средне- и мелкозернистый; III - слой основания (1 - горячий щебеночный пористый асфальтобетон крупно- или среднезернистый; 2 - щебень, обработанный вязким битумом или битумной эмульсией; 3 - пористые щебеночные эмульсионно-минеральные смеси; 4 - горячий гравийный пористый асфальтобетон крупно- или среднезернистый; 5 - гравийно-песчаные смеси, обработанные битумной эмульсией в сочетании с цементом; 6 - щебень, обработанный вязким битумом по способу пропитки; 7 - гравийные смеси с добавлением 25 - 45 % щебня, обработанные битумной эмульсией); IV - слой основания (1 - щебеночные или гравийные материалы, укрепленные цементом; 2 - щебеночные или гравийные материалы, укрепленные золами уноса, золошлаковыми смесями или гранулированными шлаками в сочетании с цементом; 3 - грунты, укрепленные минеральными вяжущими (I класс прочности); 4 - гравийно-песчаные смеси, укрепленные портландцементом, золами уноса, золошлаковыми смесями или гранулированными шлаками в сочетании с цементом; 5 - грунты, укрепленные минеральными вяжущими (II класс прочности); 6 - грунты, укрепленные минеральными вяжущими (III класс прочности); 7 - цементобетон марок 75, 100, 125; 8 - щебень из естественного камня, гравия или шлака; 9 - щебеночные смеси или гравийные с добавлением 30 % щебня); V - песчаный подстилающий слой.

Примечание. В конструкции № 2 при использовании в качестве основания (слой IV) материалов, укрепленных цементом, толщина двухслойного асфальтобетонного покрытия принимается не менее 12 см.

2.3. Дорожные одежды с асфальтобетонным покрытием, как правило, имеют следующие конструктивные слои: покрытие (однослойное или двухслойное); основание (однослойное или двухслойное); дополнительный слой основания - дренирующий, морозозащитный, выравнивающий, противозаиливающий.

2.4. Асфальтобетонные покрытия могут быть одно- и двухслойные. Однослойное покрытие разрешается устраивать только на основании, верхний слой которого устроен из черного щебня, асфальтобетонной смеси или из щебня, обработанного битумом по способу пропитки.

Однослойные покрытия и верхний слой двухслойных покрытий устраивают из плотных горячих и теплых асфальтобетонов, отвечающих требованиям табл. 1.4, b из холодных асфальтобетонов, отвечающих требованиям табл. 1.5.

Для нижних слоев покрытия преимущественно применяют пористый асфальтобетон, отвечающий требованиям табл. 1.7.

2.5. Для верхнего слоя покрытия марку горячего, теплого и холодного асфальтобетонов, марку битума и тип гранулометрии выбирают в зависимости от категории дороги и климатических условий района строительства (см. табл. 2.1).

2.6. Толщина однослойного покрытия из горячего и теплого асфальтобетонов рекомендуется от 4 до 6 см, из холодного - 3 - 4 см; в двухслойном покрытии толщина верхнего слоя из мелко- и среднезернистого асфальтобетона равна 3,5 - 5 см, из песчаного - 3 - 3,5 см; толщина нижнего слоя из среднезернистого асфальтобетона - 4 - 6 см, из крупнозернистого - 5 - 8 см.

Общую толщину двухслойных покрытий с верхним слоем из щебенистого асфальтобетона (типов А, Б, В) принимают равной 7,5 - 13 см, из песчаного (типов Г, Д) - 7 - 9,5 см.

Минимальная толщина асфальтобетонного покрытия на основании из цементобетона равна 12 см; наименьшая толщина слоя покрытия из холодного асфальтобетона - 3 см, защитного слоя (поверхностная обработка) - 1,5 см.

В конструкциях, предусматривающих устройство двухслойного асфальтобетонного покрытия на основании из черного щебня или пористой асфальтобетонной смеси слоем до 8 см (см. рис. 2.1, конструкции № 4 - 7), целесообразно устройство нижнего слоя покрытия и верхнего слоя основания одним слоем равноценной толщины, выполняемым из материала нижнего слоя покрытия.

Такая замена целесообразна для достижения более высокой плотности материала и снижения стоимости за счет укладки одного слоя взамен двух.

Таблица 2.1

Рекомендуемая область применения различных асфальтобетонов для верхнего слоя дорожного покрытия с учетом категории дороги и климатических условий

Дорожно-климатическая зона

Вид асфальтобетона

Категория автомобильной дороги

 

I, II и III-п

III и IV-п

IV

 

Марка асфальтобетона

Тип асфальтобетона

Марка битума

Марка асфальтобетона

Тип асфальтобетона

Марка битума

Марка асфальтобетона

Тип асфальтобетона

Марка битума

 

1

2

3

4

5

6

7

8

9

10

11

 

I

Горячий

I

А, Б, В, Г

БНД 90/130

II

А, Б, В, Г, Д

БНД 90/130

БНД 60/90

IV

Б, В, Д

БНД 90/130

БН 90/130

БНД 60/90

БН 60/90

 

III

Б, В, Д

БНД 90/130 БН 90/130

 

Теплый

I

А, Б, В, Г

БНД 130/200

БНД 200/300

БГ 70/130

СГ 130/200

II

А, Б, В, Г, Д

БНД 130/200

БНД 200/300

БГ 70/130

СГ 130/200

III и IV

Б, В, Д

БНД 130/200

БН 130/200

БНД 200/300

БН 200/300

БГ 70/130

СП 30/200

 

Холодный

Не применяется

Не применяется

Не применяется

 

II и III

Горячий

I

А. Б, В, Г

БНД 60/90

БНД 90/130

II

А, Б, в, г, д

БНД 60/90

БНД 90/130

IV

Б, В, Д

БНД 60/90

БН 60/90

БНД 90/130

БН 90/130

 

III

Б, В, Д

БНД 60/90

БН 90/130

БНД 90/130

БН 60/90

 

 

 

Теплый

Не применяется

II

А, Б, в, г, д

БНД 130/200

БНД 200/300

БГ 70/130

СГ 130/200

III и IV

Б, В, Д

БНД 130/200

БН 130/200

БНД 200/300

БН 200/300

БГ 70/130

СГ 130/200

 

Холодный

Не применяется

I

Бх, Вх, Дх

СГ 70/130

II

Бх, Вх, Дх

СГ 70/130

МГ 70/130

 

IV и V

Горячий

I

А

БНД 40/60

БНД 60/90

II

А, Б, Г

БНД 40/60

БНД 60/90

БНД 90/130

IV

Б

БНД 40/60

 

в, д

БНД 40/60

БНД 60/90

БН 60/90

Б, В, Г

БНД 40/60

В, Д

БНД 40/60

БНД 60/90

 

III

Б

БНД 40/60

 

в, д

БНД 40/60

БНД 60/90

БН 60/90

 

Теплый

Не применяется

II

А, Б, В, Г, Д

БНД 130/200

БНД 200/300

БГ 70/130

СГ 130/200

III и IV

Б, В, Д

БНД 130/200

БН 130/200

БНД 200/300

БН 200/300

БГ 70/130

СГ 130/200

 

Холодный

То же

I

Бх, Вх, Дх

СГ 70/130

II

Бх, Вх, Дх

СГ 70/130

МГ 70/130

 

2.7. Асфальтобетонные покрытия устраивают с поперечным уклоном 15 - 20 ‰. Продольный уклон дорог, как правило, не должен превышать 60 ‰. В отдельных случаях на дорогах III категории можно допустить продольный уклон более 60 ‰ (но не более чем 80 ‰). При этом должна быть обеспечена повышенная сдвигоустойчивость и требуемая шероховатость покрытия.

2.8. Основания под асфальтобетонные покрытия устраивают из пористых асфальтобетонных смесей, черного щебня, эмульсионно-минеральных смесей, щебня, обработанного вязким битумом или битумной эмульсией по способу пропитки, каменных материалов или грунтов, укрепленных цементом, гранулированными шлаками, битумной эмульсией совместно с цементом, а также из щебня по способу заклинки.

При выборе типа основания под асфальтобетонные покрытия следует иметь в виду, что основания из материалов, укрепленных цементом и другими неорганическими вяжущими, лучше работают в районах с более мягкими климатическими условиями. Для районов с резко континентальным климатом предпочтение следует отдавать основаниям, устраиваемым с применением битумов.

2.9. Асфальтобетонные смеси пористые, предназначенные для устройства оснований, должны соответствовать требованиям табл. 1.7.

Для оснований допускается применять и плотные асфальтобетоны, рекомендуемые для верхних слоев покрытия, при соответствующем технико-экономическом обосновании. В частности, такие основания рекомендуются на участках дорог с высокой грузонапряженностью.

Зерновой (гранулометрический) состав асфальтобетонных смесей для устройства оснований приведен в табл. 1.8.

2.10. Основания из черного щебня и щебня, обработанного битумом по способу пропитки, устраивают согласно «Инструкции по устройству покрытий и оснований из щебня (гравия), обработанного органическими вяжущими» (ВСН 123-77).

2.11. Основание из каменных материалов, укрепленных битумной эмульсией и эмульсией совместно с цементом, устраивают согласно «Техническим указаниям по приготовлению и применению дорожных эмульсий» (ВСН 115-75).

Щебень должен соответствовать требованиям, приведенным в «Технических указаниях по устройству оснований дорожных одежд из каменных материалов, не укрепленных или укрепленных неорганическими вяжущими» (ВСН 184-75).

Для приготовления черного щебня применяют среднераспадающиеся анионные и катионные, а также обратные битумные эмульсии вязкие и жидкие в сочетании с прямыми марок СА и МА-1.

Щебень, обработанный эмульсией, можно использовать непосредственно после приготовления или заготавливать впрок, т.е. укладывать в штабель и затем использовать по мере необходимости. Такой способ работ не только устраняет зависимость строительных объектов от смесительной установки, но и ускоряет процесс формирования основания вследствие формирования пленки вяжущего на щебне в период хранения.

Для обработки щебня, предназначенного для укладки сразу после приготовления, используют эмульсии, содержащие битум марок БНД 40/60, БНД 60/90, БН 60/90, БНД 90/130 и БН 90/130.

Для щебня, заготавливаемого впрок, применяют прямые эмульсии, приготовленные на битумах пониженной вязкости (с глубиной проникания иглы 200 - 250), обратные вязкие (ЭО-В) и обратные жидкие (ЭО) в сочетании с прямыми СА и МА-1, приготовленные на битумах марок БНД 40/60, БНД 60/90 и БН 60/90.

Гранулометрический состав щебеночных пористых смесей должен соответствовать требованиям табл. 1.8 к смесям для устройства оснований.

Для обработки щебеночных смесей из кислых пород целесообразно использовать катионные эмульсии, обеспечивающие хорошее сцепление битума с минеральным материалом и быстрое формирование смеси.

Для обработки щебеночных смесей основных пород рекомендуются анионные эмульсии, обеспечивающие, как правило, хорошее сцепление.

Гравийные смеси для обеспечения лучшей удобоукладываемости и большей несущей способности слоя рекомендуется обогащать 25 - 45 % дробленых частиц (от общего количества гравийных частиц).

При отсутствии возможности обогатить гравийную смесь щебнем целесообразно использовать способ обработки анионной эмульсией совместно с цементом, позволяющий повысить несущую способность конструктивного слоя.

Двумя вяжущими (эмульсией и цементом) целесообразно укреплять песчаные, а также гравийно-песчаные смеси, содержащие гравийных частиц (крупнее 5 мм) менее 50 %.

Эмульсии применяют медленнораспадающиеся катионные или анионные, приготовленные из дорожных вязких битумов.

Песчаные смеси могут быть из природного песка или из смеси природного песка и отходов камнедробления (высевок) гранитных или известняковых.

Слон из смесей, обработанных двумя вяжущими (эмульсией и цементом), отличаются меньшей жесткостью, большей водо- и морозостойкостью, чем из смесей, укрепленных одним цементом. Наличие в этом материале битумного вяжущего увеличивает его устойчивость против усадочных и температурных напряжений. По сравнению с битумоминеральными песчаными смесями смеси, обработанные двумя вяжущими, отличаются большой прочностью и большим модулем упругости.

2.12. Основания из каменных материалов, укрепленных цементом, гранулированными шлаками или устраиваемые по способу заклинки, устраивают в соответствии с «Техническими указаниями по устройству оснований дорожных одежд из каменных материалов, не укрепленных и укрепленных неорганическими вяжущими» (ВСН 184-75).

Для устройства оснований из каменных материалов, укрепленных цементом или гранулированным шлаком, применяют рядовой или фракционированный щебень из естественных горных пород, шлаковый щебень, гравий, щебень из гравия, искусственные каменные материалы (керамдор и др.), гравийно-песчаные материалы, природный песок, песок из отходов дробления, а также другие материалы (ракушечники, слабые известняки, песчаники и т.д.) с содержанием глинистых частиц не более 5 %.

Гравий и щебень должны отвечать требованиям ВСН 184-75 к щебню (гравию) для устройства оснований, укрепленных цементом или другими минеральными вяжущими.

В качестве вяжущих применяют: гранулированные доменные и фосфатные шлаки, цементы, известь и другие активные неорганические материалы.

Для оснований, устраиваемых по способу заклинки, применяют фракционированный щебень естественных горных пород, щебень из горнорудных отходов и малоактивный щебень из металлургических шлаков после освобождения от включений металла (ГОСТ 8267-75 «Щебень из естественного камня для строительных работ» и ГОСТ 3344-73 «Щебень шлаковый доменный и сталеплавильный для дорожного строительства»). Прочность щебня должна соответствовать требованиям ВСН 184-75.

2.13. Основание из грунтов, укрепленных цементом, битумной эмульсией, эмульсией совместно с цементом, золами уноса, устраивают в соответствии с «Инструкцией по применению грунтов, укрепленных вяжущими материалами, для устройства оснований и покрытий автомобильных дорог и аэродромов» (СН 25-74).

Правила производства работ по устройству оснований различных типов подробно изложены в документах, ссылки на которые даны в соответствующих пунктах настоящего раздела.

3. ТРЕБОВАНИЯ К МАТЕРИАЛАМ, ПРИМЕНЯЕМЫМ ДЛЯ ПРИГОТОВЛЕНИЯ АСФАЛЬТОБЕТОННЫХ СМЕСЕЙ

Щебень и гравий

3.1. Для асфальтобетонных смесей следует применять щебень, получаемый дроблением массивных горных пород, валунного камня, крупного гравия и нераспадающихся металлургических шлаков, а также гравий, отвечающие требованиям ГОСТ 8267-75, ГОСТ 10260-74, ГОСТ 3344-73, ГОСТ 8268-74 и пп. 3.2 - 3.8 данного Руководства.

3.2. Марку щебня по дробимости, износу и морозостойкости выбирают, руководствуясь табл. 3.1 - 3.4.

3.3. В щебне для асфальтобетона, применяемого в верхнем слое покрытия, не должно быть зерен слабых и выветрелых пород более 10 %, в нижнем слое - более 15 %.

3.4. Содержание зерен пластинчатой (лещадной) и игловатой формы (% по массе) в щебне для верхнего слоя асфальтобетонных покрытий не должно превышать в асфальтобетонных смесях типа:

А (щебня 50 - 65 %).......................... 15 %

Б и Бх (щебня 35 - 50 %).................... 25 %

В и Вх ( »        20 - 35 %)................... 35 %

3.5. Не допускается применять для асфальтобетонных смесей щебень из глинистых (мергелистых) известняков, глинистых песчаников и глинистых сланцев.

3.6. Количество дробленых зерен в щебне из гравия должно быть не менее указанного в табл. 3.1 (дроблеными считаются зерна, поверхность которых околота более чем наполовину).

3.7. Количество кремнистых частиц в щебне из гравия и гравии не должно превышать 25 %. В щебне из гравия количество зерен из карбонатных пород должно быть не более 30 % для асфальтобетона типов А и Б.

3.8. Количество пылевидных и глинистых частиц в щебне (гравии) не должно превышать указанного в табл. 3.2.


Таблица 3.1

Требования к щебню и гравию для асфальтобетонных смесей

№ п/п

Показатели

Горячие и теплые асфальтобетонные смеси

Холодные асфальтобетонные смеси

Для верхнего слоя покрытия

Для нижнего слоя покрытия

Для основания

Для верхнего слоя покрытия

Марка I

Марка II

Марка III

Марка IV

Марка I

Марка II

Тип гранулометрии

Категория дороги

Тип гранулометрии

А

Б

В

А

Б

В

Б

В

Б

В

I, II

III, IV

I, II

III, IV

Бх

Вх

Бх

Вх

1

Марка по прочности, не ниже:

 

 

 

 

 

 

 

 

 

 

 

 

 

 

 

 

 

 

а) щебень из изверж. и метаморфич. пород

1200

1200

1000

1000

1000

800

800

800

800

600

800

600

600

600

1000

800

800

600

б) щебень из осадочных карбонатных пород

-

-

1000

-

800

600

800

600

600

300

600

400

400

300

800

600

800

600

в) щебень из прочих осадочных пород

1000

1000

1000

1000

800

600

800

600

600

300

600

400

400

300

800

600

800

600

г) щебень из гравия

-

Др. 8

(1000)

Др. 12

(800)

Др. 8

(1000)

Др. 8

(1000)

Др. 8

(800)

Др. 12

(800)

Др. 16

(600)

Др. 16

(600)

Др.24

(400)

Др. 12

(800)

Др. 16

(600)

Др. 16

(600)

Др.24

(400)

Др. 8

(1000)

Др.12

(800)

Др.12

(800)

Др. 16

(600)

д) гравий

-

-

-

-

-

-

Др. 12

(800)

Др. 16

(600)

Др. 16

(600)

Др.24

(400)

Др. 12

(800)

Др. 16

(600)

Др. 16

(600)

Др.24

(400)

-

-

Др.12

(800)

Др. 16

(600)

е) класс щебня из металлургии, шлака

-

1

2

2

2

3

3

3

3

4

3

4

4

4

1

2

2

3

2

Марка по износу в полочном барабане, не ниже:

 

 

 

 

 

 

 

 

 

 

 

 

 

 

 

 

 

 

а) щебень из изверж. и метаморфич. пород

И-I

И-I

И-II

И-II

И-II

И-III

И-III

И-III

И-III

И-IV

И-III

И-IV

И-IV

И-IV

И-II

И-III

И-III

И-IV

б) щебень из осадочных карбонатных пород

-

-

И-I

-

И-II

И-III

И-II

И-III

И-III

И-IV

И-III

И-IV

И-IV

И-IV

И-II

И-III

И-II

И-III

в) щебень из прочих осадочных пород

И-I

И-I

И-II

И-II

И-II

И-III

И-II

И-III

И-III

И-IV

И-III

И-IV

И-IV

И-IV

И-II

И-III

И-II

И-III

г) щебень из гравия

-

И-I

И-II

И-I

И-II

И-III

И-II

И-III

И-III

И-IV

И-II

И-III

И-III

И-IV

И-I

И-II

И-II

И-III

д) гравий

-

-

-

-

-

-

И-II

И-III

И-III

И-IV

И-II

И-III

И-III

И-IV

-

-

И-30

И-40

3

Степень морозостойкости щебня, гравия, не ниже:

 

 

 

 

 

 

 

 

 

 

 

 

 

 

 

 

 

 

а) суровые климатические условия

50

50

50

50

50

25

25

25

25

25

25

25

25

25

50

50

50

25

б) мягкие климатические условия

25

25

25

25

25

15

15

15

15

15

15

15

15

15

25

25

25

15

4

Количество дробленых зерен в щебне из гравия, % по массе, не менее

-

100

80

100

80

70

80

60

70

50

80

70

70

50

100

80

80

60

Примечания. 1. Суровые климатические условия характеризуются среднемесячной температурой наиболее холодного месяца ниже -15 °С, умеренные от -5 до -15 °С, мягкие до -5 °С.

2. Указанные в табл. 3.1 требования к щебню для I и II марок асфальтобетонов типов А и Б относятся также к щебню, применяемому при устройстве шероховатых поверхностей покрытий втапливанием черного щебня или поверхностной обработкой.

3. Для асфальтобетона марки IV типа Б и марки III типа В допускается применение щебня из карбонатных пород марки 400, предварительно обработанного смесью битума с поверхностно-активными веществами анионного типа. При тех же условиях допускается применение щебня из карбонатных пород марки 200 в асфальтобетоне марки IV типа В.

4. В случае расхождения между показателями износа и дробимости марку щебня принимают по наихудшему показателю.


Таблица 3.2

Требования к щебню (гравию) по содержанию пылевидных и глинистых частиц

Вид, марка и назначение асфальтобетона

Содержание пылевидных и глинистых частиц в щебне (гравии) % по массе, не более

из осадочных карбонатных пород

из изверженных, метаморфических и остальных осадочных пород

Горячий и теплый для верхнего и нижнего слоев марок:

 

 

I и II

2

1

III и IV

3

2

Холодный для верхнего слоя марок:

 

 

I

2

1

II

3

2

Горячий и теплый для оснований

4

3

Таблица 3.3

Характеристика марок щебня по морозостойкости (извлечение из ГОСТ 8267-75)

Вид испытаний

Морозостойкость щебня

Мрз15

Мрз25

Мрз50

Непосредственное замораживание:

 

 

 

а) количество циклов

15

25

50

б) потеря в массе после испытания, %, не более

10

10

5

В растворе сернокислого натрия:

 

 

 

а) количество циклов

3

5

10

б) потеря в массе после испытания, %, не более

10

10

10

Песок

3.9. Для приготовления асфальтобетонных смесей применяют пески: дробленые, природные нефракционированные и фракционированные, отвечающие требованиям ГОСТ 8736-77; крупные (модуль крупности Мк > 2,5); средние (модуль крупности Мк = 2,5 - 2,0). В качестве дробленого песка допускается применение отходов дробления горных пород с наибольшим размером зерен 5 мм.

При подборе минеральной части асфальтобетона по принципу непрерывной гранулометрии допускается применять мелкий и очень мелкий песок (с модулем крупности меньше 2,0), если он обогащен крупным песком (природным или дробленым). Количество добавки устанавливают с таким расчетом, чтобы зерновой состав смеси щебня, песка и минерального порошка соответствовал требованиям табл. 1.8 и 1.9.

Если отсутствует крупный песок, составы горячих и теплых асфальтобетонных смесей типов А и Б подбирают с мелким песком по принципу прерывистой гранулометрии (см. табл. 1.8). В холодном асфальтобетоне мелкий песок не применяют (за исключением активированного).

3.10. Для повышения качества рекомендуется активировать песок гидратной известью1 (3 - 4 % по массе) в виброшаровой мельнице или специальной установке в соответствии с п. 5.40.

1 Гидратная известь для активации песка должна соответствовать требованиям ГОСТ 9179-70.

Модуль крупности активированного песка должен быть не менее 1,7.

3.11. В песчаных асфальтобетонных смесях из дробленого песка следует применять крупный песок с модулем крупности более 2,5 и содержанием зерен размером 5 - 1,215 мм не менее 33 %. В песчаных смесях из природного песка или смеси природного и дробленого применяют крупные и средние пески с модулем крупности более 2 и содержанием зерен размером 5 - 1,25 мм не менее 14 %. Мелкий песок допускается использовать для этой цели после активации известью.

3.12. Для песчаных смесей типа Г применяют дробленый песок, полученный при дроблении изверженных горных пород прочностью не ниже марки 1000. Содержание частиц менее 0,071 мм в дробленом песке не должно превышать 5 %, в том числе глины не более 0,5 %. Содержание зерен карбонатных горных пород в дробленом песке из гравия не должно превышать 30 %.

3.13. В горячих и теплых асфальтобетонных смесях I и II марок и в холодных асфальтобетонных смесях I марки используют дробленый песок из изверженных, метаморфических и осадочных пород марки по прочности не ниже 800 или из гравия марки не ниже 1000.

В горячих и теплых асфальтобетонных смесях III и IV марок и в холодных смесях II марки используют дробленый песок из пород марок по прочности не ниже 400 или из гравия марки не ниже 600.

В дробленом песке из карбонатных пород, предназначенном для холодных асфальтобетонных смесей, частиц мельче 0,071 мм допускается до 20 %, если эти частицы получены в результате измельчения карбонатной горной породы.


Таблица 3.4

Характеристика марок щебня по дробимости и износу (извлечение из ГОСТ 8267-75, ГОСТ 10260-74, ГОСТ 3344-73, ГОСТ 8268-74)

Породы, из которых получен щебень

Марка или класс щебня и гравия

1200

1000

800

600

400

300

1-й класс

2-й класс

3-й класс

4-й класс

И-I

И-II

И-III

И-IV

1-й класс

2-й класс

3-й класс

4-й класс

Дробимость щебня при сжатии в водонасыщенном состоянии, % потери массы

Износ щебня в полочном барабане, % потери массы

Изверженные эффизивные (излившиеся)

Свыше 9 до 11

Свыше 11 до 13

Свыше 13 до 15

Свыше 15 до 20

-

-

-

-

-

-

До 25

Свыше 25 до 35

Свыше 35 до 45

Свыше 45 до 60

-

-

-

-

Изверженные интрузивные (глубинные) и метаморфические

Свыше 12 до 16

Свыше 16 до 20

Свыше 20 до 25

Свыше 25 до 34

-

-

-

-

-

-

До 25

Свыше 25 до 35

Свыше 35 до 45

Свыше 45 до 60

-

-

-

-

Осадочные массивные

До 11

Свыше 11 до 13

Свыше 13 до 15

Свыше 15 до 20

Свыше 20 до 28

Свыше 28 до 38

-

-

-

-

До 30

Свыше 25 до 35

Свыше 35 до 45

Свыше 45 до 60

-

-

-

-

Щебень из гравия

-

До 10

Свыше 10 до 14

Свыше 14 до 18

Свыше 18 до 26

-

-

-

-

-

До 20

Свыше 20 до 30

Свыше 30 до 40

Свыше 40 до 50

-

-

-

-

Гравий

-

До 8

Свыше 8 до 12

Свыше 12 до 16

Свыше 16 до 24

-

-

-

-

-

До 20

Свыше 20 до 30

Свыше 30 до 40

Свыше 40 до 50

-

-

-

-

Шлак

-

-

-

-

-

-

До 15

Свыше 15 до 25

Свыше 25 до 35

Свыше 35 до 45

-

-

-

-

До 25

Свыше 25 до 35

Свыше 35 до 45

Свыше 45 до 55


3.14. В песчаных и мелкозернистых (крупностью до 10 мм) горячих, теплых и холодных асфальтобетонных смесях II марки допускается применять в качестве щебня и песка активированные продукты дробления гравия (кроме смесей с гранулометрией типа А). Исходный гравий должен иметь показатель дробимости не ниже Др.12. Гравий дробят в специальной установке (см. п. 5.39) в присутствии следующих активирующих материалов:

а) битумов БНД 90/130, БНД 60/90*, обогащенных высшими алифатическими аминами (катионактивные ПАВ) в количестве 0,25 % от массы битума;

* Как исключение можно применять битумы БН 90/130 и БН 60/90

б) смол или дегтей, получаемых при низкотемпературной переработке твердого топлива (каменного или бурого угля, горючих сланцев, торца, древесины). Смолы или дегти применяют в смесях с битумом в соотношении 1:1 - 1:2 или без битума. Количество активирующих материалов составляет 1,5 - 2,5 % к массе гравия.

3.15. Содержание в песке зерен, проходящих через сито с сеткой № 0,14, не должно быть более 15 %, а в активированных продуктах дробления гравия - более 25 %. Количество пылевидных и глинистых частиц, определяемых отмучиванием, не должно превышать 3 % в природном и 7 % в дробленом (неактивированном) песке, в том числе глины не должно быть более 0,5 %.

Минеральный порошок

3.16. Минеральный порошок для асфальтобетонных смесей получают тонким измельчением (размолом) карбонатных горных пород - известняков, доломитизированных известняков, известняков-ракушечников, битуминозных известняков и доломитов и других карбонатных горных пород, а также основных металлургических шлаков.

3.17. В горячих и теплых асфальтобетонных смесях III и IV марок в качестве минеральных порошков допускается применять порошкообразные отходы промышленности: золу уноса ТЭЦ, пыль уноса цементных заводов, отходы асбестоцементного производства, золу каменного угля, а также тонкомолотые некарбонатные горные породы (для IV марки).

3.18. Для повышения качества асфальтобетона применяют активированные минеральные порошки, получаемые размолом карбонатных горных пород, перечисленных в п. 3.10 (за исключением битуминозных), совместно с активирующим материалом.

3.19. Активирующими материалами могут служить:

а) смесь продуктов, содержащих анионактивные поверхностно-активные вещества (ПАВ) чипа высших карбоновых кислот с вязким битумом. Соотношение по массе этих продуктов и битума должно быть 1:1 - 3:1. Перечень продуктов, содержащих высшие карбоновые кислоты, приведен в табл. 3.13, а также в «Инструкции по использованию поверхностно-активных веществ при строительстве дорожных покрытий с применением битумов» (ВСН 59-68). Продукты, содержащие высшие карбоновые кислоты, должны иметь кислотное число не ниже 50 мг КОН на 1 г число омыления не ниже 120 мг КОН на 1 г;

б) смесь анионактивных поверхностно-активных веществ типа железных солей высших карбоновых кислот с вязким битумом. Для приготовления ПАВ типа железных солей высших карбоновых кислот применяют хлорное железо I и II сортов, соответствующее требованиям ГОСТ 11159-76. Составы ПАВ типа железных солей высших карбоновых кислот приведены в Инструкции ВСН 59-68;

в) смолы или дегти (см. табл. 3.12), получаемые при низкотемпературной переработке твердого топлива (горючих сланцев, каменного или бурого угля, торфа. Смолы или дегти применяют в смесях с битумом в соотношении 1:1 - 1:2 или без битума.

г) гидрофобизирующая кремнийорганическая жидкость 136-41 (полиэтилгидросилоксан), соответствующая требованиям ГОСТ 10834-76.

3.20. Для активации минеральных порошков разрешается применять продукты, не перечисленные в п. 3.19, если активированные ими минеральные порошки будут соответствовать требованиям табл. 3.5.

3.21. Общее количество активирующих материалов, за исключением гидрофобизирующей жидкости 136-41, должно быть 1,5 - 2,5 %, а гидрофобизирующей жидкости - 0,25 - 0,50 % к массе размалываемого материала.

3.22. Нефтяные битумы, применяемые для приготовления активирующих материалов, должны соответствовать требованиям ГОСТ 22245-76.

3.23. Марку битума для активирующей смеси назначают с учетом вида асфальтобетона (горячий, теплый, холодный) и климатических условий района строительства (табл. 3.6).

3.24. В целях ускорения формирования дорожного покрытия из холодного или теплого асфальтобетонов, приготовленных с жидким битумом марки СГ 130/200 или вязким битумом марки БНД 200/300, рекомендуется применять минеральный порошок, активированный смесью битума с анионактивными веществами типа железных солей высших карбоновых кислот (ФР, ФКК, ФОП, ФКГ, ФГС согласно Инструкции ВСН 59-68).

Таблица 3.5

Технические требования к минеральным порошкам из карбонатных горных пород (извлечение из ГОСТ 10557-71)

Показатели

Нормы по видам порошка

Активированный

Неактивированный

Зерновой состав, % по массе:

 

 

мельче 1,25 мм

100

100

»     0,315   » не менее

95

90

»     0,071   »   »      »

80

70

Пористость, % но объему, не более

30

35

Набухание образцов из смеси минерального порошка с битумом, % по объему, не более

1,5

2,5

Показатель битумоемкости, г на 100 см3 (абсолютного объема), не более

50

65

Влажность, % по массе, не более

0,5

1,0

Примечания. 1. Если активированный минеральный порошок приготовлен из карбонатных горных пород с содержанием глины более 5 %, набухание смеси порошка с битумом допускается до 2,5 %, а битумоемкость - до 65 г на 100 см3.

2. В минеральных порошках, получаемых из горных пород, у которых прочность при сжатии выше 400 × 105 Па (400 кгс/см3), за допускаемое количество содержащихся в них частиц мельче 0,071 мм принимается величина на 5 % меньше предусмотренной в табл. 3.5.

3.25. Карбонатные горные породы, используемые для производства активированных и неактивированных минеральных порошков, не должны содержать глинистых примесей более 5 %. О загрязненности карбонатной горной породы глинистыми примесями судят по суммарному содержанию полуторных окислов (Al2О3 + Fe2О3), которых не должно быть более 1,7 %.

3.20. При активации порошков дегтем или смолами (п. 3,19, в), а также гидрофобизирующей жидкостью 136-41 (п. 3.19, г) в горной породе допускается до 15 % глинистых примесей (полуторных окислов - до 5 %).

3.27. Порошкообразные отходы промышленности, применяемые в качестве минеральных порошков, должны быть без загрязняющих примесей и не должны содержать свободной окиси кальция (СаО).

Примечание. Наличие окиси кальция устанавливают по методике, изложенной в инструкции 59 - 68.

Таблица 3.6

Марки битумов для активирующей смеси

Асфальтобетон

Дорожно-климатическая зона

I

II и III

IV и V

Горячий

БНД 200/300

БНД 130/200

БНД 90/130

БНД 130/200

БНД 90/130

БНД 60/90

Теплый

БНД 200/300

БНД 130/200

БНД 90/130

БНД 130/200

БНД 90/130

БНД 60/90

БНД 90/130

БНД 60/90

БНД 40/60

БНД 60/90

БНД 40/60

 

БНД 40/60

 

 

Холодный

-

БНД 60/90

БНД 60/90

БНД 40/60

БНД 40/60

Примечание. При отсутствии битума марок БНД в виде исключения разрешается использовать битумы марок БН с теми же пределами глубины проникания иглы при 25 °С.

3.28. Минеральные порошки из карбонатных горных пород должны соответствовать требованиям табл. 3.5 (ГОСТ 16557-71), остальные - требованиям табл. 3.7.

Минеральные порошки испытывают в соответствии с ГОСТ 12784-71.

3.29. Качество минеральных порошков, перечисленных в п. 3.17, дополнительно проверяют по свойствам песчаного асфальтобетона, приготовленного с применением указанных порошков. Коэффициент водостойкости образцов из горячего и теплого асфальтобетона с остаточной пористостью 4,5 - 5 % после длительного водонасыщения (15 сут) должен соответствовать требованиям табл. 1.4 (в зависимости от вида и марки асфальтобетона). При этом минеральную часть асфальтобетона подбирают по верхнему пределу кривой плотной смеси, т.е. с максимальным содержанием минерального порошка (см. рис. 1.2).

3.30. Минеральный порошок должен быть сухим, рыхлым, сыпучим. Активированный минеральный порошок, кроме того, должен быть однородным по цвету и гидрофобным. Различие в содержании активирующей смеси в пробах, отобранных из каждой поступившей партии порошка, не должно быть более ± 0,15 % от массы порошка (см. ГОСТ 12784-71).

Примечание. К порошкам, активированным смолами, перечисленными в п. 3.19, в, требования по гидрофобности не предъявляются.

Таблица 3.7

Технические требования к минеральным порошкам из некарбонатных горных пород и отходов промышленности (извлечение из ГОСТ 9128-76)

Показатели

Нормы по видам порошка

Из основных металлургических шлаков и некарбонатных горных пород

Отходы промышленности

Золы уноса ТЭЦ

Пыль уноса цементных заводов

Зерновой состав, % по массе, не менее:

 

 

 

мельче 1,25 мм

100

100

100

»     0,315   »

90

55

90

»     0,071   »

70

35

70

Пористость, % по объему, не более

35

45

45

Набухание образцов из смеси минерального порошка с битумом, % по объему, не более

2,5

Не нормируется

2,5

Коэффициент водостойкости образцов из смеси порошка с битумом

Не нормируется

0,6

0,8

Показатель битумоемкости, г на 100 см3 (абсолютного объема), не более

То же

100

100

Содержание водорастворимых соединений, % по массе, не более

»

1

6

Влажность, % по массе, не более

1,0

2,0

2,0

Содержание окислов щелочных металлов (Na2О + К2О), % по массе, не более

Не нормируется

6

Потери при прокладывании, % по массе, не более

То же

20

Не нормируется

Примечания. 1. В смесях IV марки допускается применение минеральных порошков с содержанием частиц мельче 0,071 мм не менее 60 %.

2. Пористость, коэффициент водостойкости и битумоемкость золошлаковых смесей ТЭЦ определяют для той их части, которая проходит сито с отверстием 0,315 мм.

3. Показатель битумоемкости минерального порошка определяют только при установлении пригодности нового материала (горной породы) для приготовления минерального порошка, а также в случаях арбитража.

4. Содержание окислов щелочных металлов определяют химическим анализом на цементных заводах и указывают в паспорте.

Таблица 3.8

Минеральные порошки для асфальтобетонов

Вид минерального порошка

Вид и марка асфальтобетона

Горячий и теплый

Холодный

I

II

III

IV

I и II

Активированные минеральные порошки из карбонатных горных пород

+

+

-

-

+

Неактивированные минеральные порошки из карбонатных горных пород

+

+

+

+

+

Тонкомолотые основные металлургические шлаки

-

+

+

-

+

Тонкомолотые некарбонатные горные породы

-

-

-

+

-

Порошкообразные отходы промышленности

-

-

+

+

-

Примечания. 1. Минеральные порошки, предусмотренные для асфальтобетонов высших марок, могут быть применены для асфальтобетонов низших марок только при условии экономической целесообразности.

2. В I марке асфальтобетонов применяют преимущественно активированные минеральные порошки.

3.31. При производстве активированных минеральных порошков следует руководствоваться «Техническими указаниями по производству активированных минеральных порошков и применению их в асфальтобетоне» (ВСН 113-65).

3.32. Выбор минеральных порошков по видам и маркам асфальтобетона осуществляют в соответствии с табл. 1.2, 1.3 и 3.8.

Битумы

3.33. Для приготовления асфальтобетонных смесей применяют нефтяные дорожные вязкие и нефтяные дорожные жидкие битумы (табл. 3.9 и 3.10), соответствующие требованиям ГОСТ 22245-76 и ГОСТ 11955-74. Для горячих и теплых асфальтобетонных смесей I и II марок следует применять только битумы марок БНД, а для горячих и теплых асфальтобетонных смесей III и IV марок, а также для асфальтобетонных смесей, предназначенных для устройства оснований и нижних слоев покрытий, наряду с битумами марок БНД допускается также применение битумов марок БН соответствующей вязкости.

3.34. Марку вязкого битума, а также класс и марку жидкого битума выбирают в зависимости от вида асфальтобетона, климатических условий района строительства и категории дороги, а для холодного асфальтобетона - с учетом условий и сроков хранения смеси на складе. При выборе марки битума следует руководствоваться табл. 2.1.

3.35. Нефтяные вязкие дорожные битумы выпускаются нефтеперерабатывающими заводами с ПАВ или без них.

При маркировке битумов, выработанных с добавками ПАВ, к наименованию марки битума добавляется индекс п, например, БНДп 200/300.

В случаях, когда поступивший на строительство битум не обеспечивает сцепление с минеральной частью асфальтобетона в соответствии с ГОСТ 9128-76, в него следует ввести ПАВ на АБЗ.

3.36. Нефтяные жидкие дорожные битумы получают на нефтеперерабатывающих заводах смешением вязких битумов, отвечающих требованиям ГОСТ 22245-76, с жидкими нефтяными продуктами (разжижителями) установленного фракционного состава (ГОСТ 11955-74) и добавлением ПАВ.

3.37. В исключительных случаях при отсутствии жидких битумов промышленного производства жидкие битумы классов СГ и МГ могут быть приготовлены на АБЗ смешением вязкого битума с разжижителем и добавлением ПАВ.

Жидкие битумы класса СГ готовят смешением вязких битумов марок БНД 40/60 или БНД 60/90 с разжижителями, имеющими следующие характеристики: начало кипения не ниже 145 °С, 50 % продукта испаряется при температуре не выше 215 °С, 96 % выкипает при температуре не выше 300 °С.

Этим требованиям могут отвечать:

арктическое дизельное топливо А (ГОСТ 305-73), зимнее дизельное топливо З (ГОСТ 305-73), керосин для технических целей (ГОСТ 18499-73). Извлечения из соответствующих ГОСТов приведены в приложениях.

Жидкие битумы класса МГ готовят смешением вязких битумов БНД 40/60 или БНД 60/90 с разжижителями, 50 % массы которых испаряется до температуры 280 °С, а 96 % массы - до температуры 360 °С.

Этим требованиям могут отвечать: топливо дизельное летнее Л (ГОСТ 305-73); топливо для быстроходных дизелей ДЗ, ДА, ДС (ГОСТ 4749-73); масло зеленое (ГОСТ 2985-64). Извлечения из соответствующих ГОСТов приведены в приложениях.

Соотношение битума и разжижителя, а также оптимальное количество ПАВ устанавливают предварительно в лаборатории. Ориентировочные концентрации разжижителя и ПАВ, необходимые для получения жидких битумов разных марок, приведены в табл. 3.11 и 3.12.

3.38. Жидкие битумы следует готовить в отдельном битумном котле, оборудованном пароподогревом. Котел заполняют на 0,7 объема обезвоженным вязким битумом, температура которого должна быть в пределах 90 - 100 °С при изготовлении битумов класса СГ и 100 - 110 °С при изготовлении битумов класса МГ. Затем в битум при постоянном перемешивании вводят небольшими порциями разжижитель без подогрева и ПАВ, разогретое до 50 - 70 °С. Перемешивание осуществляется циркуляцией битумным насосом или другим способом до получения однородного материала.

Для соблюдения требуемого соотношения компонентов разжижитель и ПАВ следует подавать в котел через дозатор.

3.39. В некоторых случаях путем разжижения на АБЗ могут быть получены битумы марок БНД 130/200 и БНД 200/300, используемые для приготовления теплых асфальтобетонных смесей.

Таблица 3.9

Требования к вязким нефтяным битумам (извлечение из ГОСТ 22245-76)

Показатели

Нормы по маркам

БНД 200/300

БНД 130/200

БНД 90/130

БНД 60/90

БНД 40/60

БН 200/300

БН 130/200

БН 90/130

БН 60/90

Метод испытания

1. Глубина проникания иглы:

 

 

 

 

 

 

 

 

 

 

а) при 25 °С

201 - 300

131 - 200

91 - 130

61 - 90

40 - 60

201 - 300

131 - 200

91 - 130

60 - 90

По ГОСТ 11501-73

б) » 0 °С, не менее

45

35

28

20

13

-

-

-

-

 

2. Температура размягчения по кольцу и шару, °С, не ниже

35

39

43

47

51

33

37

40

45

По ГОСТ 11506-73

3. Растяжимость, см, не менее:

 

 

 

 

 

 

 

 

 

 

а) при 25 °С

-

65

60

50

40

-

70

60

50

По ГОСТ 11505-75

б) » 0 °С

20

6

4,2

3,5

-

-

-

-

-

 

4. Температура хрупкости, °С, не выше

-20

-18

-17

-15

-10

-

-

-

-

По ГОСТ 11507-65

5. Температура вспышки, °С, не ниже

200

220

220

220

220

200

220

220

220

По ГОСТ 4333-48

6. Сцепление с мрамором или песком

Выдерживает по контрольному образцу № 2

-

-

-

-

По ГОСТ 11508-74, метод А

7. Изменение температуры размягчения после прогрева, °С, не более

8

7

6

6

6

8

7

6

6

По ГОСТ 18180-72 или ГОСТ 11506- 73 с дополнением по п. 3.2. ГОСТ 22245-76

8. Индекс пенетрации

От +1 до -1

От +1 до -1,5

По справочному приложению ГОСТ 22245-76

9. Содержание водорастворимых соединений, %, не более

0,2

0,2

0,3

0,3

0,3

-

-

-

-

По ГОСТ 11510-65

Примечания. 1. Допускается для битумов, изготовленных с добавлением поверхностно-активных веществ, снижение нормы по показателю «растяжимость при 25 °С» на 10 % и увеличение содержания водорастворимых соединений до 0,5 %.

2. Допускается для битумов, изготовляемых в Азербайджанской ССР, увеличение содержания водорастворимых соединений до 0,4 %.

3. При изготовлении битумов марок БНД, которым в установленном порядке присвоен Государственный знак качества, определение показателя по п. 6 таблицы необходимо проводить по контрольному образцу № 1, кроме марки БНД 200/300, а битум марки БНД 40/60 должен иметь температуру хрупкости не выше минус 12 °С. Нормы в таблице по п. 3б для битумов марок БНД распространяется только на битум, аттестованный Государственным знаком качества.

4. Показатель по п. 7 таблицы является факультативным до 01.01.1980 г.

Таблица 3.10

Требования к жидким дорожным битумам, используемым для приготовления асфальтобетона

Показатели

Нормы по маркам

Методы испытания

БГ 70/130

СГ 70/130

СГ 130/200

МГ 70/130

МГ 130/200

Условная вязкость по вискозиметру с отверстием 5 мм при 60 °С, с

71 - 130

71 - 130

131 - 200

71 - 130

131 - 200

По ГОСТ 11503-74

Количество испарившегося разжижителя при выдерживании битума в термостате (60°, 5 ч) или вакуумтермостате (100 °С, 1 ч), % от массы битума, не менее:

7

8

7

7

5

По ГОСТ 11504-73

в термостате (60 °С, 5 ч)

 

 

 

 

 

 

в вакуумтермостате (100 °С, 1 ч)

7

-

-

-

-

 

в термостате (100 °С, 3 ч)

 

 

 

 

 

 

в вакуумтермостате (100 °С, 2 ч)

-

8

7

-

-

 

в термостате (110 °С, 5 ч)

 

 

 

 

 

 

в вакуумтермостате (100 °С, 3 ч)

-

-

-

7

5

 

Температура размягчения остатка после определения количества испарившегося разжижителя, °С, не ниже

37

39

39

29

30

По ГОСТ 11506-73

Температура вспышки в открытом тигле, °С, не ниже

37

50

60

110

110

По ГОСТ 4333-48

Испытание на сцепление с мрамором или песком

Выдерживает в соответствии с контрольным образцом № 2

По ГОСТ 11508-74, метод Б с дополнением по п. 4.3 ГОСТ 11955-74

Таблица 3.11

Ориентировочные концентрации разжижителей, используемых при приготовлении разжиженных битумов

Требуемая марка битума

Марка исходного битума

Количество разжижителя для получения битума заданной вязкости, % от массы

Дизельное топливо А и З, керосин для технических целей

Дизельное топливо Л, топливо для быстроходных дизелей ДЗ, ДА, ДС, зеленое масло

БНД 200/300

БНД 60/90

4 - 7

5 - 8

БНД 90/130

3 - 5

4 - 7

БНД 130/200

БНД 60/90

4 - 6

4 - 6

БНД 90/130

3 - 4

3 - 5

СГ 130/200

БНД 40/60

14 - 18

-

БНД 60/90

12 - 16

-

СГ 70/130

БНД 40/60

16 - 20

-

БНД 60/90

14 - 17

-

МГ 130/200

БНД 40/60

-

17 - 23

БНД 60/90

-

14 - 18

МГ 70/130

БНД 40/60

-

19 - 25

БНД 60/90

-

16 - 20

Примечание. Для приготовления битумов БНД 200/300 и БНД 130/200 в качестве разжижителя могут быть также использованы каменноугольные дегти Д-3, Д-4 (6 - 18 %), Д-5 (9 - 20 %), каменноугольное масло (5 - 12 %), сланцевое масло (4 - 10 %).

Для этого в вязкие битумы БНД 40/60, БНД 60/90 и БНД 90/130 вводят разжижители, рекомендуемые для битумов класса СГ и МГ в соответствии с п. 3.37, а также каменноугольные дегти марок Д-3, Д-4, Д-5, каменноугольные и сланцевые масла.

3.40. Жидкие битумы классов БГ и СГ должны храниться в герметично закрытых емкостях, а битумы класса МГ - в битумохранилищах закрытого типа.

Сроки хранения жидких битумов без подогрева с момента изготовления; для битумов класса БГ - 2 мес, СГ - 6 мес, МГ - 8 мес.

Поверхностно-активные вещества и активаторы

3.41. При устройстве дорожных асфальтобетонных покрытий в необходимых случаях рекомендуется применять поверхностно-активные вещества (ПАВ) и активаторы.

3.42. Поверхностно-активные вещества назначают:

в случае отсутствия требуемого сцепления битума с минеральной частью асфальтобетонных смесей;

для обеспечения возможности использования не полностью просушенных минеральных материалов, что может иметь место при строительстве покрытий осенью и весной (с применением ПАВ допускается остаточная влажность минеральных материалов до 1 % при приготовлении горячих и до 3 % при приготовлении теплых и холодных асфальтобетонных смесей);

для активации поверхности минеральных материалов (порошка, песка, гравийного материала);

для уменьшения слеживаемости холодных асфальтобетонных смесей в процессе хранения и транспортирования.

Кроме того, применение ПАВ позволяет уменьшить температуру нагрева минеральных материалов и смесей, увеличить степень обволакивания битумом поверхности минеральных частиц, сократить время перемешивания, улучшить удобоукладываемость и уплотняемость смесей.

3.43. Используемые в асфальтобетоне ионогенные ПАВ относятся к двум классам: катионактивных и анионактивных веществ.

К классу катионактивных веществ относятся соли высших первичных, вторичных и третичных алифатических аминов, четырехзамещенные аммониевые основания и т.п.

К анионактивным веществам относятся высшие карбоновые кислоты, соли (мыла) тяжелых и щелочно-земельных металлов высших карбоновых кислот и т.п.

В качестве ПАВ используют также некоторые смолы твердых топлив. Перечень ПАВ и активаторов, а также рекомендации по их использованию приведены в табл. 3.12.

Таблица 3.12

Поверхностно-активные вещества и активаторы, применяемые при приготовлении асфальтобетонных смесей

Класс ПАВ

Рекомендуемый предел концентраций ПАВ при введении

Температура ПАВ при введении в битум или на минеральный материал, °С

Температура битума при введении ПАВ, °С

Наименование ПАВ и активаторов

Технические условия на ПАВ и активаторы

в битум, % от массы битума

на минеральный материал, % от массы минерального материала

Вязкий

Жидкий класс

СГ

мг

Катионактивные Высшие алифатические амины

0,5 - 1,5

0,05 - 0,15

50 - 70

110 - 130

70 - 100

100

БП-3, продукт на основе полиэтиленполиамина и синтетических жирных кислот С21 - С26

ТУ 38-2-01-170-74 с изменением № 2

Амины алифатические С17 - С21 (технические), продукт процесса гидрирующего аминирования жирных кислот

ТУ 6-02-795-73

Флотамин (октадециламин стеариновый технический)

ГОСТ 5.997-71

Анионактивные Высшие карбоновые кислоты

3 - 5

0,2 - 0,3

50 - 70

110 - 130

70 - 100

70 - 100

Смола госсиполовая (хлопковый гудрон), продукт, получаемый в виде кубового остатка при дистилляции жирных кислот, выделенных из хлопкового соапстока

ОСТ 18-114-73

Гудрон жировой, продукт, получаемый при дистилляции жирных кислот, выделенных после расщепления натуральных жиров

ОСТ 18-114-73

Синтетические кислоты С17 - С20

ОСТ 38-7-25-73

Кубовый остаток синтетических жирных кислот

ТУ 38-1-07-54-74

Окисленный петролатум

ОСТ 38-01-117-76

Смолы твердых топлив

10 - 12

1 - 3

50 - 100

110 - 130

70 - 100

70 - 100

Сланцевая низкотемпературная смола (жидкий сланцевый битум в пределах марок от С-2 до С-5)

РСТ ЭССР 82-72

Смола каменноугольная

ГОСТ 4492-69

Смола сосновая

ГОСТ 11238-65

Активаторы

-

1 - 3

-

-

-

-

Известь гидратная

ГОСТ 9179-70

Портландцемент и гидрофобный портландцемент марок 400 - 600

ГОСТ 10178-62

Примечания. 1. Температуры для жидких битумов даны при приготовлении их на асфальтобетонных заводах.

2. Особенности применения ПАВ в случае введения их на минеральный порошок указаны в п. 3.19 и 3.21.

3.44. Класс ПАВ следует выбирать с учетом природы и свойств применяемых минеральных материалов и битума.

3.45. При выборе ПАВ для улучшения сцепления битумов с минеральными материалами предпочтение следует отдавать катионактивным ПАВ типа высших алифатических аминов, улучшающим сцепление битумов с минеральными материалами кислых и основных пород.

Одновременно ПАВ этого типа являются замедлителями старения битумов высокой вязкости.

3.46. ПАВ на асфальтобетонных заводах могут быть введены:

а) в битум. При этом ПАВ вводят в рабочий битумный котел или в дозатор битума перед подачей в мешалку. При введении ПАВ в битумный котел битум может выдерживаться при рабочей температуре не более 3 - 4 ч;

б) на поверхность минерального материала перед обработкой его битумом. В этом случае ПАВ вводят ввиду их небольшого расхода в смеси с пластификатором (1:1). В качестве пластификатора лучше всего использовать применяемый битум, количество которого учитывается при общей дозировке (схемы введения ПАВ см. на рис. 5.7 - 5.9).

3.47. Положительный эффект от применения ПАВ может быть достигнут лишь в случае их использования в оптимальных концентрациях. Оптимальные концентрации в рекомендуемых пределах (см. табл. 3.12) следует уточнять в каждом конкретном случае с учетом природы и свойств применяемых материалов.

Критерием оценки оптимального количества ПАВ служит комплекс физико-механических показателей свойств асфальтобетона. Превышение оптимального количества ПАВ может привести к отрицательному эффекту.

3.48. В тех случаях, когда битум не содержит ПАВ или содержит ПАВ анионного типа для улучшения сцепления битума с кислыми минеральными материалами, рекомендуется применять активаторы (известь, цемент и др.), которые вводят в смесь минеральных материалов до обработки ее битумом в количестве 1 - 3 % от массы минерального материала.

3.49. Более подробные сведения о ПАВ, активаторах и особенностях их применения изложены в «Инструкции по использованию поверхностно-активных веществ при строительстве дорожных покрытий с применением битумов» (ВСН 59-08).

4. ПОДБОР СОСТАВА АСФАЛЬТОБЕТОНА

Общие положения

4.1. При подборе состава асфальтобетона любого вида, типа и марки следует руководствоваться следующим:

а) одним из важных факторов, обеспечивающих требуемое качество асфальтобетона, является зерновой состав его минеральной части. Последний должен придать оптимальную плотность асфальтобетону, а при необходимости - повышенную шероховатость. Когда имеются соответствующие материалы (главным образом крупный или средний песок), минеральную часть асфальтобетона рекомендуется подбирать по принципу непрерывной гранулометрии (см. табл. 1.8 и рис. 1.1 и 1.2) и только при отсутствии крупного или среднего песка (природного или дробленого) следует использовать принцип прерывистой гранулометрии, когда остов из щебня (35 - 65 %) заполняют смесью, не содержащей зерен размером 5 - 0,63 мм (см. табл. 1.8 и рис. 1.3). Минеральную часть холодного асфальтобетона подбирают только по принципу непрерывной гранулометрии (см. табл. 1.9 и рис. 1.4).

Смесь щебня, песка и минерального порошка подбирают таким образом, чтобы кривая зернового состава располагалась в зоне, ограниченной предельными кривыми, и была по возможности плавной без резких переломов.

В соответствии с классификацией асфальтобетона по типам его минеральная часть может быть каркасной и бескаркасной. В асфальтобетоне типа А каркас образуют зерна щебня, количества которых достаточно для создания жесткой пространственной системы, когда эти зерна соприкасаются друг с другом. В песчаном асфальтобетоне каркас хотя и менее жесткий, но создается крупным песком (5 - 1,25 мм). В бескаркасном асфальтобетоне зерна щебня или крупного песка не соприкасаются друг с другом и не создают каркаса. Приблизительно 40 - 45 % щебня (или крупного песка) служит границей между каркасной и бескаркасной системами. Каркасный асфальтобетон, в том числе песчаный типа Г, обладает повышенной сдвигоустойчивостью и рекомендуется для применения в условиях более тяжелого и интенсивного движения автомобилей;

б) качество асфальтобетона можно повысить, применяя активированный минеральный порошок, активированный известью песок, вводя в асфальтобетонную смесь добавки ПАВ, совершенствуя технологический процесс приготовления асфальтобетонных смесей (улучшая качество перемешивания) и повышая степень уплотнения покрытия. Чтобы увеличить прочность и сдвигоустойчивость асфальтобетонов типов В и Д при высоких летних температурах рекомендуется повысить вязкость битума (в пределах, возможных для данного типа асфальтобетона) и увеличить содержание минерального порошка (в рекомендуемых пределах);

в) шероховатость поверхности асфальтобетонных покрытий обеспечивается высоким содержанием щебня (50 - 65 %) из труднополирующихся горных пород (типа А), или применением дробленого песка из труднополирующихся горных пород (тип Г), или применением щебня в сочетании с дробленым песком из труднополирующихся горных пород (типы Б, Бх), а также за счет втапливания черного щебня в поверхностный слой покрытия или за счет устройства шероховатого коврика методом поверхностной обработки (типы Б, Бх, В, Вх, Д и Дх);

г) щебень должен быть прочным, кубовидной или тетраэдальной формы, благодаря чему уменьшается его дробимость при уплотнении и износ при эксплуатации. Для устройства шероховатых покрытий рекомендуется щебень из горных пород мелкозернистой кристаллической структуры, при износе сохраняющий шероховатость естественного окола. Чем меньше окатаны зерна щебня, тем выше сдвигоустойчивость асфальтобетонного покрытия.

Лучшим сцеплением с нефтяным битумом обладают: из изверженных и метаморфических пород - основные и ультраосновные (базальт, диабаз, перидотит, серпентин, габбро и т.п.), из осадочных - карбонатные (известняк, доломит). Последние отличаются повышенной шлифуемостью, что препятствует применению их в асфальтобетоне, предназначенном для устройства покрытий с шероховатой поверхностью. Щебень из кислых горных пород (гранит, сиенит, диорит и др.), как правило, плохо сцепляется с нефтяным битумом. В случае необходимости сцепление можно обеспечить введением ПАВ в битум или активаторов в смесь минеральных материалов;

д) на свойства асфальтобетона (особенно песчаного) значительное влияние оказывает качество песка. Асфальтобетон с дробленым песком более сдвигоустойчив, чем с природным, но требует большей работы катков при уплотнении. Покрытие из песчаного асфальтобетона, полученного на основе дробленого песка (из прочных некарбонатных горных пород), обладает повышенной сдвигоустойчивостью и длительно сохраняющейся шероховатостью поверхности.

Для улучшения качества природный песок рекомендуется активировать известью в процессе механической обработки. Это изменяет адсорбционные свойства поверхности зерен песка. Одновременно зерна природного песка приобретают острогранную форму, что повышает его угол внутреннего трения1;

1 Предложения по повышению качества песчаного асфальтобетона. Балашиха, Моск. обл., Союздорнии, 1970.

Предложения по применению активированных песков в асфальтобетоне. Балашиха, Моск. обл. Союздорнии, 1969.

е) одним из эффективных способов использования гравия для приготовления асфальтобетонных смесей является его дробление с одновременной физико-химической активацией. В процессе такой переработки происходит избирательное дробление (больше измельчаются наиболее слабые зерна), а свежеобразованные поверхности минеральных зерен обрабатываются активирующей смесью, состоящей из ПАВ и битума. Получается качественно новый материал, в котором существенно изменены форма зерен, зерновой и петрографический составы отдельных фракций, свойства поверхности.

Регулируя режим работы дробилки, можно получить минеральную часть, состоящую из требуемого количества щебня, дробленого песка и минерального порошка, частицы которого оказываются наиболее эффективно обработанными активирующей добавкой.

Асфальтобетон с активированным дробленым гравием характеризуется высокой тепло-, водо- и морозостойкостью. Эта технология особое значение имеет для районов, лишенных прочных каменных материалов, но обладающих месторождениями гравия;

ж) минеральный порошок выполняет роль добавки, структурирующий битум и образующий с ним асфальтовяжущее вещество, которое склеивает в монолит зерна щебня и песка. Минеральный порошок придает асфальтобетону надлежащую плотность, прочность и теплостойкость, но при избыточном содержании в горячем асфальтобетоне (а в некоторых случаях и в теплом) обусловливает рост хрупкости и уменьшение деформативности при низких температурах.

В холодном асфальтобетоне оптимальное количество минерального порошка несколько выше, чем в горячем и теплом, так как применяется менее вязкий битум.

Чрезмерное измельчение минерального порошка (удельная поверхность более 6 - 8 тыс. см2 на 1 г) увеличивает его пористость, соответственно и пористость минеральной части асфальтобетона (особенно если порошка более 8 - 10 %), что приводит к повышенному расходу битума. Высокая пористость порошков характерна для многих порошкообразных отходов промышленности (пыли уноса цементных заводов, золы уноса ТЭЦ, фильтрпрессных отходов сахарных заводов и др.).

Примесь глины в минеральном порошке значительно увеличивает способность асфальтобетона к набуханию и снижает его водо- и морозостойкость. При этом, чем меньше вязкость и содержание битума в асфальтобетоне, тем сильнее проявляется отрицательное свойство глины.

Для повышения качества минеральный порошок (в том числе и порошок с некоторым содержанием глинистых примесей) активируют (обрабатывают в процессе размола) смесью ПАВ и битума.

Асфальтобетон с активированным минеральным порошком обладает повышенной прочностью, плотностью, водо- и морозостойкостью. Активированный минеральный порошок в холодном асфальтобетоне, кроме того, способствует сокращению сроков уплотнения и формирования покрытия под движением автомобилей.

В асфальтобетоне с активированным минеральным порошком можно уменьшить содержание битума на 10 - 20 % по сравнению с асфальтобетоном на неактивированном порошке. В I дорожно-климатической зоне и в районах с резко континентальным климатом II зоны для горячего асфальтобетона с активированным минеральным порошком рекомендуется применять битум пониженной вязкости (на 30 - 50 ед. глубины проникания больше, чем рекомендуется табл. 2.1) или активировать минеральный порошок смесью ПАВ с маловязким битумом (БНД 200/300, БНД 130/200). Это повысит устойчивость асфальтобетона против образования трещин при низких температурах. Для холодного асфальтобетона минеральный порошок рекомендуется активировать смесью ПАВ с более вязким битумом;

з) прочность, водо- и морозостойкость асфальтобетона во многом зависят от свойств битума. Вязкие битумы должны обладать комплексом структурно-механических свойств: эластичностью и пластичностью при низкой температуре, достаточной прочностью и теплостойкостью при высокой температуре, стойкостью против старения при технологической переработке и эксплуатации, прочным сцеплением с поверхностью минеральных материалов.

Качество битумов зависит от природы сырья и технологии его переработки.

Жидкие дорожные битумы должны: хорошо обволакивать минеральный материал, обеспечивая требуемую начальную прочность и удобообрабатываемость асфальтобетона; способствовать быстрому формированию структуры покрытия; придавать достаточную прочность, тепло- и морозостойкость покрытию при высокой и низкой температурах в период эксплуатации; обладать прочным сцеплением с поверхностью минеральных материалов, обеспечивая тем самым высокую водостойкость покрытия.

В битуме, как правило, имеется некоторое количество поверхностно-активных соединений (прежде всего асфальтогеновых кислот и их ангидридов). В зависимости от их содержания битум может быть активным (с кислотным числом выше 0,7 мг КОН/г) и неактивным (кислотное число ниже 0,7 мг КОН/г).

Активные битумы, как правило, хорошо сцепляются с сухой поверхностью минеральных материалов карбонатных, ультраосновных и основных пород (известняков, доломитов, базальтов, диабазов и т.п.), содержащих более 50 % окислов тяжелых и щелочно-земельных металлов, и не образуют прочной связи с поверхностью минеральных материалов кислых и ультракислых пород (кварцитов, гранитов, сиенитов, трахитов и т.п.), в составе которых содержится менее 30 % указанных окислов. Неактивные битумы, как правило, плохо сцепляются с поверхностью большинства минеральных материалов.

С влажной поверхностью минеральных материалов сцепление битумов обычно плохое. Сцепление битума с поверхностью минеральных материалов, оказывающее влияние на коррозионную стойкость асфальтобетона, повышают введением ПАВ или использованием активаторов.

Чем более вязкий битум применяется в асфальтобетоне, тем выше прочность последнего. Однако чрезмерно высокая вязкость битума в горячем и теплом асфальтобетоне (для данных климатических условий) может привести к образованию трещин на покрытии, а в холодном - к слеживаемости при хранении;

и) количество битума в смеси должно быть оптимальным, обеспечивающим максимальную прочность асфальтобетона при данном минеральном материале и оптимальную остаточную пористость.

Избыток битума снижает прочность, сдвигоустойчивость и повышает пластичность асфальтобетона, что ведет к образованию сдвигов и волн на покрытии в жаркую погоду. Асфальтобетон с избытком битума характеризуется малой величиной водонасыщения (менее 1 %). Недостаток битума снижает прочность, водо- и морозостойкость (коррозионную стойкость) асфальтобетона. О недостатке битума в асфальтобетоне свидетельствует большая величина водонасыщения.

В южных районах и в засушливом климате (IV и V дорожно-климатические зоны) рекомендуется подбирать асфальтобетон с верхним пределом величины остаточной пористости, особенно для покрытий с шероховатой поверхностью. В холодных асфальтобетонных смесях количество жидкого битума снижают на 10 - 15 % против оптимального, чтобы уменьшить слеживаемость. В связи с этим остаточная пористость лабораторных образцов холодного асфальтобетона значительно выше, чем горячего и теплого. С течением времени в покрытии плотность холодного асфальтобетона становится близкой или равной плотности горячего и теплого асфальтобетона;

к) при подборе состава асфальтобетона с активированным минеральным порошком и активированным песком следует дополнительно руководствоваться «Техническими указаниями по производству активированных минеральных порошков и применению их в асфальтобетоне» (ВСН 113-65) и «Предложениями по применению активированных песков в асфальтобетоне».

4.2. Состав асфальтобетона подбирают в три этапа: определяют качество минеральных материалов и битума, соответствие их свойств установленным требованиям; устанавливают соотношение минеральных материалов (щебня, песка, минерального порошка), при котором минеральная часть асфальтобетона имеет оптимальную плотность; определяют оптимальное содержание битума, обеспечивающее асфальтобетону наилучшие показатели физико-механических свойств при данных минеральных материалах.

Ниже излагается наиболее распространенный метод подбора состава асфальтобетона, согласно которому минеральную часть рассчитывают исходя из зерновых составов, рекомендуемых ГОСТ 9128-76, а количество битума вычисляют исходя из остаточной пористости, установленной для данного вида, типа и марки асфальтобетона (см. табл. 1.4 и 1.5). Подобранный состав уточняют с целью получения наилучших показателей физико-механических свойств стандартных асфальтобетонных образцов.

4.3. Качество минеральных материалов и битума определяют в соответствии с указаниями разделов 3 и 7 данного Руководства.

Расчет состава минеральной части асфальтобетона

4.4. Соотношение масс щебня, песка и минерального порошка рассчитывают исходя из их зерновых составов и требуемого зернового состава минеральной части асфальтобетона (см. таб. 1.8, 1.9, и рис. 1.1 - 1.4). При использовании материалов с удельными весами, различающимися на 0,20 г/см3 и более, необходимо вносить поправки в соотношения минеральных составляющих, увеличивая количество более тяжелых и уменьшая количество более легких на коэффициент

где g1 - удельный вес преобладающего материала и минеральной смеси (щебень, песок);

g2 - удельный вес минерального материала, отличающийся от g1 на 0,20 г/см3 и более.

Например, удельный вес преобладающего материала (щебня или песка) g1 = 2,7 г/см3, а минерального порошка g2 = 2,9 г/см3. Если по расчету требуется 10 % минерального порошка в асфальтобетонной смеси, то его фактическую массу следует принимать

.

При этом на 0,7 % уменьшают количество преобладающего материала (щебня) или другого материала (песка) с близким к нему удельным весом.

Расчет оптимального количества битума в асфальтобетоне

4.5. Оптимальное количество битума рассчитывают исходя из фактической пористости минерального остова лабораторных асфальтобетонных образцов и заданной остаточной пористости асфальтобетона в соответствии с требованиями табл. 1.4, определяемыми по п. 7.24, 7.25 настоящего Руководства.

Лабораторные образцы (три штуки) готовят из асфальтобетонной смеси, в которой битума берут на 0,3 - 0,5 % меньше нижнего предела, указанного в табл. 1.8 и 1.9. Определяют плотность (объемную массу) асфальтобетона, плотность (объемную массу) и удельный вес минерального остова асфальтобетона. Затем рассчитывают пористость минерального остова асфальтобетона и требуемое количество битума:

                            

где  - пористость минерального остова асфальтобетона (образцов), % объема;

r0 - плотность (объемная масса) минерального остова асфальтобетона, г/см3;

g0 - удельный вес минерального остова асфальтобетона, г/см3;

Vпор - заданная остаточная пористость асфальтобетона при +20 °С, % объема;

gб - удельный вес битума при +20 °С, г/см3.

Рассчитав требуемое количество битума, готовят контрольную смесь, формуют три образца и определяют остаточную пористость. Если она соответствует требуемой (для данного вида, типа и марки асфальтобетона), готовят еще одну смесь с тем же количеством битума и формуют образцы в количестве, достаточном для определения всех показателей физико-механических свойств (см. табл. 1.4).

Если остаточная пористость первых трех образцов контрольной смеси меньше или больше требуемой для данного вида асфальтобетона, расчет количества битума и проверку свойств повторяют, при этом в расчет принимают пористость минерального остова асфальтобетона , полученную для контрольной смеси.

Если асфальтобетон с этим количеством битума имеет требуемую остаточную пористость, но по другим показателям (например, по прочности или водостойкости) не соответствует установленным требованиям, необходимо изменить зерновой состав минеральной части (как правило, увеличить количество минерального порошка в допустимых пределах) и повторить расчет оптимального содержания битума.

Подбор состава асфальтобетонной смеси можно считать законченным, если пористость минерального остова и остаточная пористость асфальтобетона (образцов) находятся в требуемых пределах, а остальные показатели физико-механических свойств удовлетворяют требованиям табл. 1.4.

Пример подбора состава асфальтобетонной смеси

4.6. Необходимо подобрать состав мелкозернистого горячего асфальтобетона типа Б для верхнего слоя покрытия. Имеются битум БНД 90/130, гранитный щебень, гранитный дробленый и речной песок, известняковый минеральный порошок, свойства которых соответствуют техническим требованиям, а зерновой состав приведен в табл. 4.1.

Таблица 4.1

Пример расчета зернового состава минеральной части асфальтобетонной смеси

Минеральный материал

Размер отверстий сит, мм

20

15

10

5

2,5

1,25

0,63

0,315

0,14

0,071

Содержание минерального материала мельче данного размера, % массы

 

Исходные минеральные материалы

Щебень 5 - 15 мм

100

95

57

5

-

-

-

-

-

-

Песок дробленый

-

-

-

100

76

44

20

12

4

1

» речной

-

-

-

-

100

73

64

40

20

3

Минеральный порошок

-

-

-

-

-

-

100

93

83

74

 

Расчетные данные

Щебень 45 %

45

43

27

2

-

-

-

-

-

-

Песок дробленый 28 %

28

28

28

28

21

12

6

3

1

0,3

Песок речной 20 %

20

20

20

20

20

14

12

8

4

0,6

Минеральный порошок 7 %

7

7

7

7

7

7

7

6

6

5,2

Итого

100

98

82

57

48

33

25

17

11

6,1

Расчет состава минеральной части асфальтобетонной смеси

Определяют соотношение масс щебня, песка и минерального порошка, при котором зерновой состав смеси этих материалов удовлетворяет требованиям табл. 1.8, а его графическое изображение представляет собой плавную кривую, лежащую в заданных пределах (см. рис. 1.1, в); пористость минерального остова асфальтобетона должна быть в пределах, установленных табл. 1.4.

Расчет количества щебня. По рис. 1.1, в или по табл. 1.8 находят, что щебня крупнее 5 мм (5 - 15 мм) должно быть в смеси 35 - 50 % (так как через сито с отверстиями 5 мм должно проходить 50 - 65 % материала). Требуемое содержание щебня крупнее 5 мм принимают 43 %. Поскольку зерен крупнее 5 мм в щебне содержится 95 % (а в других компонентах нет фракции крупнее 5 мм), то щебня требуется

Полученное значение записывают в табл. 4.1 и рассчитывают содержание в смеси каждой фракции щебня (берут 45 % от значения каждой фракции щебня).

Расчет количества минерального порошка. По рис. 1.1, в или табл. 1.8 определяют, что частиц мельче 0,071 мм во всей минеральной части асфальтобетона должно быть в пределах 6 - 12 %. Для расчета можно принять 6 %. Если в минеральном порошке содержится 74 % частиц мельче 0,071 мм, то минерального порошка в смеси должно быть

Однако следует принять 7 % минерального порошка, так как небольшое количество частиц мельче 0,071 мм имеется в песке. Полученные данные вносят в табл. 4.1 и рассчитывают содержание в смеси каждой фракции минерального порошка (7 % от значения каждой фракции). Количество песка в смеси составит

П = 100 - (Щ + МП) = 100 - (45 + 7) = 48 %.

Соотношение между дробленым и речным песком устанавливают с учетом содержания в них наиболее крупных фракций (крупнее 1,25 мм). Частиц мельче 1,25 мм в смеси должно быть 28 - 39 % (можно принять 34 %), из них 7 % приходится на долю минерального порошка. Следовательно, в смеси песка их должно содержаться не более 27 %. При имеющемся зерновом составе песков количество речного песка рассчитывают следующим образом:

где 73 и 44 - содержание фракций мельче 1,25 мм в речном и дробленом песках;

х - количество речного песка, %;

Можно принять 20 %, тогда количество дробленого песка составит 48 - 20 = 28 %. Рассчитав аналогично предыдущему количество каждой фракции в речном и дробленом песке, записывают полученные данные в соответствующие графы табл. 4.1. Суммируя в каждой вертикальной графе количество частиц меньше данного размера, находят общий зерновой состав смеси минеральных материалов. Сравнение полученного состава с рекомендуемым (см. табл. 1.8) показывает, что полученный зерновой состав соответствует рекомендуемому, а его графическое изображение представляет собой плавную кривую.

Если удельные веса щебня, песка и минерального порошка различаются более чем на 0,20 г/см3, то в соотношение масс компонентов вводят поправку согласно п. 4.1. Аналогично рассчитывают минеральную часть асфальтобетона прерывистой гранулометрии.

Определение оптимального количества битума

Ориентировочное количество битума в асфальтобетонной смеси определяют расчетом. Для этого щебень, песок и минеральный порошок в выбранных соотношениях смешивают с битумом, количество которого в данном случае принимают 5,2 % (на 0,3 % меньше нижнего предела, указанного в табл. 1.8).

Из полученной смеси формуют три образца диаметром и высотой 71,4 мм. Поскольку щебня в асфальтобетонной смеси 45 %, смесь уплотняют комбинированным методом - вибрированием на виброплощадке (180 с под нагрузкой 0,3 × 105 Па (0,3 кгс/см2) с последующим доуплотнением на прессе нагрузкой 200 × 105 Па (200 кгс/см2) (п. 7.18 - 7.19). Через 12 - 42 ч определяют плотность (объемную массу) асфальтобетона (образцов) rа, удельный вес минерального остова асфальтобетона g0 и на основании этих данных вычисляют плотность (объемную массу) минерального остова r0 и пористость минерального остова испытанных образцов асфальтобетона . Зная удельный вес битума gб и выбрав по табл. 1.4 требуемую остаточную пористость асфальтобетона Vпор, рассчитывают ориентировочное количество битума Б по формуле, приведенной в п. 4.5.

Плотность (объемная масса) пробных асфальтобетонных образцов при содержании битума 5,2 % (сверх 100 % минерального остова) равна 2,32 г/см3, удельный вес минерального остова асфальтобетона - 2,68 г/см3, удельный вес битума - 1 г/см3, заданная остаточная пористость асфальтобетона - 4 %.

В этом случае

   

Из контрольной смеси с 6,3 % битума формуют три образца и определяют остаточную пористость. Если она будет в пределах 4,0 ± 0,5 % (как требуется для мелкозернистого асфальтобетона типа Б), готовят новую смесь с таким же количеством битума, формуют 12 образцов и испытывают в соответствии с требованиями табл. 1.4 (по три образца на каждый вид испытания). Для факультативных испытаний на приборе Маршалла готовят дополнительно три образца (п. 7.32). Показатели физико-механических свойств асфальтобетонных образцов должны удовлетворять требованиям, приведенным в табл. 1.4 и 1.6.

5. ПРАВИЛА ПРОИЗВОДСТВА РАБОТ

Общие положения по организации работ на асфальтобетонных заводах

5.1. По способности к передислокации АБЗ делят на передвижные, полустационарные и стационарные. Передвижные работают на одном месте менее одного сезона, полустационарные - один-два сезона и стационарные - более двух сезонов. Для внегородского дорожного строительства характерны передвижные и полустацнонарные АБЗ.

5.2. Мощность оборудования выбирается в зависимости от объемов и сроков строительства. Экономически целесообразно использовать высокопроизводительное передвижное оборудование на притрассовом АБЗ при двух-трех передислокациях в течение строительного сезона.

5.3. Расстояние между АБЗ и местом укладки определяется технологическими условиями, организационными соображениями и экономическими расчетами. Технологические условия ограничивают максимальное время транспортирования горячей смеси 1,5 ч и теплой 2 - 2,5 ч.

5.4. Уровень основных технических решений вновь строящихся АБЗ должен соответствовать действующим типовым проектам. Способы приема компонентов смесей, складирование и внутризаводское транспортирование должны исключать снижение их качества и загрязнение окружающей среды.

5.5. Для приемки щебня необходимо, как правило, применение подрельсового приемного устройства. Складирование должно осуществляться на подготовленной площадке без смешения фракций.

Методы выгрузки битума из вагонов и конструкция битумохранилища должны исключать его обводнение и загрязнение.

5.6. Минеральный порошок из вагонов подают пневмотранспортом на склады бункерного (силосного) типа прирельсовой базы или в расходные емкости притрассового передвижного завода. Хранение активированных порошков допускается также на складах амбарного типа.

При длительном хранении в бункерах и силосных банках минеральных порошков (в том числе и активированных, складируемых в неостывшем состоянии) надо принимать меры против их слеживания (аэрирование, перекачивание порошка и др.).

Для подачи минерального порошка к смесительному агрегату используют при малом расстоянии механический транспорт (шнеки, вертикальные элеваторы), а при большом - пневмотранспорт.

5.7. Склад песка и щебня на прирельсовом АБЗ или базе каменных материалов устраивают радиально-штабелирующим конвейером. Подачу материалов от склада к агрегату питания смесительного оборудования обеспечивают надземными средствами транспорта - ленточными конвейерами или фронтальными погрузчиками.

5.8. Для притрассовых заводов характерны доставка каменных материалов от прирельсовой базы снабжения (преимущественно вне строительного сезона) или их размещение в карьере, а также небольшой запас битума и минерального порошка - на одну - пять смен в зависимости от производительности АБЗ и организационных условий. Минеральный порошок и битум доставляют к передвижному АБЗ в цементо- и битумовозах.

5.9. В зависимости от комплектности применяемого асфальтосмесительного оборудования целесообразно использовать различные варианты генерального плана АБЗ (рис. 5.1) в прирельсовом варианте. В притрассовом варианте АБЗ вследствие отсутствия хранилищ битума и минерального порошка схема генерального плана упрощается.

5.10. Отгружаемую асфальтобетонную смесь снабжают паспортом с указанием наименования завода, номера и даты выдачи паспорта, наименования и адреса потребителя, вида, состава, массы и температуры смеси.

5.11. Асфальтобетонные смеси поставляют партиями. При отгрузке автомобилями партией считают массу смесей одного вида, отгруженной одному потребителю за одну смену. При отгрузке холодных смесей железнодорожным или водным транспортом партией считают массу смеси одного вида, отгруженной одному потребителю в одном железнодорожном вагоне или в одной барже. Массу смесей при отправке судами определяют по осадке судна.

Рис. 5.1. Примеры технологических линий приготовления асфальтобетонных смесей. Вариант 1 - размещение асфальтосмесительного оборудования без агрегата питания. Вариант 2 - размещение асфальтосмесительного оборудования с агрегатом питания:

1 - железнодорожная ветка; 2 - приемное устройство с подрельсовым бункером; 3 - склад фракционированных каменных материалов; 4 - выносной конвейер; 5 - радиально-штабелирующий конвейер; 6 - силосный склад минерального порошка; 7 - крытое битумохранилище; 8 - оборудование для приготовления ПАВ или полимернобитумных вяжущих; 9 - асфальтосмесительное оборудование; 10 - ленточный конвейер; 11 - бункер; 12 - агрегат питания; 13 - фронтальный погрузчик

5.12. АБЗ должен быть оборудован системой очистки отходящих газов, обеспечивающей соблюдение требований действующих санитарных норм. Пожароопасные участки технологической линии АБЗ должны быть оборудованы средствами тушения и согласованы с местной пожарной инспекцией.

5.13. На территории АБЗ должно быть весовое отделение, механическая мастерская, лаборатория, склад ТСМ, битовые помещения, столовая или буфет.

Приготовление асфальтобетонных смесей

5.14. Современное асфальтосмесительное оборудование представляет собой комплект, включающий агрегат питания, сушильный и смесительный агрегаты, накопительный бункер, емкости для битума, минерального порошка и мазута, кабину управления и все необходимые средства вертикального и горизонтального транспорта компонентов смесей. Комплекты производительностью 12, 25, 50, 100 и 200 т/ч (см. приложение 1.1) могут работать в автоматическом и дистанционном режимах управления.

5.15. Схема основной технологической линии приготовления асфальтобетонных смесей представлена на рис. 5.2.

5.16. Для нагрева и обезвоживания битума применяют битумоплавильное оборудование непрерывного и периодического действия. В установках непрерывного действия с газовым или электрическим подогревом процесс обезвоживания происходит в тонком слое. Установки периодического действия состоят из нескольких битумоплавильных котлов. В этом случае вязкий битум готовят по двухступенчатому циклу: в одних котлах битум нагревают до 110 - 120 °С и при необходимости выпаривают воду, затем перекачивают в другие (расходные) котлы и нагревают до рабочей температуры.

Рис. 5.2. Схема технологической линии приготовления асфальтобетонных смесей

Таблица 5.1

Температура нагрева битума для асфальтобетонных смесей

Марка битума

Температура нагрева, °С

без ПАВ

с ПАВ

БНД 90/130, БН 90/130, БНД 60/90, БН 60/90, БНД 40/60

130 - 150

110 - 130

БНД 200/300, БНД 130/200, БН 200/300, БН 130/200

100 - 120

90 - 110

СГ 130/200

90 - 100

90 - 100

СГ 70/130, МГ 70/130

80 - 90

80 - 90

БГ 70/130

70 - 80

70 - 80

5.17. Не разрешается применять обводненный и пенистый битум. Обводнение битума должно быть полностью исключено правильной организацией битумного хозяйства: применением исключительно закрытых хранилищ, битумоплавильных установок и рабочих (расходных) котлов.

Для предотвращения вспенивания битума в процессе выпаривания воды следует применять механические мешалки, интенсивную циркуляцию битума с помощью насоса или противопенные химические препараты - МКТ-1 (4 - 6 капель) или полисилоксановый каучук СКТН-1 (2 - 3 капли) на 10 т битума. При этом котлы заполняют не более чем на 75 - 80 % их емкости.

5.18. При необходимости введения в битум ПАВ или разжижителя битум готовят по трехступенчатому циклу: после разогрева и выпаривания воды битум перекачивают в свободные котлы, где объединяют с ПАВ или разжижителем, а затем перекачивают в расходные котлы и нагревают до рабочей температуры.

5.19. Узел приготовления и введения ПАВ в битум должен быть включен в общую систему автоматического дистанционного управления заводом.

5.20. При отсутствии жидкого битума требуемой вязкости его готовят на АБЗ, разжижая вязкий битум в соответствии с пп. 3.37 и 3.38 и табл. 3.11.

5.21. Жидкий битум готовят в отдельном битумном котле, оборудованном пароподогревом. В разогретый и обезвоженный вязкий битум, имеющий температуру в пределах 90 - 110 °С в зависимости от класса приготовляемого битума (см. п. 3.38), добавляют небольшими порциями разжижитель при постоянном перемешивании до получения однородного материала.

5.22. Температура нагрева битума для асфальтобетонных смесей в зависимости от марки битума должна соответствовать указанной в табл. 5.1.

Указанную в табл. 5.1 температуру нагрева битумов можно поддерживать не более 5 ч. Разрешается поддерживать температуру вязких битумов не выше 80 °С, жидких битумов класса МГ - не выше 60 °С не более 12 ч.

5.23. В современных комплектах асфальтобетонного оборудования битум дозируют объемными дозаторами при периодическом режиме перемешивания или счетчиками при применении смесителей непрерывного действия.

5.24. Щебень и песок до поступления в сушильный барабан предварительно дозируют, точное весовое дозирование осуществляют после высушивания, нагрева и сортировки.

Для предварительного дозирования минеральных материалов используют агрегаты питания, управляемые дистанционно с пульта оператора. Загрузку бункеров агрегата питания целесообразно производить фронтальными погрузчиками.

Точность работы дозаторов агрегата питания ± 5 %. При работе с очень влажными материалами вводят поправку на их влажность.

Просушенные и нагретые в сушильном барабане щебень и песок горячим элеватором подают на грохот для фракционирования и сортировки по отдельным отсекам горячего бункера. Далее осуществляют окончательное их дозирование весовым дозатором.

Минеральный порошок (активированный или неактивированный) в холодном состоянии подают отдельным элеватором или пневмотранспортом в соответствующий отсек бункера на общие весы или через отдельный дозатор непосредственно в мешалку.

5.25. Режим просушивания и нагрева минеральных материалов должен обеспечивать не только заданную температуру, но и полное удаление влаги. При применении ПАВ допускается влажность минеральных материалов при приготовлении горячих смесей не более 1 %, теплых и холодных - не более 3 %.

5.26. При подаче минерального порошка в холодном виде непосредственно в мешалку температура остальных материалов должна быть повышена с тем, чтобы смесь имела температуру, указанную в табл. 5.3.

5.27. Погрешность при дозировании компонентов асфальтобетонной смеси не должна превышать следующих значений:

для щебня (гравия), песка и минерального порошка, применяемых для приготовления асфальтобетонов I и II марок ± 3 %, применяемых для приготовления асфальтобетонов III и IV марок ± 5 % от массы соответствующего компонента;

для битумов независимо от марки асфальтобетона ± 1,5 % от их массы.

5.28. Особое внимание должно быть уделено перемешиванию минеральных материалов с битумом. Тщательно перемешанная смесь характеризуется равномерным распределением всех ее компонентов и полным обволакиванием поверхности частиц битумом. Продолжительность перемешивания приведена в табл. 5.2.

5.29. Температура смесей при выпуске из смесителя в зависимости от марки битума должна соответствовать табл. 5.3.

5.30. Накопительный бункер (рис. 5.3) является промежуточным складом для хранения готовых смесей. Его вместимость должна быть не менее половины объема выпуска смеси за 1 ч. Бункер имеет теплоизоляцию, а также обогрев выгрузочной воронки и затвора. Во избежание расслоения смесей при загрузке бункера целесообразно использовать ковши с донной выгрузкой. В накопительных бункерах, не имеющих специальных систем защиты битума от интенсивного старения при длительном хранении, разрешается кратковременное хранение смесей (не более 4 ч).

5.31. Во избежание прилипания смеси к кузову его предварительно опрыскивают нефтью или мыльным раствором.

Таблица 5.2

Продолжительность перемешивания горячих и теплых асфальтобетонных смесей

Вид смеси

Продолжительность перемешивания смесей, в лопастных мешалках принудительного действия, с

Сухое перемешивание

Мокрое перемешивание

Песчаные

15

45 - 60

Мелко- и среднезернистые

15

30 - 45

Крупнозернистые

-

20 - 30

Примечания. 1. Продолжительность перемешивания песчаных, мелко- и среднезернистых смесей в машинах старых моделей со схемой противоточного движения материалов должна быть увеличена в 1,5 - 2 раза.

2. Продолжительность мокрого перемешивания следует увеличивать при уменьшении содержания битума или увеличении содержания минерального порошка. Она уточняется при корректировании состава смеси на АБЗ.

3. При применении поверхностно-активных веществ, а также активированного минерального порошка продолжительность мокрого перемешивании может быть уменьшена на 15 - 30 %.

4. Продолжительность перемешивания крупнозернистых смесей в мешалках свободного перемешивания 120 - 180 с.

5. Продолжительность перемешивания холодных смесей в 1,3 - 1,5 раза превышает продолжительность приготовления однотипных горячих смесей вследствие малого содержания в них битума.

Таблица 5.3

Температура асфальтобетонных смесей при выпуске из смесителя

Вид смеси

Марка битума

Температура смеси, °С

без ПАВ

с ПАВ

Горячие

БНД 90/130, БН 90/130, БНД 60/90, БН 60/90, БНД 40/60

140 - 160

120 - 140

Теплые

110 - 130

100 - 120

БГ 70/130

80 - 100

 

СГ 130/200

90 - 110

80 - 100

Холодные

СГ 70/130

90 - 110

 

МГ 70/130

90 - 120

80 - 100

5.32. Если пониженная температура воздуха и продолжительность транспортирования приводят к снижению температуры готовой смеси ниже требуемой, то применяют обогрев кузова и смесь в нем покрывают брезентом.

5.33. Холодные асфальтобетонные смеси готовят по той же технологической схеме (см. рис. 5.2), что и горячие или теплые.

5.34. До подачи асфальтобетонной смеси на склад должны быть выполнены мероприятия, предотвращающие ее слеживаемость.

5.35. Холодные асфальтобетонные смеси хранят на АБЗ или притрассовых складах в штабелях не выше 2 м*. Площадки и склады, предназначенные для хранения холодных асфальтобетонных смесей, должны быть хорошо спланированы, очищены и обеспечены водоотводом. При хранении смесь не должна загрязняться и подвергаться уплотнению (заездом автомобилей и т.п.). Холодные асфальтобетонные смеси можно хранить 4 - 8 мес при применении соответственно битумов класса СГ и МГ.

* В летний период смеси можно хранить на открытых площадках, в осенне-зимний - в закрытых складах или под навесом.

Рис. 5.3. Схема работы накопительного бункера:

1 - затвор ковша скипового подъемника; 2 - нижний конечный выключатель; 3 - ковш скипового подъемника; 4 - направляющая воронка; 5 - смеситель; 6 - тяговый канат; 7 - скиповый путь; 8 - верхний конечный выключатель; 9 - накопительный бункер; 10 - лебедка; 11 - цилиндр затвора бункера; 12 - затвор накопительного бункера; 13 - пульт управления затвором бункера; 14 - рама бункера; 15 - лоток для промежуточной выгрузки; 16 - светофор

5.36. Холодную асфальтобетонную смесь можно доставлять к месту укладки по железной дороге, воде, автомобилями.

В железнодорожные вагоны, автомобили и другие транспортные средства холодные асфальтобетонные смеси необходимо грузить экскаваторами, транспортерами, автопогрузчиками и др. При погрузке смесь должна быть рыхлой и иметь температуру не выше 30 °С летом и не выше 25 °С зимой во избежание слеживаемости в процессе транспортирования.

Холодные асфальтобетонные смеси при более высоких температурах можно перевозить только автомобилями на небольшие расстояния (до 50 км).

Приготовление активированных минеральных материалов. Введение в асфальтобетонную смесь поверхностно-активных веществ

5.37. Одним из способов улучшения свойств минеральных материалов, входящих в состав асфальтобетонной смеси (минеральный порошок, гравий, песок и другие материалы), является их физико-химическая активация с использованием соответствующих активирующих смесей или активаторов.

5.38. Активированный минеральный порошок приготавливают на специальных заводах или в отдельных цехах АБЗ. Требования к активированным минеральным порошкам приведены в п. 3.28.

Производство активированного минерального порошка (рис. 5.4) включает следующие процессы1: сушку дробленого материала в сушильных барабанах; подогрев до рабочих температур битума и ПАВ, приготовление из них активирующей смеси; дозирование просушенного щебня и активирующей смеси, перемешивание щебня с активирующей смесью в мешалках любого типа (предпочтительнее в лопастных), подачу минерального материала, объединенного с активирующей смесью, в помольную установку и размол его до требуемой тонкости помола; подачу готового активированного минерального порошка в накопительные бункера или на склад (силосного или бункерного типа).

1 Подробно см. «Технические указания по производству активированных минеральных порошков и применению их в асфальтовом бетоне» (ВСН 113-65).

В состав помольных установок для производства активированного минерального порошка могут также входить молотковые или валковые дробилки для предварительного измельчения известнякового щебня перед просушиванием.

Рис. 5.4. Технологическая схема установки приготовления активированного минерального порошка:

1 - накопительный бункер для отсева или щебня; 2 - транспортер для подачи отсева или щебня в накопительный бункер; 3 - транспортер для питания сушильного барабана; 4 - сушильно-смесительный агрегат; 5 - дозировочный бачок для активирующего материала; 6 - транспортер для подачи материала в накопительный бункер; 7 - накопительный бункер; 8 - тарельчатый питатель; 9 - шаровая мельница; 10 - элеватор для активированного минерального порошка; 11 - раздаточный бункер; 12 - шнек для загрузки транспортных средств

Рис. 5.5. Технологическая схема установки для приготовления асфальтобетонных смесей из активированных продуктов дробления гравия:

1 - питатель-дозатор; 2 - холодный элеватор; 3 - грохот; 4, 6, 16, 18 - питающие и отводящие лотки; 5 - сушильный барабан; 7 - дозатор активирующего материала; 8 - горячий элеватор; 9 - сортировочный агрегат; 10 - лоток отвода крупных частиц в молотковую дробилку; 11 - дозатор минерального материала; 12 - лопастная мешалка; 13 - дозатор и труба для ввода битума в мешалку; 14 - молотковая дробилка; 15 - питатель сушильного барабана; 17 - валковая дробилка

5.39. Для получения обогащенного активированного гравия рекомендуется дооборудовать АБЗ специальными агрегатами дробления и приготовления активирующей смеси, включаемыми в общую технологическую схему приготовления асфальтобетонной смеси (рис. 5.5).

Исходный гравийный материал размером 5 - 70 мм поступает в агрегат обогащения, где из накопительного бункера через питатель-дозатор 1 подается на элеватор 2, которым поднимается на грохот 3. При помощи сетки с ячейками 25´25 мм* материал сортируется по двум размерам. Гравий размером 5 - 25 мм по питателю 15 поступает в сушильный барабан 5. Гравий крупнее 25 мм направляется по лотку 16 в валковую дробилку 17 для предварительного дробления, откуда продукты дробления снова подают в питатель-дозатор. Гравий размером 5 - 25 мм (вместе с материалом, прошедшим дробилку) направляют в сушильный барабан 5. Нагретый до заданной температуры материал по лотку 6 попадает в молотковую дробилку 14. В закрытый лоток 6, по которому материал идет в дробилку 14, подается активирующая смесь при помощи дозатора 7. Количество активирующего материала (смеси) регулируется в установленных пределах. Постоянство потока минеральных материалов обеспечивается питателем-дозатором 1 или специальным дозатором, установленным между сушильным барабаном и дробилкой.

* Максимальный размер зерен назначают в зависимости от качества исходного гравийного материала и назначения асфальтобетонной смеси.

Дробление гравийного материала в молотковой дробилке происходит в присутствии активирующей смеси, адсорбирующейся на свежеобразованных поверхностях минеральных частиц.

Режимом работы молотковой дробилки регулируется гранулометрический состав минеральной смеси. Практически поддерживается такой режим работы дробилки, при котором продукт дробления представляет собой готовую минеральную смесь для приготовления асфальтобетона, состоящую из требуемого количества щебня, искусственного песка и минерального порошка.

Затем активированные продукты дробления гравия подают при помощи элеватора 8 в лопастную мешалку 12 асфальтобетонной установки и перемешивают с заданным количеством битума. Готовую асфальтобетонную смесь подают в накопительный бункер или непосредственно в кузов автомобиля-самосвала.

5.40. Одним из способов улучшения свойств песков, в том числе не удовлетворяющих требованиям ГОСТ 9128-76 по модулю крупности, является их активация с использованием гидратной извести (извести-пушонки). Установку по активации песка (рис. 5.6) комплектуют из серийно выпускаемых агрегатов и машин и включают в общую технологическую линию приготовления асфальтобетонных смесей.

Технология приготовления активированных песков состоит в следующем. Из приемной емкости 1 гидратную известь винтовым конвейером 2 и ковшовым элеватором 3 подают в расходный бункер 4 (в данном случае двухсекционный). Далее объемными дозаторами непрерывного действия 5 обеспечивают необходимую скорость подачи извести в виброшаровые мельницы 13, куда в заданном количестве через дозаторы 11 поступает после просушки в сушильном барабане 7 и отгрохотки на виброгрохоте 9 природный песок.

Из вибромельницы активированный песок винтовым конвейером (шнеком) 14 и элеватором 15 подают на дозатор смесителя асфальтобетонной установки.

В качестве основного агрегата узла активации могут быть использованы переоборудованные виброшаровые мельницы серийного промышленного производства (типа М-1000, М-400 и другие, в том числе М-230 - спаренные).

Практикой установлено, что для повышения производительности виброшаровых мельниц при активации песка необходимо: устроить второй люк в нижней части мельницы для быстрого выпуска активированного песка; установить колосниковую решетку с расстоянием между колосниками 8 - 9 мм; закрыть верхние боковые отверстия, служащие для загрузки мельницы, и загружать среднюю верхнюю часть мельницы; виброшаровые мельницы загружать шарами диаметром 18 - 20 мм (для мельниц типа М-230 - 400 кг для М-400 - 750 кг и для М-1000 - 1500 кг).

Оборудование для активации песка должно допускать работу с песком, нагретым до 250 °С. Точность дозирования песка и извести должна быть в пределах ± 3 % по массе материала. Во время работы необходимо следить за бесперебойной подачей извести в мельницу, предупреждая сводообразование, особенно в расходном бункере извести, а также за системой охлаждения подшипников виброшаровых мельниц, не допуская перегрева воды выше 50 °С.

5.41. Дозирование ПАВ и введение их в асфальтобетонные смесители осуществляется с помощью специального оборудования (конструкции Союздорнии - ПКБ Главстроймеханизации) или дополнительных дозаторов, выпускаемых промышленностью в комплексе серийных асфальтобетонных установок.

Указанное оборудование (модели 5590-1-А-ПКБ) предназначено для хранения, подогрева, дозирования и введения ПАВ в битум - в дозатор битума, битумоплавильный котел (рис. 5.7) или в асфальтобетонную смесь - в мешалку (рис. 5.8). Система введения ПАВ в мешалку и дозатор - принудительная, под давлением, а в битумоплавильный котел - самотеком; пределы дозирования 0,25 - 4,2 л; обогрев - паровой с расходом пара при давлении 5 × 105 Па (5 кгс/см2) 75 кг/ч на один смеситель или электромасляный.

Загрузка ПАВ в хранилище может производиться из железнодорожных цистерн, автобитумовозов самотеком или с помощью битумного насоса; возможен прием ПАВ, затаренных в металлические бочки. В хранилище 1 (см. рис. 5.7) происходит нагрев ПАВ с помощью регистров и змеевика 2 до температуры, обеспечивающей текучесть. Затем ПАВ вводят в битумную цистерну битумоплавильной установки 5 и перемешивают с битумом путем циркуляции с помощью битумного насоса, а далее битум с ПАВ подают как обычно в дозатор битума асфальтобетонной установки.

При подаче ПАВ из хранилища непосредственно в дозатор битума мешалки (рис. 5.9) его закачивают в расходный бак 1 и доводят до рабочей температуры (см. табл. 3.12). Из расходного бака ПАВ самотеком поступает в объемный дозатор ПАВ 2. При заполнении дозатора до заданного уровня кран 7 перекрывается электровинтовым приводом. Подачу ПАВ из этого дозатора в дозатор битума мешалки производят шестеренчатым насосом 6, включение и выключение которого осуществляет выключатель 8.

Рис. 5.6. Схема установки для активации песка с использованием двух виброшаровых мельниц типа М-400:

1 - приемная емкость для гидратной извести; 2 - винтовой конвейер; 3 - ковшовый элеватор; 4 - двухсекционный бункер гидратной извести; 5 - дозаторы извести; 6 - элеватор для подачи песка в сушильный барабан; 7 - сушильный барабан; 8 - элеватор песка; 9 - виброгрохот; 10 - бункер песка; 11 - дозаторы песка; 12 - винтовой конвейер для подачи извести в вибромельницы; 13 - виброшаровые мельницы типа М-400; 14 - винтовой конвейер для подачи активированного песка на элеватор; 15 - элеватор для подачи активизированного песка на дозатор смесителя асфальтобетонной установки

Рис. 5.7. Блок хранения и подачи ПАВ в битум битумоплавильной установки:

1 - цистерна-хранилище ПАВ емкостью 10 м3; 2 - обогревательные регистры для подогрева ПАВ и битума; 3 - трубопровод для ПАВ; 4 - битумный насос с фильтром для перекачки ПАВ; 5 - цистерна битумоплавильной установки; 6 - бак-дозатор ПАВ; 7 - пробковый кран слива отмеренного количества ПАВ; 8 - битумопаропровод для ПАВ

Рис. 5.8. Узел подачи ПАВ к смесительному агрегату:

1 - система ввода ПАВ непосредственно в весовой дозатор битума; 2 - лопастная мешалка; 3 - блок подачи ПАВ к смесительному агрегату; 4 - объемный дозатор ПАВ; 5 - трубопроводы для ПАВ и битума

Рис. 5.9. Схема подачи и система ввода ПАВ в дозатор битума смесительного агрегата:

1 - расходный бак ПАВ с поплавком; 2 - объемный дозатор ПАВ (доза от 0,25 до 4,2 л); 3 - дозатор битума; 4 - сливная труба для битума; 5 - трубопровод для ПАВ; 6 - шестеренчатый насос с приводом для впрыска ПАВ производительностью 12 л/мин; 7 - пробковый кран с паровой рубашкой; 8 - микропереключатели кранов; 9 - труба с противовесом-грузиком; 10 - подача битума в дозатор

Устройство асфальтобетонных покрытий

5.42. Покрытия из горячей асфальтобетонной смеси устраивают в сухую погоду весной и летом, когда температура воздуха не ниже 5 °С, а осенью не ниже 10 °С, из теплой асфальтобетонной смеси - в сухую погоду при температуре воздуха до -10 °С.

Допускается устраивать покрытия из горячих асфальтобетонных смесей при температуре воздуха ниже 5 °С и из теплых при температуре ниже -10 °С, руководствуясь указаниями п. 5.124 - 5.132.

Покрытия из холодных асфальтобетонных смесей следует устраивать в сухую погоду весной и летом при температуре воздуха не ниже 5 °С и осенью не ниже 10 °С, но с учетом времени, необходимого для нормального формирования покрытия до начала осенних дождей.

5.43. Работы по устройству асфальтобетонных покрытий ведут, как правило, в две смены. В дневное время рекомендуется укладывать верхний слой. В третью смену следует выполнять техническое обслуживание машин, установок, агрегатов и систем автоматического управления.

5.44. Ровность асфальтобетонного покрытия обеспечивается: надлежащей планировкой и тщательным уплотнением каждого слоя дорожной одежды; высокой ровностью и плотностью земляного полотна и основания; уплотнением покрытия до нормируемой плотности; сокращением количества поперечных сопряжений; тщательным контролем производства работ.

Кроме того, для достижения требуемой ровности следует устраивать дорожную одежду на второй год после возведения земляного полотна в случаях, если земляное полотно устраивают в зимний период, если земляное полотно устраивают на болоте, если высота земляного полотна превышает 3 м.

Повышению ровности асфальтобетонных покрытий способствует применение асфальтоукладчиков с автоматической системой обеспечения заданной ровности покрытия и толщины слоя.

5.45. Асфальтобетонное покрытие устраивают на сухом, чистом и непромерзшем основании.

Для хорошего сцепления покрытия с основанием последнее перед укладкой асфальтобетонной смеси должно быть очищено от грязи и пыли механическими щетками, сжатым воздухом от передвижного компрессора или другими средствами. Влажное основание может быть просушено песком, нагретым до 250 - 300 °С, а также специальными нагревателями.

5.46. Перед укладкой асфальтобетонной смеси основание или нижний слой асфальтобетонного покрытия при необходимости обрабатывают битумной эмульсией или жидкими битумами СГ-70/130 (см. п.п. 3.36 и 3.37). Эмульсию или жидкие битумы разливают за 3 - 5 ч до начала укладки.

На обработку 1 м2 основания или нижнего слоя асфальтобетонного покрытия соответственно расходуется 0,5 - 0,8 и 0,2 - 0,3 л битума. Если для тех же целей используется 60 %-ная битумная эмульсия, то ее расход соответственно составит 0,6 - 0,9 и 0,3 - 0,4 л.

Обработку вяжущими материалами можно исключить, если покрытие устраивают на свежеуложенном основании, построенном с применением органического вяжущего, а также при укладке верхнего слоя на свежеуложенный нижний слой.

5.47. На участках с продольным уклоном, превышающим 40 ‰, устройство асфальтобетонного покрытия следует осуществлять вверх по уклону.

5.48. Для выравнивания старого основания с поперечным уклоном, превышающим нормативный, следует укладывать слой пористого асфальтобетона при толщине выравнивающего слоя менее 5 см или черного щебня при толщине слоя более 5 см.

Таблица 5.4

Температура асфальтобетонных смесей в асфальтоукладчике перед укладкой в конструктивный слой

Виды смеси

Марка битума

Температура смеси, °С, не ниже

без ПАВ

с ПАВ

Горячие

БНД 90/130, БН 90/130, БНД 60/90, БН 60/90, БНД 40/60

120

100

Теплые

БНД 200/300, БН 200/300, БНД 130/200, БН 130/200

80

80

БГ 70/130, СГ 130/200

70

70

Холодные

СГ 70/130, МГ 70/130

Не ниже 5° весной и 10° осенью

Примечание. При устройстве конструктивных слоев дорожных одежд при пониженных температурах воздуха в случае использования вязких битумов температура смесей должна быть на 10° выше указанной в табл. 5.4.

5.49. Перед укладкой асфальтобетонной смеси необходимо выполнить разбивочные работы, которые позволят выдержать проектную ширину покрытия и поперечные уклоны, а также прямолинейность кромок с помощью нивелира или визирок, нанесением белой или цветной линии на бордюрной ленте и другими способами.

5.50. Минимально допустимая температура смеси при укладке в зависимости от марки битума должна соответствовать табл. 5.4.

Температуру смеси необходимо проверять в каждом прибывающем автомобиле-самосвале.

5.51. Для устройства асфальтобетонного покрытия должны быть созданы механизированные звенья (рис. 5.10) в составе: самоходного асфальтоукладчика, моторных катков, вспомогательных машин и приспособлений - по потребности (дорожные щетки, передвижные битумные котлы, жаровни, инструмент, осветительная электростанция и т.п.).

Подбор оборудования механизированных звеньев для линейных работ зависит от типа асфальтобетонной смеси, принятой скорости потока, длины сменной захватки (250 - 500 м). При устройстве покрытий из горячего и теплого асфальтобетонов в звено укладки должны быть включены один или два асфальтоукладчика и в среднем не менее трех катков на каждый укладчик (рекомендуется один легкий и два тяжелых катка или один самоходный каток на пневматических шинах и два тяжелых).

5.52. При больших объемах работ, а также при устройстве покрытий из смесей типа А и Г их обязательно укладывают одновременно и непрерывно двумя или тремя асфальтоукладчиками на всю ширину покрытия, что обеспечивает хорошее продольное сопряжение полос.

При работе двух укладчиков одновременно на смежных полосах опережение одного из них относительно другого должно быть в пределах 10 - 30 м.

5.53. Рекомендуется применять асфальтоукладчики преимущественно новых моделей на пневмоколесном или гусеничном ходу с шириной укладываемой полосы до 7,5 м (за один проход) и с автоматической системой, обеспечивающей ровность покрытия и точное соблюдение заданного поперечного профиля.


Рис. 5.10. Технологическая схема устройства асфальтобетонного покрытия:

1 - механическая щетка; 2 - передвижной битумный котел; 3 - сушильный агрегат; 4 - асфальтоукладчик; 5 - моторный каток весом до 8 т; 6 - жаровня для инструмента (лопата, грабли, трамбовка, утюг); 7 - моторный каток весом до 15 т; 8 - автомобиль-самосвал с асфальтобетонной смесью; L - сменная захватка; l1, l2, l3 - частные захватки по технологическому процессу


5.54. Ширину полосы укладки целесообразно назначать кратной ширине покрытия с учетом использования уширителей асфальтоукладчика.

5.55. Целесообразная длина полосы укладки горячей асфальтобетонной смеси одним укладчиком, при которой создается хорошее сопряжение смежных полос, зависит от температуры воздуха (табл. 5.5).

Таблица 5.5

Целесообразная длина полосы укладки горячей асфальтобетонной смеси

Температура воздуха, °С

Длина укладываемой полосы, м

Защищенные от ветра, застроенные и лесные участки, глубокие выемки

Открытые участки

5 - 10

30 - 60

25 - 30

10 - 15

60 - 100

30 - 50

15 - 25

100 - 150

50 - 80

> 25

150 - 200

80 - 100

Если теплую асфальтобетонную смесь укладывают при температуре воздуха 10 - 20 °С, длина полосы может быть до 250 м, если температура выше 20 °С, длина полосы ограничивается сменной захваткой.

5.56. Поперечные сопряжения покрытия должны быть перпендикулярными оси дороги. Края ранее уложенной полосы (поперечные и продольные) обрубают вертикально по шнуру и смазывают жидким битумом или битумной эмульсией.

Обрубать или обрезать края целесообразно сразу после уплотнения покрытия. Это особенно важно, если используют горячие и теплые асфальтобетонные смеси типов А и Г. Для обрубки пригодны пневмоломы или перфораторы, свободно вращающиеся диски (из стали высокой прочности), устанавливаемые на одном из каткой, или другие средства.

5.57. Устройству продольных и поперечных сопряжений необходимо уделять особое внимание, так как эти места чаще подвержены разрушающему действию воды. При неправильных укладке и уплотнении покрытие в местах сопряжений, особенно продольных, может оказаться недоуплотненным. Чтобы это избежать, не допускается снижать толщину укладываемого (неуплотненного) слоя до толщины ранее уплотненного слоя у сопряжения полос.

Продольные и поперечные сопряжения следует уплотнять особенно тщательно, добиваясь в этих местах необходимой плотности и полной однородности фактуры покрытия. При правильном выполнении сопряжения незаметны, а плотность асфальтобетона такая же, как и на остальных участках покрытия.

Следует иметь в виду, что если при недоуплотнении смесей типов В и Д в местах сопряжений пористость еще может не превышать 5 %, то при недоуплотнении смесей типов А, Б и Г пористость покрытия в этих местах обязательно будет больше 5 %, что неизбежно вызовет разрушение весной.

5.58. При укладке горячей или теплой смеси для лучшего сопряжения край ранее устроенного покрытия целесообразно разогреть разогревателями (например, инфракрасными излучателями) или на ранее уплотненный слой уложить валик горячей смеси шириной 15 - 20 см. Перед устройством смежной полосы его следует убрать.

5.59. При использовании асфальтоукладчика (с включенным трамбующим брусом) слой горячих и теплых асфальтобетонных смесей должен быть на 15 - 25 % выше проектной толщины, при ручной укладке - на 25 - 30 %.

При укладке холодной асфальтобетонной смеси асфальтоукладчиком (с выключенным трамбующим брусом) или вручную толщина слоя должна быть на 50 - 70 % выше проектной.

5.60. Толщина укладываемого слоя регулируется выглаживающей плитой асфальтоукладчика. В холодную погоду и в начале работы выглаживающую плиту следует нагревать с помощью установленной на ней форсунки.

В отдельных местах с малыми объемами работ при ручной укладке для соблюдения заданной толщины слоя следует укладывать переносные рейки или наносить отметки на упорные брусья. В этом случае брусья длиной до 6 м необходимо устанавливать перед укладкой смеси, чтобы создать ровную кромку покрытия и предохранить слой от раскатывания у краев при уплотнении. Бортовые камни целесообразно устанавливать до сооружения асфальтобетонного покрытия. На них наносят высотные отметки.

Высота подсыпаемых обочин должна соответствовать толщине укладываемого слоя.

5.61. Во время укладки горячих и теплых смесей необходимо следить за тем, чтобы трамбующий брус был включен постоянно. С его помощью достигается предварительное уплотнение асфальтобетонной смеси, что позволяет уменьшить работу катков на 20 - 25 %.

При исправной работе трамбующего бруса и наличии в асфальтоукладчике боковых щитков применение упорных брусьев можно исключить.

Холодные асфальтобетонные смеси укладывают укладчиком, как правило, с выключенным трамбующим брусом.

5.62. При работе асфальтоукладчика ранней весной и осенью, особенно при укладке холодных смесей, необходимо включать съемную мешалку для дополнительного перемешивания и разбивки комьев.

Поверхность уложенного слоя после прохода укладчика должна быть ровной, однородной, без разрывов и раковин.

5.63. Весной и осенью может быть разрешена укладка только нижнего слоя асфальтобетона с движением по нему; летом этот слой должен быть перекрыт верхним слоем. При этом необходимо применять меры по обеспечению сцепления слоев.

5.64. Если при работе асфальтоукладчика остается неуложенной узкая полоса на покрытии (например, на виражах, уширениях и т.п.), то укладывать смесь на ней разрешается вручную одновременно с работой укладчика с тем, чтобы можно было уплотнять уложенную асфальтобетонную смесь сразу по всей ширине покрытия, избежав дополнительного продольного шва.

5.65. При ручной укладке горячую асфальтобетонную смесь выгружают на проезжую часть, укладывают на подготовленную поверхность совковыми лопатами, тщательно прорабатывают граблями, а затем разравнивают металлическими движками. Инструмент должен быть нагрет в специальных передвижных жаровнях.

В холодных смесях отдельные слежавшиеся комья тщательно разрыхляют граблями, окончательно профилируют уложенную холодную асфальтобетонную смесь с помощью деревянной рейки-шаблона, передвигаемой двумя рабочими по поверхности уложенного слоя. Обнаруженные неровности должны быть исправлены досыпкой или удалением смеси.

Уплотнение асфальтобетонных покрытий

Уплотнение горячих и теплых асфальтобетонных смесей

5.66. Асфальтобетонные смеси следует уплотнять гладковальцовыми самоходными катками, преимущественно: двухосными двухвальцовыми весом 6 т (легкого типа); двухосными двухвальцовыми и трехосными трехвальцовыми весом 8 - 18 т (тяжелого типа); самоходными катками на пневматических шинах весом 16 и 30 т или виброкатками весом 4 и 8 т.

5.67. Состав звена катков необходимо назначать в зависимости от производительности АБЗ, а также от площади уплотнения покрытия за смену и типа смеси. В среднем при производительности завода 30 - 35 т/ч для уплотнения покрытия до нормируемой плотности рекомендуется звено из трех катков: один легкий и два тяжелых. Примерная площадь укатки покрытия за смену таким звеном для смесей типов А и Б - 2700 - 3000 м2, типов В и Д - 2500 - 2700 м2 и типа Г - 1500 - 2000 м2.

5.68. При большей производительности завода число катков в звене необходимо увеличить до четырех.

Следует иметь в виду, что на узкой полосе покрытия (3,5 - 3,75 м) не могут одновременно работать более трех-четырех катков. В этом случае для уплотнения смесей типов А, Б и Г эффективнее самоходные катки на пневматических шинах при работе на повышенной скорости.

Весной и осенью звенья следует комплектовать только из тяжелых катков.

При уплотнении смесей типов А и Б, а также нижнего слоя из пористого асфальтобетона легкий каток в звене целесообразно заменить тяжелым.

Общее рекомендуемое количество проходов моторных катков с гладкими вальцами по одному следу в зависимости от состава смеси и погодных условий составит: легких 2 - 4, тяжелых 15 - 18. Число проходов следует устанавливать пробной укаткой.

При ручной укладке число проходов катков увеличивают на 20 - 30 %.

5.69. Катки вибрационного действия рекомендуются взамен вальцовых катков статического действия для уплотнения верхнего слоя из асфальтобетонных смесей типов А, Б, Г и нижнего слоя асфальтобетонных покрытий. При этом первые два-три прохода по одному следу виброкаток делает с выключенным вибратором, затем три-четыре с включенным. После виброкатков необходимо дополнительное уплотнение тяжелым моторным катком (6 - 10 проходов по одному следу). Увеличивать число проходов виброкатков по одному следу не рекомендуется во избежание возможного разуплотнения смеси.

5.70. Самоходными катками на пневматических шинах рекомендуется уплотнять покрытия из смесей всех типов. Важнейшими преимуществами этих катков являются: большая глубина уплотнения, возможность регулирования контактного давления и высокая производительность. При устройстве покрытий с шероховатой поверхностью они обеспечивают большую шероховатость и снижают дробимость щебня.

Порядок уплотнения катками на пневматических шинах:

а) предварительное уплотнение катком с гладкими вальцами (2 - 3 прохода), затем катком на пневматических шинах (8 - 10 проходов), окончательное уплотнение тяжелым вальцовым катком (2 - 4 прохода);

б) уплотнение катком на пневматических шинах (10 - 12 проходов) и окончательное уплотнение тяжелым вальцовым катком (преимущественно щебенистых смесей).

5.71. Катки должны двигаться по уплотняемому покрытию от краев полосы к середине, а затем от середины к краям, перекрывая каждый след на 20 - 30 см. При уплотнении первой полосы необходимо следить за тем, чтобы вальцы катка не приближались более чем на 10 см к кромке, обращенной к оси дороги. Первые проходы при уплотнении второй полосы необходимо выполнять по продольному сопряжению с ранее уложенной полосой. При наезде на свежеуложенную полосу каток должен двигаться ведущими вальцами вперед.

Для обеспечения ровности покрытия в процессе уплотнения необходимо, чтобы каток трогался или изменял направление движения плавно, без рывков. Запрещается останавливать каток на горячем недоуплотненном асфальтобетонном покрытии. Если остановка необходима, каток следует вывести на ранее уплотненные и остывшие участки покрытия.

Не разрешается заправлять катки топливом и смазочными материалами на асфальтобетонных покрытиях.

5.72. Уплотнение покрытий из горячей асфальтобетонной смеси необходимо начинать с той максимально возможной температуры (табл. 5.6), при которой не образуются деформации от укатки, что позволит увеличить время эффективного уплотнения и при меньших затратах работы катков достигнуть более высокой плотности и механической прочности асфальтобетона.

При использовании ПАВ температура смесей может быть снижена на 10 - 20 °С.

При применении битумов марок БНД 40/60, БНД 60/90, БН 60/90, БНД 90/130 и БН 90/130 нецелесообразно уплотнять смесь, имеющую температуру ниже 60 - 70 °С.

5.73. Теплые асфальтобетонные смеси целесообразно уплотнять при температуре не ниже 60 - 80 °С (в зависимости от вязкости битума).

Таблица 5.6

Рекомендуемая температура горячих смесей для эффективного уплотнения

Тип смеси

Температура, °С

А. Многощебенистые

140 - 160

Б. Среднещебенистые

120 - 140

В. Малощебенистые

100 - 130

Г. Песчаные из дробленого песка

130 - 140

Д.         »          » природного      »

90 - 120

Смеси для нижнего слоя

120 - 140

Примечание. При использовании ПАВ или активированных минеральных порошков рекомендуемые температуры должны быть снижены на 10 - 20 °С.

5.74. В начале уплотнения рекомендуется соблюдать скорость движения катков в пределах 1,5 - 2 км/ч, а после пяти-шести проходов по одному следу ее нужно увеличить для моторных катков с гладкими вальцами до 3 - 5, для виброкатков до 2 - 3, на пневматических шинах до 5 - 8 км/ч.

5.75. Чтобы предотвратить прилипание асфальтобетонной смеси к вальцам катков, их рекомендуется смачивать водой, смесью воды с керосином (1:1) или водным 1 %-ным раствором отходов соапстока. Не разрешается применять для этих целей соляровое масло и топочный мазут.

Прилипание асфальтобетонной смеси к пневмошинам прекращается при их нагреве до рабочей температуры смеси. Время нагрева незначительно. Во избежание остывания пневмошин допускаются только непродолжительные остановки катков вне полосы укатки.

5.76. В недоступных для катка местах асфальтобетон уплотняют металлическими трамбовками и заглаживают металлическими утюгами, перекрывая предыдущий след от удара трамбовки примерно на 1/3 и уплотняя до полного исчезновения таких следов.

Для уплотнения и отделки поверхности покрытия из горячей и теплой смеси утюги и трамбовки должны быть нагреты.

5.77. В процессе уплотнения после двух-трех проходов легкого катка следует проверять поперечный уклон и ровность покрытия шаблонами - трехметровой или двухопорной рейкой с приспособлением для фиксации неровностей.

Выявленные дефекты нужно немедленно устранять: в заниженные места добавлять смесь, а завышенные разрыхлять граблями и излишки смеси убирать лопатой. Обнаруженные при первых проходах катков пористые участки и участки с нарушенной сплошностью слоя должны быть исправлены.

Дефектные места (жирные, сухие, раковины и т.п.), обнаруженные на покрытии после окончания укатки, должны быть вырублены, тщательно очищены, края смазаны горячим вязким или жидким битумом и заменены новой доброкачественной асфальтобетонной смесью.

Во избежание раскатывания смеси в конце укатываемой полосы укладывают упорную доску или рейку. Рабочие швы должны быть перпендикулярны к оси дороги.

5.78. Готовые покрытия должны удовлетворять требованиям п. 5.192. Для проверки ровности в процессе производства работ рекомендуется пользоваться четырехметровой рейкой.

5.79. При реконструкции существующих автомобильных дорог все работы выполняют в той же последовательности, что и при строительстве.

При необходимости уширения проезжей части следует применять специальное оборудование (на базе самоходного шасси) для виброуплотнения слоев дорожной одежды.

Уплощение холодных асфальтобетонных смесей

5.80. Холодные асфальтобетонные смеси следует уплотнять самоходными катками на пневматических шинах (6 - 10 проходов по одному следу). При отсутствии таких катков для первоначального уплотнения применяют гладковальцовые легкие моторные катки (4 - 6 проходов по одному следу). При толщине слоя более 4 см холодную асфальтобетонную смесь можно уплотнять более тяжелыми катками, однако при появлении трещин необходимо прекратить уплотнение.

Для уплотнения холодной асфальтобетонной смеси, содержащей активированный минеральный порошок, допускается использование тяжелых моторных катков, при появлении трещин укатку следует также прекратить или тяжелые катки заменить более легкими.

Окончательное уплотнение покрытия достигается при движении автомобилей. При этом следует регулировать движение по всей ширине проезжей части в течение не менее 10 сут, ограничивая скорость движения до 40 км/ч.

Повышение шероховатости асфальтобетонных покрытий

Общие положения

5.81. Ровность и сопротивление покрытий скольжению шин являются важнейшими транспортно-эксплуатационными качествами дорог, определяющими надежность контакта шины автомобиля с покрытиями и безопасность движения. Показателем надежности контакта шины является коэффициент сцепления шин автомобилей с поверхностью покрытий gj*.

* j -коэффициент сцепления шины с покрытием (ГОСТ 17697-72); g - показатель, учитывающий влияние ровности, если ровность покрытия соответствует требованиям СНиП III-40-78, показатель g близок к 1.

В зависимости от совокупности параметров геометрических элементов дорог, уровней их загрузки и других факторов условия движения на различных участках дорог относят к легким, затрудненным или опасным. В соответствии с этими условиями установлены минимальные величины коэффициентов сцепления, необходимые для обеспечения безопасности движения.

5.82. Все асфальтобетонные покрытия с ровной, сухой и чистой поверхностью (за исключением покрытий с избытком битума) обеспечивают коэффициенты сцепления, достаточные для безопасного движения во всех условиях. При этом шероховатость поверхности покрытий не оказывает существенного влияния на коэффициенты сцепления.

На покрытиях с увлажненной поверхностью коэффициенты сцепления значительно снижаются из-за наличия воды в зоне контакта шин с покрытием.

5.83. Для повышения коэффициента сцепления устраивают покрытия с шероховатой поверхностью, которая должна способствовать:

быстрому оттеснению основной массы воды из пространства между автомобильной шиной и поверхностью покрытия дороги по сети каналов, образуемых сообщающимися впадинами шероховатости;

разрушению тонкой пленки воды на поверхности выступов шероховатости, что обеспечивает непосредственный контакт между шиной и покрытием.

Осуществление этих функций определяется параметрами шероховатости (высотой выступов, расстоянием между ними, остротой их вершин) и наличием четко выраженной собственной шероховатости поверхности скола материала, из которого получен щебень.

5.84. Для достижения высоких значений коэффициентов сцепления необходимо, чтобы поверхность покрытия имела большое количество острых выступов, обладающих четко выраженной собственной шероховатостью граней.

5.85. В зависимости от крупности применяемого каменного материала шероховатость поверхности покрытий подразделяют на три основных типа:

особо мелкошероховатая типа «наждачной бумаги», устраиваемая с дроблеными материалами крупностью до 5 мм;

мелкошероховатая с щебнем размером до 10 или 15 мм;

среднешероховатая с щебнем размером до 20 мм.

Предпочтение следует отдавать покрытиям с мелкошероховатой поверхностью, имеющим более длительный срок службы и обеспечивающим минимальный износ шин и меньший шум при движении.

Шероховатая поверхность покрытия должна иметь однородную структуру.

Более крупный щебень для устройства шероховатых поверхностей покрытий можно применять в особых случаях: на шумовых (трясущих) поперечных полосах, укрепительных полосах обочин, сопряжениях проезжей части с разделительными полосами и т.п.

5.86. Особые требования предъявляются к сопротивлению горных пород шлифующему действию шин. При выборе каменных материалов следует учитывать, что длительная устойчивость против шлифуемости может быть достигнута при использовании щебня из пород высокой прочности, в которых наряду с очень прочными мелкокристаллическими минералами равномерно распределены включения значительно менее прочных минералов в количествах, не оказывающих существенного влияния на общую прочность пород. Требования к материалам приведены в табл. 5.7.

Таблица 5.7

Требования к каменным материалам для устройства покрытий с шероховатой поверхностью

Наименование горной породы

Петрографические особенности горной породы

Марка щебня по износу, не ниже

Марка щебня по прочности, не ниже

Категория дороги

Магматические:

граниты, кварцевые порфиры, кварцевые диабазы, гранитогнейсы, сиениты, трахиты, диориты, габбро, базальты и др.

Кристаллическая структура

И-I

1400

I - V

Кристаллическая и порфировая структуры

И-I

1200

III - V

То же

И-II

1000

IV, V

Песчаниковые:

песчаники кварцевые, кварциты, песчаники полиминеральные

Кристаллическая, зернистая, обломочно-сцементированная структуры

И-I

1200

I - V

И-II

1000

III - V

Обломочные рыхлые

Щебень из гравия, содержащий изверженные, осадочные и метаморфические породы

И-I

1000

III - V

И-II

800

IV, V

5.87. Шероховатость покрытия обеспечивается для асфальтобетонов типов:

А - применением щебня из труднополирующихся горных пород;

Г и I марки Дх - за счет применения дробленого песка из труднополирующихся горных пород;

Б, Бх - за счет использования щебня из труднополирующихся горных пород и замены природного песка дробленым, полученным также из труднополирующихся горных пород;

Б, Бх, В, Вх, Д и Дх - за счет устройства шероховатого коврика методом поверхностной обработки или за счет втапливания черного щебня в поверхностный слой покрытия в процессе его уплотнения (асфальтобетоны типов В, Вх, Д и Дх).

Асфальтобетоны типов Вх и Дх, в которые втапливается черный щебень, должны иметь температуру не менее 70 - 80 °С. Такую же температуру должен иметь и втапливаемый черный щебень.

Таблица 5.8

Коэффициенты сцепления с увлажненным покрытием (определяемые автомобильными установками ПКРС при скорости 60 км/ч)

Тип покрытия или способ производства работ

Коэффициент сцепления

Асфальтобетонные покрытия из многощебенистых смесей и покрытия из черного щебня

0,45

Покрытия из асфальтобетонных песчаных смесей типа Г (шероховатость типа «наждачная бумага»)

0,45

Асфальтобетонные покрытия с втапливанием черного щебня

0,50

Поверхностная обработка с применением черного щебня

0,50

Поверхностная обработка с применением необработанного битумом (белого) щебня

0,60

Примечание. Коэффициент сцепления до 0,6 может быть получен и на покрытиях из асфальтобетона типа А при условии безошибочного подбора состава смеси и точного выполнения всех технологических операций по приготовлению, укладке и уплотнению смеси.

При всех способах устройства покрытий с шероховатой поверхностью используют материалы, соответствующие требованиям раздела 3 настоящего Руководства.

При выборе способа устройства шероховатых покрытий необходимо также учитывать категорию дороги, климатические условия района строительства, имеющиеся материалы и средства механизации.

5.88. Ориентировочные значения коэффициента сцепления различных покрытий, обладающих разными параметрами шероховатости, приведены в табл. 5.8.

5.89. Необходимые значения коэффициентов сцепления, измеряемые динамометрическим прицепом установки ПКРС-2у, показателей при испытании маятниковым прибором МП-3, а также параметров шероховатости, измеряемых игольчатым прибором ПКШ-4 (ПКШ-5) или методом «песчаного пятна», приведены в табл. 5.9.

Устройство покрытий с шероховатой поверхностью из смесей с высоким содержанием щебня или песчаных с применением дробленого песка

5.90. Шероховатость асфальтобетонного покрытия из специально подобранных смесей обеспечивается тем, что крупные зерна при уплотнении образуют пространственный каркас и выступают над поверхностью покрытия.

Этим требованиям удовлетворяют асфальтобетонные смеси, указанные в п. 5.87:

5.91. Зерновые составы минеральной части асфальтобетонных смесей для устройства шероховатых покрытий подбирают по ГОСТ 9128-76. Показатели физико-механических свойств и структуры асфальтобетона для этих смесей должны соответствовать требованиям этого ГОСТа.

Для приготовления асфальтобетонных смесей на АБЗ целесообразна сортировка и отдельное дозирование щебня по фракциям: 10 - 15 (20) и 5 (3) - 10 мм. Устройство и уплотнение покрытий осуществляется в соответствии с пп. 5.42 - 5.64 и 5.66 - 5.79.

Устройство покрытий с шероховатой поверхностью по способу втапливания щебня

5.92. Сущность способа заключается в том, что в поверхность покрытия, устраиваемого из асфальтобетонных смесей, не обеспечивающих получения требуемой шероховатости (типы В, Вх, Д, Дх), втапливают черный щебень, зерна которого повышают сцепление колеса автомобиля с покрытием. Втапливание производят сразу вслед за асфальтоукладчиком или после одного-двух проходов легкого катка.


Таблица 5.9

Условия движения, величины сопротивления покрытия скольжению шин и параметры шероховатости покрытий

Условия движения

Коэффициенты продольного сцепления на мокром покрытии при скорости 60 км/ч

Показатель по прибору МП-3, не менее

Параметры шероховатости при сдаче покрытий в эксплуатацию, измеряемые

Типы покрытий, способы создания шероховатой поверхности и допустимые скорости движения при мокрой поверхности покрытий

 

прибором ПКШ-4 (ПКШ-5)

методом «песчаного пятна»

Наименование и группа

Характеристика участков

Минимально необходимые в процессе эксплуатации дороги

При сдаче покрытия в эксплуатацию

Снижение коэффициента сцепления в интервале скоростей 20 - 60 км/ч, не более

Средняя высота выступов, мм, не менее

Среднее расстояние между вершинами выступов, мм, не более

Количество выступов, %, с углом

Средняя глубина шероховатости, мм, не менее

 

70 - 100°, не менее

150 - 180°, не более

 

Легкие (группа 1)

Прямые или на кривых с радиусами от 1000 м и более; горизонтальные или с продольным уклоном не более 30 ‰; с элементами поперечного профиля, установленными для дорог соответствующих категорий, и с укрепленными обочинами; без пересечений в одном уровне и примыканий; при уровнях загрузки не более 0,3 и отсутствии каких-либо помех, вынуждающих водителей менять режим движения

0,35

0,45

0,15

55

1,5

12,5

2

76

1,0

Асфальтобетонные покрытия из смесей типов А и Б. Скорость движения не более 120 км/ч.

Асфальтобетонные покрытия из песчаных смесей, обладающих особой мелкошероховатой поверхностью, допускаются только на дорогах III и IV категорий. Скорость не более 70 км/ч.

 

Затрудненные (группа 2)

На кривых в плане с радиусами, не превышающими 250 - 1000 м (для соответствующих категорий дорог); на спусках и подъемах с уклонами от 30 до 60 ‰ протяженностью не более 100 м, а также при сочетаниях указанных кривых с уклонами до 40 ‰; участки в зонах сужения проезжей части, в пределах пролетных строений мостов, путепроводов, эстакад; недостаточно четкой видимости дальнейшего направления дороги; участки на двухполосных дорогах, предназначенные для выполнения обгонов; участки I-й группы при уровнях загрузки в пределах 0,3 - 0,5

0,40

0,50

0,15

65

1,5

12,5

2

76

1,0

Асфальтобетонные покрытия из смесей типов А и Б с дробленым песком. Скорость движения не более 100 км/ч

 

Опасные (группа 3)

С видимостью менее расчетной (для соответствующих категорий дорог); на спусках и подъемах с уклонами более 30 ‰ при длине более 100 м; участки в зонах пересечений в одном уровне, разделения или слияния потоков, остановок автобусов, пешеходных переходов, порывов бокового ветра, местного увлажнения поверхности дороги, в местах образования тумана; участки 1-й и 2-й групп при уровнях загрузки более 0,5

0,50

0,60

0,10

70

3,5

12,0

30

45

1,8

Покрытия с шероховатой поверхностью, создаваемой способами поверхностной обработки или втапливанием щебня размером 5 (10) - 15 мм.

Скорость движения по условиям сцепления колес автомобилей с дорогой не ограничивается

 


5.93. Для втапливания применяют черный щебень фракций 5 - 10, 10 - 15 или 15 - 20 мм и преимущественно холодный (что значительно упрощает организацию работ).

Теплый, а особенно горячий черный щебень целесообразно использовать только при наличии отдельного смесителя для его приготовления и специального распределителя (см. пп. 5.115 - 5.123).

5.94. Зерновые составы и физико-механические свойства асфальтобетонных смесей, в которые отапливают черный щебень, должны соответствовать ГОСТ 9128-76 (для типов, указанных в п. 5.87).

5.95. Процесс устройства покрытий с шероховатой поверхностью методом отапливания включает следующие операции: укладку слоя асфальтобетонной смеси; предварительное уплотнение уложенного слоя; распределение черного щебня; окончательное уплотнение покрытия.

По нижнему слою покрытия (при двухслойном) или по основанию (при однослойном покрытии) укладывают требуемый слой асфальтобетонной смеси. Черный щебень рассыпают механическим распределителем (или при его отсутствии - вручную) равномерным слоем в одну щебенку после одного-двух проходов легкого катка или сразу после прохода асфальтоукладчика с включенным трамбующим брусом. Необходимую степень предварительного уплотнения определяют опытным путем для каждого состава смеси.

Нормы расхода черного щебня для отапливания в недоуплотненное покрытие:

Щебень 5 - 10 мм.............................. 6 - 8 кг/м2

»     10 - 15   »................................ 7 - 10    »

»     15 - 20   »................................ 9 - 12    »

Щебень каждой фракции необходимо складировать отдельно и подавать его в смеситель по специальной системе.

Оптимальную температуру смеси в покрытии к моменту распределения черного щебня определяют в каждом случае опытным путем ориентировочно 90 - 110 °С для горячих смесей и 60 - 80 °С для теплых.

5.96. Щебень, обработанный битумами СГ 130/200 и МГ 130/200 или дегтем Д-6, применяют в холодном (охлажденном до температуры воздуха) или теплом (до 80 °С) состоянии. Черный щебень, обработанный битумами БНД 60/90, БН 60/90, БНД 90/130, БН 90/130, применяют нагретым до 130 °С, битумами БНД 130/200, БН 130/200, БНД 200/300 и БН 200/300 - до 100 °С.

5.97. После распределения щебень втапливают в поверхностный слой покрытия средними и тяжелыми катками. Окончательно уплотнять покрытие рекомендуется самоходными катками на пневматических шинах. Плотность покрытия контролируют так же, как и плотность покрытия из обычного асфальтобетона. Для этой цели вырубки из покрытия переформовывают вместе с втопленным в него черным щебнем.

Устройство шероховатой поверхности по способу поверхностной обработки

а) с применением битумов

5.98. Сущность способа поверхностной обработки заключается в том, что по тонкому слою вяжущего материала (битума, битумной эмульсии, битумной мастики), нанесенному на обрабатываемую поверхность покрытия, распределяют слой щебня, прилипающего к вяжущему и частично погружающегося в него. Впоследствии из этих материалов формируется коврик, обладающий повышенными фрикционными свойствами.

5.99. При устройстве шероховатой поверхности способом поверхностной обработки необходимо соблюдать: точность дозирования вяжущего, нормы которого изменяют в зависимости от состояния обрабатываемой поверхности, зернового и петрографического состава рассыпаемого материала; точность и равномерность распределения щебня; уход за покрытием.

5.100. Шероховатый коврик, устраиваемый способом поверхностной обработки на старых или вновь строящихся покрытиях для повышения коэффициента сцепления, одновременно служит слоем износа и защитным слоем, который нужно возобновлять по мере потери шероховатости приблизительно через каждые три-четыре года.

5.101. Для поверхностной обработки с применением горячего вязкого битума, как правило, используют холодный или теплый черный щебень. Поверхностную обработку следует устраивать вскоре после строительства или ремонта покрытия.

Для обеспечения шероховатости на асфальтобетонных покрытиях устраивают, как правило, одиночную поверхностную обработку, которая включает розлив битума, распределение черного щебня, уплотнение катками, уход в процессе формирования коврика.

5.102. Битумы марки БНД 130/200 и БН 130/200 для I - III дорожно-климатических зон или БНД 90/130 и БН 90/130 для IV дорожно-климатической зоны, нагретые до 150 - 160 °С, разливают автогудронатором на подготовленное и очищенное покрытие без пропусков и разрывов, строго соблюдая нормы табл. 5.10. Для равномерного распределения битума по поверхности покрытия можно применять механические щетки. В битум рекомендуется вводить ПАВ катионного типа.

5.103. Черный щебень (холодный, теплый и горячий) распределяют по разлитому битуму в одну щебенку и немедленно уплотняют 5 - 10-тонными катками (четыре-пять проходов по одному следу).

Щебень следует распределять до остывания битума. Чем выше температура битума и быстрее распределен щебень, тем лучше он закрепляется на покрытии.

Холодный черный щебень должен быть сухим и чистым. Теплый черный щебень, обработанный битумом БНД 200/300 (БН 200/300), должен иметь температуру 80 - 100 °С, а обработанный жидким битумом МГ 130/200 или СГ 130/200 - 60 - 80 °С. Температура горячего черного щебня должна быть 130 - 150 °С.

5.104. Движение на участке должно быть закрыто на 8 ч, а при наличии объезда - на сутки. Если объезда нет, то каждую половину проезжей части обрабатывают поочередно. Незакрепившийся щебень должен быть удален с покрытия не позднее суток после открытия движения. Дефектные места следует немедленно устранять.

5.105. Порядок устройства поверхностной обработки с щебнем, не обработанным битумом, тот же, что и с черным щебнем.

5.106. Поверхностную обработку следует устраивать летом в дневное время, когда температура воздуха не ниже 15 °С, покрытие хорошо прогрето и вяжущее легко распределяется по поверхности, но не стекает на обочины.

В первые 8 - 10 дней эксплуатации необходим тщательный уход за покрытием. Очень важно ограничить скорость до 40 км/ч и регулировать движение по ширине покрытия.

Таблица 5.10

Нормы расхода щебня и битума для поверхностной обработки в зависимости от крупности зерен

Фракция щебня, мм

Расход щебня

Расход битума, л/м2

кг/м2

м3/100 м2

5 - 15

12 - 14

0,9 - 1,1

0,6 - 0,8

10 - 15

14 - 17

1,1 - 1,2

0,7 - 0,9

10 - 20

16 - 20

1,2 - 1,4

0,8 - 1,0

20 - 25

21 - 25

1,3 - 1,5

0,9 - 1,1

Примечание. При применении необработанного битумом щебня, что допускается только в исключительных случаях, нормы розлива битума повышают на 20 - 25 %.

б) с применением битумных эмульсий

5.107. При устройстве поверхностной обработки с применением битумных эмульсий используют «белый» щебень, т.е. необработанный предварительно органическим вяжущим, что позволяет получить слой поверхностной обработки, имеющий наиболее высокий коэффициент сцепления с колесом автомобиля (см. табл. 5.9).

5.108. Для поверхностной обработки используют катионные эмульсии классов БК и СК («Технические указания по приготовлению и применению дорожных эмульсий» - ВСН 115-75) и анионные марок БА-1 и СА (ГОСТ 18659-73 «Эмульсии дорожные битумные»). Эмульсии, применяемые для поверхностной обработки, должны выдерживать испытание на водостойкость по п. 7.42, с щебнем, предназначенным для устройства поверхностной обработки.

5.109. При устройстве поверхностной обработки с использованием битумных эмульсий покрытие очищают от грязи и пыли механическими щетками; в сухую жаркую погоду (при температуре воздуха выше 25°) покрытие увлажняют непосредственно перед распределением эмульсии.

Температура и концентрация используемой эмульсии устанавливаются в зависимости от погодных условий. При температуре воздуха менее 20 °С применяют эмульсию с концентрацией битума 55 - 60 % и температурой 40 - 50 °С. При температуре воздуха 25 °С и выше используют эмульсию с концентрацией битума 50 - 55 % без предварительного подогрева.

Устраивать поверхностную обработку с использованием катионной эмульсии следует при температуре воздуха не ниже 5 °С, с использованием анионной - не ниже 15 °С.

Эмульсию разливают по покрытию автогудронатором в количестве 30 % от нормы (табл. 5.11), затем предварительно промытый щебень рассыпают по слою эмульсии самоходным распределителем Д-708А, автомобилем-самосвалом с навесным приспособлением или другим механизмом, обеспечивающим равномерное распределение щебня в количестве 70 % от установленной нормы расхода (см. табл. 5.11). Механизм, распределяющий щебень, должен двигаться на расстоянии не далее 20 м от автогудронатора и рассыпать щебень перед собой, наезжая колесами на слой щебня, а не на слой эмульсии. Далее осуществляют второй розлив эмульсии в количестве 70 % от нормы, после чего немедленно распределяют остальной щебень (30 % от нормы). Слой поверхностной обработки прикатывают тремя - четырьмя проходами легкого (5 т) гладковальцового катка, приурочивая эту операцию к началу распада эмульсии. Тяжелый каток (10 т) допускается применять только при использовании прочного щебня (марка более 1000). Рекомендуются также катки на пневматических шинах.

Целью прикатки является приклейка щебня к покрытию.

5.110. При использовании анионных эмульсий движение транспортных средств по слою поверхностной обработки закрывают на сутки для формирования слоя, а при катионных эмульсиях движение не закрывают, но в течение одного-двух дней ограничивают скорость автомобилей до 40 км/ч.

Таблица 5.11

Нормы расхода щебня и битумной эмульсии для поверхностной обработки в зависимости от крупности зерен щебня

Размер щебня, мм

Расход щебня, м3/100 м2

Расход эмульсии, л/м2

в пересчете на битум

при концентрации битума, %

60

50

5 - 10

0,9 - 1,1

0,8 - 0,9

1,3 - 1,5

1,6 - 1,8

10 - 15

1,1 - 1,2

0,9 - 1,0

1,5 - 1,7

1,8 - 2,0

15 - 20

1,2 - 1,4

1,0 - 1,2

1,7 - 2,0

2,0 - 2,4

20 - 25

1,3 - 1,5

1,2 - 1,3

2,0 - 2,2

2,4 - 2,6

в) с применением битумной мастики

5.111. Поверхностную обработку по слою битумной мастики применяют на небольших площадях в местах наиболее тяжелых условий работы покрытия, главным образом на остановочных площадках троллейбусов и автобусов, когда обычная поверхностная обработка становится малоэффективной и недолговечной.

Мастику, полученную смешиванием битума с известняковым минеральным порошком или цементом, наносят на покрытие в горячем состоянии, затем рассыпают холодный черный щебень.

5.112. Мастику следует приготавливать из битумов БНД 40/60, БНД 60/90 и БН 60/90 и известнякового минерального порошка или цемента. Вместо порошка можно использовать известняковые высевки менее 5 мм без примесей глины. Ориентировочное соотношение битума и минерального материала (высевок) 13:87. Консистенция мастики должна быть удобной для распределения. Расход мистики 20 - 30 кг/м2, черного щебня 10 - 15 кг/м2.

5.113. Технологическая последовательность устройства поверхностной обработки с битумной мастикой включает: очистку покрытия и, если необходимо, ремонт; распределение мастики; распределение черного щебня; уплотнение легким катком.

5.114. Мастику распределяют деревянными гладилками слоем 1 - 1,5 см при температуре не ниже 110 °С. Работу следует выполнять в теплую сухую погоду быстро, чтобы сохранить высокую температуру мастики к моменту распределения щебня.

Холодный черный щебень рассыпают по мере распределения мастики в один слой, избыток сметают перед уплотнением. Щебень прикатывают несколькими проходами легкого катка.

Приготовление черного щебня для устройства покрытий с шероховатой поверхностью

5.115. Черный щебень для поверхностной обработки или втапливания в слой асфальтобетона приготовляют в асфальтобетонных установках с принудительным или свободным перемешиванием.

Таблица 5.12

Температура нагрева вяжущего и щебня в зависимости от марки битума

Марка вяжущего

Температура нагрева, °С

вяжущего

щебня

БНД 90/130, БНД 60/90, БН 90/130, БН 60/90

130 - 150

140 - 160

БНД 200/300, БНД 130/200, БН 200/300, БН 130/200

100 - 120

110 - 150

МГ 130/200, СГ 130/200, Д-6

90 - 100

100 - 120

МГ 70/130, СГ 70/130

80 - 90

100 - 110

Щебень перед обработкой битумом или дегтем высушивают и нагревают. Температура нагрева щебня и вяжущего зависит от марки битума или дегтя (табл. 5.12).

При большой влажности и холодной погоде необходимо придерживаться верхних пределов температур нагрева.

5.116. Для обработки щебня битум берут в пределах 1,2 - 1,5 % от массы щебня. Большее количество назначают при применении вязкого битума и обработке мелких фракций (5 - 10 и 10 - 15 мм), меньшее - при применении жидкого битума и обработке крупных фракций (15 - 20 мм).

Битум должен полностью обволакивать щебень и не стекать с него.

5.117. Щебень и битум следует дозировать тщательно, так как избыток или недостаток битума отрицательно сказывается на качестве покрытия. При избытке битума покрытие становится скользким, при недостатке щебень легко отрывается колесами автомобиля.

Чтобы повысить сцепление битума с поверхностью щебня, рекомендуется добавлять ПАВ и активаторы поверхности (согласно Инструкции ВСН 59-68) или минеральный порошок, лучше активированный. Если щебень предварительно обрабатывают известью или добавляют минеральный порошок, расход битума увеличивают до 2,5 - 3,5 %. Норму вяжущего следует уточнять исходя из удобообрабатываемости черного щебня и обеспечения его неслеживаемости при хранении.

ПАВ вводят в готовый выпаренный битум. Активаторы (1 - 1,5 % извести-пушонки), а также 2 - 3 % минерального порошка вводят непосредственно в мешалку, минуя сушильный барабан, и перемешивают с щебнем 15 - 30 с до подачи битума.

При использовании активаторов в случае необходимости в битум вводят анионактивные ПАВ.

5.118. Горячий или теплый черный щебень сразу после приготовления доставляют на место укладки. Холодный черный щебень из смесителя поступает на склад, где может храниться до 4 - 8 мес.

5.119. Черный щебень на эмульсиях приготавливают в мешалках принудительного действия.

5.120. Для обработки щебня применяют среднераспадающиеся анионные и катионные эмульсии, а также обратные эмульсии вязкие ЭО-В и жидкие ЭО в сочетании с прямыми марок СА и МА-1.

5.121. Эмульсии, используемые для обработки щебня, должны выдерживать испытания на водостойкость пленки по п. 7.42 для прямых эмульсий и п. 7.43 для обратных. Если прямая эмульсия не выдерживает испытания, то щебень необходимо обрабатывать известью - 0,5 % от массы щебня.

Предпочтение следует отдавать щебню, обработанному катионной эмульсией, которая обеспечивает хорошее сцепление битумной пленки с минеральным материалом.

5.122. Щебень, предназначенный для укладки сразу после приготовления, обрабатывают эмульсиями, содержащими битумы марок БНД 40/60, БНД 60/90, БНД 90/130, БН 60/90 и БН 90/130.

Для щебня, заготавливаемого впрок, применяют прямые эмульсии на битумах с глубиной проникания иглы при 25 °С 200 - 250 и обратные ЭО-В и ЭО в сочетании с прямыми СА и МА-1.

5.123. Количество прямой эмульсии в пересчете на битум составляет 1,2 - 1,5 % от массы щебня.

При обработке щебня обратной эмульсией совместно с прямой 40 % вяжущего вводят в виде обратной эмульсии и 60 % в виде прямой.

При работе с прямыми эмульсиями или с обратными жидкими ЭО в сочетании с прямыми минеральный материал и эмульсию применяют холодными. Обратную эмульсию вязкую ЭО-В подогревают до 60 - 70 °С, а обрабатываемый ею щебень - до 20 - 60 °С (если работа ведется при низких температурах).

Особенности устройства асфальтобетонных покрытий при пониженных температурах воздуха

5.124. Периодом с пониженными температурами воздуха считается время года, когда температура воздуха во время производства работ ниже требуемых для строительства асфальтобетонных покрытий: весной - ниже 5 °С; осенью - ниже 10 °С.

Зимним периодом считается время года между датами наступления и окончания устойчивой отрицательной среднесуточной температуры в районе строительства.

5.125. При низких положительных и отрицательных температурах разрешается устраивать асфальтобетонное покрытие (из горячих и теплых смесей) с учетом следующих основных требований:

а) асфальтобетонное покрытие допускается устраивать только на заблаговременно построенном (до наступления периода отрицательных температур) и хорошо уплотненном основании;

б) как правило, следует устраивать только нижний слой двухслойного асфальтобетонного покрытия. Если зимой или весной по этому слою будет происходить движение транспортных средств, его следует устраивать только из плотных асфальтобетонных смесей;

в) при устройстве двухслойного покрытия необходимо укладывать верхний слой только на свежеуложенном нижнем слое до его остывания (с сохранением температуры нижнего слоя в пределах 20 - 40 °С);

г) для верхнего слоя рекомендуется использовать теплые асфальтобетонные смеси, приготовляемые с разжиженными битумами. При температуре воздуха не ниже 0 °С можно применять горячие асфальтобетонные смеси;

д) для верхнего слоя рекомендуется применять асфальтобетонные смеси типов Б, В, Г и Д. Водонасыщение стандартных лабораторных образцов должно приближаться к нижнему допускаемому пределу (1,5 - 2 % по объему), что достигается увеличением содержания битума;

е) теплую или горячую асфальтобетонную смесь разрешается укладывать, если скорость ветра не превышает пределов;

Температура воздуха, °С              от 10 до 0            от 0 до -5            от -5 до -10

Скорость ветра, м/с                               7                         5                            3

ж) во всех случаях необходимо применять асфальтобетонные смеси с ПАВ или с активированными минеральными порошками;

з) толщина слоев покрытия должна быть увеличена против проектной на 0,5 - 1 см, а верхний слой не должен быть тоньше 4 см;

и) качество работ, выполняемых при отрицательных и низких положительных температурах, на всех этапах устройства асфальтобетонных покрытий должно полностью соответствовать требованиям настоящего Руководства.

Все работы следует проводить под усиленным контролем инженерно-технического персонала и лаборатории.

5.126. При устройстве асфальтобетонных покрытий в период пониженных положительных и отрицательных температур необходимо обеспечивать непрерывность работы и бесперебойное снабжение необходимыми материалами.

Особое внимание должно быть уделено обеспечению рабочих и ИТР утепленными помещениями, теплой спецодеждой и спецобувью и проведению подготовительных мероприятий, к которым относятся:

а) обустройство производственных цехов;

б) подготовка строительных материалов, утепление машин и грузовых автомобилей;

в) подготовка подъездных путей к карьерам, складам, подсобным предприятиям;

г) организационные мероприятия по снегоочистке и подготовке снегозащитных приспособлений.

5.127. Для бесперебойного выпуска асфальтобетонной смеси в холодное время необходимо:

а) утеплить кабины машинистов асфальтобетонных машин, пультов управления и других видов оборудования;

б) изолировать сушильные барабаны и мешалки асфальтобетонных машин двумя-тремя слоями листового асбеста, покрывая листовым железом или стягивая металлическими обручами;

в) изолировать теплоизоляционными материалами (шлаковой ватой и т.п.) паро-, газо-, битумо-, нефте- и водопроводы, а также битумные дозировочные бачки; обеспечить обогрев всех битумных кранов и насосов;

г) обеспечить плотную обшивку «горячих» элеваторов асфальтобетонных машин и утепление узла грохотов;

д) оборудовать крышками бункера для минеральных материалов в целях уменьшения попадания влаги и предотвращения смерзаний материала. Металлические бункера для фракционированных материалов утеплить и оборудовать системой паро- и электроподогрева в нижней суженной части бункеров;

е) изолировать битумные котлы слоем топочного шлака или песка, засыпаемых в дополнительную обшивку и поверх битумоминерального агрегата;

ж) установить у топок сушильных барабанов бачки для нагрева топлива до 70 - 80 °С перед подачей в форсунку; кроме того, дополнительно подогревать топливо в расходном топливном баке;

з) оборудовать защитными кожухами все используемые ленточные транспортеры, установленные на открытом воздухе, для предотвращения попадания влаги;

и) установить возле смесителей утепленные накопительные бункера для асфальтобетонных смесей.

5.128. Приготовление асфальтобетонных смесей при пониженных положительных и отрицательных температурах осложняется из-за поступления влажных и смерзшихся минеральных материалов. Смерзшиеся минеральные материалы (щебень, песок) должны быть предварительно просушены для дозирования и сортировки (при отсутствии заранее подготовленных фракционированных материалов). Для этого может быть использована смесительная установка любого типа. Запас просушенного материала следует хранить под навесом.

5.129. При приготовлении асфальтобетонных смесей в период пониженных положительных и отрицательных температур запасы битума необходимо хранить в ямных битумохранилищах закрытого типа или в битумных цистернах-котлах, оборудованных паро-, газо- или электроподогревом.

5.130. Температура нагрева вяжущих материалов и асфальтобетонных смесей при выпуске из смесителя должна соответствовать приведенной в табл. 5.1. и 5.3. Учитывая узкие температурные пределы, необходимо уделять особое внимание контролю температурного режима приготовления битума и асфальтобетонных смесей, не допуская остывания и перегрева.

На асфальтобетонных смесителях должны быть исправные и проверенные термометры, регистрирующие температуру минеральных материалов при их выпуске из сушильного барабана, по возможности с выводом показателей температуры на пульт управления.

Продолжительность перемешивания асфальтобетонных смесей увеличивают на 10 - 15 % против данных табл. 5.2.

5.131. Перед началом работы смесителей (за 1 - 2 ч) следует разогреть все битумные коммуникации (битумные насосы, краны, битумопроводы) и наладить бесперебойную циркуляцию битума в битумопроводе. Заблаговременно должны быть также прогреты сушильные барабаны и мешалки.

5.132. Для уменьшения остывания асфальтобетонной смеси при ее перевозке следует применять автомобили-самосвалы с утепленными или обогреваемыми кузовами. Асфальтобетонную смесь при перевозке необходимо укрывать ватными матами, брезентом и т.п. Для сохранения тепла смесь лучше перевозить в автомобилях большой грузоподъемности.

Подготовка основания, укладка и уплотнение асфальтобетонной смеси

5.133. Щебеночные основания под асфальтобетонное покрытие, устраиваемое при пониженных температурах воздуха, необходимо обработать асфальтобетонной смесью (горячей, теплой, холодной, песчаной или мелкозернистой). Асфальтобетонную смесь рассыпают в процессе уплотнения щебеночного основания на последнем этапе в количестве 10 - 15 кг/м2. Благодаря этому уменьшается поступление влаги в основание и создаются условия для механизированной его очистки перед укладкой асфальтобетонной смеси.

Щебеночные основания также можно предохранить от переувлажнения заблаговременным розливом (в сухую погоду) жидкого битума или дегтя (0,5 - 0,6 л/м2). После этого основание должно быть закрыто для проезда.

5.134. Перед укладкой асфальтобетонной смеси поверхность основания очищают от грязи, снега и льда автогрейдерами или механическими щетками.

Влажные места должны быть просушены разогревателями или горячим песком. Эти работы выполняют непосредственно перед укладкой асфальтобетонной смеси.

5.135. При устройстве асфальтобетонных покрытий при пониженных температурах воздуха необходимо соблюдать следующие требования:

а) горячая асфальтобетонная смесь на месте укладки должна иметь температуру в пределах 150 - 160 °С, теплая - 80 - 120 °С (в зависимости от вида и марки битума). При использовании ПАВ и активированных минеральных порошков температура горячих асфальтобетонных смесей должна быть не выше 150 °С;

б) смесь необходимо укладывать асфальтоукладчиком с включенным вибробрусом, а для ее доставки и уплотнения иметь достаточное количество утепленных автомобилей-самосвалов и катков (преимущественно тяжелых);

в) открытые места работ необходимо защищать от ветра передвижными щитами высотой 1,5 - 2 м.

До начала укладки смеси выглаживающую плиту асфальтоукладчика следует прогреть форсункой и поддерживать ее в подогретом состоянии во время работы. Учитывая возможность перерыва в поступлении смеси в зоне расположения рабочих органов следует всегда оставлять часть горячей смеси.

5.136. Для улучшения продольного сопряжения полос покрытия смесь рекомендуется укладывать двумя асфальтоукладчиками. При работе одним укладчиком длину захватки следует уменьшить настолько, чтобы новая полоса примыкала к теплой, не остывшей кромке ранее уложенной полосы.

Длина захватки зависит от температуры воздуха. Так, при температуре от -5 до -10 °С она не должна превышать 20 - 25 м.

5.137. При небольших объемах работ (500 - 700 м2) в виде исключения допускается укладка асфальтобетонной смеси вручную. В этом случае звено рабочих, занятых на укладке, необходимо укомплектовать так, чтобы максимально снизить продолжительность укладки смеси. Следует точно назначать места выгрузки смеси, чтобы избежать ее остывания при излишней переноске. Укладывать смесь следует на всю ширину проезжей части.

5.138. Уплотнение слоя уложенной смеси следует начинать сразу вслед за укладкой одновременно по всей ширине уложенной полосы. Целесообразно организовать движение катков в шахматном порядке. Уплотнять следует только тяжелыми катками (10 - 18 т) за 15 - 18 проходов по одному следу или за 10 - 12 проходов тех же катков и 5 - 6 проходов виброкатков с включенным вибратором.

5.139. Эффективность уплотнения возрастает при установке приспособлений для обогрева вальцов; в частности, вальцы трехосных трехпальцевых катков целесообразно заполнять горячей водой или горячим маслом.

5.140. Прилипание асфальтобетонной смеси к вальцам катков предотвращают смачиванием их соленой водой (соотношение соли и воды 1:8 - 1:10).

5.141. Дефекты покрытия, возникшие после прохода укладчика или в процессе уплотнения (раковины, пористые места и т.п.), должны быть немедленно исправлены горячей смесью.

Укладка и уплотнение горячих асфальтобетонных смесей слоями увеличенной толщиной (до 20 см)

5.142. Асфальтобетонные смеси слоями увеличенной толщины укладывают при устройстве оснований в случаях, предусмотренных п. 2.6.

5.143. Приготовление, укладка и уплотнение смесей при устройстве слоев увеличенной толщины осуществляют в соответствии с приведенными правилами производства работ и нижеследующими рекомендациями.

5.144. Для укладки асфальтобетонных смесей рекомендуется применять асфальтоукладчики преимущественно новых моделей с шириной укладываемой полосы 7,5 м и приемным бункером 8 т и более или осуществлять укладку двумя спаренными укладчиками с шириной укладываемой полосы по 3,5 м. Для обеспечения хорошего сопряжения смежных полос интервал между укладчиками должен быть не менее 5 - 10 м.

При укладке одним укладчиком полосы шириной 3,5 м длина захвата должна быть не более 60 - 100 м в зависимости от толщины слоя, вязкости применяемого битума и температуры воздуха. Для нормальной работы машин необходимо обеспечить подачу асфальтобетонной смеси не менее 60 т/ч на каждый укладчик при ширине укладки 3,5 м.

5.145. Для обеспечения темпа укладки рекомендуется оборудовать смесители обогреваемыми накопительными бункерами общей емкостью, равной трехчасовой производительности завода.

5.146. Основание из необработанных минеральных материалов или укрепленных небольшими дозами цемента или шлака, на которое укладывается асфальтобетонная смесь, рекомендуется подгрунтовывать 30 %-ной битумной эмульсией за 2 - 3 ч до укладки смеси в количестве 1 л/м2, или обрабатывать раствором хлористого кальция, распределяемого за сутки до начала работ.

5.147. При укладке слоя увеличенной толщины обязательна установка боковых упоров, предотвращающих раскатывание и разрушение кромки слоя. В качестве боковых упоров наиболее целесообразно использовать присыпные обочины и бортовые камни, а также рельс-формы или деревянные брусья прямоугольного сечения, высота которых должна быть равна толщине слоя.

5.148. Брусья устанавливают на основание и фиксируют их положение с внешней стороны штырями (2 шт. на брус длиной 4 - 5 м). Упоры следует устанавливать по ходу движения укладчиков на 0,4 - 0,5 длины сменной захватки.

5.149. Если укладка полосы прерывается на время большее периода остывания смеси, то заканчивать полосу также следует упорным брусом, устанавливаемым перпендикулярно к оси дороги вплотную к слою уложенной асфальтобетонной смеси. За брусом необходимо устроить съезд для уплотняющих машин, чтобы обеспечить возможность уплотнения уложенной смеси по всей площади.

5.150. Слои увеличенной толщины уплотняют самоходными катками на пневматических шинах, моторными катками с гладкими вальцами, а также виброкатками.

Одним из преимуществ уплотнения слоев увеличенной толщины является сохранение высокой температуры в уплотняемом слое в течение длительного времени. При толщине слоя 15 см и температуре воздуха 18 - 20 °С снижение температуры смеси со 145 до 70 °С (нижний предел, за которым уплотнение неэффективно) происходит за 3 - 3,5 ч, а в слое толщиной 9 см - за 2 - 2,5 ч.

5.151. Количество и тип уплотняющего оборудования назначают исходя из темпа устройства слоя, вида уплотняемого материала и температуры его укладки.

5.152. Уплотнение слоев толщиной более 10 см следует начинать самоходными катками на пневматических шинах. Заканчивать уплотнение следует гладковальцовыми металлическими катками: двухосными двухвальцовыми или трехосными трехвальцовыми. Такой режим укладки обеспечивает требуемую ровность слоя.

5.153. Скорость движения катков на пневматических шинах при первых двух - трех проходах по одному следу не должна превышать 2 - 3 км/ч, последующие проходы можно делать со скоростью 12 - 15 км/ч.

5.154. Давление воздуха в шинах катка в начале укатки должно быть не более 3 × 105 Па (3 кгс/см2), а на заключительном этапе уплотнения 6 × 105 - 8 × 105 Па (6 - 8 кгс/см2).

5.155. При уплотнении смесей с содержанием щебня более 50 % допустимо использовать вибрационные катки, при этом первые два - три прохода по одному следу каток делает с выключенным вибратором, затем три - четыре прохода с включенным. После работы вибратора доуплотнение и выравнивание поверхности выполняют с помощью тяжелого трехосного трехвальцового катка.

При уплотнении виброкатком малощебенистых смесей температура в уплотненном слое в начале работы катка должна быть не выше 80 - 90 °С.

5.156. Требуемая плотность слоя увеличенной толщины (до 20 см) достигается при шести - восьми проходах катков на пневматических шинах и четырех - шести проходах тяжелых гладковальцовых катков или при двух - четырех проходах легких и 12 - 20 проходах тяжелых гладковальцовых катков.

Режим уплотнения для данной смеси необходимо отработать в первый день укладки, выполнив пробное уплотнение в нескольких режимах и определив степень уплотнения слоя.

5.157. Ровность слоя увеличенной толщины достигается:

а) применением асфальтобетонных смесей с содержанием зерен крупнее 5 мм в количестве, необходимом для создания в слое пространственного каркаса (50 - 65 %);

б) применением смесей с оптимальным количеством битума, определенным при предельно возможном уплотнении образцов;

в) уплотнением слоя катками на пневматических шинах и выравниванием тяжелыми катками с гладкими вальцами;

г) обеспечением нормативной ровности подстилающего слоя;

д) непрерывностью потока производственного процесса по устройству слоев.

Устройство асфальтобетонных покрытий с применением полимеров

Общие положения

5.158. Для повышения трещиностойкости асфальтобетонных покрытий и снижения пластичности при высоких положительных температурах, а также для повышения устойчивости к динамическим воздействиям рекомендуется вводить в состав асфальтобетонных смесей, предназначенных для устройства покрытий в условиях резкоконтинентального климата, а также на объектах с повышенным динамическим воздействием на покрытие (покрытия на мостах, на полосах примыкания к трамвайным путям и т.п.) добавки дивинилстирольного термоэластопласта (ДСТ) или резинового порошка1.

1 Подробные сведения о применении ДСТ и резинового порошка в асфальтобетоне приведены в «Методических рекомендациях по строительству асфальтобетонных покрытий с применением полимерно-битумного вяжущего (на основе ДСТ)». Союздорнии, 1975 и «Методических рекомендациях по строительству асфальтобетонных покрытий с применением резинового порошка». Союздорнии, 1976.

Применение названных материалов позволяет одновременно повысить фрикционные свойства покрытий (сцепление колеса автомобиля с покрытием).

Применение резинового порошка

5.159. Резиновый порошок применяют при приготовлении горячих асфальтобетонных смесей. Получают его в результате дробления и размола изношенных автомобильных покрышек, а также шероховки изношенных покрышек в процессе их восстановления.

Резиновый порошок с максимальным размером зерен 1 мм должен отвечать требованиям ТУ 38 10436-76 «Резина дробленая марок РД и РДС» в части требований к резине марки РДС.

5.160. Количество вводимого резинового порошка составляет 1,5 - 3 % от массы минеральных составляющих асфальтобетона. Его вводят вместо равного по массе количества минерального порошка.

5.161. Резиновый порошок подают без дополнительного нагрева непосредственно в мешалку.

Для подачи резинового порошка в смесители их следует оборудовать дополнительными устройствами, включающими расходную емкость закрытого типа для хранения резинового порошка, рассчитанную на 1/2 смены работы АБЗ, средства для транспортирования порошка от емкости к смесителю и отдельный дозатор для введения холодного резинового порошка в мешалку.

Расходная емкость должна быть снабжена приспособлениями для бесперебойной подачи резинового порошка на транспортер.

В асфальтобетонных комплектах Д-508-2 и Д-617-2 резиновый порошок разрешается дозировать с помощью дозатора минерального порошка.

5.162. Технологический режим приготовления асфальтобетонных смесей с резиновым порошком должен обеспечивать равномерное распределение в ней резинового порошка и общую однородность смеси. Следует строго выдерживать время перемешивания смеси, соблюдать однородность применяемых исходных материалов, точность их дозирования, а также температуру исходных материалов и асфальтобетонной смеси.

5.163. Время перемешивания песчаных асфальтобетонных смесей с резиновым порошком должно составлять 120 с, мелко- и среднезернистых - 90 с, при этом сухое перемешивание минеральных материалов и резинового порошка в мешалке (до подачи битума) - 15 - 30 с.

Точность дозирования резинового порошка должна составлять ± 1,5 % от массы резинового порошка.

5.164. Асфальтобетонные смеси с резиновым порошком следует укладывать по технологии, принятой для обычных асфальтобетонных смесей, однако в процессе уплотнения необходимо соблюдать следующие правила: смеси следует уплотнять при несколько сниженной температуре (по сравнению с принятой для обычных смесей). Ориентировочно температура смесей к началу уплотнения должна составлять: для песчаных асфальтобетонных смесей 90 - 110°, для мелкозернистых 100 - 120 °С.

В случае появления на покрытии во время уплотнения волосных трещин работу следует приостановить, возобновив ее после снижения температуры смеси.

Уплотнение необходимо начинать только легкими (до 8 т) катками (два - четыре прохода по одному следу). Дальнейшее уплотнение осуществляют средними и тяжелыми катками (10 - 18 т) за 15 - 20 проходов по одному следу. Вальцы катков должны быть обильно смазаны смесью воды с керосином или мыльным раствором.

Для уплотнения смесей с резиновым порошком не рекомендуется использовать катки на пневматических шинах из-за повышенного сцепления шин с покрытием, что ведет к прилипанию горячей смеси к шинам.

5.165. Качество готовой смеси, содержащей резиновый порошок, контролируют, испытывая стандартные цилиндрические образцы. При изготовлении образцов температуру резинированных асфальтобетонных смесей назначают в соответствии с табл. 7.2.

Изготовление образцов ведут с соблюдением следующих указаний.

Смеси засыпают в форму, нагретую до температуры 60 - 70 °С, в несколько приемов и послойно штыкуют.

Образцы из песчаных асфальтобетонных смесей уплотняют на прессе под нагрузкой 400 × 105 Па (400 кгс/см2) в соответствии с п. 7.9.

Образцы из мелко- и среднезернистых смесей, содержащих до 35 % щебня, уплотняют под нагрузкой, возрастающей по ступеням, причем каждая ступень нагружения поддерживается постоянной определенное время.

Давление 200 × 105 Па (200 кгс/см2)............................ 2 мин

»        300 × 105   »  (300      »      )........................... 1,5   »

»        100 × 105   »  (400      »      )........................... 1      »

Образцы из смесей, содержащих более 35 % щебня, уплотняют комбинированным методом (см. п. 7.10).

Применение дивинилстирольных термоэластопластов

5.166. Полимернобитумное вяжущее (ПБВ) получают путем введения в битум небольших (2 - 2,5 %) добавок ДСТ, предварительно растворенного в углеводородных растворителях (сольвент, ксилол, бензин, керосин, дизельное топливо, жидкие битумы, нефтяной гудрон).

5.167. ПБВ характеризуется способностью к большим высокоэластическим деформациям в широком диапазоне температур (от -30 до 60 °С), что обусловливает его высокую теплостойкость при повышенных эксплуатационных температурах (50 - 60 °С), эластичность, пластичность и устойчивость к динамическим воздействиям при пониженных температурах.

5.168. По составу и технологии приготовления с учетом применяемых растворителей ПБВ относится к классу разжиженных вяжущих, густеющих со скоростью, обусловленной фракционным составом растворителя: на сольвенте, ксилоле, бензине - быстрогустеющие, на керосине, зимнем дизельном топливе - густеющие со средней скоростью, на летнем дизельном топливе - медленногустеющие, а асфальтобетонные смеси на его основе по температурному режиму приготовления, укладки и уплотнения относятся к теплым. Физико-механические свойства асфальтобетона на основе ПБВ должны удовлетворять требованиям, предъявляемым к горячему асфальтобетону.

5.169. Строительство асфальтобетонных покрытий с применением ПБВ допускается при пониженных температурах (до -10 °С).

Материалы, технические требования, технология приготовления ПБВ

5.170. Исходными материалами для приготовления ПБВ являются:

а) битумы марок БНД 60/90, БН 60/90, БНД 90/130, БН 90/130, отвечающие требованиям ГОСТ 22245-76;

б) дивинилстирольные термоэластопласты типа ДСТ-30, отвечающие требованиям технических условий ТУ 38-40365-76 (см. приложение 10);

в) растворители, отвечающие следующим требованиям: сольвент - ГОСТ 1928-67 и ГОСТ 10214-62, ксилол - ГОСТ 9410-71, бензины неэтилированные - ГОСТ 2084-67 и ГОСТ 8505-57, дизельное топливо - ГОСТ 305-73, керосин - ГОСТ 18499-73, жидкие битумы - ГОСТ 11955-74, а также нефтяные гудроны.

Таблица 5.13

Требования, предъявляемые к ПБВ

Показатели

Нормы

Метод испытания

Глубина проникания иглы, % от показателя исходного битума, не менее:

 

 

при 25 °С (100 г, 5 с)

65

ГОСТ 11501-73

» 0 °С (200 » 60 с)

100

Температура размягчения, % от показателя исходного битума, не менее

105

ГОСТ 11506-73

Растяжимость при скорости 5 см/мин, см, не менее:

 

 

при 25 °С

40

ГОСТ 11505-75

» 0 °С

12

Эластичность, %, не менее

75

П. 7.47 настоящего Руководства

Испытание на сцепление с мрамором или песком

Выдерживает

ГОСТ 11508-74

5.171. Полимернобитумное вяжущее должно быть однородным и после прогрева при 120 °С в течение 7 ч в слое толщиной 3 мм должно отвечать требованиям, приведенным в табл. 5.13.

5.172. Для приготовления ПБВ АБЗ следует оборудовать емкостями для хранения растворителя, для приготовления и хранения раствора ДСТ, а также битумными котлами для приготовления ПБВ. Емкости и котлы должны быть снабжены мешалками пропеллерного или лопастного типов. Объемы емкостей следует рассчитывать из условия непрерывной работы АБЗ.

5.173. Технологический процесс приготовления ПБВ включает приготовление раствора ДСТ и приготовление ПБВ.

Для приготовления раствора ДСТ (рис. 5.11) из емкости 1 по трубопроводу с помощью насоса 2 подают растворитель в емкости 3. В растворитель загружают ДСТ (в виде крошки) и перемешивают.

Для приготовления раствора ДСТ с концентрацией более 5 % - в дизельном топливе, керосине, более 20 % - в ксилоле, сольвенте, более 15 % - в бензине следует нагревать растворитель в емкости 3 системой масло- или пароподогрева.

Рис. 5.11. Схема приготовления ПБВ на АБЗ:

1 - емкость для растворителя (60 м3); 2 - бензонасос; 3 - емкости для раствора ДСТ (по 20 м3); 4, 6 - 8 - насосы Д-171; 5 - битумные котлы для ПБВ; 9 - установка для разогрева и обезвоживания битума

Максимально допустимая температура нагрева растворителей: бензина - 30, сольвента, ксилола - 60, керосина - 80, зимнего дизельного топлива - 120, летнего дизельного топлива - 130 °С, битума - не выше рабочей температуры для соответствующей марки.

Вязкость раствора ДСТ не должна превышать 400 Пз исходя из условий нормальной работы битумного насоса типа Д-171. В связи с этим максимальная концентрация раствора ДСТ в дизельном топливе или керосине определяется его способностью свободно стекать со стеклянной палочки при максимально возможной температуре растворителя.

Минимальная концентрация раствора ДСТ определяется по прочности асфальтобетона при высокой положительной температуре: предел прочности асфальтобетона при 50 °С должен удовлетворять требованиям ГОСТ 9128-76, предъявляемым к горячему асфальтобетону.

5.174. Раствор ДСТ подают насосом 4 по трубопроводу в битумные котлы 5, где и перемешивают до однородного состояния с обезвоженным битумом, нагретым до 100 - 110 °С. Однородное состояние ПБВ характеризуется отсутствием крупинок на стеклянной палочке, извлеченной из ПБВ.

Количество раствора ДСТ устанавливают при подборе состава ПБВ. Подогрев котла при подаче раствора ДСТ в битумный котел следует обязательно отключить. Все битумопроводы, дозировочные бачки и другие элементы битумных коммуникаций должны быть обеспечены системой парообогрева или маслоподогрева.

Подбор состава ПБВ

5.175. Необходимое количество раствора ДСТ для приготовления ПБВ рассчитывают в зависимости от выбранного процентного содержания ДСТ в битуме.

Пример расчета. Концентрация раствора ДСТ - 20 %. Выбранная концентрация ДСТ в битуме - 2 %.

На 1 т битума потребуется  раствора

5.176. Показатели свойств ПБВ определяют в соответствии с пп. 5.171 настоящего Руководства.

В случае неудовлетворительного показателя температуры размягчения по КиШ необходимо повысить концентрацию раствора ДСТ и повторить подбор. В случае несоответствия других показателен требованиям табл. 5.13 необходимо увеличить содержание ДСТ и повторить подбор.

5.177. Свойства горячего асфальтобетона, приготовленного на основе ПБВ, должны отвечать требованиям ГОСТ 9128-76, предъявляемым к I и II маркам.

В случае несоответствия показателей указанным требованиям следует повысить концентрацию раствора ДСТ (при этом содержание ДСТ в битуме не меняется) и повторить испытания. Если же и в этом случае материал не удовлетворяет требованиям, следует увеличить содержание ДСТ в ПБВ и повторить испытания.

Для ПБВ окончательного состава определяют условную вязкость (по истечении из отверстия 10 мм при 60 °С) по ГОСТ 11503-74 для последующего контроля концентрации ПБВ в рабочем котле.

Особенности технологии приготовления асфальтобетонной смеси с применением ПБВ и устройства покрытий

5.178. Все работы по приготовлению, укладке и уплотнению асфальтобетонных смесей с применением ПБВ осуществляют по технологии, принятой для обычных асфальтобетонных смесей.

Асфальтобетонные смеси с ПБВ приготовляют в соответствии с режимами перемешивания, принятыми для теплых асфальтобетонных смесей.

5.179. Температура асфальтобетонных смесей при выпуске из смесителя должна быть в пределах 110 - 120 °С, а в случае устройства покрытия при температуре воздуха от 0 до -10 °С не выше 130 °С.

5.180. При строительстве асфальтобетонных покрытий с применением ПБВ исходят из следующих положений:

а) асфальтобетонные смеси на основе ПБВ имеют более высокий коэффициент уплотнения, поэтому толщину слоя асфальтобетонной смеси при укладке асфальтоукладчиком с включенным трамбующим брусом следует назначать на 30 - 35 % больше проектной;

б) эффективное уплотнение асфальтобетонной смеси достигается при температурах от 90 до 35 °С;

в) работы по строительству дорожных покрытий из асфальтобетонных смесей на основе ПБВ следует выполнять только в дневное время.

Особенности технического контроля

5.181. До начала производства работ по приготовлению раствора ДСТ, ПБВ и асфальтобетонных смесей должно быть освидетельствовано качество монтажа технологического оборудования. Особое внимание следует обратить на герметичность емкостей для хранения растворителей, раствора ДСТ, приготовления ПБВ и на исправность предохранительных клапанов.

При приготовлении и применении ПБВ следует контролировать:

а) качество раствора ДСТ, ПБВ, асфальтобетона на основе ПБВ и материалов, необходимых для их приготовления;

б) процессы приготовления раствора ДСТ, ПБВ, асфальтобетонной смеси на основе ПБВ и устройства покрытия.

5.182. Качество ПБВ проверяют при приготовлении каждой новой партии. Условную вязкость ПБВ определяют 1 раз в смену (истечение через отверстие диаметром 10 мм при 60 °С). Величина условной вязкости не должна отличаться от определенной при подборе (см. п. 5.175) более чем на 10 %.

Транспортирование и хранение ДСТ

5.183. ДСТ в виде крошки транспортируют и хранят в полиэтиленовых мешках, помещенных в брезентовые чехлы, партиями по 10 - 20 кг. На территории АБЗ мешки хранят в закрытых складских помещениях или под навесом.

Раствор ДСТ и растворители транспортируют и хранят в емкостях, соответствующих требованиям ГОСТ 1510-70, предъявляемым к емкостям для растворителей.

5.184. Емкости для приготовления и хранения раствора ДСТ и емкость для растворителя должны быть оборудованы предохранительными клапанами для подсоса воздуха и выпуска скопившихся газов в атмосферу.

Емкости сообщаются герметичными трубопроводами. Насосы для перекачки растворителя и раствора ДСТ по трубам следует устанавливать в бетонированных приямках ниже дна емкостей, а емкостям придают уклоны в сторону насосов.

5.185. Все работы по приготовлению к применению ПБВ должны проводиться в соответствии с требованиями техники безопасности, изложенными в п. 8.68 - 8.77.

Особенности устройства асфальтобетонных покрытий на мостах

5.186. На мостах покрытия устраивают двухслойными из горячего или теплого асфальтобетона. Общая толщина покрытия должна быть в пределах 7 - 9 см.

Для нижнего слоя применяют только плотный мелкозернистый асфальтобетон типа Б или В, для верхнего слоя в зависимости от категории дороги, состава и интенсивности движения применяют мелкозернистый асфальтобетон типов Б, В и песчаный типа Г. Тип асфальтобетона и марку битума выбирают в зависимости от категории дороги и климатических условий строительства согласно табл. 2.1.

5.187. Покрытия на мостах следует устраивать из водонепроницаемого асфальтобетона. Водонепроницаемость асфальтобетона может быть обеспечена за счет применения активированных минеральных порошков или битумов с ПАВ. Применение неактивированных минеральных порошков допускается в виде исключения только на малых мостах.

Таблица 5.14

Требования к пористости минеральной масти, остаточной пористости и водонасыщение асфальтобетона

Слой асфальтобетонного покрытия

Вид асфальтобетона

Пористость минеральной части асфальтобетона, % по объему, не более

Остаточная пористость, % по объему

Водонасыщение, % по объему, не более

С активированным минеральным порошком

Верхний

Песчаный

20

3,0 - 4,0

2,5

Мелкозернистый

18

3,0 - 4,0

3,0

Нижний

Мелкозернистый

19

3,0 - 4,5

3,5

С неактивированным минеральным порошком

Верхний

Песчаный

19

2,5 - 3,5

2,0

Мелкозернистый

17

2,0 - 3,0

2,5

Нижний

Мелкозернистый

18

3,0 - 4,0

3,5

5.188. Для обеспечения водонепроницаемости пористость минеральной части асфальтобетона, его остаточная пористость и величина водонасыщения должны быть в пределах, указанных в табл. 5.14.

5.189. При производстве работ по устройству асфальтобетонных покрытий на мостах следует руководствоваться изложенными выше основными положениями. При этом особое внимание следует уделять тщательной очистке и обработке основания и уплотнению покрытия. Верхний слой покрытия укладывают сразу же вслед за укладкой и уплотнением нижнего слоя.

5.190. Пробы - вырубки или керны для контроля плотности готового покрытия следует отбирать из расчета одной пробы на 1000 м2 покрытия, но не меньше двух проб на мосту. Оценка плотности определяется согласно п. 5.192.

5.191. Шероховатость асфальтобетонного покрытия создают для смесей типа Б заменой природного песка дробленым, для смесей типа В - поверхностной обработкой. Шероховатую поверхность типа «наждачная бумага» для покрытий из песчаных смесей типа Г получают за счет дробленых зерен. При остаточной пористости асфальтобетона 2,2 - 2,8 % шероховатость создают только поверхностной обработкой покрытия.

Требования к качеству готового покрытия

5.192. Готовые асфальтобетонные покрытия должны удовлетворять следующим требованиям:

1) покрытия должны быть ровными; предельные нормативы для оценки ровности асфальтобетонных покрытий приведены в табл. 5.15.

Таблица 5.15

Нормативы для оценки ровности покрытий в зависимости от категории дороги и условий строительства

Категория дороги и условия строительства

Количество просветов, %, при измерении

Относительная длина участков с отклонениями, определяемая по графической записи многоопорных реек ПКР-4 или ПКР-4М, %

Показатель, определяемый установкой ПКРС-2 при скорости 30 км/ч

рейкой с клином (промерником)

двухопорной рейкой типа ПКР-1 или ПКР-5

до 2 мм, не менее

до 3 мм, не менее

выше 3 мм, не более

выше 5 мм, не более

наибольший

до 2 мм, не менее

до 3 мм, не менее

выше 3 мм, не более

выше 5 мм, не более

наибольший

до 2 мм, не менее

до 3 мм, не менее

выше 3 мм, не более

выше 5 мм, не более

наибольший

средний на участке

максимальный

I - III с применением обычных комплектов машин

-

80

-

5

10

-

53

-

11,7

10

-

65

-

5,5

10

130 - 180

290

То же, с применением комплектов с автоматической системой обеспечения ровности

90

-

5

-

6

74

-

11

-

6

85

-

5,5

-

6

50 - 70

100

Для остальных категорий дорог

-

75

-

5

10

-

50

-

12,4

10

-

57

-

5,5

10

160 - 210

340

Таблица 5.16

Предельные значения алгебраических разностей в зависимости от категории дорог и условий их строительства

Расстояние между точками (категория дороги)

Алгебраическая разность отклонений высотных отметок точек, мм, не более

с применением обычных комплектов машин

с применением комплектов машин с автоматической системой задания высотных отметок

5; 10; 20 м (I - III)

7, 12 и 24

5, 8 и 16

5; 10 м (IV и V)

10 и 16

-

Кроме того, для неровностей длиной 10, 20 и 40 м определяют амплитуды путем вычисления алгебраических разностей отклонений высотных отметок точек (табл. 5.16).

Приведенные в табл. 5.16 значения алгебраических разностей отклонений высотных отметок должны составлять не менее 80 % от всех измерений;

2) покрытия должны иметь однородную поверхность без раковин и дефектных мест, незаметные сопряжения швов, ровные и полностью уплотненные края;

3) ширина покрытия не должна отличаться от проектной более чем на ± 10 см, а толщина - более чем на ± 10 % при применении обычных комплектов машин и более чем на ± 5 % при применении машин с автоматической следящей системой;

4) поперечные уклоны в пределах допустимых отклонений должны составлять не менее 80 %; с применением обычных комплектов машин допуск составляет ± 0,010 и предельные значения уклонов не должны выходить за границы -0,020 и +0,030; с применением комплектов машин с автоматической следящей системой допуск составляет ± 0,005, а предельные значения не должны выходить за границы -0,010 и +0,015;

5) сцепление слоев покрытия между собой и с основанием должно быть хорошим - при взятии вырубок каждый слой должен сохранять прочную связь с нижележащим;

6) коэффициент уплотнения покрытия из горячих и теплых смесей через 10 сут после укладки должен быть для нижнего слоя не ниже 0,98, а для верхнего слоя не ниже: из смесей типов А и Б - 0,99; типов В, Г и Д - 0,98. При этом водонасыщение непереформованных образцов из асфальтобетонного покрытия (вырубок или кернов) должно быть: тип смеси А - 2,5 - 4,5 %; Б - 2,0 - 4,0 %; В - 2 - 3,5 %; Г - 2,0 - 4,0 %; Д - 2 - 3,5 % объема; из нижнего слоя, устроенного из пористого асфальтобетона - 3,0 - 8 % объема.

Примечание. Если коэффициент уплотнения покрытия равен 1, то величина водонасыщения должна быть в пределах норм по табл. 1.4.

Коэффициент уплотнения покрытий из холодных асфальтобетонных смесей через 30 сут после открытия автомобильного движения должен быть не менее 0,96. Коэффициент уплотнения покрытия определяют согласно п. 7.44;

7) коэффициент сцепления колеса автомобиля с поверхностью мокрого асфальтобетонного покрытия в момент окончания работ должен соответствовать требованиям табл. 5.9.

6. ТЕХНИЧЕСКИЙ КОНТРОЛЬ УСТРОЙСТВА АСФАЛЬТОБЕТОННЫХ ПОКРЫТИЙ

Технический контроль строительства асфальтобетонных покрытий включает контроль качества: приготовления асфальтобетонной смеси на заводе; устройства асфальтобетонного покрытия; готового покрытия.

Контроль приготовления асфальтобетонной смеси на заводе

6.1. В процессе приготовления асфальтобетонной смеси контролируют: качество материалов, точность дозирования минеральных материалов и битума; температурный режим приготовления битума и асфальтобетонной смеси; продолжительность перемешивания минеральных материалов с битумом; температуру готовой асфальтобетонной смеси; качество готовой смеси, соответствие ее заданному составу и требованиям ГОСТ 9128-76.

При изменении свойств исходных материалов в состав асфальтобетонной смеси вносят необходимые коррективы.

6.2. Качество материалов, используемых для приготовления асфальтобетонной смеси, проверяют методами, установленными соответствующими стандартами. При этом щебень и гравий характеризуют дробимостью, износом в полочном барабане, степенью морозостойкости. Качество щебня также оценивают по форме щебенок (по содержанию лещадных и недробленых зерен), зерновому составу, по содержанию пылевидных и глинистых частиц. Для контроля отбирают пробы из каждой фракции не реже 1 раза в пять дней и при поступлении новых партий щебня. В сомнительных случаях определяют марку щебня, количество зерен слабых, выветрелых и кремнистых пород.

Указанные показатели определяют в соответствии с ГОСТ 8269-76.

Качество песка оценивают по зерновому составу, модулю крупности, содержанию пыли и глины в соответствии с ГОСТ 8735-75. Для контроля отбирают пробы не реже 1 раза в три дня и при поступлении новых партий песка.

Качество минерального порошка в каждой новой партии оценивают по показателям свойств, нормированных ГОСТ 16557-71 и пп. 3.16 - 3.32 настоящего Руководства.

При текущем контроле 1 раз в три - пять дней определяют зерновой состав, влажность минерального порошка, гидрофобность и однородность активированного порошка.

Качество битума каждой новой партии оценивают по показателям свойств, нормированных ГОСТ 22245-76 и ГОСТ 11955-74, в соответствии с методами ГОСТ 11501-73, ГОСТ 11502-65, ГОСТ 11503-74, ГОСТ 11504-73, ГОСТ 11505-75, ГОСТ 11506-73, ГОСТ 11507-65, ГОСТ 11508-74, ГОСТ 11510-65, ГОСТ 11511-65 и 11512-65. При текущем контроле определяют глубину проникания иглы при 25 °С вязкого битума или вязкость жидкого битума (стандартным вискозиметром). Для этого отбирают пробы из каждого рабочего котла, а из битумоплавильных установок непрерывного действия - 1 раз в смену.

При приготовлении разжиженного битума на АБЗ проверяют правильность дозирования и последовательность загрузки в котел исходных материалов в соответствии с подобранным в лаборатории составом.

Качество ПАВ и активаторов проверяют с учетом ВСН 59-68.

При введении ПАВ в битум на АБЗ проверяют правильность дозирования и равномерность их объединения.

6.3. Пробы поступающих на АБЗ материалов отбирают согласно правилам приемки и паспортизации: на щебень - ГОСТ 8267-75, щебень из гравия - ГОСТ 10260-74, щебень из металлургических шлаков - ГОСТ 3344-73, гравий - ГОСТ 8268-74, песок - ГОСТ 8736-77, битум - ГОСТ 2517-69. Для испытания минерального порошка отбирают 2 - 3 кг из одной партии, величина которой равна сменной выработке предприятия-изготовителя, но не более 100 т. Пробы ПАВ отбирают согласно ВСН 59-68.

6.4. Контроль дозирования минеральных материалов и битума включает:

а) проверку работы дозирующих приспособлений (не реже 1 раза в месяц) и точности взвешивания минеральных материалов битума, ПАВ и активаторов (2 раза в месяц);

б) определение содержания битума в асфальтобетонной смеси методом ускоренного экстрагирования 1 раз в три - четыре смены, а также при изменении внешнего вида смеси;

в) проверку зернового состава минеральной части асфальтобетонной смеси после экстрагирования битума или расчет смеси на основании данных о зерновом составе щебня, песка и минерального порошка (1 раз в три смены). При небольших изменениях зернового состава отдельных минеральных материалов (в пределах ± 10 %) соотношение компонентов корректируют. Если изменения превышают указанный предел, подбирают новый состав асфальтобетонной смеси; содержание щебня в смеси определяют после экстрагирования битума ускоренным методом 1 раз в смену.

Зерновой состав смесей типов А, Б, Г, предназначенных для устройства покрытий с шероховатой поверхностью, определяют не реже 1 раза в смену ускоренным методом (см. п. 7.35), а также при изменении внешнего вида смеси. Для испытаний пробу берут из кузова автомобиля на АБЗ.

6.5. При контроле температурного режима приготовления битума и асфальтобетонных смесей измеряют: температуру асфальтобетонных смесей, а также температуру битума в котлах через каждые 2 - 3 ч. Температуру битума следует контролировать с помощью термопар, а при отсутствии последних - термометром в пробе битума, отобранной черпаком емкостью 2 - 4 л. В битумоплавильных установках непрерывного действия температуру битума контролируют по термометру, установленному в отсеке готового битума. Температуру асфальтобетонных смесей контролируют с помощью термометров непосредственно после выпуска смеси из смесителя в кузове каждого автомобиля.

6.6. В процессе приготовления асфальтобетонной смеси 2 - 3 раза в смену контролируют соблюдение установленного времени перемешивания минерального материала с битумом (если смесители не имеют автоматизированного управления).

6.7. Качество готовой асфальтобетонной смеси проверяют в лаборатории, испытывая образцы, изготовленные из этой смеси в соответствии с указаниями разд. 7. Показатели физико-механических свойств образцов должны соответствовать требованиям, предъявляемым к данному виду асфальтобетона. Для лабораторного контроля отбирают одну - две пробы в смену из каждого смесителя. При изменении состава асфальтобетонной смеси и во всех сомнительных и спорных случаях берут дополнительные пробы.

Если показатели физико-механических свойств асфальтобетонных смесей систематически отличаются от показателей, полученных при подборе, проверяют свойства всех материалов, состав смеси, технологический процесс ее приготовления.

Кроме того, асфальтобетонную смесь оценивают по внешним признакам: однородности, цвету, равномерности распределения битума, удобообрабатываемости при выгрузке, укладке и уплотнении.

6.8. При применении ПАВ и активаторов дополнительно контролируют выполнение требований ВСН 59-68.

Контроль при устройстве асфальтобетонного покрытия

6.9. При устройстве покрытия и в первый период его формирования проверяют:

а) ровность, плотность и чистоту основания, а при использовании бортовых упоров - правильность их установки перед началом каждой смены и в процессе работы;

б) температуру горячей и теплой асфальтобетонной смеси в каждом автомобиле, прибывающем на место укладки (в соответствии с требованиями табл. 5.4);

в) ровность и равномерность распределения асфальтобетонной смеси и заданную толщину уложенного слоя с учетом коэффициента уплотнения и требований п. 192;

г) режим уплотнения в соответствии с пп. 5.66 - 5.76;

д) поперечный и продольный уклоны, ровность покрытия систематически в процессе его устройства;

е) тщательность устройства сопряжений;

ж) правильность регулирования движения по построенному участку до окончания процесса формирования покрытия из холодной (а в некоторых случаях и теплой) асфальтобетонной смеси (движение регулируют в течение 10 - 15 сут.).

Технический контроль качества готового покрытия

6.10. В построенном покрытии проверяют: коэффициент уплотнения и толщины слоев; прочность сцепления слоев между собой и с основанием; соответствие показателей свойств асфальтобетона техническим требованиям; параметры шероховатости покрытия; коэффициент сцепления колеса автомобиля с покрытием.

6.11. Ровность покрытия (см. п. 6.15) поперечные уклоны и толщину слоев проверяют в соответствии со СНиП III-40-78.

6.12. Для контроля качества асфальтобетона из покрытия отбирают керны или вырубки и испытывают их в переформованном и непереформованном состояниях, чтобы установить степень уплотнения покрытия, а также соответствие свойств асфальтобетона требованиям ГОСТ 9128-76.

Пробы отбирают на покрытиях из горячего и теплого асфальтобетона через 10 сут после устройства покрытия и из холодного - не ранее чем через 30 сут после устройства покрытия и открытия по нему автомобильного движения.

При толщине верхнего слоя покрытия менее 3 см керны и вырубки отбирают вместе с нижним слоем. Перед испытанием верхний слой осторожно отделяют от нижнего горячим ножом.

Керны и вырубки должны быть отобраны не только из середины полосы движения, но и там, где покрытие меньше уплотнено движением, а также в непосредственной близости от сопряжения двух участков или двух полос покрытия.

Пробы отбирают из расчета: при ширине покрытия не более 7 м - три пробы на 1 км; при ширине покрытия более 7 м - три пробы с каждых 7000 м2.

При отборе проб измеряют толщину слоев и визуально оценивают прочность сцепления их между собой и с основанием.

6.13. Степень уплотнения покрытия из горячего, теплого и холодного асфальтобетонов оценивают коэффициентом уплотнения Ку, определяемым в соответствии с требованиями ГОСТ 12801-77, приведенными в п. 7.44.

Контроль параметров шероховатости и коэффициентов сцепления покрытий

6.14. Для получения надлежащих параметров шероховатости и коэффициентов сцепления покрытий необходимо осуществлять два вида контроля:

оперативный контроль параметров шероховатости, осуществляемый на месте строительства покрытия, целью которого является выявление и устранение возможных дефектов поверхности неостывшего покрытия;

контроль коэффициентов сцепления покрытий дорог, сдаваемых в эксплуатацию, с целью обеспечения величин коэффициентов сцепления, требуемых СНиП II-Д.5-72 и табл. 5.9 настоящего Руководства.

Основной оценкой качества шероховатости поверхности являются величины коэффициентов продольного сцепления, определяемые в режиме скольжения полностью заторможенного колеса по увлажненной (1 л/м2) поверхности покрытия.

Наиболее точно коэффициенты сцепления определяют методом динамометрирования с помощью специальных автомобильных установок - передвижных лабораторий ПКРС-2 и ПКРС-2У Союздорнии (рис. 6.1).

Рис. 6.1. Автомобильная установка ПКРС-2У Союздорнии для контроля ровности и коэффициентов сцепления колес автомобиля с дорожным покрытием:

1 - прицеп с измерительным колесом; 2 - датчик ровности; 3 - датчик коэффициента сцепления; 4 - бак для воды; 5 - рукоятка управления подачей воды под измерительное колесо; 6 - регистрирующий прибор; 7 - педаль тормоза измерительного колеса

При контроле коэффициентов сцепления следует руководствоваться их нормативными величинами (см. табл. 5.9).

Для контроля шероховатости покрытий в процессе строительства следует применять портативные приборы игольчатого типа ПКШ-4 и ПКШ-4 Союздорнии (рис. 6.2) или комплект приспособления Союздорнии для определения средней высоты выступов шероховатости методом «песчаного пятна».

Рис. 6.2. Контроль параметров шероховатости покрытия прибором игольчатого типа ПКШ-4

При этом следует руководствоваться нормативными параметрами шероховатости покрытий, приведенными в табл. 5.9, и методом измерения - в п. 7.49.

Ориентировочные величины коэффициентов сцепления (с погрешностью порядка ± 0,06) могут быть определены посредством прибора маятникового типа МП-3 Союздорнии на основе корреляционных зависимостей между показаниями прибора МП-3 и величинами коэффициентов сцепления, получаемых посредством автомобильных установок ПКРС (рис. 6.3).

Рис. 6.3. Корреляционная зависимость между показаниями прибора маятникового типа МП-3 (Союздорнии) и коэффициентами сцепления, определяемыми посредством автомобильных установок ПКРС

Порядок контроля коэффициентов сцепления и параметров шероховатости покрытий автомобильными установками ПКРС, прибором маятникового типа МП-3 и приборами игольчатого типа ПКШ описан в соответствующих инструкциях, входящих в комплекты приборов.

При отсутствии автомобильных установок ПКРС допускается определение коэффициентов сцепления методом торможения автомобиля. При этом необходимо соблюдать следующие условия:

испытания следует проводить на ровных прямых горизонтальных участках дороги, предварительно промытых поливомоечной машиной, а непосредственно перед каждым замером обильно увлажненных;

во время испытаний на участке не должно быть транспортных средств и людей, кроме испытательного автомобиля с обслуживающим персоналом;

для испытаний следует использовать легковой автомобиль М-21 или ГАЗ-24 «Волга», имеющий шины с неизношенным рисунком протектора; тормоза автомобиля должны обеспечивать одновременное и полное затормаживание всех колес при проверке их действия на ровном горизонтальном участке дороги при сухой и чистой поверхности покрытий с поперечным уклоном не более 20 ‰;

при испытаниях необходимо строго выдерживать заданную начальную скорость торможения (60 км/ч) и тормозить резко с полным затормаживанием всех колес.

Определение коэффициентов сцепления с допустимой погрешностью (± 0,03) может быть выполнено, если погрешность определения скорости движения автомобиля не превышает ± 0,5 км/ч, а погрешность определения длины тормозного пути не превышает ± 0,1 м. Для этого автомобиль должен быть оснащен специальным прибором «Путь - скорость». Коэффициент сцепления по длине тормозного пути определяют по формуле

где u - скорость автомобиля в момент затормаживания колес, км/ч;

g - ускорение свободного падения (9,81 м/с2);

l - длина тормозного пути, м;

K - параметр, учитывающий изменение коэффициента сцепления при изменении скорости тормозящего автомобиля; при начальной скорости 60 км/ч K = 0,7.

Для определения коэффициентов сцепления по величине замедления движения автомобиля необходимо, чтобы автомобиль дополнительно был снабжен децелерометром типа ГАРО-1035 (или другого типа), показывающим величину замедления при торможении автомобиля. Коэффициент сцепления в этом случае определяют по формуле

где a - замедление автомобиля в течение первой секунды после затормаживания колес автомобиля, м/с2.

При определении коэффициента сцепления по величине замедления необходимо учитывать погрешность в отсчете показаний децелерометра вследствие продольного наклона кузова автомобиля.

Для получения достоверной средней величины коэффициентов сцепления по методу тормозного пути или по величине замедления необходимо выполнить не менее пяти замеров.

Определение ровности покрытий и оснований

6.15. Контроль ровности поверхности оснований и покрытий в процессе их устройства следует осуществлять путем: регистрации просветов под трехметровой рейкой с клином (промерником), определения показаний стрелочного индикатора реек типа ПКР-1 и ПКР-5 или графической записи показаний передвижных многоопорных реек типа ПКР-4 и ПКР-4М.

При приемке работ детальные измерения ровности покрытий в продольном направлении, а также измерения поперечных уклонов ведут с помощью реек захватками 300 - 400 м, которые в сумме должны составлять не менее 10 - 25 % всей длины сдаваемого участка. Захватки выбирают на основе визуального осмотра или графической записи, получаемой с помощью автомобильной установки ПКРС-2.

В продольном направлении ровность покрытия измеряют на расстоянии 0,75 - 1,0 м от кромки каждой полосы движения, выполняя на каждой захватке 100 - 130 измерений просветов трехметровой рейкой с клином либо рейками типа ПКР-1, ПКР-5 (рис. 6.4) или получая непрерывную графическую запись неровностей многоопорными рейками типа ПКР-4 и ПКР-4М (рис. 6.5).

Рис. 6.4. Передвижные двухопорные рейки ПКР-1 и ПКР-5 (складной вариант) для контроля ровности дорожных покрытий и оснований

Рис. 6.5. Передвижная многоопорная рейка ПКР-4 Союздорнии для контроля ровности дорожных покрытий и оснований

Под трехметровой рейкой (с клином) измеряют просветы в пяти контрольных точках, расположенных на расстоянии 0,5 м от концов рейки и друг от друга. Прикладывать ее к покрытию следует через равные расстояния.

При измерении неровностей рейками типа ПКР-1 и ПКР-5 просветы определяют также через равные расстояния.

Контроль поперечных уклонов ведут одинаковым шагом рейками с уровнем, делая при этом не менее 80 измерений.

Показания реек типа ПКР-4 и ПКР-4М могут быть переведены в показания обычной рейки с клином по уравнениям, приведенным в «Инструкции по работе с передвижной многоопорной рейкой ПКР-4М для контроля ровности дорожных покрытий» (Союздорнии, 1970), или оценка дается непосредственно по результатам измерений.

С помощью перечисленных выше приборов дается детальная статистическая оценка ровности на участках дорог небольшого протяжения. Для контроля ровности на участках дорог значительного протяжения (2 - 50 км и более) целесообразно использовать автомобильную установку типа ПКРС-2. Между показаниями ПКРС-2 и упомянутых выше реек существует приближенная корреляционная зависимость.

Полученная запись на ленте в одном из режимов позволяет наметить места (захватки) для детальной статистической оценки ровности с помощью реек.

Для выявления неровностей, длина которых превышает длину реек, на покрытии на расстоянии 0,75 - 1 м от кромок проезжей части с шагом 5 м нивелируют точки и определяют алгебраические разности для точек, расположенных на расстоянии 5, 10 и 20 м.

Предельные значения алгебраических разностей приведены в табл. 5.16.

Этот метод не следует применять в местах перелома продольного профиля.

7. ЛАБОРАТОРНЫЕ МЕТОДЫ ОПРЕДЕЛЕНИЯ ПОКАЗАТЕЛЕЙ ФИЗИКО-МЕХАНИЧЕСКИХ СВОЙСТВ И СТРУКТУРЫ АСФАЛЬТОБЕТОНА, АСФАЛЬТОБЕТОННЫХ СМЕСЕЙ И МАТЕРИАЛОВ, ПРИМЕНЯЕМЫХ ДЛЯ ИХ ПРИГОТОВЛЕНИЯ

7.1. Материалы, применяемые для приготовления асфальтобетонных смесей, испытывают: щебень (щебень из гравия) - по ГОСТ 8269-76; песок - по ГОСТ 8735-75; минеральный порошок - по ГОСТ 12784-71; битумы - по ГОСТ 11501-73, ГОСТ 11502-65, ГОСТ 11503-74, ГОСТ 11504-73, ГОСТ 11505-75, ГОСТ 11506-73, ГОСТ 11507-65 ГОСТ 11508-74, ГОСТ 11510-65, ГОСТ 11511-65 и ГОСТ 11512-65.

7.2. Асфальтобетон и асфальтобетонные смеси испытывают при подборе составов и при приготовлении асфальтобетонных смесей на заводе.

Для испытаний используют образцы, полученные уплотнением смеси одним из методов, предусмотренных ГОСТ 12801-77, и пробы неуплотненной смеси.

7.3. Асфальтобетон испытывают при контроле качества покрытия на дороге. Для испытаний используют образцы-керны или образцы-вырубки, отобранные из асфальтобетонного покрытия и подготовленные к испытанию в соответствии с ГОСТ 12801-77.

7.4. Все определения свойств асфальтобетонных смесей и асфальтобетона из покрытия (табл. 7.1) следует выполнять в строгом соответствии с приведенными ниже методами испытания.

Приготовление асфальтобетонных смесей в лаборатории, отбор проб на заводе и на дороге

7.5. При подборе состава асфальтобетонную смесь готовят в лабораторной лопастной мешалке, оборудованной обогревающим устройством. Щебень, песок и минеральный порошок должны быть предварительно высушены, а битум обезвожен. Щебень, песок и минеральный порошок в заданных количествах отвешивают в емкость, нагревают при систематическом перемешивании до температуры, указанной в табл. 7.2, и добавляют требуемое количество нагретого битума (температура его нагрева также указана в табл. 7.2). Смесь минеральных материалов предварительно перемешивают с битумом вручную, затем помешают в лабораторную мешалку, где перемешивают до полного и равномерного объединения всех компонентов. Время, необходимое для перемешивания в лабораторных мешалках, устанавливают предварительно опытным путем, при этом оно должно быть постоянным для каждого вида асфальтобетонной смеси (в среднем 3 - 6 мин). Перемешивание считают достаточным, если все зерна минерального материала равномерно покрыты битумом и в готовой асфальтобетонной смеси нет сгустков битума.

Примечание. Активированный минеральный порошок вводят холодным в смесь щебня и песка, предварительно нагретую на 20 - 40 °С выше, чем указано в табл. 7.2.

Таблица 7.1

Лабораторные испытания на различных этапах строительства асфальтобетонных покрытий

Показатели

Подбор состава асфальтобетона

Приготовление асфальтобетонной смеси на заводе

Строительство и проверка качества асфальтобетонного покрытия

Испытание непереформованных образцов асфальтобетона

Испытания переформованных образцов асфальтобетона

горячего

теплого

холодного

горячей

теплой

холодной

горячего

теплого

холодного

горячего

теплого

холодного

плотного

пористого

плотной

пористой

плотного

пористою

плотного

пористого

1

2

3

4

5

6

7

8

9

10

11

12

13

14

15

16

17

Удельный вес исходных минеральных материалов, экспериментальный

+

+

+

+

Д

Д

Д

Д

-

-

-

-

-

-

-

-

Удельный вес минерального остова асфальтобетона, расчетный

+

+

+

+

+

+

+

+

-

-

-

-

-

-

-

-

Удельный вес асфальтобетона:

 

 

 

 

 

 

 

 

 

 

 

 

 

 

 

 

экспериментальный

-

-

-

-

+

+

+

+

+

+

+

+

-

-

-

-

расчетный

+

+

+

+

-

-

-

-

-

-

-

-

-

-

-

-

Плотность (объемная масса) асфальтобетона

+

+

+

+

+

+

+

+

+

+

+

+

+

+

+

+

Плотность минерального остова асфальтобетона

+

+

+

+

-

-

-

-

-

-

-

-

-

-

-

-

Пористость минерального остова

+

+

+

+

-

-

-

-

-

-

-

-

-

-

-

-

Остаточная пористость

+

+

+

+

-

-

-

-

-

-

-

-

-

-

-

-

Водонасыщение в условиях вакуума

+

+

+

+

+

+

+

+

+

+

+

+

+

+

+

+

Набухание образцов при насыщении водой в вакууме

+

+

+

+

+

+

+

+

+

+

+

+

+

+

+

+

То же, после длительного насыщения водой (15 сут)

+

-

+

+

Д

-

Д

Д

-

-

-

-

-

-

-

-

Предел прочности при сжатии в сухом состоянии при:

 

 

 

 

 

 

 

 

 

 

 

 

 

 

 

 

20 °С (R20)

+

-

+

+*

-

-

+

+

-

-

-

-

+

-

+

+

50 °С (R50)

+

-

+

-

-

-

+

-

-

-

-

-

+

-

+

-

0 °С (R0)

+

-

-

-

Д

-

-

-

-

-

-

-

д

-

-

-

Предел прочности при сжатии в водонасыщенном состоянии:

 

 

 

 

 

 

 

 

 

 

 

 

 

 

 

 

после насыщения водой в вакууме

+

-

+

+*

-

-

+

+

-

-

-

-

+

-

+

+

» длительного насыщения водой (15 сут)

+

-

+

+*

Д

-

Д

Д

-

-

-

-

-

-

-

-

Коэффициент водостойкости:

 

 

 

 

 

 

 

 

 

 

 

 

 

 

 

 

после насыщения водой в вакууме

+

-

+

+*

-

-

+

+

-

-

-

-

+

-

+

+

» длительного насыщения водой (15 сут)

+

-

+

+

Д

-

Д

д

-

-

-

-

-

-

-

-

Испытания по Маршаллу при 60 °С:

 

 

 

 

 

 

 

 

 

 

 

 

 

 

 

 

устойчивость

Д

-

Д

-

Д

-

Д

-

д

-

д

-

д

-

д

-

условная пластичность

Д

-

Д

-

д

-

Д

-

д

-

д

-

д

-

д

-

»   жесткость

Д

-

Д

-

д

-

Д

-

д

-

д

-

д

-

д

-

Водопроницаемость

Д

-

Д

-

-

-

-

-

-

д

-

д

-

-

-

-

Определение состава асфальтобетонной смеси экстрагированием:

 

 

 

 

 

 

 

 

 

 

 

 

 

 

 

 

содержание битума

-

-

-

-

+

+

+

+

+

+

+

+

-

-

-

-

зерновой состав минеральной части

-

-

-

-

+

+

+

+

+

+

+

+

-

-

-

-

Слеживаемость холодной асфальтобетонной смеси

-

-

-

+

-

-

-

+

-

-

-

-

-

-

-

-

Показатель сцепления битума с поверхностью минерального материала

+

+

+

+

Д

д

Д

Д

д

д

д

д

д

-

-

-

* Указанные показатели свойств определяют на образцах, непрогретых и прогретых при 90 °С.

Примечания. 1. Знак «+» означает обязательное определение, Д - дополнительное определение (факультативное в спорных или сомнительных случаях), знак «-» означает, что данные показатели свойств не определяют.

2. В сомнительных и спорных случаях предел прочности и коэффициент водостойкости после длительного насыщения водой определяют и при приготовлении асфальтобетонной смеси на заводе.

3. Водопроницаемость определяют при устройстве асфальтобетонных покрытий на мостах.

Таблица 7.2

Требования по приготовлению асфальтобетонных образцов

Условия приготовления образцов

Виды асфальтобетонных смесей и марки применяемого битума

Горячие БНД 40/60, БНД 60/90, БН 60/90, БНД 90/130, БН 90/130

Теплые

Холодные СГ 70/130, МГ 70/130

БНД 130/200, БН 130/200, БНД 200/300, БН 200/300

СГ 130/200

БГ 70/130

Температура нагрева минерального материала при приготовлении асфальтобетонных смесей, °С

140 - 160

110 - 130

90 - 120

80 - 100

90 - 120

Температура нагрева битума при приготовлении асфальтобетонных смесей, °С

130 - 150

100 - 120

90 - 100

70 - 80

80 - 90

Температура асфальтобетонных смесей при приготовлении образцов, °С

140 - 160

110 - 130

80 - 110

80 - 100

18 - 22

Способ уплотнения и уплотняющая нагрузка при изготовлении образцов из асфальтобетонных смесей, испытываемых:

 

 

 

 

 

а) на прочность при сжатии (в сухом и водонасыщенном состояниях), на водонасыщение и набухание:

 

 

 

 

 

асфальтобетонные смеси с содержанием щебня менее 35 %

Уплотнение прессованием под давлением 400 × 105 Па (400 кгс/см2)

Уплотнение прессованием под давлением 400 × 105 Па (400 кгс/см2)

асфальтобетонные смеси с содержанием щебня более 35 %

Вибрированием с пригрузом 0,3 × 105 Па (0,3 кгс/см2) с доуплотнением прессованием под давлением 200 × 105 Па (200 кгс/см2)

То же

б) на устойчивость и условную пластичность по Маршаллу

50 ударов с каждой стороны образца трамбовкой весом 45,5 Н (4,55 кг), падающей с высоты 46 см

Не испытывают

в) на слеживаемость (холодных смесей)

 

Уплотнение прессованием под нагрузкой 0,5 × 105 Па (0,5 кгс/см2)

Примечание. При применении поверхностно-активных веществ и активированных порошков температуру нагрева минеральных материалов и битума, а также температуру асфальтобетонных смесей при изготовлении образцов снижают на 10 - 20 °С (за исключением холодных смесей).

Таблица 7.3

Масса проб асфальтобетонных смесей, отбираемых из смесителя (извлечение из ГОСТ 12801-77)

Максимальный размер зерен минерального материала, мм

Масса асфальтобетонной смеси, кг

40

6 - 7

10; 15; 20

5 - 10

5

2 - 5

Из смеси формуют образцы в соответствии с п. 7.8 не позднее чем через 2 ч после приготовления смеси.

7.6. При контроле качества на заводе пробы отбирают в момент выгрузки смеси из смесителя в автомобили или другие транспортные средства. Каждую пробу составляют из порций, отобранных из трех - четырех замесов. Перед изготовлением образцов все отдельные порции тщательно перемешивают и получают одну среднюю пробу.

Примечание. Если асфальтобетонную смесь готовят в смесителях, работающих по принципу свободного перемешивания, пробу составляют из отдельных порций, отобранных в начале, середине и конце выпуска смеси из смесителя.

Отобранные из смесителя пробы горячих и теплых асфальтобетонных смесей помещают в металлический сосуд, разогревают при систематическом перемешивании в термостате или на песчаной бане до температуры, указанной в табл. 7.2, и изготовляют из них образцы. Температуру холодных асфальтобетонных смесей перед изготовлением образцов доводят до 20 ± 2 °С.

Масса проб смесей, отбираемых из смесителя в зависимости от размера зерен минерального материала, указана в табл. 7.3.

Образцы изготовляют не позднее 2 ч после отбора проб из смесителя. В случае вынужденного увеличения указанного срока в журнале испытаний делают соответствующую запись.

7.7. Образцы-вырубки отбирают из покрытия с помощью пневмолома или перфоратора, а цилиндрические керны - буровой установкой послойно или на всю толщину покрытия (верхний и нижний слои вместе) и разделяют слои в лаборатории.

Размеры вырубок и количество высверливаемых кернов устанавливают в зависимости от вида асфальтобетона и требуемого для испытаний количества образцов.

Диаметр кернов должен быть: при отборе проб из песчаного асфальтобетона не менее 50 мм; из мелкозернистого и среднезернистого с максимальным размером зерен до 20 мм не менее 70 мм и из крупнозернистого - не менее 100 мм. Керны, испытываемые по методу Маршалла, должны быть диаметром 101,6 ± 0,5 мм.

Перевозить образцы-вырубки следует в ящиках, размеры которых должны быть несколько больше размеров вырубок. Последние укладывают в ящики плашмя, не более двух вырубок в один ящик. При отсутствии специальных ящиков каждую вырубку упаковывают между двумя деревянными щитами, размеры которых также несколько больше размеров вырубок. Ящики или щиты устанавливают в автомобиль таким образом, чтобы вырубки лежали плашмя для сохранности при перевозке. Керны также перевозят в ящиках, устанавливая их по дну в один ряд; нельзя укладывать керны на боковую поверхность.

Изготовление образцов

7.8. Физико-механические свойства асфальтобетона определяют на цилиндрических образцах, полученных уплотнением асфальтобетонной смеси в стальных формах; свойства асфальтобетона из покрытия определяют на непереформованных образцах - вырубках или кернах и на цилиндрических образцах, переформованных из вырубок или кернов.

Формы для изготовления образцов представляют собой полые стальные цилиндры. При уплотнении в них асфальтобетонных смесей должно быть обеспечено двустороннее приложение нагрузки. Это достигается передачей давления на уплотняемую смесь через два вкладыша, свободно передвигающиеся в форме навстречу друг к другу, или уплотнением смеси ударами падающего груза сначала по одной, затем по другой стороне образца. Способ изготовления образцов и уплотняющую нагрузку выбирают в зависимости от содержания щебня в смеси, вида асфальтобетона и вида испытания (см. табл. 7.2).

Уплотнение образцов прессованием

7.9. Пресс для уплотнения асфальтобетонных образцов (гидравлический или механический) должен обеспечивать давление на образец 400 × 105 Па (400 кгс/см2). Пресс может быть оборудован приспособлением Союздорнии для одновременного приготовления трех образцов (рис. 7.1), которое представляет собой постоянно закрепленную на прессе кассету 5 с тремя взаимосвязанными цилиндрическими формами. Нижние вкладыши (пуансоны) 7 опираются шарнирно на нижнюю плиту пресса 8 и верхней частью введены в формы на глубину 2 - 3 см. Верхние пуансоны 4 смонтированы на отдельном откидном приспособлении 3, шарнирно связанном с верхней плитой пресса 2. Кассета с формами заключена в коробку с масляным подогревающим устройством 6, с помощью которого поддерживают постоянную температуру стенок форм 90 - 100 °С.

Образцы из форм извлекают упорным устройством 1, шарнирно связанным с верхней плитой.

Когда мощность пресса недостаточна для одновременного уплотнения трех образцов, его оборудуют аналогичным приспособлением с одной формой.

Кассету рекомендуется изготавливать с формами диаметром 71,4 мм, а для формования образцов диаметром 50,5 мм предусматривать дополнительные цилиндрические вкладыши, которые вставляют и укрепляют в основных формах.

На прессе, оборудованном уплотняющим приспособлением, образцы готовят следующим образом. Предварительно включают нагревательное устройство и доводят температуру масла в нем до 90 - 100 °С. Верхние пуансоны при этом должны быть введены в формы. При изготовлении образцов из холодных смесей нагревательным устройством не пользуются. Перед наполнением форм смесью верхние пуансоны выводят из форм и внутреннюю поверхность форм и пуансоны протирают тканью, слегка смоченной керосином. Формы наполняют предварительно нагретой до температуры, указанной в табл. 7.2, и взвешенной асфальтобетонной смесью через металлическую воронку, равномерно распределяют и штыкуют ее в форме ножом или шпателем, верхние пуансоны вводят в формы и опускают их до соприкосновения со смесью, а затем включают основной электродвигатель пресса и нагрузку на смесь доводят до 400 × 105 Па (400 кгс/см2). Через 3 мин нагрузку снимают, поднимают верхние пуансоны, упорное устройство подводят к центру кассеты, снова включают основной электродвигатель и выжимают образцы из форм вверх. Для изготовления образцов диаметром 101 мм рекомендуется приспособление с одной формой.

Рис. 7.1. Гидравлический пресс с приспособлением для формования образцов

При отсутствии на прессе уплотняющего приспособления образцы готовят в одиночных формах обычных или облегченных (рис. 7.2), размеры которых приведены в табл. 7.4. Обычные формы могут быть изготовлены из стали марки Ст. 3, облегченные - из стали не ниже марки Ст. 5.

Таблица 7.4

Размеры форм для изготовления образцов

Диаметр форм d, мм

Размеры, мм

Площадь образца, см2

Н

h1

h2

h3

h4

d

d1

d2

d3

d4

d1

Обычная форма

101

180

50

90

-

-

12

-

-

-

-

-

80

71,4

170

50

80

-

-

12

-

-

-

-

-

40

50,5

130

40

80

-

-

10

-

-

-

-

-

20

Облегченная форма

101

180

50

90

35

75

-

6

12

10

25

77

80

71,4

170

50

80

35

65

-

6

12

10

25

47,4

40

50,5

130

40

80

25

65

-

6

12

10

25

26,5

20

Рис. 7.2. Формы для изготовления образцов:

а - обычная; б - облегченная

В одиночных формах образцы готовят следующим образом. При изготовлении образцов из горячих и теплых асфальтобетонных смесей формы и вкладыши нагревают до 90 - 100 °С и протирают тканью, слегка смоченной керосином. При уплотнении холодных асфальтобетонных смесей формы и вкладыши не нагревают. Форму со вставленным нижним вкладышем наполняют предварительно взвешенной асфальтобетонной смесью через металлическую воронку. Смесь равномерно распределяют и штыкуют ее в форме ножом или шпателем, вставляют верхний вкладыш и устанавливают форму на нижнюю плиту пресса для уплотнения, при этом нижний вкладыш должен выступать из формы на 1,5 - 2 см. Верхнюю плиту пресса доводят до соприкосновения с верхним вкладышем и включают электродвигатель масляного насоса пресса; нагрузку на смесь доводят до 400 × 105 Па (400 кгс/см2) и выдерживают ее 3 мин; затем нагрузку снимают, а образец извлекают из формы выжимным приспособлением.

Примечание. Образцы с дефектами (облом кромок и непараллельность верхнего и нижнего оснований) бракуют.

Уплотнение образцов комбинированным методом

7.10. При комбинированном методе асфальтобетонные смеси уплотняют вибрированием на виброплощадке с последующим доуплотнением на прессе под давлением 200 × 105 Па (200 кгс/см2). В этом случае образцы изготовляют в одиночных формах.

Формы, нагретые до 90 - 100 °С, наполняют асфальтобетонной смесью, как указано в п. 7.9, устанавливают на виброплощадку и плотно укрепляют приспособлением. Нижний вкладыш должен выступать из формы на 2 - 2,5 см; асфальтобетонную смесь в форме подвергают вибрации в вертикальном направлении в течение 3 мин при частоте 3000 кол/мни, амплитуде 0,35 - 0,40 мм и нагрузке на смесь 0,3 × 105 Па (0,3 кгс/см2). Вибрация должна передаваться на смесь через вкладыш, а груз, создающий давление 0,3 × 105 Па (0,3 кгс/см2), должен иметь свободное крепление. По окончании вибрации форму с образцом устанавливают на плиту пресса для доуплотнения, прикладывают к нему нагрузку 200 × 105 Па (200 кгс/см2) и выдерживают при этой нагрузке 3 мин. Затем нагрузку снимают и образец извлекают из формы выжимным приспособлением.

Примечание. Если при извлечении из форм образцы деформируются, температуру уплотняемой асфальтобетонной смеси следует принимать на 5 - 10° ниже указанной в табл. 7.3.

Уплотнение образцов трамбованием

7.11. Образцы, испытываемые на устойчивость, условную пластичность и условную жесткость по методу Маршалла, уплотняют ударами падающего груза. Уплотняющее устройство состоит из рамы со стальной опорной плитой, укрепляемой на деревянной стопке (рис. 7.3), подставки под формы (рис. 7.4), формы с насадкой (рис. 7.5), уплотняющего штампа со штангой и грузом (рис. 7.6).

Рис. 7.3. Рама с опорной плитой:

1 - стальная плита 300´300´25; 2 - деревянная стойка 200´200´450

Рис. 7.4. Подставка под форму:

а - вид сбоку; б - план;

1 - пластина; 2 - шарнир; 3 - основание

Рис. 7.5. Форма для уплотнения образцов трамбованием с насадкой:

а - насадка; б - форма

Рис. 7.6. Уплотняющий штамп со штангой и грузом:

1 - штанга; 2 - груз; 3 - пружина; 4 - штамп

Раму укрепляют на деревянной стойке, установленной на бетонном основании, в строго вертикальном положении, а опорную плиту - в строго горизонтальном.

Перед изготовлением образцов форму с насадкой, подставку и уплотняющий штамп (снятый со штанги) нагревают до 90 - 100 °С, затем подставку закрепляют винтами на опорной плите и устанавливают форму с насадкой. В проушины насадки вводят крепежные болты, шарнирно связанные с подставкой, и с помощью верхних гаек (барашков) укрепляют форму с насадкой на подставке.

В форму загружают небольшими порциями взвешенную и нагретую асфальтобетонную смесь, равномерно распределяя ее штыкованием. Поверхности смеси придают слегка выпуклую форму и устанавливают на нее нагретый штамп, предварительно навинченный на штангу с грузом. Смесь уплотняют 50 ударами груза массой 4,55 кгс, падающего с высоты 46 см (частота ударов - 1 удар в секунду). Затем форму переворачивают, насадку укрепляют с другого конца формы и смесь уплотняют еще 50 ударами груза массой 4,55 кгс. После этого форму насаживают на полый стальной цилиндр с внутренним диаметром 105 мм и образец осторожно выдавливают с помощью уплотняющего штампа.

Уплотнение образцов из холодных асфальтобетонных смесей, испытываемых на слеживаемость

7.12. Образцы готовят в одиночных цилиндрических формах диаметром 71,4 мм. В отверстие диаметром 3,5 мм, высверленное в центре нижнего вкладыша (рис. 7.7), вставляют стальной стержень диаметром 3 и длиной 180 мм. В центре верхнего вкладыша, высота которого составляет 80 мм, также просверливают сквозное отверстие диаметром 3,5 мм. Перед уплотнением образцов форму с вкладышами и асфальтобетонную смесь нагревают в термостате до температуры 80 ± 2 °С.

Форму устанавливают на две подставки высотой 25 - 30 мм, а нижний вкладыш со стержнем опускают в форму, как показано на рис. 7.7. Пробу нагретой асфальтобетонной смеси засыпают через воронку в форму. Верхний вкладыш вводят в форму таким образом, чтобы стержень свободно вошел в его отверстие. Придерживая форму, подставки убирают, а на верхний вкладыш устанавливают груз, масса которого вместе с верхним вкладышем должна составлять 20 кг, т.е. создавать давление 0,5 × 105 Па (0,5 кгс/см2). Под этой нагрузкой асфальтобетонную смесь выдерживают 3 мин, после чего груз снимают, форму поднимают, верхний вкладыш снимают с образца, а сам образец осторожно двумя руками снимают со стержня. Если образец после уплотнения сразу рассыпается, необходимо снизить температуру уплотняемой асфальтобетонной смеси до 50 - 60 °С или выдержать образец в форме (сняв нагрузку) при температуре 15 ± 2 °С не менее 4 ч.

Готовый образец осторожно переносят к месту хранения, где выдерживают при температуре воздуха 15±2 °С в течение 4 ч. Высота образца должна быть 60 ± 1 мм.

Рис. 7.7. Приспособление для уплотнения образцов при определении слеживаемости холодных асфальтобетонных смесей:

1 - груз; 2 - верхний вкладыш; 3 - стальной стержень; 4 - образец; 5 - нижний вкладыш; 6 - форма; 7 - подставка

Таблица 7.5

Размеры образцов и ориентировочное количество асфальтобетонной смеси для приготовления одного образца (извлечение из ГОСТ 12801-77)

Вид испытания

Максимальный размер зерен минеральной части и асфальтобетонной смеси, мм

Размеры образца, мм

Ориентировочное количество смеси на образец, т

Диаметр

Высота

Испытание на прочность при сжатии (в сухом и водонасыщенном состоянии), водонасыщение и набухание

5

20, 15, 10

40

50,5

71,4

101,0

50,5 ± 1,0

71,4 ± 1,5

101 ± 2,0

220 - 240

625 - 630

1800 - 1950

Испытание на устойчивость, условную пластичность и условную жесткость по Маршаллу

40, 20

15, 10, 5

101,6

63,5 ± 1,0

1100 - 1200

Испытание на слеживаемость (холодных асфальтобетонных смесей)

15, 10, 5

71,4

60 ± 1,0

440 - 460

7.13. Температура асфальтобетонных смесей при изготовлении образцов из всех видов смесей должна быть в пределах, указанных в табл. 7.2.

7.14. Размеры образцов и ориентировочное количество асфальтобетонной смеси, требующееся на изготовление одного образца, указаны в табл. 7.5.

В процессе изготовления образцов количество смеси уточняют в зависимости от ее уплотняемости и удельных весов входящих в ее состав материалов. Количество смеси, необходимой для получения образцов соответствующей высоты, определяют по формуле

где q0 - масса пробного образца, г;

h - требуемая высота образца, мм;

h0 - высота пробного образца, мм.

7.15. Образцы из асфальтобетонных смесей, изготовленные по пп. 7.5 - 7.14 до испытаний выдерживают 12 - 42 ч при температуре 20 ± 2 °С. Образцы из холодных асфальтобетонных смесей в некоторых случаях (при проектировании состава) испытывают в прогретом и непрогретом состояниях, поэтому по истечении 12 - 42 ч после изготовления часть их прогревают при температуре 90 °С. Продолжительность прогрева 2 ч при применении жидких битумов класса СГ и 6 ч класса МГ. Прогретые образцы испытывают на следующий день после прогрева.

7.16. Образцы-вырубки или керны из асфальтобетонного покрытия очищают, измеряют толщину слоев и составляют описание внешних признаков, отмечая однородность распределения составляющих материалов и сцепление слоев между собой. После этого вырубки (керны) разделяют по слоям и каждый слой испытывают отдельно. Керны испытывают в целом виде, а от вырубки отделяют (отрубают) три образца с ненарушенной структурой массой 200 - 400 г каждый для определения плотности, водонасыщения и набухания. Образцы должны быть без трещин и иметь форму, приближающуюся к кубу или прямоугольному параллелепипеду со сторонами 5 - 10 см. Перед испытанием образцы высушивают в вакуум-термостате при 35 - 40 °С или в эксикаторе над безводным хлористым кальцием до постоянных результатов взвешивания.

Оставшуюся часть вырубки или два - три керна разогревают на песчаной бане или в термостате и готовят образцы согласно пп. 7.5 - 7.14. Керны испытывают без нарушения структуры: три на водонасыщение и набухание (с одновременным определением плотности) и три на устойчивость, условную пластичность и условную жесткость по Маршаллу.

Для проверки состава асфальтобетонной смеси или асфальтобетона из покрытия берут пробу 100 - 500 г для экстрагирования битума. При этом обращают внимание на то, чтобы навеска отражала средний состав всей пробы.

Примечание. Пробу 100 г берут при проверке составов песчаных смесей, а 500 г - мелко-, средне- и крупнозернистых смесей.

7.17. При определении характеристик по пп. 7.19, 7.21 для асфальтобетонов, приготовленных на основе жидких битумов, следует учитывать, что в процессе приготовления и уплотнения смеси из битума испаряется разжижитель, содержание битума в смеси уменьшается и после уплотнения равно

g = g1 - g2,

где g1 - расчетное содержание битума, % от массы минеральной части асфальтобетона;

g2 - количество разжижителя, испарившегося из смеси, % от массы минеральной части асфальтобетона.

Количество испарившегося из смеси разжижителя вычисляют по предварительно определенному количеству испарившегося разжижителя из смеси жидкого битума (по ГОСТ 11504-73)

где G - масса жидкого битума до испытания, г;

G1 - масса жидкого битума после испытания, г.

Количество испарившегося из смеси разжижителя в процентах от массы минеральной части асфальтобетона

В случае поставки жидкого битума с нефтеперерабатывающего завода g3 указывается в паспорте и не требует специального определения. Требования к этому показателю изложены в ГОСТ 11855-74 п. 2.

Определение плотности (объемной массы) асфальтобетона

7.18. Плотность асфальтобетона определяют гидростатическим взвешиванием лабораторных образцов или вырубок (кернов) из покрытия.

Три образца, подготовленные в соответствии с п. 7.5 - 7.16, тщательно обтирают и очищают от свободных частиц смеси. Образцы взвешивают на технических весах с точностью до 0,01 г на воздухе, затем погружают на 30 мин в сосуд с водой, имеющей температуру 20 ± 2 °С, после этого образцы вторично обтирают, взвешивают на воздухе и в воде, температура которой также 20 ± 2 °С.

Плотность (объемную массу) асфальтобетонных образцов вычисляют с точностью до 0,01 г/см3 по формуле

где g0 - масса образца, взвешенного на воздухе, г;

gв - удельный вес воды, равный 1 г/см3;

g1 - масса образца, выдержанного в воде в течение 30 мин, а затем взвешенного на воздухе, г;

g2 - разность масс того же образца и вытесненной им воды, определяемая взвешиванием образца в воде, г.

Плотность (объемную массу) асфальтобетона вычисляют как среднее арифметическое результатов испытания трех образцов. Расхождения между параллельными определениями плотности не должны превышать 0,02 г/см3.

Определение плотности (объемной массы) минеральной части (остова) асфальтобетона

7.19. Плотность (объемную массу) минерального остова асфальтобетона определяют расчетом на основании предварительно установленной плотности асфальтобетона по п. 7.18 и соотношения минеральных материалов и битума в асфальтобетоне (ГОСТ 12801-77). Плотность (объемную массу) минерального остова вычисляют с точностью до 0,01 г/см3 gо формуле

где rа - плотность асфальтобетона (образцов), г/см3;

q0 - содержание минеральных материалов в асфальтобетоне (без битума), % по массе (принимается за 100 %);

qб - содержание битума в асфальтобетоне, % по массе (сверх 100 % минеральной части).

Определение удельного веса минеральной части (остова) асфальтобетонной смеси расчетным методом

7.20. Удельный вес минеральной части (остова) асфальтобетонной смеси вычисляют по предварительно установленным удельным весам отдельных минеральных составляющих (щебня или дробленого гравия - по ГОСТ 8269-76, песка - по ГОСТ 8735-75 и минерального порошка - по ГОСТ 12784-71).

Удельный вес минеральной части асфальтобетонной смеси вычисляют с точностью до 0,01 г/см3 по формуле

где q1, q2, q3 ... qn - содержание отдельных минеральных материалов в асфальтобетонной смеси, % по массе минеральной части;

g1, g2, g3 ... gn - удельные веса отдельных минеральных материалов (щебня, гравия, песка, минерального порошка), г/см3.

Определение удельного веса асфальтобетонной смеси и асфальтобетона

7.21. Удельный вес асфальтобетонной смеси при подборе составов определяют расчетным или пикнометрическим методом.

Удельный вес асфальтобетона из покрытия и асфальтобетонных смесей, отобранных из смесителя, определяют только пикнометрическим методом. При определении удельного веса асфальтобетона пикнометрическим методом применяют воду с добавкой смачивателей - ПАВ, улучшающих смачивание водой гидрофобной поверхности асфальтобетонных смесей.

В качестве смачивателей применяют различные моющие средства: жидкие, пастообразные и порошкообразные, а также ОП-7, ОП-10 и другие вещества типа оппанолов. Для удобства применения пастообразные смачиватели предварительно растворяют в дистиллированной воде в соотношении 1:1. Смачиватели добавляют в воду в количестве: жидкие - 15 г, пастообразные (в виде раствора 1:1) - 10 г (или 140 капель), порошкообразные - 3 г на 1 л воды.

Примечание. Порошкообразные смачиватели объединяют с водой до полного растворения.

Определение удельного веса минеральной части (остова) асфальтобетона расчетным методом

7.22. На основании предварительно установленных удельных весов минеральной части (остова) асфальтобетона и битума, а также соотношений по массе составляющих материалов вычисляют удельный вес асфальтобетона с точностью до 0,01 г/см3 по формуле

где q0 - содержание минеральных материалов в асфальтобетоне (без битума), % по массе (принимается за 100 %);

qб - содержание битума и асфальтобетоне, % по массе (сверх 100 % минеральной части);

g0 - удельный вес минеральной части (остова) асфальтобетона, г/см3;

gб - удельный вес битума, г/см3.

Определение удельного веса асфальтобетонной смеси или асфальтобетона пикнометрическим методом

7.23. От средней пробы асфальтобетонной смеси или вырубки асфальтобетона, предварительно измельченных до размеров не более 10 мм, отвешивают на технических весах с точностью до 0,01 г две пробы по 50 - 200 г (в зависимости от максимального размера зерен минерального материала). Крупные зерна при этом разбивают до указанных размеров.

Чистую и высушенную мерную колбу взвешивают без воды, затем заполняют до черты на шейке дистиллированной водой с добавкой смачивателя, выдерживают при температуре 20 ± 2 °С в течение 30 мин и снова взвешивают. Перед вторым взвешиванием уровень воды в колбе (если он изменился) доводят до черты на шейке. Определяют удельный вес воды со смачивателем. Колбу снова высушивают.

В сухую чистую мерную колбу высыпают пробу асфальтобетонной смеси или вырубки (керна) асфальтобетона из покрытия, затем колбу с пробой заполняют дистиллированной водой с добавкой смачивателя (на 1 л воды 15 г 50 %-ного раствора смачивателя) приблизительно на 1/3 объема и взбалтывают. После этого колбу помещают в вакуум-прибор на 1 ч, где поддерживают остаточное давление не более 10 - 15 мм рт. ст. Затем колбу заполняют дистиллированной водой с добавкой смачивателя до черты на шейке, 30 мин выдерживают при 20 ± 2 °С и взвешивают. Удельный вес асфальтобетонной смеси или асфальтобетона из покрытия вычисляют с точностью до 0,01 г/см3 по формуле

где g0 - масса пробы асфальтобетонной смеси или размельченного асфальтобетона, г;

gвс - удельный вес воды с добавкой смачивателя, который можно принять равным 1 г/см3 при 20 °С;

g1 - масса колбы, наполненной до черты на шейке дистиллированной водой со смачивателем, г;

g2 - масса колбы с пробой и водой, г.

Удельный вес асфальтобетонной смеси или асфальтобетона вычисляют как среднее арифметическое результатов двух определений. Расхождение между результатами двух параллельных определений не должно быть более 0,01 г/см3. В случае больших расхождений удельный вес определяют вторично.

Определение пористости минеральной части (остова) асфальтобетона

7.24. Пористость минеральной части (остова) асфальтобетона вычисляют по предварительно установленным величинам удельного веса и плотности (объемной массы) минерального остова асфальтобетона (см. пп. 7.19 - 7.20 настоящего Руководства). Пористость минеральной части (остова) асфальтобетона вычисляют с точностью до 0,1 % по формуле

где r0 - плотность минерального остова асфальтобетона, г/см3;

g0 - удельный вес минеральной части (остова) асфальтобетона, г/см3.

Определение остаточной пористости асфальтобетона

7.25. Остаточную пористость лабораторных образцов асфальтобетона или асфальтобетона из покрытия вычисляют по установленным величинам удельного веса асфальтобетона (см. п. 7.21) и плотности (объемной массы) асфальтобетона (образцов) (см. п. 7.18). Остаточную пористость вычисляют с точностью до 0,1 % по формуле

где rа - плотность (объемная масса) асфальтобетона, г/см3;

gа - удельный вес асфальтобетона, г/см3.

Определение водонасыщения асфальтобетона

7.26. За величину водонасыщения асфальтобетона принимают количество воды, поглощенное образцом при определенном режиме насыщения. Водонасыщение выражают в процентах от первоначального объема асфальтобетонного образца.

Для определения водонасыщения используют асфальтобетонные образцы после определения плотности (объемной массы) асфальтобетона в соответствии с п. 7.18. Эти образцы помещают в сосуд с водой, имеющей температуру 20 ± 2 °С. Уровень воды над образцами должен быть не менее 3 см. Сосуд с образцами устанавливают под стеклянный колпак вакуум-прибора, из которого насосом выкачивают воздух до остаточного давления, равного 10 - 15 мм рт. ст.

Примечание. При использовании вакуум-прибора РВУ-3 разряжение создают непосредственно в сосуде прибора.

Указанное разряжение поддерживают 1 ч 30 мин для образцов из горячей и теплой асфальтобетонных смесей и 30 мин для образцов из холодной смеси. Затем давление доводят до нормального и образцы выдерживают в том же сосуде с водой, имеющей температуру 20 ± 2 °С. Образцы из горячей и теплой асфальтобетонных смесей выдерживают в воде 1 ч, из холодной смеси - 30 мин.

Далее образцы вынимают из воды, обтирают мягкой тканью и взвешивают с точностью до 0,01 г на воздухе и в воде. После взвешивания образцы снова помещают на 10 - 15 мин в воду при температуре 20 ± 2 °С.

Увеличение массы образца соответствует количеству поглощенной образцом воды. Приращение массы образца, отнесенное к первоначальному объему образца, составляет его водонасыщение по объему (удельный вес воды принимают равным 1 г/см3).

Водонасыщение образца вычисляют по формуле

где g0 - масса сухого (не насыщенного водой) образца, взвешенного на воздухе, г;

g1 - масса образца, выдержанного 30 мин в воде и взвешенного на воздухе, г;

g2 - разница масс того же образца и вытесненной им воды, определяемая взвешиванием образца в воде, г;

g3 - масса насыщенного водой образца, взвешенного на воздухе, г.

Водонасыщение определяют с точностью до 0,1 % как среднее арифметическое результатов трех определений. Расхождение между наибольшими и наименьшими значениями водонасыщения не должно быть более 0,5 % (по абсолютному значению водонасыщения).

Если образцы из покрытия (вырубки или керны) увлажнены, при расчете величины водонасыщения необходимо вносить поправки на влажность. Для определения влажности от вырубки или кернов отрубают два - три куска с ненарушенной структурой, взвешивают каждый из них с точностью до 0,01 г и высушивают до постоянной массы в вакуум-термостате (при температуре 35 - 40 °С) или в эксикаторе над безводным хлористым кальцием.

Влажность образцов вычисляют по формуле

где g4 - масса образца до высушивания, г;

g5 - масса образца после высушивания, г;

rа - плотность (объемная масса) асфальтобетона в покрытии, г/см3;

gв - удельный вес воды, г/см3.

Влажность, вычисленную как среднее арифметическое из двух или трех определений, прибавляют к средней величине водонасыщения образцов, вычисленной по результатам испытаний в вакуум-приборе.

Примечания. 1. Плотность асфальтобетона в покрытии вычисляют по результатам испытания образцов, на которых определяли величину водонасыщения в вакуум-приборе.

2. Для правильного учета влажности асфальтобетона первоначальное взвешивание образцов, испытываемых на влажность и водонасыщение, проводят с разрывом во времени не более 15 мин.

Определение набухания асфальтобетона

7.27. За величину набухания асфальтобетона (лабораторного образцу или вырубки из покрытия) принимают приращение его объема после насыщения водой (в процентах к первоначальному объему).

Для определения набухания используют данные, полученные при определении водонасыщения и плотности (объемной массы) асфальтобетона согласно пп. 7.18 и 7.26.

Величину набухания (в процентах объема) образца вычисляют по формуле

где g3 - масса насыщенного водой образца, взвешенного на воздухе, г;

g6 - разница масс водонасыщенного образца и вытесненной им воды, определяемая взвешиванием образца в воде, г;

g1 - масса сухого образца, выдержанного 30 мин в воде и взвешенного на воздухе, г;

g2 - разница масс того же образца и вытесненной им воды, определяемая взвешиванием образца в воде, г.

Величину набухания вычисляют с точностью до 0,1 % как среднее арифметическое результатов трех определений. Расхождение между наибольшим и наименьшим значениями набухания не должно превышать 0,2 % (по абсолютной величине набухания).

Определение предела прочности асфальтобетона при сжатии

7.28. Для испытания асфальтобетона (горячего, теплого и холодного) на прочность при сжатии используют испытательные машины с механическим приводом мощностью 5 - 10 тс (ГОСТ 7855-74), например, УММ-5. Испытательная машина должна быть снабжена силоизмерителем любого типа, позволяющим определять разрушающую нагрузку с точностью до 0,5 × 105 Па (0,5 кгс/см2) для образцов, имеющих предел прочности при сжатии меньше 15 × 105 Па (15 кгс/см2) и с точностью до 1 × 105 Па (1 кгс/см2) для образцов, имеющих предел прочности при сжатии больше 15 × 105 Па (15 кгс/см2).

Предел прочности асфальтобетона при сжатии определяют на цилиндрических образцах, изготовленных из асфальтобетонных смесей в соответствии с пп. 7.8 - 7.10 и 7.13 - 7.15.

Перед испытанием образцы выдерживают при заданной температуре (50 ± 2 °С; 20 ± 2 °С; 0 ± 2 °С). Образцы горячего и теплого асфальтобетона выдерживают 1 ч в водяной бане емкостью 3 - 7 л (в зависимости от количества и размера образцов), холодного - 2 ч в воздушной бане той же емкости. Температуру 0 ± 2 °С создают смешиванием воды со льдом.

Примечание. При отсутствии воздушной бани образцы холодного асфальтобетона помещают на деревянной или фарфоровой подставке в сосуд, установленный в другом сосуде большего размера. Пространство между стенками двух сосудов заполняют водой, имеющей температуру 20 ± 2 °С.

Для определения предела прочности при сжатии в водонасыщенном состоянии используют образцы, испытанные на водонасыщение и набухание в соответствии с пп. 7.26 - 7.27.

Насыщенные водой образцы после взвешивания на воздухе и в воде снова помещают на 10 - 15 мин в воду, температура которой 20 ± 2 °С. Образцы, термостатированные в воде, перед испытанием обтирают мягкой тканью или фильтровальной бумагой.

Перед испытанием на прочность рычаг переключения скоростей испытательной машины устанавливают на скорость подъема нижнего захвата 3 мм/мин. Образец, извлеченный из водяной или воздушной бани, устанавливают в центре плиты нижнего захвата, плиту верхнего захвата опускают (или плиту нижнего захвата поднимают) так, чтобы расстояние между верхней и нижней плитой было на 1 - 1,5 мм больше высоты испытываемых образцов. После этого включают основной электромотор испытательной машины и начинают нагружение образца. Для уменьшения потерь тепла образцов при соприкасании с металлическими плитами между образцом и плитами прокладывают небольшие листы плотной бумаги.

Для повышения точности определения предела прочности при сжатии на образцы рекомендуется устанавливать дополнительное шарнирное устройство, которое обеспечивает равномерное распределение напряжений в образце при небольших перекосах непараллельности оснований образца (рис. 7.8).

Рис. 7.8. Шарнирное устройство:

1 - стальной шарик диаметром 6 - 8 мм; 2 - металлические пластинки; 3 - прокладка из плотной бумаги; 4 - образец асфальтобетона

В процессе испытания по силоизмерителю следят за движением стрелки и ее максимальное показание принимают за нагрузку, разрушающую образец.

Предел прочности при сжатии образца вычисляют по формуле

где Р - разрушающая нагрузка Н (кгс);

F - первоначальная площадь поперечного сечения образца, см2.

Предел прочности асфальтобетона при сжатии вычисляют с точностью до 0,1 × 105 Па (0,1 кгс/см2) как среднее арифметическое испытаний трех образцов.

Расхождение между результатами испытаний отдельных образцов не должно превышать 10 %.

Примечание. Если прочность асфальтобетона при сжатии при температуре 0 °С выше 125 × 105 Па (125 кгс/см2) и мощность машины УММ-5 недостаточна для разрушения образцов диаметром 71,4 мм, испытание прекращают, а в журнале испытаний указывают: «Предел прочности R0 более 125 × 105 Па (125 кгс/см2)».

В виде исключения для испытания асфальтобетона на прочность при сжатии разрешается использовать машины с гидравлическим приводом мощностью не более 10 тс. В этом случае необходимо систематически проверять скорость холостого хода поршня испытательной машины и следить за тем, чтобы она была 3 ± 0,5 мм/мин. Скорость проверяют с помощью индикатора часового типа. Держатель индикатора прочно закрепляют на любой неподвижной части испытательной машины (на боковой штанге или на станине), а ножку индикатора устанавливают на подвижную нижнюю плиту испытательной машины.

Включив основной электродвигатель испытательной машины, начинают подъем поршня, а вместе с ним и нижней плиты. Через 5 - 7 с после начала подъема, когда установится равномерное движение поршня, начинают отсчет на индикаторе и одновременно пускают секундомер. Через 1 мин секундомер останавливают и в тот же момент снимают отсчет показаний индикатора. Вычитая из второго отсчета по индикатору первый отсчет, получают скорость движения поршня (мм/мин). Если скорость подъема поршня находится в требуемых пределах, замечают положение стрелки регулятора скорости и в дальнейшем испытания ведут при данном положении.

Если скорость подъема поршня больше или меньше требуемой, меняют положение стрелки регулятора скорости и проверяют фактическую скорость снова.

При длительной непрерывной работе испытательной машины (более 1 ч) скорость подъема поршня также необходимо проверить, так как с повышением температуры масла в гидравлической системе скорость может возрасти.

Асфальтобетон испытывают на прочность при сжатии на машинах с гидравлическим приводом аналогично описанному выше для машин с механическим приводом. Не допускается использовать гидравлические машины с ручным приводом.

Определение коэффициента водостойкости асфальтобетона

7.29. Коэффициент водостойкости асфальтобетона вычисляют с точностью до 0,01 по формуле

где Rв - предел прочности асфальтобетона при сжатии после водонасыщения в вакууме при температуре 20 °С, Па (кгс/см2);

R20 - предел прочности сухих образцов асфальтобетона при сжатии при температуре 20 °С, Па (кгс/см2).

Определение водостойкости асфальтобетона при длительном водонасыщении

7.30. Водостойкость асфальтобетона при длительном водонасыщении характеризуют показателями физико-механических свойств образцов, выдержанных в воде в течение 15 сут с предварительным насыщением их водой в вакууме (см. п. 7.26).

Определяют следующие показатели свойств: набухание, предел прочности при сжатии и коэффициент водостойкости.

Асфальтобетонные образцы взвешивают в воздухе и воде (см. п. 7.18), насыщают водой в вакуум-приборе (см. п. 7.26), переносят в другой сосуд с водой и выдерживают их в течение 15 сут. Температуру воды поддерживают в пределах 18 - 22 °С. По истечении 15 сут образцы извлекают из воды, обтирают влажной тканью, взвешивают на воздухе и в воде и вычисляют величину набухания при длительном насыщении водой с точностью до 0,1 в процентах от первоначального объема образца по формуле

где g7 - масса насыщенного в течение 15 сут водой образца, взвешенного на воздухе, г;

g8 - разница масс насыщенного водой в течение 15 сут образца и вытесненной им воды, определяемая взвешиванием образца в воде, г;

g1 - масса образца, выдержанного 30 мин в воде (см. п. 7.18) и взвешенного на воздухе, г;

g2 - разница масс того же образца и вытесненной им воды, определяемая взвешиванием образца в воде, г.

Взвешенные на воздухе и в воде образцы помещают снова на 10 - 15 мин в воду, температура которой 20 ± 1 °С, затем испытывают на сжатие. По результатам испытаний вычисляют коэффициент водостойкости асфальтобетона после длительного водонасыщения по формуле

где Rвд - предел прочности асфальтобетона при сжатии после насыщения водой в течение 15 сут (при температуре 20 °С), Па (кгс/см2);

R20 - предел прочности сухих образцов асфальтобетона при сжатии при температуре 20 °С, Па (кгс/см2).

Определение слеживаемости холодных асфальтобетонных смесей

7.31. Показатель слеживаемости холодных асфальтобетонных смесей определяют на приборе, схематически изображенном на рис. 7.9. Прибор состоит из основания 1 с подставкой для образца 2, штанги 6 и направляющей втулки 8. Во втулке свободно перемещается штанга 6 с навинченным на нее конусным наконечником 4. Угол в вершине конуса 15°. По штанге свободно перемещается цилиндрический груз 5 (масса штанги с грузом 500 г). Высота подъема груза по штанге ограничена вверху упорным кольцом 7 и составляет 20 см. В центре нижней подставки 1 имеется отверстие для предохранения острия конуса от затупления. Для фиксации момента касания острия конуса нижней подставки в верхней части штанги нанесена риска 9.

Рис. 7.9. Прибор для определения слеживаемости холодных асфальтобетонных смесей

При испытании образец, изготовленный в соответствии с п. 7.12, устанавливают на подставку, а острие конуса осторожно вводят в отверстие 3 образца. Левой рукой образец слегка придерживают, а правой поднимают груз до упорного кольца и затем отпускают его; удары груза по конусу повторяют до тех пор, пока образец полностью разрушится, или острие конуса коснется подставки. При испытании необходимо следить за тем, чтобы при поднятии груза острие не выходило из отверстия в образце.

За условный показатель слеживаемости холодной асфальтобетонной смеси принимают количество ударов, необходимое для полного разрушения образца конусом. Показатель слеживаемости принимают как среднее арифметическое испытаний трех образцов. Расхождения между результатами испытаний отдельных образцов из одного замеса не должны быть более двух ударов.

Определение устойчивости, условной пластичности и показателя условной жесткости асфальтобетона по Маршаллу

7.32. Для определения устойчивости, условной пластичности и показателя условной жесткости асфальтобетона используют испытательную машину типа Маршалла мощностью 2 тс или любую универсальную испытательную машину с механическим приводом (ГОСТ 7855-74), снабженную приспособлением для испытания по Маршаллу (рис. 7.10 и 7.11). Испытательная машина должна иметь скорость движения нижнего захвата 50 мм/мин.

Для испытания готовят три образца в соответствии с пп. 7.5, 7.11, 7.13. Перед испытанием образцы выдерживают в течение 1 ч при температуре 60 ± 2 °С в водяной бане. При этой же температуре выдерживают разрушающее устройство испытательной машины.

Перед испытанием образцов в разрушающее устройство 2 (см. рис. 7.10) вставляют металлический цилиндр (диаметр которого точно соответствует диаметру испытываемых образцов); включив электродвигатель машины, плиту 3 вместе с нижней частью разрушающего устройства поднимают так, чтобы металлический цилиндр пришел в соприкосновение с его верхней головкой; ножку индикатора 1 устанавливают на выступ верхней головки, а стрелку подводят к нулю. После установки индикатора плиту опускают на 5 - 10 мм и вместо металлического цилиндра в разрушающее устройство вставляют образец, извлеченный из водяной бани. После этого включают двигатель машины и разрушают образец при скорости движения нижней плиты 50 ± 1 мм/мин.

Время от момента извлечения образца из бани до его разрушения не должно быть более 60 с.

За величину устойчивости принимают максимальное показание силоизмерителя 1 (см. рис. 7.11).

Если высота образца отличается от стандартной (6,35 см), в величину устойчивости вводят поправочный коэффициент (табл. 7.6).

За показатель условной пластичности принимают величину деформации, фиксируемую по индикатору в момент разрушения образца. Условную пластичность выражают в 1/10 мм.

Рис. 7.10. Приспособление для испытаний по Маршаллу

Рис. 7.11. Схема испытательной машины типа Маршалла:

1 - силоизмеритель; 2 - индикатор; 3 - образец; 4 - разрушающее устройство; 5 - плита

Таблица 7.6

Высота образцов и соответствующий поправочный коэффициент (извлечение из ГОСТ 12801-77)

Высота образца, см

Поправочный коэффициент

Высота образца, см

Поправочный коэффициент

2,9

4,55

5,8

1,17

3,0

4,17

6,0

1,10

3,5

3,33

6,2

1,04

4,0

2,50

6,35

1,00

4,4

1,92

6,4

0,98

4,8

1,67

6,8

0,94

5,4

1,32

7,0

0,85

5,6

1,22

7,2

0,82

Показатель условной жесткости вычисляют по формуле

где р - устойчивость (разрушающая нагрузка), Н (кгс);

l - условная пластичность, 1/10 мм.

Устойчивость, условную пластичность и показатель условной жесткости вычисляют как среднее арифметическое испытаний трех образцов, при этом полученные показатели устойчивости округляют при значениях до 5000 Н (500 кгс), до 100 Н (10 кгс), при значениях в пределах 5000 - 10000 Н (500 - 1000 кгс) - до 200 Н (20 кгс), свыше 10000 Н (1000 кгс) - до 500 НI (50 кгс). Расхождение между результатами испытаний отдельных образцов не должно превышать 10 %.

Примечание. Перед испытанием на устойчивость определяют плотность образцов и вычисляют их остаточную пористость и пористость минерального остова в соответствии с пп. 7.18, 7.24, 7.25.

Определение содержания битума методом экстрагирования

7.33. Для экстрагирования (извлечения) битума из асфальтобетонной смеси используют аппарат Сокслета (рис. 7.12). Битум экстрагируют одним из органических растворителей: хлороформом, спиртохлороформом (20 % спирта + 80 % хлороформа), спиртобензолом (20 % спирта + 80 % бензола), четыреххлористым углеродом, трихлорэтиленом и др.

Предварительно высушенный и взвешенный с точностью до 0,01 г (вместе с ватой) цилиндрический патрон из двух - трех слоев фильтровальной бумаги наполняют асфальтобетонной смесью (или измельченным асфальтобетоном из вырубки), закрывают ватой, снова взвешивают (с точностью до 0,01 г) и помешают в прибор Сокслета (пробу асфальтобетонной смеси по п. 7.16). В колбу прибора наливают растворитель.

Рис. 7.12. Аппарат Сокслета:

1 - холодильник; 2 - экстрактор; 3 - колба

Экстракционный патрон, заложенный в экстрактор, должен быть на 1 см выше уровня сифона экстрактора. К верхней части экстрактора присоединяют обратный холодильник, а к нижней - колбу с растворителем.

Колбу с растворителем нагревают на песчаной бане до температуры кипения растворителя. Конденсирующиеся в холодильнике пары растворителя, непрерывно стекая на асфальтобетонную смесь, растворяют битум и извлекают его из смеси. После наполнения экстрактора растворитель переливается в колбу по сифонной трубке. Процесс извлечения битума продолжают до исчезновения окраски растворителя, собирающегося в экстракторе.

Извлеченный из экстрактора патрон высушивают в термостате до постоянной массы при температуре 50 - 60 °С.

После окончания экстрагирования растворитель из раствора битума (экстракта) отгоняют на водяной или песчаной бане и остаток сушат до постоянной массы в термостате при температуре 50 - 60 °С или вакуумтермостате при температуре 35 - 40 °С.

Содержание битума в асфальтобетонной смеси или в асфальтобетоне из покрытия (% по массе) вычисляют с точностью до 0,1 %:

при дозировании битума, включенного в 100 % состава асфальтобетона, по формуле

при дозировании битума сверх 100 % минеральной части асфальтобетона по формуле

где G - масса колбы с остатком битума после отгонки растворителя и сушки, г;

G1 - масса пустой колбы, г;

g - масса асфальтобетонной смеси, г.

Если наиболее мелкие частицы минерального материала асфальтобетонной смеси проходят в экстракт, раствор нужно осторожно слить из колбы и осадок промыть новым количеством растворителя до исчезновения окраски. Содержимое колбы переводят во взвешенную фарфоровую чашку. Избыток растворителя осторожно сливают, а остаток выпаривают при температуре кипения растворителя. Количество мелких частиц, прошедших через патрон, определяют по разности между массой чашки с остатком и массой пустой чашки. Вычисленную массу мелких частиц прибавляют к массе минерального остатка, полученного после извлечения битума.

Содержание битума в асфальтобетонной смеси также можно определять по разности масс взятой навески смеси и минеральной части после экстрагирования битума из асфальтобетонной смеси.

Содержание битума определяют по двум параллельным испытаниям. Расхождение между результатами параллельных определений не должно быть более 0,2 %.

Примечание. Содержание жидкого битума класса СГ или битума, разжиженного керосином и другими легкими разжижителями, определяют только по разности между массами взятой навески и массой минеральной части после экстрагирования битума из асфальтобетонной смеси.

Определение зернового состава минеральной части асфальтобетонной смеси после экстрагирования битума

7.34. Минеральный материал после экстрагирования по п. 7.33 взвешивают с точностью до 0,1 г, помешают в фарфоровую чашку, носик которой снизу смазан вазелином, заливают небольшим количеством воды и растирают в течение 2 - 3 мин пестиком с резиновым наконечником.

Воду со взвешенными в ней частицами сливают на сито с сеткой 0,071 мм, установленной над тазом или кастрюлей. Оставшиеся в чашке частицы вновь заливают чистой водой, растирают и воду снова сливают.

Последовательное растирание частиц и сливание мутной воды продолжают до тех пор, пока вода после растирания частиц не будет прозрачной. Окончив промывание, оставшиеся на сите частицы минерального материала крупнее 0,071 мм смывают в ту же фарфоровую чашку с остатком. Отстоявшуюся в чашке воду осторожно сливают, а чашку ставят в сушильный шкаф для высушивания до постоянной массы при температуре 105 - 110 °С.

Промывание и растирание минерального материала непосредственно на сите с сеткой 0,071 мм не допускается.

Высушенную пробу минерального материала просеивают через набор сит, начиная с сита с наибольшим диаметром отверстий (выбранного в зависимости от вида асфальтобетона) и кончая ситом с сеткой № 0071.

Перед окончанием просеивания для проверки каждое сито вручную интенсивно трясут в течение 1 мин над листом бумаги. Просеивание считают законченным, если на бумаге не обнаруживают частиц, прошедших сита с отверстиями 2,5 мм и более; если масса частиц, прошедших сита с отверстиями 1,25 и 0,63 мм, не превышает 0,05 г, а прошедших сита с отверстиями размером 0,315 и 0,071 мм - 0,02 г. Остаток на каждом сите взвешивают и вычисляют частные остатки с точностью 0,1 % по отношению к массе просеиваемой навески. Количество зерен (в процентах) мельче 0,071 мм определяют, вычитая из 100 сумму остатков на остальных ситах в процентах.

За результат испытания принимают среднее арифметическое двух определений. Расхождение между результатами параллельных определений на одном сите не должно быть более 2 % (от общей массы пробы). Общая потеря материала при рассеве не должна превышать 2 % от взятой пробы.

Определение состава асфальтобетонных смесей ускоренным методом

7.35. Ускоренным методом разрешается пользоваться, когда требуемая точность определения не превышает точности дозирования компонентов асфальтобетонных смесей, предусмотренной ГОСТ 9128-70.

Примечание. Не допускается определять ускоренным методом содержание жидких битумов класса СГ и битумов, разжиженных керосином и другими легкими разжижителями.

Предварительно взвешенную с точностью до 0,01 г пробу асфальтобетонной смеси или вырубку из покрытия помещают в термостат и нагревают до 70 - 80 °С, комки тщательно размельчают ложкой. В зависимости от максимального размера зерен в смеси величина пробы должна быть: 500 г для песчаной асфальтобетонной смеси, 1000 г для мелко-, средне- и крупнозернистой смеси.

В химический стакан вливают 1,5 - 2 л растворителя (в зависимости от типа смеси и величины пробы). Размельченную пробу асфальтобетонной смеси переносят в металлический стакан высотой 15 см, диаметром 10 см и заливают растворителем (керосином). Уровень растворителя над смесью должен быть не менее 1 см. Стакан герметически закрывают крышкой и в течение 10 - 15 мин интенсивно встряхивают (вручную или механически). Полученный раствор битума со взвешенными частицами минерального материала (главным образом минерального порошка) через 10 мин отстаивания сливают через набор сит в поддон. Емкость поддона должна быть не менее 2,5 л. Оставшуюся в стакане часть смеси вторично заливают свежей порцией растворителя, повторно встряхивают и снова сливают раствор через сита. Оставшийся в стакане материал заливают третьей порцией растворителя, тщательно размешивают ложкой и раствор сливают через сита. Промывку повторяют еще 2 - 3 раза, затем содержимое стакана переносят на сита.

Верхнее сито в наборе должно иметь диаметр отверстий, соответствующий максимальному размеру частиц минерального материала в асфальтобетонной смеси. При определении полного фракционного состава минеральной части смеси берут полный набор сит с размерами отверстий, предусмотренными требованиями к зерновому составу минеральной части данной асфальтобетонной смеси. Если не нужно определять содержание отдельных фракций, ограничиваются двумя ситами: с отверстиями размером 5 и 0,071 мм для зернистого асфальтобетона или 1,25 и 0,071 мм для песчаного. Минеральный материал на ситах промывают растворителем до исчезновения окраски, затем остаток с каждого сита переносят в отдельную фарфоровую чашку и высушивают на песчаной бане до постоянной массы. Сита высушивают, а оставшиеся на каждом сите частицы счищают волосяной кистью и присоединяют к соответствующей фракции.

Фракцию песка (5 - 0,071 мм или 1,25 - 0,071 мм) после высушивания переносят на сито с отверстиями 0,071 мм и из нее дополнительно отсеивают оставшийся минеральный порошок.

Каждую фракцию взвешивают и вычисляют сумму фракций

Q = g1 + g2 + g3 + ... + gn,

где g1, g2, g3 ... gn - масса каждой фракции, г.

Содержание каждой фракции в асфальтобетонной смеси (% по массе) вычисляют по формуле

где g - масса асфальтобетонной смеси, г.

Если содержание каждой фракции необходимо вычислить по отношению к минеральной части асфальтобетона, сначала определяют количество битума gб в асфальтобетоне. В этом случае содержание каждой фракции вычисляют по формуле

Для определения содержания битума раствор его в керосине вместе со взвешенными частицами минерального материала тщательно перемешивают, переливают в кристаллизатор (диаметром 30 - 40 см) и оставляют в спокойном состоянии на 1 ч. Затем из кристаллизатора пипеткой отбирают 50 см3 раствора и переносят в фарфоровую чашку. Остатки раствора в пипетке смывают в чашку чистым растворителем. Раствор отбирают пипеткой с глубины 3 - 5 мм от поверхности. Чашку с раствором ставят для выпаривания на песчаную баню с температурой песка 220 - 250 °С при определении содержания вязкого битума и с температурой 160 - 180 °С жидкого (класса МГ). Выпаривание прекращают, когда разность между двумя взвешиваниями не превышает 0,05 г.

Для учета объема растворителя, расходуемого на извлечение битума из асфальтобетонной смеси, растворитель отмеряют градуированным цилиндром и наливают его в химический или батарейный стакан. Растворитель, расходуемый на промывку асфальтобетонной смеси, отбирают из стакана резиновой грушей. Если не весь отмеренный растворитель израсходован на промывку, количество оставшегося растворителя замеряют. Объем растворителя, истраченного на извлечение битума, определяют по разнице объемов первоначально взятого и оставшегося растворителя.

Примечание. Если первоначально отмеренное количество растворителя (1,5 - 2 л) недостаточно для промывки асфальтобетонной смеси, то и тот же стакан отмеряют дополнительное количество растворителя (1 - 1,5 л).

Количество битума в асфальтобетонной смеси определяют по формуле

где V1 - объем растворителя, израсходованного для извлечения битума из асфальтобетонной смеси, см3;

V2 - объем раствора битума, отобранного пипеткой, см3;

G - масса фарфоровой чашки с битумом после выпаривания растворителя, г;

G1 - масса фарфоровой чашки, г;

gб - удельный вес битума (при расчете принимают равным 1 г/см3).

Содержание битума в асфальтобетонной смеси вычисляют по формулам:

при дозировке битума, включенного в 100 % состава асфальтобетона,

при дозировке битума сверх 100 % минеральной части асфальтобетона

где g - масса асфальтобетонной смеси, г.

Содержание минерального порошка в асфальтобетонной смеси или асфальтобетоне из покрытий определяют по разности между первоначально взятой массой смеси и суммарным количеством щебня, песка и битума в ней:

МП = g - (Q + gб) г,

или

где Q - суммарная масса всех фракций щебня и песка, г;

gб - масса битума в массе асфальтобетонной смеси, г.

Содержание минерального порошка в минеральной части асфальтобетонной смеси определяют по формуле

Расхождения между результатами параллельных определений (от массы каждого компонента) не должны превышать 0,2 % для битума, 0,3 % для минерального порошка, 1 % для зерен крупнее 0,071 мм.

Определение показателя сцепления битума с поверхностью минеральных материалов

7.36. Показатель сцепления битума определяют на обработанных битумом: щебне крупнее 10 мм; песке и щебне размером 3 - 10 мм или смесях минеральных материалов, не содержащих частиц мельче 0,071 мм; на асфальтобетонных смесях, приготовленных в лаборатории или в смесителе на заводе.

За показатель сцепления принимают визуально определяемую величину поверхности минерального материала, сохранившую битумную пленку после кипячения в воде. Среднее значение показателя сцепления определяют на трех пробах.

Минеральные материалы обрабатывают битумом в сухом или влажном состоянии (в зависимости от условий производства работ).

Минеральные материалы, предназначенные к обработке в сухом состоянии, предварительно высушивают в термостате при 105 - 110 °С. Щебень крупнее 3 мм перед высушиванием очищают от пыли. Перед обработкой битумом во влажном состоянии щебень крупнее 10 мм кипятят в течение 1 ч в дистиллированной воде, а минеральные материалы мельче 10 мм смешивают с 3 - 5 % дистиллированной воды.

При обработке битумом минеральных материалов температуру нагрева выбирают по табл. 7.2.

Сцепление битума с поверхностью щебня крупнее 10 мм

7.37. Сцепление с сухой поверхностью. Сухие и чистые щебенки обвязывают ниткой или тонкой проволокой, нагревают в термостате в течение 1 ч до температуры, выбранной по табл. 7.2, и погружают на 15 с в чашку с нагретым битумом. Извлеченные из битума щебенки подвешивают на штативе для стекания избытка битума.

Через 15 мин обработанные битумом щебенки погружают в стеклянный стакан с кипящей дистиллированной водой (щебенки не должны касаться стенок или дна стакана). После 3 мин кипячения при обработке жидким битумом или 30 мин при обработке вязким битумом визуально оценивают прочность сцепления битума с поверхностью щебенок, не вынимая их из воды. Шкала оценки показателя сцепления приведена в табл. 7.7.

Таблица 7.7

Шкала оценки показателя сцепления

Характеристика пленки битума на поверхности минеральных материалов

Визуальный показатель сцепления

Пленка битума полностью сохраняется

»           »      отслаивается водой

Хорошее

Наблюдается обнажение некоторых зерен или отдельных участков на поверхности (около 50 %)

Удовлетворительное

Пленка битума полностью отслаивается водой. Наблюдается почти полное обнажение минеральных зерен с мелкими каплями свернувшегося битума или всплывание битума

Плохое

Примечания. 1. Наличие избыточного свободного битума, всплывшего на поверхность воды, без обнажения минеральных зерен, а также неравномерность толщины пленки битума не снижают оценку показателя сцепления.

2. При испытании необходимо следить, чтобы не было бурного кипения воды.

3. В процессе кипячения битум, отделившийся от смеси, снимают фильтровальной бумагой.

4. При необходимости оценить показатель сцепления битума с поверхностью минерального материала не в процессе кипячения, а через некоторое время образец смеси следует сразу после кипячения перенести в заранее подготовленный сосуд с холодной водой. В этом случае оставшаяся на минеральном материале пленка битума закрепляется, не растекаясь по его поверхности.

7.38. Сцепление с влажной поверхностью. Увлажненные, как указано в п. 7.36, щебенки быстро обтирают слегка влажной тканью и немедленно погружают на 15 с в чашку с нагретым битумом. Дальнейшее испытание проводят, как указано для материалов с сухой поверхностью. Сцепление оценивают по табл. 7.7.

Сцепление битума с поверхностью песка, щебня размером 3 - 10 мм или смесей минеральных материалов, не содержащих частиц мельче 0,071 мм

7.39. Сцепление с сухой поверхностью. 50 - 100 г высушенного минерального материала нагревают до температуры, выбранной по табл. 7.2, и смешивают с требуемым количеством нагретого битума (ориентировочно 2,5 % для щебня, 4,5 % для песка). Смесь тщательно перемешивают до полного обволакивания поверхности минерального материала битумом. Через 15 мин 30 - 50 г смеси (в зависимости от крупности) помещают на сетку с отверстиями 0,15 - 0,25 мм, опускают в стакан с кипящей дистиллированной водой и подвешивают ее на краях стакана. Через 3 мин (при жидком битуме) или через 30 мин (при вязком битуме) оценивают сцепление битума с минеральным материалом по табл. 7.7.

7.40. Сцепление с влажной поверхностью. Минеральный материал перемешивают с дистиллированной водой (3 - 5 % по массе), добавляют требуемое количество нагретого битума (2,5 - 4,5 %) и опять тщательно перемешивают, нагревая смесь до 70 - 80 °С при вязких битумах и до 50 - 60 °С при жидких. Затем испытывают, как и материалы с сухой поверхностью. Сцепление оценивают по табл. 7.7.

Сцепление битума с минеральной частью асфальтобетонной смеси

7.41. От средней пробы асфальтобетонной смеси, приготовленной в лаборатории или на заводе, отвешивают на технических весах две пробы по 50 г и одну из них помещают на сетку. Вторую пробу оставляют для последующего сравнения со смесью, прошедшей испытание.

Химический стакан заполняют 15 %-ным раствором поваренной соли в дистиллированной воде примерно на 2/3 объема и устанавливают на электрическую плитку, песчаную баню или над пламенем газовой горелки.

Сетку с пробой асфальтобетонной смеси опускают в стакан с кипящим раствором поваренной соли таким образом, чтобы слой кипящего раствора над сеткой был не менее 30 - 40 мм.

При испытании вязких битумов сетку с испытуемым образцом выдерживают в кипящем растворе в течение 30 мин, а при испытании жидкого битума - в течение 3 мин. Кипение раствора не должно быть бурным. Битум, отделившийся от поверхности смеси в процессе кипячения и всплывший на поверхность, снимают фильтровальной бумагой.

По истечении указанного времени сетку со смесью вынимают из стакана и переносят в стакан с холодной водой для охлаждения и для того, чтобы смыть соль, осевшую на частицах смеси, после чего смесь помешают на фильтровальную бумагу для испарения воды.

Результаты испытания оцениваются после полного испарения воды из смеси.

Битум считается выдержавшим испытание на сцепление с минеральной частью асфальтобетонной смеси, если после испытания не менее 3/4 поверхности будет покрыто пленкой битума, а раствор, в котором кипятили смесь, не помутнел.

Определение водостойкости пленки из прямых эмульсий на щебне при устройстве поверхностной обработки

7.42. Пробу щебня около 0,5 кг, предназначенного для устройства поверхностной обработки, промывают и высушивают. Из пробы отбирают три щебенки кубовидной или шестигранной формы, обвязывают их ниткой или мягкой проволокой, погружают на 1 - 2 с в стакан с дистиллированной водой, вынимают из воды, стряхивают капли и сразу же погружают на 2 - 3 с в испытываемую эмульсию, вынимают их и подвешивают на штативе так, чтобы щебенки не касались друг друга. Испытывают щебенки через сутки. Для этого на закрытую электроплитку ставят стакан с дистиллированной водой и нагревают ее до 100 °С, не допуская бурного кипения. Каждую из подвешенных на штативе щебенок поочередно погружают в кипящую воду и выдерживают в ней 30 мин. По истечении указанного срока с поверхности воды снимают фильтровальной бумагой всплывший битум, вынимают щебенку и визуально оценивают состояние пленки в соответствии с табл. 7.8.

Определение водостойкости пленки из обратной эмульсии

7.43. 200 г щебня размером 5 - 15 мм увлажняют 3 % воды, перемешивают, затем добавляют 0,5 % извести-пушонки. После тщательного перемешивания с известью добавляют 4 % обратной эмульсии (в пересчете на битум) и снова перемешивают. Поверхность щебенок после обработки эмульсией должна быть покрыта сплошной непрерывной пленкой вяжущего.

Обработанный материал раскладывают тонким слоем и выдерживают при комнатной температуре в течение 30 мин, затем 100 г обработанного материала помещают на металлическую сетку, подвешивают ее в стакане с кипящей водой и кипятят 30 мин. После кипячения оценивают водостойкость пленки вяжущего по табл. 7.8.

Таблица 7.8

Шкала оценки водостойкости пленки из эмульсии на минеральных материалах

Состояние пленки после кипячения

Оценка водостойкости

Пленка из эмульсии полностью сохранилась на поверхности щебня. Допускается оголение острых ребер и углов щебенок

Хорошо

Пленка из эмульсии частично смыта водой, наблюдается обнажение отдельных участков поверхности щебенок (до 30 %)

Удовлетворительно

Пленка из эмульсии смыта водой с большей части поверхности минерального материала

Плохо

Определение коэффициента уплотнения асфальтобетонных покрытий

7.44. Коэффициент уплотнения асфальтобетонного покрытия вычисляют как отношение среднего значения плотности  образцов из покрытия (вырубок или кернов) к среднему значению плотности образцов , переформованных из тех же вырубок или кернов по пп. 7.8 - 7.11 и 7.13 - 7.15:

Плотность каждого образца вычисляют с точностью до 0,01 г/см3. Среднее значение плотности образцов определяют как среднее арифметическое результатов испытаний трех - четырех образцов. Расхождение между результатами для образцов, отобранных из покрытия с одного места, не должно превышать 0,02 г/см3.

Испытания асфальтобетона на водопроницаемость

7.45. На водопроницаемость испытывают асфальтобетонные образцы или керны диаметром 101,6 см. Высота лабораторных образцов должна быть 5 см. Толщина кернов не регламентируется. Уплотняющая нагрузка при приготовлении образцов 300 × 105 Па (300 кг/см2). Схема прибора для испытания изображена на рис. 7.13.

Образцы или керны испытывают в герметической кювете, представляющей собой полый цилиндр с нарезанной на внутренней стороне резьбой, куда ввинчивается ограничительное кольцо, предотвращающее перемещение образца в цилиндре и процессе испытания.

Рис. 7.13. Схема прибора для испытания асфальтобетонных образцов на водопроницаемость:

1 - гибкие шланги; 2 - тройник; 3 - сосуды для сбора воды; 4 - вентили; 5 - манометры; 6 - водопроводный крап; 7 - редукционный клапан; 8 - кюветы

Перед испытанием асфальтобетонный образец закладывают в кювету и устанавливают на ограничительное кольцо (рис. 7.14). Паз между внутренней стенкой кюветы и образцом заливают смесью парафина с канифолью (соотношение 3:1), чтобы предотвратить фильтрацию воды по периметру испытываемого образца.

Рис. 7.14. Кювета для испытания асфальтобетонного образца на водопроницаемость:

1 - крышка; 2 - асфальтобетонный образец; 3 - ограничительное кольцо; 4 - смесь парафина с канифолью; 5 - цилиндр; 6 - штуцер

После полного остывания герметизирующей смеси к кювете привинчивают крышку со штуцером и соединяют с системой подачи воды.

Асфальтобетонные образцы на водопроницаемость испытывают в течение 6 ч при давлении воды, равном 105 Па (1 кгс/см2). Давление в системе контролируют с помощью манометров.

Водонепроницаемыми считают асфальтобетонные образцы с фильтрацией воды, равной нулю. При наличии фильтрации воды водопроницаемость количественно характеризуют коэффициентом фильтрации, который определяют по суммарному расходу поды в течение 6 ч по формуле

где V - количество воды, профильтровавшейся через образец за время испытания, см3;

l - высота образца, см;

a - коэффициент, учитывающий температуру воды во время испытания;

Т - время испытания, с;

F - площадь образца, см2;

Рср - среднее давление в процессе испытания.

Во всех случаях при расчете коэффициента фильтрации его значение приводится к температуре воды, равной 10 °С (табл. 7.9).

Таблица 7.9

Температура испытания и соответствующие поправочные коэффициенты a

t, °С

a

t, °С

a

t, °С

a

6

1,130

16

0,852

20

0,667

8

1,060

18

0,810

28

0,638

10

1,000

20

0,770

30

0,610

12

0,945

22

0,773

32

0,585

14

0,897

24

0,700

34

0,561

 

 

 

 

36

0,550

На водопроницаемость испытывают одновременно три параллельных образца. Коэффициент фильтрации вычисляют как среднее арифметическое трех определений. Если одно из трех значений коэффициентов фильтрации отличается более чем на 50 % от среднеарифметического значения двух других (имеющих близкие значения), оно не принимается в расчет.

При испытании на водопроницаемость, кроме коэффициента фильтрации, определяют величину эффективной пористости асфальтобетона. За величину эффективной пористости асфальтобетона принимают величину его водонасыщения после испытания на водопроницаемость. Величина эффективной пористости характеризует ту часть порового пространства асфальтобетона, через которую происходит фильтрация. Величина эффективной пористости определяется по формуле

где g0 - масса образца до испытания на водопроницаемость, г;

g1 - масса образца после испытания на водопроницаемость, г;

V - объем образца, см3.

Методы испытания ПБВ

7.46. Подготовка к испытаниям ПБВ в лаборатории включает: отбор проб ДСТ, приготовление раствора ДСТ, подготовку битума, приготовление ПБВ.

Для лабораторных испытаний отбирают среднюю пробу ДСТ из нескольких мешков одной партии. Навески ДСТ из средней пробы помещают в химические стаканы с растворителем для приготовления растворов ДСТ.

Подготовка к испытаниям на АБЗ включает отбор проб раствора ДСТ, ПБВ и асфальтобетонной смеси на основе ПБВ.

Пробу раствора ДСТ отбирают металлическим стаканом емкостью 1 л, укрепленным на рукоятке длиной 1 - 1,5 м, через специальный клапан, предусмотренный на крышке емкости. Пробу помещают в сосуд (объемом 1 л) с плотно закрывающейся крышкой и используют для оценки однородности и условной вязкости.

Для определения свойств ПБВ необходимо удалить из него часть растворителя. С этой целью ПБВ слоем 3 мм помещают в плоскодонные кюветы или чашки. Толщину слоя ПБВ следует определять по массе пробы (на кювету размером 12´32´1,5 см требуется 115,2 г).

Пробу, взятую с точностью до 0,01 г, при слабом подогреве распределяют равномерным слоем по дну кюветы. Кювету помещают в термостат, нагретый до 120 ± 1 °С, и выдерживают 7 ч, после чего ПБВ вынимают скальпелем из кюветы, заливают формы (кольца восьмерки, пенетрационные чашки) и определяют показатели ПБВ в соответствии с требованиями табл. 5.13. Для определения всех требуемых показателей необходимо 230 - 250 г ПБВ.

7.47. Методы определения свойств ПБВ аналогичны методам для нефтяных битумов: глубина проникания иглы устанавливается в соответствии с ГОСТ 11501-73, температура размягчения - по ГОСТ 11506-73, растяжимость при 25 и 0 °С (скорость растяжения 5 см/мин) - по ГОСТ 11505-75, сцепление ПБВ с мрамором и песком - по ГОСТ 11508-74.

Эластичность характеризуется способностью ПБВ к обратным деформациям и определяется по сокращению длины образца, предварительно растянутого до разрыва.

Эластичность ПБВ следует определять сразу после испытания на растяжимость при 25 °С (Д25).

После разрыва образца ПБВ формы (восьмерки) не снимают со штифов, температуру воды в ванне дуктилометра доводят до 35 °С (для ускорения испытания) и измеряют длину обеих частей образца (от свободного конца до зажима) через каждые 5 мин с точностью до 1 мм, пока длина каждой из двух частей образца перестанет изменяться.

Эластичность ПБВ определяют по формуле

где Д25 - растяжимость при 25 °С, см;

l1 - сумма двух частей образца (по последнему замеру), см;

З - константа прибора, см.

Расхождения между тремя параллельными определениями не должны превышать 10 % от наименьшего результата.

Определение шлифуемости каменных материалов

7.48. Способность каменных материалов противостоять шлифующему действию шин автомобиля оценивают стабильным значением их коэффициента сцепления, который определяют маятниковым прибором типа МП-3 после испытания каменного материала на шлифуемость. Схема прибора для испытания изображена на рис. 7.15.

Образцы каменного материала в виде щебня кубовидной формы крупностью 10 - 15 мм закрепляют на поверхности плиток из цементного раствора размером 20´20´4 см и помещают в рабочее колесо прибора.

Рис. 7.15. Схема прибора для определения шлифуемости каменных материалов:

1 - электродвигатель; 2 - колесо автомобиля; 3 - гидроцилиндр; 4 - колесо с образцами; 5 - абразив; 6 - вода

Шлифование производят в течение 5 ч в присутствии воды и абразива, в качестве которого используют кварцевый песок с размером зерен 0,14 - 0,63 мм. Давление колеса автомобиля на образец составляет 3 × 105 Па (3 кгс/см2), расход абразива - 120 - 180 г/мин, воды - 1,5 - 2 л/ч. Давление колеса на заданном уровне поддерживают с помощью гидроцилиндра.

По шлифуемости каменные материалы подразделены на четыре группы (табл. 7.10).

При определении стабильного коэффициента сцепления его значение приводят к температуре воздуха, равной 20 °С, по формулам

j20 = ji + 0,5(ti - 20),                                                       (1)

j20 = ji - 0,5(ti - 20),                                                        (2)

где j20 - стабильный коэффициент сцепления при температуре воздуха 20 °С;

ti - температура воздуха в момент определения стабильного коэффициента сцепления;

ji - стабильный коэффициент сцепления при данной температуре воздуха.

По формуле (1) производят расчеты для каменного материала, не имеющего на поверхности пленки вяжущего. Для материала с пленкой битума при температурах воздуха от 0 до 20 °С применима формула (1), при температурах от 20 до 40 °С - формула (2).

На шлифуемость испытывают одновременно три параллельных образца. Стабильный коэффициент сцепления вычисляют как среднее арифметическое его значений для каждого испытанного образца. В случае отклонения одного из трех значений коэффициента сцепления от среднеарифметического значения более чем на 5 ед. шкалы маятникового прибора оно не принимается в расчет.

Таблица 7.10

Оценка шлифуемости каменных материалов

Стабильный коэффициент сцепления

Характеристика каменного материала

Свыше 50

Отличный

» 40 до 50

Хороший

» 30 » 40

Удовлетворительный

Менее 30

Неудовлетворительный

Измерение шероховатости покрытий методом «песчаного пятна»

7.49. Метод «песчаного пятна» дает в качестве оценочного параметра шероховатости среднюю глубину впадин шероховатости (в мм), определяемую по формуле

где V - объем песка, см3;

F - площадь песчаного пятна, см2.

Увеличение параметра hср соответствует увеличению суммарного сечения каналов, отводящих воду из-под контакта автомобильной шины с покрытием.

По методике Союздорнии измерение производится с помощью приспособления, состоящего из двух мерных стаканчиков объемом 10 и 25 см3, диска диаметром 100 мм, обклеенного с нижней стороны листовой резиной, и шаблона-номограммы, выполненного в виде равностороннего треугольника со сторонами 300 мм, с нанесенными на сторонах шкалами-номограммами, рассчитанными для объемов песка 10,25 и 50 см3.

Контроль шероховатости покрытия выполняют так:

1. Наполняют мерный стаканчик до краев сухим песком с размером зерен от 0,14 до 0,315 мм и высыпают в виде кучки на контролируемое покрытие.

2. Распределяют песок по поверхности покрытия с помощью диска (имеющего на верхней стороне ручку высотой 20 - 25 мм) круговыми движениями так, чтобы песок лежал ровным слоем в виде круга («песчаного пятна»), заполняя все впадины шероховатости до уровня наиболее высоких выступов, нивелируемых диском.

3. Определяют среднюю глубину шероховатости hср, прикладывая к диаметру пятна соответствующую шкалу шаблона-номограммы.

В случае неправильной формы пятна (эллипс) измерения производят по большему и меньшему диаметрам эллипса и берут средний результат.

Пользуясь шаблоном-номограммой, измеряемый параметр получают без какой-либо обработки результатов измерений, что значительно облегчает работу. При отсутствии шаблона-номограммы диаметр песчаного пятна можно измерять масштабной линейкой, а затем определять параметр hср по графикам (рис. 7.16).

Рис. 7.16. График для определения средней глубины впадин hср шероховатости методом «песчаного пятна»

8. ТРЕБОВАНИЯ ТЕХНИКИ БЕЗОПАСНОСТИ И ОХРАНЫ ТРУДА ПРИ СТРОИТЕЛЬСТВЕ АСФАЛЬТОБЕТОННЫХ ПОКРЫТИЙ

Общие положения

8.1. Основой для настоящего раздела являются материалы, излагаемые в «Правилах техники безопасности при строительстве, ремонте и содержании автомобильных дорог» (М., «Транспорт», 1978).

8.2. К работе на АБЗ на машинах и установках допускаются лица, достигшие 18 лет, имеющие удостоверение на право управления машинами, а также прошедшие медицинский осмотр и все виды инструктажа по технике безопасности и сдавшие экзамен, включая вводный инструктаж и инструктаж на рабочем месте.

Курсовое обучение по технике безопасности организуется администрацией. Все виды инструктажа и обучения фиксируются в соответствующих документах.

8.3. Площадки для АБЗ надлежит выбирать в соответствии с общими правилами, изложенными в СНиП II-М.1-71 и СН 245-71.

8.4. АБЗ необходимо располагать по отношению к ближайшему жилому району с подветренной стороны для ветров преобладающего направления и отделять от жилых районов санитарно-защитными зонами (разрывами).

8.5. Территория АБЗ должна быть ограждена в населенных пунктах сплошным забором, в ненаселенных местах разрешается устраивать проволочные ограждения.

8.6. Территория АБЗ, проезды, проходы и рабочие места должны быть в темное время суток и при плохой видимости хорошо освещены. Работа в неосвещенных местах, а также доступ к ним людей запрещается.

8.7. АБЗ должны быть оборудованы средствами тушения пожара: водоемами, резервуарами, колодцами, рукавами с брандспойтами, насосами для подачи воды, передвижными метопомпами; должны быть запасные въезд и выезд на территорию, свободный подъезд к водоемам, колодцам.

8.8. Все противопожарные мероприятия, осуществляемые на АБЗ, подлежат согласованию с местным отделением Госпожнадзора.

Все места, опасные в пожарном отношении (склады, асфальтобетонные машины, битумоплавильные установки, битумохранилища), должны быть снабжены щитами с противопожарным оборудованием, ящиками с сухим чистым песком и огнетушителями. Для тушения загоревшегося битума или воспламенившегося топлива необходимо применять огнетушители - пеногоны и песок или заглушать источник огня брезентом.

От битумоплавильных установок до других сооружений и сгораемых строений должно быть не менее 50 м. Разрывы и проходы между установками завода должны быть не менее 3 м.

8.9. Двигатели самоходных машин заправлять топливом и маслом необходимо при естественном свете или при хорошем электрическом освещении.

Все детали, облитые при заправке топливом или маслом, следует насухо вытирать, а пролитое топливо засыпать песком. При заправке запрещается курить, пользоваться спичками, керосиновыми фонарями или другими источниками открытого огня. Запрещается заправлять топливо при работающем двигателе, пользоваться открытым огнем для подогрева двигателя.

8.10. Лицам, не связанным с обслуживанием машин и установок, запрещается находиться в зоне работ. На АБЗ посторонние лица не допускаются к установкам ближе чем на 50 м.

8.11. На АБЗ рабочие у элеваторов, весовщик, форсунщик, машинист и другие рабочие должны работать в защитных очках и спецодежде.

8.12. Рабочие площадки машин и установок, проходы, лестницы, рычаги, штурвалы машин должны быть чистыми и сухими. Запрещается загромождать рабочие площадки. Места, загрязняемые битумом, полагается регулярно очищать и посыпать песком.

8.13. Перед началом работы машинист должен осмотреть и проверить состояние всех машин и установок, устранить неисправности и сделать запись в книге дежурств, ежедневно проверяемой дежурным механиком.

8.14. Перед пуском установки или машины в работу необходимо подать установленный звуковой сигнал.

8.15. Запрещается оставлять без присмотра дорожные машины и установки с работающим двигателем; при заглушенном двигателе машины должны быть надежно заторможены.

8.16. Смазка подшипников и наполнение масленок во время работы трансмиссии, а также протирка и чистка валов на ходу запрещается, если для этого не имеется специальных приспособлений.

8.17. На АБЗ необходимо устраивать для рабочих душевые с горячей и холодной водой, умывальники, туалеты, помещения с индивидуальными шкафами для хранения личной одежды и спецодежды, помещения с аптечками и баки с питьевой водой.

8.18. Мероприятия по ограничению и устранению вредного воздействия производственных шумов и вибрации следует осуществлять в соответствии с «Санитарными нормами и правилами», утвержденными Госсанинспекцией СССР 18 мая 1973 г. № 1102-73.

Требования техники безопасности при приготовлении асфальтобетонных смесей

8.19. Оборудование асфальтобетонных заводов должно отвечать следующим требованиям:

а) все рабочие площадки и переходы должны быть обустроены прочными настилами и лестницами, снабженными перилами высотой не менее 1 м и бортовой доской высотой 15 см;

б) площадка и боковая стенка под форсункой должны быть обшиты листовым железом, сзади форсунки устанавливают окошко из несгораемого материала для наблюдения за горением форсунки. Вентили регулирования подачи топлива и дутья должны быть вынесены в сторону, за щит;

в) битумный дозатор должен иметь плотно закрывающуюся крышку, предохраняющую от брызг горячего битума, битум в дозатор при ручном управлении следует выпускать, постепенно открывая кран;

г) паро- и битумопроводы должны иметь теплоизоляцию;

д) рабочие места на асфальтобетонной машине (площадки форсунщика и машиниста) должны быть снабжены огнетушителями. У форсунки должен находиться ящик с песком и лопатой.

8.20. При выгрузке битума, прибывающего по железной дороге, необходимо:

а) под колеса вагонов подкладывать специальные башмаки;

б) проверять исправность паровой рубашки, вентилей и патрубков цистерн и бункерных полувагонов, надежность присоединения шланга к патрубкам (без пропуска пара). Проверку должны проводить только при закрытом вентиле;

в) освобождать бункер от держателей и опрокидывать по сигналу ответственного лица лебедкой или другими механизированными средствами. Со стороны разгрузки не должно быть людей в пределах 15 м.

При разгрузке цистерн под выпускаемое отверстие необходимо подставлять и надежно закреплять лоток для битума.

8.21. Битумохранилища необходимо устраивать закрытые, с надежным отводом поверхностных вод. Существующие открытые хранилища должны иметь ограждения высотой не менее 1 м со всех сторон. На ограждениях должна быть надпись «Вход воспрещен».

8.22. При использовании в битумохранилищах специального нагревательного оборудования необходимо:

а) подвешивать нагревательное устройство к прочным балкам, уложенным выше уровня битума и надежно опирающимся на лежни или уголки, уложенные на бортах битумохранилища;

б) нагревательное оборудование подвешивать так, чтобы по мере расходования битума из хранилища его можно было опускать. Опускать и поднимать батареи разрешается только с прочной площадки, уложенной на балки;

в) паропроводы, идущие к нагревательному оборудованию, необходимо прикреплять к балкам по краю настила и надежно с ними соединять;

г) пускать пар в змеевики постепенным открыванием вентиля на паропроводе.

8.23. При установке битумоплавильных котлов необходимо соблюдать следующие требования:

а) по наружному контуру верхней площадки обмуровки битумоплавильных котлов устраивать ограждения высотой не менее 1 м и кирпичный борт высотой 0,2 м, предохраняющий от стекания битума по стенкам. Для подъема на площадку нужно устраивать лестницу шириной 0,7 м с перилами;

б) между люками котлов одной установки и между горловинами котлов и ограждениями должны быть проходы шириной не менее 1 м;

в) при кирпичной обмуровке торцовые стенки котлов должны быть жестко связаны между собой металлическими тягами. Возникающие в обмуровке трещины нужно сразу заделывать;

г) битумоплавильные котлы и установки, не подлежащие обмуровке, должны иметь изоляцию для предупреждения ожогов;

д) битумоплавильные установки с обогревом горячими газами следует оборудовать дымовой трубой, высота которой должна обеспечить отвод продуктов сгорания;

е) люки битумоплавильных котлов должны быть закрыты решетками с размером ячеек не более 150´150 мм, а также плотно закрывающимися металлическими крышками;

ж) битумоплавильные котлы и установки должны быть оборудованы циркуляционной системой, что особенно важно в случаях вспенивания битума;

з) магистральные топливопроводы у печей располагают на расстоянии не менее 2 м от форсунок; на подводящем топливопроводе у каждой печи устанавливают кран для прекращения при необходимости подачи топлива;

и) битумоплавильные установки с дистанционным управлением должны иметь автоматически действующую систему сигнализации, а также блокировку, отключающую подачу топлива при прекращении горения.

8.24. При работе битумоплавильных установок, оборудованных электронагревательными устройствами, необходимо соблюдать требования:

а) токоведущие части должны быть изолированы или ограждены, а ограждения и другие металлические нетоковедущие части должны быть заземлены;

б) для замера уровня битума и его перемешивания применять только деревянные рейки и весла;

в) электроустановки ремонтировать при обесточенной линии;

г) спирали электронагревательных элементов должны быть полностью погружены в битум;

д) не оставлять битумоплавильные котлы без присмотра при включенных электронагревательных элементах.

8.25. В случае применения на битумоплавильных установках газового разогрева битума необходимо соблюдать «Правила безопасности в газовом хозяйстве» (Госгортехнадзор, М., «Недра», 1972).

8.26. При разжижении битума керосином, лигроином или другим разжижителем необходимо принимать меры предосторожности против их воспламенения:

а) разжижать битум только в дневное время и под руководством ответственного лица;

б) котел для разжижения битума устанавливать не ближе 30 м от общей установки; запрещается разжижать битум в одном из свободных котлов битумоплавильной установки;

в) подогревать разжиженный битум только с помощью пара;

г) вводить разжижитель в горячий битум только через шланг, опустив конец его в битум;

д) емкость, из которой перекачивается насосом разжижитель, удалять от котла не менее чем на 10 м;

е) запрещается курить вблизи котла или пользоваться открытым огнем.

8.27. Лицам, занятым разжижением битума, следует находиться с наветренной стороны от котла и применять индивидуальные средства защиты - респираторы, очки, перчатки, рукавицы и др.

8.28. При применении ПАВ и активаторов необходимо соблюдать правила по технике безопасности, изложенные в ВСН 59-68.

8.29. Лиц, работающих с ПАВ и активаторами, обеспечивают спецодеждой и защитными приспособлениями. Для предохранения глаз, кожи лица, органов дыхания от пыли и ядовитых паров необходимо пользоваться очками в кожаной оправе или герметическими очками в резиновой оправе и универсальным респиратором.

Против запотевания очков следует применять смазки. Индивидуальные средства защиты должны быть проверены, а рабочие проинструктированы о порядке пользования ими. Руководители работ не должны допускать к работе лиц, не имеющих спецодежды и средств индивидуальной защиты. Спецодежда для этих работ должна храниться отдельно. Спецодежду, бывшую в употреблении, можно выдавать только после санитарной обработки и проверки.

Спецодежда, спецобувь и защитные приспособления рабочим и служащим выдаются в соответствии с действующими отраслевыми нормами.

8.30. На АБЗ, где проводят работы с ПАВ, кроме душевых и умывальных, помещения для сушки, обезвреживания и обеспыливания одежды, должны быть аптечки с набором медикаментов, включающие нейтрализующие вещества (соду, борную кислоту и т.п.).

8.31. Чистить битумные котлы необходимо через очистные люки скребками. Спуск рабочих в котлы допускается в исключительных случаях после полного их остывания. При этом рабочие должны пользоваться брезентовыми костюмами, предохранительными очками, а при необходимости и противогазами. Работу внутри котла должна выполнять бригада в составе 3 чел. под наблюдением ответственного лица. При работе одного из членов бригады внутри котла остальные двое страхуют его сверху веревками.

8.32. При работе в котле для освещения следует пользоваться низковольтной аккумуляторной или переносной лампой напряжением 12 в.

8.33. Пылевидные материалы (минеральный порошок, известь-пушонку) надлежит хранить в силосах, бункерах и других закрытых емкостях, принимая меры предосторожности от распыления при погрузке, выгрузке и внутрискладском перемещении. Бункера, силосы, течки, конвейеры, питатели должны быть герметичны и оборудованы пылеотсасывающими и пылеулавливающими устройствами. Материалы перемещают пневмотранспортом или другими транспортными устройствами.

8.34. Чтобы предотвратить зависание материалов в бункерах, должны быть предусмотрены специальные устройства. Входы в склады бункерного типа должны быть закрыты на замок, вход в них рабочим разрешается только в присутствии ответственного лица. При работе на складе рабочие должны надевать предохранительные пояса, привязываться веревкой и пользоваться респиратором.

8.35. В конвейерных галереях и траншеях, располагаемых под штабелями щебня и песка между конвейером и стеной, должен быть проход шириной не менее 0,8 м, а между двумя конвейерами - не менее 1 м. Высота галереи должна быть не менее 1,8 м, причем зазор между наиболее высокой частью конвейера и потолком должен быть не менее 0,6 м. Конвейеры должны быть оборудованы приспособлением для мгновенной остановки. Штабеля должны быть ограждены и на ограждениях установлены надписи «Вход воспрещен», «Под штабелем течка».

8.36. Электрические провода в пределах ленточного конвейера должны быть заключены в резиновый шланг и стальные трубы во избежание механических повреждений; раму конвейера необходимо заземлить.

8.37. Течки, через которые щебень и песок поступают на ленты конвейеров, рекомендуется устраивать через 1,5 - 2 м, оборудуя их надежными затворами для регулирования количества поступающих на ленту материалов, а также устройствами, предотвращающими зависание этих материалов.

8.38. Элеваторы для подачи в бункера щебня, песка и минерального порошка должны иметь герметически закрытые кожуха из листовой стали и огражденные приводы.

8.39. При эксплуатации паросиловых установок главной опасностью является возможность взрыва котла; основные причины этого - недостаток воды в котле, превышение нормального (разрешенного) давления, образование накипи на поверхностях нагрева, появление хрупких разрушений (изношенность котла).

В целях обеспечения безопасной работы парового котла необходимо:

а) для контроля уровня воды на паровом котле устанавливать не менее двух водоуказательных приборов;

б) для нормального питания парового котла устанавливать не менее двух питательных приборов (насос, инжектор);

в) для наблюдения за давлением пара в котле последний снабжать манометром;

г) для устранения возможного повышения давления выше нормального устанавливать на паровом котле не менее двух не зависящих друг от друга предохранительных клапанов.

8.40. Паровые котлы могут быть допущены в эксплуатацию только после регистрации в инспекции Котлонадзора. В процессе эксплуатации каждый паровой котел должен подвергаться техническому освидетельствованию инспекцией Котлонадзора.

8.41. Перед пуском асфальтобетонной машины необходимо:

а) тщательно осмотреть машину и убедиться в ее исправности;

б) после предварительного прогрева проверить битумные коммуникации и при наличии застывшего битума прогреть трубы и краны;

в) проверить наличие обслуживающего персонала;

г) дать предупреждающий звуковой сигнал.

8.42. Пускать асфальтобетонную машину нужно в таком порядке: сначала пустить двигатель (или включить рубильник электродвигателя) и проверить работу машины вхолостую. Если неисправности не обнаружены, можно зажечь форсунку сушильного барабана.

8.43. При зажигании форсунки после прогрева топки следует сначала открыть вентиль подачи пара или воздуха, затем слегка приоткрыть вентиль подачи топлива и зажечь форсунку. Топливо сначала подают слабой струей и при горящей форсунке постепенно доводят струю до требуемой интенсивности горения. Подача большого количества топлива при зажигании форсунки запрещается. При отсутствии автоматического зажигания необходимо форсунки зажигать факелом из пропитанных нефтью (мазутом) тряпок, ветоши, намотанных на кусок толстой проволоки длиной не менее 1,5 м, при открытой подаче воздуха или пара.

8.44. При зажигании и регулировке форсунки необходимо находиться сбоку топки. Запрещается стоять напротив форсунки и применять легковоспламеняющиеся жидкости при неисправной топке.

При пользовании газовой горелкой необходимо:

а) открыть задвижку крана на продувочную свечу;

б) проверить давление газа и разряжение в топке котла;

в) провентилировать топку в течение 10 - 15 мин;

г) проверить тягу перед шибером;

д) продуть газопровод газом через продувочную свечу в течение 2 мин;

е) зажечь запальник и, вставив его в топку, зажечь горелку;

ж) после разогрева керамической насадки полностью включить воздушное дутье;

з) вывести горелку на рабочий режим, добавляя сначала газ, а затем воздух;

и) для уменьшения интенсивности горения сначала убавить подачу воздуха, а затем газа;

к) по окончании работы закрыть все краны и задвижки и открыть продувочную свечу.

8.45. Газопроводы должны иметь герметические соединения, не допускающие утечки газа.

8.46. Во время работы горелок на газообразном топливе нужно следить за давлением газа по манометру, поддерживая его в пределах 0,35 - 0,40 кгс/см2. В случае прекращения поступления газа в горелку, отрыва или проскока пламени внутрь горелку следует выключить и устранить неисправности.

8.47. Запрещается эксплуатация сушильных барабанов при неисправности топок, газовых горелок или форсунок, работающих на жидком топливе. Также запрещается работа сушильных барабанов, если наблюдается выброс пламени горелок в атмосферу через запальные отверстия, щели лобовой части топки или кольцевые щели между рубашками топок и стенками вращающихся барабанов.

8.48. При работе автоматизированных АБЗ необходимо:

а) пульт управления размещать вдали от установок (на расстоянии не менее 15 м) и обеспечивать благоприятные санитарные условия;

б) перед каждой сменой проверять исправность проводки и узлов автоматики, механизмов местного пуска, отдельных машин и устройств, механизмов управления (привода); стремиться к автоматической электроблокировке механизмов; при дистанционном управлении все механизмы - агрегаты и установки пускать в строгой последовательности: от пункта выпуска готовой смеси к пункту загрузки материалов;

в) в случае применения электропневмопривода давление сжатого воздуха поддерживать около 7 × 105 Па (7 кгс/см2) на пульте управления (в дозировочном отделении) и 3,5 × 105 Па (3,5 кгс/см2) в магистралях противодавления; ремонт или осмотр этих узлов под давлением запрещается;

г) силовую и осветительную электропроводку защищать от механических повреждений;

д) электрорубильники защищать кожухами без прорезей и устанавливать в закрывающиеся ящики;

е) по окончании смены все механизмы сдавать вновь заступающему персоналу с записью в сменном журнале, который регулярно просматривает технический руководитель завода, с отметкой замеченных дефектов и мер по их устранению.

8.49. По окончании работы все пусковые приспособления необходимо отключить и запереть. Должна быть исключена возможность пуска машины посторонними лицами.

8.50. По окончании работы АБЗ необходимо снять силовое напряжение. При осмотре и техническом обслуживании необходимо применить переносные электролампы с напряжением 36 В, а при работе в котлах, цистернах, резервуарах и сырых местах - 12 В. Сердечники понижающих трансформаторов и одна клемма низкого напряжения должны быть заземлены.

8.51. Осмотр и ремонт внутренней части сушильного барабана и мешалки разрешается только после их остывания.

8.52. Асфальтобетонная машина должна быть обеспечена искусственным освещением, позволяющим ночью ясно различать детали и движущиеся механизмы. Рабочие места, подходы, переходы, площадки и лестницы должны быть достаточно освещены.

8.53. Все установки АБЗ должны быть обеспечены пылеулавливателями.

Требования техники безопасности при устройстве покрытия

8.54. До начала работ по устройству покрытия необходимо: оградить участок работ, направить движение транспортных средств в объезд, наметить безопасную для людей, занятых на укладке, схему захода и выхода из зоны работы автомобилей-самосвалов, подвозящих смесь; при работе в ночное время осветить весь участок работ.

8.55. Рабочие, обслуживающие машины, должны иметь установленную спецодежду, согласно приказу Минтрансстроя № 201 1967 г., спецобувь для работы с горячими материалами и рукавицы.

8.56. Моторные катки должны быть исправны и иметь навес над рабочим местом машиниста. Запрещается работа при неисправном звуковом сигнале. Катки должны быть оборудованы устройством для смазки вальцов.

8.57. При одновременной и совместной работе двух или нескольких самоходных машин (катков, асфальтоукладчиков), идущих друг за другом, дистанция между ними должна быть не менее 5 м.

8.58. Включать двигатель катка, асфальтоукладчика и других машин должен только машинист. Двигатель следует заводить на позднем зажигании.

Нельзя заводить перегретый двигатель во избежание обратного удара.

8.59. При аварийной остановке двигателя необходимо быстро выключить зажигание или топливоподачу.

8.60. Перед пуском самоходного асфальтоукладчика необходимо убедиться в исправности конвейерного питателя. Перед опусканием навесной части асфальтоукладчика необходимо убедиться в отсутствии людей сзади машины.

8.61. Во избежание ожогов при загрузке бункера смесью из автомобиля-самосвала воспрещается находиться вблизи его боковых стенок.

8.62. При работе с подогревом выглаживающей плиты форсунку разрешается разжигать только факелом на длинном прутке и не прикасаться к разогретому кожуху над выглаживающей плитой.

8.63. При изменении направления движения катка или асфальтоукладчика необходимо подать предупредительный сигнал.

8.64. Запрещается подниматься в кузов автомобиля-самосвала при затрудненной выгрузке смеси. Застрявшую в кузове автомобиля-самосвала смесь разрешается выгружать с помощью специальных скребков или лопатой с ручкой длиной не менее 2 м, стоя на земле.

8.65. Инструмент для отделки асфальтобетонного покрытия из горячей смеси должен быть подогрет в передвижной жаровне на колесах. Запрещается подогревать инструмент на кострах. Запрещается производить отделку (затирку, пористых мест покрытия) перед движущимся катком.

8.66. Бригада рабочих, занятых на укладке асфальтобетонной смеси, должна быть обеспечена передвижным вагончиком, который может служить для укрытия людей в непогоду, местом хранения аптечки, бачка с питьевой водой, инструмента.

8.67. При длительных перерывах в работе (6 ч и более) асфальтоукладчики и катки нужно очистить, осмотреть, установить в одну колонну и затормозить. С обеих сторон колонны машин должны быть поставлены ограждения с красными сигналами: днем - флажки, ночью - фонари.

Сторожу, охраняющему машины, запрещается находиться на рабочих местах машинистов, а также сидеть около катков по направлению движения их вальцов.

Требования техники безопасности при работе с полимернобитумным вяжущим

8.68. При использовании ПБВ следует руководствоваться п. 8.1 настоящего Руководства, «Инструкцией по использованию поверхностно-активных веществ при строительстве дорожных покрытий с применением битумов» (ВСН 59-68), «Правилами и нормами техники безопасности, пожарной безопасности и промышленной санитарии для окрасочных цехов» (1965 г.), учитывающими специфику работ с растворителями (сольвентом, ксилолом, бензином).

8.69. Не разрешается прием растворителя без надлежащего монтажа необходимого оборудования для его хранения, а также подачи по трубопроводам.

8.70. Бетонированные приямки с установленными в них насосами следует закрывать металлическим настилом. В приямках должно быть предусмотрено устройство лестниц или скоб.

8.71. Все противопожарные мероприятия, осуществляемые на АБЗ, подлежат согласованию в местном отделении Госпожнадзора.

Опасные в пожарном отношении места хранения растворителей и раствора ДСТ, склады ТСМ, асфальтобетонные машины, битумоплавильные установки, битумохранилища должны быть оснащены щитами с противопожарным оборудованием, ящиками с сухим чистым песком и огнетушителями. Расстояние от емкостей с растворителями, раствором ДСТ и ПБВ до других сооружений и строений должно быть более 50 м, а между емкостями и битумными котлами - не менее 10 м.

Запрещается подогрев кранов и насосов факелами при работе с ДСТ. Для обеспечения работы кранов и насосов они должны быть снабжены рубашками под паро- или маслоподогрев.

Места хранения растворителя и раствора ДСТ должны быть ограждены в радиусе 5 м и снабжены предупредительными надписями «Курить запрещено», «Сварка запрещена», «Огнеопасно» и т.п.

8.72. При введении раствора ДСТ в нагретый битум запрещается подогрев рабочего битумного котла. Раствор ДСТ разрешается вводить в битум только через шланг, опустив его конец в битум. Запрещается применять обводненный битум.

Приготовление ПБВ разрешается только в дневное время и под руководством ответственного лица.

8.73. Продолжительность работ с ПБВ не должна превышать одной смены в сутки. Оператор асфальтобетонной машины должен находиться в закрытой будке, оборудованной вентиляцией или кондиционерными установками.

8.74. При приготовлении ПБВ и асфальтобетонных смесей на основе ПБВ в лабораторных условиях должна быть обеспечена приточно-вытяжная вентиляция с 10 - 15-кратным воздухообменом.

Лабораторное оборудование (гидравлический пресс для формирования образцов асфальтобетона, бачок для термостатирования смеси, весы, термостат и др.) должно находиться под вытяжными шкафами или зонтами.

8.75. К работе по применению ПБВ допускаются лица, прошедшие медицинский осмотр согласно приказу Минздрава СССР № 136-М от 7 сентября 1957 г.

Лица моложе 18 лет, беременные женщины и кормящие матери к работе с ПБВ не допускаются.

Все работающие должны проходить медицинский осмотр 1 раз в 6 мес.

8.76. Рабочие и инженерно-технические работники допускаются к работе с ПБВ после прохождения инструктажа и проверки знаний по технике безопасности, пожарной безопасности и правил личной гигиены.

Повторный инструктаж и контрольную проверку производят 1 раз в 6 мес с соответствующей отметкой в журнале.

8.77. Для защиты кожных покровов от воздействия растворителей необходимо применять защитные средства: «биологические перчатки», мазь Салисского, пасту «Миколан» и пасту ИЭР (мыла нейтрального 12 частей, технического глицерина 10, каолина 40 и воды 38 частей).

Применение растворителей для мытья рук запрещается.

Приложение 1

Требования к анионным эмульсиям (извлечение из ГОСТ 18659-73)

Показатели

Нормы по маркам

БА-1

БА-2

СА

МА-1

МА-2

Скорость распада при смешении с цементом, мин

Менее 5

 

5 - 10

Больше 10

Содержание битума с эмульгатором, %

55 - 60

45 - 54

55 - 60

51 - 55

40 - 50

Вязкость при 20 °С по вискозиметру ВУ, град

5 - 10

2 - 6

6 - 10

2 - 8

1,5 - 5

Вязкость при 20 °С по вискозиметру для нефтяных битумов с отверстием 3 мм

15 - 30

10 - 20

20 - 40

10 - 25

8 - 15

Устойчивость при хранении по остатку на сите с сеткой № 014, %, не более:

 

 

 

 

 

через 7 сут

0,8

0,7

0,8

0,8

0,7

» 30 »

1,0

1,0

1,2

1,2

1,2

Водоустойчивость пленки из эмульсии на щебне

Хорошая

-

Хорошая

-

-

Однородность по остатку на сите с сеткой № 014, %, не более

0,5

0,5

0,5

0,5

0,5

Устойчивость при транспортировании по времени встряхивания, ч, не менее

2

2

2

2

2

Свойства битума, выделенного из эмульсии:

 

 

 

 

 

глубина проникания при 25 °С

Изменение показателей свойств не должно превышать 15 % от первоначальных показателей

растяжимость при 25 °С

Приложение 2

Требования к катионным эмульсиям (извлечение из Технических указаний ВСН 115-75)

Показатели

Нормы

Скорость распада при смешении с кварцевым порошком, количество порошка, %:

 

быстрораспадающаяся

Менее 50

среднераспадающаяся

50 - 100

медленнораспадающаяся

Более 100

Содержание битума с эмульгатором, %

50 - 60

Вязкость при 20 °С по вискозиметру ВУ, град

6 - 15

Вязкость при 20 °С по вискозиметру ВУ, для нефтяных битумов с отверстием 3 мм, с

20 - 50

Водоустойчивость пленки эмульсии на гранитном щебне

Хорошая

Однородность по остатку на сите с сеткой № 014, %

Не более 0,5

Устойчивость при хранении по остатку на сите с сеткой № 063, %:

 

через 7 сут

0,3 - 0,5

»         30 »

0,7 - 0,8

Устойчивость при транспортировании по времени встряхивания, ч

Не менее 2

Приложение 3

Технические требования на топливо для быстроходных двигателей (извлечение из ГОСТ 4749-73)

Показатели

Нормы для марок

ДЗ

ДА

ДС

Высшая категория качества

Методы испытания

1

2

3

4

5

6

Цетановое число, не менее

45

45

50

52

ГОСТ 3122-67

Фракционный состав:

 

 

 

 

 

10 % перегоняется при температуре, °С, не ниже

200

200

-

-

ГОСТ 2177-66

50 % перегоняется при температуре, °С, не выше

280

255

280

280

 

96 % перегоняется при температуре, °С, не выше

340

330

340

340

 

Кинематическая вязкость при 20 °С, ст.

3,5 - 6,0

1,5 - 4,0

4,5 - 8

4,5 - 8

ГОСТ 33-66

Температура застывания, °С, не выше

-45

-60

-15

-15

ГОСТ 20287-74

Температура помутнения, °С, не выше

-35

-

-10

-10

ГОСТ 5066-56 (2-й метод)

Температура вспышки, определяемая в закрытом тигле, °С, не ниже

50

35

90

90

ГОСТ 6356-75

Общее содержание серы, %, не более

0,2

0,2

0,2

0,15

ГОСТ 19121-73

Содержание меркаптановой серы, %, не более

0,1

0,1

0,1

0,1

ГОСТ 17323-71

Содержание сероводорода

Отсутствует

ГОСТ 17323-71

Испытание на медной пластине

Выдерживает

ГОСТ 6321-69

Содержание водорастворимых кислот и щелочей

Отсутствует

ГОСТ 6370-75

Содержание механических примесей

»

ГОСТ 6370-59

Содержание воды

»

ГОСТ 2477-65

Содержание фактических смол, мг на 100 мл топлива, не более

30

30

50

50

ГОСТ 8489-58

Коксуемость 10 %-ного остатка, не более

0,3

0,2

0,25

0,35

ГОСТ 19932-74

Кислотность, мг КОН на 100 мл топлива, не более

5

5

5

5

ГОСТ 5985-59

Зольность, %, не более

0,01

0,01

0,01

0,01

ГОСТ 1461-75

Коэффициент фильтруемости, не более

-

-

-

-

По методу, утвержденному Государственной комиссией по испытанию топлив, масел и смазок и специальных жидкостей

Плотность при 20 °С, г/см3

Не формируется, определяется обязательно для расчетов

ГОСТ 3900-47

Примечания. 1. В дизельном топливе всех марок после длительного хранения (более 5 лет) допускается увеличение кислотности на 1 мг КОН и содержание фактических смол на 10 мг на 100 мл топлива.

2. Для дизельных топлив всех марок, вырабатываемых из бакинских нефтей, устанавливается норма зольности не более 0,02 % и норма по содержанию фактических смол не более 60 мг на 100 мл топлива.

Приложение 4

Технические требования по дизельному топливу (извлечение из ГОСТ 305-73)

Показатели

Нормы для марок

Методы испытания

Л

З

А

1

2

3

4

5

Цетановое число, не менее

45

45

45

ГОСТ 9122-67

Фракционный состав:

 

 

 

 

50 % перегоняется при температуре, °С, не выше

280

250

240

ГОСТ 2177-66

96 % перегоняется при температуре, °С, не выше

360

340

330

 

Кинематическая вязкость при 20 °С, ст:

 

 

 

 

для тепловозных и судовых дизелей

3,5 - 6

2,2 - 5

-

ГОСТ 33-66

для дизелей общего пользования

3 - 6

1,8 - 3,2

³ 1,5

 

Температура застывания, °С, не выше

-10

-35

-55

ГОСТ 20287-74 (без применения предварительного и последующего нагрева топлива до 50 °С)

Температура помутнения, °С, не выше

-5

-25

-

ГОСТ 5066-56

Температура вспышки, определяемая в закрытом тигле, °С, не ниже:

 

 

 

(2-й метод)

для тепловозных и судовых дизелей

61

40

-

ГОСТ 6356-75

для дизелей общего назначения

40

35

30

 

Общее содержание серы в топливе:

 

 

 

 

подгруппы 1, не более

0,2

0,2

0,2

ГОСТ 19121-73

подгруппы 2, не более

0,21 - 0,5

0,21 - 0,5

0,21 - 0,5

ГОСТ 19121-73

Содержание меркаптановой серы, %, не более

0,01

0,01

0,01

ГОСТ 17323-71

Содержание сероводорода

Отсутствует

ГОСТ 17323-71

Испытание на медной пластине

Выдерживает

ГОСТ 6321-69

Содержание водорастворимых кислот и щелочей

Отсутствуют

ГОСТ 6307-75

Содержание механических примесей

»

ГОСТ 6370-59

Содержание воды

»

ГОСТ 2477-65

» фактических смол, мг на 100 мл топлива, не более

40

30

30

ГОСТ 8489-58

Кислотность, мг КОН на 100 мл топлива, не более

5

5

5

ГОСТ 14141-69

Йодное число, г йода на 100 мл топлива, не более

5

5

5

ГОСТ 2070-55

Зольность %, не более

0,01

0,01

0,01

ГОСТ 1461-75

Коксуемость 10 %-ного остатка, не более

0,3

0,3

0,3

ГОСТ 19932-74

Коэффициент фильтруемости, не более

Не нормируется, определяется обязательно

ГОСТ 19006-73

Плотность при 20 °С, г/см3

То же

ГОСТ 3900-47

Приложение 5

Технические требования к керосину для технических целей (извлечение из ГОСТ 18499-73)

Показатели

Нормы

Методы испытания

Фракционный состав:

 

 

10 % перегоняется при температуре, °С

110 - 180

ГОСТ 2177-66

50 % перегоняется при температуре, °С, не ниже

190

 

90 % перегоняется при температуре, °С

240 - 275

 

98 % перегоняется при температуре, °С, не выше

300

 

Кислотность, мг КОН на 100 мл керосина, не более

4,5

ГОСТ 5985-59

Зольность, %, не более

0,005

ГОСТ 1461-75

Содержание фактических смол, мг на 100 мл керосина, не более

40

ГОСТ 8489-58

Содержание серы, %, не более

1,0

ГОСТ 19121-73

Проба на медную пластину

Выдерживает

ГОСТ 6321-69

Содержание водорастворимых кислот и щелочей

Отсутствуют

ГОСТ 6307-75

Содержание механических примесей

То же

п. 3.2 ГОСТ 18499-73

Содержание воды, не более

Следы

ГОСТ 2477-65

Температура вспышки, определяемая в закрытом тигле, °С, не ниже

28

ГОСТ 6356-75

Примечания. 1. В керосине, поставляемом для пиролиза, температура вспышки не нормируется.

2. В керосине, вырабатываемом из высокосернистых нефтей, допускаемое содержание серы не более 1,4 %.

Приложение 6

Технические требования на масло зеленое (извлечение из ГОСТ 2985-64)

Показатели

Нормы

Методы испытания

Плотность при 20 °С, г/см3, не менее

0,97

ГОСТ 3900-47

Фракционный состав:

 

 

температура начала перегонки, °С, не ниже

165

ГОСТ 2177-66

92 % перегоняется при температуре, °С, не выше

350

 

Коксуемость, %, не более

0,75

ГОСТ 19932-74

Содержание нафталина, %, не более

8

По п. 4 ГОСТ 2985-64

Содержание серы, %, не более

1,0

ГОСТ 19121-73

» воды, % »

0,2

ГОСТ 2477-65

Показатель преломления  не менее

1,57

По п. 5 ГОСТ 2985-64

Приложение 7

Формы журналов и ведомостей

Форма 1

Журнал испытания битумов

Число и месяц

Наименование материала

Завод-изготовитель, дата поступления

Откуда взят образец

Марка битума

Глубина проникания битума* при 25 °С

Вязкость по стандартному визкозиметру для жидкого битума, с

Растяжимость при 25 °С, см

Температура размягчения по КИШ, °С

Подпись лаборанта

Замечания и подпись представителя технадзора и вышестоящих организаций

 

 

 

 

 

 

 

 

 

 

 

* В центральных лабораториях этот показатель определяют также при 0 °С.

Форма 2

Журнал приготовления битумов

Число и месяц

№ битумных котлов с указанием рабочего котла

Время загрузки котлов

Температура битумов в котлах, °С

Время готовности битума

Количество битума в котле, т

Время взятия пробы

Глубина проникания вязкого или вязкость жидкого битума

Разжижение

Переливание

Номер котла

Подпись лаборанта

 

Наименование разжижителя

Количество разжижителя

Глубина проникания или вязкость готового битума

Время переливания

Начало

Конец

Время

Температура

Начало

Конец

 

 

 

 

 

 

 

 

 

 

 

 

 

 

 

 

 

Форма 3

Журнал испытания проб щебня

Номер партии и место отбора пробы (вагон, штабель и т.п.)

Дата испытания

Лабораторный номер пробы

Наименование материала и его происхождение

Размер фракции, мм

Зерновой состав

Содержание пылевидных и глинистых частиц, % по массе

Содержание комковой глины, % по массе

Наименование остатков (полные, частные)

Размерность, г, %

> 40 мм

40 мм

25 мм

20 мм

15 мм

10 мм

5 мм

2,5 мм

0,14 мм

< 0,14 мм

 

 

 

 

 

 

 

 

 

 

 

 

 

 

 

 

 

 

 

Продолжение формы 3

Содержание зерен пластинчатой и игольчатой формы, % по массе

Насыпная плотность, кг/м3

Удельный вес, г/см3

Плотность горной породы, г/см3

Объем пустот % по объему

Механическая прочность

Морозостойкость

Подпись сменного лаборанта

Подпись начальника лаборатории

Истираемость в полочном барабане, % по массе

Дробимость при сжатии в цилиндре, % по массе

непосредственным замораживанием

в растворе сернокислого натрия

Циклы

%

Циклы

%

 

 

 

 

 

 

 

 

 

 

 

 

 

Форма 4

Журнал испытаний песка и минерального порошка

Дата

анализа

Карьер (песка)

Происхождение песка или минерального порошка

Проба (песок или минеральный порошок, вид порошка)

Наименование остатков (частные, полные)

Размерность, г, %

Зерновой состав

Модуль крупности (песка)

Плотность (в уплотненном состоянии для минерального порошка и в насыпном для песка), г/см3

5 мм

2,5 мм

1,25 мм

0,63 мм

0,315 мм

0,14 мм

0,071 мм

< 0,071 мм

1

2

3

4

5

6

7

8

9

10

11

12

13

14

15

16

17

 

 

 

 

 

 

 

 

 

 

 

 

 

 

 

 

 

Продолжение формы 4

Удельный вес, г/см3

Объем пустот (песка) или пористость (минерального порошка), %

Приращение объема песка при набухании, % объема

Влажность песка или минерального порошка, % по массе

Набухание смеси минерального порошка с битумом, % по объему

Показатель битумоемкости порошка, г на 100 см3 абсолютного объема

Калориметрическая проба песка (светлее, темнее эталона)

Содержание пылевидных и глинистых частиц, % по массе

Содержание глинистых частиц в песке, % по массе

Заключение

Подпись лаборанта

Подпись начальника лаборатории

18

19

20

21

22

23

24

25

26

27

28

29

 

 

 

 

 

 

 

 

 

 

 

 

Примечание. Показатели свойств, предусмотренные в гр. 23 и 24, определяют в центральной лаборатории и только в арбитражных случаях в лаборатории АБЗ.

Форма 5

Журнал подбора составов асфальтобетона и испытания образцов при подборе составов

№ п/п

Номер состава и тип смеси

Минеральная часть

Удельный вес минеральных материалов, г/см3

Содержание битума, % (сверх 100 % минерального материала)

Марка или вязкость битума

Зерновой состав минеральной части, % (прошло через сито с отверстиями)

 

Щебень

Щебень

Щебень

Песок

Песок

Минеральный порошок

40 мм

20 мм

15 мм

10 мм

5 мм

2,5 мм

1,25 мм

0,63 мм

0,315 мм

1

2

3

4

5

6

7

8

9

10

11

12

13

14

15

16

17

18

19

20

 

 

 

 

 

 

 

 

 

 

 

 

 

 

 

 

 

 

 

 

 

 

Продолжение формы 5

 

Дата

Размер образцов

Результат взвешивания сухого образца на воздухе, г

Результат взвешивания образца на воздухе после 30 мин выдерживания в воде, г

Результат взвешивания образца в воде после 30 мин выдерживания в воде, г

Результаты взвешивания водонасыщенных образцов, г

Объем сухого образца, см3

 

Приготовление образцов

Испытания образцов

под вакуумом

в воде в течение 15 сут.

0,14 мм

0,071 мм

на воздухе

в воде

на воздухе

в воде

21

22

23

24

25

26

27

28

29

30

31

32

33

 

 

 

 

 

 

 

 

 

 

 

 

 

 

 

Продолжение формы 5

Объем водонасыщенного образца, см3

Показатели физико-механических свойств

Плотность асфальтобетона, г/см3

Водонасыщение, % объема

Набухание, % объема

Предел прочности при сжатии, Па (кгс/см2)

после вакуума

после 15 сут насыщения водой

после вакуума

после 15 сут насыщения водой

после вакуума

после 15 сут насыщения водой

R20

Rв

Rвд

R50

R0

34

35

36

37

38

39

40

41

42

43

44

45

46

47

48

49

50

51

52

 

 

 

 

 

 

 

 

 

 

 

 

 

 

 

 

 

 

 

Примечание. , ,  - пределы прочности при сжатии холодного асфальтобетона после прогрева.

Продолжение формы 5

Испытания по Маршаллу

Слеживаемость (число ударов)

Пористость минерального остова, % объем а

Остаточная пористость, % объема

Сцепление битума с минеральной частью

Подпись начальника лаборатории

Устойчивость, Н (кгс)

Условная пластичность 0,1 мм

Условная жесткость, Н/мм (кгс/мм)

53

54

55

56

57

58

59

60

 

 

 

 

 

 

 

 

Форма 6

Ведомость подобранных составов асфальтобетона. Состав № ____ для ____

№ п/п

Применяемые минеральные материалы

Количество битума в асфальтобетоне, % массы

Плотность (объемная масса) асфальтобетона, г/см3

Наименование, порода, карьер

Плотность, г/см3

Зерновой состав (прошло через сито с отверстиями, мм), % массы

40 мм

20 мм

15 мм

10 мм

5 мм

2,5 мм

1,25 мм

0,63 мм

0,315 мм

0,14 мм

0,071 мм

1

2

3

4

5

6

7

8

9

10

11

12

13

14

15

16

1

Щебень

 

 

 

 

 

 

 

 

 

 

 

 

 

 

2

»

 

 

 

 

 

 

 

 

 

 

 

 

 

 

3

Песок

 

 

 

 

 

 

 

 

 

 

 

 

 

 

4

»

 

 

 

 

 

 

 

 

 

 

 

 

 

 

5

Минеральный порошок

 

 

 

 

 

 

 

 

 

 

 

 

 

 

6

Состав смеси, %:

 

 

 

 

 

 

 

 

 

 

 

 

 

 

щебень

 

 

 

 

 

 

 

 

 

 

 

 

 

 

»

 

 

 

 

 

 

 

 

 

 

 

 

 

 

песок

 

 

 

 

 

 

 

 

 

 

 

 

 

 

»

 

 

 

 

 

 

 

 

 

 

 

 

 

 

минеральный порошок

 

 

 

 

 

 

 

 

 

 

 

 

 

 

7

Готовая смесь 100 %

 

 

 

 

 

 

 

 

 

 

 

 

 

 

8

Удельный вес минерального остова асфальтобетона

 

 

 

 

 

 

 

 

 

 

 

 

 

 

9

Удельный вес асфальтобетона

 

 

 

 

 

 

 

 

 

 

 

 

 

 

Дата           Главный инженер строительства     Начальник Центральной лаборатории

строительства

Продолжение формы 6

Показатели физико-механических свойств асфальтобетона

Пористость минерального остова асфальтобетона, % объема

Остаточная пористость асфальтобетона, % объема

Водонасыщение, % по объему

Набухание % по объему

Предел прочности при сжатии, Па (кгс/см2)

после вакуума

после 15 сут насыщения водой

после вакуума

после 15 сут водонасыщения водой

R20

Rв

Rвд

R50

R0

17

18

19

20

21

22

23

24

25

26

27

 

 

 

 

 

 

 

 

 

 

 

Продолжение формы 6

После прогрева холодного асфальтобетона

Коэффициент водостойкости

Испытания при 60 °С по Маршаллу

Показатель слеживаемости (число ударов)

Сцепление битума с минеральной частью

 

Устойчивость, Н (кгс)

Условная пластичность, 1/10 мм

Условная жесткость Н/мм (кгс/мм)

 

28

29

30

31

32

33

34

35

36

37

38

39

 

 

 

 

 

 

 

 

 

 

 

 

 

 

Форма 7

Журнал испытаний проб асфальтобетонных смесей, взятых из смесителя

№ образца

Число и месяц

Смена

Номер смесителя

Номер замеса

Номер состава смеси, тип

Глубина проникания иглы при 25 °С вязкого битума или вязкость жидкого битума

Результат взвешивания сухого образца на воздухе, г

Результат взвешивания образца на воздухе после выдерживания 30 мин в воде, г

Результат взвешивания образца в воде после выдерживания 30 мин в воде, г

Объем сухого образца, см3

Результат взвешивания образца в воде после водонасыщения, г

Результат взвешивания образца на воздухе после насыщения водой, г

1

2

3

4

5

6

7

8

9

10

11

12

13

 

 

 

 

 

 

 

 

 

 

 

 

 

Продолжение формы 7

Объем насыщенного водой образца, см3

Плотность асфальтобетона, г/см3

Водонасыщение, % по объему

Набухание, % по объему

Предел прочности при сжатии, Па (кгс/см2)

Показатель слеживаемости холодного асфальтобетона (число ударов)

Коэффициент водостойкости

Испытания по Маршаллу при 60 °С

Подпись лаборанта

Замечания и подпись представителя технадзора или вышестоящих организаций

при 20 °С

при 50 °С

Устойчивость, Н (кгс)

Показатель условной пластичности, 1/10 мм

Показатель условной жесткости, Н/мм (кгс/мм)

сухого образца R20

насыщенного образца Rв

сухого образца R50

14

15

16

17

18

19

20

21

22

23

24

25

26

27

 

 

 

 

 

 

 

 

 

 

 

 

 

 

Форма 8

Журнал контрольных определений состава асфальтобетонной смеси

Дата

Место отбора проб

№ состава

№ пробы

Метод экстрагирования битума

Навеска, г

Продолжительность экстрагирования, ч

Состав асфальтобетонной смеси

Подпись лаборанта

Примечание

на выходе из смесителя

из покрытия

% битума

Зерновой состав минеральной части после экстрагирования битума (прошло через сито с отверстиями, мм) %

20

15

10

5

2,5

1,25

0,63

0,315

0,14

0,071

1

2

3

4

5

6

7

8

9

10

11

12

13

14

15

16

17

18

19

20

21

 

 

 

 

 

 

 

 

 

 

 

 

 

 

 

 

 

 

 

 

 

Форма 9

Журнал контроля состава асфальтобетонной смеси ускоренным методом

Дата

№ образца

Смена

№ смесителя

№ замеса

№ состава

Заданное количество битума, % по массе

Количество зерен минерального материала, %, мельче данного размера, мм

Количество битума, полученного после экстрагирования, % массы пробы

Подпись сменного лаборанта

Подпись начальника лаборатории

40

20

15

10

5

2,5

1,25

0,63

0,315

0,14

0,071

1

2

3

4

5

6

7

8

9

10

11

12

13

14

15

16

17

18

19

20

21

 

 

 

 

 

 

 

 

 

 

 

 

 

 

 

 

 

 

 

 

 

Форма 10

Журнал укладки асфальтобетонной смеси

Месяц и число

Время работы (начало и конец смены)

Место работы

Сделано работ

Расход, т

Возвращение смеси на завод (брак), т

Уплотнение

Температура воздуха, °С

Состояние погоды (ясно, ветер, тихо)

Подпись сменного прораба

Замечания технадзора, отметки об исполнении

Начало

Конец

Наименование работ

пог. м, м2

Нижний слой

Верхний слой

Количество работающих катков

Марка катка

км

пк

км

пк

1

2

3

4

5

6

7

8

9

10

11

12

13

14

15

16

17

 

 

 

 

 

 

 

 

 

 

 

 

 

 

 

 

 

Форма 11

Журнал испытания образцов, взятых из асфальтобетонного покрытия

Дата испытания

образца (керна)

Место отбора образца

Дата

Толщина слоя (верхнего, нижнего), см

Сцепление с нижним слоем или с основанием

состава асфальтобетона, тип

Образцы из покрытия

 

Результат взвешивания сухого образца на воздухе, г

Результат взвешивания образца на воздухе после 30 мин выдерживания в воде, г

Результат взвешивания образца в воде после 30 мин выдерживания в воде, г

Результат взвешивания насыщенного водой под вакуумом образца на воздухе, г

Результат взвешивания насыщенного водой под вакуумом образца в воде, г

Объем сухого образца, см3

укладки асфальтобетонной смеси

взятия вырубки (керна)

1

2

3

4

5

6

7

8

9

10

11

12

13

14

 

 

 

 

 

 

 

 

 

 

 

 

 

 

 

 

Продолжение формы 11

Образцы из покрытия

Переформованные образцы

Объем насыщенного под вакуумом образца, см3

Плотность асфальтобетона, г/см3

Водонасыщение, % объема

Набухание, % объема

Удельный вес асфальтобетона, г/см3

Результат взвешивания сухого образца на воздухе, г

Результат взвешивания образца на воздухе после 30 мин выдерживания в воде, г

Результат взвешивания образца в воде после 30 мин выдерживания в воде, г

Результат взвешивания водонасыщенного под вакуумом образца на воздухе, г

Результат взвешивания водонасыщенного под вакуумом образца в воде, г

Объем сухого образца, см3

Объем водонасыщенного под вакуумом образца, см3

Плотность (объемная масса) асфальтобетона (образца), г/см3

Водонасыщение, % объема

15

16

17

18

19

20

21

22

23

24

25

26

27

28

 

 

 

 

 

 

 

 

 

 

 

 

 

 

Продолжение формы 11

Переформованные образцы

Коэффициент уплотнения покрытия

Испытания по Маршаллу

Подпись лаборанта

Замечания и подпись представителя технадзора или вышестоящей организации

Набухание, % объема

Предел прочности при сжатии, Па (кгс/см2)

Коэффициент водостойкости

Устойчивость, Н (кгс)

Условная пластичность, 1/10 мм

Условная жесткость, Н/мм (кгс/мм)

R20

Rв

R50

R0

29

30

31

32

33

34

35

36

37

38

39

40

 

 

 

 

 

 

 

 

 

 

 

 

Форма 12

«___» _________ 197_ г.

Паспорт на замес № ...

1. Вид асфальтобетонной смеси

2. Состав асфальтобетонной смеси (№ состава)

3. Время отпуска смеси

4. Температура смеси, °С

5. Масса смеси, т

6. Адрес получателя

7. Отметка лаборатории о годности асфальтобетонной смеси

8. Подпись мастера АБЗ

9. Время прибытия к месту укладки

10. Место укладки

11. Температура асфальтобетонной смеси на линии, °С

12. Подпись мастера на линии

Приложение 8

Техническая характеристика установки для приготовления и введения ПАВ (модель 5590-1-00А)

Характеристика

Показатели

Емкость хранилища ПАВ, м3 (геометрическая)

10

Производительность насоса хранилища ПАВ, л/мин

210

Давление пара в системе нагрева, Па (кгс/см2)

5 × 105 (5)

Наибольший расход пара, кг/ч (на один смеситель)

75

Установленная мощность, кВт

6,3

Масса, кг:

 

без трубопровода

7723

с трубопроводом

9777

Состав установки (пять частей блоков)

Хранилище ПАВ; блок подачи к асфальтосмесителю; система ввода в дозатор битума; блок подачи в битумоплавильную установку; система управления

Приложение 9

Мероприятия по уменьшению слеживаемости холодных асфальтобетонных смесей

1. Уменьшение слеживаемости холодной асфальтобетонной смеси при хранении и транспортировании может быть достигнуто двумя путями: охлаждением рыхлой смеси до 30 - 35 °С перед отправкой на склад или перед погрузкой в транспортные средства, а также обработкой специальными добавками.

Охладить смесь можно струей воздуха от вентиляторов в специальных барабанах или в других устройствах, а также в процессе перемещения смеси от смесителя на склад системой транспортеров при небольшой толщине материала на ленте и достаточной длине пути, применяя воздушное или водяное принудительное охлаждение (пульверизацию, опрыскивание). При отсутствии охлаждающих устройств температуру асфальтобетонной смеси понижают до 30 - 35 °С систематическим рыхлением (перевалкой экскаватором, автопогрузчиком и др.).

2. Обработка асфальтобетонной смеси специальными добавками производится следующим образом. На смесителях, оборудованных лопатными мешалками, добавка вводится в смесь после окончания перемешивания минерального материала с жидким битумом. Мешалка должна быть оборудована дополнительным дозатором для добавки.

Смесь перемешивают с добавкой в течение 6 - 10 с. Более длительное перемешивание понижает эффективность действия добавки.

3. При использовании смесителей, оборудованных мешалками со свободным перемешиванием, для обработки смесей добавками необходимо установить дополнительную мешалку (предпочтительно лопастную, открытую) непрерывного или порционного действия, на которой также устанавливается дозатор для добавки. Готовая асфальтобетонная смесь подается в эту мешалку непосредственно из смесителя (если производительность основного смесителя и дополнительной мешалки одинаковы) или через накопительный бункер. Время перемешивания смеси с добавкой зависит от количества обрабатываемой смеси и устанавливается опытным путем.

4. Добавки готовят в специальных котлах, откуда насосом подают в дозаторы, установленные на мешалках. Количество добавки составляет 2,5 - 3,5 % от массы смеси. Обработанные добавками смеси следует хранить в штабелях высотой не более 1,5 м.

Добавки для уменьшения слеживаемости готовят из следующих материалов:

Составы

№ 1.      Отходы соапстока (в расчете на сухое вещество).......................... 10 - 12 %

Вода.................................................................................................... 88 - 90 %

№ 2.      Соапсток............................................................................................ 3 - 5 %

Вода.................................................................................................... 97 - 95 %

№ 3.      Мылонафт.......................................................................................... 25 - 30 %

Вода.................................................................................................... 75 - 70 %

№ 4.      Отходы глицеринового производства............................................. 30 %

Вода.................................................................................................... 70 %

№ 5.      Сульфитно-спиртовая барда (в расчете на сухое вещество)........ 10 - 15 %

Вода.................................................................................................... 85 - 90 %

Отходы соапстока являются отходами мыловаренного производства и содержат 20 - 25 % сырых жирных кислот, а также белки, поваренную соль (4 - 5 %) и воду.

Мылонафт представляет собой сконцентрированный водный раствор натриевых мыл органических кислот, получаемых при щелочной очистке керосиновых, газойлевых и соляровых дистиллятов.

Отходы глицеринового производства, получаемые при нейтрализации глицерина известью, состоят в основном из гипса и воды с примесью небольшого количества глицерина (около 2 %).

Сульфитно-спиртовая барда (ГОСТ 8518-57) образуется при переработке сульфитно-целлюлозного «молока» и является отходом целлюлозного и гидролизного производства. Сульфитно-спиртовая барда содержит лигнин, окись кальция (СаО), связанную в лигно-сульфоновых кислотах, углеводы и небольшое количество смол и жиров. Сульфитно-спиртовая барда может быть в виде 50 %-ного концентрата, представляющего собой густую жидкость темно-коричневого цвета, в виде 76 - 78 %-ного концентрата, находящегося в твердом состоянии, и в виде 87 %-ного концентрата, представляющего собой светло-коричневый порошок. Жидкий и порошкообразный концентраты легко растворяются в холодной воде, твердый - в горячей воде.

5. Добавки следует выбирать после проверки их эффективности на конкретных образцах асфальтобетонных смесей. Приготавливают добавки в отдельных емкостях следующим образом.

Составы № 1 и 2. Отходы соапстока в заданном количестве растворяют в холодной или лучше в горячей воде при тщательном перемешивании. Для растворения в холодной воде требуется значительное время, поэтому рекомендуется растворять их за два - три дня до приготовления состава или же применять горячую воду. Соапсток хорошо растворяется в холодной воде. Если с течением времени раствор сильно загустеет, в него следует добавлять воду в таком количестве, чтобы концентрация отходов соапстока была не менее 8 % сухого вещества в растворе.

Состав № 3. Мылонафт растворяют в холодной или горячей воде при тщательном перемешивании.

Состав № 4. Отходы глицеринового производства смешивают с водой в заданной пропорции; для поддержания тонкодисперсного гипса во взвешенном состоянии систематически перемешивают полученную суспензию.

Состав № 5. Сульфитно-спиртовую барду растворяют в холодной или подогретой до 50 - 60 °С воде.

6. Слеживаемость асфальтобетонных смесей из известнякового минерального материала или с известняковым минеральным порошком может быть также уменьшена, если часть минерального порошка (3 - 4 %) вводить в смесь после перемешивания битума с остальными составляющими минеральной части асфальтобетона. При этом перемешивать смесь с минеральным порошком следует с таким расчетом, чтобы минеральный порошок не полностью поглощался битумом, а равномерно распределялся на частицах смеси.

Приложение 10

Технические условия на ДСТ-30 (извлечение из ТУ 38-40365-76)

Показатели

Нормы

Характеристическая вязкость, дл/г

1,2 - 1,4

Предел прочности при разрыве, Па (кгс/см2), при 22 ± 2 °С, не менее

160 × 105 (160)

Относительное удлинение при 22 ± 2 °С, %, не менее

650

Относительное остаточное удлинение, %

25

Эластичность по отскоку, %, не менее

50

Содержание связанного стирола, %

29 ± 2

Потерн в массе при 105 °С, %, не более

0,5

Содержание золы, %, не более

0,1

» свободного стирола, %, не более

0,01

Содержание антиоксиданта ДФФД, %

0,5 - 1,0

» металлов, %, не более:

 

медь

0,00015

железо

0,004

Примечание. По согласованию с потребителем термоэластопласт ДСТ-30 может быть приготовлен с применением другого антиоксиданта.

Приложение 11

Основные технические характеристики асфальтосмесительного оборудования

Показатели

Д-597А

Д-508-2А

ДС-79 (мобильная)

Д-617-2

ДС-95 (мобильная)

Д-645-2

Д-645-3

ДС-118.4 (мобильная)

Производительность, т/ч

25

25

50

50

100

100

100

Установленная мощность, кВт

102

204

451

415

610

688

543

Расход топлива, кг/ч

320

320

550

530

1200

1200

1000

Масса, т

38

60

128

85

165

202

125

Требуемая площадь, м2

327

651

1290

1300

2400

2400

1500

Приложение 12

ПЕРЕЧЕНЬ

основных нормативных документов и технической литературы, использованных при составлении Руководства

1. ГОСТ 305-73 «Топливо дизельное».

2. ГОСТ 1510-70 «Нефть и нефтепродукты. Упаковка и маркировка. Транспортирование и хранение».

3. ГОСТ 2084-67 «Бензины автомобильные. Технические требования».

4. ГОСТ 2517-69 «Нефть и нефтепродукты. Методы отбора проб».

5. ГОСТ 2985-64 «Масло зеленое (сырье нефтяное для производства сажи). Технические требования».

6. ГОСТ 3344-73 «Щебень шлаковый доменный и сталеплавильный для дорожного строительства. Технические условия».

7. ГОСТ 4333-48 «Масла и темные нефтепродукты. Метод определения температуры вспышки и воспламенения в открытом тигле (метод Бренкена)».

8. ГОСТ 4492-69 «Смола каменноугольная».

9. ГОСТ 4749-73 «Топливо для быстроходных двигателей».

10. ГОСТ 1928-67 «Сольвент каменноугольный технический».

11. ГОСТ 7855-74 «Машины разрывные и универсальные для статических испытаний металлов».

12. ГОСТ 8267-75 «Щебень из естественного камня для строительных работ. Общие положения».

13. ГОСТ 8268-74 «Гравий для строительных работ».

14. ГОСТ 8269-76 «Щебень из естественного камня, гравий и щебень из гравия для строительных работ. Методы испытаний».

15. ГОСТ 8505-57 «Бензин для промышленно-технических целей. Технические требования».

16. ГОСТ 8735-75 «Песок для строительных работ. Методы испытаний».

17. ГОСТ 8736-77 «Песок для строительных работ. Общие требования».

18. ГОСТ 9128-76 «Смеси асфальтобетонные дорожные, аэродромные и асфальтобетон. Технические условия».

19. ГОСТ 9179-70 «Известь строительная».

20. ГОСТ 9410-71 «Ксилол нефтяной».

21. ГОСТ 10178-62 «Портландцемент, шлако-портландцемент, пуццолановый цемент и их разновидности».

22. ГОСТ 10214-62 «Сольвент нефтяной для лакокрасочной промышленности. Технические требования».

23. ГОСТ 10260-74 «Щебень из гравия для строительных работ».

24. ГОСТ 10834-76 «Жидкость гидрофобизирующая 136-41 (ГКЖ-94)».

25. ГОСТ 11501-73 «Битумы нефтяные. Метод определения глубины проникания иглы».

26. ГОСТ 11503-74 «Битумы нефтяные. Метод определения условной вязкости».

27. ГОСТ 11504-73 «Битумы нефтяные. Метод определения количества испарившегося разжижителя из жидкого битума».

28. ГОСТ 11505-75 «Битумы нефтяные. Метод определения растяжимости».

29. ГОСТ 11506-73 «Битумы нефтяные. Метод определения температуры размягчения по Кольцу и Шару».

30. ГОСТ 11507-65 «Битумы нефтяные. Метод определения температуры хрупкости».

31. ГОСТ 11508-74 «Битумы нефтяные. Метод определения сцепления битума с мрамором и песком».

32. ГОСТ 11510-65 «Битумы нефтяные. Метод определения содержания водорастворимых соединений».

33. ГОСТ 11511-65 «Битумы нефтяные. Метод определения водорастворимых кислот и щелочей».

34. ГОСТ 11512-65 «Битумы нефтяные. Метод определения зольности».

35. ГОСТ 11955-74 «Битумы нефтяные дорожные жидкие».

36. ГОСТ 12784-71 «Порошок минеральный для асфальтобетонных смесей. Методы испытаний».

37. ГОСТ 12801-77 «Смеси асфальтобетонные и асфальтобетон. Методы испытаний».

38. ГОСТ 16557-71 «Порошок минеральный для асфальтобетонных смесей. Технические условия».

39. ГОСТ 17697-72 «Автомобили. Качение колеса. Термины и определения».

40. ГОСТ 18180-72 «Битумы нефтяные. Метод определения изменения массы после прогрева».

41. ГОСТ 18499-73 «Керосин для технических целей».

42. ГОСТ 18659-73 «Эмульсии дорожные битумные».

43. ГОСТ 22245-76 «Битумы нефтяные дорожные вязкие. Технические условия».

44. СНиП II-М.1-71 «Генеральные планы промышленных предприятий. Нормы проектирования».

45. СН 245-71 «Санитарные нормы проектирования промышленных предприятий».

46. СНиП II-Д.5-72 «Автомобильные дороги. Нормы проектирования».

47. СНиП III-40-77 «Автомобильные дороги. Правила производства и приемки работ. Приемка в эксплуатацию».

48. СН 25-74 «Инструкция по применению грунтов, укрепленных вяжущими материалами для устройства оснований и покрытий автомобильных дорог и аэродромов». М., Стройиздат, 1975.

49. ВСН 46-72 «Инструкция по проектированию дорожных одежд нежесткого типа». М., «Транспорт», 1973.

50. Альбом типовых проектных решений дорожных одежд автомобильных дорог общей сети Союза ССР. Серия 503-0-11. Союздорпроект, 1976.

51. ВСН 123-77 «Инструкция по устройству покрытий и оснований из щебня (гравия), обработанного органическими вяжущими». М., «Транспорт», 1978.

52. ВСН 184-75 «Технические указания по устройству оснований дорожных одежд из каменных материалов, неукрепленных или укрепленных органическими вяжущими». М., «Транспорт», 1975.

53. ВСН 115-75 «Технические указания по приготовлению и применению дорожных эмульсий». М., «Транспорт», 1976.

54. ВСН 59-68 «Инструкция по использованию поверхностно-активных веществ при строительстве дорожных покрытий с применением битума». М., Оргтрансстрой, 1968.

55. ВСН 113-65 «Технические указания по производству активированных минеральных порошков и применению их в асфальтобетоне». М., Оргтрансстрой, 1965.

56. ВСН 153-68 «Технические указания по строительству дорожных покрытий из теплого асфальтобетона». М., Оргтрансстрой, 1969.

57. ВСН 120-65 «Технические указания по строительству автомобильных дорог в зимних условиях». М., Оргтрансстрой, 1966.

58. ВСН 85-68 «Технические указания по проектированию пролетных строений автодорожных мостов с железобетонной плитой проезжей части без оклеечной гидроизоляции». М., Оргтрансстрой, 1969.

59. ВСН 93-73 «Инструкция по строительству дорожных асфальтобетонных покрытий». М., «Транспорт», 1973.

60. Методические рекомендации по выбору вязких битумов для строительства разных типов дорожных одежд в различных климатических условиях. М. - Балашиха, Союздорнии, 1974.

61. Методические рекомендации по устройству дорожных одежд с основаниями из битумоминеральных смесей. М. - Балашиха, Союздорнии, 1976.

62. Предложения по повышению качества песчаного асфальтобетона. М. - Балашиха, Союздорнии, 1970.

63. Предложения по применению активированных песков в асфальтобетоне. М. - Балашиха, Союздорнии, 1969.

64. Предложения по технологии производства активированных минеральных порошков из глинистых известняков и доломитов для асфальтобетона. М. - Балашиха, Союздорнии, 1968.

65. Предложения по технологии укатки и нормам плотности асфальтобетонных покрытий из горячих смесей. М. - Балашиха, Союздорнии, 1969.

66. Правила техники безопасности при строительстве, ремонте и содержании автомобильных дорог., М., «Транспорт», 1969.

67. ТУ 3810436-76 «Резина дробленая марок РД и РДС».

68. Инструкция по работе с передвижной многоопорной рейкой ПКР-4М для контроля ровности дорожных покрытий. Балашиха, Союздорнии, 1970.

69. Инструкция по работе с передвижной двухопорной рейкой ПКР-1 для контроля ровности дорожных покрытий. Балашиха, Союздорнии, 1970.

СОДЕРЖАНИЕ

Предисловие. 1

1. Определение, классификация и требования, предъявляемые к асфальтобетону. 2

2. Типы конструкций дорожных одежд с асфальтобетонными покрытиями, область и условия их применения. 13

3. Требования к материалам, применяемым для приготовления асфальтобетонных смесей. 18

4. Подбор состава асфальтобетона. 33

5. Правила производства работ. 40

6. Технический контроль устройства асфальтобетонных покрытий. 80

7. Лабораторные методы определения показателей физико-механических свойств и структуры асфальтобетона, асфальтобетонных смесей и материалов, применяемых для их приготовления. 87

8. Требования техники безопасности и охраны труда при строительстве асфальтобетонных покрытий. 122

Приложение 1 Требования к анионным эмульсиям (извлечение из ГОСТ 18659-73) 130

Приложение 2 Требования к катионным эмульсиям (извлечение из Технических указаний ВСН 115-75) 130

Приложение 3 Технические требования на топливо для быстроходных двигателей (извлечение из ГОСТ 4749-73) 131

Приложение 4 Технические требования по дизельному топливу (извлечение из ГОСТ 305-73) 132

Приложение 5 Технические требования к керосину для технических целей (извлечение из ГОСТ 18499-73) 133

Приложение 6 Технические требования на масло зеленое (извлечение из ГОСТ 2985-64) 133

Приложение 7 Формы журналов и ведомостей. 133

Приложение 8 Техническая характеристика установки для приготовления и введения ПАВ (модель 5590-1-00А) 139

Приложение 9 Мероприятия по уменьшению слеживаемости холодных асфальтобетонных смесей. 139

Приложение 10 Технические условия на ДСТ-30 (извлечение из ТУ 38-40365-76) 141

Приложение 11 Основные технические характеристики асфальтосмесительного оборудования. 141

Приложение 12 Перечень основных нормативных документов и технической литературы, использованных при составлении Руководства. 141

 

 




ГОСТЫ, СТРОИТЕЛЬНЫЕ и ТЕХНИЧЕСКИЕ НОРМАТИВЫ.
Некоммерческая онлайн система, содержащая все Российские Госты, национальные Стандарты и нормативы.
В Системе содержится более 150000 файлов нормативно-технической документации, действующей на территории РФ.
Система предназначена для широкого круга инженерно-технических специалистов.

Рейтинг@Mail.ru Яндекс цитирования

Copyright © www.gostrf.com, 2008 - 2026