Крупнейшая бесплатная информационно-справочная система онлайн доступа к полному собранию технических нормативно-правовых актов РФ. Огромная база технических нормативов (более 150 тысяч документов) и полное собрание национальных стандартов, аутентичное официальной базе Госстандарта. GOSTRF.com - это более 1 Терабайта бесплатной технической информации для всех пользователей интернета. Все электронные копии представленных здесь документов могут распространяться без каких-либо ограничений. Поощряется распространение информации с этого сайта на любых других ресурсах. Каждый человек имеет право на неограниченный доступ к этим документам! Каждый человек имеет право на знание требований, изложенных в данных нормативно-правовых актах!

  


 

Государственный комитет по гражданскому строительству
и архитектуре при Госстрое СССР

Центральный ордена Трудового Красного Знамени
научно-исследовательский и проектный институт типового
и экспериментального проектирования жилища
(ЦНИИЭП жилища)

РЕКОМЕНДАЦИИ
ПО ПРОЕКТИРОВАНИЮ И УСТРОЙСТВУ ПОЛОВ
ПО МОНОЛИТНЫМ САМОВЫРАВНИВАЮЩИМСЯ СТЯЖКАМ
НА ОСНОВЕ ГИПСА ДЛЯ МАССОВОГО ЖИЛИЩНОГО
СТРОИТЕЛЬСТВА

 

Утверждены

председателем Научно-технического

совета, директором института

С.В. Николаевым

(протокол № 49 от 25 декабря 1987 г.)

Москва - 1987

В настоящих Рекомендациях даны конструктивные решения полов с различными покрытиями по гипсовым основаниям в жилых зданиях, методика подбора составов монолитных самовыравнивающихся гипсовых стяжек, технология их приготовления, транспортировки и устройства оснований.

Рекомендации разработаны инж. Д.К. Баулиным, канд. техн. наук В.А. Берковичем, инж. Н.Н. Поповой (ЦНИИЭП жилища), канд. техн. наук В.Ф. Гончаром, инж. А.Ф. Бурьяновым (ВНИИСТРОМ им. П.П. Будникова).

1. ОБЩИЕ ПОЛОЖЕНИЯ

1.1. В настоящих Рекомендациях регламентируется применение стяжек из поризованных растворов на основе гипсового вяжущего по ГОСТ 125-79 при устройстве полов жилых зданий. Требования Рекомендаций должны соблюдаться при приготовлении гипсовых растворов, их транспортировке к месту укладки, при устройстве стяжек и выполнении по ним покрытий.

1.2. Рекомендуемые конструкции полов разработаны в соответствии с требованиями действующих нормативных документов [1 - 4].

1.3. Выбор конструкции полов для применения в конкретных условиях строительства производится из числа приведенных в данных Рекомендациях в зависимости от назначения помещений, режима эксплуатации, архитектурных требований, экономической целесообразности и условий местной строительной базы.

1.4. Применение стяжек на основе гипсового вяжущего допускается в помещениях с сухим и нормальным влажностными режимами по СНиП 11-3-79.

2. КОНСТРУКТИВНЫЕ РЕШЕНИЯ

2.1. Конструкции полов решены применительно к несущей части междуэтажных перекрытий и перекрытий над техническими подпольями из сплошных толщиной 160 мм или многопустотных плоских панелей приведенной толщиной 120 мм из тяжелого бетона с использованием гипсовых оснований объемной массой γ £ 1200 кг/м3 (рис. 1 - 5, табл. 1 - 3). При применении отличных от приведенных выше панелей перекрытий необходимо определить толщину стяжки в соответствии с требованиями СНиП 11-12-77 «Защита от шума».

2.2. Материалы в конструкциях полов должны удовлетворять требованиям, изложенным в соответствующих главах СНиП, стандартах и технических условиях на отдельные виды материалов и изделий.

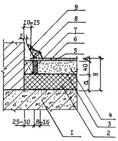
Рис. 1. Полы с покрытием из штучного паркета, линолеума или поливинилхлоридных плиток в междуэтажных перекрытиях:

1 - панель междуэтажного перекрытия; 2 - слой звукоизоляционный (табл. 1); 3 - слой полиэтиленовой (поливинилхлоридной) пленки; 4 - стяжка из гипсобетона; 5 - мастика клеящая; 6 - покрытие штучного паркета; 7 - полосовая опалубка по периметру пола из полутвердых древесноволокнистых плит; 8 - бруски деревянные ℓ = 50 - 60 мм через 800 - 1200 мм; 9 - плинтус, тип 3 (ГОСТ 8242-75)

Рис. 2. Полы с покрытием из линолеума на теплоизолирующей подоснове в междуэтажных перекрытиях:

1 - панель междуэтажного перекрытия; 2 - гипсобетонная стяжка Rсж = 150 кгс/см2; 3 - мастика клеящая; 4 - линолеум на теплозвукоизолирующей подоснове; 5 - плинтус, тип 3 (ГОСТ 8242-75)

Рис. 3. Покрытие из штучного паркета в полах над техническим подпольем:

1 - панель перекрытия над техническим подпольем; 2 - слой теплозвукоизоляционный (см. табл. 2); 3 - слой полиэтиленовой (поливинилхлоридной) пленки; 4 - стяжка из гипсобетона Rсж = 100 кгс/см2; 5 - мастика клеящая; 6 - паркет штучный

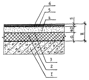
Рис. 4. Полы над техническим подпольем с покрытиями из линолеума или поливинилхлоридных плиток:

1 - панель перекрытия над техническим подпольем; 2 - слой теплоизоляционный (см. табл. 3); 3 - слой полиэтиленовой или полиамидной пленки; 4 - стяжка из гипсобетона g0 £ 1200, Rсж ³ 100 кгс/см2; 5 - плита древесноволокнистая полутвердая марки ПТ-100, g0 £ 600 кг/м3; 6 - мастика клеящая; 7 - линолеум или плитки поливинилхлоридные

Рис. 5. Полы над техническим подпольем с покрытием из линолеума на теплозвукоизолирующей подоснове:

1 - панель перекрытия над техническим подпольем; 2 - слой теплоизоляционный (см. табл. 3); 3 - слой полиэтиленовой (поливинилхлоридной) пленки; 4 - стяжка из гипсобетона g0 £ 1200, Rсж £ 100 кгс/см2; 5 - мастика клеящая; 6 - линолеум на теплоизолирующей подоснове

2.3. Физико-механические свойства затвердевшего гипсобетона в основаниях (стяжках) полов должны удовлетворять следующим требованиям: прочность на сжатие, кгс/см2 ³ 100, объемная масса в высушенном до постоянной массы состоянии, кг/м3 £ 1200, коэффициент размягчения ³ 0,55.

2.4. Паркет штучный (ГОСТ 862.1-76) укладывают по стяжкам на клеящей мастике (см. рис. 1, 3, табл. 1, 2, 4).

Полы из линолеума (ГОСТ 7251-77, ГОСТ 14632-79, ГОСТ 16914-71, ГОСТ 129247-73, ОСТ 84306-70 МИНМАШ) и поливинилхлоридных плиток (ГОСТ 16475-81) укладывают по гипсовому основанию на клеях (см. рис. 1, 4, табл. 1, 3, 4). Линолеум на теплозвукоизолирующей подоснове (ГОСТ 18108-80) укладывается на гипсовую стяжку, выполненную по многопустотным или сплошным панелям междуэтажных перекрытий на клеящих мастиках (см. рис. 2, 5, табл. 3, 4). Подоснова теплозвукоизолирующего линолеума должна быть незагниваемой, что следует отразить в актах на скрытые работы.

Таблица 1

Звукоизоляционный слой в полах с покрытием из штучного паркета, линолеума или поливинилхлоридных плиток

Материал звукоизоляционного слоя

Толщина слоя, Q, мм

Усредненная высота пола, Н, мм

с линолеумным покрытием (b = 5 мм)

с покрытием из штучного паркета (b = 15 мм)

с линолеумным покрытием

с покрытием из штучного паркета

Песок для строительных работ, g0 £ 1600 кг/м3

-

60

-

115

Щебень из шлаковой пемзы и аглопорита, g0 £ 800 кг/м3

70

50

125

105

Гравий керамзитовый, g0 £ 600 кг/м3

70

50

125

105

Щебень и песок из перлита вспученного, g0 £ 200 кг/м3

40

40

95

95

Вермикулит вспученный, g0 £ 200 кг/м3

40

40

95

95

Плиты фибролитовые на портландцементе, марка 300

50

50

95

105

Плиты древесноволокнистые, марки М-4, М-12 и М-20, g0 £ 250 кг/м3

24

24

80

80

2.5. Клеящие мастики и клеи, применяемые в конструкциях полов (см. табл. 4), разработаны институтом ВНИИстройполимер Минпромстрой материалов СССР.

Таблица 2

Теплоизоляционные слои в полах над техническим подпольем с покрытием из штучного паркета

Материал теплоизоляционного слоя

Толщина слоя (прокладки), a, мм

Усредненная высота пола, Н, мм

Поризованный гипсобетон объемной массой g0 £ 600 кг/м3

50

105

Щебень из доменного шлака, шлаковой пемзы и аглопорита, g0 £ 800 кг/м3

50

105

Щебень и песок из перлита вспученного, g0 £ 200 кг/м3

40

95

Гравий керамзитовый, g0 £ 600 кг/м3

50

105

Вермикулит вспученный, g0 £ 200 кг/м3

40

95

Плиты фибролитовые на портландцементе М 300

50

105

Таблица 3

Материалы теплоизоляционных слоев в полах над техническим подпольем с покрытием из линолеума, плиток поливинилхлоридных или линолеума на теплозвукоизолирующей подоснове

Материалы теплоизоляционного слоя

Толщина слоя, a, мм

Усредненная высота пола, H, мм

с покрытием из линолеума или плиток поливинилхлоридных

с покрытием из линолеума на теплозвукоизолирующей подоснове

1

2

3

4

Поризованный гипсобетон, g0 £ 600 кг/м3

60

110

105

Щебень из доменного шлака, шлаковой пемзы и аглопорита, g0 £ 800 кг/м3

60

110

105

Гравий керамзитовый, g0 £ 600 кг/м3

60

110

105

Щебень и песок из перлита вспученного, g0 £ 200 кг/м3

40

90

85

Вермикулит вспученный, g0 £ 200 кг/м3

40

90

85

Плиты фибролитовые на портландцементе, М 300

50

100

95

2.6. Полимерные материалы покрытия пола, теплозвукоизоляционные материалы на синтетических связующих, а также клеящие мастики, применяемые в конструкциях полов, должны удовлетворять санитарно-гигиеническим требованиям.

2.7. Для устройства звукоизоляционных слоев в приведенных в Рекомендациях конструкциях полов рекомендуются следующие материалы:

- песок для строительных работ (без органических включений плотностью не более 1600 кг/м3);

- щебень из шлаковой пемзы (ГОСТ 9760-75) и аглопорита плотностью не более 800 кг/м3 (ГОСТ 11991-75);

- гравий керамзитовый (ГОСТ 9759-76) плотностью не более 600 кг/м3;

- щебень и песок из перлита вспученного (ГОСТ 10832-74) плотностью не более 200 кг/м3;

- плиты древесноволокнистые (антисептированные в массе при их изготовлении, что должно быть отражено в паспорте изделий) марок М-4, М-12, М-20 (ГОСТ 4598-74) плотностью не более 250 кг/м3.

3. СОСТАВЫ ГИПСОВЫХ РАСТВОРОВ ДЛЯ УСТРОЙСТВА СТЯЖЕК

3.1. Для устройства стяжек рекомендуется применять поризованные пеногипсовые растворы с удобоукладываемостью, достаточной для проявления эффекта самонивелирования (подвижностью более 25 см по прибору Суттарда), обеспечивающие необходимые физико-механические характеристики гипсобетонов (п. 2.3).

Таблица 4

Клеи и мастики для приклейки рулонных покрытий и штучного паркета к гипсобетонным стяжкам*

Покрытия

Клеи (мастики)

Регламент на клей (мастику)

Расход клея (мастики), г/м2

1

2

3

4

Линолеумы поливинилхлоридные на тепло звукоизолирующих нетканых иглопробивных подосновах и сварные ковры из них**

Мастика «Туммилакс»

ТУ-21-29-27-74

500 - 600

Мастика «Синтелакс»

ТУ-21-29-50-77

500 - 600

Мастика «Бустилат»

ТУ-400-2-50-75

500 - 600

 

Клей КДС-2

ТУ-21-29-65-78

350 - 400

Линолеумы поливинилхлоридные и сварные ковры из них

Клей АДМ-К

ТУ-400-1-177-79

350 - 400

То же, при приклейке кромок стыкуемых полотнищ

Клей «Перминид» полосой на ширину 200 мм

ТУ-400-1-136-78

50

Безподосновный линолеум и плитки поливинилхлоридные, резиновые, коллоксилиновые

Клей «Перминид»

ТУ-400-1-136-78

50

Основные линолеумы на тканевых подосновах: поливинилхлоридные, глифталевые, алкидные

Мастика «Туммилакс»

ТУ-21-29-27-74

500 - 600

Мастика «Синтелакс»

ТУ-21-29-50-77

500 - 600

Мастика «Бустилат»

ТУ-400-2-50-75

500 - 600

 

Клей КДС-2

ТУ-21-29-65-78

350 - 400

Штучный паркет

Мастика «Биски»

ТУ-400-2-262-77

800 - 900

 

Клей «Перминид»

ТУ-400-1-136-78

400 - 500

 

Клей КН-2

ТУ-38-05-66-72

400 - 500

* Все применяемые для наклейки покрытий полов клеи и мастики должны быть разрешены к использованию Министерством здравоохранения СССР.

** В жилых и подсобных помещениях квартир площадью £25 м2 допускается укладывать данные покрытия насухо по гипсобетонным основаниям.

3.2. Применение непоризованного гипсобетона для устройства оснований допускается в порядке исключения при гарантированном получении физико-механических характеристик, предусмотренных п. 2.3, при толщине стяжки не более 40 мм и при условии использования принудительной сушки.

3.3. Для приготовления поризованного гипсового раствора, используемого для устройства монолитных стяжек под покрытие полов, могут применяться следующие материалы.

Вяжущие:

- гипсовое вяжущее марки не ниже Г-13 по ГОСТ 125-79;

- вяжущее повышенной водостойкости на основе гипсосодержащих отходов промышленности по ТУ 21-34-10-82.

Замедлители схватывания гипса:

- триполифосфат натрия (ГОСТ 13493-77Е);

- водорастворимый полимер - ВРП (ТУ-7 Узб. ССР 17-74);

- упаренная мелассная последрожжевая барда - УПБ (ОСТ 18-126-73);

- синтетическая поверхностно-активная добавка - СПД/(ТУ 38-10-12-59-72);

- клей казеиновый в порошке (ТУ 3056-74).

Пластификаторы:

- динатрийметилентис - диспергатор НФ (ГОСТ 6848-79);

- натриевая соль этилендиамин-тетрауксусной кислоты - трилон Б (она же является добавкой, повышающей водостойкость вяжущего);

- суперпластификатор С-3 (ТУ-6-14-625-80).

Пенообразователи:

- жидкое нейтральное мыло «Прогресс» (ТУ 38-10719-77);

- ТЭАС (ТУ-38-107-127-82);

- вода (СНиП 1-В-3-72).

3.4. При назначении состава для устройства стяжки выбирается для каждой составляющей один из рекомендуемых материалов. Выбор того или иного материала определяется экономической целесообразностью и возможностью местной строительной базы. Например, может быть назначен такой состав:

вяжущее - гипсовое, марки Г-16 по ГОСТ 125-79 производственного объединения «Минудобрения»; замедлитель схватывания - триполифосфат натрия по ГОСТ 19493-77; пластификатор - диспергатор НФ по ГОСТ 6848-79; пенообразователь - жидкое нейтральное мыло «Прогресс» по ТУ 38-10719-77; вода по СНиП 1-В-3-72.

3.5. Расчет состава пеногипса выполняется применительно к двухстадийной технологии, при которой в гипсовый раствор (растворную часть) вводится предварительно приготовленная пена.

3.6. Для определения расхода материалов на приготовление пеногипсового раствора используется расчетно-экспериментальный метод.

Расчет состава пеногипса

3.7. Определение объемной массы гипсового раствора (растворной части) и сухой гипсовой отливки - растворной части, высушенной до постоянной массы (gотл) по формулам:

gр = Г + Г · В/Г, кг/м3;

gотл. = Г[1 + (В/Г)Т], кг/м3,

где Г - расход гипсового вяжущего, в кг, определяемый по формуле

,

где В/Г - водогипсовый фактор растворной части, соответствующий нормальной густоте гипсового вяжущего (определяется по ГОСТ 23789-79);

gГ - удельный вес гипсового вяжущего, г/см3 (принимается для предварительных расчетов равным 2,7);

(В/Г)Т - водогипсовый фактор, соответствующий количеству воды, необходимой для гидратации гипсового вяжущего в растворной части (принимается равным 0,186).

Определение объемных соотношений «пена - гипсовый раствор» (Vп : Vр)

3.8. Определение расхода пены (Vп) на 1 м3 пеногипса с учетом коэффициента использования (a), зависящего от устойчивости пены:

где gпг - заданная (требуемая) объемная масса пеногипса, кг/м3;

К - кратность пены, определяется как отношение объема пены к объему исходного раствора пенообразователя.

3.9. Определение расхода гипсового раствора (растворной части) Vр/на 1 м3 пеногипса по объему:

Vр = 1000 - Vп, л.

Определение расхода компонентов для приготовления 1 м3 пеногипса:

расход гипсового вяжущего , кг,

расход воды , кг.

Определение расхода раствора пенообразователя

Определение расхода воды для приготовления раствора пенообразователя х-процентной концентрации:

где х - концентрация раствора пенообразователя, % (принимается равной 2 - 3 %).

3.10. Ориентировочный расход замедлителя и пластификатора определяется по табл. 1.П.1, 2.П.1. В дальнейшем расход этих материалов корректируется по результатам испытаний пробных замесов.

3.11. Корректировка состава пеногипса выполняется методом пробных замесов. Если фактическая прочность пеногипса окажется меньше требуемой, то необходимо уменьшить расход воды. Если это не представляется возможным, следует использовать другие технологические приемы, например, повысить марку вяжущего.

В прилож. 2 дается пример подбора состава пеногипса.

Расчет состава непоризованного гипсового раствора

3.12. Расход гипса на 1 м3 гипсового раствора определяется по формуле

Расход воды на 1 м3 гипсового раствора определяется по формуле

В = Г · В/Г, л.

Ориентировочный расход замедлителя и пластификатора назначается в соответствии с п. 3.10.

Корректировка состава выполняется методом пробных замесов.

4. ПРИГОТОВЛЕНИЕ И ТРАНСПОРТИРОВКА ГИПСОВЫХ РАСТВОРОВ ДЛЯ УСТРОЙСТВА СТЯЖЕК

4.1. Гипсовые растворы готовятся в непосредственной близости от места работ по устройству полов из составов, назначенных в соответствии с пп. 3.11, 3.12 настоящих Рекомендаций.

4.2. При приготовлении пеногипсовых растворов по двухстадийной технологии следует руководствоваться следующими рекомендациями:

- растворная часть пеногипса должна приготавливаться в быстроходных смесителях с частотой вращения перемешивающего органа 400 - 700 об/мин;

- для приготовления пеногипсового раствора (смешение растворной части с пеной) должно осуществляться в тихоходных смесителях с частотой вращения перемешивающего органа 150 - 300 об/мин.

Приготовление растворной части

4.3. В растворосмеситель подается необходимое количество воды (В) и добавок, количество которых принимается в соответствии с прилож. 1. После перемешивания до полного растворения добавок (но не менее 30 с) в смеситель загружают необходимое количество вяжущего (Г) и перемешивают до получения гомогенной массы (2,5 - 3 мин).

Приготовление пеногипсового раствора

4.4. В приготовленную по п. 4.3 растворную часть загружают требуемое количество пены (Vп), приготовленной в пеногенераторе и перемешивают в течение 2 - 3 мин.

4.5. Дозировка материалов должна осуществляться с точностью:

±2 % - для гипсового вяжущего;

±1 % - для воды;

±0,5 % - для химических добавок.

4.6. В качественно приготовленном пеногипсовом растворе не должно наблюдаться отделение пены.

4.7. Порядок приготовления непоризованных гипсовых растворов тот же, что для растворной части (п. 4.3), при расходе материалов, определяемых в соответствии с п. 3.12.

5. УСТРОЙСТВО СТЯЖЕК ИЗ ГИПСОВЫХ РАСТВОРОВ

5.1. Работы по устройству стяжек из гипсовых растворов следует выполнять в соответствии с требованиями пп. 1.2, 1.3, 1.6, 4.10 главы СНиП III-В.14-72 и настоящих Рекомендаций.

5.2. Работы по устройству гипсовых стяжек могут выполняться в помещениях при температуре не ниже 5 °С. Температура транспортируемой смеси должна быть в пределах от 10 до 35 °С.

5.3. Укладывать гипсовый раствор следует только по очищенному от мусора и пыли основанию.

5.4. Смесь необходимо укладывать равномерным слоем, плавно перемещая шланг растворонасоса или пневмонагревателя. Толщина укладываемого слоя должна соответствовать проектному значению с отклонением не более ±5 мм.

5.5. В процессе укладки гипсового раствора не допускается интенсивное механическое воздействие (например, вибрация) на уложенный слой. Допускается, в случае необходимости, разравнивание раствора с помощью реек, правил и т.п. при условии их погружения в раствор не более, чем на половину толщины слоя.

5.6. Места примыкания поризованной гипсовой смеси к стенам и перегородкам выполняются в соответствии с конструктивными решениями, приведенными на рис. 1.

5.7. Перерывы при устройстве стяжек в одном отсеке (ячейках) разрешается укладывать бетон участками не менее 200 м2. Швы следует обрабатывать в соответствии с требованиями п. 5.33 главы СНиП III-В.14-72.

5.8. В период твердения и сушки стяжки должны быть защищены от увлажнения и механических повреждений. Передвижение людей допускается не ранее, чем через 3 ч. после устройства стяжки.

5.9. Укладка покрытия, теплозвукоизоляционного линолеума допускается при достижении бетоном стяжки не менее 70 % проектной прочности и влажности не более 5 %, что должно быть зафиксировано в акте на скрытые работы.

5.10. При укладке рулонных покрытий и штучного паркета рекомендуется использовать клеи и мастики, приведенные в табл. 4.

6. КОНТРОЛЬ КАЧЕСТВА УСТРОЙСТВА СТЯЖЕК ИЗ ГИПСОВЫХ РАСТВОРОВ

6.1. Контроль качества устройства стяжек включает:

- приемочный контроль материалов (вяжущего, замедлителей схватывания, пластификаторов, пенообразователей);

- пооперационный контроль всех производственных процессов, включая приготовление гипсового раствора, его транспортировку к месту укладки, устройство стяжки и покрытия пола;

- приемочный контроль качества готовой стяжки и пола.

6.2. Приемка исходных материалов и проверка их качества производится с учетом требований нормативных документов, указанных в п. 2.2 настоящих Рекомендаций, а также ГОСТ 23789-79.

6.3. Приемка помещений для производства работ производится с учетом требований СНиП III.В.14-72 и настоящих Рекомендаций.

6.4. Показатели затвердевшего раствора проверяют не реже одного раза в смену и после каждого изменения состава смеси или режима технологического процесса, объемную массу и прочность - по результатам испытаний контрольных образцов балочек размером 4´4´16 см по ГОСТ 6428-83 и ГОСТ 23789-79.

Влажность бетона в стяжке определяют диэлектрическим методом измерения влажности по ГОСТ 21718-76.

7. ПРАВИЛА ТЕХНИКИ БЕЗОПАСНОСТИ ПРИ УСТРОЙСТВЕ СТЯЖЕК ИЗ ГИПСОВЫХ РАСТВОРОВ

7.1. При приготовлении гипсовых растворов и устройстве из них стяжек следует руководствоваться требованиями главы СНиП III.А.11-70 «Техника безопасности в строительстве» и настоящего раздела Рекомендаций.

7.2. К работам по приготовлению и укладке гипсовых растворов допускаются рабочие не моложе 18 лет, прошедшие медицинское освидетельствование, специальное обучение и инструктаж по технике безопасности, пожарной безопасности и промышленной санитарии.

7.3. На рабочих местах мотористов-операторов должна быть вывешена инструкция по безопасным методам работы при приготовлении и транспортировании растворов.

7.4. Моторист и рабочие, занятые дозированием, приготовлением добавок и смесей, транспортированием и укладкой растворов, должны быть одеты в брезентовые костюмы, резиновые сапоги, перчатки, иметь защитные очки и респираторы.

7.5. При попадании гипсового раствора или химических компонентов на оголенные участки кожи, одежду, обувь облитое место следует немедленно промыть водой, а кожный покров после промывки смазать вазелиновым маслом.

7.6. При приготовлении поризованной смеси на растворосмесителе и пеногенераторе необходимо перед началом работ проверить их исправность.

7.7. Запрещается устранять неисправности в работающем смесителе и пеногенераторе. При ремонте любой сложности механизмы необходимо остановить, отключить от электросети и принять все меры безопасности, предусмотренные соответствующими инструкциями по технике безопасности.

7.8. Не разрешается оставлять без надзора растворосмеситель и пеногенератор, присоединенные к электросети.

7.9. Рубильники и предохранители, установленные на уровне человеческого роста, должны быть ограждены.

Приложение 1

ОРИЕНТИРОВОЧНЫЙ РАСХОД ДОБАВОК ДЛЯ ПРИГОТОВЛЕНИЯ ГИПСОВЫХ РАСТВОРОВ

Таблица 1.П.1

Ориентировочный расход пластификатора на 1 м3 раствора*

Замедлитель

Расход замедлителя в кг при содержании гипсового вяжущего в смеси, кг/м3

1000

1200

1400

1600

Триполифосфат натрия

0,8

0,96

1,2

1,3

ВРП

2,5

3

3,5

4

УПБ

6

7,2

8,4

9,6

СПД

5

6

7

8

Казеиновый клей

6

7,2

8,4

9,6

* Таблица составлена для вяжущего марки Г13 из условия обеспечения сроков схватывания: начало - 60 мин., конец - 180 мин.

Таблица 2.П.1

Ориентировочный расход замедлителя на 1 м3 раствора*

Пластификатор

Расход в кг при содержании гипсового вяжущего в смеси, кг/м3

1000

1200

1400

1600

Диспергатор НФ

3,75

4,5

5,25

6

Трилон Б

3,75

4,5

5,25

6

Суперпластификатор С-3

2,75

3,3

3,85

4,4

* Таблица составлена для вяжущего марки Г13 из условия обеспечения расплыва раствора 22 - 25 см.

Приложение 2

ПРИМЕР ПОДБОРА СОСТАВА ПЕНОГИПСА

Подобрать состав пеногипсовой смеси для поризованной стяжки с прочностью 100 кгс/см2, объемной массой 1200 кг/м3. Расплыв раствора - не менее 25 см, сроки схватывания: начало - не ранее 50 мин, конец - не позднее 150 мин.

Характеристика исходных материалов:

- гипсовое вяжущее марки Г13, нормальная густота - 0,37, удельный вес (gГ) - 2,7 г/см3, теоретический водогипсовый фактор (В/П)Т - 0,182;

- пенообразователь: моющее средство «Прогресс», содержание в растворе (х) - 3 % по весу, кратность пены (К) - 10, коэффициент использования пены (a) - 0,86.

1. Определение расхода вяжущего для приготовления 1000 л гипсового раствора:

2. Определение объемной массы гипсового раствора:

gр = 1350 + (1350 · 0,37) = 1850 кг/м3.

3. Определение объемной массы сухой гипсовой отливки:

gотл. = 1350 · (1 + 0,182) = 1590 кг/м3.

4. Определение расхода пены на 1 м3 пеногипса:

5. Определение расхода гипсового раствора на 1 м3 пеногипса:

Vр = 1000 - 315 = 685 л.

6. Определение расхода компонентов для приготовления 1 м3 пеногипса.

Расход гипсового вяжущего:  кг.

Расход воды для приготовления 685 л гипсового раствора:

В' = 925 · 0,37 = 342 л.

Расход компонентов для приготовления 315 л пены: раствора пенообразователя «Прогресс»  л, в том числе:

пенообразователя «Прогресс»  л,

воды - 31,5 - 0,95 = 30,5 л.

7. Составляем таблицу расхода материалов на 1 м3 пеногипса:

Гипсовый раствор, 685 л (1250 кг)

Пена, 315 л (~ 31,5 кг)

Материал

Расход, кг

Материал

Расход, кг

Гипсовое вяжущее

925

Пенообразователь «Прогресс»

0,95

Вода

342

Вода

30,5

8. По табл. 1, 2 для конкретного материала определяем ориентировочный расход замедлителя и пластификатора, который уточняем путем пробных замесов.

ЛИТЕРАТУРА

1. СНиП 2.08.01-85. «Жилые здания. Нормы проектирования». М.: ЦИТП Госстроя СССР, 1986.

2. СНиП II-В.8-71. «Полы. Нормы проектирования». - М.: Стройиздат, 1972.

3. СНиП II-12-77. «Защита от шума». - М.: Стройиздат, 1978.

4. СНиП II-3-79**. «Строительная теплотехника». - М.: Стройиздат, 1986.

СОДЕРЖАНИЕ

1. Общие положения. 1

2. Конструктивные решения. 1

3. Составы гипсовых растворов для устройства стяжек. 6

4. Приготовление и транспортировка гипсовых растворов для устройства стяжек. 8

5. Устройство стяжек из гипсовых растворов. 9

6. Контроль качества устройства стяжек из гипсовых растворов. 10

7. Правила техники безопасности при устройстве стяжек из гипсовых растворов. 10

Приложение 1. Ориентировочный расход добавок для приготовления гипсовых растворов. 11

Приложение 2. Пример подбора состава пеногипса. 11

Литература. 12

 

 




ГОСТЫ, СТРОИТЕЛЬНЫЕ и ТЕХНИЧЕСКИЕ НОРМАТИВЫ.
Некоммерческая онлайн система, содержащая все Российские Госты, национальные Стандарты и нормативы.
В Системе содержится более 150000 файлов нормативно-технической документации, действующей на территории РФ.
Система предназначена для широкого круга инженерно-технических специалистов.

Рейтинг@Mail.ru Яндекс цитирования

Copyright © www.gostrf.com, 2008 - 2026