Крупнейшая бесплатная информационно-справочная система онлайн доступа к полному собранию технических нормативно-правовых актов РФ. Огромная база технических нормативов (более 150 тысяч документов) и полное собрание национальных стандартов, аутентичное официальной базе Госстандарта. GOSTRF.com - это более 1 Терабайта бесплатной технической информации для всех пользователей интернета. Все электронные копии представленных здесь документов могут распространяться без каких-либо ограничений. Поощряется распространение информации с этого сайта на любых других ресурсах. Каждый человек имеет право на неограниченный доступ к этим документам! Каждый человек имеет право на знание требований, изложенных в данных нормативно-правовых актах!

  


 

МОСКОВСКИЙ ГОСУДАРСТВЕННЫЙ
АВТОМОБИЛЬНО
-ДОРОЖНЫЙ ИНСТИТУТ
(ТЕХНИЧЕСКИЙ УНИВЕРСИТЕТ)

А.П. ВАСИЛЬЕВ, Ю.М. ЯКОВЛЕВ, М.С. КОГАНЗОН,
А.Я. ТУЛАЕВ, П.П. ПЕТРОВИЧ, М.Г. ГОРЯЧЕВ

РЕКОНСТРУКЦИЯ
АВТОМОБИЛЬНЫХ
ДОРОГ

Технология и организация работ

Учебное пособие

Под редакцией профессора А.П. Васильева

Утверждено
в
качестве учебного пособия
редсоветом
МАДИИ (ТУ)

МОСКВА 1998

А.П. Васильев, ЮМ Яковлев, М.С. Коганзон, и др. Реконструкция автомобильных дорог. Технология и организация работ: Учебное пособие /МАДИ (ТУ). - М.; 1998.

Рецензенты: Генеральный директор АО «Центрдорстрой» В.С. Арутюнов, доц., канд. техн. наук Э.С. Джаназян, проф., канд. техн. наук В.А. Лукина.

В пособии представлены современные данные о понятии реконструкция автомобильной дороги в России и других странах, обзор различных методов, оценки состояния дорог и мероприятий по реконструкции, технологические решения по выполнению земляных работ, реконструкции дорожных одежд всех типов для различных категорий дорог, в том числе особенности технологий по регенерации дорожных одежд и покрытий. Особое внимание уделено перспективным машинным технологиям холодного рисайклинга, укрепления грунтов различными вяжущими, обоснованию выбора технологии и механизации производства работ в рыночных условиях.

Учебное пособие составлено в соответствии с программой дисциплины «Реконструкция автомобильных дорог» и предназначено для студентов высших учебных заведений, обучающихся по специальности 291000 «Строительство автомобильных дорог и аэродромов».

ВВЕДЕНИЕ

В процессе эксплуатации автомобильные дороги и дорожные сооружения подвергаются многолетнему и многократному воздействию движущихся автомобилей и природно-климатических факторов.

Под совместным действием нагрузок и климата в автомобильной дороге и дорожных сооружениях накапливаются усталостные и остаточные деформации, появляются разрушения. Этому способствует постепенный рост интенсивности движения, и особенно увеличение осевых нагрузок автомобилей и доли тяжелых автомобилей в составе транспортного потока.

Дорожно-эксплуатационная служба выполняет большой объем работ по содержанию и ремонту дороги, но за многие годы эксплуатации объемы остаточных деформаций в дорожных конструкциях могут нарастать, и дорога устаревает физически.

Кроме того, за долгий срок службы происходит постепенная смена автомобилей с существенным изменением их динамических свойств, изменяются взгляды водителей и пассажиров на комфортность движения, что приводит к повышению требований к геометрическим параметрам и транспортно-эксплуатационным характеристикам дорог, а также к их обустройству, т.е. дороги устаревают морально.

Несоответствие между требованиями к дороге и ее фактическим состоянием постепенно нарастает, особенно в условиях значительного ограничения средств, выделяемых на содержание и ремонт дорог. В результате этого не выполняются многие необходимые виды ремонтных работ, накапливается недоремонт, прежде всего, покрытий и дорожных одежд.

Все это вместе взятое приводит к тому, что наступает момент, когда обычные мероприятия по содержанию и ремонту дороги, выполняемые дорожно-эксплуатационными организациями, уже не обеспечивают выполнение возросших требований к транспортно-эксплуатационным показателям дороги по поддержанию высокой скорости и безопасности движения.

Возникает необходимость значительного улучшения геометрических параметров дороги, прочностных и других характеристик дорожной одежды, искусственных сооружений, инженерного оборудования и обустройства, т.е. перестройки дороги или ее реконструкции.

В настоящее время проблема реконструкции автомобильных дорог становится все более и более актуальной.

Поэтому в учебных планах подготовки инженеров по специальности «Автомобильные дороги и аэродромы» впервые введена дисциплина «Реконструкция автомобильных дорог».

При изучении этой дисциплины студенты пользуются книгой «Реконструкция автомобильных дорог», написанной более 20 лет назад коллективом авторов и изданной под редакцией проф. Бабкова В.Ф. в 1978 г. Несмотря на высокий научно-технический уровень этой книги, ее содержание не вполне отвечает учебной программе дисциплины. Кроме того, за прошедший после издания книги период произошли существенные изменения в самом подходе к реконструкции дорог, появились новые технологии, материалы и машины для производства работ по реконструкции дорог, значительно увеличились возможности использования зарубежного опыта в этой области.

Настоящее учебное пособие обобщает и систематизирует отечественный и зарубежный опыт применительно к учебной программе дисциплины «Реконструкция автомобильных дорог».

1. ПРИНЦИПЫ НАЗНАЧЕНИЯ РАБОТ ПО РЕКОНСТРУКЦИИ АВТОМОБИЛЬНЫХ ДОРОГ

1.1. Реконструкция автомобильных дорог и ее разновидности

В переводе с латинского языка слово «реконструкция» означает коренное переустройство, перестройку по новым принципам, восстановление чего-либо по сохранившимся данным и описаниям.

Однозначного определения термина «реконструкция автомобильных дорог» нет, и этим термином обозначают широкий перечень мероприятий и работ, связанных с улучшением и совершенствованием дорог. В то же время имеются и более детальные классификации мероприятий и работ по совершенствованию автомобильных дорог. Так, Всемирный банк разделяет их на несколько видов [33, 34]:

·  капитальный ремонт - выборочный ремонт отдельных участков покрытия, восстановление поперечного профиля проезжей части и земляного полотна, улучшение системы водоотвода с восстановлением прочности и условий проезда по искусственным сооружениям. Стоимость работ может изменяться от 3000 долларов за километр для дорог с низшими типами дорожных одежд до более 20000 долларов за километр для дорог с капитальными и облегченными типами дорожных одежд, в зависимости от их типа и состояния;

·  реконструкция - работы, обычно проводимые на дорогах, находящихся в плохом состоянии, и заключающиеся в обновлении дорожной одежды с использованием существующего земляного полотна без изменения трассы, но с восстановлением искусственных сооружений. Стоимость работ может колебаться в широких пределах от 45000 до 300000 долларов за километр.

·  восстановление - большие работы, сочетающие элементы капитального ремонта и реконструкции.

·  усиление - утолщение дорожной одежды, включающее укладку нового слоя покрытия, которое может сочетаться с термопрофилированием существующего асфальтобетонного покрытия. Стоимость работ по одной полосе проезжей части может составлять от 10000 до 50000 долларов за километр.

·  перестройка дорог в целях повышения скорости и безопасности движения и увеличения пропускной способности. Работы предусматривают уширение дороги, улучшение ее приложения на местности с увеличением радиусов кривых или снижением продольных уклонов, сопровождающимися постройкой новых участков дорожной одежды. Стоимость работ может колебаться в широких пределах в зависимости от местных условий и намеченных изменений трассы и дорожной конструкции.

В соответствии с действующей в России классификацией работ по ремонту и содержанию автомобильных дорог общего пользования, утвержденной приказом Федерального дорожного департамента от 23.05.94 26, реконструкция автомобильных дорог - это комплекс работ, связанных с повышением технических параметров эксплуатируемых дорог и дорожных сооружений (в том числе изменение их геометрических параметров и грузоподъемности), благодаря которым увеличивается пропускная способность и повышается безопасность движения.

Реконструкция, как правило, обеспечивает возможность перевода дороги в более высокую техническую категорию, но не приводит к увеличению протяженности дороги.

Следовательно, к реконструкции может быть отнесен и комплекс мероприятий по существенному повышению технических параметров и характеристик дорог, обеспечивающих увеличение скорости, пропускной способности, безопасности движения или допустимых осевых нагрузок автомобилей, без перевода в более высокую категорию.

В этой связи представляется целесообразным внести уточнения в классификацию дорожных работ, чтобы избежать путаницы в терминологии.

По действующей классификации ремонт автомобильных дорог - это комплекс работ по восстановлению износа дорожного покрытия, улучшению его ровности и повышению сцепных качеств, усилению дорожной одежды и земляного полотна, восстановлению изношенных конструкций и деталей дорожных сооружений или их замене на более прочные и экономичные, а также работ по организации и безопасности движения, в результате которых восстанавливаются транспортно-эксплуатационные характеристики ремонтируемых дорог и дорожных сооружений и обеспечиваются требуемые условия движения [10]. В этой формулировке необходимо обратить внимание на два обстоятельства. Во-первых, при ремонте восстанавливаются только переменные параметры и характеристики дороги без изменения постоянных параметров и характеристик (ширина проезжей части и земляного полотна, радиусы кривых в плане и профиле, продольные уклоны и т.д.). Во-вторых, задача ремонта состоит в восстановлении транспортно-эксплуатационных характеристик ремонтируемой дороги (ровность, прочность, сцепные качества и т.д.), но не транспортно-эксплуатационных показателей (обеспеченной скорости, пропускной способности и т.д.). Решение задачи повышения транспортно-эксплуатационных показателей перенесено на этап реконструкции дороги в отличие от действующих ранее классификаций дорожных работ, в которых значительная часть мероприятий по повышению транспортно-эксплуатационных показателей дорог входила в состав работ по капитальному ремонту без перевода дороги в более высокую категорию, в том числе уширение проезжей части, спрямление трассы и смягчение продольного уклона отдельных участков и т.д.

В сложившихся условиях целесообразно выделить частичную и полную реконструкции дороги.

Частичная реконструкция - это совершенствование и повышение параметров и характеристик дороги с целью улучшения ее транспортно-эксплуатационных показателей в пределах установленных норм для дороги данной категории без увеличения ширины земляного полотна на основном протяжении.

Частичная реконструкция применяется в случаях, когда:

·   интенсивность движения равна или несущественно выше расчетной для дороги данной категории, но на отдельных участках обеспеченные автомобильной дорогой скорость, безопасность или допустимая осевая нагрузка не отвечают возросшим требованиям;

·   отсутствуют финансовые возможности для коренного переустройства дороги или экономически нецелесообразно осуществлять полную реконструкцию.

Полная реконструкция - это коренное переустройство дороги с переводом ее в более высокую категорию с целью приведения дороги в полное соответствие с требованиями сложившегося и перспективного движения автомобилей.

Полная реконструкция с расширением земляного полотна или с устройством дополнительного земляного полотна применяется в тех случаях, когда интенсивность движения на существующей дороге увеличилась в 1,5 и более раза по сравнению с расчетной для данной категории и ожидается ее дальнейшее увеличение.

Таким образом, реконструкция - это частичное или полное переустройство дороги для повышения ее транспортно-эксплуатационных показателей. Реконструкция дорог, как правило, не дает прироста протяженности дороги. Наоборот, протяженность ее обычно несколько сокращается. Однако технический уровень дороги, ее инженерное оборудование и транспортно-эксплуатационное состояние при реконструкции значительно улучшаются, а вместе с ними повышаются и все транспортно-эксплуатационные показатели.

1.2. Оценка состояния дороги и назначение мероприятий по реконструкции дорог

Степень повышения основных показателей дороги зависит от комплекса реконструктивных мероприятий, предусмотренных проектом реконструкции. Набор этих мероприятий определяется на основании диагностики и оценки фактического состояния дороги с учетом прогноза изменения этого состояния при ожидаемой интенсивности и составе движения.

Диагностика - это обследование, сбор и анализ информации о геометрических и технических параметрах и характеристиках, физических свойствах дорог и дорожных сооружений и условиях их работы [16].

По материалам диагностики осуществляется оценка состояния дороги и дорожных сооружений.

Оценка транспортно-эксплуатационного состояния - это определение степени соответствия фактического состояния дороги и дорожных сооружений предъявленным требованиям.

Задача оценки состоит в сравнении фактических данных о состоянии дороги по установленному перечню параметров, характеристик и показателей с нормативными требованиями, определении расхождений между ними, оценке степени этих расхождений, выявлении и оценке причины возникновения дефектов и расхождений.

В зависимости от степени несоответствия фактического состояния дороги и дорожных сооружений предъявленным требованиям по каждому участку, элементу, параметру и характеристике дороги назначают мероприятия по повышению технического уровня и эксплуатационного состояния дороги, которые могут быть выполнены в рамках ремонта или реконструкции дорог.

Существует несколько методов оценки состояния дорог, которые применяют в настоящее время.

К ним относятся: метод сравнения технических параметров и характеристик, метод сравнения и по техническим параметрам, и по транспортно-эксплуатационным показателям, метод сравнения потребительских свойств.

Суть оценки состояния по техническим параметрам и физическим характеристикам состоит в сопоставлении фактических значений этих параметров и характеристик с нормативными, требуемыми или проектными.

Если отклонения фактических значений от нормативных или требуемых больше допустимых пределов, назначают ремонтные или реконструктивные мероприятия.

Преимущество этого метода состоит в простоте оценки состояния и назначения ремонтных работ или мероприятий по реконструкции.

Однако этот метод имеет ряд недостатков.

Один из них состоит в очень большом числе оцениваемых параметров и характеристик дороги, которые в различных методиках колеблются от 10 - 15 до 40 и более, причем их оценки могут иметь различные количественные или качественные значения на каждом участке.

В этих условиях сделать однозначный вывод об общей оценке состояния дороги, о сравнении общего состояния двух участков дорог или двух различных дорог, а следовательно, выбрать объективно обоснованную стратегию по ремонту или реконструкции дорог весьма трудно. Появляется широкое поле для выбора решений в виде различных наборов приоритетных работ, назначаемых экспертно по одному, двум или нескольким показателям независимо от других.

Другой более важный недостаток состоит в том, что методы оценки состояния дорог по степени соответствия их технических параметров и физических характеристик нормативным требованиям в прямом виде не оценивают транспортно-эксплуатационные показатели дорог, т.е. их потребительские свойства. Они оцениваются только косвенно, предположительно.

Комбинированные методы оценки транспортно-эксплуатационного состояния дорог включают в себя оценку дороги по основным транспортно-эксплуатационным показателям и техническим параметрам и характеристикам. Они позволяют оценивать состояние дороги не просто как инженерного сооружения, а как инженерного транспортного сооружения, предназначенного для обеспечения удобного и безопасного движения автомобилей с высокими скоростями и установленными нагрузками.

В этих методах нашли распространение термин «транспортно-эксплуатационное состояние дороги» (ТЭС АД) - комплекс параметров и характеристик технического уровня, эксплуатационного состояния и инженерного оборудования и обустройства, а также термин «транспортно-эксплуатационные показатели дороги» (ТЭП АД), которые непосредственно зависят от транспортно-эксплуатационного состояния дороги и характеризуют дорогу именно как транспортное сооружение [1, 27].

К транспортно-эксплуатационным показателям дороги (ТЭП АД) относятся обеспеченная дорогой непрерывность, скорость, удобство и безопасность движения, пропускная способность и уровень загрузки, допустимые габариты, осевая нагрузка и общая масса автомобилей, экологические, эстетические и другие показатели.

Методика оценки достаточно проста: определяют в абсолютной или относительной форме фактические значения транспортно-эксплуатационных показателей и технических характеристик, сравнивают их с нормативными требованиями по каждому параметру и характеристике, получают оценку (рассогласование), с учетом которой назначают мероприятия по ремонту или реконструкции.

Комбинированная система показателей оценки состояния дорог включает в себя следующие показатели [27]:

·   скорости движения. Оценивается по величине коэффициента обеспеченности расчетной скорости в осенне-весенние, переходные периоды года;

·   пропускной способности дороги и уровня загрузки дороги движением;

·   безопасности движения. Оценивают по трем показателям: коэффициенту происшествий, коэффициенту аварийности и коэффициенту безопасности;

·   соответствия фактических геометрических параметров нормативным для данной категории дороги. Оценивают прямым сравнением;

·   прочности дорожной одежды. Оценивают коэффициентом прочности;

·   ровности покрытия. Оценивается коэффициентом ровности;

·   шероховатости и сцепных качеств покрытия. Оценивается показателем скользкости и коэффициентом сцепления по ширине покрытия.

Это основные показатели. Кроме того, по техническим параметрам и физическим характеристикам оценивают состояние обочин, откосов, системы водоотвода. Состояние мостов оценивается в основном определением их грузоподъемности.

Преимущество этого метода состоит в том, что дорога одновременно оценивается по техническим параметрам и характеристикам и по транспортно-эксплуатационным показателям, т.е. по потребительским свойствам.

Главный недостаток этого метода состоит в том, что каждый показатель, параметр и характеристика оценивается раздельно и имеет свои нормативные требования. В результате по итогам оценки на каждом участке дороги получается от 20 до 80 числовых данных в абсолютной или относительной форме, показывающих совпадения или отклонения от нормативных требований, что существенно затрудняет анализ и формирование вывода о степени соответствия дороги нормативным требованиям, а также назначение и выбор наиболее важных мероприятий по ремонту или реконструкции дороги.

Чтобы упростить решение задачи планирования этих работ применяют различные способы определения весовых коэффициентов, коэффициентов важности, приоритетности, разделения работ на главные и второстепенные. В большинстве случаев это делается экспертным путем, т.е. волевым порядком, что может привести к ошибочным решениям при распределении весьма ограниченных средств на ремонт и реконструкцию автомобильных дорог.

Методика комплексной оценки качества и состояния дорог по их потребительским свойствам. Основана на том, что в рыночных условиях конечной задачей функционирования дорог является обеспечение их высоких потребительских свойств, через которое дорожная отрасль вносит свой вклад в технико-экономические показатели работы автомобильного транспорта, в социальное и экономическое развитие регионов.

Потребительские свойства дорог - совокупность транспортно-эксплуатационных показателей дороги, непосредственно влияющих на эффективность работы автомобильного транспорта и отражающих интересы пользователей дорог [1, 16].

К потребительским свойствам дорог относятся обеспечиваемые их техническим уровнем и эксплуатационным состоянием скорость, непрерывность, безопасность и удобство движения автомобилей, пропускная способность и уровень загрузки дороги движением, допустимая осевая нагрузка, общая масса и габариты автомобилей, разрешенные для движения, экологическая безопасность.

За интегральный показатель, наиболее полно отражающий основные транспортно-эксплуатационные показатели, принята обеспеченная дорогой скорость движения автомобилей.

За дополнительные показатели приняты показатель допустимой грузоподъемности и осевой нагрузки автомобиля и показатели инженерного оборудования и обустройства дороги.

Обобщенная комплексная оценка качества и состояния дороги определяется по формуле [16]

П = КП · Коб,                                                              (1)

где КП - комплексный показатель транспортно-эксплуатационного состояния дороги;

Коб - показатель инженерного оборудования и обустройства.

Главное преимущество этого метода состоит в том, что оценка степени соответствия любого параметра и характеристики дороги предъявленным требованиям производится по тому, как количественно данный параметр влияет на обеспеченные дорогой потребительские свойства: скорость, безопасность движения и другие.

Таким образом, на каждом характерном участке оцениваются все параметры и характеристики с учетом их раздельного и совместного влияния на указанные транспортно-эксплуатационные показатели. В результате на каждом участке выявляются конкретные параметры и характеристики дороги и их сочетания, приводящие к снижению потребительских свойств дороги, что дает возможность ранжировать их по степени этого влияния.

Зная степень влияния различных параметров, характеристик и их сочетаний на потребительские свойства, легко назначить конкретные мероприятия по их повышению до любого заданного уровня требований к потребительским свойствам на каждом участке дороги.

Следует иметь в виду, что любой комплекс мероприятий и работ, назначенный по результатам диагностики и оценки состояния дороги, носит предварительный, предпроектный характер и служит основой для принятия решения о ремонте или реконструкции дороги и о выборе стратегии выполнения этих работ.

Окончательные технические решения по конкретным мероприятиям разрабатываются в техническом проекте на реконструкцию дороги, составленном после дополнительных проектно-изыскательских работ с использованием данных диагностики и оценки состояния дороги.

2. ЗЕМЛЯНЫЕ РАБОТЫ ПРИ РЕКОНСТРУКЦИИ ДОРОГ

2.1 Подготовительные работы

Подготовительные работы должны быть выполнены до начала реконструкции дороги.

В состав основных подготовительных работ входят: создание геодезической разбивочной основы; перенос и переустройство воздушных и кабельных линий электропередачи, линий связи, различных трубопроводов, коллекторов и других коммуникаций, расчистка дорожной полосы и территорий, отведенных под карьеры и резервы, подготовка и усиление местных дорог, на которые планируется перевести движение с реконструируемой дороги, или строительство объездных дорог, а также строительство временных дорог к грунтовым карьерам и карьерам песчаных, гравийных и каменных материалов.

В состав дополнительных работ и мероприятий входят: снятие существующих знаков, ограждений, направляющих столбиков, столбов и мачт для осветительных фонарей; разборка и удаление павильонов на автобусных остановках; разборка укреплений откосов, водоотводных лотков и канав; разработка схем движения транспорта на участке реконструкции дороги и т.д.

Геодезической разбивочной основой на местности служат знаки, закрепляющие в плане вдоль дороги вершины углов поворотов и главные точки кривых, а также точки на прямых участках не реже чем через 1 км, и реперы вдоль дороги не реже чем через 2 км.

Основные знаки и реперы должны иметь надежную конструкцию в виде столбов или свай, установленных за границами полосы отвода в соответствии со специальными требованиями.

Перед выполнением земляных работ производится детализация геодезической разбивочной основы. При этом делают разбивку всех пикетов и плюсовых точек с выноской за полосу отвода; устанавливают дополнительные реперы у насыпей высотой свыше 3 м за пределами подошвы, у выемок глубиной более 3 м за бровками откосов, у реконструируемых искусственных сооружений устанавливают промежуточные реперы на пересеченной местности; разбивают круговые и переходные кривые с выноской и закреплением промежуточных точек.

Детальную разбивку можно выполнять не одновременно на всей протяженности реконструируемой дороги, а по мере продвижения фронта работ с заделом, учитывающим скорость потока.

На участках, где предусмотрено уширение земляного полотна, смягчение продольного уклона, замена пучинистого грунта на непучинистый, снимают существующие дорожные знаки, направляющие столбики, ограждения, мачты освещения, павильоны на автобусных остановках и все другое инженерное оборудование и обустройство, которое может помешать производству работ по возведению земляного полотна и дорожной одежды.

Разборке подлежат также укрепления откосов насыпей и выемок, водоотводных лотков и канав.

На участках двустороннего уширения все работы выполняют с обеих сторон дороги, а на участках одностороннего уширения - с одной стороны.

Виды и состав средств механизации, применяемых для снятия инженерного оборудования и обустройства, а также укрепления откосов зависят от их видов, материалов и объемов работ.

Большие трудности при реконструкции дороги возникают с переносом и переустройством воздушных, наземных и подземных коммуникаций. Как правило, за время от строительства до реконструкции дороги она обрастает различными видами коммуникаций, имеющих, а чаще не имеющих отношения к самой дороге. Это линии технологической и общей связи, проводной и кабельной, линии электропередач в виде воздушных линий или кабелей высокого напряжения, наземных и подземных трубопроводов, коллекторов и других коммуникаций. Чаще всего эти коммуникации расположены в полосе отвода дороги или на определенном расстоянии от нее и могут быть повреждены в процессе производства работ по реконструкции дороги. Нередки случаи, когда кабели линий связи и электроснабжения осветительных систем уложены непосредственно в тело земляного полотна. Поэтому необходимо уделять особое внимание работам по переносу и переустройству инженерных коммуникаций, обозначению мест их расположения около дороги.

Работы по переносу и переустройству коммуникаций должны производиться по специальным проектам специализированными организациями по отдельному графику, согласованному с подрядной организацией, осуществляющей основные работы по реконструкции дороги.

В случае, когда возведение земляного полотна опережает устройство пересекающих дорогу подземных коммуникаций, необходимо по согласовании с заинтересованными организациями предусматривать предварительную укладку кожухов или других устройств для последующей прокладки коммуникаций без нарушения целостности земляного полотна.

До начала земляных работ расчищают дорожную полосу и площади, отведенные для карьеров, резервов, зданий и сооружений, от леса, кустарника, пней, порубочных остатков, крупных камней, строительного мусора и т.д.

Расчистку дорожной полосы осуществляют по отдельным участкам в порядке очередности выполнения земляных работ теми же методами и средствами, что при строительстве новых дорог [21, 23, 26].

Боковые кювет-резервы, из которых возведены насыпи, особенно во II дорожно-климатической зоне, как правило, зарастают болотной растительностью и влаголюбивым кустарником. Работы по расчистке дорожной полосы производят кусторезом или бульдозером в летнее время и в начале сухой осени, поскольку весной в резервах и водоотводных канавах имеется поверхностная вода.

После расчистки дорожной полосы на всей площади, где предусмотрены земляные работы, снимают плодородный слой почвы, на глубину, определенную проектом, и укладывают его в отвалы для последующего использования при восстановлении (рекультивация) нарушенных и малопродуктивных сельскохозяйственных земель, а также при благоустройстве площадок. Однако при реконструкции дорог необходимо обращать особое внимание на качество и состав плодородного слоя, снимаемого с поверхности дорожной полосы, непосредственно примыкающей к существующей дороге.

Установлено, что при высокой интенсивности движения в полосе шириной до 30 - 50 м от бровки земляного полотна может происходить загрязнение почвы выше допустимых пределов транспортными выбросами, которые содержат свинец, цинк, медь, нитраты, а также хлориды. В этом случае загрязненную почву складируют отдельно и затем используют в нижних слоях при засыпке оврагов, благоустройстве площадок и т.д.

В первую очередь это относится к грунту, который снимают с откосов насыпей и выемок, а также с откосов, дна боковых канав и резервов.

Снятие плодородного грунта выполняют автогрейдерами и бульдозерами. На участках высоких насыпей и глубоких выемок эти работы производят скребком или ковшом экскаватора-драглайн или экскаватора с телескопической стрелой.

Особое место в подготовительных работах занимают мероприятия по организации движения автомобилей при реконструкции дороги, которое существенно возрастает из-за движения построечного транспорта. Организация движения транспортного потока решается с учетом интенсивности движения, видов работ по реконструкции дороги, протяженности реконструируемых участков, наличия рядом других дорог, рельефа местности и других местных условий.

Лучшим для безопасного производства работ является вариант переноса движения с реконструируемого участка дороги на другие дороги, проходящие параллельно участку реконструкции. Во многих случаях для снятия движения с реконструируемого участка дороги на время производства работ строят специальные объезды (рис. 1). Тип и капитальность дорожных одежд на объездных дорогах должны соответствовать интенсивности переведенного на них автомобильного движения с учетом намечаемого срока действия объездной дороги.

Распространенным является вариант закрытия одной половины проезжей части с пропуском движения по другой половине.

Для этого устраивают дорожную одежду на всю ширину обочины и организуют дополнительную полосу движения.

Во всех случаях необходима разработка специальных схем организации движения, расстановки знаков, ограждения и освещения участков производства работ в соответствии с требованиями действующих правил [3, 5].

2.2. Способы уширения насыпей и выемок

При реконструкции автомобильных дорог на многих участках устраивают новое земляное полотно, процесс возведения которого ничем не отличается от строительства дороги и в данном пособии не рассматривается. Такие работы выполняют на участках спрямления трассы, значительного увеличения радиусов кривых в плане, на участках обходов населенных пунктов, обходов оползней, осыпей и т.д.

Гораздо чаще в процессе реконструкции выполняют работы по уширению земляного полотна, для строительства дополнительных полос проезжей части, переходно-скоростных полос, площадок для стоянки автомобилей или просто для доведения ширины земляного полотна до норм категории, установленной для данной дороги.

Опыт показывает, что добиться устойчивой многолетней совместной работы старого и нового (уширенного) земляного полотна очень трудно. Во многих случаях наблюдаются деформации нового земляного полотна в местах соединения со старым. Поэтому везде, где это возможно, следует избегать уширения земляного полотна.

При реконструкции автомобильных дорог обычно стремятся полностью использовать «здоровое» земляное полотно. Под «здоровым» земполотном понимают отсутствие в нем висячих горизонтов воды (верховодка) вследствие неблагоприятного взаиморасположения фильтрующих и малопроницаемых грунтов, склонных к морозному пучению.

Уширение земляного полотна может быть односторонним или двухсторонним (рис. 2).

Двухстороннее, или симметричное, уширение - это уширение, при котором ось существующей дороги остается без изменения и совмещается с осью уширенной дороги. При этом уширение происходит путем досыпки насыпи или срезки откосов выемки с двух сторон. Такое уширение может быть целесообразным при высоте насыпей и глубине выемок до 2 - 3 м.

Преимущество этого варианта состоит в том, что дорожная одежда после ее уширения располагается на прочном, хорошо сформировавшемся земляном полотне, что обеспечивает возможность создания прочной и долговечной дорожной одежды.

Недостатки такого варианта уширения состоят в том, что необходимо с двух сторон снимать и устанавливать инженерное оборудование и обустройство, переносить и перекладывать воздушные, наземные и подземные коммуникации, удлинять трубы и уширять мосты, переустраивать систему водоотвода и дренажа и т.д. Насыпи высотой до 2 м чаще всех уширяют по двухсторонней схеме.

Рис. 1. Схема объезда участка реконструкции дороги:

1 - реконструируемая выемка; 2 - насыпь; 3 - объездная дорога; 4 - временный низководный мост

Рис. 2. Схемы уширения земляного полотна:

а, б) - двухстороннее и одностороннее в насыпях; в, г) - двухстороннее и одностороннее в выемке

Одностороннее или несимметричное - это уширение, при котором ось реконструируемой дороги смещена в сторону от оси старой дороги, а уширение происходит путем досыпки насыпи или срезки откоса выемки с одной стороны.

Преимущество этого варианта состоит в том, что все работы по уширению земляного полотна сосредоточены с одной стороны, благодаря чему создаются лучшие условия для работы дорожных машин и сами работы по возведению земляного полотна могут быть выполнены более качественно. Сокращаются объемы работ по снятию и установке инженерного оборудования, обустройству, переносу и переустройству коммуникаций, системы водоотвода, дренажа и т.д.

Главный недостаток одностороннего уширения состоит в том, что часть ширины новой дорожной одежды располагается на старом земляном полотне, а часть на свежеуложенном грунте, которому трудно придать такую же степень уплотнения и устойчивость, как у старого земляного полотна.

В результате создается неравнопрочная дорожная конструкция (земляное полотно плюс дорожная одежда) и возникают продольные трещины в дорожной одежде по стыку старого и нового земляного полотна. Опыт реконструкции Московской кольцевой автомобильной дороги показывает, что даже при устройстве различных прокладок и усилений по зоне стыка полностью избежать образования продольных трещин не удается.

Кроме того, при одностороннем уширении проезжей части увеличивается потребность в материалах для устройства покрытия из-за необходимости укладки дополнительного слоя покрытия, чтобы переместить ось проезжей части и обеспечить равный поперечный уклон покрытия на обеих полосах движения.

При уширении земляного полотна, чтобы избежать переувлажнения грунта перед началом основных работ, после снятия растительного слоя необходимо обеспечить поверхностный водоотвод на период реконструкции дороги. Для этого производят планировку поверхности и нарезку временных канав автогрейдером с отводом воды в пониженные места.

Существуют определенные различия в технологии работ по уширению насыпей и выемок (рис. 3).

Рис. 3. Последовательность работ при уширении земляного полотна

Уширение насыпей высотой до 2 м, как правило, начинается с засыпки боковых канав или кювет-резервов, из которых была возведена насыпь. Засыпка производится послойно местным грунтом с тщательным уплотнением, до коэффициента уплотнения Ку = 1.

В нижней части при небольшой ширине канав грунт уплотняют вибротрамбующими машинами типа БТМ-1 массой 5 т, производительностью 50 - 60 м3/ч с частотой не менее 1200 - 1500 уд/мин или малогабаритными виброуплотнителями типа ВУ-800 и ВУ-1500 массой 45 и 82 кг, частотой вибрации 100 и 70 Гц, размером плит 450×350 мм и 620×450 мм, глубиной уплотнения 20 - 25 см и рабочей скоростью 20 м/мин.

Несколько реже используют вибромолот шириной захвата 0,8 м с рабочим органом, навешенным сзади бульдозера типа Д-535. На его отвале монтируют планировочную плиту, предназначенную для разравнивания грунта. При скорости движения уплотняющей машины 380 м/ч слой уплотняемого грунта до коэффициента уплотнения 0,95 - 1,00 достигает толщины 0,35 м. Увеличение скорости до 450 - 550 м/ч возможно, если снизить толщину уплотняемого слоя до 0,3 м. Вибромолотом можно уплотнять грунт и в широких траншеях.

После окончания засыпки боковых водоотводных канав и оформления акта на скрытые работы приступают к работам по собственно уширению земляного полотна. Важной задачей при этом является обеспечение надежного сопряжения присыпаемого грунта с грунтом существующего земляного полотна.

Для этого при высоте насыпи до 2 м и крутизне косогоров до 1:5 достаточно разрыхлить грунт на откосах рыхлителем на глубину 0,2 - 0,25 м.

На более высоких насыпях и косогорах крутизной до 1:3 на откосах бульдозером или автогрейдером нарезают уступы высотой до 0,5 м с уклоном 50 .

В насыпях из песчаных грунтов уклон уступов делают к оси дороги, в глинистых - от оси дороги.

Вначале нарезают нижний уступ, затем вышерасположенный и грунт постепенно перемещают на нижний уступ, распределяя его заданной толщиной слоя, и тщательно равномерно уплотняют.

Уплотнение является одной из важнейших операций при уширении земляного полотна, особенно на уступах. При симметричном уширении насыпей высотой до 2 м с учетом уположения их откосов до 1:3 - 1:4 ширина досыпаемой полки составляет около 3 м, что позволяет разравнивать грунт бульдозером и уплотнять по челночному способу любыми самоходными катками. Толщину уплотняемого слоя принимают из расчета коэффициента уплотнения не менее плотности грунта реконструируемой насыпи, но не ниже Ку = 1,0.

При двухстороннем уширении ширина полосы уширения может составлять до 1 м. В этом случае при высоте насыпи более 2 м по технологическим условиям величину уширения приходится увеличивать на 1,0 - 1,5 м, чтобы обеспечить возможность работы бульдозера, автогрейдера и уплотняющих машин на уступах и присыпаемых слоях.

Лишний грунт после отсыпки насыпи срезают и используют либо для уположения откосов, либо перемещают на соседний участок уширения. Это еще один из недостатков двухстороннего уширения.

Исключительно большое влияние на прочность земляного полотна и устойчивость откосов насыпей при уширении имеет выбор грунтов для уширения и их расположение в теле земляного полотна.

Опыт реконструкции дорог позволил выработать ряд требований к земляному полотну в местах уширения, а именно:

·   укладывать новые грунты в насыпь слоями по возможности соблюдая их взаиморасположение и придавая им поперечный уклон в сторону откосов, чтобы предупредить застой воды на поверхности отсыпанных слоев (так называемой верховодки);

·   фильтрующие грунты укладывать в верхнюю часть земляного полотна и в откосы, которые больше подвергаются воздействию погодных условий. При укладке фильтрующих грунтов в нижние слои толщину слоя следует принимать не меньше высоты капиллярного поднятия для этих грунтов;

·   степень уплотнения отсыпаемых слоев должна быть не меньше, чем существующего земляного полотна;

·   крутизну откосов принимать согласно требованиям повышения безопасности движения и категориям автомобильной дороги;

·   если откосы отсыпают из песков, то их необходимо укреплять одновременно с производством земляных работ, чтобы предупредить размывы;

·   не рекомендуется применять крупнообломочные горные породы, алевролиты, глинистые сланцы, мергели, оглоенные подзолистые, а также иловатые почвогрунты.

Соблюдение этих требований необходимо для обеспечения прочности и устойчивости земляного полотна после реконструкции. Особенно важно соблюдать требования по однородности грунтов. При насыпях высотой до 2 м, симметрично уширяемых, можно применять любые грунты, поскольку крутизна откосов составляет положе 1:3. При высоте свыше 2 м, а на дорогах I категории 3 м, пригодны только песчаные грунты. На сухих участках (1 тип увлажнения) возможно использование и супесчаных, но не пылеватых грунтов с одновременным укреплением откосов.

Если местность относится к 2, и особенно 3 типу увлажнения, то в нижнюю часть полосы уширения рекомендуется укладывать песчаный грунт с коэффициентом фильтрации 1 м/сут и более и высотой капиллярного поднятия до 35 см. Тогда ограничивается поступление воды в рабочий слой, который может быть отсыпан и из связных грунтов.

На участках с необеспеченным поверхностным стоком, а также на участках 3 типа увлажнения, на полосе уширения, нижнюю часть насыпи обязательно нужно отсыпать из грунтов с коэффициентом фильтрации 3 м/сут и более, высотой капиллярного поднятия до 25 см.

В связи с большими трудностями отвода земель в настоящее время не удается устраивать боковые резервы вдоль дорог. В большинстве случаев грунт для уширения берут из грунтовых карьеров, которые могут быть пригодны к применению не во всех слоях земляного полотна или требуют специальных мер для предохранения их от увлажнения. Поэтому особенно строго следует выполнять требования к расположению грунтов в слоях насыпи [21, 23, 30]. При уширении насыпей из крупнообломочных грунтов необходимо применять заполнитель из глинистых грунтов, причем верхнюю часть толщиной не менее рабочего слоя рекомендуется возводить из обломков крупностью до 250 мм. Большего размера обломки используют для возведения нижней части насыпей, но их размер не должен превышать 2/3 толщины уплотняемого слоя. В крупнообломочных грунтах желательно, чтобы содержание глинистого заполнителя составляло около 30 % с влажностью, равной оптимальному значению. При соблюдении этих требований предупреждаются просадки. В крупнообломочных грунтах либо отходах промышленности влажность раздробленной мелкозернистой их части должна соответствовать тугопластичной консистенции (коэффициент консистенции должен составлять около 0,3 %).

Крупнообломочные грунты с пределом прочности на сжатие не менее 0,5 МПа уплотняют в два этапа: на первом этапе применяют кулачковые катки массой свыше 25 т, а на втором - катки вибрационные массой не менее 10 - 12 т с количеством проходов по одному следу 10 - 12.

Из-за ограниченной возможности отвода земель под грунтовые карьеры в некоторых случаях для уширения земляного полотна могут быть использованы различные отходы промышленности и прежде всего металлургические шлаки и золошлаковые отходы тепловых электростанций. Их применение требует особого внимания к однородности состава, технологии производства работ, уплотнению и контролю качества [4].

Рис. 4. Схема симметричного уширения выемок с отводом поверхностной воды:

а - кюветом трапецеидального сечения; б - лотком треугольного сечения; 1 - тщательно уплотненный грунт; 2 - срезанный грунт

Особое внимание необходимо уделять уплотнению грунта в уширяемой части насыпи. Во всех случаях необходимо стремиться к тому, чтобы коэффициент уплотнения был не менее 1,0. Это позволит избежать просадок и снизит вероятность пучинообразования, существенно повысит прочность земляного полотна.

Уширение выемок на практике производится значительно реже, чем насыпей, и по несколько иной технологии.

Выемки глубиной до 2 м уширяют, как правило, бульдозером или экскаватором. После снятия растительного слоя, так же как и при уширении насыпи, выполняют работы по засыпке боковых кюветов с послойным уплотнением грунта.

Затем разрабатывают откосы выемки на заданную ширину с перемещением грунта в насыпь или в отвал или с погрузкой его в самосвалы и транспортировкой на место отсыпки.

После этого бульдозером или планировщиком выполняют планировку откосов, нарезают водоотводные лотки автогрейдером или канавокопателем, а затем при необходимости укрепляют откосы.

В мокрых выемках глубже 6 м уширение производят экскаватором с обратной лопатой или экскаватором-драглайн, располагая их у верхней бровки выемки.

В последнее время вместо боковых канав в выемках глубиной свыше 1 - 2 м рекомендуется устраивать укрепленные лотки треугольного или округлого сечения (рис. 4), предназначенные только для отвода поверхностной воды.

Преимущества лотков по сравнению с глубокими кюветами или водоотводными канавами в выемках заключаются прежде всего в повышении безопасности движения. Менее размываются их откосы. В них практически не застаивается поверхностная вода, и потому они не зарастают болотной растительностью, но зарастают травой и их не нужно укреплять. Их легче прочищать механизированным способом.

Существующее мнение, что глубокие кюветы и водоотводные канавы способствуют осушению земляного полотна, является не вполне обоснованным.

При глубоких кюветах, заполненных снегом, скорость оттаивания грунта на обочинах обычно в 5 - 6 раз меньше, чем под дорожной одеждой [18]. Значит, глубокие кюветы и водоотводные канавы не в состоянии осушить в период оттаивания земляное полотно. В районах же с равнинным характером местности чаще всего глубокие кюветы и водоотводные канавы на десятках километров заполнены водой.

Практика показала, что в канавах, особенно глубоких и тем более заросших влаголюбивым кустарником, круглый год стоит поверхностная вода. Таким образом, вместо пользы глубокие кюветы и водоотводные канавы ухудшают водно-тепловой режим земляного полотна во время его оттаивания.

Перестраивая земляное полотно, особое внимание следует уделять системе водоотвода: восстановлению или устройству новых боковых канав, в том числе и отводящих воду в сторону от полотна, в пониженные места или к водопропускным сооружениям, дренажей для перехвата, сбора, отвода и понижения уровня грунтовых вод, водоотводных лотков и водобойных колодцев и т.д.

Представляет интерес опыт реконструкции Московской кольцевой автомобильной дороги (МКАД), построенной в 1957 - 1962 гг., общим протяжением 108,7 км [17]. Среднее расстояние от центра города - 17,35 км. Дорога имела следующие параметры:

·   ширина земляного полотна - 24 м;

·   ширина полосы движения - 3,5 м;

·   количество полос движения - 4 м;

·   ширина разделительной полосы - 4 м;

·   ширина обочин - 3 м (каждая);

·   габариты мостов и путепроводов - 21 м;

·   ширина тротуаров на путепроводах - 1,5 м;

·   высотный габарит под путепроводами - 4,5 м.

Покрытие - цементобетон толщиной 24 см с арматурной сеткой в верхней части на песчаном подстилающем слое толщиной 35 - 50 см. Песчаный слой - сплошной по всей ширине земляного полотна. По краю проезжей части со стороны обочин была установлена рифленая плитка шириной 0,5 м, толщиной 6 см на цементобетонном основании толщиной 18 см. У разделительной полосы установлен бортовой камень высотой 16 см. Обочины укреплены щебнем толщиной 10 см, на подходах к мостам и путепроводам - заасфальтированы.

После реконструкции ширина земляного полотна МКАД составит 50 м, существующее земляное полотно уширяется почти на 90 % протяженности симметрично до 25 м от оси с каждой стороны (рис. 5). При уширении насыпи земляного полотна высотой более 1,5 производится нарезка уступов. Сооружение земляного полотна осуществляется только из песчаных грунтов выемок и песка из карьеров. Продольный профиль МКАД при реконструкции в основном не меняется, за исключением профиля дороги в местах подхода к новым большим мостам на 19,68 и 76 км МКАД.

Перед началом работ по уширению земляного полотна растительный грунт на откосах слоем 15 см и под насыпью уширения слоем 20 см снимают с целью использования его в дальнейшем для укрепления откосов и рекультивации прилегающей к МКАД территории. Для обеспечения устойчивости земляного полотна производится укрепление откосов растительным грунтом толщиной 0,15 м с засевом семян многолетних трав, железобетонными решетками с засыпкой щебнем, а также геоматами с засыпкой щебнем и грунтом, с засевом трав.

Рис. 5. Поперечные профили уширения земляного полотна при реконструкции МКАД:

а - насыпи высотой до 2 м; б - насыпи высотой до 6 м; в - выемки глубиной до 12 м; 1 - снятие растительного слоя грунта; 2 - граница полосы отвода; 3 - засев трав; 4 - существующее земляное полотно; 5 - нарезка уступов

2.3. Исправление продольного профиля

Исправление продольного профиля при реконструкции дороги осуществляется путем увеличения высоты насыпей и глубины выемки существующей дороги.

Увеличение высоты насыпей производят на снегозаносимых участках с целью поднятия бровки земляного полотна до отметки снегонезаносимой насыпи; на пучинистых участках и участках с высоким уровнем грунтовых или стоячих поверхностных вод до отметки, превышающей капиллярное поднятие воды, и на участках смягчения продольного уклона. Существующие насыпи высотой более 3 м повышают только в исключительных случаях.

Увеличение глубины выемки обычно связано с необходимостью смягчения продольного уклона, увеличения видимости в продольном профиле на вертикальных выпуклых кривых. Иногда увеличение глубины выемки требуется по условиям строительства путепровода над существующей дорогой, для пропуска другой автомобильной или железной дороги.

При повышении высоты насыпи неизбежно происходит ее уширение по подошве и по всей высоте по сравнению с существующей дорогой за счет изменения заложения откосов (рис. 6). Как правило, у старых дорог заложение откосов насыпей небольшой высоты составляет 1:1 или 1:1,5. В то же время по СНиП 2.05.02-85 крутизну откосов насыпей высотой до 3 м на дорогах I - III категорий следует назначать с учетом обеспечения безопасного съезда транспортных средств в аварийных ситуациях, как правило, не круче 1:4, а для дорог других категорий при высоте откоса насыпи до 2 м - не круче 1:3. Такие откосы достаточно укрепить травосеянием или одерновкой. На ценных землях допускается увеличение крутизны откосов до предельных значений от 1:1 до 1:1,75 в зависимости от типа грунта насыпи с разработкой дополнительных мероприятий по обеспечению безопасности движения и укреплению откосов. Аналогичные решения могут быть приняты и для других условий при технико-экономическом обосновании.

Величина уширения на уровне отметки бровки земляного полотна существующей дороги может быть определена по формуле

а = m2 · Dh, м,                                                               (2)

где m2 - заложение откоса насыпи после ее повышения;

Dh - увеличение высоты насыпи, м.

Величина уширения по подошве насыпи составит

b = m2 · h2 - m1 · h1,                                                          (3)

где h1 - высота насыпи до реконструкции, м;

h2 - общая высота насыпи после реконструкции, м;

m1 - заложение откоса насыпи до реконструкции.

Увеличение высоты насыпи может быть без изменения положения оси дороги и с изменением (смещением) оси дороги в плане.

Выбор порядка и технологии производства работ при повышении высоты насыпей зависит от большого количества факторов: высоты старой насыпи и крутизны ее откосов, величины повышения насыпи и крутизны новых откосов, положения оси дороги до и после повышения насыпи, типа и состояния дорожной одежды, грунтов и системы водоотвода и т.д.

При увеличении высоты насыпи старую дорожную одежду, как правило, разбирают, перерабатывают и обогащают материалом, а затем используют их при строительстве новой дорожной одежды или на других дорожных работах. Однако могут быть и другие варианты использования старой дорожной одежды. При повышении насыпи на 0,25 - 0,30 м, а в некоторых случаях и до 0,5 м старую дорожную одежду используют как основание, на котором устраивают новую дорожную одежду. Окончательное решение принимают после технико-экономического сравнения вариантов, в которых учитывают затраты на снятие старой одежды, переработку и обогащение получаемых материалов, повторную укладку этих материалов в дорожную одежду и сравнивают эти затраты с расходами на строительство новой дорожной одежды.

Аналогичные расчеты производят при значительном увеличении высоты насыпи. Как правило, более экономичным является вариант снятия старой дорожной одежды с дальнейшим использованием ее материалов в дорожных конструкциях. Но в некоторых случаях при разборке гравийных или щебеночных покрытий материалы оказываются настолько измельченными, слабопрочными и загрязненными, что затраты на их переработку и обогащение превышают стоимость строительства новой дорожной одежды. В этом случае дорожную одежду не разбирают, а засыпают грунтом (хоронят в земляном полотне).

При небольшом повышении насыпи (до 40 - 50 см) работы производят путем отсыпки слоя грунта на обочины после снятия растительного слоя с обочин и верхней части земляного полотна.

Работы выполняют в такой последовательности:

·   снятие растительного слоя с обочин и верхней части откосов на высоту 0,5 - 0,6 м;

·   послойная разборка и удаление материалов слоя старой одежды;

·   послойная засыпка корыта грунтом и его уплотнение;

·   отсыпка песчаного слоя, устройство новой дорожной одежды;

·   досыпка обочин и их укрепление.

Если старая одежда остается как основание новой, то поднятие земляного полотна, по существу, сводится к досыпке грунта на обочины и его уплотнению.

При необходимости увеличить высоту насыпи более чем на 0,5 м работы ведутся снизу вверх от подошвы насыпи так же, как и при уширении земляного полотна. После снятия растительного слоя с откосов насыпи, кюветов и поверхности прилегающей полосы, где будет размещена подошва новой насыпи, засыпают кюветы или боковые канавы с послойным уплотнением грунта.

Затем так же, как и при уширении, послойно отсыпают новые откосные части насыпи с рыхлением старого откоса или нарезкой уступов.

Если ширина отсыпаемого откоса достаточна для работы бульдозера, автогрейдера и катков, то каждый уступ нарезают шириной 0,3 - 0,5 м, высотой, равной высоте отсыпаемого слоя (0,25 - 0,35 м). Отсыпают и уплотняют грунт. Затем нарезают второй снизу уступ и так отсыпают откосную часть до бровки старой насыпи.

Если ширина отсыпаемого откоса меньше 1,5 - 2,0 м, то может быть принят один из двух вариантов:

а) увеличивают ширину уступа так, чтобы обеспечить возможность работы дорожных машин при послойной отсыпке откосной части земляного полотна;

б) увеличивают ширину вновь отсыпаемых слоев, которые после возведения насыпи срезают, а грунт перемещают на другие участки работы.

Таким образом отсыпается новая откосная часть насыпи до уровня бровки земляного полотна существующей дороги.

Дальнейшее повышение насыпи выполняется по обычной технологии возведения земляного полотна.

Следует отметить, что при увеличении высоты насыпей необходимо соблюдать те же требования к грунтам, их взаиморасположению и степени уплотнения, что и при уширении земляного полотна.

Увеличение глубины существующих выемок производится значительно реже, чем увеличение высоты насыпей, что объясняется более сложными условиями осуществления таких работ.

Дело в том, что изменение проектной линии в выемке влечет за собой изменение проектной линии и на подходах к ней (рис 7).

При этом можно выделить ряд характерных участков изменения продольного профиля:

·   участок увеличения глубины выемки - I;

·   участок уменьшения глубины выемки - II;

·   участок, где выемка заменяется насыпью - III;

·   участок увеличения высоты насыпи на подходе к выемке - IV.

В реальных условиях некоторые из названных участков могут отсутствовать, но все равно организация работ по реконструкции выемок остается сложной. При увеличении глубины выемок неизбежны увеличение ее ширины по верху, снятие существующей дорожной одежды, перестройка системы водоотвода и дренажа (рис. 8).

В ряде случаев одновременно с углублением выемки для повышения устойчивости откоса или обеспечения снегонезаносимости увеличивают заложение откосов, т.е. уполаживают их. Увеличение ширины выемки по верху с одной стороны в этом случае составит

b = m2 · h2 - m1 · h1, м,                                                     (4)

где m1 и m2 - заложение откоса до и после реконструкции;

h1 и h2 - глубина выемки до и после реконструкции, м.

Если крутизна откоса после реконструкции остается такой же, как и до реконструкции, увеличение ширины выемки по верху с одной стороны составит

b = m(h2 - h1), м,                                                         (5)

где m - заложение откоса.

Работы по углублению выемок начинаются, как правило, с устройства объезда, снятия растительного слоя с откосов выемки и поверхности земли на полосе уширения.

После этого производят уширение выемки до отметки бровки существующей дороги сначала с одной, а затем с другой стороны или с обеих сторон одновременно.

Движение автомобилей в этот период может осуществляться по обеим полосам проезжей части без перерыва.

Рис. 6. Схема определения геометрических размеров земляного полотна при увеличении высоты насыпи

Рис. 7. Схема расположения смежных участков изменения глубины выемки и высоты насыпи при смягчении продольного уклона:

I - участок увеличения глубины выемки; II - участок уменьшения глубины выемки; III - участок, где выемка заменяется насыпью; IV - участок увеличения высоты насыпи; 1 - линия поверхности земли; 2 - положение красной линии до реконструкции; 3 - то же после реконструкции; i1, i2 - максимальный продольный уклон до и после реконструкции

Рис. 8. Схема определения геометрических размеров углубляемой выемки

При величине уширения более 2 м разработку откосов выемки можно выполнять бульдозером с продольным перемещением грунта. При меньшей величине уширения разработку откосов выемки выполняют экскаватором-драглайн или экскаватором с обратной лопатой, который устанавливается наверху откоса и разрабатывает грунт с погрузкой в транспортные средства или в отвал.

Экскаватор может быть использован и для разработки откосов при большой величине уширения и большой глубине выемки. В этом случае может быть использован экскаватор с прямой лопатой, который разрабатывает откос ярусами с погрузкой грунта в транспортные средства.

При уширении и углублении больших и глубоких выемок этот метод широко применяется. В частности, таким способом разрабатывались многие выемки при реконструкции Московской кольцевой автомобильной дороги.

После того, как откосы выемки разработаны на глубину до отметки бровки существующей дороги, приступают собственно к углублению выемки до проектной отметки.

К этому времени должно быть закрыто движение по основной дороге и перенесено на объезд или организовано движение по одной стороне проезжей части и снята дорожная одежда.

Работы по углублению выполняют скреперами или бульдозерами. Технология работ практически не отличается от производства работ по строительству дорог.

Завершающим этапом работ по углублению выемок являются планировка и укрепление откосов, нарезка и укрепление кюветов и водоотводных канав.

2.4. Перестройка пучинистых участков

Пучинистыми называют деформации дорожных одежд и земляного полотна, проявляющиеся зимой во взбугривании, растрескивании и потере ровности покрытия, а в период оттаивания в проломах дорожной одежды при проезде автомобилей, вызванных снижением прочности переувлажненных грунтов.

Пучины на дорогах возникают при одновременном сочетании трех факторов:

·   наличие пучинистых грунтов;

·   интенсивное влагонакопление до относительной влажности более 0,75 от влажности на границе текучести грунта в период морозного влагонакопления;

·   медленное и глубокое промерзание грунтов под дорожной одеждой на глубину более 0,5 м.

При отсутствии любого из этих факторов пучины не возникают.

Мероприятия, направленные на устранение возможности образования пучин, можно разделить на три группы (рис 9):

·   изменение или регулирование пучинистых свойств грунта путем замены пучинистого грунта непучинистым, введения добавок, термообработки или укрепления грунта вяжущими;

·   регулирование водного режима земляного полотна путем обеспечения поверхностного водоотвода и исключения увлажнения грунтовыми водами;

·   регулирование теплового режима земляного полотна устройством морозозащитных и теплоизолирующих слоев и др.

Одной из основных причин возникновения пучин является наличие пучинистых грунтов в теле земляного полотна под дорожной одеждой.

Все грунты по степени пучинистости разделяются на 5 групп:

I - непучинистые грунты, относительное морозное пучение которых меньше или равно 1 % (Кпуч £ 1). К ним относится песок гравелистый крупный и средней крупности с содержанием частиц мельче 0,05 мм до 2 %.

Рис. 9. Мероприятия по устранению причин пучинообразования, применяемые при реконструкции дорог

II - слабопучинистые, относительное морозное пучение от 1 % до 4 % (Кпуч от 1 до 4). К ним относятся песок гравелистый крупный, средней крупности и мелкий с содержанием частиц мельче 0,05 до 15 %, супесь легкая крупная.

III - пучинистый, относительное морозное пучение от 4 % до 7 % (Кпуч от 4 до 7). К ним относятся супесь легкая, суглинок (легкий и тяжелый), глины.

IV - сильнопучинистый, относительное морозное пучение от 7 до 10 % (Кпуч от 7 до 10). К ним относятся песок и супесь пылеватые, суглинок тяжелый пылеватый.

V - чрезмернопучинистый, относительное морозное пучение более 10 % (Кпуч > 10). К ним относятся супесь тяжелая пылеватая и суглинок легкий пылеватый.

Для того чтобы избежать образования пучин, рабочий слой земляного полотна в насыпях и выемках на глубине 1,2 м от поверхности цементобетонных и на глубине 1 м от поверхности асфальтобетонных покрытий во II дорожно-климатической зоне и на глубине 1 и 0,8 м соответственно в III дорожно-климатической зоне должен состоять из непучинистых или слабопучинистых грунтов (группа I или II).

На тех участках дорог, где эти требования не выдержаны и установлено образование пучин, необходимо принять меры по замене пучинистого грунта непучинистым или по улучшению свойств грунта.

Замену пучинистого грунта земляного полотна в насыпях начинают со снятия растительного слоя с обочин и откосов. Затем разрушают и послойно снимают дорожную одежду (см. п. 2.5) и транспортируют материалы в штабеля или на место переработки. После этого разрыхляют верхний слой насыпи рыхлителями на базе бульдозеров или экскаваторов, бульдозерами или скреперами снимают грунт и перемещают его в отвал или погрузчиками грузят в транспортные средства и перемещают к месту укладки автотранспортом.

Дренирующий грунт доставляется самосвалами из карьера и послойно отсыпается с уплотнением до рабочей отметки. При этом соблюдаются требования продольного сопряжения перестраиваемого пучинистого участка с неперестраиваемым [18].

Иногда вместо замены пучинистого грунта применяют различные способы улучшения его свойств.

Одним из таких способов является закрепление пучинистого грунта введением цементного или цементоизвесткового раствора. Для этого с поверхности дороги пробуривают сетку скважин на всю глубину рабочего слоя из пучинистого грунта, в которую под давлением закачивают раствор.

Другой основной причиной образования пучин является интенсивное морозное влагонакопление в грунте. Этому может способствовать наличие грунтов с высоким капиллярным поднятием воды, поверхностных или близкорасположенных грунтовых вод, инфильтрация воды через откосы, обочины и покрытие, и особенно морозное влагонакопление в зимний период [19, 29].

Для устранения влияния этих причин наиболее действенной мерой является соблюдение требований к возвышению поверхности покрытия над расчетным уровнем грунтовых вод, верховодий или длительно стоящих поверхностных вод, а также над поверхностью земли на участках с необеспеченным поверхностным стоком [28].

Наиболее простым способом устранения причин образования пучин на участках, где указанные требования не соблюдены, является увеличение высоты насыпей до величин, соответствующих этим требованиям.

Для регулирования водного режима земляного полотна применяют устройство глубоких (траншейных) дренажей для понижения уровня грунтовых вод или их перехвата с верховой стороны; устройство дренирующих слоев с дренажами мелкого заложения для осушения верхнего слоя земляного полотна; устройство водонепроницаемых капилляропрерывающих и водоизолирующих прослоек, полностью устраняющих увлажнение верхней части земляного полотна и дорожной одежды.

Траншейный дренаж применяют только в сложных случаях, когда уровень грунтовых вод оказывает существенное влияние на влажность грунта рабочего слоя земляного полотна. Обычно это третий тип местности по условиям увлажнения с расположением уровня грунтовых вод не глубже 1 - 1,5 м от поверхности на участках невысоких насыпей. Траншейный дренаж может быть подкюветным или прикромочным, односторонним и двусторонним (рис. 10). При устройстве траншейного дренажа часто используют геотекстиль и водонепроницаемый рулонный материал.

Работы выполняют в таком порядке:

·   разработка грунта в траншеях одноковшовым экскаватором с обратной лопатой или экскаватором-драглайн;

·   подготовка, раскатка и укладка рулонов синтетического нетканого материала в траншею с креплением скрепками;

·   укладка щебеночного или гравийного слоя, трубы дренажной керамической и засыпка щебеночным или гравийным материалами;

·   засыпка траншеи грунтом с помощью бульдозера с послойным уплотнением трамбовками.

Гораздо чаще устраивают дренажи мелкого заложения, когда дренажная труба укладывается в ровик вдоль кромки проезжей части для сбора воды из дренирующего слоя и осушения верхней части земляного полотна [18, 19]. Это может быть комбинированный прикромочный дренаж, комбинированный плоскостной дренаж или поперечные дренажи мелкого заложения.

Гидроизоляцию земляного полотна применяют для предотвращения поступления влаги в тело земляного полотна: атмосферных осадков через обочины, неукрепленные или укрепленные водопроницаемым материалом (щебнем необработанным), воды из кюветов при длительном стоянии поверхностных вод, грунтовых вод при промерзании или для прерывания капиллярного поднятия грунтовых вод.

В качестве гидроизолирующих прослоек могут быть применены термопластики (безосновные резинобитумные рулонные материалы), такие как изол, бризол, борулин, гидроизоляционный материал на основе полиизобутилена и др.; пленки (полимерные безосновные рулонные материалы), к ним относятся полиэтиленовая поливинилхлоридная и полиамидная пленка, а также пленка армадор-2; основные рулонные материалы, к которым относятся гидроизол, рубероид, стеклорубероид и др.

Рис. 10. Конструкции земляного полотна с траншейным дренажом:

а, б - подкюветные двухсторонний и односторонний дренажи; в, г - прикромочные двусторонний и односторонний дренажи; ∆Н - величина понижения уровня грунтовых вод

Возможно применение тканных и нетканных синтетических материалов, обработанных битумом до их полной водонепроницаемости путем создания на поверхности синтетического материала сплошной пленки битума.

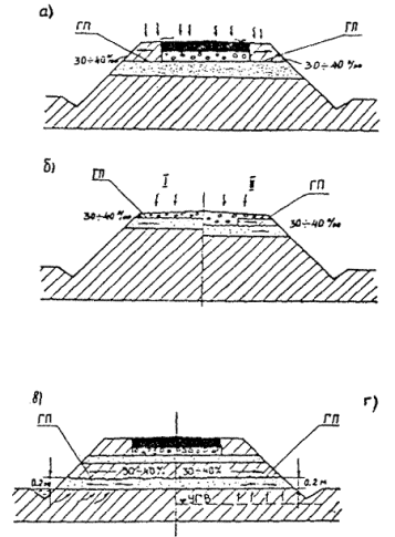
Местоположение гидроизолирующей прослойки выбирают в зависимости от источника поступления влаги (рис. 11).

Технология работ по устройству гидроизолирующих прослоек зависит от конструкции дорожной одежды и местоположения гидроизолирующей прослойки.

Если в процессе реконструкции гидроизолирующая прослойка укладывается только на ширину обочин, то снимается грунт с обочин до поверхности песчаного слоя, выравнивается и уплотняется песчаный слой, затем отсыпается и уплотняется грунт на присыпной обочине.

Гидроизолирующая прослойка может укладываться на поверхность старого разрушенного покрытия. В этом случае предварительно должен быть выполнен ямочный ремонт старого покрытия и при необходимости уложен выравнивающий слой. Затем укладываются гидроизолирующая прослойка и слои усиления дорожной одежды.

Регулирование теплового режима земляного полотна осуществляют главным образом путем устройства морозозащитных и теплоизолирующих слоев.

Морозозащитные слои - это слои дорожной одежды и верхней части земляного полотна из зернистых материалов, таких как щебень, песчано-гравийные смеси, шлаки, непучинистые грунты I группы, а также грунты, укрепленные вяжущими и гидрофобизированные.

Теплоизолирующие слои - это слои дорожной одежды из материалов с более эффективными теплозащитными свойствами, чем у грунтов и обычных дорожно-строительных материалов.

Рис. 11. Конструкции земляного полотна с гидроизолирующими прослойками (ГП):

а - гидроизоляция обочин; б - гидроизоляция дорог с переходным типом покрытия; I - серповидный профиль; II - полукорытный профиль; в - гидроизоляция нижней части насыпи при длительном стоянии поверхностных вод; г - то же при близком уровне грунтовых вод

Рис. 12. Конструкция дорожной одежды с теплоизолирующими слоями:

а - из укрепленных материалов и грунтов с легкими заполнителями; б - то же с трубчатыми дренами; в - с морозозащитным слоем из битумоминеральной смеси; 1 - покрытие; 2 - основание; 3 - укрепительная полоса; 4 - укрепление обочин; 5 - песчаный дренирующий слой; 6 - засев трав, 7 - теплоизолирующий слой; 8 - трубчатая дрена, 9 - выпуск; 10 - морозозащитный слой

К таким материалам относятся полимерные материалы (пенопласты); легкие бетоны, в которых содержатся пористые заполнители (керамзит, аглопорит, гранулы полистирола, измельченный пенопласт); металлургические шлаки; золошлаковые смеси, обработанные и необработанные вяжущим; композиции из местных материалов или грунтов, легких заполнителей и вяжущих, приготовленных способом смешения как в установке, так и на полотне дороги; битумоминеральные смеси обычные или с легкими заполнителями.

Коэффициент теплопроводности таких материалов не должен превышать 0,6 Вт/мК, коэффициент морозного пучения не более 1 %. Кроме того, образцы из этих материалов должны обладать достаточной прочностью.

Теплоизолирующие слои из пенопласта устраивают редко из-за высокой стоимости этого материала.

Для предохранения земляного полотна от значительного промерзания устраивают дорожные одежды с теплоизолирующими слоями из укрепленных цементом или битумом местных материалов, грунтов или отходов промышленности с добавкой легких заполнителей (рис. 12).

В качестве легких заполнителей чаще всего используют шлаки, аглопористовый щебень или песок, керамзит и др.

Для предохранения грунта земляного полотна под дорожной одеждой от промерзания со стороны обочин теплоизолирующий слой должен быть шире проезжей части на 0,8 - 1,0 м с каждой стороны. На концах участка с теплоизолирующим слоем в продольном направлении дороги на протяжении 3 - 5 м толщину теплоизолирующего слоя постепенно уменьшают, чтобы избежать резкого перехода от одной конструкции к другой и предупредить возможность появления трещин в местах сопряжения.

Технология устройства теплоизолирующих слоев из материалов, укрепленных цементом, или битумоминеральных материалов почти не отличается от технологии устройства слоев дорожной одежды из этих материалов. Отличие состоит в том, что в случае применения в качестве легкого заполнителя керамзита, аглопорита или перлита уплотнение слоев производят только легкими или средними катками.

2.5. Перестройка и удлинение водопропускных труб

В процессе реконструкции автомобильной дороги в случае увеличения ширины земляного полотна, а также при повышении насыпи или уположении откосов возникает необходимость увеличения длины водопропускных труб. При этом возможны два варианта:

а) полная перестройка водопропускной трубы, которую производят в тех случаях, когда диагностика и прогнозирование состояния трубы показывают, что существующая труба не сможет нормально работать до следующей реконструкции дороги;

б) удлинение водопропускной трубы без перестройки существующей части. Производят, если состояние существующей трубы позволяет ожидать ее нормального функционирования до новой реконструкции дороги при соответствующем содержании и ремонте. Работы по перестройке или удлинению труб желательно производить в сухое время года или в зимний период, чтобы предотвратить вредное для производства работ влияние потока воды, протекающего через трубу. Работы должны быть организованы таким образом, чтобы не препятствовать пропуску движения или снизить возможные помехи до минимальной степени.

Для этого целесообразно устройство временного объезда. При невозможности его сооружения (близкорасположенные важные строения или подземные коммуникации, ценные сельскохозяйственные культуры, не подлежащий повреждению лес и т.п.) необходимо организовать работы с одновременным регулированием движения по другой половине дороги. Последний вариант более сложен и менее желателен с позиций производства работ и организации движения, но он достаточно часто встречается при перестройке труб.

Полная перестройка трубы включает в себя следующие основные операции, многие из которых аналогичны новому строительству водопропускной трубы [25].

До начала работ производят установку необходимых дорожных знаков (ограничения скорости, сужения проезжей части), указателей объезда и др., ограждений в соответствии с действующими требованиями [3, 5].

Затем выполняют удаление (разборку) существующей дорожной одежды в пределах будущего котлована и вывоз материала с применением кирковщиков, бульдозеров, одноковшовых (фронтальных) погрузчиков и автомобилей-самосвалов. Возможно использование материала старой дорожной одежды на объездной дороге. После разборки дорожной одежды отрывают котлован с целью освобождения старой трубы от грунта до уровня подошвы фундамента (основания) с применением экскаватора с рабочим оборудованием обратной лопаты. Для безопасности и удобства работ при разборке старой и монтаже новой трубы котлован по подошве должен быть шире основания старой трубы с одной стороны на 3 м (для прохождения машин), а с другой стороны на 1 м (для движения рабочих).

Откос котлована должен обеспечивать безопасность работ (обычно не круче 1:1). Если через трубу в процессе ее перестройки возможно прохождение воды, котлован уширяют и в нем устраивают временное обводное русло, ширина и глубина которого должны быть рассчитаны.

При соответствующем технико-экономическом обосновании возможно устройство котлована с креплением откосов, что позволяет увеличивать их крутизну, уменьшая объем земляных работ.

После этого разбирают трубу с применением пневматических или электрических отбойных молотков (соответственно с передвижными компрессорами или электростанциями), автокранов, бульдозеров, автомобилей для транспортировки к месту складирования блоков разобранной трубы. Если лекальные блоки и основание трубы (обычно гравийно-песчаный или щебеночный слой) не имеют недопустимых дефектов, они могут быть сохранены. При наличии разрушений (трещины, значительные обломы) лекальные блоки или часть из них удаляют. Материал основания сдвигают за пределы котлована бульдозером. Возможно использование материала основания для укрепления временного отводного русла.

Затем осуществляют планировку и уплотнение дна котлована (при удалении лекальных блоков и основания) с помощью бульдозера и виброкатков или (рациональнее) виброплит. Уровень поверхности дна должен соответствовать требованиям проекта перестройки трубы. При необходимости при планировке производят досыпку котлована грунтом того же вида, что и местный грунт. Устройство пандуса для въезда автомобилей с уклоном до 100 показано на рис. 13. Пандус сооружают с верховой части трубы. На спланированном и уплотненном дне котлована устраивают основание из песчано-гравийной или щебеночной смеси, если такое основание предусмотрено проектом. Песчано-гравийную или щебеночную смесь вывозят автомобилями-самосвалами, планируют бульдозером (возможно вручную) и уплотняют самоходными или ручными виброкатками. При благоприятных грунтово-климатических условиях (песчаные грунты, глубина промерзания менее 0,5 м) основание из песчано-гравийной смеси можно не устраивать (это должно быть предусмотрено проектом).

Затем производят распределение цементного раствора, подвозимого автомобилями-самосвалами или изготовляемого на месте, и установку (монтаж) портальных стенок, блоков, открылков и лекальных блоков. Цементный раствор обычно распределяют вручную слоем 10 - 15 см, а портальные стенки, блоки открылков и лекальные блоки монтируют автокраном или краном на гусеничном ходу. Так как укладываемые на лекальные блоки звенья труб повторяют профиль, по которому уложены лекальные блоки, отметки лекальных блоков должны быть проверены с помощью нивелира. Уровень лекальных блоков регулируют толщиной слоя цементного раствора.

Монтаж звеньев трубы производится с применением автокрана или крана на гусеничном ходу (рис. 14). Затем выполняется омоноличивание швов между блоками портальных стенок и открылков, заделка и гидроизоляция швов звеньев.

Швы портальных стенок и открылков конопатят и заполняют цементным раствором, который уплотняют металлической шуровкой. Гидроизоляция швов звеньев осуществляется двумя слоями битуминизированной ткани и тремя слоями асбестобитумной мастики.

При двух- и трехочковых трубах пазухи между этими трубами заполняют цементобетоном, доставляемым автомобилями-самосвалами, автобетоносмесителями или изготовляемым на месте (см. рис. 15, а). Цементобетон к пазухам подают в бадьях с помощью автомобильного или гусеничного крана, либо более просто через бункер, снабженный металлическим рукавом. Уплотнение цементобетона в пазухах осуществляют различными глубинными вибраторами (вибробулава, виброштык и др.).

Гидроизоляция трубы может осуществляться с устройством оклеечной или обмазочной гидроизоляции. В первом случае трубу покрывают с помощью ручного распределителя битумной мастикой, доставляемой автогудронатором. Затем наклеивают рулонный материал (обычно рубероид), снова обмазывают битумной мастикой и наклеивают рулонный материал (рис. 15, б). Обмазочную гидроизоляцию устраивают путем обмазки внешней поверхности трубы битумным лаком с последующим нанесением двух слоев битумной мастики.

Рис. 13. Монтаж лекальных блоков одноочковой водопропускной трубы:

1 - котлован отрытый в существующем уширенном земляном полотне; 2 - въезд в котлован в виде пандуса; 3 - уложенные лекальные блоки; 4 - автомобильный кран; 5 - склад лекальных блоков; 6 - котлован для оголовка; 7 - цементный раствор; 8 - откос насыпи

Рис. 14. Монтаж звеньев двухочковой трубы:

1 - автомобиль с доставленными звеньями трубы; 2 - автомобильный кран; 3 - лекальные блоки; 4 - звенья водопропускной трубы

Рис. 15. Заполнение пазух двухочковой трубы цементобетоном (а) и гидроизоляция трубы (б):

1 - бункер с металлическим рукавом, подающим цементобетонную смесь для заполнения пазух; 2 - автомобиль-самосвал, доставляющий цементобетонную смесь; 3 - автогудронатор с ручным распределителем битума для гидроизоляции

Засыпку котлована с послойным уплотнением производят бульдозером, начиная с боковых пазух, где грунт уплотняют механическими трамбовками. Также уплотняют грунт и над трубой до общей толщины отсыпки 0,5 м в уплотненном состоянии. Толщина каждого уплотняемого слоя в пазухах и над трубой при использовании механических трамбовок должна быть 0,10 - 0,12 м. Выше толщины 0,5 м до верха котлована уплотнение производят самоходными виброкатками. Толщина уплотняемого слоя при этом 0,15 м. Грунт должен иметь оптимальную влажность. Необходимый коэффициент уплотнения грунта Ку ³ 1,0, что позволяет избежать просадок грунта и дорожной одежды над трубой. Засыпку удлиненной части трубы производят одновременно с уширением земляного полотна.

После этого производят расчистку подводящего и отводящего русел с укреплением бетонной плиткой и укреплением откосов у оголовков, а также строительство водоотбойного колодца, если он предусмотрен проектом реконструкции трубы.

Полная перестройка прямоугольной трубы включает в себя операции, аналогичные рассмотренным ранее, за исключением монтажа лекальных блоков, вместо которых обычно делают монолитный бетонный фундамент.

Большие прямоугольные железобетонные трубы часто бетонируют на месте. При этом на подготовленное основание устанавливают опалубку, монтируют и сваривают арматурный каркас, производят бетонирование с применением крана и бадьи. Уплотнение производят наружными вибраторами через опалубку, а также при возможности используют глубинные вибраторы.

Удлинение водопропускной трубы для уменьшения объема работ целесообразно производить со стороны выходного оголовка. Поэтому в данном месте предусматривают одностороннее уширение земляного полотна и дорожной одежды. В процессе удлинения трубы выполняют следующие основные операции.

В случае постоянного протекания воды через трубу устраивают с нижней стороны временное отводящее русло с применением экскаватора с обратной лопатой и удаляют укрепление лотка и откосов. Удаление грунта откоса, примыкающего к оголовку, выполняют с применением экскаватора с обратной лопатой или при высокой насыпи (более 3 м) - с помощью экскаватора-драглайна.

Разборка оголовка трубы, включая открылки и портальную стенку, производится с применением пневматических или электрических отбойных молотков и автомобильного крана или крана на гусеничном ходу, располагающихся обычно на насыпи.

Отрывка котлована для основания и фундамента удлиненной трубы выполняется с применением экскаватора с обратной лопатой. Если в котлован поступает вода, необходимо обеспечить ее откачку и спуск по уклону. При этом возможно устройство временного сливного лотка. Планировка и уплотнение дна котлована производятся аналогично изложенному для полной перестройки трубы.

То же относится и к устройству основания из песчано-гравийной или щебеночной смеси, распределению цементного раствора, монтажу портальных стенок, блоков открылков, лекальных блоков удлиняемой части трубы. Затем аналогично полной перестройке трубы производят монтаж звеньев удлиняемой трубы между блоками портальной стенки и открылками, омоноличивание швов, заделку и гидроизоляцию швов звеньев, заполнение цементобетоном пазух при двух- или трехочковых трубах, гидроизоляцию трубы.

Работы завершаются устройством лотка у отводящего оголовка, строительством водобойного колодца, если он предусмотрен проектом реконструкции трубы, и засыпкой грунтом удлиненной части трубы, которую производят одновременно с уширением земляного полотна.

3. РЕКОНСТРУКЦИЯ ДОРОЖНЫХ ОДЕЖД

3.1. Способы реконструкции дорожных одежд

В тех случаях, когда ось существующей дороги совпадает с проектной осью этой дороги после реконструкции, а красные отметки практически не требуют изменения, возможны различные варианты перестройки дорожной одежды, выбор которых осуществляют на основе технико-экономических соображений.

Указанные варианты включают следующее:

а) полную разборку существующей дорожной одежды с использованием полученного материала при строительстве новой дорожной одежды, укреплении обочин, строительстве объездных дорог, подъездов и т.д.

Полная разборка дороги производится в тех случаях, когда под воздействием движения и погодно-климатических факторов ее износ и разрушение таковы, что использование существующей одежды в основании реконструируемой дорожной одежды технически не целесообразно (коэффициент прочности существующей дорожной одежды Кпр менее 0,4; дренирующий слой не способен выполнять свои функции вследствие заиливания или разрушения, на дорожной одежде наблюдаются частые проломы, составляющие более 3 % ее площади).

Полная разборка старой дорожной одежды производится и в том случае, когда намечается существенно увеличить высоту насыпи или углубить выемку;

б) разрушение существующей дорожной одежды, особенно слоев из монолитных материалов, и использование ее в качестве верхнего слоя основания. В этом случае увеличивается вероятность предотвращения возможности появления отраженных трещин в верхних слоях (трещины, повторяющие существующие в старом покрытии).

Такой способ реконструкции применяют, когда существующая дорожная одежда включает слои из цементобетона различных типов или материалов, укрепленных значительными дозами цемента и сохранивших в достаточной степени свою монолитность, но существенно снизивших ровность поверхности одежды, изобилующей трещинами и другими подобными деформациями. Отдельные блоки разрушенного слоя не должны превышать 0,5 м.

Асфальтобетонное покрытие в таких случаях на всю или большую часть толщины снимают способом холодного фрезерования, в дальнейшем его используют на асфальтобетонном заводе в качестве добавки для производства новой асфальтобетонной смеси. Возможно применение продукта фрезерования для укрепления обочин.

Разрушенный слой основания перед укладкой верхнего слоя должен быть тщательно уплотнен. Такой способ реконструкции дорожной одежды был применен на магистрали Москва - аэропорт Домодедово, где ранее построенное цементобетонное покрытие было перекрыто асфальтобетоном значительной толщины.

Через несколько лет после перекрытия на асфальтобетонном покрытии появилось значительное количество отраженных и других трещин, существенно снизилась ровность покрытия, что привело к необходимости реконструкции. В процессе реконструкции существующие слои из асфальтобетона были сняты холодным фрезерованием. Нижележащий цементобетон разрушен и уплотнен виброкатками. Затем уложены слои асфальтобетона общей толщиной до 18 см;

в) разрушение существующей дорожной одежды, ее уширение и усиление новым материалом с укладкой соответствующих верхних слоев;

г) сохранение существующей дорожной одежды, ее ямочный ремонт либо горячая, холодная или комбинированная регенерация асфальтобетонного покрытия с последующей укладкой слоя усиления. Для предотвращения появления отраженных трещин возможно применение синтетической сетки.

Такой способ реконструкции технико-экономически целесообразен при коэффициенте прочности существующей дорожной одежды более 0,8 и состоянии покрытия, допускающем проведение соответствующего ремонта [1];

д) сохранение существующей дорожной одежды, ее уширение, ямочный ремонт, горячая, холодная или комбинированная регенерация, при необходимости укладка синтетической сетки и устройство слоя усиления.

Данный случай аналогичен указанному в п. «г», но при недостаточной ширине проезжей части.

При существующем переходном покрытии из щебня или гравийного материала его рыхлят на глубину имеющих место выбоин, профилируют и уплотняют. Затем укладывают слои усиления в виде усовершенствованного покрытия. Для рыхления и профилирования может быть использован автогрейдер с навесным кирковщиком, для уплотнения - самоходные катки на пневмошинах или комбинированные.

При реконструкции дорог обычно производят усиление дорожной одежды. Это наиболее частый вид реконструкции.

Усиление существующей дорожной одежды должно обеспечивать общую ее прочность, соответствующую требованиям перспективного движения в конце срока службы усиленной одежды. Срок службы должен соответствовать требованиям «Технических правил ремонта и содержания автомобильных дорог» ВСН 24-88 [27]. При капитальном типе покрытия на дорогах I категории этот срок (Тсл) в зависимости от дорожно-климатической зоны и уровня надежности составляет 14 - 20 лет (большие значения для южных районов страны и меньшего уровня надежности). На дорогах II и III категории соответственно Тсл = 11 - 16 лет. При облегченном типе покрытия на дорогах III категории Тсл = 10 - 15 лет, а на дорогах IV и V категорий Тсл = 8 - 12 лет.

Основанием для назначения толщины слоя усиления должны быть результаты диагностики и оценки состояния автомобильных дорог, проводимых в соответствии с «Правилами диагностики» ВСН 6-90 [16].

Для определения перспективной интенсивности движения к концу срока службы дорожной одежды могут быть рекомендованы следующие формулы:

в случае роста интенсивности движения по геометрической прогрессии

Nт = Nн(1 + q)Т-1;                                                       (6)

в случае роста интенсивности движения по линейной зависимости

Nт = Nн[1 + q(Т - 1)],                                                     (7)

где Nт - интенсивность движения в год Т, который принимают равным сроку службы Тcл дорожной одежды, авт/сут;

Nн - начальная интенсивность движения, соответствующая году сдачи реконструированной дороги в эксплуатацию, авт/сут;

q - расчетный показатель ежегодного прироста интенсивности движения, определяемый как средний годовой прирост по данным измерения фактической интенсивности движения за ряд предыдущих лет (измеряется в относительных величинах), в случае снижения интенсивности движения величина q является отрицательной.

Перспективная интенсивность движения должна быть приведена к расчетной нагрузке в соответствии с «Инструкцией» ВСН 46-83 [6].

По данным оценки прочности существующей дорожной одежды, проводимой в соответствии с ВСН 6-90 [16] или «Указаниями» ВСН 52-89 [32], вычисляют средний фактический модуль упругости Ефср по однообразным участкам (участки, имеющие одинаковые грунт земляного полотна, конструкцию дорожной одежды, расчетную схему увлажнения по СНиП 2.05.02-85, интенсивность движения, приведенную к расчетной нагрузке).

В случае расчета слоя усиления, исходя из величины Ефср, уровень надежности усиленной конструкции будет равен 0,5. С целью повышения уровня надежности в соответствии с «Правилами диагностики» [16] рекомендуется вычислять оптимизированный расчетный модуль упругости дорожной одежды Еор по формуле

Еор = Ефср(1 - вЕСЕ);                                                           (8)

где вЕ - коэффициент гарантийной вероятности, оптимизирующий величину среднего фактического модуля и зависящий от типа дорожной одежды, интенсивности и состава движения, фактической и требуемой прочности, однородности по прочности;

СЕ - коэффициент вариации фактических модулей упругости дорожной одежды.

Требуемая прочность дорожной одежды для определения толщины слоев усиления может быть установлена по «Инструкции» ВСН 46-83 [6], но в этом случае необходим расчет по трем критериям (модулю упругости, сопротивлению сдвигу грунта земляного полотна и малосвязных слоев дорожной одежды, сопротивлению растяжению при изгибе монолитных слоев). Поскольку в результате оценки прочности существующей дорожной одежды имеются только данные о фактических модулях упругости, для расчета толщины слоев усиления может быть рекомендовано определение требуемого расчетного модуля упругости Етр.р, учитывающего все три расчетных критерия [11, 16]:

Етр.р = (Етр · Кп · Кs + D) · Кк · Км,                                             (9)

где Етр - требуемый модуль упругости, зависящий от типа покрытия и интенсивности движения, приведенной к расчетной нагрузке [6, 16], Па (МПа);

Кп - коэффициент прочности, зависящий от типа дорожной одежды и категории дороги [6, 16];

Кs - коэффициент, учитывающий необходимость обеспечения требуемой ровности [11, 16];

D - поправка, введение которой обеспечивает выполнение требования к прочности грунта земляного полотна по сдвигу, Па (МПа);

Кк - коэффициент, учитывающий условия прочности песчаного слоя по сдвигу, Па (МПа);

Км - коэффициент, который учитывает условия прочности верхних слоев из асфальтобетона при изгибе, Па (МПа).

Более поздние исследования, выполненные на кафедре строительства и эксплуатации дорог МАДИ-ТУ, позволили рекомендовать для определения требуемого модуля упругости дорожной одежды нежесткого типа формулу, которая более полно учитывает проблему обеспечения работоспособности дорожной одежды за счет ограничения снижения ровности и соответственно скорости движения допустимыми пределами [12]:

Етр.р = Кдв · 0,736 · Ко · a1,225 (Nр.с)                          (10)

где Кдв - коэффициент, учитывающий характер движения автомобилей (при суммарном движении расчетных автомобилей по одной полосе Nр.с с за срок службы, изменяющемся в пределах от 5 · 104 авт. до 107 авт., величина Кдв изменяется в пределах 1,06 - 1,18);

Ко - поправочный коэффициент, учитывающий влияние типа дорожной одежды (при капитальном типе Ко = 1; при облегченном Ко = 0,9);

a - соотношение показателей конечной и начальной ровности дорожной одежды, соответствующее снижению максимальной скорости движения одиночного легкового автомобиля в допустимых пределах (в случае допустимого снижения скорости на 40 % a = 2,9).

Введение суммарного движения расчетных автомобилей Nр.с в формулу (10) связано с тем, что процесс снижения ровности дорожной одежды происходит, главным образом, за счет накопления остаточных деформаций под влиянием общего количества повторяющихся автомобильных нагрузок.

Для вычисления требуемого расчетного модуля упругости с необходимым уровнем надежности применяют формулу

Етр.р = Етр(1 + t · СЕO) = Етр · КЕ,                                           (11)

где t - коэффициент нормированного отклонения, соответствующий заданному уровню надежности (для дорог I и II категорий рекомендуется коэффициент надежности 0,95 - t = 1,64; для дорог III категории 0,90 - t = 1,28; для дорог IV категории 0,85 - t = 1,04; для дорог V категории 0,6 - t = 0,25);

СЕO - коэффициент вариации ожидаемого модуля упругости дорожной одежды, зависящий от вероятности дефектов в слоях дорожной одежды и земляного полотна (для дорожных одежд капитального типа СЕO = 0,18; для дорожных одежд облегченного типа СЕO = 0,20);

КЕ - коэффициент, учитывающий необходимый уровень надежности конструкции дорожной одежды в зависимости от вероятности дефектов в слоях дорожной одежды и земляном полотне, КЕ = 1 + t · СЕO, при капитальной дорожной одежде для дорог I - IV категорий КЕ = 1,30 - 1,19; при облегченной одежде для дорог II - V категорий КЕ = 1,33 - 1,05; при переходной одежде для дорог III - V категорий КЕ = 1,32 - 1,06).

Суммарное движение за срок службы дорожной одежды, приведенное к расчетной нагрузке Nр.с, следует вычислять по формуле

Nр.с = fпол · ΣNСI · SIC · КU,                                                (12)

где fпол - коэффициент, учитывающий распределение автомобилей по полосам движения, аналогичный такому же коэффициенту в Инструкции ВСН 46-83 [5];

NСI - суммарное количество проходов i-го типа, авт,

SIC - суммарный коэффициент приведения к расчетной нагрузке воздействия на дорожную одежду транспортного средства i-го типа;

n - число типов автомобиля;

КU - коэффициент, учитывающий вероятность отклонения суммарного движения от среднего ожидаемого (при капитальной одежде на дорогах II - IV категорий КU = 1,49 - 1,31, при облегченной одежде для дорог II - V категорий КU = 1,47 - 1,06; при переходной одежде для дорог III - V категорий КU = 1,19 - 1,04).

NСI = NiI · КC · тр.дн. · Кпу,                                                13)

где NiI - суточная интенсивность движения автомобилей i-го типа в первый год службы автомобильной дороги, авт/сут.;

КC - коэффициент суммирования, зависящий от срока службы дорожной одежды Тсл (годы) и показателя изменения интенсивности движения автомобилей данного типа по годам qi (при распространенном расчетном сроке службы капитальных дорожных одежд Тcл = 15 лет и величине qi, меняющейся в пределах 0,95 - 1,05, значение КС находится в пределах 11 - 12, величина КС с уменьшением qi снижается, а с увеличением qi возрастает);

Тр.дн. - количество расчетных дней в году, учитывающее различные условия накопления остаточных деформаций в разные периоды года и зависящее от дорожно-климатических условий (по данным проведенных исследований, в зависимости от дорожно-климатической зоны и типа местности по условиям увлажнения Тр.дн. может лежать в пределах от 60 до 140 сут.);

Кпу - коэффициент поперечной установки автомобиля, который учитывает неточное попадание последовательно движущихся автомобилей в один след, что несколько снижает активность воздействия автомобильной нагрузки (в среднем Кпу = 0,7).

В процессе расчета слоев усиления необходимо учитывать, что материал этих слоев не должен быть по качеству ниже, чем материал существующего покрытия. Например, при асфальтобетонном покрытии слой усиления должен быть также из асфальтобетона.

3.2. Способы разборки слоев дорожных одежд и повторного использования их материалов

Полная разборка существующей дорожной одежды должна обеспечить возможно меньшее перемешивание материалов слоев, чтобы создать возможность более эффективного дальнейшего использования этих материалов.

Технология полной разборки слоев существующей одежды включает следующие операции.

Послойное рыхление слоев существующего покрытия и основания, кроме песчаного, осуществляется бульдозером с навесным рыхлителем за несколько параллельных проходов вдоль проезжей части. Для слоев из гравийных и гравийно-песчаных смесей возможно применение автогрейдера с кирковщиком. Проходы рыхлительных машин должны осуществляться с перекрытием на 0,2 - 0,25 ширины. Для измельчения цементобетонных покрытий и оснований и других достаточно прочных слоев из материалов, обработанных цементом в установке, эффективно применение автобетоноломов различных конструкций, разрушающих прочные слои пневмоударным или электроударным способами.

Разрушенный материал данного слоя сдвигают в кучи, расположенные на расстоянии 15 - 20 м одна от другой. Сдвижку материала осуществляют бульдозером.

Из куч материал разрушенного слоя грузят в автомобили-самосвалы, отвозящие этот материал на промежуточные склады. Для погрузки могут быть использованы одноковшовые фронтальные погрузчики либо экскаваторы с ковшом прямая или обратная лопата. Мелкий материал можно грузить многоковшовыми погрузчиками.

В ряде случаев возможна разборка верхнего слоя из асфальтобетона или цементобетона лишь на часть его толщины. Такая необходимость может возникать при выравнивании существующего покрытия, на котором в процессе эксплуатации образовались колеи, наплывы и другие неровности; при удалении верхнего ослабленного слоя покрытия; при необходимости уменьшить толщину существующего покрытия перед укладкой нового слоя для выравнивания или усиления существующей дорожной одежды без изменения вертикальных отметок ее поверхности Последнее решение наиболее часто применяется в городских условиях, для того чтобы сохранить высоту расположения бортового камня над поверхностью покрытия.

В целях частичной разборки верхнего слоя широко применяют машины для холодного фрезерования покрытия (рис. 16). Основным рабочим органом такой машины является фреза-барабан, снабженная высокопрочными режущими зубьями. В процессе вращения фрезы-барабана - срезается слой покрытия на заданную толщину, срезанный фрезой материал с помощью транспортера грузят в транспортное средство или отсыпают в отвал.

Для охлаждения рабочего органа машины его в процессе работы опрыскивают водой. Поверхность, остающаяся после фрезерования, является основанием для нового слоя покрытия. Эта поверхность должна быть параллельна поверхности укладываемого на нее слоя. Машина для холодного фрезерования должна обеспечивать:

·   необходимую глубину фрезерования,

·   требуемый поперечный уклон;

·   заданный продольный уклон;

·   чистоту кромки фрезерования.

Существует значительное количество типоразмеров машин для холодного фрезерования покрытий шириной от 1,3 до 4,2 м при максимальной глубине фрезерования от 150 до 300 мм.

Выбор типоразмера холодной фрезы зависит от объема работ и необходимой глубины фрезерования с учетом технико-экономических соображений.

При оценке возможности и целесообразности использования материалов, полученных при разборке существующих дорожных одежд, выполняют следующее:

·   визуальную оценку состояния материалов и предварительное определение вида сооружения, в котором они могут быть использованы (слои вновь строящейся дорожной одежды, укрепление обочин, строительство временного объезда и др.);

·   определение вида работ, необходимых для приведения материалов в состояние, пригодное для их использования в том или ином сооружении (дробление крупных кусков или фракций материалов, поливка, введение добавок);

·   разработку технологии строительства из данных материалов намеченных сооружений, включая способы обработки вяжущим, регенерацию старого асфальтобетона или продуктов фрезерования асфальтобетонного покрытия на заводе;

·   технико-экономическую оценку применения продуктов разборки старой дорожной одежды в тех или иных сооружениях в сравнении с использованием новых материалов.

После установления вида сооружения, где может быть использован данный материал, производят в необходимых случаях испытание этого материала в лабораторных условиях для определения соответствия требованиям стандартов, СНиП и других нормативных документов (определение зернового состава щебеночных и гравийных смесей, износа в полочном барабане, морозостойкости каменного материала, его марки по прочности, коэффициента фильтрации песчано-гравийных смесей или песка до промывки и после промывки).

В случае обработки продуктов разборки старой одежды вяжущим подбор состава смесей производят по действующим нормативным документам.

3.3. Способы регенерации дорожных одежд и покрытий

При реконструкции автомобильных дорог широкое распространение находят методы регенерации и повторного использования материалов дорожных одежд.

Регенерация в переводе с латинского языка - восстановление, возрождение. Применительно к дорожным одеждам и покрытиям регенерация означает восстановление их прочностных свойств, ровности, сплошности и т.д. Применительно к асфальтобетону регенерация - это обработка или переработка старого асфальтобетона с целью полезного изменения некоторых его свойств.

Следует различать близкие между собой термины регенерация и повторное использование материалов старого покрытия, которое в зарубежной литературе называется рисайклинг или рециклинг. Повторное использование материалов старого покрытия может осуществляться без регенерации (восстановления или улучшения) свойств этого материала (например гранулят старого асфальтобетона может быть использован для укрепления обочин).

Регенерация же предполагает обязательное восстановление свойств материала и его повторное использование.

Существует большое количество методов регенерации и повторного использования материалов, которые могут быть применены при реконструкции автомобильных дорог [1, 8]. Все эти методы можно объединить в несколько групп:

·   методы горячей регенерации на месте (на дороге) с использованием различных способов разогрева, разрыхления и улучшения свойств старого асфальтобетона с последующей укладкой его в покрытие;

·   методы холодной регенерации на месте (на дороге), когда материал старого покрытия (асфальтобетонного или цементобетонного) снимают холодным фрезерованием, обрабатывают битумной эмульсией или цементом и укладывают в нижний слой нового покрытия;

·   методы холодно-горячей регенерации (комбинированные методы), когда материал старого покрытия снимают холодной фрезой, а затем перерабатывают его с подогревом, добавлением нового щебня и битума в смесительной установке и укладывают в покрытие.

При этом переработка может осуществляться на месте (на дороге) в передвижной смесительной установке или на стационарном асфальтобетонном заводе.

Из большой группы методов горячей регенерации на месте при реконструкции дорог наиболее широко применяют метод термосмешения, выравнивания и восстановления формы покрытия с добавлением новой смеси и ее перемешиванием со старой смесью. За рубежом этот метод называется Remix, а машины для его реализации - ремиксер. В России для реализации этой технологии применяются термосмеситель ДЭ-232 и асфальторазогреватель ДЭ-234. Термосмеситель ДЭ-232 позволяет за один проход обрабатывать полосу шириной 4 м с глубиной рыхления асфальтобетона до 4,0 см. Рабочая скорость 3 м/мин, а транспортная до 7 км/ч, масса машины 40 т.

За рубежом выпускается большое количество различных модификаций ремиксеров. В России наибольшее распространение имеют ремиксеры фирмы «Виртген» ФРГ.

Метод термосмешения применяют в том случае, когда на существующем покрытии имеют место дефекты в виде трещин, полей, сетки трещин, а также, когда необходимо усилить старое покрытие. Для этого к снятому и разрыхленному материалу старого покрытия добавляют новый материал в количестве 25 - 50 кг/м2 при ремонте без усиления и до 150 кг/м2 при ремонте с усилением.

Старый и новый материалы перемешивают в мешалке, получают однородную смесь, которую укладывают в виде одного слоя покрытия. Глубина фрезерования старого покрытия может достигать 50 - 60 мм.

Технологический процесс метода термосмешения включает в себя следующие основные операции (рис. 17):

·   подготовительные работы, к которым относят операции по ограждению места производства работ, подготовке машины и оборудования, разметку участка, загрузку новой смеси в приемный бункер и др.;

·   предварительный и окончательный разогрев существующего покрытия;

·   рыхление или фрезерование старого покрытия и подача снятого материала в смеситель;

·   подача в смеситель нового материала и перемешивание его со старым;

·   распределение и предварительное уплотнение асфальтобетонной смеси;

·   окончательное уплотнение слоя покрытия.

Оборудование для выполнения этих операций состоит из трех панелей горелок инфракрасного излучения для предварительного разогрева, смонтированных на отдельном шасси (разогреватель типа ДЭ-234), и собственно термосмесителя типа ДЭ-232, с состав которого входят несколько блоков (панелей) нагревательных газовых горелок, емкости для сжатого газа, приемный бункер для новой смеси, рыхлитель - фреза, шнековый питатель для подачи нового материала в смеситель, мешалка (смеситель) принудительного действия, шнековый разравниватель и планирующий отвал, вибробрус для предварительного уплотнения и др. (рис. 18).

Одной из важнейших операций является разогрев верхнего слоя асфальтобетона на глубину рыхления, которую принимают не менее минимально допустимой толщины регенерированного слоя. Эту толщину принимают, исходя из крупности зерен асфальтобетона:

·   20 мм для песчаных смесей;

·   25 мм для щебеночных смесей с зернами размером до 15 мм;

·   35 мм для щебеночных смесей с зернами размером до 20 мм.

Обычно глубину разогрева принимают от 30 до 60 мм в зависимости от толщины верхнего слоя асфальтобетона и максимальной глубины рыхления, которую может обеспечить термосмеситель.

Задача состоит в том, чтобы плавно разогреть обрабатываемый слой асфальтобетона до температуры его переработки, которая колеблется в пределах от 100 до 150 °С, редко до 180 - 200 °С. Как правило, разогрев производится в две ступени. Сначала асфальторазогревателем до температуры 90 - 100 °С, затем термосмесителем до температуры 140 - 150 °С или выше. Сразу после полного включения панелей горелок, которые расположены над поверхностью покрытия на высоте не менее 5 см, идет быстрое нагревание верхнего слоя (рис. 19).

Рис. 16. Самоходная машина для холодного фрезерования асфальтобетонного покрытия (холодная фреза):

1 - ходовое оборудование; 2 - фреза-барабан; 3 - транспортер для погрузки продукта фрезерования в транспортное средство или отсыпки в отвал

Рис. 17. Основные технологические операции регенерации асфальтобетонного покрытия по методу термосмешения:

1 - предварительный разогрев покрытия горелками инфракрасного излучения; 2 - доставка новой асфальтобетонной смеси; 3 - рыхление, фрезерование, перемешивание старого материала с новым, распределение и предварительное уплотнение; 4 - окончательное уплотнение

Рис. 18. Схема термосмесителя ДЭ-232:

1 - приемный бункер для новой асфальтобетонной смеси; 2 - транспортер; 3 - промежуточный бункер для новой смеси; 4 - емкости для газа; 5 - трамбующий брус и вибрационная выглаживающая плита; 6 - шнек; 7, 11, 12, 13 - панели горелок инфракрасного излучения; 8 - отвал со смесителем; 9 - шнек-фреза; 10 - обогреваемый транспортер

Затем нагрев верхнего слоя уменьшается или прекращается при движении разогревателя, а тепло из верхнего слоя распространяется вниз.

Режим разогрева слоя регулируют изменением давления в газовой системе, положения панелей над поверхностью покрытия или скорости движения.

После разогрева верхний слой покрытия фрезеруется и полученный гранулят (иногда называют его «фрезаж») подается в смеситель, куда вводится новая горячая смесь, которая перемешивается с гранулятом, укладывается и уплотняется.

Важно отметить, что укладка смеси ведется на горячее основание, что улучшает процесс слияния верхнего и нижнего слоев в единый монолит.

В результате за один проход получается новое, более прочное покрытие, устраняются колеи, трещины и неровности (рис. 20). Тем не менее обычно на слой регенерированного асфальтобетона укладывают защитный слой или дополнительный тонкий слой нового асфальтобетона. По такой технологии перестроено покрытие дороги Москва - Рига на участке МКАД - Волоколамск.

Разновидностью метода термосмешения является метод термопластификации. Он состоит в том, что в процессе фрезерования или перемешивания кроме новой смеси добавляют еще и пластификатор, который улучшает свойства битума в старой асфальтобетонной смеси.

Дальнейшим развитием метода регенерации с добавлением новой смеси и ее перемешиванием является так называемый метод ремикс-плюс, который состоит в том, что на слой регенерированного асфальтобетона сразу той же машиной укладывается дополнительный слой усиления, или защитный слой из новой смеси. Для этого термосмеситель оборудуется дополнительным распределительным шнеком, расположенным за первым шнеком (рис. 21). Окончательное уплотнение первого и второго слоев производится одновременно, сначала легким вибрационным катком с выключенным вибратором или гладковальцевым катком массой 6 - 8 т, затем продолжают вибрационным катком с включенным вибратором и пневмоколесным катком массой 16 - 20 т. Завершают уплотнение тяжелым гладковальцевым катком.

Работы по термосмешению можно производить при температуре воздуха не ниже 20 °С, а с применением дополнительного разогревателя - при температуре воздуха не ниже 5 °С. Скорость ветра не должна быть более 7 м/с. При большей скорости ветра резко возрастают потери тепловой энергии, которая рассеивается в атмосфере. Кроме того, при сильном ветре происходит задувание горелок.

Новую технологию горячей регенерации асфальтобетонного покрытия на месте разработала фирма «Мартек» (Канада), которая выпускает для ее реализации специальный комплект машин АК2000. Комплект состоит из двух предварительных разогревателей, нагревателя-фрезеровщика, горячего смесителя, укладчика и катков.

Существенное отличие этой технологии состоит в том, что разогрев асфальтобетонного покрытия производится не горелками инфракрасного излучения, а нагретым до 600 °С воздухом, который обтекает поверхность покрытия, нагнетается в поры асфальтобетона под давлением, создаваемым компрессором и вакуумированием (откачиванием) воздуха.

Рис. 19 Изменение температуры во время нагрева покрытия:

1 - на поверхности покрытия; 2, 3, 4 - соответственно на глубине

Рис. 20. Вид покрытия до и после регенерации

Рис. 21. Устройства для укладки дополнительного слоя покрытия при терморегенерации по методу «Ремикс плюс»

Подогрев воздуха может производиться сжиганием газа или дизельного топлива. Разогревающее устройство в виде герметически замкнутого прямоугольника (коробки) плотно прижимается к поверхности покрытия. В пространство между покрытием и разогревателем с одной стороны накачивается горячий воздух, а с другой стороны он отсасывается вакуумным насосом. Для повышения эффекта прогревания слоя асфальтобетона в нем просверливаются отверстия. Откаченный горячий воздух снова поступает в компрессор и так многократно циркулирует.

Это способствует многократному снижению потерь тепловой энергии при разогреве асфальтобетонного покрытия по сравнению с разогревом горелками инфракрасного излучения, полностью исключает выгорание битума и пережог смеси, а также выделение выбросов газа, дыма и пыли в атмосферу. Ширина обрабатываемой полосы может изменяться в диапазоне 3,3 - 4,0 м, глубина разогрева до 50 мм, скорость движения комплекта от 5 до 7 м/мин. За одну смену комплект обрабатывает полосу длиной около 3 км. Общая длина комплекта в работе составляет 75 м.

Эффективность работы этого комплекта особенно высока при больших объемах работ. Изложенная технология применена на дорогах Канады, США и Италии.

Методы холодной регенерации включают в себя снятие и размельчение материала слоев асфальтобетонного или цементобетонного покрытия, их обработку органическим или минеральным вяжущим с добавлением или без добавления новых минеральных материалов, укладку и уплотнение.

Одними из основных технологических операций холодной регенерации являются снятие и размельчение материалов слоев существующей дорожной одежды (см. п. 2.6). Эти операции обычно производят с помощью холодных фрез, т.е. фрез, которые разрушают дорожное покрытие без подогрева.

Рис. 22. Фрезерный вал с резцами

В настоящее время выпускается большое количество типов машин для фрезерования дорожных покрытий. Эти машины отличаются шириной и глубиной фрезерования, а также рабочей скоростью, которые и определяют их производительность.

В России АОО «Брянский арсенал» совместно с итальянской фирмой «Бителли» освоило выпуск фрезы для холодного фрезерования SF100Т4. Она обеспечивает ширину фрезерования 1000 мм, глубину фрезерования до 250 мм, рабочую скорость 0 ... 30 м/мин в зависимости от глубины фрезерования.

Основным рабочим органом любой машины для фрезерования является режущий барабан, или фрезерный вал, на котором установлены сменные резцы с наконечниками из прочного сплава, например карбида вольфрама (рис. 22). Эти резцы, расположенные по двухзаходной винтовой линии, обычно осуществляют встречное резание, т.е. врезаются в материал дорожного покрытия снизу вверх, когда машина движется вперед.

Производительность машины во многом зависит от прочности покрытия и заполнителя в смеси. Чем прочнее заполнитель и мельче его гранулометрический состав, тем быстрее изнашиваются резцы и тем ниже производительность машины.

Для большинства асфальтобетонных покрытий, за исключением случая, когда заполнитель имеет очень низкую прочность, зубья планировщика разрушают старое дорожное покрытие по линиям асфальтовяжущего вещества. При этом гранулометрический состав исходной смеси изменяется очень мало и снятые куски и щебенки асфальтобетона обычно покрыты вяжущим, что позволяет использовать их для приготовления новой смеси с минимальным расходом битума или битумной эмульсии.

Холодным фрезерованием можно снимать старое покрытие послойно и тем самым отделять материал верхнего слоя из мелкозернистого асфальтобетона от материала нижнего слоя из крупнозернистого асфальтобетона с последующей укладкой в соответствующие слои дорожной одежды.

Холодное фрезерование дорожного покрытия при реконструкции дорог применяют для снятия старого покрытия с трещинами, чтобы предупредить их выход на новое покрытие при усилении дорожной одежды; для восстановления поперечного профиля дорожной одежды и устранения колей, выбоин и других деформаций; увеличения вертикального габарита путепровода над дорогой; уменьшения собственного веса дорожной одежды на мостах и путепроводах; сохранения высоты бордюров и отметок водосборных, водоотводящих и дренажных систем в населенных пунктах, на городских улицах и в других случаях.

Глубина фрезерования зависит главным образом от состояния покрытия. Чаще всего одним проходом фрезерной машины снимают верхний слой, а на нижний слой укладывают новое покрытие из одного или нескольких слоев.

Полученный при холодном фрезеровании гранулят может быть повторно использован без переработки или с переработкой на месте в передвижной установке или на стационарном заводе.

Одним из способов применения снятого материала на месте может служить его использование в режиме холодной переработки. В этом способе снятый материал смешивают с жидким битумом, битумной эмульсией или вспененным битумом фрезой или в передвижной установке по схеме:

На слой покрытия из этого материала необходимо уложить защитный слой, или тонкий слой износа.

В НПО РосдорНИИ разработан метод повторного использования гранулята путем изготовления асфальтогранулобетонной смеси (АГБ-смеси), укладки и уплотнения, в результате формируется асфальтогранулобетон (АГБ).

АГБ-смесь приготавливают в смесительной установке с принудительным перемешиванием в холодном состоянии асфальтобетонного гранулята с добавками: щебня фракций 5 - 25 мм (если необходимо), цемента, катионной битумной дорожной эмульсии и воды смачивания, если влажность гранулята ниже 1 %.

Добавки в гранулят вводят в таком порядке: щебень, вода смачивания, эмульсия, цемент.

При приготовлении АГБ-смеси может быть использован гранулят, полученный как при послойном, так и однопроходном фрезеровании существующего покрытия на глубину 14 - 30 см. Однако кривая гранулометрического состава гранулята должна иметь плавное очертание и вписываться в границы составов для пористых и высокопористых смесей, зерен щебня фракций крупнее 5 мм должно быть не менее 35 - 40 %. В противном случае к грануляту добавляют щебень.

Ориентировочная доля отдельных компонентов по массе гранулята составляет:

битумной эмульсии          - 2 - 4 %;

портландцемента             - 2 - 5 %;

вода                                    - 4 - 6 %.

Приготовленная смесь укладывается на подготовленном основании при температуре воздуха не ниже 0 °С и уплотняется сначала виброплитой, а затем звеном катков. После испарения влаги (примерно через 2 ч после окончания уплотнения) можно открывать движение автотранспорта с ограничением скорости до 40 км/ч. Через 4 - 5 часов можно укладывать следующий слой асфальтобетона, который выполняет роль защитного слоя и слоя износа.

Вся технология может быть реализована в двух вариантах:

а) ведущая машина - фрезеровальная машина. В этом случае перемешивание и укладка смеси производятся в передвижном смесителе;

б) ведущая машина - фрезеровально-смешивательная машина, которая выполняет все операции по фрезерованию, перемешиванию, укладке и предварительному уплотнению смеси.

Методы холодно-горячей регенерации (комбинированные методы) можно разделить на две группы:

а) с переработкой старого асфальтобетона на месте (на дороге) в передвижных смесительных установках;

б) с переработкой старого асфальтобетона на стационарных асфальтобетонных заводах.

Технология холодно-горячей регенерации с переработкой старого асфальтобетона на месте в передвижной смесительной установке была реализована в России при реконструкции дороги Москва - Минск с использованием специального комплекта машин, поставленных итальянской фирмой «Павиметалл». Основной машиной этого комплекта является передвижная асфальтосмесительная установка с сушильным барабаном фирмы «Марини».

В состав комплекта входят: щебнераспределитель, холодная фрезеровальная машина, передвижная асфальтосмесительная установка, асфальтоукладчик, комплект катков.

Технология работ включает следующие операции:

·   на очищенное от пыли и грязи покрытие распределяется равномерный слой щебня на всю полосу регенерации. Новый щебень обычно добавляют в количестве 50 - 70 % от объема сфрезерованного гранулята;

·   холодной фрезой на глубину 30 - 50 мм снимается верхний слой покрытия, измельчается, одновременно перемешивается с новым щебнем и выкладывается в виде вала на полосе фрезерования;

·   погрузчиком-питателем смесь гранулята со щебнем подается в движущийся сушильный барабан асфальтосмесительной установки, где смесь высушивается и подогревается до рабочей температуры;

·   горячая смесь поступает в смесительное отделение асфальтосмесителя, куда вводится битум в количестве 5 - 7 % от массы нового щебня, и перемешивается;

·   из смесителя готовая смесь выгружается в приемный бункер асфальтоукладчика, распределяется и предварительно уплотняется;

·   окончательное уплотнение производится комплектом катков.

В результате общая толщина асфальтобетонного покрытия увеличивается на 2 - 4 см. На этот слой укладывается защитный слой в виде поверхностной обработки или слой износа из новой асфальтобетонной смеси.

В городских условиях переработку снятого холодной фрезой гранулята, как правило, производят на стационарных асфальтобетонных заводах, где имеются лучшие условия для обеспечения высокого качества регенерированного асфальтобетона.

3.4. Уширение дорожной одежды и укрепление обочин

Одной из главных задач при реконструкции автомобильных дорог является повышение обеспеченной дорогой скорости, пропускной способности и безопасности движения.

Наиболее распространенной мерой решения этих задач служит увеличение ширины укрепленной поверхности дороги, которое может быть достигнуто различными способами: уширением проезжей части, т.е. дорожной одежды; устройством укрепленной краевой переходной полосы; укреплением обочин; комбинацией из двух или трех перечисленных способов. Установлено, что режим и безопасность движения автомобилей имеют прямую зависимость от ширины укрепленной поверхности дороги, которая обеспечивает размеры психологически безопасного коридора [1].

Для повышения скорости и безопасности движения устройство краевых укрепленных полос и обочин соизмеримо с увеличением ширины проезжей части, хотя конструкция дорожных одежд на краевой полосе и на обочине существенно отличается по толщине от конструкции дорожной одежды на проезжей части.

Поэтому при назначении величины и способа уширения укрепленной поверхности необходимо рассматривать и сравнивать экономически все возможные варианты решения этой задачи с учетом технологических особенностей выполнения работ при различных конструктивных решениях.

Установлено, что необходимая для обеспечения удобного и безопасного движения ширина укрепленной поверхности двухполосных дорог с интенсивным движением составляет 8,5 - 9,0 м. Это требование соблюдено на дорогах с шириной проезжей части 7 - 7,5 м и шириной краевых полос 0,5 - 0,75 м или укрепленных каменными материалами, обработанными органическими или минеральными вяжущими.

Однако на многих существующих дорогах ширина укрепленной поверхности не отвечает требованиям СНиП. На этих дорогах в процессе ремонта, частичной или полной реконструкции в первую очередь производится уширение проезжей части или устройство краевых укрепленных полос с укреплением обочин. Величина уширения проезжей части, как правило, составляет от 0,3 до 1,5 м. Такое уширение проезжей части и устройство краевых укрепленных полос производятся без уширения земляного полотна, за счет уменьшения ширины обочин.

На некоторых дорогах II категории с высокой интенсивностью движения при ограниченных финансовых ресурсах дорожные организации иногда принимают паллиативное решение: уширение проезжей части на одну полосу движения за счет уменьшения ширины обочин без уширения земляного полотна. В этом случае дорога имеет трехполосную проезжую часть, на которой несколько снижается безопасность движения, но возрастает пропускная способность. Узкие обочины нужно тщательно укрепить материалами, обработанными вяжущим. Такое решение дает возможность временно продолжить эксплуатацию дороги до момента ее полной реконструкции и тем самым отдалить крупные единовременные затраты.

При полной реконструкции автомобильной дороги II категории наиболее рациональным решением является перевод таких дорог в I категорию, т.е. двухстороннее симметричное уширение проезжей части с добавлением четного количества полос движения и одновременным уширением земляного полотна или строительство новой проезжей части на отдельном земляном полотне.

Наиболее сложную задачу при уширении проезжей части представляет собой надежное сопряжение существующей и уширяемой частей дорожной одежды. При выборе конструкции дорожной одежды на полосе уширения необходимо соблюдать ряд требований.

Конструктивные слои уширения для лучшего сопряжения должны быть близки по толщине и качеству материалов к слоям существующей одежды. На уровне слоя из разрушенного цементобетона на полосе уширения может быть уложен прочный щебень.

Прочность полосы уширения должна быть равна прочности остальной части дорожной одежды. При укладке слоев одежды на уширении нужно тщательно контролировать степень уплотнения. После устройства дорожной одежды на уширении перекрывают всю проезжую часть, включая существующую дорожную одежду, слоем асфальтобетона с таким расчетом, чтобы продольный стык на нем не совпадал (в плане) с точками сопряжения существующей и уширяемой дорожных одежд.

Для предотвращения образования отраженных трещин под зоной сопряжения существующей и уширяемой дорожных одежд укладывают армирующую прослойку из жестких, обладающих минимальной растяжимостью синтетических материалов (сеток).

Верхний слой асфальтобетона, перекрывающий всю проезжую часть, целесообразно устраивать из полимерасфальтобетонной смеси.

При выборе конструкции краевых полос для дорожных одежд нежесткого типа определенное предпочтение следует отдавать краевым полосам из материалов, обработанных минеральными вяжущими, в том числе цементом. Такая краевая полоса обладает высокой механической прочностью и устойчивостью, более светлым цветом, что способствует повышению безопасности движения; кроме того, упрощается технология устройства краевой полосы из монолитного цементобетона благодаря применению узкозахватных бетоноукладчиков (типа Гомако и др.).

При уширении дорожной одежды с цементобетонным покрытием (аналогичной одежде на МКАД) целесообразно существующую и уширяемую проезжие части перекрывать слоем усиления из непрерывного армированного бетона минимальной толщины (порядка 10 см). При качественном выполнении работ срок службы непрерывно армированных покрытий превышает 45 лет при незначительных затратах на ремонт и содержание. Такие конструкции наиболее эффективны при интенсивном движении автомобилей, основную часть которых составляют тяжелые грузовые автомобили. Наиболее целесообразно применение этих конструкций на подходах и обходах крупных городов и на дорогах высших категорий.

При двухстороннем уширении дорог без разделительной полосы (ниже I категории) ось проезжей части после реконструкции совпадает с осью проезжей части до реконструкции.

В этом случае поперечный профиль проезжей части обычно сохраняется, но ширина полосы уширения большей частью невелика. Так, например, при реконструкции дороги III категории, имеющей проезжую часть 7,0 м (без краевой полосы), получают дорогу II категории с краевой полосой (ширина укрепленной поверхности 9,0 м), полоса уширения с каждой стороны составит 1,0 м. А если дороги III категории имеют краевую полосу, то ширина полосы уширения уменьшается до 0,5 м.

Устройство дорожной одежды на краевых полосах и на обочинах по типу существующей дорожной одежды начинают с отрывки траншеи, которую рационально выполнять экскаваторами непрерывного действия цепного или роторного типа (табл. 1). Это значительно повышает ровность дна траншеи, производительность и качество работ.

Распределение и укладку несвязных материалов нижних слоев можно выполнять экскаваторами одноковшовыми с емкостью ковша 0,1 - 0,25 м или минипогрузчиками (типа Бобкат).

Уплотнение материалов можно эффективно выполнять виброплитами (отечественного или зарубежного производства) (табл. 2).

Распределение и укладку верхних слоев (из различных смесей) рационально выполнять укладчиком типа ДС-76 с уплотняющим оборудованием по типу асфальтоукладчика.

Укладка узких полос уширения достаточно сложна технологически. С краев существующей проезжей части устраивают ровики (траншеи) аналогично приведенному на рис. 23. Для устройства таких ровиков возможно применение отвала автогрейдера со специальной накладкой (рис. 24).

Уплотнение материала на полосе уширения малой ширины может осуществляться специальным катком (рис. 25).

При одностороннем уширении технология строительства этой полосы несколько упрощается, так как возможно применение той же дорожно-строительной техники, что и при новом строительстве. Однако ось новой проезжей части в процессе реконструкции приходится смещать, что требует дополнительных затрат на укладку выравнивающего слоя.

Устройство дорожной одежды на краевых полосах и на обочинах можно выполнять однопроходной грунтосмесительной машиной (по типу ДС-162) с шириной обработки рабочими органами, соответствующей данной автомобильной дороге. Глубина обработки должна соответствовать толщине дорожной одежды и слоя усиления, если усиление не распространяется на краевые полосы и обочины, с учетом проектных значений поперечных уклонов и запаса на уплотнение.

Использование местных грунтов и материалов, обработанных комплексными вяжущими, по такой технологии позволяет сэкономить от 20 до 35 % стоимости производства работ.

Как правило, одновременно с уширением производят и усиление существующей дорожной одежды.

На рис. 26 приведена схема уширения с последующим усилением слоя асфальтобетона реконструируемой дорожной одежды переходного типа.

Рис. 23. Уширение дорожной одежды с асфальтобетонным покрытием:

а - дорожная одежда до уширения; б - ровик для уширения дорожной одежды; в - уширенная дорожная одежда; 1 - верхний слой асфальтобетона; 2 - нижний слой асфальтобетона; 3 - основание существующей дорожной одежды; 4 - дополнительный слой основания; 5 - дополнительный слой основания в зоне уширения; 6 - основание в зоне уширения; 7 - асфальтобетон нижнего слоя в зоне уширения

Рис. 24. Отвал автогрейдера со специальной накладкой для рытья бокового ровика (траншеи) для уширения проезжей части:

1 - отвал автогрейдера; 2 - накладка, укрепляемая на болтах; 3 - нож; 4 - грунт, вырезанный в ровике; 1’ - 4’ - слои существующей дорожной одежды

 

Рис. 25. Уплотнение материалов на полосе уширения

Рис 26. Схема уширения и усиления переходного покрытия:

а - подготовка ровика для уширения; б - уширение и усиление при основании из щебня; в - то же при основании уширения из камня; 1 - кирковка существующего покрытия на глубину 5 - 7 см; 2 - старое покрытие (щебеночное, гравийное); 3 - песчаный слой, 4 - присыпка обочины и земляного полотна; 5 - асфальтобетон; 6 - уширение и утолщение новым щебнем; 7 - то же старым щебнем; 8 - поперечный слой уширения; 9 - уширение и утолщение щебнем

 

Таблица 1

Технические параметры экскаваторов непрерывного действия

Параметры машин

Марка экскаватора

ЭТР-132

ЭТР-162

ЭР-7АМ

ЭТР-231

ЭТЦ-202

ЭТЦ-163

ЭТЦ-161

ЭТЦ-354

Глубина отрываемой траншеи, м

1,3

1,6

1,8 - 2,2

2,3

2,0

1,7

до 1,6

до 3,5

Ширина траншеи, м

0,27

0,8

1,0 - 1,4

1,8

0,5

0,25

0,2 и 0,4

до 2,8

Рабочая скорость, м/ч

10 - 800

5 - 300

31 - 300

38 - 224

15 - 590

15 - 500

10 - 400

12,5 - 114,0

Выдерживаемый уклон дна траншеи,

до 100 , на подъемах и спусках до 10

2,0 - 20

1,5 - 30

 

до 60

Тип экскаватора

роторный ковшовый

цепной

цепной

ковшовой

скребковый

ковшовый

Таблица 2

Технические параметры виброплит

Марка виброплиты

Фирма, страна

Масса, кг

Ширина уплотнения, м

Отношение вынуждающей силы к частоте, кг/Гц

Мощность, кВт

GY-700

Динапак, Швеция

700

0,85

5000/50

12,8

РV-5000

АБГ, Германия

700

1,0

5000/50

11,0

SV-8022

Делмаг, Германия

850

1,2

8000/44

14,7

SV-4512

Делмаг, Германия

380

0,75

4500/46

5,5

ВР-50

Бомаг, Германия

400

0,9

3500/58

5,1

ВР-34

Бомаг, Германия

610

1,1

5100/24

6,2

ДУ-90

Волгодонский завод, Россия

230

0,55

2400/80

4,4

При уширении существующей проезжей части на дорогах I категории большей частью это уширение осуществляют на одну, две, а иногда и более полосы движения шириной по 3,75 м. Технология строительства таких полос близка технологии нового строительства и вызывает меньше организационных затруднений, чем строительство узкой полосы. Однако здесь, как и во всех случаях уширения, большое значение имеет прочность сопряжения существующей дорожной одежды с новой конструкцией.

Качество такого сопряжения обеспечивается в определенной степени применением близкой конструкции полосы уширения и существующей дорожной одежды, а также сплошным слоем усиления по всей полосе проезжей части. При этом не следует допускать, чтобы продольный стык полос укладки асфальтобетона при устройстве слоя усиления проходил над сопряжением старой одежды и полосы уширения.

В случае уширения существующего цементобетонного покрытия или основания хорошее качество сопряжения с цементобетонной полосой уширения дает конструкция, приведенная на рис. 27. Однако эта конструкция достаточно сложна технологически.

Большой опыт реконструкции автомагистрали I категории дают работы, осуществляемые на Московской кольцевой автомобильной дороге (МКАД).

Полоса уширения включает два слоя укатываемого бетона с прослойкой битумной эмульсии, технологический слой щебня и песчаный морозозащитный слой. Затем по всей ширине проезжей части строят двухслойное асфальтобетонное покрытие, причем верхний слой - из смеси на модифицированном битуме.

Было рассмотрено несколько вариантов конструкции усиления дорожной одежды (рис. 28).

Рис. 27. Уширение цементобетонного покрытия с обеспечением связи полосы уширения с существующим покрытием:

1 - цементобетонная полоса уширения; 2 - существующее цементобетонное покрытие; 3 - арматурный стержень

Рис. 28. Конструкции дорожной одежды, принятые при реконструкции МКАД:

а - на участках дороги с продольным уклоном от 0 до 3 ; б - на участках дороги с продольным уклоном более 3 ; 1 - непучинистый или слабопучинистый грунт земляного полотна; 2 - укрепление обочин подобранным щебеночным материалом слоем толщиной 0,23 м; 3 - ограждение; 4 - укрепление обочин растительным грунтом слоем толщиной 0,23 м; 5 - бордюр

Расчетная приведенная интенсивность движения на одну наиболее нагруженную полосу, исходя из общей интенсивности и состава движения, на расчетный 2015 год составит 6045 автомобилей в сутки с нагрузкой на ось 100 кН (10 тс). Указанной приведенной интенсивности движения соответствует требуемый модуль упругости Еф = 320 МПа.

В результате технико-экономического сравнения вариантов конструкций дорожных одежд для уширения МКАД принята следующая дорожная одежда:

·   верхний слой покрытия из плотного асфальтобетона из горячей мелкозернистой щебеночной смеси типа А, I марки (ГОСТ 9128-84) на дробленом (или природном с добавлением дробленого песка) гранитном щебне М-1200, с 1997 г. на габбродиабазном щебне и модифицированном битуме на основе ДСТ (ТУ 35-1669-88), толщиной 8 см;

·   нижний слой покрытия из пористого асфальтобетона из горячей крупнозернистой щебеночной смеси, I марки (ГОСТ 9128-84), на гранитном щебне М-1200, толщиной 0,08 см (с 1996 г, из плотного асфальтобетона типа Б, I марки (ГОСТ 9128-84);

·   основание из высокопористого асфальтобетона из горячей крупнозернистой смеси, I марки, на гранитном щебне М-1200, толщиной 10 см (с 1996 г. из пористого асфальтобетона горячей крупнозернистой смеси, I марки на гранитном щебне М-1200, толщиной 10 см);

·   основание из укатываемого цементобетона М-100 (Вbtb 1,6; Рu 20) (ТУ 218 РСФСР 620-90) на известняковом щебне М-600, укладываемом в два слоя толщиной 0,18 и 0,15 м, с разделительной прослойкой между слоями из битумной эмульсии или помароли; дополнительный слой основания из песка (ГОСТ 8736-85), толщиной 0,5 - 0,8 м с устройством по нему технологического слоя из известнякового щебня М-600 фракций 40 - 70 мм толщиной 0,1 - 0,15 м.

Опыт эксплуатации реконструированных участков МКАД показал, что на ряде участков в месте сопряжения существующей проезжей части с полосой уширения появилась продольная трещина.

Для предотвращения образования продольной трещины в месте стыковки старой и вновь пристраиваемой дорожной одежды разработаны варианты стыковых соединений (рис. 29).

Усиление существующей дорожной одежды производится слоем покрытия из плотного асфальтобетона из горячей мелкозернистой щебеночной смеси типа А I марки, толщиной 6 см на выравнивающем слое из той же смеси, толщиной 2 см.

При производстве работ на МКАД применяли наиболее совершенные дорожные машины, в том числе широкозахватные асфальтоукладчики со следящей системой для обеспечения ровности, а также виброкатки массой 8 - 10 т для уплотнения.

3.5. Особенности реконструкции дорожных одежд с цементобетонными покрытиями

При реконструкции дорожных одежд с цементобетонными покрытиями обычно выполняют работы по усилению (повышению прочности) и уширению дорожной одежды.

В настоящее время можно применять следующие три способа усиления дорожных одежд с цементобетонными покрытиями:

·   устройство слоев усиления из асфальтобетонных смесей поверх старого цементобетонного покрытия без нарушения его сплошности;

·   то же с предварительным дроблением старого цементобетонного покрытия на мелкие блоки и тщательным уплотнением полученного таким образом материала основания,

·   устройство слоя усиления из непрерывно армированного бетона поверх старого цементобетонного покрытия.

При этом, если материалы старого покрытия и слоя усиления имеют различные модули упругости, то сначала определяют расчетом прочности на растяжение при изгибе эквивалентную толщину плиты из разномодульных материалов, приведенную к толщине материала с наибольшим модулем упругости, а затем определяют требуемую толщину усиления:

                                                      (14)

где hэкв - толщина однородной плиты, см;

Ест.п. - модуль упругости материала старого покрытия, эквивалентный по жесткости на изгиб старому покрытию и слою усиления;

hст.п. - толщина старого покрытия;

Еус - модуль упругости материала, используемого для усиления, МПа;

hус - толщина усиления.

Для усиления дорожных одежд с цементобетонным покрытием рекомендуется применять полимер асфальтобетон в соответствии с техническими условиями ТУ 35-1669-88 «Вяжущие полимерно-битумные на основе ДСТ и полимер асфальтобетон», утвержденными Минтрансстроем СССР в 1988 г. [28].

Полимерасфальтобетон обладает повышенной прочностью, эластичностью и теплостойкостью в широком диапазоне эксплуатационных температур. Применение полимерасфальтобетона повышает трещиностойкость слоя усиления над поперечными швами старого цементобетонного покрытия.

Для приготовления полимерасфальтобетонных смесей следует использовать полимерно-битумные вяжущие (ПБВ) на основе дивинилстирольного термоэластопласта (ДСТ) соответствующих марок.

В зависимости от вязкости ПБВ делятся на следующие марки ПБВ 40/60, ПБВ 60/90, ПБВ 90/130, ПБВ 130/200, ПБВ 200/300.

ПБВ получают введением в битум 2 - 4 % ДСТ от массы. В вязкие битумы ДСТ следует вводить в виде раствора в битумном сырье (гудроне) или жидком битуме. В качестве пластификаторов при приготовлении ПБВ используются индустриальные масла.

Введение 2, 3 и 4 % ДСТ дает возможность получить ПБВ с температурой перехода в хрупкое состояние -25, -35 и -50 °С соответственно. Для получения ПБВ с температурой перехода в хрупкое состояние -60 °С в битум необходимо вводить до 6 % ДСТ. Применение ПБВ с температурой перехода вяжущего в хрупкое состояние, соответствующей минимальной зимней температуре эксплуатации слоя усиления, обеспечивает трещиностойкость этого слоя, в особенности над поперечными швами усиливаемого покрытия.

Зерновой состав полимерасфальтобетонных смесей должен удовлетворять требованиям ГОСТ 9128-84 «Смеси асфальтобетонные дорожные, аэродромные и асфальтобетон».

Полимерасфальтобетонные смеси должны удовлетворять требованиям ГОСТ 9128-84 для асфальтобетонных смесей соответствующих марок.

Контрольные испытания качества полимерасфальтобетона в покрытии следует производить по водонасыщению, набуханию, пористости минерального остова и остаточной пористости, а также по коэффициенту уплотнения.

Качество ПБВ устанавливают стандартными методами, принятыми для оценки свойств дорожных битумов. Кроме того, определяют однородность и показатель эластичности, характеризующий способность ПБВ к обратимым деформациям, в соответствии с ТУ 35-1669-88.

Слои усиления из непрерывно армированного бетона устраивают в соответствии с ВСН 4-75 «Временными техническими указаниями по проектированию и строительству непрерывно армированных цементобетонных дорожных покрытий и оснований в г. Москве», утвержденными Главмосинжстроем в 1974 г.

Слои усиления из непрерывно армированного бетона устраивают неограниченной длины и прерывают их только перед искусственными сооружениями (мостами, путепроводами и т.д.). Концевые участки слоев усиления из непрерывно армированного бетона должны быть закреплены неподвижными упорами траншейного или свайного типа.

Слои усиления должны обеспечивать прочность и ровность дорожной одежды в течение заданного срока службы под воздействием автомобильных нагрузок и климатических факторов.

Толщина слоя усиления из непрерывно армированного бетона определяется расчетом.

При усилении дорожной одежды с цементобетонным покрытием толщина слоя усиления из непрерывно армированного бетона может составлять 10 - 12 см. Слой усиления из непрерывно армированного бетона следует укладывать непосредственно на старое цементобетонное покрытие без устройства изолирующих и выравнивающих прослоек.

Для армирования покрытий должна применяться арматура периодического профиля. Диаметр арматуры следует подбирать с учетом минимального раскрытия трещин и принятой технологии строительства. Армирование покрытий можно осуществлять плоскими сварными или вязаными сетками, сварными каркасами, отдельными арматурными стержнями. Непрерывную арматуру следует располагать на расстоянии 1/3 ... 1/2 hус (hус - толщина слоя усиления) от поверхности слоя усиления (рис. 30). Арматурные каркасы ставятся симметрично относительно нейтральной оси слоя усиления.

Поперечные швы (сжатия и расширения) на слое усиления не устраивают. Продольные швы в зависимости от количества поперечной арматуры устраивают через 3,75 м по типу ложных или через 7,5 м по типу шпунта (рис. 31).

Непрерывность армирования обеспечивается нахлесткой стержней в продольном и поперечном направлениях.

Рис. 29. Конструкция стыкового соединения нового дорожного покрытия с существующим:

1 - армирующий элемент; 2 - верхний слой покрытия асфальтобетонного; 3 - нижний слой покрытия из асфальтобетона; 4, 5 - слои основания из тощего бетона; 6 - слой щебня; 7 - морозозащитный слой из песка; 8 - существующее земполотно; 9 - фрезерование существующего асфальтобетонного покрытия; 10 - существующее цементобетонное покрытие; 11 - существующее асфальтобетонное покрытие

Рис. 30. Принципиальные схемы дорожных одежд с непрерывно армированными покрытиями:

1 - непрерывно армированное бетонное покрытие; 2 - песчано-цементная смесь; 3 - черный щебень; 4 - тощий бетон; 5 - песок; 6 - теплоизолятор (стиропорбетон, пенопласт и др.)

Рис. 31. Конструкции продольных швов:

а - шов по типу ложного; б - шов по типу шпунта; 1 - бетонная плита покрытия; 2 - арматурная сетка; 3 - битумная мастика

Длина нахлестки должна быть не менее: в продольном направлении - 30 - 35d; в поперечном направлении - 25d (где d - диаметр стержней), и во всех случаях не менее 250 мм. Поперечные стыки смежных сеток должны располагаться вразбежку с шагом не менее 50 см. Для армирования слоя усиления следует применять следующие виды арматурных сталей: стержневая горячекатанная периодического профиля класса А-II диаметром от 10 до 20 мм, класса А-III диаметром от 6 до 20 мм; стержневая, упрочненная вытяжкой периодического профиля класса А-IIв диаметром от 10 до 20 мм, класса А-IIIв диаметром от 6 до 20 мм.

Расчет на прочность слоя усиления из непрерывно армированного бетона производят в соответствии с ВСН 4-75 [2] «Временные технические указания ...» и с ВСН 29-76 «Технические указания по оценке и повышению технико-эксплуатационных качеств дорожных одежд и земляного полотна автомобильных дорог», утвержденными Минавтодором РСФСР в 1976 г.

Концевые упоры траншейного типа (рис. 32) устраивают следующим образом. В старом покрытии перфораторами с компрессором устраивают поперечные прорези на ширину бетонных шпор, вблизи поперечных швов отрывают поперечные траншеи экскаватором; устанавливают в траншеях арматурные каркасы; укладывают и уплотняют бетонную смесь; отделывают верхнюю поверхность бетонных шпор. Арматурные каркасы должны иметь выпуски, свариваемые в последующем с непрерывной арматурой покрытия.

Перед бетонированием слоя усиления арматуру в виде плоских сеток или каркасов устанавливают на подкладках, уложенных на основание. Подкладки могут быть изготовлены из арматуры любого класса или из бетона того же состава, который применяется для устройства слоя усиления.

Работы по устройству слоя усиления должны производиться непрерывно. Рабочие поперечные швы устраивают следующим образом. По окончании смены устанавливают упорную доску с прорезями для пропуска продольной арматуры. Перед возобновлением укладки бетона доску удаляют и торец плиты смачивают водой.

Слои усиления из непрерывно армированного бетона могут применяться и при реконструкции дорожных одежд нежесткого типа.

Из трех способов усиления дорожных одежд с цементобетонным покрытием предпочтительнее устройство слоя усиления из непрерывно армированного бетона. В этом случае слой усиления имеет свойства, близкие к свойствам материала существующего покрытия (цементобетона); кроме того, объемы и стоимость работ по ремонту дорожной одежды после ее усиления будут минимальными.

На практике усиления цементобетонных покрытий производят путем укладки слоев асфальтобетона, причем конструкция, тип и марка асфальтобетона и технология производства работ определяются в зависимости от технической категории дороги и дорожно-климатической зоны.

Для автомобильных дорог высших категорий, а также дорог, расположенных и в I - III дорожно-климатической зонах, применяют асфальтобетонные смеси типов А или Б первой марки.

Подготовительные работы при этом направлены в основном на устранение дефектов цементобетонного покрытия:

·   полностью разрушенные плиты удаляются и заменяются на новые монолитные, изготовленные на месте или на заводах ЖБИ;

·   пустоты над плитами и нарушение уклонов исправляются путем профилирования основания (при этом плиты снимаются) или нагнетания под плиты песка или цементного раствора;

·   сколы кромок и углов плит устраняют путем укладки асфальтобетонных (мелкозернистых или песчаных) смесей при толщине слоя до 6 см и цементобетонных более 6 см;

·   искажения продольного и поперечного профилей устраняют путем укладки выравнивающего слоя из песчаного или мелкозернистого асфальтобетона асфальтоукладчиками, оснащенными системами автоматики;

·   восстанавливают швы существующего покрытия и заливают их герметизирующей мастикой.

Перед укладкой выравнивающего слоя или покрытия производят розлив горячего битума (0,3 - 0,5 л/м2) или битумной эмульсии (0,6 - 0,8 л/м2).

Технология производства работ при усилении дорожных одежд с учетом повышения трещиностойкости слоя может выполняться следующими способами:

·   путем укладки толстыми слоями за один проход (толщина слоя 10 - 18 см в России, 14 - 26 см за рубежом);

·   использованием асфальтобетонных смесей на основе ПБВ;

·   армированием асфальтобетона в зонах швов цементобетонного покрытия геоматериалами;

·   армированием асфальтобетонных смесей металлическими или полимерными волокнами;

·   путем устройства в асфальтобетоне деформационных швов над швами существующего цементобетонного покрытия.

Наибольший эффект достигается при комплексном использовании нескольких способов одновременно.

В технологии укладки асфальтобетона толстыми слоями за один проход наибольшую сложность вызывает уплотнение, так как необходимо применять тяжелые катки массой 15 - 25 т и увеличивать число проходов катка по одному следу. Температура воздуха при укладке не должна быть ниже 5 °С, а температура смеси - не ниже 140 °С.

Для повышения эффективности уплотнения фирмы «Фегеле» и «АБГ» (Германия) разработали конструкции брусьев высокого уплотнения для асфальтоукладчиков (рис. 33).

Рис 32. Схема сопряжения анкеров с непрерывно армированным покрытием:

а - анкер траншейного типа; б - анкер свайного типа; 1 - покрытие; 2 - непрерывная арматура; 3 - выпуск арматуры из анкеров; 4 - бетонная шпора; 5 - соединение по типу шпунта; 6 - арматурный каркас; 7 - железобетонная свая; 8 - дополнительная арматурная сетка

Рис. 33. Схема расположения уплотняющего оборудования для асфальтоукладчиков фирмы «АБГ» (Германия):

1 - шнек, 2, 3 - трамбующий брус, 4 - виброплита

Рабочие органы представляют собой комбинацию трамбующих брусьев (прессующих планок) и виброплит. Амплитуда колебаний трамбующих брусьев последовательно составляет 0 ... 12 мм и 3 ... 8 мм, а виброплит 1,5 ... 2,5 и 0,5 ... 1,2 мм.

В конструкции рабочих органов фирмы «АБГ» предусмотрена возможность статического пригруза задней кромки виброплиты, а в конструкции фирмы «Фегеле» предусмотрено две секции уплотнения с чередованием трамбующих брусьев и виброплиты.

По зарубежным данным, достигалась степень уплотнения асфальтобетона до 1,02 - 1,03 после прохода асфальтоукладчика. При испытаниях в нашей стране асфальтоукладчиков этих фирм была достигнута степень уплотнения 0,96 - 0,99. Окончательное уплотнение проводилось пневмошинными и комбинированными катками массой 16 - 24 т.

Широкое использование асфальтобетонных смесей с ПБВ при реконструкции МКАД показало, что необходимо обеспечивать высокую точность дозирования полимера (применялся отечественный ДСТ), так как даже небольшая передозировка его вызывала невозможность уплотнения смеси из-за повышенной деформативности.

Армирование геоматериалами выполняется как непосредственно на контакте асфальтобетона с цементобетоном (в выравнивающем слое), так и в верхних слоях покрытия. Ширина укладываемого материала составляет 1,2 - 2,0 м над швами цементобетонного покрытия, причем для крепления геоматериалов применяют способы: приклейки (вязким битумом или битумной эмульсией) или крепления скобами или специальными гвоздями.

При использовании геополотен производится их пропитка битумом (норма 0,8 - 1,0 л/м2).

Армирование асфальтобетонных смесей волокнами различной природы связано с усложнением приготовления смесей и ухудшением их дозирования. Металлические волокна представляют собой отрезки длиной 20 - 40 мм, диаметром 0,3 - 0,6 мм. Их содержание изменяется в пределах 0,5 - 2,0 %. При содержании 2,0 % прочность на изгиб слоя толщиной 5 см составила 8,0 - 12,5 МПа в зависимости от типа асфальтобетона. Однако, чтобы устранить возможные проколы шин, эти смеси следует укладывать в основание или выравнивающий слой.

Полимерные волокна применяют как в виде отдельных отрезков (длина 5 - 40 мм), так и непрерывными нитями. Во втором случае обработка производится непосредственно на полотне дороги, когда волокна набрасываются воздухом на грунтовку (дозировка 80 - 120 г/м2).

По поверхности может быть проведен розлив битума и рассыпан щебень (технология типа поверхностной обработки) или черный щебень. Затем укладывается слой асфальтобетона. При использовании обрезков волокон можно приготавливать смеси на АБЗ или производить работы на месте.

Устройство деформационных швов позволяет исключить бессистемное трещинообразование в асфальтобетоне покрытия. Поперечные швы в асфальтобетоне устраиваются над швами расширения, а при их отсутствии через 10 - 30 м в зависимости от средней температуры холодного месяца. Перед укладкой асфальтобетона над швами в цементобетоне укладывают рубероид или пергамин в два слоя на ширину не менее 7 толщин слоя асфальтобетона. Ширина шва 1,2 - 1,7 см, глубина не менее 1/3 толщины асфальтобетона, но не более толщины верхнего слоя при многослойном покрытии.

Устройство швов производится нарезчиками в полностью уплотненном и остывшем асфальтобетоне. Заполнение швов мастикой производится до наступления холодного периода времени и открытия движения транспорта.

3.6. Перестройка дорожных одежд переходного типа

К дорожным одеждам переходного типа относятся одежды, имеющие гравийные или щебеночные покрытия, а также покрытия из грунтов и местных малопрочных каменных материалов, обработанных вяжущими. К этому же типу относятся мостовые, доля которых в настоящее время весьма незначительна. Такие дорожные одежды устраивают на дорогах IV и V категорий при интенсивности движения до 300 авт./сут. в районах с сухим и жарким климатом и до 500 авт./сут. с умеренным климатом. На дорогах с интенсивностью движения свыше 500 авт./сут. следует применять покрытия из гравийных или щебеночных материалов, обработанных органическими вяжущими.

В составе дорог общего пользования Российской Федерации по состоянию на 01.01.1995 г. имелось 157350 км дорог с дорожными одеждами переходного типа, что равно 30,3 % всей протяженности дорог.

В Финляндии протяженность гравийных дорог 29000 км, что составляет 37 % всей протяженности дорог общего пользования [24].

Основные преимущества дорожных одежд переходного типа состоят в возможности широкого использования местных материалов, простоте технологии строительства и как следствие в низкой стоимости.

Недостатками таких одежд являются невысокая прочность и долговечность, появление деформаций и разрушений, а также пылимость гравийных и щебеночных покрытий. Поэтому при повышении интенсивности движения (более 500 авт./сут) переходные покрытия, как правило, перестраивают.

В зависимости от состояния дорожной одежды, фактической и ожидаемой интенсивности движения назначают вид работ по реконструкции гравийных, щебеночных и других покрытий переходного типа.

Существуют два основных вида перестройки покрытий переходного типа:

·   восстановление и усиление гравийного или щебеночного покрытия путем устройства нового слоя из гравия или щебня или путем добавления нового гравия или щебня с перемешиванием со старым материалом для улучшения его фракционного состава;

·   ремонт существующего гравийного или щебеночного покрытия и устройство нового слоя из материалов, обработанных органическими или минеральными вяжущими, и тем самым перевод дорожной одежды из переходного типа в дорожную одежду облегченного типа. В этом случае старая дорожная одежда становится основанием.

Встречается и такой вариант, когда существующая дорожная одежда из гравия или щебня полностью разбирается и заменяется новой. Такое решение обычно принимают в том случае, если существующее покрытие значительно разрушено, применен слабопрочный материал, который в процессе эксплуатации сильно загрязнен.

В каждом конкретном случае решение принимается после детального обследования и анализа состояния существующей дорожной одежды, в процессе которого определяют прочность дорожной одежды, фракционный зерновой состав каменного материала и его физико-механические показатели, содержание пылеватых и глинистых частиц, а для грунтов тип, число пластичности, влажность, гранулометрический состав и другие показатели.

С учетом фактических показателей состояния дорожной одежды, интенсивности и состава движения, грунтово-геологических и гидрологических условий определяют требуемую прочность и конструкцию дорожной одежды, а также способ использования старой дорожной одежды.

Простейший способ перестройки гравийного или щебеночного покрытия состоит в его сплошном выравнивании и усилении.

Технология работ включает следующие операции:

·   перестройку дорожной одежды в местах пучин, просадок, проломов и глубоких колей;

·   очистку поверхности покрытия от грунта, пыли, грязи и мусора;

·   киркование проезжей части на глубину наибольших неровностей, но не менее чем на 4 - 5 см. Перед киркованием в сухую погоду покрытие поливают водой в количестве 6 - 12 л/м2; предварительное профилирование;

·   вывоз на покрытие новой гравийной или щебеночной смеси подобранного состава в количестве от 200 до 800 м3/км;

·   распределение смеси автогрейдером, профилирование и уплотнение;

·   подсыпку грунта на обочины, разравнивание и уплотнение.

Для усиления применяют гравийную или щебеночную смесь оптимального гранулометрического состава с размером зерен 0 - 20 мм или 0 - 40 мм, марка щебня из изверженных и метаморфических пород по прочности не ниже 600 для дорог V категории и 800 для дорог IV категории, а из осадочных пород соответственно 400 и 600. Марка гравия и щебня из гравия Др16 и Др12 для дорог V и IV категорий [31].

При невозможности получения из карьера гравийных смесей требуемого зернового состава их готовят в карьере или на месте (на дороге) путем добавления и тщательного перемешивания отдельных фракций.

В процессе уплотнения рекомендуется поливать материал водными растворами гигроскопических солей 20 - 30 %-ной концентрации с нормой расхода 2 - 3 л/м2. Это позволяет получить плотное, прочное, устойчивое и непылящее покрытие.

Уплотнение производят вначале самоходными катками с гладкими, вальцами массой 5 - 8 т (прикатка), а затем такими же катками массой 10 т и более (укатка).

Окатанный гравийный материал старого покрытия уплотняется с большим трудом, поэтому в него добавляют 25 - 30 % дробленого гравия или щебня.

В настоящее время в процессе реконструкции дорог гравийные, щебеночные и другие типы переходных покрытий перестраивают в покрытия облегченного усовершенствованного типа с устройством слоев усиления или защитных слоев из материалов, обработанных вяжущими, технология таких работ показана на рис 34 и 35.

Технологический процесс реконструкции (рис. 36) начинается с разбивки трассы и закрепления реперных точек (1), причем одновременно с этим проводится установка копирной струны для систем автоматического управления рабочими органами машин или монтаж лазерных систем на машины.

Далее технологический процесс включает:

а) измельчение слоя на проектную толщину (2а) или измельчение только выступающих неровностей (2б);

б) профилирование слоя (4);

в) обогащение разнопрочных материалов (3);

г) устройство слоев усиления пропиткой (5) или смешением (6);

д) устройство поверхностной обработки (9) или укладку слоя нового асфальтобетона (10). После обогащения материал может быть уложен в слой (7) либо обработан предварительно в установке вяжущими (8) или вяжущими пропиткой (5) или смешением на полотне дороги (6).

Использование машин, оснащенных автоматическими системами различного типа, не только повышает качество и производительность распределения и укладочных операций, но и в значительной степени (10 - 20 %) приводит к экономии материалов при обеспечении высокой точности (± 3 - 5 мм) соблюдения геометрических параметров слоев.

Кроме этого, значительно повышается качество таких технологических операций, как измельчение, перемешивание, уплотнение, так как постоянство геометрии слоя обеспечивает однородность и равномерность свойств материала в слое и ровность слоя.

Часто верхний слой реконструируемой дорожной одежды представляет собой дисперсный материал с остаточным слоем асфальтобетонного покрытия (3 - 4 см) (щебень, гравий, щебеночно-гравийные, песчано-гравийные смеси и т.д., в том числе обработанные вяжущими).

Рис. 34 Технологическая схема устройства основания из грунтов и каменных материалов, обработанных в карьере:

1 - самосвал; 2 - автогрейдер; 3 - профилировщик; 4 - грунтосмеситель, 5 - каток: 6 - гудронатор; 7 - копирная струна

Рис. 35 Технологическая схема устройства основания из грунтов, обработанных на полотне дороги:

1 - копирная струна; 2 - профилировщик; 3 - цементовоз-распределитель; 4 - автоцементовоз; 5 - поливочно-моечная машина; 6 - грунтосмеситель; 7 - каток комбинированный, 8 - каток на пневматических шинах; 9 - автогудронатор

Рис. 36. Графосхема технологии производства работ по реконструкции дорожной одежды переходного типа

Для последующего укрепления и усиления этого слоя требуется провести только его частичное измельчение в неровных местах и распределение смеси под проектную отметку. В этом случае можно использовать автогрейдер с рыхлителем, однако более рационально применить профилировщик типа ДС-161. При этом за один проход обрабатывается слой шириной 3,5 м с ровностью ±5 мм, а излишний материал может быть отсыпан в валик на обочине или погружен в самосвал. Далее из самосвала материал может быть подсыпан в низких местах.

При необходимости обогащения материалов рабочие органы профилировщика устанавливаются на нижнем уровне слоя, т.е. осуществляется за один проход разрушение, измельчение и погрузка материала всего слоя в самосвал. Далее материал доставляется на классификатор барабанного типа, где разделяются прочный каменный материал, песок и глинистые частицы.

Применение профилировщика ДС-161, однопроходной грунтосмесительной машины ДС-162 с шириной обработки 3,5 м позволяет производить реконструкцию дорожной одежды без закрытия движения транспорта и без устройства объездной дороги. Эти машины могут выполнять весь цикл технологических операций на полотне дороги поточным методом, требуется только применение тяжелых катков для окончательного уплотнения и распределителей порошкообразных вяжущих типа ДС-159 (для цемента).

Смешение на дороге может выполняться машинами разных модификаций:

·   однопроходной грунтосмесительной машиной ДС-162 (измельчение, перемешивание с порошкообразными и жидкими вяжущими, дозирование и распределение жидких вяжущих, предварительное уплотнение за один проход);

·   профилировщиком ДС-161 (измельчение, перемешивание - собирание в валик и погрузка на систему транспортеров, отсыпка в валик - за первый проход, распределение смеси из валика в слой - за второй проход). Профилировщик при этом оснащается системой дозирования и распределения жидких компонентов;

·   профилировщиком ДС-161 (измельчение, сухое перемешивание, погрузка смеси) в смеситель типа Д-370, где выполняется дозирование порошкообразных и жидких вяжущих, перемешивание смеси и выгрузка в виде валика на полотно дороги, затем профилировщиком ДС-161 при обратном проходе производится распределение смеси из валика в слой.

Пропитка может осуществляться как органическими, так и неорганическими вяжущими.

Технология пропитки органическими вяжущими включает последовательное выполнение операций:

·   измельчение слоя указанными выше машинами;

·   подвоз и распределение вяжущего гудронатором;

·   подвоз и распределение фракций каменного материала мельче основной фракции материала в слой автогрейдером, прикатка катками и снова повторение технологических операций только с каменными материалами более мелких фракций.

Пропитку можно осуществлять на щебне марки не ниже 800 из изверженных пород и не ниже 600 из осадочных пород. Если обрабатываемый слой будет использоваться как основание, то можно уменьшить марку щебня на одну ступень. Глубина обработки измельчения должна составлять 0,9 от проектной толщины, но не менее 1,5 размера максимальной фракции щебня при его содержании до 30 %. Объем каждой следующей фракции щебня составляет 0,9 - 1,1 м3 на 100 м2. Расход органического вяжущего составляет 1,0 - 1,1 л/м2 на каждый см толщины слоя, а для покрытия 1,5 - 2,0 л/м2 дополнительно. Особенности производства розлива вяжущего в несколько приемов следующие: 1-й розлив - 50 % (для битумной эмульсии - 70 %), 2-й розлив - 30 %, 3-й розлив для битума - 20 % Битумная эмульсия рассчитывается на содержание битума.

Если щебень сухой (температура воздуха больше 20 °С), его увлажняют (8 - 10 л/м2). Битум при этом можно применять только после подсыхания щебня, а эмульсию - сразу. Все работы по рассыпке и уплотнению щебня выполняют до остывания вяжущего. Движение можно открыть через 1 - 3 суток при использовании эмульсии и через 10 суток при использовании битума.

Пропитка щебеночных (гравийных) оснований пескоцементной смесью, приготовленной в установках типа ДС-50А, ДС-50Б, Д-370, ДС-174 или на бетонных заводах, осуществляется в двух основных режимах: сухом (смесь имеет влажность меньше оптимальной на 20 - 40 %) и переувлажненном (влажность больше оптимальной на 20 - 40 %). В первом случае щебень должен быть сухой, а во втором увлажненный, по норме 3 - 10 л/м2. Уплотнение может осуществляться разными катками в зависимости от необходимой толщины слоя пропитки: до 5 см - пневмошинным катком за 14 - 20 проходов по одному следу, до 7 см - вибробрусом профилировщика ДС-108 при одновременном распределении за один проход, до 10 см - виброкатком за 2 - 4 прохода по одному следу, 17 см - кулачковым катком за 13 - 15 проходов по одному следу.

Смешение щебня с пескоцементной смесью можно выполнять по указанным выше технологиям профилировщиком ДС-161 или однопроходной грунтосмесительной машиной ДС-162. Причем в отличие от пропитки смесь применяется и распределяется с оптимальной влажностью, а в случае необходимости доувлажняется. Окончательное уплотнение осуществляется катками тяжелого типа (массой 10 - 18 т) за 1 - 3 прохода по одному следу, как и при применении органических или комплексных вяжущих при перемешивании. Однако, если по слоям, обработанным органическими вяжущими, движение можно открывать через 1 сут. (эмульсия) или 2 - 3 сут. (битум), то для пескоцементной смеси - через 28 суток. Причем в течение этого времени необходимо осуществлять уход за слоем путем розлива эмульсии (0,6 - 0,8 л/м2) или россыпи песка с периодическим увлажнением.

Каменный материал или смесь с песком после обогащения может быть уложена в слой без обработки вяжущими способами заклинки, т.е. с добавками новых каменных материалов мелких фракций. Эта технология требует применения тяжелых катков массой 16 - 20 т (число проходов составляет для катков статического типа не менее 30, комбинированных - 18 и для вибрационных - 12 проходов по данному следу), а также периодической поливки щебня водой 15 - 30 л/м2.

Обогащенный каменный материал, песок или их смесь, соответствующая ГОСТ 23558-94, могут быть обработаны органическим вяжущим в установке ДС-50А, ДС-50Б, ДС-174, на асфальтобетонных заводах. Такой черный щебень, черная ПГС могут быть уложены в слой методом заклинки, как и необработанный щебень. При использовании битумной эмульсии возможен вариант приготовления смеси в задел, т.е. с укладкой в штабели. Высота штабеля 2,0 - 2,5 м, и материал в них перелопачивается до тех пор, пока он не остынет. Очень важно обеспечить хороший водоотвод с уклоном не менее 20 ‰ на площадке под штабели и с слоем песка не менее 6 - 8 см. Срок хранения смеси в штабеле 4 - 6 месяцев..

Слои из черного щебня можно устраивать при использовании анионных эмульсий при температуре больше 10 °С, катионных - больше 5 °С, а обратных совместно с прямыми - до - 5 °С. Движение по слоям начинают при использовании катионных эмульсий сразу, анионных во влажную погоду - через 1 - 2 суток, в сухую - сразу.

4. ОБОСНОВАНИЕ ВЫБОРА ТЕХНОЛОГИИ И СРЕДСТВ МЕХАНИЗАЦИИ РЕКОНСТРУКЦИИ ДОРОГ

4.1. Оценка эффективности технологии и средств механизации

С переходом от плановой системы хозяйства к рыночной в России произошли значительные изменения в оценке эффективности принимаемых технических и технологических решений.

В настоящее время для строительных организаций, участвующих в тендерах на реконструкцию и производящих работы по реконструкции автомобильных дорог, есть широкая возможность выбора технологических решений и средств механизации для их выполнения. Применение новых, более эффективных и ресурсосберегающих технологий и машин, позволяет выиграть у других конкурентов торги и получить новые заказы.

В плановой экономике комплексным критерием экономической эффективности считался показатель - удельные приведенные затраты (УДП) [17, 14]:

                                            (15)

где  - удельные приведенные затраты [руб./м3 (м2)/км];

Суд - удельные текущие затраты;

Д - амортизация на реновацию, разная для разного типа оборудования;

Ен = 0,12 - нормативный коэффициент эффективности капиталовложений, принимавшийся постоянным;

Куд - удельные капитальные затраты.

Д = , где Тсл - срок службы данной технологии, равный сроку службы ведущей машины.

Вторым важнейшим показателем считался срок окупаемости, который определялся отношением

                                                       (16)

где Зин - размер инвестированного капитала,

П - прибыль, засчитываемая на возврат инвестиционного капитала [7].

С развитием рыночных отношений необходим учет реальных экономических явлений (инфляция, изменение нормы прибыли, степень риска, разновременность затрат инвестиционного капитала и возвратных сумм прибыли) с корректировкой разновременных затрат к уровню цен на «сегодня» - «дисконтируемая» уценка (ДУ):

ДУ(t) = (1 + RД)t,                                                    (17)

где RД = I + Рн + RS - норма дисконта,

I  - темп инфляции;

Рн - реальная норма прибыли;

RS - коэффициент учета степени риска.

Темп инфляции в России в 1996 г. составлял по разным оценкам 0,18 - 0,28 (18 - 28 % в год).

Для сравнения в США в 1994 - 1996 гг. средний темп инфляции составил 0,1 (10 % в год). Для более точной и достоверной оценки лучше рассчитывать темп инфляции помесячно, т.е. годовой темп делить на 12. Реальная норма прибыли определяется по наименьшему гарантированному уровню доходности. Для США обобщенный показатель по облигациям 30-летнего займа составляет 0,04 - 0,05 (4 - 5 % в год).

Для России реальную норму прибыли следует принимать с учетом уровня банковской ставки кредита Центробанка РФ (октябрь 1996 - май 1997 - 36 % годовых, а с июня 1997 г - 24 % годовых).

Оценка степени риска предполагает учет самых разных явлений и случайностей. Например, существует мировая ранжированная система, учитывающая политические риски, уровень развития макроэкономики, процент увеличения ВВП (валового внутреннего продукта) и другие. Для отечественных инвесторов важно прежде всего иметь полную информацию об организации, вариантах технологических решений, их перспективности, условиях торгов и особенностях объектов, прежде всего финансовом обеспечении производства работ.

Следует принимать степень риска с учетом длительности разработки новой технологии (создание новой техники) и сезонности ее применения. Для примеров, рассчитанных по реальным объектам, МКАД и автомобильная дорога Нарофоминск - Новоселки, принимался % риска от 8 до 16 в месяц (96 - 192 % в год).

Новая методика оценки эффективности инвестиций [9, 7, 14] вводит новые критерии:

·   чистый дисконтный доход (ЧДД);

·   индекс доходности (ИД);

·   внутренняя норма доходности (ВНД);

·   отношение выгод и затрат (ОВЗ);

·   срок окупаемости с учетом временного фактора (Твр.ок.)

ЧДД определяется по формуле

                                                       (18)

где Р(t) - стоимостная оценка внедрения новой техники за период t;

З(t) - стоимостная оценка затрат на внедрение новой техники за период t;

RД - норма дисконта имеет разные значения в расчетный период t;

t - срок службы, осуществления проекта.

Часто не учитывают капиталовложения и исключают их из затрат на внедрение, тогда получим:

                                         (19)

где З'(t) - затраты на внедрение без учета капвложений.

Чем выше ЧДД, тем предпочтительнее вариант.

ИД определяется как отношение суммы приведенных эффектов (ЧДД) к сумме дисконтированных капвложений:

                                                        (20)

Чем выше ИД, тем более эффективно вложены инвестиции.

ВИД определяется при ЧДД = 0 и представляет собой максимальную плату за инвестиции, когда проект самоокупаем и неубыточен, т.е. определяется условием

                                               (21)

ВНД = RД и определяется пробным расчетом. Полученные значения ВНД сопоставляются со ставками за кредит. При этом ставки за кредит должны быть «очищены» от инфляции, для чего используют формулу

                                                          (22)

где Nе - номинальная эффективная ставка;

R - реальная банковская ставка (коммерческих банков);

I - темпы инфляции.

                                                       (23)

где Nв - номинальная банковская ставка (ЦБ РФ);

t - период начисления процентов.

В США ежемесячно публикуется индекс потребительских цен, в России также ежемесячно публикуется в «Строительной газете» коэффициент пересчета цен на «сегодня» к уровню цен 1984 года.

ОВЗ - критерий, по которому определяется как бы текущая эффективность вариантов, когда принимается во внимание и себестоимость З(t), и эффект от внедрения Р(t):

                                                    (24)

Чем больше ОВЗ, тем более эффективен вариант. Срок окупаемости с учетом временного фактора определяется по отношению

                                                 (25)

или                                      (26)

Расчет производится методом подбора и с учетом разных интересов: инвестора (быстрая отдача инвестиций) и государства или производителя работ (лучшее использование природных ресурсов, прирост рабочих мест, максимальная прибыль).

Пример 1.

Базовый вариант.

Технология устройства основания дорожной одежды на МКАД включает (снизу вверх):

·   устройство морозозащитного слоя из песка, h = 0,6 м;

·   устройство щебеночного слоя, h = 0,15 м;

·   устройство 1-го слоя из тощего бетона, h = 0,15 м;

·   устройство прослойки из битумной эмульсии, h = 0,01 м;

·   устройство 2-го слоя из тощего бетона, h = 0,18 м;

·   устройство щебеночного основания на остановочной полосе, h = 0,3 м;

Новый вариант.

Технология устройства равнопрочного основания дорожной одежды на МКАД включает (снизу вверх):

·   устройство морозозащитного слоя из песка, h = 0,6 м;

·   устройство основания за один проход из песка, обработанного цементом, на h = 0,15 м, в том числе совместно с битумной эмульсией на h = 0,05 м;

·   устройство 1-го слоя из тощего бетона, h = 0,15 м, обработанного битумной эмульсией, за один проход на полотне дороги на h = 0,05 м;

·   устройство 2-го слоя так же, как и первого;

·   устройство основания на остановочной полосе за один проход из песка, обработанного цементом, на h = 0,15 м, в том числе с битумной эмульсией на h = 0,05 м.

Расчеты показывают, что новый вариант технологии позволяет уменьшить приведенные удельные затраты на 2320 млн. руб. на 1 км, срок окупаемости капвложений (2500 млн. руб. - стоимость двух однопроходных грунтосмесительных машин) - 3,5 месяца, ЧДД составляет 9480 млн. руб.

4.2. Оптимизация технологии и состава отрядов машин и оборудования

При производстве работ по реконструкции автомобильных дорог возникают различные задачи, связанные с организацией и технологией работ:

·   определение оптимального расположения подсобных служб, т.е. асфальто- и цементобетонных заводов, баз по приему щебня, песка, установок по приготовлению битумных эмульсий;

·   определение оптимального объема применения различных технологий;

·   определение оптимального варианта технологии производства работ, заданного объема работ.

При решении задач первого типа можно рассчитывать два варианта задачи:

·   выбор рациональной загрузки АБЗ, баз и т.д. при известном их расположении (например, для производства работ на МКАД поставки асфальтобетонных и цементобетонных смесей с давно работающих заводов Москвы и ближнего Подмосковья);

·   выбор рационального расположения и мощности баз по выпуску асфальтобетонных смесей при новой реконструкции (например, автомобильной дороги Москва - Воронеж, проводимой ФДСУ).

Особенности решения таких задач заключаются в определении минимального числа баз, а также мест их расположения, при которых затраты на транспортировку материалов будут минимальны при безусловном соответствии технологии нормативным документам.

Введем обозначения: число возможных мест расположения баз (1 ... n), производительность базы Пqi, число объектов производства работ i с объемом Qi(i ... m), удельная стоимость перевозок Хqi.

Для установления рационального варианта размещения баз используется уравнение затрат Сq для q вариантов

                                                         (27)

при следующих ограничениях:

                                                          (28)

На основании этих равенств составляются уравнения:

С1 = П11Х11 + П21Х21 + П31Х31 + ... + Пn1Хn1 - 1 вариант размещения;

С2 = П12Х12 + П22Х22 + П32Х32 + ... + Пn2Хn2 - 2 вариант размещения;

Сn = П1mХ1m + П2mХ2m + П3mХ3m + ... + ПnmХnm - n вариант размещения.

При условии П1 + П2 + ... + Пn = Q1 + Q2 + ... + Qm принимается вариант с Сn = min.

При решении задач второго типа рассматриваются различные варианты технологии устройства, например, оснований, как рассматривались в п. 4.1. При этом задача такого типа возникала бы, если на отдельных участках работы производились по разным технологиям: на участке 1 - c применением укрепленного цементом и битумной эмульсией песка, на участке 2 - щебня.

Введем обозначения: число объектов i (1 ... m); число способов устройства оснований в общем случае к (1 ... n); объем работ, выполняемых на i объекте, с использованием способа к, Хiк; удельная себестоимость работ на объекте i по способу К, Сiк; общий объем работ на i - объекте Qi; объем работ по способу к - qк.

Целевая функция определяется

С = ΣΣХiк · Ciк → min                                                    (29)

при ограничениях

Получаем уравнение:

С = С11Х11 + С12Х12 + ... + СnmХnm min

Х11 + Х12 + ... + П1m = Q1                 Х11 + Х21 + ... + Пn1 = q1

Хn1 + Хn2 + ... + Пnm = Qi                  Х1m + Х2m + ... + Пnm = qк

Решение задачи третьего типа методически совпадает с решениями, представленными в разделе 4.1. Вместе с этим следует подчеркнуть, что при этих расчетах для выбора оптимальной технологии учитывают все затраты: на материалы, зарплату рабочих, эксплуатацию машин.

При этом часто основным отличием вариантов является применение нового материала или новой машины, а также выполнение отдельных технологических операций в новой последовательности или совместно, введение новой операции.

Темп строительства определяется по производительности основной технологической операции, точнее ведущей машины, выполняющей эту операцию. Например, при устройстве слоя из асфальтобетона ведущей машиной является асфальтоукладчик, а при поверхностной обработке - автогудронатор, при устройстве оснований из укрепленного грунта - однопроходный грунтосмеситель.

Состав отряда машин определяется расчетом по производительности ведущей машины с учетом обязательного выполнения технологических особенностей каждой операции соответственно. Например, при уплотнении асфальтобетона учитывается температура асфальтобетонной смеси, ниже которой не рационально выполнять уплотнение, при распределении щебня при поверхностной обработке битумной эмульсией - время распада эмульсии; при уплотнении и чистовом профилировании устроенного слоя из укрепленного цементом грунта - время схватывания и твердения цементогрунта.

Оптимизация имеет своей целью поиск наилучшего варианта решения в соответствии с принятым критерием оптимальности. Для проведения оптимизационных расчетов состава отряда машин в качестве критерия оптимальности допускается использовать минимум приведенных затрат на эксплуатацию отряда машин, отнесенных к единице готовой продукции Сед (обычно 1 п. м. реконструированной дорожной одежды):

                                                      (30)

где Qсм - сменная длина захватки, м;

n - количество технологических операций;

Si - приведенные затраты на эксплуатацию дорожных машин в i-й технологической операции, руб.;

Si = min (Cij · Mij · T)                                                      (31)

(j = 1, mi)

где Сij - приведенные затраты на эксплуатацию одной машины j-й марки в i-й технологической операции, за один час, руб./ч;

Mij - количество машин j-й марки, необходимое для выполнения сменного объема работ в i-й технологической операции, шт.;

mi - количество вариантов марок машин, используемых в i-й технологической операции,

Т - продолжительность смены, ч.

Оптимальный состав отряда машин определяют по методу шагового перебора на ЭВМ по критериям - минимальной стоимости единицы готовой продукции и максимальному коэффициенту использования машин. Основные технические характеристики, производительность и стоимость эксплуатации отдельных машин, применяемых при реконструкции дорожных одежд, приведены в прил. к Методическим указаниям по курсовому проекту по строительству дорожных одежд автомобильных дорог, разработанным кафедрой строительства и эксплуатации дорог МАДИ (ТУ) в 1995 г. [13].

Вопросы для самоконтроля

1. Что такое реконструкция автомобильной дороги?

2. Какие существуют методы оценки состояния дорог?

3. Какие элементы земляного полотна могут перестраиваться при реконструкции автомобильных дорог III категории?

4. Классификация способов реконструкции дорожных одежд в зависимости от типа покрытия, категории дороги, местных условий?

5. Какие варианты технологии регенерации покрытий и дорожных одежд Вы знаете?

6. Какие особенности реконструкции МКАД отметили бы Вы?

7. Какова сущность новых методов оценки эффективности технологических решений и оптимизации составов отрядов машин?

ЛИТЕРАТУРА

1. Васильев А.П., Сиденко В.М. Эксплуатация автомобильных дорог и организация дорожного движения. - М.: Транспорт, 1990. - 304 с.

2. Временные технические указания по проектированию и строительству непрерывно армированных цементобетонных дорожных покрытий и оснований в г. Москве: ВСН 4-75 / Главмосинжстрой. - М., 1974.

3. ГОСТ 23457-86. Технические средства организации движения. Правила применения. - М.: Госстандарт, 1987. - 65 с.

4. Дорожные одежды с использованием шлаков / Под ред. проф. А.Я. Тулаева. - М.: Транспорт, 1986. - 221 с.

5. Залуга В.П. Обустройство рабочих мест при строительстве и ремонте автомобильных дорог: Учебное пособие / МАДИ. - М., 1992. - 64 с.

6. Инструкция по проектированию дорожных одежд нежесткого типа. ВСН 46-83. - М.: Транспорт, 1985. - 157 с.

7. Инструкция по определению экономической эффективности использования в строительстве новой техники, изобретений и рационализаторских предложений. СН 509-78. - М.: Стройиздат, 1979. Ч. 1. - 280 с. Ч. 2 - 175 с.

8. Инструкция по устройству дорожных одежд с использованием регенерированного старого асфальта. ВСН 43-78. - М.: Главмосинжстрой.

9. Карпов В.А. Методы оценки инвестиционных проектов. - Уфа, 1995.

10. Классификация дорожных работ. Утверждена ФДД в 1994. - 10 с.

11. Коганзон М.С., Яковлев Ю.М. Оценка и обеспечение прочности дорожных одежд нежесткого типа / МАДИ. - М., 1990. - 53 с.

12. Коганзон М.С., Яковлев Ю.М. Развитие методов расчета дорожных одежд нежесткого типа. В кн.: 70 лет отраслевой дорожной науке. Сборник научных трудов. - М.: «КРУК», 1996. - С. 27 - 34.

13. Коганзон М.С., Яковлев Ю.М. Методические указания к курсовому проекту по строительству дорожных одежд автомобильных дорог. / МАДИ (ТУ), 1995 г. - 50 с.

14. Методические рекомендации по оценке эффективности инвестиционных проектов и их отбору для финансирования. - М.: Информэлектро, 1994. - 78 с.

15. Методические рекомендации по проектированию и устройству теплоизолирующих слоев на пучиноопасных участках автомобильных дорог. - М.: СоюздорНИИ, 1977.

16. Правила диагностики и оценки состояния автомобильных дорог. ВСН 6-90. - М.: Минавтодор РСФСР, 1990. - 168 с.

17. Перевозников Б.Ф. Опыт проектирования, строительства и реконструкции МКАД. - М.: Инфоравтодор, 1997. - 44 с.

18. Реконструкция автомобильных дорог / В.Ф. Бабков, В.М. Могилевич, В.К. Некрасов и др.; Под ред. В.Ф. Бабкова. - М.: Транспорт, 1978. - 264 с.

19. Рекомендации по совершенствованию методов борьбы с пучинами при ремонте автомобильных дорог (для опытного применения). Росавтодор. - М.: НПО «РосдорНИИ», 1991.

20. Руководство по оценке эффективности инвестиционных проектов, Unido, 1996 г.

21. Руководство по сооружению земляного полотна автомобильных дорог. - М.: Транспорт, 1982. - 160 с.

22. СНиП 2.05.02-85. Автомобильные дороги. Госстрой СССР. - М.: ЦИТП Госстроя СССР, 1986. - 56 с.

23. СНиП 3.06.03-85. Автомобильные дороги / Госстрой СССР. - М.: ЦИТП Госстроя СССР, 1986. - 112 с.

24. Содержание и ремонт гравийных дорог. - Хельсинки, 1995.

25. Суханов С.В. Организация и технология строительства водопропускных труб: Методические указания / МАДИ. - М., 1990. - 37 с.

26. Технология и организация строительства автомобильных дорог: Учебник для вузов / Под ред. Н.В. Горелышева. - М.: Транспорт, 1992. - 551 с.

27. Технические правила ремонта и содержания автомобильных дорог. ВСН 24-88. - М.: Транспорт, 1989. - 198 с.

28 ТУ 35-1669-88. Вяжущие полимерно-битумные на основе ДСТ и полимерасфальтобетон: Утв. Минтрансстроем СССР. - М., 1988.

29. Тулаев А.Я. Конструкции и расчет дренажных устройств. - М.: Транспорт, 1980. - 192 с.

30. Указания по производству земляных работ в дорожном строительстве и при устройстве подземных инженерных сетей. ВСН 54-80. - М.: Главмосинжстрой, 1981.

31. Указания по строительству, ремонту и содержанию гравийных покрытий. ВСН 7-89. - М.: Транспорт, 1990.

32. Указания по оценке прочности и расчету усиления нежестких дорожных одежд. ВСН 52-89. - М.: Минавтодор РСФСР, 1989. - 76 с.

33. Цезар Кейрос. Технико-экономические проблемы ремонта и содержания автомобильных дорог / МАДИ (ТУ). - М., 1995. - 57 с.

34. World Bank. Road Detrioration in Developing Countries: Causes and Remedies. Washington, D.C., 1988.

СОДЕРЖАНИЕ

Введение. 1

1. Принципы назначения работ по реконструкции автомобильных дорог. 2

1.1. Реконструкция автомобильных дорог и ее разновидности. 2

1.2. Оценка состояния дороги и назначение мероприятий по реконструкции дорог. 4

2. Земляные работы при реконструкции дорог. 7

2.1 подготовительные работы.. 7

2.2. Способы уширения насыпей и выемок. 9

2.3. Исправление продольного профиля. 16

2.4. Перестройка пучинистых участков. 20

2.5. Перестройка и удлинение водопропускных труб. 25

3. Реконструкция дорожных одежд. 29

3.1. Способы реконструкции дорожных одежд. 29

3.2. Способы разборки слоев дорожных одежд и повторного использования их материалов. 33

3.3. Способы регенерации дорожных одежд и покрытий. 35

3.4. Уширение дорожной одежды и укрепление обочин. 42

3.5. Особенности реконструкции дорожных одежд с цементобетонными покрытиями. 48

3.6. Перестройка дорожных одежд переходного типа. 53

4. Обоснование выбора технологии и средств механизации реконструкции дорог. 59

4.1. Оценка эффективности технологии и средств механизации. 59

4.2. Оптимизация технологии и состава отрядов машин и оборудования. 62

Литература. 64

 

 




ГОСТЫ, СТРОИТЕЛЬНЫЕ и ТЕХНИЧЕСКИЕ НОРМАТИВЫ.
Некоммерческая онлайн система, содержащая все Российские Госты, национальные Стандарты и нормативы.
В Системе содержится более 150000 файлов нормативно-технической документации, действующей на территории РФ.
Система предназначена для широкого круга инженерно-технических специалистов.

Рейтинг@Mail.ru Яндекс цитирования

Copyright © www.gostrf.com, 2008 - 2026