Крупнейшая бесплатная информационно-справочная система онлайн доступа к полному собранию технических нормативно-правовых актов РФ. Огромная база технических нормативов (более 150 тысяч документов) и полное собрание национальных стандартов, аутентичное официальной базе Госстандарта. GOSTRF.com - это более 1 Терабайта бесплатной технической информации для всех пользователей интернета. Все электронные копии представленных здесь документов могут распространяться без каких-либо ограничений. Поощряется распространение информации с этого сайта на любых других ресурсах. Каждый человек имеет право на неограниченный доступ к этим документам! Каждый человек имеет право на знание требований, изложенных в данных нормативно-правовых актах!

  


 

МИНИСТЕРСТВО ВНУТРЕННИХ ДЕЛ РОССИЙСКОЙ ФЕДЕРАЦИИ

 

ФЕДЕРАЛЬНОЕ ГОСУДАРСТВЕННОЕ УЧРЕЖДЕНИЕ «ВСЕРОССИЙСКИЙ ОРДЕНА “ЗНАК ПОЧЕТА” НАУЧНО-ИССЛЕДОВАТЕЛЬСКИЙ ИНСТИТУТ ПРОТИВОПОЖАРНОЙ ОБОРОНЫ»

 

КЛАССИФИКАЦИЯ И ОБЛАСТИ ПРИМЕНЕНИЯ ЭЛЕКТРОУСТАНОВОК В ПОЖАРОВЗРЫВООПАСНЫХ ЗОНАХ

 

СПРАВОЧНОЕ ПОСОБИЕ

 

МОСКВА 2001

СОДЕРЖАНИЕ

ПРЕДИСЛОВИЕ

1. ЭЛЕКТРОУСТАНОВКИ ВО ВЗРЫВООПАСНЫХ ЗОНАХ

1.1. Термины и определения

1.2. Классификация взрывоопасных зон

1.3. Классификация взрывоопасных смесей

1.4. Взрывозащищенное электрооборудование

1.4.1. Уровни взрывозащиты

1.4.2. Виды взрывозащиты

1.4.3. Маркировка взрывозащищенного электрооборудования

1.5. Выбор электрооборудования для взрывоопасных зон

1.5.1. Электропроводки и кабельные линии

1.5.2. Электродвигатели

1.5.3. Аппараты управления и приборы

1.5.4. Светильники

1.6. Заземление и зануление электроустановок во взрывоопасных зонах

2. ВЫБОР И ПРИМЕНЕНИЕ ЗАРУБЕЖНОГО ВЗРЫВОЗАЩИЩЕННОГО ЭЛЕКТРООБОРУДОВАНИЯ

2.1. Общие сведения

2.2. Сопоставление отечественной и зарубежной классификаций взрывоопасных зон

2.3. Сопоставление классификаций взрывоопасных смесей по ПУЭ и зарубежным стандартам

2.4. Соответствие маркировок зарубежного и отечественного электрооборудования по взрывозащите

3. ЭЛЕКТРООБОРУДОВАНИЕ В ПОЖАРООПАСНЫХ ЗОНАХ

3.1. Общие сведения

3.2. Классификация пожароопасных зон

3.3. Выбор электрооборудования для пожароопасных зон

3.3.1. Электропроводки и кабельные линии

3.3.2. Электродвигатели

3.3.3. Аппараты управления и приборы

3.3.4. Светильники

3.4. Заземление и зануление электроустановок в пожароопасных зонах

4. АППАРАТЫ ЗАЩИТЫ В ЭЛЕКТРОУСТАНОВКАХ

4.1. Общие сведения

4.2. Плавкие предохранители

4.3 Автоматические выключатели (автоматы)

4.4. Устройство защитного отключения (УЗО)

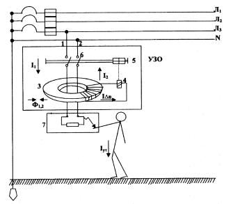
4.4.1. Элементы конструкции и принцип действия УЗО

4.4.2. Термины и определения

4.4.3. Параметры УЗО

4.4.4. Выбор типа и параметров УЗО

4.4.5. Селективность работы УЗО

4.4.6. Требования пожарной безопасности

4.5. Тепловые реле

5. ЭЛЕКТРОСТАТИЧЕСКАЯ ИСКРОБЕЗОПАСНОСТЬ (ЭСИБ) И ЗАЩИТА ОТ СТАТИЧЕСКОГО ЭЛЕКТРИЧЕСТВА

5.1. Основные положения

5.2. Условия электризации и предельные параметры процессов электризации

5.3. Чувствительность к зажигающему воздействию разрядов

5.4. Зажигающая способность разрядов статического электричества

5.5. Критерии электростатической искробезопасности

5.6. Требования к заземлению и данные по обеспечению ЭСИБ в некоторых технологических процессах

ПРИЛОЖЕНИЕ 1 Классификация взрывоопасных зон для отдельных производств и установок

ПРИЛОЖЕНИЕ 2 Номенклатура светильников для пожаровзрывоопасных зон и производственных помещений с тяжелыми условиями среды

ПРИЛОЖЕНИЕ 3 Номенклатура монтажных коробок для пожаровзрывоопасных зон и помещений с тяжелыми условиями среды

ПРИЛОЖЕНИЕ 4 Перечень стандартов на взрывозащищенное электрооборудование

ЛИТЕРАТУРА

 

 

Приводится терминология, связанная с использованием электрооборудования в пожаровзрывоопасных средах. Представлена классификация горючих смесей и пожаровзрывоопасных зон. Изложены рекомендации по выбору и использованию конкретных видов и марок электрооборудования в пожаровзрывоопасных зонах.

Авторский коллектив: д-р техн.наук, профессор Г.И. Смелков, канд. техн. наук, профессор В.Н. Черкасов, Е.П. Шаститко, канд. техн. Наук В.А. Пехотиков, д-р техн. Наук В.Н. Веревкин, Н.Е. Чебарова.

ПРЕДИСЛОВИЕ

Устойчивая тенденция к постоянному увеличению ассортимента и количества, выпускаемых электроизделий, расширение области их применения требуют и более квалифицированного надзора в части обеспечения их пожарной безопасности.

Особая ответственность и вместе с этим наибольшие трудности возникают у инспекторского состава ГПН в процессе контроля правильности применения электроизделий в пожароопасных и взрывоопасных зонах.

Эти трудности, прежде всего, связаны с тем, что большая часть действующих в этой области нормативных документов существенно устарела. Разрабатываемая в настоящее время новая серия российских стандартов, вступающих в силу с 2001 года (см. прил. 4 ), потребует коренного пересмотра глав ПУЭ: 7.3 "Электроустановки во взрывоопасных зонах" и 7.4 "Электроустановки в пожароопасных зонах". Вместе с тем в эксплуатации еще долгое время будут находиться электродвигатели, светильники и другое электрооборудование, выпущенное в соответствии с маркировкой ПУЭ-86, ПИВЭ и ПИВРЭ, а также других устаревших нормативных документов.

Настоящее справочное пособие призвано помочь работникам ГПН и всем практическим работникам пожарной охраны разобраться в сложных вопросах классификации взрывоопасных смесей, пожаровзрывоопасных зон, в классификации и маркировках взрывозащищенного электрооборудования, оценить в ходе инспекторской проверки правильность выбора и соответствие электроустановки данной пожаровзрывоопасной зоне.

Авторы с благодарностью примут замечания и предложения, направленные на дальнейшее совершенствование справочного пособия.

Наш адрес:

143903, Московская обл.,

Балашихинский р-н,

пос. ВНИИПО, д. 12.

1. ЭЛЕКТРОУСТАНОВКИ ВО ВЗРЫВООПАСНЫХ ЗОНАХ

1.1. Термины и определения

Взрыв - быстрое преобразование вещества (взрывное горение), сопровождающееся выделением энергии и образованием сжатых газов, способных производить работу.

Вспышка - быстрое сгорание горючей смеси, не сопровождающееся образованием сжатых газов.

Взрывоопасная зона - помещение или ограниченное пространство в помещении или у наружной установки, в котором имеется или может образоваться взрывоопасная смесь в объеме, требующем специальных мер защиты при конструировании электрооборудования, его монтаже и эксплуатации.

Взрывоопасные зоны в зависимости от частоты и продолжительности присутствия взрывоопасной газовой смеси подразделяются на три класса.

Зона класса 0 - зона, в которой взрывоопасная газовая смесь присутствует постоянно или в течение длительного времени.

Зона класса 1 - зона, в которой существует вероятность присутствия взрывоопасной газовой смеси в нормальных условиях эксплуатации.

Зона класса 2 - зона, в которой маловероятно присутствие взрывоопасной газовой смеси в нормальных условиях эксплуатации, а если она возникает, то редко и существует очень непродолжительное время.

Примечание Частоту возникновения и длительность присутствия взрывоопасной газовой смеси допускается определять по правилам (нормам) соответствующих отраслей промышленности

Помещение - пространство, ограниченное со всех сторон ограждающими конструкциями: стенами (в том числе с окнами и дверями) с покрытием (перекрытием) и полом.

Наружная установка - установка, расположенная вне помещения (снаружи) открыто, либо под навесом, либо за сетчатыми или решетчатыми ограждающими конструкциями.

Взрывоопасная газовая смесь - смесь горючих газов или паров с воздухом при нормальных атмосферных условиях, горение которой распространяется на весь объем несгоревшей смеси.

Горючие газы относятся к взрывоопасным при любой температуре окружающей среды.

Взрывоопасная пылевоздушная смесь (облако взрывчатой пыли) - смесь с воздухом при нормальных атмосферных условиях воспламеняющихся веществ в виде пыли или волокон, горение которой распространяется по всей невоспламененной смеси.

Горючие пыль и волокна относятся к взрывоопасным, если их нижний концентрационный предел воспламенения не превышает 65 г/м 3 .

Горючая жидкость - жидкость, способная самостоятельно гореть после удаления источника зажигания и имеющая температуру вспышки выше 61 °С.

Горючие жидкости относятся к пожароопасным; нагретые в условиях производства до температуры вспышки и выше - к взрывоопасным.

Легковоспламеняющаяся жидкость (далее - ЛВЖ) - жидкость, способная самостоятельно гореть после удаления источника зажигания и имеющая температуру вспышки не выше 61 °С.

Температура воспламенения - температура горючего вещества, при которой оно выделяет горючие пары или газы с такой скоростью, что после их воспламенения от источника зажигания возникает устойчивое горение.

Температура самовоспламенения взрывоопасной газовой смеси - наименьшая температура окружающей среды, при которой в условиях специальных испытаний наблюдается самовоспламенение взрывоопасной газовой смеси.

Температура вспышки - самая низкая температура жидкости, при которой в условиях специальных испытаний над ее поверхностью образуются пары, способные воспламеняться в воздухе от источника зажигания, устойчивое горение при этом не возникает.

Верхний и нижний концентрационные пределы воспламенения (ВКПР - НКПР) - соответственно максимальная и минимальная концентрации горючих газов, паров ЛВЖ, пыли или волокон в воздухе, выше и ниже которых взрыв не происходит даже при возникновении источника инициирования взрыва.

Безопасный экспериментальный максимальный зазор (БЭМЗ) - максимальный зазор между фланцами оболочки, через который не проходит передача взрыва из оболочки в окружающую среду при любой концентрации смеси в воздухе (между ВКПР и НКПР).

Искробезопасная электрическая цепь - электрическая цепь, выполненная так, что электрический разряд или ее нагрев не могут воспламенить взрывоопасную среду при предписанных условиях испытания.

Взрывозащищенное электрооборудование (электротехническое устройство) - электрооборудование (электротехническое устройство), в котором предусмотрены конструктивные меры с целью устранения или затруднения возможности воспламенения окружающей взрывоопасной среды.

Электрооборудование (электротехническое устройство) общего назначения - электрооборудование, выполненное без учета определенных требований, обусловленных назначением и/или условиями эксплуатации.

Уровень взрывозащиты электрооборудования (электротехнического устройства) - степень взрывозащиты электрооборудования (электротехнического устройства) при установленных нормативными документами условиях.

Вид взрывозащиты электрооборудования (электротехнического устройства) - совокупность средств взрывозащиты электрооборудования (электротехнического устройства), установленная нормативными документами.

Взрывозащищенное электрооборудование в зависимости от области применения подразделяется на группы:

I - рудничное взрывозащищенное электрооборудование, предназначенное для подземных выработок шахт и рудников, опасных по газу или пыли;

II - взрывозащищенное электрооборудование для внутренней и наружной установки, кроме рудничного взрывозащищенного.

1.2. Классификация взрывоопасных зон

Классификация взрывоопасных зон производится по ПУЭ [1 ], ГОСТ Р. 51330.9-99 [2 ] и ГОСТ Р. 51330.22-99 [3 ].

Классы взрывоопасных зон представлены в табл. 1.1 .

Таблица 1.1.

 

ПУЭ [1 ]

ГОСТ Р. 51330.9-99 [2 ]

ГОСТ Р. 51330.22-99[3 ]

-

0

(взрывоопасная смесь присутствует постоянно или длительно)

-

B - I

1

(существует вероятность присутствия взрывоопасной газовой смеси в нормальных условиях эксплуатации)

-

B - Ia

2

(присутствие взрывоопасной смеси в нормальных условиях эксплуатации маловероятно или оно редко и не очень продолжительно)

-

B-I6

-

-

B-Iг

1 или 2

-

-

-

20

(горючая пыль в виде облака имеется постоянно или часто при нормальном режиме работы оборудования)

В- II

-

21

(горючая пыль в виде облака может присутствовать при нормальном режиме работы оборудования)

В- II а

-

22

(облако горючей пыли может возникать редко при ненормальном режиме работы оборудования)

 

Сопоставление классов зон позволяет устранить разночтение и на этой основе осуществлять рациональное размещение технологического и электротехнического оборудования в таких зонах, с точки зрения выбора соответствующего уровня взрывозащиты и обеспечения безопасности эксплуатации.

Следует учитывать также рекомендуемое приложение Г из ГОСТ Р. 51330.9-99 [2 ] - "Классификация взрывоопасных зон для отдельных производств и установок" (см. прил. 1 ).

1.3. Классификация взрывоопасных смесей

По ГОСТ 12.1.011-78 [6 ] все взрывоопасные смеси газов и паров с воздухом классифицируются по группам и категориям.

На группы взрывоопасные смеси подразделяются по их температуре самовоспламенения (табл. 1.2 ), а на категории (табл.1.3 ) -по величине так называемого безопасного экспериментального максимального зазора (БЭМЗ) между плоскими фланцами у стандартной экспериментальной оболочки [6 ] или по величине критического зазора [7 , 8 ].

Таблица 1.2

Группа смеси

Температура самовоспламенения, °С

Группа смеси

Температура самовоспламенения, °С

Группа смеси

Температура самовоспламенения, °С

По ПИВЭ [ 7 ]

По ПИВРЭ [ 8 ]

По ПУЭ или ГОСТ 12.1.011-78

А

Свыше 450

Т1

Свыше 450

Т1

Свыше 450

Б

Свыше 300 до 450

Т2

Свыше 300 до 450

Т2

Свыше 300 до 450

Г

Свыше 175 до 300

Т3

Свыше 200 до 300

Т3

Свыше 200 до 300

Д

Свыше 120 до 175

Т4

Свыше 135 до 200

Т4

Свыше 135 до 200

 

 

Т5

Свыше 100 до 135

Т5

Свыше 100 до 135

 

 

 

 

Т6

Свыше 85 до 100

Таблица 1.3

Категория взрывоопасной смеси

Критический зазор, мм

Категория взрывоопасной смеси

БЭМЗ, мм

По ПИВЭ и ПИВРЭ

По ГОСТ 12.1.011-78 и ПУЭ

1

Свыше 1,0

I *

Свыше 1,0

2

Свыше 0,65 до 1,0

НА

Свыше 0,9

3

Свыше 0,35 до 0,65

ИВ

Свыше 0,5 до 0,9

4

Менее 0,35

НС

До 0,5

* Категорией I обозначен рудничный метан.

1.4. Взрывозащищенное электрооборудование

Применение электрооборудования общего назначения во взрывоопасных зонах (за небольшим исключением) по условиям пожаровзрывобезопасности недопустимо. Здесь следует применять взрывозащищенное электрооборудование [1 , 9 ], которое должно иметь минимально допустимый уровень и вид взрывозащиты и отвечать требованиям его применения во взрывоопасных смесях той или иной группы и категории.

1.4.1. Уровни взрывозащиты

Обозначение уровней взрывозащиты по разным нормативным документам [ 1 , 4 , 8 ] приводится в табл. 1.4 .

Таблица 1.4

Уровень взрывозащиты электрооборудования

ГОСТ 12.2.020-76 [4 ] и ПУЭ

ПИВРЭ

Повышенной надежности против взрыва

2

Н

Взрывобезопасный

1

В

Особовзрывобезопасный

0

О

Искробезопасные электрические цепи разделяются на три уровня ( табл. 1.5 ).

Таблица 1.5

Уровень вэрывозащиты электрооборудования по ГОСТ 12.2.020-76

Знак уровня искробезопасной электрической цепи для электрооборудования группы II

Особовзрывобезопасный

i a

Взрывобезопасный

i b

Повышенной надежности против взрыва

i c

1.4.2. Виды взрывозащиты

Обозначение видов взрывозащиты по разным нормативным документам [ 1 , 4 , 7 , 8 ] приводится в табл. 1.6

Таблица 1.6

Вид взрывозащиты электрооборудования

ГОСТ 12.2.020-76 и ПУЭ

ПИВРЭ, ПИВЭ

Взрывонепроницаемая оболочка

d

В

Защита вида "е" (повышенной надежности против взрыва)

е

Н

Искробезопасная электрическая цепь

i

И

Масляное заполнение оболочки с токоведущими частями

о

М

Заполнение (или продувка) оболочки под избыточным давлением защитным газом

р

П

Кварцевое заполнение оболочки с токоведущими частями

q

К

Специальный вид взрывозащиты

s

С

1.4.3. Маркировка взрывозащищенного электрооборудования

В зависимости от класса взрывоопасной зоны может применяться то или иное по уровню и виду взрывозащищенное электрооборудование, а в отдельных случаях (например, в зонах B - Ia , B - I 6, B - lr и В- II а) - электрооборудование общего назначения (т. е. без средств взрывозащиты), но с определенной степенью защиты оболочки по ГОСТ 14254-96 [ 10 ].

Согласно ГОСТ 12.2.020-76 в маркировку взрывозащиты электрооборудования в указанной ниже последовательности входят знаки:

уровня взрывозащиты электрооборудования (2,1, 0 - табл. 1.4 );

общий знак Ex (Explosionproof - взрывозащищенный), указывающий на соответствие электрооборудования стандартам на взрывозащищенное электрооборудование [11 - 17 ];

вида взрывозащиты (d , p , i , q , о, s , e - табл. 1.6 ); электрооборудование с видом взрывозащиты " i " может быть обеспечено тремя уровнями (i a , i b , i c - табл. 1.5 );

группы или подгруппы электрооборудования и категории взрывоопасной смеси (II , II А, II В, II С - табл. 1.3 .);

температурного класса электрооборудования или группы взрывоопасной смеси (Т1, Т2, Т3, Т4, Т5, Т6-табл. 1.2  

Маркировка взрывозащиты выполняется в виде целого, не разделенного на части знака, заключенного в прямоугольник*  (табл. 1.7 ).

Маркировка электрооборудования по взрывозащите, согласно ПИВРЭ, содержит условные знаки, которые в приведенной ниже последовательности представляют.

уровень взрывозащиты (Н, В, О - табл. 1.4 );

наивысшую категорию взрывоопасной смеси (1, 2, 3, 4 - табл. 1.3 );

наивысшую группу взрывоопасной смеси (Т1, Т2, Т3, Т4, Т5 - табл. 1.2 );

вид взрывозащиты (В, Н, И, М, П, К, С - табл. 1.5 ).

Согласно ПИВРЭ маркировка электрооборудования по взрывозащите состоит из основного знака, расположенного в прямоугольнике * и указывающего уровень взрывозащиты, категорию и группу взрывоопасной смеси. Вид взрывозащиты электрооборудования помещается в кружке * отдельно или вместе с основным знаком (под ним). Допускается выполнение знака вида взрывозащиты на одной стороне (справа) с основным знаком через пропуск или косую черту (табл. 1.7 ). Если электрооборудование состоит из элементов, имеющих разные виды взрывозащиты, в маркировке указываются все виды, обеспечивающие взрывозащищенность электрооборудования. В этом случае указывается самый низкий уровень взрывозащиты.

Электрооборудование, изготовленное по ПИВЭ, на уровни взрывозащиты не подразделяется (см. прил. 3 к гл. 7.3 ПУЭ [1 ]). Виды взрывозащиты электрооборудования обозначают теми же буквами, что и по ПИВРЭ.

В маркировку взрывозащиты электрооборудования по ПИВЭ в указанной ниже последовательности входят (табл. 1.7 ):

вид взрывозащиты (табл. 1.6 );

наивысшая категория взрывоопасной смеси (табл. 1.3 ), если взрывозащита электрооборудования в целом или его частей обеспечивается взрывонепроницаемой оболочкой. Для электрооборудования с другими видами взрывозащиты, являющегося взрывозащищенным для взрывоопасных смесей всех категорий, вместо обозначения категории взрывоопасной смеси ставится ноль;

наивысшая группа взрывоопасной смеси (табл. 1.2 ).

Для электрооборудования с защитой вида "е" (повышенная надежность против взрыва) с искрящими частями, заключенными во взрывонепроницаемую оболочку, заполненную маслом или продуваемую под избыточным давлением, вместо нуля ставится обозначение соответствующего вида взрывозащиты: В, М или П.

Для электрооборудования с искробезопасными электрическими цепями указывается наименование горючего вещества, используемого в испытаниях. Обозначение категории и группы для такого электрооборудования не проставляется.

Примеры маркировки взрывозащиты электрооборудования группы II приведены табл. 1.7 .

Таблица 1.7

Взрывозащита электрооборудования

Категория и группа взрывоопасной смеси, для которой предназначено электрооборудование

Маркировка взрывозащиты

Уровень

Вид

Группа или подгруппа

Температурный класс

ГОСТ 12.2.020-76 или ПУЭ

ПИВРЭ

ПИВЭ

Повышенной надежности против взрыва

Защита вида "е"

II

Т6

Все категории и группы

2ExeIIT6

H4T5+I

НОД

Защита вида "е" и взрывонепроницаемая оболочка

II В

Т3

Категории II А и II В (1-3), группы Т1(А) - Т3(П

2ExedIIBT3

H3TWHB

НЗГ

Искробезопасная электрическая цепь

II С

Т6

Все категории и группы

2 Exi c IICT 6

Н4Т5-И

Взрывобезопасный

Взрывонепрони-цаемая оболочка

II А

Т3

Категории II А (1 и 2), группы Т1 (А)-Т3(Г)

1ExdIIAT3

B2T3-B

В2Г

Искробезопасная электрическая цепь и взрыво-непроницаемая оболочка

II В

Т4

Категории II В (3), группы Т1(А)-Т4(Г)

1Exi b dIIBT4

ВЗШ1В

Взрывобезопасный

Заполнение объема оболочки под избыточным давлением

II С

Т6

Все категории и группы

1Ехр II СТ6

В4Т5-П

ПОД

Масляное заполнение оболочки

II

Т5

Все категории и группы Т1(А)-Т5(Д)

1 ExoIIT 5

В4Т5-М

МОД

Особовзрывобезопасный

Искробезопасная электрическая цепь

II С

Т6

Все категории и группы

0 Exi a IICT 6

О4Т5-И

Специальный вид и искробезопасная электрическая цепь

II С

Т6

Все категории и группы

0 Exsi a IICT 6

О4Т5-СИ

Примечание . В скобках указаны категории и группы по ПИВЭ и ПИВРЭ.

* Обозначения ставятся на самом оборудовании.

1.5. Выбор электрооборудования для взрывоопасных зон

Выбор взрывозащищенного электрооборудования для взрывоопасных зон рекомендуется производить, придерживаясь определенной последовательности.

1. Нормативно и аналитически определяется класс взрывоопасной зоны и ее размеры для помещения и наружной установки в нормальном или аварийном режиме технологического процесса (табл. 1.1 , п.п. 7.3.38-7.3.53 ПУЭ [1 ]), [18 , 19 ].

Классы и размеры взрывоопасных зон для наружных взрывоопасных установок должны приниматься в соответствии с нормами технологического проектирования, отражающими особенности технологических процессов, учитывающими опыт эксплуатации действующих взрывоопасных установок и утвержденными в установленном порядке соответствующими министерствами и ведомствами.

2. Определяются параметры взрывоопасной среды в местах установки электрооборудования (т. е. в пределах взрывоопасной зоны): наименования и физические свойства веществ, которые могут образовать взрывоопасные смеси; категории и группы, к которым относятся взрывоопасные смеси (табл. 1.2 и 1.3 ).

3. Определяются общие свойства и условия, характеризующие взрывоопасную среду, в которой должно эксплуатироваться электрооборудование: места, в которых температура окружающей среды превышает 35 °С, химическая активность и механическое воздействие окружающей среды на электрооборудование и др.

4. Проводится анализ маркировки взрывозащиты электрооборудования и указаний заводской инструкции по монтажу и эксплуатации, после чего сравнивается уровень и вид взрывозащиты электрооборудования с предполагаемыми условиями его эксплуатации: класс взрывоопасной зоны, категория и группа взрывоопасной смеси, общие свойства и условия окружающей среды.

5. Учитывается возможность дальнейшего совершенствования и модернизации производства и использования в технологии более пожаровзрывоопасных веществ и материалов.

6. На основании пп. 1-5 составляется спецификация применяемого взрывозащищенного электрооборудования с учетом требований гл. 7.3 ПУЭ [1 ] и соответствующих ГОСТов (или технических условий) на отдельные виды электрооборудования.

1.5.1. Электропроводки и кабельные линии

Выбор проводов и кабелей (п.п. 7.3.92-7.3.131 [1 ]). Во взрывоопасных зонах любого класса можно применять провода с резиновой, поливинилхлоридной и бумажной изоляцией в резиновой, поливинилхлоридной и металлической оболочках, за исключением кабелей с алюминиевой защитной оболочкой во взрывоопасных зонах классов В- I и B - Ia .

Провода и кабели с полиэтиленовой изоляцией или оболочкой запрещается применять во взрывоопасных зонах всех классов.

Во взрывоопасных зонах классов B - I б, B - I г, B - II , В- IIa допускается применять провода и кабели как с медными, так и алюминиевыми жилами, а в зонах класса В- I и B - Ia - только с медными жилами.

Изоляция нулевых рабочих и нулевых защитных проводников (выполненная отдельной жилой кабеля или провода) должна быть равноценной изоляции фазных проводников.

Кабели, прокладываемые открыто во взрывоопасных зонах, должны отвечать требованиям (быть сертифицированы) по нераспространению горения.

При прокладке кабелей в пластмассовой электромонтажной арматуре данная продукция должна быть сертифицирована на пожарную безопасность.

При выборе жил проводников и оболочек кабелей необходимо учитывать их стойкость к окружающей среде.

Соединительные, ответвительные и проходные коробки для электропроводки должны:

а) во взрывоопасной зоне класса В- I иметь уровень взрывобезопасное электрооборудование" и соответствовать категории и группе взрывоопасной смеси;

б) во взрывоопасной зоне класса В- II предназначаться для взрывоопасных зон со смесями горючих пылей или волокон с воздухом. Допускается применение коробок с уровнем "взрывобезопасное электрооборудование" с видом взрывозащиты "взрывонепроницаемая оболочка", предназначенных для газопаровоздушных смесей любых категорий и групп;

в) во взрывоопасных зонах классов B - Ia и B - I г быть взрывозащищенными для соответствующих категорий и групп взрывоопасных смесей. Для осветительных сетей допускается применение коробок в оболочке со степенью защиты IP 65;

г) во взрывоопасных зонах классов В- I б и В- IIa иметь оболочку со степенью защиты IP 54. До освоения промышленностью коробок со степенью защиты оболочки IP 54 могут применяться коробки со степенью защиты оболочки IP 44.

Способы прокладки кабелей и проводов во взрывоопасных зонах приведены в табл. 1.8 и 1.9 . Требования к монтажным коробам приведены в прил. 3 .

Таблица 1.8

Кабели и провода

Способ прокладки

Сети напряжением выше 1 кВ

Силовые сети и вторичные цепи до 1 кВ

Осветительные сети до 380 В

Бронированные кабели

Открыто - по стенам и строительным конструкциям на скобах и кабельных конструкциях; в коробах, лотках, на тросах, кабельных и технологических эстакадах; в каналах. Скрыто - в земле (траншеях), в блоках

В зонах любого класса

Небронированные кабели в резиновой, поливинил-хлоридной и металлической оболочках

Открыто - при отсутствии механических и химических воздействий; по стенам и строительным конструкциям на скобах и кабельных конструкциях; в лотках, на тросах

B-I6,

В -II а ,

B-Iг

B-I б ,

В- II а,

B - I г

B-Ia,

B-I б ,

В- II а,

B - I г

В каналах - пылеуплотненных (например, покрытых асфальтом) или засыпанных песком

B - II ,

В- II а

В- II ,

В- II а

В- II ,

В- II а

Открыто - в коробах

B-I б ,

B-I г

B-Ia,

B-I б ,

B-Iг

B-Ia,

B-I б ,

B-Iг

Изолированные провода

Открыто и скрыто - в стальных водогазопроводных трубах

В зонах любого класса

Примечание . Для искробезопасных цепей во взрывоопасных зонах любого класса разрешаются все перечисленные в таблице способы прокладки проводов и кабелей

Таблица 1.9

Вид прокладки кабелей

Классификация взрывоопасной зоны

Примечание

Бронированные кабели

Небронированные кабели

Взрывоопасные установки в помещениях

Открыто - на кабельных конструкциях, лотках, тросах, по стальным конструкциям и т. п.

B-I,

B-Ia,

В- II

B - Ia * ,

B - I б,

В- II а,

-

В коробах:

 

 

-

перфорированных

B-I, B-Ia

B-Ia * , B-I б

неперфорированных (сплошных)

В- II ,

B-Ia, B-I б

В каналах:

 

 

См. п. 7.3.110[ 1 ]. При легких газах, При тяжелых газах и парах

не засыпанных песком, грунтом

B-I

B-Ia, B-I б

засыпанных песком, грунтом

B-I

B-Ia, B-I б

пылеуплотненных (например, покрытых асфальтом)

В- II

В- II а

В стальных трубах

-

Все классы

-

Наружные взрывоопасные установки

Открыто - на кабельных конструкциях, лотках, в перфорированных коробах, по строительным конструкциям и т. п.

B-Iг

B-Iг **

-

В каналах:

 

 

 

не засыпанных песком, грунтом

-

B - I г

При легких газах

засыпанных песком, грунтом

-

B - I г

При тяжелых газах и парах

В гунте (траншеях)

B - I г

-

-

То же, при отсутствии механических и химических воздействий

 

B - I г ***

*Осветительные сети, прокладываемые выше 2 м от уровня пола.

**При возможности механических воздействий небронированные кабели следует прокладывать в зоне B - I г в неперфорированных (сплошных) коробах или стальных трубах.

***Сети напряжением до 1 кВ.

1.5.2. Электродвигатели

Во взрывоопасных зонах любого класса электродвигатели могут применяться с напряжением до 10 кВ при условии, что уровень их взрывозащиты или степень защиты оболочки соответствуют указанным в табл. 1.10 или являются более высокими, а также с учетом требований п. 7.3.63 и 7.3.67 ПУЭ.

Таблица 1.10

Класс взрывоопасной зоны

Уровень взрывозащиты или степень защиты оболочки электродвигателей

B - I

Взрывобезопасный

B-Ia, B-I г

Повышенной надежности против взрыва

B - I б

Без средств взрывозащиты. Оболочка со степенью защиты не менее IP 44 ( табл. 2.1 ). Искрящие части электродвигателя (например, контактные кольца) должны быть заключены в оболочку также со степенью защиты не менее IP 44

B - II

Взрывобезопасный

В- II а

Без средств взрывозащиты * . Оболочка со степенью защиты не менее IP 54 ** ( табл. 2.1 ). Искрящие части электродвигателя (например, контактные кольца) должны быть заключены в оболочку также со степенью защиты не менее IP 54 **

*Во взрывоопасных зонах классов В- II и В- II а рекомендуется применять электрооборудование, предназначенное для взрывоопасных зон со смесями горючих пылей или волокон с воздухом (см. также п. 7.3.63 [ 1 ]).

**До освоения электропромышленностью электродвигателей со степенью защиты IP 54 допускается, при подтверждении многолетней безаварийной эксплуатации, применять электродвигатели со степенью защиты IP 44.

Для привода производственных механизмов во взрывоопасных зонах применяются взрывозащищенные электродвигатели.

По виду и способу устройства взрывозащиты эти электродвигатели разделяются на взрывонепроницаемые, продуваемые под избыточным давлением и повышенной надежности против взрыва (защита вида "е").

Взрывонепроницаемая взрывозащита электродвигателей обеспечивается тремя факторами: взрывонепроникновением, взрывоустойчивостью и температурным режимом оболочки. Взрывонепроницаемые электродвигатели изготавливаются для работы во всех классах взрывоопасных зон, с категориями взрывоопасных смесей от ПА до НС (от 1 до 4) и группами взрывоопасных смесей от Т1 до Т5 (от А до Д).

Серии и типы отечественных взрывонепроницаемых электродвигателей приводятся в табл. 1.11 .

Взрывозащита электродвигателей, продуваемых под избыточным давлением, основана на непроникновении взрывоопасной среды во внутреннюю полость электродвигателя.

Электродвигатели в этом исполнении являются крупными машинами и применяются для привода насосов, вентиляторов, компрессоров и других общепромышленных механизмов во взрывоопасных зонах всех классов (за исключением зоны B - I г), которые могут содержать взрывоопасные смеси всех категорий и групп.

Отечественные типы и серии таких электродвигателей приводятся в табл. 1.12 .

Электродвигатели повышенной надежности против взрыва при нормальном режиме работы не могут быть причиной взрыва: у них отсутствуют открытое искрение, дуги или опасные температуры. Дополнительными факторами обеспечения взрывозащиты являются: снижение допустимой температуры изолированных обмоток на 10 °С (по сравнению с допустимыми по ГОСТам), применение электроизоляционных материалов высокого качества, степень защиты оболочки не ниже IP 33 или IP 44.

Выпуск таких электродвигателей ограничен серией А десятого и одиннадцатого габаритов мощностью 55-320 кВт, напряжением 380/660 В в исполнении НОВ и НОГ.

Электродвигатели повышенной надежности против взрыва могут применяться во взрывоопасных зонах всех классов (за исключением зон класса В- I и В- II ) и во взрывоопасных смесях всех категорий при соответствии их групп.

Таблица 1.11

Серия или тип электродвигателя

Мощность, кВт

U н , В

Маркировка взрывозащиты

Примечание

К, КО

4-100

380/660

ВЗГ

Привод насосов, вентиляторов, лебедок

МА36

125-250

380/660

В1Г

В2Г

В3Г

Привод центрифуг

МА37

160

380/660

В2Г

Привод насосов

ВАО

0,4-100

220/380,

380/660

В1Г, В2Г

В3Г

В4Г

В4Д

Область применения не конкретизируется

ВАСО

22-37

37-90

380/660

380/660

В3Т4-В

Привод вентиляторов

ВАСО2

22-75

до 660

1 ExdIIBT 4

Вертикальный

ВАОК (с фазным ротором)

17-55

75-250

380/600

380/660

В1Г

В3Г

В1Т4-В

Привод механизмов, требующих плавного пуска

ВАОВ

400-2000

6000-10000

1 ExdIIBT 4

Привод вертикальных нефтяных насосов

ВАО 2

55-315

200-2000

380/660

6000-10000

В3Т4-В

В3Т5-В

Область применения не конкретизируется

ВА3МВ1

500-2000

6000

1 ExdIIBT 4

Привод насосов, компрессоров, нагнетателей и других быстроходных механизмов

В

0,25-110

220/380

380/660

1 ExdIIBT 4

Частота оборотов 1500-3000 об/мин

1,5-2,2

220/380

380/660

1 ExdIIBT 4

Привод подъемно-транспортных и других механизмов, применяемых в химической, нефтяной и газовой промышленности

1,5-5,5

до 660

В3Т4-В

37-110

до 660

1 ExdIIBT 4

ВА132

ВА200

3-4,5 15,5-45

380/660

380/660

1ExdIIBT4

2ExdIICT4

2ExdIICT4

АИМ(С)

АИМ(Р)

4-22

7-30

до 660

до 660

1 ExdIIBT 4

1 ExdIICT 4

1 ExdIICT 4

Привод механизмов, применяемых в химической, газовой, нефтеперерабатывающей и других отраслях

Примечание . В таблице указано электрооборудование серийного производства.

Таблица 1.12

Серия или тип электродвигателя

Мощность, кВт

U н , В

Частота вращения, об/мин

Обозначение взрывозащиты

Примечание

СДКП2

315-8000

6000

250-500

В4Т5-П или Н4Т5-П

Привод поршневых компрессоров

32-2000

220/380

550-3000

В4Т5-П

АВ

 

380/660

 

 

СТДП

630-112500

6000-10000

3000

В4Т5-П Н4Т5-П

АТД2

315-5000

6000

3000

В4Т5-П или Н4Т4-П

ДАП

800-2500

6000

1500

В4Т4-П

или В4Т5-П

Привод насосов, вентиляторов и других быстроходных устройств

АТД

500-2500

3000-5000

3000

АЗП

 

 

 

Н4Т5-В

АРП

 

 

 

Н4Т5-В

1.5.3. Аппараты управления и приборы

Во взрывоопасных зонах электрические аппараты управления могут применяться при условии, что уровень их взрывозащиты или степень защиты оболочки соответствуют табл. 1.13 или являются более высокими, а также с учетом требований пп 7.3.64-7.3.72 [ 1 ].

Таблица 1.13

Класс взрывоопасной зоны

Уровень взрывозащиты или степень защиты оболочки аппаратов управления и приборов

B - I

Взрывобезопасное электрооборудование

B-Ia, B-Iг

Электрооборудование повышенной надежности против взрыва. Допускается применять без средств взрывозащиты для аппаратов и приборов, не искрящих и не подверженных нагреву выше 80 °С, в оболочке со степенью защиты не менее IP 54

B - I б

Без средств взрывозащиты. Оболочка со степенью защиты не менее IP 44

В- II

Взрывобезопасное электрооборудование (при соблюдении требований п. 7.3.63 [ 1 ])

В- II а

Без средств взрывозащиты (при соблюдении требований п. 7.3.63 [ 1 ]). Оболочка со степенью защиты не менее IP 54

Во взрывобезопасных зонах применяют, как правило, взрывозащищенные аппараты управления и приборы: кнопочные посты управления, выключатели конечные и путевые, переключатели, командоаппараты кулачковые, блоки контактные, разъемные, клеммные ящики и т. п.

Некоторые характеристики аппаратов и приборов (стационарных, передвижных и переносных) и маркировка их взрывозащиты приведены в табл. 1.14.

Таблица 1.14

Наименование аппарата управления

Тип аппарата

Область применения

Категория взрывоопасной смеси

Группа взрывоопасной смеси

Маркировка взрывозащиты

Класс взрывоопасной зоны

Кнопочный пост управления

КУВ-1 (2, 3)

1

А

В1А

B-I(1), B-Ia(2),

В- I г(2),

В- II (21),

В- II а (22)

 

КУВ-11 (12,13)

1

А

В1А

КУ-91-ВЗ(92, 93)

1, 2, 3

А, Б, Г

В3Г

КУ-ВЗГ-М-1(2, 3)

1, 2, 3

А, Б, Г

В3Г

КУВ-1П(2П 3П)

1, 2, 3

А, Б, Г

В3Г

КУ-90 (1, 2, 3)

IIА, IIВ

Т1-Т5

1 ExdIIBT 5

ПВ

1-4

Т1-Т5

В4Т5-В

ПВ-К

IIА, IIВ, IIС

Т1-Т6

1 ExdIICT 6

КУ-700

1, 2, 3, 4

А, Б, Г, Д

МОД

Выключатели конечные и путевые

ВКМ-1 (2)

IIА, IIВ, IIС

Т1-Т5

1 ExdIIBT 51

ВВ-5 (6)

1

А

ExdIICT 6

ВК-ВЗГ

1, 2, 3

А, Б, Г

В1А

ВК-ВЗГ-М

1, 2, 3

А, Б, Г

В3Г

КВ-4 (9)

1, 2, 3

А, Б, Г

В3Г

ВК-700

1, 2, 3, 4

А, Б, Г, Д

МОД

B-I(1), B-Ia(2)

B - I б

УП5-800

1-4

А-Д

МОД (В4Т5-М)

 

 

 

 

ВП-701

1-4

А-Д

МОД

ВП-701

II

Т1-Т6

1Ехо II Т6

ВП-4М

II А

Т1-Т6

1 ExdIIAT 6

 

IIА, IIВ, IIС

Т1-Т6

1 ExdIICT 6

ВПВ-4М

II А

Т1-Т6

1 ExdIIAT 6

ВПВ-1

IIА, IIВ, IIС

Т1-Т6

1 ExdIICT 6

Командоаппарат кулачковый

КА-4800

1-4

Т1-Т5

В4Т5-М

B-I(1), B-Ia(2)

B - I б

Блоки контактные

БКВ-1

IIА, IIВ, IIС

Т1-Т6

1 ExdIICT 6

Разъем взрывозащищенный

ВР-61М

IIА, IIВ

Т1-Т4

1 ExdIIBT 4

Ящики клеммные

ЯК

II

Т1-Т5

2ExeIIT5

B-Ia(2), B-I г (2),

В- II (21),

В- II а(22)

Устройства заземления автоцистерн (УЗА)

УЗА-2МИ

IIA - IIC

Т1-Т6

1 ExsIIT 6

B-I(1), B-Ia(2),

В- I г(2),В- II (21)

УЗА-2МК

1 Exsi в IIT 6

1.5.4. Светильники

Во взрывоопасных зонах могут применяться электрические светильники (стационарные и переносные) при условии, что уровень их взрывозащиты или степень защиты оболочки соответствуют табл. 1.15 или являются более высокими (п.7.3.66 [ 1 ]).

Отечественная промышленность выпускает взрывозащищенные светильники с видом защиты "взрывонепроницаемая оболочка" (взрывонепроницаемые) и защиты вида "е" (повышенной надежности против взрыва).

Взрывонепроницаемые светильники . Все части таких светильников, где возможны искрение и высокая температура (патрон, источники света и др.), заключаются во взрывонепроницаемую оболочку. Оболочка может состоять из корпуса и защитного стекла.

Конструктивные особенности взрывонепроницаемых светильников можно проследить на примере устройства светильника ВЗГ-200АМС (рис. 1.1 ).

Таблица 1.15

Класс взрывоопасной зоны

Уровень взрывозащиты или степень защиты оболочек светильников

B - I

Взрывобезопасный

B-Ia, B-Iг

Повышенной надежности против взрыва

B - I б

Без средств взрывозащиты. Степень защиты IP 54. Для светильников с люминесцентными лампами - степень защиты 5'3 * по ГОСТ 17677-82

В- II

Повышенной надежности против взрыва (при соблюдении требований п.7.3.63 [1 ])

В- II а

Без средств взрывозащиты (при соблюдении требований п. 7.3.63 [1 ]). Степень защиты IP 54. Для светильников с люминесцентными лампами - степень защиты 5'3*  по ГОСТ 17677-82 (при соблюдении требований п. 7.3.63 [1 ])

*5'3 означает, что защитную оболочку имеет не весь светильник, а лишь отдельные его части, например ламподержатели, стартер и др.

В маркировке светильника приняты обозначения: В - взрывонепроницаемый; ЗГ - категория и группа взрывоопасной смеси; М - модернизированный; 200 - мощность лампы в Вт.

Рис. 1.1. Светильник ВЗГ-200 АМС:

1 - нажимная муфта; 2 - корпус вводного устройства; 3 - резиновое уплотняющее кольцо; 4 - винт заземления; 5 - контактный зажим; 6 - провод марки ПРКС; 7 - крышка; 8 - корпус; 9 - патрон; 10- стяжное кольцо; 11 - защитный колпак; 12 -защитная сетка; 13 – отражатель

 

По назначению взрывонепроницаемые светильники делятся на две группы: общего и местного освещения. Светильники общего освещения - стационарные; местного, как правило, - переносные.

Основные данные таких светильников, применяемых во взрывоопасных зонах, приведены в табл. 1.16 (см. также прил.2 ).

Светильники повышенной надежности против взрыва . Взрывозащита таких светильников (рис. 1.2 ) обеспечивается прочностью (но не взрывоустойчивостью) металлического корпуса и защитного стеклянного колпака, применением взрывонепроницаемого патрона и уплотняющих резиновых прокладок в местах ввода проводников и в соединении корпуса со стеклянным колпаком, а также тепловым режимом, при котором температура наиболее нагретых частей не превышает допустимой для указанных в маркировке групп взрывоопасных смесей.

Рис. 1.2. Светильник НЗБ-150М:

1 - защитная сетка; 2 - взрывонепроницаемый патрон; 3 - отражатель; 4 - провод ПРКС; 5 - штуцер; 6 - корпус; 7 - уплотнительное кольцо и сальники; 8 - кольцо; 9 - защитный колпак; 10 - лампа накаливания

 

Основные данные таких светильников, применяемых во взрывоопасных зонах, приведены в табл. 1.17 .

Маркировка: Н - повышенной надежности против взрыва; ЗБ - категория и группа взрывоопасной смеси; 150 - мощность лампы в Вт; М - модернизированный.

Таблица 1.16

Тип светильника

Маркировка взрывозащиты светильника

Краткая характеристика светильника

Область применения светильника

номинальное напряжение, В

мощность, Вт

масса, кг

по категориям взрывоопасной смеси

по группам взрывоопасной смеси

Стационарные светильники

В4А-60А

В4А

220

60

6,3

1-4

А

ВЗГ-60

В3Г

220

60

5

1,2,3

А, Б, Г

ВЗГ-100А

В3Г

220

100

8

1,2,3

А, Б, Г

ВЗГ-200АМС

В3Г

220

200

7,5

1,2,3

А, Б, Г

ВЗГ-300

В3Г

220

300

15

1,2,3

А, Б, Г

СПА-ВЗГ

В3Г

2,5

3,6

8,5

1,2,3

А, Б. Г

СПРМ-300-ВЗГ

В3Г

220

300

2,4

1,2,3

А, Б, Г

ШС-ВЗГ

ШС-1-ВЗГ

В3Г

24

50

11,8-11,5

1,2,3

А, Б, Г

ШСО-ВЗГ

В3Г

24

50

11,8-11,5

1,2,3

А, Б, Г

ФВН-64

В3Г

12

50

8,5

1,2,3

А, Б, Г

ПВ-100

В3Г

127/220

100

9,5

1,2,3

А, Б, Г

Плафон-ВЗ

Плафон-В

В3Г

24

10-25

1,2

1,2,3

А, Б, Г

Плафон ПВ-100

Плафон ПВ-100М-1

В3Г

127/220

100

10-9,8

1,2,3

А, Б, Г

С-ЗВ1, С-ЗВ2

В3Г

12-24

10

0,65

1,2,3

А, Б, Г

ВЗГ-ДРЛ-125(80)

В3Г

220

80-125

13,5

1.2,3

А, Б, Г

ВЗГ/В4А-200МС

В3Г-В4А

220

200

8,3

1,2,3/4

А, Б, Г/А

В4А-60

В4А

220

60

6

1-4

А

В4А-Ю0

В4А

110/220

100

14,2

1-4

А

СЗВ-15

СЗВ-60

В1Т4-В

220

15-60

6,2-6,45

1

Т1, Т2, Т3, Т4

РСП31-80

1 ExedIICT 4

220

80(ДРЛ)

11

IIA - IIC

Т1-Т4

РСП25-80, 125, 250

1 ExedIICT 4

220

80, 125, 250(ДРА)

14,5-15,5

IIA - IIC

Т1-Т4

ГСП25-125, 175, 250

1 ExedIIBT 4

220

125, 175, 250 (ДРИ)

14,5-15,5

IIA-IIB

Т 1- Т 4

ВЗТЗ - ДРЛ 250

1ExedIIBT3

220

250

18

1, 2, 3

А, Б, Г

ОМР-125(250)/ВЗГ-ДРЛ125(250)ПРА

B

220

125, 250

15,29

1, 2, 3

А, Б, Г

ФВН-64-1

ФВН-64-2

В3Г

12

28

2, 75

1, 2, 3

А, Б, Г

Переносные светильники

В3Г-25

В3Г

24

25

6,5

1, 2, 3

А, Б, Г

БП-62-ВМ

В3Г

24

15

1,3

1, 2, 3

А, Б, Г

ПР-60-В

В3Г

12

15

2,1

1, 2, 3

А, Б, Г

СПВ-9

В3Г

12

8,2

2,5

1, 2, 3

А, Б, Г

СПВ-27М

В3Г

12

27

1,15

1, 2, 3

А, Б, Г

СР-В3Г

В3Г

12

18

0,8 (без кабеля)

1, 2, 3

А, Б, Г

СВР

В3Т3-В

12

-

0.9

1, 2, 3

Т1, Т2, ТЗ

ПР-60-ВМ

ПР-64-ВМ1

ПР-64-ВМП

В3Г

24

15

1,4

1, 2, 3

А, Б, Г

СГВ-1

СГВ-2

В3Г

Аккумулятор

3,75

3,25

1, 2, 3

А, Б, Г

С3Г-2

С3Г

2,4

3,3

1, 2, 3

А, Б, Г

С3Г-14

С3Г

2,4

3,1

1, 2, 3

А, Б, Г

САВ-3,75

В4Д

3,75

3,4

1-4

А, Б, Г, Д

УАС-3В

В3Г

0,25

2,1

1, 2, 3

А, Б, Г

НРП09×3,75

В4Т5-В

3,75

3,6

1-4

Т1-Т5

Таблица 1.17

Тип светильника

Маркировка взрывозащиты светильника

Краткая характеристика светильника

Область применения светильника *

номинальное напряжение, В

мощность, Вт

масса, кг

по категориям взрывоопасной смеси

по группам взрывоопасной смеси

Н4БН-150

Н4Б

220

150

7

1-4

А, Б

Н4Б-300МА

Н4Б

220

300

10,5

1-4

А, Б

НЗБН-300-1

Н3Б

220

300

7,5

1, 2, 3

А, Б

НЗН-300-2

Н3Б

220

300

7,5

1, 2, 3

А, Б

Н4Б-300МА

Н4Б

220

300

10,8

Т4

А, Б

НОГЛ-1Х80

НОГЛ-2Х80

НОГ

220

80

15-25

1-4

А, Б, Г

НОДЛ-1Х40

НОДЛ-2Х40

НОД

220

40

11-20

1-4

А, Б, Г, Д

Н4А-ДРЛ-250

Н4А

220

250

11

1-4

А

Н4Т2Н-300

Н4Т2-НВ

220

300

 

1-4

Т1, Т2

Н4Т4Л1Х80

Н4Т4Л2Х80

Н4Т4-НВ

220

80

14-27

1-4

Т1-Т4

Н4Т5Л1Х65

Н4Т5Л2Х65

Н4Т5-НВ

220

65

14-27

1-4

Т1-Т5

РСП25-80

2ExedIICT4

220 ( ДРЛ )

80

14,5

IIA-IIC

Т1-Т4

РСП-125,175,250

2 ExedIICT 4

220 (ДРИ)

125, 175, 250

14,5-15,5

II А- II С

Т1-Т4

OWP -250/ H4T2

ДРЛ250/ПРА

Н4Т2-Н

220 (ДРИ)

250

19

1-4

Т1, Т2

НСП 23-220

2ExedIICT2

220

200

6,5

IIA-IIC

Т1, Т2

* Разрешается применять во взрывоопасных зонах всех классов, кроме класса B - I .

1.6. Заземление и зануление электроустановок во взрывоопасных зонах

Для защиты людей от поражения электрическим током при повреждении изоляции должна быть применена, по крайней мере, одна из следующих защитных мер: заземление, зануление, защитное отключение, разделяющий трансформатор, малое напряжение, двойная изоляция, выравнивание потенциалов [1 , 9 ].

Основными из них являются заземление, зануление и выравнивание потенциалов.

Заземлением какой-либо части электроустановки или всей установки называется преднамеренное электрическое соединение с заземляющим устройством.

Заземлителем называется проводник (электрод) или совокупность электрически соединенных между собой проводников (электродов), находящихся в соприкосновении с землей.

Заземляющим проводником называется проводник, соединяющий заземляемые части с заземлителем.

Занулением в электроустановках напряжением до 1 кВ называется преднамеренное соединение частей электроустановок, нормально не находящихся под напряжением, с глухозаземленной нейтралью генератора или трансформатора в сетях трехфазного тока, с глухозаземленной средней точкой источника в сетях постоянного тока.

Нулевым защитным проводником в электроустановках напряжением до 1 кВ называется проводник, соединяющий зануляемые части с глухозаземленной нейтралью генератора или трансформатора в сетях трехфазного тока, с глухозаземленным выводом источника однофазного тока, с глухозаземленной средней точкой источника в трехпроводных сетях постоянного тока.

Нулевым рабочим проводником в электроустановках до 1 кВ называется проводник, используемый для питания электроприемников, соединенный с глухозаземленной нейтралью генератора или трансформатора в сетях трехфазного тока, с глухозаземленным выводом источника однофазного тока, с глухозазем-ленной средней точкой источника в трехпроводных сетях постоянного тока.

В электросетях до 1 кВ с глухозаземленной нейтралью нулевой рабочий проводник может выполнять функции нулевого защитного проводника.

Во взрывоопасных зонах заземление или зануление следует выполнять при любых напряжениях переменного или постоянного тока. В качестве заземляющих или защитных нулевых проводников должны применяться специальные голые и изолированные проводники. Естественные проводники (металлические и железобетонные конструкции и трубопроводы производственного назначения, стальные трубы электропроводки, металлические оболочки кабелей и т. п.) допускаются только как дополнительные.

Общие и специфические требования к установкам защитного заземления и зануления во взрывоопасных зонах приведены в пп. 7.3.132-7.3.141 гл. 1.7 ПУЭ [1 ] и работах [9 , 18 ].

2. ВЫБОР И ПРИМЕНЕНИЕ ЗАРУБЕЖНОГО ВЗРЫВОЗАЩИЩЕННОГО ЭЛЕКТРООБОРУДОВАНИЯ

2.1. Общие сведения

Проблема безопасности при использовании электрооборудования во взрывоопасных производствах приобретает особое значение в связи с эксплуатацией большого количества зарубежного взрывозащищенного электрооборудования, поставляемого в Россию как отдельно, так и в комплекте с технологическим оборудованием.

Выбор и применение в России зарубежного взрывозащищенного электрооборудования ранее регламентировались отраслевым стандартом [26 ], а в настоящее время - требованиями гл. 3.4 Правил [24 ] и Инструкции [25 ].

Страны, производящие и поставляющие взрывозащищенное электрооборудование, имеют национальные стандарты (правила) на его проектирование, испытание, маркировку, выбор и применение, а также стандарты на классификацию взрывоопасных установок (зон) и взрывоопасных смесей.

Кроме национальных стандартов существуют международные рекомендации и нормы, например:

рекомендации международной электротехнической комиссии - МЭК (IEC), объединяющей практически все страны, изготовляющие или потребляющие взрывозащищенное электрооборудование;

европейские нормы (EN), являющиеся обязательными для включения в национальные стандарты стран - членов Европейского комитета по координации электротехнических норм (CENELEC).

Большинство зарубежных стандартов и правил существенно различаются между собой и отличаются от норм России.

Таким образом, обилие норм, стандартов и рекомендаций затрудняет сопоставление электрооборудования по его взрывозащите и усложняет проблему выбора, монтажа и эксплуатации зарубежного взрывозащищенного электрооборудования, которое должно соответствовать требованиям российских норм и правил.

В Россию зарубежное взрывозащищенное электрооборудование поступает, как правило, в комплекте с технологическими взрывоопасными установками, но может закупаться и индивидуально (россыпью). В комплекте со взрывозащищенным электрооборудованием должна быть и соответствующая документация от фирмы-изготовителя или фирмы-поставщика.

В состав технической документации входят:

перечень электрооборудования, в котором указывается вид взрывозащиты (по зарубежным стандартам и стандартам России), маркировка взрывозащиты (по зарубежным стандартам);

взрывоопасные условия применения (класс взрывоопасной зоны, категория и группа взрывоопасной смеси по зарубежным стандартам и стандартам России);

сертификат (копия свидетельства) о взрывозащищенности каждого изделия (или партии однотипных изделий). В сертификате указывается: стандарт, по которому изготовлено электрооборудование; вид взрывозащиты; маркировка взрывозащиты и взрывоопасная среда, на которую рассчитано электрооборудование. Сертификат должен быть согласован с национальной (зарубежной) испытательной организацией. Образцы сертификатов приведены в документах [25 , 26 ];

инструкция по монтажу и эксплуатации;

сборочные чертежи электрооборудования или его узлов с указанием мер, средств и параметров, обеспечивающих взрывозащиту.

Маркировка взрывозащиты электрооборудования согласно национальным стандартам зарубежных стран и международных организаций приводится в [19, 26 , 27]. Маркировка взрывозащиты содержит условные знаки или данные, которые отражают (см. табл. 2.6, 2.7 [19 ]; табл. 5 [27 ] и [26 ]):

принадлежность электрооборудования к взрывозащищен-ному (общий знак взрывозащиты, например, Ex , Eex , S , Rb , AD , SA и др.). Стандарты Японии и Швеции общего знака не имеют;

вид взрывозащиты (см. табл. 2.6, 2.7 [19 ]; табл. 5 [27 ] и [26 ]). Стандарты Бельгии, США, Канады, а также ранее действовавшие стандарты Англии и Франции этих данных не содержат;

категорию взрывоопасной смеси (см. табл. 2.2, 2.3 [19 ]; табл. 2 [27 ] и [26 ]). Категория указывается для электрооборудования или узла, имеющего вид взрывозащиты "взрывонепроницаемая оболочка" и, как правило, "искробезопасная электрическая цепь";

группу взрывоопасной смеси (см. табл. 2.4 и 2.5 [19 ]; табл. 3 [27 ] и [26 ]). Согласно стандартам США, Канады, а также ранее действовавшим стандартам Англии, Франции и Италии взрывоопасные смеси не классифицировались по группам, поэтому в этих случаях в маркировке группа не указывается.

В маркировке взрывозащиты электрооборудования, кроме основных знаков, могут указываться дополнительные данные, такие, как номер сертификата, номер стандарта, зона взрывоопасности, допустимые параметры по искробезопасности (U , I , L , С), допустимое время, допустимая температура нагрева частей электрооборудования.

Во всех зарубежных стандартах для всех видов взрывозащиты, кроме искробезопасных электрических цепей, отсутствует деление на уровни взрывозащиты.

Выбор взрывозащищенного электрооборудования рекомендуется производить, придерживаясь определенной последовательности (см. п. 1.5 ).

2.2. Сопоставление отечественной и зарубежной классификаций взрывоопасных зон

Классификации взрывоопасных зон (установок), принятые в разных странах и организациях, существенно различаются между собой, вследствие чего, как правило, отсутствует однозначное соответствие классов зон по разным стандартам.

Однако для целей выбора зарубежного взрывозащищенного электрооборудования сопоставление зарубежных классификаций с классификацией по ПУЭ возможно и необходимо (табл. 2.1 ).

2.3. Сопоставление классификаций взрывоопасных смесей по ПУЭ и зарубежным стандартам

Классификация и распределение взрывоопасных смесей по категориям и группам в соответствии с действующими стандартами ряда стран и международных организаций приводятся в стандартах [6 , 26 ] и работе [19 ].

Как в России, так и за рубежом классификация взрывоопасных смесей по категориям производится по величине критического зазора. Однако методика оценки категории смеси, оборудование, применяемое для этих целей, а также граничные численные значения зазоров, по которым взрывоопасную смесь относят к той или иной категории, различаются. Чтобы оценить возможность применения зарубежного взрывозащищенного электрооборудования в среде той или иной категории, в большинстве случаев достаточно сопоставить зарубежные классификации с соответствующей классификацией по ПУЭ.

Таблица 2.1

Россия

Франция, МЭК

Германия

Япония

Англия

Италия

США, Канада

Чехия

ПУЭ

ГОСТ Р. 51330.9-99

ГОСТ Р 51330.22-99

-

0

-

Zone 0

Zone 0

Class 0

Location

Div. 0

Classe 1 Div. 0

-

SNV 3

B-I

1

-

Zone 1

Zone 1

Class 1

Location

Div. 1

Classe 1 Div. 1

Class 1 Div. 1

SNV 2

B-Ia

2

-

Zone 2

Zone 2

Class 2

Location

Div. 2

Classe 1 Div. 2

Class 1 Div. 2

SNV 1

B-I б

-

-

-

-

-

-

-

-

B-Iг

1

-

Zone 1

Zone 1

Class 1

Location

Div. 1

Classe 1 Div. 1

Class 1 Div. 1

SNV 2

2

-

Zone 2

Zone 2

Class 2

Location

Div. 2

Classe 1 Div. 2

Class 1 Div. 2

SNV 1

В- II

-

21

-

Zone 10

-

-

Classe 2 Div. 1

Class 2 Div. 1

-

В- II а

-

22

-

Zone 11

-

-

Classe 2 Div. 2

Class 2 Div. 2

-

Такое сопоставление соответствия категорий взрывоопасных смесей возможно по табл. 2.2 .

Классификация взрывоопасных смесей по группам производится по температуре самовоспламенения. В табл. 2.3 представлены классификации взрывоопасных смесей по группам в зарубежных странах и России.

В ряде случаев данных, представленных в табл. 2.2 и 2.3 , может быть недостаточно для сопоставления категорий и групп взрывоопасных смесей и решения вопроса о применении зарубежного взрывозащищенного электрооборудования в конкретных взрывоопасных зонах. В этих случаях необходимо знать распределение конкретных взрывоопасных смесей по категориям и группам в соответствии с национальными стандартами и сравнить его с данными табл. 7.3.3 [1 ] или прил. 3 ГОСТ 12.1.011-78 [6 ].

2.4. Соответствие маркировок зарубежного и отечественного электрооборудования по взрывозащите

Выбор зарубежного взрывозащищенного электрооборудования и оценка его соответствия требованиям ПУЭ предполагают:

выбор уровня и вида взрывозащиты электрооборудования на соответствие классу взрывоопасной зоны (см. табл. 2.7 [19 ] и [26 ]);

выбор маркировки (знака) взрывозащиты на соответствие взрывоопасной смеси (по категории и группе) - см. табл. 2.2 и 2.3 .

В табл. 2.4 приводятся некоторые соответствующие маркировки по взрывозащите зарубежного и отечественного электрооборудования и области его применения во взрывоопасных средах.

Таблица 2.2

Россия (ПУЭ, ГОСТ 12.1.011-78) Англия (BS 4883-1971) Франция (NF С 23-514, 1977) CENELEC (EN 50014,1977) ФРГ (VDE 0170/0171, Teil /12/70) Бельгия (NBN 286, 1965) Италия (Norme 31-1/ x -1989) МЭК (Publication 79-1, 1971)

Югославия (TEHNICKI PROPISI, 1968)

Венгрия (MSZ4814/1-72) СРР (STAS 6877-68)

Япония (JIS C 0903, 1972)

Швеция (SEN -210800, 1969)

США (NES -500-1975) Канада (С222 6 30-1970)

Чехия (CSN 341480, 1969)

II А

II А

I

1

1

D

Р

II

II В

II В

III

2

2

С

S

II С

II С

IV/a

IV/x

3п

3

В

Н

IV

IID

IV / c

А

Примечания. В ряде стран, например в США, Канаде, по терминологии вместо категории взрывоопасной смеси принята группа, в Японии - класс взрыва.

2. Категории взрывоопасной смеси с индексами IID , IV / c , II С, 3с и А соответствуют критическому зазору взрывоопасной смеси ацетилена, а с индексами IV / x и 3п - всех веществ этих категорий.

3. Наименование стран в этой и других таблицах разд. 2 соответствует ранее действовавшему ОСТ 160.800.699-79 [26 ].

Таблица 2.3

Температура самовоспламенения, свыше, °С

Россия (ПУЭ, ГОСТ 12.1.011-78.) Югославия ( TEHNICKI PROPISI , 1968) Англия ( Ex - Memo 1; 1972) Германия (VDE 0170/0171, Teil /12.70) Италия ( Norme 31-1/ x -1989) Франция ( NF С 23-514, 1977) CENELEC ( EN 50014, 1977) МЭК ( Publication 79-1,1971)

Чехия (CSN 341480, 1969)

Венгрия (MSZ 4814/1-72) Япония (JIS C 0903, 1972) Бельгия (NBN 717/1967 -для защити вида "е")

Швеция (SEN -210800,1969)

Бельгия (NBN 286,1965 - для взрывозащиты "взрывонепрони-цаемая оболочка")

450

Т1

А

G 1

Т1

N

300

Т2

В

G 2

Т2

О

200

Т3

С

G 3

ТЗ

Р

175

Т4

D

G 4

Т4

135

Q

120

Т5

Е

G 5

Т5

100

-

85

Т6

F

-

-

-

Примечание. Классификация взрывоопасных смесей по группам действующими стандартами США (NEC -500-1975) и Канады (С222 6 30-1970) не предусмотрена.

Таблица 2.4

Вид взрывозащиты

Взрывоопасная смесь

Маркировка по взрывозащите

Россия

ЧССР

ФРГ

Япония

Англия

Франция, CENELEC

ГОСТ 12.2.020-76

ПИВРЭ

ПИВЭ

d

Метан

1 ExdIIAT 1

B1T1-B

B1A

ExdIIAT1

d1G1

ExdIIAT1

ExdIIAT1

CS2

1ExdIICT6

B 4 T 5- B

В4Д

ExdIICT6

d3 в G5

ExdIICT6

ExdIICT 6

е

Серный эфир

2ExeIICT4

H4T4-H

КОГ

ExeIICT4

eG4

ExeIICT4

ExeIICT4

o

Дивинил

1ExoIIBT2

B3T2-M

МОД

ExoIIBT2

oG2

ExoIIBT2

ExoIIBT2

p

Трихлорсилан

1 ExpIICT 3

В4ТЗ-П

ПОГ

Ехр II СТ3

fG 3

Ехр II СТЗ

Ехр II СТ3

s

Окись этилена

1ExsIIBT2

B3T2-C

СОБ

ExsIIBT2

sG2

ExsIIBT2

ExsIIBT2

i

Н 2

1 ExiIICT 1

В4Т1-И

ИО водород

ExiIICTI

iG1

ExiIICT1

ExiIICT 1

3. ЭЛЕКТРООБОРУДОВАНИЕ В ПОЖАРООПАСНЫХ ЗОНАХ

3.1. Общие сведения

Пожароопасная зона - пространство внутри и вне помещений, в пределах которого постоянно или периодически обращаются горючие (сгораемые) материалы и вещества в условиях нормального технологического процесса или при его нарушениях.

В пожароопасных зонах применяется электрооборудование общего назначения (см. рис 1.1 ). При этом степень защиты оболочки электрооборудования должна соответствовать классу пожароопасной зоны.

На оболочку такого электрооборудования, или на табличку с его паспортными данными, или в местах, указанных в стандартах или технических условиях, могут наноситься условные обозначения степени защиты оболочки по ГОСТ 14254-86.

Она обозначается латинскими буквами IP (начальные буквы слов International Protection ). Следующие за ними две цифры обозначают: первая цифра - степень защиты персонала от соприкосновения с токоведущими частями и попадания внутрь оболочки твердых посторонних тел; вторая - степень защиты оборудования от проникновения внутрь оболочки воды. В табл. 3.1 приведены наиболее часто встречающиеся степени защиты оболочек электрооборудования, а в табл. 3.2 и 3.3 - определения степеней защиты оболочек.

Если для электрооборудования не требуется один из видов защиты или испытания по данному виду защиты не производятся, то в условном обозначении допускается проставлять знак " X " вместо цифрового обозначения. Например: IPX 2, IP 3 X и т. д.

При выборе электрооборудования, устанавливаемого в пожароопасных зонах, необходимо учитывать также условия окружающей среды (химическую активность, атмосферные осадки и т. п.) (п. 7.4.11 ПУЭ).

Таблица 3.1

Первая цифра-защита от проникновения и попадания посторонних тел

Вторая цифра - защита от проникновения воды

0

1

2

3

4

5

6

7

8

0

IP00

IP01

-

-

-

-

-

-

-

1

IP10

IP11

IP12

IP13

-

-

-

-

-

2

IP20

IP21

IP22

IP23

-

-

-

-

-

3

IP30

IP31

IP32

IP33

IP34

-

-

-

-

4

IP40

IP41

IP42

IP43

IP44

-

-

-

-

5

-

-

-

-

IP54

IP55

IP56

-

-

6

-

-

-

-

-

IP65

IP66

IP67

-

7

-

-

-

-

-

-

-

-

IP68

Таблица 3.2

Первая цифра

Степень защиты изделия от попадания внутрь твердых посторонних тел

Краткое описание

Определение

0

Защита отсутствует

Специальная защита отсутствует

1

Защита от твердых тел размером более 50 мм

Защита от проникновения внутрь оболочки, например, руки и от проникновения твердых тел размером свыше 50 мм

2

Защита от твердых теп размером более 12 мм

Защита от проникновения внутрь оболочки пальцев или предметов длиной не более 80 мм и от проникновения твердых тел размером свыше 12 мм

3

Защита от твердых тел размером более 2,5 мм

Защита от проникновения внутрь оболочки инструментов, проволоки диаметром или толщиной более 2,5 мм и от проникновения твердых тел размером более 2,5 мм

4

Защита от твердых тел размером более 1,0 мм

Защита от проникновения внутрь оболочки проволоки и от проникновения твердых тел размером более 1,0 мм

5

Защита от пыли

Проникновение пыли внутрь оболочки не предотвращено полностью. Однако пыль не может проникать в количестве, достаточном для нарушения работы изделия

6

Пыленепроницаемость

Проникновение пыли предотвращено полностью

Примечания: 1. Оболочка изделий со степенью защиты, соответствующей первым цифрам 1-4, не допускает проникновения твердых тел правильной и неправильной формы размером, указанным в графе "Краткое описание", если размеры тела в трех взаимно перпендикулярных направлениях превышают указанные размеры.

2. Текст, приведенный в графе "Краткое описание", не должен быть применен для определения степени защиты.

3. Возможность применения степеней защиты 3 и 4 по первой цифре обозначения для изделий с отверстиями для слива конденсата и (или) вентиляционными отверстиями устанавливается в стандартах или технических условиях на изделия конкретных серий и типов.

Таблица 3.3

Вторая цифра

Степень защиты изделия от попадания воды

Краткое описание

Определение

0

Защита отсутствует

Специальная защита отсутствует

1

Защита от капель воды

Капли воды, вертикально падающие на оболочку, не должны оказывать вредного воздействия на изделие

2

Защита от капель воды при наклоне до 15°

Капли воды, вертикально падающие на оболочку, не должны оказывать вредного воздействия на изделие при наклоне его оболочки на любой угол до 15° относительно нормального положения

3

Защита от дождя

Дождь, падающий на оболочку под углом 60° от вертикали, не должен оказывать вредного действия на изделие

4

Защита от брызг

Вода, разбрызгиваемая на оболочку в любом направлении, не должна оказывать вредного действия на изделие

5

Защита от водяных струй

Струя воды, выбрасываемая в любом направлении на оболочку, не должна оказывать вредного действия на изделие

6

Защита от волн воды

Вода при волнении не должна попадать внутрь оболочки в количестве, достаточном для повреждения изделия

7

Защита при погружении вводу

Вода не должна проникать в оболочку, погруженную в воду, при определенных давлении и времени в количестве, достаточном для повреждения изделия

8

Защита при длительном погружении вводу

Изделия пригодны для длительного погружения в воду при условиях, установленных изготовителем.

Примечание. Для некоторых типов изделий допускается проникновение воды внутрь оболочки, но без нанесения вреда изделию

Примечание. Текст, приведенный в графе "Краткое описание", не должен применяться для определения степени защиты.

В случае необходимости допускается дополнительной прописной буквой латинского алфавита указывать в стандартах или технических условиях на изделия конкретных серий и типов дополнительные данные.

Буквы S , М, или W должны использоваться только со следующими значениями:

S - испытано на проникновение воды, когда изделие не работает (например, неподвижная работа);

М - испытано на проникновение воды, когда изделие работает (например, вращающаяся машина);

W (следует сразу после IP ) - изделие с таким обозначением предусмотрено для использования в особых климатических условиях при осуществлении дополнительной защиты конструкции изделия или в процессе эксплуатации.

Отсутствие дополнительных букв означает, что изделие соответствует данной степени защиты во всех нормальных условиях работы.

Обозначение степени защиты должно наноситься на оболочку изделия или на табличку с маркировочными данными и устанавливаться в стандартах или технических условиях на изделия конкретных серий и типов. В этих же нормативных документах должен устанавливаться способ маркировки, когда одна часть оболочки имеет степень защиты, отличную от другой части.

3.2. Классификация пожароопасных зон

Класс пожароопасной зоны определяется технологами вместе с электриками проектной или эксплуатационной организации. Классы пожароопасных зон характерных производств должны содержаться в нормах технологического проектирования или в отраслевых перечнях производств по взрывопожароопасности.

Классификация пожароопасных зон приводится в гл. 7.4 ПУЭ и представлена в табл. 3.4

Таблица 3.4

Класс пожароопасной зоны

Характеристика пожароопасной зоны

П- I

Пространство в помещениях, в которых обращаются горючие жидкости с температурой вспышки выше 61 °С (см. п. 7.3.12 [ 1 ])

П- II

Пространство в помещениях, в которых имеется горючая пыль или волокна с нижним концентрационным пределом распространения пламени более 65 г/м 3 к объему воздуха (см. п. 7.3.17 [ 1 ])

П- II а

Пространство в помещениях, в которых обращаются твердые или волокнистые, не переходящие во взвешенное состояние, горючие вещества, материалы

П- III

Пространство вне помещений, в которых обращаются горючие жидкости с температурой вспышки выше 61 °С или твердые, в том числе и волокнистые, горючие материалы

3.3. Выбор электрооборудования для пожароопасных зон

3.3.1. Электропроводки и кабельные линии

В пожароопасных зонах для электропроводок рекомендуется применять провода и кабели с алюминиевыми и медными жилами, не распространяющие горение, сертифицированные по пожарной безопасности в соответствии с НПБ 248-97 [ 34 ] и имеющие предел распространения горения при групповой прокладке ПРГП1. Провода и кабели с полиэтиленовой изоляцией и оболочками запрещены к применению. Изоляция проводников должна быть рассчитана на напряжение не ниже 660 В.

Допустимые способы прокладки проводов и кабелей и дополнительные требования к электропроводкам в пожароопасных зонах определяются по гл. 7.4 ПУЭ [ 1 ] (область применения некоторых из них приводится в табл. 3.5 ), при этом кабельная линия и электропроводка должны быть не распространяющими горение.

Требованию по нераспространению горения отвечают кабели и провода, которые прошли испытания при групповой прокладке по категории А (по ГОСТ 12176-89). В основном это кабели с оболочками из ПВХ, в которые добавлены различного рода антипирены. Марки этих кабелей имеют индекс "нг" (например, АВВГнг, КВВГнг, ТПВнг). Если кабельные изделия не отвечают требованию по нераспространению горения, то они должны быть защищены сертифицированными огнезащитными кабельными покрытиями (ОКП) или использоваться в электромонтажной арматуре (трубах, коробах и т. п.).

Таблица 3.5

Вид прокладки

Способ выполнения

Провода

Кабели

Открытая

Непосредственно по несгораемым конструкциям и поверхностям

АТПРФ

ААГ, ААБнлГ, АВВГнг, АВРГнг, АНРГнг,

На изоляторах

АПВ, АПРВ

-

На тросе

-

АВВГнг, АВРГнг

В стальных трубах

АПРВ, АПВ

-

В коробах

АПВ, АПРВ

ААШв, ААГ, АВВГ, АНРГ, АВРГ

На эстакадах (металлоконструкции, трубы, лотки и т. п.)

 

АНРГ, АВРГ, АВВБГ, АНРБГ, АВРБГ, АВВГ

Скрытая

В стальных трубах

АПРТо, АПВ АПРВ

-

Примечания: 1. При наличии специальных условий и требований вместо алюминиевых могут применяться провода и кабели с медными жилами аналогичной марки.

2. Применение кабелей со свинцовой оболочкой должно быть ограничено и определяться требованиями окружающей среды (например, химические цеха со средами, вредно влияющими на другие оболочки кабеля).

3. Суммарная площадь сечений кабелей (проводов) должна составлять не менее 30 % поперечного сечения короба.

Соединительные и ответвительные коробки, применяемые в электропроводках в пожароопасных зонах любого класса, должны иметь степень защиты оболочки не менее IP 43. Они должны изготавливаться из стали или другого прочного материала. Пластмассовые части, кроме применяемых в групповой сети освещения, должны быть изготовлены из трудногорючей пластмассы.

Высокую пожарную опасность в пожароопасных зонах представляют частицы металла, образующиеся при КЗ в проводах.

Возможность загорания изоляции проводов при ухудшении их изоляционных свойств в трехпроводных сетях с нулевым защитным проводником может быть снижена с помощью устройств защитного отключения, позволяющих отключать поврежденный участок сети на стадии образования малых (непожароопасных) токов утечки. Применение УЗО в данном случае позволит снизить возможность образования зажигающих частиц при аварийных режимах в проводах и электрооборудовании в пожароопасных зонах.

Использование наряду с рабочим нулевым проводом дополнительного нулевого защитного проводника хотя и повышает надежность защиты человека от поражения электрическим током, в то же время значительно увеличивает вероятность однофазного короткого замыкания в электрических сетях и электрооборудовании без применения УЗО.

Расстояние от кабелей и защищенных изолированных проводов, прокладываемых открыто до мест открытого хранения горючих веществ, должно быть не менее 1 м.

Расстояние от ВЛ до пожароопасных зон, указанных в табл. 3.6 , должно быть не менее указанных в табл. 3.7 с учетом высоты подвеса проводов и расчетной (для данного района) скорости ветра. Табл. 3.7 подготовлена по результатам научных исследований, проведенных во ВНИИПО.

Таблица 3.6

Склады

Вместимость, площадь

Каменного угля, торфа, грубых кормов (сена, соломы), льна, конопли, хлопка, зерна

Более 1000 т

Лесоматериалов, дров, щепы, опилок

Более 1000 м 3

Горючих жидкостей

Более 3000 м 3

Готовой продукции и оборудования в сгораемой упаковке

Более 1 га

Таблица 3.7

Высота подвеса верхнего провода ВЛ от уровня земли, м

Наименьшее расстояние, м, при расчетной скорости ветра, м/с (районе по ветру)

16(I)

18(II)

21(III)

24(IV)

27(V)

30(VI)

33( VII )

До 7

17

19

27

31

36

41

46

7,5

18

20

31

33

38

43

48

8

19

21

35

35

40

45

50

9

20,5

23

37

37

43

49

53

10

22

24

40

40

46

53

57

3.3.2. Электродвигатели

В пожароопасных зонах любого класса следует применять электродвигатели с классом напряжения до 10 кВ при условии, что они имеют степень защиты оболочки не менее указанной в табл. 3.8 .

Таблица 3.8

Вид установки и условия работы

Степень защиты оболочки для пожароопасной зоны класса

П -I

П -II

П- II а

П- III

Стационарно установленные машины, искрящие или с не искрящими частями по условиям работы

IP44

IP54 *

IP44

IP 44

Стационарно установленные машины, не искрящие и без искрящих частей по условиям работы

IP44

IP44

IP44

IP 44

Машины с частями, искрящими и не искрящими по условиям работы, установленные на передвижных механизмах и установках (краны, тельферы, электротележки и т. п.)

IP44

IP54 *

IP44

IP 44

* До освоения электропромышленностью машин со степенью защиты IP 54 допускается, при подтверждении многолетней безаварийной эксплуатации, применять электрические машины со степенью защиты IP 44.

Дополнительные требования к выбору и применению электрических двигателей в пожароопасных зонах изложены в гл. 7.4 ПУЭ [ 1 ], а область применения и некоторые параметры электрических двигателей, используемых в проектной и эксплуатационной практике, приводятся в табл. 3.9 (см. также [ 20 ]).

Для целей электропривода чаще всего применяются асинхронные электродвигатели серий 4А, 4АМ, АИ и АИР.

Серия 4А является массовой серией асинхронных двигателей и охватывает диапазон номинальных мощностей от 0,06 до 400 кВт с синхронной скоростью вращения от 3000 до 500 об/мин. Серия включает основное исполнение, ряд модификаций и специализированные исполнения.

К электрическим модификациям серии 4А отнесены асинхронные электродвигатели с повышенным номинальным скольжением (4АС), многоскоростные, электродвигатели с частотой питания 60 Гц.

К конструктивным модификациям отнесены асинхронные двигатели с фазным ротором (4АК, 4АНК), малошумные, со встроенным электромагнитным тормозом, встраиваемые (4АВ), со встроенной температурной защитой, для моноблочных насосов.

Модификации исполнений с учетом условий окружающей среды - это асинхронные двигатели тропического исполнения, химически стойкие, сельскохозяйственного, влаго- и морозостойкого, пылезащищенного и рудничного исполнений.

К специализированным исполнениям асинхронных двигателей серии 4А отнесены высокочастотные двигатели, двигатели привода лифтов, частотно-управляемые и двигатели для привода деревообрабатывающих станков.

Электродвигатели основного исполнения являются трехфазными с короткозамкнутым ротором, имеют степень защиты IP 44 или IP 23.

Двигатели серии 4АМ являются модернизацией двигателей серии 4А. По номинальным значениям параметров, климатическим факторам окружающей среды, условиям эксплуатации и другим показателям они соответствуют асинхронным двигателям серии 4А и имеют степень защиты IP 44.

Двигатели серии АИ являются новой унифицированной серией асинхронных двигателей и должны полностью заменить асинхронные двигатели серий 4А и 4АМ. Серия имеет шкалу мощностей, аналогичную серии 4А, от 0,025 до 400 кВт, степень защиты IP 44 ( IP 54) и IP 23 и синхронную частоту вращения от 3000 до 750 об/мин.

Освоен выпуск асинхронных двигателей серии АИР основного исполнения, мощностью от 0,37 до 30 кВт и степенью защиты IP 44.

Серии асинхронных двигателей общего назначения А2 и АО2 в настоящее время сняты с производства, но в эксплуатации еще находится несколько миллионов таких двигателей мощностью от 0,6 до 100 кВт и степенью защиты оболочки IP 44, IP 23, с синхронной скоростью вращения от 3000 до 500 об/мин.

Примеры условных обозначений асинхронных двигателей серий 4А, 4АМ, АИР, А2 и АО2 приведены в табл. 3.9 .

Таблица 3.9

Серия и типоразмер двигателя

Мощность, кВт

U н , в

Степень защиты оболочки

4АА50А2УЗ до 4А355М2УЗ

0,09 до 315

220,

380,

220/380,

380/660,

660

IP 44

4АН16054УЗ до 4АН355М4УЗ

18,5 до 400

IP 23

4ААМ50А4УЗ до 4АМ250М4УЗ

0,06 до 90

IP 44

АИР71А4 до АИР180М4

0,55 до 30

IP 44

А2-01-2УЗ до А2-92-4УЗ

17 до 100

IP 23

АОЛ2-21-6УЗ до АО2-92-2УЗ

0,6 до 100

IP 44

Примечания: 1. Все виды двигателей, указанные в таблице, имеют синхронную скорость вращения 1500 об/мин.

2. В серии двигателей 4А принята следующая система обозначений:

где 1 - название серии (4А); 2 - исполнение АД по способу защиты: буква "Н" -исполнение IP 23, отсутствие буквы обозначает исполнение IP 44; 3 - исполнение АД по материалу станины и щитов: А - станина и щиты алюминиевые; X - станина алюминиевая, щиты чугунные (или обратное сочетание материалов); отсутствие буквы - станина и щиты чугунные или стальные; 4 - высота оси вращения, мм (две или три цифры); 5 - условный размер по длине станины, буква S , М или L (меньший, средний или больший): 6 - длина сердечника: А - меньшая. В - большая при условии сохранения установочного размера; отсутствие буквы означает, что при определенном установочном размере выполняется сердечник только одной длины; 7 - число полюсов АД (одна или две цифры): 8 - климатическое исполнение и категория размещения по ГОСТ 15150-69.

3.3.3. Аппараты управления и приборы

В пожароопасных зонах электрические аппараты, приборы, шкафы и сборки зажимов могут применяться, если они имеют степени защиты оболочки не менее указанных в табл. 3.10 (табл. 7.4.3 [ 1 ]), при этом необходимо учитывать также и требования пп.7.4.21-7.4.25 [ 1 ].

Электроустановки запираемых складских помещений с пожароопасными зонами любого класса должны иметь аппараты для отключения силовых и осветительных сетей извне, независимо от наличия отключающих аппаратов внутри помещений. Отключающие аппараты должны быть установлены в ящике из несгораемого материала на несгораемом основании или на отдельной опоре, иметь приспособления для их опломбирования и должны быть доступны для обслуживания в любое время суток. При этом электропроводки систем пожарной сигнализации и пожаротушения, а также силовые сети электрооборудования, обеспечивающего требуемые климатические условия, отключаться не должны, и их рекомендуется прокладывать вне пожароопасных зон.

Таблица 3.10

Вид установок и условия работы

Степень защиты оболочки для пожароопасной зоны класса

П -I

П -II

П- II а

П- III

Установленные стационарно на передвижных механизмах (краны, тельферы, электротележки и т. п.), искрящие по условиям работы

IP44

IP54

IP44

IP 44

Установленные стационарно или на передвижных механизмах, не искрящие по условиям работы

IP44

IP44

IP44

IP 44

Шкафы для размещения аппаратов и приборов. Коробки сборок зажимов силовых и вторичных цепей

IP44

IP54 *

IP44 **

IP 44

IP 44

*При установке в них аппаратов и приборов, искрящих по условиям работы. До освоения электропромышленностью шкафов со степенью защиты оболочки IP 54 допускается применять их со степенью защиты IP 44, если это подтверждается многолетней безаварийной эксплуатацией.

**При установке в них аппаратов и приборов, не искрящих по условиям работы.

В пожароопасных зонах складских помещений, а также в зданиях книгохранилищ (кроме специальных помещений, например буфетов) применение электронагревательных приборов запрещается.

3.3.4. Светильники

В пожароопасных зонах должны применяться светильники, имеющие степень защиты оболочки не менее указанной в табл. 3.11 (см. также п.п. 7.4.32-7.4.35 [ 1 ], прил. 2) и прошедшие сертификационные испытания на пожарную безопасность по НПБ 249-97 [ 28 ]:

электроизоляционных и конструкционных материалов;

комплектующих элементов светильников и их узлов;

конструкции светильников в целом в характерных пожароопасных режимах.

Таблица 3.11

Источники света, устанавливаемые в светильниках

Степень защиты светильников для пожароопасной зоны класса

П -I

П. - II

П- IIa , а также П- II при наличии местных нижних отсосов и общеобменной вентиляции

П- III

Лампы накаливания

IP53

IP53

2'3

2'3

Разрядные лампы высокого давления (ДРЛ, ДРИ, ДНаТ)

IP53

IP53

IP23

IP 23

Люминесцентные лампы

5'3

5'3

IP23

IP 23

Конструкция светильников с разрядными лампами высокого давления (РЛВД) типов ртутных ДРЛ, металлогалогенных ДРИ и натриевых ДНаТ должна исключать выпадение из них ламп.

Светильники с лампами накаливания должны иметь сплошное силикатное стекло, защищающее лампу Они не должны иметь отражателей и рассеивателей из горючих материалов, температура конструкционных элементов светильников не должна быть выше критической по НПБ 249-97.

В пожароопасных зонах любого класса складских помещений светильники с люминесцентными лампами не должны иметь отражателей, рассеивателей и защитных решеток из горючих материалов.

Электропроводка внутри светильников с лампами накаливания и РЛВД до места присоединения внешних проводников должна выполняться нагревостойкими проводами.

Переносные светильники в пожароопасных зонах любого класса должны иметь степень защиты не менее IP 54; стеклянный колпак светильника должен быть защищен металлической сеткой.

Независимые ПРА для светильников с лампами РЛВД в пожароопасных зонах всех классов заключаются в оболочки со степенью защиты не ниже IP 44.

Многие типы светильников имеют открытые лампы, не защищенные от окружающей среды, или лампы, закрытые неуплотненными светопропускающими оболочками (рассеивателями). При этом корпуса светильников с расположенными в них электрическими контактами могут иметь незащищенное, пылезащищенное или пыленепроницаемое исполнение. В связи с этим ГОСТ 13828-74 [22 ] в обозначении защиты светильников с неизолированными от окружающей среды лампами исключает буквы IP (см. табл. 3.1 ) и вводит штрих у цифры (табл. 3.11 ).

Дополнительные требования к светильникам и электрическому освещению в целом приводятся в разд. 6 ПУЭ-99 [ 23 ].

3.4. Заземление и зануление электроустановок в пожароопасных зонах

Общие понятия и определения, касающиеся устройств заземления и зануления, приведены в. 1.6 .

Электробезопасность в пожароопасных зонах должна обеспечиваться выполнением требований гл. 7.1 [1 ] к заземлению и занулению электроустановок.

4. АППАРАТЫ ЗАЩИТЫ В ЭЛЕКТРОУСТАНОВКАХ

4.1. Общие сведения

Аппаратом защиты называется аппарат, автоматически отключающий защищаемую электрическую цепь при ненормальных режимах (например, коротких замыканиях, перегрузках). Особую значимость аппараты защиты приобретают для защиты электрических сетей, машин и установок во взрывоопасных зонах. Так, в п. 7.3.94 ПУЭ указывается, что проводники силовых, осветительных и вторичных цепей в сетях до 1 кВ во взрывоопасных зонах классов B - I , B - Iа , B - II и В- IIа , а должны быть защищены от перегрузок и КЗ, а их сечения должны выбираться в соответствии с гл. 3.1 ПУЭ, но быть не менее сечения, принятого по расчетному току. Во взрывоопасных зонах классов B - Iб и B - Iг защита проводов и кабелей и выбор их сечений должны производиться как для невзрывоопасных установок.

Выбор и применение аппаратов защиты во взрывоопасных зонах регламентируется требованиями гл.7.3, 7.4 и 3.1 ПУЭ.

Наиболее часто применяются такие аппараты защиты, как плавкие предохранители, воздушные автоматические выключатели (автоматы), реле и устройства защитного отключения (УЗО).

4.2. Плавкие предохранители

Плавким предохранителем называется устройство, которое при токе, превышающем допустимое значение, расплавляет плавкий элемент вставки, в результате чего размыкается электрическая цепь.

Плавкий предохранитель состоит из плавкой вставки, поддерживающего ее контактного устройства и корпуса (патрона).

Плавкие предохранители характеризуются следующими параметрами.

Номинальное напряжение Uн.пр. - напряжение, указанное на предохранителе и соответствующее наибольшему напряжению сетей, в которых разрешается установка данного предохранителя.

Номинальный ток предохранителя I н.пр. - ток, указанный на предохранителе и равный наибольшему из номинальных токов плавких вставок. Номинальный ток предохранителя всегда должен быть больше или равен номинальному току плавкой вставки, т.е. I н.пр. I н.вст .

Номинальный ток плавкой вставки I н.вст - ток, указанный на вставке, для которого она предназначена, при длительной работе.

Предельный ток отключения при данном напряжении I пр.пр - наибольшее значение тока КЗ сети, при котором гарантируется надежная работа предохранителей, т. е. дуга гасится без каких-либо повреждений корпуса.

Защитная (токовременная) характеристика предохранителя - это зависимость времени полного отключения τ откл от отношения ожидаемого тока в цепи (тока КЗ или перегрузки) к номинальному току плавкой вставки, т. е.

τ откл =f(I/ I н . вст ).

Технические характеристики ряда типов плавких предохранителей приводятся в табл.4.1 .

Таблица 4.1

Тип

Номинальный ток предохранителя W А

Номинальный ток плавкой вставки I н.вст , А

Предельный ток отключения I пр.пр , А, при напряжении, В

220

380

500

ПР-2

15

6, 10 и 15

1200

800

700

60

15, 20, 25, 35, 45, 60

5500

4500

3500

100

60, 80 и 100

11000

11000

10000

200

100, 125, 160 и 200

11000

11000

10000

350

200, 225, 260, 300, 350

11000

13000

11000

600

350, 430, 500, 600

15000

23000

20000

НПН-15

15

6, 10 и 15

Нет сведений

10000

Нет сведений

НПН-60М

60

20, 25, 35, 45 и 60

10000

НПН2-60

63

6, 10, 16,20, 25, 31, 5, 40 и 63

10000

ПН-2

100

31, 5, 40, 50, 63, 80, 100

Нет сведений

100000

50000

250

80, 100, 125, 160, 200 и 250

100000

40000

400

200, 250, 315, 355 и 400

40000

25000

630

315, 400, 500 и 630

25000

10000

ПНБ-2

40

40

Нет сведений

Нет сведений

100000

60

60

100

100

150

150

200

200

300

250, 300

400

400

600

600

Ц-27

25

6, 10, 15, 20 и 25

Нет сведений

600

Нет сведений

Ц-33

60

15, 20, 25, 35, 60

1000

ПП24

25

2, 4, 6,3, 10, 16, 20, 25

100000

ПП17

1000

500, 630, 800, 1000

120000

ПТ23

16

6, 10, 16

10000

Нет сведений

ПТ26

31,5

20, 25, 31, 5

10000

ПР23

16

6, 3, 10, 15

10000

ПР26

31,5

20, 25, 31, 5

10000

4.3 Автоматические выключатели (автоматы)

Ниже рассматриваются небыстродействующие автоматы с собственным временем отключения не менее 10 мс, получившие большое распространение в проектной и эксплуатационной практике.

Основным узлом, обеспечивающим автоматическое срабатывание автомата при ненормальных режимах, является расцепитель.

В зависимости от встраиваемых расцепителей максимального тока автоматы изготавливаются с электромагнитным расцепителем М, тепловым расцепителем Т и комбинированным расцепителем МТ (т. е. с электромагнитным и тепловым).

Автоматы характеризуются следующими параметрами.

Номинальное напряжение U н.а - напряжение, соответствующее наибольшему номинальному напряжению сетей, в которых разрешается применять данный автомат.

Номинальный ток I н. а - наибольший ток, на который рассчитаны токоведущие и контактные части автомата, равный наибольшему из номинальных токов расцепителя.

Номинальный ток расцепителя I н.эл.м1 , I н.тепл или I н.комб - наибольший ток, на который рассчитан расцепитель автомата, равный наибольшему из номинальных токов расцепителя. При этом токе расцепитель не срабатывает.

Ток уставки теплового расцепителя - ток, на который отрегулирован тепловой расцепитель без срабатывания в длительном режиме работы. Например:

для автоматов с регулировкой тока уставки

I уст.тепл = (0,6 – 1) I н.тепл

для автоматов без регулировки тока уставки I уст.тепл = I н.тепл

Ток срабатывания (уставки) расцепителя I ср.эл.м , I ср.тепл - наименьший ток, при котором срабатывает расцепитель автомата. Например:

для автомата с электромагнитным или комбинированным расцепителем

I ср.эл.м = (7 – 15) I н.эл.м

для автоматов с тепловым расцепителем без регулировки тока уставки

I ср.тепл = (1,25 – 1,45) I н.тепл

для автоматов с тепловым расцепителем с регулировкой тока уставки

I ср.тепл = (1,25 – 1,33) I уст.тепл

Предельный ток отключения при данном напряжении I пр.а - наибольшее значение тока КЗ сети, при котором гарантируется надежная работа автомата.

Защитная характеристика автомата - это зависимость полного времени отключения цепи от отношения тока в расцепителе к номинальному току расцепителя:

Технические данные ряда автоматических выключателей приводятся в табл. 4.2 - 4.6 .

Таблица 4.2

Номинальный ток расцепителя, А, автомата АП-50-ЗМТ

Расцепитель

Допустимое значение тока КЗ при 380 В и cos φ = 0,5 I пр.а , А

Полное время отключения, с

Тепловой

Электромагнитный, с током мгновенного срабатывания (отсечки) I ср.эл.м , А

Время срабатывания при перегрузках

1,35 I н.тепл

6 I н.тепл

1,6

Не более 30 мин

От 1 до 10 с

11

300

0,017

2,5

17,5

400

4

28

600

6,4

45

800

10

70

2000

16

110

2000

25

175

2000

40

280

2000

50

350

2000

Таблица 4.3

Выключатель

Число полюсов

I н.а

Токи расцепителя,А

I пр.а , А, при напряжении, В

 

Тип

Модификация

I н.тепл

I н.эл.м

I ср.эл.м

220

350

500

А3161

Отсутствует

1

 

15

-

-

2500

2000

-

 

 

 

20

-

-

3000

2500

-

А3162

2

50

25

-

-

3500

3000

-

 

 

 

30

-

-

4000

3500

-

А3163

3

 

40

-

-

4500

4000

-

 

 

 

50

-

-

5000

4500

-

 

 

 

 

 

 

(для А3163)

(для А3163)

 

 

А3113/1

2

 

15

15

150

4000

3200

2500

 

 

 

 

20

20

200

5000

4000

3200

А3114

 

 

200

25

25

250

6500

5000

4000

 

 

 

 

30

30

300

9000

7000

6000

 

А4114/1

3

 

40

40

400

10000

8500

7000

 

 

 

 

50

50

500

12000

10000

8000

 

 

 

 

60

60

600

13000

11000

9000

 

 

 

 

80

80

800

14000

11500

9500

 

 

 

 

100

100

1000

15000

12000

10000

А3120

А3123

2

 

15

15

430

7000

5500

4000

 

 

 

 

20

20

430

7500

6000

5000

 

 

 

 

25

25

600

11000

9000

7000

 

 

 

100

30

30

600

12000

10000

8000

 

 

 

 

40

40

800

15000

13000

10000

 

А3124

3

 

50

50

800

22000

19000

14000

 

 

 

 

60

60

800

23000

20000

15000

 

 

 

 

80

80

800

26000

22000

16000

 

 

 

 

100

100

800

30000

23000

18000

 

А3133

2

 

120

120

840

20000

19000

14000

A3130

 

 

200

150

150

1050

30000

23000

18000

 

А3334

3

 

200

200

1400

35000

30000

25000

 

А3143

2

 

250

250

1750

35000

32000

32000

 

 

 

 

300

300

2100

40000

35000

35000

А3140

 

 

600

400

400

2800

40000

35000

35000

 

А3144

3

 

500

500

3500

50000

50000

40000

 

 

 

 

600

600

4200

50000

50000

40000

Таблица 4.4

Серия

Тип (по исполнению)

Тип разцепителя

Номинальный ток автомата I н.а , А

Номинальные токи разцелителей

I н.тепл ,

I н.эл.м , А

Ток срабатывания теплового разцепителя I ср.тепл , А

Ток срабатывания электромагнитного разцепителя I н.эл.м , А

Предельная отключающая способность автомата I пр.а , А

АЕ1000

АЕ1031-11

АЕ1031-21

АЕ1031-31

АЕ1031-41

АЕ1031-51

Комбинированный

25

6; 10; 16; 25

1 ,5 I н.расц

(12-18) I н.расц

2000

АЕ1031-12

АЕ1031-22

АЕ1031-32

АЕ1031-42

АЕ1031-52

Тепловой

25

6; 10; 16; 25

1,5 I н.расц

-

1000

АЕ1031-13

АЕ1031-23

АЕ1031-33

АЕ1031-43

АЕ 1031-53

Электромагнитный

25

6; 10; 16; 25

-

(12-18) I н.расц

1000

АЕ2000

АЕ2033

Электромагнитный

25

0,6; 0,8; 1; 1,25; 1,6; 2; 2,5; 3,2; 4; 5; 6; 8; 10; 12,5; 16; 20; 25

1,25 I н.расц

3 I н.расц

или

12 I н.расц

3000

АЕ2036

Комбинированный

25

0,6; 0,8; 1; 1,25; 1,6; 2; 2,5; 3,2; 4; 5; 6; 8; 10; 12,5; 16; 20; 25

1,25 I н.расц

3 I н.расц

или

12 I н.расц

3000

АЕ2053

Электромагнитный

100

16; 20; 25; 32; 40; 50; 63; 80; 100

-

3 I н.расц

или

12 I н.расц

6000

АЕ2056

Комбинированный

100

16; 20; 25; 32; 40; 50; 63; 80; 100

1,25 I н.расц

3 I н.расц

или

12 I н.расц

6000

Таблица 4.5

Номинальный ток, А, автомата А3713Б

Номинальный ток полупроводникового расцепителя, А

Номинальное напряжение, В

Ток срабатывания теплового расцепителя, кратный I н

Уставка по току мгновенного срабатывания, кратная I н

Предельная коммутационная способность, кА

32

16, 20, 25, 32

~660

1,25

3, 5, 7, 10

14

40

20, 25, 32, 40

18

80

40, 50, 63, 80

35

160

80, 100, 125, 160

40

32

16, 20, 25, 32

~380

1,25

3, 5, 7, 10

14

40

20, 25, 32, 40

18

80

40, 50, 63, 80

35

160

80, 100, 125, 160

Таблица 4.6

Тип и номинальный ток, А, автоматов серии ВА

Номинальный ток расцепителей максимального тока, А

Номинальное напряжение, В

Число полюсов

Ток срабатывания теплового расцепителя кратный I н

Уставка по току мгновенного срабатывания кратная I н

Предельная коммутационная способность, кА при напряжении 380 В

6,3; 8; 10; 12,5: 16, 20; 25

~380

~660

2, 3

1,35

10 , 0

3,8

6,3, 10; 16; 20, 25

~380

1

1 , 35

14

 

6, 8, 10, 16

~380

-110

1, 2, 3, 2

1,35

10

16

 

0,3; 0,4; 0,5; 0,6; 0,8; 1,0; 1,25; 1,8; 2,0 ; 2,5 ; 3,15; 4,0; 5,0; 6,3; 8;10; 12,5; 16; 20; 25

~380

~660

2, 3

1,20

14,0

3,0

6,3; 8; 10; 12,5; 16; 20, 25, 31 ; 5 ; 40 ; 50; 63; 80; 100

~380

-110

1

1,35

3; 7; 10,

3; 7

8,0

8,0

6,3; 8; 10; 12,5;

16; 20; 25; 31 ; 5;

40; 50; 63; 80; 100

~660

~380

-220

2,3

1,35

3; 7; 10

3; 7; 10

3; 7

5,0

10,0

20,0

16; 25; 31, 5; 40

50; 63; 80; 100

~660

~380

3

1,2

14

4,0

7,0

16; 20; 25 ; 31,5;

40; 50; 63 ; 80; 100

~660

~380

3

1,35

3 ; 7 ; 10

12,0

25,0

16; 20; 25; 31,5;

40; 50; 63, 80, 100

~660

~380

3

1,2

14

10,0

25,0

80; 100; 125 ; 160

~660

~380

2,3

1,25

10

9,0

12,5

80; 100; 125 ; 160

~660

~380

3

1,2

14

9,0

12,5

80; 100; 125 ; 160

~660

~380

3

1,25

10

12,0

35,0

80; 100; 125; 160

~660

~380

3

1,2

14

12,0

35,0

Примечание ~ Переменный ток: - постоянный ток.

Рис. 4.1. Схема электроустановки с УЗО:

1,2- прямой и обратный проводники; 3 - дифференциальный трансформатор тока; 4 - магнитоэлектрическая защелка; 5 - механизм расцепителя; 6 - контактная система; 7 - нагрузка; Л1, Л2, ЛЗ - линейные проводники; N - рабочий и защитный нейтральный (нулевой) проводник

 

Методика выбора аппаратов защиты и оценка соответствия их номинальных параметров условиям надежности защиты электрических сетей и установок от токов перегрузки и КЗ приводится в работе [ 9 ].

4.4. Устройство защитного отключения (УЗО)

УЗО предназначено для обеспечения электрической и пожарной безопасности в бытовых и промышленных электроустановках.

Конструкция УЗО обеспечивает быстрое отключение защищаемой электроустановки от сети при протекании тока через тело человека. Если ток утечки на землю возникает в результате разрушения изоляции, то УЗО можно рассматривать и как устройство для обеспечения пожарной безопасности.

4.4.1. Элементы конструкции и принцип действия УЗО

Основными элементами конструкции УЗО ( рис. 4.1 ) являются: дифференциальный трансформатор тока 3 ; чувствительный элемент - магнитоэлектрическое реле-защелка 4; механизм расцепителя 5 с контактной системой 6 .

Функционально УЗО определяется как быстродействующий защитный выключатель, реагирующий на дифференциальный ток в проводниках, подводящих электроэнергию к защищаемой электроустановке ( рис. 4.1 )

В нормальном режиме при отсутствии дифференциального тока (тока утечки) - рабочие токи нагрузки 7 в прямом и обратном проводниках дифференциального трансформатора 3 равны по величине и направлены навстречу друг другу. Соответственно эти токи создают равные по величине встречнонаправленные магнитные потоки Ф 1 , и Ф 2 , в результате чего ток во вторичной обмотке равен нулю и не вызывает срабатывания чувствительного элемента - магнитоэлектрической защелки 4.

При возникновении дифференциального тока I Δ n , например, при пробое изоляции на корпус заземленного электроприемника, при прикосновении человека к открытым токопроводящим частям баланс токов в прямом и обратном проводниках, а следовательно, и магнитных потоков нарушается, и во вторичной обмотке появляется трансформированный дифференциальный ток небаланса, который вызывает срабатывание защелки 4 Она действует, в свою очередь, на механизм расцепителя 5 , а он приводит в действие контактную систему 6 , и защищаемая цепь обесточивается.

Конструкции УЗО разделяются на две категории:

УЗО, функционально не зависящие от напряжения питания (электромеханические). Источником энергии, необходимой для функционирования (выполнения операции отключения), является сам сигнал - дифференциальный ток, на который оно реагирует;

УЗО, функционально зависящие от напряжения питания (электронные). Их механизм для выполнения операции отключения нуждается в энергии, получаемой либо от контролируемой сети, либо от внешнего источника.

Область применения устройств, функционально зависящих от напряжения питания, ограничена в силу их меньшей надежности, подверженности воздействию внешних факторов и др.

Расширение электрических сетей с нулевым защитным проводником требует обязательного применения УЗО в целях защиты электропроводок и электрооборудования от возгорания. Использование нулевого защитного проводника в сетях зданий без УЗО повышает их пожарную опасность вследствие возможности возникновения короткого замыкания фазного провода на заземляющий проводник электрической сети или внешние заземленные поверхности электрооборудования с оболочкой класса I .

4.4.2. Термины и определения

Согласно ГОСТ Р 50807-95 [ 33 ] нормируются следующие параметры УЗО.

Номинальное напряжение - указанное изготовителем действующее значение напряжения, при котором обеспечивается работоспособность УЗО.

Номинальный ток нагрузки - указанное изготовителем значение тока, которое УЗО может пропускать в продолжительном режиме работы.

Номинальный отключающий дифференциальный ток -значение дифференциального тока, которое вызывает отключение УЗО при заданных условиях эксплуатации.

Номинальный неотключающий дифференциальный ток -наибольшее значение дифференциального тока, которое не вызывает отключения УЗО при заданных условиях эксплуатации.

Сверхток - ток, значение которого превосходит наибольшее рабочее значение тока.

Предельное значение неотключающего сверхтока - минимальное значение неотключающего сверхтока при симметричной нагрузке двух- и четырехполюсных УЗО или несимметричной нагрузке четырехполюсных УЗО.

Номинальная включающая и отключающая способность (коммутационная способность) - действующее значение ожидаемого тока, который УЗО способно включать, пропускать в течение времени своего размыкания и отключать при заданных условиях эксплуатации без нарушения его работоспособности

Номинальная включающая и отключающая способность по дифференциальному току - действующее значение ожидаемого дифференциального тока, которое УЗО способно включать, пропускать в течение своего размыкания и отключать при заданных условиях эксплуатации без нарушения его работоспособности.

Номинальный условный ток короткого замыкания (ток термической стойкости) - указанное изготовителем действующее значение ожидаемого тока, которое способно выдержать УЗО, защищаемое устройством защиты от коротких замыканий - плавкой вставкой с номинальным током, равным току нагрузки УЗО.

Номинальный условный дифференциальный ток короткого замыкания - действующее значение ожидаемого дифференциального тока, которое способно выдержать УЗО, защищаемое устройством защиты от коротких замыканий при заданных условиях эксплуатации без необратимых изменений, нарушающих его работоспособность.

Время отключения (время срабатывания) - промежуток времени между моментом внезапного возникновения отключающего дифференциального тока и моментом завершения срабатывания данного устройства до полного гашения дуги.

4.4.3. Параметры УЗО

Конкретная модификация УЗО выбирается на основе электротехнического расчета нормальных и аварийных режимов работы электроустановки.

Технические требования и параметры УЗО на основе ГОСТ Р 50807-95 и НПБ 243-97 [ 32 ] приведены в табл. 4.7 .

Таблица 4.7

Технический параметр

Значение параметра

Номинальное напряжение U n , В

220, 380 *

Номинальный ток нагрузки I n , А

6, 16, 25, 32. 40, 63, 80, 100, 125, 200 *

Номинальный отключающий дифференциальный ток (ток утечки) I Δn , мА

10, 30, 100, 300, 500 *

Номинальный неотключающий дифференциальный ток I Δn о , мА

0,5 I Δ н

Предельное значение неотключающего сверхтока I nm , A

6 I n

Номинальная включающая и отключающая (коммутационная) способность I m , А

10 I n или 500 А (выбирается большее значение)

Номинальная включающая и отключающая способность по дифференциальному току I Δm , А

10 I n или 500 А (выбирается большее значение)

Номинальный условный ток короткого замыкания I nc , A

1500, 3000, 6000, 10000

Номинальный условный дифференциальный ток короткого замыкания I Δc , А

1500, 3000, 6000, 10000

Номинальное время отключения T н ** , с

0,3 при I Δn ,

0,15 при 2 I Δn ,

0,04 при 5 I Δn , или при 500 А

*В зависимости от модификации устройства.

** T н - заданы для любого рабочего тока, не превышающего номинальный.

4.4.4. Выбор типа и параметров УЗО

УЗО должно отключать защищаемую часть электроустановки при появлении в ней синусоидального переменного или пульсирующего постоянного (в зависимости от модификации) тока утечки, превышающего 0,5 номинального отключающего дифференциального тока.

Уставка (номинальный дифференциальный отключающий ток) УЗО выбирается на основе критериев электробезопасности с учетом тока нагрузки. Рекомендуемые значения уставки приведены в табл. 4.8 .

Таблица 4.8

Вид потребителя

Номинальный ток уставки УЗО в зоне защиты, мА, при токе нагрузки, А

16

25

40

63

80

Одиночный потребитель

10

30

30

30

30

Группа потребителей

30

30

30

(100)

100

300

На главном вводе (ВРУ, ВРЩ)

300

300

300

300

500

В ряде случаев, для определенных потребителей значение уставки задается нормативными документами.

Стандартные значения максимального времени отключения при любом рабочем токе нагрузки не должны превышать значений, приведенных в табл. 4.8 .

Схема включения УЗО должна предусматривать установку последовательно с УЗО защитного устройства от сверхтоков (автоматический выключатель, плавкая вставка), отвечающего соответствующим стандартам. При этом номинальный ток УЗО должен быть равен или быть на ступень выше номинального тока защитного устройства от сверхтоков.

В некоторых случаях, например для одиночных потребителей электроэнергии, целесообразно применять комбинированное УЗО, т. е. УЗО со встроенной защитой от сверхтоков и перегрузки.

В настоящее время выпускаются УЗО двухполюсные (для однофазных электроустановок) и четырехполюсные (для трехфазных электроустановок).

Некоторые виды отечественных УЗО и их параметры представлены в табл. 4.9 .

Таблица 4.9

Параметры

Тип устройства защитного отключения

УЗО-22

ВАД-11

Д-АС

М304

Астро*УЗО

Номинальное напряжение, В

220

220/380

Частота, Гц

50

50; 60

50

50

50

Номинальный ток нагрузки, А

6,3; 10; 16; 25; 32; 40

6; 40

6; 10; 16; 25; 32

16; 25; 40; 63

Номинальное значение дифференциального отключающего тока, мА

10; 30

10; 30; 100

10, 30, 100, 300

10; 30

10; 30; 100; 300

Максимальное время отключения при номинальном дифференциальном токе, мс

40

10

40

30

30

Рабочая температура, °С

От-10 до+40

От-5 до+40

От-5 до+40

От-25 до+40

От-20 до+45

Зависимость от колебаний напряжения сети

Не зависит

Потребность в источнике питания

Требуется

Не требуется

Тип расцепителя

Электронно-магнитный

Электромеханический

4.4.5. Селективность работы УЗО

Для обеспечения требований селективной работы нескольких УЗО в радиальных схемах электроснабжения необходимо учитывать следующие факторы.

В силу .очень высокого быстродействия УЗО практически невозможно обеспечить селективность действия УЗО по току при значениях уставок 10, 30, 100 мА. В этом диапазоне уставок селективность работы УЗО может быть обеспечена благодаря применению модификаций УЗО с выдержкой времени (УЗО с индексом S ), имеющих задержку срабатывания 10-20 мс.

Селективность срабатывания по току утечки на землю может быть обеспечена при применении на вводе - в качестве головного - УЗО с уставками 300, 500 мА и на отходящих линиях (группах) - УЗО с уставками 10, 30 мА.

4.4.6. Требования пожарной безопасности

Конструкция УЗО должна обеспечивать его пожарную безопасность как в нормальном режиме работы, так и при возникновении неисправностей и нарушении правил эксплуатации.

При оценке пожарной опасности УЗО следует определить его показатели в соответствии с НПБ 243-97. Результат положительной оценки подтверждается сертификатом пожарной безопасности.

Показатели пожарной опасности определяют путем прямых испытаний стандартных образцов УЗО, а также конструкционных и электроизоляционных материалов или образцов из состава деталей, комплектующих УЗО.

Конструкция УЗО должна исключать появление в процессе функциональных испытаний, а также испытаний на пожарную опасность пламени, дыма, размягчения и оплавления конструкционных материалов.

Не допускается применение УЗО для электроустановок, внезапное отключение которых может привести по технологическим причинам к возникновению ситуаций, опасных для пользователей (например, к отключению пожарной, охранной сигнализации и т. п.).

4.5. Тепловые реле

Тепловые реле обычно применяют для защиты электродвигателей от опасного нагрева при длительных перегрузках (рабочий период не менее 30 мин).

Тепловые реле используют обычно и для защиты электродвигателей от работы на двух фазах. В этих случаях применяют два одноэлементных тепловых реле или одно двухэлементное.

Тепловые реле имеют следующие параметры.

Номинальное напряжение реле U н.р - наибольшее из номинальных напряжений сетей, в которых допускается применять данное реле.

Номинальный ток реле I н.р - наибольший длительный ток, который не вызывает срабатывания реле.

Номинальный ток нагревателя I н.нагр - наибольший длительный ток, при котором реле с данным нагревателем не срабатывает (для реле со сменными нагревателями).

Номинальный ток уставки реле (для реле с регулятором) I н.устр.р - наибольший длительный ток, который при данной настройке реле не вызывает срабатывания. Обычно I н.устр.р = (0,6-1 ) I н.нагр

Таблица 4.10

Пускатель

Наибольшая мощность управляемого электродвигателя, кВт, при напряжении, В

Ток уставки тепловых реле, А

Тип

Величина

Номинальный ток, А

220

380

500

Номинальный ток, А

Нулевая уставка (номин. ток нагревательного элемента)

Диапазон уставок

ПМЕ-222

2

25

5,5

10

10

6,25

5

3,75-6,25

 

 

 

 

 

7,87

6,3

4,72-7,87

 

 

 

 

 

10,0

8

6-10

 

 

 

 

 

12,5

10

7,5-12,5

 

 

 

 

 

15,6

12,5

9,38-15,6

 

 

 

 

 

20,0

16

12-20

 

 

 

 

 

25,0

20

15-25

ПА-322

3

40

7

13

17

40

32

24-40

ПА-422

4

56

13

20

28

56

44

33-56

ПА-522

5

115

23

55

55

115

104

78-115

ПА-622

6

140

40

75

75

140

126

94-140

Примечания: 1. Нулевая уставка - уставка в нулевом положении указателя шкалы теплового реле.

2. Регулировка тока уставки реле плавная и производится регулятором уставки. Шкала регулятора тока уставки имеет по пять делений влево (минус) и вправо (плюс) от нулевой риски шкалы. Каждое деление шкалы соответствует примерно 5 % номинального тока нагревательных элементов (тока нулевой уставки) для пускателей открытого исполнения и 5,5 % - для защищенного исполнения.

3. Для магнитных пускателей серии ПА 4, 5 и 6-й величин (с тепловым реле без термокомпенсации) при температуре окружающей среды ниже +30 o С вносится поправка в пределах шкалы реле.

Таблица 4.11

Величина пускателя

Тип реле

Номинальный ток реле, А

Номинальный ток теплового реле, А, при +25 °С (положение регулятора уставки на нуле)

Предел регулирования номинального тока уставки

1

ТРН-8

или

ТРН-10

10

0,5; 0,63; 0,8; 1; 1,25; 1,6; 2; 2,5; 3,2; 4; 5; 6,8; 8; 10

От 0,75 I н , до 1,3 I н

2

ТРН-20

или

ТРН-25

25

5; 6,3; 8; 10; 12,5; 16; 20; 25

От 0,74 I н , до 1,3 I н

3

ТРН-32

или

ТРН-40

40

16; 20; 25; 32; 40

От 0,75 I н , до 1,3 I н

4

ТРП-60

60

25; 30; 40; 50; 60

От 0,75 I н , до 1,25 I н

5

ТРП-150

150

50; 60; 80; 100

От 0,75 I н , до 1,25 I н

6

ТРП-150

150

100; 120; 150

От 0,75 I н , до 1,25 I н

Для реле с регулятором значения I н.р и I н.нагр соответствуют нулевому (среднему) положению поводка регулятора (току нулевой уставки).

В настоящее время применяют тепловые реле серий ТРП, ТРН, ТРА, ТРВ, ТРГ, ТРТ.

При выборе тока тепловых реле (например, для магнитных пускателей серии ПМЕ и ПА) следует руководствоваться данными табл. 4.10 и 4.11 .

5. ЭЛЕКТРОСТАТИЧЕСКАЯ ИСКРОБЕЗОПАСНОСТЬ (ЭСИБ) И ЗАЩИТА ОТ СТАТИЧЕСКОГО ЭЛЕКТРИЧЕСТВА

5.1. Основные положения

Опасность статической электризации и ее разнообразных проявлений сопряжена с разрядами статического электричества и их способностью зажигать горючие газы, пары или пыли в среде воздуха.

Наряду со специфичными техническими решениями, предусматривающими предупреждение образования взрывоопасных смесей и возникновение загораний, пожаров и взрывов, разрабатываются и применяются устройства, способы и средства защиты от опасных проявлений статического электричества (см. табл. 5.1 ). Мероприятия по защите от статического электричества должны осуществляться во взрывопожароопасных зонах помещений и зонах наружных взрывоопасных установок, отнесенных к классам B - I , B - Ia , B - I б, B - I г, B - II , В- II а, П- I , П- II . Защите подлежат: человек (см. табл. 5.2 ) или биологические объекты; объекты, чувствительные к зажигающему или инициирующему взрыв воздействию разрядов статического электричества; объекты, подлежащие защите от пробоя или появления дефектов от разрядов статического электричества, а также объекты, необходимость защиты которых вызвана технологическими причинами. Разрабатываются способы и устройства, позволяющие обеспечивать нормальный ход производства или технологического процесса, ослаблять силовые проявления электростатических полей, устранять дефекты продукции, воздействие разрядов на светочувствительные материалы, снижать скорость старения и загрязнения декоративных поверхностей и т. п.

Таблица 5.1

Опасные проявления статического электричества

Система и критерии безопасности

Пожаро- и взрывоопасность

Электростатическая искробезопасностъ (ЭСИБ). Снижение риска зажигания, взрыва, пожара или ущерба до нормируемого значения

Опасное воздействие на человека

Санитарные нормы. Ограничение времени пребывания на рабочем месте. Исключение нежелательных воздействий разрядов на человека

Помехи в радиосвязи

Сертификация радиотехнической продукции на помехозащищённость от разрядов статического электричества

Таблица 5.2

Вид средств защиты

Перечень средств защиты

Средства индивидуальной защиты

Антиэлектростатическая одежда и обувь, средства защиты рук, антиэлектростатические кольца и браслеты

Средства коллективной защиты

Заземляющие устройства и полы; индукционные, высоковольтные, лучевые и аэродинамические нейтрализаторы; распылительные, испарительные и холодильные увлажняющие устройства; антиэлектростатические вещества, вводимые в объём материала или наносимые на поверхность, экранирующие устройства, козырьки и перегородки, ослабляющие напряжённость поля на рабочем месте

 

При разработке и применении средств и способов пожаротушения важно учитывать также требования ЭСИБ, санитарные нормы по предупреждению нежелательного воздействия процессов электризации на человека, возможность пробоя или появления нежелательных электростатических нагрузок на стенки из неметаллических материалов, помех радиосвязи, создаваемых разрядами статического электричества.

5.2. Условия электризации и предельные параметры процессов электризации

Таблица 5.3

Характер электризации

Параметр

Применение

Электризация без возникновения разрядов в газе

Разность потенциалов в разрядных промежутках не превосходит 300 В

Определяет требования к сопротивлению устройств и средств заземления

Электризация без возникновения разрядов, связанных с частичным или полным нарушением электрической прочности диэлектриков в жидкой или твёрдой фазе

Напряженность электростатического поля в твёрдом или жидком диэлектрике существенно меньше его электрической прочности

Определяет требования к ограничению зажигающей способности разрядов с этического электричества в газе или к ограничению области применения продукции

Электризация, не исключающая возникновение разрядов, связанных с частичным или полным нарушением электрической прочности диэлектриков в жидкой или твёрдой фазе

Напряженность электростатического поля в твёрдом или жидком диэлектрике соизмерима с его электрической прочностью

Определяет требования к ограничению зажигающей способности разрядов статического электричества, связанных с частичным или полным нарушением электрической прочности жидких и. и твёрдых диэлектриков

Таблица 5.4

Процесс электризации (примеры)

Параметр и значение

Применение

Протирка диэлектрических поверхностей сухой бязью

Ток электризации человека до 0,6 мкА

Определяет требования к сопротивлению заземляющих устройств

Работа с углекислотным огнетушителем

Ток электризации человека до 100 мкА

Процессы статической электризации в среде воздуха

Ток электризации в технологических процессах до 100 мкА

Ток электризации человека в бытовых условиях до 1 мкА

Определяет требования к сопротивлению заземляющих устройств

Предельные значения параметров, характерных для процессов электризации в среде воздуха

Напряжённость поля

Е пр =3·106 В/м.

Поверхностная плотность зарядов

σ пр = 26,4 мкКл/м 2 .

Плотность тока контактной электризации

j пр = 100 мкА/м 2 .

Объёмная плотность энергии поля

W v п p = 40 Дж/м 3 .

Объёмная мощность процессов электризации (электростатического генерирования)

N v п p = 300 Вт/м 3

Учитываются при разработке и оценке эффективности средств защиты и при оценке соответствия объекта требованиям ЭСИБ

Система ЭСИБ учитывает условия электризации (табл. 5.3 и 5.4 ), чувствительность к зажигающему воздействию разрядов (табл. 5.5 и 5.6 ), состояние объекта защиты (табл. 5.7 5.9 ) и параметры разрядов (табл. 5.10 5.13 ).

5.3. Чувствительность к зажигающему воздействию разрядов

Чувствительность веществ и материалов к зажигающему воздействию разрядов статического электричества характеризуется: безопасным экспериментальным максимальным зазором (БЭМЗ или S o ) или критическим расстоянием I кр и температурой самовоспламенения Т св , минимальной энергией зажигания W мин минимальным зарядом зажигания q мин , минимальной линейной плотностью энергии зажигания WL мин .

5.4. Зажигающая способность разрядов статического электричества

Зажигающая способность разряда статического электричества может зависеть: от энергии разряда W s , Дж; заряда в униполярном импульсе разрядного тока q s , Кл; геометрических параметров объекта, включая радиус кривизны проводящей поверхности R s , м, на которую происходит разряд; характеристического линейного размера заряженной свободной диэлектрической поверхности L s , м, и характеристического линейного размера l s , м, полости со стенками из электропроводящего заземленного материала; максимального потенциала наэлектризованной диэлектрической среды V s , В.

5.5. Критерии электростатической искробезопасности

Электростатическую искробезопасность (ЭСИБ) объекта можно определить, сравнивая его параметры с критериальными (с подстрочным индексом "с") значениями, указанными в табл. 5.5. При этом параметр разряда с индексом s не должен превосходить критериальное значение, что предполагает соблюдение условия: ".... s "≤".... c ".

Таблица 5.5

Чувствительность объекта к зажиганию W мин , мДж

Критерии ЭСИБ

W c , мДж

q c , мкКл

R c , мм

l c , м

L c , м

V c , кВ

0,18

0,07

0,036

2,5

0,02

0,02

14,3

0,30

0,12

0,052

3,3

0,06

0,03

17,5

1,00

0,40

0,16

6,5

0,28

0,10

29,5

2,00

0,80

0,31

8,5

0,36

0,13

36,6

3,00

1,20

0,44

10,0

0,41

0,15

42,0

5,00

2,00

0,66

13,0

0,51

0,19

52,1

10,00

4,00

1,20

16,0

0,62

0,23

62,1

15,00

6,00

1,80

19,0

0,72

0,26

71,8

20,00

8,00

2,40

22,0

0,81

0,29

81,6

Кроме критериев, указанных в табл. 5.5, используются критерии (см. табл. 5.6 ), которые помимо чувствительности к зажигающей способности разрядов зависят еще и от геометрических параметров объекта. К ним относят нормальную к заряженной поверхности составляющую напряжённости электрического поля в газе E c , поверхностную плотность электрических зарядов σ c , время релаксации электрических зарядов τ c или комплексный параметр ( ερ v ) с , зависящий от удельного сопротивления и относительной диэлектрической проницаемости наэлектризованной среды.

Пользоваться критериями R c , L c , l c , V c , V c , τ c и ( ερ v ) с допустимо в случае, когда разряды возникают только в смесях горючих веществ с воздухом, 'но исключены скользящие искровые и другие разряды, характерные для сильных электростатических полей. Считается также, что разряды единичны, а ток электризации не определяет условий зажигания. Но следует учитывать, что токи зажигания в процессах электризации для объектов с наличием газовоздушных взрывоопасных смесей с минимальной энергией 0,01 мДж (водородно-воздушная смесь) и 0,22 мДж (пропано-воздушная смесь) равны соответственно 10 и 200 мкА.

Таблица 5.6

Чувствительность объекта к зажиганию W мин , мДж

Критерии ЭСИБ

E c , кВ/м

σ c , мкКл/м 2

τ c , мс

( ερ v ) с , ГОм м

Диаметр аппарата или емкости 12 м

0,18

2,37

0,042

0,042

0,047

0,30

2,94

0,052

0,52

0,059

1,00

5,10

0,090

0,90

0,10

2,00

6,40

0,114

1,14

0,13

3,00

7,70

0,132

1,32

0,15

5,00

9,40

0,166

1,66

0,19

10,00

11,30

0,200

2,00

0,23

15,00

13,40

0,238

2,30

0,27

20,00

15,40

0,272

2,70

0,31

Диаметр аппарата или емкости 1 м

0,18

29

0,52

5,2

0,59

0,30

39

0,69

6,9

0,78

1,00

98

1,74

17,4

2,00

2,00

138

2,45

24,5

2,80

3,00

170

3,00

30,0

3,40

5,00

240

4,30

43,1

4,90

10,00

330

5,90

58,9

6,70

15,00

430

7,60

76,4

8,60

20,00

540

9,60

95,5

10,80

5.6. Требования к заземлению и данные по обеспечению ЭСИБ в некоторых технологических процессах

Таблица 5.7

Объект

Назначение и допустимое сопротивление средств защиты

нижние значения

верхние значения

Тело человека

Защита от поражения электрическим током

Защита от опасных проявлений статического электричества

Строительные конструкции, оборудование, аппараты, коммуникации, подвижные объекты

Защита от опасных проявлений статического электричества

Предупреждение опасных проявлений: искр размыкания электрических цепей с ЭДС гальванического происхождения; блуждающих токов; токов электромагнитных вторичных проявлений молнии; токов, обусловленных воздействием магнитных бурь солнечно-земного происхождения, воздействием ЭМП радиочастот и т. п.

Строительные конструкции, оборудование, аппараты, коммуникации, подвижные объекты

Предупреждение опасных проявлений искровых разрядов в разрядных промежутках при прямых ударах молнии или при электростатических вторичных проявлениях молнии

Защита от опасных проявлений статического электричества

Электрическое сопротивление заземляющего устройства (исключительно для защиты от статического электричества) [ 29 ]

Не нормируется

100 Ом

Оборудование, аппараты, коммуникации в пределах цеха, отделения или установки

Присоединяются не менее чем в двух местах [ 31 ] к контуру заземления с сопротивлением растеканию тока до 100 Ом

Резервуары и емкости объёмом более 50 м 3

Присоединяются к заземлителям не менее чем двумя проводниками

Вентиляционные короба и кожуха теплоизоляции

Заземляются через каждые 40-50 м

Трубопроводы на наружных установках

Заземляются согласно требованиям РД 34.21.122-87. При молниезащите категории I сопротивление в соединениях ≤0,03 Ом, при категории II - не менее 4 болтов на фланец

Диэлектрический трубопровод с обвивкой металлической проволокой и электропроводящие покрытия электризуемых стенок из диэлектрических материалов

Рекомендуется при слабой электризации. При сильной электризации удваивает зажигающую способность скользящих искровых разрядов и в 2 раза снижает порог электростатической нагрузки, при которой разряды возникают

Система TN - C

Не допускается в помещениях медицинского назначения [ 30 ]

Таблица 5.8

Объект

Сопротивление средств защиты

нижние значения

верхние значения

Электропроводящий пол

-

10 7 Ом (для участка площадью 0,05 м 2 )

-

10 6 Ом (в зонах, где возможно зажигание веществ или объектов с W мин ≤ 0,1 мДж и для участка площадью 0,05 м 2 )

Электропроводящие участки антиэлектростатической одежды [29]

10 6 Ом

10 8 Ом

Антиэлектростатическая обувь

Подпятник – ходовая сторона подошвы [29]

10 6 Ом

10 8 Ом

Обувь с кожаной подошвой

10 7 Ом

10 8 Ом

Антиэлектростатические кольца и браслеты

Человек – земля

10 6 Ом

10 7 Ом

Сопротивление между точками электропроводящей системы, объединённой перемычками [30]

Не нормируется

0,2 Ом

Таблица 5.9

Средство

Требуемая эффективность

Антиэлектростатические вещества (добавки) [29]

Должны снижать удельное сопротивление материалов до значений ρ v 10 7 Ом·м и ρ s 10 9 Ом

Антиэлектростатическая специальная одежда [29]

ρ s 10 7 Ом (требование к удельному сопротивлению материалов)

Таблица 5.10

Свойство

Исходные данные для классификации

Критерий

Антистатическое футерованное оборудование

ρ v

ρ v 10 8 Ом·м

Электростатически заземлённое оборудование

R 3

R 3 10 7 Ом

Примечание. Для площади участка покрытия S 20 см 2

Электростатически заземлённое оборудование

ρ v

λ

ρ v 10 4 Ом·м

Электростатически безыскровое футерованное оборудование

ρ v

j

λ

ρ v 300/( j λ ) Ом · м

Примечание Общее условие при эксплуатации оборудования в среде воздуха

Электростатически безыскровое футерованное оборудование

ρ v

λ

ρ v 3·10 6 Ом·м

Примечание. Условие для смесей горючего с воздухом

Электростатически слабо-электризующееся футерованное оборудование

п

Примечание. n -электростатическая нагрузка, безразмерна

п п пр

Примечание. Общее условие

Электростатически слабо-электризующееся футерованное оборудование

V

V ≤ 0,4 V пр

Электростатически слабо-электризующееся футерованное оборудование

ρ v

j

λ

ρ v 0,4 V пр /( j λ )

Примечание. Комплексное условие

Электростатически слабо-электризующееся футерованное оборудование

ρ v

ρ v 10 10 Ом·м

Примечание. Условие соответствия электростатическим свойствам воздуха

Электростатически искробезопасное слабо-электризующееся футерованное оборудование

Категория взрывоопасной смеси V s

V s ( V д V ж )

Электростатически искробезопасное слабо-электризующееся футерованное оборудование

Категория взрывоопасной смеси ρ v

ρ v V д /( j λ)

Примечание. Комплексное условие

Электростатически искробезопасное слабо-электризующееся футерованное оборудование

Категория взрывоопасной смеси и V пр

V пр ( V д V ж )

Электростатически искробезопасное слабо-электризующееся футерованное оборудование

Категория взрывоопасной смеси II А и V

V 17,5 к B

Примечание. Данное значение не должно превышать максимальный потенциал жидкости, находящейся в ёмкости

Электростатически искробезопасное слабо-электризующееся футерованное оборудование

Категория взрывоопасной смеси II А, V и λ

ρ v 1,7· 10 8 Ом·м

Электростатически искробезопасное слабо-электризующееся футерованное оборудование

Категория взрывоопасной смеси II В и V

V 14,2 к B

Примечание. Данное значение не должно превышать максимальный потенциал жидкости, находящейся в емкости

Электростатически искробезопасное слабо-электризующееся футерованное оборудование

Категория взрывоопасной смеси IIB , V и λ

ρ v 1,4· 10 8 Ом·м

Электростатически искробезопасное слабо-электризующееся футерованное оборудование

W мин и ρ v

ρ v ρ v д F ( W мин ) Ом·м

Обозначения: j - плотность тока, А/м 2 ; п - электростатическая нагрузка, безразмерна; п пр - электростатическая нагрузка, соответствующая электростатической прочности; R 3 - электрическое сопротивление "поверхность - основание" участка слоя покрытия заданной площади. V - потенциал, В; V пр - потенциал, соответствующий электростатической прочности; V д -потенциал, допустимое значение; V ж - максимальный потенциал жидкости в металлической заземлённой ёмкости без покрытия, В; V s - потенциал, обусловленный поверхностной плотностью электрических зарядов покрытия, В; W мин - минимальная энергия зажигания взрывоопасной смеси; ρ v - удельное объёмное электрическое сопротивление материала слоя покрытия, Ом·м; ρ v д - удельное объёмное электрическое сопротивление материала слоя покрытия, допустимое значение, Ом·м; λ - толщина слоя покрытия, м.

Таблица 5.11

Параметр разрядов и объектов защиты

Нормируемое значение

Напряженность электростатического поля

При 20 кВ/м и более регламентируется время пребывания на рабочем месте

Электрический ток

60 мкА - порог биологического воздействия

Потенциал электростатически заряженного тела человека

2 кВ - потенциал, допустимый по раздражающему воздействию разрядов. При потенциале более 2 кВ возможны непроизвольные движения при разрядах с человека. По требованиям ЭСИБ допустимый потенциал может быть менее 2кВ

Заряд в импульсе при разрядах статического электричества, когда одним из полюсов разрядного промежутка является тело человека

0,1 мкКл - заряд, допустимый по раздражающему воздействию разрядов. При заряде в импульсе более 0,1 мкКл возможны непроизвольные движения. По требованиям ЭСИБ допустимый заряд в импульсе разрядного тока может быть менее 0,1 мкКл

Ток, применяемый в системах контроля заземления человека [30]

10 мкА

Напряжение, применяемое в системах контроля заземления человека [30]

10 мВ

Ёмкость человека (измеренные значения)

От 40 до 8000 пФ

Сопротивление тела человека, принимаемое в нормировании [30]

1 кОм

Таблица 5.12

Производственная операция

Значение заряда в импульсном разряде статического электричества, мкКл

Наиболее вероятное

Максимальное измеренное

При вероятности 10 –6

Полирование на ленточном полировальном станке

0,530

1,50

2,5

Первая шлифовка на станке ШЛПС

0,008

0,08

0,1

Вторая шлифовка на станке ШЛПС

0,150

0,40

2,1

Таблица 5.13

Материал поверхности

Значение заряда в импульсном разряде статического электричества, мкКл

Наиболее вероятное

Максимальное измеренное

При вероятности 10 –6

Органическое стекло

0,0760

0,250

0,91

Полиэтилен

0,0140

0,058

0,26

Оконное стекло

0,0023

0,011

0,50

Техническое стекло 13В (труба)

0,011

0,038

0,52

Стекло "Сиал" (труба)

0,012

0,046

0,12

Таблица 5.14

Операция

Сопротивление изоляции от земли, Ом

Время RC цепи "человек–земля", с

Напряжение полюсов "человек–земля", В

Заряд тела, мкКл

Энергия перед разрядом, мДж

Притирка

10 5

4 10 –6 - 8 10 –4

0,06

Разряды возможны на человека

10 7

4 10 –6 - 8 10 –4

6

10 10

0,4 - 80

6000

Разряды с человека

0,24 – 48

0,72 – 144

Разряды возможны на человека

Действие СО 2 –огнетушителя

10 5

4 10 –6 - 8 10 –4

10

Разряды возможны на человека

10 7

4 10 –6 - 8 10 –4

1000

Разряды с человека

0,04-8,0

0,02-4,0

Разряды возможны на человека

10 10

0,4 - 80

10 6

Расчетный предел не достигается, и значения ограничены коронированием, разрядами, пробоем электроизолирующих средств защиты

Примечание . При выборе средств защиты, удовлетворяющих санитарным нормам и требованиям ЭСИБ, следует руководствоваться наиболее жесткими параметрами

ПРИЛОЖЕНИЕ 1

ПРИЛОЖЕНИЕ Г [ГОСТ Р. 51330.9-99]

Классификация взрывоопасных зон для отдельных произ64/60364-7-710 водств и установок

Г.1 Окрасочные производства

При применении для окраски материалов, которые могут образовать взрывоопасные смеси, зона считается взрывоопасной в пределах до 5 м по горизонтали и вертикали от открытых проемов окрасочных и сушильных камер.

При бескамерной окраске изделий зона считается взрывоопасной в пределах до 5 м по горизонтали и вертикали от края решетки, от свежевыкрашенных изделий и от емкостей с горючими материалами.

Класс взрывоопасных зон указанных размеров определяется отраслевыми нормативными документами в зависимости от способа окраски и характеристик лакокрасочных материалов. При этом Должны учитываться результаты классификации взрывоопасности всего помещения, в котором производятся окрасочные работы в соответствии с требованиями настоящего стандарта.

Г.2 Помещения производств, в которых технологический процесс ведется с использованием газообразного водорода , имеют взрывоопасную зону класса 2 только в верхней части помещения, считая от уровня пола, но не выше кранового пути.

Настоящее требование не распространяется на помещения, в которых технологический процесс ведется с использованием водорода под давлением, превышающим 0,5 МПа.

В помещениях производств, в которых в силу особенностей технологического процесса выделение газообразного водорода в окружающую атмосферу незначительное (например, цеха анодного химического оксидирования и глубокого размерного травления деталей из алюминиевых сплавов, отдельные гальванические производства), взрывоопасная зона в верхней части помещения не устанавливается.

Г.З Зоны в помещениях и зоны наружных установок в пределах до 5 м по горизонтали и вертикали от открытого огня и раскаленных поверхностей технологического оборудования, в которых твердые, жидкие и газообразные горючие вещества сжигаются в качестве топлива или утилизируются путем сжигания, не относятся к взрывоопасным. Настоящее требование распространяется на эти помещения в период, когда в них осуществляется технологический процесс. В помещениях отопительных котельных, встроенных в здания и предназначенных для работы на газообразном или на жидком топливе, следует предусматривать, несмотря на отсутствие взрывоопасной зоны, установку части светильников и электрооборудования вытяжной вентиляции, включаемых перед началом работы котельной установки, во взрывозащищенном исполнении.

Г. 4 Помещения производств и наружные установки, в которых используется газообразный или сжиженный аммиак , следует относить к взрывоопасным зонам класса 2, если оценка в соответствии с требованиями настоящего стандарта не указывает на то, что такие зоны являются взрывобезопасными.

ПРИЛОЖЕНИЕ 2

Номенклатура светильников для пожаровзрывоопасных зон и производственных помещений с тяжелыми условиями среды

Тип ОП

Номер технических условий

Тип ИС

Степень защиты по ГОСТ 14254-96 и (или) исполнение по взрывозащите

Идентификационные признаки

Область применения

Габаритные размеры, мм

Масса, кг

длина или диаметр

ширина

высота

Светильники с люминесцентными лампами, ДРЛ и лампами накаливания

РСП38М-250

ПРАЦ676.14.009ТУ

ДРЛ-250

1 ExdeIICT 4

Ø 200

-

440

15,5

Взрывозащищенные светильники для взрывоопасных зон в различных отраслях промышленности (газо- и нефтедобыча, транспортировка нефти и газа, химическая и нефтехимическая промышленность, производство газов, бумаги и др ) Лампа защищена отожженным, термостойким стеклом с механической прочностью 4 Дж

РСП38М-125

ДРЛ-125

1 ExdeIICT 5

15,5

РСП38М-80

ДРЛ-80

1 ExdeIICT 6

15,5

НСП43М-300

Н-300

1 ExdeIICT 4

Ø 340

-

510

13

НСП43М-200

Н-200

1 ExdeIICT 5

13

НСП43М-01

ПРАЦ676.126.009ТУ

Н 75-200

1ExdeIICT6…T5 *

Ø 210

-

350

Сведения отсутствуют

НСП43М

КГМ

1 ExdeIICT 4

НСП43М-11

Н 75-200

1ExdeIICT6…T5 *

НСП 43 М

КГМ

1ExdeIICT4

РСП45

ПРАЦ676.146.006ГУ

ДРЛ 125 и 80

1 ExdeIICT 4

Ø 190

230

360

7

 

НСП47

Н75-200

1ExdeIICT4T6…T4

НСП 47

ДНаТ 70

1ExdeIICT6

ФСПО 3

ЛЛ 2×9 Вт

1ExdeIICT6

ПКС-ВМ

ПРАЦ676.126.009ТУ

КГМ или КГВ

1 ExdeIICT 4… T 6 *

 

290

360

9

Прожекторы

ПЗС-ВМ

Светильники с люминесцентными лампами

ЛСР01-20

ТУ 16-87 ИКЖБ 67316 006

ЛБ20

912

265

205

9

Для подземных выработок шахт, опасных по газу и пыли

ЛСР01-40

ЛБ40

1648

13

Н4Т4Л-1х80

ТУ 16-545 309-80

ЛБ80

IP 54

1695

115

390

12,3

Для взрывоопасных производственных помещении

Н4Т4Л-2х80

2 ExedIICT 4

230

400

24,5

Н4Т5Л-1Х65

ЛБ65

IP 54

115

390

12,8

Н4Т5Л-2х65

2 ExedIICT 4

230

400

25,5

ЛСП01В-2 x 36

ТУ 3 Украины 0214279 008-92

ЛБ36

IP 65

1400

255

210

8,4

Для пыльных, влажных, сырых помещений и помещений с химически активной средой, взрывоопасных зон классов B - I б, В- II а (со степенью защиты IP 64, IP 65), а также для помещений с нормальными условиями среды (степень защиты 5'0, 5'4)

ЛСП01В-2х58

ЛБ58

1700

9,4

ЛСП01В-2 x 40

ЛБ40

5'0

1400

8,4

ЛСП01 B -2 x 65

ЛБ65

1700

9,4

ЛСП02-1Х18

ТУ У 362-00214263-001-94

ЛБ18

IP 65

680

230

155

4,5

ЛСПО2-1Х20

ЛБ20

5'4

4,5

ЛСП02-1Х36

ЛБ36

IP 65

1280

6,8

ЛСП02-1х40

ЛБ40

5'4

6,8

ЛСП02-2 x 36

ЛБ36

IP 65

260

8,5

ЛСП02-2х40

ЛБ40

5'4

260

ЛСП02-1х58

ЛБ58

5'4

1580

230

ЛСП02-1 x 65

ЛБ65

5'4

230

ЛСП02-2х58

ЛБ58

5'4

260

9,8

ЛСП02-2х65

ЛБ65

5'4

260

9,8

ЛПП04В-2 x 18

ТУ У 362-00214267-061-86

ЛБ18

IP 54

680

190

140

3,5

Для производственных помещений с тяжелыми условиями среды по пыли и влаге

ЛПП04В-2 x 20

ЛБ20

ЛПП04В-2х36

ЛБ36

1290

6,5

ЛПП04В-2х40

ЛБ40

ЛПП01В-7

ТУ 3 Украины 0214279 012-93

КЛ7/ТБЦ

IP 54

270

112

125

1,9

Для низких производственных помещений, коридоров, туннелей, подвалов, с/х помещений с агрессивной средой

ЛПП01В-9

КЛ9/ТБЦ

ЛПЛ05В-2х11*

КЛ11/ТБЦ

IP 65

Для аварийного освещения (с автономным источником питания)

ЛПП05В-8*

ЛБ-8

Светильники с лампами накаливания

НСП11x100-234

ТУ У 3 62-00214267-044-97

Б-100

IP 52

200

200

330

2,1

Для низких, пыльных, влажных производственных помещений, взрывоопасных зон классов B - I б. В- II а и пожароопасных зон классов П- I , П- II

НСП11x100-614

Б-200

175

175

390

2,3

НСП11x200-234

 

230

230

365

3,2

НСП11x200-614

205

205

450

2,9

НПП01В-60

ТУ 3 Украины 0214279 012-93

Б-60

IP 54

270

112

125

1,9

НСП11x500

ТУ 16-676 159-86

 

IP 52

310

310

560

8,3

Для высоких пыльных, влажных производственных помещений взрывоопасных зон классов B - I б, В- II а и пожароопасных зон классов П- I , П- II

НСП20х500-111

ТУ У 3 62-00214267-044-97

445

445

570

9,4

НСП22 x 500-111

445

445

480

9,5

ИСП04-1000

ТУ 16-545.407-82

КГ 1000-5

IP 54

700

360

630

21

Для зон атомных электростанций в герметичной части реакторного отделения

ССП01В-250

ТУ 3 Украины 0214279.011-92

ИКЗК-250

54

220

220

510

1,9

Для ИК-обогрева птицы и животных

ССП01В-500

ИКЗ-500

2,0

НКЛ04-60

ТУ16-87 ИКЖБ.676112.253ТУ

МО24-60

IP 54

260

690

190

175

1,3-1,6

Для металлорежущих станков с тяжелыми условиями среды

ИКП03В-50

ТУ У 3.62-00214263-041-97

КГМ24-50-1

235

520

680

118

125

1,4

1,6

1,7

ИКП03В-60

КГМ24-60-1

НСП23-200-001,002

ТУ 16-676 173-86

Г-200

240

240

350

6,0

Для взрывоопасных производственных помещений зоны В- II а

НСП23-200-001,004

410

410

350

5,6

Светильники с разрядными лампами высокого давления

РПП01-50/80/125

ТУ 16-676.070-84

ДРЛ 50, 60, 12, 5

IP 54

340

340

200

6,5

Для низких пыльных, влажных производственных помещений, взрывоопасных зон классов В- I б и В- IIa и пожароопасных зон классов П- I , П- II

ЖПП01-70/100

ДНаТ 70,100

7,5

ГПП01-125

ДРИ 125

7,5

РСП02В-80/125

-

ДРЛ 80,125

210

210

460

5,2

ЖСП02В-70/100

ДНаТ 70,100

404

404

500

7,1

РСП06В-80/125

ДРЛ 80,125

210

210

460

5,7

ЖСП06В-70/100

ДНаТ 70/100

404

404

500

7,1

ЖСП04В-250

ТУ У 3 62-00214267-016-95

ДНаТ 250

580

580

650

15

Для высоких промышленных производственных помещений с тяжелыми и нормальными условиями среды и сельскохозяйственных помещений с агрессивной средой

ЖСП04В-400

ДНаТ 400

18,5

ГСП04В-250

ДРИ250

14,5

ГСП04В-400

ДРИ 400

16,5

РСП04В-250

ДРЛ 250

13,5

РСП04В-400

ДРЛ 400

16

РСП04В-700

ДРЛ 700

18,5

ЖСП05В-150

ТУ У 3.62-00214267-032-96

ДНаТ 150

IP 54

310

310

560

12.8

Для высоких производственных помещений с нормальными и тяжелыми условиями среды взрывоопасных зон классов B - I б и В- IIa (со степенью защиты IP 54)

ГСП05В-175

ДРИ 175

РСП05В-250

ДРЛ 250

ЖСП07В-150

ДНаТ 150

430

430

600

10,8

РСП07В-250

ДРЛ 250

11,3

ГСП07В-175

ДРИ 175

10.8

РСП 12x700

ТУ 16-676.159-86

ДРЛ700

IP 52

600

600

650

11.3

Для высоких производственных помещений с тяжелыми условиями среды, взрывоопасных зон классов В- I б, В- II а, пожароопасных П- I , П- II

РСЛ11Вех-125

ТУ У 3.62-00214263-040-97

ДРЛ 125

IP 65

295

470

470

295

470

470

580

550

600

18

Для взрывоопасных производственных помещений и наружных установок зоны В- II а

РСП11Вех-250

ДРЛ250

19

ГСП11Вех-175

ДРИ 175

18

ЖСП11Вех-100

ДНаТ 100

17,8

ЖСП11Вех-150

ДНаТ 150

18

РСП11х400

ТУ 16-676,159-86

ДРЛ 400

IP 52

310

310

560

8,3

Для высоких производственных помещений с нормальными и тяжелыми условиями среды взрывоопасных зон классов В- I б и В- IIa , пожароопасных зон классов П- I , П- II

РСП12В-250

ТУ У 3.62-00214267-032-96

ДРЛ 250

IP 54

310

310

635

15,8

ЖСП12В-400

ДРЛ 400

ЖСП12 B -250

ДНаТ 250

ЖСП12В-400

ДНаТ400

РВП14ВЕ x -125*

Нет сведений

ДРЛ 125

460

460

190

12

Для взрывоопасных помещений и наружных установок зоны В- II а

РВП14В E х-250*

ДРЛ 250

13

ГВП14ВЕ x -250*

ДРИ 250

ЖВП14В Ex -100*

Нет сведений

ДНаТ 100

IP 54

Нет свед.

Нет свед.

Нет свед.

12

Для взрывоопасных помещений и наружных установок зоны II в т. ч. автозаправочных станций

ЖВП14В Ex -150*

ДНаТ 150

КОУ1А-М275-1х700

ТУ 16-676.120-85

ДРИЗ-700

7500

370

380

19,0

Для помещений с большим содержанием пыли и влаги, со взрывоопасными зонами классов B - I б и B - IIa , B - II при условии установки вводных устройств вне взрывоопасных помещений

КОУ1-М275-1 x 700

7000

370

380

11,5

Прожекторы

ГО06В-2000

ТУ У 3.62-00214263-067-98

HQJ-TS-2000 W/D/S "OSRAM"

IP 55

600

720

940

30

Для спортивных сооружений и других открытых пространств

ГО 12 В -1000

HQJ-TS-2000 W/D/S "OSRAM"

IP65

450

520

620

16

ГО 12 В -2000

HQJ-TS-1000 W/D/S "OSRAM"

Р415

Нет сведений

ДРЛ

IP 54

Нет сведений

Для освещения промышленных помещений с тяжелыми условиями среды и помещений с высотой потолков до 35 м

РСП48-250(400)-001 УХЛУ

ДРИ

*Температурная группа зависит от мощности источника света.

ПРИЛОЖЕНИЕ 3

Номенклатура монтажных коробок для пожаровзрывоопасных зон и помещений с тяжелыми условиями среды

Тип коробки

ТУ

Максимальное сечение жил провода (кабеля), мм 2

Степень защиты по ГОСТ или взрывозащиты

Область применения

Завод (фирма)-изготовитель

КР-В-100

ПРАЦ 686465.001 ТУ

6,0

IP 65

Коробки предназначены для выполнения соединений, ответвлений и прокладки электропроводок в трубах ¾ и кабелей на монтажных профилях. Применяется в закрытых трубках систем электропроводки, во взрывоопасных зонах В- I и В- II только для протяжки и ответвления без соединения жил

Фирма "Индустрия". 215010, Смоленская обл., г. Гагарин, ул. Стройотрядовская, 5

КР-В-100е

2,5

IP 65/2 ExeIIT 6

Повышенной надежности против взрыва. Ввод в коробку кабелей - с помощью кабельного ввода

KP-B-100d

4,0

IP 65/1 ExdIICT 6

Взрывонепроницаемая оболочка. Ввод в коробку открыто проложенных кабелей осуществляется с помощью кабельного ввода

ПРИЛОЖЕНИЕ 4

Перечень стандартов на взрывозащищенное электрооборудование

Обозначение ГОСТ Р

Наименование ГОСТ Р

ГОСТ Р 51330.0-99 (МЭК 60079-0-98). Взамен ГОСТ 22782.0-81, ГОСТ 12.2.020-76

Электрооборудование взрывозащищенное. Часть 0. Общие требования

ГОСТ Р 51330.0-99 (МЭК 60079-1-98). Взамен ГОСТ 22782.6-81

Электрооборудование взрывозащищенное. Часть 1. Взрывозащита вида "взрывонепроницаемая оболочка"

ГОСТ Р 51330.2-99 (МЭК 60079-1А-75)

Электрооборудование взрывозащищенное. Часть 1. Взрывозащита вида "взрывонепроницаемая оболочка". Дополнение 1. Приложение D . Метод определения безопасного экспериментального зазора

ГОСТ Р 51330.3-99. Взамен ГОСТ 22782.4-78

Электрооборудование взрывозащищенное Часть 2- Заполнение или продувка оболочки под избыточным давлением "р"

ГОСТ Р 51330.4-99 (МЭК 60079-3-90). Взамен ГОСТ 22782.5-78

Электрооборудование взрывозащищенное. Часть 3. Искрообразующие механизмы для испытаний электрических цепей на искробезопасность

ГОСТ Р 51330.5-99 (МЭК 60079-4-75)

Электрооборудование взрывозащищенное. Часть 4. Метод определения температуры самовоспламенения

ГОСТ Р 51330.6-99 (МЭК 60079-5-97). Взамен ГОСТ 22782.2-77

Электрооборудование взрывозащищенное. Часть 5. Кварцевое заполнение оболочки " q "

ГОСТ Р 51330.7-99 (МЭК 60079-6-95). Взамен ГОСТ 22782.1-77

Электрооборудование взрывозащищенное. Часть 6. Масляное заполнение оболочки "о"

ГОСТ Р 51330.8-99. Взамен ГОСТ 22782.7-81

Электрооборудование взрывозащищенное. Часть 7. Защита вида "е"

ГОСТ Р 51330.9-99 (МЭК 60079-10-95)

Электрооборудование взрывозащищенное. Часть 10. Классификация взрывоопасных зон

ГОСТ Р 51330.10-99 (МЭК 60079-11-98). Взамен ГОСТ 22782.5-78

Электрооборудование взрывозащищенное. Часть 11. Искробезопасная электрическая цепь " i "

ГОСТ Р 51330.11-99 (МЭК 60079-12-78)

Электрооборудование взрывозащищенное. Часть 12. Классификация смесей газов и паров с воздухом по безопасным экспериментальным максимальным зазорам и минимальным воспламеняющим токам

ГОСТ Р 51330.12-99 (МЭК 60079-13-82)

Электрооборудование взрывозащищенное. Часть 13. Проектирование и эксплуатация помещений, защищенных избыточным давлением

ГОСТ Р 51330.13-99 ' (МЭК 60079-14-96)

Электрооборудование взрывозащищенное. Часть 14. Электроустановки во взрывоопасных зонах (кроме подземных выработок)

ГОСТ Р 51330.14-99

Электрооборудование взрывозащищенное. Часть 15. Защита вида " n "

ГОСТ Р 51330.15-99 (МЭК 60079-16-90)

Электрооборудование взрывозащищенное Часть 16. Принудительная вентиляция для защиты помещений, в которых устанавливают анализаторы

ГОСТ Р 51330.16-99 (МЭК 60079-17-96)

Электрооборудование взрывозащищенное. Часть 17. Проверка и техническое обслуживание электроустановок во взрывоопасных зонах (кроме подземных выработок)

ГОСТ Р 51330.17-99 (МЭК 60079-18-92)

Электрооборудование взрывозащищенное Часть 18. Взрывозащита вида «герметизация компаундом ( m

ГОСТ Р 51330.18-99 (МЭК 60079-19-93)

Электрооборудование взрывозащищенное. Часть 19. Ремонт и проверка электрооборудования, используемого во взрывоопасных газовых средах (кроме подземных выработок или применений, связанных с переработкой и производством взрывчатых веществ)

ГОСТ Р 51330.19-99 (МЭК 60079-20-96)

Электрооборудование взрывозащищенное. Часть 20. Данные по горючим газам и парам, относящиеся к эксплуатации электрооборудования

ГОСТ Р 51330.20-99. Взамен ГОСТ 24719-81

Электрооборудование рудничное. Изоляция, пути утечки и электрические зазоры. Технические требования и методы испытаний

ГОСТ РМЭК 61241-3-99

Электрооборудование, применяемое в зонах, опасных по воспламенению горючей пыли. Часть 3. Классификация зон

ГОСТ Р МЭК 61241-2-1-99

Электрооборудование, применяемое в зонах, опасных по воспламенению горючей пыли. Часть 2. Методы испытаний. Раздел 1. Методы определения температуры самовоспламенения горючей пыли

ГОСТ Р МЭК 61241-2-2-99

Электрооборудование, применяемое в зонах, опасных по воспламенению горючей пыли. Часть 2. Методы испытаний. Раздел 2. Метод определения удельного электрического сопротивления пыли в слоях

ГОСТ Р МЭК 61241-2-3-99

Электрооборудование, применяемое в зонах, опасных по воспламенению горючей пыли. Часть 2. Методы испытаний. Раздел 3. Методы определения минимальной энергии зажигания пылевоздушных смесей

ГОСТ Р МЭК 61241-1-1-99

Электрооборудование, применяемое в зонах, опасных по воспламенению горючей пыли. Часть 1. Электрооборудование, защищенное оболочками и ограничением температуры поверхности. Раздел 1. Технические требования

ГОСТ Р МЭК 61241-1-2-99

Электрооборудование, применяемое в зонах, опасных по воспламенению горючей пыли. Часть 1. Электрооборудование, защищенное оболочками и ограничением температуры поверхности. Раздел 2. Выбор, установка и эксплуатация

ГОСТ Р МЭК 61779-1-99

Электрические приборы для обнаружения и измерения горючих газов. Часть 1. Общие требования и методы испытаний

ГОСТ Р МЭК 61779-2-99

Электрические приборы для обнаружения и измерения горючих газов. Часть 2. Требования к рабочим характеристикам приборов группы I , имеющих индикацию до 5 % объемной концентрации метана в воздухе

ГОСТ Р МЭК 61779-3-99

Электрические приборы для обнаружения и измерения горючих газов. Часть 3. Требования к рабочим характеристикам приборов группы I , имеющих индикацию до 100 % объемной концентрации метана в воздухе

ГОСТ Р МЭК 61779-4-99

Электрические приборы для обнаружения и измерения горючих газов. Часть 4. Требования к рабочим характеристикам приборов группы II , имеющих индикацию до 100 % объемной концентрации метана в воздухе

ГОСТ Р 61779-5-99

Электрические приборы для обнаружения и измерения горючих газов. Часть 5. Требования к рабочим характеристикам приборов группы II при объемных концентрациях газа до 100%

ЛИТЕРАТУРА

1. Правила устройства электроустановок (ПУЭ). - М.: Энергоатомиздат, 1986.

2. ГОСТ Р. 51330.9-99 Электрооборудование взрывозащищенное. Часть 10. Классификация взрывоопасных зон.

3. ГОСТ Р 51330.22-99. Электрооборудование, применяемое в зонах, опасных по воспламенению горючей пыли. Часть 3. Классификация зон.

4. ГОСТ 12.2.020-76. Электрооборудование взрывозащищенное. Термины и определения. Классификация. Маркировка.

5. ГОСТ 18311-80. Электрооборудование. Основные понятия. Термины и определения.

6. ГОСТ 12.1.011-78. Смеси взрывоопасные. Классификация и методы испытаний.

7. Правила изготовления взрывозащищенного электрооборудования (ПИВЭ). - М.: Энергия, 1964.

8. Правила изготовления взрывозащищенного и рудничного электрооборудования (ПИВРЭ). - М.: Энергия, 1969.

9. Черкасов В.Н., Шаровар Ф.И. Пожарная профилактика электроустановок. - М.: ВИПТШ, 1987.

10. ГОСТ 14254-96. Электрооборудование напряжением до 1000 В с оболочкой. Степени защиты.

11. ГОСТ 22782.6-81. Электрооборудование взрывозащищенное с видом взрывозащиты "Взрывонепроницаемая оболочка".

12. ГОСТ 22782.5-78. Электрооборудование взрывозащищенное с видом взрывозащиты "Искробезопасная электрическая цепь".

13. ГОСТ 22782.4-78. Электрооборудование взрывозащищенное с видом взрывозащиты "Заполнение или продувка оболочки под избыточным давлением".

14. ГОСТ 22782.1-77. Электрооборудование взрывозащищенное с видом взрывозащиты "Масляное заполнение оболочки".

15. ГОСТ 22782.2-77. Электрооборудование взрывозащищенное с видом взрывозащиты "Кварцевое заполнение оболочки".

16. ГОСТ 22782.3-77. Электрооборудование взрывозащищенное со специальным видом взрывозащиты.

17. ГОСТ 22782.7-81. Электрооборудование взрывозащищенное с защитой вида "е".

18. Черкасов В.Н. Защита пожаро- и взрывоопасных зданий и сооружений от молнии и статического электричества. - М.: Стройиздат, 1993.

19. Черкасов В.Н., Кузнецов В.А. Методические указания к решению задач по выбору электрооборудования для пожаро- и взрывоопасных производств. - М.: ВИПТШ, 1998.

20. Справочник по электрическим машинам. В 2 т. - М.: Энергоатомиздат, 1988. -Т. 1.

21. Справочник по электрическим машинам. В 2 т. - М.: Энергоатсмиздат, 1989. -Т. 2.

22. ГОСТ 13828-74. Светильники. Виды и обозначения.

23. Правила устройства электроустановок. 7-е изд. Разд. 6. Электрическое освещение. Разд. 7, гл.7.1 и 7.2. - М.: Изд-во НЦ ЭНАС, 1999

24. Правила эксплуатации электроустановок потребителей. 5-е изд. - М.: Энергоатомиздат, 1992.

25. РД-03-67-94. Инструкция о порядке выдачи разрешений на выпуск и применение горно-шахтного оборудования, взрывозащищенных и в рудничном нормальном исполнении электротехнических изделий Федеральным горным и промышленным надзором России.

26. ОСТ 160.800.699-79 - ОСТ 16 0800.704-79. Оборудование электротехническое взрывозащищенное. Выбор и применение зарубежного электрооборудования для взрывоопасных установок.

27. Черкасов В.Н. Методика оценки соответствия зарубежного взрывозащищенного электрооборудования требованиям правил пожарной безопасности и ПУЭ // Пожаровзрывобезопасность. -1995. - № 3 - С.26-33.

28. НПБ 249-97. Светильники. Требования пожарной безопасности. Методы испытаний.

29. ГОСТ 12.4.124-83 Средства защиты от статического электричества. ОТТ.

30. МЭК 64/60364-7-710 (1998-10, CD ). Электроустановки зданий. Ч. 7-710. Требования к размещению установок специального назначения. Помещения медицинского назначения.

31. Правила защиты от статического электричества в производствах химической, нефтехимической и нефтеперерабатывающей промышленности. – М.; Химия, 1973.

32. НПБ 243-97. Устройства защитного отключения. Требования пожарной безопасности. Методы испытаний.

33. ГОСТ Р 50807-95. Устройства защиты управляемые дифференциальным (остаточным) током.

34. НПБ 248-97. Кабели и провода электрические. Показатели пожарной опасности. Методы испытаний.

 




ГОСТЫ, СТРОИТЕЛЬНЫЕ и ТЕХНИЧЕСКИЕ НОРМАТИВЫ.
Некоммерческая онлайн система, содержащая все Российские Госты, национальные Стандарты и нормативы.
В Системе содержится более 150000 файлов нормативно-технической документации, действующей на территории РФ.
Система предназначена для широкого круга инженерно-технических специалистов.

Рейтинг@Mail.ru Яндекс цитирования

Copyright © www.gostrf.com, 2008 - 2026