Крупнейшая бесплатная информационно-справочная система онлайн доступа к полному собранию технических нормативно-правовых актов РФ. Огромная база технических нормативов (более 150 тысяч документов) и полное собрание национальных стандартов, аутентичное официальной базе Госстандарта. GOSTRF.com - это более 1 Терабайта бесплатной технической информации для всех пользователей интернета. Все электронные копии представленных здесь документов могут распространяться без каких-либо ограничений. Поощряется распространение информации с этого сайта на любых других ресурсах. Каждый человек имеет право на неограниченный доступ к этим документам! Каждый человек имеет право на знание требований, изложенных в данных нормативно-правовых актах!

  


 

ОТКРЫТОЕ АКЦИОНЕРНОЕ ОБЩЕСТВО

ЦЕНТРАЛЬНЫЙ НАУЧНО-ИССЛЕДОВАТЕЛЬСКИЙ

И ПРОЕКТНО-ЭКСПЕРИМЕНТАЛЬНЫЙ ИНСТИТУТ

ПРОМЫШЛЕННЫХ ЗДАНИЙ И СООРУЖЕНИЙ

ОАО ЦНИИПРОМЗДАНИЙ

ПОЛЫ
ТЕХНИЧЕСКИЕ ТРЕБОВАНИЯ И ПРАВИЛА ПРОЕКТИРОВАНИЯ,
УСТРОЙСТВА, ПРИЁМКИ, ЭКСПЛУАТАЦИИ И РЕМОНТА
(в развитие
СНиП 2.03.13-88 «Полы» и СНиП 3.04.01-87 «Изоляционные и отделочные покрытия»)

Москва 2004

Содержание

РАЗДЕЛ I

ТЕХНИЧЕСКИЕ ТРЕБОВАНИЯ, ПРЕДЪЯВЛЯЕМЫЕ К ПОЛАМ

1. ОБЛАСТЬ ПРИМЕНЕНИЯ

2. НОРМАТИВНЫЕ ССЫЛКИ

3. ОСНОВНЫЕ ТЕРМИНЫ И ОПРЕДЕЛЕНИЯ

4. ОСНОВНЫЕ ПОЛОЖЕНИЯ

5. ГРУНТ ОСНОВАНИЯ ПОД ПОЛЫ

6. ПОДСТИЛАЮЩИЙ СЛОЙ

7. ГИДРОИЗОЛЯЦИЯ

8. ТЕПЛО-ЗВУКОИЗОЛЯЦИОННЫЙ СЛОЙ

9. ПРОСЛОЙКА

10. СТЯЖКА

11. ПОКРЫТИЯ ПОЛОВ

РАЗДЕЛ II

ПРАВИЛА ПРОЕКТИРОВАНИЯ, УСТРОЙСТВА, ПРИЁМКИ, ЭКСПЛУАТАЦИИ И РЕМОНТА ПОЛОВ

1. Общие положения

2. Грунт основания

3. Подстилающий слой

4. Прослойка

5. Стяжки

6. Тепло-звукоизоляционный слой

7. Гидроизоляция

8. Покрытия полов

8.1 Общие положения

8.2 Бетонные покрытия

8.3 Мозаично-бетонные покрытия

8.4 Покрытия из бетонных и мозаичных плит

8.5 Покрытия из жаростойкого бетона и из крупноразмерных плит жаростойкого бетона

8.6 Покрытия из кислотостойкого монолитного бетона и из плит кислотостойкого бетона

8.7 Асфальтобетонные покрытия

8.8 Поливилацетатцементно- и латексцементно-бетонные покрытия

8.9 Монолитные полы из лёгких бетонов с латексцементные покрытием

8.10 Известняково-керамзитовые полы

8.11 Ксилолитовое и поливилацетатцементно-опилочное покрытия

8.12 Эпоксидные и полиуретановые мастичные покрытия

8.13 Покрытия из чугунных и стальных плит на бетонной прослойке

8.14 Покрытия из чугунных плит на песчаной прослойке

8.15 Покрытия из торцовых деревянных шашек

8.16 Покрытия дощатые

8.17 Покрытия из штучного и наборного паркета

8.18 Покрытия из паркетных досок, паркетных щитов и ламината

8.19 Покрытия из линолеума и ковров на основе синтетических волокон

8.20 Покрытия из синтетических плиток

8.21 Покрытия из резиновых, резинокордовых и резинокордобитумных плит

8.22 Покрытия из керамических плиток

8.23 Покрытия из плит природного камня и керамогранита

8.24 Покрытия из плит каменного литья, кислотоупорных плиток и кирпича

8.25 Глинобитные покрытия

9. Отделка поверхности покрытий

10. Основные правила техники безопасности

11. Правила приёмки полов

12.Техническое обслуживание и ремонт полов

Приложение 1

Приложение 2

Физико-технические свойства битумно-полимерных наплавляемых рулонных материалов

Физико-технические свойства вулканизованных эластомерных рулонных материалов

Физико-технические свойства гидроизоляционных мастик

Приложение 3 Рекомендации по расчёту подстилающих слоев пола

Приложение 4 Определение показателя теплоусвоения пола

Приложение 5 Расчёт звукоизоляции

Приложение 6 Деформационные швы, примыкания полов, сточные лотки, каналы и трапы в полах

Приложение 7 Перечень, стандартов и ТУ на материалы, применяемые при устройстве полов

ЛИТЕРАТУРА

В Правилах изложены технические требования, предъявляемые к полам, рекомендации по проектированию и устройству различных видов полов, а также указания по их приёмке, эксплуатации и ремонту.

Правила предназначены для проектных и строительных организаций, а также служб эксплуатации.

Правила разработаны ОАО ЦНИИПРОМЗДАНИЙ (Гликин С.М. - Зам. генерального директора, к.т.н.; Чекулаев А.П. - зав. сектором полов, к.т.н.). Правила рассмотрены и одобрены секцией строительных конструкций НТС ОАО ЦНИИПРОМЗДАНИЙ - протокол № К-43 от 27 февраля 2004 г.

РАЗДЕЛ I

ТЕХНИЧЕСКИЕ ТРЕБОВАНИЯ, ПРЕДЪЯВЛЯЕМЫЕ К ПОЛАМ

1. ОБЛАСТЬ ПРИМЕНЕНИЯ

1.1. Настоящие технические требования распространяются на правила проектирования и устройства полов производственных, жилых, общественных, административных, бытовых, животноводческих, птицеводческих и звероводческих зданий.

1.2. Соблюдение изложенных ниже технических требований обеспечивает эксплуатационную надёжность и долговечность конструкций полов.

1.3. При проектировании полов, кроме настоящих технических требований, обязательных к применению, необходимо соблюдать дополнительные требования, установленные нормами проектирования конкретных зданий и сооружений, противопожарными и санитарными нормами, а также нормами технологического проектирования.

1.4. Данные технические требования не распространяются на правила проектирования съёмных полов (фальшполов), полов, расположенных на вечномерзлых грунтах, и обогреваемых полов.

2. НОРМАТИВНЫЕ ССЫЛКИ

В настоящем Разделе использованы ссылки на следующие документы:

СНиП 2.03.13-88 «Полы».

СНиП 3.04.01-87 «Изоляционные и отделочные покрытия».

СНиП 23-02-2003 «Тепловая защита зданий».

СНиП 2.10.03-84 «Животноводческие здания. Нормы проектирования».

СНиП 21-01-97* «Пожарная безопасность зданий и сооружений».

СНиП 23-03-2003 «Защита от шума. Нормы проектирования».

СНиП 2.03.11-85 «Защита от коррозии. Нормы проектирования».

СНиП 3.02.01-87 «Земляные сооружения, основания и фундаменты».

СНиП 31-05-2003 «Общественные здания административного назначения».

СНиП 2.01.07-85* «Нагрузки и воздействия» с изм. № 2

НПБ 105-95 «Определение категорий помещений изданий по взрывопожарной и пожарной безопасности».

Приказ № 320 МЧС РФ от 8 июля 2002 г. «Об утверждении перечня продукции, подлежащей обязательной сертификации в области пожарной безопасности»

3. ОСНОВНЫЕ ТЕРМИНЫ И ОПРЕДЕЛЕНИЯ

Покрытие - верхний слой пола, непосредственно подвергающийся эксплуатационным воздействиям.

Прослойка - промежуточный слой пола, связывающий покрытие с нижележащим слоем пола или служащий для покрытия упругой постелью.

Гидроизоляционный слой - слой, препятствующий прониканию через пол сточных вод и других жидкостей, а также прониканию в пол грунтовых вод.

Стяжка (основание под покрытие) - слой пола, служащий для выравнивания поверхности нижележащего слоя пола или перекрытия, придания покрытию пола заданного уклона, укрытия различных трубопроводов, распределения нагрузок по нежестким нижележащим слоям пола на перекрытии.

Подстилающий слой - слой пола, распределяющий нагрузки на грунт.

Теплоизоляционный слой - элемент пола, уменьшающий общую теплопроводность пола.

Звукоизоляционный слой - элемент пола, повышающий звукоизолирующую способность пола.

Грунтовое основание - слой грунта, по которому устраивается подстилающий слой или опоры под лаги.

Деформационный шов - разрыв в подстилающем слое, стяжке или покрытии, обеспечивающий относительное смещение их разрозненных участков.

Пароизоляционный слой - элемент пола, расположенный под слоем теплозвукоизоляции или стяжкой, препятствующий прониканию в них водяных паров из ниже расположенного помещения через перекрытие.

Экологичность пола - свойство всех элементов конструкции пола не выделять при эксплуатации вредных веществ и соответствовать стандартам экологии.

Интенсивность воздействия жидкости на пол:

- малая - незначительное воздействие жидкости на пол, при котором поверхность покрытия пола сухая или слегка влажная; покрытие пола жидкостями не пропитывается;

- средняя - периодическое увлажнение пола, при котором поверхность покрытия пола влажная или мокрая; покрытие пола пропитывается жидкостями;

- большая - постоянное или часто повторяющееся воздействие жидкостей на покрытие пола.

Интенсивность механических воздействий на пол: весьма значительная, значительная, умеренная, слабая (табл.1).

Таблица 1

Механические воздействия

Интенсивность механических воздействий

весьма значительная

значительная

умеренная

Слабая

Движение пешеходов на 1 м ширины прохода, число людей в сутки

-

-

500 и более

Менее 500

Движение транспорта на гусеничном ходу на одну полосу движения, ед./сут.

10 и более

Менее 10

-

-

Движение транспорта на резиновом ходу на одну полосу движения, ед./сут.

Более 200

100-200

Менее 100

Движение ручных тележек

Движение тележек на металлических шинах, перекатывание круглых металлических предметов на одну полосу движения, ед./сут.

Более 50

30-50

Менее 30

-

Удары при падении с высоты 1 м твердых предметов массой, кг не более

20

10

5

2

Волочение твердых предметов с острыми углами и ребрами

Соответствует

Соответствует

-

-

Работа острым инструментом на полу (лопатами и др.)

Соответствует

Соответствует

 

-

Теплоусвоение пола - свойство поверхности покрытия пола в большей или меньшей степени воспринимать тепло при периодических колебаниях теплового потока или температуры воздуха.

Безыскровость пола – отсутствие искрообразования на покрытии пола при ударах или волочении по нему металлических или каменных предметов, а также при разрядах статического электричества.

Антистатичность пола - отсутствие скопления на покрытии пола статического электричества.

Беспыльность пола - полное отсутствие отделения продуктов износа покрытия пола, образующихся при изнашивающих воздействиях от движения пешеходов и транспорта.

Звукоизолирующая способность пола - ослабление шума при его проникновении через пол на перекрытии.

Скользкость пола - свойство поверхности покрытия пола, характеризующее степень опасности передвижения по полу людей

Допускаемый угол скольжения - критерий оценки скользкости покрытия пола, определяющий область его применения из условия безопасности передвижения по нему людей

4. ОСНОВНЫЕ ПОЛОЖЕНИЯ

4.1. Проектирование полов должно осуществляться с учётом эксплуатационных воздействий на них, специальных требований (безыскровость, антистатичность, беспыльность, теплоусвоение, звукоизолирующая способность, скользкость) и климатических условий места строительства.

4.2. Полы, выполняемые по перекрытиям, при предъявлении к последним требований по защите от шума, должны обеспечивать нормативные параметры звукоизоляции перекрытий в соответствии с указаниями СНиП 23-03-2003.

4.3. Полы производственных, жилых, общественных, административных и бытовых зданий с нормируемым показателем теплоусвоения поверхности пола должны проектироваться с учётом требований СНиП 23-02-2003.

4.4. Полы животноводческих, птицеводческих и звероводческих зданий и помещений должны проектироваться с учётом требований СНиП 2.10.03-84.

4.5. Полы в помещениях, где возможно образование взрывоопасных смесей газов, пыли, жидкостей и других веществ в концентрациях, при которых искры, образующиеся при ударе предметов о пол или разрядах статического электричества, могут вызвать взрыв или возгорание, а также при наличии в помещениях электронного оборудования, для которого искры могут создать, помехи нормальной работе (предприятия с электронной гигиеной), должны выполняться из не образующих искр при ударах антистатических или структурно не электризуемых материалов.

4.6. В помещениях с нормируемым содержанием мелкодисперсных аэрозолей в воздухе («чистые» и «особо чистые» помещения) должны применяться «беспыльные» покрытия полов.

4.7. Требования по беспыльности, антистатичности и (или) безыскровости устанавливаются Заказчиком на стадии Технического Задания на проектирование с учётом технологического процесса и требований отраслевых стандартов.

4.8. В помещениях, где полы подвержены воздействиям кислот, щелочей, масел и других агрессивных жидкостей, они должны быть химически стойкими и выполняться из материалов, отвечающих требованиям, предъявляемым СНиП 2.03.11-85.

4.9. В помещениях со средней и большой интенсивностью воздействия жидкостей в покрытии пола должны быть предусмотрены уклоны, равные:

0,5-1 % - при бесшовных покрытиях и покрытиях из плит (кроме бетонных покрытий всех видов);

1 - 2 % - при покрытиях из кирпича и бетонов всех видов.

Уклоны лотков и каналов в зависимости от применяемых материалов должны приниматься соответственно не менее указанных.

Направление уклонов должно обеспечивать отвод сточных вод в лотки, каналы и трапы, без пересечения проездов и проходов.

4.10. В животноводческих зданиях уклон полов в сторону навозосборного канала должен приниматься равным:

0 % - в помещениях с решётчатыми полами и в каналах с механической уборкой навоза;

не менее 0,5 % - в помещениях для содержания птицы в клетках и в лотках вдоль проходов во всех помещениях;

не менее 1,5 % - в технологических частях помещений (стойлах, денниках, станках и др.);

не более 6 % - в помещениях на выгулах животных и птицы и в переходных галереях между зданиями.

4.11. Уровень пола в туалетных и ванных комнатах должен быть на 15-20 мм ниже уровня пола в смежных помещениях либо помещения должны быть разделены порогом.

4.12. В полах на грунте их уклон должен создаваться путём соответствующей планировки грунтового основания.

4.13. В помещениях для хранения и переработки продуктов, а также в помещениях для содержания животных и птицы в конструкции полов не должно быть пустот.

4.14. В соответствии со СНиП 21-01-97* в помещениях класса функциональной пожарной опасности Ф5 категорий помещений и зданий по взрывопожарной и пожарной безопасности А, Б и В1, где производятся, применяются или хранятся легковоспламеняющиеся жидкости, полы должны проектироваться из материалов группы горючести НГ или П.

4.15. Не допускается применение ковровых покрытий из материалов по воспламеняемости групп В2, В3 и по дымообразующей способности групп Д2, Д3 в полах зданий классов функциональной пожарной опасности Ф2, Ф3 и Ф4 по СНиП 21-01-97*.

4.16. В соответствии со СНиП 21-01-97* в зданиях всех степеней огнестойкости и классов конструктивной пожарной опасности, кроме зданий V степени огнестойкости и зданий класса конструктивной пожарной опасности здания С3, на путях эвакуации не допускается применять материалы с более высокой пожарной опасностью, чем:

Г2, РП2, Д2, Т2 - в вестибюлях, лестничных клетках и лифтовых холлах;

Г3, РП2, Д3, Т2 - общих коридорах, холлах, фойе.

5. ГРУНТ ОСНОВАНИЯ ПОД ПОЛЫ

5.1. Грунт основания подполы должен исключать возможность деформации конструкции пола вследствие просадки или пучения.

5.2. Не допускается применять в качестве основания под полы торф, чернозём и другие растительные грунты, а также насыпные и естественные грунты без предварительного их уплотнения при несоответствии степени уплотнения требованиям СНиП 3.02.01-87.

5.3. Нескальное грунтовое основание под бетонный подстилающий слой должно быть предварительно укреплено щебнем или гравием, утопленным на глубину не менее 40 мм.

6. ПОДСТИЛАЮЩИЙ СЛОЙ

6.1. Нежесткие подстилающие слои (гравийные, щебёночные, песчаные, шлаковые) должны применяться при условии обязательного механического уплотнения их.

6.2. Жесткий подстилающий слой должен выполняться из бетона класса не ниже В 22,5.

Если по расчёту напряжение растяжения в подстилающем слое из бетона класса В 22,5 получается ниже расчётного допускается применять бетон класса не ниже В 7,5.

6.3. В полах, которые в процессе эксплуатации могут подвергаться воздействиям агрессивных жидкостей, веществ животного происхождения и органических растворителей любой интенсивности, либо воды, нейтральных растворов, масел и эмульсий из них средней и большой интенсивности, должен предусматриваться жесткий подстилающий слой.

6.4. Толщина подстилающего слоя устанавливается расчётом на прочность от действующих нагрузок и должна быть не менее:

песчаного - 60 мм

шлакового, гравийного и щебёночного - 80 мм

бетонного в жилых и общественных зданиях - 80 мм

бетонного в производственных помещениях - 100 мм

6.5. При использовании бетонного подстилающего слоя в качестве покрытия или основания под покрытие без выравнивающей стяжки его толщина по сравнению с расчётной должна быть увеличена на 20-30 мм.

6.6. Отклонение поверхности подстилающего слоя от горизонтальной плоскости на длине 2 м не должно превышать для:

песчаных, гравийных, шлаковых, щебёночных  - 15 мм

бетонных под бетонные покрытия, покрытия по прослойке из цементно-песчаного раствора и под выравнивающие стяжки - 10 мм

бетонных под покрытия на прослойке из горячей битумной мастики и при укладке оклеечной гидроизоляции - 5 мм

бетонных под покрытия из плитки на прослойке на основе синтетических смол и из клеевой композиции на основе цемента, под покрытия из линолеума, паркета, ламината, рулонных материалов на основе синтетических волокон, а также под полимерные наливные покрытия - 2 мм

6.7. В бетонных подстилающих слоях должны быть предусмотрены деформационные швы, располагаемые во взаимно перпендикулярных направлениях с шагом 6-12 м. Глубина деформационного шва должна быть не менее 40 мм и не менее 1/3 толщины подстилающего слоя. После завершения процесса усадки деформационные швы должны быть заделаны цементно-песчаным раствором.

В помещениях, при эксплуатации которых возможны резкие перепады температур (положительная и отрицательная температуры воздуха) деформационные швы должны быть расшиты полимерной эластичной композицией.

6.8. Деформационные швы в полах, совпадающие с деформационными швами здания, должны выполняться на всю толщину бетонного подстилающего слоя.

7. ГИДРОИЗОЛЯЦИЯ

7.1. Гидроизоляция от проникновения сточных вод и других жидкостей должна предусматриваться при средней и большой интенсивности воздействия:

воды и нейтральных растворов - в полах на перекрытии, на просадочных и набухающих грунтах, а также в полах на пучинистых грунтах основания в неотапливаемых помещениях;

органических растворителей, минеральных масел и эмульсий из них - в полах на перекрытии;

кислот, щелочей и их растворов, а также веществ животного происхождения - в полах на грунте и на перекрытии.

7.2. Гидроизоляция от проникания сточных вод и других жидкостей должна быть непрерывной в конструкции пола, стенках и днищах лотков и каналов, над фундаментами под оборудование, а также в местах перехода пола к этим конструкциям. В местах примыкания пола к стенам, фундаментам под оборудование, трубопроводам и другим конструкциям, выступающим над полом, гидроизоляция должна предусматриваться непрерывной на высоту не менее 200 мм от уровня покрытия пола, а при попадании струи воды на стены - на всю высоту замачивания.

7.3. При средней и большой интенсивности воздействия жидкостей на пол, а также под сточными лотками, каналами и трапами должна применяться оклеечная гидроизоляция.

При средней и большой интенсивности воздействия на пол минеральных масел, эмульсий из них или органических растворителей, применение оклеечной гидроизоляции из материалов на основе битума не допускается.

7.4. Гидроизоляция под бетонным подстилающим слоем должна быть предусмотрена:

- при расположении в зоне опасного капиллярного поднятия грунтовых вод низа подстилающего слоя в помещениях, где отсутствует воздействие на пол сточных вод средней и большой интенсивности. В этом случае при проектировании гидроизоляции высота (м) опасного поднятия грунтовых вод от их горизонта должна приниматься равной для основания из песка крупного - 0,3; песка средней крупности и мелкого - 0,5; песка пылеватого - 1,5; суглинка, пылеватых суглинка и супеси, глины - 2,0;

- при расположении подстилающего слоя ниже уровня отмостки здания в помещениях, где отсутствует воздействие на пол сточных вод средней и большой интенсивности;

- при средней и большой интенсивности воздействия на пол растворов серной, соляной, азотной, уксусной, фосфорной, хлорноватистой и хромовой кислот.

8. ТЕПЛО-ЗВУКОИЗОЛЯЦИОННЫЙ СЛОЙ

8.1. Теплоизоляционный слой должен предусматриваться в полах с нормируемым теплоусвоением, в полах на грунте в горячих цехах, а также в полах на перекрытиях, расположенных над арками, не, отапливаемыми помещениями или подвалами.

8.2. Полы на грунте в помещениях с нормируемой температурой внутреннего воздуха, расположенные выше отмостки здания или ниже её не более чем на 0,5 м, должны быть утеплены в зоне примыкания пола к наружным стенам или стенам, отделяющим отапливаемые помещения от не отапливаемых, шириной 0,8 м путём укладки по грунту слоя неорганического влагостойкого утеплителя толщиной, определяемой из условия обеспечения термического сопротивления этого слоя утеплителя не менее термического сопротивления наружной стены.

8.3. Требуемая толщина теплоизоляционного слоя должна устанавливаться расчётом в соответствии с указаниями СНиП 23-02-2003.

8.4. Требуемая толщина звукоизоляционного слоя и прокладок должна устанавливаться расчётом в соответствии с указаниями СНиП 23-03-2003.

9. ПРОСЛОЙКА

9.1. Прочность на сжатие материала прослойки в МПа (кгс/см2) в зависимости от интенсивности механических воздействий (табл.1) должна быть не менее для прослойки из:

- цементно-песчаного раствора - 15 (150) - при слабой интенсивности и 30 (300) - при умеренной, значительной и весьма значительной интенсивности;

- из раствора на жидком стекле - 20 (200);

-из мелкозернистого бетона класса - не ниже В 30.

9.2. Толщина прослойки должна быть, мм:

- из цементно-песчаного раствора и раствора на жидком стекле с уплотняющей добавкой -10-15

- из полимерзамазок для покрытий из штучных материалов - 3-4

- из горячей битумной мастики и клеевой композиции на основе цемента для приклеивания плитки - 2-3

- из клеевой композиции для приклеивания паркета -не более 1,0

- из клеевой композиции для приклеивания рулонных материалов - не более 0,8

- из мелкозернистого бетона класса не ниже В30 - 30-35

- из песка и теплоизоляционных материалов - не менее 60

9.3. Для полов, подвергающихся воздействию жидкостей, не допускается применять прослойки из песка и теплоизоляционных материалов.

10. СТЯЖКА

10.1. Стяжка должна предусматриваться, когда необходимо:

- выравнивание поверхности нижележащего слоя;

- укрытие трубопровода;

- распределение нагрузок по теплозвукоизоляционным слоям;

- обеспечение нормируемого теплоусвоения полов;

- создание уклонов на полах по перекрытиям.

10.2. Наименьшая толщина стяжки (мм) для создания уклона в местах примыкания к сточным лоткам, каналам и трапам, должна быть: при укладке её по плитам перекрытия - 20, по тепло- и звукоизолирующему слою - 40. Толщина стяжки для укрытия трубопроводов должна быть на 15-20 мм больше диаметра трубопроводов.

10.3. Для выравнивания поверхности нижележащего слоя и укрытия трубопроводов, а также для создания уклона на перекрытии должны предусматриваться монолитные стяжки из бетона класса не ниже В 12,5 или из цементно-песчаного раствора с прочностью на сжатие не ниже 15 МПа (150 кгс/см2).

10.4. Под наливные полимерные покрытия монолитные стяжки должны предусматриваться из бетона класса не ниже В15 или из цементно-песчаного раствора с прочностью на сжатие не ниже 20 МПа (200 кгс/см2).

10.5. Монолитные стяжки из саморазравнивающихся составов на основе гипсовых вяжущих, используемые под наливные полимерные покрытия, должны иметь прочность на сжатие не менее 20 МПа, под остальные - 10 МПа.

10.6. Толщина монолитных стяжек из саморазравнивающихся составов, применяемых для выравнивания поверхности нижележащего слоя, должна быть не менее 2 мм.

10.7. Легкий бетон стяжек, выполняемых для обеспечения нормируемого теплоусвоения пола, должен бить класса не ниже В5, а поризованный цементно-песчаный раствор прочностью на сжатие не менее 5 МПа (50 кгс/см2).

10.8. Прочность на изгиб стяжек, укладываемых по слою из сжимаемых тепло- или звукоизоляционных материалов, должна быть не менее 2,5 МПа (25 кгс/см2).

10.9. При сосредоточенных нагрузках на пол более 20 кН (200 кгс) толщина стяжки по тепло- или звукоизоляционному слою должна устанавливаться расчётом из условия исключения деформации тепло-звукоизоляционного слоя.

10.10. В местах сопряжения стяжек, выполненных по звукоизоляционным прокладкам или засыпкам, с другими конструкциями (стенами, перегородками, трубопроводами, проходящими через перекрытия, и т.п.) должны быть предусмотрены зазоры шириной 25-30 мм на всю толщину стяжки, заполняемые звукоизоляционным материалом.

10.11. Сборные стяжки из гипсоволокнистых, древесно-стружечных и цементно-стружечных листов, а также фанеры должны применяться при умеренной и слабой интенсивности механических воздействий. Не допускается применение данных стяжек в зданиях с мокрым режимом.

10.12. Отклонение поверхности стяжки от горизонтальной плоскости на длине 2 м не должно превышать при покрытиях:

-из штучных материалов по прослойке из цементно-песчаного раствора, из ксилолита, поливинилацетатцементно-опилочного состава, а также для укладки оклеечной гидроизоляции - 4 мм

-из штучных материалов по прослойке на основе синтетических смол и из клеевых композиций на основе цемента, а также из линолеума, паркета, ламината, рулонных материалов на основе синтетических волокон и полимерных наливных покрытий - 2 мм

10.13. В помещениях, при эксплуатации которых возможны резкие перепады температур (положительная и отрицательная температуры воздуха) в стяжке должны быть предусмотрены деформационные швы, которые должны совпадать с осями колонн, со швами плит перекрытий, деформационными швами в подстилающем слое. Деформационные швы должны быть расшиты полимерной эластичной композицией.

11. ПОКРЫТИЯ ПОЛОВ

11.1 Материалы для покрытий полов должны иметь санитарно-эпидемиологическое заключение, а линолеумы и полимерные покрытия полов, кроме того, в соответствии с приказом № 320 МЧС РФ от 8 июля 2002 г. «Об утверждении перечня продукции, подлежащей обязательной сертификации в области пожарной безопасности» сертификат пожарной безопасности.

11.2. Толщина и прочность материала монолитных и плитных покрытий полов в зависимости от интенсивности механических воздействий (табл.1) должна быть не ниже указанной в табл.2.

При размещении трубопроводов в бетонных покрытиях при их укладке непосредственно по бетонному основанию (без промежуточной стяжки для укрытия трубопроводов) толщина покрытия пола должна быть не менее диаметра трубопровода плюс 50 мм.

11.3. Полная толщина полов с бетонным покрытием должна определяться расчётом на прочность и быть не менее 120 мм.

11.4. В животноводческих зданиях расчётные сосредоточенные нагрузки от веса животных, воздействующие на пол, должны приниматься по нормам технологического проектирования с учётом коэффициента перегрузки, равном 1,2, и коэффициента динамичности, равном 1,2.

11.5. Полы в кормовых и навозных проездах животноводческих зданий должны рассчитываться на воздействие подвижной нагрузки от транспорта на пневмоходу при давлении на колесо 1,45 тн.

11.6. Толщина половой доски для покрытия должна быть не менее 29 мм, паркетных досок не менее 25 мм, паркетных щитов не менее 30 мм.

11.7. Воздушное пространство под покрытием полов из досок, реек, паркетных досок и щитов не должно сообщаться с вентиляционными и дымовыми каналами, а в помещениях площадью более 25 м2 дополнительно должно разделяться перегородками из досок на замкнутые отсеки размером (4-5)´(5-6) м.

11.8. В помещениях, классифицируемых по классам чистоты, полы должны быть беспыльными, отвечающими требованиям, предъявляемым классами беспыльности помещений.

Истираемость покрытия пола не должна превышать для монолитных покрытий полов в помещениях класса беспыльности 100 - 0,06 гр/см2, класса 1000 - 0,09 гр/см2 и класса 10000 - 0,12 гр/см2, а для покрытий полов из линолеума - 50 мкм, 90 мкм и 100 мкм соответственно.

В помещениях класса беспыльности 100 покрытия полов должны быть антистатическими, удельное электрическое сопротивление которых должно быть в пределах 1·106 - 1·109 Ом. Кромки стыкуемых полотнищ линолеума в помещениях классов 100 и 1000 должны быть сварены.

11.9. Нормативный коэффициент теплоусвоения покрытий полов не должен превышать:

- в жилых зданиях, больничных учреждениях, диспансерах, амбулаториях, поликлиниках, родильных домах, домах ребёнка, домах-интернатах для престарелых и инвалидов, общеобразовательных и детских школах, детских садах, яслях, детских домах и детских приёмниках-распределителях - 12 Вт/(м2·°С);

- в общественных зданиях, кроме вышеуказанных, вспомогательных зданиях и помещениях промышленных предприятий, а также на участках с постоянными рабочими местами в отапливаемых производственных зданиях, где выполняются легкие физические работы (категория I) - 14Вт/(м2·°С);

- в отапливаемых помещениях производственных зданий, где выполняются физические работы средней тяжести (категория II) -17 Вт/(м2·°С);

- в животноводческих зданиях: в местах содержания без подстилки крупного рогатого скота молочного направления и молодняка до 4-месячного возраста (крупного рогатого скота и свиней) - 12,3 Вт/(м2·°С), в местах содержания откормочных животных с 4-месячного возраста - 17,2 Вт/(м2·°С).

 

Таблица 2

Материал покрытия пола

Интенсивность механических воздействий на пол

Весьма значительная

Значительная

Умеренная

Слабая

Толщина покрытия, мм

Класс бетона или прочность материала покрытия, МПа (кгс/см2)

Толщина покрытия, мм

Класс бетона или прочность материала покрытия, МПа (кгс/см2)

Толщина покрытия, мм

Класс бетона или прочность материала покрытия, МПа (кгс/см2)

Толщина покрытия, мм

Класс бетона или прочность материала покрытия, МПа (кгс/см2)

1. БЕТОНЫ

 

 

 

 

 

 

 

 

а) цементный

50*

В40**

30

В30

25

В22,5

20

В15

б) мозаичный

не допускается

30

40(400)

25

30(300)

20

20(200)

в) поливинилацетатный и латексный

не допускается

 

30

 

40(400)

20

30(300)

20

20(200)

г) кислотостойкий

не допускается

40

25(250)

30

20(200)

20

20(200)

д) асфальтобетон

не допускается

50

-

40

-

25

-

е) сталефибробетон

40

В35

30

В25

25

В20

20

В15

2. Цементно-песчаный раствор

не допускается

не допускается

30

30(300)

20

20(200)

3. Поливинилацетатцементно-опилочный состав

не допускается

не допускается

20

-

15

-

4. Наливной состав на основе синтетических смол

не допускается

не допускается

4***

-

2-4

-

5. Ксилолит

не допускается

не допускается

20

-

15

-

6. Цементно-бетонные плиты

не допускается

40

В30

30

В22,5

30

В15

7. Мозаично-бетонные плиты

не допускается

40

40(400)

30

30(300)

20

20(200)

8. Керамические плитки

не допускается

не допускается

не допускается

9-13

-

9. Керамические кислотоупорные плиты

не допускается

50

-

30-35

-

15-20

-

10. Керамогранит

не допускается

не допускается

не допускается

Более 8

-

* - для бетонного пола с упрочнённым верхним слоем 70 мм

** - для бетонного пола с упрочнённым верхним слоем В22,5

*** - не допускается движение тележек на металлических шинах

11.10. Показатель теплоусвоения покрытия пола не нормируется в производственных помещениях с температурой поверхности пола выше 23 °С, в отапливаемых производственных помещениях, где выполняются тяжелые физические работы (категория III), в производственных зданиях, где на участках пола постоянных рабочих мест размещены деревянные щиты или теплоизолирующие коврики, в общественных зданиях, эксплуатация которых не связана с постоянным пребыванием людей (залы музеев и выставок, фойе театров и кинотеатров и т.п.), в животноводческих зданиях с решётчатыми полами и полами для содержания животных на подстилке, а также в помещениях для птицы и овец.

11.11. Поверхность покрытия пола должна быть ровной. Отклонение поверхности покрытия пола от горизонтальной плоскости на длине 2 м не должна превышать для покрытий:

- полимерных мастичных, дощатых, паркетных, из ламината, из линолеума, из рулонных материалов на основе синтетических волокон - 2 мм;

- из бетонов (всех видов), ксилолита, цементно-песчаного раствора, поливинилацетатцементно - опилочного состава, из плит бетонных (всех видов), керамических, каменных, резиновых, чугунных и стальных, а также кирпича (всех видов) на растворе - 4 мм;

- из чугунных плит и кирпича по прослойке из песка - 6 мм

11.12. Высота уступа между смежными изделиями покрытий из штучных материалов не должна превышать в полах:

- из кирпича, бетонных,, чугунных и стальных плит - 2 мм;

- из керамических, мозаично-бетонных, каменных плит - 1 мм.

11.13. В полах дощатых, паркетных, из линолеума и ламината уступы между смежными изделиями не допускаются.

11.14. Допускаемый угол скольжения для покрытий полов из керамических плиток, определяемый по методике ОАО «ЦНИИПромзданий», не должен быть менее:

- в комнатах для переодевания людей, душевых, в зонах хождения людей босыми ногами - 25°;

- в туалетных комнатах, кухнях, складах, магазинах, гаражах - 28°;

- в цехах мясокомбинатов, холодильных камерах, прачечных - 32°.

11.15. Отклонение швов в покрытиях пола между рядами штучных материалов от прямой линии не должно превышать 10 мм на длине ряда в 10 м. Ширина швов между плитками и блоками не должна превышать 6 мм при втапливании плиток и блоков в прослойку вручную и 3 мм при вибровтапливании.

11.16. Площадь приклейки паркетной планки должна составлять не менее 80%, адгезия паркет к основанию на отрыв - не менее 0,3 МПа.

11.17. Адгезия линолеума и ковровых покрытий к основанию на отрыв должна быть не менее 0,15 МПа.

11.18. В помещениях, при эксплуатации которых возможны резкие перепады температур в покрытиях полов должны быть предусмотрены деформационные швы, которые должны совпадать с деформационными швами в стяжке и в подстилающем слое. Швы должны быть расшиты полимерной эластичной композицией.

РАЗДЕЛ II

ПРАВИЛА ПРОЕКТИРОВАНИЯ, УСТРОЙСТВА, ПРИЁМКИ, ЭКСПЛУАТАЦИИ И РЕМОНТА ПОЛОВ

1. Общие положения

Выбор типа пола следует осуществлять с учётом видов и интенсивности эксплуатационных воздействий, а также из технико-экономической целесообразности принятого решения в конкретных условиях строительства, при котором обеспечивается:

- эксплуатационная надёжность и долговечность пола;

- экономия строительных материалов;

- наиболее полное использование физико-механических

- свойств применённых материалов;

- минимум трудозатрат на устройство и эксплуатацию;

- максимальная механизация процессов устройства;

- экологическая безопасность;

- безопасность передвижения людей;

- оптимальные гигиенические условия для людей;

- пожаробезопасность.

При проектировании и устройстве полов кроме указаний настоящего документа должны выполняться требования действующих норм проектирования, правил техники безопасности, по охране труда и противопожарной безопасности.

2. Грунт основания

2.1 При проектировании и устройстве грунтовых оснований должны соблюдаться технические требования, изложенные в Разделе I.

2.2 При пучинистых грунтах, к которым согласно СНиП 2.02.01-83* относятся пылевато-глинистые грунты, пески пылеватые и мелкие, а также крупнообломочные грунты с пылевато-глинистым заполнителем, подверженные в процессе эксплуатации пола замораживанию, рекомендуется предусматривать одну из следующих мер:

- устройство по основанию после снятия растительного грунта слоя теплоизоляции из плитного экструзионного пенополистирола;

- замену пучинистого грунта на непучинистый.

2.3 Макропористые грунты следует закреплять или заменять на грунт с малой осадкой.

2.4 Грунты насыпные или с нарушенной структурой рекомендуется очистить от примесей древесно-строительного мусора и уплотнить.

2.5 При применении для устройства оснований гравийно-песчаных смесей их рекомендуется укладывать по выровненной поверхности слоями толщиной 100-120 мм с последующим уплотнением каждого слоя.

2.6 Уплотнение грунта рекомендуется осуществлять механизированным способом в соответствии с требованиями СНиП 3.02.01-87. Ручное трамбование грунта допускается только в местах, недоступных для используемых механизмов, и там, где их применение может вызывать повреждение примыкающих к зоне уплотнения конструкций (фундаментов, стен подвалов и др.).

2.7 Грунт основания при уплотнении и планировке должен быть талым. Уплотнение и планировка талого грунта с примесью мерзлого, а также со снегом и льдом не допускается.

2.8 При производстве работ согласно СНиП 3.02.01-87 необходимо обеспечивать требуемую степень уплотнения грунта (таблица 2.1).

Таблица 2.1

Тип грунта

Контрольные значения коэффициента уплотнения kcom при нагрузке на поверхности уплотненного грунта МПа (кг/см2)

0

0,05-0,2 (0,5-2)

Свыше 0,2 (2)

общая толщина отсыпки, м

До 2

2,01-4

4,01-6

Св.6

До 2

2,01-4

4,01-6,

Св.6

До 2

2,01-4

4,01-6

Св.6

Глинистые

0,92

0,93

0,94

0,95

0,94

0,95

0,96

0,97

0,95

0,96

0,97

0,98

Песчаные

0,91

0,92

0,93

0,94

0,93

0,94

0,95

0,96

0,94

0,95

0,96

0,97

Примечание: Коэффициентом уплотнения называется отношение достигнутой плотности сухого грунта к максимальной плотности сухого грунта, полученной в приборе стандартного уплотнения по ГОСТ 22733-77

2.9 Уклоны полов, устраиваемых на грунте, рекомендуется создавать соответствующей планировкой основания. Выполнение уклонов полов на грунте за счёт утолщения подстилающего слоя допускается только в небольших помещениях, где это утолщение не превышает 40 мм.

3. Подстилающий слой

3.1 При проектировании и устройстве подстилающего слоя должны соблюдаться технические требования, изложенные в Разделе I.

3.2 Нежесткий подстилающий слой (песчаный, гравийный, щебёночный и др.) рекомендуется проектировать в производственных зданиях под покрытия из плит жаростойкого железобетона, чугунных и стальных плит.

3.3 При устройстве подстилающего слоя из песка его следует укладывать слоями толщиной 50-100 мм с последующим уплотнением каждого слоя. При этом для повышения степени уплотнения песок рекомендуется предварительно увлажнить до 7-10 %.

3.4 Подстилающие слои должны выполняться по предварительно выровненному основанию.

3.5 Гранулометрический состав смеси в % по массе для подстилающих слоев из щебня, естественного камня и доменных шлаков рекомендуется принимать по таблице 3.1.

Таблица 3.1

Крупность заполнителя, мм

Из щебня

Из естественного камня

Из доменных шлаков

Более 50

40

20

-

Более 40

20

30

40

25 и более

40

50

60

3.6 Для гравийно-песчаного подстилающего слоя рекомендуется использовать следующий состав гравийно-песчаных смесей:

Размер отверстий в сите, мм

Число зёрен, проходящих через сито, % по массе

40

90-100

20

75-90

10

55-75

5

40-65

2,5

30-55

1,2

25-45

0,6

20-35

0,3

15-30

0,15

10-25

0,075

7-20

3.7 При устройстве подстилающих слоев из щебёночных и гравийно-песчаных смесей их следует предварительно увлажнить до 5-7 % и укладывать сплошными равномерными слоями толщиной 80-200 мм с последующим уплотнением.

3.8 Бетонные подстилающие слои могут выполняться под все виды покрытий с учётом  требований, изложенных в Разделе I. При этом рекомендуется использовать составы бетонных смесей, приведённые в таблице 3.2.

Таблица 3.2

Класс

бетона

Составляющие, мас.ч.

Характеристики щебня

Вода

Портландцемент или глинозёмистый цемент марки 400

Крупно- или среднезернистый песок

Щебень или гравий крупностью до 15 мм

% износа

Предел прочности при сжатии, МПа

В 22,5

0,5

1

1,4

2,4

40

80

В 30

0,4

1

1

1,7

45

100

3.9 При нескальных грунтах основания рекомендуется перед укладкой бетона подстилающего слоя втопить в грунт на глубину 40 мм гравий или щебень крупностью 40-60 мм с прочностью на сжатие не менее 20 МПа. При необходимости грунт основания предварительно следует увлажнить до 10-20%.

3.10 Устройство бетонных подстилающих слоев рекомендуется выполнять традиционным методом с виброуплотнением смеси или методом вибровакуумирования. При вибровакуумировании содержание песка на 1 м3 бетонной смеси следует принимать на 150-200 кг больше, чем в обычных смесях, а её подвижность должна составлять 8-12 см.

3.11 Бетон в подстилающем слое следует укладывать полосами шириной 3-4,5 м по рейкам с последующим уплотнением виброрейкой и заглаживанием. При этом разбивка полос бетонирования должна совпадать с расположением деформационных швов в подстилающем слое, мест сопряжения полов из различных материалов, примыканий к фундаментам под оборудование и т.п.

3.12 Бетонные подстилающие слои в течение 7-10 дней после укладки должны находиться под слоем постоянно влажного водоудерживающего материала.

3.13 При необходимости в последующем выполнения по бетонному подстилающему слою оклеечной или обмазочной гидроизоляции или устройства покрытия из асфальтобетона или штучных материалов, приклеиваемых битумными составами, выровненную поверхность бетона сразу после укладки бетонной смеси следует прогрунтовать раствором битума в летучем растворителе (бензине) при соотношении по массе 1:(2-3). Грунтовку наносят краскопультом после устройства подстилающего слоя, но не ранее чем через 30 минут, а кистями - через 1-2 суток после укладки бетона. В результате грунтования на поверхности образуется плёнка, предохраняющая бетонный подстилающий слой от быстрого высыхания, что исключает необходимость укрывать её и поливать водой.

3.14 Устройство деформационных швов рекомендуется выполнять методом пропила бетона подстилающего слоя фрезой на глубину не менее 1/3 толщины бетона через 2 суток твердения. Допускается при устройстве деформационных швов в бетонном подстилающем слое в местах расположения разрывов перед укладкой бетона разместить рейки, обмазанные антиадгезионным составом или обёрнутые рулонным кровельным материалом, которые удаляют после затвердевания бетонной смеси. Образовавшиеся швы заполняют герметизирующими материалами.

3.15 Для полов из жаростойкого и кислотостойкого бетонов крупность щебня в бетонной смеси подстилающего слоя не должна превышать 40 мм, а её подвижность 2 см.

3.16 Для щелочестойких подстилающих слоев рекомендуется применять бетонные смеси с содержанием цемента не менее 500 кг/м3 при заполнителе из плотных известняковых или изверженных пород, а также из основных доменных шлаков.

3.17 Для жаростойких подстилающих слоев рекомендуется применять бетонные смеси с подвижностью 2-4 см при заполнителе с прочностью на сжатие не менее 20 МПа, огнеупорностью не ниже 1610°С с пылевидной воздушно-сухой добавкой, содержащей не менее 70 % зерен крупностью до 0,075 мм.

3.18 Для кислотостойких бетонных подстилающих слоев следует применять бетонные смеси, аналогичные тем, которые используются для устройства кислотостойких покрытий (см. табл.8.6.1).

3.19 Для снижения коэффициента теплоусвоения пола рекомендуется применять при устройстве подстилающего слоя лёгкие бетоны - керамзитобетон или аглопоритобетон (ГОСТ 25820-83) толщиной 120-150 мм класса не ниже В 7,5. Возможно также применение полистиролбетона по ГОСТ Р 51263-99.

3.20 В бетонном подстилающем слое при его устройстве должны быть заложены анкеры и пробки для крепления деталей окаймления полов или оставлены гнёзда для последующей заделки этих деталей.

4. Прослойка

4.1 При проектировании и устройстве прослойки должны соблюдаться технические требования, изложенные в Разделе I.

4.2 При выборе материала и толщины прослойки в зависимости от интенсивности воздействия на пол жидкостей и температуры нагрева следует руководствоваться таблицей 4.1.


Таблица 4.1.

Материал прослойки

Возможный материал покрытия пола

Рекомендуемая толщина прослойки, мм

Предельно допускаемая интенсивность воздействия на пол жидкостей

Нагрев пола до темпера туры, °С

воды и растворов нейтральной реакции

минеральных масел и эмульсий из них

органических растворителей

веществ животного происхождения

Кислот

Щелочей

концентрация, %, не более

интенсивность

концентрация, %, не более

интенсивность

1

2

3

4

5

6

7

8

9

10

11

12

Цементно-песчаный раствор

Плиты бетонные, мозаично-бетонные, из природного камня, керамические плитки

10-15

Большая

Большая

Большая

Малая

-

Не допускается

8

Малая

100

Цементно-песчаный раствор с добавкой латекса

Плитки керамические, кислотостойкие, каменные литые, кислотостойкий кирпич

10-15

«

Малая

Средняя

Средняя

02

10

Малая

83

Средняя

100

Цементный клей

Плитки керамические, кислотостойкие, каменные литые, керамогранитные

2-3

«

Малая

Средняя

Средняя

02

10

Малая

83

Средняя

100

На жидком стекле с уплотняющей добавкой

Тоже

10-12

«

«

Большая

Большая

100

Большая

-

Не допускается

100

На основе синтетических смол (реактопластов)

Плитки керамические, кислотостойкие, каменные литые,

керамогранитные

2-4

«

«

Средняя

«

154

30

Большая

15

Средняя

70

 

штучный паркет, линолеум, ламинат

не более 1

-

Не допускается

-

Не допускается

-

Не

допускается

-

Не допускается

50

Горячая битумная мастика

Торцовая шашка

2-3

Большая

Не допускается

Не допускается

Не допускается

10

20

Большая

8

Средняя

70

Мелкозернистый. бетон класса не ниже В30

Стальные и чугунные плиты

30-36

-

Большая

Большая

Малая

-

Не допускается

8

Малая

100

Песок

Плиты из жаростойкого бетона, чугунные плиты

220

Малая

Малая

Малая

Не допускается

1000-14005

150

 

 

 

600-10005

100

 

 

 

200-6005

60

 

 

 

Менее 2005

Теплоизоляционные материалы (каменноугольные шлаки, молотые отходы из кирпича и другие жаростойкие материалы с объёмной массой в уплотненном состоянии 1-1,2 т/м3)

Плиты из жаростойкого бетона, чугунные плиты

150

Малая

Малая

Малая

Не допускается

1000-1400s

 

 

100

 

 

 

600-10005

70

 

 

 

200-6005

60

 

 

 

Менее 2005

1. Над чертой указаны: азотная, серная, соляная, фосфорная, хлорноватистая, хромовая, уксусная, под чертой - масляная, молочная, муравьиная, щавелевая кислоты

2. При заполнении швов полимерными мастиками - 5/20 %

3. При заполнении швов полимерными мастиками 15 %

4. Для окисляющих сред не более 5 %

5. При установке на пол горячих предметов, деталей, проливах расплавленного металла и т.п., нагреве воздуха на уровне пола

Примечания: 1. Температурой пола условно считается температура воздуха на уровне пола или температура горячих предметов при контакте с полом.

                                2. Приведенный в таблице тип прослойки может быть применен при воздействиях, не превышающих ограничений, установленных в таблице.


5. Стяжки

5.1 При проектировании и устройстве стяжек должны соблюдаться технические требования, изложенные в Разделе I.

5.2 Стяжки могут быть предусмотрены в монолитном и сборном вариантах.

5.3 Для устройства монолитных стяжек рекомендуется применять бетонные и растворные смеси на основе портландцемента с осадкой конуса 2-4 см, а также смеси из асфальтобетона и гипса.

5.4 Для устройства монолитных стяжек рекомендуется применять цементно-песчаные растворы (таблица 5.1), бетоны (таблица 5.2) и поризованные цементно-песчаные растворы (таблица 5.3).

Таблица 5.1

Марка раствора

Вода

Цемент марки 400

Песок

М150

0,55

1

3,0

М200

0,48

1

2,8

М300

0,40

1

2,4

Таблица 5.2

Класс бетона

Состав по массе при марке цемента не ниже 400

Вода

Цемент

Песок

Щебень или гравий

В 12,5

0,8

1

2,8

4,4

В 15

0,65

1

2,0

3,4

В 22,5

0,5

1

1,4

2,4

Таблица 5.3

Составляющие

Прочность, МПА

5,0

7,5

10,0

Портландцемент М500

420

450

480

Песок

735

900

960

Вода

330-350

350-380

375-400

Алюминиевая пудра ПАП-1

0,4

0,35

0,3

Натрий сернокислый

4

3,5

3

5.5 Для бетонных стяжек следует применять в качестве крупного заполнителя щебень или гравий фракций 5-15 мм с прочностью на сжатие не менее 20 МПа.

5.6 Технология изготовления сплошных стяжек из бетона и цементно-песчаного раствора аналогична применяемой при изготовлении бетонного покрытия.

5.7 Бетонные выравнивающие стяжки, устраиваемые по бетонному основанию под полимерные покрытия на основе эпоксидных и полиуретановых смол, рекомендуется выполнять толщиной не менее 25 мм из бетона класса В 22,5 - при умеренной интенсивности механических воздействий и не менее 20 мм из бетона класса В15 - при слабой интенсивности механических воздействий.

5.8 Поверхность монолитных стяжек из бетона и цементно-песчаного раствора, по которым предусматривается устройство оклеечной гидроизоляции, должна быть огрунтована раствором битума в летучем растворителе в соотношении 1:(2-3), а под покрытие из штучных изделий по прослойке из полимерных материалов - грунтовочным составом на основе полимерного материала прослойки.

5.9 Поверхность бетонных стяжек перед устройством по ним покрытий, имеющих в своём составе поливинилацетатную дисперсию или латекс, следует очистить и прогрунтовать дисперсией или латексом, разбавленными водой в соотношении 1:(2-3).

5.10 Стяжки из поризованных цементно-песчаных растворов с прочностью на сжатие 5,0, 7,5 и 10,0 МПа и из легкого бетона, в том числе пенобетона (ГОСТ 25485-89) класса В10 плотностью 1100-1200 кг/м3, рекомендуется применять преимущественно под покрытия из рулонных материалов, штучный паркет и плитку. При этом толщину стяжек следует принимать равной 30-50 мм.

5.11 При устройстве стяжек смесь поризованного раствора следует укладывать по ровному основанию, в котором просветы при проверке двухметровой рейкой не должны превышать 5 мм. В противном случае поверхность основания следует выровнять цементно-песчаным раствором марки не ниже 100.

5.12 Смеси из поризованного раствора и бетона следует укладывать равномерным слоем толщиной менее проектной на величину вспучивания, которую определяют опытным путём. При этом контроль толщины рекомендуется при больших площадях пола осуществлять по предварительно выставленным маякам из раствора марки 100, а в небольших помещениях - по рискам, нанесённым на стены.

5.13 Перерывы при устройстве стяжек из поризованного раствора и пенобетона в пределах одного помещения не допускаются. После укладки смеси поверхность стяжки следует тщательно выровнять до её интенсивного вспучивания.

5.14 Движение людей по стяжке допускается после достижения прочности не менее 0,2 МПа.

5.15 В стяжке из поризованного раствора не должно быть усадочных трещин шириной раскрытия более 0,3 мм. В противном случае их следует расшить, и зашпаклевать цементно-песчаным раствором на поливинилацетатной дисперсии при соотношении ПВА : вода = 1:4.

5.16 Стяжки из пенобетона для получения мелкодисперсной замкнутой пористости материала рекомендуется выполнять по турбулентно-кавитационной технологии с использованием специального смесителя, снабженного лопастями минимального аэродинамического сопротивления.

5.17 Для саморазравнивающихся гипсовых стяжек рекомендуется применять сухие смеси заводского изготовления. Для стяжек толщиной от 2 до 30 мм может быть рекомендован наливной состав «Глимс-SL» по ТУ 5700-010-40397319-00, а стяжек толщиной от 5 до 100 мм - наливной состав «Глимс-S3Х» по ТУ 5700-010-40397319-00.

5.18 Устройство гипсовых стяжек следует выполнять при температуре воздуха в помещении 15-30 °С.

5.19 В целях предотвращения интенсивного отсоса воды из составов стяжек нижерасположенным слоем и обеспечения требуемой адгезии с ним поверхность этого слоя рекомендуется загрунтовать специально разработанными грунтовками, в частности грунтовкой «Глимс-грунт» по ТУ 5700-007-40397319-01, или смесью из нестабилизированного бутадиенстирольного латекса СКС-65ГП с полиэтиленполиамином в соотношении по массе 10:(0,6-1) или поливинилацетатной дисперсией с водой в соотношении 1:10.

5.20 Изготовление гипсовых саморазравнивающихся стяжек осуществляется, как правило, в один слой. При больших неровностях подстилающего слоя возможно нанесение двух слоев - сначала менее растекаемого «Глимс-S3Х», затем выравнивание поверхности стяжки составом «Глимс-SL». При производстве работ затворённый водой раствор выливается на предварительно прогрунтованное основание с таким расчётом, чтобы получить требуемую толщину слоя. Для ускорения растекаемости рекомендуется использовать зубчатый шпатель.

5.21 Во избежание увлажнения и растрескивания стяжек из поризованного цементно-песчаного раствора, пенобетона и гипсовых составов места примыкания их к стенам и перегородкам следует изолировать рулонными гидроизоляционными материалами либо уложить по периметру помещения вдоль стен пенополиуретановый шнур.

5.22 Для саморазравнивающихся полимерцементных стяжек рекомендуется применять сухие смеси заводского изготовления, выпускаемые немецкой фирмой «UZIN». Могут быть рекомендованы наливные составы марок: UZIN-NC 145 - стяжки толщиной от 1 до 5 мм, UZIN-NC 150 - стяжки толщиной до 10 мм, UZIN-NC 160 - стяжки толщиной 20 мм, UZIN-NC 170 - толщина слоя любая.

5.23 Технология изготовления стяжек из саморазравнивающихся полимерцементных композиций аналогична применяемой при изготовлении саморазравнивающихся гипсовых стяжек.

5.24 Асфальтобетонные стяжки рекомендуется выполнять из горячего асфальтобетона толщиной 35 мм.

5.25 Сборные стяжки рекомендуется выполнять из гипсоволокнистых листов влагостойких марки ГВЛВ (ГОСТ Р 51829-2001) или из готовых элементов пола, выполненных из двух гипсоволокнистых листов размером 1500´1500´10 мм, склеенных между собой в заводских условиях со смещением относительно друг друга на 50 мм (ТУ 5742-007-03515377-97). Возможно также изготовление сборных стяжек из листов водостойкой фанеры, из шпунтованных древесно-стружечных и цементно-стружечных плит.

5.26 При отсутствии требований к полам по показателям тепло- и звукоизоляции сборные стяжки могут укладываться непосредственно по подстилающему слою или плите перекрытия. При необходимости выравнивания поверхности подстилающего слоя или перекрытия по ним следует предусматривать прослойку толщиной 15-20 мм из средне- или крупнозернистого песка в воздушно-сухом состоянии.

5.27 Для устройства слоя тепло- и звукоизоляции под сборные стяжки рекомендуется применять пенополистирольные плиты плотностью 25 кг/м3 (ГОСТ 15588-86), керамзитовый (ГОСТ 9757-90) или кварцевый песок (ГОСТ 8736-93*). Необходимая толщина слоя тепло-звукоизоляции устанавливается для каждого конкретного случая расчётом по СНиП 23-02-2003 или СНиП 23-03-2003.

5.28 Керамзитовый песок рассыпают слоями с разравниванием рейкой по выставленным с помощью уровня профилям, начиная от стены, противоположной входу, и последующим уплотнением, а пенополистирольные плиты устанавливают насухо с обеспечением надёжного примыкания к основанию и плотности стыков между плитами.

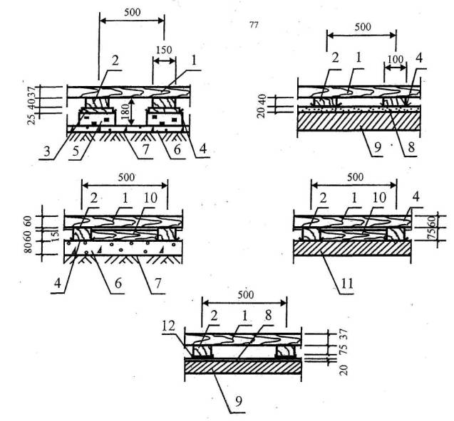
5.29 Рекомендуемые схемы раскладки готовых элементов сборной стяжки в зависимости от материала теплозвукоизоляционного слоя приведены на рис. 1.

5.30 При устройстве сборных стяжек непосредственно по железобетонным перекрытиям до начала производства работ монтажные отверстия в перекрытиях, зазоры между плитами, места примыканий перекрытий к стенам, перегородкам, трубам должны быть тщательно заделаны цементно-песчаным раствором марки не ниже M100.

5.31 При наличии под сборной стяжкой труб и использовании для изготовления тепло- и звукоизоляционного слоя пенополистирольных плит трубы следует обернуть минераловатными матами.

5.32 При укладке готовых элементов сборной стяжки из гипсоволокнистых листов места сопряжения со стеной фальц крайнего элемента стяжки обрезают. Для обеспечения смещения торцевых стыков между элементами сборной стяжки в смежных рядах и исключения отходов каждый новый ряд начинают с укладки отрезанной по месту части последнего элемента предыдущего ряда. При укладке элементов сборной стяжки по полистирольным плитам не допускается совпадение стыков её элементов со стыками пенополистирольных плит. Между сборной стяжкой и стенами следует предусматривать зазор, равный 10-20 мм, заполняемый звукоизоляционной прокладкой из мягкой древесно-волокнистой плиты либо кромочной лентой.

5.33 На фальцы уложенных готовых элементов сборной стяжки из гипсоволокнистых листов сплошным слоем наносят дисперсию ПВА (ТУ 2241-027-00203521-96) или клеящую мастику и накрывают последующим элементом. В процессе монтажа скрепление фальцев производят шурупами длиной не менее 19 мм, располагаемыми с шагом не более 300 мм. Выступающий из стыков клей удаляют шпателем.

5.34 При толщине засыпного теплозвукоизоляционного слоя более 100 мм под стяжку из готовых элементов подкладывают дополнительный слой крупноформатных гипсоволокнистых листов.

5.35 В смежных помещениях рекомендуется сквозная укладка элементов сборной стяжки. В противном случае при образовании прямого стыка с обрезанными фальцами (например, в дверном проёме) под стык подкладывают опору из доски или ДСП шириной не менее 100 мм. Края элементов стяжки закрепляют на такой подложке шурупами.

Рис. 1 Схема раскладки сборной стяжки из ГВЛ на слой теплозвукоизоляции из керамзитового песка (а) и пенополистирола (б)

5.36 При устройстве на объекте сборной стяжки из отдельных гипсоволокнистых листов выполняют:

- раскрой и заготовку листов по размерам помещений;

- укладку первого слоя листов с зазором в стыках не более 1 мм;

- нанесение клея сплошным слоем производят последовательно под каждый лист второго слоя;

- укладку листов второго слоя с минимальным зазором и перекрытием стыков нижнего слоя не менее, чем на 250 мм;

- крепление каждого листа второго слоя 20-ю шурупами.

5.37 Стыки элементов сборной стяжки и места установки шурупов при устройстве по ней покрытий из линолеума, поливинилхлоридных плиток и текстильных ковров должны быть заделаны шпаклёвкой «Фугенфюллер ГВ» (ТУ 5745-011-04001508) или «Унифлот», поставляемых предприятиями группы «КНАУФ».

5.36 Работы по устройству сборных стяжек следует выполнять при температуре воздуха на уровне пола не ниже +10°С и относительной влажности воздуха не более 60 %.

5.37 При слабой интенсивности механических воздействий на покрытия полов выравнивание основания может быть осуществлено с помощью стяжки из листов фанеры размером 1,5´1,5 м толщиной 12 мм, опирающейся на основание через регулирующие болты-стойки (рис. 2). При устройстве такой стяжки:

- производится разметка отверстий на листе фанеры. Для этого по углам листа на расстоянии 50 мм от края листа проводятся линии, параллельные его кромкам, точки пересечения которых являются местами расположения отверстий; места расположения отверстий соединяются между собой диагоналям, точка пересечения которых является местом размещения пятого отверстия; следующие четыре отверстия размещаются в середине линий периметра, а последующие четыре - в середине линий полудиагоналей (рис. 2а).

- сверление отверстий, вставка и закрепление саморезами втулок, в которые вкручиваются болты-стойки (рис. 2б - 2д).

- через болты-стойки в перекрытии засверливаются отверстия (рис. 2е).

- в болт-стойку помещают дюбель-гвоздь, который на неполную глубину забивают с помощью дробника в отверстие, выполненное в перекрытии (рис. 2ж).

- с помощью завинчивающего инструмента регулируют необходимое положение листа фанеры по уровню (рис. 2з) и окончательно закрепляют стяжку к перекрытию с помощью дюбель-гвоздя, после чего выступающие части болтов-стоек удаляют с помощью стаместки (рис. 2и).

- укладка второго слоя фанеры и закрепление его к нижнему листу саморезами, располагаемыми с шагом 100 мм (рис. 2к).

5.38 В сборной стяжке из двух листов фанеры толщиной по 10-12 мм стыки нижних листов следует перекрывать верхними листами, которые при укладке на лаги крепят между собой саморезами, располагаемыми с шагом 150 мм, а при укладке непосредственно на слой тепло-звукоизоляции шаг саморезов следует принимать равным 100 мм.

5.39 Устройство покрытий по сборным стяжкам возможно через сутки после их изготовления. Монолитные стяжки на основе гидратирующихся вяжущих (гипсовые, цементно-песчаные и цементно-бетонные) требуют выдержки до достижения нормативной влажности (чаще всего воздушно сухого состояния). Срок выдержки у стяжек на основе гипса, как правило, составляет 3-5 суток, у цементно-песчаных и цементно-бетонных стяжек с учётом необходимости их увлажнения в первые 7-10 суток после изготовления с целью предотвращения растрескивания стяжек - 3-4 недели.

Рис. 2 Последовательность операций при изготовлении сборной стяжки из фанеры

6. Тепло-звукоизоляционный слой

6.1 При проектировании и устройстве теплозвукоизоляционного слоя должны соблюдаться технические требования, изложенные в Разделе I.

6.2 Для устройства слоев тепло- и звукоизоляции рекомендуется применять минераловатные плиты и стекловолокнистые плиты на синтетической связке плотностью до 150 кг/м3, минераловатные маты плотностью до 225 кг/м3, пенополистирольные плиты плотностью до 50 кг/м3, керамзитовый и кварцевый песок, а также древесно-волокнистые плиты плотностью до 250 кг/м3.

6.3 Древесноволокнистые плиты должны быть антисептированы в массе при их заводском изготовлении.

6.4 Тепло- и звукоизоляционные слои следует выполнять по выровненному основанию. При этом высушенный кварцевый и керамзитовый песок рассыпают слоями с последующим разравниванием по рейкам и уплотнением. Плиты и маты укладывают насухо с обеспечением плотности стыков между плитами и перекрытием их смежными матами.

6.5 Для утепления зон примыкания к наружным стенам полов по грунтовому основанию при расположении подстилающего слоя выше отмостки здания или ниже её не более чем 0,5 м рекомендуется предусматривать теплоизоляционные слои толщиной 0,15-0,25 м, которые размещаются под подстилающим слоем в грунтовом основании на ширине 0,8 м вдоль стены.

6.6 В местах примыкания пола к стенам и перегородкам следует предусматривать зазор шириной не менее 2 см на толщину стяжки. В полах с полимерным покрытием этот зазор следует принимать равным 4-5 мм. Зазор заполняется прокладкой из эффективного звукоизоляционного материала, в качестве которого может быть использован пенополиуретан, пенополиэтилен и т.п.

7. Гидроизоляция

7.1 При проектировании и устройстве гидроизоляции должны соблюдаться технические требования, изложенные в Разделе I.

7.2 Гидроизоляцию от сточных вод и других жидкостей следует предусматривать по подстилающему слою, перекрытию или стяжке, выполненной по перекрытию или подстилающему слою. Гидроизоляцию от капиллярного поднятия грунтовых вод следует выполнять по уплотнённому грунту или монолитной стяжке (табл.7.1).

7.3 Для защиты от проникания сточных вод и нейтральных жидкостей рекомендуется применять оклеенную гидроизоляцию из битумных или битумно-полимерных материалов (табл.1 Приложение 2), наклеиваемых на цементно-песчаную стяжку или бетонный подстилающий слой методом подплавления (для наплавляемых рулонных материалов) или наклейкой на битумно-полимерных мастиках, а также эластомерные плёнки (табл.2 Приложение 2), наклеиваемые на полимерных мастиках (табл.3 Приложение 2).

7.4 Для защиты от воздействия химически агрессивных жидкостей оклеечная гидроизоляция должна выполняться из рулонных материалов и клеевых мастик, обладающих химической стойкостью к конкретной агрессивной среде. В качестве таких материалов рекомендуется применять пластины полиизобутиленовые марки ПСГ (ТУ 38-105203-87), наклеиваемые на клее 88-НП (ТУ 38-105540-85) и лакокрасочные покрытия на основе эпоксидной шпаклёвки ЭП-0010 (ГОСТ 28379-89), армированные стеклотканью, и эпоксидные и полиуретановые составы марок UZIN-Epoxidicht и UZIN-Epoxiflex Plus (фирма «UZIN», ФРГ).

Таблица 7.1

Тип гидроизоляции

Количество слоев

Схема

Слои пола

Гидроизоляция от сточных вод и других жидкостей

 

 

1-покрытие; 2-прослойка; 3-гидроизоля-ция; 4-стяжка; 6-подстилающий слой; 7-плита перекрытия; 8-грунтовое основание (уплотнённое)

Оклеечная из битумных или битумно-полимерных материалов

2-4

Оклеечная из эласто-мерных плёнок

1-2

Гидроизоляция от капиллярного поднятия грунтовых вод

 

 

Наливная из щебня или гравия, пролитых битумом

 

Асфальтовая из асфальтобетона

 

Оклеечная из битумных или битумно-полимерных материалов

 

7.5 При средней интенсивности воздействия жидкости на пол оклеенную гидроизоляцию из битумных и битумно-полимерных материалов следует выполнять в 2 слоя, а из эластомерных плёнок - в 1 слой.

7.6 При большой интенсивности воздействия жидкости на пол, а также под сточными лотками, каналами, трапами и в радиусе 1 м от них число слоев гидроизоляции следует увеличить вдвое.

7.7 При воздействии на пол веществ животного происхождения и, других биологически активных средств оклеечную гидроизоляцию следует выполнять из рулонных битумных и битумно-полимерных материалов с не гниющей основой (стеклянной, полимерной) или из эластомерных плёнок.

7.8 При средней и большой интенсивности воздействия на пол минеральных масел, эмульсий из них, органических растворителей следует применять гидроизоляцию из эластомерных плёнок.

7.9 При средней и большой интенсивности воздействия на пол растворов серной, соляной, азотной, уксусной, фосфорной, хлорноватистой и хромовой кислот кроме гидроизоляции под покрытием пола следует предусматривать наливную или асфальтовую гидроизоляцию под подстилающим слоем.

7.10 При расположении бетонного подстилающего слоя ниже уровня отмостки здания в помещениях, где отсутствуют какие-либо воздействия на пол сточных жидкостей и нет вероятности опасного капиллярного поднятия грунтовых вод оклеечную гидроизоляцию рекомендуется применять в случаях:

- устройства заглублённых стен подвальных помещений, в которых располагается подсобное оборудование (насосы для подкачки воды, компрессорные и холодильные установки, системы кондиционирования воздуха и пр.);

- вероятного во время эксплуатации здания постепенного поднятия общего уровня грунтовых вод на застраиваемой территории, при заключении в трубы протекающих по данной территории малых рек и т.п.

7.11 Перед выполнением работ по устройству оклеечной гидроизоляции раскатанные полотнища рулонных материалов следует выдержать в течение 24 часов при температуре не ниже +15°С с целью ликвидации волн и прочих неровностей.

7.12 При устройстве оклеечной гидроизоляции следует обеспечить продольную и поперечную нахлестку полотнищ не менее 85 мм.

7.13 Поверхность битуминозной гидроизоляции перед устройством по ней покрытий, прослоек или стяжек, в состав которых входят цемент или жидкое стекло, следует предварительно покрыть горячей битумной мастикой с втапливанием в неё сухого крупнозернистого песка.

7.14 Мастику следует наносить слоем толщиной 1-1,5 мм на чистую и сухую поверхность гидроизоляции. Песок необходимо рассыпать по горячей мастике равномерным слоем без пропусков и скоплений и прокатать ручным катком. Излишки песка после остывания мастики следует удалить.

7.15 При устройстве химически стойких непроницаемых гидроизоляционных слоев из полиизобутиленовьгх пластин марки ПСГ и лакокрасочных слоев из шпаклёвки ЭП-0010, армированных стеклотканью, следует руководствоваться рекомендациями ВСН 214-89 «Сборник инструкций по защите от коррозии».

7.16 При выполнении наливной битумной гидроизоляции от капиллярного поднятия грунтовых вод слой щебня рекомендуется пропитывать горячим битумом, наносимым при помощи автогудронатора слоем толщиной до 6 мм. При необходимости пропитки в несколько слоев по слою битума следует рассыпать каменную мелочь с последующим уплотнением её катком, барабан которого смачивают растворителем, а затем наносят следующий слой горячего битума, по которому рассыпают каменную мелочь или песок фракции до 5 мм.

7.17 Асфальтовую гидроизоляцию следует выполнять из горячих мастик и литых асфальтовых смесей по подготовленному основанию ярусами толщиной 15-25 мм, нанося смесь равномерным сплошным слоем.

7.18 При выполнении работ по устройству асфальтовой гидроизоляции необходимо каждый слой разравнивать и уплотнять обогреваемыми катками или гладилками после остывания предыдущего.

7.19 Для обеспечения требуемого качества гидроизоляции из литого асфальтобетона сопряжение ярусов и захваток следует выполнять внахлестку шириной не менее 20 см, а стыки верхних слоев располагать вразбежку со стыками нижних слоев.

7.20 Асфальтовую гидроизоляцию из холодных мастик следует выполнять, по подготовленному огрунтованному основанию, начиная от стен или перегородок, полосами в 1-2 слоя толщиной 3-5 мм. При этом каждый последующий слой наносят после отвердения предыдущего, а сопряжение ярусов и захваток в каждом слое выполняют внахлестку шириной не менее 200 мм.

8. Покрытия полов

8.1 Общие положения

8.1.1 При проектировании и устройстве покрытий полов должны соблюдаться технические требования, изложенные в Разделе I.

8.1.2 Тип покрытия пола следует принимать в зависимости от функционального назначения помещения с учётом вида и интенсивности механических, жидкостных и тепловых воздействий, а также специальных требований (безыскровости, антистатичности, скользкости, экологической безопасности и т.п.).

8.1.3 Полы должны характеризоваться устойчивостью к деформациям под действием сосредоточенных и распределённых нагрузок - не обладать «зыбкостью», в том числе и при движении людей.

8.1.4 При стыковке разнородных покрытий рекомендуется установка медных, алюминиевых или стальных элементов, защищающих края этих покрытий от механических повреждений, от попадания воды в шов и отклеивания. Для паркетных и плиточных покрытий полов такие элементы, кроме того, позволяют компенсировать температурно-влажностные деформации.

8.2 Бетонные покрытия

8.2.1 Полы с бетонным покрытием рекомендуется применять в производственных помещениях и в животноводческих зданиях с учётом допустимых эксплуатационных воздействий, приведённых в табл. 1, 2, 3 Приложения 1.

8.2.2 В животноводческих зданиях бетонные покрытия полов рекомендуется применять в станках, боксах и т.д. при содержании животных на подстилке или при использовании ковриков или решёток, а также в проездах и проходах.

8.2.3 Бетонные покрытия могут проектироваться в виде эксплуатируемого подстилающего слоя, по бетонному основанию и по железобетонному перекрытию (рис. 3 и 4).

8.2.4 Толщину покрытия следует назначать в зависимости от интенсивности механических воздействий (Раздел I, табл. 2). При выполнении покрытия, выполняющего одновременно функцию подстилающего слоя, толщину следует увеличить не менее чем на 100 мм.

8.2.5 Покрытия толщиной от 50 до 120 мм рекомендуется армировать одним слоем металлической сетки из проволоки диаметром 5 мм с ячейками 100´100 или 150´150 мм, толщиной 120-180 мм - двумя слоями металлической сетки, а при толщине более 180 мм каркас определяется расчётом. Нижний слой металлической сетки укладывается на прокладки толщиной не менее 20 мм, верхний - картами 6´6 м, а в особых случаях картами 3´3 м на опоры, приваренные к нижнему слою сетки.

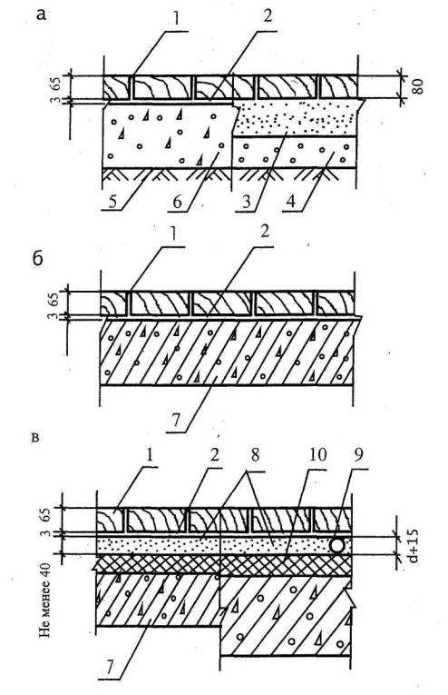
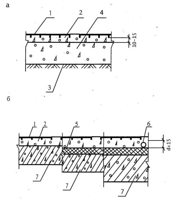
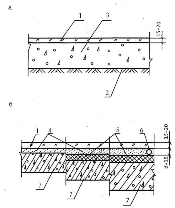
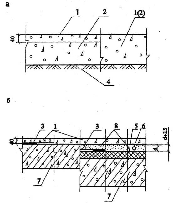
Рис. 3 Конструктивные схемы полов с бетонным покрытием по подстилающему слою (а) и по перекрытию (б)
1 - бетонное покрытие; 2 - бетонный подстилающий слой; 3 - гидроизоляция; 4 - грунт основания; 5 - тепло-звукоизоляция; 6 - перекрытие; 7 - трубопровод.

Рис. 4 Конструктивные схемы полов со сталефибробетонным покрытием по подстилающему слою (а) и по перекрытию (б)
1 - сталефибробетонное покрытие; 2 - бетонный подстилающий слой; 3 -гидроизоляция; 4 - грунт основания; 5 - тепло-звукоизоляция; 6 - трубопровод; 7 - перекрытие; 8 - стяжка из бетона.

8.2.6 Для армирования бетонных покрытий может также использоваться стальная фибра длиной 50-80 мм и диаметром 0,3-1 мм. При этом в качестве матричного состава рекомендуется использовать мелкозернистый бетон класса В25 и В35 с максимальным размером крупного заполнителя 20 мм (табл. 8.2.1). Покрытия из сталефибробетона рекомендуется выполнять толщиной 40-100 мм.

Таблица 8.2.1

Класс бетона

Вода

Цемент

Песок

Щебень

Фибра

Пластификатор

В25

0,40

1

3,5

2,5

0,10

0,08

В35

0,46

1

1,7

2,8

0,16

0,05

8.2.7 В покрытиях полов толщиной более 50 мм рекомендуется предусматривать деформационные швы в продольном и поперечном направлении с шагом от 3 до 6 м. Швы должны совпадать с осями колонн, со швами плит перекрытий, деформационными швами подстилающего слоя, а при двухслойном армировании сетками с границами верхнего слоя арматуры. Глубина деформационного шва должна быть не менее 40 мм и не менее 1/3 толщины покрытия, ширина - 3-5 мм.

8.2.8 При выполнении покрытий полов по грунту основания для предотвращения деформации пола при возможности осадки здания следует предусмотреть отсечку покрытия пола от колонн и стен через прокладки из рулонных гидроизоляционных материалов.

8.2.9 Для приготовления бетона следует использовать портландцемент (ГОСТ 10178-85) марки не ниже 400. При этом для водонепроницаемого и морозостойкого бетона рекомендуется сульфатостойкий расширяющийся цемент.

8.2.10 Для покрытий светлых тонов следует применять белый (ГОСТ 965-78), а для цветных покрытий - цветной цемент (ГОСТ 15825-80) марки не ниже 400.

8.2.11 Щебень из природного камня (ГОСТ 8267-82), гравий (ГОСТ 8268-82) и щебень из гравия (ГОСТ 10260-82) для классов бетона В30, В22,5 и В15 должны иметь соответственно прочность 100, 80 и 60 МПа. Крупность щебня или гравия не должны превышать 15 мм и 0,6 общей толщины покрытия.

8.2.12 Песок кварцевый или дробленный (ГОСТ 8736-85) из природного камня кристаллических пород (гранита, сиенита, базальта и им подобных) крупно- или среднезернистый, используемый для бетонных покрытий, должен быть с содержанием глинистых или илистых частиц не более 3%.

8.2.13 Расход крупного заполнителя для бетонных покрытий (щебня, гравия, мраморной крошки) должен быть не менее 0,8 м3 на 1 м3 бетона, а песка 10-30 % объёма пустот в крупном заполнителе.

8.2.14 Для безыскровых бетонных покрытий следует использовать щебень и песок из известняка, мрамора и других чистых каменных материалов, не образующих искр при ударах стальными или каменными предметами.

8.2.15 Для щелочестойких бетонных покрытий рекомендуется применять щебень, гравий и песок из плотных осадочных (серпентинитов, порфиритов, известняков, доломитов) или изверженных (диабазов, гранитов) пород либо основных доменных шлаков. Допускается применение чистого кварцевого песка. Материалы для таких покрытий должны выдерживать не менее 15 циклов попеременного насыщения раствором сернокислого натрия и высушивания без появления признаков разрушения.

8.2.16 Бетонные покрытия полов рекомендуется изготавливать методом виброобработки и методом вакуумирования.

8.2.17 Для бетонных покрытий, изготавливаемых методом виброобработки, рекомендуется применять составы бетонов, приведенные в таблице 8.2.2

Таблица 8.2.2

Класс бетона

Состав по массе при марке цемента не ниже 400

 

Вода

Цемент

Песок

Щебень или гравий

В15

0,65

1

2,0

3,4

В22,5

0.50

1

1,4

2,4

В30

0,40

1

1,0

1,7

8.2.18 Бетонные смеси, в состав которых не введены пластификаторы, для покрытий, изготавливаемых методом виброобработки, должны характеризоваться осадкой конуса 2-4 см. Подвижность смесей следует увеличивать только введением пластификаторов марок С-3, СНВ и др. в количестве до 0,8 % от массы цемента.

8.2.19 Работы по укладке бетонных и сталефибробетонных смесей следует выполнять при температуре воздуха на уровне дола не ниже +5°С. Эта температура должна поддерживаться до приобретения бетоном 50%-ной проектной прочности. При укладке бетона в зимних условиях при отрицательных температурах в бетонную смесь следует вводить добавку нитрата натрия, поташа и т.п. При этом возможно выделение на поверхности бетонного покрытия белых пятен.

8.2.20 Перед укладкой бетонных смесей нижележащий слой должен быть очищен от грязи и пыли, а жировые пятна удалены промывкой 5%-ным раствором кальцинированной соды с последующей промывкой водой.

8.2.21 Щели между сборными плитами перекрытий, места примыкания их к стенам, а также монтажные отверстия следует заделать цементно-песчаным раствором прочностью не ниже 15 МПа заподлицо с поверхностью плит.

8.2.22 Нижние части стен и колонн на высоту, равную толщине покрытия, рекомендуется обклеить гидроизоляционным рулонным материалом или в случае устройства в данных местах деформационных швов - листовым вспененным полиэтиленом.

8.2.23 При устройстве покрытий толщиной до 50 мм для улучшения межслойной адгезии поверхность нижележащего бетонного слоя рекомендуется огрунтовать составом на основе ПВА-эмульсии или латекса.

8.2.24 При устройстве покрытий полов по старым замасленным бетонным основаниям рекомендуется предусмотреть разделительный слой из полиэтиленовой плёнки, крафт-бумаги и т.п., а покрытие пола выполнить толщиной не менее 100 мм из бетона класса не ниже В30.

8.2.25 Бетонную смесь следует укладывать на основание полосами, ограниченными маячными рейками (металлопрокат, неизвлекаемые алюминиевые или бетонные рельс-формы) высотой, соответствующей толщине покрытия. При этом ширина полос выбирается с учётом технических характеристик применяемого оборудования, расстояния между колоннами в здании, а также планируемым расположением деформационных швов. Монтажные швы должны совпадать с деформационными швами.

8.2.26 Маячные рейки рекомендуется устанавливать параллельно длинной стороне стены на марки из цементно-песчаного раствора с ориентацией на метку, вынесенную на стену. При этом первый ряд реек следует размещать на расстоянии 0,5-0,6 м от стены, противоположной входу в помещение, а следующие ряды - параллельно первому на расстоянии до 3 м.

8.2.27 В местах, где пол должен иметь уклон в сторону трапов или каналов, маячные рейки следует устанавливать с таким расчётом, чтобы верх рейки имел заданный уклон.

8.2.28 Непосредственно перед укладкой бетонной смеси нижележащий слой следует обильно смочить водой, чтобы к моменту укладки он был влажным, но на нём не было скопления воды.

8.2.29 Бетонную смесь следует укладывать между маячными рейками полосами через одну. При этом толщина выровненного бетонного слоя с учётом последующей его осадки в процессе виброобработки должна приниматься на 3-5 мм выше маячных реек.

8.2.30 При толщине бетонного покрытия пола до 100 мм уплотнение бетонной смеси рекомендуется выполнять виброрейкой, а при большей толщине следует до уплотнения виброрейкой предварительно обработать уложенную бетонную смесь глубинным вибратором. Скорость передвижения виброрейки должна составлять 0,5-1 м/мин при количестве проходов 1-2.

8.2.31 Бетонирование рекомендуется проводить без технологических перерывов. В противном случае перед возобновлением бетонирования затвердевшая вертикальная кромка уложенного ранее бетона должна быть очищена от грязи и пыли и промыта водой. В местах рабочих швов уплотнение и заглаживание бетона следует производить до тех пор, пока шов не станет незаметным.

8.2.32 Пропущенные полосы бетонируют после снятия маячных реек, используя забетонированные полосы в качестве опалубки и направляющих.

8.2.33 Вакуумирование бетона производится с помощью комплекта оборудования, включающего: вакуум-агрегат, отсасывающие маты, виброрейка, заглаживающие машины, направляющие для виброреек, шланги и соединительные устройства, ёмкости для промывки отсасывающих матов.

8.2.34 При применении метода вакуумирования рекомендуемые бетонные смеси должны иметь повышенное на 150-200 кг на 1 м3 бетонной смеси содержание песка по сравнению с составами по таблице 8.2.2.

8.2.35 Бетонные смеси, применяемые при использовании метода вакуумирования, должны характеризоваться осадкой конуса 8-12 см. Повышенное водоцементное отношение облегчает укладку и уплотнение смеси, а также позволяет получить более ровное покрытие пола.

8.2.36 Технологический регламент изготовления покрытий полов методом вакуумирования предусматривает укладку на виброуплотнённую поверхность покрытия пола матов с вакуум-полостями, присоединение их шлангами к вакуум-насосу и отсос избыточной воды, за счёт чего достигается повышение прочности и однородности бетона.

8.2.37 На свежеуложенную бетонную смесь отсасывающие маты укладывают с нахлёсткой 10-15 см с каждой стороны, при укладке на затвердевший бетон - не менее чем на 20 см. При этом нижнее фильтровальное полотнище укладывают непосредственно на бетон (если ведут работы одновременно с двумя и более нижними полотнищами, то они должны быть уложены внахлёстку не менее чем на 3 см), а верхнее раскатывают, начиная от середины. Такой порядок раскатки улучшает герметизацию. Полотнища нужно укладывать ровно, без морщин и складок. Верхнее полотнище, кроме того, после укладки рекомендуется прогладить валиком, щёткой и т.п.

8.2.38 Вакуумный агрегат на холостом ходу должен создавать разряжение порядка 0,09-0,095 МПа. Нормальным рабочим разряжением вакуум-насоса считается 0,07-0,08 Мпа.

Продолжительность вакуумирования увеличивается обратно пропорционально падению разрежения. При разрежении менее 0,06 МПа вакуумирование производить не следует. Время вакуумирования рассчитывают исходя из 1-1,5 мин на 1 см толщины бетонного покрытия. Об окончании процесса судят по прекращению поступления водовоздушной смеси в трубопровод.

8.2.39 После окончания процесса вакуумирования необходимо закатать верхнее полотнище таким образом, чтобы фильтровальное полотнище было открыто на 1-2 см с двух сторон при включенном вакуум-насосе в течении 10-15 с. Затем верхнее полотнище полностью сворачивают.

8.2.40 С целью повышения ровности и гладкости поверхности бетонных покрытий полов после уплотнения бетонной смеси и схватывания её до состояния, когда на поверхности при хождении остаются лёгкие следы, следует произвести первичную обработку покрытия - затирку бетоноотделочными машинами с разравнивающими дисками. Вторичную обработку покрытия - бетоноотделочными машинами с лопастями производят не позднее, чем через 6 часов.

8.2.41 При использовании метода вакуумирования первичное заглаживание бетонной поверхности производят непосредственно после окончания вакуумирования, а вторичную обработку - через 3-5 часов.

8.2.42 Для повышения стойкости бетонных покрытий полов к механическим воздействиям, понижения пылеотделения и уменьшения водопроницаемости рекомендуется выполнять упрочнение поверхности покрытий сухими смесями или осуществлять пропитку покрытий полимерными материалами. Возможно также сочетание этих технологических приёмов. Применении окрашенных упрочняющих смесей позволяет получить цветные бетонные поверхности полов.

8.2.43 Бетонное покрытие с упрочнённым верхним слоем рекомендуется выполнять толщиной не менее 70 мм.

8.2.44 Устройство упрочнённого верхнего слоя можно предусматривать по покрытию, выполненному как традиционным способом, так и с применением вакуумирования.

8.2.45 Для упрочняемых бетонных покрытий полов рекомендуется бетон следующих составов, мас. ч.:

при традиционном способе:

 

класс бетона В30 (400 кг/см2)

 

цемент М400

-1,0;

щебень крупностью до 20 мм

-1,7;

песок

-1,0;

в/ц

-0,4-0,42 (с учётом воды, содержащейся в добавках).

- с применением вакуумирования:

класс бетона В22,5 (300 кг/см2)

 

цемент М400

-1,0;

щебень крупностью до 20 мм

-2,4;

песок

-1,4;

в/ц

-0,4-0,42 (с учётом воды, содержащейся в добавках).

8.2.46 Сухие смеси, применяемые для упрочнения бетонных покрытий, должны содержать портландцемент марки не ниже М400 и износостойкий заполнитель, в качестве которого могут быть использованы металлические порошки, корунд, кварц и др., а также модифицирующие добавки. В качестве такой смеси рекомендуется применять упрочняющую смесь марки «Мастертоп» по ТУ 5745-003-40129229-01.

8.2.47 Нанесение упрочняющих смесей осуществляется ещё на влажную бетонную поверхность бетонного покрытия, то есть перед стадиями затирки и заглаживания. При упрочнении бетонных покрытий, изготовленных с применением вакуумирования, нанесение упрочняющей смеси производится сразу же после вакуумирования.

8.2.48 Перед нанесением упрочняющей смеси бетон необходимо загладить для размягчения образовавшейся на поверхности корки. После появления на заглаженной поверхности бетона влаги следует вручную или с помощью механического распределителя нанести на бетон сухую смесь. Расход упрочняющей смеси составляет 5 кг на 1 м2 поверхности покрытия.

8.2.49 Нанесение упрочняющей смеси рекомендуется проводить в 2-3 приёма. В начале наносится 2/3 общего количества смеси. Смесь должна полностью равномерно пропитаться влагой, подсасываемой из бетона, о чём судят по равномерному потемнению смеси. Добавление воды в упрочняющую смесь не допускается.

8.2.50 Заглаживание поверхности производят бетоноотделочной машиной с диском, исключающей образования пузырей и раковин. Участки, не поддающиеся заглаживанию машиной, должны быть заглажены вручную. После нанесения оставшейся смеси повторяют заглаживание.

8.2.51 Окончательную обработку упрочнённой поверхности следует производить машиной с лопастями.

8.2.52 Не позднее, чем через 2 суток после нанесения покрытия при помощи нарезчиков швов с алмазным диском следует нарезать деформационные швы. При применении неизвлекаемых рельс-форм имеющиеся в верхней части рельс-форм пазы используются в качестве деформационных швов и нарезку швов осуществляют только в поперечном направлении.

8.2.53 Бетонное покрытие после его устройства должно выдерживаться во влажных условиях (покрытие полиэтиленовой плёнкой и т.п.) не менее 7 суток, затем осуществляется естественная сушка. Возможно также использование композиций, наносимых на влажную бетонную поверхность и образующих плёнку, с целью предотвращения преждевременного удаления влаги из бетона. Как правило, в качестве таких композиций используются однокомпонентные составы на основе акриловых дисперсий, в частности герметик-упрочнитель марки Master-Cur 113 (концерн «МВТ», Бельгия). Рекомендуется также применение водо-дисперсионной эпоксидной краски марки Ризопокс 5601W (ТУ 2257-011-43548961-2002) и водо-дисперсионных эпоксидных грунтовок-пропиток марки Ризопокс 1301W (ТУ 2257-027-43548961-2003) и марки Koropox (фирма Korodur, ФРГ).

8.2.54 Нанесение таких композиций осуществляется валиком сразу же после выполнения стадии заглаживания, при этом наносится не менее двух слоев состава.

8.2.55 Использование для предотвращения преждевременного высыхания бетона композиций, указанных в п. 8.2.54, на покрытиях, по которым планируется нанесение полимерных пропиток, не рекомендуется.

8.2.56 После достижения бетоном воздушно-сухого состояния (влажность не выше 5%) следует осуществить заделку деформационных швов укладкой в образованный паз эластичного полиуретанового шнура и заливки заподлицо его отверждаемой эластичной уретановой композицией, в качестве которой рекомендуется герметик «Гертекс» (ТУ 5770-006-04002274-00). При выполнении деформационных швов около колонн и вдоль стен следует удалить прокладки из пенополиэтилена и заполнить образующийся паз полиуретановой композицией.

8.2.57 При достижении бетоном воздушно-сухого состояния для снижения пылеотделения от покрытий полов и их водо- и маслопроницаемости возможно также нанесение пропиточных композиций, составы которых и технологии нанесения приведены в главе 9.

8.2.58 Эксплуатация полов допускается после приобретения бетоном проектной прочности на сжатие, пешеходное движение по этим полам может быть допущено при прочности бетона на сжатие не менее 5 МПа.

8.3 Мозаично-бетонные покрытия

8.3.1 Полы с мозаично-бетонным покрытием рекомендуется применять в производственных помещениях, в общественных и животноводческих зданиях с учётом допустимых эксплуатационных воздействий, приведённых в табл. 1, 2, 3 Приложения 1.

8.3.2 Бетонные покрытия могут выполняться по бетонному подстилающему слою и по железобетонному перекрытию (рис. 5).

Рис. 5 Конструктивные схемы полов с мозаично-бетонным покрытием по подстилающему слою (а) и по перекрытию (б)
1 - мозаично-бетонный слой при устройстве покрытия методом втапливания; 1а- верхний мозаично-бетонный слой при двухслойном покрытии; 16 - нижний цементно-песчаный слой при двухслойном покрытии; 2 - бетонный подстилающий слой; 3 - гидроизоляция; 4 - тепло-звукоизоляция; 5 - трубопровод; 6 - перекрытие, 7 - грунт основания.

8.3.3 Мозаично-бетонное покрытие, как правило, выполняется в два слоя. Нижний слой предусматривается толщиной 40-50 мм из цементно-песчаного раствора, а верхний (лицевой) - толщиной от 20 до 30 мм в зависимости от интенсивности механических воздействий (Раздел I, табл. 2) из мозаичной смеси. При этом нижний слой толщиной 40 мм рекомендуется выполнять по бетонному основанию или стяжке, а толщиной 50 мм - по сплошному тепло- и звукоизоляционному слою. При наличии в конструкции пола трубопроводов толщину нижнего слоя следует принимать на 25 мм большей диаметра трубопровода.

8.3.4 Прочность нижнего слоя из цементно-песчаного раствора и мозаичного покрытия на сжатие должна быть не менее 20 МПа.

8.3.5 Для обычных мозаичных покрытий рекомендуется применять бетоны с осадкой конуса 2-4 см, приведённые в таблице 8.3.1, а для цветных - составы, представленные в таблице 8.3.2.

Таблица 8.3.1

Класс бетона

Состав по массе при марке цемента не ниже 400

Вода

Цемент

Мраморный песок (высевки)

Мраморная крошка

В15

0,65

1

2,0

3,4

В22.5

0,5

1

1,4

2,4

В30

0,4

1

1,0

1,7

8.3.6 Для приготовления мозаичных смесей темных тонов используют портландцемент марки не ниже 400 по ГОСТ 10178-76. Мозаичные смеси для покрытий полов светлых тонов приготавливают из белого портландцемента (ГОСТ 965-78), а для цветных - из портландцемента по ГОСТ 15825-80.

8.3.7 Для получения цветных покрытий добавляют в состав бетона щелочестойкие, светоустойчивые минеральные пигменты в количестве - не более 15% от массы цемента. В качестве пигментов используют: сурик железный, окись хрома, ультрамарин и перекись марганца. Пигменты следует вводить в виде суспензии, предварительно пропущенной через краскотёрку.

8.3.8 В качестве крупного заполнителя рекомендуется применять щебень фракции не более 15 мм и не более 0,6 толщины покрытия, который должен изготавливаться из шлифующихся пород (как правило из хорошо шлифующегося мрамора) с пределом прочности при сжатии не менее 60 МПа (600 кг/см2). Соотношение фракций 2,5-5 : 5-10 : 10-15 принимают равным 1:1:1.

8.3.9 В качестве песка рекомендуется применять высевки щебня крупностью от 0,15 до 5 мм из камня полирующихся пород.

8.3.10 Работы по изготовлению покрытий полов следует выполнять при температуре воздуха на уровне пола не ниже +5°С. Эта температура должна поддерживаться до приобретения бетоном 50 %-ной проектной прочности.

8.3.11 Цементно-песчаный раствор нижнего слоя в отличие от технологии изготовления бетонных покрытий полов рекомендуется укладывать в каждую полосу. После схватывания (когда по нему можно ходить) маячные рейки следует извлечь, а борозды заделать раствором той же марки.

8.3.12 Поверхность нижнего слоя не заглаживают и не затирают.

8.3.13 Перед укладкой мозаичных смесей поверхность нижнего слоя из цементно-песчаного раствора разбивают на карты, затем выполняют прорези, в которые вставляют жилки из стекла толщиной 3-5 мм, латуни или полимерных материалов толщиной 1-2 мм, разделяющие всю площадь пола на отдельные участки различного цвета. При этом верх жилок следует тщательно выверить по отметке чистого пола с учётом последующего съёма слоя покрытия при шлифовании. Установленные жилки плотно закрепляют с использованием мозаичной смеси или цементно-песчаного раствора.

Таблица 8.3.2

Цвет покрытия

Цемент марки 400

Каменная

крошка крупностью, мм

Цвет крошки

Пигменты, % от массы цемента

серый

белый

2,5..5

5..10

10..15

перекись марганца

сурик железный

ультрамарин

окись хрома

1

2

3

4

5

6

7

8

9

10

11

Белый с черным

1

-

1

1

1

Белый

12,5

-

-

-

Белый с красным

1

-

1

1

1

Белый

-

10

4

-

Черный

1

-

1

1

1

Черный

5

-

-

-

Черный с белым

-

1,5

2

1

1

Черный

-

-

-

-

Розовый с красным

1

-

1

1

1

Розовый

-

8

-

-

Красный с коричневым

1

-

1

1

1

Красный

5

5

-

-

Черный с зеленым

-

1,5

2

1

1

Черный

-

-

-

17

Серый

1

-

1

1

1

Черный

-

-

-

10

8.3.14 Укладку одноцветных мозаичных смесей следует выполнять между маячными рейками полосами через одну. Смесь уплотняют виброрейками, которые передвигают по маячным рейкам. В местах, недоступных для виброреек, уплотнение смеси осуществляют легкими трамбовками.

8.3.15 При устройстве многоцветных мозаичных покрытий уплотнение виброрейками не производят, чтобы не нарушить разделительные жилки; в этом случае рекомендуется применять пластичные смеси с подвижностью не более 15 см. Повышение подвижности смеси достигается введением пластификаторов. Не допускается увеличение подвижности смеси за счёт повышения водоцементного отношения.

8.3.16 В процессе укладки как одноцветных, так и многоцветных мозаичных смесей в местах примыкания мозаичного покрытия к колоннам и стенам следует устанавливать жилки или прокладки из рулонного гидроизоляционного материала.

8.3.17 Для получения ровной поверхности мозаичную смесь после укладки следует загладить стальной гладилкой.

8.3.18 Через 4-5 дней следует выполнить шлифование поверхности покрытия ручными мозаично-шлифовальными машинами на половину толщины крупного заполнителя. При этом для ускорения процесса обработки рекомендуется применять в качестве смачивающей жидкости вместо воды водные растворы поверхностно-активных веществ (0,1-0,12% водный раствор углекислого натрия), а также использовать дополнительную посыпку на обрабатываемую поверхность песка.

8.3.19 Для высококачественной отделки мозаичных покрытий следует после шлифования производить шпатлевание, дополнительное (чистовое) шлифование, лощение и полировку.

8.3.20 В полах промышленных зданий, где одноцветные мозаичные покрытия устраиваются по бетонным подстилающим слоям, покрытие рекомендуется выполнять одновременно с бетонным подстилающим слоем путём нанесения на поверхность бетона увлажнённой мраморной крошки слоем толщиной 15-20 мм с последующим вибровтапливанием её в бетон. При этом бетонный подстилающий слой следует выполнять с использованием вакуумирования, а втапливание мраморной крошки производить сразу после снятия отсасывающих матов. Вибровтапливание осуществляют при помощи устройства типа виброплиты с вертикально направленными колебаниями при частоте колебаний 50 Гц и удельным давлением не менее 1200 Па. После вибровтапливания поверхность заглаживают затирочными машинами, оборудованными дисками. Уход за покрытием аналогичен уходу за мозаичными полами, устраиваемыми по обычной технологии. Шлифуют покрытия перед сдачей объекта в эксплуатацию.

8.3.21 Мозаичные покрытия по аналогии с бетонными в течение не менее 7 суток после их устройства должны выдерживаться во влажных условиях или на их поверхность следует наносить композиции на основе акриловых дисперсий.

8.3.22 После достижения мозаично-бетонной смесью воздушно-сухого состояния возможно также поверхность покрытия пропитать композициями, составы которых и технологии нанесения приведены в главе 9.

8.3.23 Эксплуатация полов допускается после приобретения бетоном проектной прочности на сжатие, а пешеходное движение может быть допущено при достижении прочности на сжатие не менее 5 МПа.

8.4 Покрытия из бетонных и мозаичных плит

8.4.1 Сборные полы из бетонных и мозаичных плит рекомендуется применять в производственных помещениях, в общественных и в животноводческих зданиях взамен аналогичных монолитных покрытий в целях снижения трудозатрат при производстве работ и ускорения ввода полов в эксплуатацию.

8.4.2 Покрытия пола из бетонных и мозаичных плит могут выполняться по бетонному подстилающему слою в полах по грунту и по железобетонному перекрытию (рис. 6).

8.4.3 Для покрытий полов рекомендуется применять плиты размером 400´400 мм толщиной не менее 25 мм, армированные сетками из стальной проволоки диаметром 3-4 мм с размером ячейки 100´100 мм.

8.4.4 Плиты следует укладывать по прослойке толщиной 10-15 мм из цементно-песчаного раствора с прочностью на сжатие 15 МПа при умеренных и 30 МПа при значительных нагрузках. Рекомендуемые составы цементно-песчаных растворов приведены в таблице 5.1.

8.4.5 Плиты за сутки до укладки следует замочить в воде во избежание интенсивного отсоса влаги из раствора прослойки, а основание очистить от загрязнений и увлажнить, но без скопления воды.

8.4.6 Уровень пола должен обозначаться маяками из раствора, которые устанавливают через каждые 2 м.

8.4.7 Работы по изготовлению покрытий полов следует выполнять при температуре воздуха на уровне пола не ниже +5°С. Эта температура должна поддерживаться до приобретения раствором прослойки 50%-ной проектной прочности.

8.4.8 Раствор следует укладывать в направлении от маячного шнура, установленного по центральной оси помещения или у стены. При этом следует учитывать, что плиты необходимо резать только у одной или двух взаимно перпендикулярных стен.

8.4.9 Раствор следует укладывать полосами длиной не менее 1 м и на 20-30 мм шире укладываемых рядов плит.

8.4.10 Плиты рекомендуется раскладывать по шнуру в направлении «на себя» вплотную друг к другу или со швами толщиной до 3 мм.

8.4.11 Покрытия из бетонных и мозаичных плит по аналогии с бетонными покрытиями в течение не менее 7 суток после их устройства должны выдерживаться во влажных условиях.

8.4.12 Эксплуатация полов допускается после приобретения раствором прослойки проектной прочности на сжатие, а пешеходное движение может быть допущено после приобретения раствором прочности на сжатие не менее 2,5 МПа

Рис. 6 Конструктивные схемы полов с покрытием из бетонных и мозаичных плит по подстилающему слою (а) и по перекрытию (б)
1 - плиты покрытия; 2 - прослойка; 3 - гидроизоляция; 4 - бетонный подстилающий слой; 5 - грунт основания; 6 - стяжка; 7 - тепло-звукоизоляция; 8 -трубопровод; 9 - плита перекрытия.

8.5 Покрытия из жаростойкого бетона и из крупноразмерных плит жаростойкого бетона

8.5.1 Полы из жаростойкого бетона и железобетона рекомендуется применять в горячих цехах (кузнечных, термических, сталеплавильных, литейных, прокатных и т.д.) с учётом допустимых эксплуатационных воздействий, приведённых в табл. 1, 2, 3 Приложения 1.

8.5.2 Покрытие из жаростойкого бетона может быть выполнено по грунту (при этом оно выполняет одновременно и функцию подстилающего слоя) или на перекрытии по слою теплоизоляции, в качестве которой рекомендуется применять каменно-угольный топливный шлак, молотые отходы шамотного кирпича, а также другие жаростойкие сыпучие материалы с насыпной плотностью в уплотнённом состоянии 1000-1200 кг/м3 (рис. 7).

8.5.3 Для устройства покрытий из жаростойкого бетона рекомендуется применять бетон следующего состава (таблица 8.5.1)

Таблица 8.5.1

Назначение

Осадка конуса, см

Состав по массе при марке цемента не ниже 400

Цемент

Вода

Тонкомолотая добавка

Мелкий заполнитель из гранулированного доменного шлака

Крупный заполнитель из литого доменного шлака

 

Доменный гранулированный шлак

Хромит

Для покрытий

3-4

1

0,7

1,8

0,3

0,6

1,4

Для заделки зазоров и монтажных углублений в плитах

3-4

1

0,8

1,8

0,3

0,6

1,4

8.5.4 Для приготовления бетона следует использовать портландцемент (ГОСТ 10178-85) марки не ниже 400.

8.5.5 В качестве тонкомолотых минеральных добавок следует использовать измельчённые отходы или бой шамотных, а также магнезитовых изделий с огнеупорностью не ниже 1610 °С и пределом прочности при сжатии не менее 20 МПа.

8.5.6 В качестве мелкого заполнителя следует применять гранулированный доменный шлак, а в качестве крупного заполнителя - шлаковый щебень плотностью не менее 1,34 т/м3 и прочностью на сжатие материала щебня не менее 120 МПа (1200 кг/см2).

8.5.7 Зерновой состав каждой фракции должен удовлетворять требованиям, приведённым в таблице 8.5.2.

Таблица 8.5.2

Полный остаток заполнителя, %

Размер отверстий контрольных сит, мм

0,14

0,315

0,63

1,35

2,5

5

15

20

Мелкого

90-100

75-90

40-70

15-45

0-25

-

-

-

крупного

-

-

-

-

-

95-100

40-70

0-5

Рис. 7 Конструктивные схемы полов с покрытием из жаростойкого бетона (а) и и из плит жаростойкого железобетона (б)
1 - покрытие; 2 - арматурная сетка; 3 - тепло-звукоизоляция; 4 - перекрытие; 5 - грунт основания; 6 - песчаная прослойка; 7 - плита из жаростойкого железобетона.

8.5.8 Наличие в гранулированном доменном шлаке зёрен размером более 10 мм не допускается, а зёрен размером от 5 до 10 мм не должно быть более 5% по массе.

8.5.9 Литой шлаковый щебень не должен содержать зёрен пластинчатой (лещадной) формы более 15 % по массе.

8.5.10 В зонах нагрева пола выше 400 °С рекомендуется использовать армирование бетона стальной сеткой из арматуры диаметром 5-6 мм, которую размещают на глубине 30 мм от поверхности покрытия.

8.5.11 Технология устройства покрытия из жаростойкого бетона аналогична технологии устройства покрытия из обычного бетона.

8.5.12 Для устройства покрытий из плит жаростойкого железобетона рекомендуется применять изделия размером 3´3 м (основные) и 1,5´1,5 м (доборные).

8.5.13 Плиты следует укладывать на песчаную прослойку толщиной не менее 60 мм. При этом песок рассыпают полосами длиной не менее 4 м и шириной на 20-30 см более размера плит.

8.5.14 Ширина швов между плитами не должна превышать 10 мм. Швы шириной более 5 мм следует заполнить жаростойким раствором из смеси цемента и тонкомолотого гранулированного доменного шлака в соотношении 1:1,8-2, подвижность раствора должна быть 8-10 см. Швы перед заполнением должны быть очищены от пыли, грязи и увлажнены.

8.5.15 Зазоры между плитами и другими конструкциями, а также монтажные углубления в плитах должны быть заполнены жаростойким бетоном на портландцементе с хромитом и заполнителем из шлака.

8.6 Покрытия из кислотостойкого монолитного бетона и из плит кислотостойкого бетона

8.6.1 Покрытия пола из кислотостойкого бетона рекомендуется применять в производственных помещениях с учётом допустимых эксплуатационных воздействий, приведённых в табл. 1, 2, 3 Приложения 1.

8.6.2 Покрытия из кислотостойкого бетона могут выполняться по бетонным подстилающим слоям и по железобетонным перекрытиям (рис. 8).

8.6.3 Толщину покрытий следует назначать в зависимости от интенсивности механических воздействий (Раздел I, табл. 2).

8.6.4 Для устройства кислотостойких монолитных и плитных покрытий рекомендуется использовать бетон из жидкого стекла, кремнефтористого натрия, уплотняющих добавок, а также кислотостойких щебня, песка и минерального порошка (табл. 8.6.1).

Таблица 8.6.1

Назначение

Состав, мас. ч.

Жидкое стекло

Натрий кремне- фтористый

Щебень

Песок

Минеральный порошок

Добавка

Кислотостойкий бетон для покрытий и подстилающих слоев

1

0,18

3,4

1,7

1,7

0,03

Кислотостойкий раствор марки не ниже 150 для прослоек и заполнения швов в покрытиях из штучных материалов

1

0,18

-

1,7

1,7

0,03

Рис. 8 Конструктивные схемы полов с покрытием из кислотостойкого бетона по подстилающему слою (а) и по перекрытию (б)
1 - покрытие; 2 - грунт основания; 3 - гидроизоляция; 4 - стяжка; 5 - тепло-звукоизоляция; 6 - бетонный подстилающий слой; 7 - перекрытие.

8.6.5 Щебень, песок и минеральный порошок должны изготавливаться из каменных материалов (диабаза, андезита, кварца и др.), кислотостойкость которых по ГОСТ 473.1-81 составляет не менее 94%, а прочность при сжатии не менее 80 МПа (800 кг/см2). Крупность щебня не должна превышать 15 мм. Допускается применение природного кварцевого песка, а в качестве минерального порошка - природного пылевидного кварца (маршалита) или кислотоупорного цемента (с учётом количества Na2SiF6 находящегося в нём).

8.6.6 Песок и минеральный порошок должны быть рыхлыми, не содержать глины, извести и примесей органических веществ.

8.6.7 Минеральный порошок должен содержать зёрна мельче 0,075 мм в количестве не менее 70%.

8.6.8 В качестве вяжущего следует применять натриевое жидкое стекло с модулем 2,4-3,0 и плотностью 1,38-1,40 г/см3.

8.6.9 Кремнефтористый натрий с содержанием чистого Na2SiF6 не менее 93% для отверждения жидкого стекла должен иметь влажность не более 1%.

8.6.10 В качестве уплотняющей добавки рекомендуется применять фуриловый спирт (ОСТ 59-127-73).

8.6.11 При изготовлении кислотостойкого раствора и бетона следует предварительно перемешать жидкое стекло с уплотняющей добавкой, затем добавить песок и порошок в смеси с кремнефтористым натрием, а для бетона дополнительно щебень с последующим перемешиванием смеси до получения гомогенной массы.

8.6.12 Укладку кислотостойкой смеси следует производить при температуре воздуха не ниже +10 °С. Эта температура должна поддерживаться до приобретения бетоном не менее 70%-ной проектной прочности.

8.6.13 Технология укладки кислотостойкого бетона аналогична технологии устройства покрытий из обычного бетона.

8.6.14 При плитном варианте покрытия рекомендуется использовать плиты размером 500´500 мм и массой до 20 кг.

8.6.15 Плиты следует укладывать на прослойку толщиной 20-25 мм из кислотостойкого раствора (см. табл. 8.6.1) рядами, параллельными стенам помещения или по специальному рисунку.

8.6.16 Эксплуатация полов допускается после приобретения кислотостойкими бетоном и раствором прослойки проектной прочности на сжатие, а пешеходное движение может быть допущено не ранее приобретением бетоном монолитных покрытий прочности на сжатие не менее 5 МПа, а раствором прослойки - не менее 2,5 МПа.

8.7 Асфальтобетонные покрытия

8.7.1 Асфальтобетонные покрытия пола рекомендуется применять в полах промышленных зданий с учётом допустимых эксплуатационных воздействий, приведённых в табл. 1, 2, 3 Приложения 1.

8.7.2 В животноводческих зданиях асфальтобетонные покрытия полов рекомендуется применять в станках, стойлах, клетках и т.д. при содержании животных на подстилке или при использовании ковриков или решёток, а также в проездах и проходах.

8.7.3 Асфальтобетонные полы могут выполняться по бетонному, гравийному или щебёночному подстилающему слою и по железобетонным перекрытиям (рис. 9). Для утепления асфальтобетонных полов в станках, стойлах и клетках животноводческих зданий их рекомендуется выполнять по керамзитобетонному или аглопоритобетонному подстилающему слою.

8.7.4 Толщину покрытия пола в производственных зданиях следует назначать в зависимости от интенсивности механических воздействий по таблице 1 Приложения 1, а в животноводческих помещениях принимать равной 20 мм.

Рис. 9 Конструктивные схемы полов с покрытием из асфальтобетона по подстилающему слою (а) и по перекрытию (б)
1 - покрытие; 2 - грунт основания; 3 - бетонный подстилающий слой; 4 -стяжка; 5 - тепло-звукоизоляция; 6 - трубопровод; 7 - перекрытие.

8.7.5 Для устройства асфальтобетонных покрытий рекомендуется применять жесткие и литые смеси (табл. 8.7.1).

Таблица 8.7.1

Составляющие, мас.ч.

Жесткие

Литые

зернистые

песчаные

Зернистые

Песчаные

Битум

0,35

0,25

0,45

0,33

Минеральный порошок(менее 0,075 мм)

1

1

1

1

Песок (0,075-5 мм)

1,3

1,5

1,3

1,5

Щебень или гравий

2,3

-

2,3

-

8.7.6 Для асфальтобетонных жестких смесей рекомендуется применять битум с температурой размягчения 50-60 °С, а для литых - битумы с температурой размягчения 50 °С и 70 °С в соотношении 1:2 по массе.

8.7.7 Для щелочестойкого асфальтобетона следует использовать щебень, гравий и минеральный порошок из плотных осадочных (серпентинитов, порфиритов, известняков, доломитов) или изверженных (диабазов, гранитов) пород.

8.7.8 Для кислотостойкого асфальтобетона следует использовать щебень, песок и минеральный порошок из каменных материалов (диабаза, андезита, кварца и др.), кислотостойкость которых по ГОСТ 473.1-81 составляет не менее 94%, а прочность при сжатии не менее 80 МПа (800 кг/см2).

8.7.9 Для безыскрового и неэлектропроводного асфальтобетона следует использовать щебень, песок и минеральный порошок из известняка, мрамора и других искронеобразующих каменных материалов.

8.7.10 Литые асфальтобетонные смеси должны быть однородными с равномерным распределением битума на зёрнах заполнителя. Температура литой асфальтобетонной смеси при приготовлении должна быть в летний период 180-200 °С, а в зимний 200-210 °С, при укладке - 160 °С, а при уплотнении - не ниже 120 °С.

8.7.11 Поверхность основания из бетона или цементно-песчаного раствора перед укладкой асфальтобетона следует огрунтовать раствором битума в бензине при соотношении 1:2-3 по массе.

8.7.12 Асфальтобетонную смесь рекомендуется укладывать в 1-2 слоя полосами шириной 2 м, ограниченными рейками. При этом первую рейку следует располагать на расстоянии 10-15 см от стены, а последующие через 2 м. Маячные рейки высотой на 7-10 мм более проектной толщины покрытия должны укладываться по уровню и быть закреплены распорками во избежание их смещение при уплотнении асфальтобетонной смеси.

8.7.13 После укладки асфальтобетона на первой полосе и его уплотнения последующие полосы следует заполнять через одну. Толщина одного слоя асфальтобетона не должна превышать 25 мм.

8.7.14 Уплотнение асфальтобетонной смеси следует выполнять катками массой 50-80 кг с электронагревателями. Уплотнение жестких асфальтобетонных смесей в местах, недоступных для механических катков (около стен, колонн, фундаментов под оборудование и т.п.) следует производить вибраторами с электрообогревом и частотой колебаний 2000-3000 в 1 мин.

8.7.15 Работы по изготовлению покрытий полов целесообразно осуществлять без технологических перерывов. В противном случае перед возобновлением работ после перерыва кромка ранее уложенного асфальтобетона должна быть вертикально обрублена, разогрета и прогрунтована горячим битумом.

8.7.16 После уплотнения асфальтобетонной смеси катком лицевой слой следует присыпать сухим мелкодисперсным песком и притереть деревянной тёркой, облицованной стальным листом.

8.7.17 Эксплуатация полов допускается через 24 часа после укладки.

8.8 Поливилацетатцементно- и латексцементно-бетонные покрытия

8.8.1 Полы с поливилацетатцементно- и латексцементно-бетонными покрытиями рекомендуется применять в производственных помещениях с учётом допустимых эксплуатационных воздействий, приведённых в табл. 1, 2, 3 Приложения 1.

8.8.2 Поливилацетатцементно- и латексцементно-бетонные покрытия могут выполняться по бетонному подстилающему слою и по железобетонному перекрытию (рис. 10).

8.8.3 По аналогии с мозаично-бетонными покрытиями поливилацетатцементно- и латексцементно-бетонные покрытия следует выполнять из двух слоев: нижнего слоя толщиной 40-50 мм из цементно-песчаного раствора марки 200 и верхнего (лицевого) - толщиной от 20 до 30 мм в зависимости от интенсивности механических воздействий (Раздел I, табл. 2) из смеси комплексного вяжущего - поливинилацетатной пластифицированной дисперсии (ГОСТ 18992-80) или латекса СКС-65ГП марки «Б» (ТУ 38-103111-80) или марки «К» (ТУ 38-3033-73) с цементом, песком, щебнем, водой и, при необходимости придания покрытию пола цветной окраски, ещё и пигментом (табл. 8.8.1). При этом нижний слой толщиной 40 мм рекомендуется выполнять по бетонному основанию или стяжке, толщиной 50 мм - уложенных на сплошной тепло- и звукоизоляционный слой. При наличии в конструкции пола трубопроводов толщину нижнего слоя следует принимать на 25 мм большей его диаметра.

Таблица 8.8.1

Назначение

Осадка

конуса, см

Состав по массе при марке цемента не ниже 400

ПВА-

дисперсия

Латекс СКС-65ГП марки Б или К

Вода

Цемент

Пигменты

Песок

Щебень

Для поливинилацетатцементно-бетонных покрытий

3-4

0,3

 

0,25

1

0,05-0,1

1,4

2,6

Для латексцементно-бетонных покрытий

3-4

 

0,4

0,1

1

0,05-0,1

1,4

2,6

8.8.4 Поливинилацетатная дисперсия должна быть пластифицированной. Если непластифицированная дисперсия поставлена в отдельной таре от пластификатора (дибутилфталата), то перед употреблением в неё добавляют 7,5% от её массы дибутилфталата и тщательно перемешивают в смесителе.

8.8.5 В качестве крупного заполнителя рекомендуется использовать щебень фракции 5-10 мм, который должен изготавливаться из шлифующихся пород (мрамора, базальта и т.п.) с пределом прочности при сжатии не менее 80 МПа (800 кг/см ). Цвет заполнителя может устанавливаться проектом.

8.8.6 Для бетона покрытий рекомендуется применять крупно- или среднезернистый песок по ГОСТ 8736-77* и ГОСТ 10268-80.

8.8.7 Пигменты, применяемые для бетона покрытий, должны быть минеральными, светоустойчивыми (окись хрома, редоксайд и др.), мелко измельченными, рыхлыми, без комков.

Рис. 10 Конструктивные схемы полов с поливилацетатцементно- и латексцементно-бетонным покрытием по подстилающему слою (а) и по перекрытию (б)
1 - покрытие; 2 - бетонный подстилающий слой; 3 - грунт основания; 4 - гидроизоляция; 5 - стяжка; 6 - тепло-звукоизоляция; 7 - перекрытие; 8 - трубопровод.

8.8.8 Основные требования технологии производства работ по укладке, уплотнению и отделке как нижнего слоя из цементно-песчаного раствора, так и верхнего слоя из поливилацетатцементно- и латексцементно-бетонных смесей те же, что и при устройстве мозаичных покрытий. Для обеспечения прочного сцепления верхнего слоя с затвердевшим нижним слоем последний очищают от мусора, обеспыливают пылесосом и грунтуют дисперсией или латексом, разбавленными водой в соотношении по объёму 1:10 (дисперсия или латекс:вода).

8.8.9 При укладке и твердении смесей температура самой смеси, воздуха на уровне пола и температура нижележащего слоя должна быть не ниже 10°С. Такая температура должна поддерживаться до приобретения бетоном прочности не менее 50% от проектной.

8.8.10 Поливилацетатцементно- и латексцементно-бетонные покрытия после их устройства должны выдерживаться во влажных условиях (покрытие полиэтиленовой плёнкой и т.п.) не менее 7 суток, затем осуществляется естественная сушка. Возможно также использование композиций, наносимых на влажную бетонную поверхность и образующих плёнку, с целью предотвращения преждевременного удаления влаги из бетона. Как правило, в качестве таких композиций используются однокомпонентные составы на основе акриловых дисперсий, в частности герметик-упрочнитель марки Master-Cur 113 (концерн «МВТ», Бельгия).

8.8.11 Использование для предотвращения преждевременного высыхания бетона таких композиций на покрытиях, по которым планируется нанесение полимерных пропиток, не рекомендуется.

8.8.12 Нанесение композиций на основе акриловых дисперсий осуществляется валиком сразу же после выполнения заглаживания в два слоя.

8.8.13 После достижения бетоном воздушно-сухого состояния возможно также использование пропиточных композиций, составы которых и технологии нанесения приведены в главе 9.

8.8.14 Эксплуатация полов допускается после приобретения бетоном проектной прочности на сжатие, а пешеходное движение может быть допущено при достижении прочности на сжатие не менее 5 МПа.

8.9 Монолитные полы из лёгких бетонов с латексцементные покрытием

8.9.1 Полы из лёгких бетонов с латексцементным покрытием рекомендуется применять в животноводческих зданиях с учётом допустимых эксплуатационных воздействий, приведённых в табл. 1, 2, 3 Приложения 1.

8.9.2 Легкобетонные полы с утепляющим слоем и латексцементным покрытием относятся, к тёплым полам (показатель теплоусвоения не выше 15 Вт/(м2·°С)) и рекомендуются применяться в свинарниках и откормочниках крупного рогатого скота при бесподстилочном содержании животных.

8.9.3 Не допускается устройство таких полов в проездах и проходах животноводческих зданий.

8.9.4 Полы из лёгких бетонов с латексцементным покрытием выполняются по грунтовому основанию (рис. 11). Они включают теплоизоляционный слой из керамзитового гравия по ГОСТ 9759-83 или аглопоритового щебня фракции 20-40 мм по ГОСТ 11991-83 толщиной 100 мм, подстилающего слой из керамзитобетона или аглопоритобетона класса В3,5 плотностью 1000 кг/м3 или аглопоритобетона класса В5 плотностью 1200 кг/м3 и покрытие из латексцементного раствора марки 150 толщиной 20 мм.

8.9.5 В подстилающем слое предусматриваются температурно-усадочные швы толщиной 15-20 мм с шагом не более 20 м, которые располагают под межклеточными или между стойловыми перегородками. Полости швов заливают битумом или уретановым герметиком.

Рис.11 Конструктивная схема полов из лёгких бетонов с латексцементным покрытием
1 - фунтовое основание; 2 - утепляющая подсыпка из керамзитового гравия или аглопоритового щебня; 3 - легкобетонный подстилающий слой; 4 - латексцементное покрытие; 5 - тяжелый бетон у канала навозоудаления; 6 - решётка для перекрытия канала; 7 - транспортёр для уборки навоза.

8.9.6 Полы должны иметь уклон в сторону навозосборного канала, величину которого рекомендуется принимать в помещениях для крупного рогатого равным 3,5%, а в свинарниках - 5%.

8.9.7 В качестве мелкого заполнителя для легкого бетона подстилающего слоя, а также заполнителя для латексцементного раствора следует применять песок керамзитовый по ГОСТ 9759-83 или песок аглопоритовый по ГОСТ 11991-83.

8.9.8 В качестве вяжущего для легкого бетона и латексцементного раствора следует применять портландцемент марки 400, отвечающий требованиям ГОСТ 10178-85, с содержанием минеральных добавок не более 10%.

8.9.9 Латекс СКС-65ГП марки Б, используемый в качестве компонента полимерцементного раствора, должен удовлетворять требованиям ТУ 38.103111-83. Латекс должен транспортироваться и храниться при температуре не ниже +5°С.

8.9.10 Для полов животноводческих зданий рекомендуется следующий состав лёгкого бетона из расчёта на 1 м3 смеси:

цемент марки 400, кг                                200-220

гравий керамзитовый или щебень    

аглопоритовый фракций 10-40 мм, м3    1,0

песок керамзитовый или

аглопоритовый фракции 1-5 мм, м3           0,2

вода, литр                                                  140-150

8.9.11 Рекомендуемое соотношение компонентов латексцементного раствора марки Ml50 для устройства покрытия (в мас.ч.): цемент : латекс : песок : вода составляет 1:(0,1-0,2):2,4:0,35. Заполнитель в растворе должен состоять по объёму из 50% керамзитового или аглопоритового песка и 50% кварцевого песка. Соотношение компонентов раствора следует уточнить на строительной площадке на опытных образцах. Водопоглощение покрытия в затвердевшем состоянии должно составлять не более 5%.

8.9.12 Приготовление легкого бетона и латексцементного раствора следует производить в смесителях принудительного или гравитационного действия.

8.9.13 Загрузка смесителей материалами для приготовления бетонной смеси производится в следующей последовательности: крупный пористый заполнитель, керамзитовый или аглопоритовый песок, цемент. Вода подаётся постепенно по мере загрузки заполнителя и цемента. Продолжительность перемешивания 2-3 минуты.

8.9.14 Осадка конуса, характеризующая подвижность бетонной смеси для подстилающего слоя, должна составлять не более 20 мм.

8.9.15 При приготовлении латексцементного раствора загрузку компонентов следует производить в следующей последовательности: заполнители - песок керамзитовый или аглопоритовый, строительный песок, цемент, латекс, вода. Продолжительность перемешивания 3-4 минуты.

8.9.16 Подвижность латексцементной растворной смеси следует оценивать по расплыву конуса на встряхивающем столике согласно ГОСТ 310.4-81. Расплыв конуса должен быть не более 120 мм.

8.9.17 Устройство конструктивных слоев пола следует производить после устройства навозосборного канала, до установки перегородок и сантехнического оборудования. В местах установки стоек перегородок следует устраивать колодцы соответствующих размеров с использованием инвентарных пустотообразователей.

8.9.18 Утепляющий слой выполняется из керамзитового гравия или аглопоритового щебня толщиной после уплотнения 100 мм с образованием уклона в сторону навозосборного канала.

8.9.19 Устройство подстилающего слоя следует выполнять с соблюдением рекомендаций главы 3.

8.9.20 При укладке и твердении легкобетонных смесей температура самой смеси, воздуха на уровне пола и температура нижележащего слоя должна быть не ниже 5°С. Такая температура должна поддерживаться до приобретения бетоном прочности не менее 50% от проектной.

8.9.21 Виброуплотнение свежеуложенных бетонных смесей следует производить виброрейками или площадочными вибраторами.

8.9.22 Технологические (рабочие) швы в легкобетонном слое следует, как правило, совмещать с температурно-усадочными швами.

8.9.23 Латексцементное покрытие следует выполнять по свежеуложенному подстилающему слою до установки технологического оборудования. При укладке и твердении полимерцементной растворной смеси температура самой смеси, воздуха на уровне пола и температура нижележащего слоя должна быть не ниже 15°С. Такая температура должна поддерживаться до приобретения покрытием прочности не менее 70% от проектной.

8.9.24 В случае устройства латексцементного покрытия по затвердевшему подстилающему слою, поверхность его необходимо предварительно тщательно очистить от загрязнений и огрунтовать раствором латекса, разведенным водой в соотношении 1:10 по объёму.

8.9.25 Укладку латексцементного раствора следует производить с помощью пневматических нагнетателей. Допускается укладка раствора ручным способом. Подаваемый к месту укладки раствор разравнивается рейкой до проектной толщины и заглаживается гладилкой.

8.9.26 Латексцементный раствор, укладывается на всю ширину стойла с разравниванием раствора в направлении уклона пола.

8.9.27 Границу участка покрытия, ограничивающую суточный или сменный объём работ, следует размещать в местах расположения межстойловых перегородок. Кромка границы покрытия при этом должна быть вертикальной.

8.9.28 Перед возобновлением работ по устройству латексцементного покрытия вертикальная кромка должна быть очищена и огрунтована раствором латекса. В местах стыков необходимо обеспечить качественное примыкание слоев раствора.

8.9.29 С целью предотвращения образования усадочных трещин покрытие пола должно в течение 7-10 дней после укладки находиться под слоем постоянно влажного водоудерживающего материала.

8.9.30 Эксплуатация полов допускается после приобретения раствором проектной прочности на сжатие. Пешеходное движение по этим полам может быть допущено после приобретения покрытием прочности на сжатие не менее 5 МПа.

8.10 Известняково-керамзитовые полы

8.10.1 Известняково-керамзитовые полы рекомендуется применять в животноводческих зданиях (свинарниках) с учётом допустимых эксплуатационных воздействий, приведённых в табл. 1, 2, 3 Приложения 1.

8.10.2 Известняково-керамзитовые полы относятся к «тёплым» полам (показатель теплоусвоения не выше 15,6 Вт/(м2·°С)), характеризуются достаточной мягкостью поверхностного слоя (твердость по МООСУ равна 3), обеспечивающей условия нормального нарастания и сохранения роговых образований копыт животных, благодаря чему их рекомендуется применяться при бесподстилочном содержании животных. Кроме того, известняк нейтрализует кислоты, что приостанавливает процесс гниения продуктов жизнедеятельности животных.

8.10.3 Не допускается устройство таких полов в проездах и проходах животноводческих зданий.

8.10.4 Известняково-керамзитовые полы выполняются по грунтовому основанию (рис. 12). Они включают покрытие - известняково-керамзитовый слой толщиной 30 мм, теплоизоляционный слой из керамзитобетона толщиной 80 мм (за исключением двухметровых полос, примыкающих к наружным стенам, где толщина слоя принимается равной 120 мм) и подстилающий слой из щебня или крупнозернистого песка толщиной 120 мм.

8.10.5 При высоком уровне грунтовых вод и опасности их капиллярного поднятия рекомендуется применение усиленных полов следующих конструкций:

Вариант I

1. Покрытие - известково-керамзитовый слой -30 мм;

2. Теплоизоляционный керамзитобетонный слой - 80 или 120 мм;

3. Рулонная гидроизоляция на битумной мастике - 5 мм;

4. Подстилающий слой из бетона В7,5, армированного сеткой 100´100´5 мм  - 80 мм.

Вариант II

1. Покрытие - известково-керамзитовый слой - 30 мм;

2. Теплоизоляционный керамзитобетонный слой - 80 или 120 мм;

3. Подстилающий слой из битумизированного щебня -120-130 мм.

8.10.6 Температурно-усадочные швы в полах отапливаемых зданий следует предусматривать с шагом 20 м, в неотапливаемых зданиях или на открытых площадках швы рекомендуется выполнять во взаимно перпендикулярных направлениях на расстоянии 8-12 м. Швы должны располагаться, как правило, у ограждения станков, что предохраняет их от разрушения животными. Швы устраивают сквозные вертикальные, их следует выполнять при помощи нарезчика швов с алмазным диском или путём установки досок, обёрнутых толем, или строганных досок, обмазанных горячим битумом. Доски удаляют в процессе бетонирования до окончания схватывания смеси, а швы заполняют битумными составами или полиуретановыми герметиками.

8.10.7 Полы должны иметь уклон 5% в сторону навозосборного канала.

8.10.8 Для известняково-керамзитового слоя следует применять:

- керамзитовый песок по ГОСТ 9759-83 плотностью 500 кг/м3 крупностью 0,005-3 мм;

- известняковый песок крупностью 0,005-0,14,0,14-1 и 1-2,5 мм;

- кирпичный щебень из обожженного глиняного кирпича марки 100 по ГОСТ 7484-78 крупностью 5-10 мм;

- портландцемент марки 400 по ГОСТ 10178-85

8.10.9 Известняковый песок по химическому составу должен удовлетворять следующим требованиям, в %:

потери при прокаливании                         - 40,0-43,5;

нерастворимый в НС1 остаток                 - 8,0-1,5;

полуторные окислы (AI2O3 + Fе2О3)       - 3,6-0,5;

окись кальция                                            - 47,4-54,0;

окись магния                                             -1,0-0,5;

углекислый кальций                                - 85,0-97,0;

углекислый магний                                  -2,8-2,5.

Химический состав известнякового песка определяется по ГОСТ 5831-63.

8.10.10 Для теплоизоляционного слоя следует применять керамзитовый песок по ГОСТ 9759-83 плотностью 500 кг/м3 с крупностью зёрен 0,005-3 мм, керамзитовый гравий по ГОСТ 9759-83 плотностью 500 кг/м3 и крупностью 10-20 мм и портландцемент марки 400, соответствующий требованиям ГОСТ 10178-85, с содержанием минеральных добавок не более 10%.

8.10.11 Подстилающий слой необходимо предусматривать из двух частей: нижней, укладываемой по грунту, из щебня крупностью не менее 50 мм с песком и верхней - из щебня крупностью 20-40 мм. Щебень должен быть из материалов твёрдых пород.

Рис. 12 Конструктивные схемы полов с известняково-керамзитовым покрытием
1 - известняково-керамзитовое покрытие; 2 - теплоизоляционный керамзитовый слой; 3 - гидроизоляция; 4 - подстилающий щебёночный слой; 5 - бетонный подстилающий слой; 6 - подстилающий слой из битумизированного керамзита; 7 - грунт основания.

8.10.12 Для известняково-керамзитового слоя рекомендуется следующий состав бетона из расчёта на 1 м3 смеси:

цемент марки М400                                    475 кг

керамзитовый песок                                   204 кг

известняковый песок крупностью:

       0,005-0,14 мм                                        190 кг

       0,14-1 мм                                               250 кг

      1-2,5 мм                                                  310 кг

кирпичный щебень                                     215 кг

вода                                                              56 кг

Прочность поверхностного слоя на сжатие после 28 суток воздушно-сухой выдержки должна быть не менее 20 МПа. .

8.10.13 Рекомендуемый состав бетона теплоизоляционного слоя на 1 м смеси:

цемент марки М400             250 кг

керамзитовый щебень         500 кг

керамзитовый песок            250кг

вода                                       28 кг

Прочность теплоизоляционного слоя на сжатие после 28 суток воздушно-сухой выдержки должна быть не менее 10 МПа.

8.10.14 При изготовлении бетонного или щебёночного подстилающих слоев следует руководствоваться рекомендациями, изложенными в главе 3, а при устройстве рулонной гидроизоляции или пропитке щебёночного подстилающего слоя битумом - рекомендациями, изложенными в главе 7.

8.10.15 Приготовление смесей как для теплоизоляционного, так и для поверхностного слоя следует производить в смесителях принудительного действия на централизованном или приобъектном бетоносмесительном узле.

8.10.16 Загрузка смесителей материалами для приготовления керамзитобетонной смеси производится в следующей последовательности: крупный пористый заполнитель, керамзитовый песок, цемент. Вода подаётся постепенно по мере загрузки заполнителя и цемента. Продолжительность перемешивания не менее 3 минуты.

8.10.17 При приготовлении раствора для поверхностного слоя загрузку компонентов следует производить в следующей последовательности: заполнители - кирпичный щебень, песок керамзитовый и известняковый, цемент и вода. Продолжительность перемешивания не менее 2 минут.

8.10.18 К устройству конструктивных слоев пола следует приступать после окончания работ по монтажу железобетонных панелей ограждения боксов, устройству подпольных каналов и навозосборных лотков.

8.10.19 Температура воздуха на уровне основания пола, а также укладываемых смесей не должна быть ниже 5°С. Такая температура должна поддерживаться до приобретения бетоном прочности не менее 50% проектной.

8.10.20 Устройство теплоизоляционного слоя следует производить по подготовленному и очищенному подстилающему слою, выверенному по проектным отметкам, для обеспечения требуемых уклонов пола и толщины теплоизоляционного слоя.

8.10.21 Укладку керамзитобетонной смеси рекомендуется выполнять полосами (участками) шириной не более 1,5-2 м по рейкам, которые устанавливаются на растворе. Высота реек должна быть равной толщине укладываемого керамзитобетонного слоя.

8.10.22 Виброуплотнение свежеуложенных бетонных смесей следует производить виброрейками или площадочными вибраторами.

8.10.23 Устройство покрытия пола следует осуществлять через 2-4 часа после окончания укладки бетона теплоизоляционного слоя.

8.10.24 Укладку смеси при устройстве покрытия также следует проводить полосами шириной не более 2 м. При этом маячные рейки, высота которых равна 30 мм, следует располагать, как правило, параллельно длиной стороне помещения, а при наличии сточных лотков - перпендикулярно продольной оси лотка, к которым направлен уклон пола. После схватывания уложенной смеси до состояния, когда на поверхности слоя при хождении остаются небольшие вмятины, рейки извлекают из поверхностного слоя, а пазы заполняют известняково-керамзитовой смесью.

8.10.25 Разравнивание известняково-керамзитовой смеси производят по аналогии с керамзитобетонной смесью. Уплотнение производят также виброрейками, передвигаемыми по маячным рейкам или при небольшой площади пола - площадочными вибраторами, а в труднодоступных местах - ручными трамбовками, с последующим окончательным разравниванием правилом.

8.10.26 Для ликвидации глянцевой поверхности, образуемой после уплотнения известняково-керамзитовой смеси, и придания поверхностному слою пола требуемой шероховатости, рекомендуется обработать поверхность пола затирочными машинами (но не шлифовать их). Обработку следует начинать после схватывания известняково-керамзитовой смеси до состояния, когда на поверхности слоя при хождении остаются лишь небольшие следы.

8.10.27 После окончания затирки пол следует засыпать опилками слоем не менее 30 мм и в течение 7-10 суток увлажнять их не реже одного раза в сутки. При температуре воздуха в помещении свыше 15°С поливку в первые 3-4 дня следует производить не реже двух раз в сутки.

8.10.28 Эксплуатация полов допускается после приобретения раствором проектной прочности на сжатие. Пешеходное движение по этим полам может быть допущено не ранее приобретением раствором монолитных покрытий прочности на сжатие не менее 5 МПа.

8.11 Ксилолитовое и поливилацетатцементно-опилочное покрытия

8.11.1 Полы с ксилолитовым и поливилацетатцементно-опилочным покрытиями рекомендуется применять в производственных помещениях с учётом допустимых эксплуатационных воздействий, приведённых в табл. 1, 2, 3 Приложения 1.

8.11.2 Покрытия, выполненные из ксилолитовой и поливилацетатцементно-опилочной смеси плотностью 1200 кг/м3 являются «тёплыми» и характеризуются показателем теплоусвоения не более 11,63 Вт/(м2·К); а из смеси плотностью 1400-1500 кг/м3 относятся к «умеренно тёплыми» с показателем теплоусвоения 15,1-16,3 Вт/(м2·К).

8.11.3 Ксилолитовое и поливилацетатцементно-опилочное покрытия могут быть выполнены по бетонному подстилающему слою и по железобетонному перекрытию (рис. 13).

8.11.4 Толщину покрытий следует назначать в зависимости от интенсивности механических воздействий (Раздел I, табл. 2).

8.11.5 Ксилолитовые покрытия выполняют из смеси древесных опилок хвойных пород, каустического магнезита, водного раствора хлористого магния и пигментов, а поливилацетатцементно-опилочные покрытия из смеси портландцемента марки не ниже 400, пластифицированной поливинилацетатной дисперсии (ГОСТ 18992-80*), древесных опилок, пигмента и воды.

8.11.6 Для устройства ксилолитового и поливилацетатцементно-опилочного покрытий рекомендуется использовать составы, приведённые в таблице 8.11.1

Рис. 13 Конструктивные схемы полов с ксилолитовым и поливинилацетатцементно-опилочным покрытием по подстилающему слою (а) и перекрытию (б)
1 - покрытие; 2 - грунт основания; 3 - бетонный подстилающий слой; 4 - стяжка; 5 - тепло-звукоизоляция; 6 - трубопровод; 7 - перекрытие.

Таблица 8.11.1

Вид покрытия

Состав по массе (мае. ч.)

Портландцемент

ПВА-дисперсия

Магнезит

Древесные опилки

Песок

Вода

Раствор хлористого магния

Пигмент

Ксилолитовое плотностью1200 кг/м3

-

-

100

25

-

-

100-110 плотностью1,18 г/см3

3-4

плотностью1500 кг/м3

-

-

100

18

70

-

85-95 плотностью1,20 г/см3

3-4

Поливинилацетатцементно-опилочное плотностью1100 кг/м3

100

20

-

20

-

40-50

 

2-4

плотностью1400 кг/м3

100

8-10

 

10

-

40-50

 

2-4

8.11.7 Для приготовления связующего поливинилацетатцементно-опилочной смеси следует использовать портландцемент (ГОСТ 10178-85) марки не ниже 400 и поливинилацетатную пластифицированную дисперсию (ГОСТ 18992-80).

8.11.8 Каустический магнезит (ГОСТ 1216-75*) должен содержать в своём составе окиси магния не менее 75%, зёрен крупнее 0,075 мм не более 25%, зёрен крупнее 0,3 мм не более 5%.

8.11.9 Раствор хлористого магния, содержащий не менее 45% MgCl2, получают растворением в воде кристаллического хлористого магния (ГОСТ 7759-73*) заводского производства, либо полной нейтрализацией каустическим магнезитом соляной кислоты (ГОСТ 1382-42) или ингибированной соляной кислоты. При этом нерастворимый осадок должен быть отфильтрован из раствора.

8.11.10 Вместо раствора хлористого магния для приготовления ксилолитовой смеси допускается применение водного раствора искусственного карналита или карналитовой руды при условии обеспечения прочности ксилолита на растяжение после 7 суток воздушно-сухого выдерживания не менее 2 МПа (20 кг/см2).

8.11.11 Древесные опилки заготавливаются из хвойных пород. Влажность опилок для обоих типов покрытий не должна превышать 20%, крупность - 2,5 мм для однослойного и верхнего слоя двухслойного покрытия и не более 5 мм для нижнего слоя двухслойного покрытия. Опилки не должны содержать примеси коры, листьев и мусора.

8.11.12 Пигменты (красители) должны быть минеральными, щелочестойкими, сухими, мелкоизмельченными, однородного состава, стойкими к действию света, а для ксилолита - и к соляной кислоте: сурик железный, редоксайд, окись хрома, фтало-цианин. Пигменты вводятся в смеси для изготовления однослойного покрытия и верхнего слоя двухслойного покрытия.

8.11.13 В качестве песка следует применять песок кварцевый или дробленный (ГОСТ 8736-85) из природного камня кристаллических пород (гранита, сиенита, базальта и им подобных) крупно- или среднезернистый с содержанием глинистых или илистых частиц не более 3%.

8.11.14 Составы ксилолитовых и поливилацетатцементно-опилочных смесей уточняются при опытном замесе. Предел прочности их при растяжении в возрасте 7 суток воздушно-сухого хранения должен быть не менее 2 МПа (20 кг/см2), а в возрасте 28 суток - 3 МПа (30 кг/см2).

8.11.15 При приготовлении ксилолитовой смеси опилки смешиваются с каустическим магнезитом и пигментом в сухом состоянии, а затем с водным раствором хлористого магния.

8.11.16 При приготовлении поливинилацетатцементно-опилочной смеси ПВА-дисперсию смешивают с пигментом, затем добавляют цемент и опилки с последующим перемешиванием до достижения однородности.

8.11.17 Смешивание компонентов ксилолитовой и поливинилацетатцементно-опилочной смесей следует осуществлять в смесителях принудительного действия,

8.11.18 Подвижность ксилолитовых и поливинилацетатцементно-опилочных смесей по глубине погружения стандартного конуса должна быть равной 2-3 см.

8.11.19 Устройство ксилолитовых покрытий следует выполнять при температуре воздуха в помещении не ниже +10°С. Такая температура должны поддерживаться до приобретения материалом прочности не менее от 70 % проектной.

8.11.20 Устройство поливинилацетатцементно-опилочных покрытий следует выполнять при температуре воздуха в помещении не ниже +5°С. Такая температура должна поддерживаться до приобретения материалом прочности не менее 50 % от проектной.

8.11.21 Перед устройством полов в помещении должны быть выполнены штукатурные и другие работы, связанные с возможностью увлажнения покрытий. При устройстве этих полов и в последующий период до сдачи объекта в эксплуатацию относительная влажность воздуха не должна превышать 60 %. Сквозняки в помещении не допускаются.

8.11.22 Влажность бетонного основания при укладке обоих типов покрытий не должна превышать 5%, а прочность не должна быть ниже 15 МПа.

8.11.23 Поверхность бетонного основания перед устройством ксилолитовых покрытий следует очистить и не менее чем за 40 минут до укладки покрытия прогрунтовать смесью раствора хлористого магния (плотностью 1,06-1,07 гр/см3 ) с каустическим магнезитом в соотношении 4:1 по массе, а перед устройством поливинилацетатцементно-опилочных покрытий прогрунтовать неразбавленной поливинилацетатной дисперсией с расходом её 1 кг/м2.

8.11.24 Перед укладкой ксилолитовых покрытий металлические детали и конструкции, соприкасающиеся с ними, защищают от действия хлористого магния окраской битумным лаком БТ-577, перхлорвиниловыми или сополимерными эмалями марок ПХВ или ХСЭ или закрывают слоем цементно-песчаного раствора толщиной не менее 30 мм. При этом нижнюю часть стен, перегородок, колонн и других конструкций рекомендуется изолировать слоем цементно-песчаного раствора состава 1:2, а в местах возможного нагрева ксилолитовых полов до температуры более +50 °С источники нагрева (трубы, отопительные приборы и т.п.) должны быть изолированы теплоизоляционными материалами.

8.11.25 Укладку ксилолитовых и поливинилацетатцементно-опилочных смесей следует производить полосами шириной не более 2,0 м, ограниченными деревянными строганными рейками, которые служат маяками. Толщина маячных реек должна быть на 50-60% больше толщины укладываемого слоя с учётом последующего уплотнения. Укладку смеси начинают от стен с постепенным приближением к входным дверям, проезду и т.п. Полосы заполняют через одну и разравнивают правилом, передвигаемым по маячным рейкам.

8.11.26 В промежуточные полосы смесь следует укладывать через 1-2 суток, причём маячные рейки, ограничивающие ранее уложенные полосы покрытия, предварительно удаляют.

8.11.27 Уплотнение смесей следует производить катками весом 60-100 кг. Начало уплотнения, вес катка и количество проходов по одному следу необходимо устанавливать пробной укаткой. При движении катка в укатываемом покрытии не должны образовываться вмятины, разрывы (трещины) и раковины. Покрытие после укатки должно быть ровным и однородным. В местах, недоступных для работы катков, смесь следует уплотнять трамбовками весом 3-5 кг.

8.11.28 Уплотнение смесей должно прекращаться на расстоянии не менее 300 мм от открытой кромки покрытия; этот участок уплотняется после укладки следующей порции смесей. При перерыве в работе открытую кромку покрытия в поперечном направлении следует оградить маячной рейкой и уплотнить.

8.11.29 В местах рабочих швов уплотнение смесей следует осуществлять до тех пор, пока шов станет незаметным.

8.11.30 При появлении во время уплотнения на поверхности ксилолитовых или поливинилацетатцементно-опилочных покрытий жидкости их посыпают сухой ксилолитовой (каустический магнезит с опилками) или цементно-опилочной смесью при соотношении составляющих, приведённом в таблице 8.11.1.

8.11.31 Верхний слой двухслойного покрытия следует укладывать по затвердевшему и подсохшему нижнему слою (через 1-2 суток после его укладки); поверхность нижнего слоя предварительно огрунтовывают.

8.11.32 Поверхность лицевого слоя покрытий должна быть заглажена металлическими гладилками до начала схватывания составов.

8.11.33 Твердение покрытий должно проходить в условиях, исключающих попадание на пол влаги. Белый налёт, появляющийся на поверхности ксилолитового покрытия, следует смыть водой, а затем поверхность вытереть насухо.

8.11.34 В помещениях с повышенными требованиями к внешнему виду пола покрытия рекомендуется отшлифовать и отциклевать. Обработку покрытий начинают не ранее достижения покрытиями прочности, при которой не выкрашиваются опилки, а заканчивают до приобретения прочности, затрудняющей отделку - обычно через 2-6 суток после укладки смесей.

8.11.35 Для увеличения срока службы, износостойкости и водостойкости покрытий возможно также использование пропиточных композиций, составы которых и технологии нанесения приведены в главе 9.

8.11.36 Эксплуатация полов допускается после приобретения покрытием проектной прочности на сжатие. Пешеходное движение по этим полам может быть допущено не ранее приобретения прочности на сжатие не менее 5 МПа.

8.12 Эпоксидные и полиуретановые мастичные покрытия

8.12.1 Эпоксидные и полиуретановые мастичные покрытия рекомендуется применять в производственных помещениях, к которым предъявляются повышенные требования по чистоте с учётом допустимых эксплуатационных воздействий, приведённых в табл. 1, 2, 3 Приложения 1. При этом для уменьшения скользкости рекомендуется выполнять покрытия с шероховатой или текстурированной поверхностью, а в помещениях, в которых расположено электрооборудование, выходящее из строя при образовании искр от статического электричества, эпоксидные и полиуретановые мастичные покрытия следует предусматривать антистатическими.

8.12.2 Эпоксидные и полиуретановые мастичные покрытия могут быть выполнены по бетонному подстилающему слою в полах по грунту и по железобетонному перекрытию (рис. 14).

8.12.3 Толщину покрытий следует назначать в зависимости от интенсивности механических воздействий (Раздел I, табл. 2).

8.12.4 Эпоксидные и полиуретановые мастичные покрытия полов следует выполнять по тщательно подготовленной поверхности стяжки из бетона класса не ниже В15 и влажности её не более 5 %. Поверхность стяжки перед нанесением мастичных составов следует отфрезеровать или подвергнуть дробеструйной обработке, или, по крайней мере, отшлифовать мозаично-шлифовальной машиной с алмазными дисками и обеспылить.

Рис. 14 Конструктивные схемы полов с эпоксидным и полиуретановым покрытием по подстилающему слою (а) и перекрытию (б)
1 - покрытие; 2 - грунт основания; 3 - гидроизоляция; 4 - стяжка; 5 - тепло-звукоизоляция; 6 - бетонный подстилающий слой; 7 - перекрытие; 8 - трубопровод

8.12.5 Выполненные в процессе изготовления бетонного подстилающего слоя деформационно-усадочные швы следует заделать до начала нанесения полимерного покрытия эпоксидной шпаклёвочной композицией (в полах, эксплуатирующихся при постоянной температуре) или полиуретановой эластичной композицией (в полах, при эксплуатации которых возможны изменения температуры при небольшой амплитуде колебаний). При эксплуатации покрытий с резкими и значительными колебаниями температуры рекомендуется заделать деформационно-усадочные швы эпоксидной шпаклёвочной композицией, выполнить полимерное покрытие и нарезать температурно-деформационные швы в продольном и поперечном направлении с шагом от 3 до 6 м с заделкой их полиуретановой композицией.

8.12.6 Эпоксидные и полиуретановые мастичные покрытия рекомендуется выполнять из компаундов заводского изготовления, имеющих гигиеническое заключение и пожарный сертификат - «ДИАПОЛ-320» (ТУ 2257-003-27576372-2000), «ФЕАС» (ТУ 2257-001-06085062-97), «РИЗОПОКС-5010» (ТУ2257-001-43548961-2002) и др.

8.12.7 Нанесение покрытий полов может осуществляться методом «налива» и методом «послойной технологии».

8.12.8 Технология устройства наливных эпоксидных мастичных покрытий включает заделку трещин и выбоин в бетонной стяжке шпаклевочными составами марки «ДИАПОЛ-210» (ТУ 2257-008-27576372-2000) или «ДИАПОЛ-220» (ТУ 2257-009-27576372-2000), грунтовку (валиком) поверхности стяжки грунтовочными составами марки «ДИАПОЛ-110» или «ДИАПОЛ-112» (ТУ 2257-007-27576372-2000), нанесение методом налива с разравниванием калибровочной раклей основного слоя толщиной 1,5-3 мм из композиции марки «ДИАПОЛ-310» (ТУ 2257-002-27576372-2000) и лицевого слоя толщиной 1-2 мм из композиции марки «ДИАПОЛ-320» (ТУ 2257-003-27576372-2000). С целью устранения образования воздушных пузырей в процессе нанесения лицевого слоя следует выполнять прокатку наносимого покрытия игольчатым валиком.

8.12.9 При повышенных требованиях к ровности и гладкости покрытий перед нанесением лицевого слоя следует отшлифовать поверхность основного слоя мозаично-шлифовальной машиной с алмазными дисками и обеспылить.

8.12.10 Нанесение каждого слоя осуществляется через 12-24 часа после нанесения предыдущего. При выполнении работ температура воздуха на уровне пола, температура нижележащего слоя и укладываемых материалов должна быть не ниже.

8.12.11 Метод «послойной технологии», применяемый при изготовлении покрытий полов, подвергающихся механическим воздействиям «слабой» интенсивности, отличается от метода «налива» технологией изготовления основного слоя. При данном методе на огрунтованную поверхность стяжки валиком наносится слой ненаполненной окрашенной композиции «ДИАПОЛ-310» (ТУ 2257-002-27576372-2000) и осуществляется сплошная засыпка поверхности промытым и просушенным кварцевым песком. После отверждения композиции излишки песка удаляются и осуществляется нанесение нового слоя композиции и новая засыпка поверхности пола песком. После набора основным слоем необходимой толщины проводят нанесение последнего слоя композиции, а затем выполняют методом «налива» лицевой слой.

8.12.12 Монолитные покрытия с повышенными эстетическими характеристиками получают методом разбрасывания по не затвердевшей поверхности лицевого слоя покрытия метилметакрилатных или поливинилхлоридных «чипсов» и последующего нанесения валиком 1-2 слоев полиуретанового бесцветного лака.

8.12.13 При изготовлении монолитных покрытий с шероховатой поверхностью рекомендуется выполнить основной слой методом «послойной технологии» и нанести отделочное лакокрасочное покрытие из эпоксидной краски марки «РИЗОПОКС-4610» (ТУ 2257-008-43548961-2002).

8.12.14 При изготовлении монолитных покрытий с текстурированной поверхностью рекомендуется выполнить основной слой методом «послойной технологии» или методом «налива», нанести валиком лицевой слой из тиксотропной полимерной композиции «Диапол-360» (ТУ 2257-006-27578372-2000) с последующей прокаткой этого слоя специальным валиком для получения текстурированной поверхности.

8.12.15 Технология изготовления антистатических покрытий включает изготовление электроотводящего контура путём приклейки по периметру помещения и в продольном и поперечном направлениях с шагом 3-6 м самоклеющихся медных лент или лент из графитового волокна, подключение данного контура к системе заземления здания, нанесение валиком электропроводной грунтовки и методом налива антистатического покрытия с удельным поверхностным электросопротивлением 106-109 Ом из эпоксидного компаунда марки «ФЕАС-А» (ТУ 2257-001-06085062-97).

8.12.16 Область применения, конструкции и технология нанесения полиуретановых мастичных покрытий аналогичны эпоксидным. Для применения могут быть рекомендованы: грунтовка марки «Праймер 1101» (ТУ 2312-008-10861980-01), полиуретановая композиция марки «Полиплан 1001» (ТУ 5772-005-10861980-01), полиуретановый полуматовый лак «Финишлак 1105» (ТУ 2311-047-10861980-01), а также токопроводящая грунтовка марки «Праймер 1102» (ТУ 2312-008-10861980-01) в комплекте с токопроводящей полиуретановым композицией для устройства антистатических покрытий пола марки «Полиплан 1002» (ТУ 5772-005-10861980-01). Для покрытий полов на объектах ядерной энергетики и других подобных производств рекомендуется использовать композицию марки «Полиплан 1004» (ТУ 5772-005-10861980-01).

8.12.17 Хождение по эпоксидным и полиуретановым мастичным покрытиям допускается через 24 часа после нанесения последнего слоя, а полная эксплуатация - после 7 суток воздушной выдержки при температуре не ниже +15°С. Во избежание образования на поверхности ряби и липкости в период нанесения покрытия и воздушной выдержки полы следует защищать от сквозняков, воды и конденсирующейся влаги.

8.13 Покрытия из чугунных и стальных плит на бетонной прослойке

8.13.1 Покрытия пола из чугунных и стальных штампованных плит рекомендуется применять в помещениях производственных зданий с учётом допустимых эксплуатационных воздействий, приведённых в табл. 1, 2, 3 Приложения 1. При этом чугунные плиты с рифлёной лицевой поверхностью следует применять в зонах перетаскивания тяжестей, а также на рабочих местах, где необходимо исключить опасность скольжения работающих, а гладкие плиты - в зонах, где осуществляется движение тележек на колёсах диаметром до 250 мм и при специальных требованиях к гладкости пола.

8.13.2 Покрытия пола из чугунных и стальных штампованных плит могут выполняться по бетонному подстилающему слою и по железобетонному перекрытию (рис. 15).

8.13.3 Для покрытий полов рекомендуется использовать гладкие и рифлёные чугунные дырчатые плиты размером 298´298 мм с рёбрами жесткости и шипами на тыльной стороне и стальные штампованные перфорированные плиты размером 300´300´3 мм. Отверстия в плитах предназначены для выхода воздуха при укладке плит. Ребра жесткости и шипы обеспечивают анкеровку плит в прослойке.

8.13.4 Плиты следует укладывать на прослойку из мелкозернистого бетона при температуре воздуха на уровне пола и температуре подстилающего слоя или перекрытия, а также самих плит не ниже +5°С. Эта температура должна поддерживаться до приобретения бетоном прослойки прочности не менее 50% от проектной.

Рис. 15 Конструктивные схемы полов с покрытием из чугунных и стальных плит по подстилающему слою (а) и перекрытию (б)
1 - плиты покрытия пола; 2 - прослойка из мелкозернистого бетона; 3 -грунт основания; 4 - бетонный подстилающий слой; 5 - тепло-звукоизоляция; 6 - трубопровод; 7 - перекрытие

8.13.5 Для прослойки рекомендуется использовать мелкозернистый бетон следующего состава, мас.ч.:

портландцемент марки не ниже 400              -1,0;

щебень (гравий) крупностью до 10 мм          -1,7;

песок                                                                  -1,0;

вода                                                                    -0,35-0,4

8.13.6 Плиты следует укладывать полосами (участками) шириной 10-12 м. В пределах каждой полосы плиты укладываются рядами, как правило, параллельными стенам помещения. При наличии в помещении большого числа фундаментов под оборудование, грани которых параллельны между собой, но не параллельны стенам, ряды плит следует располагать параллельно фундаментам.

8.13.7 Первый ряд плит рекомендуется укладывать вдоль стен или каналов с примыканием к ним вплотную, начиная с двух маячных плит, которые устанавливают на концах ряда.

8.13.8 Между основными маячными плитами должна быть натянута шнур-причалка и размещены с интервалом 3-4 м промежуточные маячные плиты.

8.13.9 Плиты каждого последующего ряда должны укладываться без перевязки швов с плитами предыдущего ряда и соблюдением ширины швов до 3 мм.

8.13.10 Бетон прослойки следует укладывать одновременно для 6-8 плит каждого ряда. При этом ширина полосы должна превышать ширину плит на 5-8 см во избежание просадки открытой кромки плит при уплотнении бетона. Толщина слоя бетона прослойки перед его уплотнением должна быть 40-45 мм, а после уплотнения - 30-35 мм. Укладка бетона должна на 1-2 м опережать укладку плит в ряду.

8.13.11 При укладке плиты осаживают равномерно при помощи вибровтапливателя, а при его отсутствии ударами молотка по деревянному прокладному бруску размерами 250´100 мм и толщиной 50-60 мм, положенному плашмя на плиту. Каждую плиту осаживают заподлицо со смежными так, чтобы в шов между ними не попал бетон. При этом бетон должен выступать из всех отверстий плиты, но не растекаться по её поверхности.

8.13.12 Осаживание и выравнивание плит должно быть закончено до начала схватывания бетона. При перерыве в укладке плит более 1,5 часов загустевший бетон, выступивший из-под плит предыдущего ряда, следует сколоть заподлицо с вертикальными гранями плит и удалить.

8.13.13 В местах примыкания покрытий к стенам, фундаментам под оборудование, где не размещаются целые плиты, укладывают куски плит соответствующего размера, вырезанные из целых плит. Заполнять эти места бетоном вместо укладки кусков плит не допускаются. Куски плит укладывают околотой стороной к стене.

8.13.14 Через сутки после укладки плит швы между ними следует заполнить жидким цементным тестом или цементно-песчаным раствором состава 1:1. Бетон, выступивший из прослойки через отверстия в плитах, удаляют металлическими скребками. Излишки раствора, выступившие из швов, немедленно удаляют, а поверхность плит протирают, предварительно посыпав опилками.

8.13.15 Хождение по плитам допускается не ранее, чем через 3 суток после их укладки, а нормальная эксплуатация - после набора бетоном прослойки 70% прочности от проектной.

8.14 Покрытия из чугунных плит на песчаной прослойке

8.14.1 Покрытия пола из чугунных плит на песке рекомендуется применять в горячих цехах (кузнечных, термических, сталеплавильных, литейных, прокатных и др.) при нагреве пола до 1400 °С (остывание на полу раскалённых металлических болванок и деталей, попадание расплавленного металла в виде брызг, проливов и т.п.) и при повышенных требованиях к ровности и чистоте пола с учётом допустимых эксплуатационных воздействий, приведённых в табл. 1, 2, 3 Приложения 1.

8.14.2 Чугунные плиты могут быть уложены на песчаную прослойку по грунту, подстилающему слою и железобетонному перекрытию (рис. 16). При песчаных грунтах основания плиты могут быть уложены непосредственно по грунту.

8.14.3 Для покрытий полов рекомендуется использовать чугунные плиты размером 248´248 мм. В плите с тыльной стороны имеются ребра жесткости, а по периметру - 6 выступов. Каждая плита в покрытии пола опирается на песок и на опорные выступы смежных плит. Выступы обеспечивают взаимную связь между отдельными плитами, передачу части нагрузки на смежные плиты, ровность пола вследствие невозможности вертикального взаимного перемещения плит и перекрывают швы между плитами, препятствуя прониканию песка из прослойки на поверхность пола.

8.14.4 Прослойку из песка, располагаемую на грунте или подстилающем слое следует принимать толщиной 60 мм, а по железобетонному перекрытию - 60-220 мм в зависимости от интенсивности нагрева пола (табл. 4.1).

8.14.5 Для прослойки рекомендуется применять крупно- и среднезернистый песок. В гравелистом песке зёрна гравия крупностью более 10 мм должны быть отсеяны. Содержание в песке пылеватых и глинистых частиц не должно превышать 10% по массе, а органических примесей и известняковых частиц - 5%.

8.14.6 Для жаростойкой прослойки рекомендуется применять каменноугольные топливные шлаки, молотые отходы шамотного кирпича и другие жаростойкие сыпучие материалы с насыпной плотностью в уплотнённом состоянии 1000-1200 кг/м3.

8.14.7 Котельный шлак и другие жаростойкие теплоизоляционные сыпучие материалы, применяемые для прослойки, а также верхний слой грунта толщиной 90-100 мм при укладке плит непосредственно на песчаное основание, должны удовлетворять требованиям, предъявляемым к песку для прослойки.

8.14-8 В местах примыкания чугунных плит к каналам, приямкам, фундаментам под оборудование, стенам, полам других типов и т.п. следует предусматривать окаймляющие швы из бетона класса В22,5, закрепляющие плиты в неизменном положении во избежание их смещения в сторону открытой кромки покрытия при эксплуатации пола.

8.14.9 Песчаную прослойку, чугунные плиты и бетон окаймляющих швов укладывают при положительной температуре воздуха в помещении. Материал прослойки должен быть талым.

8.14.10 При больших размерах участка пола песчаную прослойку следует укладывать полосами (участками) шириной 10-15 м, начиная от стен и каналов с постепенным приближением к проезду. Песок укладывают слоем толщиной на 15-20 % превышающей проектную (с учётом его последующего уплотнения), уплотняют механическими катками, трамбовками или другими способами и тщательно выравнивают его поверхность. Для этого укладывают с заглублением в песок маячные рейки на расстоянии 3-4 м между собой, параллельно стенам помещения. Отметка верха реек должна соответствовать отметке чистого пола, отклонение не должно превышать +5 мм. Выравнивают поверхность прослойки правилом, передвигаемым по маячным рейкам как по направляющим. Выравнивание прослойки должно опережать укладку плит не менее чем на 2 м.

8.14.11 Уплотнённый и выровненный песок должен быть предохранён от разрыхления, затрудняющего укладку плит. Ходьба и движение транспорта по прослойке не допускается.

8.14.12 Укладку плит следует производить от края участка, примыкающего к полу другого типа, каналам и другим конструкциям с тем, чтобы обеспечить подноску и укладку плит, исключив ходьбу по выровненной песчаной прослойке.

8.14.13 Первый ряд плит следует укладывать поперёк полосы плит, уложенных по шнуру-причалке, натянутой на высоте 35-40 мм над песчаной прослойкой на расстоянии 70-100 мм от границы пола из чугунных плит. При этом первую плиту следует укладывать в углу участка вплотную к причалке без вдавливания в песок, а последующие плиты также укладывают без вдавливания в песок в повёрнутом на 90° положении по отношению к предыдущей, что обеспечивает заведение выступов укладываемой плиты под ранее уложенные, а выступов последних - под последующую плиту. Плотность укладки плит обеспечивается ударами молотка массой 2-3 кг по плите сбоку. Зазоры между плитами не должны превышать 3 мм.

 

Рис. 16 Конструктивные схемы полов с покрытием из чугунных плит по прослойке из песка и тепло-звукоизоляционных материалов по нежесткому подстилающему слою (а), по жесткому подстилающему слою (б) и перекрытию (в)
1 - плиты покрытия пола; 2 - прослойка из песка; 3 -грунт основания; 4 - нежесткий подстилающий слой; 5 - жесткий подстилающий слой; 6 - прослойка из жаростойкого сыпучего материала; 7 - перекрытие.

8.14.14 Укладку каждого последующего ряда следует начинать от края участка не ранее укладки 6-8 плит предыдущего ряда с сохранением этого интервала в дальнейшем. Плиты укладывают в направлении «от себя» и заканчивают укладку на расстоянии не менее 70 мм от границы участка (стен, фундаментов под оборудование) для устройства в этом промежутке окаймляющего шва из жаростойкого бетона. Вслед за первой аналогично укладываются следующие полосы покрытия.

8.14.15 После укладки плит участок пола следует укатать катком массой 1-3 т до полной осадки плит. При малых объёмах работ и в местах, не доступных для катков, а также на краях участка пола шириной 1 м осадку плит производят деревянными трамбовками. Трамбование производят за два раза: вначале на 10-15 мм (на половину высоты рёбер жесткости), а затем полностью.

8.14.16 Сразу же после осаживания плит выполняют окаймляющие швы. Для чего между крайним рядом плит и стеной, полом другого типа, каналом выбирают песок до подстилающего слоя, а при его отсутствии делают борозду на глубину 100-120 мм. Эту борозду промывают водой, заполняют бетоном, уплотняют бетон трамбованием и заглаживают поверхность заподлицо с поверхностью пола.

8.14.17 Для окаймляющих швов рекомендуется применять жесткий жаростойкий бетон класса не ниже В22,5. В местах, где при эксплуатации пол не будет нагреваться (вблизи стен и т.п.) для окаймляющих швов допускается применять обычный бетон.

8.14.18 Хождение по плитам допускается сразу же после укатки, а нормальная эксплуатация - после набора бетоном окаймляющих швов 70% прочности от проектной.

8.15 Покрытия из торцовых деревянных шашек

8.15.1 Покрытия пола из торцовых деревянных шашек рекомендуется применять в помещениях производственных зданий, где полы в процессе эксплуатации подвергаются ударам от падения твёрдых предметов, а также если на полу обрабатываются или могут падать на него детали и инструмент, повреждение которых недопустимо (например, в автосборочных цехах), с учётом допустимых эксплуатационных воздействий, приведённых в табл. 1, 2, 3 Приложения 1.

8.15.2 Покрытия, выполненные из торцовых деревянных шашек являются «тёплыми» -создающими комфортные условия для производственного персонала.

8.15.3 Покрытия пола из торцовых деревянных шашек могут выполняться по нежесткому или бетонному подстилающему слою, а также по железобетонному перекрытию (рис.17).

8.15.4 Для торцовых покрытий рекомендуется применять деревянные антисептированные шашки прямоугольное и прямоугольные с пазами треугольного сечения, изготовленные из здоровой древесины хвойных пород и твёрдых лиственных пород, за исключением пихты, берёзы, бука и дуба. Влажность шашек при укладке не должна превышать 12%.

8.15.5 При полах на грунте с нежестким подстилающим слоем (шлаковым, гравийным, щебёночным), а также при неровной поверхности бетонного подстилающего слоя рекомендуется применять шашку высотой 80 мм, укладывая её на песчаную прослойку, толщиной 10-20 мм.

8.15.6 В полах по бетонному подстилающему слою и по перекрытию рекомендуется использовать торцовую шашку высотой 60 мм, укладывая её на битумной мастике по предварительно огрунтованной бетонной поверхности. Толщина битумной прослойки должна составлять 2-3 мм.

Рис. 17 Конструктивные схемы полов с покрытием из торцовой шашки по подстилающему слою (а) и перекрытию (б)
1 - торцовая шашка; 2 - прослойка из битумной мастики; 3 - прослойка из песка; 4 - нежесткий подстилающий слой; 5 - грунт основания; 6 -бетонный подстилающий слой; 7 - перекрытие; 8 - стяжка; 9 - трубопровод; 10 - тепло-звукоизоляция.

8.15.7 Песок в прослойке при укладке шашки должен быть воздушно-сухим с влажностью не более 3%. Песчаную прослойку следует уплотнить и выровнять до укладки шашки.

8.15.8 Для битумной, прослойки и заполнения швов в торцовых покрытиях следует применять битум с температурой размягчения по способу «кольцо и шар» равной 70-80°С.

8.15.9 Для покрытий полов с повышенными требованиями к эстетике торцовые плашки рекомендуется укладывать на 2-х компонентном полиуретановом клее марки UZIN-МК 92S, предварительно прогрунтовав поверхность бетонного основания 2-х компонентной грунтовкой под клеи марки UZIN-РЕ 420 (фирма «UZIN», ФРГ).

8.15.10 Работы по устройству покрытия из торцовой шашки следует выполнять при температуре воздуха на уровне пола не ниже +5°С и вести их участками (картами) размером 12´12 м, разделёнными с помощью металлических труб диаметром 30 мм, которые размещают по линии расположения деформационных швов в покрытии.

8.15.11 Шашку следует укладывать рядами перпендикулярно направлению движения, начиная от входных дверей (ворот), в направлении «от себя» (находясь на уложенном покрытии) при песчаной прослойке по нежесткому подстилающему слою и в направлении «на себя» при прослойке из битумной мастики по бетонному подстилающему слою или железобетонному перекрытию.

8.15.12 Укладку рекомендуется начинать от одной из труб рядами, параллельными между собой и деформационному шву. При этом ряд, примыкающий к деформационному шву, должен содержать только целые шашки.

8.15.13 При устройстве покрытия из торцовой шашки её погружают с помощью металлических щипцов всеми гранями, кроме верхнего торца, в горячий битум с температурой не ниже 150°С и немедленно укладывают в покрытие вплотную к ранее уложенным шашкам с перевязкой швов не менее, чем на 1/3 их длины. Швы между шашками заполняются битумной мастикой. Толщина швов между шашками, а также величина уступа между двумя смежными шашками не должны превышать 2 мм.

8.15.14 После окончания укладки шашек по всей площади карты из деформационных швов, примыкающих к ранее уложенному покрытию, следует удалить трубы, а каналы глубиной 30 мм заполнить сухим песком и до верха шашки залить горячей битумной мастикой.

8.15.15 Эксплуатация полов допускается сразу же после остывания битумной мастики.

8.16 Покрытия дощатые

8.16.1 Покрытия дощатые рекомендуется применять в комнатах, коридорах и прихожих жилых и общественных зданий, во вспомогательных и бытовых помещениях производственных зданий, спортзалах, а также животноводческих помещениях - в стойлах и боксах для коров, в станках для свиней, а также в стойлах для лошадей, групповых клетках для телят с учётом допустимых эксплуатационных воздействий, приведённых в табл. 1, 2, 3 Приложения 1.

8.16.2 Дощатые покрытия относятся к «тёплым» полам и характеризуются показателем теплоусвоения менее 9 Вт/(м2·К).

8.16.3 Для дощатых покрытий рекомендуется применять строганные доски (ГОСТ 8242-88) толщиной от 29 до 50 мм с влажностью до 12 %. В спортивных (физкультурных) залах рекомендуется применять доски толщиной не менее 37 мм. Доски должны быть антисептированы.

8.16.4 Дощатые полы в жилых, общественных и производственных зданиях, а также в спортивных (физкультурных) залах (кроме залов для лёгкой атлетики и футбола) могут быть выполнены по грунту, по бетонному подстилающему слою или по перекрытию (рис. 18-20).

Рис. 18 Конструктивные схемы полов с дощатым покрытием в жилых, общественных и административных зданиях
1 - покрытие дощатое; 2 - лага обычная; 3 - лага регулируемая; 4 - болт-стойка; 5 - деревянная прокладка; 6 - гидроизоляция; 7 - полиэтиленовая плёнка; 8 - кирпичный или бетонный столбик; 9 - стяжка; 10 - кварцевый песок; 11 - керамзитовый песок; 12 - плиты пенополистирольные; 13 - многопустотная панель перекрытия; 14 - сплошная панель перекрытия; 15 - бетонный подстилающий слой; 16 - грунт основания; 17 - звукоизоляционная прокладка.

Рис. 19 Конструктивные схемы полов с дощатым покрытием в помещениях физкультурных залов
1 - покрытие дощатое; 2 - лага; 3 - прокладка длиной 200-250 мм; 4 - гидроизоляция, 5 - кирпичный столбик; 6 - бетонный подстилающий слой; 7 - грунт основания; 8 - цементно-песчаная или бетонная стяжка; 9 - плита перекрытия с неровной поверхностью, 10 - связь между лагами; 11 - плита перекрытия с ровной поверхностью; 12 - звукоизоляционные прокладки.

Рис. 20 Конструктивные схемы полов с дощатым покрытием в животноводческих зданиях
1 - покрытие дощатое; 2 - прослойка из битумной мастики; 3 - лага; 4 - глинобитумный подстилающий слой; 5 - бетонный подстилающий слой; 6 - грунт основания.

8.16.5 При устройстве полов по грунту, если уровень их в цокольном или подвальном помещении ниже уровня отмостки, следует предусмотреть бетонную подготовку из бетона класса В 12,5 толщиной 80 мм по слою щебня, утрамбованному в грунт на глубину не менее 40 мм. По бетонной подготовке устанавливают столбики из кирпичной кладки или бетона.

8.16.6 При устройстве полов по грунту, когда их уровень выше уровня отмостки здания, столбики устанавливают непосредственно по утрамбованному грунту.

8.16.7 Для столбиков под лаги в полах, устраиваемых на грунте рекомендуется применять обыкновенный глиняный кирпич (ГОСТ 530-54) марки 75 и выше и цементно-песчаный раствор марки не ниже М25 или бетон класса В 12,5. Устройство столбиков из силикатного кирпича и других искусственных камней, понижающих прочность при увлажнении, не допускается.

8.16.8 Для предотвращения появления капиллярной влаги в элементах пола и загнивания деревянных изделий на столбиках предусматривают гидроизоляцию из двух слоев рулонного битумного или битумно-полимерного материала, на котором размещают деревянные прокладки, а по ним укладывают лаги. Края гидроизоляционного рулонного материала должны быть выпущены из-под прокладок на 30-40 мм и прикреплены к ним гвоздями.

8.16.9 Ширина деревянных прокладок, укладываемых по столбиками под лаги в полах на грунте, должна быть 100-150 мм, длина 200-250 мм, а толщина не менее 25 мм. Влажность прокладок не должна превышать 18 %.

8.16.10 Древесноволокнистые плиты для звукоизоляционных прокладок должны соответствовать требованиям ГОСТ 4598-60 и быть антисептированными.

8.16.11 В полах по перекрытию в помещениях с нормируемыми показателями звукоизоляции лаги следует укладывать по звукоизолирующим прокладкам.

8.16.12 По междуэтажным беспустотным железобетонным перекрытиям толщиной более 140 мм под лаги укладывают ленточные прокладки толщиной 12-20 мм и шириной 100-120 мм из древесноволокнистых или древесностружечных плит плотностью 250 -350 кг/м3.

8.16.13 Если толщина железобетонного перекрытия менее 140 мм под лаги дополнительно (для повышения звукоизоляции пола) устраивается песчаная засыпка толщиной до 20 мм из сухого песка. Вместо песчаной засыпки могут укладываться ленточные прокладки из древесно-волокнистых или древесно-стружечных плит шириной 300-350 мм.

8.16.14 В качестве звукоизоляционных засыпок под лаги на междуэтажных перекрытиях применяют минеральные сыпучие материалы (песок, каменноугольный шлак и др.) с крупностью зёрен не более 10 мм с содержанием пыли (зёрен мельче 0,15 мм) не более 15%, без органических примесей, с влажностью не более 4 %. Применение засыпок из пылевидных материалов (зола-унос и др.) и строительного мусора не допускается.

8.16.15 По многопустотным панелям перекрытий песчаную засыпку предусматривают толщиной 30-40 мм, а по ней дополнительные звукоизоляционные прокладки толщиной 40 мм из древесноволокнистых или древесностружечных плит.

8.16.16 В конструкциях полов, к которым не предъявляются требования по их звукоизоляции, лаги укладывают, втапливая их в выравнивающий слой из песчаной засыпки.

8.16.17 Высота подпольного пространства в полах на грунте (расстояние от основания или подстилающего слоя до дощатого покрытия пола) должна быть не- более 250 мм, а в полах на перекрытиях (расстояние от плиты перекрытия или звукоизоляционного слоя до дощатого покрытия) не менее 10 мм.

8.16.18 Для лаг должны использоваться нестроганные доски (ГОСТ 2695-83*, ГОСТ 8486-86*Е) 2-го или 3-го сорта из здоровой антисептированной древесины хвойных или мягких лиственных пород, за исключением липы и тополя. Доски могут иметь тупой обзол без коры. Толщину лаг, опирающихся непосредственно на перекрытия или сплошной звукоизоляционный слой, следует принимать равной 40 мм при ширине 80-100 мм, а толщину лаг, укладываемых на отдельные опоры (столбики в полах на грунте, балки перекрытий и др.) 40-50 мм при ширине 100-120 мм. Влажность лаг не должна превышать 18 %.

8.16.19 Пролёт лаг следует принимать не более 0,9 м при их толщине 40 мм и не более 1,1 м при толщине 50 мм.

8.16.20 При шпунтованной доске толщиной 29 и 37 мм шаг лаг следует принимать соответственно 400 и 600 мм. При больших эксплуатационных нагрузках на пол из досок (например, в спортивных залах при распределённых нагрузках более 500 кг/см2 и сосредоточенных - более 200 кг) расстояние между опорами для лаг и их толщину следует принимать по расчёту.

8.16.21 В зданиях с деревянными перекрытиями дощатое покрытие пола может выполняться непосредственно по деревянным балкам перекрытий.

8.16.22 Перед укладкой лаг на межэтажных железобетонных перекрытиях следует заделать монтажные отверстия в плитах и щели между плитами и стенами цементно-песчаным раствором марки не ниже М100.

8.16.23 Лаги следует укладывать поперёк направления света из окон, а в помещениях с определённым направлением движения людей (например, в коридорах) - поперёк прохода с тем, чтобы доски покрытия располагались вдоль этих направлений. Между лагами и стенами следует оставлять зазор шириной 20-30 мм.

8.16.24 Длина стыкуемых лаг должна быть не менее 2-х метров. Стыковать их между собой при укладке на перекрытие следует торцами в любом месте помещения со смещением стыков в смежных лагах не менее чем на 0,5 м. При размещении лаг на столбиках стыки их должны размещаться на столбиках.

8.16.25 В местах дверных проёмов и перегородках следует предусматривать уширенную лагу, выступающую не менее чем на 50 мм с каждой стороны, чтобы обеспечить опирание покрытия пола в смежных помещениях на одну лагу.

8.16.26 В целях снижения трудоёмкости работ, сокращения сроков по устройству пола и повышения качества рекомендуется применять регулируемые лаги со сквозными резьбовыми отверстиями (рис. 21).

8.16.27 Деревянные регулируемые лаги (ТУ 5361-001-42950773-99) имеют размеры 45´45´2000, 45´70´2000 и 45´120´2000 мм и поставляются в комплекте с дюбелями-стойками для регулирования уровня подъема лаг и дюбелями-гвоздями для крепления болтов-стоек к перекрытию.

8.16.28 Перед установкой в отверстия лаг ввинчиваются пластиковые болт-стойки, на которые опираются лаги (рис. 21а).

8.16.29 Лаги устанавливаются на перекрытии с шагом 375 мм, после чего через болты-стойки в перекрытии засверливаются отверстия (рис. 21б,в).

8.16.30 В болт-стойку помещают дюбель-гвоздь, который на неполную глубину забивают с помощью дробника в отверстие, выполненное в перекрытии (рис. 21г,д).

8.16.31 С помощью завинчивающего инструмента регулируют необходимое положение лаг по уровню (рис. 21е) и окончательно закрепляют лаги к перекрытию с помощью дюбель-гвоздя, после чего выступающие части болтов-стоек срезают с помощью стамески (рис. 21ж).

8.16.32 Работы по настилке досок следует производить при температуре воздуха в помещении не ниже 10°С и его влажности до 70%.

8.16.33 Укладка досок дощатого покрытия должна производиться в один слой, непосредственно по лагам, перпендикулярно им. Доски покрытия следует соединять между собой боковыми кромками в шпунт и сплачивать. Уменьшение ширины покрытия при сплачивании должно быть не менее 0,5 %. Зазоры между досками покрытия допускаются только в отдельных местах не более 1 мм.

 

Рис. 21 Последовательность операций при установке регулируемых лаг и закрепления к ним сборной стяжки

8.16.34 Каждая доска дощатого покрытия должна быть прибита к лаге гвоздями длиной в 2-2,5 раза больше толщины доски. Гвозди следует забивать в пласт досок наклонно с втапливанием шляпок. Ряды гвоздей вдоль лаг должны быть прямолинейными.

8.16.35 Стыки торцов досок покрытия, торцов с боковыми кромками досок и стыки боковых кромок смежных досок без шпунтового соединения между ними (например, в дверных проемах) следует располагать на лагах и выполнять с тщательной подгонкой по прямой линии, не допуская образования щелей. Каждую из смежных досок, опирающихся на общую лагу, следует прибивать к этой лаге.

8.16.36 Деревянные полы в залах для спортивной гимнастики в связи с необходимостью надёжного крепления гимнастических снарядов и значительных динамических нагрузок рекомендуются выполнять из бруска сечением 60´60 мм (рис. 19). Покрытие пола может быть выполнено двухслойным с прокладкой между слоями бумаги или пергамина.

8.16.37 При покрытии из брусков в качестве лаг рекомендуется применять бруски сечением 75´75 мм с шагом 500 мм и с установкой между ними в шахматном порядке с шагом 2,5 м связей из бруска 60´60 мм.

8.16.38 В тех случаях, когда спортзал располагается на втором этаже и под ним находятся вспомогательные помещения с постоянным пребыванием людей, необходимо  предусматривать звукоизоляцию с установкой под лагами пола звукоизоляционных ленточных прокладок из прошивных минераловатных матов толщиной 40-50 мм, из минераловатных матов толщиной 30-40 мм на синтетической связке, из минераловатных или стекловолокнистых плит толщиной 40-50 мм на синтетической связке или древесноволокнистых изоляционных плит толщиной 16-20 мм.

8.16.39 Для устранения уступов между досками или брусками и провесов после настилки полов поверхность покрытия выравнивают строгальными или шлифовальными машинами.

8.16.40 Для проветривания подпольного пространства полов на грунте в помещениях, расположенных на 1 этаже зданий без технического подполья, стен и перегородок должны быть предусмотрены щелевые плинтусы, либо в покрытии пола или галтелях оставлены отверстия в двух противоположных углах помещения. Отверстия общей площадью 20-30 см2 следует перекрыть металлическими решетками, возвышающимися над полом на 7-10 мм.

8.16.41 По периметру помещения устанавливаются плинтусы, закрепляемые гвоздями либо только к стене, либо только к покрытию пола.

8.16.42 После окончания всех строительных работ в помещении остроганные и отшлифованные дощатые полы очищают от стружек и опилок, грунтуют, а затем шпаклюют. Высохший шпаклёвочный слой зачищают шлифовальными машинами или вручную при помощи пемзы и наждачной бумаги, а затем окрашивают, нанося окрасочные составы за два раза.

8.16.43 Дощатые полы в животноводческих помещениях могут быть выполнены по глинобитному или по бетонному подстилающему слою (рис. 20).

8.16.44 Бетонный подстилающий слой в полах животноводческих помещений рекомендуется выполнять из бетона класса В7,5 толщиной 80 мм, а глинобитный - толщиной 120 мм.

8.16.45 В животноводческих помещения для дощатых покрытий рекомендуется применять строганные доски (ГОСТ 8242-88) толщиной не менее 37 мм с влажностью до 12 %. Доски должны быть антисептированы.

8.16.46 Для лаг должны использоваться нестроганные доски (ГОСТ 2695-83*, ГОСТ 8486-86*Е). Поперечное сечение лаг должно быть трапециевидной формы – толщиной 60-70 мм, шириной 100 и 120 мм. Лаги должны быть тщательно антисептированы или осмолены.

8.16.47 Поскольку полы в животноводческих помещениях не должны иметь подпольных пространств, создающих застойные зоны для продуктов жизнедеятельности животных, лаги укладываются на подстилающий слой с шагом 1,0-1,5 м широким распилом вниз, а промежутки между ними заполняют плотно утрамбованным бетоном или глиной.

8.16.48 На лаги и подстилающий слой должна быть нанесена прослойка из горячей битумной мастики толщиной 2-3 мм, к которой доски должны прилегать без зазора. Доски пришиваются к лагам гвоздями длиной 50-70 мм.

8.17 Покрытия из штучного и наборного паркета

8.17.1 Покрытия полов из наборного и штучного паркета рекомендуется применять в жилых домах, в общественных, спортивных и административных зданиях, а также в ряде специальных помещений общественных зданий, больниц и поликлиник с учётом допустимых эксплуатационных воздействий, приведённых в табл. 1, 2, 3 Приложения 1.

8.17.2 Покрытия, выполненные из штучного и наборного паркета, являются «тёплыми» и характеризуются показателем теплоусвоения при укладке на плотный бетон, равным 12 Вт/(м2·К).

8.17.3 Покрытия из паркета могут быть выполнены непосредственно по бетонному основанию или железобетонному перекрытию (при ровной поверхности), по выравнивающей цементно-песчаной, гипсовой или лёгкобетоной стяжке, сплошному деревянному основанию или по сборной стяжке из спаренных гипсоволокнистых листов, древесно-волокнистых или цементно-стружечных плит (рис. 22 и 23).

8.17.4 Весовая влажность бетона междуэтажных перекрытий перед укладкой паркета не должна превышать 4%, стяжек на основе цементного, полимерцементного и гипсового вяжущего - не более 5%, стяжек из древесно-волокнистых плит - 12%.

8.17.5 Для улучшения звукоизоляции от ударного и воздушного шума полов, выполненных по перекрытиям, рекомендуется:

- выполнение под монолитными или сборными стяжками тепло- и звукоизоляционного слоя из минераловатных плит и стекловолокнистых плит на синтетической связке плотностью до 150 кг/м3, минераловатных матов плотностью до 225 кг/м3, пенополистирольных плит плотностью не менее 25 кг/м3, рулонного стекловойлочного материала марки «Фибиол» (ТУ 5763-003-50646256-2002), характеризующегося снижением индекса приведённого уровня ударного шума не менее 20 дБ, керамзитового или кварцевого песка.

- выполнение между монолитными или сборными стяжками и паркетным покрытием промежуточного слоя из штат пробко-резинового гранулята марок UZIN-RR 188 или UZIN-RR 189 (фирма «UZIN», ФРГ), снижающих индекс приведённого уровня ударного шума при толщине h = 3 мм, h = 4 мм и h = 6 мм соответственно на 10 Дб, 15 Дб и 20 Дб, или из древесно-волокнистых плит плотностью 800-850 кг/м3 и листов водостойкой фанеры размером 750´750 мм толщиной 10-18 мм, укладываемых в разбежку с зазором 3-5 мм.

8.17.6 При укладке паркета на сборные стяжки из ГВЛ фирмы "Кнауф" для снижения напряжений между паркетом и основанием и исключения возможности коробления паркета при изменении влажности воздуха между ним и основанием рекомендуется располагать разделительный слой толщиной 1 мм из рулонного материала на основе полиэстерного волокна марки UZIN Multimoll Vlies (фирма «UZIN», ФРГ).

8.17.7 Наборный паркет с паркетными планками из древесины различных пород (паркетный ковёр) укладываются, как правило, по прослойке из фанеры, поскольку технология изготовления данного покрытия предусматривает крепление планок не только клеями, но и мелкими гвоздями. Гвозди следует забивать в пласт планок наклонно с втапливанием шляпок.

Рис.22 Конструктивные схемы полов на грунте с покрытием из штучного и наборного паркета по монолитным цементно-песчаным или гипсовым стяжкам (а), по сборным стяжкам из гипсоволокнистых листов (б) и черновому деревянному полу (в)
1 - покрытие из паркета; 2 - клей; 3 - сборная стяжка из гипсоволокнистых листов; 4 - монолитная цементно-песчаная или гипсовая стяжка; 5 - фанера; 6 - черновой деревянный пол; 7 - гвоздь К4´100; 8 - шуруп; 9 - засыпка из кварцевого песка; 10 - лага нивелируемая; 11 - болт-стойка; 12 - лага обычная; 13 - деревянная прокладка; 14 - гидроизоляция; 15 - полиэтиленовая плёнка; 16 - кирпичный или бетонный столбик; 17 - бетонное основание; 18 - грунт основания.

Рис.23 Конструктивные схемы полов с покрытием из штучного и наборного паркета на перекрытиях по монолитным цемёнтно-пёсчаным или гипсовым стяжкам (а), и по сборным стяжкам из гипсоволокнистых листов (б)
1 - покрытие из паркета; 2 - клей; 3 - сборная стяжка из гипсоволокнистых листов; 4 - монолитная цементно-песчаная или гипсовая стяжка; 5 - фанера; 6 - древесноволокнистая плита; 7 - дюбель; 8 - засыпка из кварцевого песка; 9 - плиты пенополистирольные; 10 - засыпка из керамзитового песка; 11 - лага нивелируемая; 12 - болт-стойка; 13 - гидроизоляция; 14 - полиэтиленовая плёнка; 15 - плита перекрытия с ровной поверхностью; 16 - плита перекрытия с неровной поверхностью; 17- крупноформатный гипсоволокнистый лист.

8.17.8 Штучный и наборный паркет должен удовлетворять требованиям ГОСТ 862.1-85. Паркет из сосны и лиственницы допускается только в помещениях, в которых полы не подвержены интенсивному износу. Покрытия полов должны выполняться только из одной породы древесины и одного рисунка; применение паркета различного цвета и размера допускается только для создания специального рисунка.

8.17.9 Рекомендуется применять паркетные планки толщиной не менее 10 мм, при этом их ширина во избежание возможного поперечного коробления не должна превышать пяти толщин. Влажность паркета при укладке не должна превышать 10%.

8.17.10 Для полов в спортивных залах для бадминтона, баскетбола, гандбола и футбола рекомендуется использовать специальный штучный паркет, в частности марки Tarket Helze/Erable (фирма Tarket, ФРГ), выпускаемый по технической документации заводов-изготовителей и характеризующийся повышенной длиной планок и наличием пазов и гребней как на её боковых, так и торцевых кромках.

8.17.11 Наборный и штучный паркет следует приклеивать к основаниям быстротвердеющими мастиками на водостойких вяжущих, применяемых в холодном или подогретом состоянии. В качестве их рекомендуются водо-дисперсионные клеи марок UZIN-MK 73, UZIN-MK 80 и UZIN-МК 80S (фирма «UZIN», ФРГ), полимерные клеи на растворителях: однокомпонентные «Перминид» (ТУ 400-1-136-78) и UZIN-MK 97 и 2-х компонентный полиуретановый UZIN-MK 92S и битумно-полимерные клеи и мастики: «Универсальная мастика» (ТУ 5775-001-03989419-99), битумно-скипидарная мастика «Биски» (ТУ 400-2-85-76), битумно-синтетический клей (ТУ 400-2-262-77) и др. На водо-дисперсионные и битумно-полимерные клеи рекомендуется укладывать штучный паркет из обычных пород дерева, на клеях на органических растворителях - паркет из сильно впитывающих пород дерева (бук), а на 2-х компонентных клеях - паркет из экзотических пород дерева.

8.17.12 Не рекомендуется применение водо-дисперсионных клеёв для укладки паркетных планок толщиной меньше 10 мм.

8.17.13 К фанере или деревянным черным полам паркетные планки могут закрепляться гвоздями или на вышеуказанных клеях. При креплении паркетных планок гвоздями под покрытие рекомендуется вводить прослойку из строительного картона или слоев обёрточной бумаги для устранения скрипа.

8.17.14 Для крепления древесноволокнистых плит, фанеры, плит пробко-резинового гранулята марок UZIN-RR 188 или UZIN-RR 189 и рулонного материала на основе полиэстерного волокна марки UZFN Multimoll Vlies к основанию следует применять клеи для паркета. Листы фанеры должны быть дополнительно закреплены дюбелями к цементно-песчаной стяжке и саморезами или шурупами к деревянным черным полам.

8.17.15 Работы по наклейке паркета следует выполнять при температуре воздуха в помещении не ниже 10°С и его влажности до 60%. Данный температурно-влажностный режим следует поддерживать и при эксплуатации покрытий.

8.17.16 Паркет следует укладывать в соответствии с принятым рисунком: «в ёлку» с фризами по периметру помещения и без них; «квадратом» - прямым и развёрнутым диагонально; «прямой» - с расположением планок в одном направлении и стыковкой торцами и кромками. При этом следует иметь ввиду, что при рисунке «прямой» напряжения, возникающие в древесине планок при влагосменах, распространяются в одном направлении - поперёк планок, что может снизить эксплуатационную надёжность пола.

8.17.17 Паркет в помещениях спортивных зданий укладываются по схеме «прямой» - с расположением планок в одном направлении и стыковкой торцами и кромками.

8.17.18 Перед укладкой паркета по цементно-песчаной стяжке на битумных клеевых составах для повышения адгезии следует прогрунтовать стяжку раствором битума в бензине состава 1:2-3. Огрунтовку рекомендуется производить через сутки после устройства стяжек, так как в этом случае образующаяся плёнка не только создаёт условия для надёжного сцепления битумной мастики с раствором, но и способствует набору прочности раствором, так как препятствует испарению воды из стяжки.

8.17.19 Перед укладкой паркета на клеях фирмы Uzin (ФРГ) по цементно-песчаной стяжке или фанере ее необходимо грунтовать под клей Uzin MK-73 грунтовкой Uzin РЕ-317, под клей Uzin MK-92 S грунтовкой Uzin PE-420 (2-х компонентной, эпоксидной). При укладке паркета на стяжки из саморазравнивающихся композиций марки "UZIN" и на клея "UZIN" грунтовка не требуется если поверхность не загрязнена и прошло не более 3-х недель со дня их укладки.

8.17.20 Работы по изготовлению покрытий полов рекомендуется начинать с укладки маячных рядов. В помещениях малого размера маячный ряд следует укладывать у стены, наиболее удалённой от входной двери. В больших помещениях два стыкуемых маячных ряда следует укладывать в середине площадки и работы вести в двух направлениях.

8.17.21 Паркетные планки укладывают вплотную к ранее уложенным, втапливают в мастику и плотно соединяют в шпунт с помощью паркетного молотка. Толщина слоя мастики под паркетом должна быть не более 1 мм, зазоры между смежными планками - 0,3 мм; компенсационные швы между покрытием и стенами, перекрываемые плинтусами, должны быть 10-15 мм.

8.17.22 Покрытие из паркета следует отциклевать, а затем отшлифовать. Эти работы следует выполнять при наклейке паркета на водно-дисперсионных клеях - через 2 недели, на клеях с органическими растворителями - через 1 неделю, а на 2-х компонентных полимерных клеях - через 1-2 суток.

8.17.23 Зазоры между паркетным покрытием и стенами (перегородками) должны перекрываться после циклевки паркета плинтусами или галтелями, которые крепят гвоздями длиной 30-40 мм, диаметром 2,5 мм или шурупами длиной 25 мм, диаметром 3 мм либо только к стене (перегородке), либо только к полу. Поливинилхлоридные плинтусы приклеивают к стенам и перегородкам полимерными контактным (UZIN-GN 276) или термоконтактным UZIN-DK 290 Thermocoll) клеями (фирма UZIN, ФРГ), а также полимерными клеями на растворителях, в частности клеем марки «Перминид».

8.17.24 Под плинтусы рекомендуется устанавливать упругие прокладки из полос линолеума на теплоизолирующей подоснове, которые следует укладывать между плинтусом и стеной, если плинтус крепится к полу, или между плинтусом и полом, если плинтус крепится к стене.

8.17.25 Нанесение лаковых покрытий на паркетные полы рекомендуется выполнять с учётом рекомендаций главы 9.

8.17.26 Эксплуатация паркетных покрытий полов после отделки лаком допускается не ранее, чем через 7 суток.

8.18 Покрытия из паркетных досок, паркетных щитов и ламината

8.18.1 Покрытия полов из паркетных досок, щитов и ламината рекомендуется применять в жилых домах и в общественных зданиях с учётом допустимых эксплуатационных воздействий, приведённых в табл. 1, 2, 3 Приложения 1.

8.18.2 Покрытия полов из паркетных досок, щитов и ламината относятся к «тёплым».

8.18.3 Паркетные доски (ГОСТ 862.3-86) представляют собой клееные реечные изделия с пазами и гребнями на боковых и торцевых кромках, выполненные из древесины хвойных пород, берёзы или осины с наклеенными на них планками покрытия квадратной или прямоугольной формы (из тех же пород древесины, что и штучный паркет) толщиной не менее 4 мм. В основании досок но всей длине предусмотрены компенсационные продольные пропилы, препятствующие их короблению при периодических изменениях влажности. Доски подразделяются на два типа: П1 - укладываемые по лагам (толщина 25 мм) и П2 - укладываемое на сплошное основание (толщина 18 мм).

8.18.4 Паркетные щиты (ГОСТ 862.4-87) представляют собой изделия, включающие деревянную раму с пазами на боковых и торцевых кромках с наклеенным на неё лицевым покрытием из паркетных планок или квадров шпона.

8.18.5 В качестве ламинированного покрытия используются многослойные пластмассовые изделия в виде досок длиной 1100-1300 мм, шириной 190-390 мм и толщиной 6-11 мм, которые представляют собой многослойную конструкцию с несущей основой из древесноволокнистой плиты или пластика. Наружный декоративный слой, имитирующий различные породы дерева, камня и т.п., защищен прозрачным пергамином, пропитанным меламиноформальдегидной смолой, а нижний слой выполняется из специального картона или войлока с пропиткой. Ламинат выпускается в соответствии с технической документацией заводов-изготовителей.

8.18.6 Конструктивные схемы полов с покрытием из паркетных досок типа П1 (укладываемых по лагам) и паркетных щитов аналогичны конструктивным схемам с дощатым покрытием (рис. 18), а конструктивные схемы полов из паркетных досок типа П2 (укладываемых по сплошным основаниям) и ламината - конструктивным схемам полов из штучного паркета (рис. 22 и 23).

8.18.7 Покрытия из ламината рекомендуется также выполнять по сборной стяжке из двух слоев фанеры толщиной по 10 мм, закрепляемой на предварительно установленные лаги саморезами с шагом 150 мм, или устанавливаемой на бетонном основании или плите перекрытия при помощи регулируемых болтов-стоек, закрепляемых в листах фанеры через втулки. При этом второй лист фанеры должен перекрывать стыки нижнего слоя (рис. 2).

8.18.8 Работы по устройству покрытий полов следует производить при температуре воздуха в помещении не ниже 10°С и его влажности до 70%.

8.18.9 Паркетные доски и ламинат соединяют между собой в шпунт, а паркетные щиты - при помощи шпонок, изготавливаемых из древесины твердых пород или фанеры.

8.18.10 В покрытиях из паркетных досок по лагам их пролёт следует принимать равным 400-500 мм, а в покрытиях из паркетных щитов - 300-400 мм.

8.18.11 При укладке по лагам каждую паркетную доску и щит следует пришивать к каждой лаге гвоздями длиной 50-60 мм. Гвозди следует забивать наклонно в основание нижней щеки паза на кромках паркетных досок и паркетных щитов с втапливанием шляпок.

8.18.12 Стыки торцов и боковых кромок паркетных досок с торцами смежных досок, а также стыки параллельных лагам смежных паркетных щитов следует располагать на лагах. При сопряжении паркетных досок, а также паркетных щитов с опиленными кромками на одних из них должен быть выполнен паз, на других - гребень, соответствующие имеющимся на других кромках. Одна из смежных паркетных досок и один из смежных паркетных щитов, опирающиеся на общую для них лагу и имеющие на кромках паз, должны быть пришиты к этой лаге.

8.18.13 Покрытия пола из паркетных досок типа П2 (укладываемых по сплошным основаниям) и ламината выполняются без наклейки на основание, а сами изделия следует соединить между собой в шпунт с посадкой на клей. В качестве клея рекомендуется применять поливинилацетатную дисперсию (ГОСТ 18992-80), клей дисперсионный АДМ-К (ТУ 400-1-177-79), а также мастику «Перминид» (ТУ 400-1-138-78).

8.18.14 При устройстве покрытия пола паркетные доски и ламинат укладывают на амортизирующую подложку, в качестве которой рекомендуется использовать гофрированный картон или вспененный полиэтилен, а также пенопласт толщиной 2-3 мм. Для полов с высокими требованиями к звукоизоляции в качестве амортизирующей подложки рекомендуется применять резино-пробковый рулонный материал марки UZIN-RR 189 Plus (фирма «UZIN», ФРГ) толщиной 3, 4 и 6 мм, обеспечивающий повышение индекса изоляции воздушного шума соответственно на 10, 15 и 20 дБ.

8.18.15 В случаях возможного увлажнения покрытия пола снизу следует под подложку в качестве гидроизоляции уложить полиэтиленовую плёнку или выполнить лакокрасочный слой эпоксидным компаундом марки UZIN-PE 460.

8.18.16 Укладку паркетных и ламинатных досок следует начинать в направлении слева направо пазовой стороной к стене на расстоянии 8-10 мм от стены, наиболее удалённой от входа. При ширине помещения более 6 м в направлении ширины доски, зазор между стеной и доской следует увеличить на 1,5 мм на каждый дополнительный метр.

8.18.17 Последующие ряды следует укладывать таким образом, чтобы шаг стыков между торцами досок смежных рядов был не менее 30 см.

8.18.18 В целях обеспечения возможности разборки покрытия рекомендуется использовать ламинат со специальными замковыми соединениями.

8.18.19 Зазоры между покрытием из паркетных досок, щитов или ламината и стенами следует перекрывать плинтусами или галтелями, которые крепят гвоздями длиной 30-40 мм, диаметром 2,5 мм или шурупами длиной 25 мм, диаметром 3 мм либо только к стене (перегородке), либо только к полу.

8.18.20 Под плинтусы рекомендуется устанавливать упругие прокладки из полос линолеума на теплоизолирующей подоснове, которые следует укладывать между плинтусом и стеной, если плинтус крепится к полу, или между плинтусом и полом, если плинтус крепится к стене.

8.19 Покрытия из линолеума и ковров на основе синтетических волокон

8.19.1 Покрытия полов из линолеума рекомендуется применять в жилых, общественных и промышленных зданиях с учётом допустимых эксплуатационных воздействий, приведённых в табл. 1, 2, 3 Приложения 1. Антистатические покрытия полов из линолеума рекомендуется применять в помещениях, где не допускается скопления электростатических зарядов на полу - хирургические, операционные, специальные лаборатории, машинные залы с электронным оборудованием, а также в «чистых» и «особо чистых» помещениях, так как покрытия полов не должны удерживать частички пыли на поверхности за счёт сил электростатики.

8.19.2 В жилых зданиях полы рекомендуется выполнять преимущественно из поливинилхлоридного линолеума на теплоизолирующей подоснове, сваренного в стационарных условиях в ковры размером на комнату (ГОСТ 27023-86), а также поливинилхлоридного линолеума на теплозвукоизолирующей подоснове (ГОСТ 18108-80) и на тканевой подоснове (ГОСТ 7251-77). Возможно также применение резинового линолеума (релина) (ГОСТ 16914-71) и линолеума поливинилхлоридного многослойного и однослойного без подосновы, выпускаемого по технической документации заводов-изготовителей.

8.19.3 Для антистатических покрытий рекомендуется применять резиновый линолеум (релин), выполненный в антистатическом варианте - тип «В».

8.19.4 Покрытия полов из ковров на синтетической основе рекомендуется применять в общественных зданиях (гостиницы, торговые залы ресторанов, зрительные залы зрелищных зданий, библиотеки, административные помещения и т.п.) с учётом допустимых эксплуатационных воздействий, приведённых в табл. 1, 2, 3 Приложения 1.

8.19.5 К покрытиям полов на основе химических волокон относятся покрытие для полов рулонное на основе химических волокон (ГОСТ 26149-84), синтетические ковровые материалы на вспененной латексной подоснове (ТУ 400-1-367-83), с печатным рисунком на тканевой основе «Ковроплен» (ТУ 400-1-184-70) и «Ворсолин» (ТУ 21-28-12-77), прошивные (тафтинговые) (ТУ 400-1-411-7-87), иглопробивные на основе химических волокон «Ворсонит» (ГОСТ 26149-84) и др.

8.19.6 Покрытия, выполненные из поливинилхлоридного линолеума на теплозвукоизолирующей подоснове (ГОСТ 18108-80) и ковров на основе химических волокон являются «тёплыми» и характеризуются показателем теплоусвоения у покрытий соответственно не более 12 Вт/(м2·К) и не более 11,6 Вт/(м2·К). Индекс снижения ударного шума не менее 18 дБ.

8.19.7 Применение линолеума поливинилхлоридного многослойного и однослойного без подосновы в помещениях с нормируемыми показателями теплоусвоения возможно только при укладке их по теплоизолирующей прослойке - древесноволокнистым плитам или стяжкам из легкого бетона или поризованного цементно-песчаного раствора.

8.19.8 Основанием под полы из линолеума и синтетических ковров может быть бетонный подстилающий слой, железобетонное перекрытие, монолитные стяжки на основе цементного или гипсового вяжущего, а также сборная стяжка из спаренных фанерных или гипсоволокнистых листов (рис. 24 и 25).

8.19.9 В помещениях, где устраиваются полы из линолеума или ковровых покрытий, температура воздуха на уровне пола должна быть не ниже 15°С, влажность воздуха - не более 60 %. Влажность по массе для бетона панелей междуэтажных перекрытий должна быть не более 4 %, для стяжек на основе цементного, полимерцементного и гипсового вяжущего - не более 5 %, для стяжек из древесноволокнистых плит - не более - 12 %.

8.19.10 Линолеум в виде сварных ковров (размером на комнату) и синтетические ковровые материалы должны поставляться в рулонах, намотанных на сердечники диаметром 100-150 мм. При этом каждый рулон синтетического коврового материала должен быть упакован в обёрточную бумагу, поливинилхлоридную или полиэтиленовую плёнку.

8.19.11 Перед укладкой покрытия бетонное основание следует выровнять, бугорки на поверхности бетона сошлифовать, западающие неровности, трещины и выбоины зашпаклевать раствором из цементно-песчаной смеси марки M150, затворив её поливинилацетатной дисперсией, разбавленной водой в соотношении 1 : 4 (дисперсия : вода). Шпаклёвку в местах заделки следует просушить, а поверхность нижележащего слоя перед укладкой покрытий обеспылить без увлажнения водой.

8.19.12 Поверхность основания следует огрунтовать разбавленными водой дисперсионными клеями и мастиками или растворёнными в растворителе клеями и мастиками на основе синтетических смол и каучуков. Грунтовки должны соответствовать по химической основе применяемым клеям.

8.19.13 Рулоны линолеума и синтетических ворсовых ковров следует раскатать для устранения волнистости не позднее, чем за двое суток до их укладки, выдержать при температуре воздуха не ниже 15°С. Деформированные места листов, не прилегающие к основанию, следует пригрузить.

8.19.14 Линолеум и синтетические ворсовые ковры должны быть приклеены к нижележащему слою по всей площади. Толщина слоя клеевой прослойки должна быть не более 0,8 мм.

8.19.15 Для приклейки линолеумных полотнищ и ковров рекомендуется применять водостойкие клеи и мастики, обеспечивающие прочность сцепления на отрыв не менее 0,15 МПа Выбор клея осуществляется в зависимости от типа линолеума (табл. 8.19.1). Не рекомендуется применять водо-дисперсионные клеи при приклейке линолеума по древесноволокнистым плитам.

8.19.16 Для приклейки антистатического линолеума рекомендуется применять электропроводный дисперсионный клей марки UZIN-КЕ 2000 SL (фирма «UZIN», ФРГ).

Рис. 24 Конструктивные схемы полов на грунте и плитах перекрытия с покрытием из линолеума и ковров на синтетической основе по монолитным цементно-песчаным или гипсовым стяжкам (а) и черновому деревянному полу (б)
1 - покрытие из линолеума и ковров на синтетической основе; 2 - клей; 3 -монолитная цементно-пёсчаная или, гипсовая стяжка; 4 - фанера; 5 - черновой деревянный пол; 6 - гвоздь К4´100; 7 - шуруп или дюбель; 8 - древесноволокнистая плита; 9 - засыпка из кварцевого песка; 10 - плиты пенополистирольные; 11 - засыпка из керамзитового песка; 12 - полиэтиленовая плёнка; 13 - плита перекрытиях ровной поверхностью; 14 - плита перекрытия с неровной поверхностью; 15 - бетонное основание с ровной поверхностью; 16 - бетонное основание с неровной поверхностью; 17 - лага; 18 - деревянная прокладка; 19 - гидроизоляция; 20 - кирпичный или бетонный столбик; 21 - грунт основания.

Рис. 25 Конструктивные схемы полов на грунте и плитах перекрытия с покрытием из линолеума и ковров на синтетической основе по сборным стяжкам из гипсоволокнистых листов
1 - покрытие из линолеума и ковров на синтетической основе; 2 - клей; 3 - сборная стяжка из гипсоволокнистых листов; 4 - крупноформатный гипсоволокнистый лист; 5 - засыпка из кварцевого песка; 6 - плиты пенополистирольные; 7 - засыпка из керамзитового песка; 8 - лага регулируемая; 9 - болт-стойка; 10 - шуруп; 11 - гвоздь К4´100; 12 - полиэтиленовая плёнка; 13 - плита перекрытия; 14 - лага обычная; 15 - деревянная прокладка; 16 - кирпичный или бетонный столбик; 17 - гидроизоляция; 18 - бетонное основание; 19 - грунт основания.

Таблица 8.19.1

Материал покрытия пола

Тип клея или мастики

В одно-дисперсионные

Силикатные

Битумные

Синтетические

Бустилат

ТУ 400-2-50-93

Дивитекс

ТУ 5770-072-00284718-93

Синтелакс

ТУ 21029-50-89

Лателин

ТУ 400-2-324-87

ПВА

гост

18992-80

АДМ-К

ТУ 400-1-177-79

Калан*

ТУ 2384-0003-365379-56-00

Универсальная

ТУ 5075-001-03989419-93

Перминид

ТУ 400-1-136-78; КН-2 и КН-3

гост

24064-80

Линолеум вспененный поливинилхлоридный с печатным рисунком

-

+

+

+

+

+

+

-

-

Линолеум поливинилхлоридный на тепло-звукоизолирующей подоснове

+

+

+

+

+

+

+

-

-

Линолеум поливинилхлоридный многослойный и однослойный без подосновы

-

+

+

+

+

+

-

-

-

Линолеум резиновый многослойный - релин

-

-

-

-

-

-

-

+

+

Текстильные покрытия (ковровые)

-

+

-

-

+

+

+

+

 

8.19.17 На дисперсионные клеи и мастики линолеум следует укладывать сразу после их нанесения на основание, а на клеи и мастики на основе битумов через 15-20 минут после нанесения. Клеи и мастики на основе синтетических смол и каучуков следует наносить на основание и на тыльную сторону покрытия (кроме синтетических ковров) толщиной 0,2-0,3 мм и выдерживать до отлипа для улетучивания избытка растворителя. При этом, если основание пористое, клей следует наносить два раза, второй слой после высыхания первого (через 3-6 часов).

8.19.18 При приклейке рулона линолеума с рисунком на лицевой стороне нельзя смещать его относительно смежного. Если ворс синтетических ковров наклонён под углом к подоснове, то угол наклона ворса всех полотнищ должен быть в одном направлении. Рекомендуется покрытия укладывать так, чтобы наклон ворса был от окна в сторону двери, что облегчает уборку помещения.

8.19.19 Зазоры между смежными кромками листов линолеума и синтетических ворсовых ковров в покрытии не допускаются. Эти листы следует укладывать с напуском 10 мм на ранее уложенные, приклеивая по всей площади, за исключением краёв шириной около 100 мм. В местах напуска оба листа одновременно разрезают по линейке. Отрезанные полоски удаляют и края листов приклеивают к нижележащему слою. Кромки полотнищ следует приклеивать к основанию тем же клеем, что и сами полотнища. Во время приклейки листы следует плотно прижимать к нижележащему слою. Зазор между кромкой ковра из линолеума или синтетического ковра со стеной должен составлять 4-5 мм и перекрываться плинтусом.

8.19.20 Стыки приклеенных смежных полотнищ и ковров прирезают после высыхания клеевой прослойки, но не ранее чем через 3-е суток после приклейки, что необходимо для стабилизации первоначальной усадки линолеума.

8.19.21 При наклейке линолеума на плоскости, расположенные под углом, радиус его перегиба должен быть не менее 50 мм; в этих местах под линолеум необходимо укладывать рейку или плинтус соответствующего профиля.

8.19.22 При устройстве покрытий из линолеума, сваренного в ковры, и из синтетических ковров их предварительно отгибают на половину длины и на освободившуюся площадь основания наносят клей, после чего раскатывают ковёр по клеевому слою, прижимая его к основанию с помощью катка или гладилки с целью удаления воздуха. При использовании клея на полимерной основе клеевой слой предварительно выдерживают в течение 20 минут, а затем раскатывают ковер по основанию. Аналогичную операцию проводят со второй половиной ковра.

8.19.23 Технология изготовления линолеумных антистатических покрытий включает создание электропроводного слоя путём нанесение валиком на всю поверхность основания пола электропроводной грунтовки марки UZIN-PE 260 L (производство ФРГ), укладку самоклеющейся медной ленты марки UZIN-Kupferleitband длиной не менее 1 м на каждые 30 м2 площади помещения, подключаемой к системе заземления здания, и приклейку антистатического линолеума на электропроводном клее.

8.19.24 В помещениях с влажными условиями эксплуатации для предотвращения проникания влаги в подоснову линолеума и основание через швы стыкуемых полотнищ, а также в «чистых» и «особо чистых» помещениях для предотвращения выделения частиц пыли из швов полотнища в стыке рекомендуется сваривать.

8.19.25 Линолеумы, имеющие в своём составе термопластическую поливинилхлоридную смолу, сваривают горячим воздухом, контактно-тепловым нагревом или воздействием инфракрасных лучей. Для этого рекомендуется применять электронное устройство «Пилад» или полуавтомат типа «Пчёлка».

8.19.26 Полотнища поливинилхлоридного линолеума со вспененной подосновой и печатным рисунком, которые не свариваются, стыкуют методом «холодной сварки» с помощью клеёв «Перминид» (ТУ 400-1-136-78) или ТГФ-70М (ТУ 400-1/411-82)

8.19.27 После приклейки стыков линолеума устанавливают плинтусы. Деревянные плинтусы (ГОСТ 8242-75) прибивают к предварительно установленным в стенах пробкам гвоздями длиной 30-40 мм или крепят шурупами длиной 25 мм. Плинтусы устанавливают так, чтобы они только касались покрытия пола и не были к нему прижаты. Поливинилхлоридные плинтусы приклеивают к стенам и перегородкам полимерными клеями, в качестве которых рекомендуется применять контактный клей марки UZIN-GN 276 (фирма «UZIN», ФРГ).

8.19.28 Покрытия полов из линолеума и синтетических ковров принимают в эксплуатацию не ранее, чем через трое суток после наклейки.

8.20 Покрытия из синтетических плиток

8.20.1 Покрытия из синтетических плиток являются разновидностью покрытий полов из линолеума. Данный вид покрытий характеризуется как рядом преимуществ по сравнению с покрытием из линолеума - не требуется выдержка материалов перед укладкой в течение 2 суток и прирезка стыков полотнищ, возможно устраивать покрытия с неограниченным количеством вариантов по цвету и рисунку, так и рядом недостатков - большим количеством швов, что приводит к пониженной водостойкости покрытий и повышенному пылеотделению из швов.

8.20.2 Для покрытий полов применяются поливинилхлоридные плитки по ГОСТ 16475-81, получаемые вырубкой из листов безосновного линолеума, изготовленного каландровым или вальцовым способом, и плитки марки «Превинил» по ТУ 400-1/411-68-77, получаемые методом прессования из смеси, содержащей поливинилхлоридную смолу, наполнители, пигменты, пластификаторы и добавки из измельчённых отходов поливинилхлоридных материалов.

8.20.3 Область применения покрытий полов зависит от типа используемых синтетических плиток. Поливинилхлоридные плитки для полов по ГОСТ 16475-81 применяют в полах на кухнях и в коридорах жилых зданий, в помещениях административных зданий, в коридорах и фойе учебных и зрелищных предприятий, в помещениях лабораторий и др. Не допускается применять их в вестибюлях первых этажей, в торговых залах продовольственных и промтоварных магазинов, в душевых и ванных комнатах и других помещениях, где они подвержены интенсивному воздействию влаги. При использовании плиток марки «Превинил», характеризующихся повышенной толщиной (4,5-5 мм), водо- и износостойкостью, покрытия из них могут применяться в вестибюлях жилых домов, фойе зрелищных предприятий, торговых залов магазинов, на предприятиях общественного питания и в ряде промышленных зданий.

8.20.4 Конструкции полов из синтетических плиток аналогичны конструкции полов из безосновного линолеума (см. рис. 24 и 25). При этом:

- в полах на грунте сплошной гидроизоляционный слой необходим во всех случаях, даже если плитки укладываются на полимерный или полимер-битумный клей;

- покрытия из прессованных плиток «Превинил» не допускается выполнять по сборным стяжкам из древесноволокнистых плит, которые не стойки по отношению к увлажнению, а также, если в полах проходят регистры лучевого отопления или разводки систем с горячим теплоносителем.

8.20.5 Синтетические плитки рекомендуется приклеивать к основаниям полимерной мастикой «Перминид» (ТУ 400-1-136-78), каучуковыми клеями КН-2 и КН-3 (ГОСТ 24064-80) или битумно-полимерными клеями - «Универсальной мастикой» (ТУ 5775-001-03989419-99), битумно-скипидарной мастикой «Биски» (ТУ 400-2-85-76), битумно-синтетическим клеем (ТУ 400-2-262-77) и др. Возможно также применение водо-дисперсионных клеёв, в частности, клеев марки АК и АДМК (ТУ 400-1-177-79).

8.20.6 В помещениях, где выполняются полы из синтетических плиток температура воздуха на уровне пола должна быть не ниже 15°С, влажность воздуха - не более 60 %. Влажность по массе для бетона панелей междуэтажных перекрытий должна быть не более 4 %, для стяжек на основе цементного, полимерцементного и гипсового вяжущего - не более 5 %, для стяжек из древесноволокнистых плит - не более - 12 %.

8.20.7 Перед устройством покрытия следует произвести разбивку осей. При этом если помещения соединены между собой, разбивочные оси рекомендуется прокладывать во всех помещениях через середины проёмов смежных помещений. В других помещениях разбивочные оси прокладывают через их центр.

8.20.8 Перед наклейкой плиток следует выполнить пробную раскладку плиток насухо. Если целое число плиток не укладывается точно по длине и ширине помещения, разбивочные оси смещаются таким образом, чтобы плитки можно было бы подрезать только у одной или двух взаимно-перпендикулярных стен.

8.20.9 Наклейку плиток следует начинать от пересечения разбивочных осей. В больших помещениях рекомендуется укладывать плитки в двух или четырех направлениях от разбивочных осей. В помещениях с небольшой площадью укладку плиток на клеях из синтетических смол и каучуков следует начинать от входной двери и вести от себя, находясь на ранее наклеенных плитках, а при использовании дисперсионных и битумно-синтетических клеев укладку плиток следует вести в направлении на себя, не наступая на ранее уложенные плитки.

8.20.10 Дисперсионные, битумно-синтетические и синтетические клеи следует наносить толщиной 0,4-0,5 мм полосой шириной на 80-100 мм шире плитки. При этом укладку плиток производят через 15-20 минут после нанесения клея. В случае применения синтетического клея укладку следует завершить через 40 минут после нанесения клея.

8.20.11 При использовании каучуковых клеев типа КН-2 и КН-3 их следует наносить на нижележащий слой и тыльную сторону плитки толщиной 0,2-0,3 мм. При этом в небольших помещениях клей рекомендуется наносить на всю площадь помещения, начиная от стены, а при больших площадях - на ширину двух-трех рядов плиток. Укладку плиток осуществляют после выдержки клея до «отлипа».

8.20.12 Зазоры между стенами и покрытием пола перекрывают деревянными или пластмассовыми плинтусами.

8.20.13 Технология крепления плинтусов и условия принятия покрытия в эксплуатацию аналогичны покрытиям полов из линолеума.

8.21 Покрытия из резиновых, резинокордовых и резинокордобитумных плит

8.21.1 Полые покрытием из резиновых, резинокордовых и резинокордобитумных плит рекомендуется применять в производственных и животноводческих зданиях с учётом допустимых эксплуатационных воздействий, приведённых в табл. 1, 2, 3 Приложения 1.

8.21.2 В животноводческих зданиях полы с покрытием из резиновых, резинокордовых и резинокордобитумных плит рекомендуется применять в стойлах, станках, боксах одноэтажных зданий для крупного рогатого скота, телят, а также в животноводческих зданиях, предназначенных для содержания поросят-отъёмышей до двухмесячного возраста, и в опоросных станках с фиксированным содержанием свиноматок.

8.21.3 В животноводческих зданиях полы должны иметь уклон в сторону навозосборного канала. Величину уклона рекомендуется принимать в зданиях для крупного рогатого скота равной 3-5%, в свинарниках - 5%.

8.21.4 Не допускается устройство таких полов в проходах и проездах животноводческих зданий, а также в производственных зданиях при весьма значительной и значительной интенсивности механических воздействий и при возможном падении на пол предметов массой более 10 кг с высоты 1 м и более.

8.21.5 Для устройства покрытий полов используют резиновые плиты размером 500´500´25 и 500´500´20 мм (ТУ 38.305298-88), а также резинокордовые и резинокордбитумные плиты размером 1900´1100´(12-15) мм (ТУ 38.3042-80).

8.21.6 Полы с покрытием из резиновых, резинокордовых и резинокордобитумных плит в производственных зданиях выполняют по бетонному подстилающему слою или по железобетонному перекрытию, а в животноводческих зданиях по подстилающему слою из легких бетонов.

8.21.7 В полах производственных зданий (рис. 26) резиновые плиты могут быть втоп-лены в свежеприготовленный цементно-песчаный раствор или наклеены клеевым составом на бетонную или цементно-песчаную стяжку.

8.21.8 В полах животноводческих зданий (рис. 27) резиновые, резинокордовые или резинокордобитумные плиты могут быть наклеены клеевыми составами на выравнивающий слой из цементно-песчаного раствора M100 толщиной 20 мм или закреплены шиферными гвоздями к деревянным антисептированным брускам, утопленным в подстилающий слой, или уложены насухо (при плитах со шпунтом). Подстилающий слой выполняется толщиной 80 мм из аглопоритобетона класса В 5 плотностью 1200 кг/м3.

8.21.9 Для покрытий полов из резиновых плит, укладываемых на свежеприготовленную цементно-песчаную прослойку, следует использовать раствор состава цемент:песок = 1:2 при водоцементном отношении В/Ц = 0,35-0,45.

8.21.10 Для приготовления бетонов подстилающего слоя и растворов для цементной стяжки следует применять портландцемент М 400, соответствующий по своим свойствам требованиям ГОСТ 10178-85.

8.21.11 В качестве крупного заполнителя для легкого бетона в полах животноводческих зданий следует применять керамзитовый гравий, удовлетворяющий требованиям ГОСТ 9757-83, или щебень аглопоритовый, удовлетворяющий требованиям ГОСТ 11991-83. Размер фракций крупного заполнителя 10-40 мм.

8.21.12 В качестве мелкого заполнителя следует использовать песок керамзитовый, удовлетворяющий требованиям ГОСТ 9759-83, или аглопоритовый, соответствующий требованиям ГОСТ 11991-83.

8.21.13 В качестве крупного заполнителя для тяжелого бетона подстилающего слоя в полах производственных зданий следует применять гравий или щебень крупностью до 15 мм, а в качестве мелкого заполнителя крупно- или среднезернистый песок.

8.21.14 Подбор состава лёгкого бетона следует производить в соответствии с требованиями ГОСТ 27006-86.

8.21.15 Приготовление цементно-песчаного раствора осуществляют в следующей последовательности: перемешивают в течение 1-2 минут цемент и песок, добавляют при перемешивании часть воды затворения, а затем добавляют оставшуюся воду и перемешивают до однородного состояния.

8.21.16 Приготовление бетонных и растворных смесей следует производить в смесителях принудительного действия. Допускается приготовление бетонных смесей в бетономешалках гравитационного действия при условии, что прочность контрольных бетонных кубов из одного замеса не будет отличаться более чем на 10 %.

Загрузку работающего смесителя отдозированными материалами следует производить в следующей последовательности: крупный заполнитель, мелкий заполнитель, цемент, вода (подаётся постепенно). Продолжительность перемешивания 2-3 минуты. Осадка конуса легкого бетона должна быть в пределах 10-20 мм. Удобоукладываемость растворной смеси следует оценивать также по расплыву конуса согласно ГОСТ 310.4-81, который должен составлять 106-115 мм.

8.21.17 В животноводческих зданиях выполнение конструктивных слоев пола следует производить после устройства навозосборного .канала до установки перегородок и сантехнического оборудования. В местах установки стоек следует устраивать колодцы соответствующих размеров с использованием инвентарных пустотообразователей.

Рис.26 Конструктивные схемы полов в производственных зданиях с покрытием из резиновых, резинокордовых и резинокордобитумных плит, уложенных на свежеприготовленный цементно-песчаный раствор (а) и клеевую прослойку (б)
1 - плиты резиновые с анкерами; 2 - плиты резиновые, резинокордовые и резинокордобитумные с ровной нижней поверхностью; 3 - клеевая прослойка; 4 - стяжка; 5 -бетонный подстилающий слой; 6 - плита перекрытия; 7 - грунт.

Рис.27 Конструктивные схемы полов в животноводческих зданиях с покрытием из резиновых, резинокордовых и резинокордобитумных плит, уложенных на клеевую прослойку (а), насухо (б) и прикрепляемых к деревянным брускам (в)
1 - плиты резиновые, резинокордовые и резинокордобитумные с ровной нижней поверхностью; 2 - клеевая прослойка; 3 - стяжка; 4 - шиферный гвоздь; 5 - антисептированный деревянный брусок 40´60 мм; 6 - теплоизоляционный слой из лёгкого бетона; 7 - подстилающий слой (щебень крупностью 40-60 мм, пропитанный битумом); 8 - грунт основания.

8.21.18 Площадь пола разбивают на отдельные участки, ограниченные рейками с размером по высоте, соответствующим толщине стяжки. Рейки устанавливают параллельно стенам на цементные маяки по уровню, в соответствии с отметкой, вынесенным на стену.

8.21.19 Цементно-песчаный раствор следует укладывать на влажное, но без скопления воды основание пола с выравниванием уложенного слоя раствора правилом, передвигаемым по маячным рейкам.

8.21.20 Виброуплотнение свежеуложенных бетонных или растворных смесей следует производить площадочными вибраторами.

8.21.21 В подстилающем слое из легких бетонов должны быть выполнены усадочные швы толщиной 15-20 мм, располагаемые с шагом не более 20 м, которые в животноводческих зданиях следует предусматривать под межбоксовыми или межстойловыми перегородками. Полости швов заливаются битумом. В подстилающем слое из тяжелого бетона деформационные швы выполняются в соответствии с требованиями Раздела I.

8.21.22 Технологические (рабочие) швы в легкобетонном слое следует, как правило, совмещать с температурно-усадочными швами.

8.21.23 Цементно-песчаную стяжку следует устраивать непосредственно после укладки легкобетонного подстилающего слоя. Перед укладкой её по ранее уложенному и затвердевшему бетону подстилающего слоя поверхность последнего следует тщательно очистить от пыли и загрязнения.

8.21.24 Покрытие из плит следует устраивать после достижения раствором выравнивающего слоя 70 %-ной проектной прочности, при этом влажность слоя должна быть не более 5% (по массе).

8.21.25 Для укладки в свежеприготовленную цементно-песчаную стяжку должны применяться резиновые плиты с анкерами. При этом время от начала приготовления раствора до укладки на него резиновых плит должно составлять не более 40 минут. При укладке резиновые плиты тщательно подгоняются друг к другу, стенам, фризам и другим выступающим над полом конструкциям. Втапливание плит следует производить до полного и плотного контакта с раствором, а раствор, выступивший из швов, удалить с поверхности плит до его затвердевания.

8.21.26 Эксплуатация полов с покрытием из резиновых плит, уложенных на свежеприготовленный цементно-песчаный раствор, возможна для пешеходного движения через 10 суток, а полная эксплуатация через 28 суток после изготовления цементно-песчаной стяжки.

8.21.27 В производственных зданиях при укладке резиновых плит на клеевых составах бетонное основание должно иметь прочность на сжатие не менее 20 МПа. Крепление плит к бетонному основанию следует производить не ранее, чем через 7-10 суток с момента изготовления бетонной стяжки.

8.21.28 Для наклейки плит следует применять полимерные клеи : «Перминид» (ТУ 400-1-136-78), двухкомпонентные эластичные эпоксидный UZIN-KR 421 и полиуретановый UZIN-KR 430 (фирма «UZIN», ФРГ), а также резиновые клеи - КН-2 (ГОСТ 24064-80). Возможно также применение резинобитумных мастик «Резапласт» по ТУ 21-27-105-83 и МБРК по ТУ 480-1-96-87 и дивинилстирольного стабилизированного латекса СКС-65 ГП марки «Б» по ТУ 38.103111-83.

8.21.29 Крепление плит к бетонному основанию полимерными клеями осуществляют в следующей последовательности:

- нижняя поверхность и боковые грани плит обезжиривается растворителем, после чего на них наносят тонкий слой клея и выдерживается до полного высыхания;

- клей тонким слоем наносят на бетонное основание, а также (повторно) на плиты и выдерживается «до отлипа»;

- укладывают плиты на поверхность стяжки вплотную друг к другу и плотно прижимают.

8.21.30 Наклейку плит резинобитумной мастикой производят в следующей последовательности:

прирезка плит по месту укладки;

очистка выравнивающего слоя от пыли и загрязнений, промазка выравнивающего слоя раствором битума в керосине (40 кг битума БН-V на 60 кг керосина), очистка наклеиваемой поверхности плит от загрязнений бензином или керосином;

наклейка плит через сутки после промазки выравнивающего слоя.

8.21.31 При наклейке плит резинобитумной мастикой должны промазываться поверхность выравнивающего слоя и приклеиваемой стороны плиты. Плиты следует крепить к выравнивающему слою резинобитумной мастикой плотностью 1100 кг/м3. Мастику следует наносить равномерно, слоем толщиной 1-2 мм. Между плитами следует оставить зазоры шириной 10 мм, заполнить их мастикой и сверху посыпать песком.

8.21.32 При укладке резиновых плит на клеевых составах и резинобитумной мастике пешеходное движение допускается через 2-3 суток после наклейки (закрепления) резиновых плит к основанию пола, полная эксплуатация полов с покрытием из резиновых, резинокордовых и резинокордобитумных плит после выдержки в течении 3-5 суток.

8.21.33 При наклейке плит на латексцементной композиции следует применять раствор следующего состава (в расчёте на 1 м3 смеси):

цемент марки 400                         800 кг

латекс СКС-65ГП марки «Б»      400 литр

8.21.34 Латексцементный раствор следует изготавливать в растворомешалке на строительной площадке непосредственно перед наклейкой плит.

8.21.35 Устройство покрытия осуществляют в следующей последовательности:

прирезка плит по месту укладки;

очистка выравнивающего слоя от пыли и загрязнений и огрунтовка его латексом, разбавленным водой в отношении 1:1 по объёму, очистка наклеиваемой поверхности плит от загрязнений бензином или керосином;

промазка поверхности выравнивающего слоя и поверхности плиты латексцементным раствором равномерным слоем толщиной 0.5-1,0 мм через 0,5 часа после огрунтовки выравнивающего слоя и наклейка плит.

При необходимости в местах неполного прилегания плит под собственным весом их следует пригрузить. Между плитами следует оставлять зазоры шириной 10 мм и заполнять их латексцементным раствором.

8.21.36 Работы при наклейке плит синтетическими клеями или резинобитумными мастиками следует выполнять при температуре воздуха в помещении не ниже +5°С, а при наклейке латексцементной композиции при температуре не ниже +15°С.

8.21.37 К подстилающему слою, в котором предусмотрены деревянные антисептированные бруски сечением 40´60 мм, плиты покрытия крепят шиферными гвоздями. Бруски замоноличиваются вдоль стойл у кормушек, посредине стойла и у навозосборного канала.

8.21.38 Крепление плит шиферными гвоздями к деревянным брускам, заложенным в бетоне подстилающего слоя, следует производить 4-5 гвоздями в каждый брусок. При этом зазоры между плитами заполняются цементно-песчаным раствором, используемым для устройства выравнивающего слоя.

8.21.39 Эксплуатация полов с покрытием из резиновых, резинокордовых и резинокордобитумных плит, уложенных на латексцементном растворе, а также при креплении плит шиферными гвоздями с заделкой швов цементно-песчаным раствором возможна для пешеходного движения через 7-10 суток, а полная эксплуатация через 28 суток после укладки.

8.22 Покрытия из керамических плиток

8.22.1 Полы из керамических плиток рекомендуется применять в помещениях с систематическим или периодическим увлажнением пола с учетом допустимых эксплуатационных воздействий, приведённых в табл. 1, 2, 3 Приложения 1.

8.22.2 Для изготовления покрытий полов рекомендуется применять керамические плитки, соответствующие требованиям ГОСТ 6787-80* или техническим условиям заводов-изготовителей, согласованным в установленном порядке.

8.22.3 Основанием под полы из керамических плиток может быть бетонный подстилающий слой, железобетонное перекрытие, цементно-песчаная стяжка марки не ниже M150 или сборная стяжка, состоящая из слоя водостойкой фанеры и гипсоволокнистого листа, из спаренных листов водостойкой фанеры или из готовых элементов, выполненных из спаренных гипсоволокнистых листов, укладываемых по лагам, слою пенополистирольных плит, керамзитового или кварцевого песка (рис. 28).

8.22.4 При использовании сборной стяжки, укладываемой по регулируемым лагам, шаг их следует принимать равным 30-40 см.

8.22.5 Выбор клеевой прослойки следует осуществлять с учётом толщины плиток и их пористости, характеризуемой водопоглощением - плитки относятся к не впитывающим при коэффициенте водопоглощения менее 0,5 %, средне впитывающим при коэффициент водопоглощения от 0,5 до 3 % и впитывающим при коэффициенте водопоглощения более 3 %.

8.22.6 Не впитывающие и средне впитывающие керамические плитки и тонкослойные плитки (до 10 мм) рекомендуется укладывать по прослойке из плиточных клеёв на основе минеральных вяжущих, в качестве которых рекомендуются составы на основе портландцемента с модифицирующими добавками - клей плиточный «Глимс-96» по ТУ 5700-010-40397319-00 № 0400/1 или жидкого стекла - строительная мастика «Калан» по ТУ 2384-0003-36537956-00. Для впитывающих керамических плиток допускается также применение цементно-песчаного раствора (табл. 8.22.1), содержащего в качестве модифицирующей добавки пластифицированную поливинилацетатную дисперсию (ГОСТ 18992-80*) или латекс СКС-65ГП марки «Б» (ТУ 38-103111-80) в количестве 10-15% от массы цемента в пересчёте на сухое вещество полимера.

Таблица 8.22.1

Марка раствора

Вода

Цемент марки 400

Песок

М150

0,55

1

3,0

М200

0,48

1

2,8

M300

0,40

1

2,4

8.22.7 В целях снижения усадочных деформаций для прослойки из цементно-песчаного раствора рекомендуется применять жесткие смеси с осадкой конуса 2-3 см. При этом керамические плитки следует втапливать в раствор прослойки с помощью вибрации. В противном случае следует использовать раствор с осадкой конуса 5-6 см.

8.22.8 Покрытия из керамических плиток рекомендуется выполнять при температуре воздуха не ниже 10°С.

8.22.9 Перед устройством покрытий плиты следует предварительно разложить насухо для подбора. Цвет и рисунок покрытия пола устанавливается проектом.

8.22.10 До устройства прослойки из цементно-песчаного раствора устанавливают и закрепляют первый ряд маячных реек из деревянных брусков или металлических прокатных изделий высотой, соответствующей требуемой толщине прослойки (10-15 мм).

8.22.11 Первый ряд маячных реек следует размещать у стены, противоположной входу в помещение, с таким расчётом, чтобы после укладки всех плиток и удаления маячной рейки в образовавшийся промежуток укладывалось целое число плиток фризового ряда. Последующие ряды маячных реек устанавливают параллельно первому на расстоянии, равном ширине укладываемого ряда плиток.

 

Рис.28 Конструктивные схемы полов с покрытием из керамических плиток
1 - керамическая плитка; 2 - прослойка из цементно-песчаного раствора; 3 - клеевая прослойка; 4 - мастика в швах; 5 - гидроизоляция; 6 - цементно-песчаная или бетонная стяжка; 7 - сборная стяжка из гипсоволокнистых листов; 8 - лага регулируемая; 9 - болт-стойка; 10 - тепло-звукоизоляция плитная; 11 - тепло-звукоизоляция из керамзитового или кварцевого песка; 12 - полиэтиленовая плёнка; 13 - плита перекрытия; 14 - бетонное основание; 15 - грунт основания.

8.22.12 Для повышения начальной прочности сцепления цементно-песчаного раствора прослойки с плиткой её перед укладкой следует замачивать в воде. При этом плитки, укладываемые на жесткий цементно-песчаный раствор, рекомендуется замачивать путём полного погружения в воду или водный раствор поверхностно-активных веществ (ПАВ) на 15-20 минут. В качестве водных растворов ПАВ применяют 1%-ный раствор хлористого кальция или 0,5%-ный раствор хлористого алюминия.

8.22.13 При укладке плиток на раствор с осадкой конуса 5-6 см их достаточно перед укладкой окунуть в воду или водный раствор ПАВ.

8.22.14 Толщина прослойки из плиточных клеёв (1-2 мм) регулируется размером зубцов шпателя, применяемого при нанесении данной композиции.

8.22.15 При укладке керамических плиток на плиточных клеях предварительное увлажнение плиток не требуется.

8.22.16 Плиты укладываются сразу после разравнивания раствора или клея по шнуру в направлении «на себя» с образованием швов, которые затем заполняют окрашенными полимерцементными запарочными композициями или цементно-песчаным раствором состава 1:1.

8.22.17 Расшивку швов следует выполнять через сутки после укладки керамических плиток.

8.22.18 Цементно-песчаный раствор прослойки должен твердеть во влажных условиях, для чего покрытие пола следует засыпать слоем мокрых опилок или накрыть полиэтиленовой плёнкой на 7-10 суток. Поливать покрытия без укрытия его опилками, матами или мешковиной не допускается, так как вода стекает и скапливается в пониженных местах, что в дальнейшем приводит к отслоению покрытия от прослойки.

8.22.19 Смачивание покрытий полов при укладке керамических плиток на клеевых композициях не требуется.

8.22.20 Эксплуатация покрытий полов из керамических плиток, уложенных на цементно-песчаном растворе, следует осуществлять после набора материалом прослойки марочной прочности и достижения воздушно-сухого состояния - как правило, после выдержки в течение 3-4 недель. При укладке штучных материалов на плиточных клеях выдержка до эксплуатации должна составлять 3-5 суток.

8.23 Покрытия из плит природного камня и керамогранита

8.23.1 Покрытия полов из плит природного камня (гранита, лабрадорита, мрамора и др.) и керамогранита рекомендуется применять для устройства полов в общественных, том числе уникальных зданиях, где к ним предъявляются повышенные требования по эстетике, гигиене и истираемости, с учётом допустимых эксплуатационных воздействий, приведённых в табл. 1, 2, 3 Приложения 1.

8.23.2 Покрытия из плит природного камня и керамогранита могут быть выполнены по бетонному подстилающему слою, железобетонным перекрытиям или цементно-песчаным стяжкам с пределом прочности на сжатие последних не менее 15 МПа (рис. 29).

8.23.3 Плиты из природного камня и керамогранита должны соответствовать требованиям ГОСТ 9480-77, кроме того плиты из керамогранита должны соответствовать требованиям технической документации заводов-изготовителей, утверждённой в установленном порядке, или подтверждающей возможность применения их в строительстве.

8.23.4 Для крепления плит из керамогранита, а также плит из природного камня толщиной до 20 мм рекомендуется применять плиточные клеи на основе минеральных вяжущих, в качестве которых могут быть рекомендованы клеи для крепления керамических плиток - клей плиточный «Глимс-96» по ТУ 5700-001-40397319-00 № 0400/1 или строительная мастика «Калан» по ТУ 2384-0003-36537956-00. Для крепления крупноформатных каменных, мраморных, гранитных и керамогранитных плит может быть рекомендован монтажный клей марки «Глимс-Strong» по ТУ 5700-001-40397319-00 № 0400/4, а для плит из мрамора светлых оттенков и светлых или полупрозрачных керамогранитных плит - клей белого цвета марки UZIN Stone Flex (фирма «UZIN», ФРГ). Толщина клеевой прослойки должны составлять 2-3 мм для обычных плит и 10-15 мм для крупноразмерных плит (более 600 мм).

 

Рис. 29 Конструктивные схемы полов с покрытием из плит природного камня и керамогранита по подстилающему слою (а) и по перекрытию (б)
1 - плита природного камня или керамогранитная плита; 2 - прослойка из цементно-песчаного раствора; 3 - клеевая прослойка; 4 - мастика в швах; 5 - гидроизоляция; 6 - цементно-песчаная или бетонная стяжка; 7 - тепло-звукоизоляция; 8 - полиэтиленовая плёнка; 9 - бетонное основание; 10 - плита перекрытия; 11 - грунт основания.

8.23.5 При применении плит из керамогранита для антикоррозионных облицовочных покрытий (в частности, покрытий полов на пивзаводах), наклейку необходимо выполнять полимерными мастиками (как правило, на основе эпоксидных смол), химически стойкими к воздействующим средам, в качестве которых могут быть рекомендованы UZIN Fliesopur и UZIN Epoxiflex Plus. При малой интенсивности воздействия агрессивных сред возможна укладка плит на клеевых композициях на основе цемента с расшивкой швов полимерной химически стойкой мастикой - UZIN Fliesepox Fuge и UZIN Objektfuge Boden.

8.23.6 При укладке толстослойных плит природного камня толщиной более 20 мм допускается применение цементно-песчаного раствора, содержащего в качестве модифицирующей добавки пластифицированную поливинилацетатную дисперсию (ГОСТ 18992-80*) или латекс СКС-65ГП марки «Б» (ТУ 38-103111-80) в количестве 10-15% от массы цемента в пересчёте на сухое вещество полимера, с прочностью на сжатие не ниже 15 МПа и с осадкой конуса 3-4 см. Толщина прослойки должна составлять 20-30 мм.

8.23.7 Для покрытий полов типа «Брекчия» применяются куски плит неправильной формы с размером лицевой поверхности не менее 25 см2.

8.23.8 При устройстве покрытий типа «Брекчия» рекомендуется использовать обычный или цветной цементно-песчаный раствор, а также мозаичную смесь с щебёночным заполнителем из той же породы, что и куски плит. Марка раствора или смеси должны быть не ниже 200. Площадь каменного материала в покрытии должна составлять не менее 80%.

8.23.9 Покрытия из плит природного камня и керамогранита следует выполнять при тех же параметрах воздуха, что и из керамических плиток.

8.23.10 Перед устройством покрытий плиты следует предварительно разложить насухо для подбора. Цвет и рисунок покрытия пола устанавливается проектом.

8.23.11 Плиты следует укладывать по маякам, размещаемым через 2 м.

8.23.12 В больших помещениях плиты рекомендуется укладывать от центра помещения в четырёх или двух направлениях от разбивочных осей по маячным шнурам, проходящим через центральные оси помещения. В остальных случаях укладку плит следует выполнять от стены, противоположной входным дверям, а маячный шнур натягивать вдоль стены.

8.23.13 Раствор или клей прослойки следует наносить полосами длиной 1-1,5 м вдоль маячного шнура на 20-30 мм шире ряда укладываемых плит.

8.23.14 Плиты укладываются сразу после разравнивания раствора или клея по шнуру в направлении «на себя» впритык с возможно более плотным швом. В проектное положение плиты устанавливают, осаживая их трамбовкой или молотком через деревянную прокладку, которая должна захватывать не менее 2 плит.

8.23.15 Через сутки после укладки швы заполняются окрашенными цементными или полимерными затирочными композициями или цементно-песчаным раствором состава 1:1.

8.23.16 Швы между кусками плит в покрытии типа «Брекчия» шириной 2-3 мм следует заполнять через сутки после укладки цементным тестом, а более 3 мм - цементно-песчаным раствором или мозаичной смесью.

8.23.17 По аналогии с покрытиями из керамической плитки покрытия из плит природного камня при укладке на цементно-песчаном растворе следует выдерживать во влажном состоянии в течение 7-10 суток. Смачивание покрытий полов при укладке плит из природного камня и керамогранита на полимерцементных клеевых композициях не требуется.

8.23.18 Эксплуатация покрытий полов из плит из природного камня и керамогранита, уложенных на цементно-песчаном растворе, а также типа «Брекчия» следует осуществлять после набора материалом прослойки марочной прочности и достижения воздушно-сухого состояния - как правило, после выдержки в течение 3-4 недель. При укладке штучных материалов на полимерцементных плиточных клеях выдержка до эксплуатации должна составлять 3-5 суток.

8.24 Покрытия из плит каменного литья, кислотоупорных плиток и кирпича

8.24.1 Покрытия из плит каменного литья, кислотоупорных плиток и кирпича рекомендуется применять в производственных помещениях или отдельных их зонах при воздействии на полы воды, кислот, щелочей и их растворов с учётом эксплуатационных воздействий, приведённых в табл. 1, 2, 3 Приложения 1. При этом покрытие из кислотоупорного кирпича, уложенного на ребро, рекомендуется использовать только в зонах интенсивного движения автомобилей и автокар.

8.24.2 Покрытия из плит каменного литья, кислотоупорных плиток и кирпича могут быть выполнены по бетонному подстилающему слою, железобетонным перекрытиям или цементно-песчаным стяжкам с пределом прочности на сжатие последних не менее 15Мпа (рис. 30).

8.24.3 Плиты из каменного литья должны соответствовать требованиям ТУ 21-РСФСР-682-76, керамические кислотоупорные и термокислотоупорные плитки - ГОСТ 961-79, кислотоупорный кирпич - ГОСТ 474-67

8.24.4 Плитки и кирпич следует укладывать по прослойке из химически стойких растворов или мастик, в качестве которых рекомендуется применять кислотоупорные силикатные растворы на основе натриевого или калиевого жидкого стекла, фенолформальдегидную замазку «Арзамит-5» (ТУ 6-05-1144-83), а также полиуретановые и эпоксидные высокоэластичные клеи для кислотоупорной плитки: UZIN Fliesopur и UZIN Epoxiflex Plus (фирма «UZIN», ФРГ). Составы и характеристики химически стойких материалов, в том числе стойкость к агрессивным средам, приведены в Справочнике строителя «Защита строительных конструкций и технологического оборудования от коррозии» - М. 1981 г.

8.24.5. При устройстве покрытий полов на объектах пищевой промышленности для наклейки плиток следует применять полимерзамазки, на которые имеются санитарно-эпидемиологические заключения на допустимость контакта их с пищевыми продуктами. Как правило, в этих случаях используют эпоксидные полимерзамазки.

8.24.6 При укладке кислотостойкой плитки на эпоксидных и полиуретановых клеях рекомендуется применять эпоксидные затирочные композиции для заделки швов -UZIN Fliesepox Fuge и UZIN Objektfuge Boden (фирма «UZIN», ФРГ).

8.24.7 Устройство покрытия пола рекомендуется выполнять по непроницаемому подслою, который одновременно служит и гидроизоляцией. Типы подслоя и рекомендации по нанесению приведены в главе 7 (п.7.4).

8.24.8 При «малой» интенсивности воздействия жидкостных воздействий возможна укладка плиток и кирпича (облицовки) по прослойке из цементно-песчаного раствора с расшивкой швов химически стойкими полимерзамазками. Облицовка может осуществляться непосредственно по подстилающему слою (без непроницаемого подслоя).

8.24.9 Устройство покрытий пола рекомендуется выполнять при температуре воздуха не ниже 10°С при использовании растворов на основе жидкого стекла и не ниже 15°С при применении полимерзамазок.

Рис.30 Конструктивные схемы полов с покрытием из плит каменного литья, кислотоупорной плитки и кирпича по подстилающему слою (а) и по перекрытию (б)
1 - плита каменного литья, кислотоупорная плитка и кирпич; 2 - прослойка из цементно-песчаного раствора или раствора на основе жидкого стекла; 3 - прослойка на основе полимерных материалов; 4 - непроницаемый подслой; 5 - расшивка швов химически стойкими полимерзамазками; 6 - бетонный подстилающий слой; 7 - гравий, пропитанный битумом; 8 - цементно-песчаная или бетонная стяжка; 9 - тепло-звукоизоляция; 10 - плита перекрытия; 11 - грунт основания.

8.24.10 Каналы, лотки и приямки, предназначенные для сбора и канализации агрессивных жидкостей, облицовываются до нанесения покрытия пола. Облицовку этих конструкций следует начинать с днища с последующим устройством по ней покрытия пола.

8.24.11 Устройство покрытия пола следует начинать от стен к проездам и дверям. Укладку плит и кирпича производят рядами, параллельными стенам. В больших помещениях плиты и кирпич укладываются полосами (участками) шириной не более 10 м. Кирпич укладывают по шнуру с соблюдением перевязки швов на 1/3-1/2 кирпича. В проездах его укладывают в «ёлку». При наличии большого числа фундаментов под оборудование, которые параллельны между собой, но не параллельны стенам - рядами, параллельными этим фундаментам.

8.24.12 При укладке плит и кирпича полосу разравниваемого кислотоупорного раствора или полимерзамазки следует иметь длиной не менее 1 м и шире укладываемого ряда плиток или кирпича на 40-50 мм. Швы между плитками и кирпичами заполняют материалом прослойки, выдавливаемым при их укладке. Ширина швов не должна превышать при кирпиче 5 мм, а при плитках - 3 мм.

8.24.13 Укладка плиток и кирпича по прослойке из цементно-песчаного раствора с расшивкой швов химически стойкими полимерзамазками может осуществляться методом укладки штучных материалов на прослойку впустошовку с последующим заполнением этих швов (расшивкой) химически стойкими растворами или полимерзамазками или комбинированным способом при одновременной укладке и заполнении швов.

8.24.14 При укладке плит или кирпича впустошовку швы должны иметь ширину 6-8 мм. Швы заполняют мастиками, наносимыми при помощи шприцов или вручную выдавливанием из полиэтиленовых мешков со срезанным углом. Глубина заполнения швов при их разделке должна быть не менее: 20 мм - для кирпича и плитки толщиной более 50 мм; 15 мм для плитки толщиной 20-30 мм. Укладка впустошовку плиток толщиной менее 20 мм не допускается.

8.24.15 При комбинированном способе на две боковые грани штучного материала наносится химически стойкий раствор или полимерзамазка и осуществляется укладка плитки или кирпича на прослойку из цементно-песчаного раствора с прижиманием их к ранее установленным штучным материалам.

8.24.16 В местах примыкания пола к стенам и колоннам устраивают плинтус, высота которого должна быть не менее 200 мм, для чего используют штучные изделия (плитку или кирпич) и химически стойкие замазки или растворы, применяемые для покрытия пола.

8.24.17 До начала эксплуатации покрытия из плит каменного литья, кислотоупорных плиток и кирпича должны быть выдержаны в течение 20 суток в сухих условиях при температуре воздуха не ниже +10°С при использовании растворов на основе жидкого стекла и не ниже +15°С при использовании полимерзамазок.

8.25 Глинобитные покрытия

8.25.1 Глинобитные покрытия полов допускается применять в помещения животноводческих зданий для содержания овец (кошарах) с учётом допустимых эксплуатационных воздействий, приведённых в табл. 1, 2, 3 Приложения 1.

8.25.2 Глинобитные покрытия выполняются непосредственно по грунту основания (рис. 31). Толщина покрытия должна составлять не менее 80 мм.

8.25.3 Глинобитные покрытия выполняются из смеси песка, глины и воды (табл. 8.25.1). Щебень, гравий и маслянистые добавки вводят только при соответствующем указании в проекте. Щебень изготавливают из материалов с пределом прочности при сжатии не менее 10 МПа. Крупность щебня и гравия не должна превышать 60 мм. В качестве масляных добавок используют мазут, крекинг-остаток, жидкие нефтяные битумы, отходы машинного масла и т.п. Применение каменноугольных, торфяных, древесных смол и дёгтя не допускается.

Рис. 31 Конструктивная схема полов с глинобитным покрытием
1 - глинобитное покрытие; 2 - грунт основания.

Таблица 8.25.1

Материал

Глинобитная смесь

Глинобитная смесь, улучшенная добавками

Глинобетон

маслянистыми

гравием или щебнем

Песок крупностью, мм:

 

97-98%

60-90%

35-45%

более 0,075

25-40%

0,075-0,005

30-60%

Глина (частицы мельче 0,005 мм)

15-30%

Вода (от веса сухой смеси)

15-30%

Маслянистые нефтяные вещества

-

2-3%

-

-

Щебень или гравий

-

-

10-40%

55-65%

8.25.4 При влажных слежавшихся глинах затворение сухой смеси песка и щебня производят глиняным тестом, полученным путём предварительного замачивания глины.

8.25.5 Подвижность глинобитной смеси должна соответствовать условию погружения стандартного конуса не более чем на 40 мм.

8.25.6 Предел прочности при сжатии высушенной глинобитной смеси должен быть не менее 2,0 МПа.

8.25.7 Глинобитную смесь необходимо уплотнять слоями толщиной не более 100 мм до прекращения осадки и появления влаги на её поверхности. Последующие слои укладывают по смоченной поверхности нижележащего слоя. Выравнивание поверхности покрытия производят после впитывания влаги.

8.25.8 Перед возобновлением укладки глинобитной смеси (после перерыва) вертикальная кромка ранее уложенного покрытия должна быть смочена водой.

8.25.9 Поверхность законченного глинобитного покрытия необходимо слегка смачивать водой в течение 10-15 суток.

9. Отделка поверхности покрытий

9.1 При предъявлении к полам с бетонным, мозаично-бетонным, поливинилацетатцементно- и латексцементно-бетонным, ксилолитовым, поливинилацетатцементно-опилочным, дощатым и паркетным покрытиям повышенных требований по степени пылеотделения, водо- и маслостойкости, износостойкости, а также для улучшения эстетических и декоративных качеств покрытий рекомендуется предусматривать дополнительную отделку поверхности.

9.2 Отделка поверхности покрытий на основе цементных и магнезиальных вяжущих предусматривает пропитку её или окраску составами на основе эпоксидных композиций марок «ДИАПОЛ-110» или «ДИАПОЛ-112» (ТУ 2257-007-27576372-2000) и краской марки «РИЗОПОКС-4610» (2257-008-43548961-2002), уретановых защитных композиций «УТК-М» по ТУ 2257-002-29363290-97 или изоцианатных защитных композиций «Силор» по ТУ 2257-001-29363290-97) (табл. 9.1).

9.3 Для отделка поверхности покрытий на основе цементных вяжущих возможно применение флюатирующих составов - пропитка марки «Литурин» (фирма «Линдекс», Швеция) (табл. 9.1).

Таблица 9.1

 

Вид пропиточного состава

Вид покрытия пола

Эпоксидный лак

Полиуретановый лак

Пропитки на основе изоцианатов

Цветные эмали на основе эпоксидных и полиуретановых смол

Флюаты

Бетонное

+

+

+

+

+

Бетонное с упрочнённым верхним слоем

+

+

+

-

+

Мозаично-бетонное

+

+

+

+

+

Сталефибробетонное

+

+

+

+

+

Поливинилацетатцементно-опилочное

+

+

+

+

+

Ксилолитовое

+

+

+

+

-

Поливинилацетатцементно- и латексцементно-бетонное

+

+

+

+

+

9.4 Паркетные полы для защиты от изнашивания и загрязнений, а также выявления естественной фактуры древесины покрывают лаком. Дощатые полы грунтуют натуральной олифой с небольшим (до 2%) содержанием сиккатива и окрашивают.

9.5 Лаковые отделочные системы для полов из паркета предусматривают ведение отделочных работ в 3 этапа: шпаклевка швов, нанесение грунтовки и не менее 2-х слоев лака на покрытие пола в жилых помещениях или 3-х слоев в общественных зданиях.

9.6 В зависимости от видов эксплуатационного воздействия, оптических свойств покрытия и пород древесины могут рекомендованы производимые немецкой фирмой UZIN лаковые отделочные системы: экологически чистые с самым высоким показателем на истирание, минимальным изменением цвета дерева при высокой эластичности и устойчивости к ультрафиолету, а также к воде (при применении средств по уходу) водные лаки UZIN MF-94 и UZIN MF-95 (для жилых зон), UZIN MF-96 и UZIN MF-97 (при высоких нагрузках), UZIN MF-98 и UZIN MF-99 (при очень высоких нагрузках); с самая высокой водо-химстойкостью, быстрым набором окончательной прочности, высокой поверхностной прочностью, возможностью работы в условиях высокой влажности воздуха полиуретановые лаки: UZIN MF-88 DD (при нормальных нагрузках), UZIN MF-86 DD (при интенсивных нагрузках); характеризующиеся самой высокой эластичностью, низкой истираемостью, возможностью создания поверхностей с коэффициентом трения 0,5-0,7 уретан-алкидные лаки: UZIN MF-76 (при нормальных нагрузках), UZIN MF-77 Sport (для полов в спортзалах), UZIN MF-78 (при интенсивных нагрузках); отличающиеся быстрым высыханием (при температуре применения от +5 до +30 °С) и простотой применения лаки на кислотных отвердителях: UZIN MF-68; а также экологически чистые масляно-восковые системы: UZIN MH-84 (искусственное масло) и UZIN MH-86 (натуральное масло), которые применимы при больших интенсивных нагрузках и всех видах паркета. При выбор лаковой системы следует руководствоваться рекомендациями табл. 9.2.

Таблица 9.2

Сравнительные характеристики лаковых систем (баллы)

Свойства лаков

Водные лаки

DD-Полиуретановые лаки

Уретан-алкидные лаки

Лаки на кислотных отвердителях

Масляно-восковые пропитки

Истираемость

5

4-5

2-3

4

Параметр не определяется

Поверхностная твердость

4

5

2

4-5

Параметр не определяется

Экология

5

4

3-4

2

5

Эластичность

4-5

3-4

4-5

3-4

Параметр не определяется

Устойчивость к ультрафиолету

4-5

4-5

3-4

3

4-5

Устойчивость к воде

3

4-5

3-4

4-5

3-4

Изменение цвета дерева (минимальное - 5)

5

4-5

3-4

3-4

3

Требования к темп./влажности воздуха

3

4-5

4

5

4

Лёгкость нанесения

3

3-4

4

5

4

Время высыхания после нанесения

3-4

5

2

4-5

3-4

Набор прочности после нанесения

4

5

2

4-5

3-4

Поднятие ворса дерева

Есть

Нет

Нет

Нет

Нет

Лёгкость при шлифовке

2

3

4

3

Параметр не определяется

Доступность по цене

2

3

4

5

3-5

Устойчивость к химикалиям

4

5

3

5

4

5 - очень высокие показатели; 4 - высокие показатели;
3 - средние показатели; 2 - удовлетворительные показатели

9.7 Шпаклёвки и грунтовки должны соответствовать по химической природе лаковым системам. При выборе шпаклёвок и грунтовок следует руководствоваться рекомендациями табл. 9.3.

Таблица 9.3

Грунтовки и шпаклёвки для лаковых систем

Породы дерева

Лаковые системы

Водные лаки

DD- Полиуретановые лаки

Уретан-алкидные лаки

Лаки на кислотной основе

Масляно-восковые

Шпаклёвки

Все виды пород

UZIN MG-3021
UZIN MG-3052

UZIN MG-305

UZIN MG-305

UZIN MG-305

UZIN MG-302
UZIN MG-305

Грунтовки

Обычные породы дерева (дуб, ясень, орех и т.д.)

UZIN MG-3152
UZIN MG-3201

UZIN MG-337 DD2,3
UZIN MG-315

UZIN MG-337DD2,4
UZIN MG-315

UZIN MG-315
UZIN MG-365
UZIN MG-375

 

Сильно впитывающие породы дерева (бук, канадский клён, чёрная вишня и т.д.)

UZIN MG-315
UZIN MG-3251

UZIN MG-315

UZIN MG-315
UZIN MG-3752,5

UZIN MG-315
UZIN MG-365
UZIN MG-375

 

Экзотические породы дерева

UZIN MG-3211
UZIN MG-315

 

UZIN MG-315

UZIN MG-315

 

1 - водо-дисперсионная композиция

2 - полимерная композиция на органическом растворителе

3 - для светлых пород дерева

4 - в системах с лаком UZIN MF-78

5 - в системах с лаком UZIN MF-76 позволяет в 2 раза сократить время нанесения уретан-алкидных лаков

9.8 Поверхность покрытий полов на основе цемента и магнезиального вяжущего (кроме бетонных покрытий полов с упрочнённым верхним слоем) должна быть отшлифована, деревянные полы остроганы, а паркетные - отциклёваны. Непосредственно перед нанесением отделочных покрытий поверхность пола должна быть обеспылена.

9.9 Работы по отделке поверхности покрытий полов следует производить при температуре воздуха не ниже 10 °С.

9.10 Отделочные составы для покрытий полов на основе цемента и магнезиального вяжущего следует наносить в 2-3 приёма. Каждый последующий слой должен наноситься после отверждения предыдущего. Вязкость 1-го, 2-го и 3-го слоев пропиточных составов на основе эпоксидных и полиуретановых лаков должна составлять соответственно 8-12, 14-17 и 16-20 секунд.

9.11 Пропиточные композиции на основе акриловых композиций следует наносить по предварительно огрунтованной поверхности. Для грунтовки применяется состав, используемый в качестве первого пропиточного слоя.

9.12 До начала работы по покрытию паркета лаком должна быть закончена отделка стен, потолков и установка навесного оборудования. При нанесении лаков должны быть приняты меры по исключению попадания пыли на пол, а также воздействия сквозняков и прямых солнечных лучей.

9.13 Шпаклёвка швов между паркетными планками осуществляется плоскими шпателями. Для придания шпаклёвочным композициям необходимой вязкости и тиксотропных свойств в них в качестве наполнителя используется древесная мука, образующаяся при шлифовки паркета.

9.14 Грунтовки и лаковые композиции наносятся на покрытие пола при помощи шпателя, валика или распылителя. Каждый последующий слой следует наносить после отверждения предыдущего.

9.15 Перед нанесением последнего слоя лака паркетные покрытия следует прошлифовать мелкозернистой наждачной шкуркой.

10. Основные правила техники безопасности

10.1 Работы по устройству полов должны выполняться специализированными бригадами под техническим руководством и контролем инженерно-технических работников организаций, имеющих лицензию на право производства таких работ. К производству работ допускаются рабочие, прошедшие медицинский осмотр, обученные правилам техники безопасности, методам ведения этих работ и мерам пожарной безопасности.

10.2 О проведении инструктажа рабочих должна быть отметка в специальном журнале под роспись. Журнал должен храниться у ответственного за проведение работ на объекте лица или в строительной (ремонтной) организации. При этом необходимо руководствоваться указаниями СНиП III-4-80 «Техника безопасности в строительстве» издания 1993 г., «Правилами технической эксплуатации электроустановок-потребителей», а также «Правилами техники безопасности при эксплуатации электроустановок-потребителей», утверждёнными Госэнергонадзором.

10.3 При организации работ с использованием механизмов и аппаратов, работающих под давлением, необходимо соблюдать меры безопасности, предусмотренные в «Правилах устройства и безопасной эксплуатации сосудов, работающих под давлением», утверждённых Госгортехнадзором.

10.4 Лица, выполняющие работы по разогреву битума, приготовлению битумных мастик и работающие с оборудованием для подогрева изоляционных материалов, должны проходить обучение по программам пожарно-технического минимума в обязательном порядке со сдачей зачётов (экзаменов).

10.5 У мест выполнения работ по устройству полов, а также около оборудования, имеющего повышенную пожарную опасность (котлы для варки битума и у мест приготовления битумной мастики, при производстве работ по укладке горючего утеплителя), следует вывешивать стандартные знаки (аншлаги, таблички) безопасности.

10.6 Перед началом ремонтных или строительных работ территория объекта должна быть подготовлена, с определением мест установки бытовых вагончиков, мест складирования материалов, баллонов с горючими газами, ёмкостей с легковоспламеняющимися жидкостями, размещения битумоварочных котлов и мест приготовления битумных мастик.

10.7 Бытовые вагончики и склады материалов, включая баллоны, следует размещать на территории согласно требованиям действующих норм и правил. Размещение их в противопожарных разрывах между зданиями и сооружениями, а также загромождение ими проездов (подъездов) к зданиям не допускается.

10.8 Временные строения должны располагаться от других зданий и сооружений на расстоянии не менее 15 м (кроме случаев, когда по другим нормам требуется больший противопожарный разрыв) или у противопожарных стен.

10.9 Отдельные блок-контейнерные здания допускается располагать группами не более 10 в группе и площадью не более 800 м2. Расстояние между группами этих зданий и от них до других строений следует принимать не менее 15 м.

10.10 При ремонтах полов снимаемый горючий материал должен удаляться на специально подготовленную площадку. Устраивать свалки горючих отходов на территории объектов не разрешается. Горючие отходы должны своевременно вывозиться в места, определённые местной администрацией.

10.11 Выполнение работ по устройству полов одновременно с другими строительно-монтажными работами, связанными с применением открытого огня (сварка и т.п.), не допускается.

10.12 По окончании рабочей смены не разрешается оставлять неиспользованный горючий утеплитель и мастики, газовые баллоны и другие горючие и взрывоопасные вещества и материалы в помещении, где производятся работы по устройству полов.

10.13 Котлы для плавления битумов должны быть исправными.

10.14 Котлы допускается устанавливать группами с количеством в группе не более трёх. Расстояние между группами котлов должно быть не менее 9 м. Место варки и разогрева битумов должно размещаться на специально отведённых площадках и располагаться на расстоянии:

от зданий и сооружений I и II степеней огнестойкости и класса конструктивной пожарной опасности С0 не менее 10 м;

от зданий и сооружений II степени огнестойкости и класса конструктивной пожарной опасности С1, а также от зданий и сооружений Ш и IV степеней огнестойкости и классов конструктивной пожарной опасности С0 и С1 не менее 20 м;

от зданий и сооружений III степени огнестойкости и классов конструктивной пожарной опасности С2 и С3, а также от зданий и сооружений и V степеней огнестойкости и классов конструктивной пожарной опасности C1, C2 и С3 не менее 30 м.

10.15 Каждый котёл должен быть снабжён плотно закрывающейся крышкой из негорючих материалов. Заполнение котлов допускается не более чем на 3/4 их вместимости. Загружаемый в котёл битум должен быть сухим.

10.16 Во избежание перелива битума, его попадания в топку и загорания, котёл необходимо устанавливать наклонно так, чтобы его край, расположенный над топкой, был на 5-6 см выше противоположного. Газовый баллон должен размещаться на расстоянии не менее 20 м от котла.

10.17 При работе передвижных котлов на сжиженном газе газовые баллоны в количестве не более двух должны находиться в вентилируемых шкафах из негорючих материалов, устанавливаемых на расстоянии не менее 20 м от работающих котлов. Указанные шкафы следует держать постоянно закрытыми на замки.

10.18 Установленный на открытом воздухе битумный котёл должен быть оборудован навесом из негорючих материалов. Место установки котлов должно быть обваловано (или устроены бортики из негорючих материалов) высотой не менее 0,3 м.

10.19 В процессе варки и разогрева битумных составов не разрешается оставлять котлы без присмотра.

10.20 При приготовлении битумной мастики разогрев растворителей не допускается. При смешивании разогретый битум следует вливать в растворитель (бензин, керосин), постоянно перемешивая мастику деревянной мешалкой.

10.21 Не разрешается пользоваться открытым огнём в радиусе 50 м от места смешивания битума с растворителем.

10.22 доставку горячей битумной мастики на рабочие места необходимо осуществлять:

- в специальных металлических бочках, имеющих форму усечённого конуса, обращенного широкой стороной вниз с плотно закрывающимися крышками. Крышки должны иметь запорные устройства, исключающие открывание при падении бачка Переносить мастики в открытой таре не разрешается;

- насосом по стальному трубопроводу, закреплённому на вертикальных участках к строительной конструкции, не допуская протечек. На горизонтальных участках допускается подача мастики по термостойкому шлангу. В месте соединения шланга со стальной трубой должен надеваться предохранительный футляр длиной 40-50 см (из брезента или других материалов). После наполнения ёмкости установки для нанесения мастики следует откачать мастику из трубопровода.

10.23 После окончания работ топки котлов должны быть потушены и залиты водой.

10.24 Для целей пожаротушения места установки котла (группы котлов) для варки битума необходимо обеспечить ящиком объёмом 0,5 м3 с сухим песком, лопатами и пенными огнетушителями.

10.25 Для производства работ с использованием растворителей и битумных мастик должен применяться инструмент, изготовленный из материалов, не дающих искр -алюминий, медь, бронза, пластмассы и т.п. Промывать инструмент и оборудование, применяемое при производстве работ с горючими веществами, необходимо на открытой площадке или в помещении, имеющем вентиляцию.

10.26 Лица, участвующие в приготовлении составов холодного отверждения и их применении должны быть обеспечены спецодеждой и средствами индивидуальной защиты. Для защиты органов дыхания - респираторами марок Ф-62Ш, РУ-60М и типа «Лепесток». Для защиты кожи - пастами и мазями типа силиконовых, ПМ-1, ХИОТ БГ и другими, перчатками резиновыми. На местах проведения работ должны быть вода и аптечка с медикаментами для оказания первой помощи.

10.27 Для безопасного ведения процесса приготовления мастики, окрасочного состава и их нанесения необходимо обеспечить максимальную механизацию всех технологических операций и надлежащую герметизацию, заземление оборудования и коммуникаций, а также исправность электропусковой и контрольно-измерительной аппаратуры.

10.28 Ёмкости с растворителем и мастикой холодного отверждения должны подноситься к рабочему месту в специальной герметично закрытой таре в количестве, не превышающем однодневного запаса.

10.29 В помещениях для хранения и местах применения растворителей и мастик запрещается обращаться с открытым огнём и производить работы с искрообразованием.

10.30 Переливать и транспортировать растворители и мастику на растворителях следует при хорошем естественном освещении. Электрическое освещение в таких помещениях должно быть выполнено во взрывобезопасном исполнении.

10.31 Растворители и мастики должны храниться в специально оборудованных помещениях в соответствии со СНиП III-4-80 изд. 1993 г. «Техника безопасности в строительстве». Каждая ёмкость должна иметь бирку с наименованием содержимого. Порожнюю тару из-под растворителей следует складировать в закрытых помещениях.

10.32 Запрещается ремонтировать (производить сварку, пайку и другие работы) металлическую тару из-под горючих жидкостей до её промывки водой.

10.33 Помещения, связанные с подготовкой мастик, их разбавлением растворителями и нанесением защитных покрытий. Должны быть изолированы от смежных помещений и оборудованы принудительной приточно-вытяжной вентиляцией во взрывобезопасном исполнении.

10.34 Содержание вредных веществ в рабочей зоне не должно превышать предельно-допустимых концентраций.

10.35 Контроль за содержанием вредных веществ в рабочей зоне должен проводиться производственными лабораториями в объёме, согласованном с территориальными органами Государственного санитарного надзора.

10.36 Хранение и транспортирование баллонов с газами должны осуществляться только с навинченными на их горловины предохранительными колпаками. При транспортировании баллонов нельзя допускать толчков и ударов. Переноска баллонов на плечах и руках не разрешается.

10.37 Баллоны с газом при их хранении, транспортировании и эксплуатации должны быть защищены от действия солнечных лучей и других источников тепла.

10.38 При обращении с порожними баллонами из-под горючих газов должны соблюдаться такие же меры безопасности, как и с наполненными баллонами.

10.39 При перерывах в работе, а также в конце рабочей смены оборудование для нагрева должно отключаться, шланги должны быть отсоединены и освобождены от газов и паров горючих жидкостей. По окончании работ вся аппаратура и оборудование должны быть убраны в специально отведённые помещения (места).

10.40 Горючий утеплитель и другие вещества и материалы, используемые при работе, необходимо хранить вне строящегося или ремонтируемого здания в отдельно стоящем сооружении или на специальной площадке на расстоянии не менее 18 м от строящихся и временных зданий, сооружений и складов.

10.41 У мест проведения работ допускается размещение только баллонов с горючими газами, непосредственно используемые при работе. Создавать запас баллонов или хранить пустые баллоны у мест проведения работ не допускается.

10.42 Складирование материалов и установка баллонов в помещениях ближе 5 м от эвакуационных выходов (в том числе подходов к наружным пожарным лестницам) не допускается.

10.43 Ёмкости с горючими жидкостями следует открывать только перед использованием, а по окончании работы закрывать и сдавать на склад.

10.44 Тара из-под горючих жидкостей должна храниться в специально отведённом месте вне мест проведения работ.

10.45 Баллоны с горючими газами и ёмкости с легковоспламеняющимися жидкостями должны храниться раздельно в специально приспособленных вентилируемых вагончиках (помещениях) или под навесами за сетчатым ограждением, недоступных для посторонних лиц. Хранение в одном помещении баллонов с газовыми горелками, а также битума, растворителей и других горючих жидкостей не допускается.

10.46 При хранении на открытых площадках рулонного гидроизоляционного материала, битума, горючих утеплителей и других строительных материалов, а также оборудования и грузов в горючей упаковке должны размещаться в штабелях или группами площадью не более 100 м2. Разрывы между штабелями (группами) и от них до строящихся или подсобных зданий и сооружений должны быть не менее 24 м.

10.47 В местах приготовления и хранения приклеивающих составов и исходных материалов не допускается курение и применения открытого огня. В случае загорания этих материалов необходимо использовать при тушении углекислотные огнетушители, песок. Использование воды для тушения битумов и растворителей не допускается.

10.48 При обнаружении пожара или признаков горения (задымление, запах гари, повышение температуры и т.п.) необходимо:

- немедленно сообщить об этом в пожарную охрану,

- принять по возможности меры эвакуации людей, тушению пожара и обеспечению сохранности материальных ценностей.

10.49 Для обеспечения успешного тушения пожара необходимо обучить работников правилам и способам работы с первичными средствами пожаротушения.

10.50 По окончании работ необходимо провести осмотр рабочих мест и привести их в пожаровзрывобезопасное состояние.

10.51 На объекте должно быть определено лицо, ответственное за сохранность и готовность к действию первичных средств пожаротушения.

10.52 Огнетушители должны всегда содержаться в исправном состоянии, периодически осматриваться, проверяться и своевременно перезаряжаться.

10.53 Использование первичных средств пожаротушения для хозяйственных и прочих нужд, не связанных с тушением пожара, не допускается.

10.54 При расстановке огнетушителей необходимо выполнять условие, чтобы расстояние от возможного очага пожара до места размещения огнетушителей не превышало 20 м.

10.55 В зимнее время (при температуре ниже 1°С) огнетушители необходимо хранить в отапливаемых помещениях, на дверях которых должна быть надпись «Огнетушители».

10.56 Все работники должны уметь пользоваться первичными средствами пожаротушения.

10.57 Монтаж, демонтаж и ремонт трубопроводов для подачи растворных и бетонных смесей, а также удаление из них пробок допускается только после снижения в них давления до атмосферного. Рабочие, непосредственно не занятые в выполнении этих работ, должны быть удалены на расстояние не менее 10 м.

10.58 Растворо- и бетонопроводы должны быть уложены с минимальным числом поворотов. Повороты рукава под углом менее 90° не допускаются.

10.59 При механизированной окраске покрытий полов красками и лаками с использованием составов, содержащих вредные вещества, следует соблюдать «Санитарные правила при окрасочных работах с применением ручных краскораспылителей», утверждённые Главным санитарным врачом РФ.

10.60 При устройстве гидроизоляции из рулонных и других материалов с применением битумных мастик в закрытых помещениях должно быть обеспечено проветривание этих помещений.

10.61 При работе с цементом, гипсом и сухими растворными смесями необходимо защищать глаза очками. Подколку и подтёску плиток следует производить в рукавицах и защитных очках.

10.62 Рабочие, занятые приготовлением кислотоупорных растворов должны быть обеспечены защитной одеждой и очками, респираторами и брезентовыми рукавицами.

10.63 При применении ручных машин следует соблюдать правила безопасности эксплуатации, предусмотренные ГОСТ 12.1.013-78 и ГОСТ 12.2.010-75, а также инструкциями заводов-изготовителей.

10.64 Работающие с машинами для шлифования, заглаживания и затирки поверхностей должны иметь диэлектрическую обувь, а также диэлектрические перчатки. Запрещается работать с такими машинами при снятом ограждении траверс-лопастей и ременной передачи. Не разрешается переносить машины, подключенные к сети, включать и выключать вилку питающего кабеля под нагрузкой.

10.65 При работе с вибраторами, виброрейками и виброкатками необходимо соблюдать меры безопасности, предусмотренные в «Санитарных нормах и правилах при работе с инструментами, механизмами и оборудованием, создающим вибрации, передаваемые на руки работающих».

10.66 Помещения, где производятся работы по устройству полов из синтетических материалов, должны быть обеспечены вентиляцией.

11. Правила приёмки полов

11.1 При приёмке полов рекомендуется осуществлять поэтапный проёмочный контроль качества устройства основания, подстилающего слоя, гидроизоляции, тепло-звукоизоляции, стяжки и покрытия с записью в журнал работ и составлением актов на скрытые работы.

11.2 На каждом этапе приёмки Исполнитель (подрядная организация) должен по требованию Заказчика представить ГОСТы, ТУ или Технические свидетельства, содержащие технические характеристики используемых материалов, а также паспорта заводов-изготовителей, а при устройстве покрытий полов на основе полимерных материалов, Пожарные сертификаты. Заказчик также имеет право запросить Сертификат соответствия и провести входной контроль используемых материалов на соответствие их физико-механических показателей данным, представленным в вышеуказанных документах путем испытания их в аккредитованных испытательных лабораториях.

11.3 Безыскровые (взрывобезопасные) покрытия полов должны быть дополнительно проверены на отсутствие образование искр при ударах стальными и каменными предметами испытанием их на наждачном точильном круге диаметром 100-250 мм при скорости вращения - 1200-2500 об/мин, а у полимерных антистатических покрытий полов, кроме того, проверяется удельное поверхностное электросопротивление.

11.4 Приемка полов, элементы которых выполнены из материалов, твердеющих после укладки, допускается не ранее срока достижения ими проектной прочности. Прочность этих материалов необходимо определять испытанием контрольных образцов в количестве не менее трех на каждые 500 м2 пола. При отсутствии контрольных образцов допускается производить испытание на сжатие не менее трех кернов с неразрушенной структурой диаметром не менее 70 мм, высверленных из слоя пола или определять прочностные характеристики методами неразрушающего контроля.

11.5 При приёмке основания, подстилающего слоя, гидроизоляции, тепло-звукоизоляционного слоя, стяжки Исполнитель составляет акты на скрытые работы по соблюдению требований, изложенных в Разделе I настоящих Правил.

11.6 Приемка готового пола должна оформляться актом с обязательной оценкой качества выполненных работ и выдачей Заказчику гарантийного паспорта, в котором указывается наименование объекта, объем работ по устройству полов, их качество и гарантийный срок эксплуатации.

11.7 Испытания полов на устойчивость к деформациям под действием сосредоточенных и распределённых нагрузок предусматривает:

а). Для полов с тонкослойным полимерным покрытием (линолеум, наливные полимерные покрытия) определение величины просадки полов под действием сосредоточенной нагрузке в 50 кг, которая не должна превышать 1 мм. Нагрузка на покрытие пола передаётся роликом диаметром 30 мм, шириной 15 мм в течение 24 часов. При этом в материале покрытия под роликом не должно появляться трещин или происходить разрушение других элементов пола.

б). Для полов с паркетным покрытием и покрытием из штучных материалов (керамическая плитка, керамогранит, плиты природного камня), просадка полов под действием сосредоточенной нагрузки в 200 кг не должна превышать 1,5 мм. Нагрузка на покрытие пола передаётся штампом размером 30´30 мм в течение 2 суток. При этом в материале покрытия под штампом не должно появляться трещин или происходить разрушение других элементов пола и не должно происходить выдавливание мастики из швов.

в). Для полов с покрытием дощатым и из паркетных досок по лагам просадка полов под действием сосредоточенной нагрузки в 200 кг не должна превышать 1 мм. Нагрузка на покрытие пола передаётся штампом размером 30´30 мм в течение 2 суток.

11.8 При проведении испытаний штамп или ролик должны устанавливаться в углу помещения и на угол паркетной планки или керамической плитки.

12.Техническое обслуживание и ремонт полов

12.1 Техническое обслуживание полов промышленных зданий представляет собой комплекс мероприятий, направленных на поддержание или восстановление их работоспособности. Техническое обслуживание включает в себя надзор за состоянием полов с оценкой их состояния и установлением причин возникновения дефектов с последующей разработкой мероприятий по проведению ремонтно-восстановительных работ.

12.2 Надзор за состоянием полов рекомендуется осуществлять в зависимости от конструкции и режима эксплуатации по утверждённому графику, но не реже одного раза в год. Для ряда типов покрытий, в частности для полимерных монолитных покрытий, целесообразно более частое проведение обследований.

12.3 В процессе обследований регистрируются все возникшие дефекты и условия эксплуатации покрытий, как на период обследований, так и в предыдущий период.

12.4 При анализе полученных результатов основное внимание следует уделить соответствию принятого покрытия пола условиям эксплуатации и выявлению причин возникновения дефектов. Основные виды и наиболее частые причины возникновения дефектов и повреждения полов следующие:

- Механические разрушения (выбоины, выколы, вмятины и т.д.) - обусловлены воздействиями при движении транспортных средств, ударах складируемых грузов и т.п., превышающими допустимые для данного типа покрытий.

- Образование трещин в бетонных полах с поднятием кромок на 3-5 мм в течение первых 2-3 месяцев после, изготовления - чаще всего обусловлено усадочными напряжениями в результате нарушения либо состава бетона, либо технологии изготовления полов - преждевременное высушивание (отсутствие смачивания полов в первые 7-10 суток после изготовления).

- Вспучивание бетонных полов по грунту в неотапливаемых помещениях, произошедшее в зимний период - как правило, вызвано пучением грунта.

- Просадка полов является следствием недостаточного уплотнения насыпного грунта основания и образования под полом воздушных полостей.

- Коробление деревянных, в частности торцовых покрытий, вызывается замачиванием полов.

- Образование трещин на плиточных покрытиях при звёздчатом характере разрушения обусловлено ударными воздействиями.

- Отслоение плиток обусловлено неправильным подбором материалов клеевой прослойки, в частности, применением для крепления керамических плиток, выпускаемых по технической документации заводов-изготовителей и характеризующихся большей плотностью, чем керамические плитки по ГОСТ 6787-80, цементно-песчаных растворов вместо клеевых композиций или нарушение технологии укладки плиток.

- Образование на полимерных монолитных покрытиях пузырей, при прокалывании которых обнаруживается наличие воды, обусловленное поступлением её к покрытию снизу, через бетонную стяжку. Причиной отслоения покрытий без образования пузырей и сухом подстилающем слое, как правило, является недостаточная прочность данного слоя (марка цементно-песчаного раствора ниже М200) или нарушение технологии изготовления покрытия, в частности недостаточное удаление с поверхности стяжки слоя цементного молока.

- Растрескивание и коробление паркетных полов обусловлено нарушением температурно-влажностного режима в помещении как в период укладки покрытия, так и в период эксплуатации.

- Отслоение и вспучивание линолеума вызывается механическими нагрузками, не соответствующими данному типу покрытия, в частности движение по покрытию пола из линолеума тележек или электрокаров, ошибочный подбор клеевых композиций или нарушение технологии изготовления покрытия.

- Истирание покрытия связано с несоответствием данного типа пола условиям эксплуатации.

- Застаивание жидкости на поверхности пола вызвано, как правило, неисправностью лотков, трапов или других элементов систем отвода жидкостей.

- Причиной наличия пустых или частично заполненных швов между штучными материалами является недостаточная стойкость мастик, применённых для крепления штучных материалов, к жидкостным средам, воздействующим на покрытие пола, или несоблюдение технологии изготовления пола.

12.5 При невозможности выявить причину образования дефектов при визуальном обследовании необходимо проведение инструментальных обследований и лабораторных испытаний для определения физико-технических качеств отдельных слоев пола. Полученные данные позволяют установить истинную причину разрушения.

12.6 На основе проведённого анализа результатов обследований можно констатировать, что выбранное покрытие пола:

а). Не соответствует условиям эксплуатации. В этом случае следует не только устранить возникшие дефекты, но и усилить существующее покрытие пола. При истирании бетонных покрытий полов рекомендуется провести его упрочнение пропиткой полимерными композициям или заменить лакокрасочное отделочное покрытие на более толстослойное полимерное. В случае невозможности усиления покрытия пола следует принять решение о капитальной реконструкции с заменой его на более соответствующее фактическим воздействиям.

б). Соответствует условиям эксплуатации, но разрушение вызвано усадочными напряжениями. Восстановление работоспособности полов возможно после проведения ремонтно-восстановительных работ.

в). Соответствует условиям эксплуатации и причиной, вызвавшей образование дефектов в покрытии полов по грунту, является воздействии воды, поступающей через слой стяжки. Восстановление работоспособности полов связано не только с проведением ремонтно-восстановительных работ, но и, в первую очередь, с выполнением мероприятий по устранению причин разрушений, в том числе устройства вокруг здания дренажа с целью снижения уровня подпочвенных вод, устранение протечек в системах водоснабжения и т.д.

г). Соответствует условиям эксплуатации и причиной образования дефектов являются разрушение покрытия пола из-за недостаточной несущей способности подстилающего слоя. В данном случае необходима его капитальная реконструкция с устройством пола, соответствующим условиям его эксплуатации.

12.7 Технология ремонтно-восстановительных работ покрытий полов зависит как от типа покрытий, так и от вида возникших дефектов.

12.7.1 Усадочные трещины в бетонных покрытиях полов

Технология заделки данных трещин предусматривает их расшивку при помощи углошлифовальной машинки, оснащенной алмазным диском шириной 3-4 мм, на глубину до 5 мм, очистку их щетками от мусора и обеспылевание. Концы трещин целесообразно засверлить сверлом диаметром 8-10 мм, что позволяет ликвидировать место наибольшей концентрации напряжений. Для заполнения трещин, как правило, применяются либо ремонтные составы на основе безусадочного или напрягаемого цемента, либо составы на основе полимеров, в качестве которых рекомендуются эпоксидные составы для монолитных покрытий полов, в частности, компаунд марки «Диапол-320» (ТУ 2257-003-27576372-2000). После отверждения ремонтных составов (прежде всего составов на основе полимеров) следует провести шлифование полученного шва «заподлицо» с соседними поверхностями.

12.7.2 Выбоины в бетонных покрытиях полов

Технология ремонта выбоин предусматривает удаление загрязненного (замасленного) бетона на всю глубину замасливания, очистку от мусора и пыли, промывку и, непосредственно перед укладкой ремонтного состава, грунтовку выбоины раствором латекса или поливинилацетатной дисперсией при соотношении латекс или дисперсия : вода равном 1:1-2. Для заделки выбоин рекомендуется применять либо состав, совпадающий по рецептуре с составом ремонтируемого покрытия (выбоины глубиной более 1 см и небольшими линейными размерами), либо цементные составы для изготовления саморазравнивающихся покрытий полов (неглубокие, но длинные и широкие выбоины). Отремонтированные участки должны быть предохранены от механических воздействий, в частности от хождения людей и передвижения безрельсового транспорта, и выдержаны в течение 7-10 суток во влажных условиях - под слоем плёнки или влажных опилок.

12.7.3 Восстановление плиточных покрытий.

Технология ремонтных работ предусматривает удаление отставших или разбитых плиток, расчистку швов, простукивание прилегающих к выбоине плиток с целью определения отслоившихся, но не отпавших плиток, о чем свидетельствует глухой звук, и удаление данных плиток, подбор новых плиток того же рисунка и размера. Выбор клея необходимо производить с учётом ранее применённых клеёв и вида отслоения. Если ранее плитки были уложены на цементно-песчаной прослойке и данная прослойка также разрушилась, то целесообразно её удалить и уложить плитки на цементно-песчаном растворе при соотношении цемент : песок равном 1:1. Если состояние существующей цементной клеевой прослойки хорошее и отслоение плиток произошло по адгезионному слою плитка-прослойка, то удаление данной прослойки нецелесообразно. В данном случае следует применять полимерные клеи, в качестве которых может быть рекомендован эпоксидный компаунд марки «Диапол». Применение полимерных клеёв позволяет не только получить хорошее сцепление плитки с нижележащими слоями, но и достичь данного результата при очень небольшой (до 1 мм) толщине клеевой прослойки, благодаря чему поверхность отремонтированного участка практически будет располагаться на одном уровне с соседними участками. При восстановлении покрытий полов, которые должны отвечать требованиям коррозионностойкости, штучные материалы должны были уложены на тех же химически стойких мастиках, что и ранее использованные.

12.7.4 Восстановление монолитных полимерных покрытий

Особенностью технологии ремонта данного типа покрытий является необходимость устранения не только трещин и разрушенных участков, но и ремонт отслоившихся покрытий, являющихся потенциальными зонами разрушений. В процессе обследований простукиваются как зоны, примыкающие к трещинам и разрушенным участкам, так и все подозрительные участки покрытия, прежде всего зоны, подвергающиеся максимальной нагрузке - проезды, проходы и т.д. Дефектные места вырезаются при помощи углошлифовальной машинки, отслоившийся участок удаляют до стяжки, стяжку обеспыливают, грунтуют и выполняют новое полимерное покрытие из компаунда такого же состава, что и основное.

12.7.5 Восстановление покрытий полов из паркета

При выполнении ремонта паркетных полов необходимо все повреждённые планки заменить новыми той же формы и того же вида. Вновь укладываемые планки должны быть толщиной на 0,5-1 мм больше, чем остальные. После окончания ремонта пола новые планки следует острогать и покрытие пола полностью отциклевать.

12.7.6 Восстановление покрытий полов из линолеума.

При вспучивании линолеума если оно не вызвано нарушением гидроизоляции необходимо снять его и просушить, очистить основание и вновь наклеить с учётом требований технологии изготовления данного типа покрытий. Изношенные участки линолеума заменить. Местные вздутия линолеумного покрытия при его укладке на резинобитумных мастиках могут быть устранены проколом шилом с последующей укладкой мешка с горячим песком или проглаживанием горячим утюгом через бумагу. В случае повреждения гидроизоляции необходимо предварительно её восстановить.

12.7.7 Восстановление покрытий полов из торцовой шашки

Для ремонта полов из торцевой шашки следует применять антисептированную деревянную шашку, порода которой идентична породе заменяемой шашки. При ремонте вспучившиеся места торцовых полов разбираются, а шашки, пораженные грибком или насекомыми, а также соседние с ними удаляются, подстилающий слой очищается и, при необходимости, восстанавливается. Укладку шашек осуществляют с учётом требований технологии.

12.8 При ремонте покрытий полов, разрушение которых обусловлены дефектами в нижележащих слоях следует руководствоваться следующими рекомендациями:

- полы вскрываются вплоть до дефектного слоя, причём каждый вышележащий слой вскрывается на длину и ширину на 5-10 см больше размера дефектного участка;

- все разрушенные участки вырубаются с образованием вертикальных кромок в каждом слое, при этом границы разрушения в результате потери сцепления слоев устанавливаются простукиванием;

- после восстановления подсыпки и уплотнения грунта основания, заделки дефектов в гидроизоляционном слое и т.д. ремонт пола осуществляется слоями той же толщины и материалом того же состава, что и ранее использованные.


Приложение 1

Таблица 1

№№

Покрытие

Предельные значения интенсивности воздействия на пол

Интенсивность движения, ед./сутки, на 1 полосу движения

Волочение твёрдых предметов с острыми углами и рёбрами, работа на полу с лопатами, ломами и т.п. острым инструментом

Массы предметов, кг, падающих с высоты 1 м

Удельного давления от сосредоточенных нагрузок, Н/см2 (кгс/см2)

Нагревания пола до температуры °С

Пешеходов и тележек на резиновых шинах

Тележек на металлических шинах и перекатывания круглых металлических предметов (бочек и т.п.)

Транспортных средств на резиновом ходу

Транспортных средств на гусеничном ходу

Более 500

Менее 500

Коэф. «С1»

Более 50

30-50

Менее 30

Более 200

100-200

Менее 100

Более 10

Менее 10

1.

Цементно-бетонное
а), толщиной 30 мм, класса В22,5

Допускается

100

Не допускается

Допускается

Не допускается

Допускается

Не допускается

Не допускается

5

1000 (100)

100

 

б) Толщиной 30 мм, класса В30

Допускается

100

Не допускается

Допускается

Не допускается

Допускается

Не допускается

Допускается

Допускается

10

1000 (100)

100

 

в), толщиной 50 мм, класса В40

Допускается

100

Допускается

Допускается

Допускается

Допускается

15

1000 (100)

100

2.

Сталефибробетонное толщиной 40 мм, класса В30

Допускается

500

Допускается

Допускается

Допускается

Допускается

15

1000 (100)

100

3.

Бетонное с упрочнённым верхним слоем толщиной 70 мм из бетона прочностью 300 кг/см2, упрочнённое

 

 

 

 

 

 

 

 

 

 

Железом

Допускается

500

Допускается

Допускается

Допускается

Допускается

20

1000 (100)

100

 

Корундом

Допускается

500

Допускается

Допускается

Допускается

Допускается

20

1000 (100)

100

 

Кварцем

Допускается

500

Допускается

Допускается

Допускается

Допускается

15

1000 (100)

100

 

Известняком

Допускается

100

Не допускается

Допускается

Не допускается

Допускается

Не допускается

Допускается

Допускается

10

1000 (100)

100

4.

Асфальтобетонное
а) толщиной 25 мм

Допускается

-

Не допускается

Не допускается

Не допускается

Не допускается

2

20 (2)

50

 

6) толщиной 40 мм

Допускается

50

Не допускается

Допускается

Не допускается

Допускается

Не допускается

Не допускается

5

20 (2)

50

 

в) толщиной 50 мм

Допускается

50

Не допускается

Допускается

Не допускается

Допускается

Не допускается

Допускается

Допускается

10

20 (2)

50

5.

Мозаично-бетонное (Террацо)
а) толщиной 20 мм, прочностью 20 МПа (200 кг/см2)

Допускается

 

Не допускается

Не допускается

Не допускается

Не допускается

2

500 (50)

100

 

6) толщиной, 25 мм, прочностью 30 МПа (300 кг/см2)

Допускается

60

Не допускается

Допускается

Не допускается

Допускается

Не допускается

Не допускается

5

500 (50)

100

 

в) толщиной 25 мм, прочностью 40 МПа (400 кг/см2)

Допускается

60

Не допускается

Допускается

Не допускается

Допускается

Не допускается

Допускается

Допускается

10

500 (50)

100

6.

Поливинилацетатцементно-бетонное
а), толщиной 20 мм, прочностью 20 МПа (200 кг/см2)

Допускается

-

Не допускается

Не допускается

Не допускается

Не допускается

2

1000 (100)

50

 

б), толщиной 20 мм, прочностью 30' МПа (300 кг/см2)

Допускается

60

Не допускается

Допускается

Не допускается

Допускается

Не допускается

Не допускается

5

1000 (100)

50

 

в), толщиной 30 мм, прочностью 40 МПа (400 кг/см2)

Допускается

60

Не допускается

Допускается

Не допускается

Допускается

Не допускается

Допускается

Допускается

10

1000 (100)

50

7.

Латексцементно-бетонное
а), толщиной 20 мм, прочностью 20 МПа (200 кг/см2)

Допускается

-

Не допускается

Не допускается

Не допускается

Не допускается

2

1000 (100)

50

 

б), толщиной 20 мм, прочностью 30 МПа (300 кг/см2)

Допускается

60

Не допускается

Допускается

Не допускается

Допускается

Не допускается

Не допускается

5

1000 (100)

50

 

в), толщиной 30 мм,  прочностью 40 МПа (400 кг/см2)

Допускается

60

Не допускается

Допускается

Не допускается

Допускается

Не допускается

Допускается

Допускается

10

1000 (100)

50

8.

Кислотостойкий   бетон на   жидком   стекле   с уплотняющей добавкой

 

 

 

 

 

 

 

 

 

 

а), толщиной 20 мм, прочностью 20 МПа (200 кг/см2)

Допускается

-

Не допускается

Не допускается

Не допускается

Не допускается

2

500 (50)

100

 

б), толщиной 20 мм, прочностью 30 МПа (300 кг/см2)

Допускается

60

Не допускается

Допускается

Не допускается

Допускается

Не допускается

Допускается

5

500 (50)

100

 

в), толщиной 30 мм, прочностью 40 МПа (400 кг/см2)

Допускается

60

Не допускается

Допускается

Не допускается

Допускается

Не допускается

Допускается

Допускается

10

500 (50)

100

9.

Жаростойкий бетон на портландцементе с хромитом и заполнителем из шпака

Допускается

100

Не допускается

Допускается

Допускается

Не допускается

Допускается

Допускается

10

500 (50)

600

10.

Лёгкобетонное с латексцементным покрытием

Допускается

-

Не допускается

Не допускается

Не допускается

Не допускается

2

200 (20)

50

11.

Известняково-керамзитовое

Допускается

-

Не допускается

Не допускается

Не допускается

Не допускается

2

200 (20)

100

12.

Ксилолитовое

Допускается

60

Не допускается

Допускается

Не допускается

Допускается

Не допускается

Не допускается

3

200 (20)

50

13.

Поливинилацетатцементно-опилочное

Допускается

60

Не допускается

Допускается

Не допускается

Допускается

Не допускается

Не допускается

3

200 (20)

50

14.

Эпоксидное или полиуретановое мастичное наливное (в том числе и антистатическое)

Допускается

-

Не допускается

Не допускается

Допускается

Не допускается

Не допускается

5

500 (50)

50

15.

Стальные плиты по прослойке из мелкозернистого бетона

Допускается

500

Допускается

Допускается

Допускается

Допускается условно с ограничением интенсивности

50

500 (50)

100

16.

Чугунные дырчатые плиты по прослойке из мелкозернистого бетона

Допускается

500

Допускается

Допускается

Не допускается

Допускается

10

500 (50)

100

17.

Чугунные плиты с опорными выступами по прослойке из песка

Допускается

300

Допускается

Допускается

Не допускается

Допускается.

10

3 т плиту

1400

18.

Торцовое на битумной мастике

Допускается

100

Допускается

Допускается

Не допускается

Не допускается

50

50(5)

50

19.

Цементно-бетонные плиты по прослойке из цементно-песчаного раствора

Допускается

60

Не допускается

Допускается

Не допускается

Допускается

Не допускается

Не допускается

7

500(50)

100

20.

Мозаично-бетонные плиты по прослойке из цементно-песчаного раствора

Допускается

60

Не допускается

Допускается

Не допускается

Допускается

Не допускается

Не допускается

5

500 (50)

100

21.

Плиты из жаростойкого бетона на   портландцементе, с хромитом и заполнителем из шлака по прослойке из песка

Допускается

100

Не допускается

Допускается

Допускается

Не допускается

Допускается

Допускается

10

500 (50)

600

22.

Плиты природного камня изверженных пород (гранита и т.д.) толщиной более 20 мм по прослойке из цементно-песчаного раствора

Допускается

60

Не допускается

Допускается

Допускается

Не допускается

Допускается

10

500 (50)

100

23.

Плиты из керамогранита

 

 

 

 

 

 

 

 

 

 

а). толщиной до 9 мм

Не допускается

Допускается

-

Не допускается

Не допускается

Не допускается

Не допускается

-

500 (50)

100

 

б). толщиной более 9 мм

Допускается

-

Не допускается

Не допускается

Не допускается

Не допускается

2

500 (50)

100

24.

Керамические    плитки толщиной 10-13 мм

Допускается

-

Не допускается

Не допускается

Не допускается

Не допускается

2

200 (20)

100

25.

Керамические кислотоупорные плитки толщиной

 

 

 

 

 

 

 

 

 

 

а). 15-20 мм

Допускается

-

Не допускается

Не допускается

Не допускается

Не допускается

3

200 (20)

100

 

б). 30-35 мм

Допускается

60

Не допускается

Допускается

Не допускается

Допускается

Не допускается

Не допускается

5

200 (20)

100

 

в). 50 мм

Допускается

60

Не допускается

Допускается

Не допускается

Допускается

Не допускается

Допускается

Допускается

7

300 (30)

100

26.

Кислотоупорный     кирпич плашмя

Допускается

60

Не допускается

Допускается

Допускается

Не допускается

Допускается

Допускается

7

300 (30)

100

27.

Кислотоупорный     кирпич на ребро

Допускается

60

Не допускается

Допускается

Допускается

Не допускается

Допускается

Допускается

10

300 (30)

100

28.

Дощатое (окрашенное)

Допускается

-

Не допускается

Не допускается

Не допускается

Не допускается

2

200 кг в точку

50

29.

Паркетные    доски    и щиты

Допускается

-

Не допускается

Не допускается

Не допускается

Не допускается

Не допускается

200 кг в точку

50

30.

Штучный и наборный паркет

Допускается

-

Не допускается

Не допускается

Не допускается

Не допускается

Не допускается

200 кг в точку

50

31.

Линолеум (в том числе антистатический)

Не допускается

Допускается

-

Не допускается

Не допускается

Не допускается

Не допускается

Не .допускается

500 (50)

50

32.

Плитки   поливинилхлоридные

Не допускается

Допускается

-

Не допускается

Не допускается

Не допускается

Не допускается

Не допускается

500 (50)

50

33.

Плиты резиновые, резинокордовые  и  резинокордобитумные

Допускается

60

Не допускается

Допускается

Не допускается

Допускается

Не допускается

Не допускается

10

500 (50)

50

34.

Рулонное    на    основе синтетических волокон

Не допускается

Допускается

-

Не допускается

Не допускается

Не допускается

Не допускается

Не допускается

100 (10)

50

35.

Ламинат

Не допускается

Допускается

-

Не допускается

Не допускается

Не допускается

Не допускается

Не допускается

500 (50)

50

36.

Глинобитное

Допускается при     нерегулярном (эпизодическом) движении пешеходов, а также транспорта на резиновом ходу числом не более 10 ед./сут.

-

Не допускается

Не допускается

Не допускается

Не допускается

5

50 (5)

500

1). Коэффициент С давления на пол металлических шин и круглых предметов определяют по формуле:  , где

Р - наибольшее давление колеса или обода на пол в кг;

D - диаметр колеса или обода в м;

b - ширина шины колеса или обода в см.

Таблица 2

№ № п/п

Покрытие

Предельные значения интенсивности воздействия на пол

Воды и растворов нейтральной реакции

Минеральных масел и эмульсий из них

Органических растворителей

Веществ животного происхождения

Растворов кислот

Растворов щелочей

Сырой нефти и  нефтепродуктов (мазут, дизтопливо, керосин, бензин)

На ароматических углеводородах

Кетонов

фтористоводородной, кремнефтористоводородной и т.п.

Окисляющих (азотная, хлорноватистая, хромовая и др)

Неокисляющих неорганических (серная, соляная и др.)

Органических

Концентрация, %

Интенсивность

Концентрация %

Интенсивность

.Концентрация %

Интенсивность

Концентрация %

Интенсивность

Концентрация %

Интенсивность

1.

Цементно-бетонное

большая

большая

средняя

большая

средняя

большая

не допускается

20

средняя

8021)

средняя

2.

Сталефибробетонное

малая

большая

средняя

большая

средняя

большая

не допускается

8(121)

средняя

3.

бетонное с упрочненным верхним слоем, упрочненное:

 

 

 

 

 

 

 

 

 

 

 

 

 

 

 

 

 

Железом

малая

большая

средняя

большая

средняя

большая

не допускается

8

малая

 

корундом, кварцем или известняком

большая

большая

средняя

большая

средняя

большая

не допускается

8

малая

4.

Асфальтобетонное

большая

не допускается

не допускается

10

средняя

20

средняя

8(121)

средняя

5.

Мозаично-бетонное (терраццо)

большая

большая

средняя

большая

средняя

малая

не допускается

8

средняя

6.

Поливинилацетатцементно-бетонное

малая

малая

большая

большая

большая

большая

Не допускается

8

малая

7.

Латексцементно-бетонное

большая

малая

малая

средняя

средняя

большая

Не допускается

10

малая

8

малая

8.

Кислотостойкий бетон на жидком стекле с уплотняющей добавкой

средняя

большая

большая

большая

большая

малая

Не допускается

100

большая

100

большая

100

большая

-

не допускается

9.

Жаростойкий бетон на портландцементе с хромитом и заполнителем из шлака

малая

большая

средняя

большая

средняя

не допускается

Не допускается

8

малая

10.

Лёгкобетонное с латексцементным, покрытием

большая

малая

малая

средняя

средняя

малая

Не допускается

10

малая

8

малая

11.

Известняково-керамзитовое

большая

большая

средняя

большая

средняя

малая

Не допускается

8

средняя

12.

Ксилолитовое

не допускается

малая

малая

малая

малая

не допускается

Не допускается

-

не допускается

13.

Поливинилацетатцементно-опилочное

не допускается

малая

малая

малая

малая

не допускается

Не допускается

-

не допускается

14.

Эпоксидное или полиуретановое мастичное наливное (в том числе антистатическое)

средняя

средняя

средняя

средняя

малая

средняя

Не допускается

152

малая

302

малая

152

малая

15.

Стальные плиты по прослойке из мелкозернистого бетона

малая

большая

средняя

большая

средняя

малая

Не допускается

8(121)

средняя

16.

Чугунные дырчатые плиты по прослойке из мелкозернистого бетона

большая

большая

средняя

большая

средняя

малая

не допускается

8(121)

средняя

17.

Чугунные плиты с опорными выступами по прослойке из песка

малая

малая

малая

малая

малая

не допускается

не допускается

-

не допускается

18.

Торцовое на битумной мастике

не допускается

большая

не допускается

малая

не допускается

не допускается

не допускается

-

не допускается

19.

Цементно-бетонные   плиты по прослойке из цементно-песчаного раствора

большая

большая

средняя

большая

средняя

малая

не допускается

8

средняя

20.

Мозаично-бетонные плиты по прослойке, из цементно-песчаного раствора

большая

большая

средняя

большая

средняя

малая

не допускается

8

средняя

21

Плиты из жаростойкого бетона на портландцементе с хромитом и заполнителем из шлака по прослойке из песка

малая

малая

малая

малая

малая

не допускается

не допускается

8

малая

22.

Плиты природного камня изверженных пород (гранита и т.д.) по прослойке из цементно-песчаного раствора

большая

большая

средняя

большая

средняя

большая

не допускается

8

средняя

23.

Плиты из керамогранита

В зависимости от типа прослойки и материала расшивки швов

24.

Керамические плитки

25.

Керамические кислотоупорные плитки

26.

Кислотоупорный кирпич плашмя

27.

То же на ребро

28.

Дощатое (окрашенное)

не допускается

29.

Паркетные доски и щиты

30.

Штучный и наборный паркет

31.

Линолеум (в том числе антистатический)

32.

Плитки поливинилхлоридные

33.

Плиты   резиновые,   резинокордовые и резинокордобитумные

большая

малая

малая

средняя

средняя

большая

не допускается

20

средняя

8

средняя

34.

Рулонное на основе химических волокон,.

не допускается

35.

Ламинат

36.

Глинобитное

1 - при использовании в качестве заполнителей вместо песка и щебня, дроби (чугунной, стальной) или порфирита;

2 - возможно изменение цвета покрытия

Таблица 3

№ п/п

Покрытие

Характеристика покрытия пола по специальным требованиями

Беспыльность (пылеотделение)

Электропроводность в сухом состоянии

Способности накапливать на поверхности заряды статического электричества в сухом состоянии

Безыскровость при ударных воздействиях

Лёгкости очистки от производственных загрязнений

соответствие количественным показателям по классам беспыльности помещений в соответствии с ОСТ 11 14.3308-87 и стандартом СЭВ 3783-82

по визуальной оценке

пылевидных

жидкостных

Кл. 1000

Кл. 10000

Кл. 100000

1.

Цементно-бетонное

не соответствует

среднее

условно электропроводное 2)

не накапливает

безыскровое 1)

практически не очищаемое

трудноочищаемое

2.

Сталефибробетонное

не соответствует

среднее

условно электропроводное 2)

не накапливает

искрящее

трудноочищаемое

среднеочищаемое

3.

бетонное с упрочненным верхним слоем, упрочненное:

 

 

 

 

 

 

 

 

Железом, корундом или кварцем

не соответствует

малое

условно электропроводное 2)

не накапливает

искрящее

трудноочищаемое

среднеочищаемое

 

известняком

не соответствует

среднее

условно электропроводное 2)

не накапливает

безыскровое

трудноочищаемое

среднеочищаемое

4.

Асфальтобетонное

не соответствует

среднее

условно электропроводное 2)

не накапливает

безыскровое 1)

трудноочищаемое

трудноочищаемое

5.

Мозаично-бетонное (терраццо)

не соответствует

малое

условно электропроводное 2)

не накапливает

безыскровое 1)

среднеочищаемое

среднеочищаемое

6.

Поливинилацетатцементно-бетонное

не соответствует

малое

условно электропроводное 2)

не накапливает

безыскровое 1)

среднеочищаемое

среднеочищаемое

7.

Латексцементно-бетонное

не соответствует

малое

условно электропроводное 2)

не накапливает

безыскровое 1)

среднеочищаемое

среднеочищаемое

8.

Кислотостойкий бетон на жидком стекле с уплотняющей добавкой

не соответствует

среднее

электропроводное

не накапливает

искрящее

среднеочищаемое

среднеочищаемое

9.

Жаростойкий бетон на портландцементе с хромитом и заполнителем из шлака

не соответствует

среднее

электропроводное

не накапливает

искрящее

трудноочищаемое

трудноочищаемое

10.

Лёгкобетонное с латексцементным, покрытием

не соответствует

малое

условно электропроводное 2)

не накапливает

безыскровое 1)

среднеочищаемое

среднеочищаемое

11.

Известняково-керамзитовое

не соответствует

среднее

условно электропроводное 2)

не накапливает

безыскровое

практически не очищаемое

трудноочищаемое

12.

Ксилолитовое

не соответствует

среднее

электропроводное

не накапливает

безыскровое

трудноочищаемое

трудноочищаемое

13.

Поливинилацетатцементно-опилочное

не соответствует

среднее

условно электропроводное 2)

не накапливает

безыскровое

трудноочищаемое

трудноочищаемое

14.

а) эпоксидное или полиуретановое мастичное наливное

не соответствует

соответствует

беспыльное

не электропроводное

накапливает

безыскровое 3)

легкоочищаемое

легкоочищаемое

 

б) эпоксидное или полиуретановое мастичное наливное (антистатическое)

соответствует

беспыльное

не электропроводное (антистатическое)

не накапливает

безыскровое 3)

легкоочищаемое

легкоочищаемое

15.

Стальные плиты по прослойке из мелкозернистого бетона

не соответствует

среднее

электропроводное

не накапливает

искрящее

трудноочищаемое

среднеочищаемое

16.

Чугунные дырчатые плиты по прослойке из мелкозернистого бетона

не соответствует

среднее

электропроводное

не накапливает

искрящее

трудноочищаемое

трудноочищаемое

17.

Чугунные плиты с опорными выступами по прослойке из песка

не соответствует

среднее

электропроводное

не накапливает

искрящее

трудноочищаемое

трудноочищаемое

18.

Торцовое на битумной мастике

не соответствует

среднее

не электропроводное

не накапливает

безыскровое

практически не очищаемое

практически не очищаемое

19.

Цементно-бетонные   плиты по прослойке из цементно-песчаного раствора

не соответствует

среднее

условно электропроводное 2)

не накапливает

безыскровое 1)

практически не очищаемое

трудноочищаемое

20.

Мозаично-бетонные плиты по прослойке, из цементно-песчаного раствора

не соответствует

малое

условно электропроводное 2)

не накапливает

безыскровое

среднеочищаемое

трудноочищаемое

21

Плиты из жаростойкого бетона на портландцементе с хромитом и заполнителем из шлака по прослойке из песка

не соответствует

среднее

условно электропроводное 2)

не накапливает

искрящее

трудноочищаемое

трудноочищаемое

22.

Плиты природного камня изверженных пород (гранита и т.д.) по прослойке из цементно-песчаного раствора

не соответствует

малое

электропроводное

накапливает

искрящее

легкоочищаемое

среднеочищаемое

23.

Плиты из керамогранита

не соответствует

беспыльное

условно электропроводное 2)

не накапливает

искрящее

легкоочищаемое

легкоочищаемое

24.

Керамические плитки

не соответствует

малое

условно электропроводное 2)

не накапливает

искрящее

легкоочищаемое

среднеочищаемое

25.

Керамические кислотоупорные плитки

не соответствует

малое

условно электропроводное 2)

не накапливает

искрящее

легкоочищаемое

среднеочищаемое

26.

Кислотоупорный кирпич плашмя

не соответствует

малое

условно электропроводное 2)

не накапливает

искрящее

легкоочищаемое

среднеочищаемое

27.

То же на ребро

не соответствует

малое

условно электропроводное 2)

не накапливает

искрящее

легкоочищаемое

среднеочищаемое

28.

Дощатое (окрашенное)

не соответствует

малое

не электропроводное

не накапливает

безыскровое

легкоочищаемое

среднеочищаемое

29.

Паркетные доски и щиты

не соответствует

малое

не электропроводное

не накапливает

безыскровое

легкоочищаемое

среднеочищаемое

30.

Штучный и наборный паркет

не соответствует

малое

не электропроводное

не накапливает

безыскровое

легкоочищаемое

среднеочищаемое

31.

а). линолеум

не соответствует

соответствует

беспыльное

не электропроводное

накапливает

безыскровое

легкоочищаемое

легкоочищаемое

 

б). линолеум антистатический

соответствует

беспыльное

не электропроводное (антистатическое)

не накапливает

безыскровое

легкоочищаемое

легкоочищаемое

32.

Плитки поливинилхлоридные

не соответствует

соответствует

беспыльное

не электропроводное

накапливает

безыскровое

легкоочищаемое

легкоочищаемое

33.

Плиты резиновые, резинокордовые и резинокордобитумные

не соответствует

малое

не электропроводное5) (антистатическое)

не накапливает5)

безыскровое

среднеочищаемое

среднеочищаемое

34.

Рулонное на основе химических волокон,.

не соответствует

среднее

не электропроводное

накапливает

безыскровое

среднеочищаемое

трудноочищаемое

35.

Ламинат

не соответствует

соответствует

беспыльное

не электропроводное

накапливает

безыскровое

легкоочищаемое

трудноочищаемое

36.

Глинобитное

не соответствует

большое

электропроводное

не накапливает

безыскровое1)

не очищаемое

не очищаемое

1). В случае применения безыскровых наполнителей (заполнителей) и песка

2). Приобретает способность проводить электрический ток при увлажнении

3). Является неискрящими при использовании мелкодисперсных (порошкообразных) наполнителей

4). Электропроводное - удельное поверхностное электросопротивление менее 104 Ом, условно электропроводное - 106 -104 Ом, антистатическое - 10б - 109 Ом, неэлектропроводное - более 109 Ом

5). При применении при изготовлении плит электропроводной или антистатической резины

Приложение 2

Физико-технические свойства битумно-полимерных наплавляемых рулонных материалов

Таблица 1

Материал, ТУ

Изготовитель

Масса 1 м2 битуминозного вяжущего, г

Масса 1 м2 основы, г

Разрывная сила при растяжении, кг/см

Относительное удлинение, %

Теплостойкость, °С

Водопоглощение через 24 ч, %

Гибкость при температуре, °С

Филизол (ТУ 400-1-409-5-92)

ОАО «Фили-кровля»

2500-3000

210

50

12,8

80

0,7

-15

Филизол-супер (ТУ 5770-002-05108038-94)

4500-5500

150

50

9

80

0,8

-15

Бикроэласт (ТУ 5770-541-00284718-94)

Учалинское АП «Кровля»

3500

295

50

36

85

0,5

-15

Люберит (ТУ 5770-001-18060333-95)

АОЗТ «Люберит»

3500±500

170

75

8

80

1,0

-10

Днепрофлекс (ТУ 5770-531-00284718-93)

АО «Полимеркровля»

3200

580

80

-

80

1,5

-15

Изопласт К,

Изопласт П (ТУ 5774-005-05766480-95)

АООТ «Кириши-нефтеоргсинтез»

3400

250

200

60

36

-

120

120

1,0

1,0

-25

-25

Стекломаст (ТУ21-5744710-519-92)

Рязанский КРЗ

3200

790

85

-

85

1,5

0

Полимаст (ТУ 5770-537-0287718-93)

АП «Выборгский РЗ»

3000

190

75

-

80

1,5

-10

Рубитекс (ТУ 5774-003-00289973-95) стеклоткань

АО «Оргкровля»

3000-5000

£460

≥50

-

80±2

-

-15

Рулонный материал марки МК-ПК и МГ-ПМ (ТУ РБ 14738548.002-42-94

АО «Кровля» г. Осиповичи

3600-3800

-

61,2

60

70±2

2,0

-15

Физико-технические свойства вулканизованных эластомерных рулонных материалов

Таблица 2

Материал

Условная прочность при растяжении, МПа

Относительное удлинение, %

Гибкость на брусе с радиусом 5 мм при t°, °С.

Водопоглощение через 24 ч, %

Остаточное удлинение, % '

Модуль пластичности при 100 % растяжении, МПа

Кровлен ТУ 8725-011-00302480-95

6,6

550

-55

1,0

58

2,0

 

4,0

200

-35

1,3

36

2,1

Элон* ТУ 21-5744710-514-92

7,0

250

-60

1,5

-

-

Бикапол «Гермопласт»

1,0-1,6

150-300

-50

0,2

-

-

Изолен «Атомэнергомаш» ТУ 5774-001-04-678851-95

7,0-10,0

250

-50

1,0

-

-

Кровлелон ТУ 95-25048396-054-93

12,0

200

-50

1,0

-

-

Бутилон ТУ 21-5744710-504-91

4,5

350

-55

2,0

-

-

Поликров АР** ТУ 5775-002-11313564-96

3-5

300

-50

0,2

-

-

* Материал с армирующей подложкой

** Применяется в сочетании с приклеивающей мастикой «Поликров-М» (ТУ 5775-003-11313564-96) и защитным покрытием «Поликров-П» (ТУ 5775-001-11313 564-96),

Физико-технические свойства гидроизоляционных мастик

Таблица 3

Наименование, марка, фирма

Наименование показателей

условная прочность при растяжении, МПа (кг/см2)

относительное удлинение, %

теплостойкость, °С

водопогло-щение через 24 ч, %

гибкость на стержне мм/°С

адгезия к цементно-песчаному раствору МПа (кг/см2)

Вента-V АПО «Вента»

0,7 (7,0)

400

130

0,5

10

-65

0,5 (5,0)

Полимерная кровельная

-

300

120

-

-

0,2-0,4 (2-4)

УНИКС

1 (10)

600

130

0,5

5

-70

0,6 (6,0)

Битурел

1,0

500

120

1,5

-50

0,5

Гермокров-2

1,2

200

120

2,0

-50

0,4

Гермокров-3

1,5

250

120

2,0

-50

0,4

Кровлелит

2,0-2,4

500-1000

100-150

0,1-1,0

-60

0,5-2,0


Приложение 3

Рекомендации по расчёту подстилающих слоев пола

1. Расчёт полов с нежестким подстилающим слоем

1.1 Расчёт распространяется на полы с песчаными, шлаковыми, гравийными и щебёночными подстилающими слоями.

1.2 Полы с нежестким подстилающим слоем рассчитывают на нагрузки неподвижные, а также подвижные от безрельсового транспорта.

Нагрузки от тележек, тачек и других транспортных средств, передвигаемых вручную, собственный вес пола, а также нагрузки, равномерно распределённые по площади пола, при расчёте не учитывают.

1.3 При расчёте определяют:

а) величину нагрузки Р в Н;

б) форму и площадь F в см2 следа приложения нагрузки к поверхности пола;

в) удельную нагрузку на пол р в Н/см2;

г) диаметр D в см круга, равновеликого площади следа F = а´b.

Для площади следа прямоугольной формы с отношением сторон а/b от 1 до 3

                                                                        (1)

1.4 Воздействия на пол с нежёстким подстилающим слоем безрельсовых транспортных средств одной или нескольких марок следует привести к эквивалентным воздействиям от условных автомобилей с расчётной нагрузкой «А».

Для этого сначала определяем значение

Ni = K1·NK                                                                                                 (2)

где NK - число транспортных средств данной марки, проходящих в одном направлении за одни сутки;

K1 - коэффициент, учитывающий воздействия на пол транспортных средств в зависимости от количества осей, принимаемый по табл. 1.1

Таблица 1.1

Значения K1

Транспортные средства

Значения K1 при количестве осей у транспортных средств

2

3

4

Автомобили, автопогрузчики, электрокары

1

1,8

-

Трейлеры

1,8

2,4

3

Для каждого значения Ni определяют эквивалентное, по воздействию на пол, количество условных автомобилей с расчётной нагрузкой «A» (Nia) следующим образом:

- для конкретного транспортного средства на рис. 1 проводят специальную для него наклонную прямую, ординаты точек которой равны ординатам точек наклонной линии «А», умноженным на коэффициент η = p´D/l666 данного транспортного средства;

- из точки на оси «п», отвечающей значению Ni, восстанавливают перпендикуляр до пересечения с полученной наклонной линией;

- из полученной точки пересечения проводят линию, параллельную оси «п» до пересечения с наклонной линией «А»;

- из точки пересечения опускают перпендикуляр на ось «п». Полученное значение на оси п соответствует значению Nia.

1.5 Расчётную интенсивность движения определяют по формуле:

Np = γ·ΣNiA                                                                                               (3)

где ΣNiA - определяется суммированием значений NiA для каждой марки транспортного средства;

γ - коэффициент распределения движения по ширине проезда, принимаемый равным при количестве полос движения 1, 2 и 3 соответственно 2, 1 и 0,75.

 

Рис.1 График для приведения интенсивности движения транспортных средств к интенсивности движения условного автомобиле расчетной нагрузкой «А» и для определения требуемого модуля деформации Етр пола

1.6 За критерий несущей способности нежестких подстилающих слоев принимают относительную деформацию δ = S/D (S - осадка в см покрытия пола под действием нагрузки). Допустимые значения δ приведены в табл. 1.2.

Прочность покрытия, подстилающего слоя и грунта основания характеризуется соответствующим модулем деформации Е в Н/см2, зависящим от прочности материала, а для грунтов, кроме того, от их влажности и возможности промерзания.

Значения модуля деформации принимают: для покрытий и подстилающих слоев - по таблице 1.2, а для грунтов основания - по таблице 1.3.

Таблица 1.2

Допускаемые значения относительной деформации δ и значения модуля деформации Е для покрытий и подстилающих слоев

Покрытия, подстилающие слои и характеристики применяемых материалов

Допустимые значения относительной деформации δ

Модуль деформации Е в Н/см2 при расположения низа подстилающего слоя

в зоне опасного капиллярного поднятия грунтовых вод

выше зоны опасного капиллярного поднятия грунтовых вод

Земляные из песчаных смесей оптимального гранулометрического состава

0,06

2450

2940

Шлаковые с применением шлака из высококалорийных углей с содержанием зёрен мельче 2 мм не свыше 20%

0,06

4410

5880

Шлаковые с применением шлака из бурых углей с содержанием зёрен мельче 2 мм не свыше 30%

0,06

1860

2940

Гравийные с применением гравия из каменных материалов прочностью при сжатии не менее 500 кгс/см2, с содержанием зёрен крупностью 2 мм:

 

 

 

85% и более

0,06

7840

8820

70-85 %

0,06

5880

6860

50-70%

0,06

3920

4900

Щебёночные из сортированного щебня из каменных материалов или доменных шлаков прочностью при сжатии в кгс/см2:

 

 

 

800 и более

0,05

12740

12740

500-800

0,05

10780

10780

То же, пропитанные битумом, при прочности щебня в кгс/см2:

 

 

 

800 и более

0,04

17640

17640

500-800

0,04

14700

14700

Асфальтобетонные

0,035

23520

23520

Из брусчатки и кирпича всех видов на ребро по прослойке из раствора или из мастики

0,035

24500

24500

Торцовые

0,04

11760

11760

Примечание: Значения модуля деформации песчаного подстилающего слоя принимают по табл. 1.3, как для песчаных грунтов

Таблица 1.3

Значения модуля деформации грунта основания

Грунт

Содержание (по массе) зерен крупнее

Модуль деформации Е в Н/см2 при расположения низа подстилающего слоя

выше зоны опасного капиллярного поднятия грунтовых вод

В зоне опасного капиллярного поднятия грунтовых вод

отапливаемые здания

неотапливаемые здания

отапливаемые здания

неотапливаемые здания

Песок крупный и гравелистый

0,5 мм, более 50%

4410

4116

3626

3430

Песок средней крупности

0,25 мм, более 50%

3920

3626

2940

2450

Песок мелкий

0,1 мм, более 75%

3430

2940

1960

1470

Супесь

0,05 мм, более 50%

2744

2352

1568

1176

Песок пылеватый

0,1 мм, менее 75%

2156

1960

1372

-

Суглинок, глина

0,05 мм, более 40%

2156

1862

1274

-

Супесь, суглинок и глина пылеватые

0,05 мм, более 40%

1862

1568

1176

-

1.7 Необходимую прочность пола, характеризуемую требуемым модулем деформации Етр в Н/см2 определяют:

а) для нагрузок от безрельсового транспорта по формуле

                                                                      (4)

где δ - допускаемая относительная деформация покрытия, принимаемая по табл. 1.2;

К3 = 0,5 + 0,65·lgNp - коэффициент, учитывающий повторность воздействий нагрузок при движении транспортных средств;

Np - расчётная интенсивность движения;

μ = 1,2 - коэффициент запаса на неоднородность условий работы пола.

Значение Етр можно также определить по рис. 1. Для этого из точки на оси «п», соответствующей расчётной интенсивности движения Np условных автомобилей с расчётной нагрузкой «А» проводят перпендикуляр к оси «п» до пересечения с наклонной линией А. Полученную точку пересечения переносят параллельно оси «п» на ординату со значением δ, допускаемой для данного типа покрытия (см. табл. 1.2), затем по наклонной линии, проходящей через полученную точку, на ординате определяют требуемый модуль деформации Етр.

б) для неподвижных нагрузок по формуле

                                                                                          (5)

где р - удельное давление на пол в Н/см2;

δ - допускаемая относительная деформация покрытия, принимаемая по табл. 1.2;

μ = 1,2.

1.8 При расчёте прочности пола составляют расчётную схему конструкции пола в coответствии с рис. 2 и материалом каждого его слоя. На схеме указывают расчётные модули деформации Е материала каждого слоя пола и грунта основания, а также толщину «h» каждого слоя пола, за исключением нижнего слоя, устраиваемого непосредственно на грунте, толщина которого определяется расчётом.

Рис. 2. Расчетные схемы полов с нежестким  подстилающим слоем
а - покрытие   на   грунте   основания;    б - покрытие   на    однослойном подстилающем  слое:   в - покрытие  на двухслойном подстилающем слое или однослойном подстилающем слое по искусственному основанию;   г - покрытие   на   двухслойном подстилающем   слое  по   искусственному  основанию;    1 - грунт  основания; 2 - слой   пола;   3 - нагрузка   на   пол

Модули деформации материала отдельных слоев принимают по табл. 1.2, а грунта основания по табл. 1.3. Толщину отдельных слоев пола принимают по Разделу I. Толщину прослоек и мастик, а также гидроизоляционных слоев от сточных вод и других жидкостей включают в толщину покрытия. Толщину прослоек, расположенных на подстилающем слое, не учитывают.

Материалы для подстилающего слоя следует выбирать так, чтобы расчётный модуль деформации материала каждого вышележащего слоя превышал в 1,5-3,5 раза расчётный модуль деформации материала нижележащего слоя пола или грунта основания.

1.9 Расчёт прочности пола производят следующим образом:

- По значению D и Еэп = Етр, а также Еn и hn для n-го верхнего слоя (рис. 2) вычисляют отношения hn/D и Еэп / Еп;

- По рис. 3 определяют эквивалентный модуль деформации Еэп-i всех слоев пола и основания, расположенных ниже верхнего слоя. Для этого из точки на горизонтальной оси, соответствующей конкретному значению h/D, проводят перпендикуляр до пересечения с кривой со значением, равным Еэп/Еп. Полученная точка пересечения переносится параллельно оси h/D влево на ось (Еi-1/Еi). Полученное значение на этой оси соответствует отношению Еэп-i /En = Кэп откуда определяют Еэп-1 = Кэп En.

- Зная Еэп-1; Еп-1; hп-1; D, аналогичным путём определяют Еэп-2 и т.д. В итоге определяют эквивалентный модуль деформации Еэ0+1 на поверхности первого снизу слоя пола;

- По значениям Еэ0+1; Е0+1 ; Е0 вычисляют отношения Еэ0+1/Е0+1 и Е0/Е0+1 , здесь Е0 -модуль деформации грунта основания, принимаемый по таблице 1.3, a Е0+1 - модуль деформации нижнего слоя пола.

- Точку на оси (h/D = 0), соответствующую значению Е0/Е0+1 переносят параллельно оси h/D на кривую со значением Еэ0+1/Е0+1. Из полученной точки на этой кривой опускают перпендикуляр на ось h/D. Значение на этой оси соответствует отношению hэ0+1/D = а1 откуда hэ0+1 = а1D.

Если толщина подстилающего слоя получается меньше величин, приведённых в Разделе I, или если Еэ0+1 больше, чем Е0+1 то толщина подстилающего слоя принимается согласно указаниям Раздела I.

1.10 Полученная по расчёту толщина подстилающего слоя может быть уменьшена путём повышения прочности основания, например путём устройства искусственного основания (песчаного и др.) или путём понижения уровня грунтовых вод и др.

Примеры расчёта прочности пола с нежёстким подстилающим слоем

Пример 1

Требуется определить толщину нежесткого подстилающего слоя в неотапливаемом складе. По полу склада при ширине проезда 3,5 м за сутки проходит следующее количество транспортных средств:

электрокары (двухосные) - 30 машин;

автопогрузчики (двухосные) - 20 машин;

автомобили ЗИЛ-130 (двухосные) - 20 автомобилей;

автомобили ЯАЗ-210 (трехосные) - 5 автомобилей.

Покрытие пола из асфальтобетона толщиной 4 см.

Подстилающий слой из щебня прочностью при сжатии 9000 Н/см2.

Грунт основания супесчаный.

Горизонт грунтовых вод находится на глубине 0,4-0,5 м.

Расчёт. При покрытии из асфальтобетона величина относительной деформации δ = 0,035 (табл. 1.2). По формуле (2) приведём количество трёхосных автомобилей ЯАЗ-210 к двухосным:

Ni = 1,8·5 = 9 автомобилей

Определим эквивалентное, по воздействию на пол, количество условных автомобилей с расчётной нагрузкой «А». Для этого вычисляем значение коэффициента «η». Расчётные характеристики транспортных средств (предоставляемые заказчиком) заносим в таблицу.

Вид транспортного средства

Нагрузка на колесо, Р, Н

Площадь следа колеса, F, см2

Количество осей, шт.

Условный автомобиль с расчётной нагрузкой «А»

44590

910

2

Электрокары

8450

56

2

Автопогрузчики

35670

490

2

Автомобили ЗИЛ-130.

34300

600

2

Автомобили ЯАЗ-210

44100

750

3

Рис. 3 График для расчёта пола с нежестким подстилающим слоем

1 - Электрокары: р = Р/F = 8450/56 = 150,8 Н/см2;

η = p·D/1666 = 150,8·8,4/1666 = 0,76

2 - Автопогрузчики: р = Р/F = 35670/490 = 72,8 Н/см2;

η = p·D/1666 = 72,8·25/1666 = 1,1

3 - Автомобили ЗИЛ-130: р = Р/F = 34300/600 = 57,1 Н/см2;

 η = p·D/1666 = 57,1·27/1666 = 0,95

4 - Автомобили ЯАЗ-210: р = Р/F = 44100/750 = 58,8 Н/см2;

 η = p·D/1666 = 58,8·31/1666 = 1,1

Условный автомобиль с расчётной нагрузкой «А»: р = Р/F = 44590/910 = 49 Н/см2;

 η = p·D/1666 = 49·34/1666 = 1

В соответствии с указаниями п. 1.4 наносим на график (рис. 1) наклонные линии для каждого транспортного средства, ординаты точек которых получаем умножением ординат точек линии «А» на коэффициент «η», вычисленный для каждого указанного выше транспортного средства. В результате получаем графики для определения эквивалентного, по воздействию на пол, количества условных автомобилей с расчётной нагрузкой «А» (рис. 4). По полученным графикам определяем значения Nia:

30 электрокаров соответствуют 9 условным автомобилям;

20 автопогрузчиков 4000 соответствуют 32 условным автомобилям;

20 автомобилей ЗИЛ-130 соответствуют 17 условным автомобилям;

9 автомобилей ЯАЗ-210 (в двухосном исполнении) соответствуют 15 условным автомобилям.

Всего ΣNiB = 73 условных автомобилей с расчётной нагрузкой «А».

Вычисляем расчётную интенсивность движения Np при ширине проезда 3,5 м (одна полоса движения) и γ = 2 (п.5). Np = γ·ΣNiА = 2·73 = 146 условных автомобилей в сутки.

Используя рис. 4, находим на оси «п» цифру 146, восстанавливаем от этой точки перпендикуляр до линии «А» и из точки пересечения проводим прямую, параллельную оси «п» до пересечения с прямой, перпендикулярной оси «п», соответствующей допустимой относительной деформаций покрытий из асфальтобетона δ = 0,035. По наклонной прямой, проходящей через полученную точку, определяем требуемый модуль деформации пола - Етр = 5098 Н/см2.

Грунт основания находится в зоне опасного капиллярного поднятия грунтовых вод (см. п. 7.4 Раздела I). При этом по табл. 1.3 расчётный модуль деформации грунта основания Е0 = 1176 Н/см2.

Принимаем расчётную схему «б» по рис. 2. Расчётный модуль деформации (табл. 1.2) асфальтобетонного покрытия Е2 = 23520 Н/см2, щебёночного подстилающего слоя Е1 = 12740 Н/см2, толщина покрытия h2 = 4 см; Еэ2= Eтр = 5098 Н/см2.

Для условного автомобиля диаметр приведённого круга следа D = 34 см.

Для определения Еэ1 сначала вычислим значения отношений h2/D = 4/34 = 0,1175 и Еэ2/Е2 = 5098/23520 = 0,216.

По рис. 3 определяем Еэ1/Е2 = 0,184, откуда Еэ1 = 0,184·23520 = 4327 Н/см2. Определим h1, для чего сначала вычислим отношения Еэ1/Е1 = 4327/12740 = 0,34 и Е0/Е1 = 1176/12740 = 0,0923, по которым пользуясь рис. 3 определяем h1/D = 0,97, откуда h1 = 0,97·34 = 33 см.

Согласно п. 1.10 полученная толщина h1 подстилающего слоя может быть уменьшена, например, путём понижения уровня грунтовых вод ниже их опасного капиллярного поднятия. В этом случае Е0 = 2156 Н/см2 (табл. 1.3).

Определяем вновь: Еэ1/Е1 = 4327/12740 = 0,34 и Е0/Е1 = 2156/12740 = 0,169, h1/D = 0,55, откуда h1 = 0,55·34 = 18,7 см.

Рис. 4 График для приведения интенсивности движения транспортных средств к интенсивности движения условного автомобиля с расчетной нагрузкой «А» и для определения требуемого модуля деформации Етр пола

Уменьшение толщины подстилающего слоя может быть также достигнуто устройством искусственного основания, например из крупного песка, уложенного на грунте основания. Для этого случая принимаем расчётную схему «в» по рис. 2.

Задаёмся толщиной щебёночного подстилающего слоя, равной 15 см, расчётные модули деформации: покрытия Е3 = 23520 Н/см2, подстилающего слоя Е2 = 12740 Н/см2, искусственного основания E1 = 3430 Н/см2, грунт основания Е0 = 1176 Н/см2.

Толщина асфальтобетонного покрытия h3 = 4 см.

Толщина подстилающего слоя из щебня h2 = 15 см.

Еэ3 = Eтр =5098 Н/см2; D = 34 см; Еэ2/Е3 = 0,184 и Еэ2 = 0,184·23520 = 4327 Н/см2.

Определим Еэ1 для чего сначала вычислим отношения h2/D = 15/34 = 0,441 и Еэ2/Е2 = 4327/12740 = 0,34.

По рис. 3 определяем Еэ1/Е2 = 0,203, откуда Еэ1 = 0,203·12740 = 2586 Н/см2.

Определим h1, для чего сначала вычислим отношения Еэ1/Е1 = 2586/3430 = 0,754 и Е0/Е1 = 1176/3430 = 0,3430.

По рис. 3 определим h1/D = 1,28, откуда h1 = 1,28·34 = 43,5 см.

Таким же путём определяется толщина искусственного основания, если задаться иными толщинами подстилающего слоя (например, 12 см, 18 см и т.д.). Из рассмотренных вариантов толщины подстилающего слоя наиболее целесообразный определяют по технико-экономическим соображениям.

Пример 2

Требуется определить толщину нежесткого подстилающего слоя пола. Нагрузка Р = 10 т. Форма следа опирания на пол - прямоугольник размером 50´40 см, площадь F1 = 2000 см2. Удельное давление р = 49 Н/см2. Помещение неотапливаемое.

Покрытие пола из торцовой шашки толщиной 8 см. Подстилающий слой гравийный, с содержанием 75% зёрен крупнее 2 мм. Грунт основания - пылеватый суглинок. Грунтовые воды находятся на глубине 3 м.

Расчёт. Определим расчётные параметры по формуле (1):

При покрытии пола из торцовой шашки δ = 0,04 (табл. 1.2)

Примем расчётную схему «б» по рис. 2.

Расчётные модули деформации: покрытия Е2 = 11760 Н/см2 (табл. 1.2); подстилающего слоя Е1 = 6860 Н/см2 (табл. 1.2); грунта основания Е0 = 1568 Н/см2 (табл. 1.3).

Толщина покрытия h1 = 8 см.

По формуле (5) определяем требуемый модуль деформации пола

Эквивалентный модуль деформации пола Еэ2= Етр = 2313 Н/см2.

Определим Еэ1, для чего сначала вычислим отношения h2/D = 8/50 = 0,16 и Еэ2/Е2 = 2313/11760 = 0,197.

По рис. 3 определяем Еэ1/Е2 = 0,163, откуда Еэ1 = 0,163·11760 = 1917 Н/см2.

Определим h1, для чего сначала вычислим отношения Еэ1/Е1 = 1917/6860 = 0,28 и E0/E1= 1568/6860 = 0,228.

По рис. 3 определим h1/D = 0,21, откуда h1 = 0,21·50 = 10,5 см. Принимаем толщину подстилающего слоя h1 = 11 см.

2.Расчёт полов с жестким подстилающим слоем

2.1 Расчёт распространяется на сплошные подстилающие слои бетонные и из жаростойкого бетона на грунте и на теплоизоляционном слое из сыпучих материалов (шлак и др.), уложенных на плите перекрытия, а также из кислотоупорного бетона на грунте.

2.2 Полы производственных зданий условно разделяются на нижеследующие группы:

I - полы, на которые не устанавливается стационарное технологическое оборудование (для технологического оборудования устанавливаются специальные фундаменты, а полы воспринимают нагрузки от людей, транспортных средств, складируемых материалов);

II - полы, на которые устанавливается стационарное оборудование без особых требований к деформации основания (возникновение остаточных деформаций или трещин в подстилающем слое пола не приводит к нарушению нормальной эксплуатации стационарного оборудования, а при необходимости ремонта пола допускается перемещение этого оборудования на другой участок);

III - полы, на которые устанавливаются станки, насосы и другое не связанное в единые комплексные линии оборудование с особыми требованиями к основанию;

IV - полы, на которые устанавливаются автоматизированные линии, гибкие системы и т.д.

V - полы, в которых предусмотрено устройство гидроизоляции.

2.3 На схеме нагрузок в плане должна быть указана их наибольшая величина, размеры и форма следов опирания на пол и наименьшие расстояния между этими следами.

Собственный вес пола, а также нагрузки, равномерно распределённые по всей площади, при расчёте не учитываются.

2.4 В зависимости от формы и величины площади следа опирания различают следующие нагрузки:

а) Простого вида - равномерно распределённые по площади следа, расположенного в плане так, что наименьшие расстояния от центра следа одной нагрузки до следа другой нагрузки превышает 6l, где l - характеристика гибкости плиты бетонного подстилающего слоя, принимаемая по табл. 2.3 или вычисляемая по формуле (см. п. 2.10).

При подстилающем слое на грунте основания различают следующие виды следа:

след в виде круга радиусом rр £ 6l (в том числе от колёс безрельсовых транспортных средств);

след в виде прямоугольника длиной aр и шириной bр при ар ³ bр;

след, ограниченный с одной стороны прямой и имеющий размеры, при которых квадрат со стороной ар = 12,2l вписывается в этот след, в этом случае расчёт ведут на нагрузку, равномерно распределённую по условному квадратному следу со стороной ар = 12,2l;

след, ограниченный с двух сторон параллельными прямыми и имеющий размеры, при которых прямоугольник длиной ар = 12,2l и шириной bр < 12,2l вписывается в этот след, в этом случае расчёт ведут на нагрузку, равномерно распределённую по условному прямоугольному следу длиной ар = 12,2l и шириной bр;

При подстилающем слое на теплоизоляции из сыпучих материалов, уложенных по плите перекрытия различают следующие виды следа:

след в виде прямоугольника с отношением сторон от 1 до 1,5, равновеликий следу в виде круга радиусом rр £ 2l;

след в виде прямоугольника длиной ар £ 0,6l, шириной bр < ар;

след в виде круга радиусом rр < 2l (в том числе от колёс безрельсовых транспортных средств).

б) Сложного вида (рис. 1 и 2) - при подстилающем слое на грунте основания: равномерно распределённые по площади следа, отличающегося по величине или по форме следа от указанных в подпункте «а»;

неравномерно распределённые по площади следа;

расположенные так, что наименьшее расстояние от центра следа одной нагрузки до следа другой нагрузки менее 6l.

Примечание: определение l приведено в п. 2.10, ар, bр и rр - в п.2.5

2.5 Для нагрузок простого вида расчётные размеры следа ар, bр и rр определяются по формулам:

ар = a + 2h1                                                                                               (1)

bр = b + 2h1                                                                                              (2)

rр = r + 2h1                                                                                               (3)

где «а» и «b» -длина и ширина прямоугольного следа на поверхности покрытия в см; при опирании предметов на пол по образующей цилиндрической поверхности или ребром след условно принимают прямоугольным, у которого b = 0,11;

h1 - толщина слоев пола, расположенных выше подстилающего слоя, в см;

r - радиус круга, равновеликого площади следа опирания на поверхности покрытия, в см;

- при прямоугольном следе:

                                                                          (4)

- для следа колёс безрельсовых транспортных средств r = D/2. Величину «D» рассчитывают по формуле.

                                                                                                 (5)

где F - площадь следа колеса в см2 для конкретного транспортного средства.

- при опирании предметов на пол углом, след условно принимают круглым, у которого r = 0,11, в см.

Если бетонный подстилающий слой используется в качестве покрытия, то принимают ар = а, bр = b, r р = r.

2.6 Расчётную нагрузку Рр от колеса транспортных средств определяют по формуле:

Рр = К·Р,                                                                                                  (6)

где Р - нагрузка на колесо, кН;

К - коэффициент, учитывающий влияние нагрузки от других колёс; для транспортных средств с двумя осями К = 1,2, с тремя и четырьмя осями К = 1,8.

2.7 Проектирование и устройство подстилающих слоев в полах производственных зданий выполняется в соответствии с требованиями СНиП 2.03.13-88 «Полы», а также Раздела I настоящего документа.

2.8 Расчёт прочности пола с бетонным подстилающим слоем производят на изгиб. При нескольких нагрузках простого или сложного вида расчёт ведут на каждую из них в отдельности.

2.9 Напряжение растяжения при изгибе σр, МПа, в плите бетонного подстилающего слоя определяют по формуле

                                                                                (7)

Толщину h, см, бетонного подстилающего слоя определяют по формуле:

                                                                                     (8)

В формулах (7) и (8):

Мр - расчётный изгибающий момент, Н·см/см, (отнесённый к одному сантиметру ширины сечения плиты), определяемый при нагрузках простого вида по формулам (9), (11) и (12), при нагрузках сложного вида по формуле (13);

Rδt- расчётное сопротивление растяжению, МПа, принимаемое по табл. 2.1. Толщина подстилающего слоя в производственных помещениях должна быть не менее 100 мм (см. СНиП 2.03.13-88 «Полы»).

Расчёт полов при нагрузках простого вида.

2.10 Расчётный изгибающий момент Мр в плите бетонного подстилающего слоя, расположенного на грунте основания, при действии на пол нагрузки простого вида, равномерно распределённой по площади следа в виде прямоугольника (см. п. 2.4), определяют по формуле:

Мр = К1·Рр                                                                                                (9)

где Рр - расчётная нагрузка на всю площадь следа. кН, принимаемая в соответствии с п. 2.6; для следа, условно принятого прямоугольным (см. п.п. 2.4 и 2.5) Рр равняется нагрузке на площади этого условного следа;

К1 - коэффициент, принимаемый по таблице 2.4 в зависимости от отношения ар /l = а; bр/l = β

где ар и bр - расчётные длина и ширина прямоугольного следа (ар ³ bр) в см, определяемые по п. 2.5,

l - характеристика гибкости плиты бетонного подстилающего слоя в см, принимаемая по табл. 2.3 или определяемая по формуле:

                                                                                       (10)

где Eб - начальный модуль упругости при сжатии и растяжении бетона в МПа, принимаемый по табл. 2.1;

h - толщина бетонного подстилающего слоя в см;

К0 - коэффициент постели грунта основания в Н/см2, принимаемый по табл. 2.2.

2.11 Расчётный изгибающий момент Мр в плите бетонного подстилающего слоя, расположенного на грунте основания, при действии на пол нагрузки простого вида, равномерно распределённой по площади следа в виде круга (см. п.п. 2.4 и 2.5) определяют по формуле:

Мр = К3·Рр                                                                                                (11)

где К3 - коэффициент, принимаемый по табл. 2.6, в зависимости от отношения rр/l = ρ;

rр - определяется по п. 2.5;

Рр и l - определяется по п. 2.10.

2.12 Расчётный изгибающий момент Мр в плите бетонного подстилающего слоя, расположенного на слое грунта или сыпучего материала толщиной h¢ в см, уложенного по жесткому основанию (например, на теплоизоляционной засыпке, уложенной по железобетонному перекрытию), при действии на пол нагрузки простого вида (см. п. 2.4) определяют по формуле:

МР = К2·РР                                                                                                (12)

где К2 - коэффициент, принимаемый по табл. 2.5, в зависимости от отношения rр/l = ρ и h¢/l;

rр - определяется по п. 2.5;

Рр и l - определяется по п. 2.10.

2.13 Расчёт плиты бетонного подстилающего слоя на изгиб при нагрузках простого вида производят следующим образом. Вначале устанавливают Рр, К0 и соответственно ар, bр или rр и h; принимают бетон по прочности на сжатие класса В22,5 (марки 300), ориентировочно задаются значением h = 10 см, находят l и соответственно a, β или ρ и h¢/l; определяют К1 (табл. 2.4), К2 (табл. 2.5) или К3 (табл. 2.6), Мр и вычисляют σр.

Если полученное значение σр равно или на 1-5% отличается от Rδt, то ориентировочно принятое значение h = 10 см принимают за окончательное, в противном случае расчёт повторяют.

При повторном расчёте надо учитывать следующее:

а) если при ранее произведённом расчёте получилось σр > Rδt, то задаются большим значением h;

б) если при предварительно принятом h = 10 см по расчёту получилось σр < Rδt для бетона марки 300, то, сохраняя h = 10 см, повторным расчётом устанавливают более низкую марку бетона.

Таблица 2.1

Класс бетона (марка бетона)

Начальные модули упругости при сжатии и растяжении, МПа

Расчётные сопротивления растяжению, Rδt,МПа

Показатель надёжности расчётных сопротивлений t (справочно)

Вероятность отказа подстилающего слоя (справочно)

Рекомендуемая группа пола (см. п. 2.2)

на статические нагрузки

на динамические, многократно повторяющиеся нагрузки1

В15

23000

1,30

0,975

2,05

0,0202

I

(М200)

 

1,20

0,9

2,47

0,0068

II

 

 

1,05

0,8

3,08

0,0011

III

 

 

0,69*

0,52*

4,56

0,000026

IV, V

В20

27000

1,56

1,16

2,06

0,0190

I

(М250)

 

1,44

1,07

2,51

0,0056

II

 

 

1,26

0,95

3,06

0,0012

III

 

 

0,83*

0,62*

4,52

0,000032

IV, V

В22,5

28500

1,65

1,25

2,09

0,0184

I

(М300)

 

1,50

1,13

2,58

0,0050

II

 

 

1,35

1,0

3,06

0,0012

III

 

 

0,90*

0,675*

4,50

0,000034

IV, V

В25

30000

1,77

1,32

2,08

0,0193

I

(М350)

 

1,61

1,20

2,54

0,0062

II

 

 

1,45

1,07

3,05

0,0013

III

 

 

0,97*

0,72*

4,43

0,000047

IV, V

В30

32500

1,95

1,46

2,06

0,0197

I

(М400)

 

1,80

1,35

2,47

0,0068

II

 

 

1,60

1,20

3,01

0,0014

III

 

 

1,10*

0,825*

4,40

0,000054

IV, V

*Указанные значения расчётных сопротивлений бетона соответствуют величинам, приведённым в СНиП 2.03.01-84 «Бетонные и железобетонные конструкции»

1 - от безрельсовых транспортных средств, от предметов, устанавливаемых на пол при помощи кранов.

Таблица 2.2

Значения коэффициента постели грунтов основания и теплоизоляционных засыпок на перекрытиях

Грунт и засыпка

Содержание по массе зёрен, крупнее

Коэффициент постели K0, в Н/см3 при расположении грунта основания

выше зоны опасного капиллярного поднятия грунтовых вод1

в зоне опасного капиллярного поднятия грунтовых вод1

Песок крупный и гравилистый

0,5 мм, более 50%.

85

80

Песок средней крупности

0,25 мм, более 50%

70

65

Песок мелкий

0,1 мм, более 75%

60

45

Супесь

0,05 мм, более 50%

40

30

Песок пылеватый

0,1 мм менее 75%

50

35

Суглинок, глина

0,05 мм, более 40%

65

45

Супесь, суглинок и глина пылеватые

0,05 мм, менее 40%

75

55

Засыпки шлаковые с применением шлака высококалорийных углей

2 мм, более 80%

70

-

Засыпки шлаковые с применением шлака из бурых углей

2 мм, более 70%

60

-

1 - Высоту опасного капиллярного поднятия грунтовых вод надлежит принимать от горизонта грунтовых вод:

0,3 м - для крупного песка;

0,5 м - для песка средней крупности и мелкого;

1,5 м - для песка пылеватого;

2,0 м - для суглинка, пылеватых суглинка и супеси, глины.

Таблица 2.3

Характеристика l гибкости плиты бетонного подстилающего слоя

Класс

бетона (марка бетона)

Н в

см

Значение l, см, при К0 , Н/см3

30

35

40

45

50

55

60

65

70

75

80

85

В15 (М200)

10

51,2

49,2

47,6

46,2

45,0

44,0

43,0

42,2

41,3

40,7

40,0

39,4

 

10

53.6

51,6

49,9

48,5

47,2

46,1

45,1

44,2

43,4

42,7

42,0

41,4

 

11

57,6

55,5

53,6

52,1

50,7

49,5

48,6

47,5

46,6

45,8

45,1

44,1

 

12

61,5

58,4

57,2

55,6

54,3

52,9

51,7

50,7

49,6

48,9

48,1

47,4

 

13

65,2

62,9

60,8

59,0

57,5

56,1

54,9

53,8

52,8

52,0

51,1

50,3

 

14

69,0

66,4

64,2

62,4

60,8

59,3

58,1

56,9

55,9

55,0

54,0

53,2

 

15

72,8,

70,0

67,7

65,7

63,9

62,4

61,1

59,9

58,8

57,8

56,9

56,0

В22.5 (М300)

16

76,3

73,4

71,0

69,0

67,2

65,6

64,2

62,9

61,7

60,7

59,7

58,8

 

17

81,7

76,8

74,3

72,2

70,3

68,6

67,1

65,9

64,7

63,5

62,5

61,5

 

18

83,4

80,2

77,6

75,3

73,3

71,6

70,1

68,7

67,4

66,3

65,2

64,2

 

19

86,8

83,5

80,7

78,5

76,4

74,6

73,0

71,5

70,2

69,0

67,9

67,0

 

29

90,2

86,8

84,0

81,5

79,4

77,6

75,9

74,3

73,0

71,7

70,6

69,6

 

21

93,6

90,0

87,1

84,6

82,3

80,5

78,7

77,2

75,6

74,4

73,3

72,1

 

22

96,9

93,3

90,1

87,6

85,3

83,3

81,5

79,9

78,4

77,0

75,9

75,7

 

23

100,2

96,4

93,4

90,5

88,2

86,1

84,3

82,6

81,1

79,7

78,4

77,2

 

24

103,4

99,5

96,3

93,4

91,0

88,9

87,0

85,3

83,7

82,3

80,9

79,7

 

25

106,7

102,6

99,3

96,4

93,9

91,7

89,6

87,9

86,3

84,8

83,5

82,2

 

26

109,8

105,7

102,2

99,3

96,7

94,4

92,4

90,5

88,9

87,3

86,0

84,7

 

27

113,0

108,7

105,1

102,0

99,4

97,1

95,0

93,1

91,4

89,9

88,4

87,1

 

28

116,1

111,7

108,1

104,9

102,2

99,8

97,6

95,7

93,9

92,3

90,9

89,5

 

29

119,2

114,7

110,9

107,7

104,9

102,9

102,4

100,2

98,3

94,8

93,3

91,9

 

30

122,3

117,7

113,8

110,5

107,6

107,6

105,1

102,8

100,8

97,2

95,7

94,3

 

10

55,4

53,3

51,6

50,1

48,8

47,6

46,6

45,7

44,8

44,1

43,3

42,7

 

11

59,5

57,3

55,4

53,8

52,4

51,1

50,0

49,1

48,2

47,3

46,6

45,9

 

12

63,5

61,1

59,1

57,4

55,9

54,6

53,4

52,4

51,4

50,5

49,7

49,0

 

13

67,5

64,9

62,8

61,0

59,4

58,0

56,7

55,6

54,6

53,6

52,8

52,0

 

14

71,3

68,6

66,4

64,4

62,8

61,3

60,0

58,8

57,7

56,7

55,8

55,0

 

15

75,1

72,3

69,9

67,9

66,1

64,5

63,2

61,9

60,8

59,7

58,8

57,9

В30

16

78,9

75,8

73,3

71,2

69,4

67,7

66,3

65,0

63,8

62,7

61,7

60,8

(М400)

17

82,5

79,4

76,8

74,5

72,6

70,9

69,4

68,0

66,7

65,6

64,6

63,6

 

18

86,1

82,8

80,1

77,8

75,8

74,0

72,4

71,0

69,7

68,5

67,4

66,4

 

19

89,7

86,3

83,5

81,0

78,9

77,1

75,4

73,9

72,5

71,3

70,2

69,1

 

29

93,2

89,7

86,7

84,2

82,0

80,1

78,4

76,8

75,4

74,1

72,9

71,8

 

21

96,6

93,0

89,9

87,3

85,1

83,1

81,3

79,7

78,2

76,9

75,6

74,5

 

22

100,1

96,3

93,1

90,4

88,1

86,0

84,2

82,5

81,0

79,6

78,3

77,1

 

23

103,5

99,6

96,3

93,5

91,1

88,9

87,0

85,3

83,7

82,3

81,0

79,8

 

24

106,8

102,8

99,4

96,5

94,0

91,8

89,8

88,1

86,4

85,0

83,6

82,3

 

25

110,2

106,0

102,5

99,5

96,9

94,7

92,6

90,8

89,1

87,6

86,2

84,9

 

26

113,4

109,2

105,6

102,5

99,8

97,5

95,4

93,5

91,8

90,2

88,7

87,4

 

27

116,7

112,3

108,6

105,4

102,7

100,3

96,2

96,2

94,4

92,8

91,3

89,9

 

28

119,9

115,4

111,6

108,4

105,4

103,1

98,9

98,9

97,0

95,4

93,8

92,4

 

29

123,1

118,5

114,6

111,3

108,4

105,8

101,5

101,5

99,6

97,9

96,3

94,9

 

30

126,3

121,5

117,5

114,1

111,1

108,5

104,1

104,1

102,2

100,4

98,8

97,3

Таблица 2.4

Коэффициент K1

α

Значение коэффициента K1 при β

0,1

0,2

0,4

0,6

0,8

1,0

1,2

1,4

1,6

1,8

0,1

140,4

-

-

-

-

-

-

- .

-

-

0,2

135,7

132,5

-

-

-

-

 

-

-

-

0,4

127,1

123,9

118,3

-

-

-

-

-

-

-

0,6

119,8

116,2

110,8

105,9

-

-

-

-

-

-

0,8

112,2

109,8

103,9

99,2

95,0

-

-

-

-

-

1,0

105,7

102,9

97,7

93,1

89,0

85,5

-

-

-

-

1,2

99,7

97,0

91,9

87,5

83,5

80,0

76,9

-

-

-

1,4

94,3

91,6

86,7

82,4

78,5

75,2

72,1

69,3

-

-

1,6

89,4

-86,8

82,0

77,8

74,0

70,7

67,7

64,9

62,3

-

1,8

84,8

82,3

77,6

73,5

69,9

66,6

63,7

60,9

58,4

56,1

2,0

80,6

78,1

73,5

69,5

66,0

62,9

60,0

57,3

54,9

52,6

2,2

76,7

74,3

69,8

65,9

62,5

59,4

56,6

54,0

51,6

49,3

2,4

73,1

70,7

66,4

62,6

59,3

56,2

53,5

50,9

48,5

46,3

2,6

69,7

67,4

63,2

59,6

56,3

53,3

50,6

48,1

45,7

43,5

2,8

68,7

64,4

60,3

56,8

53,5

50,6

47,9

45,4

43,2

41,0

3,0

66,6

61,5

57,6

54,1

50,9

48,1

45,4

43,0

40,8

38,7

3,2

61,0

58,9

55,1

51,6

48,5

45,7

43,2

40,8

38,6

36,6

3,4

58,5

56,4

52,7

49,3

46,3

43,6

41,1

38,8

36,6

34,6

3,6

56,1

54,1

50,5

47,2

44,3

41,6

39,1

36,9

34,8

32,8

3,8

53,9

51,9

48,4

45,3

42,4

39,8

37,3

35,1

33,1

31,2

4,0

51,9

50,0

46,4

43,5

40,7

38,1

35,7

33,5

31,5

29,7

4,2

49,9

48,1

44,8

41,7

39,0

36,5

34,2

32,1

30,1

28,3

4,4

48,0

46,3

43,1

40,1

37,4

35,0

32,7

30,7

28,8

27,0

4,6

46,3

44,6

41,5

38,6

36,0

33,6

31,4

29,4

27,5

25,7

4,8

44,7

43,0

40,0

37,2

34,7

32,4

30,2

28,2

26,3

24,5

5,0

43,2

41,5

38,6

35,9

33,5

31,2

29,0

27,0

25,2

23,5

5,2

41,8

40,2

37,3

34,7

32,3

30,0

27,9

25,9

24,1

22,5

5,4

40,4

38,9

36,1

33,5

31,1

28,9

26,9

24,9

23,1

21,5

5,6

39,1

37,6

34,9

32,4

30,1

27,9

25,9

24,0

22,2

20,6

5,8

37,9

36,4

33,8

31,3

29,1

26,9

24,9

23,1

21,4

19,82

6,0

36,7

35,3

32,7

30,3

28,1

26,0

24,1

22,3

20,6

19,08

6,5

34,0

32,7

30,2

28,0

26,0

24,0

22,1

20,4

18,89

17,43

7,0

31,7

30,5

28,2

26,1

24,1

22,3

20,5

18,89

17,40

16,02

7,5

29,7

28,5

26,4

24,4

22,5

20,8

19,15

17,60

16,16

14,84

8,0

27,8

26,7

24,7

22,9

21,1

19,5

17,95

16,49

15,14

13,87

9,0

24,7

23,7

21,9

20,3

18,77

17,31

15,93

14,65

13,43

12,29

10,0

22,2

21,3

19,73

18,23

16,88

15,56

14,32

13,15

12,07

11,05

11,0

20,2

19,39

17,94

16,59

15,33

14,13

13,01

11,95

10,95

10,03

12,2

18,18

17,48

16,16

14,95

13,88

12,73

11,72

10,76

9,87

9,04

Продолжение таблицы 2.4

Коэффициент K1

α

Значение коэффициента K1 при β

2,0

2,2

2,4

2,6

2,8

3,0

3,2

3,4

3,6

3,8

0,1

-

-

-

-

-

-

-

-

-

-

0,2

-

-

-

-

-

-

-

-

-

-

0,4

-

-

-

-

-

-

-

-

-

-

0,6

-

-

-

-

-

-

-

-

-

-

0,8

-

-

-

-

-

-

-

-

-

-

1,0

-

-

-

-

-

-

-

-

-

-

1,2

-

-

-

-

-

-

-

-

-

-

1,4

-

-

-

-

-

-

-

-

-

-

1,6

-

-

-

-

-

-

-

-

-

-

1,8

-

-

-

-

-

-

-

-

-

-

2,0

50,4

-

-

-

-

-

-

-

-

-

2,2

47,2

45,2

-

-

-

-

-

-

-

-

2,4

44,3

42,3

40,4

-

-

-

-

-

-

-

2,6

41,5

39,6

37,8

36,1

-

-

-

-

-

-

2,8

39,0

37,1

35,4

33,8

32,2

-

-

-

-

-

3,0

36,7

34,9

33,2

31,6

30,0

28,5

-

-

-

-

3,2

34,7

32,9

31,2

29,6

28,0

26,6

25,2

-

-

-

3,4

32,8

31,0

29,4

27,8

26,3

24,9

23,5

22,1

-

-

3,6

31,0

29,2

27,6

26,1

24,7

23,3

21,9

20,7

19,47

-

3,8

29,4

27,6

26,0

24,5

23,2

21,9

20,6

19,43

18,23

17,07

4,0

27,9

26,1

24,5

23,1

21,8

20,6

19,38

18,21

17,08

15,98

4,2

26,5

24,8

23,5

21,9

20,6

19,4

18,22

17,10

16,03

15,00

4,4

25,2

23,6

22,1

20,7

19,47

18,29

17,16

16,09

15,08

14,11

4,6

24,0

22,4

21,0

19,64

18,43

17,28

16,19

15,16

14,22

13,31

4,8

22,9

21,4

19,96

18,65

17,46

16,35

15,31

14,34

13,44

12,59

5,0

21,9

20,4

19,00

17,73

16,57

15,50

14,51

13,59

12,74

11,94

5,2

20,9

19,43

18,11

16,88

15,75

14,72

13,78

12,91

12,10

11,35

5,4

19,96

18,57

17,28

16,09

15,00

14,00

13,10

12,28

11,52

10,82

5,6

19,13

17,78

16,51

15,36

14,30

13,34

12,48

11,70

10,99

10,34

5,8

18,37

17,04

15,81

14,69

13,66

12,74

11,92

11,18

10,50

9,89

6,0

17,67

16,36

15,16

14,07

13,08

12,12

11,40

10,70

10,06

9,48

6,5

16,08

14,85

13,72

12,71

11,80

10,99

10,28

9,65

9,08

8,58

7,0

14,75

13,59

12,53

11,59

10,75

10,01

9,35

8,78

8,27

7,83

7,5

13,63

12,54

11,55

10,66

9,88

9,19

8,58

8,06

7,60

7,20

8,0

12,71

11,66

10,72

9,89

9,15

8,50

7,94

7,45

7,03

6,67

9,0

11,24

10,29

9,43

8,68

8,02

7,44

6,94

6,52

6,15

5,83

10,0

10,09

9,22

8,44

7,76

7,15

6,63

6,18

5,80

5,48

5,21

11,0

9,17

8,37

7,66

7,04

6,49

6,01

5,59

5,25

4,95

4,70

12,2

8,26

7,54

6,91

6,34

5,84

5,40

5,03

4,72

4,46

4,28

Продолжение таблицы 2.4

Коэффициент K1

α

Значение коэффициента K1 при β

4,0

4,2

4,4

4,6

4,8

5,0

5,2

5,4

5,6

5,8

0,1

-

-

-

-

-

-

-

-

-

-

0,2

-

-

-

-

-

-

-

-

-

-

0,4

-

-

-

-

-

-

-

-

-

-

0,6

-

-

-

-

-

-

-

-

-

-

0,8

 -

 -

-

-

-

 -

 -

 -

 -

 -

1,0

-

-

-

-

-

-

-

-

-

-

1,2

-

-

-

-

-

-

-

-

-

-

1,4

-

-

-

-

-

-

-

-

-

-

1,6

-

-

-

-

-

-

-

-

-

-

1,8

-

-

-

-

-

-

-

-

-

-

2,0

 -

 -

 -

 -

 -

 -

 -

 -

 -

 -

2,2

-

-

-

-

-

-

-

-

-

-

2,4

-

-

-

-

-

-

-

-

-

-

2,6

-

-

-

-

-

-

-

-

-

-

2,8

-

-

-

-

-

-

-

-

-

-

3,0

-

-

-

-

-

-

-

-

-

-

3,2

-

-

-

-

-

-

-

-

-

-

3,4

-

-

-

-

-

-

-

-

-

-

3,6

-

-

-

-

-

-

-

-

-

-

3,8

-

-

-

-

-

-

-

-

-

-

4,0

14,91

-

-

-

-

-

-

-

-

-

4,2

13,99

13,00

-

-

-

-

-

-

-

-

4,4

13,18

12,25

11,31

-

-

-

-

-

-

-

4,6

12,45

11,60

10,76

9,89

-

-

-

-

-

-

4,8

11,79

11,02

10,28

9,52

8,72

-

-

-

-

-

5,0

11,20

10,50

9,84

9,16

8,38

-

-

-

-

-

5,2

10,67

10,08

9,43

8,32

8,06

7,43

6,91

-

-

-

5,4

10,19

9,60

9,05

8,50

7,76

7,14

6,64

6,23

-

-

5,6

9,75

9,20

8,70

8,19

7,47

6,87

6,38

5,98

5,65

-

5,8

9,34

8,83

8,37

7,90

7,20

6,62

6,15

5,76

5,43

5,15

6,0

8,96

8,49

8,06

7,62

6,94

6,39

5,93

5,55

5,23

4,96

6,5

8,13

7,73

7,36

6,99

6,36

5,84

5,84

5,07

4,77

4,53

7,0

7,44

7,08

6,77

6,45

5,85

5,37

5,37

4,65

4,38

4,17

7,5

6,85

6,54

6,25

5,97

5,42

4,96

4,96

4,29

4,06

3,88

8,0

6,35

6,07

5,81

5,56

5,05

4,62

4,62

3,99

3,80

3,65

9,0

5,56

5,32

5,09

4,88

4,41

4,04

4,04

3,53

3,39

3,26

10,0

4,97

4,75

4,55

4,35

3,93

3,60

3,35

3,18

3,06

2,94

11,0

4,48

4,48

4,29

4,12

3,55

3,25

3,03

2,89

2,77

2,67

12,2

4,03

4,03

3,86

3,70

3,53

2,92

2,73

2,61

2,51

2,41

Окончание таблицы 2.4

 Коэффициент K1

α

Значение коэффициента K1 при β

6,0

6,5

7,0

7,5

8,0

9,0

10,0

11,0

12,2

0,1

-

-

-

-

-

-

-

-

-

0,2

-

-

-

-

-

-

-

-

-

0,4

-

-

-

-

-

-

-

-

-

0,6

-

-

-

-

-

-

-

-

-

0,8

 -

 -

-

-

-

 -

 -

 -

 -

1,0

-

-

-

-

-

-

-

-

-

1,2

-

-

-

-

-

-

-

-

-

1,4

-

-

-

-

-

-

-

-

-

1,6

-

-

-

-

-

-

-

-

-

1,8

-

-

-

-

-

-

-

-

-

2,0

 -

 -

-

-

-

 -

 -

 -

 -

2,2

-

-

-

-

-

-

-

-

-

2,4

-

-

-

-

-

-

-

-

-

2,6

-

-

-

-

-

-

-

-

-

2,8

-

-

-

-

-

-

-

-

-

3,0

 -

 -

-

-

-

 -

 -

 -

 -

3,0

-

-

-

-

-

-

-

-

-

3,2

-

-

-

-

-

-

-

-

-

3,4

-

-

-

-

-

-

-

-

-

3,6

-

-

-

-

-

-

-

-

-

3,8

-

-

-

-

-

-

-

-

-

4,0

 -

 -

-

-

-

 -

 -

 -

 -

4,2

-

-

-

-

-

-

-

-

-

4,4

-

-

-

-

-

-

-

-

-

4,6

-

-

-

-

-

-

-

-

-

4,8

-

-

-

-

-

-

-

-

-

5,0

4,73

-

-

-

-

-

-

-

-

5,2

4,32

3,92

-

-

-

-

-

-

-

5,4

4,17

3,63

3,33

-

-

-

-

-

-

5,6

3,88

3,40

3,12

2,91

-

-

-

-

 

5,8

3,65

3,20

2,94

2,74

2,57

-

-

-

-

6,0

3,26

2,86

2,64

2,46

2,31

2,05

-

-

-

6,5

2,94

2,58

2,38

2,22

2,09

1,853

1,668

-

-

7,0

2,67

2,34

2,17

2,02

1,897

1,687

1,518

1,38

-

7,5

2,41

2,11

1,956

1,825

1,711

1,521

1,368

1,244

1,122

8,0

6,35

6,07

5,81

5,56

5,05

4,62

4,62

3,99

3,80

9,0

5,56

5,32

5,09

4,88

4,41

4,04

4,04

3,53

3,39

10,0

4,97

4,75

4,55

4,35

3,93

3,60

3,35

3,18

3,06

11,0

4,48

4,48

4,29

4,12

3,55

3,25

3,03

2,89

2,77

12,2

4,03

4,03

3,86

3,70

3,53

2,92

2,73

2,61

2,51

Таблица 2.5

Значение коэффициента К2

ρ

Значение коэффициента К2 при h/l

0,1

0,2

0,4

0,6

0,8

1

2

0,1

99

107

115

119

122

124

130

0,2

82

90

99

105

108

111

117

0,3

67

76

86

92

96

99

106

0,4

55

65

75

81

85

88

95

0,5

45

55

65

71

75

78

85

0,6

36

46

56

62

66

69

77

0,7

29

38

48

54

58

62

69

0,8

23

32

42

47

51

55

63

0,9

19

27

36

41

45

49

57

1,0

15

23

31

36

40

43

51

1,1

12

19

27

32

35

38

46

1,2

9

15

23

28

31

34

41

1,3

-

12

19

24

27

30

36

1,4

-

10

16

20

23

26

32

1,5

-

-

13

17

20

22

28

1,6

-

-

11

14

17

19

25

1,7

-

-

-

12

14

16

22

1,8

-

-

-

10

12

14

19

1,9

-

-

-

-

10

12

17

2,0

-

-

-

-

9

10

15

Таблица 2.6

Значение коэффициента K3

ρ

K3

ρ

K3

ρ

K3

ρ

K3

0,02

145,9

0,42

97,9

2,1

17,88

4,1

2,92

0,04

142,9

0,44

96,0

2,2

15,95

4,2

2,78

0,06

139,9

0,46

94,2

2,3

14,13

4,3

2,65

0,08

137,1

0,48

92,4

2,4

12,50

4,4

2,53

0,10

134,3

0,5

90,7

2,5

11,05

4,5

2,43

0,12

131,6

0,6

82,6

2,6

9,73

4,6

2,34

0,14

128,9

0,7

75,2

2,7

8,55

4,7

2,25

0,16

126,3

0,8

68,6

2,8

7,56

4,8

2,16

0,18

123,8

0,9

62,5

2,9

6,74

4,9

2,08

0,20

121,3

1,0

56,9

3,0

6,08

5,0

2,00

0,22

118,9

1,1

51,7

3,1

5,52

5,1

1,925

0,24

116,6

1,2

47,0

3,2

5,05

5,2

1,856

0,26

114,3

1,3

42,6

3,3

4,65

5,3

1,790

0,28

112,1

1,4

38,6

3,4

4,31

5,4

1,729

0,30

109,9

1,5

34,8

3,5

4,02

5,5

1,671

0,32

107,8

1,6

31,4

3,6

3,77

5,6

1,616

0,34

105,7

1,7

28,2

3,7

3,56

5,7

1,563

0,36

103,7

1,8

25,3

3,8

3,88

5,8

1,511

0,38

101,7

1,9

22,6

3,9

3,21

5,9

1,460

0,40

99,8

2,0

20,2

4,0

3,06

6,0

1,410

Расчёт при нагрузках сложного вида

2.14 При нагрузках сложного вида (см. п. 2.4) расчётный изгибающий момент в плите бетонного подстилающего слоя, расположенного на грунте основания, определяют как сумму моментов от отдельных нагрузок по формуле:

Mp = M0 + ΣMi                                                                                         (13)

где M0 - изгибающий момент в расчётном центре от нагрузки простого вида, равномерно распределённой по следу, центр тяжести которого совпадает с расчётным центром; при следе в виде круга M0 определяют по формуле (11), а при следе в виде квадрата или прямоугольника, длинная сторона «а» которого расположена параллельно оси ОУ (рис. 1в, 2а), - по формуле (9);

Mi - изгибающий момент в расчётном центре от сосредоточенной нагрузки Pi, приложенной в центре тяжести элементарной площадки, определяют по формуле:

Mi = K4· Pi                                                                                                (14)

где Pi - кН, определяемый по п. 2.21;

K4 - коэффициент, принимаемый по табл. 2.7 в зависимости от отношения xi/l и уi/l, в которых xi и уi - координаты точки приложения нагрузки Pi, определяемые по схеме расположения нагрузок (см. рис. 1 и 2) в соответствии с п. 2.15.

2.15 Для всех элементарных площадок определяют координаты xi и уi точек приложения Pi относительно осей ОХ и ОУ и вычисляют приведённые координаты этих точек xi/l и уi/l.

Нагрузки и элементарные площадки с приведёнными координатами точек приложения Pi xi/l > 8 или уi/l > 6 в расчёте не учитывают.

2.16 Для определения расчётного изгибающего момента при нагрузках сложного вида вычерчивают схему расположения следов опирания нагрузок на пол, расчётного центра О, осей координат и схему разделения следов нагрузок на элементарные площадки с указанием на каждой из них центра тяжести приложения нагрузки (см. рис. 1 и 2). Нагрузки, расположение которых на полу может изменяться, следует располагать по возможности ближе к расчётному центру.

2.17 Расположение расчётного центра О выбирают из условия получения наибольшего значения изгибающего момента от заданных нагрузок. Для нагрузок, равномерно распределённых по следу, приведённых на рис. 1 и 2, расположение и количество расчётных центров следует принимать по табл. 2.8.

2.18 В расчётном центре располагают начало прямоугольных координат и размещают ось ОУ так, чтобы центры тяжести элементарных площадок, на которые разделены площади одного или нескольких следов опирания, расположились возможно ближе к этой оси.

Следы опирания нагрузок разделяют на элементарные площадки простой геометрической формы (квадрат, прямоугольник, круг). Размеры элементарных площадок устанавливают равными 0,3-0,5 расстояния от их центра тяжести до расчётного центра. Такой же величины следует принимать длину элементарных площадок следов опирания предметов ребром или по образующей цилиндрической поверхности (см, рис. 2).

Одинаковые элементарные площадки следует располагать симметрично относительно осей координат или во всяком случае относительно одной из них.

Следы нагрузок размером менее 0,5l и след колеса безрельсового транспорта на элементарные площадки не разделяют.

2.19 В тех случаях, когда недостаточно ясно, какое следует установить направление оси ОУ, изгибающий момент определяют вначале для одного направления оси, а затем для другого, перпендикулярного первому направлению (рис. 1в', 1в") и из полученных изгибающих моментов принимают наибольший.

Рис. 1 Схема расположения в плане нагрузок сложного вида, расчётного центра О, осей координат и разделения следов нагрузок на элементарные площадки
а - нечётное количество одинаковых нагрузок, расположенных в один ряд; б - то же при четном количестве нагрузок b £ 4,4·l; в (в'; в''; в'") - нагрузка разной величины с различными площадями следов; 1 - след колеса транспортного средства, след станка, агрегата

Рис. 2 Схема расположения в плане нагрузок сложного вида, расчётного центра О, осей координат и разделения следов нагрузок на элементарные площадки
а, в - нагрузки, равномерно распределённые по длине параллельных следов (от прокладок под тяжёлые предметы, от штабелей цилиндрических валов и др.) при b £ 4,4·l; а>b;  б; б'; г - то же при b > 4,4·l; а > b

Таблица 2.7

Коэффициент К4

yi/l

Значение К4 при xi/l

0

0,05

0,1

0,15

0,2

0,25

0,3

0,35

0,4

0,45

0,5

0

-

255,8

191,7

154,4

128,0

107,8

91,6

78,0

66,5

56,6

47,8

0,05

322,1

257,0

194,6

156,2

129,1

108,6

92,1

78,4

66,8

56,8

48,1

0,1

257,7

234,2

192,7

157,8

131,0

110,2

93,4

79,5

67,7

57,5

48,7

0,15

220,2

208,8

183,1

155,5

131,4

111,4

94,7

80,7

68,8

58,5

49,5

0,2

193,8

187,1

170,4

149,8

129,5

111,2

95,3

81,6

69,8

59,6

50,5

0,25

173,4

169,0

157,6

142,1

125,5

109,5

94,9

82,0

70,5

60,4

51,4

0,3

156,7

153,7

145,5

133,6

120,2

106,6

93,5

81,5

70,6

60,8

52,0

0,35

142,8

140,6

134,4

125,2

114,3

102,7

91,2

80,3

70,2

60,9

52,4

0,4

130,8

129,1

124,8

117,1

108,2

98,4

88,3

78,5

69,2

60,5

52,4

0,45

120,4

119,1

115,2

109,4

102,0

93,7

84,9

76,2

67,7

59,6

52,0

0,5

111,1

110,0

106,9

102,1

96,0

88,9

81,3

73,6

65,9

58,4

51,3

0,55

102,8

101,9

99,4

95,4

90,2

84,2

77,6

70,7

63,7

56,9

50,4

0,6

95,3

94,6

92,5

89,1

84,7

79,5

73,7

67,6

61,4

55,2

49,2

0,65

88,6

88,0

86,2

83,3

79,5

75,0

70,0

64,5

58,9

53,3

47,8

0,7

82,4

81,9

80,4

77,9

74,6

70,7

66,3

61,4

56,4

51,3

46,2

0,75

76,7

76,3

75,0

72,9

70,0

66,6

62,7

58,4

53,9

49,3

44,6

0,8

71,6

71,2

70,0

68,2

65,7

62,7

59,2

55,4

51,3

47,1

42,8

0,9

62,3

62,0

61,1

59,7

57,8

55,4

52,7

49,6

46,3

42,8

39,2

1,0

54,3

54,1

53,4

52,3

50,8

48,9

46,7

44,2

41,5

38,7

35,7

1,1

47,4

47,2

46,7

45,8

44,6

43,1

41,8

39,3

37,1

34,7

32,2

1,2

41,5

41,3

40,8

40,1

39,1

37,9

36,4

34,8

33,0

31,0

28,9

1,3

36,2

36,1

35,7

35,1

34,8

33,3

32,1

30,7

29,2

27,6

25,8

1,4

31,6

31,5

31,2

30,7

30,1

29,2

28,2

27,1

25,8

24,4

22,9

1,5

27,6

27,5

27,2

26,8

26,3

25,6

24,7

23,8

22,7

21,5

20,3

1,6

24,0

-

23,7

-

22,9

-

21,6

-

19,32

-

17,87

1,7

20,8

-

20,6

-

19,94

-

18,85

-

17,45

-

15,67

1,8

18,06

-

17,87

-

17,3

-

16,38

-

15,17

-

13,69

1,9

15,64

-

15,46

-

14,98

-

14,20

-

13,17

-

11,91

2,0

13,47

-

13,33

-

12,93

-

12,27

-

11,39

-

10,31

2,1

11,57

-

11,45

-

11,11

-

10,56

-

9,81

-

8,89

2,2

9,91

-

9,81

-

9,52

-

9,05

-

8,41

-

7,63

2,3

8,45

-

8,37

-

8,12

-

7,71

-

7,17

-

6,51

2,4

7,17

-

7,10

-

6,89

-

6,54

-

6,08

-

5,51

2,5

6,05

-

5,99

-

5,81

-

5,51

-

5,12

-

4,63

2,6

5,07

-

5,02

-

4,87

-

4,61

-

4,27

-

3,85

2,7

4,22

-

4,18

-

4,05

-

3,82

-

3,53

-

3,17

2,8

3,48

-

3,44

-

3,33

-

3,14

-

2,89

-

2,58

2,9

2,83

-

2,8

-

2,71

 

2,55

-

2,34

 

2,07

3,0

2,28

-

2,25

-

2,17

-

2,04

-

1,86

-

1,63

3,2

1,4

-

1,38

-

1,33

-

1,23

-

1,1

-

0,94

3,4

0,77

-

0,76

-

0,72

-

0,65

-

0,56

-

0,44

3,6

0,33

-

0,32

-

0,29

-

0,25

-

0,19

-

0,1

3,8

0,03

-

0,03

-

0,01

-

-0,02

-

-0,07

-

-0,13

4,0

-0,16

-

-0,16

-

-0,18

-

-0,21

-

-0,24

-

-0,28

4,2

-

-

-

-

-

-

-

-

-

-

-

4,4

-

-

-

-

-

-

-

-

-

-

-

4,5

-0,36

-

-0,36

-

-0,36

-

-0,37

-

-0,39

-

-0,4

4,6

-

-

-

-

-

-

-

-

-

-

-

4,8

-

-

-

-

-

-

-

-

-

-

-

5,0

-0,31

-

-0,31

-

-0,32

-

-0,32

-

-0,33

-

-0,33

5,5

-0,21

-

-0,21

-

-0,21

-

-0,21

-

-0,21

-

-0,21

6,0

-0,13

-

-0,13

-

-0,13

-

-0,12

-

-0,12

-

-0,12

Продолжение табл. 2.7

Коэффициент К4

yi/l

Значение К4 при xi/l

0,55

0,6

0,65

0,7

0,75

0,8

0,85

0,9

0,95

1,0

1,05

0

40,2

33,4

27,3

21,8

16,95

12,55

8,59

5,02

1,80

-1,1

-3,71

0,05

40,4

33,5

-

-

-

-

-

-

-

-

-

0,1

40,9

34,0

27,8

22,3

17,38

12,95

8,95

5,34

2,09

-0,83

-3,46

0,15

41,6

34,6

-

-

-

-

-

-

-

-

-

0,2

42,5

35,5

29,2

23,6

18,53

14,0

9,92

6,24

2,93

-6,07

-2,75

0,25

43,4

36,3

-

-

-

-

-

-

-

 

-

0,3

44,2

37,1

30,8

25,2

20,0

15,43

11,27

7,52

4,14

1,08

-1,66

0,35

44,7

37,8

-

-

-

-

-

-

-

-

-

0,4

45,0

38,3

32,1

26,5

21,5

16,88

12,71

8,93

5,51

2,42

-0,37

0,45

45,0

38,5

-

-

-

-

-

-

-

-

-

0,5

44,7

38,5

32,7

27,4

22,5

18,08

14,0

10,25

6,86

3,78

0,98

0,55

44,1

38,2

-

-

-

-

-

-

-

-

-

0,6

43,4

37,8

32,6

27,7

23,1

18,85

14,94

11,33

8,03

8,01

2,25

0,65

42,4

37,2

-

-

-

-

-

-

-

-

-

0,7

41,2

36,4

31,7

27,3

23,1

19,16

15,5

12,09

8,94

6,02

3,34

0,75

39,9

35,4

-

-

-

-

-

-

-

-

-

0,8

38,6

34,4

30,3

26,4

22,6

19,06

15,66

12,49

9,53

6,77

4,21

0,9

35,5

32,0

28,5

25,1

21,7

18,52

15,46

12,55

9,81

7,24

4,83

1,0

32,6

29,6

26,5

23,5

20,0

17,71

14,96

12,32

9,82

7,46

5,23

1,1

26,7

27,0

24,4

21,8

19,21

16,69

14,24

11,88

9,61

7,46

5,42

1,2

24,0

24,5

22,3

20,0

17,75

15,94

13,37

11,27

9,23

7,29

5,43

1,3

21,4

22,1

20,1

18,19

16,24

14,31

12,40

10,34

8,72

6,98

5,29

1,4

21,4

19,75

18,1

16,42

14,73

13,04

11,37

9,73

8,11

6,55

5,04

1,5

18,96

17,57

16,14

14,69

13,23

11,76

10,31

8,86

7,44

6,05

4,71

1,6

-

15,56

14,33

13,08

11,81

10,53

9,26

7,99

6,75

5,53

4,34

1,7

-

13,7

12,66

11,58

10,48

9,37

8,26

7,15

6,07

5,0

3,94

1,8

-

12,01

11,12

10,19

9,24

8,28

7,32

6,35

5,4

4,45

3,51

1,9

-

10,47

9,71

8,91

8,09

7,26

6,42

5,58

4,74

3,9

3,08

2,0

-

9,08

8,42

7,74

7,03

6,31

5,58

4,85

4,11

3,38

2,66

2,1

-

7,83

7,26

6,67

6,06

5,44

4,81

4,17

3,53

2,89

2,26

2,2

-

6,72

6,22

5,71

5,19

4,65

4,1

3,55

2,99

2,43

1,83

2,3

-

5,73

-

-

-

3,94

-

-

-

2,43

-

2,4

-

4,84

-

-

-

3,3

-

-

-

2,01

-

2,5

-

4,05

-

-

3,06

2,73

-

-

-

1,63

-

2,6

-

3,36

-

-

2,50

2,22

-

-

-

1,29

-

2,7

-

2,75

-

-

2,02

1,78

-

-

-

0,98

-

2,8

-

2,22

-

-

1,58

1,39

-

-

-

0,7

-

2,9

-

1,70

-

-

1,21

1,05

-

-

-

0,46

-

3,0

-

1,36

-

-

0,90

0,75

-

-

-

0,25

-

3,2

-

0,74

-

-

-

0,30

-

-

-

0,07

-

3,4

-

0,3

-

-

-

-0,02

-

-

-

-0,21

-

3,6

-

-0,01

-

-

-

-0,24

-

-

-

-0,39

-

3,8

-

-0,21

-

-

-

-0,37

-

-

-

-0,49

-

4,0

-

-0,33

-

-

-

-0,43

-

-

-

-0,55

-

4,2

-

-0,38

-

-

-

-0,45

-

-

 

-0,57

-

4,4

-

-0,41

-

-

-

-0,45

-

-

-

-0,56

-

4,5

-

-0,41

-

-

-

-0,44

-

-

-

-0,52

-

4,6

-

-0,41

-

-

-

-0,43

-

-

-

-0,47

-

4,8

-

-0,38

-

-

-

-0,39

-

-

-

-0,4

-

5,0

-

-0,33

-0,33

-0,33

-0,33

-0,33

-

-

-

-0,34

-

5,5

-

-0,21

-0,21

-0,21

-0,21

-0,21

-0,21

-0,21

-0,21

-0,21

-

6,0

-

-0,12

-0,12

-0,12

-0,12

-0,12

-

-

-

-0,11

-0,11

Продолжение табл. 2.7

Коэффициент К4

yi/l

Значение К4 при xi/l

1,1

1,15

1,2

1,3

1,4

1,5

1,6

1,7

1,8

2,0

2,2

0

-6,07

-8,19

-10,07

-13,26

-15,78

-17,72

-19,15

-20,15

-20,78

-21,81

-20,72

0,05

-

-

-

-

-

-

-

-

-

-

-

0,1

-5,84

-7,97

-9,86

-13,08

-15,62

-17,57

-19,01

-20,03

-20,67

-

-

0,15

-

-

-

-

-

-

-

-

-

-

-

0,2

-5,16

-7,33

-9,27

-12,55

-15,15

-17,14

-18,63

-19,68

-20,35

-20,83

-20,43

0,25

-

-

-

-

-

-

-

-

-

-

-

0,3

-4,13

-6,35

-8,35

-11,73

-14,41

-16,46

-18,02

-19,12

-19,85

-

-

0,35

-

-

 

-

-

-

-

-

-

-

-

0,4

-2,89

-5,16

-7,2

-10,69

-13,45

-15,59

-17,21

-18,38

-19,17

-19,84

-19,61

0,45

-

-

-

-

-

-

-

-

-

-

-

0,5

-1,56

-3,86

-5,94

-9,51

-12,34

-14,55

-16,24

-17,49

-18,35

-

-

0,55

-

-

-

-

-

-

-

-

-

-

-

0,6

-0,28

-2,58

-4,67

-8,26

-11,14

-13,41

-15,17

-16,50

-17,42

-18,35

-18,35

0,65

-

-

-

-

-

-

-

-

-

-

-

0,7

0,87

-1,4

-3,46

-7,02

-9,92

-12,24

-14,05

-15,44

-16,42

-

-

0,75

-

-

-

-

-

-

-

-

-

-

-

0,8

1,84

-0,34

-2,36

-5,85

-8,73

-11,08

-12,91

-14,34

-15,37

-16,54

-16,77

0,9

2,59

0,51

-1,41

-4,80

-7,62

-9,95

-11,77

-13,22

-14,29

-

-

1,0

3,19

1,17

-0,64

-3,88

-6,61

-8,87

-10,68

-12;12

-13,23

-14,58

-15,02

1,1

3,48

1,66

-0,04

-3,10

-5,71

-7,87

-9,66

-11,08

-12,20

-

-

1,2

3,65

1,98

0,41

-2,45

-4,91

-6,97

-8,71

-10,11

-11,21

-12,64

-13,22

1,3

3,68

2,15

0,71

-1,93

-4,22

-6,18

-7,84

-9,20

-10,27

-

-

1,4

3,6

2,22

0,89

-1,52

-3,65

-5,49

-7,06

-8,35

-9,39

-10,82

-11,48

1,5

3,43

2,18

0,98

-1,22

-3,18

-4,89

-6,36

-7,57

-8,58

-

-

1,6

3,19

2,08

1,0

-1,00

-2,79

-4,37

-5,73

-6,88

-7,83

-9,16

-9,85

1,7

2,9

1,9

0,95

-0,85

-2,48

-3,93

-5,18

-6,26

-7,14

-

-

1,8

2,59

1,7

0,86

-0,76

-2,23

-3,55

-4,70

-5,70

-6,52

-7,71

-8,38

1,9

2,27

1,49

0,74

-0,72

-2,04

-3,23

-4,27

-5,20

-5,96

-

-

2,0

1,95

1,26

0,59

-0,70

-1,88

-2,96

-3,90

-4,74

-5,45

-6,49

-7,09

2,1

1,63

1,02

0,43

-0,71

-1,75

-2,72

-3,58

-4,33

-4,98

-

-

2,2

1,33

0,8

0,28

-0,72

-1,66

-2,52

-3,29

-3,97

-4,56

-5,45

-5,97

2,3

-

-

0,13

3,94

2,01

0,13

-1,58

-3,03

-4,18

-

-

2,4

-

-

-0,02

3,30

1,63

-0,02

-1,53

-2,81

-3,83

-4,57

-5,00

2,5

-

-

-0,15

2,73

1,29

-0,15

-1,49

-2,62

-3,52

-

-

2,6

-

-

-0,28

2,22

0,98

-0,28

-1,45

-2,44

-3,24

-3,83

-4,18

2,7

-

-

-0,39

1,78

0,70

-0,39

-0,41

-2,28

-2,99

-

-

2,8

-

-

-0,48

1,39

0,46

-0,48

-1,37

-2,13

-2,76

-3,21

-3,49

2,9

-

-

-0,56

1,05

0,25

-0,56

-1,33

-1,99

-2,54

-

-

3,0

-

-

-0,62

0,75

0,07

-0,62

-1,28

-1,86

-2,34

-2,69

-2,90

3,2

-

-

-0,71

0,30

-0,21

-0,71

-1,21

-1,63

-1,99

-2,25

-2,40

3,4

-

-

-0,75

-0,02

-0,39

-0,75

-1,12

-1,43

-1,68

-1,87

-1,98

3,6

-

-

-0,76

-0,24

-0,49

-0,76

-1,02

-1,24

-1,42

-1,55

-1,62

3,8

-

-

-0,74

-0,37

-0,55

-0,74

-0,92

-1,08

-1,19

-1,28

-1,32

4,0

-

-

-0,70

-0,43

-0,57

-0,70

-0,82

-0,93

-1,00

-1,05

-1,07

4,2

-

-

-0,64

-0,45

-0,56

-0,64

-0,72

-0,79

-0,83

-

-

4,4

-

-

-0,57

-0,45

-0,52

-0,57

-0,62

-0,66

-0,68

-

-

4,5

-

-

-

-

-

-

-

-

-

-0,61

-0,60

4,6

-

-

-0,50

-0,43

-0,47

-0,50

-0,53

-0,54

-0,55

-

-

4,8

-

-

-0,43

-0,39

-0,40

-0,43

-0,44

-0,43

-0,43

-

 

5,0

-

-

-0,35

-0,33

-0,34

-0,35

-0,35

-0,34

-0,33

-0,32.

-0,30

5,5

-

-

-0,20

-0,21

-0,21

-0,20

-0,19

-0,18

-0,17

-0,15

-0,13

6,0

-0,11

-0,11

-0,11

-0,12

-0,11

-0,11

-0,10

-0,08

-0,07

-0,05

-0,14

Продолжение табл. 2.7

Коэффициент К4

yi/l

Значение К4 при xi/l

2,4

2,6

2,8

3,0

3,2

3,4

3,6

3,8

4,0

4,2

4,4

0

-19,67

-18,21

-16,51

-14,71

-12,90

-11,15

-9,50

-7,96

-6,56

-5,30

-4,21

0,05

-

-

-

-

-

-

-

-

-

-

-

0,1

-

-

-

-

-

-

-

-

-

-

-

0,15

-

-

-

-

-

-

-

-

-

-

-

0,2

-19,43

-18,01

-16,35

-14,57

-12,79

-11,06

-9,42

-7,90

-6,50

-5,26

-4,18

0,25

-

-

-

-

-

-

-

-

-

-

-

0,3

-

-

-

-

-

-

-

-

-

-

-

0,35

-

-

-

-

-

-

-

-

-

-

-

0,4

-18,74

-17,43

-15,87

-14,17

-12,46

-10,79

-9,20

-7,72

-6,35

-5,14

-4,09

0,45

-

-

-

- .

 

-

-

-

-

-

-

0,5

-

-

-

-

-

-

-

-

-

-

-

0,55

-

-

-

-

-

-

-

-

-

-

-

0,6

-17,67

-16,53

-15,11

-13,54

-11,94

-10,36

-8,85

-7,43

-6,12

-4,96

-3,94

0,65

-

-

-

-

-

-

-

-

-

-

-

0,7

-

-

-

-

-

-

-

-

-

-

-

0,75

-

-

-

-

-

-

-

-

-

-

-

0,8

-16,31

-15,37

-14,13

-12,72

-11,26

-9,80

-8,39

-7,05

-5,81

-4,71

-3,14

0,9

-

-

-

-

-

-

-

-

-

-

-

1,0

-14,77

-14,04

-12,99

-11/76

-10,45

-9,12

-7,83

-6,59

-5,44

-4,41

-3,50

1,1

-

-

-

-

-

-

-

-

-

-

-

1,2

-13,15

-12,61

-11,75

-10,71

-9,56

-8,37

-7,20

-6,07

-5,02

-4,07

-3,23

1,3

-

-

-

-

-

-

-

-

-

-

-

1,4

-11,54

11,61

-10,48

-9,62

-8,62

-7,57

-6,52

-5,51

-4,56

-3,70

-2,94

1,5

-

-

-

-

-

-

-

-

-

-

-

1,6

-10,01

-9,76

-9,24

-8,52

-7,67

-6,75

-5,83

-4,93

-4,09

-3,32

-2,63

1,7

-

-

-

-

-

-

-

-

-

-

-

1,8

-8,60

-8,45

-8,04

-7,45

-6,74

-5,95

-5,15

-4,36

-3,62

-2,94

-2,32

1,9

-

-

-

-

-

-

-

-

-

-

-

2,0

-7,33

-7,24

-6,93

-6,44

-5,85

-5,18

-4,49

-3,81

-3,16

-2,56

-2,02

2,1

-

-

-

-

-

-

-

-

-

-

-

2,2

-6,20

-6,15

-5,91

-5,51

-5,02

-4,15

-3,86

-3,28

-2,72

-2,19

-1,72

2,3

-

-

-

-

 

 

-

-

-

-

-

2,4

-5,21

-5,19

-4,99

-4,67

-4,25

-3,78

-3,28

-2,78

-2,30

-1,85

-1,44

2,5

-

-

-

-

-

-

-

-

-

-

-

2,6

-4,35

-4,35

-4,18

-3,92

-3,57

-3,17

-2,75

-2,33

-1,92

-1,54

-1,18

2,7

-

-

-

-

-

-

-

-

-

-

-

2,8

-3,62

-3,62

-3,48

-3,26

-2,97

-2,64

-2,28

-1,93

-1,58

-1,26

-0,95

2,9

-

-

-

-

-

-

-

-

-

-

-

3,0

-2,99

-2,98

-2,87

2,68

-2,45

-2,17

-1,87

-1,57

-1,28

-1,01

-0,75

3,2

-2,44

-2,44

-2,34

-2,18

-1,99

-1,75

-1,51

-1,25

-1,01

-0,78

-0,57

3,4

-2,01

-1,98

-1,89

-1,76

-1,59

-1,40

-1,19

-0,98

-0,78

-0,59

-0,41

3,6

-1,64

-1,60

-1,52

-1,40

-1,25

-1,09

-0,92

-0,75

-0,58

-0,43

-0,28

3,8

-1,33

-1,28

-1,21

-1,10

-0,98

-0,84

-0,90

-0,56

-0,42

-0,29

-0,17

4,0

-1,06

-1,01

-0,94

-0,85

-0,75

-0,63

-0,52

-0,40

-0,29

-0,18

-0,09

4,2

-

-

-

-

-

-

-

-

-

-

-

4,4

-

-

-

-

-

-

-

-

-

-

-

4,5

-0,57

-0,53

-0,47

-0,40

-0,33

-0,27

-0,20

-0,13

-0,06

0

0,05

4,6

-

-

-

-

-

-

-

-

-

-

-

4,8

-

-

-

-

-

-

-

-

-

-

-

5,0

-0,27

-0,24

-0,20

-0,15

-0,11

-0,07

-

-

-

-

-

5,5

-0,11

-0,09

-0,06

-0,03

-

-

0,03

0,01

0,05

0,07

0,08

6,0

-0,03

-0,01

-0,01

0,02

0,03

0,04

0,05

0,06

0,06

0,06

0,06

Окончание табл. 2.7

Коэффициент К4

yi/l

Значение К4 при xi/l

4,6

4,8

5,0

5,2

5,4

5,6

5,8

6,0

6,5

7,0

8,0

0

-3,27

-2,48

-1,81

-1,27

-0,83

-0,48

-0,20

0

0,24

0,25

0,10

0,05

-

-

-

-

-

-

-

-

-

-

-

0,1

-

-

-

-

-

-

-

-

-

-

-

0,15

-

-

-

-

-

-

-

-

-

-

-

0,2

-3,25

-2,46

-1,80

-1,26

-0,82

-0,47

-0,20

0

0,24

0,25

0,10

0,25

-

-

-

-

-

-

-

-

-

-

-

0,3

-

-

-

-

-

-

-

-

-

-

-

0,35

-

-

-

-

-

-

-

-

-

-

-

0,4

-3,18

-2,40

-1,76

-1,22

-0,79

-0,45

-0,19

0,01

0,24

0,25

0,10

0,45

-

-

-

-

-

-

-

-

-

-

-

0,5

-

-

-

-

-

-

-

-

-

-

-

0,55

-

-

-

-

-

-

-

-

-

-

-

0,6

-3,06

-2,31

-1,69

-1,17

-0,75

-0,42

-0,17

0,02

0,24

0,25

0,10

0,65

-

-

-

-

-

-

-

-

-

-

-

0,7

-

-

-

-

-

-

-

-

-

-

-

0,75

-

-

-

-

-

-

-

-

-

-

-

0,8

-2,90

-2,19

-1,60

-1,10

-0,70

-0,38

-0,14

0,04

0,25

0,24

0,09

0,9

-

-

-

-

-

-

-

-

-

-

-

1,0

-2,71

-2,04

-1,49

-1,02

-0,64

-0,34

-0,11

0,06

0,25

0,23

0,09

1,1

-

-

-

-

-

-

-

-

-

-

-

1,2

-2,50

-1,87

-1,36

-0,92

-0,57

-

-

-

-

-

-

1,3

-

-

-

-

-

-

-

-

-

-

-

1,4

-2,27

1,69

-1,22

-0,82

-0,49

-

-

-

-

-

-

1,5

-

-

-

-

-

-0,20

-0,02

0,12

0,25

0,22

0,08

1,6

-2,03

-1,50

-1,07

-0,71

-0,41

-

-

-

-

-

-

1,7

-

-

-

-

-

-

-

-

-

-

-

1,8

-1,78

-1,31

-0,92

-0,59

-0,33

-

-

-

-

-

-

1,9

-

-

-

-

-

-

-

-

-

-

-

2,0

-1,53

-1,12

-0,77

-0,48

-0,24

-0,05

0,08

0,16

0,24

0,19

0,06

2,1

-

-

-

-

-

-

-

-

-

-

-

2,2

-1,29

-0,93

-0,63

-0,37

-0,16

-

-

-

-

-

-

2,3

-

-

-

-

-

-

-

-

-

-

-

2,4

-1,07

-0,76

-0,50

-0,27

-0,09

-

-

-

-

-

-

2,5

-

-

-

-

-

0,07

0,15

0,19

0,22

0,17

0,05

2,6

-0,87

-0,60

-0,37

-0,18

-0,02

-

-

-

-

-

-

2,7

-

-

-

-

-

-

-

-

-

-

-

2,8

-0,69

-0,46

-0,26

-0,10

0,03

-

-

-

-

-

-

2,9

-

-

-

-

-

-

-

-

-

-

-

3,0

-0,52

-0,32

-0,16

-0,03

0,07

0,14

0,19

0,20

0,19

0,14

-

3,2

-0,38

-0,21

-0,08

0,03

0,11

-

-

-

-

-

-

3,4

-0,25

-0,12

-0,02

0,07

0,13

-

-

-

-

-

-

3,6

-0,15

-0,05

0,04

0,10

0,15

-

-

-

-

-

-

3,8

-0,07

0,01

0,08

0,12

0,16

-

-

-

-

-

-

4,0

-0,01

0,05

0,10

0,13

0,16

0,16

0,15

0,15

0,11

0,07

-

4,2

-

-

-

-

-

-

-

-

-

-

-

4,4

-

-

-

-

-

-

-

-

-

-

-

4,5

0,08

0,12

0,13

0,14

0,14

-

-

-

-

-

-

4,6

-

-

-

-

-

-

-

-

-

-

-

4,8

-

-

-

-

-

-

-

-

-

-

-

5,0

-

-

-

-

-

-

-

-

-

-

-

5,5

0,09

0,10

0,11

0,11

0,11

0,09

0,08

0,07

0,05

-

-

6,0

0,06

0,06

0,05

0,04

0,04

0,03

0,02

0,02

-

-

-

Таблица 2.8

Количество и расположение расчётных центров

Характеристика нагрузок

№ рисунков

Расчётные центры

количество

Расположение - в центре тяжести следа

Нечётное количество одинаковых нагрузок, расположенных в одном ряду

1а

1

Средней нагрузки

То же, четное количество нагрузок

1б

1

Одной из двух средних нагрузок

Различные по площади следы опирания

1в

2

Каждой отдельной нагрузки

Нагрузки с удлинёнными следами, расположенными в зоне загружения шириной b £ 4,4l, длиной а>b

2а, 2в

1

Нагрузки, ближайшей к центру тяжести зоны загружения

Нагрузки с удлинёнными следами, расположенными параллельно оси ОУ в зоне загружения шириной b > 4,4l, длиной а > b

2б', 2б"

2-3

Каждой отдельной нагрузки, кроме крайних

То же, перпендикулярно оси ОУ

2г

1

Средней нагрузки на расстоянии L от края её следа (см. табл. 2.9)

Таблица 2.9

Значение L в зависимости от b (по рис. 2г)

В, см

4,41

4,51

4,61

4,81

51

5,51

61

6,51

71 и более

L, см

2,21

1,841

1,671

1,521

1,401

1,261

1,181

1,131

1,101

2.20 С расчётным центром совмещают центр тяжести элементарной площадки, по форме и размерам соответствующей нагрузке простого вида со следами круглой (рис. 1в") или квадратной (рис. 1а, 1б, 1в") формы, а также прямоугольной формы (рис. 1в', 2а, 2б), если ось ОУ располагается параллельно длинной стороне прямоугольника; при расположении длинной стороны прямоугольника перпендикулярно оси ОУ длину этой стороны прямоугольника следует принимать не более 0,6l (рис. 2в, 2г) и для него определять радиус равновеликого круга r, rр (см. п.5).

Для элементарной площадки определяют нагрузку Ро, кН, передаваемую на эту площадку.

2.21 Нагрузку, приходящуюся на каждую элементарную площадку, расположенную вне расчётного центра, заменяют эквивалентной сосредоточенной нагрузкой Pi с точкой приложения в центре тяжести элементарной площадки.

Значение Pi, кН, определяют по формуле:

Pi = (fi/F)Pp                                                                                              (15)

где fi - площадь элементарной площадки в см2;

F - вся площадь следа нагрузки в см2;

Pp - расчётная нагрузка на всю площадь следа, кН.

2.22 Расчёт плиты бетонного подстилающего слоя на изгиб при нагрузках сложного вида производят следующим образом:

- устанавливают К0;

- принимают бетон по прочности на сжатие класса В22,5 (марки 300);

- ориентировочно задаются значением h = 10 см;

- находят значение l;

- для каждой схемы нагрузок, каждого расчётного центра и направления осей координат определяют P0, Pi, M0, xi, уi, xi/l , уi/l, Мi, ΣМi, Mp и по формуле (7) вычисляют σр;

- если наибольшее из полученных значений ар равно или на 1-5% отличается от Rδt, то ориентировочно принятое значение h = 10 см принимают за окончательное. В противном случае расчёт повторяют.

- повторный расчёт производится только по схеме загружения, при которой получен наибольший Mp. При повторном расчёте следует выполнять указания, приведённые в п. 2.13.

Примеры расчёта прочности пола с бетонным подстилающим слоем

Пример 1

Требуется определить толщину бетонного подстилающего слоя в проезде складского помещения. Покрытие пола бетонное, толщиной h1 = 2,5 см. Нагрузка на пол - от автомобилей МАЗ-205; грунт основания - суглинок. Грунтовые воды отсутствуют.

1. Определим расчётные параметры.

Для автомобиля МАЗ-205, имеющего две оси с нагрузкой на колесо 42 кН, расчётная нагрузка на колесо по формуле (6):

Рр = 1,2·42 = 50,4 кН

Площадь следа колеса у автомобиля МАЗ-205 равна 700 см2

Согласно формуле (5) вычисляем:

r = D/2 = 30/2 = 15 cм

По формуле (3) rр =  15 + 2,5 = 17,5 см

2. Для суглинистого грунта основания при отсутствии грунтовых вод по табл. 2.2

К0 = 65 Н/см3 :

Для подстилающего слоя примем бетон по прочности при сжатии В22,5. Тогда в зоне проезда в складском помещении, где на полы не устанавливается стационарное технологическое оборудование (согласно п. 2.2 группа I), при нагрузке от безрельсовых транспортных средств по табл. 2.1 Rδt = 1,25 МПа, Eб = 28500 МПа.

3. Определим напряжение растяжения в бетоне плиты при изгибе σр. Нагрузка от автомобиля, согласно п. 2.4, является нагрузкой простого вида и передаётся по следу круглой формы. Поэтому расчётный изгибающий момент определим по формуле (11). Согласно п. 2.13 зададимся ориентировочно h = 10 см. Тогда по п. 2.10 принимаем l = 44,2 см. При ρ = rр/l = 17,5/44,2 = 0,395 по табл. 2.6 найдём K3 = 103,12. По формуле (11): Мр = К3·Рр = 103,12·50,4 = 5197 Н·см/см. По формуле (7) вычисляем напряжения в плите:

Напряжение в плите толщиной h = 10 см превышает расчётное сопротивление Rδt = 1,25 МПа. В соответствии с п. 2.13 расчёт повторим, задавшись большим значением h = 12 см, тогда l = 50,7 см; ρ = rр/l = 17,5/50,7 = 0,345; К3 = 105,2; Мр= 105,2·50,4 = 5302 Н·см/см

Полученное σр = 1,29 МПа отличается от расчётного сопротивления Rδt = 1,25 МПа (см. табл. 2.1) менее чем на 5%, поэтому принимаем подстилающий слой из бетона по прочности при сжатии класса В22,5 толщиной 12 см.

Пример 2

Требуется определить для механических мастерских толщину бетонного подстилающего слоя, используемого в качестве пола без устройства покрытия (h1 = 0 см). Нагрузка на пол - от станка весом Pp = 180 кН, стоящего непосредственно на подстилающем слое, равномерно распределяется по следу в виде прямоугольника размером 220´120 см. Особых требований к деформации основания не предъявляются. Грунт основания - мелкий песок, находится в зоне капиллярного поднятия грунтовых вод.

1. Определим расчётные параметры.

Расчётная длина следа согласно п. 2.5 и по формуле (1) ар = а = 220 см. Расчётная ширина следа по формуле (2) bp = b = 120 см. Для грунта основания из мелкого песка, находящегося в зоне капиллярного поднятия грунтовых вод, согласно табл. 2.2 K0 = 45 Н/см3. Для подстилающего слоя примем бетон по прочности при сжатии класса В22,5. Тогда в механических мастерских, где на полы устанавливается стационарное технологическое оборудование без особых требований к деформации основания (согласно п. 2.2 группа II), при неподвижной нагрузке по табл. 2.1 Rδt = 1,5 МПа, Eб = 28500 МПа.

2. Определим напряжение растяжения в бетоне плиты при изгибе σр. Нагрузка передаётся по следу прямоугольной формы и, согласно п. 2.5, является нагрузкой простого вида.

Поэтому расчётный изгибающий момент определим по формуле (9). Согласно п. 2.13 зададимся ориентировочно h = 10 см. Тогда по п. 2.10 принимаем l = 48,5 см.

С учётом α = ар/l = 220/48,5 = 4,53 и β = bр/l = 120/48,5 = 2,47 по табл. 2.4 найдём К1 = 20,92.

По формуле (9): Мр = К1·Рр = 20,92·5180 = 3765,6 Н·см/см.

По формуле (7) вычисляем напряжение в плите:

Напряжение в плите толщиной h = 10 см значительно меньше Rδt = 1,5 МПа. В соответствии с п. 2.13 проведём повторный расчёт и, сохраняя h = 10 см, найдём более низкую марку бетона плиты подстилающего слоя, при которой σр » Rδt. Примем бетон класса по прочности на сжатие В15, для которого Rδt = 1,2 МПа, Eб = 23000 МПа.

Тогда l = 46,2 см; α = ар/l = 220/46,2 = 4,76 и β = bр/l = 120/46,2 = 2,60; по табл. 2.4 К1 = 18,63;. Мр = 18,63·180 = 3353,4 Н·см/см.

Полученное напряжение растяжения в плите из бетона класса по прочности при сжатии В15 меньше Rδt = 1,2 МПа. Примем подстилающий слой из бетона класса по прочности при сжатии В15 толщиной h = 10 см.

Пример 3

Требуется определить толщину бетонного подстилающего слоя пола в машино-стоительном цехе при нагрузках от станков автоматизированной линии и автомобилей ЗИЛ-164. Схема расположения нагрузок приведена на рис. 1в', 1в'', 1в'''. Центр следа колеса автомобиля находится на расстоянии 50 см от края следа станка. Вес станка в рабочем состоянии Рр = 150 кН распределяется равномерно по площади следа прямоугольной формы длиной 260 см и шириной 140 см.

Покрытием пола является упрочнённая поверхность подстилающего слоя. Грунт основания - супесь. Основание находится в зоне капиллярного поднятия грунтовых вод

Определим расчётные параметры.

Для автомобиля ЗИЛ-164, имеющего две оси с нагрузкой на колесо 30,8 кН, расчётная нагрузка на колесо по формуле (6):

Рр = 1,2·30,8 = 36,96 кН

Площадь следа колеса у автомобиля ЗИЛ-164 равна 720 см2

Согласно п. 2.5

rр = r = D/2 = 30/2 = 15 cм

Для супесчаного грунта основания, находящегося в зоне капиллярного поднятия грунтовых вод, по табл. 2.2 К0 = 30 Н/см3. Для подстилающего слоя примем бетон класса по прочности при сжатии В22,5. Тогда для машиностроительного цеха, где на полы установлена автоматизированная линия (согласно п. 2.2 группа IV), при одновременном действии неподвижных и динамических нагрузок по табл. 2.1 Rδt = 0,675 МПа, Еб = 28500 МПа.

Зададимся ориентировочно h = 10 см, тогда по п. 2.10 принимаем l = 53,6 см. В этом случае расстояние от центра тяжести следа колеса автомобиля до края следа станка равное 50 см < 6l = 321,6 см, т.е. согласно п. 2.4 действующие на пол нагрузки относятся к нагрузкам сложного вида.

В соответствии с п. 2.17 установим положение расчётных центров в центрах тяжести следа станка (O1) и колеса автомобиля (О2). Из схемы расположения нагрузок (рис. 1в') следует, что для расчётного центра O1 неясно, какое следует установить направление оси ОУ. Поэтому изгибающий момент определим как при направлении оси ОУ, параллельном длинной стороне следа станка (рис. 1в'), так и перпендикулярном этой стороне (рис. 1в''). Для расчётного центра О2 примем направление ОУ через центры тяжести следов станка и колеса автомобиля (рис. 1в''').

Расчёт 1 Определим напряжение растяжения в бетоне плиты при изгибе σр для расчётного центра O1 при направлении ОУ параллельно длинной стороне следа станка (рис. 1в'). При этом нагрузка от станка при следе прямоугольной формы относится к нагрузке простого вида. Для следа станка по п. 2.5 при отсутствии покрытия пола (h1 = 0 см) ар = а = 260 см; bp = b = 140 см.

С учётом значений α = ар/l = 260/53,6 = 4,85 и β = bр/l = 140/53,6 = 2,61 по табл. 2.4 найдём K1 = 18,37.

Для станка Р0 = Рр = 150 кН в соответствии с п. 2.14 определяем по формуле (9):

Мр = К1·Рр = 18,37·150 = 27555,5 Н·см/см.

Координаты центра тяжести следа колеса автомобиля: xi = 120 см и уi = 0 см.

С учётом отношений xi/l = 120/53,6 = 2,24 и yi/l = 0/53,6 = 0 по табл. 2.7 найдём К4 = -20,51.

Изгибающий момент в расчётном центре O1 от колеса автомобиля по формуле (14):

 Mi = -20,51·36,96 = -758,05 Н·см/см.

Расчётный изгибающий момент от колеса автомобиля и станка по формуле (13):

MpI = M0 + ΣMi = 2755,5 - 758,05 = 1997,45 Н·см/см

Напряжение растяжения в плите при изгибе по формуле (7):

Расчёт 2 Определим напряжение растяжения в бетоне плиты при изгибе σрII для расчётного центра O1 при направлении ОУ перпендикулярно длинной стороне следа станка (рис. 1в''). Разделим площадь следа станка на элементарные площадки согласно п. 2.18. Совместим с расчётным центром O1 центр тяжести элементарной площадки квадратной формы с длиной стороны ар = bр = 140 см.

Определим нагрузки Рi, приходящиеся на каждую элементарную площадку по формуле (15), для чего сначала определим площадь следа станка F = 260·140 = 36400 см2;

Для определения изгибающего момента М0 от нагрузки Р0 вычислим для элементарной площадки квадратной формы с центром тяжести в расчётном центре O1 значения α = β = ар/l = bр/l = 140/53,6 = 2,61 и с их учётом по табл. 2.4 найдём K1 = 36,0; исходя из указаний п. 2.14 и формуле (9) вычисляем:

М0 = К1·Р0 = 36,0·80,8 =2908,8 Н·см/см.

Определим суммарный изгибающий момент ΣМi, от нагрузок, расположенных вне расчётного центра O1. Расчётные данные приведены в табл. 2.10.

Таблица 2.10

Расчётные данные при расчётном центре O1 и направлении оси ОУ, перпендикулярном длинной стороне следа станка

I

xi

yi

xi/l

yi/l

К4 по табл. 2.7

Pi , кН

ni кол-во нагрузок

Мi = ni · К4·Pi

1

0

120

0

2,24

9,33

36,96

1

363,3

2

120

35

1,86

0,65

-17,22

17,31

4

-1192,3

 

 

 

 

 

 

 

 

ΣМi = -829,0 Н·см/см

Расчётный изгибающий момент от колеса автомобиля и станка по формуле (13):

MpII = M0 + ΣMi = 2908,8 - 829,0 = 2079,8 Н·см/см

Напряжение растяжения в плите при изгибе по формуле (7):

Расчёт 3 Определим напряжение растяжения в бетоне плиты при изгибе σрIII для расчётного центра O2 (рис. 1в'''). Разделим площадь следа станка на элементарные площадки согласно п. 2.18. Определим нагрузки Рi, приходящиеся на каждую элементарную площадку, по формуле (15).

Определим изгибающий момент от нагрузки, создающейся давлением колеса автомобиля, для чего найдём  ρ = rр/l = 15/53,6 = 0,28; по табл. 2.6 найдём К3 = 112,1. По формуле (11): М0 = К3·Рр = 112,1·36,96 = 4143,22 Н·см/см.

Определим суммарный изгибающий момент ΣМi от нагрузок, расположенных вне расчётного центра O2. Расчётные данные приведены в табл. 2.11.

Таблица 2.11

Расчётные данные при расчётном центре O2

I

xi

yi

xi/l

yi/l

К4 по табл. 2.7

Pi , кН

ni кол-во нагрузок

Мi = ni · К4·Pi

1

0

65

0

1,21

40,97

4,9

1

200,75

2

0

100

0

1,87

16,36

6,6

1

107,98

3

0

155

0

2,89

2,89

11,5

1

33,24

4

40

65

0,75

1,21

19,1

4,9

2

187,18

5

40

100

0,75

1,87

8,44

6,6

2

111,41

6

40

155

0,75

2,89

1,25

11,5

2

28,75

7

 95

65

1,77

1,21

-10,78

8,7

2

-187,57

8

95

100

1,77

1,87

-5,89

11,5

2

-135,47

9

95

155

1,77

2,89

-2,39

20,2

2

-96,56

 

 

 

 

 

 

 

 

ΣМi = 249,7 Н·см/см

Расчётный изгибающий момент от колеса автомобиля и станка по формуле (13):

MpIII = M0 + ΣMi = 4143,22 + 249,7 = 4392,92 Н·см/см

Напряжение растяжения в плите при изгибе по формуле (7):

более Rδt = 0,675 МПа, вследствие чего повторим расчёт, задавшись большим значением h. Расчёт проведём только по схеме загружения с расчётным центром O2, для которой значение σрIII в первом расчёте получилось наибольшим.

Для повторного расчёта ориентировочно зададимся h = 19 см, тогда по п. 2.10 принимаем l = 86,8 см; ρ = rр/l =15/86,8 = 0,1728; К3 = 124,7; М0 = К3·Рp= 124,7·36,96 = 4608,9 Н·см/см.

Определим суммарный изгибающий момент от нагрузок, расположенных вне расчётного центра O2. Расчётные данные приведены в табл. 2.12.

Таблица 2.12

Расчётные данные при повторном расчёте

I

xi

yi

xi/l

yi/l

К4 по табл. 2.7

Pi , кН

ni кол-во нагрузок

Мi = ni · К4·Pi

1

0

65

0

0,75

76,17

4,9

1

373,23

2

0

100

0

1,15

44,45

6,6

1

293,37

3

0

155

0

1,79

18,33

11,5

1

210,79

4

40

65

0,46

0,75

48,36

4,9

2

473,93

5

40

100

0,46

1,15

32,39

6,6

2

427,55

6

40

155

0,46

1,79

14,49

11,5

2

333,27

7

95

65

1,09

0,75

1,84

8,7

2

32,02

8

95

100

1,09

1,15

3,92

11,5

2

90,16

9

95

155

1,09

1,79

2,81

20,2

2

113,52

 

 

 

 

 

 

 

 

ΣМi = 2347,84 Н·см/см.

Mp = M0 + ΣMi = 4608,9 + 2347,84 = 6956, 82 Н·см/см

Напряжение растяжения в плите при изгибе по формуле (7):

Полученное значение σр = 0,67 МПа отличается от Rδt = 0,675 МПа менее чем на 5%. Принимаем подстилающий слой из бетона класса по прочности на сжатие В22,5 толщиной h = 19 см.

Пример 4

Требуется определить толщину бетонного подстилающего слоя пола при нагрузке от валов, укладываемых на пол краном. Длина вала 7 м, диаметр 40 см, вес 1 м вала 9,8 кН (0,98 т). Валы могут располагаться по отдельности или в штабелях в два ряда по высоте. Покрытие пола отсутствует, бетонный подстилающий слой является покрытием.

Грунт основания - суглинок. Уровень грунтовых вод на отметке «-1,5 м», следовательно пол находится в зоне опасного капиллярного поднятия грунтовых вод и в связи с этим требуется устройство наливной гидроизоляции из слоя щебня с пропиткой битума.

Определим расчётные параметры.

Нагрузка от одного вала со следом прямоугольной формы, согласно п. 2.4, относится к нагрузкам простого вида, а от нескольких рядом лежащих валов - к нагрузкам сложного вида.

Для грунта основания из суглинка, расположенного в зоне опасного капиллярного поднятия вод, находим по табл. 2.2 К0 = 45 Н/см3.

Для подстилающего слоя примем бетон класса по прочности при сжатии В22,5. Тогда для помещения, где выполняются полы с устройством гидроизоляции (согласно п. 2.2 группа V) и укладка валов осуществляется кранами, примем по табл. 1 Rδt = 0,675 МПа, Еб = 28500 МПа. Согласно п. 2.15 рассмотрим расчётные схемы нагрузок (рис. 3). Расчётные центры О, согласно табл. 2.8, поместим в центре тяжести следов валов, а ось ОУ расположим параллельно следам валов.

Рис. 3 Схема расположения в плане нагрузок от валов, расчётных центров О, осей координат и разделения следов нагрузок на элементарные площадки P1 = 14,7 кН/м вала; Р2 =19,6 кН/м вала;
а, б, в, г - разновидности нагрузок и количество следов опирания

Зададимся ориентировочно согласно п. 2.22 h = 10 см. Тогда по п. 2.10 принимаем l = 48,5 см. Длина следа вала а > 12,2l = 592 см. Согласно п. 2.4 ар = 12,2l = 592 см. Расчётная ширина следа вала по п. 2.5 bр = b = 0,1l  = 4,9 см.

Расчёт 1 Определим напряжение растяжения в бетоне плиты при изгибе σрI для нагрузки от одного вала расчётной длиной ар = 12,2l  = 592 см. Расчётная нагрузка Рр = 5,92·9,8 = 58 кН.

При значениях α = ар/l = 12,2 и β = bр/l = 0,1 по табл. 2.4 найдём K1= 18,18.

По формуле (9): МрI = К1·Рр = 18,18·58 = 1054,4 Н·см/см

По формуле (7):

Расчёт 2 Определим напряжение растяжения в бетоне плиты при изгибе σрII для нагрузки, приведённой на рис. 3а.

Изгибающий момент от нагрузки по следу, для которого х = 0, определим как от нагрузки простого вида со следом прямоугольной формы. Расчётная нагрузка Р0 = 5,92(9,8 + 9,8/2) = 5,92·14,7 = 87 кН.

По величинам α = ар/l = 12,2 и β = bр/l = 0,1 по табл. 2.4 найдём K1= 18,18.

По формуле (9): М0 = К1·Р0 = 18,18·87 = 1635,6 Н·см/см

Для определения изгибающего момента в расчётном центре О от нагрузок по следу, для которого х = 40 см, разделим этот след на элементарные площадки согласно п. 2.18. Нагрузки, приходящиеся на каждую элементарную площадку, определяем по формуле (15):

Определим суммарный изгибающий момент ΣMi от нагрузок, расположенных вне расчётного центра O1. Расчётные данные приведены в табл. 2.13.

Таблица 2.13

Расчётные данные при нагрузке с двумя следами опирания

I

xi, см

yi, см

xi/l

yi/l

К4 по табл. 2.7

Pi , кН

ni кол-во нагрузок

Мi = ni · К4·Pi

1

40

12,25

0,82

0,25

13,07

3,6

2

94,1

2

40

36,75

0,82

0,76

17,69

3,6

2

127,4

3

40

61,25

0,82

1,26

14,00

3,6

2

100,8

4

40

85,75

0,82

1,77

8,21

3,6

2

59,1

5

40

122,5

0,82

2,53

2,44

7,2

2

35,1

6

40

171,5

0,82

3,54

-0,20

7,2

2

-2,9

7

40

220,5

0,82

4,55

-0,44

7,2

2

-6,3

8

40

269,5

0,82

5,57

-0,20

7,2

2

-2,9

9

40

295,0

0,82

6,08

-0,12

0,29

2

0

 

 

 

 

 

 

 

 

ΣМi = 404,4 Н·см/см.

Расчётный изгибающий момент по формуле (13):

MpII = M0 + ΣMi = 1635,6 + 404,4 = 2040 Н·см/см

Напряжение растяжения в плите при изгибе по формуле (7);

Расчёт 3 Определим напряжение растяжения в бетоне плиты при изгибе σрIII для нагрузки, приведённой на рис. 3б.

Изгибающий момент от нагрузки по следу, для которого х = 0, так же, как и в предыдущем расчёте, определим как от нагрузки простого вида со следом прямоугольной формы. Тогда расчётная нагрузка Р0 = 5,92 (9,8 + 9,8) = 5,92·19,6 =116 кН; K1 = 18,18; М0 = К1·Р0 = 18,18·116 = 2108,9 Н·см/см.

Определим суммарный изгибающий момент ΣMi от нагрузок, расположенных вне расчётного центра О2. Расчётные данные приведены в табл. 2.14.

Таблица 2.14

Расчётные данные при нагрузке с двумя следами опирания

I

xi, см

yi, см

xi/l

yi/l

К4 по табл. 2.7

Pi , кН

ni кол-во нагрузок

Мi = ni · К4·Pi

1

40

12,25

0,82

0,25

13,07

3,6

4

188,2

2

40

36,75

0,82

0,76

17,69

3,6

4

254,8

3

40

61,25

0,82

1,26

14,00

3,6

4

201,6

4

40

85,75

0,82

1,77

8,21

3,6

4

118,2

5

40

122,5

0,82

2,53

2,44

7,2

4

70,2

6

40

171,5

0,82

3,54

-0,20

7,2

4

-5,8

7

40

220,5

0,82

4,55

-0,44,

7,2

4

-12,6

8

40

269,5

0,82

5,57

-0,20

7,2

4

-5,8

9

40

295,0

0,82

6,08

-0,12

0,29

4

0,1

 

 

 

 

 

 

 

 

ΣМi = 808,7 Н·см/см.

Расчётный изгибающий момент по формуле (13):

MpIII = M0 + ΣMi = 2108,9 + 808,7 = 2917,6 Н·см/см

Напряжение растяжения в плите при изгибе по формуле (7):

Расчёт 4 Аналогично определим напряжение растяжения в бетоне плиты при изгибе ар для нагрузки согласно рис. 3в. Расчётная нагрузка Р0 = 116 кН; K1 = 18,18; М0 = 2108,9 Н·см/см. Расчётные данные приведены в табл. 2.15.

Таблица 2.15

Расчётные данные при нагрузке с четырьмя следами опирания

I

xi, см

yi, см

xi/l

yi/l

К4 по табл. 2.7

Pi , кН

ni кол-во нагрузок

Мi = ni · К4·Pi

1

40

12,25

0,82

0,25

13,07

3,6

2

94,1

2

40

36,75

0,82

0,76

17,69

3,6

2

127,4

3

40

61,25

0,82

1,26

14,00

3,6

2

100,8

4

40

85,75

0,82

1,77

8,21

3,6

2

59,1

5

40

122,5

0,82

2,53

2,44

7,2

2

35,1

6

40

171,5

0,82

3,54

-0,20

7,2

2

-2,9

7

40

220,5

0,82

4,55

-0,44

7,2

2

-6,3

8

40

269,5

0,82

5,57

-0,20

7,2

2

-2,9

9

40

295,0

0,82

6,08

-0,12

0,29

2

0

10

40

12,25

0,82

0,25

13,07

4,8

2

125,5

11

40

36,75

0,82

0,76

17,69

4,8

2

169,8

12

40

61,25

0,82

1,26

14,00

4,8

2

134,4

13

40

85,75

0,82

1,77

8,21

4,8

2

78,8

14

40

122,5

0,82

2,53

2,44

9,6

2

46,8

15

40

171,5

0,82

3,54

-0,20

9,6

2

-3,8

16

40

220,5

0,82

4,55

-0,44

9,6

2

-8,4

17

40

269,5

0,82

5,57

-0,20

9,6

2

-3,8

18

40

295,0

0,82

6,08

-0,12

0,4

2

-0,1

19

80

12,25

1,65

0,25

-18,86

3,6

2

-135,8

20

80

36,75

1,65

0,76

-14,07

3,6

2

-101,3

21

80

61,25

1,65

1,26

-8,88

3,6

2

-63,9

22

80

85,75

1,65

1,77

-5,36

3,6

2

-38,6

23

80

122,5

1,65

2,53

-2,78

7,2

2

-40,0

24

80

171,5

1,65

3,54

-1,35

7,2

2

-19,4

25

80

220,5

1,65

4,55

-0,57

7,2

2

-8,2

26

80

269,5

1,65

5,57

-0,08

7,2

2

-1,2

27

80

295,0

1,65

6,08

-0,07

0,29

2

0

 

 

 

 

 

 

 

 

ΣМi = 534,8 Н·см/см.

MpIV = M0 + ΣMi = 2108,9 + 534,8 = 2643,7 Н·см/см

Таким образом, наибольшее напряжение растяжения в бетоне плиты при изгибе σрIII = 1,02 МПа получилось для нагрузке согласно рис. 3б. Полученное значение σрIII = 1,02 МПа более Rδt = 0,675 МПа, вследствие чего согласно п. 2.22 повторим расчёт, задавшись большим значением h.

Расчёт 5 Для повторного расчёта ориентировочно зададимся h = 18 см. Определим напряжение растяжения в бетоне плиты при изгибе σрV для нагрузки согласно рис. 3г, на котором показано, как следует из предыдущего расчёта, наиневыгоднейшее расположение валов.

По п. 2.10 примем l = 75,3 см.

Длина следа вала 700 см = 9,3l < 12,2l. Поэтому согласно п. 2.4 примем расчётную длину следа вала ар = 9,3l = 700 см. Расчётная ширина следа вала по п. 2.5 bp = b = 0,1l = 7 см. Расчётная нагрузка от вала длиной 700 см Рр = 7·19,6 = 136,2 кН.

При значениях α = ар/l = 9,3 и β = bр/l = 0,1 по табл. 2.4 найдём K1 = 23,95.

По формуле (9) определим: М0 = К1·Р0 = 23,95·136,2 = 3261,99 Н·см/см

Нагрузки, приходящиеся на каждую элементарную площадку, определяем по формуле (15):

Определим суммарный изгибающий момент ΣMi от нагрузок, расположенных вне расчётного центра О. Расчётные данные приведены в табл. 2.16.

Таблица 2.16

Расчётные данные при повторном расчёте

I

xi, см

yi, см

xi/l

yi/l

К4 по табл. 2.7

Pi , кН

ni кол-во нагрузок

Мi = ni · К4·Pi

1

40

10

0,53

0,13

45,41

2,94

4

534,03

2

40

30

0,53

0,40

47,96

2,94

4

564,01

3

40

50

0,53

0,66

43,47

2,94

4

511,21

4

40

70

0,53

0,93

36,08

2,94

4

424,30

5

40

100

0,53

1,33

24,20

5,88

4

569,18

6

40

140

0,53

1,86

12,16

5,88

4

286,00

7

40

220

0,53

2,66

3,28

11,76

4

154,29

8

40

295

0,53

5,92

-0,23

16,20

4

-14,90

 

 

 

 

 

 

 

 

ΣMi  = 3028,12 Н·см/см.

Расчётный изгибающий момент по формуле (13):

MpV = M0 + ΣMi = 3261,99 + 3028,12 = 6299 Н·см/см

Напряжение растяжения в плите при изгибе по формуле (7):

что меньше Rδt = 0,675 МПа менее чем на 5%.

Принимаем подстилающий слой из бетона класса по прочности при сжатии В22,5 толщиной 18 см.

Приложение 4

Определение показателя теплоусвоения пола

В соответствии со СНиП 23-02-2003 показатель теплоусвоения поверхности пола Уп, Вт/(м2·°С), определяют в следующей последовательности:

- если покрытие пола имеет тепловую инерцию D1 = R1·S1 ≥ 0,5, то показатель теплоусвоения поверхности пола вычисляют по формуле:

Уп = 2·S1, где

S1 - расчётные коэффициент теплоусвоения материала 1-го слоя, Вт/(м2·°С);

R1 - термическое сопротивление 1-го слоя, (м2·°С)/Вт, определяемое по формуле:

R1 = δ1/λ1 , где

δ1 - толщина первого слоя;

λ1 - теплопроводность материала первого слоя.

- если первые «п» слоев конструкции пола (п > 1) имеют суммарную тепловую инерцию D1 + D2 +....+ Dn < 0,5, но тепловая инерция (п +1)-го слоев D1 + D2 +....+ Dn+1 ≥ 0,5, то показатель теплоусвоения поверхности пола Уп определяется последовательно расчётом показателей теплоусвоения поверхностей слоев конструкции, начиная с «п»-го до 1-го.

Для «п»-го слоя по формуле:

 

Для «i»-гo слоя (i = n-1; n-2;..., 1) по формуле:

Показатель теплоусвоения поверхности пола принимается равным показателю теплоусвоения поверхности 1-го слоя У1

Ri, Rn - термические сопротивления, (м2·°С)/Вт, «i»-гo и «п»-го слоев конструкции пола, определяемые по формуле:

R = δ/λ , где

δ - толщина слоя;

λ - коэффициент теплопроводность материала слоя, принимаемая по приложению 3* СНиП 23-02-2003 или по ГОСТу или ТУ на используемые материалы.

Si, Sn, Sn+1 - расчётные коэффициенты теплоусвоения материалов отдельных слоев, принимаемые по приложению 3* СНиП 23-02-2003, при этом для зданий жилых, больничных учреждений (больниц, клиник, стационаров и госпиталей), диспансеров, амбулаторно-поликлинических учреждений, родильных домов, домов ребёнка, домов-интернатов для престарелых и инвалидов общеобразовательных детских школ, детских садов, яслей, яслей-садов (комбинатов), детских домов и детских приёмников-распределителей, общеобразовательных зданий, вспомогательных зданий и помещений промышленных предприятий, участков с постоянными рабочими местами в отапливаемых помещениях производственных зданий, в которых выполняются легкие физические работы - во всех случаях при условии эксплуатации А или по нормативной документации на используемые материалы.

Пример 1: Пол жилого дома с покрытием из поливинилхлоридного линолеума на тепло-звукоизолирующей подоснове, наклеенного холодной битумной мастикой на железобетонную плиту перекрытия.

Номер слоя

Материал

Толщина слоя δ, м.

Плотность материала в сухом состоянии γo, кг/м3

Коэффициенты при условии эксплуатации А

Термическое сопротивление R, (м2·°С)/Вт

Теплопроводности λ, Вт/(м·°С)

Теплоусвоения S, Вт/(м2·°С)

1.

Лицевой слой линолеума

0,0015

1600

0,33

7,52

0,0045

2.

Подоснова

0,002

150

0,047

0,92

0,043

3.

Холодная битумная мастика

0,001

1000

0,18

4,56

0,0056

4.

Плита перекрытия

0,14

2400

1,74

16,77

0,08

1. Тепловая инерция слоев

D1 = R1·S1 = 0,0045·7,52 = 0,034

D2 = R2·S2 = 0,043·0,92 = 0,04

D3 = R3·S3 = 0,0056·4,56 = 0,026

D4 = R4·S4 = 0,08·16,77 = 1,34

2. Так как D1+ D2 + D3 = 0,034 + 0,04 + 0,026 = 0,1 < 0,5, но

D1+ D2 + D3 + D4 = 0,034+ 0,04+ 0,026+1,34 = 1,44 > 0,5

показатель теплоусвоения поверхности пола определяем последовательно с учётом четырёх слоев пола, начиная с третьего:

3. Так как Уп = 13,2 Вт/(м2·°С) > Унп = 12 Вт/(м2·°С) (см. требования Раздела I) пол не удовлетворяет требованиям теплоусвоения. В связи с чем вносим изменения в конструкцию пола. Предусматриваем по плите перекрытия стяжку из лёгкого бетона (δ = 0,02 м, γo = 1200 кг/м3, λ = 0,37 Вт/(м·°С), S = 5,83 Вт/(м2·°С), R = 0,054 (м2·°С)/Вт, D = R·S = 0,054·5,83 = 0,315).

4. Так как D1+ D2 + D3 + D4 = 0,034 + 0,04 + 0,026 + 0,315 = 0,415 < 0,5, но

D1+ D2 + D3 + D4 + D5 = 0,034 + 0,04 + 0,026+ 0,315 + 1,34 = 1,76 > 0,5

показатель теплоусвоения поверхности пола определяем последовательно с учётом пяти слоев пола, начиная с четвёртого:

5. Так как Уп = 9,4 Вт/(м2·°С) < Унп =12 Вт/(м2·°С) пол удовлетворяет требованиям теплоусвоения.

Пример 2: Пол животноводческого здания в местах отдыха животных - коров молочного направления, состоящий из резиновых плит, наклеенных резинобитумной мастикой по слою гидрофобизированного керамзитобетона, уложенного по грунту. Теплотехнические характеристики отдельных слоев конструкции пола приведены в таблице.

Номер слоя

Материал

Толщина слоя δ, м.

Плотность материала в сухом состоянии γo, кг/м3

Влажность материала по массе ωi, %

Коэффициенты при условии эксплуатации А

Термическое сопротивление R, (м2·°С)/Вт

Теплопроводности λ, Вт/(м·°С)

Теплоусвоения S, Вт/(м2·°С)

1.

Резиновая плита

0,016

1200

0

0,35

6,4

0,043

2.

Резинобитумная мастика

0,003

1400

0

0,27

6,8

0,011

3.

Гидрофобизированный керамзитобетон

0,08

1000

5

0,33

5,03

0,242

1. Тепловая инерция слоев

D1 = R1·S1= 0,043·6,4 = 0,274

D1-2 = D1 + D2 = 0,274 + 0,011·6,8 = 0,35

D1-3 = D1-2 + D3 = 0,35 + 0,242·5,03 = 1,569

2. Так как D1-2 = 0,35 < 0,5, но D1-3 = 1,569 > 0,5

определяем последовательно снизу вверх показатели теплоусвоения поверхности слоев пола, начиная со второго:

3. Так как Уп = 12,21 Вт/(м2·°С) < Унп= 12,3 Вт/(м2·°С) данная конструкция пола удовлетворяет требованиям по теплоусвоению.

Приложение 5

Расчёт звукоизоляции

Расчёт звукоизоляции перекрытий с конструкцией пола от воздушного и ударного шума рекомендуется выполнять в следующей последовательности:

А. Воздушный шум

1. Определяем коэффициент « К »

- для железобетонных перекрытий с круглыми пустотами при γ > 1800 кг/м по формуле:

где J - момент инерции сечения плиты перекрытия, м4;

      b - ширина рассматриваемого сечения, м;

      hnp - приведённая толщина сечения, м.

- для железобетонных беспустотных перекрытий К = 1 при γ > 1800 кг/м3

2. Определяем эквивалентную поверхностную плотность перекрытия

mэ = К·m, где

m - поверхностная плотность перекрытия, кг/м2 (для ребристых плит без учёта рёбер).

3. Вычисляем индекс изоляции воздушного шума перекрытий по формулам:

JBO = 23 lg mэ - 10 дБ при m ≥ 200 кг/м2

JBO = 13 lg mэ + 13 дБ при m ≤ 200 кг/м2

4. Вычисляем частоту резонанса по формуле:

где Ед - динамический модуль упругости материала звукоизоляционного слоя, принимаемый по табл.3;

m1 - поверхностная плотность плиты перекрытия, кг/м2,

m2 - поверхностная плотность конструкции пола выше звукоизоляционного слоя (без звукоизоляционного слоя), кг/м2,

h3 - толщина звукоизоляционного слоя в обжатом состоянии, м, определяемая по формуле:

h3 = ho(l - εд)

ho - толщина звукоизоляционного слоя в необжатом состоянии, м;

εд - относительное сжатие материала звукоизоляционного слоя под нагрузкой, принимаемое по таблице 3.

5. По таблице 2 с учётом JBO и fpn находим величину индекса изоляции перекрытия с конструкцией пола, которая должна быть больше нормируемого значения JBH, принятого по таблице 1.

Индекс изоляции воздушного шума межэтажным перекрытием без звукоизоляционного слоя с полом из рулонных материалов следует определять, принимая при этом величину «т» равной поверхностной плотности плиты перекрытия (без рулонного покрытия пола). Если в качестве покрытия принят поливинилхлоридный линолеум на тепло-звукоизолирующей подоснове, то рассчитанную величину индекса изоляции воздушного шума межэтажным перекрытием следует уменьшать на 1 дБ.

6. Если JB < JBH изменяем конструкцию перекрытия или увеличиваем толщину звукоизоляционного слоя и повторяем расчёт.

Б. Ударный шум

1. Вычисляем частоту колебаний пола, расположенного на звукоизоляционном слое:

где Ед, h3 и m2- то же, что и при воздушном шуме.

2. По значениям fo и индекса приведенного уровня ударного шума плиты перекрытия Jyo, принимаемого по таблице 5, находим по таблице 4 значение приведённого уровня ударного шума под перекрытием при наличии теплозвукоизоляционного слоя под покрытием пола

3. Индекс приведённого уровня ударного шума Jy = Jyo - ΔJy, где

Jyo - индекс приведённого уровня ударного шума для плиты перекрытия в дБ, принимаемая по таблице 5;

ΔJy - величина в дБ, принимаемая по таблице 6.

4. Для обеспечения требуемой звукоизоляции необходимо соблюдать условие:

Jy < JyH

Пример 1 Определить индекс изоляции воздушного шума междуэтажным перекрытием жилого дома. Перекрытие состоит из железобетонной плиты γ = 2400 кг/м3 толщиной 14 см, звукоизоляционного слоя из минераловатной плиты плотностью 100 кг/м3 толщиной 3,0 см, сборной стяжки из гипсоволокнистых листов (ГВЛ) плотностью 1150 кг/м3 толщиной 2,0 см и линолеума леума плотностью 1100 кг/м3 толщиной 0,3 см.

1. Поверхностная плотность элементов перекрытия

m1 = 2400·0,14 = 336 кг/м2

m2 = 1100·0,003+1150·0,02 =3,3 +23 =26 кг/м2

1. Вычисляем величину JBO для несущей плиты перекрытия при m1 = 336 кг/м2 > 200 кг/м3 по формуле:

JBO = 23 lg mэ - 10 дБ = 23 lg 336 - 10 дБ = 58 - 10 = 48 дБ

2. Находим по таблице 3 для минплиты γ = 100 кг/м2 и нагрузке на пол в жилом доме до 200 кг/м2

Ед = 4,5·104 кг/м2 и εд = 0,5

4. Вычисляем

h3 = ho(l - εд) = 0,03 (1 - 0,5) = 0,015 м

5. Определяем частоту резонанса конструкции:

6. По таблице 2 находим JB = 52 дБ (по интерполяции)

7. Так как JB = 52 дБ > JBH = 50 дБ (таблица 1) данная конструкция перекрытия с покрытием пола из линолеума удовлетворяет нормативным требованиям.

Пример 2 Определить индекс изоляции воздушного шума междуэтажным перекрытием жилого дома. Перекрытие состоит из железобетонной плиты γ = 2500 кг/м3 толщиной 10 см, звукоизоляционных прокладок из древесно-волокнистых мягких плит толщиной 3,0 см и дощатого пола толщиной 4,0 см на лагах толщиной 5,0 см и шириной 10,0 см, уложенных с шагом 50 мм.

1. Поверхностная плотность элементов перекрытия

m1 = 2500·0,1 =250 кг/м2

m2 = 600·0,04 (доски) + 600·0,05·0,1·2(лаги) = 24 + 6 = 30 кг/м2

2. Вычисляем величину JBO для несущей плиты перекрытия при m1 = 336 кг/м2 > 200 кг/м3 по формуле:

JBO = 23 lg mэ - 10 дБ = 23 lg250 - 10 дБ = 45 дБ

3. 3. Находим по таблице 3 для древесно-волокнистых прокладок γ = 250 кг/м2 и нагрузке на пол в жилом доме до 200 кг/м2

Ед =10·104 кг/м2 и εд = 0,1

4. Вычисляем

h3 = ho(l - εд) = 0,03 (1 - 0,1) = 0,027 м

5. Определяем частоту резонанса конструкции:

6. По таблице 2 находим JB = 51 дБ (по интерполяции)

7. Так как JB = 51 дБ > JBH = 50 дБ (таблица 1) данная конструкция перекрытия с дощатым полом по лагам удовлетворяет нормативным требованиям.

Пример 3 Определить индекс приведённого уровня ударного шума под железобетонным перекрытием жилого дома. Конструкция перекрытия аналогична приведённой в примере 1 за исключением того, что покрытие пола выполнено из паркета толщиной 1,8 см.

1. Вычисляем m1 = 2400·0,14 = 336 кг/м2

m2 = 700·0,018 + 1150·0,02 = 12,6 + 23,0 = 35,6 кг/м2

По табл. 5 при m1 = 336 кг/м2 находим Jyo = 83 дБ

2. Находим по таблице 3 для минплиты γ = 100 кг/м2 и нагрузке на пол в жилом доме до 200 кг/м2

Ед = 4,5·104 кг/м2 и εд = 0,5

3. Определяем:

h3 = ho(l - εд)  = 0,03 (1-0,5) = 0,015 м

4. Определяем частоту колебаний:

5. По табл. 4 при значениях Jyo = 83 дБ и fo @ 145 Гц находим Jy = 67,5 дБ (по интерполяции)

6. Так как Jy = 67,5 дБ > JyH = 67 дБ (табл. 1) данная конструкция перекрытия с покрытием пола из паркета не удовлетворяет нормативным требованиям. Следует изменить конструкцию пола. Уложим плиты минераловатные в два слоя, то есть увеличим толщину звукоизоляции до 6 см.

7. Определяем:

h3 = ho(l - εд) = 0,06(1 - 0,5) = 0,03 м

8. Определяем частоту колебаний:

9. По табл. 4 при значениям Jyo = 83 дБ и fo @ 102 Гц находим Jy = 63,5 дБ (по интерполяции)

10. Так как Jy = 63,5 дБ < JyH = 67 дБ (табл. 1) данная конструкция перекрытия с покрытием пола из паркета удовлетворяет нормативным требованиям.

Пример 4 Определить индекс приведённого уровня ударного шума под железобетонным перекрытием жилого дома. Перекрытие состоит из железобетонной плиты γ = 2500 кг/м3 толщиной 14 см, стяжки из цементно-песчаного раствора γ = 2000 кг/м3 толщиной 2,5 см, линолеума на теплозвукоизолирующей подоснове толщиной 0,36 см.

1. Поверхностная плотность элементов перекрытия

m1 = 2500·0,14 + 2000·0,025 = 400кг/м2

3. Индекс приведённого уровня ударного шума Jy = Jyo - ΔJy, где Jyo - индекс приведённого уровня ударного шума для плиты перекрытия в дБ, принимаемый по таблице 5;

По табл. 5 при m1 = 400 кг/м2 находим Jyo = 81 дБ

ΔJy - величина в дБ, принимаемая по таблице 6 или по нормативной документации на используемое покрытие пола..

В соответствии с ГОСТ 18108-80 ΔJy у линолеума на теплозвукоизолирующей подоснове не менее 18 дБ

Jy = Jyo - ΔJy  = 81 - 18 = 63 дБ

4.Так как Jy = 63 дБ < JyH = 67 дБ (табл. 1) данная конструкция пола удовлетворяет нормативным требованиям.

Таблица 1

Наименование и расположение ограждающей конструкции

Индекс изоляции воздушного шума JBH в дБ

Индекс приведенного уровня ударного шума JyH в дБ

Жилые здания

 

 

1. Перекрытия между помещениями квартир

50

67

2. Перекрытия между помещениями квартир и неиспользуемыми чердачными помещениями

47

-

3. Перекрытия между помещениями квартиры и подвалами, холлами и используемыми чердачными помещениями

50

67

4. Перекрытия между помещениями квартир и расположенными внизу магазинами

55

67

5. Перекрытия между помещениями квартиры и расположенными внизу ресторанами, спортивными залами, кафе и другими подобными помещениям

60

67 (50)1

6. Перекрытия между комнатами в двухэтажной квартире

41

75

7. Перекрытия, отделяющие помещения культурно-бытового обслуживания общежитий друг от друга и от помещений общего пользования (холлы, вестибюли, коридоры)

45

75

Гостиницы

 

 

8. Перекрытия между номерами:

 

 

первой категории

48

70

второй категории

45

72

9. Перекрытия, отделяющие номера от помещений общего пользования (вестибюли, холлы, буфеты):

 

 

для номеров первой категории

50

671

для номеров второй категории

47

701

10. Перекрытия, отделяющие номера от ресторанов, кафе, столовых, кухонь:

 

 

для номеров первой категории

60

501

для номеров второй категории

55

551

Здания управлений, партийных и общественных организаций

 

 

11. Перекрытия между рабочими комнатами, кабинетами, секретариатами и отделяющие рабочие комнаты, кабинеты, секретариаты от помещений общего пользования (вестибюли, холлы)

45

75

12. Перекрытия, отделяющие рабочие комнаты, кабинеты от рабочих не защищаемых от шума помещений(машбюро, телетайпные залы и т.п.)

49

70

Больницы и санатории

 

 

13. Перекрытия между палатами, кабинетами врачей

45

70

14. Перекрытия между операционными и отделяющие операционные от палат и кабинетов

60

70

15. Перекрытия, отделяющие палаты, кабинеты врачей от помещений общего пользования (вестибюлей, холлов)

50

70

16. Перекрытия, отделяющие палаты, кабинеты от столовых, кухонь

60

501

Школы и другие учебные заведения

 

 

17. Перекрытия между классными помещениями, учебными кабинетами и отделяющие классные помещения, учебные кабинеты и аудитория от помещений общего пользования (коридоры, вестибюли, холлы)

45

70

18. Перекрытия между музыкальными классами средних учебных заведений

55

65

19. Перекрытия между музыкальными классами высших учебных заведений

60

60

Детские ясли-сады

 

 

20. Перекрытия между групповыми комнатами, спальнями и между другими детскими комнатами

45

70

21. Перекрытия, отделяющие групповые комнаты, спальни от кухонь

49

70

Вспомогательные здания и помещения промышленных предприятий

 

 

22. Перекрытия между помещениями для отдыха, учебных занятий, здравпунктами, рабочими комнатами управлений и конструкторских бюро, кабинетами помещениями общественных организаций и отделяющие эти помещения от помещений общего пользования (вестибюлей, гардеробных)

45

75

23. Перекрытия между помещениями лабораторий красных уголков, залами для собраний, столовыми и отделяющие эти помещения от помещений, указанных в поз. 22 настоящей таблицы

49

70

1 Требования следует предъявлять к передаче ударного шума в помещение, защищаемое от шума при ударных воздействиях на пол не защищаемого от шума помещения

Таблица 2

Конструкция пола

fpn в Гц

Индекс изоляции воздушного шума перекрытием JB в дБ при индексе изоляции воздушного шума плитой перекрытия JBO в дБ

41

44

47

50

53

1. Деревянные полы по лагам, уложенным на звукоизоляционный слой(в виде ленточных прокладок) с динамическим модулем упругости 5·104 -12·104 кгс/м2, при расстоянии между полом и плитой перекрытия 60-70 мм

150

51

52

53

54

55

220

48

50

51

52

54

350

46

47

49

51

53

500

44

46

48

50

52

2. Покрытие пола на монолитной стяжке или сборных плитах с поверхностной плотностью 60-120 кг/м2 по звукоизоляционному слою с динамическим модулем упругости 3·104 - 10·104 кгс/м2 толщиной до 25 мм в обжатом состоянии

100

50

51

52

53

54

150

47

49

50

52

53

220

45

47

49

51

53

3. То же, по звукоизоляционному слою из песка или шлака с динамическим модулем упругости 8·104 -13·104 кгс/м2, толщиной 50-60 мм

220

50

51

52

53

54

350

47

49

50

52

53

500

45

47

49

51

53

Примечания: 1. При увеличении толщины прокладки до 40 мм в обжатом состоянии следует к величине JB прибавлять 1 дБ.

2. При увеличении толщины засыпки до 90 мм следует к величине JB прибавлять 1 дБ.

Таблица 3

Материал

Плотность в кг/м2

Динамический модуль упругости Ед в кгс/м2 и относительном сжатии материала звукоизоляционного слоя при нагрузке на звукоизоляционный слой в кгс/м2

200

500

1000

Ед

εд

Ед

εд

Ед

εд

1 Плиты теплоизоляционные из минеральной ваты на синтетическом связующем по ГОСТ 9573-82*:

 

 

 

 

 

 

 

полужесткие

100-125

4..5·104

0,5

5..5·104

0,55

7·104

0,7

жесткие

126-150

5·104

0,45

6·104

0,5

8·104

0,6

2. Плиты минераловатные на синтетическом связующем по ТУ 21-24-52-73 Минстройматериалов СССР:

 

 

 

 

 

 

 

полужесткие

70-90

3..6·104

0,5

4..5·104

0,55

4,6·104

0,65

жесткие

95-110

4·104

0,4

5·104

0,45

6·104

0,55

3. Маты минераловатные прошивные по

 

 

 

 

 

 

 

ТУ21-24-51-73

75-125

4·104

0,65

5·104

0,7

-

-

То же

126-175

5·104

0,5

6,5·104

0,55

-

-

>>

176-225

6·104

0,45

7·104

0,5

-

-

4. Плиты древесноволокнистые мягкие по ГОСТ 4598-86*

250

10·104

0,1

11·104

0,1

12·104

0,15

5. Шлак крупностью до 15 мм

500-800

80·104

0,08

90·104

0,09

-

-

6. Песок прокаленный

1300-1500

120·104

0,03

130·104

0,04

-

-

Примечание: Для нагрузок на звукоизоляционный слой, не указанных в настоящей таблице, следует величины Ед и εд принимать по линейной интерполяции в зависимости от фактической нагрузки

Таблица 4

Конструкция пола

fо в Гц

Индексы приведенного уровня ударного шума под перекрытием Jу в дБ при индексе приведенного уровня ударного шума плитой перекрытия Jyo в дБ

91

88

86

84

82

80

1. Деревянные полы по лагам, уложенным на звукоизоляционный слой (в виде ленточных прокладок) с динамическим модулем упругости 5·104-12·104 кгс/см2, при расстоянии между полом и плитой перекрытия 60-70 мм

150

66

65

63

62

61

61

220

68

67

65

64

62

61

350

71

69

67

66

64

63

2. Покрытие пола на монолитной стяжке или сборных плитах с поверхностной плотностью 60 кг/м2 по звукоизоляционному слою с динамическим модулем упругости 3·104-13·104кгс/м2

60

68

65

63

61

58

56

100

70

67

65

64

63

62

150

75

72

70

68

67

65

200

77

75

73

71

69

67

3. То же, по звукоизоляционному слою из песка или шлака с динамическим модулем упругости 8·104-13·104кгс/м2

150

69

67

65

64

62

61

250

74

72

70

68

67

66

350

78

76

74

73

71

70

4. Покрытие пола на монолитной стяжке или сборных плитах с поверхностной плотностью 120 кг/м2 по звукоизоляционному слою с динамическим модулем упругости 3·104-13·104кгс/м2

60

66

63

61

59

57

55

100

70

67

65

64

62

60

150

74

71

69

67

65

63

200

75

72

71

69

67

65

5. То же, по звукоизоляционному слою из песка или шлака с динамическим модулем упругости 8·104 -3·104 кгс/м2

150

68

65

63

62

60

59

250

72

70

68

66

65

64

350

76

74

72

71

69

68

Примечание: При поверхностной плотности монолитной стяжки или сборной плиты пола между 60 и 120 кг/м2 индекс Jy следует определять по линейной интерполяции, округляя их значения до целого числа.

Таблица 5

Покрытия

Поверхностная плотность плиты перекрытия в кг/м2

Значение Jyо в дБ

1. Со сплошными и многопустотными плитами

150

91

 

200

88

 

250

86

 

300

84

 

350

82

 

450

80

2. С раздельными потолками

150

88

 

200

84

 

250

82

 

300

80

Таблица 6

Покрытие пола

Толщина в мм

ΔJy, в дБ

1. Теплоизоляционный поливинилхлоридный линолеум на основе из лубяных волокон

5,5

22

2. То же

3,5

16

3. Поливинилхлоридный линолеум с подосновой из нитрона

3,6

19

4. То же

5,1

25

5. Теплоизоляционный линолеум на иглопробивной латексированной основе из лубяных волокон, горячее дублирование

3,8

18

6. Теплоизоляционный линолеум на иглопробивной основе из вторичных отходов с защитным синтетическим слоем, горячее дублирование

4,5

22

7. Теплоизоляционный линолеум на иглопробивной основе из поливинилхлоридных волокон, горячее дублирование

3,7

20

8. Дублированный теплозвукоизоляционный линолеум на вязально-прошивной подкладке

3,7

16

9. Ворсолин беспетлевой на вязально-прошивной подкладке

4,5

20

10. Ворсолин беспетлевой с рифленной поверхностью

4,2

19

Приложение 6

Деформационные швы, примыкания полов, сточные лотки, каналы и трапы в полах

Рис. 1 Деформационные швы
а) в полах на грунте с покрытиями: бетонными, мозаичными, поливинилацетатцементно-бетонными, ксилолитовыми и из чугунных дырчатых плит в зонах умеренных и значительных механических воздействий на пол; б) то же, в полах на перекрытиях; в) то же, в полах на грунте и перекрытиях при наличии оклеечной гидроизоляции; г) в полах на грунте с покрытиями, указанными для а)., при слабых механических воздействиях на пол. а также в полах с покрытиями других типов; д) тоже, в полах на перекрытиях; е) то же, в полах на грунте и перекрытиях при наличии оклеечной гидроизоляции;
1 - окаймление из угловой стали; 2 - анкеры из полосовой стали 4´40 мм, через 0,5 м; 3 - анкеры из полосовой стали 4´40 мм, через 0,5 м; 4 - компенсатор из оцинкованной кровельной стали; 5 - компенсатор из полиизобутилена либо нержавеющей листовой стали толщиной 0,8-1 мм; 6 - заполнение деформационного шва; 7 - покрытие; 8 - бетонный подстилающий слой; 9 - грунт основания; 10 - плита перекрытия; 11 - оклеечная гидроизоляция; 12 - сварной шов; 13 - кругла сталь диаметром 12-14 мм.


 

Рис.2 Примыкание полов к стенам и трубопроводам при отсутствии воздействия на пол жидкостей (а - е) и при воздействии на пол жидкостей (ж - п)
1 - деревянный плинтус; 2 - сборная стяжка из ГВЛ; 3 - деревянная галтель; 4 - деревянные пробки через 0,5 м; 5 - плинтус из полимерных материалов; 6 - мастика; 7 - плинтус из цементно-песчаного раствора марки 150; 8 - стена, перегородка, колонна и т.п.; 9 - покрытие; 10 - подстилающий слой или плита перекрытия; 11 - покрытие из чугунных плит; 12 - крючки из круглой стали Æ10 мм через 0,5 м; 13 - бетон в местах нагревания пола более 100°С - жароупорный бетон; 14 - песчаная прослойка; 15 - грунт основания; 16 - тепло-звукоизоляция; 17 -прокладка из ППУ или ДВП; 18 - деревянный брусок; 19 - гидроизоляция; 20 - полоска из кровельной стали; 21 - плитка; 22 - мастика клеящая; 23 - клинкерный или кислотоупорный кирпич; 24 - хомут и зонт из нержавеющей стали; 25 - сварной шов; 26 - трубопровод; 27 - обмотка изоляционной лентой или проволокой; 28 - покрытие из резиновых плит; 29 - резиновая плита, срезанная под углом 60° с последующей обмазкой клеящих составом срезанной поверхности; 30 - прослойка; 31 - стальной патрубок; 32 - опорное кольцо; 33 - цементно-песчаный раствор; 34 - сетка металлическая; 35 - подстилающий слой; 36 - стяжное кольцо; 37 - бетонный бортик; 38 - окраска химстойкими красками.


 

Рис. 3 Примыкания полов к каналам и приямкам при отсутствии воздействия на пол жидкостей (а-ж) и наличии жидкостей, содержащих кислоты и щелочи (з)
а - канал или приямок, перекрытый железобетонными, стальными плитами или деревянными щитами; б - то же, перекрытый чугунными плитами; в - открытый приямок или канал; съемные плиты перекрытия каналов и приямков: г - железобетонные, д - деревянные, е - чугунные, ж - стальные сварные; з - сточный канал в полах на грунте для жидкостей, содержащих кислоты и щелочи, облицованный плитами или кирпичом.
1 - окаймление из угловой стали; 2 - анкеры из полосовой стали 20´4 мм, через 0,5 м; 3 - сварная сетка с ячейками размером 100´100 мм из круглой стали диаметром 8-10 мм; 4 - покрытие; 5 - подстилающий слой; 6 -стенки и днище канала или приямка из бетона или кирпича; 7 - грунт основания; 8 - сварной шов; 9 - бетон кл. В12,5; 10 - монтажные отверстия; 11 - покрытие сплошное или из штучных материалов с прослойкой; 12 - прослойка; 13 - керамические, шлакоситалловые и тому подобные плиты; 14 - оклеечная гидроизоляция 1-2 слойная; 15 -оклеенная гидроизоляция 2-4 слойная; 16-подстилающий слой; 17-деревянная или чугунная съемная решетка; 18 - облицовка канала керамическими, шлакоситалловыми и тому подобными плитами; 19 - то же, кислотоупорным кирпичом; 20 - стенки и днище из бетона кл. В12,5 или кирпича.

Рис. 4 Сточные лотки
а), в полах на грунте, без гидроизоляции; б), в полах на грунте и перекрытиях, с гидроизоляцией; в), из плит с бортиками из кирпича в полах на грунте, без гидроизоляции; г), то же, в полах на грунте и перекрытиях, с гидроизоляцией; д), из керамической трубы, разрезанной вдоль, в полах на грунте, без гидроизоляции; е), то же, в полах на грунте, с гидроизоляцией.
1 - покрытие сплошное или из штучных материалов с прослойкой; 2 - прослойка; 3 - оклеечная гидроизоляция 1-2 слойная; 4 - оклеенная гидроизоляция 2-4 слойная; 5 - покрытие лотка из плиток; 6 - бортовой кирпич; 7 - керамическая труба, разрезанная вдоль; 8 - подстилающий слой; 9 - плита перекрытия со стяжкой; 10 - грунт основания

Рис. 5 Трапы и каналы в полах для стока воды и растворов нейтральной реакции (а-е) и для стока воды, содержащей кислоты и щелочи (з-л)
1 - чугунный трап; 2 - съемная чугунная решетка; 3 - съемная стальная решетка с приваренным колпаком; 4 - съемная деревянная решетка; 5 - окаймление из угловой стали; 6 - анкер; 7 - водоотводящая труба (чугунная, ставшая, керамическая и др.); 8 - покрытие сплошное или из штучных материалов с прослойкой; 9 - оклеечная гидроизоляция; 10 - подстилающий слой; 11 - сварная сетка с ячейками размером 100´100 мм из круглой стали диаметром 8-10 мм; 12 - стяжка; 13 - плита перекрытия; 14 - стенки и днище канала из бетона В12.5 (марка 150) или кирпича; 15 - цементно-песчаный раствор состава 1:1, с железнением поверхности; 16-грунт основания; 17 - трап из листовой нержавеющей (кислотоупорной, щелочестойкой) стали; 18 - покрытие сплошное или из штучных материалов с прослойкой; 19 - прослойка; 20 - керамические, шлакоситалловые и тому подобные плиты; 21 - оклеечная гидроизоляция 1-2 слойная; 22 - оклеечная гидроизоляция 2-4 слойная; 23 - стяжка; 24 - перекрытие; 25 - керамическая труба; 26 - хомут из полосовой нержавеющей стали 30´4 мм; 27 - подвеска из полосовой нержавеющей стали 30´4 мм; 28 - подстилающий слой; 29 - грунт основания.

Рис. 6 Полы в зоне железнодорожных путей
а), колеи 1524 мм с покрытием из железобетонных плит; б), то же, с покрытием из штучных материалов; в), узкой колеи в полах на перекрытии при отсутствии оклеенной гидроизоляции; г), то же, при наличии оклеенной гидроизоляции; д), узкой колеи в полах на грунте при отсутствии оклеечной гидроизоляции; е), то же, при наличии оклеечной гидроизоляции.

1 - разборное покрытие из железобетонных плит размером 1400·700 мм; 2 - то же, из брусчатки, клинкерного кирпича, торцовой шашки; 3 - покрытие пола; 4 - железобетонные шпалы; 5 - металлические шпалы; 6 - песчаный балласт, 7 - оклеечная гидроизоляция; 8 - бетонный подстилающий слой; 9 - плита перекрытия; 10 - грунт основания; 11 - окаймление из угловой стали.

Приложение 7

Перечень, стандартов и ТУ на материалы, применяемые при устройстве полов

СНиП III-4-80*

Техника безопасности в строительстве

СНиП 2.01.07-85*

Нагрузки и воздействия с изм. № 2

СНиП 2.02.01-83*

Основание зданий и сооружений

СНиП 2.03.01-84*

Бетонные и железобетонные конструкции

СНиП 2.03.11-85

Защита коррозии. Нормы проектирования

СНиП 2.03.13-88

Полы

СНиП 2.10.03-84

Животноводческие здания. Нормы проектирования

СНиП 3.02.01-87

Земляные сооружения, основания и фундаменты

СНиП 3.04.01-87

Изоляционные и отделочные покрытия

СНиП 21-01-97

Пожарная безопасность зданий и сооружений

СНиП 23-02-2003

Тепловая защита зданий

СНиП 23-03-2003

Защита от шума. Нормы проектирования

СНиП 31-05-2003

Общественные здания административного назначения

НПБ 105-95

Определение категорий помещений зданий по взрывопожарной и пожарной безопасности

Приказ № 320 МЧС РФ от 8 июля 2002 г.

Об утверждении перечня продукции, подлежащей обязательной сертификации в области пожарной безопасности

ВСН 214-89 (Минмонтажепецстрой СССР)

«Сборник инструкций по защите от коррозии»

РСН 41-88 (Госстрой БССР)

Устройство монолитных полов из лёгких бетонов с латексцементным покрытием в животноводческих зданиях

РСН 42-88 (Госстрой БССР)

Устройство монолитных полов из лёгких бетонов с покрытием из резинокордых и резинокордобитумных плит в животноводческих зданиях

ГОСТ 125-79**

Вяжущие гипсовые. Технические условия

ГОСТ 473.1-81

Изделия химически стойкие и термостойкие керамические. Метод определения кислотостойкости

ГОСТ 474-90

Кирпич кислотоупорный. Технические условия

ГОСТ 530-95

Кирпич и камни керамические

ГОСТ 862.1-85

Изделия паркетные. Паркет штучный. Технические условия

ГОСТ 862.3-86

Изделия паркетные. Доски паркетные. Технические условия

ГОСТ 862.4-87

Изделия паркетные. Щиты паркетные. Технические условия

ГОСТ 961-89

Плитки кислотоупорные и термокислотоупорные керамические. Технические условия

ГОСТ 965-89

Портландцементы белые. Технические условия

ГОСТ 1216-87*

Порошки магнезитовые каустические. Технические условия

ГОСТ 2695-83*

Пиломатериалы лиственных пород. Технические условия

ГОСТ 3118-77

Кислота соляная. Технические условия

ГОСТ 4598-86*

Плиты древесно-волокнистые. Технические условия

ГОСТ 6787-90

Плитки керамические для полов. Технические условия

ГОСТ 7251-77*

Линолеум поливинилхлоридный на тканевой подоснове. Технические условия

ГОСТ 7473-94

Смеси бетонные. Технические условия

ГОСТ 7759-73*

Магний хлористый технический (бишофит). Технические условия

ГОСТ 8242-88

Детали профильные из древесины и древесных материалов для строительства. Технические условия

ГОСТ 8267-93*

Щебень и гравий из плотных горных пород для строительных работ. Технические условия

ГОСТ 8486-86*Е

Пиломатериалы хвойных пород. Технические условия

ГОСТ 8736-93*

Песок для строительных работ. Технические условия

ГОСТ 9480-89

Плиты облицовочные пиленные из природного камня. Технические условия

ГОСТ 9573-96

Плиты теплоизоляционные из минеральной ваты на синтетическом связующем. Технические условия

ГОСТ 9757-90

Гравий, щебень и песок искусственные пористые. Технические условия

ГОСТ 10178-85*

Портландцемент и шлакопортландцемент. Технические условия

ГОСТ 10354-82*

Плёнка полиэтиленовая. Технические условия

ГОСТ 13078-81*

Стекло натриевое жидкое. Технические условия

ГОСТ 15588-86

Плиты пенополистирольные. Технические условия

ГОСТ 15825-80

Портландцемент цветной. Технические условия

ГОСТ 16475-81

Плитки поливинилхлоридные для полов. Технические условия

ГОСТ 16914-71

Линолеум резиновый многослойный - релин

ГОСТ 17608-91

Плиты бетонные тротуарные. Технические условия

ГОСТ 18108-80

Линолеум поливинилхлоридный на теплозвукоизолирующей подоснове. Технические условия

ГОСТ 18992-80*

Дисперсия поливинилацетатная гомополимерная грубодисперсная. Технические условия

ГОСТ 19111-77

Изделия погонажные профильные поливинилхлоридные. Технические условия

ГОСТ 20910-90

Бетоны жаростойкие. Технические условия

ГОСТ 24064-80

Мастики клеящие каучуковые. Технические условия

ГОСТ 24099-80*

Плиты декоративные на основе природного камня. Технические условия

ГОСТ 24454-80*Е

Пиломатериалы хвойных пород. Размеры

ГОСТ 25485-89

Бетоны ячеистые. Технические условия

ГОСТ 25820-83

Бетоны лёгкие. Технические условия

ГОСТ 25881-83

Бетоны химически стойкие

ГОСТ 26149-84*

Покрытие для полов рулонное на основе химических волокон. Технические условия

ГОСТ 26633-91

Бетон тяжёлый. Технические условия

ГОСТ 27006-86

Бетоны. Правила подбора состава

ГОСТ 27023-86*

Ковры сварные из поливинилхлоридного линолеума на теплозвукоизолирующей подоснове. Технические условия

ГОСТ 28013-98

Растворы строительные. Общие технические условия

ГОСТ 28379-89

Шпаклёвки ЭП-0010 и ЭП-0020. Технические условия

ГОСТ Р 51263-99

Полистиролбетон. Технические условия

ОСТ 13-226-86

Шашка торцовая

ОСТ 59-127-73

Спирт фуриловый

ТУ 6-05-1144-83

Замазка «Арзамит-5»

ТУ 21-27-105-83

Мастика резинобитумная «Резапласт»

ТУ 21-29-12-77

Ковровое покрытие «Ворсолин»

ТУ 21-5744710-504-91

Вулканизованный эластомерный рулонный материал «Бутилон»

ТУ 21-5744710-514-92

Вулканизованный эластомерный рулонный материал «Элон»

ТУ 21-5744710-519-92

Материалы рулонные кровельные и гидроизоляционные «Стекломаст»

ТУ 21-РСФСР-682-76

Плиты из каменного литья

ТУ 38.3042-80

Плиты резинокордбитумные

ТУ 38-103111-83

Синтетический латекс СКС-65 ГП марки «Б» и «К»

ТУ 38-105203-87

Пластина полиизобутиленовая

ТУ 38-105540-85

Клее 88-НП

ТУ 38.305298-88

Плиты резинокордовые

ТУ 400-1-51-83

Гидростеклоизол

ТУ 400-1-136-78

Клеящая мастика «Перминид»

ТУ 400-1-177-79

Клей дисперсионный АДМ-К

ТУ 400-1-184-70

Ковровое покрытие на тканевой подоснове «Ковроплен»

ТУ 400-1-367-83

Ковровое покрытие на вспененной подоснове

ТУ 400-1-409-5-92

Материал рулонный кровельный и гидроизоляционный «Филизол»

ТУ 400-1-411-87

Ковровое покрытие прошивное (тафтинговое)

ТУ 400-1/411-68-77

Плитки поливинилхлоридные прессованные «Превинил»

ТУ 400-2-85-76

Битумно-скипидарная мастика «Биски»

ТУ 400-2-171-93

Плиты бетонные мозаичные для полов

ТУ 400-2-324-87

Клей «Бустилат»

ТУ 2241-027-00203521-96

Дисперсия ПВА

ТУ 2257-001-06085062-97

Покрытие полимерное монолитное марки «ФЕАС»

ТУ 2257-002-27576372-2000

Покрытие полимерное монолитное марки «ДИАПОЛ-310»

ТУ 2257-003-27576372-2000

Покрытие полимерное монолитное марки «ДИАПОЛ-320»

ТУ 2257-006-27578372-2000

Покрытие текстурное полимерное монолитное марки «ДИАПОЛ-360»

ТУ 2257-007-27576372-2000

Грунтовки марок «ДИАПОЛ-110» и «ДИАПОЛ-112»

ТУ 2257-008-27576372-2000

Шпаклёвки марок «ДИАПОЛ-210» и «ДИАПОЛ-220»

ТУ 2257-001-29363290-97

Защитная композиция «Силор»

ТУ 2257-002-29363290-97

Защитная композиция «УТК-М»

ТУ 2257-001-43548961-2002

Покрытие полимерное монолитное марки «РИЗОПОКС-5010»

ТУ 2257-008-43548961-2002

Полимерное покрытие пола марки «РИЗОПОКС-4610»

ТУ 2257-011-43548961-2002

Монолитное полимерное покрытие марки «РИЗОПОКС-5601W»

ТУ 2257-027-43548961-2003

Монолитное полимерное покрытие марки «РИЗОПОКС-1301W»

ТУ 2311-047-10861980-01

Полиуретановый лак Финишлак 1105

ТУ 2312-008-10861980-01

Праймер. Полиуретановая грунтовка

ТУ 2384-003-36537956-00

Строительная мастика «Калан»

ТУ 5361-001-42950773-99

Деревянные регулируемые лаги

ТУ 5770-531-00284718-93

Материалы рулонные кровельные и гидроизоляционные «Днепрофлекс»

ТУ 5770-537-00284718-93

Материалы рулонные кровельные и гидроизоляционные «Полимаст»

ТУ 5770-541-00284718-94

Материалы рулонные кровельные и гидроизоляционные «Бикроэласт»

ТУ 5770-006-04002274-00

Герметик «Гертекс»

ТУ 5770-002-05108038-94

Материал рулонный кровельный и гидроизоляционный «Филизол супер»

ТУ 5770-001-18060333-95

Материал рулонный кровельный и гидроизоляционный «Люберит»

ТУ 5700-001-40397319-00 № 0400/1

Высокопрочный водостойкий клей «Глимс-96»

ТУ 5700-001-40397319-00 № 0400/4

Монтажный клей «Глимс-Strong»

ТУ 5700-010-40397319-00

Наливной пол «Глимс-SL»

ТУ 5700-010-40397319-00

Наливной пол «Глимс-БЗХ»

ТУ 5700-007-40397319-01

Грунтовка «Глимс-грунт»

ТУ 5742-004-03515377-97

Гипсоволокнистые листы влагостойкие

ТУ 5745-011-04001508-01

Шпаклёвка «Фугенфюллер ГВ»

ТУ 5745-003-40129229-01

Смеси сухие для упрочнения верхнего слоя бетонного покрытия (Mastertop*/Macтepтoп*)

ТУ 5772-005-10861980-01

Композиция полиуретановая двухкомпонентная ПОЛИПЛАН

ТУ 5772-001-1863021-99

Мастика клеящая

ТУ 5774-003-00289973-95

Материалы рулонные кровельные и гидроизоляционные «Рубитекс»

ТУ 5774-001-04618851-95

Вулканизованный эластомерный рулонный материал «Изолен Атомэнергомаш»

ТУ 5774-005-05766480-95

Материалы рулонные кровельные и гидроизоляционные «Изоэласт К, Изоэласт Н»

ТУ 5775-001-03989419-99

Универсальная мастика

ТУ 5775-002-113.13564-96

Вулканизованный рулонный эластомерный материал «Поликров АР»

ТУ 8725-011-00302480-95

Вулканизованный эластомерный рулонный материал «Кровлен»

ТУ 95-25048396-054-93

Вулканизованный эластомерный рулонный материал «Кровлелон»

ТУ РБ 14738548.002-42-94

Материалы рулонные кровельные и гидроизоляционные марки МК-ПК и МГ-ПМ

ЛИТЕРАТУРА

1. Энциклопедия «Стройиндустрия и промышленность строительных материалов» -М., Стройиздат,1996 г. - 295 с.

2. «Строительные материалы, изделия и конструкции» Справочник под редакцией Наназашвили И.Х. - М., Высшая школа, 1990 г. - 495 с.

3. «Отделочные работы в строительстве» Справочник строителя под редакцией Кокина А.Д. - М., Стройиздат, 1987 г. - 656 с.

4. Защита строительных конструкций и технологического оборудования от коррозии. Справочник строителя под редакцией Орлова A.M. - М, Стройиздат, 1981 г. - 256 с.

5. Устройство полов. Справочник строителя под редакцией Анзигитова В.А. - М., Стройиздат, 1986 г. - 253 с.

6. Справочное пособие к СНиП 2.08.02-89 «Проектирование спортивных залов, помещений для физкультурно-оздоровительных занятий и крытых катков с искусственным льдом» - М., изд. ЦНИИЭП, 1991 г. - 119 с.

7. Альбом «Конструкции полов общего назначения (без воздействия агрессивных сред)» серия 2.444 -5.93, изд. ЦНИИпромзданий, 1991 г. - 30 с.

8. Альбом «Полы животноводческих зданий (технические решения) Шифр 19-221 -М., изд. Гипрониисельхоз, 1988 г. - 19 с.

9. Альбом «Полы жилых и общественных зданий со сборными стяжками из гипсоволокнистых листов» - М., изд. ЦНИИпромзданий, 1999 г. - 53 с.

10. Альбом «Крупноразмерные комплексные плиты для полов производственных зданий промышленных предприятий» серия 1.444.9-5, М., изд. ЦНИИпромзданий, 1991 г. -30 с.

11. Рекомендации по применению монолитных бетонных полов с упрочнённым верхним слоем / ЦНИИпромзданий - М., изд. ВНИИИСа, 1987 г. - 17 с.

12. Методические рекомендации по технологии устройства мозаичных полов с вибровтапливанием мраморной крошки - М., 1986 г., изд. ЦНИИМТП - 20 с.

13. Рекомендации по расчёту бетонных подстилающих слоев полов производственных зданий с учётом экономической ответственности - М., изд. ЦНИИпромзданий, 1987 г. - 50 с.

14. Рекомендации по проектированию полов (в развитие СНиП 2.03.13-88 «Полы») МДС 31-1.98 /АО ЦНИИпромзданий - М., ГУП ЦПП, 1998 г. - 68 с.

15. Рекомендации по устройству полов (в развитие СНиП 3.04.01-87 «Изоляционные и отделочные покрытия») /АО ЦНИИпромзданий - М., ГУП ЦПП, 1998 г. - 53 с.

16. Руководство «Полы. Технические требования, предъявляемые к полам. Проектирование, устройство и правила приёмки полов» - М., изд. ОАО «ЦНИИПромзданий», 2001г., 118 с.

17. Руководство по эксплуатации конструкций производственных зданий промышленных предприятий / ОАО «ЦНИИПромзданий» - М., изд. Информрекламиздат, 1995 год. - 90 с.

18. Кровли. Руководство по проектированию, устройству, правилам приёмки и методам оценки качества / ОАО ЦНИИпромзданий - М., изд. ФГУП ЦНИИИС, 2002 г. - 57 с.

19. Альбом «Устройство полов жилых и общественных зданий с помощью материалов немецкой фирмы «UZIN» по современным технологиям» - Днепропетровск, 2003

 




ГОСТЫ, СТРОИТЕЛЬНЫЕ и ТЕХНИЧЕСКИЕ НОРМАТИВЫ.
Некоммерческая онлайн система, содержащая все Российские Госты, национальные Стандарты и нормативы.
В Системе содержится более 150000 файлов нормативно-технической документации, действующей на территории РФ.
Система предназначена для широкого круга инженерно-технических специалистов.

Рейтинг@Mail.ru Яндекс цитирования

Copyright © www.gostrf.com, 2008 - 2026