|
|
|
ОТКРЫТОЕ АКЦИОНЕРНОЕ ОБЩЕСТВО «ЦЕНТРАЛЬНЫЙ НАУЧНО-ИССЛЕДОВАТЕЛЬСКИЙ И ПРОЕКТНО-ЭКСПЕРИМЕНТАЛЬНЫЙ ИНСТИТУТ ПРОМЫШЛЕННЫХ ЗДАНИЙ И СООРУЖЕНИЙ» (ОАО «ЦНИИПРОМЗДАНИЙ»)
УТВЕРЖДАЮ: КРОВЛИ ЗДАНИЙ И СООРУЖЕНИЙ ПРОЕКТИРОВАНИЕ И СТРОИТЕЛЬСТВО Стандарт Организации СО-002-02495342-2005 Зам. генерального директора ОАО "ЦНИИПромзданий" ____________Глинкин С.М. канд. техн. наук «20» января 2005 г. Руководитель отдела покрытий и кровель, ____________Воронин А.Т. «20» января 2005 г. МОСКВА-2005
СОДЕРЖАНИЕ
ВВЕДЕНИЕВ последние годы номенклатура применяемых в России кровельных материалов расширилась за счет выпуска новых отечественных и появления на российском рынке зарубежных материалов. К ним, в частности, относятся наплавляемые битумно-полимерные, полимерные и термопластичные рулонные материалы, обладающие высокой прочностью, деформативностью и гибкостью при отрицательных температурах, что позволяет сократить количество слоев в кровельном ковре. Особенностью наплавляемых рубероидов является наличие у них приклеивающего мастичного слоя, нанесенного в заводских условиях, что способствует снижению трудозатрат в процессе производства кровельных работ по сравнению с кровлями из традиционных материалов, наклеиваемых на мастиках непосредственно на объекте строительства. Увеличение объемов дачного строительства, в том числе коттеджей, а также строительства многоэтажных жилых и других типов зданий с верхними этажами в виде мансард, крыши которых имеют различную, не редко очень сложную конфигурацию и относительно большие уклоны, привело к появлению на отечественном рынке новых штучных материалов, к которым относятся цементно-песчаная, металлическая и гибкая (битумная) черепица, битумные волнистые листы. Кровля из штучных материалов отличается наличием в ней специфических элементов, которые присущи только такому типу кровли и предусмотрены для обеспечения ее надежности в процессе эксплуатации. С этой же целью такой тип кровли комплектуется набором дополнительных материалов и элементов, позволяющих обеспечить вентиляцию конструкции крыши, ее водонепроницаемость, а также быстроту и качество ее устройства. Указанные новые типы кровель наряду с традиционными рассмотрены в настоящем Стандарте Организации (СО - 002 - 02495342 - 2005). Предназначены для проектных и строительных организаций. КРОВЛИ ЗДАНИЙ И СООРУЖЕНИЙ. ПРОЕКТИРОВАНИЕ И СТРОИТЕЛЬСТВО ДАТА ВВЕДЕНИЯ 2005, января , 30, ОБЩИЕ ПОЛОЖЕНИЯ1. Настоящий Стандарт Организации (СО-002-02495342-2005) распространяется на проектирование и устройство кровель из битумных, битумно-полимерных, эластомерных и термопластиных рулонных материалов, из мастик с армирующими прокладками, асбестоцементных и битумных волнистых листов, цементно-песчаной и гибкой черепицы, плоских асбестоцементных плиток, листовой стали, меди, металлического профлиста, металлочерепицы, а также железобетонных панелей лоткового сечения применяемых в зданиях различного назначения. 2. В СО изложены рекомендации по конструктивным решениям кровель, рассмотрены основные узлы и способы устройства кровель из материалов и изделий, указанных в п.1., выполнение которых обеспечивает качество кровель. 3. При: проектировании и устройстве кровель, кроме рекомендаций настоящего Стандарта Организации, :должны выполняться требования действующих норм проектирования, техники безопасности, правил по охране труда и противопожарной безопасности. 4. Материалы, применяемые для кровель и основания под кровлю, должны отвечать требованиям действующих на них нормативных документов или Технических условий, утверждённых в установленном порядке, или документа, подтверждающего пригодность применения их в строительстве (Техническое свидетельство). 5. В проектах кровли на покрытиях с несущим металлическим профилированным настилом и теплоизоляционным слоем из материалов групп горючести Г1 - Г4 должны быть предусмотрено заполнение пустот гофр настилов на длину 250 мм материалами группы горючести НГ в местах примыкания настилов к стенам, деформационным швам, стенкам фонарей, а также с каждой стороны конька и ендовы кровли. Заполнение пустот гофр насыпным утеплителем не допускается. 6. В эксплуатируемых и инверсионных кровлях с земляным слоем и травяным покровом водоизоляционный ковёр должен быть из гнилостойких материалов и защищен противокорневым слоем. 7. В кровлях из волнистых асбестоцементных и битумных листов, листовой стали, меди, металлического профлиста, цементно-песчаной, глиняной, гибкой и металлической черепицы на утеплённых совмещённых покрытиях между слоем теплоизоляции и кровлей должен быть предусмотрен зазор (вентиляционный канал) высотой не менее 50 мм (в зависимости от длины ската), сообщающийся с наружным воздухом на карнизном и коньковом участках, а по теплоизоляции из волокнистых материалов - противоветровой барьер из диффузионно-гидроизоляционной плёнки (из водоизоляционного, но паропроницаемого материала). Во избежание образования со стороны холодного чердака конденсата на поверхностях вышеуказанных кровель должна быть обеспечена естественная вентиляция чердака через отверстия в кровле (слуховые окна, вытяжные шахты и т.п.), суммарная площадь которых принимается не менее 1/300 от площади горизонтальной проекции кровли. 8. В соответствии с п. 8.11 СНиП 21-01 на кровлях с уклоном до 12 % включительно, в зданиях с высотой до карниза или верха парапета более 10 м, а также на кровлях с уклоном свыше 12 % в зданиях с высотой до карниза более 7 м следует предусматривать ограждения в соответствии с ГОСТ 25772. Независимо от высоты здания ограждения, соответствующие требованиям этого стандарта, следует предусматривать на эксплуатируемых плоских кровлях. 9. На кровлях зданий с наружным неорганизованным водостоком, расположенным в местах, где запрещается сброс снега с кровли, следует предусматривать снегозадерживающие устройства, которые должны быть закреплены к обрешетке, прогонам или к несущим конструкциям покрытия; снегозадерживающие устройства могут располагаться в линию или в "ёлочку". 10. При эксплуатируемых кровлях покрытие должно быть проверено расчетом на действие дополнительных нагрузок от оборудования, транспорта, людей и т.п. в соответствии со СНиП 2.01.07. 11. В рабочих чертежах кровель необходимо указать: конструкцию кровли, наименование и марки материалов и изделий со ссылками на государственные стандарты или технические условия; величину уклонов, места установки водосточных воронок и расположение деформационных швов; детали кровель в местах установки водосточных воронок и примыканий к стенам, парапетам, вентиляционным и лифтовым шахтам, карнизам и другим конструктивным элементам. В рабочих чертежах строительной части проекта должно быть указано на необходимость разработки мероприятий по противопожарной защите и по контролю за выполнением правил пожарной безопасности и правил техники безопасности при производстве строительно-монтажных работ. 1. ПРОЕКТИРОВАНИЕ1.1. КРОВЛИ РУЛОННЫЕ И МАСТИЧНЫЕКонструктивные решения1.1.1. Кровли из рулонных и мастичных материалов могут быть выполнены в традиционном (при расположении водоизоляционного ковра над теплоизоляцией) и инверсионном (при размещении водоизоляционного ковра под теплоизоляцией) вариантах (табл. 1). Такие кровли предпочтительно применять на уклонах 1,5...10 %. 1.1.2. Конструктивное решение покрытия с кровлей в инверсионном варианте включает (см. табл. 1): железобетонные сборные или монолитные плиты, стяжку из цементно-песчаного раствора или уклонообразующий из легкого бетона, грунтовку, водоизоляционный ковер, теплоизоляцию, предохранительный (фильтрующий) слой, противокорневой слой из термопластичного рулонного материала (например, "Тефонд" по ТУ 5774-003-45940433-99 или т.п.), пригруз из гравия или бетонных плиток из расчета 50 кг/м2. В инверсионных кровлях для водоизоляционного ковра должны применяться материалы на негниющей основе. 1.1.3. В кровле в инверсионном варианте в качестве теплоизоляции должен применяться только плитный экструзионный пенополистирол, характеризующийся практически нулевым водопоглощением, что исключает возможность накопления в нем влаги и размораживания в процессе эксплуатации кровли (например, «Пеноплекс» по ТУ 5767-002-46261013-99 или т.п.).
Основание под водоизоляционный ковер1.1.4. Основанием под водоизоляционный ковер могут служить ровные поверхности: железобетонных несущих плит, швы между которыми заделаны цементно-песчаным раствором марки не ниже 100 или бетоном класса не ниже В 7,5; теплоизоляционных плит из минеральных волокон с пределом прочности на сжатие при 10 %-ной линейной деформации не менее 0,06 МПа и из пенопласта - не менее 0,15 МПа. Теплоизоляционные плиты (в зависимости от наличия в кровельном ковре холодных или горячих мастик) должны обладать устойчивостью к органическим растворителям (бензин, этил-ацетон, нефрас и др.) и стойкостью к воздействию температур горячих мастик. Возможность применения в качестве основания под водоизоляционный ковер без устройства выравнивающей стяжки нового плитного утеплителя должна устанавливаться по результатам испытаний их физико-технических свойств, проводимых имеющими лицензию лабораториями; монолитной теплоизоляции с прочностью на сжатие не менее 0,15 МПа из легких бетонов, а также материалов на основе цементного или битумного вяжущего с эффективными заполнителями - перлита, вермикулита и др.; выравнивающих монолитных стяжек из цементно-песчаного раствора и асфальтобетона с прочностью на сжатие соответственно не менее 5 и 0,8 МПа, а также сборных (сухих) стяжек из асбестоцементных плоских прессованных листов толщиной 10 мм по ГОСТ 18124 или цементно-стружечных плит толщиной 12 мм по ГОСТ 26816. Под монолитную цементно-песчаную или сборную стяжку минераловатные плиты рекомендуется применять с прочностью на сжатие при 10 %-ой деформации не менее 0,045 МПа; между цементно-песчаной стяжкой и поверхностью минераловатных плит или другой пористой теплоизоляцией предусматривают разделительный слой из битумного рулонного материала. Требования к монолитным стяжкам по ровности их поверхности, влажности и толщине приведены в Таблице 2.
1.1.5. В выравнивающих стяжках из цементно-песчаного раствора и асфальтобетона должны быть предусмотрены температурно-усадочные швы в соответствии с требованиями п.п. 2.19 и 2.20 главы СНиП II-26. 1.1.6. Теплоизоляционные плиты из пенополистирола, фенольного пенопласта и других сгораемых утеплителей могут быть использованы в качестве основания под водоизоляционный ковер из рулонных материалов без устройства выравнивающей стяжки только при свободной укладке рулонного материала, в том числе с механическим креплением его, так как огневой способ наклейки при сгораемом утеплителе недопустим, а использование горячих мастик и холодных клеящих составов на растворителях разрушающе воздействует на такие материалы. 1.1.7. Пароизоляция для предохранения теплоизоляционного слоя и основания под кровлю от увлажнения должна предусматриваться в соответствии с требованиями СНиП 23-02. В местах примыкания теплоизоляционного слоя к стенам, стенкам фонарей, шахтам и оборудованию, проходящему через покрытие или чердачное перекрытие, пароизоляция должна быть поднята на высоту, равную толщине теплоизоляционного слоя, а в местах деформационных швов должна перекрывать края металлического компенсатора. Водоизоляционный ковер1.1.8. Рулонные кровли выполняют из битумных и битумно-полимерных материалов с картонной, стекловолокнистой, комбинированной основами и основой из полимерных волокон (наплавляемых или наклеиваемых на мастиках), а также из эластомерных и термопластичных рулонных кровельных материалов, отвечающих требованиям ГОСТ 30547. 1.1.9. Мастичные кровли выполняют из битумных, битумно-полимерных, битумно-резиновых, битумно-эмульсионных или полимерных мастик, отвечающих требованиям ГОСТ 30693, с армирующими стекловолокнистыми прокладками или прокладками из полимерных волокон. 1.1.10. Конструкция водоизоляционного ковра (количество слоев) зависит от уклона кровли, гибкости применяемого материала и принимается с учетом рекомендаций, изложенных в Приложениях 3…5. Водоизоляционный ковер инверсионного и эксплуатируемого типов кровли (К-3 и К-4 см. табл.1) следует применять на уклонах до 10 %. Мастичные кровли рекомендуются преимущественно в новом строительстве при сложном рельефе покрытия, а также для ремонта существующих (старых) кровель. 1.1.11. Уклон кровли в ендовах должен быть не менее 0,5 % при уклонах скатов покрытия менее 3 % не менее 1 %;при уклонах скатов 3 % и более. В ендовах кровель с уклоном более 10 %, выполненных из мастичных материалов должен быть предусмотрен защитный слой из гравия или крупно-зернистой посыпки на ширину усиления основного водоизоляционного ковра. 1.1.12. В местах перепада высот пролетов, примыканий кровли к парапетам, стенам бортов фонарей, в местах пропуска труб, у водосточных воронок, вентиляционных шахт и т.п. должно предусматриваться устройство дополнительного водоизоляционного ковра, количество слоев которого принимают в соответствии с учетом рекомендаций, изложенных в Приложениях 3...5. 1.1.13. Высота наклейки рулонных материалов и мастичных слоев в местах примыканий к вертикальным поверхностям должна быть не менее 100 мм (на высоту наклонного бортика) - для слоев основного водоизоляционного ковра и не менее 250 мм - для дополнительных. В соответствии с ГОСТ 30693 прочность сцепления нижнего слоя кровельного ковра со стяжками и между слоями должна быть не менее 1 кгс/см2. 1.1.14. Горячие и холодные битумные, битумно-резиновые, битумно-полимерные и битумно-эмульсионные мастики, а также наплавляемые материалы для устройства рулонных и мастичных кровель в зависимости от их уклона должны иметь теплостойкость не ниже указанной в табл. 3. Таблица 3
Защитный слой1.1.15. На кровлях с уклоном до 10 % из мастичных или из битумных и битумно-полимерных рулонных материалов с мелкозернистой посыпкой защитный слой рекомендуется из гравия фракции 5-10 мм или крупнозернистой посыпки (каменной крошки) с маркой по морозостойкости не ниже 100, втопленных в мастику. Толщина защитного слоя из гравия должна быть 10…15 мм, а из посыпки - 3…5 мм. При уклонах более 10 % верхний слой водоизоляционного ковра из рулонных материалов следует предусматривать из материалов с крупнозернистой посыпкой, а защитный слой ковра из мастик - окрасочным. В последнем случае в ендовах на ширину дополнительного водоизоляционного ковра применяют защитный слой из гравия или крупнозернистой посыпки. 1.1.16. Для окрасочного защитного слоя рекомендуются следующие составы: бутилкаучуковая мастика с добавлением 10 - 14 % наполнителя - алюминиевой пудры ПАК-3 или ПАК-4 по ГОСТ 5494; эмаль ХП-799, включающая хлорсульфополиэтиленовый лак ХП-734 с 25 % наполнителя - алюминиевой пудры ПАК-3 или ПАК-4; хлорсульфополиэтиленовый лак ХП-734 с 25 % наполнителя - алюминиевой пудры ПАК-3 или ПАК-4. 1.1.17. В кровлях, подверженных воздействию щелочных производственных выделений, на участках с уклоном 10 % и более битумный мастичный и рулонный водоизоляционный ковер должен быть защищен щелочестойкими составами, наносимыми толщиной не менее 0,5 мм. В качестве таких составов рекомендуется применять гуммировочные составы на основе найрита или на основе хлорсульфированного полиэтилена и битума в соотношении 1:2. 1.1.18. Защитный слой эксплуатируемых кровель должен быть плитным или монолитным из негорючих материалов НГ и маркой по морозостойкости не менее 100, толщиной не менее 30 мм и прочностью, определяемой расчетом на нагрузки в соответствии со СНиП 2.01.07, а при травяном покрове - земляным. В защитном слое эксплуатируемых кровель должны быть предусмотрены температурно-усадочные швы в соответствии с требованиями главы СНиП II-26, заполняемые герметизирующими составами. 1.1.19. В местах перепадов высот, на пониженных участках (при наружном неорганизованном водоотводе) защитный слой должен быть выполнен в соответствии с п. 1.1.18 на ширину не менее 0,75 м. 1.1.20. На кровлях, где требуется обслуживание размещенного на них оборудования (крышные вентиляторы и т.п.), должны быть предусмотрены ходовые дорожки и площадки вокруг оборудования из материалов по п. 1.1.18. 1.1.21. В эксплуатируемых кровлях (тип К-4), предназначенных для размещения кафе, спортивных площадок, соляриев, автостоянок и т.п. для защитного слоя рекомендуется применять также бетонные плиты по слою цементно-песчаного раствора либо цементно-песчаный раствор или монолитный железобетон. 1.1.22. Защитный слой на участках уборки производственной пыли, снега, складирования материалов и т.п. предусматривают из цементно-песчаного раствора или плитных материалов укладываемых на цементно-песчаном растворе с соблюдением требований п. 1.1.18. 1.1.23. В кровлях с уклоном до 2,5 % из эластомерных и термопластичных рулонных кровельных материалов, выполненных методом свободной укладки, должен предусматриваться плитный или гравийный пригрузочный слой из расчета 50 кг/м2. 1.1.24. Максимально допустимая площадь кровли из рулонных и мастичных материалов групп горючести Г-2, Г-3 и Г-4 при общей толщине водоизоляционного ковра до 8 мм, не имеющей защиты слоем гравия, а также площадь участков, разделенных противопожарными поясами (стенами), не должна превышать значений, приведенных в табл. 4. 1.1.25. Противопожарные пояса должны быть выполнены как защитные слои эксплуатируемых кровель (п.1.1.18.) шириной не менее 6 м. Противопожарные пояса должны пересекать основание под кровлю (в том числе теплоизоляцию), выполненное из материалов групп горючести Г-3 и Г-4, на всю толщину этих материалов с учетом требований СНиП 21-01. Таблица 4
Детали водоизоляционного ковра традиционной кровли (тип К-1, К-3)1.1.26. В местах пропуска через кровлю воронок внутреннего водостока предусматривают понижение слоев водоизоляционного ковра и водоприемной чаши, которую закрепляют к плитам покрытия хомутом с резиновым уплотнителем; водоприемную чашу рекомендуется опирать на утеплитель из легкого бетона или антисептированные деревянные бруски (рис. 1.1 и 1.2). Ось воронки должна находиться на расстоянии не менее 600 мм от парапета и других выступающих частей зданий (см. рис. 1.3). 1.1.27. В деформационном шве с металлическими компенсаторами (рис. 1.4) пароизоляция должна перекрывать нижний компенсатор, а в шов уложен сжимаемый утеплитель, например из стеклянного штапельного волокна по ГОСТ 10499 или из минеральной ваты по ГОСТ 21880. 1.1.28. В местах примыкания кровли к парапетам высотой до 450 мм слои дополнительного водоизоляционного ковра должны быть заведены на верхнюю грань парапета с обделкой мест примыкания оцинкованной кровельной сталью и закреплением ее при помощи костылей (рис. 1.5). При высоте парапета до 200 мм переходной наклонный бортик рекомендуется выполнять до верха парапета. 1.1.29. При устройстве кровли в покрытиях с высоким (более 450 мм) парапетом верхняя часть защитного фартука должна быть закреплена и защищена герметиком, а верхняя часть парапета отделана кровельной сталью, закрепляемой костылями или покрыта парапетными плитами с герметизацией швов между ними (рис. 1.6). 1.1.30. Места пропуска через кровлю труб должны быть выполнены с применением стальных патрубков с фланцами (или железобетонных стаканов) и герметизацией кровли в этом месте. Места пропуска анкеров также должны быть загерметизированы, для чего устанавливается рамка из уголков, которая ограничивает растекание мастики, а пространство между рамкой и патрубком или анкером заполняется герметизирующей мастикой (рис. 1.7,а). Примыкание кровли к патрубкам и анкерам допускается выполнять с применением резиновой фасонной детали (рис. 1.8).
б)
Рис. 1.1. - 1.2. Водоприемная воронка а) на монопанели с эластомерной или термопластичной пленкой; б) на эксплуатируемой кровле; 1 - монопанель; 2 - покрытие по типу К-3 с плитным утеплителем (см. табл. 1); 3 - патрубок с фланцем; 4 - прижимной фланец; 5 - колпак воронки; 6 - стальной поддон; 7 - доборный утеплитель; 8 - легкий бетон; 9 - уплотнитель; 10 - хомут; 11 - основной водоизоляционный ковер; 12 - дополнительный водоизоляционный ковер; 13 - герметик; 14 - водоизоляционный ковер из эластомерной или термопластичной пленки; 15 - дополнительные прогоны; 16 - деревянные бруски антисептированные и антипирерованные; 17 - местное понижение воронки; 18 - решетка.
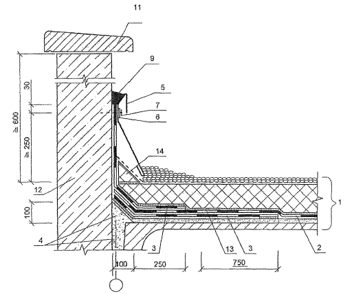
Рис.1.3. Воронка у примыкания кровли к парапету 1 - покрытие по типу К-2 (см. табл.1); 2 - основной водоизоляционный ковер; 3 - дополнительные слои ковра; 4 - костыль (полоса 4×40 мм); 5 - защитный фартук; 6 - бортик из цементно-песчаного раствора; 7 - опора из легкого бетона; 8 - местное понижение воронки; 9 - хомут; 10 - стекловата; 11 - стена; 12 - колпак водоприемной воронки; 13 - ограждение; 14 - патрубок с фланцем; 15 - герметизирующая мастика; 16 - уплотнитель.
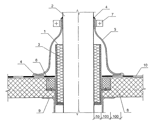
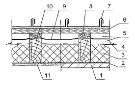
Рис.1.4. Деформационный шов 1 - железобетонная плита покрытия; 2 - пароизоляция; 3 - утеплитель; 4 - выравнивающая стяжка; 5 - основной водоизоляционный ковер; 6 - дополнительный водоизоляционный ковер; 7 - защитный слой; 8 - бортик; 9 - стальной компенсатор; 10 - костыль; 11 - защитный фартук из оцинкованной стали; 12 и 13 - деревянный брусок, деревянная пробка (антисептированные и антипирерованные); 14 - минеральная вата; 15 - разделительный слой; 16 - дополнительный слой пароизоляции; 17 - кладка из многощелевого или поризованного кирпича; 18 - шуруп; 19 - приклейка по кромкам. а)
б)
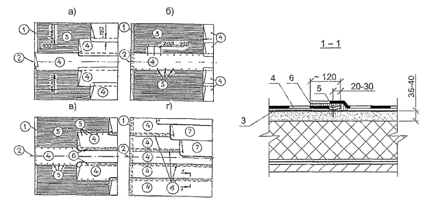
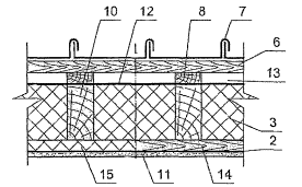
Рис. 1.5. Примыкание к парапету а) эксплуатируемой кровли; б) неэксплуатируемой кровли на покрытии из стальных профнастилов; 1 - железобетонная плита покрытия; 2 - стальной профнастил; 3 - защитный слой из цементно-песчаного раствора или асфальтобетона; 4 - основной водоизоляционный ковер; 5 - дополнительный водоизоляционный ковер; 6 - разделительный слой; 7 - бортик из утеплителя; 8 - стяжка из цементно-песчаного раствора; 9 - водоизоляционный ковер из эластомерной или термопластичной пленки с механическим креплением к профнастилу; 10 - герметик; 11 - парапетная плита; 12 и 13 - защитный фартук; 14 - оцинкованная сталь; 15 - заклепка комбинированная; 16 - стеновая панель; 17 - механическое крепление; 18 - доборный утеплитель; 19 - деревянный брусок антисептированный и антипирерованный; 20 - шуруп; 21 - негорючий утеплитель из минеральной ваты; 22 - ограждение; 23 - теплоизоляция. 1.1.31. При наружном водоотводе карнизные участки кровли должны быть усилены одним слоем дополнительного водоизоляционного ковра шириной не менее 250 мм (рис. 1.9), выполненного из рулонного материала, приклеиваемого к основанию под кровлю (при рулонных кровлях) или из одного слоя мастики с одной армирующей прокладкой (при мастичных кровлях). 1.1.32. Конек кровли при уклонах 3,0 % и более должен быть усилен на ширину 150-250 мм с каждой стороны, а ендова - на ширину 500-750 мм (от линии перегиба) одним слоем дополнительного водоизоляционного ковра из рулонного материала, приклеенного к основанию по продольным кромкам (рис. 1.10). 1.1.33. При применении в качестве основания под кровлю сборной стяжки, закрепляемой механическим способом к металлическому профлисту, в проекте кровли (в проекте производства работ) должна быть приведена деталь кровли с раскладкой элементов стяжки (плит) таким образом, чтобы крепеж попадал в верхнюю гофру профнастила. 1.1.34. В кровлях с травяным растительным покровом (см. табл.1) применяют специальные воронки с дренажным кольцом для отвода воды и доборными элементами, изготовленными из пластмассы (см. рис. 1,11а). Детали водоизоляционного ковра инверсионной кровли (тип К-4)1.1.35. Воронка внутреннего водостока в инверсионной кровле имеет те же детали, что и воронка в кровлях с травяным покровом (рис. 1.11,б). Воронка может быть изготовлена из металлических труб (см. рис. 1.12,а) с дренажными отверстиями над фланцем, на который наклеивают слои водоизоляционного ковра. Вариант отвода воды с инверсионной кровли показан на рис. 1.12,б. 1.1.36. Примыкания инверсионной кровли к парапету приведены на рис. 1.13, к трубе - на рис. 1.14,а; конек и ендова инверсионной кровли показаны на рис. 1.14,б и в.
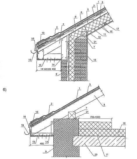
Рис. 1.6 Примыкание кровли к парапету высотой более 450 мм (а) и до 450 мм (б) 1 - несущая плита; 2 - пароизоляция (по расчету); 3 - утеплитель; 4 - основание под кровлю; 5 - водоизоляционный ковер; 6 - ось воронки внутреннего водостока; 7 - наклонный бортик; 8 - фартук из оцинкованной стали; 9 - герметик; 10 - дюбели (саморезы); 11 - оцинкованная сталь; 12 - костыль 40x4 через 600 мм; 13 - стена; 14 - планка; 15 - дополнительный ковер; 16 - защитный слой или пригруз (балласт); 17 - предохранительный слой (геотекстиль) в кровле с пригрузом. а)
б)
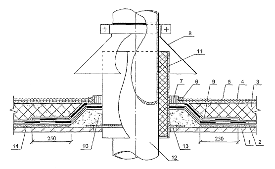
Рис. 1.7. Пропуск трубы через покрытие с традиционной кровлей а) с герметизацией мастикой; б) с устройством бортиков из раствора; 1 - сборная железобетонная панель; 2 - пароизоляция; 3 - теплоизоляция; 4 и 5 - выравнивающая стяжка и бортик из цементно-песчаного раствора; 6 - основной водоизоляционный ковер; 7 - дополнительные слои водоизоляционного ковра; 8 - защитный слой (крупнозернистая посыпка); 9 - хомут; 10 - рамка из стального уголка; 11 - зонт из оцинкованной стали; 12 - патрубок с фланцем; 13 - труба; 14 - герметизирующая мастика; 15 - стекловата; 16 - разделительный слой.
Рис: 1.8. Примыкание кровли к трубе 1 - патрубок с фланцем; 2 - труба; 3 - стекловата; 4 - герметизирующая мастика; 5 - фасонная резиновая деталь; 6 - доборный утеплитель; 7 - хомут; 8 - монопанель; 9 - дополнительные прогоны; 10 - водоизоляционный ковер из эластомерной или термопластичной пленки.
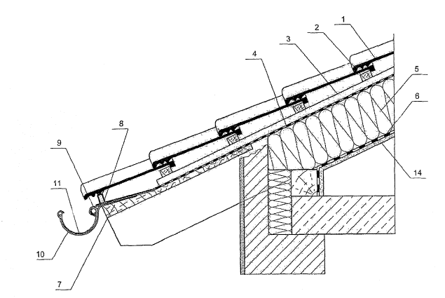
Рис. 1.9. Карниз кровли 1 - карнизная плита; 2 - костыль 40x4 мм через 600 мм; 3 - фартук из оцинкованной кровельной стали; 4 - дюбель; 5 - герметик; 6 - дополнительный водоизоляционный ковер; 7 - основной водоизоляционный ковер. а)
б)
в)
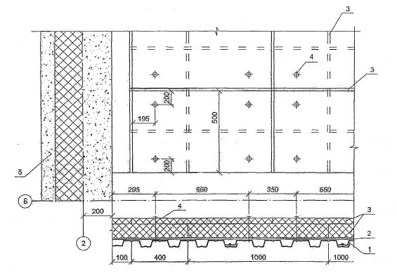
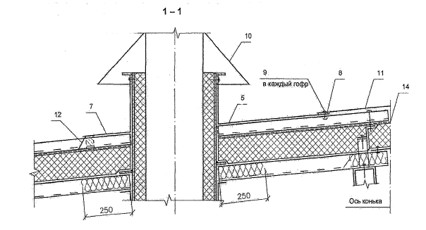
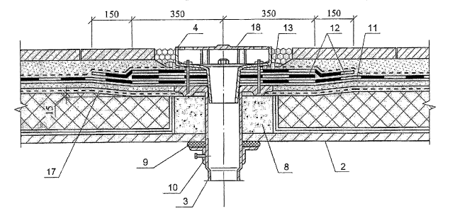
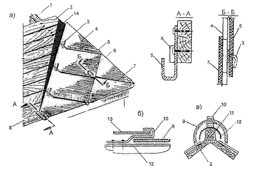
Рис. 1.10. Конек (а) и ендова (б и в) 1 - теплоизоляция; 2 - слой гравия; 3 - стальной профлист; 4 - железобетонная плита покрытия; 5 - основной водоизоляционный ковер; 6 - дополнительный водоизоляционный ковер; 7 - приклейка кромок на ширину 100 мм; 8 - сплошная приклейка плит утеплителя в зоне конька (по 1,5 м с каждой стороны конька); 9 - сборная стяжка с механическим креплением к профлисту саморезами; 10 - негорючий утеплитель из минеральной ваты; 11 - оцинкованная сталь; 12 - полоса кровельного материала над швом в стяжке; 13 - комбинированная заклепка; 14 - пароизоляция из наплавляемого материала; 15 - легкий бетон; 16 - воронка. а)
б)
Рис. 1.11. Воронка внутреннего водостока кровли с травяным растительным покровом (а) и инверсионной кровли (б) 1 - плита покрытия; 2 - уклонообразующий слой; 3 - пароизоляция; 4 - утеплитель; 5 - водоизоляционный ковер; 6 - предохранительный слой (фильтрующий слой из геотекстиля); 7 и 8 - фильтрующие слои; 9 - геотекстиль; 10 - почвенный слой; 11 и 12 - водосточная труба; 13 - дренажное кольцо; 14 - удлинитель; 75 - решетка; 16 - обогреватель; 17 - бетонный плитки а)
б)
Рис. 1.12. Воронка внутреннего водостока инверсионной кровли с гравийным пригрузом (а) и травяным растительным покровом (б) 1 - несущая плита; 2 - стяжка; 3 - основной водоизоляционный ковер; 4 - утеплитель; 5 - геотекстиль; 6 - гравий; 7 - решетка воронки; 8 - резиновая прокладка; 9 - хомут; 10 - водосточная труба; 11 - дренажные отверстия; 12 - дополнительные водоизоляционные слои ендовы; 13 - дренажный слой из гравия; 14 - почвенный слой; 15 - бетонный колодец; 16 - решетка колодца; 17 - дополнительный водоизоляционный ковер. а)
б)
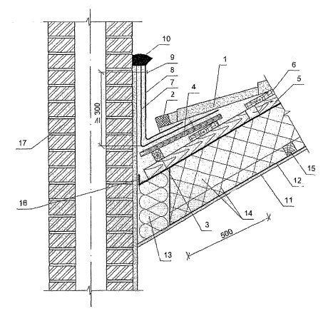
Рис.1.13. Примыкание инверсионной кровли к парапету а) парапет высотой до 450 мм; б) парапет высотой более 450 мм; 1 - покрытие по типу К-4 (см. табл.1); 2 - основной водоизоляционный ковер; 3 - дополнительные слои водоизоляционного ковра; 4 - бортик и заполнение из бетона; 5 - защитный фартук из оцинкованной стали толщиной 0,8 мм; 6 - стальная полоса 40x4 мм; 7 - дюбельный гвоздь; 8 - костыль; 9 - мастика герметизирующая; 10 - ограждение; 11 - плита парапетная; 12 - стена; 13 - сплошная приклейка плит утеплителя в зоне парапета (на ширину 1,5 м); 14 - доборный утеплитель. а)
б)
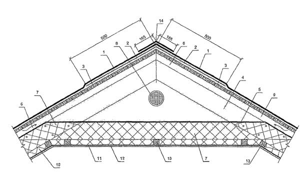
в)
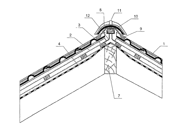
Рис. 1.14. Инверсионная кровля а) примыкание к трубе; б) конек; в) ендова; 1 - несущая плита; 2 - основной водоизоляционный ковер; 3 - утеплитель; 4 - предохранительный (фильтрующий) слой из геотекстиля; 5 - пригрузочный слой из гравия; 6 - рамка из уголка; 7 - герметик; 8 - зонт; 9 - дополнительный водоизоляционный ковер; 10 - легкий бетон; 11 - минвата; 12 - труба; 13 - патрубок с фланцем; 14 - цементно-песчаный раствор (затирка); 15 - приклепка кромок на ширину 100 мм; 16 - сплошная приклейка плит утеплителя в зоне конька (по 1,5 м с каждой стороны конька). 1.2. КРОВЛИ ИЗ МЕЛКОШТУЧНЫХ И ВОЛНИСТЫХ ЛИСТОВЫХ МАТЕРИАЛОВКОНСТРУКТИВНЫЕ РЕШЕНИЯ1.2.1. Мелкоштучные и волнистые листовые материалы рекомендуется применять преимущественно при устройстве чердачных кровель, крыш мансард зданий гражданского и общественного назначения, а также кровель неотапливаемых зданий и сооружений. 1.2.2. Для устройства таких кровель используют: цементно-песчаную и керамическую черепицу, гибкую (битумную) черепицу (ШИНГЛС), асбестоцементные плитки и волнистые листы, битумные волнистые листы (типа "Ондулин"), металлочерепицу и профилированные металлические листы. Конструктивные решения кровель приведены в табл. 5.
КРОВЛИ ИЗ ЦЕМЕНТНО-ПЕСЧАНОЙ ЧЕРЕПИЦЫ1.2.3. Черепичную кровлю можно применять на уклонах от 10 до 90°; наиболее предпочтителен уклон от 22 до 60°. Требования к кровле из цементно-песчаной черепицы, например, марки "Франкфуртская NОVO по ТУ 5756-002-41546053-03, в зависимости от ее уклона приведены в табл.6.
В зависимости от величины уклона, расположения теплоизоляции и ветро-гидроизоляционного слоя различают следующие конструктивные решения теплой крыши, например, мансарды (см. табл.5): - уклон более 16°; толщина теплоизоляции меньше высоты стропила, диффузионно-гидроизоляционная плёнка располагается с провисом и образованием двух каналов вентиляционного зазора; в этом случае для утеплителя крыши мансарды необходимо применять маты с плотностью 15...25 кг/м3 или плиты с плотностью 15...30 кг/м3 с покровным (ветрозащитным) слоем из стеклохолста, а в качестве диффузионно-гидроизоляционного слоя - например, плёнку "Ютафол Д 110", "Ютафол Д 140", "Ютафол Д 220", "Юта-кон", Европлёнка и Дифорол ПРО (см. Приложение 4); - уклон более 16°; толщина теплоизоляции равна высоте стропила, ветрозащитная диффузионно-гидроизоляционная плёнка располагается на поверхности теплоизоляции с образованием над нею одноканального вентиляционного зазора; в этом случае для утепления кровли мансарды применяют теплоизоляционные изделия без покровного (ветрозащитного) слоя из стеклохолста, а в качестве ветрозащитного диффузионно-гидроизоляционного слоя - плёнка "Ютадах" ("Ютавек") (см. Приложение 4); - уклон более 16°; толщина теплоизоляции больше высоты стропила; в этом случае дополнительный слой теплоизоляции может быть расположен снизу между поперечными потолочными брусками либо между брусками контробрешетки, высота которых равна толщине дополнительной теплоизоляции (при реконструкции крыши); - уклон менее 16° (до 10°); под черепичной кровлей предусматривают водоизоляционный ковёр из слоя битуминозного рулонного материала. 1.2.5. Вариант конструктивного решения теплой крыши (мансарды) выбирают после определения уклона кровли, расчёта сечения стропила и теплотехнического расчёта теплоизоляции. 1.2.6. Конструктивные решения черепичной кровли чердака приведены в табл. 5. Основание под кровлю и кровляа) Поперечное сечение несущих элементов1.2.7. Для стропил, обрешётки и контробрешётки применяют древесину хвойных пород в соответствии с требованиями СНиП II-25. Для контробрешётки используют бруски с минимальным сечением 30×50 мм; для крыш с длинными скатами и сложных многоскатных мансардных крыш толщину контробрешёток увеличивают до 50 мм. В зависимости от шага стропил (рекомендуемое) сечение обрешётки принимают по табл.7. Таблица 7
Рекомендуемое сечение стропил не менее 50×150 мм, шаг стропил 60…110 см в зависимости от расчётной нагрузки и длины стропильных ног. Величину расчётной нагрузки в зависимости от района строительства и профиля кровли принимают по СНиП 2.01.07, Требуемое сечение стропильных ног для конкретного объекта (мансарды) определяют расчетом по СНиП II-25 и СТ СЭВ 4868. Нагрузку от кровли (от цементно-песчаной черепицы и обрешётки) в расчётах принимают по табл.8. Таблица 8
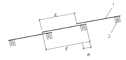
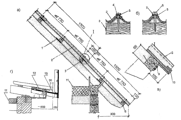
б) Расчёт шага обрешётки и длины кровли из цементно-песчаной черепицы1.2.8. Для определения количества рядов черепицы на проектируемой кровле вначале рассчитывают шаг (Шо6р.) обрешётки (рис.1.15): Шобр.= Lчер. - Н, где Lчep. (длины черепицы "Франкфуртская NOVO") = 420 мм; Н (нахлёстка черепиц) = 75…108 мм в зависимости от уклона (см. табл. 6).
Рис. 1.15. Поперечный разрез черепичной кровли Зная длину стропила Lстр. можно определить количество рядов черепицы (n):
Шкарн. (шаг стропил у карниза) = 32…39 см (см. рис. 1.15) в зависимости от положения водосточного желоба; 4 см - расстояние от конька до верхней грани обрешётки. На многоскатных кровлях шаг обрешётки и количество рядов черепицы рассчитывают для каждого ската. 1.2.9. Длина кровли (длина обрешётки) зависит от длины здания и применяемой боковой черепицы (рис. 1.16). Точная подгонка длины кровли обеспечивается применением половинчатой черепицы и свободной укладкой черепицы (с люфтом 3 мм в каждом стыке черепицы).
Рис. 1.16. Схема для расчёта длины кровли с боковой цементно-песчаной (а) и облегчённой (б) черепицей 1 - боковая левая черепица; 2 - половинчатая черепица; 3 - цельная рядовая черепица; 4 - боковая правая черепица; 5 - шуруп с уплотнительной шайбой. в) Расчёт шага обрешётки (длины ската) и длины кровли из керамической черепицы (на примере черепицы "ОПАЛ")Размеры этой черепицы, расчёт длины ската и кровли приведены на рис.1.17…1.19.
Рекомендуемый уклон кровли - 30°. Вес черепицы - 1,8 кг. Расход на 1 м2 ~ 34 шт. Средняя длина черепицы в кровле ~ 360 мм; Средняя ширина черепицы в кровле ~ 180 мм (см. рис. 1.17);
Шаг обрешётки: при двойной укладке - 145…165 мм (см. рис.1.18, а) и при корончатой укладке - 290…330 мм (см. рис.1.18, б).
Рис.1.18. Поперечный разрез кровли (скат кровли) при двойной (а) и при корончатой (б) укладке черепицы. LAP - расстояние от конька до обрешётки равно 100 мм при уклоне кровли до 30°; 90...100 мм от 30 до 45° и 75…90 мм - > 45°; LA - шаг обрешётки; LAT1 и LAT2 - шаг обрешётки на свесе. Длина ската будет равна: L = LAT1 + LAT2 + LAF + LA x n, где n - количество рядов черепицы. а)
Рис.1.19. Продольный разрез кровли с применением на фронтоне боковой черепицы (а) и без применения такой черепицы (б). Вентиляционный зазора) Карнизный участок1.2.10. Сечение вентиляционного зазора (fкаp. см2/ п.м.) в любом месте ската, в т.ч. и на карнизном участке, должно составлять не менее 0,2 % от площади ската кровли, но не менее 200 см2/ п.м. Расчет сечения зазора производится для одного погонного метра длины ската по формуле:
l- длина ската в см; 1∙100см2 - площадь ската на ширине 1 м; Пример расчета сечения вентиляционного зазора (канала) на карнизе для ската, например, мансарды длиной 9 м = 900 см (рис. 1.20).
Рис.1.20. К расчёту вентиляционного зазора на карнизном свесе.
Поскольку рассчитанное сечение меньше требуемого, то следует проектировать конструкцию свеса с вентиляционным зазором сечением 200 см2/м. б) Конёк1.2.11. Поперечное сечение вентиляционного зазора на коньке (fкон, см2/ п.м.) должно составлять 0,05 % от площади обоих скатов, но не менее 5 см2/м. Расчёт сечения зазора производится для 1 погонного метра ширины ската по формуле:
Пример расчёта сечения вентиляционного зазора (канала) на коньке двухскатной кровли мансарды с длиной ската 9 м = 900 см (см. рис. .20):
При проектировании кровли мансарды принимаем сечение вентиляционного зазора с одной стороны конька 45 см2/м. в) Параметры вентиляции1.2.12. В связи с тем, что в кровлях с длиной ската более 10 м увеличивается площадь сечения вентиляционного зазора (см. табл.9), высоту этого зазора необходимо также увеличивать, приняв высоту зазора для кровель с длиной ската до 10 м около 2,4 см = 2 (минимальная высота)∙1,2. где 1,2 - коэффициент запаса, учитывающий возможные отклонения сечения канала в процессе устройства кровли. Таблица 9
Детали кровли (крыши) из цементно-песчаной черепицы1.2.13. К основным деталям крыши относятся карниз, конек, хребет, ендова, примыкание к трубе, стене, фронтонный свес. Для оформления этих деталей предусмотрены сопутствующие изделия, к которым, в частности, относятся защитные элементы черепицы, вентиляционные изделия, защитные и диффузионно-гидроизоляционные пленки, дополнительные черепичные и вентиляционные изделия из ПВХ и других материалов (см. Приложения 6, 8). 1.2.14. Карнизный свес (рис.1.21...1.23) может быть выполнен с ограждением и снегозадержанием, с двумя или одним вентиляционным зазором в зависимости от конструктивного решения крыши (см. табл.6). 1.2.15. Фронтонный свес (рис.1.24), как правило, выполняют с боковой черепицей с выносом и без выноса. 1.2.16. Конструктивные решения конька, ендовы и хребта приведены на рис.1.25…1.27; примыкания кровли к трубе и стене показаны на рис.1.29. а)
б)
Рис. 1.21. Карниз крыши с ограждением и снегозадержанием (а) и двумя вентиляционными зазорами (б) 1 - черепица; 2 - обрешетка; 3 - контробрешетка; 4 - диффузионно-гидроизоляционная пленка (см. Приложение 9); 5 - утеплитель с покровным (ветрозащитным) слоем из стеклохолста; 6 - клинообразный брус; 7 - капельник; 8 - крепление желоба; 9 - водосточный желоб; 10 - подшивка карниза; 11 - трубки ограждения и снегозадержания; 12 - стопка ограждения; 13 - укосина; 14 - опорный кронштейн; 15 - доска крепления; 16 - вентиляционная лента; 17 - фартук свеса; 18 - пароизоляция; 19 - внутренняя обшивка а)
б)
Рис. 1.22. Карниз крыши с одним вентиляционным зазором (а) и с выносом (б) 1 - черепица; 2 - обрешетка; 3 - контробрешетка; 4 - ветрозащитная диффузионно-гидроизоляционная пленка (см. Приложение 9); 5 - утеплитель; 6 - пароизоляция; 7 - клинообразный брус; 8 - аэроэлемент свеса (см. Приложение 7); 9 - фартук свеса; 10 - крепление желоба; 11 - водосточный желоб; 12 - декоративные плитки; 13 - вентиляционная лента (см. Приложение 7); 14- внутренняя обшивка а)
б)
Рис. 1.23. Карниз чердачной кровли с выносом (а) и без выноса (б) 1 - черепица; 2 - обрешетка; 3 - контробрешетка; 4 - диффузионно-гидроизоляционная пленка (см. Приложение 9); 5 - утеплитель с покровным (ветрозащитным) слоем из стеклохолста; 6 - пароизоляция; 7 - клинообразный брус; 8 - аэроэлемент свеса (см. Приложение 7); 9 - фартук свеса; 10 - крепление желоба; 11 - водосточный желоб; 12 - вентиляционная лента; 13 - декоративные плитки а)
б)
Рис. 1.24. Фронтонный свес кровли без выноса (а) и с выносом (б) 1 - боковая цементно-песчаная черепица; 2 - обрешетка; 3 - контробрешетка; 4 - диффузионно-гидроизоляционная пленка (см. Приложение 9); 5 - стропильная нога; 6 - подшивка фронтона а)
б)
Рис. 1.25. Конек чердачной кровли с диффузионно-гидроизоляционной пленкой 1- черепица; 2 - обрешетка; 3 - контробрешетка; 4 - диффузионно-гидроизоляционная пленка (см. Приложение 9); 5 - зажим (кляммер) коньковой черепицы (см. Приложение 8); 6 -крепление конькового бруска; 7 - вентиляционная черепица (см. Приложение 8); 8 - коньковая черепица; 9 - аэроэлемент конька или "Фигароль" (см. Приложение 7); 10 - коньковый брусок; 11 - дополнительная полоса из пленки а)
б)
Рис. 1.26. Конек крыши с одним вентиляционным зазором (а) и чердачной кровли с вентиляционным элементом в диффузионно-гидроизоляционной пленке (б) 1 - черепица; 2 - обрешетка; 3 - контробрешетка; 4 - ветрозащитная диффузионно-гидроизоляционная пленка (см. Приложение 9); 5 - утеплитель; 6 - пароизоляция; 7 - коньковая черепица; 8 - аэроэлемент конька или "Фигароль" (см. Приложение 7); 9 - коньковый брусок; 10 - зажим коньковой черепицы (см. Приложение 8); 11 - крепление конькового бруска; 12 - коньковый прогон; 13 - внутренняя обшивка; 14 - вентиляционный элемент (см. Приложение 7) а)
б)
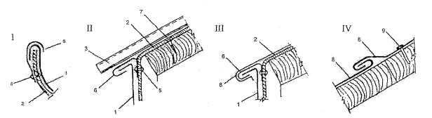
Рис. 1.27. Ендовы черепичной кровли чердака (а) и крыши с диффузионно-гидроизоляционной пленкой (б) 1 - черепица; 2 - обрешетка; 3 - контробрешетка; 4 - диффузионно-гидроизоляционная пленка (см. Приложение 9); 5 - алюминиевый окрашенный желобок; 6 - сплошной дощатый настил ендовы; 7 - поролоновая полоса; 8 - скоба крепления желоба; 9 - оцинкованный гвоздь; 10 - утеплитель с покровным (ветрозащитным) слоем; 11 - пароизоляция; 12 - внутренняя обшивка а)
б)
Рис. 1.28. Хребет крыши (а) и чердачной кровли (б) 1 - черепица; 2 - обрешетка; 3 - контробрешетка; 4 - ветрозащитная диффузионно-гидроизоляционная пленка (см. Приложение 9); 5 - утеплитель; 6 - пароизоляция; 7 - хребтовая стропильная нога; 8 - коньковая черепица; 9 - "Фигароль" - аэроэлемент хребта (см. Приложение 7); 10 - хребтовый брусок; 11 - зажим (кляммер) коньковой черепицы (см. Приложение 8); 12 - крепление хребтового бруска; 13 - внутренняя обшивка а)
б)
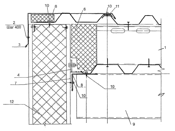
Рис. 1.29. Примыкание крыши к трубе (а) и к стене (б) 1 - черепица; 2 - обрешетка; 3 - контробрешетка; 4 - ветрозащитная диффузионно-гидроизоляционная пленка (см. Приложение 9); 5 - утеплитель; 6 - труба; 7 - пароизоляция; 8 - внутренняя обшивка; 9 - дренажный желоб; 10 - рулонный самоклеящийся материал, например, "Вакафлекс" или ему подобный (см. Приложение 8); 11 - каркас вентиляционного канала; 12 - доска для приклейки "Вакафлекса"; 13 - фартук (капельник) (см. Приложение 8); 14 - крепежный элемент; 15 - герметик; 16 - стена КРОВЛЯ ИЗ ГИБКОЙ ЧЕРЕПИЦЫ1.2.17. Гибкая черепица (кровельная плитка, гонт, ШИНГЛС) - это плоские листы с фигурными вырезами по одной кромке, имеющие армирующую основу, как правило, из стеклохолста и двухсторонние покровные битумные или битумно-полимерные слои. Верхняя поверхность черепицы покрыта слоем цветной посыпки, а на нижнюю нанесен самоклеящийся слой модифицированного битума на площади не менее 50 %, защищенный съемной силиконовой пленкой. Черепица имеет различную форму, наиболее распространенные приведены на рис. 1.30.
Рис 1.30. Гибкая черепица рядовая (а) и карнизная-коньковая (б) 1 - защитный слой; 2 - приклеивающий слой 1.2.18. Конструктивные решения кровли из гибкой черепицы практически аналогичны кровлям из цементно-песчаной черепицы с одним отличием, которое состоит в том, что основание под кровлю из гибкой черепицы предусматривают в виде сплошного деревянного настила. Уклон кровли из мягкой черепицы - не менее 20 %. 1.2.19. Конструктивные решения кровли чердака приведены в табл.5. Кровлю без диффузионно-гидроизоляционной пленки предусматривают для чердака, вентилируемого через слуховое окно и через вентиляционные отверстия (окна) в щипцовой (торцевой) стене. Основание под кровлю1.2.20. Основанием под кровлю из гибкой черепицы служит сплошной настил из: - шпунтованных (половых) или обрезных досок хвойных пород не ниже 2-го сорта (ГОСТ 8486-86*Е) с влажностью не более 20 %; - фанеры влагостойкой (ГОСТ 8673) с влажностью не более 12 %; - ориентированно-стружечные плиты (ОСП-3) с влажностью не более 12 %. 1.2.21. Сечение и шаг стропил зависит от нагрузок, формы крыши и определяется расчетом (см. п.1.2.7) и может колебаться от 600 до 1500 мм; в связи с этим может меняться и толщина деревянного настила (см. табл. 10). Таблица 10
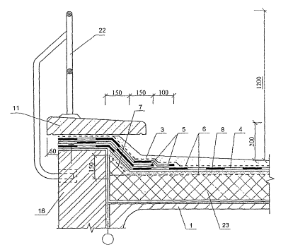
Водоизоляционный ковер1.2.22. Кровельный ковер из гибкой черепицы включает подкладочный слой из битуминозного рулонного материала, укладываемый под черепицу по всей поверхности кровли и служащий дополнительной гидроизоляцией на уклонах от 20 % (12°) до 33 % (18°). На больших уклонах подкладочный слой предусматривают на карнизных свесах, торцах, в местах прохода через кровлю кровельных элементов (труб, шахт и т.п.). 1.2.23. В ендовах и на примыканиях кровли к стенам предусматривают ендовный материал для усиления кровельного ковра в этих местах. Кроме этого материала кровля, как правило, комплектуется и другими изделиями для прохода через нее труб, уплотнителями, элементами вентиляции (см. Приложение 10). 1.2.24. Величину вентиляционного зазора в крыше с кровлей из гибкой черепицы можно определять по аналогии с крышей из цементно-песчаной черепицы (см. п.п.1.2.10-1.2.12.). для вентиляции холодных чердаков через слуховые окна площадь последних принимают из расчета 3,5...4,0 м2 на 1000 м2 чердачного перекрытия. Детали кровли1.2.25. Карнизные свесы, коньковый узел, примыкание к трубам и стене показаны на рис. 1.31.1.35. а)
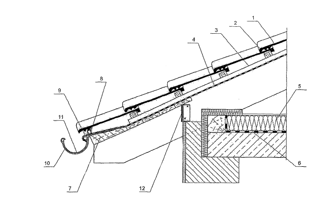
Рис. 1.31. Карнизный узел крыши мансардного этажа (а) и холодного чердака (б) 1 - гибкая черепица; 2 - подкладочный слой; 3 - сплошной настил; 4 - кобылка; 5 - ветрозащитная диффузионно-гидроизоляционная пленка (см. Приложение 9); 6 - обрешетка; 7 - мауэрлат; 8 - стропило; 9 - вентиляционный зазор; 10 - теплоизоляция; 11 - пароизоляция; 12 - гипсокартон; 13 - анкер крепления стропил и мауэрлата; 14 - каркас карнизного свеса; 15 - подшивка; 16 - капельник; 17 - бруски; 18 - карнизная черепица; 19 - скоба желоба; 20 - несущая плита; 21 - гидроизоляция. а)
б)
Рис. 1.32. Коньковый узел крыши с вентиляцией через смотровые и щипцовые окна (а) и через коньковый дефлектор (б) 1 - гибкая черепица; 2 - подкладочный слой; 3 - настил; 4 - стропило; 5 - ветрозащитная диффузионно-гидроизоляционная пленка; 6 - контробрешетка; 7 - затяжка; 8 - щипцовое окно; 9 - вентиляционный зазор; 10 - теплоизоляция; 11 - пароизоляция; 12 - гипсокартон; 13 - бруски; 14 - коньковая черепица; 15 - коньковый дефлектор (см. Приложение 10); 16 - обрешетка; 17 - вентиляционные перетоки.
Рис. 1.33. Примыкание кровли к дымовой металлической трубе 1 - гибкая черепица; 2 - подкладочный слой; 3 - резиновая фасонная деталь (см. Приложение 8); 4 - силиконовый герметик; 5 - дымовая труба из металла; 6 - стекловата (негорючая); 7 - наружный металлический стакан; 8 - настил; 9 - вентиляционный канал с шагом 0,5 м в контробрешетке; 10 - вентиляционный зазор; 11 - ветрозащитная диффузионно-гидроизоляционная пленка (см. Приложение 7); 12 - теплоизоляция; 13 - пароизоляция; 14 - бруски; 15 - гипсокартон; 16 - крепление ветрозащитной пленки к трубе двухсторонней липкой лентой.
Рис. 1.34. Примыкание кровли к кирпичной трубе 1 - труба; 2 - гипсокартон; 3 - пароизоляция; 4 - теплоизоляция; 5 - настил; 6 - гибкая черепица; 7 - рулонный материал; 8 - задний уголок; 9 - металлическая планка примыкания; 10 - герметик; 11 - передний уголок; 12 - боковой уголок; 13 - стропило; 14 - крепежный элемент; 15 - вентиляционный канал.
Рис. 1.35. Узел установки мансардного окна "Velux" 1 - гибкая черепица; 2 - подкладочный слой; 3 - настил; 4 - вентиляционный клапан мансардного окна; 5 - ветрозащитная диффузионно-гидроизоляционная пленка; 6 - брусья; 7 - битумная мастика; 8 - вентиляционные отверстия; 9 - вентиляционный зазор; 10 - теплоизоляция; 11 - пароизоляция с проклейкой швов; 12 - гипсокартон; 13 - оконный оклад; 14 - мансардное окно. КРОВЛЯ ИЗ МЕТАЛЛОЧЕРЕПИЦЫ1.2.26. В качестве металлочерепицы используют профилированные в двух направлениях стальные листы с защитно-декоративным покрытием, как правило, длиной на скат, но не более 8200 мм. 1.2.27. Конструктивные решения кровли приведены в табл. 5 по аналогии с кровлями из цементно-песчаной черепицы; отличие состоит в том, что основание под кровлю из металлочерепицы предусматривают из досок шириной 100 мм. Такие кровли предпочтительно применять на уклонах более 20 %. На уклонах от 10 до 20 % должна быть предусмотрена герметизация продольных и поперечных стыков. 1.2.28. Конструктивные решения кровли чердака предусматривают по аналогии с кровлей из гибкой черепицы и приведены в табл. 5. Основание под кровлю1.2.29. Расстояние между обрешеткой из досок под металлочерепицу зависит от ее марки (типа), т.е. от шага волны черепицы (см. рис. 1.36 и 1.37). Несущая способность основания под кровлю устанавливают расчетом на нагрузки в соответствии со СНиП 2.01.07.
Рис. 1.36. Металлочерепица (ТУ 5285-001-45859820-97) с шагом волны 350 мм (а) и 400 мм (б)
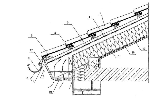
Рис. 1.37. обрешетка под металлочерепицу 1 - обрешетка из досок 32x100 мм; 2 - карнизная доска, толщина которой на 17 мм больше. Детали кровли1.2.30. К основным деталям кровли относятся карниз, конек, ендова и др.; их расположение показано на рис. 1.38. Кровля комплектуется набором отделочных элементов, приведенных в Приложении 11.
Рис. 1.38. Схема кровли из металлочерепицы 1 - карнизная планка (см. Приложение 11); 2 - обрешетка; 3 - контробрешетка; 4 - диффузионно-гидроизоляционная пленка (см. Приложение 9); 5 - стропило; 6 - конек; 7 - металлочерепица; 8 - уплотнитель конька (см. Приложение 11); 9 - заглушка; 10 - ветровая доска; 11 - водосточная труба; 12 - хомут трубы; 13 - водосточный желоб; 14 - скоба желоба; 15 - снеговой барьер (см. Приложение 11); 16 - ендова внешняя; 17 - ендова внутренняя; 18 - уплотнитель ендовы. 1.2.31. В отличие от карнизного узла чердака, вентилируемого через слуховые и щипцовые окна (см. рис. 1.39,а), в теплой крыше, например, мансарды (см. рис. 1.39,б) предусматривают вентиляционный канал с диффузионно-гидроизоляционной пленкой (см. Приложение 9); вентиляция осуществляется через конек или вытяжную трубу, расположенную на скате (см. рис. 1.40). а)
б)
Рис. 1.39. Карнизный узел кровли холодного чердака (а) и крыши мансарды (б) 1 - несущая плита; 2 - пароизоляция; 3 - теплоизоляция; 4 - дополнительная теплоизоляция по периметру здания; 5 - мауэрлат; 6 - стропило; 7 - контробрешетка; 8 - металлочерепица; 9 - обрешетка; 10 - карнизная планка (капельник) (см. Приложение 11); 11 - скоба желоба; 12 - подшивка карниза; 13 - каркас карнизного свеса; 14 - стена; 15 - щипцовое окно; 16 - снеговой барьер (см. Приложение 11); 17 - гипсокартон; 18 - брусок; 19 - анкер стропила и мауэрлата; 20 - ветрозащитная диффузионно-гидроизоляционная пленка (см. Приложение 9). а)
б)
Рис.1.40. Коньковый узел кровли с вентиляцией через коньковый элемент (а) и через вытяжную трубу (б) 1 - металлочерепица; 2 - обрешетка; 3 - контробрешетка; 4 - шуруп на каждой второй вершине гофра черепицы; 5 - коньковый элемент (см. Приложение 11); 6 - ветрозащитная диффузионно-гидроизоляционная пленка (см. Приложение 9); 7 - теплоизоляция; 8 - пароизоляция; 9 - гипсокартон; 10 - брусок; 11 - затяжка; 12 - щипцовое отверстие; 13 - уплотнитель; 14 - вытяжка (см. Приложение 11). 1.2.32. На фронтонном свесе кровли предусматривают торцевую деревянную планку, которая должна быть выше обрешетки на высоту металлочерепицы (см. рис. 1.41); сверху узел перекрывают ветровой планкой (см. Приложение 11).
Рис. 1.41. Фронтонный свес кровли 1 - металлочерепица; 2 - обрешетка; 3 - контробрешетка; 4 - диффузионно-гидроизоляционная пленка; 5 - подшивка свеса; 6 - деревянная планка; 7 - ветроотбойный элемент; 8 - шуруп через 300 мм. 1.2.33. В ендове кровли (см. рис. 1.42) основание предусматривают сплошным, толщина которого равна толщине обрешетки, а герметизацию зазора между металлочерепицей и ендовным нижним листом выполняют с применением специального уплотнителя (см. Приложение 11); нижний лист стыкуют с нахлесткой не менее 150 мм, а шов стыка герметизируют. Верхний ендовный лист крепят без уплотнителя заклепками или шурупами с шагом 300…500 мм. 1.2.34. При отсутствии специального материала для отделки примыкания кровли к кирпичной трубе (стене) можно применить самоклеящийся битуминозный рулонный материал (ТУ 5774-007-17925162-2002), укладываемый под металлочерепицу по сплошному настилу (см. рис. 1.43) и металлическими деталями по аналогии с узлом на рис. 1.34.
Рис. 1.42. Ендова кровли 1 - металлочерепица; 2 - контробрешетка; 3 - обрешетка; 4 - верхний ендовный лист (см. Приложение 11); 5 - шуруп; 6 - уплотнитель; 7 - нижний ендовный лист (см. Приложение 11); 8 - сплошной настил; 9 - ветрозащитная диффузионно-гидроизоляционная пленка (см. Приложение 9); 10 - пароизоляция; 11 - теплоизоляция; 12 - гипсокартон.
Рис. 1.43. Примыкание кровли к кирпичной трубе 1 - металлочерепица; 2 - уплотнитель; 3 - брусок; 4 - деревянный настил; 5 - контробрешетка; 6 - обрешетка; 7 - битуминозный самоклеящийся рулонный материал; 8 - металлическая делать; 9 - дюбель; 10 - герметик;:11 - гипсокартон; 12 - пароизоляция; 13 - минвата (негорючая); 14 - теплоизоляция; 15 - брусок; 16 - крепление ветрозащитной диффузионно-гидроизоляционной пленки двухсторонней липкой лентой; 17 - труба. КРОВЛИ ИЗ АСБЕСТОЦЕМЕНТНЫХ И БИТУМНЫХ ВОЛНИСТЫХ ЛИСТОВ1.2.35. Кровли из волнистых листов рекомендуется предусматривать одно- или двускатными, возможно более простой формы (без ребер и разжелобков), используя преимущественно рядовые листы основных размеров; также кровли предпочтительно применять на уклонах более 20 % и более; при уклонах кровли от 10 до 20 % должна быть предусмотрена герметизация продольных и поперечных стыков. Для кровель следует использовать асбестоцементные волнистые листы по ГОСТ 30340 и битумные волнистые листы, например, "Ондулин". При этом для чердачных кровель гражданских зданий рекомендуется преимущественно применять асбестоцементные листы профиля 40/150, а для кровель зданий производственного назначения листы профиля 54/200. 1.2.36. Поперек ската волна накрывающей кромки волнистого листа должна перекрывать волну накрываемой кромки смежного листа. Вдоль ската кровли нахлестка асбестоцементных волнистых листов должна быть не менее 150 мм, а битумных волнистых листов - от 170 до 300 мм (в зависимости от уклона). 1.2.37. Для узлов сопряжения элементов кровли из асбестоцементных волнистых листов рекомендуется применять асбестоцементные фасонные детали, предусмотренные ГОСТ 30340. При отсутствии асбестоцементных фасонных деталей допускается использовать в их качестве коньковые, угловые и лотковые детали, выполненные из тонколистовой оцинкованной стали или алюминиевого сплава. 1.2.38. При длине здания более 25 м для компенсации деформаций в кровле должны быть предусмотрены компенсационные швы, располагаемые с шагом 12 м для асбестоцементных листов, не защищенных водостойким покрытием, и 24 м - для гидрофобизированных и окрашенных листов. 1.2.39. Элементы для крепления волнистых листов к обрешетке и прогонам должны быть с антикоррозионной защитой. 1.2.40. Количество креплений листов к обрешетке гвоздями или шурупами, шаг брусков обрешетки или прогонов определяют расчетом на действующие нагрузки в соответствии с главой СНиП 2.01.07; при этом количество креплений должно быть не менее 4 на лист, а количество противоветровых скоб в карнизном ряду - не менее 2 на лист. 1.2.41. Битумный волнистый лист (марки "Ондулин") - это изделие на основе целлюлозных волокон с добавками минерального наполнителя, пигмента и резины, пропитанных битумом. Конструктивные решения кровель из волнистых листов принимают по аналогии с кровлями из гибкой (битумной) или металлической черепицы с учетом дополнительных изделий для кровель из "Ондулин" (см. Приложение 12) и приведены в табл. 5. 1.2.42. Количество волнистых листов, размещаемых в направлении поперек ската, определяют путем деления длины карнизного свеса и двух напусков на фронтонах крыши размером от 50 до 70 мм каждый на полезную ширину листа. Количество горизонтальных рядов на скате устанавливают делением фактической длины ската на полезную длину листа без напуска. Основание под кровлю1.2.43. Основание под чердачную кровлю гражданских зданий из асбестоцементных волнистых листов рекомендуется в виде обрешетки из рядовых брусков сечением 60x60 мм с таким расчетом, чтобы на нее можно было уложить целое число листов в продольном и поперечном направлениях. При этом все нечетные бруски должны иметь высоту 60 мм, а четные 63 мм, что позволяет обеспечить плотную продольную нахлестку. Для однотипности целесообразно использовать бруски сечением 60x60 мм с наращиванием их по необходимости подкладками толщиной 3 мм. Шаг брусков обрешетки должен составлять не более 750 мм (см. рис. 1.44). Для брусков и обрешетки применяют древесину хвойных пород в соответствии с требованиями СНиП II-25.
Рис. 1.44. Конструкция рядовой обрешетки и крепление асбестоцементных волнистых листов а - продольный разрез ската; б - крепление листов гвоздями и шурупами; в - дополнительное крепление листов на карнизе; г - ограждение кровли 1 - уравнительная планка; 2 - асбестоцементный лист; 3 - обрешетка; 4 - гвоздь; 5 - резиновая прокладка; 6 - карнизный брусок; 7 - шайба; 8 - шуруп; 9 - гвоздь; 10 - противоветровая скоба; 11 - теплоизоляция; 12 - металлический лист; 13 - ограждение. 1.2.44. На карнизе рекомендуется использовать брусок высотой 65 мм, на коньке два коньковых бруска сечением 70×90 мм и 60×100 мм, а вдоль конька дополнительные приконьковые бруски того же сечения, что и рядовые. Пример детали ограждения на асбестоцементной кровле приведен на рис. 1.44, г. 1.2.45. Обрешетку у дымовой трубы следует предусматривать с использованием дополнительных брусков того же сечения, что и рядовые и располагать их вокруг ствола трубы, в соответствии с требованиями пожарной безопасности. В ендове обрешетку применяют в виде сплошного дощатого настила (см. рис. 1.45). 1.2.46. В зданиях производственного назначения основание под кровлю из асбестоцементных волнистых листов рекомендуется выполнять из стальных или деревянных прогонов, располагаемых с шагом до 1500 мм. 1.2.47. Основание под кровлю из битумных волнистых листов назначают в зависимости от уклона кровли. При уклоне от 10 до 20 % (от 5 до 10°) требуется сплошная обрешетка из досок или фанеры (см. п. 1.2.20.); при этом величина продольной нахлестки должна быть равна около 300 мм, а боковой нахлестки - 2-е волны: при этом поперечные стыки уплотняют прокладками - заполнителем (см. Приложение 12). При уклоне от 10 до 20 % (от 5 до 10°) шаг обрешетки принимают равным около 450 мм, продольную нахлестку - около 200 мм, а боковую - 1-у волну. При уклоне более 25 % (более 15°) шаг обрешетки - около 600 мм, продольная нахлестка - около 170 мм, а боковая - 1-а волна. 1.2.48. Для устройства кровель могут применяться неокрашенные и окрашенные асбестоцементные волнистые листы и детали и битумные волнистые листы, отвечающие требованиям, соответственно, ГОСТ 30340, ТУ или Технического Свидетельства. Детали кровли1.2.49. Ендова или разжелобок кровли должны иметь сливной лоток, изготовленный из оцинкованной кровельной стали; волнистые листы должны перекрывать его на ширину не менее 150 мм (рис. 1.45).
Рис. 1.45. Ендова (разжелобок) 1 - сливной лоток; 2 - лист; 3 - дощатое основание ендовы; 4 - брусок; 5 - шуруп; 6 - уравнительная планка; 7 - гвоздь. 1.2.50. Примыкание кровли из асбестоцементных волнистых листов к стене, парапету и дымовой трубе выполняют с применением угловых деталей, которые рекомендуется закреплять шурупами, пропускаемыми через гребни волн рядовых листов; при этом по скату они должны иметь нахлёстку не менее 150 мм, а поперёк ската не менее, чем на одну волну (рис. 1.46). а)
Рис. 1.46. Примыкание кровли из асбестоцементных волнистых листов к поперечной (а) и продольной (б) стенам и к дымовой трубе (в) 1 - обрешетка; 2 - асбестоцементный лист; 3 - скоба; 4 - уголковая деталь; 5 - коньковая деталь; 6 - конек; 7 - уплотнитель; 8 - заделка раствором; 9 - прокладка из рулонного водоизоляционного материала; 10 - затрубный уголок; 11 - стропильная нога; 12 - оголовок дымовой трубы. 1.2.51. Компенсационный шов выполняют нахлёсткой смежных асбестоцементных листов с обеспечением возможности перемещения их на 25...30 мм в поперечном направлении, а сверху шов перекрывают асбестоцементным лотком, предусмотренным ГОСТ 30340; он должен иметь нахлёстку с листами не менее 200 мм (рис. 1.47).
Рис. 1.47. Компенсационный шов 1 - накрываемый край волнистого листа; 2, 3 - скобы; 4 - лотковая деталь; 5 - накрывающий край волнистого листа; 6, 7 - шайбы; 8 - винт с полукруглой головкой; 9 - заклепка. 1.2.52. Конструкции конька кровли, выполненные по деревянной обрешётке и металлическому прогону приведены на рис. 1.48 и 1.49.
Рис. 1.48. Конек (ребро) кровли по деревянным брускам 1, 2, 3 - бруски; 4 - рулонный водоизоляционный материал; 5, 6 - коньковые детали; 7 - скоба; 8, 9 - резиновая прокладка, гвоздь; 10 - лист; 11 - мастика. 1.2.53. Коньковый узел может быть выполнен "глухим" и с вентиляционными щелями (см. рис. 1.49); в последнем коньковую деталь крепят к стальным стойкам. 1.2.54. Карнизный и коньковый узлы кровли из битумных волнистых листов приведены на рис. 1.50. вентиляция этих узлов предусмотрена через уплотнители с отверстиями (см. Приложение 12), устанавливаемые на карнизном свесе и на коньке.
Рис. 1.49. Коньковые узлы по металлическим прогонам а - глухой конек; б и в - конек с вентиляционными щелями; 1 - .прогон; 2 - крюк; 3 - малая переходная деталь; 4 - прижимная скоба; 5 - коньковая деталь; 6 - гайка; 7 - лист; 8 - резиновая прокладка; 9 - стальная шайба; 10- резиновая прокладка, 11 - заклепка; 12 - стальная стойка.
Рис. 1.50. Карнизный (а) и коньковый (б) узлы кровли 1 - битумный волнистый лист; 2 - обрешетка (сплошной настил); 3 - контробрешетка; 4 - уплотнитель с вентиляционными отверстиями (см. Приложение 12); 5 - скоба для лотка; 6 - подшивка карниза; 7 - каркас карнизного свеса; 8 - ветрозащитная диффузионно-гидроизоляционная пленка (см. Приложение 9); 9 - анкер крепления стропила и мауэрлата; 10 - стена; 11 - мауэрлат; 12 - гипсокартон;13 - пароизоляция; 14 - брусок;15 -теплоизоляция;16 - коньковый элемент; 17 - гвоздь с закрывающейся шляпкой (см. Приложение 12) 1.2.55. Коньковый узел с вентиляцией через вентиляционную трубу показано на рис. 1.51,а, а примыкание кровли к дымовой трубе - на рис. 1.51,б. а)
б)
Рис. 1.51. Коньковый узел (а) с вентиляцией через венттрубу (см. Приложение 10) и примыкание кровли к кирпичной трубе (б) 1 - волнистый лист; 2 - обрешетка; 3 - контробрешетка; 4 - уплотнитель без вентиляционных отверстий (см. Приложение 12); 5 - гвоздь с закрывающейся шляпкой (см. Приложение 12);6 - коньковый элемент;7 - венттруба;8 - ветрозащитная диффузионно-гидроизоляционная пленка (см. Приложение 7); 9 - теплоизоляция; 10- пароизоляция; 11 - гипсокартон; 12 - брусок; 13 - затяжка; 14 - фартук (см. Приложение 10); 15 - вертикальная часть фартука; 16 - герметизирующая лента; 17 - металлическая планка; 18 - дюбель; 19 - герметик; 20 - минвата (негорючая); 21 - кирпичная труба. КРОВЛИ ИЗ АСБЕСТОЦЕМЕНТНЫХПЛИТОККонструктивное решение1.2.56. Такая кровля включает сплошную обрешетку из досок по стропилам, водоизоляционный слой из битуминозных рулонных материалов, по которому укладывают плитки. 1.2.57. Для крепления кровельных плиток к обрешетке применяют оцинкованные гвозди и противоветровые кнопки (рис. 1.52). Детали примыкания кровли из асбестоцементных плиток к стенам, парапетам и к другим вертикальным конструкциям должны содержать фартуки из оцинкованной кровельной стали; в этих местах рекомендуется также предусматривать нижний водоизоляционный слой по п. 1.2.51.
Рис. 1.52. Кровля из асбестоцементных плоских плиток а - общий вид; б - продольный разрез конька; в - поперечный разрез конька; 1 - стропильная нога; 2 - обрешетка; 3 - противоветровая кнопка; 4 - половина плитки; 5 - противоветровая скоба 2×25 мм; 6 - рядовая плитка; 7 - краевая плитка; 8 - уравнительная деревянная рейка с сечением 8×50 мм; 9 - желобчатый конек; 10 - скоба сечением 2×25 мм; 11 - брус сечением 50×80 мм; 12 - лента гидроизоляционного материала; 13 - накрывающий конец желобчатого конька; 14 - водоизоляционный слой. КРОВЛЯ ИЗ МЕТАЛЛИЧЕСКОГО ПРОФИЛИРОВАННОГО ЛИСТА1.2.58. В качестве кровельных листов рекомендуется применять профили стальные гнутые с цинковым, алюмоцинковым или алюминиевым покрытием заготовки, защитно-декоративным лакокрасочным покрытием и высотой гофра не менее 44 мм по ГОСТ 24045. 1.2.59. Металлический профлист может применяться в качестве штучного кровельного листа либо в теплых трехслойных покрытиях послойной сборки, либо в составе трехслойных кровельных панелей с теплоизоляцией, как правило, из минераловатных плит. 1.2.60. Конструктивные решения кровли из профнастила предусматривают по аналогии с кровлями из металлочерепицы и приведены в табл. 5. Такие кровли предпочтительно применять на уклонах более 20 % на зданиях с длиной ската до 12 м. При уклонах от 10 до 20 % должна быть предусмотрена герметизация продольных и поперечных стыков между листами. Величина нахлестки профлиста вдоль ската должна быть не менее 250 мм, а поперек ската на один гофр. Основание под кровлю1.2.61. Основание под кровлю из профлиста предусматривают из деревянных брусков; опорами для профлистов могут служить также металлические прогоны в "холодных" кровлях, например, складов, навесов и т.п. Несущая способность основания под кровлю устанавливают расчетом на нагрузки в соответствии со СНиП 2.01.07. Детали кровли1.2.62. В утепленных покрытиях (см. рис. 1.53) для разрыва "мостиков холода" между верхней полкой дистанционного прогона и профлистом рекомендуется устанавливать прокладки из бакелизированной фанеры толщиной 10 мм, окрашенные за 2 раза пентафталевыми или хлорвиниловыми эмалями. В качестве противоветрового барьера рекомендуется использовать рулонный водоизоляционный паропроницаемый материал. 1.2.63. Для крепления профлиста к прогонам применяют самонарезающие винты с уплотнительной шайбой из неопреновой резины толщиной 1 мм. 1.2.64. Примыкание кровли из металлического профлиста к стенам следует осуществлять с устройством фартуков из оцинкованной стали толщиной 0,8 мм, окрашенной с обеих сторон. Крепление их выполняется на заклепках, а между собой одинарным лежачим фальцем. Коньковый и карнизный фасонные элементы, а также фартуки для отделки пропусков через кровлю должны иметь "гребенку" по форме поперечного сечения металлического профлиста (см. рис. 1.54 и 1.55).
Рис. 1.53. Кровля послойной сборки из металлических профилированных листов 1 - несущий стальной профилированный настил; 2 - стальной профилированный лист кровли (в перевернутом положении); 3 - пароизоляция из полиэтиленовой пленки с проклейкой швов самоклеящейся лентой, например, марки Терпен" по ТУ 5772-009-05108038-98; 4 - ветрозащитная диффузионно-гидроизоляционная пленка; 5 - теплоизоляция; 6 - термовкладыш, например, из бакелизированной фанеры; 7 - опорный элемент из стали толщиной 3 мм; 8 - элемент жесткости из стали толщиной 2 мм; 9 - дистанционный прогон ГН65×45×40×3; 10 - шайба стальная; 11 - шайба уплотнительная (герметизирующая лента); 12 - герметизирующая мастика; 13 - винт самонарезающий В6×80; 14 - заклепка комбинированная; 15- винт самонарезающий В6х25; 16- шайба неопреновая; * - справочный размер.
Pиc. 1.54. Карниз кровли из металлических профилированных листов а, б, в - утепленной; г - холодной; 1 - несущий стальной профилированный настил покрытия; 2 - стальной профилированный лист кровли; 3 - зетобразный профиль; 4 - стеновая панель; 5 - гребенка из оцинкованной кровельной стали; 6 - дистанционный прогон; 7 - терморазделяющая полоса (бакелизированная фанера); 8 - маты из минеральной ваты; 9 - пленка полиэтиленовая (пароизоляция) с проклейкой швов самоклеящейся лентой, например, марки «Герлен" по ТУ 5772-009-05108038-98; 10 - прокладка уплотняющая (по форме гофра); 11 - заклепка комбинированная; 12 - стальной лист толщиной 1 мм; 13 - прогон покрытия; 14 - ветрозащитная диффузионно-гидроизоляционная пленка; 15 - оцинкованная сталь; 16 - капельник; 17 - карнизная планка; 18 - держатель желоба; 19 - желоб водосточный; 20 - фасадная облицовка; 21 - снегозадержатель; 22 - угол жесткости; 23 - ограждение; 24 - самосверлящий шуруп (СМЭШ2-4,8×50)
Рис. 1.55. Пропуск трубы через кровлю из металлических профилированных листов 1 - труба; 2 - стакан стальной (квадратный); 3 - минеральная вата; 4 - дополнительные прогоны; 5, 6, 7 - защитные фартуки из стали толщиной 0,8 мм; 8 - мастика герметизирующая; 9 - заклепка комбинированная; 10 - зонт из оцинкованной стали; 11 - коньковый защитный фартук; 12 - стальная гребенка; 13 - хомут; 14 - ветрозащитная диффузионно-гидроизоляционная пленка. 1.2.65. В кровельной каркасной панели верхний профлист выполняет те же водоизолирующие функции, что и в других вариантах его применения, поэтому к нему должны предъявляться требования, приведенные в 1.2.53. 1.2.66. Кровельная панель должна быть снабжена ветрозащитной диффузионно-гидроизоляционной пленкой (см. Приложение 9), а каркасные элементы просечками (для повышения его сопротивления теплопередаче). Примеры выполнения отдельных деталей кровли из профлиста в составе каркасной панели приведены на рис. 1.56. 1.57. а)
б)
Рис. 1.56. Карнизный узел (а) и конек (б) кровли из профлиста в составе каркасной панели 1 - кровельная каркасная панель; 2 - верхний профлист; 3 - ветрозащитная диффузионно-гидроизоляционная пленка; 4 - заклепка комбинированная; 5 - винт; 6 - утеплитель в полиэтиленовой пленке или монтажная пена; 7 - болт; 8 - шайба; 9 - гайка; 10 - доборные элементы; 11 - гребенка.
Рис. 1.57. Примыкание профлиста в составе кровельной каркасной панели к торцевой стене (варианты) 1 - кровельная каркасная панель; 2 - заклепка комбинированная; 3 - нащельник; 4 - деталь крепления; 5 - болт; 6 - минераловатный утеплитель; 7 - ригель; 8 - нащельник; 9 - прогон; 10 - винт; 11 - уплотнительная резина; 12 - стеновая панель; 13 - шайба уплотнительная; 14 - доборный элемент.
Рис. 1.58. Примыкание профлиста в составе кровельной каркасной панели к стене 1 - нащельник; 2 - заклепка комбинированная; 3 - винт самонарезающий шаг 600 мм; 4 - доборный элемент (уголок); 5 - винт самонарезающий шаг 600 мм; 6 - минплита жесткая (приклеить к стеновой панели); 7 - нащельник; 8 - утеплитель в полиэтиленовой пленке; 9 -винт самонарезающий, шаг 500 мм; 10 - шайба уплотнительная; 11 - уплотнительная резина; 12 - утеплитель; 13 - винт самонарезающий (крепить каждую панель к прогону); 14 - нащельник; 15 - болт, шайба, две гайки; 16 - деталь крепления стеновой панели к ригелю; 17 - ригель из уголка по верху прогонов; 18 - нащельник; 19 - кровельная панель; 20 - стеновая панель; 21 - доска. 1.3. КРОВЛИ ИЗ ЛИСТОВОЙ СТАЛИ И МЕДИКонструктивные решения1.3.1. Для кровель из листовых материалов применяют оцинкованную кровельную сталь (ГОСТ 14918) или медные ленты (ГОСТ 1173). Кляммеры и крепежные элементы предусматривают также, соответственно, оцинкованные или медные; шурупы (винты) для медной кровли - из нержавеющей стали. 1.3.2. Кровля предусматривается однослойной с фальцевым соединением листов, уложенных по деревянному основанию из брусков или настилу; конструктивные решение кровли приведены в табл.11. Предпочтительный уклон кровли - 30 %. Таблица 11
Основание под кровлю1.3.3. Основанием под кровлю из листовой стали служит деревянная обрешетка, которую рекомендуется предусматривать из брусков хвойных пород (ГОСТ 24454) сечением 50×50 мм или досок 50×120, 50×140 мм. Свес кровли из листовой стали следует предусматривать в виде сплошного дощатого настила шириной не менее 700 мм, а далее с шагом не более 200 мм размещать параллельно свесу бруски обрешетки. При этом обрешетка должна чередоваться с доской, на которой располагают лежачие фальцы стыкуемых картин. В разжелобках и ендовах обрешетку следует выполнять в виде сплошного дощатого настила шириной до 800 мм на каждом скате. 1.3.4. Основанием под кровлю из листовой меди могут служить: - деревянный сплошной настил из досок толщиной не менее 24 мм или из атмосферостойкой бакелизированной фанеры ФБС (ГОСТ 11539) толщиной 22...24 мм либо из древесностружечных плит (ГОСТ 10632) Несущая способность основания под кровлю устанавливают расчетом на нагрузки в соответствии со СНиП 2.01.07. Водоизоляционный ковер1.3.5. Листовые кровельные материалы на кровле соединяются стоячим и лежачим фальцами и крепятся к основанию под кровлю кляммерами. На основных плоскостях кровли предусматривают 4 кляммера на 1 м2 с шагом 400...500 мм. На коньке кровли и по периметру здания количество кляммеров удваивается или принимается равным 5 шт./м2 при уменьшении шага до 300…350 мм. 1.3.6. По отношению к стальным листам медные имеют более высокий коэффициент линейного расширения (примерно, в 2 раза), поэтому в медных кровлях, как правило, используют скользящий кляммер (см. рис. 1.59), который предусматривают в стоячих фальцах, располагаемых вдоль ската кровли. По этой же причине максимальная длина (ширина) кровли около 10 м; при большей длине в кровле должны быть выполнены компенсационные (деформационные) швы; для этого кромка одного из стыкуемых листов изготавливается наклонной с образованием зазора около 3 мм (см. рис. 1.60). Поэтому размеры листа по ширине увеличиваются на 3 мм.
Рис. 1.59. Скользящий кляммер медной кровли 1 - стенка; 2 - основание кляммера; 3 – отверстие для крепления.
Рис. 1.60. Компенсационный стык Детали кровли1.3.7. В местах примыкания кровли к стене кровельные листы заводят на стену на высоту не менее 300 мм. При применении стальных листов верхняя кромка его на примыканиях к стене может быть заведена в штрабу и закреплена кровельными гвоздями (ГОСТ 4030) к деревянной рейке (см. рис. 1.61).
Рис. 1.61. Примыкание кровли из листовой стали к стене (а), коньковый стоячий фальц (б) и крепление фронтонного края рядовой полосы (в) 1 - картина в рядовой полосе кровли; 2 - фартук из оцинкованной кровельной стали; 3 - деревянный брусок; 4 - кровельный гвоздь; 5 - герметик. 1.3.8. На коньке кровли из медных листов в продольном направлении располагают медные кронштейны с шагом 600 мм (см. рис. 1.62,а) с которыми соединяют листы скатов кровли. Такие же кронштейны предусматривают на примыкании медной кровли к стене (см. рис. 1.62,б). Варианты подвесных желобов и ендовы кровли приведены на рис. 1.63 и 1.64.
Рис. 1.62. Кровля из медных листов на коньке (а) и на примыкании к стене (б) 1 - контробрешетка; 2 - обрешетка (настил); 3 - подкладочный слой; 4 - стоячий фальц кровли; 5 - кронштейн; 6 - фасонный элемент; 6 - медный фартук; 7 - герметик; 8 - стена.
Рис. 1.63. Подвесной желоб (лоток) а, б, в - варианты желоба (сечения даны в точках наивысшего подъема); 1 - желоб; 2 - лотковая скоба; 3 - кровля; 4 - настил; 5 - заклепка; 6 - кляммера; 7 - шуруп с головкой впотай; 8 - картина карнизного свеса; 9 - кровельный гвоздь; 10 - распорка.
Рис. 1.64. Ендова кровли а) углубленная; б) со стенками - стоячими фальцами; в) с дополнительным лежачим фальцем, препятствующим перемещению кровли; г) с одиночным закрепленным лежачим фальцем; 1 - картина ендовы; 2 - кляммера; 3 - стоячий фальц с квадратными кромками; 4 - стоячий фальц картины кровли; 5 - стоячий фальц ендовы; 6 - кляммера; 7 - дополнительная кляммера. 1.4. КРОВЛИ ИЗ
ЖЕЛЕЗОБЕТОННЫХ ПАНЕЛЕЙ ЛОТКОВОГО СЕЧЕНИЯ
|
||||||||||||||||||||||||||||||||||||||||||||||||||||||||||||||||||||||||||||||||||||||||||||||||||||||||||||||||||||||||||||||||||||||||||||||||||||||||||||||||||||||||||||||||||||||||||||||||||||||||||||||||||||||||||||||||||||||||||||||||||||||||||||||||||||||||||||||||||||||||||||||||||||||||||||||||||||||||||||||||||||||||||||||||||||||||||||||||||||||||||||||||||||||||||||||||||||||||||||||||||||||||||||||||||||||||||||||||||||||||||||||||||||||||||||||||||||||||||||||||||||||||||||||||||||||||||||||||||||||||||||||||||||||||||||||||||||||||||||||||||||||||||||||||||||||||||||||||||||||||||||||||||||||||||||||||||||||||||||||||||||||||||||||||||||||||||||||||||||||||||||||||||||||||||||||||||||||||||||||||||||||||||||||||||||||||||||||||||||||||||||||||||||||||||
|
Степень огнестойкости здания |
Класс конструктивной пожарной опасности здания |
|
II |
С1 |
|
III |
С1 |
|
IV |
С1 иС2 |
|
V |
не нормируется |
- согласно п. 1.22* СНиП 2.09.04 в административных и бытовых зданиях следующих степеней огнестойкости и классов конструктивной пожарной опасности по таблице 13;
Таблица 13
|
Степень огнестойкости здания |
Класс конструктивной пожарной опасности здания |
|
II |
С1 |
|
III |
С1 |
|
IV |
С1.С2, С3 |
|
V |
не нормируется |
- согласно п. 7.1* СНиП 31-03 в производственных зданиях следующих степеней огнестойкости и категорий классов конструктивной пожарной опасности по таблице 14;
Таблица 14
|
Категория здания |
Степень огнестойкости здания |
Класс конструктивной пожарной опасности здания |
|
В |
IV |
С1.С2, СЗ |
|
V |
не нормируется С1 |
|
|
Г |
III |
C1 |
|
IV |
С1 |
|
|
V |
не нормируется |
|
|
Д |
III |
С1 |
|
IV |
С1, С2, С3 |
|
|
V |
не нормируется |
- согласно п.6.1. СНиП 31-04 в складских зданиях следующих степеней огнестойкости и классов конструктивной пожарной опасности по таблице 15.
Таблица 15
|
Категория склада |
Степень огнестойкости здания |
Класс конструктивной пожарной опасности здания |
|
В |
IV |
С1, С2, С3 |
|
V |
не нормируется |
|
|
Д |
III |
С1 |
|
IV |
С1, С2, С3 |
|
|
V |
не нормируется |
1.6.2. Административные и бытовые здания п. 2.2 СНиП 2.09.04, общественные и жилые здания (п. 1.1.3 СНиП 2.08.01) I, II и III степени огнестойкости допускается надстраивать одним мансардным этажом с несущими элементами, имеющими предел огнестойкости не менее R45, класс пожарной опасности КО. При этом для административных и бытовых зданий - не выше 10 этажей; для жилых зданий - не зависимо от высоты здания, но не выше 75 м.
1.6.3. Для деревянных конструкций должна предусматриваться конструктивная огнезащита, обеспечивающая требования огнестойкости и пожарной опасности.
2.1.1. Стыки несущих железобетонных плит замоноличивают, поверхность неровных плит или монолитного основания затирают цементно-песчаным раствором марки не ниже М150.
2.1.2. Поверхность стальных профилированных настилов, до укладки пароизоляционного слоя, необходимо очистить от пыли, стружки и масла и высушить. Для повышения срока службы цинкового покрытия на поверхность настила (со стороны пароизоляционного слоя) проектом может быть предусмотрено нанесение сплошного лакокрасочного покрытия.
2.1.3. Пароизоляцию рекомендуется укладывать непосредственно перед устройством теплоизоляционного слоя.
2.1.4. До начала укладки пароизоляционного слоя необходимо:
- закончить все виды строительных работ на покрытии;
- установить фасонные элементы из стали в местах примыкания стальных профилированных настилов к парапетам и стенкам фонарей;
- установить металлические компенсаторы в местах устройства деформационных швов.
2.1.5. Укладку битумных материалов можно производить при температуре наружного воздуха не ниже +5°С. Укладку битумно-полимерных материалов производят при температуре не ниже минус 20°С.
2.1.6. На вертикальные поверхности пароизоляционный материал необходимо наклеить сплошной приклейкой, заводя выше теплоизоляционного слоя.
2.1.7. На всей горизонтальной плоскости полотнища битумного или битумно-полимерного пароизоляционного материала склеивают в швах, обеспечив нахлестку полотнищ 80…100 мм в боковых швах и 150 мм в торцевых.
Полиэтиленовые армированные пленки укладывают с боковой нахлесткой не менее 150 мм и с нахлесткой по торцам не менее 200 мм. Нахлестки сваривают горячим воздухом при помощи технического фена или склеивают нетвердеющим бутилкаучуковым герметиком. Допускается склеивать швы двухсторонней самоклеящейся лентой.
2.1.8. При укладке пароизоляционного материала по профнастилу материал раскатывается вдоль ребер настила. Боковые нахлесты пароизоляционного материала должны быть 80…100 мм и всегда располагаться на ребрах настила (см. рис. 2.1).

Рис. 2.1. Укладка пароизоляционного материала на профнастил
1 - пароизоляция; 2 - профнастил
2.1.9. Работа по укладке теплоизоляции должна совмещаться с работами по устройству пароизоляционного слоя, выполняя их в направлении "на себя" в целях повышения сохранности тепло- и пароизоляции при транспортировании материалов. При этом теплоизоляцию предохраняют от увлажнения атмосферными осадками, укрывая временно брезентом или полиэтиленовой пленкой.
2.1.10. Перед выполнением монолитной теплоизоляции на цементном вяжущем следует произвести нивелировку поверхности несущих плит для установки маяков, служащих основанием под рейки для укладки бетонной массы полосами на необходимую высоту. Полосы располагают поперек пролетов; ширина их не должна превышать 1,5 м.
2.1.11. Теплоизоляционные плиты при укладке по толщине в два и более слоев следует располагать вразбежку с плотным прилеганием друг к другу. Швы между плитами более 5 мм, должны быть заполнены теплоизоляционным материалом. Пенополистирольные, минераловатные и другие подобные плиты эффективной теплоизоляции приклеивают точечно к основанию, а при толщине в два и более слоев и между собой. Пенополистирольные плиты рекомендуется наклеивать легкоплавким битумом, нагретом до температуры не более 70°С; точечная приклейка должна быть равномерной и составлять 25...35 % площади наклеиваемых плит. Пример раскладки плит приведен на рис. 2.2.

Рис. 2.2. Раскладка теплоизоляционных плит нижнего (а) и верхнего (б) рядов
При укладке теплоизоляционных плит в тупых углах кровли рекомендуется следующая разрезка плит (см. рис. 2.3).

Рис. 2.3. Разрезка и укладка теплоизоляционных плит в тупых узлах кровли
2.1.12. При укладке плит по профнастилу стыки плит располагают на полках настила, а при механическом их закреплении крепежные элементы должны быть "привязаны", например, к стене для обеспечения попадания элементов в полки профнастила (см. рис. 2.4).

Рис. 2.4. Раскладка теплоизоляционных плит по профнастилу и привязка к стене расположения крепежных элементов (саморезов)
1 - профнастил марки НС44-1000-0,7 по ГОСТ 24045; 2 - пароизоляция (из наплавляемого рулонного материала); 3 - теплоизоляция; 4 - крепежные элементы; 5 - стена.
2.1.13. Выравнивающая цементно-песчаная стяжка должна выполняться из жесткого (с осадкой конуса "СтройЦНила" до 30 мм) раствора марок 50-100, а асфальтовая - из горячего мелкозернистого песчаного асфальтобетона. Затирку по сборным железобетонным плитам следует принимать толщиной 10-15 мм, а толщину стяжки в соответствии с табл. 2.
2.1.14. Температурно-усадочные швы в монолитных выравнивающих стяжках выполняют путем прорезки их механической пилой или путем установки реек при укладке цементно-песчаного раствора или асфальтобетона, которые удаляют после твердения материала стяжки, а швы заполняют мастиками-герметиками, например, марки «Гермобутил С» по ТУ 5775-003-41099447-95 с последующей укладкой на шов полосок рулонного материала шириной 150...200 мм, приклеивая их с каждой стороны шва на ширину около 50 мм.
2.1.15. Укладку выравнивающей стяжки из цементно-песчаного раствора производят полосами шириной не более 3 м, ограниченными рейками, которые служат маяками. Эту стяжку так же, как и теплоизоляцию, предохраняют от увлажнения атмосферными осадками.
2.1.16. Для обеспечения необходимой адгезии наплавляемых рулонных и мастичных кровельных материалов все поверхности основания из цементно-песчаного раствора или сборных стяжек, бетона должны быть огрунтованы грунтовочными холодными составами (праймерами), например, марки "КТ-Праймер" по ТУ 5774-023-10861980-03, или приготовленными из битума и керосина, взятых в соотношении 1:2 (по массе) либо из клеящих мастик, разбавленных растворителем или бензином в соотношении 1:2. Грунтовку наносят на выровненную сухую и обеспыленную поверхность при помощи окрасочного распылителя или вручную кистью. Грунтовка должна иметь прочное сцепление с основанием. На приложенном к ней после высыхания ватном тампоне не должно оставаться следов цементного вяжущего или пыли.
2.1.17. Плоские асбестоцементные прессованные листы и цементно-стружечные плиты, используемые в качестве сборной стяжки, во избежание коробления, должны быть огрунтованы с обеих сторон. При их раскладке стыки смежных листов располагают над полкой профнастила (в покрытиях с несущим профнастилом) и крепят также, как теплоизоляционные плиты (см. рис. 2.4). Сверху на стыки укладывают полоски рулонного материала шириной 150…200 мм, приклеивая их с каждой стороны стыка на ширину около 50 мм.
2.1.18. При устройстве выравнивающей стяжки из асфальтобетона его укладывают полосами шириной до 2 м, ограниченными двумя рейками или одной рейкой и полосой ранее уложенного асфальта, и уплотняют валиком или катком массой 60-80 кг.
2.1.19. При устройстве кровель по основанию из теплоизоляционных плит или при использовании сборной стяжки работы по укладке теплоизоляции или сборной стяжки не должны значительно опережать работы по выполнению нижнего слоя водоизоляционного ковра; их последовательность должна обеспечивать устройство нижнего слоя водоизоляционного ковра в ту же смену, что и укладка теплоизоляционных плит или листов сборной стяжки. В эту же смену теплоизоляционные плиты по торцам выполненного участка рекомендуется оклеить рулонным материалом или окрасить мастикой для исключения возможного увлажнения атмосферными осадками.
2.1.20. В местах примыкания к стенам, парапетам, деформационным швам и другим конструктивным элементам должны быть выполнены наклонные под углом 45° бортики из легкого бетона, цементно-песчаного раствора, асфальтобетона или материала утеплителя. Высота их у мест примыканий кровли должна быть не менее 100 мм. Вертикальные поверхности конструкций, выступающих над кровлей (стенки деформационных швов, парапеты и т.п.), выполненные из кирпича или блоков, должны быть оштукатурены цементно-песчаным раствором на высоту устройства дополнительного водоизоляционного ковра, но не менее 250 мм.
Для отвода воды в местах прохода через скатную кровлю конструктивных элементов (люки дымоудаления, вентиляторы и т.п.) размером в плане более 500x500 мм выполняют разжелобок (с уклоном до 4 %) со стороны конька.
2.1.21. Перед устройством изоляционных слоев основание должно быть сухим, обеспыленным, на нем не допускаются уступы, борозды и другие неровности. Если поверхность основания под мастичную кровлю (например, из полимерных мастик) пористо, то на нее до нанесения мастики укладывают рулонный битуминозный материал.
2.1.22. Перед устройством водоизоляционного, ковра должны быть закончены все виды подготовительных работ: подготовка механизмов, оборудования, приспособлений, инструментов и др., осуществлена приемка основания под кровлю, и составлены акты на скрытые работы, включая замоноличивание швов между сборными железобетонными плитами, установку и закрепление к несущим плитам или к металлическому профнастилу водосточных воронок, компенсаторов, деформационных швов, патрубков (или стаканов) для пропуска инженерного оборудования; анкерных болтов, а в зданиях с покрытиями послойной сборки из металлического профнастила и трудносгораемой теплоизоляции заполнение пустот ребер листов несгораемым материалом в местах примыкания их к стенам, деформационным швам, стенкам фонарей, а также с каждой стороны конька и ендовы на длину - 250 мм.
2.1.23. В пределах рабочих захваток работы должны начинаться с пониженных участков: карнизных свесов и участков расположения водосточных воронок (ендов). В процессе производства кровельных работ все необходимые материалы должны подаваться в направлении навстречу производственному потоку.
2.1.24. Рулонные кровельные материалы перед употреблением для устранения волн и складок должны быть выдержаны в раскатанном состоянии. При производстве кровельных работ в условиях отрицательных температур битумные и битумно-полимерные рулонные материалы необходимо предварительно отогреть в течение не менее 20 ч до температуры не менее +15°С. Перекрестная наклейка полотнищ рулонов не допускается. Склеивание полотнищ рулонных материалов между собой должно быть сплошным (без пропусков).
2.1.25. Устройство водоизоляционного ковра может осуществляться путем сплошной, полосовой или точечной наклейки нижнего слоя или путем свободной укладки его с механическим креплением к основанию.
2.1.26. Рулонные наплавляемые материалы наклеивают методом подплавления битумного или битумно-полимерного слоя или на мастиках.
Наклейку на мастиках рекомендуется использовать преимущественно в тех случаях, когда недопустимо применение метода подплавления битумно-полимерного слоя (объекты газораспределения, размещение на покрытии газопроводов, здания со взрывоопасным производством и т.п.).
2.1.27. Технологические приемы наклейки наплавляемого рулонного материала методом подплавления выполняют в следующей последовательности:
На подготовленное основание раскатывают 2-3 рулона, примеряют один рулон по отношению к другому и обеспечивают необходимую нахлестку. Приклеивают концы всех рулонов с одной стороны и полотнища рулонного материала обратно скатывают в рулоны (при значительном охлаждении полотнищ в зимний период эти операции производят при легком подогреве ручной горелкой наружной поверхности рулона).
Разогревая покровный (подплавляемый) слой наплавляемого рулонного материала с одновременным нагревом основания или поверхности ранее наклеенного водоизоляционного слоя, рулон раскатывают, плотно прижимают к основанию и дополнительно прикатывают катком.
2.1.28. Технологические приемы устройства водоизоляционного ковра методом свободной укладки нижнего слоя с механическим закреплением его выполняют в следующей последовательности: (рис. 2.5):
на подготовленное под кровлю основание раскатывают рулоны, примеряют один рулон по отношению к другому и обеспечивают нахлестку (продольную и поперечную) (см. рис.2.5,а);
полотнища рулонного материала (кроме полотнища, раскатанного вдоль линии водораздела) обратно скатывают в рулоны (при значительном охлаждении полотнищ зимой эти операции производят при легком подогреве ручной горелкой поверхности рулона) (см. рис. 2.5,б);
полотнище рулонного материала вдоль линии водораздела закрепляют к основанию (см. рис.2.5,в) стальными дюбелями с шайбами, затем, разогревая покровный (приклеивающий) слой наплавляемого рулонного материала в месте нахлестки (см. рис.2.5,а), рулон раскатывают, плотно прижимая к ранее уложенному полотнищу. После этого свободную кромку раскатанного рулона закрепляют, дюбельными гвоздями с шайбами к основанию.
Верхний (второй) слой наплавляемого рулонного материала приклеивают сплошь, а полотнища раскатывают так, чтобы они перекрывали швы нижележащего слоя (см. рис. 2.5,г). Для нижнего слоя водоизооляционного ковра возможно применение перфорированного рулонного материала.

Рис. 2.5. Последовательность (а, б, в, г) раскладки рулонных материалов при устройстве двухслойного водоизоляционного ковра с механическим закреплением нижнего слоя
1 - переходный наклонный бортик; 2 - ендова; 3 - основание под кровлю; 4 - нижний слой водоизоляционного ковра; 5 - крепежный элемент с шайбой; 6 - наклейка полотнищ в местах нахлесток; 7 - верхний (второй) слой водоизоляционного ковра.
2.1.29. У мест примыкания к стенам, парапетам и т.п. наклейку нижнего полотнища дополнительного водоизоляционного ковра производят только в местах сопряжения с основным водоизоляционным ковром (рис. 2.6).

Рис. 2:6. Примыкание кровли к парапету, высотой более 450мм при механическом закреплении нижнего слоя, водоизоляционного ковра
1 - сборная железобетонная плита; 2- пароизоляция; 3-теплоизоляция, 4 - выравнивающая стяжка; 5 - механически закрепляемый нижний .слой основного водоизоляционного ковра; 6 - верхний слой основного водоизоляционного ковра; 7 - крупнозернистая посыпка верхнего слоя основного водоизоляционного ковра; 8 - крепежный элемент с шайбой; 9 - слои дополнительного водоизоляционного ковра, 10 - оцинкованная кровельная сталь;11 - герметизирующая мастика; 12 - костыль 4×40 через 600 мм; 13 - стена;:14 - полоса стальная 4×40мм.
2.1.30. При сплошной приклейке наплавляемых материалов на больших уклонах рекомендуется также применять механическое крепление нижнего слоя кровельного ковра для исключения их сползания: на уклонах от 15 до 25 %. СБС-модифицированные наплавляемые рулонные материалы рекомендуется закреплять по торцевым кромкам, а на уклонах более 25 % эти материалы закрепляют дополнительно в середине полотнища (см. рис. 2.7); АПП-модифицированные рулонные материалы закрепляют только по торцевым кромкам на уклонах более 25 %.

Рис. 2.7. Схема закрепления полотнищ наплавляемых рулонных материалов на уклонах более 15 %
б) Устройство водоизоляционного ковра из эластомерных и термопластичных рулонных материалов
2.1.31. Водоизоляционный ковер из эластомерных и термопластичных рулонных материалов может быть выполнен тремя способами:
методом наклейки;
методом свободной укладки с пригрузом (при однослойном ковре)
методом свободной укладки с механическим креплением.
2.1.32. Устройство водоизоляционного ковра из эластомерных материалов методом наклейки выполняют в следующей последовательности (рис.2.8):
на предварительно огрунтованное основание (вдоль линии водораздела) раскатывают полотнище эластомерного материала и перегибают его по длинной стороне пополам без морщин (рис 2.8,а);
на основание и отогнутую часть полотнища наносят тонкий слой клея и выдерживают до тех пор, пока клей перестанет прилипать при прикосновении сухим пальцем (до "отлипа") (рис. 2.8,б);
разворачивают смазанную клеем половину полотнища без образования морщин на основание с нанесенным клеевым составом и прикатывают катком массой 2-5 кг с мягкой обкладкой (рис. 2.8,в);
вторую половину полотнища перегибают на наклеенную половину и приклеивают ее аналогичным способом (рис. 2.8,г и д);
В местах нахлестки смежных полотнищ клеящий состав наносят на предварительно обезжиренные растворителем кромки стыкуемых полотнищ и после выдержки клея до "отлипа" соединяют их с последующей прокаткой мест нахлестки поперек шва роликом массой 2-5 кг. Места нахлесток смежных полотнищ дополнительно герметизируют вдоль открытого торца пленки.

Рис. 2.8. Последовательность наклейки эластомерной пленки
1 - основание под кровлю; 2 - грунтовка; 3 - полотнища пленки; 4 - сложение пополам крайнего полотнища; 5 и 6 - нанесение клея на отогнутое полотнище и основание под кровлю; 7 - приклеивание отогнутого полотнища; 8 - сложение пополам смежного (соседнего) полотнища; 9 и 10 - нанесение клея на пленку и основание под кровлю.
2.1.33. Термопластичные рулонные материалы, применяемые для наклейки к основанию под кровлю, имеют подложку из полимерных (например, полиэстеровых) волокон. Такую пленку наклеивают на горячем битуме в следующей последовательности:
на поверхности основания под кровлю раскатывают несколько рулонов пленки, примеряют один рулон по отношению к другому, обеспечивают необходимую нахлестку и выдерживают их в течение 30 мин;
одно (крайнее) полотнище перегибают пополам без морщин и вспучиваний;
на поверхность основания под кровлю при помощи специального устройства полосами наносят горячий битум.
При нанесении клея необходимо исключить попадание его в зону устройства будущего термосварного стыка!
Разворачивают половину полотнища пленки на смазанную поверхность основания под кровлю без образования морщин (складок) и разглаживают приклеенное полотнище при помощи мягкого валика или широкой щетки с густым ворсом;
отгибают вторую (неприклеенную) половину крайнего полотнища пленки и наносят клей на основание под кровлю;
отогнутую часть полотнища укладывают на основание под кровлю, придавливая и разглаживая его к наружному краю;
аналогично наклеивают остальные полотнища пленки;
используя рекомендуемое сварочное оборудование, выполняют («сваривают») стыки неприклеенных кромок смежных полотнищ на ширину не менее 30 мм (рис. 2.9).

Рис. 2.9. Стык смежных полотнищ термопластичной пленки
1 - пленка; 2 - полосовая приклепка; 3 - сварной шов; 4 - основание под кровлю; 5 - подложка из волокнистых материалов.
2.1.34. При устройстве однослойного водоизоляционного ковра из эластомерных рулонных материалов методом свободной укладки работы могут производиться с использованием отдельных полотнищ или укрупненных карт площадью 50-100 м2. Их выполняют в следующей последовательности:
раскатывают полотнища или укладывают заранее заготовленные карты на основание и осуществляют склейку их между собой с последующей герметизацией швов в местах нахлестки в соответствии с указаниями п. 2.1.32;
на образованный таким образом свободно уложенный на основание однослойный водоизоляционный ковер расстилают распределительный (прокладочный) слой по ТУ 1867882-90, ТУ 8397-038-05766623-97 или ТУ 2282-535-00203521-97;
по распределительному слою рассыпают пригрузочный гравийный слой или укладывают бетонные плитки из расчета 50 кг/м2.
2.1.35. Технологические приемы укладки термопластичной пленки при свободной укладке выполняют в следующей последовательности:
раскатывают несколько рулонов пленки на предварительно подготовленное основание с нахлестом 70 мм, дают пленке отлежаться как минимум 30 мин. При укладке пленки, по существующей битумной кровле, твердому неровному основанию или по утеплителю из пенопласта или пенополиуретана выполняют предварительную укладку разделительного слоя нетканого материала - геотекстиля;
используя сварочное оборудование, выполняют стык соседних полотнищ с шириной сварного шва не менее 30 мм (рис. 2.10);
на участках кровли (в зонах примыканий, на криволинейных участках), где невозможно или затруднительно использование автоматического сварочного оборудования, выполняют сварку стыков вручную.

Рис.2.10. Стык смежных полотнищ термопластичной пленки
1 - пригруз; 2 - сварка; 3 - пленка; 4 - геотекстиль; 5 - основание под кровлю.
2.1.36. Устройство водоизоляционного ковра из эластомерных рулонных материалов методом свободной укладки с механическим креплением осуществляют в следующей последовательности:
раскатывают несколько рулонов эластомерного материала с нахлесткой в 85…100 мм;
кромки полотнищ, смежных с полотнищем, уложенным вдоль ендовы, перегибают (на ширину не менее 100 мм) по длинной стороне;
полотнище, уложенное вдоль ендовы (см. рис. 2.5) закрепляют крепежными элементами с шайбами;
кромки закрепленного полотнища на ширину нахлестки и отогнутые кромки смежных полотнищ на такую же ширину сначала обезжиривают растворителем, затем смазывают клеящим составом и после выдержки клея до "отлипа" накладывают друг на друга стыкуемые кромки с прокаткой мест нахлестки поперек шва роликом массой 2…5 кг. Места нахлесток дополнительно герметизируют;
свободные кромки смежных полотнищ закрепляют крепежным элементом с шайбами (см. рис. 2.5,в) и эти кромки склеивают с кромками соседних полотнищ аналогичным способом.
2.1.37. Технологические приемы устройства кровли из термопластичной пленки с механическим креплением выполняют в следующей последовательности:
на подготовленной поверхности основания под кровлю раскатывают рулоны, примеряя один рулон по отношению к другому, и обеспечивают нахлестку (продольную на 120 мм и поперечную на 70 мм). При использовании крепежа шириной или диаметром > 45 мм ширину нахлестки увеличивают. При укладке пленки по существующей («старой») кровле или твердому неровному основанию выполняют предварительную укладку разделительного слоя в соответствии с п.2.1.34;
полотнища пленки закрепляют саморезами с использованием металлических пластин,
используя сварочное оборудование, выполняют сварку соседних полотнищ пленки с шириной сварного шва не менее 30 мм с перекрытием механического крепления (рис. 2.11).

Рис. 2.11. Стык смежных полотнищ термопластичной пленки
1 - пленка; 2 - сварной шов; 3 - крепежный элемент с шайбой; 4 - основание под кровлю.
2.1.38. Положение конца крепежного элемента зависит от основания под кровлю (несущего элемента) и показана на рис. 2.12.

Рис. 2.12. Положение конца крепежного элемента в основании под кровлю (несущем элементе)
2.1.39. Рулонные материалы перед наклейкой необходимо разместить по месту укладки; раскладка полотнищ должна обеспечивать соблюдение требуемых величин их нахлестки при наклейке (85…100 мм).
2.1.40. Мастика должна наноситься равномерным, сплошным (без пропусков) слоем или полосами. При точечной приклейке полотнищ к основанию мастику наносят точками или для такой приклейки применяют перфорированный рулонный материал;
В целях снижения трудоемкости кровельных работ предпочтение должно отдаваться холодным клеящим мастикам.
2.1.41. При наклейке полотнищ основного водоизоляционного ковра вдоль ската верхняя часть полотнища нижнего слоя должна перекрывать противоположный скат не менее, чем на 1000 мм.
При наклейке полотнищ поперек ската верхняя часть полотнища каждого слоя водоизоляционного ковра, укладываемого на коньке, должна перекрывать противоположный скат на 250 мм.
2.1.42. Температура горячих битумных мастик при нанесении должна составлять 160°С с предельным отклонением +20°С. При этом ее следует контролировать не реже 4 раз в смену и заносить в журнал производства работ. Холодная мастика при нанесении в зимнее время должна иметь температуру не ниже 70°С.
2.1.43. При наклейке основного и дополнительного водоизоляционных ковров горячая мастика должна наноситься слоем толщиной 1,5-2,0 мм, а холодная битуминозная толщиной 0,8-1,0 мм с допускаемым отклонением ± 10 %.
2.1.44. Основной водоизоляционный ковер при устройстве новой кровли выполняют в следующей последовательности (рис. 2.13):
на поверхность основания под кровлю, подготовленную для устройства кровли (см. раздел п.2.1.21) наносят слой мастики и по нему расстилают армирующий рулонный материал (стеклохолст, стеклосетку, стеклоткань или полотно из полимерных волокон), при этом армирующий материал укладывают ступенчатым способом. На пониженном участке, например на карнизном свесе, вначале выполняют два армированных мастичных слоя (рис. 2.13,а) затем каждое последующее полотнище смещают относительно предыдущего так, чтобы нахлестка составляла 520 мм;
при устройстве мастичной кровли с одной армирующей прокладкой (рис. 2.13,б) на мастику укладывают прокладку с нахлесткой 85…100 мм и покрывают ее мастикой.

Рис. 2.13. Схема расположения слоев мастичного кровельного ковра
а) с двумя армирующими слоями (ступенчатое расположение слоев); б) с одним армирующем слоем;
1 - основание под кровлю; 2 - грунтовка; 3 - армирующие слои; 4 - слои мастики; 5 - защитный (окрасочный) слой.
2.1.45. Устройство защитных слоев осуществляют захватками, начиная с пониженных участков (карнизных свесов, ендов), а также мест примыкания кровель к стенам и ведут их «на себя». Перед устройством защитных слоев поверхность водоизоляционного ковра должна быть сухой и обеспыленной.
2.1.46. В кровлях из рулонных материалов, наклеиваемых на мастиках, защитный слой выполняют в следующей последовательности: на подготовленную поверхность кровельного ковра наносят слой горячей или холодной мастики и сразу же покрывают гравием, разравнивая его до толщины 10…15 мм или рассыпают крупнозернистую посыпку - толщиной 3…5 мм.
2.1.47. В кровлях из наплавляемых рулонных материалов гравий и крупнозернистую посыпку наносят на предварительно разогретое (подплавленное) вяжущее верхнего слоя рулонного материала.
2.1.48. Окрасочное защитное покрытие на поверхность водоизоляционного ковра наносят ровным слоем; расход состава зависит от его сухого остатка.
2.1.49. Технологический процесс по устройству окрасочного защитного слоя включает:
нанесение первого слоя, ровно покрывающего поверхность водоизоляционного ковра;
нанесение второго слоя через 2-3 часа после высыхания предыдущего при температуре 18-23°С.
При механизированном нанесении окрасочного состава безвоздушными установками вязкость его не должна превышать 100 с, а при ручном нанесении 300 с. Требуемая вязкость состава достигается введением растворителя.
2.1.50. У мест примыкания к выступающим над кровлей конструкциям (стенам, парапетам и т.п.) слои дополнительного водоизоляционного ковра следует наклеивать полотнищами 2-2,5 м; при этом на вертикальных поверхностях наклейку производить снизу вверх. При механическом креплении кровельного ковра нижний слой рулонного материала дополнительного водоизоляционного ковра у мест примыкания к стенам, парапетам и т.п. наклеивают полосами до сопряжения с основным водоизоляционным ковром в целях обеспечения возможности выхода воздуха из-под кровельного ковра на непроклеенных участках. На участках нахлестки дополнительного водоизоляционного ковра с основным, дополнительные слои должны быть наклеены сплошь на ширину 250 мм при двухслойном и на ширину 350 мм при трехслойном водоизоляционном ковре (см. рис. 2.6).
Наклейку полотнищ наплавляемого рулонного материала на вертикальные поверхности производят при помощи ручной горелки.
2.1.51. Места примыкания кровельного ковра к парапетам (стенам) могут быть обклеены двумя способами:
- по одному способу в начале выполняется основной водоизоляционный ковер, который поднимают до верха наклонного бортика, затем выполняют слои дополнительного водоизоляционного ковра (см. рис. 2.6);
- по другому способу основной и дополнительный водоизоляционные ковры выполняют одновременно с начала оба нижних и затем оба верхних слоя (см. рис. 2.14).

Рис. 2.14. Водоизоляционный ковер на примыкании кровли к стене (а) и раскладка полотнищ рулонного материала (б)
1 - несущая плита; 2 - пароизоляция; 3 - теплоизоляция; 4 - цементно-песчаная стяжка; 5 - слои основного водоизоляционного ковра; 6 - слои дополнительного водоизоляционного ковра; 7 - металлическая планка с крепежными элементами и герметиком.
2.1.52. Раскладку и раскрой полотнищ рулонного материала при устройстве основного и дополнительного ковра по первому способу в углу парапета и на поверхности внешнего угла, например, вентшахты - производят в последовательности, показанной на рис. 2.15...2.17. Подобное описание раскроя и укладки полотнищ рулонного материала по второму способу приведено в Приложении 13.

Рис. 2.15. Раскладка и раскрой полотнищ рулонного материала (а - нижнего слоя, б - верхнего слоя) при устройстве основного водоизоляционного ковра в углу парапета
1 - парапет; 2 - нижний слой ковра; 3 - нахлестка полотнищ нижнего слоя; 4 - наклонный переходной бортик; 5 - верхний слой ковра (с крупнозернистой посыпкой); 6 - нахлестка полотнищ верхнего слоя ковра.

Рис. 2.16. Раскладка и раскрой полотнищ рулонного материала при устройстве дополнительного водоизоляционного ковра в углу парапета
1 - парапет; 2 - основной водоизоляционный ковер; 3 - переходной наклонный бортик; 4 - нижний слой дополнительного ковра; 5 - верхний слой (с крупнозернистой посыпкой) дополнительного ковра.

Рис.2.17. Раскладка и раскрой полотнищ рулонного материала при устройстве водоизоляционного ковра (а и б - основного, в и г - дополнительного) на поверхности внешнего угла, например, вентшахты
1 - стены вентшахты; 2 - нижний слой основного водоизоляционного ковра; 3 - верхний слой (с крупнозернистой посыпкой) основного ковра; 4 - наклонный бортик; 5 - основной водоизоляционный ковер; 6 - нижний слой дополнительного ковра; 7 - верхний слой (с крупнозернистой посыпкой) дополнительного ковра.
2.1.53. К наиболее сложным в исполнении деталям относится примыкание кровельного ковра к круглым трубам; ниже приведена последовательность выполнения ковра у трубы диаметром 100 мм и более:
- из рулонного материала вырезают квадрат со стороной, равной диаметру трубы + 300 мм, разрезают полотнище в центре с образованием лепестков (см. рис. 2.18);

Рис. 2.18. Укладка нижнего слоя дополнительного водоизоляционного ковра
1 - линия изгиба; 2 - труба.
- полотнище материала шириной не менее 350 мм и длиной, равной длине окружности трубы + 100 мм, надрезают снизу на 50 мм и обклеивают трубу (см. рис. 2.19);

Рис. 2.19. Обклейка трубы нижним слоем дополнительного водоизоляционного ковра
1 - надрезы; 2 - труба.
- обклеивают трубу нижним слоем основного кровельного ковра (см. рис. 2.20);

Рис. 2.20. Обклейка трубы нижним слоем основного водоизоляционного ковра
1 - полотнища основного ковра; 2 - труба.
- полотнище материала шириной не менее 350 мм и длиной, равной окружности трубы + 100 мм, надрезают снизу на 50 мм и обклеивают трубу (см. рис. 2.21);

Рис. 2.21. Обклейка трубы верхним слоем дополнительного водоизоляционного ковра
1 - надрезы; 2 - труба.
- обклеивают трубу верхним слоем основного водоизоляционного ковра (рис. 2.22), верхнюю часть дополнительного ковра закрепляют хомутом и промазывают герметиком, нижнюю часть трубы также промазывают герметиком или заливают мастику в рамку вокруг трубы (см. рис. 2.22).

Рис. 2.22. Обклейка трубы верхним слоем основного водоизоляционного ковра
1 - полотнища основного ковра; 2 - герметик; 3 - хомут.
2.1.54. Примыкание кровельного ковра к трубе диаметром 10...200 мм может быть выполнено с применением фасонных деталей; выполнение такого примыкания включает следующие операции:
- обклеивают трубу материалом нижнего слоя основного водоизоляционного ковра (см. рис. 2.23);

Рис. 2.23. Обклейка трубы нижним слоем основного водоизоляционного ковра
1 - полотнища рулонного материала; 2 - труба.
- вокруг трубы обжигают (убирают) полиэтиленовую пленку с поверхности рулонного материала; на место установки фасонного элемента наливают битумно-полимерную мастику, и в нее "втапливают" юбку фасонного элемента, добиваясь того, чтобы из-под нее по краям выдавливалась разогретая мастика (см. рис. 2.24);

Рис. 2.24. Приклейка фасонного элемента к поверхности нижнего слоя основного водоизоляционного ковра
1 - труба; 2 - юбка фасонного элемента.
- на юбку фасонного элемента наносят разогретую битумно-полимерную мастику и распределяют ее равномерно по поверхности элемента и затем оклеивают трубу полотнищами второго слоя основного водоизоляционного ковра, подводя их вплотную к вертикальной поверхности фасонного элемента (см. рис. 2.25);

Рис. 2.25. Обклейка трубы вторым слоем основного водоизоляционного ковра
1 - полотнища второго слоя основного ковра; 2 - труба.
- верхнюю часть фасонного элемента закрепляют хомутом и промазывают герметиком (см. рис. 2.26).

Рис. 2.26. Окончательная отделка примыкания кровельного ковра к трубе
1 - несущая плита; 2 - пароизоляция; 3 - теплоизоляция; 4 - цементно-песчаная стяжка; 5 - нижний слой кровельного ковра; 6 - мастика; 7 - верхний слой кровельного ковра; 8- фасонный элемент; 9-хомут; 10- герметик; 11 - труба; 12 - монтажная пена.
2.1.55. В осенне-зимний период, когда устройство выравнивающей стяжки из цементно-песчаного раствора затруднительно и трудоемко, предпочтительно применение асфальтовой или сборной стяжки. Кроме того, при неблагоприятных условиях устройства кровли возможно увлажнение основания под кровлю, которое не всегда устраняется при сплошной наклейке наплавляемых рулонных материалов путем их подплавления и подогрева (подсушки) основания. Появление вздутий в кровельном ковре можно предотвратить частичным закреплением нижнего слоя водоизоляционного ковра, которое достигается несколькими способами:
- полосовой или точечной приклейкой;
- механическим закреплением;
- укладкой на основание под кровлю перфорированного рулонного материала (например, по ТУ 5774-012-05766480-00);
- применением специальных рулонных материалов, обеспечивающих частичную его приклейку к основанию.
2.1.56. В соответствии с п. 5.5 главы СНиП II-26 точечная или полосовая приклейка должна быть равномерной и составлять 25...35 % площади наклеиваемых (на мастиках) полотнищ рулонного материала; на карнизах и в местах примыкания кровельного ковра к выступающим конструктивным элементам необходимо предусматривать возможность выхода воздуха из всех непроклеенных участков также, как и при механическом закреплении нижнего слоя кровельного ковра (см. рис. 2.6).
2.1.57. При применении перфорированного рулонного материала кровельный ковер выполняют в следующей последовательности:
- на подготовленное основание под кровлю раскатывают рулоны перфорированного рулонного материала, примеряют рулон по отношению у другому и обеспечивают нахлестку (по аналогии см. рис. 2.5);
- смежные полотнища при раскатывании приклеивают по нахлесткам; в ветреную погоду полотнища перфорированного рулонного материала приклеивают точечно к основанию под кровлю и между нахлестками;
- верхние слои кровельного ковра (в том числе из наплавляемого рулонного материала и ковра из мастичных составов) наклеивают сплошь, при этом полотнища раскатывают так, чтобы они перекрывали швы нижележащего слоя.
2.1.58. К наиболее эффективным материалам при устройстве "дышащих" кровель (кровель с диффузионной прослойкой между основанием под кровлю и водоизоляционным ковром) относятся специальные рулонные материалы, у которых приклеивающий состав нанесен в заводских условиях полосами (см. рис. 2.27) и их укладывают аналогично наплавляемым рулонным материалам.

Рис. 2.27. Рулонный материал с полосами приклеивающего состава (ТУ 5774-016-05766480-01)
2.1.59. Водяные пары из диффузионной прослойки можно выводить не только через примыкания кровельного ковра к выступающим над ним конструкциям, но и через вентпатрубки (см. рис. 2.28) диаметром 100…110 мм по одной на 80…100 м2 кровли в случае применения монолитных и 140…150 - плитных и засыпных утеплителей.

Рис. 2.28. Патрубок
1 - несущая плита;
2 - пароизоляция;
3 - теплоизоляция;
4 - выравнивающая стяжка;
5 - частично приклеенный рулонный материал;
6 - верхний слой кровельного ковра;
7 - патрубок;
8 - заполнение керамзитовым гравием.
2.1.60. При намокании стяжки и теплоизоляции в процессе устройства ограждающей части покрытия (при форс-мажорных условиях) перед выполнением кровельного ковра необходимо определить возможность сохранения теплоизоляции. Целесообразность ее сохранения устанавливают по результатам детального обследования материала теплоизоляции и стяжки с отбором проб и определением их влажностного состояния и прочностных показателей, которые должны удовлетворять требованиям, приведенным в табл. 2. По результатам обследования теплоизоляцию заменяют или предусматривают мероприятия, обеспечивающие ее естественную сушку в процессе эксплуатации кровли. Для этого в толще утеплителя и/или в стяжке в двух взаимно перпендикулярных направлениях выполняют каналы, сообщающиеся с наружным воздухом через продухи у карнизов, парапетов, торцевых стен, возвышающихся над кровлей частей здания, а также через специальные осушающие патрубки, установленные над пересечением каналов (см. рис. 2.29).

Рис. 2.29. Осушающий патрубок (а) и примыкание каналов к стене с продухом (б)
1 - несущая плита; 2 - пароизоляция; 3 - теплоизоляция; 4 - выравнивающая стяжка; 5 - основной водоизоляционный ковер; 6 - дополнительный водоизоляционный ковер; 7 - герметик; 8 - патрубок; 9 - засыпной утеплитель (керамзитовый гравий); 10 - грунтовка; 11 - канал в утеплителе и стяжке; 12 - пересечение каналов; 13 - сборный канал; 14 - доска с пазами; 15 - фартук из оцинкованной кровельной стали.
2.2.1. Перед устройством кровли проверяют плоскостность стропил: при укладке двухметровой рейки на стропилу отклонение по высоте должно быть в пределах ± 5 мм; при превышении этого допуска поверхность стропил выравнивают.
2.2.2. Кровельную черепицу, как правило, не требуется крепить (см. таблицу 3.3); обязательному креплению подлежат:
- первый ряд черепицы на карнизе;
- приконьковый ряд;
- боковая (фронтонная);
- вся подрезная черепица (в ендове, на хребте);
- черепица, примыкающая к стенам, печным трубам, мансардным окнам, люкам. Черепица выпускается с заготовленными (несквозными) отверстиями под шурупы; при необходимости крепления намеченные отверстия просверливают (сверлом по бетону). Закрепляют черепицу коррозионными шурупами и противоветровыми кляммерами-зажимами (см. Приложение 1).
2.2.3. На карнизном участке вначале устанавливают водосточные желоба с защитными фартуками (рис. 2.30). Минимальный уклон желоба 3 мм/м (0,3 %).

Рис. 2.30. Карнизный свес кровли.
1 - воодсточный желоб; 2 - выравнивающий брусок толщиной 20…30 мм или аэроэлемент; 3 - обрешетка; 4 - диффузионно-гидроизоляционный слой (см. Приложение 6); 5 контробрешетка; 6 - стропило; 7 - настил; 8 - фартук.
Шаг установки кронштейнов желоба - не более 70 см; их можно закреплять непосредственно к стропилам или контробрешётке при шаге стропил не более 70 см; при большем шаге необходимо поверх стропил выполнить сплошной настил толщиной не менее 30 мм (см. рис. 2.30). При этом напуск черепицы на жёлоб может быть не более 1/3 его диаметра для надёжного попадания в жёлоб дождевой и талой воды.
2.2.4. Кронштейны устанавливают (сгибают) так, чтобы передняя кромка желоба была ниже на 10 мм (см. рис. 2.30).
2.2.5. Ветрозащитную диффузионно-гидроизоляционную плёнку 4 (см. рис. 2.30) укладывают поверх стропил вдоль карнизного свеса с нахлёсткой не менее 10 см; плёнку крепят степлерными скобами, обеспечивая небольшой (не более 2 см) провис. Если плёнку укладывают в холодное время, то её следует натянуть без провиса.
Контробрешётку прибивают вдоль стропил поверх плёнки оцинкованными гвоздями с шагом около 300 мм.
2.2.6. В подшивке карнизного свеса всегда закрепляют вентиляционную ленту или оставляют щели шириной не менее 2,0 см для обеспечения вентиляции кровли. Карнизные свесы могут быть выполнены без выноса или с выносом по отношению к стене, с одним или двумя вентиляционными зазорами (см. рис. 1.21).
2.2.7. В карнизном свесе чердачной крыши вентиляция осуществляется так же, как и в свесе мансардной крыши - через аэроэлемент свеса и вентиляционную ленту (см. рис. 1.22 и 1.23).
2.2.8. На фронтонных свесах можно применять боковые цементно-песчаные или облегчённые черепицы, либо устроить фронтон традиционными способами: с применением лобовых досок или накрывающих досок (см. рис. 1.24).
2.2.9. Если под кровлей устраивается холодный чердак или длина стропила не превышает 9 м, то вентиляцию чердака можно обеспечить аэроэлементом конька "Каверлэнд" (см. Приложение 5), который укладывают под коньковую черепицу на коньковый брус (см. рис. 1.25). Зазор между коньковой черепицей и верхней гранью конькового бруска должен быть равен около 5 мм.
2.2.10. При устройстве хребта (см. рис. 2.31) диффузионно-гидроизоляционную плёнку 2 укладывают (с нахлёстом 100 мм) через накосную стропильную ногу 10; перед укладкой черепицы у хребта её подрезают так, чтобы после укладки образовывался зазор 15...25 мм между черепицей и хребтовым бруском 1; черепицу закрепляют шурупами, а коньковую черепицу 6 крепят к хребтовому бруску также шурупами 5x70 мм (см. Приложение 8) и зажимами (кляммерами) 7.

Рис. 2.31. Хребет черепичной кровли чердака.
1 - хребтовый брусок; 2 - диффузионно-гидроизоляционная плёнка (см. Приложение 9); 3 - обрешётка; 4 - контробрешётка; 5 - капельник из оцинкованной кровельной стали; 6 - коньковая черепица; 7 - зажим (кляммер) коньковой черепицы; 8 - торцовый элемент (см. Приложение 8); 9 - аэроэлемент хребта (см. Приложение 7); 10 - накосная (хребтовая) стропильная нога
2.2.11. Для надёжной защиты хребта от попадания воды и снега под коньковую черепицу рекомендуется укладывать "Фигароль" (см. Приложение 7) или аэроэлемент хребта (см. рис 1.28).
2.2.12. При устройстве ендовы (см. рис. 1.27) под металлический желобок ендовы вначале выполняют сплошной настил из обрезной доски шириной не менее 300 мм такой же толщины, как и у контробрешётки.
:2.2;13. Желобки из окрашенного алюминия или оцинкованной кровельной стали укладывают снизу вверх с нахлёсткой не менее 100 мм на скатах с уклоном > 22° и 150 мм - от 10 до 22°; каждый желобок в верхней части крепят оцинкованными гвоздями, а по длине - скобами через 300…400 мм; ширина желобка от оси до отбортовки - 250 мм.
Напуск черепицы на желобок - 80…100 мм; защита от задувания снега обеспечивается поролоновой полосой.
2.2.14. Примыкание к печной трубе выполняют (см. рис. 1.29) с применением ленты "Вакафлекс" (см. Приложение 8). Над печным проёмом обязательно выполняют дренажный желобок из диффузионно-гидроизоляционной плёнки. После укладки черепицы вокруг трубы с зазором 20…30 мм её закрепляют коррозионостойкими шурупами. Поверхности трубы и черепицы, на которые будет наклеиваться "Вакафлекс" (см. Приложение 8), должны быть чистыми и сухими. Если работа выполняется при температуре ниже + 5°С, поверхности под "Вакафлекс" нагревают при помощи технического фена.
Наклеивание "Вакафлекса" начинают с нижней части трубы, затем выполняется наклейка на боковые и верхнюю поверхности трубы, обеспечивая при этом необходимые величины нахлёстки и подъёма "Вакафлекса" на стены трубы.
2.2.15. Примыкание к стене и окну выполняют также с применением "Вакафлекса". Если кровля примыкает к стене с уклоном от неё, то такое примыкание выполняют с продухом для сообщения вентиляционного канала с наружным воздухом.
2.2.16. Для устройства такой кровли используется наиболее простая по форме черепица, в частности черепица "Опал" (см. рис. 1.17). Для формирования равномерно выгнутой кровельной поверхности применяют, как правило, кольцевые стропила с обшивкой из досок, расположенных длинной стороной по уклону; контробрешётку располагают также по уклону, а обрешётка может быть выполнена закруглённой формы (после выдержки в воде).
2.2.17. В зависимости от размера конической кровли различают следующие виды укладки черепицы: неравномерную и равномерную.
При неравномерной форме укладки (рис. 2.32) черепица первого ряда (5) вышерасположенной стропильной фермы (2) перекрывает последний ряд (6) нижерасположенной стропильной фермы (1) с боковым смещением; при этом ширина бокового перекрывания (нахлёстки) одной черепицы другой должны составлять % её ширины (180:4 = 45 мм, где 180 мм - ширина черепицы "Опал", см. рис. 1.17).
Если нахлёстка одной черепицы на другую меньше % её ширины, то плитку необходимо разрезать; при этом разрезанные черепицы рекомендуется распределять по всей площади кровли.

Рис. 2.32. Неравномерная укладка черепицы.
1…4- кольцевые стропильные фермы; 5 - первый ряд стропильной фермы 2; 6 - последний ряд стропильной фермы 1.
При равномерной форме укладки (рис. 2.33) черепицу срезают с обеих сторон на конус так, что формируется равномерное боковое перекрытие (нахлёстка) черепицы в пределах одной стропильной фермы. В этом случае при боковой нахлёстке меньше % ширины черепицы сверху (на стропильной ферме 2) укладывают более широкую черепицу.

Рис. 2.33. Равномерная укладка черепицы 1 и 2- стропильные фермы
2.2.18. При равномерной форме укладки потребность в черепице лежит в пределах от 34 (норма, см. стр. 21) до 70 (максимально, поскольку черепица разрезается практически до половинного размера), т.е. приблизительно требуемое количество черепицы (шт.) = (34 + 70) : 2 х Sкон., где S - площадь конической поверхности кровли.
2.2.19. Устройство водоизоляционного слоя из плоской ленточной черепицы может быть выполнено двумя способами: двухслойным или чешуйчатым.
Черепицу следует укладывать в направлении от карниза к коньку с перекрывом вышеуложенными рядами нижеуложенных и с боковым смещением одной относительно другой. При этом нечетные ряды начинают и заканчивают целыми черепицами, а четные - половинками.
Черепица первого ряда должна опираться на два бруска обрешетки с зацеплением шипами за тыльную грань верхнего бруска обрешетки, а во втором ряду за верхний торец первого ряда. Третий и все последующие ряды должны быть выполнены как первый, а приконьковый - как второй.
2.2.20. Все черепицы, укладываемые вдоль карнизных и фронтонных свесов должны закрепляться независимо от уклона.
Крепление черепицы следует выполнять кляммерами, а также с помощью проволоки к гвоздю, забитому в обрешетку. При использовании кляммер черепицу следует закреплять попарно (см. рис. 2.34).
2.2.21. Конек и ребра крыши должны покрываться коньковыми желобчатыми черепицами на цементном растворе. При этом на коньке их следует укладывать в том же направлении, что и при укладке на скате, а на ребрах в направлении снизу вверх. При этом каждая черепица должна быть закреплена проволокой, пропущенной через ушко желобчатой черепицы, к гвоздю забитому в брусок обрешетки.

Рис. 2.34. Кровля из ленточной черепицы а - сечение конька; б - примыкание кровли к стене;
1 - кляммера; 2 - брусок обрешетки; 3 - коньковая желобчатая черепица; 4 - коньковый брус; 5 - проволока для крепления коньковой черепицы; 6 - глухарь; 7 - скоба; 8 - плоская ленточная черепица; 9 - стропильная нога; 10 - гвоздь;-11 - герметик; 12 - рейка; 13 - фартук из кровельной стали.
2.2.23. До монтажа основания под кровлю при необходимости (в случае применения системы организованного наружного водоотвода) крепятся кронштейны подвесного водосточного желоба.
2.2.24. При выполнении основания из сплошного деревянного настила рекомендуется:
- применять узкие доски и не допускать их утягивания между собой;
- перепад по высоте не должен быть более 1-2 мм (требуется сортировать доски по толщине);
- крепление осуществлять оцинкованными (ершенными, спиральными) гвоздями;
- стыки досок по длине располагать на опорах, в местах стыков забивать не менее 4-х гвоздей.
2.2.25. При выполнении основания сложных форм кровли и для получения качественных поверхностей по обрешетке укладывают листовой материал.
Обрешетка выполняется с шагом кратным размеру листа.
Фанера и плита OSB-3 крепят оцинкованными гвоздями с шагом 300 мм по обрешетке и с шагом 150 мм на стыках плит.
2.2.26. При уклонах кровли более 18° (~ 30 %) прокладочный слой из битуминозного рулонного материала укладывают лишь вдоль карнизных и торцевых свесов на величину не менее 400 мм, рекомендуется доводить подкладочный ковер до плоскости фасада; конек кровли должен быть усилен на ширину 0,25 м с каждой стороны (см. рис. 2.35).
2.2.27. При уклоне крыш от 12° до 18° (от 20 до 30 %) на основание под черепицу укладывают дополнительный подкладочный слой по всей поверхности ската (см. рис. 2.35). Укладку рулонного материала ведут снизу вверх с нахлестом в поперечном направлении 100 мм, а продольном - 150 мм, раскатывая рулон параллельно карнизному свесу. К основанию его крепят специальными оцинкованными гвоздями с широкими шляпками через каждые 200 мм. Места нахлестки промазывают битумной мастикой.

Рис. 2.35.. Укладка подкладочного слоя при уклоне кровли более 30 % (а) и от 20 до 30 % (б)
1 - сплошной настил; 2 - подкладочный слой; 3 - нахлестка проклеивается мастикой.
2.2.28. Поверх подкладочного слоя устанавливают металлические карнизные планки (капельники), а торцевые части ковра фронтонные планки с нахлестом 2 см. Прибивают их кровельными гвоздями с шагом 100 мм, а в местах нахлеста с шагом 30 мм (рис. 2.36).

Рис. 2.36. Схема установки карнизной планки
1 - самоклеящаяся карнизная черепица; 2 - нахлест планок шириной 20 мм; 3 - карнизная планка.
2.2.29. Для повышения водонепроницаемости кровли в ендовах поверх подкладочного слоя укладывают слой из специального (ендовного) рулонного материала, соответствующего цвету кровельной плитки. Края рулона закрепляют оцинкованными гвоздями, размещаемыми с шагом 100 мм (рис. 2.37). Нахлест ендовного ковра между собой (поперечный нахлест) шириной 150 мм и по краям промазывается мастикой.

Рис. 2.37. Ендова кровли
1 - промазка битумной мастикой;
2 - ендовный ковер; 3 - подкладочные слои.
2.2.31. Во избежание цветовых отклонений используют битумную черепицу вперемешку из 4…5 упаковок одновременно. Гибкую черепицу укладывают рядами снизу вверх (см. рис. 2.38), начиная от центра карниза в направлении фронтонов. Первый ряд черепицы укладывают таким образом, чтобы нижний край лепестков черепицы отстоял от нижнего края карнизной черепицы на 20…30 мм, а лепестки черепицы закрывали стыки карнизных черепиц.
Крайнюю черепицу, с которой начинается укладка второго ряда, обрезают на величину, обеспечивающую формирование проектного рисунка кровли, и перекрывает механический крепеж. Черепицу отрезают вровень с краями фронтонного карниза и проклеивают битумной мастикой на ширину 10 мм.

Рис. 2.38. Схема укладки гибкой черепицы
1 - карнизная черепица; 2 - металлическая карнизная планка; 3 - металлическая (фронтонная) планка; 4 - подкладочный слой; 5 - кровельные гвозди.
2.2.32. Перед укладкой гибкой черепицы следует удалять легкосъемную силиконизированную пленку и каждая плитка крепится к основанию с помощью специальных кровельных гвоздей.
Количество гвоздей на черепицу зависит от угла наклона ската (рис. 2.39). При уклоне крыши до 45° одну черепицу фиксируют четырьмя оцинкованными кровельными гвоздями с широкой шляпкой, а при уклоне свыше 45 ° - шестью.

Рис. 2.39. Схема крепления черепицы в зависимости от уклона кровли
1 - кровельные гвозди; 2 - рядовая черепица; 3 - карнизная черепица; 4 - стыковой паз; 5 - неправильное расположение гвоздей; 6 -правильное расположение гвоздя.
2.2.33. В ендове обрезают черепицу так, чтобы на границе пересечения скатов осталась открытой полоса ендовного материала шириной 150-250 мм (рис. 2.40). Края черепиц проклеивают вдоль линии отреза на ширину 100 мм мастикой. При отрезании подкладывают под черепицу фанеру, чтобы не повредить нижний слой.

Рис. 2.40. Укладка гибкой черепицы в ендове
1 - специальный (ендовый) материал; 2 - подкладочный слой; 3 - рядовая черепица; 4 - линия обрезки черепицы; 5 - гвозди с шагом 100 мм; 6 - нанесение мастики.
2.2.34. В коньке кровлю выполняют из черепицы размером 0,25×0,33 м, которую получают из карнизной черепицы путем разделения ее по местам перфорации на три части.
Предварительно удалив защитную пленку с нижней поверхности, коньковую черепицу приклеивают на коньке короткой стороной (0,25 м) параллельно коньку на предварительно уложенный слой рядовой черепицы.
Черепицу крепят 4-мя гвоздями (по 2-а с каждой стороны от конька), размещенными так, чтобы они оказались под нахлестом 50 мм следующей черепицы (рис. 2.41). Последнюю черепицу следует наклеить с нахлестом в 100 мм мастикой.

Рис. 2.41. Укладка коньковой черепицы
1 - рядовая черепица; 2 - кровельные гвозди в количестве 4…6 гвоздей в зависимости от уклона (см. п. 2.2.32); 3 - коньковая черепица; 4 - нахлестка коньковой черепицы (50 мм).
2.2.35. В местах прохода через кровлю труб, антенных устройств и т.п. применяют специальные детали (см. Приложение 10). Установка фланца для прохода трубы, например, вентилятора приведена на рис. 2.42.

Рис. 2.42. Установка фланца для вентилятора
а - прорезка отверстия по шаблону; б - нанесение мастики под фланец; в - прибивка фланца; г - приклейка рядовой черепицы
1 - подкладочный слой; 2 - мастика; 3 - фланец вентилятора; 4 - гвозди с шагом 150 мм; 5 - рядовая черепица; 6 - отверстие; 7 - мастика.
2.2.36. Кроме деталей обделки дымовой трубы, приведенных на рис. 1.34, возможно выполнение примыкания к такой трубе с применением специального (ендовного) рулонного материала; для этого вокруг трубы устраивают бортик (треугольную рейку) с последующей наклейкой ендовного материала, раскройка которого приведена на рис. 2.43.


Рис. 2.43. Примыкание кровли из гибкой черепицы к дымовой трубе (а) и раскрой рулонного материала по сторонам трубы (б)
2.2.37. Монтаж листов металлочерепицы следует производить с торца крыши. При этом капиллярная канавка каждого листа должна быть накрыта последующим листом.
Край листа должен устанавливаться по карнизу с выступом на 40 мм. Рекомендуется в начале по 3-4 листа закрепить одним шурупом на коньке с окончательным закреплением по всей длине после выравнивания по карнизу.
2.2.38. До монтажа металлочерепицы на прямоугольных скатах проверяют прямоугольность стропильной системы путем замера диагоналей; если они не равны, то непрямолинейность устраняется дополнительным удлинением обрешеток у ветровой доски (планки).
Укладку диффузионно-гидроизоляционной пленки производят так же, как и при устройстве кровли из цементно-песчаной черепицы (см. п. 2.2.5).
2.2.39. В местах ендов должен устанавливаться гладкий лист по сплошной обрешетке с обязательной герметизацией зазоров между ним и листами металлочерепицы специальной уплотнительной лентой по профилю металлочерепицы.
Конек крыши должен закрываться коньковыми элементами после установки всех рядовых листов металлочерепицы и закрепления уплотнительной ленты. Коньковые элементы должны закрепляться шурупами на каждой второй профильной волне. Места нахлестки листов металлочерепицы при уклонах от 10 до 20 % рекомендуется герметизировать герметиками по ГОСТ 14791.
2.2.40. Направление монтажа металлочерепицы зависит от расположения на ней капиллярной канавки; если эта канавка расположена на левой продольной волне, то монтаж металлочерепицы производят справа налево и наоборот, если канавка расположена на правой волне.
2.2.41. Для лучшего обжатия стыкуемых металлочерепиц в продольных нахлестках крепежные элементы, устанавливаемые в соседних нижних волнах, смещают на 5 мм в соответствии с рис. 2.44. В этом случае при помощи шурупа 5 накрываемая волна будет поднята вверх, а шуруп 5 будет, наоборот, опускать накрывающую волну и, таким образом, будет получено более плотное соприкосновение стыкуемых волн черепиц.

Рис. 2.44. Продольный стык металлочерепицы
1 - брусок обрешетки; 2 - стыкуемые черепицы; 3 - накрывающая волна; 4 - накрываемая волна; 5,5' - шуруп; 6 - оси нижних волн; 7 - капиллярная канавка.

Рис. 2.45. Крепление металлочерепицы
1 - черепица; 2 - обрешетка; 3 - карнизный свес; 4 - продольный стык; 5 - поперечный стык; 6 - шурупы.
2.2.42. Каждая черепица должна быть закреплена к каждому бруску обрешетки. Крепление листов металлочерепицы следует осуществлять шурупами 4,8×28 мм с уплотнительной шайбой, которые устанавливают под поперечной волной. На каждый квадратный метр устанавливается 6 шурупов, учитывая при этом, что по краю лист крепится в каждой волне. В местах нахлестки листов по длине, составляющей не менее 250 мм, крепление должно производиться в каждую вторую волну.
На карнизном свесе и на коньке черепицу крепят в каждой волне, а на поперечных нахлестках - в каждую вторую волну (см. рис. 2.45).
2.2.43. Устройство водоизоляционного слоя из асбестоцементных волнистых листов может осуществляться двумя способами: со смещением продольных кромок листов на одну волну по отношению к таким же кромкам листов смежного ряда или с совмещением продольных кромок во всех вышеукладываемых рядах.
Первый способ рекомендуется использовать при узких по уклону и длинных в поперечном направлении скатах, а второй при широких по уклону и коротких в поперечном направлении скатах.
2.2.44. Асбестоцементные волнистые листы к обрешетке следует крепить шиферными гвоздями, шурупами и частично противоветровыми скобами. В карнизном ряду скобы рекомендуется устанавливать по шнуру из расчета по две на лист.
2.2.45. В целях уменьшения возможности задувания осадков в поперечные нахлестки асбестоцементных волнистых листов укладка их должна осуществляться в направлении противоположном господствующему направлению ветров. Схема укладки листов и срезки углов приведена в Приложении 11.
2.2.46. К прогонам асбестоцементные волнистые листы рекомендуется крепить крепежными элементами типа "крюк" (рис. 2.46). Диаметр отверстий в асбестоцементных волнистых листах следует принимать на 2-3 мм более диаметра стержня крепежного элемента. При расчетном ветровом отсосе до 60 кгс/м2 в рядовых кровельных листах крепежные элементы следует устанавливать по нижнему прогону на гребне второй волны, считая от накрывающей. В карнизных и краевых накрывающих листах следует дополнительно устанавливать крепежные элементы по гребням волн, предшествующих накрываемой волне, а в коньковых листах и по гребням второй волны на верхних прогонах. При ветровом отсосе более 60 кгс/м2, а также при динамических воздействиях следует дополнительно устанавливать крепежные элементы на гребне волны, предшествующей накрываемой

Рис. 2.46. Способы крепления асбестоцементных волнистых листов к прогонам
а - швеллерному; б- из уголка; в - деревянному;
1 - прогон; 2 - крепежный элемент типа «крюк»; 3 - шайба.
2.2.47. Асбестоцементные волнистые листы вдоль ската следует укладывать в направлении от карниза к коньку, а поперек ската в направлении, противоположном направлению господствующих ветров. Во избежание перегрузок, монтаж асбестоцементных волнистых листов рекомендуется вести одновременно на двух скатах.
2.2.48. Воротник дымовой трубы и слуховых окон, а также примыкания к стенам следует выполнять угловыми деталями, которые рекомендуется закреплять шурупами, пропускаемыми через гребни волн рядовых листов (рис. 1.46). При этом по скату они должны иметь нахлестку не менее 100 мм, а поперек ската не менее, чем на одну волну.
Разжелобки до укладки листов на скатах должны быть покрыты лотковыми деталями, которые устанавливают в направлении снизу вверх. Рядовые асбестоцементные листы должны перекрывать продольные кромки лотковых деталей на 150 мм.
2.2.49. Конек в направлении навстречу господствующему ветру следует перекрывать коньковыми деталями с прокладкой под них слоя рулонного водоизоляционного материала. Устройство коньков может быть выполнено глухим или с вентиляционными щелями (рис. 1.49).
2.2.50. В целях исключения возможности проникновения атмосферных осадков через места стыкования листов "зазоры" в них размером более 7 мм рекомендуется заполнять герметизирующей нетвердеющей мастикой по ГОСТ 14791. На уклонах от 10 до 20 % продольные и поперечные стыки асбестоцементных листов также должны быть загерметизированы.
2.2.51. При монтаже битумных волнистых листов на карнизном участке лист укладывают так, чтобы свес листа не превышал 70 мм. Второй ряд рекомендуется начинать с половинчатого листа, что позволяет на угловом стыке иметь 3, а не 4 листа и облегчить их укладку.
2.2.52. Битумные волнистые листы прибивают к обрешетке в каждой волне на карнизе, коньке и поперечной нахлестке, а к промежуточным брускам в соответствии с рис. 2.47.

Рис. 2.47. Крепление битумного волнистого листа
1 - лист; 2 - карнизный свес; 3 - продольная нахлестка листов; 4 - поперечная нахлестка; 5 - бруски обрешетки.
2.2.53. Детали кровли из битумного волнистого листа (примыкание к трубам, стенам, стойкам антенн и т.п.) выполняют с применением дополнительных элементов, приведенных в Приложении 9.
2.2.54. Кровельные листы из металлического профлиста крепят шурупами с металлической шайбой и прокладкой из EPDM на карнизе и коньке в каждом верхнем гофре. В продольных стыках листы скрепляют комбинированными заклепками через 500 мм.
2.2.55. Крепление профлиста в составе кровельной панели зависит от конструкции панели; на рис. 2.48 приведен пример крепления профлиста в кровельной каркасной панели (ТУ 5284-82-05746632-2002)

Узел К при отдельной поставке верхнего листа

Рис. 2.48. Крепление металлического профлиста в составе кровельной панели
1 - панель; 2 - комбинированная заклепка; 3 - прокладка из EPDM; 4 - крепление профлиста к каркасу панели; 5 - каркас панели; 6 - винт; 7 - прогон (опора панели).
2.2.56. К обрешетке кровельные асбестоцементные плитки следует крепить оцинкованными гвоздями и противоветровыми кнопками. При забивке гвоздей их головки должны только соприкасаться с поверхностью плит во избежание их повреждения. В этой связи целесообразно использовать под головки гвоздей мягкие шайбы из рулонного водоизоляционного материала.
2.2.57. Покрытие скатов кровли асбестоцементными плитками должно начинаться со свеса карниза укладкой краевых плиток на всю его длину и далее параллельными рядами по направлению к коньку.
Покрытие фронтона следует выполнять укладкой краевых плиток с напуском на 20-30 мм за край фронтонного свеса, а покрытие коньков и ребер - коньковыми деталями, укладываемыми по слою рулонного водоизоляционного материала.
2.2.58. Примыкание кровли из асбестоцементных плиток к вертикальным конструкциям (стенам, парапетам и т.п.) следует выполнять с использованием фартука из оцинкованной стали. В этих же местах также рекомендуется предусмотреть нижний водоизоляционный слой.
2.3.1. Для рядового покрытия скатов крыши, карнизных свесов, разжелобков и т.д. рекомендуется использовать предварительно подготовленные картины, размером не более 710×1240 мм.
В зависимости от формы крыши рядовое покрытие выполняют в следующей последовательности: на фронтонных крышах первую полосу картин следует располагать вдоль фронтона или противопожарной стены, а при вальмовых, полувальмовых и многошипцовых - от конька (рис. 2.49).

Рис. 2.49. Рядовое покрытие ската листовой сталью (медью)
1 - картина в рядовой полосе; 2 - одинарный лежачий фальц; 3 - одинарный стоячий фальц; 4 - коньковый стоячий фальц; 5 - доска; 6 - брусок обрешетки
2.3.2. Скаты крыши следует покрывать картинами, после устройства карнизных свесов и настенных желобов.
2.3.3. Фронтонный свес должен свисать с обрешетки на 40-50 мм. Фронтонные свесы должны закрепляться на костылях с устройством отворотных лент с капельниками.
2.3.4. Устройство карнизного свеса должно начинаться с установки штырей со скобами и Т-образных костылей. Штыри следует располагать по осям водоприемных воронок, а костыли с шагом 700 мм. Расстояние между штырем и костылем не должно превышать 400 мм. Поперечные планки костылей должны отстоять от свеса дощатого настила на 120 мм (рис. 2.50).
2.3.5. На крыше заготовленные картины от первой до пятой соединяют сначала для одной половины свеса между воронками, потом - для другой, а затем вдоль верхней кромки их закрепляют гвоздями - по три на каждый лист.
2.3.6. Укладку картин на костыли следует производить, начиная от осей воронок или в обе стороны от водораздела.
На водоразделе картины карнизного свеса должны быть соединены двойным лежачим фальцем с промазкой его герметиком.

Рис. 2.50. Устройство карнизного свеса
а - карнизный свес; б - последовательность раскладки картин; в - крепление костыля к настилу;
1 - карнизный штырь; 2 - дощатый настил: 3 - Т-образный костыль; 4 - гвоздь 3,5x45 мм; 5 - покрытие свеса картинами 1-5.
2.3.7. Разжелобки покрывают отдельными картинами, которые по коротким сторонам у конька и лотка должны соединяться с рядовым покрытием и настенными желобами двойным лежачим фальцем с промазкой герметикой, а к обрешетке крепиться кляммерами, размещаемыми на расстоянии 500 мм друг от друга.
2.3.8. При устройстве настенных и подвесных желобов у воронок и на водоразделе должны быть установлены маячные крюки, а между ними на расстоянии 670-730 мм - остальные крюки (рис. 2.51).

Рис. 2.51. Устройство настенного желоба
1 - штырь со скобой; 2 - водоприемная воронка; 3 - лоток; 4 - настил разжелобка; 5 - стропильная нога; 6 - карнизный настил; 7 - обрешетка; 8 - картина настенного желоба; 9,13 - гвозди; 10 - костыль; 11 - крюк для желоба; 12 - картина карнизного свеса; 14 - кляммера.
2.3.9. Сборку картин желобов следует проводить в направлении от водоприемных воронок к водоразделу. При этом борта желобов должны соединяться между собой внахлестку с учетом направления стока воды, а верхняя кромка картин на карнизе должна быть расположена выше борта желоба.
2.3.10. На водоразделе и при стыковании у воронки картины должны быть соединены двойным лежачим фальцем с промазкой герметиком, а борта желобов на крючьях - саморезами. Верхнюю продольную кромку настенных желобов следует соединять с картинами рядового покрытия фальцевым швом.
2.3.11.Лоток должен устанавливаться по оси водоприемного участка с таким расчетом, чтобы его хвостовой отворот находился под концами соединяемых настенных желобов. Борта лотков и желобов соединяют угловыми фальцами, отгибаемыми на внутренние плоскости лотковых бортов.
2.3.12. При использовании подвесных желобов они должны быть расположены с таким расчетом, чтобы стекающая со ската вода не переливалась через его передний борт. Перед установкой лотковых скоб по уровню должна быть проверена горизонтальность передней кромки.
При размещении скоб сначала должны быть установлены две крайние (маячные) скобы, а затем между ними по шнуру остальные. Желоб следует закреплять к лотковым скобам кляммерами.
Для исключения сползания снега и льда рекомендуется предусматривать на кровле противоснеговые барьеры.
2.3.13. Во избежание повреждения желоба от температурных деформаций, в нем должны быть предусмотрены компенсаторы или подвижные швы.
Компенсаторы выполняют в виде водоприемной воронки, в которую с двух сторон входят свободно уложенные концы подвесных желобов.
Подвижной шов должен предусматриваться в точке наивысшего подъема желобов, где концевые торцы желобов заделывают жестяными заглушками с оставлением между торцами температурного зазора в 30-40 мм. Оба конца желобов закрывают сверху жестяной крышкой (на два ската), по которой вода стекает в концы желобов.
2.3.14. Водоприемные воронки могут быть выполнены круглой или прямоугольной формы с одним или двумя отверстиями для ввода желобов. Воронка должна закрепляться к карнизу стандартным штырем с обжимным хомутом.
2.3.15. В местах расположения дымовых труб и слуховых окон должно быть предусмотрено устройство воротников из листовой стали. При этом все деревянные элементы обрешетки, прилегающие к стволу дымовой трубы, по противопожарным требованиям, должны отстоять от поверхности его стенок на 130 мм.
3.1.1. При приемке кровли должен осуществляться поэтапный приемочный контроль качества устройства пароизоляции, теплоизоляции, основания, водоизоляционного и защитного слоев с записью в журнал работ и составлением актов на скрытые работы.
3.1.2. На каждом этапе приемки исполнитель (подрядная организация) должен представить Заказчику паспорт завода изготовителя на используемые материалы. Заказчик имеет право провести независимый входной контроль используемых материалов в аккредитованных лабораториях.
3.1.3. При приемке слоя пароизоляции исполнитель составляет акт на скрытые работы по результатам визуального контроля слоя пароизоляции (наличие трещин, вздутий, разрывов, пробоин, расслоений) и соблюдению указаний п. 1.1.7.
3.1.4. При приемке основания исполнитель составляет акты на скрытые работы по результатам инструментального контроля ровности поверхности основания, его влажности, уклона и уровня понижения поверхности в местах расположения воронок внутреннего водостока, а также оценки визуального контроля по соблюдению указаний п. 1.1.4 и 1.1.5.
3.1.5. При приемке водоизоляционного слоя исполнитель составляет акты на скрытые работы по результатам инструментального контроля уклона кровли, уровня понижения поверхности в местах расположения воронок внутреннего водоотвода, величины нахлестки асбестоцементных и битумных волнистых листов, металлического профлиста или металлочерепицы вдоль и поперек ската и оценку визуального контроля соблюдения указаний пп. 1.1.8, 1.1.13, 1.2.35, 1.2.36, 1.2.51, 1.2.53 и 1.4.1.
3.1.6. При приемке защитного слоя исполнитель составляет акты по результатам инструментального контроля общей толщины защитного слоя, фракционного состава гравия и оценки визуального контроля соблюдения указаний п.п. 1.1.15, 1.1.17, 1.1.22.
3.1.7. Приемка готовой кровли должна оформляться актом с обязательной оценкой качества выполненных работ и выдачей Заказчику гарантийного паспорта.
3.2.1. Настоящий раздел устанавливает методы определения следующих показателей:
- прочности, влажности и морозостойкости материала основания под кровлю;
- толщины и ровности поверхности основания под кровлю;
- уклона основания под кровлю;
- уровня понижения поверхности кровли в местах расположения воронок внутреннего водоотвода;
- величины нахлестки асбестоцементных листов и металлических профлистов вдоль ската;
- высоту наклейки рулонного материала в местах примыкания кровли к вертикальным поверхностям;
- морозостойкость гравия и бетона для защитного слоя, общую толщину защитного слоя и фракционный состав гравия.
3.2.2. При испытании элементов кровли их результаты фиксируют в протоколе испытательной лаборатории.
3.2.3. Результаты испытаний при входном или операционном контроле применяемых материалов также фиксируют в протоколе и в акте на скрытые работы.
3.2.4. Объем выборки при проведении измерительного контроля определяют в соответствии с требованиями главы СНиП 3.04.01.
3.2.5. Определение влажности, прочности и морозостойкости основания под кровлю из монолитной теплоизоляции при операционном контроле производят в соответствии с ГОСТ 17177 и ГОСТ 10060.1.
3.2.6. Определение толщины теплоизоляционного слоя и выравнивающей стяжки выполняют с помощью игольчатого толщиномера (рис. 3.1) или ему подобных устройств с диапазоном измерений 0…150 мм погрешностью 1 мм и удельной нагрузкой 0,005 кгс/см2; металлической пластины размером 100×50×3 мм и штангенциркуля по ГОСТ 166.
3.2.7. Для проведения измерения толщины теплоизоляционного слоя из рыхлых (волокнистых) или насыпных (типа керамзитового гравия) материалов толщиномер устанавливают на поверхность слоя теплоизоляции, затем винтом 3 освобождают вставку 4, левой рукой придерживают корпус 5, а правой - ручку 1. Нажимая правой рукой на ручку 1, опускают вниз вставку 4 с иглой 8, при этом игла 8 вертикально прокалывает слой до упора. После этого левой рукой плавно опускают корпус толщиномера с основанием на поверхность слоя теплоизоляции.
Рис.3.1. Игольчатый толщиномер
1 - ручка; 2-втулка; 3-зажимной винт; 4 - вставка; 5 - корпус; 6 - основание; 7 - крепежный винт; 8 - игла; 9 - табличка; 10 - крепежный винт; 11 - шкала; 12 - стекло.
Толщину теплоизоляционного слоя (монолитного или плитного) на основе цементного или битумного вяжущего и толщину выравнивающей стяжки измеряют в процессе устройства этого слоя или стяжки (при операционном контроле) при помощи игольчатого толщиномера, который устанавливают на поверхность теплоизоляционного слоя или стяжки у торцов выполненного участка.
В местах измерения толщины выравнивающей стяжки на поверхность неровной (крупнопористой, засыпной) теплоизоляции предварительно укладывают металлическую пластину и толщину стяжки определяют по формуле:
Нст. = Нt + 3 (2.1)
где: Нt - показания толщиномера, мм;
3 - толщина пластины, мм.
Толщину сборной стяжки (из цементно-стружечной плиты или асбестоцементного прессованного листа) измеряют штангенциркулем перед укладкой на теплоизоляцию на 10…15 плитах. Результат измерения округляют до 1 мм.
3.2.8. Определение ровности поверхности основания под кровлю выполняют с помощью деревянной или металлической полой (алюминиевой) рейки размером 2000×30×50 мм и металлической линейки по ГОСТ 427.
Рейку укладывают на поверхность основания под кровлю в намеченных местах (см. п. 1.6.2) и металлической линейкой измеряют по высоте наибольшие отклонения поверхности основания под кровлю от нижней грани рейки. Результат измерения округляют до 1 мм.
3.2.9. Определение уклона основания под кровлю выполняют с помощью уклономера или ватерпаса с диапазоном измерения 0...45о и погрешностью 1°. Величину уклона в градусах переводят в проценты с помощью графика на рис. 3.2.

Рис. 3.2. График определения величины уклона в %.
3.2.10. Влажность выполненного основания под рулонную или мастичную кровлю оценивают перед наклейкой слоев кровельного ковра неразрушающим способом при помощи поверхностного влагомера ВКСМ-12М или ему подобного, либо на образцах, взятых (вырезанных, выпиленных) из основания в соответствии с ГОСТ 5802 или ГОСТ 17177.
3.2.11. Определение уровня понижения поверхности кровли в местах расположения воронок выполняют с помощью деревянной или металлической полой рейки размером 1500×30×50 мм и металлической линейки по ГОСТ 427.
Рейку укладывают на поверхность кровельного ковра у водоприемного колпака воронки в 4-х местах (как показано на рис. 3.3) и металлической линейкой измеряют в этих местах глубину понижения уровня кровли от нижней грани рейки. Результат измерения округляют до 1 мм. Отклонение уровня понижения поверхности кровли у воронок должно быть + 5 мм.

Рис. 3.3. Схема установки рейки на поверхность водоизоляционного ковра у воронки внутреннего водостока
1 - поверхность ковра;
2 - зона понижения уровня кровли;
3 - водоприемный колпак воронки;
а, 6, в, г- расположение рейки;
х - места замеров.
3.2.12. Физико-технические показатели используемых материалов при входном контроле определяют в соответствии с действующими ГОСТами и техническими условиями на эти материалы.
3.2.13. Определение величины нахлестки асбестоцементных листов, металлических профлистов и металлочерепицы вдоль ската выполняют металлической рулеткой 2-го класса по ГОСТ 7502 или другим металлическим измерительным инструментом, обеспечивающим ту же погрешность измерений. Для этого рулеткой измеряют расстояние между видимыми концами двух (смежных) элементов (рис. 3.4) и ширину нахлестки вычисляют по формуле:
Н = l - l1, (2.2)
где: l - длина элемента принимается по проекту, м;
l1 - расстояние между концами смежных элементов, м.
Результат округляют до 1 см.
Ширина нахлестки должна быть не менее предусмотренной проектом.

Рис. 3.4. Схема определения ширины нахлестки асбестоцементных листов, металлических профлистов и металлочерепицы
1 - асбестоцементный лист, металлический профлист или металлочерепица; 2 - обрешетка.
3.2.14. Определение высоты наклейки рулонного материала в местах примыкания кровли к вертикальным поверхностям производят в процессе устройства кровельного ковра (при операционном контроле).
Измерение выполняют металлической линейкой по ГОСТ 427 или рулеткой 2-го класса по ГОСТ 7502 через каждые 7…10 м длины вертикальной поверхности (стены, парапета и т.п.) и на каждом примыкании к локальным выступающим над кровлей конструкциям (вентиляционным шахтам, трубам и т.п.).
Результат округляют до 1 см.
Высота наклейки рулонного материала в местах примыкания должна быть не менее предусмотренной проектом.
3.2.15. Прочность сцепления кровельного ковра из рулонных и мастичных материалов со стяжками определяют при помощи адгезимера в местах, указанных заказчиком или представителем контролирующего органа. При этом должны соблюдаться температурные условия испытаний; предусмотренные ГОСТ 2678 и ГОСТ 26589.
3.2.16. Определение морозостойкости и фракционного состава гравия для защитного слоя производят при входном контроле по ГОСТ 8269.1, а морозостойкость бетона (цементно-песчаного раствора) - по ГОСТ 5802 и ГОСТ 10060.1.
3.2.17. Определение толщины защитного слоя из гравия, цементно-песчаного раствора и асфальтобетона выполняют игольчатым толщиномером (рис. 3.1) в соответствии с п. 3.2.7.
В местах определения толщины гравийного защитного слоя очищают от гравия участок диаметром около 150 мм, на него укладывают (по центру участка) металлическую пластину, а на поверхность гравийного слоя устанавливают (над металлической пластиной) игольчатый толщиномер и производят измерение. Отклонение толщины защитного слоя из гравия должно быть ± 5 мм, а из цементно-песчаного раствора и асфальтобетона + 5 мм.
4.1. Работы по устройству кровель должны выполняться специализированными бригадами под техническим руководством и контролем инженерно-технических работников организаций, имеющих лицензию на право производства кровельных работ. К производству кровельных работ допускаются рабочие, прошедшие медицинский осмотр, обученные правилам техники безопасности, методам ведения этих работ и мерам пожарной безопасности.
4.2. У мест выполнения кровельных и изоляционных работ, а также около оборудования, имеющего повышенную пожарную опасность (котлы для варки битума и у мест приготовления битумной мастики, при производстве работ по укладке горючего утеплителя), следует вывешивать стандартные знаки (аншлаги, таблички) безопасности.
4.3. Перед началом ремонтных или строительных работ территория объекта должна быть подготовлена, с определением мест установки бытовых вагончиков, мест складирования материалов, баллонов с горючими газами, емкостей с легковоспламеняющимися жидкостями, установки битумоварочных котлов и мест приготовления битумных мастик.
4.4. Бытовые вагончики и склады материалов, включая баллоны, следует размещать на территории согласно требованиям действующих норм и правил. Размещение их в противопожарных разрывах между зданиями и сооружениями, а также загромождение ими проездов (подъездов) к зданиям не допускается.
4.5. Временные строения должны располагаться от других зданий и сооружений на расстоянии не менее 15 м (кроме случаев, когда по другим нормам требуется больший противопожарный разрыв) или у противопожарных стен.
Отдельные блок-контейнерные здания допускается располагать группами не более 10 в группе и площадью не более 800 м2. Расстояние между группами этих зданий и от них до других строений следует принимать не менее 15 м.
4.6. При ремонтах кровли снимаемый горючий материал должен удаляться на специально подготовленную площадку. Устраивать свалки горючих отходов на территории объектов не разрешается. Горючие отходы должны своевременно вывозиться в места, определенные местной администрацией.
4.7. Выполнение работ по устройству кровель одновременно с другими строительно-монтажными работами на кровлях, связанными с применением открытого огня (сварка и т.п.), не допускается.
4.8. До начала производства работ на покрытиях должны быть выполнены все предусмотренные проектом ограждения и выходы на покрытие зданий (из лестничных клеток, по наружным лестницам).
4.9. Противопожарные двери и люки выходов на покрытие должны быть исправны и при проведении работ закрыты. Запирать их на замки или другие запоры запрещается.
Проходы и подступы к эвакуационным выходам и стационарным пожарным лестницам должны быть всегда свободными.
4.10. На проведение всех видов работ с рулонными и мастичными кровельными материалами или с применением горючих утеплителей на временных местах (кроме строительных площадок и частных домовладений) руководитель объекта обязан оформить наряд-допуск.
В наряде-допуске должно быть указано место, технологическая последовательность, способы производства, конкретные противопожарные мероприятия, ответственные лица и срок его действия.
4.11. Устройство кровли из рулонных и мастичных кровельных материалов следует производить участками площадью не более 500 м2.
4.12. При производстве работ по устройству покрытия площадью 1000 м2 и более с применение горючего утеплителя на кровле необходимо предусматривать средства пожаротушения. Расстояние между пожарными кранами следует принимать из условия подачи воды в любую точку кровли не менее чем двумя струями с расходом 5 л/с каждая.
4.13. По окончании рабочей смены не разрешается оставлять неиспользованный горючий утеплитель, кровельные рулонные материалы, газовые баллоны и другие горючие и взрывоопасные вещества и материалы внутри или на покрытиях зданий, а также в противопожарных разрывах.
4.14. Котлы для растопления битумов должны быть исправными. Не разрешается устанавливать котлы в помещениях здания и на покрытиях.
4.15. Котлы допускается устанавливать группами с количеством в группе не более трех. Расстояние между группами котлов должно быть не менее 9 м. Место варки и разогрева битумов должно размещаться на специально отведенных площадках и располагаться на расстоянии:
от зданий и сооружений I и II степеней огнестойкости и класса конструктивной пожарной опасности С0 не менее 10 м.
от зданий и сооружений II степени огнестойкости и класса конструктивной пожарной опасности С1, а также от зданий и сооружений III, IV степеней огнестойкости и классов конструктивной пожарной опасности С0 и С1 не менее 20 м;
от зданий и сооружений III степени огнестойкости и класса конструктивной пожарной опасности С2, IV степени огнестойкости и класса конструктивной пожарной опасности С2 и С3, а также V степени огнестойкости и классов конструктивной пожарной опасности С1.С2 и С3 не менее 30 м;
4.16. Каждый котел должен быть снабжен плотно закрывающейся крышкой из негорючих материалов. Заполнение котлов допускается не более чем на 3/4 их вместимости. Загружаемый в котел битум должен быть сухим.
4.17. Во избежание перелива битума, его попадания в топку и загорания, котел необходимо устанавливать наклонно так, чтобы его край, расположенный над топкой, был на 5-6 см выше противоположного. Газовый баллон должен размещаться на расстоянии не менее 20 м от котла.
4.18. При работе передвижных котлов горючие материалы (баллоны с газом, емкости с соляровым топливом) должны находиться в вентилируемых шкафах из негорючих материалов, устанавливаемых на расстоянии не менее 20 м от работающих котлов.
Указанные шкафы следует держать постоянно закрытыми на замки.
4.19. Установленный на открытом воздухе битумный котел должен быть оборудован навесом из негорючих материалов.
Место установки котлов должно быть обваловано (или устроены бортики из негорючих материалов) высотой не менее 0,3 м.
4.20. В процессе варки и разогрева битумных составов не разрешается оставлять котлы без присмотра.
4.21. При приготовлении битумной мастики разогрев растворителей не допускается.
При смешивании разогретый битум следует вливать в растворитель (керосин, бензин) постоянно перемешивая мастику деревянной мешалкой.
4.22. Не разрешается пользоваться открытым огнем в радиусе 50 м от места смешивания битума с растворителями.
4.23. Доставку горячей битумной мастики на рабочие места необходимо осуществлять:
в специальных металлических бачках, имеющих форму усеченного конуса, обращенного широкой стороной вниз с плотно закрывающимися крышками. Крышки должны иметь запорные устройства, исключающие открывание при падении бачка. Переносить мастики в открытой таре не разрешается;
насосом по стальному трубопроводу, закрепленному на вертикальных участках к строительной конструкции, не допуская протечек. На горизонтальных участках допускается подача мастики по термостойкому шлангу.
В месте соединения шланга со стальной трубой должен надеваться предохранительный футляр длиной 40-50 см (из брезента или других материалов).
После наполнения емкости установки для нанесения мастики следует откачать мастику из трубопровода.
4.24. После окончания работ топки котлов должны быть потушены.
4.25. Для целей пожаротушения места установки котла (группы котлов) для варки битума необходимо обеспечить ящиком объемом не менее 0,5 м3 с сухим песком, лопатами и пенными огнетушителями.
4.26. Для производства работ с использованием растворителей и битумных мастик должен применяться инструмент, изготовленный из материалов, не дающих искр (алюминий, медь, пластмасса, бронза и т.п.). Промывать инструмент и оборудование, применяемое при производстве работ с горючими веществами, необходимо на открытой площадке или помещении, имеющем вентиляцию.
4.27. Лица, участвующие в приготовлении составов холодного отверждения и их применении, должны быть обеспечены спецодеждой и средствами индивидуальной защиты. Для защиты органов дыхания - респираторами марок Ф-62III, РУ-60М и типа "Лепесток". Для защиты кожи пастами или мазями типа силиконовых, ПМ-1, ХИОТ БГ и другими, перчатками резиновыми.
На местах проведения работ должны быть вода и аптечка с медикаментами для оказания первой помощи.
4.28. Для безопасного ведения процесса приготовления мастики, окрасочного состава и их нанесения необходимо обеспечить максимальную механизацию всех технологических операций и надлежащую герметизацию и заземление оборудования и коммуникаций, а также исправность электропусковой и контрольно-измерительной аппаратуры.
4.29. Емкости с растворителем и мастикой холодного отверждения должны подноситься к рабочему месту в специальной герметично закрытой таре в количестве, не превышающем однодневного запаса.
4.30. В помещениях для хранения и местах применения растворителей и мастик запрещается обращаться с открытым огнем и производить работы с искрообразованием.
4.31. Переливать и транспортировать растворители и мастику на растворителях следует при хорошем естественном освещении. Электрическое освещение в таких помещениях должно быть выполнено во взрывобезопасном исполнении.
4.32. Растворители и мастики должны храниться в специально оборудованных помещениях в соответствии со СНиП III-4 изд. 1993 г. Каждая емкость должна иметь бирку с наименованием содержимого. Порожнюю тару из-под растворителей и мастик следует складировать в закрытых вентилируемых помещениях.
Запрещается ремонтировать (производить сварку, пайку и другие работы) металлическую тару из-под горючих жидкостей до ее промывки паром.
4.33. Помещения, связанные с подготовкой мастик, их разбавлением растворителями и нанесением защитных покрытий должны быть изолированы от смежных помещений и оборудованы принудительной приточно-вытяжной вентиляцией во взрывобезопасном исполнении.
4.34. Содержание вредных веществ в рабочей зоне не должно превышать предельно допустимых концентрации.
4.35. Контроль за содержанием вредных веществ в рабочей зоне должен проводиться производственными лабораториями в объеме, согласованном с территориальными органами Государственного санитарного надзора.
4.36. Оборудование, используемое для подогрева наплавляемого рулонного кровельного материала (газовые горелки с баллонами и оборудованием), не допускается использовать с неисправностями, способными привести к пожару, а также при отключенных контрольно-измерительных приборах и технологической автоматике, обеспечивающих контроль заданных режимов температуры, давления и других, регламентированных условиями безопасности параметров.
4.37. При использовании оборудования для подогрева запрещается:
отогревать замерзшие трубопроводы, вентили, редукторы и другие детали газовых установок открытым огнем или раскаленными предметами;
пользоваться шлангами, длина которых превышает 30 м;
перекручивать, заламывать или зажимать газоподводящие шланги;
использовать одежду и рукавицы со следами масел, жиров, бензина, керосина и других горючих жидкостей;
допускать к самостоятельной работе учеников, а также работников, не имеющих квалификационного удостоверения и талона по технике пожарной безопасности.
4.38. Хранение и транспортирование баллонов с газами должно осуществляться только с навинченными на их горловины предохранительными колпаками. При транспортировании баллонов нельзя допускать толчков и ударов.
К месту кровельных работ баллоны должны доставляться на специальных тележках, носилках, санках. Переноска баллонов на плечах и руках не разрешается.
4.39. Баллоны с газом при их хранении, транспортировании и эксплуатации должны быть защищены от действия солнечных лучей и других источников тепла.
Расстояние от горелок (по горизонтали) до баллонов с газом должно быть не менее 5 м.
4.40. При обращении с порожними баллонами из-под горючих газов должны соблюдаться такие же меры безопасности, как и с наполненными баллонами.
4.41. При перерывах в работе, а также в конце рабочей смены оборудование для нагрева кровельного материала должно отключаться, шланги должны быть отсоединены и освобождены от газов и паров горючих жидкостей.
По окончании работ вся аппаратура и оборудование должны быть убраны в специально отведенные помещения (места).
4.42. Кровельный материал, горючий утеплитель и другие горючие вещества и материалы, используемые при работе, необходимо хранить вне строящегося или ремонтируемого здания в отдельно стоящем сооружении или на специальной площадке на расстоянии не менее 24 м от строящихся и временных зданий, сооружений и складов.
4.43. На кровле допускается хранить не более сменной потребности расходных материалов. Запас материалов должен находиться на расстоянии не менее 5 метров от границы зоны выполнения работ.
4.44. У мест проведения работ допускается размещать только баллоны с горючими газами, непосредственно используемые при работе. Создавать запас баллонов или хранить пустые баллоны у мест проведения работ не допускается.
4.45. Складирование материалов и установка баллонов на кровле и в помещениях ближе 5 м от эвакуационных выходов (в том числе подходов к наружным пожарным лестницам) не допускается.
4.46. Емкости с горючими жидкостями следует открывать только перед использованием, а по окончании работы закрывать и сдавать на склад.
Тара из-под горючих жидкостей должна храниться в специально отведенном месте вне мест проведения работ.
4.47. Баллоны с горючими газами и емкости с легковоспламеняющимися жидкостями должны храниться раздельно, в специально приспособленных вентилируемых вагончиках (помещениях) или под навесами за сетчатым ограждением, недоступных для посторонних лиц.
Хранение в одном помещении баллонов с газовыми горелками, а также битума, растворителей и других горючих жидкостей не допускается.
4.48. При хранении на открытых площадках наплавляемого кровельного материала, битума, горючих утеплителей и других строительных материалов, а также оборудования и грузов в горючей упаковке они должны размещаться в штабелях или группами площадью не более 100 м2. Разрывы между штабелями (группами) и от них до строящихся или подсобных зданий и сооружений, должны быть не менее 24 м.
4.49. В местах приготовления и хранения приклеивающих составов и исходных материалов, не допускается курение и применение открытого огня.
В случае загорания этих материалов необходимо использовать при тушении углекислотные огнетушители, песок. Использование воды для тушения битумов и растворителей не допускается.
4.50. При обнаружении пожара или признаков горения (задымление, запах гари, повышение температуры и т.п.) необходимо:
немедленно сообщить об этом в пожарную охрану;
принять по возможности меры по эвакуации людей, тушению пожара и обеспечению сохранности материальных ценностей.
4.51. Для обеспечения успешного тушения пожара необходимо обучить работников правилам и способам работы с первичными средствами пожаротушения.
4.52. По окончания работ необходимо провести осмотр рабочих мест и привести их в пожаровзрывобезопасное состояние.
4.53. На объекте должно быть определено лицо, ответственное за сохранность и готовность к действию первичных средств пожаротушения.
4.54. Огнетушители должны всегда содержаться в исправном состоянии, периодически осматриваться, проверяться и своевременно перезаряжаться.
4.55. Использование первичных средств пожаротушения для хозяйственных и прочих нужд, не связанных с тушением пожара, не допускается.
4.56. При расстановке огнетушителей необходимо выполнять условие, что расстояние от возможного очага пожара до места размещения огнетушителя не должно превышать 20 м.
4.57. В зимнее время (при температуре ниже 1°С) огнетушители необходимо хранить в отапливаемых помещениях, на дверях которых должна быть надпись "Огнетушители".
4.58. Все работники должны уметь пользоваться первичными средствами пожаротушения.
|
Материал пароизоляции, толщина, мм |
Расчетный коэффициент паропроницаемости, мг/(м·ч·Па) |
Расчетное сопротивление паропроницанию, (м2·ч·Па)/ мг |
|
1. Наплавляемый битумный рулонный материал с армирующей
основой из стеклянных или синтетических волокон толщиной |
0,00009 |
39,0 |
|
2. То же, толщиной |
0,00014 |
17,9 |
|
3. Наплавляемый битумно-полимерный рулонный материал с армирующей
основой из стеклянных или синтетических волокон толщиной |
0,00007 |
50 |
|
4. Битумно-полимерный рулонный материал толщиной |
0,000046 |
43,5 |
|
5. Тоже, с лицевой поверхностью, покрытой мелкозернистой
посыпкой, толщиной |
0,00009 |
22,2 |
|
6. Лакокрасочное покрытие за два раза (расход около 100 г/м2) |
- |
0,22 |
|
7. Окраска эмалевой краской (СНиП II-3-79*, Приложение 11*) |
- |
0,48 |
|
8. Полиэтиленовая пленка толщиной |
- |
7,3 |
|
9. Армированная полиэтиленовая пленка толщиной |
- |
15,0 |
|
Примечание: 1. Битумные и битумно-полимерные рулонные материалы, армированные стеклохолстом и битумные материалы, армированные нетканым полиэфирным полотном, допускается применять в качестве пароизоляции по монолитному железобетонному основанию. 2. Не допускается применение полиэтиленовых пленок по профнастилу при механическом креплении к нему теплоизоляционных плит и/или кровельного ковра. 3. Для пароизоляции продольных и поперечных стыков между монопанелями (см. табл. 1) необходимо предусматривать применение герметизирующих мастик. |
||
|
Материал теплоизоляции |
Прочность на сжатие, МПа, не менее |
Коэффициент теплопроводности, вт/(м·К) |
|
1. Пенопласты |
|
|
|
1.1. Пенополистирольные плиты (ГОСТ 15588-86) плотностью 25…35 кг/м3 |
0,15 |
0,037 |
|
1.2. Экструзионные пенополистирольные плиты (ТУ 5767-002-46261013-99) плотностью 30…39 кг/м3 |
0,25 |
0,028 |
|
1.3. Пенопластовые плиты на основе резольных фенол-формальдегидных смол (ГОСТ 20916-87) плотностью 90 кг/м3* |
0,20 |
0,045 |
|
2. Волокнистые материалы |
|
|
|
2.1. Гидрофобизированные минераловатные плиты повышенной жесткости, производимые из гидромасс (ГОСТ 22950-95), плотностью (200±25) кг/м3 |
0,1 |
0,052 |
|
2.2. То же, изготовленные по технологии сухого формования, плотностью (175±15) кг/м3 |
0,045 |
0,051 |
|
2.3. Гидрофобизированные минераловатные плиты на синтетическом связующем (ГОСТ 9573-96) плотностью 225 кг/м3** |
0,04 |
0,054 |
|
2.4. Плиты из стеклянного штапельного волокна (ГОСТ 10499-78) плотностью 200 кг/м3** |
0,04 |
0,057 |
|
2.5. Гидрофобизированные плиты из стеклянного штапельного волокна с поверхностным ветрозащитным слоем из стеклохолста (ТУ 5763-002-00287697-97)** |
- |
0,038...0,033 |
|
3. Материалы на цементном вяжущем |
|
|
|
3.1. Плиты из ячеистых бетонов (ГОСТ 5742-76) плотностью 300 кг/м3 |
0,8 |
0,08 |
|
3.2. Полистиролбетон (ГОСТ Р 51263-99) с плотностью не менее 200 кг/м3 |
0,15 |
0,065 |
|
4. Засыпные материалы |
|
|
|
4.1. Керамзит (ГОСТ 9757-90), перлит (ГОСТ 10832-91), вермикулит (ГОСТ 12865-67) и др. с плотностью до 600 кг/м3 |
- |
- |
|
* Не должно допускаться непосредственного контакта со стальным профнастилом ** Плиты с меньшей плотностью могут быть применены в качестве ненагружаемой тепловой изоляции в конструкциях кровли вентилируемого типа. *** Рекомендуется применять в конструкциях кровли вентилируемого типа. |
||
|
Рулонный материал и его показатели |
Количество слоев в основном водоизоляционном ковре - в числителе и минимальная толщина ковра в мм; - в знаменателе при уклоне кровли в % |
Количество слоев в дополнительном водоизоляционном ковре - в числителе и минимальная толщина ковра в мм; - в знаменателе |
Защитный слой |
|||
|
менее 1,5 |
1,5-25 |
парапет, стена и т.п. |
ендова |
воронка |
||
|
Битумный
наплавляемый с гибкостью при температуре 0°С ≤ t ≤ |
4 12 |
3 9 |
2 6 |
1 3 |
Из гравия или крупнозернистой посыпки, наклеенных на мастике, либо из крупнозернистой посыпки или металлической фольги на верхнем слое рулонного материала в соответствии с п. 1.1.15; для эксплуатируемых кровель - в соответствии с п. 1.1.18. |
|
|
Битумно-полимерный наплавляемый с гибкостью при температуре не выше минус 15°С теплостойкостью в соответствии с п. 1.1.14. |
3 9 |
2 6 |
2 6 |
1 3 |
То же |
|
|
Битумно-полимерный наплавляемый с двойной (комбинированной) армирующей основой и гибкостью при температуре не выше минус 15°С. |
2 9 |
1 4,5 |
1 4,5 |
1 4,5 |
То же |
|
|
Эластомерный вулканизованный или термопластичный с гибкостью при температуре, соответственно, не выше минус 40°С и минус 20°С, свободно уложенный на основание под кровлю |
1 1,5 |
1 1,5 |
1 1,5 |
1 1,5 |
Пригрузочный слой из гравия в соответствии с п. 1.1.15: для эксплуатируемых кровель - в соответствии с п. 1.1.18 |
|
|
Примечание: |
не допускается применение битумных наплавляемых рулонных материалов с армирующей основой из стеклохолста и синтетических волокон по минераловатным плитам и для нижнего слоя водоизоляционного ковра по выравнивающим стяжкам и сборным железобетонным плитам |
|||||
|
Рулонный материал, приклеивающая мастика и её показатели |
Количество слоев в основном водоизоляционном ковре - в числителе и минимальная толщина ковра в мм, наклеиваемых на холодных и горячих (в скобках) мастиках; - в знаменателе при уклоне кровли в % |
Количество слоев в дополнительном водоизоляционном ковре - в числителе и минимальная толщина ковра в мм; - в знаменателе |
Защитный слой |
|||
|
менее 3,0 |
3,0 и более |
парапет, стена и т.п. |
ендова |
воронка |
||
|
Рубероид, стекло-рубероид и им подобные материалы, наклеенные на холодных или горячих мастиках с гибкостью не выше минус 5 °С и теплостойкостью в соответствии с п. 1.1.14. |
_4__ 10(12) |
_3__ 7,5 (9) |
_3__ 7,5 ( 9) |
_2__ 5 (6) |
Из гравия или крупнозернистой посыпки, наклеенных на мастике, либо из крупнозернистой посыпки или металлической фольги на верхнем слое рулонного материала в соответствии с п. 1.1.15; для эксплуатируемых кровель - в соответствии с п. 1.1.18. |
|
|
Эластомерный вулканизованный или термопластичный с гибкостью при температурах, соответственно, не выше минус 40°С и минус 20°С, наклеенный, соответственно, на полимерной или горячей мастиках (для термопластичных рулонных материалов с дублирующим слоем из стеклохолста или полиэстера) либо закрепленный механическим способом. |
_1_ 2 (4) |
_1_ 2 (4) |
_1_ 2 (4) |
__1_ 2 (4) |
- |
|
|
Примечание: не допускается наклейка рулонных материалов, имеющих защитные слои из полимерных пленок |
||||||
|
Горячая или холодная мастика и её показатели |
Количество слоев мастик (армирующих прокладок - в скобках) в основном водоизоляционном ковре - в числителе и минимальная толщина ковра из горячих и холодных (в скобках) мастик; - в знаменателе при уклоне кровли в % |
Количество слоев мастик (армирующих прокладок) в дополнительном водоизоляционном ковре - в числителе и минимальная толщина ковра из горячих (холодных - в скобках); - в знаменателе |
Защитный слой |
|||||
|
менее 1,5 |
1,5-менее 3,0 |
3,0-менее 10 |
10 и более |
парапет, стена и т.п. |
ендова |
воронка |
||
|
Мастика с гибкостью при температуре минус 15°C<t≤ минус 5°С и теплостойкостью в соответствии с п. 1.1.14. |
4(3) 8(6) |
4(3) 8(6) |
3(2) 6(4,5) |
3(2) 6(4,5) |
2(2) 4(3) |
1(1) 2(1,5) |
Из гравия или крупнозернистой посыпки, наклеенных на мастиках в соответствии с п. 1.1.15; для эксплуатируемых кровель -в соответствии с п. 1.1.18. |
|
|
Мастика с гибкостью при температуре минус 30°С < t ≤ 15°С и теплостойкостью в соответствии с п. 1.1.14. |
4(2) 8(6) |
3(2) 6(4,5) |
3(2) 6(4,5) |
3(1) 6(4,5) |
2(2) 4(3) |
1(1) 2(1,5) |
То же |
|
|
Мастика с гибкостью при температуре не выше минус 30°С и теплостойкостью в соответствии с п. 1.1.14. |
3(2) 6(4,5) |
3(2) 6(4,5) |
3(1) 6(4,5) |
3(1) 6(4,5) |
2(2) 4(3) |
1(1) 2(1,5) |
То же |
|
(000 "БРААС-ДСК-1", г. Москва)
|
Черепица |
Наименование |
Назначение |
Потребность |
|
|
Рядовая, 420x330 мм |
Элемент кровли |
10 шт. /м2 |
|
|
Рядовая половинчатая, 420x180 мм |
Доборный элемент кровли |
1 шт. / 2 ряда ендовы или хребта |
|
|
Боковая (правая и левая) |
Отделка фронтонного свеса кровли |
1 шт. / ряд |
|
|
Вентиляционная (площадь вентиляционного отверстия 32 см2/шт. |
Усиление вентиляции кровли |
- |
|
|
Начальная хребтовая черепица |
Отделка хребта кровли |
1 шт. / начало хребта |
|
|
Колокообразная черепица (вальмовая) |
Отделка вальмы |
1 шт./ вальму |
Вентиляционные изделия предназначены для усиления вентиляции кровли.
|
Изделие |
Наименование, потребность |
Место установки |
Площадь вентиляционных отверстий, см2/м |
|
|
Аэроэлемент конька AFE, 1 шт./п.м. |
В мансардных крышах |
общая 380 на скат 190 |
|
|
Фигароль, рулон / 5м |
На коньке и хребте кровли |
210 |
|
|
Аэроэлемент свеса, 1 шт./п.м. |
На карнизном участке вместе с решёткой от проникновения птиц и грызунов |
200 |
|
|
Металлрол, рулон / 5м |
На коньке и хребте кровли |
230 |
|
|
Вентиляционная лента, 1 рулон /5м |
На карнизном участке как препятствие для птиц и насекомых |
при ширине ленты 10см - 460см2/м |
|
|
Вентиляционная решётка нижней защитной плёнки |
В зоне нахлёстки ветрозащитной плёнки |
60 см2/1 шт. |
|
|
Аэроэлемент конька "Коверлэнд", 2,2 шт./п.м. |
Для чердачных кровель |
общая 90 на скат 45 |
Доборные элементы из ПВХ предназначены для обеспечения прохода через кровлю вентиляционных и дымовых труб, антенн и т.п., что способствует повышению эксплуатационной надёжности кровли в местах примыкания её к выступающим над нею конструкциям.
|
Изделие |
Наименование |
Потребность |
|
|
Черепица для прохода трубы из ПВХ |
1шт. / проем |
|
|
Насадка вентиляционной трубы из ПВХ |
То же |
|
|
Противоосадочный колпак для насадки венттрубы из ПВХ |
1 шт. /на посадку |
|
|
Антенная насадка из ПВХ |
1 шт. / на антенну |
|
|
Соединительная труба для насадки из ПВХ |
1 шт./ на трубу |
|
|
Торцевой элемент, Фирафикс из ПВХ |
1 шт. /торец конька |
|
|
Коньковый торцевой элемент из ПВХ |
1 шт. / торец конька или хребта |
|
|
Боковая облегчённая черепица из окрашенного алюминия, правая/левая |
1 шт. /ряд |
|
|
Подножка 410×250 мм или 880×250 мм из горячеокрашенного алюминия |
По проекту |
|
|
Бугель из алюминия для крепления подножки и решетки |
2 шт. / на подножку и решетку |
|
|
Снегозадерживающая решётка 200×2500 мм, окрашенная сталь |
1 шт. / |
|
|
Опора для крепления решётки, алюминий окрашенный |
1 шт. / на черепицу |
|
|
Соединительный зажим для решетки, алюминий окрашенный |
2 шт. / стык |
|
|
Снегозадерживающая (опорная) черепица 420×180 мм из горячеокрашенного алюминия |
1,1 шт. / п.м. снегозадерживания |
|
|
Вакафлекс - лента для отделки примыкания, рулон 0,28×5 м |
1 рулон / |
|
|
Свинец-лента для отделки примыкания, рулон 0,3×5 м |
То же |
|
|
Планка ВАКА, окрашенный алюминий |
1 шт. / |
|
|
Шуруп с термостойким дюбелем для планки Вака |
12 шт. / на планку |
|
|
Герметик-К, 310 мл, синтетический каучук |
60 мл. / м |
|
|
Крепление коньковой или хребтовой обрешётки, оцинкованная сталь |
Конёк: 1 шт. на стык стропил |
|
|
Зажим (кляммер) коньковой черепицы, окрашенный алюминий |
1 шт. на коньковую черепицу |
|
|
Противоветровой зажим SK, оцинкованная сталь, max нагрузка 0,15 кН |
1 шт. на рядовую черепицу |
|
|
Шурупы: 4,5×x50 для рядовой черепицы 5,0×70 для коньковой черепицы |
2 шт. на черепицу |
|
|
Фартук свеса из ПВХ, длина |
1 шт. /1,95 м карнизного свеса |
|
|
Скоба для крепления фартука свеса |
Шаг установки 25…30 см |
Плёнки предназначены для удаления водяных паров, проникающих в мансардное покрытие (крышу) из внутренних помещений, и для защиты теплоизоляции от ветра и увлажнения от дождя (снега) или конденсата.
|
Марка плёнки |
Структура плёнки |
Паропроницаемость, г/м2/24 ч. |
Особенности применения |
|
Изоспан ТУ 8397-013-18603495-2001 |
Полипропиленовая плёнка |
≥ 1200 |
Можно укладывать на теплоизоляцию или сплошной деревянный настил с вентиляционным каналом над ним |
|
Тайвек |
То же |
≥950 |
То же |
|
Дифорол ПРО |
То же |
120,0 |
То же |
|
Европлёнка (Еurofol Q140) |
Полиэтиленовая плёнка, армированная полипропиленом. Имеет микроперфорации |
25,0 |
Нельзя укладывать на утеплитель или сплошной деревянный настил. Применяется в конструкции кровли с двойным вентиляционным каналом |
|
Ютафол Д110 - Стандарт - Специал |
Трёхслойный материал. Армирующая сетка из полиэтиленовых волокон ламинирована с обеих сторон полимерной плёнкой. Имеет микроперфорации |
40,98 |
То же |
|
Ютафол Д140 - Стандарт - Специал |
49,47 |
||
|
Ютафол Д220 - Специал |
20,00 |
||
|
Ютакон - Н140 ВС УВ - Н130 ВС УВ |
Четырехслойный материал из полипропилена; на одну (нижнюю) сторону материала нанесён специальный адсорбирующий слой из нетканого текстиля. Не имеет микроперфорации |
0,352 |
То же |
|
Ондубрисс |
Двухслойный материал из полипропилена. Внутренняя сторона обладает антиконденсатной структурой, внешняя имеет гладкую водоотталкивающую поверхность. Имеет микроперфорацию |
- |
То же |
|
Ютафол ДТБ150 - Стандарт - Специал |
Четырехслойный материал из полиэтилена; на одну (нижнюю) сторону материала нанесён защитный слой из нетканого текстиля (защита от механических воздействий при укладке на настил). Не имеет микроперфорации, но паропроницаем за счёт плёнки из специального химического состава. |
12,00 |
Можно укладывать на сплошной деревянный настил с вентиляционным каналом над ним. Можно укладывать на теплоизоляцию или настил без зазора под ним только в случае применения пароизоляции из плёнки "Ютафол Н АЛ" или ей подобной |
|
Ютадах (Ютавек) 85, 95, 115, 135 |
Четырехслойный полипропиленовый материал |
> 1200,00 |
Можно укладывать на теплоизоляцию или сплошной деревянный настил с вентиляционным каналом над ним. |
|
Ондубрисс - Супер |
Трехслойный полипропиленовый материал |
- |
То же |
|
Примечание: цифра в маркировке плёнки означает массу в г/м2, а индекс "Специал" - пониженную горючесть |
|||
для герметичной установки вентиляционных элементов на крыше:
■
проходные элементы Вильпе, трубы диаметрами до

■ проходные элементы Вильпе, трубы
диаметрами до

■ элемент коньковой вентиляции "Ридж Мастер Плюс"

■ уплотнители антенн и труб Вильпе

■ элементы вентиляции кровли и канализационных стояков Вильпе

Примечание: элементы имеют сертификат соответствия № РОСС FI.AЮ62.H00045

|
Изделие |
Характеристика |
|
|
|
1. Гвоздь с закрывающейся шляпкой |
Углеродистая сталь с цинковым пассивированным покрытием длина - |
|
2. Саморез для крепления к металлу Стелфикс |
Пассивированная сталь длина - |
|
|
|
3. Коньковый элемент |
Материал - Ондулин длина - |
|
4. Щипцовый элемент |
Материал - Ондулин длина- |
|
|
5. Ендова |
Материал - Ондулин длина - |
|
|
|
6. Вентиляционная труба |
Материал - ABS кополимер |
|
|
7. Пароизоляция ОНДУТИСС |
Материал - полипропилен длина - |
|
8. Заполнитель универсальный |
Материал - вспененный полиэтилен длина - |
|
|
|
9. Покрывающий фартук |
Материал - ПНД; профиль - Ондулин длина - |
|
10. Герметизирующая лента ОНДУФ-ЛЕШ - Супер |
Материал - алюминий, бутилкаучук длина - |
|
|
|
11. Мансардное окно ОНДУЛИН ТЕРМО |
Материал - массив сосны ширина - |
|
|
12. Мансардное окно ОНДУЛИН ЕВРО |
Материал - окрашенный полиуретан ширина - |
|
|
13 Прозрачные и полупрозрачные листы ОНДУКЛЕР |
Материал - ПВХ; профиль - Ондулин размер-200x95 см |


ВАРИАНТ РАСКРОЯ И УКЛАДКИ МАТЕРИАЛА НА НАРУЖНОМ УГЛУ ПРИМЫКАНИЯ КРОВЕЛЬНОГО КОВРА В ВЕНТШАХТЕ


ПРИМЫКАНИЕ КРОВЕЛЬНОГО КОВРА С КВАДРАТНОЙ ТРУБОЙ



1. СНиП II-25-80 "Деревянные конструкции";
2. СНиП II-26-76 "Кровли. Нормы проектирования";
3. СНиП III-4-80 изд. 1993 "Техника безопасности в строительстве";
4. СНиП 2.01.02-85 "Общественные здания";
5. СНиП 2.01.07-85* "Нагрузки и воздействия";
6. СНиП 2.08.01-89* "Жилые здания";
7. СНиП 31-05-2003 "Общественные здания административного назначения";
8. СНиП 2.09.04-87* "Административные и бытовые здания";
9. СНиП 21-01-97* "Пожарная безопасность зданий";
10. СНиП 31-01-2003 "Жилые здания многоквартирные";
11. СНиП 31-03-2001 "Производственные здания";
12. СНиП 31-04-2001 "Складские здания";
13. ГОСТ 1173-93 "Ленты медные. Технические условия";
14. ГОСТ 4030-63* "Гвозди кровельные. Конструкция и размера";
15. ГОСТ 5494 "Пудра алюминиевая. Технические условия";
16. ГОСТ 8486-86*Е "Пиломатериалы хвойных пород. Технические условия"
17. ГОСТ 8673-93 "Плиты фанерные. Технические требования";
18. ГОСТ 10354-82* "Пленка полиэтиленовая. Технические условия";
19. ГОСТ 10499-95 "Изделия теплоизоляционные из стеклянного штапельного волокна";
20. ГОСТ 10632-89* "Плиты древесностружечные. Технические условия";
21. ГОСТ 11539-83* "Фанера бакелизированная. Технические условия";
22. ГОСТ 14791-79 "Мастика герметизирующая нетвердеющая строительная. Технические условия";
23. ГОСТ 14918-80 "Сталь тонколистовая оцинкованная с непрерывных линий. Технические условия";
24. ГОСТ 18124-95 "Листы асбестоцементные плоские. Технические условия";
25. ГОСТ 21880-94* "Маты прошивные из минеральной ваты теплоизоляционные";
26. ГОСТ 24045-94 «Профили стальные листовые гнутые с трапециевидными гофрами для строительства. Технические условия";
27. ГОСТ 24454-80* "Пиломатериалы хвойных пород. Размеры";
28. ГОСТ 26816-86 "Плиты цементно-стружечные. Технически условия";
29. ГОСТ 30340-95 "Листы асбестоцементные волокнистые. Технические условия";
30. СТСЭВ 4868-84 "Надежность строительных конструкций и оснований. Конструкции деревянные. Основные положения по расчету";
31. ТУ 2282-535-00203521-97 "Геотекс";
32. ТУ 5284-82-05746632-2002 «Панели покрытия. Технические условия»;
33. ТУ 5285-001-45859820-97 "Металлочерепица";
34. ТУ 5756-002-41546053-03 "Черепица цементно-песчаная БРААС";
35. ТУ 5767-002-46261013-99 "Экструзионные, пенополистирольные плиты "Пеноплэкс". Технические условия";
36. ТУ 5772-009-05108038-98 "Герметизирующая лента Герлен";
37. ТУ 5774-002-46261013-99 "Пенополистирольные плиты "Пеноплекс";
38. ТУ 5774-003-45940433-99 "Материалы гидроизоляционные системы "Тефонд";
39.ТУ 5774-016-05766480-2002 «Материал рулонный кровельный битумно-полимерный «Рено-пласт Технические условия»;
40.ТУ 8397-038-05766623-97 «Полотно иглопробивное геотекстильное для дорожного строительства»;
41. ТУ 186782-90 "Дорнит";
42. ТУ 5775-003-41099447-95 "Однокомпонентная бутилкаучуковая герметизирующая мастика";
43. ТУ 5775-023-10861980-03 "Битумная грунтовка КТ-Праймер".
|
ГОСТЫ, СТРОИТЕЛЬНЫЕ и ТЕХНИЧЕСКИЕ НОРМАТИВЫ. Некоммерческая онлайн система, содержащая все Российские Госты, национальные Стандарты и нормативы. В Системе содержится более 150000 файлов нормативно-технической документации, действующей на территории РФ. Система предназначена для широкого круга инженерно-технических специалистов. Copyright © www.gostrf.com, 2008 - 2026 |