|
|
|
ФЕДЕРАЛЬНОЕ ДОРОЖНОЕ АГЕНТСТВО МИНИСТЕРСТВА ТРАНСПОРТА РОССИЙСКОЙ ФЕДЕРАЦИИ
Федеральное государственное унитарное предприятие «Информационный центр по автомобильным дорогам» АВТОМОБИЛЬНЫЕ ДОРОГИ И МОСТЫ ПРОЕКТИРОВАНИЕ СОСТАВА АСФАЛЬТОБЕТОНА И МЕТОДЫ ЕГО ИСПЫТАНИЙ Обзорная информация Выпуск 6 Москва 2005 Выходит с 1971 г. 6 выпусков в год СОДЕРЖАНИЕ В данном выпуске обзорной информации обобщены методы проектирования состава асфальтобетона, предназначенного для устройства дорожных и аэродромных покрытий. Проведен ретроспективный анализ методов проектирования составов асфальтобетонной смеси, показаны современные направления их развития, основанные на более глубоком учете свойств исходных материалов, конструкции дорожной одежды, автомобильного движения и климатических условий местности. Представлены современные методы испытаний асфальтобетона для оценки сдвигоустойчивости, трещиностойкости, водостойкости, износостойкости и устойчивости к старению, а также интерпретация результатов испытаний с учетом условий эксплуатации дорожных покрытий. Обзор подготовил канд. техн. наук Г.Н. Кирюхин (ФГУП «Союздорнии») 1. ВВЕДЕНИЕАсфальтобетон является наиболее распространенным материалом для устройства дорожных покрытий. Однако под воздействием возрастающих транспортных нагрузок и факторов окружающей среды срок службы асфальтобетонных покрытий недостаточно высок. В связи с этим основной целью проектирования составов асфальтобетона является создание оптимальной структуры с заранее заданными свойствами, которые позволили бы обеспечить требуемые характеристики и долговечность устраиваемого дорожного покрытия. Для достижения этой цели принято решать специальные задачи, связанные с испытаниями асфальтобетона и прогнозированием работоспособности асфальтобетонных слоев в дорожных конструкциях. В ряде стран на государственном уровне финансировались стратегические научно-исследовательские программы, направленные на разработку новых методов проектирования составов и оценки эксплуатационных свойств асфальтобетона. Федеральное государственное унитарное предприятие «Информационный центр по автомобильным дорогам» Результаты проведенных исследований заслуживают внимания как в части методов испытаний, так и при разработке технических требований к асфальтобетону. Разработка технических требований к дорожно-строительным материалам является не только материаловедческой, но и экономической задачей. С одной стороны, заниженные требования к дорожно-строительным материалам являются главной причиной преждевременного разрушения асфальтобетонных покрытий, что влечет за собой рост затрат на содержание и ремонт дорог и увеличение себестоимости транспортных перевозок. С другой стороны, необоснованно завышенные требования к материалам приводят, как правило, к перерасходу средств и снижению эффективности капитальных вложений в дорожное строительство. Поэтому совершенствование методов испытаний и обоснование оптимальных требований к эксплуатационным свойствам асфальтобетона приобретают в настоящее время особую актуальность. 2. ПРОЕКТИРОВАНИЕ СОСТАВА АСФАЛЬТОБЕТОНАЦеленаправленно проектировать состав горячей асфальтобетонной смеси начали в конце XIX - начале XX столетия. В разных районах мира были разработаны несколько отличающихся друг от друга методов подбора составов смеси. Каждый метод включал методику уплотнения горячей асфальтобетонной смеси, фиксированный уровень работы уплотнения, объемометрическую оценку поровых характеристик и механические испытания асфальтобетона. Из литературных источников известны следующие методы проектирования состава асфальтобетона: - по объему воздушных пор и минимальному количеству битумного вяжущего в образцах, уплотненных по Проктору (метод Хаббарда-Филда); - по прочностным показателям лабораторных образцов, испытываемых на приборах Хвима, Смита и др.; - по остаточной пористости образцов, уплотненных и испытанных на приборах Маршалла; - по асфальтовому вяжущему веществу (метод проф. П.В. Сахарова); - по растворной части (метод Московского Ушосдора); - по предельным кривым плотных смесей на основе исследований проф. Н.Н. Иванова (метод Союздорнии); - по удельной поверхности и модулю насыщенности смеси вяжущим веществом (метод М. Дюрье); - по заданным эксплуатационным условиям работы покрытия (метод проф. И.А. Рыбьева и другие современные методы). При многообразии перечисленных выше методов неизменными остаются основные принципы проектирования смеси, ориентированные на обеспечение требуемых качественных признаков асфальтобетона, которые были сформулированы еще в начале прошлого века [1]. Качество асфальтобетона определяется в конечном итоге эксплуатационными свойствами и долговечностью устраиваемых дорожных покрытий. По способам достижения качественных признаков разрабатываемых составов асфальтобетонных смесей можно выделить два направления. Первое направление ориентируется на получение асфальтобетонных смесей с непрерывной гранулометрией минеральной части (по типу Макадам) и обеспечивает устойчивость покрытий в основном за счет расклинивания крупных зерен щебня более мелкими фракциями. К положительным качествам таких смесей относят высокую шероховатость и сдвигоустойчивость в покрытии, малую чувствительность свойств асфальтобетона к случайным колебаниям содержания минерального порошка и битума. достаточно высокую технологичность и удобоукладываемость в процессе устройства дорожного покрытия [2], Для приготовления смесей типа битумных Макадам рекомендуют применять прочные каменные материалы с дробленой формой зерен. Кривая зернового состава минеральной смеси таких смесей обычно соответствует кубической параболе. Покрытие из уплотненной смеси, как правило, характеризуется открытой пористостью, поэтому особенно важно применять в этих смесях такие битумы, которые являются устойчивыми к старению и обладают хорошим сцеплением с поверхностью минеральных зерен. Второе направление базируется на подборах асфальтобетонных смесей по принципу плотного бетона. В этих смесях допускается применять минеральные материалы с прерывистой гранулометрией и окатанной формой зерен. При уплотнении таких смесей чаще достигается замкнутая пористость асфальтобетона, которая обеспечивает относительно более высокую водо- и морозостойкость покрытия. В то же время смеси, характеризующиеся прерывистой гранулометрией минеральной части, в большей степени склонны к сегрегации. Им также свойственна более высокая восприимчивость к случайным колебаниям содержания минерального порошка и битума, что негативно отражается на показателях физико-механических свойств асфальтобетона. Устраиваемые из таких смесей дорожные покрытия обычно обладают низкой шероховатостью. Процесс проектирования состава асфальтобетонной смеси можно условно разделить на три этапа: - на первом этапе определяют свойства минеральных материалов и битума и устанавливают соответствие их показателей специальным требованиям, которые регламентированы соответствующими техническими документами; - на втором этапе устанавливают рациональное соотношение между исходными составляющими, которое обеспечивает получение асфальтобетона с заданными свойствами, причем в особых случаях дополнительно проводят сопоставительные исследования и испытания асфальтобетонов доступными нестандартными методами для выявления преимуществ оптимального состава по долговечности и эксплуатационным свойствам; - на заключительном этапе рекомендуется производить технико-экономическое сравнение вариантов подобранных составов смесей и апробирование их на асфальтобетонном заводе. Выбор оптимального состава асфальтобетона принято производить в зависимости от свойств исходных материалов, характера автомобильного движения и климатических условий местности, что всегда являлось определяющим условием строительства долговечных асфальтобетонных покрытий [3,4]. 2.1. МЕТОДЫ ПОДБОРА СОСТАВА АСФАЛЬТОБЕТОННОЙ СМЕСИВ России наибольшее распространение получил подбор составов минеральной части асфальтобетонных смесей по предельным кривым зерновых составов [5]. Смесь щебня, песка и минерального порошка подбирают таким образом, чтобы кривая зернового состава расположилась в зоне, ограниченной предельными кривыми, и была по возможности плавной. Фракционный состав минеральной смеси рассчитывается в зависимости от содержания выбранных компонентов и их зерновых составов по следующей зависимости:
где Yi - содержание i-й фракции в смеси, %; j - номер компоненты; n - количество компонент в смеси; aj - содержаниеj-й компоненты, %; xij - содержание i-й фракции в j-й компоненте, %. При подборе зернового состава асфальтобетонной смеси, особенно с использованием песка из отсевов дробления, необходимо учитывать содержащиеся в минеральном материале зерна мельче 0,071 мм, которые при нагреве в сушильном барабане выдуваются и оседают в системе пылеулавливания. Эти пылевидные частицы могут либо удаляться из смеси, либо дозироваться в смесительную установку вместе с минеральным порошком. Порядок использования пыли улавливания оговаривается в технологическом регламенте на приготовление асфальтобетонных смесей с учетом качества материала и особенностей асфальто-смесительной установки. Содержание битума в смеси предварительно назначают исходя из рекомендаций или расчетов, после чего в лабораторной мешалке приготовляют асфальтобетонную смесь и формуют из нее 2-3 образца. Далее в соответствии с ГОСТ 12801-98 определяют среднюю и истинную плотность асфальтобетона и минеральной части и по их значениям рассчитывают остаточную пористость и пористость минеральной части. Если остаточная пористость не соответствует нормируемому значению, то вычисляют новое содержание битума Б (% по массе) по следующей зависимости:
где
r6 - истинная плотность битума, г/см3;
С рассчитанным количеством битума вновь готовят смесь, формуют из нее образцы и снова определяют остаточную пористость асфальтобетона. Если она будет соответствовать требуемой, то рассчитанное количество битума принимается за основу. В противном случае процедуру подбора содержания битума, основанную на приближении к нормируемому объему пор в уплотненном асфальтобетоне, повторяют. Из асфальтобетонной смеси с заданным содержанием битума формуют стандартным методом уплотнения серию образцов и определяют полный комплекс показателей физико-механических свойств, предусмотренный ГОСТ 9128-97. Если асфальтобетон по каким-либо показателям не будет отвечать требованиям стандарта, то состав смеси изменяют. При недостаточной величине коэффициента внутреннего трения следует увеличивать содержание крупных фракций щебня или дробленых зерен в песчаной части смеси. При низких показателях сцепления при сдвиге и прочности при сжатии при 50° С следует увеличивать (в допустимых пределах) содержание минерального порошка или применять более вязкий битум. При высоких значениях прочности при 0° С рекомендуется снижать содержание минерального порошка, уменьшать вязкость битума, применять полимерно-битумное вяжущее или использовать пластифицирующие добавки. При недостаточной водостойкости асфальтобетона целесообразно увеличивать содержание минерального порошка либо битума, но в пределах, обеспечивающих требуемые значения остаточной пористости и пористости минеральной части. Для повышения водостойкости эффективно применять поверхностно-активные вещества (ПАВ), активаторы и активированные минеральные порошки. Подбор состава асфальтобетонной смеси считают завершенным, если все показатели физико-механических свойств, полученные при испытании асфальтобетонных образцов, будут отвечать требованиям стандарта. Однако в рамках стандартных требований к асфальтобетону состав смеси рекомендуется оптимизировать в направлении повышения эксплуатационных свойств и долговечности устраиваемого конструктивного слоя дорожной одежды. Оптимизацию состава смеси, предназначенной для устройства верхних слоев дорожных покрытий, до последнего времени связывали с повышением плотности асфальтобетона. В связи с этим в дорожном строительстве сформировались три метода, применяемые при подборе зерновых составов плотных смесей. Первоначально они назывались как: - экспериментальный (немецкий) метод подбора плотных смесей, заключающийся в постепенном заполнении одного материала другим; - метод кривых, основанный на подборе зернового состава. приближающегося к заранее определенным математически «идеальным» кривым плотных смесей; - американский метод стандартных смесей, основанный на апробированных составах смесей из конкретных материалов. Эти методы были предложены около 100 лет назад и получили дальнейшее развитие [6,7]. Сущность экспериментального метода подбора плотных смесей заключается в постепенном заполнении пор одного материала с более крупными зернами другим более мелким минеральным материалом. Практически подбор смеси осуществляется в следующем порядке. К 100 весовым частям первого материала добавляют последовательно 10, 20, 30 и т.д. весовых частей второго, определяя после их перемешивания и уплотнения среднюю плотность и выбирая смесь с минимальным количеством пустот в уплотненном состоянии. Если необходимо составить смесь из трех компонентов, то к плотной смеси из двух материалов добавляют постепенно увеличивающимися порциями третий материал и также выбирают наиболее плотную смесь. Хотя данный подбор плотного минерального остова трудоемкий и не учитывает влияния содержания жидкой фазы и свойств битума на уплотняе-мость смеси, тем не менее он до сих пор применяется при проведении экспериментально-исследовательских работ [8]. Кроме того, экспериментальный метод подбора плотных смесей был положен в основу расчетных методов составления плотных бетонных смесей из сыпучих материалов различной крупности и получил дальнейшее развитие в методах планирования эксперимента. Принцип последовательного заполнения пустот использован в методике проектирования оптимальных составов дорожных асфальтобетонов, в которых используются щебень, гравий и песок с любой гранулометрией [9]. По мнению авторов работы [9], предлагаемая расчетно-экспериментальная методика позволяет оптимально управлять структурой, составом, свойствами и стоимостью асфальтобетона. В роли варьируемых структуро-управляющих параметров используются коэффициенты раздвижки зерен щебня, гравия и песка; объемная концентрация минерального порошка в асфальтовом вяжущем, а также критерий оптимальности состава, выраженный минимальной общей стоимостью компонентов на единицу продукции. По принципу последовательного заполнения пустот в щебне, песке и минеральном порошке был рассчитан ориентировочный состав смеси для асфальтобетонов повышенной плотности на основе жидких битумов [10]. Содержание компонентов в смеси вычислялось на основании результатов предварительно установленных значении истинной и насыпной плотности минеральных материалов. Окончательный состав уточнялся экспериментально при совместном варьировании содержанием всех компонентов смеси методом математического планирования эксперимента на симплексе. Состав смеси, обеспечивающий минимальную пористость минерального остова асфальтобетона, считался оптимальным. Второй метод подбора зернового состава асфальтобетона основывается на подборе плотных минеральных смесей, зерновой состав которых приближается к идеальным кривым Фуллера, Графа, Германа, Боломея, Тэлбот-Ричарда, Китт-Пеффа и других авторов [11]. Эти кривые в большинстве случаев представляются степенными зависимостями требуемого содержания зерен в смеси от их крупности. Например, кривая гранулометрического состава плотной смеси по Фуллеру задается следующим уравнением
где Y - содержание фракций с крупностью зерен мельче заданного размера х, %; D - наибольшая крупность зерен в смеси, мм. Для нормирования зернового состава асфальтобетонной смеси в современном американском методе проектирования «Superpave» также принимаются гранулометрические кривые максимальной плотности, соответствующие степенной зависимости с показателем степени 0,45 [4],
Причем, кроме контрольных точек, ограничивающих диапазон содержания зерен, приводится также внутренняя зона ограничения, которая располагается вдоль гранулометрической кривой максимальной плотности в промежутке между зернами размером 2,36 и 0,3 мм. Считается, что смеси с гранулометрическим составом, проходящим по ограничительной зоне, могут иметь проблемы с уплотнением и сдвигоустоичивостыо, так как они более чувствительны к содержанию битума и становятся пластичными при случайной передозировке органического вяжущего. Следует отметить, что ГОСТ 9128-76 также предписывал для кривых зернового состава плотных смесей ограничительную зону, расположенную между предельными кривыми непрерывной и прерывистой гранулометрии. На рис. 1 эта зона заштрихована.
Рамер зерен минерального материала, мм Рис. 1. Зерновые составы минеральной части мелкозернистойОднако в 1986 г. при переиздании стандарта это ограничение было отменено, как несущественное. Более того, в работах Ленинградского филиала Союздорнии (А.О. Саль) было показано, что проходящие по заштрихованной зоне так называемые «полупрерывистые» составы смесей в ряде случаев предпочтительней непрерывных из-за меньшей пористости минеральной части асфальтобетона, а прерывистых - из-за большей устойчивости к расслоению. В основу отечественного метода построения кривых гранулометрического состава плотных смесей легли известные исследования В.В. Охотина [12], в которых было показано, что наиболее плотную смесь можно
получить при условии, если диаметр частичек, составляющих материал, будет
уменьшаться в пропорции 1:16, а весовые их количества - как 1:0,43. Однако,
учитывая склонность к сегрегации смесей, составленных с таким соотношением
крупных и мелких фракций, было предложено добавлять промежуточные фракции. При
этом весовое количество фракции с диаметром, в 16 раз меньшим, совершенно не
изменится, если заполнять пустоты не просто этими фракциями, а, например,
фракциями с диаметром зерен в 4 раза меньшего размера. Если при заполнении
фракциями в 16 раз меньшим диаметром их весовое содержание равнялось 0,43, то при
заполнении фракциями диаметром зерен, в 4 раза меньшим, их содержание должно
быть равным к = Y1(l + k + k2 + ... + kn-1)=100, (5) где Y1 - количество первой фракции; к - коэффициент сбега; n - число фракций в смеси. Из полученной прогрессии выводится количественное значение первой фракции
Таким образом, коэффициентом сбега принято называть весовое соотношение фракций, размеры частиц которых относятся как 1:2, т.е. как соотношение ближайших размеров ячеек в стандартном наборе сит. Хотя теоретически самые плотные смеси рассчитываются по коэффициенту сбега 0,81, на практике более плотными оказались смеси с прерывистым зерновым составом [13]. Это объясняется тем, что представленные теоретические выкладки составления плотных смесей по коэффициенту сбега не учитывают раздвижку крупных зерен материала более мелкими зернами. В связи с этим еще П.В. Сахаров отмечал, что положительные результаты с точки зрения увеличения плотности смеси получаются только при ступенчатом (прерывистом) подборе отгрохоченных фракций. Если же соотношение размеров смешиваемых фракций меньше, чем 1:2 или 1:3, то мелкие частицы не заполняют промежуток между крупными зернами, а раздвигают их [14]. Позже было уточнено соотношение диаметров частиц смежных фракций, исключающих раздвижку крупных зерен в многофракционной минеральной смеси [15]. По данным П.И. Боженова, чтобы исключить раздвижку крупных зерен мелкими, отношение диаметра мелкой фракции к диаметру крупной фракции должно быть не более 0,225 (т.е. как 1:4,44). Учитывая проверенные на практике составы минеральных смесей, Н.Н. Иванов предложил применять для подбора смесей кривые гранулометрического состава с коэффициентом сбега в пределах от 0,65 до 0,90 [6,16]. Кривые гранулометрического состава минеральной части асфальтобетона с различными коэффициентами сбега показаны на рис. 2.
Рамер зерен минерального материала, мм Рис. 2. Гранулометрический состав минеральной части асфальтобетонных смесей с различными коэффициентами сбегаГранулометрические составы плотных асфальтобетонных смесей, ориентированные на удобоукладываемость, были нормированы в СССР с 1932 по 1967 гг. В соответствии с этими нормами асфальтобетонные смеси содержали ограниченное количество щебня (26-45%) и повышенное количество минерального порошка (8-23%) [11]. Опыт применения таких смесей показал, что в покрытиях, особенно на дорогах с тяжелым и интенсивным движением, образуются волны, сдвиги и другие пластические деформации. При этом шероховатость поверхности покрытий была также недостаточной, чтобы обеспечить высокое сцепление с колесами автомобилей, исходя из условий безопасности движения. Принципиальные изменения в стандарт на асфальтобетонные смеси были внесены в 1967 г. В ГОСТ 9128-67 вошли новые составы смесей для каркасных асфальтобетонов с повышенным содержанием щебня (до 65%), которые стали предусматривать в проектах дорог с высокой интенсивностью движения. В асфальтобетонных смесях также было снижено количество минерального порошка и битума, что обосновывалось необходимостью перехода от пластичных к более жестким смесям. Составы минеральной части многощебенистых смесей рассчитывались по уравнению кубической параболы, привязанной к четырем контрольным размерам зерен: 20; 5; 1,25 и 0,071 мм [11]. При исследовании и внедрении каркасного асфальтобетона большое значение придавалось повышению шероховатости покрытий. Методы устройства асфальтобетонных покрытий с шероховатой поверхностью нашли отражение в рекомендациях, разработанных в начале 60-х годов прошлого столетия [17] и получивших первоначальное внедрение на объектах Главдорстроя Минтрансстроя СССР [18]. По данным разработчиков, созданию шероховатости должно было предшествовать образование пространственного каркаса в асфальтобетоне. Практически это достигалось уменьшением количества минерального порошка в смеси, увеличением содержания крупных дробленых зерен, полным уплотнением смеси, при котором зерна щебня и крупных фракций песка соприкасаются между собой. Получение асфальтобетона с каркасной структурой и шероховатой поверхностью обеспечивалось при содержании 50-65 % по массе зерен крупнее 5 (3) мм в мелкозернистых смесях типа А и 33-55 % зерен крупнее 1,25 мм в песчаных смесях типа Г при ограниченном содержании минерального порошка (4-8 % в мелкозернистых смесях и 8-14 % в песчаных). Рекомендации по обеспечению сдвигоустойчивости асфальтобетонных покрытий в результате применения каркасных асфальтобетонов за счет повышения внутреннего трения минерального остова присутствуют и в зарубежных публикациях. Например, дорожные фирмы из Великобритании при строительстве асфальтобетонных покрытий в тропических и субтропических странах специально применяют зерновые составы, подбираемые по уравнению кубической параболы [2]. Устойчивость покрытий из таких смесей обеспечивается главным образом в результате механической заклинки частиц угловатой формы, которые должны быть либо прочным щебнем, либо дробленым гравием. Применять недробленый гравий в таких смесях не разрешается. Сопротивление покрытий сдвиговым деформациям можно повысить увеличением крупности щебня. В стандарте США ASTM D 3515-96 были предусмотрены асфальтобетонные смеси, дифференцированные на девять марок в зависимости от максимальной крупности зерен от 1,18 до 50 мм. Чем выше марка, тем крупнее щебень и тем меньше содержание минерального порошка в составе смеси. Кривые зерновых составов, построенные по кубической параболе, обеспечивают при уплотнении покрытия жесткий каркас из крупных зерен, который оказывает основное сопротивление транспортным нагрузкам. В большинстве случаев минеральная часть асфальтобетонной смеси подбирается из крупнозернистой, среднезернистой и мелкозернистой составляющих. Если истинная плотность составляющих минеральных материалов существенно различается между собой, то содержание их в смеси рекомендуется рассчитывать по объему. Проверенные на практике зерновые составы минеральной части асфальтобетонных смесей стандартизованы во всех технически развитых странах с учетом области их применения. Эти составы, как правило, согласуются между собой. В целом принято считать, что наиболее разработанным элементом проектирования состава асфальтобетона является подбор гранулометрического состава минеральной части либо по кривым оптимальной плотности, либо по принципу последовательного заполнения пор [19]. Сложнее обстоит дело с выбором битумного вяжущего нужного качества и с обоснованием его оптимального содержания в смеси. До сих пор отсутствует единое мнение о надежности расчетных методов назначения содержания битума в асфальтобетонной смеси. Действующие экспериментальные методы подбора содержания вяжущего предполагают разные методы изготовления и испытания асфальтобетонных образцов в лаборатории и, главное, не позволяют достаточно надежно прогнозировать долговечность и эксплуатационное состояние дорожных покрытий в зависимости от условий эксплуатации. П.В. Сахаров предлагал проектировать состав асфальтобетона по предварительно подобранному составу асфальтового вяжущего вещества. Количественное соотношение битума и минерального порошка в асфальтовом вяжущем веществе подбиралось экспериментально в зависимости от показателя пластической деформации (методом водоупорности) и от предела прочности на растяжение образцов-восьмерок. Учитывалась также и термоустойчивость асфальтового вяжущего вещества сопоставлением показателей прочности при температурах 30, 15 и 0°С. На основании экспериментальных данных было рекомендовано придерживаться величин отношения битума к минеральному порошку по массе (Б/МП) в пределах от 0,5 до 0,2. В итоге составы асфальтобетона характеризовались повышенным содержанием минерального порошка. В дальнейших исследованиях И.А. Рыбьева было показано, что рациональные значения Б/МП могут быть равны 0,8 и даже выше [20]. Основываясь на законе прочности оптимальных структур (правиле створа), был рекомендован метод проектирования состава асфальтобетона по заданным эксплуатационным условиям работы дорожного покрытия. Констатировалось, что оптимальная структура асфальтобетона достигается при переводе битума в пленочное состояние. В то же время было показано, что оптимальное содержание битума в смеси зависит не только от количественного и качественного соотношения компонентов, но и от технологических факторов и режимов уплотнения. Поэтому научное обоснование требуемых эксплуатационных показателей асфальтобетона и рациональных способов их достижения продолжает оставаться основной задачей, связанной с повышением долговечности дорожных покрытий. Существуют несколько расчетных способов назначения содержания битума в асфальтобетонной смеси как по толщине битумной пленки на поверхности минеральных зерен, так и по количеству пустот в уплотненной минеральной смеси [6,21]. Первые попытки их применения при проектировании асфальтобетонных смесей часто заканчивались неудачей, что вынуждало совершенствовать расчетные методы определения содержания битума в смеси. Н.Н. Иванов предлагал учитывать лучшую уплотняемость горячей асфальтобетонной смеси и некоторый запас на температурное расширение битума, если расчет содержания битума ведется по пористости уплотненной минеральной смеси [6]
где Б - количество битума, %; Р - пористость уплотненной минеральной смеси, %; r6- истинная плотность битума, г/см3; r - средняя плотность уплотненной сухой смеси, г/см3; 0,85 - коэффициент уменьшения количества битума за счет лучшего уплотнения смеси с битумом и коэффициента расширения битума, который принят равным 0,0017. Следует отметить, что расчеты объемного содержания компонент в уплотненном асфальтобетоне, включая объем воздушных пор или остаточной пористости, выполняются в любом методе проектирования в форме нормировки объема фаз. В качестве примера на рис. 3 приведен объемный состав асфальтобетона типа А в виде круговой диаграммы. В соответствии с этой диаграммой содержание битума (% по объему) равно разности между пористостью минерального остова и остаточной пористостью уплотненного асфальтобетона.
Рис. 3. Нормировка объема фаз в асфальтобетонеМ. Дюрье рекомендовал методику расчета содержания битума в горячей асфальтобетонной смеси по модулю насыщения. Модуль насыщения асфальтобетона вяжущим веществом был установлен по экспериментальным и производственным данным и характеризует процентное содержание вяжущего в минеральной смеси, имеющей удельную поверхность 1 м2/кг. Эта методика принята для определения минимального содержания битумного вяжущего в зависимости от зернового состава минеральной части в методе проектирования асфальтобетонной смеси LCPC. разработанном Центральной лабораторией мостов и дорог Франции [22]. Весовое содержание битума по этому методу определяется по формуле
где к - модуль насыщения асфальтобетона вяжущим;
G - содержание зерен мельче 6,3 мм, %; S - частный остаток на сите с отверстиями размером 0,315 мм, %; s - частный остаток на сите с отверстиями размером 0,08 мм, %; f - содержание зерен мельче 0,08 мм, %. Методику расчета содержания битума по толщине битумной пленки существенно усовершенствовал И.В. Королев [23]. На основании экспериментальных данных им произведено дифференцирование удельной поверхности зерен стандартных фракций в зависимости от природы горной породы. Было показано влияние природы каменного материала, крупности зерен и вязкости битума на оптимальную толщину битумной пленки в асфальтобетонной смеси. Следующим шагом является дифференцированная оценка битумоемкости минеральных частиц мельче 0,071 мм. В результате статистического прогноза зерновых составов минерального порошка и битумоемкости фракций размером от 1 до 71 мкм в МАДИ (ГТУ) была разработана методика, позволяющая получать расчетные данные, удовлетворительно совпадающие с экспериментальным содержанием битума в асфальтобетонной смеси [24]. Другой подход к назначению содержания битума в асфальтобетоне основан на зависимости между пористостью минерального остова и зерновым составом минеральной части. На основании изучения экспериментальных смесей из частиц различной крупности японскими специалистами была предложена математическая модель пористости минерального остова (VMA) [8]. Значения коэффициентов установленной корреляционной зависимости были определены для щебеночно-мастичного асфальтобетона, который уплотнялся во вращательном уплотнителе (гираторе) при 300 оборотах формы. Алгоритм расчета содержания битума, основанный на корреляции поровых характеристик асфальтобетона с зерновым составом смеси, был предложен в работе [25]. По результатам обработки массива данных, полученных при испытании плотных асфальтобетонов различных типов, установлены следующие корреляционные зависимости для расчета оптимального содержания битума: V0пор = 7,3-0,32МП (10)
где МП - содержание зерен минерального материала мельче 0,071 мм, %;
К - параметр гранулометрии
Dкр - минимальный размер зерен крупной фракции, мельче которого содержится 69,1 % по массе смеси, мм; D0 - размер зерен средней фракции, мельче которого содержится 38,1 % по массе смеси, мм; Dмелк- максимальный размер зерен мелкой фракции, мельче которого содержится 19,1 % по массе смеси, мм. Содержание битума, % по массе, устанавливают по формуле
где Расчетное содержание битума по предлагаемому методу в смесях типа А и Б хорошо согласуется с экспериментальным содержанием вяжущего, соответствующим требуемым показателям остаточной пористости и прочности при сжатии стандартных образцов. Однако в любом случае расчетные дозировки битума следует корректировать при приготовлении контрольных замесов в зависимости от результатов испытаний сформованных образцов асфальтобетона [5]. При подборе составов асфальтобетонных смесей остается актуальным следующее высказывание проф. Н.Н. Иванова: «Битума следует брать не больше, чем это обусловливается получением достаточно прочной и устойчивой смеси, но битума надо брать возможно больше, а ни в коем случае не возможно меньше» [1]. Экспериментальные методы подбора асфальтобетонных смесей обычно предполагают приготовление стандартных образцов заданными способами уплотнения и испытание их в лабораторных условиях. Для каждого метода разработаны соответствующие критерии, устанавливающие в той или иной степени связь между результатами лабораторных испытаний уплотненных образцов и эксплуатационными характеристиками асфальтобетона в соответствующих условиях эксплуатации [26]. В большинстве случаев зги критерии определены и стандартизованы национальными стандартами на асфальтобетон. Распространены следующие схемы механических испытаний образцов асфальтобетона, представленные на рис. 4. Анализ различных экспериментальных методов проектирования составов асфальтобетона указывает на схожесть в подходах при назначении рецептуры и на различие как в методах \ плотнения и испытания образцов, так и в критериях оцениваемых свойств. Схожесть методов проектирования асфальтобетонной смеси основывается на подборе такого об'ьемного соотношения компонентов, при котором обеспечиваются заданные величины остаточной пористости и нормируемые показатели механических свойств асфальтобетона. В России при проектировании асфальтобетона проводят испытание стандартных цилиндрических образцов на одноосное сжатие (по схеме Дюрьеза), которые формуют в лаборатории по ГОСТ 12801-98 в зависимости от содержания щебня в смеси либо статической нагрузкой 40 МПа, либо способом вибрирования с последующим доуплотнением нагрузкой 20 МПа. В зарубежной практике наибольшее распространение получил метод проектирования асфальтобетонных смесей по Маршаллу. В США до последнего времени применяются методы проектирования асфальтобетонных смесей по Маршаллу, Хаббарду-Фильду и Хвиму. но в последнее время в ряде штатов внедряется система проектирования «Superpave» [4]. При разработке новых методов проектирования асфальтобетонных смесей за рубежом большое внимание уделялось совершенствованию методов уплотнения образцов. В настоящее время при проектировании смесей по Маршаллу предусмотрено три уровня уплотнения образца: 35, 50 и 75 ударов с каждой стороны соответственно для условий легкого, среднего и интенсивного движения транспортных средств.
Рис. 4. Схемы испытания цилиндрических образцов при проектировании состава асфальтобетона:а - по Дюрьезу; б - по Маршаллу; в - по Хвиму; г - по Хаббарду-Филду Инженерные войска Соединенных Штатов, проведя обширные исследования, усовершенствовали испытания по методу Маршалла и распространили его на проектирование составов смесей для аэродромных покрытий [26]. Проектирование асфальтобетонной смеси по методу Маршалла предполагает, что: - предварительно установлено соответствие исходных минеральных материалов и битума требованиям технических условий; - подобран гранулометрический состав смеси минеральных материалов, удовлетворяющий проектным требованиям; - определены значения истинной плотности вязкого битума и минеральных материалов соответствующими методами испытаний; - достаточное количество каменного материала высушено и разделено на фракции, чтобы приготавливать лабораторные замесы смесей с различным содержанием вяжущего. Для испытаний по методу Маршалла изготавливают стандартные цилиндрические образцы высотой 6,35 см и диаметром 10,2 см при уплотнении ударами падающего груза. Смеси готовят с различным содержанием битума, обычно отличающимся одно от другого на 0,5 %. Рекомендуется приготавливать, по крайней мере, две смеси с содержанием битума выше «оптимального» значения и две смеси с содержанием битума ниже «оптимального» значения. Чтобы точнее назначить содержание битума для проведения лабораторных испытаний, рекомендуется вначале установить примерное «оптимальное» содержание битума. Под «оптимальным» подразумевается содержание битума в смеси, обеспечивающее максимальную устойчивость по Маршаллу сформованных образцов. Ориентировочно для подбора необходимо иметь 22 юг каменных материалов и около 4 л битума. Результаты испытаний асфальтобетона по методу Маршалла приведены на рис. 5. На основании результатов испытаний образцов асфальтобетона по методу Маршалла обычно приходят к следующим выводам. - Значение устойчивости возрастает при увеличении содержания вяжущего до определенного максимума, после которого значение устойчивости снижается. - Величина условной пластичности асфальтобетона возрастает при увеличении содержания вяжущего. - Кривая зависимости плотности от содержания битума подобна кривой устойчивости, однако для нее максимум чаще наблюдается при несколько более высоком содержании битума. - Остаточная пористость асфальтобетона снижается при увеличении содержания битума, приближаясь асимптотически к минимальному значению. - Процент заполнения пор битумом увеличивается с увеличением содержания битума.
Рис. 5. Результаты (а, б, в, г) испытаний асфальтобетона по методу МаршаллаОптимальное содержание битума рекомендуется определять как среднее из четырех значений, установленных по графикам для соответствующих проектных требований. Асфальтобетонная смесь с оптимальным содержанием битума должна удовлетворять всем требованиям, предъявляемым в технических спецификациях. При окончательном выборе состава асфальтобетонной смеси могут учитываться также технико-экономические показатели. Обычно рекомендуют выбирать смесь, обладающую наиболее высокой устойчивостью по Маршаллу [26]. Однако при этом следует иметь в виду, что смеси с чрезмерно высокими значениями устойчивости по Маршаллу и низкой пластичностью бывают нежелательными, так как покрытия из таких смесей будут чрезмерно жесткими и могут растрескаться при движении большегрузных транспортных средств, особенно при непрочных основаниях и высоких прогибах покрытия. Часто в Западной Европе и в США метод проектирования асфальтобетонной смеси по Маршаллу подвергается критике. Отмечается, что ударное уплотнение образцов по Маршаллу не моделирует уплотнение смеси в покрытии, а устойчивость по Маршаллу не позволяет удовлетворительно оценить прочность асфальтобетона при сдвиге. Также критикуется и метод Хвима, к недостаткам которого относят довольно громоздкое и дорогостоящее испытательное оборудование. Кроме того, некоторые важные объемометрические показатели асфальтобетона, связанные с его долговечностью, в этом методе должным образом не раскрываются. По мнению американских инженеров, метод выбора содержания битума по Хвиму является субъективным и может привести к недолговечности асфальтобетона из-за назначения низкого содержания вяжущего в смеси. Метод LCPC (Франция) основан на том, что горячая асфальтобетонная смесь должна быть спроектирована и уплотнена в процессе строительства до максимальной плотности. Поэтому проводились специальные исследования расчетной работы уплотнения, которая была определена как 16 проходов катка с пневматическими шинами, с нагрузкой на ось 3 тс при давлении в шине 6 бар. На полномасштабном лабораторном стенде при уплотнении горячей асфальтобетонной смеси была обоснована стандартная толщина слоя, равная 5 максимальным размерам минеральных зерен. Для соответствующего уплотнения лабораторных образцов были стандартизованы угол вращения на лабораторном уплотнителе (гираторе), равный 1°, и вертикальное давление на уплотняемую смесь 600 кПа. При этом стандартное число вращений гиратора должно составлять величину, равную толщине слоя из уплотняемой смеси, выраженную в миллиметрах. В американском методе системы проектирования «Superpave» принято уплотнять образцы из асфальтобетоной смеси также в гираторе, но при угле вращения 1,25°. Работа по уплотнению образцов асфальтобетона нормируется в зависимости от расчетной величины суммарной транспортной нагрузки на покрытие, для устройства которого проектируется смесь. Схема уплотнения образцов из асфальтобетонной смеси в приборе вращательного уплотнения представлена на рис. 6. |
|||||||||||||||||||||||||||||||||||||||||||||||||||||||||
|
Вид напряженного состояния |
Тензор напряжений |
Схема напряженного состояния |
|||
|
Одноосное сжатие |
|
|
|
||
|
Двухосное сжатие |
|
|
|
||
|
Трехосное сжатие |
|
|
|
||
Примечание. Sh - площадь нагруженных граней элементарного куба . SΣ – площадь всех граней элементарного куба
|
Критерий предельного состояния |
Виды напряженного состояния |
||
|
трехосное сжатие |
одноосное сжатие и растяжение |
двухосное сжатие и одноосное |
|
|
Мора |
|
|
Отсутсвтвуют
Отсутсвтвуют |
|
Максимальных касательных напряжений |
|
|
|
К сожалению, в чистом виде реализовать испытание образцов асфальтобетона при двухосном сжатии так же сложно, как и при трехосном сжатии. Поэтому взамен была принята схема нагружения асфальтобетонных образцов по Маршаллу, так как напряженное состояние цилиндрического образца в этом методе испытания приближается к двухосному.
При сравнении величии средних нормальных напряжений в
зависимости от напряженно-деформированного состояния элементарного куба
обнаруживается соответствие гидростатического давления с относительной
величиной поверхности нагружения. Относительная величина поверхности нагружения
, как и соответствующее напряженное состояние цилиндрического
образца при испытании по схеме Маршалла, занимает промежуточное положение между
схемами одноосного и двухосного сжатия, т.е. между 1/3 и 2/3, что следует из табл. 1.
Принимая условие течения Мизеса-Генки [73] и с учетом того, что при расчетных температурах и скоростях деформирования асфальтобетон относится к вязко пластичным материалам, которые в расчетах на прочность по критериям максимальных касательных напряжений и по энергии формоизменения обнаруживают примерно одинаковые результаты [74], можно заменить в формуле (42) пределы прочности на соответствующие величины энергий деформирования или работ разрушения образцов. Тогда, с учетом изложенного, коэффициент внутреннего трения асфальтобетона можно вычислять по следующей зависимости:
(44)
где Аm - работа разрушения стандартного образца асфальтобетона при сжатии его по боковой поверхности металлическими обоймами (по схеме Маршалла), Дж;
Ас - работа разрушения такого же образца при испытании на одноосное сжатие, Дж;
b - коэффициент, учитывающий напряженное состояние образца и зависящий от степени обхвата боковой поверхности металлическими обоймами разрушающего устройства.
Вначале коэффициент b был определен обратным пересчетом при сопоставлении результатов испытания эталонных составов асфальтобетона методом трехосного сжатия и предлагаемым методом. Весьма примечательно, что экспериментальное значение коэффициента совпало с расчетным значением, которое было впоследствии вычислено по относительной площади нагружения образца, исходя из зависимости гидростатического давления от схемы испытания (см. табл. 1.)
(45)
Зная коэффициент внутреннего трения, можно вычислить величину сцепления С из предела прочности при сжатии.
Таким образом, напряженно-деформированное состояние образцов
характеризуется величиной средних нормальных (гидростатических) давлений. Чем
выше гидростатическое давление в асфальтобетонном образце, тем большие усилия
воспринимаются минеральным остовом. Компонента гидростатического давления в
тензоре напряжений пропорциональна относительной величине поверхности
нагружения образца
, которая зависит от принятого метода испытаний. Например,
при осевом сжатии образцов по ГОСТ
12801-98
, а при испытании образцов Маршалла ![]()
где
- площадь нагруженной поверхности образца, м2;
- общая площадь
поверхности цилиндрического образца, м2;
d, h и D, H - соответственно диаметр и высота образцов по ГОСТ 12801-98 и по ASTM D 1559, м.
Фактор относительной поверхности нагружения коррелирует с нормируемыми величинами поправочного коэффициента Km на высоту образца при испытаниях по Маршаллу [26] и существенно влияет на сопротивление асфальтобетона разрушению (рис. 18).

Относительная величина поверхности нагружения образцов
На основании рассмотренных теоретических предпосылок был обоснован и разработан метод определения сдвиговых характеристик асфальтобетона по результатам испытаний стандартных образцов, который вошел в ГОСТ 12801-98 (рис. 19). Сущность метода испытаний асфальтобетона на сдвигоустойчивость заключается в определении максимальных нагрузок и соответствующих предельных деформаций стандартных образцов цилиндрической формы при двух напряженно-деформированных состояниях: при одноосном сжатии и при сжатии специальным разрушающим устройством по схеме Маршалла.

Для каждого образца, испытываемого как на одноосное сжатие, так и по схеме Маршалла, вычисляют работу, затраченную на разрушение путем интегрирования или по следующей приближенной формуле:
(46)
где А - работа деформирования образца до разрушения, Дж;
Р - разрушающее усилие, кН;
l- предельная деформация, мм.
Коэффициент внутреннего трения асфальтобетона tgq> следует вычислять по формуле
(47)
где Аm, Ас - соответственно средняя работа деформирования стандартных образцов асфальтобетона при испытании по схеме Маршалла и при одноосном сжатии, Дж.
Показатель сцепления С находят в зависимости от предела прочности асфальтобетона при сжатии
(48)
Определяемый в лаборатории показатель сцепления характеризует пластическую вязкость асфальтобетона, зависит от скорости деформирования и размера образцов, поэтому является условным. Чтобы определить влияние вяжущего на сопротивление асфальтобетона сдвигу, показатель сцепления нужно экстраполировать к реальным скоростям необратимого деформирования материала в покрытии. Это особенно важно для сравнения сдвигоустойчивости битумных вяжущих, отличающихся друг от друга неньютоновскими свойствами.
В общем случае сдвигоустойчивость асфальтобетона является многофакторным эксплуатационным свойством и характеризуется, с одной стороны, несколькими показателями структуры материала, а с другой стороны, условиями его работы в покрытии. К важнейшим расчетным условиям, влияющим на сдвигоустойчивость, относятся: температура покрытия и ее частотное распределение в период эксплуатации, расчетная нагрузка, количество циклов и продолжительность нагружения покрытия.
К показателям структуры, характеризующим сдвигоустойчивость, относятся коэффициент внутреннего трения, сцепление при сдвиге, коэффициент пластичности и энергия активации вязкопластичного деформирования и разрушения. Эти характеристики определяют по результатам испытаний цилиндрических образцов в соответствии с ГОСТ 12801-98 и известным методикам [42,75].
Суммарную остаточную деформацию, накапливаемую за расчетный период эксплуатации асфальтобетонного покрытия, рассчитывают по следующей зависимости:
(49)
где Ккол - коэффициент, учитывающий вероятность прохождения колес автомобилей по одному следу;
tp - расчетный срок службы асфальтобетонного покрытия, ч;
N - интенсивность движения расчетного автомобиля по одной полосе движения, авт./ч;
T1 - среднее время действия колесной нагрузки на асфальтобетонное покрытие при проходе одного расчетного автомобиля, с;
Y - градиент скорости необратимого сдвига при испытании асфальтобетонных образцов в лаборатории, с-1;
- максимальные касательные напряжения от колеса
расчетного автомобиля, МПа;
р - нормальное напряжение от колеса расчетного автомобиля, МПа;
- коэффициент внутреннего трения асфальтобетона;
Сл - показатель когезионного сцепления асфальтобетона по Кулону, МПа;
Р(Т) - частотное распределение или вероятность температуры покрытия в рассматриваемом регионе;
U - энергия активации вязкопластичного деформирования асфальтобетона, Дж.
к - постоянная Больцмана, равная 1,3810-3 Дж/град;
Тл - температура испытания асфальтобетонных образцов в лаборатории, равная 50°С;
Tn-, Tn+ - соответственно минимальная и максимальная тем-пература покрытия, "С;
T, dT - соответственно переменная температура покрытия и ее приращение, °С.
Эта зависимость дает возможность уже на стадии проектирования состава смеси проверить лабораторные образцы на сдвигоустойчивость применительно к конкретным условиям эксплуатации покрытия. В ней задействованы важнейшие показатели структуры, характеризующие сдвигоустойчивость асфальтобетона в покрытии, такие, как коэффициент внутреннего трения, сцепление при сдвиге, коэффициент пластичности и энергия активации вяз ко пластичного деформирования и разрушения. Следует заметить, что эти характеристики отражают экспериментальные закономерности деформирования асфальтобетона, поэтому их рекомендуется определять при любом методе испытаний, чтобы получить однозначный ответ о сдвигоустойчивости испытываемого асфальтобетона в конкретных условиях эксплуатации.
Таким образом, с помощью простых стандартных методов испытания цилиндрических образцов асфальтобетона можно прогнозировать сложный процесс накопления необратимых пластических деформаций в асфальтобетонных покрытиях. Алгоритм сдвигоустойчивости позволяет учитывать следующие показатели, характеризующие реологические особенности асфальтобетонов различных структур:
- статический предел текучести при сдвиге, пропорциональный нормальному напряжению и коэффициенту внутреннего трения;
- наибольшую эффективную вязкость, соответствующую реальным скоростям необратимого деформирования покрытия;
- энергию активации или коэффициент теплостойкости, который нормировался Государственным стандартом на асфальтобетон, изданным в 1959 г.;
- коэффициент пластичности, характеризующий усталость и нелинейное деформирование асфальтобетона, требования к которому предлагал стандартизовать Д.И. Ганжула (МАДИ) [76].
Кроме того, алгоритм прогнозирования сдвигоустойчивости асфальтобетона в дорожном покрытии открыт для дальнейшего уточнения и прежде всего по следующим направлениям:
- учет цикличности нагружения, приводящей к повышению коэффициента пластичности асфальтобетона по данным работы [44];
- учет старения асфальтобетона по изменению показателя когезионного сцепления во времени;
- учет конструктивных мероприятий, позволяющих снизить касательные напряжения в слое покрытия;
- учет факторов, позволяющих снизить температуру покрытия.
Трещиностойкость асфальтобетонных покрытий зависит от реологических и прочностных свойств асфальтобетона, конструкции дорожной одежды, условий эксплуатации. В свою очередь прочность асфальтобетона характеризуется ярко выраженной временной зависимостью, а интенсивность релаксационных процессов при деформировании и разрушении битумных материалов в значительной степени зависит от температуры и уровня действующих напряжений.
По литературным данным принято различать три вида трещиностойкости покрытий и соответствующих показателей устойчивости асфальтобетона к образованию усталостных, температурных и отраженных трещим. Причем критерии этих видов трещиностойкости не только различаются между собой, но и бывают противоположными по численным значениям.
Методы оценки трещиностойкости также многочисленны. По данным Хааса, только для расчета температурных усадочных трещин в США применяют следующие четыре метода [77].
- Первый эмпирический метод основан на региональном опыте и предусматривает выбор типа смеси и марки битума из условия снижения температурного трещинообразования асфальтобетонного покрытия. Обычно при выборе марки битума ориентируются на условные характеристики вязкости, которые оговорены в соответствующих технических документах.
- Второй метод основан на диаграмме Ван дер Пола для определения требуемого значения жесткости битума или асфальтобетона. Он предусматривает, чтобы модуль деформации применяемого битума или асфальтобетона не превышал предельную для данной местности величину.
- Третий метод прогнозирует критическую температуру образования трещин в асфальтобетонном покрытии исходя из вычисленных и измеренных значений жесткости асфальтобетона и моделируемых условий охлаждения и сопротивления асфальтобетона линейной усадке в натурных условиях. Вероятность образования трещин в этом методе оценивается сопоставлением расчетной температуры трещинообразования асфальтобетона с предполагаемой минимальной температурой покрытия в заданном регионе.
- Четвертый расчетный метод предлагает определять количество образовавшихся трещин при различном сроке службы покрытия с учетом конструкции дорожной одежды, характеристик материала и ожидаемых транспортных и климатических условий эксплуатации.
Последний из перечисленных методов наиболее перспективен, постоянно совершенствуется и, в частности, получил дальнейшее развитие в рамках стратегической программы дорожных исследований (SHRP). Так, при выборе марки битумного вяжущего впервые стали учитывать старение асфальтобетона на стадии приготовления горячих смесей и эксплуатации дорожного покрытия [29].
Во многих европейских странах большое значение придаю! исследованиям реологических свойств дорожных битумов и полимерно-битумных вяжущих, так как они оказывают решающее влияние на интенсивность трещинообразования асфальтобетонных покрытий [38].
В Японии большое внимание уделяется анализу результатов натурных наблюдений за образованием трещин в процессе эксплуатации асфальтобетонных покрытий. Установлено, что количество поперечных трещин зависит не только от климатических, транспортных и материаловедческих факторов, но и от конструкции дорожной одежды, в том числе от коэффициента трения асфальтобетона по подстилающему слою [78].
Аналогичные подходы к оценке трешиностойкости можно найти и в многочисленных публикациях российских исследователей свойств асфальтобетона, нежестких дорожных одежд. Из анализа литературных данных становится все более очевидным, что при оценке трещиностойкости асфальтобетонных покрытий должен преобладать комплексный подход. Поэтому метод должен учитывать влияние температурно-временных факторов на напряженно-деформированное состояние конструктивного слоя покрытия и одновременно на характеристики прочности и жесткости самого асфальтобетона. Комплексная оценка трещиностойкости асфальтобетонных покрытий предлагалась в ряде работ и требует дальнейшего развития [79,80,81].
Чтобы оценить трещиностойкость асфальтобетона в конкретной дорожной конструкции, необходимо знать, с одной стороны, его температурное и напряженно-деформированное состояние в реальных условиях эксплуатации, а с другой стороны, характеристики сопротивления материала действующим растягивающим напряжениям. Очевидно, что точность определения растягивающих напряжений в асфальтобетонном покрытии должна быть соизмерима с точностью оценки температурно-временных зависимостей прочности асфальтобетона. Поэтому соответствующие расчетные методы и методы испытания, позволяющие в лабораторных условиях оценивать жесткость и прочность конкретных асфальтобетонов при растяжении, имеют важное значение.
Напряженно-деформированное состояние асфальтобетона при температурной усадке было впервые исследовано в лабораторных условиях Н.М. Распоповым в результате использования оригинальной методики, предусматривающей осевое растяжение защемленного по краям асфальтобетонного образца как механически, так и заданной скоростью охлаждения [82]. Впоследствии данная методика была усовершенствована. По такому же принципу были созданы в Германии [79] и в БашНИИНП [83] методики и экспериментальные установки для определения напряжений, деформаций и температур растрескивания асфальтобетонных образцов в результате охлаждения. Полученные результаты испытаний асфальтобетонов различных составов до сих пор представляют научный интерес, позволяя проверить математические модели расчета температурных напряжений при охлаждении образцов.
Разработка новых методов испытаний образцов на растяжение для изучения трещиностойкости асфальтобетона продолжается до сих пор. Примером может служить новый метод испытания на растяжение полых цилиндрических образцов (метод НСТ), реализованный американскими исследователями свойств асфальтобетона [84]. Асфальтобетонные образцы для испытания методом НСТ показаны на рис. 20.

Основным преимуществом, полученным при испытании полых цилиндрических образцов, является более высокая чувствительность предела прочности на разрыв к структурным факторам в методе НСТ по сравнению с пределом прочности на растяжение при расколе методом IDT. Например, прочность гюлимерасфальтобетона на растяжение в методе НСТ примерно в 3 раза более чувствительна к содержанию полимера, чем в методе IDT.
Однако метод испытания асфальтобетонных цилиндрических образцов на растяжение при расколе (метод IDT), являясь более простым, стандартизован в США (ASTM D4123, AASHTO TP9), Финляндии (PANK-4302), Германии (TGL 20801/Blalt2 1 «Spaltzugfestigkeit»), Республике Беларусь (СТБ 1033-96), России (ГОСТ 12801 -98) и в других странах. Пример испытания асфальтобетонного образца на растяжение при расколе с помощью типичного прибора Nottingham Asphalt Tester (NAT) показан на рис. 21.

Метод испытания цилиндрических образцов на растяжение при расколе часто используется при нормировании показателей прочности и водостойкости асфальтобетонов. Но при внимательном рассмотрении стандартизованных методов можно заметить различия как в части условий испытания (принятые скорости деформирования и температуры испытания не однозначны), так и в размерах и в условиях приготовления образцов. Американская система проектирования состава асфальтобетона «Superpave» предусматривает определение не только прочности образцов на растяжение при расколе, но и податливости (ползучести) в диапазоне температур от 20 до -20° С [4]. Испытание асфальтобетона на ползучесть проводится на том же приборе IDT (Indirect Tensile Test) при трех температурах (0, -10 и -20°С). Эти испытания необходимы для полного анализа трещиностойкости асфальтобетона при оценке низкотемпературного трещинообразования покрытия.
Для оценки усталостного трещинообразования определяют усталостную прочность асфальтобетона на приборе IDT от воздействия циклической нагрузки (см. рис. 8) как при расчетной для данной местности температуре (для промежуточного анализа), так и при температурах -10, 4 и 20°С (в случае полного анализа). При этих же температурах определяют прочность асфальтобетона на раскол при скорости деформирования образцов 50 мм/мин. Результаты испытаний предполагается использовать для расчета трещиностойкости асфальтобетона в конкретных условиях эксплуатации, а не для сравнения с нормативными требованиями.
Следует иметь в виду, что напряженно-деформированное состояние цилиндрического образца при испытании на раскол не адекватно состоянию упруговязкопластичного асфальтобетона в покрытии. Методы вычисления относительной деформации растяжения при расколе, как и модуля упругости, весьма условны. В этом отношении более обоснована методика испытания образцов-балочек на изгиб, которая получила широкое распространение и в исследованиях асфальтобетона. В качестве обоснования этой методики приводятся соображения об изгибе покрытия при воздействии транспортных нагрузок, как и то, что дорожные одежды рассчитываются по предельнодопустимому прогибу [85,86,87].
Образцы-балочки с минимально допустимым размером 40×40×160 мм изготавливаются в стальных формах [5]. Размеры образцов-балочек, температура испытания, режимы нагружения и схемы нагружения образцов могут быть разными. Простейшая схема нагружения образцов представлена на рис. 22.

Общепринятыми показателями свойств асфальтобетона служат прочность на растяжение при изгибе, максимальная деформация растяжения при изгибе, модуль упругости при изгибе, вычисляемые по следующим зависимостям:
(50)
где Rи - прочность образца при изгибе, МПа;
Р - максимальная сосредоточенная нагрузка в середине пролета в момент разрушения образца, Н;
l, b, h - соответственно расстояние между опорами (пролет), ширина и высота образца-балочки, мм.
(51)
где
- относительная деформация растяжения в нижних волокнах образца-балочки;
f - прогиб образца в середине пролета, мм.
(52)
где Е - модуль упругости асфальтобетона, МПа;
fy - упругий прогиб образца-балочки в середине пролета, мм.
Вязкость h определяется по формуле:
(53)
где K - коэффициент размерности;
Р - постоянная нагрузка, прикладываемая в середине пролета образца-балочки, Н;
f* - скорость вязкого прогиба в середине пролета образца-балочки. мм/с.
Зависимость (53) была получена М. Рейнером исходя из формальной аналогии между упругостью и вязкостью, путем замены в формуле (52) модуля упругости Е продольной трутоновской вязкостью l, а прогиба образца-балочки - скоростью прогиба на прямолинейном участке кривой ползучести [88]. При заданной схеме испытания образцов-балочек (см. рис. 22) определялись модуль эластичности и вязкость асфальтобетона [89].
Образцы-балочки испытываются при следующих режимах нагружения:
- постоянная скорость деформирования (например, 50 мм/мин) до момента разрушения образца;
- ползучесть от постоянно действующих нагрузок (статический крип-тест);
- ползучесть от действия циклических нагрузок (динамический крип-тест);
- динамическая знакопеременная нагрузка в режиме заданной амплитуды деформации или напряжения (см. рис. 8).
В процессе испытания асфальтобетонного образца фиксируют усилие нагружения и соответствующую деформацию прогиба в течение времени, а также время с момента приложения нагружения до момента разрушения образца. По результатам испытаний строят графики зависимости «нагрузка-деформация», «деформация-время» и по ним определяют предельные разрушающие усилия и деформации, а также время до разрушения. При циклическом нагружении образцов-балочек вычисляют коэффициент усталости по формуле:
(54)
где Р1,Р2 - нагрузки различной величины, Н;
n1,n2 - количество циклов приложения соответствующей нагрузки до разрушения образца.
В случае испытания образцов на ползучесть от постоянно действующих нагрузок определяют коэффициент пластичности по следующей зависимости [86]:
(55)
где tp1, tp2 - время до разрушения образцов-балочек при соответствующих нагрузках Р1 и Р2, мин.
Количество циклов и время до разрушения образца следует определять как среднее геометрическое результатов повторных испытаний не менее трех образцов. Геометрическое усреднение в отличие от арифметического проводится по причине того, что выборка из результатов повторных испытаний характеризуется логарифмически нормальным законом распределения.
Перед началом испытания асфальтобетонного образца-балочки рекомендуется выбрать пластические деформации смятия на опорах и другие начальные остаточные деформации путем кратковременного приложения заданной нагрузки к образцу. При этом после повторного кратковременного приложения той же нагрузки стрелка индикатора перемещений или перо самописца должны возвращаться к первоначальному положению, указывая тем самым на отсутствие в начальной условно-мгновенной деформации необратимой составляющей.
Определяя время разрушения асфальтобетона при растяжении образца, необходимо записывать деформацию ползучести до момента полного разрушения, как показано на рис. 23.

Время нагрузки, t
Типичные кривые ползучести (см. рис. 23.), характерные для вязкоупругого деформирования асфальтобетона, указывают на взаимосвязь долговечности и скорости необратимой деформации [90, 91]
(56)
где
- скорость продольной деформации, с-1;
tp - время с момента нагружения образца до момента его разрушения (долговечность), с;
- относительная
предельная необратимая продольная деформация.
Критерий (56) указывает на единую термофлуктуационную причину разрушения и вязкопластичного течения асфальтобетона.
Экспериментально установлено [39,92], что время до разрушения асфальтобетона от действия растягивающих напряжений подчиняется уравнению Г.М. Бартенева [93]
, (57)
где В - константа, зависящая от структуры асфальтобетона:
- растягивающее
напряжение, Па;
b - коэффициент, отражающий изменения в структуре при деформировании асфальтобетона;
U - энергия активации процесса разрушения, Дж;
к - постоянная Больцмана, равная 1,38·10-3 Дж/град;
Т - температура испытания, град.
Соответственно зависимость скорости необратимой продольной деформации от действующего растягивающего напряжения и температуры испытания выражается в следующем виде:
(58)
где показатель степени b характеризует отклонение асфальтобетона от ньютоновского течения.
Известно, что процесс ползучести любых материалов является
термически активированным и описывается уравнением Аррениуса для химических
реакций первого порядка [94].
Для асфальтобетонов этот процесс является гораздо более значимым, особенно в
температурном диапазоне эксплуатации дорожного покрытия. Реологические
исследования асфальтобетона включают определение показателей вязкости при
различных температурах. Из результатов испытания образцов на растяжение,
выражая по формуле Трутона [88] эффективную
сдвиговую вязкость
через продольную
вязкость
, находят
(59)
или в зависимости от скорости необратимой деформации
, (60)
где р=1/b - коэффициент пластичности асфальтобетона.
Методами испытаний асфальтобетонов на ползучесть при изгибе в широком диапазоне действующих напряжений и температур не обнаруживается область ньютоновского течения с вязкостью условно-неразрушенной структуры [90], что подтверждает вывод о нелинейном деформировании асфальтобетона, полученный также при испытании образцов па сдвиг [95]. Очевидно, что скорость необратимой деформации битумо-минерального материала можно рассматривать как результирующую скоростей сдвига битумных прослоек, находящихся в неоднородном напряженном состоянии. Статистическое распределение перенапряженных битумных связей по объему образца является сглаживающим фактором между областями деформирования дисперсных систем с различной степенью разрушения структуры и объясняет разброс результатов испытаний. Это также ведет к «размыванию» динамического предела текучести по Бингаму, который теряет смысл характерной константы материала. Поэтому асфальтобетон отличается от чистых битумов, относящихся к коагуляционным пространственным дисперсным системам с относительно малым содержанием дисперсной фазы, для которых существует область деформирования с предельно высокой вязкостью практически неразрушенной структуры, проявляющейся при медленных скоростях течения [96].
Учитывая статистические законы распределения показателей свойств асфальтобетона, можно повысить надежность результатов испытаний и сократить требуемое количество образцов. Например, экспериментальные значения эффективной вязкости асфальтобетона предпочтительнее представлять в зависимости от скорости деформации (60), а не от уровня прикладываемой нагрузки к образцу-балочке (59). В этом случае можно при минимальном количестве испытанных образцов повысить точность определения показателей аномалии вязкости и коэффициента пластичности асфальтобетона.
Представленный на рис. 24 пример показывает, что неизбежный разброс результатов параллельных испытаний образцов-балочек распределяется в направлении экспериментальной линии регрессии, за счет чего повышаются коэффициент корреляции и точность определения коэффициента пластичности.

Из рис. 24 следует, что с учетом формулы (60) коэффициент пластичности будет равен р=1-0,8248=0,1752.
С учетом изложенного испытание асфальтобетона на ползучесть можно проводить следующим экспресс-методом. Не дожидаясь момента разрушения образца-балочки от первоначально приложенной нагрузки, следует произвести разгрузку образца после достижения установившейся (минимальной для данной нагрузки) скорости ползучести. После завершения быстрой ретардации упругоэластичной деформации образец снова нагружают, но более высокой нагрузкой, и указанная процедура повторяется вплоть до момента разрушения образца (см. рис. 23.).
Прочность асфальтобетонов является одной из важнейших характеристик, определяющих эксплуатационные качества асфальтобетонных покрытий. Она определяет граничные условия разрушения покрытий, их трещиностойкость и долговечность. Прочностные характеристики асфальтобетонных покрытий изменяются в широких пределах в зависимости от температуры и вида напряженного состояния. Для условий разрушения асфальтобетонных покрытий от растягивающих напряжений стандартный режим определения прочности асфальтобетонов при сжатии не является характерным. Чтобы определить процессы разрушения асфальтобетонных покрытий от действия движущихся автомобилей, необходимо знать прочность асфальтобетона в условиях растяжения при динамическом изгибе, а от воздействия колебаний температуры - прочность в условиях растяжения при медленном деформировании. Известно, что численные значения прочности асфальтобетона, определенные в различных режимах нагружения, могут различаться в широких пределах [39,92,97].
Как при сжатии, так и при растяжении прочность асфальтобетона в значительной степени зависит от температуры и скорости деформирования. Однако характер зависимостей, получаемых при испытаниях на растяжение при расколе и при изгибе, существенно отличается от аналогичных зависимостей, полученных при сжатии, что показано на рис. 25. Падение прочности асфальтобетона в условиях растяжения при пониженных температурах связано с проявлением хрупкости. Эта важная особенность в поведении асфальтобетонных покрытий совершенно теряется при стандартных испытаниях образцов на сжатие.
Долговременная прочность асфальтобетона (57) согласуется с гипотезой необратимости процесса разрушения, выраженной в принципе линейного суммирования повреждений. Этот принцип устанавливает для различных режимов нагружения время разрыва тела и действующее в момент разрыва растягивающее напряжение в соответствии с зависимостью, предложенной в работе [98],
(61)
где tp - время от начала испытания до момента разрыва образца, мин;
-долговечность асфальтобетона в зависимости от
растягивающих напряжений, мин.

Гипотеза о необратимости разрушающего действия растягивающих напряжений положена в основу критериев Майнера. Бейли, предельной необратимой деформации растяжения и др., которые позволяют рассчитывать время службы асфальтобетонного покрытия до момента образования трещины методом конечных элементов. Блок-схема расчета времени до образования трещины в асфальтобетонном покрытии в соответствии с критерием разрушения Бейли представлена на рис. 26.
В соответствии с критерием Бейли для оценки трещиностойкости асфальтобетона необходимо знать, с одной стороны, совокупность величин растягивающих напряжений в покрытии и время их действия. В общем случае растягивающие напряжения в асфальтобетонном покрытии возникают в результате действия транспортных нагрузок, от понижения температуры асфальтобетона, от температурного сокращения смежных плит более жесткого блочного основания, от коробления плит основания за счет градиента температуры по их толщине и от неравномерных просадок и вспучиваний основания. Алгоритмы определения растягивающих напряжений от отдельно действующих факторов в целом известны.

Таким образом, для комплексной оценки трещиностойкости необходимо определить лабораторными методами температурно-временные зависимости прочности при растяжении (долговременную прочность), модуля упругости и коэффициента температурной усадки асфальтобетона. После этого можно рассчитать время эксплуатации асфальтобетона до момента появления первой трещины от аддитивного действия растягивающих напряжений в дорожном покрытии.
Одной из причин преждевременного разрушения асфальтобетонных покрытий принято считать старение асфальтобетона, проявляющееся в необратимых изменениях свойств вяжущего при высоких температурах приготовления смеси и в процессе длительного периода эксплуатации покрытия. Под старением подразумевается комплекс химических и физических превращений в структуре материала, приводящих к ухудшению механических свойств и снижению работоспособности асфальтобетонных покрытий.
Системное изучение процессов старения битумов началось примерно 100 лет назад в кровельной промышленности, так как битумный материал, применяемый в тонких слоях и находящийся под воздействием атмосферных факторов, особенно подвержен разрушению [99]. Чуть позже были начаты исследования процессов старения битумов и битумоминеральных смесей с целью изыскания путей увеличения сроков службы асфальтобетонных и других черных покрытий, а также в связи с применением малоустойчивых к атмосферному воздействию органических вяжущих материалов, таких, как сланцевый битум, каменноугольный деготь, торфяной деготь и др. [100,101].
Первоначально отмечались внешние изменения на поверхности битумных покрытий под действием погодно-климатических факторов: появление более светлой окраски, матовой поверхности, пятен выцветания, образование трещин, складок, рубцов, которые являются результатом глубоких процессов, происходящих в материале [100]. Последующее изучение структурных изменений битумов при старении проводилось с оценкой химического состава, количественным определением содержания асфальтенов, смол, углеводородного состава, твердых парафинов, функциональных групп, используя методы селективной растворимости и адсорбционной хроматографии, электронного парамагнитного резонанса, инфракрасной спектроскопии и другие физико-химические методы исследований. Параллельно оценивались изменения показателей физико-механических свойств битумов, в том числе когезии, вязкости и температуры стеклования [102,103,104].
В соответствии с ГОСТ 18180-72 искусственное старение битума производится в тонком слое (приблизительно 4 мм) при температуре 163°С в течение 5 ч. По изменению массы битума после прогрева и других показателей свойств, предусмотренных в технических требованиях, определяют склонность вяжущего к старению.
Согласно стандарту AASHTO T240 или ASTM D 2872, старение битума производится методом раскатывания тонкой пленки в печи (RTFO) при дополнительном вдувании воздуха в колбы с образцами битумного вяжущего. На вращающейся платформе размещают восемь колб, в каждую из которых загружают по 35 г битума. Затем в течение 85 мин колбы вращаются со скоростью 15 об./мин при температуре 163°С. Этим методом моделируется старение битумного вяжущего при перемешивании его с минеральной частью в смесительной установке и в течение кратковременного пребывания смеси при высоких технологических температурах.
Метод кратковременного старения дорожных битумов включен в европейские нормы EN 12591 наряду с двумя другими (RFOTh RFT) и является контрольным методом испытаний. Кроме того, за последнее время разработаны дополнительные методы кратковременного старения битумов и полимерно-битумных вяжущих в Австралии, США и Великобритании [105].
Для моделирования старения битумного вяжущего в течение длительного периода эксплуатации покрытия используется сосуд для старения под давлением (PAV), предусмотренный стандартом AASHTO PP1 и ASTM D6521-00. В соответствии с методом PAV битумное вяжущее подвергается в течение 20 ч одновременному воздействию повышенного давления (2070 кПа) и нормируемой температуры. В зависимости от климатических условий, для которых предназначается битум, старение проводится при температурах 90, 100 или 110°С. Как правило, для испытания используют образец, который предварительно состарили по методу RTFO (табл. 3). Для старения при более низких температурах таюке известно испытание битумных вяжущих под высоким давлением (HiPAT), которое в настоящее время применяется в Великобритании [105].
Таблица 3
|
Виды испытаний |
Состояние вяжущего при испытании |
|
Реометр динамического сдвига (DSR) |
Исходное состояние После старения в RTFO После старения в PAV |
|
Ротационный вискозиметр (PV) |
Исходное состояние |
|
Реометр для испытания образца-балочки на изгиб (BBR) |
После старения в PAV |
|
Прибор для испытаний на осевое растяжение (DTT) |
После старения в PAV |
Следует заметить, что битумы применяются не сами по себе, а в смесях с минеральными материалами, природа которых также влияет на структурные изменения при старении битумных пленок. Однако методы оценки изменений свойств битума, стареющего в смесях с минеральными материалами, предполагают экстрагирование вяжущего, в результате которого его свойства также изменяются [101].
Оценка старения асфальтобетонных смесей и асфальтобетона по изменению механических свойств образцов затруднена из-за повышенного разброса результатов параллельных испытаний, наличия экстремумов на графиках зависимостей деформативно-прочностных свойств от времени старения, а также вследствие длительности и трудоемкости процедуры испытаний. При моделировании природных факторов чередующимся воздействием искусственного света, тепла, влаги и т.п. продолжительность испытаний сокращается, но незначительно. Кроме того, искусственное старение битумных материалов в климатических камерах, имитирующее многие природные факторы (свет, тепло, кислород, озон, воду и т.п.), трудно интерпретировать, поэтому чаще всего старят образцы при фиксированных повышенных температурах в воздушной среде.
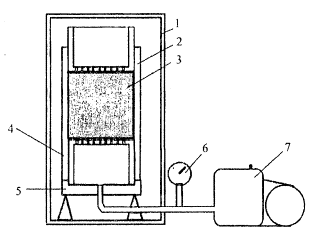
Для ускорения старения асфальтобетона и повышения точности испытаний рекомендуется осуществлять прогрев образцов в объемно-напряженном состоянии всестороннего сжатия с помощью стандартных цилиндрических форм и вакуумного насоса, который создает градиент воздушного давления по высоте образца [106]. Схема прибора для старения стандартных цилиндрических образцов асфальтобетона представлена на рис. 27.

1 - термошкаф; 2 - цилиндрическая форма; 3 - образец асфальтобетона; 4 - вкладыш с отверстиями; 5 - опорная тарелка-присос; 6 - контрольный манометр; 7 – вакуумный насос
Старение стандартных цилиндрических образцов предложенным методом позволяет избежать экстремальных зависимостей механических свойств асфальтобетона от времени прогрева и повысить точность испытаний.
Следующими важными показателями качества являются водо- и морозостойкость асфальтобетона. Водостойкость, как и морозостойкость, чаще всего характеризуют величиной снижения прочности в результате агрессивного действия воды, температуры, замораживания и оттаивания, механических колебаний и других искусственных воздействий на образцы асфальтобетона. По ГОСТ 12801-98 водостойкость асфальтобетона оценивается как отношение прочности при сжатии образцов после воздействия на них воды в условиях вакуума, в том числе после дополнительного воздействия воды в течение 15 сут, к первоначальной прочности параллельных образцов. По финскому методу PANK 4301 предписывается определять водостойкость по снижению прочности на растяжение при расколе образцов из дренирующего асфальтобетона АА11, изготовленного на основе применяемых материалов. В соответствии с AASHTO Т 283 водостойкость асфальтобетона оценивают степенью снижения прочности на растяжение при расколе в результате стандартного воздействия на образцы воды, вакуума и температуры. Цилиндрические образцы уплотняют до остаточной пористости 7%, причем в отличие от финского метода применяется не модельный, а проектный состав асфальтобетонной смеси.
Сопоставительные исследования водостойкости асфальтобетона методом сжатия и растяжения показывают несколько большую чувствительность к длительному действию воды предела прочности на растяжение при расколе (примерно на 6 %). Причем изменение прочности при сжатии в большей степени реагирует на набухание образцов и скорость деформирования, тогда как коэффициент водостойкости по прочности на растяжение при расколе более чувствителен к ухудшению адгезии битума к поверхности минеральных зерен.
В последнее время для верхних слоев дорожных покрытий становится все более актуальным ускоренный износ поверхности покрытия, в том числе от действия шин с шипами. В проекте европейских норм prEN 12697-16 предусмотрены два метода испыгания асфальтобетонных образцов на износ: метод А или метод В. В методе А цилиндрический образец асфальтобетона диаметром 100 мм и высотой 30 мм закрепляется на дне встряхивающей камеры, после чего производится его истирание в течение 15 мин стальными шариками в присутствии воды при температуре 1()°С. Абразивный износ оценивается величиной изменения объема асфальтобетонного образца в процессе испытания.
В методе В цилиндрический образец диаметром 100 мм и высотой не менее 40 мм испытывается на приборе PWR на сопротивление истиранию шипованной резиной (рис. 28).

Три резиновых ролика с шипами изнашивают боковую поверхность цилиндрического образца при вращении со скоростью 520 об./мин в течение 2 ч при температуре 5°С. Результатом является показатель измерения колеи износа, выраженный в кубических сантиметрах. Давление роликов на поверхность образца задается пружинами и составляет (80±3) Н. На один ролик приходится 30 металлических шипов с выступом 1,5 мм. Ролики перемещаются относительно образца вверх-вниз с амплитудой 5 мм и периодом 25 с. В процессе испытания образец орошается водой, имеющей температуру 5°С, при расходе (60±5) л/ч.
В России сравнительные испытания асфальтобетонов на износостойкость проводились в исследовательских целях. Износостойкость оценивали по потере массы асфальтобетонных образцов на различных кругах истирания типа Боме, Дорри и других, а также на приборах с резиновым колесом [107,108], в шаровой фарфоровой мельнице и в вибромельнице в присутствии соляного раствора воды и льда. Обзор определений износостойкости асфальтобетонов представлен в работе [24]. Однако окончательно отработанная и унифицированная методика испытания асфальтобетона на износ до сих пор не создана.
Современные направления в области проектирования асфальтобетона основываются на повышении точности прогнозирования долговечности материалов в дорожных покрытиях в зависимости от конкретных условий эксплуатации. От условных методов лабораторных испытаний переходят к методам оценки эксплуатационных свойств асфальтобетона, учитывающим реальные условия нагружения покрытия. Под эти методы испытаний разрабатываются специальные компьютерные программы, которые призваны прогнозировать работоспособность асфальтобетона с учетом реального воздействия на покрытие дорожно-климатических факторов. Чем точнее будут учтены условия работы асфальтобетона в покрытии и чем глубже раскрыты закономерности его деформирования и разрушения, тем более надежный асфальтобетон может быть запроектирован применительно к конкретным условиям эксплуатации.
Совершенствование методов испытаний асфальтобетона осуществляется в двух направлениях. Последователи первого направления стремятся в максимальной степени приблизить испытания к реальным условиям нагружения и деформирования дорожных покрытий путем физического моделирования работы асфальтобетона в лабораторных условиях. Второе направление основывается на результатах изучения закономерностей деформирования и разрушения материала в зависимости от структуры и структурно-реологических свойств и предлагает математическое моделирование работоспособности асфальтобетона в реальных условиях эксплуатации. Оба направления предполагают, что основными эксплуатационными показателями асфальтобетона, характеризующими долговечность дорожных покрытий, являются сдвигоустойчивость, трещино-, водо-, износостойкость и устойчивость к старению.
Сдвигоустойчивость является многофакторным эксплуатационным свойством и характеризуется, с одной стороны, несколькими показателями структуры асфальтобетона, а с другой стороны, расчетными условиями работы дорожного покрытия. К важнейшим показателям структуры, характеризующим сдвигоустойчивость асфальтобетона, относятся коэффициент внутреннего трения, сцепление или пластическая вязкость, коэффициент пластичности и энергия активации вязкопластичного деформирования и разрушения. К расчетным характеристикам сдвигоустойчивости относятся температурно-временные условия нагружения асфальтобетонного покрытия.
Трещиностойкость асфальтобетона характеризуется долговременной прочностью при растяжении и зависимостью модуля упругости от температурно-временных условий деформирования, которые имеют место при нестационарных условиях эксплуатации дорожного покрытия. Современные подходы к оценке трещино-етонкости основываются на усталостных критериях, учитывающих кинетический процесс накопления микроповреждений в асфальтобетоне от действия растягивающих напряжений.
Комплексный подход к оценке эксплуатационных показателей, в том числе сдвигоустойчивости и трещиностойкости покрытий, учитывающий влияние температурно-временных условий нагружения на напряженно-деформированное состояние асфальтобетона и одновременно на его прочность при сдвиге и растяжении, позволит проектировать наиболее оптимальные дорожные покрытия и составы асфальтобетонов.
1. Иванов Н.Н. Выбор типа и способа подбора асфальтобетона. -В кн.: Доклады по вопросам строительства черных дорог. - М.-Л.: ОГИЗ Гострансиздат, 1932.
2. Aquide to the structural design of bituminous-surfaced roads in tropical and subtropical countries: Road Note 31 / HMSO. - London, 1977.
3. Гельмер В.О. Асфальтобетон. - Харьков: ДНТВУ, 1936.
4. Superpave Mix Design. Asphalt Institute Superpave Series № 2 (SP-2), 1996 Printing. - 1996.
5. Пособие по строительству асфальтобетонных покрытий и оснований автомобильных дорог и аэродромов (к СНиП 3.06.03-85 иСЫиП 3.06.06-88)/ Союздорнии. - М., 1991.
6. Иванов Н.Н. Черные дороги. - М.: ОГИЗ Гострансиздат, 1931.
7. Кицера А.А., Гельмер B.C. Асфальтобетонные дорожные покрытия. - Харьков: ДНТВУ, 1934.
8. Takemi Inoue, Yasuo Gunji, Hirokazu Akagi. Rational design method of hot mix asphalt based on calculated VMA / Eurasphalt & Eurobitume Congress. - Vienna, 2004.
9. Предложения по оптимизации состава дорожных асфальтобетонов / СибАДИ. - Омск, 1981.
10. Методические рекомендации по повышению деформативности и морозостойкости асфальтобетонных покрытий при низких температурах (до минус 50°С)/Союздорнии. - М,, 1990.
11. Горелышев Н.В. Асфальтобетон и другие битумомине-ральные материалы:Учеб. пособие. - М.: Можайск-Терра, 1995.
12. Охотин В.В. Лабораторные опыты по составлению дорожных грунтовых смесей по принципу наименьшей пористости. - М.: Транспечать, 1929.
13. Авласова Н.М., Горелышев Н.В. Гранулометрический состав минерального остова асфальтобетона //Информ. об огеч. и заруб, дор.технике. - 1959. - № 2.
14. Сахаров П.В. Способы проектирования асфальтобетонных смесей // Транспорт и дороги города. -1935. - № 12.
15. Боженов П.И. О формировании технических характеристик полидисперсных искусственных материалов // Строит, материалы, - 1992.- №4.
16. Иванов Н.Н. Подбор наиболее плотной смеси каменных агрегатов или грунтов для дорожных одежд// Дорога и автомобиль. - 1930. - № 4-5.
17. Рекомендации по устройству дорожных покрытий с шероховатой поверхностью / Союздорнии. - М., 1965.
18. Горелышев Н.В., Лобзова К.Я. Некоторые результаты опытного устройства покрытий с шероховатой поверхностью// Автомоб. дороги. - 1964. - № 3.
19. Гезенцвей Л.Б. Асфальтовый бетон. - М.: Изд-во литературы по стр-ву, 1964.
20. Рыбьев И.А. Асфальтовые бетоны. - М.: Высш. шк., 1969.
21. Строительство дорог в Московской области, Москве и Харькове в 1930 г. Кн. III. Асфальтобетон / Под ред. Г.Д. Дубелира. - М.: ОГИЗ Гострансиздат, 193 1.
22. Huber G.A., Corte J.F., Laglois P. The effect of mix design technology on he rutting characteristics of asphalt pavements: Ninth International Conference on Asphalt Pavements, August 17-22, 2002. - Denmark, 2002.
23. Королев И.В. Пути экономии битума в дорожном строительстве. - М.: Транспорт, 1986.
24. Котлярский Э.В. Строительно-технические свойства дорожного асфальтового бетона: Учеб. пособие. - М.: МАДИ (ГТУ), 2004.
25. Кирюхин Г.Н. Проектирование асфальтобетона по показателям сдвигоустойчивости и трещиностойкости в покрытии// Юбилейн. вып. - М., 2002. - (Сб. науч. тр. /ФГУП «Союздорнии»).
26. The Asphalt Handbook:MS-4/ Asphalt Institute. - 1989.
27. Designing Stone Matrix Asphalt (SMA) / AASHTO Designation: PP 41-02. - 2004.
28. Финские нормы на асфальт 2000/ Совещательная комиссия по покрытиям. - Хельсинки: Изд-во PAN К гу, 2000.
29. Superpave performance Graded Asphalt Binder Specification and Testing. Сер. Superpave Series N1 (SP-1)/ Asphalt Institute.- 1997.
30. NCHRP Report 465. Simple Performance Test for Superpave Mix Design / National Academy Press. Washington D.C. - 2002.
31. D 4867/ D4867M-96. Standard Test Method for Effect of Moisture on Asphalt Concrete Paving Mixtures. - 1996.
32. ВаренькоВ.А. Дорожные композитные материалы. Структура и механические свойства. - Минск: Наука и техника, 1993.
33. Гезенцвей Л.Б. Дорожный асфальтовый бетон. - М.: Минкомхоз, 1960.
34. Сюньи Г.К. Дорожный асфальтовый бетон. - Киев, 1962.
35. Золотарев В.А. О взаимосвязи реологических свойств битумов и асфальтобетонов // Наука и техника в дор. отрасли. - 2002.-№ 4.
36. PrEN 12697-26. Test methods for hot mix asphalt-Determination of Stiffness. - 1999.
37. ASTM D 3497. Standard Test Method for Dynamic Modulus of Asphalt Concrete Mixtures. - 1979,
38. Molenaar A.A. Der praktische Nutzen rheologischcr Priifungen von Bitumen// Bitumen, - 1996. -№1.
39. Золотарев В.А. Долговечность дорожных асфальтобетонов. - Харьков: Высш. шк., 1977.
40. Богуславский A.M., Богуславский Л.А. Основы реологии асфальтобетона. - М.: Высш. шк., 1972.
41. СТБ 1033-96. Стандарт Белоруссии. Смеси асфальтобетонные дорожные, аэродромные и асфальтобетон. Технические условия. - Минск, 1996.
42. Рекомендации по выявлению и устранению колей на нежестких дорожных одеждах: ОДМД / Минтранс России, Гос. служба дор. хоз-ва (Росавтодор). - М.: ГП «Информавтодор», 2002.
43. Huschek S. Der Kriechversuch Ein anfaches Mittel zur Beurteilung der plastishen Verformbarkeit von Asphaltmischungen// Strasse und Verker. - 1976. - № 4.
44. Носков В.Н. Исследование деформационной устойчивости асфальтобетона при статическом и циклическом загружении с различным режимом в условиях повышенных температур: Дисс. ... канд. техн. наук. Омск, 1974.
45. Бонченко Г.А. Асфальтобетон. Сдвигоустойчивость и технология модифицирования полимером. - М.: Машиностроение, 1994.
46. Инструкция по строительству дорожных асфальтобетонных покрытий в г, Москве: ВСН 175-82 / НИИ Мосстрой. -М.: Тип. Главмосстроя, 1982.
47. Еремин А.В. Эксплуатационно-прочностные свойства шлаковых асфальтобетонных покрытий автомобильных дорог: Автореф. дисс. ... канд. техн. наук. - Воронеж, 2000.
48. Еремин В.Г., Еремин А.В., Волокитин В.П. Результаты исследования деформационно-прочностных свойств асфальтобетона методом вдавливания сферического штампа //Науч. Вестник Воронеж, гос. архит.-строит, ун-та. Сер. Дор.-трансп. стр-во. - 2003. -№ 1.
49. Таращанский Е.Г., Губач Л.С, Носков В.Н. Вопросы прочности и устойчивости дорожных асфальтобетонов при повышенных эксплуатационных температурах. - В кн.: Материалы V всесоюз. науч.-техн. совещания по основным проблемам техн. прогресса в дор. стр-ве. - М., 1971.
50. Кирюхин Г.Н. Исследование влияния качества битумов на работоспособность асфальтобетонных покрытий: Автореф. дисс. ... канд. техн. наук. -М., 1982.
51. Волков М.И., Штауб К.И., Гельмер В.О. Дорожные строительные материалы. - М.-Л.: Наркомхоз РСФСР, 1939.
52. Ладыгин Б.И. Основы прочности и долговечности дорожных бетонов. - Минск: МВСС и ПО БССР, 1963.
53. Новый эффективный способ оценки сдвигоустойчивости асфальтобетона / Ю.Е. Никольский, Б.С. Гмыря, Л.С. Губач, Г.Б. Старков // Автомоб. дороги. - 1992. - № 11-12.
54. Методические рекомендации по оценке сдвигоустойчивости асфальтобетона /Минтранс России, Гос. служба дор. хоз-ва (Росавтодор). - М.: ГП «Ииформавтодор», 2002.
55. Инструкция по проектированию дорожных одежд нежесткого типа: ВСН 46-83/ Минтрансстрой СССР. - М.: Транспорт, 1985.
56. Предложения по методам определения деформативной устойчивости асфальтобетонных и других черных покрытий при положительных и отрицательных температурах / Союздорнии. - М. 1969.
57. Страгис В.И. Обоснование требований к сдвигоустойчивости асфальтобетона применительно к местным условиям Литовской ССР: Автореф. дисс.... канд. техн. наук. - Каунас, 1974.
58. Баловнева И.И. К вопросу сопротивляемости асфальтобетона сдвигу: Сб.тр. /Союздорнии. - М., 1967.
59. Collins R., Lynn С. Performance related testing with the asphalt pavement analyzer. BCRA'98 Tfondhem. Vol 11. - Norway, 1998.
60. Heavy Duty Surfaces: The arguments for SMA. - EAPA, 1998.
61. Uiffigren Nils. Performance requirements on asphalt mixtures/ layers in asphalt contracts: Ninth International Conference on Asphalt Pavements, August I 7-22, 2002 / The Danish Road Directorate, Ministry of Transport. - Copenhagen, 2002. - Vol. 2.
62. Schroder I., Kluge H.J. Erfarungen mit Splittmastixasphalt// Bitumen.- 1992.-№4.
63. Проектирование нежестких дорожных одежд: ОДН 218.046-01/ Гос. служба дор. хоз-ва Минтранса России. - М.: ГП «Ииформавтодор», 2001.
64. Кирюхин Г.Н. Остаточные деформации в асфальтобетонных покрытиях / Наука и техника в дор. отрасли.- 1998. - №3.
65. Иванов Н.Н. Строительство автомобильных дорог. Ч. 2: Artoiранен, лит. - М., 1957.
66. Авласова Н.М. Строительство дорожных покрытий из асфальтобетонных смесей с минеральным составом прерывистой гранулометрии: Автореф. дисс. ... канд. техн. наук. - М., 1969.
67. Казарновская Э.А. К вопросу о характеристиках прочности асфальтобетона. - В кн.: Докл. и сообщ. на науч.-техн. совещ. по стр-ву автомоб. дорог. - М., 1963.
68. Любимова Т.Ю., Марготьев А.Н., Агапова Р.А. Исследование прочностных и деформативных свойств грунтов, укрепленных вяжущими материалами. - В кн.: Докл. и сообщ. на науч.-техн. совещ. по стр-ву автомоб. дорог. - М., 1963.
69. Арлен Ж.П., Уброон Ж., Малле Т. Новый подход к сравнению результатов испытаний по методу Дюрьеза и Маршалла // Revue Generate des Routes et des Aerodromes. - 1982. - № 588.
70. Казарновский В.Д. Оценка сдвигоустойчивости связных грунтов в дорожном строительстве. - М.: Транспорт, 1985.
71. Троицкая M.II. Определение сопротивления грунтов сдвигу: Метод, пособие. - М.-Л.: Госгеолиздат, 1940.
72. Кирюхин Г.Н. Сдвигоустойчивость асфальтобетона в покрытиях дорог // Вопросы проектирования и стр-ва автомоб. дорог.- М., 1993.-(Сб. тр./Союздорнии).
73. Рейнер М. Десять лекций по теоретической реологии. -М.-Л.: Гостехиздат, 1947.
74. Федосеев В.И. Сопротивление материалов. - М.:Наука. 1970.
75. СТП 007-97. Метод испытания асфальтобетона на устойчивость к колееобразованию / Корпорация «Трансстрой». - М., 1998.
76. Ганжула Д.И. Требования к асфальтобетонным покрытиям, работающим при высоких температурах: Автореф. дисс. ... канд. техн. наук. - М., 1955.
77. Haas R.C.G. A method for designing asphalt pavements to minimize low-temperature shrinkage erasing // The Asphalt lnst. Res. Rep. - 1973, Janvier.
78. Кубо X. Разрушение асфальтобетонных покрытий под действием температурных напряжений: Пер. с япон.// Доро кэнсэцу. -1980.-№390.
79. Arand W. Zum Einfluss tiefer Temperaturen auf das Ermiidungsverhalten von Asphalten //Strasse und Autobahn. - 1983. -№ 10.
80. Мозговой В.В. Оценка температурной трещиностойкости асфальте- и дегтебетонов в покрытиях автомобильных дорог: Автореф. дисс. ... канд. техн. наук. - Харьков, 1986.
81. Руденский А.В. Обеспечение эксплуатационной надежности дорожных асфальтобетонных покрытий. - М.: Транспорт, 1975.
82. Распопов Н.М. Исследование морозоустойчивости асфальтового бетона. - В кн.: Исслед. органич. вяжущих материалов и физ.-мех. свойств асфальтобетон, смесей. ~ М., 1949.
83. Печеный Б.Г. Битумы и битумные композиции. - М.: Химия, 1990.
84. Al-Khateeb G.G., Buttlar W.G. Evaluating tensile strength of asphallic paving mixtures using a hollow-cylinder tensile tester: ISAP. -Copenhagen, 2002.
85. Железко Е.П. Влияние качества битумов на прочностные и деформационные свойства битумоминеральных материалов.: Автореф. дисс. ... канд. техн. наук. -Уфа, 1975.
86. Руденский А.В., Руденская И.М. Реологические свойства битумоминеральных материалов. - М.: Высш. шк., 1971.
87. Рыбьев И.А. Опыт построения структурной теории прочности и деформационной устойчивости асфальтобетона:Сб. науч.тр. / МАДИ. - М, 1958. - Вып. 23.
88. Рейнер М. Реология. - М.: Наука, 1965.
89. Ладыгин Б.И., Яцевич И.К. Оценка трещиноустойчивости асфальтобетона// Автомоб. дороги. - 1966. - №10.
90. Кирюхин Г.Н., Гохман Л.М. Особенности деформирования и разрушения битумоминеральных материалов в условиях ползучести при изгибе: Сб. тр. / Союздорнии. - М., 1979. - Вып. 113.
91. Стабников Н.В. Асфальтобетонные облицовки северных гидротехнических сооружений. - Л.: Стройиздат, 1980.
92. Кирюхин Г.Н. К вопросу о долговременной прочности асфальтобетона: Сб. тр./ Союздорнии. - М, 1977. - № 99.
93. Бартенев Г.М., Зуев Ю.С. Прочность и разрушение высокоэластичных материалов. - М.-Л.: Химия, 1964.
94. Испытания металлов: Сб. статей: Пер. с нем. - М: Металлургия, 1967.
95. Носков В.Н. О пределе текучести асфальтобетона: Сб. науч. тр. / СибАДИ. - Омск, 1975. - Вып. 46.
96. Ребиндер П.А. О реологии тиксотропно-структури-рованных дисперсных систем. ^В кн.: Физ.-хим. механика. Избр. тр.-М.: Наука, 1979.
97. Руденский А.В. Дорожные асфальтобетонные покрытия. -М,: Транспорт, 1992.
98. Журков С.II., Томашевский Э.Е. Временная зависимость прочности при различных режимах нагружения. - В кн.: Некоторые проблемы прочности твердого тела. - Л.: ЛГУ, 1959.
99. Розен О.Б. Погодоустойчивость нефтяных битумов и битумных кровельных материалов. - М.: Стройиздат Наркомстроя. 1941.
100. Гольфанд СИ. О составе и погодоустойчивости асфальтовых битумов.- В сб.: Новости дор. техники. - М.: Гушосдор, 1940.
101. О стабильности битумов и взаимодействии их с минеральными материалами/А.И. Лысихина, Н.М.Сникая. Н.М.Авласова, Л.Н.Ястребова. - М.: Дориздат. 1952.
102. Колбановская А.С, Михайлов В.В. Дорожные битумы. - М.: Транспорт, 1973.
103. Давыдова А.Р. Влияние температуры на необратимые изменения свойств битумов (старение) и методы их оценки: Сб. тр. / Союздорнии. - М., 1969. - Вып. 34.
104. Печеный Б.Г., Ахметова Л.А. Исследование механизма старения битумов в эксплуатационных условиях: Сб.тр. ВашНИИНП. - Уфа, 1976. - Вып. 15.
105. Project for developing performance related standards in Europe; evaluation of test methods to characterize bituminous binders. - В кн.: Ninth International Conference on Asphalt Pavements. - Denmark. 2002. Vol. 1.
106. Киркжип ПН, Обоснование нового метода ускоренной оценки склонности асфальтобетона к старению: Сб. гр.; Союздорнии. - М., 1994.
107. Гоглидзе В.М. Пути повышения устойчивости асфальтобетонных покрытий в южных климатических условиях. - В кн.: Сб. докл. на науч.-техн. совещании по стр-ву автомоб. дорог. М., 1963.
108. Баринов Е.Н. Основы теории и технологии применения асфальтобетонов на вспененных битумах. - Л.: Изд-во Ленинград, ун-та, 1990.
|
ГОСТЫ, СТРОИТЕЛЬНЫЕ и ТЕХНИЧЕСКИЕ НОРМАТИВЫ. Некоммерческая онлайн система, содержащая все Российские Госты, национальные Стандарты и нормативы. В Системе содержится более 150000 файлов нормативно-технической документации, действующей на территории РФ. Система предназначена для широкого круга инженерно-технических специалистов. Copyright © www.gostrf.com, 2008 - 2026 |