Крупнейшая бесплатная информационно-справочная система онлайн доступа к полному собранию технических нормативно-правовых актов РФ. Огромная база технических нормативов (более 150 тысяч документов) и полное собрание национальных стандартов, аутентичное официальной базе Госстандарта. GOSTRF.com - это более 1 Терабайта бесплатной технической информации для всех пользователей интернета. Все электронные копии представленных здесь документов могут распространяться без каких-либо ограничений. Поощряется распространение информации с этого сайта на любых других ресурсах. Каждый человек имеет право на неограниченный доступ к этим документам! Каждый человек имеет право на знание требований, изложенных в данных нормативно-правовых актах!

  


 

МИНИСТЕРСТВО ТРАНСПОРТНОГО СТРОИТЕЛЬСТВА

ГОСУДАРСТВЕННЫЙ ВСЕСОЮЗНЫЙ ДОРОЖНЫЙ
НАУЧНО-ИССЛЕДОВАТЕЛЬСКИЙ ИНСТИТУТ
(СОЮЗДОРНИИ)

МЕТОДИЧЕСКИЕ РЕКОМЕНДАЦИИ
ПО ПРИМЕНЕНИЮ ШЛАКОМИНЕРАЛЬНЫХ
И ЦЕМЕНТОМИНЕРАЛЬНЫХ МАТЕРИАЛОВ
В ОСНОВАНИЯХ ДОРОЖНЫХ ОДЕЖД

Одобрены Минтрансстроем

Москва 1979

Содержание

Приведены требования к каменным материалам (природным тяжелым и искусственным легким), применяемым в основаниях дорожных одежд, к портландцементу, к вяжущим на основе гранулированных доменных шлаков без добавок активаторов, а также с добавками активаторов извести, цемента и др.

Найдены корреляционные зависимости между активностью шлакового вяжущего в возрасте 28 суток и активностью, определяемой ускоренными методами, между активностью в возрасте 28 суток и 90, 180, 360 суток. Приведены ориентировочные расходы вяжущего в зависимости от его марки для получения требуемых марок по прочности цементо- и шлакоминеральных материалов.

Изложены основные свойства обработанных материалов, причины их разрушения, а также технология строительства оснований.

Даны основные принципы конструирования дорожных одежд с основаниями из цементо- и шлакоминеральных материалов.

Союздорнии, 1979 г,

Предисловие

Шлаки черной металлургии являются крупным резервом пополнения дорожно-строительных материалов.

Как показывают исследования, шлаки в зависимости от физико-механических характеристик целесообразно использовать в качестве заполнителя или вяжущих при строительстве оснований дорожных одежд из необработанных и обработанных вяжущими каменных материалов. Решение этой проблемы позволит существенно улучшить качество оснований и расширить номенклатуру материалов, применяемых в этом слое дорожной одежды.

На основе проведенных Союздорнии исследований и опытных работ разработаны "Методические рекомендации по применению шлакоминеральных и цементоминеральных материалов в основаниях дорожных одежд" в развитие действующих ГОСТов, СНиПов и Технических указаний.

"Методические рекомендации" разработали канд. техн. наук В.С. Исаев, инженеры Н.А. Еркина, М.Ф. Фомина.

1. Каменные материалы

1.1. Для устройства оснований рекомендуется применять следующие материалы:

щебень и гравий, щебень из гравия из естественного камня;

щебень и гравий искусственные, изготовляемые специально (аглопорит, шунгизит, керамзит) или получаемые из отходов промышленности (шлаковая пемза, шлаковый щебень);

пески природные;

пески искусственные.

1.2. Щебень из естественного камня, щебень из гравия и гравий по прочности должны удовлетворять требованиям соответственно ГОСТ 8267-75, ГОСТ 10260-74, ГОСТ 8268-74.

1.3. Гравий керамзитовый должен удовлетворять требованиям ГОСТ 9759-76 и иметь потери в массе при испытании на дробимость в цилиндре по методике ГОСТ 8269-76 не более 35 %, при испытании в полочном барабане - до 50 %, т.е. иметь марку по износу согласно ГОСТ 8268-74 не ниже III-IV.

1.4. Гравий шунгизитовый должен удовлетворять требованиям ГОСТ 19345-73 и иметь потери в массе при испытании на дробимость в цилиндре по методике ГОСТ 8269-76 не более 38 %, а в зависимости от степени износа при испытании в полочном барабане - марку не ниже IV.

1.5. Щебень аглопоритовый должен удовлетворять требованиям ГОСТ 11991-76 и иметь потери в массе при испытаниях на дробимость в цилиндре по методике ГОСТ 8269-76 не более 54 %, т.е. иметь марку не ниже 200.

1.6. Щебень из отходов промышленности - из шлаков черной металлургии - по прочности и устойчивости структуры должен удовлетворять требованиям ГОСТ 3344-73, а щебень пористый из металлургического шлака (шлаковая пемза) - ГОСТ 9760-75. Объем шлаковой продукции приведен в приложениях 1 и 2.

1.7. Пески природный и искусственный из отходов дробления горных пород должны удовлетворять требованиям ГОСТ 8736-77, песок аглопоритовый - ГОСТ 11991-76, песок из металлургического шлака - ГОСТ 9760-75, песок керамзитовый - ГОСТ 9759-76.

1.8. Зерновой состав каменных материалов и песков должен соответствовать кривым плотных смесей с коэффициентами сбега 0,6-0,8 и отвечать требованиям табл. 1.

Проектирование составов смесей с материал а м и, объемные массы которых резко отличаются (например крупный заполнитель - легкие искусственные материалы, мелкий - природный тяжелый песок), следует производить не по массе, а по объему. Для этого частные остатки на ситах, соответствующие определенным кривым, умножают на объемные массы заполнителей.

1.9. Обработанные смеси в зависимости от наибольшего размера зерен щебня (гравия) подразделяют:

на крупнозернистые - до 40 мм;

среднезернистые - до 20 мм;

мелкозернистые - до 10 мм;

песчаные - до 5 мм.

1.10. Морозостойкость материалов в зависимости от категории дороги и климатических условий должна отвечать требованиям табл. 2.

1.11. Пригодность каменного материала, не отвечающего каким-либо требованиям настоящих "Методических рекомендаций", следует устанавливать по результатам испытаний обработанной смеси.

Таблица 1

Полный остаток на сите, % с размером отверстий, мм

Максимальная крупность, мм

40

20

10

5

2,5

1,25

0,63

0,28

0,24

0,071

40

0

20-40

40-66

50-80

60-88

70-93

75-96

80-97

85-88

90-98

20

 

0

20-40

40-65

50-80

60-88

70-93

75-96

80-97

85-98

10

 

 

0

20-40

40-65

50-80

60-88

70-93

75-96

80-97

5

 

 

 

0

20-40

40-65

50-80

60-88

70-93

75-96


Таблица 2

Конструктивный элемент дорожной одежды

Марка материала по морозостойкости в зависимости от категории дороги и климатических условий

I-II

III

IV-V

суровые

умеренные

мягкие

суровые

умеренные

мягкие

суровые

умеренные

мягкие

Покрытие

Не применяется

50

25

15

Основание

 

верхний слой

50

25

15

50

25

15

25

15

15

нижний слой

25

25

15

25

15

Не контролируется

25

15

Не контролируется


2. Вяжущие

2.1. Для устройства оснований дорожных одежд в качестве вяжущих рекомендуется применять цемент и шлаковое вяжущее.

2.2. Цемент должен отвечать требованиям ГОСТ 10178-76.

Шлаковое вяжущее

2.3. Шлаковое вяжущее рекомендуется приготавливать из шлаков черной металлургии различной крупности, не активированных или активированных цементом, известью или другими активаторами.

2.4. Активные шлаки, способные проявлять гидравлические вяжущие свойства при взаимодействии с водой, должны иметь следующий химический состав:

 

%

СаО

Более 42

S (в пересчете на SО3)

Менее 4-5

MnО

Менее 2

Al2О3

Не менее 9

MgО

Не менее 4-10

Химические составы шлаков некоторых основных металлургических заводов приведены в приложениях 3 и 4.

Основными компонентами, определяющими гидравлическую активность шлака, являются двухкальциевый силикат (C2S) и геленит (С2AS)

Согласно ГОСТ 3476-74 гидравлические свойства шлака рекомендуется определять коэффициентом качества:

при содержании окиси магния до 10 %

при содержании окиси магния более 10 %

2.5. Активность шлака можно повысить путем измельчения. Шлак рекомендуется измельчать до содержания частиц мельче 0,071 мм от 15 до 90 %, чтоo соответствует удельной поверхности 300-3000 см2/г (приложение 5, pис. l, 2), Удельную поверхность шлака определяют на приборе ПСХ-2 по ГОСТ 310.1-76 - 310.4-76.

2.6. Величину активности шлаков устанавливают по ГОСТ 3344-78 "Щебень шлаковый доменный и сталеплавильный для дорожного строительства" испытанными на прочность при сжатии образцов из шлака с оптимальным количеством воды, выдержанных в нормальных условиях в течение 28 суток.

2.7. С целью ускорить получение результатов активности шлакового вяжущего рекомендуется использовать корреляционные зависимости между активностью образцов в возрасте 28 суток и образцов, препаренных в течение 3 час а также в возрасте 28 суток и 7 суток (см. приложение 5, рис. 3). Эти зависимости выражаются следующими формулами:

R28сж = 3 + 2,4 Rпроп при Ккор = 0,82;

R28сж = 21,5 + 1,2 R7сж при Ккор = 0,9.

2.8. Повышение активности шлакового вяжущего во времени (см. приложение 5, рис. 4) определяют по формулам:

R90сж = 1,36 R28сж + 16,2; R180сж = 2,18 R28сж + 3,1

2.9. Шлаковое вяжущее должно удовлетворять требованиям табл. 3.

Таблица 3

Марка вяжущего

Предел прочности при сжатии, кгс/см2, не менее

после пропаривания 3 час

после выдерживания в камере нормального твердения, сутки

7

28

90

180

25

10

3

25

30

40

50

20

20

50

60

80

100

40

65

100

120

150

Шлаковое вяжущее с добавкой цемента

2.10. Шлак, активированный цементом, - вяжущее гидравлическое, т.е. способное твердеть во влажных условиях.

2.11. Шлаковое вяжущее с добавкой цемента рекомендуется получать путем совместного измельчения шлака и цемента или тщательного смешения подготовленного шлака с цементом. Цемент должен иметь марку не ниже 400 и отвечать требованиям ГОСТ 10178-76.

2.12. Активность вяжущего повышается с увеличением удельной поверхности шлака и количества активатора (приложение 6, рис. 1), а также во времени (см. приложение 6, рис. 2).

В зависимости от удельной поверхности шлака и количества цемента можно получить шлаковое вяжущее марок 50-400.

Активность вяжущего определяют по ГОСТ 3344-73.

Ориентировочные составы вяжущего для получения различных марок вяжущего приведены в табл. 4.

Таблица 4

Состав вяжущего

Содержание компонентов вяжущего, %, для получения шлакового вяжущего марок

50

100

200

300

400

Шлак недробленный (S = 100 см2/г)

85-90

78-80

60-65

45-55

-

Цемент

10-15

20-25

35-40

45-55

 

Шлак с 15 % частиц мельче 0,071 мм (S = 300 см2/г)

90-95

85-90

75-80

-

-

Цемент

5-10

10-15

20-25

 

 

Шлак с 30 % частиц мельче. 0,071 мм (S = 1200 см2/г)

95-97

90-95

85-90

75-80

-

Цемент

3-5

5-10

10-15

20-25

 

Шлак с 90 % частиц мельче 0,071 мм (S = 3000 см2/г).

98-99

95-97

90-95

85-90

75-80

Цемент

1-2

3-5

5-10

10-15

20-25

Примечание. Применялся цемент марки 400.

2.13. Повышение активности шлакового вяжущего с добавкой цемента во времени рекомендуется определять по зависимостям между прочностью вяжущего в различных возрастах (см. приложение 6, рис. 3, 4):

R28сж = 22 + 1,87 Rпроп при Ккор = 0,65;

R28сж = 34,3 + 1,1 R7сж при Ккор = 0,94;

R90сж = 1,3 R28сж - 3,9 при Ккор = 0,76;

R180сж = 1,3 R28сж + 11;

R360сж = 2,2 R28сж - 20

2.14. Шлаковое вяжущее с добавкой цемента должно отвечать требованиям табл. 5.

Таблица 5

Марка вяжущего

Предел прочности нее при сжатии, кгc/см2 не менее

после пропаривания 3 час

после выдерживания в камере нормального твердения, сутки

7

28

90

180

360

50

15

15

50

60

75

90

100

40

60

100

130

140

200

150

70

100

150

190

200

310

200

95

150

200

260

270

420

250

125

200

250

320

340

530

300

150

240

300

380

400

640

400

200

330

400

500

530

860

Шлаковое вяжущее с добавкой извести

2.15. Шлаковое вяжущее с активатором известью рекомендуется получать путем совместного измельчения шлака и извести или тщательного смешения подготовленного шлака с известью.

Известь должна отвечать требованиям ГОСТ 9179-70.

2.16. Активность вяжущего с добавкой извести повышается с увеличением удельной поверхности шлака и содержания активатора по зависимостям, приведенным в приложении 7 (рис. 1), а также во времени (см. приложении 7, рис. 2).

Марка вяжущего определяется по ГОСТ 3344-73.

Ориентировочные составы вяжущего для получения различных марок вяжущего приведены в табл. 6.

Таблица 6

Удельная поверхность шлака, см2

Содержание извести, %

Марка вяжущего

100

5-10

50

1200

0,5-10

50-150

3000

0,5-10

50-200

2.17. Рост активности шлакового вяжущего с добавками извести во времени определяется следующими зависимостями (см. приложении 7, рис. 3, 4):

R28сж = 11,9 + 2,2 Rпроп при Ккор = 0,77;

R28сж = 20,1 + 1,16 R7сж при Ккор = 0,94;

R90сж = 1,53 R28сж - 10,7 при Ккор = 0,9;

R180сж = 1,44 R28сж - 2,5;

R360сж = 2,5 R28сж - 28.

2.18. Физико-механические показатели шлакового вяжущего с добавкой извести, установленные при испытании ускоренными и стандартными методами, должны удовлетворять требованиям табл. 7.

Таблица 7

Марка вяжущего

Предел прочности при сжатии, кгс/см2 не менее

после пропаривания 3 час

после выдерживания в камере нормального твердения, сутки

7

28

90

180

360

50

20

25

50

65

70

100

100

40

70

100

130

140

220

150

80

115

150

210

215

350

200

85

150

200

295

300

470

Шлаковое вяжущее с добавкой других активаторов

2.19. В качестве активаторов измельченного шлака рекомендуется также применять содощелочной плав, нитриты и нитраты кальция, а также другие добавки, содержащие соли и щелочи щелочноземельных металлов.

2.20. Активатор может вводиться как в процессе помола шлака, так и в виде водных растворов при приготовлении смеси.

2.21. С увеличением удельной поверхности шлака и количества активатора марка шлакового вяжущего увеличивается. Применение шлака с удельной поверхностью от 2500 до 6000 см2/г с добавкой активатора до 10 % позволяет получить вяжущее марок от 100 до 600.

3. Прочность и причины разрушения материалов, обработанных неорганическими вяжущими

3.1. Требуемая прочность обработанных материалов зависит от содержания вяжущих и соотношения в них шлака и активаторов, которые определяют интенсивность процессов их гидратации и гидролиза в смесях, а также от марки вяжущего, количества воды в смеси, гранулометрического состава и физико-механических характеристик каменных материалов.

3.2. Срок службы каменных материалов, обработанных неорганическими вяжущими, в основаниях дорожных одежд может оцениваться:

начальной прочностью на растяжение при изгибе и связанными с ней прочностью при растяжении и сжатии, а также модулем упругости материала, обеспечивающими его работу в заданный период времени при заданных механических нагрузках и воздействиях климатических факторов;

долговечностью материала, определяемой, во-первых, усталостью материала при испытании его на изгиб от действия многократных нагрузок и, во-вторых, морозо- и водостойкостью материала, а также температуроустойчивостью конструкции из этого материала.

4. Способы регулирования прочности обработанных материалов

4.1. На прочность обработанных материалов влияет крупность заполнителя (приложение 8, рис. 1). При замене песка на гравийно-песчаную смесь с максимальной крупностью зерен 20 мм прочность обработанных материалов повышается на 10-20 %, что обусловливается более полным обволакиванием каменных материалов вяжущим вследствие уменьшения их удельной поверхности, а также повышенной каркасностью гравийно-песчаной смеси по сравнению с песком.

4.2. Щебень остроугольной формы по сравнению с окатанной округлой формой зерен гравия имеет лучшее сцепление с вяжущим, а также лучшее сцепление зерен каменного материала между собой (см. приложение 8, рис. 1). Поэтому расход шлакового вяжущего при замене щебне на гравий для получения равнопрочного обработанного материала рекомендуется увеличивать на 10-15 %.

4.3. На прочность обработанных материалов влияет различная, в зависимости от природы каменного материала, адгезионная прочность сцепления его с цементным камнем.

Наименьшую прочность имеют обработанные материалы, приготовленные на гранитном щебне. Прочность их увеличивается при использовании щебня из гравия с зернами из известняка, поверхность которого обеспечивает хорошее сцепление с вяжущим. Использование известнякового щебня позволяет получать еще более высокую прочность.

Максимальную прочность имеют обработанные материалы на шлаковом щебне. В этом случае наряду с химическим взаимодействием между цементным камнем и заполнителем действует фактор механического сцепления, на который оказывает значительное влияние шероховатость поверхности прочных шлаковых зерен и родство природы заполнителя и вяжущего. Замена гранитного щебня на шлаковый увеличивает прочность обработанных материалов на 5-10 % (приложение 8, рис. 1).

4.4. Марка природного каменного материала в пределах 200-400 незначительно влияет на прочность обработанных смесей, что обусловлено значительно меньшей прочностью смесей по сравнению с прочностью каменного материала (см. приложение 8, рис. 2).

4.5. От марки применяемого легкого искусственного крупного заполнителя зависит марка обработанных материалов. Так, с заполнителем марки П35 можно получить обработанные материалы марки 40. Снижение марки заполнителя с П35 до П25 приводит к уменьшению марки материала до 20.

4.6. Прочность обработанных материалов при увеличении в смеси содержания природного щебня (гравия) с 40 до 70 % и уменьшении количества песка в пределах граничных кривых плотных смесей возрастает на 10-20 % из-за повышенной каркасности многощебнистых смесей (см. приложение 8, рис. 2).

При увеличении в смеси содержания легкого искусственного щебня (гравия) с 36 до 84 % и уменьшении содержания природного песка с 64 до 36 %, что соответствует кривым плотных смесей с коэффициентом сбега 0,6-0,8, прочность обработанных смесей снижается за счет малой прочности зерен легкого заполнителя по сравнению с прочностью природных зерен.

4.7. При повышении в смеси содержания пылеватых частиц до 5 % прочность обработанных материалов возрастает на 10-30 % в связи с увеличением плотности смеси (см. приложение 8, рис. 2).

4.8. Прочность каменных материалов, обработанных шлаковыми вяжущими различной крупности, при повышении содержания в шлаке частиц мельче 0,071 мм с 1 до 90 % возрастает в 4-6 раз вследствие увеличения удельной поверхности шлака (приложение 9, рис. 1).

4.9. С повышением содержания шлакового вяжущего (шлак +цемент) в смеси в пределах 5-20 % прочность обработанных материалов при сжатии соответственно увеличивается в 1,4-1,8 раза (см.  приложение 9 рис. 2, а)

4.10. Увеличение содержания активатора цемента с 0 до 3 % повышает прочность обработанных материалов в 5-10 раз (см. приложение 9 рис. 2, б). Увеличение марки вяжущего с 200 до 400 повышает прочность обработанных смесей в 1,5-2 раза.

4.11. Связь между пределом прочности обработанных материалов при сжатии в возрасте 28 и 90 суток и расходом шлакового вяжущего различных марок (см. приложение 9, рис. 3, а, б) может быть определена по следующим зависимостям:

R28сж = 3,64×(% М100) - 28,32; R90сж = 3,64×(% М100) - 16,1;

R28сж = 3,80×(% М200) + 2,5; R90сж = 3,80×(% М200) + 14,7;

R28сж = 3,84×(% М300) + 24,23; R90сж = 3,84×(% М300) + 36,4.

4.12. Ориентировочный расход вяжущего в зависимости от его марки для получения обработанных материалов требуемых марок по прочности при сжатии приведен в табл. 8. В случае раздельной подачи компонентов вяжущего ориентировочный расход принимают по табл. 9.

Таблица 8

Марка вяжущего

Расход вяжущего, % массы, для получения требуемой прочности обработанного материала в возрасте 28 суток, марок

100

75

60

40

20

10

600

-

-

6-7

5-6

3-4

1-2

500

-

8-9

7-8

6-7

4-5

2-3

400

13-25

9-10

8-9

7-8

5-6

3-4

300

-

13-20

9-13

8-10

6-7

4-5

200

-

18-20

13-19

9-15

8-10

6-7

100

-

-

25-30

19-25

13-19

10-13

50

-

-

-

-

-

30-35

4.13. Обработанные материалы являются медленнотвердеющими материалами, прочность которых нарастает постепенно в течение года. Связь между пределом прочности обработанных материалов при сжатии в различном возрасте определяется зависимостями, приведенными в приложение 9 (рис. 4), и по формулам:

R7сж = 0,67 R28сж - 1 при Ккор = 0,96;

R90сж = R28сж + 12,2 при Ккор = 0,98;

R360сж = R28сж + 27 при Ккор = 0,98;

R360сж = 0,97R90сж + 15 при Ккор = 0,96.

Таблица 9

Состав вяжущего

Содержание компонентов вяжущего, %, для получения требуемой прочности обработанного материала марок

100

75

60

40

20

10

Шлак недробленный (S = 100 см2/г)

-

-

7

10-15

10-20

5-20

Цемент

7

5

3-5

2-3

Шлак с 15 % частиц мельче 0.071 мм (S = 300 см2/г)

-

-

10-15

10-15

10-15

-

Цемент

3

2

1

Шлак с 30 % частиц мельче. 0,071 мм (S = 1200 см2/г)

-

10-15

10-15

5-10

5-10

-

Цемент

3

2

2

1

Шлак с 50 % частиц мельче 0,071 мм (S = 1700 см2/г)

10-15

10-15

5-10

5-10

-

-

Цемент

3

2

2

1

Шлак с 90 % частиц мельче 0,071 мм (S = 3000 см2/г).

5-10

5-10

5-10

-

-

-

Цемент

3

2

1

Примечание. Применялся цемент марки 400.

4.14. Оптимальное количество воды в обработанных материалах обеспечивает их максимальную плотность при уплотнении стандартной трамбующей нагрузкой. Оптимальное количество воды составляет 6-8 % массы сухой смеси для обработанных материалов с природными тяжелыми заполнителями на шлаках с различной степенью дробления и 8-10 % - для обработанных смесей с искусственными легкими заполнителями.

5. Основные свойства обработанных материалов

5.1. К основным свойствам обработанных материалов относятся: прочность при расколе и изгибе, модуль упругости и связь их с пределом прочности при сжатии.

5.2. Связь между пределом прочности при сжатии обработанных материалов и на растяжение при расколе в различных возрастах рекомендуется определять по корреляционным зависимостям (приложение 10, а, б):

R7p = 0,13R7сж - 0,7;

R28p = 0,14R28сж - 1,1 при Ккор = 0,93;

R90p = 0,13R90сж - 0,4 при Ккор = 0,84.

5.3. Связь между пределом прочности при сжатии и на растяжение при изгибе обработанных материалов приведена в приложении 10, в и определяется по следующему выражению:

R28u = 0,25R28сж - 1,75.

5.4. Для нормативных марок обработанных материалов значения предела прочности на растяжение при изгибе представлены в табл. 10.

Таблица 10

Марка по прочности при сжатии

Прочность на растяжение при изгибе, кгс/см2

фактическая средняя

нормативная

10

0,8

1

20

4-9

4

40

8-14

8

60

13-17

12

75

17-20

15

100

23

20

5.5. Расчетный предел прочности на растяжение при изгибе определяют по следующему выражению:

Rpu = KRu при Ккор =0,4-0,6.

5.6. Материалы, обработанные шлаковыми вяжущими, являются более деформативными по сравнению с цементоминеральными. Связь между пределом прочности при сжатии и модулем упругости таких материалов приведена в табл. 11.

5.7. Расчетный модуль упругости обработанных материалов при расчете дорожных одежд по ВСН 48-72 можно определять по следующему выражению: Ep = KE

Таблица 11

Предел прочности при сжатии

Экспериментальный модуль упругости

10

3000

20

3000-20000

40

4000-65000

60

6000-100000

75

11000-150000

100

20000-200000

Примечание. Модули упругости определяли на образцах-цилиндрах при испытании на сжатие и на образцах-балочках при испытании на изгиб.

Для некоторых марок по прочности обработанных материалов расчетные модули упругости приведены в табл. 12.

Таблица 12

Предел прочности при сжатии

Расчетный модуль упругости

10

1500

20

2000

40

4000

60

6000

75

7000

100

8000

6. Долговечность обработанных материалов

6.1. Долговечность обработанных материалов можно оценивать усталостью образца материала при воздействии циклической нагрузки. Величина нагрузки должна соответствовать напряжению, испытываемому основанием от проезда автомобилей. Количество нагружений устанавливают по расчетному количеству автомобилей, прошедших по дороге за расчетный срок службы дороги.

6.2. Долговечность обработанных материалов зависит также от морозостойкости материала. Морозостойкость определяется количеством циклов замораживаиия-оттаивания в зависимости от климатических условий района расположения дороги и сроком службы дорожной одежды.

Обработанные материалы с пределом прочности 10-100 кгс/см2 выдерживают 10-50 циклов замораживания-оттаивання. Коэффициент их морозостойкости 0,6-0,9.

6.3. Корреляционные зависимости между пределом прочности материалов с дробленым шлаком при сжатии в возрасте 28, 60 суток и образцов, прошедших 25 циклов замораживавия-оттаивания (приложение 11), определяют по выражениям:

R28мрз = 0,93R28сж- 14,2 при Ккор = 0,96;

R60мрз = 0,98R60сж - 17,1 при Ккор = 0,97;

с недробленым шлаком по зависимости:

R60мрз = 0,72R28сж - 0,8 при Ккор = 0,88.

6.4. Морозостойкость обработанных материалов для существующих марок по прочности может быть принята по табл. 13.

6.5. Сохранение сплошности основания и необходимость устройства температурных швов зависят от колебаний температуры основания и температурного коэффициента линейного расширения материала.

Таблица 13

Марка

Количество циклов замораживания-оттаивания

R28мрз не менее

10

15

0,65

20

25

0,70

40

25

0,75

60

50

0,80

75

50

0,80

100

50

0,80

7. Управление качеством технологии строительства оснований из обработанных материалов

7.1. Качество основания зависит во многом от правильной технологии его устройства, включающей качественное приготовление вяжущего, точное дозирование компонентов смеси, контроль их перемешивания и технологию укладки.

7.2. Измельчать гранулированные шлаки рекомендуется в шаровой мельнице типа 1456 или вибромельнице, предварительно высушив их в сушильном барабане. Для получения комплексного вяжущего (гранулированный шлак + цемент) его компоненты одновременно в заданных соотношениях подают в шаровую мельницу, где шлак измельчают и перемешивают с цементом. Готовое вяжущее поступает в силосный склад. Технологий получения шлакового вяжущего приведена в приложении 12 (рис. 1).

7.3. Производительность мельниц зависит от требуемой тонкости измельчения шлака (см. приложение 12, рис. 2). С увеличением удельной поверхности шлака производительность мельниц уменьшается (табл. 14).

7.4. Приготавливать смесь рекомендуется в установках типа С-543, С-780, СБ-78, СБ-109. В случае раздельной подачи гранулированного шлака и цемента установки должны быть оснащены двумя дозаторами. Вода в смеситель подается в количестве, обеспечивающем получение максимальной плотности уплотненной смеси. Примерная схема приготовления обработанной смеси приведена в приложении 13.

Таблица 14

Тонкость измельчения шлака

Удельная производительность мельницы, кг/час×л

шаровой (1456)

вибрационной (СМ-10)

300/15х)

2,20

21,6

1200/30

1,10

11,9

1700/50

0,75

2,5

3000/90

0,30

0,9

х) Над чертой - удельная поверхность шлака, см2/г под чертой - содержание частиц мельче 0,071 мм, %.

7.5. Результаты измерений точности работы дозаторов показывают, что дозаторы объемного типа имеют отклонения от средней подаваемой величины сыпучего материала в пределах + 10 %. Для повышения точности их работы могут использоваться побудителя материала, устанавливаемые под дозатором и служащие для обеспечения стабилизации объемной массы материала. В этом случае отклонение снижается до +-5 %.

В дозаторах весового типа максимальное отклонение средней величины выдаваемого материала составляет: для щебня - 3 %, песка - 3,5 %, гранулированного шлака - 3 %, цемента - 2 %. Точность работы этих дозаторов может быть повышена путем установки над ними питателей - объемных дозаторов с побудителями материала.

Для уменьшения трудоемкости ручной тарировки дозаторов (процесс тарировки, длится не менее 1 час) и повышения производительности завода, а также обеспечения оперативного непрерывного контроля за расходом каждого компонента смеси целесообразно оснащать дозаторы датчиками с показывающими или записывающими приборами, непрерывно регистрирующими вес материала, выдаваемого дозатором в единицу времени.

7.6. Для перемешивания различных материалов наиболее широко применяют смесители свободного или принудительного перемешивания циклического или непрерывного действия. Высокое качество перемешивания жестких обработанных смесей обеспечивается смесителями принудительного перемешивания непрерывного действия, производительность которых выше, чем у других типов смесителей.

7.7. Допустимый разрыв по времени между приготовлением и уплотнением смеси, за который прочность обработанных материалов снижается незначительно, не должен превышать для материалов с недробленым шлаком 8 час, с измельченным шлаком - 3 час. Результаты изменения прочности обработанных материалов в зависимости от величины технологического разрыва приведены в табл. 15.

Таблица 15

Состав смеси

Прочность смеси, % к максимальной, в зависимости от технологического разрыва, час

0

3

4

6

8

12

24

Смесь со шлаком

 

 

 

 

 

 

 

недробленым гранулированным

100

-

100

-

90

50

30

измельченным

100

70

-

60

-

-

-

7.8. Распределяют смеси с помощью укладчиков дорожно-строительных материалов. Допускается применение автогрейдера (приложения 14, 15).

7.9. Уплотнять основание рекомендуется катка и на пневматических шинах с гладким протектором типа Д-627, Д-624 или Д-551 (см. приложения 14, 15). Применение шин с протектором редкого и глубокого рельефа приводит к тому, что после уплотнения на основании остаются следы глубиной до 3 см, которые приходится удалять с помощью отвала автогрейдера или доуплотнять гладковальцовым катком.

Каток на пневматических шинах при давлении в шинах 3,25 ати обеспечивает плотность смесей 0,97-0,98 стандартной на глубине от 5 до 20 см, для достижения которой требуется не менее 12 проходов катка по одному следу.

Максимальная плотность верхнего слоя на глубине от 0 до 5 см составляет 0,94 стандартной даже после 24 проходов катка по одному следу.

7.10. После окончания уплотнения и отделки основания на его поверхность следует наносить защитную водонепроницаемую пленку либо слой песка или супеси толщиной 5-8 см, который поливается водой первые 7 суток через 6-8 час, а от 7 до 20 суток - один раз в смену.

В случае, если режим ухода нарушается, прочность обработанных материалов снижается по сравнению с материалами, за которыми осуществляется уход в процессе их твердения, на 10-25 % при отсутствии ухода до 50 %.

7.11. Открывать движение транспорта по основанию и укладывать покрытие следует после набора 50 % проектной прочности основания. Допускается укладывать покрытие в день устройства основания.

7.12. Контроль качества производства работ осуществляют в соответствии со СНиП III-Д. 5-73 и ВСН 184-75 «Технические указания по устройству оснований дорожных одежд из каменных материалов, неукрепленных и укрепленных неорганическими вяжущими» (М., Транспорт, 1976).

8. Конструкции дорожных одежд

8.1. К конструкциям оснований дорожной одежды предъявляются следующие требования:

соответствие требуемой прочности и долговечности под действием движущегося транспорта и природно-климатических факторов;

экономичность, в частности максимальное использование местных каменных материалов;

возможность комплексной механизации работ с учетом местных производственных условий.

8.2. Основание должно представлять собой гибкую бесшовную плиту с высокой прочностью при изгибе и распределяющей способностью, деформируемую транспортными нагрузками только в упругой стадии без накопления остаточных деформаций и местных просадок.

8.3. Механические и теплофизические свойства материалов в основании не должны резко отличаться от таких же свойств асфальтобетона в покрытии, с тем, чтобы все изменения, вызываемые взаимодействиями многократно повторяющихся нагрузок, переменных температур, влажности, замерзанием и оттаиванием воды в порах материала, протекали примерно одинаково в слоях покрытия и основания.

8.4. Морозостойкость материала в основании может быть меньше, чем в покрытии, что в количественном отношении зависит от климатических условий, толщины покрытия и его теплопроводности.

8.5. Прочность при изгибе и модуль упругости материала в основании могут быть в 2-3 раза меньше, чем в покрытии при любых возможных температурах.

8.6. Рекомендуемые схемы конструкций дорожных одежд с основаниями из каменных материалов, обработанных неорганическими вяжущими, для дорог I-V категорий приведены в приложении 16.

8.7. Дорожные одежды рассчитывают в соответствии с "Инструкцией по проектированию дорожных одежд нежесткого типа" ВСН 46-72 (М., "Транспорт", 1973).

8.8. В основу расчета положены следующие наиболее важные в данном случае условия прочности:

в расчетный период не должно достигаться предельное равновесие по сдвигу в подстилающем грунте и в слабосвязанных материалах конструктивных слоев одежды;

напряжения в монолитных слоях одежды не должны превосходить допустимых из условия сохранения структуры материала;

растягивающие напряжения и прогибы не должны превышать допустимых из условия сохранения сплошного слоя с учетом повторности нагрузок;

толщина отдельных слоев должна быть достаточной для того, чтобы обеспечивалось надлежащее формирование слоя и надежная его работа.

8.9. В расчетах учитывают как деформативные (модули упругости), так и прочностные (сопротивление сдвигу, растяжению) характеристики материалов и грунтов, что существенно повышает надежность конструкций.

8.10. Для расчета толщины дорожной одежды, в том числе для расчета толщины каждого конструктивного слоя основания, принимают расчетные параметры, приведенные в настоящих "Методических рекомендациях".

ПРИЛОЖЕНИЯ

ПРИЛОЖЕНИЕ 1

Выход и переработка доменных шлаков по заводам СССР

Группы заводов

Годовой выход тыс. т

Количество перерабатываемого шлака, тыс. т

Количество шлака, слитого в отвал, тыс. т

на гранулированный шлак

на пемзу

на щебень

Всего

Заводы Урала

8505,6

5178,4

381,8

485,9

6046,1

2459,5

Заводы Востока

5293,7

3083,7

-

169,9

3253,6

2040,1

Заводы Центра

3075,0

1728,6

112,3

1133,8

2974,7

100,3

Заводы Северо-Запада

1661,6

909,4

-

26,7

936,1

725,5

Заводы Юга

16321,8

10542,5

1173,4

1344,2

13060,1

3261,7

ПРИЛОЖЕНИЕ 2

Выход и переработка сталеплавильных шлаков по заводам СССР

Группы заводов

Годовой выход шлаков, тыс. т

Количество перерабатываемого шлака, тыс. т

Количество шлака слитого в отвалы, тыс. т

на щебень

на металлическое производство

Всего

Заводы Урала

3913,9

-

298,8

298,8

3615,1

Заводы Востока

2121,6

-

-

-

2121,6

Заводы Центра

801,0

664,0

2,0

666,0

135,0

Заводы Северо-Запада

838,0

-

-

-

938,0

Заводы Юга

7215,4

140,0

528,9

950,4

5596,1

ПРИЛОЖЕНИЕ 3

Химический состав доменных шлаков

Группа шлаков

Химический состав, %

Si02

Al203

СаО

MgО

По заводам Юга

36÷39

6÷9

46÷48

3÷6

По заводам Центра

36÷40

8÷11

40÷44

6÷10

По заводам Востока

36÷40

10÷15

35÷47

2÷8

Магнезиальные (по заводам Востока)

34÷86

14÷17

29÷34

12÷15,5

Продолжение

Химический состав. %

Модуль

FеО

MnO

S

основноcти

активности

0,3÷1,0

0,5÷1,1

1,5÷2,9

1,12÷1,18

0,16÷0,25

0,2÷0,7

0,1÷1,0

0,6÷2,2

0,99÷1,11

0,23÷0,27

0,2÷0,6

0,2÷1,3

0,4÷1,0

0,74÷1,0

0,26÷0,42

0,4÷0,7

0,7÷7,6

0,6-0,65

0,87÷0,90

0,4÷0,5

Примечание. Вид выплавляемого чугуна-передельный и литейный.

ПРИЛОЖЕНИЕ 4

Группировка сталеплавильных шлаков по химическому составу

Группа и тип шлаков

Химический состав шлака, %

СаО

SiO2

Al203

Mg0

Mn0

I Конвертерные шлаки при работе на малофосфористом чугуне

50-55

15-20

1-3

1,5-2,5

6-8

II-Конвертерные шлаки при работе на фосфористом чугуне (содержание P=1,1 %)

40-45

50-55

10-12

8-10

1-3

1-3

1-2

1,5-2,5

8-10

5-7

III-Шлаки двухванных печей

25-35

13-17

2-3

10-12

5-7

IV-Мартеновские шлаки при работе на жидкой завалке, с интенсивной продувкой О2

25-30

25-45

20-25

10-15

2-5

2-5

4-12

10-17

6-10

4-8

V-То же с обычной продувкой

25-35

35-45

22-27

10-15

2-5

2-5

4-12

10-17

6-10

4-8

VI-То же без применения кислорода

24-27

38-45

25-28

12-16

4-5

6-7

5-7

10-17

9-10

8-16

VII-Mартеновские шлаки при работе на твердой заливке

35-40

40-50

18-25

12-20

3-7

4-10

4-10

5-12

5-10

4-6

Электросталеплавильные

 

 

 

 

 

А-окислительный

25-53

10-20

2-7

7-16

4-12

Б-восстановительный

55-60

20-23

2-8

9-10

0,1

Продолжение

Химический состав шлака, %

Fe0

Fe203

Р2О5

CaF2

СаS

S

8-15

5-10

0,6-2

-

-

0,1-0,2

7-12

20-25

5-10

5-10

10-12

6-8

-

-

0,05-0,1

0,1

20-30

7-9

1-2

-

-

0,06-0,1

17-20

16-18

5-6

6-7

0,6-1,5

0,5-1,3

-

-

0,05-0,1

0,05-0,1

11-15

7-10

4-5

5-6

0,6-1,5

0,5-1,3

-

-

0,04-0,08

0,05-0,09

17-20

6-7

5-6

6-7

0,6-1,5

0,5-1,3

-

-

0,06

0,07

9-15

3-12

1-2

2-3

0,5-1,5

0,5-1,3

-

-

0,08-0,1

0,08-0,1

6-30

1-6

0,4-0,1

-

-

-

0,2-0,4

-

-

5-1

0,9-1,5

-

Примечание. Для шлаков типов II,IV-VII над чертой приведены данные для скачиваемого или первичного шлака, под чертой - для конечного.

ПРИЛОЖЕНИЕ 5

Активность шлакового вяжущего без добавок активатора

Время твердения, сутки

Рис. 1. Влияние тонкости измельчения шлака на его активность:

1 - удельная поверхность 3000 см2/г; 2 - 2000 см2/г; 3 - 1700 см2/г; 4 - 1200 см2/г; 5 - 300см2/г; 8-100см2/г (неизмельченный шлак)

Время твердения, сутки

Рис. 2. Изменение активности шлаков разных заводов (S = 3000 см2/г) во времени:

1 - константиновского; 2 - череповецкого; 3 - завода "Азов-сталь”; 4 - магнитогорского; 5 - косогорского; 6 - макеевского; 7 - новотульского; 8 - нижнетагильского; 9 - нижнесалдинского

Предел прочности R28сж, кгс/см2

Рис. 3 Корреляционные зависимости между активностью образцов шлакового вяжущего:

а-в 28-суточном возрасте и проваренных в течение 3 час;

б-в 28-суточном и 7-суточном возрастах

Предел прочности R28сж, кгс/см2

Рис. 4. Корреляционные зависимости между активностью шлака в 28-суточном возрасте и прочностью в возрасте: а-90 суток; 6-180 суток.

Приложение 6

Активность шлакового вяжущего с добавкой цемента

Содержание активатора цемента,%

Рис. 1. Влияние содержания цемента на активность шлакового вяжущего с различной удельной поверхностью:

1-3000см2/г; 2-1200см2/г; 3-300 см2/г; 4-100 см2

Время твердения сутки

Рис. 2. Изменение активности шлакового вяжущего с различной удельной поверхностью во времени:

1-3000 см2/г; 2-1700см2/г; 3-1200см2/г ; 4-300 см2/г; 5-100 см2

 

Предел прочности R28сж, кгс/см2                                            Предел прочности R28сж, кгс/см2

Рис. 3. Корреляционные зависимости между активностью образцов шлака:

а-в 28-суточном возрасте и пропаренных в течение 3 час; б-в 28суточном и 7-суточном возрастах

Предел прочности R28сж, кгс/см2                                            Предел прочности R28сж, кгс/см2

Рис. 4. Корреляционные зависимости между активностью шлакового вяжущего в 28-суточном возрасте и прочностью в возрасте:

а-90 суток; б-380 суток

Приложение 7

Активность шлакового вяжущего с добавкой извести

Количество извести, %

Рис 1. Влияние содержания извести на активность шлакового вяжущего с различной удельной поверхностью:

1-2000см2/г; 2-1200см2/г; 3-300см2/г; 4-100см2/г (недробленый шлак)

Время твердения, сутки

Рис. 2. Изменение активности шлакового вяжущего с различной удельной поверхностью во времени:

1-3000см2/г; 2-1200см2/г; 3-100ом2/г (недробленый шлак)

Предел прочности R28сж, кгс/см2                             Предел прочности R28сж, кгс/см2

Рис. 3. Корреляционные зависимости между активностью образцов шлакового вяжущего:

а-в 28-суточном возрасте и пропаренных в течение 3 час; б-в 28-суточном и 7-суточном возрастах

Предел прочности R28сж, кгс/см2                             Предел прочности R28сж, кгс/см2

Pиc. 4. Корреляционный в зависимости между активностью шлакового вяжущего в 28-суточном возрасте и прочностью в возрасте:

а-80 суток; б-360 суток

Приложение 8

Рис. 1. Влияние крупности (I), природы (II) и формы зерен (III) заполнителя на прочность обработанных смесей с активатором цементом:

а - составы с недробленым шлаком (S = 100 cм2/г); б - составы с измельченным шлаком (S = 1200 см2/г):

1-известь; 2-гранит; 3-шлак; 4-гравий; 5-шебень

Рис. 2. Зависимость прочности обработанных смесей от загрязненности (1), прочности (II) заполнителя и соотношения между крупным и мелким заполнителем (III)

Приложение 9

Влияние на предел прочности при сжатии обработанных смесей процентного содержания шлака, цемента в тонкости измельчения шлака

Время твердения, сутки

Рис. 1. Изменение предела прочности при сжатии смесей с различной удельной поверхностью шлакового вяжущего во времени:

1-3000 см2/г; 2-1700 см2/г; 3-1200 см2/г; 4-300 см2/г; 5-100 см2

Содержание в шлаке частиц мельче 0,071 мм, %

Рис. 2. Зависимость предела прочности при сжатии смесей с различным содержанием шлакового вяжущего (а) и цемента (б) от тонкости его измельчения:

1-20 % шлака + 2 % цемента; 2-10 % шлака + 2 % цемента; 3-5 % шлака + 2 % цемента; 4-3 % цемента; 5-2 % цемента; 6-1 % цемента; 7-0 % цемента

Содержание шлакового вяжущего в смеси, %

Рис. 3. Корреляционные зависимости между пределом прочности при сжатии обработанных смесей в возрасте 28 суток (а) и 90 суток (б) и содержанием вяжущего различных марок: 1-100; 2-200; 3-300

Предел прочности R28сж, кгс/см2     Предел прочности R28сж, кгс/см2

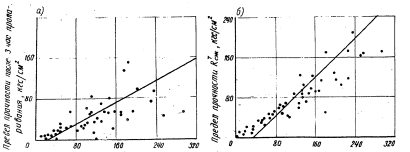
Рис. 4. Корреляционные зависимости между пределами прочности при сжатии обработанных смесей в возрасте: а-7 и 28 суток; 6-28 и 90 суток

Приложение 10

Корреляционные зависимости между пределом прочности при сжатии и расколе в возрасте 28 суток (а), в возрасте 90 суток (б), между пределом прочности при сжатии и изгибе (в): 1-го ВСН 184-78; 2-по ГОСТ 8424-72

ПриложенИе 11

Предел прочности R28сж, кгс/см2

Корреляционные зависимости между пределом прочности при сжатии обработанных смесей с пределом прочности при сжатии циклов попеременного заморажавания-оттаивания для смесей с дробленым шлаком и цементом в возрасте 28 суток (а), то же в возрасте 60 суток (б), с недробленым шлаком и цементом в возрасте 60 суток (в).

Приложение 12

Рис. 1. Технологическая схема приготовления шлакового вяжущего

Содержание частиц в шлаке мельче 0,071 мм, %

Рис. 2. Зависимость производительности вибромельницы (1) и шаровой мельницы (2) от тонкости измельчания шлака

Приложение 13

Примерная схема приготовления обработанной смеси

1 - склад материалов; 2 - автопогрузчик; 3 - расходные бункеры с дозаторами; 4 - склад вяжущих; 5, 6 - транспортер; 7 - бак для воды; 8 - смеситель; 9 - поливомоечная машина; 10 - накопительный бункер; 11 - автосамосвал; 12 - цементовоз.

Приложение 14

Примерная технологическая схема устройства основания из обработанных смесей автогрейдером с обеспечением требуемой ровности асфальтоукладчиком Д-699 со следящей системой.

Приложение 15

Примерная схема устройства основания из обработанных смесей универсальным укладчиком Д-724 с обеспечением требуемой ровности длиннобазовым планировщиком ДС-515

Приложение 16

Схемы конструкций дорожных одежд с основаниями из необработанных природных каменных материалов (а), из природных каменных материалов, обработанных неорганическими вяжущими (б); из легких искусственных каменных материалов, обработанных неорганическими вяжущими (в): 1 - асфальтобетон мелкозернистый (для дорог IV категории с поверхностной обработкой 10 мм); 2 - асфальтобетон крупнозернистый; 3 - фракционированный щебень, обработанный битумом; 4 - щебень, уложенный способом заклинки; 5 - цементобетон марок 75; 100; 125; 6 - песок (морозозащитный слой) соответственно для I, II и III типов местности; 7 - каменные материалы, обработанные неорганическими вяжущими; 8 - легкие искусственные каменные материалы, обработанные неорганическими вяжущими.

 

 




ГОСТЫ, СТРОИТЕЛЬНЫЕ и ТЕХНИЧЕСКИЕ НОРМАТИВЫ.
Некоммерческая онлайн система, содержащая все Российские Госты, национальные Стандарты и нормативы.
В Системе содержится более 150000 файлов нормативно-технической документации, действующей на территории РФ.
Система предназначена для широкого круга инженерно-технических специалистов.

Рейтинг@Mail.ru Яндекс цитирования

Copyright © www.gostrf.com, 2008 - 2026