| |
ТИПОВЫЕ ТЕХНОЛОГИЧЕСКИЕ КАРТЫ НА ПРОИЗВОДСТВО ОТДЕЛЬНЫХ ВИДОВ РАБОТ
ТИПОВАЯ
ТЕХНОЛОГИЧЕСКАЯ КАРТА
НА БЕТОННЫЕ И ЖЕЛЕЗОБЕТОННЫЕ РАБОТЫ (МОНОЛИТНЫЙ ЖЕЛЕЗОБЕТОН)
6306031078
31078
ВОЗВЕДЕНИЕ СЕЛЬСКОГО
ДОМА УСАДЕБНОГО ТИПА ИЗ
МОНОЛИТНОГО БЕТОНА
|
РАЗРАБОТАНА
Центральным
научно-исследовательским и
проектно-экспериментальным
институтом
организации, механизации и
технической
помощи строительству (ЦНИИОМТП)
Зам. директора института, д.т.н.
В.Д. Топчий
Начальник отдела
экспериментального
Проектирования Ю.А. Ярымов
Зав. лабораторией опалубочных
работ, к.т.н. Н.И. Евдокимов
|
СОГЛАСОВАНО
Управлением
механизации и технологии строительства Госстроя СССР
Письмо от 26.01.90 г. № 12-33
Введена в действие с 26 января
1990 г.
|
МОСКВА-1990
СОДЕРЖАНИЕ
Типовая технологическая карта разработана на
возведение одноэтажного дачного дома размерами в плане 4,170×6,570 м и
высотой до низа стропильных конструкций 2,86 м.
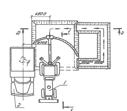
Стройгенплан дан на рис. 1, 1а.
Фундаменты - сборные железобетонные блоки.
Стены - монолитные железобетонные.
Перекрытие над подвалом и чердачное - сборные железобетонные
плиты.
Технологической картой предусматривается возведение
монолитных железобетонных стен с применением крупнощитовой опалубки конструкции
ЦНИИОМТП (Р.Ч. 625А-2.00.000).
В состав работ, рассматриваемых картой, входят:
разработка котлована;
устройство фундаментов;
возведение монолитных железобетонных стен;
монтаж плит перекрытия.
Работы выполняются в летний период.
До начала строительства необходимо: очистить площадку
строительства от пней и кустарников; выполнить планировку площадки; произвести
разбивку осей дома; установить временное ограждение; закончить строительство
временной дороги.
На площадке строительства необходимо установить контору
прораба и туалет на одно очко.
Земляные работы
Производство земляных работ разрешается только после
выполнения геодезических разбивочных работ.
Разработку грунта предусмотрено производить экскаватором
ЭО-2621А, оборудованным обратной лопатой и ковшом вместимостью 0,25 м3,
с вывозкой грунта автосамосвалами ЗИЛ-ММЗ-555 на расстояние 3 км. Схема
разработки котлована дана на стр. 6.
Необходимое количество автосамосвалов:
производительность экскаватора Э0-2621А при разработке
траншеи (Пэ.ч.)
18,8 м3/ч, при разработке котлована - 16,9 м3/ч.
Принимаем производительность экскаватора в грунтах II группы по
большему объему разрабатываемого грунта, т.е. Пэ.ч. = 16,9 м3/ч.
Количество ковшей с грунтом (П), требующихся для заполнения
одного самосвала, определяется по формуле:

где Q - грузоподъемность самосвала (5,25
т);
γ - объемный вес грунта в плотном теле (1,75 т/м3);
е - вместимость
ковша (0,25 м3);
кн- коэффициент наполнения ковша
разрыхленным грунтом (0,9).
Принимаем 13 ковшей.
Вместимость автосамосвала (q),
исчисленная в плотном теле грунта и целых числах ковшей экскаватора,
определяется по формуле
q = пкне = 13 × 0,9 ×
0,25 = 2,92 м3.
Время загрузки автосамосвала (tн)
определяется по формуле


Рис. 1
Примечания
1. Кран работает с
ограничением угла поворота стрелы на 240°
2. Экспликация временных
сооружений дана на стр. 5

Рис. 1а
Схема разработки котлована



План котлована

Рис. 2
Продолжительность транспортирования (tп)
грунта определяется по формуле:
мин,
где L -
дальность транспортирования (3 км);
V - средняя
скорость движения автосамосвала (20 км/ч).
Время разгрузки tp и время
маневров tм автосамосвала
принимаем по 1 мин.
Вреда одного цикла работы автосамосвала (Т) определяется по формуле:
Т = tн + tп + tp + tм = 10,4 + 18 + 1 + 1 = 30,4 мин.
Количество автосамосвалов (N) определяется по формуле:

Принимаем 3 автосамосвала.
Автосамосвалы под погрузку подаются задним ходом и
устанавливаются за пределами хвостовой части кузова экскаватора по поставленным
вешкам с расчетом, чтобы угол поворота платформы экскаватора при погрузке
грунта был наименьшим.
Разработку грунта ведут с недобором 0,1 м до проектной
отметки дна траншеи. Перебор грунта не допускается. Зачистку дна предусмотрено
выполнять вручную.
Обратную засыпку пазух фундаментов предусмотрено выполнять
песком с поливкой водой.
Опалубочные работы
Монтаж опалубки можно выполнять только после:
нивелировки поверхности перекрытия;
разбивки осей стен;
проверки комплектности завезенной опалубки;
укрупнительной сборки щитов;
очистки перекрытия от мусора.
В технологической карте предусмотрено применение
крупнощитовой опалубки конструкции ЦНИИОМТП (Р.Ч. 625А-2.00.000).
Привязка опалубки выполнена лабораторией опалубочных работ
ЦНИИОМТП. Схемы производства опалубочных работ даны на стр. 10-17.
Размеры щитов опалубки обеспечивают опалубливание монолитных
конструкций с модулем, равным 300 мм.
Для обеспечения бетонирования немодульных конструкций
предусмотрен щит-компенсатор.
Конструкция щитов опалубки предусматривает возможность их
установки и соединения друг с другом в вертикальном и горизонтальном положении.
В каркасе щита соосно с отверстиями в палубе для пропуска
стяжек вварены металлические втулки. Отверстия в палубе для пропуска стяжек
выполнены с постоянной привязкой для всех щитов.
В ребрах каркаса щитов выполнены круглые отверстия для
навески кронштейнов, лестниц и для установки схваток и подкосов.
На основных элементах опалубки должны быть нанесены
несмываемой краской маркировочные отметки:
товарный знак предприятия-изготовителя;
марка элемента;
дата изготовления;
штамп ОТК;
масса элемента.
Элементы опалубки транспортируются в следующих положениях:
модульные щиты - по размерам в горизонтальном положении по
10-15 штук на деревянных прокладках общей высотой штабеля не более 1,5 м;
схватки - горизонтально в 5-10 ярусов общей высотой не более
1 м с установкой деревянных прокладок между ними;
остальные элементы в зависимости от габаритов и массы
укладывают в ящики, чтобы масса груза составляла не более 3 т.
Каждый ящик должен иметь упаковочный лист (опись) элементов.
Опалубку хранят согласно ГОСТ
15150-69х.
Все элементы опалубки должны храниться в положении,
соответствующем транспортному, рассортированными по маркам и типоразмерам.
Хранить элементы опалубки необходимо под навесом или на
складе. Щиты укладывают в штабеля высотой не более 1-1,2-м по маркам.
Монтаж и демонтаж элементов опалубки предусмотрено вести с
помощью крана.
До начала монтажа опалубки предусмотрено выполнять
укрупнительную сборку щитов в панели. Опалубку стен устанавливают в два этапа:
сначала монтируют опалубку с внутренней стороны стены;
после установки арматуры монтируют опалубку с наружной
стороны стены.
Смонтированная опалубка принимается по акту мастером или
прорабом. При приемке проверяют:
правильность установки опалубки, а также поддерживающих
элементов;
геометрические размеры;
смещение осей опалубки от проектного положения;
вертикальность опалубки;
плотность стыков и сопряжений.
Правильность положения вертикальных плоскостей выверяют
отвесом. Отклонения в размерах и положении элементов опалубки не должны
превышать допусков, указанных в табл. 3 главы СНиП 3.03.01-87 "Несущие
ограждающие строительные конструкции. Правила производства работ".
За состоянием установленной опалубки должно вестись
непрерывное наблюдение в процессе бетонирования. В случае непредвиденных
деформаций отдельных элементов опалубки или недопустимого раскрытия щелей
следует устанавливать дополнительные крепления и исправлять деформированные
места.
Демонтаж опалубки разрешается производить только после
достижения бетоном прочности, установленной СНиП 3.03.01-87, и с разрешения
производителя работ.
Отрыв опалубки от бетона должен производиться с помощью
домкратов. В процессе отрыва бетонная поверхность не должна повреждаться.
Использование кранов для отрыва опалубочных щитов запрещено.
После снятия опалубки необходимо:
произвести визуальный осмотр элементов опалубки;
очистить все элементы опалубки от налипшего бетона;
нанести смазку на поверхность палуб и на винтовые
соединения;
произвести сортировку элементов опалубки по маркам.
Состав рекомендуемых смазок дан в табл. 1.
Таблица 1
|
Наименование
|
Состав по объему, %
|
|
Тесто известковое
Эмульсол ЭКС
Вода
|
0,5
20,0
80,0
|
Расход смазки приведен в табл. 2.
Таблица 2
|
Вид опалубки
|
Расход смазки, кг
|
|
на 1м2
формующей опалубки
|
на 1 м3
монолитного железобетона
|
|
Стальная
|
0,20-0,35х
0,45-0,55
|
2,0-3,5
4,5-5,5
|
|
х В числителе - расход при
нанесении пневмораспылителем, в знаменателе - вручную кистью или валиком.
|
Арматурные работы
До начала установки арматурных каркасов необходимо:
подготовить к работе необходимый инструмент;
очистить арматуру от ржавчины.
Армирование предусмотрено в углах дома и над проемами
плоскими каркасами. Схема производства арматурных работ дана на стр. 18.
Каркасы устанавливают вручную после монтажа опалубки с
внутренней стороны дома.
Крепят каркасы к опалубке струбцинами.
До монтажа плоских каркасов на них устанавливают фиксаторы с
шагом 1-1,2 м для образования защитного слоя между арматурой и опалубкой.
Приемку смонтированной арматуры осуществляют до укладки
бетона и оформляют актом освидетельствования скрытых работ. С этой целью
производят наружный осмотр и инструментальную проверку размеров конструкций по
чертежам. В акте приемки смонтированных конструкций должны быть указаны номера
рабочих чертежей, отступления от чертежей, оценка качества смонтированной
арматуры и разрешение на бетонирование.
Бетонные работы
До начала бетонирования необходимо:
проверить правильность установки и надежность закрепления
опалубки и поддерживающих ее конструкций;
очистить опалубку от мусора и налипшего цементного раствора;
проверить и принять по акту все конструкции и их элементы,
закрываемые в процессе бетонирования;
подготовить необходимое оборудование, инвентарь и
приспособления
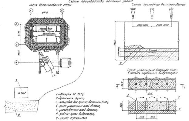
Транспортирование бетонной смеси предусмотрено
автосамосвалами.
Подача бетонной смеси к месту укладки предусмотрена краном в
поворотных бункерах вместимостью 1,0 м3.
Разгрузка бункера предусмотрена в нескольких точках, чтобы
избежать трудоемкую операцию по ручной перекидке бетона.
Бетонную смесь следует укладывать слоями толщиной от 30 до
40 см. Уплотнение бетонной смеси выполняют глубинными вибраторами. В углах и у
стен опалубки бетонную смесь следует дополнительно уплотнять штыкованием
ручными шуровками, После каждой разгрузки бункер должен быть очищен от остатков
бетонной смеси.
Периодически, не реже двух раз в смену, и при перерывах в
работе более чем на 1 ч бункер должен быть очищен и промыт вне места укладки
бетонной смеси.
При выдерживании бетона в начальный период его твердения
необходимо поддерживать благоприятный температурно-влажностный режим и предохранять
от механических повреждений. Контроль за качеством бетонной смеси производится
строительной лабораторией в соответствии с ГОСТ 10180-78х.
Все данные по контролю качества бетонной смеси заносятся и
журнал производства работ. Особое внимание необходимо уделять контролю за
виброуплотнением бетонной смеси. Контроль за процессом вибрирования ведется
визуально по степени осадки смеси, прекращению выхода из нее пузырьков воздуха
и появлению цементного молока. Схема производства бетонных работ дана на стр. 19.
Монтаж сборных железобетонных конструкций
Установку фундаментных блоков необходимо выполнять
немедленно после приемки основания комиссией и подписания акта, разрешающего
приступать к устройству фундамента. Схемы установки фундаментных блоков даны на
стр. 20, 21.
Монтаж ленточных фундаментов выполняют в следующем порядке:
проверяют нивелиром правильность отметок дна траншей и
котлована;
производят разбивку осей фундамента;
производят разбивку углов и мест сопряжений фундамента;
устанавливают маячные блоки в местах пересечения стен
здания;
после инструментальной выверки положения маячных элементов
монтируют рядовые блоки.
Каждый ряд фундаментных блоков устанавливают с привязкой
швов, следя за правильностью закладки углов и расположением ряда относительно
оси.
По окончании монтажа фундаментных блоков выполняют
гидроизоляцию стен подвала горячим битумом.
По верху фундаментных блоков укладывают насухо слой
рубероида.
После выполнения обратной засыпки грунта монтируют панели
перекрытия над подвалом.
Панели чердачного перекрытия монтируют после
распалубки стен и набора бетоном необходимой прочности, устанавливаемой
строительной лабораторией.
Схема монтажа плит перекрытия дана на рис.11.
Схемы строповки сборных железобетонных конструкций даны на рис. 13.

Рис. 3
СПЕЦИФИКАЦИЯ ЭЛЕМЕНТОВ ОПалУБКИ
Таблица 3
|
Поз
|
Наименование
|
Марка
|
Количество
|
Масса, кг
|
|
единицы
|
общая
|
|
1
|
Щит
|
ЩМ 2,56×1,2
|
16
|
194,0
|
3104,0
|
|
2
|
Щит
|
ЩМ 2,56×0,9
|
8
|
155,6
|
1244,8
|
|
3
|
Щит
|
ЩМ 2,56×0,5
|
24
|
105,0
|
2520,0
|
|
4
|
Щит угловой
|
ЩУ 0,3×0,3
|
4
|
120,0
|
480,0
|
|
5
|
Уголок монтажный
|
УМ 2,56×0,12
|
4
|
18,6
|
74,4
|
|
6
|
Щит компенсатор
|
ЩК-2,56
|
8
|
35,5
|
284,0
|
|
7
|
Схватка
|
Сх-3,0
|
16
|
27,5
|
440,0
|
|
8
|
Схватка
|
Сх-2,4
|
12
|
22,0
|
264,0
|
|
9
|
Накладка
|
-
|
24
|
0,9
|
21,6
|
|
10
|
Кронштейн
|
-
|
20
|
16,0
|
320,0
|
|
11
|
Домкрат.
|
-
|
20
|
3,4
|
68,0
|
|
12
|
подкос
|
-
|
20
|
17,0
|
340,0
|
|
13
|
Стойка
|
-
|
20
|
5,7
|
114,0
|
|
14
|
Борт (L =
0,9 м)
|
-
|
4
|
9,1
|
36,6
|
|
15
|
Борт (L = 1,2
м)
|
-
|
8
|
12,1
|
96,8
|
|
16
|
Борт ((L = 0,5
м)
|
-
|
16
|
5,2
|
53,2
|
|
17
|
Стяжка
|
-
|
32
|
2,0
|
64,0
|
|
18
|
Гайка
|
-
|
64
|
0,3
|
19,2
|
|
19
|
Стержень
|
-
|
56
|
0,3
|
16,8
|
|
20
|
Стержень
|
-
|
138
|
0,63
|
86,9
|
|
21
|
Втулка
|
-
|
194
|
0,2
|
38,8
|
|
22
|
Клин
|
-
|
210
|
0,16
|
33,6
|
|
23
|
Болт
|
-
|
70
|
0,5
|
35,0
|
|
24
|
Шайба.
|
-
|
134
|
0,18
|
24,1
|
|
25
|
Настил дощатый
|
-
|
19 м2
|
-
|
503,3
|
|
26
|
Добор настила
|
-
|
1,6 м2
|
-
|
42,4
|
|
27
|
Внутренний короб
проемообразователя
|
|
3
|
110,0
|
330,0
|
|
28
|
Наружный короб
проемообразователя
СТАНДАРТНЫЕ ИЗДЕЛИЯ
|
|
3
|
70,0
|
210,0
|
|
|
Болт
|
М16×50.58.096 ГОСТ
7798-70х
|
80
|
0,11
|
8,8
|
|
|
Гайка
|
М16.5.096 ГОСТ
5915-70х
|
128
|
0,03
|
3,84
|
|
|
Гайка
|
М20.5.096 ГОСТ
5915-70х
|
70
|
0,08
|
5,6
|
|
|
Шайба
|
16.01.096 ГОСТ II371-78х
|
128
|
0,01
|
1,28
|
|
|
Болт
|
М16×65.58.096 ГОСТ
7798-70х
|
48
|
0,13
|
6,24
|
|
|
Итого
|
|
|
|
10891,26
|

Рис. 4

Рис. 5

Рис. 6

Рис. 7
СПЕЦИФИКАЦИЯ УКРУПНЕННЫХ ОПАЛУБОЧНЫХ ПАНЕЛЕЙ
Таблица 4
|
Поз.
|
Наименование
|
Марка
|
Количество
|
Масса, кг
|
Назначение
|
|
|
|
единицы
|
общая
|
|
|
Панель наружная
|
ПН-1
|
2
|
1074,54
|
2143,08
|
-
|
|
1
|
Щит
|
ЩМ 2,56×1,2
|
1
|
194,0
|
194,0
|
-
|
|
2
|
Щит
|
ЩМ 2,56×0,9
|
1
|
155,6
|
155,6
|
-
|
|
3
|
Щит
|
ЩМ 2,56×0,5
|
4
|
105,0
|
420,0
|
-
|
|
6
|
Щит-компенсатор
|
ЩК-2,56
|
1
|
35,5
|
35,5
|
-
|
|
8
|
Схватка
|
Сх-2,4
|
4
|
22,0
|
88,0
|
-
|
|
9
|
Накладка
|
-
|
4
|
0,9
|
3,6
|
Для сращивания схваток
|
|
10
|
Кронштейн
|
-
|
2
|
16,0
|
32,0
|
-
|
|
11
|
Домкрат
|
-
|
2
|
3,9
|
7,8
|
-
|
|
12
|
Подкос
|
-
|
4
|
17,0
|
68,0
|
-
|
|
14
|
Борт(L = 0,9
м)
|
|
1
|
9,1
|
9,1
|
Для наращивания наружных
щитов опалубки на 100 мм
|
|
15
|
Борт (L = 1,2
м)
|
-
|
1
|
12,1
|
12,1
|
То же
|
|
16
|
Борт (L =
0,5 м)
|
-
|
4
|
5,2
|
20,8
|
-«-
|
|
19
|
Стержень
|
-
|
12
|
0,3
|
3,6
|
Для соединения щитов с
бортом
|
|
20
|
Стержень
|
-
|
12
|
0,63
|
7,56
|
Для соединения щитов
|
|
21
|
Втулка
|
-
|
12
|
0,2
|
2,4
|
То же
|
|
22
|
Клин
|
-
|
26
|
0,16
|
4,16
|
-«-
|
|
23
|
Болт
|
-
|
8
|
0,5
|
4,0
|
Для соединения щитов со
схваткой
|
|
24
|
Шайба
|
-
|
8
|
0,18
|
1,44
|
То же
|
|
|
Гайка
|
М20.5.096 ГОСТ
5915-70*
|
16
|
0,06
|
0,96
|
-«-
|
|
|
Болт
|
М16×50.58. 096, ГОСТ
7798-70*
|
12
|
0,11
|
1,32
|
Для крепления подкоса и
кронштейна
|
|
|
Гайка
|
М16.5.096 ГОСТ
5915-70*
|
12
|
0,03
|
0,36
|
То же
|
|
|
Шайба
|
16.01.096 ГОСТ 11371-78*
|
20
|
0,01
|
0,2
|
-«-
|
|
|
Болт
|
М16×65.58. 096, ГОСТ
7798-70*
|
8
|
0,13
|
1,04
|
Для сращивания схваток
|
|
|
Панель наружная
|
ПН-2
|
2
|
1306,54
|
2613,08
|
-
|
|
I
|
Щит
|
ЩМ
2,56×1,2
|
2
|
194,0
|
582,0
|
-
|
|
2
|
Щит
|
ЩМ
2,56×0,9
|
I
|
155,6
|
155,6
|
-
|
|
3
|
Щит
|
ЩМ 2,56×0,5
|
2
|
105,0
|
210,0
|
-
|
|
6
|
Щит-компенсатор
|
ЩК-2,56
|
I
|
35,5
|
35,5
|
-
|
|
7
|
Схватка
|
Сх-3,0
|
4
|
27,5
|
110,0
|
-
|
|
9
|
Накладка
|
-
|
4
|
0,9
|
3,6
|
Для сращивания схваток
|
|
10
|
Кронштейн
|
-
|
3
|
16,0
|
48,0
|
-
|
|
II
|
Домкрат
|
-
|
3
|
3,9
|
11,7
|
-
|
|
12
|
Подкос
|
-
|
4
|
17,0
|
68,0
|
-
|
|
14
|
Борт L = 0,9
м)
|
|
1
|
9,1
|
9,1
|
Для наращивания наружных щитов
опалубки на 100 мм
|
|
15
|
Борт (L = 1,2
м)
|
-
|
3
|
12,1
|
36,3
|
То же
|
|
16
|
Борт (L = 0,5
м)
|
-
|
2
|
5,2
|
10,4
|
-«-
|
|
19
|
Стержень
|
-
|
12
|
0,3
|
3,6
|
Для соединения щитов с
бортом
|
|
20
|
Стержень
|
-
|
12
|
0,63
|
7,56
|
Для соединения щитов
|
|
21
|
Втулка
|
-
|
12
|
0,2
|
2,4
|
То же
|
|
22
|
Клин
|
-
|
26
|
0,16
|
4,16
|
-«-
|
|
23
|
Болт
|
-
|
8
|
0,5
|
4,0
|
Для соединения щитов со
схваткой
|
|
24
|
Шайба
|
-
|
8
|
0,18
|
1,44
|
То же
|
|
|
Гайка
|
М20.5.096 ГОСТ
5915-70*
|
16
|
0,08
|
0,96
|
-«-
|
|
|
Болт
|
М16×50.58. 096, ГОСТ
7798-70*
|
14
|
0,11
|
1,54
|
Для крепления подкоса и
кронштейна
|
|
|
Гайка
|
М16.5.096 ГОСТ
5915-70*
|
14
|
0,03
|
0,42
|
То же
|
|
|
Шайба
|
16.01.096 ГОСТ 11371-78*
|
22
|
0,01
|
0,22
|
-«-
|
|
|
Болт
|
М16×65.58. 096, ГОСТ
7798-70*
|
8
|
0,13
|
1,04
|
Для сращивания схваток
|
|
|
Панель внутренняя
|
ПВ-1
|
2
|
560,9
|
1121,8
|
-
|
|
I
|
Щит
|
ЩМ
2,56×1,2
|
1
|
194,0
|
194,0
|
-
|
|
2
|
Щит
|
ЩМ 2,56×0,9
|
1
|
155,6
|
155,6
|
-
|
|
3
|
Щит
|
ЩМ 2,56×0,5
|
1
|
105,0
|
105,0
|
-
|
|
7
|
Схватка
|
Сх-3,0
|
2
|
27,5
|
55,0
|
-
|
|
10
|
Кронштейн
|
-
|
2
|
16,8
|
32,8
|
-
|
|
11
|
Домкрат
|
-
|
2
|
3,9
|
7,8
|
-
|
|
20
|
Стержень
|
-
|
6
|
0,63
|
3,78
|
Для соединения щитов
|
|
21
|
Втулка
|
-
|
6
|
0,2
|
1,2
|
То же
|
|
22
|
Клин
|
-
|
6
|
0,16
|
0,96
|
-«-
|
|
23
|
Болт
|
-
|
4
|
0,5
|
2,0
|
Для соединения щитов со
схваткой
|
|
24
|
Шайба
|
-
|
4
|
0,18
|
0,72
|
То же
|
|
|
Гайка
|
М20.5.096 ГОСТ
5915-70*
|
4
|
0,06
|
0,24
|
-«-
|
|
|
Болт
|
М16×50.58. 096, ГОСТ
7798-70*
|
4
|
0,11
|
0,44
|
Для крепления подкоса и
кронштейна
|
|
|
Гайка
|
М16.5.096 ГОСТ
5915-70*
|
4
|
0,03
|
0,12
|
То же
|
|
|
Шайба
|
16.01.096 ГОСТ 11371-78*
|
4
|
0,01
|
0,04
|
-
|
|
|
Панель внутренняя
|
ПВ-2
|
2
|
956,4
|
1912,8
|
-
|
|
1
|
Щит
|
ШМ 2,56×1,2
|
3
|
194,0
|
582,0
|
-
|
|
3
|
Щит
|
ЩМ 2,56×0,5
|
2
|
105,0
|
210,0
|
-
|
|
7
|
Схватка
|
Сх-3,0
|
2
|
27,5
|
55,0
|
-
|
|
8
|
Схватка
|
Сх-2,4
|
2
|
22,0
|
44,0
|
-
|
|
9
|
Накладка
|
-
|
4
|
0,9
|
3,6
|
Для сращивания схваток
|
|
10
|
Кронштейн
|
-
|
2
|
16,0
|
32,0
|
-
|
|
11
|
Домкрат
|
-
|
2
|
3,9
|
7,8
|
-
|
|
20
|
Стержень
|
-
|
12
|
0,63
|
7,56
|
Для соединения щитов
|
|
21
|
Втулка
|
-
|
12
|
0,2
|
2,4
|
То же
|
|
22
|
Клин
|
-
|
12
|
0,16
|
1,92
|
-«-
|
|
23
|
Болт
|
-
|
8
|
0,5
|
4,0
|
Для соединения щитов со
схваткой
|
|
24
|
Шайба
|
-
|
8
|
0,18
|
1,44
|
То же
|
|
|
Гайка
|
М20.5.096 ГОСТ
5915-70*
|
16
|
0,06
|
0,96
|
-«-
|
|
|
Болт
|
М16×50.58. 096. ГОСТ
7798-70*
|
4
|
0,11
|
0,44
|
Для крепления подкоса и
кронштейна
|
|
|
Гайка
|
М16.5.096 ГОСТ
5915-70*
|
4
|
0,03
|
0,12
|
То же
|
|
|
Шайба
|
16.01.096 ГОСТ 11371-78*
|
12
|
0,01
|
0,12
|
-«-
|
|
|
Болт
|
МГ6×65.58. 098, ГОСТ
7798-70*
|
8
|
0,13
|
1,04
|
Для сращивания схваток
|

Рис. 8

Рис. 9

Рис. 10

Рис. 11

Рис. 12

Рис. 13
Операционный контроль качества должен осуществляться в ходе
выполнения строительных процессов и обеспечивать своевременное выявление
дефектов и принятие мер по их устранению и предупреждению.
При операционном контроле следует проверять соблюдение
технологии выполнения строительно-монтажных процессов; соответствие выполняемых
работ рабочим чертежам, строительным нормам, правилам и стандартам. Результаты
операционного контроля должны фиксироваться в журнале работ. Схема
операционного контроля качества работ приведена в табл. 5.
Таблица 5
|
Наименование процессов,
подлежащих контролю
|
Предмет контроля
|
Инструмент и способ
контроля
|
Периодичность контроля
|
Ответственный за контроль
|
Технические критерии
оценки качества
|
|
Разработка грунта
|
Отклонение отметок дна
котлована и траншей от проектных
|
Нивелир, линейка
измерительная
|
После выполнения работ
|
Мастер
|
Допускаемое отклонение
более 5 см
|
|
Монтаж фундаментных блоков
|
Отклонение от совмещения установочных
ориентиров фундаментных блоков с рисками разбивочных осей
|
То же
|
В процессе работ
|
Производитель работ
|
Допускаемое отклонение
12 мм
|
|
Монтаж опалубки
|
Точность установки
опалубки:
для конструкций, готовых
под окраску без шпатлевки;
|
Линейка
|
То же
|
Мастер
|
Перепады поверхностей, в
том числе стыковых, не более 2 мм
|
|
|
для конструкций, готовых
под оклейку обоями
|
То же
|
-«-
|
То же
|
То же, не более I мм
|
|
|
Прогиб собранной опалубки;
вертикальных поверхностей
|
Нивелир, линейка
измерительная
|
-«-
|
-«-
|
1/400 пролета
|
|
Монтаж арматуры
|
Отклонения в расстоянии
между отдельно установленными рабочими стержнями
|
Линейка измерительная
|
-«-
|
-«-
|
Допускаемое отклонение ±20
мм
|
|
Монтаж арматуры
|
Отклонение от проектной
толщины защитного слоя бетона
|
Линейка измерительная
|
В процессе работ
|
Мастер
|
Соответствие требованиям СНиП 3.03.01-87
|
|
Укладка бетонной смеси
|
Толщина укладываемых слоев
|
То же
|
То же
|
То же
|
Допускаемая толщина
укладываемых слоев при уплотнении ручными глубинными вибраторами не должна
превышать 1/25 длины рабочей части вибратора
|
|
Распалубливание
конструкций
|
Проверка соблюдения сроков
распалубливания
|
Испытания по ГОСТ
10180-78*; 18105-86*
|
По окончании работ
|
Производитель работ,
строительная лаборатория
|
Соответствие требованиям СНиП 3.03.01-87
|
|
Приемка бетонных
конструкций
|
Отклонение линий
плоскостей пересечения от вертикали для стен
|
Линейка измерительная
|
То же
|
Производитель работ
|
Допускаемое отклонение 10
мм
|
|
|
Местные неровности
поверхности бетона
|
Двухметровая рейка
|
-«-
|
То же
|
Допускаемые неровности 5
мм
|
|
|
Размер поперечного сечения
|
Линейка измерительная
|
-«-
|
-«-
|
Допускаемые отклонения ±6
мм; -3 мм
|
|
|
Отметки
поверхностей, служащих опорами для сборных железобетонных элементов
|
Нивелир
|
-«-
|
-«-
|
Допускаемые отклонения 5
мм
|
Таблица 6
|
Наименование
процесса
|
Номер фасета для пересчета
показателей
|
Единица измерения
|
Объем работ
|
Обоснование (ЕНиР и др.
нормы)
|
Норма времени
|
Расценка, руб.-коп,
|
Затраты труда
|
Заработная плата,
руб.-коп.
|
Время пребывания машины на
объекте, маш.-ч
|
Заработная плата машиниста
с учетом пребывания машины на объекте, руб.-коп.
|
|
|
|
рабочих, чел.-ч
|
Машиниста,
чел.-ч маш.-ч
|
Рабочих
|
Машиниста
|
рабочих, чел.-ч
|
Машиниста, чел.-ч маш.-ч
|
|
|
|
Рабочих
|
Машиниста
|
|
|
|
ЗЕМЛЯНЫЕ РАБОТЫ
|
|
|
|
Срезка грунта
растительного слоя толщиной 0,15 м бульдозером ДЗ-110В с перемещением в отвал
|
02
|
1000м2
|
0,0457
|
ЕНиР, 1987 г. § Е2-1-5, п.
3а
|
-
|
0,66 (0,66)
|
-
|
0-70
|
-
|
0,03,
(0,03)
|
-
|
0-03
|
0,3
|
0-03
|
|
|
|
Разработка грунта II
группы в траншее экскаватором ЭО-2621В обратная лопата с ковшом 0,25 м3
с погрузкой в автосамосвалы
|
03
|
100 м3
|
0,101
|
ЕНиР, 1987 г. § Е2-1-13,
табл. 5, п. 16
|
-
|
5,3 (5,3)
|
-
|
4-82
|
-
|
0,54 (0,54)
|
-
|
0-49
|
0,54
|
0-49
|
|
|
|
Разработка грунта II
группы в котловане экскаватором ЭО-2621В обратная лопата с ковшом 0,25 м3
с погрузкой в автосамосвалы
|
04
|
100 м3
|
0,32
|
ЕНиР, 1987 г. § Е2-1-П,
табл. 7, п. 16
|
-
|
5,9 (5,9)
|
-
|
5-37
|
-
|
1,89 (1,89)
|
|
1-72
|
1,89
|
1-72
|
|
|
|
Зачистка вручную до
проектной отметки дна траншеи и котлована под фундаменты
|
05
|
100 м2
|
0,144
|
ЕНиР, 1987 г. § Е2-1-60,
п. 5б
|
16,5
|
-
|
11-55
|
-
|
2,38
|
-
|
1-66
|
-
|
-
|
-
|
|
|
|
Транспортирование грунта II
группы автосамосвалами ЗИЛ-ММЗ-555 на расстояние 3 км
|
-
|
т
|
74,0
|
Часовые тарифные ставки
для шоферов грузовых автомобилей. Постановление ВЦСПС № 115,1986 г.
|
-
|
-
|
-
|
-
|
-
|
7,29 (7,29)
|
-
|
5-47
|
7,29
|
5-47
|
|
|
|
Подвозка песка автосамосвалами
ЗИЛ-ММЗ-555
|
-
|
т
|
21,5
|
То же
|
-
|
-
|
-
|
-
|
-
|
2,0
(2,0)
|
-
|
1-50
|
2,0
|
1-50
|
|
|
|
Подсыпка песка слоем 0,2 м
под стеновые блоки и пол подвала вручную
|
-
|
м3
|
5,2
|
ЕНиР, 1987 Г. § Е2-1-58,
табл. 2, п. 4а
|
0,5
|
-
|
0-30,8
|
-
|
2,6
|
-
|
1-60
|
-
|
-
|
-
|
|
|
|
Разравнивание песка с поливкой
водой под стеновые блоки вручную
|
-
|
100 м2
|
0,2
|
ЕниР, 1987 г. § Е2-1-60,
п. 8а
|
3,5
|
-
|
2-24
|
-
|
0,7
|
-
|
0-45
|
-
|
-
|
-
|
|
|
|
Обратная засыпка пазух
песком с поливкой водой
|
-
|
м3
|
8,2
|
ЕНиР, 1987 г.
§ Е2-1-58,
табл. 1 п. 4а
|
0,5
|
-
|
0-30,8
|
-
|
4,1
|
-
|
2-53
|
-
|
-
|
-
|
|
|
|
Итого
|
|
|
|
|
|
|
|
|
9,78
|
11,75
(11,75)
|
6-24
|
9-21
|
11,75
|
9-21
|
|
|
|
УСТРОЙСТВО ФУНДАМЕНТОВ
|
|
|
|
|
|
|
|
|
|
|
|
|
|
|
|
|
|
|
|
|
|
Разгрузка фундаментных
блоков автокраном КС-3571 (10 т) ФБС 24.4.6 (12 шт.)
|
06
|
100 т
|
0,156
|
ЕНиР, 1987 г. § Е1-5,
табл. 2, п. 3а, б
К = 0,86(к расценке
машиниста)
|
8,8
|
4,4 (4,4)
|
5-63
|
4-25
1,37
|
|
0,69
(0,69)
|
0-88
|
0-66
|
0,69
|
0-66
|
|
|
|
ФБС 9.4.6 (35 шт.)
|
01
|
100 т
|
0,165
|
То же, п. 1а, б
|
22,0
|
11,0 (11,0)
|
14-09
|
10-03
|
3,63
|
1,82 (1)82)
|
2-32
|
1-65
|
1,82
|
1-65
|
|
|
|
Остановка фундаментных
блоков
|
07
|
1 блок
|
12
|
ЕНиР, 1987 г. § Е4-1-3,
табл. 2, п.3
|
0,66
|
0,22 (0,22)
|
0-46,9
|
0-233
|
7,92
|
2,64
(2,64)
|
5-63
|
2-80
|
2,64
|
2-80
|
|
|
|
|
01
|
1 блок
|
35
|
То же, п.I
|
0,33
|
0,11 (0,11)
|
0-23,4
|
0-11,7
|
11,55
|
3,85
(3,85)
|
8-19
|
4-10
|
3,85
|
4-10
|
|
|
|
Устройство доборов из
кирпича на растворе
|
-
|
м3
|
4,7
|
ЕНиР, 1987 г. § Е4-1-3
Примечание 2
|
0,12
|
|
0-09,5
|
|
0,56
|
|
0-45
|
|
|
|
|
|
|
Наружная обмазочная
гидроизоляция стен подвала за два раза горячим битумом
|
|
|
|
ЕНиР, 1988 г. § Е 11-37
|
|
|
|
|
|
|
|
|
|
|
|
|
|
I слой
|
-
|
100 м2
|
0,3
|
п. 4а
|
6,0
|
-
|
4-29
|
-
|
1,8
|
-
|
1-29
|
-
|
-
|
-
|
|
|
|
2 слой
|
-
|
100 м2
|
0,3
|
То же, К = 0,85
|
5,1
|
-
|
3-65
|
-
|
1,53
|
-
|
1-09
|
|
-
|
-
|
|
|
|
Устройство гидроизоляции
из рубероида по верху фундаментных блоков
|
|
100 м
|
0,26
|
ЕНиР, 1988 г. § Е11-40,
п.2а
|
10,5
|
|
7-46
|
|
2,73
|
|
1-94
|
|
|
|
|
|
|
Разогрев битума
|
-
|
т
|
0,12
|
ЕниР, 1988 г. § Е 11-50,
п.3а
|
14,0
|
-
|
9-38
|
-
|
1,68
|
-
|
1-13
|
-
|
-
|
-
|
|
|
|
Итого
|
32,77
|
9,00 (9,00)
|
22-92
|
9-21
|
9,00
|
9,21
|
|
|
|
УСТРОЙСТВО СТЕН
|
|
|
|
Вспомогательные работы
|
|
|
|
|
Разгрузка элементов
опалубки с автотранспорта
|
08,01
|
100 т
|
0,109
|
ЕНиР, 1987 г. § Е1-5, табл.
2, п.1а б; К = 0,86 (к расценке машиниста)
|
22,0
|
11,0 (11,0)
|
14-09
|
10-03
|
2,40
|
1,20 (1,20)
|
1-54
|
1-09
|
1,20
|
1-09
|
|
|
|
Сортировка и подача
конструкции к месту укрупнительной сборки с помощью крана
|
-
|
т
|
9,78
|
ЕНиР, 1987 г. § Е5-1-1, п.
1, 2
|
0,65
|
0,32 (0,32)
|
0-48,4
|
0-33,9
|
6,36
|
3,13 (3,13)
|
4-73
|
3-32
|
3,13
|
3-32
|
|
|
|
Укрупнительная сборка
панелей опалубки
|
|
м2
|
88,77
|
ЕНиР, 1987 г. § Е4-1-40,
п. 1 (применительно)
|
0,38
|
0,19 (0,19)
|
0-28,3
|
0-20,1
|
33,73
|
16,87 (16,87)
|
25-12
|
30-71
|
16,87
|
30-71
|
|
|
|
Итого
|
42,49
|
21,20 (21,20)
|
31-39
|
35-12
|
21,20
|
35-12
|
|
|
|
Монтаж опалубки
|
|
|
|
|
Подача элементов опалубки
к месту монтажа
|
09 01
|
100 т
|
0,109
|
ЕНиР, 1987 г. § Е1-6,
табл. 2, п. 19а, б. К = 0,86(к расценке машиниста)
|
11,0
|
5,4 (5,4)
|
7-04
|
4-92
|
1,20
|
0,59 (0,59)
|
0-77
|
0-54
|
0,59
|
0-54
|
|
|
|
Монтаж укрупненных панелей
|
10 01
|
м2
|
88,77
|
ЕНиР, 1987 г. § Е4-1-37,
табл. 4, п. 2а
|
0,24
|
0,08 (0,08)
|
0-17,5
|
0-085
|
21,30
|
7,10 (7,10)
|
15-53
|
7-55
|
7,10
|
7-55
|
|
|
|
Монтаж отдельных щитов
|
|
м2
|
21,19
|
Местная норма НИС треста
"Мослифтмонтаж"
|
0,4
|
0,12 (0,12)
|
0-29,2
|
0-10,9
|
8,48
|
2,54
(2,54)
|
6-19
|
2-31
|
2,54
|
2-31
|
|
|
|
Монтаж проемообразователей
|
-
|
шт.
|
3
|
То же
|
0,30
|
0,26 (0,26)
|
0-22,4
|
0-23,7
|
0,90
|
0,78 (0,78)
|
0-67
|
0-71
|
0,78
|
0-71
|
|
|
|
Установка подставок под
домкраты
|
|
шт.
|
10
|
ЕНиР, 1987 г. § Е4-1-1,
табл. 2, п. 1а, б
|
0,51
|
0,17 (0,17)
|
0-36 ,2
|
0-18
|
5,10
|
1,70 (1,70)
|
3-62
|
1-80
|
1,7
|
1-80
|
|
|
|
Установка рабочего настила
|
|
м2
|
20,5
|
ЕНиР, 1987 г. § Е6-52. п.3
(применительно)
|
0,06
|
-
|
0-04
|
|
1,23
|
-
|
0-82
|
-
|
-
|
-
|
|
|
|
Итого
|
38,21
|
12,71 (12,71)
|
27-60
|
12-91
|
12,71
|
12-91
|
|
|
|
Демонтаж опалубки
|
|
|
|
Снятие рабочего настила
|
|
м2
|
20,5
|
ЕНиР, 1987 г. § Е6-52, п.3.
К = 0,5 (применительно)
|
0,03
|
|
0-02
|
|
0,61
|
|
0-41
|
-
|
-
|
-
|
|
|
|
Демонтаж панелей опалубки
|
11
01
|
м2
|
88,77
|
ЕНиР, 1987 г. § Е4-1-37.
табл. 4, п.2б
|
0,14
|
0,05 (0,05)
|
0-09,2
|
0-05,3
|
12,43
|
4,44, (4.44)
|
8-17
|
4-70
|
4,44
|
4-70
|
|
|
|
Демонтаж отдельных щитов
|
|
м2
|
21,19
|
Местная норма НИС треста
"Мослифтмонтаж"
|
0,2
|
0,06 (0,06)
|
0-14,6
|
0-04,3
|
4,24
|
1,27
(1.27)
|
3-09
|
0-91
|
1,27
|
0-91
|
|
|
|
Демонтаж
проемообразователей
|
-
|
шт.
|
3
|
То же
|
0,236
|
0,186 (0,186)
|
0-17,6
|
0-16,9
|
0,71
|
0,56
(0,56)
|
0-53
|
0-51
|
0,56
|
0-51
|
|
|
|
Демонтаж подставок под
домкраты
|
|
100 т
|
0,047
|
ЕНиР, 1987 г. 9Е1-6, табл.
2, л. 17а, б. К = 0,86(к расценке машиниста)
|
23,0
|
11,5 (11,5)
|
14-72
|
10-48
|
1,08
|
0,54
(0,54)
|
0-69
|
0-49
|
0,54
|
0-49
|
|
|
|
Подача элементов на
площадку складирования
|
09
01
|
100 т
|
0,109
|
ЕНиР, 1987 г. § Е1-6, табл.
2, п. 19а, б, К = 0,86(к расценке машиниста)
|
11,0
|
5,4 (514)
|
7-04
|
4-92
|
1,20
|
0,59
(0,59)
|
0-77
|
0-54
|
0,59
|
0-54
|
|
|
|
Итого
|
20,27
|
7,40 (7,40)
|
13-66
|
7-15
|
7,40
|
7-15
|
|
|
|
Установка арматуры
|
|
|
|
Разгрузка арматурных
каркасов с автотранспорта вручную
|
-
|
т
|
0,126
|
ЕНиР, 1987 г. § Е1-22, п.1б
|
0,44
|
-
|
0-26
|
-
|
0,06
|
-
|
0-03
|
-
|
-
|
-
|
|
|
|
Подача арматурных каркасов
к месту установки вручную
|
-
|
т
|
0,126
|
ЕНиР, 1987 г. § Е1-19, п.2а
|
1,2
|
-
|
0-70,8
|
-
|
0,15
|
-
|
0-09
|
-
|
-
|
-
|
|
|
|
Остановка арматурных
каркасов
|
|
1 каркас
|
28
|
ЕНиР, 1987 г. § Е4-1-44,
табл. 2, п.а (примечание)
|
0,28
|
|
0-18,5
|
|
7,84
|
|
5-18
|
|
|
|
|
|
|
Установка отдельных
стержней
|
13
|
т
|
0,003
|
ЕНиР, 1987 г.
§ Е4-1-46, п.10а
|
35,5
|
-
|
27-51
|
-
|
0,11
|
-
|
0-08
|
-
|
-
|
-
|
|
|
|
Итого
|
8,16
|
|
5-38
|
|
|
|
|
|
|
Бетонирование стен
|
|
|
|
|
|
|
|
|
|
|
|
|
|
|
|
|
|
Прием бетонной смеси из
автосамосвала
|
-
|
м3
|
10,0
|
ЕНиР, 1987 г. § Е4-1-48,
табл. 3
|
0,11
|
-
|
0-07
|
-
|
1,10
|
--
|
0-70
|
-
|
-
|
-
|
|
|
|
Подача бетонной смеси на
место укладки в бункерах
|
14
01
|
м3
|
10,0
|
ЕНиР, 1987 г.
табл. 2, л. 16а, б
|
0,29
|
0,145 (0,145)
|
0-18,6
|
0-15,4
|
2,90
|
1,45 (1,45)
|
1-86
|
1-54
|
1,45
|
1-54
|
|
|
|
Укладка бетонной смеси
|
15
|
м3
|
10,0
|
ЕНиР, 1987 г. § Е4-1-49,
табл. 3, п. 1в
|
1,60
|
-
|
1-14
|
-
|
16,0
|
-
|
11-40
|
-
|
-
|
-
|
|
|
|
Итого
|
20,00
|
1,45
(1,45)
|
13-96
|
1,54
|
1,45
|
1,54
|
|
|
|
МОНТАЖ ПЛИТ ПЕРЕКРЫТИЯ
|
|
|
|
Разгрузка плит перекрытия
|
16
01
|
100 т
|
0,13
|
ЕНиР, 1987 г. § Е1-5.
табл. 2, п. 7а, б (к расценке машиниста) К = 0,86
|
4,2
|
2,1
(2,1)
|
2-69
|
1-92
|
0,55
|
0,27
(0,27)
|
0-35
|
0-25
|
0,27
|
0-25
|
|
|
|
Укладка плит перекрытия
Заливка швов плит
перекрытия
|
17 01
|
1 элемент
|
4
|
ЕНиР, 1987 г. § Е4-1-7, п.
4а, б
|
0,88
|
0,22
(0,22)
|
0-62,3
|
0-23,3
|
3,52
|
0,88
(0,88)
|
2-49
|
0-93
|
0,88
|
0-93
|
|
|
|
|
|
100 м шва
|
0,084
|
ЕНиР, 1987 г.
§ Е4-1-26, примечание
|
4,3
|
-
|
3-40
|
-
|
0,36
|
-
|
0-28
|
-
|
-
|
-
|
|
|
|
Итого
|
4,43
|
1,15
(1,15)
|
3-12
|
1-18
|
1,15
|
1-18
|
|
|
|
Неучтенные работы
|
-
|
-
|
-
|
-
|
-
|
-
|
-
|
-
|
17,61
|
6,47
(6,47)
|
12-43
|
7-63
|
6,47
|
7-63
|
|
|
|
ВСЕГО
|
193,72
|
71,13 (71,13)
|
136-70
|
83-95
|
71,13
|
83-95
|
|
|
Таблица 7



Потребность в машинах, механизмах, инструментах, инвентаре и
приспособлениях приведена в табл. 8.
Таблица 8
|
Наименование
|
Марка,
техническая характеристика, ГОСТ
|
Количество
|
Назначение
|
|
Экскаватор
|
ЭО-2621В
|
1
|
Разработка
грунта
|
|
Бульдозер
|
ДЗ-110В
|
1
|
Планировка
площадки
|
|
Нивелир
|
Н-10,
ГОСТ 10528-76*
|
1
|
Разбивка
осей, контрольно-измерительные работы
|
|
Кран
автомобильный
|
КС-3571,
грузоподъемность 10 т
|
1
|
Для
монтажных работ
|
|
Строп
четырехветвевой
|
4СК2-5.0,
ГОСТ
25573-82*
|
1
|
Подъем
элементов
|
|
Автосамосвал
|
ЗИЛ-ММЗ-555
|
2
|
Доставка
грузов
|
|
Кельма
|
ГОСТ
9533-81
|
1
|
Разравнивание
раствора
|
|
Отвес
стальной строительный
|
ГОСТ
7948-80
|
1
|
Выверка
вертикальности
|
|
Лопата
растворная
|
ГОСТ
3620-76
|
1
|
Подача
раствора к месту укладки
|
|
Лом
монтажный
|
ГОСТ
1405-83
|
1
|
Рихтовка
элементов
|
|
Молоток
слесарный
|
ГОСТ
2310-77*Е
|
1
|
Очистка
мест сварки
|
|
Кувалда
кузнечная
|
ГОСТ
11402-75*
|
1
|
Подгибание
монтажных петель
|
|
Уровень
строительный
|
ГОСТ
7502-80*
|
1
|
Измерение
элементов и разбивка осей
|
|
Емкость
для раствора вместимостью 0,35 м3
Зубило
слесарное
|
-
ГОСТ
7211-86*Е
|
1
1
|
Подача
раствора к месту работ
Срезка
неровностей
|
|
Скарпель
для каменных и бетонных работ
|
ТУ
22-5735-84
|
1
|
Для
пробивки отверстий
|
|
Молоток
стальной строительный
|
МКУ-2,
ГОСТ 11042-83
|
1
|
Для
плотничных работ
|
|
Угольник
металлический для каменных работ
|
ТУ
22-3949-77
|
1
|
Для
проверки углов
|
|
Нож
для резки рулонного, материала
|
ГОСТ
18975-86
|
1
|
-
|
|
Щетка
кровельная
|
-
|
1
|
Нанесение
мастики
|
|
Каска
строительная
|
ГОСТ
12.4.087-84
|
8
|
Техника
безопасности
|
|
Бачок
для битума
|
-
|
2
|
-
|
|
Метр
складной металлический
|
ГОСТ
427-75*
|
1
|
Измерение
элементов
|
|
Дрель
универсальная
|
ИЭ-1035
|
1
|
Для
сверления отверстий
|
|
Краскораспылитель
|
СО-71Б
|
1
|
Смазка
опалубки
|
|
Компрессор
|
СО-45Б
|
1
|
Подача
сжатого воздуха
|
|
Скребок
|
-
|
1
|
Для
очистки опалубки
|
|
Щетка
металлическая
|
-
|
1
|
Очистка
поверхностей опалубки и арматуры
|
|
Ключи
гаечные
|
ГОСТ
2839-80*Е
|
1
компл.
|
Для
монтажных работ
|
|
Плоскогубцы
|
ГОСТ
5547-86*Е
|
1
|
Для
арматурных работ
|
|
Ножницы
|
ГОСТ
7210-75*Е
|
1
|
Для
изоляционных работ
|
|
Электрододержатель
|
ГОСТ
14651-78*Е
|
1
|
Сварочные
работы
|
|
Щиток
сварщика
|
ГОСТ
12.4.023-84*
|
1
|
То
же
|
|
Рукавицы
специальные
|
ГОСТ
12.4.010-75*
|
8
|
Для
защиты рук
|
|
Валик
малярный
|
ГОСТ
10831-87
|
1
|
Смазка
опалубки
|
|
Кусачки
торцовые
|
ГОСТ
7282-75*Е
|
1
|
Для
арматурных работ
|
|
Напильник
плоский тупоносый
|
ГОСТ
1465-80*
|
1
|
Зачистка
кромок
|
|
Крючок
такелажный
|
-
|
1
|
Для
такелажных работ
|
|
Штангенциркуль
|
ГОСТ
166-80*
|
1
|
Измерение
линейных размеров
|
|
Струбцина
|
РЧ
№ 4625, трест
"Мосоргстрой"
|
4
|
Временное
закрепление панелей
|
|
Бункер
|
БН-1,0,
вместимость 1,0 м3
|
3
|
Подача
бетона
|
|
Вибратор
глубинный
|
ИВ-117
|
2
|
Уплотнение
бетонной смеси
|
|
Шуровка
металлическая
|
-
|
1
|
То
же
|
Потребность в материалах и
полуфабрикатах для выполнения работ по возведению монолитного дачного домика
приведена в таблице 9.
Таблица 9
|
Наименование материала,
полуфабриката, конструкций (марка, ГОСТ)
|
Вариант (фасет-код)
|
Исходные
данные
|
Потребное
количество
|
|
единица
измерения по нормам (чертежам)
|
объем
работ в нормативных единицах
|
принятая
норма расхода материалов на единицу измерения
|
|
Гравий
|
-
|
100
м2 дороги
|
0,665
|
24,06
м3
|
16
м3
|
|
Блоки
фундаментные
|
|
|
|
|
|
|
ФБС
24.4.6
|
-
|
шт.
|
По
проекту
|
12
шт.
|
|
ФЕС
9.4.6
|
-
|
шт.
|
То
же
|
|
35
шт.
|
|
Мастика
битумная
|
-
|
1
м2 поверхности
|
30
|
3,3
|
99
кг
|
|
Рубероид
|
-
|
1
м2 поверхности
|
10,4
|
1,01
м3
|
10,5
м3
|
|
Опалубка
в комплекте
|
-
|
т
|
По
проекту
|
10
т
|
|
Плита
перекрытия
|
-
|
шт.
|
То
же
|
|
4
шт.
|
|
Бетон
|
-
|
1
м3 бетона
|
10
|
1,02
м3
|
18,36
м3
|
|
Песок
|
-
|
100
м2 дороги
|
0,665
|
19,03
м3
|
|
|
|
|
100
штук блоков;
размеры
блока:
2400×600×400,
|
0,12
|
9,55
м3
|
14,2
м3
|
|
|
|
1000×600×400
|
0,35
|
3,98
м3
|
|
|
Раствор
|
-
|
100
шт. блоков размеры блока:
2400×600×400
|
0,12
|
1,7
м3
|
|
|
|
|
1000×600×400
|
0,35
|
0,46
м3
|
1,5
м3
|
|
|
|
м3
кирпичной кладки
|
4,7
|
0,24
м3
|
|
|
Кирпич
|
-
|
м3
кладки
|
4,7
|
0,401
тыс. шт.
|
1,9
тыс. шт.
|
Все работы следует вести в строгом соответствии требованиям СНиП III-4-80 "Техника
безопасности в строительстве". Особое внимание необходимо обратить на
следующее:
погрузка грунта на автосамосвалы должна производиться со
стороны заднего или бокового борта;
способы строповки элементов конструкций должны обеспечивать
их подачу к месту установки в положении, близком к проектному;
элементы монтируемых конструкций во время перемещения должны
удерживаться от раскачивания и вращения гибкими оттяжками;
не допускается нахождение людей под монтируемыми элементами
конструкций до установки их в проектное положение и закрепления;
при перемещении конструкций расстояние между ними и
выступающими частями других конструкций должно быть по горизонтали не менее 1
м, по вертикали - 0,5 м;
монтаж и демонтаж опалубки может быть начат с разрешения технического
руководителя строительства и должен производиться под непосредственным
наблюдением специально назначенного лица технического персонала;
рабочий настил надлежит систематически очищать от остатков
бетона и мусора;
бункеры для бетонной смеси должны удовлетворять ГОСТ
21807-70;
перемещение загруженного или порожнего бункера разрешается
только при закрытом затворе;
не допускается использовать в работе битумные мастики
температурой выше 180°С;
горячий битум следует доставлять
к рабочим местам в металлических бачках, имеющих форму усеченного конуса,
обращенного широкой частью вниз, с плотно закрывающимися крышками.
8. ТЕХНИКО-ЭКОНОМИЧЕСКИЕ
ПОКАЗАТЕЛИ
|
Нормативные
затраты труда рабочих, чел.-день
|
32,30
|
|
|
Нормативные
затраты машинного времени, маш.-смен
|
8,67
|
|
|
Заработная
плата рабочих, р.-к.
|
136-70
|
|
|
Заработная
плата механизаторов, р.-к.
|
83-95
|
|
|
Продолжительность
выполнения работ, смена
|
11,62
|
|
|
Выработка
на одного рабочего в смену, м2/чел.-смену
|
0,85
|
|
|
Условные
затраты на механизацию, р.-к.
|
250-18
|
|
|
Сумма
изменяемых затрат, р.-к.
|
386-88
|
|
ФАСЕТ 01
Грузоподъемность крана
|
Наименование фактора
|
Обоснование
|
Код
|
Значение фактора
|
|
Кран-автомобильный
грузоподъемностью от 6,3 до 10т
|
ЕНиР, § Е1-4, табл. 2,
примечание
|
1
|
По калькуляции
|
|
Кран автомобильный
грузоподъемностью 10 т и более
|
То же
|
2
|
Расц. для машиниста умножать на 1,163
|
|
Кран автомобильный
грузопъемностыо до 6,3 т
|
-«-
|
3
|
Расц. для машиниста умножать на 0,872
|
ФАСЕТ 02
Срезка грунта растительного слоя
|
Наименование фактора
|
Обоснование
|
Код
|
Значение фактора
|
|
Бульдозер ДЗ-110В
|
ЕНиР, § Е2-1-5
|
1
|
По калькуляции
|
|
ДЗ-8
|
То же
|
2
|
Н.вр. и расц. умножать на 1,27
|
|
Д-259, ДЗ-18
|
-«-
|
3
|
Н.вр. и расц. умножать на 1,04
|
|
ДЗ-24, ДЗ-35С, ДЗ-9
|
-«-
|
4
|
Н.вр. и расц. умножать на 0,9
|
|
ДЗ-25, Д-290
|
-«-
|
5
|
Н.вр. и расц. умножать на 0,73
|
ФАСЕТ 03
Разработка грунта в траншее экскаватором
|
Наименование фактора
|
Обоснование
|
Код
|
Значение фактора
|
|
Вместимость ковша, м3:
|
|
|
|
|
0,25
|
ЕНиР, § Е2-1-13, табл. 5
|
1
|
По калькуляции
|
|
0,4
|
То же
|
2
|
Н.вр. и расц. умножать на 0,7
|
|
0,5
|
-«-
|
3
|
Н.вр. умножать на 0,6
Расц. умножать на 0,7
|
ФАСЕТ 04
Разработка грунта в котловане экскаватором
|
Наименование фактора
|
Обоснование
|
Код
|
Значение фактора
|
|
Вместимость ковша, м3:
0,25
|
ЕНиР, § Е2-1-11, табл. 7
|
1
|
По калькуляции
|
|
0,4
|
То же
|
2
|
Н.вр. и расц. умножать на 0,7
|
|
0,5
|
-«-
|
3
|
Н.вр. умножать; на 0,6 Расц. умножать на 0,7
|
|
0,63-0,65
|
-«-
|
4
|
Н.вр. умножать на 0,4 Расц. умножать на 0,51
|
|
1
|
-«-
|
5
|
Н.вр. умножать на 0,37 Расц. умножать на 0,4с
|
|
1,25
|
-«-
|
6
|
Н.вр. умножать на 0,51 Расц. умножать на 0,6
|
|
1,6
|
-«-
|
7
|
Н.вр. умножать на 0,37 Расц. умножать на 0,42
|
ФАСЕТ 05
Зачистка вручную до проектной отметки дна траншеи и котлована под
фундаменты
|
Наименование фактора
|
Обоснование
|
Код
|
Значение фактора
|
|
Планировка по рейке
|
ЕНиР, § Е2-1-60
|
1
|
По калькуляции
|
|
Планировка на глаз
|
То же
|
2
|
Н.вр. умножать на 0,76 Расц. умножать на 0,1;
|
|
Выравнивание поверхности
|
-«-
|
3
|
Н.вр. умножать на 0,36 Расц. умножать на 0,32
|
|
Зачистка готовой
поверхности
|
-«-
|
4
|
Н.вр. умножать на 0,51 Расц. умножать на 0,46
|
ФАСЕТ 06
Разгрузка фундаментных блоков
|
Наименование фактора
|
Обоснование
|
Код
|
Значение фактора
|
|
Масса блока, т до:
|
ЕНиР, § Е1-5,
|
|
|
|
0,5
|
табл. 2
|
I
|
По калькуляции
|
|
1
|
То же
|
2
|
Н.вр. умножать на 0,554. Расц. умножать для
машиниста на 0,645. для такелажника на 0,545
|
|
2
|
-«-
|
3
|
Н.вр. умножать на 0,327. Расц. умножать для
машиниста на 0,381, для такелажника-0,327
|
|
3
|
-«-
|
4
|
Н.вр. умножать на 0,245. Расц. умножать для
машиниста на 0,285, для-такелажника на 0,245
|
|
4
|
-«-
|
5
|
Н.вр. умножать на 0,209 Расц. умножать для
машиниста на .0,243, для такелажника 0,208
|
|
5
|
-«-
|
6
|
Н.вр. умножать на 0,191. Расц. умножать для
машиниста на 0,222, для такелажника на 0,191
|
|
1,5
|
-«-
|
7
|
По калькуляции
|
ФАСЕТ 07
Установка фундаментных блоков
|
Наименование фактора
|
Обоснование
|
Код
|
Значение фактора
|
|
Масса блока, т до:
|
|
|
|
|
0,5
|
ЕНиР, § Е4-1-3, табл. 2
|
1
|
По калькуляции
|
|
1
|
То же
|
2
|
Н.вр. умножать на 1,36 Расц. умножать для
монтажника на 1,37, для машиниста - 1,36
|
|
2,5
|
-«-
|
3
|
Н.вр. умножать на 2,36 Расц. умножать для монтажника
на 2,37, для машиниста на 2,36
|
|
3,5
|
-«-
|
4
|
Н.вр. умножать на 2,64 Расц. умножать для
монтажника на 2,64, для машиниста на 2,63
|
|
4,5
|
-«-
|
5
|
Н.вр. умножать для монтажника на 3,33, для
машиниста на 3,36 Расц. умножать для монтажника на 3,34, для машиниста на
3,35
|
|
1,5
|
-«-
|
6
|
По калькуляции
|
ФАСЕТ 08
Разгрузка элементов опалубки
|
Наименование фактора
|
Обоснование
|
Код
|
Значение фактора
|
|
Масса элементов, опалубки,
т, до: 0,5
|
ЕНиР, § Е1-5, табл. 2
|
1
|
По калькуляции
|
|
1
|
То же
|
2
|
Н.вр. умножать на 0,554. Расц. умножать для
машиниста на 0,645, для такелажника на 0,545
|
|
1,5
|
-«-
|
3
|
Н.вр. умножать на 0,4. Расц. умножать для
машиниста на 0,465, для такелажника на 0,399
|
|
2
|
-«-
|
4
|
Н.вр. умножать на 0,327. Расц. умножать для
машиниста на 0,381, для такелажника на 0,327
|
ФАСЕТ 09
Подача элементов опалубки к месту монтажа
|
Наименование фактора
|
Обоснование
|
Код
|
Значение фактора
|
|
Масса груза, т. до:
|
|
|
|
|
1,5
|
ЕНиР, § Е1-6, табл. 2
|
1
|
По калькуляции
|
|
0,5
|
То же
|
2
|
Н.вр. и расц. умножать для машиниста на 2,13, для
такелажника на 2,09
|
|
I
|
-«-
|
3
|
Н.вр. и расц. умножать для машиниста на 1,57, для
такелажника на 1,54
|
|
2
|
-«-
|
4
|
Н.вр. и расц. умножать для машиниста на 0,59, для
такелажника на 0,58
|
|
2,5
|
-«-
|
5
|
Н.вр. и расц. умножать для машиниста на 0,48, для
такелажника на 0,47
|
|
3
|
-«-
|
6
|
Н.вр. и расц. умножать для машиниста на 0,407, для
такелажника на 0,4
|
|
3,5
|
-«-
|
7
|
Н. вр. и расц. умножать для машиниста на 0,351,
для такелажника на 0,345
|
|
4
|
-«-
|
8
|
Н.вр. умножать для машиниста на 0,296. для
такелажника на. 0,29. Расц. умножать для машиниста на 0,297, для такелажника
на 0,291.
|
|
4,5
|
-«-
|
9
|
Н.вр. и расц. умножать для машиниста, на 0,276,
для: такелажника на 0,272
|
ФАСЕТ 10
Монтаж укрупненных панелей
|
Наименование фактора
|
Обоснование
|
Код
|
Значение фактора
|
|
Площадь щитов, м2,
до:
20
|
ЕНиР, § Е4-1-37, табл. 4
|
1
|
По калькуляции
|
|
10
|
То же
|
2
|
Н.вр. умножать на 1,167, Расц. умножать на 1,166
|
ФАСЕТ 11
Демонтаж панелей
|
Наименование фактора
|
Обоснование
|
Код
|
Значение фактора
|
|
Площадь щитов, м2,
до:
|
|
|
|
|
20
|
ЕНиР, § Е4-1-37, табл. 4
|
1
|
По калькуляции
|
|
10
|
То же
|
2
|
Н.вр. умножать на 0,785, расц. умножать на 0,793
|
ФАСЕТ 12
Установка арматурных каркасов вручную
|
Наименование фактора
|
Обоснование
|
Код
|
Значение фактора
|
|
Масса каркаса, кг, до
20
|
ЕНиР, § Е4-1-44, табл. 2
|
1
|
По калькуляции
|
|
50
|
То же
|
2
|
Н.вр. умножать на 0,857. Расц. умножать на 0,854
|
|
100
|
-«-
|
3
|
Н.вр. и расц. умножать на 1,286
|
ФАСЕТ. 13
Установка арматурных стержней
|
Наименование фактора
|
Обоснование
|
Код
|
Значение фактора
|
|
Диаметр арматуры, мм, до:
|
|
|
|
|
6
|
ЕНиР, § Е4-1-4б
|
1
|
По калькуляции
|
|
8
|
То же
|
2
|
Н.вр. и расц. умножать на
0,887
|
|
12
|
-«-
|
3
|
Н.вр. и расц. умножать на
0,563
|
|
18
|
-«-
|
4
|
Н.вр. и расц. умножать на
0,42
|
ФАСЕТ 14
Подача бетонной смеси на место установки в бункерах
|
Наименование фактора
|
Обоснование
|
Код
|
Значение фактора
|
|
Бетон в бункерах,,
вместимостью, м2, до:
0,75
|
ЕНиР, § Е1-6 табл. 2
|
1
|
По калькуляции
|
|
0,6
|
То же
|
2
|
Н.вр. умножать на 1,206. Расц.
умножать на 1,208
|
|
0,5
|
-«-
|
3
|
Н.вр. умножать на 1,448.
Расц. для машиниста умножать на 1,448, для такелажника на 1,446
|
|
0,45
|
-«-
|
4
|
Н.вр. умножать на 1,586.
Расц. умножать для машиниста на 1,581, для такелажника на 1,581
|
ФАСЕТ 15
Укладка бетонной смеси
|
Наименование фактора
|
Обоснование
|
Код
|
Значение фактора
|
|
Толщина стен,- мм до:
200
|
ЕНиР, § Е4-1-49, табл. 3
|
1
|
По калькуляции
|
|
100
|
То же
|
2
|
Н.вр. умножать на 2,187. Расц. умножать на 2,193
|
|
150
|
-«-
|
3
|
Н.вр. умножать на 1,437. Расц. умножать на 1,438
|
|
300
|
-«-
|
4
|
Н.вр. умножать на 0,75. Расц. умножать на 0,753
|
|
свыше 300
|
-«-
|
5
|
Н.вр. умножать на 0,494. Расц. умножать на 0,496
|
ФАСЕТ 16
Разгрузка плит перекрытия
|
Наименование фактора
|
Обоснование
|
Код
|
Значение фактора
|
|
Масса панели т, до:
5
|
ЕНиР, § Е1-5, табл.2
|
1
|
По калькуляции
|
|
2
|
То же
|
2
|
Н.вр. умножать на 1,714. Расц. умножать для
машиниста на 1,666, для такелажника на 1,714
|
|
3
|
-«-
|
3
|
Н.вр. умножать на 1,286.
Расц. умножать для машиниста на 1,489, для
такелажника на 1,286
|
|
4
|
-«-
|
4
|
Н.вр. умножать на 1,095
Расц. умножать для машиниста на 1,271, для
такелажника на 1,093
|
|
6
|
-«-
|
5
|
Н.вр. умножать на 0,905. Расц. умножать для
машиниста на 1,047, для такелажника на 0,903
|
|
7
|
-«-
|
6
|
Н.вр. умножать на 0,857, Расц. умножать для
машиниста на 0,991, для такелажника на 0,855
|
|
8
|
-«-
|
7
|
Н.вр. умножать на 0,809. Расц умножать для
машиниста на 0,937, для такелажника на 0,810
|
|
10
|
-«-
|
8
|
Н.вр. умножать на 0,762
Расц. умножать для машиниста на 0,885, для
такелажника на 0,762
|
ФАСЕТ 17
Укладка плит перекрытия
|
Наименование фактора
|
Обоснование
|
Код
|
Значение фактора
|
|
Площадь панелей, м2,
до:
15
|
ЕНиР, § Е4-1-7
|
1
|
По калькуляции
|
|
3
|
То же
|
2
|
Н.вр. умножать на 0,5. Расц. умножать для
монтажника на 0,499, для машиниста на 0,502
|
|
5
|
-«-
|
3
|
Н.вр. умножать на 0,636. Расц. умножать для
монтажника на 0,636, для машиниста на 0,635
|
|
10
|
-«-
|
4
|
Н.вр. умножать на 0,818. Расц. умножать для
монтажника на 0,817, для машиниста на 0,820
|
|
20
|
-«-
|
5
|
Н.вр. умножать для монтажника на 1,25, для
машиниста на 1,273. Расц. умножать для, монтажника на 1,249,- для машиниста
на 1,275
|
|
|