|
|
|
ФЕДЕРАЛЬНОЕ
АГЕНТСТВО
ТЕПЛОСЧЕТЧИКИ Часть 2Требования к конструкции EN
1434-2:1997
ПредисловиеЦели и принципы стандартизации в Российской Федерации установлены Федеральным законом от 27 декабря 2002 г. № 184-ФЗ «О техническом регулировании», а правила применения национальных стандартов Российской Федерации - ГОСТ Р 1.0-2004 «Стандартизация в Российской Федерации. Основные положения» Сведения о стандарте1 ПОДГОТОВЛЕН Закрытым акционерным обществом «ИВК-Саяны» (ЗАО «ИВК-Саяны») на основе собственного аутентичного перевода европейского стандарта, указанного в пункте 4 2 ВНЕСЕН Управлением метрологии Федерального агентства по техническому регулированию и метрологии и Техническим комитетом по стандартизации ТК 445 «Метрология энергоэффективной экономики» 3 УТВЕРЖДЕН И ВВЕДЕН В ДЕЙСТВИЕ Приказом Федерального агентства по техническому регулированию и метрологии от 1 сентября 2006 г. № 180-ст 4 Настоящий стандарт идентичен европейскому стандарту ЕН 1434-2:1997 «Теплосчетчики. Часть 2. Требования к конструкции» с изменением А1:2002 (EN 1434-2:1997 + А1:2002 «Wärmezähler. Teil 2: Anforderungen an die Konstruktion»). Европейский стандарт разработан Техническим комитетом СЕН/ТК 176 «Теплосчетчики». Перевод с немецкого языка (de). Официальные экземпляры европейского стандарта, на основе которого подготовлен настоящий стандарт, и стандартов, на которые даны ссылки, имеются во ФГУП «СТАНДАРТИНФОРМ». При применении настоящего стандарта рекомендуется использовать вместо ссылочных международных (региональных) стандартов соответствующие им национальные стандарты Российской Федерации, сведения о которых приведены в дополнительном приложении D 5 ВВЕДЕН ВПЕРВЫЕ Информация об изменениях к настоящему стандарту публикуется в ежегодно издаваемом информационном указателе «Национальные стандарты», а текст изменений и поправок - в ежемесячно издаваемых информационных указателях «Национальные стандарты». В случае пересмотра (замены) или отмены настоящего стандарта соответствующее уведомление будет опубликовано в ежемесячно издаваемом информационном указателе «Национальные стандарты». Соответствующая информация, уведомление и тексты размещаются также в информационной системе общего пользования - на официальном сайте Федерального агентства по техническому регулированию и метрологии в сети Интернет СодержаниеПредисловие
|
|||||||||||||||||||||||||||||||||||||||||||||||||||||||||||||||||||||||||||||||||||||||||||||||||||||||||||||||||||||||||||||||||||||||||||||||||||||||||||||||||||||||||||||||||||||||||||||||||||||||||||||||||||||||||||||||||||||||||||||||||||||||||||||||||||||||||||||||||||||||||||||||||||||||||||||||||||||||||||||||||||||||||||||||||||||||||||||||||||||||||||||||||||||||||||||||||||||||||||||||||||||||||||||||||||||||||||||||||||||||||||||||||||||||||||||||||||||||||||||||||||||||||||||||||||||||||||||||||||||||||||||||||||||||||||||||||||||||||||||||||||||||||||||||||||||||||||||
|
Размер |
От 0,5 до 3 |
От 3 до 6 |
От 6 до 30 |
От 30 до 120 |
От 120 до 400 |
|
Допуск |
±0,2 |
±0,3 |
±1 |
±1,5 |
±2,5 |
Для труб размерами не более DN 250 установлены три типа датчиков температуры:
- прямо устанавливаемые короткие датчики - тип DS;
- прямо устанавливаемые длинные датчики - тип DL;
- длинные датчики, устанавливаемые в гильзе, - тип PL.
Конструкции типов PL и DL могут представлять собой датчики с головкой либо иметь постоянно подключенные кабели сигнала. Конструкции типа DS должны иметь только постоянно подключенные кабели сигнала.
Гильза и защитный корпус прямо устанавливаемого датчика должны быть изготовлены из прочного и устойчивого к коррозии материала с соответствующей теплопроводностью. Приоритетно используемым материалом является сплав Х6 Cr Ni Mo Ti 17-12-2 по EN 10088-3.
Размеры должны соответствовать указанным на рисунке 1. Справочная информация приведена на рисунке А.1 приложения А.

1 - термочувствительный элемент; 2 - защитный корпус; 3 - уплотнительное кольцо
Рисунок 1 - Датчик температуры - тип DS
Размеры должны соответствовать указанным на рисунке 2. Справочная информация приведена на рисунках А.2 и А.3 приложения А.

1 - термочувствительный элемент; 2 - защитный корпус; 3 - поверхность уплотнителя; 4 - контур головки датчика; 5 - контур постоянно присоединенного кабеля сигнала; 6 - вход для кабеля сигнала (диаметр: не более 9 мм)
Рисунок 2 - Датчик температуры - тип DL (с головкой или кабелем)
Размеры должны соответствовать указанным на рисунке 3. Справочная информация приведена на рисунках А.4 и А.5 приложения А.

1 - термочувствительный элемент; 2 -контур головки датчика; 3 - контур постоянно присоединенного кабеля сигнала;
4 - вход для кабеля сигнала (диаметр: не более 9 мм)
Рисунок 3 - Датчик температуры - тип PL (с головкой или кабелем)
Гильзы предназначены для использования только с датчиками типа PL. Датчики типа PL должны иметь конструкцию, предусматривающую возможность установки через стенку трубы, к которой с внешней стороны припаян или приварен штуцер [рисунки А.6а) и А.6b) приложения А], и быть взаимозаменяемыми с длинными датчиками других типов, соответствующими установленным требованиям.
Размеры гильзы датчика температуры должны соответствовать указанным на рисунке 4.

1 - поверхность уплотнения; 2 - зажимной винт с местом для пломбы
Рисунок 4 - Гильза датчика температуры
Датчик должен быть установлен перпендикулярно к потоку, при этом термочувствительный элемент должен доходить по крайней мере до центра трубы.
При внутренних давлениях до PN 16 датчик должен иметь конструкцию, соответствующую фитингу данной трубы (рисунок А.7 приложения А).
Датчик должен быть установлен таким образом, чтобы термочувствительный элемент находился у центра трубы.
Датчик должен иметь конструкцию, предусматривающую следующие типы установки (для внутренних давлений до PN 16):
а) в трубе диаметром не более DN 50 наконечник направлен против движения потока (рисунок А.8 приложения А, тип установки датчика В) и применен штуцер [рисунок А.6b) приложения А];
b) в трубе диаметром не более DN 50 наконечник направлен под углом 45 ° к направлению, противоположному потоку (рисунок А.8 приложения А, тип установки датчика С), и применен штуцер [рисунок А.6b) приложения А];
c) в трубе диаметром от DN 65 до DN 250 наконечник направлен перпендикулярно к направлению движения потока (рисунок А.8 приложения А, тип установки датчика D) и применен штуцер [рисунок А.6а) приложения А].
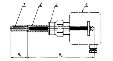
1 - термочувствительный элемент; 2 - защитный корпус; 3 - резьба для монтажа; 4 - кабель сигнала; R1 - сопротивление термочувствительного элемента; R2 - сопротивление внутреннего провода и разъемов; R3 - сопротивление кабеля сигнала
Рисунок 5 - Датчик температуры с постоянно присоединенным кабелем
Полное сопротивление датчика температуры Rtot = R1 + R2 + R3.
Измеряемое сопротивление датчика температуры R = R1 + R2.
Изготовитель устанавливает значение сопротивления кабелей сигнала R3.
При расчетах используют значения измеренных сопротивлений R датчика температуры.
Примечание - Для случая четырехпроводной системы соединения сопротивление кабелей сигнала не учитывают.

1 - термочувствительный элемент; 2 - защитный корпус; 3 - резьба для монтажа; 4 - соединительная головка; R1 - сопротивление термочувствительного элемента; R2 - сопротивление внутреннего провода и разъемов
Рисунок 6 - Датчик температуры с соединительной головкой
Полное сопротивление датчика температуры с соединительной головкой Rtot = R1 + R2.
Измеряемое сопротивление датчика температуры с соединительной головкой R = R1 + R2.
При расчетах используют значения измеренных сопротивлений R датчика температуры.
Примечание - Для случая четырехпроводной системы соединения сопротивление кабелей сигнала не учитывают.
Калибровку датчика температуры прослеживают до национальных эталонов. Промежуточные значения сопротивлений датчика температуры получают методом интерполяции в соответствии с ЕН 60751 по формуле
R1 = R0(1+At+Bt2), (1)
где R1 - сопротивление при температуре t, Ом (исключая сопротивление кабелей сигнала - рисунки 5 и 6);
R0 - сопротивление при температуре 0 °С, Ом (базовая величина, исключая сопротивление кабеля);
А - коэффициент, равный 3,9083·10-3/°С;
В - коэффициент, равный 5,775·10-7/°С2.
Примечание - Принимают, что национальные стандарты соответствуют МТШ-90 (Международной температурной шкале 1990 г.).
В качестве кабелей сигнала допускается использовать многожильные или одножильные (жесткие) кабели (для датчиков температуры с соединительной головкой). При использовании многожильных кабелей их концы должны быть изолированы (например, с помощью гильз). Покрывать припоем концы кабеля не допускается во избежание сращивания.
Соединение кабелей сигналов датчика температуры с вычислителем пайкой допускается, только если датчики не подлежат замене.
Экранированные кабели датчика температуры не должны иметь контакта между экраном и защитным корпусом.
Длина и площадь поперечного сечения кабелей сигнала, относящихся к датчикам сопротивления, подобранным в пары в различных узлах, должны быть одинаковыми.
Длина и площадь сечения провода сигнала должны быть установлены производителем и соответствовать указанным в таблице 2.
Таблица 2 - Максимальные длины кабелей для платиновых датчиков температуры Pt 100
|
Площадь сечения провода, мм2 |
Максимальная длина для датчика температуры Pt 100, м |
|
0,22 |
2,5 |
|
0,50 |
5,0 |
|
0,75 |
7,5 |
|
1,50 |
15,0 |
Для датчиков с высокими значениями сопротивлений предельные значения длины кабелей увеличивают пропорционально.
Примечание - Значения, указанные в таблице 2, получены следующим образом.
Предполагают, что разность значений температур кабелей теплосчетчиков не превышает одной трети разности температур прямого и обратного потоков.
Затем рассчитывают максимально допустимую длину кабеля для каждого значения площади сечения. При этом условно принимают, что полученное значение погрешности не должно превышать 0,2 максимально допустимой погрешности комплекта датчиков температуры с учетом значения разности сопротивлений, создаваемой разностью температур прямого и обратного проводов.
Влиянием длины кабеля сигналов пренебрегают, если полное сопротивление кабелей датчика температуры Pt 100 не превышает 0,2 Ом.
Если требования к длине кабеля, установленные в 3.3.4, невыполнимы, следует использовать четырехпроводные датчики.
Соединители должны быть помечены таким образом, чтобы их нельзя было перепутать.
Для датчиков температуры с соединительной головкой могут быть использованы кабели площадью сечения 0,5 мм2, а для датчиков с кабелем сигналов - 0,14 мм2.
Поставщик должен установить значение времени реакции датчика температуры τ0,5 в соответствии с 4.1 ЕН 1434-1, используя метод испытаний, установленный в 4.3.3.3 ЕН 60751.
Допускается использование датчиков температуры других типов при возможности их испытания в составе вычислителя.
Значение максимально допустимого рабочего давления должно быть установлено поставщиком.
Датчики расхода классифицируют в зависимости от размера резьбы концевого соединения либо номинального диаметра фланца. Для каждого датчика расхода установлены соответствующее постоянное значение расхода qp и совокупность значений длин, указанных в таблицах 3 и 4.
Таблица 3 - Размеры
|
qр, м3/ч |
Предпочтительное значение |
Допустимое значение |
Допустимое значение |
|||||
|
Общая длина, мм |
Резьбовые соединения |
Фланцевые соединения DN |
Общая длина, мм |
Резьбовые соединения |
Фланцевые соединения DN |
Общая длина, мм |
Резьбовые соединения |
|
|
0,6 |
110 |
G ¾ B |
15 |
190 |
G 1 В |
20 |
- |
- |
|
1,0 |
130 |
G ¾ B |
15 |
190 |
G 1 В |
20 |
110 |
G ¾ B |
|
1,5 |
165 |
G ¾ B |
15 |
190 |
G 1 В |
20 |
110 |
G ¾ B |
|
2,5 |
190 |
G 1 В |
20 |
- |
- |
- |
130 |
G 1 В |
|
3,5 |
260 |
G 1¼ B |
25 |
- |
- |
- |
- |
- |
|
6,0 |
260 |
G 1½ B |
32 |
260 |
G 1¼ B |
25 |
- |
- |
|
10 |
300 |
G 2 B |
40 |
- |
- |
- |
- |
- |
|
15 |
300 |
- |
50 |
270 |
- |
50 |
- |
- |
|
25 |
300 |
- |
65 |
- |
- |
- |
- |
- |
|
40 |
350 |
- |
80 |
300 |
- |
80 |
- |
- |
|
60 |
350 |
- |
100 |
360 |
- |
100 |
- |
- |
|
100 |
350 |
- |
125 |
- |
- |
- |
- |
- |
|
150 |
500 |
- |
150 |
- |
- |
- |
- |
- |
|
250 |
500 |
- |
200 |
- |
- |
- |
- |
- |
|
400 |
600 |
- |
250 |
- |
- |
- |
- |
- |
Таблица 4 - Резьбовые соединения
Размеры в миллиметрах
|
Резьба |
а |
b |
|
G ¾ B |
10 |
12 |
|
G 1 В |
12 |
14 |
|
G 1¼ B |
12 |
16 |
|
G 1½ B |
13 |
18 |
|
G 2 B |
13 |
20 |
В таблице 3 приведены значения размеров резьбовых и фланцевых соединений и общей длины.
Размеры датчика расхода с фланцевыми соединениями размерами более DN 250 не нормируют.
Для получения необходимого значения общей длины можно использовать адаптеры.
Значения длин, большие или меньшие предпочтительных значений, могут быть приняты как для qp не менее 10 м3/ч.
Допуски на значения длин должны составлять для длины:
|
|
0 |
|
- до 300 мм: |
мм; |
|
|
-2 |
|
|
0 |
|
- до 350 до 600 мм: |
мм. |
|
|
-3 |
Размеры резьбовых соединений приведены в таблице 4. Резьба должна соответствовать требованиям ИСО 228-1. На рисунке 7 представлены пояснения размеров а и b.

Рисунок 7 - Эскиз размеров для таблицы 4
Фланцевые соединения должны соответствовать требованиям ИСО 7005-1, ИСО 7005-2 и ИСО 7005-3.
Для проведения испытания необходимо использовать импульсы высокого разрешения от адаптера (приложение В) или информацию от последовательного интерфейса в соответствии с ЕН 1434-3. Разрешение тестовых сигналов должно быть таким, чтобы при qi (5.3 ЕН 1434-1) погрешность измерений, обусловленная количеством импульсов, не превышала 0,8 %, а время испытания не должно превышать 1 ч при qр не более 10 м3/ч или 1,5 ч для qр не менее 10 м3/ч.
Номинальное соотношение между воспроизводимым сигналом и измеряемой величиной должно быть установлено поставщиком.
Спецификация выходных тестовых сигналов приведена в приложении В.
Датчик расхода может быть снабжен специальным устройством, предназначенным для корректировки соотношения между измеренным и истинным значениями.
Габаритные размеры вычислителей, предназначенных для установки на стенах, не должны превышать указанных на рисунке 8.

Рисунок 8 - Габаритные размеры, мм
При больших габаритных размерах корпуса вычислителя расстояния между крепежными отверстиями должны соответствовать указанным на рисунке 8. При малых габаритных размерах корпуса необходимо использовать пластину-адаптер.
Установленные номера контактов следует применять для идентификации разъемов. Ненужные разъемы могут быть пропущены. Экранированный кабель может быть прикреплен к корпусу разъема в целях заземления. Экран кабеля может быть прикреплен к корпусу разъема для предотвращения повреждения кабеля при вытягивании.
Разъемы должны соответствовать следующим требованиям:
a) максимальная площадь поперечного сечения контактов: 1,5 мм2;
b) расстояние между контактами разъема: 5 мм;
c) разъемы должны подходить для многожильных проводов;
d) для двухпроводного датчика Pt 100 сопротивление между разъемом и проводом должно быть не более 5 мОм. Изменение сопротивления контакта должно быть менее 5 мОм.
Нумерация контактов должна соответствовать указанной в таблице 5.
Номер контакта |
Описание сигнала |
Обозначение сигнала |
|
1 |
Датчик высокой температуры/связан с № 5* |
|
|
2 |
Датчик высокой температуры/связан с № 6* |
|
|
3 |
Датчик низкой температуры/связан с № 7* |
|
|
4 |
Датчик низкой температуры/связан с № 8* |
|
|
5 |
Датчик высокой температуры |
|
|
6 |
Датчик высокой температуры |
|
|
7 |
Датчик низкой температуры |
|
|
8 |
Датчик низкой температуры |
|
|
9 |
Датчик расхода, положительное напряжение питания |
|
|
10 |
Вход сигнала датчика расхода |
|
|
11 |
Вход эталонного сигнала датчика расхода |
|
|
12 |
Выход эталонного сигнала датчика расхода |
- U |
|
13 |
Выход тестового сигнала с высоким разрешением |
СН |
|
14 |
Вход импульсного тестового сигнала расхода |
CI |
|
15 |
Вход тестового сигнала объема с высоким разрешением |
СТ |
|
16 |
Выход дистанционных импульсов счета |
СЕ |
|
17 |
Выход эталонных дистанционных импульсов счета |
|
|
18 |
Выход уровня дистанционных импульсов счета |
CV |
|
19 |
Выход эталонного уровня дистанционных импульсов счета |
|
|
20 |
CL 0 - четырехпроводной интерфейс |
RX + /RTX + |
|
21 |
CL 0 - четырехпроводной интерфейс |
RX - /RTX - |
|
22 |
CL 0 - четырехпроводной интерфейс |
ТХ + |
|
23 |
CL 0 - четырехпроводной интерфейс |
ТХ - |
|
24 |
Интерфейс M-BUS |
|
|
25 |
Интерфейс M-BUS |
|
|
* Используют только для четырехпроводных датчиков температуры. |
||
Правила нумерации контактов:
a) если контакты электрически соединены друг с другом (например, соединение экрана кабеля), то они могут иметь один и тот же номер;
b) контакты и их номера могут быть опущены, если соответствующие сигналы отсутствуют;
c) для сигналов, отличных от приведенных в таблице 5, используют контакты с номером 50 и выше.
Необходимо предусмотреть два или три контакта, приспособленных для многожильного кабеля сечением менее 2,5 мм2 (таблица 6). Допускается также применение жестко закрепленных кабелей.
Номер контакта |
Обозначение |
|
26 |
«Земля» |
|
27 |
N |
|
28 |
L |
Если необходимо обозначение полярности, то обозначения «N» и «L» можно заменить на стандартные символы источника питания.
Если в теплосчетчике используют взаимозаменяемые батареи, то при их замене не должны быть повреждены пломбы. Срок службы батарей должен быть установлен поставщиком.
Поставщик должен пояснить, как значения температуры взаимоувязаны с показаниями датчиков расхода и времени.
Для испытаний необходим энергетический сигнал с высоким разрешением. Разрешение должно быть достаточно высоким, для того чтобы при испытании при нижнем значении разности температур и (или) расхода дополнительная погрешность, обусловленная разрешением энергетического сигнала, была незначительной. Номинальное соотношение между сигналом с высоким разрешением и значением энергии должно быть установлено производителем.
Сигнал, как указано выше, должен поступать либо непосредственно к разъему вычислителя, либо к выводу переходного текстового устройства согласно приложению В.
Тестовый сигнал может быть или импульсным с определенным значением импульсов (приращения энергии), или с выводом данных, специально определенным, или с дисплеем соответственно высокого разрешения.
Наименования выходов импульсов, используемых для подсоединения разъемов, указаны в приложении В.
В случае прерывания напряжения питания вычислитель должен обеспечивать сохранение измеренных значений в течение не менее 24 ч. При этом допускается изменение не более одного разряда измеренного значения.
Требования, указанные в разделах 3 - 5, следует применять при необходимости.
Должен быть обеспечен выходной тестовый сигнал с высоким разрешением, обеспечивающий в течение 2 ч погрешность считывания, не превышающую 0,5 %.
Подключение приборов, регистрирующих выходной тестовый сигнал, не должно влиять на точность теплосчетчика.
Дисплей должен быть снабжен шкалой с высоким разрешением для проведения испытаний.
Принимают, что погрешность оператора не должна превышать половины наименьшего интервала шкалы для каждого показания счетчика или в случае цифровой индикации не должна превышать 0,99 наименьшего разряда.
Обозначения выходных тестовых сигналов на разъемах приведены в приложении В.
Виды сигналов для связи между вычислителем, датчиками температуры и датчиком расхода должны быть установлены поставщиком.
В описание видов сигналов следует включать всю необходимую информацию, например тип сигнала, значения напряжения и тока, а также ограничения.
Для электрического подключения импульсного устройства предусмотрены две клеммы. Обе клеммы должны быть изолированы от земли (например, трубопроводы или корпус). Сопротивление изоляции должно быть не менее 100 МОм и должно быть измерено при нормальных условиях при напряжении постоянного тока 100 В.
Подключение, которое по мере необходимости может быть заземлено, должно соответствовать требованиям электромагнитной совместимости.
Класс ОА: Электромеханический переключатель.
Стандартными элементами конструкции класса ОА являются лепестковый герметизированный контакт и электронный переключатель.
Состояние включения определяется замкнутым переключателем, состояние выключения - разомкнутым переключателем.
Характерным признаком электромеханического переключателя является вибрация механических контактов.
Класс ОВ: Пассивное электронное падение тока; большая сила тока.
Стандартным примером пассивного электронного падения тока класса ОВ является «открытый коллектор» с транзистором Дарлингтона. Элементы класса ОВ заменяют стандартные модели элементов класса ОА посредством электронного полупроводника. В этих элементах отсутствует вибрация, и они требуют вспомогательного электропитания, а также электронного сигнала управления для включения и выключения источника тока.
Класс ОС: Пассивное электронное падение тока с длительными импульсами; небольшая сила тока.
Стандартным примером пассивного электронного падения тока класса ОС является также «открытый коллектор» или являются элементы с «открытой дренажной системой». В этих элементах отсутствует вибрация, и они требуют вспомогательного электропитания, а также электронного сигнала управления для включения и выключения источника тока. У этих элементов более низкое значение падения напряжения по сравнению с элементами конструкции класса ОВ.
Класс OD: Пассивное электронное падение тока с короткими импульсами.
Отличием элементов конструкции класса OD от элементов конструкции класса ОС является более короткая длительность импульсов.
|
Параметр |
Класс ОА |
Класс ОВ |
Класс ОС |
Класс OD |
|
Пример |
Лепестковый герметизированный контакт и электронный переключатель |
(Дарлингтон) открытый коллектор |
Открытый коллектор |
Открытый коллектор или в активном режиме |
|
Перемена полярности |
Возможна |
Невозможна |
Невозможна |
Невозможна |
|
Длительность импульсов |
≥ 100 мс |
≥ 30 мс |
≥ 100 мс |
≥ 0,1 мс |
|
Пауза импульсов |
≥ 100 мс |
≥ 100 мс |
≥ 100 мс |
≥ 0,1 мс |
|
Продолжительность вибрации |
≥ 1 мс |
- |
- |
- |
|
Максимальное входное напряжение |
30 В |
30 В |
6 В |
6 В |
|
Максимальный входной ток |
27 мА |
27 мА |
0,1 мА |
0,1 мА |
|
Падение напряжения в состоянии включения |
≤ 2,0 В при 27 мА |
≤ 2,0 В при 27 мА |
≤ 0,3 В при 0,1 мА |
≤ 0,3 В при 0,1 мА |
|
Сопротивление в состоянии выключения |
≤ 6 МОм |
≤ 6 МОм |
≤ 6 МОм |
≤ 6 МОм |
Как правило, применяют электрические реле или электромеханические счетчики, управляемые катушкой возбуждения. Эти элементы используют вместе с импульсными выходными устройствами классов ОА и ОВ при фиксированном напряжении (установленные значения напряжения постоянного тока 3, 12 и 24 В).
Класс IB
Стандартным примером является вход микроконтроллера CMOS с фильтром нижних частот для защиты от вибрирующих частей импульсного сигнала, а также для подавления вибрации этих частей.
В качестве источника тока в импульсных выходных устройствах класса ОС для стабилизации входа CMOS используют оконечное сопротивление.
Класс IС
Элементы конструкции класса IС аналогичны элементам конструкции класса IB. При этом установлен более короткий интервал времени для фильтра нижних частот. Входные элементы класса IС не могут быть использованы вместе с вибрирующими выходными сигналами.
|
Параметр |
Класс IA |
Класс IB |
Класс IС |
|
Напряжение питания |
≤ 30 В |
≤ 6 В |
≤ 6 В |
|
Ток источника питания |
≤ 27 мА |
≤ 0,1 мА |
≤ 0,1 мА |
|
Входное напряжение при высоком уровне |
≥ 8В |
≥ 2 В |
≥ 2 В |
|
Входное напряжение при низком уровне |
≤ 3 В |
≤ 0,5В |
≤ 0,5 В |
|
Конечное сопротивление |
- |
От 50 кОм до 2 МОм |
От 50 кОм до 2 МОм |
|
Длительность импульсов |
≥ 30 мс |
≥ 100 мс |
≥ 0,1 мс |
|
Частота импульсов |
≤ 5 Гц |
≤ 5 Гц |
≤ 5 кГц |
В таблице 9 указаны способы совместного использования различных входных и выходных устройств.
|
Выходное устройство |
Входное устройство |
||
|
Класс IA |
Класс IB |
Класс IС |
|
|
Класс ОА |
Да |
Да |
Нет |
|
Класс ОВ |
Да |
Нет |
Нет |
|
Класс ОС |
Нет |
Да |
Да |
|
Класс OD |
Нет |
Нет |
Да |
На соединительной головке или идентификационной пластине разборчиво и несмываемыми буквами и цифрами должны быть нанесены следующие информационные элементы:
a) наименование поставщика или его торговая марка;
b) тип, включая тип датчика (например, Рt 100), год выпуска и серийный номер;
c) диапазон температуры (Θmin и Θmах);
d) диапазон разности температур (ΔΘmin и ΔΘmах);
e) диапазон значений рабочего давления;
f) идентификация датчиков расхода прямого и обратного потоков (при необходимости).
На датчике или идентификационной пластине разборчиво и несмываемыми буквами и цифрами должны быть нанесены следующие информационные элементы:
a) наименование поставщика или его торговая марка;
d) тип, год выпуска, серийный номер;
c) коэффициент счетчика;
d) диапазон температуры (Θmin и Θmах);
e) диапазон значений расхода (qi, qp и qs);
f) стрелки, указывающие направление потока;
g) максимально допустимое рабочее давление;
h) класс точности;
i) класс по условиям окружающей среды;
j) вид теплоносителя (если это не вода);
k) уровни напряжения внешнего питания.
На корпусе или идентификационной пластине разборчиво и несмываемыми буквами и цифрами должны быть нанесены следующие информационные элементы:
a) наименование поставщика или его торговая марка;
b) тип, год выпуска, серийный номер;
c) тип температурных датчиков (например, Pt 100, Pt 500);
d) диапазон температуры (Θmin и Θmах);
е) диапазон разности температур (ΔΘmin и ΔΘmах);
f) коэффициент датчика расхода;
g) место установки: в прямом или обратном потоке;
h) класс по условиям окружающей среды;
i) вид теплоносителя (если это не вода);
k) уровни напряжения внешнего питания.
На счетчике или идентификационной пластине разборчиво и несмываемыми буквами и цифрами должны быть нанесены следующие информационные элементы:
a) наименование поставщика или его торговая марка;
b) тип, год выпуска, серийный номер;
c) диапазон температуры (Θmin и Θmах);
d) диапазон разности температур (ΔΘmin и ΔΘmах);
е) диапазон значений расхода (qi, qp и qs);
f) место установки: в прямом или обратном потоке;
g) одна или более стрелка, указывающая направление потока;
h) максимально допустимое рабочее давление;
i) класс точности;
j) класс по условиям окружающей среды;
k) вид теплоносителя (если это не вода);
l) уровни напряжения внешнего питания.
На теплосчетчике и каждом составном элементе (если теплосчетчик комбинированный) должны быть предусмотрены места для нанесения клейма (например, установленного законодательно).
Все составные элементы теплосчетчика, которые могут быть отделены после калибровки и испытаний, должны иметь места для нанесения клейма.
Клейма должны быть видны после сборки.
Места расположения пломб должны соответствовать требованиям 6.4 ЕН 1434-1.
В настоящем приложении приведены примеры конструкции и установки датчиков температуры.
Рисунок А.1 - Датчик температуры, прямая установка, короткий, тип DS - кабель.
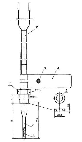
Рисунок А.2 - Датчик температуры, прямая установка, длинный, тип DL - головка.
Рисунок А.3 - Датчик температуры, прямая установка, длинный, тип DL - кабель.
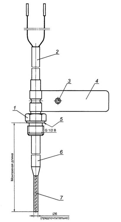
Рисунок А.4 - Датчик температуры, установка в гильзе, тип PL - головка.
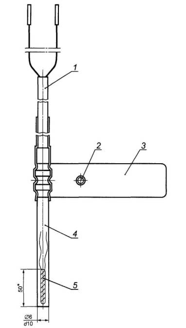
Рисунок А.5 - Датчик температуры, установка в гильзе, тип PL - кабель.
Рисунок А.6 - Штуцер и уплотнительное кольцо датчика температуры.
Рисунок А.7 - Фитинги с резьбой G ½ В, G ¾: В и G 1 В.
Рисунок А.8 - Рекомендации по установке.
Все размеры в настоящем приложении даны в миллиметрах. Все резьбы (например, G ½ В) соответствуют ИСО 228-1.
1 - зажимная гайка; 2 - соединительный кабель; 3 - место для опломбирования (пример); 4 - идентификационная пластина (пример); 5 - уплотнительное кольцо (материал: например, Сu или PTFE); 6 - защитный корпус датчика температуры; 7 - термочувствительный элемент
Рисунок А.1 - Датчик температуры, прямая установка, короткий, тип DS - кабель
1 - зажимная гайка; 2 - головка (типичная); 3 - вход для кабеля сигнала; 4 - место для опломбирования; 5 - поверхность уплотнения; 6 - защитный корпус датчика температуры; 7 - термочувствительный элемент
Рисунок А.2 - Датчик температуры, прямая установка, длинный, тип DL - головка
1 - зажимная гайка; 2 - соединительный кабель; 3 - место для опломбирования (пример); 4 - идентификационная пластина (пример); 5 - поверхность уплотнения; 6 - защитный корпус датчика температуры; 7 - термочувствительный элемент
Рисунок А.3 - Датчик температуры, прямая установка, длинный, тип DL - кабель
______________
* Допуск d10 на диаметр действует на этой длине.
1 - головка (типичная); 2 - вход для кабеля сигнала; 3 - место для опломбирования; 4 - защитный корпус датчика температуры; 5 - термочувствительный элемент
Рисунок А.4 - Датчик температуры, установка в гильзе, тип PL - головка
Примечание - Допуск d10 определяют по ИСО 286-2.
________________
* Допуск d10 на диаметр действует на данной длине.
1 - соединительный кабель; 2 - место для опломбирования (пример); 3 - идентификационная пластина (пример); 4 - защитный корпус датчика температуры; 5 - термочувствительный элемент
Рисунок А.5 - Датчик температуры, установка в гильзе, тип PL - кабель
Примечание - Допуск d10 определяют по ИСО 286-2.
1 - канавка под уплотнительное кольцо
а) Установочный штуцер для использования с перпендикулярно установленным датчиком (см. рисунок A.8 D)
b) Установочный штуцер для использования с датчиком, установленным в колено трубы, или с датчиком, установленным под углом (см. рисунки А.8 В и А.8 С)
Рисунок А.6 - Штуцер и уплотнительное кольцо датчика температуры
1 - место для пломбы
Предельные отклонения обрабатываемых размеров: ± 0,5 мм.
Фитинги для исполнения с датчиками типа DS (см. рисунок А.8, тип установки А).
Рисунок А.7 - Фитинги с резьбой G ½ В, G ¾: В и G 1 В
|
Тип установки датчика |
Размер трубы |
Рекомендации по установке |
|
А
Установка в резьбовом фитинге |
DN 15 DN 20 DN 25 |
|
|
В
В изгибе |
≤ DN 50 |
|
|
С
Угловая установка |
≤ DN 50 |
|
|
D
Перпендикулярная установка |
От DN 65 до DN 250 |
Рисунок А.8 - Рекомендации по установке
В настоящем приложении представлены спецификации входных и выходных сигналов испытуемого оборудования по ЕН 1434-1, причем испытания проводят с помощью импульсов с высоким разрешением, как указано в 4.3, 5.5 и разделе 6 (рисунок В.1).
Для испытаний по данному методу датчик и (или) вычислитель должны иметь входные и выходные сигналы в соответствии с таблицей В.1, для получения которых по мере необходимости используют дополнительный прибор (адаптер), поставляемый поставщиком, с входными и выходными сигналами в соответствии с таблицей В.2.
Входные и выходные сигналы должны обеспечивать быстрые и точные испытания без ухудшения характеристик теплосчетчика путем подключения его к испытательному оборудованию с входными и выходными сигналами согласно таблице В.2, где сигналы сравнивают со стационарным сигналом UR (таблица В.1).

Рисунок В.1 - Схема обмена сигналами
Таблица В.1 - Входные и выходные тестовые сигналы для испытуемого оборудования
|
Обозначение сигнала |
Описание сигнала |
Функция |
|
|
+ U |
Вход |
Положительное напряжение питания |
Питание адаптера |
|
- U |
Вход |
Отрицательное напряжение питания |
Стандарт для всех сигналов |
|
UR |
Выход |
Стандартный уровень |
Выходной уровень логического сигнала испытуемого оборудования |
|
Датчик расхода |
|||
|
FN |
Выход |
Импульсы объема с высоким разрешением |
Входной тестовый сигнал датчика расхода |
|
FO |
Выход |
Выходной сигнал объема |
Например, от контактного механизма |
|
Вычислитель |
|||
|
СН |
Выход |
Импульс энергии с высоким разрешением |
Выходной тестовый сигнал от вычислителя |
|
СЕ |
Выход |
Импульсы счетчика энергии |
Например, от счетчика энергии |
|
CV |
Выход |
Импульс счетчика объема |
Например, от счетчика объема |
|
CI* |
Вход |
Сигнал запуска для цикла счета |
Имитируемые импульсы от контактного механизма |
|
СТ* |
Вход |
Входной тестовый сигнал для импульсов объемов с высоким разрешением |
Имитируемые импульсы, например от датчика расхода |
|
CS |
Выход |
Сигнал статуса |
Состояние «Актив» - идут измерения |
|
* Из двух сигналов CI и СТ в наличии должен быть только один. Примечание - Сигналы, обозначения которых подчеркнуты, являются обязательными. |
|||
Таблица В.2 - Электрические и механические спецификации для стандартного испытательного оборудования
|
Наименование сигнала |
Номер контакта адаптера |
Электрическая спецификация |
Примечание |
|
|
+ U |
7 + 8 |
(8 ± 0,5) В - максимальная нагрузка 125 мА |
Напряжение питания для адаптера |
|
|
- U |
1 + 2 |
- |
- |
|
|
UR |
6 |
1 < UR < 12 В - максимальная нагрузка 0,1 мА |
- |
|
|
FH |
3 |
f ≤ 10 кГц |
ТН ≥ 50 мкс |
f - частота, Гц |
|
FO |
4 |
f ≤ 5 Гц |
ТН ≥ 1 мс |
- |
|
СН |
15 |
f ≤ 2МГц |
ТН ≥ 200 нс |
Время при «высоком» уровне ТН, с |
|
СЕ |
11 |
f ≤ 2МГц |
ТН ≥ 30 мс |
- |
|
CV |
12 |
f ≤ 2 МГц |
ТН ≥ 30 мс |
- |
|
CI |
13 |
f ≤ 1 Гц |
TH/TL = 1 ± 0,1 |
- |
|
СТ |
14 |
f ≤ 10 кГц |
TH/TL = 1 ± 0,1 |
Время при «низком» уровне TL, с |
|
CS |
10 |
f ≤ 5Гц |
ТН ≥ 1мс |
- |
|
Примечания 1 Все сигналы CMOS уровня более 0,6 UR считают логическими единицами, уровня ниже 0,4 UR - логическими нулями. 2 Все входы испытательного оборудования должны иметь полное сопротивление не менее 100 кОм. 3 Все выходы испытательного оборудования должны выдерживать минимальную нагрузку 10 кОм. 4 Соединитель между адаптером и испытательным оборудованием с пятнадцатиконтактным Sub-D-разъемом должен соответствовать ИСО 4903. |
||||
Рекомендуемое номинальное напряжение: 24 В.
Диапазон допустимых значений при напряжении постоянного тока: от 18 до 41 В.
Если линии удаленного электроснабжения используют также для передачи данных (например, M-Bus по ЕН 1434-3), эти значения при передаче данных должны быть сохранены.
Диапазон допустимых значений при напряжении переменного тока: ± 30 %.
Предельное значение: устанавливает поставщик.
Среднее значение при долговременной эксплуатации: устанавливает поставщик.
Существующее общее количество энергии: устанавливает поставщик.
Максимальная длина провода: более 10 м (ограничено только с учетом падения напряжения).
Заземленный провод: обычно устанавливает поставщик.
Скрученный провод: обычно устанавливает поставщик.
Рекомендуемые номинальные значения напряжения: 6,0; 3,6; 3,0 В.
|
Номинальное напряжение |
6,0 В |
3,6 В |
3,0 В |
|
Максимальное среднее значение силы тока |
100 мА |
10/20/50/100/200 мкА |
10/20/50/100/200 мкА |
|
Диапазон допустимых значений при средней силе тока |
От 5,4 до 6,6 В |
От 3,4 до 3,8 В |
От 2,8 до 3,3 В |
|
Предельное значение силы тока |
100 мА |
10 мА |
5 мА |
|
Минимальное напряжение при максимальной силе тока |
5,4 В |
3,2 В |
2,7 В |
Поставщик должен представить спецификации, в которых содержится следующая информация:
- наименование поставщика или его торговая марка;
- наименование типа;
- система внешнего или удаленного питания;
- номинальные уровни напряжения;
- сила тока (предельное значение и среднее значение при долговременной эксплуатации);
- общее количество энергии (при питании от батарей);
- требования к проводам (максимальная длина провода и требования к заземленным или скрученным проводам).
Таблица D.1
|
Обозначение ссылочного международного (регионального) стандарта |
Обозначение и наименование соответствующего национального стандарта |
|
ЕН 1434-1:1997 + А1:2002 |
ГОСТ Р ЕН 1434-6-2006 Теплосчетчики. Часть 1. Общие требования |
|
ЕН 1434-3:1997 |
ГОСТ Р ЕН 1434-3-2006 Теплосчетчики. Часть 3. Обмен данными и интерфейсы |
|
ЕН 10088-3:1995 |
ГОСТ 5950-2000 Прутки, полосы и мотки из инструментальной легированной стали. Общие технические условия |
|
ЕН 60751:1995 |
ГОСТ 6651-94 Термопреобразователи сопротивления. Общие технические требования и методы испытаний |
|
ИСО 228-1:2000 |
ГОСТ 6357-81 Основные нормы взаимозаменяемости. Резьба трубная цилиндрическая |
|
ИСО 286-2 |
* |
|
ИСО 4903:1989 |
ГОСТ Р 34.30-93 Информационная технология. Передача данных. Интерфейс между оконечным оборудованием и аппаратурой окончания канала данных и распределение номеров контактов соединений. Общие требования |
|
ИСО 7005-1:1992 |
ГОСТ 9399-81 Фланцы стальные резьбовые на Рy 20 - 100 МПа (200 - 1000 кгс/см2). Технические условия |
|
ИСО 7005-2:1988 |
ГОСТ 12817-80 Фланцы литые из серого чугуна на Рy от 0,1 до 1,6 МПа (от 1 до 16 кгс/см2). Конструкция и размеры |
|
ИСО 7005-3:1988 |
* |
|
* Соответствующий национальный стандарт отсутствует. До его утверждения рекомендуется использовать перевод на русский язык данного международного стандарта. Перевод данного международного стандарта находится в Федеральном информационном фонде технических регламентов и стандартов. |
|
Ключевые слова: теплосчетчик, кабель, пломба, конструкция
|
ГОСТЫ, СТРОИТЕЛЬНЫЕ и ТЕХНИЧЕСКИЕ НОРМАТИВЫ. Некоммерческая онлайн система, содержащая все Российские Госты, национальные Стандарты и нормативы. В Системе содержится более 150000 файлов нормативно-технической документации, действующей на территории РФ. Система предназначена для широкого круга инженерно-технических специалистов. Copyright © www.gostrf.com, 2008 - 2026 |