|
|
|
МЕЖГОСУДАРСТВЕННЫЙ СОВЕТ ПО СТАНДАРТИЗАЦИИ, МЕТРОЛОГИИ И СЕРТИФИКАЦИИ (МГС) INTERSTATE COUNCIL FOR STANDARDIZATION, METROLOGY AND CERTIFICATION (ISC)
Государственная система обеспечения единства измерений ИЗМЕРЕНИЕ РАСХОДА И КОЛИЧЕСТВА ЖИДКОСТЕЙ И ГАЗОВ С ПОМОЩЬЮ СТАНДАРТНЫХ СУЖАЮЩИХ УСТРОЙСТВ Часть 5 Методика выполнения измерений
Предисловие Цели, основные принципы и основной порядокпроведения работ по межгосударственной стандартизации установлены ГОСТ 1.0-92 «Межгосударственная система стандартизации. Основные положения» и ГОСТ 1.2-97 «Межгосударственная система стандартизации. Стандарты межгосударственные, правила и рекомендации по межгосударственной стандартизации. Порядок разработки, принятия, применения, обновления и отмены» Сведения о стандарте 1 РАЗРАБОТАН Обществом с ограниченной ответственностью «Отраслевой метрологический центр Газметрология» (ООО «ОМЦ Газметрология»), Федеральным государственным унитарным предприятием «Всероссийский научно-исследовательский институт расходометрии» (ФГУП «ВНИИР»), государственным предприятием «Всеукраинский государственный научно-производственный центр стандартизации, метрологии, сертификации и защиты прав потребителей» Госпотребстандарта Украины (Укрметртестстандарт), Национальным университетом «Львовская политехника» 2 ВНЕСЕН Федеральным агентством по техническому регулированию и метрологии Российской Федерации 3 ПРИНЯТ Межгосударственным советом по стандартизации, метрологии и сертификации (протокол № 28 от 9 декабря 2005 г.) За принятие проголосовали:
(Поправка, ИУС 6-2007). 4 Настоящий стандарт разработан с учетом основных нормативных положений следующих международных стандартов: - ИСО 5167-1:2003 «Измерение расхода среды с помощью устройств переменного перепада давления, помещенных в заполненные трубопроводы круглого сечения. Часть 1. Общие принципы и требования» (ISO 5167-1:2003 «Measurement of fluid flow by means of pressure differential devices inserted in circular cross-section conduits running full - Part 1: General principles and requirements»); - ИСО 5167-2:2003 «Измерение расхода среды с помощью устройств переменного перепада давления, помещенных в заполненные трубопроводы круглого сечения. Часть 2. Диафрагмы» (ISO 5167-2:2003 «Measurement of fluid flow by means of pressure differential devices inserted in circular cross-section conduits running full - Part 2: Orifice plates»); - ИСО 5167-3:2003 «Измерение расхода среды с помощью устройств переменного перепада давления, помещенных в заполненные трубопроводы круглого сечения. Часть 3. Сопла и сопла Вентури» (ISO 5167-3:2003 «Measurement of fluid flow by means of pressure differential devices inserted in circular cross-section conduits running full - Part 3: Nozzles and Venturi nozzles); - ИСО 5167-4:2003 «Измерение расхода среды с помощью устройств переменного перепада давления, помещенных в заполненные трубопроводы круглого сечения. Часть 4. Трубы Вентури» (ISO 5167-4:2003 «Measurement of fluid flow by means of pressure differential devices inserted in circular cross-section conduits running full - Part 4: Venturi tubes»); - ИСО 5168:2005 «Измерение потока жидкости и газа. Процедура оценки неопределенностей» (ISO 5168:2005 «Measurement of fluid flow - Procedures for the evaluation of uncertainties») 5 Приказом Федерального агентства по техническому регулированию и метрологии от 31 октября 2006 г. № 237-ст межгосударственный стандарт ГОСТ 8.586.5-2005 «Государственная система обеспечения единства измерений. Измерение расхода и количества жидкостей и газов с помощью стандартных сужающих устройств. Часть 5. Методика выполнения измерений» введен в действие в качестве национального стандарта Российской Федерации с 1 января 2007 г. 6 ВВЕДЕН ВПЕРВЫЕ Информация о введении в действие (прекращении действия) настоящего стандарта публикуется в указателе «Национальные стандарты». Информация об изменениях к настоящему стандарту публикуется в указателе «Национальные стандарты», а текст этих изменений - в информационных указателях «Национальные стандарты». В случае пересмотра или отмены настоящего стандарта соответствующая информация будет опубликована в информационном указателе «Национальные стандарты» Содержание Введение Комплекс межгосударственных стандартов ГОСТ 8.586.1 - ГОСТ 8.586.5 под общим наименованием «Государственная система обеспечения единства измерений. Измерение расхода и количества жидкостей и газов с помощью стандартных сужающих устройств» (далее - комплекс стандартов) состоит из следующих частей: - Часть 1. Принцип метода измерений и общие требования; - Часть 2. Диафрагмы. Технические требования; - Часть 3. Сопла и сопла Вентури. Технические требования; - Часть4. Трубы Вентури. Технические требования; - Часть 5. Методика выполнения измерений. Комплекс стандартов распространяется на измерение расхода и количества жидкостей и газов методом переменного перепада давления при применении следующих типов сужающих устройств: диафрагмы, сопла ИСА 1932, эллипсного сопла 1), сопла Вентури и трубы Вентури. 1)В международном стандарте ИСО 5167-3 эллипсные сопла названы соплами большого радиуса. Комплекс стандартов устанавливает требования к геометрическим размерам и условиям применения сужающих устройств, используемых в трубопроводах круглого сечения, полностью заполненных однофазной (жидкой или газообразной) средой, скорость течения которой менее скорости звука в этой среде. Части 1-4 являются модифицированными по отношению к международным стандартам ИСО 5167-1:2003 - ИСО 5167-4:2003. В первой части приведены термины и определения, условные обозначения, принцип метода измерений, установлены общие требования к условиям измерений при применении всех типов сужающих устройств. Вторая, третья и четвертая части устанавливают технические требования к конкретным типам сужающих устройств: вторая часть - к диафрагмам, третья - к соплам ИСА 1932, эллипсным соплам и соплам Вентури, четвертая - к трубам Вентури. В настоящей части приведена методика выполнения измерений с помощью указанных выше типов сужающих устройств. МЕЖГОСУДАРСТВЕННЫЙ СТАНДАРТГосударственная система обеспечения единства измерений ИЗМЕРЕНИЕ РАСХОДА И КОЛИЧЕСТВА ЖИДКОСТЕЙ И ГАЗОВ С ПОМОЩЬЮ СТАНДАРТНЫХ СУЖАЮЩИХ УСТРОЙСТВ Часть 5 Методика выполнения измерений State system for ensuring the uniformity of measurements. Measurements of liquids and gases flow rate and quantity by means of orifice instruments. Part 5. Measurement procedure Дата введения - 2007-01-01 1 Область примененияНастоящий стандартустанавливает методику выполнения измерений (МВИ) расхода и количества жидкостей и газов с помощью следующих технических средств: - стандартного сужающего устройства; - измерительного трубопровода; - средств измерений перепада давления, параметров состояния среды и ее характеристик; - средств обработки результатов измерений; - соединительныхлиний; - вспомогательных технических устройств. Стандарт распространяется на измерения расхода и количества среды с помощью технических средств как отечественного, так и зарубежного производства, изготовленных в соответствии с требованиями настоящего стандарта. Настоящий стандарт применяют совместно с ГОСТ 8.586.1 и в зависимости от типа сужающего устройства - ГОСТ 8.586.2, ГОСТ 8.586.3 или ГОСТ 8.586.4. 2 Нормативные ссылкиВ настоящем стандарте использованы ссылки на следующие межгосударственные стандарты: ГОСТ 8.417-2002 Государственная система обеспечения единства измерений. Единицы величин ГОСТ 8.586.1-2005 (ИСО 5167-1:2003) Государственная система обеспечения единства измерений. Измерение расхода и количества жидкостей и газов с помощью стандартных сужающих устройств. Часть 1. Принцип метода измерений и общие требования ГОСТ 8.586.2-2005 (ИСО 5167-2:2003) Государственная система обеспечения единства измерений. Измерение расхода и количества жидкостей и газов с помощью стандартных сужающих устройств. Часть 2. Диафрагмы. Технические требования ГОСТ 8.586.3-2005 (ИСО 5167-3:2003) Государственная система обеспечения единства измерений. Измерение расхода и количества жидкостей и газов с помощью стандартных сужающих устройств. Часть 3. Сопла и сопла Вентури. Технические требования ГОСТ 8.586.4-2005 (ИСО 5167-4:2003) Государственная система обеспечения единства измерений. Измерение расхода и количества жидкостей и газов с помощью стандартных сужающих устройств. Часть 4. Трубы Вентури. Технические требования ГОСТ 2939-63 Газы. Условия для определения объема ГОСТ 10679-76 Газы углеводородные сжиженные. Метод определения углеводородного состава ГОСТ 17310-2002 Газы. Пикнометрический метод определения плотности ГОСТ 17378-2001 Детали трубопроводов бесшовные приварные из углеродистой и низколегированной стали. Переходы. Конструкция ГОСТ 18917-82 Газ горючий природный. Метод отбора проб ГОСТ 20060-83 Газы горючие природные. Методы определения содержания водяных паров и точки росы влаги ГОСТ 23781-87 Газы горючие природные. Хроматографический метод определения компонентного состава ГОСТ 28656-90 Газы углеводородные сжиженные. Расчетный метод определения плотности и давления насыщенных паров ГОСТ 30319.1-96 Газ природный. Методы расчета физических свойств. Определение физических свойств природного газа, его компонентов и продуктов его переработки ГОСТ 30319.2-96 Газ природный. Методы расчета физических свойств. Определение коэффициента сжимаемости Примечание - При пользовании настоящим стандартом целесообразно проверить действие ссылочных стандартов и классификаторов в информационной системе общего пользования - на официальном сайте Федерального агентства по техническому регулированию и метрологии в сети Интернет или по ежегодно издаваемому информационному указателю «Национальные стандарты», который опубликован по состоянию на 1 января текущего года, и по соответствующим ежемесячно издаваемым информационным указателям, опубликованным в текущем году. Если ссылочный стандарт заменен (изменен), то при пользовании настоящим стандартом следует руководствоваться замененным (измененным) стандартом. Если ссылочный стандарт отменен без замены, то положение, в котором дана ссылка на него, применяется в части, не затрагивающей эту ссылку. 3 Термины, определения, условные обозначения, сокращения и единицы величин3.1 Термины и определенияВ настоящем стандарте применены термины и определения в соответствии с ГОСТ 8.586.1. 3.2 Условные обозначенияОсновные условные обозначения приведены в таблице 1. Таблица 1 - Условные обозначения
3.3 Индексы условных обозначений величинИндексы в условных обозначениях величин обозначают следующее: в - верхний предел измерений; н - нижний предел измерений; с - стандартные условия; max - максимальное значение величины; min - минимальное значение величины. Знак «-» (черта над обозначением величины) - среднее значение величины или значение величины, рассчитанное по средним значениям параметров. 3.4 СокращенияВ стандарте применены следующие сокращения: ИТ - измерительный трубопровод; МС - местное сопротивление; ПД - измерительный преобразователь давления или манометр; ППД - измерительный преобразователь перепада давления или дифманометр; ПТ - измерительный преобразователь температуры или термометр; СИ - средства измерений; СУ - сужающее устройство. 3.5 Единицы величинВ настоящем стандарте применены единицы Международной системы единиц (международное сокращенное наименование - SI). Соотношения между единицами Международной системы и единицами других систем приведены в приложении А. 4 Условия проведения измерений4.1 Условия проведения измерений должны соответствовать ГОСТ 8.586.1 (разделы 5, 6 и 7). 4.2 Характеристики окружающей среды при эксплуатации СИ должны соответствовать условиям применения СИ, установленным его изготовителем. 4.3 Диапазон измерений применяемого СИ должен быть не менее диапазона изменений измеряемой величины. 4.4 Метрологические характеристики СИ выбирают с учетом обеспечения необходимой неопределенности результатов измерений расхода и количества среды. 4.5 Характеристики энергоснабжения СИ в условиях эксплуатации должны соответствовать характеристикам СИ, установленным его изготовителем. 4.6 Измерения следует выполнять СИ, прошедшими поверку или калибровку в зависимости от сферы применения. 4.7 СИ применяют в соответствии с требованиями технической документации по их эксплуатации. 5 Метод измерений5.1 Принцип методаПринцип метода измерения расхода среды с помощью СУ изложен в ГОСТ 8.586.1 (раздел 5). Количество среды определяют путем интегрирования расхода среды по времени. 5.2 Формулы для расчета расхода среды5.2.1 Расход среды измеряют в единицах массового расхода, объемного расхода в рабочих условиях и объемного расхода, приведенного к стандартным условиям (в качестве стандартных условий принимают условия по ГОСТ 2939). Связь массового расхода с объемным расходом при рабочих условиях и объемным расходом, приведенным к стандартным условиям, устанавливает формула qm = qc ρc = qvρ (5.1) 5.2.2 Массовый расход среды рассчитывают по формуле
Объемный расход среды при рабочих условиях рассчитывают по формуле
Объемный расход среды, приведенный к стандартным условиям, рассчитывают по формуле
5.2.3 Если плотность среды в рабочих условиях рассчитывают по формуле ρ = ρc p Tc/(pcTK), (5.5) то формулы (5.2), (5.3) и (5.4) примут вид, соответственно:
5.2.4 Формулы для определения расхода сухой части влажного газа приведены в приложении Б. 5.2.5 Число Рейнольдса, в зависимости от единицы расхода среды, рассчитывают по соответствующей из следующих формул:
5.3 Формулы для расчета количества среды5.3.1 Количество среды (m, V, VC), прошедшей по ИТ за определенный период времени, представляет собой интеграл функции расхода по времени τ, соответственно qm (τ), qv (τ), qc(τ) за этот период. 5.3.2 При дискретном интегрировании функций расхода по времени т с интервалами дискретизации ∆τi, количество среды рассчитывают по формулам: - при прямоугольной аппроксимации
- при трапециидальной аппроксимации
где qmi, qvi, qci - значения функций qm(τ), qv(τ) и qc(τ) в начале интервала ∆τi, соответственно; qmi+1, qvi+1, qci+1 - значения функций qm(τ), qv(τ) и qc(τ) в конце интервала ∆τi,- соответственно; п - число интервалов дискретизации в течение времени (τк- τн); τн и τк - время начала и конца периода времени интегрирования соответственно. 5.3.3 При дискретном интегрировании функций расхода по времени τ с равномерным интервалом дискретизации ∆τ количество среды рассчитывают по формулам: - при прямоугольной аппроксимации
- при трапециидальной аппроксимации
где
5.3.4 По известному значению среднего расхода
5.3.4.1 При дискретном интегрировании функций расхода по времени т с равномерным интервалом дискретизации ∆τ средние значения a) при наличии полного массива значений qmj, qvj, qci в интервале времени (τк - τн) средние значения расхода среды рассчитывают по формулам:
б) при поочередном в процессе интегрирования определении значений qmi, qvi и qci в интервале времени (τк - τн) средние значения расхода среды рассчитывают по формулам:
где
5.3.4.2 При известных средних значениях параметров потока и среды значения Примечание - Определение среднего значения расхода среды по средним значениям его аргументов приводит к появлению дополнительной составляющей неопределенности измерения количества среды, так как среднее значение нелинейных функций, к которым относятся уравнения расхода, не может быть точно определено через средние значения его аргументов. 5.3.5 Количество сухой части влажного газа рассчитывают по формулам, аналогичным в 5.3.2, 5.3.3 и 5.3.4. 5.4 Формулы для расчета энергосодержания горючих газов5.4.1 Расход энергосодержания горючих газов рассчитывают по формулам: qэ = qcHc = qmHm. (5.34) Hc = Hm ρc. (5.35) 5.4.2 Энергосодержание горючих газов определяют интегрированием функции qэ по времени по-формулам, аналогичным в 5.3.2, 5.3.3 и 5.3.4. Энергосодержание горючих газов допускается рассчитывать по формулам:
где mi Vci, - масса и объем газа, приведенный кстандартным условиям, соответственно, определенные за интервал ∆τ;; Hmi, Hci - удельная массовая и объемная теплота сгорания горючего газа при стандартных условиях, соответственно, определенные на интервале ∆τ; ∆τi - i-й интервал времени между двумя определениями значений Нm или Нс. 6 Средства измерений и требования к их монтажу6.1 Общие положения6.1.1 Для определения расхода и количества среды необходимо выполнять измерения переменных параметров потока и среды, входящих в уравнение расхода. 6.1.2 СИ и вспомогательные технические устройства, необходимые для измерения расхода и количества среды, выбирают исходя из условий их эксплуатации и технико-экономической целесообразности. 6.1.3 Для измерения параметров потока и среды применяют приборы с регистрацией результатов-измерения на бумажных или электронных носителях, а также планиметры или электронные устройства для считывания графической информации, вычислительные устройства ручного или автоматического-действия для обработки результатов измерений. Для автоматизации процедуры измерения и определения расхода и количества среды в реальном масштабе времени применяют вычислительные устройства, которые принимают сигналы от измерительных преобразователей параметров потока и среды, автоматически обрабатывают их и выдают необходимую информацию о результатах измерений и вычислений. 6.1.4 Для определения значений условно-постоянных величин (параметров, принимаемых в качестве постоянных величин на определенный период, например час, сутки, месяц и т. д.) допускается-применение показывающих приборов. Условно-постоянные величины могут быть приняты равными ожидаемым значениям, прогнозируемым на основе ранее выполненных измерений или общих знаний об условиях измерений. 6.2 Средства измерений перепада давления и давления6.2.1 Измерение перепада давления на сужающем устройстве 6.2.1.1 Перепад давления на СУ [см. ГОСТ 8.586.1 (пункт 3.1.4)] определяют подсоединением ППД через соединительные трубки к отверстиям для отбора давления или к отверстиям в кольцевых камерах усреднения, служащим для передачи давления к СИ. 6.2.1.2 Допускается подключение кодному СУ двух или более ППД. 6.2.1.3 Требования к монтажу ППД учитывают основные положения, изложенные в [1]. 6.2.2 Разъединительные краны Разъединительные краны предназначены для отделения СИ от ИТ. Разъединительные краны рекомендуется помещать на соединительных трубках непосредственно у места их соединения с ИТ. При установке уравнительных (конденсационных) сосудов разъединительные краны (вентили) допускается монтировать непосредственно за ними. Площадь проходного сечения крана должна быть не менее 64 % площади сечения соединительной трубки. В рабочем режиме разъединительные краны должны быть полностью открыты. Рекомендуется отдавать предпочтение установке шаровых кранов. 6.2.3 Уравнительные (конденсационные) сосуды 6.2.3.1 При измерениях расхода пара соединительные трубки заполняются конденсатом. При измерениях перепада давления происходит нарушение равенства высоты столбов конденсата в обеих соединительных трубках вследствие перемещения части конденсата в ППД. Изменение уровней столбов конденсата приводит к появлению дополнительной составляющей неопределенности результатов измерений перепада давления. Для уменьшения этой составляющей неопределенности результата измерения перепада давления применяют уравнительные (конденсационные) сосуды. На рисунке 1 приведены уравнительные сосуды, рекомендуемые [1]. Основные геометрические характеристики сосудов указаны в таблице 2.
Рисунок 1 -Уравнительные сосуды Таблица 2 - Размеры конденсационных сосудов
Область применения уравнительных сосудов (далее - сосудов) для типоразмеров, приведенных в таблице 2, определяют по схеме на рисунке 2.
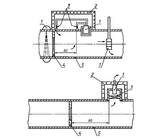
Рисунок 2 - Область применения уравнительных сосудов Вместимость сосудов должна быть тем больше, чем больше измерительный объем ППД, т.е. тот объем, который перемещается из одной камеры ППД при измерении ∆р от нуля до ∆рв. 6.2.3.2 Площадь горизонтального поперечного сечения сосуда должна быть в несколько раз больше площади вертикального сечения. 6.2.3.3 Сосуды располагают на одном уровне. При этом входные отверстия сосудов должны быть расположены не ниже отверстий для отбора давления. 6.2.3.4 Теплоизоляцию уравнительных сосудов и соединительных трубок осуществляют в случаях, показанных на схемах рисунка 3.
Рисунок 3 - Схемы расположения уравнительных сосудов и соединительных трубок 6.2.3.5 ППД при измерении расхода пара рекомендуется располагать ниже СУ (см. рисунок 3а). При р > 0,2 МПа допускают устанавливать ППД выше СУ по схеме, представленной на рисунке 3б (данная схема применима также при расположении ППД ниже СУ на расстоянии 1,5 м). При установке ППД по рисунку 3б следует в наивысших точках соединительныхтрубокустанавливать газосборники. Схема расположения уравнительных сосудов и соединительных трубок (см. рисунок 3в) допустима при р ≤ 0,2 МПа и расстоянии между сосудом и трубопроводом не более 4 м. При этом трубки, соединяющие СУ с сосудами, должны иметь внутренний диаметр 25 мм. 6.2.3.6 При работе с паром высокого давления и высокой температуры применяют обогревающие цилиндры с ловушками, объем которых должен быть равен объему уравнительных сосудов. Схема расположения обогревающих цилиндров и ловушек на ИТ приведена на рисунке 4. 6.2.4 Отстойные камеры 6.2.4.1 При измерениях расхода жидкости, пара и газа, в которых имеется взвесь или влага (в газах), применяют отстойные камеры.
1 - конденсационный сосуд; 2 - сварные соединения; 3 - изоляция 4 - СУ; 5 - ловушка; 6 - кран; 7 - соединительная трубка Рисунок 4 - Монтаж аппаратуры для пара высокого давления и высокой температуры на вертикальном трубопроводе
1 - отстойная камера; 2 - СУ; 3 - ППД; 4 - воздухосборник Рисунок 5 - Схема соединений отстойной камеры для измерений расхода воды при установке ППД выше СУ
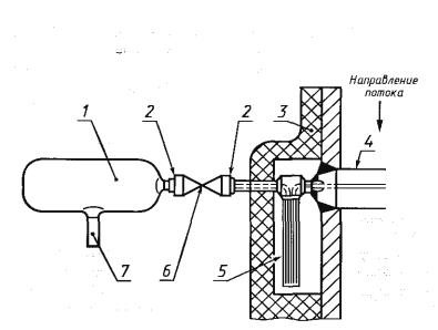
1 - продувочный кран; 2 - игольчатая трубка; 3 - выходной патрубок; 4 - входной патрубок; 5 - вентиляционный патрубок Рисунок 6 -- Отстойная камера 6.2.4.2 Отстойные камеры размещают в нижней точке соединительных трубок. Схема соединений отстойной камеры приведена на рисунке 5. 6.2.4.3 На рисунке 6 приведена типовая модель-отстойной камеры. Вверху резервуара должно быть свободное пространство, обеспечивающее доступ к продувочному крану. Кран должен быть шаровым, чтобы его можно было промывать и очищать при засорении или образовании накипи. 6.2.4.4 Размеры отстойной камеры обусловлены-необходимостью чистки и технического ухода, а также количеством твердых частиц в протекающем потоке и(или) степенью конденсации. 6.2.5 Газосборные камеры 6.2.5.1 При измерениях расхода жидкости, содержащей газ, возможно скопление газа в соединительных трубках. Для устранения скопления газа ППД устанавливают ниже СУ, а соединительные трубки располагают под постоянным уклоном вниз от СУ до ППД. При необходимости установки ППД выше СУ устанавливают газосборные камеры. 6.2.5.2 Газосборные камеры устанавливают выше ППД. 6.2.5.3 Рекомендуемая форма газосборной камеры приведена на рисунке 7. 6.2.6 Способы защиты соединительных трубок при низкой температуре окружающей среды 6.2.6.1 Для предохранения отзамерзанияжидкости в соединительных трубках при низкой температуре окружающей среды применяют обогреватели (электронагреватели, паровые змеевики и др.).
7 - выходной патрубок; 2 - входной патрубок; 3 - кран; 4 - вентиляционный патрубок Рисунок 7 - Газосборные камеры Способы защиты от действия низких температур выбирают в зависимости от конкретных условий. 6.2.6.2 Нагревание должно быть равномерным для всех соединительных трубок и их вспомогательных узлов. Соединительные трубки располагают рядом и теплоизолируют. 6.2.6.3 Минимальная температура нагрева соединительных трубок должна быть выше температуры замерзания жидкости (для жидких сред) или выше температуры образования конденсата (для газообразных сред). Максимальная температура нагрева соединительных трубок не должна превышать температуру кипения измеряемой жидкой среды и допускаемую температуру среды для применяемого ППД. 6.2.6.4 Рекомендуется применять обогрев холодных соединительных трубок малого диаметра во избежание их засорения при измерениях расхода вязких-горячих жидкостей. 6.2.7 Разделительные сосуды 6.2.7.1 Если среда вызывает коррозию, обладает способностью к конденсации или замерзанию в соединительных трубках, имеет очень высокую вязкость или может образовывать накипь, то применяют разделительные сосуды, заполненные жидкостью, отделяющей среду от ППД или от уравновешивающей жидкости, применяемой в ППД. Однако следует иметь в виду, что разделительная жидкость не будет защищать соединительные трубки между отверстиями для отбора давления и разделительными сосудами. 6.2.7.2 Разделительные сосуды применяют с перегородками или без них. В разделительных сосудах без перегородок разделительная жидкость не должна смешиваться или вступать в химическую реакцию с измеряемой средой или уравновешивающей жидкостью и ее плотность должна существенно отличаться от плотности этих двух веществ для обеспечения постоянства поверхности контакта. 6.2.7.3 При отсутствии перепада давления поверхность раздела измеряемой среды и разделительной жидкости должна находиться на одном и том же уровне в обоих сосудах. 6.2.7.4 Применение разделительных сосудов влияет на показания ППД таким образом, что перепад давления на СУ становится больше разности давления в ППД. Влиянием разделительных сосудов на показания ППД можно пренебречь при условии удовлетворения неравенству
где F - площадь поперечного сечения разделительного сосуда, м2; VB - объем жидкости, перетекающей из разделительного (или уравнительного) сосуда в ППД при изменении расхода от нуля до qmax, м3; ρp - плотность разделительной жидкости, кг/м3; ρ' - плотность измеряемой среды при давлении р и температуре разделительного сосуда, кг/м3. Показания СИ перепада давления с разделительными сосудами, не удовлетворяющие данному неравенству, корректируют с учетом перемещения уровня раздела в разделительном сосуде. В [1] приведен метод расчета перепада давления при применении разделительных сосудов в случае нарушения условия, выраженного неравенством (6.1). 6.2.7.5 Разделительные сосуды должны находиться как можно ближе к отверстиям для отбора давления. В приложении В представлены различные варианты схем установок разделительных сосудов. 6.2.7.6 Если среда может замерзать или конденсироваться в соединительных трубках, то патрубки отверстий для отбора давления вместе с соединительными трубками покрывают теплоизоляцией или обогревают. 6.2.7.7 Вместимость разделительных сосудов должна превышать объем среды при максимальном ее перемещении в ППД. При проектировании разделительных сосудов обеспечивают равенство диаметров по всей их длине. Пример конструкции разделительного сосуда приведен на рисунке 8.
1 - пробка; 2 - ушко; 3 - обечайка; 4 - днище; 5 - штуцер; б - штуцер Рисунок 8 - Конструкция разделительного сосуда 6.2.7.8 Если невозможно подобрать разделительную жидкость с необходимыми химическими и физическими характеристиками, то применяют разделительные сосуды с перегородками. Перегородками могут служить мягкие мембраны и сильфоны. Характеристика «нагрузка/перемещение» перегородок должна быть идентичной для двух разделительных сосудов. 6.2.7.9 Для удаления скопления газа в конструкции разделительного сосуда предусматривают вентиляционные устройства. 6.2.7.10 Примеры разделительных жидкостей и их свойства приведены в таблице 3. Таблица 3 - Свойства разделительных жидкостей
6.2.8 Очистная система 6.2.8.1 Очистная система, пример установки которой приведен на рисунке 9, предназначена для предохранения соединительных трубок и ППД от попадания загрязненных или агрессивных веществ. Очистные системы могут заменять одновременно разделительные сосуды и отстойные камеры.
Рисунок 9 - Пример установки очистной системы 6.2.8.2 При применении очистных систем поперечное сечение по всей длине соединительных трубок должно быть постоянным. Соединительные трубки, подключенные к плюсовой и минусовой камере усреднения, должны иметь равную длину и одинаковое число сочленений. Рисунок 9 - Пример установки очистной системы 6.2.8.3 Для поддержания равных расходов-очистного потока в обеих соединительных трубках в очистной системе устанавливают расходомеры (например, ротаметры) между продувочным краном и точкой ввода очистного потока в соединительную трубку. 6.2.8.4 Необходимо следить за тем, чтобы очистка не влияла на показания ППД и на температурное равновесие между двумя соединительными трубками. 6.2.8.5 Используемый в качестве очистительного вещества газ вводят в соединительные трубки под большим давлением по сравнению с давлением среды. Очистной поток регулируют игольчатым вентилем. 6.2.8.6 При недостаточной эффективности описанных выше методов очистки для предохранения отверстий для отбора давления от загрязнения используют зонды (рисунок 10) или применяют другие методы очистки.
1 - корпус; 2 - головка зонда; 3 - ось зонда; 4 - рукоятка Рисунок 10 - Зонд 6.2.9 Соединительные трубки (линии) 6.2.9.1 ППД располагают как можно ближе к СУ. Рекомендуется, чтобы длина соединительных трубок не превышала 16 м. При необходимости применения больших длин целесообразно использовать электрическую или пневматическую передачу. 6.2.9.2 Во избежание искажения перепада давления, возникающего из-за разности температуры трубок, две соединительные трубки должны быть расположены рядом. Если существует опасность нагрева или охлаждения заполненных жидкостью соединительных трубок при их вертикальном или наклонном расположении, то их совместно теплоизолируют. 6.2.9.3 При применении соединительных трубок, составленных из отдельных секций, диаметр-условного прохода этих секций должен быть одинаковым. Внутренний диаметр соединительных трубок должен быть более 6 мм. Если существует опасность конденсации среды, находящейся в соединительных трубках, или образования в ней пузырьков газа, то внутренний диаметр соединительных трубок должен быть не менее 10 мм. Рекомендуемые значения внутреннего диаметра соединительных трубок приведены в таблице 4. Таблица 4 - Внутренний диаметр соединительных трубок
6.2.9.4 Соединительные трубки устанавливают с уклоном к горизонтали более чем 1:12. Такой уклон обеспечивает движение конденсата и твердых частиц вниз до обогревающих отстойников или цилиндров, а пузырьков газа вверх - до газосборных камер. Допускается делать уклоны ступенчатыми при условии, что отстойные камеры находятся во всех нижних точках, а газосборные камеры - во всех верхних точках. 6.2.9.5 Разностьдлины соединительных трубок ППД должна быть как можно меньшей. 6.2.9.6 При подключении к СУ двух или более ППД допускается подключение соединительных трубок одного ППД к соединительным трубкам другого. При этом расстояние от СУ до мест подключения соединительных трубок подключаемого ППД должно быть одинаковым, насколько это возможно. 6.2.10 Запорная арматура измерительного преобразователя перепада давления или дифманометра 6.2.10.1 ППД оснащают присоединительными (разъединительными), продувочными и уравнительными кранами (вентилями). Эти устройства (полностью или часть из них) могут быть конструктивно-выполнены в одном блоке. 6.2.10.2 Присоединительные краны (вентили) предназначены для подключения (отключения) ППД к соединительным трубкам. При работе ППД в режиме измерений присоединительные краны (вентили) должны быть полностью открыты. 6.2.10.3 Продувочные краны (вентили) предназначены для очистки соединительных трубок. При работе ППД в режиме измерений продувочные краны (вентили) должны быть закрыты. Для чистых сред функции продувочных кранов (вентилей) могут выполнять средства вентиляции камер ППД. 6.2.10.4 Уравнительный кран (вентиль) предназначен для создания нулевого значения перепада давления на ППД. Во время этой операции присоединительные и продувочные краны (вентили) должны быть закрыты. При работе ППД в режиме измерений уравнительный кран (вентиль) должен быть закрыт. При продувке соединительных трубок и камер ППД уравнительный кран (вентиль) должен быть открыт. 6.2.10.5 В приложении Г приведены различные схемы присоединения ППД при измерениях расхода и количества различных сред. 6.2.11 Измерение давления среды 6.2.11.1 Давление среды - это сумма избыточного и атмосферного давлений p = pи + pa (6.2) 6.2.11.2 СИ абсолютного или избыточного давления подключают к отдельному отверстию перед СУ, размещенному в сечении ИТ в месте установки отверстия для отбора перепада давления. Допускается присоединение ПД к «плюсовой» соединительной трубке ППД. 6.2.11.3 Измерения абсолютного или избыточного давления конденсирующего газа и пара в случае применения конденсационных сосудов выполняют с учетом разности высот установки СУ и ПД. В этом случае давление рассчитывают по формуле p = pп - ρк gh, где рп - показание ПД абсолютного давления или сумма показаний ПД избыточного и атмосферного давления, Па; рк - плотность конденсата в соединительной трубке, кг/м3; g - ускорение свободного падения, м/с2; h - разность высот установки конденсационного сосуда и ПД, м. 6.2.11.4 Атмосферное давление измеряют в месте расположения ПД избыточного давления, если последний размещен в замкнутом пространстве при наличии поддува, создаваемого системами кондиционирования. 6.2.11.5 Атмосферное и (или) избыточное давление могут быть приняты за условно-постоянную величину. При этом учитывают соответствующую составляющую неопределенности результата измерения давления в соответствии с 10.4.4. 6.3 Средства измерений температуры6.3.1 Термодинамическую температуру среды рассчитывают по формуле T = 273,15 + t. (6.3) 6.3.2 Температуру среды измеряют на прямолинейном участке ИТ до или после СУ. Во всех случаях необходимо стремиться к тому, чтобы ПТ или его защитная гильза (при ее наличии) как можно меньше загромождали проходное сечение ИТ. 6.3.3 ПТ или его защитную гильзу (при ее наличии) погружают в ИТ на глубину от 0,3D до 0,7D. В случае измерения расхода пара или среды, температура которой более 120°С, рекомендуется ПТ или его защитную гильзу (при ее наличии) погружать в ИТ на глубину от 0,5D до 0,7D. 6.3.4 Наилучшим расположением ПТ или его защитной гильзы (при ее наличии) при их установке является радиальное, схема которого приведена на рисунке 11а. Допускается их наклонное расположение, как приведено на рисунках 11б и 11г, или установка за СУ в колене, как приведено на рисунке 11в. Указанное направление потока на рисунках 11б, в - рекомендуемое.
Рисунок 11 - Схема установки ПТ 6.3.5 При измерении температуры среды до СУ следует руководствоваться следующими положениями: а) если диаметр Dt удовлетворяет условию 0,03D < Dt ≤ 0,13D, то: - установка ПТ или его защитной гильзы (при ее наличии) на расстоянии не менее 20D от СУ не-влияет на показания расходомера; - при установке ПТ или его защитной гильзы (при ее наличии) от СУ на расстоянии 10D ≤ lt < 20D к неопределенности коэффициента истечения следует арифметически добавить величину, равную-1 - lt/(20D); - ПТ или его защитную гильзу (при ее наличии) не допускается устанавливать на расстоянии-менее 10D от СУ; - для труб Вентури расстояние от точки размещения ПТ или его защитной гильзы (при ее наличии) до сечения, в котором осуществляется отбор давления до СУ, должно быть не менее 4D; б) если диаметр Dt удовлетворяет условию Dt < 0,03D, то: - установка ПТ или его защитной гильзы (при ее наличии) на расстоянии не менее 5D от СУ не влияет на показания расходомера; - при установке ПТ или его защитной гильзы (при ее наличии) от СУ на расстоянии 3D ≤ lt < 5D к неопределенности коэффициента истечения следует арифметически добавить величину, равную 0,5 %; - ПТ или его защитную гильзу (при ее наличии) не допускается устанавливать на расстоянии менее 3D от СУ; в) расстояние между СУ и ПТ не должно превышать 30D; г) между СУ и ПТ или его защитной гильзы (при ее наличии) должны отсутствовать местные сопротивления. 6.3.6 При измерении температуры потока после СУ следует выполнять требования: а) ПТ или его защитную гильзу (при ее наличии) не допускается устанавливать от СУ на расстоянии более 15D; б) если диаметр Dt не превышает 0,13D, то ПТ или его защитную гильзу (при ее наличии) устанавливают на расстоянии не менее 5D от СУ (кроме трубы Вентури); в) если диаметр D, не превышает 0,13D, для трубы Вентури ПТ или его защитную гильзу (при ее наличии) размещают в сечении ИТ, расположенном на расстоянии не менее 2D от диффузора; г) если диаметр Dt более 0,13D, но не превышает 0,26D, то ПТ или его защитную гильзу (при ее наличии) устанавливают на расстоянии от СУ, удовлетворяющем двум условиям: lt ≥ 5D и lt ≥ (8,55β0.55)D; д) если диаметр Dt более 0,26D, то ПТ или его защитную гильзу (при ее наличии) устанавливают в расширитель в соответствии с 6.3.7; е) допускается установка ПТ или его защитной гильзы (при ее наличии) в колене в соответствии с-рисунком 11в; ж) между СУ и ПТ или его защитной гильзой (при ее наличии) должны отсутствовать местные сопротивления (исключение составляют варианты, представленные на рисунках 11в, г). 6.3.7 На рисунке 11г приведена схема установки ПТ или его защитной гильзы (при ее наличии) в расширителе. Внутренний диаметр расширителя должен быть не менее 3,85Dt. Расстояние между СУ и ближайшей границей расширителя (сечением перехода ИТ в конус) должно быть при использовании диафрагм и сопел не менее 8,55β0,55D, при применении трубы Вентури - 4d. Расстояние между СУ и ПТ или его защитной гильзой (при ее наличии) не должно превышать 15D. Если ось отверстия ИТ для установки ПТ или его защитной гильзы (при ее наличии) размещена на расстоянии от места соединения диффузора с цилиндрической частью расширителя не более 2,5Dp, то необходимость в формировании безотрывного потока в диффузоре отсутствует, поэтому сам диффузор может иметь любую конусность либо быть выполнен в виде переходов в соответствии с ГОСТ 17378. При размещении ПТ или его защитной гильзы (при ее наличии) вдали от места соединения диффузора с цилиндрической частью расширителя (более 2,5Dp), диффузор рекомендуется выполнять с углом расширения а (см. рисунок 11г), не превышающем значения, указанные в зависимости от отношения площадей сечений расширителя и трубопровода в таблице 5. Таблица 5 - Значения угла расширения а, обеспечивающие безотрывное течение среды в диффузоре
6.3.8 Если среда - газ, то при наличии больших потерь давления (∆ω > 1,6 105 Па) на СУ необходимо рассчитывать температуру до СУ по измеренной температуре после СУ по формуле T = T2 + μJT ∆ω, где Т2 - измеренное значение температуры после СУ, К. Потерю давления ∆ω в СУ следует определять согласно ГОСТ 8.586.2 (подраздел 5.4), ГОСТ 8.586.3 (пункты 5.1.8, 5.2.8 и 5.3.6), ГОСТ 8.586.4 (подраздел 5.9) в зависимости от типа СУ. Коэффициент Джоуля - Томсона μJT определяют в соответствии с ГОСТ 8.586.1 (пункт 3.3.8). 6.3.9 При установке ПТ в гильзу (карман) обеспечивают надежный тепловой контакт, заполняя гильзу, например, жидким маслом. ПТ погружают в гильзу на полную ее глубину (с монтажным зазором). Рекомендуется, чтобы зазор между боковыми стенками гильзы и ПТ не превышал 0,5мм. Часть ПТ, выступающая над ИТ, должна иметь термоизоляцию, если температура потока отличается от температуры окружающей среды более чем на 40°С. Рекомендуется ПТ или его защитную гильзу (при ее наличии) термоизолировать от стенки ИТ. Примечание - При установке ПТ дополнительно рекомендуется учитывать требования, изложенные в [2]. 6.4 Средства измерений плотности, состава и влажности среды6.4.1 Определение плотности среды при рабочих условиях 6.4.1.1 Плотность среды в рабочих условиях допускается определять прямым методом измерений с применением плотномеров любого типа, не изменяющих структуру потока, или косвенными методами измерений. 6.4.1.2 Точку отбора пробы газа располагают в верхней, а жидкостей - в нижней части горизонтального участка трубопровода. Точки отбора пробы располагают на участке трубопровода, где скорость потока более нуля и отсутствуют завихрения. 6.4.1.3 Если плотномер находится во внутренней полости трубы, то расстояние между ним и СУ должно составлять: - не менее указанного для ПТ в 6.3.5 (при соответствии диаметра погружаемой в полость трубопровода части плотномера диапазону значений диаметра ПТ) - при его установке до СУ; - не менее 8D - при его установке после СУ. 6.4.1.4 Изменение плотности среды отслеживают, создавая поток через чувствительный элемент плотномера путем ответвления части общего потока. Схемы установки плотномеров приведены на рисунке 12.
1 - плотномер; 2 - теплоизоляция; 3 - вентиль; 4 - сужающее устройство; 5 - трубопровод Рисунок 12 - Схемы установки плотномеров 6.4.1.5 Для очистки пробы от примесей на входе плотномеров допускается применение фильтров и осушителей. Однако эти устройства не должны изменять состав среды. 6.4.1.6 Равенство температуры измеряемой среды и пробы среды, находящейся в чувствительном элементе плотномера, обеспечивают, размещая последний в потоке измеряемой среды и теплоизолируя от внешней среды все его элементы, в которых находится проба и которые соприкасаются с внешней средой до попадания этой пробы в чувствительный элемент плотномера. 6.4.1.7 В общем случае значения давления и температуры, а следовательно, и плотности в чувствительном элементе плотномера могут отличаться от значений данных параметров в месте отбора-давления перед СУ. Если невозможно обеспечить равенство температуры и давления среды и ее пробы, находящейся в чувствительном элементе плотномера, то вводят поправки к показаниям плотномера. При этом значение плотности среды рассчитывают по формулам: - для газа
- для жидкости ρ = ρ0 (1 - βT ∆Tρ + γp ∆pρ), (6.5) где р0 - показания плотномера; рр - давление газа в чувствительном элементе плотномера, Па; ∆рр - разность давления в месте отбора давления перед СУ и на чувствительном элементе плотномера, Па; Тр - температура газа в чувствительном элементе плотномера, К; ∆Тр - разность температуры в месте отбора давления перед СУ и на чувствительном элементе плотномера, К; βT - коэффициент объемного расширения жидкости (относительное изменение плотности жидкости при изобарическом увеличении ее температуры на единицу); γр - коэффициент сжимаемости жидкости (относительное изменение плотности жидкости при изотермическом уменьшении ее давления на единицу). 6.4.1.8 Конструкция плотномера и его монтаж должны обеспечивать возможность проверки-выполнения требований 6.4.1.1 - 6.4.1.7. 6.4.1.9 При определении плотности при рабочих условиях косвенным методом используют значения параметров среды, необходимые для выполнения расчета. Например, плотность газов при рабочих условиях может быть определена по их плотности при стандартных условиях, давлению и температуре (для смесей газов дополнительно - по компонентному составу по ГОСТ 30319.1), а также по значениям давления и температуры (для водяного пара по [3]). Плотность жидкости может быть определена по значениям давления и температуры (для смеси жидкостей дополнительно - по компонентному составу, например по ГОСТ 28656). 6.4.2 Определение плотности газа при стандартных условиях 6.4.2.1 Для определения плотности среды при стандартных условиях допускается применение прямых методов с применением плотномеров любого типа, не изменяющих структуру потока и косвенных методов измерений. 6.4.2.2 При отборе проб для лабораторного определения плотности газа при стандартных условиях руководствуются требованиями ГОСТ 18917. Если применяется прямой метод отбора проб, когда проба отбирается из потока и непосредственно передается аналитическому прибору, то рекомендуется руководствоваться требованиями [4]. Точка отбора пробы может быть размещена на ИТ до СУ или после него. При размещении точки отбора проб на ИТ после СУ расстояние между СУ и заборной трубкой должно быть не менее 4D при β ≤ 0,2 и не менее значения 8,55β0,55D, округленного до большего целого числа, при β > 0,2. При размещении точки отбора на ИТ до СУ расстояние между СУ и заборной трубкой должно быть не менее 20D. 6.4.2.3 Допускается определять плотность при стандартных условиях пикнометрическим методом в соответствии с ГОСТ 17310. 6.4.2.4 Рекомендуется частоту измерений плотности при стандартных условиях устанавливать исходя из неопределенности результатов измерений и возможных изменений значения плотности за заданный период времени (например, сутки, месяц). Число измерений за заданный период времени рассчитывают по формуле
Где n - необходимое число проб; Z = 2ln(S/Upc); А = - 8,04445; В = 2,50960; С - 2,82837; U pс - расширенная неопределенность результата измерений ρс; S - оценка среднеквадратического отклонения результата измерений ρс, рассчитываемая по формуле
где m - число проб (m ≥ 4), равномерно отобранных за заданный период времени; ρci- - значение плотности при стандартных условиях, полученное в результате анализа i-й пробы. Примечание- Формула (6.6) получена на основе положений, изложенных в [4]. 6.4.2.5 Плотность при стандартных условиях смесей газов допускается определять по компонентному составу в соответствии с требованиями нормативных документов (например, для природного газа по ГОСТ 30319.1). 6.4.3 Определение компонентного состава 6.4.3.1 Для определения компонентного состава среды применяют хроматографы любого типа, не изменяющие состав среды. 6.4.3.2 При определении места отбора проб руководствуются требованиями 6.4.2.2. 6.4.3.3 Компонентный состав определяют в соответствии с требованиями ГОСТ 23781, ГОСТ 10679. 6.4.4 Определение влажности газа 6.4.4.1 Для определения влажности газа применяют влагомеры любого типа, измеряющие температуру конденсации паров влаги (температуру точки росы), массовое и (или) объемное содержание водяных паров в единице объема газа. 6.4.4.2 При определении места отбора проб руководствуются требованиями 6.4.2.2. 6.4.4.3 Влажность природных газов определяют в соответствии с требованиями ГОСТ 20060. 6.4.5 Дополнительная рекомендация Для определения плотности при стандартных условиях, состава и влажности газа пробы рекомендуется отбирать из одной точки. 6.5 Вычислительные устройства6.5.1 Вычислительное устройство должно автоматически вычислять значения параметров потока и среды, а также значение расхода среды в соответствии с 5.2 и количество среды в соответствии с 5.3. При расчете расхода и количества среды допускается применение упрощенных формул. Дополнительный вклад в неопределенность результатов вычисления от введенных упрощений определяют относительно результатов вычислений, выполненных в соответствии с требованиями подраздела 8.2 и 8.3 настоящего стандарта. 6.5.2 Вычислительное устройство должно контролировать соблюдение методических ограничений на применение СУ и технологических ограничений на значения измеряемых величин. 6.5.3 Вычислительное устройство должно формировать архивные базы данных о результатах измерений и вычислений, нештатных ситуациях и вмешательствах оператора (изменение данных, влияющих на результаты измерений и вычислений). 6.5.4 Вычислительное устройство должно представлять результаты измерений и вычислений, а также данные о конфигурировании вычислительного устройства на внутреннее и(или) внешние устройства отображения информации. 6.5.5 Вычислительное устройство должно обеспечивать возможность распечатки архивной и итоговой информации на принтере непосредственно или с применением устройств приема/передачи-информации (переносного устройства сбора информации, компьютера и т. п.). 6.5.6 В вычислительном устройстве должна быть предусмотрена защита хранящейся в нем информации от возможности ее искажения. 6.5.7 Детализацию перечисленных в 6.5.1-6.5.6 функций вычислительного устройства и необходимость в дополнительных его функциях устанавливают заинтересованные стороны или соответствующий нормативный документ (при его наличии). 7 Подготовка к измерениям7.1 Перед вводом в эксплуатацию технических средств проверяют соответствие требованиям: - прямолинейных участков ИТ - ГОСТ 8.586.1 (раздел 7); - монтажа соединительных трубок - раздела 6; - конструкции СУ - ГОСТ 8.586.2, или ГОСТ 8.586.3, или ГОСТ 8.586.4; - монтажа СИ параметров потока и среды - раздела 6 и монтажно-эксплуатационной документации; - условий применения СУ - ГОСТ 8.586.1 (раздел 6). Периодически, не реже одного раза в год, начиная с момента ввода в эксплуатацию комплекта СИ и технических средств, проверяют: - СИ на соответствие требованиям раздела 4; - наличие документации или соответствующих отметок, допускающих СИ к эксплуатации; - корректность конфигурирования вычислительного устройства в составе СИ расхода и количества среды при его наличии. Периодически, не реже одного раза в месяц (если иная периодичность не установлена требованиями безопасности), начиная с момента ввода в эксплуатацию комплекта СИ и технических средств, проверяют герметичность всех узлов соединений, в которых находится среда. 7.2 Допускается по договоренности между заинтересованными сторонами проверку комплекта СИ и технических средств проводить чаще, чем это указано в 7.1. 8 Обработка результатов измерений8.1 Расчет расхода среды8.1.1 Исходные данные и применяемые формулы 8.1.1.1 Исходные данные Для расчета расхода среды необходимы следующие исходные данные: - тип СУ; - способ отбора перепада давления (для диафрагм); - диаметр отверстия СУ d20; - внутренний диаметр D20; - среднеарифметическое отклонение профиля шероховатости Ra или эквивалентная шероховатость внутренней поверхности ИТ Rш; - материал, из которого изготовлено СУ; - материал, из которого изготовлен прямолинейный участок ИТ непосредственно перед СУ; - при применении диафрагм начальный радиус rн входной кромки диафрагмы и время τT,. эксплуатации диафрагмы с момента определения значения rн или межконтрольный интервал СУ - τу ; - для смеси газов (в т.ч. природного газа) - полный ее состав или (для природного газа) - молярные доли диоксида углерода ху и азота ха в газе и его плотность при стандартных условиях рс; - плотность среды в рабочих условиях ρ (при наличии плотномера); - перепад давления на СУ ∆р; - абсолютное давление р среды или избыточное давление ри среды и атмосферное давление ра; - температура среды t. Примечание - Некоторые из перечисленных параметров или характеристик в зависимости от конкретного вида применяемых основных расчетных формул могут не использоваться. 8.1.1.2 Определение значений исходных величин Значения параметров и характеристик СУ и ИТ (d20, D20, Rш rH и τт или τy , а также марки материалов, из которых изготовлены ИТ и СУ) - в соответствии с сертификатами или с актами измерений геометрических параметров СУ и ИТ. Значения физико-химических параметров смеси газов - полный состав смеси или (для природного газа) рс, ху, ха, а также значения параметров потока - ∆р, t, p (или ри и ра) измеряют в соответствии с требованиями настоящего стандарта. 8.1.1.3 Применяемые формулы для расчета расхода среды Для расчета расхода среды применяют формулы, указанные в таблице 6. Таблица 6 - Формулы, применяемые при расчете расхода среды
Для расчета физических свойств среды - плотности (для жидкостей и водяного пара), плотности при стандартных условиях (для смесей газов с известным полным составом), коэффициента сжимаемости и показателя адиабаты (для газов), динамической вязкости применяют формулы или таблицы из соответствующих нормативных документов [см. ГОСТ 8.586.1 (пункт 5.4.1)]. Данные формулы дополняют условиями ограничений действия метода переменного перепада давления, приведенными в следующих стандартах: - ГОСТ 8.586.2 (пункт 5.3.1, подпункт 5.3.2.2) - для диафрагм; - ГОСТ 8.586.3 (подпункты 5.1.6.1 и5.1.6.3) - для сопел ИСА 1932; - ГОСТ 8.586.3 (подпункты 5.2.6.1 и 5.1.6.3) - для эллипсныхсопел; - ГОСТ 8.586.3 (подпункты 5.3.4.1,5.1.6.3) - для сопел Вентури; - ГОСТ 8.586.4 (подразделы 5.1 и 5.6) - для труб Вентури. 8.1.2 Порядок расчета расхода среды 8.1.2.1 Расчет значений промежуточных величин В зависимости от марки материала СУ по ГОСТ 8.586.1 [формула (5.4)] рассчитывают d. В зависимости от марки материала ИТ по ГОСТ 8.586.1 [формула (5.5)] рассчитывают D. По ГОСТ 8.586.1 [формулы (3.1) и (3.6)] рассчитывают, соответственно, значения β и Е. Для диафрагм по ГОСТ 8.586.2 [формула (5.14)] для времени τт рассчитывают значение rк, и по ГОСТ 8.586.2 [формула (5.13)] - находят значение Кп. Если значение Кп определяют по значению среднего радиуса
Для других СУ Кп = 1. При измерении избыточного ри и атмосферного ра давления среды рассчитывают абсолютное давление р среды по формуле (6.2). По формуле (6.3) вычисляют термодинамическую температуру Т среды. Рассчитывают следующие параметры среды: - ρ - для жидкостей и водяного пара; - ρс - для смеси газов при заданном полном составе; - К-для смеси газов; - к - для газообразных сред (смеси газов, водяного пара); - μ -для всех сред. При применении плотномера расчет значений плотности среды ρ и (или) ρс не выполняют. Значение ε (при расчете расхода газа, водяного пара) рассчитывают по ГОСТ 8.586.2 [формула (5.7)] - для диафрагм и по ГОСТ 8.586.3 [формула (5.2)] - для других СУ. 8.1.2.2 Расчет расхода выполняют в следующей последовательности: а) принимают первое приближение значения числа Рейнольдса Re1, равное 106; б) рассчитывают первое приближение значения коэффициента истечения С1; в) находят первое приближение значения Кш1 (для труб Вентури - не определяется); г) применяя в зависимости от выбранных единиц измерений одну из формул (5.2) - (5.4),-(5.6) - (5.8), рассчитывают первое приближение значения расхода среды q1; д) по полученному значению qv применяя формулы, указанные в таблице 6, последовательно находят второе приближение значений Re2, C2, Кш2 и q2; е) процесс уточнения значений Re, С, Кш и q проводят до тех пор, пока значение относительного отклонения между полученным значением расхода qi и его предыдущим значением qi-1 будет удовлетворять условию:
Найденное значение qi принимают за искомое значение расхода среды. 8.1.3 Примеры расчета расхода среды 8.1.3.1 Пример расчета расхода природного газа для диафрагмы с угловым способом отбора-перепада давления приведен в Д.1 (приложение Д). 8.1.3.2 Пример расчета расхода перегретого пара для сопла ИСА 1932 приведен в Д.2 (приложение Д). 8.2 Расчет количества среды с помощью вычислительных устройствОбъем или массу среды определяют интегрированием функции расхода по времени. Операцию интегрирования реализуют путем циклического процесса расчета расхода по переменным исходным данным и суммирования по одной из формул, приведенных в 5.3. Порядок проведения расчета расхода на одном цикле вычислений аналогичен изложенному в 8.1. Ввод условно-постоянных параметров потока, СУ и ИТ, установку длительности цикла измерений, фиксацию количества этих циклов за установленный промежуток времени, а также организацию циклов измерений переменных величин осуществляют с помощью программных и технических средств. 8.3 Расчет количества среды по результатам планиметрирования диаграмм8.3.1 Для определения m, V или Vc применяют формулы (5.25) - (5.27),
где средние значения расхода Так как зависимость величин qm, qv, qc от измеряемых параметров, например ∆р, ρс, ρ, Т, р, является
нелинейной, то при определении количества среды за определенный интервал времени в формулах
(5.2) - (5.8) следует использовать такие оценки параметров как Если невозможно провести вышеуказанную оценку параметров, то значения Средние значения параметров потока и их нелинейных функций вида 8.3.2 Для определения m, V или Vc в соответствии с формулами, приведенными в 5.2, обеспечивают регистрацию (запись на диаграммах) необходимых параметров потока и среды, например, для формул (5.6), или (5.7), или (5.8) - ∆р(τ), t(τ), p(τ) или ри(τ), а также ρс(τ) при наличии плотномера; для формул (5.2), или (5.3), или (5.4): ∆р(τ), t(τ), р(τ) или ри(τ), а также ρ(τ) при наличии плотномера. Для этого применяют соответствующие регистрирующие приборы. 8.3.3 Исходные данные 8.3.3.1 Для расчета количества среды необходимы следующие исходные данные: - тип СУ; - способ отбора перепада давления (для диафрагм); - диаметр отверстия СУ d20; - внутренний диаметр ИТ D20; - среднеарифметическое отклонение профиля шероховатости Ra или эквивалентная шероховатость внутренней поверхности измерительного трубопровода Rш; - материал, из которого изготовлено СУ; - материал, из которого изготовлен ИТ; - в случае применения диафрагм - начальный радиус rн входной кромки диафрагмы и межконтрольный интервал СУ - τу; - для смеси газов (в т.ч. природного газа) - полный ее состав или (для природного газа) - молярные доли диоксида углерода ху и азота ха в газе и его плотность при стандартных условиях ρс (в случае принятия значения ρс за условно-постоянную величину); - атмосферное давление ра (при измерении избыточного давления); -
диаграммы регистрации значений ∆р (или Примечание- Некоторые из перечисленных параметров или характеристик в зависимости от конкретного вида применяемых основных расчетных формул могут не использоваться. 8.3.3.2 Значения параметров и характеристик СУ и ИТ (d20, D20, Rш, rн и τт или τу а также материалы сталей, из которых изготовлены ИТ и СУ) находят согласно 8.1.1.2. Значение физико-химических параметров среды (например, φ, ху, хa или полный состав среды, ρс или плотность ρ среды в рабочих условиях) находят путем прямых измерений согласно требованиям настоящего стандарта или расчетным путем. Значение параметров потока и измеряемой среды (∆р, t, p или ри и ра) измеряют согласно требованиям настоящего стандарта. Параметры потока и среды (∆р, t, p или ри), а также плотность ρ среды или ρс газа, при условии их непрерывного измерения, должны быть записаны на диаграммах. С помощью планиметров (см. приложение Е) в зависимости от уравнения расхода определяют
средние значения 8.3.4 Расчет значений промежуточных величин Расчет значений промежуточных величин осуществляют по формулам, указанным в 8.1.2.1 при средних значениях аргументов этих формул. В зависимости от марки стали СУ по ГОСТ 8.586.1 [формула (5.6)] рассчитывают значение По ГОСТ 8.586.1 [формула (5.4)] рассчитывают значение d по значению В зависимости от марки стали ИТ по ГОСТ 8.586.1 [формула (5.7)] рассчитывают значение По ГОСТ 8.586.1 [формула (5.5)] рассчитывают значение По ГОСТ 8.586.1 [формула (3.1)] рассчитывают значение По ГОСТ 8.586.1 [формула (3.6)] рассчитывают
значение Рассчитывают среднее значение
Для других СУ Если измеряют избыточное давление ри среды и атмосферное давление ра, то по их средним значениям вычисляют значение По формуле (6.3) вычисляют среднее значение При отсутствии плотномера рассчитывают значение Рассчитывают значение Если среда - газ, рассчитывают значение По ГОСТ 8.586.2 [формула (5.7)] - для диафрагм и по ГОСТ 8.586.3 [формула (5.2)] - для других СУ, рассчитывают значение 8.3.5 Расчет количества среды Расчет количества проводят аналогично 8.1.2.2 в следующей последовательности: а) принимают первое приближение значения числа Рейнольдса Re1 равное 106; б) для значения в) находят значение г) по формулам, аналогичным (5.2), (5.3) или (5.4), а именно:
или по формулам, аналогичным (5.6), (5.7) или (5.8), а именно:
рассчитывают первое приближение среднего значения соответствующего расхода среды д) по соответствующим формулам (5.9) - (5.11) последовательно рассчитывают второе приближение значений Re2, а потом е) процесс уточнения значений
Предел допускаемого относительного отклонения в условии (8.8) может быть увеличен. При этом относительное отклонение, вычисленное на последнем шаге итераций, должно быть учтено путем геометрического суммирования* его с неопределенностью результата определения количества среды; * Геометрическое суммирование выполняют извлечением квадратного корня из суммы квадратов величин. ж) по средним значениям расходов 8.3.6 Пример расчета количества природного газа для диафрагмы с угловым способом отбора перепада давления приведен в Д.3 (приложение Д). 8.4 Представление результатов измерений и расчетов8.4.1 Результаты измерений и расчета представляют именованным числом. Представление результатов расхода и количества среды следует сопровождать указаниями моментов времени (для количества среды - интервалов времени), соответствующих каждому из представленных результатов измерений. 8.4.2 Наименьшие разряды числовых значений результатов измерений должны быть такими же, как наименьшие разряды числовых значений абсолютной расширенной неопределенности измерений. Необходимое число значащих цифр N определяемой величины у может быть рассчитано по формуле T = 4 - lg (2 A U'у) (8.9) где А - числовое значение первой значащей цифры значения величины у. Значение N округляют до целого числа. 9 Требования безопасности и требования к квалификации оператора9.1 При проведении монтажа СИ и выполнении измерений необходимо соблюдать правила техники безопасности. На рабочем месте должны быть обеспечены условия, соответствующие требованиям охраны труда. 9.2 Перед монтажом СИ и вспомогательного оборудования необходимо обратить внимание на их соответствие сопроводительной технической документации, наличие и целостность маркировок взрывозащиты, наличие и целостность крепежных элементов, оболочек. Монтаж узлов необходимо производить в строгом соответствии со схемой внешних соединений. Запрещается вносить какие-либо изменения в электрическую схему, а также использовать любые запасные части, не предусмотренные технической документацией, без согласования с изготовителем. 9.3 В процессе эксплуатации, не реже одного раза в месяц, СИ и вспомогательное оборудование должны быть осмотрены квалифицированным персоналом. При этом необходимо обращать внимание на целостность оболочек, наличие крепежных элементов, пломб, предупредительных надписей и др. 9.4 К проведению монтажа и выполнению измерений допускаются лица, изучившие эксплуатационную документацию на СИ и вспомогательное оборудование, прошедшие инструктаж по технике безопасности и имеющие опыт эксплуатации измерительной техники. 9.5 Оператор должен знать и выполнять инструкции по эксплуатации применяемых СИ. 10 Оценка неопределенности результатов измерений10.1 Общие положения10.1.1 При оценке относительной расширенной неопределенности результатов измерений расхода и количества среды определяют интервал вокруг результата измерения, в пределах которого находятся значения, которые с 95 % ным уровнем доверия могут быть приписаны измеряемой величине. 10.1.2 Процедура оценки неопределенности результатов измерений расхода и количества среды предполагает наличие ограниченной исходной информации, когда для СИ нормированы только следующие метрологические характеристики: - пределы допускаемых значений основной погрешности СИ или неопределенности результатов-измерений, вносимой СИ, с указанием уровня доверия; - пределы допускаемых значений дополнительных погрешностей СИ или неопределенности результатов измерений, вносимые СИ, при наибольших отклонениях внешних влияющих величин от нормальных значений, либо максимально допускаемые значения коэффициентов влияния. При этом отсутствует информация о виде функции распределения внешних влияющих величин и частотных характеристиках изменений измеряемой величины и внешних влияющих величин. В этом случае принимают следующие допущения: - все значимые систематические эффекты учтены в результатах измерений; - за математическое ожидание коэффициента чувствительности принимают его нормируемое максимально допускаемое значение; - между входными переменными уравнения расхода не существует корреляционных связей; - распределение вероятностей значений измеряемой величины соответствует нормальному закону Гаусса. Для количественного выражения неопределенности результата измерения, представленной в виде границ отклонения значения величины от ее оценки (неполное знание о значении величины), полагают, что распределение возможных значений измеряемой величины в указанных границах не противоречит равномерному распределению. 10.1.3 Относительную расширенную неопределенность результата измерений величины у при 95 %-ном уровне доверия рассчитывают по формуле U'у = 2u'у (10.1) Если известна относительная расширенная неопределенность U'y, с указанием уровня доверия или используемого коэффициента охвата, то относительную стандартную неопределенность результата измерений величины у рассчитывают по формуле
где k- коэффициент охвата, зависящий от распределения вероятностей, приписанного рассматриваемой величине, и уровня доверия. Если известны только границы (ymjn и уmах) для величины у, то относительную стандартную неопределенность результата измерений величины у рассчитывают по формуле
Примечание - Если разность между границами ymin и уmах обозначить как 2∆у, а их среднее значение как у, то формула (10.3) примет вид:
Если задана погрешность СИ, то относительную стандартную неопределенность результата измерений величины у рассчитывают по следующим формулам: - при известной основной абсолютной погрешности ∆у или основной относительной погрешности δ'0у
- при известной приведенной основной погрешности у0, если нормирующим параметром принят диапазон измерений (ув - ун),
- если нормирующим параметром принят верхний предел измерений,
10.1.4 Дополнительную составляющую относительной стандартной неопределенности величины у, вызванную внешней влияющей величиной, рассчитывают по следующим формулам: - при нормировании пределов допускаемых значений погрешности СИ при наибольших отклонениях внешней влияющей величины от нормального значения
где δОД, ∆Д, γД - относительная, абсолютная и приведенная дополнительные погрешности; - при нормировании пределов допускаемых значений коэффициентов влияния
где δПД - предел допускаемых значений дополнительной относительной погрешности при отклонении влияющей величины на ∆х; ∆ПД ределдопускаемыхзначенийдополнительнойабсолютнойпогрешностиприотклонении влияющей величины на ∆х; γПД - предел допускаемых значений дополнительной приведенной погрешности при отклонении влияющей величины на ∆х, нормированный от диапазона измерений; ∆xmах - наибольшее отклонение внешней влияющей величины от нормального значения. 10.1.5 Относительную стандартную неопределенность значения измеряемой величины у с учетом ее основной и дополнительных составляющих рассчитывают по формуле
где n - число влияющих величин; u'2уо - относительная стандартная неопределенность результата измерений величины у, рассчитанная без учета дополнительных составляющих неопределенности, вызванных внешними влияющими величинами; u'2УДI - дополнительный вклад в неопределенность результата измерении величины у от i-й влияющей величины. 10.1.6 Относительную стандартную неопределенность результата измерений величины у, определяемую косвенным методом, которая связана функциональной зависимостью с измеряемыми величинами у, (например температурой, давлением, компонентным составом) у = F (у1, у2, … уn), рассчитываются по формуле
где u'mF - неопределенность, приписываемая функциональной зависимости; u'yj - неопределенность результата измерения i-й величины;
Примечание - При известной абсолютной погрешности ∆у или относительной погрешности δу , приписываемой функциональной зависимости, неопределенность u'mF рассчитывают по формуле
Относительный коэффициент чувствительности рассчитывают по формуле
где Fуi, - частная производная функции F пo yi, Если неизвестна математическая взаимосвязь величины у с величиной уi, или дифференцирование функции F затруднено, то коэффициент влияния рассчитывают по формуле
где ∆у - изменение определяемой величины упри изменении уi, на величину ∆уi. Значение ∆уi, рекомендуется выбирать не более абсолютной неопределенности измерений уi. 10.1.7 Относительная расширенная неопределенность должна быть представлена не более чем двумя значащими цифрами. 10.2 Формулы для расчета неопределенности расхода средыНеопределенность расхода среды рассчитывают по формулам: - при измерении массового или объемного расхода жидкости
- при измерении массового расхода газа
- при измерении объемного расхода газа, приведенного к стандартным условиям, в случае
- при измерении объемного расхода газа, приведенного к стандартным условиям, в случае зависимости ρ и р с
где u'ρ* - относительная стандартная неопределенность плотности, которую рассчитывают без учета и'ρс, так как неопределенность измерений расхода, вызванная неопределенностью результата измерений рс, учтена в формуле (10.16) членом 0,25 и'ρс. 10.3 Составляющие неопределенности расхода среды10.3.1 Относительную стандартную неопределенность коэффициента истечения с учетом влияющих факторов рассчитывают по формуле
Где - ГОСТ 8.586.2 (подпункт 5.3.3.1) для диафрагм; - ГОСТ 8.586.3 (подпункт 5.1.7.1) для сопел ИСА1932; - ГОСТ 8.586.3 (подпункт 5.2.7.1) для эллипсных сопел; - ГОСТ 8.586.3 (подпункт 5.3.5.1) для сопел Вентури; - ГОСТ 8.586.4 (подраздел 5.7) для труб Вентури; U'L - составляющая неопределенности коэффициента истечения, которая обусловлена сокращением длины прямолинейных участков и определяется в соответствии с ГОСТ 8.586.2 (раздел 6), ГОСТ 8.586.3 (раздел 6), ГОСТ 8.586.4 (раздел 6);
10.3.2
Значение 10.3.3 Относительную стандартную неопределенность коэффициента расширения рассчитывают по формуле
где значения U'ε0 вычисляют согласно: - ГОСТ 8.586.1 (подпункт 5.3.3.2) для диафрагм; - ГОСТ 8.586.3 (подпункт 5.1.7.2) для сопел ИСА 1932; - ГОСТ 8.586.3 (подпункт 5.2.7.2) для эллипсных сопел; - ГОСТ 8.586.3 (подпункт 5.3.5.2) для сопел Вентури; - ГОСТ 8.586.4 (подраздел 5.8) для труб Вентури. Формулы для расчета неопределенностей результатов измерений ∆р, р и значения к представлены в 10.3.4,10.3.5 и 10.3.9. 10.3.4 Неопределенность результата измерения ∆р рассчитывают по формуле
где n - число последовательно соединенных измерительных преобразователей или измерительных приборов, используемых для измерения перепада давления;
Значения коэффициентов Таблица 7 - Значения коэффициентов чувствительности для расчета составляющих неопределенности перепада давления
В соответствии с таблицей 7, например, для случая комплекта, состоящего из преобразователя разности давления и регистрирующего прибора с линейными функциями преобразования, а также корневого планиметра, формула (10.19) примет вид:
Где 10.3.5 Неопределенность результата измерения абсолютного давления рассчитывают по формулам: - при применении преобразователей абсолютного давления
- при применении преобразователей избыточного давления
где n - число последовательно соединенных измерительных преобразователей или измерительных приборов, используемых для измерения давления;
10.3.6 Неопределенность результата измерения температуры среды рассчитывают по формуле
где n - число последовательно соединенных измерительных преобразователей или измерительных приборов, используемых для измерения температуры;
10.3.7 Значение
где ∆ρс - абсолютная погрешность плотномера. При иных вариантах нормирования метрологических характеристик плотномера неопределенность Если в измерительном канале плотности применяют более одного измерительного преобразователя, каждый из которых вносит известную неопределенность
где n - число измерительных преобразователей в канале измерения плотности ρс. При условии расчета ρс методом косвенных измерений, неопределенность При определении ρс по компонентному составу среды допускается, если иное не оговорено в нормативных документах, неопределенность
где
n - число компонентов в газовой смеси. 10.3.8 Если плотность ρ в рабочих условиях измеряют с помощью плотномера, то неопределенность u'ρ = 50∆ρ/ρ, (10.27) где ∆ρ - абсолютная погрешность плотномера. При иных вариантах нормирования метрологических характеристик плотномера неопределенность u'ρ рассчитывают согласно формулам, приведенным в 10.1.3. Если измерительный канал плотности включает более одного измерительного преобразователя, то неопределенность u'ρ рассчитывают по формуле
где n- число измерительных преобразователей;
Если к показаниям плотномера вводят поправку (см. 6.4.1.7), то сумму в формуле (10.28) дополняют неопределенностью поправки, определяемой в соответствии с 10.1.6, пренебрегая при этом методической неопределенностью поправки. Если плотность среды определяют косвенным методом, то неопределенность u'р устанавливают согласно нормативному документу, который регламентирует применяемый метод расчета. Допускается, если иное не оговорено в нормативных документах, неопределенность u'р рассчитывать по формулам: - при определении плотности через ρ и Т
где JT,Jp - коэффициенты чувствительности, определяемые в соответствии с 10.1.6 (для жидкостей значение Jр может быть принято равным нулю); - при определении плотности через фактор сжимаемости Z
где u'Z - неопределенность фактора сжимаемости среды; - при расчете плотности через коэффициент сжимаемости К
где u'K - неопределенность коэффициента сжимаемости среды. Составляющую неопределенности
10.3.9 Неопределенность показателя адиабаты газа и'к определяют на основе неопределенности, приписываемой справочным данным, взятым из соответствующих нормативных документов, устанавливающих методы косвенного расчета показателя адиабаты среды. 10.3.10 Неопределенность содержания i-го компонента смеси При известной приведенной основной погрешности применяемого СИ компонентного состава среды неопределенность
где хДI - диапазон шкалы измерения i-го компонента. Если известно значение стандартной неопределенности
10.3.11 Относительную стандартную неопределенность и'Кш принимают равной 1/2 значения U'Kш,-которое вычисляют согласно - ГОСТ 8.586.2 (подпункт5.3.3.3) - для диафрагм; - ГОСТ 8.586.3 (подпункт 5.1.7.3) -для сопел ИСА1932; - ГОСТ 8.586.3 (подпунктб.3.5.3) - для сопел Вентури. 10.3.12
Относительную стандартную неопределенность 10.3.13
При применении вычислительных устройств при расчете относительной суммарной стандартной неопределенности расхода необходимо учитывать неопределенность, обусловленную вычислительным устройством
Эту неопределенность устанавливают по паспортным данным вычислителя. Составляющую неопределенности расхода
(10.35) В случае применения измерительных комплексов (СИ, для которых погрешность нормирована с
учетом погрешностей вычислителя и СИ параметров потока среды) неопределенности
где u'oq - составляющая неопределенности результата измерений расхода, вносимая измерительным комплексом с учетом составляющих неопределенностей результатов измерения ∆р, р и Т. 10.4 Оценка неопределенности результатов определения количества среды10.4.1 Список составляющих суммарной неопределенности результата определения количества среды включает неопределенности, имеющие место при определении расхода, и ряд дополнительных составляющих неопределенностей, обусловленных интегрированием уравнений расхода. 10.4.2 При применении вычислительных устройств учитывают неопределенность результата-определения интервала времени u'τ, в течение которого рассчитывают количество среды. Кроме того, при измерении величины у возникает дополнительная неопределенность u'ДУ, обусловленная дискретизацией ее аналогового сигнала у(τ) во времени τ. 10.4.2.1 Неопределенность u'τ рассчитывают по формуле
где τвк - время интервала (например, сутки), которое показал вычислитель расхода и количества среды; τэ - время, определенное с помощью СИ, применяемого для проверки установки интервала времени вычислителя; ∆τ - интервал опроса измерительных преобразователей; n - число опросов измерительных преобразователей за время τэ. Неопределенность u'τ геометрически суммируют с составляющими неопределенности результата измерения расхода, приведенными в формулах (10.13) - (10.16), (10.35) и (10.36). 10.4.2.2 Неопределенность u'ДУ для каждой измеряемой величины рассчитывают по формуле
где уi, - значение величины у в i-й точке на интервале (τк - τн) с шагом дискретизации ∆τ. Неопределенность u'ДУ геометрически суммируют с неопределенностью результата измерения величины у, а именно: ∆p, p, t, ρ и ρс. Неопределенность u'ДУ может быть оценена после проведения измерений, поэтому ее учет возможен только в реальных условиях эксплуатации. Если ∆τ ≤ 1 с, то значение u'ДУ допускается принимать равным нулю. 10.4.3 При расчете количества среды по результатам планиметрирования диаграмм или показаниям интегрирующих устройств учитывают для каждой измеряемой и регистрируемой величины следующие дополнительные составляющие: u'плу - неопределенность результата планиметрирования; u'τу - неопределенность хода диаграммы;
10.4.3.1 Неопределенность u'плу устанавливают по эксплуатационной документации применяемых планиметров с использованием соответствующих формул, приведенных в 10.1.3. Неопределенность u'плу геометрически суммируют с составляющими неопределенности измерения величины у, подлежащей планиметрированию, а именно ∆р, р и Т. 10.4.3.2 Неопределенность u'τу, устанавливают по эксплуатационной документации применяемых средств регистрации величин с применением соответствующих формул, приведенных в 10.1.3. Неопределенность u'τу геометрически суммируют с составляющими неопределенности результатов измерения величины у, подлежащей планиметрированию, а именно ∆р, p, T. 10.4.3.3 При применении средних значений
где D(∆p),D(p) и D(T) - относительные дисперсии величин, соответственно ∆р, р и T, которые находят в соответствии с [5] по формулам:
где
DA(∆р), DА(р) и DA(T) - абсолютные дисперсии величин, соответственно ∆р, р и T, в интервале времени планиметрирования (τк - τн). Оценку значений относительной дисперсии величин допускается рассчитывать по формуле
где уmax и уmjn - соответственно максимальное и минимальное значение величины у за интервал времени планиметрирования (τк - τн). Если для расчета количества среды применяются средние значения Если известны нижнее и верхнее значения диапазона изменения величины у, то составляющая неопределенности расхода, обусловленная заменой величины, входящей нелинейно в формулы расхода его средним значением, может быть рассчитана по формуле
где
q1 расход при уmax; q2 - расход при (утах+ymjn)/2; q3 - расход при ymin. Если неопределенность
10.4.4 Если величина принята за условно-постоянную величину, то относительную стандартную неопределенность результата определения данной величины рассчитывают по формуле (10.3). Данную неопределенность геометрически суммируют с составляющими неопределенности результата измерения величины, например, ρс. 10.4.5 Конкретные уравнения расчета относительных суммарных стандартных неопределенностей и'm, u'V, u'Vc соответственно массы m, объема V в рабочих условиях и объема Vc, приведенного к стандартным условиям, определяют в соответствии с конкретными формулами расчета количества среды. Например, неопределенность u'Vc рассчитывают по формулам: - в случае зависимости ρ и ρс, и применения вычислителя
- в случае зависимости ρ и ρс, и применения измерительного комплекса [см. также формулу (10.36)
При определении количества среды путем планиметрирования диаграмм неопределенность результата определения количества среды, например u'Vc в случае зависимости ρ и ρс, рассчитывают по формуле:
ПриложениеА
|
|||||||||||||||||||||||||||||||||||||||||||||||||||||||||||||||||||||||||||||||||||||||||||||||||||||||||||||||||||||||||||||||||||||||||||||||||||||||||||||||||||||||||||||||||||||||||||||||||||||||||||||||||||||||||||||||||||||||||||||||||||||||||||||||||||||||||||||||||||||||||||||||||||||||||||||||||||||||||||||||||||||||||||||||||||||||||||||||||||||||||||||||||||||||||||||||||||||||||||||||||||||||||||||||||||||||||||||||||||||||||||||||||||||||||||||||||||||||||||||||||||||||||||||||||||||||||||||||||||||||||||||||||||||||||||||||||||||||||||||||||||||||||||||||||||||||||||||||||||||||||||||||||||||||||||||||||||||||||||||||||||||||||||||||||||||||||||||||||||||||||||||||||||||||||||||||||||||||||||||||||||||||||||||||||||||||||||||||||||||||||||||||||||||||||||||||||||||||||||||||||||||||||||||||||||||||||||||||||||||||||||||||||||||||||||||||||||||||||||||||||||||||||||||||||||||||||||||||||||||||||||||||||||||||||||||||||||||||||||||||||||||||||||||||||||||||||||||||||||||||
|
p', ∆p' |
p, ∆p |
Переводные коэффициенты kp, k∆p |
|
кПа |
Па |
103 Па/кПа |
|
МПа |
Па |
106Па/МПа |
|
бар |
Па |
105 Па/бар |
|
кгс/см2 |
Па |
9,80665 104 Па/(кгс/см2) |
|
кгс/м2 |
Па |
9,80665 10°Па/(кгс/м2) |
|
мм рт. ст. |
Па |
1,3332 102 Па/(мм рт. ст.) |
|
мм вод. ст. |
Па |
9,80665 10° Па/(мм вод. ст.) |
|
Таблица А.2 - Значения переводного коэффициента для единиц массового расхода |
||
|
q'm |
qm |
Переводной коэффициент kqm |
|
кг/ч |
кг/с |
1/3600 (кг/с)/(кг/ч) |
|
т/с |
кг/с |
103 (кг/с)/(т/с) |
|
т/ч |
кг/с |
1/3,6 (кг/с)/(т/ч) |
|
Таблица А.3 - Значения переводного коэффициента для единиц объемного расхода в рабочих условиях и приведенного к стандартным условиям |
||
|
q'v, q'c |
q'v, q'c |
Переводной коэффициент к |
|
м3/ч |
м3/с |
1/3600 (м3/с)/(м3/ч) |
|
л/с |
м3/с |
10-3 (м3/с)/(л/с) |
|
л/мин |
м3/с |
10-4/6 (м3/с)/(л/мин) |
Массовый расход сухой части влажного газа qc.rm рассчитывают по формуле
(Б.1)
где qв.rm - массовый расход влажного газа;
f - абсолютная влажность газа, выраженная массой водяного пара (в кг) в 1 м3 влажного газа при рабочих условиях;
рв.г - плотность влажного газа при рабочих условиях. Массовый расход влажного газа рассчитывают по формуле
(Б.2)
Формула (Б.1) с учетом формулы (Б.2) имеет вид:
(Б.3)
Объемный расход сухой части влажного газа, приведенный к стандартным условиям qc.гс, рассчитывают по одной из следующих формул:
(Б.4)
(Б.5)
Плотность влажного газа рвг рассчитывают в соответствии с действующими нормативными документами [см. ГОСТ 8.586.1 (пункт 5.4.1)] , регламентирующими методы вычисления плотности газа с учетом содержания в нем водяных паров.
Плотность влажных газов, для которых отсутствуют методы, аттестованные в качестве стандартных справочных данных, допускается рассчитывать по формуле
(Б.6)
Плотность сухой части влажного газа ρс.г рассчитывают по формуле
(Б.7)
В формуле (Б.7) коэффициент сжимаемости К рассчитывают без учета влажности газа.
Если рабочая температура Т газа не превышает температуру насыщения водяного пара Тнас, соответствующую рабочему давлению р, то плотность рв.п.mах принимают равной плотности насыщенного водяного пара рн п, а давление рВ.П.mах - давлению насыщенного пара.
Если рабочая температура Т превышает температуру насыщения водяного пара Тнас, соответствующую рабочему давлению р, то плотность рв.п.mах принимают равной плотности перегретого водяного пара ρ, а давление pв.п max - давлению газа р.
Относительную влажность газа рассчитывают по формулам:
- при известной абсолютной влажности fm, выраженной массой водяного пара (в кг) в 1 м3 сухого газа,
(Б.8)
- при известной абсолютной влажности fc, выраженной массой водяного пара (в кг) в 1 м3 сухого газа в нормальных условиях,
(Б.9)
- при известной абсолютной влажности f, выраженной массой водяного пара (в кг) в 1 м3 влажного газа,
(Б.10)
Значения С и Кш в формулах (Б.2),(Б.3) и (Б.5) рассчитывают для числа Рейнольдса, вычисленного для влажного газа, по формуле
, (Б.11)
где μв г - динамическая вязкость влажного газа.
Значение динамической вязкости и показателя адиабаты влажного газа допускается определять без учета влажности газа.
В.1 Схемы установок разделительных сосудов при верхнем и нижнем присоединении трубок
В.1.1 Схемы установок разделительных сосудов при измерении расхода жидкости, которая легче разделительной, приведены на рисунках В.1 и В.2.
а) ППД расположен ниже СУ

1 - ППД; 2 - разделительный сосуд; 3 - разделительная жидкость; 4 - измеряемая жидкость; 5-кран; 6 - СУ; 7 - уравнительный вентиль; 8 - продувочный вентиль
Рисунок В.1
б) ППД расположен выше СУ

1 - уравнительный вентиль; 2 - разделительная жидкость; 3 - измеряемая жидкость; 4 - кран; 5 - СУ; 6 - продувочный вентиль; 7 - газосборник; 8 - ППД; 9 - разделительный сосуд
Рисунок В.2
В.1.2 Схемы установок разделительных сосудов при измерении расхода жидкости, которая тяжелее разделительной, приведены на рисунках В.3 и В.4.
а) ППД расположен ниже СУ

1 - измеряемая жидкость; 2 - разделительная жидкость; 3 - разделительный сосуд; 4 - газосборник; 5 - СУ; 6 - кран; 7 - уравнительный вентиль; 8 - продувочный вентиль; 9 - ППД
Рисунок В.3

1 - разделительный сосуд; 2 - измеряемая жидкость; 3 - разделительная жидкость; 4 - кран; 5 - СУ; 6 ППД; 7 - продувочный вентиль; 8 - газосборник; 9 - уравнительный вентиль
Рисунок В.4
В.1.3 Схемы установок разделительных сосудов при измерении расхода газа приведены на рисунках В.5 и В.6.
а) ППД расположен ниже СУ

1 - ППД; 2 - СУ; 3 - кран; 4 - разделительный сосуд; 5 - уравнительный вентиль; 6 - измеряемый газ; 7 - разделительная жидкость; 8 - продувочный вентиль
Рисунок В.5
б) ППД расположен выше СУ

1 - СУ; 2- кран СУ; 3- разделительный сосуд; 4 - уравнительный вентиль; 5- измеряемый газ; 6 - разделительная жидкость; 7 - продувочный вентиль; 8 - ППД
Рисунок В.6
В.2 Схемы установок разделительных сосудов при боковом присоединении трубок
В.2.1 Схемы установок разделительных сосудов при измерении расхода жидкости, которая легче разделительной, приведены на рисунках В.7 и В.8.
а) ППД расположен ниже СУ

7 - ППД; 2 - продувочный вентиль; 3 - уравнительный вентиль; 4 - разделительный сосуд; 5 - измеряемая жидкость; 6 - кран; 7- СУ; 8- разделительная жидкость
Рисунок В.7
б) ППД расположен выше СУ

1 - уравнительный вентиль; 2 - разделительная жидкость; 3 - измеряемая жидкость; 4 - кран; 5 - газосборник; 6 - продувочный вентиль; 7 - ППД; 8 - СУ; 9 - разделительный сосуд
Рисунок В.8
В.2.2 Схемы установок разделительных сосудов при измерении расхода жидкости, которая тяжелее разделительной, приведены на рисунках В.9 и В.10.
а) ППД расположен ниже СУ

1 - измеряемая жидкость; 2 - разделительный сосуд; 3 - уравнительный вентиль; 4 - СУ; 5 - газосборник; 6 - кран; 7 - продувочный вентиль; 8 - ППД; 9 - разделительная жидкость
Рисунок В.9
б) ППД расположен выше СУ

1 - уравнительный вентиль; 2 - разделительный сосуд; 3 - измеряемая жидкость; 4 - разделительная жидкость; 5 - кран; 6 - ППД; 7- продувочный вентиль; 8- газосборник; 9- СУ
Рисунок В.10
В.2.3 Схемы установок разделительных сосудов при измерении расхода газа приведены на рисунках В.11 и В.12.
а) ППД расположен ниже СУ

1 - ППД; 2 - продувочный вентиль; 3 - СУ; 4 - кран; 5 - измеряемый газ; 6 - разделительная жидкость; 7 - уравнительный вентиль; 8 - разделительный сосуд
Рисунок В.11
б) ППД расположен выше СУ

1 - СУ; 2 - кран; 3 - уравнительный вентиль; 4 - измеряемый газ; 5 - разделительная жидкость; 6 - разделительный сосуд; 7 - продувочный вентиль; 8 - ППД
Рисунок В.12

|
Рисунок Г.1 - ППД над трубопроводом |
Рисунок Г.2 - ППД под трубопроводом |
Рисунок Г.3 - ППД выше отверстий для отбора давления. Вертикальный трубопровод |

|
Рисунок Г.4 - ППД ниже отверстий для отбора давления.Вертикальный трубопровод |
Рисунок Г.5 - ППД под трубопроводом |

Рисунок Г.6 - ППД под трубопроводом (вариант)

|
Примечание - Наклон двух соединительных трубок. Рисунок Г.7 - ППД над трубопроводом |
Рисунок Г.8 - ППД ниже отверстий для отбора давления. Вертикальный трубопровод |

|
Рисунок Г.9 - ППД под трубопровод |
Рисунок Г.10 - ППД под трубопроводом (вариант) |

|
Рисунок Г.11 - ППД над трубопроводом (два варианта) |
Примечания 1 Наклон двух соединительных трубок одинаков. 2 При измерении потока чистого влажного газа в вертикальных трубопроводах следует принимать во внимание опасность засорения отверстий для отбора давления. Рисунок Г.12 - ППД ниже отверстий для отбора давления. Вертикальный трубопровод.
|

|
Рисунок Г.13 - ППД выше отверстий для отбора давления. Вертикальный трубопровод (вариант) |
Примечание - Наклон двух соединительных трубок одинаков. Рисунок Г.14 - ППД выше отверстий для отбора давления. Вертикальный трубопровод (вариант) |

|
Рисунок Г.15 - ППД под тубопроводом |
Рисунок Г.16 - ППД над трубопроводом |

Рисунок Г.17 - Вертикальный трубопровод

1 - измерительный трубопровод; 2 - СУ; 3 - датчик температуры; 4, 5 - отсечные вентили; 6, 7 -соединительные линии; 8- кабель для соединения датчика температуры с вычислителем; 9 - дренажные вентили; 10-конденсатосборники; 11 -заглушка; 12 - датчик давления; 13 - вентильный блок; 14-штуцер со съемной резьбой; 15 - основной дифманометр; 16-вычислитель; 17 - дополнительный дифманометр
Рисунок Г.18 - Пример подключения двух дифманометров
Д.1 Пример расчета расхода природного газа для диафрагмы с угловым способом отбора давления
Исходные данные, расчет значений промежуточных величин и расчет расхода природного газа приведены в таблицах Д.1.1 -Д.1.3.
Таблица Д.1.1 - Исходные данные
|
Наименование величины |
Условное обозначение |
Единица величины |
Значение |
|
1 Диаметр отверстия диафрагмы при температуре 20°С |
d20 |
м |
0,084 |
|
2 Внутренний диаметр ИТ при температуре 20 "С |
D20 |
м |
0,15 |
|
3 Среднее арифметическое отклонение профиля шероховатости ИТ (новая, бесшовная, холоднотянутая) |
Ra |
м |
0,00001 |
|
4 Материал, из которого изготовлена диафрагма |
сталь марки 12Х18Н9Т |
||
|
5 Материал, из которого изготовлен ИТ |
сталь марки 20 |
||
|
6 Начальный радиус входной кромки диафрагмы |
rН |
м |
0,00004 |
|
7 Текущее время тт эксплуатации диафрагмы с момента определения значения начального радиуса входной кромки диафрагмы |
τT |
год |
0,495 |
|
8 Содержание углекислого газа в природном газе |
xу |
1 |
0,002 |
|
9 Содержание азота в природном газе |
xa |
1 |
0,01 |
|
10 Плотность природного газа при стандартных условиях |
ρс |
кг/м3 |
0,68 |
|
11 Относительная влажность природного газа |
φ |
% |
0 |
|
12 Перепад давления на диафрагме |
∆р |
Па |
16000 |
|
13 Избыточное давление |
pи |
Па |
1200000 |
|
14 Атмосферное давление |
pа |
Па |
100500 |
|
15 Температура природного газа |
t |
°С |
2 |
Таблица Д.1.2 - Расчет значений промежуточных величин
|
Рассчитываемые величины |
Условное обозначение |
Единица величины |
Обозначение стандарта и номер формулы или пункта |
Значение |
|
1 Коэффициент, учитывающий изменение диаметра отверстия диафрагмы, вызванное отклонением температуры природного газа от 20 °С |
Kсу |
- |
ГОСТ 8.586.1 [формула (5.6)] |
0,999719 |
|
2 Диаметр отверстия диафрагмы при рабочей температуре |
d |
м |
ГОСТ 8.586.1 [формула (5.4)] |
0,0839764 |
|
3 Коэффициент, учитывающий изменение диаметра ИТ, вызванное отклонением температуры природного газа от 20ºС |
KT |
- |
ГОСТ 8.586.1 [формула (5.7)] |
0,999800 |
|
4 Внутренний диаметр ИТ при рабочей температуре природного газа |
D |
м |
ГОСТ 8.586.1 [формула (5.5)] |
0,149970 |
|
5 Относительный диаметр отверстия диафрагмы |
β |
- |
ГОСТ 8.586.1 [формула (3.1)] |
0,559955 |
|
6 Коэффициент скорости входа |
Е |
- |
ГОСТ 8.586.1 [формула (3.6)] |
1,05311 |
|
7 Поправочный коэффициент, учитывающий притупление входной кромки диафрагмы |
Kп |
- |
ГОСТ 8.586.2 [формула (5.13)] |
1,00309 |
|
8 Абсолютное давление природного газа перед диафрагмой |
p |
Па |
ГОСТ 8.586.5 [формула (6.2)] |
1300500 |
|
9 Термодинамическая температура природного газа |
T |
К |
ГОСТ 8.586.5 [формула (6.3)] |
275,15 |
|
10 Фактор сжимаемости природного газа при стандартных условиях |
Zc |
- |
ГОСТ 30319.1 формула (24)] |
0,998095 |
|
11 Фактор сжимаемости природного газа при рабочих условиях |
Z |
- |
ГОСТ 8.586.2 формула (6)] |
0,969849 |
|
12 Коэффициент сжимаемости природного газа |
K |
- |
ГОСТ 30319.1 формула (7)] |
0,971700 |
|
13 Плотность природного газа |
ρ |
кг/м3 |
ГОСТ 30319.1 [формула (6)] |
9,56954 |
|
14 Динамическая вязкость природного газа |
μ |
Па С |
ГОСТ 30319.1 [формулы (44) и (45)] |
1,04961-10-5 |
|
15 Показатель адиабаты природного газа |
к |
- |
ГОСТ 30319.1 [формула (28)] |
1,31174 |
|
16 Коэффициент расширения |
ε |
- |
ГОСТ 8.586.2 [формула (5.7)] |
0,996382 |
Таблица Д.1.3 - Расчет расхода среды
|
Наименование величины |
Условное обозначение |
Единица величины |
Обозначение стандарта и номер формулы или пункта |
Значение |
|
1 Начальное значение числа Рейнольдса |
Re1, |
- |
- |
106 |
|
2 Коэффициент истечения |
C1 |
- |
ГОСТ 8.586.2 [формула (5.6)] |
0,605035 |
|
3 Поправочный коэффициент, учитывающий шероховатость внутренней поверхности ИТ |
Kш1 |
- |
ГОСТ 8.586.2 [формула (5.11)] |
1,00000 |
|
4 Объемный расход природного газа, приведенный к стандартным условиям, при числе Рейнольдса Re = 106 |
qс1 |
м3/с |
ГОСТ 8.586.5 [формула (5.8)] |
2,87036 |
|
5 Уточненное значение числа Рейнольдса |
Re2 |
- |
ГОСТ 8.586.5 [формула (5.11)] |
1578785 |
|
6 Коэффициент истечения |
C2 |
- |
ГОСТ 8.586.2 [формула (5.6)] |
0,604615 |
|
7 Поправочный коэффициент, учитывающий шероховатость внутренней поверхности ИТ |
Kш2 |
- |
ГОСТ 8.586.2 [формула (5.11)] |
1,00000 |
|
8 Объемный расход природного газа, приведенный к стандартным условиям, при числе Рейнольдса Re2 |
qс2 |
м3/с |
ГОСТ 8.586.5 [формула (5.8)] |
2,86837 |
|
9 Относительное отклонение |
100-|qc2-(qc1|/qc2 |
% |
ГОСТ 8.586.5 [формула (8.1)] |
0,0693774 |
|
10 Уточненное значение числа Рейнольдса |
Re3 |
- |
ГОСТ 8.586.5 [формула (5.11)] |
1577691 |
|
11 Коэффициент истечения |
C3 |
- |
ГОСТ 8.586.2 [формула (5.6)] |
0,604616 |
|
12 Поправочный коэффициент, учитывающий шероховатость внутренней поверхности ИТ |
Kш3 |
- |
ГОСТ 8.586.2 [формула (5.11)] |
1,00000 |
|
13 Объемный расход природного газа, приведенный к стандартным условиям, при числе Рейнольдса Re3 |
qс3 |
м3/с |
ГОСТ 8.586.5 [формула (5.8)] |
2,86837 |
|
14 Относительное отклонение |
100-|qc3-(qc2|/qc3 |
% |
ГОСТ 8.586.5 [формула (8.1)] |
0,000 |
|
15 Объемный расход природного газа, приведенный к стандартным условиям, при стандартных условиях |
qс |
м3/с |
|
2,86837 |
Д.2 Пример расчета расхода перегретого пара для сопла ИСА1932
Исходные данные, расчет значений промежуточных величин и расчет расхода перегретого пара приведены в таблицах Д.2.1 - Д.2.3.
Таблица Д.2.1 - Исходные данные
|
Наименование величины |
Условное обозначение |
Единица величины |
Значение |
|
1 Диаметр горловины сопла ИСА 1932 при температуре 20°С |
d20 |
м |
0,069789 |
|
2 Внутренний диаметр ИТ на входе в сопло ИСА 1932 при температуре 20°С |
D20 |
м |
0,1003 |
|
3 Эквивалентная шероховатость внутренней поверхности прямого участка ИТ (для новой трубы из стали) |
Rш |
м |
0,0001 |
|
4 Материал |
Сталь марки 12Х18Н10Т |
||
|
5 Материал трубопровода |
Сталь марки 12Х18Н9Т |
||
|
6 Перепад давления на сопле ИСА 1932 |
∆р |
кПа |
16 |
|
7 Избыточное давление |
pи |
МПа |
2,5 |
|
8 Атмосферное давление |
pa |
гПа |
1005 |
|
9 Температура перегретого пара |
t |
°С |
380 |
Таблица Д.2.2 - Расчет значений промежуточных величин
|
Наименование величины |
Условное обозначение |
Единица величины |
Обозначение стандарта и номер формулы или пункта |
Значение |
|
1 Коэффициент, учитывающий изменение диаметра горловины сопла ИСА 1932, вызванное отклонением температуры перегретого пара от 20 °С |
Kсу |
- |
ГОСТ 8.586.1 [формула (5.6)] |
1,00673 |
|
2 Диаметр горловины сопла ИСА 1932 при рабочей температуре |
D |
м |
ГОСТ 8.586.1 [формула (5.4)] |
0,070259 |
|
3 Коэффициент, учитывающий изменение диаметра ИТ, вызванное отклонением температуры перегретого пара от 20 °С |
Кт |
|
ГОСТ 8.586.1 [формула (5.7)] |
1,00709 |
|
4 Внутренний диаметр ИТ на входе в сопло ИСА 1932 при рабочей температуре |
D |
м |
ГОСТ 8.586.1 [формула (5.5)] |
0,101011 |
|
5 Относительный диаметр горловины сопла ИСА 1932 |
β |
- |
ГОСТ 8.586.1 [формула (3.1)] |
0,69556 |
|
6 Коэффициент скорости входа |
Е |
- |
ГОСТ 8.586.1 [формула (3.6)] |
1,14263 |
|
7 Абсолютное давление перегретого пара перед соплом ИСА 1932 |
p |
Па |
ГОСТ 8.586.5 [формулы (6.2), (А.2)] |
2600500 |
|
8 Термодинамическая температура перегретого пара |
Т |
К |
ГОСТ 8.586.5 [формула (6.3)] |
653,15 |
|
9 Плотность перегретого пара |
ρ |
кг/м3 |
ГСССД 188-99 [3] |
8,982 |
|
10 Динамическая вязкость перегретого пара |
μ |
Па с |
ГСССД 6-89 [6] |
23,5 10-6 |
|
11 Показатель адиабаты перегретого пара |
к |
- |
[7] |
1,29 |
|
12 Коэффициент расширения |
ε |
- |
ГОСТ 8.586.3 [формула (5.2)] |
0,99497 |
|
13 Среднеарифметическое отклонение профиля шероховатости ИТ (новая, бесшовная горячей вытяжки) |
Ra |
м |
ГОСТ 8.586.1 (пункты 3.4.2 и 3.4.3) |
3,183-10-5 |
Таблица Д.2.3 - Расчет расхода перегретого пара
|
Наименование величины |
Условное обозначение |
Единица величины |
Обозначение стандарта и номер формулы или пункта |
Значение |
|
1 Начальное значение числа Рейнольдса |
Re1 |
- |
- |
106 |
|
2 Коэффициент истечения |
C1 |
- |
ГОСТ 8.586.3 [формула (5.1)] |
0,93887 |
|
3 Поправочный коэффициент, учитывающий шероховатость внутренней поверхности ИТ |
Kш1 |
- |
ГОСТ 8.586.3 [формула (5.3)] |
1,00464 |
|
4 Массовый расход перегретого пара при числе Рейнольдса Re = 106 |
qm1 |
кг/с |
ГОСТ 8.586.5 [формула (5.2)] |
2,22888 |
|
5 Уточненное значение числа Рейнольдса |
Re2 |
- |
ГОСТ 8.586.5 [формула (5.9)] |
1,19553 106 |
|
6 Коэффициент истечения |
C2 |
- |
ГОСТ 8.586.3 [формула (5.1)] |
0,93888 |
|
7 Поправочный коэффициент, учитывающий шероховатость внутренней поверхности ИТ |
Kш2 |
- |
ГОСТ 8.586.3 [формула (5.3)] |
1,00464 |
|
8 Массовый расход перегретого пара при числе Рейнольдса Re2 |
qm2 |
кг/с |
ГОСТ 8.586.5 [формула (5.2)] |
2,22891 |
|
9 Относительное отклонение |
|
% |
ГОСТ 8.586.5 [формула (8.1)] |
0,001 |
|
10 Уточненное значение числа Рейнольдса |
Re3 |
- |
ГОСТ 8.586.5 [формула (5.9)] |
1,19554.106 |
|
11 Коэффициент истечения |
С3 |
- |
ГОСТ 8.586.3 [формула (5.1)] |
0,93888 |
|
12 Поправочный коэффициент, учитывающий шероховатость внутренней поверхности ИТ |
Kш3 |
- |
ГОСТ 8.586.3 [формула (5.3)] |
1,00464 |
|
13 Массовый расход перегретого пара при числе Рейнольдса Re3 |
qm3 |
кг/с |
ГОСТ 8.586.5 [формула (5.2)] |
2,22891 |
|
14 Относительное отклонение |
|
% |
ГОСТ 8.586.5 [формула (8.1)] |
0,000 |
|
15 Массовый расход перегретого пара |
qm |
кг/с |
- |
2,22891 |
Д.3 Пример расчета количества природного газа для диафрагмы с угловым способом отбора давления
Исходные данные, расчет значений промежуточных величин и расчет расхода природного газа приведены в таблицах Д.3.1 - Д.3.3.
Таблица Д.3.1 - Исходные данные
|
Наименование величины |
Условное обозначение |
Единица величины |
Значение |
|
1 Диаметр отверстия диафрагмы при температуре 20°С |
d20 |
мм |
36 |
|
2 Внутренний диаметр ИТ на входе в диафрагму при температуре 20 °С |
D20 |
мм |
50 |
|
3 Эквивалентная шероховатость внутренней поверхности прямого участка ИТ (слегка ржавая) |
Rш |
мм |
0,15 |
|
4 Материал, из которого изготовлена диафрагма |
Сталь марки 12Х18Н9Т |
||
|
5 Материал, из которого изготовлен ИТ |
Сталь марки 20 |
||
|
6 Начальный радиус входной кромки диафрагмы |
rн |
мм |
0,04 |
|
7 Межконтрольный интервал СУ |
τу |
год |
0,5 |
|
8 Содержание углекислого газа в природном газе |
ху |
1 |
0,002 |
|
9 Содержание азота в природном газе |
ха |
1 |
0,01 |
|
10 Плотность природного газа при стандартных условиях |
Рс |
кг/м3 |
0,68 |
|
11 Относительная влажность природного газа |
φ |
% |
0 |
|
12 Верхний предел измерений перепада давления |
∆pв |
кгс/см2 |
0,1 |
|
13 Функция преобразования комплекта приборов для измерений перепада давления |
Линейная |
||
|
14 Верхний предел измерений избыточного давления |
рив |
кгс/см2 |
2 |
|
15 Верхний предел показания корневого планиметра |
Nк.в. |
- |
5 |
|
16 Верхний предел показания пропорционального планиметра |
Nп.в. |
- |
12 |
|
17 Период времени определения количества природного газа |
τ = τк - τн |
ч |
24 |
|
18 Показания корневого планиметра после обработки записи перепада давления на диафрагме |
Nк |
- |
2 |
|
19 Показания пропорционального планиметра после обработки записи избыточного давления природного газа |
Nп |
- |
3 |
|
20 Атмосферное давление |
pa |
мм рт. ст. |
725 |
|
21 Среднее значение температуры природного газа (по термометру в среднем за сутки) |
|
°C |
23 |
Таблица Д.3.2 - Расчет значений промежуточных величин
|
Наименование величины |
Условное обозначение |
Единица величины |
Обозначение стандарта и номер формулы или пункта |
Значение |
|
1 Диаметр отверстия диафрагмы при температуре 20 °С |
d20 |
м |
ГОСТ 8.586.5 [формула (А.4)] |
0,036 |
|
2 Внутренний диаметр ИТ на входе в диафрагму при температуре 20 °С |
D20 |
м |
ГОСТ 8.586.5 [формула (А.5)] |
0,05 |
|
3 Эквивалентная шероховатость внутренней поверхности прямого участка ИТ (слегка ржавая) |
Rш |
м |
ГОСТ 8.586.5 (раздел А.3) |
1,5 10-4 |
|
4 Верхний предел измерений перепада давления |
∆pв |
Па |
ГОСТ 8.586.5 [формула (А.3)] |
9806,65 |
|
5 Верхний предел измерений избыточного давления |
pи.в. |
Па |
ГОСТ 8.586.5 [формула (А.2)] |
196133 |
|
6 Атмосферное давление |
ра |
Па |
ГОСТ 8.586.5 [формула (А.2)] |
96657 |
|
7 Среднее значение квадратного корня из перепада давления на диафрагме |
|
(кгс/см2)0,5 |
ГОСТ 8.586.5 (приложение Е) |
0,04 |
|
8 Среднее значение перепада давления на диафрагме |
|
Па |
ГОСТ 8.586.5 [формула (А.З)] |
1569 |
|
9 Среднее значение избыточного давления |
|
Па |
ГОСТ 8.586.5 (приложение Е) |
49033 |
|
10 Коэффициент, учитывающий изменение диаметра отверстия диафрагмы, вызванное отклонением температуры природного газа от 20°С |
|
- |
ГОСТ 8.586.1 [формула (5.6)] |
1,00005 |
|
11 Диаметр отверстия диафрагмы при рабочей температуре |
|
м |
ГОСТ 8.586.1 [формула (5.4)] |
0,0360018 |
|
12 Коэффициент, учитывающий изменение диаметра ИТ, вызванное отклонением температуры природного газа от 20 °С |
|
- |
ГОСТ 8.586.1 [формула (5.7)] |
1,00003 |
|
13 Внутренний диаметр ИТ на входе в диафрагму при рабочей температуре природного газа |
|
м |
ГОСТ 8.586.1 [формула (5.5)] |
0,050002 |
|
14 Относительный диаметр отверстия диафрагмы |
|
- |
ГОСТ 8.586.1 [формула (3.1)] |
0,720007 |
|
15 Коэффициент скорости входа |
|
- |
ГОСТ 8.586.1 [формула (3.6)] |
1,16941 |
|
16 Поправочный коэффициент, учитывающий притупление входной кромки диафрагмы |
|
- |
ГОСТ 8.586.2 [формула (5.16)] |
1,00823 |
|
17 Среднее значение абсолютного давления природного газа перед диафрагмой |
|
Па |
ГОСТ 8.586.5 [формула (6.2)] |
145690 |
|
18 Среднее значение термодинамической температуры природного газа |
|
К |
ГОСТ 8.586.5 [формула (6.3)] |
296,15 |
|
19 Фактор сжимаемости природного газа при стандартных условиях |
|
- |
ГОСТ 30319.1 формула (24)] |
0,998095 |
|
20 Фактор сжимаемости природного газа при рабочих условиях |
|
- |
ГОСТ 30319.2 формула (6)] |
0,997396 |
|
21 Коэффициент сжимаемости |
|
- |
ГОСТ 30319.1 [формула (7)] |
0,999299 |
|
22 Плотность природного газа |
|
кг/м3 |
ГОСТ 30319.1 формула (6)] |
0,968510 |
|
23 Динамическая вязкость природного газа |
|
Па с |
ГОСТ 30319.1 формулы (44), (45)] |
11,1315-10"* |
|
24 Показатель адиабаты природного газа |
|
- |
ГОСТ 30319.1 [формула (28)] |
1,30102 |
|
25 Коэффициент расширения |
|
- |
ГОСТ 8.586.2 [формула (5.7)] |
0,995964 |
|
26 Среднеарифметическое отклонение профиля шероховатости ИТ (слегка ржавая) |
|
м |
ГОСТ 8.586.1 (пункты 3.4.2 и 3.4.3) |
4,7746-10"5 |
Таблица Д.3.3 - Расчет количества природного газа
|
Рассчитываемые величины |
Условное обозначение |
Единица величины |
Обозначение стандарта и номер формулы или пункта |
Значение |
|
1 Начальное значение числа Рейнольдса |
Re1 |
- |
- |
106 |
|
2 Коэффициент истечения |
|
- |
ГОСТ 8.586.2 [формула (5.6)] |
0,600737 |
|
3 Поправочный коэффициент, учитывающий шероховатость внутренней поверхности ИТ |
|
- |
ГОСТ 8.586.2 [формула (5.11)] |
1,01832 |
|
4 Объемный расход природного газа, приведенный к стандартным условиям, при числе Рейнольдса Re = 106 |
|
м3/с |
ГОСТ 8.586.5 [формула (5.8)] |
0,0592852 |
|
5 Уточненное значение числа Рейнольдса |
|
- |
ГОСТ 8.586.5 [формула (5.11)] |
92220 |
|
6 Коэффициент истечения |
|
- |
ГОСТ 8.586.2 [формула (5.6)] |
0,609559 |
|
7 Поправочный коэффициент, учитывающий шероховатость внутренней поверхности ИТ |
|
- |
ГОСТ 8.586.2 [формула (5.11)] |
1,01097 |
|
8 Объемный расход природного газа, приведенный к стандартным условиям, при числе Рейнольдса Re2 |
|
м3/с |
ГОСТ 8.586.5 [формула (5.8)] |
0,0597218 |
|
9 Относительное отклонение |
|
% |
ГОСТ 8.586.5 [формула (8.1)] |
0,731056 |
|
10 Уточненное значение числа Рейнольдса |
|
- |
ГОСТ 8.586.5 [формула (5.11)] |
92899 |
|
11 Коэффициент истечения |
|
- |
ГОСТ 8.586.2 [формула (5.6)3 |
0,609514 |
|
12 Поправочный коэффициент, учитывающий шероховатость внутренней поверхности ИТ |
|
- |
ГОСТ 8.586.2 [формула (5.11)] |
1,01099 |
|
13
Объемный расход природного газа, приведенный к стандартным условиям, при
числе Рейнольдса |
|
м3/с |
ГОСТ 8.586.5 [формула (5.8)] |
0,0597183 |
|
14 Относительное отклонение |
|
% |
ГОСТ 8.586.5 [формула (8.1)] |
0,00586085 |
Окончание таблицы Д.3.3
|
Рассчитываемые величины |
Условное обозначение |
Единица величины |
Обозначение стандарта и номер формулы или пункта |
Значение |
|
15 Уточненное значение числа Рейнольдса |
|
- |
ГОСТ 8.586.5 [формула (5.11)] |
92899 |
|
16 Коэффициент истечения |
|
- |
ГОСТ 8.586.2 [формула (5.6)] |
0,609514 |
|
17 Поправочный коэффициент, учитывающий шероховатость внутренней поверхности ИТ |
|
- |
ГОСТ 8.586.2 [формула (5.11)] |
1,01099 |
|
18 Объемный расход природного газа, приведенный к стандартным условиям |
|
м3/с |
ГОСТ 8.586.5 [формула (5.8)] |
0,0597183 |
|
19 Относительное отклонение |
|
% |
ГОСТ 8.586.5 [формула (8.1)] |
0,000 |
|
20 Объемный расход природного газа, приведенный к стандартным условиям |
|
м3/ч |
ГОСТ 8.586.5 [формула (А.4)] |
214,986 |
|
21 Объем природного газа, приведенный к стандартным условиям |
VC |
м3 |
ГОСТ 8.586.5 [формула (5.27)] |
5159,66 |
Е.1.1 При раздельных измерениях величин самопишущими СИ для определения средних значений данных величин за установленный промежуток времени применяют электронные или механические пропорциональные, корневые и полярные планиметры.
Е.1.2 Корневые и пропорциональные планиметры применяют для обработки записей значений измеряемых величин на дисковых диаграммах.
Полярные планиметры применяют для обработки записей значений измеряемых величин на ленточных диаграммах.
Е.1.3 В пропорциональных планиметрах результат планиметрирования пропорционален среднему значению радиуса планиметрируемой записи в процентах, а в корневых планиметрах - среднему значению квадратного корня из радиуса планиметрируемой записи в процентах от верхнего предела измерений.
Полярным планиметром измеряют площадь фигуры (в квадратных сантиметрах), ограниченную контуром.
Е.1.4 Планиметрирование записей на диаграммах проводят в соответствии с описанием порядка работы, приведенным в прилагаемом к планиметру паспорте или инструкции.
Е.1.5 Отсчет показаний планиметров осуществляют в соответствии с требованиями, приведенными в эксплуатационной документации на них.
Для большей достоверности результатов отсчета кривую записи планиметрируют несколько раз и за результат окончательного отсчета принимают среднее арифметическое значение этих отсчетов, если не были допущены грубые ошибки.
Практикой установлено, что достаточно трехкратного планиметрирования записей на дисковой диаграмме и двукратного - для записей на ленточной диаграмме, если не были допущены грубые ошибки.
Е.1.6 В результате планиметрирования получают отвлеченные планиметрические числа Nп, Nк и Nл, соответственно, для показаний пропорционального, корневого и полярного планиметров.
Преобразование планиметрических чисел в значения измеряемых величин зависит от характеристики преобразования СИ измеряемой величины и типа применяемого планиметра.
Характеристика преобразования СИ измеряемой величины может быть квадратичной или линейной.
Характеристику преобразования считают линейной, если отклонение пера самопишущего СИ пропорционально значению измеряемой величины, и квадратичной, если отклонение пера пропорционально квадратному корню из значения измеряемой величины.
Формулы для расчета средних значений величин за время измерения т. (в часах) по результатам планиметрирования диаграмм для наиболее широко применяемых планиметров типа ПК, ППр и ПП-М приведены для СИ с линейной функцией преобразования в таблице Е.1, а для СИ с квадратичной функцией преобразования - в таблице Е.2.
В формулах для расчета средних значений
,
,
значения рн, ри.н, ∆рн приняты равными нулю.
Таблица Е.1 - Формулы для расчета величины по результатам планиметрирования диаграмм СИ с линейной функцией преобразования
|
Обозначение величины |
Формула расчета величины при применении планиметров |
|||
|
корневого |
пропорционального |
полярного |
||
|
у |
|
|
|
|
|
p |
|
|
|
|
|
PИ |
|
|
|
|
Окончание таблицы Е.1
|
Обозначение величины |
Формула расчета величины при применении планиметров |
||
|
корневого |
пропорционального |
полярного |
|
|
t |
|
|
|
|
∆р |
|
|
|
Таблица Е.2 - Формулы для расчета величины по результатам планиметрирования диаграмм СИ с квадратичной функцией преобразования
|
Обозначение величины |
Формула расчета величины при применении планиметров |
|
|
пропорционального |
полярного |
|
|
|
|
|
|
|
|
|
Если отклонение пера самопишущего СИ пропорционально квадратному корню из значения измеряемой величины с увеличенным диапазоном ее изменения, а планиметрирование записи на дисковой диаграмме проводят пропорциональным планиметром, то значение измеряемой величины рассчитывают по формуле
(E.1)
При расчете квадратного корня из значения перепада давления по результатам планиметрирования с помощью пропорциональных планиметров формула Е.1 принимает вид:
. (E.2)
Е.1.7 Для уменьшения неопределенности (см. 10.4.3.3) диаграммную запись разбивают на такие участки, где
изменения величины незначительны. Эти участки планиметрируют отдельно, определяют
,-для каждого участка, извлекают квадратный корень из
, и затем рассчитывают среднее значение квадратного корня из значения измеряемой величины по формуле
(E.3)
При этом разбивку проводят в случае измерений расхода газа, как минимум, для двух параметров, у которых
диапазон изменений наибольший, таких как ∆р и р или ∆р и t, а в формулу (Е.3) вместо у подставляют у = ∆p p или
, и полученное среднее значение
используют при определении количества среды.
Е.1.8 Если запись периода колебаний укладывается на участке длиной не более 5 мм и амплитуда пульсаций
не превышает 7% измеряемой величины, то планиметрирование производят по средней линии; если амплитуда
пульсаций превышает 7%, то планиметрирование выполняют по внутренней (
) и внешней (
) огибающим линиям пульсаций- В последнем случае за результат планиметрирования принимают среднеарифметическое значение квадратного корня из значения перепада давления, рассчитываемое по формуле
(E.4)
Если запись периода колебаний укладывается на участке длиной более 5 мм, то планиметрирование необходимо проводить по линии записи измеряемого параметра.
Е.2.1 Если СИ, указатель которого отклоняется пропорционально значению измеряемой величины, содержит интегратор, то среднее значение этой величины рассчитывают по формуле
(E.5)
где ∆NВ = NB2 - NВ1 - разность показаний интегратора за время ∆τ0 при установке верхнего значения измеряемой величины ув;
∆Nу = Ny2 - Ny1 - разность показаний счетчика за время осреднения τ для определяемой величины у.
Е.2.2 Если СИ, указатель которого отклоняется пропорционально квадратному корню из значения измеряемой величины, содержит интегратор, то среднее значение этой величины определяют по формуле
(E.6)
Ж.1.1 Настоящее приложение устанавливает основные правила, средства и порядок проведения работ, необходимые для:
- определения режима течения среды;
- определения составляющей неопределенности измерения количества среды, обусловленной нестационарностью потока;
- учета составляющей неопределенности измерения количества среды, обусловленной нестационарностью потока.
Ж.1.2 Настоящее приложение рекомендуется применять в случае, если допускаемая относительная расширенная неопределенность измерений расхода и количества среды менее 1,5%.
Ж.2.1 Обозначения
Дополнительные условные обозначения, используемые в настоящем приложении, приведены в таблице Ж.1.
Таблица Ж.1 - Условные обозначения величин
|
Обозначение |
Наименование величины |
Единица величины |
|
∆τ0 |
Интервал или длительность цикла времени измерений |
с |
|
∆τ |
Отчетное время |
с |
|
у(τ) |
Функция изменения параметра у во времени |
* |
|
у(τ)i, |
Мгновенное значение параметра у |
* |
|
|
Среднее значение параметра у |
* |
|
∆у |
Отклонение
у(τ). от |
* |
|
|
Относительное
отклонение значения параметра у от |
1 |
|
А(у) |
Амплитуда пульсаций значения параметра у |
* |
|
|
Относительная амплитуда пульсаций значения параметра у |
1 |
|
S(y) |
Среднеквадратическое отклонение результата измерений значения параметра у |
* |
|
∆ps |
Среднеквадратическая (средневзвешенная) амплитуда спектра пульсаций перепада давления |
* |
|
|
Относительная среднеквадратическая амплитуда спектра пульсаций перепада давления |
1 |
|
f |
Частота пульсаций |
Гц |
|
U'д |
Составляющая неопределенности измерения количества среды, обусловленная нестационарностью потока среды |
% |
|
Kд |
Поправочный коэффициент, учитывающий влияние нестационарности потока на результат определения количества среды |
1 |
|
* Единица величины зависит от параметра. Примечание - Остальные обозначения приведены в тексте. |
||
Ж.2.2 Индексы обозначений параметров
Дополнительные индексы, соответствующие обозначениям параметров, относят к величинам, характеризующим данные параметры.
Следующие индексы относят к обозначениям:
и - измеренное значение;
min -минимальное значение;
max - максимальное значение.
Ж.2.3 Сокращения
В настоящем приложении применены следующие дополнительные сокращения:
АЧС - амплитудно-частотный спектр;
АЧХ - амплитудно-частотная характеристика;
ВБ - вентильный блок;
ВП - вторичный прибор;
ВУ - вычислительное устройство расхода и количества среды;
ИОР - испытания по определению режима течения;
ИОН - испытания по определению неопределенности измерения количества среды, обусловленной нестационарностью потока;
КИ - канал измерения параметра, измерительный канал;
МВИ - методика выполнения измерений;
СРП - способ определения количества среды с раздельным измерением параметров;
САП - способ определения количества среды с автоматизированным измерением параметров.
В настоящем приложении применены следующие дополнительные термины с соответствующими определениями.
Ж.3.1 Характеристики нестационарного потока среды
Ж.3.1.1 мгновенное значение параметра: Значение параметра, соответствующее определенному моменту времени, моменту события.
Ж.3.1.2 нестационарность: Любое изменение мгновенного значения параметра во времени.
Ж.3.1.3 нестационарный поток среды: Поток среды, в котором значения его основных параметров являются нестационарными.
Ж.3.1.4 режим течения нестационарного потока: Разновидность течения среды, в котором характер ее движения определяется диапазоном изменения масштабных и временных параметров нестационарного потока.
Ж.3.1.5 способ определения количества среды с раздельным измерением параметров: Способ, при котором определение количества среды осуществляют по результатам обработки данных регистрации параметров потока за отчетный период времени.
Ж.3.1.6 способ определения количества среды с автоматизированным измерением параметров: Способ, при котором для определения расхода и количества среды применяют ВУ или измерительные комплексы.
Ж.3.1.7 основные параметры потока: Массовый и объемный расход, а также параметры среды, являющиеся определяющими при измерении расхода: перепад давления на СУ и плотность среды (давление и температура среды).
Ж.3.1.8 динамические параметры режима течения потока: Характеристики потока, используемые для анализа режимов течения нестационарного потока.
Примечание-К динамическим параметрам режима течения потока относят:
а) средние значения основных параметров за определенный интервал (цикл) времени;
б) временные параметры, такие как:
- частота пульсаций;
- время переходного процесса;
в) масштабные параметры, такие как:
- амплитуда (относительная амплитуда) пульсаций;
- среднеквадратическая амплитуда пульсаций;
- относительное отклонение параметра;
г) совокупные динамические параметры, такие как:
- вид функции изменения параметра во времени;
- амплитудно-частотный спектр пульсаций.
Ж.3.1.9 вид нестационарности потока: Характер изменения параметров потока во времени.
Примечание - В настоящем приложении приняты следующие виды нестационарности потока:
а) низкочастотные пульсации потока - обобщенное определение вида нестационарности, подразумевающее под собой характер изменения параметров потока, обусловленный технологическим режимом работы ИТ за отчетный период времени (в основном - разнообразные переходные процессы, связанные с режимом поступления и потребления среды, в частности и пульсирующие процессы);
б) сред нечастотные пульсации потока - пульсации основных параметров потока среды, обусловленные АЧС(qm) на входе в ИТ (зависит от типа источника потока среды и АЧХ системы подачи среды до ИТ) и собственными динамическими свойствами ИТ;
в) высокочастотные пульсации - обобщенное определение пульсаций любых параметров в ИТ и КИ, связанные с акустическими эффектами, турбулентными пульсациями.
Ж.3.1.10 относительное отклонение параметра: Характеристика степени отклонения параметра от его
среднего значения. Значение
определяют по формуле
Примечание - Данный масштабный параметр является определяющим для низкочастотных пульсаций ∆р(τ) при нахождении режима течения.
Ж.3.1.11 амплитуда (относительная амплитуда) пульсаций параметра: Масштабный параметр, характеризующий максимальное отклонение параметра или степень отклонения относительно его среднего значения в течение периода пульсаций.
Примечание - Значение амплитуды рассчитывают по формулам:
(Ж.3.2)
(Ж.3.3)
Ж.3.1.12 среднеквадратическая амплитуда пульсаций перепада давления: Среднеквадратическое отклонение значений ∆р(τ) за интервал времени измерений (средневзвешенная амплитуда АЧС ∆р(τ)).
Примечание - Среднеквадратическую амплитуду пульсаций перепада давления определяют по формуле
где i = 1...n - номер точки измерения;
n - число точек измерения за интервал времени измерения.
Ж.3.1.13 относительная среднеквадратическая амплитуда пульсаций перепада давления: Средневзвешенная относительная амплитуда части АЧС ∆р(τ), относящейся к среднечастотным пульсациям. Значение относительной среднеквадратической амплитуды пульсаций перепада давления рассчитывают по формуле:
(Ж.3.5)
Примечание - Данный масштабный параметр является определяющим для среднечастотных пульсаций ∆р(τ) при нахождении режима течения.
Ж.3.1.14 амплитудно-частотный спектр пульсаций параметра: Зависимость амплитуды или относительной амплитуды пульсаций параметра от частоты его пульсаций.
Примечание - Характерный вид АЧС ∆р(τ) приведен на рисунке Ж.1.
АЧС ∆р(τ) содержит три части: низко-, средне- и высокочастотную, условно разделенные между собой значениями граничных частот, соответственно f1,f 2. Принято, что значения f1, f2 соответствуют ![]()
Низко- и среднечастотные части относятся к действительной части спектра. Высокочастотная часть спектра может содержать мнимые области частот (отмечено на одном из графиков пунктирной линией), не отвечающих за реальное изменение расхода, соответственно и ∆р(τ), во времени: последние могут возникать из-за резонансных явлений в камерах отбора давления и соединительных линиях до ППД.

Рисунок Ж.1 - Характерные виды АЧС ∆р(τ) на диафрагме при нестационарном потоке природного газа
Ж.3.1.15 амплитудно-частотная характеристика: Частотная динамическая характеристика, связывающая между собой амплитуды входных и выходных параметров системы КИ как функцию f.
Примечание - АЧХ рассчитывают по формулам:
(Ж.3.6)
(Ж.3.7)
где
- амплитудный коэффициент КИ параметра;
- амплитуда параметра на входе;
- амплитуда параметра на выходе.
Ж.3.1.16 равномерная полоса пропускания частоты: Диапазон частот, в котором значение
- 1,0, т. е. система или КИ пропускает (измеряет) пульсации у(τ) без искажений.
Ж.3.1.17 коэффициент коррекции: Коэффициент, учитывающий неопределенность U'Д при определении расхода и количества среды, рассчитываемый по формуле
(Ж.3.8)
Ж.3.2 Измерительный канал и его компоненты
Ж.3.2.1 измерительный канал: Совокупность определенным образом связанных между собой СИ и других входящих в канал систем (компонентов измерительного канала), реализующих процесс измерения параметра и обеспечивающих получение результатов измерений параметра.
Ж.3.2.2 компоненты измерительного канала: Входящие в состав измерительного канала системы или технические устройства, выполняющие одну из функций, предусмотренную процессом измерения.
Примечание - Компоненты КИ подразделяют на измерительные, вычислительные и связующие.
Ж.3.2.3 измерительный компонент КИ: Средство измерений, измерительный прибор (например, дифманометр), первичный преобразователь параметра и ВП.
Ж.3.2.4 связующий компонент КИ: Техническое устройство, система и (или) часть среды, предназначенные или используемые для передачи сигналов от одного компонента КИ к другому.
Примечание - Связующими компонентами КИ являются технические устройства (разделительные сосуды, запорные, уравнительные и продувочные вентили, соединительные линии, газосборники, разделительная жидкость и др.), используемые в схемах установок разделительных сосудов (см. приложение В) и схемах присоединения дифманометров (см. приложение Г).
Ж.3.2.5 вычислительный компонент КИ: ВУ (или его часть) совместно с программным обеспечением, выполняющее функцию обработки (вычисления) наблюдений (или прямых измерений) для получения результатов прямых (или косвенных, совместных) измерений параметра, выражаемых числовым значением или соответствующим ему кодом.
Ж.4.1 Основные положения
Ж.4.1.1 Метод определения количества среды основывается на следующих допущениях:
а) значение
не превышает 0,5;
б) значение относительной среднеквадратической амплитуды пульсаций плотности (давления)
или
не превышает 0,025. В настоящем приложении принято, что данное предположение выполняется для мало-сжимаемой среды (жидкость) и сжимаемой среды (газ) с абсолютным ее давлением в ИТ ≥ 1,0 МПа;
в) потоки в конкретных ИТ являются детерминированными относительно АЧС ∆р(τ), относительной амплитуды пульсаций перепада давления и, следовательно, для
и основных составляющих U'Д
г) неопределенность измерения количества среды U'Д в основном обусловлена наличием среднечастотных-пульсаций потока;
д) при определении U'Д соблюдается условие квазистационарности уравнения мгновенного значения расхода. Данное допущение предполагает, что значения коэффициентов истечения и расширения равны своим значениям при стационарном (установившемся) режиме течения.
Примечание - В других случаях для определения количества среды при ее нестационарном течении в ИТ требуется соответствующая МВИ.
Ж.4.1.2 Метод определения количества среды при нестационарных потоках заключается в следующем:
-
определении режима течения среды в ИТ на основании полученных в процессе испытаний данных об
АЧС (∆р),
и
;
- определении значения U'Д для ИТ;
- корректировке, в случае необходимости, измеренного количества среды.
Ж.4.2 Неопределенность U'Д и ее составляющие
Ж.4.2.1 Общие положения
Источниками возникновения неопределенности U'Д являются:
- нелинейность зависимости q(τ) от ∆р(τ) (неопределенность U'ду);
- отсутствие инерционного члена в подкоренном выражении квазистационарного уравнения расхода-(неопределенность U'дин);
- дискретность опроса СИ основных параметров потока при использовании ВУ и особенностями обработки записи нестационарного параметра (неопределенность U'ди;
- динамические свойства КИ ∆р(τ) (неопределенность U'Дa).
Ж.4.2.2 Неопределенность U'ду
Ж.4.2.2.1 Значение (U'ду при использовании СРП в общем случае рассчитывают по формуле
(Ж.4.1)
где j = 1... с - номер основного параметра;
с - число основных параметров.
С учетом принятых допущений и функциональной зависимости q от ∆р значение U'ду рассчитывают по формуле
(Ж.4.2)
Значение U'ду для ИТ следует определять после проведения ИОР.
Ж.4.2.2.2 Значение U'ду при использовании САП рассчитывают по формуле
(Ж.4.3)
где
∆p - усредненные значения массива корней квадратных, вычисленных по показаниям ВП малоинерционного ППД и ВУ за интервал времени измерения в соответствии с Ж.7.2.
Значение U'ду для каждого ИТ следует определять в ходе проведения ИОН.
Ж.4.2.3 Неопределенность U'дин
Значение U'дин рассчитывают по формулам:
(Ж.4.4)
(Ж.4.5)
(Ж.4.6)
(Ж.4.7)
(Ж.4.8)
где H - коэффициент гармонических искажений;
r - номер гармоники в интеграле Фурье;
f0 - частота основной гармоники среднечастотных пульсаций ∆р(τ);
J - коэффициент инерции;
С - коэффициент истечения (С ≈ 1 для сопел и труб Вентури, С ≈ 0,6 для диафрагм);
le - эффективная длина (lе = d);
- средняя скорость в отверстии СУ;
St - число Струхаля.
Значение U'дин следует определять в ходе проведения ИОН.
Ж.4.2.4 Неопределенность U'ди
Значение U'ди рассчитывают по формуле (10.38).
Ж.4.2.5 Неопределенность U'дa
Ж.4.2.5.1 Значение U'дa при использовании СРП рассчитывают по формулам:
(Ж.4.9)
(Ж.4.10)
где
- функция нелинейной
передачи ∆р(τ) в КИ(∆p)
Примечание - Предполагают, что ППД имеет линейную динамическую характеристику.
Определение U'дa проводят в ходе проведения ИОН.
Ж.4.2.5.2 При использовании САП U'ду включает в себя неопределенность U'дa, поэтому отсутствует необходимость в отдельном ее определении.
Ж.4.3 Определение количества среды
Ж.4.3.1 При стационарном режиме течения (см. Ж.5.3) неопределенность Uд принимают равной нулю. Определение расхода и количества среды в этом случае проводят в соответствии с разделом 8.
Ж.4.3.2 При пульсирующем режиме течения (см. Ж.5.4) количество (объем и масса) среды рассчитывают по формулам:
V = VИ KД, (Ж.4.11)
m = mИ Kд, (Ж.4.12)
(Ж.4.13)
где VИ mи - соответственно, значение объема и массы среды, рассчитанное в соответствии с требованиями раздела 8.
Ж.4.3.3 При переменном режиме течения в соответствии с Ж.5.5 неопределенность U'д принимают равной нулю при выполнении одного из следующих условий:
а) обработку результатов регистрации ∆ри(τ) проводят корневым устройством считывания (планиметром);
б) проводят непосредственное измерение
, или рассчитывают квадратный корень из значения
, определенного за короткий промежуточный цикл (интервал) измерения (∆τо
≤ 2,0 с).
Определение количества среды в этом случае проводят в соответствии с разделом 8.
Если условие не соблюдается, то проводят оценку составляющей U'ди неопределенности определения количества среды по формуле (10.38).
Ж.4.3.4 При нестационарном режиме течения (см. Ж.5.6) определение количества среды проводят в соответствии сЖ.4.3.2 с учетом положений Ж.4.3.3.
Ж.4.3.5 При использовании СРП с целью облегчения обработки записи (регистрации) ∆pИ(τ) (Ж.4.3.3а) допускается устанавливать в соединительные линии перед ППД идентичные гасители пульсаций давления (демпферы) с нормированной линейной АЧХ.
Выбор параметров АЧХ демпферов осуществляют на основании определения АЧХ КИ ∆pИ(τ) (Ж.9) и АЧС ∆p(τ) на СУ(Ж.6.2).
Ж.5 Классификация режимов течения потока
Ж.5.1 В зависимости от диапазона изменения масштабных и временных параметров нестационарного потока принята следующая условная классификация режимов течения среды (см. рисунки Ж.1, Ж.2):
- стационарный;
- пульсирующий;
- переменный;
нестационарный.

Рисунок Ж.2 - Характер изменения ∆р(τ)
Ж.5.2 При классификации режимов условно принято разделение временных параметров нестационарного потока на следующие виды:
- низкочастотные пульсации - от 10-4 до 0,5 Гц;
- среднечастотные пульсации - от 0,5 до 30 Гц;
- высокочастотные пульсации - более 30 Гц.
Ж.5.3 Стационарный режим течения
Стационарный режим течения характеризуется наличием совокупности низко- и среднечастотных пульсаций с пренебрежимо малыми основными масштабными параметрами потока, следовательно, и расхода.
Условием реализации стационарного режима течения является выполнение следующих требований:
а) значение относительного отклонения низкочастотных пульсаций перепада давления
(Ж.5.1)
б) значение относительной среднеквадратической амплитуды среднечастотных пульсаций перепада давления
(Ж.5.2)
в) мгновенное значение ∆р(τ) должно находится в рабочем диапазоне ППД.
При выполнении данных требований неопределенность U'Д принимают равной нулю.
Ж.5.4 Пульсирующий режим течения
Пульсирующий режим течения характеризуется наличием ярко выраженных среднечастотных пульсаций хотя бы одного из основных параметров потока, соответственно и расхода, и возможным наличием низкочастотных пульсаций параметров потока с пренебрежимо малыми масштабными параметрами.
Условием реализации пульсирующего режима течения является выполнение следующих требований:
а) относительное отклонение мгновенного значения низкочастотных пульсаций перепада давления
(Ж.5.3)
б) низкочастотная составляющая изменения перепада давления
должна находиться в рабочем диапазоне ППД;
в) относительная среднеквадратическая амплитуда среднечастотных пульсаций
(Ж.5.4)
г) относительная среднеквадратическая амплитуда среднечастотных пульсаций
(Ж.5.5)
Ж.5.5 Переменный режим течения
Переменный режим течения характеризуется наличием ярко выраженных низкочастотных пульсаций (переходных процессов) хотя бы одного из основных параметров потока, соответственно и расхода, отсутствием или наличием среднечастотных пульсаций параметров потока с пренебрежимо малыми масштабными параметрами.
Условием реализации переменного режима течения является выполнение следующих требований:
а) относительное отклонение мгновенного значения низкочастотных пульсаций перепада давления за отчетный период
(Ж.5.6)
б) относительная среднеквадратическая амплитуда среднечастотных пульсаций
(Ж.5.7)
в) мгновенное значение ∆р(τ) должно находится в рабочем диапазоне ППД.
Ж.5.6 Нестационарный режим течения
Нестационарный режим течения характеризуется совокупностью ярко выраженных низко- и среднечастотных пульсаций хотя бы одного из основных параметров потока, следовательно, и расхода, имеющих значительные масштабные параметры.
Нестационарный режим является комбинацией пульсирующего и переменного режимов течения.
Условием реализации нестационарного режима течения является выполнение следующих требований:
а) относительное отклонение мгновенного значения низкочастотных пульсаций перепада давления за отчетный период времени
(Ж.5.8)
б) низкочастотная составляющая изменения перепада давления
должна находится в рабочем диапазоне ППД;
в) относительная среднеквадратическая амплитуда среднечастотных пульсаций
(Ж.5.9)
г) относительная среднеквадратическая амплитуда среднечастотных пульсаций
(Ж.5.10)
В случае невыполнения условий (Ж.5.5), (Ж.5.10) для определения расхода и количества среды требуется соответствующая МВИ.
Ж.5.7 Требования к динамическим характеристикам ППД
Ж.5.7.1 АЧХ ППД при переменном режиме течения должна соответствовать АЧХ фильтра низких частот с равномерной полосой пропускания до частоты f ≥f 1.
Ж.5.7.2 АЧХ ППД при пульсирующем и нестационарном режиме течения должна соответствовать АЧХ фильтра низких частот с равномерной полосой пропускания до частоты f = f 1.
Ж.6 Определение режима течения
Ж.6.1 Общие положения
Ж.6.1.1 Тип режима течения в ИТ (см. 5.3-5.6) устанавливают в ходе проведения испытаний по результатам
опытного определения
и анализа АЧС ∆р(τ).
Ж.6.1.2 Общая схема измерений при определении режима течения приведена на рисунке Ж.3.

КД1.2 - камеры отбора давления; КР1,2 -разделительные краны; КР3 - уравнительный кран; ГШ - бронированные шланги; ППД ∆р(τ) - СИ перепада давления, применяемое для испытаний; ППД (∆ри) - СИ перепада давления, входящее в комплект технических средств, применяемых для определения расхода и количества среды
Рисунок Ж.3 - Общая схема измерений при проведении ИОР
Определение
следует проводить при двух значениях рабочего диапазона расхода (qmax и qmin) (k - 1,2-номер режима, расходной точки). На каждом режиме число измерений должно быть не менее 7(1...7 - номер точки измерения).
Ж.6.1.3 Испытания следует проводить с использованием СИ, имеющих в своем составе ППД и ВП (анализатор), обеспечивающие выполнение следующих основных функций:
- регистрацию (запись) не менее 15∙103 мгновенных значений ∆р(τ)i в одной точке измерения с частотой опроса не менее 1,0 кГц (i = 1...15∙103 - номер точки массива ∆р(τ)i;
- определение АЧС (∆р);
- визуального отображения временной развертки процесса пульсаций ∆р(τ) и АЧС (∆р);
- осуществление, в случае необходимости (при наличии мнимых частей спектра), фильтрации сигнала ППД с-помощью регулируемого фильтра низких частот (по результатам нахождения f 2);
-
вычисление соответствующих мгновенных значений -
;
-
расчет ∆ps,
,
для каждого измерения;
- архивирование и распечатку результатов испытаний.
Бронированные шланги (см. рисунок Ж.3) присоединяют к независимым разделительным кранам камер отбора давления или кранам отбора давления при других способах отбора давления.
АЧХ ППД должна иметь равномерную полосу пропускания не менее 200 Гц. АЧХ КИ ППД должна иметь равномерную полосу пропускания не менее 2∙f2 Гц.
При определении АЧС (∆р) допускается использование независимого анализатора спектра.
Ж.6.2 Определение АЧС (∆р)
Ж.6.2.1 АЧС (∆р) определяют для решения следующих задач:
-
оценки значения
(∆р)mах среднечастотной части спектра;
-
определения значения f 1 и f 2no
необходимых для настройки фильтров;
- реального представления о характере пульсаций ∆р(τ) на СУ;
- анализа, в случае необходимости, процессов пульсаций потока в ИТ.
Ж.6.2.2 Для каждой k-й расходной точки (k - 1, 2) и номера гармоники r значение ![]()
определяют как
среднеарифметическое значение результатов определения
(j - 1...3).
Ж.6.2.3 Значение
для ИТ рассчитывают по формуле
(Ж.6.1)
Ж.6.2.4 При оформлении результатов испытаний по определению АЧС (∆р) для каждого ИТ АЧС должен
быть представлен в графической форме с указанием f
среднечастотной части спектра, а также в виде таблицы Ж.2, где 1,2...n - номер гармоники.
Таблица Ж.2 - Коэффициенты АЧС
|
fг(Гц) |
f1 |
f2 |
… |
fn |
|
А(∆р)г, кПа |
|
|
|
|
|
|
|
|
|
|
Ж.6.3 Определение ![]()
Ж.6.3.1 Значение
в каждой
j-й точке измерения определяют путем обработки массива действительных
измеренных значений ∆р(τ) - по формулам (Ж.3.4), (Ж.3.5).
Выделение действительных значений ∆р(τ) осуществляют в ВП (см. Ж.6.1).
Ж.6.3.2 Значение
в каждой k-й расходной точке находят как среднеарифметическое результатов определения ![]()
Ж.6.3.3 Окончательные
значения рассчитывают по формуле
(Ж.6.2)
Ж.6.4 Определение ![]()
Ж.6.4.1 Определение
осуществляют на основании архивных данных ВУ (САП) или архива суточных
диаграмм записи ∆р(τ) (СРП) по формуле (Ж.3.1).
Ж.6.4.2 Конкретные архивные данные (суточные диаграммы, отчеты в количестве не менее 7) должны выбираться лицом, проводящим испытания с учетом характерных режимов изменения расхода (перепада давления) за предыдущий месяц до начала испытаний.
Ж.7 Определение U'Д
Ж.7.1 Определение U'Д при использовании СРП
При использовании СРП принимают U'Д = U'ду. Определение значения U'ду проводят по окончании ИОР только для пульсирующего и нестационарного режима течения по формуле (Ж.4.2).
Ж.7.2 Определение U'Д при использовании САП
Ж.7.2.1 При использовании САП определение U'Д, включающей U'Дa и U'ду, проводят в ходе проведения ИОН (для пульсирующих и нестационарных режимов), в соответствии со схемой измерений, приведенной на рисунке Ж.4.
Ж.7.2.2 Определение U'Д проводят в тех же расходных точках, что и при проведении ИОР (см. Ж.6.1.2).
В каждой j-ой точке измерения значение U'Дj рассчитывают по формуле
(Ж.7.1)
где
- среднее значение корня квадратного, вычисленное в ВУ;
- среднее значение корня квадратного, вычисленное в ВП.
Число точек
и
при определении их средних значений может быть различно.
Ж.7.2.3 В каждой k-й расходной точке значение U'дk определяют как среднеарифметическое значение результатов наблюдений U'Дkj.

КД1,2 - камеры отбора давления; КР1,2 - разделительные краны; КР3 - уравнительный кран; ГШ - бронированные шланги; ППД (∆р(τ)) - СИ перепада давления, применяемое для испытаний; ППД (∆ри) - СИ перепада давления, входящее в комплект технических средств, применяемых для определения расхода и количества среды
Рисунок Ж.4 - Общая схема измерений при проведении ИОН
Ж.7.2.4 По окончании измерений рассчитывают среднеквадратическое отклонение результатов измерений по формулам:
![]()
(Ж.7.2)
(Ж.7.3)
При выполнении условия So < 5,0 % за значение U'Д принимают
.
Ж.7.2.5 Если S0>5,0%,to необходимо провести анализ результатов измерений Ufa^ следующим образом:
а) рассчитывают среднеквадратическое отклонение по формуле
(Ж.7.4)
б) для наиболее выделяющихся значений (U'Дkmax или U'Дkmin) рассчитывают значения вспомогательного параметра Нк по формулам:
(Ж.7.5)
(Ж.7.6)
которые сравнивают с критерием h из таблицы Ж.З в зависимости от числа измерений л на одной расходной точке.
Таблица Ж.3 - Зависимость критерия л от числа измерений л
|
n |
5 |
6 |
7 |
8 |
9 |
10 |
11 |
12 |
13 |
14 |
15 |
|
h |
1,67 |
1,82 |
1,94 |
2,031 |
2,11 |
2,18 |
2,23 |
2,29 |
2,33 |
2,37 |
2,41 |
Если Hk ≥ h, то данный результат исключают из массива результатов измерений.
При исключении какого-либо результата, снова проводят обработку результатов измерений.
Если среди полученных результатов окажется более двух исключаемых, то проводят дополнительные измерения вместо исключенных и снова проводят обработку результатов измерений.
По окончании измерений рассчитывают относительное отклонение результатов измерения U'Д в двух рас-ходныхточках по формуле
(Ж.7.7)
При выполнении условия
за значение U'д принимают среднее значение результатов измерений, рассчитанное по формуле
(Ж.7.8)
Если
то в свидетельстве об испытании делают соответствующую запись (см. также примечание
к Ж.4.1.1).
Ж.8 Оценка U'дин и U'да
Решение о необходимости оценки значений U'дин и U'да совместно принимают организации поставщика и потребителя среды.
При использовании СРП проводят оценку U'дин (см. Ж.4.2.3 и Ж.8.1) и U'да (см. Ж.4.2.5.2 и Ж.8.2);
При использовании САП проводят оценку U'дин (см.Ж.4.2.3 иЖ.8.1).
Ж.8.1 Оценка U'дин
Оценку U'дин проводят только для пульсирующего и нестационарного режимов течения, в соответствии с Ж.4.2.3, используя АЧС (∆р), полученный в процессе проведения ИОР. При измерении количества среды с помощью нескольких ИТ оценку U'дин допускается проводить только для одного ИТ.
Ж.8.2 Оценка U'да при использовании СРП
Ж.8.2.1 Оценку U'да
проводят только для пульсирующего и нестационарного режимов течения (на рабочем
режиме расхода, k = 1, J - 1...7). При измерении количества с помощью нескольких ИТ с идентичными составом КИ
∆ри(τ) определяют для ИТ, имеющего максимальное значение
.
Ж.8.2.2 Измерения проводят в соответствии со схемой, приведенной на рисунке Ж.5.

КД1.2 - камеры отбора давления; ППД (∆р(τ)) - СИ перепада давления, применяемое для испытаний; ППД(∆ри) - СИ перепада давления, входящее в комплект технических средств, применяемых для определения расхода и количества среды
Рисунок Ж.5 - Общая схема измерений при определении АЧХ ∆ри(τ)
В этом случае на время испытаний вместо ППД (∆рИ) (см. рисунок Ж.5) устанавливают ППД ∆р(τ)).
Ж.8.2.3 Для каждой j-й точки измерения определяют среднеарифметические значения результатов i-х измерений
,
,
,
, U'Дaj
Ж.8.2.4 За значение U'да
принимают среднеарифметическое значение -
.
Ж.9 Определение АЧХ канала измерения ∆ри(τ)
Ж.9.1 Определение АЧХ КИ ∆ри(τ) проводят на стадии проведения ИОР или ИОН в случае принятия решения
об использовании демпферов по Ж.4.3.5 (на рабочем режиме расхода, k = 1, J = 1 ...3). При измерении количества
среды с помощью нескольких ИТ с идентичными составом КИ ∆ри(τ), АЧХ определяют для ИТ, имеющего максимальное значение
.
Ж.9.2 Испытания проводят в соответствии со схемой измерений, приведенной на рисунке Ж.5.
Ж.9.3 АЧС ∆р(τ) и АЧС ∆ри(τ) определяют в соответствии с Ж.6.2.
Ж.9.4 Значения КАr для каждой частоты r-й гармоники рассчитывают по формуле (Ж.3.7).
Ж.9.5 Если частоты fr и frИ не совпадают, то производят аппроксимацию АЧС ∆ри(τ) функцией подходящего вида и затем определяют КАr для одних и техже значений fr
Ж.9.6 При оформлении результатов испытаний АЧХ КИ ∆ри(τ) представляют в виде таблицы Ж.4.
Таблица Ж.4 - Коэффициенты АЧХ
|
fг, Гц |
fr1 |
fr2 |
… |
f2 |
|
КAr |
|
|
|
|
Ж.10 Оформление результатов испытаний
Ж.10.1 По результатам ИОР организация, проводящая испытания, выдает свидетельство, в котором в соответствии с классификацией настоящего стандарта указывает режим течения в каждом ИТ.
Ж.10.2 По результатам ИОН организация, проводящая испытания, выдает свидетельство с указанием значения U'д для каждого ИТ.
Ж.10.3 При несоблюдении условия (∆ps) > 0,5 составляется акт о несоответствии условий течения в ИТ требованиям настоящего стандарта.
Ж. 10.4 Свидетельство должно быть утверждено организацией, проводящей испытания, и подписано представителями организации, проводящей испытания, и организации-владельца.
|
[1] Международный стандарт ИСО 2186:1973(International Standard transmissions ISO 2186:1973) |
Измерение расхода жидкости в закрытых каналах. Соединения для передачи сигнала давления между первичным и вторичным элементами (Fluid flow in closed conduits - Connections for pressure signal transmissions between primary and secondary elements) |
|
[2] Европейский стандарт ЕН 1434-2 (EN 1434-2) |
Тепломеры. Часть 2. Требования к конструкции(Heat meters. Constructional requirements) |
|
[3] ГСССД 188-99 |
Вода. Удельный объем и энтальпия при температурах 0-1000 °С и давлениях 0,001-1000 МПа |
|
[4] Международный стандарт 10715:1997(Е) (International Standard ISO 10715:1997) |
Природный газ- Руководство по отбору проб-ИСО (Natural gas - Sampling guidelines) |
|
[5] Пистун Е.П. О погрешностях определения среднесуточного значения расхода газа, измеренного методом переменного перепада давления//Республиканский межведомственный научно-технический сборник. Контрольно-измерительная техника. - Львов: «Выща школа», 1985. - Вып. 37
|
|
|
[6] ГСССД 6-89 |
Вода. Удельный объем и энтальпия при температурах 0-800°С и давлениях 0,001-1000 МПа |
|
[7] Лачков В.И., Лисенков А.И., Мамонов Ю.В. Формулы для определения теплофизических свойств перегретого пара. Измерительная техника, 1999, № 1, с. 40-41 |
|
Ключевые слова: расход, количество, среда, диафрагмы, сопла ИСА1932, эллипсные сопла, сопла Вен-тури, трубы Вентури, измерение, неопределенность
|
ГОСТЫ, СТРОИТЕЛЬНЫЕ и ТЕХНИЧЕСКИЕ НОРМАТИВЫ. Некоммерческая онлайн система, содержащая все Российские Госты, национальные Стандарты и нормативы. В Системе содержится более 150000 файлов нормативно-технической документации, действующей на территории РФ. Система предназначена для широкого круга инженерно-технических специалистов. Copyright © www.gostrf.com, 2008 - 2026 |