Крупнейшая бесплатная информационно-справочная система онлайн доступа к полному собранию технических нормативно-правовых актов РФ. Огромная база технических нормативов (более 150 тысяч документов) и полное собрание национальных стандартов, аутентичное официальной базе Госстандарта. GOSTRF.com - это более 1 Терабайта бесплатной технической информации для всех пользователей интернета. Все электронные копии представленных здесь документов могут распространяться без каких-либо ограничений. Поощряется распространение информации с этого сайта на любых других ресурсах. Каждый человек имеет право на неограниченный доступ к этим документам! Каждый человек имеет право на знание требований, изложенных в данных нормативно-правовых актах!

  


 

АО «ЦНИИПРОМЗДАНИЙ»

ПОСОБИЕ ПО ОБСЛЕДОВАНИЮ СТРОИТЕЛЬНЫХ КОНСТРУКЦИЙ ЗДАНИЙ

Москва – 2004

СОДЕРЖАНИЕ

ПРЕДИСЛОВИЕ

ВВЕДЕНИЕ

1. ОБЩИЕ ПОЛОЖЕНИЯ

2. ПРЕДВАРИТЕЛЬНОЕ ОБСЛЕДОВАНИЕ ЗДАНИЯ

3. ИССЛЕДОВАНИЕ ВОЗДУШНОЙ СРЕДЫ ПОМЕЩЕНИЙ

3.1. Основные факторы, характеризующие воздушную среду помещений

3.2. Измерение показателей воздушной среды

3.3. Исследование терморадиационного режима помещений производственных зданий

3.4. Освещенность помещений

3.5. Исследование химической агрессивности производственной среды

4. ОСНОВНЫЕ ТРЕБОВАНИЯ К ЭКСПЛУАТАЦИОННЫМ КАЧЕСТВАМ СТРОИТЕЛЬНЫХ КОНСТРУКЦИЙ

5. ОПРЕДЕЛЕНИЕ ГЕОМЕТРИЧЕСКИХ ПАРАМЕТРОВ, ПРОГИБОВ И ДЕФОРМАЦИИ КОНСТРУКЦИЙ

5.1. Обмерные работы

5.2. Измерения прогибов и деформаций

5.3. Методы и средства наблюдения за трещинами

6. ОБСЛЕДОВАНИЕ БЕТОННЫХ И ЖЕЛЕЗОБЕТОННЫХ КОНСТРУКЦИЙ

6.1. Определение технического состояния конструкций по внешним признакам

6.2. Определение степени коррозии бетона и арматуры

6.3. Определение прочности бетона механическими методами

6.4. Ультразвуковой метод определения прочности бетона

6.5. Определение толщины защитного слоя бетона и расположения арматуры

6.6. Определение прочностных характеристик арматуры

6.7. Определение прочности бетона путем лабораторных испытаний

7. ОБСЛЕДОВАНИЕ КАМЕННЫХ И АРМОКАМЕННЫХ КОНСТРУКЦИЙ

7.1. Особенности работы и разрушения конструкций

7.2. Определение технического состояния каменных конструкций по внешним признакам

7.3. Определение прочности каменных конструкций

8. ОБСЛЕДОВАНИЕ СТАЛЬНЫХ КОНСТРУКЦИЙ

8.1. Определение технического состояния конструкций по внешним признакам

8.2. Оценка коррозионных повреждений стальных конструкций

8.3. Обследование сварных, заклепочных и болтовых соединений

8.4. Определение качества стали конструкций

9. ОБСЛЕДОВАНИЕ ДЕРЕВЯННЫХ КОНСТРУКЦИЙ

9.1. Особенности эксплуатационных качеств деревянных конструкций

9.2. Основные признаки, характеризующие техническое состояние конструкций

9.3. Оценка технического состояния конструкций

10. ТЕПЛОТЕХНИЧЕСКИЕ ОБСЛЕДОВАНИЯ ОГРАЖДАЮЩИХ КОНСТРУКЦИЙ

10.1. Цепь и задачи теплотехнических обследований

10.2. Измерение температур

10.3. Измерение солнечной радиации

10.4. Измерение тепловых потоков

10.5. Определение теплозащитных качеств ограждающих конструкций

10.6. Определение влажностного состояния ограждающих конструкций

10.7. Определение воздухопроницаемости ограждающих конструкций

11. ОБСЛЕДОВАНИЕ ОТДЕЛЬНЫХ ВИДОВ ОГРАЖДАЮЩИХ КОНСТРУКЦИЙ

11.1. Наружные стены

11.2. Покрытия и кровли

11.3. Полы

11.4. Светопрозрачные конструкции

12. ОБСЛЕДОВАНИЕ ФУНДАМЕНТОВ И ОСНОВАНИЙ

12.1. Состав работ

12.2. Отрывка шурфов для обследования фундаментов

12.3. Определение технического состояния фундаментов

12.4. Определение вертикальных и горизонтальных перемещений и кренов оснований и фундаментов

13. ОСОБЕННОСТИ ОБСЛЕДОВАНИЯ СТРОИТЕЛЬНЫХ КОНСТРУКЦИЙ ЗДАНИЙ, ПОВРЕЖДЕННЫХ ПОЖАРОМ

13.1. Общие положения

13.2. Предварительное обследование зданий, подвергшихся воздействию пожара

13.3. Детальное обследование конструкций зданий, подвергшихся воздействию пожара

14. СТАТИСТИЧЕСКАЯ ОБРАБОТКА РЕЗУЛЬТАТОВ ОБСЛЕДОВАНИЙ

15. ТЕХНИКА БЕЗОПАСНОСТИ ПРИ ПРОВЕДЕНИИ ОБСЛЕДОВАНИЙ СТРОИТЕЛЬНЫХ КОНСТРУКЦИЙ ЗДАНИЙ

ПРИЛОЖЕНИЯ

ПРИЛОЖЕНИЕ I ПРИМЕРНАЯ СТРУКТУРА ОТЧЕТА (ЗАКЛЮЧЕНИЯ)

ПРИЛОЖЕНИЕ II ОЦЕНКА ТЕХНИЧЕСКОГО СОСТОЯНИЯ СТРОИТЕЛЬНЫХ КОНСТРУКЦИЙ ПО ВНЕШНИМ ПРИЗНАКАМ ДЕФЕКТОВ И ПОВРЕЖДЕНИЙ

Таблица II-1 Оценка технического состояния железобетонных конструкций по внешним признакам

Таблица II-2 Оценка технического состояния каменных конструкций по внешним признакам

Таблица II-3 Оценка технического состояния стальных конструкций по внешним признакам

ПРИЛОЖЕНИЕ III ОПТИМАЛЬНЫЕ И ДОПУСТИМЫЕ НОРМЫ ТЕМПЕРАТУРЫ, ОТНОСИТЕЛЬНОЙ ВЛАЖНОСТИ И СКОРОСТИ ДВИЖЕНИЯ ВОЗДУХА В ПОМЕЩЕНИЯХ ГРАЖДАНСКИХ И ПРОИЗВОДСТВЕННЫХ ЗДАНИЙ

Таблица III-1 Оптимальные нормы температуры, относительной влажности и скорости движения воздуха в рабочей золе производственных помещений

Таблица III-2 Допустимые нормы температуры, относительной влажности и скорости движения воздуха в рабочей зоне производственных помещений в холодный и переходные периоды года

Таблица III-3 Допустимые нормы температуры, относительной влажности и скорости движения воздуха в рабочей зоне производственных помещении с избытками явного тепла в теплый период года

Таблица III-4 Оптимальные и допустимые нормы температуры, относительной влажности и скорости движения воздуха в обслуживаемой зоне помещении жилых зданий и общежитий

Таблица III-5 Оптимальные и допустимые нормы температуры, относительной влажности и скорости движения воздуха в обслуживаемой зоне общественных зданий

ПРИЛОЖЕНИЕ IV ПРИМЕРНЫЙ ПЕРЕЧЕНЬ ИНСТРУМЕНТОВ И ПРИБОРОВ, ИСПОЛЬЗУЕМЫХ ПРИ ОБСЛЕДОВАНИИ СТРОИТЕЛЬНЫХ КОНСТРУКЦИЙ ЗДАНИЙ И ПРОИЗВОДСТВЕННОЙ СРЕДЫ (МИКРОКЛИМАТА) ПОМЕЩЕНИЙ

ПРИЛОЖЕНИЕ V АКТ ПРЕДВАРИТЕЛЬНОГО ОБСЛЕДОВАНИЯ ЗДАНИЯ, ПОВРЕЖДЕННОГО ПОЖАРОМ

ЛИТЕРАТУРА, ГОСУДАРСТВЕННЫЕ СТАНДАРТЫ, СТРОИТЕЛЬНЫЕ НОРМЫ И ПРАВИЛА И РЕКОМЕНДУЕМЫЕ МАТЕРИАЛЫ, ПРИМЕНЯЕМЫЕ В КАЧЕСТВЕ СПРАВОЧНЫХ

ПРЕДИСЛОВИЕ

ПОСОБИЕ содержит методы обследования производственной среды и технического состояния строительных конструкций зданий различного функционального назначения.

Приводятся состав работ и порядок обследования, факторы и признаки, характеризующие состояние конструкций. Рассмотрены методы обследования железобетонных, металлических, деревянных конструкции, а также особенности обследования отдельных видов ограждающих конструкций. Изложены методы измерения прогибов и деформаций строительных конструкций, методы и средства наблюдения за трещинами. Приводится порядок отбора проб и образцов материалов для лабораторных испытаний. Указаны приборы и оборудование для определения физико-технических характеристик материалов и конструкций, уделено большое внимание методам обследований строительных конструкций и зданий, поврежденных пожаром.

Содержатся основные правила техники безопасности при обследовании производственной среды и строительных конструкций зданий.

ПОСОБИЕ предназначено для специалистов и инженерно-технических работников, занятых обследованиями производственной среды и технического состояния строительных конструкций реконструируемых и эксплуатируемых зданий. Оно может служить практическим пособием по повышению квалификации специалистов и при предлицензионном их обучении.

Пособие одобрено Департаментом развития научно-технической политики и проектно-изыскательских работ Минстроя России.

Настоящая редакция пособия разработана руководителем Центра технической диагностики и обеспечения безопасности зданий и сооружений ЦНИИпромзданий профессором А.Г. Гиндояном при участии инж. В.В. Канунникова.

Замечания и предложения просьба направлять по адресу:

127238, Москва, Дмитровское шоссе, 46, к. 2. ЦНИИпромзданий, Центр технической диагностики и обеспечения безопасности зданий и сооружений.

ВВЕДЕНИЕ

Исследование производственной среды и технического состояния строительных конструкций является самостоятельным направлением строительной деятельности, охватывающим комплекс вопросов, связанных с созданием в зданиях нормальных условий труда и жизнедеятельности людей и обеспечением эксплуатационной надежности зданий, с проведением ремонтно-восстановительных работ, а также с разработкой проектной документации по реконструкции зданий и сооружений.

Дальнейшее развитие нормативной базы проектирования, технической эксплуатации и особенно противопожарных мероприятий, а также совершенствование проектных решений зданий и сооружений требуют систематического накопления, обобщения и анализа данных о долговечности и эксплуатационной надежности зданий и сооружений и их строительных конструкций. Наиболее достоверным методом получения таких сведений являются натурные обследования.

Объем проводимых обследований зданий и сооружений увеличивается с каждым годом, что является следствием ряда факторов: физического и морального их износа, перевооружения и реконструкции производственных зданий промышленных предприятий, реконструкции малоэтажной старой застройки, изменения форм собственности и резкого повышения цен на недвижимость, земельные участки и др. Особенно важно проведение обследований после разного рода техногенных и природных воздействий (пожары, землетрясения и т.п.), при реконструкции старых зданий и сооружений, что часто связано с изменением действующих нагрузок, изменением конструктивных схем и необходимостью учета современных норм проектирования зданий.

Исключительно важное значение имеют обследование и оценка технического состояния строительных конструкций и зданий, в целом поврежденных пожаром, и установление причин недостаточной эффективности противопожарных мероприятий.

В процессе эксплуатации зданий вследствие различных причин происходят физический износ строительных конструкций, снижение и потерн их несущей способности, деформации как отдельных элементов, так и здания в целом. Для разработки мероприятий по восстановлению эксплуатационных качеств конструкций, необходимо проведение их обследовании с целью выявления причин преждевременного износа понижения их несущей способности.

В настоящее время обследованиями производственной среды и технического состояния зданий и сооружений в том или ином объеме занимаются разные организации, акционерные общества и т.п., большинство из которых ранее не занималось этим видом строительной деятельности. В результате нередко появляются работы невысокого качества, слабо отражающие современные достижения в области строительной техники и средств измерений.

Практически не ведется обобщение результатов обследований, проводимых даже специализированными организациями, что отрицательно сказывается на дальнейшем совершенствовании объемно-планировочных и конструктивных решений зданий и сооружений.

В настоящее время разработано большое количество государственных стандартов, инструкций и рекомендаций по определению отдельных физико-технических характеристик строительных материалов и конструкций как в натурных, так и лабораторных условиях. Однако практически отсутствуют работы, охватывающие весь комплекс вопросов, связанных с обследованиями состояния производственной среды (микроклимата) и эксплуатационных качеств (прочностных, теплотехнических и др.) как отдельных конструкций, так и зданий в целом, а литература по современным методам обследований зданий крайне ограничена.

Отсутствие унифицированных методик и приемов обследований в значительной степени объясняется отсутствием единого методического подхода к проведению обследований, разнообразием задач обследований и применяемых измерительных средств и методов обработки и обобщения результатов, что во многих случаях делает несопоставимыми данные, полученные разными исполнителями.

Выполненные разными организациями и специалистами отчеты и заключения по обследованиям зданий имеют разнородный характер как по содержанию, так и по форме, что объясняется многообразием объемно-планировочных и конструктивных решений, видов материалов конструкций и условий эксплуатации зданий различного назначения (жилые, общественные, производственные, сельскохозяйственные и др.), а также опытом специалистов, занимающихся обследованием зданий и сооружений.

Очевидно, что обследования зданий и сооружений различных отраслей промышленности должны выполняться специализированными организациями и специалистами, обладающими знаниями в самых различных областях строительной науки, а также знающими особенности технологических процессов в производственных зданиях. Учитывая, что в высших учебных заведениях не производилось подготовки специалистов по обследованию зданий с учетом специфики соответствующих отраслей промышленности, а также недостаточно освещение в литературе вопросов обследований, проблема создания соответствующей учебной литературы, практических пособий и руководств остается актуальной и неотложной задачей. В данной работе авторы стараются заполнить этот пробел.

Пособие имеет межотраслевой характер, учитывает часто встречаемые факторы, способствующие износу и разрушению конструкций, унификацию приемов и способов проведения натурных обследований. Вместе с тем в соответствующих разделах рассматриваются особенности обследований строительных конструкций зданий, эксплуатируемых при воздействиях различных видов производственных агрессивных сред (высоких температур, химически агрессивных сред и др.).

В работе уделено значительное внимание методике обследования строительных конструкций зданий, поврежденных пожаром, и установления причин недостаточной эффективности противопожарных мероприятий.

Кроме общих методик обследований железобетонных, металлических, деревянных и каменных конструкций, рассматриваются методы обследований отдельных видов ограждающих конструкций (стен, покрытий и кровель, полов и светопрозрачных конструкций).

При разработке Пособия использованы материалы следующих институтов: ЦНИИСКа им. Кучеренко, НИИЖБа, НИИОСПа им. Герсеванова, ЦНИИпроектстальконструкции им. Мельникова, Харьковского ПромстройНИИпроекта, МГСУ, ВНИИПО и других организаций.

Авторы понимают всю сложность рассматриваемых ими вопросов и не претендуют на исчерпывающие ответы. Поэтому они с благодарностью примут замечания и предложения, направленные на совершенствование и дополнение настоящего Пособия.

Авторы выражают признательность С.М. Гликину, Б.В. Лифанову и Р.В. Хомшиашвили, взявшим на себя труд рассмотреть весь текст Пособия и своими замечаниями и предложениями способствовать совершенствованию его содержания.

1. ОБЩИЕ ПОЛОЖЕНИЯ

1.1. Настоящее Пособие предназначается для организаций и специалистов, занимающихся исследованием производственной среды (микроклимата) и технического состояния строительных конструкций реконструируемых и эксплуатируемых зданий.

1.2. Общей целью натурных исследований производственной среды (микроклимата) является получение достоверных данных о факторах, формирующих производственную среду, их фактическом состоянии, причинах, обуславливающих данное состояние, для установления их соответствия нормативным требованиям и для разработки мероприятий по их улучшению.

1.3. Общей целью обследований технического состояния строительных конструкций являются выявление степени физического износа, причин, обуславливающих их состояние, фактической работоспособности конструкций и разработка мероприятий по обеспечению их эксплуатационных качеств.

1.4. В зависимости от поставленных задач натурные обследования зданий охватывают следующие этапы:

а. Предварительное обследование;

б. Детальное инструментальное обследование;

в. Определение физико-технических характеристик материалов обследуемых конструкций в лабораторных условиях;

г. Обобщение результатов обследований.

Детальное инструментальное обследование включает комплекс работ, связанных с выявлением:

а) факторов, формирующих производственную среду (микроклимат) помещений и их количественные показатели, и сравнение полученных результатов с нормативными требованиями;

б) технического состояния несущих и ограждающих конструкций, включая теплотехнические и прочностные показатели; пригодности их к дальнейшей эксплуатации и их соответствия современным нормативным требованиям.

Характер и объем натурных обследований определяются конкретными задачами, поставленными заказчиком работы перед исполнителями.

Примечание. 1. Пособие не охватывает некоторые специфические виды технологических воздействий; блуждающие токи, магнитные поля, производственные шумы; низкие температуры и др., при наличии таких факторов следует пользоваться указаниями специальной литературы.

2. Пособие не охватывает вопросы обследования строительных конструкций сооружений, подверженных нехарактерным для конструкций зданий воздействиям (подпорные стенки, очистные сооружения, элеваторы, газгольдеры и т.п.).

1.5. Определение стоимости работ по обследованию строительных конструкций зданий производится по МРР-3.2.05-96 [I-41], утверждённому первым заместителем премьера правительства Москвы, или по «Сборнику цен на инженерно-обследовательные работы по выявлению технического состояния строительных конструкций промышленных зданий и сооружений» разработанному ЦНИИпромзданий в 1991 г. В этом документе даются указания о порядке определения стоимости работ:

по предварительным обследованиям (сбор исходных данных);

по инструментальным обследованиям технического состояния строительных конструкций;

по разработке проектно-сметной документации для усиления строительных конструкций;

проведения статических испытаний, лабораторных работ по испытаниям строительных материалов;

выполнения вибродинамического инженерного обследования несущей способности строительных конструкций, проведения динамических испытаний в лабораторных условиях.

1.6. Установление стоимости работ по натурным обследованиям технического состояния строительных конструкций производится на основе учета объема и высоты здания, сложности объемно-планировочных и конструктивных его решений, степени износа конструкций и состава работ, особенности региона строительства, сейсмических, климатических и технологических воздействий и других факторов, определяющих условия эксплуатации здания и строительных конструкций.

2. ПРЕДВАРИТЕЛЬНОЕ ОБСЛЕДОВАНИЕ ЗДАНИЯ

2.1. Основной задачей предварительного обследования здания является определение общего состояния строительных конструкций и производственной среды, определение состава намечаемых работ и сбора исходных данных, необходимых для составления технического задания на детальное инструментальное обследование для установления стоимости намечаемых работ и заключения договора с заказчиком.

2.2. Состав работ по предварительному обследованию включает:

общий осмотр объекта;

сбор информации об особенностях региона строительства; климатические и природно-геологические условия; сейсмичность региона и др.;

общие сведения о здании, время строительства, сроки эксплуатации;

общие характеристики объемно-планировочного, конструктивного решений и систем инженерного оборудования;

особенности технологии производства с точки зрения их воздействия на строительные конструкции;

фактические параметры микроклимата или производственной среды, температурно-влажностный режим, наличие агрессивных к строительным конструкциям технологических выделений, сведения об антикоррозионных мероприятиях;

гидрогеологические условия участка и общие характеристики грунтов оснований;

изучение материалов ранее проводившихся на данном объекте обследований производственной среды и состояния строительных конструкций;

изучение материалов по ранее проводившимся работам по ремонту и усилению и восстановлению эксплуатационных качеств строительных конструкций.

2.3. На стадии предварительного визуального обследования должны быть установлены по внешним признакам категории технического состояния конструкций в зависимости от имеющихся дефектов и повреждений.

2.4. В зависимости от имеющихся дефектов и повреждений техническое состояние конструкции может быть классифицировано по 4 категориям согласно общим признакам, приведенным в табл. 2.1 и табл. II-1 - II-3 прил. II.

Таблица 2.1

Общая оценка технического состояния конструкций при предварительном обследовании зданий

Категория состояния конструкции

Общие признаки, характеризующие состояние конструкции

I - нормальное

Отсутствуют видимые повреждения и трещины, свидетельствующие о снижении несущей способности конструкций. Выполняются условия эксплуатации согласно требованиям норм и проектной документации. Необходимость в ремонтно-восстановительных работах отсутствует

II - удовлетворительное

Незначительные повреждения, на отдельных участках имеются отдельные раковины, выбоины, волосяные трещины. Антикоррозионная защита имеет частичные повреждения. Обеспечиваются нормальные условия эксплуатации. Требуется текущий ремонт, с устранением локальных повреждений без усиления конструкций

III - неудовлетворительное

Имеются повреждения, дефекты и трещины, свидетельствующие об ограничении работоспособности и снижении несущей способности конструкций. Нарушены требования действующих норм, но отсутствует опасность обрушения и угроза безопасности работающих. Требуется усиление и восстановление несущей способности конструкций

IV - предаварийное или аварийное

Существующие повреждения свидетельствуют о непригодности конструкции к эксплуатации и об опасности ее обрушения, об опасности пребывания людей в зоне обследуемых конструкций. Требуются неотложные мероприятия по предотвращению аварий (устройство временной крепи, разгрузка конструкций и т.п.). Требуется капитальный ремонт с усилением или заменой поврежденных конструкций в целом или отдельных элементов

2.5. Ориентировочную оценку прочности бетона можно произвести по величине следа при простукивании молотком или ударом по зубилу, установленному «жалом» на поверхности бетона.

В табл. 2.2 дано ориентировочное значение прочности бетона в зависимости от оставленного следа на его поверхности после удара молотком весом 0,4-0,8 кг.

Таблица 2.2

Ориентировочная оценка прочности бетона путем простукивания поверхности молотком

Результаты одного удара средней силы молотком весом 0,4-0,8 кг

Прочность бетона, МПа

Непосредственно по поверхности бетона

По зубилу, установленному «жалом» на бетон

На поверхности бетона остается слабый след, вокруг которого могут откалываться тонкие лещадки

Неглубокий след, лещадки не откалываются

Более 20

На поверхности бетона остается заметный след, вокруг которого могут откалываться тонкие лещадки

От поверхности бетона откалываются острые лещадки

20...10

Бетон крошится и осыпается, при ударе по ребру откалываются большие куски

Зубило проникает в бетон на глубину до 5 мм, бетон крошится

10...7

Остается глубокий след

Зубило забивается в бетон на глубину более 5 мм

Менее 7

2.6. При оценке категории состояния конструкции (плит, балок, ферм и др.) необходимо определить величину их прогиба и сравнить с предельными допустимыми для данного вида конструкции и величины пролетов.

2.7. На стадии предварительного обследования даются рекомендации о необходимости принятия неотложных мер по предотвращению аварии конструкций, отнесенных к III и IV категориям.

2.8. При предварительном обследовании несущих конструкций следует особое внимание обращать на колонны, подкрановые балки, ригели рам, подстропильные и стропильные фермы; тормозные фермы, несущие элементы фахверков, прогоны, узлы опирания балок на уступы или консоли, стыковки соединений балок и их креплений к колоннам, на сохранность защитного слоя бетона железобетонных конструкций.

При осмотрах тормозных ферм подкрановых конструкций и узлов крепления балок к колоннам особое внимание должно быть обращено на состояние болтовых, заклепочных и сварных соединений, а также основных рабочих элементов узлов.

2.9. Намечаются и согласовываются с заказчиком меры по обеспечению безопасного ведения работ (получение спецодежды, индивидуальных средств защиты; устройство подмостей и приспособлений для доступа к обследуемым конструкциям, освещение затемненных участков и другие необходимые для проведения обследования меры) в соответствии с требованиями разд. 15 настоящего Пособия.

2.10. На основании предварительного осмотра объекта составляется рабочая программа детального обследования производственной среды, отдельных строительных конструкций и здания в целом.

3. ИССЛЕДОВАНИЕ ВОЗДУШНОЙ СРЕДЫ ПОМЕЩЕНИЙ

3.1. Основные факторы, характеризующие воздушную среду помещений

3.1.1. Микроклимат помещений жилых и общественных зданий характеризуется первичными и обобщенными показателями. Первичными являются: температура воздуха tin, °С, радиационная температура tsq, °С; скорость движения воздуха Vin, м/с; относительная влажность воздуха jin, %. Обобщенными являются: результирующая температура tR,°С и локальная асимметрия результирующей температуры tR (II-98).

3.1.2. Параметры микроклимата помещения* должны быть в определенных сочетаниях между собой и находиться в некоторой зоне комфортности тепловой обстановки. Температурная обстановка в помещении может быть определена двумя условиями температурного комфорта:

а) первое условие - температурный комфорт в помещении в целом;

б) второе условие - температурный комфорт на границе обслуживаемой зоны в непосредственной близости от нагретых или охлаждаемых поверхностей [I-7].

3.1.3. На теплоощущение человека в значительной мере влияют сочетание радиационной температуры tsq и температуры воздуха помещения tsq [I-5].

Радиационная температура помещения представляет собой усредненную по площади температуру внутренних поверхностей и отопительных приборов и определяется по коэффициентам облученности по формуле

tsq=                                                                               (3.1)

где jr-i - коэффициент облученности от человека, находящегося в центре помещения, на отдельные поверхности ti стен и отопительных приборов.

* Микроклимат помещения - состояние внутренней среды помещений жилых и общественных зданий, характеризуемое совокупностью метеорологических факторов.

3.1.4. Результирующая температура помещения tR характеризует влияние на теплоощущение человека суммы радиационной температуры tsq, температуры tin и скорости Vin воздуха помещения.

3.1.5. Первичные и обобщенные показатели микроклимата регламентируются государственными стандартами и нормативными документами [II-98 и II-99]. В помещениях жилых и общественных зданий должны быть обеспечены оптимальные или допустимые показатели микроклимата в обслуживаемой зоне помещений с постоянным или временным пребыванием людей.

Значения требуемых оптимальных и допустимых параметров микроклимата в зависимости от назначения помещения и периода года приводятся в табл. III-1, III-5 прил. III.

3.1.6. Производственная среда* помещений промышленных зданий характеризуется следующими показателями: температурой tin, и относительной влажностью jin воздуха, скоростью движения воздуха Vin интенсивностью теплового излучения, содержанием вредных веществ в воздухе рабочей зоны и степенью агрессивности воздушной среды к строительным конструкциям.

* Производственная среда - внутренняя среда помещений производственных зданий, характеризуемая совокупностью метеорологических и технологических факторов.

3.1.7. Кроме усредненной температуры поверхностей ограждений помещения, важны также и температуры отдельных поверхностей, в частности, разность температур воздуха помещения и поверхности наружной стены (внутренний температурный перепад ΔtH=tв-ti). Если ΔtH превысит определенный предел при определенной влажности воздуха, то на поверхности ограждения могут конденсироваться содержащиеся в воздухе водяные пары, что, как правило, недопустимо.

Ввиду большого санитарно-гигиенического значения допустимые величины А^ регламентируются нормами [III-4].

3.2. Измерение показателей воздушной среды

3.2.1. Измерение показателей микроклимата отапливаемых помещений в холодный период года следует выполнять при разности температур внутреннего и наружного воздуха, составляющей 50 % и более расчетной разности температур.

Для теплого периода года измерение показателей микроклимата следует выполнять в наиболее жаркий месяц.

3.2.2. Для выявления закономерностей распределения температур, влажности и скорости воздуха по объему помещения, измерения их величин необходимо выполнять по вертикали в нескольких поперечных сечениях помещения. Пункты замеров и число сечений устанавливаются в зависимости от назначения помещения, вида деятельности человека, характера размещения систем отопления и вентиляции, технологического оборудования и объемно-планировочного решения здания.

При измерении показателей микроклимата пункты, в которых производятся измерения, не должны находиться в непосредственной близости к источникам тепло- и влаговыделений, приточным и вытяжным отверстиям, через которые поступает или удаляется воздух.

В помещениях с большой плотностью и продолжительностью пребывания людей измерения показателей микроклимата следует производить на равновеликих участках, площадь которых должна быть не менее 25 и не более 100 м2.

3.2.3. По высоте помещений температуры и скорости движения воздуха надлежит измерять, как правило, на полу (условное обозначение 0); на расстоянии 0,1; 0,25; 0,75 и 1,5 от пола или рабочей площадки; под перекрытиями и под покрытиями на расстоянии 0,25-0,3 м от нижней поверхности конструкции, если по требованиям к микроклимату помещения не указаны особые условия в зависимости от назначения помещения (детские, дошкольные учреждения, больницы, общественные здания и т.п.).

В помещениях жилых зданий измерения показателей микроклимата производятся в центре плоскостей, отстоящих от внутренней поверхности наружной стены и отопительного прибора на 0,5 м, и в центре обслуживаемой зоны помещений.

3.2.4. В помещениях производственных зданий крайние сечения назначаются на расстоянии 6 м от торцевых стен здания. Сечения по возможности следует совмещать с разбивочными осями здания.

При необходимости в соответствии с конкретными задачами обследований выполняются измерения на отдельных участках, у технологических агрегатов и т.п.

Принципиальная схема расположения точек измерения температуры и относительной влажности внутреннего воздуха указана на рис. 3.1.

Рис. 3.1. Схема расположения точек измерений температуры и относительной влажности внутреннего воздуха

Полный цикл разовых измерений температур и влажности воздуха и скорости движения воздуха в одном помещении должен выполняться по возможности одновременно в разных уровнях здания, не менее чем три раза в рабочее время, в интервалы времени 7-8, 11-13 и 16-17 часов.

3.2.5. Показатели микроклимата в помещениях следует измерять приборами, соответствующими требованиям государственных стандартов, прошедшими регистрацию и имеющими сертификат Росстандарта.

3.2.6. Для разовых измерений температуры и относительной влажности воздуха применяются аспирационные психрометры Ассмана (рис. 3.2) ГОСТ 6353-52.

Рис. 3.2. Аспирационный психрометр

Для непрерывных измерений и записи температуры и относительной влажности воздуха используются метеорологические термографы и гигрографы (рис 3.3, 3.4), а также автоматические самопишущие потенциометры в комплекте с термопарами.

Рис. 3.3. Метеорологический термограф

Рис. 3.4. Метеорологический гигрограф

3.2.7. С помощью психрометра Ассмана относительная влажность воздуха определяется по показаниям двух термометров: сухого и влажного (смоченного, обернутого влажной материей). Интенсивность испарения воды поверхности смоченного термометра зависит от влажности окружающего воздуха: чем меньше его относительная влажность, тем быстрее вода испаряется и тем ниже показания термометра. Разность показаний сухого и смоченного термометров характеризует относительную влажность среды. Для получения численного значения относительной влажности служит психрометрический график, прилагаемый к каждому прибору. Относительная влажность воздуха может быть определена по гигрометрическим таблицам или по психрометрическому графику, приведенному на рис. 3.5.

Пример. Показания психрометра Ассмана: tсух= +24°С; tвл= +18°С; определить относительную влажность воздуха j, %.

Отыскиваем на оси ординат графика (см. рис. 3.5) точку, соответствующую tвл 18°С и проводим из нее горизонтальную линию до пересечения с кривой, соответствующей tсух =24°С. Из точки пересечения опускаем вертикаль и получаем на оси абсцисс точку, соответствующую искомой относительной влажности j=56 %.

3.2.8. Радиационную обстановку помещения устанавливают на основе измерения результирующей температуры tR при помощи шарового термометра Вернона-Йокла (рис. 3.9). Результирующая температура сочетает воздействия температуру внутреннего воздуха tin, температуры окружающих поверхностей и источников теплового излучения и скорости движения воздуха.

Радиационную температуру tsq при малых скоростях потока воздуха определяют по формуле

tsq=2tш-tin,

где tш - показания шарового термометра, °С.

Рис. 3.5. График определения относительной влажности воздуха

а)

б)

Рис. 3.6. Анемометры

а - крыльчатый; б - чашечный

Рис. 3.7. Кататермометр

Рис. 3.8. Фумигатор

Рис. 3.9. Шаровой термометр

Шаровой термометр представляет собой окрашенный в черный цвет полый медный шар диаметром 150 мм, одна половина которого имеет зеркальную поверхность (степень черноты поверхности не выше 0.05), а другая зачернённую поверхность. Внутри в центре шара помещён либо обычный ртутный термометр, либо термоэлектрический преобразователь. Измеряемая внутри шара температура является равновесной температурой от лучистого теплообмена между шаром и окружающей средой. Влияние радиации на зачерненную поверхность приводит к тому, что температура воздуха внутри шара отличается от температуры воздуха, замеренной сухим термометром аспирационного психрометра Ассмана. Время нахождения шарового термометра в точке замера перед снятием показаний не менее 20 мин.

3.2.9. Результаты измерений температур и относительной влажности заносятся в табл. 3.1, составляемую в прилагаемой форме. По данным этой таблицы подсчитываются все показатели, получаемые при обработке данных измерений (средние арифметические, абсолютные, суточные и часовые амплитуды, средние квадратические отклонения и т.д.).

3.2.10. В зависимости от температуры и относительной влажности воздуха температурно-влажностный режим помещения в холодный период года подразделяется на сухой, нормальный, влажный и мокрый (табл. 3.2).

В летний период года температура в помещениях повышается, а относительная влажность падает по сравнению со значениями этих параметров, указанных в табл. 3.2.

Результаты измерений параметров микроклимата сопоставляются с нормативными требованиями, приведенными в таблицах прил. III-1 - III-5, на этой основе дается оценка параметров микроклимата, и при необходимости разрабатываются рекомендации и мероприятия по обеспечению нормируемых параметров микроклимата.

Таблица 3.1

Форма таблицы для записи результатов измерений температуры tв, относительной влажности jв воздуха и температуры tR в помещениях

Дата

Время суток час, мин

№ сечений и пунктов измерений

Результаты измерения

Примечание

tсух, °С

tвл, °С

j, %

tR, °С

1

2

3

4

5

6

7

8

 

 

 

 

 

 

 

 

Пояснение к заполнению таблицы:

1. В графе 3 указывается также расположение точек измерений относительно технологического оборудования.

2. В графе 8 указываются стадия технологического процесса, расположение и состояние агрегатов (например, «заслонка печи открыта») и другие особенности обстановки измерений.

Таблица 3.2

Классификация температурно-влажностного режима помещений

Характеристика режима помещений

Параметры внутреннего воздуха

температура, °С

относительная влажность, %

парциальное давление пара, кПа

1. Сухой с температурой:

 

 

 

пониженной

до 12

до 60

до 0,7

нормальной

от 12 до 24

до 50

от 0,7 до 1,5

повышенной

24 и выше

до 40

выше 1,5

2. Нормальный с температурой:

 

 

 

пониженной

до 12

от 60 до 75

до 0,84

нормальной

от 12 до 24

от 50 до 60

от 0,84 до 1,8

повышенной

24 и выше

от 40 до 50

выше 1,8

3. Влажный с температурой:

 

 

 

пониженной

до 12

75 и выше

до 1,05

нормальной

от 12 до 24

от 60 до 75

от 1,05 до 2,23

повышенной

24 и выше

от 50 до 60

выше 2,23

4. Мокрый с температурой:

 

 

 

пониженной

до 12

85 и выше

до 1,18

нормальной

от 12 до 24

от 75 до 85

от 1,18 до 2,38

повышенной

24 и выше

от 60 до 75

выше 2,38

3.2.11. Скорость движения воздуха в помещениях определяется в тех же точках, что температура и относительная влажность воздуха. Измерения в разных точках рекомендуется производить синхронно или с минимальным разрывом во времени. Измерения производятся, как правило, в летний и зимний (при детальных обследованиях) и в переходные периоды года. В каждый период выполняется не менее трех циклов измерений.

3.2.12. Измерения скоростей движения воздуха выполняются крыльчатыми, чашечными анемометрами (рис. 3.6) или кататермометрами (рис. 3.7). Продолжительность включения анемометра при выполнении единичного замера 60 сек.

Скорость движения воздуха в закрытых помещениях или в квартирах не может измеряться анемометром из-за недостаточной его чувствительности и поэтому измеряется кататермометрами, представляющими собой спиртовой термометр с цилиндрическим резервуаром поверхностью в 22,6 см2 и трубкой длиной 20 см, верхний конец которой переходит в небольшой резервуар (см. рис. 3.7). Принцип измерения скорости движения воздуха описывается в паспорте и в инструкции, прилагаемой к кататермометру.

При наличии лучистой энергии кататермометр должен быть защищен от ее влияния экраном, в противном случае показания кататермометра будут неточны.

3.2.13. Направления воздушных потоков при малой их интенсивности определяются фумигатором (рис. 3.8).

Фумигатор состоит из двух склянок, закрытых резиновыми пробками, через которые проходят две стеклянных трубки, одна из которых заканчивается у дна, а другая - у нижнего края пробки. Наружные концы коротких трубок устанавливаются рядом. В одну из склянок наливают нашатырный спирт, в другую - соляную кислоту. Сжимая слегка грушу, заставляют одновременно выходить через трубки из одной склянки пары нашатырного спирта, а из другой - пары соляной кислоты. Сразу же образуется густое облако NH4Cl. Его движение и указывает направление потока воздуха.

3.2.14. При сравнительно больших скоростях воздушных потоков направление и скорость ветра определяют вымпелом и чашечным анемометром. Вымпел представляет собой шест, к верхнему концу которого прикрепляется полоса легкой материи длиной 0,5 м и шириной 3-4 см.

3.2.15. Результаты измерений параметров воздушной среды сопоставляются с нормами температуры, относительной влажности и скорости движения воздуха в рабочей зоне, согласно требованиям санитарных норм [II-98, II-99], и на этой основе дается оценка параметров производственной среды.

3.2.16. Натурные обследования параметров внешнего климата (внешней среды) охватывают, как правило, следующие виды работ, выполняемых вблизи здания (на расстоянии не более 20 м), вне зон аэродинамической тени строений, на высоте 1,5 м от земной поверхности или не менее 2 м над наиболее высоким участком кровли: измерения температур и влажности воздуха; скоростей и направления ветра; наблюдения за атмосферными процессами (облачность, осадки и т.д.); определение состава, свойств и концентрации содержащейся в воздухе пыли. В промышленных зонах или на промплощадках следует дополнительно обследовать наличие в атмосфере окружающего воздуха вредных для человека и агрессивных к материалам строительных конструкций газов и химических веществ.

Измерения, связанные с атмосферными осадками, следует производить по методикам, изложенным в литературе по проведению метеорологических наблюдений.

3.3. Исследование терморадиационного режима помещений производственных зданий

3.3.1. В металлургической промышленности основные производственные процессы, связанные с переработкой материалов, сопровождаются высокотемпературным тепловым излучением.

Цехи с тепловой нагрузкой 50 Вт/м3 и более называются горячими. Особенно высока тепловая нагрузка в горячих цехах металлургических заводов, достигающая 175-300 Вт/м3.

Источниками теплового излучения в горячих цехах являются горячие поверхности печей, котлов, трубопроводов, нагретого или расплавленного металла и др.

Изучение терморадиационного режима в производственных зданиях обусловлено созданием необходимых санитарных условий труда и обеспечением долговечности строительных конструкций.

3.3.2. Тепловые источники по характеру излучения разделяются на четыре группы:

1. Источники с температурой излучающей поверхности до 500 °С, спектр излучения которых характеризуется длиной волны от 9,3 до 3,7 мк (паропроводы, печи - нагревательные, плавильные, сушильные).

2. Источники с температурой поверхности до 1200 °С, спектр излучения которых характеризуется длиной волны от 3,7 до 1,9 мк (излучение внутренних поверхностей печей и горнов, нагретые слитки, заготовки, расплавленный металл и др.).

3. Источники с температурой от 1200 до 1800 °С с преобладанием коротких инфракрасных и видимых лучей (расплавленные металлы).

4. Источники с температурой 2000-4000 °С, спектр их излучений - короткие инфракрасные, видимые и ультрафиолетовые лучи с длиной волны от 1,2 до 0,8 мк (дуговые печи, сварочные аппараты).

3.3.3. Участвующие в теплообмене тела с более высокой температурой называют источниками, с менее высокой температурой - приемниками теплового излучения.

3.3.4. При натурных обследованиях определяют: расположение и размеры источников; положение поверхности приемника относительно источника теплового излучения; температуру и характер поверхности источников и приемников; изменение характера воздействия источников во времени; изменение интенсивности излучения в пространстве и времени.

Расположение и размеры источников определяют по технологическим схемам или путем непосредственных измерений.

3.3.5. Изменения характера воздействия источников во времени выявляются путем фиксации моментов начала и окончания воздействия и изменения положения источников и температуры их поверхности в течение всего времени воздействия.

Температуру поверхности стали приближенно можно определять визуально, по цвету накала нагретого изделия в соответствии с приведенной в табл. 3.3. шкалой.

Таблица 3.3

Зависимость цвета накала сталей от температуры

Температура, °С

Цвет накала

Температура, °С

Цвет накала

520

Начало свечения

1100

Оранжевый

700

Темно-красный

1200

Желтый

800

Темно-вишневый

1300

Раскаленный белый

900

Вишнево-красный

1400

Сварочный белый

1000

Светло-вишневый

1500

Ослепительный белый

3.3.6. Температуры поверхностей источников и приемников определяются термопарами при температуре до 500 °С и с помощью оптических пирометров типа ОПИР-017 в интервале температур 600-1400 °С, а также современными бесконтактными инфракрасными термометрами типа «Тhermopoint» при температуре до 2000 °С (рис. 3.10) или тепловизорами типа «Тhermovision-450» (рис. 3.11).

Рис. 3.10. Бесконтактный термометр типа «Thermopoint»

Рис. 3.11. Тепловизор типа АGА 750

Температуры поверхности источников могут приниматься также по данным технологических инструкций на производство и обработку продукта и изделий.

Интенсивность теплового излучения измеряется с помощью актинометров типа ЛИОТ (рис. 3.12).

Рис. 3.12. Актинометр для измерения интенсивности теплового потока

Измерения температур, интенсивности теплового излучения и параметров внутреннего воздуха производятся перед началом воздействия источника, в течение времени воздействий (2-4 измерения) и после окончания до стабилизации температур.

3.3.7. При оценке общего терморадиационного режима помещений и воздействия теплового излучения на человека измерения производятся на постоянных рабочих местах и по объему помещения на различном удалении от источника с таким расчетом, чтобы охватить зону с величиной интенсивности излучения не менее 350 Вт/м2, при этом приемная поверхность актинометра располагается перпендикулярно потоку излучения.

3.3.8. При оценке воздействия теплового излучения на строительные конструкции актинометрические измерения производятся непосредственно около поверхностей конструкций; приемная поверхность актинометра устанавливается параллельно поверхностям конструкций.

3.3.9. Одновременно с измерениями интенсивности излучения выполняются измерения температур поверхностей конструкций, температуры и скорости движения воздуха непосредственно около конструкций. При этом составляется подробная схема измерений с указанием размеров источника и приемника излучения и расстояний, необходимых для фиксации их взаимного расположения. Здесь же характеризуется состояние поверхности приемника (например, «окрашена алюминиевой краской или окислена» и т.п.). Результаты измерений заносятся в табл. 3.4.

3.3.10. На основе измерений строятся изоактины - линии равной интенсивности теплового излучения, Вт/м2, в плане и по вертикали помещения и хроноактинограммы - графики изменения интенсивности излучения во времени для характерных пунктов помещения.

По результатам измерений строятся также актинограммы облученности конструкций, Вт/м2, путем нанесения на чертеже с сечением конструкции по нормали к поверхностям величин облученности (рис. 3.13).

3.3.11. Результаты измерений интенсивности теплового излучения сопоставляются с требованиями санитарных норм и норм проектирования строительных конструкций, и на этой основе разрабатываются рекомендации по обеспечению условий труда и долговечности строительных конструкций.

Рис. 3.13. Актинограмма стальной колонны на складе слябов

1 - плоскость измерений; 2 - штабели слябов (температура 860 °С)


Таблица 3.4

Форма для записи результатов обследования теплового излучения

Дата измерения

Место измерения

Наименование источника излучения и характеристика его поверхности

Сроки воздействия источника, час, мин

Сроки измерений, час, мин

Температура, °С

Интенсивность излучения, Вт/м2

Скорость движения воздуха, м/с

Примечание

№ сечения

№ пункта

источника

приемника

воздуха около приемника

начало

конец

1

2

3

4

5

6

7

8

9

10

11

12

13

 

 

 

 

 

 

 

 

 

 

 

 

 

 

Пояснения к заполнению таблицы:

В названии таблицы указываются характер производимого обследования, наименование предприятия, цеха, отделения и конструктивного элемента здания.

В графах 8, 9, 10, 12 записываются результаты измерений температуры и скорости движения воздуха в единицах, в которых градуирован прибор.

В примечаниях указываются тип, номер прибора и датчика температуры.


3.4. Освещенность помещений

3.4.1. Требуемый уровень освещенности помещения зависит от назначения помещения, характера выполнения зрительной работы и регламентируется СНиП 23-05-95.

Помещения с постоянным пребыванием людей должны иметь, как правило, естественное освещение.

3.4.2. Естественное освещение подразделяется на боковое, верхнее и комбинированное (верхнее и боковое).

3.4.3. Освещенность помещения естественным светом характеризуется коэффициентом естественной освещенности (КЕО) ряда точек, расположенных в пересечениях двух плоскостей: вертикальной плоскости характерного разреза помещения и плоскости, принимаемой за условную рабочую плоскость помещения.

Естественное освещение, в какой-либо точке М помещения характеризуется КЕОм. Он определяется как отношение естественной освещенности в некоторой точке заданной плоскости внутри помещения Ем светом неба (непосредственно или после отражений) к значению в тот же момент времени наружной горизонтальной освещенности Ен, создаваемой светом равнояркого небосвода, что характерно для условий сплошной облачности

Ем=

Неравномерность естественного освещения характеризуется соотношением наибольшего и наименьшего значений КЕО, определенных по кривой его распространения в пределах характерного разреза помещения.

3.4.4. Характерный разрез помещения - поперечный разрез по середине помещения, плоскость которого перпендикулярна плоскости остекления световых проемов (при боковом освещении) или продольных осей пролетов помещения (при верхнем освещении). В характерный разрез помещения должны попадать участки, наиболее загруженные оборудованием, а также рабочие зоны, наиболее удаленные от световых проемов.

Условная рабочая поверхность - условно принятая горизонтальная поверхность, расположенная на высоте 0,8 м от пола.

Рабочая поверхность - поверхность, на которой производится работа и на которой нормируется и измеряется освещенность (поверхность стола верстака) части оборудования, на которой производятся работы.

3.4.5. В помещениях с боковым освещением нормируется минимальное значение КЕО (ем) в пределах рабочей зоны, а с верхним или комбинированным освещением - среднее значение КЕО (еср) в пределах рабочей зоны, определяемое по формуле

еср=,

где n - количество точек измерений освещенности (не менее 5);

l1, l2, ln - значения КЕО в отдельных точках, находящихся на равных расстояниях друг от друга

3.4.6. При боковом освещении измерения освещенности необходимо произвести в точках характерного разреза помещения согласно схеме, приведенной на рис. 3.14, а при верхнем и комбинированном освещении - в точках характерного разреза помещения согласно схеме рис. 3.15. При этом точки замеров (в количестве не менее 5) следует принимать на равных расстояниях друг от друга, располагая первую и последнюю точки на расстоянии 1 м от стен (или осей средних рядов колонн).

В обследуемом помещении намечается ряд характерных разрезов, перпендикулярно расположенных к продольной стене с оконными проемами. Для возможности построения изолиний расстояние между сечениями назначается в пределах 6-12 м. Каждый характерный разрез помещения разбивается на ряд точек через 2-4 м.

Рис. 3.14. Характерный поперечный разрез помещения для измерения КЕО при боковом освещении

3.4.7. Для измерения естественной освещенности наиболее благоприятными следует считать дни с облачностью в 10 баллов. Оптимальное время для измерения с 11 до 14 часов.

Производить измерения естественной освещенности необходимо при отсутствии облучения помещения и фотоэлемента прямыми лучами солнца. В период проведения измерений электрический свет в помещениях выключается.

3.4.8. Измерения наружной освещенности следует проводить синхронно с измерениями внутри помещения. Наружная освещенность определяется на горизонтальной поверхности, не затененной близко расположенными зданиями. Необходимо следить, чтобы во время измерения на датчик не падала тень от расположенных вблизи предметов или от оператора, производящего измерения.

Рис. 3.15. Характерный поперечный разрез помещения при измерении КЕО при верхнем и  комбинированном освещении

3.4.9. Измерение освещенности производится согласно требованиям ГОСТ 24940-96 при помощи люксметров типа Ю-116 (рис. 3.16.). Они состоят из фотоэлемента и измерителя силы тока. Электрический ток создается фотоэлементом, он пропорционален его освещенности. Измерительное устройство, градуированное в люксах, показывает значение освещенности в люксах.

3.4.10. В начале и конце измерений производится сравнение показаний люксметров, измеряющих внутреннюю и наружную освещенность, и определяется коэффициент сравнения К. Для его определения приемники люксметров устанавливают рядом внутри помещения и записывают показания приборов.

Коэффициент сравнения определяется из соотношения

К=,

где J1 и J2 - показания люксметров.

Рис. 3.16. Люксметры для измерения освещенности

Аналогичные сравнения люксметров производятся в условиях наружного освещения. Результаты всех измерений записываются по форме табл. 3.5.

3.4.11. Одновременно с естественной освещенностью помещения определяются коэффициенты светопропускания стекол или других светопропускающих материалов световых проемов.

Коэффициент светопропускания стекла определяется как частное от деления поверхностной плотности светового потока, прошедшего на внутреннюю поверхность остекления, на поверхностную плотность светового потока, падающего на наружную поверхность. Измерения производятся путем одновременного прикладывания датчиков люксметров к наружной и внутренней поверхностям стекол. Для этого выбирается не менее трех светопроемов в каждой характерной (по высоте и в плане) зоне помещений.

Коэффициенты светопропускания измеряются для загрязненных стекол и после очистки их поверхности. Для каждого случая производится три измерения.

Помимо результатов замеров приводятся также сведения о продолжительности эксплуатации остекления после очередной очистки, толщине слоя льда, инея, пыли или копоти на поверхности стекол.

3.4.12. По данным измерений на плане помещений строятся изолюксы и кривые горизонтальной освещенности по сечениям помещения.


Таблица 3.5

Форма для записи результатов измерений освещенности и определения КЕО

Дата

Наименование помещения, характер выполнения зрительных работ

Время суток, час, мин

№ точек и сечений

Отсчеты по шкале люксометра, лк

КЕО по данным измерений

Примечание

вне здания

в помещении

1

2

среднее

1

2

среднее

1

2

3

4

5

б

7

8

9

10

11

12

 

 

 

 

 

 

 

 

 

 

 

 


К таблицам и графикам с результатами измерений прикладывается карта обследования, содержащая следующие данные: размеры обследуемого помещения; состояние стен, потолков (степень загрязнения), окраска (светлая, темная); краткое описание процесса в аспекте выделения пыли, газов, пара; характеристика зрительной работы, продолжительность пребывания людей на рабочих местах.

3.4.13. По результатам измерений производится сравнение освещенности в натуре с данными расчета, полученными по методике, приведенной в [I-14, IV-37], и делается заключение о соответствии условий естественного освещения требованиям СНиП 23-05-95.

3.5. Исследование химической агрессивности производственной среды

3.5.1. Нормируемые параметры производственной среды зданий промышленных предприятий в зависимости от их функционального назначения регламентируются ГОСТ 12.1.0005-88*, ГОСТ 30494-96 «Здания жилые и общественные. Параметры микроклимата в помещениях», СНиП II-3-79*, СНиП 2.04.05-91* и отраслевыми инструктивно-нормативными документами.

3.5.2. Степень агрессивности производственных сред на строительные конструкции зависит от характера среды (газовоздущная, жидкая, твердая), условий эксплуатации (внутри отапливаемого и неотапливаемого помещений или на открытом воздухе), группы газов (А, В, С или Д), температурно-влажностного режима помещений, вида и концентрации агрессивных реагентов, вида материалов и строительных конструкций.

3.5.3. По агрегатному состоянию вредные вещества в воздухе помещении могут, находиться в виде паров, аэрозолей, пыли или смесей паров с аэрозолями.

3.5.4. По степени воздействия вредных веществ на организм человека они разделяются на четыре класса: I - вещества чрезвычайно опасные (гесохлоропан, серная кислота, сулема, свинец и др.); II - вещества высокоопасные (окислы азота, хлористый ангидрид и др.); III - вещества умеренно-опасные (ацетофен, сероводород с углеродами и др.); IV - вещества малоопасные (уайт-спирит, бензин и др.).

3.5.5. Содержание вредных веществ в воздухе рабочей зоны подлежит систематическому контролю и не должно превышать предельно допустимых концентраций (ПДК), регламентируемых санитарно-гигиеническими требованиями.

3.5.6. Периодичность контроля ПДК устанавливается в зависимости от класса опасности вредного вещества: для I класса - не реже 1 раза в 10 дней, II класса - не реже 1 раза в месяц, III и IV классов - не реже 1 раза в квартал.

В зависимости от конкретных условий производства периодичность контроля может быть изменена по согласованию с органами Государственного санитарного надзора.

3.5.7. Степень воздействия агрессивных сред на строительные конструкции определяется:

для газовых сред - видом и концентрацией газов, растворимостью газов в воде, влажностью и температурой;

для жидких сред - наличием и концентрацией агрессивных агентов, насыщенностью воды газами, водородным показателем рН, величиной напора или скоростью движения жидкости у поверхности конструкций;

для твердых сред (соли, аэрозоли, пыли, грунты) - дисперсностью, растворимостью в воде, гигроскопичностью, влажностью и температурой окружающей среды.

3.5.8. В зданиях с производственными тепловыделениями производственная среда классифицируется на следующие режимы: с незначительными избытками явного тепла (до 23 Вт/м3) и со значительными избытками явного тепла (более 23 Вт/м3). Избытками явного тепла (от технологического оборудования и других источников) следует считать остаточное количество тепла за вычетом теплопотерь при расчетных температурах наружного воздуха.

3.5.9. Степень агрессивного воздействия эксплуатационных сред (газовых, жидких и твердых) на незащищенные строительные материалы и конструкции классифицируется согласно СНиП 2.03.11-85. По степени воздействия они подразделяются на агрессивные, слабо-, средне- и сильно-агрессивные.

3.5.10. Степень агрессивного воздействия эксплуатационных сред на бетонные, железобетонные и армоцементные конструкции устанавливается:

а) для газообразных сред - в зависимости от температурно-влажностного режима помещений и группы газов (А, В, С или Д) по табл. 2 СНиП 2.03.11-85;

б) для твердых сред - в зависимости от температурно-влажностного режима помещений, растворимости твердых сред в воде и их гигроскопичности по табл. 3 СНиП 2.03.11-85;

в) для жидких сред - в зависимости от вида, концентрации, температуры, органического или неорганического характера среды по табл. 5-8 СНиП 2.03.11-85.

3.5.11. Степень агрессивного воздействия эксплуатационных сред на каменные (кирпичные) конструкции устанавливается в зависимости от температурно-влажностного режима помещении и группы газов (А, В, С или Д) по табл. 22, а жидких сред - по табл. 23 СНиП 2.03.11-85.

3.5.12. Степень агрессивного воздействия грунта выше уровня грунтовых вод на неметаллические конструкции устанавливается в зависимости от зоны влажности по СНиП II-3-79* и показателя агрессивности грунта по табл. 4 СНиП 2.03.11-85.

Степень агрессивности жидких неорганических сред на бетон и арматуру железобетонных конструкций, расположенных в грунтах, устанавливается по табл. 5, 6 и 7, а жидких органических сред - по табл. 8 СНиП 2.03.11-85.

3.5.13. Степень агрессивного воздействия эксплуатационных сред на металлические конструкции устанавливается в зависимости от вида среды (газовоздушной, жидкой органической и неорганической, твердой), грунтов по классификации СНиП 2.03.11-85, приведенной в табл. 24-28. Для металлических конструкций отапливаемых зданий с влажным и мокрым режимами помещений степень агрессивного воздействия среды следует устанавливать как для неотапливаемых зданий влажной зоны (III-4).

3.5.14. Агрессивные воздействия на деревянные конструкции оказывают биологические агенты - дереворазрушающие грибы и др., вызывая биологическую коррозию древесины, а также химические агрессивные среды (газообразные, твердые и жидкие), вызывая химическую коррозию древесины.

Степень агрессивного воздействия на древесину биологических агентов следует принимать по табл. 15 СНиП 2.03.11-85 в зависимости от условий эксплуатации конструкции (внутри помещений или на открытом воздухе), вида материала конструкции и температурно-влажностного режима помещений или зоны влажности(III-4).

Степени воздействия химических агрессивных сред на конструкции из древесины приведены в табл. 16-19 СНиП 2.03.11-85.

3.5.15. Состав работ и методика измерения вредных веществ в производственной среде должны соответствовать требованиям ГОСТ 21.1.005-88*, ГОСТ 12.1.016-79*.

Методика количественного определения вредных веществ, выделяющихся из оборудования, находящегося под давлением или разрежением, через уплотнения оборудования, уносимых конвективными потоками, испаряющихся с открытых поверхностей, приведены в работах (I-9, I-40).

3.5.16. Применяется несколько методов выявления наличия и концентрации в воздухе вредных веществ, например, линейно-колористический метод окрашивания специальных порошков в индикаторных трубках, через которые просасывается исследуемый воздух; окраска находящегося в нем индикаторного порошка и длина окрашенного слоя пропорциональна концентрации исследуемого вещества и измеряются на шкале в мг/л. С помощью набора трубок с различными индикаторными порошками определяют наличие в воздухе сернистого ангидрида, ацетилена, окиси углерода, сероводорода, хлора, аммиака, окислов азота, бензина, бензола, толуола, ксилола, ацетона, углеводородов нефти.

По указанному принципу устроен газоанализатор типа УГ-2 (рис. 3.17). Кроме УГ-2 применяются фотоэлектрические, фотоколориметрические и ионизационные газоанализаторы.

Рис. 3.17. Универсальный газоанализатор УГ-2

Определение концентрации метана и углекислого газа в воздухе производят на интерферометрах типа ШИ-3 и ШИ-6, основанных на принципе замера смещения интерференционной картины при прохождении луча света через камеры, содержащие чистый и загрязненный воздух.

3.5.17. При обследованиях производственной среды следует выявить основные источники агрессивных выделений, определить вид, концентрацию, температуру, интенсивность и пределы распространения последних. Затем устанавливаются причины выделения вредностей и составляется перечень конструкций, подвергающихся воздействию данного реагента. Результаты обследований записываются по форме табл. 3.6.

Целесообразно все виды обследований производственной среды совмещать по времени, что позволяет получить наиболее полную характеристику эксплуатационной среды.

Изучение степени агрессивности, эксплуатационной среды, загазованности и запыленности воздуха помещений проводится в теплый и холодные периоды года, в разное время суток, в зависимости от режима эксплуатации технологического оборудования. Отбор проб следует произвести в рабочей зоне, в зоне расположения обследуемых конструкций, под перекрытиями и покрытием, в зоне аэрационных и вентиляционных устройств, и вблизи технологических источников выделения вредностей.

3.5.18. Инструментальными замерами необходимо зафиксировать пики выделений вредностей и их повторяемость во времени. При циклическом характере технологического процесса пробы отбираются в наиболее характерные периоды для данного вида производства: при максимальных и минимальных выделениях (с указанием длительности цикла и его частоты) и в течение технологического этапа, наиболее продолжительного.

В момент отбора проб необходимо регистрировать температуру и относительную влажность внутреннего воздуха, а также отмечать все отклонения и изменения в ходе технологического процесса.

Полученные по характерным участкам помещения данные о наличии агрессивных реагентов в производственном помещении и их воздействии на различные строительные конструкции заносятся в табл. 3.6.

3.5.19. Обследования запыленности воздушной среды включают определение вида и концентрации пыли в воздухе, ее дисперсности и химического состава, а также интенсивности роста пылеотложений на строительных конструкциях.

3.5.20. Для количественного определения запыленности воздуха используются главным образом аспирационный (весовой и счетный) и седиментационный методы. Аспирационным методом путем кратковременных наблюдений определяют количество взвешенной в воздухе пыли (мг/м3). Седиментационным методом путем продолжительного изучения, определяют количество оседающей пыли (г/м2) или число ее частиц, выпавших на улавливающую поверхность.

Для определения количества витающей пыли используют трехциклонный сепаратор НИИОГАЗ (рис. 3.18); с его помощью определяется также дисперсный состав.

Количество оседающей пыли определяют, разместив предварительно взвешенные пластинки в изучаемых точках и взвешивая их через определенные промежутки времени. Разность в весе, отнесенная к единице времени, дает величину скорости накопления пыли.


Таблица 3.6

Форма записи результатов измерений параметров агрессивной среды в помещениях

Дата

Время суток, час, мин.

Параметры внутреннего воздуха

j, %

Характеристика агрессивных выделений

№ сечений и пунктов измерений

Место измерений

tсух, °С

tвл, °С

Источники выделений, наименование оборудования

Наименование вещества, его химическая формула

Интенсивность выделения, л/ч, кг/ч

Температура выделения t, °С

рН

Режим работы источников выделений

1

2

3

4

5

6

7

8

9

10

11

12

13

 

 

 

 

 

 

 

 

 

 

 

 

 

Продолжение табл. 3.6

Наименование конструкций, подверженных агрессивным воздействиям

Площадь конструкции подверженная воздействию агрессивной среды, м2

Параметры агрессивной среды на рабочих местах и в зоне строительных конструкций

Примечание

концентрация, %, мг/л

температура t, °С

pН

 

14

15

16

17

18

19

 

 

 

 

 

 

 


Рис. 3.18. Трехциклонный сепаратор НИИОГАЗ

3.5.21. Отбор проб пыли, накопившейся на конструкциях, производится послойно: с поверхности элемента, из верхнего слоя пыли и из промежуточных слоев не реже чем через 0,1 м по нормали к поверхности. При этом определяются состав пыли, ее насыпной вес и другие показатели.

3.5.22. Количественные анализы проливов жидкости выполняют по перечню определений, предусмотренных СНиП 2.03.11-85.

Пробы проливов в производственных помещениях следует отбирать из зон с постоянным и периодическим воздействием жидкостей при технологических процессах. Из каждой зоны необходимо отбирать две пробы по 0,5 л.

На планы производственных помещений наносятся зоны с постоянным или периодическим воздействием жидкостей и указывается величина концентрации водородных ионов жидкостей (рН) согласно ГОСТ 8.134-98. На картах значения рН проливов точки измерений располагаются в углах условных сеток обычно со стороны не более 2 м.

3.5.23. Водородный показатель (рН) определяется с помощью универсальной индикаторной ленты. Участок ленты длиной 1,5-2 см, увлажненный изучаемым раствором, изменяет свою окраску. Сопоставляя полученную окраску ленты с набором прилагаемых цветных эталонов с указанием соответствующих значений рН, получают искомую величину.

3.5.24. Химический анализ проб грунта производится на определении состава водной вытяжки (SО4, Сl', Са" Fе", Мg" и др.) и водородного показателя рН. При этом определяется также влажность грунта.

По результатам химического анализа строят графики распределения солевого состава по глубине шурфов и скважин.

Степень агрессивного воздействия грунта выше уровня грунтовых вод на бетонные и железобетонные конструкции устанавливается в зависимости от показателя агрессивности и зоны влажности по табл. 3 СНиП 2.03.11-85.

3.5.25. В зависимости от степени агрессивности эксплуатационной среды и материала конструкции разрабатываются мероприятия по защите строительных конструкций от коррозии согласно рекомендациям СНиП 2.03.11-85.

4. ОСНОВНЫЕ ТРЕБОВАНИЯ К ЭКСПЛУАТАЦИОННЫМ КАЧЕСТВАМ СТРОИТЕЛЬНЫХ КОНСТРУКЦИЙ

4.1. Согласно действующим в настоящее время принципам проектирования и расчета строительных конструкций различают два основных вида требований:

по обеспечению несущей способности - предельное состояние первой группы; по пригодности к нормальной эксплуатации - предельное состояние второй группы.

4.2. Предельными считаются состояния, при которых конструкции перестают удовлетворять предъявляемым в процессе эксплуатации требованиям, т.е. теряют способность сопротивляться внешним нагрузкам и воздействиям или получают недопустимые перемещения или повреждения.

4.3. Выполнение требования по предельным состояниям первой группы должно защищать конструкции от:

хрупкого, вязкого, усталостного или иного характера разрушения;

потери устойчивости формы конструкции или ее положения, перехода в изменяемую систему;

разрушения под совместным воздействием силовых факторов и неблагоприятных влияний внешней среды (периодического или постоянного воздействия агрессивной среды, действия попеременного замораживания и оттаивания и т.п.).

4.4. Выполнение требования по предельным состояниям второй группы должно защищать конструкции от:

чрезмерных или продолжительных раскрытий трещин;

чрезмерных перемещений - прогибов, углов перекоса и поворота, колебаний.

4.5. Пластическое разрушение элементов и конструкций сопровождается значительным развитием пластических деформаций при повторяющихся нагрузках по условиям переменной текучести и прогрессивного разрушения.

4.6. Хрупкое разрушение сопровождается малой деформацией, как правило, при концентрации напряжений, низких температурных или ударных воздействиях, в большинстве случаев при одновременном действии указанных факторов.

4.7. Усталостное разрушение сопровождается образованием и развитием трещин в результате многократно повторяющихся силовых воздействий от подвижных вибрационных и других переменных нагрузок, приложенных непосредственно к конструкциям.

Потеря устойчивости, формы или положения характеризуется тем, что конструкция или элемент утрачивает способность сохранять свое равновесное состояние, соответствующее действующим при этом внешним нагрузкам и воздействиям.

Переход конструкции в изменяемую систему характеризуется превращением ее в кинематический механизм, у которого возможность изменения формы в направлении действия нагрузки не ограничена никакими связями.

4.8. Предельное состояние в результате текучести материала, неупругих сдвигов в соединениях, качественного изменения конфигурации означает переход конструкции в такое состояние, когда при сохранении общей несущей способности необходимо прекратить эксплуатацию конструкций в связи с существенным нарушением геометрической формы и выполнить ремонтные работы по замене или восстановлению конструкций. Указанное предельное состояние как и потеря несущей способности, относится к первой группе и проверяется на действие тех же расчетных предельных нагрузок.

В отличие от несущей способности, когда критериями предельных состояний являются силовые факторы (или нагрузки) и выполняется проверка усилий или напряжений, для полной непригодности к эксплуатации предельные состояния конструкций при сохранении их несущей способности по существу должны оцениваться на основе деформационных критериев - ограничений перемещений или деформаций конструкций, работающих за пределом упругости.

4.9. Предельное состояние по ограничению перемещений, сдвигов в соединениях, колебаний и изменения положения конструкций и элементов (вторая группа) характеризуется тем, что нарушаются условия нормальной эксплуатации, связанные с пребыванием людей, работой технологического оборудования и сохранностью ограждающих конструкций.

В отличие от предельных состояний первой группы, возможность наступления которых в принципе не допускается, установленные СНиП II-23-81* для второй группы предельно допустимые значения перемещений или параметров колебаний и изменения положения конструкции могут быть достигнуты в процессе работы конструкций при действии эксплуатационных нагрузок.

4.10. К ограждающим конструкциям, кроме вышеуказанных, предъявляются дополнительно теплотехнические требования, обусловленные их функциональным назначением в качестве конструкций, изолирующих помещение от внешних климатических воздействий.

Теплотехнические требования, предъявляемые к ограждающим конструкциям зданий, регламентируются СНиП II-3-79* и зависят от вида ограждения (стена, покрытие, полы и др.), нормируемых параметров воздушной среды помещения, климатических условий района и функционального назначения здания.

Теплотехнические требования, предъявляемые к ограждающим конструкциям, в последнее время существенно изменились в связи с проблемой экономии и рационального использования энергетических ресурсов, а также обеспечением долговечности ограждающих конструкций зданий, эксплуатируемых в различных климатических районах.

5. ОПРЕДЕЛЕНИЕ ГЕОМЕТРИЧЕСКИХ ПАРАМЕТРОВ, ПРОГИБОВ И ДЕФОРМАЦИИ КОНСТРУКЦИЙ

Процесс обследования строительных конструкций включает работы, имеющие общую методику проведения, характерные практически для всех видов конструкций. К ним относятся следующие виды работ:

а) обмерные;

б) измерения прогибов и деформаций конструкций;

в) методы и средства наблюдений за трещинами.

5.1. Обмерные работы

5.1.1. Состав и количество обмерных работ устанавливаются на этапе предварительного обследования и зависят от задач обследования, наличия проектной документации, проведенных ранее реконструкций здания и отдельных конструкций и т.п.

5.1.2. Обмерами определяются конфигурация, размеры, положение в плане и по вертикали конструкций и их элементов. Должны быть проверены основные размеры конструктивной схемы здания: длины пролетов, высоты колонн, сечения конструкций, узлы опирания балок и другие геометрические параметры, от величины которых зависит напряженно-деформированное состояние элементов конструкций.

При проведении обмерных работ положение основных линий, углов и отметок, от которых производится измерение, должно определяться геодезической съемкой с применением теодолита, нивелира и других средств измерения в соответствии с требованиями СНиП 3.01.03-84.

Погрешность измерений в процессе геодезического контроля точности геометрических параметров зданий должна быть не более 0,2 величины отклонений, допускаемых строительными нормами и правилами, государственными стандартами или проектной документацией.

5.1.3. Для обмеров отдельных конструкции и их элементов используются рулетки, деревянные складные рейки с нанесенными на них делениями, наборы металлических линеек и угольников разной длины, штангенциркули, уровня, отвесы и т.д.

5.1.4. Обмерные чертежи выполняются в масштабе 1:100, чертежи фрагментов и узлов - в масштабе от 1:50 до 1:5.

В процессе натурных обследований результаты обмеров наносятся на предварительно подготовленные копии рабочих чертежей проекта здания или на эскизы для последующего изготовления обмерных чертежей.

Размеры и высотные отметки конструкций проставляются на обмерных чертежах в соответствии с правилами оформления архитектурно-строительных рабочих чертежей (ГОСТ 21.501-93).

5.2. Измерения прогибов и деформаций

5.2.1. Деформации и прогибы в конструкциях возникают вследствие перегрузок, неравномерной осадки фундаментов, пучения грунтов оснований, температурных воздействий при изменении уровня грунтовых вод и влажностного режима грунтов оснований, потерь устойчивости несущих конструкций и других внешних воздействий. Нередко характер развития деформаций конструкций может свидетельствовать о причинах их обуславливающих.

Допустимые пределы деформаций и прогибов зависят от материала и вида конструкций и регламентируются нормами проектирования конструкций зданий.

5.2.2. Отклонения от вертикали и искривления в вертикальной плоскости конструкций могут быть измерены с помощью отвеса и линейки (рис. 5.1).

Рис. 5.1. Измерение отклонений от вертикали конструкций с помощью отвеса

1 - стена, перегородка или колонна; 2 - перекрытие; 3 - отвес; 4 - сосуд с водой; 5 - измерительная линейка; 6 - точка измерения

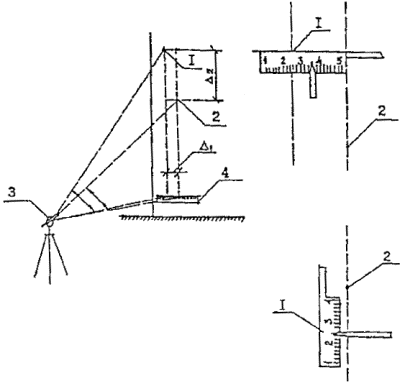
Смещения по горизонтали от опорных точек, а также вертикальные перемещения определяются измерениями с помощью мерной ленты, линейки иди геодезической съемкой (рис. 5.2). С помощью теодолитов могут быть измерены также наклоны и выпучивания стен и других вертикально расположенных конструкций.

5.2.3. Величины прогибов, искривлений конструкций и их элементов измеряются путем натяжения тонкой проволоки между краями конструкции или ее частями, не имеющими деформации, и измерения максимального расстояния между проволокой и поверхностью конструкции с помощью линейки.

Рис. 5.2. Измерение горизонтального и вертикального смещения двух точек с помощью теодолита

1,2 - точки; 3 - теодолит, 4 - переносная линейка

Величины прогибов могут быть определены также с помощью прогибомеров и гидростатического уровня (рис. 5.3, 5.4).

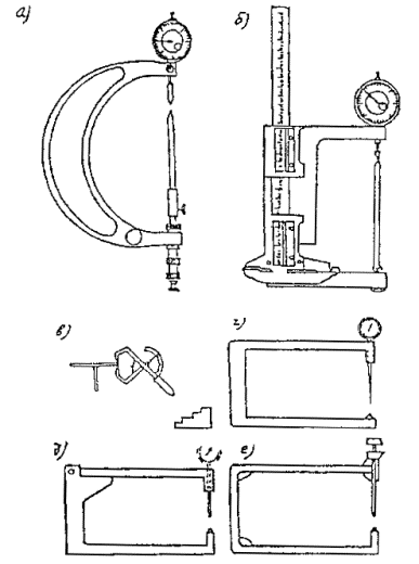
При использовании прогибомеров измеряется величина перемещения элемента, закрепленного на деформирующемся участке конструкции, относительно неподвижного элемента. В качестве прогибомера могут быть использованы две планки или система, передающая перемещения от недеформируемой конструкции на измерительный прибор, в качестве которого обычно используется индикатор часового типа (мессура).

Рис. 5.3. Схема измерения прогибов гидростатическим уровнем

1 - градуированная трубка; 2- телескопическая стойка; 3- сосуд; 4- резиновый шланг; 5 - краник; 6 - точка измерения

Рис. 5.4. Прогибомер П-1

1 - мерный диск; 2 - металлическая трубка; 3 - стеклянная трубка со шкалой; 4 - окуляр; 5 - резиновая трубка; 6 - зажим; 7 – шток; 3 - пробка

При малых линейных деформациях растяжения или сжатия измерение прогибов элементов производится при помощи тензометров, а сдвиги и повороты - геодезической съемкой.

5.2.4. Деформацию перекрытий определяют прогибомером П-1 (см. рис. 5.4) или нивелиром НВ-1 со специальной насадкой.

Перед началом замеров шток устанавливают в такое положение, чтобы показания в мерной трубке соответствовали нулю. Затем трубку с диском передвигают по поверхности потолка; через каждый полный поворот диска снимают отсчеты по мерной трубке. Прогибы замеряют в различных точках потолка.

Таким же образом прогибомером П-1, нивелиром НВ-1 измеряют прогибы несущих элементов лестниц - балок, маршей и плит.

5.2.5. Определение кинетики развития деформаций осуществляется путем многократных их измерений через определенные интервалы времени (от одних до 30 суток) в зависимости от скорости развития деформации.

5.2.6. Основной причиной появления общих деформаций зданий и сооружений являются неравномерные осадки грунтов оснований, что является следствием, как правило, изменения гидрогеологических условий, чрезмерного увлажнения грунтов, надстройки существующего здания без учета несущей способности фундаментов и т.п.

5.2.7. Наблюдения за деформациями зданий и сооружений, находящихся в эксплуатации, проводят в случаях появления трещин, раскрытия швов, перемещения и наклона строительных конструкций, а также резкого изменения условий эксплуатации.

Цель наблюдения за деформациями состоит в том, чтобы установить, стабилизировались или продолжают развиваться осадки здания и другие изменения в конструкциях.

Если в процессе наблюдения не были выявлены основные или наиболее вероятные причины деформаций, то наблюдения продолжают вести длительное время.

5.2.8. Деформации разделяют на местные, когда происходят смещение или повороты в узлах конструкций, растяжение или сжатие элементов, и общие, когда перемещаются и деформируются ряд конструкций или здание в целом.

5.2.9. Для измерений деформаций, осадок, кренов, сдвигов зданий и сооружений и их конструкций применяют методы инженерной геодезии. Измерения производятся специализированными организациями согласно ГОСТ 24846-81 и рекомендациям «Руководства по наблюдениям за деформациями зданий и сооружений» [IV-8].

5.3. Методы и средства наблюдения за трещинами

5.3.1. При обследовании строительных конструкций наиболее ответственным этапом является изучение трещин, выявление причин их возникновения и динамики развития. Они могут быть вызваны самыми разными причинами и иметь различные последствия.

По степени опасности для несущих и ограждающих конструкций трещины можно разделить на три группы.

1. Трещины неопасные, ухудшающие только качество лицевой поверхности.

2. Опасные трещины, вызывающие значительное ослабление сечений, развитие которых продолжается с неослабевающей интенсивностью.

3. Трещины промежуточной группы, которые ухудшают эксплуатационные свойства, снижают надежность и долговечность конструкций, однако еще не способствуют полному их разрушению.

5.3.2. В металлических конструкциях появление трещин в большинстве случаев определяется явлениями усталостного характера, что часто наблюдается в подкрановых балках и других конструкциях, подверженных переменным динамическим нагрузкам.

Возникновение трещин в железобетонных или каменных конструкциях определяется локальными перенапряжениями, увлажнением бетона и расклинивающим действием льда в порах материала, коррозией арматуры и действием многих труднопрогнозируемых факторов.

5.3.3. Следует различать трещины, появление которых вызвано напряжениями, проявившимися в железобетонных конструкциях в процессе изготовления, транспортировки и монтажа, и трещины, обусловленные эксплуатационными нагрузками и воздействием окружающей среды.

В железобетонных конструкциях к трещинам, появившимся в доэксплуатационный период, относятся: усадочные трещины, вызванные быстрым высыханием поверхностного слоя бетона и сокращением объема, а также трещины от набухания бетона; трещины, вызванные неравномерным охлаждением бетона; трещины, вызванные большим гидратационным нагревом при твердении бетона в массивных конструкциях; трещины технологического происхождения, возникшие в сборных железобетонных элементах в процессе изготовления, транспортировки и монтажа.

Трещины, появившиеся в эксплуатационный период, разделяются на следующие виды: трещины, возникшие в результате температурных деформаций из-за нарушений требований устройства температурных швов или неправильности расчета статически неопределимой системы на температурные воздействия; трещины, вызванные неравномерностью осадок грунтов основания; трещины, обусловленные силовыми воздействиями, превышающими способность железобетонных элементов воспринимать растягивающие напряжения.

5.3.4. При наличии трещин на несущих конструкциях зданий и сооружений необходимо организовать систематическое наблюдение за их состоянием и возможным развитием с тем, чтобы выяснить характер деформаций конструкций и степень их опасности для дальнейшей эксплуатации.

Наблюдение за развитием трещин проводится по графику, который в каждом отдельном случае составляется в зависимости от конкретных условий.

5.3.5. Трещины выявляются путем осмотра поверхностей конструкций, а также выборочного снятия с конструкций защитных или отделочных покрытий.

Следует определить положение, форму, направление, распространение по длине, ширину раскрытия, глубину, а также установить, продолжается или прекратилось их развитие.

5.3.6. На каждой трещине устанавливают маяк, который при развитии трещины разрывается. Маяк устанавливают в месте наибольшего развития трещины.

При наблюдениях за развитием трещин по длине концы трещин во время каждого осмотра фиксируются поперечными штрихами, нанесенными краской или острым инструментом на поверхности конструкции. Рядом с каждым штрихом проставляют дату осмотра.

Расположение трещин схематично наносят на чертежи общего вида развертки стен здания, отмечая номера и дату установки маяков. На каждую трещину составляют график ее развития и раскрытия.

Трещины и маяки в соответствии с графиком наблюдения периодически осматриваются, и по результатам осмотра составляется акт, в котором указываются: дата осмотра, чертеж с расположением трещин и маяков, сведения о состоянии трещин и маяков, сведения об отсутствии или появлении новых трещин и установка на них маяков.

5.3.7. Ширину раскрытия трещин обычно определяют с помощью микроскопа МПБ-2 с ценой деления 0,02 мм, пределом измерения 6,5 мм и микроскопа МИР-2 с пределами измерений от 0,015 до 0,6 мм, а также лупы с масштабным делением (лупы Бринеля) (рис. 5.5) или других приборов и инструментов, обеспечивающих точность измерений не ниже 0,1 мм.

Глубину трещин устанавливают, применяя иглы и проволочные щупы, а также при помощи ультразвуковых приборов типа УКБ-1М, бетон-3М, УК-10П и др. Схема определения глубины трещин ультразвуковыми методами указана на рис. 5.6.

5.3.8. При применении ультразвукового метода глубина трещины устанавливается по изменению времени прохождения импульсов как при сквозном прозвучивании, так и методом продольного профилирования при условии, что плоскость трещинообразования перпендикулярна линии прозвучивания. Глубина трещины определяется из соотношений:

h=; V=,

где h - глубина трещины (см. рис. 5.5);

V - скорость распространения ультразвука на участке без трещин, мк/с;

ta, te - время прохождения ультразвука на участке без трещины и с трещиной, с;

а - база измерения для обоих участков, см.

5.3.9. Важным средством в оценке деформации и развития трещин являются маяки: они позволяют установить качественную картину деформации и их величину.

5.3.10. Маяк представляет собой пластинку длиной 200-250 мм, шириной 40-50 мм, высотой 6-10 м, из гипса или цементно-песчаного раствора, наложенную поперек трещины, или две стеклянные или металлические пластинки, с закрепленным одним концом каждая по разные стороны трещины, или рычажную систему. Разрыв маяка или смещение пластинок по отношению друг к другу свидетельствуют о развитии деформаций.

а)

в)

 

б)

Рис. 5.5. Приборы для измерения раскрытия трещин

а - отсчетный микроскоп МПБ-2, б - измерение ширины раскрытия трещины лупой: 1 - трещина; 2 - деление шкалы лупы; в - щуп

Маяк устанавливают на основной материал стены, удалив предварительно с ее поверхности штукатурку. Рекомендуется размещать маяки также в предварительно вырубленных штрабах (особенно при их установке на горизонтальную или наклонную поверхность). В этом случае штрабы заполняются гипсовым или цементно-песчаным раствором.

5.3.11. Осмотр маяков производится через неделю после их установления, а затем один раз в месяц. При интенсивном трещинообразовании обязателен ежедневный контроль.

5.3.12. Ширина раскрытия трещин в процессе наблюдения измеряется при помощи щелемеров или трещиномеров. Конструкция щелемера или трещиномера может быть различной в зависимости от ширины трещины или шва между элементами, вида и условий эксплуатации конструкций.

Рис. 5.6. Определение глубины трещин в конструкции

1 - излучатель; 2 - приемник

На рис. 5.7-5.12 приведены конструктивные схемы различных типов маяков и щелемеров.

Наиболее простое решение имеет пластинчатый маяк (см. рис. 5.7). Он состоит из двух металлических, стеклянных или плексигласовых пластинок, имеющих риски и укрепленных на растворе так, чтобы при раскрытии трещины пластинки скользили одна по другой. Края пластинок должны быть параллельны друг другу. После прикрепления пластинок к конструкции отмечают на них номер и дату установки маяка. По замерам расстояния между рисками определяют величину раскрытия трещины.

5.3.13. Щелемер конструкции ЛенГИДЕПА (см. рис. 5.8) состоит из двух латунных пластин, одна из которых расположена в специально выточенном пазу второй пластины. На обеих пластинах имеются шкалы с миллиметровыми делениями, причем на П-образной пластине сделана прорезь для чтения делений шкалы на внутренней (второй) пластине.

Пластины крепятся к изогнутым штырям, свободные концы которых заделываются в бетон. Описанный щелемер позволяет определить величину развития трещин по трем направлениям.

5.3.14. Маяк конструкции Ф.А. Белякова в общем виде изображен на рис. 5.9. Он состоит из двух прямоугольных гипсовых или алебастровых плиток размером 100´60 мм и толщиной 15-20 мм. В каждой из плиток на вертикальной и горизонтальной гранях закреплены пять металлических шпилек с острым концом, выступающим на 1-2 мм. Для наблюдения за развитием трещины две такие плитки крепят на гипсовом или алебастровом растворе по обе стороны трещины, чтобы шпильки были расположены на прямых, параллельных друг другу: чтобы шпильки 1, 2, 3, 4 (см. рис. 5.9) на вертикальной плоскости расположились на одной прямой, а четыре других - 5,6,7,8 на другой прямой. Приращение трещины измеряют по изменению положения шпилек. Для этого к шпилькам периодически прикладывают чистый лист бумаги, наклеенный на фанеру, и после легкого надавливания измеряют расстояния между проколами по поперечному масштабу. Маяки конструкции Ф. А. Белякова позволяют определить взаимное смещение сторон трещин в трех направлениях.

Рис. 5.7. Пластинчатый маяк из двух окрашенных пластинок

1 - пластинка, окрашенная в белый цвет; 2 - пластинка, окрашенная в красный цвет; 3 - гипсовые плитки; 4 - трещина

Рис. 5.8. Щелемер конструкции ЛенГИДЕПА

1 - скоба; 2 - измерительная шкала; 3 - трещина; 4 - зачеканка

Рис. 5.9. Маяк конструкции Ф.А. Белякова

5.3.15. Щелемер, у которого счетным механизмом служит мессура, схематически показан на рис. 5.10. Данные измерений по мессуре увязываются с температурой воздуха, на которую вводится соответствующая поправка; окончательную величину отсчета S, мм, определяют по формуле

S=F-klt,

где F - отсчет по мессуре, мм;

k - коэффициент линейного расширения металла плеча мессуры;

t - температура воздуха в момент отсчета; l - длина плеча мессуры, мм.

5.3.16. Щелемер для длительных наблюдений показан на рис. 5.11. Он состоит из двух марок, каждая из которых представляет собой цилиндр из некорродирующего металла с полушаровой головкой, укрепленной на квадратном фланце из листовой стали. Для закрепления фланца в бетоне к нему приваривается анкерная скоба. Пара таких марок устанавливается по обе стороны трещины. Измерение расстояния между марками во время каждого осмотра производится штангенциркулем дважды: в обхват цилиндров и в обхват полушаровых головок с упором ножек штангенциркуля в торцы цилиндров. Однозначность изменений расстояний по обеим измерениям между циклами укажет на отсутствие ошибок при производстве замеров.

Рис. 5.10. Щелемер с мессурой

1 - мессура; 2 - трещина

Рис. 5.11. Щелемер для длительных наблюдений

1 - марка; 2 - фланец; 3 - анкерная плита

5.3.17. Щелемер для измерения деформаций широких швов схематически показан на рис. 5.12. Он состоит из двух отрезков уголкового железа (100´100´100 мм), прикрепленных к обеим сторонам шва при помощи анкерных болтов. К концам уголков прикрепляются две фасонные пластинки из некорродирующего металла. При деформациях шва пластинки скользят одна по другой. Деформацию шва определяют как разность расстояний между вертикальными плоскостями пластинок в отдельных циклах измерений.

Рис. 5.12. Щелемер для измерения широких трещин и швов

5.3.18. Для наблюдений за трещинами и осадками в стенах применяют стрелочно-рычажное устройство, схематически показанное на рис. 5.13. Оно состоит из деревянной или металлической стрелки длиной 0,7-1 м, шарниров и мерной шкалы. Шарниры, закрепляющие стрелку на стене, расположены по обе стороны от трещины. Длина остальной свободной части стрелки в 10 раз больше расстояния между указанными шарнирными креплениями. Таким образом, вертикальному смещению одного шарнира относительно другого соответствует в 10 раз большее смешение вверх или вниз конца стрелки над мерной шкалой (металлической или деревянной рейкой). В этих условиях величина осадок по обе стороны трещины в 1 мм соответствует смещению конца стрелки на 10 мм. При установке прибора на стене свободный конец стрелки помещается над нулевым делением мерной шкалы.

5.3.19. В журнале наблюдений фиксируются: номер и дата установки маяка или щелемера, место и схема их расположения, первоначальная ширина трещины, изменение со временем длины и глубины трещины.

По данным измерений строят график хода раскрытия трещин (рис. 5.14.).

В случае деформации маяка рядом с ним устанавливается новый, которому присваивается тот же номер, но с индексом. Маяки, на которых появились трещины, не удаляют до окончания наблюдений.

5.3.20. Если в течение 30 суток изменение размеров трещин не будет фиксировано, их развитие можно считать законченным, маяки можно снять и трещины заделать.

Рис. 5.13. Стрелочный рычажный прибор для определения интенсивности неравномерной осадки стены

а – положение прибора до осадки стены; б – положение прибора после осадки стены; 1 – трещина; 2 – указательная стрелка; 3 – шарнирное крепление стрелки на стене; 4 – мерная шкала

Рис. 5.14. График хода раскрытия трещин

6. ОБСЛЕДОВАНИЕ БЕТОННЫХ И ЖЕЛЕЗОБЕТОННЫХ КОНСТРУКЦИЙ

6.1. Определение технического состояния конструкций по внешним признакам

6.1.1. Оценка технического состояния конструкций по внешним признакам производится на основе определения следующих факторов:

геометрических размеров конструкций и их сечений;

наличия трещин, отколов и разрушений;

состояния защитных покрытий (лакокрасочных, штукатурок, защитных экранов и др.);

прогибов и деформаций конструкций;

нарушения сцепления арматуры с бетоном;

наличия разрыва арматуры;

состояния анкеровки продольной и поперечной арматуры;

степени коррозии бетона и арматуры.

6.1.2. Определение геометрических параметров конструкций и их сечений производится по рекомендациям п. 5.2 настоящего Пособия. При этом фиксируются все отклонения от их проектного положения.

6.1.3. Определение ширины и глубины раскрытия трещин следует выполнять по рекомендациям п. 5.3 настоящего Пособия.

Ширину раскрытия трещин рекомендуется измерять в первую очередь в местах максимального их раскрытия и на уровне растянутой зоны элемента.

6.1.4. Степень раскрытия трещин сопоставляется с нормативными требованиями по предельным состояниям второй группы в зависимости от вида и условий работы конструкций.

6.1.5. Следует различать трещины, появление которых вызвано напряжениями, проявившимися в железобетонных конструкциях в процессе изготовления, транспортировки и монтажа, и трещины, обусловленные эксплуатационными нагрузками и воздействием окружающей среды.

К трещинам, появившимся в доэксплуатационный период, относятся: технологические, усадочные трещины, вызванные быстрым высыханием поверхностного слоя бетона и сокращением объема, а также трещины от набухания бетона; трещины, вызванные неравномерным охлаждением бетона; трещины, возникшие в сборных железобетонных элементах в процессе складирования, транспортировки и монтажа, при которых конструкции подвергались силовым воздействиям от собственного веса по схемам, не предусмотренным проектом.

К трещинам, появившимся в эксплуатационной период, относятся: трещины, возникшие в результате температурных деформаций из-за нарушений требований устройства температурных швов; трещины, вызванные неравномерностью осадок грунтового основания, что может быть связано с нарушением требований устройства осадочных деформационных швов, проведением земляных работ в непосредственной близости от фундаментов без обеспечения специальных мер; трещины, обусловленные силовыми воздействиями, превышающими несущую способность железобетонных элементов.

Трещины силового характера необходимо анализировать с точки зрения напряженно-деформированного состояния железобетонной конструкции.

6.1.6. В железобетонных конструкциях наиболее часто встречаются следующие виды трещин:

а) в изгибаемых элементах, работающих по балочной схеме (балки, прогоны), возникают трещины, перпендикулярные (нормальные) продольной оси, вследствие появления растягивающих напряжений в зоне действия максимальных изгибающих моментов и трещины, наклонные к продольной оси, вызванные главными растягивающими напряжениями в зоне действия существенных перерезывающих сил и изгибаемых моментов (рис. 6.1).

Рис. 6.1. Характерные трещины в изгибаемых железобетонных элементах, работающих по балочной схеме

1 - нормальные трещины в зоне максимального изгибающего момента; 2 - наклонные трещины в зоне максимальной поперечной силы; 3 - трещины и раздробление бетона, в сжатой зоне элемента

Нормальные трещины имеют максимальную ширину раскрытия в крайних растянутых волокнах сечения элемента. Наклонные трещины начинают раскрываться в средней части боковых граней элемента - в зоне действия максимальных касательных напряжений, а затем развиваются в сторону растянутой грани.

Образование наклонных трещин на опорных концах балок и прогонов свидетельствует о недостаточной их несущей способности по наклонным сечениям.

Вертикальные и наклонные трещины в пролетных участках балок и прогонов свидетельствуют о недостаточной их несущей способности по изгибающему моменту.

Раздробление бетона сжатой зоны сечений изгибаемых элементов указывает на исчерпание несущей способности конструкции;

б) в плитах возникают следующие трещины:

в средней части плиты, имеющие направление поперек рабочего пролета с максимальным раскрытием на нижней поверхности плиты;

на опорных участках, имеющие направление поперек рабочего пролета с максимальным раскрытием на верхней поверхности плиты;

радиальные и концевые, с возможным отпаданием защитного слоя и разрушением бетона плиты;

вдоль арматуры по нижней плоскости стены.

Трещины на опорных участках плит поперек рабочего пролета свидетельствуют о недостаточной несущей способности по изгибающему опорному моменту.

Характерно развитие трещин силового происхождения на нижней поверхности плит с различным соотношением сторон (рис. 6.2). При этом бетон сжатой зоны может быть не нарушен. Смятие бетона сжатой зоны указывает на опасность полного разрушения плиты;

Рис. 6.2. Характерные трещины на нижней поверхности плит

а - работающих по балочной схеме при l2/l1£3; б - опертых по контуру при l2/l1<3; в - тоже при l2/l1=1; г - опертых по трем сторонам при l3/l1£1,5; д - то же, при l2/l1>1,5

в) в колоннах образуются вертикальные трещины на гранях колонн и горизонтальные.

Вертикальные трещины на гранях колонн могут появляться в результате чрезмерного изгиба стержней арматуры. Такое явление может возникнуть в тех колоннах и их зонах, где редко поставлены хомуты (рис. 6.3).

Горизонтальные трещины в железобетонных колоннах не представляют непосредственной опасности, если ширина их невелика, однако через такие трещины могут в арматуру попасть увлажненный воздух и агрессивные реагенты, вызывая коррозию металла.

Появление продольных трещин вдоль арматуры в сжатых элементах свидетельствует о разрушениях, связанных с потерей устойчивости (выпучиванием) продольной сжатой арматуры из-за недостаточного количества поперечной арматуры;

Рис. 6.3. Трещины вдоль продольной арматуры в сжатых элементах

Рис. 6.4. Трещины по всей высоте сечений элементов, изгибаемых в двух плоскостях

Рис. 6.5. Трещины в опорной части предварительно напряженного элемента

1 - при нарушении анкеровки напряженной арматуры; 2 - при недостаточности косвенного армирования сечения на действие усилия обжатия

Рис. 6.6. Характерные повреждения силового происхождения в железобетонных фермах с нижним предварительно напряженным поясом

1 - наклонная трещина опорного узла; 2 - откол лещадок; 3 - лучеобразные и вертикальные трещины, 4 - горизонтальная трещина; 5 - вертикальные (нормальные) трещины в растянутых элементах; 6 - наклонные трещины в сжатом поясе фермы; 7 - трещины в узле нижнего пояса в месте примыкания растянутого раскоса

г) появление в изгибаемых элементах поперечной, практически перпендикулярной продольной оси элемента, трещины, проходящей через все сечение (рис. 6.4), может быть связано с воздействием дополнительного изгибающего момента в горизонтальной плоскости, перпендикулярной плоскости действия основного изгибающего момента (например, от горизонтальных сил, возникающих в подкрановых балках). Такой же характер имеют трещины в растянутых железобетонных элементах, но при этом трещины просматриваются на всех гранях элемента, опоясывают его;

д) трещины на опорных участках и торцах железобетонных конструкций.

Обнаруженные трещины у торцов предварительно напряженных элементов, ориентированные вдоль арматуры, указывают на нарушение анкеровки арматуры. Об этом же свидетельствуют и наклонные трещины в приопорных участках, пересекающие зону расположения предварительно напряженной арматуры и распространяющиеся на нижнюю грань края опоры (рис. 6.5);

е) элементы решетки раскосных железобетонных ферм могут испытывать сжатие, растяжение, а в опорных узлах - действие перерезывающих сил. Характерные повреждения при разрушении отдельных участков таких ферм приведены на рис. 6.6. В опорном узле могут возникнуть помимо тещин 1,2 (рис. 6.5) повреждения типа 1, 2, 4 (рис. 6.6). Появление горизонтальных трещин в нижнем преднапряженном поясе типа 4 (см. рис. 6.6) свидетельствует об отсутствие или недостаточности поперечного армирования в обжатом бетоне. Нормальные (перпендикулярные к продольной оси) трещины типа 5 (см. рис. 6.5) появляются в растянутых стержнях при необеспеченности трещиностойкости элементов. Появление повреждений в виде лещадок типа 2 свидетельствует об исчерпании прочности бетона на отдельных участках сжатого пояса или на опоре.

6.1.7. Дефекты в виде трещин и отслоения бетона вдоль арматуры железобетонных элементов могут быть вызваны и коррозионным разрушением арматуры. В этих случаях происходит нарушение сцепления продольной и поперечной арматуры с бетоном. Нарушение сцепления арматуры с бетоном за счет коррозии можно установить простукиванием поверхности бетона (при этом прослушиваются пустоты).

Продольные трещины вдоль арматуры с нарушением сцепления ее с бетоном могут быть вызваны и температурными напряжениями при эксплуатации конструкций с систематическим нагревом свыше 300 °С или последствиях пожара.

В изгибаемых элементах, как правило, появлению трещин способствует увеличение прогибов и углов поворота. Недопустимыми (аварийными) можно считать прогибы изгибаемых элементов более 1/50 пролета при ширине раскрытия трещин в растянутой зоне более 0,5 мм. Значения предельно допустимых прогибов для железобетонных конструкций приведены в табл. 6.1.

6.1.8. Определение и оценку состояния лакокрасочных покрытий железобетонных конструкций следует производить по методике, изложенной в ГОСТ 6992-68. При этом фиксируются следующие основные виды повреждений: растрескивания и отслоения, которые характеризуются глубиной разрушения верхнего слоя (до грунтовки), пузыри и коррозионные очаги, характеризуемые размером очага (диаметром), мм. Площадь отдельных видов повреждений покрытия выражают ориентировочно в процентах по отношению ко всей окрашенной поверхности конструкции (элемента).

Таблица 6.1

Значения предельно допустимых прогибов железобетонных конструкций

Элементы конструкций

Предельно допустимые прогибы

1. Подкрановые балки при кранах:

 

ручных

l/500

электрических

l/600

2. Перекрытия с плоским потолком и элементы покрытия (кроме указанных в поз. 4), при пролетах, м:

 

l<6

l/200

6£l£7,5

3 см

l>7,5

l/250

3. Перекрытия с ребристым потолком и элементы лестниц при пролетах, м:

 

l<5

l/200

5£l£10

2,5см

l>10

l/400

4. Элементы покрытий сельскохозяйственных зданий производственного назначения при пролетах, м:

 

l<6

l/150

6£l£10

4 см

l>10

l/250

5. Навесные стеновые панели (при расчете из плоскости) при пролетах, м:

 

l<6

l/200

6£l£7,5

3 см

l>7,5

l/250

Примечание. При действии постоянных, длительных и кратковременных нагрузок прогиб балок и плит не должен превышать l/150 пролета и l/75 вылета консоли.

Эффективность защитных покрытий при воздействии на них агрессивной производственной среды определяется по состоянию бетона конструкций после удаления защитных покрытий.

6.1.9. В процессе визуальных обследований производится ориентировочная оценка прочности бетона. В этом случае можно использовать способ простукивания и руководствоваться данными, приведенными в табл. 2.2. Метод основан на простукивании поверхности конструкции молотком массой 0,4-0,8 кг непосредственно по очищенному растворному участку бетона или по зубилу, установленному перпендикулярно поверхности элемента. При этом для оценки прочности принимаются минимальные значения, полученные в результате не менее 10 ударов. Более звонкий звук при простукивании соответствует более прочному и плотному бетону. Для получения более достоверных данных о прочности бетона следует применять методы и приборы, приведенные в разделах 6.3-6.7.

6.1.10. При наличии увлажненных участков и поверхностных высолов на бетоне конструкций определяют величину этих участков и причину их появления.

6.1.11. Результаты визуального осмотра железобетонных конструкций фиксируют в виде карты дефектов, нанесенных на схематические планы или разрезы здания, или составляют таблицы дефектов с рекомендациями по классификации дефектов и повреждений с оценкой категории состояния конструкций.

6.1.12. Внешние признаки, характеризующие состояния железобетонных конструкций по четырем категориям состояний, приводятся в табл. II.1 Прил. II.

6.2. Определение степени коррозии бетона и арматуры

6.2.1. Для оценки характера коррозионного процесса и степени воздействия агрессивных сред различают три основных вида коррозии бетона.

К I виду относятся все процессы коррозии, которые возникают в бетоне при действии жидких сред (водных растворов), способных растворять компоненты цементного камня. Составные части цементного камня растворяются и выносятся из цементного камня.

Ко II виду коррозии относятся процессы, при которых происходят химические взаимодействия - обменные реакции - между цементным камнем и раствором, в том числе обмен катионами. Образующиеся продукты реакции или легкорастворимы и выносятся из структуры в результате диффузии или фильтрационным потоком, или отлагаются в виде аморфной массы, не обладающей вяжущими свойствами и не влияющей на дальнейший разрушительный процесс.

Такой вид коррозии представляют процессы, возникающие при действии на бетон растворов кислот и некоторых солей.

К III виду коррозии относятся все те процессы коррозии бетона, в результате которых продукты реакции накапливаются и кристаллизируются в порах и капиллярах бетона. На определенной стадии развития этих процессов рост кристаллообразований способствует возникновению растущих по величине напряжений и деформаций в ограждающих стенах, а затем и разрушению структуры. К этому виду могут быть отнесены процессы коррозии при действии сульфатов, связанные с накоплением и ростом кристаллов гидросульфоалюминита, гипса и др.

6.2.2. Разрушение бетона в конструкциях при их эксплуатации происходит под воздействием многих химических и физико-механических факторов. К ним относятся неоднородность бетона, повышенные напряжения в материале различного происхождения, приводящие к микроразрывам в материале, попеременное увлажнение и высушивание, периодические замораживания и оттаивания, резкие перепады температур, воздействие солей и кислот, выщелачивание, нарушение контактов между цементным камнем и заполнителями, коррозия стальной арматуры, разрушение заполнителей под воздействием щелочей цемента.

Сложность изучения процессов и факторов, обуславливающих разрушения бетона и железобетона, объясняется тем, что в зависимости от условий эксплуатации и срока службы конструкций одновременно действует очень много факторов, приводящих к изменениям структуры и свойств материалов.

6.3.3. Для большинства конструкций, соприкасающихся с воздухом, карбонизация является характерным процессом, который ослабляет защитные свойства бетона. Карбонизацию бетона может вызвать не только углекислый газ, имеющийся в воздухе, но и другие кислые газы, содержащиеся в промышленной атмосфере. В процессе карбонизации углекислый газ воздуха проникает в поры и капилляры бетона, растворяется в перовой жидкости и реагирует с гидроалюминатом окиси кальция, образуя слаборастворимый карбонат кальция. Карбонизация снижает щелочность содержащейся в бетоне влаги, что способствует снижению так называемого пассивирующего (защитного) действия щелочных сред и коррозии арматуры в бетоне.

6.2.4. Для определения степени коррозионного разрушения бетона (степени карбонизации, состава новообразований, структурных нарушений бетона) используются физико-химические методы.

Исследование химического состава новообразований, возникших в бетоне под действием агрессивной среды, производится с помощью дифференциально-термического и рентгено-структурного методов, выполняемых в лабораторных условиях на образцах, отобранных из эксплуатируемых конструкций [I-34].

Изучение структурных изменений бетона производится с помощью ручной лупы, дающей небольшое увеличение. Такой осмотр позволяет изучить поверхность образца, выявить наличие крупных пор, трещин и других дефектов.

С помощью микроскопического метода можно выявить взаимное расположение и характер сцепления цементного камня и зерен заполнителя; состояние контакта между бетоном и арматурой; форму, размер и количество пор; размер и направление трещин.

6.2.5. Определение глубины карбонизации бетона производят по изменению величины водородного показателя рН.

В случае если бетон сухой, смачивают поверхность скола чистой водой, которой должно быть столько, чтобы на поверхности бетона не образовалась видимая пленка влаги. Избыток воды удаляют чистой фильтровальной бумагой. Влажный и воздушно-сухой бетон увлажнения не требует.

На скол бетона с помощью капельницы или пипетки наносят 0,1 %-ый раствор фенолфталеина в этиловом спирте. При изменении рН от 8,3 до 14 окраска индикатора изменяется от бесцветной до ярко-малиновой. Свежий излом образца бетона в карбонизированной зоне после нанесения на него раствора фенолфталеина имеет серый цвет, а в некарбонизированной зоне приобретает ярко-малиновую окраску.

Примерно через минуту после нанесения индикатора измеряют линейкой с точностью до 0,5 мм расстояние от поверхности образца до границы ярко окрашенной зоны в направлении, нормальном к поверхности. Измеренная величина есть глубина карбонизации бетона. В бетонах с равномерной структурой пор граница ярко окрашенной зоны расположена обычно параллельно наружной поверхности. В бетонах с неравномерной структурой пор граница карбонизации может быть извилистой. В этом случае необходимо измерять максимальную и среднюю глубину карбонизации бетона.

6.2.6. Факторы, влияющие на развитие коррозии бетонных и железобетонных конструкций, делятся на две группы: связанные со свойствами внешней среды - атмосферных и грунтовых вод, производственной среды и т.п., и обусловленные свойствами материалов (цемента, заполнителей, воды и т.п.) конструкций.

Для эксплуатируемых конструкций очень трудно определить, сколько и каких химических элементов осталось в поверхностном слое и способны ли они дальше продолжать свое разрушающее действие. Оценивая опасность коррозии бетонных и железобетонных конструкций, необходимо знать характеристики бетона: его плотность, пористость количество пустот и др. При обследовании технического состояния конструкций эти характеристики должны находиться в центре внимания обследователя.

Процессы коррозии железобетонных конструкций и методы защиты от нее очень сложны и разнообразны. Они рассматриваются в специальной литературе, например в [I-1, I-34] и др.

6.2.7. Разрушение арматуры в бетоне обусловлено потерей защитных свойств бетона и доступом к ней влаги, кислорода воздуха или кислотообразующих газов. Коррозия арматуры в бетоне является электрохимическим процессом. Поскольку арматурная сталь неоднородна по структуре, как и контактирующая с ней среда, создаются все условия для протекания электрохимической коррозии.

Коррозия арматуры в бетоне возникает при уменьшении щелочности окружающего арматуру электролита до рН, равного или меньше 12, при карбонизации или коррозии бетона.

6.2.8. При оценке технического состояния арматуры и закладных деталей, пораженных коррозией, прежде всего необходимо установить вид коррозии и участки поражения. После определения вида коррозии необходимо установить источники воздействия и причины коррозии арматуры (см. разд. 8 «Пособия»).

6.2.9. Толщина продуктов коррозии определяется микрометром или с помощью приборов, которыми замеряют толщину немагнитных противокоррозионных покрытий на стали (например, ИТП-1, МТ-30Н и др.).

Для арматуры периодического профиля следует отмечать остаточную выраженность рифов после зачистки.

В местах, где продукты коррозии стали хорошо сохраняться, можно по их толщине ориентировочно судить о глубине коррозии по соотношению

,

где dk - средняя глубина сплошной равномерной коррозии стали;

dpk - толщина продуктов коррозии.

6.2.10. Выявление состояния арматуры элементов железобетонных конструкций производится путем удаления защитного слоя бетона с обнажением рабочей и монтажной арматуры.

Обнажение арматуры производится в местах наибольшего ее ослабления коррозией, которые выявляются по отслоению защитного слоя бетона и образованию трещин и пятен ржавой окраски, расположенных вдоль стержней арматуры.

Диаметр арматуры измеряется штангенциркулем или микрометром.

В местах, где арматура подвергалась интенсивной коррозии, вызвавшей отпадание защитного слоя, производится тщательная зачистка ее от ржавчины до появления металлического блеска.

6.2.11. Степень коррозии арматуры оценивается по следующим признакам [I-1]: характеру коррозии, цвету, плотности продуктов коррозии, площади пораженной поверхности, площади поперечного сечения арматуры, глубине коррозионных поражений.

При сплошной равномерной коррозии глубину коррозионных поражений определяют измерением толщины слоя ржавчины, при язвенной - измерением глубины отдельных язв. В первом случае острым ножом отделяют пленку ржавчины и толщин ее измеряют штангенциркулем. При этом принимается, что глубина коррозии равна либо половине толщины слоя ржавчины, либо половине разности проектного и действительного диаметров арматуры.

При язвенной коррозии рекомендуется вырезать куски арматуры, ржавчину удалить травлением (погружая арматуру в 10 %-ный раствор соляной кислоты, содержащий 1 % ингибитора-уротропина) с последующей промывкой водой. Затем арматуру необходимо погрузить на 5 мин. в насыщенный раствор нитрата натрия, вынуть и протереть. Глубину язв измеряют индикатором с иглой, укрепленной на штативе (рис. 8.5).

Глубину коррозии определяют по показанию стрелки индикатора как разность показания у края и дна коррозионной язвы.

6.2.12. При выявлении участков конструкций с повышенным коррозионным износом, связанным с местным (сосредоточенным) воздействием агрессивных факторов, рекомендуется в первую очередь обращать внимание на следующие элементы и узлы конструкций:

опорные узлы стропильных и подстропильных ферм, вблизи которых расположены водоприемные воронки внутреннего водостока;

верхние пояса ферм в узлах присоединения к ним аэрационных фонарей, стоек ветробойных щитов;

верхние пояса подстропильных ферм, вдоль которых расположены ендовы кровель;

опорные узлы ферм, находящиеся внутри кирпичных стен;

верхние части колонн, находящиеся внутри кирпичных стен;

низ и базы колонн, расположенные на уровне или ниже уровня пола, в особенности при мокрой уборке в помещении (гидросмыве);

участки колонн многоэтажных зданий, проходящие через перекрытие, в особенности при мокрой уборке пыли в помещении;

участки плит покрытия, расположенные вдоль ендов, у воронок внутреннего водостока, у наружного остекления и торцов фонарей, у торцов здания.

6.3. Определение прочности бетона механическими методами

6.3.1. Механические методы неразрушающего контроля при обследовании конструкций применяют для определения прочности бетона всех видов нормируемой прочности, контролируемых по ГОСТ 18105-86.

В зависимости от применяемого метода и приборов косвенными характеристиками прочности являются:

значение отскока бойка от поверхности бетона (или прижатого к ней ударника);

параметр ударного импульса (энергия удара);

размеры отпечатка на бетоне (диаметр, глубина) или соотношение диаметров отпечатков на бетоне и стандартном образце при ударе индентора или вдавливании индентора в поверхность бетона;

значение напряжения, необходимого для местного разрушения бетона при отрыве приклеенного к нему металлического диска, равного усилию отрыва, деленному на площадь проекции поверхности отрыва бетона на плоскость диска;

значение усилия, необходимого для скалывания участка бетона на ребре конструкции;

значение усилия местного разрушения бетона при вырыве из него анкерного устройства.

В табл. 6.2 приведены рекомендуемые методы контроля прочности бетона.

При проведении испытаний механическими методами неразрушающего контроля следует руководствоваться указаниями ГОСТ 22690-88.

В табл. 6.3 приведены методы определения прочности бетона в зависимости от ожидаемой прочности испытуемых элементов.

В зависимости от метода обследования число испытаний на одном участке, расстояние между местами испытаний на участке и от края конструкции, толщина конструкции на участке испытания должны быть не меньше значений, приведенных в табл. 6.4.

6.3.2. К приборам механического принципа действия относятся: эталонный молоток Кашкарова, молоток Шмидта, молоток Физделя, пистолет ЦНИИСКа, молоток Польди и др. Эти приборы дают возможность определить прочность материала по величине внедрения бойка в поверхностный слой конструкций или по величине отскока бойка от поверхности конструкции при нанесении калиброванного удара (пистолет ЦНИИСКа).

6.3.3. Молоток Физделя (рис. 6.7) основан на использовании пластических деформаций строительных материалов. При ударе молотком по поверхности конструкции образуется лунка, по диаметру которой и оценивают прочность материала. То место конструкции, на которое наносят отпечатки, предварительно очищают от штукатурного слоя, затирки или окраски. Процесс работы с молотком Физделя заключается в следующем: правой рукой берут за конец деревянной рукоятки, локоть опирают о конструкцию. Локтевым ударом средней силы наносят 10-12 ударов на каждом участке конструкции. Расстояние между отпечатками ударного молотка должно быть не менее 30 мм. Диаметр образованной лунки измеряют штангенциркулем с точностью до 0,1 мм по двум перпендикулярным направлениям и принимают среднее значение. Из общего числа измерений, произведенных на данном участке, исключают наибольший и наименьший результаты, а по остальным вычисляют среднее значение. Прочность бетона определяют по среднему измеренному диаметру отпечатка и тарировочной кривой, предварительно построенной на основании сравнения диаметров отпечатков шарика молотка и результатов лабораторных испытаний на прочность образцов бетона, взятых из конструкции по указаниям ГОСТ 28570-90 или специально изготовленных из тех же компонентов и по той же технологии, что материалы обследуемой конструкции.

Таблица 6.2

Методы контроля прочности бетона

Метод, стандарты, приборы

Схема испытания

Ультразвуковой

ГОСТ 17624-87

Приборы: УКБ-1, УКБ-1М УКБ16П, УФ-90ПЦ Бетон-8-УРП, УК-1П

Пластической деформации

Приборы: КМ, ПМ, ДИГ-4

Упругого отскока

Приборы: КМ, склерометр Шмидта

ГОСТ 22690-88

Пластической деформации

Молоток Кашкарова

ГОСТ 22690-88

Отрыв с дисками

ГОСТ 22690-88

Прибор ГПНВ-6

Скалывание ребра конструкции

ГОСТ 22690-88

Прибор ГПНС-4 с приспособлением УРС

Отрыв со скалыванием

ГОСТ 22690-88

Приборы: ГПНВ-5, ГПНС-4

Таблица 6.3

Наименование метода

Предельные значения прочности бетона, МПа

Упругий отскок и пластическая деформация

5-50

Ударный импульс

10-70

Отрыв

5-60

Скалывание ребра

10-70

Отрыв со скалыванием

5-100

Таблица 6.4

Наименование метода

Число испытаний на участке

Расстояние между местами испытаний, мм

Расстояние от края конструкции до места испытаний, мм

Толщина конструкции, мм

Упругий отскок

5

30

50

100

Ударный импульс

10

15

50

50

Пластическая деформация

5

30

50

70

Скалывание ребра

2

200

-

170

Отрыв

1

2 диаметра диска

50

50

Отрыв со скалыванием

1

5 глубин вырыва

150

Удвоенная глубина установки анкера

Рис. 6.7. Молоток И.А. Физделя

1 - молоток; 2 - ручка; 3 - сферическое гнездо; 4 - шарик; 5 - угловой масштаб

Рис. 6.8. Тарировочный график для определения предела прочности бетона при сжатии молотком Физделя

Рис. 6.9 Определение прочности материала, с помощью молотка К.П. Кашкарова

1 - корпус, 2 - метрическая рукоятка; 3 - резиною ручка; 4 - головка; 5 - стальной шарик, 6 - стальной эталонный стержень; 7- угловой масштаб

Рис. 6.10. Тарировочная кривая для определения прочности бетона молотком Кашкарова

На рис. 6.8 приведена тарировочная кривая для определения предела прочности при сжатии молотком Физделя.

6.3.4. К методике определения прочности бетона, основанной на свойствах пластических деформаций, относится также молоток Кашкарова ГОСТ 22690-88.

Отличительная особенность молотка Кашкарова (рис. 6.9) от молотка Физделя заключается в том, что между металлическим молотком и завальцованным шариком имеется отверстие, в которое вводится контрольный металлический стержень. При ударе молотком по поверхности конструкции получаются два отпечатка: на поверхности материала с диаметром dd и на контрольном (эталонном) стержне с диаметром dэ. Отношение диаметров получаемых отпечатков зависит от прочности обследуемого материала и эталонного стержня и практически не зависит от скорости и силы удара, наносимого молотком. По среднему значению величины dd/dэ из тарировочного графика (рис. 6.10) определяют прочность материала.

На участке испытания должно быть выполнено не менее пяти определений при расстоянии между отпечатками на бетоне не менее 30 мм, а на металлическом стержне - не менее 10 мм.

6.3.5. К приборам, основанным на методе упругого отскока, относятся пистолет ЦНИИСКа (рис. 6.11), пистолет Борового (рис. 6.12), молоток Шмидта, склерометр КМ со стержневым ударником и др. Принцип действия этих приборов основан на измерении упругого отскока ударника при постоянной величине кинетической энергии металлической пружины. Взвод и спуск бойка осуществляются автоматически при соприкосновении ударника с испытываемой поверхностью. Величину отскока бойка фиксирует указатель на шкале прибора.

Рис. 6.11. Пистолет ЦНИИСКа и Рис. 6.12. Пружинный пистолет С.И. Борового для определения прочности бетона неразрушающим методом

1 - ударник, 2 - корпус, 3 - шкала, 4 - фиксатор показания прибора, 5 - рукоятка

К современным средствам по определению прочности бетона на сжатие неразрушающим ударно-импульсным методом относится прибор ОНИКС-2.2, принцип действия которого заключается в фиксации преобразователем параметров кратковременного электрического импульса, возникающего в чувствительном элементе при ударе о бетон, с его преобразованием в значение прочности. После 8-15 ударов на табло выдается среднее значение прочности. Серия измерений завершается автоматически после 15-го удара и на табло прибора выдается среднее значение прочности.

Отличительная особенность склерометра КМ заключается в том, что специальный боек определенной массы при помощи пружины с заданной жесткостью и предварительным напряжением ударяет по концу металлического стержня, называемого ударником, прижатого другим концом к поверхности испытываемого бетона. В результате удара боек отскакивает от ударника. Степень отскока отмечается на шкале прибора при помощи специального указателя.

Зависимость величины отскока ударника от прочности бетона устанавливают по данным тарировочных испытаний бетонных кубиков размером 15´15´15 см, и на этой основе строится тарировочная кривая.

Прочность материала конструкции выявляют по показаниям градуированной шкалы прибора в момент нанесения ударов по испытываемому элементу.

6.3.6. Методом испытания на отрыв со скалыванием определяют прочность бетона в теле конструкции. Сущность метода состоит в оценке прочностных свойств бетона по усилию, необходимому для его разрушения, вокруг шпура определенного размера при вырывании закрепленного в нем разжимного конуса или специального стержня, заделанного в бетоне. Косвенным показателем прочности служит вырывное усилие, необходимое для вырыва заделанного в тело конструкций анкерного устройства вместе с окружающим его бетоном при глубине заделки h (рис. 6.13).

Рис. 6.13. Схема испытания методом отрыва со скалыванием при использовании анкерных устройств

При испытании методом отрыва со скалыванием участки должны располагаться в зоне наименьших напряжений, вызываемых эксплуатационной нагрузкой или усилием обжатия предварительно напряженной арматуры.

Прочность бетона на участке допускается определять по результатам одного испытания. Участки для испытания следует выбирать так, чтобы в зону вырыва не попала арматура. На участке испытания толщина конструкции должна превышать глубину заделки анкера не менее чем в два раза. При пробивке отверстия шлямбуром или высверливанием толщина конструкции в этом месте должна быть не менее 150 мм. Расстояние от анкерного устройства до грани конструкции должно быть не менее 150 мм, а от соседнего анкерного устройства - не менее 250 мм.

6.3.7. При проведении испытаний используются анкерные устройства трех типов (рис. 6.14). Анкерные устройства типа I устанавливают на конструкции при бетонировании; анкерные устройства типов II и III устанавливают в предварительно подготовленные шпуры, пробитые в бетоне высверливанием. Рекомендуемая глубина отверстий: для анкера типа II - 30 мм; для анкера типа III - 35 мм. Диаметр шпура в бетоне не должен превышать максимальный диаметр заглубленной части анкерного устройства более чем на 2 мм. Заделка анкерных устройств в конструкциях должна обеспечить надежное сцепление анкера с бетоном. Нагрузка на анкерное устройство должна возрастать плавно со скоростью не более 1,5-3 кН/с вплоть до вырыва его вместе с окружающим бетоном.

Рис. 6.14. Типы анкерных устройств

1 - рабочий стержень; 2 - рабочий стержень с разжимным конусом; 3 - рабочий стержень с полным разжимным конусом; 4 - опорный стержень, 5 - сегментные рифленые щеки

Наименьший и наибольший размеры вырванной части бетона, равные расстоянию от анкерного устройства до границ разрушения на поверхности конструкции, не должны отличаться один от другого более чем в два раза.

6.3.8. Единичное значение Ri прочности бетона на участке испытаний определяют в зависимости от напряжений сжатия в бетоне sб и значения Ri0.

Напряжения сжатия в бетоне sб, действующие в период испытаний, определяют расчетом конструкций с учетом действительных размеров сечений и величин нагрузок (воздействий).

6.3.9. Единичное значение Ri0 прочности бетона на участке в предположении sб=0 определяют по формуле

Ri0=,                                                     (6.1)

где m3 - коэффициент, учитывающий крупность заполнителя, принимаемый равным: при максимальной крупности заполнителя менее 50 мм - 1, при крупности 50 мм и более - 1,1;

тh - коэффициент, вводимый при фактической глубине hф, отличающейся от h более чем на 5 %

.

при этом hф не должна отличаться от номинального значения, принятого при испытании, более чем на ±15 %;

Рiусиление каждого из скалываний бетона выполненных на участке испытаний;

n количество испытаний;

А - коэффициент пропорциональности, значение которого при использовании анкерных устройств принимается:

для анкеров типа II - 30 мм: А1=0,24 см2 (бетон естественного твердения); А2=0,25 см2 (бетон, прошедший тепловую обработку);

для анкеров типа III - 35 мм, соответственно А1=0,14 см2; А2=0,17см2.

Прочность обжатого бетона определяют из уравнения

Ri=Ri0(),                                               (6.2)

6.3.10. При определении класса бетона методом скалывания ребра конструкции применяют прибор типа ГПНС-4 (рис. 6.15). Схема испытания приведена на рис. 6.16.

Параметры нагружения следует принимать: а=20 мм; b=30 мм, a=18°.

На участке испытания необходимо провести не менее двух сколов бетона. Толщина испытываемой конструкции должна быть не менее 50 мм. Расстояние между соседними сколами должно быть не менее 200 мм. Нагрузочный крюк должен быть установлен таким образом, чтобы величина «а» не отличалась от номинальной более чем на 1 мм. Нагрузка на испытываемую конструкцию должна нарастать плавно со скоростью не более (1±0,3) кН/с вплоть до скалывания бетона. При этом не должно происходить проскальзывания нагрузочного крюка. Результаты испытаний, при которых в месте скола обнажалась арматура, и фактическая глубина скалывания отличались от заданного более 2 мм, не учитываются.

Рис. 6.15. Прибор для определения прочности бетона методом скалывания ребра

1 - испытуемая конструкция, 2 - скалываемый бетон, 3 - устройство УРС, 4 - прибор ГПНС-4

Рис. 6.16. Схема испытания бетона в конструкциях методом скалывания ребра конструкции

6.3.11. Единичное значение Ri прочности бетона на участке испытаний определяют в зависимости от напряжений сжатия бетона sб и значения Ri0.

Сжимающие напряжения в бетоне sб, действующие в период испытаний, определяют расчетом конструкции с учетом действительных размеров сечений и величин нагрузок.

Единичное значение Ri0 прочности бетона на участке в предположении sб=0 определяют по формуле

,                                                                           (6.3)

где тg - поправочный коэффициент, учитывающий крупность заполнителя, принимаемый равным: при максимальной крупности заполнителя 20 мм и менее - 1, при крупности более 20 до 40 мм - 1,1;

Riy - условная прочность бетона, определяемая по графику (рис. 6.17) по среднему значению косвенного показателя Р

                                                                           (6.4),

Pi - усилие каждого из скалываний, выполненных на участке испытаний.

6.3.12. При испытании методом скалывания ребра на участке испытания не должно быть трещин, сколов бетона, наплывов или раковин высотой (глубиной) более 5 мм. Участки должны располагаться в зоне наименьших напряжений, вызываемых эксплуатационной нагрузкой или усилием обжатия предварительно напряженной арматуры.

Рис. 6.17. Зависимость условной прочности бетона Riy от силы скола Рi

6.4. Ультразвуковой метод определения прочности бетона

6.4.1. Принцип определения прочности бетона ультразвуковым методом основан на наличии функциональной связи между скоростью распространения ультразвуковых колебаний и прочностью бетона.

Ультразвуковой метод применяют для определения прочности бетона классов В7,5 - В35 (марок М100-М400) на сжатие.

6.4.2. Прочность бетона в конструкциях определяют экспериментально по установленным градуировочным зависимостям «скорости распространения ультразвука - прочность бетона V=f(R)» или «время распространения ультразвука t - прочность бетона t=f(R)». Степень точности метода зависит от тщательности построения тарировочного графика.

Тарировочный график строится по данным прозвучивания и прочностных испытаний контрольных кубиков, приготовленных из бетона того же состава, по той же технологии, при том же режиме твердения, что и изделия или конструкции, подлежащие испытанию. При построении тарировочного графика следует руководствоваться указаниями ГОСТ 17624-87.

6.4.3. Для определения прочности бетона ультразвуковым методом применяются приборы: УКБ-1, УКБ-1М, УК-16П, «Бетон-22» и др. (см. табл. 6.2).

6.4.4. Ультразвуковые измерения в бетоне проводят способами сквозного или поверхностного прозвучивания. Схема испытаний бетона приведена на рис. 6.18.

Рис. 6.18. Способы ультразвукового прозвучивания бетона

а - схема испытания способом сквозного прозвучивания; б - то же, поверхностного прозвучивания; УП - ультразвуковые преобразователи

При измерении времени распространения ультразвука способом сквозного прозвучивания ультразвуковые преобразователи устанавливают с противоположных сторон образца или конструкции.

Скорость ультразвука V, м/с, вычисляют по формуле

,                                                          (6.5)

где t - время распространения ультразвука, мкс;

l - расстояние между центрами установки преобразователей (база прозвучивания), мм.

При измерении времени распространения ультразвука способом поверхностного прозвучивания ультразвуковые преобразователи устанавливают на одной стороне образца или конструкции по схеме, приведенной на рис. 6.18.

6.4.5. Число измерений времени распространения ультразвука в каждом образце должно быть: при сквозном прозвучивании - 3, при поверхностном - 4.

Отклонение отдельного результата измерения времени распространения ультразвука в каждом образце от среднего арифметического значения результатов измерений для данного образца, не должно превышать 2 %.

Измерение времени распространения ультразвука и определение прочности бетона производятся в соответствии с указаниями паспорта (технического условия применения) данного типа прибора и указаний ГОСТ 17624-87.

6.4.6. На практике нередки случаи, когда возникает необходимость определения прочности бетона эксплуатируемых конструкций при отсутствии или невозможности построения градуировочной таблицы. В этом случае определение прочности бетона проводят в зонах конструкций, изготовленных из бетона на одном виде крупного заполнителя (конструкции одной партии). Скорость распространения ультразвука V определяют не менее чем в 10 участках обследуемой зоны конструкций, по которым определяют среднее значение V. Далее намечают участки, в которых скорость распространения ультразвука имеет максимальное Vmax и минимальное Vmin значения, а также участок, где скорость имеет величину Vn наиболее приближенную к значению V, а затем выбуривают из каждого намеченного участка не менее чем по два керна, по которым определяют значения прочности в этих участках: Rmax, Rmin, Rn соответственно. Прочность бетона RH определяют по формуле

                                                            (6.6)

при                                           Rmax/100.                                           (6.7)

Коэффициенты а1 и a0 вычисляют по формулам

;                                                         (6.8)

.                                       (6.9)

6.4.7. При определении прочности бетона по образцам, отобранным из конструкции, следует руководствоваться указаниями ГОСТ 28570-90.

6.4.8. При выполнении условия 10 % допускается ориентировочно определять прочность: для бетонов классов прочности до В25 по формуле

,                                                       (6.10)

где А - коэффициент, определяемый путем испытаний не менее трех кернов, вырезанных из конструкций.

6.4.9. Для бетонов классов прочности выше В25 прочность бетона в эксплуатируемых конструкциях может быть оценена также сравнительным методом, принимая в основу характеристики конструкции с наибольшей прочностью. В этом случае

                                      (6.11)

6.4.10. Такие конструкции, как балки, ригели, колонны должны прозвучиваться в поперечном направлении, плита - по наименьшему размеру (ширине или толщине), а ребристая плита - по толщине ребра.

6.4.11. При тщательном проведении испытаний этот метод дает наиболее достоверные сведения о прочности бетона в существующих конструкциях. Недостатком его является большая трудоемкость работ по отбору и испытанию образцов.

6.5. Определение толщины защитного слоя бетона и расположения арматуры

6.5.1. Для определения толщины защитного слоя бетона и расположения арматуры в железобетонной конструкции при обследованиях применяют магнитные, электромагнитные методы по ГОСТ 22904-93 или методы просвечивания и ионизирующих излучений по ГОСТ 17623-87 с выборочной контрольной проверкой получаемых результатов путем пробивки борозд и непосредственными измерениями.

Радиационные методы, как правило, применяют для обследования состояния и контроля качества сборных и монолитных железобетонных конструкций при строительстве, эксплуатации и реконструкции особо ответственных зданий и сооружений.

Радиационный метод основан на просвечивании контролируемых конструкций ионизирующим излучением и получении при этом информации об ее внутреннем строении с помощью преобразователя излучения. Просвечивание железобетонных конструкций производят при помощи излучения рентгеновских аппаратов, излучения закрытых радиоактивных источников.

Транспортировку, хранение, монтаж и наладку радиационной аппаратуры проводят только специализированные организации, имеющие специальное разрешение на проведение указанных работ.

6.5.2. Магнитный метод основан на взаимодействии магнитного или электромагнитного поля прибора со стальной арматурой железобетонной конструкции.

Толщину защитного слоя бетона и расположение арматуры в железобетонной конструкции определяют на основе экспериментально установленной зависимости между показаниями прибора и указанными контролируемыми параметрами конструкций.

6.5.3. Для определения толщины защитного слоя бетона и расположения арматуры из современных приборов применяют в частности ИСМ, ИЗС-10Н (ТУ25-06.18-85.79). Прибор ИЗС-10Н обеспечивает измерение толщины защитного слоя бетона в зависимости от диаметра арматуры в следующих пределах:

при диаметре стержней арматуры от 4 до 10 мм толщины защитного слоя - от 5 до 30 мм;

при диаметре стержней арматуры от 12 до 32 мм толщины защитного слоя - от 10 до 60 мм.

Прибор обеспечивает определение расположения проекций осей стержней арматуры на поверхность бетона:

диаметрами от 12 до 32 мм - при толщине защитного слоя бетона не более 60 мм;

диаметрами от 4 до 12 мм - при толщине защитного слоя бетона не более 30 мм.

При расстоянии между стержнями арматуры менее 60 мм применение приборов типа ИЗС нецелесообразно.

6.5.4. Определение толщины защитного слоя бетона и диаметра арматуры производится в следующем порядке:

до проведения испытаний сопоставляют технические характеристики применяемого прибора с соответствующими проектными (ожидаемыми) значениями геометрических параметров армирования контролируемой железобетонной конструкции;

при несоответствии технических характеристик прибора параметрам армирования контролируемой конструкции необходимо установить индивидуальную градуировочную зависимость в соответствии с ГОСТ 22904-93.

Число и расположение контролируемых участков конструкции назначают в зависимости от:

цели и условий испытаний;

особенности проектного решения конструкции;

технологии изготовления или возведения конструкции с учетом фиксации арматурных стержней;

условий эксплуатации конструкции с учетом агрессивности внешней среды.

6.3.5. Работу с прибором следует производить в соответствии с инструкцией по его эксплуатации. В местах измерений на поверхности конструкции не должно быть наплывов высотой более 3 мм.

6.5.6. При толщине защитного слоя бетона, меньшей предела измерения применяемого прибора, испытания проводят через прокладку толщиной (10±0,1) мм из материала, не обладающего магнетическими свойствами.

Фактическую толщину защитного слоя бетона в этом случае определяют как разность между результатами измерения и толщиной этой прокладки.

6.5.7. При контроле расположения стальной арматуры в бетоне конструкции, для которой отсутствуют данные о диаметре арматуры и глубине ее расположения, определяют схему расположения арматуры и измеряют ее диаметр путем вскрытия конструкции.

6.5.8. Для приближенного определения диаметра арматурного стержня определяют и фиксируют на поверхности железобетонной конструкции место расположения арматуры прибором типа ИЗС-10Н.

Устанавливают преобразователь прибора на поверхности конструкции, и по шкалам прибора или по индивидуальной градуировочной зависимости определяют несколько значений толщины защитного слоя бетона dpr для каждого из предполагаемых диаметров арматурного стержня, которые могли применяться для армирования данной конструкции.

Между преобразователем прибора и поверхностью бетона конструкции устанавливают прокладку соответствующей толщины (например, 10 мм), вновь проводят измерения и определяют расстояние для каждого предполагаемого диаметра арматурного стержня.

Для каждого диаметра арматурного стержня сопоставляют значения dpr и (dabs-de).

В качестве фактического диаметра d принимают значение, для которого выполняется условие

[dpr-(dabs-de)] ® min,                                          (6.12)

где dabs - показание прибора с учетом толщины прокладки.

Индексы в формуле (6.12) обозначают:

s - шаг продольной арматуры;

р - шаг поперечной арматуры;

е - наличие прокладки;

de - толщина прокладки.

6.5.9. Результаты измерений заносят в журнал, форма которого приведена в табл. 6.5.

6.5.10. Фактические значения толщины защитного слоя бетона и расположение стальной арматуры в конструкции по результатам измерений сравнивают со значениями, установленными технической документацией на эти конструкции.

6.5.11. Результаты измерений оформляют протоколом, который должен содержать следующие данные:

наименование проверяемой конструкции (ее условное обозначение);

объем партии и число контролируемых конструкций;

тип и номер применяемого прибора;

номера контролируемых участков конструкций и схему их расположения на конструкции;

проектные значения геометрических параметров армирования контролируемой конструкции;

результаты проведенных испытаний;

ссылку на инструктивно-нормативный документ, регламентирующий метод испытаний.


Таблица 6.5

Форма записи результатов измерений толщины защитного слоя бетона железобетонных конструкций

Тип прибора, №

Условное обозначение конструкции

Номера контролируемых участков конструкции

Параметры армирования конструкции по технической документации

Показания прибора

Измеренная толщина защитного слоя бетона, мм

Примечание

номинальный диаметр арматуры, мм

расположение стержней

толщина защитного слоя бетона, мм

мм

условные единицы

1

2

3

4

5

6

7

8

9

10

 

 

 

 

 

 

 

 

 

 

Дата испытаний _____________Смена_________________________

Подпись лица, проводившего испытания _______________________


6.6. Определение прочностных характеристик арматуры

6.6.1. Расчетные сопротивления неповрежденной арматуры разрешается принимать по проектным данным или по нормам проектирования железобетонных конструкций.

В зависимости от класса стали рекомендуется принимать следующие расчетные сопротивления арматуры на растяжение и сжатие:

для гладкой арматуры - 225 МПа (класс А-I);

для арматуры с профилем, гребни которого образуют рисунок винтовой линии, - 280 МПа (класс А-II);

для арматуры периодического профиля, гребни которого образуют рисунок «елочка», - 355 МПа (класс А-III).

Жесткая арматура из прокатных профилей принимается в расчетах с расчетным сопротивлением при растяжении, сжатии и изгибе равным 210 МПа.

6.6.2. При отсутствии необходимой документации и информации класс арматурных сталей устанавливается испытанием вырезанных из конструкции образцов с сопоставлением предела текучести, временного сопротивления и относительного удлинения при разрыве с данными ГОСТ 380-94, или приближенно по виду арматуры, профилю арматурного стержня и времени возведения объекта согласно рекомендациям п. 6.6.1.

6.6.3. Расположение, количество и диаметр арматурных стержней определяются либо путем вскрытия и прямых замеров, либо применением магнитных или радиографических методов (по ГОСТ 22904-93 и ГОСТ 17625-83 соответственно) (см. п. 6.5.).

6.6.4. Для определения механических свойств стали поврежденных конструкций рекомендуется использовать методы:

испытания стандартных образцов, вырезанных из элементов конструкций, согласно указаниям ГОСТ 7564-73*;

испытания поверхностного слоя металла на твердость согласно указаниям ГОСТ 18835-73, ГОСТ 9012-59* и ГОСТ 9013-59*.

6.6.5. Заготовки для образцов из поврежденных элементов рекомендуется вырезать в местах, не получивших пластических деформаций при повреждении, и чтобы после вырезки были обеспечены их прочность и устойчивость.

При отборе заготовок для образцов элементы конструкций разделяют на условные партии по 10-15 однотипных конструктивных элементов: ферм, балок, колонн и др.

Заготовки для образцов рекомендуется отбирать в трех однотипных элементах конструкций (верхний пояс, нижний пояс, первый сжатый раскос и т.п.) в количестве 1-2 шт. из одного элемента.

Все заготовки должны быть замаркированы в местах их взятия и марки обозначены на схемах, прилагаемых к материалам обследования конструкций.

6.6.6. Характеристики механических свойств стали - предел текучести sт, временное сопротивление sd и относительное удлинение при разрыве d получают путем испытания на растяжение образцов согласно ГОСТ 1497-84*.

Определение основных расчетных сопротивлений стали конструкций производится путем деления среднего значения предела текучести на коэффициент надежности по материалу gm=1,05 или временного сопротивления на коэффициент надежности g=1,05. При этом за расчетное сопротивление принимается наименьшая из величин Rт, Rd, которые найдены соответственно по sт и sd.

6.6.7. При определении механических свойств металла по твердости поверхностного слоя рекомендуется применять портативные переносные приборы: Польди-Хютта, Баумана, ВПИ-2, ВПИ-Зк и др.

Полученные при испытании на твердость данные переводятся в характеристики механических свойств металла по эмпирической формуле. Так, зависимость между твердостью по Бринелю и временным сопротивлением металла устанавливается по формуле

sd=3,5Hb,

где Н - твердость по Бринелю.

6.6.8. Выявленные фактические характеристики арматуры сопоставляются с требованиями СНиП 2.03.01-84* и СНиП 2.03.04-84*, и на этой основе дается оценка эксплуатационной пригодности арматуры.

6.7. Определение прочности бетона путем лабораторных испытаний

6.7.1. Лабораторное определение прочности бетона существующих конструкций производится путем испытания образцов, взятых из этих конструкций.

Отбор образцов производится путем выпиливания кернов диаметром от 50 до 150 мм на участках, где ослабление элемента не оказывает существенного влияния на несущую способность конструкций. Этот метод дает наиболее достоверные сведения о прочности бетона в существующих конструкциях. Недостатком его является большая трудоемкость работ по отбору и обработке образцов.

6.7.2. При определении прочности по образцам, отобранным из бетонных и железобетонных конструкций, следует руководствоваться указаниями ГОСТ 28570-90.

Сущность метода состоит в измерении минимальных усилий, разрушающих выбуренные или выпиленные из конструкции образцы бетона при их статическом нагружении с постоянной скоростью роста нагрузки.

6.7.3. Форма и номинальные размеры образцов в зависимости от вида испытаний бетона должны соответствовать ГОСТ 10180-90.

Допускается применение цилиндров диаметром от 44 до 150 мм, высотой от 0,8 до 2 диаметров при определении прочности на сжатие, от 0,4 до 2 диаметров при определении прочности на растяжение при раскалывании и от 1,0 до 4 диаметров при определении прочности при осевом растяжении.

За базовый при всех видах испытаний принимают образец с размером рабочего сечения 150´150 мм.

6.7.4. Места отбора проб бетона следует назначать после визуального осмотра конструкций в зависимости от их напряженного состояния с учетом минимально возможного снижения их несущей способности. Пробы рекомендуется отбирать из мест, удаленных от стыков и краев конструкций.

После извлечения проб места отбора следует заделывать мелкозернистым бетоном или бетоном, из которого изготовлены конструкции.

Участки для выбуривания или выпиливания проб бетона следует выбирать в местах, свободных от арматуры.

6.7.5. Для выбуривания образцов из бетона конструкций применяют сверлильные станки типа ИЕ 1806 по ТУ 22-5774 с режущим инструментом в виде кольцевых алмазных сверл типа СКА по ТУ 2-037-624, ГОСТ 24638-85*Е или твердосплавных концевых сверл по ГОСТ 11108-70.

Для выпиливания образцов из бетона конструкций применяют распиловочные станки типов УРБ-175 по ТУ 34-13-10500 или УРБ-300 по ТУ 34-13-10910 с режущим инструментом в виде отрезных алмазных дисков типа АОК по ГОСТ 10110-87Е или ТУ 2-037-415.

Допускается применение другого оборудования и инструментов для изготовления образцов из бетона конструкций, обеспечивающих изготовление образцов, отвечающих требованиям ГОСТ 10180-90.

6.7.6. Испытание образцов на сжатие и все виды растяжения, а также выбор схемы испытания и нагружения производят по ГОСТ 10180-90.

6.7.7. Опорные поверхности испытываемых на сжатие образцов, в случае, когда их отклонения от поверхности плиты пресса более 0,1 мм, должны быть исправлены нанесением слоя выравнивающего состава. В качестве типовых следует использовать цементное тесто, цементно-песчаный раствор или эпоксидные композиции.

Толщина слоя выравнивающего состава на образце должна быть не более 5 мм.

6.7.8. Прочность бетона испытываемого образца с точностью до 0,1 МПа при испытании на сжатие и с точностью до 0,01 МПа при испытаниях на растяжение вычисляют по формулам:

на сжатие ;

на осевое растяжение ;

на растяжение при раскалывании ;

на растяжение при изгибе ,

где F - разрушающая нагрузка, Н;

А - площадь рабочего сечения образца, мм2;

а, b, l - соответственно ширина и высота поперечного сечения призмы и расстояние между опорами при испытании образцов на растяжение при изгибе, мм.

Для приведения прочности бетона в испытанном образце к прочности бетона в образце базового размера и формы прочности, полученные по указанным формулам, пересчитывают по формулам:

на сжатие ;

на осевое растяжение ;

на растяжение при раскалывании ;

на растяжение при изгибе ,

где h1, и h2 - коэффициенты, учитывающие отношение высоты цилиндра к его диаметру, принимаемые при испытаниях на сжатие по табл. 6.6, при испытаниях на растяжение при раскалывании по табл. 6.7 и равные единице для образцов другой формы;

a, b, g, d - масштабные коэффициенты, учитывающие форму и размеры поперечного сечения испытанных образцов, которые принимают по табл. 6.6-6.9 или определяют экспериментально по ГОСТ 10180-90.

Таблица 6.6

h

d

от 0,85 до 0,94

от 0,95 до 1,04

от 1,05 до 1,14

от 1,15 до 1,24

от 1,25 до 1,34

от 1,35 до 1,44

от 1,45 до 1,54

от 1,55 до 1,64

от 1,65 до 1,74

от 1,75 до 1,84

от 1,85 до 1,95

от 1,95 до 2,0

h1

0,96

1,0

1,04

1,08

1,1

1,12

1,13

1,14

1,16

1,18

1,19

1,2

Таблица 6.7

h

d

1,04 и менее

1,05-1,24

1,25-1,44

1,45-1,64

1,65-1,84

1,85-2,0

h2

1,0

1,02

1,04

1,07

1,1

1,13

Таблица 6.8

Размеры образцов: ребро куба или сторона квадратной призмы, мм

Сжатие a

Растяжение при раскалывании g

Растяжение при изгибе d

Осевое растяжение b

все виды бетонов

тяжелый бетон

мелкозернистый бетон

тяжелый бетон

70

0,85

0,78

0,87

0,86

0,8

100

0,95

0,88

0,92

0,92

0,92

150

1,0

1,0

1

1,0

1,0

200

1,05

1,10

1,05

1,15

1,08

6.7.9. Отчет об испытаниях должен состоять из протокола отбора проб, результатов испытания образцов и соответствующей ссылки на стандарты, по которым проведено испытание.

Таблица 6.9

, МПа

Коэффициент a при испытаниях на сжатие цилиндров диаметром, мм

50±6

63±6

80±10

более 90

15 и менее

1,1

1,06

1,02

1,0

св. 15 до 25

1,07

1,04

1,01

1,0

св. 25 до 35

1,03

1,01

1,0

1,0

св. 35 до 45

0,96

0,97

0,99

1,0

св. 45 до 55

0,88

0,92

0,97

1,0

более 55

0,8

0,83

0,95

1,0

7. ОБСЛЕДОВАНИЕ КАМЕННЫХ И АРМОКАМЕННЫХ КОНСТРУКЦИЙ

7.1. Особенности работы и разрушения конструкций

7.1.1. При обследовании и оценке технического состояния каменных и армокаменных конструкций необходимо учитывать особенности их работы и разрушения, обусловленные их структурой.

Каменная кладка является неоднородным упругопластическим телом, состоящим из камней и швов, заполненных раствором. Этим обуславливаются следующие особенности ее работы: при сжатии кладки усилие передается неравномерно вследствие местных неровностей и неодинаковой плотности отдельных участков затвердевшего раствора. В результате камни подвергаются не только сжатию, но также изгибу и срезу.

Характер разрушения кладки и степень влияния многочисленных факторов на ее прочность объясняется особенностями ее напряженного состояния при сжатии. Разрушение обычной кирпичной кладки при сжатии начинается с появления отдельных вертикальных трещин, как правило, над и под вертикальными швами, что объясняется явлением изгиба и среза камня, а также концентрацией растягивающих напряжений над этими швами.

7.1.2. При обследовании каменных и армокаменных конструкций необходимо в первую очередь выделить несущие элементы, на состояние которых следует обратить особое внимание.

Первые трещины в кирпичной кладке появляются при нагрузках меньших, чем разрушающие, причем обычно отношение т=Ncrc/Nu тем меньше, чем слабее раствор (Ncrc - нагрузка, соответствующая моменту появления трещин, Nu - разрушающая нагрузка). Так, например, для кладок на растворе марок:

50 и выше     т=0,7-0,8;

10 и 25           т=0,6-0,7;

2 и 4               т=0,4-0,6.

Момент появления первых трещин зависит от качества выполнения горизонтальных швов и плотности применяемого раствора.

В кладках из крупноразмерных изделий (высокопустотных керамических камней, камней из ячеистого бетона) наступает хрупкое разрушение, первые трещины появляются при нагрузках 0,85-1 от разрушающей.

7.1.3. Важной причиной, снижающей прочность и упругость каменной кладки, является неравномерная плотность и усадка раствора. Частичное заполнение раствором вертикальных швов не приводит к снижению прочности кладки, однако уменьшает ее трещиностойкость и монолитность.

Вертикальные швы и отверстия в пустотелых камнях нарушают монолитность кладки и вызывают концентрацию растягивающих и сдвигающих напряжений у верхнего и нижнего концов щелей. Поэтому прочность кладки из пустотелых камней снижается на 15-20 % (за исключением дырчатого кирпича и керамических камней с щелевидными пустотами).

7.1.4. Среди возможных причин возникновения дефектов следует выделить механические, динамические, коррозионные, температурные, влажностные воздействия, а также дефекты, обусловленные неравномерностью деформаций оснований. Последние могут быть вызваны как разностью степени загружения соседних участков стен (например, торцевых - самонесущих и продольных - несущих), так и разностью, технологических условий на смежных участках, а также следствием вымывания грунта из-под фундамента грунтовыми водами, замачивания просадочных грунтов и др.

7.1.5. Важным этапом обследования каменных конструкции является установление деформативно-прочностных характеристик кладки. Обнаруженные в несущих каменных конструкциях трещины следует оценивать с позиции работы кладки над нагрузкой при сжатии. Различают четыре стадии работы кладки при сжатии, приведенные на рис. 7.1.

Рис. 7.1. Стадии работы кладки при сжатии

F - усилие в кладке; Fcrc - усилие в кладке, при котором образуются трещины; Fu - разрушающее усилие

7.1.6. Первая стадия работы каменных конструкций при усилии в кладке F меньше усилий Fcrc, при котором не образуются трещины, свидетельствует о нормальном состоянии конструкций. Вторая стадия при F=Fcrc характеризует удовлетворительное состояние конструкций; третья стадия при Fcrc<F<Fu характеризует неудовлетворительное состояние конструкций; четвертая стадия при F=Fu характеризует предаварийное или аварийное состояние конструкций (Fu - разрушающее усилие).

7.2. Определение технического состояния каменных конструкций по внешним признакам

7.2.1. При оценке технического состояния каменных конструкций необходимо установить:

процент уменьшения сечения в месте повреждения;

стрелу отклонения или выпучивания стен, столбов и колец;

степень развития трещин и других деформаций в поврежденной зоне конструкций;

качество кладки, ширину и глубину швов;

влажностное состояние кирпичных наружных стен;

физико-механические свойства кладки, камня и раствора.

7.2.2. Основными внешними признаками отклонения или выпучивания стен являются смещение или выход из гнезд в каменных стенах концов балок междуэтажных перекрытий, то же стропил, обрешетки фонарей, крыши и т.п., а также наличие вертикальных трещин, отслоение наружных стен от внутренних поперечных в местах взаимного примыкания. Отклонение стен, даже самые незначительные, можно обнаружить по наличию трещин в штукатурке потолков около карнизов вдоль обследуемых стен. Протяженность таких трещин в уровне того или иного этажа показывает наличие отклонений стены в пределах того или иного участка ее длины вдоль здания.

7.2.3. Установление величины отклонения, искривления или выпучивания стены производится путем непосредственного замера ширины трещин в штукатурке потолков или величины смещения балок в отношении гнезд в стенах или замером трещин в примыканиях отклонившихся наружных стен к поперечным, или путем провешивания таких стен обычным веском на шнуре или на тонкой проволоке. В особо ответственных случаях или при значительной трудности провешивания отклонение стен от вертикали может быть установлено теодолитом или другими геодезическими инструментами.

7.2.4. При воздействии на каменные конструкции техногенных и природных факторов (волны, взрыва, землетрясения) обследованию и замеру подлежат все видимые на глаз трещины, включая волосяные, как по ширине, глубине, так и по длине, начертанию и расположению их на поверхности стен, колонн и столбов. Расположение трещин наносится на схемах или чертежах конструкций.

Особенно тщательно следует осматривать каменные неоштукатуренные стены, так как трещины в них с поверхности малозаметны на глаз.

При наличии штукатурки трещины обнаружить легче, но необходимо иметь в виду, что не всегда ширина и длина трещины в штукатурке соответствует размерам трещины в самой кладке. Чтобы установить действительные размеры трещин в кладке штукатурку следует отбивать.

Методы и средства наблюдения за трещинами приводятся в п. 5.3 настоящего Пособия.

7.2.5. При определении качества кладки отмечаются вид и сорт кирпича (красный, силикатный, пустотелые, пористые и т.п.), его качество (железняк, нормальный, алый, недожог и т.п.), а также вид раствора и вяжущего (цементный, сложный, известковый и т.п.).

7.2.6. Фактическая толщина горизонтальных швов кладки устанавливается замером высоты 5-10 рядов кладки и соответствующим подсчетом средних значений. Если в среднем толщина горизонтальных швов превышает 12 мм, то кладка считается пониженной прочности, и необходимо вводить к допускаемым напряжениям по нормам коэффициент снижения. Прочность кирпича определяется по ГОСТ 24332-80. Определение прочностных характеристик раствора производится по рекомендациям разд. 6 настоящего Пособия и указаниям ГОСТ 5802-86.

7.2.7. При повреждении кирпича под опорными участками перемычек и поворота конца перемычки от изгибающего момента, возникающего вследствие большого местного сжатия, могут образовываться сквозные наклонные трещины кирпичной кладки простенка, которые образуются, как правило, параллельно направлению действия сил от приложенных нагрузок.

7.2.8. При обследовании армокаменных конструкций следует особое внимание уделить состоянию арматуры и защитного слоя цементного раствора для конструкций с расположением арматуры с наружной стороны кладки. Оценка степени коррозии арматуры и вида коррозии производится по указаниям п. 6.6 настоящего Пособия.

7.2.9. Техническое состояние каменных конструкций по внешним признакам, характеризующим степень их износа, приводится в табл. III-2 прил. III.

7.3. Определение прочности каменных конструкций

7.3.1. Для определения в натурных условиях прочности каменных конструкций без их разрушения применяют ультразвуковые методы по ГОСТ 17424-90 или механические методы неразрушающего контроля по ГОСТ 22690-88. Для указанных целей используют, в частности, ультразвуковой прибор УКБ-1, УКБ-1М (рис. 7.2). Зная расстояние между излучателем и приемником и время прохождения ультразвука через конструкцию, вычисляют скорость ультразвука. Прочность материала определяют по тарировочным кривым для каждого вида материала. Тарировку выполняют в соответствии с ГОСТ 16724-90 и ГОСТ 10180-90. На рис. 7.3 приведены тарировочные кривые для определения прочности кирпичной кладки с помощью прибора УКБ-1.

При невозможности прозвучивания конструкций с разных сторон применяют так называемый профильный метод, перемещая щуп приемника через определенные равные расстояния по поверхности испытуемого элемента.

7.3.2. Для определения прочности кирпича, раствора и мелкозернистых бетонов (пенобетон, газобетон и др.) применяют прибор типа ПС-1 (рис. 7.4), разработанный кафедрой железобетонных конструкций Московского института коммунального хозяйства и строительства. Принцип действия прибора основан на измерении глубины внедрения конического инвертора в испытуемый материал под действием статической нагрузки. Нагрузка создается вручную нажатием на рукоять прибора и передается на кононический элемент через тарированную пружину. Значение нагрузки ограничено заданным перемещением рукоятки в пределах прорези в корпусе прибора.

Рис. 7.2. Ультразвуковой импульсный прибор УКБ-1М

Рис. 7.3. Тарировочные кривые для определения прочности конструкции с помощью прибора УКБ-1

1 - силикатный кирпич; 2 - красный кирпич

Рис. 7.4. Прибор ПС-1

Прочность материала может быть определена как на отдельных образцах, извлеченных из конструкции, так и непосредственно в конструкции, в том числе и находящейся под нагрузкой.

Поверхность материала, прочность которого определяется, должна быть ровной площадкой 15-20 см в поперечнике, очищенной от грязи, краски и штукатурки. Поверхность следует обработать шкуркой и обеспылить.

При применении прибора ПС-1 следует руководствоваться инструкцией по его эксплуатации.

На рис. 7.5 приведена тарировочная кривая зависимости прочности материала (кирпич, раствор, мелкозернистый бетон) от глубины проникновения индентора в испытуемый образец под действием тарированного усилия.

7.3.3. Для лабораторных испытаний прочности кирпича и раствора отбор образцов производят из малонагруженных элементов конструкций при условии идентичности применяемых на этих участках материалов. Образцы кирпича или камней должны быть целыми без трещин. Из камней неправильной формы выпиливают кубики с размером ребра от 40 до 200мм или высверливают цилиндры (керны) диаметром от 40 до 150мм. Участки кирпичной или каменной кладки, с которых отбирали образцы для испытаний, должны быть полностью восстановлены для обеспечения исходной прочности конструкций.

Рис. 7.5. Тарировочная кривая для определения прочности материалов прибором ПС-1. Рабочее усилие Р=100 Н

7.3.4. Для испытания растворов, отобранных из кирпичной кладки, изготовляют кубы с ребром от 20 до 40 мм, составленные из двух пластин раствора, склеенных гипсовым раствором. Образцы испытывают на сжатие с использованием стандартного лабораторного оборудования. Определение прочности кирпича и камней производится в соответствии с требованиями ГОСТ 8462-85, раствора - ГОСТ 5802-86 или СН 290-74. Значения масштабных коэффициентов следует определять в соответствии с требованиями ГОСТ 10180-90.

7.3.5. Поверочные расчеты несущей способности каменных и армокаменных конструкций производятся в соответствии со СНиП II-22-81, с учетом фактических физико-технических характеристик материалов, полученных в результате инструментальных натурных обследований и лабораторных их испытаний.

8. ОБСЛЕДОВАНИЕ СТАЛЬНЫХ КОНСТРУКЦИЙ

8.1. Определение технического состояния конструкций по внешним признакам

8.1.1. Дефекты и повреждения стальных конструкций в зависимости от причин их вызывающих можно систематизировать на следующие группы:

1. Повреждения от силовых воздействий (статических и динамических) - разрывы, потеря устойчивости, трещины, расшатывание соединений и т.п.

2. Повреждения от механических воздействий - вмятины, прогибы, искривления, истирание и др.

3. Повреждения от физических воздействий - коробление и разрушение при высоких температурах, хрупкие трещины при отрицательных температурах.

4. Повреждения от химических (электрохимических и физико-химических) воздействий - коррозия металла.

Оценка степени конкретных повреждений производится по допускаемым отклонениям на соответствующие дефекты, регламентированные СНиП II-23-81*.

8.1.2. Оценка технического состояния конструкций по внешним признакам производится на основе определения следующих факторов:

геометрических размеров конструкций и их сечений;

наличия разрывов элементов конструкций;

наличия искривлений элементов;

состояния антикоррозионных защитных покрытий;

дефектов и механических повреждений;

состояния сварных, болтовых и заклепочных соединений;

степени и характера коррозии элементов и соединений;

отклонения элементов от проектного положения (расстояния между осями ферм, прогонами, отметок опорных узлов и ригелей и т.п.);

прогибов и деформаций.

8.1.3. Определение геометрических параметров конструкций и их сечений производится путем непосредственных измерений по рекомендациям п. 5.2 настоящего Пособия. При этом фиксируются все отклонения от их проектного положения.

8.1.4. Толщина элементов измеряется штангенциркулем с точностью до 0,05 мм; толщина элементов, имеющих доступ с одной стороны, измеряется с помощью ультразвуковых толщиномеров типа Кварц-6, Кварц-15; сечение сварных швов определяется с помощью шаблонов или снятием слепка пластиком (рис. 8.1); остальные размеры - с помощью стальной линейки и рулетки.

Для измерения толщины листа в слабо напряженной зоне может быть высверлено отверстие.

При измерении толщины элементов могут быть использованы также коррозионно-метрические скобы (рис. 8.2).

Каждый размер уточняется тремя измерениями в разных сечениях по длине элемента по защищенной поверхности.

8.1.5. Определение ширины и глубины раскрытия трещин в общем случае следует выполнять по рекомендациям п. 5.3 настоящего Пособия. Выявление трещин в металлических конструкциях производится путем тщательного визуального осмотра с использованием лупы с 6-8-кратным увеличением или микроскопа МИР-2.

Рис. 8.1. Схема измерения сечения угловых швов с помощью снятия слепка

1 - основной металл; 2 - наплавленный металл; 3 - подрезы основного металла; 4 - пластилин; 5 - слепок сварного соединения; 6 - угловая линейка; 7- размеры катетов шва

Рис. 8.2. Измерительные устройства для замера толщины элементов стальных конструкций

а - микрометр; б - штангенциркуль со стрелочным индикатором; в - механический толщиномер; г - коррозионно-метрическая скоба; д - скоба с раскрывающейся рамкой; е - раздвижная скоба

8.1.6. Признаками наличия трещин могут быть подтеки ржавчины, выходящие на поверхность металла, и шелушение краски.

Для уточнения наличия трещин можно хорошо заточенным зубилом снимать небольшую стружку вдоль предполагаемой трещины, раздвоение которой говорит о наличии трещин.

Для выявления трещин можно пользоваться керосином. Для этого очищенная поверхность смачивается керосином, который проявляет очертание трещины.

8.1.7. Основными дефектами и повреждениями стальных конструкций, которые выявляются при визуальных натурных обследованиях, являются:

в элементах конструкций - прогибы отдельных элементов и всей конструкции, винтообразность элементов, выпучивания, местные прогибы, погнутость узловых фасонок, коррозия основного металла и металла соединений, трещины;

в сварных швах - дефекты формы шва (неполномерность, резкие переходы от основного металла к наплавленному, наплывы, неравномерная ширина шва, кратеры, перерывы) и дефекты структуры шва (трещины в швах или околошовной зоне, подрезы основного металла, непровары по кромкам и по сечению шва, шлаковые или газовые включения или поры);

в заклепочных соединениях - зарубки, смещение с оси стержней и маломерность головок, избыток или недостаток по высоте потайных заклепок, косая заклепка, трещиноватость или рябина заклепки, зарубки металла отжимкой, неплотные заполнения отверстий телом заклепки, овальность отверстий, смещение осей заклепок от проектного положения; дрожание и подвижность заклепок, отрыв головок, отсутствие заклепок, неплотное соединение пакета.

8.1.8. Помимо указанного в конструкциях из алюминиевых сплавов выявляются места их контакта с коррозиеактивным материалом.

8.1.9. Оценка категории технического состояния стальных конструкций по внешним признакам приводится в табл. II-3, прил. II.

8.1.10. При обследовании отдельных видов стальных конструкций необходимо учитывать их особенности и условия эксплуатации.

а) Стальные покрытия

Основной особенностью конструкций покрытий является наличие тонкостенных и гибких стержней, имеющих сложную конфигурацию сечения. Конструкции покрытий имеют довольно четкую расчетную схему, дающую близкое соответствие теоретических расчетных и действительных усилий в элементах; вследствие этого конструкции покрытия имеют мало скрытых и неучтенных резервов несущей способности, и поэтому они очень чувствительны к общим и местным перегрузкам в период эксплуатации. Наиболее чувствительны к перегрузкам прогоны кровли, получающие остаточные прогибы и теряющие прямолинейность. Чувствительны к общим и местным нагрузкам сжатые стержни решетки в средней части ферм, имеющие большую длину и гибкость, могущие потерять устойчивость.

Современные тенденции применения в конструкциях покрытий тонкостенных элементов толщиной 3-6 мм увеличивают опасность поражений их коррозией и требуют повышенного внимания к мероприятиям по антикоррозионной защите.

8.1.11. При обследовании конструкций покрытий следует особое внимание обращать на:

трещины в стыковых накладках и узловых фасонках поясов стропильных и подстропильных ферм, особенно растянутых элементов;

криволинейность поясов и решетки ферм, особенно сжатых элементов, остаточные прогибы ферм;

состояние узлов ферм, особенно опорных. Особенно тщательно должны проверяться на предмет выявления трещин фасонки узлов, к которым примыкают стержни с большими растягивающими усилиями.

Необходимо также выявлять наличие лишних монтажных швов, которые могут изменить статическую схему конструкции.

8.1.12. При опирании ферм через строганый торец следует проверить:

плотность контакта опорного ребра со столиком по всей его ширине визуально;

состояние монтажных стыков, особенно в растянутых элементах, наличие и качество сварных швов в них;

наличие соединительных прокладок в стержнях из спаренных уголков или швеллеров;

наличие эксцентриситетов в передаче нагрузки на узлы ферм (смещение прогонов или плит с осей узлов, подвеска грузов вне узлов);

отклонение плоскости ферм от вертикали с помощью отвеса;

наличие непредусмотренных проектом нагрузок или следов от них;

состояние узлов примыканий связей к фермам, особенно при болтовом соединении, наличие поперечных сварных швов на растянутых элементах ферм в месте крепления фасонок связей;

качество крепления элементов кровли или прогонов к верхним поясам ферм. При невозможности увидеть соответствующие сварные швы их наличие определяется с помощью зеркала или на ощупь;

наличие в прогонах искривлений, закручиваний, тяжей;

соответствие связей покрытий проекту, общие искривления и вырезы в них;

смещение фонарей с осей ферм, искривление их элементов, состояние болтовых соединений.

б) Колонны и связи по колоннам

8.1.13. Особенность конструкции колонн заключается в том, что их расчет производится на суммарное воздействие большого числа нагрузок, особенно при наличии мостовых кранов, вероятность одновременного воздействия которых весьма мала. Поэтому фактические усилия в колоннах при нормальной эксплуатации значительно меньше расчетных.

Сравнительно мощные сечения колонн при невысоких рабочих напряжениях обладают большими запасами несущей способности, а также лучше сопротивляются механическим воздействиям и имеют большую стойкость коррозии.

8.1.14. При обследованиях колонн и связей по колоннам необходимо уделить особое внимание:

общей геометрической форме колонн и соответствию их проектному положению;

местным прогибам, вмятинам и повреждениям поясов и элементов решетки, преимущественно в нижней части колонн, механическим повреждениям в местах технологических проездов и на участках складирования материалов;

монтажным стыкам колонн, качеству сварных швов в них;

искривлениям ветвей связей и элементов соединительной решетки;

состоянию узлов примыкания связей к колоннам, разрывам или искривлениям фасонок или разрушениям по сварным швам;

состоянию анкерных закреплений колонн в фундаментах;

состоянию узлов опирания подкрановых балок на консоли колонн;

трещинам в основном металле или сварных соединениях и в местах крепления подкрановых балок и тормозных конструкций к колоннам;

состоянию решеток сквозных колонн и ребер жесткости сплошных колонну;

поврежденным коррозией элементам;

местам непосредственного воздействия высоких температур в горячих цехах;

на неравномерные осадки и повороты колонн, вызывающие повреждение закрепленных на них ограждающих конструкций, искривления элементов конструкций покрытий и повреждение опорных узлов.

в) Подкрановые конструкции

8.1.15. Подкрановые конструкции промышленного здания включают подкрановые балки, тормозные балки или фермы, узлы креплений балок и тормозных ферм к колоннам, крановый рельс с креплениями и упоры. Ниже рассматриваются наиболее существенные особенности работы подкрановых конструкций, способствующих появлению повреждений.

8.1.16. Нагрузка на подкрановые конструкции является подвижной, работа их происходит с переменным или знакопеременным многократно повторяемым циклом напряжений, вызывающим усталость металла.

Сосредоточенная нагрузка прикладывается последовательно по всей длине балки, что требует повышенной надежности элементов верхнего пояса. Давления колес крана передаются на подкрановые балки неравномерно. Вертикальные нагрузки от колес крана передаются на балки с эксцентриситетом, и вместе с боковыми силами создают значительный по величине крутящий момент, приложенный к верхнему поясу подкрановых балок, не учитываемый расчетом.

Боковые силы от мостовых кранов существенным образом зависят от состояния подкрановых путей и часто бывают больше расчетных.

Жесткость креплений подкрановых и тормозных балок к колоннам, наличие в местах сопряжении разрезных балок сплошного кранового рельса и соединительных накладок между балками создают частичную неразрезность подкрановых конструкций, также не учитываемую расчетом. Неразрезность подкрановой конструкции приводит к появлению в ней знакопеременного цикла напряжений, что способствует проявлению усталостных явлений. Особенно значительно влияние этого фактора на состояние креплений подкрановых балок и тормозных конструкций к колонне.

Кроме того, остаточные напряжения от сварки, неточности изготовления и монтажа конструкций, перекосы подкрановых путей и колес крана в плане еще более усложняют действительную работу подкрановых конструкций.

8.1.17. Опыт эксплуатации и натурные обследования показывают, что уже после 4-6 лет эксплуатации в подкрановых конструкциях появляются первые повреждения: расстраиваются крепления подкрановых и тормозных балок к колоннам, а также соединения их между собой, появляются усталостные трещины в сварных швах и стенке около верхнего пояса балок; в клепаных балках ослабляются заклепки верхнего пояса и появляются трещины в уголках.

8.1.18. Основные повреждения подкрановых конструкций:

В сварных подкрановых балках часто появляются продольные трещины 1 в верхнем поясном шве или в околошовной зоне у торца балки. Характерный вид таких трещин показан на рис. 8.3.

Рис. 8.3. Характер повреждения сварной (а) и клепаной (б) сплошностенчаных подкрановых балок

При прогибе балки происходит поворот ее опорного сечения вокруг края фактической опоры (по грани колонны), вследствие чего верх торца балки несколько приподнимается. При переходе катка крана с одной балки на другую увеличивается динамический эффект нагрузки. Конец сварного шва у торца балки является концентратором напряжений. Совокупность вышеуказанных факторов и является причиной возникновения трещин у торцов балки. Такие же повреждения часто появляются между ребрами жесткости 2. Они начинаются в сварном шве или околошовной зоне и, развиваясь с течением времени, достигают длины 1-3 м, и часто распространяются на стенку.

Местный крутящий момент, от внецентренного приложения вертикальных давлений вызывает растягивающие напряжения на одной из сторон стенки балки и способствует усталостному ее разрушению.

Довольно часто продольные трещины в стенке у верхнего пояса сварных балок появляются около ребер жесткости 3, чему способствуют концентрация напряжений у ребер, а также остаточные сварочные напряжения.

Во многих случаях в сварных балках появляются трещины 4 на конце ребер жесткости по сварному шву или по металлу ребра вблизи шва, прикрепляющего ребро к верхнему поясу. Иногда эти трещины распространяются с ребра на металл стенки балок. Основной причиной появления трещин типа 4 являются воздействия в верхнем поясе местных крутящих моментов, возникающих от вышеуказанных причин.

Поперечные трещины в верхних поясных листах 5 возникают у отверстий, в листах верхнего пояса, служащих для креплений рельсов, и постепенно распространяются к краю пояса балки. Часто трещины в стенке балки появляются у концов коротких ребер жесткости 6, такие трещины возникают преимущественно в высоких балках с относительно гибкой стенкой при пролетах 12 м и более.

Местные прогибы верхних поясов ферм 7 являются следствием нарушения правил эксплуатации при использовании балок для зачаливания блоков и тросов при подъеме и перемещении оборудования.

8.1.19. При обследовании подкрановых конструкций проверяются:

состояние верхнего пояса шва и околошовной зоны, в первую очередь на предмет выявления трещин. Появление трещин разных направлений возможно в верхней части стенки, а также под коротким ребром жесткости. Желательно осмотр этих участков проводить с обеих сторон балки. Тщательный осмотр этих мест производится по всей длине подкрановых балок;

выполнение требований к качеству и расположению заводских стыков швов поясов и стенок балок, швов приварки ребер жесткости. В неразрезных балках особое внимание уделяется швам в монтажных стыках;

местные прогибы и искривления элементов, наличие грибовидных поясов, погнутости их между ребрами жесткости;

состояние соединения тормозных конструкций с верхним поясом балок. Необходимо проверить наличие швов сверху и снизу листа, продольных трещин в листе или по шву;

узлы примыкания тормозных конструкций к колоннам (наличие разрушенных швов или болтовых соединений);

узлы соединения балок между собой на опорах, а также с колоннами. Конструктивные решения этих узлов разнообразны, что определяет разнообразие видов их повреждений;

состояние нижних опорных узлов подкрановых балок, анкерных болтов, прокладок. Особое внимание следует уделять этим узлам в неразрезных балках, в которых передаются отрывающие реакции;

в узлах с передачей усилий через строганые торцы - плотность сопряжения опорных ребер с плитой колонны, зазоры и перекосы;

вертикальность подкрановых балок и взаимное их расположение на опорах;

состояние крепления рельса к подкрановым балкам, ослабление и разрушение крючьев и болтов, прижимных планок и т.п.;

состояние рельсов и подкрановых балок, прямолинейность рельсовых путей;

состояние ограниченных упоров кранов.

8.1.20. В клепаных подкрановых балках также встречаются повреждения отмеченных выше типов (1-7). Они аналогичны повреждениям сварных балок и вызываются теми же причинами. Однако отсутствие остаточных напряжений от сварки, большая податливость заклепочных соединений и утолщение верхней части стенки балки полками поясных уголков облегчают условия работы клепаных балок, поэтому повреждения в них появляются позже, чем в сварных балках.

Массовым повреждением клепаных подкрановых балок является ослабление и повреждение заклепок верхних поясов.

Горизонтальные заклепки крепления поясных уголков к стенке 8 повреждаются вследствие кручения верхнего пояса, вызванного внецентренным приложением нагрузки.

Вертикальные заклепки крепления верхнего поясного листа к уголкам 9 повреждаются вследствие возникновения напряжения от общего изгиба балки при внецентренно приложенной нагрузке.

8.1.21. Наиболее характерными повреждениями крановых рельсов являются: износ верхних и боковых граней головки, повреждения рельсов в местах стыков и трещины в швах.

Повреждение крановых упоров заключается в ослаблении их креплений, остаточных деформациях, а при сильных ударах и в разрушении.

Повреждения подкрановых конструкций общей поверхностной коррозией, как правило, незначительны благодаря мощности сечений и слабому воздействию агрессивной производственной среды.

8.1.22. Количественная характеристика отдельных видов повреждений и времени их возникновения позволяет дать общую оценку надежности подкрановых конструкций, выявить наиболее слабые места и разработать мероприятия по восстановлению их эксплуатационных качеств.

г) Прочие конструкции

8.1.23. Кроме основных несущих конструкций, образующих каркас зданий, в производственных зданиях имеется большое количество различных конструкций: рабочие площадки, пути для подвесного транспорта и др.

Опасные повреждения в элементах конструкций рабочих площадок возникают в результате воздействия динамических подвижных нагрузок, а также высоких температур в горячих цехах.

8.1.24. Повреждения конструкций рабочих площадок являются аналогичными для балочных конструкций. При обследовании рабочих площадок внимание следует обратить на ослабление сечений балок и настила различными вырезами для выпуска технологических коммуникаций, а также на состояние узлов сопряжения второстепенных и главных балок с колоннами, монтажных стыков между собой, вставок между балками; состояние стоек и связей по ним.

8.1.25. При обследовании конструкций подвесного транспорта следует обратить внимание на ослабление креплений ездовых балок на опорах, изменение геометрического положения путей, происходящих от неравномерной осадки несущих конструкций и приводящих к накоплению остаточных деформаций.

Обследование узловых соединений, сварных швов, состояния заклепок, материалов стальных конструкций, покрытий, колонн, подкрановых и прочих конструкций производится по методике, изложенной в п. 8.4 настоящего Пособия.

8.2. Оценка коррозионных повреждений стальных конструкций

8.2.1. При оценке технического состояния стальных конструкций, пораженных коррозией, прежде всего необходимо определить вид коррозии и ее качественную и количественную характеристики.

Различают следующие основные виды коррозии стальных конструкций.

Сплошная - характеризуется относительно равномерным распределением коррозии по всей поверхности; пятнами - характеризуется небольшой глубиной проникновения коррозии по сравнению с поперечными размерами поражений; язвенная - характеризуется появлениями на поверхности металла отдельных или множественных повреждений, глубина и поперечные размеры которых (от долей миллиметра до нескольких миллиметров) соизмеримы; точечная (питтинговая) - представляет собой разрушение в виде отдельных мелких (не более 1-2 мм в диаметре) и глубоких (глубина больше поперечных размеров) язвочек; межкристаллическая - характеризуется относительно равномерным распределением множественных трещин на больших участках элементов (глубина трещин обычно меньше, чем их размеры на поверхности).

К качественным характеристикам коррозии относятся плотность, структура, цвет и химический состав продуктов коррозии. Качественные характеристики определяют путем лабораторных исследований продуктов коррозии, а цвет - визуально.

К количественным показателям коррозионных поражений относятся их площадь, глубина коррозионных язв, величина потери сечения, скорость коррозии.

8.2.2. Поверхность элементов конструкций, подлежащих обследованию, необходимо очистить от пыли, грязи, жировых загрязнений, легко отслаивающихся старых покрытий и продуктов коррозии. Поверхности элементов в плоскостях, в которых проводят инструментальные измерения, необходимо очищать до металлического блеска механическими щетками, а затем мелкой шлифовальной шкуркой.

8.2.3. Площадь коррозионных поражений с указанием зоны их распространения выражают в процентах площади поверхности конструкций.

Толщина элементов, поврежденных коррозией, замеряется не менее чем в трех сечениях по длине элемента. В каждом проводится не менее трех замеров. При сплошной коррозии толщина элементов измеряется с помощью штангенциркулей, микрометров или механических толщиномеров (рис. 8.4). Толщина замкнутых профилей определяется с помощью ультразвуковых толщиномеров.

8.2.4. При язвенной коррозии, а также при наличии питтингов глубину коррозионных язв измеряют с точностью 0,1 мм с помощью измерительных скоб (см. рис. 8.4) или прибора Тимашева (рис. 8.5).

8.2.5. Величина потери сечения выражается в процентах начальной толщины. В качестве начальной толщины элемента принимается его толщина в местах, не поврежденных коррозией, или, при отсутствии таких мест, по номинальным данным, приведенным в проекте или в сортименте. Для определения величины потери сечения в нескольких местах по длине и по сечению элемента микрометром или штангенциркулем с точностью до 0,05 мм измеряется его толщина. Разность между начальной и измеренной толщинами, выраженная в процентах, даст среднестатическую величину потери сечения.

Рис. 8.4. Схема измерения толщины элементов при сплошной коррозии

Рис. 8.5. Схема прибора Тимашева

1 - язвенная коррозия элемента; 2 – опорная скоба; 3 – стрелочный индикатор

Косвенную величину коррозионных потерь можно определить путем измерения толщины слоя продуктов коррозии. Величина коррозионных потерь с одной стороны элемента приближенно равна 1/3 толщины слоя окислов.

3.2.6. Для оценки состояния лакокрасочных покрытий необходимо обращать внимание на изменение цвета, размягчение и охрупчивание, наличие признаков шелушения, отслаивание, образование сыпи и пузырей, наличие или отсутствие продуктов коррозии на поверхности покрытия или под ним.

Адгезию покрытия определяют методом решетчатого надреза по ГОСТ 15140-78*. Толщину покрытия измеряют толщиномерами ИТП-1 или МТ-300, а сплошность дефектоскопами ЛКД-1 или ЛД2.

Защитные свойства лакокрасочных покрытий оценивают по ГОСТ 6992-68* или ГОСТ 9.407-84.

8.2.7. Оценку защитных свойств металлических покрытий производят путем сопоставления фактического состояния покрытий с требованиями ГОСТ 9.301-86 и ГОСТ 9.302-88.

8.2.8. Стойкость металлов определяется при равномерной коррозии средней скоростью разрушения, мм/год, при неравномерной коррозии - глубиной проникновения отдельных коррозионных разрушений (язв), мм/год.

8.2.9. При обследованиях конструкций из высокопрочных термообработанных сталей, а также конструкций, работающих при высоких или пониженных температурах, используются металлографические методы исследования коррозии, которые позволяют выявить межкристаллические или внутрикристаллические коррозионные поражения и их конфигурацию.

8.2.10. Если работы по обследованию конструкций особо ответственных объектов проводят в течение нескольких лет, то рекомендуется включить в программу обследований проведение натурных коррозионных испытаний по ГОСТ 9.909-86 и ГОСТ 6992-68 образцов из материалов, соответствующих материалам обследуемых конструкций, и из более коррозионно-стойких материалов, которые можно использовать при замене конструкций, а также образцов с защитными покрытиями, соответствующими примененным для обследованных конструкций, и с более стойкими покрытиями. Условия испытаний образцов должны соответствовать наиболее жестким условиям, в которых эксплуатируются конструкции данного вида.

8.3. Обследование сварных, заклепочных и болтовых соединений

8.3.1. Обследование сварных соединений является наиболее ответственной операцией, так как сварной шов и околошовная зона могут быть наиболее вероятными очагами возникновения коррозии и трещин.

8.3.2. Обследование сварных швов включает следующие операции:

очистка от грязи и шлака и внешний осмотр с целью обнаружения трещин и других повреждений;

определение размеров катетов швов. Для этого применяются: универсальные шаблоны конструкции Красовского, Ушерова-Маршака, а также скобы для измерения толщины швов, снятые слепки и измерение с помощью угловой линейки. Длина сплошных и прерывистых швов измеряется линейкой.

8.3.3. Скрытые дефекты швов обнаруживаются с помощью простукивания шва молотком весом 0,5 кг, при этом доброкачественный шов издает такой же звук, как и основной металл; глухой звук указывает на наличие дефекта.

На участке шва с предполагаемым скрытым дефектом производятся контрольное высверливание и травление отверстий 10-12 %-ным водным раствором двойной соли хлорной меди и алюминия. Наплавленный металл при этом темнеет и на темном фоне просматриваются дефекты (непровар, шлаковые включения и т.п.). Диаметр сверла принимается на 2-3 мм больше ширины шва. Эта операция производится при необходимости выявления глубины непровара и внутренних повреждений швов.

8.3.4. При необходимости более тщательного исследования внутренних повреждений сварных швов и внутренних трещин элементов металлоконструкций следует применять физические методы контроля: ультразвуковой, рентгеновский, электромагнитный и др. Физические методы контроля осуществляются специализированными организациями.

8.3.5. Выявление повреждений заклепочных соединений производится их внешним осмотром и отстукиванием.

Контроль состояния заклепок и болтов отстукиванием осуществляется молотком массой 0,3-0,5 кг на длинной рукоятке. При ударе слабая заклепка или болт издают глухой дребезжащий звук, а приложенный к ним палец ощущает дрожание.

8.3.6. Неплотность соединений, подвижность заклепок обнаруживаются при отстукивании заклепок молотком.

Ослабление заклепки обнаруживается также по ржавым подтекам из-под головки и по венчикам пыли вокруг нее. Неплотности прилегания головки к пакету и неплотности элементов в пакете контролируются с помощью набора щупов толщиной от 0,2 до 0,5 мм.

8.3.7. Высокопрочные болты не простукиваются. По внешнему виду они отличаются от обычных обязательным наличием шайб под каждой головкой.

Контроль узловых соединений, выполненных на высокопрочных болтах, производится в соответствии со следующими требованиями:

разболчивание соединений не допускается;

в затянутых на проектное усилие болтах концы их должны быть заподлицо с поверхностью гаек или выступать за нее;

контроль натяжения болтов может осуществляться закручиванием. В случае нанесения рисок при монтаже на металле и на гайке контроль может осуществляться визуально по положению рисок;

контроль натяжения по моменту закручивания производится тарировочным ключом, с помощью которого к гайке или головке болта прикладывается крутящий момент, необходимый для того, чтобы повернуть гайку или головку болта на 5° в направлении затяжки;

тарировочным ключом проверяется 10 % болтов общего количества их в узле, но не менее двух;

при контроле затяжки болта крутящий момент должен превышать момент, обеспечивающий минимальное осевое натяжение, не менее чем на 5 % и не более чем на 10 % установленного расчетом болтовых соединений;

если при приложении контрольного крутящего момента не наблюдается поворота гайки или болта, значит болты соединения имеют достаточное осевое натяжение. Если при приложении контрольного момента гайка или болт проворачивается раньше его достижения, то следует осуществить контроль всех высокопрочных болтов данного соединения.

8.4. Определение качества стали конструкций

8.4.1. При натурных обследованиях важным является определение качества стали конструкций, проводимое путем механических испытаний образцов, химического и металлографического их анализа.

8.4.2. Испытание материалов стальных конструкций производится:

при отсутствии сертификатов или недостаточности имеющихся в них данных;

при обнаружении в элементах конструкций повреждений, особенно в виде трещин;

если установленная по сертификатам и чертежам марка стали не соответствует требованиям современных норм.

8.4.3. При лабораторных испытаниях, как правило, определяют следующие показатели:

механические свойства, пределы пропорциональности, упругости, текучести, временное сопротивление, истинное сопротивление разрыву, относительное удлинение и относительное сужение после разрыва.

Для конструкций, работающих на динамические нагрузки, обязательно проводят исследование ударной вязкости стали в соответствии с ГОСТ 9454-78*. Ударную вязкость определяют при температурах +20, -20, -40, -70 °С. Температуру испытания устанавливают в зависимости от требований нормативных документов для конструкций данного вида и климатического региона.

При механических испытаниях образцов следует руководствоваться указаниями ГОСТ 1497-84, ГОСТ 9454-78* и СНиП II-23-81*.

8.4.4. Отбор образцов для механических испытаний производится с ненагруженных или малонапряженных участков конструкций путем выпиливания металлорежущим инструментом или вырезания автогеном. При этом должны быть обеспечены припуски, предохраняющие образец от влияния нагрева и наклепа.

На рис. 8.6 и 8.7 указаны места отбора заготовок из элементов ферм, уголковых и швеллерных элементов.

Отбор заготовок для механических испытаний производится отдельно для каждой партии. К одной партии принадлежат элементы одного вида проката (лист, уголок, двутавры и т.д.) одинаковые по номерам, толщинам, маркам стали и входящие в состав однотипных конструкций (ферм, подкрановых балок, колонн и т.д.), одного периода поставки для изготовления.

Количество проб и образцов на каждую партию должно быть: при испытании на растяжение и на ударную вязкость - не менее 3 из каждого элемента; количество образцов из одного металла не менее 2 и от всей партии не менее 6.

Рис. 8.6. Места отбора заготовок из элементов ферм

Рис. 8.7. Схема отбора заготовок из уголковых швеллерных сечений

Отбор образцов производят: для листовой стали - поперек направления проката, сортовой и фасонной - вдоль направления проката.

8.4.5. Химическим анализом определяют химический состав стали, металлографическим - структуру стали, наличие и характер включений и микротрещин в соответствии с указаниями ГОСТ 10243-75*, ГОСТ 5639-82*. Химические и металлографические анализы производятся специализированными лабораториями.

На основании проведенных лабораторных испытаний стали определяют ее марку в соответствии с требованиями соответствующих ГОСТ и СНиП II-23-81*.

8.4.6. Отбор образцов для химического анализа производится высверливанием. Поверхность металла перед отбором образцов зачищается до металлического блеска. Сверление производят в нескольких местах одного профиля, при этом режим сверления должен быть таким, чтобы стружка не имела цветов побежалости. Общий вес стружки для химического анализа должен составлять 50-100 г.

8.4.7. Отбор образцов для металлографического анализа производится с участков конструкций, где имеется опасность питтинговой коррозии, усталостных разрушений, изменений структуры металла, путем выпиливания. При этом должны соблюдаться меры по предотвращению нарушения структуры стали.

8.4.8. Размеры заготовок должны обеспечивать возможность изготовления пропорциональных образцов для испытаний в соответствии с ГОСТ 1497-84* и ГОСТ 7564-97.

При выпиливании минимальные размеры заготовок для изготовления плоских образцов из проката толщиной 8-10 мм составляют: длина - 205-220 мм, ширина - 30-35 мм. Допускается вырезание заготовок длиной 60-70 мм и шириной 12-15 мм, из которых изготавливаются цилиндрические образцы с d0=10 мм и начальной l0=10d0. В случае вырезания образцов автогеном со стороны линий среза должны оставаться припуски не менее 20 мм при толщине элемента до 60 мм и не менее 30 мм при большей толщине.

8.4.9. Испытание на растяжение производится по ГОСТ 1497-84 на плоских образцах с записью диаграмм растяжения. Предел текучести определяется по диаграмме.

Скорость перемещения захвата, мм/мин, при испытании до предела текучести - не более 0,01, за пределом текучести - не более 0,2 длины расчетной части образца.

Предпочтительными являются короткие образцы с расчетной длиной l0=5,56, где F0 - площадь поперечного сечения образца.

8.4.10. По результатам испытания на растяжение устанавливается соответствие применяемого в конструкциях и указанного в проектной документации класса стали. В случае, если значение предела текучести или временного сопротивления ниже указанного в ГОСТ, сталь переводится в более низкий класс.

8.4.11. Пластичность стали оценивается по величине относительного удлинения. При полученных значениях относительного удлинения ниже установленных в нормах или соответствующего класса прочности стали следует обратить внимание на возможность появления хрупких трещин, особенно в зоне сварных соединений и повышенной концентрации напряжений.

8.4.12. Склонность стали к хрупкому разрушению выявляется по результатам испытаний на ударную вязкость. При неудовлетворительных результатах испытаний на ударную вязкость рекомендуется провести повторною оценку ударной вязкости на удвоенном числе образцов. Результаты повторных испытаний являются окончательными.

В случае, если повторные испытания дадут неудовлетворительные результаты, ставится вопрос о необходимости усиления или замены конструкции.

8.4.13. Результаты обследований заносят в журнал, в котором указываются наименование предприятия, цеха, отделения, вид конструкции и номера использованных чертежей и схем, места отбора проб металла и продуктов коррозии, измерений сечения, высверливании и т.п. факторы обследований.

8.4.14. Выявленные фактические характеристики конструкций и их элементов сопоставляются с требованиями нормативных документов - СНиП II-23-81 «Стальные конструкции», СНиП III-18-75 «Металлические конструкции. Правила производства и приемки работ», «Правила устройства и безопасной эксплуатации грузоподъемных кранов», СНиП 2.03.11-85, других нормативных документов.

8.4.15. На основании результатов обследований производятся расчеты несущей способности элементов и конструкции в целом с целью разработки рекомендаций по дальнейшей их эксплуатации и восстановления их несущей способности и эксплуатационной надежности.

9. ОБСЛЕДОВАНИЕ ДЕРЕВЯННЫХ КОНСТРУКЦИЙ

9.1. Особенности эксплуатационных качеств деревянных конструкций

9.1.1. Древесина является эффективным строительным материалом, однако имеет ряд отрицательных свойств: неоднородность строения и пороки (сучки, косослой и др.), быстрое увлажнение, набухаемость, низкая огнестойкость, быстрое разрушение грибами и жучками. Поэтому обеспечение долговечности деревянных конструкций требует выполнения ряда мероприятий при их строительстве и эксплуатации. Основные требования, предъявляемые к древесине и деревянным конструкциям, регламентируются ГОСТами 8486-86Е, 2695-83*, 9462-88*, 9363-88*, а также СНиП II-25-80 и СНиП 2.01.08-85.

9.1.2. При обследованиях деревянных конструкций следует различать особенности неклееных и клееных конструкций и требований к условиям их эксплуатации, так как стойкость клеевых соединений к циклическим температурно-влажностным и другим эксплуатационным воздействиям отличается от неклееных конструкций.

9.1.3. При оценке стойкости клеевых соединений к циклическим температурно-влажностным воздействиям следует руководствоваться указаниями ГОСТ 17580-82, водостойкости - ГОСТ 17005-82, а влагозащитных качеств покрытий и пропиток - ГОСТ 22407-77.

9.2. Основные признаки, характеризующие техническое состояние конструкций

9.2.1. Основными признаками, характеризующими техническое состояние деревянных конструкций, являются: прогибы и деформации, прочностные показатели, влажностное состояние, биоповреждение (грибами и жуками), коррозия древесины (для конструкций, эксплуатируемых в условиях агрессивных сред), коррозия металлических накладок, скоб, хомутов, болтов и др.

9.2.2. Прогибы и деформации элементов деревянных конструкций определяются по методике и средствами, изложенными в разд. 5.2 настоящего Пособия.

Прогибы элементов деревянных конструкций зданий и сооружений не должны превышать величин, приведенных в табл. 9.1.

Таблица 9.1

№ пп.

Элементы конструкций

Предельные прогибы в долях пролета, не более

1.

Балки междуэтажных перекрытий

1/250

2.

Балки чердачных перекрытий

1/200

3.

Покрытия (кроме ендов):

 

 

а) прогоны, стропильные ноги

1/200

 

б) балки консольные

1/150

 

в) фермы, клееные балки (кроме консольных)

1/300

 

г) плиты

1/250

 

д) обрешетки, настилы

1/150

4.

Несущие элементы ендов

1/400

5.

Панели и элементы фахверка

1/250

Примечания: 1. При наличии штукатурки прогиб элементов перекрытий только от длительной временной нагрузки не должен превышать 1/350 пролета.

2. При наличии строительного подъема предельный прогиб клееных балок допускается до 1/200 пролета

9.2.3. При обследовании деревянных конструкций необходимо особое внимание уделять эффективности мероприятий:

по защите от непосредственного увлажнения атмосферными осадками, грунтовыми и талыми водами, производственными водами и др.;

по предохранению древесины конструкций от промерзания, капиллярного и конденсационного увлажнения и по созданию осушающего температурно-влажностного режима окружающей воздушной среды (наличия естественной и принудительной вентиляции помещения, устройство продухов, аэраторов и др.);

по противопожарной защите;

по защите от воздействия гнилостных грибков и насекомых-древоточцев.

9.2.4. Условия, способствующие развитию дереворазрушающих грибов, являются: влажность древесины - 25-70 %; температура - от минус 3 до +40 °С; застойный воздух (скорость движения воздуха менее 0,001 м/с); наличие грибковых спор (практически повсеместно, где есть древесина).

Признаками поражения деревянных конструкций дереворазрушающими грибами являются: спертый грибной запах в помещении; наличие образований на поверхности конструкций; изменение цвета конструкций (побурение), потеря прочности, высыхание, растрескивание, глухой звук при простукивании конструкций.

Признаками поражения деревянных конструкций жуками-древоточцами являются: наличие летных отверстий (размером 0,5-0,6 мм) и выпадение из них бурой муки; глухой звук при простукивании, шум в конструкции в начале лета, наличие жуков обнаруживается на слух с помощью специального стетоскопа.

9.2.5. Для определения вида гриба и степени поражения конструкций требуется микроскопическое исследование образцов древесины в специализированных лабораториях. Образцы для анализа размером 15´15´5 мм отбирают с сохранением грибных образований.

9.2.6. Участки древесины, пораженные грибками и жуками-точильщиками, вырезаются и сжигаются, после чего конструкция усиливается антисептированной древесиной или специальными металлическими протезами.

9.2.7. Влажностное состояние элементов деревянных конструкций определяют путем отбора образцов с размером 15´15´5 мм и лабораторных испытаний по методике, изложенной в разд. 10.6 настоящего Пособия. При этом температура сушки в сушильных шкафах должна быть не более 60 °С. Определение влажности древесины следует производить с учетом требований ГОСТ 16483.7-81.

9.2.8. Оценка степени коррозии металлических накладок, скоб хомутов и др., производится по указаниям раздела 8 «Пособия». При значительном повреждении указанных металлических элементов коррозией прочность соединений оценивается с учетом этого фактора.

9.2.9. Прочностные характеристики древесины можно установить путем лабораторных испытаний вырезанных из конструкций образцов или по виду материала (сосна, ель, лиственница, пихта и др.), пользуясь их нормативными характеристиками по СНиП II-20-80, а также ультразвуковым прибором типа УХ-14П.

При лабораторных испытаниях физико-технические характеристики древесины следует определять, руководствуясь указаниями ГОСТов 16483.0-89, 16483.3-84, 16483.5-73*.

9.2.10. Для определения технического состояния элементов деревянных конструкций необходимо кроме выше отмеченных факторов обратить внимание на состояние:

узлов опирания несущих деревянных конструкций на фундаменты, каменные стены, стальные и железобетонные колонны и другие элементы конструкций с более теплопроводными или влагопроводными свойствами (при непосредственном их контакте). Узлы должны быть изолированы через гидроизоляционные прокладки;

деревянных подкладок (подушек), на которых устанавливаются опорные части несущих конструкций. Подкладки должны быть из антисептированной древесины преимущественно лиственных пород;

влажностного режима панелей стен и плит покрытий, определяемого путем отбора проб материалов и лабораторных испытаний. Допустимые значения влажности материалов деревянных стен приводятся в табл. 9.2;

швов между панелями и плитами, которые должны быть утеплены и уплотнены герметизирующими материалами;

металлических накладок в соединениях конструкций, эксплуатируемых в условиях, где возможно выпадение конденсата. Они должны быть изолированы от древесины гидроизоляционным слоем;

деревянного каркаса обшивки и утеплителя, устанавливаемое путем вскрытия обшивки на 15-20 см ниже чердачного и междуэтажного перекрытий и подоконными проемами.

9.2.11. Проверку состояния деревянных конструкций (полов, перегородок, подшивки потолков, опор балок и ферм) производят путем выборочных вскрытий. В междуэтажных перекрытиях вскрытие осуществляют на участках между балками на площади не менее 0,5 м2. На накатах убирают засыпку, а с поверхности перегородок и потолков - штукатурку на участках 30´30 см. Вскрытие целесообразно производить также и в местах прохождения водопроводных и канализационных труб.

9.3. Оценка технического состояния конструкций

9.3.1. Результаты обследований и определений фактических характеристик деревянных конструкций и их элементов сопоставляются с требованиями СНиП II-25-80, СНиП 2.03.11-85 и других нормативных документов.

9.3.2. Фактическая влажность материалов стеновых конструкций сопоставляется с данными табл. 9.2 и при их превышении разрабатываются рекомендации по снижению эксплуатационной влажности конструкций.

9.3.3. На основании результатов обследований производятся поверочные расчеты несущих конструкций по двум предельным состояниям и разрабатываются рекомендации по дальнейшей их эксплуатации и восстановлению их несущей способности и эксплуатационной надежности.

Таблица 9.2

Допустимые значения влажности материалов деревянных стен

Наименование материала

Плотность, кг/м3

Допустимая влажность, %

к началу зимнего периода

к концу зимнего периода

Дуб

700

24

30

Сосна

600

20

25

Береза

500

18

22

Осина

400

16

20

10. ТЕПЛОТЕХНИЧЕСКИЕ ОБСЛЕДОВАНИЯ ОГРАЖДАЮЩИХ КОНСТРУКЦИЙ

10.1. Цепь и задачи теплотехнических обследований

10.1.1. Теплотехнические требования, предъявляемые к ограждающим конструкциям зданий, регламентируются СНиП II-3-79* «Строительная теплотехника» и зависят от вида ограждения (стена, покрытие и др.), нормируемых параметров производственной среды (микроклимата), климатических условий района и функционального назначения здания.

Целью теплотехнических обследований ограждающих конструкций является выявление их фактических теплозащитных качеств и их соответствия современным нормативным требованиям, которые в последние годы существенно изменились в связи с проблемой экономии и рационального использования энергетических ресурсов.

10.1.2. Теплотехнические качества ограждающих конструкций характеризуются приведенными сопротивлениями: теплопередаче – R0, м2×°С/Вт, паропроницанию - Rп, м2×ч×Па/мг, и воздухопроницанию - Rвоз, м2×ч/кг. Конструкция полов в помещениях с длительным пребыванием людей, кроме отмеченных показателей, характеризуется также показателем тепловой активности (теплоусвоения).

10.1.3. Основной задачей определения теплотехнических качеств ограждающих конструкций является:

определение температурного поля на внутренних поверхностях ограждающих конструкций, на участках теплопроводных включений, узлов примыканий внутренних и наружных стен, стыковых соединений с целью выявления зон с пониженной температурой, где возможно образование конденсата на поверхности конструкций, установление характера изменения температурного поля и выявление степени теплотехнической неоднородности конструкций;

определение термического сопротивления конструкций Rк, м2×°С/Вт, коэффициент теплоотдачи внутренней aв м2×°С/Вт, и наружной aн, м2×°С/Вт, поверхностей;

определение динамики влажностного режима конструкций в разные сезоны года, установление зоны конденсации влаги и степени влагонакопления в холодный период года, определение влажностного состояния стыковых соединений;

обследование воздухопроницаемости стеновых конструкций, стыковых соединений и светопрозрачных конструкций.

10.2. Измерение температур

10.2.1. При обследованиях гражданских и производственных зданий в зависимости от рассматриваемых задач производятся измерения температур газовых и жидкостных сред, сыпучих и твердых тел. Диапазон измерения температур от минус 70 до +1600 °С.

10.2.2. Для измерений используются контактные и бесконтактные термометры. К контактным относятся жидкостные и биометаллические термометры, электрические и полупроводниковые термометры сопротивления, термопары. К бесконтактным термометрам относятся инфракрасные термометры, пиранометры, а также тепловизоры.

Жидкостные термометры (в основном ртутные и реже спиртовые) применяют для измерения газовых и жидких сред, а также сыпучих тел.

Ртутные термометры применяют при интервалах температур от минус 35 до +600 °С. При необходимости измерения температур ниже минус 35 °С используют спиртовые термометры.

Биометаллические деформационные термометрические датчики используются, как правило, в метеорологических термографах самописцах. Они обладают значительной инерционностью, особенно при измерениях температур газовой среды (5-10 мин).

Измерения температур газовой среды от -35 до +5000 °С рекомендуется производить психрометром Ассмана, производя отсчеты по сухому термометру.

Электрические термометры сопротивления применяют при температуре среды от минус 50 до +180 °С.

10.2.3. Для измерения показаний медных термометров сопротивления применяют мосты постоянного тока и коммутационные устройства. Для непрерывной записи температур используются автоматические самописцы.

10.2.4. Термопары применяются для измерения температур газовых и жидких сред, сыпучих и твердых тел. Применяются преимущественно хромель-копелевые (ХК), хромель-алюмелевые (ХА) и медь-константановые (ТМК) термопары. Пределы применения термопар типа (ХК) от -50 до +600 °С, типа (ХА) от -50 до +1000 °С, типа (ТМК) от -200 до +400 °С.

10.2.5. При наличии источников излучения термометры необходимо экранировать, обеспечивая около них свободное движение воздуха. Экраны целесообразно выполнить из фольги или из аналогичных материалов.

10.2.6. Для изготовления термопар используется термоэлектродная проволока диаметром 0,1-1 мм в хлорвиниловой изоляции (максимальная температура измерения +150 °С). Для измерения более высоких температур используется термоэлектродная проволока диаметром 1-2 мм в термостойкой асбестовой или аналогичной изоляции.

10.2.7. Изготовление спаев термопар производится путем пайки или сварки. При сварке необходимо, чтобы дуга загоралась на обоих электродах одновременно. При качественной сварке на конце скрутки образуется шарик диаметром 1-2 мм. Режим сварки подбирается пробным путем.

Подготовленные термопары, предназначенные для измерения температур до 150 °С, напаиваются на медные пластинки диаметром 15 мм толщиной 0,4-0,6 мм.

10.2.8. В качестве измерительных (вторичных) приборов при измерениях температур термопарами применяются потенциометры типа ПП-1, КП-59 и самопишущие потенциометры типа ЭПП-09, ПОР и др.

Измерения температур производятся обычно дифференциальными термопарами (рис. 10.1). Их свободный спай помещается в термос с тающим льдом, который приготавливается из дистиллированной воды. При невозможности приготовить лед свободный спай погружается в сосуд с водой, температура которой в момент измерения определяется с помощью ртутного термометра. При этом определение температуры рабочего спая производится с соответствующей корректировкой величины измеряемой ЭДС.

10.2.9. При измерениях термо-ЭДС переносными потенциометрами типа ПП-1, КП-59 применяют однопроводную или двухпроводную (рис. 10.1) схемы включения термопар на один прибор. Однопроводная схема допускается только в случае измерения температур неэлектропроводных тел, например, сухих бетонных и каменных конструкций. При возможности увлажнения таких конструкций однопроводная схема включения термопар в один прибор не допускается.

При измерениях температур необходимо обеспечивать надежный контакт датчика с исследуемым телом. При измерениях температур агрессивных жидкостей и газов датчики и отводящие провода должны быть надежно защищены от коррозии путем окрашивания стойкими в рассматриваемой среде составами или помещением в химически стойкие футляры, обеспечивающие надежный тепловой контакт датчика с исследуемой средой.

Рис. 10.1. Схемы включения нескольких дифференциальных термопар на один прибор

А - однопроводная; Б - двухпроводная, 1, 2, 3 - рабочие спаи термопар;4 - свободный спай термопар; а - штепсельный разъем типа ШР; б - соединительные (медные) провода; в - переключатель; г - термостатирующий сосуд; д - переключатель полярности; е - потенциометр типа ПП

10.2.10. Современные бесконтактные термометры различных модификаций находят широкое применение на практике. Для измерения температур в диапазоне от 700 до 1800 °С применяется оптический пиранометр ОПИР-017, при диапазоне температур от минус 18 до +400 °С применяются бесконтактные термометры типа «Thermopoint 2-4» (рис. 3.10) и другие аналогичные термометры.

10.2.11. Измерение температурного поля ограждающих конструкций производится, тепловизорами различных модификаций, например, тепловизоры марки АТП-44-П, марки «AGA Thermovision-750» или «Thermovision-470» (рис. 3.11). Температурное поле получают на экране телевизоров в виде черно-белого или цветного изображения, градации яркости или цвета которого соответствуют различным температурам. Тепловизоры снабжены устройством для высвечивания на экране изотермических поверхностей и измерения выходного сигнала, значение которого функционально связано с измеряемой температурой поверхности.

Рис. 10.2. Термометр ЭТП-М

Рис. 10.3. Пиранометр

10.3. Измерение солнечной радиации

10.3.1. Цель наблюдения над солнечной радиацией заключается в определении солнечной лучистой энергии, падающей на наружные ограждения и через светопроемы проникающей внутрь помещений.

10.3.2. Измерение интенсивности солнечной радиации производится пиранометром Янишевского (рис. 10.3) в комплекте с гальванометром или потенциометром.

При замерах суммарной солнечной радиации пиранометр устанавливают без теневого экрана, при замерах же рассеянной радиации с теневым экраном. Прямая солнечная радиация вычисляется как разность между суммарной и рассеянной радиацией.

При определении интенсивности падающей солнечной радиации на ограждение пиранометр устанавливают на него так, чтобы воспринимаемая поверхность прибора была строго параллельна поверхности ограждения. При отсутствии автоматической записи радиации замеры следует производить через 30 мин в промежутке между восходом и заходом солнца.

10.3.3. Радиация, падающая на поверхность ограждения, полностью не поглощается. В зависимости от фактуры и окраски ограждения некоторая часть лучей отражается. Отношение отраженной радиации к падающей, выраженное в процентах, называется альбедо поверхности и измеряется альбедометром П.К. Калитина (рис. 10.4) в комплекте с гальванометром или потенциометром.

При радиационных наблюдениях альбедометр устанавливают таким образом, чтобы рабочая поверхность его была параллельна поверхности ограждения, альбедо которого определяется.

Методика измерений сводится к последовательному измерению величины падающей радиации Jпад. и отраженной радиации Jотр. При измерении падающей радиации воспринимающая поверхность альбедометра должна быть установлена на поверхности ограждения или по возможности на наименьшем расстоянии, а при измерении отраженной радиации на расстоянии 0,5 м от поверхности ограждения. После замеров падающей радиации альбедометр поворачивают на 180° и производят замер отраженной радиации. Замеры повторяют 3-5 раз с интервалом 5 мин, и по ним определяют среднее значение альбедо поверхности.

Рис. 10.4. Альбедометр

а - положение приемником вверх; б – то же, вниз; 1 - головка пиранометра; 2 - втулка; 3 - трубка; 4 - муфта; 5 - стержень, по которому скользит груз; 6 - клеммы; 7 - карданный подвес; 8 - рукоятка

Для большей точности наблюдения следует проводить при ясном небе и при интенсивном солнечном облучении ограждения.

10.3.4. Определение влияния инсоляции на тепловой режим помещения производится путем сравнения показаний измерений температуры воздуха обычным ртутным термометром и шаровым термометром (глоботермометром). Последний представляет собой обычный термометр, шарик которого заключен в полый, зачерненный снаружи медный шар диаметром 150 мм и находится в центре последнего. Шкала термометра выходит из шара наружу. Влияние инсоляции на зачерненную поверхность приводит к тому, что температура внутри шара отличается от температуры воздуха, замеренной обычным термометром, который представляет собой средневзвешенную радиационную температуру.

10.4. Измерение тепловых потоков

10.4.1. В практике теплотехнических исследований ограждающих конструкций измерения величин тепловых потоков, проходящих через них, позволяет определить теплозащитные свойства обследуемых ограждений.

Для измерения тепловых потоков часто применяют тепломеры, основанные на принципе дополнительной стенки. Тепломеры, устроенные по этому принципу, как правило, состоят из трех пластин: двух защитных дисков с наружных сторон и средней рабочей пластины, на которой установлены термопары по двойной архимедовой спирали. Средняя пластина тепломера имеет две зоны - рабочую в центре диска и защитную кольцевую шириной не менее 1/4 части центральной рабочей зоны. В рабочей зоне смонтирована батарея термопар, соединенных последовательно. Термопары батарей расположены с обеих сторон рабочего диска. При прохождении теплового потока через тепломер на обеих сторонах рабочей пластины возникает термо-ЭДС вследствие разности температур на ее поверхностях.

По принципу дополнительной стенки устроены тепломеры З.З. Альперовича (рис. 10.5), тепломеры типа ИТП-2 конструкции ОРГЭС, а также ИТП-12. Специализированный измеритель теплового потока ИТП-12 выполнен в виде портативного переносного прибора (рис. 10.6), состоящего из преобразователя теплового потока и устройства для измерения и преобразования термо-ЭДС в цифровой сигнал, градуированного в Вт/м2.

10.4.2. Если коэффициент теплопроводности дополнительной стенки известен, то для определения теплового потока достаточно измерить разность температур на ее поверхности. Тепловой поток в этом случае определяют по формуле

,                                                           (10.1)

где l - теплопроводность дополнительной стенки, Вт/(м×°С);

d - толщина стенки, м;

Dt - падение температуры на дополнительной стенке при прохождении теплового потока.

10.4.3. Если коэффициент теплопроводности дополнительной стенки не известен, то производят тарировку тепломера при помощи другого тепломера, характеристика которого заранее известна.

Рис. 10.5. Схема устройства тепломера З.З. Альперовича

1 - верхний защитный резиновый диск; 2 - рабочий диск; 3 - нижний защитный резиновый диск; 4 - схема расположения термопар в рабочем диске; 5 - термопары

а)

б)

Рис. 10.6. Приборы для измерения тепловых потоков

а) Цифровой прибор типа ИТП-12

б) Тепломер ИТП-2 конструкции ОРГРЭС

10.4.4. При стационарных условиях теплопередачи и сравнительно невысоких температурах величина теплового потока определяется на основе измерения термо-ЭДС при помощи потенциометра

,                                                            (10.2)

где k - тарировочный коэффициент тепломера;

Е - величина измеренной ЕДС.

10.4.5. Тепломер, установленный на наружной поверхности ограждающей конструкции, показывает тепловой поток, отдаваемый наружной поверхностью ограждения наружному воздуху, а тепломер, установленный на внутренней поверхности ограждения, показывает тепловой поток, проходящий через внутренние поверхности ограждения.

В стационарных условиях теплопередачи, когда теплосодержание ограждающей конструкции не меняется, тепловой поток, входящий в ограждение, равен тепловому потоку, выходящему из ограждения. В нестационарных условиях теплопередачи, наблюдаемых в натурных условиях, входящий тепловой поток не равняется выходящему из-за изменения теплосодержания ограждения. Недооценка этого факта может привести к грубым ошибкам при экспериментальном определении термического сопротивления конструкции.

10.5. Определение теплозащитных качеств ограждающих конструкций

10.5.1. Теплозащитные качества ограждающих конструкций характеризуются приведенным сопротивлением теплопередаче R0 и термическим сопротивлением Rk. Их экспериментальное определение основывается на принципе стационарного режима теплопередачи, при котором тепловой поток, проходящий через любое сечение конструкции, перпендикулярное потоку, постоянен. В этом случае имеет место равенство:

,                                        (10.3)

где                                     ;

; ; ;

q - тепловой поток, Вт/м2;

Rik - термическое сопротивление i-го слоя конструкции;

li - толщина i-го слоя, м;

li - коэффициент теплопроводности i-го слоя, Вт/м×°С;

aв - коэффициент тепловосприятия внутренней поверхности ограждения, Вт/(м2×°C);

aн- коэффициент теплоотдачи наружной поверхности ограждения, Вт/(м2×°C);

Rв - сопротивление тепловосприятию внутренней поверхности ограждения, м2×°С/Вт;

Rн - сопротивление теплоотдачи наружной поверхности ограждения, м2×°С/Вт;

tв - температура внутренней поверхности, °С;

tн - температура наружной поверхности, °С.

Схема размещения датчиков термопар при измерении температур в толще многослойного ограждения показана на рис. 10.7.

Рис. 10.7. Схема размещения датчиков термопар при измерении температур в толще многослойного ограждения

tн и tн - температура соответственно наружного воздуха и наружной поверхности ограждения, tв и tв - температура соответственно внутреннего воздуха и внутренней поверхности ограждения

10.5.2. Измеряя величину теплового потока q1, разность температур внутреннего и наружного воздуха Dt разность температур внутренней и наружной поверхности ограждения Dt, по формуле (10.4) определяем термическое сопротивление конструкции

,                                                   (10.4)

где Dt=tв-tн - разность температур внутреннего и наружного воздуха, °С;

Dt=tв-tн - разность температур внутренней и наружной поверхностей ограждения, °С;

q1 - замеренный тепловой поток, Вт/м2×°C;

R¢ - термическое сопротивление тепломера, м2×°C/Вт.

Тепловой поток, замеренный тепломером q1, несколько отличается от действительного теплового потока q, проходящего через ограждающую конструкцию, так как тепломер является добавочным сопротивлением к исследуемому ограждению и, следовательно, замеренный тепловой поток оказывается несколько меньше действительного потока.

Второй член в формуле (10.4) отражает влияние термического сопротивления тепломера.

Величина истинного теплового потока в этом случае определяется из соотношения

.                                                           (10.5)

Сопротивления теплоотдаче Rн и тепловосприятию Rв определяются по формулам

; .

Сопротивление теплопередаче конструкций

.

10.5.3. При экспериментальном определении величин R0 и Rk конструкции с тепловой инерцией D более 1,5 и при явно выраженном нестационарном режиме теплопередачи необходимо учитывать изменения теплосодержания ограждения в период проведения обследования.

При достаточной продолжительности натурных наблюдений (в пределах до 14 дней) влияние изменения теплосодержания ограждения сводится к минимуму, поскольку в этом случае температурная кривая наружного воздуха, как правило, охватывает несколько волн. Однако в тех случаях, когда наблюдения над тепловыми потоками ведутся непродолжительное время (1-2 дня), необходимо учитывать изменение теплосодержания ограждения. С этой целью рекомендуется использовать метод, предложенный К.Ф. Фокиным [I-39].

Следует отметить, что изложенный метод определения теплозащитных качеств ограждений относится к зимним условиям. В летних условиях среднесуточная температура внутреннего и наружного воздуха отличается незначительно и величины сквозных тепловых потоков ничтожно малы

10.6. Определение влажностного состояния ограждающих конструкций

10.6.1. Одним из важных эксплуатационных показателей ограждающих конструкции является их влажностное состояние.

Увлажнение ограждающих конструкций приводит к ухудшению их теплозащитных качеств, созданию благоприятных условий для развития в них грибков, плесени и прочих биологических процессов, а также к снижению их долговечности.

При обследовании влажностного состояния ограждающих конструкций следует установить причины их увлажнения. В общем случае можно отметить следующие причины:

1. Строительная влага, которая вносится в конструкцию при ее производстве и возведении.

2. Грунтовая влага, которая может проникнуть в ограждение из грунта вследствие капиллярного всасывания. В стенах здания эта влага может подниматься до высоты 2-2,5 м от уровня земли. Для предохранения ограждения от увлажнения в нем устраиваются гидроизоляционные слои, препятствующие доступу влаги из грунта в ограждение.

3. Метеорологическая влага, которая может проникнуть в конструкцию в связи с выпадением атмосферных осадков.

4. Эксплуатационная влага, выделение которой связано с технологическим процессом в производственных зданиях.

5. Гигроскопическая влага, накапливаемая в конструкции вследствие свойства гигроскопичности материала.

6. Конденсация влаги из воздуха, что тесно связано с теплотехническим качеством и тепловым режимом ограждающей конструкции. В подавляющем большинстве случаев конденсация влаги является единственной причиной повышения влажности ограждающих конструкций. Конденсация влаги может происходить как на поверхности ограждения, так и в его толще.

Следует отметить, что отсутствие конденсации влаги на поверхности ограждения не гарантирует ограждение от увлажнения, так как оно может происходить вследствие конденсации водяных паров в толще самого ограждения.

10.6.2. Обеспечение нормального влажностного состояния ограждающих конструкций достигается путем устройства слоя пароизоляции. Требуемое сопротивление паропроницанию ограждающих конструкций определяется расчетом по методике, изложенной СНиП II-3-79*.

10.6.3. При натурных обследованиях определение влажности материалов в зависимости от требуемой точности производится различными способами. Наиболее простым и достоверным способом является извлечение из конструкции при помощи шлямбуров пробы материала, помещаемой затем в специальные бюксы. Влажная проба материала непосредственно после извлечения из конструкции взвешивается, а затем высушивается нагреванием в сушильных шкафах до постоянного веса и снова взвешивается.

Массовая (весовая) влажность - Wв, %, определяется по формуле:

Wв=,                                                    (10.6)

где Р1 и Р2 - масса (вес) пробы соответственно до и после высушивания.

При известной плотности материала g, кг/м3, объемная влажность Wоб вычисляется по формуле

Wоб=.                                                        (10.7)

10.6.4. Сушка отобранных проб производится в термостатах или сушильных шкафах, где температура поддерживается на уровне 105 °С для всех материалов, за исключением органических и гипсовых, для которых температура сушки должна быть не выше 60-70 °С.

10.6.5. При взвешивании проб на аналитических весах навеску следует брать весом не менее 2 г, а взвешивание производить с точностью до 0,001 г; при взвешивании на технических весах все навески должны быть не менее 10 г при точности взвешивания до 0,01 г.

10.6.6. После извлечения из конструкций материала пробы немедленно помещают в бюксы и плотно закрывают крышкой во избежание их усушки до первого взвешивания.

В зимнее время пробы в бюксы укладывают на холоде и закрывают плотно крышкой, так как в теплом помещении на них образуется конденсат. Края крышек бюкс смазывают жиром, самоклеющей лентой или другим паронепроницаемым материалом.

10.6.7. Из кирпичных и шлакобетонных конструкций пробы, как правило, отбираются шлямбуром диаметром 8, 10, 12 мм, из деревянных - буром Пресслера. При слоистых конструкциях пробы следует брать из каждого слоя.

10.6.8. В каменных сплошных стенах места взятия проб по сечению конструкции следующие: штукатурка внутренняя, поверхность стены под штукатуркой; в толще стены - через каждые 10-12 см, поверхность стены под наружной штукатуркой; штукатурка наружная.

При наличии в конструкции стены утеплителя пробы берут и из него.

10.6.9. В настоящее время разработан диэлектрометрической метод определения влажности строительных материалов, изделий и конструкций. Он основан на корреляционной зависимости диэлектрической проницаемости материала от содержания влаги в нем при положительных температурах.

10.6.10. Измерение влажности производят при помощи электронного влагомера ВСКМ-12 или других диэлькометрических влагомеров, отвечающих требованиям ГОСТ 21718-84.

10.6.11. Для проведения измерений влажности бетона на его поверхности выбирают чистые ровные участки размером 300´300 мм, на которых не должно быть местных наплывов, вмятин и раковин глубиной более 3 мм и диаметром более 5 мм.

Число участков устанавливают из расчета один участок на 1,5 м2 поверхности бетона. Температура поверхности бетона должна быть не более 40 °С.

Подготовку к работе и измерения влагомером производят в соответствии с инструкцией по эксплуатации прибора и в соответствии с требованиями ГОСТ 21718-84.

10.6.12. Результаты измерений записывают в журнал, который должен содержать следующие данные:

наименование материала;

показания влагомера по результатам всех измерений;

среднюю влажность материала.

10.6.13. Результаты измерений влажности сопоставляют с требованиями СНиП II-3-79* или данными, приведенными в табл. 10.1, и на этой основе производят оценку влажностного состояния ограждающих конструкций.

Таблица 10.1

Нормальная влажность некоторых материалов в наружных ограждающих конструкциях

№ пп.

Материал

Плотность g, кг/м3

Влажность материала, %

массовая

объемная

1.

Красный кирпич в сплошных стенах

1800

1,5

2,7

2.

Кирпич красный в стенах с воздушной прослойкой

1800

0,5

0,9

3.

Кирпич силикатный

1900

2,5

4,8

4.

Бетон тяжелый

2000

1,5

3

5.

Шлакобетон

1300

3

3,9

6.

Керамзитобетон

1000

6

6

7.

Пенобетон в наружных стенах

700

10

7

8.

Пеностекло

350

3

1,1

9.

Штукатурка известково-песчаная

1600

1

1,6

10.

Шпак топливный в засыпке

750

3,5

2,6

11.

Минераловатные плиты

200

2

0,4

12.

Дерево (сосна)

500

15

7,5

13.

Фибролит цементный

350

15

5,2

14.

Торфоплиты

225

20

4,5

15.

Пенополистирол

25

5

0,12

10.7. Определение воздухопроницаемости ограждающих конструкций

10.7.1. Свойство ограждения или материала пропускать воздух называется воздухопроницаемостью. При разности давлений воздуха с одной и с другой стороны ограждения через ограждение может проникать воздух в направлении от большего давления к меньшему. В зимних условиях в отапливаемых помещениях температура внутреннего воздуха существенно выше наружного воздуха, что обуславливает разность их объемных масс, в результате чего и создается разность давлений воздуха с обеих сторон ограждения. Разность давлений воздуха может возникнуть также под влиянием ветрового напора.

Если фильтрация происходит в направлении от наружного воздуха в помещение, то она называется инфильтрацией, при обратном направлении - эксфильтрацией.

С теплотехнической точки зрения воздухопроницаемость ограждения является отрицательным явлением, так как в зимнее время инфильтрация холодного воздуха вызывает дополнительные потери тепла ограждениями и охлаждение помещений, а эксфильтрация может неблагоприятно отразиться на влажностном режиме конструкций ограждений, способствуя конденсации в них влаги.

10.7.2. Методика расчета и требуемое нормативное сопротивление воздуха проницанию ограждающих конструкций регламентируются СНиП II-3-79*.

10.7.3. Современные методы экспериментального определения воздухопроницаемости материалов и конструкций основаны на том, что в результате искусственно создаваемого избыточного давления или разрежения через образец материала или конструкции, заключенного в особую обойму, проходит воздушный поток, замеряемый счетчиком; в то же время замеряется избыточное давление или разрежение, поддерживаемое в продолжение испытаний на определенном уровне.

10.7.4. Обследование воздухопроницаемости стыковых соединений наружных стеновых панелей производят при помощи приборов типа ИВС-3 или ДСК-3 (рис. 10.8). При испытаниях обойма прибора должна плотно прилегать к поверхности проверяемого участка стыка.

10.7.5. При проверке на воздухопроницаемость стыковых соединений панелей на поверхность стыка с наружной стороны устанавливают обойму длиной 1 и шириной 0,2 м, а при проверке пересечений вертикального и горизонтального стыков - обойму размером 0,50´0,5 м и герметизируют по периметру (рис. 10.9). В обойме имеются два штуцера: один для присоединения к источнику разрежения, второй - к манометру. Измеритель расхода воздуха с краном для регулировки и термометром для определения температуры отсасываемого воздуха устанавливают на воздуховоде между обоймой и источником разрежения. Обойму делают из кровельной стали. В качестве источника разрежения используют, например, бытовой пылесос. Разность создаваемых давлений в помещении и под обоймой измеряют микроманометром.

10.7.6. Испытание на воздухопроницаемость проводят при разности давлений 100, 50, 30, 10, 5 Па, начиная от больших значений. Испытания при каждой разности давлений длятся 5 мин после стабилизации давления. Время отсчитывают по секундомеру, записывают показания манометра и счетчика расхода воздуха через каждую минуту. Температуру отсасываемого воздуха измеряют в начале и по окончании испытаний.

Рис. 10 8 Прибор ДСК-3 для определения воздухопроницаемости ограждающих конструкций

Рис. 10.9. Схема установки для испытания устья стыка на воздухопроницаемость

1 - металлическая обойма; 2 - микроманометр, 3 - термометр, 4 - измеритель расхода воздуха, 5 - газовый кран; 6 - пылесос

По средним значениям расхода воздуха G, кг/м×ч, при разности давлений DP, Па, строят график зависимости G=f(DP). По графику находят коэффициент воздухопроницаемости стыка Gc, который определяется расходом воздуха в килограммах через 1 м стыка при DP=10 Па. Воздухопроницаемость должна быть не более величии, приведенных в табл. 10.2.

10.7.7. Для определения воздухопроницаемости оконного заполнения устанавливают обойму, размеры которой должны быть такими, чтобы охватить по периметру всю площадь светопроема. Разрежение под обоймой создают одним или несколькими бытовыми пылесосами (рис. 10.10). В остальном методика испытаний такая же, как при определении воздухопроницаемости стыков.

Обработка результатов измерений заключается в определении расхода воздуха через площадь окна или через 1 м сопряжения оконного блока со стеной и построении зависимости расхода воздуха от перепада давлений. Площадь окна для вычисления коэффициента воздухопроницаемости принимают равной площади оконного проема с наименьшим размером в свету.

10.7.8. Воздухопроницаемость стеновых конструкций проверяют аналогичной установкой, состоящей из рабочей обоймы размером 0,5´0,5 м с тремя штуцерами, защитной обоймы размером 1,2´1,2 м с двумя штуцерами и тремя отверстиями для вывода штуцеров рабочей обоймы (рис. 10.11). Установка комплектуется также двумя регуляторами, двумя микроманометрами и термопарами. Методика испытания такая же, как при определении воздухопроницаемости стыков.

Рис. 10.10. Схема установки для испытания оконного заполнения на воздухопроницаемость

1 - пластичная шамотная глина; 2 - расходомер; 3 - пылесос, 4 - кран; 5 – термометр; 6 – обойма; 7 - микроманометр; 8 - стена; 9 - оконная коробка

Рис. 10.11. Схема установки для испытания стены на воздухопроницаемость

1 - поток воздуха через рабочую обойму; 2 - поток воздуха через защитную обойму; 3 - защитная обойма; 4 - рабочая обойма; 5 – термометр; 6 – расходомер; 7 - регулятор расхода; 8 – пылесос; 9 - микрометр

10.7.9. Результаты испытаний сравнивают с данными табл. 10.2, и на этой основе дают оценку воздухопроницаемости ограждающих конструкций.

В табл. 10.2 приведены нормируемые значения воздухопроницаемости GH, кг/(м2×ч) ограждающих конструкций зданий и сооружений.

Таблица 10.2

Нормативная воздухопроницаемость GH ограждающих конструкций зданий и сооружений [III-4]

Вид ограждающей конструкции

GH, кг/(м2×ч), не более

1. Наружные стены, перекрытия и покрытия жилых, общественных, административных зданий и сооружений

0,5

2. Наружные стены, перекрытия и покрытия производственных зданий и помещений

1,0

3. Стыки между панелями наружных стен:

 

а) жилых зданий

0,5

б) производственных зданий

1,0

4. Входные двери в квартиры

2

5. Окна и балконные двери жилых, общественных и бытовых зданий, окна производственных зданий с кондиционированием воздуха

6,0

6. Окна, двери и ворота производственных зданий

8,0

7. Зенитные фонари производственных зданий

10,0

11. ОБСЛЕДОВАНИЕ ОТДЕЛЬНЫХ ВИДОВ ОГРАЖДАЮЩИХ КОНСТРУКЦИЙ

11.1. Наружные стены

11.1.1. Определение технического состояния стеновых конструкций производится визуально и путем инструментальных обследований.

11.1.2. При визуальном осмотре конструкций определяют конструктивную схему стен (несущие, самонесущие или навесные) и вид материалов, тип кладки, толщину швов для кирпичных и блочных стен; для панельных стен - тип панелей, наличие и состояние закладных деталей; состояние участков опирания ферм, прогонов, балок плит на стены; состояние осадочных температурных швов; состояние защитных покрытий; наличие дефектных участков, трещин, отклонений от вертикали, а также разрушение фактурного и защитного слоев, проницаемость швов, коррозию арматуры и закладных деталей панелей; наличие высолов, потеков, конденсата, пыли и др.; их распространение и причины появления; состояние стыков и узлов сопряжений, обрамлений оконных и дверных проемов; вид и состояние гидроизоляции стен, ее расположение по отношению к отмостке. Производится также проверка состояния защитных устройств, водоотводящих устройств крыш (желобов, труб, карнизных свесов), подоконных сливов и т.д.

В местах разрушения указанных защитных устройств определяется состояние несущих элементов стен.

11.1.3. Основными причинами образования трещин, разрушения и деформации стен являются:

а) периодическое их увлажнение и высыхание в сочетании с знакопеременными перепадами температуры;

б) неравномерная осадка фундаментов.

11.1.4. Влажный внутренний воздух помещения, диффундируя через конструкцию стены, попадает в холодную ее зону вблизи наружной поверхности и выпадает в виде конденсата. При замораживании материала, поры которого частично или полностью заполнены водой, возникают значительные напряжения, во много раз превосходящие прочность материалов, вследствие чего происходит образование трещин и разрушение материалов стеновых конструкций.

11.1.5. В помещениях с высокой влажностью или мокрыми технологическими процессами разрушение стен, как правило, происходит вследствие ухудшения свойства материала пароизоляции или наличия плотного наружного слоя, способствующего накоплению конденсационной влаги и толще стены в зимних условиях эксплуатации.

11.1.6. Основные причины увлажнения стеновых конструкций и методика определения влажностного их состояния приводятся в разд. 10.6 настоящего Пособия.

11.1.7. Осадка фундамента и вследствие этого образование трещин и повреждения конструкций стен чаще всего происходят в начале периода эксплуатации здания. Позднее это может происходить вследствие изменения гидрогеологических условий местности, возведения подземных сооружений вблизи здания, надстройки дополнительных этажей и др.

11.1.8. Неравномерная осадка фундамента приводит к появлению в стенах трещин, клиновидному раскрытию стыков в крупнопанельных зданиях, искривлению горизонтальных элементов здания, перекосу конструктивных элементов, отклонению стен здания от вертикали.

Появление наклонной, так называемой «трещины среза», всегда свидетельствует о неравномерной осадке фундаментов вследствие большой разницы от нагрузок различных частей здания, о пренебрежении устройством ступенчатых фундаментов.

11.1.9. При возведении пристроек новые стены, из-за сжатия грунта и усадки швов трескаются, между участками кладки разной высоты из-за разной просадки грунта также возникают трещины.

В процессе надстройки этажей часто перегруженными оказываются стены первого этажа, о чем свидетельствуют вертикальные трещины, в более сложных случаях - раковинообразное отваливание участков кирпичных стен.

11.1.10. Выявление трещин производится при визуальном осмотре, а скрытые под штукатурным слоем трещины определяются путем простукивания молотком с очисткой поверхности кладки от штукатурного слоя, а также путем вскрытия глубинных слоев кладки.

При обнаружении трещин в стеновых конструкциях определяются характер и вид трещин, причины появления, их количество, ширина раскрытия, протяженность и глубина. Замеры величин трещин и наблюдение за их развитием производятся в соответствии с указаниями разд. 5.3. настоящего Пособия.

11.1.11. Определение кинетики развития деформаций стен осуществляется путем их многократных измерений через определенные интервалы времени в зависимости от скорости развития деформаций.

Отклонение стен от вертикали производится замером абсолютных величин отклонения, измерение которых производится в соответствии с указаниями разд. 5.2. настоящего Пособия.

11.1.12. При обследовании технического состояния кирпичной (каменной) кладки стен фиксируются: наличие волосяных трещин, пересекающих количество рядов кладки, вертикальные и косые трещины (независимо от величины раскрытия), образование вертикальных трещин между продольными и поперечными стенами, размораживание и выветривание кладки, отделение облицовки, наклоны и выпучивание стен в пределах этажа, раздробление камня или смещение рядов кладки по горизонтальным швам; устанавливаются степень коррозии металлических затяжек, разрывы или выдергивание стальных связей и анкеров, кренящих стены к колоннам и перекрытиям.

Особое внимание надо уделять состоянию пароизоляционных слоев и горизонтальной гидроизоляции в плоскости сопряжения стены с конструкцией фундамента и цоколя.

11.1.13. Глубина разрушения раствора в швах кирпичной кладки определяется с помощью щупа. В панельных стенах трещины в материале определяются визуально с замером ширины раскрытия трещин или выявляются путем измерения воздухопроницаемости конструкций по методике, изложенной в разд. 10.7 настоящего Пособия.

11.1.14. Оценка категории технического состояния каменных стен по внешним признакам производится в соответствии с данными, приведенными в табл. II-2 прил. II, а технического состояния железобетонных панелей - по табл. II-1 прил. II.

11.1.15. При обследовании конструкций стен важным является изучение факторов, определяющих их долговечность и теплотехнические качества: влажностное состояние, водо-, воздухопроницаемость, сопротивление теплопередаче конструкций.

Методы определения указанных факторов приводятся в разд. 10 настоящего Пособия.

11.1.16. Инструментальное определение прочностных характеристик стеновых каменных конструкций производится по методике и рекомендациям разд. 7 настоящего Пособия.

11.1.17. Определение прочностных характеристик материалов кирпичных стен (кирпича, раствора) производится также путем лабораторных испытаний отобранных из кладки образцов, согласно указаниям ГОСТов 10180-90; 5802-86 и 12730.0-78. Отбор проб материалов кладки целесообразно производить из простенков, если это не вызывает их значительного ослабления, в противном случае - из подоконной кладки в непосредственной близости от простенков.

Для испытаний на прочность при сжатии и изгибе, водопоглощение, как правило, должны отбираться целые кирпичи с неразрушенными гранями и углами.

11.1.18. Определение прочности бетона в панелях может производиться как путем отбора проб бетона из конструкций, так и неразрушающими методами в соответствии с указаниями разд. 5 и 6 настоящего Пособия.

11.1.19. Пробы материалов стен производственных зданий с агрессивными средами подвергаются химическому анализу, которым выявляют характеристику рН среды водной вытяжки, количество химических реагентов, характерных для данного производства, количество и состав растворимых солей.

11.1.20. Полученные данные о весовой влажности проб сопоставляются с соответствующими нормативными величинами, указанными в СНиП II-3-79* «Строительная теплотехника», которые ограничивают содержание влаги в ограждениях к началу и концу периода влагонакопления (период с отрицательными среднесуточными температурами).

11.1.21. На основании полученных при обследовании результатов производят поверочные расчеты в соответствии с требованиями СНиП II-3-79*, СНиП II-22-81, СНиП 2.03.01-84* в результате которых делается заключение о соответствии показателей стеновых конструкций нормативным требованиям и при необходимости разрабатываются рекомендации по обеспечению их эксплуатационных качеств.

11.2. Покрытия и кровли

11.2.1. Техническое состояние конструкций покрытий определяется состоянием его несущей и ограждающей частей.

Вопросы обследования несущей части покрытий рассмотрены в разделах 6-9, поэтому в настоящем разделе рассматриваются только вопросы натурных обследований ограждающей части покрытия.

11.2.2. Из всех элементов покрытия ограждающей части кровля находится в наиболее сложных условиях эксплуатации: она подвергается воздействию солнечной радиации, больших температурных перепадов, атмосферных осадков и агрессивных примесей в них, механическим воздействиям.

11.2.3. Визуальный осмотр покрытия производят как со стороны кровли, так и со стороны помещений. При этом определяют:

конструктивные схемы покрытий, карнизных узлов и закладных деталей креплений;

состояние нижней поверхности покрытия, наличие коррозии бетона и арматуры, состояние узлов опирания плит покрытия на несущие элементы (ферм, балок и др.);

состояние осадочных и температурных швов;

состояние защитных покрытий;

толщину элементов покрытия и кровли,

наличие дефектных участков (трещин, пробоин, прогибов), высолов, потеков, конденсата, пыли, их распространение и причины появления. Изучаются условия эксплуатации покрытия; состояние систем водоотвода (в том числе лотков, желобов и водопроемных воронок и т.п.), размеры пылевых и снеговых отложений, водозастойные участки;

состояние изоляции у мест примыкания к выступающим конструкциям или инженерному оборудованию и правильность закрепления защитных металлических фартуков и свесов.

11.2.4. При обследовании кровель из рулонных материалов изучаются:

состояние защитного слоя, крупнозернистой подсыпки, а также наличие запыления или заиливания участков кровель;

состояние изоляции у мест примыкания к выступающим конструкциям или инженерному оборудованию и правильность закрепления защитных металлических фартуков и свесов;

состояние изоляции в местах пропуска через кровлю водосточных воронок, оттяжек, ограждений и т.п.;

просадка участков кровель, механические повреждения кровель в местах перепада высот;

фактический уклон кровли и его соответствие проектным данным;

соответствие направления приклейки уклонам кровли и проекту;

состояние поверхности изоляционных слоев - вмятины, воздушные и водяные мешки и потеки мастик в швах;

детали сопряжения кровли с выступающими элементами на покрытиях (фонарные конструкции, вентиляционные шахты, парапеты и т.п.). При этом определяются величины подъема ковра на вертикальную стенку, выявляются случаи растрескивания ковра, губчатость и оплывание приклеивающих мастик, надежность заделки ковра в местах примыканий.

11.2.5. Вследствие недостаточной долговечности кровель из рулонных материалов (рубероида, стеклорубероида и аналогичных материалов) в процессе многолетней их эксплуатации производят ремонт и восстановление их эксплуатационных качеств, часто не соблюдая первоначальных проектных решений. Поэтому для установления при натурных обследованиях фактического состава кровли и состояния тепло- и гидроизоляционных слоев производят ее вскрытие, в результате чего устанавливают состояние и влажностной режим теплоизоляции, прочность приклейки пароизоляционного и гидроизоляционного слоев к основанию, величину нахлестки полотнищ и состояние выравнивающих слоев.

11.2.6. Количество вскрытий кровли назначают в соответствии с конкретными задачами исследований. Вскрытие защитного слоя и рулонной кровли выполняют на площади примерно 30´30 см. Здесь же пробивается стяжка на площади 15´15 см. Составляют эскизы конструкций с послойным описанием материалов и замеренной толщиной каждого слоя. Одновременно производят отбор проб материалов для определения их влажности и физико-технических характеристик. Вскрытие кровельного ковра допускают только при отсутствии атмосферных осадков. По окончании работ немедленно заделывают места вскрытий.

11.2.7. При обследовании стальных кровель следует проверить состояние окраски, плотность фальцев, разжелобков, свесов и крепление их к костылям, состояние настенных желобов, лотков и воронок водосточных труб, наличие пробоин в кровле, в особенности в настенных желобах и возле стоячих фальцев, состояние покрытий брандмауэров, дымовых и вентиляционных труб.

11.2.8. Для кровель из штучных материалов (черепицы, асбестоцементных листов) дополнительно выявляют:

величины продольных и поперечных нахлесток и свеса за карнизную доску;

соответствие количества и размещение креплений проекту;

примыкания к выступающим над кровлей частям;

наличие фартуков в местах примыканий к вертикальным конструкциям и воротников из оцинкованной стали к трубам;

качество заделки зазоров между отделкой ендов, разжелобкой и примыкающей поверхностью кровли;

покрытие коньков и ребер фасонными элементами; плотность прилегания элементов кровель к обрешетке; наличие и состояние компенсационных швов, рабочих ходов по кровле.

11.2.9. Определение теплотехнических качеств покрытий производится в зимний период по методике, изложенной в разд. 10 настоящего Пособия.

11.2.10. В зависимости от задач обследований конструкции покрытия и кровли при лабораторных испытаниях материалов, кроме влажности теплоизоляционного материала, определяют также прочность, плотность водопоглощение, свойство гидро-, пароизоляционных слоев в соответствии с требованиями ГОСТов 2678-94, 30547-97 и 26589-94.

11.2.11. Отбор проб утеплителя конструкций покрытий следует производить весной, к концу периода влагонакопления и в конце летнего периода. При этом из утеплителя вырезают призму размером 10´10 см на всю толщину утеплителя и помещают в полиэтиленовый пакет. На место отобранной пробы укладывают утеплитель из минеральной ваты, пенополистирола или аналогичных теплоизоляционных материалов.

11.2.12. Результаты натурных обследований сопоставляют с требованиями СНиП II-26-76 и соответствующих ГОСТ на кровельные гидроизоляционные и герметизирующие материалы и изделия и на этой основе дают оценку технического состояния покрытий и разрабатывают рекомендации по восстановлению их эксплуатационных качеств.

11.3. Полы

11.3.1. Состав работ по обследованию конструкций полов существенно зависит от назначения помещения и условий их эксплуатации.

Учитывая широкий диапазон видов и характера воздействий на полы различных гражданских и производственных зданий, при определении эксплуатационных требований следует руководствоваться СНиП 2.03.13-88 «Полы» и СНиП II-3-79* «Строительная теплотехника».

11.3.2. При выявлении условий эксплуатации полов основных помещений производственных зданий определяют характер и интенсивность следующих видов воздействий: механических, тепловых и жидкостей.

11.3.3. Механические воздействия характеризуются зоной движения пешеходов, безрельсовых транспортных средств и величиной их давления на пол и интенсивностью и силой ударных воздействий различных предметов при производственных процессах.

11.3.4. Тепловые воздействия характеризуются размерами зон, температурой и цикличностью их действий.

11.3.5. Воздействие жидкостей различной степени агрессивности характеризуется размерами зон постоянного периодического и случайного воздействий, возникших при производственных процессах и при ремонте технологического оборудования. Степень агрессивного воздействия жидкости на конструкцию пола устанавливается в соответствии с СНиП 2.03.11-85. В соответствии с назначением помещений дополнительно к указанным предъявляются требования по пылеотделению, диэлектричности, безыскровости, износостойкости, гладкости, декоративным качествам и др. Количественные показатели и методика экспериментального определения указанных качеств полов приводятся [I-16].

11.3.6. В помещениях с длительным пребыванием людей, регламентируется свойство теплопоглощения пола, характеризуемое величиной показателя тепловой активности (теплоусвоения) пола. Экспериментальное определение этого показателя производится в соответствии с ГОСТ 25609-83.

11.3.7. Оценка технического состояния конструкции пола производится путем визуальных - по внешним признакам и инструментальных обследований.

При визуальном обследовании фиксируют места и характер видимых разрушений (выбоин, щербин, трещин и т.п.). Определяют размеры разрушенных участков покрытия, глубины повреждений, состояние узлов примыкания полов к другим строительным конструкциям, трубопроводам и технологическому оборудованию, участки застоя жидкостей. Для покрытий из штучных материалов визуально определяется также состояние швов: степень заполнения, разрыхление и наличие отслоения материала шва от покрытия и покрытия от нижележащего слоя.

Прогиб и зыбкость деревянного пола, а также наличие повреждения клепок указывают на возможное развитие грибковых и жучковых вредителей.

11.3.8. Определение типа покрытия и конструктивного решения пола производится вскрытием, а также на основании изучения технической документации. При этом фиксируют назначение и размеры каждого слоя конструкций, а также указывается материал, из которого они выполнены.

В помещениях производственных зданий со средней и большой интенсивностью воздействия жидкостей на пол проверяются уклоны полов. При бесшовных покрытиях и покрытиях из плит (кроме бетонных) уклон пола должен быть в пределах 0,5-1 %; при покрытиях из брусчатки, кирпича и бетонов всех видов 1-2 %. Направления уклонов должно быть таким, чтобы сточные воды стекали в лотки, каналы и трапы, не пересекая проездов и проходов.

11.3.9. При инструментальном обследовании определяют физико-технические характеристики каждого слоя пола: прочность, адгезию, влажность, степень стойкости к агрессивной среде и другие показатели, в зависимости от конкретных требований, предъявляемых к полам рассматриваемых помещений с учетом указаний СНиП 2.03.13-88.

11.3.10. Наиболее важным эксплуатационным показателем покрытия пола является его несущая способность и деформативность под действием сосредоточенных и распределенных нагрузок. Этот показатель имеет особенно важное значение для полов с покрытием из полимерных материалов (линолеум, пластмассовые плитки др.), так как они обладают текучестью под воздействием сосредоточенных нагрузок, особенно при повышенных температурах.

11.3.11. Определение деформативности пола под сосредоточенной нагрузкой производят с помощью прибора-деформатора (рис. 11.1) разработанного в НИИМосстрое. Прибор позволяет создать постоянное или постепенно увеличивающееся давление на испытываемую конструкцию, измерить величину просадки, определить нагрузку, при которой происходит разрушение, и выявить общую картину деформации.

Рис. 11.1. Схема прибора для испытания полов под нагрузкой

1 - упорная раздвижная стойка; 2 - рама; 3 - ось крепления рычага к раме; 4 - опорная стойка; 5 - штамп; 6 - втулка рычага; 7 - опорная площадка оголовника; 8 - оголовник; 9 - призма; 10 - рычаг; 11 - упор; 12 - удлинитель; 13 - измерительный стержень; 14 - втулки, придерживающие измерительный стержень; 15 – линейка; 16 - винт; 17 – хомут; 18 - индикатор

11.3.12. В натурных условиях водостойкость пола определяют проверкой его деформативности путем увлажнения и высушивания покрытия или всей конструкции пола.

Для определения водостойкости испытываемый участок пола засыпают мокрыми опилками (влажностью 200-250 %). На протяжении суток опилки периодически в течение 1 ч увлажняются, а затем в течение 1 ч высушиваются. После этого проверяется деформативность пола прибором, указанным в п. 11.3.11. Просадка пола под действием сосредоточенных нагрузок не должна превышать нормативных величин.

11.3.13. Износостойкость материалов покрытия полов определяется в лабораторных условиях по абразивному износу на специальных стендах с учетом требований ГОСТ 23.204-78 и ГОСТ 23.208-79.

11.3.14. Прочностные характеристики бетонных и каменных полов определяют по рекомендациям разд. 6 и 7 настоящего Пособия.

11.3.15. При полах с покрытием их рулонных, плиточных и штучных материалов проверяют наличие отслоения путем простукивания молотком покрытия пола.

11.3.16. Полученные результаты обследований сопоставляют с требованиями СНиП 2.03.13-88 и соответствующих ГОСТ на материалы для полов и при необходимости разрабатывают рекомендации по восстановлению их эксплуатационных качеств.

11.4. Светопрозрачные конструкции

11.4.1. Цепью обследований технического состояния светопрозрачных конструкций (окон, фонарей) зданий является определение светотехнических и теплотехнических качеств конструкций и влияние воздействия внешней и внутренней среды на долговечность их элементов, а также установление соответствия площади и расположения светопроемов нормативным требованиям.

11.4.2. Оценка технического состояния светопрозрачных конструкций производится визуальным путем - по внешним признакам, инструментальными обследованиями и лабораторными испытаниями образцов элементов конструкций.

11.4.3. При визуальном обследовании выявляют дефекты и повреждения элементов светопрозрачных конструкций, эффективность работы приборов открывания, состояния деревянных элементов - их коробление, разбухание и разрушение, состояния металлических переплетов - их коррозия, деформация и механические повреждения, состояния уплотнителей, наличие щелей между элементами светопрозрачных конструкций, неплотности притворов, проникновение конденсационной влаги в примыкающих участках стен и покрытий, повреждение отливов на наружных створках оконных переплетов и др.

Следует особое внимание уделять соответствию площади и месторасположению светопроемов требованиям СНиП 23-05-95.

11.4.4. При инструментальном обследовании определяют физико-технические показатели светопрозрачных конструкций: сопротивление теплопередаче, сопротивление воздухопроницанию, коэффициент светопропускания, а также температурное поле по всей поверхности конструкции с целью установления зоны возможного образования конденсата или инея при расчетных температурах наружного воздуха.

11.4.5. Определение степени воздухопроницаемости конструкций производится в соответствии с методикой, приведенной в п. 10.7 с учетом указаний ГОСТ 25891-83.

11.4.6. Коэффициент светопропускания стекла t определяется как соотношение прошедшего через стекло светового потока Е1 к падающему на наружную его поверхность потока Е2

,

где k1 и k2 - тарировочные коэффициенты люксметров;

k - коэффициент сравнения люксметров.

Измерение потоков Е1 и Е2 - производится синхронно двумя люксметрами прикладыванием фотоэлементов (датчиков) люксметров к наружной и внутренней поверхности стекол. Коэффициенты светопропускания измеряются для загрязненных стекол и после очистки их поверхности. Для этого выбирается не менее трех светопроемов в каждой характерной (по высоте и в плане) зоне помещений. Для каждого случая производится три измерения.

11.4.7. При применении в качестве светопропускающего элемента специальных стекол (с аэрозольными покрытиями, теплопоглощающее стекло и др.) важным является определение соотношения коэффициентов светопропускания и солнечной радиации.

11.4.8. Коэффициент пропускания солнечной радиации определяется для рассеянной - при пасмурном небе и суммарной радиации - при ясном небе. Измерение интенсивности солнечной радиации производят одновременно двумя пиранометрами или альбедометрами, один из которых показывает величину радиации, падающей на наружную поверхность стекла, второй - величину прошедшей радиации.

Коэффициент пропускания солнечной радиации tс определяется по формуле

,

где S1, S2 - интенсивность соответственно падающей и прошедшей через стекла солнечной радиации;

k1, k2 - тарировочные коэффициенты;

k - коэффициент сравнения альбедометров или пиранометров.

11.4.9. Определение приведенного сопротивления теплопередаче светопрозрачных конструкций (окон, фонарей) производится по методике, изложенной в разд. 10, с учетом указаний ГОСТ 26602.1-99.

Для оценки теплозащитных качеств светопрозрачных конструкций, кроме определения сопротивления теплопередаче, следует также установить зоны возможного образования конденсата, инея на элементах светопрозрачных конструкций (на глади стекол, междустекольном пространстве, на переплетах, в стыковых соединениях и т.п.) путем измерения распределения температуры на указанных элементах в зимних условиях эксплуатации, при температуре наружного воздуха, близкой к ее расчетной величине в данном районе.

11.4.10. При проведении обследования светопрозрачных конструкций помещений с влажным и мокрым режимом эксплуатации следует учитывать то обстоятельство, что в зимних условиях температура внутренних поверхностей светопрозрачных конструкций на длительный период оказывается ниже температуры точки росы. Вследствие этого происходят обильное образование конденсата, инея или наледей как на поверхности конструкции, так и в межстекольном пространстве, проникновение влаги к примыкающим стенам и покрытиям, что существенно ухудшает эксплуатационные качества последних и приводит к их чрезмерному увлажнению и нередко разрушению.

11.4.11. Фактические эксплуатационные качества светопрозрачных конструкций, выявленные в результате натурных обследований, сопоставляются с требованиями СНиП II-3-79*, СНиП 23-05-95 и соответствующих ГОСТов 23344-78, 11214-86, 12506-81; СН 428-74 и на этой основе дается оценка их технического состояния и разрабатываются рекомендации по ремонту и восстановлению их эксплуатационных качеств.

12. ОБСЛЕДОВАНИЕ ФУНДАМЕНТОВ И ОСНОВАНИЙ

12.1. Состав работ

12.1.1. Из комплекса работ по обследованию строительных конструкций зданий обследование оснований и фундаментов является наиболее сложным ввиду многообразия скрытых факторов, влияющих на состояние наземных конструкций.

12.1.2. Обследование грунтов оснований должно проводиться специализированными организациями в соответствии с требованиями СНиП 2.02.01-83*, СНиП 11-02-96, СНиП 2.01.14-83, ГОСТов 5180-84, 12248-96, 20276-99 и соответствующих инструктивно-нормативных документов. В связи с этим в настоящем Пособии рассматриваются в основном вопросы обследования технического состояния конструкций фундаментов и определения их несущей способности.

12.1.3. Обследование оснований и фундаментов, как правило, включает следующие этапы работ: подготовительный, натурный (полевой), лабораторный и камеральный.

В состав работ подготовительного этапа входит изучение:

проектной документации;

материалов инженерно-геологических обследований, гидрогеологических и других материалов, отражающих особенности площадки обследуемого объекта;

журналов наблюдений за осадками, кренами, трещинами, прогибами и деформациями фундаментов;

инженерных мероприятий, проводившихся в пределах площадки или вблизи нее; наряду с этим осуществляется наружный осмотр здания для установления общего состояния конструкций, зоны наибольших деформаций и повреждений конструктивных элементов, определения места выработок, вскрытий фундаментов, места геодезических знаков и реперов.

В состав работ по натурным (полевым) обследованиям входит:

отрывка шурфов для вскрытия фундаментов; обследование технического состояния конструкций фундаментов, описание состояния гидроизоляции, составление ведомости дефектов и повреждений фундаментов, определение или уточнение нагрузок и воздействий и инструментальное определение прочностных характеристик материала конструкций фундаментов;

отбор образцов материалов фундаментов для физико-механических и химических испытаний, инструментальное определение деформаций надземных конструкций.

Лабораторные работы включают испытание отобранных образцов материалов и установление фактических их физико-технических характеристик.

Камеральные работы включают обобщение результатов обследований и составление заключения о техническом состоянии конструкций фундаментов и о несущей их способности.

12.2. Отрывка шурфов для обследования фундаментов

12.2.1. Необходимое количество шурфов зависит от цели обследования, объемно-планировочного и конструктивного решений здания, а также технического состояния строительных конструкций и условий их эксплуатации:

при восстановлении здания в местах неудовлетворительного состояния надземных конструкций (просадки, перекосы, крены, трещины, недопустимые деформации) не менее 2-3 шурфов;

при детальном обследовании фундаментов отрывается по одному шурфу в каждом месте неудовлетворительного состояния надземных конструкций;

при ликвидации последствий затопления подвалов, тоннелей, технологических каналов и т.п. - по одному шурфу в каждом обводненном месте.

12.2.2. Перед началом работ по вскрытию шурфов с целью предупреждения разрушения подземных коммуникаций (теплосетей) повреждения подземного технологического оборудования план размещения шурфов должен быть согласован и утвержден главным механиком или главным инженером предприятия.

12.2.3. Шурфы отрывают на глубину ниже уровня подошвы фундамента на 0,5 м. Если на этом уровне обнаружены насыпные, заторфованные, рыхлые или другие слабые грунты, в шурфах должны быть пробурены контрольные скважины.

12.2.4. При отрывке шурфов грунты тщательно осматриваются через каждые 20-30 см. В зависимости от свойства грунтов и глубины шурфы проходят с креплением или без крепления. Воду из шурфов откачивают насосами. Отбор образцов грунта обычно производят из уровня подошвы фундамента. Образец шурфа приведен на рис. 12.1.

Рис. 12.1 Образец шурфа

1 - кирпичная стена; 2 - полы по грунту; 3 - скважина в шурфе; 4 – места вскрытия фундамента; 5, 6, 7 - грунтовые слои

Рис 12.2 Способы вскрытия столбчатых фундаментов

а - «на угол»; б - «на две стороны»; в - «по периметру»

12.2.5. Ленточные фундаменты вскрываются непосредственно по отвесной грани стены. Столбчатые фундаменты должны вскрываться одним из следующих трех способов (рис. 12.2):

1. Вскрытие «на угол» - применяется при наличии симметричной геометрии фундамента в плане, при плотном размещении оборудования и невозможности его демонтажа; при отсутствии осадочных деформаций, а также при повторном обследовании;

2. Вскрытие «на две стороны» - применяется при наличии недопустимых осадочных деформаций надземной части здания на данном участке; при проектировании значительного увеличения нагрузки на грунты или при несимметричных фундаментах.

3. Вскрытие «по периметру» - применяется при аварийном состоянии участка здания, связанном с просадкой грунтов основания. Вскрытие фундаментов этим способом производится участками длиной не более 1,5 м; вскрывать фундаменты одновременно по всему периметру не допускается.

12.2.6. Результаты осмотра грунтов, параметры шурфа отмечают в журнале. Кроме того, фиксируют атмосферные условия, дату вскрытия шурфов.

12.3. Определение технического состояния фундаментов

12.3.1. Из открытых шурфов производят осмотр фундаментов, определяют тип фундамента, его форму в плане, размеры, глубину заложения, определяют конструктивное решение.

При обследовании свайных фундаментов в каждом шурфе замеряют их диаметр, шаг и среднее количество на 1 м фундамента.

12.3.2. При фундаментах под сборные железобетонные колонны замеряют толщину стенок стаканной части фундаментов и ее высоту. Вскрытием определяют наличие арматуры, ее диаметр, шаг и степень коррозии.

12.3.3. При монолитных фундаментах в грунтах, насыщенных водой, необходимо проверить наличие бетонной подготовки под подошвой фундамента, толщина которой должна быть не менее 100 мм.

12.3.4. При фундаментах под стальные колонны каркаса проверяют состояние подливки под стальную плиту, башмак колонны, замеряют диаметр и расстояние между анкерными болтами, действительную толщину элементов базы колонны; проверяют наличие шайб и затяжку гаек на анкерных болтах.

12.3.5. У фундаментов под колонны каркасов дополнительно проверяют геометрические размеры сечения фундаментных балок, наличие гидроизоляции, а у сборных ленточных фундаментов - перевязку блоков. При этом сравнивают материалы обследования с данными проекта. При наличии больших повреждений фундаментов назначают дополнительные покрытия.

12.3.6. При обследовании фундаментов из бутовых камней и кирпичной кладки определяют прочность камня и раствора, выявляют повреждения и дефекты в соответствии с указаниями разд. 7 настоящего Пособия.

Определение прочностных характеристик бетонных и железобетонных фундаментов производят в соответствии с указаниями разд. 6 настоящего Пособия.

12.3.7. При обследовании фундаментов обязательно определение влажности материалов конструкций, наличия и состояния гидроизоляции, особенно при неглубоком залегании грунтовых вод.

12.3.8. Определение прочностных характеристик образцов материалов, отобранных из фундаментов, производят в соответствии с указаниями разд. 6 и 7 настоящего Пособия.

12.3.9. При обнаружении в конструкциях надземной части здания деформаций осадочного характера (вертикальных и наклонных трещин в кирпичной кладке стен, элементов железобетонных перекрытий и покрытий, разрывов в сварных швах металлических конструкций и т.д.) устанавливается наблюдение за осадками конструкций.

При обнаружении трещин осадочного характера в конструкциях устанавливаются, по возможности, причины их возникновения, возраст трещин, замеряется ширина раскрытия и протяженности трещин, определяется характер их раскрытия по вертикали (увеличение раскрытия к верху или к низу) и степень их опасности.

12.3.10. Осадки наблюдаются двумя способами:

а) установкой маяков по трещинам с регулярным наблюдением за их состоянием в соответствии с указаниями разд. 5.3 настоящего Пособия.

Длительность и периодичность наблюдения за осадками этим способом производится в зависимости от скорости и опасности развития осадочных деформаций: при медленном развитии или затухании осадок наблюдение ведется не менее 1-1,5 года (с охватом не менее двух сезонов весенне-осенних паводков). Наблюдение за маяками в этом случае производится не реже одного раза в неделю; при быстром росте осадочных деформаций наблюдение за осадками ведется ежедневно до момента устранения причин осадок или начала процесса их затухания;

б) с применением геодезических или других инструментальных методов наблюдений при осадках, просадках и кренах в пределах значительных площадей здания или всего здания.

12.3.11. Результаты обследований фундаментов, как правило, должны содержать: краткое описание объекта и конструктивного решения здания; оценку физико-механических свойств грунтов оснований (по данным специализированных организаций); данные о повреждениях и дефектах фундаментов; оценку прочностных характеристик материалов по данным инструментальных и лабораторных испытаний и результатов расчетов несущей способности грунтов оснований и конструкции фундаментов.

12.4. Определение вертикальных и горизонтальных перемещений и кренов оснований и фундаментов

12.4.1. Наблюдение за деформациями оснований и фундаментов следует производить согласно указаниям ГОСТ 24846-81 в следующей последовательности:

разработка программы измерений;

выбор конструкции, месторасположения и установки исходных геодезических знаков высотной и плановой основы;

осуществление высотной и плановой привязки исходных геодезических знаков;

установка деформационных марок на зданиях и сооружениях;

инструментальные измерения величин вертикальных и горизонтальных перемещений и кренов;

обработка и анализ результатов наблюдений.

12.4.2. Измерения вертикальных перемещений (осадок, подъемов и т.д.) делятся на три класса. Требуемая точность определяет выбор класса измерения и соответствующего метода проведения работ. Точность измерения осадок, подъемов характеризуется средней квадратической ошибкой, полученной из двух циклов измерения:

для I класса ±1 мм;

для II класса ±2 мм;

для III класса ±5 мм.

12.4.3. Точность измерения вертикальных перемещений предписывается техническим заданием, составляемым проектно-изыскательской организацией исходя из принятых в проекте расчетов величины осадок.

12.4.4. I классом измеряют осадки оснований и фундаментов зданий и сооружений, построенных на скальных и полускальных грунтах, а также уникальных сооружений.

II классом измеряют осадки и подъемы любых зданий и сооружений, построенных на сжимаемых грунтах.

III классом измеряют осадки и просадки любых зданий и сооружений, построенных на насыпных, просадочных, заторфованных и других сильносжимаемых грунтах.

Вертикальные перемещения оснований и фундаментов измеряются одним из следующих методов или их комбинированием: геометрическим, тригонометрическим или гидростатическим нивелированием, методом фотограмметрии.

12.4.5. Геометрическое нивелирование следует применять в качестве основного метода измерения вертикальных перемещений.

12.4.6. Тригонометрическое нивелирование следует применять при измерениях вертикальных перемещений фундаментов в условиях резких перепадов высот (больших насыпей, глубоких котлованов, косогоров и т.п.).

12.4.7. Гидростатическое нивелирование (переносным шланговым прибором или стационарной гидростатической системой, устанавливаемой по периметру фундамента) следует применять для измерения относительных вертикальных перемещений большого числа точек, труднодоступных для измерений другими методами, а также в случае, когда нет видимости между марками или когда в месте производства измерительных работ невозможно пребывание человека по условиям техники безопасности.

Проводить измерения вертикальных перемещений методом гидростатического нивелирования для зданий или сооружений, испытывающих динамические нагрузки и воздействия, не допускается.

12.4.8. Горизонтальные перемещения фундаментов зданий и сооружений следует измерять одним из следующих методов или их комбинированием: створных наблюдений, отдельных направлений, методами триангуляции и фотограмметрии.

Отдельные методы измерений горизонтальных перемещений должны приниматься в зависимости от классов точности измерения, целесообразных для данного метода.

12.4.9. Метод створных наблюдений при измерениях горизонтальных перемещений фундаментов следует применять в случае прямолинейности здания (сооружения) или его части и при возможности обеспечить устойчивость концевых опорных знаков створа.

12.4.10. Метод отдельных направлений следует применять для измерения горизонтальных перемещений зданий и сооружений при невозможности закрепить створ или обеспечить устойчивость опорных знаков створа. Для измерения горизонтальных перемещений указанным методом необходимо установить не менее трех опорных знаков, образующих треугольник с углами не менее 30°.

12.4.11. Методы триангуляции следует применять для измерения горизонтальных перемещений фундаментов зданий и сооружений, возводимых в пересеченной или горной местности, а также при невозможности обеспечить устойчивость концевых опорных знаков створа.

Величину и направление горизонтального перемещения фундамента (или его части) следует определять по изменениям координат деформационных марок за промежуток времени между циклами наблюдений.

12.4.12. Крен фундамента (или здания, сооружения в целом) следует измерять одним из следующих методов или их комбинированием: проецирования, координирования, измерения углов или направлений, фотограмметрии, механическими способами с применением кренометров, прямых и обратных отвесов.

Предельные погрешности измерения крена в зависимости от высоты Н наблюдаемого здания (сооружения) не должны превышать величин, мм, для:

гражданских зданий ...................................……………………………………... 0,0001 Н

промышленных зданий и сооружений, дымовых труб, башен и др. ................ 0,0005 Н

фундаментов под машины и агрегаты .....…………………………………….. 0,00001 Н

12.4.13. При измерении кренов фундамента здания (сооружения) методом проецирования следует применять теодолиты, снабженные накладным уровнем, или приборы вертикального проецирования.

При измерении кренов методом координирования необходимо установить не менее двух опорных знаков, образующих базис, с концов которого определяются координаты верхней и нижней точек здания (сооружения).

12.4.14. Фотограмметрический метод измерения горизонтальных и вертикальных перемещений и кренов следует применять для измерения осадок, сдвигов, кренов и других деформаций зданий (сооружений) при неограниченном числе наблюдаемых мерок, устанавливаемых в труднодоступных местах для измерений эксплуатируемых зданий и сооружений.

Для измерений деформаций фотограмметрически одновременно по трем координатным осям (X, Y, Z) необходимо выполнять фототеодолитную съемку с двух опорных знаков, являющихся концами базиса фотографирования, не изменяя местоположения и ориентирования фототеодолита в различных циклах наблюдений.

12.4.15. При проведении вышеуказанных видов работ по выявлению перемещений конструкций фундаментов и крена зданий необходимо руководствоваться указаниями ГОСТ 24846-81, СНиП 3.01.03-84 и «Руководства по наблюдениям за деформациями оснований и фундаментов зданий и сооружений» [IV-8].

12.4.16. При измерении перемещений оснований и фундаментов зданий и сооружений одним из важных этапов работы является определение мест реперов и правильная разбивка и установка марок (рис. 12.3).

12.4.17. Количество грунтовых реперов должно быть не менее трех, стеновых - не менее четырех.

При использовании стеновых реперов необходимо убедиться в отсутствии видимых деформаций стен. Не рекомендуется использовать реперы, расположенные вблизи железнодорожных путей, внутри цеха.

12.4.18. Размещение марок должно обеспечивать наиболее благоприятные условия производства нивелирных работ.

Марки служат для установки на них нивелирных реек во время производства работ, поэтому любая конструкция марки должна обеспечивать однозначность установки на ней рейки во всех циклах наблюдений, т.е. марка должна иметь строго фиксированную точку.

Для промышленных каркасных зданий марки устанавливаются по низу несущих конструкций балок, ферм, ригелей, по верху консолей колонн, подкрановых балок по продольным и поперечным сечениям.

Марки выполняются в виде пометок краской хорошо заметного цвета на поверхности конструкций. Каждой марке присваивается свой номер, который записывается также в журнал измерений.

Для многоэтажных производственных зданий и сооружений, имеющих сплошную фундаментную плиту, марки следует размещать по разбивочным поперечным и продольным осям плиты и ее периметру из расчета 1 марка на 100 м2 площади цеха.

Места установки марок наносят на схемы планов и разрезов здания.

12.4.19. Для измерений вертикальных перемещений фундаментов применяются нивелиры, обеспечивающие точность нивелирования III класса, типа Н-3, Н-5 и равноточные им. Используются также самоустанавливающиеся нивелиры типа КО-007.

Перед началом и после окончания работ нивелир должен быть обязательно проверен, а рейки проверены с помощью металлической измерительной линейки.

12.4.20. Измеренные величины вертикальных перемещений (осадок) сравниваются с предельно допустимой величиной по СНиП 2.02.01-83* и СНиП 2.01.07-85.

Величина измеренных неравномерных вертикальных перемещений (осадок) надземных конструкций и обнаруженные в них трещины и повреждения являются исходными материалами для разработки рекомендаций по восстановлению эксплуатационной надежности конструкций.

12.4.21. В настоящем Пособии приняты следующие обозначения геодезических знаков, образующие измерительную сеть при наблюдении за деформациями оснований и фундаментов различного типа сооружений:

Репер - знак, высотное положение которого является практически неизменным на все время наблюдений за деформациями оснований и фундаментов зданий и сооружений;

условные обозначения:

 - репер городской сети

 - стоянка нивелира

 - осадочная марка

Рис. 12.3 Схема нивелирования осадочных марок

Марка - знак, жестко укрепленный на конструкции здания (на фундаменте, колонне, стене), меняющий свое положение вследствие осадки, крена или сдвига фундамента;

Опорный знак - знак, практически неподвижный в горизонтальной плоскости. Относительно опорного знака определяются сдвиги и крены зданий и сооружений.

12.4.22. По результатам измерений деформаций оснований и фундаментов составляется технический отчет, который должен включать:

краткое описание цели измерения на данном объекте;

конструктивные особенности здания или сооружения, фундамента и его геометрии;

характеристики геологического строения основания и физико-механических свойств грунтов;

план и разрезы здания, сооружения;

схемы расположения, размеры и описание конструкции установленных реперов, опорных и ориентировочных знаков, деформационных марок;

примененную методику измерений;

графиков и эпюр горизонтальных, вертикальных перемещений, кренов и развития трещин во времени, роста давления на основания фундамента;

перечень факторов, способствующих возникновению деформаций;

выводы о результатах измерений с учетом состояния строительных конструкций надземной части здания и соответствующие рекомендации по обеспечению устойчивости здания и эксплуатационных качеств фундаментов.

13. ОСОБЕННОСТИ ОБСЛЕДОВАНИЯ СТРОИТЕЛЬНЫХ КОНСТРУКЦИЙ ЗДАНИЙ, ПОВРЕЖДЕННЫХ ПОЖАРОМ

13.1. Общие положения

13.1.1. На здание, подвергшееся воздействию пожара, специальной комиссией, состоящей из специалистов пожарной охраны и пожарно-технических станций (Госпожнадзора) составляется акт «Описание пожара» в соответствии с «Инструкцией по изучению пожара», утвержденной Главным Управлением пожарной охраны МВД РФ. В этом документе указываются дата, время, место возникновения пожара, продолжительность горения, максимальная средняя температура в помещении во время пожара, место нахождения очага, средства тушения пожара, причина (установленная, предполагаемая) возникновения, обстоятельства, способствующие развитию пожара, площадь уничтоженных помещений и объем поврежденных конструкций, данные о несчастных случаях, рекомендации по устранению причин возникновения пожара и другая информация, связанная с фактом пожара.

13.1.2. Данные о температуре в помещении при пожаре можно получить на основе анализа изменения внешнего вида и формы строительных конструкций и материалов, оставшихся после пожара (табл. 13.1).

Таблица 13.1

Примерная температура нагрева конструкций по косвенным показателям

Наименование конструкций или их частей, материала

Характер изменения внешнего вида, формы и цвета

Температура нагрева, °С

1

2

3

Оконное стекло, стеклянные блоки

Размягчение или слипание

700-750

Округление

800

Потеря формы

850

Радиаторы, трубы из литого чугуна

Образование капели

1100-1200

Железобетонные конструкции

Оседание сажи на поверхности

100-400

Появление на поверхности конструкций микротрещин. Цвет бетона бледно-розовый

300-400

Трещины видны невооруженным глазом; ширина трещин до 0,5 мм; цвет бетона от розового до красного

400-500

Выкол заполнителя; трещины шириной до 1 мм; цвет бетона - красный

500-700

Сколы бетона с обнажением арматуры; цвет бетона от красного до желтого

700-800

На поверхности множество трещин; отделение крупных заполнителей от растворной части бетона и их оплавление; цвет бетона темно-желтый

900 и выше

Ненагруженные стальные конструкции без специальных огнезащитных средств

Деформаций нет

До 200

Разрушение защитного лакокрасочного покрытия

200-250

Цвет стали изменяется от светло-желтого до красно-фиолетового

220-280

Цвет стали - синий

300-450

Образование на поверхности светлой окалины

480-520

Коробление конструкций; на поверхности легко очищаемый нагар; обгоревшие кромки

500-660

То же; на поверхности тонкий слой трудноочищаемой окалины

650-850

Провисание конструкции под собственной массой; местами слой окалины отслаивается

800-900

Оплавление участков; толстый слой окалины

Свыше 900

Сильно деформированы; изломы, надрывы, оплавление и пережженные участки

1400

Нагруженные несущие стальные конструкции без специальных огнезащитных средств

Деформации, ведущие, как правило, к обрушению

550-600

Кладка из силикатного кирпича

Появление трещин; прочность снижается в 2 раза

700

Интенсивное образование трещин; прочность снижается в 5 раз

900

Кладка из глиняного кирпича

Поверхностные трещины в кирпиче; большее их количество в цементно-песчаном растворе

До 800

Оплавление и отслоение в кирпиче на глубину до 10 мм, шелушение раствора

800-900

Кирпич поврежден на глубину более 10 мм; раствор выкрошен на глубину 20-30 мм

1000-1200

Размягчение легкоплавких глин кирпича. Разрушение конструкций

1200-1400

Гипсовая штукатурка

Образование частых трещин шириной до 0,2 мм; прочность уменьшилась на 50 %

200-300

Ширина трещин достигает 0,5-1 мм; прочность уменьшилась на 80 % Разрушение гипсового камня

600-700

Цементно-песчаная штукатурка

Розовый цвет на поверхности

800-900

Светло-серый цвет; поверхностное шелушение

400-600

800-900

Известковая штукатурка

Штукатурка отслаивается слоями толщиной до 2 мм; на поверхности слой копоти

600-800

То же, при толщине более 2 мм (наблюдается в течение 2-3 недель после пожара)

900 и выше

Элементы конструкций из гранита

Разрушение конструкций

850-900

То же, из известняка

То же

650-750

Деревянные конструкции

Обугливание древесины на глубину до 10 мм

450-570

Образование крупнопористого древесного угля на глубину до 20 мм

600-800

Глубина обугливания древесины более 30 мм

820-1000

Обрушение нагруженной конструкции

1300 и выше

13.1.3. Обследование конструкций зданий, поврежденных пожаром, проводят в два этапа. Первый этап включает предварительное обследование, второй этап - детальное обследование.

13.1.4. Детальному обследованию подвергаются конструкции, относящиеся к средней, сильной или аварийной степени повреждения. При этом выполняются, как правило, инструментальные обследования конструкций с определением расчетных прочностных показателей материалов.

13.1.5. На основе инструментальных определений прочностных показателей материалов производятся поверочные расчеты для установления их остаточной несущей способности. Полученные результаты сравниваются с расчетными значениями и с требованиями соответствующих СНиП, и на этой основе разрабатываются рекомендации по дальнейшей эксплуатации, ремонту и восстановлению эксплуатационных качеств конструкций.

13.1.6. В случаях, когда невозможно проведение инструментальных обследований конструкций по месту (расположение конструкций на большой высоте, в труднодоступных местах и т.п.), проводятся поверочные расчеты их остаточной несущей способности по действующим СНиП с учетом коэффициентов снижения прочностных показателей материала.

13.1.7. Пределы огнестойкости конструкций, подверженных воздействию высоких температур во время пожара, рекомендуется определять на основании «Методики расчета фактических пределов огнестойкости стальных конструкций», предложенной ВНИИПО МВД РФ.

13.1.8. Детальное обследование проводят после ознакомления с актом предварительного обследования и актом «Описание пожара», составленного органами Госпожнадзора, а также изучения проектно-сметной документации, включая рабочие чертежи конструкций.

13.2. Предварительное обследование зданий, подвергшихся воздействию пожара

13.2.1. Целью предварительных обследований является общая оценка состояния конструкций по внешним признакам и установление необходимости проведения детальных обследований.

13.2.2. В результате предварительного обследования решаются следующие задачи:

оценка повреждения конструкций по внешним признакам и классификация их по степени повреждения в соответствии с контролируемыми показателями и характером повреждений для различных конструкции (табл. 13.2-13.5);

анализ возможности нахождения людей в различных зонах здания в зависимости от степени повреждения конструкций;

обобщение и анализ материалов акта «Описание пожара», представленного специальной комиссией Госпожнадзора;

определение мест для размещения подмостей, лестниц, освещения и других приспособлений, связанных с необходимостью выполнения работ по детальному обследованию.

13.2.3. По результатам предварительного обследования составляется «Акт предварительного обследования состояния здания, подвергшегося воздействию пожара» (приложение I).

13.2.4. Если в результате предварительного обследования не удается сделать окончательный вывод о состоянии и степени повреждения конструкций, необходимо исключить возможность пребывания в помещении людей до результатов детального обследования.

Таблица 13.2

Контролируемые показатели для железобетонных конструкций

 

Контролируемый показатель

Качественная и количественная характеристики

 

Состояние конструкции после воздействия на се поверхность температуры, °С

 

до 700

более 700 до 900

более 900 до 1200

более 1200

 

1

2

3

4

5

КОЛОННЫ

 

Сажа и копоть

В отдельных местах или отсутствуют

В отдельных местах

Все покрыто

Слабая закопченность, сажи нет

 

Изменение цвета бетона

Светло-красный

Темно-желтый

Темно-желтый

От темно-желтого до серого

 

Состояние бетона

Откалывается молотком только по углам сечения на глубину до 10 мм

Откалывается молотком по углам сечения на глубину до 20 мм

Быстрое отслаивание защитного слоя на глубину более 30 мм при легком простукивании молотком

 

 

 

Трещин на поверхности нет

Поверхность бетона покрыта сеткой неглубоких температурно-усадочных трещин

Сквозные трещины с шириной раскрытия до 1 мм

 

 

 

Сколов бетона нет

Сколы бетона один-два размером не более 15´15 см и глубиной не более толщины защитного слоя бетона

Сколов бетона больше двух размером не более 15´15 см, глубиной не более толщины защитного слоя бетона

Сколы бетона больше по площади и глубине, чем в состоянии III

 

 

Отслаивание поверхностных слоев бетона местами (до 3 шт.) на площади не более 10 см2 каждое

Отслаивание поверхностных слоев бетона местами на площади от 10 до 30 см2 каждое

Отслаивание поверхностных слоев бетона местами на площади от 30 до 50 см2 каждое

Отслаивание бетонных слоев полностью по всей поверхности

 

 

 

 

Бетон подвергается взрывообразному разрушению на поверхности массивных сечений на глубину 20- 30 мм или образование сквозных отверстий, составляющих до 20 % площади элемента

Следы огневой эрозии или взрывообразного разрушения бетона на глубину более 30 мм в массивных сечениях или образование сквозных отверстий (более 20 % площади сборного элемента). Нарушение сцепления арматуры с бетоном по всему периметру сечения. Отслаивание защитного слоя бетона в начале огневого воздействия

 

Звук при простукивании

Звонкий

Звонкий

Глухой

Глухой

 

Оценка прочности бетона зубилом

Остается неглубокий след

Остается заметный след

Легко вбивается в бетон на глубину 10-20 мм

-

Состояние рабочей арматуры

Нормальное

Нормальное

Оголение арматуры на внешней поверхности. Выпучивание до 30 % сжатой арматуры

Разрывы арматурных стержней или пережог; выпучивание более 50 % сжатой арматуры

ОБЩЕЕ СОСТОЯНИЕ КОНСТРУКЦИЙ

 

Состояние поверхности бетона элементов незначительно отличается от конструкций, не поврежденных огнем

Состояние поверхности бетона элементов отличается от конструкций, не поврежденных огнем, наличием большого количества неглубоких температурно-усадочных трещин

Наличие большого количества сквозных трещин; снижение прочности бетона от прогрева в ядре сечения до 50 % первоначальной

Потеря устойчивости сжатого элемента; наличие разрушенных участков конструкций; изломы консолей колонн; обрыв растянутой арматуры в консолях; разрушение элементов составных и решетчатых колонн

ПЛИТЫ ПЕРЕКРЫТИЙ, ПОКРЫТИЙ И БАЛКИ

Сажа и копоть

В отдельных местах или отсутствуют

В отдельных местах

Все покрыто

Слабая законченность, сажи нет

Изменение цвета бетона

Нет

От серого до розоватого

От бледно-серого до белого

Темно-желтый

Состояние бетона

Откалывается молотком с трудом на глубину до 10 мм

Местные взрывообразные поверхностные разрушения бетона массивных сечений на глубину до 20 мм

Наличие сильно раскрытых (более 1 мм) нормальных трещин, проходящих в сжатую зону бетона; местные глубокие повреждения сжатой зоны; образование косых трещин. Обрушение защитного слоя бетона. Образование продольных трещин защитного слоя бетона в углах сечения элемента; поврежденный огнем бетон крошится и осыпается. Образование трещин в стыках частей элемента; в местах соединения полок панелей с продольными и поперечными ребрами

Сквозные трещины в растянутой зоне с шириной раскрытия 1-5 мм и с признаками разрушения сжатой зоны элемента; наличие чрезмерных трещин в бетоне от главных растягивающих напряжений, трещин в опорных узлах и трещин, пересекающих зону анкеровки растянутой арматуры; сквозное взрывообразное разрушение бетона тонкостенных частей (полок, панелей), взрывообразное разрушение или следы огневой эрозии бетона массивных сечений на глубину более 20 мм. Потеря сцепления арматуры с бетоном у концов элемента или более 1/4 пролета в его середине

Звук при простукивании бетона

Звонкий

Звонкий

Глухой

Глухой

Оценка прочности бетона зубилом

Остается неглубокий след на поверхности бетона

Остается заметный след на поверхности бетона

Легко вбивается в бетон на глубину 5-10 мм

Легко вбивается в бетон на глубину 10- 20мм

Состояние рабочей арматуры

Нормальное

Нормальное

Перекаливание арматуры и снижение ее прочности на 50 % и более

Разрывы арматурных стержней, пережог и выпучивание арматуры

ОБЩЕЕ СОСТОЯНИЕ КОНСТРУКЦИЙ

 

Остаточного температурного прогиба статически определимого элемента нет

Остаточный прогиб статически определимого элемента не превышает предельно допустимого

Наличие остаточных прогибов конструкций, превышающих в 2-4 раза предельные

Наличие остаточных прогибов конструкций, превышающих в 5-10 раз предельные. Горизонтальный выгиб более 1/100 пролета. Разрушение элементов решетчатых конструкций (балок, ферм).

СТЕПЕНЬ ПОВРЕЖДЕНИЯ

 

Слабая 5-10 %

Средняя 11-25 %

Сильная 25-50 %

Аварийная более 50  %

ЗАКЛЮЧЕНИЕ ОБ ИСПОЛЬЗОВАНИИ КОНСТРУКЦИЙ

 

Косметический ремонт

Местный ремонт по восстановлению целостности конструкций

Дополнительное детальное обследование конструкций. Значительный ремонт; усиление конструкций по результатам детального обследования

Немедленная разгрузка конструкций, запрет пребывания людей над или под конструкциями, оградить зону аварийных конструкций, установить временные крепления, усилить конструкции расчетными обоймами, заменить непригодные для эксплуатации конструкции новыми

Таблица 13.3

Характер повреждения стальных конструкций

Характер повреждений элементов стальных конструкций

Предполагаемый режим температурного воздействия, °С

Степень повреждения

Заключение об использовании конструкции

Мало деформированы - небольшие вмятины и пробоины второстепенных и не сильно нагруженных элементов; местные искривления, не снижающие несущей способности конструкций; на поверхности легкоочищаемый нагар и обгоревшие кромки; твердость стали соответствует ее марке

Непродолжительный, при температуре 400-600

Слабая

Ремонт допускается не делать

Повреждения, снижающие несущую способность конструкций, но не сопровождающиеся потерей несущей способности основных элементов; на поверхности нагар и тонкий слой окалины, местами отслаивающийся; твердость стали снижается на 10-15 %

То же, при температуре 700- 900

Средняя

Местный ремонт без демонтажа конструкций; иногда необходимо устройство дополнительных стоек, распорок, упоров и т.п.

Потеря несущей способности конструкции при эксплуатационных нагрузках; разрушение узлов и соединений, разрыв по всему сечению или искривление на большой длине основных элементов; имеется толстый слой окалины; твердость стали снижается на 30 % и более

Длительный, при температуре свыше 900

Сильная

Ремонт конструкции, как правило, с демонтажом или установкой временных креплений, опор

Разрушение отдельных конструкций и частей здания; имеют место оплавление и пережог металла

Длительный, при температуре около 1400

Аварийная

Замена конструкций

Таблица 13.4

Характер повреждения каменных конструкций

Характер повреждений конструкций из кирпича

Режим температурного воздействия, °С

Степень повреждения

Заключение об использовании конструкции

Повреждение кладки стен и столбов из глиняного кирпича при пожаре на глубину не более 5 мм (шелушение); вертикальные и косые поверхностные трещины, проходящие по несущим или малонагруженным участкам стены, имеющим проемы; несущая способность конструкций не снижается

До 800

Слабая

Ремонт допускается не делать. Восстановить слой штукатурки

Огневое повреждение кладки армированных и неармированных стен и столбов из глиняного кирпича на глубину 5-10 мм. Наличие вертикальных или косых трещин на высоту не более 2 рядов кладки, наклоны и выпучивание стен не более чем на 1/6 их толщины; несущая способность конструкций при эксплуатационных нагрузках снижается на 15-20 %; небольшие повреждения кладки под опорами ферм, балок, прогонов и перемычек в виде трещин, пересекающих не более двух рядов кладки

800-1000

Средняя

Необходим частичный ремонт по месту с восстановлением эксплуатационных качеств

Огневое повреждение кладки стен и столбов более 10 мм; снижение несущей способности конструкций при эксплуатационных нагрузках более чем на 20 % сопровождается наличием вертикальных и косых трещин в несущих участках стен и столбов на высоту более двух рядов кладки; наклоны и выпучивание стен до 1/3 и более их толщины; кладка под опорами ферм, балок, прогонов и перемычек повреждена; образование значительных по длине и раскрытию трещин

1000-1200

Сильная

Восстановление конструкций с проведением капитального ремонта и усилением конструкций

Полное разрушение кирпичной кладки

1200-1400

Аварийная

Конструкции подлежат разборке и замене

Таблица 13.5

Характер повреждения деревянных конструкций

Характер повреждения конструкции

Режим температурного воздействия, °С

Степень повреждения

Заключение об использовании конструкции

Обугливание древесины на глубину до 10 мм

450-570

Слабая

Косметический ремонт

Образование крупнопористого древесного угля на глубину до 20 мм

600-800

Средняя

Ремонт по месту

Глубина обугливания древесины более 30 мм

820-1000

Сильная

Усиление конструкции

Обрушение конструкции

1300 и более

Аварийная

Восстановление конструкции

13.3. Детальное обследование конструкций зданий, подвергшихся воздействию пожара

13.3.1. В зависимости от степени повреждения конструкций после пожара, класса ответственности здания, условий дальнейшей его эксплуатации и конкретных рассматриваемых задач различают следующие методы инструментальных исследований:

натурное инструментальное обследование конструкции без ее демонтажа;

лабораторное испытание образцов материалов, отобранных из поврежденных конструкций;

стендовое испытание демонтированных элементов или конструкций в целом.

13.3.2. Методы и приборы инструментальных обследований прочностных характеристик конструкций, поврежденных пожаром, как правило, не отличаются от применяемых при обследовании физически изношенных конструкций (разделы 5-9 настоящего Пособия). Однако при этом следует дополнительно учитывать ряд факторов, обусловленных воздействием высоких температур.

А - Железобетонные конструкции

13.3.3. Поверхностные слои почти всех видов конструкций под действием высоких температур существенно изменяют свои физико-технические свойства. Поэтому механические методы определения прочностных характеристик (молоток Физделя, Кашкарова, пистолет ЦНИИСКа и др.) не дают достоверную оценку свойств материала по сечению конструкций. В этих случаях необходимо использовать ультразвуковые методы определения прочностных характеристик материалов и конструкций.

13.3.4. Перед инструментальным обследованием поверхность элементов конструкций очищают от пыли, грязи, сажи скребками или стальными щетками. Особенно тщательно следует обрабатывать места установки датчиков, приборов и наклейки тензорезисторов.

Если при тушении пожара использовали воду, то ультразвуковые исследования конструкций следует проводить по истечению не менее 30ч.

13.3.5. При применении ультразвуковых методов следует руководствоваться указаниями ГОСТ 17624-87.

13.3.6. При ультразвуковых измерениях следует применять метод сравнительного анализа. Для этого необходимо в однотипных элементах вне зоны высокотемпературного воздействия определить скорость ультразвуковых волн, на основании которой принимают эталонную скорость. При этом эталонной скоростью служит среднее значение скоростей из совокупности, включающей максимальную скорость и все значения, отличающиеся не более 5 % максимальной. Для оценки прочности бетона в конструкциях, которые подвергались нагреву, берут отношение каждой измеренной скорости к ее эталонному значению. Закономерное снижение скорости в отдельных зонах или участках конструкций позволяет судить об изменениях прочностных свойств бетона вследствие нагрева и о температурном режиме, которому бетон подвергался.

13.3.7. При определении скорости ультразвуковых волн арматура диаметром до 10 мм не оказывает существенного влияния на результаты испытаний. При диаметрах арматуры более 10 мм направление прозвучивания должно быть перпендикулярным направлению стержней арматуры.

13.3.8. Поврежденный огнем защитный слой бетона нередко отслаивается, поэтому при определении прочности его сцепления измерительные средства лучше размещать в середине, а не на углах элемента.

13.3.9. Определение прочностных характеристик отобранных для лабораторных испытаний образцов производится в соответствии с рекомендациями п. 6.7 настоящего Пособия.

Образцы отбирают с намечаемых при осмотре участков повреждения конструкций. Если необходимо уточнить границы зоны демонтажа конструкций, образцы отбирают на стыке аварийной зоны и участков сильных и слабых повреждений. С одного участка обычно берут три экземпляра образцов. За основу оценки принимают близкие результаты двух образцов.

13.3.10. Стендовые испытания демонтированных железобетонных конструкций, поврежденных пожаром, следует проводить согласно указаниям ГОСТ 8829-94. Для проведения испытаний обычно устраивают временные стенды в помещениях здания, не поврежденных пожаром, во избежание разрушения конструкций при транспортировке.

13.3.11. Допускается испытывать конструкции непосредственно, без демонтажа, если возможно их разгружение до величин нагрузки 0,3-0,4 расчетной, и последующего ее загружения до расчетной нагрузки; схему нагружения конструкции следует принимать исходя из обеспечения ее работы в самых неблагоприятных условиях эксплуатации. При этом испытание конструкции следует выполнять по ГОСТ 8829-94.

13.3.12. При отсутствии прочностных показателей инструментальных обследований поверочные расчеты остаточной несущей способности конструкций производят в соответствии с действующим СНиП и учетом коэффициентов снижения физико-технических показателей материалов, подвергшихся воздействию высоких температур.

13.3.13. Для этой цели по внешним признакам воздействия пожара на железобетонные конструкции (см. табл. 13.2) устанавливают примерную температуру нагрева поверхности конструкций. Используя эту температуру, находят температуру и глубину прогрева конструкции по табл. 13.6.

Таблица 13.6

Глубина прогрева железобетонных конструкций в зависимости от продолжительности и температуры нагрева поверхности конструкций

Длительность воздействия высоких температур при пожаре, ч

Температура нагрева поверхности конструкции, °С

Глубина прогрева конструкции, мм, до температуры, °С

300

450

600

0,5

700...750

20

10

4

1,0

800...850

40

25

15

1,5

900...950

50

32

20

2,0

1000...1050

60

42

30

3,0

1100...1150

80

55

40

4,0

1200...1300

100

70

45

Примечания: 1. В таблице приведены данные для бетона на известняковом заполнителе. На гранитном заполнителе глубина прогрева бетона будет на 15 % больше приведенных значений.

2. Глубина прогрева бетона указана для сечений, обогрев которых происходит с одной стороны. При двухстороннем огневом воздействии глубина прогрева бетона будет в 1,5 раза больше, чем при прогреве с одной стороны.

13.3.14. Призменную прочность бетона Rпрt, подверженного воздействию пожара, после охлаждения выражают через прочность бетона при нормальной температуре Rпр по формуле

Rпрt=Rпр,                                                        (13.1)

где  - коэффициент снижения прочности бетона, зависящий от температуры нагрева, определяемый по табл. 13.7*.

___________

*Коэффициенты снижения прочностных характеристик бетона и арматуры приведенные а таблицах 13.7, 13.9, заимствованы из [I-21].

13.3.15. Прочность бетона на растяжение Rрt, поврежденного огнем, выражают через прочность бетона на растяжение при нормальной температуре Rр, по формуле

Rрt=Rр,                                                          (13.2)

где  - коэффициент условий работы, учитывающий снижение сопротивления бетона растяжению в зависимости от степени нагрева.

Коэффициент  определяют по эмпирической формуле

=,                                         (13.3)

где t - температура нагрева бетона.

При оценке свойств бетона в нагретом состоянии в приведенные формулы (13.1-13.3) вместо  подставляют значения .

13.3.16. Модуль упругости бетона Ебt подверженного воздействию высокой температуры, выражают через модуль упругости бетона при нормальной температуре Еб

Ебt=bбЕб,                                                            (3.4)

где bб - коэффициент снижения модуля упругости бетона, в зависимости от температуры нагрева t принимают по табл. 13.8, либо определяют приближенно по формуле

bб=1-kt.                                                           (13.5)

Величину k для керамзитобетона принимают равной 0,1×10-2, для тяжелого бетона - 0,17×10-2.

13.3.17. Прочностные свойства арматуры на растяжение и сжатие в зависимости от температуры определяются через свойства арматуры при нормальных условиях с использованием коэффициентов mat или т, учитывающих снижение сопротивления стали при огневом воздействии или после него по формуле:

при нагретом состоянии - Rat=matRa;                                                                           (13.6)

после нагрева и охлаждения - R=mRa                                                                  (13.7)

Значения коэффициентов mat и m приводятся в табл. 13.9.

13.3.18. Расчетные сопротивления арматуры сжатию  определяются с учетом коэффициента снижения прочности  по формулам:

для стержневой горячекатаной гладкой арматуры

=;                                                  (13.8)

для арматуры периодического профиля

=,                                         (13.9)

где ta - температура нагрева арматуры.

Модуль упругости арматурных сталей с учетом его коэффициента снижения ba определяют по формуле

Eat=baEa.                                                       (13.10)

где Ea - модуль упругости для соответствующих классов арматуры при нормальной температуре.

Усредненные значения ba в диапазоне температур 20-700 °С определяют по формуле

ba=1-0,05×10-2ta.                                                  (13.11)

Таблица 13.7

Значения коэффициентов, и , учитывающих снижение сопротивления бетона сжатию в зависимости от температуры

Вид бетона

Преднагружение бетона при нагреве

Температура нагрева, °С

100

200

300

400

500

600

700

800

Тяжелый бетон на гранитном щебне

-

0,95

0,88

0,88

0,8

0,8

0,8

0,7

0,78

0,6

0,7

0,45

0,5

0,25

0,15

0,1

0,05

 

0,3

0,93

0,98

0,85

0,85

0,85

0,82

0,8

0,85

0,74

0,77

0,55

0,6

0,3

0,2

0,1

0,05

Тяжелый бетон на известняковом щебне

-

0,98

0,9

0,87

0,84

0,87

0,78

0,9

0,74

0,8

0,64

0,65

0,44

0,4

0,424

0,15

0,05

 

0,3

1

0,95

1

0,9

1

0,85

0,98

0,78

0,94

0,68

0,84

0,54

0,54

0,32

0,2

0,1

Керамзитобетон

-

1,04

1

1,06

1

0,98

1

0,9

0,95

0,75

0,7

0,64

0,6

0,54

0,5

0,25

0,15

 

0,3

1,02

1,05

1,06

1,1

1,08

1,15

1,06

1,1

0,94

1

0,88

0,85

0,7

0,65

0,33

0,2

Примечания: 1. Над чертой указаны значения коэффициента  для нагретого бетона, под чертой - для охлажденного до нормальной температуры.

2. Прочность охлажденного бетона по истечении 30 сут после нагрева снижается дополнительно на 10 %.

3. При нормальной температуре (20 °С) значения коэффициентов условий работы равны 1, после нагрева до 900 °С - нулю.

Таблица 13.8

Значения коэффициента bб в зависимости от температуры

Вид заполнителя для бетона

Преднапряжение в процессе нагрева

Температура нагрева, °С

100

200

300

400

500

600

Керамзит

-

0,92

0,78

0,68

0,6

0,5

0,38

0,2

0,96

0,83

0,77

0,64

0,53

0,43

0,3

0,98

0,88

0,8

0,65

0,6

0,5

0,5

0,97

0,93

0,78

0,64

0,5

-

Известняк

Без предварительного нагружения

0,9

0,7

0,55

0,4

0,25

0,1

Гранит

0,8

0,65

0,45

0,3

0,15

0,05

Диабаз

 

0,9

0,7

0,45

0,35

0,2

0,07

Песчаник

 

0,9

0,6

0,4

0,25

0,1

0,05

Таблица 13.9

Значения коэффициентов mat, и m в зависимости от температуры нагрева

Класс и марка арматуры

Расчетное сопротивление растяжению

Температура нагрева, °С

100

200

300

400

500

600

700

Стержневая горячекатаная периодического профиля класса А-IV марки 80С

600

1

1

1

1

1

1

0,97

0,94

0,64

0,78

0,35

0,66

0,1

0,6

То же, марки 30ХГ2С

600

1

1

1

1,03

1

1,01

1

0,98

0,66

0,94

0,35

0,86

0,14

0,73

То же, класса А-III марки 25Г2С

400

1

1

1

1,2

1

1,25

1

1,25

0,84

1,2

0,47

1,05

0,17

0,85

То же, класса А-II марки Ст5

300

1

1

1

1

1

1

1

1

0,76

1

0,36

1

0,16

1

Обыкновенная арматурная проволока Æ6 мм класса В-I

450

1

1,03

0,99

1,05

0,97

1,02

0,82

0,98

0,53

0,9

0,22

0,7

0,08

0,6

Высокопрочная арматурная проволока Æ2-3 мм класса ВII

1800

0,99

1,02

0,96

1

0,78

0,95

0,55

0,84

0,34

0,7

0,16

0,5

0,05

0,4

Примечания: 1. Над чертой указаны значения коэффициента mat для арматуры в нагретом состоянии, под чертой - m, после нагрева и последующего охлаждения.

2. Значения коэффициентов для горячекатаной стали класса А-I марок Ст0 и Ст3 принимают как для стали класса А-II марки Ст5.

13.3.19. Остаточная несущая способность конструкций определяется с учетом требований СНиП 2.03.01-84* и СНиП 2.03.04-84*, с учетом изменений свойств бетона и арматуры под действием температуры при пожаре.

Пригодность железобетонных конструкций к дальнейшей эксплуатации, ремонту и усилению устанавливается в зависимости от предела снижения их несущей способности. Допустимые пределы снижения прочности железобетонных конструкций в зависимости от капитальности здания приводятся в табл. 13.10.

После огневого воздействия необратимые деформации арматурных сталей являются причиной появления остаточных прогибов железобетонных конструкций. В преднапряженных элементах они вызывают дополнительно необратимую потерю жесткости.

Таблица 13.10

Допустимые пределы снижения прочности элементов железобетонных конструкций в зависимости от капитальности зданий

Группа капитальности здания

Коэффициент снижения прочности

Стены

Колонны и столбы

Междуэтажные и чердачные перекрытия

Бесчердачные перекрытия

Противопожарные стены

I

0,9

0,55

0,95

0,6

0,85

0,5

0,8

0,5

0,9

0,5

II

0,8

0,5

0,85

0,55

0,75

0,45

0,7

0,4

0,85

0,4

III

0,7

0,45

0,75

0,5

0,55

0,4

0,5

0,3

0,8

0,35

Примечания: 1. Над чертой приведены значения остаточной несущей способности конструкций, требующих ремонт, под чертой - требующих ремонт с усилением.

2. При m<0,5 требуется полная замена конструкций.

3. Необходимость замены сильноповрежденных конструкций определяют в каждом конкретном случае по результатам технического и экономического анализа вариантов восстановления здания.

Б - Каменные конструкции

13.3.20. При детальных инструментальных обследованиях каменных и армокаменных конструкций, подвергшихся воздействию пожара, определение прочностных характеристик производят аналогично железобетонным с применением ультразвуковых методов разд. 7 настоящего Пособия.

13.3.21. Прочностные характеристики кирпича и раствора кирпичной кладки определяются на основе лабораторных испытаний отобранных из поврежденных пожаром конструкций образцов - целых кирпичей или высверленных кернов (цилиндров) диаметром 50-60 мм и из раствора высотой 30 мм и диаметром 15 мм с учетом указаний ГОСТ 5202-86.

13.3.22. При отсутствии прочностных показателей инструментальных обследований поверочный расчет и оценка несущей способности каменных конструкций, поврежденных пожаром, производятся путем учета коэффициента снижения их несущей способности Kmc по формуле

f=NKmc,

где N - расчетная несущая способность каменных конструкций, определяется в соответствии с указаниями СНиП II-22-81 без учета повреждения конструкций;

Kmc - коэффициент, учитывающий снижение несущей способности, определяемый по табл. 13.11.

13.3.23. При определении несущей способности стен и простенков с вертикальными трещинами, возникшими в результате действия горизонтальных растягивающих сил от температурных воздействий пожара, коэффициент Kmc принимается равным единице.

13.3.24. При наличии трещин в местах пересечения кирпичных стен или при разрыве поперечных связей между стенами, стойками и перекрытиями несущую способность и устойчивость стены при действии вертикальных и горизонтальных нагрузок определяют с учетом фактической свободной высоты стен.

Таблица 13.11

Значение коэффициента снижения несущей способности кладки Kmc

Глубина поврежденной кладки без учета штукатурки, мм

Для стен и простенков толщиной 380 мм и более при температурном воздействии

одностороннем

двустороннем

До 5

1,0

0,95

До 20

0,95

0,9

До 50-60

0,9

0,8

В - Стальные конструкции

13.3.25. Детальные инструментальные обследования стальных конструкций, подвергшихся воздействию пожара, проводят в соответствии с указаниями разделов 5 и 8 настоящего Пособия.

13.3.26. При этом определение механических характеристик элементов стальных конструкций производится на основе лабораторных испытаний вырезанных образцов из поврежденных пожаром конструкций. Вырез заготовки производят в местах, не получивших пластических деформаций и не нарушающих устойчивость и несущую способность стальных конструкций.

Все заготовки маркируются, а места их взятия и марки обозначаются на схемах, прилагаемых к материалам обследования конструкций.

13.3.27. Характеристики механических свойств стали определяют при испытании образцов на растяжение по ГОСТ 1497-84 или по твердости поверхностного слоя по Бринеллю в соответствии с ГОСТ 9012-59.

13.3.28. При отсутствии прочностных показателей инструментальных обследований поверочный расчет и оценка несущей способности и эксплуатационной пригодности стальных конструкций, подвергшихся действию высоких температур пожара, следует производить с учетом изменений свойств стали.

Для горячекатаных углеродистых сталей изменения предела текучести gт, модуля упругости gЕ и временного сопротивления gв, выражающие отношение этих характеристик при заданной повышенной температуре к значениям при нормальной температуре (+20 °С), приведены в табл. 13.12.

Таблица 13.12

Коэффициенты учета изменения прочностных свойств стали под воздействием температур

Температура, °С

Коэффициент

предела текучести, gт

модуля упругости, gЕ

временного сопротивления, gв

20

1

1

1

100

0,99

0,96

1

200

0,85

0,94

1,12

300

0,77

0,9

1,09

400

0,7

0,86

0,9

500

0,58

0,8

0,6

600

0,34

0,72

0,3

Примечание. При расчете конструкций, выполненных из сталей других классов, приведенные значения изменения механических свойств стали могут быть использованы как приближенные.

13.3.29. Для оценки состояния металлоконструкций после пожара может быть использовано время, в течение которого они находились под воздействием высокой температуры. Это время следует сравнивать с пределом огнестойкости конструкций, за который принимают время, в течение которого металлические конструкции способны нормально функционировать в условиях воздействия высоких температур (около 500 °С).

Г - Деревянные конструкции

13.3.30. Детальные инструментальные обследования деревянных конструкций, подвергшихся воздействию пожара, проводят в соответствии с указаниями разд. 9 настоящего Пособия. При этом замеряют глубину обугливания древесины и поверочным расчетом устанавливают остаточную несущую способность конструкции с ослабленным сечением элементов по действующим СНиП.

13.3.31. При отсутствии инструментальных данных по глубине обугливания ее определяют ориентировочно по формуле

Z=tnV,

где tn - продолжительность пожара, мин., принимаемая по акту Госпожнадзора «Описание пожара»;

V - усредненная скорость обугливания древесины, мм/мин., принимаемая равной: 0,7 - для легкой и сухой древесины; 0,5 - для плотной и влажной (влажность более 20 %).

14. СТАТИСТИЧЕСКАЯ ОБРАБОТКА РЕЗУЛЬТАТОВ ОБСЛЕДОВАНИЙ

14.1. При обработке данных измерений рекомендуется применять методы математической статистики, включающие приемы вычисления обобщенных количественных характеристик измеряемых параметров, выявления взаимосвязей между последними и оценку степени достоверности получаемых результатов.

Статистическое изучение явления включает производство наблюдений, группировку материала результатов измерений, вычисление обобщающих показателей, отражающих характерные черты явления, и, наконец, анализ этих показателей.

Вычисление статистических показателей допустимо только по отношению к свойствам, претерпевающим количественные, а не качественные изменения; объекты с новым качеством выделяют в отдельные группы и изучают самостоятельно.

14.2. В процессе выполнения измерений рекомендуется производить предварительную обработку данных с целью оценки степени достоверности результатов при заданном количестве измерений и своевременного определения чрезмерных погрешностей, искажающих результаты измерений.

14.3. На практике при натурных обследованиях невозможно провести слишком много измерений, поэтому нельзя построить график функции нормального распределения показателей свойств конструкций, чтобы точно определить истинное значение измеряемого параметра.

В этом случае наиболее близким к истинному значению можно считать величину

,

где хi - величина измеряемого параметра;

n - количество измерений,

а достаточно точной оценкой ошибки измерений - выборочную дисперсию , являющуюся характеристикой нормального закона распределения, но относящуюся к конечному числу измерений. Для ее вычисления все отклонения возводят в квадрат, потом находят среднюю из полученных квадратов, называемую средним квадратом отклонения, а затем из этой средней извлекают квадратный корень.

Среднее квадратичное отклонение отдельного измерения

,                                               (14.1)

а среднеквадратичное отклонение ряда измерений находят из выражения

.                                                           (14.2)

14.4. Истинное значение измеряемого параметра можно вычислить из выражения . Интервал , в котором находится с заданной вероятностью истинное значение х0, называют доверительным интервалом.

Примечание.

В теории ошибок под e понимают произведение , поэтому вероятность того, что истинное значение находится в интервале (±) определяется выражением

,                                            (14.3)

где F(х) - интегральная функция, определяемая формулой

.                                                              (14.4)

Из формулы (14.2) можно определить необходимое число измерений для определения значения измеряемого параметра с заданной точностью

.                                                                              (14.5)

При =1 вероятность того, что истинное значение измеряемого параметра х0 находится в интервале (,), равно Р=0,683, т.е. 68 % всех измерений находится в интервале ().

При =2 вероятность попадания всех измерений в интервал (), а следовательно, и вероятность нахождения х0 в этом интервале равна Р=0,995, при =3, Р=0,997. Последнее означает, что в интервале () находятся почти все измерения контролируемого параметра.

На основании этого правила при наличии в ряду измерений значений, отличающихся от среднего значения более чем на , его исключают из расчета как непредставительное.

14.5. При числе измерений менее 20 проверку необходимого числа контролируемых элементов для получения достоверного значения интересующего параметра выполняют по формуле

П=400(1/Rср)(Rmax-Rmin)k2,                                         (14.6)

где П - минимально необходимое число контролируемых элементов;

Rmax, Rmin - минимальное и максимальное измеренное значение параметра для данной серии контролируемых элементов,

Rср - среднее значение параметра, вычисленное по результатам измерения контролируемых элементов;

k - коэффициент, зависящий от числа контролируемых элементов данного типа, значения которого приведены в табл. 14.1.

Таблица 14.1

Значение коэффициента k в зависимости от числа контролируемых элементов

Число контролируемых элементов

5

6

7

8

9

10

20

Значение k

0,43

0,395

0,37

0,353

0,337

0,325

0,922

14.6. Пример определения количества измерений при определении прочности бетона с помощью молотка Физделя.

На поверхности конструкции из бетона нанесено произвольное число отпечатков молотком Физделя, например 10. Измеренные отпечатки имеют размеры 7,1; 8,7; 9,8; 10,2; 10,2; 10,3; 9,0; 9,9; 12,9; 9,8 мм. Отбрасываем значения наибольшего 12,9 и наименьшего 7,1 диаметров отпечатков, а по остальным - вычисляем среднеарифметическое значение диаметра отпечатков

dср=(8,7+9,8+10,2+10,2+10,3+9,0+9,9+9,8)/8=9,75 мм.

По тарировочной кривой (см. рис. 6.8) определяем, что отпечатку диаметра 9,75 мм соответствует среднее значение прочности бетона 106 105 Па.

Установим достаточность числа отпечатков для определения прочности бетона. При этом находим, что максимальному диаметру отпечатка 10,3 мм соответствует прочность бетона 9 105 Па, минимальному при d=8,7 мм соответствует - 131 105 Па.

По формуле (14.6) определяем минимально необходимое число измерений:

П=400(1/106 105)(131-90)1050,3532=19,33.

Следовательно, для более точного определения прочности бетона необходимо сделать не 10 отпечатков, а не менее 20.

Производим еще 10 отпечатков и измеряем их диаметры: 9,6; 13,1; 8,3; 10,4; 10,1; 8,6; 11,5; 10,2; 10,3; 8,9. Из 20 полученных отпечатков отбрасываем наибольшее 13,1 и наименьшее 7,1 значения и определяем средний диаметр отпечатков, что составляет 9,93 мм.

По тарировочной кривой диаметру 9,93 мм соответствует прочность бетона 98 105 Па.

В первом случае при недостаточном числе измерений было получено повышенное значение прочности бетона.

Аналогично следует обрабатывать полученные данные измерений и при определении других параметров физико-механических свойств элементов зданий.

14.7. Следует обратить внимание, что математическую обработку измерений лучше производить на обследуемом объекте, чтобы исключить повторное проведение обследования в случае факта недостаточности числа измерений.

15. ТЕХНИКА БЕЗОПАСНОСТИ ПРИ ПРОВЕДЕНИИ ОБСЛЕДОВАНИЙ СТРОИТЕЛЬНЫХ КОНСТРУКЦИЙ ЗДАНИЙ

15.1. Обследование строительных конструкций зданий и сооружений различного назначения, особенно производственных зданий, проводится при самых разнообразных климатических и эксплуатационных условиях: при высоких и низких температурах, высокой степени загазованности, запыленности производственной среды, наличии жидких и твердых токсических и взрывоопасных веществ, в труднодоступных местах, на высоте в условиях интенсивного движения транспорта и подъемно-транспортного оборудования (мостовые краны, завалочные машины и т.п.), вблизи токонесущих коммуникаций, в зоне расположения конструкций, находящихся в опасном или аварийном состоянии, и др., поэтому от исполнителей требуется соблюдение определенных правил по технике безопасности.

15.2. В общем случае требования техники безопасности в строительстве регламентируются СНиП III-4-80*. Кроме требований СНиП III-4-80* при обследовании строительных конструкций необходимо соблюдать правила техники безопасности, установленные для предприятий и цехов, в которых производятся обследовательские работы. Конкретные мероприятия по технике безопасности на данном объекте регламентируются заказчиком (руководителем предприятия, цеха) и руководителем работ по обследованию строительных конструкций.

15.3. Всю ответственность за организацию работ в соответствии с правилами техники безопасности во время обследований несет руководитель работ.

15.4. Перед началом работ лицам, проводящим натурные обследования, необходимо пройти вводный (общий) инструктаж в отделе техники безопасности предприятия, а также инструктаж по технике безопасности непосредственно в цехе, где будут проводиться натурные обследования (инструктаж проводит начальник цеха или уполномоченный представитель цеха). Проведение инструктажа оформляется документально.

Перед обследованием объектов необходимо убедиться в возможности безопасного выполнения работ.

15.5. Работники, проводящие обследования в помещениях с вредными и опасными условиями труда, а также на высоко расположенных конструкциях, должны проходить предварительный медицинский осмотр.

15.6. Лица, проводящие натурные обследования, должны быть обеспечены соответствующей спецодеждой, а также средствами индивидуальной защиты (каски, защитные очки, респираторы и т.п.) в соответствии с действующими правилами, условиями и характером выполнения работ в цехе. Лица, не имеющие необходимой спецодежды и средств индивидуальной защиты, к работам не допускаются.

15.7. При выполнении работ на высоте более 1 м лица, проводящие обследования, должны быть снабжены предохранительными поясами. При выполнении работ на высоте более 5 м от поверхности грунта, перекрытия или рабочих настилов лица, занимающиеся обследованием, должны пройти медицинскую комиссию, так как работы на такой высоте приравниваются к верхолазным.

15.8. Лестницы, используемые при работе, должны прикрепляться к конструкциям и иметь элементы, исключающие смещение их с опоры. Уклон лестниц не должен превышать 60°.

Подмости, настилы и другие приспособления для выполнения работ на высоте должны быть инвентарными и соответствовать техническим  требованиям к ним. Нагрузки на подмости, настилы не должны превышать допустимых величин.

15.9. Передвижение по ферме, ригелю или балке разрешается только при наличии надежно закрепленного предохранительного пояса.

Переход через движущиеся устройства и оборудование (транспортеры и др.) разрешается только в специально отведенных местах.

15.10. При работе с мостового крана и перемещении на кране вдоль цеха следует выделять специально обученного сигнальщика, который отвечает за безопасность работы и руководит работой крана.

При перемещении крана допускается находиться на мосту крана на проходной дорожке, снабженной ограждениями, только в положении, исключающем выход из габаритов крана.

15.11. Если при предварительном обследовании были выявлены участки зданий или отдельные конструкции, находящиеся в предаварийном или в аварийном состоянии, необходимо немедленно информировать об этом дирекцию предприятия и выдать в письменном виде (под расписку) рекомендации по осуществлению противоаварийных мероприятий. В рекомендациях необходимо предусмотреть прекращение эксплуатации оборудования и вывод людей из опасной зоны (при наличии очевидной угрозы обрушения конструкций), установку видимых в дневное и ночное время предупредительных надписей на границе опасной зоны, указателей проходов и проездов, укрепление и разборку аварийных конструкций.

При обследовании конструкций, имеющих опасное или аварийное состояние, их следует усилить временными креплениями.

15.12. При подъеме и спуске исполнителей с аппаратурой по крутым или вертикальным лестницам не разрешается одновременно находиться на лестнице более одного человека. Зона, опасная для нахождения людей, должна быть обозначена хорошо видимыми предупредительными знаками.

15.13. В зданиях с агрессивными газовыми, твердыми или жидкими средами не рекомендуется освидетельствование конструкций без соответствующих защитных средств.

При работе в труднодоступных местах, где возможны повышенные концентрации токсических веществ, состав группы обследователей должен быть не менее 3 человек, причем один из них должен иметь возможность наблюдения за выполнением работ из безопасного места.

15.14. При вскрытиях, частичной разборке, отборе проб для лабораторных анализов и загружениях пробными нагрузками должна быть обеспечена устойчивость конструкций и обследуемых частей зданий.

15.15. Рытье шурфов при обследовании фундаментов в зоне расположения подземных коммуникаций (электрокабели, сети водопровода, канализации и др.) допускается только с письменного разрешения организации, ответственной за эксплуатацию здания.

Рытье шурфов в грунтах естественной влажности при отсутствии грунтовых вод и расположенных вблизи подземных сооружений, может производиться без крепления грунтов на глубину не более:

1м - в насыпных песчаных и гравелистых грунтах;

1,25 м - в супесях;

1,5 м - в суглинках и глинах;

2 м - особо плотных нескальных грунтах.

Грунт, вынутый из шурфа или траншей, следует размещать на расстоянии не менее 0,5 м от их бровок.

15.16. При очистке элементов конструкций от грязи, пыли, ржавчины металлическими щетками или другими инструментами или приспособлениями работники должны быть обеспечены защитными очками, а при очистке различными растворителями - защитными очками, резиновыми перчатками и фартуками.

15.17. При нахождении людей на крыше они должны быть обеспечены предохранительными поясами и спецобувью. Работа на крыше разрешается после надежного закрепления предохранительных поясов.

15.18. При нахождении на крыше с уклоном более 20°, а также при работе на краю крыши при любых уклонах в случае отсутствия ограждения работники должны быть снабжены персональными стремянками шириной не менее 30 см с нашитыми планками. Стремянки во время работы следует надежно закреплять.

15.19. Запрещается работать на крыше во время гололедицы, густого тумана, ветра силой в 6 баллов и более, ливневого дождя и снегопада.

15.20. Все работы, связанные с установкой и подключением измерительных приборов, следует согласовать с руководством цеха и принять меры для обеспечения их сохранности.

Приборы, включаемые в сеть с напряжением выше 36 В, должны быть заземлены и не иметь неизолированных контактов.

Подключение приборов, работающих от сети переменного тока, производится соответствующим типом кабеля, проложенного в местах, исключающих его повреждение.

К работе с электроприборами допускаются лица, имеющие допуск к выполнению указанных работ.

Работа в зоне источников тока или токоподводящих устройств разрешается только при обесточивании последних.

15.21. Перед выездом на объект следует проверить исправность контрольной аппаратуры, и после ее транспортировки и размещения на обследуемом объекте следует также удостовериться в ее исправности.

15.22. Работы в коммуникационных тоннелях производятся только после согласования с отделом техники безопасности предприятия.

15.23. Особенность правил техники безопасности при исследовании эксплуатационной надежности конструкций, поврежденных пожаром, заключается в том, что оно включает как обследование конструкций в натурных условиях, так и испытание демонтированных отдельных элементов или конструкции в целом на специальных стендах, устраиваемых на объекте, где произошел пожар. Поэтому наряду с общими правилами техники безопасности при проведении обследований конструкций, приведенных выше, при проведении таких испытаний должны быть обеспечены дополнительно специальные мероприятия, обеспечивающие безопасность людей.

15.24. Обследование и испытания поврежденных пожаром конструкций производятся под непосредственным руководством специально выделенного инженерно-технического работника объекта, на котором произошел пожар. К обследованиям допускаются лица, прошедшие специальный инструктаж на рабочих местах по безопасным методам ведения работ. Запрещается проводить обследования и испытания конструкций без подмостей, упоров, подкладок и т.п., поскольку при сильных повреждениях в сжатой зоне изгибаемых элементов может произойти внезапное разрушение; с целью предотвращения обрушения устанавливают страховочные опоры вблизи несущих опор и по середине пролета балочных конструкций или под свободным концом консоли; поддерживают минимально возможные по условиям испытания расстояния (2-5 см) между конструкцией и страховочными опорами для предотвращения удара в момент разрушения конструкций; устанавливают предохранительные приспособления так, чтобы они не препятствовали свободному прогибу конструкции (примерно 1/40 пролета) до момента ее разрушения; выбирают испытательную площадку таким образом, чтобы исключалось колебание основания вследствие движения транспорта, вибрации, ударов, взрывов и др.

15.25. Перед началом испытания конструкций необходимо ознакомить испытательную группу с порядком проведения работ и с мерами безопасности; проверить крепление силового оборудования, состояние опорных участков конструкций, заземление и изоляцию электрооборудования и приборов, исправность гидросистемы, домкратов и приспособлений; наличие предупредительных знаков, исправность ограждений на испытательный площадке; закрыть доступ в зону испытаний посторонним лицам.

15.26. Испытания проводят в светлое время суток или при комбинированном искусственном освещении (общем и местном). Применять только местное освещение запрещается.

15.27. Подходить к конструкции на первом этапе ее загружения для осмотра и записи показаний приборов допускается не ранее чем через 1,5-2 мин после приложения очередной доли нагрузки. После достижения контрольной нагрузки по прочности к конструкции допускается подходить спустя 5 мин только ответственному за проведение испытаний. Подход к конструкциям запрещается при появлении признаков разрушения. Расстроповку штучных грузов при этом следует производить станционно.

15.28. При возникновении аварийной ситуации конструкции или при появлении одного из признаков разрушения испытания прекращают. Признаками аварийной ситуации являются перекос конструкции, выгиб конструкции, перекос опор, деформация элементов испытательного стенда и т.п.

15.29. Руководители организации, а также руководитель работ по обследованию строительных конструкций несут установленную законом ответственность за невыполнение или ненадлежащее выполнение возложенных на них обязанностей по технике безопасности.

ПРИЛОЖЕНИЯ

ПРИЛОЖЕНИЕ I
ПРИМЕРНАЯ СТРУКТУРА ОТЧЕТА
(ЗАКЛЮЧЕНИЯ)

ТИТУЛЬНЫЙ ЛИСТ

Полное наименование организации, выполняющей обследование

«УТВЕРЖДАЮ»       

Руководитель организации,

должность                           

Фамилия, и., о.

Дата ________ 199 г.

ПОЛНОЕ НАЗВАНИЕ РАБОТЫ

Руководитель отдела                                                                     Фамилия, и., о.

Руководитель работ, должность                                                   Фамилия, и., о.

Ответственный исполнитель работ, должность                        Фамилия, и., о.

Москва, 199 г.

СПИСОК ИСПОЛНИТЕЛЕЙ

Исполнителей следует перечислять в алфавитном порядке (фамилия и инициалы) с указанием должности и номера раздела отчета, составленного данным исполнителем, или выполненной им части.

В список исполнителей включаются также организации-соисполнители или отдельные исполнители, привлеченные к данной работе с указанием выполненных ими разделов.

СОДЕРЖАНИЕ (ОГЛАВЛЕНИЕ)

В отчете объемом менее 10 страниц содержание (оглавление) не обязательно. При большом объеме (более 100 стр.) отчет рекомендуется делить на части. Каждую часть следует комплектовать в виде отдельного тома (книги) с присвоением порядкового номера.

Нумерация страниц отчета должна быть сквозной. На странице 1 (титульный лист) номер страницы не ставят. Рисунки и таблицы, располагающиеся на отдельных страницах, включаются в общую нумерацию. Приложения и список литературы необходимо включать в сквозную нумерацию.

Разделы (главы) отчета должны быть пронумерованы арабскими цифрами в пределах всего отчета (части). Подразделы (параграфы) следует нумеровать арабскими цифрами в пределах каждого раздела (главы). Номер подраздела должен состоять из номера раздела и номера подраздела, разделенных точкой, например: «2.1» (первый подраздел второго раздела).

В содержании (оглавлении) последовательно перечисляются заголовки разделов, подразделов и приложений и указывают номер страниц, на которых они помещены. Содержание должно включать все заголовки, имеющиеся в отчете.

ОСНОВНАЯ ЧАСТЬ

1. Характеристика объекта с указанием следующих сведений:

организация, разработавшая проектную документацию и год выпуска проекта;

годы строительства и сдачи объекта в эксплуатацию;

объемно-планировочные и конструктивные решения здания (сооружения), краткое описание несущих и ограждающих конструкций, указание изменений проектных решений в период строительства и эксплуатации объекта;

краткое описание условий эксплуатации объекта и особенностей технологических процессов и производственных выделений с точки зрения их воздействия на долговечность строительных конструкций и условий груда персонала.

2. Методика обследования производственной среды (микроклимата) с учетом конкретных рассматриваемых задач.

3. Результаты обследования производственной среды (микроклимата), классификация температурно-влажностного режима помещения и агрессивности производственной среды по отношению к строительным конструкциям.

4. Ведомость дефектов и повреждений и оценка степени износа конструкций по результатам визуального обследования.

5. Методика инструментального обследования прочностных (или теплотехнических) характеристик несущих и ограждающих конструкций.

6. Результаты инструментальных обследований.

7. Результаты поверочных расчетов.

8. Оценка технического состояния конструкций и сравнение с требованиями нормативных документов.

9. Выводы и предложения.

В разделе излагаются обобщающие выводы по всем результатам обследования, рекомендуемые мероприятия по обеспечению требуемых параметров производственной среды (микроклимата), по восстановлению эксплуатационных качеств строительных конструкций и их дальнейшей эксплуатации.

10. Список использованной литературы и инструктивно-нормативных документов.

11. Приложение, в котором даются поверочные расчеты, а также дополнительные материалы, представляющие справочную информацию, загромождающие основную часть отчета (материалы, представленные заказчиком, об инженерно-геологической и гидрогеологической особенности участка, климатические и другие данные, характеризующие особенности региона и участка).

В приложении приводятся копия технического задания заказчика, а также копия лицензии на право проведения данного вила строительной деятельности

Приложение необходимо располагать в порядке появления ссылок в тексте основных разделов.

ПРИЛОЖЕНИЕ II
ОЦЕНКА ТЕХНИЧЕСКОГО СОСТОЯНИЯ СТРОИТЕЛЬНЫХ КОНСТРУКЦИЙ ПО ВНЕШНИМ ПРИЗНАКАМ ДЕФЕКТОВ И ПОВРЕЖДЕНИЙ

Таблица II-1
Оценка технического состояния железобетонных конструкций по внешним признакам

Категория состояния конструкций

Признаки состояния конструкций

1

2

I - нормальное

На поверхности бетона незащищенных конструкций видимых дефектов и повреждения нет или имеются небольшие отдельные выбоины, сколы, волосяные трещины (не более 0,1 мм). Антикоррозионная защита конструкций и закладных деталей не имеет нарушений. Поверхность арматуры при вскрытии чистая, коррозии арматуры нет, глубина нейтрализации бетона не превышает половины толщины защитного слоя. Ориентировочная прочность бетона не ниже проектной. Цвет бетона не изменен. Величина прогибов и ширина раскрытия трещин не превышают допустимую по нормам

II - удовлетворительное

Антикоррозионная защита железобетонных элементов имеет частичные повреждения. На отдельных участках в местах малой величиной защитного слоя проступают следы коррозии распределительной арматуры или хомутов, коррозия рабочей арматуры отдельными точками и пятнами; потери сечения рабочей арматуры не более 5 %; глубоких язв и пластинок ржавчины нет. Антикоррозионная защита закладных деталей не обнаружена. Глубина нейтрализации бетона не превышает толщины защитного слоя. Изменен цвет бетона вследствие пересушивания, местами отслоение защитного слоя бетона при простукивании. Шелушение граней и ребер конструкций, подвергшихся замораживанию. Ориентировочная прочность бетона в пределах защитного слоя ниже проектной не более 10 %. Удовлетворяются требования действующих норм, относящихся к предельным состояниям I группы; требование норм по предельным состояниям II группы могут быть частично нарушены, но обеспечиваются нормальные условия эксплуатации

III - неудовлетворительное

Трещины в растянутой зоне бетона, превышающие их допустимое раскрытие. Трещины в сжатой зоне и в зоне главных растягивающих напряжений, прогибы элементов, вызванные эксплуатационными воздействиями, превышают допустимые более чем на 30 %. Бетон в растянутой зоне на глубине защитного слоя между стержнями арматуры легко крошится. Пластинчатая ржавчина или язвы на стержнях оголенной рабочей арматуры в зоне продольных трещин или на закладных деталях, вызывающие уменьшение площади сечения стержней от 5 до 15 %. Снижение ориентировочной прочности бетона в сжатой зоне изгибаемых элементов до 30 и в остальных участках - до 20 %. Провисание отдельных стержней распределительной арматуры, выпучивание хомутов, разрыв отдельных из них, за исключением хомутов сжатых элементов ферм вследствие коррозии стали (при отсутствии в этой зоне трещин). Уменьшенная против требований норм и проекта площадь опирания сборных элементов при коэффициенте заноса К=1,6 (см. примечание). Высокая водо- и воздухопроницаемость стыков стеновых панелей

IV - предаварийное или аварийное

Трещины в конструкциях, испытывающих знакопеременные воздействия, трещины, в том числе пересекающие опорную зону анкеровки растянутой арматуры; разрыв хомутов в зоне наклонной трещины в средних пролетах многопролетных балок и плит, а также слоистая ржавчина или язвы, вызывающие уменьшение площади сечения арматуры более 15 %; выпучивание арматуры сжатой зоны конструкций; деформация закладных и соединительных элементов; отходы анкеров от пластин закладных деталей из-за коррозии стали в сварных швах, расстройство стыков сборных элементов с взаимным смещением последних; смещение опор; значительные (более 1/50 пролета) прогибы изгибаемых элементов при наличии трещин в растянутой зоне с раскрытием более 0,5 мм; разрыв хомутов сжатых элементов ферм; разрыв хомутов в зоне наклонной трещины; разрыв отдельных стержней рабочей арматуры в растянутой зоне; раздробление бетона и выкрошивание заполнителя в сжатой зоне. Снижение прочности бетона в сжатой зоне изгибаемых элементов и в остальных участках более 30 %. Уменьшенная против требований норм и проекта площадь опирания сборных элементов. Существующие трещины, прогибы и другие повреждения свидетельствуют об опасности разрушения конструкций и возможности их обрушения

Примечания: 1. Для отнесения конструкции к перечисленным в таблице категориям состояния достаточно наличие хотя бы одного признака, характеризующего эту категорию.

2. Преднапряженные железобетонные конструкции с высокопрочной арматурой, имеющие признаки II категории состояния, относятся к III категории, а имеющие признаки III категории - соответственно к IV или V категориям в зависимости от опасности обрушения.

3. При уменьшенной против требований норм и проекта площади опирания сборных элементов необходимо провести ориентировочный расчет опорного элемента на срез и смятие бетона. В расчете учитываются фактические нагрузки и прочность бетона.

4. Отнесение обследуемой конструкции к той или иной категории состояния при наличии признаков, не отмеченных в таблице, в сложных и ответственных случаях должно производиться на основе анализа напряженно-деформированного состояния конструкций, выполняемых специализированными организациями

Таблица II-2
Оценка технического состояния каменных конструкций по внешним признакам

Признаки состояния конструкций

Категория состояния конструкций

1

2

I - нормальное

Конструкция не имеет видимых деформаций, повреждений и дефектов. Наиболее напряженные элементы кладки не имеют вертикальных трещин и выгибов, свидетельствующих о перенапряжении и потере устойчивости конструкций. Снижение прочности камня и раствора не наблюдается. Кладка не увлажнена. Горизонтальная гидроизоляция не имеет повреждений. Конструкция отвечает предъявляемым эксплуатационным требованиям.

II - удовлетворительное

Имеются слабые повреждения. Волосяные трещины, пересекающие не более двух рядов кладки (длиной не более 15 см). Размораживание и выветривание кладки, отделение облицовки на глубину до 15 % толщины. Несущая способность достаточна

III - неудовлетворительное

Средние повреждения. Размораживание и выветривание кладки, отслоение от облицовки на глубину до 25 % толщины. Вертикальные и косые трещины (независимо от величины раскрытия) в нескольких стенах и столбах, пересекающие не более двух рядов кладки. Волосяные трещины при пересечении не более четырех рядов кладки при числе трещин не более четырех на 1 м ширины (толщины) стены, столба или простенка. Образование вертикальных трещин между продольными и поперечными стенами: разрывы или выдергивание отдельных стальных связей и анкеров крепления стен к колоннам и перекрытиям. Местное (краевое) повреждение кладки на глубину до 2 см под опорами ферм, балок, прогонов и перемычек в виде трещин и лещадок, вертикальные трещины по концам опор, пересекающие не более двух рядов. Смещение плит перекрытий на опорах не более 1/5 глубины заделки, но не более 2 см. В отдельных местах наблюдается увлажнение каменной кладки вследствие нарушения горизонтальной гидроизоляции, карнизных свесов, водосточных труб. Снижение несущей способности кладки до 25 %. Требуется временное усиление несущих конструкций, установка дополнительных стоек, упоров, стяжек.

IV - предаварийное или аварийное

Сильные повреждения. В конструкциях наблюдаются деформации, повреждения и дефекты, свидетельствующие о снижении их несущей способности до 50 %, но не влекущие за собой обрушения. Большие обвалы в стенах. Размораживание и выветривание кладки на глубину до 40 % толщины. Вертикальные и косые трещины (исключая температурные и осадочные) в несущих стенах и столбах на высоте 4 рядов кладки. Наклоны и выпучивание стен в пределах этажа на 1/3 и более их толщины. Ширина раскрытия трещин в кладке от неравномерной осадки здания достигает 50 мм и более, отклонение от вертикали на величину более 1/50 высоты конструкции. Смещение (сдвиг) стен, столбов, фундаментов по горизонтальным швам или косой штрабе. В конструкции имеет место снижение прочности камней и раствора на 30-50 % или применение низкопрочных материалов. Отрыв продольных стен от поперечных в местах их пересечения, разрывы или выдергивание стальных связей и анкеров, крепящих стены к колоннам и перекрытиям. В кирпичных сводах и арках образуются хорошо видимые характерные трещины, свидетельствующие об их перенапряжении и аварийном состоянии. Повреждение кладки под опорами ферм, балок и перемычек в виде трещин, раздробление камня или смещения рядов кладки по горизонтальным швам на глубину более 20 мм. Смещение плит перекрытий на опорах более 1/5 глубины заделки в стене.

В кладке наблюдаются зоны длительного замачивания, промораживания и выветривания кладки и ее разрушение на глубину 1/5 толщины стены и более. Происходит расслоение кладки по вертикали на отдельные самостоятельно работающие столбики. Наклоны и выпучивание стен в пределах этажа на 1/3 их толщины и более. Смещение (сдвиг) стен, столбов и фундаментов по горизонтальным швам. Наблюдается полное корродирование металлических затяжек и нарушение их анкеровки. Отрыв продольных стен от поперечных в местах их пересечения, разрывы или выдергивание стальных связей и анкеров, крепящих стены к колоннам и перекрытиям.

Горизонтальная гидроизоляция полностью разрушена. Кладка в этой зоне легко разбирается с помощью ломика. Камень крошится, расслаивается. При уларе молотком по камню звук глухой.

Наблюдается разрушение кладки от смятия в опорных зонах ферм, балок, перемычек. Происходит разрушение отдельных конструкций и частей здания. В конструкциях наблюдаются деформации и дефекты, свидетельствующие о потере ими несущей способности свыше 50 %. Возникает угроза обрушения. Необходимо закрепить эксплуатацию аварийных конструкций, прекратить технологический процесс и немедленно удалить людей из опасных зон.

Требуются срочные мероприятия по исключению аварии и обрушения конструкций - установка стоек, упоров и т.п.

Примечания: 1. Для отнесения конструкции к перечисленным в таблице категориям состояния достаточно наличия хотя бы одного признака, характеризующего эту категорию.

2. Отнесение обследуемой конструкции к той или иной категории состояния при наличии признаков, не отмеченных в таблице, в сложных и ответственных случаях, особенно с остановкой производства, должно производиться на основе детальных инструментальных обследований, выполняемых специализированными организациями.

Таблица II-3
Оценка технического состояния стальных конструкций по внешним признакам

Признаки состояния конструкций

Категория состояния конструкций

1

2

I - нормальное

Отсутствуют признаки, характеризующие износ конструкций и повреждения защитных покрытий

II - удовлетворительное

Местами разрушено антикоррозионное покрытие. На отдельных участках коррозия отдельными пятнами с поражением до 5 % сечения, местные погнутости от ударов транспортных средств и другие повреждения, приводящие к ослаблению сечения до 5 %

III - неудовлетворительное

Прогибы изгибаемых элементов превышают 1/150 пролета. Пластинчатая ржавчина с уменьшением площади сечения несущих элементов до 15 %. Местные погнутости от ударов транспортных средств и другие механические повреждения, приводящие к ослаблению сечения до 15 %. Погнутость узловых фасонок ферм

IV - предаварийное или аварийное

Прогибы изгибаемых элементов более 1/75 пролета. Потеря местной устойчивости конструкций (выпучивание стенок и поясов балок и колонн). Срез отдельных болтов или заклепок в многоболтовых соединениях. Коррозия с уменьшением расчетного сечения несущих элементов до 25 % и более Трещины в сварных швах или в околошовной зоне. Механические повреждения, приводящие к ослаблению сечения до 25 %. Отклонения ферм от вертикальной плоскости более 15 мм. Расстройство узловых соединений от проворачивания болтов или заклепок; разрывы отдельных растянутых элементов; наличие трещин в основном материале элементов; расстройство стыков и взаимных смещений опор. Требуются срочные мероприятия по исключению аварии и обрушения конструкций

Примечания: 1. Для отнесения конструкции к перечисленным в таблице категориям состояния достаточно наличие одного признака, характеризующего эту категорию.

2. Отнесение обследуемой конструкции к той или иной категории состояния, при наличии признаков, не отмеченных в таблице, в сложных и ответственных случаях должно производиться на основе анализа напряженно-деформированного состояния конструкций, выполняемых специализированными организациями.

ПРИЛОЖЕНИЕ III
ОПТИМАЛЬНЫЕ И ДОПУСТИМЫЕ НОРМЫ ТЕМПЕРАТУРЫ, ОТНОСИТЕЛЬНОЙ ВЛАЖНОСТИ И СКОРОСТИ ДВИЖЕНИЯ ВОЗДУХА В ПОМЕЩЕНИЯХ ГРАЖДАНСКИХ И ПРОИЗВОДСТВЕННЫХ ЗДАНИЙ

Таблица III-1
Оптимальные нормы температуры, относительной влажности и скорости движения воздуха в рабочей золе производственных помещений

Сезон года

Категория работ

Температура, °С

Относительная влажность воздуха, %

Скорость движения воздуха, м/с, не более

Холодный и переходные периоды года

Легкая - I

20-23

60-40

0,2

Средней тяжести - IIа

18-20

60-40

0,2

Средней тяжести - IIб

17-19

60-40

0,3

Тяжелая - III

16-18

60-40

0,3

Теплый период года

Легкая - I

22-25

60-40

0,2

Средней тяжести - IIа

21-23

60-40

0,3

Средней тяжести - IIб

20-22

60-40

0,4

Тяжелая - III

18-21

60-40

0,5

Таблица III-2
Допустимые нормы температуры, относительной влажности и скорости движения воздуха в рабочей зоне производственных помещений в холодный и переходные периоды года

Категория работ

Температура воздуха, °С

Относительная влажность воздуха, %, не более

Скорость движения воздуха, м/с, не более

Температура воздуха вне постоянных рабочих мест, °С

Легкая - I

19-25

75

0,2

15-26

Средней тяжести - IIа

17-23

75

0,3

13-24

Средней тяжести - IIб

15-21

75

0,4

13-24

Тяжелая - III

13-19

75

0,5

12-19


Таблица III-3
Допустимые нормы температуры, относительной влажности и скорости движения воздуха в рабочей зоне производственных помещении с избытками явного тепла в теплый период года

Категория работ

Температура воздуха в помещении, °С

Относительная влажность воздуха в помещениях, %

Скорость движения воздуха в помещениях, м/с

Температура воздуха вне постоянных рабочих мест в помещениях, °С

 

с незначительным избытком явного тепла

со значительным избытком явного тепла

с незначительным избытком явного тепла

со значительным избытком явного тепла

с незначительным избытком явного тепла

со значительным избытком явного тепла

 

1

2

3

4

5

6

7

8

 

Легкая - I

Не более чем на 3 выше средней температуры, наружного воздуха в 13 часов самого жаркого месяца, но не более 28

Не более чем на 5 выше средней температуры наружного воздуха в 13 часов самого жаркого месяца, но не более 28

При 28 °С не более 55

0,2-0,5

0,2-0,5

Не более чем на 3 выше средней температуры наружного воздуха в 13 часов самого жаркого месяца

Не более чем на 5 выше средней температуры наружного воздуха в 13 часов самого жаркого месяца

 

Средней тяжести – IIа

При 27 °С не более 60

0,2-0,5

0,3-0,7

Средней тяжести – IIб

При 26 °С не более 65

 

 

 

При 25 °С не более 70

0,3-0,7

0,5-1,0

 

При 24 °С не более 75

 

Тяжелая – III

Не более чем на 3 выше средней температуры наружного воздуха в 13 час самого жаркого месяца, но не более 26

Не более чем на 5 выше средней температуры наружного воздуха в 13 час самого жаркого месяца, но не более 26

При 26 °С не более 65

 

 

 

 

При 25 °С не более 70

0,3-0,7

0,5-1,0

При 24 °С и ниже не более 75

 

 

Примечание. Большая скорость движения воздуха соответствует максимальной температуре воздуха, меньшая - минимальной температуре воздуха.

Таблица III-4
Оптимальные и допустимые нормы температуры, относительной влажности и скорости движения воздуха в обслуживаемой зоне помещении жилых зданий и общежити
й

Период года

Наименование помещения

Температура воздуха, °С

Результирующая температура, °С

Относительная влажность, %

Скорость движения воздуха, м/с

оптимальная

допустимая

оптимальная

допустимая

оптимальная

допустимая, не более

оптимальная, не более

допустимая, не более

1

2

3

4

5

6

7

8

9

10

Холодный

Жилая комната

20-22

18-24

19-20

17-23

45-30

60

0,15

0,2

(20-24)

(19-23)

 

То же, в районах с температурой наиболее холодной пятидневки (обеспеченностью 0,92) минус 31 °С и ниже

21-23

20-24

20-22

19-23

45-30

60

0,15

0,2

(22-44)

(21-23)

 

Кухня

19-21

18-26

18-20

17-25

-

-

0,15

0,2

 

Уборная

19-21

18-26

18-20

17-25

-

-

0,15

0,2

 

Ванная, совмещенный санузел

24-26

18-26

23-27

17-26

-

-

0,15

0,2

 

Для отдыха и учебных занятий

20-22

18-24

19-20

17-23

45-30

60

0,15

0,2

 

Общий коридор

18-20

16-22

17-21

15-23

45-30

60

0,15

0,2

 

Вестибюль, лестничная клетка

16-18

14-20

15-19

13-21

-

-

0,2

0,3

 

Кладовые

16-18

14-16

15-19

13-21

-

-

-

-

Теплый

Жилая комната

22-25

18-28

22-24

17-26

60-30

65

0,2

0,3

Примечание. Значения в скобках относятся к домам для престарелых и семей с инвалидами

Таблица III-5
Оптимальные и допустимые нормы температуры, относительной влажности и скорости движения воздуха в обслуживаемой зоне общественных зданий

Период года

Наименование помещения или категория

Температура воздуха, °С

Результирующая температура, °С

Относительная влажность воздуха, %

Скорость движения воздуха, м/с

оптимальная

допустимая

оптимальная

допустимая

оптимальная

допустимая, не более

оптимальная, не более

допустимая, не более

1

2

3

4

5

6

7

8

9

10

Холодный

1 категория

19-21

18-28

18-20

17-27

45-30

60

0,2

0,2

2 категория

20-22

18-28

19-20

17-27

-

-

-

-

3 категория

20-21

20-28

19-20

19-27

-

-

-

-

3а категория

14-16

12-25

13-15

13-27

-

-

-

-

3б категория

17-19

15-28

16-18

14-27

-

-

-

-

3в категория

19-21

18-28

18-20

17-27

35-30

60

0,2

0,2

4 категория

16-18

16-28

15-17

15-27

-

-

-

-

 

Ванные, душевые, раздевальные

24-26

18-26

23-27

17-26

-

-

0,15

0,2

 

Кабинеты врачей, медпункты в лечебных учреждениях

20-22

20-28

19-21

19-27

45-30

60

0,15

0,2

 

Детские дошкольные учреждения

 

 

 

 

 

 

 

 

 

Групповая раздевальная и туалет:

 

 

 

 

 

 

 

 

 

для ясельных и младших групп

21-23

20-24

20-22

19-23

45-30

60

0,1

0,15

 

для средних и дошкольных групп

19-21

18-25

18-20

17-24

-

-

-

-

 

Спальня:

 

 

 

 

 

 

 

 

 

для ясельных и младших групп

20-22

19-23

19-21

18-22

45-30

60

0,1

0,15

 

для средних и дошкольных групп

19-21

18-23

18-22

17-22

-

-

-

-

Теплый

С постоянным пребыванием людей

23-25

20-28

22-24

19-27

60-30

65

0,3

0,5

Примечание. Для детских дошкольных учреждений, расположенных в районах с температурой наиболее холодной пятидневки (обеспеченностью 0,92) минус 31 °С и ниже, допустимую расчетную температуру воздуха в помещения следует принимать на 1 °С выше указанной в таблице.


ПРИЛОЖЕНИЕ IV
ПРИМЕРНЫЙ ПЕРЕЧЕНЬ ИНСТРУМЕНТОВ И ПРИБОРОВ, ИСПОЛЬЗУЕМЫХ ПРИ ОБСЛЕДОВАНИИ СТРОИТЕЛЬНЫХ КОНСТРУКЦИЙ ЗДАНИЙ И ПРОИЗВОДСТВЕННОЙ СРЕДЫ (МИКРОКЛИМАТА) ПОМЕЩЕНИЙ

№ п.п.

Измеряемые параметры.

ГОСТ

Наименование, марка прибора

1

2

3

4

1

Температура воздуха

630-69

Термометры лабораторные типа ТЛ

6416-75Е

Термограф метрологический М16П

Шаровой термометр Вернона-Йокла (для измерения результатирующей температуры)

Термограф метеорологический суточный, недельный - М16АС, М16АН, М-КП

Цифровой контактный термометр КМ-44*

Цифровые измерители температуры модели ИТ

2

Температура и относительная влажность воздуха

6353-52

Психрометр аспирационный МВ-4М

Психрометр Ассмана

Гигрограф метеорологический М-32

Индикатор влажности и температуры КМ-8004*

Термогигрометр микропроцессорный ИВТМ-7*МК; TESTO-610*

Термогигрометр ИВА-6А

3

Температура поверхности конструкции, изделия

 

Термощуп ЭТП-М; Бесконтактные термометры КМ-801/1000; «Кельвин»; «Thermopoint» и др.; Тепловизоры типа и thermovision 450*; АТП-44-М; AGA Thermovision-750*»

4

Атмосферное давление

6359-75Е

Барограф метеорологический

5

Интенсивность солнечной радиации

ТУ 25-04

Пиранометр Янишевского

Альбедометр П. К. Колитина

Актинометр А П-1.

6

Скорость движения воздуха

6376-74*

Анемометр крыльчатый МС-13

7103-74

Анемометр чашечный

Кататермометр

Термоанемометр КМ-4007*

Анемометр «TESTO-U 35*»

7

Тепловые потоки через ограждающие конструкции

25380-82

Измеритель тепловых потоков

7076-69

ИТП-2; ИТП-12; ИПП-2; ИПП-2М

Тепломеры типа 3.3 Альперовича

8

Уровень освещённости помещений

24940-96

Люксметр Ю-116; УЕ1065

9

Воздухопроницаемость ограждающих конструкций и стыковых соединений

 

Приборы типа ИВС-3; ДСК-3

10

Запылённость, дисперсный состав и вредные вещества в воздухе

25715

Трёхциклонный сепаратор НИПОГАЗ; Газоанализатор типа УГ-2; Шахтные интерферометры - ШП-3; ШП-5

13320-81

11

Шкала рН водных растворов. Измерение водородного показателя рН

8.134-98

Электронный рН-метр КМ-7002; Универсальная индикаторная лента

12

Влажность материалов и конструкций

21718-84

Электронный влагомер - ВСКМ-12; ВИМС-1

13

Прогиб и деформация конструкции

 

Прогибомер П-1

Тензометр Гугенбергера

14

Глубина и степень раскрытия трещин

 

Микроскопы - МИР-2; МПБ-2

Ультразвуковые приборы - УКБ-1М, УКБ-10П; бетон-ЗМ и др. Оптический квад КО-1; КО-1М Щупы; лупы (5 ¸10-ти кратное увеличение)

15

Геодезические измерения сдвигов, перемещений, отклонений от вертикали

24846-81

Теодолиты и нивелиры различных типов и модификаций; Уклономер «БОШ» DNM-6;

16

Определение толщины защитного слоя бетона и расположения арматуры

ТУ25-

ИЗС-10Н; «ПОШ 2,3»

06.18-

Металлоискатель «БОШ» DMO-10

85.79

Локатор арм-ры «PROFOMETER 4» МДА-202

17

Прочность бетонных, железобетонных и каменных конструкций

22690-89

А. - Приборы механического принципа действия: ОНИСК - 2.2;склерометр 0MW-1; Молоток Шмидта разных модификаций; ИПС-МГ4; молоток Кашкарова; молоток Физделя; Пружинный молоток ПМ-2; ГПНС, ГПНВ разных модиф-й; DYNA (модели Z5, Z15, Z25, Z50)

Б. - Ультразвуковые и акустические приборы: Бетон-22; УК-14ПМ; УК-1401; ИПА-МГ4; TICO и др.

17624-80

 

 

17624

24830

24332

18

Определение толщины металлических элементов

 

Кварц-6, Кварц-15, УТ-65, УТ-80, MINITEST-400W; А-1209; ТН-10, ТН-25

19

Обнаружение и оценка степени коррозии арматуры в железобетонных конструкциях

 

КАНИН (CANIN-PROGEQ Testing Instruments)

20

Определение твёрдости и прочности металлов

 

ТЭМП-2, диапазоны измерения твёрдости по шкалам:

Роквелла (22-68) HRC

Бринолля (100-450) НВ

Шора (22-98) HSD

Виккерса (100-950) HV

21

Определение линейных размеров

166-89

Штангенциркуль, микрометры; скобы индикаторные типа СИ

6507-90

22

Определение массы

 

Весы аналитические, технические

23

Сушка образцов материалов

 

Сушильный шкаф

24

Дистанционный осмотр конструкций

 

Бинокль, монокль

25

Документальная фотосъёмка

 

Фотоаппарат, видеокамера

26

Выбуривание, выпиливание образцов из бетона конструкции

24638

Сверлильный станок типа ИЕ 1806, станки типа УРБ-175, УРБ-300; обрезные алмазные диски типа АОК

ТУ

34-13-10910

2-037-415

Примечание - * отмеченные приборы зарубежной поставки.

ПРИЛОЖЕНИЕ V

«УТВЕРЖДАЮ»         

Руководитель организации

(предприятия)                    

«___»_________199_ г

АКТ ПРЕДВАРИТЕЛЬНОГО ОБСЛЕДОВАНИЯ ЗДАНИЯ, ПОВРЕЖДЕННОГО ПОЖАРОМ

1. Фамилия, и.о., должности членов комиссии, выполнивших обследование.

2. Наименование здания, краткое описание планировочных и конструктивных решений (размеры в плане, разрезы здания, высоты этажей, их количество; конструкция и материал несущих и ограждающих конструкций; конструктивная схема здания).

3. Время обнаружения пожара (загорания). Начало и продолжительность его интенсивного горения, максимальная, средняя температуры в помещении во время пожара; место нахождения очага пожара, средства тушения пожара (из акта органов Госпожнадзора о пожаре).

4. Данные натурных обследований о длительности и максимальной температуре пожара.

5. Части здания, помещения (оси, этаж), которые необходимо оградить и в которые не допускаются люди.

6. Перечень конструкции, которые необходимо демонтировать или усилить на период детального обследования.

7. Перечень мест, где необходимо сделать подмости, поставить осветительную аппаратуру для выполнения детального обследования.

8. Выводы о состоянии электропроводки, газовой и водопроводной сетей и необходимости принятия дополнительных мер по технике безопасности, пожарной безопасности и проведения аварийных работ.

ПРИЛОЖЕНИЕ. Результаты предварительного обследования приведены в табл. V-1 прил. V.

Подписи членов комиссии                                           Фамилия, и.о.

Дата


Таблица V-1

РЕЗУЛЬТАТЫ ПРЕДВАРИТЕЛЬНОГО ОБСЛЕДОВАНИЯ ЗДАНИЯ, ПОВРЕЖДЕННОГО ПОЖАРОМ

№ п.п.

Обследованные части зданий (оси, этаж)

Полностью разрушенные конструкции (перечислить с указанием характера разрушения)

Частично разрушенные конструкции (перечислить с указанием характера разрушения)

Вывод о необходимости демонтажа или усиления конструкций для дальнейшего их обследования; возможность нахождения людей на конструкциях или под ними

Вывод о возможности нахождения людей в обследованной зоне здания

1

2

3

4

5

6

Подписи:

Дата


ЛИТЕРАТУРА, ГОСУДАРСТВЕННЫЕ СТАНДАРТЫ, СТРОИТЕЛЬНЫЕ НОРМЫ И ПРАВИЛА И РЕКОМЕНДУЕМЫЕ МАТЕРИАЛЫ, ПРИМЕНЯЕМЫЕ В КАЧЕСТВЕ СПРАВОЧНЫХ

I. ЛИТЕРАТУРА

I-1. АЛЕКСЕЕВ С.Н. Коррозия и защита арматуры в бетоне. - М.: Стройиздат, 1968.

I-2. АРОНОВ Р.И. Испытание сооружений. - М.: Высшая школа, 1974.

I-3. АРТАМОНОВ В.С. Защита железобетона от коррозии. - М., 1967.

I-4. БАЛАЛАЕВ Г.А., МЕДВЕДЕВ В.М., МОЩАНСКИЙ Н.А. Защита строительных конструкций от коррозии. - М.: Стройиздат, 1967.

I-5. БАНХИДИ Л. Тепловой микроклимат помещений. М.: Стройиздат, 1981.

I-6. БЕЛЯЕВ Б.И., КОРНИЕНКО В.С. Причины аварий стальных конструкций и способы их устранения. - М.: Стройиздат, 1968.

I-7. БОГОСЛОВСКИЙ В.Н. Строительная теплофизика. - М.: Высшая школа,1982.

I-8. БОЙКО М.Д. Диагностика повреждений и методы восстановления эксплуатационных качеств зданий. - Л., Стройиздат, 1975.

I-9. БЫХОВСКАЯ М.С., ГИНЗБУРГ С.А., ХАЛИЛОВА О.Д. Методика определения вредности веществ в воздухе. - М. Химия, 1966.

I-10. ВАСИЛЬЕВ Б.Ф. Натурные исследования температурно-влажностного режима жилых зданий. - М., Стройиздат, 1968.

I-11. ГИНДОЯН А.Г. Тепловой режим конструкций полов. - М., Стройиздат, 1984.

I-12. ГИНДОЯН А.Г. Теплотехнические основы проектирования полов из полимерных материалов. - М., Стройиздат, 1969.

I-13. ГРИНБЕРГ В.Е., СЕМЕТОВ В.Г. и др. Контроль и оценка состояния несущих конструкций зданий и сооружений в эксплуатационный период. Л., Стройиздат, 1982.

I-14. ГУСЕВ Б.Ф., КИРЕЕВ Н.П. Освещение промышленных зданий. - М., Стройиздат, 1968.

I-15. ДОЛМАТОВ В.Я., БЕЛОУСОВ Е.Д. Прибор для испытания полов под нагрузкой. - М.: БТИ НИИОМТП, 1959.

I-16. ДОЛМАТОВ В.Я., КИМ И.П.,ФИГОВСКИЙ О.Л. и др. Полы промышленных зданий. - М., Стройиздат, 1978.

I-17. Естественное освещение и инсоляция зданий/ Под ред. проф. Н.М. Гусева. - М., Стройиздат, 1968.

I-18. ЗЕНКОВ Н.И. Строительные материалы и их поведение в условиях пожара - М., ВИПТШ МВД СССР, 1974.

I-19. ИЛЬИН Н.А. Огнестойкость железобетонных и каменных конструкций. - Куйбышев, КуИСИ, 1974.

I-20. ИЛЬИН Н.А. Последствия огневого воздействия на железобетонные конструкции. - М., Стройиздат, 1979.

I-21. ИЛЬИН Н.А. Техническая экспертиза зданий, поврежденных пожаром. - М., Стройиздат, 1983.

I-22. Инструкция по изучению пожаров/ ГУПО МВД СССР. - М., 1971.

I-23. КАРСЛОУ Г., ЕГЕР Д. Теплопроводность твердых тел. - М., Наука, 1964.

I-24. КИКИН А.И., ВАСИЛЬЕВ А.А., КОШУТИН Б.Н. Повышение долговечности металлических конструкций промышленных зданий. - М., Стройиздат, 1968.

I-25. КОЗДОБА Л.А. Методы решения нелинейных задач теплопроводности. - М., 1975.

I-26. ЛЕЩИНСКИЙ М.Ю. Испытание бетона: Справочное пособие. - М.: Стройиздат, 1980.

I-27. ЛИФАНОВ И.С., ШЕРСТЮКОВ Н.Г. Метрология, средства и методы контроля качества в строительстве.

I-28. ЛУЖИН О.В., ЗЛОЧЕВСКИЙ А.Б. и др. Обследование и испытание сооружений. - М.: Стройиздат, 1987.

I-29. ЛЫКОВ А.В. Теория теплопроводности. - М., Высшая школа, 1967.

I-30. МАКАГОНОВ В.А Бетон в условиях высокотемпературного нагрева. - М.: Стройиздат, 1979.

I-31. Методика обследования и проектирования оснований и фундаментов при капитальном ремонте, реконструкции и надстройке зданий. - М.: Стройиздат, 1978.

I-32. МИЛОВАНОВ А.Ф. Огнестойкость железобетонных конструкций. - М.: Стройиздат, 1986.

I-33. МИЗЕРНЮК Б.И., РЫБАКОВ Ю.Д. Примерная программа обследования железобетонных конструкций в условиях эксплуатации. В сб.: Анализ работы железобетонных конструкций в условиях эксплуатации. - М.: НИИЖБ, 1970.

I-34. МОСКВИН В.И., ИВАНОВ Ф.М. и др. Коррозия бетона и железобетона, методы их защиты. - М.: Стройиздат, 1980.

I-35. НАРЫВАЙ Г.А. Техническая эксплуатация зданий. - М.: Стройиздат, 1990.

I-36. Реконструкция зданий и сооружений. Под ред. проф. А.Л. ШАГИНА. - М.: Высшая школа, 1991.

I-37. РОЙТМАН М.Я. Пожарная профилактика о строительном деле/ Под ред. Н.А. Стрельчука, ВИИТШ МВД СССР. - М., 1975.

I-38. СЕЧЕНОК Н.М. Техническая эксплуатация жилых зданий: Справочное пособие. - Киев: Будивельник, 1974.

I-39. ФОКИН К.Ф. Строительная теплотехника ограждающих частей зданий. - М.: Стройиздат, 1973.

I-40. ЭЛЬТЕРМАН В.М. Вентиляция химических производств. - М.: Стройиздат, 1956.

I-41. МРР-3.2.05-96. Порядок определения стоимости работ по техническому обследованию строительных конструкций зданий и сооружений.

II. ГОСУДАРСТВЕННЫЕ СТАНДАРТЫ

II-1. ГОСТ 7.32-91

СИБИД. Отчет о научно-исследовательской работе. Структура и правила оформления.

II-2. ГОСТ Р.21.15.01-92

СПДС. Правила выполнения архитектурно-строительных чертежей

II-3. ГОСТ 12730.0-78

Бетоны. Общие требования к методам определения плотности, влажности, водопоглощения, пористости и водопроницаемости

II-4. ГОСТ 12730.1-78

Бетоны. Методы определения плотности

II-5. ГОСТ 12730.2-78

Бетоны. Методы определения влажности

II-6. ГОСТ 12730.3-78

Бетоны. Методы определения водопоглощения

II-7 ГОСТ 12730.4-78

Бетоны. Методы определения показателей пористости

II-8. ГОСТ 12730.5-78

Бетоны. Методы определения водонепроницаемости

II-9. ГОСТ 10060-87

Бетоны. Методы определения прочности на сжатие и растяжение

II-10. ГОСТ 17623-87

Бетоны. Радиоизотопный метод определения средней плотности

II-11. ГОСТ 17624-87

Бетоны. Ультразвуковой метод определения прочности

II-12. ГОСТ 22690-88

Бетоны. Определение прочности механическими методами неразрушающего контроля.

II-13. ГОСТ 22690.2-87

Бетон тяжелый. Метод определения прочности эталонным молотком Кашкарова

II-14. ГОСТ 10180-90

Бетоны. Методы определения прочности по контрольным образцам

II-15. ГОСТ 24452-80

Бетоны. Методы определения призменной прочности, модуля упругости и коэффициента Пуассона

II-16. ГОСТ 18105-86

Бетоны. Правила контроля прочности.

II-17. ГОСТ 22783-77

Бетоны. Методы ускоренного определения прочности на сжатие

II-18. ГОСТ 28570-90

Бетоны. Методы определения прочности по образцам, отобранным из конструкций

II-19. ГОСТ 26134-84*

Бетоны. Ультразвуковой метод определения морозостойкости

II-20. ГОСТ 29167-91

Бетоны. Методы определения характеристик трещиностойкости (вязкости разрушения) при статическом нагружении

II-21. ГОСТ 17625-83

Конструкции и изделия железобетонные. Радиационный метод определения толщины защитного слоя бетона, размеров и расположения арматуры

II-22. ГОСТ 22904-93

Конструкции железобетонные. Магнитный метод определения толщины защитного слоя бетона и расположения арматуры

II-23. ГОСТ 12852-0-77

Бетон ячеистый. Общие требования к методам испытаний

II-24. ГОСТ 24332-88

Кирпич и камни силикатные. Ультразвуковой метод определения прочности при сжатии

II-25. ГОСТ 7025-91

Кирпич и камни керамические и силикатные. Методы определения водопоглощения, плотности и контроля морозостойкости.

II-26. ГОСТ 21718-84

Материалы строительные. Диэльнометрический метод измерения влажности

II-27. ГОСТ 7076-99

Материалы и изделия строительные. Методы определения теплопроводности и термического сопротивления при стационарном тепловом режиме.

II-28. ГОСТ 8462-85

Материалы стеновые. Методы определения пределов прочности при сжатии и изгибе

II-29. ГОСТ 8829-94

Конструкции железобетонные сборные. Методы испытания нагружением и оценка прочности, жесткости и трещиностойкости

II-30. ГОСТ 5802-86

Растворы строительные. Методы испытаний

II-31. ГОСТ 24992-81

Конструкции каменные. Метод определения прочности сцепления в каменной кладке

II-32. ГОСТ 25891-83

Здания и сооружения. Методы определения сопротивления воздухо-проницанию ограждающих конструкций

II-33. ГОСТ 26253-84

Здания и сооружения. Метод определения теплоустойчивости ограждающих конструкций

II-34. ГОСТ 26254-84

Здания и сооружения. Методы определения сопротивления теплопередаче ограждающих конструкций

II-35. ГОСТ 24940-96

Здания и сооружения. Метод измерения освещенности

II-36. ГОСТ 26629-85

Здания и сооружения. Метод тепловизионного контроля качества теплоизоляции ограждающих конструкций

II-37. ГОСТ 25380-82

Здания и сооружения. Метод измерения плотности тепловых потоков, проходящих через ограждающие конструкции

II-38. ГОСТ 9012-59

Металлы. Метод измерения твердости по Бринеллю. Поправка ИУС-2001

II-39. ГОСТ 9013-59*

Металлы. Метод измерения твердости по Роквеллу

II-40. ГОСТ 10145-81*

Металлы. Метод испытания на длительную прочность

II-41. ГОСТ 1497-84*

Металлы. Методы испытания на растяжение

II-42. ГОСТ 9454-78*

Металлы. Методы испытания на ударный изгиб при пониженной комнатной и повышенной температурах

II-43. ГОСТ 11701-84

Металлы. Методы испытания на растяжение тонких листов и лент

II-44. ГОСТ 18835-73

Металлы. Метод измерения пластической твердости

II-45. ГОСТ 14782-86

Контроль неразрушающий. Соединения сварные. Методы ультразвуковые

II-46. ГОСТ 25.503-80

Расчеты и испытания на прочность. Методы механических испытаний металлов. Метод испытания на сжатие

II-47. ГОСТ 3242-79

Соединения сварные. Методы контроля качества

II-48. ГОСТ 7564-97

Сталь. Общие правила отбора проб, заготовок и образцов для механических и технологических испытаний

II-49. ГОСТ 12004-81*

Сталь арматурная. Методы испытаний на растяжение

II-50. ГОСТ 10243-75*

Сталь. Метод испытаний и оценки макроструктуры

II-51. ГОСТ 18835-73

Сталь. Метод измерения пластической твердости

II-52. ГОСТ 5639-82*

Стали и сплавы. Методы выявления и определения величины зерна

II-53. ГОСТ 380-94

Сталь углеродистая обыкновенного качества марки

II-54. ГОСТ 9.909-86

Металлы, сплавы, покрытия металлические и неметаллические неорганические. Методы испытания на климатических испытательных станциях

II-55. ГОСТ 9.308-88

Покрытия металлические и неметаллические неорганические. Методы контроля

II-56. ГОСТ 8486-86*Е

Пиломатериалы хвойных пород. Технические условия

II-57. ГОСТ 2695-83*

Пиломатериалы лиственных пород. Технические условия

II-58. ГОСТ 9462-88*

Лесоматериалы круглые лиственных пород. Технические условия

II-59. ГОСТ 9463-88*

Лесоматериалы круглые хвойных пород. Технические условия

II-60. ГОСТ 16483.0-89

Древесина. Общие требования к физико-техническим испытаниям

II-61. ГОСТ 9462-88*

Лесоматериалы круглые лиственных пород. Технические условия.

II-62. ГОСТ 2140-81*

Видимые пороки древесины. Классификация, термины и определения

II-63. ГОСТ 16483.1-84

Древесина. Метод определения плотности

II-64. ГОСТ 16483.3-84

Древесина. Метод определения предела прочности при статическом изгибе

II-65. ГОСТ 16483.4-73*

Древесина. Метод определения ударной вязкости при изгибе

II-66. ГОСТ 16483.5-73*

Древесина. Методы определения предела прочности при скалывании вдоль волокон

II-67. ГОСТ 16483.7-71*

Древесина. Методы определения влажности

II-68. ГОСТ 16483.16-81*

Древесина. Метод определения ударной твердости

II-69. ГОСТ 2678-94

Материалы рулонные кровельные и гидроизоляционные. Метод испытаний

II-70. ГОСТ 25609-83

Материалы полимерные рулонные и плиточные для полов. Метод определения показателя теплоусвоения

II-71. ГОСТ 30547-97

Материалы рулонные кровельные и гидроизоляционные. Общие технические условия

II-72. ГОСТ 26589-94

Мастики кровельные и гидроизоляционные. Методы испытаний

II-73. ГОСТ 9.301-86

Покрытия металлические. Общие требования203

II-74. ГОСТ 15140-78*

Материалы лакокрасочные. Методы определения адгезии

II-75. ГОСТ 6992-68*

Покрытия лакокрасочные. Метод испытаний на стойкость в атмосферных условиях

II-76. ГОСТ 9.407-84*

ЕСЗКС. Покрытия лакокрасочные. Метод оценки внешнего вида

II-77. ГОСТ 9.039-74

ЕСЗКС. Коррозионная агрессивность атмосферы

II-78. ГОСТ 23.204-78

Обеспечение износостойкости изделий. Метод оценки истирающей способности поверхности при трении

II-79. ГОСТ 23.208-79

Обеспечение износостойкости изделий. Метод испытания материалов на износостойкость при трении о нежестко закрепленные абразивные частицы

II-80. ГОСТ 30693-2000

Мастики кровельные и гидроизоляционные. Общие технические условия.

II-81. ГОСТ 11214-86

Окна и балконные двери деревянные с двойным остеклением для жилых и общественных зданий. Типы, конструкция и размеры

II-82. ГОСТ 12506-81

Окна деревянные для производственных зданий. Типы, конструкция и размеры

II-83. ГОСТ 16289-86

Окна и балконные двери деревянные с тройным остеклением для жилых и общественных зданий. Типы, конструкция и размеры

II-85. ГОСТ 23344-78

Окна стальные. Общие технические условия

II-86. ГОСТ 24033-80

Окна и балконные двери деревянные. Методы механических испытаний.

II-87. ГОСТ 27751-88

Надежность строительных конструкций и оснований. Основные положения по расчету. (Изменение № 1)

II-88. ГОСТ 12071-2000

Грунты. Отбор, упаковка, транспортировка и хранение образцов

II-89. ГОСТ 24846-81

Грунты. Методы измерения деформации оснований зданий и сооружений

II-90. ГОСТ 24847-81

Грунты. Методы определения глубины сезонного промерзания

II-91. ГОСТ 25358-82

Грунты. Метод полевого определения температуры

II-92. ГОСТ 26262-84

Грунты. Методы полевого определения глубины сезонного оттаивания

II-93. ГОСТ 28622-90

Грунты. Метод лабораторного определения степени пучинистости

II-94. ГОСТ 12536-79

Грунты. Метод лабораторного определения гранулометрического (зернового) и макроагрегатного состава

II-95. ГОСТ 5180-84

Грунты. Методы лабораторного определения физических характеристик

II-96. ГОСТ 20276-99

Грунты. Методы полевого определения характеристики прочности и деформируемости

II-97. ГОСТ 12248-96

Грунты. Методы лабораторного определения характеристики прочности и деформируемости

II-98. ГОСТ 30494-96

Здания жилые и общественные. Параметры микроклимата в помещениях

II-99. ГОСТ 12.1.005-88*

ССБТ. Воздух рабочей зоны. Общие санитарно-гигиенические требования к воздуху рабочей зоны

II-100. ГОСТ 12.1.016-79*

ССБТ. Воздух рабочей зоны. Требования к методикам измерения концентрации вредных веществ

II-101. ГОСТ 8.134-98

ГСИ Шкала рН водных растворов

II-102. СанПиН 2.2.4.548-96

Гигиенические требования к микроклимату производственных помещений

III. СТРОИТЕЛЬНЫЕ НОРМЫ И ПРАВИЛА

III-1. СНиП 10-01-94

Система нормативных документов в строительстве. Основные положения

III-2. СНиП 23.01-99

Строительная климатология

III-3. СНиП 21-01-97*

Пожарная безопасность зданий и сооружений

III-4. СНиП II-3-79*

Строительная теплотехника

III-5. СНиП 23-05-95

Естественное и искусственное освещение

III-6. СНиП 2.01.07-85*

Нагрузки и воздействия с разд. 10 «Прогибы и перемещения»

III-7. СНиП II-7-81*

Строительство в сейсмических районах

III-8. СНиП 2.02.01-83*

Основания зданий и сооружений

III-9. СНиП 2.02.04-88

Основания и фундаменты на вечномерзлых грунтах

III-10. СНиП 2.03.01-84*

Бетонные и железобетонные конструкции

III-11. СНиП 2.03.04-84*

Бетонные и железобетонные конструкции, предназначенные для работы в условиях повышенных и высоких температур

III-12. СНиП 2.03.03-85

Армоцементные конструкции

III-13. СНиП 2.03.02-86

Бетонные и железобетонные конструкции из плотного силикатного бетона

III-14. СНиП II-23-81*

Стальные конструкции

III-15. СНиП 2.03.06-85

Алюминиевые конструкции

III-16. СНиП II-22-81

Каменные и армокаменные конструкции

III-17. СНиП II-25-80

Деревянные конструкции

III-18. СНиП 2.03.11-85

Защита строительных конструкций от коррозии

III-19. СНиП II-26-76

Кровля

III-20. СНиП 2.03.13-88

Полы

III-21. СНиП 31-03-2001

Производственные здания

III-22. СНиП 2.08.01-89*

Жилые здания

III-23. СНиП 2.04.05-91*

Отопление, вентиляция и кондиционирование

III-24. СНиП 11-02-96

Инженерные изыскания для строительства. Основные положения

III-25. СНиП 2.01.14-83

Определение расчетных гидрологических характеристик

III-26. СНиП 3.01.04-87*

Приемка в эксплуатацию законченных строительством объектов. Основные положения

III-27. СНиП III-4-80*

Техника безопасности в строительстве

III-28. СНиП 3.04.03-85

Защита строительных конструкций и сооруженийот коррозии

III-29. СНиП 3.01.03-84

Геодезические работы в строительстве

III-30. СНиП 3.03.01-87

Несущие и ограждающие конструкции

III-31. СНиП 12-03-2001

Безопасность труда в строительстве. Общие требования

III-32. ППБ 01-93**

Правила пожарной безопасности в Российской Федерации

III-33. ВСН 48-86 (Р)

Правила безопасности при проведении обследований жилых зданий для проектирования капитального ремонта

III-34. ВСН 57-88(Р)

Положение по техническому обследованию жилых зданий

III-35. ВСН 61-89 (Р)

Реконструкция и капитальный ремонт жилых домов. Нормы проектирования

III-36. ВСН 53-86 (Р)

Правила оценки физического износа жилых зданий

III-37. РСН 51-84

Инженерные изыскания для строительства. Производство лабораторных исследований физико-механических свойств грунтов

III-38. НПБ 105-95

Определение категории помещений и зданий по взрывопожарной и пожарной опасности

III-39.

Положение о порядке расследования причин аварий зданий и сооружений, их частей и конструктивных элементов на территории Российской Федерации (Главгосархстройнадзор России, 1994.)

III-40. МДС-13-14-2000

Положение о проведении планово предупредительного ремонта производственных зданий и сооружений

IV. СПРАВОЧНЫЕ МАТЕРИАЛЫ И РЕКОМЕНДУЕМЫЕ ДОКУМЕНТЫ

IV-1. Инструкция по расчету фактических пределов огнестойкости железобетонных конструкций на основе новых требований Строительных норм и правил/ ВНИИПО МВД СССР. - М., 1982.

IV-2. Пособие по определению пределов огнестойкости конструкций, пределов распространения огня по конструкциям и групп возгораемости материалов. - М.: Стройиздат, 1985.

IV-3. Пособие по контролю состояния строительных металлических конструкций здания и сооружений в агрессивных средах, проведению обследований и проектированию восстановления защиты конструкций от коррозии (к СНиП 2.03.11-85)/ ЦНИИПроектстальконструкция им. Мельникова. - М.: Стройиздат, 1989.

IV-4. Пособие по проектированию защиты от коррозии бетонных и железобетонных конструкций (к СНиП 2.03.11-85)/ НИИЖБ. - М.: ЦИТП, 1989.

IV-5. Пособие по проектированию защиты от коррозии каменных, армокаменных и асбестоцементных конструкций (к СНиП 2.03.11-85)/ ЦНИИСК. им. Кучеренко. - М.: Прейскурантиздат, 1988

IV-6. Пособие по производству геодезических работ в строительстве (к СНиП 3.01.03-84)/ ЦНИИОМТП. - М.: Стройиздат, 1985.

IV-7. Руководство по защите от коррозии лакокрасочными покрытиями строительных бетонных и железобетонных конструкций, работающих в газовлажных средах/ НИИЖБ. - М.: Стройиздат, 1978.

IV-8. Руководство по наблюдениям за деформациями оснований и фундаментов зданий и сооружений/ НИИОСП им. Герсеванова. - М.: Стройиздат, 1975.

IV-9. Руководство по обследованию сварных стальных конструкций, выполненных из кипящей углеродистой стали, и разработке мероприятий, предупреждающих их хрупкое разрушение/ ЦНИИПроектстальконструкция им. Мельникова. - М., 1979.

IV-10. Руководство по определению и оценке прочности бетона в конструкциях зданий и сооружений/ ЦНИИСК им. Кучеренко, НИИЖБ. - М.: Стройиздат, 1979.

IV-11. Руководство по определению прочности бетона в изделиях и конструкциях методом отрыва со скалыванием по ГОСТ 21243-75. - М.: Стройиздат, 1977.

IV-12. Руководство по определению скорости коррозии цементного камня, раствора и бетона в жилых агрессивных средах/ НИИЖБ. - М.: Стройиздат, 1975.

IV-13. Руководство по проведению натурных обследований промышленных зданий и сооружений/ ЦНИИпромзданий. - М., 1975.

IV-14. Руководство по проектированию оснований и фундаментов на пучинистых грунтах/ НИИОСП им. Герсеванова. - М.: Стройиздат, 1979.

IV-15. Руководство по тензометрированию строительных конструкций и материалов/ НИИЖБ. - М., 1971.

IV-16. Руководство по ультразвуковому контролю качества сварных стыковых и тавровых соединений арматуры и закладных деталей железобетонных конструкций/ НИИЖБ, МВТУ им. Баумана. - М., 1981.

IV-17. Руководство по эксплуатации и ремонту кровель из рулонных материалов/ ЦНИИпромзданий. - М.: Стройиздат, 1969.

IV-18. Руководство по измерению тепловых потоков в ограждающих конструкциях.

IV-19. Кругов В.И. Рекомендации по защите деревянных конструкций от домовых грибов и насекомых. - Петрозаводск, 1987.

IV-20. Рекомендации по контролю железобетонных конструкций неразрушающими методами/ Оргтехстрой. - М., 1989.

IV-21. Рекомендации по методам определения коррозионной стойкости бетона/ НИИЖБ. - М., 1988.

IV-22. Рекомендации по натурным обследованиям железобетонных конструкций/ НИИЖБ. - М., 1972.

IV-23. Рекомендации по обеспечиванию долговечности бетонных и железобетонных фундаментов зданий и сооружений в условиях низких отрицательных температур, вечномерзлых грунтов и агрессивных сред/ НИИЖБ. - М., 1983.

IV-24. Рекомендации по обеспечению надежности и долговечности железобетонных конструкций промышленных зданий и сооружений при их реконструкции и восстановлении/ Харьковский ПромстройНИИпроект. - М., Стройиздат, 1990.

IV-25. Рекомендации по обследованию зданий и сооружений, поврежденных пожаром/ НИИЖБ, и др. - М.: Стройиздат, 1987.

IV-26. Рекомендации по обследованию и оценке технического состояния крупнопанельных и каменных зданий/ ЦНИИСК им. Кучеренко. - М., 1988.

IV-27. Рекомендации по обследованию стальных конструкций производственных зданий/ ЦНИИПроектстальконструкция им. Мельникова. - М., 1988.

IV-28. Рекомендации по определению прочности бетона эталонным молотком Кашкарова по ГОСТ 22690-2-77/ НИИОУС при МИСИ им. Куйбышева. - М.: Стройиздат, 1985.

IV-29. Рекомендации по определению состояния герметиков в эксплуатационных условиях/ УкрНИИГМ. - Киев, 1977.

IV-30. Рекомендации по определению технического состояния ограждающих конструкций при реконструкции промышленных зданий/ ЦНИИПромзданий. - М.: Стройиздат, 1988.

IV-31. Рекомендации по оценке надежности строительных конструкций по внешним признакам/ ЦНИИПромзданий. - М., 1989.

IV-32. Рекомендации по оценке несущей способности сжатых железобетонных элементов с доэксплуатационными трещинами/ НИИЖБ. - М., 1986.

IV-33. Рекомендации по оценке состояния железобетонных конструкций в агрессивных средах/ НИИЖБ. - М., 1984.

IV-34. Рекомендации по оценке состояния и усилению строительных конструкций промышленных зданий и сооружений/ НИИСК. - М.: Стройиздат, 1989.

IV-35. Рекомендации по применению материалов комплексного действия для защиты деревянных конструкций/ ЦНИИСК им. Кучеренко. - М., 1982.

IV-36. Рекомендации по расчету осадок, кренов и усилий в фундаментах существующих промышленных зданий от влияния вновь пристраиваемых зданий и сооружений/ Харьковский ПромстройНИИ Проект. - М.: Стройиздат, 1987.

IV-37. Рекомендации по расчету светопрозрачных конструкций зданий с учетом светотехнических, теплотехнических, звукоизоляционных качеств и технико-экономических показателей/ НИИОСФ. - М.: Стройиздат, 1986.

IV-38. Руководство по эксплуатации строительных конструкций производственных зданий промышленных предприятий/ ЦНИИПромзданий, М.: ГП «Информрекламиздат», 1995.

 

 




ГОСТЫ, СТРОИТЕЛЬНЫЕ и ТЕХНИЧЕСКИЕ НОРМАТИВЫ.
Некоммерческая онлайн система, содержащая все Российские Госты, национальные Стандарты и нормативы.
В Системе содержится более 150000 файлов нормативно-технической документации, действующей на территории РФ.
Система предназначена для широкого круга инженерно-технических специалистов.

Рейтинг@Mail.ru Яндекс цитирования

Copyright © www.gostrf.com, 2008 - 2026