|
|
|
СПРАВОЧНИК ДОРОЖНОГО МАСТЕРА Строительство, эксплуатация и ремонт автомобильных дорог Учебно-практическое пособие Москва Содержание Справочник содержит необходимые сведения по технологии возведения земляного полотна, дорожно-строительным материалам и производственным предприятиям дорожного хозяйства. Изложена технология и организация строительства дорожных одежд, а также правила ремонта и содержания автомобильных дорог. В справочнике даны рекомендации по проектированию, строительству и эксплуатации автозимников и ледовых переправ. В помощь руководителям дорожных хозяйств приведена тарифно-квалификационная характеристика основных профессий и должностей специалистов и рабочих, дан справочный материал по обеспечению рабочих бесплатной специальной одеждой и обувью. Справочник предназначен для инженеров и мастеров, занятых строительством, эксплуатацией и ремонтом автомобильных дорог. Он может быть использован и студентами, обучающимися по специальности «Автомобильные дороги и аэродромы». КОЛЛЕКТИВ АВТОРОВ: С.Г. Цупиков, канд. техн. наук, проф. - введение, гл. с I по IX (кроме гл. IV п. 4.1...4.4; гл. VII п.7.1 и 7.2; гл. IX п. 9.1 и 9.2); А.Д. Гриценко, канд. техн. наук, проф. - гл. с X по XIV; A.M. Борцов, канд. техн. наук. доц. - гл. XVIII; И.М. Гуряева, канд. техн. наук, доц. - гл. с XV по XVII; Т.В. Москвитина, инж. - гл. XIX и XXIII; Н.С. Казачек, канд. техн. наук, доц. - гл. с XX по XXII; В.В. Кузьмин, канд. техн. наук, доц. - гл. IV п. 4.1 ...4.4 и гл. VII п.7.1 и 7.1.1; О.А. Иванова., инж. - гл. IX п. 9.1 и 9.2. ВведениеАвтомобильная дорога - это комплекс сложных и дорогостоящих инженерных сооружений, без которых не может работать автотранспорт, перевозящий около 80 % грузов страны. Транспортная сеть влияет на размещение производственных сил, освоение новых районов и природных богатств, способствует повышению эффективного использования местных ресурсов и сельскохозяйственных угодий. Чтобы народное хозяйство работало в нормальных условиях, необходимо иметь 500...600 км автомобильной дороги на 1 тыс. км2 территории. В настоящее время автодорожная сеть Российской Федерации составляет менее 100 км на 1 тыс. км2 территории. Для сравнения, в Испании - 260, в Польше - 980, во Франции - 2420 км на 1 тыс. км2. От сложности дорожной сети и ее качества зависит эффективность использования автомобильного транспорта и безопасность дорожного движения. Освоение северных и северо-восточных районов немыслимо без развития сети автомобильных дорог. Строительство дорог в этих районах связано со значительными трудностями, поскольку приходится прокладывать их в сложных природных условиях (пересеченный рельеф, вечная мерзлота, болота, малая продолжительность летнего строительного сезона и др.). Рост объемов дорожно-строительных работ требует не только дальнейшего укрепления производственной мощности дорожно-строительных организаций, но и полного рационального использования техники, существенного улучшения организации и технологии строительства. Работы по строительству автомобильных дорог можно разделить на подготовительные, строительно-монтажные, заготовительные, включающие работу производственных предприятий и складское хозяйство, транспортные. Затраты труда и материальные ресурсы на разработку месторождений нерудных материалов, переработку, обогащение, приготовление полуфабрикатов и изделий составляют около 50 % от всех затрат на строительство автомобильной дороги. Достаточно сказать, что на строительство одного километра дороги III технической категории требуется: песка - 4500 м3, щебня - 2500 м3 битума - 100 т, минерального порошка - 120 т. Для строительства, ремонта и содержания автомобильных дорог и сооружений применяют разнообразные природные и искусственные материалы. Природные строительные материалы добывают в местах их образования, обычно в верхних слоях земной коры (например, песок, гравий). Искусственные строительные материалы изготавливают по специальной технологии из природного сырья или отходов промышленности, из смеси разных материалов, причем, свойства исходных составляющих претерпевают физико-химические изменения, в результате чего получается новый материал с новыми свойствами, отличающийся от исходного сырья. Так, после смешения и уплотнения смеси щебня, песка, цемента и воды и последующего отвердевания смеси получают цементобетон. Строительные материалы, которые могут быть получены в районе строительства из местного природного сырья или отходов промышленности с использованием для их добычи и переработки сравнительно несложного оборудования, называют местными строительными материалами. Применение местных материалов в дорожном строительстве при рациональном конструировании сооружений снижает их стоимость, экономит материалы промышленного производства, сокращает транспортные расходы и обеспечивает строительству более широкий фронт работ. К этой группе относят песок, гравий, щебень из местных каменных пород. Материалы из сырья, имеющего ограниченное распространение и для производства которых необходимо заводское оборудование и квалифицированный персонал, называют строительными промышленного (централизованного) производства. К этой группе относят цементы, битумы, дегти, металл, которые поступают на строительство в готовом виде. При приемке материалов, поступающих на объекты в готовом виде, задача мастера сводится к умению проверить качество, организовать их правильную перевозку, хранение и использование. При добыче, переработке и изготовлении материалов на месте строительства (например, каменных материалов, цементо- и асфальтобетонов) мастер организует и руководит работами в притрассовых карьерах, на бетонных заводах, полигонах и базах. В этом случае необходимо глубоко знать не только свойства исходного сырья, полуфабрикатов, составляющих бетона, но и умело организовать технологию производства материалов. Наряду с этим, мастер обязан организовать систематический текущий контроль производства полуфабрикатов, материалов и изделий, их хранение и использование. За последние годы были пересмотрены многие строительные нормы и правила, государственные стандарты на материалы, полуфабрикаты, изделия, правила производства работ и другие документы. Внедрены новые технологии скоростного строительства автомобильных дорог и новые высокопроизводительные комплекты дорожных машин и оборудования производственных предприятий. Прогресс в области дорожно-строительных материалов способствовал повышению требований к ним, а также применению новых материалов, в частности - широкому использованию геотекстиля, пластиковых георешёток, щебеночно-мастичного асфальта и др. Таким образом, возникла необходимость в издании данного справочника с учетом требований по повышению эффективности производства и качества продукции, а также последних достижений науки и техники. На строительстве, реконструкции и содержании автомобильных дорог в настоящее время заняты тысячи дорожно-строительных организаций, поэтому потребность в справочной литературе по дорожному строительству очень велика. РАЗДЕЛ I
|
|||||||||||||||||||||||||||||||||||||||||||||||||||||||||||||||||||||||||||||||||||||||||||||||||||||||||||||||||||||||||||||||||||||||||||||||||||||||||||||||||||||||||||||||||||||||||||||||||||||||||||||||||||||||||||||||||||||||||||||||||||||||||||||||||||||||||||||||||||||||||||||||||||||||||||||||||||||||||||||||||||||||||||||||||||||||||||||||||||||||||||||||||||||||||||||||||||||||||||||||||||||||||||||||||||||||||||||||||||||||||||||||||||||||||||||||||||||||||||||||||||||||||||||||||||||||||||||||||||||||||||||||||||||||||||||||||||||||||||||||||||||||||||||||||||||||||||||||||||||||||||||||||||||||||||||||||||||||||||||||||||||||||||||||||||||||||||||||||||||||||||||||||||||||||||||||||||||||||||||||||||||||||||||||||||||||||||||||||||||||||||||||||||||||||||||||||||||||||||||||||||||||||||||||||||||||||||||||||||||||||||||||||||||||||||||||||||||||||||||||||||||||||||||||||||||||||||||||||||||||||||||||||||||||||||||||||||||||||||||||||||||||||||||||||||||||||||||||||||||||
|
Базовый трактор (бульдозер) |
Скреперы на буксире гусеничных тракторов с ковшом емкостью, м3 |
Экскаваторы с ковшом емкостью, м3 с автомобилями-самосвалами |
|||
|
3,0 |
7,0 |
10 |
0,65 |
1,25 |
|
|
ДТ-75 |
40 |
35 |
31 |
93 |
66 |
|
Т-100М |
92 |
59 |
61 |
143 |
80 |
|
Т-130 |
112 |
69 |
71 |
160 |
90 |
|
Т- 180ГМ |
115 |
75 |
73 |
170 |
100 |
|
ДЭТ-250 |
135 |
93 |
90 |
190 |
110 |
Таблица 1.3.2
Рациональная дальность перемещения грунта скреперами при совместной работе на участке с экскаваторами с автомобилями-самосвалами, м
|
Базовым трактор и объем ковша скрепера g, м |
Экскаватор с ковшом емкостью, м3 |
||
|
0,65 м3 с автомобилями-самосвалами грузоподъемностью до 5,0 т |
1,25 с автомобилями-самосвалами грузоподъемностью до 8,0 т |
1,25 с автомобилями-самосвалами грузоподъемностью до 12,0 т |
|
|
Т-74 (g=3) |
400 |
200 |
160 |
|
Т-100М (g=7) |
550 |
320 |
290 |
|
Т-100М (g=10) |
690 |
400 |
340 |
|
ДЭТ-250 (g=15) |
890 |
600 |
600 |
Ведущие и комплектующие машины, а также транспортные средства выбирают в зависимости от дальности перемещения грунта, высоты насыпи (глубины выемки), группы грунтов и др.
Производительности ведущих и комплектующих машин должны быть увязаны между собой, причем ведущие машины для полного их использования могут выполнять и вспомогательные операции благодаря использованию сменного оборудования (навесные рыхлители, откосники для планировки откосов и др.). Комплексная механизация земляных работ обусловливает необходимость комплектования дорожных отрядов (звеньев) различными машинами, соблюдая принципы типажа и взаимодействия их в отряде. Основные данные для выбора машин приведены в [1,2]
При выборе способа производства земляных работ обычно сравнивают следующие основные показатели:
1. Себестоимость единицы продукции
(1.3.1)
где
- сумма произведений количества
машино-смен на их стоимость, руб.;
- суммарная
трудоемкость работ, выполняемых вручную, чел.-смен;
Ср - средняя счетная дневная ставка рабочих, занятых ручным трудом, руб.;
Сп - стоимость подготовительных и вспомогательных работ, не учитываемых в стоимости машино-смен, руб.;
К1, К2 - коэффициенты, учитывающие увеличение стоимости производства работ за счет накладных расходов.
К1 и K2 = 1 + N/100, (1.3.2)
где N - норма накладных расходов, принимаемых для К1 = 14...18 % и К2 = 60...80 %;
Q - общий объем планируемых работ, м3.
Стоимость одной машино-смены определяют по формуле
См = С1 + С2 + С3, (1.3.3)
где С1, С2 и С3 - затраты соответственно первой, второй и третьей групп.
С1 = (С'1 + С'2 + С'3 + С'4)·К1 (1.3.4)
где С'1 - отчисление на восстановление первоначальной стоимости, руб.;
С'2 - отчисление на капитальный ремонт, руб.;
С'3 - затраты на транспортировку машин, руб.;
С'4 - затраты на монтаж и демонтаж, руб.;
К1 = 1,1 - коэффициент, учитывающий косвенные расходы (содержание персонала на передачу машины);
С'1 + С'2 - составляют амортизационные отчисления на восстановление первоначальной стоимости машины.
С2 = (С'5 + С'6 + С'7)·К2, (1.3.5)
где С'5 - затраты, связанные с износом деталей, резины и др., руб.;
С'6 - затраты, связанные с текущим ремонтом и обслуживанием, руб.;
С'7 - расходы на топливо, смазку и др., руб.;
К2 = 1,1- коэффициент, учитывающий косвенные расходы (хранение машины и др.).
С3 = С'8·К3, (1.3.6)
где С'8 - заработная плата механизатора, руб.;
К3 = 1,5 - коэффициент, учитывающий начисления на заработную плату.
Из вышеизложенного следует, что фактическая стоимость машино-смены Сф не является величиной постоянной и в значительной степени зависит от годового и внутрисменного использования машины на объекте
Сф = К·С1 + a·С2 + С3, (1.3.7)
где К - коэффициент, учитывающий годовое использование машины.
К = Мп/Мф
где Мп и Мф - число рабочих смен в году, соответственно плановое и фактическое;
a - средний коэффициент, учитывающий использование машины в течение смены.
Таким образом, обобщающим критерием при выборе способа производства земляных работ являются приведенные затраты
Зпр = С + Ен´Куд, (1.3.8)
где Ен - нормативный коэффициент эффективности;
Куд - удельные приведенные затраты.
(1.3.9)
где С0 - рыночная цена машины, руб.;
а - расходы по первоначальной доставке машины потребителю с завода, руб.;
Тф - фактическое время, отработанное машиной в течение года, смен;
Пэ- эксплуатационная производительность машины в смену. Выработка одного рабочего составляет (м3/смену)
B = Q/m, (1.3.10)
где Q - объем работ, выполняемых отрядом за смену;
m - число рабочих в отряде (звене).
Трудоемкость единицы продукции является величиной, обратной выработке одного рабочего.
T = m/Q (1.3.11)
Энергоемкость, характеризующая расход энергии комплекта на единицу объема земляных работ (кВт/м3)
Э = SЭ/Q (1.3.12)
где SЭ - суммарная мощность двигателей всех машин, используемых в отряде (звене).
До 1940 г., когда материально-технические ресурсы были ограничены, строительство автомобильных дорог велось последовательным или параллельным методом.
Последовательный метод состоит в том, что все строительные процессы выполняют на одном участке дороги, а затем все силы и ресурсы перемещают на следующий участок и так до полного завершения строительства дороги (рис. 1.4.1).

Рис. 1.4.1. Последовательный метод организации работ:
t1, t2, t3 -
продолжительность выполнения работ, соответственно на 1....3 участке, смен;
l1, l2, l3 - протяженность
участков, км
Продолжительность строительства автомобильной дороги Т равна
T = t1 + t2 + t3, (1.4.1)
При этом методе достигается концентрация сил и ресурсов строительной организации на коротком участке, чем облегчается руководство работами и контроль за их качеством. Недостатком этого метода организации работ являются неизбежные перерывы в использовании технических и материальных ресурсов из-за отсутствия необходимых заделов, что в конечном итоге удлиняет и удорожает строительство дороги в целом. Тем не менее этот метод организации работ может быть использован и в настоящее время при сооружении земляного полотна в сложных условиях.

Рис. 1.4.2. Параллельный метод организации работ
Параллельный метод заключается в одновременном выполнении комплекса работ на всем протяжении строящейся дороги, разделенной на самостоятельные участки (рис. 1.4.2). Такой способ позволяет значительно ускорить строительство благодаря сосредоточению большого количества трудовых и материально-технических ресурсов многих специализированных подразделений.
Параллельный метод организации позволяет строить дороги форсированно, но требует значительной концентрации на короткий срок трудовых ресурсов и техники на всем протяжении дороги, усложняет управление, снижает использование средств производства, вызывает необходимость частых передислокаций крупных строительных организаций и удорожает строительство. Если средств производства недостаточно, то параллельное производство неминуемо приводит к их технологическому и организационному распылению. Этот метод в настоящее время применяют при необходимости ввода в эксплуатацию дороги в сжатые сроки.
Продолжительность строительства дороги при параллельном методе организации работ
(1.4.2)
или
(1.4.3)
где lmax - наибольшая продолжительность участка дороги, м;
V - средняя скорость потока, м/смену;
Q - наибольший объем работ на участке;
q - средний темп потока, м3/смену.
Быстрый рост объемов дорожно-строительных работ требует не только дальнейшего укрепления производственной мощности строек, но и полного рационального использования техники, существенного улучшения организации и технологии строительства. Снижение стоимости, повышение качества и сокращение сроков строительства во многом зависят от организации дорожно-строительных работ. Наиболее полно этим требованиям отвечает поточный метод организации строительства.
Поточный метод организации строительства - это такой метод, при котором все работы выполняют передвижные специализированные дорожно-строительные подразделения(звенья), движущиеся по дороге одно за другим в непрерывной технологической последовательности с заданной средней скоростью, обеспечивающей согласованность всего потока. В результате такого последовательного движения в заданный период заканчивается строительство участка дороги, готового к вводу в эксплуатацию.
В основе организационной структуры строительства при поточном методе лежит комплексный поток. Комплексный поток состоит из специализированных дорожно-строительных подразделений, каждое из которых выполняет отдельный вид работ.
На трассе строящейся автомобильной дороги имеются сосредоточенные работы (сооружение мостов, путепроводов, высоких насыпей и глубоких выемок, возведение земляного полотна на болоте и др.), которые могут служить задержкой для продвижения специализированных подразделений, выполняющих линейные работы. Поэтому важнейшим условием успешного применения поточного метода является заблаговременное выполнение сосредоточенных работ. Так как сосредоточенные работы резко отличаются по трудоемкости, технической сложности и другим показателям от линейных работ, для их выполнения создаются особые подразделения. Принципиальная схема поточной организации дорожного строительства показана на рис. 1.4.3.

Рис. 1.4.3. Принципиальная схема поточной организации дорожного строительства
При изучении и внедрении поточного метода организации работ выявились параметры потока и их взаимозависимости. Параметрами потока называют основные величины, которые характеризуют поток, его построение и организационные особенности (рис. 1.4.4).

Рис. 1.4.4. Фрагмент линейного календарного графика:
1 - поток с переменной скоростью; 2 - потоки с постоянной скоростью. Параметры
потока: L -
годовой участок работы, А - годовое время действия потока, а -
длина комплексного потока, Е - шаг потока, А0 -
период развертывания потока, Ас - период свертывания потока, Апр
- период выпуска продукции, Ауст - время установившегося
потока
Условные обозначения:
|
|
- |
возведение земляного полотна; |
|
|
- |
устройство песчаного подстилающего слоя; |
|
|
- |
устройство щебеночного основания; |
|
|
- |
устройство асфальтобетонного покрытия. |
Годовой участок работы потока «L». Участок дороги в км, на котором осуществляется работа потока в течение года.
Темп (интенсивность) потока «q». Средний объем работ, выполняемый дорожно-строительным подразделением в смену.
Захватка «b». Участок дороги по протяженности равный или кратный скорости потока, на котором расположены средства производства, выполняющие одну или несколько совмещенных операций.
b = V или b = п´V ,т (1.4.4)
Длина комплексного потока «а». Участок дороги, на протяжении которого располагаются все средства производства, входящие в состав комплексного потока. Длина комплексного потока равна сумме захваток и разрывов (организационных и технологических) между ними.
(1.4.5)
Годовое время действия потока «А». Календарная продолжительность работы потока в течение года от начала работы первого специализированного подразделения(звена) до конца работы последнего.
Механизированные дорожно-строительные подразделения, как правило, имеют постоянный состав и, соответственно, постоянную производственную мощность, хотя объем земляных работ по трассе распределен неравномерно. В связи с этим ежедневно возводятся неодинаковые по длине участки земляного полотна. При строительстве дорожной одежды объемы работ на значительных по протяженности участках остаются постоянными. Учитывая вышеизложенное, различают два вида потоков:
- с переменной скоростью;
- с постоянной скоростью (рис. 1.4.4).
Шаг потока «Е». Время в календарных сменах между вводом в поток двух очередных звеньев машин.
Период развертывания потока «А0». Время в сменах от начала работы первого специализированного подразделения (звена) до начала работы последнего. Период развертывания потока при постоянном шаге потока, равен
А0 = E(n - 1); (1.4.6)
при переменном
(1.4.7)
где п - число специализированных подразделений (звеньев).
Период выпуска продукции Апр. Разность между годовым временем действия потока А и временем развертывания А0
Апр = А - А0 (1.4.8)
Период свертывания потока Ас. Время в сменах, необходимое для последовательного вывода из работы всех специализированных потоков после полного окончания выполненных ими работ.
Время установившегося потока Ауст. Это время одновременного действия всех специализированных подразделений
Ауст = А - (А0 + Ас) (1.4.9)
Параметры потока взаимодействуют между собой. Так, длина годового участка работы L прямо пропорциональна скорости потока V и периоду выпуска продукции Апр
L = V·(A - А0) (1.4.10)
В свою очередь скорость V и темп потока q зависят от годового времени потока и периода его развертывания
м3/смену; (1.4.11)
м3/смену; (1.4.12)
где Q - годовой объем земляных работ, м3
Средняя длина комплексного потока может быть определена по формуле
(1.4.13)
Для оценки эффективности поточного метода организации работ определяют условный коэффициент эффективности
(1.4.14)
Чем больше коэффициент Эп, тем выше эффективность организации работ. Принято считать, что при
Эп > 0,7 - применение поточного метода целесообразно;
Эп = 0,4...0,6 - возможны другие методы;
Эп < 0,3 - поточный метод организации работ неэффективен.
Поточный метод организации работ по сравнению с последовательным и параллельным имеет следующие преимущества:
- обеспечивает расчленение процесса;
- дает возможность равномерно использовать машины и механизмы;
- облегчает снабжение и планирование работ;
- обеспечивает ритмичный выход готовой продукции;
- способствует повышению производительности труда, сокращению сроков выполнения работ, снижению себестоимости строительства, улучшению качества работ.
Для получения высоких показателей при поточной организации работ необходимо:
- наличие тщательно разработанного проекта производства работ;
- организация комплексного снабжения строительства объекта;
- правильное планирование задела;
- хорошее техническое состояние парка дорожно-строительных машин.
Физико-механические и физические свойства грунтов оказывают существенное влияние на конструкцию земляного полотна, способы производства работ и, в конечном итоге, на стоимость всей автомобильной дороги.
Грунты, используемые для возведения насыпей, разделяют на четыре основные группы: скальные, добываемые путем разрушения естественных сплошных или трещиноватых скальных массивов; крупнообломочные, залегающие в естественных условиях в виде аллювиальных и делювиальных отложений; песчаные; глинистые.
По своим физико-механическим свойствам грунты, залегающие в верхней толще земной коры, подразделяют:
1. Щебенистый грунт - неокатанные остроугольные разрушенные горные породы размером частиц до 200 мм и насыпной плотностью 1750...1900 кг/м3, естественной влажностью 2...6 % и коэффициентом разрыхления 1,3...1,4.
2. Гравелистый грунт - обломочная горная порода, состоящая из несцементированных окатанных зерен размером до 70 мм. Окатанные частицы от 70 до 200 мм принято называть галькой. Насыпная плотность гравелистого грунта достигает 1700...1900 кг/м3, естественная влажность - 2...8 % и коэффициент разрыхления - 1,14...1,28.
3. Песок - рыхлая горная порода, состоящая из обломков различных минералов и пород в виде зерен диаметром от 0,12 до 5 мм. Песок подразделяют на крупный с преобладанием фракции 0.5...5 мм, средний с преобладанием фракции 0,25...0,5 мм; мелкий с содержанием частиц 0,1...0,25 мм более 50%. Песок, в котором преобладает фракция менее 0,1 мм, называют пылеватым. Насыпная плотность песка - 1500... 1600 кг/м3, естественная влажность - 8...12% и коэффициент разрыхления - 1,0...1,1.
4. Супесь - грунт, содержащий от 30 до 50 % песчаных частиц. Насыпная плотность 1500...1600 кг/м3, естественная влажность - 10...15 %, коэффициент разрыхления - 1,2...1,3, число пластичности - 1...7.
5. Глина представляет собой силикат, содержащий глинозем, кремнезем, примеси песка, извести и др., а также химически связанную воду. Глина содержит частиц мельче 0,005 мм более 30 %. При содержании в глине частиц мельче 0,005 мм более 60 %, ее называют тяжелой. Плотность глины при естественной влажности - 20...30 % составляет 1500...1600 кг/м3. Коэффициент разрыхления - 1,15...1,30. Число пластичности, в зависимости от содержания глинистых частиц, - 17...27.
6. Суглинок - грунт, содержащий от 10 до 30 % глинистых частиц. Плотность суглинка при естественной влажности 14...19 % составляет от 1500 до 1600 кг/м3. Коэффициент разрыхления изменяется в пределах от 1,2 до 1,3. Суглинок с числом пластичности 7...12 называют легким, а с числом пластичности свыше 12 - тяжелым.
7. Растительный грунт имеет в своем составе гумуса от 4 до 22 %. По механическим свойствам приближается к тяжелым суглинкам. Плотность растительного грунта при влажности 20...25 % составляет 1200...1300 кг/м3, а коэффициент разрыхления - 1,3...1,4.
Пригодность грунта для сооружения земляного полотна определяется его дорожно-строительными свойствами (табл. 1.5.1).
Для насыпей применяют грунты, состояние которых под действием природных факторов не изменяется или изменяется незначительно, что не влияет на их порочность и устойчивость в земляном полотне. К таким грунтам относят: скальные неразмягчаемые породы, крупнообломочные, песчаные (кроме мелких и пылеватых), супеси крупные и легкие (табл. 1.5.1).
Таблица 1.5.1
Классификация грунтов по их дорожно-строительным свойствам
|
Вид грунта |
Распределение частиц по крупности, % от массы сухого грунта |
Содержание песчаных частиц, % от массы сухого грунта |
Число пластичности |
Пригодность грунтом для отсыпки землянок) полотна |
|
Крупнообломочные: |
|
|
|
|
|
Щебенистый (неокатанные частицы) |
Крупнее 10 мм, более 50 % |
- |
- |
Весьма пригоден |
|
Гравелистый (окатанные частицы) |
Крупнее 10 мм, более 50 % |
- |
- |
То же |
|
Древесный (при преобладании окатанных частиц - гравелистый) |
Крупнее 2 мм, более 50 % |
- |
- |
-«- |
|
Песчаные: |
|
|
|
|
|
Песок гравелистый |
Крупнее 2 мм более 25 % |
|
|
Весьма пригоден |
|
Песок крупный |
Крупнее 0,5 мм более 50 % |
- |
- |
Пригоден |
|
Песок среднем крупности |
Крупнее 0,25 мм более 50 % |
- |
- |
То же |
|
Песок мелкий |
Крупнее 0,1 мм более 75 % |
- |
- |
Пригоден, но менее устойчив |
|
Песок пылеватый |
Крупнее 0,05 мм более 75 % |
- |
- |
Малопригоден |
|
Глинистые: |
|
|
|
|
|
Супесь |
Легкая крупная |
50 |
1...7 |
Весьма пригодна |
|
-«- |
Легкая пылеватая |
20...50 |
1...7 |
Пригодна |
|
-«- |
Тяжелая пылеватая |
20 |
1...7 |
Малопригодна |
|
Суглинок: |
Легкий |
40 |
7...12 |
Пригоден |
|
-«- |
Легкий пылеватый |
40 |
7...12 |
То же |
|
-«- |
Тяжелый |
40 |
12...17 |
То же |
|
-«- |
Тяжелый пылеватый |
40 |
12...17 |
Малопригоден |
|
Глина: |
Песчаная |
40 |
17...27 |
Пригодна |
|
-«- |
Пылеватая полужирная |
Не нормируется |
17...27 |
Малопригодна |
|
-«- |
Жирная |
То же |
27 |
Не пригодна |
Грунты глинистые, мелкие и пылеватые пески, размягчаемые скальные грунты также пригодны для возведения земляного полотна, но при этом необходимо учитывать некоторые ограничения.
Кроме грунтов природного происхождения для отсыпки насыпей применяют отходы промышленности: золошлаковые материалы, отвалы горнодобывающей промышленности и др.
Насыпи возводят из грунта, который получают при разработке выемок, грунтовых карьеров или боковых резервов. Объем потребного грунта для насыпей
Vк = Vн·k0, (1.5.1)
где Vн - объем возводимой насыпи, м3;
k0 - коэффициент относительного уплотнения.
k0 = dн/dе, (1.5.2)
где dн - требуемая плотность грунта в теле насыпи, кг/м3;
dе - плотность грунта в естественном состоянии, кг/м3.
По трудности разработки дорожными машинами, грунты подразделяют на четыре группы (табл. 1.5.2).
Таблица 1.5.2
Группы грунтов по трудности разработки механизированными средствами
|
Наименование и краткая характеристика грунта |
Группа фунта по трудности разработки машинами |
||||
|
одноковшовыми экскаваторами |
скреперами |
бульдозерами |
автогрейдерами |
грейдерэлеваторами |
|
|
Галька и гравий всех видов крупностью до 80 мм, без валунов (крупнее 80 мм с валунами) |
I, II |
II |
II |
II |
- |
|
Глина: |
|
|
|
|
|
|
- жирная мягкая и насыпная |
II |
II |
II |
II, III |
II |
|
- слежавшаяся всех видов, твердая (без примесей); |
III |
- |
II |
III |
- |
|
- с примесью щебня, гальки или гравия 10 % и более; |
III |
- |
II |
III |
- |
|
- маренная (с валунами до 30 %) |
IV |
- |
III |
- |
- |
|
- тяжелая ломовая (юрская) |
III |
II |
III |
III |
III |
|
Грунт растительного слоя: |
|
|
|
|
|
|
- без корней и валунов; |
I |
I |
I |
I |
I |
|
- с примесью щебня, гравия |
II |
- |
III |
- |
- |
|
Песок: |
|
|
|
|
|
|
-всех видов естественной влажности; |
I |
II |
II |
II |
III |
|
- сухой сыпучий с примесью |
I |
II |
III |
- |
- |
|
Скальные грунты: |
|
|
|
|
|
|
- предварительно разрыхленные; |
IV |
- |
III |
- |
- |
|
- не требующие разрыхления |
IV |
- |
IV |
- |
- |
|
Суглинок: |
|
|
|
|
|
|
- легкий и лессовидный тяжелый и слежавшийся; |
I |
I |
I |
I |
I |
|
- с примесью щебня, гравия и строительного мусора |
II |
II |
II |
II |
II |
|
Супеси всех видов |
I |
II |
II |
II |
II |
|
Мерзлые грунты, песчаные и супесчаные, глинистые и суглинистые, предварительно разрыхленные |
II...IV |
III , IV |
III |
- |
- |
Грунты в пределах глубины промерзания, как правило, разнообразны. В связи с этим при возведении земляного полотна необходимо знать, какие грунты в какую часть насыпи целесообразно уложить, чтобы в теле насыпи не допустить образования висячих горизонтов воды. При правильном расположении грунтов в насыпи, плотность и влажность грунтов будет примерно одинаковой, снизится морозное лучение и не возникнут неравномерные просадки дорожного покрытия.
Для наглядности рассмотрим несколько случаев расположения грунтов в теле насыпи. Предположим, что на участке с избыточным увлажнением нижнюю часть насыпи отсыпали из пылеватых суглинков, а верхнюю часть - из песчаных грунтов. Причем, толщина слоя из пылеватого суглинка h1, меньше высоты капиллярного поднятия воды hк. В этом случае вода по узкому капилляру поднимется до песчаного грунта, имеющего широкий капилляр, и поднятие влаги прекратится, поскольку на границе двух капилляров появится выпуклый мениск и вода из нижнего капилляра, более узкого, не поступит в верхний с диаметром в сотни раз больше (рис. 1.6.1, а). С повышением грунтовых вод уменьшается лишь радиус мениска, значит, при обеспечении условий поверхностного стока естественная влажность верхнего песчаного слоя останется постоянной, особенно если мощность слоя хорошо фильтрующего песка h > hк.
При отсыпке нижней части насыпи из дренирующих грунтов, а верхней из связных при h1 < hк (рис. 1.6.1, б), грунтовая вода из широкого капилляра, достигнув узкого капилляра суглинка, быстро поднимается на значительную высоту, пока не достигнет максимального своего значения. При таком расположении грунтов в теле насыпи, как правило, наблюдается значительное морозное пучение, что приводит в период оттаивания к потере устойчивости земляного полотна.

Рис. 1.6.1. Расположение грунтов в теле насыпи:
а - благоприятное; б - неблагоприятное; 1 - песок; 2 - пылеватый суглинок; 3 -
расчетный уровень грунтовых вод; 4 - выпуклый мениск; 5 - вогнутый мениск
Если толщина нижнего песчаного слоя больше капиллярного поднятия воды h > hк, то влажность вышележащего пылеватого суглинка повышается лишь вследствие потока влаги в парообразном состоянии и инфильтрации поверхностной воды. В этом случае нижний слой выполняет функцию капиллярно-прерывающего слоя, что предотвращает увлажнение верхнего слоя насыпи грунтовыми водами.
В тех случаях, когда верхний слой насыпи из связных грунтов отсыпан на дренирующий грунт и толщина слоя связного грунта h' меньше высоты капиллярного поднятия hк', то при необеспеченном поверхностном водоотводе образуется висячий горизонт воды из-за процесса инфильтрации (рис. 1.6.2).

Рис. 1.6.2. Неблагоприятное расположение грунтов в теле
насыпи, способствующее накоплению влаги в верхней части земляного полотна:
1 - инфильтрация поверхностной воды; 2 -
связный грунт; 3 - дренирующий грунт; 4 - зона капиллярного увлажнения высотой hк; 5 - зона грунтовой воды; 6 - уровень
грунтовых вод; 7 - поверхность менисков в фильтрующем грунте; 8 - поверхность
менисков в связном грунте
Зимой под воздействием отрицательной температуры происходит перераспределение внутренних запасов воды.
Наибольшее количество замерзшей воды накапливается на глубине h0
h0 = (0,6...0,75)h, (1.6.1)
где h -толщина слоя связного грунта.
При вынужденном возведении насыпи из связных грунтов с влажностью значительно превышающей оптимальную, рекомендуется в земляном полотне устраивать прослойки из песка толщиной h ³ hк. На участках с II или III типом увлажнения и высоте насыпи до 1,2...1,5 м, переувлажненные грунты необходимо предварительно осушить. Предварительное осушение грунта или его замену производят при коэффициенте консистенции Вк > 0,75
(1.6.2)
где W - естественная влажность грунта, %;
Wp - влажность, соответствующая границе раскатывания, %;
Мп - число пластичности.
Насыпи отсыпают послойно из однородных грунтов, укладываемых на полную ширину, с постоянно обеспеченным стоком поверхностных вод. Толщину каждого слоя принимают в зависимости от свойств грунта и способов уплотнения.
При неоднородных грунтах отсыпаемым слоям нужно придавать требуемый поперечный уклон. Когда же менее дренирующие слои располагают ниже более дренирующих, то менее дренирующие грунты нужно укладывать с поперечным уклоном ³ 40 ‰. При обратном взаиморасположении слоев вышеприведенное условие не соблюдают.
Откосы земляного полотна, сложенного дренирующими грунтами, необходимо присыпать слоем менее дренирующего грунта и производить посев трав.
Уплотнение грунта - одно из важнейших условий, обеспечивающих требуемую прочность и допустимое морозное пучение. С увеличением плотности грунта возрастают его прочность, устойчивость, модуль деформации и сопротивление сдвигу, а пористость, деформируемость, водонепроницаемость, набухание и морозное пучение снижаются [9, 22, 34].
Грунт представляет собой сложное тело, в состав которого входят твердые частицы, вода и воздух. Жидкая и газообразная фазы подвижны в порах грунта, и в зависимости от действия физико-механических взаимодействий на грунт их количество может резко изменяться. Прочность грунта зависит от относительного содержания скелета и воды, т.е. от плотности и влажности грунта. Соотношение по массе и объёму трёх компонентов выражается уравнением
(1.7.1)
где d - плотность скелета грунта, г/см3;
W - массовая доля влажности грунта, %;
V - объем воздуха, %;
g - плотность твердой фазы грунта (истинная плотность скелета, г/см3);
1- единичный объем грунта (1 см3).
Отсюда, плотность скелета грунта, характеризующая степень уплотнения земляного полотна
(1.7.2)
Из условия (1.7.2) следует, что степень плотности грунта d при одинаковой истинной плотности скелета частиц g будет тем выше, чем меньше объём воздуха и влажность грунта. Однако прочность грунта зависит не только от плотности скелета грунта, но и от его структуры, поэтому для решения основной теоретической задачи уплотнения необходимо определить, как сохраняется достигнутая плотность грунта при переменном увлажнении, промерзании и оттаивании и как влияет она на сцепление С, угол внутреннего трения j и модуль упругости Е.
На практике доказано, что для получения наиболее плотной структуры необходимо, чтобы влажность грунта была такой, при которой объем защемленного воздуха находился в пределах 4...6 %, что соответствует полному заполнению грунтовых пор водных гидратных оболочек. Как показывают многочисленные эксперименты, именно при таком объёме воздуха грунт характеризуется минимальными водопроницаемостью, морозным пучением, набуханием, а также максимальным модулем упругости и сопротивлением сдвигу. Если влажность ниже, т.е. объём пор, занятых воздухом, выше, не создается устойчивой структуры, и при увлажнении грунт легко разбухает и тем больше, чем выше влажность, а при недостаточной плотности, наоборот, доуплотняется и дает осадку, а модуль упругости в обоих случаях падает. Если влажность вытесняет указанный процент воздуха, то структура также становится неустойчивой.
Исходя из вышесказанного, можно сделать вывод, что для любого вида грунта существует определенная влажность, называемая оптимальной влажностью, при которой достигается наибольшая (оптимальная) плотность грунта с минимальной затратой энергии на его уплотнение. Для соблюдения оптимального режима уплотнения до начала возведения земляного полотна проводят лабораторные испытания: определяют оптимальную плотность и влажность грунта, а также потребную для уплотнения механическую работу.
Стандартное уплотнение грунта в лабораторных условиях производят на приборе СоюздорНИИ (рис 1.8.1). Отобранный из резерва или выемки образец грунта, предназначенного для устройства насыпи, высушивают до постоянного веса, растирают и просеивают через сито 5 мм.

Рис. 1.8.1. Прибор для стандартного уплотнения:
1 - поддон; 2 - разъемный цилиндр; 3 - груз массой 2,5 кг; 4 - стойка; 5 -
цилиндрическая насадка; 6 - зажимное кольцо; 7 - зажимный винт; 8 -
ограничитель для регулирования падения груза
Грунт, просеянный на сите, увлажняют из расчета на 4 ... 5 % ниже границы раскатывания и берут пробу для определения влажности грунта, W. Приготовленный грунт насыпают в прибор на 1/3 и уплотняют ударами груза массой 2,5 кг, падающего с высоты 30 см. Уплотнение производят в три слоя. Число ударов зависит от физико-механических свойств грунта и составляет для несвязных грунтов 20´3, для связных 40´3. Далее взвешивают разъёмный цилиндр с грунтом и без грунта. Плотность влажного грунта dw определяют по формуле
(1.8.1)
где Р1 - общая масса цилиндра с грунтом, г;
Р2 - масса разъёмного цилиндра, г;
V - объём цилиндра (1000 см3).
Зная влажность и плотность влажного грунта, определяют среднюю плотность скелета грунта
(1.8.2)
где W - влажность грунта, %.
После этого грунт из разъёмного цилиндра высыпают в чашку, добавляют 2...3 % воды и повторяют операцию, описанную выше.
Затем по полученным значениям (W, d) строят кривую (рис. 1.8) стандартного уплотнения, отображающую зависимость плотности скелета от влажности грунта при уплотнении, максимум которой определяют два параметра: оптимальную плотность d0 и оптимальную влажность W0. Если грунт содержит частицы крупнее 5 мм, то в оптимальную плотность, определенную для отсеянного грунта, вводят поправки, которые приведены в табл. 1.8.1.

Рис. 1.8. Кривые для определения оптимальной плотности и
влажности:
1 - стандартное уплотнение на приборе СоюздорНИИ; 2 - усиленное уплотнение
(США)
Таблица 1.8.1
Ориентировочные значения поправок в зависимости от процентного содержания частиц крупнее 5 мм
|
Содержание частиц крупнее 5 мм, % |
Поправки |
Содержание частиц крупнее 5 мм, % |
Поправки |
||
|
на плотность |
на влажность
|
на плотность |
на влажность
|
||
|
5 |
1,02 |
0,95 |
20 |
1,08 |
0,80 |
|
10 |
1,04 |
0,90 |
30 |
1,13 |
0,70 |
|
15 |
1,06 |
0,85 |
40 |
1,18 |
0,60 |
При обосновании параметров прибора стандартного уплотнения в СоюздорНИИ исходили из того, чтобы полученные в нем плотности были достаточно близки плотностям грунта в насыпях, проработавших не менее 20 лет, и, вместе с тем, практически достижимы с помощью уплотняющих средств массой до 10...15 т. Полученные величины оптимальных плотности и влажности грунта не являются наилучшими, так как, повышая при уплотнении число ударов или массу груза, можно получить более высокую оптимальную плотность, меньшую оптимальную влажность грунта и соответственно более прочную структуру (рис. 1.8). В США Американская ассоциация дорожных работников (AASHO) предложила новый способ повышенного уплотнения грунтов. Он предусматривает массу уплотняющей гири 4,5 кг, высоту ее падения 45 см, уплотнение образца грунта в пять слоев 25 ударами гири на каждый слой. Этот метод теперь принят в США и ряде других стран как стандартный. Требования к плотности, установленные этим методом, выполнимы при условии использования машин для уплотнения повышенной массы и мощности и обеспечения оптимальной влажности грунта. В США для уплотнения грунтов применяют кулачковые катки массой до 100 т и на пневматических шинах массой до 300 т.
Практически каждому средству уплотнения соответствует некоторый предел затрат работы, после которого эффект уплотнения, если и повышается, то весьма незначительно (рис. 1.8.2).

Рис. 1.8.2. Увеличение плотности грунта по мере роста
работы, затраченной на уплотнение:
1 - трамбовка (один удар соответствует пяти рабочим проходам катка массой 5 т);
2 - кулачковый каток массой 5 т; 3 - гладкий каток массой 8 т; 4 - каток на
пневматических шинах массой 15 т
Грунт земляного полотна, уплотненный до оптимальной плотности по методике СоюздорНИИ, обеспечивает отсутствие осадок насыпи и в то же время остается во время замерзания и последующего оттаивания грунта без существенных изменений. Следует иметь в виду, что в северных районах стабильное уплотнение грунта в верхнем промерзающем слое обычно не превышает 0,95...1,0 от оптимального уплотнения; по, этой причине в северных районах нет необходимости производить усиленное уплотнение грунта. В то же время в южных районах усиленное уплотнение (1,05...1,1) позволит уменьшить расходы на строительство дорожной одежды.
Распределение величин вертикальных давлений в теле земляного полотна по высоте насыпи показано на рис 1.9.1. В верхних слоях насыпи действует в основном давление от временной нагрузки, которое при отсутствии дорожной одежды составляет до 0,7 МПа, а при наличии дорожной одежды не превышает 0,2 МПа. В нижних слоях давление от временной нагрузки понижается и на глубине 1,0 м не превосходит 0,03...0,04 МПа, далее оно быстро затухает. Давление от собственной массы насыпи на глубине 1,0 м достигает 0,2 МПа, а при большей глубине оно превышает давление от временной нагрузки.

Рис. 1.9.1. Распределение вертикальных давлений в зоне
земляного полотна:
а - от временной нагрузки; б - от собственной массы
Давление от горизонтальных усилий, возникающих на колесах автомобилей при торможении, трогании с места и перемене скоростей, быстро затухает и на глубине 1,2...1,0 м в расчете его можно не учитывать. При этом следует иметь в виду, что в верхней части земляного полотна давление действует не постоянно, а периодически при наличии временной нагрузки, тогда как в нижней части оно создается собственной массой, и поэтому действует постоянно.
При определении требуемой степени уплотнения грунта по высоте земляного полотна необходимо учитывать изменение влажности и температуры в течение года.
Отсюда следует, что требуемое уплотнение по высоте насыпи не должно быть обязательно одинаковым. Назначаемая плотность должна учитывать эксплуатационные условия, в которых фактически будет находиться грунт (рис. 1.9.2).

Рис. 1.9.2. Распределение требуемой плотности по высоте насыпи
В верхних слоях земляного полотна на глубине 1,5...1,2 м имеют место наибольшие удельные давления от временной нагрузки, требующие максимально возможного уплотнения в целях повышения несущей способности грунта. Кроме того, нужно учитывать возможное изменение плотности грунта за счет сезонных колебаний влажности и промерзания.
В слоях ниже 1,5...1,2 м, где суммарное давление от временной нагрузки и собственной массы грунта невелико, а сезонные колебания влажности и промерзания имеются только на откосах насыпей, требования к уплотнению земляного полотна могут быть снижены.
В нижних слоях насыпи плотность грунта необходимо задавать из условия соответствия ее давлению от собственной массы насыпи.
Плотность грунта, которая должна быть достигнута при сооружении земляного полотна, определяют по формуле
dтр = d0·Kтр (1.9.1)
где d0 - оптимальная плотность скелета грунта, г/см3;
Kтр - коэффициент уплотнения, установленный действующими нормами (табл. 1.9.1).
Таблица 1.9.1
Значения минимального требуемого коэффициента Ктр от оптимального уплотнения Ко
|
Вид земляного полотна |
Часть земляного полотна |
Глубина расположения слоя от поверхности покрытия, м |
Дороги с усовершенствованными покрытиями капитального типа |
Дороги с усовершенствованными облегченными и переходными покрытиями |
||
|
Коэффициент уплотнения в дорожно-климагических зонах |
||||||
|
II, III |
IV, V |
II, III |
IV, V |
|||
|
Насыпи |
Верхняя |
До 1,5 |
1...0,98 |
0,98...0,95 |
0,98...0,95 |
0,95 |
|
Нижняя не подтапливаемая |
1,5... 6,0 |
0,98...0,95 |
0,95 |
0,95 |
0,95 |
|
|
Более 6,0 |
0,98 |
0,95 |
0,95 |
0,95...0,90 |
||
|
Нижняя подтапливаемая |
1,5...6,0 |
0,98...0,95 |
0,95 |
0,95 |
0,95 |
|
|
Более 6,0 |
0,98 |
0,98 |
0,95 |
0,95 |
||
|
Выемки, нулевые места и естественные основания |
В зоне промерзания |
До 1,2 |
1...0,98 |
0,98...0,95 |
0,98...0,95 |
0,95 |
|
Нижние зоны промерзания |
До 1,2 |
0,95 |
0,95...0,92 |
0,95...0,92 |
0,90 |
|
Примечание. Большие значения коэффициента уплотнения относятся к дорогам с цементобе-тонными и цементогрунтовыми покрытиями и основаниями, а также с усовершенствованными облегченными покрытиями.
Необходимость уплотнения грунтов в выемках, нулевых местах и естественных основаниях устанавливают путем определения фактической плотности этих грунтов и её сопоставления с требуемой. Изменения плотности грунтов в результате искусственного уплотнения, учитываемые при подсчете объёмов земляных работ, характеризуют коэффициентом относительного уплотнения Котн (табл. 1.9.2).
(1.9.2)
где Vpeз - объем грунта взятого из резерва;
Vнac - объем того же грунта в насыпи после уплотнения;
dтр - требуемая плотность грунта в теле насыпи;
dрез - плотность грунта в естественном состоянии.
Плотность грунта в естественном состоянии dрез определяют непосредственно взятием проб грунта из резерва. Берут одну пробу на 1500...2000 м3 грунта. Ориентировочные значения Котн приведены в табл. 1.9.2.
Таблица 1.9.2
Значения коэффициента относительного уплотнения
|
Требуемый коэффициент уплотнения грунта насыпи Ктр |
Грунт |
Каменные материалы при плотности и естественном залегании, кг/м3 |
||||
|
пески, супеси пылеватые, суглинки |
суглинки, глины |
лессы и лесовидные грунты, черноземы |
1900...2000 |
2200...2400 |
2400...2700 |
|
|
Коэффициент относительного уплотнения Котн |
||||||
|
1,0 |
1,10 |
1,05 |
1,20 |
- |
- |
- |
|
0,95 |
1,05 |
1,00 |
1,15 |
0,90 |
0,85 |
0,80 |
|
0,90 |
1,00 |
0,95 |
1,10 |
- |
- |
- |
Если влажность грунта на 2...3 % больше или меньше оптимальной, то оптимальную плотность получить нельзя. Оптимальная влажность способствует повышению сцепления в грунте за счет образования более прочно адсорбированных водных пленок.
Для достижения требуемой плотности грунта в теле насыпи требуется искусственное уплотнение, поскольку плотность отсыпаемого грунта гораздо меньше требуемой. Так, при возведении земляного полотна бульдозерами плотность грунта, укладываемого ими в насыпь, не превышает 0,7...0,8 от оптимальной. При использовании грейдер-элеваторов эта величина ещё ниже и чаще всего находится в пределах 0,55...0,70. Скреперы и автомобили-самосвалы обеспечивают более высокую плотность (0,80...0,95) благодаря укатке грунта колесами при транспортировке грунта по возводимому слою насыпи.
Существуют три основных способа уплотнения грунтов: укаткой, вибрированием и трамбованием. Выбор способа уплотнения зависит от вида грунта, его влажности, толщины уплотняемого слоя, потребной степени уплотнения, производительности и маневренности машин. Техническая характеристика машин для уплотнения грунтов приведена в табл. 1.10.1 [53].
Таблица 1.10.1
Машины для уплотнения грунтов
|
Тип и марка машины |
Базовый трактор |
Масса, т (без балласта и с балластом) |
Параметры уплотнения |
Мощность двигателя, кВт |
Скорость движения, км/ч |
||
|
толщина слоя, м |
ширина слоя, м |
||||||
|
Вибрационные катки: |
|
|
|
|
|
|
|
|
ДУ-70 (прицепной) |
МТЗ 80/82 |
5,7 |
0,30 |
2,0 |
- |
3...6 |
|
|
ДУ-74 (самоходный) |
Д-243 |
9,0 |
0,35 |
1,7 |
55,2 |
До 7 |
|
|
ВГ-1202 (самоходный) |
Д-245 |
12,0 |
0,40 |
2,25 |
73,5 |
>>5,6 |
|
|
ДУ-62А (самоходный) |
Д-440-11 |
13,0 |
0,45 |
2,0 |
93,5 |
>>6,5 |
|
|
ДУ-58А (самоходный) |
Д-40-11 |
15,0 |
0,45 |
2,0 |
93.5 |
>>6,5 |
|
|
ДУ-57-А (самоходный) |
- |
8,8 |
0,35 |
2,4 |
121 |
>>7,0 |
|
|
Д-603 (прицепной) |
T-75 |
6,0 |
До 0,2 |
1,8 |
36,7 |
>>3,0 |
|
|
Д-63(прицепной) |
Т-100 |
12,0 |
0,30 |
1,8 |
88,2 |
>>3,0 |
|
|
Кулачковые катки: |
|
|
|
|
|
|
|
|
ДУ-70-1 (прицепной) |
T-I50K |
6,3 |
0,25 |
2,0 |
110,2 |
>>6,0 |
|
|
ДУ-26 (прицепной) |
Т-75 |
5,0 и 9,0 |
0,20 |
1,8 |
55,1 |
4,5 |
|
|
ДУ-3А (прицепной) |
Т-100 |
12,3 и 30,0 |
0,35 |
2,8 |
73,5 |
>>15 |
|
|
ДУ-32А (прицепной) |
Т-100 |
9,0 и 18,0 |
0,30 |
2,6 |
73,5 |
>>4 |
|
|
Катки на пневматических шинах: |
|
|
|
|
|
|
|
|
ДУ-30 (прицепной) |
Т-75 |
4,0 и 12,0 |
0,27 |
2,2 |
55,1 |
5...8 |
|
|
ДУ-39А (прицепной) |
Т-100 |
6,28 и 25,0 |
0,35 |
2,53 |
73,5 |
5...10 |
|
|
ДУ-16В (полуприцепной) |
МАЗ-529Е |
7,3 и 25,9 |
0,40 |
2,62 |
220 |
15...40 |
|
|
Д-599 (полуприцепной) |
БелАЗ-531 |
27,8 и 56,7 |
0,43 |
2,68 |
- |
15...40 |
|
|
|
|
|
|
|
|
|
|
|
ДУ-65 (самоходный) |
Д-243 |
12,0 |
0,40 |
1,7 |
55,2 |
До 8,0 |
|
|
Трамбующие машины: |
|
|
|
|
|
|
|
|
ДУ-12 |
T-100М |
6 (масса плиты 1,4) |
1,0 |
2,5 (площадь плиты 1,0 м2) |
73,5 |
0,08...0,2 |
|
|
Дизель-трамбующая, самоходная ЦНИИС-РМЗ |
- |
18,8 |
1,2 |
2,8 (площадь трамбовки 0,4 м2) |
- |
До 0,3 |
|
|
ДУ-90 (вибромашины) |
СП-6Д |
0,23 |
0,35 |
0,55 |
4,4 |
- |
|
При уплотнении укаткой сближение частиц грунта и придание ему устойчивой структуры обеспечивается благодаря действию массы катка, многократно проехавшего по поверхности уплотняемого грунта. Моторные катки с гладкими вальцами из-за малой эффективности используют только при завершающей стадии укатки верхнего слоя насыпи для придания ему ровности. Пневмоколесные катки могут уплотнять все виды грунтов. Их основные преимущества по сравнению с катками с гладкими вальцами заключаются в большей площади контакта с поверхностью грунта, более равномерным распределением давления по этой площади, а также в том, что благодаря эластичности шины эта площадь в процессе укатки сравнительно мало изменяется. Все это способствует увеличению глубины распространения напряжений в уплотняемом грунте и длительности их воздействия по сравнению с катками с гладкими вальцами, при повторных проходах которых площадь контакта и глубина распространения напряжений постоянно уменьшается.
Эффективное уплотнение грунта укаткой обеспечивается при условии, что удельное давление рабочего органа катка на грунт близко к его пределу прочности. При недостаточных контактных давлениях необходимая плотность не может быть достигнута, а при превышении давления возникают явления местного разуплотнения (волнообразование перед колесами катков). При уплотнении катками на пневматических шинах предел прочности составляет: песков и супесей 3...4, легких суглинков 4...6, тяжелых суглинков 6...8, глин 8...10 Па. В соответствии с этим, при уплотнении связных грунтов рекомендуется применять катки с давлением в шинах 5...6 атм., а при уплотнении несвязных грунтов - в пределах 2...3 атм. Конструкция катков на пневматических шинах позволяет регулировать как давление в шинах, так и массу катка, зависящую от его загрузки балластом.
Самоходные катки на пневматических шинах отличаются от прицепных большей маневренностью, поэтому они находят широкое применение на участках небольшого протяжения и при ограниченном фронте работ.
Кулачковые катки рекомендуется использовать для уплотнения тяжелых связных грунтов, особенно комковатых. Особенность работы этих катков заключается в том, что они уплотняют грунт, расположенный ниже уровня заглубления кулачков, верхнюю же часть слоя, находящуюся выше этого уровня, разрыхляют. Уплотнение этой части слоя, толщина которой обычно не превышает 5...6 см, достигается после отсыпки и укатки следующего слоя. Барабаны кулачковых катков изготавливают полыми для возможности их загрузки балластом.
Для уплотнения несвязных грунтов кулачковые катки неэффективны, так как такие грунты они только разрыхляют. Хорошие результаты достигаются при использовании кулачковых катков в комплекте с катками на пневматических шинах. В этом случае в начальной стадии уплотнения рыхлый грунт укатывают кулачковыми катками, а для окончательного уплотнения и придания требуемой плотности и ровности верхней части слоя, используют катки на пневматических шинах.
Решетчатые катки эффективны для уплотнения комковатых связных грунтов, гравелистых, а также содержащих мерзлые комья. Вальцы этих катков сделаны из сварной или литой решетки с квадратными ячейками 15´15 или 20´20 см. Решетчатые катки, также как кулачковые, рационально применять в комплекте с катками на пневматических шинах.
Производительность катка, м3/смену, можно определить по формуле
где Т - продолжительность смены, ч;
К - коэффициент использования рабочего времени (Кв = 0,85);
L - длина захватки, м;
Н - толщина уплотняемого слоя в плотном теле, м;
в - ширина вальца катка, м;
во - ширина полосы перекрытия следа предыдущего прохода м, (во = 0,2 м);
V - рабочая скорость, м/с;
tпов - время на поворот, с;
п - необходимое число проходов катка по одному следу.
При уплотнении грунтов вибрированием взаимное перемещение частиц возникает вследствие колебательных движений, сообщаемых вибратором. В процессе взаимных перемещений частицы постепенно занимают все более устойчивое положение, чем обеспечивается повышение плотности грунта. Уплотнению вибрированием хорошо поддаются несвязные и малосвязные грунты. Суглинки и глины, характеризуемые преобладанием мягких частиц и хорошим сцеплением, уплотнять вибрированием неэффективно. Наибольшее применение в дорожном строительстве получили прицепные вибрационные катки. Рабочим органом виброкатка является жесткий валец, сообщающий грунту колебательные движения и одновременно воздействующий на него своей массой. Значительно реже для уплотнения грунта используют виброплиты.
Основными параметрами, характеризующими вибрационные машины, являются их масса, возмущающая сила, частота колебаний и размеры рабочего органа - вальца или плиты.
Производительность вибрационных машин определяют по формуле
(1.10.2)
где
- коэффициент
использования рабочего времени с учетом поворотов, равный 0,7...0,8. Остальные
обозначения так же, как в (1.10.1).
В последние годы виброуплотнение получает все большее распространение, увеличивается разнообразие машин, особенно перспективными считают самоходные вибрационные катки комбинированного действия. Виброкатками массой 4...5 т уплотняют грунт слоями 40...50 см, катками большей массы - слои толщиной 60...80 см. Количество проходов по одному следу при оптимальной влажности грунта составляет четыре - пять.
Трамбование является эффективным универсальным способом уплотнения, пригодным для любого вида грунтов. Важным преимуществом трамбования является возможность уплотнять грунт слоями большей толщины, чем при применении других способов уплотнения, и в стесненных условиях. Наиболее простым устройством для уплотнения грунтов трамбованием является трамбующая плита, подвешенная к стреле экскаватора или крана. Масса плит от 2...3 до 12...15 т, высота подъёма и сбрасывания плиты в начале 2 м, затем 5...6 м. Толщина уплотняемого слоя равна ширине плиты. Количество ударов два - три. Уплотнение верхнего слоя производят катками или сбрасыванием плиты с высоты 0,5 м.
Наряду с трамбующими плитами для уплотнения грунта трамбованием могут быть использованы трамбующие машины со свободнопадающими плитами на базе гусеничных тракторов, дизель-трамбовочные машины, рабочими органами которых служат дизель-трамбовки и др.
Производительность трамбующей машины можно определить по формуле
(1.10.3)
где В - ширина плиты, м.
Оптимальную толщину уплотняемого слоя гладкими вальцовыми катками, кулачковыми катками и катками на пневматических шинах можно определить по формулам, приведенным в табл. 1.10.2.
Таблица 1.10.2.
Формулы для определения оптимальной толщины уплотняемого слоя
|
Уплотняющее средство |
Связные грунты |
Несвязные грунты |
|
Гладкие вальцовые катки |
|
|
|
Кулачковые катки |
H = 0,65(I + 2,5b - hp) |
He уплотняют |
|
Катки на пневматических шинах |
|
|
Условные обозначения:
W, Wо - соответственно фактическая и оптимальная влажность грунта;
q - удельное линейное давление, Па;
R - радиус вальца катка, см;
I - длина кулачка, см;
b - минимальный размер опорной части поверхности кулачка, см;
hp - глубина рыхления уплотненного слоя грунта кулачками (5 см);
Q - нагрузка на колесо катка, кг.
Основные данные, характеризующие различные уплотняющие средства, и области рационального применения приведены в табл. 1.10.3.
Таблица 1.10.3
Основные характеристики уплотняющих машин
|
Наименование и тип машины |
Оптимальная толщина слоя в плотном теле, см |
Необходимое число проходов (ударов) |
Примерная призводительноть, м3/ч |
|||
|
связный грунт |
несвязный грунт |
связный грунт |
несвязный грунт |
связный грунт |
несвязный грунт |
|
|
Кулачковый каток |
20...25 15...20 |
- |
6...8 8...12 |
- |
130...170 |
- |
|
Катки прицепные на пневматических шинах: |
|
|
|
|
|
|
|
12...15 т |
15...20 10...15 |
20...25 15...20 |
6...8 8...12 |
4...6 6...8 |
60...90 |
140...200 |
|
25...30 т |
30...35 20...25 |
35...40 25...30 |
6...8 8...10 |
4...6 6...8 |
90...140 |
200...300 |
|
40...50 т |
35...40 25...30 |
45...50 35...45 |
6...8 8...10 |
4...6 6...8 |
140...200 |
250...300 |
|
Трамбующая машина |
40...50 30...40 |
50...60 40...50 |
1 |
1 |
130...150 |
450...500 |
|
Трамбующая плита массой 2 т при высоте падения 2 м |
80...90 70...80 |
100...110 80...90 |
4...6 6...8 |
2...4 4...6 |
30...80 |
45...100 |
|
Вибрационные катки: |
|
|
|
|
|
|
|
3 т |
- |
30...40 20...30 |
- |
3...4 |
- |
200...250 |
|
6 т |
- |
40...60 30...50 |
- |
3...4 |
- |
250...300 |
Примечание. В числителе данные, соответствующие требуемому коэффициенту уплотнения 0,95, в знаменателе коэффициенту уплотнения 0,98...1,0.
В настоящее время наиболее распространенными средствами уплотнения грунтов являются прицепные катки на пневматических шинах, кулачковые, вибрационные и решетчатые. Они просты в эксплуатации. Стоимость работ при их использовании ниже, в сравнении с другими уплотняющими машинами. Однако недостатками их является сравнительно небольшая толщина уплотняемого слоя и возможность применения только на участках длиной не менее 50...100 м, и шириной не менее 10...12 м.
Для уплотнения откосов используют гладкие вальцы, вибровальцы или трамбующие плиты, смонтированные в виде навесного оборудования к автомобильным кранам или экскаваторам.
Основными условиями обеспечения высокого качества работ по уплотнению грунтов и достижения ими требуемой плотности являются:
- правильный выбор уплотняющих средств в соответствии со свойствами уплотняемых грунтов;
- обеспечение начального состояния грунтов, способствующего их эффективному уплотнению;
- назначение толщины слоев уплотняемых грунтов в соответствии с нагрузкой на них от уплотняющих машин;
- рациональный режим уплотняющих средств: применение предварительного уплотнения, соблюдение необходимой последовательности проходов и обеспечение их требуемого числа и т.п.;
- своевременный и тщательный контроль плотности.
Важным фактором, облегчающим уплотнение и способствующим его высокому качеству, является естественная влажность грунта близкая к оптимальной. При недостаточной влажности грунтов резко возрастает необходимое количество работы по уплотнению - увеличение массы уплотняющих средств и числа их проходов. Наиболее эффективное уплотнение достигается при влажности грунтов, составляющей 0,9...1,1 оптимальной при стандартном уплотнении. Сухие грунты необходимо перед уплотнением искусственно увлажнять. Количество воды, которое необходимо добавлять к грунту, чтобы довести его влажность до оптимальной, можно рассчитать по формуле
DW = Kтр·dо(W0 - W)a, (1.11.1)
где DW - добавочное количество воды, т на 1 м3 грунта в плотном теле;
Ктр - требуемый коэффициент уплотнения;
dо - оптимальная плотность грунта, г/см3;
W0 - оптимальная влажность в долях единицы;
W - естественная влажность в долях единицы;
a - коэффициент, учитывающий испарение воды (в засушливых районах принимают a = 1,2).
Несвязные грунты увлажняют непосредственно перед уплотнением после разравнивания отсыпаемого слоя. Связные грунты лучше увлажнять в резерве после рыхления.
При избыточном увлажнении грунтов, также как и при недостаточном, невозможно получить оптимальную плотность. Допускается производить уплотнение, если грунт, отсыпаемый в насыпь, имеет влажность не более указанной в табл. 1.11.1.
Таблица 1.11.1
Максимальная допустимая влажность грунта
|
Грунт |
Максимальная допустимая влажность в процентах от оптимальной при коэффициенте уплотнения |
|
|
1,0 |
0,95 |
|
|
Пески пылеватые, супески легкие |
135 |
160 |
|
Суглинки легкие и легкие пылеватые |
125 |
135 |
|
Суглинки тяжелые пылеватые |
115 |
130 |
|
Суглинки тяжелые, глины |
105 |
120 |
Переувлажненные грунты подсушивают на воздухе в резерве или непосредственно в отсыпаемом слое. Если климатические условия района строительства не позволяют подсушивать переувлажненные связные грунты, разрабатываемые в резервах или выемках, их можно улучшить введением добавок негашеной извести или магнезии.
При введении добавок влажность грунта понижается в результате воздействия следующих факторов:
1. Часть влаги вступает в реакцию и переходит в твердое состояние
W1 = k1 - D, (1.11.2)
где W1 - количество воды, вступившее в реакцию;
k1 - экспериментальный коэффициент равный для негашеной извести (СаО = 0,32) для магнезии (МgО = 0,43);
D - доза извести или магнезии от массы твердой фазы, %.
2. В процессе гашения извести или магнезии выделяется тепло, которое увеличивает испарение
W2 = a·k2·D, (1.11.3)
где а - коэффициент, учитывающий испарения (при средних условиях а = 0,2);
k2 - относительное содержание в извести или магнезии свободной описи кальция или магния
(1.11.4)
где tm, tэ - максимальная температура гашения товарной извести или магнезии и эталона, град.;
tв - температура воды, град.
3. Внесенная известь или магнезия увеличивает объем сухой массы
(1.11.5)
Влажность переувлажненного грунта после внесения добавок СаО или МgО с учетом этих трех факторов уменьшится и составит
(1.11.6)
где Wгр - влажность грунта до внесения добавки извести или магнезии.
При уплотнении укаткой для повышения предела прочности уплотняемого грунта и для возможности постепенного увеличения удельного давления на него уплотняющих средств, что является важным условием достижения высокой плотности, рыхлый свежеотсыпанный грунт каждого слоя необходимо подвергнуть предварительному уплотнению. Для предварительного уплотнения (подкатки) обычно применяют катки легких типов. Нагрузка на колесо катка на пневматических шинах, применяемого для предварительного уплотнения, должна быть примерно вдвое меньше нагрузки на колесо при основных проходах. При использовании кулачковых катков в комплекте с катками на пневматических шинах, первые используют для предварительного уплотнения, вторые - для окончательного. Предварительного уплотнения требуют только связные грунты. Нет необходимости в предварительном уплотнении и связных грунтов, если они в процессе отсыпки слоя подвергались воздействию колес скреперов или автомобилей - самосвалов.
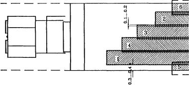
Прицепными катками грунт уплотняют круговыми проходами (рис. 1.11.1), начиная их на расстоянии не менее 2,0...2,5 м от бровки насыпи, во избежание сползания катка под откос. Последующими проходами уплотняют края насыпи, приближаясь к бровке за каждый проход на 1/3 ширины катка, но не ближе, чем на расстояние 1,0...1,3 м между кромкой вальца или краем колеса и бровкой. После этого продолжают укатку в направлении от бровок к оси насыпи, перекрывая при каждом проходе след предыдущего прохода на 1/3...1/4 ширины катка.

Рис. 1.11.1. Схема работы прицепного катка на пневматических
шинах:
1...10 - последовательность проходов; L - длина захватки
Вибрационными катками грунт можно уплотнять как по круговой схеме, как и челночным способом.
Уплотнение трамбованием начинают после тщательного разравнивания грунта слоем необходимой толщины бульдозером или автогрейдером. При применении трамбующих машин грунт уплотняют продольными проходами машин по круговой схеме, начиная от бровок насыпи и постепенно передвигаясь в направлении ее оси, с перекрытием каждым проходом следа предыдущего прохода на 0,1...0,2 м. Приближаться к бровкам на расстояние менее 0,5 м не разрешается во избежание сползания машины под откос.
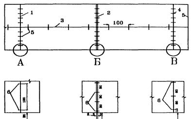
При использовании трамбующих плит, подвешенных к стрелам экскаваторов, уплотнение производят в соответствии с рис. 1.11.2.

Рис. 1.11.2. Схема уплотнения грунта плитой, подвешенной к
стреле экскаватора:
а - вид сбоку; б - план; 1 - плита; 2 - уплотненные слои; 3 - шаг передвижения
экскаватора; 4 - направление движения экскаватора; 5 - уплотненная полоса
Контроль качества уплотнения грунта в насыпи осуществляют путем сравнения требуемой плотности по табл. 1.9.1 с плотностью скелета грунта насыпи. Ориентировочно берется один образец на каждой захватке и с каждого слоя. Контроль плотности верхнего слоя следует производить не реже чем через 50 м. При неоднородных грунтах число образцов увеличивают. Контроль осуществляют также за влажностью грунта, толщиной слоев и числом проходов уплотняющих средств. Из лабораторных методов контроля наиболее часто используют режущее кольцо («метод кольца»). В полевых условиях расчищают площадку, на слое уплотняемого грунта ставят режущее кольцо объемом около 500 см3 с приспособлением, позволяющим забивать кольцо в грунт без нарушения его структуры (рис. 1.12.1)
Плотность влажного грунта (г/см3) определяют по формуле
(1.12.1)
где р1 - масса кольца с грунтом;
р2 - масса кольца;
V - объем кольца.

Рис. 1.12.1. Режущее
кольцо с приспособлением для отбора проб грунта:
1 - режущее кольцо; 2 - крышка; 3 - насадка; 4 - направляющий цилиндр
Влажность грунта (%) определяют высушиванием его в термостате
(1.12.2)
где р1 - масса навески грунта до высушивания;
р2 - масса навески грунта после высушивания.
Зная плотность влажного грунта и влажность, по формуле определяют плотность скелета грунта
(1.12.3)
Недостатком этого способа определения плотности является длительность процесса высушивания грунта в термостате (не менее 7 ч для глинистых грунтов и 5 ч для песчаных). Для ускоренного приближенного определения плотности и влажности грунтов используют плотномер - влагомер Ковалева (рис. 1.12.2), основанный на принципе двухкратного измерения объема воды, вытесняемой при погружении в нее образца грунта: в первый раз ненарушимой структуры, во второй растертого в воде.

Рис. 1.12.2. Плотномер-влагомер Ковалева:
1 - крышка футляра; 2 - замок футляра; 3 - ведро-футляр; 4 - стальная насадка;
5 - нож; 6 - трубка поплавка; 7 - поплавок; 8 - крючки; 9 - сосуд; 10 -
тарировочный груз; 11 - резиновое кольцо; 12 - крышка поплавка; 13 - замок
поплавка; 14 - режущий цилиндр
Плотность влажного грунта определяют в следующей последовательности:
1. По оси земляного полотна и на расстоянии 1,5...2,0 м от бровки отбирают образцы грунта ненарушенной структуры с помощью режущего цилиндра 14 и насадки 4;
2. Цилиндр с грунтом 1 помещают в поплавок 7, закрывают крышкой поплавка 12 и защелкивают замками 13;
3. Определяют плотность влажного грунта по шкале dw прибора, погружая в воду, налитую в ведро-футляр 3, поплавок 7 вместе с цилиндром, заполненным грунтом.
Плотности скелета грунта определяют следующим образом:
1. Цилиндр с грунтом 14 извлекают из поплавка 7, грунт выталкивают в сосуд 9, наливая в него воду на 3/4 его объема и тщательно перемешивают до исчезновения комков.
2. Сосуд 9 подвешивают к поплавку на крючки 8 и погружают в ведро-футляр с водой. Вода через щель между поплавком 7 и сосудом 9 заполняет остальное его пространство, вытеснив оттуда воздух, поплавок с грунтом погружается в воду. После этого по шкале 6 берут отсчет плотности скелета грунта
В верхней части трубки поплавка 6 нанесены применительно к различным грунтам четыре шкалы. Одна шкала для определения плотности влажного грунта dw и три шкалы для плотности скелета грунтов: Ч - гумусовых, П - песчаных и Г- глинистых.
Влажность грунта (%) определяют по формуле
(1.12.3)
где dw - плотность влажного грунта, г/см3;
d - плотность скелета грунта, г/см3.
При сооружении земляного полотна из крупнообломочных и скальных грунтов контроль плотности осуществляют методом «лунки». Этот метод заключается в том, что в уплотненном слое выкапывают лунку глубиной 10...15 см и объемом 3...5 л. Объем лунки измеряют, заполняя ее одномерным сухим песком, высыпаемым в лунку из мерного сосуда. Зная массу содержимого лунки и ее объем, определяют плотность грунта.
Однако этот способ весьма трудоемок и имеет ряд недостатков. В частности, на конечный результат влияют такие факторы, как крупность песка, высота и скорость засыпки лунки песком и др.
Чтобы повысить точность измерения объема лунки, в настоящее время пользуются денситометром, который снабжен резиновым мешком, куда нагнетают воду из мерного сосуда. Мешок заполняет лунку, достаточно плотно прилегая к ее стенкам. Объем лунки определяют по расходу воды. Влажность грунта определяют путем высушивания всей пробы либо ее части мельче 5 мм, внося поправку на содержание более крупных частиц по формуле
(1.12.4)
где W1 - влажность грунта, просеянного через сито с отверстиями 5 мм, %;
q - содержание в грунте частиц крупнее 5 мм, %.
Для измерения плотности и влажности грунтов в полевых условиях без отбора проб применяют радиометрические методы. Гамма-плотномеры позволяют определить степень рассеяния в грунте гамма-излучения радиоактивных изотопов, что дает возможность оценивать плотность грунта в слое глубиной 20 см и более с точностью ±0,05 г/см3.
Сущность измерения плотности грунта просвечиванием гамма-лучами заключается в том, что определяют изменение интенсивности радиации при прохождении гамма-лучей через просвечиваемую среду (рис. 1.12.3).

Рис. 1.12.3. Схема расположения прибора при контроле
плотности:
1 - стальная обсадная трубка d=40
мм; 2 - внутренняя труба контейнера; 3 - изотоп кобальта 60 (Со60);
4 - счетчик гамма-квантов; 5 - регистратор импульсов
Радиационный источник 3 помещают в рабочем контейнере 2 диаметром 30 мм из стали или свинца. В качестве источника гамма-лучей применяют Со60. Регистратором количества импульсов в минуту служит пересчетная схема, питаемая от сети переменного тока с выходом на электромагнитный счетчик импульсов. Падение гамма-лучей при проникновении через какую-либо среду толщиной х определяется
Jx = J0e-m´d, (1.12.5)
где Jx - интенсивность излучения на выходе импульсов в 1 мин. на 1 см2;
J0 - интенсивность излучения на входе импульсов в 1 мин. на 1 см2;
m - массовый коэффициент ослабления гамма-лучей средой.
Плотность скелета грунта
(1.12.6)
Влажность грунтов с точностью до 1...2 % определяют нейтронными влагомерами. Принцип их действия основан на учете перехода активных нейтронов в медленные под влиянием атомов водорода, присутствующих во влажном грунте.
Прочность и устойчивость земляного полотна в значительной степени зависят от наличия и исправности водоотводных сооружений и устройств. Угол внутреннего трения грунта, сила сцепления, способность его выдерживать нагрузки при намокании значительно уменьшаются. При превышении определенной скорости течения вода может размывать земляное полотно, поэтому необходимо принимать меры по предотвращению намокания грунтов и размыва земляного полотна. Эти меры заключаются в том, что прежде всего обеспечивают надежный сток поверхностных вод и отвод при понижении грунтовых вод до допустимого уровня.
Борьба с проникающей в грунт водой значительно сложнее и дороже, чем работы по отводу поверхностной воды. В состав системы поверхностного водоотвода входят боковые канавы в выемках и вдоль насыпей высотой до 1,5 м, боковые выработанные резервы, нагорные канавы у выемок, канавы для осушения болот, канавы, отводящие воду от дороги в водоемы, лотки на горных дорогах и др. Ряд водоотводных сооружений должен начать работу до возведения земляного полотна. Поэтому отсыпку насыпи начинают с разработки резервов и канав. До начала разработки выемок прорывают нагорные канавы, предварительно производят осушение оползневых склонов и болот.
Канавам с откосами 1:1,5, реже 1:2 придают уклон не менее 5‰. В равнинной местности на отдельных участках возможно снижение уклона до 3‰. Глубина боковых канав с заложением откосов 1:3 не должна превышать 0,5 м.
Канаву, имеющую крепления, конструкция которых способна воспринимать боковые давления грунта, называют лотком. Лотки делают в стесненных условиях, где затруднительно устройство открытой канавы (в населенных пунктах, а также при слабых малоустойчивых оплывающих грунтах, не способных обеспечить устойчивость откосов).
Вся площадь, с которой вода стекает в данную канаву, называется ее бассейном (рис. 2.1.1, а).
Поперечные размеры канав (рис. 2.1.1, б) устанавливают с расчетом на пропуск максимального расчетного расходы воды. Наименьшая глубина канав определяется получаемой по расчету глубиной наполнения с прибавлением к ней 0,2 м на возвышение бровки канавы над расчетным уровнем воды, но во всех случаях глубина канавы и ширина ее по дну должны быть не менее 0,6 м (на болотах не менее 0,8 м).
Расположение, поперечные размеры и уклоны канав проектируют таким образом, чтобы вода протекала в них без переполнения, а скорость ее течения была достаточной, чтобы не происходило заливания канав, и в то же время не достигала величины, при которой возможен размыв дна и откосов канавы.
Расход воды Qф, который должен пройти через сечение А-А канавы (рис. 2.1.1, б), определяют по существующим нормам стока поверхностных вод, с учетом принятого в расчет наиболее интенсивного ливня и крутизны склонов. Основная зависимость, по которой производят гидравлический расчет канав, заключается в том, что фактический расход воды в канаве Qф равен площади живого сечения w, м2, умноженной на среднюю скорость протекания воды V, м/с

Рис. 2.1.1. Бассейн канавы (а) и ее поперечное сечение А-А
(б):
1 - ось канавы; 2 - линия водораздела; стрелками показано направление стока
воды от линии водораздела
Qф = w·V, (2.1.1)
Необходимую площадь сечения канавы определяют подбором; для этого, исходя из местных условий, сначала задаются конкретными размерами сечения и уклона для канавы, затем определяют скорость течения воды в м/с по формуле
(2.1.2)
где С - коэффициент, зависящий от шероховатости русла и от гидравлического радиуса (табл. 2.1);
R - гидравлический радиус, м;
i - уклон дна водостока.
Таблица 2.1.1
Значение коэффициентов С
|
Род русла канавы |
Гидравлический радиус R, м |
||||||
|
0,05 |
0,10 |
0,20 |
0,30 |
0,40 |
0,50 |
1,00 |
|
|
Очень гладкие стенки (цементобетонная штукатурка, цементобетонные плиты) |
48,7 |
54,3 |
60,4 |
64,3 |
67,1 |
69,5 |
76,9 |
|
Гладкие стенки (монолитный бетон) |
41,0 |
46,2 |
52,0 |
55,7 |
58,4 |
60,7 |
67,8 |
|
Мощение булыжным камнем |
23,1 |
27,3 |
32,2 |
35,3 |
37,8 |
39,7 |
46,0 |
|
Грунтовое русло |
13,9 |
17,3 |
21,3 |
24,0 |
26,0 |
27,8 |
33,3 |
Величина гидравлического радиуса
R = w/n, (2.1.3)
где w - площадь сечения водного потока в канаве, м2;
n - длина смоченного периметра этого сечения, м (рис. 2.1, б)
Из рис. 2.1, б следует, что площадь живого сечения w и длина смоченного периметра n равны:
(2.1.4)
(2.1.5)
где m - величина, показывающая, во сколько раз заложение откоса канавы больше его высоты;
b - протяжение откосной части смоченного периметра, определяемого по формуле
(2.1.6)
где d - ширина канавы по дну, м.
Умножая полученную скорость V на площадь живого сечения w потока, получаем расход Qф, который фактически может пропустить канава при принятых величинах i, R и С.
Расчет канавы ведут в следующем порядке. Установив крутизну откосов и ширину канав по дну, назначают продольный уклон канавы; затем задаются глубиной воды в канаве и определяют последовательно площадь живого сечения, смоченный периметр, гидравлический радиус, среднюю скорость течения воды в заданном сечении и расход воды.
Когда фактический расход оказывается значительно больше расчетного, следует уменьшить размеры канавы во избежание неоправданного удорожания ее устройства, а когда получается, что Qф < Qр, то надо увеличить уклон или глубину, т.е. размеры поперечного сечения канавы, которые влияют на величину гидравлического радиуса R. Подбор глубины канавы заканчивают, когда фактический расход воды отличается от расчетного не более чем на 5 %.
Работы по рытью канав состоят из следующих операций. На месте обозначают оси канав вехами, затем проводят ограничительные борозды автогрейдерами и поперечными зарезаниями бульдозером, перемещают грунт в насыпь или распределяют по прилегающей местности. Планировку откосов и точное придание им формы производят автогрейдерами с откосниками. При небольших продольных уклонах (до 20‰) канавы постепенно зарастают травой. В легкоразмачиваемых грунтах дно и боковые стенки канав укрепляют, когда земляное полотно возводят из боковых резервов, то дну резервов придают уклон в сторону от насыпи. При ширине резерва по дну более 6 м дну придают поперечный профиль с уклоном к оси резерва.
В тех случаях, когда продольный уклон канавы превышает 20...30‰, канавы укрепляют. Откосы и дно канав облицовывают бетонными плитами размером 40´40´12 см. Плиты укладывают непосредственно на грунт. Если уклон канав более 30‰, то во избежание подмыва плит водой их укладывают на слой мелкого щебня или гравия толщиной 10...12 см. Швы между плитами заливают битумной мастикой или цементным раствором, если представляется возможным обеспечить уход за ним и нормальные условия твердения.
В целях избежания трудоемких и дорогих работ по укреплению канав применяют жидкие карбамидные и фурфуроловые смолы. Этими смолами, обладающими малой вязкостью, равномерно обрабатывают грунт на глубину 3...4 см. В результате пропитки дна и откосов канав они не размываются и не зарастают травой.
Технология работ состоит из тщательной планировки поверхности дна и откосов автогрейдерами с откосником, разбрызгивания автогудронатором через шланг по поверхности канав укрепляющего материала. Всю систему поверхностного водоотвода проверяют по ее работе во время сильного дождя. Замеченные места застоя воды или размыва отмечают и исправляют.
Грунтовые воды ухудшают условия устойчивости грунтов тем, что снижают коэффициент внутреннего трения и сцепления грунта, увеличивают его объемную массу и, кроме того, способствуют пучинообразованию.
В целях понижения уровня грунтовых вод, а также для полного перехвата и отвода их от земляного полотна применяют устройства, называемые дренажами. Дренажи отводят из грунта только гравитационную и связанную с ней капиллярную воду. По способу устройства и характеру сбора и отвода грунтовых вод дренажи подразделяют на горизонтальные, вертикальные и комбинированные.
Наиболее распространены горизонтальные дренажи, которые подразделяют на открытые и закрытые. К открытым относят канавы и лотки, к закрытым - дренажи траншейного типа.
К вертикальным дренажам относят водоспускные колодцы и буровые скважины для спуска воды в нижележащие пласты дренирующего грунта.
Комбинированные дренажи представляют собой различные сочетания дренажей первых двух групп. Их применяют в тех случаях, когда требуется сложная система дренажных устройств (например, для осушения крупных оползней на косогоре).
Наиболее простым дренажным устройством открытого типа является дренажная канава. Она существенно отличается от водоотводной канавы, предназначенной для регулирования стока поверхностной воды: в водоотводную канаву вода стекает по поверхности, и при устройстве ее принимают меры к тому, чтобы через ее стенки и дно возможно меньше воды проникало в грунт. В дренажную канаву попадает, главным образом, грунтовая вода, поэтому принимаемые меры должны быть направлены на обеспечение свободного вытекания ее из грунта через откосы, а иногда и через дно. Откосы дренажных канав не укрепляют, а если необходимо укрепление, то выбирают такой материал, который обеспечивает выход воды из грунта в канаву.
Если на небольшой глубине имеется подстилающий водонепроницаемый грунт и необходимо понизить уровень грунтовых вод в лежащем на нем водоносном слое, то устраивают дренажную канаву, врезая ее дно в водоупор (рис. 2.2.1) с таким расчетом, чтобы уровень воды в канаве был несколько ниже верха водоупорного слоя. Живое сечение и уклоны дренажной канавы рассчитывают на пропуск суммарного расхода попадающих в канаву грунтовых вод.

Рис. 2.2.1. Дренажная канава
Дренажные лотки бывают железобетонными, бетонными и каменными. Грунтовая вода просачивается в дренажные лотки чрез стенки. Для этого в стенках лотков (за исключением нижней их части высотой 25 см) делают специальные отверстия диаметром 25 мм или между плитами стенок оставляют щели шириной 10 мм. Общая площадь щелей и отверстий составляет 10...15 % площади стенок лотка. В глинистых и суглинистых (особенно пылевых) грунтах между стенками лотка и грунтом устраивают дренирующую засыпку из крупнозернистого песка толщиной 0,25...0,4 м, иначе грунт вместе с водой будет проникать в отверстия, засорять их и затруднять сток воды. Кроме того, из-за вымывания грунта около лотка могут появиться просадки.
Если дренажный лоток врезан в водоупор и пересекает направление течения грунтовых вод, то он полностью перехватывает грунтовую воду. В этом случае со стороны, противоположной поступлению воды в дренаж, в стенке не устраивают отверстий, а за ней делают горизонтальный экран из мятой глины (рис. 2.2.2).

Рис. 2.2.2. Надоткосный железобетонный дренажный
лоток:
1 - дренажный лоток преградитель; 2 - суглинок; 3 - водоносный слой; 4 - фильтр
из дренирующего материала
Из дренажей закрытого траншейного типа наибольшее распространение получили трубчатые подкюветные дренажи, назначение которых заключается в понижении уровня грунтовых вод под подошвой земляного полотна. Если водоупорный слой залегает на глубине до 0,4 м от бровки земляного полотна, то устраивают, так называемые, совершенные дренажи с полным перехватом грунтового потока. При более глубоком залегании водоупорного слоя устраивают несовершенные дренажи, которые иногда называют висячими. Дно таких дренажей находится выше водоупорного слоя.
Если поток грунтовой воды направлен поперек дороги, то совершенный дренаж закладывают с одной - нагорной стороны (рис. 2.2.3).

Рис. 2.2.3. Подкюветный односторонний совершенный дренаж:
1 - водоносный слой; 2 - уровень грунтовых вод до снижения; 3 - кривая
депрессии после устройства дренажа; 4 - дренаж; 5 - замок из глины; 6 -
геотекстиль; 7 - водоупорный слой
Конструкция дренажа закрытого траншейного типа предусматривает основной элемент - дренажную трубу, обернутую геотекстилем и укладываемую на щебень или гравий (рис. 2.2.4).

Рис. 2.2.4. Дренаж закрытого траншейного типа:
1 - экран из мятой глины; 2 - местный грунт; 3 - утрамбованный глинистый грунт;
4 - противозаиливающий слой; 5 - крупнозернистый песок; 6 - водоносный слой; 7
- водоупорный слой; 8 - щебень (гравий) фракции 5...10 мм; 9 - щебень (гравий)
фракции 40...70 мм; 10 - щебень, втрамбованный в грунт; 11 - дренажная труба;
12 - кривая депрессии
Для дренажа применяют трубы гончарные, асбоцементные, пластмассовые, из пористого беспесчаного бетона. Внутренний диаметр труб 50...300 мм.
Для поступления воды в трубы в них делают водоприемные отверстия. Уложенные в траншею трубы в стыках обвертывают фильтровыми тканями (геотекстиль) или соединяют кольцевыми полимерными муфтами.
На всех переломах продольной линии дренажа в плане и на прямых участках через 60...80 м устраивают смотровые колодцы. Назначение колодцев - облегчить нахождение пробок и мест, препятствующих нормальному протеканию воды в трубах. Колодцы делают из сборных железобетонных колец диаметром около 1,0 м. Колодец наверху имеет горловину, закрываемую чугунной крышкой.
Технология работ по строительству дренажа закрытого типа состоит из следующих операций: снятие дерна на полосе будущего дренажа бульдозером или автогрейдером; отрывка траншеи, начиная с места выпуска воды из дренажа с применением экскаватора с обратной лопатой (при глубокой траншее и неустойчивых
грунтах необходима установка креплений с распорками), укладка на дно траншеи грунтощебеночной подушки, укладка дренажных труб с обертыванием стыков фильтровой тканью и обсыпкой крупным, а затем мелким щебнем (гравием); проверка правильности укладки труб; засыпка фильтрующим песком; укладка глинистого слоя с уплотнением; засыпка местным грунтом с уплотнителем; строительство смотровых колодцев.
При высоком уровне грунтовых вод для повышения устойчивости земляного полотна в теле насыпи устраивают водонепроницаемые или капилляропрерывающие прослойки.
Водонепроницаемые прослойки укладывают на всю ширину земляного полотна или, в целях экономии материалов, на ширину проезжей части с превышением ее с каждой стороны на 0,5 м.
При насыпях высотой менее 1,0 м водонепроницаемый слой устраивают на уровне подошвы насыпи путем укрепления местного грунта органическими вяжущими материалами (жидкие битумы класса МГ, СГ вязкостью 25/40, битумными эмульсиями и др.) (рис. 2.3.1). На высоких насыпях водонепроницаемую прослойку можно устраивать на глубине 0,6...1,0 м от бровки земляного полотна. Кроме обработки местного грунта, водонепроницаемую прослойку можно устраивать из битумной пасты или шлама толщиной 3,0...3,5 см.

Рис. 2.3.1. Конструкции водонепроницаемых прослоек:
а) при высоте насыпи менее 1 м с использованием в качестве водонепроницаемой
прослойки грунта, укрепленного органическим вяжущим материалом; б) при высоте
насыпи более 1 м с использованием в качестве прослойки синтетической пленки:
1 - покрытие; 2 - основание; 3 - песчаный грунт; 4 - грунт, укрепленный
органическим вяжущим материалом; 5 - синтетическая пленка; 6 - уровень
грунтовых вод; 7 - укрепленная обочина
В настоящее время в дорожном строительстве широкое распространение в качестве водонепроницаемой прослойки получило использование синтетической пленки из полиэтилена, поливинилхлорида и на основе полиизобутилена. Полимерные пленки промышленность выпускает шириной от 2,4 до 12,0 м и толщиной от 0,1 до 2,0 мм. Чем шире пленка, тем меньше трудовые затраты на сварку или склейку полотнищ и выше качество. Чем больше толщина пленки, тем она надежнее.
Технологический процесс укрепления грунта органическим вяжущим материалом заключается в разрыхлении и измельчении грунта подошвы насыпи на глубину 5...10 см, розливе вяжущего из расчета 2...3 л/м2, перемешивания грунта с вяжущим, разравнивания и уплотнении катками на пневматических шинах.
Рабочие операции по строительству водонепроницаемой прослойки с использованием синтетической пленки включают: планировку и уплотнение земляного полотна, распределение полотен синтетической пленки, доставку грунта, надвижку его на пленку, уплотнение грунта и строительство последующих слоев дорожной одежды.
Капилляропрерывающие прослойки располагают в насыпях на всю их ширину на глубине 1 м от бровки земляного полотна. Назначение таких прослоек - создать преграду для подъема капиллярной воды (рис. 2.3.2). Капилляропрерывающие прослойки устраивают из щебня или гравия фракции 5... 10 мм толщиной 20...40 мм. Сверху и снизу капилляропрерывающей прослойки располагают противозаиливающие слои из топочных шлаков, высевок фракции от 0,1 до 5 мм, геотекстиля толщиной 3,0...5,0 мм и других местных материалов, не подвергающихся гниению.

Рис. 2.3.2. Конструкция водонепроницаемой прослойки:
1 - дорожная одежда; 2 - грунт земляного полотна; 3 - противозаиливающие
прослойки; 4 - капилляропрерывающая прослойка; 5 - уровень грунтовых вод; 6 -
зона капиллярной воды; 7 - зона свободной воды
Строительство капилляропрерывающих прослоек состоит из следующих технологических процессов: устройство нижней части земляного полотна с поперечным уклоном не менее 30‰ и коэффициентом уплотнения грунта не менее 0,98; строительство нижнего противозаиливающего слоя; распределение капилляропрерывающего материала; устройство верхней противозаиливающей прослойки; вывозка и надвижка грунта для верхней части насыпи с послойным уплотнением катками на пневматических шинах.
В результате строительства водонепроницаемых и капилляропрерывающих прослоек достигают сохранения грунтов в верхней части земляного полотна с пониженной влажностью. Это обеспечивает устойчивость земляного полотна и предохраняет дорожную одежду от преждевременного разрушения. За счет повышения модуля упругости грунта верхнего слоя можно уменьшить толщину конструктивных слоев дорожной одежды.
Наиболее распространенными искусственными сооружениями на автомобильных дорогах являются водопропускные трубы, стоимость которых нередко достигает 15 % от общей стоимости дороги. В настоящее время на дорогах устраивают сборные круглые железобетонные трубы из звеньев длиной 1,0 м с внутренним диаметром 0,75...2,0 м. Гораздо реже применяют прямоугольные из звеньев длиной 1,0 м отверстием 1,0...4,0 м.
В зависимости от расхода водотока устраивают одно- и многоочковые трубы. Применение сборных труб обеспечивает сокращение продолжительности, снижение стоимости и повышение качества строительства. Монолитные трубы допускаются только в отдельных труднодоступных районах строительства.
Изготовление элементов сборных железобетонных труб состоит из следующих операций: заготовка арматурных стержней, изготовление сеток, сборка арматурных каркасов; изготовление, сборка, смазка, разборка и очистка опалубки; укладка и уплотнение бетонной смеси; отделка и пропаривание смеси.
Звенья труб изготавливают на заводах или полигонах, обслуживающих строительство автомобильной дороги. От полигона (завода) или ближайшей железнодорожной станции их доставляют к месту постройки трубы автомобилями или тракторами на прицепах.
В подготовительный период устраивают временные дороги, расчищают и планируют территорию строительной площадки, отводят существующее русло водотока при необходимости, устраивают защитные ограждения от паводков.
Строительную площадку (рис. 2.4.1) устраивают в соответствии с технологическим процессом постройки трубы. Особое внимание при этом обращают на расположение монтажного крана, который должен обслуживать, возможно, большую площадь. На площадку доставляют и устанавливают бетономешалку, электростанцию, битумоварочный агрегат и другие машины и оборудование.

Рис. 2.4.1. План строительной площадки трубы:
1 - склад блоков оголовков; 2 - склад блоков фундаментов; 3 - склад лекальных
блоков; 4 - путь движения крана; 5 - склад звеньев трубы; 6 - контейнер с
цементом; 7 - бетоносмеситель; 8 - бак для воды; 9 - электростанция; 10 - склад
щебня; 11 - склад песка
При перевозке в кузовах автомобилей или прицепах звенья укладывают горизонтально (на бок) или устанавливают вертикально (стоя). Перевозка звеньев круглых труб в вертикальном положении в пересеченной местности и по грунтовым дорогам безопаснее, чем в горизонтальном. При перевозке в горизонтальном положении звенья необходимо надежно закрепить на транспортных средствах, подкладывая под них деревянные подкладки, которые для надежности надо прибить гвоздями к полу кузова. При перевозке звеньев в горизонтальном положении упрощаются и ускоряются погрузочно-разгрузочные работы, тогда как перевозка в вертикальном положении требует дополнительной операции переворачивания звеньев при выгрузке.
Разгрузку элементов труб проводят кранами. Сбрасывать элементы с автомобиля запрещается. В случае производственной необходимости разрешается перекатывание круглых звеньев, но только по горизонтальной поверхности. При этом рабочие должны находиться сзади перекатываемого звена.
Доставленные на строительную площадку элементы труб укладывают вдоль котлована трубы, оставляя берму шириной не менее 4,0 м для проезда крана. Все элементы доставляют на объект, как правило, до начала монтажа тубы. Порядок раскладки элементов принимают в соответствии с технологической последовательностью монтажа трубы.
Разработку котлована начинают непосредственно перед устройством фундамента. Рытье котлована шириной до 3,0 м осуществляют экскаваторами, а при ширине котлована более 3,0 м и отсутствии грунтовых вод - бульдозерами.
При продольной разработке котлована бульдозером отвалы грунта устраивают по сторонам лога, не допуская накопления воды у котлована. Дно котлована окончательно зачищают, планируют и при необходимости уплотняют. Основание без фундаментных труб устраивают при благоприятных геологических условиях. В этом случае на дне котлована устраивают основание из щебня и гравия с уплотнением пневматическими или электрическими трамбовками. Верх основания устраивают с учетом уклона и строительного подъема трубы.
Фундаменты из бетонных блоков устраивают при неблагоприятных геологических условиях. Блочный фундамент монтируют стреловым краном, грузоподъемность которого соответствует максимальной массе блока и вылета стрелы. Сначала собирают фундаменты оголовков до уровня подошвы фундаментов секций трубы. Затем скосы котлована, устраиваемые в местах сопряжения более глубоких котлованов оголовков с подошвой котлована под секции трубы, заполняют щебнем с заливкой цементным раствором или песчано-гравийной смесью слоями 10...15 см с тщательным уплотнением трамбованием.
После этого собирают по направлению от выходного оголовка к входному блоку фундамента под тело трубы. Блоки укладывают на слой цементного раствора толщиной 1...2 см по уровню и с перевязкой швов. Разница соседних блоков по высоте не должна превышать 10 мм.
После окончания сборки и приемки фундамента пазухи между стенками котлована и фундамента засыпают грунтом. Засыпку производят одновременно с обеих сторон фундамента горизонтальными слоями толщиной 15...20 см с послойным уплотнением.
Монолитные бетонные фундаменты устраивают только в тех случаях, когда вблизи строящегося объекта имеется возможность получить готовую цементобетонную смесь.
Оголовки труб собирают краном по монтажным схемам. Сборку оголовков труб устраивают в следующей последовательности: сначала устраивают песчано-гравийное (щебеночное) основание и на него укладывают фундаментные плиты, далее устраивают фундаменты под звенья оголовков и засыпают грунтом скосы котлованов, устраивают откосные крылья. После этого при сборке оголовков круглых труб устанавливают лекальные блоки и конические звенья (рис. 2.4.2, а), при сборке прямоугольных труб - повышенные или нормальные прямоугольные звенья (рис. 2.4.2, б).

Рис. 2.4.2. Последовательность (I...III) сборки оголовков труб:
а - круглой железобетонной; б - прямоугольной железобетонной:
1 - гравийно-песчаное основание; 2 - фундаментные плиты; 3 - портальная стенка;
4 - фундамент; 5 - откосные крылья; 6 - засыпка котлована; 7 - бетонный лоток;
8 - засыпка скоса котлована; 9 - лекальный блок; 10 - коническое звено; 11 -
железобетонные плиты; 12 - прямоугольные звенья
Элементы оголовков устанавливают в проектное положение на слой цементного раствора. После окончания сборки оголовка котлован между откосными крыльями послойно засыпают грунтом и тщательно уплотняют. Лотки устраивают из цементобетонной смеси не ниже класса В, 12,5 толщиной 15...20 см на щебеночном или гравийном основании, толщиной 30 см.
Сборку труб начинают со стороны выходного оголовка, последовательно укладывая все элементы в направлении входного. В том случае, когда элементы (блоки) сборного оголовка имеют перевязки с блоками фундамента, оголовок нужно монтировать одновременно с фундаментом. После установки всех элементов оголовка можно начинать монтаж тела трубы по раскладочной схеме, входящей в состав рабочих чертежей трубы на конкретный объект. Последовательность сборки секций труб с блочным и монолитным фундаментом показана на рис. 2.4.3. [5].

Рис. 2.4.3. Последовательность (I...III) сборки секций труб:
а - с блочным фундаментом; б - с монолитным фундаментом;
1 - гравийно-песчаная (щебеночная) подготовка; 2 - фундамент; 3 - лекальные
блоки; 4 - звенья; 5 - опалубка; 6 - бетонный фундамент; 7 - деревянные
подкладки; 8 - цементно-песчаный раствор
Положение устанавливаемых звеньев в плане и профиле контролируют по их внутренней поверхности. Зазоры между торцами звеньев не должны превышать проектные более чем на ±5 мм.
При установке круглых звеньев на фундамент без применения сборных лекальных блоков зазор между нижней образующей звена и плоской поверхностью фундамента обеспечивают деревянными прокладками. Звенья укладывают на предварительно уложенный слой пластичной бетонной смеси, обеспечивая этим плотное опирание звеньев.
Швы между круглыми и прямоугольными звеньями должны соответствовать проектным размерам, и после окончания сборки все должны быть снаружи и изнутри плотно заполнены жгутами из пакли, пропитанной битумом или литыми резиновыми жгутами. Жгуты, поставленные с внутренней стороны, должны быть утоплены в шов на 2...3 см.
После сборки всей трубы наружные ее поверхности, соприкасающиеся с грунтом насыпи, покрывают гидроизоляцией. Двухслойную обмазочную битумную гидроизоляцию наносят кистями. Стыки сборных элементов оклеивают полосами оклеечной гидроизоляции из пергамента и гидроизола, а швы между элементами зачеканивают цементным раствором или полимерными герметиками.
Водопропускные трубы засыпают грунтом после их освидетельствования и приемки. Засыпка труб состоит из следующих операций: заполнение грунтом пазух между стенками котлована и фундамента; устройство уплотненной грунтовой призмы по бокам трубы; возведение земляного полотна дороги над трубой до проектной отметки.
Положение оси дороги на местности устанавливают и закрепляют в процессе изыскательных работ. Однако со времени проведения изысканий до начала строительства дороги проходит иногда значительный промежуток времени, в течение которого могут измениться условия использования выделенных для строительства дороги земельных угодий, часто бывают повреждены отдельные знаки, указывающие положение трассы. Поэтому перед началом строительных работ необходимо вновь уточнить положение дороги на местности и восстановить закрепление трассы.
Восстановление и закрепление трассы производят в следующей последовательности (рис. 3.1.1):
- находят, а в случае утраты восстанавливают, углы поворота. Вершины углов поворота (ВУ) закрепляют установкой столбов, которые закапывают на расстоянии 0,5 м от фактической вершины угла на продолжении биссектрисы. На этих столбах записывают порядковый номер угла, радиус, тангенс и биссектрису кривой;
- на прямых участках осевую линию трассы закрепляют столбами через 200...400 м, в зависимости от рельефа местности. На криволинейных участках выносные столбы располагают через 100 м;
- производят контрольный промер осевой линии с установкой дополнительных плюсовых точек и разбивают поперечные профили для более точного подсчета объемов земляных работ. Промежуточные точки на кривых разбивают через 5; 10 или 20 м в зависимости от радиуса кривой (до 100 м, от 100 до 500 и более 500 м);
- производят продольное и поперечное нивелирование и съемку поперечных профилей.

Рис. 3.1.1. Закрепление трассы дороги:
а - на прямом участке; б - на кривой;
1 - выносной столбик с отметкой; 2 - выносные колья; 3 - граница полосы отвода;
4 - ось дороги; 5 - пикеты; В - ширина полосы отвода; НК - начало кривой; КК -
конец кривой; ВУ - вершина угла; Т - тангенс кривой; R - радиус кривой; К - касательная к
кривой
Высотные отметки закрепляют реперами через каждые 1000...2000 м в зависимости от рельефа местности. Кроме этого, реперы обязательно устанавливают на участках пересечения с другими автомобильными или железными дорогами, около малых искусственных сооружений, на пересечениях рек, у высоких насыпей и глубоких выемок (более 5 м). Реперы устанавливают в стороне от дороги, окапывают неглубокими канавками и обсыпают землей в виде конуса. В качестве реперов можно использовать опоры мостов, крупные камни и др.
Закрепление оси дороги заключается в выносе пикетов и плюсовых точек за пределы полосы отвода. Пикетаж закрепляют сторожками, на которых указывают расстояния выноски (ведут журнал выноски пикетажа). При расхождении с изыскательским пикетажем более чем на 1 м устанавливают рубленые пикеты для увязки точек с проектным продольным профилем.
Водоотводные канавы закрепляют колышками вдоль их осей с указанием глубины в местах их установки. Резервы обозначают колышками по бровкам через 10...50 м. При широких резервах колышки устанавливают не только по бровкам, но и по оси с указанием на них глубины разработки.
До начала сооружения земляного полотна вся отведенная для него полоса должна быть расчищена от леса, кустарника, пней, камней и других предметов, мешающих выполнению работ. Твердых утвержденных нормативов ширины полосы отвода земель на дороги разных технических категорий не существует. Временные нормативы (табл. 3.2.1) определяют лишь среднюю ширину полосы отвода для каждой категории дороги. В проекте производства работ ширину отвода обосновывают соответствующими поперечными профилями и составляют график отвода земель.
Таблица 3.2.1
Нормы отвода земель
|
Категория автомобильной дороги |
Количество полос движения |
Общая ширина полосы отвода, м при поперечном уклоне местности |
||||
|
от 0 до 1:20 |
от 1:20 до 1:10 |
от 0 до 1:20 |
от 1:20 до 1:10 |
|||
|
на землях сельскохозяйственного назначения |
на землях, не пригодных для сельского хозяйства |
|||||
|
I |
8 |
63 |
64 |
74 |
75 |
|
|
I |
6 |
55 |
56 |
64 |
65 |
|
|
I |
4 |
47 |
48 |
55 |
56 |
|
|
II |
2 |
31 |
32 |
39 |
40 |
|
|
III |
2 |
26 |
28 |
36 |
38 |
|
|
IV |
2 |
24 |
25 |
35 |
36 |
|
|
V |
1 |
21 |
22 |
33 |
34 |
|
К расчистке дорожной полосы приступают при наличии ведомостей отвода земель, рубки леса, строений подлежащих сносу. Если на расчищаемой полосе имеются деревья ценных и декоративных пород, то их следует выкопать и пересадить в назначенные места и сроки, установленные с учетом агротехнических требований.
Расчистку дорожной полосы от леса, кустарника и пней выполняют в такой последовательности:
- срезка кустарника и мелкого леса;
- спиливание или валка деревьев;
- очистка стволов от сучьев и удаление за пределы расчищаемой полосы;
- корчевка и уборка пней;
- засыпка ям, оставшихся после валки деревьев и корчевки пней. Наиболее трудоемкой является очистка полосы от леса. Лес разделяют по крупности и густоте согласно табл. 3.2.2; 3.2.3.
Таблица 3.2.2
Распределение деревьев по крупности
|
Крупность леса |
Очень мелким |
Мелкий |
Средний |
Крупный |
|
Диаметр ствола, см |
12...15 |
16..23 |
24...31 |
Свыше 31 |
|
Объем дерева, м3 |
0,02...0,04 |
0,05...0,21 |
0,22...0,5 |
Свыше 0,5 |
|
Объем пня, м3 |
0,02 |
0,12 |
0,26 |
Свыше 0,26 |
Таблица 3.2.3
Распределение леса по густоте
|
Наименование леса |
Редкий |
Средний |
Густой |
|
Среднее количество деревьев, шт./га |
150 |
340 |
500 |
Кустарник и очень мелкий лес целесообразно срезать до удаления деревьев. Это обеспечивает удобство и безопасность работ при спиливании или валке леса. Для срезки кустарника и очень мелких деревьев лиственных пород служат кусторезы. Кусторез представляет собой навесное оборудование к трактору. Его рабочим органом является клинообразный отвал, снабженный в нижней части режущими ножами, которые могут быть пилообразными. Производительность кустореза (м2/смену) определяют по формуле
(3.2.1)
где b - ширина отвала, м;
V - средняя рабочая скорость, км/ч;
Т - число часов работы в смену;
кв - коэффициент использования рабочего времени;
п1 - число поворотов кустореза;
tn - время, затрачиваемое на один поворот, мин;
п - число проходов по одному следу.
Удаление деревьев можно осуществлять двумя способами: валить деревья с корнями или спиливать. Первый способ применяют при незамерзшем грунте и если деревья непригодны для использования в строительстве. Для валки деревьев используют бульдозеры, древовалы. Перед валкой деревьев бульдозером корни крупных деревьев подрезают с трех сторон, оставляя их неподрезанными только с той стороны, в которую валят дерево. Возможна также валка с помощью стального троса длиной не менее утроенной высоты дерева.
Для спиливания деревьев применяют мотопилы, электропилы. Одной мотопилой в смену спиливают и разделывают на деловую древесину до 85 деревьев диаметром 35...40 см.
Обычно деревья спиливают, оставляя пни высотой 10...15 см. Со стороны, в которую валят дерево, делают подруб (подпил) на глубину 1/3...1/4 диаметра ствола. Подруб представляет собой два прореза пилой один выше другого на 4...6 см, между которыми часть дерева вырубают топором. Затем с противоположной стороны делают глубокий пропил на уровне верха подруба, не доходя до него на 2...3 см, после чего валят дерево с помощью длинного шеста со специальной вилкой на конце.
Валку леса, очистку стволов от сучьев, вывозку хлыстов и сбор порубочных остатков целесообразно выполнять в зимнее время. Корчевать пни, остающиеся после спиливания деревьев, лучше всего весной при высокой влажности грунта, которая облегчает корчевку. Оставлять невыкорчеванными можно пни высотой до 10 см при высоте насыпи более 2,0 м.
Для корчевки пней применяют корчеватели-собиратели, бульдозеры. Производительность бульдозера при корчевке пней диаметром 35...40 см составляет 180...200 пней в смену.
Для корчевки крупных пней (диаметром более 50 см), а также пней с сильно развитой корневой системой целесообразно применять метод взрывания. Расход взрывчатого вещества для корчевки одного пня можно определить по формуле
q = d · Ky, (3.2.2)
где d - диаметр пня, см;
Ky - удельный расход взрывчатого вещества на 1 см диаметра пня (Ky » 20 г).
Камни размером до 1 м3 с дорожной полосы удаляют бульдозерами или корчевателями-собирателями. Большие камни (свыше 1,5...2 м3), которые не могут быть сдвинуты с места трактором, дробят взрывным способом на более мелкие куски.
Ямы, оставшиеся на дорожной полосе после валки деревьев, корчевки пней послойно засыпают и уплотняют. Техническая характеристика основных машин для выполнения подготовительных работ приведена в табл. 3.2.4.
Таблица 3.2.4
Дорожные машины для подготовительных работ
|
Показатели |
Кусторезы |
Корчевателн-собиратели |
|||
|
ДП-4 |
ДП-24 |
ДП-3 четырехстойковый |
ДП-25 четырехстойковый |
ДП-8 шестистойковый |
|
|
Базовый трактор |
Т-100М3ГП |
Т-130.1Г-1 |
Т-100М3ГП |
Т-130.1Г-1 |
ДТ-75Б |
|
Мощность двигателя. кВт |
79 |
103/118 |
79 |
103/118 |
55 |
|
Производительность в час |
0,4...0,5 га |
0,5...0,8 га |
0,15 га/до 20 пней 12 м3 |
- |
0,2 га/до 45 пней 8 м3 |
|
Диаметр срезаемых деревьев, мм |
200... 300 |
до 400 |
450 |
450 |
300 |
|
Отвал: |
|
|
|
|
|
|
ширина захвата, мм |
3600 |
3600 |
1380 |
1380 |
2170 |
|
угол установки ножей в плане, град |
64 |
64 |
- |
- |
- |
|
Размеры отвалов (ширина, высота), мм |
- |
- |
1250´1500 |
- |
- |
|
Опускание рабочих органов ниже опорной поверхности, мм: |
|
|
|
|
|
|
зубьев корчевателя |
- |
- |
450 |
400 |
500 |
|
бульдозерного отвала |
- |
- |
- |
- |
230 |
После очистки дорожной полосы приступают к разбивке земляного полотна. Разбивка земляного полотна сводится к закреплению на местности основных точек его поперечного профиля. Разбивку выполняют на основе проектных материалов: плана дороги, продольного, поперечного профилей насыпей и выемок. Важным правилом разбивки является установка колышков с высотными отметками таким образом, чтобы они сохранились до окончания земляных работ. С этой целью такие колышки, как правило, выносят за пределы полосы, на которой ведут работы землеройно-транспортными машинами.
Разбивка насыпи при возведении земляного полотна из боковых резервов в равнинной местности показана на рис. 3.3.1.

Рис. 3.3.1. Схема установки колышков при разбивке насыпи:
В - ширина земляного полотна на уровне низа дорожной одежды, м; Н
- высота насыпи, м; m
- заложение откоса насыпи, резерва; Нр - средняя глубина
бокового резерва, м
Ширину земляного полотна на уровне низа дорожной одежды рассчитывают по формуле
B = b + 2mh. (3.3.1)
где b - ширина земляного полотна поверху, м;
h - толщина конструкции дорожной одежды, м.
(3.3.2)
(3.3.3)
где l1 - расстояние от оси насыпи до линии подошвы, м;
l2 - расстояние от оси насыпи до бровки бокового резерва, м
Wн - площадь поперечного сечения насыпи, м2
Кп - коэффициент относительного уплотнения, принимаемый в зависимости от коэффициента относительного уплотнения насыпи (Кп = 1,0...1,20).
Проектную отметку по оси низа дорожной одежды (дна корыта) определяют по формуле - в соответствии с рис. 3.3.2.
![]()
(3.3.4)
где Нн - высота насыпи по бровке земляного полотна, м;
bo - ширина обочины, м;
io, iк - уклон обочины, корыта в сотых долях единицы;
bк - ширина корыта, м.

Рис. 3.3.2. Схема разбивки земляного полотна при устройстве дорожной одежды в корыте
Если насыпь проходит на косогоре, то разбивку его производят согласно рис. 3.3.3. Для обозначения линий подошвы насыпи определяют точки пересечения откосов с линией косогора lн, lв.

Рис. 3.3.3. Схема разбивки насыпи на косогоре
Расстояния этих точек от оси насыпи равны:
для низового откоса
(3.3.5)
для верхового откоса
(3.3.6)
Перед разработкой выемки точки разбивки, обозначаемые колышками, выносят за пределы поперечного профиля. На колышках делают засечки или прибивают планки для надписывания номера пикета или плюса и глубины выемки (рис. 3.3.4).

Рис. 3.3.4. Схема разбивки выемки:
а - на горизонтальном участке; б - на косогоре с одинаковым поперечным уклоном:
1 - откосное лекало; 2 - веха
На горизонтальном участке расстояние l0 от оси до бровки выемки определяют по формуле
(3.3.7)
На косогорном участке расстояние от оси дороги до бровки выемки с низовой стороны lн и верховой - lв находят по формулам:
(3.3.8)
(3.3.9)
При разбивке земляного полотна пользуются нивелирами, а также специальными приспособлениями: визирками, откосными лекалами (рис. 3.3.5).

Рис. 3.3.5. Приспособления для разбивки земляного полотна:
а - комплект визирок; б - откосное лекало
Визирка представляет собой планку с перекладиной. Комплект из трех визирок позволяет контролировать постоянный уклон между точками, отметки которых определены нивелированием. Откосное лекало - треугольник из деревянных планок, две из которых соединены под углом, равным углу заложения откоса.
Придавая основанию лекала горизонтальное положение с помощью уровня, проверяют положение линии откоса, которая должна совпадать с наклонной стороной лекала или быть параллельной ей.
Способ высотной разбивки с использованием визирок показан на рис. 3.3.6.

Рис. 3.3.6. Схема высотной разбивки насыпи с помощью визирок
Плодородный почвенный слой снимают со всей площади, отведенной для строительства дороги, и укладывают в отвалы для дальнейшего использования. Толщину снимаемого плодородного почвенного слоя устанавливают проектом на основании предварительного согласования с землепользователями. Толщина растительного слоя на задернованных участках составляет приметно 8...12 см, пахотных - 15...18 см и залесенных - 15...25 см. Растительный грунт используют при укреплении откосов земляного полотна, рекультивации восстанавливаемых или малопродуктивных сельскохозяйственных земель.
Различают следующие схемы удаления растительного слоя грунта: а) поперечная с валиками грунта, расположенными в шахматном порядке при ширине полосы менее 20...25 м; б) поперечная с валиками по обе стороны земляного полотна при ширине полосы более 20...25 м; в) продольно-поперечная при ширине полосы срезки более 35 м и значительной толщине растительного слоя грунта (рис. 3.4.1).

Рис. 3.4.1. Схема срезки и перемещения растительного грунта:
а - поперечным способом на полосе шириной 20...25 м; б - то же, на полосе
шириной более 20...25 м; в - продольно-поперечным способом; I - вал растительного грунта; 1, 2, 3...n - проходы бульдозера
Для срезки и перемещения растительного слоя грунта используют бульдозеры или автогрейдеры. Способ выполнения этой работы выбирают в зависимости от ширины полосы, с которой необходимо срезать грунт и толщины срезаемого слоя. Если ширина полосы менее 20...25 м, что бывает при возведении земляного полотна из привозного грунта, растительный грунт срезают и перемещают бульдозером сразу на всю ширину (рис. 3.4.1, а). Каждый цикл зарезания и перемещения грунта осуществляют с перекрытием предыдущего слоя на 20...25 см. При большей ширине полосы, например, при необходимости срезки растительного грунта с поверхности основания насыпи и боковых резервов, грунт перемещают поочередно в обе стороны от оси дороги, начиная каждый раз зарезание от оси (рис. 3.4.1, б).
При большом объеме работ применяют продольно-поперечную схему срезки и перемещения грунта: продольными проходами бульдозера срезают грунт и собирают его в валы, затем поперечными проходами перемещают его за пределы полосы срезки. Эту работу рационально выполнять, применяя одновременно автогрейдер и бульдозер: первый для срезки грунта и его укладки в продольные валы, второй - для поперечного перемещения растительного грунта за пределы полосы снятия растительного слоя. Срезать грунт можно и скрепером, перемещая его на расстояние более 50 м. Скрепер снимает растительный слой продольными проходами, параллельно оси дороги, на полосе срезки, длиной равной захватке, но не менее 200...250 м. Путь заполнения ковша емкостью 6...8 м3 составляет 20...25 м при толщине стружки около 10 см, после чего скрепер переводят в положение выгрузки и грунт выгружают в поперечный валик. Продолжая движение, скрепер снова зарезает грунт до полного наполнения ковша и на соседнем участке снова его выгружает. Подобные операции повторяются до конца захватки, где скрепер, повернув на 180°, при обратном движении продолжает срезать растительный слой. Затем поперечные валики грунта перемещают бульдозером за пределы полосы срезки.
Производительность бульдозера П, м3/смену, при срезке и перемещении растительного слоя грунта равна
(3.4.1)
где Т - продолжительность смены, ч;
Q - объем грунта, перемещаемого за один цикл, м3;
Кв - коэффициент использования времени;
Кi - коэффициент, учитывающий наличие уклона;
Кп - коэффициент, учитывающий потери грунта при его перемещении;
t - время, затрачиваемое на один цикл, ч;
Кр - коэффициент разрыхления грунта.
Растительный грунт укладывают во временные отвалы или вывозят сразу на место использования в качестве плодородного почвенного слоя. Временные отвалы располагают по краям полосы отвода или на специальных площадках, выделенных для этой цели.
Рекультивация земель или восстановление плодородного почвенного слоя производят там, где в процессе строительства он был поврежден или полностью уничтожен. К таким местам относят территории, занимавшиеся под временные дороги, стоянки дорожных машин, грунтовые, песчаные или гравийные карьеры, боковые резервы.
Плотные связные грунты с влажностью меньше оптимальной для повышения производительности землеройных машин предварительно разрыхляют. В зависимости от плотности, влажности и требуемой глубины разрыхления грунтов применяют различные рыхлители: прицепные и навесные. Прицепные рыхлители в сцепе с трактором мощностью двигателя более 75 кВт применяют для рыхления плотных глинистых, щебенистых, а также гравелистых грунтов. Глубина рыхления в этом случае не превышает 0,20...0,25 м. В особо тяжелых грунтовых условиях в навесном рыхлителе оставляют 1...3 зуба вместо 5. Очень плотные глинистые грунты с включением валунов, а также скальные горные породы (V группа) рыхлят навесными рыхлителями, смонтированными на базе мощного трактора (типа ДЭТ-250). Глубина рыхления достигает 0,5 м. Рыхлители данного типа можно использовать и при рыхлении мерзлых грунтов, при этом, стоимость рыхления в два раза меньше по сравнению с буровзрывным способом. Чем плотнее грунт и больше содержание включений щебня или валунов, тем целесообразнее применять более мощные навесные рыхлители мощностью до 600 кВт или уменьшить глубину разрыхления.
При возведении насыпи автогрейдером целесообразно предварительное полное рыхление грунтов II, III групп, что облегчает процесс зарезания грунта. Производительность автогрейдера зависит, прежде всего, от площади вырезаемой стружки. Если насыпь возводится грейдер-элеватором, то предварительное рыхление грунтов I, II групп не требуется.
Для повышения производительности скреперов при разработке грунтов III и IV групп производят частичное рыхление, которое состоит в прорезании зубьями рыхлителя плотного грунта без подъема пластов. Зубья рыхлителя лишь разрезают на полосы верхний слои грунта, разрабатываемого скрепером. В этом случае в ковш скрепера грунт перемещается в виде толстой стружки. В результате, за счет частичного рыхления облегчается процесс зарезания грунта и наполнение ковша скрепера.
При возведении насыпи бульдозерами, рыхлению подлежат грунты III и IV групп, а также связные сухие грунты II группы. Длину захватки рыхления устанавливают в зависимости от влажности грунта, а также погодных условий в период производства земляных работ. Если естественная влажность грунта выше оптимальной, то при солнечной погоде грунты рекомендуется рыхлить сельскохозяйственными плугами, переворачивая пласты. При влажности меньше оптимальной длину захватки уменьшают с целью предотвращения пересыхания грунта.
Объем разрыхляемого грунта не должен превышать сменной производительности звена скреперов или бульдозеров, во избежание пересыхания грунта в сухое летнее время и переувлажнения в дождливую погоду. Разрабатывая боковые резервы, первый проход рыхлители делают по полосе, ближайшей к подошве насыпи. Последующие проходы постепенно удаляют к границе дорожной полосы.
Производительность рыхлителя, м3/смену, определяют по формуле
(3.5.1)
где Т - продолжительность смены, ч;
в - рабочая ширина рыхлителя (в = 1,5...2,2), м;
в1 - ширина полосы перекрытия (в1= 0,1), м;
h - глубина рыхления грунта, м;
l - длина разрыхляемого участка, м;
кв - коэффициент использования рабочего времени (0,9...0,95);
Vcp - средняя скорость работы трактора, м/мин;
tп - время на 1 поворот, мин;
п - число проходов по одному следу.
При рыхлении структурных грунтов с влажностью, близкой к оптимальной, число проходов рыхлителя по одному следу и принимают равным единице. Рыхление сухих плотных грунтов с включением щебня, гальки требует большего числа проходов по одному следу. Техническая характеристика рыхлителей приведена в табл. 3.5.1.
Таблица 3.5.1
Дорожные машины для рыхления грунтов
|
Показатели |
Бульдозерно-рыхлительные агрегаты |
|||||
|
Дп-15 трехстойковый |
ДП-5 одно- трехстойковый |
ДП-22С трехстойковый |
ДП-9С трехстойковый |
Б10.02 многозубовый |
Т-330 однозубовый |
|
|
Базовый трактор |
Т-1303ГМ |
Т-100МГП |
Т-180КС |
ДЭТ-250М |
Б10.02 |
Т-330 |
|
Мощность двигателя, кВт |
79 |
79 |
135 |
228 |
132 |
330 |
|
Максимальное тяговое усилие, кН |
- |
- |
- |
- |
100 |
250 |
|
Производительность, м3/ч |
1500 |
1500 |
1800 |
2500 |
1800 |
3000 |
|
Отвал: |
|
|
|
|
|
|
|
ширина захвата, мм |
1900 |
1460 |
1560 |
2100 |
1560 |
2200 |
|
угол установки ножей в плане, град |
90 |
90 |
90 |
90 |
90 |
90 |
|
Размер отвала (ширина´высота), мм |
3200´1200 |
4430´1200 |
- |
4500´1550 |
- |
4500´1560 |
|
Опускание рабочих органов ниже опорной поверхности, мм: |
|
|
|
|
|
|
|
зубов рыхлителя |
560 |
400 |
500 |
700 |
500 |
500...800 |
|
бульдозерного отвала |
370 |
- |
300 |
400 |
300 |
400...500 |
Автогрейдеры используют для возведения земляного полотна из боковых резервов высотой до 0,75 м в равнинной местности при наличии грунтов I или II группы.
Автогрейдеры делят на легкие (мощность двигателя от 55 до 65 кВт), средние (мощность двигателя от 65 до 110 кВт), тяжелые (мощность двигателя от 110 до 180 кВт) и сверхтяжелые с мощностью двигателя более 185 кВт. По типу управления автогрейдеры бывают с механической и гидравлической системами управления. В настоящее время широко используются автогрейдеры с автоматизированной системой управления рабочим органом (табл. 3.6.1).
Таблица 3.6.1
Технические характеристики грейдеров и автогрейдеров
|
Марка и тип машин |
Грейдеры |
Автогрейдеры |
||||||||
|
прицепной ДЗ-1 к трактору Т- 100 |
полуприцепной базовый трактор Т -150К |
ДЗ-99-1-4 |
ДЗ-31-1 |
ДЗ-98В |
ДЗ-80 |
ДЗ-180 |
ДЗ-122Б |
ДЗ-200 |
ДЗ-98Н |
|
|
Мощность двигателя. кВт |
74 |
110 |
66 |
96 |
368 |
57,4 |
99 |
99 |
125 |
198 |
|
Глубина резания, м |
0,40 |
|
0,25 |
0,25 |
0,50 |
- |
- |
- |
- |
- |
|
Длина отвала, м |
3,66 |
3,74 |
3,10 |
3,70 |
3,70 |
3,04 |
3,74 |
3,74 |
3,86 |
4,27 |
|
Высота отвала, м |
0,50 |
0,63 |
0,50 |
0,60 |
0,70 |
0,50 |
0,62 |
0,63 |
0,63 |
0,74 |
|
Угол при зарезании, град. |
28...70 |
- |
30...70 |
30...70 |
30...80 |
30...70 |
30...70 |
30...70 |
30...70 |
30...70 |
|
Угол срезаемого откоса. |
|
|
|
|
|
|
|
|
|
|
|
град. |
до 70 |
0...90 |
40..90 |
40...90 |
40...70 |
0...90 |
0...90 |
0...90 |
0...90 |
0...90 |
|
Боковой вынос, м |
- |
0,80 |
- |
- |
- |
- |
0.80 |
0.80 |
25 |
1,05 |
|
Скорость движения, км/ч |
- |
- |
38,1 |
37,7 |
34,4 |
30,0 |
40,0 |
43,0 |
30,0 |
47,0 |
|
Габаритные размеры, м |
7,8´2,54´2,45 |
- |
- |
- |
- |
7,4´2,35´2,7 |
9,8´2,5´3,45 |
10,57´2,5´3,55 |
10,9´2,5´3,8 |
10,32´3,02´3,95 |
|
Масса, кг |
- |
5400 |
- |
- |
- |
8000 |
13560 |
14600 |
15000 |
19500 |
Рабочие операции автогрейдера при возведении насыпи сводятся к зарезанию, перемещению, разравниванию и планировке грунта. Производительность автогрейдера при выполнении вышеперечисленных операций зависит от установки положения ножа. При установке ножа в рабочем положении различают:
- угол захвата a, образуемый осью ножа и направлением движения автогрейдера;
- угол резания b, образуемый в вертикальной плоскости режущим ребром ножа с горизонтальной плоскостью;
- угол наклона g, образуемый линией горизонта и режущей кромкой ножа (рис. 3.6.1).

Рис. 3.6.1. Углы установки ножа автогрейдера:
1 - направление движения; 2 - поверхность земли; 3 - линия горизонта
В зависимости от угла a изменяется ширина захвата ножом, но одновременно повышается сопротивление грунта заглублению ножа. Угол захвата изменяется в пределах от 30 до 90°.
При зарезании грунта угол a уменьшают, а при перемещении - увеличивают. Ширина захвата при этом изменяется от 2,1 до 3,6 м.
С уменьшением угла b снижается сопротивление грунта резанию, чем плотнее грунт, тем больше сопротивление резанию. Опыт показывает, что успешное зарезание связного грунта возможно производить при угле резания b = 35...45°. В этом случае грунт легко скользит по ножу и отваливается в сторону.
Угол наклона g определяет глубину погружения режущего края ножа в грунт. Глубина и ширина, а также поперечный профиль вырезаемой стружки грунта связаны с углом g.
Угол наклона изменяют в зависимости от свойств и состояния грунта в пределах от 0 до 65°. Рациональные значения углов a, b и g при возведении насыпей приведены в табл. 3.6.2.
Таблица 3.6.2
Рекомендуемые значения углов a, b и g в зависимости от выполняемой работы
|
Вид работы |
Углы, град. |
||
|
захвата |
резания |
наклона |
|
|
Зарезание грунта Перемещение грунта Разравнивание грунта Планировка |
30...45 35...50 до 70 до 60 |
35...40 35...40 до 60 до 40 |
До 15 11...13 до 3 до 18 |
Производительность автогрейдера при возведении насыпи зависит, прежде всего, от размера вырезаемой стружки грунта, скорости движения и последовательности проходов по резанию и перемещению. Увеличение размера стружки достигается предварительным рыхлением грунта и рациональной установкой ножа.
До начала возведения насыпи необходимо обозначить ее границы и границы боковых резервов. Первое зарезание грунта (борозду) делают на расстоянии равном
(3.6.1)
где В - ширина земляного полотна, м;
m - заложение откоса;
Н - высота насыпи, м;
l - длина отвала, м;
a - угол захвата, град.
Возведение насыпи ведут от внутренней бровки резерва (рис. 3.6.2). Перемещение грунта осуществляют за несколько проходов. Эта операция наиболее трудоемка, она составляет до 75 % от общего числа проходов.

Рис. 3.6.2. Схема разработки резерва и отсыпки насыпи
автогрейдером:
1 - 1-е зарезание; 2 - 2-е зарезание
Поэтому иногда производят два зарезания, после чего выполняют перемещение этого грунта, затем вновь два зарезания и перемещение и т.д. Укладку грунта производят одним из двух способов - вполуприжим и вприжим.
При укладке грунта в насыпь вполуприжим перемещаемый вал грунта укладывают с предыдущим на расстоянии между гребнями валов 0,4...0,5 м, т.е. между ними имеются зазоры, заполняемые в последующем путем срезки гребня валов автогрейдером. В этом случае толщина отсыпаемого слоя грунта составляет 0,25...0,35 м. Этот способ, как правило, применяют при высоте насыпи 0,5...0,75 м. В тех случаях, когда высота насыпи не превышает 0,5 м, целесообразнее отсыпку производить в один слой, укладывая грунт вприжим. В этом случае вал грунта прижимают к ранее уплотненному настолько, что из двух валов образуется один сплошной широкий вал высотой до 0,5 м.
Рекомендуемая длина захватки при возведении насыпи из грунта боковых резервов - 400...500 м. Зарезание грунта производится на I передаче автогрейдера половиной длины ножа при наибольшей толщине срезаемой стружки, а перемещение и разравнивание - на II и III передачах всей длиной ножа. Углы установки ножа автогрейдера для выполнения операций по зарезанию, перемещению и разравниванию грунта устанавливают согласно табл. 3.6.2.
Производительность автогрейдера при возведении насыпи из грунта двусторонних боковых резервов определяют по формуле
(3.6.2)
где Т - продолжительность смены, ч;
Кв - коэффициент использования рабочего времени;
q = 2l3f - объем грунта, перемещаемый за один рабочий цикл, м3;
l3 - длина захватки, м;
f - площадь поперечного сечения стружки в плотном теле, м2 (для средних автогрейдеров 0,12...0,16, для тяжелых 0,16...0,20);
ty - продолжительность цикла, с.
(3.6.3)
где п - число проходов для перемещения грунта, приходящееся на один проход зарезания;
Vp- скорость движения при зарезании (0,69...0,97), м/с;
Vn - скорость движения при перемещении грунта (1,1...1,67), м/с;
tnoв - время поворота (80... 100), с;
tnep - время на перемену установки отвала (30...40), с.
Требуемое число проходов автогрейдера при зарезании пз и перемещении пп определяют по формулам
(3.6.4)
(3.6.5)
где пз- число проходов автогрейдера для зарезания грунта;
Fр - площадь резерва, м2;
Кп - коэффициент перекрытия проходов при зарезании (1,3...1,7);
пп - число проходов для перемещения грунта;
lц- расстояние от центра тяжести половины поперечного сечения насыпи до центра тяжести поперечного сечения резерва, м;
ln - расстояние поперечного перемещения грунта за один проход;
d - коэффициент перекрытия проходов при перемещении грунта (1,15).
Величина поперечного перемещения грунта за один проход зависит от длины отвала и угла захвата. В среднем она составляет от 2,1 до 3,6 м, а при установке к отвалу удлинителя увеличивается на 0,4..0,6 м.
Данные о производительности тяжелых автогрейдеров при возведении насыпей высотой до 0,75 м приведены в табл. 3.6.3.
Таблица 3.6.3
Производительность тяжелых автогрейдеров в зависимости от группы грунтов и расстояния перемещения
|
Расстояние перемещения грунта, м |
Группа грунтов по трудности разработки |
||
|
I |
II |
III |
|
|
Производительность, м3/смену |
|||
|
10 |
310 |
260 |
235 |
|
20 |
160 |
135 |
120 |
|
30 |
105 |
92 |
80 |
Бульдозер представляет собой самоходную землеройно-транспортную машину в виде гусеничного трактора или колесного тягача с навешенным на него рабочим органом - отвалом. По типу управления отвалом различают бульдозеры с гидравлическим и канатно-блочным управлением. При гидравлическом управлении возможно принудительное заглубление отвала.
Наиболее часто на бульдозерах устанавливают прямые неповоротные отвалы. В этом случае угол в плане между отвалом и осью трактора (угол захвата) всегда равен 90°. У бульдозеров с поворотным отвалом (универсальными) положение отвала в горизонтальной плоскости (в плане) изменяется на угол 25...30°.
Бульдозеры часто снабжают рыхлителями, навешенными сзади на базовый трактор. Такие бульдозеры-рыхлители являются удобным технологическим агрегатом, производящим как послойное рыхление грунта, так и последующее его зарезание и перемещение.
По номинальному тяговому усилию и мощности двигателя бульдозеры условно разделяют на пять классов (табл. 3.7.1). Техническая характеристика бульдозеров приведена в табл. 3.7.2.
Таблица 3.7.1
Класс бульдозеров
|
Бульдозеры |
Параметры |
|
|
тяговое усилие, кН |
мощность двигателя, кВт |
|
|
Малогабаритные Легкие Средние Тяжелые Сверхтяжелые |
До 25 Св. 25 до 135 Св. 135 до 200 Св. 200 до 300 Св. 300 |
До 45 Св. 45 до 120 Св. 120 до 180 Св. 180 до 300 Св. 300 |
Таблица 3.7.2
Техническая характеристика бульдозеров
|
Тип и марка машины |
Базовый трактор |
Максимальное тяговое усилие, кН |
Мощность двигателя, кВт |
Ширина отвала, м |
Высота отвала, м |
Заглубление отвала, м |
Подъем отвала над опорной поверхностью, м |
|
ДЗ-186 |
ДТ-75Н |
35 |
70 |
2,52 |
- |
- |
- |
|
ДЗ-48В |
ДТ-75Н-РС2 |
35 |
70 |
2,52 |
0,8...0,9 |
0,41 |
- |
|
T-4AП2 |
|
3,92 |
95,5 |
2,84 |
1,05 |
0,30 |
- |
|
ДЗ-162 |
ДТ-75Т |
52,2 |
70 |
2,52 |
1,0 |
0,41 |
1,0 |
|
ДЗ-171.4 |
T-170M.01 |
98 |
125 |
3,2 |
1,3 |
0,40 |
0,93 |
|
АМКОДОР-875 |
- |
256 |
257 |
3,08 |
|
|
|
|
Т-25.01БР-1 |
- |
750 |
272 |
4,2 |
1,7 |
0,60 |
1,30 |
|
ДЗ-141УХЛ |
Т-500Р-1 |
850 |
372 |
4,8 |
2,0 |
0,72 |
1,67 |
|
ДЗ-48 |
К-702 |
- |
147 |
3,64 |
1,2 |
0,30 |
1.05 |
|
ДЗ-18 |
Т-130МГП |
- |
79 |
3,9 |
1,0 |
0,25 |
1,05 |
|
ДЗ-13 |
Т-130М |
- |
79 |
3,2 |
1,2 |
0,10 |
1,10 |
|
ДЗ-28 |
Т-130.1Г-1 |
- |
118 |
3,9 |
0,98 |
0,45 |
1,05 |
|
ДЗ-34С |
ДЭТ-250 |
250 |
220 |
4,54 |
1,55 |
0,40 |
0,54 |
|
ДЗ-126В-1 |
ДЭТ-250М-2 |
250 |
243 |
- |
- |
- |
- |
Мощность двигателей современных бульдозеров от 15 до 600 кВт на гусеничном или колесном базовом тракторе, и до 1200 кВт для бульдозеров на специальных тягачах.
Суммарные сопротивления движению бульдозера при наборе грунта равны
Wmax = Qт.бf1 + hlf2 + qf3, (3.7.1)
где Qт.б - масса бульдозера, кг;
f1 - коэффициент сопротивления движению (0,1...0,12)
h - глубина зарезания, м;
l - длина ножа бульдозера, м;
f2 - коэффициент сопротивления резанию грунта, равный 80000 н/м2;
q - масса грунта, перемещаемого за один цикл, кг;
f3 - коэффициент сопротивления качению грунта по грунту (0,5).
При возведении земляного полотна из боковых резервов бульдозеры применяют при высоте насыпи до 1,5 м и дальности перемещения грунта до 50 м.
Рабочий цикл бульдозера в процессе возведения земляного полотна состоит из зарезания грунта, его перемещения, укладки и обратного холостого хода бульдозера в забой (резерв). Разработку грунта начинают с зарезения и набора. В зависимости от трудности разрабатываемого грунта применяют следующие схемы зарезания.
Начинать зарезание необходимо при максимальном заглублении отвала, уменьшая это заглубление по мере образования перед отвалом достаточного количества грунта. Стружка зарезания при этом получает форму клина (рис. 3.7.1, а).
При разработке тяжелого грунта сопротивления резанию могут быть настолько значительными, что из-за снижения частоты вращения двигателя трактора потребуется поднятие отвала даже при недостаточном наборе грунта перед ним. В этом случае следует повторить заглубление отвала, как только двигатель трактора наберет нормальные обороты, причем повторение этого приема может быть многократным. Стружка зарезания при такой работе будет иметь гребенчатую схему (рис. 3.7.1, б).
Прямоугольное зарезание (рис. 3.7.1, в) применяют, когда заглубление по условиям производства работ требуется относительно небольшим, например при снятии растительного слоя толщиной 10...15 см.

Рис. 3.7.1. Схемы зарезания грунта бульдозером:
а - клиновая; б - гребенчатая; в - прямоугольная (стрелкой показано направление
движения машины)
Наиболее производительным является зарезание с образованием стружки клиновидной формы. Однако, этот способ в ряде случаев не может быть применен. Так, в твердых и пересохших грунтах, особенно, когда бульдозер имеет канатно-блочную систему управления, отвал не всегда погружается в грунт на требуемую глубину. В таких случаях зарезание следует производить по гребенчатой схеме.
Разработку грунта в резервах, перемещение и распределение его горизонтальными слоями в насыпи выполняют бульдозерами траншейным способом (рис. 3.7.2). Первое зарезание грунта бульдозер производит на внутренней части резерва, следующее - на внешней, так, чтобы образовалась одна сплошная неглубокая траншея, перпендикулярная оси дороги. Вырезанный грунт перемещают на насыпь и разравнивают слоями, также перпендикулярно оси дороги, толщиной 20...30 см (в зависимости от применяемых машин для уплотнения). Затем зарезание производят параллельно первой траншее на расстоянии от нее 0,5...0,8 м. В дальнейшем зарезание производят последовательно на всей захватке и получают грунт для отсыпки всего первого слоя на этой захватке.

Рис. 3.7.2. Схема траншейной разработки бокового резерва
бульдозером:
I-1...I-3; II-1...II-3
- последовательность зарезания грунта в резерве для отсыпки первого и второго
слоев насыпи; I-1'...I-3'; II-1'...II-3' - последовательность укладки
грунта в первый и второй слой насыпи; а - ширина траншеи; b - ширина стенок между траншеями
(0.5...0.8), м
После профилирования и уплотнения первого слоя насыпи производят зарезание грунта бульдозером вновь на месте образованных траншей и в той же последовательности, и получают грунт для отсыпки второго слоя насыпи. Этот процесс повторяют столько раз, сколько слоев необходимо отсыпать на каждом конкретном участке дороги. После разработки грунта для отсыпки верхнего слоя насыпи производят срезку «стенок», образовавшихся между траншеями и грунт от них также укладывают в верхний слой насыпи.
Производительность бульдозеров при разработке и перемещении грунта зависит от мощности трактора, трудности разработки грунта, дальности его перемещения, высоты возводимой насыпи.
В общем виде производительность (м3/смену) можно определить по формуле
(3.7.2)
где Т - продолжительность смены, ч;
Кв - коэффициент использования рабочего времени, принимают 0,85...0,90;
q - объем грунта, перемещаемый за один цикл, м3
(3.7.3)
где l - длина отвала бульдозера, м;
Н - высота отвала, м;
j - угол естественного откоса грунта, град.;
Кn - коэффициент, учитывающий потери грунта при перемещении, равный Кn = 1 - (0,005 + 0,004·Ln);
Lн, Ln, Lx - длина пути, соответственно, набора грунта, его перемещения и обратного хода, м;
Vн, Vn, Vx - скорость движения, соответственно, при наборе грунта (0,7...1,0), перемещении (1,0... 1,5) и обратном ходе (1,5...3,0), м/с;
п - число переключений передач;
t - время на одно переключение передачи, принимают 3...5 с;
to - время на установку отвала, 10...15 с;
Кp - коэффициент разрыхления грунта, принимают 1,05...1,35.
Данные о производительности бульдозеров на тракторах мощностью 120...180 кВт приведены в табл. 3.7.3.
Таблица 3.7.3
Производительность бульдозеров в зависимости от дальности перемещения и группы грунта
|
Дальность перемещения, м |
Группы грунтов по трудности разработки |
||
|
I |
II |
III |
|
|
Производительность бульдозера, м /смену |
|||
|
10 |
1050 |
820 |
680 |
|
20 |
630 |
520 |
435 |
|
30 |
380 |
310 |
260 |
|
50 |
305 |
240 |
210 |
|
80 |
200 |
165 |
140 |
|
100 |
160 |
130 |
110 |
Для повышения производительности отвал бульдозера снабжают открылками и козырьками или организуют спаренную работу бульдозеров.
В процессе перемещения грунта тяговая мощность трактора на первой передаче используется не полностью. Поэтому при наличии открылков грунт перемещают через два-три зарезания, т.е. грунт в насыпь перемещают укрупненными порциями. Первое зарезание начинают в 4...6 м от внутренней кромки резерва и оставляют грунт в промежуточном вале. Затем задним ходом отводят бульдозер еще на 4...6 м от начала первого зарезания, снова зарезают грунт и подают его в насыпь вместе с промежуточным валом первого зарезания.
При спаренной работе двух бульдозеров с расстоянием между отвалами до 0,5 м для грунтов I, II групп и до 1,0 м для грунтов III группы повышается их производительность в среднем на 15 %, уменьшаются потери грунта почти в два раза, поскольку как бы увеличивается ширина захвата. Но синхронное использование бульдозеров рационально при перемещении больших объемов земляных масс и высокой квалификации машинистов.
Разравнивание грунта и планировку поверхности слоев производят бульдозерами или автогрейдерами. Предварительное разравнивание часто осуществляют в процессе послойной укладки грунта. Поверхности верхнего слоя насыпи придают поперечный уклон 20...40‰ от оси к бровкам земляного полотна. Поверхность остальных слоев планируют с таким же уклоном только при длительных перерывах в работе для обеспечения стока дождевой воды, в остальных случаях поверхность делают горизонтальной.
Производительность универсального бульдозера (м2/ч) при разравнивании грунта составляет
(3.7.4)
где L - длина разравниваемого участка, м;
l - длина отвала бульдозера, м;
a - угол поворота отвала в плане (45...65°);
b - часть ширины пройденной полосы, перекрываемой при последующем смежном проходе (обычно b = 0,3...0,5 м);
п - число проходов по одному следу (п = 1...2 прохода);
V - средняя скорость бульдозера при разравнивании грунта, м/с;
tnов - время на один поворот, с.
При длине разравниваемого участка 30...40 м целесообразно работать без разворота трактора, что значительно экономит время. Разнообразие видов работ, выполняемых бульдозерами, а также широкая номенклатура сменного оборудования и приспособлений к ним делают бульдозер универсальной машиной, незаменимой на любой стройке. На земляных работах в настоящее время бульдозеры выполняют 30...40 % общего объема работ.
Скрепер - землеройно-транспортная машина цикличного действия, предназначенная для послойного вырезания грунта с набором его в ковш, транспортирования набранного грунта и отсыпки его слоями в насыпь или отвал с частичным уплотнением ходовыми колесами ковша и гусеницами трактора. Скреперы ежегодно выполняют до 45 % от общего объема работ. Их применяют для возведения насыпей из грунта боковых и сосредоточенных резервов. Скреперы могут разрабатывать грунты I...III групп (при разработке III группы требуется предварительное рыхление грунта).
Промышленность выпускает прицепные скреперы к гусеничным и колесным тягачам и самоходные, в которых тяговое и рабочее оборудование объединено в одну машину. Прицепные скреперы наиболее целесообразно применять при перемещении грунта на расстояние до 300...500 м, однако при большей емкости ковша (10...15 м3) возможно использование таких скреперов для перемещения грунта и на большее расстояние (до 1,0...1,5 км). Полуприцепные и самоходные скреперы, обладающие высокой скоростью движения (до 50...60 км/ч) и достаточной маневренностью, весьма эффективны для перемещения грунта на расстояние до 2...3 км. Эти машины особенно рационально применять для возведения насыпей из грунта сосредоточенных резервов.
Главным параметром скрепера является геометрическая вместимость (объем) ковша (в м3). Вместимость «с шапкой» превышает геометрическую на 20...25 %. Типаж выпускаемых в настоящее время скреперов: 3; 4,5; 8 (7); 10; 15; 25 м3 (табл. 3.8.1).
Таблица 3.8.1
Техническая характеристика скреперов
|
Тип и марка машины |
Прицепные к гусеничному трактору |
Полу прицепные к колесному тягачу |
|||||||
|
ДЗ-33 |
ДЗ-111 |
ДЗ-20 |
ДЗ-20В |
ДЗ-77С |
ДЗ-11 |
ДЗ-13 |
ДЗ-115 двухмоторный |
ДЗ-67 |
|
|
Трактор (тягач): |
|
|
|
|
|
|
|
|
|
|
марка |
ДТ-75-С2 |
Т-4АП2 |
108 МЗГС |
Т-130.1.Г |
Т-30.1.Г |
МАЗ-529Н |
БелАЗ-531 |
- |
- |
|
Мощность, кВт |
55 |
95,6 |
79,4 |
117,6 |
117,6 |
132,3 |
264,7 |
514,7 |
625 |
|
Объем ковша, м3 |
3/3,5 |
4,5/5,5 |
7/9 |
7/9 |
8/10 |
8/10 |
15/19 |
19,5 |
25 |
|
Глубина резания, м |
0,20 |
0,25 |
0,30 |
0,30 |
0,35 |
0,30 |
0,35 |
- |
0,40 |
|
Ширина резания, м |
2,1 |
2,5 |
2,62 |
2,65 |
2,70 |
2,72 |
2,90 |
3,00 |
3,60 |
|
Толщина слоя отсыпки, м |
0,35 |
0,50 |
0,32 |
0,30 |
0,45 |
0,55 |
0,60 |
- |
0,75 |
|
Наибольшая скорость, км/ч (рабочая /транспортная) |
4,24/10,8 |
3,5/9,5 |
2,36/10,1 |
2,4/10,1 |
2,5/10,9 |
3/40 |
3/45 |
- |
2/35 |
|
Масса агрегата, кг |
8400 |
13500 |
18000 |
18000 |
20200 |
20000 |
34000 |
40000 |
64000 |
Рабочее оборудование скрепера состоит из ковша с передней заслонкой и задней стенкой. Ковш имеет прямые или ступенчатые ножи, срезающие слой грунта во время движения машины на участке набора. Передняя заслонка при наборе приподнята и образует щель, через которую стружка грунта поступает в ковш. Сзади скрепер оборудован буфером для подталкивания толкачом при заполнении, когда тягового усилия трактора оказывается недостаточно. В транспортном положении ковш приподнят, заслонка закрыта. Разгружается скрепер чаще всего принудительно с помощью выдвижной задней стенки ковша, выталкивающей грунт через щель, образованную между заслонкой и ножом.
Зарезание грунта скреперами осуществляется несколькими способами (рис. 3.8.1).

Рис. 3.8.1. Способы зарезания грунтов скрепером (стрелкой
показано направление движения скрепера):
а - плотных грунтов; б - рыхлых; в - средней плотности; г - песчаных
Ковш скрепера наполняют при прямолинейном движении, стремясь срезать грунт наиболее толстой стружкой. Это создает лучшие условия для заполнения ковша. Длина пути наполнения 15...25 м. Целесообразно набор грунта осуществлять при движении под уклон 3...6°, однако следует иметь ввиду, что при большем уклоне грунт поступает в ковш не полностью, затрудняя работу скрепера.
При разработке сухих песчаных грунтов зарезание грунта производят на подъем до 3° или производят его увлажнение. Зарезание грунта гребенчатым способом выполняют волнообразно с попеременным заглублением ковша. Для получения более ровного забоя каждое последующее зарезание грунта производят на одной и той же полосе с перекрытием гребней, для чего каждый следующий набор грунта начинают, отступив на 2...3 м от начала предыдущего.
В плотных неразрыхленных грунтах применяют ребристо-шахматную схему набора, которая обеспечивает хорошее наполнение ковша (рис. 3.8.2).

Рис. 3.8.2. Ребристо-шахматная схема зарезания грунта
скрепером:
а - последовательность проходов в плане; б - форма вырезаемой стружки при
проходах 5, 6, 7 и 8; 1...12 - проходы скрепера; I-III - ряды проходов
Для ускорения наполнения ковша скрепера производят рыхление плотных грунтов и при зарезании используют трактор-толкач. В качестве толкачей применяют гусеничные тракторы, оборудованные специальными устройствами, или бульдозеры на гусеничном ходу. Грунт рыхлят на толщину снимаемой стружки, избегая его измельчения, так как это ухудшает наполнение ковша.
Работу трактора-толкача в резерве или забое организуют по прямолинейной или ступенчатой схеме.
Продолжительность рабочего цикла толкача можно определить по формуле
Тт = tу + tн + tв, (3.8.1)
где tу - время на подход к скреперу и упирание отвалом в буфер (tу =10 с);
tн - подталкивание скрепера при наборе грунта (tн = 80 с);
tв - возврат толкача в исходное положение (tв = 50 с).
При рациональной организации работ один трактор-толкач может обеспечить ускоренную загрузку нескольких скреперов.
n = Tц.c/Tт, (3.8.2)
где Tц.c - время цикла скрепера, с.
Эффективность работы скреперов во многом зависит от подготовки и состояния землевозных путей, которые должны обеспечивать возможность движения тракторов со скоростью до 10 км/ч, а тягачей - до 20 км/ч. Требования к землевозным путям приведены в табл. 3.8.2 [13].
Таблица 3.8.2
Требования к землевозным путям
|
Движение прицепных скреперов |
Подъем, ‰ |
Спуск, ‰ |
Поперечный уклон, ‰ |
Радиусы закруглении, м |
|
Порожних |
200 |
300 |
120 |
15...20 |
|
Груженых |
150 |
250 |
100 |
15...20 |
Движение порожних скреперов можно использовать для выравнивания и планировки землевозных путей.
При возведении насыпей из грунта боковых резервов скрепер перемещает грунт в продольном и поперечном направлениях. Наиболее рациональна схема движения скрепера по зигзагу (рис. 3.8.3, а), однако применять ее целесообразно при длине участка работ более 200 м, так как при меньшей длине эффективность схемы снижается из-за необходимости частых поворотов. Поэтому при длине участка от 100 до 200 м применяют схему движения по восьмерке (рис. 3.8.3, б), а менее 100 м - по эллипсу (рис. 3.8.3, в). При разработке двусторонних резервов схему движения по эллипсу рационально заменить схемой движения по спирали с выгрузкой грунта в поперечном направлении (рис. 3.8.3, г), но лишь при условии, что ширина насыпи не менее пути разгрузки скрепера, а разность отметок насыпи и резервов не превышает 2,5...3,0 м, так как при большей разности отметок подготовка и содержание значительного числа въездов для груженого скрепера повышают трудоемкость работ. Эффективность использования скреперов во многом зависит от наполнения ковша, толщины вырезаемой стружки, длины пути при наборе, дальности перемещения грунта и др. (табл. 3.8.3...3.8.4).

Рис. 3.8.3. Схемы движения скреперов при возведении насыпей
из грунта боковых резервов:
а - по зигзагу; б - по восьмерке; в - по эллипсу; г - по спирали;
1 - набор грунта; 2 - разгрузка грунта
Таблица 3.8.3
Коэффициент наполнения ковша скрепера
|
Условия работы скрепера |
Значения коэффициентов Кн для грунтов |
||
|
сухого рыхлого песка |
сухого и среднего суглинка |
тяжелого суглинка и глины |
|
|
Бет толкача |
0,5...0,7 |
0,8...0,95 |
0,65...0,75 |
|
С толкачом |
0,8...1,0 |
1,0...1,2 |
0,0...1,2 |
Таблица 3.8.4
Максимально возможная толщина стружки грунта, срезаемой скрепером
|
Объем ковша скрепера, м3 |
Мощность трактора, кВт |
Толщина стружки грунта, см |
||||
|
тягача |
толкача |
глины |
суглинка |
супеси |
песка |
|
|
6 |
73,5 |
58,8...66,2 |
9...14 |
12...20 |
15 |
20 |
|
10 |
102,9 |
73,5 |
14...18 |
18...25 |
20 |
30 |
|
15 |
176,4 |
102,0...132,3 |
16...22 |
21...30 |
25 |
35 |
Таблица 3.8.5
Радиусы поворота скрепера
|
Объем ковша скрепера, м3 |
Наименьший радиус поворота скрепера, м |
Объем ковша скрепера, м3 |
Наименьший радиус поворота скрепера, м |
|
Гусеничный тягач |
Колесный тягач |
||
|
4 5...10 11...15 |
5 10 12 |
8...10 15...25 |
12 15 |
Таблица 3.8.6
Длина пути при наборе грунта скрепером (Lmin = lc + ln)
|
Объем ковша скрепера, м3 |
Длина скрепера с трактором lc, м |
Длина участка наполнения |
|
До 3 |
9,5...9,6 |
8(10) |
|
6...8 |
13,4...13,5 |
6,5...7,5 (10...12) |
|
9...11 |
13,8...14,0 |
8...10 (12...14) |
|
15...18 |
15,2...15,5 |
10...12 (19...23) |
|
25 |
20 |
15...20 (50...54) |
Таблица 3.8.7
Рекомендуемые дальности перемещения грунта скреперами
|
Объем ковша скрепера, м3 |
Пределы возки грунта, м |
Объем ковша скрепера, м3 |
Пределы возки грунта, м |
|
Гусеничные скреперы |
Самоходные скреперы с тягачами на пневматических шинах |
||
|
До 3 До 6 До 10 |
200 250...350 300...600 |
До 10 До 15 До 25 |
500...1500 1500...2000 2500...3000 |
Производительность скрепера (м3/смену) определяют по формуле
(3.8.3)
где Т- продолжительность смены, ч;
Кв - коэффициент использования рабочего времени скрепера, равный 0,8...0,9;
q - емкость ковша скрепера, м3;
Кн - коэффициент наполнения ковша, составляющий при разработке супесей и легких суглинков 0,80...0,95, тяжелых суглинков и глин 0,65...0,75, сухого рыхлого песка 0,5...0,7 (при работе скрепера с толкачом величина Кн увеличивается на 30...50 %);
Кр - коэффициент разрыхления грунта в ковше скрепера, составляющий для песков и супесей 1,0...1,2, для легких суглинков - 1,2...1,4, для тяжелых суглинков и глин - 1,2...1,3;
tрез - время, затрачиваемое на набор (резание) грунта, с;
tг - время груженого хода, с;
tн - время на поворот, с;
tр - время на разгрузку ковша, с;
tx - время холостого хода, с;
п - количество переключений передач тягача за один цикл работы скрепера;
tneр - время, затрачиваемое на одно переключение передач, с.
Значения tрез, tг, tр, tx, входящие в формулу, определяют в зависимости от местных условий делением составляющих расстояний на скорости движения.
Длину пути набора грунта tрез и разгрузки tр можно вычислить по формулам:
(3.8.4)
(3.8.5)
где h - толщина стружки, м;
а - ширина захвата ковша, м;
h1 - толщина слоя грунта при разгрузке, м.
В обычных условиях средняя скорость движения полуприцепных и самоходных скреперов составляет: при наборе грунта - 1,5...3 км/ч, при разгрузке - 5...8 км/ч, при груженом ходе - 20...30 км/ч, при холостом ходе - 40 км/ч. На один поворот затрачивается 5...10 с, на одно переключение передач - около 3 с.
Данные о производительности скреперов в зависимости от емкости ковша и дальности перемещения грунта приведены в табл. 3.8.8.
Таблица 3.8.8
Производительность скреперов
|
Дальность перемещения, м |
Емкость ковша скрепера, м3 |
||
|
до 6...8 |
10 |
15 |
|
|
|
Производительность, м3/смену |
||
|
100 |
470 |
800 |
980 |
|
200...250 |
315 |
500 |
650 |
|
500 |
160 |
360 |
455 |
|
1000 |
88 |
215 |
270 |
|
1500 |
60 |
145 |
190 |
|
3000 |
- |
80 |
104 |
При строительстве земляного полотна на косогорах технологию работ определяют уклон местности, конструкция земляного полотна, грунтовые условия, наличие в строительной организации землеройной техники и др. К основным особенностям возведения земляного полотна на косогорах относят:
- увеличение объема дополнительных работ (устройство въездов, нарезка уступов, устройство подпорных стенок и др.);
понижение устойчивости землеройно-транспортных машин при выполнении земляных работ;
- уменьшение производительности;
- неравномерный износ рабочих органов и ходовой части дорожных машин.
В нескальных грунтах для возведения земляного полотна на косогорах могут быть использованы: автогрейдеры, бульдозеры и экскаваторы.
Последовательность разработки грунта в резерве автогрейдером при крутизне косогора положе 1:5 и высоте насыпи до 0,7 м показана на рис. 3.9.1.

Рис. 3.9.1. Последовательность возведения земляного полотна
автогрейдером:
1...6 - последовательность зарезания грунта в резерве; 1'...6'
последовательность укладки грунта в насыпь
На участках при косогорности от 1:5 до 1:2,5 земляное полотно можно возводить бульдозером путем поперечного перемещения грунта вниз по склону (рис. 3.9.2)

Рис. 3.9.2. Последовательность отсыпки насыпи бульдозером
путем поперечного перемещения грунтов:
1...4 - последовательность зарезания грунта в резерве; 1'...4' -
последовательность укладки грунта в насыпь
При крутизне склона более чем 1:2,5 возведение земляного полотна при устройстве полувыемки целесообразно вести по схеме, показанной на рис. 3.9.3.

Рис. 3.9.3. Последовательность разработки грунта при
постройке земляного полотна в полувыемке:
I - уступ расположения
полки рабочего проезда; II...IV - последовательность
дальнейшей разработки грунта
По данной схеме полка рабочего проезда расположена в проектных отметках земляного полотна. Дальнейшую разработку грунта производят за счет последовательного (II, III, IV) расширения полки за счет продвижения ее в сторону косогора.
Разработку грунта по данной схеме можно производить комплексным отрядом с двумя ведущими машинами бульдозером и экскаватором. В этом случае I и II проходки разрабатывают бульдозерами, a III и IV экскаваторами.
На ценных земляных угодьях, в населенных пунктах, на участках, где грунты из боковых резервов не пригодны для отсыпки насыпи и др., земляное полотно возводят из привозного грунта.
Для погрузки грунта в транспортные средства используют:
- одноковшовые экскаваторы (прямая лопата, обратная лопата, драглайн, грейфер);
- роторные экскаваторы;
- одноковшовые фронтальные погрузчики;
- грейдер-элеваторы.
Одноковшовые экскаваторы на гусеничном ходу применяют на сосредоточенных работах, когда не требуются частые перебазировки, при слабых основаниях, а также разработке скальных грунтов, где пневматические шины быстро выходят из стоя. Экскаваторы на пневмоколесном ходу целесообразно применять при наличии грунтов с достаточной несущей способностью. Чтобы меньше было холостых передвижений, экскаваторы на гусеничном ходу используют при значительном объеме сосредоточенных работ. Емкость ковша экскаватора выбирают исходя из объемов работ на объекте
|
Емкость ковша, м3 |
0,5 |
1,0 |
2,0 |
|
Месячный объем земляных работ, не менее, тыс. м3 |
20 |
30...60 |
50...100 |
Техническая характеристика экскаваторов, наиболее часто используемых на дорожных работах, приведена в табл. 3.10.1.
Таблица 3.10.1
Экскаваторы, применяемые на дорожных работах
|
Тип и марка машины |
Технические характеристики |
|||||||
|
вместимость ковша, м3 |
максимальная глубина копания, м |
максимальный радиус копания, м |
максимальная высота выгрузки, м |
двигатель |
мощность двигателя, кВт |
транспортная скорость, км/ч |
масса, кг |
|
|
Экскаваторы на пневматическом ходу: |
|
|
|
|
|
|
|
|
|
Э-1514 |
0,15 |
2,2 |
- |
2,6 |
МТЗ-5ЛС |
- |
4,56...12,95 |
- |
|
Э-2514 |
0,25 |
2,0 |
- |
2,8 |
Д-48Л |
- |
4,56...12,95 |
- |
|
Э-302А |
0,40 |
6,2 |
- |
4,3 |
Д-48Л |
|
1,45...14,9 |
- |
|
Экскаватор-погрузчик БОРЭКС-2101 |
0,25 |
4,25 |
- |
3,55 |
ЮМЗ-6АКЛ |
- |
20,0 |
6600 |
|
ЭО-2621 (ЭО-2629) |
0,25 |
4,25 |
5,3 |
3,5 |
ЮМЗ-6К |
- |
19 |
6100 |
|
ЕA-17 |
0,65 |
4,0 |
7,2 |
5,9 |
УРАЛ-5557 |
81 |
70 |
17000 |
|
ЕК-06 |
0,4 |
4,0 |
6,65 |
5,42 |
Д-144-12 |
44 |
30 |
6000 |
|
ЭО-3323А |
0,8 |
4,95 |
7,93 |
6,15 |
Д-243Л |
59,6 |
19,4 |
13000 |
|
ЕК-18 |
1,15 |
5,8 |
9,4 |
6,2 |
|
77 |
22 |
16000 |
|
ATEK-4321B |
1,15 |
5,5 |
8,85 |
5,5 |
СДМ-17Н |
73,5 |
20 |
19500 |
|
Экскаваторы на гусеничном ходу: |
|
|
|
|
|
|
|
|
|
Э-652А |
0,6 |
7,9 |
5,5 |
5,6 |
КДМ-46 |
- |
1,6...3 |
- |
|
Э-6512 |
0,65 |
8,0 |
5,5 |
5,5 |
КДМ 10 |
- |
1,1...1,2 |
- |
|
Э-10011А |
1,0 |
8,0 |
6,2 |
6,0 |
Д-108 |
- |
до 2,5 |
- |
|
Э-1252В |
1,25 |
до 9,3 |
до 6,6 |
У2-6С2 |
- |
- |
до 1,5 |
- |
|
ЭАГ-2 |
2,25 |
10 |
10 |
|
Д-180 |
- |
1,2 |
- |
|
ЭО-3123 |
0,65 |
4,95 |
7,93 |
6,16 |
- |
59,6 |
2,8 |
13500 |
|
АТЕК-761 |
0,75; 1,15; 1,3 |
6,5 |
9,45 |
5,2 |
СДМ-17Н |
73,6 |
2,7 |
19400 |
|
ET-20 |
1,15 |
5,9 |
9,4 |
6,2 |
- |
77 |
2,34 |
18000 |
|
ЭО-4112А (прямая лопата) |
0,8 |
6,8 |
10,1 |
6,1 |
- |
66 |
3,5 |
23700 |
|
ЭО-4112А (обратная лопата) |
0,75 |
7,9 |
7,9 |
5,6 |
- |
66 |
3,5 |
24000 |
|
ЭО-4225 |
1,25 |
6,0 |
9,3 |
5,15 |
- |
95,5 |
2,5 |
25810 |
|
ЭО-5111Б |
1,0 |
8,2 |
9,2 |
6,1 |
Д-245 |
103 |
2,0 |
32000 |
|
ЕТ-16 |
0,8 |
6,44 |
9,6 |
6,35 |
- |
105 |
2,4 |
16000 |
Роторные экскаваторы все операции рабочего процесса выполняют одновременно, т.е. вместе с копанием грунта происходит выгрузка ковшей и транспортирование грунта из забоя в транспортные средства. Принцип непрерывности рабочих процессов дает повышенную производительность. Вместе с тем эти экскаваторы менее универсальны, чем одноковшовые, и, кроме того, их применение ограничивают каменистые включения в грунте. Максимальные значения включений не должны превышать 1/3 ширины ковша. Разработку грунта роторными экскаваторами производят лобовым забоем.
Одноковшовые фронтальные погрузчики производительны, мобильны и универсальны. Погрузчики выпускают на пневматическом и гусеничном ходу грузоподъемностью до 5...10 т. Время рабочего цикла одноковшовых погрузчиков приблизительно равно времени цикла одноковшовых экскаваторов. Фронтальные погрузчики, оснащенные землеройными ковшами, могут непосредственно разрабатывать грунты I...III групп с погрузкой в транспортные средства. Погрузчик вначале черпает грунт, затем отъезжает от забоя, подъезжает к транспортному средству и разгружает ковш. После разгрузки ковша цикл повторяется (табл. 3.10.2).
Таблица 3.10.2
Техническая характеристика фронтальных погрузчиков
|
Тип и марки погрузчика |
Грузоподъемность, кг |
Вместимость ковша, м3 |
Ширина режущей кромки ковша |
Максимальная высота разгрузки, м |
Вылет кромки ковша при максимальной высоте разгрузки |
Двигатель |
Мощность, кВт |
Максимальная скорость, км/ч |
Mасса, кг |
|
ТО-18 фронтальный, колесный, на самоходном шасси |
5000 |
1,5 |
2,44 |
2,75 |
1,05 |
- |
- |
40 |
10700 |
|
ТО-1, гусеничный, фронтальный, с задней разгрузкой |
4000 |
2,8 |
2,44 |
до 3,4 |
1,05 |
Т-100M3ГП |
- |
40 |
10700 |
|
ТО-10А, фронтальный, гусеничный |
4000 |
2,0 |
2,9 |
3,2 |
1,1 |
Т-130.1.Г-1 |
- |
11,2 |
20500 |
|
ПУМ-500, малогабаритный с бортовым поворотом |
500 |
0,38 |
- |
- |
- |
П120 |
30 |
9 |
2400 |
|
ПМТС-1200, погрузчик малогабаритный |
1200 |
0,5 |
- |
3,38 |
- |
- |
44 |
13 |
3700 |
|
ДЗ-133, бульдозер-погрузчик |
750 |
0,38 |
1,6 |
2,8 |
- |
МТЗ-82 |
- |
- |
4470 |
|
АМКОДОР-208, с бортовым поворотом |
800 |
0,45 |
1,72 |
2,45 |
0,68 |
Д-244 |
40,5 |
10 |
3200 |
|
АМКОДОР-322, фронтальный |
2200 |
1,24 |
2,48 |
2,77 |
0,9 |
Д-243 |
59,5 |
30 |
9000 |
|
ЗТМ-213 с телескопической стрелой |
2500 |
1,25 |
- |
6,0 |
- |
- |
57,4 |
35 |
8400 |
|
ТО-18Д, фронтальный |
2700 |
1,5 |
2,48 |
2,8 |
1,0 |
Д-245 |
72,2 |
36 |
10000 |
|
ТО-25-1 (ПК-3), фронтальный |
3000 |
1,7 |
2,5 |
2,83 |
- |
T-150K |
122 |
30,6 |
10150 |
|
ТО-18Б, фронтальный |
3300 |
1,9 |
2,5 |
2,8 |
1,0 |
А-01-МКС |
95,5 |
38 |
10600 |
|
ТО-28, фронтальный |
4000 |
2,2 |
2,65 |
3,07 |
1,03 |
А-01-МКС |
312 |
37 |
12950 |
|
Т0 27-2А, фронтальный |
8000 |
4,2 |
3,63 |
3,53 |
1,56 |
ЯМАЗ-8481 |
246 |
35 |
28800 |
|
БелАЗ-7820, фронтальный |
10000 |
6,0 |
- |
3,8 |
- |
ЯМАЗ- 8424 |
312 |
36 |
53700 |
Пневмоколесные погрузчики обладают преимуществами по сравнению с гусеничными погрузчиками в случае необходимости частого перебазирования с одного объекта на другой, в стесненных условиях, требующих повышенной маневренности погрузчика и др.
Применение гусеничных погрузчиков предпочтительно при разработке и погрузке плотных грунтов III группы и больших объемах работ на объекте.
Производительность погрузчика в транспортные средства
(3.10.1)
где Т - продолжительность смены, ч;
Кв - коэффициент использования рабочего времени (0,8...0,9);
q - объем ковша погрузчика, м3
Кн - коэффициент наполнения ковша (0,9...1,2 );
d - плотность грунта, т/м3;
Кр - коэффициент разрыхления грунта (1,1...1,3);
tц - продолжительность рабочего цикла, с;
tц = t1 + t2 + t3 + t4 + t5 + t6 + t7 + t8, (3.10.2)
где t1, t8 - соответственно продолжительность наполнения ковша, подъема ковша в транспортное положение, движение погрузчика к месту разгрузки, подъема ковша до разгрузочного положения, разгрузки, опускание ковша до транспортного положения, обратного движения погрузчика к месту загрузки, переключения рычагов управления.
Продолжительность рабочего цикла одноковшовых фронтальных погрузчиков может быть определена по формулам:
для погрузчиков на пневмоколесном ходу
tц = 34,4 + 0,56qn, (3.10.3)
для погрузчиков на гусеничном ходу
tц = 40 + qn, (3.10.4)
где qn - грузоподъемность погрузчика, т.
Грейдер-элеватор - землеройно-транспортная машина непрерывного действия, послойно вырезающая и транспортирующая грунт в насыпь либо в транспортные средства. При использовании грейдер-элеватора в качестве погрузчика грунта в транспортные средства погрузку осуществляют при параллельном движении грейдер-элеватора и транспортных средств по прямой. Работу начинают с устройства забоя по оси разрабатываемого карьера. Ширина разрабатываемого карьера должна быть не менее 15 м, а длина пути прохода грейдер-элеватора - не менее 200...250 м.
Число автомобилей-самосвалов, обслуживаемых одним грейдер-элеватором
(3.10.5)
где Пг-э - производительность грейдер-элеватора, м3/смену;
tца - продолжительность цикла автомобиля-самосвала,ч;
d - плотность грунта, т/м3;
Т - продолжительность смены, ч;
Кв - коэффициент использования рабочего времени;
q - грузоподъемность автомобиля-самосвала, т.
Расчеты показывают, что один грейдер-элеватор может обслуживать до 10....12 автомобилей-самосвалов при дальности возки грунта до 1 км.
При выборе погрузчика, работающего в комплексе с транспортными средствами, увязывают грузоподъемность транспортного средства с грузоподъемностью погрузчика, либо вместимость кузова транспортного средства с объемом ковша погрузчика. Рациональным соотношением между объемом ковша погрузчика Vn и объемом кузова Vт транспортного средства принято считать Vт/Vn = 2...5.
Число ковшей, необходимых для загрузки кузова транспортного средства, определяют по формуле
(3.10.6)
где qm - грузоподъемность транспортного средства, т;
Кр - коэффициент разрыхления грунта;
Vn - объем погрузчика, м3;
Кн - коэффициент наполнения ковша погрузочного средства;
d - плотность грунта, т/м3.
При выборе транспортных средств учитывают объем грунта, подлежащего перевозке, рельеф местности и возможность устройства землевозных путей, дальность транспортирования грунта, производительность погрузочных средств и др. Для перевозки грунта могут быть использованы различные виды транспорта: автомобильный, тракторный, рельсовый и др.
Учитывая высокую маневренность (минимальный радиус разворота 10...20 м, продольный уклон до 12‰), а также возможность увязки перевозки грунта с другими грузами, автомобильный транспорт при возведении земляного полотна нашел самое широкое применение (табл. 3.10.3).
Таблица 3.10.3
Техническая характеристика автомобилей-самосвалов
|
Модель |
Грузоподъемность, т |
Объем кузова (с надстроенными бортами), м3 |
Максимальная скорость, км/ч |
Двигатель |
Мощность, кВт |
Полная масса, т |
|
УАЗ-1501 |
0,8 |
1,9 (4) |
110 |
УМЗ-417 |
66 |
2,75 |
|
ГАЗ-САЗ-3507-01 |
4,25 |
5,0 (10) |
90 |
3M3-53.11 |
88,5 |
8,00 |
|
ГАЗ-САЗ-4509 |
4,25 |
4,97 |
85 |
Диз. |
97,8 |
8,9 |
|
СА-ЗУ |
4,5 |
5,5 |
60 |
ЗИЛ-508.10 |
110,0 |
10,0 |
|
ЗИЛ-ММЗ-4952 |
4,7 |
8,0 |
60 |
ЗИЛ-508.10 |
110,0 |
11,2 |
|
ЗИЛ-45067 |
5,3 |
6,0 (12,5) |
95 |
ЗИЛ-645, диз. |
106,0 |
11,7 |
|
ЗИЛ-ММЗ-45065 |
5,7 |
6,0 |
95 |
ЗИЛ-508.10 |
110,0 |
11,20 |
|
ЗИЛ-ММЗ-45085 |
5,8 |
3,8 |
90 |
ЗИЛ-508.10 |
110,0 |
11,20 |
|
КамАЗ-55102 |
7,0 |
7,9 (15,8) |
80 |
КамАЗ-710.10 диз. |
154,0 |
15,63 |
|
Урал-5557 |
7,0 |
8,8 (17,5) |
75 |
КамАЗ-710.10 диз. |
154,0 |
16,30 |
|
Урал-55224 |
7,22 |
7,1 |
80 |
Урал-744 диз. |
172,0 |
17,90 |
|
Урал-55571-10 |
7,22 |
7,1 |
70 |
ЯМЗ-236М2 диз. |
132,0 |
17,90 |
|
ЗИЛ-4508-03 |
7,5 |
5,3 |
95 |
ЗИЛ-6454 диз. |
147,0 |
13,98 |
|
Урал-5557-31 |
8,0 |
8,8 (17,5) |
- |
ЯМЗ-238М2 диз. |
176,0 |
17,78 |
|
МАЗ-5551 |
8,5(10) |
5,5 |
83 |
ЯМЗ-236М2 диз. |
132,0 |
17,80 |
|
ЗИЛ-4514 |
10,0 |
6,2 |
85 |
ЗИЛ-645 диз. |
136,0 |
18,60 |
|
ЗИЛ-ММЗ-4520 |
10,0 |
7,0 |
85 |
ЗИЛ-645 диз. |
136,0 |
18,40 |
|
ЗИЛ-4516 |
10,0 |
7,6(10,6) |
85 |
ЗИЛ-645 диз. |
136,0 |
78,60 |
|
КамАЗ-55118 |
10,0 |
7,2 |
90 |
КамАЗ-7409 ГАЗ диз. |
155,0 |
19,75 |
|
Урал-55571-30 |
11,0 |
7,1 |
75 |
ЯМЗ-238М2 диз. |
176,0 |
21,70 |
|
КамАЗ-55111 |
13,0 |
6,6 |
90 |
КамАЗ-74006.10 диз. |
176,0 |
22,20 |
|
КрАЗ-6510 |
13,5 |
8,0 |
80 |
ЯМЗ-238М2 диз. |
176,0 |
24,80 |
|
Урал-44223+9516 |
16,0 |
10,0 |
70 |
Урал-744 диз. |
172,0 |
30,45 |
|
МАЗ-5516 |
16,5 |
10,5 |
88 |
ЯМЗ-238Б |
220,0 |
28,70 |
|
КрАЗ-65034 |
18,0 |
12,0 |
72 |
ЯМЗ-238Б2 |
220,0 |
31,20 |
|
Урал-Ивеко-330-30-ANW |
18,0 |
12,0 |
80 |
BF8L 513 диз. |
225,0 |
33,0 |
|
КамАЗ-6520 |
21,0 |
12,0 |
80 |
КамАЗ-740 51-320 диз. |
235,0 |
33,10 |
|
МЗКТ-75165 |
24,5 |
16,5 |
75 |
ЯМЗ-8424.10 диз. |
346 |
47,00 |
Производительность автомобилей-самосвалов в м3 рассчитывают по формуле
(3.10.7)
где Т - продолжительность рабочей смены, ч;
Кв - коэффициент использования рабочего времени;
qm - грузоподъемность автомобиля-самосвала;
Кг - коэффициент использования грузоподъемности;
d - плотность грунта, т/м3;
tц - время цикла автомобиля, ч;
tц = ( 2l/v + t) , (3.10.8)
где l - расстояние транспортирования, км;
v - средняя скорость движения автомобиля, км/ч;
t - время, затрачиваемое на погрузку и разгрузку (0,1...0,2 ч).
Число автомобилей-самосвалов п, работающих в комплекте с экскаватором, определяют по формуле
(3.10.9)
где m - число ковшей грунта, погружаемых в кузов транспортного средства;
tэ - продолжительность одного цикла экскаватора, ч.
К недостаткам автомобильного транспорта следует отнести большую зависимость от состояния проезжей части дороги и потребность в дорогостоящем жидком топливе.
В последние годы все большее применение для перевозки грунта находит тракторный транспорт. Землевозы (думпкары) успешно конкурируют с автомобилями-самосвалами при перевозке грунта до 3 км. Думпкары выгодней автомобилей-самосвалов вследствие небольшой мощности двигателя на единицу грузоподъемности, широкой колеи и большого дорожного просвета. Думпкар разгружает грунт в 2...3 раза быстрее, чем автомобиль-самосвал, благодаря самоопрокидывающемуся кузову.
При дальности возки до 1 км и скорости движения думпкара с грунтом 12...18 км/ч, его производительность достигает 100 м3 в смену и превышает производительность автомобиля-самосвала грузоподъемностью 8...10 т на 15 %.
Рельсовый транспорт находит применение при дальности возки грунта более 10 км и сосредоточенном объеме земляных работ более 100 тыс. м3, например, при строительстве земляного полотна через болото.
Отсыпку насыпи из привезенного грунта ведут послойно по способу «с головы» в зависимости от условий производства работ. При послойной отсыпке работы ведут на двух захватках - на одной из них производят разгрузку транспортных средств и разравнивание грунта, на другой - уплотнение. Укладку и разравнивание грунта производят от краев к середине.
При достаточной ширине земляного полотна транспортные средства разворачиваются на насыпи и подходят под разгрузку задним ходом. Если ширина насыпи меньше 11 м, то устраивают специальные въезды и съезды шириной 4,5...5 м. Предельный уклон въездов должен быть не более 100‰.
Способ разработки выемок бульдозером назначают с учетом группы грунта и дальности его перемещения. Бульдозером, как правило, разрабатывают неглубокие выемки (примерно до 6,0 м) небольшого протяжения и из полученного грунта возводят участки прилегающих насыпей. В этом случае расстояние перемещения грунта не превышает 100 м. Разработку выемки ведут ярусно-траншейным способом, сущность которого заключается в последовательной поярусной разработке выемки продольными траншеями с послойной укладкой грунта в насыпь продольными полосами. После перемещения в насыпь грунта траншей каждого яруса разрабатывают и перемещают в насыпь грунт стенок, оставленных между траншеями (рис. 3.11.1).

Рис. 3.11.1. Ярусно-траншейная схема разработки бульдозером
грунта в выемке с перемещением его в насыпь:
1 - ярусы; 2 - слои; 3 - стенки; 4 - траншеи яруса; 5 - отвал бульдозера; 6 -
грунт, перемещаемый по траншее
Вблизи откосов выемки грунт разрабатывают, оставляя полки - продольные уступы (рис. 3.11.2). После окончания разработки выемки полки срезают бульдозером, передвигающимся по откосу сверху вниз в поперечном направлении. При этом грунт полок сдвигают в крайние траншеи, оставляемые в нижнем ярусе выемки, по которым затем перемещают грунт в насыпь. Одновременно разрабатывают и перемещают грунт стенок этих траншей. Срезку грунта полок откосов начинают с участка выемки, наиболее удаленного от насыпи, постепенно приближаясь к ней.

Рис. 3.11.2. Схема разработки бульдозером грунта вблизи
откосов выемки:
1...3 - ярусы; 4 - крайние стенки; 5 - крайние траншеи; 6 - полки; а - ширина
захвата при проходе бульдозера
Использовать бульдозер для доработки откосов выемки можно лишь при крутизне не более 1:2.
Если дальность перемещения грунта не превышает 20...25 м, его перемещают за один прием. При большей дальности перемещения значительная часть грунта теряется в пути, образуя боковые выемки по обе стороны отвала бульдозера. Во избежание этого применяют метод перемещения грунта с промежуточными валами: вначале грунт перемещают на расстояние 20...25 м в промежуточный вал, затем после наполнения грунта в валу сдвигают его на такое же расстояние, повторяя эту операцию до тех пор, пока не будет достигнуто место укладки.
Когда по местным условиям можно вести разработку грунта при движении под уклон, это значительно повышает производительность машин. При работе под уклон увеличивается сила тяги машин, уменьшается сопротивление перемещаемого грунта и увеличивается объем грунта, перемещаемый отвалом. При разработке грунта на подъем наблюдается обратное явление - сила тяжести машины и перемещаемого грунта значительно снижают силу тяги трактора, соответственно объем перемещаемого отвалом грунта резко уменьшается.
Увеличение производительности бульдозеров при работе под уклоном по сравнению с работой на горизонтальном участке характеризуется следующими данными: на горизонтальных участках - 100 %; на участках с уклоном 10 град. - 150...200 %; на участках с уклоном 20 град. - до 250 %; на участках с подъемом 10 град. - 60...70 %.
Разработку неглубоких раскрытых выемок с перемещением грунта в кавальеры ведут также по ярусно-траншейной схеме, но поперечными переходами бульдозера, располагая кавальеры вдоль бровок выемок.
При устройстве выемок скреперы используют для разработки и транспортировки грунта на расстояния более 50 м, при меньших расстояниях эффективнее использовать бульдозеры. Прицепные скреперы рекомендуется применять при дальности возки грунта до 500 м. При больших расстояниях транспортирования прицепные скреперы уступают по рентабельности самоходным, а также автомобилям-самосвалам, загружаемым экскаваторами или фронтальными погрузчиками.
Полуприцепные (самоходные) скреперы работают в агрегате с базовыми быстроходными пневмоколесными тягачами, их используют при дальности транспортирования от 300 до 3000 м.
Скреперы применяют преимущественно для разработки сравнительно легких грунтов. Плотные грунты требуют предварительного рыхления. Скреперы при разработке выемок не могут быть использованы в сыпучих песках и в грунтах с включениями крупных камней. Эффективность работы скреперов зависит от подготовки и состояния землевозных путей, которые должны обеспечить возможность движения тракторов со скоростью до 10 км/ч, а тягачей - до 20 км/ч [29].
Подъездные пути прокладывают с учетом движения в груженом направлении с уклонами на подъем до 150 ‰, на спуск - до 200 ‰, с поперечным уклоном до 100 ‰, для движения в порожнем направлении соответственно до 200 ‰ на подъем, до 300 ‰ - на спуск, с поперечным уклоном до 120 ‰. В обоих направлениях радиусы закругления должны быть не менее 15...20 м. Движение порожних скреперов можно использовать для выравнивания и планировки землевозных путей.
Разгрузку скреперов производят только на ходу при прямолинейном движении с малой скоростью (3...4 км/ч). Разгрузка позволяет производить послойную укладку грунта. Кромку ножа скрепера устанавливают на уровне, обеспечивающем требуемую толщину слоя грунта.
Работы по сооружению земляного полотна организуют таким образом, чтобы осуществлять загрузку ковша скрепера под уклон 80...100 ‰. Разработку выемок ведут в одну смежную насыпь или одновременно в две насыпи; во втором случае движение происходит сквозное без разворотов в выемке. При близком расположении двух выемок и насыпи между ними можно вести разработку обеих выемок, одновременно перемещая грунт в одну насыпь (рис. 3.11.3).

Рис. 3.11.3. Схема движения скрепера при разработке грунта в
выемке с перемещением его в насыпь:
а - из выемки в насыпь; б - из выемки в две насыпи; в - из двух выемок в одну
насыпь;
1 - набор грунта; 2 - разгрузка грунта
Зарезание грунта в выемках производят в шахматной последовательности по шахматно-гребенчатой (рис. 3.11.4) или ребристо-шахматной схеме [8]. Забой для набора грунта должен быть достаточной длины для полного наполнения ковша (табл. 3.11.1), а путь движения скрепера - кратчайшим без крутых поворотов, особенно для груженого скрепера.

Рис. 3.11.4. Шахматно-гребенчатая схема зарезания грунта
скрепером:
а, б, в - последовательность зарезания грунта на каждой полосе;
1-7 - последовательность разработки полос
Таблица 3.11.1
Длина пути набора грунта скрепером в зависимости от вместимости ковша
|
Грунт |
Вместимость ковша, м3 |
|||
|
3...4,5 |
6...8 |
10 |
15 |
|
|
Супесь |
15...20 25...30 |
20...30 35...45 |
30 45 |
35 55 |
|
Суглинок легкий |
20...25 30....35 |
25...35 40...50 |
40 55 |
40 60 |
|
Суглинок тяжелый |
25...35 35...40 |
40...50 55...65 |
60 75 |
70 90 |
Примечание. В числителе указана длина пути набора с толкачом, в знаменателе - без толкача.
Отсыпку грунта в насыпь производят параллельными полосами при движении скрепера вдоль оси дороги в последовательности от краев к середине, при этом насыпь с каждой стороны отсыпают на 10...15 см шире проектной (рис. 3.11.5).

Рис. 3.11.5. Схема отсыпки насыпи скрепером:
1...7 - последовательность укладки грунта в тело насыпи
Технологические процессы по разработке выемки и возведению насыпи состоят из следующих операций: подготовка подошвы насыпи и поверхности выемки; уплотнение подошвы насыпи; рыхление грунта рыхлителем послойно по мере разработки выемки (если грунты плотные); разработка грунта скрепером, транспортирование его в насыпь и распределение слоем проектной толщины; послойное разравнивание грунта в насыпи бульдозером или автогрейдером; послойное уплотнение грунта; планировка верхней части насыпи и откосов насыпи и выемки.
В зависимости от величины и крутизны откосов применяют бульдозеры, автогрейдеры, экскаваторы с телескопической стрелой или специальным оборудованием для планировки.
Экскаваторы - это самоходные землеройные машины с ковшовым рабочим оборудованием. Они предназначены для разработки грунтов и горных пород в транспортные средства или в отвал. По характеру рабочих процессов различают экскаваторы цикличного и непрерывного действия. К экскаваторам цикличного действия относят одноковшовые экскаваторы, а к непрерывного действия - роторные.
По ходовому оборудованию экскаваторы разделяют на гусеничные. Типы и марки экскаваторов, применяемых на дорожных работах, приведены в табл. 3.12.1. При разработке выемок в зависимости от вида выполняемых работ экскаваторы могут иметь следующее рабочее оборудование: прямую лопату (рис. 3.12.1, а), обратную лопату (рис. 3.12.1, б) драглайн (рис. 3.12.2).

Рис. 3.12.1. Одноковшовые экскаваторы:
а - прямая лопата; б - обратная лопата

Рис. 3.12.2. Экскаватор с оборудованием драглайна:
I - ковш в верхнем
положении; II - в
исходном положении перед заполнением; III - в процессе заполнения
Экскаваторы, оборудованные прямой лопатой, ведут разработку грунта выше уровня своей стоянки. Ковш при этом движется снизу вверх и от экскаватора. Прямой лопатой разрабатывают грунт чаще с погрузкой в транспортные средства.
Экскаватор, оборудованный обратной лопатой, ведет разработку грунта ниже уровня его стояния. При копании ковш движется сверху вниз и вверх к экскаватору.
Отличительной особенностью экскаваторов с оборудованием драглайнов (рис. 3.12.2) является наличие удлиненной решетчатой стрелы и гибкой канатной подвески ковша. Копание грунта ковшом драглайна и наполнение его грунтом осуществляется подтягиванием ковша к экскаватору при расположении самой машины выше выемки.
По сравнению с прямой и обратной лопатами драглайн имеет большие радиус действия и глубину копания, что позволяет разрабатывать большие по поперечному сечению выемки с отсыпкой грунта в отвал или в транспортные средства.
Разработку выемки экскаватором, оборудованном прямой лопатой, производят: боковым забоем, когда транспортные средства размещают сбоку экскаватора в одном или разном уровнях с ним (рис. 3.12.3); лобовым забоем, когда экскаватор, разрабатывая выемку, грунт выгружает в транспортное средство, расположенное сзади экскаватора (рис. 3.12.4).

Рис. 3.12.3. Схема бокового забоя:
а - при погрузке грунта в автомобили-самосвалы на уровне стоянки экскаватора; б
- то же при размещении самосвалов выше, чем стоянка экскаватора

Рис. 3.12.4. Схема разработки выемки:
а - лобовым забоем; б - уширенным лобовым забоем;
1 - траектория перемещения экскаватора
Разработка боковым забоем предпочтительна, так как обеспечиваются лучшие условия для подъезда и погрузки транспортных средств, уменьшается угол поворота экскаватора, что способствует более производительной работе машин.
Место разработки грунта экскаватором называется забоем, а продольную траншею, выработанную за один проход, - проходкой. Размеры забоев определяют рабочими параметрами применяемых моделей экскаваторов (табл. 3.12.1).
Таблица 3.12.1
Рекомендуемые параметры забоев
|
Объем ковша экскаватора, м3 |
Расположение транспортных средств |
Радиус выгрузки R, м |
Высота выгрузки Нв, м |
Высота забоя Нз, м |
|||||
|
в одном уровне |
в разных уровнях |
||||||||
|
в |
r |
В |
в |
r |
В |
||||
|
0,5 |
4,6 |
4,8 |
9,4 |
2,1 |
4,8 |
6,9 |
6,6 |
4,1 |
6,6 |
|
0,65 |
5,4 |
6,3 |
11,7 |
2,2 |
6,3 |
8,5 |
7,4 |
4,8 |
7,3 |
|
1,0 |
5,8 |
6,4 |
12,2 |
2,4 |
6,7 |
9,1 |
7,8 |
5,0 |
8,0 |
|
2,0 |
7,0 |
7,4 |
14,4 |
4,9 |
7,4 |
12,3 |
10,2 |
5,5 |
9,3 |
Наименьшая высота забоя для одноковшового экскаватора должна быть такой, чтобы обеспечить наполнение ковша (табл. 3.12.2).
Таблица 3.12.2
Наименьшая высота забоя
|
Группа грунта |
Вместимость ковша, м3 |
||
|
0,65 |
1,0 |
2,0 |
|
|
I и II |
2,5 |
3,0 |
3,0 |
|
III |
4,5 |
4,5 |
4,5 |
|
IV |
5,5 |
6,0 |
6,0 |
Для повышения производительности экскаватора (прямая лопата) целесообразно высоту забоя назначать, руководствуясь данными табл. 3.12.3.
Таблица 3.12.3
Высота забоя в зависимости от емкости ковша и угла наклона стрелы экскаватора
|
Объем ковша, м3 |
Угол наклона стрелы к горизонту, град. |
Наибольшая высота забоя, м |
|
0,65 |
45...60 |
6,8...7,8 |
|
1,0 |
45...60 |
7,8...0,3 |
|
2,0 |
45...60 |
9,3...10,8 |
Когда транспортные средства под погрузку располагают выше уровня стоянки экскаватора, то высоту уступа h (рис. 3.12.3, б) определяют по формуле
h = Hв - (Hтр + 0,5), (3.12.1)
где Hв - наибольшая высота выгрузки, м;
Hтр - высота транспортного средства, м;
0,5 - зазор безопасности над транспортным средством, м.
При большой глубине и ширине выемки разработку ее ведут несколькими проходками. Сечение забоя проходок должно соответствовать рабочим параметрам применяемого экскаватора. По численным значениям этих параметров (табл. 3.12.1) для выбранного экскаватора вычерчивают сечение забоя и по нему разбивают поперечник выемки на проходки (рис. 3.12.5). Расчет ведут по наибольшей глубине выемки. Проходки с минимальной глубиной назначают для верхнего яруса, где они самые короткие. Разработку первых (пионерных) траншей производят лобовым забоем нормальной ширины или уширенным. Разработку неглубоких пионерных траншей для создания погрузочной площадки можно вести бульдозером или скрепером с перемещением грунта в отвал или насыпь. Ширина пионерной траншеи понизу должна быть не менее 4,0 м. Подошва каждого яруса, кроме последнего, должна иметь уклон 20‰ в сторону начала разработки для обеспечения отвода воды.

Рис. 3.12.5. Схема разбивки выемки на проходки:
1 и 5 - уширенные лобовые; 2,3,4,6,7 - проходки боковыми забоями
Лобовым забоем разрабатывают неглубокие короткие выемки, если работу можно выполнить за одну проходку экскаватора. Работа в более широких лобовых забоях (рис. 3.12.4, б) способствует уменьшению угла поворота, повышению его производительности и улучшает маневренность автомобилей-самосвалов или других транспортных средств.
Разработку выемок экскаваторами - драглайн можно вести двумя способами:
1) проходками с лобовым забоем, когда экскаватор перемещается в пределах разрабатываемой им полосы;
2) проходками с боковым забоем, когда экскаватор перемещается за пределами разрабатываемой им полосы.
По сравнению с боковым забоем лобовой имеет преимущество, так как за одну проходку дает возможность разрабатывать грунт на полосе шириной почти равной удвоенному наибольшему радиусу резания. Глубина лобового забоя может быть значительно больше глубины бокового.
Разработку грунта драглайном осуществляют ниже уровня стоянки экскаватора с выгрузкой в отвал или транспортные средства, которые подают по верху или по дну выемки. Наибольшая глубина разработки выемок драглайном приведена в табл. 3.12.4.
Таблица 3.12.4
Глубина разработки выемки драглайном
|
Объем ковша, м |
Длина стрелы, м |
Угол наклона стрелы к горизонту, град |
Глубина разработки, м, при проходке: |
|
|
боковой |
торцевой |
|||
|
0,65 |
10 |
30...45 |
4,4...3,8 |
7,3...6,5 |
|
0,65 |
13 |
30...45 |
6,6...5,9 |
10,0...7,8 |
|
1,0 |
12,5 |
30...45 |
6,0...4,9 |
9,5...7,4 |
|
1,0 |
15 |
30...45 |
7,4...6,5 |
12,0...9,6 |
|
2,0 |
20 |
30...45 |
10,7...9,4 |
16,3...13,1 |
Производительность одноковшовых экскаваторов можно рассчитать по формуле
(3.12.2)
где Т- продолжительность смены, ч ;
Кв - коэффициент использования времени;
q - объем ковша экскаватора, м3;
Кн - коэффициент наполнения ковша (табл. 3.12.5);
tц - продолжительность рабочего цикла экскаватора (табл. 3.12.6), с;
Кр - коэффициент разрыхления грунта.
Продолжительность цикла tц включает в себя время, необходимое на копание t1, подъем ковша t2, поворот стрелы с ковшом t3, выгрузка ковша t4, поворот стрелы в забой t5 и опускание ковша t6
tц = t1 + t2 + t3 + t4 + t5 + t6 (3.12.3)
Ориентировочные усредненные значения продолжительности рабочего цикла одноковшовых экскаваторов для средних параметров забоя и угла поворота при выгрузке 90° приведены в табл. 3.12.6.
Таблица 3.12.5
Наполнение ковша экскаватора
|
Грунт |
Группа грунта |
Коэффициент наклона ковша, Кн |
|
|
прямая лопата |
драглайн |
||
|
Глина: |
|
|
|
|
средняя |
II |
1,08. ..1,18 |
0,98...1,06 |
|
влажная |
III |
1,30...1,50 |
1,18...1,28 |
|
тяжелая |
IV |
1,0...1,10 |
0,95...1,0 |
|
Суглинок при естественной влажности |
II |
1,05...1,12 |
0,80...1,0 |
|
Песок, гравий |
I, II |
1,15...1,23 |
1,10...1,20 |
|
Скальные породы |
V, VI |
0,75...0,90 |
0,55...0,80 |
Таблица 3.12.6
Продолжительность рабочего цикла одноковшовых экскаваторов
|
Объем ковша экскаватора, м3 |
Продолжительность цикла, с. |
||
|
прямой лопаты |
обратной лопаты |
драглайна |
|
|
0,65 |
16...18 |
16...23 |
21...23 |
|
1,0 |
16...21 |
20...26 |
24...26 |
|
2,0 |
21...23 |
27...30 |
28...30 |
Для повышения производительности экскаваторов необходимо увеличить наполнение ковша, сокращать продолжительность цикла, рационально организовать работу экскаватора в забое. При выгрузке грунта в отвал или транспортные средства уменьшение угла поворота стрелы с 90° до 70° сокращает цикл не менее чем на 10 %.
Производительность экскаватора при работе с транспортными средствами во многом определяется непрерывностью их подачи и правильной установкой в забое с тем, чтобы угол поворота экскаватора был наименьшим.
Земляное полотно в горных районах существенно отличается от земляного полотна в равнинной местности: дорога часто проходит по склонам, высокие насыпи чередуются с глубокими выемками. Для повышения устойчивости земляного полотна и безопасности движения приходится строить специальные сооружения. Строительство земляного полотна в скальных грунтах, как правило, требует выполнения взрывных работ.
Взрывные работы осуществляют двумя способами:
- рыхление скального грунта на куски определённых размеров с последующей разработкой разрыхлённого грунта землеройно-транспортными машинами (взрывание на рыхление);
- полным или частичным удалением грунта силой взрыва за пределы выемки (взрывание на выброс) или полувыемки (взрывание на сброс), при котором взорванный грунт сбрасывают вниз по косогору).
При возведении земляного полотна в горных условиях следует учитывать наличие таких особенностей как:
- слабая сеть автомобильных дорог, отсутствие ж/д. транспорта;
- резкая смена геометрических параметров земляного полотна, что обуславливает необходимость в изменении технологии и организации дорожно-строительных работ;
- необходимость устройства защитных сооружений (противообвальные, противооползневые, противоселевые, противолавинные и др.);
- возможность резкой перемены погодных условий (ливни, катастрофическое повышение уровня воды горных потоков и выходы селей, оттепели, которые способствуют образованию лавин);
- необходимость проведения буровзрывных работ.
Взрывы производят с целью рыхления скального грунта или с целью его выброса. Направленные взрывы на выброс производят на косогоре в условиях чередующихся выемок и насыпей, а также на участках серпантин. Доработка до проектных отметок в этих случаях составляет не более 10...30 %.
Стоимость возведения земляного полотна в скальных грунтах составляет 50...60 % (вместо 12...20 % в равнинной местности) от общей стоимости автомобильной дороги.
Под буримостью скальных пород понимают скорость, с которой буровой инструмент внедряется в породу. Для размещения взрывчатых веществ (ВВ) в породе делают специальные углубления, называемые взрывными выработками (рис. 4.1.1).
В зависимости от размеров, конфигурации и назначения взрывные выработки подразделяют на шпуры, скважины, котловые шпуры и скважины, имеющие в основании уширение в виде котла, рукава - горизонтальные или слегка наклонённые выработки небольшого сечения (до 0,4´0,4 м), зарядные камеры - специальные углубления в форме куба или параллелепипеда для размещения больших зарядов ВВ и для улучшения условий забивки этих зарядов. Шурфы - вертикальные, штольни, рассечки - горизонтальные вспомогательные выработки, предназначенные для образования зарядных камер. Поперечные сечения шурфов 1,0´1,2 м, а штолен и рассечек 1,0´1,6 м позволяют производительно работать проходчикам. Шпуры и скважины бывают вертикальные, наклонные и горизонтальные.

Рис. 4.1.1. Взрывные выработки:
1- шпур; 2 - скважины; 3 - котловая скважина; 4 - шурф; 5 - рукав; 6 - штольня;
7 - рассечка; 8 - зарядные камеры
Процесс бурения состоит в разрушении породы и удалении измельченной породы из взрывной выработки. Бурение можно производить механическим и немеханическим способом. Из нескольких разновидностей механического способа бурения наибольшее распространение получили:
а) шарошечный;
б) пневмоударный;
в) перфораторный.
При шарошечном бурении разрушение породы достигается за счет смятия и скола каждым зубцом конусообразной шарошки при перекатывании вокруг оси шарошечного долота за счет сообщаемого осевого давления. Машина шарошечного бурения пробуривает скважины на глубину до 30 м диаметром в скальных грунтах до 140...150 мм, а в нескальных - до 350 мм. Угол бурения по отношению к вертикали от 0 до 90°. Эти машины монтируют на базе гусеничного трактора. Измельченную породу из выработки удаляют воздухом под давлением 50 Па. Расход воздуха составляет от 4,5 до 9,0 м3/мин. Производительность бурения составляет от 15 до 80 м в смену в зависимости от прочности скального грунта [3].
Пневмоударное и перфораторное бурение выполняют пневматическими машинами. Лучшие результаты при бурении достигаются при использовании пневмоударных машин, поскольку рабочий орган находится в конце штанги, у забоя, вследствие чего потери энергии удара практически не зависят от глубины погружения рабочего органа. Разрушение породы достигают главным образом за счет удара, энергия которого определяется большой скоростью движения поршня. Число ударов достигает 1500...3000 в минуту. Вращательные движения бура играют при разрушении породы второстепенную роль. Измельченную породу из выработок удаляют продувкой сжатым воздухом. Машину (станок) пневмоударного действия применяют там, где невозможно использовать машину шарошечного бурения, для установки которой требуется горизонтальная площадка шириной не менее 4...5 м. Станок пневмоударного бурения пробуривает шурфы и скважины диаметром до 105 мм и глубиной до 25...35 м. Производительность станка от 10 до 35 м в смену. Для упрощения передвижения станки устанавливают на салазки, гусеничную или колесную базу. Масса станка около 350 кг.
Перфоратор, являющийся рабочим органом, всегда остается на поверхности, а плоскость разрушаемой породы достигают увеличением длины штанги. За счет этого растут потери энергии удара. Перфораторы делят на ручные массой до 35 кг и станочные - более 35 кг. Все перфораторы работают совместно с компрессорами. Перфораторы обеспечивают глубину бурения до 1,5 м, скорость бурения от 8 до 30 м/смену, диаметр пробуриваемых шпуров 40...45 мм.
Термическое бурение находит применение, главным образом, в породах, имеющих кремнистое основание. Для бурения применяют горелку реактивного типа, в которую подают смесь топлива, состоящую из керосина и кислорода. Горелку охлаждают водой, которая под действием высоких температур переходит в пар и выносит на поверхность разрушенную породу. Диаметр пробуриваемых скважин равен 120...500 мм, глубина бурения 8...20 м. Производительность установки - 6...8 м/ч. При этом расход керосина составляет 150 л, кислорода - 250 м3, воды - 3,5 м3. При сгорании керосина выбрасывается струя газа с температурой 1600...2200°С под давлением 10 атм. и скоростью 1800...2000 м/с.
Рациональный способ бурения и выбор бурильного станка определяется технико-экономическими расчетами.
Взрывом называется чрезвычайно быстрое химическое превращение вещества из одного состояния в другое, сопровождающееся выделением энергии, способной производить механическую работу.
Взрывчатые вещества, применяемые для взрывных работ, имеют различные свойства, определяющие области их применения.
Инициирующие ВВ - гремучая ртуть, азид свинца - обладают самой высокой чувствительностью к внешним воздействиям. Они взрываются от небольшого пламени, удара или трения и вызывают инициирование (возбуждение взрыва) зарядов других ВВ. Их применяют для изготовления капсюль-детонаторов, электродетонаторов.
Бризантные ВВ (дробящие) производят работу разрушения, дробления. В обычных условиях они не взрываются от удара, трения и действия огня, вследствие чего удобны для ведения взрывных работ. К ним относят нитросоединения и аммиачно-селитренные ВВ. Наиболее чувствительны к внешним воздействиям нитросоединения (гексоген, тэн, тетрил, тол). Тетрил применяют в детонаторах, а также в шашках в качестве боевиков; тэн - в детонаторах и детонирующем шнуре; гексоген находит применение как составная часть скальных аммонитов и в детонирующих шнурах; тол и его сплавы с гексогеном (62 % динамит) применяют для ведения взрывных работ.
Самое широкое применение при производстве взрывных работ находят аммиачно-селитренные (аммониты, аммоналы, динамиты, гранулиты и др.), так как они наиболее безопасны, имеют достаточную мощность и невысокую стоимость. Основной недостаток этих ВВ - гигроскопичность. При влажности более 5...7 % они теряют взрывные свойства. К гидрофобным сортам аммонита относят №6 ЖВ и №7 ЖВ.
Фугасные (метательные). К ним относят дымный и бездымный порох. Дымный (черный) порох используют для изготовления огнепроводного (бикфордова) шнура.
Применяют следующие способы взрывания: огневой, электрический, детонирующим шнуром, электроогневой.
Огневой способ применяют для взрывания одиночных зарядов или группы, когда взрыв одного из них не может повредить другой заряд. Средствами взрывания в данном случае служат капсюли-детонаторы и огнепроводный шнур, служащий для возбуждения взрыва капсюлей-детанаторов (рис. 4.1.2, а). Огнепроводный шнур состоит из сердцевины (черный порох) и нитяных оплеток, покрытых водонепроницаемым составом. Скорость горения огнепроводного шнура на воздухе примерно равна 1 см/с. Поджигание огнепроводного шнура, срезанного по косой линии, производят тлеющим фитилем или спичкой подрывника, которая не гаснет от ветра.

Рис. 4.1.2. Средство взрывания:
а - капсюль-детонатор; б - электродетонатор;
1 - гильза; 2 - чашечка; 3 - гремучая ртуть (0,5 г); 4 - тетрил, тэн или
гексоген (1 г); 5 - воспламенительная головка; 6 - пластиковая пробка; 7 -
мостик накаливания; 8 - электропровод
Электрический способ взрывания применяют для одновременного взрыва нескольких зарядов или для производства взрыва в точно установленное время. Этот способ более безопасен в сравнении с огневым, но требует довольно сложного оборудования. Для осуществления электрического способа взрывания необходимы: электродетонаторы, провода, источники тока, проверочные и измерительные электроприборы. Электродетонатор (рис. 4.1.2, б) мгновенного действия, поскольку огонь от воспламенительной головки 8, которая загорается от мостика накаливания 12, непосредственно соприкасается с инициирующим ВВ - гремучей ртутью, помещенной в чашечку 2.
Наиболее удобными и распространенными источниками тока являются конденсаторные подрывные машинки. Они удобны при переноске, просты и надежны в эксплуатации. С помощью подрывной машинки КПМ-1 можно взорвать до 100 шт. последовательно соединенных в сеть электродетонаторов.
Взрывание зарядов ВВ детонирующим шнуром (бескапсюльное взрывание) осуществляют взрывом введенного в заряд боевика отрезка детонирующего шнура (ДШ), оканчивающегося узлом. Взрывание ДШ производят капсюлем-детонатором зажигательной трубки или электродетонатором, который плотно с ним соединяется. ДШ взрывается со скоростью 6500 м/с.
В настоящее время взрывание ДШ получило широкое распространение в силу того, что при этом значительно уменьшается опасность выполнения работ из-за отсутствия детонатора в заряде; упрощаются работы по подготовке к взрыву, более полно взрываются удлиненные заряды, так как ДШ пропускается через весь заряд.
Электроогневой способ взрывания состоит в инициировании каждого заряда зажигательной трубкой с воспламенением огнепроводного шнура средствами, действующими от электрического тока. Этим способом взрывают с безопасного места, и появляется возможность взрывания зарядов с определенными интервалами замедления.
Чтобы улучшить качество взрыва и получить хорошее и равномерное дробление пород применяют рассредоточенные заряды в скважинах (рис. 4.1.3). Для этого по длине заряда создают незаполненные ВВ промежутки с помощью деревянных приспособлений. Массу заряда определяют по расчетным формулам. В скважинах глубиной до 20 м заряд делят на две части. В нижнюю часть помещают 50...70 % ВВ, а остальную часть ВВ делят на равные части, пропорционально принятому числу воздушных промежутков. Общую высоту воздушных промежутков рекомендуется принимать в пределах 0,17...0,35 от общей длины заряда в шпуре или скважине.

Рис. 4.1.3. Схема заряда с воздушными промежутками:
1 - электропровод; 2 - забойка; 3 - заряд ВВ; 4 - электродетонатор; 5 -
стойка-распорка; 6 - фанерный кружок
Взрывание вне зависимости от способа состоит из подготовки к взрыву, изготовления патронов-боевиков, заряжения, забойки и взрыва. Подготовка к взрыву включает буровые работы, оформление исполнительной документации и имеет специфические особенности по каждому способу взрывания, которые рассмотрены ранее. Патроны-боевики (детонирующие патроны) изготовляют в специально отведенном месте или помещении, расположенном не ближе 50 м от места заряжения. Патроном-боевиком называют упакованные ВВ с введенным в него детонатором или собранным в узел детонирующим шнуром. Детонатор надежно закрепляют, чтобы исключить возможность его выдергивания при последующем заряжении и забойке заряда ВВ. Опускать патроны-боевики в скважину или шпур нужно с помощью специальных устройств без передачи усилия на огнепроводный шнур, детонирующий шнур или электрические провода.
При взрывании ВВ, имеющих пониженную детонационную способность (например, гранулиты и зеррогранулиты), применяют промежуточные детонаторы в виде шашек тротила, тротила-тетрила. Для заряжения взрывчатыми веществами шпуров и скважин применяют различные средства механизации. Так, для заряжения скважин ВВ применяют машины, обладающие производительностью до 4000 кг в час. Качество заряжения и безопасность работ при этом значительно возрастают. Уплотнение ВВ в скважине или шпуре производят специальными деревянными трамбовками, имеющими в середине полость для размещения огнепроводного шнура либо электропровода. Верхнюю часть выработки засыпают сухим песком и закрывают деревянной пробкой.
Расчет взрывных работ состоит в определении количества зарядов, их расположения и массы. По способу расположения в среде различают заряды внутренние и наружные. Зарядом называют определенную массу ВВ, подготовленную к взрыву. По форме заряды могут быть сосредоточенными, когда длина заряда L меньше шести диаметров d скважины или шпура (L < 6d) и удлиненными (L > 6d).
При наличии однородного сопротивления среды взрыв проявляет свое действие во все стороны с одинаковой силой, а взрывная волна распространяется в среде концентрически. Различают четыре сферы действия взрыва (рис. 4.1.4, а): 1 - сфера сжатия и измельчения; 2 - сфера выброса; 3 - сфера разрыхления; 4 - сфера сотрясения.
Если в каком-либо направлении сопротивление среды несколько ослаблено (открытая поверхность взрываемой породы проходит в пределах сферы разрушения), то главная сила взрыва будет направлена в эту сторону, образуя воронку взрыва. Воронка взрыва (рис. 4.1.4, б) характеризуется радиусом действия заряда R, радиусом воронки r и линией наименьшего сопротивления W.

Рис. 4.1.4. Действие взрыва:
а - сферы действия взрыва; б - воронка выброса;
r - радиус
воронки взрыва; R
- радиус действия заряда; W
- линия наименьшего сопротивления (ЛНС), т.е. наименьшее расстояние от заряда
до открытой поверхности, м
Отношение r/w называют показателем действия взрыва (выброса) п. Выброс следует считать нормальным при п = 1, уменьшенным при п < 1 и усиленным при п > 1. При п < 0,75 происходит рыхление породы без выброса. Заряд в этом случае называют выпирающим. Заряд, действие которого не дошло до открытой поверхности, называют «камуфлетным».
Объем воронки нормального выброса (п = r/w = 1) определяют по формуле
(4.1.1)
Масса заряда нормального выброса, кг
Q = Kн·w3 (4.1.2)
где Kн - расчетный расход ВВ, кг/м3.
Расчетный расход ВВ для зарядов на выброс и разрыхление приведен в табл. 4.1.1.
Таблица 4.1.1
Средний расход взрывчатого вещества в расчете на аммонит №6
|
Горная порода |
Категория прочности породы по ЕНиР |
Расход аммонита, кг/м3, для зарядов |
|
|
на выброс |
на рыхление |
||
|
Суглинок тяжёлый |
I |
1,0...1,15 |
0,35...0,40 |
|
Крепкие глины |
III |
1,01...1,30 |
0,35...0,45 |
|
Лесс |
III, IV |
0,90...1,30 |
0,30...0,15 |
|
Гипс |
IV, V |
1,00...1,30 |
0,35...0,45 |
|
Известняк, ракушечник |
V, VI |
1,50...1,75 |
0,50...0,60 |
|
Известняк, песчаник |
VII |
1,30...2,10 |
0,45...0,70 |
|
Гранит, гранодиарит |
VII...X |
1,50...2,15 |
0,50...0,70 |
|
Базальт, андезит |
XI...XI |
1,75...2,30 |
0,60...0,75 |
При использовании иного взрывчатого вещества (ВВ) вместо аммонита вводят переводные коэффициенты:
Скальные аммониты - 0,85;
Тетрил, зерногранулит 30/70 - 1,0...1,10;
Водоустойчивые аммониты В-3, 6-ЖВ - 1,00;
Аммонит №7 - 1,05;
Аммонит №9, 10 - 1,20;
Аммиачная селитра - 1,60;
Игданит - 1,15.
При показании выброса п > 1, очевидно, потребуется больше ВВ, чем при п = 1. В этом случае формула (4.1.2) примет вид
Q = Kн·w3f(n) (4.1.3)
На основании экспериментальных данных горный инженер Боресков в 1871 установил значение функции n f(n)
f(n) = 0,4 + 0,6n3 (4.1.4)
С учетом (4.1.4) формулу (4.1.3) можно представить как
Q = Kн·w3(0,4 + 0,6n3) (4.1.5)
В случае, когда линия наименьшего сопротивления w > 25 м формула (4.1.5) дает заниженный результат. В этом случае в формулу (4.1.5) вносят поправку
(4.1.6)
Расстояние между зарядами в ряду, м
a = 0,5w(n + l) (4.1.7)
Расстояние между рядами зарядов, м
b = 0,85а = 0,43w(n + l) (4.1.8)
Массу заряда на рыхление определяют по формуле
Q = 0,5·Kн·w3 (4.1.9)
Расстояние между зарядами в ряду, м
a = (0,8...1,2)w (4.1.10)
Расстояние между рядами зарядов
b = 0,85а (4.1.11)
Расчёт скважинных (удлинённых L > 6d) зарядов производят также на основе объёмного метода. Массу заряда в таком случае получают по формуле
Q = ⅓ Kн·w·a·H , (4.1.12)
где w - линия наименьшего сопротивления, м;
а - расстояние между зарядами в ряду, м;
Н - высота забоя, т.е. проектная высота взрываемого слоя, м.
Величина ЛНС может быть принята равной: 32d - при взрывании легкодробимых пород; 25d - при взрывании среднедробимых и 20d - при взрывании труднодробимых пород (d - диаметр скважины). Рекомендуемый диаметр скважины приведён в табл. 4.1.2
Таблица 4.1.2
Рекомендуемые диаметры скважин
|
Категория породы |
Степень крепости породы |
Диаметр скважины, мм |
|
I |
Высшая степень крепости |
105...140 |
|
II |
Очень крепкие |
105...160 |
|
III, IIIа |
Крепкие |
140...200 |
|
IV, IVa |
Довольно крепкие |
140...220 |
|
V, Va |
Средине |
160...280 |
|
VI, VIa |
Довольно мягкие |
160...300 |
Расстояние между скважинными зарядами
a = (1...2)w (4.1.13)
Для полного разрушения скальной породы до отметки основания взрываемого слоя скважины разбуривают ниже этой отметки. Величину перебура принимают
DL = (10...15)d (4.1.14)
Тогда общая глубина скважины
L = H + DL (4.1.15)
Возведение земляного полотна автомобильных дорог в скальных грунтах включает устройство пешеходной тропы, обеспечение рабочего проезда, сооружение земляного полотна полного профиля.
Устройство пешеходной тропы, располагаемой по возможности ближе или непосредственно на трассе строящейся дороги, необходимо для осмотра мест проложения дороги перед принятием решения по организации работ, для размещения рабочих в местах сосредоточения работ, предназначенных к выполнению в первую очередь. Тропа служит также для выноса и закрепления трассы строящейся дороги.
Пешеходную тропу прокладывают специализированные бригады, в состав которых входят: подрывники, подносчики взрывчатки, дорожные рабочие, скалолазы и др.
Обеспечение рабочего проезда необходимо на всем протяжении дороги, на котором должны быть развернуты строительно-монтажные работы. Рабочий проезд обеспечивают:
а) за счет скальных работ по уширению пешеходной тропы, если дорога располагается в полувыемке;
б) устройством сухой кладки из камня, если при проложении дороги предусмотрена постройка подпорной стены и кладка в застенном пространстве;
в) комбинацией решений согласно пунктам а и б;
г) выносом рабочего проезда на временные эстакады, полубалконы, балконы.
Обеспечение рабочего проезда за счет выполнения скальных работ осуществляют специальная бригада подрывников и, как правило, два бульдозера. Работая на узкой полке, бульдозеры не всегда опираются на нее всей площадью гусениц; попадающие под гусеницы бульдозера камни приводят к необходимости форсировать работу двигателя, а камни, попадающие между гусеницей и катками, способствуют сходу гусениц с катков. Такие сложные условия работы нередко требуют помощи второго бульдозера. Необходимость взаимной помощи увеличивается, когда оставлены негабариты, для сбрасывания которых под откос нужно усилие двух бульдозеров.
Взрывные работы ведут методом взрыва скважных зарядов или мелкошпуровым методом. Уширение пешеходной тропы взрывами мелкошпуровым методом с уборкой взорванной породы бульдозерами применяют из-за его простоты, минимального сейсмического действия, а также малой массы бурового оборудования. Глубина шпуров обычно составляет 1,0...1,1 толщины взрываемого слоя. Раздробление отдельных крупных камней можно производить накладными зарядами. Расход ВВ в этом случае составляет
Q = (0,8...2,2)·V, (4.1.16)
где 0,8...2,2 - расход ВВ в зависимости от прочности раздробляем породы и свойств используемого ВВ;
V - объем камня, м3.
Осуществление рабочего проезда каменной кладкой насухо осуществляют в случаях, когда такая кладка предусмотрена проектом. За счет камня, получаемого в результате разборки верхней полки скалы, выкладывается каменная кладка насухо. Ее необходимо выложить так, чтобы она в последующем не мешала строить низовую подпорную стенку при сохранении движения по ней построечного транспорта.
Обеспечение рабочего проезда по балконам, полубалконам и временным эстакадам осуществляют на наиболее сложных участках скальных обрывов и в местах преодоления глубоких каньонов. Временные полубалконы устраивают простейших конструкций с использованием различных профилей металла. Балками перекрывают местные сужения в скальной полке, а проезжую часть устраивают деревянной.
Разработка скальных пород на всю ширину земляного полотна заключается в выполнении основных объемов скальных работ до 80 % и более. Технология этих работ определяется: типом поперечного профиля, наличием и типом специальных сооружений; геологическими или гидрогеологическими условиями, определяющими степень устойчивости склона; технологией взрывных работ и возможностью дальнейшего использования взорванной породы.
Скальные породы при мощности 3,0...3,5 м взрывают шпуровым методом, при большей мощности - скважинными зарядами.
Взрывание скальной породы в выемках в случае достаточной устойчивости и экономической целесообразности производят взрывом на выброс (рис. 4.1.5). Грунт из выемки направляют в одну или две стороны, а общее количество породы, подлежащее уборке после взрыва, не должно превышать 15...20 % общего объема. Для обеспечения проектных размеров выемки должно быть соблюдено условие (рис. 4.1.5)
2nw £ B + 2mH (4.1.17)

Рис. 4.1.5. Схема разработки выемки взрывом на вынос
Если глубина выемки не превышает значения по (4.1.5), то скважины располагают по оси в один ряд.
(4.1.18)
При разработке скального грунта в выемках взрывами на рыхление для его перемещения в насыпь или отвал используют автомобили - самосвалы, в которые разрыхленный грунт грузят экскаваторами. Поперечное перемещение грунта из полувыемок в полунасыпи осуществляют бульдозерами.
Верхняя часть насыпей (до 1,0 м по высоте) не должна содержать включений кусков крупнее 25 см, в остальной части насыпи - не более 2/3 толщины уплотняемого слоя. Скальные грунты уплотняют в два этапа: сначала при помощи решетчатых катков, а затем тяжелых пневмоколесных катков при толщине слоев 0,3...0,4 м. Степень уплотнения крупнообломочных грунтов при содержании более 60 % крупных обломков считают достаточной, если осадка составляет 10...12 % для верхней части насыпи толщиной 1,0...1,2 м и 8...10 % для остальной ее части.
Перед началом взрывных работ устанавливают границы опасной зоны, которые отмечают на местности условными знаками. На границах опасной зоны во время взрывных работ выставляют посты охраны этой зоны. Охрану организуют так, чтобы все пути, ведущие к месту выполнения взрывных работ, находились под постоянным наблюдением.
Сейсмические безопасные расстояния от места взрыва до жилых и промышленных зданий при мгновенном взрывании сосредоточенных зарядов определяют по формуле
(4.1.19)
где Кс - коэффициент, зависящий от свойств грунта в основании охраняемых сооружений, принимаемый по табл. 4.1.3.
a - коэффициент, зависящий от показателя действия взрыва п, который принимают по табл. 4.1.4.
Q - полная масса заряда ВВ, кг.
Таблица 4.1.3
Значение коэффициента Кс для расчёта сейсмически безопасных расстояний
|
Порода грунта в основании охраняемого сооружения |
Значения, Кс |
|
Породы скальные плотные |
3,0 |
|
То же, нарушенные |
5,0 |
|
Грунты галечниковые н щебенистые |
7,0 |
|
То же, песчаные |
8,0 |
|
То же, глинистые |
9,0 |
|
То же, насыпные и почвенные |
15,0 |
|
То же, водонасыщенные (плывуны и торфяники) |
20,0 |
Таблица 4.1.4
Значение коэффициента a от показателя действия взрыва п
|
Показатель действия взрыва, п |
Значение, a |
|
0,5 |
1,20 |
|
1,0 |
1,00 |
|
1,5 |
0,90 |
|
2,0 |
0,80 |
|
2,5 |
0,75 |
|
3,0 |
0,70 |
При заданном расстоянии от места взрыва до охраняемого объекта допустимая масса сосредоточенного заряда равна
(4.1.20)
При производстве взрывных работ в светлое время суток обязательна подача звуковых сигналов, а в темное - звуковых и световых. Воспрещается подача сигналов голосом.
Для ликвидации отказавших шпуровых зарядов параллельно бурят вспомогательные шпуры или скважины на расстоянии 30 см, при котловых шпурах - на расстоянии 50 см.
Отказавшие скваженные заряды ликвидируют несколькими методами в зависимости от расположения заряда и причины отказа. При отказе внешней взрывной сети производят повторное взрывание. Если повторно взорвать невозможно, то отказы ликвидируют по одному из следующих способов: разработка породы и извлечение заряда из скважины; бурение новой скважины на расстоянии 3,0 м от отказа с последующим взрыванием заряда новой скважины.
До ликвидации отказов такие заряды охраняют и вблизи других работ не производят. Отказы ликвидируют под руководством лиц технадзора.
Дальность разлета кусков породы определяется по формуле
L = 20n3w (4.1.21)
Для предохранения людей от поражения кусками породы или воздушной ударной волны во время взрывных работ устраивают укрытия (блиндажи). Высоту укрытия (блиндажей) принимают не менее1,8 м, толщину верхнего деревянного перекрытия не менее 15 см.
Болота занимают около 10 % территории нашей страны. На долю России приходится 3/4 болот земного шара, другими словами, на каждого жителя Российской Федерации приходится около 1 га болот. Болотами принято называть места с затруднёнными поверхностным и внутренним стоком, занятые естественными залежами высокопористых водонасыщенных грунтов. Границу болота принято считать с глубины 0,5 м.
Основы научного решения проблемы строительства дорог через болота были разработаны в 30-х годах прошлого столетия Н.П. Кузнецовой. Её труды совместно с работами А.А. Арсеньева, Л.А. Братцева не потеряли своей актуальности и в настоящее время. В железнодорожном строительстве близкие задачи решали К.С. Ордуянц, Н.Н. Сидоров, Г.М. Шахунянц и др. Значительный вклад в проектирование и технологию возведения земляного полотна на болоте внесли ученые МАДИ, СоюздорНИИ, БелдорНИИ и др.
Несмотря на научные разработки, технический уровень строительства дорог в заболоченных местах повышается медленно. Проектные организации недостаточно учитывают современные достижения науки, не ориентируют строителей на применение экономичных конструкций и технологических приемов, освоенных мировой практикой. Выторфовывание закладывается часто без достаточного обоснования, в результате чего средняя стоимость 1 км земляного полотна через болота в 3...5 раз выше, чем в обычных условиях.
По источникам питания болота подразделяют на:
- низинные, питаемые грунтовыми водами. Эти болота содержат хорошо разложившиеся плотные древесные, травяные или моховые торфы;
- верховые, образовались в результате заболачивания суши. Торф характеризуется небольшой степенью разложения и малой плотностью;
- переходимые - смешанного грунтового и атмосферного питания. Торф по свойствам занимает промежуточное положение между низовыми и верховыми болотами.
Болота по своему строению с некоторым допущением можно разделить на три типа:
I тип - болота, до дна заполненные торфом устойчивой консистенции;
II тип - болота, заполненные слабым торфом неустойчивой консистенции (сапропеловые);
III тип - болота с торфяным слоем, плавающим на воде или сапропеле (сплавинные).
Насыпи на болотах в зависимости от типа болота, технической категории автомобильной дороги могут быть возведены:
- без выторфовывания с отсыпкой непосредственно на поверхности болота;
- после полного или частичного выторфовывания;
- с отсыпкой на слое торфа с последующей посадкой насыпи на минеральное дно болота;
- на поверхности болота после устройства дренажных прорезей или вертикальных дрен.
Конструкцию земляного полотна и способ работ выбирают в зависимости от: плотности торфа, глубины болота, технической категории автомобильной дороги, наличия средств механизации с учётом приведённых затрат Эпр.
Эпр = (С1-С2)+(Э1-Э2/Ен)+Нр(Т1-Т2/Т1)+Пр(Т1-Т2)+(S2P2-SlP1)+Ен(Ф1T1-Ф2T2), (4.2.1)
где С1, С2 - сметные стоимости строительства дороги по первому и второму вариантам;
Э1, Э2 - среднегодовые эксплуатационные затраты по первому и второму вариантам, руб.;
Ен - нормативный коэффициент эффективности;
Нр - условно-постоянные накладные расходы, по первому варианту;
Т1, Т2 - продолжительность строительства по первому и второму вариантам, лет;
Пр - среднегодовая прибыль в транспортной отрасли за счет ввода в действие автомобильной дороги, руб.;
Sl, S2 - величина ущерба от аварийного выхода объекта из строя для первого и второго вариантов, руб.;
P1, Р2 - вероятность аварийных разрушений для первого и второго вариантов за срок службы конструкции;
Ф1, Ф2 - средний размер основных производственных фондов и оборотных средств для первого и второго вариантов.
К основным производственным фондам относят машины, оборудование, промышленные здания, к оборонным средствам - сырьё, топливо, инструменты, запасные части.
Расчет производят на весь нормативный срок работы дороги на всю протяженность перехода через болото.
На поверхности болота I типа глубиной до 4,0 м допускается возведение земляного полотна для автомобильных дорог IV,V технических категорий при соблюдении следующих условий, направленных на повышение устойчивости насыпи. К таким мерам можно отнести: осушение болота; укладка грунта в тело насыпи на конструктивную прослойку из нетканого синтетического материала (НСМ); метод предварительной (опережающей) консолидации; метод временной пригрузки. В северных районах страны опробован метод промораживания болотной массы с сохранением мерзлоты в летний период.
Для повышения устойчивости насыпи, возводимой на поверхности болота, необходимо соблюдать следующее условие:
(4.2.2)
где hб - глубина болота под насыпью;
Н - высота насыпи, устраиваемая на слое торфа.
Конструкция поперечного профиля земляного полотна на поверхности болота I типа показана на рис. 4.2.1.

Рис. 4.2.1. Схема конструкции земляного полотна на болоте I типа без выторфовывания
Использование слабых болотных грунтов в качестве основания насыпи резко снижает объёмы земляных работ и, как правило, стоимость возведения земляного полотна. Поэтому данный вариант должен всегда рассматриваться как основной из конкурирующих [1].
Однако его осуществление требует выполнения дополнительных требований к земляному полотну:
- боковое выдавливание слабого грунта в основании насыпи в период эксплуатации должно быть исключено;
- интенсивная часть осадки основания должна завершаться до устройства покрытия (исключение допускается при применении сборных покрытий в условиях двухстадийного строительства);
- упругие колебания насыпей на торфяных основаниях при движении транспортных средств не должны превышать значений, допустимых для данного типа дорожной одежды.
Выторфовывание (удаление торфа) на болотах I и II типов можно производить:
- механическим способом;
- взрывным;
- гидромеханическим.
В зависимости от принятого способа выторфовывания до начала основных работ выполняют подготовительные работы (расчистка дорожной полосы от леса, кустарника, устройство подъездов, осушение и др.).
Несущая способность болотных грунтов очень низкая, поэтому для выторфовывания применяют машины специальной болотной модернизации, давление которых на грунт не превышает 20...25 кПа, что также часто превышает допустимую нагрузку
(4.2.3)
где s - давление на единицу площади;
Р - масса экскаватора, кг;
Fг - площадь гусеницы экскаватора, см2.
При недостаточной устойчивости экскаватора на поверхности болота под гусеницы укладывают щиты из круглого леса диаметром 16...22 см или работы выполняют в зимний период, когда при достаточной глубине промерзания можно применять не только машины специальной болотной модификации, но и обычные дорожные машины.
Площадь щита, обеспечивающего устойчивость экскаватора на поверхности болота, можно определить по формуле
(4.2.4)
где s - несущая способность болотного грунта (14...18 кПа).
Выторфовывание механическим способом можно производить с использованием бульдозеров или экскаваторов. При неглубоких осушенных болотах (до 1 м) или при естественном невысоком уровне воды над минеральным дном выторфовывание производят бульдозером путем послойной разработки торфа перпендикулярно оси дороги. Отвалы торфа располагают по краям выработки. Отсыпку насыпи после удаления торфа производят послойно. Для отсыпки нижней части насыпи используют только дренирующие грунты: песчаные крупные или средней крупности, крупнообломочные или скальные, а также супеси легкие с содержанием глинистых частиц не более 6,0 %. Толщина дренирующего слоя должна быть на 0,5 м больше глубины выторфовывания и осадки основания.
При выторфовывании экскаватором-драглайном возможны два способа разработки торфа: экскаватор перемещается непосредственно по поверхности болота или по переносным щитам и производит работу "на себя" (рис. 4.2.2, а); экскаватор перемещается по отсыпаемой насыпи и работает "от себя" (рис. 4.2.2, б).

Рис. 4.2.2. Схема организации работ при выторфовывании:
а - экскаватор перемещается по поверхности болота; б - экскаватор перемещается
по отсыпаемой насыпи;
1 - разработка торфа экскаватором; 2 - подвозка грунта автомобилями-самосвалами;
3 - послойное разравнивание грунта бульдозером; 4 - надвижка грунта в траншею
бульдозером; 5 - разравнивание торфа, вынутого из траншеи бульдозером. Римскими
цифрами обозначен порядок разработки захваток
Второй способ применяют, когда несущая способность торфа недостаточна для безопасной работы техники. Торф вывозят автомобилями- самосвалами или складывают в отвалы. Одновременно с разработкой траншей для насыпи тем же экскаватором роют боковые канавы.
Траншею, образующуюся после выторфовывания немедленно засыпают грунтом, так как откосы ее оплывают и незаполненная грунтом траншея заполняется водой или жидкой болотной массой.
Отсыпку земляного полотна вначале ведут способом "с головы" до уровня выше поверхности болота на 50...60 см. Остальную часть насыпи отсыпают послойно.
Для уплотнения нижней части насыпи применяют метод временной пригрузки, механическое уплотнение трамбующими плитами и глубинное виброуплотнение. Грунт верхней части насыпи уплотняют послойно катками. Схемы организации работ при выторфовывании экскаваторами показана на рис. 4.2.2.
Выторфовывание взрывным способом эффективно, и его применяют во всех случаях, когда позволяют условия обеспечения безопасности. Взрывами можно производить полное или частичное удаление торфа, рыхление торфа (разрушение структуры), устройство торфоприемников, канав, выравнивание минерального дна или устройство упорных канав при уклоне дна болота для предотвращения скольжения насыпи.
Глубину выторфовывания взрывным способом на болотах I типа назначают в зависимости от высоты насыпи, но не менее указанной в табл. 4.2.1.
Таблица 4.2.1
Минимальная глубина выторфовывания
|
Высота насыпи над поверхностью болота, м |
Глубина выторфовывания, м |
|
От 1,2 до 1,5 |
2,0 |
|
Св. 1,5 до 2,0 |
1,5 |
|
Св. 2,0 до 2,5 |
1,0 |
На болотах II и III типов производят полное выторфовывание. Его можно осуществлять продольными или поперечными траншеями. При удалении торфа продольными траншеями по оси трассы устраивают ряд буровых скважин, в которые закладывают заряды и одновременно взрывают. Образовавшуюся траншею немедленно засыпают грунтом. Затем взрывают направленными зарядами две боковые траншеи. Скважины для удаления торфа взрывом из боковых траншей закладывают под углом a = 50°. Осевую траншею засыпают выше уровня болот на 0,5...1,0 м. Способ продольных траншей применяют при использовании узкоколейного железнодорожного транспорта (рис. 4.2.3.)

Рис. 4.2.3. Схема выторфовывания продольными траншеями:
а - последовательность выторфовывания взрывом:
I - осевая, II - боковая траншея;
б - схема размещения заряда при взрыве боковых траншей
Способ поперечных траншей применяют, когда проезд по болоту невозможен или затруднителен. Для образования поперечных траншей в толще торфа пробуривают ряд наклонных скважин, образующих клин (рис. 4.2.4).

Рис. 4.2.4. Схема выторфовывания поперечными траншеями
Заряды размещают в наклонных удлиненных скважинах под углом 50° к горизонту.
Середину болота, протяжённостью около 20 м, где накапливается много торфа при взрыве, выторфовывают по способу продольных траншей или механическим путём.
Величину зарядов и их размещение производят в следующей последовательности:
1. Определяют глубину заложения заряда W по формуле
W = 0,9H, (4.2.5)
где Н - глубина выторфовывания, м.
2. Рассчитывают длину скважин L, м
(4.2.6)
3. Определяют показатель выброса при взрывании поперечных и продольных траншей
(4.2.7)
(4.2.8)
где ппоп, ппр - показатель выброса при взрыве поперечных и продольных траншей;
bпоп, bпр - ширина поперечной и продольной траншеи, м.
4. Рассчитывают массу заряда
Q = gw3f(n), (4.2.9)
где g - расчетный удельный расход ВВ, зависящий от зольности торфа (табл. 4.2.2), кг/м3;
f(n) - функция, зависящая от показателя выброса п (табл. 4.2.3).
Таблица 4.2.2
Удельный расход ВВ
|
Удельный расход ВВ, кг/м |
% зольности торфа |
|
0,68 |
20 |
|
0,72 |
40 |
|
0,83 |
60 |
|
0,95 |
70 |
Таблица 4.2.3
Значение f(n)
|
Показатель выброса п |
Функция, зависящая от n, f(n) |
|
1,0 1,5 2,0 2,5 |
1,0 1,2 2,1 3,6 |
5. Устанавливают длину заряда l
l = 0,75L, (4.2.10)
где L - длина скважины в дм.
6. Определяют диаметр заряда d
(4.2.11)
где Q - масса заряда, кг,
l - длина заряда, дм;
D - плотность заряда ВВ кг/дм3 .
7. Определяют расстояние между скважинами в ряду и между рядами:
- при взрывании поперечных и боковых продольных траншей
(4.2.12)
- при взрывании продольной осевой траншеи
(4.2.13)
Способ гидромеханизации эффективен при сооружении земляного полотна в следующих случаях, а именно:
- достаточно больших объемах работ, сосредоточенных на небольшом участке дороги;
- наличия достаточного объема воды и дешевой электроэнергии.
Сущность работ состоит в размыве торфа мощной струей воды, истекающей из гидромонитора. В результате чего образуется рыхлая жидкая масса, которая легко отжимается грунтом возводимой насыпи.
На болотах I типа торф размывают гидромонитором, гидросмесь перекачивают передвижными землесосными установками в отвал. Образовавшуюся траншею заполняют грунтом насыпи при отсыпке ее "с головы" или комбинированным способом.
На болотах II и III типов производят только размыв верхнего плотного слоя торфа гидромониторами. Разжиженный торф не удаляют, а отжимают грунтом насыпи в боковые прорези, сделанные также гидромониторами. Транспорт грунта для отсыпки насыпи можно осуществлять путем инъекции песчаного грунта, подаваемого по пульпопроводу непосредственно в разжиженную торфяную массу, где песок выдавливает разжиженный торф.
С целью уменьшения объёмов работ по выторфовыванию, и особенно, уменьшению транспортных расходов по транспортировке грунта на болотах I и II строительных типов и глубиной до 3,0 м устраивают прорези-траншеи, которые впоследствии заполняют песком. При большей глубине применяют конструкцию с вертикальными дренами.
Прорези разрабатывают одноковшовыми или многоковшовыми экскаваторами с ходовой частью болотной модификации. Технология работ включает: разработку прорезей экскаватором; доставку дренирующего грунта (песка) к месту укладки; перемещение песка и засыпку прорезей с помощью бульдозера; послойную отсыпку насыпи до проектной высоты.
Разработку прорезей экскаватором производят "на себя", переходя с одной траншеи на другую. Заполнение траншей ведут одновременно с возведением первого слоя насыпи. Схема производства работ по строительству земляного полотна с дренажными прорезями показана на рис. 4.2.5.

Рис. 4.2.5. Технология устройства земляного полотна с дренажными
прорезями:
1 - устройство прорезей многоковшовым экскаватором; 2 - заполнение прорезей и
послойное разравнивание грунта в насыпи бульдозером; 3 - подвозка грунта
автомобилями-самосвалами; I
- V - порядок
устройства прорезей
При устройстве вертикального дренажа на поверхности болота отсыпают песчаный слой толщиной более 30 см. Затем через каждые 3...4 м устраивают дрены в шахматном порядке, которые засыпают сухим песком. Если при отсутствии вертикальных дрен путь воды отжимаемой насыпью составляет 8...10 м, то при устройстве дрен он сокращается до 1,5...2,0 м. Следовательно, время стабилизации осадки насыпи сокращается в 25...30 раз.
Вертикальные дрены можно устраивать различными способами: забивкой специального рабочего органа (пуансона), а затем засыпкой образовавшейся скважины песком; забивкой или вибропогружением специальной обсадной грубы, которую заполняют песком, а затем извлекают, оставляя столб из песка в болотной массе; гидробурением скважины с последующей засыпкой её песком; погружение картонных фитилей или лент из геотекстиля.
Погружение лент и фитилей осуществляют с использованием специального оборудования. Рабочий орган, имеющий прямоугольное сечение (или круглое малого диаметра), имеет внутреннюю полость, куда помещается дренирующая лента. Болотная масса пробивается рабочим органом, а при его извлечении дренирующая лента остаётся в болотной массе.
На рис. 4.2.6 показана схема возведения земляного полотна с вертикальными дренами. Диаметр дрен составляет 30...40 см. Глубина от 3,0 до 10,0 м. Производительность установки достигает 50...30 дрен в смену.

Рис. 4.2.6. Технологическая схема возведения земляного
полотна с применением вертикальных дрен:
1 - надвижка бульдозером рабочего слоя; 2 - устройство дрен с загрузкой
песком; 3 - наращивание земляного полотна до проектной отметки и устройство
временной пригрузки; 4 - контроль осадки; 5 - снятие пригрузочного слоя; 6 -
доуплотнение земляного полотна; 7 - устройство дорожной одежды
При сооружении вертикальных дрен путем продавливания торфа происходит его уплотнение вокруг скважины, что ухудшает фильтрацию воды.
Применение гидробурения устраняет этот недостаток, кроме того, этот способ считают более экономичным. Оборудование для гидробурения, состоящее из гидробура, в который подают воду под давлением 0,3...0,5 МПа, и обсадной трубы, по которой выводят гидросмесь, монтируют на кране или экскаваторе со стрелой драглайна, а также на тракторе со специальным обустройством.
Песчаный материал, используемый для заполнения дрен и прорезей, должен обладать высокой водопроницаемостью: коэффициент фильтрации песка для заполнения прорезей должен быть не менее 3,0, а дрен - более 6,0 м/сут.
Ритмичность сооружения земляного полотна в течение года - одно из непременных условий успешной производственной деятельности любой дорожно-строительной организации. Объемы строительно-монтажных работ, выполняемые в I квартале, увеличились и составляют более 15 % от годового задания. Значительно увеличились объемы работ, выполняемые в IV квартале. Рост объема выполнения земляных работ в зимних условиях играет положительную роль. Однако важно в каждом отдельном случае установить слагаемые этого успеха и определить пути, которые ведут к повышению эффективности работы в зимних условиях.
Проблема преодоления сезонности дорожного строительства сложна и многообразна. Она охватывает все стороны деятельности проектных, научных и производственных организаций, требует решения неотложных текущих задач и коренных проблем в части повышения качества землеройной техники. Продление строительного сезона создает благоприятные условия для повышения темпов дорожного строительства, способствует закреплению постоянных кадров, позволяет в течение года равномерно использовать технику и в конечном итоге ведет к снижению стоимости строительства.
В руководстве по сооружению земляного полотна автомобильных дорог [15] рекомендовано в зимний период выполнять следующие работы: возведение насыпей из крупнообломочных и песчаных грунтов, разработку выемок и резервов в необводненных песках, гравийно-галечных и скальных грунтах; возведение насыпей из глинистых грунтов при влажности близкой к оптимальной, на устойчивых основаниях; разработку в непереувлажненных глинистых грунтах выемок глубиной более 3 м; устройство насыпей на болотах; выторфовывание.
Технологические схемы производства работ в зимних условиях в значительной степени имеют региональный характер [40]. Их построение зависит от абсолютных значений отрицательных температур, длительности морозного периода, глубин промерзания грунта и других климатических условий. Большое значение имеют применяемые грунты, материалы, конструкции дорожных одежд, имеющиеся машины и оборудование. Все эти особенности следует учитывать при проектирование работ на стадии составления проектов организации строительства и производства работ. Здесь же необходимо решить следующие вопросы:
1. Определить виды и объемы работ для выполнения их в зимнее время.
2. Выбрать участки производства этих работ.
3. Провести технологические расчеты, подтверждающие возможность производства данных работ в конкретных зимних условиях.
4. Выполнить привязку типовых технологических схем производства работ к местным климатическим условиям,
5. Обосновать экономическую целесообразность производства в зимнее время намеченных видов и объемов работ.
Для успешного выполнения земляных работ в зимний период необходимо до наступления холодов выполнить следующие работы:
1) построить вспомогательные помещения;
2) подготовить подъездные дороги;
3) произвести снятие плодородного слоя почвы с основания насыпи;
4) обеспечить водоотвод;
5) заготовить необходимые материалы и оборудование;
6) подготовить к зимней эксплуатации технику;
7) предохранить грунты от промерзания. Минимальный объем сосредоточенных земляных работ, меньше которого неэкономично вести работы в зимних условиях, составляет более 50 тыс. м3. В первую очередь, исходя из этих условий, и необходимо планировать и производить земляные работы в зимний период.
При возведении насыпей в зимний период не допускаются к укладке без предварительного измельчения мерзлые комья грунта размером более 30 см при уплотнении трамбующими машинами и 20 см при уплотнении грунтов катками массой более 25 т. Укладку комьев мерзлого грунта допускают на расстоянии более 1,0 м от поверхности откосов насыпи. Количество мерзлого грунта не должно превышать 70 % общего объема грунта, укладываемого в насыпь [16, 17, 41].
Мерзлый грунт должен быть равномерно распределен по отсыпаемому слою, нельзя допускать скопление мерзлых комьев в теле насыпи и особенно снега или льда.
Влажность плохо дренирующих грунтов не должна превышать величину
(4.3.1)
где Wp - нижний предел пластичности;
Мp - число пластичности.
Для дорог с усовершенствованными типами покрытий верхнюю часть насыпи на высоту не менее 1,0 м следует возводить из талого грунта с послойной отсыпкой и уплотнением, как правило, в летнее время года [15]. В табл. 4.3.1; 4.3.2 приведены основные технические требования к возведению земляного полотна автомобильных дорог в зимнее время.
Таблица 4.3.1
Допустимая высота земляного полотна в зависимости от температуры воздуха
|
Средняя температура воздуха за период производства работ, °С |
Высота насыпи, м |
|
-5 -10 -15 -20 |
Не ограничивается 4,5 3,5 2,5 |
Таблица 4.3.2
Запас на осадку для неуплотняемых насыпей из мерзлого грунта, % от высоты земляного полотна
|
Виды грунта |
Запас на осадку при содержании мерзлого грунта, % от общего объема насыпи |
|||
|
10...20 |
20...40 |
40...50 |
50...60 |
|
|
Песчаный Супесчаный Глинистый |
6 10 16 |
8 14 20 |
10 17 24 |
12 20 28 |
Для обеспечения необходимого уплотнения грунта до его смерзания промежуток времени от выемки грунта в карьере до момента окончания его уплотнения в насыпи не должен превышать;
2...3 ч при температуре воздуха до -10°С;
1...2 ч при температуре воздуха от -10 до -20°С;
1 ч при температуре воздуха ниже -20°С.
При скорости ветра 15...20 м/с эти промежутки времени должны быть уменьшены в 2 раза. При расчете предельной дальности возки грунта необходимо учитывать время начала смерзания вынутого из забоя влажного грунта в зависимости от температуры наружного воздуха (табл. 4.3.3).
Таблица 4.3.3
Время начала смерзания вынутого из забоя влажного грунта
|
Температура наружного воздуха, С |
Время начала смерзания грунта, мин |
|
-5 |
90 |
|
-10 |
60 |
|
-20 |
40 |
|
-30 и ниже |
20 |
В соответствии с этим заблаговременно определяют участки возведения земляного полотна в зимний период, состав дорожно-строительного отряда, скорость потока и другие параметры [4, 42, 43].
Разработка грунтов в зимнее время осложняется их промерзанием и резким повышением сопротивляемости резанию, что влечет за собой удорожание работ, а зачастую и невозможность их разработки имеющимся парком машин. В связи с этим грунты, подлежащие разработке в зимний период, должны быть соответствующим образом подготовлены. Подготовка грунтов может быть произведена одним из трех способов: предохранением грунтов от промерзания, рыхлением или их оттаиванием.
Предохранение грунтов от промерзания является наиболее экономичным видом подготовки грунтов к разработке в первой половине зимы [18, 40, 41, 44].
Мероприятия по предохранению грунтов от промерзания могут быть сведены к следующим трем группам:
1. Предварительная механическая обработка поверхности грунта.
2. Укрытия поверхности грунта разного рода утеплителями.
3. Специальные предохранительные мероприятия.
Уменьшение глубины промерзания грунта в резервах или полное устранение промерзания повышает производительность землеройных машин. Предварительная механическая обработка поверхности грунта(вспахивание, боронование с последующим снегозадержанием) в качестве мер предохранения грунтов от промерзания может быть применена во II дорожно-климатической зоне при разработке грунтов до 01...19 декабря, а в I дорожно-климатической зоне не позднее 20...25 ноября.
Вспашку поверхности карьера производят осенью до промерзания грунта на глубину до 40 см с последующим боронованием верхнего слоя. В результате разрыхления грунта резко увеличивается объем пор, которые уменьшают теплопроводность грунта. Теплоизолирующие свойства вспаханного грунта увеличиваются, если он будет покрыт снегом. Для увеличения снежного покрова производят снегозадержание с помощью валов снега или путем установки снегозадерживающих щитов размером 1,5´2,0 м с просветами площадью 35...50 % от общей площади щита. Ряды щитов или валов снега располагают поперек направления господствующих ветров на расстоянии 10...15-кратной высоты щитов или снежных валов.
Эффективность предохранения грунта от промерзания вспашкой, боронованием и снегозадержанием в районе г. Хабаровска приведена в табл. 4.3.4.
Таблица 4.3.4
Глубина промерзания грунта при вспашке, бороновании, снегозадержании
|
Способ уплотнения |
Глубина промерзания грунта, см |
|||
|
на 1,12 |
на 1,01 |
на 1,02 |
на 1,03 |
|
|
Без утепления при снятом растительном слое |
70 |
180 |
230 |
240 |
|
Вспашка на глубину 40 см |
50 |
120 |
170 |
190 |
|
Вспашка на глубину 40 см и боронование |
35 |
105 |
155 |
180 |
|
Вспашка, боронование и снегозадержание (слой снега 50 см) |
20 |
70 |
110 |
130 |
Часть вспаханного и разрыхленного грунта, покрытого слоем снега, все же промерзает. Глубину промерзания в этом случае определяют по формуле
Н = А(4Р - Р2), (4.3.2)
где А - коэффициент, учитывающий способ утепления (табл. 4.3.5);
(4.3.3)
где Т - отрицательная среднемесячная температура;
N - количество дней с отрицательной температурой для рассчитываемого периода зимы.
Таблица 4.3.5
Значение коэффициента А (по данным [41])
|
Способ уплотнения поверхности грунта |
Значение А при Р, равном: |
|||||||
|
0,1 |
0,3 |
0,5 |
0,7 |
0,9 |
1,0 |
1,5 |
2,0 |
|
|
Вспашка на глубину 25 см и боронование |
15 |
17 |
20 |
24 |
28 |
30 |
30 |
30 |
|
Засыпка разрыхленного грунта слоем снега не менее 0,5 м |
35 |
34 |
41 |
47 |
55 |
59 |
60 |
60 |
Пример. Определить глубину промерзания суглинка в районе г. Хабаровска на 1.01 при условии, что дневная поверхность грунта будет вспахана на глубину 25 см и заборонована. Средняя температура в ноябре -7°С; в декабре - 18°С. Промерзание грунта начинается с 1 ноября.
Вначале определяем величину Р по формуле (4.3.3).
![]()
По табл. 4.3.5 находим величину А = 26, соответственно найденному значению Р. По формуле (4.3.2) определяем глубину промерзания грунта при вспаханной и заборонованной поверхности
Н = 28(4·0,8 - 0,82) = 67 см
Влияние слоя снега на глубину промерзания приближенно определяют по формуле
Н = 60(4Р - Р2)Ку - B·hсн , (4.3.4)
где Ку - коэффициент, принимаемый при утеплении глинистого грунта равным 1,5, супесчаного и суглинистого - 2,0 песчаного - 2,5;
В - коэффициент сравнительной теплопроводности снега: для рыхлого снега В = 3,0, для слежавшегося и насыпного В = 2,0, для подтаявшего В = 1,5;
hсн - средняя высота снежного покрова, см.
Способ предохранения грунтов от промерзания глубоким рыхлением до 1,5 м применяется при обеспеченном водоотводе и низком уровне грунтовых вод. Глубокое рыхление осуществляют экскаватором, оборудованным прямой лопатой, путем перелопачивания грунта поздней осенью. Образующаяся при этом волнистая поверхность задерживает снег, который в свою очередь еще в большей степени способствует предохранению грунта от промерзания. Глубина промерзания разрыхленного слоя на 0,6...1,0 м меньше глубины промерзания грунта в естественном состоянии. Разрыхленный мерзлый верхний слой грунта сравнительно легко разрабатывается экскаватором с ковшом емкостью более 1,0 м3. Данный способ оправдывает себя при предохранении от промерзания глинистых и малосвязных грунтов.
Одним из способов, снижающих стоимость производства земляных работ в зимних условиях, является утепление поверхности грунта теплоизоляционными материалами (опилки, солома, листва, шлак, торф и др.).
В качестве утеплителей принимают материалы с малой теплопроводностью. Толщина слоя утепления зависит от его теплоизоляционных свойств, климатических условий, влажности грунта, температуры грунта в момент утепления и времени разработки резерва.
Существуют различные формулы расчета толщины утепляющих слоев. Все они являются в значительной степени приближенными, так как заранее учесть изменение климатических факторов на строительной площадке в течение зимы весьма трудно. В частности, можно использовать следующую приближенную формулу [16]
(4.3.5)
где hyт - толщина утепляющего слоя, м;
hh - расчетная глубина промерзания грунта, определяемая на день окончания разработки грунтового карьера зимой, м;
hс - толщина снежного покрова, м;
Кс - коэффициент теплоизоляционных свойств снега;
hg - допустимая глубина промерзания грунта, зависящая от способа разработки;
Кут -коэффициент теплоизоляционных свойств утепляющего материала (табл. 4.3.6);
h - коэффициент, учитывающий повышение теплопроводности и снижение теплоизоляционных качеств при уплотнении материалов утепляющего слоя под действием транспортных средств и сил тяжести (h » 1,3).
Таблица 4.3.6
Приближенные значения коэффициента теплоизоляционных свойств утепляющего материала Кут
|
Утепляющий материал |
Грунт |
|||
|
песчаный |
супесчаный |
суглинистый |
глинистый |
|
|
Листва |
3,3 |
3,1 |
2,7 |
2,2 |
|
Стружка древесная |
3,2 |
3,1 |
2,8 |
2,1 |
|
Опилки древесные, мох болотный, торф мелкий |
2,8 |
2,7 |
2,3 |
1,9 |
|
Котельный шлак: |
|
|
|
|
|
- сухой - влажный |
2,0 1,6 |
1,9 1,6 |
1,6 1,3 |
1,3 1,1 |
|
Снег |
2,5 |
2,0 |
2,0 |
1,5 |
|
Солома обычная |
2,5 |
2,4 |
2,0 |
1,6 |
Для определения глубины промерзания грунта используют климатические справочники или формулу проф. А.Н. Будникова [31]. Во втором случае в формуле (4.3.5) второй член в числителе не учитывают
(4.3.6)
где lм - коэффициент теплопроводности мерзлого грунта (табл. 4.3.7);
tcp- средняя из среднемесячных температура воздуха зимой за период Т;
Т - число дней с отрицательной температурой воздуха с начала зимы до момента окончания разработки карьера;
С - коэффициент уменьшения глубины промерзания в зависимости от толщины снега (табл. 4.3.8).
Таблица 4.3.7
Теплофизические показатели грунтов
|
Грунт |
Влажность, % по массе |
Плотность, кг/м3 |
Коэффициент теплопроводности грунта, Вт/(м·к) |
|
|
мерзлого lм |
талого lт |
|||
|
Глинистый |
18 |
1300 |
1,08 |
0,85 |
|
27 |
1250 |
1,48 |
1,05 |
|
|
27 |
1350 |
1,68 |
1,20 |
|
|
40 |
1200 |
1,83 |
1,29 |
|
|
40 |
1300 |
2,03 |
1,43 |
|
|
40 |
1350 |
2,25 |
1,58 |
|
|
40 |
1450 |
2,44 |
1,72 |
|
|
Дренирующий |
15 |
1200 |
1,23 |
0,89 |
|
15 |
1300 |
1,45 |
1,03 |
|
|
20 |
1250 |
1,55 |
1,08 |
|
|
20 |
1350 |
1,77 |
1,23 |
|
|
20 |
1400 |
2,05 |
1,28 |
|
|
25 |
1300 |
1,90 |
1,40 |
|
|
25 |
1350 |
2,20 |
1,46 |
|
Таблица 4.3.8
Значение коэффициента уменьшения глубины промерзания С, от толщины слоя снега
|
Средняя толщина слоя снега, см |
Коэффициент С |
|
10 |
0,5 |
|
20 |
0,4 |
|
25 |
0,35 |
|
40 |
0,3 |
Толщина снежного покрова, среднемесячные температуры и число дней с отрицательными температурами для крупных населенных пунктов дальневосточного региона приведены в табл. 4.3.9.
Таблица 4.3.9
Метеорологические данные по ряду географических пунктов
|
Географический пункт |
Показатель |
Месяц |
||||||||
|
I |
II |
III |
IV |
V |
IX |
X |
XI |
XII |
||
|
Владивосток |
средняя толщина снега, см |
11 |
7 |
4 |
0 |
0 |
0 |
0 |
4 |
8 |
|
среднемесячная температура воздуха. °С |
-14,4 |
-10,9 |
-3,60 |
4,1 |
9,0 |
15,9 |
8,8 |
-1,3 |
-10,3 |
|
|
число дней с отрицательной температурой воздуха |
31 |
28 |
24 |
2 |
0 |
0 |
0 |
17 |
30 |
|
|
Хабаровск |
средняя толщина снега, см |
10 |
10 |
4 |
0 |
0 |
0 |
0 |
5 |
10 |
|
среднемесячная температура воздуха. °С |
-22,3 |
-17,2 |
-8,5 |
3,1 |
11,1 |
13,9 |
4,7 |
-8,1 |
-18,5 |
|
|
число дней с отрицательной температурой воздуха |
31 |
28 |
29 |
7 |
0 |
0 |
5 |
28 |
31 |
|
|
Благовещенск |
средняя толщина снега, см |
14 |
13 |
6 |
0 |
0 |
0 |
7 |
13 |
14 |
|
среднемесячная температура воздуха. °С |
-24,3 |
-18,6 |
-9,4 |
2,6 |
10,9 |
12,2 |
2,1 |
-11,5 |
-21,8 |
|
|
число дней с отрицательной температурой воздуха |
31 |
28 |
31 |
24 |
3 |
1 |
21 |
30 |
31 |
|
|
Тында |
средняя толщина снега, см |
31 |
33 |
30 |
20 |
0 |
0 |
10 |
24 |
29 |
|
среднемесячная температура воздуха. °С |
-31,7 |
-25,9 |
-16,2 |
-3,8 |
6,0 |
6,3 |
-5,7 |
-21,5 |
-30,2 |
|
|
число дней с отрицательной температурой воздуха |
31 |
28 |
30 |
20 |
1 |
1 |
20 |
30 |
31 |
|
|
Магадан |
средняя толщина снега, см |
33 |
33 |
33 |
28 |
0 |
0 |
11 |
26 |
30 |
|
среднемесячная температура воздуха. °С |
-21,0 |
-19,8 |
-15,2 |
-6,2 |
2,8 |
6,5 |
-4,3 |
-13,4 |
-18,3 |
|
|
число дней с отрицательной температурой воздуха |
31 |
28 |
31 |
20 |
2 |
0 |
12 |
29 |
31 |
|
|
Анадырь |
средняя толщина снега, см |
18 |
18 |
19 |
15 |
4 |
0 |
11 |
14 |
15 |
|
среднемесячная температура воздуха. °С |
-20,8 |
-21,9 |
-20,6 |
-13,7 |
-2,9 |
4,1 |
-5,2 |
-13,5 |
-19,5 |
|
|
число дней с отрицательной температурой воздуха |
31 |
28 |
31 |
27 |
12 |
0 |
20 |
28 |
31 |
|
|
Южно-Сахалинск |
средняя толщина снега, см |
37 |
38 |
37 |
23 |
0 |
0 |
0 |
10 |
24 |
|
среднемесячная температура воздуха. °С |
-13,8 |
-12,3 |
-7,0 |
1,2 |
6,2 |
13,0 |
6,0 |
-2,2 |
-9,1 |
|
|
число дней с отрицательной температурой воздуха |
31 |
28 |
31 |
13 |
1 |
0 |
1 |
20 |
31 |
|
|
Оха |
средняя толщина снега, см |
35 |
36 |
43 |
31 |
6 |
0 |
3 |
18 |
28 |
|
среднемесячная температура воздуха. °С |
-19,9 |
-18,0 |
-12,8 |
-4,2 |
0 |
10,3 |
2,6 |
-6,4 |
-14,9 |
|
|
число дней с отрицательной температурой воздуха |
31 |
28 |
31 |
18 |
2 |
- |
2 |
22 |
31 |
|
|
Петропавловск-Камчатский |
средняя толщина снега, см |
72 |
82 |
71 |
27 |
0 |
0 |
0 |
27 |
60 |
|
среднемесячная температура воздуха. °С |
-8,4 |
-8,5 |
-5,4 |
-0,6 |
3,8 |
10,2 |
4,8 |
-1,7 |
-6,0 |
|
|
число дней с отрицательной температурой воздуха |
31 |
28 |
31 |
24 |
4 |
0 |
2 |
22 |
30 |
|
|
Мильково |
средняя толщина снега, см |
82 |
91 |
94 |
66 |
12 |
0 |
7 |
28 |
55 |
|
среднемесячная температура воздуха. °С |
-21,4 |
-18,3 |
-12,5 |
-2,8 |
5,0 |
7,6 |
0,2 |
-10,8 |
-18,6 |
|
|
число дней с отрицательной температурой воздуха |
31 |
28 |
31 |
22 |
1 |
0 |
15 |
29 |
31 |
|
При отсутствии утеплителя из естественных материалов в последние годы стали использовать в качестве утеплителя сборный пенопласт, стекловату, быстротвердеющую пену БТП и др. Для устранения процесса диффузии и обеспечения поверхностного стока эти материалы необходимо прикрывать полиэтиленовой пленкой.
Технология утепления полимерными смолами (полиуретановыми, карбамидными) заключается в том, что до наступления морозов по грунту разливают быстротвердеющую смесь, состоящую из 35 % мочевино-формальдегидной смолы (крепитель М), 4 % пенообразователя (ПО-1), 16 % технической соляной кислоты (5 % концентрации) и 45 % воды. Расход компонентов из расчета на 1000 м2 поверхности при толщине слоя пены 10 см составляет:
1,92 т - мочевино-формальдегидной смолы (крепитель М);
0,22 т - пенообразователь (ПО - 1);
0,11 т - соляная кислота (35 % концентрации);
2,47 м3 - вода.
Крепитель М представляет собой однородную жидкость (раствор мочевино-формальдегидной смолы, стабилизированный аммиаком), которую получают конденсацией мочевины с формальдегидом в присутствии уротропина. Пенообразователь ПО-1 - обезмасленная осветленная сульфокислота, нейтрализованная едким натрием. Соляная кислота, как правило, поступает на объект 33 % концентрации. Пену БТП готовят в установке. Модификацией быстротвердеющей пены является пенолед. Необходимая толщина теплоизоляции к концу зимы при глубине промерзания грунта до 3,0 м составляет из БТП -30 см, пенольда - 50 см.
Эффективность утепления грунтов повышается при укладке утепляющих слоев до наступления отрицательных температур. Чем выше температура грунта в момент утепления, тем длительнее будет процесс его остывания. Обращает на себя внимания химический способ предохранения грунта от промерзания [44, 46, 48]. Сущность его в том, что поверхность грунта обрабатывается сухой солью или раствором. Рекомендуют применять сухой реагент, а в случае обработки слабодренирующих грунтов - водный раствор (табл. 4.3.10).
Таблица 4.3.10
Расход соли (технический хлористый натрий) на 1 м2 площади
|
Влажность, % |
Расход соли при глубине промерзания, м |
|||||||
|
0,8 |
1,0 |
1,2 |
1,4 |
1,6 |
1,8 |
2,0 |
2,4 |
|
|
Сухая соль, кг |
||||||||
|
15 |
5 |
9 |
12 |
15 |
19 |
22 |
26 |
28 |
|
20 |
7 |
3 |
17 |
20 |
36 |
32 |
33 |
38 |
|
25 |
10 |
16 |
22 |
27 |
32 |
36 |
41 |
45 |
|
23%-й раствор соли, л |
||||||||
|
15 |
21 |
30 |
40 |
47 |
58 |
70 |
- |
- |
|
20 |
34 |
42 |
50 |
70 |
85 |
100 |
- |
- |
|
25 |
35 |
45 |
65 |
80 |
100 |
- |
- |
- |
Наиболее дешевым реагентом является технический хлористый натрий, 23-процентный раствор соли замерзает только при - 23...-25°С и грунт, обработанный солью, сохраняется в талом состоянии в течение всей зимы, не примерзает к рабочим органам землеройных машин и кузовам транспортных средств, хорошо поддается уплотнению. Этот способ пригоден при любой глубине промерзания.
Многолетний опыт сооружения земляного полотна в зимний период показывает, что землеройными машинами без предварительного рыхления можно разрабатывать в начале зимы корку мерзлого грунта в соответствие с рекомендациями табл. 4.3.11.
Таблица 4.3.11
Возможная толщина разрыхления мерзлого грунта землеройными машинами
|
Землеройные машины |
Глубина рыхления, см |
|
Скреперы прицепные, полуприцепные с ковшом емкостью до 6,0 м3, автогрейдеры легкие и средние |
5...10 |
|
Скреперы с ковшом емкостью более 6,0 м3, автогрейдеры тяжелые |
10...20 |
|
Рыхлители навесные, бульдозеры на тракторе Т-100 |
20...30 |
|
Рыхлители на ДЭТ-250 |
30...45 |
|
Экскаваторы с ковшом емкостью более 1,0 м3 |
35...45 |
|
Бульдозеры с навесным рыхлителем на тракторе Т-330 |
50...70 |
|
Экскаваторы ЭО-4121 с навесным рабочим органом (клык-рыхлителем) |
100...120 |
|
Экскаваторы ЭО-10011, ЭО-1252 с ковшом активного действия |
100...140 |
|
Баровые машины (используют для нарезки блоков в мерзлом грунте) |
120...250 |
Разрабатываемую поверхность карьера или выемки очищают от снега, льда не более чем на одну смену вперед. Работа в забое должна вестись круглосуточно и непрерывно во избежание промерзания грунта. Рыхление ведут на захватке, равной шириной забоя, с учетом призмы обрушения у экскаваторных забоев. Длину захватки определяют с учетом часовой производительности рыхлителей и температуры воздуха.
Рыхление взрывом экономически оправдано при глубине промерзания более 1,5 м. При этом удельный расход взрывных веществ на 1,0 м3 грунта в 7...10 раз меньше, чем при глубине промерзания до 0,5 м. В зависимости от глубины промерзания взрывные работы производят методом шпуровых зарядов при глубине промерзания до 2,0 м, а более 2,0 м методом скважинных зарядов.
Величину заряда определяют по формуле
Q = g·w3, кг (4.3.7)
где w3 -расчетная линия сопротивления, равна глубине промерзания, м;
g - удельный расход взрывных веществ, кг/м3.
Для глинистых грунтов (аммонит N 9) g = 0,8...1,0, кг/м3, для растительных и песчаных - g = 0,4...0,6, кг/м3. Более точно массу заряда определяют пробными взрывами. При температуре воздуха ниже - 20°С взрывные работы должны производиться каждую смену. Расстояние между зарядами в ряду зависит от глубины промерзания, диаметра шпуров или скважин (табл. 4.3.12).
Таблица 4.3.12
Расстояние между зарядами в ряду
|
Диаметр шпура или скважины, мм |
Глубина промерзания Н, м |
|||
|
1,0 |
1,5 |
2,0 |
3,0 |
|
|
Расстояние между зарядами L, м |
||||
|
Шпуры: |
|
|
|
|
|
45...50 60...70 |
1,55Н - |
Н 0,95Н |
- 0,75Н |
- - |
|
Скважины: 90... 100 |
- |
- |
0,8Н |
0,6Н |
Расстояние между рядами зарядов равно
a = (0,85...0,90)L (4.3.8)
Скважины и шпуры располагают в шахматном порядке. Готовые шпуры и скважины до размещения заряда закрывают деревянными пробками длиной 25 см.
Для бурения шпуров и скважин применяют буровые машины БТС-60, БТС-М и др. Разработку взорванного грунта ведут двумя захватками: на первой производят расчистку поверхности грунта от снега, бурят шпуры или скважины и подготавливают их к взрыванию; на второй - разрабатывают ранее взорванный грунт и грузят в транспортные средства. Грунт разрабатывают лобовым забоем максимальной высоты с целью увеличения объема талого грунта. Крупные мерзлые глыбы дробят накладками или шпуровыми зарядами. Величину захватки устанавливают в зависимости от сменной выработки экскаватора.
Подготовку мерзлых грунтов к разработке можно производить оттаиванием [8, 14, 19, 20].
Различают четыре основных метода оттаивания:
1. Поверхностное оттаивание. При этом методе тепловой поток распространяется сверху вниз. Такое оттаивание осуществляется дымовыми газами и электронагревателями, расположенными на поверхности.
2. Радиальное оттаивание - тепловой поток распространяется в горизонтальном направлении, по радиусу нагревателя, заглубленного на 3/4 толщины мерзлого слоя.
3. Глубинное оттаивание - тепловой поток распространяется от нагревателя, расположенного ниже мерзлого слоя, к поверхности.
4. Комбинированное оттаивание - тепловой поток распространяется сверху вниз и в горизонтальном направлении.
Из вышеперечисленных способов оттаивания грунта самым эффективным способом является электрооттаивание мерзлого грунта глубинными электродами при наличии дешевой электроэнергии.
При наличии дешевой электроэнергии для оттаивания грунтов могут быть применены горизонтальные электроды или вертикальные глубинные электроды. Горизонтальные электроды изготовляют из полосовой стали 50´5 мм длиной 2...3 м. В качестве вертикальных электродов применяют круглую арматурную сталь диаметром 12...20 мм и длиной 1,5...2,0 м. Горизонтальные электроды укладывают на очищенную от снега поверхность и засыпают слоем утрамбованных опилок, смоченных 1...2 % раствором поваренной соли. Вертикальные поверхностные электроды забивают в слой опилок толщиной 20...25 см, обработанных солью. Вертикальные глубинные электроды забивают на расстоянии 0,4...0,7 м друг от друга на всю толщину мерзлого грунта так, чтобы на 8...10 см электроды вошли в незамерзший грунт. Сущность электрооттаивания грунта заключается в том, что при замыкании электрической цепи ток проходит по слою опилок или талому грунту (мерзлый грунт не пропускает электрический ток), выделяемое тепло будет оттаивать мерзлый грунт, который по мере оттаивания становится проводником электричества и сам начинает выделять тепло. Расход электроэнергии на оттаивание 1,0 м3 грунта в северо-восточных районах страны составляет от 35 кВт/ч при использовании вертикальных глубинных электродов до 85 кВт/ч при применении поверхностных электродов. Продолжительность электрооттаивания грунта при глубине промерзания 2,0 м составляет от 17 до 28 ч.
Способ оттаивания очень энергоемок. В практике дорожного строительства подготовку резервов оттаиванием осуществляют лишь в исключительных случаях при малых объемах грунта, при производстве работ в населенных пунктах, в непосредственной близости к трубопроводам, кабелям и другим подземным коммуникациям, когда нельзя рыхлить грунты механическим и взрывным способами. Применение данного способа возможно только при технико-экономическом обосновании.
Рассмотренные выше способы подготовки к разработке грунтов в зимнее время весьма разнообразны.
При выборе способа подготовки грунтов к разработке в зимний период необходимо руководствоваться соображениями экономии, оперативности и надежности. Технология должна быть проста и базироваться на использовании широко распространяемых материалов или машин, имеющихся в распоряжении строительной организации.
Все перечисленные выше способы предохранения грунта от промерзания, имея те или иные положительные или отрицательные стороны, обладают одним неоспоримым преимуществом - позволяют работать только с талым грунтом.
При химическом способе предохранения грунта от промерзания достигается двойной эффект - предохраняется грунт от промерзания и улучшаются условия более качественного уплотнения земляного полотна автомобильной дороги.
Все методы разработки мерзлых грунтов в зимнее время имеют два существенных недостатка - нарушается баланс земляных масс и может снизиться качество работ из-за наличия комьев мерзлого грунта. Большинство машин, предназначенных для рыхления мерзлых грунтов, можно использовать только в зимний период, что приводит к низким показателям по фондоотдаче. Машины рыхлят мерзлый грунт крупными кусками, делая невозможным его использование при возведении насыпи.
Оттаивание грунта, как уже указывалось, требует значительных энергетических и трудовых затрат.
При проведении технико-экономического обоснования способа подготовки грунта к разработке и зимнее время нужно придерживаться следующей последовательности:
1. Для намеченных объемов земляных работ назначают конкурентоспособные варианты.
2 На конец каждого месяца зимнего периода (про необходимости чаще) определяют глубину промерзания незащищенного грунта.
3. По каждому варианту определяют объем работ, связанный с подготовкой грунта к разработке зимой, при различных глубинах промерзания грунта.
4. Определяют стоимость выполнения этих paбoт.
5. Определяют величину затрат, связанных с подготовкой грунта к разработке в зимнее время, приходящихся на единицу талого грунта в карьере или выемке, по формуле
Sij = (Мij + Зij + Эij)/Qij, (4.3.9)
где Sij - стоимость дополнительных затрат по i...j варианту для j-й глубины промерзания грунта, руб/м3;
Мij - затраты па материалы по i...j варианту для j-й глубины промерзания грунта, руб. (определяются на основании составления калькуляции стоимости материалов);
Зij - величина заработной платы рабочих по i...j варианту для j-й глубины промерзания грунта;
Эij - затраты на эксплуатацию машин по i...j варианту для j-й глубины промерзания грунта, руб .;
Qij - объем талого грунта по i...j варианту для j-й глубины промерзания грунта.
По полученным данным строят график зависимости величины дополнительных затрат от глубины промерзания грунта (рис. 4.3.1).

Рис. 4.3.1. Зависимость величины дополнительных затрат на подготовку грунтов к разработке от глубины промерзания
Такой график позволяет определить наиболее эффективный способ подготовки грунта к разработке в зимний период для различных моментов времени, характеризующихся различной глубиной промерзания грунтов.
Экономический эффект Э от удлинения строительного сезона рассчитывают по формуле
(4.3.10)
где Ен - нормативный коэффициент эффективности, установленный для отрасли, к которой относится строящееся предприятие или объект;
ф - сметная стоимость вводимых в действие основных фондов, руб.;
DТ- период продления строительного сезона.
Расчеты показывают, что за счет улучшения использования основных средств в течение года, снижения затрат по накладным расходам себестоимость строительства дорог может быть снижена на 5...8 %. Сокращение сроков строительства при удлинении строительного сезона дает существенный народнохозяйственный эффект за счет уменьшения времени, на которое отвлекаются средства в незавершенном строительстве.
Анализ показал, что в подавляющем большинстве при расчетах экономической эффективности сооружения земляного полотна в зимний период не учитывают резкого увеличения поломок машин и снижение их производительности при низких температурах и сильных ветрах. Расчеты ведут для средней полосы европейской части России, где температура воздуха редко опускается ниже -15°С. Скорость ветра не учитывают, хотя число дней со скоростью ветра более 10...15 м/с за устойчивый зимний период достигает, например, в Амурской области до 54. При отрицательной температуре и скорости ветра более 10 м/с производительность землеройных машин резко падает. Например, при температуре воздуха -15°С и скорости ветра 18 м/с простои машин составили столько же, сколько в безветренную погоду при температуре -20...-25°С. Хронометраж работы землеройно-транспортных машин, проведенный нами, показал, что наименьшие затраты времени на осмотр машин, отдых и личные надобности были при температуре воздуха от 8 до 20'С. При понижении температуры воздуха до -10°С время на осмотр машин и личной надобности возрастает в среднем на 10...16 % от нормативного. При температуре воздуха ниже -20...-25°С эти потери резко возрастали и достигали 20 % от рабочего времени. Значительно увеличивается время пуска и заправки машин. Время пуска при температуре -20...-25°С увеличивается по сравнению с оптимальной летней температурой в 8...10 раз.
Для того, чтобы сделать окончательные выводы о влиянии температуры воздуха и скорости ветра на производительность землеройной техники, требуются многолетние данные. При этом следует учитывать техническое состояние парка машин, квалификацию механизаторов, грунтовые условия, оснащенность ремонтной базы, условия хранения техники и т.д. [28]. Наши исследования были ограничены во времени, но несмотря на это данные хронометража работы землеройно-транспортных машин представляют бесспорный интерес. Нами установлена зависимость производительности экскаваторов, скреперов и бульдозеров от температуры воздуха и скорости ветра до 15 м/с (рис. 4.3.12).

Рис. 4.3.2. Изменение производительности бульдозеров,
скреперов, экскаваторов в зависимости от температуры воздуха:
1 - экскаваторы с ковшом емкостью 0,65 м3; 2 - бульдозеры на
тракторе Т-100; 3-скреперы с ковшом емкостью 6...8 м3
При расчете производительности учитывались целодневные простои машин, находящихся на ремонте из-за поломок. Потери времени, связанные с болезнью механизаторов или отсутствием горючего, в расчет не принимались.
В зимний период технико-эксплуатационные показатели работы машин резко снижаются, увеличивается число простоев из-за поломок узлов и деталей. Разрушению подвергаются базисные и вспомогательные узлы, детали машин. Существует функциональная зависимость числа поломок деталей машин (бульдозеров, экскаваторов, скреперов) от периода эксплуатации, причем количество поломок в зимний период в 3...7 раз больше, чем в летний. Объясняется это тем, что с понижением температуры воздуха начинает проявляться хладноломкость или склонность сталей к хрупкому разрушению. Переход в хрупкое состояние для каждой марки стали происходит при определенной температуре, при которой ударная вязкость металла достигает минимально допустимого предела (0,2...0,4 МПа). Низкие температуры воздуха в сочетании с динамическими нагрузками при разработке мерзлых грунтов способствуют увеличению числа поломок и простоев. В связи с этим основным климатическим фактором, влияющим на работу машин, считается температура воздуха, при определенных значениях которой углеродистые стали металлоконструкций переходят в хрупкое состояние и разрушаются. Эти стали имеют порог хладноломкости в узком интервале температур от -18 до -20°С.
Установлено, что начиная с температуры -20°С, происходят поломки большинства небазисных деталей, а при температуре -35°С начинают выходить из строя базисные узлы. В связи с этим температура воздуха -20°С считается критической, снижающей надежность работы машин. Кроме абсолютного значения критической температуры нужно учитывать вероятность ее повторения. Хронометраж работы дорожных машин, проведенный нами в Хабаровском крае при сооружении земляного полотна в зимний период, показал, что при температуре - 20...-25°С и скорости ветра более 10...15 м/с резко увеличилось число поломок деталей и узлов. Простои машин только из-за поломок составили до 35...45 % от всего времени наблюдения. Учитывая увеличение затрат времени на заправку, пуск, подготовку к работе и т.д., общие потери рабочего времени были еще значительнее. Производительность землеройно-строительных машин при этом снизилась на 40...60 % (рис. 4.3.2).
Высота насыпей, возводимых в зимнее время, не должна превышать величин, приведенных в табл. 4.3.13.
При необходимости возведения в зимнее время насыпей, указанных в табл. 4.3.13, следует использовать дренирующий грунт, а при его отсутствии - разрабатывать индивидуальный проект насыпи из глинистого грунта [21].
Таблица 4.3.13
Наибольшая высота насыпи из глинистых грунтов, возводимая в зимнее время
|
Климат района строительства |
Среднегодовая температура воздуха, °С |
Максимальная высота насыпи, м |
|
Суровый Холодный Умеренный Теплый |
ниже -2 от -2 до 1 от 1 до 6 более 6 |
2,5 3,5 4,5 без ограничения |
Высоту насыпей, возводимых из глинистых грунтов, ограничивают исходя из требований обеспечения оттаивания их в первый летний сезон.
Возведение земляного полотна в зимнее время организуют различными способами в зависимости от поставленных задач и местных условий.
Наиболее часто встречаются две задачи. Первая - устройство выемок с удалением грунта в отвал или в насыпь. Вторая - разработка грунтового карьера с укладкой грунта в насыпь. В общем виде технологическая схема работ по разработке выемок или отсыпке насыпей в зимних условиях состоит из следующих операций: подготовка выемки или основания насыпи; подготовка грунта в выемке или карьере к разработке; разработка грунта; погрузка грунта в транспортные средства, перевозка и разгрузка его на месте укладки; разравнивание; уплотнение.
Под подготовкой основания насыпи понимают:
1) расчистку полосы отвода от всех предметов, мешающих нормальному производству работ зимой;
2) снятие растительного слоя;
3) устройство постоянных и временных водоотводных устройств;
4) доуплотнение основания насыпи.
Недоуплотненное основание насыпи после оттаивания может дать неравномерные осадки, что приведет к деформациям насыпи.
Все перечисленные операции необходимо выполнять до наступления морозов.
Разработку грунта в выемке или карьере следует вести в 2...3 смены, что уменьшает глубину промерзания забоя.
Утепляющий материал убирают с площади, соответствующей сменному объему работ (рис. 4.3.3).

Рис. 4.3.3. Схема разработки выемки:
1 - разрыхленный мерзлый грунт; 2 - теплоизоляционный материал; 3 - слой
неразрыхленного мерзлого грунта толщиной 0,4 м; 4 - опасная зона для работы
рыхлителя; 0,2- недобор грунта в выемке
Для уменьшения намерзания грунта ковши экскаваторов, скреперов и кузова автосамосвалов рекомендуется смазывать
несколько раз в смену концентрированным раствором технического хлористого кальция или водным раствором хлористого натрия.
Транспортирование, разравнивание и уплотнение грунта должно производиться в максимально короткие сроки. Это связано с потерями тепла грунтом и ухудшением уплотнения талого грунта. Уплотнение необходимо заканчивать раньше, чем температура связанного талого грунта упадет ниже +2°С, а несвязанного - ниже 1°С (табл. 4.3.14).
Таблица 4.3.14
Время, в течение которого грунт обладает способностью к уплотнению
|
Температура воздуха, °С |
Содержание комьев, % общего объема грунта |
Время, мин, при скорости ветра, м/с |
|||
|
3 |
7 |
10 |
Более 10 |
||
|
выше -10 |
до 10 10...20 20...30 |
240 180 120 |
180 130 90 |
140 130 75 |
120 90 60 |
|
-10...-17 |
до 10 10...20 20...30 |
150 110 90 |
120 90 80 |
100 75 50 |
80 60 40 |
|
-17...-25 |
до 10 10...20 20...30 |
120 70 60 |
90 60 45 |
70 50 30 |
60 45 20 |
Наибольшие потери тепла грунтом происходят при разравнивании и уплотнении грунта. Поэтому рекомендуется эти операции проводить на минимально небольшом участке работ высокопроизводительными машинами.
В целях уменьшения теплопотерь необходимо отсыпать насыпь слоями возможно большей толщины. Наилучшие результаты при уплотнении дают катки с большеразмерными пневматическими шинами, поскольку глубина уплотнения пропорциональна площади контакта рабочего органа уплотнителя с грунтом.
Важное значение имеет вопрос использование мерзлого грунта при возведении насыпей в зимнее время.
Для обеспечения высокого качества уплотнения грунтов и уменьшения их последующей осадки отсыпку насыпи следует производить из талых грунтов (грунты, имеющие к моменту уплотнения температуру 0,5°С и выше). Однако в производственных условиях трудно полностью исключить попадание мерзлого грунта в насыпь (табл. 4.3.15).
Таблица 4.3.15
Допускаемые размер и содержание мерзлого грунта в насыпи
|
Тип уплотняющей машины |
Предельное содержание мерзлого грунта, % |
Максимальный размер комьев, см |
|
Трамбующая плита или машина |
25...30 |
25...30 |
|
Каток на пневматических шинах: |
|
|
|
массой 50 т массой 25 т |
20...25 15...20 |
20...25 15...20 |
Если в тело насыпи уложено более 30 % мерзлого грунта, то в процессе оттаивания осадка насыпи может достигнуть 10 % и более полной высоты. При высокой влажности мерзлых комьев грунта возможно расползание насыпи.
Насыпи в зимних условиях необходимо отсыпать с некоторым запасом на их осадку после оттаивания. Дополнительная высота насыпи определяется по методике, предложенной Ю.М. Васильевым.
Насыпи, возводимые в зимнее время, должны иметь такую же устойчивость, как и насыпи, возводимые в теплый период года. Для достижения требуемого качества возведения земляного полотна необходимо выполнять ряд требований [17]:
1. Насыпи необходимо возводить только из талого грунта, ограничивая количество и размер мерзлых комьев грунта в насыпи (табл. 4.3.15).
2. Наличие снега и льда в насыпи не допускается. Укладка грунта во время сильных снегопадов и метелей должна прекращаться.
3. Основания под насыпи, возводимые в зимнее время, следует подготовить заблаговременно при положительной температуре воздуха.
4. Верхнюю часть насыпи на толщину 0,8...1,2 м следует отсыпать только из талого грунта. Укладка мерзлого грунта допускается на расстоянии не ближе 1 м от поверхности откосов насыпи.
5. Несвязанные грунты допускается укладывать в насыпь при влажности, превышающей оптимальную не более чем в 1,2...1,3 раза, а связанные грунты - при влажности, не более чем в 1,1 раза превышающей оптимальную.
6. После прекращения снегопадов и метелей необходимо полностью удалить снег и лед с насыпи.
7. Основание под насыпь тщательно очищать от снега и льда
8. Отдельные участки насыпи должны сопрягаться между собой уступами шириной не менее 1 м по каждому слою.
9. Земляное полотно должно быть par бито на местности до начала заморозков.
10. Технический контроль работ по возведению земляного полотна непрерывно проводится лабораторией, для чего на месте работ организуют контрольные посты.
Контрольные посты выполняют следующие задачи:
1. Обследование выемок и резервов осенью и перед началом разработки грунта зимой. В задачу обследования входит определение влажности и плотности грунтов.
2. Контроль за соблюдением установленных требований по очистке поверхности насыпи и ее основания от снега и льда, а также за прекращением работ при снегопадах и метелях.
3. Определение режима работ уплотняющих машин на месте опытным путем.
4. Контроль качества уплотнения грунтов согласно действующим инструкциям.
5. Контроль за содержанием мерзлых комьев в грунте. Контрольные пробы отбираются до уплотнения грунта на каждые 300...500 м3, уложенных в тело насыпи.
Вечномерзлыми называют грунты и материковые породы с отрицательной температурой, не подверженные сезонным колебаниям.
Вечная мерзлота занимает более 50 % всей территории России, а на Дальнем Востоке она охватывает 80 % территории. Среднегодовая температура воздуха в этих районах отрицательная и на Крайнем Севере понижается до -16°С. В приморских тундрах часты ураганные ветры. Годовое количество осадков на большей части территории невелико и составляет 140...320 мм. Толщина снежного покрова, особенно в тундре, не превышает 30...40 см.
Большинство вечномерзлых грунтов насыщено льдом. В ряде случаев льдистость мерзлых грунтов достигает 80 %, а иногда он полностью замещен мощными ледяными включениями.
Мощность вечной мерзлоты по глубине весьма различна и составляет от нескольких метров в южных районах вечной мерзлоты до 500 м у берегов Северного Ледовитого океана. Температура верхнего слоя мерзлых горных пород обычно колеблется от -3 до -8°С, причем она на 4...10°С выше среднегодовой температуры воздуха. Вечная мерзлота сверху и снизу ограничена слоем грунта, имеющим температуру 0°С. Эти поверхности, с нулевой температурой, соответственно называются верхней и нижней границами вечной мерзлоты [18, 49, 51].
Грунты с отрицательной температурой, но не содержащие воды или включающие ее в небольшом количестве, а потому не смерзшиеся и оставшиеся сыпучим телом, называются сухой мерзлотой.
Существенное значение в условиях вечной мерзлоты имеет состояние подземных и грунтовых вод. В зависимости от расположения относительно слоя вечной мерзлоты они подразделяются на три взаимосвязанные категории:
а) надмерзлотные - залегающие над верхней границей многолетней мерзлоты;
б) межмерзлотные - расположенные в толще многолетней мерзлоты;
в) подмерзлотные - залегают под слоем многолетней мерзлоты.
По характеру залегания вечномерзлой толщи под деятельным слоем различают типы сливающейся, несливающейся и слоистой вечной мерзлоты.
Несливающаяся вечная мерзлота. Верхняя граница вечномерзлых грунтов не сливается с подошвой сезонного промерзания. Между ними остается пласт постоянно талого грунта. Несливающаяся вечная мерзлота встречается в южных районах мерзлотного региона, главным образом в котловинах, долинах и других отрицательных формах рельефа, где происходят мощные снеговые заносы, а летом протекает вода.
Сливающаяся вечная мерзлота. Верхняя граница вечномерзлых грунтов сливается с подошвой деятельного слоя. Имеет основное региональное распространение на севере Азии.
Слоистая вечная мерзлота. Слоистой вечной мерзлотой принято называть чередование нескольких слоев вечномерзлых горных пород с пластами талых пород. Она встречается в долинах мигрирующих водотоков. Талые пласты могут быть исчезающими или поддерживаться за счет фильтрационного потока.
От поверхности земли вечная мерзлота отделена слоем грунта с сезонным промерзанием - оттаиванием, который называют деятельным слоем.
При замерзании деятельного слоя происходит пучение, и поверхность грунта поднимается, при оттаивании наблюдается обратное явление - осадка. По данным П.И. Мельникова, деятельный слой промерзает с двух сторон одновременно - и от земной поверхности, и от своей подошвы, то есть от верхней границы вечномерзлых грунтов.
Мощность деятельного слоя колеблется в пределах 0,8...1,6 м в песчаных грунтах и 0,2...0,4 м в торфяно-болотистых почвах. На болотах и заболоченных склонах с толстым слоем мохового покрова верхняя граница вечной мерзлоты залегает непосредственно под слоем мха. Все склоны гор северных экспозиций имеют верхнюю границу многолетней мерзлоты на глубине 0,15...0,2 м. В районах пойм, русел средних и больших рек, с гравийно-галечными и песчаными грунтами, она достигает 10 м.
Мощность деятельного слоя зависит от многих факторов. Остановимся на основных:
1. Радиационный баланс поверхности земли. Радиационный или лучистый баланс тепловой энергии слагается из трех компонентов: суммарная солнечная радиация, минус отраженная часть этой радиации в космос, минус длинноволновое эффективное излучение почвы. Теплоприход суммарной солнечной радиации слагается из тепла прямой солнечной радиации при ясном небе и тепла рассеянной солнечной радиации при облачном небе. Максимум прямой солнечной радиации наблюдается на экваторе, минимум - на полюсах. Естественно, что поступление рассеянной облаками радиации также убывает с юга на север.
Величина отраженной части радиации зависит от отражательной способности поверхности земли. Наибольшим поверхностным излучением обладает заснеженная поверхность земли, от которой больше 80 % солнечной энергии бесполезно отражается в атмосферу. Наименьшей способностью отражения обладает свежевспаханная темная влажная почва, которая усваивает более 90 % суммарной радиации.
2. Конвективный теплообмен. Конвективный теплообмен между поверхностью земли и воздухом равен произведению коэффициента теплообмена a на разность температур почвы и воздуха. Если летняя температура верхнего слоя грунта tг больше температуры воздуха tв, то земля теряет тепло. Если наоборот, tг < tв, например, при вторжении теплых масс воздуха с юга, то происходит нагрев грунта. Коэффициент теплообмена конвекцией определяют по формуле Вирца
(4.4.1)
где V - скорость ветра, м/с.
Если принять, что конвективный теплообмен в энергетическом отношении равен тепловому радиационному балансу r, то температура верхнего слоя грунта равна
tг = tв + r /a (4.4.2)
3. Испарение и конденсация. Наибольшие затраты тепла в общем тепловом балансе влажных грунтов приходятся на испарение. Особенно велики эти потери на моховых и болотистых тундрах, где грунт за целое лето оттаивает только на 30...40 см. При наличии сухих скелетных грунтов теплопотери на испарение незначительны.
Теплоприход от конденсации в естественных условиях невелик. Однако при послойной вскрыше грунтов по мере их оттаивания конденсация, а, следовательно, и выделение тепла, резко возрастают. В этом случае теплый воздух соприкасается с холодной, периодически обнаженной поверхностью мерзлых грунтов, и происходит обильное выпадение росы.
4. Снежный покров, его мощность и рыхлость. Теплопроводность рыхлого снега близка к теплопроводности такого теплоизолятора, как сухой торф, поэтому потери тепла из литосферы в атмосферу резко уменьшаются. Разница среднемесячных температур на поверхности снега и под снегом может достигнуть 40°С и более.
5. Растительный покров, характер растительности. На побережье арктических и северо-восточных морей преобладают мхи, лишайники и тундровые травы. Мхи, особенно сфагновые, в летнее время быстро подсыхают сверху и становятся отличным теплоизолятором. Кроме того, мхи испаряют большое количество влаги и этим резко понижают свою температуру. В зимний же период они быстро замерзают и по своим теплоизоляционным свойствам мало отличаются от обычного льдистого грунта. В результате такого различия в теплопроводности талого и мерзлого мхов, вечная мерзлота подо мхом и торфяником прослеживается даже в относительно южных районах, где под другой растительностью она не встречается.
А.И. Мамаев установил, что в безветренных районах под любым растительным покровом, экранирующим летом грунт от солнца, вечная мерзлота устойчивее, чем на оголенных участках. В районах с интенсивными зимними ветрами наблюдается обратный эффект в связи с переотложением снега с оголенных участков в залесенные.
Развитая высокоствольная древесная растительность по берегам северных рек и озер часто указывает на присутствие русловых таликов глубиной до 5 м.
6. Экспозиция склона и рельеф. Южная экспозиция горных склонов повышает среднегодовую температуру поверхности земли на 0,5...1,5°С относительно температуры на северной экспозиции.
Возвышенности хорошо обдуваются ветром, и снег переносится в низкие места. Поэтому мощность вечной мерзлоты под оголенными возвышенностями в большинстве случаев больше, чем под снегозаносимыми пониженными местами. Однако, даже при одинаковой льдонасыщенности грунтов, глубина сезонного оттаивания на возвышенностях больше, чем в долинах, за счет увеличения амплитуды сезонных колебаний температуры грунта.
7. Цитологические особенности грунта. Различие в теплопроводности разных грунтов не превышает 2...2,5 раз. Наибольшей теплопроводностью обладают подземные льды и крупноскелетные льдонасыщенные грунты, наименьшей - сухие пески. Глубина сезонного протаивания, прежде всего, зависит от общей льдонасыщенности грунта. Сухие насыпные грунты протаивают на глубину в 3...4 раза больше, чем льдистые.
Сооружение автомобильной дороги вносит большие изменения в природный режим вечномерзлых грунтов. Вырубка на полосе отвода деревьев, кустарника и удаление мохового покрова способствуют увеличению толщины деятельного слоя. При оттаивании льдонасыщенные грунты вечной мерзлоты переходят в разжиженное состояние и растекаются под действием собственной массы.
Оттаивание льдонасыщенного вечномерзлого грунта под невысокой насыпью вызывает дополнительные осадки или полное расползание насыпей. При проектировании земляного полотна в районе вечной мерзлоты прокладку трассы по возможности следует производить на участках:
а) с близким залеганием коренных скальных пород;
б) сложенных на глубину 10 м и более каменистыми, гравелистыми и песчаными сухими грунтами;
в) с залеганием сухой вечной мерзлоты на глубине 5...6 м;
г) с обеспеченным водоотводом;
д) со слабопокатными склонами южной экспозиции.
Дорогу проектируют в насыпях с рабочими отметками, гарантирующими снегонезаносимость. Выемки допускаются лишь в случаях крайней необходимости и только в сухих грунтах.
Нежелательными для проложения трассы являются участки:
а) заболоченные, осушение которых по условиям рельефа затруднительно;
б) с пылеватыми грунтами, которые при оттаивании приходят в плывунное состояние;
в) с высоким уровнем стояния грунтовых подмерзлотных вод, понижение которых в условиях вечной мерзлоты сопряжено с большими трудностями;
г) с близким расположением линз ископаемого льда или с интенсивными наледными процессами.
В зависимости от состава и льдонасыщенности грунтов, режима деятельного слоя, глубины залегания погребенных льдов, возможны три принципа строительства:
1. Обеспечение поднятия верхнего горизонта вечной мерзлоты до подошвы насыпи и сохранения ее на этом уровне в течение всего периода эксплуатации дороги. Этот принцип применяют при наличии глинистых грунтов, с влажностью выше предела текучести, и при особо сложных мерзлотно-грунтовых условиях (мари, заболоченные тальвеги, замкнутые впадины с мохоторфяным покровом и мощностью деятельного слоя до 1,0 м). Земляное полотно по первому принципу возводят из привозных грунтов.
2. Ограничение глубины оттаивания грунтов основания. Этот принцип находит применение при проложении полотна дороги на плоских водоразделах, пологих склонах гор с мощностью деятельного слоя от 1,0 до 2,5 м. Земляное полотно проектируют в насыпях из несцементированных обломочных или глинистых грунтов.
3. Обеспечение оттаивания и осушения грунтов под дорожной конструкцией. Строительство по этому принципу ведут на легкоосушаемых просадочных грунтах. Третий принцип применяют чаще всего на сухих участках местности, с мощностью деятельного слоя более 2,5 м, когда предусматривается заблаговременное оттаивание вечномерзлых грунтов и осушение дорожной полосы.
Опыт показывает, что деформации земляного полотна происходят при оттаивании вечной мерзлоты, но вместе с этим грунты в мерзлом состоянии представляют вполне надежное основание, поскольку грунты как бы сцементированы мерзлотой.
Выбор конструкции земляного полотна в каждом конкретном случае решается на основе технико-экономического сравнения вариантов с учетом не только капитальных, но и эксплуатационных затрат.
Размеры и формы земляного полотна на различных участках зависят от рельефа местности, продольного профиля дороги, грунтовых, гидрологических и гидрогеологических условий, а также проектируемых на данном полотне дорожных одежд.
Поперечные профили земляного полотна, устраиваемые по первому принципу - обеспечение поднятия верхнего горизонта вечной мерзлоты до подошвы насыпи и сохранения ее на этом уровне в течение всего периода эксплуатации (сохранение вечной мерзлоты), даны на рис. 4.4.1...4.4.4.
При возведении насыпи по первому принципу обязательным условием является сохранение в неразрушенном состоянии растительного покрова не только в основании насыпи, но и на всей дорожной полосе (рис. 4.4.1, тип I). Для предохранения мохорастительного покрова от разрушения в нижней части насыпи устраивают прослойки из дренирующих грунтов мелких фракций (не крупнее 50...100 мм) толщиной 0,3...0,5 м (рис. 4.4.1, тип II).
При необходимости уменьшения высоты насыпи или при наличии дешевых местных теплоизоляционных материалов в основании земляного полотна укладывают теплоизоляционные прослойки (мох, торф, нестроевая древесина, шлак) различной толщины (рис. 4.4.1, тип III).

Рис. 4.4.1. Поперечные профили насыпи на льдонасыщенном
основании:
1 - мохорастительный покров; 2 - защитный слой из дренирующего грунта мелких
фракций; 3 - несцементированный обломочный грунт; 4 - термоизоляция изо мха (по
расчету); 5 - верхний горизонт вечной мерзлоты (ВГВМ) до постройки насыпи; 6 -
ВГВМ после постройки насыпи
Если высокие насыпи сооружают в две стадии, то на первой (зимней) стадии применяют только несцементированные обломочные грунты (рис. 4.4.2, типы IV и V), а на второй (летней) допускаются глинистые грунты. В таких случаях верхняя часть насыпи отсыпается из щебеночного или гравийного материала слоем не менее 0,5 м (рис. 4.4.2, тип IV).

Рис. 4.4.2. Поперечные профили насыпи на льдонасыщенном основании,
отсыпаемой в две стадии:
1 - щебень или гравий по расчету на прочность (но не менее 0,5 м); 2 -
несцементированный обломочный грунт; 3 - мохорастительныйпокров; 4 - глинистый
грунт; 5 - ВГВМ до постройки насыпи; 6 - ВГВМ после постройки насыпи
На косогорных участках (не круче 1:5) земляное полотно проектируют в насыпи. Во избежание нарушения мерзлотного режима местности, увеличения глубины оттаивания и снижения устойчивости сооружения уступы на косогоре не устраивают. В низовой части откоса насыпи защищают от теплового воздействия присыпкой из мохоторфа (рис. 4.4.3).

Рис. 4.4.3. Поперечный профиль
насыпи на льдонасыщенном косогоре крутизной меньше 1:5:
1 - несцементированный обломочный грунт; 2 - теплоизоляция изо мха или торфа
толщиной не менее 0,5 м; 3 - глинистый грунт толщиной 15 см; 4 - дренирующая
присыпка; 5 - мохорастительный покров; 6 - ВГВМ до постройки насыпи; 7 - ВГВМ
после постройки насыпи; 8 - каменное мощение; 9 - нагорный валик; d - величина поднятия ВГВМ по
оси насыпи
На участках автомобильных дорог, где в основании залегают подземные льды или супеси с льдистостью около 80 %, а также в сильно заболоченных местах под насыпью ранее устраивали так называемую cлань, а в последние годы прослойки из геотекстиля (рис. 4.4.4), что уменьшает удельное давление на грунт от подвижной нагрузки и служит теплоизоляционной прокладкой под насыпью.

Рис. 4.4.4. Поперечный профиль насыпи с прослойкой из
синтетического нетканого материала по типу замкнутой обоймы:
1 - насыпь земляного полотна; 2 - синтетический нетканый материал «Дорниит
Ф-2»; 3 - слабое основание; 0,3 - ширина перекрытия полос геотекстиля
При проектировании автомобильных дорог, по принципу ограничения глубины оттаивания грунтов основания, земляное полотно конструируют в соответствии с поперечными профилями, приведенными на рис. 4.4.5 (типы VIII, IX). Если при понижении уровня вечной мерзлоты обеспечивается устойчивость земляного полотна и дорожной одежды, то допускают возведение насыпи из местных глинистых грунтов с закладкой боковых резервов. При этом запрещается убирать или разрушать мохорастительный покров в основании насыпи.

Рис. 4.4.5. Поперечные профили насыпи из местных глинистых
грунтов:
1 - щебень или гравий по расчету на прочность (но не менее 0,5 м); 2 -
глинистый грунт; 3 - земляная берма; 4 - мохорастительный покров; 5 - ВГВМ до
постройки насыпи; 6 - ВГВМ после постройки насыпи; 7 - боковой резерв; 8 -
водоотводная канава; d - величина поднятия ВГВМ по оси насыпи
Резервы можно располагать непосредственно у подошвы насыпи (рис. 4.4.5, тип VIII), если высота насыпи не превышает 1,5 м, или предусмотреть между подошвой насыпи и внутренней бровкой резерва земляные бермы шириной 3...5 м (рис. 4.4.5, тип IX).
При проектировании автомобильных дорог по принципу обеспечения оттаивания и осушения грунтов основания (третий принцип), исходя из допускаемых деформаций, земляное полотно конструируют в насыпях (рис. 4.4.6, типы X, XI). При этом расчищать дорожную полосу от леса и кустарника, сплошь снимать мохорастительный покров в пределах дорожной полосы, устраивать водоотводные канавы необходимо не менее чем за год до начала основных работ.

Рис. 4.4.6. Поперечные профили земляного полотна на
легкоосушаемых грунтах:
1 - глинистый легкоосушаемый грунт с примесью крупного песка, щебня или гравия;
2 - супесчаный грунт; 3 - мохорастительный покров; 4 - ВГВМ до постройки
насыпи; 5 - ВГВМ после постройки насыпи; 6 - боковой резерв; 7 - водоотводная
канава
На косогорных участках (круче 1:5) земляное полотно в низовой части нужно поддерживать специальными подпорными стенками, предусматривая их заглубления в вечномерзлый грунт по расчету на выпучивание (рис. 4.4.7).

Рис. 4.4.7. Поперечный профиль насыпи на косогоре
крутизной более 1:5:
1 - подпорная стенка; 2 - несцементированный обломочный грунт; 3 -
мохорастительный покров; 4 - мерзлотный валик; 5 - каменное мощение; 6 - ВГВМ
до постройки насыпи; 7 - ВГВМ после постройки насыпи
На затапливаемых участках и на подходах к мостам земляное полотно возводят из несцементированных обломочных грунтов. Бровка земляного полотна должна быть выше расчетного горизонта воды на высоту волны с набегом на откос, но не менее 0,5 м. В случае низкого расчетного горизонта воды верхнюю часть насыпи можно отсыпать из глинистых грунтов. При этом нижняя часть насыпи, отсыпаемая из несцементированных обломочных грунтов, должна быть выше расчетного горизонта воды более чем на 0,5 м (рис. 4.4.8, тип XIII).
Высокие насыпи на затапливаемых участках конструируют в соответствии с рис. 4.4.8 (типы XIV, XV).

Рис. 4.4.8. Поперечные профили высокой насыпи на
затопляемом участке или пойме:
1 - щебень или гравий по расчету на прочность; 2 - глинистый грунт; 3 -
несцементированный обломочный грунт; 4 - ВГВМ до постройки насыпи; 5 - ВГВМ
после постройки насыпи; РПВ - расчетный уровень поверхностных вод
Выемки в зоне вечной мерзлоты допускается проектировать главным образом на участках местности с благоприятными грунто-гидрогеологическими условиями (скальные, щебенистые грунты) при отсутствии линз и прослоек льда (рис. 4.4.9).

Рис 4.4.9. Поперечный профиль выемки в скальных грунтах:
1 - нагорная водоотводная канава; 2 - легковыветривающаяся скальная порода; 3 -
рыхлый грунт
В сырых местах выемки нужно проектировать с соответствующим обеспечением теплоизоляции откосов, заменой переувлажненных пылеватых глинистых грунтов песчаным или другим качественным материалом с устройством в основании дорожной одежды морозозащитных слоев (рис. 4.4.10, тип XVII). Мелкие выемки раскрывают под насыпь для повышения их устойчивости (рис. 4.4.10, тип XVIII). Толщину совмещаемого в выемках грунта определяют по теплотехническому расчету из условия обеспечения требуемой устойчивости дорожной одежды. Крутизну откосов выемок назначают в каждом случае исходя из устойчивости.

Рис. 4.4.10. Поперечные профили выемок в слабольдонасыщенных
грунтах:
1 - щебень или гравий; 2 - глинистый грунт; 3 - каменное мощение; 4 -
теплоизоляция изо мха по расчету; 5 - ВГВМ до устройства выемки, 6 - ВГВМ после
устройства выемки; 7 - водоотводная канава
При возведении земляного полотна в районе вечной мерзлоты необходимо учитывать природно-климатические и грунто-гидрогеологические особенности, которые определяют условия работы дорожно-строительных машин, основные способы и технологические схемы возведения земляного полотна, а также сроки производства работ.
Характеристику условий района строительства составляют по данным ближайших метеорологических станций. Пользуясь данными метеостанций, делают анализ температурного режима воздуха, его изменение по месяцам. Устанавливают максимальную и минимальную температуру, мощность деятельного слоя, количество осадков в виде дождя и снега, направление ветров. Разрабатывают дорожно-климатический график, на основании которого устанавливают период распутицы, простои в работе из-за осадков в летний период и из-за метелей в зимний период, время разработки талого и мерзлого грунтов. Каждому принятому принципу проектирования земляного полотна соответствует свой способ его возведения (табл. 4.4.1).
Таблица 4.4.1
Способы возведения земляного полотна
|
Принцип проектирования |
Способ возведения |
|
I. Обеспечение поднятия верхнего горизонта вечной мерзлоты до подошвы насыпи и ее сохранение на этом уровне в течение всего периода эксплуатации дороги |
I. Максимальное сохранение естественного режима местности в период производства работ и в течение всего периода эксплуатации. Устройство просеки только в зимний период с незначительным опережением фронта работ. Отсыпка земляного полотна из несцементированных обломочных грунтов автовозкой в зимний период на полную высоту или в две стадии: нижнюю часть насыпи в зимний период, а верхнюю до проектной отметки - летом |
|
II. Ограничение глубины оттаивания грунтов основания |
II. Обеспечение минимального протаивания грунтов основания в строительный период за счет полного сохранения мохорастительного покрова под насыпью и начала работ ранней весной. Устройство просеки только в зимний период. Проведение мероприятий по осушению грунтов за год до основных земляных работ. Отсыпка земляного полотна из местных глинистых и несцементированных обломочных грунтов |
|
III. Обеспечение оттаивания и осушения вечномерзлых грунтов под дорожной конструкцией |
III. Обеспечение максимальною протаивания и осушения грунтов путем заблаговременной подготовки и проведения мероприятий по осушению всей дорожной полосы. Отсыпка земляного полотна из местных грунтов |
На участках, где земляное полотно запроектировано по первому принципу, все подготовительные и основные работы выполняют с таким расчетом, чтобы обеспечить сохранение водно-мерзлого режима местности. Это определяет особенности возведения земляного полотна и сроки производства работ. Подготовительные работы выполняют только в зимний период.
Не допускается оставлять расчищенную просеку на летний период, чтобы не вызвать протаивание льдонасыщенных грунтов. Земляное полотно возводят в зимний период из несцементированных обломочных грунтов. Отсыпанное в зимний период полотно предохраняет основание от протаивания. Экономически целесообразно двухстадийное возведение земляного полотна, когда нижнюю часть насыпи возводят зимой, а верхнюю - в летний период. В этом случае снижается стоимость возведения земляного полотна за счет выполнения части объемов работ в летний период.
При втором принципе все работы выполняют так, чтобы обеспечить как можно большее осушение грунтов в притрассовых резервах и возможно меньшее протаивание их в основании насыпи. В этом случае подготовительные работы выполняют за год до начала земляных работ. Лес вырубают и удаляют с просеки в зимний период, чтобы не нарушать мохорастительного покрова в основании насыпи. С полосы резервов мохорастительный покров удаляют сразу после его протаивания, а в основании его сохраняют полностью.
Земляное полотно в основном возводят из местных грунтов с использованием бульдозеров, скреперов и других дорожных машин.
При третьем принципе выполняют так же, как и при втором, с той лишь разницей, что мероприятия по осушению грунтов проводят на всей дорожной полосе. Мохорастительный покров в основании насыпи не сохраняют.
Строительство автомобильных дорог в условиях вечной мерзлоты так же, как и в других районах страны, осуществляют поточным методом.
В летний период производят те работы, выполнение которых в зимний период затруднительно (удаление мохорастительного покрова, разработка, перемещение, уплотнение глинистых грунтов, устройство водоотводных канав).
В зимний период следует производить: постройку временных зданий и сооружений; расчистку дорожной полосы от леса, кустарника; буровзрывные работы в мерзлых грунтах, переходящих при оттаивании в текучее состояние; возведение насыпей из скальных и несмерзающихся дренирующих грунтов, на участках, устраиваемых по первому принципу; отсыпку берм и утепление откосов.
Возведение насыпей из несцементированных грунтов производят круглогодично. Расчетное годовое число рабочих смен определяют по формуле
Тср = (Тк - Тв -Тм - То) Кс, (4.4.3)
где Тк - календарная продолжительность строительного сезона, дни;
Тв - количество выходных и праздничных дней;
Тм - простои по метеоусловиям, дни;
То - количество дней на ремонт и профилактику машин, а также внутриобъектную переброску, простои по организационным причинам, дни;
Кс - среднее количество смен за один рабочий день.
Расчетное количество рабочих смен в летнем строительном сезоне определяют по формуле
Тл = [Тб - (Тгр + Тв) - Тбa(1 + Тпр)]Кс (4.4.4)
где Тб - длительность безморозного периода в сутках;
Тгр - время, необходимое для протаивания грунта на 20...25 см (табл. 4.4.2);
Тв - количество выходных и праздничных дней за безморозный период;
a - вероятность выпадения осадков в долях длительности безморозного периода (табл. 4.4.3);
Тпр - время, необходимое для просушивания грунта после дождя в сутках (табл. 4.4.4).
Таблица 4.4.2
Скорость протаивания грунта
|
Район дорожно-климатической зоны |
Грунт |
Скорости протаивания, см/сутки |
|
|
май |
июнь-июль |
||
|
1 южнее 65-й параллели |
Супесь |
4...5,5 |
7...9 |
|
Суглинок легкий |
3...4.5 |
5...7 |
|
|
Суглинок тяжелый, глина |
2,5...4 |
4...6 |
|
Таблица 4.4.3
Вероятность выпадения осадков
|
Метеорологические станции |
Вероятность выпадения осадков a (в долях длительности безморозного периода) |
|
|
5 мм/сутки |
8 мм/сутки |
|
|
Якутск |
0,06 |
0,021 |
|
Иркутск |
0,12 |
0,06 |
|
Улан-Удэ |
0,08 |
0,04 |
|
Чита |
0,127 |
0,062 |
|
Богучаны |
0,10 |
0,038 |
Время, необходимое для протаивания грунта в районе вечной мерзлоты южнее 65-й параллели на глубину, позволяющую рационально использовать дорожные машины, принимают по табл. 4.4.2.
Вероятность выпадения осадков определяют по средним, многолетним данным метеостанций. Расчет ведут по формуле
a = п/Тб, (4.4.5)
где п - количество дней с осадками более 5 или 8 мм в сутки.
Ориентировочные значения снижения влажности и времени просыхания слоя грунта глубиной 0,2 м в резервах по данным [49] приведены в табл. 4.4.4
Таблица 4.4.4
Снижение влажности и время просыхания грунта
|
Грунт |
Влажность грунта до осушения в долях от оптимальной влажности |
Средняя величина просыхания за сутки в долях оптимальном влажности |
Время на просушивание допустимой влажности, сутки |
|
Суглинок легкий |
1,8...1,5 |
0,10 |
1...2 |
|
Суглинок пылеватый |
1,5...2,0 |
0,12 |
2...6 |
|
Суглинок тяжелый |
1,4...1,8 |
0,09 |
7...9 |
|
Глина |
1,8...2,0 |
0,08 |
9...10 |
Более быстрое просыхание грунта наблюдается при его рыхлении за один-два дня до разработки.
Расчистку дорожной полосы от леса, кустарника, пней производят при сооружении земляного полотна по первому и второму принципам только в зимний период. При строительстве земляного полотна по третьему принципу расчистку дорожной полосы можно производить в любое время года.
Мохорастительный слой удаляют с поверхности боковых резервов при строительстве земляного полотна по второму принципу и на всю ширину дорожной полосы при сооружении земляного полотна по третьему.
Толщина мохорастительного слоя зависит от множества различных факторов и составляет в среднем от 5 до 30 см. Большая мощность слоя наблюдается во II, III типах местности (сырые и мокрые места).
Одним из основных вопросов организации строительства земляного полотна является выбор наиболее эффективных способов производства работ, обеспечивающих возведение полотна в заданные сроки, требуемое качество работ, максимальную производительность труда и минимальную себестоимость.
Вследствие влияния большого числа факторов чаще всего разрабатывают несколько вариантов производства работ. При сравнении вариантов в качестве основных технико-экономических показателей принимают себестоимость единицы продукции, выработку на одного рабочего в смену и использование машин в течение смены.
Технологическая последовательность возведения земляного полотна в районе вечной мерзлоты зависит, прежде всего, от принципа проложения трассы и принятой конструкции земляного полотна. Так, технологическая последовательность возведения земляного полотна по первому принципу значительно отличается от последовательности работ, выполняемых по третьему принципу. Например, последовательность сооружения земляного полотна на косогоре с сохранением вечной мерзлоты (рис. 4.4.3) может быть следующей:
а) восстановление и закрепление трассы;
б) расчистка дорожной полосы в зимний период от снега, леса, кустарника;
в) разбивка земляных сооружений;
г) устройство нагорного валика для отвода поверхностных вод;
д) устройство подъездных путей;
е) послойная отсыпка земляного полотна из привозного грунта;
ж) послойное разравнивание и уплотнение грунта;
з) профилирование земляного полотна;
и) укрепление откоса насыпи с верховой стороны глинистым грунтом с последующим мощением камнем;
к) устройство дренирующей присыпки с низовой стороны;
л) укладка теплоизоляционного слоя из мха или торфа на откосе насыпи с низовой стороны косогора;
м) укладка глинистого грунта поверх теплоизоляционного слоя;
н) рекультивация земель в грунтовых карьерах.
Одновременно с проектированием технологической последовательности производят уточнение объемов работ на отдельных операциях.
При строительстве земляного полотна в районе вечной мерзлоты затраты на эксплуатацию дорожно-строительных машин составляют 40...60 %. В связи с этим большое значение приобретает задача подбора дорожно-строительных машин, максимально приспособленных к условиям строительства. Специфика условий производства работ определяет критерии подбора машин.
Выбор рациональных типов машин для возведения земляного полотна автомобильных дорог зависит от следующих факторов:
а) технической возможности применения тех или иных машин в данных условиях рельефа;
б) конструкции земляного полотна, расположения резервов грунта, его физико-механических свойств;
в) организационных условий производства работ, главными из которых являются сроки начала и окончания возведения земляного полотна;
г) условий полной загрузки выбранных машин в течение всего периода выполнения работ.
При составлении вариантов производства работ необходимо стремиться к комплексной механизации и полному использованию в течение смены всех дорожных машин в отряде.
Для предварительных соображений по рациональному подбору машин при разработке различных групп грунтов можно руководствоваться рекомендациями табл. 4.4.5
Таблица 4.4.5
Выбор средств механизации для выполнения основных земляных работ
|
Тип земляного полотна |
Условия производства работ |
Высота насыпи, м |
Дальность перемещения грунта, м |
Тип ведущих машин |
|
Насыпь из выемок или грунтовых карьеров |
Грунты несцементированные обломочные: а) зимний период |
Не ограничена |
Не регламентируется |
Экскаваторы с транспортными средствами в северном исполнении |
|
б) весенне-летний период |
То же |
То же |
Экскаваторы с транспортными средствами |
|
|
в) весенне-летний период |
До 1,5 |
До 100 |
Бульдозеры |
|
|
Глинистые грунты: а) весенне-летний период |
До 2 |
До 100 |
Бульдозеры повышенной проходимости |
|
|
б) летний период |
Не ограничена |
От 100 до 800 |
Скреперы |
|
|
в) летний период |
То же |
От 500 до 3000 |
Скреперы самоходные |
|
|
г) летний период |
То же |
От 1000 и более |
Экскаваторы с транспортными средствами |
|
|
Насыпь из грунтов боковых резервов |
а) весенне-летний период |
До 2 |
|
Бульдозеры, скреперы |
Учитывая, что рациональные области применения дорожных машин ограничены, а условия выполнения земляных работ непрерывно меняются, в состав отрядов необходимо включать несколько типов машин для выполнения основных земляных работ. В этом случае каждая землеройная машина может быть использована наиболее эффективно. Например, если земляное полотно возводят по третьему принципу бульдозером в условиях значительного колебания рабочих отметок, то одновременно с бульдозером следует применять скреперы для продольного перемещения грунта. В глубоких выемках также выгодно применять комплексный способ разработки, при котором участки выемок, прилегающие к насыпи, разрабатывают бульдозерами, а остальную часть, в зависимости от группы грунта и дальности перемещения, скреперами или экскаваторами с транспортными средствами.
При комплектовании отрядов следует увязать между собой выработку всех машин.
Основные машины могут быть использованы для выполнения вспомогательных работ. В этом случае потребность в них определяется комплексным расчетом из условия выполнения ими вспомогательных операций с учетом использования дополнительного навесного рабочего оборудования.
Технологические карты устройства земляного полотна представляют собой дальнейшую детализацию проекта организации работ. Их составляют на отдельные участки земляного полотна, имеющие свои особенности в организации работ. При расстановке машин по захваткам необходимо полнее загружать работой каждую машину. При неполной загрузке какой-либо машины на отдельной захватке она должна быть использована на другой.
Исходными данными для разработки технологической карты являются:
а) длина захватки b, равна или кратна скорости потока V;
б) темп потока при выполнении подготовительных работ (расчистка полосы, проведение мероприятий по осушению переувлажненных грунтов, устройство землевозных путей и временных дорог, заготовка мохоторфа для устройства теплоизоляционных слоев и присыпок и т.д.);
в) темп потока основных работ (послойная отсыпка, уплотнение насыпи и т.д.);
г) темп потока отделочных работ (профилирование земполотна, теплоизоляция откосов, рекультивация земель и т.д.);
д) средние дальности перемещения грунта при снятии мохорастительного слоя, сооружении земляного полотна и рекультивации земель, занятых резервами и грунтовыми карьерами.
На участках, где земляное полотно запроектировано по первому принципу, подготовительные работы выполняют с соблюдением следующих правил. Расчистку дорожной полосы от леса, кустарника производят только в зимний период, чтобы исключить возможность нарушения мохорастительного покрова транспортными средствами и гусеницами тракторов. Просеку делают равной ширине насыпи по низу. Не разрешается корчевка пней на просеке и нарушение мохорастительного покрова на расстоянии ближе 100 м в обе стороны от границы дорожной полосы. На маревых и других обводненных участках во избежание просадки насыпи за счет протаивания льда производят очистку основания. На месте удаленного льда укладывают cлань из малоценного леса и кустарника.
В тех случаях, когда земляное полотно строят по второму принципу, расчистку полосы от леса производят в зимний период. Мохорастительный покров с площади резервов удаляют весной сразу после его протаивания (рис. 4.4.11).

Рис. 4.4.11. Схема удаления мохорастительного покрова с
поверхности резервов при
сохранении его в
основании насыпи:
I - насыпь, II - промежуточные валы
мохорастительного покрова после продольного прохода бульдозера; III - мохорастительный
покров, уложенный в валы по обе стороны резервов; IV - грунт резервов; 1...3 -
последовательность работы бульдозеров
На участках, где земляное полотно запроектировано по третьему принципу, подготовительные работы можно выполнять круглогодично, а мохорастительный покров удаляют весной по мере его оттаивания.
При наличии переувлажненных грунтов на участках, запроектированных по второму и третьему принципам, проводят комплекс мероприятий по их заблаговременному осушению. Наименее трудоемким и экономически целесообразным является способ рационального (естественного) осушения грунтов.
В качестве дополнительных мероприятий, ускоряющих естественный процесс осушения грунтов, являются:
а) устройство водоотводных канав;
б) снятие мохорастительного слоя;
в) удаление снега с полосы резервов в весенний период;
г) рыхление грунта перед разработкой;
д) послойная разработка грунта в резервах по мере их просыхания.
Мохоторф для теплоизоляционных прослоек заготавливают весной, разрабатывая его сразу после протаивания и перемещения в валы для просушивания в течение всего лета.
Несцементированные обломочные грунты применяют в основном для возведения земляного полотна, запроектированного по первому принципу. При втором и третьем принципах проектирования несцементированные обломочные грунты применяют лишь в случаях, когда они являются местными.
Земляное полотно, запроектированное по первому принципу, возводят в зимний период с соблюдением следующих правил:
а) работы начинают после промерзания грунта основания на глубину не менее 30 см;
б) нижние слои насыпи на высоту до 0,5 м отсыпают по способу «от себя», а последующие - «на себя»;
в) временные дороги устраивают за пределами дорожной полосы на расстоянии не менее 100 м.
Соблюдение этих правил обеспечивает полное сохранение грунтов в мерзлом состоянии. Земляное полотно отсыпают в одну или две стадии. На первой стадии строительства (в зимний период) отсыпают нижние слои насыпи толщиной более 1,2 м. На второй стадии (в летний период) отсыпают верхние слои насыпи.
Глинистые грунты применяют при сооружении земляного полотна, запроектированного по второму и третьему принципам. Для разработки и перемещения грунтов в насыпь применяют бульдозеры, скреперы, экскаваторы с транспортными средствами (табл. 4.4.5).
Переувлажненные грунты в резервах разрабатывают бульдозерами повышенной проходимости после протаивания слоя на глубину 20...25 см. Порядок укладки грунта в насыпь устанавливают в зависимости от дальности его перемещения и поперечного уклона местности.
Для уменьшения потери грунта отвал бульдозера оборудуют открылками, которые позволяют значительно увеличить объем грунта, перемещаемого перед отвалом за один цикл, а это дает возможность примерно в 1,5 раза повысить производительность бульдозера. Применение козырьков исключает возможность пересыпания грунта через верх отвала. К недостаткам бульдозеров, отвалы которых оборудованы открылками и другими уширителями, относят уменьшение их маневренности и увеличение сопротивления грунтов резанию.
Длину фронта работ L при двусторонних резервах определяют по формуле
(4.4.6)
где П - производительность бульдозера, м3/сутки;
Вp - ширина резерва, м;
hг - толщина слоя талого грунта для бульдозера 0,20...0,25 м;
Vг - скорость протаивания грунта в резерве слоя 20...25 см/сутки.
При возведении насыпи из глинистых грунтов соблюдают следующие требования:
а) разработку резервов начинают с низовой стороны для обеспечения стока дождевых вод;
б) после перемещения грунта в насыпь производят его разравнивание с приданием поверхности уклона 30...50‰ от оси к бровкам;
в) дно и откосы резерва планируют, а валы мохорастительного покрова разравнивают сразу после окончания земляных работ.
Насыпи из местных глинистых грунтов возводят по типовым технологическим схемам с учетом особенностей, обусловленных местными условиями.
Выемки в глинистых грунтах разрабатывают после проведения мероприятий по осушению. Грунт в выемке разрабатывают в талом или мерзлом состоянии. Разработку выемок в глинистых грунтах бульдозерами, скреперами ведут по мере оттаивания грунта на глубину 20...25 см. Выемки разрабатывают с низовой стороны для стока дождевых вод.
Планировку земляного полотна производят для придания полотну правильной формы, отвечающей техническим и эстетическим требованиям, улучшению водоотвода и для обеспечения устойчивости.
Планировочные работы ведут вслед за основными работами по возведению насыпей или разработке выемок. Чтобы при планировке приходилось только срезать лишний грунт, а не присыпать недостающий, рекомендуется отсыпать насыпи с запасом грунта на откосах 5...10 см, а откосы выемок устраивать с недобором 10...15 см. Присыпка недостающего грунта нежелательна, так как его трудно уплотнить до требуемой плотности и обеспечить устойчивое объединение свежеприсыпанного грунта с уложенным и уплотненным ранее или с естественным грунтом откоса выемки. В тех случаях, когда намечено распределение по откосу растительного грунта для посева трав, запаса на планировку не делают.
Основными машинами для планировочных работ служат автогрейдеры с дополнительным навесным оборудованием: удлинителями и уширителями отвала и специальными откосниками, прикрепляемыми к отвалу с помощью болтов. Автогрейдерами планируют верхнюю часть земляного полотна, откосы насыпей высотой до 2,0 м и выемок глубиной до 2,0 м. Пологие откосы насыпей с заложением 1:3 и более планируют автогрейдером при непосредственном движении по ним (рис. 5.1.1).

Рис. 5.1.1. Схема планировки земляного полотна
автогрейдером:
а - планировка поверхности земляного полотна; б - планировка откосов крутизной
1:3
Планировочные работы выполняют в следующей последовательности: вначале планируют поверхность земляного полотна и откосы, затем внешние откосы резервов, а в последнюю очередь - дно резервов, на котором разравнивают грунт, срезанный при планировке откосов. Планировку земляного полотна и откосов следует производить автогрейдерами, оборудованными системой автоматического управления отвалом, принцип работы которого основан на функционировании автоматической системы от датчиков, перемещающихся по специально установленной копирной струне, спланированной поверхности земляного полотна или работающим по лазерным направляющим.
Пологие откосы с заложением 1:3 и более можно планировать бульдозером при движении непосредственно по откосу перпендикулярно оси дороги сверху вниз. Крутые откосы с заложением менее 1:2 планируют автогрейдером или бульдозером, оборудованным удлинителем ножа с выносом его в сторону (рис. 5.1.2).

Рис. 5.1.2.Оборудование бульдозера и автогрейдера для
планировки крутых откосов:
а - вынос ножа автогрейдера в сторону, б - удлинитель отвала бульдозера,
1 и 2 - секции удлинителя; a - угол, соответствующий уклону откоса
Откосы высоких насыпей и глубоких выемок планируют с помощью экскаваторов. При насыпях до 5...7 м целесообразно применять экскаватор - планировщик с телескопической стрелой (рис. 5.1.3), при большей высоте насыпей (до 14 м) - экскаватор с двухотвальным планировщиком (рис. 5.1.4) или драглайн с обычным ковшом. Планировку экскаваторами- планировщиками производят с верхней и нижней стоянок экскаватора, планировку экскаватором-драглайном - только с верхней стоянки.

Рис. 5.1.3. Планировка откосов экскаватором-планировщиком с
телескопической стрелой:
а - планировка верхней части откоса; б - планировка нижней части откоса; А -
первая зона планировки; В - вторая зона планировки

Рис. 5.1.4. Планировка откосов экскаватором с двухотвальным
планировщиком:
а - планировка верхней части откоса; б - планировка нижней части откоса
При планировке откосов глубоких выемок срезаемый грунт должен быть вывезен за пределы выемки. При планировке резервов с разравниванием грунта, срезаемого с поверхности откосов, необходимо следить за тем, чтобы были точно выдержаны продольный и поперечный уклоны дна резерва и тем самым обеспечен водоотвод.
В процессе планировочных работ тщательно контролируют высотные отметки и крутизну откосов на всех пикетах, переломных и промежуточных точках, закрепленных при разбивке земляного полотна. Техническая характеристика экскаваторов-планировщиков приведена в табл. 5.1.1.
Таблица 5.1.1
Экскаваторы-планировщики
|
Показатели |
ЭО-3523А-1 |
ЭО-3532А |
660Е |
|
Базовые шасси |
МЛЗ-5337 |
- |
КрАЗ-250 |
|
Вместимость ковша обратной лопаты, м3 |
0,5 |
0,63 |
0,67 |
|
Максимальная глубина копания, м |
4,6 |
4,7 |
6,6 |
|
Максимальный радиус копания, м |
8,3 |
8,4 |
7,3 |
|
Максимальная высота выгрузки |
4,8 |
4,8 |
3,6 |
|
Угол поворота ковша вокруг продольной оси стрелы, град |
45 |
45 |
- |
|
Длина планируемого участка с одной стоянки, м |
3,2 |
5,6 |
3,6 |
|
Транспортная скорость, км/ч |
60 |
70 |
80 |
|
Масса, кг |
16000 |
18000 |
23133 |
|
Габаритные размеры, м |
7,9´2,5´3,85 |
7,9´2,5´3,65 |
- |
Откосы земляного полотна, а также дно и откосы кюветов и канав укрепляют для предохранения от размыва текущими поверхностными водами, а также во избежание повреждения откосов дождями и выдуванием грунтов ветром (особенно при мелкозернистых песках). Конструкцию укрепления выбирают в зависимости от рода грунта и сил воздействия природно-климатических факторов на земляное полотно с учетом технико-экономической эффективности различных укрепительных конструкций. При этом предпочтение отдают таким конструкциям укреплений, устройство которых возможно индустриальными способами.
Способ укрепления предусматривается проектом с учетом условий сооружения земляного полотна и возможного воздействия на него природных факторов в процессе эксплуатации дороги. При выборе типа укрепления исходят из необходимости надежного обеспечения устойчивости земляного полотна [12, 15].
Основным методом укрепления откосов насыпей, неподтопляемых водой, и откосов выемок является посев многолетних трав, обеспечивающий быстрое создание на откосе дернового покрова и надежное закрепление грунта корневой системой трав. Посев может быть осуществлен двумя способами: механизированным посевом трав по слою растительного грунта, уложенного на откосах; гидропосевом трав без предварительного создания растительного слоя на откосах.
При первом способе на откос укладывают растительный грунт слоем 10...15 см, а затем производят посев трав. Смесь семян многолетних трав, например, тимофеевка луговая, костер безосный, люцерна, высевают агрегатом АДТС-2, который перемещается по откосам драглайном или тракторным краном. Этот агрегат одновременно вносит минеральные удобрения, рыхлит комья растительного грунта, прикатывает засеянную поверхность. Производительность агрегата от 4000 до 9000 м2 в смену в зависимости от высоты насыпи и глубины выемки.
Второй способ (гидропосев) предпочтителен, так как при этом отпадает трудоемкий процесс по созданию растительного слоя грунта на откосах. При гидропосеве применяют смесь, состоящую из семян трав, минеральных удобрений, мульчирующего материала, пленкообразующего компонента и воды. Мульчирующий материал (измельченная солома, опилки) и пленкообразующий материал (битумная эмульсия или латекс) создают на откосе благоприятные условия для роста и развития трав и предохраняют откос от водной и ветровой эрозии.
Для гидропосева применяют специальные машины типа ДЭ-16, состоящие из цистерны с лопастной мешалкой, насоса, шлангов и гидромонитора для разбрызгивания смеси по откосу. Производительность гидросеялки в среднем составляет около 4000 м2 в смену.
Гидропосев многолетних трав следует производить на предварительно увлажненную поверхность откосов.
Когда требуется ускорить получение укрепительного слоя, производят одерновку откосов, т.е. поверхность грунта покрывают готовым дерном, срезанным с применением машины дернореза-дерноукладчика (сменное оборудование к гидравлическому экскаватору). При одерновке в клетку на откос укладывают дерновые ленты в двух взаимно перпендикулярных направлениях с последующей засыпкой клеток между лентами растительным грунтом. При сплошной одерновке плашмя дернины укладывают горизонтальными рядами от подошвы насыпи к бровкам с размещением швов между дернинами в перевязку. Дерн на откосах закрепляют деревянными спицами.
Способ укрепления откосов одерновкой в настоящее время применяется крайне редко ввиду его большой трудоемкости.
В районах, где климатические и почвенные условия не позволяют укреплять неподтопляемые откосы посевом трав, их укрепляют укладкой слоя гравия или щебня толщиной 10...15 см. В засушливых районах для защиты песчаных насыпей от развевания ветром на откосы укладывают слой связного грунта (глина с добавлением песка). В этом случае по низу откосов устраивают дренажные выпуски для выхода воды из тела насыпи.
Для укрепления песчаных грунтов применяют органические вяжущие материалы: битум, деготь, нефтяные остатки и отходы промышленности. Откосы обрабатывают путем розлива вяжущих или распределения по откосу предварительно приготовленной смеси из обработанного грунта.
Одно из перспективных направлений укрепительных работ - использование в откосах или на их поверхности прослоек из геотекстиля. Для укрепления откосов земляного полотна используют как сплошной геотекстиль, так и мелкоячеистый, при использовании которого предусматривается покрытие откоса растительным грунтом с последующим посевом трав.
Конструкции укрепления из геотекстиля могут быть защитными и несущими. Их использование предполагает широкую комбинацию с применением естественных материалов (засыпка грунтом, посев трав, каменная наброска и др.) и искусственных (сборные плиты, решетчатые конструкции и др.).
Применение геотекстиля для укрепления откосов основано на использовании их в качестве армирующего грунт поверхностного слоя (или более глубокой части откоса) элемента или фильтра. При этом в зависимости от вида, назначения и условий работы конструкции укрепления прослойки из геотекстиля выполняют роль покрытия (сплошного или мелкоячеистого), защищающего откос от водной или ветровой эрозии, армирующего элемента, повышающего устойчивость откосов, а также роль обратного фильтра и фильтра, предотвращающего вынос частиц грунтовыми водами.
Для защиты неподтапливаемых откосов от водной и ветровой эрозии геотекстиль расстилают по всей поверхности откоса в виде сплошного покрытия. Верхний край выводят на обочину и далее до укрепительной полосы. Нижний край закрепляют у подошвы насыпи.
В тех случаях, когда необходимо повысить устойчивость откосов или увеличить крутизну, геотекстиль располагают в пределах откосной части насыпи в виде многослойного армирующего элемента (рис. 5.2.1). Такую конструкцию целесообразно сочетать с поверхностной защитой от размыва путем вывода свободных концов полотна на откос с последующим засевом их поверхности гидропосевом или устройством засыпки. Глубина закладки полотен в тело насыпи определяется расчетом в зависимости от необходимой степени обеспечения устойчивости.

Рис. 5.2.1. Поперечные разрезы земляного полотна с откосами,
укрепленными геотекстилем:
а - армирование откоса; б - то же, и защитной поверхности откоса:
1 - покрытие; 2 - обочина; 3 - геотекстиль
Укрепление откосов высоких насыпей с заложением откосов от 1:2 до 1:3 нередко осуществляют с использованием сборных железобетонных элементов решетчатой конструкции. Работы по укреплению откосов производят в следующей технологической последовательности: подготовка откосов - планировка и уплотнение; устройство бетонного упора у подошвы откоса; монтаж железобетонных элементов решетчатой конструкции; заполнение клеток растительным грунтом с посевом трав (клетки могут быть заполнены также щебнем или гравием).
Монтаж решетчатой конструкции укрепления из сборных элементов осуществляют снизу вверх. Подачу деталей производят краном; места стыковки омоноличивают; грунт, гравий или щебень для заполнения ячеек подают также краном.
Решетчатая конструкция с диагональным расположением элементов разработана СоюздорНИИ для защиты откосов от эрозийных деформаций (показана на рис. 5.2.2.)

Рис. 5.2.2. Решетчатая конструкция с диагональным
расположением элементов:
а - поперечный разрез укрепления насыпи; б - вид сбоку:
1 - продольный элемент; 2 - диагональный элемент
Кроме сборных решетчатых конструкций, для укрепления неподтопляемых откосов применяют укладку гравия или щебня слоем 10...15 см. После распределения и разравнивания этого материала на откосе производят его уплотнение с помощью площадочных вибраторов или катков, монтируемых на тросах к экскаватору-драглайну.
Укрепление скальных откосов в выемках и полувыемках, подверженных естественному разрушению, выполняют методом пневмонабрызга бетоношприцмашиной. При этом способе на поверхность откоса с помощью сжатого воздуха распределяют известково-гипсовую, цементо-песчаную или цементобетонную смесь. Пневмонабрызг позволяет укладывать смесь без опалубки и не требует последующего уплотнения смеси. Толщина наносимого слоя различна.
Применяют конструкции:
- облегченные толщиной 25 мм;
- средние - 40...60 мм;
- усиленные до 100 мм (с металлической сеткой);
- мощные толщиной более 100 мм с металлической сеткой и закреплением анкерами.
Технология работ включает: подготовительные работы; нанесение смеси на откос; уход за покрытием.
Подготовительные работы состоят из приготовления смеси и подготовки самого откоса. Поверхность откоса планируют и удаляют отдельные крупные включения. Если конструкция укрепления предусматривает применение металлической сетки (арматуры), то ее навешивают на откос и закрепляют анкерами. Перед нанесением смеси на откос его предварительно увлажняют. Рабочую смесь наносят на откос снизу вверх. Основное оборудование для пневмонабрызга монтируют на автомобильном прицепе. Уход за укрепленным откосом осуществляют путем его увлажнения.
На подтопляемых участках при возможности интенсивного размыва (например, на подходах к мостам, на поймах рек, вблизи озер, морей и крупных водохранилищ и др.) на откосах создают прочную неразмываемую облицовку из готовых сборных элементов - бетонных и железобетонных плит, монолитного железобетона. Применение этих способов укрепления возможно при крутизне откоса не более 1:2.
Бетонные плиты размером в плане 100´100 см и толщиной 16...20 см (рис. 5.2.3) рекомендуется укладывать на откосы при возможной скорости течения воды до 3 м/с и высоте волны не более 0,7 м. Плиты укладывают горизонтальными рядами снизу вверх по откосу с перевязкой швов. У подошвы откоса устраивают бетонный упор из сборных элементов сечением 40´50 см. Под плитами устраивают гравийную или щебеночную прослойку толщиной 10...20 см.

Рис. 5.2.3. Укрепление откоса подтопляемой насыпи бетонными
плитами:
1 - бетонные плиты; 2 - слой щебня или гравия толщиной 10...20 см; 3 - бетонный
упор; 4 - каменная наброска; 5 - укрепление гравием, щебнем или посевом трав
На участках трассы с меньшей вероятностью подтопления и малой скоростью течения воды для укрепления откосов применяют плиты меньших размеров в плане 40´40...60´60 см, толщиной 8...10 см.
Для укрепления откосов постоянно или периодически подтопляемых насыпей при высоте волны до 1,0...1,5 м применяют сборные железобетонные плиты размером в плане 3,0´2,5 м и толщиной 15...20 см, армированные стальными сетками. Плиты укладывают на обратный фильтр, состоящий из трех слоев: песка (10 см); мелкого щебня или гравия (10 см) и крупного гравия или щебня (15 см). У подошвы откоса устраивают упорную призму из камня. Плиты соединяют стальными хомутами, надеваемыми по одному на каждую сторону плиты, на крюки, загибаемые на выпусках арматуры или путем сварки этих выпусков.
При большей высоте волны (до 3 м) откосы укрепляют сборными железобетонными плитами, омоноличенными по контуру с помощью железобетонных подкладок и стальных закладных деталей, или монолитными железобетонными плитами размерами в плане 5,0´5,0 до 10,0´10,0 м и толщиной от 15 до 30 см.
Монолитные плиты укладывают на подготовку из гравия или щебня толщиной 15 см. У подошвы откоса устраивают каменный или бетонный упор. Плиты армируют сетками. Бетонирование ведут сверху вниз горизонтальными рядами. Бетонную смесь к месту укладки подают автомобильным краном в бадьях с разгрузочными затворами. Для уплотнения бетона применяют виброрейки, площадочные и глубинные вибраторы.
В районах, где имеются местные дешевые каменные материалы, подтопляемые откосы от размыва можно защищать каменной наброской. Этот способ укрепления откосов широко распространен благодаря его простоте и возможности полной механизации работ по добыче камня в карьерах, его транспортированию и укладке в дело. Каменную наброску укладывают на подготовку, устраиваемую из местных песчано-гравийных материалов.
Размер камня, толщина наброски и подготовки под нее предусматриваются проектом в зависимости от скорости течения воды и высоты воды.
Способ укрепления подтопляемых откосов мощением камнем имеет в настоящее время ограниченное распространение из-за его трудоемкости. Этот способ применяют главным образом при выполнении ремонтных работ небольшого объема. Камни (обычно размером 15...20 см) кладут снизу вверх по откосу горизонтальными рядами на слой мха, соломы или песка толщиной 5...10 см. У подошвы откоса устраивают упорную берму шириной не менее 1,0 м из более крупного камня. Мощение должно быть настолько плотным, чтобы отдельные камни нельзя было вытащить рукой.
Как видно из вышеизложенного, конструкции укрепления подтопляемых откосов весьма разнообразны. В современных условиях применяют преимущественно такие, детали которых можно изготовить индустриальным методом и укладывать с применением машин.
Основными условиями, определяющими конструкцию укрепления подтопляемых насыпей, являются скорости течения воды, а также сила и направление волнения воды при ветре (табл. 5.2.1).
Конструкции укрепления откосов выбирают на основе технико-экономического сравнения вариантов с учетом природно-климатических факторов, наличия местных материалов и других условий.
Таблица 5.2.1
Допустимые средние (неразмывающие) скорости воды при различных укреплениях грунта, м/с
|
Вид укрепления |
Средняя глубина потока, м |
|||
|
0,4 |
1,0 |
2,0 |
3,0 |
|
|
Одерновка плашмя па прочном основании |
0,9 |
1,2 |
1,3 |
1,4 |
|
Каменная наброска из камня размерами 15...20 см |
3,0...3,5 |
3,35...3,8 |
3,75...4,3 |
4,1...4,65 |
|
Каменная наброска из камня размерами 20...30 см |
3,5...3,85 |
3,8...4,35 |
4,3...4,7 |
4,65...4,9 |
|
Одиночное мощение слоем не менее 10 см при размерах камня 15...25 см |
2,5...3,5 |
3,0...4,0 |
3,5...4,5 |
4,0...5,0 |
|
Железобетонные плиты |
5,0...6,5 |
6,0...8,0 |
7,0...10,0 |
7,5...12,0 |
До начала работы по возведению земляного полотна проверяют соответствие принятых в проекте показателей состава (крупность частиц, пластичность глинистых грунтов) и состояния (влажность, плотность) грунта в карьерах, резервах, выемках с фактическими характеристиками грунтов.
При операционном контроле качества сооружения земляного полотна проверяют:
- правильность размещения осевой линии земляного полотна в плане и высотные отметки;
- толщину снимаемого плодородного слоя грунта;
- плотность грунта в основании земляного полотна;
- влажность отсыпаемого в насыпь грунта;
- толщину уплотняемых слоев;
- однородность грунта в слоях насыпи;
- плотность грунта в слоях насыпи;
- ровность поверхности;
- поперечный профиль земляного полотна (расстояние между осью и бровкой, поперечный уклон, крутизну откосов);
- правильность выполнения водоотводных и дренажных сооружений, укрепления откосов и обочин.
Проверку правильности размещения оси земляного полотна, высотных отметок, обочин, водоотводных и дренажных сооружений и толщин слоев следует производить не реже чем через 100 м (в трех точках на поперечнике) с помощью геодезических инструментов и шаблонов.
Для контроля высотных отметок земляного полотна можно использовать лазерный измерительный прибор ПИЛ - 1 (рис. 5.3.1) [1, 2].

Рис. 5.3.1. Схема установки ПИЛ-1:
1 - измерительная рейка; 2 - фотоприемник; 3 - регистр результатов измерений
(стрелочный прибор); 4 - лазерный передатчик; 5 - штатив; 6 - блок питания
Во время работы фотоприемник 2 перемещают вдоль рейки 1 до появления показаний на стрелочном приборе 3, после чего снимают отсчет со шкалы рейки. Применение ПИЛ - 1 позволяет повысить точность измерений и увеличить производительность труда геодезистов.
Проверку крутизны откосов выполняют с помощью переносных лекал-шаблонов. Для оперативного контроля качества планировки откосов и определения высоты земляного полотна можно воспользоваться способом, предложенным Н.А. Михайленко. Сущность его заключается в том, что эклиметром и рейкой можно заменить использование шаблонов и геодезических инструментов. При проверке крутизны заложения откоса и высоты насыпи на откос укладывают рейку 1 длиной не менее 3,0 м, к ней прикладывают эклиметр 2 и измеряют угол наклона a (рис. 5.3.2).

Рис. 5.3.2. Схема контроля крутизны откоса насыпи:
1- рейка; 2 - эклиметр
Рейкой измеряют длину откоса насыпи l, высоту насыпи (глубину выемки) рассчитывают по формуле
h = l · sina, (5.3.1)
С помощью рейки выявляют неровности на поверхности откосов и устанавливают маяки для срезки или подсыпки грунта.
При контроле ведут журнал, в который записывают дату проверки, проектные и фактические параметры земляного полотна и их отклонения, объемы выполненных работ, а также предложения по оценке качества контролируемых работ. По результатам контроля выполняют исполнительные чертежи земляного полотна. Результаты контроля используют для выявления отклонений фактических параметров земляного полотна от проектных.
В случае выполнения земельных работ дорожными машинами (автогрейдерами, профилировщиками) со следящей системой управления, обеспечивающей их высотное положение и автоматическое движение по заданному курсу, осуществляют контроль качества установки копирных струн на всех этапах этого процесса. Копирную струну устанавливают у бровки насыпи. Крепят ее на металлических стойках, устанавливаемых через 20...30 м друг от друга. Возвышение копирной струны над бровкой земляного полотна - 50...60 см. Опорные стойки и копирную струну устанавливают по нивелиру (рис. 5.3.3).

Рис. 5.3.3. Схема установки копирной струны для
автоматического регулирования работы автогрейдера:
1 - стойка; 2 - лебедка; 3 - промежуточные стойки; 4 - копирная струна; 5 -
растяжка; 6 - барабан
Применение различных автоматизированных систем должно гарантировать строгое соблюдение проектных геометрических элементов земляного полотна. Допустимые отклонения от проектных размеров земляного полотна приведены в табл. 5.3.1.
Таблица 5.3.1
Допустимые отклонения параметров земляного полотна от проектных значений
|
Показатели |
Допустимые отклонения |
Порядок контроля |
|
Высотные отметки продольного профиля полотна и каналов |
±5 см |
Продольное нивелирование |
|
Отклонение по ширине земляного полотна |
±10 см |
Через каждые 50 м |
|
Крутизна откосов (увеличение) |
10 % |
То же |
|
Поперечные размеры (по дну) нагорных и боковых канав |
±5 см |
" |
|
Глубина канав |
±5 см |
" |
|
Поперечные размеры дренажей |
±5 см |
Через каждые 50 м и в местах выпуска вод |
|
Продольные уклоны дренажей |
±10 % |
Продольное нивелирование |
|
Снижение плотности от проектных значений нескальных грунтов в слоях земляного полотна не более чем в 10 % определений от их общего числа |
2...4 % |
Через 50 м верхнего слоя земляного полотна |
Приемку выполненных работ проводят в целях соответствия возведенного земляного полотна конструкции, предусмотренной в проекте, а также с целью проверки фактически выполненных объемов работ.
Без приемки земляного полотна (с участием представителей технического надзора заказчика, авторского надзора проектной организации и др.) с оформлением соответствующего акта не допускают работы по строительству конструктивных слоев дорожной одежды.
Приемка работ - это одно из мероприятий, способствующее повышению качества строительных работ. Приемку, как правило, производят в несколько этапов:
- приемка «скрытых работ»;
- промежуточная приемка законченных отдельных конструктивных элементов;
- приемка готового земляного полотна.
К «скрытым» относят работы, которые при последующем осуществлении конструкции будут скрыты и недоступны для внешнего осмотра, обмера или взятия проб для лабораторного анализа. К скрытым работам относят подготовку основания насыпи - удаление растительного грунта, уплотнение естественного основания под насыпью, устройство уступов на косогорах и др. Приемку скрытых работ осуществляют по мере их выполнения. До составления актов о приемке скрытых работ приступать к последующим работам не разрешается.
Промежуточные приемки законченных отдельных конструктивных элементов (дренажи, трубы, подпорные стенки, водоотводные канавы и др.) имеют цель установить количество и объем выполненных работ, соответствие их проектным решениям и техническим нормативам. При промежуточной приемке определяется возможность производства последующих работ. Промежуточные приемки законченных сооружений осуществляют по мере их готовности, однако ее можно делать и позже, если сооружение не будет скрыто последующими работами.
Приемку готового земляного полотна принимает комиссия в составе: представителя технического надзора заказчика, автора проекта или его представителя, руководителя строительного подразделения, выполнявшего работы и др.
Приемной комиссии представляют следующие документы:
- технический проект (или рабочие чертежи) принимаемого сооружения;
- акты на скрытые работы, выполненные ранее;
- акты геодезической разбивки и установки реперов;
- исполнительные (или рабочие) чертежи с отметкой о допущенных отступлениях от проектных решений;
- журналы и акты лабораторных испытаний;
- журналы производства работ.
В процессе работ по приемке комиссии руководствуются техническими правилами на рассматриваемый вид работ или конструкцию сооружения и утвержденными допустимыми отклонениями, которые обычно приводятся в соответствующих инструкциях и технических правилах, Некоторые данные, которыми следует руководствоваться при приемке земляного полотна, приведены в табл. 5.3.2.
Параметры, используемые при оценке качества возведения земляного полотна, и условия их оценки
|
Конструктивный элемент, вид работ и контролируемый параметр |
Условия оценки на |
|
|
"хорошо" |
"отлично" |
|
|
1. Подготовка основания земляного полотна: 1.1 Толщина снимаемого плодородного слоя грунта |
Не более 10 % результатов определений могут иметь отклонения от проектных значений в пределах до ±40 %, остальные до ±20 % |
Не более 5 % результатов определений могут иметь отклонения от проектных значений в пределах до ±40 %, остальные до ±20 % |
|
1.2. Снижение плотности естественного основания |
Не более 10 % результатов определений могут иметь отклонения от проектных значений в пределах до 4 %, остальные должны быть не ниже проектных значений |
Не более 10 % результатов определений могут иметь отклонения от проектных значений в пределах до 2 %, остальные должны быть не ниже проектных значений |
|
2. Возведение насыпей и разработка выемок: 2.1. Снижение плотности слоев земляного полотна из нескальных грунтов |
Не более 10 % результатов определений могут иметь отклонения от проектных значений в пределах до 4 %, остальные должны быть не ниже проектных значений |
Не более 10 % результатов определений могут иметь отклонения от проектных значений в пределах до 2 %, остальные должны быть не ниже проектных значений |
|
2.2. Высота отметки продольного профиля |
Не более 10 % результатов определений могут иметь отклонения от проектных значений в пределах до ±100 (20) мм, остальные - до ±50 (10) мм |
Не более 5 % результатов определений могут иметь отклонения от проектных значений в пределах до ±100 (20) мм, остальные - до ±50 (10) мм |
|
2.3. Расстояние между осью и бровкой земляного полотна |
Не более 10 % результатов определений могут иметь отклонения от проектных значений в пределах до ±20 см, остальные - ±10 см |
Не более 5 % результатов определений могут иметь отклонения от проектных значений в пределах до ±20 см, остальные - до ±10 см |
|
2.4. Поперечные уклоны |
Не более 10 % результатов определений могут иметь отклонения от проектных значений в пределах от минус 0,015 (-0,010) до -0,030 (-0,015), остальные - до ±0,010 (±0,005) |
Не более 5 % результатов определений могут иметь отклонения от проектных значений в пределах от минус 0,015 (-0,010) до -0,030 (-0,015), остальные -до ±0,010 (±0,005) |
|
2.5. Уменьшение крутизны откосов |
Не более 10% результатов определений могут иметь отклонения от проектных значений в пределах до 20%, остальные - до 10 %; |
Не более 5% результатов определений могут иметь отклонения от проектных значений в пределах до 20%, остальные - до 10 %; |
|
3. Устройство водоотвода: 3.1. Увеличение поперечных размеров кюветов, нагорных и других канав (по дну) |
Не более 10 % результатов определений могут иметь отклонения от проектных значений в пределах до 10 см, остальные - до 5 см |
Не более 5 % результатов определений могут иметь отклонения от проектных значений в пределах до 10 см, остальные - до 5 см |
|
3.2. Глубина кюветов нагорных и других канав (при условии обеспечения стока) |
Не более 10 % результатов определений могут иметь отклонения от проектных значений в пределах до ±10 см. остальные - до ±5 см |
Не более 5 % результатов определений могут иметь отклонения от проектных значений в пределах до ±10 см, остальные - до ±5 см |
|
3.3. Поперечные размеры дренажей |
Не более 10 % результатов определений могут иметь отклонения от проектных значений в пределах до ±10 см, остальные - до ±5 см |
Не более 5 % результатов определений могут иметь отклонения от проектных значений в пределах до ±10 см, остальные - до ±5 см |
|
3.4. Продольные уклоны дренажей |
Не более 10 % результатов определений могут иметь отклонения от проектных значении в пределах до ±20 %, остальные - до ±10 % |
Не более 5 % результатов определений могут иметь отклонения от проектных значений в пределах до ±20 %, остальные - до ±10 % |
|
4. Устройство присыпных обочин: 4.1. Снижение плотности грунта в обочинах |
Не более 10 % результатов определений могут иметь отклонения от проектных значений в пределах до 4 %, остальные должны быть не ниже проектных значений |
Не более 10 % результатов определений могут иметь отклонения от проектных значений в пределах до 2 %, остальные должны быть не ниже проектных значений |
|
4.2. Поперечные уклоны обочин |
Не более 10 % результатов определений могут иметь отклонения от проектных значений и пределах от 1,5 до 3 % (1,0...1,5), остальные - до ±0,1 % (0,5) |
Не более 5 % результатов определений могут иметь отклонения от проектных значений в пределах от 1,5 до 3 % (1,0...1,5), остальные - до ±0,1 % (0,5) |
|
5. Укрепление откосов: 5.1. Толщина укрепления |
Не более 10 % результатов определений могут имен, отклонения от проектных значений н пределах от минус 22 до 30 мм. остальные - до ±15 мм |
Не более 5 % результатов определений могут иметь отклонения от проектных значений в пределах от минус 22 до 30 мм, остальные - до ±15 мм |
Примечание. Данные в скобках относятся и к работам, выполняемым с применением машин с автоматической системой задания вертикальных отметок.
Оценку качества устройства земляного полотна следует производить на основе расчета комплексного показателя по формуле
(5.3.2)
где Р - комплексный показатель;
s1...s5 - соответственно оценка качества подготовки основания земляного полотна, возведения насыпей и разработки выемок, устройства водоотвода, присыпных обочин и укрепительных работ в баллах;
a1...a5 - коэффициенты значимости видов работ, принимаемые соответственно 0,7; 1,0; 0,8; 0,6; 0,7.
Оценку качества отдельных видов работ следует производить по результатам осредненных оценок степени соответствия параметров требованиям проекта и нормативных документов по формуле
(5.3.3)
где Si - оценка качества подготовки основания земляного полотна;
Pi - оценка степени соответствия i-го параметра требованиям проекта и нормативных документов, выраженных в баллах;
п - количество параметров, подлежащих оценке по каждому виду работ.
Например, качество подготовки основания земляного полотна оценено баллами: удаление плодородного слоя грунта - 5; плотность естественного основания подошвы насыпи - 4
![]()
Качество возведение насыпи: плотность слоев земляного полотна - 4; высота насыпи земляного полотна - 4; ширина земляного полотна - 5; поперечный уклон - 5; крутизна откосов - 4.
![]()
Оценку качества устройства земляного полотна определяют по формуле (5.3.2) в зависимости от значения показателя Р:
«отлично» при Р = 4,61...5,0;
«хорошо» при Р = 3,91...4,6;
«удовлетворительно» при Р = 3,0...3,9.
В случае, если земляное полотно возведено с малозначительными отклонениями параметров, не указанных в табл. 5.3.2, от требований технической документации, согласованными с проектной организацией и заказчиком, значение комплексного показателя Р, рассчитанного по формуле (5.3.2) для соответствующего вида работ, снижается на 0,25 (за каждый параметр). Если значение этого показателя получится меньше трех, данный вид работ оценивается на «удовлетворительно».
Если при оценки степени соответствия параметров по какому-либо виду работ требования проекта и нормативных документов не выполнены, то работы подлежат повторной приемке и оценке после переделки (исправления).
Дорожно-строительные материалы в период эксплуатации в сооружении (дорожная одежда, искусственные сооружения и другие) подвергаются воздействию внешних механических сил и физико-химических факторов окружающей среды. К внешним механическим воздействиям относят ударные и статические нагрузки транспортных средств, механическую работу воды, ветра и другие. К физико-химическим факторам относят колебания температуры воздуха, инсоляцию, атмосферные осадки, поверхностные и грунтовые воды.
В зависимости от того, в каком элементе дорожной конструкции работают материалы, они по-разному подвергаются воздействию внешних сил и физико-химическим процессам окружающей среды. Так, атмосферные воды, попадая в отдельные слои дорожной одежды, могут нарушать структурные связи в материале, растворять и вымывать некоторые вещества. Минерализованные воды постепенно разрушают такие материалы, как грунтоцемент, цементобетон и др. Колебания температуры периодически изменяют внутренние напряжения в материалах, а также изменяют их состояние, что приводит к ослаблению структурных связей, появлению микротрещин, сдвигов под воздействием транспортных средств. С течением времени, под влиянием сложного комплекса механических, физических и химических факторов, строительные материалы в дорожных конструкциях постепенно разрушаются. Интенсивность разрушения определяется особенностями внешних воздействий, конструкцией дорожной одежды и свойствами материалов - объективными признаками, проявляющимися при производстве, применении и работе материалов в конструкциях. Пригодность материалов для конкретных условий определяют по их свойствам. Свойства материалов многообразны, что обусловлено, главным образом, их вещественным составом.
Физические свойства характеризуют физическое состояние материала, а также определяют его отношение к физическим процессам окружающей среды. При этом физические процессы в материале не изменяют строение его молекул. Обычно к таким свойствам относят истинную плотность (удельный вес), среднюю плотность (объемную массу), насыпную плотность (насыпная масса), пористость, пустотность, влажность, водопоглощение, водонасыщение, усадку, огнеупорность, огнестойкость, светостойкость.
Истинная плотность - масса вещества материала в единице объема (без пор и пустот). Истинную плотность rи выражают отношением массы материала в сухом состоянии к объему материала в абсолютно плотном состоянии. Истинную плотность выражают в кг/м3. Для определения истинной плотности хрупких материалов, обладающих пористостью, их тонко размельчают, получая частицы размером менее 0,25 мм. Истинная плотность основных дорожно-строительных материалов колеблется от 2500 до 3300 кг/м3.
Средняя плотность (объемная масса) - масса единицы объема материала в естественном состоянии (с порами, пустотами, микротрещинами и т.д.). Средняя плотность строительных материалов меньше истинной плотности. Чем меньше пористость материала, тем ближе значение средней плотности к истинной плотности.
Насыпная плотность (насыпная масса) - масса единицы объема материала в рыхлом состоянии, Насыпная плотность включает, кроме пор, пустот и трещин в зернах материала, пустоты между зернами. Чем больше средняя плотность материала, тем меньше его пористость и лучше он проводит тепло, звук и т.д.
Таблица 6.1.1
Плотность строительных материалов
|
Материал |
Истинная плотность, кг/м3 |
Средняя плотность, кг/м3 |
Насыпная плотность, кг/м3 |
|
Гранит |
2600...2800 |
2500...2700 |
- |
|
Известняк плотный |
2400...2600 |
1800...2400 |
- |
|
Кирпич глиняный |
2900...3100 |
1600...1800 |
- |
|
Древесина |
1500...1600 |
500...1000 |
- |
|
Битум |
1000...1200 |
1000 |
- |
|
Сталь |
7800...7900 |
7 800...7900 |
- |
|
Щебень гранитный |
2600...2800 |
- |
1400...1600 |
|
Песок кварцевый |
2600...2700 |
- |
1350...1600 |
|
Портландцемент |
2900...3300 |
- |
1200...1300 |
Пористость характеризует количество пор и микротрещин в единице объема материала
(6.1.1)
где rс - средняя плотность материала, кг/м3;
rи - истинная плотность материала, кг/м3.
Пористость в значительной мере обуславливает физические, механические и другие свойства материалов. Чем больше пористость, тем меньше прочность и теплопроводность, больше водо- и газопроницаемость. Опытный инженер по пористости ориентировочно может определить многие свойства материалов.
Пустотность - характеризует объем пустот между зернами рыхлого материала
Vпуст = (1 - rн /rи)·100, (6.1.2)
где rн - насыпная плотность материала, кг/м3;
Влажность - содержание воды в единице объема или массы в процентах:
Wо = (mв - mc)/V·100 или Wm =( mв - mc)/mв·100, (6.1.3)
где mв и mc - масса влажного и сухого образца материала, г;
V - объем материала, см3.
Природная влажность материала зависит от его гигроскопичности, т.е. способности материала поглощать водяной пар из влажного воздуха за счет адсорбации пара на внутренней поверхности пор и капилляров. Чем больше внутренняя поверхность материала, тем больше гигроскопичность, а следовательно, и природная влажность. Для древесины она - 12...18 %, для стеновых каменных материалов - 4...7 % по массе.
Водопоглощение - количество воды, которое может поглотить погруженный в воду материал, а затем удержать его молекулярными и капиллярными силами при атмосферном давлении.
Средняя плотность (объемная масса) материала одного и того же состава зависит от влажности и пористости материала (рис. 6.1.1). С увеличением пористости, а следовательно и влажности, средняя плотность увеличивается.
Водонасыщение определяется количеством воды, которое может поглотить материал при вакууме или повышенном давлении. В этом случае из открытых пор вытесняется воздух, вследствие чего материал насыщается водой больше, чем при атмосферном давлении. Водопоглощение и водонасыщение изменяются в пределах: у гранита от 0,02 до 0,7, у асфальтобетона - от 2 до 5, у кирпича - от 8 до 15 %.

Рис. 6.1.1. Зависимость средней плотности известняков rср от их водопоглощения W
Усадка - изменение размеров материала при его высыхании.
Набухание - увеличение объема материала при насыщении его водой.
Многократное высыхание и увлажнение материала ускоряет его разрушение.
Водонепроницаемость - способность материала не пропускать воду. Водонепроницаемость тесно связана с естественной влажностью материала, водопоглощением и водонасыщением.
Теплопроводность - способность материала передавать через свою толщу тепловой поток, возникший вследствие разности температур на поверхностях, ограничивающих материал. Коэффициент теплопроводности колеблется от 0,06 (минеральная вата) до 58 (сталь), для кирпича он равен 0,82, для бетона - 1,28...1,55, для гранита - 2,92.
Механические свойства - способность материала сопротивляться деформированию и разрушению под действием напряжений, возникающих в результате приложения внешних сил.
Нагрузки вызывают в материалах нормальные (растягивающие, сжимающие) и касательные напряжения, обуславливающие процессы деформирования материала. К основным показателям, характеризующим механические свойства, относят: прочность, упругость, пластичность, хрупкость, ползучесть.
Прочность - важнейшее свойство материала, в большинстве случаев, определяет возможность его использования в строительной конструкции. Показатели прочности в значительной степени являются условными. Они зависят от размера и формы образца, скорости его нагружения и других факторов. Поэтому методика определения прочности строительных материалов строго регламентируется нормативно-техническими документами. Прочность материала измеряется мегапаскалями (МПа).
Прочность при сжатии стандартного образца в форме куба определяют по формуле
Rк = Р/а2 , МПа, (6.1.4)
где Р - разрушающее усилие, кг;
а - размер ребра куба (для бетона 15´15´15), см.
Прочность при сжатии стандартного образца в виде цилиндра
Rц = 4P/pd2, (6.1.5)
где d - диаметр цилиндра (для испытания бетона принять цилиндр диаметром d = 15 см и высотой h = 30 см).
Наиболее прочными являются металлы, например, сталь (150...500 МПа), прочность гранита при сжатии - 120...150 МПа, при растяжении - менее 10 МПа. Прочность бетона при сжатии изменяется от 1 до 100 МПа, а при растяжении их прочность в 10...15 раз меньше. Прочность асфальтобетонов при сжатии - 5...7 МПа (температура при испытании - 20...25°С).
Предел прочности бетона на растяжении при изгибе определяют на балочке в виде призмы размером 15´15´60 см по формуле
Rр.и. = pl/bh2, МПа, (6.1.6)
где l, b, h - соответственно, длина, ширина и высота балочки, см.
Упругость выражается в восстановлении первоначальной формы и объема образца после прекращения действия внешних сил.
Вязкость - свойство твердых тел под воздействием внешних сил необратимо поглощать механическую энергию при пластической деформации. Абсолютно упругих и абсолютно вязких материалов нет, все дорожно-строительные материалы обладают в той или иной степени упругостью и вязкостью.
Упругость и вязкость материала характеризуется, соответственно, модулем упругости и коэффициентом вязкости:
Е = s/e, (6.1.7)
h = s : de/dt, (6.1.8)
где Е, h - модуль упругости и коэффициент вязкости;
s - напряжение, МПа;
e, de/dt - относительная деформация и скорость изменения относительной деформации, С-1.
Пластичность - способность материала необратимо деформироваться под влиянием действующих на него усилий без разрыва сплошности (образования трещин).
Хрупкость - свойства материалов под влиянием внешних сил разрушаться, не давая остаточных пластических деформаций. Хрупкость противоположна пластичности. Хрупкость и пластичность материалов зависят от температуры и режима нагружения. Например, битумы хрупки при пониженной температуре и быстро нарастающей нагрузке, пластичны при медленно действующей нагрузке и повышенной температуре. Хрупкие материалы плохо сопротивляются напряжению, динамическим и повторным нагрузкам.
Ползучесть - способность материалов длительно деформироваться под действием постоянной нагрузки. Ползучесть материалов возрастает с уменьшением их вязкости, поэтому большей ползучестью обладают вязкие пластичные материалы (например, асфальтобетон) и меньшей - хрупкие, упругие материалы (например, цементобетон).
Химические свойства материала определяют его способность вступать в химические взаимодействия с веществами среды, в которой он находится, при этом появляются новые вещества. К химическим свойствам можно отнести: растворимость, коррозийную стойкость, атмосферостойкость, твердение, адгезию и др.
Химические свойства учитывают при оценке пригодности материала для тех или иных целей в строительстве.
Растворимость - способность образовывать истинные растворы в результате взаимодействия материала с водой или с другими растворителями. Строительные материалы, в большинстве случаев, должны быть нерастворимы в условиях их эксплуатации.
Коррозийная стойкость - свойства материала не разрушаться в агрессивных средах. Наиболее стойкими по отношению к агрессивным средам являются керамические материалы. Неустойчивы в кислой среде известняки, доломиты, древесина, портландцементы; к щелочной среде - древесина, битумы.
Атмосферостойкость - свойство материала не разрушаться под воздействием климатических условий. С атмосферостойкостью материала часто связана его склонность к старению вследствие протекания в нем физико-химических процессов и ухудшения свойств. Старение характерно для битумов, асфальтобетонов.
Твердение - свойство материалов затвердевать в результате химических и физико-химических процессов и приобретать ряд новых свойств - сопротивляемость различным по виду и характеру нагрузкам, агрессивным воздействиям внешней среды. Твердение обычно оценивают показателями прочности и их изменением во времени.
Адгезия - свойство одного материала прилипать к поверхности другого. Измеряют адгезию прочностью сцепления при отрыве одного из них от другого. Адгезия имеет важное значение в технологии изготовления материалов и конструкций.
Они обуславливают возможность создания из материала конструкций с заданными механическими свойствами. К этой группе относят твердость, истираемость, износ и т.д.
Твердость - способность материала сопротивляться проникновению в него более твердого материала. От твердости зависит, в частности, истираемость поверхности слоев дорожных покрытий. Твердость каменных материалов можно определить по шкале твердости (табл. 6.1.2).
Таблица 6.1.2
Шкала твердости
|
Показатель твердости |
Минерал |
Характеристика твердости |
|
1 |
Тальк или мел |
Легко чертится ногтем |
|
2 |
Каменная соль |
Чертится ногтем |
|
3 |
Кальцит или ангидрит |
Легко чертится стальным ножом |
|
4 |
Плавиковый шпат |
Чертится стальным ножом под небольшим давлением |
|
5 |
Апатит |
Чертится стальным ножом под большим нажимом, стекло не чертится |
|
6 |
Ортоклаз |
Слегка царапает стекло, стальным ножом не чертится |
|
7 |
Кварц |
Легко чертит стекло, стальным ножом не чертится |
Истираемость - способность материала уменьшаться в массе и объеме под действием истирающих усилий. Истираемость определяют на стандартных машинах, вычисляя массу истертого образца к его площади (г/см2). Истираемость имеет большое значение для строительных материалов, используемых в дорожных покрытиях.
Износ - свойства материала сопротивляться одновременному воздействию истирания и ударов. Износ определяют на образцах, которые испытывают во вращающихся барабанах со стальными шарами. Показатель износа - потеря массы образца (%) в процессе испытания.
Истираемость щебня (гравия) оценивают путем испытания в полочном барабане. Количество чугунных или стальных шаров в барабане, а также количество оборотов барабана назначают в зависимости от размера испытуемого материала (табл. 6.1.3).
Таблица 6.1.3
Количество шаров и оборотов барабана
|
Размер фракции, мм |
Количество чугунных или стальных шаров в барабане |
Количество оборотов барабана |
|
5-10 |
8 |
500 |
|
10-20 |
11 |
500 |
|
20-40 |
12 |
1000 |
Класс щебня (гравия) по истираемости оценивают по потере в массе. Скорость вращения барабана - 30 оборотов в мин. (рис. 6.1.2).
(6.1.9)
где И - показатель истираемости;
Р1 - масса щебня (гравия) до испытания;
Р2 - масса щебня (гравия) после просеивания пробы, прошедшей испытание.

Рис. 6.1.2. Полочный барабан для определения прочности при износе: 1 - полка
По потере массы при износе (истирании) в полочном барабане щебень подразделяют на очень прочный (износ менее 20 %), прочный - 21...30 %, средней прочности - 31...45 %, слабый - 46...55 %, очень слабый - более 56 %.
Коэффициент конструктивного качества (удельная прочность) материала представляет собой отношение прочности (МПа) к средней плотности. Лучшие конструктивные материалы имеют высокую прочность при малой и средней плотности, что способствует созданию легких конструкций. У сплавов из алюминия коэффициент конструктивного качества превышает 250, бетонов - 12...25, кирпича - 5...6.
Они характеризуют поведение материалов при технологических процессах, их обработке и переработке (например, буримость, дробимость горных скальных пород; формуемость, слеживаемость, нерасслаиваемость бетонных смесей; вязкость жидкообразных минералов и смесей, твердение, адгезия и др.). По технологическим свойствам судят о возможности переработки и получения доброкачественной продукции из исходных материалов при принятой технологии и имеющемся техническом оборудовании.
Очень часто не представляется возможным определить ту или иную характеристику материала, необходимую для расчетов в технологических и эксплуатационных процессах, точными методами физики, механики и химии. Поэтому в практике используют условные показатели, которые определяют приближенными методами.
Например, вязкость битумов трудно измерить строгими физическими методами, поэтому предложено вязкость вязких битумов определять путем пенетрации (глубина погружения стандартной иглы в битум при температуре 25°С). Вязкость жидких битумов и дегтей определяют с помощью стандартного вискозиметра по времени истечения вяжущего через калиброванное отверстие 5 мм при 60°С.
Удобоукладываемость бетонных смесей - скорость переформования в секундах стандартного конуса из бетонной смеси в равновеликий цилиндр.
Формуемость - свойство смесей, составленных из различных компонентов, приобретать заданную форму при минимальных затратах средств.
Нерасслаиваемость - свойство смеси сохранять неоднородность при транспортировании и формовании.
Названные и многие другие свойства оцениваются количественно условными показателями, несогласующимися с принятой международной системой единиц. Поэтому эти показатели в разных странах неодинаковы, в большинстве случаев они нормированы в пределах одной страны, а иногда - в пределах отрасли.
Эксплуатационные свойства обуславливают работу материала в элементах дорожных конструкций на протяжении определенного отрезка времени. К этим свойствам относят долговечность, выносливость, морозостойкость и др.
Долговечность обусловлена способностью материала сопротивляться комплексному воздействию механических нагрузок, изменению температуры и влажности, действию растворов солей и др. Критерии долговечности материала комплексны, они зависят от его физических, механических и химических свойств.
Выносливость - способность материала многократно сопротивляться прилагаемым механическим воздействиям, которые ускоряют разрушение строительных материалов, вследствие чего ухудшается их долговечность. Выносливость обычно измеряется количеством нагружений, которое выдержал материал до разрушения.
С долговечностью материалов связывают выносливость.
Долговечность материалов также нормируется. Например, для железобетонных конструкций предусмотрены три степени долговечности: I - соответствует сроку службы не менее 100 лет; II - 50 лет; III - 20 лет. Часто долговечность материала характеризуется морозостойкостью.
Морозостойкость - способность материала при попеременном замораживании и оттаивании не проявлять заметных признаков разрушения. Более интенсивно проявляется воздействие переменных температур на водонасыщенные каменные материалы. В этом случае вода, находящаяся в порах и микротрещинах, замерзая при понижении температуры, переходит в твердое состояние и увеличивается в объеме примерно на 10 %. Возникающее давление льда при многократном повторении замораживания-оттаивания постепенно разрушает материал.
Чем меньше кристаллы, больше плотность и меньше открытых пор, тем выше морозостойкость. Чем меньше диаметр пор, тем ниже температура замерзания воды, заключенной в них. Так, при диаметре капилляра 1,5 мм, температура замерзания воды - 6,4°С, прим 0,06 мм - 18,4°С.
В зависимости от климатических условий, в которых будет работать материал, к нему предъявляют различные требования по показателю морозостойкости, определяемой количеством циклов попеременного замораживания и оттаивания до разрушения материала. Часто коэффициент морозостойкости определяют как отношение показателя прочности материала в водонасыщенном состоянии после испытания на морозостойкость к показателю прочности до испытания.
Природные каменные материалы, являясь продуктом механической переработки горных пород, отличаются от последних формой и размерами, а также состоянием поверхности раскола отдельностей. Поэтому, их свойства зависят от состава исходной горной породы и ее состояния (трещиностойкости, степени выветривания и др.). Природные каменные материалы получают из скальных и обломочных горных пород, в соответствии с ГОСТ 8267-93.
Скальные горные породы с жесткими структурными связями обладают достаточно высокой прочностью и залегают в земной коре в виде массивов или трещиноватых слоев.
Обломочные горные породы - рыхлые (сыпучие), состоят из обломков скальных горных пород без прочных связей между ними и залегают в виде скоплений.
В зависимости от назначения и условий, в которых будет работать материал, применяют дробленые материалы (щебень, высевки), а также колотые (бутовый камень, шашку для мощения и др.).
К природным обломочным горным породам относят валунный камень, гравий и песок, которые уже в естественном виде могут быть использованы в строительстве.
Наибольшее применение в дорожном строительстве получили горные породы магматического, осадочного и метаморфического происхождения.
Магматические (изверженные) горные породы по химическому составу характеризуются содержанием, главным образом, кремния, алюминия, железа, кальция, магния, калия и натрия. Основными породообразующими минералами изверженных горных пород являются: кварц, полевые шпаты, слюды и др. Характерной особенностью химического состава изверженных пород является содержание в них кремнезема в свободном или связанном состоянии. По содержанию кремнезема эти породы делят на кислые, средние и основные. В кислых породах (группа гранитов) содержание кремнезема доходит до 65...75 %, в средних (группа сиенита и диорита) - от 52 до 65, в основных (группа габбро) - от 40 до 52 %. Характеристика магматических (изверженных) пород приведена в табл. 6.2.1.
Таблица 6.2.1
Характеристика магматических (изверженных) горных пород
|
Горные породы |
Основные физико-механические свойства |
Структурно-текстурные признаки |
Физико-механические и технологические свойства |
||||
|
предел прочности при расколе, МПа, более |
степень хрупкости, более |
энергоемкость (удельная работа при статической нагрузке), более |
водопоглощение, % |
марка породы |
|||
|
1. Граниты, сиениты, диориты, порфиты, диабазы, габбро |
Породы (свежие) прочностью при сжатии более 120 МПа; морозостойкость более F200 |
Породы полнокристаллической структуры (мелко-, средне- и крупно-) плотные, поверхность раската шероховатая |
6 |
1 |
0.8 |
0,5 |
I |
|
2. Лимариты, дезиты, шрахиты, базальты |
Породы (свежие) прочностью при сжатии более 120 МПа; морозостойкость более F50... 200 |
Породы мелко- и скрытокристаллической структуры, плотные, реже пористые, поверхность раскола гладкая или слабошероховатая |
6 |
4 |
0.2 |
0,1...0,5 |
I |
|
3. Граниты, сиениты, диориты, порфиты, диабазы, андезиты, габбро, лимариты, трахиты |
Породы пониженной прочности (частично затронутые выветриванием), прочностью при сжатии от 80 до 120 МПа. морозостойкость F50... 100 |
Породы полно-, мелко- и скрыто кристаллической структуры от плотной до сильнопористой текстуры, поверхность раскола от гладкой до шероховатой |
5 4 |
2 5 |
0,5 0,4 |
0,5...1,0 0,5...2,0 |
II III |
Осадочные горные породы залегают в верхних слоях земной коры. В общей толще земной коры осадочные породы составляют примерно 5 %. Скальные горные породы осадочного происхождения (известняки, доломиты, гипс, ангидрит, песчаники, конгломераты, брекчии), в отличие от магматических, в той или иной мере растворимы в воде и снижают свою прочность при водонасыщении, за исключением сцементированных пород с кремнистым цементом.
Осадочные породы органогенного происхождения образовались в результате уплотнения и цементации отмерших организмов, отличаются значительной пористостью и многие из них растворяются в воде.
В дорожном строительстве используют карбонатные (известняки, мел, известняки-ракушечники) и кремнистые (диатомиты, трепелы, опоки) органогенные осадочные породы.
Осадочные породы химического происхождения образовались в результате выпадения из растворов химических осадков. Наиболее распространенными являются доломиты, магнезиты, известняковые туфы, гипс, ангидрит. Для осадочных пород химического происхождения характерна растворимость в воде и наличие пустот и трещин. Характеристика осадочных пород приведена в табл. 6.2.2.
Таблица 6.2.2
Характеристика осадочных горных пород
|
Горные породы |
Основные физико-механические свойства |
Структурно-текстурные признаки |
Физико-механические и технологические свойства |
||||
|
предел прочности при расколе, МПа, более |
степень хрупкости, более |
энергоемкость (удельная работа при статической нагрузке), более |
водопоглощение, % |
марка породы |
|||
|
1. Песчаники |
Породы (свежие и затронутые выветриванием) прочностью при сжатии 60 MПa; морозостойкость F25...150 |
Породы от плотнокристаллических до слабоцементированных зернистых, площадь раскола от гладкой до слабошероховатой |
6 5 4 3 |
2 2,5 4 6 |
0,6 0,5 0,1 0 |
0,5...5,0 |
I II III IV |
|
2. Известняки и доломиты |
Породы (свежие и затронутые выветриванием) прочностью при сжатии 60...150 МПа; морозостойкость F25...150 |
Породы от плотнокристаллических до слабоцементированных зернистых, площадь раскола гладкая и шероховатая |
6 5 4 3 |
2,5 4 6 8 |
0,5 0,4 0,0 0.0 |
0,5...5,0 |
I II III IV |
Метаморфические горные породы образовались в результате изменения магматических (изверженных) и осадочных горных пород под влиянием высокой температуры, давления, химически активных веществ. В результате метаморфизма первичные породы в большей или меньшей степени могут изменять текстуру, минералогический, а иногда и химический составы. Метаморфизация изверженных пород, как правило, ухудшает их физико-механические свойства. Метаморфизация осадочных пород, наоборот, улучшает механические свойства. К наиболее часто встречающимся в недрах земной коры метаморфическим породам относят гнейсы, кварциты, мрамор.
Гнейсы - горные породы грубо- или тонкосланцеватой и ленточной текстур, получившиеся в результате видоизменения гранитов, гранодиоритов и др. В гнейсах минералы как бы сжаты и располагаются параллельно некоторой плоскости, что обуславливает неодинаковые их свойства в разных направлениях. Обычно гнейсы в направлении, перпендикулярном к сланцеватости, обладают значительной прочностью при сжатии (150...200 МПа), но наличие хорошо выраженной сланцеватости в ряде случаев несколько ограничивает область применения в дорожном строительстве. При дроблении гнейсов на щебень образуется заметное количество плоских и вытянутых щебенок, что снижает качество щебня.
Кварциты - равномерно кристаллическая, плотная горная порода, состоящая из мелких зерен кварца, сцементированных кремнистым веществом. При этом цементирующее вещество отличимо (без микроскопа) от зерен кварца. Кварциты характеризуются большой плотностью, прочностью, хрупкостью и твердостью, при разломе они образуют гладкую поверхность с острыми режущими ребрами. Кварциты используют для строительных работ в виде бутового камня, щебня, реже - шашки для мощения.
Мрамор - плотный кристаллический известняк, состоящий, в основном, из тесно сросшихся кристаллов кальция (кальцитовый мрамор). Часто в мраморах наблюдаются примеси магнезита. Иногда эта примесь настолько значительна, что порода носит название доломитового мрамора. Цвет чистого мрамора - белый, но в зависимости от примесей он может быть красным, серым, черным и др. Вследствие высоких механических свойств (прочность при сжатии от 50 до 100 МПа) и красивого рисунка, мрамор применяют для различных отделочных и декоративных работ. Разновидности мрамора, непригодные для изготовления штучных изделий, а также отходы при обработке дробят для получения мраморной крошки и порошка, которые применяют как заполнители в мозаичных и асфальтобетонных работах в качестве минерального порошка.
К обломочным горным породам или механическим отложениям относят продукты выветривания изверженных, метаморфических или ранее образованных осадочных пород. Различают рыхлые и сцементированные обломочные породы.
По крупности окатанных обломков рыхлые горные породы условно делят на валуны, гальку, гравий, песок.
Валунный камень - грубокатанные, преимущественно округлой формы, обломки скальных пород размером более 100 мм. Валуны размером до 250 мм называют сырцом, так как их можно применять для дорожных работ (например, мощения) без дополнительной обработки. Более крупные валуны используют для получения шашки, щебня.
Галька представляет собой окатанные водой обломки горных пород размером от 100 до 70 (40) мм. Она обладает теми же свойствами, что и мелкий валунный камень. Качество гальки обуславливается петрографическим составом породы, крупностью и формой обломков, а также степенью выветривания. Гальку применяют для устройства оснований, дренажей, но чаще измельчают и используют как щебень.
Гравий - рыхлая горная окатанная порода размером частиц от 5 (3) до 70 мм.
В природе в чистом виде гравий встречается редко. Если в гравии содержится более 50 % песчаных частиц, то смесь называют песчано-гравийной (ПГС), а если менее 50 % - гравийно-песчаной (ГПС).
По зерновому составу для устройства оснований используют ПГС до 70 мм, а для устройства покрытий - до 40 мм.
Основные показатели, характеризующие механические свойства гравия, приведены в табл. 6.2.3...6.2.5.
Таблица 6.2.3
Марка по дробимости щебня из гравия и гравия
|
Марка по дробимости щебня из гравия и гравия |
Потеря массы при испытании, % |
|
|
щебня из гравия |
гравия |
|
|
1000 800 600 400 |
До 10 включ. Свыше 10 до 14 Свыше 14 до 18 Свыше 18 до 26 |
До 8 включ. Свыше 8 до 12 Свыше 12 до 16 Свыше 16 до 24 |
Таблица 6.2.4
Марка гравия по истираемости
|
Марка гравия по истираемости |
Потеря массы после испытания, % |
Марка гравия по истираемости |
Потеря массы после испытания, % |
|
И 1 |
До 20 |
И 3 |
Свыше 30 до 40 |
|
И 2 |
Свыше 20 до 30 |
И 4 |
Свыше 40 до 50 |
Таблица 6.2.5
Морозостойкость
|
Марка по морозостойкости |
Число циклов замораживания и оттаивания |
Потеря массы после испытания, % не более |
|
F 15 |
15 |
10 |
|
F 25 |
25 |
10 |
|
F50 |
50 |
5 |
Добытый в карьере гравий (рядовой) может содержать различное количество мелкозема. Крупный рядовой гравий состоит из зерен 5...70 мм, а средний рядовой - 5...40 мм. Карьерный гравий после перегрохотки и отделения песка называют сортовым. Его разделяют на следующие фракции:
крупный - 70...40 мм;
средний - 40...20 мм;
мелкий - 20...10 мм;
мелкозем - 10...5 (3) мм.
Гравийный материал применяют для устройства гравийных оснований и покрытий, дренажных сооружений, в качестве крупного заполнителя в цементобетоне. Гравий, имеющий марку по дробимости не выше 16, может быть использован для приготовления асфальтобетонных смесей II марки типа В и III марки типа Б, В.
Песок - рыхлая зернистая порода, образованная в результате естественного разрушения горных пород, крупностью зерен до 5 (3) мм. В песке иногда имеются частицы мельче 0,55 мм, которые называют пылеватыми (0,05...0,0005 мм) и глинистыми (мельче 0,0005 мм).
Качество песка для строительных работ определяют минералогическим составом, формой зерен, зерновым составом, содержанием пылевато-глинистых частиц, плотностью, пустотностью, фильтрационной способностью, влажностью и содержанием органических примесей.
В дорожном строительстве используют песок природный и дробленый, получаемый путем дробления горных пород. Разделение песка по зерновому составу приведено в табл. 6.2.6.
Группы природного песка по крупности
|
Группа песка |
Массовая доля полного остатка на сите №0,63, % |
Модуль крупности, Мк |
|
Крупный |
Свыше 45 до 65 |
Более 2,5 |
|
Средний |
Свыше 30 до 45 |
2,5...2,0 |
|
Мелкий |
Свыше 10 до 30 |
2,0...1,5 |
|
Очень мелкий |
Менее 10 |
1,5...1,0 |
Модуль крупности песка определяют по формуле
Мк = (Р0,14 + Р0,315 + Р0,63 + Р1,25 + Р2,5 + Р5)/100, (6.2.1)
где Р0,14..... Р5 - полный остаток на сите 0,14...5 мм, %.
Пески с Мк меньше 1 не должны применяться для строительных работ.
По величине коэффициента фильтрации различают пески:
- хорошо фильтрующие 6...10 м/сут;
- среднефильтрующие 3...6 м/сут;
- слабофильтрующие 1...3 м/сут.
Песок применяют для устройства подстилающих слоев дорожной одежды, приготовления строительных растворов, цементо- и асфальтобетонов, для устройства дренажей. Для улучшения качества мелкозернистый песок обогащают добавками искусственного (дробленого) песка (крупностью менее 5 мм) из невыветренных изверженных и метаморфических пород прочностью более 80 МПа, а из осадочных - прочностью более 40 МПа.
Дресва - промежуточный продукт выветривания скальных горных пород, оставшийся на месте образования и сохранивший камневидное состояние. Дресва, в зависимости от исходной горной породы и стадии выветренности, может применяться для устройства различных слоев одежды на дорогах местного значения.
Щебень для дорожного строительства по зерновому составу делят по крупности на фракции:
более 120 мм - гигантский;
70...120 мм - очень крупный;
40...70 мм - крупный;
25...40 мм - нормальный;
15...25 мм - мелкий;
10...15 мм - клинец;
3 (5)...10 мм - каменная мелочь;
< 3 (5) мм - высевки.
Качество щебня, т.е. степень соответствия показателей его признаков своему проектируемому назначению определяют на месте его производства (в карьере) и на месте его потребления (на строительном объекте) путем изучения внешних признаков и испытания отобранных проб. При этом определяют петрографические признаки и однородность горной породы, из которой получен щебень: крупность, зерновой состав, форму зерен; шероховатость поверхности; количество и качество примесей (глинистых, органических и др.); количество смятых (раздробленных) зерен; физические и механические свойства.
Физические свойства щебня оценивают по средней и насыпной плотностям, пустотности, влажности, водопоглощению.
Механические свойства щебня оценивают, прежде всего, по дробимости, износу, а также по морозостойкости (табл. 6.2.7...6.2.10). Определение качества щебня по прочности при сжатии исходной горной породы является приближенным, так как показатель прочности зависит не только от качества исходной горной породы, но и от размеров, формы и других признаков щебня. Поэтому в настоящее время прочность щебня оценивают косвенно по показателю дробимости. Марку щебня по дробимости в цилиндре оценивают по потере в массе после приложения нагрузки. Так, марку щебня по дробимости принимают 1200, если потеря в массе после раздавливания не превысит 11 %. При потере свыше 11 до 13 % - марка щебня по дробимости - 1000, а при потере в массе свыше 28 до 35 % - 200.
Таблица 6.2.7
Марка щебня из осадочных и метаморфических пород по дробимости при сжатии (раздавливании) в цилиндре [64]
|
Марка щебня по дробимости |
Потеря в массе, % при испытании щебня |
|
|
в сухом состоянии |
в насыщенном водой состоянии |
|
|
1200 |
До 11 |
До 11 |
|
1000 |
Свыше 11 до 13 |
Свыше 11 до 13 |
|
800 |
Свыше 13 до 15 |
Свыше 13 до 15 |
|
600 |
Свыше 15 до 19 |
Свыше 15 до 20 |
|
400 |
Свыше 19 до 24 |
Свыше 20 до 28 |
|
300 |
Свыше 24 до 28 |
Свыше 28 до 38 |
|
200 |
Свыше 28 до 35 |
Свыше 38 до 54 |
Таблица 6.2.8
Марка щебня из изверженных пород по дробимости его при сжатии (раздавливании) в цилиндре [64]
|
Марка щебня по дробимости |
Потеря массы, % при испытании щебня |
|
|
из интрузивных (глубинных) пород |
из эффузивных (излившихся) пород |
|
|
1400 |
До 12 |
До 9 |
|
1200 |
Свыше 12 до 16 |
Свыше 9 до 11 |
|
1000 |
Свыше 16 до 20 |
Свыше 11 до 13 |
|
800 |
Свыше 20 до 25 |
Свыше 13 до 15 |
|
600 |
Свыше 25 до 34 |
Свыше 15 до 20 |
По прочности при износе (истираемости) в полочном барабане щебень подразделяют на 4 марки (табл. 6.2.9). Износ характеризует сопротивление материала истирающим и ударным усилиям, обламыванию кромок. Показателем истираемости является потеря массы (г) образца площадью 1 см2 за определенный путь (м). Истираемость - способность каменного материала сопротивляться истирающим усилиям. Чем больше твердость, тем меньше истираемость. Щебень из мелкозернистых кварцевых пород в меньшей степени подвержен истираемости.
Таблица 6.2.9
Марка щебня по износу (истираемости) в полочном барабане [64]
|
Марка щебня по плюсу |
Износ |
Потеря массы при испытании, % |
|
известняки, доломиты |
изверженные метаморфические и другие осадочные породы |
|
|
И 1 И 2 И 3 И 4 |
£ 30 31...40 41...50 51...60 |
£_25 26...35 36...45 46...55 |
Таблица 6.2.10
Марка щебня по морозостойкости [64]
|
Марка по морозостойкости |
Непосредственнoe замораживание - оттаивание |
Насыщение в растворе сернокислого натрия - высушивание |
||
|
число циклов |
потеря массы после испытания, % |
число циклов |
потеря массы после испытания, % |
|
|
F 15 |
15 |
10 |
3 |
10 |
|
F 25 |
25 |
10 |
5 |
10 |
|
F 50 |
50 |
5 |
10 |
10 |
|
F 100 |
100 |
5 |
10 |
5 |
|
F 150 |
150 |
5 |
15 |
5 |
|
F 200 |
200 |
5 |
15 |
3 |
|
F 300 |
300 |
5 |
15 |
2 |
|
F 400 |
400 |
5 |
15 |
1 |
Морозостойкость щебня (гравия) оценивают по потере в массе после попеременного замораживания и оттаивания (табл. 6.2.10):
Dq = [(q1 - q2)/q1]·100, (6.2.2)
где Dq - потеря в массе после испытания на морозостойкость;
q1 - масса пробы щебня (гравия) до испытания;
q2 - масса пробы после соответствующего цикла замораживания и оттаивания.
Щебень из естественного камня для дорожно-строительных работ для удобства составления нормативных указаний разделен на четыре класса, приведенные в табл. 6.2.11.
Таблица 6.2.11
Классификация щебня
|
Группа горных пород |
Класс щебня |
Марка по дробимости |
Марка по износу |
|
1. Изверженные породы: граниты, сиениты, диориты, габбро, базальты, андезиты, трахиты и др. |
1 |
1200 |
И 1 |
|
2 |
1000 |
И 2 |
|
|
3 |
800 |
И 3 |
|
|
4 |
600 |
И 4 |
|
|
2. Метаморфические породы: кристаллические сланцы, гнейсы, амфиболиты, кварциты |
1 |
1200 |
И 1 |
|
2 |
1000 |
И 2 |
|
|
3 |
800 |
И 3 |
|
|
4 |
600 |
И 4 |
|
|
3. Осадочные и карбонатные горные породы: известняки, доломиты |
1 |
1000 |
И 1 |
|
2 |
800 |
И 2 |
|
|
3 |
600 |
И 3 |
|
|
4 |
300 |
И 4 |
|
|
4. Осадочные породы: песчаники, туфы, туфобрекчии, брекчии, конгломераты |
1 |
1000 |
И 1 |
|
2 |
800 |
И 2 |
|
|
3 |
600 |
И 3 |
|
|
4 |
300 |
И 4 |
Для получения щебня повышенного качества, однородного по прочности и улучшенной формы, применяют обогащение - избирательное дробление, обогащение по прочности, по форме зерен и др. При избирательном дроблении в дробилках-грануляторах улучшение формы зерен происходит вследствие разрушения слабых зерен и примесей, что дает возможность удалить их при последующем грохочении. При наличии разнопрочного щебня в необходимых случаях прибегают к разделению по прочности предварительно отгрохоченного щебня в классификаторах.
Значительно улучшить качество щебня можно путем повышения активности поверхности зерен. Обработка зерен поверхностно-активными веществами повышает сцепление их с вяжущими веществами или придает зернам щебня водоотталкивающие свойства.
Минеральные вяжущие материалы представляют собой обычно порошкообразные вещества, которые после затворения водой способны постепенно переходить из пастообразного состояния в твердое, приобретая свойства камня.
Минеральные вяжущие по характеру твердения делят на две группы:
воздушного твердения, обладающие способностью после затворения водой твердеть в сухой среде (воздушная известь, гипсовые и магнезитовые вяжущие, жидкое стекло);
водного твердения (или гидравлические вяжущие материалы), после затворения их водой твердеющие на воздухе и в воде, причем во влажной среде вяжущие приобретают большую прочность. Представителями этой группы являются цементы.
Гидравлическая известь и романцемент по составу и особенностям процессов твердения занимают как бы промежуточное место между воздушными и гидравлическими вяжущими: после затворения водой, начав твердеть на воздухе, они продолжают твердеть как на воздухе, так и во влажной среде. При дальнейшем твердении во влажной среде они приобретают большую прочность.
Воздушную известь получают в результате обжига до возможно полного разложения чистых или доломитизированных известняков или мела, содержащих глинистого вещества не более 6...8 %. Полученную таким способом известь СаО в виде кусков белого или сероватого цвета называют негашеной (комковой или кипелкой).
Производство воздушной извести заключается в том, что вращающиеся печи загружают мелкодробленым известняком, который при медленном вращении печи подвергается равномерному обжигу. В процессе обжига известняк (или мел), нагреваясь до температуры 900...1200°С, диссоциирует с большим поглощением тепла по реакции СаСО3 + 180кДж → Са + СО2. Недожог и пережог отрицательно сказываются на качестве извести. Пережженные куски при затворении водой медленно гасятся. Поэтому наличие зерен пережига в строительном растворе приводит к тому, что при гидротации зерен связанное с этим увеличение объема вызывает растрескивание уже затвердевшего раствора.
Гашение извести протекает по реакции:
СаО + Н2О → Са(ОН)2 + 66,52 кДж,
т.е. при гашении выделяется значительное количество тепла. Полученная при гашении малым количеством воды гидратная известь, значительно разрыхленная за счет резкого увеличения пустотности, называется пушонкой.
В дорожном строительстве известь используют для укрепления грунтов, а также в качестве активатора при приготовлении асфальтобетонных смесей.
Портландцемент представляет собой гидравлическое вяжущее, получаемое тонким помолом цементного клинкера, минеральных добавок и природного гипса (1,5...3,5 % в пересчете на SО3). Цементный клинкер получают путем обжига до спекания природных мергелей определенного химического состава или искусственных смесей известняка с глиной (доменными шлаками), подобранных в соответствии с требуемым химическим составом. Обычно клинкер имеет следующий химический состав: СаО - 63...67 %; АlO3 - 4...7 %; 2SiО2 - 20...24 %; Fe2O3 - 2...6 %; MgO, SO3 и др. - 1,5...3 %.
Свойства портландцемента зависят от его минералогического состава, наличия добавок, а также тонкости помола клинкера. По этим признакам определяют вид портландцемента (алитовый, белитовый, быстротвердеющий и так далее).
Тонкость помола цемента характеризуют массой порошка, прошедшего сито № 0,08 (не менее 85 %), и удельной поверхностью зерен, содержащихся в единице массы цемента. Удельная поверхность обычных портландцементов 2000...3000, быстротвердеющих 3500...5000 см2/г.
Плотность портландцемента составляет - 900...1300 кг/м3. При расчете вместимости складов принимают насыпную плотность портландцемента - 1200, а при его дозировании для приготовления бетона - 1300 кг/м3.
Активность - способность затвердевать при затворении водой, превращаясь в прочное камневидное тело.
Активность и марку цемента характеризуют показателем прочности при изгибе образцов - балочек и их половинок при сжатии в возрасте 28 суток.
Предел прочности при изгибе определяют на балочках размером 40´40´160 мм, изготовленных из раствора пластичной консистенции состава 1:3 - одна часть цемента и три части песка по массе при водоцементном отношении 0,4, уплотненных на стандартной виброплощадке и выдержанных в воде при температуре 20+3°С 28 суток. Предел прочности при сжатии определяют после испытания на изгиб на половинках балочки. Нарастание прочности происходит неравномерно: вначале на 3 сутки она достигает 50 %, а на 7 сутки - 70 % от прочности в 28-суточном возрасте.
По прочности на сжатие портландцементы подразделяют на классы 22,5; 32,5; 42,5; 52,5.
Водопотребность цемента характеризуют показателем нормальной густоты - количество воды, которое необходимо для достижения заданной пластичности. Обычно для портландцемента нормальная густота составляет 21...28 %. Чем меньше водопотребность (нормальная густота ), тем выше качество цемента.
Скорость схватывания цемента зависит от минералогического состава, тонкости помола, количества воды затворения, температуры. Скорость схватывания является важной технологической характеристикой цемента. У портландцемента начало схватывания должно наступить не ранее 45 мин., а конец - не позднее 12 часов от начала затворения. Обычно начало схватывания у портландцемента наступает через 2...3 часа, а конец - через 5...8 часов. Как быстрое, так и медленное схватывание затрудняет и усложняет организацию производства строительных работ.
Равномерность изменения объема при твердении определяют путем испытания цементных лепешек стандартного размера кипячением их в парах воды; при этом они не должны обнаружить усадочных деформаций. Неравномерность изменения объема может быть обусловлена наличием в цементе окиси кальция, окиси магния и гипса. Цемент, неравномерно изменяющий объем при твердении, является недоброкачественным.
Цемент хранят в силосах, реже в сараях с обшивкой стен и крыш, непроницаемых для воды. Пол сарая должен быть плотным и приподнятым над поверхностью земли не менее чем на 30 см. При длительном хранении активность цемента снижается. Интенсивность снижения активности зависит от минералогического состава, тонкости помола и др. Наименее устойчивы тонкомолотые цементы, содержащие повышенное количество С3А (трехкальциевого алюмината), C3S (трехкальциевого силиката). Влажный воздух, соприкасающийся с цементом, значительно снижает его активность. В среднем активность портландцемента снижается через 3 месяца на 10...20 %, через 6 месяцев на 15...30 % и через 12 месяцев - на 25...40 %.
Быстротвердеющий портландцемент представляет собой минеральное вяжущее, которое содержит C3S около 50...60 % С3А - 8...14 %. При повышенном содержании С3А увеличивают добавку гипса. Тонкость помола 3500...4000 см2/г.
Быстротвердеющий портландцемент обладает более интенсивным нарастанием прочности в начальный период твердения; при этом в возрасте 1 суток прочность его должна быть не менее 20 МПа, 3 суток - не менее 30 МПа.
Пластифицированный портландцемент приготавливают путем введения при помоле клинкера поверхностно-активных пластифицирующих добавок. В качестве пластифицирующей добавки обычно применяют сульфитно-дрожжевую бражку (сдб) в количестве 0,15...0,25 % (в пересчете на сухое вещество). Пластифицирующие добавки придают цементному тесту большую подвижность, что позволяет снизить количество воды затворения, а это, в свою очередь, позволяет несколько уменьшить расход цемента в строительном растворе и бетоне. В то же время пластифицирующие добавки несколько увеличивают водопроницаемость и понижают морозостойкость цементного камня. Пластифицированные цементы выпускают марок 400 и 500.
Гидрофобный портландцемент изготавливают совместным помолом цементного клинкера и гидрофобных поверхностно-активных добавок (0,15...0,3 %). В качестве таких добавок применяют мылонафт, асидол, олеиновую кислоту и др. Эти вещества, сорбируясь на поверхности зерен цемента, создают гидрофобную пленку, которая понижает способность цемента взаимодействовать с влагой воздуха. В результате гидрофобный цемент не снижает активность и не комкуется при хранении и менее чувствителен к влажной воздушной среде.
При затворении гидрофобного цемента водой поверхностно-активные добавки вступают в реакцию с Са(ОН)2, образуют микропены, в результате чего происходит воздухововлечение. Цементное тесто при этом получается более пластичным, а цементный камень более морозостойким.
Сульфатостойкий портландцемент - продукт тонкого
помола клинкера, имеющего пониженное содержание С3А (не более 5 %), C3S (не более 50 %) и
глиноземный модуль
не менее 0,6;
сульфатостойкий портландцемент выпускают марок 400 и 500. Его применяют для
бетонных и железобетонных элементов сооружений, подвергающихся воздействию
агрессивных (сульфатных) вод, а также переменному увлажнению и высыханию,
замораживанию и оттаиванию. Для элементов сооружения, работающих в морской
воде, предпочтительно применять сульфатостойкий портландцемент.
Пуццолановый портландцемент - гидравлическое вяжущее, получаемое совместным помолом портландцементного клинкера повышенного качества с 20...50 % активных добавок и природного гипса. Гипса добавляют столько, чтобы содержание SО3 в цементе не превышало 3,5 %. Количество добавок зависит от ее активности. Например, трепела добавляют 20...30, вулканических пород (пемзу, пепел, туфы, трассы) - 25...40 %.
Пуццолановый портландцемент выпускают марок 300 и 400 плотностью 2700...2900 кг/м3. Из-за того, что в пуццолановых цементах меньше гидроалюмината кальция и гидратной извести, они обладают большей стойкостью к проточным и слабоминерализованным водам. Наряду с этим частицы активной добавки при взаимодействии с гидратной известью, образующейся при твердении цемента, во влажной среде набухают, что обуславливает уплотнение бетона. Это также способствует большей устойчивости бетонов на пуццолановых цементах, так как повышенная плотность препятствует проникновению воды в тело бетона.
Шлакопортландцемент - продукт тонкого совместного помола портландцементного клинкера с 20...60 % доменного гранулированного шлака и гипса (не более 3 % при пересчете на SО3). Гранулированный шлак по химическому составу приближается к портландцементу, но содержит меньше СаО и больше глинозема и кремнезема. Кроме окислов СаО, SiО2 и Al2О3, шлаки содержат в небольшом количестве MgO, МnО, FeO, CaS, FeS.
Шлакопортландцемент может быть получен также путем тщательного смешения раздельно измельченных компонентов. Этот цемент, по сути, является разновидностью пуццоланового портландцемента, в котором активной добавкой служит доменный гранулированный шлак. Шлакопортландцемент, в основном, имеет те же показания, что и пуццолановый портландцемент.
Активность шлакопортландцемента со временем понижается быстрее, чем портландцемента, поэтому его не рекомендуется долго хранить на складах.
Расширяющийся цемент изготавливают путем смешения глиноземистого цемента 65...75 % и расширяющейся добавки, состоящей из 10 % высокоосновного гидроалюмината и 20 % гипса. Начало схватывания такого цемента не ранее 4 мин., а конец не позднее 10 мин. Линейное расширение во влажной среде 0,5...1,0 %, на воздухе - не менее 0,05 %. Для замедления схватывания цемента в необходимых случаях к нему добавляют сульфитно-дрожжевую бражку в количестве 0,5 %.
Глиноземистый цемент - продукт тонкого помола предварительно измельченного клинкера, полученного сплавлением или спеканием пород, богатых глиноземом, известняком, взятых в определенном соотношении.
Глиноземистый цемент содержит около 50 % глинозема, до 45 % окиси кальция, 5...10 % кремнезема и 1...15 % окиси железа.
При затворении глиноземистого цемента водой основное соединение - однокальцевый алюминат, входящий в его состав, энергично реагирует с водой, образуя
2(СаО´А1203) + 10Н2О → 2СаО´А12О3´8Н2О + А12О3´3Н2О
Отсутствие в затвердевшем при нормальных условиях цементе свободной гидратной извести и, как правило, трехкальциевого гидроалюмината обуславливает его устойчивость в проточных и агрессивных водах.
Глиноземистый цемент - быстротвердеющий вяжущий материал. Его марки (400, 500, 600) устанавливают по показателю прочности нормального раствора на 3 сутки. Глиноземистые цементы можно также выпускать марки 700.
При схватывании и твердении цемент выделяет много тепла. Оптимальная температура твердения 10...20°С. При температуре более 25°С бетон нуждается в охлаждении и усиленной поливке водой. Сроки схватывания цемента: начало - не ранее 30 мин, а конец - не позднее 12 ч.
Глиноземистый цемент применяют при срочных бетонных работах, при производстве работ зимой, восстановительных работах, для тампонажных работ и элементов бетонных сооружений, находящихся в зоне агрессивных вод.
Бетоном называют строительный материал, полученный в результате перемешивания, укладки, уплотнения и затвердевания рационально рассчитанной смеси щебня (или гравия), песка, цемента, воды и добавок. Смесь перечисленных компонентов до затвердевания называют бетонной смесью.
Основной квалификацией бетонов по структурным признакам является деление по объемной массе:
особо тяжелые с объемной массой более 2600 кг/м3 имеют сложную структуру и изготавливаются с применением заполнителей, например, стальных опилок, барита и др.;
тяжелые с объемной массой 2100...2600 кг/м3, у которых структура плотная, щебень из плотных и тяжелых горных пород или плотных металлургических шлаков, песок кварцевый;
облегченные с объемной массой 1800...2000 кг/м3 могут иметь плотную структуру, но с применением щебня из пород пониженной плотности или крупнопористую с применением щебня из плотных пород;
легкие с объемной массой 1000...1800 кг/м3, обладающие плотным или крупнозернистым строением, с применением пористого щебня и песка, шлаковой пемзы (термозита), кремнезита, перлита;
особо легкие с объемной массой менее 1000 кг/м3 с пористой структурой без щебня и песка (ячеистый бетон) или с применением пористого песка или пористого щебня в сочетании с поризованным цементным камнем.
Наибольшее распространение в строительстве получил тяжелый бетон. Его применяют для изготовления бетонных и железобетонных конструкций, пролетных строений и опор мостов, устройства дорожных покрытий и др.
Важной характеристикой бетона является пористость, которая в значительной степени определяет его свойства. С увеличением пористости заметно возрастают водопоглощение, водонасыщение, водопроницаемость, уменьшается прочность, морозостойкость и долговечность бетона.
Ориентировочно пористость бетонов можно определить по формуле
Vпор = (l - gо/g). (6.4.1)
где gо - объемная масса бетона, кг/м3;
g - плотность бетона, полученная как средневзвешенная величина от плотности щебня, песка и цементного камня, кг/м3.
Обычно пористость тяжелых бетонов составляет 10... 15 %, в отдельных случаях - 5...7 %.
Водопоглощение у тяжелых бетонов колеблется в пределах 2...4 % по массе (или 5...10 % по объему).
Водонасыщение несколько больше водопоглощения. Разница между водопоглощением и водонасыщением обусловлена объемом замкнутых пор в бетоне.
Показателем водонепроницаемости бетона служит гидростатическое давление, при котором вода не просачивается через образец, испытуемый по стандартной методике. По водонепроницаемости бетоны делят на несколько марок: W 2; W 4; W 6; W 10; W 12; W 14; W 16; W 18; W 20 (цифра обозначает величину гидростатического давления, при котором вода не просачивается).
Водопроницаемость, водопоглощение и водонасыщение бетона могут быть значительно снижены, если приготовить бетон с низким водоцементным отношением при достаточном качестве цементного теста, а также введении в бетон поверхностно-активных добавок. Они видоизменяют микроструктуру бетона за счет уменьшения водопотребности бетонной смеси, вовлечения некоторого количества воздуха в поры, которые блокируют сообщение между отдельными капиллярами и микрополостями.
Прочность бетона как материала конгломератного строения зависит от прочности отдельных его составляющих, прочности сцепления между ними, а также особенностей структуры бетона в целом.
Прочность бетона прямо пропорциональна активности цемента (рис. 6.4.1). С понижением водо-цементного отношения до определенного предела прочность бетона данного состава и при данном способе уплотнения повышается.

Рис. 6.4.1. Зависимость прочности бетона от активности цемента и водо-цементного отношения
Прочность бетона в проектном возрасте характеризуют классами прочности на сжатие, осевое растяжение, растяжение при изгибе. Ведущим показателем прочности бетона и его механических свойств является класс бетона. Класс бетона характеризует предел прочности при сжатии бетонных кубов размером 15´15´15 см в возрасте 28 суток при твердении в нормальных условиях (температура 18...20°С и относительная влажность окружающей среды 90...100 %). Для тяжелых (дорожных) бетонов стандартом установлены следующие классы по прочности на сжатие (табл. 6.4.1).
Таблица 6.4.1
Требования к дорожному бетону [65]
|
Дорожные покрытия |
Класс бетона по прочности |
|
|
на растяжение при изгибе |
на сжатие |
|
|
Однослойные и верхним слон |
4,0; 4,5; 5,0; 5,5 |
30, 3, 40 и 45 |
|
Нижний слой двухслойных покрытий и оснований |
3,5; 4,0; 4,5 |
25, 30 и 5 |
|
Основания усовершенствованных капитальных покрытий |
2,0; 2,5; 3,0; 3,5 |
10, 15, 20 и 25 |
При расчете бетонных покрытий и оснований в качестве расчетной прочности бетона принимают предел прочности на растяжение при изгибе. Марка бетона при изгибе определяется прочностью при изломе неармированных бетонных балочек размером 15´15´50 см сосредоточенными силами.
Предел прочности при изгибе Rизг и предел прочности при сжатии Rсж связаны зависимостью
(6.4.2)
где a = 0,6...0,7.
Соотношение
колеблется в пределах
6...10.
Деформация бетона. Бетон является упруго-вязко-пластичным материалом, вследствие этого, при некоторой длительности действия механической нагрузки, в образце, наряду с упругими, возникают и вязко-пластические деформации.
Упругие деформации характеризуются полной упругой деформацией, а также модулем упругости
(6.4.3)
где Rсж - предел прочности бетона при сжатии, МПа.
С изменением влажности бетон претерпевает объемные изменения, если постоянно бетон находится во влажной среде, постепенно увеличивается его объем - набухание. И, наоборот, с уменьшением влажности происходит усадка. Повышенная усадка характерна для бетонов с большим содержанием цемента и водоцементным отношением (В/Ц > 0,6).
Коэффициент температурного расширения при сжатии изменяется в зависимости от состава бетона и его влажности. Для практических целей можно принять коэффициент температурного расширения бетона равным 10·10-6 на 1°С. При оценке температурных деформаций в больших массивах обычно принимают половину значения указанного коэффициента, полагая, что остальная часть компенсируется ползучестью бетона. Температурные деформации бетона создают напряжения в плитах дорожных одежд и могут вызвать трещины. Для устранения этого явления в бетонных покрытиях устраивают температурные швы.
Долговечность и морозостойкость характеризуют длительность воздействия погодно-климатических, физико-химических и механических факторов, при которых свойства бетона не ухудшаются больше допустимых пределов. К бетонным элементам конструкций предъявляют требования по морозостойкости, которую определяют путем замораживания образцов до -15...-20°С и последующего оттаивания в воде при 15...20°С. Образцы испытывают после 28 суток после пропаривания.
За марку бетона по морозостойкости принимают наибольшее число циклов попеременного замораживания и оттаивания, при котором прочность образцов уменьшается не более чем на 15 % по сравнению с прочностью образцов, испытанных в эквивалентном возрасте и без потери по массе более 5 %. По показателям морозостойкости бетоны делятся на марки F50; F75; F100; F150; F200; F300; F400 и F500.
Бетон - пористый материал, и, если все поры в нем будут заполнены водой, он разрушится уже при первом цикле замораживания вследствие возникновения больших растягивающих напряжений из-за образования льда, объем которого на 9 % больше объема воды.
Морозостойкость бетона зависит от водо-цементного отношения, вида и активности цемента, условий твердения и возраста бетона к моменту замораживания, плотности бетона, качества песка и щебня. Для морозостойких бетонов водо-цементное отношение принимают не более 0,5 и применяют портландцементы с содержанием алюмината С3А меньше 8 %. Повышают морозостойкость гидрофобные воздухововлекающие добавки, способствующие образованию условно-замкнутых пор с гидрофобной поверхностью, которые в обычных условиях не заполняются водой и служат резервными порами, куда отжимается вода при замораживании бетона.
Бетон разрушается и под влиянием физико-химического воздействия факторов среды. Коррозия зависит главным образом от коррозийной стойкости цементного камня. Чем больше поверхность (внешняя и внутренняя) бетона, соприкасающаяся с агрессивной газообразной или жидкой средой, тем энергичнее коррозия бетона. Электрический ток разрушает влажный бетон, вызывая электролиз составляющих цементный камень.
Для придания коррозийной стойкости бетону необходимо применять цементы, соответствующие агрессивности среды: шлаковый сульфатостойкий или глиноземистый, а в отдельных случаях кислотоупорный. Следует придавать большую плотность бетону, защищать его поверхность от проникновения газов и воды с растворенными агрессивными веществами, затирая поверхность изделия раствором жидкого стекла с последующей обработкой хлористым кальцием и покрывая эту поверхность битумом или дегтем, пленкообразующими или высокомолекулярными веществами.
Бетонная смесь - это рационально подобранная, хорошо перемешенная жесткая или пластичная масса, из компонентов, входящих в состав бетона.
В числе требований, предъявляемых к бетону, существенную роль играют жесткость и подвижность бетонной смеси. В зависимости от состава смеси различают:
- подвижные смеси, представляющие собой пластичную массу, которая заполняет форму под действием силы тяжести и при небольшом механическом воздействии;
- жесткие смеси имеют вид рыхлой массы, в которой зерна заполнителя связаны между собой густым цементным клеем, поэтому при укладке в форму и уплотнении требуется механическое воздействие на бетонную смесь.
Жесткость (удобоукладываемость) подвижных смесей определяется по осадке их под действием силы тяжести после формования в стандартном металлическом конусе (рис. 6.4.2). Характеристикой жесткости (удобоукладываемости) пластичных смесей служит величина осадки конуса в см.

Рис. 6.4.2. Форма-конус для определения подвижности бетонной
смеси:
1 - металлический конус, 2 - ручки для съема конуса, 3 - полочки для удержания
конуса на месте при формовании
В жестких смесях конус не осаждается. В малоподвижных смесях осадка конуса может быть от 1 до 4 см, в подвижных - от 5 до 12 см, в литых - более 15 см.
Удобоукладываемость жестких смесей определяют путем вибрирования свежесформированного бетонного конуса в специальном приборе - вискозиметре (рис. 6.4.3). При этом вискозиметр устанавливают на виброплощадку, а установленную в нем форму конуса заполняют испытываемой смесью.

Рис. 6.4.3. Вискозиметр для определения степени
удобоукладываемости бетонной смеси:
1 - цилиндрический сосуд, 2 - кольцо, 3 - кольцо 4 - конус, 5 - насадка, 6 -
штанга
После снятия формы включают механизм виброплощадки. Под действием вибрации бетонная смесь приобретает свойства тяжелой жидкости. Она начинает растекаться и проникает из внутреннего кольца в пространство между стенками сосуда и кольца.
Время вибрации в секундах, потребное на то, чтобы уровень бетонной смеси в кольце и пространстве между кольцом и формой стал одинаковым, служит мерой удобоукладываемости (жидкости) бетонной смеси. При этом стандартными характеристиками виброплощадки являются частота колебаний и амплитуда.
Показатели удобоукладываемости различных видов бетонных смесей приведены в табл. 6.4.2.
Таблица 6.4.2
Показатели удобоукладываемости
|
Вид бетонной смеси |
Осадка конуса, см |
Жесткость, с |
|
Особо жесткая |
0 |
Более 200 |
|
Жесткая |
0 |
60...150 |
|
Малоподвижная |
1...4 |
45...15 |
|
Подвижная |
3...8 |
10...0 |
|
Весьма подвижная |
10... 12 |
- |
|
Текущая (литая) |
15...18 |
- |
При решении вопроса о том, какие смеси более целесообразны - подвижные или жесткие, предпочтение следует отдавать последним. Их преимущество заключается в том, что благодаря меньшему содержанию воды при одинаковом расходе цемента (по сравнению с подвижными смесями) повышается прочность бетона. Хорошо уплотненный жесткий бетон более долговечен. Кроме того, сокращаются сроки набора прочности бетоном.
Основная цель расчета состава - определение полного соотношения составляющих, которое обеспечит требуемые свойства бетонной смеси и бетона при минимальном расходе цемента. Выбрав материалы надлежащего качества, рассчитывают состав - расход цемента, воды, песка и щебня на 1 м3 бетона. Исходными данными являются заданная марка бетона R6 и требуемая подвижность ОК (осадка конуса) или удобоукладываемость смеси. В необходимых случаях задаются показатели морозостойкости, водонепроницаемости и другие свойства бетона.
Состав тяжелых и дорожных бетонов рассчитывают по методу абсолютных объемов (разработан проф. Б.Г. Скрамтаевым), который сводится к решению следующих четырех уравнений с четырьмя неизвестными - расход воды В (л), цемента Ц (кг), песка П (кг) и щебня Щ (кг). Ориентировочные дозировки поверхностно-активных добавок назначают от массы цемента. Для сульфитно-спиртовой барды (ССБ) - 0,2 %, абиетина натрия (СНВ) - 0,02 %.
1. Зависимость прочности бетона от его структуры и активности цемента
Rб = A1·A2·K·(Ц/B - С)Rц (6.4.4)
Решая это уравнение, определяют
(6.4.5)
Коэффициенты К, С, А1, А2 определяют по табл. 6.4.3...6.4.5.
Таблица 6.4.3
Значение коэффициентов К, С, зависящих от свойств цемента технологии приготовления цементобетонной смеси
|
Коэффициенты |
Цемент испытывался в растворе пластичной консистенции |
||
|
сжатие |
изгиб |
растяжение |
|
|
К С |
0,58 0,50 |
0,42 0,30 |
0,21 0,30 |
Таблица 6.4.4
Численные значения коэффициента А1, учитывающего влияние макроструктуры
|
Щебень |
А1 при сжатии |
А1 при изгибе |
||
|
пластичные смеси |
жесткие смеси |
пластичные смеси |
жесткие смеси |
|
|
Известняковый и шлаковый щебень |
1,08 |
1,13 |
1,17 |
1,22 |
|
Фракционированный гранитный щебень |
1,08 |
1,13 |
1,08 |
1,13 |
|
Фракционированный гравии |
1,00 |
1,05 |
1,00 |
1,05 |
Таблица 6.4.5
Численные значения коэффициента А2, учитывающего влияние мезоструктуры
|
Песок |
А2 при сжатии и водопотребности песков, % |
А2 при изгибе |
|
|
7...9 |
9...12 |
|
|
|
Искусственный (высевки) |
1,10 |
1,05 |
1,15 |
|
Чистый кварцевый |
1,00 |
0,95 |
1,00 |
|
С сильно окатанными зернами, а также загрязненный |
0,95 |
0.90 |
0,93 |
Материалы для бетона должны соответствовать требованиям ГОСТов, СНиПов, эксплуатационным условиям работы изделий. Материалы выбирают с учетом особенностей технологического процесса. В ряде случаев, чтобы обеспечить это соответствие, вносят коррективы в выбор исходных материалов или в технологию производства бетонных изделий.
2. Определяют водоцементное (В/Ц) отношение в зависимости от марочной прочности бетона. Для дорожных бетонов, используемых для устройства покрытий, водоцементное отношение принимают равным 0,5, а для оснований - 0,6. Зная В/Ц и расход цемента (320...350 кг/м3), определяют расход воды
В = Ц:В/Ц, (6.4.6)
3. Сумма абсолютных объемов исходных материалов в 1 м3 бетона близка к 1000 л, поэтому пренебрегая содержанием воздуха в смеси принимают
(6.4.7)
где Ц, В, П, Щ - расход цемента, воды, песка, щебня, кг/м3;
gц, gв, gп, gщ - соответственно плотность цемента, воды, песка и щебня, кг/м3.
4. Абсолютный объем пустот в щебне равен абсолютному объему растворной составляющей с некоторым избытком, т.е.
(6.4.8)
где gощ - объемная (насыпная) плотность щебня, кг/дм3;
Vщ - пустотность щебня в относительных величинах, равная 0,4...0,45;
a - коэффициент раздвижки зерен щебня.
Решая совместно уравнения 6.4.7 и 6.4.8, определяют потребность щебня и песка на 1 м3 цементобетонной смеси.
(6.4.9)
(6.4.10)
Рассчитываемый состав бетона уточняют экспериментальным путем, определяют в пробных замесах подвижность (удобоукладываемость) смеси, а также в установленные сроки прочность стандартных бетонных образцов, изготовленных из рассчитанной смеси.
В производственных условиях при водоцементном отношении 0,6, соотношение составляющих бетона можно принять как
цемент : песок : щебень = 1 : 2 : 4.
В процессе приготовления цементобетонной смеси необходимо учитывать естественную влажность щебня и песка.
Сырьем для производства органических вяжущих материалов являются: нефть, каменный уголь, горючие сланцы. Фракционная разгонка такого сырья дает наряду с ценными продуктами - смолообразные остатки. После дополнительной переработки которых получают органические вяжущие. Органические вяжущие должны обеспечивать:
- хорошее обволакивание минеральных частиц;
- хорошее сцепление, позволяющее связывать минеральные частицы в прочный монолит;
- водоустойчивость и стабильность (не изменять своих свойств) в процессе службы в покрытиях.
Битумы бывают природные, нефтяные, сланцевые. Дегти - каменноугольные, торфяные, древесные. По главным строительным свойствам и консистенции органические вяжущие условно делят на следующие группы:
- твердые битумы и дегти при 20...25°С обладают вязко-упругими свойствами, а при 120...180°С приобретают подвижность;
- вязкие битумы и дегти при 20...25°С обладают вязкими и пластичными свойствами, а при 120...180°С приобретают текучесть;
- жидкие битумы и дегти при 20...25°С - текучие. По мере испарения летучих углеводородов затвердевают и приобретают свойства близкие к вязким битумам.
Примерный групповой состав битума:
масла 40...60 %;
смолы 20...40 %;
асфальтены 10...25 %;
карбены и карбоиды 1...3 %.
Масла - вещества светло-желтого цвета. Масла придают вяжущему подвижность, текучесть, увеличивают испаряемость и снижают температуру размягчения.
Смолы - легкоплавные, вязко-пластичные вещества, их содержание в вяжущем обуславливает его растяжимость и эластичность.
Асфальтены - твердые неплавкие вещества с плотностью более 1000 кг/м3. Они обеспечивают температурную устойчивость, вязкость и твердость(хрупкость) битума.
Карбены по составу похожи на асфальтены, но содержат больше углерода, имеют большую плотность и более темный цвет. Их содержание повышает вязкость и хрупкость.
Карбоиды - твердые вещества типа сажи, нерастворимы в органических растворителях.
Парафин - содержание зависит от исходного сырья и должно быть менее 3,5 %. Большее содержание снижает растяжимость и повышает температуру затвердевания.
Примерный групповой состав каменноугольных дорожных дегтей:
дегтевые масла - 60 ... 80 %;
смолы - 15...25 %;
нафталин - 7 %;
антрацен - 10 %;
фенолы - 5 % - ядовиты.
Физико-химические свойства органических вяжущих. Реологические свойства (рео - течь) - это наука о течении деформации реальных тел.
Вязкость (вязких и твердых) битумов. Для характеристик вязкости пользуются условным показателем - глубиной проникания стандартной иглы (пенетрацией) при действии на нее груза 100 г в течение 60 с при температуре 25°С. Глубину проникания определяют на пинетрометре. Она выражается в градусах (1° = 0,1 мм) и обозначается П25. Например, пенетрация дорожного вязкого битума П25 = 40...300°.
Растяжимость битумов определяют с помощью прибора дуктилометра путем растяжения шейки образца, имеющего форму «восьмерки». Это испытание проводят при температуре 25 и 0°С и скорости деформации (растяжения 0,5 см/мин.)
Д25 > 40 см До > 1...3 см.
Когезия - характеризует прочность межмолекулярных связей. Ее определяют на приборе, состоящем из двух пластинок, склеенных слоем битума толщиной 10 мкм. Когезия зависит от содержания в битуме смол и составляет для вязких битумов от 0,07 до 0,3 МПа.
Вязкость, растяжимость и когезия зависят от температуры и группового состава битума, т.е. содержания в битуме масел, смол, асфальтенов.
Чувствительность органических вяжущих к изменению температуры оценивают температурой размягчения и температурой хрупкости.
Температуру размягчения определяют на приборе «кольцо и шар». Кольцо заполняют битумом, на его поверхности укладывают шарик и помещают в подогреваемую водяную баню, по мере размягчения битума шарик опускается на нижнюю полочку прибора. Температура размягчения колеблется в пределах 30...50°С.
Температуру хрупкости определяют на приборе Фрааса. Тонкий слой битума наносится на латунную пластинку и постепенно охлаждается. За температуру хрупкости принимают показания термометра в момент появления первой трещины на битуме при изгибании пластинки. Температура хрупкости дорожных битумов колеблется в пределах от -20 до -50°С. Чем ниже температура хрупкости, тем выше его качество. Асфальтобетонные покрытия более морозостойки, на них меньше образуется трещин.
Сцепление органических вяжущих с каменными материалами (адгезия).Сцепление битума оценивают в зависимости от степени смещения битумной пленки с поверхности минерального материала путем сравнения с фотографиями контрольных образцов, приведенных в ГОСТ. Для более точного определения площади обнаженных от битума минеральных зерен применяются методы адсорбации красителей, меченых атомов и др.
В соответствии с ГОСТ-22245-90 [66], вязкие дорожные битумы разделяются на марки. Марка битума определяется комплексом показателей качества. Дорожные битумы БНД отличаются от БН более высокими показателями. Они являются улучшенными. Марки вязких дорожных битумов приведены в табл. 6.5.1.
Таблица 6.5.1
Марки вязких дорожных битумов
|
Наименование показателя |
БНД 200/300 |
БНД 130/200 |
БНД 90/130 |
БНД 60/90 |
БНД 40/60 |
|
Глубина проникания иглы |
|
|
|
|
|
|
при 25°С |
201-300 |
131-200 |
91-130 |
61 -90 |
40-60 |
|
при 0°С, не менее |
45 |
35 |
28 |
20 |
13 |
|
Температура размягчения по «кольцу и шару», °С, не ниже |
35 |
40 |
43 |
47 |
51 |
|
Растяжимость, см, не менее: |
|
|
|
|
|
|
при 25°С |
- |
70 |
65 |
55 |
45 |
|
при 0°С |
20 |
6,0 |
4,0 |
3,5 |
- |
|
Температура хрупкости, °С, не выше |
-20 |
-18 |
-17 |
-15 |
-12 |
|
Сцепление с мрамором или песком |
Выдерживает |
||||
Битумы нефтяные применяются для строительства дорожных покрытий, гидроизоляционных, кровельных и других видов работ. В зависимости от назначения нефтеперерабатывающая промышленность выпускает соответствующие по свойствам виды нефтяных битумов. Битумы вязкие применяют в качестве вяжущего материала при строительстве дорожных и аэродромных покрытий. Их изготавливают из окисленных и неокисленных продуктов прямой перегонки нефти или компаундированием этих продуктов с экстрактами селективной очистки. Изготовление вязких дорожных нефтяных битумов из крекинг остатков и битумов деасфальтизации без дополнительной переработки не допускается.
Область применения нефтяных вязких битумов в дорожном строительстве приведена в табл. 6.5.2.
Таблица 6.5.2
Область применения вязких битумов
|
Марка битума |
Область применения |
|
БНД 200/300 |
Для поверхностной обработки, холодных асфальтобетонных смесей, грунтасфальта |
|
БНД 130/200 |
Для поверхностной обработки, горячих асфальтобетонных смесей |
|
БНД 90/130 |
Для горячих смесей в южных районах, для устройства покрытий на автомагистралях с тяжелым движением в районах с континентальным климатом |
|
БНД 40/60 |
Для покрытий на автомагистралях в южных районах, литых асфальтобетонных смесях |
Битумы нефтяные жидкие В зависимости от скорости формирования структуры, жидкие битумы разделяют на 3 класса [ГОСТ 11955-82]:
СГ - среднегустеющие;
МГ - медленногустеющие;
МГО - медленногустеющие остаточные.
Жидкие битумы класса СГ допускается применять для устройства дорожных покрытий и оснований во всех дорожно-климатических зонах.
Свойства битумов определяются, прежде всего, качеством нефти, зависящим от соотношения в ней асфальтенов, смол, масел, парафина.
Основными свойствами жидких битумов являются вязкость и скорость загустевания, температура размягчения, прилипания (адгезия).
Вязкость жидких битумов и дегтей определяют с помощью стандартного вискозиметра по времени истечения вяжущего через калиброванное отверстие (5 мм при 60°С). Вязкость жидких битумов принято обозначать С560. Она находится в пределах 25...200 с.
Скорость загустевания определяют по количеству испарившегося разжижителя после выдерживания битума в термостате при t = 60°C в течение 5 часов.
После выдержки потери составляют для битумов класса СГ - 10...7 %; МГ - 8...5 %.
Температура размягчения остатка после испарения летучих веществ (разжижителя).
Прилипание - способность каменных материалов, предварительно обработанных битумом, удерживать битумную пленку при ее вытеснении методом кипячения в воде.
Справочник дорожного мастера
Получение жидких битумов производят путем разжижения вязких битумов жидкими нефтяными продуктами. Добавка бензина, лигроина, керосина прямой гонки несколько нарушает структуру битума. Лучшие результаты обычно дают добавки к нефтяным битумам крекинг бензина, керосина и более тяжелых нефтепродуктов.
Применение битумов различных классов (СГ, МГ, МГО) связано с потребностью получать различную скорость их загустевания. Скорость загустевания зависит от условий испарения летучих фракций и климатических условий применения.
Жидкие битумы класса МГ и МГО применяют при строительстве дорожных покрытий облегченного типа и оснований во II...V дорожно-климатических зонах.
При затруднительных условиях испарения летучих фракций, а также при необходимости быстрого нарастания прочности дорожных покрытий используют жидкий битум класса СГ.
Марки жидких битумов в пределах одного класса разделяют по вязкости.
Область применения их зависит от характера минеральных материалов, способа обработки и климатических условий:
40/70 - для обеспыливания и предварительной обработки дорожных покрытий, для обработки грунтовых смесей на полотне дороги;
41/70...71/30 - для обработки гравийных и щебеночных смесей холодным способом на полотне дороги;
71/131 ...131/200 - для поверхностной обработки дорожных покрытий, для приготовления горячего и холодного асфальтобетонов.
Сланцевые битумы являются органическими вяжущими материалами, которые получают при нагревании горячих сланцев без доступа воздуха. Дорожные сланцевые битумы бывают вязкие и жидкие.
Сланцевые битумы получают при нагревании сланцев в специальных генераторах или туннельных печах до 550°С, при этом выделяется газ, низкотемпературная смола в количестве 15...20 % от массы сланца и полукокс. В процессе переработки низкотемпературную сланцевую смолу разделяют на следующие фракции: автомобильный бензин - с началом кипения смолы до 180°С; тракторное топливо - от 180 до 250°С; дизельное топливо - от 225 до 325°С; мазут или битумная фракция как остаток после отгона всех фракций - до 300 или 325°С. Этот остаток составляет около 60 % и используется для получения остаточного или окисленного битума, а также может быть применен как жидкий сланцевый битум.
По составу и свойствам сланцевые битумы несколько отличаются от нефтяных. В сланцевых битумах также определяют грунтовый состав (содержание масел, смол, асфальтенов). Содержание асфальтенов и смол в них больше, а масел меньше. Показатели свойств сланцевых битумов приведены в табл. 6.5.3.
Таблица 6.5.3
Характеристика сланцевых битумов
|
Показатели |
С-1 |
С-2 |
С-3 |
С-4 |
С-5 |
С-6 |
|
Вязкость по стандартному вискозиметру: |
|
|
|
|
|
|
|
С525, не более |
20 |
- |
- |
- |
- |
- |
|
С560, не более |
- |
5...12 |
12...2 |
20...3 |
35...10 |
100...20 |
|
Фракционный состав: выкипает при нагревании до 360°С, % к объему |
10...4 |
10...35 |
5...25 |
2...15 |
0...10 |
0...5 |
|
Температура вспышки в открытом тигле, °С не ниже |
70 |
70 |
100 |
100 |
120 |
120 |
Область применения сланцевых битумов в основном та же, что и нефтяных битумов.
Дегти получают в процессе пирогенетической, диструктивной (без или с ограниченным количеством воздуха) переработки каменных и бурых углей. В результате такой переработки получают ряд ценных продуктов, в том числе смолообразные вещества - сырые дегти. В зависимости от вида перерабатываемого сырья получают каменноугольные и древесные дегти.
По составу и структуре каменноугольные дегти подобны битумам, в них входят преимущественно углеводороды ароматического ряда (производные бензола) и их соединения с кислородом, азотом, серой и другими элементами.
Основными свойствами, которые характеризуют каменноугольные дегти, являются вязкость, пластичность, теплоустойчивость, прилипание, погодоустойчивость.
Большинство высокомолекулярных углеводородных веществ, которые входят в состав дегтей, имеют ненасыщенный характер. Они сравнительно легко вступают во взаимодействия с веществами окружающей среды (кислородом воздуха), образуя более сложные химические соединения. Этот процесс ускоряется при действии высоких температур, ультрафиолетовых лучей (солнечная радиация) и других факторов. В результате совместного протекания процессов испарения масел и химического взаимодействия компонентов дегти стареют более интенсивно, чем нефтяные битумы.
В зависимости от конструкции дорожной одежды, способов приготовления полуфабрикатов и климатических условий в дорожном строительстве применяют дегти следующих марок:
Д-1 - для обеспыливания дорог и поверхностной обработки;
Д-1 и Д-2 - для обработки грунтово-гравийных и щебеночных материалов при смешении на дороге в холодном состоянии;
Д-3 и Д-4 - для обработки грунтово-гравийных материалов в смесительных установках в холодном состоянии;
Д-5 и Д-6 - для поверхностной обработки дорожных покрытий, изготовления холодного дегтебетона и щебеночных смесей в смесительных установках;
Д-6 - для глубокой пропитки щебеночных дорожных покрытий и изготовления горячего дегтебетона.
Применять дегти в городских условиях запрещено из-за содержания в дегте фенолов.
Эмульсиями называют дисперсные системы, в которых одна жидкость (фаза) в виде мельчайших капель размером 0,1 мкм диспергирована (раздроблена) в другой жидкости (среде), не смешивающейся с ней. Дорожные битумные эмульсии представляют собой жидкость темно-коричневого цвета, получаемую путем диспергирования битума в водном растворе эмульгатора или щелочного вещества.
По структуре эмульсии делят на прямые и обратные. В прямых эмульсиях битум равномерно распределен в воде в виде мельчайших капель, окруженных слоем эмульгатора, в обратных вода равномерно распределена в битуме или дегте в виде мельчайших капель, стабилизированных слоем эмульгатора. Прямые эмульсии имеют разновидности: анионные, катионные, пасты. Анионные эмульсии в качестве эмульгатора содержат мыла высокомолекулярных соединений органических кислот, катионные - органические азотосодержащие соединения.
В качестве анионоактивных эмульгаторов применяют мыла: щелочные соли нафтеновых, сульфонафтеновых, смоляных органических кислот, сульфитно-спиртовая барда и др. Эти соединения содержатся в отходах лесохимической и топливной промышленности.
К катионоактивным эмульгаторам относятся катионовые мыла, являющиеся производными четвертично замещенного аммония и солями аминов.
К твердым эмульгаторам относятся тонкоизмельченные порошки глин, извести, цемента, сажи, угля и т.д. Для повышения устойчивости к твердым эмульгаторам, как правило, добавляют органические эмульгаторы (мыла, сульфитно-спиртовую барду и др.).
В настоящее время широко используются более экономичные эмульгаторы: талловое масло, жировой гудрон, полимеры канифольно-экстракционного производства, стеарин и ка-тионактивные препараты ХД-180, ХД-34, а также карбоксиломин. При диссоциации этих веществ поверхностно-активным является катион, который понижает поверхностное натяжение воды, растекается по битуму и способствует его дисперсированию при перемешивании.
В соответствии с технологическими условиями применения дорожных эмульсий, к ним предъявляются следующие требования [ГОСТ 18659-81]:
Скорость распада - нарушение равновесия дисперсной системы при взаимодействии эмульсии с каменным материалом за счет адсорбции эмульгатора, испарения и поглощения воды. Скорость распада эмульсии определяют при смешении ее с цементом. Время от начала смешения до образования неразмешиваемого комка характеризует скорость распада в минутах.
По скорости распада дорожные битумные эмульсии подразделяют на три класса: БА - быстрораспадающиеся; СА - среднераспадающиеся; МА - медленнораспадающиеся.
Вязкость эмульсии - выбирают в зависимости от условий и способа обработки минеральных материалов. Ее определяют на вискозиметре типа ВУ или на вискозиметре для нефтяных битумов со сточным отверстием 3 мм при температуре 20+2°С. По величине вязкости и содержанию в них битума эмульсии класса БА подразделяют на марки БА-1 и БА-2, класса МА - на марки МА-1 МА-2.
Содержание битума с эмульгатором характеризует концентрацию эмульсии и определяется в процентах как отношение массы битума с эмульгатором к массе эмульсии. Содержание битума с эмульгатором определяется как остаток при выпаривании воды из эмульсии.
Однородность эмульсии определяют процеживанием ее навески через сито с сеткой №14. Однородность устанавливают в процентах как отношение остатка на сите и навеске эмульсии. Она должна быть не более 0,5 %.
Устойчивость эмульсии определяют по изменению ее однородности при хранении, при выдерживании проб эмульсии в течение недели или месяца.
Устойчивость при транспортировании определяют после двух часов встряхивания навески эмульсии. Если эмульсия не распалась, т.е. не произошло необратимого разделения ее на битум и воду, то она выдержала испытание.
Дорожные битумные эмульсии должны отвечать требованиям согласно табл. 6.5.4 [67].
Таблица 6.5.4
Требования, предъявляемые к битумным эмульсиям
|
Показатели |
БА-1 |
БА-2 |
СА |
МА-1 |
ГМА-2 |
|
быстрораспадающийся |
среднераспадающийся |
медленнораспадающийся |
|||
|
Скорость распада при смешении с цементом, мин |
Менее 5 |
Менее 5 |
5...10 |
Более 10 |
Более 10 |
|
Содержание битума с эмульгатором |
45...60 |
45...54 |
55...60 |
51...55 |
40...50 |
|
Вязкость при 20°С по вискозиметру ВУ, град |
5...10 |
2...6 |
6...10 |
2...8 |
1,5...5 |
|
Вязкость при 20°С по вискозиметру ВУ для нефтяных битумов с отверстием 3 мм, С |
15...30 |
10...20 |
20...40 |
10...25 |
8...15 |
|
Устойчивость (при хранении) по остатку на сите с сеткой №14, % не более: |
|
|
|
|
|
|
через 7 суток |
0,8 |
0,7 |
0,8 |
0,8 |
0,7 |
|
через 30 суток |
1,0 |
1,0 |
1,2 |
1,2 |
1,2 |
Определение свойств битума, выделенного из эмульсии, производят после испарения воды. Глубина проникновения и растяжимость не должны уменьшаться более чем на 15 % от показателей исходного материала. Битумные эмульсии в дорожном строительстве начали применяться с 30-х годов не только в России, но и в Германии, Франции, Англии.
Для приготовления эмульсий используют нефтяные битумы от БНД 200/300 до БНД 40/60 в зависимости от климатических условий района строительства, конструкции дорожной одежды. В качестве эмульгаторов используют продукты, содержащие поверхностно-активные вещества (ПАВ), в основном анионные (табл. 6.5.5) высшие органические кислоты или их щелочные соли (мыла). В качестве щелочных веществ применяют едкий натр, жидкое стекло, триполифосфат натрия.
Таблица 6.5.5
Состав раствора эмульгатора для приготовления прямых битумных эмульсий анионного типа
|
|
Состав раствора эмульгатора |
Содержание компонентов, % |
||||||||
|
для быстрораспадающейся эмульсии |
для среднераспадающейся эмульсии |
для медленнораспадающейся эмульсии |
||||||||
|
составы |
составы |
составы |
||||||||
|
1 |
2 |
3 |
1 |
2 |
3 |
1 |
2 |
3 |
||
|
1 |
Вода |
97,28 |
98,48 |
97,88 |
96,38 |
98,48 |
97,72 |
95,86 |
97,5 |
93,0 |
|
2 |
Асидол-мылонафт |
2,0 |
- |
- |
- |
- |
- |
- |
- |
- |
|
3 |
Едкий натр |
0,32 |
0,24 |
0,12 |
0,40 |
0,12 |
0,36 |
0,64 |
- |
- |
|
4 |
Жидкое стекло |
0,40 |
- |
- |
- |
- |
- |
- |
- |
- |
|
5 |
Сульфитное мыло |
- |
- |
2,0 |
- |
- |
- |
- |
- |
- |
|
6 |
Соапсток |
- |
- |
- |
3,22 |
- |
|
- |
- |
- |
|
7 |
Стеарин |
- |
1,22 |
- |
- |
- |
1,92 |
- |
- |
- |
|
8 |
Канифольное мыло |
- |
- |
- |
- |
1,40 |
- |
- |
- |
- |
|
9 |
Древесная смола |
- |
- |
- |
- |
- |
- |
3,5 |
|
- |
|
10 |
Щелочные вытравки |
- |
- |
- |
- |
- |
- |
- |
2,5 |
|
|
11 |
Сульфитно-спиртовая барда |
- |
- |
- |
- |
- |
- |
- |
- |
7 |
Технология приготовления разных видов эмульсий имеет свои особенности. Дорожные эмульсии приготовляют на базах. Приготовление в основном сводится к диспергированию жидкостей и стабилизации дисперсной системы. Для диспергирования жидкости применяют гомогенизаторы, лопастные или шнеко-лопастные, акустические диспергаторы.
Для улучшения свойств органических вяжущих (битумов, дегтей), повышения их прилипания к каменным материалам, пластичности, тепло- и погодоустойчивости в битумы и дегти вводят соответствующие добавки.
Добавки по своему назначению и физико-химическому воздействию подразделяют на следующие:
Разжижающие добавки вводят для понижения вязкости органических вяжущих материалов. В качестве таких добавок используют лигроин, керосин, нефть, мазут, жидкие крекинг-остатки, антраценовое масло. Оптимальное содержание разжижителя определяют в лаборатории в зависимости от требуемой вязкости (может колебаться от 2 до 50 %).
Пластифицирующие добавки вводят для уменьшения хрупкости и придания большей пластичности. В качестве пластификаторов используют зеленое масло, мазут, гудрон, антраценовое масло (или деготь). Указанные пластификаторы являются также растворителями (разжижителями), и содержание их колеблется от 2 до 40 %.
Модифицирующие добавки изменяют физико-химические свойства и структуру вяжущего. Таким образом, разжижение и пластификация являются частными случаями модификации. В качестве модифицирующей добавки используют следующие добавки полимеров: поливинилацетат, полистирол, дивинилстироловый термоэластопласт, эпоксидные смолы, каучуки.
При введении модифицирующих добавок не всегда получают стабильные результаты, но битумы становятся более теплостойкими, резко увеличиваются растяжимость при 0°С, когезия, адгезия.
В России и за рубежом применяют регенерированную резину, резиновую крошку, получаемую при вторичной переработке старых автомобильных покрышек. Измельченную резину в порошкообразном (диспергированном) состоянии вводят в битум в количестве 3...5 % при температуре 150...180°С и тщательно перемешивают. При этом происходит набухание резиновых частиц и образуется битумно-резиновая дисперсия, которая отличается высокой растяжимостью при 0°С. Она придает асфальтобетону большую упругость, уменьшает трещинообразование и скользкость, уменьшает его старение.
Добавки, улучшающие прилипание (адгезию). Вопрос о физико-химической природе адгезии изучен недостаточно. Анализ работ по адгезии показывает, что она определяется двумя факторами: степенью гибкости звеньев макромолекул и полярностью групп, входящих в структуру макромолекулы. Ориентированная структура, наличие поперечных мостиков между цепями макромолекулы снижают адгезию. Высокая разветвленность молекул с полярными группами увеличивает ее. Все факторы, способствующие большей подвижности звеньев макромолекул и содержанию полярных групп, повышают адгезию. Таким образом, введение в битум добавок, содержащих полярные группы и увеличивающих подвижность звеньев высокомолекулярных соединений, будет способствовать повышению его адгезии к каменным материалам. Такими добавками являются поверхностно-активные вещества.
Поверхностно-активные вещества подразделяют на анионактивные и катионактивные. К анионактивным относят высокомолекулярные органические кислоты, мылонафтсоли нафтеиновых кислот, производные карбоновых кислот - мыла, фенолы и др. К катионактивным веществам относят амины, четырехзамещенные амониевые основания.
Для асфальтовых материалов содержание анионактивных добавок составляет 3...10 % и катионактивных 0,5...3,0 % от массы вяжущего. Применение ПАВ облегчает и ускоряет обволакивание и повышает сцепление вяжущих с минеральными материалами.
Эффективность действия ПАВ зависит от вида каменного материала. Катионактивные ПАВ обеспечивают повышение сцепления со всеми горными породами, но особенно эффективно с кислыми. Анионактивные повышают сцепление с карбонатами (основными) и почти не влияют на сцепление с кислыми породами.
Асфальтобетоном называют материал, который получают после уплотнения асфальтобетонной смеси, приготовленной в смесителях в нагретом состоянии из взятых в определенных соотношениях щебня (гравия), песка, минерального порошка и битума. Смесь минерального порошка с битумом называют асфальтовым вяжущим.
Асфальтобетонные смеси подразделяют на щебеночные, гравийные и песчаные (ГОСТ 9128-97).
Асфальтобетонные смеси в зависимости от вязкости битума и условий применения подразделяют на виды:
горячие - приготовленные с использованием вязких и жидких нефтяных и дорожных битумов и применяемые непосредственно после приготовления с температурой смеси при укладке не ниже 120°С;
холодные - приготавливаемые с использованием жидких нефтяных дорожных битумов, допускаемые к длительному хранению и укладываемые с температурой не ниже 5°С.
Горячие смеси в зависимости от наибольшего размера зерен минеральных материалов подразделяют на:
крупнозернистые - с зернами размером до 40 мм;
мелкозернистые - с зернами размером до 20 мм;
песчаные - с зернами размером до 5 мм.
Холодные смеси подразделяют на мелкозернистые и песчаные.
Крупнозернистый асфальтобетон применяют для устройства нижнего слоя покрытия, шероховатая и пористая поверхность которого обеспечивает хорошее сцепление с верхним слоем.
Мелкозернистый асфальтобетон применяют для устройства верхнего слоя или однослойного покрытия. Мелкозернистый асфальтобетон базальтовой структуры применяют для устройства верхнего слоя двухслойных покрытий при интенсивном движении с дополнительным втапливанием щебня для создания шероховатой поверхности. Асфальтобетон этого типа обладает высокой сопротивляемостью механическим воздействиям и атмосферным факторам.
Песчаный асфальтобетон применяют для устройства верхнего слоя покрытия на дорогах со средней интенсивностью движения.
Асфальтобетоны из горячих смесей в зависимости от значения остаточной пористости подразделяют на виды:
высокоплотные с остаточной пористостью от 1,0 до 2,5 %;
плотные с остаточной пористостью свыше 2,5 до 5 %;
пористые с остаточной пористостью свыше 5 до 10 %;
высокопористые с остаточной пористостью свыше 10 до 18 %.
Асфальтобетоны из холодных смесей должны иметь остаточную пористость свыше 6 до 10 %.
Щебеночные и гравийные горячие смеси и плотные асфальтобетоны, в зависимости от содержания в них щебня (гравия), подразделяют на типы:
А - с содержанием щебня свыше 50 до 60 %;
Б - с содержанием щебня свыше 40 до 50 %;
В - с содержанием щебня свыше 30 до 40 %.
Щебеночные и гравийные холодные смеси и соответствующие им асфальтобетоны в зависимости от содержания в них щебня (гравия) подразделяют на типы Бх и Вх.
Горячие и холодные песчаные смеси и соответствующие им асфальтобетоны в зависимости от вида песка подразделяют на типы:
Г и Гх - на песках из отсевов дробления, а также на смесях с природным песком при содержании последнего не более 30 % по массе;
Д и Дх - на природных песках или смесях природных песков с отсевами дробления при содержании последних менее 70 % по массе.
Смеси и асфальтобетоны, в зависимости от показателей физико-механических свойств и применяемых материалов, подразделяют на марки:
Горячие:
- высокоплотные - I
- плотные типов: А- I, II;
Б, Г- I, II, III
В, Д - II, III.
- пористые и высокопористые - I, II
Холодные типов: БХ, ВХ, ГХ - I, II
ДХ - II
Щебень и гравий. Для приготовления щебня используют прочные морозостойкие изверженные, метаморфические и осадочные горные породы, а также прочные и морозостойкие медленноохлажденные металлургические шлаки. Прочность при сжатии горных пород должна быть не менее 100...120 МПа, а осадочных карбонатных пород и металлургических шлаков - не менее 80...100 МПа. Пониженные требования к прочности известняков, доломитов и шлаков компенсируются повышенной прочностью асфальтобетона в связи с хорошим прилипанием битума к этим материалам.
Показатель прочности при износе в полочном барабане для щебня из горных пород устанавливается не более 25...35 % Щебень для асфальтобетонных смесей должен быть чистым, не допускается содержание глинистых и пылеватых частиц свыше 2 %. Форма зерен щебня должна приближаться к тетраэдной и кубовидной, а поверхность - к шероховатой, что повышает внутреннее трение и прилипание вяжущего. Содержание лещадных и игловатых зерен ограничивается 15...35 %. Щебень для асфальтобетонных смесей должен выдерживать без разрушения не менее 50 циклов попеременного замораживания и оттаивания, а для нижнего слоя покрытия - не менее 25 циклов (ГОСТ 8267-93).
Для приготовления горячих асфальтобетонных смесей II марки типа В, холодных типов Бх, Вх, а также III марки типов Б и В можно использовать щебень из гравия или гравий. Гравийно-песчаные смеси по зерновому составу должны отвечать требованиям ГОСТ 23735, а гравий и песок, входящие в состав этих смесей, - ГОСТ 8767 и 8736, соответственно.
Прочность и морозостойкость щебня и гравия для смесей и асфальтобетонов конкретных марок и типов должны соответствовать указанным в табл. 6.6.1.
Таблица 6.6.1
Требования к щебню, гравию, используемым для приготовления асфальтобетонных смесей
|
Наименование показателя |
Значение для смесей марки |
||||||||||||
|
I |
II |
III |
|||||||||||
|
горячих типа |
холодных типа |
пористых и высокопористых |
горячих типа |
холодных типа |
пористых и высокопористых |
горячих типа |
|||||||
|
А и высокоплотных |
Б |
БХ |
ВХ |
А |
Б |
В |
БХ |
ВХ |
Б |
В |
|||
|
Марка не ниже: |
|
|
|
|
|
|
|
|
|
|
|
|
|
|
по дробимости: |
|
|
|
|
|
|
|
|
|
|
|
|
|
|
а) щебня из изверженных и метаморфических горных пород |
1200 |
1200 |
1000 |
800 |
800 |
1000 |
1000 |
800 |
800 |
600 |
600 |
800 |
600 |
|
б) щебня из осадочных горных пород |
1200 |
1000 |
800 |
600 |
600 |
1000 |
800 |
600 |
600 |
400 |
400 |
600 |
400 |
|
в) щебня из металлургического шлака |
- |
1200 |
1000 |
1000 |
800 |
1200 |
1000 |
800 |
800 |
600 |
600 |
800 |
600 |
|
г) щебня из гравия |
- |
1000 |
1000 |
800 |
600 |
1000 |
800 |
600 |
800 |
600 |
400 |
600 |
400 |
|
д) гравия |
- |
|
- |
- |
- |
- |
- |
600 |
800 |
600 |
400 |
600 |
400 |
|
по истираемости: |
|
|
|
|
|
|
|
|
|
|
|
|
|
|
а) щебня из изверженных и метаморфических горных пород |
И 1 |
И 1 |
И 2 |
И 2 |
не норм. |
И 2 |
И 2 |
И 3 |
И 3 |
И 4 |
не норм. |
И 3 |
И 4 |
|
б) щебня из осадочных горных пород |
И 1 |
И 2 |
И 2 |
И 3 |
To же |
И 1 |
И 2 |
И 3 |
И 3 |
И 4 |
То же |
И 3 |
И 4 |
|
в) щебня из гравия и гравия |
- |
И 1 |
И 1 |
И 2 |
-"- |
И 1 |
И 2 |
И 3 |
И 2 |
И 3 |
-"- |
И 3 |
И 4 |
|
По морозостойкости для всех видов щебня и гравия: |
|
|
|
|
|
|
|
|
|
|
|
|
|
|
a) для дорожно-климатических зон I, II, III |
F50 |
F50 |
F50 |
F50 |
F50 |
F50 |
F50 |
F25 |
F25 |
F25 |
F15 |
F25 |
F25 |
|
б) для дорожно-климатических зон IV, V |
F50 |
F50 |
F25 |
F25 |
F25 |
F50 |
F25 |
F15 |
F15 |
F15 |
F15 |
F15 |
F15 |
Песок. Для приготовления асфальтобетонных смесей можно применять природные и дробленые пески, отвечающие требованиям ГОСТ 8736.
Допускается использовать отсевки продуктов дробления горных пород и гравия, соответствующие требованиям нормативно-технической документации, утвержденной в соответствующем порядке. Показатели свойств дробленых песков и отсевов продуктов дробления горных пород и гравия в зависимости от марки, типа и вида смесей должны соответствовать указанным в табл. 6.6.2.
Таблица 6.6.2
Показатели свойств дробленых песков и отсевов продуктов дробления горных пород и гравия
|
Наименование показателя |
Значение для смесей и асфальтобетонов марки |
|||||||
|
I |
II |
III |
||||||
|
горячих и холодных типа |
пористых и высокопористых |
горячих и холодных типа |
пористых и высокопористых |
горячих типа |
||||
|
и высокоплотных |
Г, ГХ |
А, Б, В, БХ, ВХ |
Г, Д, ДХ |
Б, В |
Г, Д |
|||
|
Марка по прочности песка из отсевов дробления горных пород и гравия |
800 |
1000 |
600 |
600 |
800 |
400 |
400 |
600 |
|
Содержание глинистых частиц, определяемое методом набухания по массе, не более, % |
0,5 |
0,5 |
0,5 |
0,5 |
0,5 |
1,0 |
1,0 |
1,0 |
Примечание. Для смесей типа Г марки I необходимо использовать пески из отсевов дробления изверженных горных пород по ГОСТ 8736 с содержанием зерен менее 0,16 мм не более 5 % по массе
Дробленый песок получают дроблением скальных горных пород или кристаллических металлургических шлаков. В зависимости от прочности исходной горной породы, дробленый песок делят на две марки: 800 и 400. Для получения первого из них применяют горные породы с прочностью при сжатии не ниже 80, а для второго - не ниже 40 МПа. Зерновой состав песка должен обеспечивать получение смеси с другими минеральными материалами, с наибольшей плотностью. Из этих соображений для приготовления асфальтобетонных смесей применяют крупно- и среднезернистый пески.
Песок должен быть чистым и содержать глинистых частиц не более 1 % по массе, а органических примесей - менее 0,5 %. Чтобы обеспечить однородный состав асфальтобетонной смеси необходимо использовать песок с постоянным зерновым составом. С этой целью в ряде стран песок делят на 2...3 фракции и в асфальтосмеситель подают пофракционно. Для улучшения обволакивания битумом, песок подвергают активации.
Минеральный порошок. Для асфальтобетонных смесей минеральный порошок получают размолом известняков, доломитов (прочностью не менее 20 МПа), доменных шлаков, а также битуминозных известняков. Тонкость помола порошков должна быть такой, чтобы при мокром рассеве сквозь сито с отверстиями 1,25 мм проходило 100 %, 0,315 мм - не менее 90 % и 0,071 мм - не мене 70 % порошка. При этом пустотность его при уплотнении в специальной форме нагрузкой 40 МПа должна быть не более 35 %.
Физико-химическое воздействие битума с минеральным порошком приближенно определяют коэффициентом гидрофильности частиц порошка размером менее 1,25 мм. Коэффициентом гидрофильности называют отношение набухания минерального порошка в воде (полярная среда) к набуханию в обезвоженном керосине (неполярная среда). Более гидрофильные порошки имеют большее сродство с водой и характеризуются коэффициентом гидрофильности более 1, а менее гидрофильные - менее 1. Для асфальтобетона не рекомендуют порошки с коэффициентом гидрофильности более 1. Набухание смеси порошка с битумом не должно превышать 2,5 %.
В ряде случаев в качестве минеральных порошков применяют местные материалы - порошкообразные отходы промышленности (пыль уноса цементных заводов, золы, дефекационные отходы сахарных заводов, отходы асбоцементного производства). Качество этих порошков различное, поэтому в каждом случае проверяют свойства порошков и приготовленных смесей. Важно установить также расход битума, технологические свойства смеси на принятом порошке и влияние порошка на долговечность асфальтобетона.
Вследствие того, что минеральные порошки имеют мелкозернистый состав, они обладают повышенной гидроскопичностью и комкуются при длительном хранении на складах. Значительно улучшаются свойства порошков после предварительной гидрофобизации, т.е. обработки небольшими дозами битума малой вязкости или другими гидрофобизирующими веществами (торфяным или древесным дегтем, ферролигно-сульфанатом и др.). Гидрофобизирующие минеральные порошки при хранении не комкуются, при транспортировке не распыливаются, значительно улучшают перемешивание и уплотнение смеси; расход битума при приготовлении асфальтобетонных смесей уменьшается.
Показатели свойств измельченных основных металлургических шлаков и порошковых отходов промышленности должны отвечать требованиям ГОСТ 16557 (табл. 6.6.3).
Таблица 6.6.3
Требования к материалам, применяемым в качестве минерального порошка
|
Наименование показателя |
Нормы по видам |
||
|
измельченные основные металлургические шлаки |
зола уноса и золошлаковые смеси |
пыль уноса цементных заводов |
|
|
1. Зерновой состав, % по массе, не менее |
|
|
|
|
мельче 1,25 мм мельче 0,315 мм мельче 0,071 мм |
95 80 60 |
95 80 60 |
95 80 60 |
|
2. Пористость, %, не более |
40 |
45 |
45 |
|
3. Показатель битумоемкости, г, не более |
100 |
100 |
100 |
|
4. Водостойкость образцов из смеси порошка с битумом, не более |
0,7 |
0,6 |
0,8 |
|
5. Содержание водорастворимых соединений, % по массе, не более |
6 |
6 |
6 |
|
6. Потери при прокаливании, % по массе, не более |
Не нормируют |
20,0 |
Не нормируют |
|
7. Содержание активных (Na2O+MqO), % по массе, не более |
3 |
3 |
3 |
В смеси с битумом минеральный порошок образует, так называемое, асфальтовое вяжущее вещество, являющееся тем клеем, который объединяет зерна песка и щебня в прочный и плотный монолит. Суммарная поверхность зерен минерального порошка составляет 85...90 % от всей поверхности минерального материала, поэтому битум, главным образом, взаимодействует с поверхностью минерального порошка.
Минеральный порошок повышает прочность асфальтобетона, но вместе с тем, увеличивает его хрупкость, поэтому в смеси содержание минерального порошка должно быть оптимальным, достаточным лишь для придания асфальтобетону нормативной прочности и плотности. Избыток минерального порошка понижает трещиностойкость, сдвигоустойчивость; при увеличенном содержании битума повышает жирность асфальтобетонных смесей.
Битум. Марку вязкого битума, а также класс и марку жидкого битума выбирают в зависимости от вида асфальтобетона, климатических условий района строительства и категории дороги, а для холодного асфальтобетона - с учетом условий и сроков хранения смеси на складе.
Для приготовления горячих смесей следует применять вязкие нефтяные дорожные битумы марок: БНД 40/60, БНД 60/ 90, БНД 90/130, БНД 130/200, БНД 200/300, БН 60/90, БН 90/ 130, БН 130/200, БН 200/300 по ГОСТ 22245, а также жидкие битумы марок: СГ 130/200, МГ 130/200, ГОСТ 11955.
Для приготовления холодных смесей следует применять жидкие нефтяные дорожные битумы марок СГ 70/130, МГ 70/130. Для холодных смесей марки I следует применять жидкие битумы класса СГ. Допускается также применение битумов класса МГ при условии использования активированных минеральных порошков или предварительной обработки минеральных материалов смесью битума с поверхностно-активными веществами. Для холодных смесей марки II следует применять жидкие битумы классов СГ, МГ.
Асфальтобетон, как материал с обратимыми микроструктурными связями, в зависимости от температуры и условий деформирования может находиться в следующих структурных состояниях:
- упруго-хрупком, при котором минеральный остов строго фиксирован застеклованными прослойками битума. В этом случае асфальтобетон по свойствам приближается к цементобетону и другим искусственным материалам с кристаллизационными связями;
- упруго-пластичном, когда зерна минерального остова соединены прослойками битума, которые проявляют при напряжениях, не превышающих предел текучести, упругие и эластичные свойства, а при больших напряжениях - упруго-вязкие свойства;
- вязко-пластичном, при котором зерна минерального остова соединены полужидкими прослойками битума и небольшое по величине напряжение приводит к деформированию материала.
Под механической нагрузкой асфальтобетон проявляет комплекс сложных свойств: упругость, пластичность, ползучесть, релаксацию напряжений, изменение прочности в зависимости от скорости деформирования, накопление деформации при многократных приложениях нагрузки и т.д. В зависимости от проявления тех или иных свойств к асфальтобетону применимы законы теории упругости или теории пластичности. Основными свойствами, характеризующими качество асфальтобетона, являются прочность, деформативность, ползучесть, релаксация, водостойкость, износостойкость, морозоустойчивость.
Прочность - свойство асфальтобетона сопротивляться разрушению под действием механических напряжений. Теоретические основы прочности и устойчивости асфальтобетонных покрытий отражены в виде нормативов на физико-химические свойства в ГОСТ 9128-97. Показателем этих свойств в сумме прямо или косвенно характеризуют прочность при сжатии и сдвиге, трещиностойкость асфальтобетона в покрытиях.
Прочность при сжатии нормируют при 50, 20, 0°С, что соответствует температуре покрытия в жаркий летний день и осенне-зимний период.
Деформативность асфальтобетона оценивают по относительной деформации асфальтобетонных образцов при испытании на изгиб или растяжение. Покрытие будет устойчивым против образования трещин, если асфальтобетон обладает относительным удлинением при 0°С не менее 0,004...0,008, а при -20°С не менее 0,001...0,002 (при скорости деформации, близкой к 5...10 мм/мин).
Ползучесть. Испытание асфальтобетона на ползучесть позволяет установить изменение деформации во времени. Ползучесть - процесс малой непрерывной пластичной деформации, протекающей в материалах в условиях длительной статической нагрузки. При испытании на ползучесть к образцу, имеющему форму цилиндра или балочки, прикладывают постоянную нагрузку, чтобы проследить работу материала в упругой (линейной) и неупругой (нелинейной) области.
Релаксация - уменьшение напряжений в материале, величина деформации в котором поддерживается постоянной. Процесс релаксации заключается в «перерождении» упругой деформации в пластичную.
Релаксация напряжений в асфальтобетоне связана с наличием битума, обладающего гораздо меньшей прочностью и вязкостью, чем минеральные материалы. Температура и вязкость битума оказывают влияние на характер релаксации напряжений в асфальтобетоне. С понижением температуры различия в релаксационных процессах уменьшаются, с повышением - релаксационная способность материала увеличивается. На характер релаксации в значительной степени влияет напряжение, сообщаемое материалу. При высоком начальном напряжении процесс релаксации протекает интенсивно, в материале остается мало неотрелаксированных напряжений, что объясняется облегчением пластичного течения по релаксационным плоскостям.
Релаксационные процессы в асфальтобетоне зависят от скорости деформации (нагружения). Процесс нагружения рассматривают как совокупность двух одновременно протекающих процессов - роста напряжений и их релаксации, поэтому, чем медленнее растет нагрузка, тем большая часть напряжений успевает отрелаксировать в процессе нагружения.
При высоких температурах интенсивность снижения напряжений служит показателем деформационной устойчивости асфальтобетона, а при низких отрицательных - показателем трещиноустойчивости.
Водостойкость. Асфальтобетонные покрытия при длительном увлажнении вследствие ослабления структурных связей могут разрушаться за счет выкрашивания минеральных зерен, что приводит к повышенному износу покрытий и образованию выбоин. Водостойкость асфальтобетона зависит от его плотности и устойчивости адгезионных связей. Вода, как полярная жидкость, хорошо смачивает все минеральные материалы, а это значит, что при длительном контакте минеральных зерен, обработанных битумом, возможна диффузия воды под битумную пленку. При этом минеральные материалы с положительным потенциалом заряда поверхности (кальцит, доломит, известняк) в большей степени препятствуют вытеснению битумной пленки водой, чем материалы с отрицательным потенциалом поверхности(кварц, гранит, андезит).
Пористость оказывает большое влияние на водостойкость асфальтобетона, обычно она составляет 3...7 %. Поры в асфальтобетоне могут быть открытые и замкнутые. С уменьшением размера зерен увеличивается количество замкнутых, недоступных воде пор. Водостойкость определяется величиной водонасыщения, набухания и коэффициента водостойкости Кв (отношение прочности водонасыщенных к прочности сухих образцов). Коэффициент водостойкости должен быть не менее 0,9, а при длительном водонасыщении (15 суток) не менее 0,8.
Морозостойкость. Замерзая зимой в порах асфальтобетона, вода переходит в лед с увеличением в объеме на 8-9 %, что создает в них давление свыше 29 МПа. Наибольшее разрушительное действие оказывает происходящее весной и осенью попеременное замораживание и оттаивание асфальтобетона. Знакопеременные температуры приводят к появлению трещин.
Морозостойкость асфальтобетона обычно оценивают коэффициентом KF, показывающим снижение прочности при растяжении (и сжатия на раскол) после определенного цикла замораживания насыщенных водой образцов на воздухе при температуре -20°С и оттаивания в воде при комнатной температуре. Количество циклов принимают не менее 25. Повысить водо- и морозостойкость можно путем выбора материалов надлежащего качества, тщательного подбора составляющих, применения поверхностно-активных веществ.
Износостойкость и шероховатость асфальтобетона в покрытии. Износ асфальтобетона происходит под действием сил трения, вызываемых проскальзыванием колес автомобиля по поверхности покрытия и вакуумных сил, возникающих под движущимся автомобилем. Износ покрытия определяется: истиранием его структурных элементов; отрывом и износом с его поверхности зерен песка и раздробленных щебенок.
Износостойкость асфальтобетона тем выше, чем больше его плотность, чем выше твердость входящих в его состав минеральных материалов и выше сцепление зерен щебня и песка с битумом. Асфальтобетоны, приготовленные на гранитном щебне, более износоустойчивы, чем асфальтобетоны на известняковом щебне. Применение щебня, загрязненного глинистыми частицами, приводит к резкому снижению износостойкости за счет вырывания щебенок из поверхности покрытия.
Асфальтобетонные покрытия с ровной, сухой и чистой поверхностью (за исключением покрытий с избытком битума) обеспечивают достаточное сцепление шин автомобиля с поверхностью покрытия. При этом шероховатость поверхности покрытия не оказывает существенного влияния на сопротивление скольжению шин. На покрытиях с увлажненной поверхностью степень сопротивления скольжению шин значительно снижается из-за наличия воды в зоне контакта шин с покрытием. Степень сопротивления скольжения оценивается коэффициентом сопротивления скольжению j (коэффициент сопротивления), представляющим собой отношение силы сопротивления скольжению к нормальной нагрузке на покрытие в зоне контакта шины с покрытием. Коэффициент сцепления на сухом и мокром асфальтобетонном покрытии имеет следующие значения:
Шероховатая поверхность: Гладкая поверхность:
сухая 0,7...0,9 сухая 0,4...0,6;
мокрая 0,5...0,7 мокрая 0,3...0,4.
При коэффициенте сцепления менее 0,4 покрытие становится недопустимо скользким и аварийность на нем резко увеличивается. Коэффициент сцепления 0,4...0,5 в большинстве случаев удовлетворяет требованиям безопасности движения. Повышение коэффициента сцепления достигается за счет применения асфальтобетона поровой и контактно-поровой структуры. Шероховатость обеспечивается при содержании щебня из труднополирующихся пород в количестве 50-65 % в зернистых смесях и 35-55 % зерен крупнее 1,25 мм - песчаных на дробленом песке из труднополирующихся пород, а также уменьшением до возможных пределов содержания минерального порошка (4-10 % в зернистых смесях и 8-10 % в песчаных). Общие зависимости между шероховатостью, качеством составляющих и составом асфальтобетонных смесей следующие: степень шероховатости покрытия пропорциональна острогранности и собственной шероховатости зерен каменного материала; долговечность шероховатости тем больше, чем труднее шлифуется каменный материал, чем выше вязкость битума; чем больше дробленых зерен в смеси и чем меньше в ней минерального порошка, тем выше шероховатость.
Свойства асфальтобетона и асфальтобетонных смесей должны соответствовать ГОСТ 9128-97 «Смеси асфальтобетонные дорожные, аэродромные и асфальтобетон». Зерновые составы и минеральные части смесей и асфальтобетонов должны соответствовать установленным в табл. 6.6.4 - для нижних слоев покрытий и оснований; в табл. 6.6.5 - для верхних слоев покрытий. Показатели физико-механических свойств высокоплотных и плотных асфальтобетонов из горячих смесей, в зависимости от марок смесей и дорожно-климатической зоны, должны соответствовать указанным в табл. 6.6.6.
Таблица 6.6.4
Зерновые составы минеральной части смесей и асфальтобетонов для нижних слоев покрытий и оснований в % по массе
|
Вид и тип смесей и асфальтобетонов |
Размер зерен, мм, мельче |
||
|
5 |
0,63 |
0,071 |
|
|
Плотные типов: |
|||
|
А |
От 40 до 50 |
От 12 до 50 |
От 4 до 10 |
|
Б |
От 50 до 60 |
От 20 до 60 |
От 6 до 12 |
|
Пористые |
От 40 до 60 |
От 10 до 60 |
От 0 до 8 |
|
Высокопористые щебенистые |
От 40 до 60 |
От 10 до 60 |
От 4 до 8 |
|
Высокопористые песчаные |
От 90 до 100 |
От 25 до 85 |
От 4 до 10 |
Таблица 6.6.5
Зерновые составы минеральной части смесей и асфальтобетонов для верхних слоев покрытий в процентах по массе
|
Вид и тип смесей и асфальтобетонов |
Размеры зерен, мм. мельче |
|||||||||
|
20 |
15 |
10 |
5 |
2,5 |
1,25 |
0,63 |
0,315 |
0,14 |
0,071 |
|
|
Горячие |
|
|||||||||
|
высокоплотные |
90-100 |
70-100 |
56-100 |
35-50 |
24-50 |
18-50 |
13-50 |
12-50 |
11-28 |
10-16 |
|
плотные типов: |
Непрерывные зерновые составы |
|||||||||
|
А |
90-100 |
75-100 |
62-100 |
40-50 |
28-38 |
20-28 |
14-20 |
10-16 |
6-12 |
4-10 |
|
Б |
90-100 |
80-100 |
70-100 |
50-60 |
38-48 |
28-37 |
20-28 |
14-22 |
10-16 |
6-12 |
|
В |
90-100 |
85-100 |
75-100 |
60-70 |
48-60 |
37-50 |
28-40 |
20-30 |
13-20 |
8-14 |
|
Г |
- |
- |
- |
80-100 |
65-82 |
45-65 |
30-50 |
20-36 |
15-25 |
8-16 |
|
Д |
- |
- |
- |
80-100 |
60-93 |
45-85 |
30-75 |
20-55 |
25-33 |
10-16 |
|
|
Прерывистые зерновые составы |
|||||||||
|
А |
90-100 |
75-85 |
62-70 |
40-50 |
28-50 |
20-50 |
14-50 |
10-28 |
6-16 |
4-10 |
|
Б |
90-100 |
80-90 |
70-77 |
50-60 |
38-60 |
28-60 |
20-60 |
14-34 |
10-20 |
6-12 |
|
Холодные типов: |
|
|||||||||
|
БХ |
90-100 |
85-100 |
70-100 |
50-60 |
33-46 |
21-38 |
15-30 |
10-22 |
9-16 |
8-12 |
|
ВХ |
90-100 |
85-100 |
75-100 |
60-70 |
48-60 |
38-50 |
30-40 |
23-32 |
17-24 |
12-17 |
|
ГХ и ДХ |
- |
- |
- |
80-100 |
62-82 |
40-68 |
25-55 |
18-43 |
14-30 |
12-20 |
Таблица 6.6.6
Технические требования к асфальтобетону
|
Наименование показателя |
Значение для асфальтобетонов марки |
||||||||
|
I |
II |
III |
|||||||
|
для дорожно-климатических зон |
|||||||||
|
I |
II, III |
IV, V |
I |
II, III |
IV, V |
I |
II, III |
IV, V |
|
|
Предел прочности при сжатии, при температуре 50°С, МПа, не менее для асфальтобетонов |
|
||||||||
|
высокоплотных |
1,0 |
1,1 |
1,2 |
- |
- |
- |
- |
- |
- |
|
плотных типов: |
|
||||||||
|
А |
0,9 |
1,0 |
1,1 |
0,8 |
0,9 |
1,0 |
- |
- |
- |
|
Б |
1,0 |
1,2 |
13 |
0,9 |
1,0 |
1,2 |
0,8 |
0,9 |
1,1 |
|
В |
- |
- |
- |
1,1 |
1,2 |
1,3 |
1,0 |
1,1 |
1,2 |
|
Г |
1,1 |
1,3 |
1,6 |
1,0 |
1,2 |
1,4 |
0,9 |
1,0 |
1,1 |
|
Д |
- |
- |
- |
1,1 |
1,3 |
1,5 |
1,0 |
1,1 |
1,2 |
|
Предел прочности при сжатии, при температуре 20°С для асфальтобетонов всех типов, МПа, не менее |
2,5 |
2,5 |
2,5 |
22 |
2,2 |
2,2 |
2,0 |
2,0 |
2,0 |
|
Предел прочности при сжатии, при температуре 0°С для асфальтобетонов всех типов, МПа, не более |
9,0 |
11,0 |
13,0 |
10,0 |
12,0 |
13,0 |
10,0 |
12,0 |
13,0 |
|
Водостойкость не менее: |
|
||||||||
|
плотных асфальтобетонов |
0,95 |
0,90 |
0,85 |
0,90 |
0,85 |
0,80 |
0,85 |
0,75 |
0,70 |
|
высокоплотных асфальтобетонов |
0,95 |
0,95 |
0,90 |
- |
- |
- |
- |
- |
- |
|
плотных асфальтобетонов при длительном водонасыщении |
0,90 |
0,85 |
0,75 |
0,85 |
0,75 |
0,70 |
0,75 |
0,65 |
0,60 |
|
высокоплотных асфальтобетонов при длительном водонасыщении |
0,95 |
0,90 |
0,85 |
- |
- |
- |
- |
- |
- |
Пористость минеральной части асфальтобетонов из горячих смесей должна быть, %, не более:
высокоплотных.................................................16;
плотных типов:
А и Б..................................................................19;
В, Г и Д..............................................................22;
пористых...........................................................23;
высокопористых щебенистых..........................24;
высокопористых песчаных...............................28.
Остаточная пористость является главным признаком правильно назначенного зернового состава, оптимального содержания битума и достаточного уплотнения. Остаточная пористость в нормативных пределах необходима, и отклонение от нее означает нарушение оптимальной структуры асфальтобетона.
Водонасыщение высокоплотных и плотных асфальтобетонов из горячих смесей должно соответствовать указанному в табл. 6.6.7.
Таблица 6.6.7
Остаточная пористость и водонасыщение высокоплотных и плотных асфальтобетонов
|
Наименование показателя |
Значение для: |
|
|
образцов, отформованных из смеси |
вырубок и кернов готового покрытия, не более |
|
|
Высокоплотные |
От 1,0 до 2,5 |
3,0 |
|
Плотные типов: |
||
|
А |
От 2,0 до 5,0 |
5,0 |
|
Б, В и Г |
Oт 1,5 до 4,0 |
4,5 |
|
Д |
От 1,0 до 4,0 |
4,0 |
Показатели физико-механических свойств пористых и высокопористых асфальтобетонов из горячих смесей, в зависимости от марок смесей, должны соответствовать указанным в табл. 6.6.8.
Таблица 6.6.8
Показатели пористых и высокопористых асфальтобетонов из горячих смесей
|
Наименование показателя |
Значение для марки |
|
|
I |
II |
|
|
1. Предел прочности при сжатии, при температуре 50°С, МПа, не менее |
0,7 |
0,5 |
|
2. Водостойкость, не менее |
0,7 |
0,6 |
|
3. Водостойкость при длительном водонасыщении, не менее |
0,6 |
0,5 |
|
4. Водонасыщение, % по объему, не более для: |
||
|
Пористых асфальтобетонов |
Свыше 5,0 до 10,0 |
Свыше 5,0 до 10,0 |
|
Высокопористых асфальтобетонов |
Свыше 10,0 до 18,0 |
Свыше 10,0 до 18,0 |
Примечание. Для крупнозернистых асфальтобетонов предел прочности при сжатии при температуре 50°С и водостойкость не нормируются.
Водонасыщение пористых асфальтобетонов не должно быть более 12 % по объему, высокопористых - не более 18 %. Набухание пористых и высокопористых асфальтобетонов из смесей I марки не должно быть 1,0 % по объему, из смесей II марки - более 2 % по объему.
Водонасыщение ниже нормы указывает на чрезмерную жирность смесей, а повышенное водонасыщение является признаком сухой смеси.
Набухание больше нормативного предела указывает на повышенную гигроскопичность минерального порошка или битума, или того и другого вместе. С повышенным набуханием обратной зависимостью связаны водостойкость и морозостойкость.
Нормативная прочность на сжатие при 20°С и 50°С для бескаркасных смесей характеризует сдвигоустойчивость асфальтобетона. Повышение прочности достигается увеличением вязкости битума и увеличением содержания минерального порошка. Однако то и другое приводит к увеличению хрупкости и снижению трещиностойкости асфальтобетона в покрытии.
В асфальтобетоне каркасной структуры признаком сдвигоустойчивости является правильно подобранный зерновой состав. Прочность при сжатии при 20°С и 50°С косвенно свидетельствует о когезии асфальтового вяжущего и способности смеси противостоять разрушающему воздействию воды.
Показатели физико-механических свойств асфальтобетонов из холодных смесей в зависимости от марок смесей должны соответствовать указанным в табл. 6.6.9.
Таблица 6.6.9
Показатели физико-механических свойств асфальтобетонов из холодных смесей
|
Наименование показателя |
Значение для марки и типа |
|||
|
I |
II |
|||
|
БХ, ВХ |
ГХ |
БХ, ВХ |
ГХ, ДХ |
|
|
Предел прочности при сжатии при температуре 20°С, МПа, не менее до подогрева: |
|
|
|
|
|
сухих |
1,5 |
1,7 |
1,0 |
1,2 |
|
водонасыщенных |
1,1 |
1,2 |
0,7 |
0,8 |
|
после длительного водонасыщения |
0,8 |
0,9 |
0,5 |
0,6 |
|
после подогрева: |
|
|||
|
водонасыщенных |
1,6 |
1,8 |
1,0 |
1,2 |
|
после длительного водонасыщения |
1,3 |
1,8 |
0,8 |
0,9 |
В дорожных покрытиях резко изменяются свойства холодного асфальтобетона вследствие повышения вяжущих свойств жидких битумов под воздействием атмосферных факторов. Для оценки этих качественных изменений холодного асфальтобетона пользуются показателями предела прочности при сжатии в сухом и водонасыщенном состоянии (табл. 6.6.9). Длительность прогрева смеси устанавливают в зависимости от скорости загустевания битума.
Температура горячих и холодных смесей при отгрузке потребителю и на склад в зависимости от показателей битумов должна соответствовать указанным в табл. 6.6.10.
Таблица 6.6.10
Температура горячих и холодных смесей при отгрузке потребителю и на склад
|
Вид смеси |
Температура смеси, °С, в зависимости от показателя битума |
||||||
|
глубины проникновения иглы при 25°С, мм |
условной вязкости по вискозиметру с отверстием 5 мм при 60°С, с |
||||||
|
40-60 |
61-90 |
91-130 |
131-200 |
201-300 |
70-130 |
131-200 |
|
|
Горячая |
от 150 до 160 |
от 145 до 155 |
от 140 до 150 |
от 130 до 140 |
от 120 до 130 |
- |
от 110 до 120 |
|
Холодная |
- |
- |
- |
- |
- |
от 80 до 100 |
от 100 до 120 |
Примечание. При использовании ПАВ или активированных минеральных порошков допускается снижать температуру горячих смесей на 20°С.
Пористость минерального состава асфальтобетонов из холодных смесей типа БХ не должна быть более 18 % по объему, типа ВХ - более 20 %, типов ГХ и ДХ - более 21 % по объему. Остаточная пористость асфальтобетонов из холодных смесей должна быть 6...10 % по объему.
Водонасыщение асфальтобетонов из холодных смесей должно быть в пределах от 5...9 % по объему, а слеживаемость не должна превышать 10 по числу ударов. Смеси должны выдерживать испытание на сцепление битума с минеральной частью. При недостаточном сцеплении следует применять поверхностно-активные вещества (ПАВ).
Расчет заключается в подборе рационального соотношения между составляющими асфальтобетонную смесь материалами.
Широкое распространение получил метод расчета по кривым плотных смесей. Наибольшая прочность асфальтобетона достигается при максимальной плотности минерального остова, оптимального количества битума и минерального порошка.
Между зерновым составом минерального материала и плотностью существует прямая зависимость. Оптимальными будут составы, содержащие зерна различного размера, диаметры которых уменьшаются в два раза.
(6.6.1)
где d1 - наибольший диаметр зерна, устанавливаемый в зависимости от типа смеси;
d2 - наименьший диаметр зерна, соответствующий пылеватой фракции, и минерального порошка (0,004...0,005 мм).
Размеры зерен, согласно предыдущему уровню
(6.6.2)
Число размеров определяют по формуле
(6.6.3)
Число фракций п на единицу меньше числа размеров т
(6.6.4)
Соотношение соседних фракций по массе
(6.6.5)
где К - коэффициент сбега.
Величина, показывающая, во сколько раз количество последующей фракции меньше предыдущей, называется коэффициентом сбега. Наиболее плотная смесь получается при коэффициенте сбега 0,8, но такую смесь трудно подобрать, поэтому, по предложению Н.Н. Иванова, коэффициент сбега К принят от 0,7 до 0,9.
Зная размеры фракций, их количество и принятый коэффициент сбега (например 0,7), составляют уравнения такого вида:
|
Фракции |
Массовое количество |
|
d1 |
у1 |
|
d2 |
у2 = у1к |
|
d3 |
у3 = у2к = у1к2 |
|
|
|
|
dn |
уn = уn-1к = у1кn-1 |
Сумма всех фракций (по массе) равна 100 %, то есть:
у1 + у1к + у1к2 + у1к3 +...+ у1кn-1 = 100 (6.6.6)
или
у1(1 + к + к2 + к3 +... + кn-1) = 100 (6.6.7)
В скобках указана сумма геометрической прогрессии и, следовательно, количество первой фракции в смеси
(6.6.8)
Аналогично определяем процентное содержание первой фракции у1, для коэффициента сбега к = 0,9. Зная количество первой фракции у1, легко определить у2, у3 и так далее.
На основании полученных данных строят предельные кривые, соответствующие принятым коэффициентам сбега. Составы, рассчитанные по коэффициенту сбега 0,9, содержат повышенное количество минерального порошка, а при к < 0,7 - уменьшенное количество минерального порошка.
Кривая зернового состава рассчитываемой смеси должна располагаться между предельными кривыми (рис. 6.6.1).

Рис. 6.6.1. Зерновые составы:
А - мелкозернистой асфальтобетонной смеси с непрерывной гранулометрией типов А,
Б, В; Б - минеральной части песчаных смесей типов Г и Д
Высокие эксплуатационные показатели дают смеси с повышенным содержанием щебня и уменьшенным содержанием минерального порошка. Предпочтение следует отдавать смесям с коэффициентом сбега 0,70...0,80.
В случае невозможности расчета плотной минеральной смеси по предельным кривым (отсутствие крупнозернистых песков и невозможности их замены высевными) необходимая плотность может быть подобрана по принципу прерывистой гранулометрии. Смеси с прерывистой гранулометрией более сдвигоустойчивы за счет жесткого каркаса.
Для определения расхода битума формуют пробные образцы из смеси с заведомо малым содержанием битума, затем определяют объем пустот в минеральном остове
(6.6.9)
где g - объемная масса асфальтобетонного образца;
Бпр - содержание битума в пробной смеси, %;
rм - средняя плотность минерального материала:
(6.6.10)
где ущ, уп , умп - содержание щебня, песка, минерального порошка в % по массе;
rщ, rп , rмп - плотность щебня, песка, минерального порошка.
Расчетная формула для определения оптимального содержания битума будет иметь вид
(6.6.11)
где rб - плотность битума;
j - коэффициент заполнения пустот минеральной смеси битумом, зависящий от заданной остаточной пористости
(6.6.12)
где По - пористость минерального остова асфальтобетона, % объема;
П - заданная остаточная пористость асфальтобетона при 20°С, % объема.
Состав холодного асфальтобетона можно рассчитать по типовым составам или по методике, применяемой для расчета горячих смесей, с обязательной проверкой физико-механических свойств в лаборатории. Количество жидкого битума снижают на 10...15 % против оптимального, чтобы уменьшить слеживаемость.
Характерной чертой холодного асфальтобетона, отличающей его от горячего, является способность оставаться длительное время после приготовления в рыхлом состоянии. Эта способность холодных асфальтобетонных смесей объясняется наличием тонкой битумной пленки на минеральных зернах, вследствие чего микроструктурные связи в смеси настолько слабы, что небольшое усилие приводит к их разрушению. Поэтому приготовленные смеси под действием собственной массы при хранении в штабелях и транспортировке не слеживаются. Смеси в течение длительного времени (до 12 месяцев) остаются в рыхлом состоянии. Их сравнительно легко можно перегружать в транспортные средства и распределять тонким слоем при устройстве дорожных покрытий.
Зерновые составы холодных асфальтобетонных смесей отличаются от составов горячих смесей в сторону повышенного содержания минерального порошка (до 20 %) - частиц мельче 0,071 мм и пониженного содержания щебня (до 50 %). Повышенное количество минерального порошка вызвано применением жидкого битума, требующего для структурообразования большего количества порошка, а при содержании щебня более 50 % ухудшаются условия формирования покрытия. Наибольший размер зерен в холодном асфальтобетоне составляет 20 мм. Более крупный щебень ухудшает условия формирования покрытия.
В качестве крупной составляющей для холодного асфальтобетона используют щебень, получаемый дроблением скальных горных пород и металлургических шлаков. Эти материалы должны обладать прочностью при сжатии не менее 80 МПа, а для II марки асфальтобетона - не ниже 60 МПа.
Для приготовления холодного асфальтобетона применяют такой же минеральный порошок и песок, что и для горячих смесей.
Жидкие битумы должны иметь вязкость в пределах
что соответствует
маркам СГ 70/130, МГ 70/130. Вязкость и класс битума выбирают с учетом
предполагаемого срока хранения смеси на складах, температуры воздуха при
хранении и применении, а также качества минеральных материалов. Холодные
асфальтобетонные смеси используют для устройства дорожных покрытий при
интенсивности движения до 2000 автомобилей в сутки.
Литой асфальтобетон представляет собой специально запроектированную смесь щебня, песка, минерального порошка и вязкого битума, приготовленную и уложенную в горячем состоянии без дополнительного уплотнения. От горячего асфальтобетона литой отличается большим содержанием минерального порошка и битума, технологией приготовления и методом укладки. Литой асфальтобетон применяют в качестве дорожного покрытия на автомобильных дорогах, на проезжей части мостов, а также для устройства полов в производственных зданиях. Ремонтные работы с использованием литых смесей можно выполнять при температуре воздуха до -10°С. Особенностью производства работ является необходимость непрерывного перемешивания литой смеси при ее транспортировке к месту укладки.
Для приготовления литого асфальтобетона применяют щебень (крупностью до 40 мм), природный или дробленый песок. Щебень, высевки и песок должны быть высокосортными, как и для обычного горячего асфальтобетона. В качестве вяжущего применяют битумы БНД 40/60. В соответствии с ТУ 400-24-158-89 литые смеси подразделяют на пять типов (табл. 6.6.11).
Таблица 6.6.11
Классификация литых асфальтобетонных смесей
|
Основные классификационные особенности смеси |
Назначение смеси |
||||
|
тип смеси |
максимальный размер щебня, мм |
массовая доля, % |
битум, минеральный порошок |
||
|
зерен более 5 мм |
асфальтовяжущего вещества |
||||
|
I II III |
15 20 40 |
45...55 35...50 45...65 |
25...30 20...25 15...20 |
0,35...0,45 0,40...0,55 0,50...0,65 |
Новое строительство, капитальный ремонт проезжей части |
|
IV |
5 |
- |
17...23 |
0,40...0,65 |
Покрытие тротуаров |
|
V |
20 |
35...50 |
22...28 |
0,55...0,75 |
Текущий ремонт дорожных покрытий |
К положительным свойствам литого асфальтобетона относят долговечность, небольшие затраты работы на уплотнение, водонепроницаемость. При реконструкции дороги существующее покрытие из литого асфальтобетона может быть снова использовано в полном объеме и почти без добавления новых материалов.
Дегтебетон в зависимости от вязкости дегтя и температуры смесей при укладке подразделяют на горячий и холодный. По физико-механическим свойствам дегтебетон уступает асфальтобетону, так как обладает меньшей прочностью и теплоустойчивостью.
Дегтебетон в зависимости от вида каменного материала подразделяют на щебеночный, гравийный и песчаный. Для приготовления дегтебетона применяют те же минеральные материалы, что и для асфальтобетона, требования к ним аналогичные. В качестве вяжущего применяют дорожный каменноугольный деготь: для горячего дегтебетона - Д-6, для холодного - Д-4 и Д-5. Дегти применяют как промышленного изготовления, так и приготовленные непосредственно на асфальтобетонном заводе путем окисления или смешения песка с разжижителем (антраценовым маслом, каменноугольной смолой и др.).
Расчет состава дегтебетона может быть выполнен так же, как и асфальтобетона, при этом основное внимание должно быть обращено на тщательный подбор количества дегтя, так как небольшое отклонение содержания его в смеси заметно влияет на свойства дегтебетона.
Для приготовления горячего дегтебетона применяют дегти с вязкостью, значительно меньшей, чем вязкость битума для соответствующего вида асфальтобетона. Пониженная вязкость дегтя обуславливает ослабление внутренних структурных связей, что может быть компенсировано повышением внутреннего трения минеральной части. Для этого необходимо применять каменные материалы с зернами угловатой формы и шероховатой поверхностью, а также заменять часть или весь природный песок с окатанными зернами на высевки. Для приготовления дегтебетонных смесей можно применять щебень из более кислых пород (кварцевые песчаники, богатые кварцем граниты и др.).
Плотный дегтебетон применяют для устройства покрытий на дорогах II...IV категорий. По санитарно-гигиеническим условиям устройство верхних слоев покрытий из дегтебетона разрешено только вне населенных пунктов. При приготовлении дегтебетонных смесей необходимо соблюдать специальные правила техники безопасности.
Дегтебетонную смесь приготавливают в асфальтобетонных установках с мешалками принудительного действия. Вследствие пониженной вязкости дегтя обволакивание им зерен минерального материала протекает лучше, чем при применении битумов, в результате чего сокращается время для смешения материалов. По этой же причине облегчается уплотнение смесей при устройстве покрытий. Коэффициент уплотнения, представляющий собой отношение толщины слоя уложенной смеси до уплотнения к толщине уплотненного покрытия, может быть равным 1,3...1,4.
При производстве дегтебетонной смеси необходимо строго соблюдать установленный температурный режим, так как деготь более чувствителен к изменению температуры, чем битум (табл. 6.6.12).
Таблица 6.6.12
Температурный режим при приготовлении и укладке дегтебетона
|
Вид смеси |
Марка дегтя |
Температура, °С |
|||
|
минерального материала |
дегтя |
смеси |
укладки смеси |
||
|
Горячая |
Д-5 |
95...100 |
80...90 |
90...100 |
70...90 |
|
|
Д-6 |
100...115 |
80...100 |
100...110 |
75...95 |
|
Холодная |
Д-4 Д-5 |
80...95 |
70...90 |
80...95 |
более 5°С весной и более 10°С осенью |
По физико-механическим свойствам дегтебетон уступает асфальтобетону: он обладает меньшей прочностью, теплостойкостью. Но при этом отличается повышенной износостойкостью. Дегтебетонное покрытие имеет повышенную шероховатость, более высокий коэффициент сцепления колеса с дорогой, повышенную безопасность движения. Это связано с меньшей вязкостью дегтей, более слабыми когезионными силами межмолекулярного взаимодействия, наличием летучих составляющих. Летучие вещества в составе дегтя ускоряют срок формирования структуры дегтебетона в покрытии, а также способствуют более интенсивному изменению его свойств. Дегтебетон менее пластичен в сравнении с асфальтобетоном, что также связано с составом и структурой дегтей, которые состоят преимущественно из ароматических углеводородов, которые образуют более жесткие структурные связи в вяжущих материалах и при пониженных температурах плохо деформируются, вследствие чего в покрытиях образуются трещины.
Контроль за изготовлением дегтебетонной смеси на заводе и при устройстве дегтебетонного покрытия, а также методы испытания дегтебетона такие же, как и асфальтобетона.
Производственные предприятия - это комплекс сооружений, машин и оборудования, которые обеспечивают добычу необходимых для дорожного строительства материалов, изготовление полуфабрикатов, изделий и деталей.
В условиях скоростного строительства автомобильных дорог требуется принять и переработать 500...700 тыс. т в год различных строительных материалов, что в среднем составляет 60...100 вагонов в сутки. Наибольшую сложность представляет разгрузка и хранение цемента, минерального порошка, битума. Классификация производственных предприятий показана на рис. 7.1.

Рис. 7.1. Классификация производственных предприятий дорожного хозяйства
По характеру эксплуатации в зависимости от размещения и средств доставки материалов предприятия могут быть.
- прирельсовые;
-притрассовые.
Прирельсовые предприятия сооружают непосредственно у железнодорожной ветки. В этом случае вся или большая часть материала поступает по железной дороге.
Притрассовые заводы сооружают в непосредственной близости от строящейся автомобильной дороги и все необходимые материалы на предприятие доставляют автомобильным транспортом с прирельсовых базисных складов или из притрассовых карьеров.
Предприятия для приготовления смесей разделяют на стационарные, инвентарные и передвижные. Стационарные размещают в капитальных сооружениях, и срок эксплуатации их на одном месте более 2-х лет.
Инвентарные заводы (базы) комплектуются из строительных конструкций, машин и оборудования сборно-разборного типа.
Передвижные предприятия организуют для приготовления смесей вблизи мест укладки. Они предназначены для кратковременного использования от 1 месяца до 1 года на одном месте.
При выборе места расположения производственного предприятия учитывают:
- возможность получения исходных материалов;
- величину транспортных затрат;
- техническую обусловленность, ограничивающую дальность транспортирования, например, асфальтобетонной смеси.
При выборе площадки для строительства производственного предприятия учитывают:
- географические и гидрологические условия;
- существующую транспортную сеть;
- обеспеченность района электроэнергией, водой, жилплощадью, культурно-бытовыми помещениями;
- противопожарные и санитарно-технические условия. Оптимальный вариант размещения производственного
предприятия выбирают по минимуму приведенных затрат на производство и транспортирование продукции при одинаковом ее качестве по формуле
ЗП = Сс + Стс + Спер + Ст.гот + Ен·Куд, (7.1)
где Сс - затраты на приобретение сырья;
Стс - затраты на транспортирование сырья от места производства до перерабатывающего предприятия;
Спер - затраты предприятия на переработку сырья в готовую продукцию;
Ст.гот - затраты на транспортирование готовой продукции с предприятия потребителю;
Ен - нормативный коэффициент сравнительной эффективности капитальных вложений (Ен = 0,12);
Куд - удельные капиталовложения на строительство предприятия, Куд = Ф/Qг;
Ф - стоимость основных промышленно-производственных фондов, руб;
Qг - годовая производственная мощность предприятия.
К дополнительным показателям, учитывающим специфические особенности производства, относят среднегодовые показатели расходов электроэнергии, сжатого воздуха, пара, воды и других затрат на единицу продукции.
Среднегодовой расход электроэнергии при изготовлении единицы продукции
Nэг = SNг / Qг , (7.2)
где SNг - годовая потребность предприятия в электроэнергии, кВт·ч.
В определенных случаях определяют годовую выработку продукции на одного работающего, трудоемкость изготовления единицы продукции.
Годовая выработка продукции на одного работающего
Вр = Qг / Рср.г , (7.3)
где Рср.г - среднегодовая численность работающих.
Показатель трудоемкости изготовления единицу продукции в значительной мере отражает уровень механизации, автоматизации и организации производства на данном предприятии.
Задача оптимального размещения производственных предприятий дорожного строительства по отношению к строящейся автомобильной дороге или к узлу дорог с учетом максимального их приближения к источникам сырья и потребителям и полного использования установленных производственных мощностей может быть решена методом линейного программирования с применением ЭВМ. Важнейшим этапом работы в этом случае является построение математической модели, которая может иметь несколько разновидностей.
Изыскания месторождений песка, гравия, камня разделяют натри стадии:
- рекогносцировка;
- поиск;
- разведка.
Рекогносцировкой устанавливают район поиска. Отчет по рекогносцировке содержит описание месторождения, глазомерный план или карту и служит только для планирования строительства.
При поиске устанавливают:
- ориентировочные запасы;
- ценность и пригодность материалов для строительства автомобильных дорог.
Для поисковых работ используют топографическую карту крупного масштаба, геологические и геолого-литологические карты. При поисках делают выработки легкого типа (расчистки - неглубокие канавы).
Разведку проводят по утвержденному проекту. При разведке пользуются контрольными шурфами, скважинами. При бурении скважин вырезают керны. Все шурфы и скважины записывают в журнал определенной формы, где указывают пройденные породы, мощность слоев. На плане, выполненном в масштабе 1:2000, наносят все скважины, шурфы и естественные обнажения. По их данным составляют геологические разрезы. По разрезам судят о том, как залегает ископаемое, откуда и до какой глубины следует разрабатывать месторождение.
По степени разведанности месторождений, изученности качества полезного ископаемого различают запасы трех категорий А, В, С с подразделением третьей категории на С1 и С2.
К категории А относят месторождения, запасы, качество и условия залегания которых полностью изучены и оконтурены буровыми скважинами или горными выработками. Такие сведения позволяют запроектировать и построить на базе разведанного месторождения предприятие соответствующей мощности.
К категории В относят месторождения, запасы которых изучены без точного отображения пространственного положения каждого пласта.
К категории С, относят месторождения, запасы которых определены на основании редкой сетки бурения, примыкающие к контурам запасов А и В. Качество и состав материала, условия разработки месторождения в этом случае изучены на основе отдельных проб и образцов.
К категории С2 относят месторождения, предварительно оцененные на основе отдельных проб и образцов.
Месторождения камня, гравия и песка, которые предполагают разрабатывать, должны удовлетворять определенным условиям:
- разведанные запасы, подлежащие разработке, должны быть не ближе 400...600 м от любых жилых зданий, дорог, газопроводов;
- полезная толща не должна содержать линз и прослоек некачественных материалов;
- предельное отношение толщи вскрыши к мощности полезного ископаемого не должно превышать 1:1 при разработке песчано-гравийных смесей и 1:1,5 - камня.
Для использования месторождения создают производственное предприятие - карьер. Карьеры бывают промышленными и строительными.
Промышленные карьеры - постоянно действующие, капитально оборудованные предприятия, часто автоматизированные. Они снабжают дорожные стройки в радиусе 1000...1500 км. Промышленные карьеры, как правило, не подчинены дорожным хозяйствам.
Строительные карьеры - предприятия временного типа.
Срок эксплуатации составляет 1...3 года. Сооружения на таких карьерах временного типа, сборно-разборные и передвижные. Строительные карьеры могут быть притрассовые и базисные. Базисные создают на мощных притрассовых месторождениях, удаленных от трассы. После окончания строительства эти карьеры часто используют для нужд эксплуатации дорог.
До разработки карьера должны быть подготовлены: горноотводные документы, разрешение на право производства горных и буровых работ, на хранение взрывчатых материалов, план горных работ с пояснительной запиской.
Технологический процесс разработки месторождения состоит из следующих работ: подготовительных, вскрышных, добычных, транспортных и погрузочно-разгрузочных.
К подготовительным работам относят: очистку площади месторождения от леса, пней, кустарника, валунов, устройство откаточной (выездной) и разрезной траншей, зачистку уступов, обеспечение отвода поверхностных вод.
Вскрышные работы ведут открытым способом, применяя различную технологию, машины и механизмы.
Важнейшим показателем эффективности открытых горных разработок является соотношение извлекаемых объемов пустой породы и полезного ископаемого. Отношение объема пустой породы к объему полезного ископаемого называют коэффициентом вскрыши
Кср = Vв/Vп , (7.1.1)
где Vв - объем вскрышных работ;
Vп - объем полезного ископаемого.
При разработке месторождений, расположенных в холмистой местности, снятие вскрыши производят сверху вниз. Разработку глубинных месторождений начинают с проходки въездной и разрезной траншей. Места под отвалы пустых отвалов выбирают там, где впоследствии не будут разрабатывать полезные ископаемые (овраги, пониженные места местности).
Основными процессами при разработке месторождений являются добыча породы и транспортирование ее на камнедробильные заводы. Извлечение полезного ископаемого производят слоями. В результате разрабатываемый массив горных пород приобретает форму уступов. Каждый уступ (рис. 7.1.1) характеризуется высотной отметкой горизонта расположения на нем транспортных путей.

Рис. 7.1.1. Элементы горной выработки:
1 - верхняя и нижняя площадки; 2 - откос уступа; 3 - бровка вскрыши уступа; 4 -
вскрыша; 5 - развал взорванной породы; 6 - экскаватор с прямой лопатой; a -
угол откоса уступа; b
- угол откоса вскрыши; Ну - высота уступа; h - высота подуступа
Поверхности, ограничивающие уступ по высоте, называют нижней и верхними площадками. Наклонную плоскость, ограничивающую уступ со стороны выработанного пространства, называют откосом уступа, а угол наклона уступа к горизонтальной плоскости - углом откоса уступа. Линии пересечения уступа с нижней и верхней площадками называют нижней и верхними бровками.
Различают рабочие и нерабочие уступы. На рабочих уступах производят выемку горных пород, поэтому нижнюю площадку этого уступа называют рабочей. Здесь располагают выемочно-погрузочные машины и транспортные пути, необходимые для удаления полезного ископаемого.
Подготовленную для разработки часть уступа по длине называют фронтом работ уступа, поверхность горных пород в пределах уступа или развала, являющуюся объектом выемки, - забоем. Для планомерной добычи породы и рационального использования строительных и транспортных машин месторождение разрабатывают слоями. Толщина и возможное число слоев зависят от мощности залежи и пустой породы, от параметров выемочно-погрузочного оборудования. Выемку слоев ведут последовательно сверху вниз независимо от направления напластования горных пород.
Залежи толщиной менее 2...3 м разрабатывают одним уступом. Наклоненные и крутопадающие залежи мощностью 20...40 м - в несколько уступов, причем нарезка нового уступа связана с полной выемкой полезного ископаемого на вышележащем горизонте.
Буровзрывные работы являются одним из труднейших процессов технологии добычи камня. Затраты на их проведение составляют 20...30 % себестоимости щебня. Поэтому особую важность при эксплуатации месторождений приобретает применение наиболее эффективных способов бурения и взрывания.
Бурение шпуров и скважин производят выше или ниже подошвы уступа. Длина недобура зависит от физико-механических свойств взрываемой породы, диаметра заряда, мощности взрывчатого вещества (ВВ) и составляет lн = (3...12)dзар (dзар - диаметр заряда). Недобур допускается в легко разрушаемых мягких породах, при наличии мягких рыхлых пород под разрушаемым твердым пластом.
Перебур - часть скважины или шпура, пробуренная ниже подошвы уступа. Перебур служит для усиления действия взрыва в нижней части скважины, обеспечивая ровный отрыв породы от подошв уступа. Величина перебура может составлять от 9 до 15 диаметров заряда в зависимости от крепости породы.
Метод шпуровых зарядов (рис. 7.1.2) применяют при небольшом объеме взрывных работ и там, где неприемлемы другие методы. При этом методе достигается хорошее дробление породы, однако он наиболее трудоемок и менее безопасен.

Рис. 7.1.2. Шпуровые зарядные устройства
Для бурения шпуров используются перфораторы (табл. 7.1.1)
Таблица 7.1.1
Техническая характеристика перфораторов
|
Показатели |
Марка перфоратора |
|||||||
|
ПР-30л |
ПР-18л |
ПР-10 |
ПР-13 |
ПР-30к |
ПР-24к |
ПР-35 |
ПА-23 |
|
|
1 |
2 |
3 |
4 |
5 |
6 |
7 |
8 |
9 |
|
Масса перфоратора, кг |
31 |
18 |
11 |
13 |
30 |
26 |
28 |
23 |
|
Длина, мм |
650 |
610 |
470 |
500 |
620 |
610 |
638 |
620 |
|
Диаметр поршня, мм |
70 |
85 |
62 |
60 |
76 |
85 |
72 |
68 |
|
Ход поршня, мм |
68 |
35 |
25 |
35 |
74 |
43 |
55 |
50 |
|
Число ударов в минуту |
1700 |
2500 |
3750 |
2800 |
1650 |
2700 |
1690 |
1865 |
|
Расход воздуха, м /мин |
3 |
2,5 |
1,9 |
1,8 |
2,6 |
3,5 |
2,65 |
2,35 |
Производительность бурения перфораторами зависит от группы породы, типа бурильного молота, качества стали и формы головки бура, квалификации бурильщика, давления сжатого воздуха, начального диаметра шпура
П = П·К1·К2, (7.1.2)
где П - производительность перфоратора, принимаемая по ЕНиР;
К1 - коэффициент, учитывающий начальный диметр шпура (табл. 7.1.2);
К2 - коэффициент, учитывающий угол заложения шпура.
Таблица 7.12
Значения коэффициентов К1, К2
|
Начальный диаметр шнура, мм |
38 |
40 |
42 |
44 |
46 |
|
Коэффициент, учитывающий начальный диаметр шнура, К1 |
1,18 |
1,09 |
1,00 |
0,90 |
0,80 |
|
Угол заложения шпура, град |
более -60 |
от - 35 до +60 |
от - 35 до +35 |
от - 35 до -60 |
более 60 |
|
Коэффициент, учитывающий угол заложения шнура, К2 |
0,18 |
0,90 |
1,00 |
1,10 |
1,17...1,20 |
При использовании скважин можно одновременно взрывать несколько скважин, расположенных в один или несколько рядов. Заложение скважинных зарядов принимают вертикальным или наклонным в зависимости от высоты уступа и типа используемого бурового оборудования. Наклонные скважины (параллельные откосу уступа) рекомендуются при необходимости получения равномерного качественного дробления пород взрывом. Высоту взрываемого уступа принимают равной 10...15 м. С увеличением высоты уступа возрастает период действия взрыва на породу, что способствует более интенсивному ее дроблению. При высоте взрываемого уступа до 35 м значительно улучшается интенсивность дробления и повышаются технико-экономические показатели буровзрывных работ. Рекомендуемые диаметры скважин приведены в табл. 7.1.3
Таблица 7.1.3
Рекомендуемые диаметры скважин
|
Категория породы |
Степень крепости породы |
Диаметр скважины, мм |
|
I |
Высшая степень крепости |
105...140 |
|
II |
Очень крепкие |
105... 160 |
|
III, IIIа |
Крепкие |
140...200 |
|
IV, IVa |
Довольно крепкие |
140...220 |
|
V, Va |
Средине |
160...280 |
|
VI, VIa |
Довольно мягкие |
160...300 |
Для бурения скважин применяют станки ударно-вращательного и вращательного бурения, характеристика которых приведена в табл. 7.1.4
Таблица 7.1.4
Станки для бурения скважин
|
Наименование |
Ударно-вращательные |
Вращательные |
|||||
|
БМК |
СБМК |
БМП-115 |
Урал-64 |
БТС-2 |
БСШ-24 |
БСВ-3 |
|
|
Диаметр коронки долота, мм |
105 |
105 |
110 |
155 |
150 |
190 |
214 |
|
Глубина бурения, м |
35 |
35 |
50 |
19 |
30 |
24 |
21 |
|
Угол бурения к горизонту, град |
0...90 |
0...120 |
90...60 |
90...60 |
0...90 |
60...90 |
90 |
|
Расход воздуха, м3/мин |
4,2 |
4,2 |
4,2 |
14,4 |
9,0 |
18,0 |
11,2 |
|
Установленная мощность, кВт |
2,8 |
13,8 |
10,0 |
180,0 |
74,0 |
170,0 |
166,0 |
|
Основные размеры, м: |
|
|
|
|
|
|
|
|
длина |
0,6 |
3,1 |
4,0 |
7,98 |
- |
7,65 |
5,65 |
|
ширина |
0,4 |
1,85 |
|
4,07 |
- |
4,29 |
3,18 |
|
высота с подъемной мачтой |
2,7 |
2,3 |
5,3 |
23,9 |
- |
10,45 |
12,17 |
|
Масса станка, т |
0,336 |
3,20 |
4,5 |
29,0 |
19,7 |
41,0 |
30,0 |
Рациональный способ бурения и выбор бурильного станка определяется технико-экономическими расчетами, геологическими данными разрабатываемого месторождения, назначением добываемой породы.
При скважинном методе (рис. 7.1.3) величину заряда на рыхление определяют по формуле
Q = q·a·Wn·Ну, (7.1.3)
где q - расчетный удельный расход аммонита №6 (табл. 7.1.5), кг/м3;
а - расстояние между скважинами в ряду, равное (1... 1,2) W ;
Wn - расчетная линия сопротивления по подошве уступа, принимаемая равной
или (0,5...0,8)Ну,
где dc - диаметр скважины, см;
D - насыпная плотность взрывчатого вещества (ВВ), кг/дм3;
Ну - высота уступа, м

Рис. 7.1.3. Скважные зарядные устройства
Ну - высота уступа; a - угол откоса уступа; С - расстояние от верха бровки
уступа до центра скважины первого ряда зарядов; Wn - величина расчетной линии
сопротивления по подошве уступа; lзаб - длина забойки скважины; lз - длина
заряда; Lc -
длина скважины; lnep - величина
перебура; b -
расстояние между рядами скважины; а - расстояние между скважинами в ряду
Рассчитанная для вертикальных скважин величина расчетной линии сопротивления по подошве уступа должна удовлетворять условием безопасности
Wn ³ Нуctqa + С, (7.1.4)
где a - угол откоса уступа, град;
С - расстояние от верхней бровки уступа до ходового оборудования бурового станка.
Расстояние между рядами скважин
b = 0,85 - Wn·7 (7.1.5)
Объем породы взрываемой одной скважиной
Vс = а - Wn - Ну (7.1.6)
Расстояние от верхней бровки уступа до центра скважины первого ряда зарядов
С = Wn - Ну·ctqa (7.1.7)
Масса скваженного заряда по вместимости
Qс = (Lc - lзаб)·Р = (Lc - 20dc)·P, (7.1.8)
где Lc - длина скважины, равная высоте уступа Ну с перебуром lnep;
lзаб - длина забойки, м;
Р - вместимость скважин в дм3 на 1 п.м ее длины;
dc - диаметр скважины, см.
Для получения нужной продукции полезные ископаемые подвергают переработке на дробильно-сортировочных заводах.
Переработка состоит из дробления, сортировки, промывки и обогащения щебня, гравия, песка.
Дробление и измельчение - уменьшение размера кусков горной массы путем механического разрушения. Принято считать, что при дроблении получают продукты преимущественно крупные, а при измельчении менее 0,5 мм. Для дробления используют дробилки, а для измельчения мельницы.
Сортировка (грохочение) - разделение продуктов переработки по крупности на грохотах.
Промывку щебня и гравия осуществляют с целью удаления комковой глины, пылеватых и глинистых частиц. Промывку можно производить на грохотах или в машинах-мойках.
Классификацию и обогащение песков применяют до доведения зернового состава до требований государственных стандартов. Эти операции выполняются в гидроклассификаторах и обогатительных аппаратах (гидроциклонах).
Обогащение щебня и гравия по прочности осуществляют в осадочных машинах, механических классификаторах, установках для обогащения в тяжелых средах.
Обогащение щебня по форме зерен предназначено для получения щебня кубовидной формы. Эту операцию осуществляют избирательной сортировкой на щелевидных ситах, грануляцией щебня в роторных дробилках ударного действия и в барабанах грануляторах.
Для выбора технологической схемы переработки полезного ископаемого необходимо иметь следующие данные:
- характеристику исходной горной массы;
- прочностной и зерновой состав;
- ассортимент готовой продукции.
Способность горных пород противостоять разрушению зависит от прочности, наличия трещин в кусках, способов воздействия на них разрушающих усилий. Наибольшее сопротивление оказывают горные породы раздавливанию, меньшее - изгибу и особенно растяжению.
При выборе технологической схемы производства учитывают тип перерабатываемой горной породы (рис. 7.2.1).
I - однородные магматические горные породы с пределом прочности при сжатии 600 МПа и более, метаморфические (осадочные) породы с прочностью 60-250 МПа;
II - прочные однородные осадочные породы с пределом прочности при сжатии 60-200 МПа;
III - неоднородные малоабразивные породы с прочностью от 10 до 150 МПа с содержанием труднопромываемых включений.

Рис. 7.2.1. Технологическая схема дробления, сортировки, промывки
Количественной характеристикой процесса дробления служит степень дробления, показывающая, во сколько раз уменьшились куски материала при дроблении.
Со степенью дробления связаны расходы энергии и производительность дробилок.
Степень дробления
i = Дmax/dmax, (7.2.1)
где Дmax - наибольший диаметр куска до дробления;
dmax - наибольший диаметр куска после дробления.
Для конкретных дробилок в технических паспортах приводится график выхода сортов щебня в зависимости от ширины выходной щели дробилки для условно принятой плотности горной породы.
Например, для получения размера щебня 20 мм при куске, подаваемом в дробилку, 600 мм i = 600/20 = 30. Это значит, что кусок надо раздробить на 30 частей.
Получение таких высоких степеней дробления в одной дробилке практически невозможно, поскольку каждая дробилка работает только при ограниченной степени дробления. Рационально материал от большего размера до требуемого дробить в нескольких последовательно расположенных дробилках (рис. 7.2.2).

Рис. 7.2.2. Трёхстадийная схема дробления:
1 - грохот; 2 - щёковая дробилка; 3 - конусная дробилка; 4 - валковая дробилка;
I, II, III - стадии дробления
Степень дробления, получаемую в каждой стадии, называют частной, во всех стадиях - общей степенью дробления.
В материалах, поступающих на дробление, всегда имеются куски мельче того размера, до которого идет дробление в данной стадии. Такие куски выделяют из исходного материала исходя из принципа "не дроби ничего лишнего". Дробилки могут работать в открытом или замкнутом циклах. Раздробленный продукт поступает на грохот, выделяющий из него куски избыточного размера, которые возвращаются для повторного дробления в ту же или вторичную дробилку (рис. 7.2.2).
В паспортах заводов - изготовителей приводят выработку дробилок для горной породы средней плотности 1600 кг/м3 и при условии, что размер наибольших кусков Дmax должен быть не более 0,8...0,9 от ширины загрузочного отверстия дробилки. При проектировании КДЗ и выборе дробилок их выработку принимают с учетом физико-механических свойств горной породы. Расчетную производительность щековых дробилок ориентировочно определяют по формуле
П = Пп·Кд·Кg·Kф·Kкр , (7.2.2)
где Пп - паспортная выработка, т/ч;
Кд - коэффициент дробимости породы (для твердых пород с временным сопротивлением на сжатие sсжат = 150...250 МПа - 0,9; для средне- и легкодробимых пород sсжат = 50...150 МПа - 1,1-1,2);
Кg - коэффициент, учитывающий насыпную плотность дробимого материала (Кg = g/gп, g - насыпная плотность дробимого материала; gп - насыпная плотность, соответствующая паспортным данным);
Кф - коэффициент, учитывающий форму камня Кф = г/1,6 (или 1,0 при дроблении рваного камня; 0,85 - при дроблении гравийно-валунной массы);
Ккр - коэффициент, учитывающий крупность дробимого материала.
Крупность дробимого материала Ккр
0,85 ширина зева дробилки 1,00
0,60 ширина зева дробилки 1,07
0,40 ширина зева дробилки 1,16
0,30 ширина зева дробилки 1,23
Кроме расчетной, также можно пользоваться паспортной производительностью, которую обычно указывают при минимальной и максимальной ширине разгрузочной щели.
Ширину разгрузочной щели дробилки, при которой будет достигнута заданная производительность, определяют по формуле
(7.2.3)
где dmin - минимальная ширина разгрузочной щели, мм;
Пmin - производительность дробилки при dmin, м3/ч;
dmax - максимальная ширина разгрузочной щели, мм;
Пmax - производительность дробилки при dmax, м3/ч.
Изменение ширины разгрузочной щели влияет на производительность дробилки и степень измельчения материала. С увеличением ширины производительность повышается, а степень измельчения уменьшается и снижается выход мелких фракций.
Примерный выход щебня по фракциям после дробления в зависимости от ширины разгрузочной щели дробилки можно определить по кривым дробления (рис. 7.2.3).

Рис. 7.2.3. Кривые дробления
а - щековой дробилкой; б - конусной дробилкой; 1- для пород прочностью более
150 МПа, 2 - для пород прочностью 80-150 МПа; 3 - для пород прочностью 30...80
МПа
Данные графиков уточняют по результатам эксплуатации дробилок той или иной конструкции, их типоразмеров с учетом свойств дробимого камня. При определении максимальной крупности материала по кривым следует помнить, что под условной максимальной крупностью в дробленом продукте принято считать размер отверстий сита, через которое проходит 95 % материала.
Для наглядного представления о технологическом процессе работы дробильных заводов разрабатывают количественно-качественную схему дробления (рис. 7.2.4).

Рис. 7.2.4. Количественно-качественная схема дробления
Количественная схема показывает, в каком количестве и в какой последовательности поступающий на завод материал перерабатывают и как он проходит отдельные операции технологического процесса. Количественную схему можно составить, исходя из тоннажа или объема перерабатываемого материала. В этом случае надо учесть, что объем материала, получаемого в результате дробления и сортировки, будет превышать объем исходного материала. Увеличение объема определяется коэффициентом увеличения объема, равным 1,1...1,25. Количественная схема показывает количество перерабатываемого материала (объем, масса, процент) на отдельных участках процесса.
Качественная схема содержит данные о размерах фракции, качестве материала и режиме переработки на отдельных участках процесса. Схема цепи аппаратов показывает путь следования материала в процессе переработки и данные об аппаратах, выполняющих отдельные операции. На практике наибольшее распространение получило двухстадийное дробление.
Машины для дробления и измельчения по технико-конструктивным признакам и основному методу дробления, осуществляемого в них, подразделяют на пять классов: дробилки щековые, конусные, валковые, ударно-молотковые роторные, барабанные мельницы (рис. 7.2.5).

Рис. 7.2.5. Классификация дробильно-размольного
оборудования:
а) щековая дробилка; б) конусная дробилка, в) валковая дробилка; г) молотковая
дробилка; д) шаровая (стержневая) мельница: 1 - подвижная плита; 2 -
неподвижная плита; 3 - подвижный конус; 4 - неподвижный конус; 5,6 - валки; 7 -
молотки; 8 - ротор; 9 - металлические шары (стержни); 10 - вращающийся барабан
В щековых дробилках дробление камня производится раздавливанием, а в некоторых конструкциях частично и истиранием между дробящими плитами, подвижной и неподвижной щек.
Эффективность дробящих машин оценивают расходом энергии на дробление и выражают в тоннах дробленого продукта на 1 кВт/ч израсходованной энергии. Удельный расход энергии
Зуд = Q/E, (7.2.4)
где Q - производительность дробильной машины;
Е - энергия, затраченная на дробление, кВт·ч.
Щековые дробилки служат для измельчения пород средней и большой твердости и в зависимости от размеров приемного отверстия (160´250...2100´2500 мм) применяются как на первой, так и на последующих стадиях дробления. Производительность их при дроблении пород средней твердости достигает 300 м3/ч.
Конусные дробилки служат для измельчения каменных материалов средней и большой твердости и предназначены для крупного и мелкого дробления. Процесс дробления в них в отличии от щековых дробилок происходит непрерывно. Отечественные дробилки имеют ширину загрузочного кольцевого отверстия 300...1500 мм и нижний диаметр внутреннего дробящего конуса 600...2100 мм. Максимальная крупность загружаемых в дробилку камней не должна превышать 75...80 % ширины загрузочного отверстия.
Валковые дробилки служат для измельчения мягких пород, а также для вторичного дробления каменных материалов средней и большой твердости. Производительность их колеблется от 8... 10 до 80... 100 м3/ч. Отечественная промышленность выпускает валковые дробилки с гладкими и рифлеными валками диаметром 400...1500 мм и длиной, составляющей 40...100 % их диаметра.
В молотковых дробилках камень измельчается силой ударов, наносимых молотками. Они служат для дробления известняков и хрупких каменных материалов с прочностью на сжатие до 150 МПа. Производительность их колеблется от 40 до 400 м3/ч. Дробилки изготавливают с загрузочным отверстием шириной до 1400 мм, что позволяет загружать камни крупностью до 1100 мм.
Технические характеристики дробилок и агрегатов дробильно-сортировочных установок (ДСУ) приведенные в табл. 7.2.1 и 7.2.2
Таблица 7.2.1
Техническая характеристика дробилок
|
Модель |
Типоразмер |
Размер куска исходного материала, наибольший, мм |
Ширина разгрузочной щели, мм |
Производительность, м3/ч |
Мощность двигателя основного привода, КВт |
Масса, т |
|
1 |
2 |
3 |
4 |
5 |
6 |
7 |
|
Дробление горных пород с пределом прочности до 300 МПа 1. Дробилки щековые |
||||||
|
ДРО-572 |
ШДС-1,6´6 |
130 |
17...45 |
5...14 |
30 |
5,6 |
|
ДРО-549 |
ШДС-1,6´9 |
130 |
17...45 |
7...20 |
37 |
6,6 |
|
СМД-108А |
ШДС-2,5´9 |
210 |
25...60 |
15...31 |
45 |
8,4 |
|
ДРО-603 |
ШДС-4´6 |
340 |
40...90 |
13...30 |
37 |
7,5 |
|
СМД-109 А |
ШДС-4´6 |
340 |
40...90 |
23...53 |
45 |
10,8 |
|
СМД-110А |
ШДС-6´9 |
500 |
75...130 |
58...104 |
75 |
18,5 |
|
ДРО-529 |
ШДС-7,5´9 |
600 |
160...200 |
90...160 |
75 |
21,0 |
|
ДРО-609 |
ШДС-8´10 |
680 |
120...200 |
80...140 |
110 |
27,5 |
|
2. Дробилки конусные |
||||||
|
ДРО-592 |
КСД-600 |
90 |
12...35 |
19...40 |
30 |
3.0 |
|
СМД-102А |
КСД-900 |
120 |
15...40 |
46...88 |
55 |
11,6 |
|
СМД-102А-Т |
КСД-900Т |
80 |
10...25 |
28...55 |
75 |
11,6 |
|
ДРО-658 |
КСД-120T |
80 |
10...25 |
63...130 |
110 |
21,0 |
|
Дробление известняка, доломита и других аналогичных материалов Дробилки роторные |
||||||
|
ДРО-542 |
ДРС-6´8 |
150 |
10...60 |
35 |
45 |
3,2 |
|
СМД-85А |
ДРК-8´6 |
400 |
16...160 |
60 |
45 |
6,0 |
|
СМД-75А |
ДРС-10´10 |
300 |
16...200 |
135 |
132 |
10,0 |
|
СМД-86А |
ДРК-12´10 |
600 |
25...250 |
135 |
110 |
15,0 |
|
Дробилка роторная-гранулятор Получение кубовидного щебня из горных пород с пределом прочности при сжатии до 200 МПа |
||||||
|
ДРО-542 |
ДРГ10´10 |
60 |
0...90 |
70 |
55 |
11,0 |
|
Дробилки молотковые* |
||||||
|
ДРО-629 |
M10´8 |
300 |
20 |
100 |
110 |
5,5 |
|
ДРО-577 |
М-13´16В |
400 |
20 |
210 |
250 |
11,0 |
|
Дробилка двухроторная |
||||||
|
СМД-500 |
М 8´6 |
100 |
5 |
27 |
75´2 |
5,8 |
*Производительность, т/ч
Таблица 7.2.2
Техническая характеристика агрегатов дробильно-сортировочных установок (ДСУ)
|
Модель агрегата |
Размер куска исходного материала, мм |
Производительность*, м3/ч |
Мощность электроприводов, кВт |
Масса, т |
Оборудование в составе агрегата |
|
|
передвижная ДСУ (ПДСУ) |
транспортируемая ДСУ (ТДСУ) |
|||||
|
1 |
2 |
3 |
4 |
5 |
6 |
7 |
|
Агрегаты крупного дробления |
||||||
|
СМД-133
|
СДМ-510 |
500 |
90 |
75 |
30 27 |
Щековая дробилка СМД-110А |
|
ДРО-618
|
ДРО-647 |
600 |
110 |
75 |
28,8 23,0 |
Щековая дробилка ДРО-529 |
|
|
ДРО-646 |
600 |
135 |
110 |
20 |
Роторная дробилка СМД-86А |
|
Агрегаты среднего дробления |
||||||
|
СМД-186
|
СМД-521 |
340 |
30 |
55 51 |
24,0 23,0 |
Пластинчатый питатель, щековая дробилка СМД-109A |
|
СМД-186-30
|
ДРО-610 |
340 |
30 |
55 |
24,6 24,0 |
Вибрационный питатель, щековая дробилка СМД-109А |
|
СМД-131А |
СМД-511 |
210 |
44 |
90 |
22,5 |
Щековая дробилка СМД-108А - 2 шт. |
|
|
СМД-511 |
300 |
75 |
132 |
19 |
Роторная дробилка СМД-120А-Т |
|
Агрегаты мелкого дробления
|
||||||
|
СМД-134А |
СМД-572 |
120 |
56 |
58 |
19 |
Конусная дробилка СМД-120А-Т |
|
Агрегаты дробления и сортировки |
||||||
|
СМД-187
|
СМД-522 |
90 |
30 |
50 40,5 |
14,5 12,5 |
Конусная дробилка ДРО-592, грохот СМ-742 |
|
СМД-530
|
СМД-531 |
150 |
30 |
58,5 50,5 |
14,0 12,5 |
Роторная дробилка ДРО-542, грохот СМ-742 |
|
ДРО-573
|
ДРО-581 |
130 |
30 |
50,5 42,5 |
16,0 14,5 |
Щековая дробилка ДРО-542, грохот СМ-742 |
|
Агрегаты грануляции |
||||||
|
|
ДРО-630 |
60 |
70 |
55 |
16,0 |
Роторный гранулятор |
*Производительность в составе ДСУ при выдаче продукта крупностью до 40 мм
Для помола каменных материалов и получения из них минерального порошка применяют шаровые (стержневые) мельницы. Измельчение материала достигается истиранием, раздавливанием и частично ударами металлических шаров (стержней), загружаемых вместе с измельчаемым материалом внутрь вращающегося барабана.
В процессе переработки материал необходимо разделить на классы крупности. Оборудование для этой цели основано на механическом или гидравлическом принципах действия. Для механического разделения на фракции каменных материалов применяют сортировочные машины-грохоты с просеивающей поверхностью в виде колосников, решет, сит (рис. 7.2.6)

Рис. 7.2.6. Просеивающие поверхности грохота
а - колосники; б - решето; в - сито
Грохоты разделяются на плоские и барабанные. Последние на цилиндрические и конические. Грохоты могут иметь одну, две или более просеивающих поверхностей. Наиболее часто в грохотах устанавливают три просеивающие поверхности. Плоские грохоты могут быть неподвижными и подвижными. К неподвижным относят колосниковые решетки, перекрывающее бункера, а также колосники, установленные перед дробилками. Колосниковые решетки располагают горизонтально или с углом наклона до 18° для отделения крупных включений и с углом наклона 45...55° для отделения мелких включений.
Подвижные плоские грохоты делятся на колосниковые качающиеся с возвратно-поступающим движением, эксцентриковые качающиеся, инерционные. Качающиеся грохоты обеспечивают сортирование материала путем перемещения его по ситу. Эти грохоты широко применяются для просеивания песка. Эксцентриковые грохоты также являются качающимися, но характер движения их подвижной рамы круговой. Инерционные грохоты обеспечивают сортирование материала в результате вибрации, возникающей под действием сил инерции вращающихся неуравновешенных масс. Техническая характеристика грохотов и агрегатов сортировки приведены в табл. 7.2.3 и 7.2.4.
Таблица 7.2.3
Сортировка сыпучих и кусковых материалов
|
Модель грохота |
Размеры просеивающей поверхности, м |
Число ярусов сит |
Угол наклона, град |
Размер куска исходного материала наибольший, мм |
Размер ячеек сит (ширина между колосниками), мм |
Мощность двигателя привода, КВт |
Масса, т |
|
Инерционные |
|||||||
|
СМД-148 СМД-148-10 |
1,5´4,25 |
2 |
12...18 |
200 100 |
40´40;70´70 5´20; 20´20 |
11 |
4,0 |
|
ДРО-598 |
1,5´4,3 |
2 |
12...18 |
250 100 |
40´40;70´70 10´10;20´20 |
11 |
5,1 |
|
ДРО-598-10 |
1,5´4,3 |
2 |
12...18 |
50 |
5´20; 10´10 |
15 |
5,1 |
|
ДРО-607 |
1,5´4,0 |
3 |
12...18 |
40 |
5´20; 10´10; 20´20 |
11 |
4,2 |
|
ГИС-52 |
1,75´5,0 |
2 |
12...18 |
200 |
5´5; 10´10; 20´20 |
15 |
5.0 |
|
ГИС-53 |
1,75´5,0 |
3 |
12...18 |
200 |
5´5; 10´10; 20´20 |
15 |
5,5 |
|
Самобалансные (эксцентриковые) |
|||||||
|
ИТБР-017 |
1,0´3,0 |
1 |
- |
100 |
5´5 и 20´20 |
2´2,2 = 4,4 |
1,1 |
|
СМ-742 |
1,25´3,0 |
2 |
- |
100 |
5´20; 20´20; 40´40 |
5,5 |
2,0 |
|
Колосниковые |
|||||||
|
ДРО-575 |
0,9´1,65 |
1 |
10 |
300 |
60 |
5,5 |
1,7 |
|
ДРО-633 |
1,5´3,0 |
1 |
10 |
700 |
50...250 |
15 |
4,9 |
Таблица 7.2.4
Техническая характеристика агрегатов сортировки
|
Модель агрегата |
Размер просеивающей поверхности, мм |
Число ярусов |
Размер куска исходного материала, наибольший, мм |
Мощность двигателя привода, КВт |
Масса, т |
Оборудование в составе агрегата |
|
|
передвижная ПДСУ |
транспортируемая ТДСУ |
||||||
|
СМД-174 А |
СМД-513 |
1500´4250 |
2 |
200 |
15 |
II |
Грохот СМД-148 (ячейки сит 40´40; 70´70 мм) |
|
СМД-174А-10 |
СМД-513-10 |
1500´4250 |
2 |
100 |
15 |
11 |
Грохот СМД-148-10 (ячейки сит 5´20; 10´10; 20´20 мм) |
|
|
ДРО-602 |
1500´4000 |
3 |
40 |
15 |
12,4 |
Грохот ДРО-607 (ячейки сит 5´20; 10´10; 20´x20 мм) |
|
|
ДРО-624 |
1500´4300 |
2 |
250 100 |
15 |
12 |
Грохот ДРО-598 (ячейки сит 10´10; 20´20; 40´40; 70´70 мм) |
|
|
ДРО-624-10 |
1500´4300 |
2 |
50 |
15 |
12 |
Грохот ДРО-598-10 (ячейки сит 5´20; 10´10 мм) |
|
|
ДРО-656 |
1250´3000 |
2 |
до 100 |
5,5 |
5 |
Грохот СМ-742 (ячейки сит 5´20; 20´20; 40´40 мм) |
|
|
ДРО-654 |
1500´3000 |
1 |
700 |
15 |
11 |
Грохот ДРО-633 (ширина между колосьями 50...250) |
Размеры ячеек сит могут быть изменены.
Добываемые в карьерах гравий и песок часто содержат органические и неорганические примеси, когда загрязненность таких материалов незначительна и содержащиеся в них примеси легко отделить, промывку производят в процессе сортирования на грохотах. При большом содержании примесей и тогда, когда их трудно отделить, применяют моечные машины.
В зависимости от назначения различают сортировку подготовительную, классификационную, контрольную и избирательную.
Подготовительная сортировка - удаление на данной стадии из поступающего в дробилку материала тех размеров, которые не дробятся.
Подготовительная сортировка уменьшает нагрузку на дробилки и значительно повышает эффективность их работы.
Классификационная сортировка - разделение щебня (гравия) на товарные сорта, направляемые непосредственно потребителям. Данная сортировка должна обеспечивать получение продукции, соответствующей стандарту.
Контрольную сортировку применяют перед отгрузкой щебня (гравия), долго хранящегося на открытых складах.
Избирательная сортировка позволяет выбрать из потока компонент, отличающийся от основного материала по физическим или механическим свойствам. К этому виду сортировки относят выделение глины на грохотах. Комки глины, прошедшие дробилку, расплющиваются, принимая форму лепешки, по размеру, значительно превышающему наибольший размер камня в продукте дробления. Поэтому, при сортировке на ситах с ячейками, превышающими наибольший размер кусков, продукты дробления проваливаются, а лепешки глины сползают по ситу.
При перемещении на поверхности грохота материал разделяется по крупности. Куски (зерна), которые превышают размер отверстий грохота, остаются на его поверхности, их называют надрешетным продуктом (верхним классом), зерна, прошедшие отверстия сит, представляют собой подрешетный продукт (нижний класс).
Верхний класс обозначают знаком плюс, а нижний класс - знаком минус. Если исходный материал разделяют на сите с отверстием 20 мм, то верхний класс обозначают +20, нижний - 20, т.е. одна поверхность грохочения разделяет исходный материал на два класса. Если материал, подлежащий сортировке, будет последовательно проходить все поверхности грохочения, то в результате получится n+1 классов (n - число сит грохота). Поскольку материал на сите находится непродолжительное время, то не все зерна, меньше размера отверстий, проходят через эти отверстия. Поэтому верхний класс оказывается засоренным зернами нижнего класса. Отношение количества материала, прошедшего сита, к количеству материала данной крупности, содержащегося в исходном продукте, называют эффективностью грохочения
Эг = [Q - qo(100 - Q)/Q]·100, (7.2.5)
где Q - содержание зерен нижнего класса в исходном материале;
qo - относительное содержание зерен нижнего класса, оставшихся после сортировки в верхнем классе.
Часовую выработку виброгрохота определяют по формуле
П = B·F·K1·K2·K3·K4, (7.2.6)
где B - выработка грохота для определенного размера отверстий сит, м3/м2;
F - площадь грохочения, м2;
K1 - коэффициент, учитывающий угол наклона грохота (для горизонтального грохота с направленными колебаниями K1 = 1);
K2 - коэффициент, учитывающий содержание нижнего класса в исходном материале;
K3 - коэффициент, учитывающий содержание в нижнем классе зерен меньше половины отверстия сита;
K4 - коэффициент, учитывающий возможную неравномерность питания и зернового состава материала, форму зерен и тип грохота.
Гравийно-песчаный материал - это рыхлая обломочная горная порода, образовавшаяся в результате разрушения магматических, метаморфических и осадочных горных пород. Технология переработки гравийно-песчаного материала с целью получения готовой продукции (щебня из гравия, гравия, песка), отвечающей требованием стандартов, зависит от петрографического состава исходного материала, содержания глины, пылеватых частиц, требуемого ассортимента готовой продукции и др.
Технологическая схема гравийно-сортировочных заводов включает следующие операции: сортировку, промывку, классификацию и обогащение песка, обогащение щебня и гравия по прочности и форме зерен.
По промываемости загрязняющих примесей исходную гравийно-песчаную массу можно разделить на две категории: легкопромываемую и труднопромываемую. Легкопромываемой считают такую, которая может быть промыта на вибрационных грохотах путем мокрой сортировки, а труднопромываемой - для промывки которой необходимо включить в технологическую схему специальные промывочные машины. При значительном содержании в гравийно-песчаной смеси гальки и валунов в технологическую схему переработки включают операцию дробления. Процесс дробления осуществляют в одну, две или три стадии в зависимости от наибольшей крупности и содержания валунов.
Технологическая схема дробильно-сортировочной установки для получения песка и фракционированного щебня (гравия) из гравийно-песчаных смесей показана на рис. 7.2.7.

Рис. 7.2.7. Технологическая схема переработки
песчано-гравийной смеси
1. Агрегат с вибропитателем ДРО-605, грохотом ДРО-575 и щековой дробилкой
СМД-109А; 2. Агрегат мелкого дробления ДРО-623; 3. Агрегат сортировки с
грохотом ГИС-52; 4. Агрегат сортировки СМД-513-10; 5. Конвейер СМД-152-10; 6.
Конвейер СМД-151 - 7 шт.; 7. Агрегат управления У7810.4А
Для улучшения качества щебня в технологические схемы дробильных заводов включают промывку. В месторождениях изверженных и метаморфических пород глинистые включения отсутствуют, поэтому промывку производят только при значительном содержании пылеватых частиц. В месторождениях осадочных пород и гравийно-песчаном материале всегда присутствует глина и пылеватые частицы, содержание которых превышает допустимые пределы.
Процесс промывки основан на способности глины разрушаться в водной среде, в результате чего она может быть отделена от сырья и удалена в слив. Погруженная в воду глина впитывает в себя влагу, ее поверхностные слои набухают и становятся рыхлыми. При интенсивном трении всей горной массы в промывочной машине эти слои непрерывно удаляются.
Качественную сторону промываемости материала оценивают показателем промываемости, определяющим количество энергии, затраченной на промывку единицы материала
Эуд = N/П, (7.2.7)
где N - мощность, необходимая для промывки материала, кВт;
П - производительность машины, т/ч.
В зависимости от удельного расхода энергии для промывки того или иного материала можно выбрать тип промывочной машины. Легкопромываемые материалы, на промывку которых расходуется мало энергии, могут быть промыты на плоских виброгрохотах с брызгалами. Для труднопромываемых материалов необходимы сложные промывочные машины с интенсивным воздействием: гравиемойки-сортировки, грохоты, вибрационные вибромойки и плоские вибрационные грохоты; корытные наклонные и горизонтальные мойки.
Производительность гравиемойки-сортировки 9...45 м3/ч. На промывку 1 м3 материала расходуется 3...5 м3 воды. Технические характеристики вибрационной мойки щебня (гравия) и пескомойки приведены в табл. 7.2.5 и 7.2.6.
Таблица 7.2.5
Технические характеристики вибрационной мойки щебня (гравия)
|
Модель |
Крупность промываемого материала, мм |
Размер ванн, м |
Производительность, м3/ч |
Мощность, кВт |
Масса без загрузочных и разгрузочных устройств, т |
|
ДРО-636 |
5...100 |
3,5´0,6 |
До 30 |
22 |
7,0 |
Таблица 7.2.6
Техническая характеристика пескомойки
|
Модель |
Производительность (промытого песка), м3/ч |
Расход воды в зависимости от степени очистки, м3 |
Скорость движения скребкового транспортера, м/с |
Мощность электродвигателя привода, кВт |
Масса, т |
|
ИТБР-022 |
20 |
3...5 |
0,185 |
3 |
2,0 |
Обогащение щебня по форме зерен получают в виброгрохотах с щелевидными ситами, грануляцией щебня в роторных дробилках ударного действия и в барабанных грануляторах. При использовании обогащенного щебня улучшается удобоукладываемость бетонных смесей и уменьшается расход цемента.
Сущность обогащения по форме зерен состоит в следующем. Продукт дробления рассеивают и подвергают сортировке на щелевидных ситах. Обогащение на барабанных грануляторах состоит в том, что при вращении барабана продукт крупностью до 150 мм захватывается лифтерами типа лопает и поднимается наверх. Не достигая верхней точки барабана, куски скатываются с лифтера и падают на находящийся внизу слой материала. Кроме того, при вращении барабана материал в верхних слоях перекатывается. При падении кусков и перекатывании тонкие лещадные зерна размельчаются, разламываются, острые края обламываются, в результате чего улучшается форма щебня. Технологическая схема дробильно-сортировочной установки для получения мытого кубовидного щебня показана на рис. 7.2.8.
Обогащение щебня и гравия по прочности осуществляют в отсадочных машинах, механических классификаторах, в тяжелых средах. Минеральные зерна различной прочности имеют разную плотность. Процесс разделения таких зерен в попеременно восходящем потоке воды называют отсадкой и осуществляют в отсадочных машинах. Расслоение материала в отсадочных машинах происходит в условиях стесненного падения зерен. При отсадке смеси зерна различных плотностей разрыхляются при восходящем потоке При нисходящем потоке воды происходит взаимное смещение зерен с различными плотностями. Продукт, соответствующий ГОСТу, можно получить, если количество обогащаемого материала с содержанием слабых разновидностей не превышает 35 %.
Обогащение щебня на механическом классификаторе основано на том, что более прочные разности щебня имеют большую упругость и меньший коэффициент трения, чем слабые. Характеристикой упругости тел является коэффициент восстановления. При падении щебня на стальную поверхность зерна отскакивают под углом, который равен углу падения.

Рис. 7.2.8. Дробильно-сортировочная установка для получения мытого кубовидного щебня
Скорость отскока зерна
V0 = K·V, (7.2.8)
где К - коэффициент восстановления;
V - скорость зерна до удара, м/с.
Сущность обогащения состоит в том, что плотные, более прочные зерна отскакивают дальше легких и попадают в соответствующие бункера.
Обогащенный песок получают путем удаления с помощью обогатительного оборудования мелких зерен, отсева зерен крупнее 5 мм. Основным методом разделения песка по крупности является гидравлическая классификация. Обогащение песков (отмыв мелких зерен) осуществляют в спиральных классификаторах и гидроциклонах, а фракционирование - в вертикальных гидравлических классификаторах.
Каменные материалы, используемые для устройства покрытий с применением органических вяжущих материалов, оценивают по:
- прочности на сжатие или марке щебня по дробимости в цилиндре;
- износу (в полочном барабане);
- морозостойкости;
- сцеплению с вяжущими материалами;
- содержанию глинистых частиц;
- содержанию зерен пластинчатой формы;
- зерновому составу.
На готовую продукцию отдел технического контроля (ОТК) составляет паспорт лабораторных испытаний и оформляет документами аттестации продукции по качеству.
Для приема, хранения и подготовки органических вяжущих к использованию создают битумные базы.
Различают базы централизованного снабжения вяжущими крупных узлов строящихся дорог и приобъектные, обслуживающие одну автомобильную дорогу или ее отдельные участки.
По способу доставки вяжущего различают базы:
- прирельсовые с доставкой на базу вяжущего железнодорожным транспортом;
- береговые (прибрежные, расположенные вблизи судоходных рек);
- притрассовые с доставкой на базу вяжущего автобитумовозами.
Как правило, дорожные хозяйства организуют прирельсовые или притрассовые базы.
Жидкий битум от заводов по перегонке нефти доставляют на базы централизованного снабжения в железнодорожных цистернах - термосах емкостью 50, 60 и 80 т, вязкий - в бункерных полувагонах емкостью 40...60 т. К притрассовым базам битум доставляют автобитумовозами грузоподъемностью от 7 до 40 т. Техническая характеристика автобитумовозов и автогудронаторов приведены в табл. 7.3.1. Всё виды транспортных средств имеют теплоизоляцию или устройство для разогрева битума (паром, электричеством и др.). При разгрузке бункер полувагона опрокидывают лебедкой на широкий лоток, по которому скатывается ком битума или стекает (в зависимости от степени нагрева).
Таблица 7.3.1
Техническая характеристика автобитумовозов и автогудронаторов
|
Показатели |
Автобитумовоз ДС-138Б-01 |
Автобитумовоз АЦБ-12-05 |
Автобитумовоз ДС-164 |
Автобитумовоз ППЦБ-12.3 |
Автобитумораздатчик ДС-182-01 |
Автогудронатор ДС-39Б |
Автогудронатор ДС-142Б |
Автогудронатор КДМ-333 |
|
Базовое шасси |
КамАЗ-53213 |
КамАЗ-5410 |
КамАЗ-54112 |
КамАЗ-5410 |
ЗИЛ-431412 |
ЗИЛ-431412 |
КамАЗ-53213 |
КрАЗ-65053 |
|
Вместимость цистерны термоизолированной, л |
10000 |
12000 |
18000 |
12300 |
4000 |
4000 |
7500 |
11000 |
|
Снижение температуры битума, не более °С/ч |
4 |
4 |
4 |
- |
4 |
4 |
4 |
- |
|
Подогрев материалов в цистерне: стационарными горелками на дизельном топливе со скоростью не менее °С/ч |
10 |
10 |
10 |
- |
10 |
10 |
10 |
10 |
|
Время наполнения (опорожнение) цистерны битумным насосом, мин |
25 |
26 |
- |
15...30 |
30 |
- |
- |
- |
|
Максимальная скорость, км/ч |
85 |
80 |
85 |
|
80 |
90 |
80 |
90 |
|
Масса снаряжения, кг |
9610 |
13310 |
14500 |
4600 |
5780 |
5780 |
10350 |
14000 |
|
Ширина распределения, м |
- |
- |
- |
- |
- |
4,8 |
4,8 |
5,5 |
|
Удельная норма разлива, л/м2 |
- |
- |
- |
- |
- |
0,5...2,5 |
0,5...2,5 |
0,3...3,0 |
Из автобитумовозов битум сливают самотеком через патрубок по гибкому шлангу или перекачивают насосом в битумохранилище. При сливе жидкий битум нагревают до температуры 40...50°С. Все битумохранилища оборудуют системами подогрева битума до текучести, позволяющей перекачивать битум шестеренными насосами. Одно из основных требований хранения битума - исключить попадание в него атмосферной и грунтовой воды.
По положению резервуара относительно поверхности земли битумохранилища бывают наземные, полуямные и ямные (рис. 7.3.1).

Рис. 7.3.1. Битумохранилище пояуямного типа:
1 - железнодорожный бункер; 2 - лоток для стока битума; 3 -битум в
битумохранилище, 4 - приямок; 5 - битумный насос; 6 - нагреватель приямка, 7 -
битумопровод; 8 - регистры
Выбор способа строительства битумохранилища определяется главным образом уровнем залегания грунтовых вод. Дно и стены хранилища при высоком уровне вод делают водонепроницаемыми или понижают уровень грунтовых вод.
Битум в хранилище можно нагревать паром, электронагревателями, инфракрасными лучами, горячим минеральным маслом.
Наиболее удобны битумохранилища с заводским оборудованием для нагрева (рис. 7.3.2). Нагревательно-перекачивающий агрегат типа портального крана монтируют на стальном мосту и перемещают вдоль него по рельсам. К мосту на стальных канатах подвешивают нагреватель (калорифер). Нагреватель имеет набор труб, соединенных между собой, по которым пропускается пар. Битумный насос расположен среди труб в металлической коробке, обеспечивающей подтекание разогретого битума к насосу только из верхнего слоя.
Битум в приямке или металлической коробке нагревают до 90° С. Производительность нагревательно-перекачивающего агрегата составляет 3...6 т в час.

Рис. 7.3.2. Битумохранилище с заводским
оборудованием:
1 - механизм передвижения; 2 - тележка; 3 - пульт управления; 4 - гидропривод
механизма передвижения; 5 - лебёдка для подъёма и опускания нагревателя; 6 -
электродвигатель; 7 - битумопровод; 8 - пакет трубчатых регистров калорифера; 9
- короб; 10 - уровень битума в хранилище; 11 - битумный котёл; 12 - битумный
насос
Битум из битумохранилища перекачивают к установке для обезвоживания и нагрева по трубам диаметром не менее 76 мм. Трубы укладывают на поверхности земли, на инвентарные металлические стойки высотой до 3,0 м. В местах проезда - на высоте 4,5...5,0 м. Битумопровод, насосы, краны должны иметь теплоизоляцию.
Нефтеперегонные заводы поставляют битум с содержанием влаги более допустимых 2,5 %. Часть битума поступает с обводнением 10...15 %. Для обезвоживания и нагрева его до рабочей температуры 150...170°С применяют различные установки. Битумонагревательное оборудование цикличного действия представляет собой один или несколько котлов с жаровыми трубами и состоит из следующих основных узлов (рис. 7.3.3).

Рис. 7.3.3. Битумоплавильный агрегат циклического действия:
1 - топка в сборе; 2 - котел; 3 - жаровые трубы; 4 - насос.
По этой схеме выполнено оборудование циклического действия (установка ДС-6).
Более сложную конструкцию имеет оборудование непрерывного действия ДС-17 (рис. 7.3.4).

Рис. 7.3.4. Битумоплавильный агрегат непрерывного действия:
1 - котёл; 2 - насос; 3 - теплообменник; 4 - пароотделитель; 5 - лоток
испарительной камеры; 6 - жаровые трубы; 7 - топка
Битум из хранилища закачивают в котел 1, где он обезвоживается и нагревается до рабочей температуры жаровыми трубами 6 за счет сжигания в топке 7 жидкого или твердого топлива. Из котла 1 битум насосом 2 направляется в теплообменник 3, в котором производится интенсивное перемешивание горячего битума с холодным. Далее битум через пароотделитель 4 цикличного типа стекает на лоток испарительной камеры 5, где также выделяется пар. С лотка 5 битум стекает в основной отсек котла 1.
Нагрев битума горячим минеральным маслом - наиболее прогрессивный и экономичный способ. Масло нагревают в специальных агрегатах и подают по трубам в битумные котлы.
Обезвоженный и нагретый битум хранят в цистернах с паровым, электрическим и масляным обогревом, ёмкостью от 10 до 30 м3 (табл. 7.3.2)
Таблица 7.3.2
Цистерны для хранения битума или расходные емкости
|
Показатели |
ДС-65.7 |
ДС-118-4.02 |
ДС-83 |
Д-649.01 |
ДС-92 |
|
Вместимость цистерны , м |
10 |
30 |
30 |
30 |
30 |
|
Тип нагревателя |
Жаровые трубы |
Электрический |
Паровой |
Электрический |
Трубчатый, электрический типа НШМ M45 |
|
Установленная мощность, кВт |
20 кг/ч (расход топлива) |
7,5 + 84 |
7,5 |
84 |
45 |
|
Масса, кг |
5400 |
5970 |
13900 |
5050 |
6466 |
Автоматизация технологического процесса может быть частичной, комплексной или полной. На приобъектных битумных базах нередко применяется частичная автоматизация. Комплексную и полную автоматизацию чаще всего внедряют, когда битумная база входит как цех асфальтобетонного завода. В этом случае применяют дистанционное управление. Оператор на пульте управления формирует команды на включение, отключение или изменение технологического режима.
Битумные дорожные эмульсии подразделяются на анионные и катионные. В свою очередь каждый вид делится на 3 класса:
- анионные: ЭБА-1, ЭБА-2, ЭБА-3;
- катионные: ЭВК-1, ЭБК-2, ЭБК-3.
По структуре эмульсии делят на прямые и обратные. В прямых эмульсиях битум равномерно распределен в виде мельчайших капель, окруженных слоем эмульгатора. В обратных - вода равномерно распределена в битуме в виде мельчайших капель, стабилизированных слоем эмульгатора.
Анионные эмульсии в качестве эмульгатора содержат мыла высокомолекулярных соединений органических кислот: асидолы, мылонафты, сульфатное мыло и др. Количество эмульгатора от 1 до 4,5 % от массы битума.
Катионные - органические азотосодержащие соединения: амины, соли аммония от 1 до 4 % вводят в воду или битум, а соляную кислоту вводят только в воду.
Для приготовления эмульсий организуют заводы и базы. Приготовление эмульсий сводится к диспергированию жидкостей и стабилизации дисперсной системы.
Для диспергированию жидкости применяют: гомогенизаторы;
лопастные и шнеколопастные смесители; акустические диспергаторы.
В гомогенизаторе готовят прямые эмульсии. Битум, нагретый до 150°С, и водный раствор эмульгатора, нагретый до 90°С, перекачивают через узкие зазоры (размером 0,01 мм) ротора и статора, в которых битум размельчается и на его капельках адсорбируется эмульгатор. Лучшими считают многоступенчатые гомогенизаторы.
В смесителях готовят прямые высококонцентрированные и обратные эмульсии. Концентрированный раствор эмульгаторов заливают в резервуар, где вращается вал с лопастями с частотой 40...80 об. в мин. Битум подают постепенно по мере образования эмульсии. В смесителях получают эмульсии высокой концентрации 90...95 %, поэтому перед употреблением их разбавляют водой. Производительность установки до 5 т/час.
Приготовление эмульсии с помощью акустического диспергатора относится к гидродинамическому способу, по которому смесь воды, эмульгатора и битума пропускают с большой скоростью через сопло, имеющее впереди вибратор - нож. Акустический способ прост и качество эмульсии хорошее.
При подвижном характере работ предпочтение следует отдавать полустационарным эмульсионным установкам (рис. 7.3.5).

Рис. 7.3.5. Установка для приготовления обратных эмульсий:
1 - котёл для битума; 2 - мешалка; 3 - ёмкость для воды (керосиновый контакт);
4 - ёмкость для раствора едкого натра; 5 - ёмкость для эмульсии
Наряду с положительными сторонами эмульсии имеют плохое прилипание к каменным материалам. Усилить прилипание можно добавлением извести - пушонки или цемента в количестве 5...10 % от эмульгатора. Такую эмульсию называют активированной.
Эмульсию хранят в закрытых помещениях, предохраняя от промерзания; летом - в емкостях, закрытых от попадания влаги. Перед загрузкой эмульсии в автогудронаторы ее пропускают через сетчатый фильтр с отверстиями размеров 3 мм. Гарантийный срок действия эмульсии 2 месяца.
Схема приготовления прямой высококонцентрированной битумной эмульсии показана на рис. 7.3.6.

Рис. 7.3.6. Технология приготовления прямой
высококонцентрированной эмульсии:
1 -обезвоженный и нагретый до 150-170°С битум; 2 - котёл для
варки мыла, 3 - ёмкость для едкого натра; 4 - ёмкость для воды; 5 - ёмкость для
раствора эмульгатора; 6 - мешалка; 7 - склад соли
Технологический процесс начинается с обезвоживания и нагрева битума до температуры 150°С. Эмульгаторы, как и битум, требуют предварительной подготовки. Некоторые эмульгаторы легко растворяются в воде и не требуют специальной обработки. Из этих эмульгаторов смешиванием с водой получают раствор, который перед применением нагревают до рабочей температуры 70...80°С. Некоторые эмульгаторы, чтобы растворить их в воде, необходимо предварительно омылить водным раствором щелочей (едкий калий, едкий натр). Омыление (варку) осуществляют в специальном котле в течение 3...4 ч. Приготовленное мыло разбавляют водой в пропорции 1:9, полученный раствор перед применением также нагревают до 70-80°С. Приготовленное мыло поступает в дозатор и оттуда в мешалку. В смесителе приготавливают водный раствор эмульгатора, куда поступает умягченная вода из установки.
Водный раствор эмульгатора насосом перекачивают в резервуар для подогрева его до рабочей температуры. Затем он поступает в диспергатор. Готовую эмульсию направляют в резервуар для хранения. Качество эмульсии контролируют в лаборатории.
В дорожных организациях получение битума из гудрона осуществляют бескомпрессорным способом (рис. 7.3.7).

Рис. 7.3.7. Технологическая схема приготовления битума
бескомпрессорным способом:
1 - ёмкость с гудроном; 2, 4, 6, 8 - насосы; 3 - теплообменник; 5 -
подогреватель;7 - секционный реактор; 9 - сепаратор; 10 - ёмкость для битума
Гудрон из емкости 1 насосом - дозатором 2 подают в теплообменник 3, из которого насосом 4 перекачивают в подогреватель 5. Далее насосом 6 гудрон поступает в секционный реактор 7, в котором установлены диспергаторы со скоростью вращения 480...960 об. в мин. Они засасывают и распыляют воздух в окисляемом продукте. Для ускорения процесса окисления применяют следующие катализаторы: хлорид цинка, меди, железа, алюминия, пятиокиси фосфора, серной кислоты, сульфидов и др. Из реактора 7 окисленный гудрон насосом 8 подают в сепаратор 9 и далее в емкость для битума 10.
Асфальтобетонные заводы (АБЗ) - специализированные предприятия, предназначенные для приготовления горячих, холодных и литых смесей. Кроме того, на АБЗ организуют выпуск черного щебня, переработку старого асфальтобетона.
Асфальтобетонные заводы по мобильности, типу выпускаемой смеси, способу приготовления и др. могут быть классифицированы, как показано на рис. 7.4.1.

Рис. 7.4.1. Классификация асфальтобетонных заводов
Важнейшим при проектировании АБЗ является выбор места расположения завода. От правильности решения этой задачи зависит: стоимость выпускаемой смеси, использование оборудования, срок строительства дороги и др.
При выборе расположения АБЗ учитывают:
- потребность смеси;
- сроки строительства дороги;
- рельеф местности;
- расположение баз и источников снабжения материалами, железнодорожных станций, подъездных путей;
- расположение производственных и жилых объектов;
- возможность получения воды, электроэнергии;
- время доставки смеси от завода до дороги (горячие не более 1 ч).
Технологический процесс зависит от наличия оборудования, типа приготавливаемой смеси и включает просушивание, нагрев и сортировку нагретых песка и щебня по сортам, нагрев битума, дозирование песка, щебня, минерального порошка и битума в соответствии с заданным составом смеси, перемешивание всех компонентов смеси (рис. 7.4.2).

Рис. 7.4.2. Технологическая схема приготовления
асфальтобетонной смеси:
1 - агрегат питания; 2 - ленточный транспортер; 3 - холодный ковшовый элеватор;
4 - сушильный барабан; 5 - агрегат
пылеулавливания; 6 - горячий ковшовый элеватор; 7 - плоский грохот; 8 - бункер
с отсеками; 9 - дозатор для песка, щебня; 10 - склад минерального порошка; 11 -
дозатор минерального порошка; 12 - дозатор битума; 13 - битумный котёл; 14 -
битумохранилище; 15 - мешалка; 16 - скиповый подъёмник; 17 - накопитель
Со склада щебня, песка материал подают одноковшовым погрузчиком в отсеки бункера агрегата питания 1, который обеспечивает равномерную подачу щебня и песка на ленточный транспортер 2 и на холодный ковшовый элеватор 3, а с него в сушильный барабан 4. В агрегате питания происходит предварительное дозирование по объему холодного и влажного материала, что способствует стабильности процесса сушки и нагрева.
Сушильный агрегат включает: сушильный барабан с топкой и форсункой, бак с подогревом для мазута.
Агрегат обеспыливания 5 задерживает пыль, не давая вылететь ей в атмосферу. Отечественные пылеулавливатели улавливают 85...95 % пыли. Пыль используют в качестве добавки к минеральному порошку. Дозировку пыли устанавливает лаборатория.
Смесительный агрегат включает: горячий ковшовый элеватор 6, плоский вибрационный грохот 7. Рассортированный материал поступает в отсеки бункера 8, а затем в дозатор 9. В современных асфальтобетонных установках дозаторы минерального порошка, пыли уноса, битума, ПАВ устраивают раздельными.
Точно отдозированные компоненты смеси поступают в лопастной смеситель 15 периодического или непрерывного действия. Готовая смесь поступает в автомобили-самосвалы или накопительный бункер.
При работе асфальтобетонных установок происходит интенсивное образование пыли. Выброс пыли из сушильного барабана и просеивающих поверхностей горячего грохота составляет до 3,5 % общего количества просушиваемого материала. Запыленность газа на выходе из сушильного барабана достигает 150 г/м3. Для очистки дымовых газов используют пылеулавливающие вытяжные устройства как сухой, так и мокрой очистки.
Характеристика комплектов оборудования для приготовления асфальтобетонных смесей приведена в табл. 7.4.1.
Комплекты оборудования для приготовления асфальтобетонных смесей
|
Наименование |
Д-508-2А |
ДС-117-2Е |
ДС-117-2К |
Д-617-2 |
ДС-95 |
ДС-118-4 |
Д-645-2Г |
Д-645-2 |
ДС-84-2 |
ДС-168 |
ДС-185 |
|
Тип установки |
Стационарная периодического действия |
Перебазируемая: |
Стационарная периодического действия |
||||||||
|
периодического действия |
непрерывного действия |
||||||||||
|
Производительность, т/ч |
25 |
25 |
32 |
50 |
50 |
100 |
100 |
100 |
200 |
160 |
56 |
|
Расход топлива (мазута), кг/ч |
320 |
290 |
320 |
650 |
530 |
1000 |
1170 |
1070 |
2500 |
1280 |
448 |
|
Установленная мощность: |
|
|
|
|
|
|
|
|
|
|
|
|
электродвигателей, кВт |
130 |
150 |
150 |
300 |
300 |
346 |
402 |
390 |
685 |
420 |
205 |
|
электронагревателей, кВт |
57,5 |
50 |
79 |
170 |
280 |
194 |
200 |
160 |
300 |
- |
- |
|
Вместимость агрегата питания, м |
10 |
10 |
18 |
16 |
16 |
40 |
16 |
40 |
40 |
80 |
32 |
|
Количество дозируемых фракций минерального материала, шт. |
4 |
3 |
3 |
4 |
4 |
4 |
4 |
4 |
6 |
4 |
4 |
|
Вместимость бункера агрегата минерального порошка, м3 |
20 |
20 |
22 |
20 |
16 |
20 |
20 |
22 |
75 |
65 |
23 |
|
Габаритные размеры установки (длина ´ ширина ´ высота), м |
23 ´ 19,4 ´ 19,7 |
43,6 ´ 34 ´ 19,6 |
45,6 ´ 16,2 ´ 8,8 |
43 ´ 32 ´ 20 |
50 ´ 35 ´ 20 |
54,4 ´ 28,8 ´ 14,8 |
55 ´ 47,5 ´ 17,3 |
54 ´ 40 ´ 17 |
85 ´ 67 ´ 27 |
55 ´ 42,5 ´ 19,0 |
41,2 ´ 28,8 ´ 17,6 |
|
Масса, т |
40 |
70 |
72 |
150 |
130 |
120 |
191 |
175 |
280 |
175 |
72 |
|
Сушильный агрегат |
ДС-24Б |
ДС-24Б |
ДС-24Б |
Д-620-1 |
ДС-95 |
ДС-119 |
Д-646-1 |
Д-646-1 А |
ДС-87 |
- |
- |
|
Смесительный агрегат |
Д-597А |
ДС-25К |
ДС-25Б |
Д-619А |
ДС-95 |
ДС-122 |
Д-595 |
Д-95 |
Д-595 |
- |
- |
|
Агрегат обезвоживания и подогрева битума до рабочей температуры |
ДС-17 |
ДС-17 |
ДС-17 |
Д-649 |
- |
- |
Д-649 |
Д-649 |
Д-649 |
- |
- |
Технологическая схема асфальтобетонной установки ДС-168 показана на рис. 7.4.3.
Модификации:
ДС - 168 - для работы на жидком топливе с релейно-контактной системой управления;
ДС - 1683 - для работы на жидком топливе с микропроцессорной системой управления;
ДС - 1686 - для работы на природном газе с релейно-контактной системой управления

Рис 7.4.3. Технологическая схема асфальтосмесительной установки ДС-16В
Широкое применение для очистки пылегазовых смесей получили циклоны. Поступающая в циклон со скоростью до 20 м/с пылегазовая смесь, вращаясь и опускаясь по винтовой линии, теряет твердые частицы, отбрасываемые под действием центробежной силы к стенкам корпуса. Силы трения, действующие на твердые частицы, снижают их скорость и способствуют оседанию пыли. Освобождаемый от пыли газ отсасывается из циклона вентилятором по центральной трубе. Степень очистки достигает 90...98 %, циклоны изготавливают диаметром 200...800 мм, производительностью 700...1500 м3/г очищенного газа. На асфальтобетонных установках применяют одиночные и групповые циклоны, состоящие из 2, 4, 6, 8 циклонов (рис. 7.4.4).

Рис. 7.4.4. Схема двухступенчатого пылеулавливающего
устройства:
1 - циклон; 2 - фильтр; 3 - привод очистителя циклона; 4 - распределитель
потока; 5,7 - центробежные вентиляторы; 6,8 - выпускной и входной воздуховоды;
9 - бункера
Агрегат обеспыливания используется для отсоса дыма и пыли. Допустимая норма пыли в воздухе
(7.4.1)
где А - температурный коэффициент стратификации, для АБЗ А = 120;
М - количество вредных выбросов, г/с;
Е - коэффициент, учитывающий оседание газов, Е = 2,5;
Т - коэффициент условия выхода газов из устья источника, Т = 1;
Н - высота дымовой трубы, м;
V - объем, выбрасываемых газов, м3/с;
DТ - разность температуры выбрасываемых газов и окружающего воздуха.
Минеральный порошок на АБЗ доставляют железнодорожным, автомобильным или водным транспортом. Лучшим транспортным средством являются вагоны-цементовозы с пневматической разгрузкой. Принцип разгрузки основан на свойствах аэрированного минерального порошка вытекать из цистерн подобно жидкости и в струе сжатого воздуха перемещаться по трубопроводу на склад.
В автоцементовозах минеральный порошок транспортируют до 300 км. Принцип разгрузки аналогичен.
Хранят минеральный порошок в металлических или железобетонных силосах, бункерах (табл. 7.4.2). Загрузку силосов производят из автоцементовозов с пневматической выгрузкой, подачей материала из цистерны непосредственно в силос.
Таблица 7.4.2
Склады минерального порошка
|
Показатели |
Передвижные склады |
|||
|
СБ-33 |
СБ-33А |
СБ-33Б |
СБ-49 |
|
|
Способ подачи материала |
Автоматизированные с пневматической подачей |
|||
|
Вместимость одного силоса склада, т |
25 |
25 |
25 |
33 |
|
Число силосов, шт |
1 |
1 |
1 |
3 |
|
Производительность оборудования склада при выдаче, т/ч |
15 |
18 |
18 |
25 |
|
Дальность подачи материала, м |
20 |
50 |
50 |
200 |
|
В том числе, по вертикали, м |
12 |
20 |
20 |
25 |
|
Диаметр материалопровода, мм |
76 |
76 |
76 |
100 |
|
Расход сжатого воздуха, м3/мин |
3 |
3...6 |
3...6 |
6 |
|
Давление сжатого воздуха в проводящей системе, МПа |
до 0,3 |
до 0,3 |
до 0,3 |
0,3 |
|
Габариты (длина ´ ширина ´ высота), м |
5,15´3,95´7,41 |
2,8´2,8´8,4 |
2,8´2,8´8,4 |
7,9´3,15´9,3 |
|
Масса, т |
5,7 |
3,6 |
3,2 |
11,5 |
Основным технологическим цехом является асфальтосмесительный. По его производительности рассчитывают оборудование всех цехов. Асфальтосмесительную установку поставляют заводы-изготовители комплектно (табл. 7.4.1).
По санитарно-технической классификации все АБЗ отнесены к III классу промышленных предприятий. По отношению к жилому ближайшему району их располагают с подветренной стороны для господствующих ветров и отделяют от границы жилых районов и городков строительного управления санитарно-заградительной защитной зоной шириной не менее 300...500 м.
Для завода выбирают по возможности ровную площадку размером 1,5...2,5 га с уклоном, обеспечивающим сток поверхностной воды.
Компоновку генерального плана производят по схеме раздельной застройки с отдельно стоящими сооружениями и по блокам путем объединения в общих блоках асфальтосмесительной установки, склада минерального порошка и др. Более компактен АБЗ блочной схемы.
Расположение нескольких рядом стоящих смесительных установок и накопительных бункеров должно быть таким, чтобы автомобили-самосвалы без затруднений подходили под нагрузку к каждой установке или наполнительному бункеру и возвращались на дорогу, не мешая друг другу. При компоновке генплана следует учитывать, что расположение складов в средней части площадки нецелесообразно не только по условиям пересечения грузопотоков, но и потому, что при неблагоприятных направлениях ветра пыль оседает на машинах и автоматике, на сооружениях АБЗ.
Расположение складов щебня, песка и смесительной установки в одну линию значительно удлиняет площадки, а при расположении наклонной галереи перпендикулярно складу заполнителей площадка приобретает форму, более приближающуюся к квадрату, но при этом коэффициент использования территории значительно снижается.
Проезды на территории должны быть удобными, кратчайшими между технологическими цехами, сооружениями, складами и погрузочно-разгрузочными пунктами. Не допускают встречных и перекрещивающихся потоков материалов и обратную их подачу.
При проектировании генерального плана вначале размещают пути, по которым будут подвозить материалы. Смесительный цех и магистральный ленточный транспортер, подающий материал к смесителю, размещают ближе к центру площадки, определяют места для вспомогательных сооружений, цехов и отделений: битумного, минерального порошка, ПАВ и др. Далее размещают ремонтную мастерскую, парокотельную, компрессорную и трансформаторную подстанции или электростанцию.
Склады жидкого топлива и масел располагают в районе склада песка, щебня или за пределами площадки АБЗ. Склад твердого топлива создают в стороне, противоположной от склада жидкого топлива и битумохранилища. Дорогу на АБЗ для подвоза исходных материалов и вывоза готовой продукции целесообразно устраивать кольцевую, позволяющую подъехать к любому складу или сооружению без встречного движения.
Обслуживающие цехи размещают в стороне от смесительного цеха. Бытовые помещения включают: душевые, гардероб, помещения для обогрева рабочих, сушки одежды и обуви, туалет. На АБЗ организуют пост охраны, который обеспечивает контроль вывоза материальных ценностей и прохода людей. На АБЗ предусматривают электрическое освещение рабочих мест, складов, дорог.
Компрессорные и трансформаторные подстанции располагают в центре потребления сжатого воздуха, электроэнергии. При расположении сооружений соблюдают действующие противопожарные и санитарные нормы, а также правила техники безопасности (рис. 7.4.5).

Рис. 7.4.5. Генеральный план АБЗ:
1 - смесительная установка; 2 - сушильный барабан; 3 - агрегат питания; 4 -
склады щебня, песка; 5 - склад минерального порошка; 6 - агрегат
пылеулавливания, 7 - расходная ёмкость битума; 8 - установка обезвоживания
битума; 9 - битумохранилища; 10 - охрана; 11 - склад масел, заправочная; 12 -
контора, лаборатория; 13 - туалет; 14 - пожарный сарай; 15 - котельная; 16 -
гардероб, душ
Для уменьшения шума и создания микроклимата на стационарном заводе предусматривают озеленение быстрорастущими деревьями и кустарником.
В последние годы в России широко используют старый асфальтобетон, снятый с изношенного дорожного покрытия. Это дает следующие преимущества:
- экономия материалов;
- экономия энергоресурсов;
- утилизация старого асфальтобетона.
Для регенерации асфальтобетона используют оборудование двух типов:
- существующие асфальтобетонные установки с дополнительным оборудованием;
- специальные установки.
Старый асфальтобетон предварительно дробят в щековых, конусных или роторных дробилках ударного действия. Получают материал различной крупности, покрытый тонким слоем битума. Хранят его в бункерах или на складе и используют в качестве основного сырья, добавляя по мере необходимости другие материалы. Дробление производят в холодное или умеренно теплое время до 15°С.
Схема приготовления асфальтобетонной смеси с использованием старого асфальта после предварительного дробления показана на рис. 7.4.6.
1. Со склада 1 старый асфальтобетон ленточным конвейером или одноковшовым погрузчиком на пневматическом ходу подают к агрегату питания 2, кусками не превышающими 40 мм, и далее с учетом размера в соответствующую секцию бункера.
2. Отдозированный дробленый асфальтобетон ковшовым элеватором подают в сушильный барабан 5 для нагревания, а оттуда в приемник 6.
3. Сушильный барабан имеет газоотводную трубу с вентилятором 7. На выходе из барабана часть отходящих от форсунки газов с помощью вентилятора возвращается из газоотводящей трубы в топку. При этом часть газов смешивается с вновь образовавшимися продуктами сгорания топлива, снижая их температуру. С помощью заслонки регулируют количество повторно циркулирующих газов и тем самым получают необходимую температуру горячих газов, поступающих в барабан, не изменяя режима работы форсунки. Датчики контролируют температуру горячих газов, поступающих из топки в барабан. Использование повторно циркулирующих газов позволяет снизить расход топлива.
4. По шнековому конвейеру 9 смесь поступает в смеситель непрерывного принудительного действия 10.
5. В смеситель подают также отдозированные жидкие добавки для пластификации битума из ёмкости 11.

Рис. 7.4.6. Технологическая схема переработки старого
асфальта на специализированной установке:
1 - склад рассортированного по фракциям дроблёного старого асфальта; 2 - бункер-питатель;
3 - топка с форсункой; 4 - приёмник холодного дроблёного асфальта; 5 -
сушильный барабан; 6 - приёмник горячего асфальта; 7 - вентилятор; 8 - ёмкость
для мазута; 9 - дозатор; 10 - смеситель; 11 - ёмкость для битума; 12 -скиповый
подъёмник; 13 - бункер-накопитель
Как показывает опыт, более целесообразно до 10...15 % старого асфальта добавлять при приготовлении нового (рис. 7.4.7).

Рис. 7.4.7. Технологическая схема приготовления асфальтной
смеси с использованием старого асфальта:
1 - агрегат питания; 2 - барабан; 3 - склад минерального порошка; 4 - ёмкость
уловленной пыли; 5 - ёмкость для битума; 6 - склад старого асфальта; 7 -
форсунка; 8 - ёмкость для мазута; 9 - скиповый подъёмник; 10 - накопительный
бункер готовой смеси
Технологический процесс приготовления асфальтобетонной смеси с использованием старого асфальта осуществляется в следующей последовательности:
1. Щебень, песок из агрегата питания 1 подаются отдозированными по объему в барабан 2.
2. В барабан также подается минеральный порошок со склада 3, уловленная пыль из емкости 4, битум из котла 5 и дробленый старый асфальт со склада 6. В барабане все компоненты нагреваются и смешиваются.
3. Нагрев производят форсункой 7 путем сжигания жидкого топлива 8.
4. Приготовленная смесь выгружается в скиповый подъемник 9, который подает ее в бункер готовой смеси 10. Управление всем технологическим процессом осуществляют из кабины оператора.
На асфальтобетонном заводе следует контролировать качество исходных материалов;
1. Битум. Марку битума выбирают в зависимости от вида и марки смеси, климатических условий и категории дороги в соответствии с рекомендациями ГОСТ 9128-97.
Качество битума на АБЗ контролируют не реже одного раза в смену, и оно должно удовлетворять для нефтяных дорожных вязких битумов ГОСТ 11501-78, жидких - ГОСТ 11503-74.
2. Щебень, гравий. Для приготовления асфальтобетонных смесей следует применять щебень из естественного камня, получаемый дроблением горных пород по ГОСТ 8267-93, а также щебень из гравия по ГОСТ 10260-82, гравийно-песчаные смеси по ГОСТ 23735-82. Не допускается применять щебень из глинистых, (мергелистых) известняков, глинистых песчаников и глинистых сланцев. При приготовлении смесей используют следующие фракции 5...10 мм; 10...20 мм; 20...40 мм. Наличие зерен пластинчатой (лещадочной) формы в щебне не должно превышать для смесей типа А - 15 % по массе; Б, БХ - 25 %; В, ВХ - 35 %. Марка по прочности и другие показатели свойств щебня и гравия, в зависимости от марки, типа и вида смесей, должны соответствовать требованиям ГОСТ.
3. Песок. Для приготовления смесей применяют природные и дробленые пески, отвечающие требованиям ГОСТ 8736 и 8267.
Показатели свойств дробленых песков и отсевов продуктов дробления горных пород и гравия в зависимости от марки, типа и вида смесей должны соответствовать ГОСТ 9128-97.
4. Минеральный порошок. Для приготовления асфальтобетонных смесей применяют активированные и неактивированные минеральные порошки, отвечающие требованиям ГОСТ 16557. Минеральный порошок получают размолом известняков, доломитов прочностью 20...50 МПа. Допускается также использовать в качестве минерального порошка измельченные основные металлургические шлаки в горячих смесях марок: II и III для плотного асфальтобетона; I и II - для пористого и высокопористого асфальтобетона и в холодных смесях марки II.
Порошковые отходы промышленности используют для плотного асфальтобетона в горячих смесях марки III и для I и II марок пористого и высокопористого асфальтобетона. Требования к минеральному порошку должны соответствовать ГОСТ 9128-97.
Качество щебня, песка и минерального порошка контролируют не реже одного раза в 10 смен.
В процессе приготовления смеси, кроме качества исходных материалов, контролируют точность дозирования минеральных материалов и битума, температурный режим приготовления битума и асфальтобетонной смеси, продолжительность перемешивания минеральных материалов с битумом, температуру готовой смеси, соответствие ее заданному составу и требованиям ГОСТ 9128-97.
По сроку действия в зоне обслуживания цементобетонные заводы подразделяются на стационарные, полустационарные и передвижные.
Стационарные цементобетонные заводы предназначены для круглогодичного обеспечения бетонной смесью дорожно-строительных объектов в определенном районе и на длительные сроки.
Полустационарные цементобетонные заводы предназначены для обслуживания строящегося участка автомобильной дороги. Срок действия таких заводов на одном месте 2...3 года.
Передвижные цементобетонные заводы предназначены для обслуживания участка дороги при сравнительно небольшом сроке действия на одном месте. Такие заводы имеют мобильное оборудование, позволяющее быстро перемещать завод с одного места на другое при малых затратах времени и материальных ресурсов. Завод состоит из отдельных узлов, которые легко перевозятся и монтируются за несколько часов.
Каждый из вышеперечисленных типов цементобетонных заводов имеет преимущества и недостатки. Так, стационарный завод обеспечивает высокое качество приготовления бетонной смеси, но в то же время является сложным и дорогостоящим производственным предприятием, перебазирование которого занимает не менее 3 месяцев. Поэтому в большинстве случаев стремятся использовать завод на одном месте как можно дольше, что приводит к росту транспортных расходов из-за увеличения дальности транспортирования смеси Техническая характеристика бетоносмесителей циклического и непрерывного действия приведена в табл. 7.5.1 и 7.5.2.
Таблица 7.5.1
Технические характеристики бетоносмесителей циклического действия
|
Показатели |
Бетоносмесптельиые ускшовки |
|||
|
НПО ВНИИ Стройдормаш (Россия) |
Фирма "Рекс" (США) |
Фирма "Росс" (Бельгия) |
Фирма "Нобле" (США) |
|
|
Производительность, м3/м |
150 |
240 |
150 |
275 |
|
Количество фракций каменных материалов |
4(3) |
3 |
3 |
4(3) |
|
Максимальная крупность заполнителя, мм |
40 |
40 |
40 |
40 |
|
Жесткость приготовления смеси (не более), с |
30...50 |
30...50 |
30...50 |
30...50 |
|
Бетоносмеситель: тип |
циклического действия со свободным перемещением |
|||
|
Вместимость (по выходу бетонной смеси), м3 |
5,0 |
6,9 |
6,1 |
8,0 |
|
Вместимость расходных бункеров: |
|
|
|
|
|
цемента, м3 |
40 |
80 |
60 |
40 |
|
каменных материалов, м3 |
60 |
135 |
35 |
144 |
|
Вместимость бака для воды, л |
10000 |
19000 |
10000 |
2800 |
|
Установленная мощность, кВт |
150 |
241 |
180 |
290 |
|
Габаритные размеры, мм: |
|
|
|
|
|
длина |
17200 |
20000 |
1870 |
- |
|
ширина |
4300 |
5000 |
4600 |
- |
|
высота |
14100 |
15700 |
4200 |
|
Таблица 7.5.2
Технические характеристики бетоносмесителей непрерывного действия
|
Показатели |
Бстоносмесительные установки |
||||||
|
СБ-37 (С-780) |
СБ-75 |
СБ-75А |
СБ-78 |
СБ-109 |
СБ-109А |
СБ-118 |
|
|
Производительность, м3/ч |
30 |
30 |
35 |
60 |
120 |
150 |
240 |
|
Количество фракций заполнителей: |
|
|
|
|
|
|
|
|
песок |
1 |
1 |
1 |
1 |
1 |
1 |
1 |
|
щебень |
3 |
3 |
1 |
3 |
2 |
2 |
2 |
|
Вместимость расходных бункеров, м3: |
|
|
|
|
|
|
|
|
цемента |
34 |
20 |
20 |
12 |
40 |
40 |
40 |
|
каменных материалов |
12 |
18 |
18 |
34 |
18 |
48 |
75 |
|
Наибольший размер заполнителей, мм |
40 |
40 |
40 |
70 |
150 |
150 |
150 |
|
Жесткость приготовленной смеси, с |
30-50 |
30-50 |
30-50 |
30-50 |
30-50 |
30-50 |
30-50 |
|
Установленная мощность. кВт (без склада цемента) |
32,2 |
37,7 |
34,5 |
58,3 |
135 |
150 |
170 |
|
Габаритные размеры, мм: |
|
|
|
|
|
|
|
|
длина |
30140 |
36600 |
28500 |
36600 |
4730 |
46500 |
48000 |
|
ширина |
6000 |
3250 |
3750 |
4000 |
40500 |
40500 |
45000 |
|
высота |
8400 |
12500 |
13800 |
12000 |
13430 |
13230 |
13455 |
|
Масса, кг (без склада цемента) |
23000 |
22500 |
21500 |
33000 |
103700 |
102500 |
118000 |
|
Дозатор цемента |
|
|
|
|
|
|
|
|
Дозатор каменных материалов |
СБ-39 |
СБ-71 |
СБ-71А |
СБ-71А |
СБ-90 |
СБ-90 |
СБ-90 |
|
Бетоносмеситель, тип |
СБ-26 |
СБ-26А |
СБ-26А |
СБ-42 |
СБ-114 |
СБ-111 |
СБ-115 |
|
|
Непрерывного действия с принудительным перемещением |
Непрерывного действия со свободным перемещением |
|||||
Экономическая эффективность и техническая целесообразность постройки стационарных или передвижных цементобетонных заводов обосновывается технико-экономическим расчетом.
Передвижные цементобетонные заводы быстрее могут быть введены в эксплуатацию, поэтому при подсчете экономической эффективности следует учитывать экономический эффект от ускорения их ввода
Эув = Ен·Кп(Тс - Тп), (7.5.1)
где Тс - нормативный срок строительства стационарного завода;
Тп - то же, передвижного завода.
По типу основного оборудования цементобетонные заводы подразделяют на заводы цикличного и непрерывного действия. Заводы цикличного действия оборудованы смесительными машинами с периодической загрузкой, перемешиванием и выгрузкой смеси, а заводы непрерывного действия -смесительными машинами, в которые загрузка материалов, их перемешивание и выгрузка готовой смеси производятся непрерывно.
В зависимости от компоновки оборудования цементобетонные заводы делятся на башенные и партерные. В заводах башенного типа технологическое оборудование располагают по вертикали, в связи с чем происходит однократный подъем всех исходных материалов. Дальнейшее их продвижение по технологическому циклу от расходных бункеров до бетоносмесителя осуществляется под действием собственной массы. Недостатком башенных заводов является их большая высота (20...30 м).
Оборудование партерных заводов расположено в горизонтальной плоскости, поэтому высота их небольшая, и их можно быстро монтировать и демонтировать.
Песок и щебень ленточным транспортером 1 через поворотную воронку 2 подаются в отсеки расходного бункера 3 (рис. 7.5.1.)

Рис. 7.5.1. Схема бетоносмесительной установки башенного
типа:
1 - ленточный конвейер; 2 - поворотная воронка; 3 - расходный бункер; 4 -
дозатор воды; 5 - дозатор пластификаторов, добавок; 6 - бетоносмеситель; 7 -
раздаточный бункер; 8 - распределительный бункер; 9 - весовые дозаторы; 10 -
бункер для цемента; 11 - цементовод; 12 - винтовой конвейер; 13 - циклон; 14 -
многорукавный матерчатый фильтр; 1 5 - вентилятор
Каждый отсек бункера снабжен указателями уровня, подающими импульсы в систему сигнализации и автоматического управления. Расходный бункер заполнителей 3 оборудован регистрами для их подогрева. Цемент со склада 10 в бетоно-установку подается системой элеваторов или пневмотранспортом. В последнем случае цемент с воздухом по цементоводу 11 поступает в циклон 13, откуда винтовым конвейером 12 подается в бункер цемента 3. Для окончательной очистки воздуха от цемента служит многорукавный матерчатый фильтр 14, через который вентилятором 15 воздух отсасывается из циклона. Для дозирования сухих составляющих служат весовые дозаторы 9 с пневмоэлектрическим управлением. Вода также дозируется по массе дозатором 4. Замедлители схватывания, пластификаторы или другие добавки дозируются дозатором 5. Из распределительного бункера 8 с перекидной заслонкой или с поворотной воронкой сухие материалы направляются в один из бетоносмесителей 6. Приготовленная смесь через раздаточные бункера 7 выдается в транспортные средства.
Передвижная установка непрерывного действия (рис. 7.5.2) смонтирована на двухосном автомобильном прицепе и комплектуется силосным складом цемента, автоцементовозами, ленточным конвейером для перегрузки бетонной смеси в транспортные средства и самоходным погрузчиком. Заполнители погрузчиком 2 подаются из открытого штабельного склада 1 в расходные бункера песка 8 и щебня 12. Доставляемый автоцементовозами 3 цемент перегружается в силосный склад цемента 4, откуда подается винтовым конвейером 5 в расходный бункер цемента 6. Отдозированные дозаторами непрерывного действия 7, 9, 13 сухие материалы перегружаются в двухвальный лопастной бетоносмеситель 14.

Рис. 7.5.2. Схема передвижной бетоносмесительной установки
непрерывного действия:
1 - склад штабельного типа; 2 - погрузчик; 3 - автоцементовоз; 4 - силосный
склад цемента; 5 - винтовой конвейер; 6 - расходный бункер цемента; 7, 9, 13 -
дозаторы для сухих материалов непрерывного действия; 8, 12 - расходные бункера
для песка и щебня; 10 - бак для воды; 11 - дозатор воды; 14 - бетоносмеситель;
15 - центробежный насос; 16 - ленточный конвейер
Вода центробежным насосом 15 накачивается в бак 10 с постоянным уровнем воды. Дозирование воды обеспечивается пробковым краном 11. Погрузка бетонной смеси в транспорт производится ленточным конвейером.
В зависимости от способа перемешивания компонентов смеси бетоносмесители бывают гравитационного и принудительного действия. Гравитационное перемешивание происходит в барабане, вращающемся относительно горизонтальной или слегка наклонной (до 15°) оси. Внутри барабана неподвижно прикреплены лопасти. Смешение происходит в результате столкновения потоков компонентов, падающих с лопастей под действием силы тяжести. Гравитационные бетоносмесители пригодны для приготовления пластичных смесей. Для приготовления жестких смесей используют бетоносмесители принудительного действия. В смесителях этой конструкции потоки смешиваемых компонентов создаются лопастями, двигающимися внутри смесительной ёмкости.
Эффективность применения смесителя независимо от способа перемешивания определяется однородностью приготовления смеси при минимальной продолжительности перемешивания. Однородность смеси оценивают коэффициентом вариации прочности Cv образцов бетона из одного замеса, который называют изменчивостью.
Cv = s/m·100, (7.5.2)
где s - квадратичное отклонение прочности бетона;
m - среднее значение прочности.
Для цикличных бетоносмесителей коэффициент вариации не должен превышать 10 %.
По выработке бетоносмесителей определяют мощность предприятия. Часовую производительность бетоносмесителей цикличного действия определяют по формуле
Пц = (3600·V·KB)/1000(t3 + tc + tв + tх), (7.5.3)
где V - объём готового замеса, л;
KB - коэффициент внутрисменного использования смесителя (0,80...0,85);
tз, tc, tв, tx - соответственно, время в секундах на загрузку смесителя компонентами смеси (10...15), смешивание их (60...90), выгрузку смеси (10...20), возврат опрокидного барабана под загрузку (10...12).
Часовую производительность в м3/ч бетоносмесителей непрерывного действия принимают по паспорту или определяют по формуле (7.5.4 или 7.5.5)
Пн =[60p/4(D2 - d2)·m·j·n·в·Kз·sina]Kв, (7.5.4)
где D - диаметр окружности, описываемой лопастью смесительного винта, м;
d - диаметр вала смесителя, м;
m - число лопастей, приходящихся на один шаг винта;
j - коэффициент, учитывающий частичный возврат смеси при ее перемешивании (0,85 - 0,90 %);
п - частота вращения вала, об/мин;
в - ширина лопасти вала;
Kз - коэффициент заполнения (0,25...0,30);
a - угол поворота лопастей относительно оси вала;
Kв - коэффициент выхода бетона (0,67...0,72).
Пн =(3600·b·F·L)/t, (7.5.5)
где b - коэффициент заполнения мешалки (1,2....1,5);
F = K·(p·D2/4) - площадь поперечного сечения потока материалов в мешалке, м2 (нормальной считается загрузка по горизонтальной плоскости, проходящей через оси валов);
К - коэффициент заполнения сечения барабана мешалки диаметром D, м (К = 0,2...0,3);
L - длина мешалки, м;
t - продолжительность перемешивания, сек (от 90 до 180 сек).
На цементобетонном заводе организуют склады песка, щебня (гравия). Запасы материалов на складах должны гарантировать бесперебойную работу завода. Согласно строительным нормам и правилам, нормативные запасы на складах цементобетонных заводов принимают при дальнем расстоянии камнедробильного завода (1000 км) - 30, среднем (500 км) - 20 и близком (50...100 км) - 8 суток. Доставку материалов на склад чаще всего осуществляют железнодорожным, автомобильным и реже водным транспортом.
Склады различают по материалам, вместимости и способу разгрузки. Разгрузку щебня, доставляемого на завод железнодорожным транспортом (автомобилями-самосвалами), осуществляют гравитационным способом (под действием силы тяжести), сталкиванием и черпанием. Эффективна гравитационная разгрузка из саморазгружающихся вагонов, автомобилей-самосвалов, самоходных землевозов. При этом способе разгрузки заполнители выгружают путем наклона кузова или опрокидывания вагона, а также через люки полувагона (бункерного типа). В бункерных вагонах, оборудованных люками, остатки невыгружаемых материалов достигают 15...20 %, поэтому для полной выгрузки требуются дополнительные устройства (малая механизация) или ручная очистка.
Для выгрузки сыпучих материалов из крытых вагонов применяют самоходные разгрузчики на гусеничном ходу, рабочим органом которых является элеватор с подгребающими шнеками. Выгрузку такого материала из дверного проема вагона и штабелирование осуществляют ленточным конвейером.
Распространенными типами складов щебня, гравия, песка являются эстакадно-траншейный, с бункерной эстакадой.
В состав заводов по выпуску цементобетонной смеси входят складские помещения для хранения цемента. Стоимость цемента составляет около 70 % от стоимости составляющих цементобетонную смесь материалов. На каждую партию цемента потребителю должен быть выдан заводской паспорт. Складское хозяйство должно быть организовано так, чтобы каждый сорт и марка цемента с указанием завода-изготовителя хранились в отдельных бункерах или силосах склада. Наиболее экономичным способом хранения цемента принято считать силосы, которые могут быть разной геометрической формы. Предпочтение следует отдавать цилиндрическим стальным силосам.
Промышленность выпускает притрассовые силосные склады в комплекте с пневмотранспортным устройством вместимостью от 200 до 720 т и прирельсовые от 1100 до 4000 т. При небольших объемах работ целесообразно использовать передвижные склады цемента вместимостью 25 т. Техническая характеристика притрассовых складов цемента приведена в табл. 7.5.3.
Таблица 7.5.3
Техническая характеристика складов цемента
|
Показатели |
Типовые склады вместимостью, т |
|||
|
240 |
360 |
480 |
720 |
|
|
Производительность склада по выдаче, т/ч |
45(20) |
45(20) |
45(20) |
45(20) |
|
Число силосов, шт. |
4 |
6 |
4 |
6 |
|
Вместимость одного силоса, т |
60 |
60 |
120 |
120 |
|
Диаметр силоса, м |
3 |
3 |
3 |
3 |
|
Высота силоса, м |
4 |
6 |
4 |
6 |
|
Установленная мощность оборудования, кВт |
42,8(50,8) |
52,8(60,8) |
42,8(50,8) |
52,8(60,8) |
|
Расход сжатого воздуха, м3/мин |
9,3(10,5) |
9,3(10,5) |
9,3(10,5) |
9,3(10,5) |
|
Расход тепла на отопление склада при температуре окружающего воздуха -30°С, кДж/ч |
43000 |
43000 |
43000 |
43000 |
Примечание. В скобках - показатели для варианта выдачи цемента пневматическим винтовым насосом (остальные данные для варианта с пневматическим винтовым подъемником).
Запас цемента на складе определяют по формуле
З = (Q·P·n·K1)/(T·K2) , (7.5.6)
где Q - годовой объем выпускаемой продукции бетоносмесительным цехом, м3;
Р - усредненный расход цемента на 1 м3 бетонной смеси, кг;
п - нормативный запас хранения цемента на складе, суток;
К1 - коэффициент возможных потерь цемента (К1 = 1,04);
Т - количество рабочих дней в году;
К2- коэффициент заполнения склада (0,85...0,95).
Разгрузку цемента из крытого вагона производят машинами-разгрузчиками всасывающего и всасывающе-нагнетательного действия. Крытые вагоны имеют ряд недостатков и прежде всего большие потери цемента при перевозке, возможность увлажнения, сложная механизация разгрузки.
Более эффективны вагоны-цистерны вместимостью 60 м3 с пневморазгрузкой цемента. Принцип действия основан на свойстве аэрированного цемента вытекать из цистерны подобно жидкости и далее в струе сжатого воздуха перемещаться по трубопроводу непосредственно на склад (рис. 7.5.3).

Рис. 7.5.3. Железнодорожный вагон-цементовоз с
пневматической разгрузкой:
1 - аэролоток с пористой перегородкой, 2 - смотровой люк с крышкой; 3 -
загрузочный патрубок, 4 - цистерна; 5 - разгрузочный патрубок с дроссельным
краном; 6 - продувочная форсунка
При дальности транспортирования цемента до 300 км используются автоцементовозы. Принцип действия автоцементовоза с пневморазгрузкой состоит в разрыхлении цемента сжатым воздухом, проникающим в цистерну (резервуар) через пористую перегородку аэроустройства, перемещение его по аэролотку к разгрузочному патрубку и транспортировании по шлангу и трубопроводу под действием сжатого воздуха на склад. Характеристика цементовозов приведена в табл. 7.5.4.
Таблица 7.5.4
Характеристика автоцементовозов
|
Показатели |
С - 927 |
С - 972 |
Г-956 |
|
Грузоподъемность, т |
8 |
13,5 |
22 |
|
Производительность, т/мин: |
|
|
|
|
при самопогрузке |
0,3...0,5 |
0,5...1,0 |
|
|
при разгрузке |
0,5...1,0 |
0,5...1,0 |
0,5...1 |
|
Дальность подачи цемента при разгрузке, м: |
|
|
|
|
по вертикали |
25,0 |
25,0 |
25,0 |
|
по горизонтали |
50,0 |
50,0 |
50,0 |
|
Максимальное рабочее давление в цистерне, МПа |
1,0 |
1,5 |
|
|
Полезная емкость цистерны, м3 |
|
11.8 |
21,8 |
|
Масса поезда без груза, кг |
7300 |
10850 |
18000 |
К оборудованию внутризаводского транспорта относят пневмовинтовые насосы и подъемники, предназначенные для транспортирования цемента по трубам. Дальность подачи в сумме по горизонтали и вертикали до 200...400 м, высота подачи - 20...36 м.
Пневмовинтовой насос (рис. 7.5.4) устанавливают под силосом или бункером, откуда аэрированный цемент под действием собственной массы поступает в приемную камеру 2. Здесь он захватывается быстровращающимся консольным напорным шнеком 3 и подается через обратный клапан в смесительную камеру 4. В камере 4 имеются сопла 5, через которые от компрессора поступает сжатый воздух, он разрыхляет цемент и транспортирует его к потребителю.

Рис. 7.5.4. Пневматический винтовой насос:
1 - электродвигатель; 2 - приёмная камера; 3 - напорный шнек; 4 - смесительная
камера; 5 - сопло для подачи сжатого воздуха
С прекращением подачи цемента клапан закрывается, препятствуя проходу воздуха в бункер или силос.
Одновременно трубопровод продувается сжатым воздухом.
К внутризаводскому транспортному средству относятся также аэрожелоба. Аэротранспортная установка представляет собой трубопровод прямоугольного сечения, составленный из двух коробов - верхнего и нижнего, между которыми помещена воздухопроницаемая микропористая жесткая или мягкая перегородка. В нижний канал, служащий воздухопроводом, нагнетают сжатый воздух, а в верхний, являющийся транспортным лотком, через загрузочный патрубок подают цемент. Насыщенный сжатым воздухом цемент, проходя через пористую перегородку, приобретает текучесть и перемещается по лотку, установленному к горизонтальной плоскости под углом 5...7 град. Необходимое давление воздуха для транспортирования цемента 0,005 МПа.
На дорогу цементобетонную смесь доставляют автомобилями-самосвалами, автобетоновозами и автобетоносмесителями. При перевозке смесь должна быть защищена от атмосферных осадков, замораживания, высушивания, а также от вытекания цементного раствора. Подвижную смесь не рекомендуется перевозить автомобилями-самосвалами.
При длительной перевозке, особенно по плохой дороге, смеси расслаиваюся, поэтому подвижные смеси, с осадкой конуса более 5 см, в транспортных средствах, не имеющих побуждения, перевозят не далее 10 км по хорошей дороге и 3 км по плохой.
Автобетоносмеситель используют для приготовления бетонной смеси в пути следования к месту укладки от цементо-бетонного завода, где их загружают отдозированными составными частями и водой. Автобетоносмесители можно использовать в качестве бетоновозов с побуждением на большие расстояния. Вращение смесительного барабана с частотой 3...4 об/мин в пути предотвращает расслоение смеси, при этом вместимость барабана используется на 80 %, а при перевозке сухой - на 60...70 %. Автосмесители при утеплении цистерны могут перевозить цементобетонную смесь при температуре -20°С. Техническая характеристика автобетоносмесителей приведена в табл. 7.5.5.
Таблица 7.5.5
Техническая характеристика автобетоносмесителей с гидромеханическим приводом
|
Показатели |
СБ-227 |
СБ-230 |
CБ-92В |
CБ-1596-2 |
ABC-5 |
АБС-6 |
СБ-172-2 |
СБ-214 |
СБ-211 |
АБС-7 |
СБ-234 |
|
Базовое шасси |
ЗИЛ-433362 |
МАЗ-5337 |
КамАЗ-55111 |
УРАЛ-4320-30 |
КамАЗ-55111 |
КрАЗ-250 |
КрАЗ-250 |
МАЗ-5433 |
МАЗ-5433 |
КрАЗ-65101 |
МЗКТ-69237 |
|
Вместимость смесительного барабана, м3 |
5,0 |
8,0 |
8,0 |
8,0 |
9,0 |
10,0 |
10,0 |
- |
- |
11,6 |
14,0 |
|
Максимальный объем перевозимой бетонной смеси, м3 |
2,5 |
4,0 |
5,0 |
5,0 |
5,0 |
6,8 |
5,8 |
6,0 |
8,0 |
7,0 |
8,0 |
|
Частота вращения барабана, об/мин |
0...14 |
0...18 |
0...20 |
0...18 |
0...18 |
0...12 |
0...18 |
0...18 |
0...12 |
0...18 |
0...12 |
|
Время перемешивания, мин |
15...20 |
15...20 |
15...20 |
15...20 |
- |
- |
- |
- |
- |
- |
15...20 |
|
Высота загрузки, м. |
3,6 |
3,6 |
3,62 |
3,6 |
3,5 |
3,64 |
3,8 |
3,6 |
3,6 |
3,77 |
3,6 |
|
Высота выгрузки, м |
1,05 |
1,2 |
- |
- |
1,9 |
1,9 |
2,2 |
- |
- |
1,9 |
2,2 |
|
Вместимость бака для воды, л |
250 |
450 |
400 |
450 |
400 |
400 |
450 |
450 |
450 |
400 |
450 |
|
Максимальная скорость, км/ч |
60 |
60 |
60 |
60 |
50 |
50 |
50 |
60 |
60 |
|
|
|
Масса снаряжения, кг |
7200 |
9500 |
9500 |
9680 |
9850 |
12200 |
13360 |
6000 |
11190 |
- |
15600 |
|
Масса полная, кг |
11500 |
16000 |
19150 |
20600 |
19425 |
24000 |
24000 |
18000 |
25540 |
24000 |
300000 |
|
Габаритные размеры, м |
7,0 ´ 2,5 ´ 2,6 |
7,8 ´ 2,5 ´ 3,6 |
7,5 ´ 2,5 ´ 3,62 |
9,0 ´ 2,5 ´ 3,6 |
7,45 ´ 2,5 ´ 1,5 |
9,87 ´ 2,5 ´ 3,64 |
10,5 ´ 2,6 ´ 3,8 |
7,0 ´ 2,5 ´ 3,6 |
8,0 ´ 2,5 ´ 3,6 |
9,98 ´ 2,5 ´ 3,7 |
9,5 ´ 2,5 ´ 3,6 |
Автобетоновоз представляет собой кузов, смонтированный на шасси грузового автомобиля. В отличие от обычных автомобилей-самосвалов кузов автобетоновоза сужается к разгрузочному отверстию, а ось опрокидывания поднята на стойках. Сверху кузов закрыт крышкой. Подъем кузова - гидравлический.
Выбор оптимальных транспортных средств производят по приведённым затратам на перевозку.
При проектировании генерального плана необходимо учитывать перспективу расширения и возможность создания повышенных запасов материалов. При расположении площадки цементобетонного завода на косогоре склады инертных материалов и оборудование располагают с таким расчетом, чтобы использовать гравитационное перемещение материалов. По возможности площадку выбирают такой, чтобы грунтово-гидрологические условия позволяли устраивать транспортные галереи, другие подземные коммуникации, а также возведение фундаментов без дополнительных затрат. Если на цементобетонном заводе предполагается иметь несколько смесительных установок в одном цехе, то приёмные устройства материалов, складские и вспомогательные сооружения объединяют и располагают по возможности в центре потребления.
Приёмные устройства материалов размещают у подъездных путей и участков, достаточных по размерам для размещения складов материалов. Протяженность внутризаводских путей должна быть наименьшей, но с достаточным фронтом приема материалов и маневрирования.
При компоновке генерального плана предусматривают возможность выдачи заполнителей и цемента разным потребителям. Компрессорные подстанции располагают в центре потребления сжатого воздуха и электроэнергии. Все здания и оборудование цементобетонного завода располагают с учетом розы ветров, чтобы открытые штабеля заполнителей не засыпались посторонними примесями, а цементная и каменная пыль, образующаяся при транспортно-складских операциях на заводе, не оседала в районе жилого массива и вблизи автоматизированных бетоносмесительных установок со сложными машинами и аппаратурой.
Административные помещения располагают так, чтобы они не подвергались запылению цементом и пылевидными заполнителями. Цементопроводы прокладывают с минимумом поворотов в тоннелях или на эстакадах с целью легкого доступа к ним.

Рис. 7.5.5. Генеральный план ЦБЗ:
1 - склад топлива и масел с заправочными колонками; 2 - магистральная железная
дорога; 3 - тупик; 4 - склад щебня; 5 - одноковшовый погрузчик; 6 - компрессор;
7 - силосный склад цемента; 8 - трансформаторная подстанция; 9 - смесительный
цех; 10 - расходные силосы цемента; 11 - бункера питатели; 12 - медицинский
пункт; 13 - диспетчерская; 14 - светофор: 15 - контора; 16 - лаборатория; 17 -
охрана; 18 - туалет; 19 - гараж, РММ; 20 - площадка отдыха; 21 - душ и
гардероб; 22 - котельная; ПО - сарай пожарной охраны
При возможности централизованного получения готовых смесей добавок для бетона отделение по изготовлению добавок не устраивают.
В этом случае на территории завода должны быть установлены емкости для хранения и выдачи добавок в установку.
Для технического обслуживания и текущего ремонта технологического оборудования, инженерных сетей и коммуникаций на заводе предусмотрена ремонтно-механическая мастерская.
Для систематического контроля качества исходных материалов, контроля технологического процесса и качества готовой цементобетонной смеси предусмотрена лаборатория.
Хранение дизельного топлива и бензина, необходимых для работы машин и оборудования, предусмотрено в емкостях под навесом.
При проектировании дорог на генеральном плане завода исходят из минимальных расстояний от края проезжей части дороги: до забора 1,5 м, до наружной стены здания - 1,5м при отсутствии въезда в здание при его длине до 20...30 м.
При устройстве тупиковых дорог необходимо предусматривать в конце тупика петлевые объезды или площадки размером не менее 12´12 м для разворота автомобилей.
К зданиям и сооружениям, расположенным на территории завода, должен быть обеспечен подъезд пожарных автомобилей: с одной стороны при ширине здания до 18 м и с двух сторон при ширине более 18 м.
Наименьшее расстояние между зданиями и сооружениями принимают в зависимости от степени их огнестойкости: 9...12 м при I и II степени огнестойкости; 9...15 м - при III степени огнестойкости; 12...18 м - при IV и V степенях огнестойкости (СНиП II А.5-70).
Коэффициент застройки площадки цементобетонного завода в соответствии со СНиП II-М.1-71 составляет 35...40 % и определяется как отношение площади застройки к обшей площади, занятой заводом.
Качество бетона в сооружении во многом зависит от правильного приготовления бетонной смеси.
Погрешность взвешивания на дозаторах не должна превышать +1 % для цемента и воды и +2 % для щебня (гравия) и леска. Контроль правильности дозирования компонентов бетонной смеси на большинстве заводов обеспечивается применением автоматизированных дозаторов, имеющих устройства для сигнализации при нарушении заданного режима.
Для надежной и бесперебойной работы дозаторы, помимо ежедневных профилактических осмотров с выполнением необходимых проверок и регулировок, регулярно (не реже одного раза в месяц) контролируют органы ведомственного надзора.
Погрешность взвешивания дозаторами непрерывного действия проверяют на пробах, отобранных в течение 30 с непрерывной работы.
Продолжительность смешивания бетонной смеси в барабане бетоносмесителя контролируют по специальным часам или регламентируют автоматическими приборами. Продолжение перемешивания устанавливают в соответствии со СНиП III-15-76 (40...60 с в смесителях принудительного действия и 60...120 с в смесителях со свободным перемешиванием).
Влажность заполнителей рассчитывают высушивая пробы до постоянной массы не реже одного раза в месяц, а при получении новых партий и после выпадения осадков определяют дополнительно. Пробы берут послойно не реже чем через 2 м по высоте штабеля.
Зерновой состав проверяют просеивая отобранные пробы через набор сит не реже одного раза в сутки и, кроме того, каждый раз, когда начинают использовать материал новой партии.
Если обнаружено отклонение влажности или зернового состава заполнителей от предусмотренных проектом, дозировку составляющих изменяют.
Подвижность или жесткость бетонной смеси проверяют путем испытания проб приготовленной смеси, отбираемых при выгрузке ее из бетоносмесителя. Причем пробы при выгрузке бетонной смеси из бетоносмесителей цикличного действия отбирают в три приема: в начале, середине и конце разгрузки бетоносмесителя, а из бетоносмесителей непрерывного действия - в три приема с промежутками в минуту.
Подвижность или жесткость бетонной смеси определяют не менее двух раз в смену при установившейся погоде и постоянной влажности заполнителей и не реже чем через 2 ч при резком изменении влажности заполнителей, а также при переходе на новый состав смеси или новую партию того или иного материала.
Качество готовой продукции, марку бетона устанавливают испытанием кубов, а прочность при изгибе определяют путем испытания бетонных балок, морозоустойчивость - путем попеременного замораживания и оттаивания бетонных кубов.
Железобетонные конструкции могут изготавливаться на заводах или полигонах. Заводами называют предприятия, на которых основные технологические процессы выполняют в помещениях (цехах). Полигоны представляют собой предприятия, на которых в зданиях приготавливают только бетонную смесь и заготавливают арматуру, все остальные процессы -формование, твердение и отделку изделий - осуществляют на открытых площадках - стендах или в камерах пропаривания, расположенных на открытом воздухе.
Технологический процесс состоит из ряда последовательно выполняемых операций: приготовления или доставки бетонной смеси с ЦБЗ, изготовления арматуры железобетонных изделий, формование, ускорение твердения изделий.
В зависимости от расчлененности общего технологического процесса формования изделий по отдельным постам различают поточно-агрегатную, конвейерную и стендовую технологию.
При поточно-агрегатном способе производства форму и формуемое изделие передают по потоку от одного технологического поста к другому с помощью кранового оборудования (рис. 7.6.1).

Рис. 7.6.1. Технологическая схема изготовления
железобетонных изделий поточно-агрегатным способом:
1 - место разгрузки заполнителей; 2 - приемные бункера; 3 - накопительные
бункера; 4 - склад цемента; 5 - транспортная галерея; 6 - пневмоподача цемента;
7 - ёмкости для воды, добавок; 8 - бетоносмесительный цех; 9 - оборудование для
производства арматурных каркасов и элементов; 10 - агрегат для термического
нагревания арматуры; 11 - пост армирования; 12 - самоходный бетоноукладчик; 13
- агрегат для формирования изделий; 14 - зона выдержки изделий; 15 - камера для
тепловлажностной обработки изделий; 16 - пост распалубки изделий; 17 - подъем и
транспортирование изделий; 18 - самоходная тележка; 19 - склад готовой
продукции. I -
вертушка; II - барабан
правки; III - подающий
ролик; IV - ножи; V - концевой выключатель
Установки - агрегаты состоят из формовочной машины (обычно виброплощадки), машины для распределения бетонной смеси по форме (бетоноукладчики), машины для укладки формы на формовочный пост (формоукладчики). Отформованные изделия в формах перемещают краном в камеры для тепловой обработки. Заключительной стадией производства является выдача изделий из камеры и их распалубка. После приемки ОТК готовые изделия направляют на склад, а освободившиеся формы возвращают на формовочный пост.
При конвейерном способе технологический процесс расчленён на элементарные процессы, которые одновременно выполняют на отдельных рабочих местах. Форма и изделие перемещаются от одного рабочего места к другому, каждое обслуживает закрепленное звено (рис. 7.6.2).

Рис. 7.6.2. Технологическая схема конвейерного способа
изготовления железобетонных изделий:
1 - пост разгрузки заполнителей; 2 - приёмный бункер, 3 - наполнительный
бункер, 4 - транспортная галерея, 5 - расходный бункер, 6 - смесительное
отделение, 7 - силосный склад цемента; 8 - ёмкость для воды; 9 - оборудование
для производства арматурных элементов и каркасов; 10 - передаточная тележка; 11
- очистка форм; 12 - смазка форм; 13 - укладка арматуры; 14 - пост формирования
изделий; 15 - пост доводки изделий; 16 - пост укладки термоизоляционного слоя;
17 - пропарочная камера; 18 - пост распалубки и контроля; 19 - склад готовой
продукции
Основным условием осуществления конвейерного производства является ритмичность выполнения процессов, для чего их продолжительность должна быть одинаковой. Тогда через равные промежутки времени одновременно перемещают изделие с одного рабочего места (поста) на другое. При изменении вида изделий конвейеры требуют переоснастки.
При стендовом способе технологические процессы выполняют в неподвижных формах или оборудованных для этого на рабочих местах стендах. В процессе формования и до приобретения бетоном необходимой прочности изделия остаются на месте, в то время как технологическое оборудование и обслуживающие его рабочие звенья перемещаются от одной формы к другой. Стендовый способ хотя и приводит к более низкому использованию производственных площадей по сравнению с другими способами, но имеет ряд преимуществ, особенно при изготовлении предварительно-напряженных конструкций. Продолжительность технологического цикла зависит от длительности выдерживания изделий на стенде для приобретения ими необходимой прочности и составляет от 1 до 2 суток (рис. 7.6.3)

Рис. 7.6.3. Технологическая схема изготовления конструкций
на стендах:
А - зона хранения и обработки сырья; В - зона приготовления бетона; С - зона
изготовления арматурных элементов; Д - зона формования и обработки изделий; Е -
зона хранения и выдачи конструкций; 1 - пост разгрузки заполнителей; 2, 8 -
приёмные бункера; 3 - склады заполнителей; 4 - транспортёрная галерея; 5 -
расходные бункера; 6 - пост приготовления бетона; 7 - пост разгрузки цемента; 9
- склад цемента; 10 - стенд, 11 - склад готовой продукции
Виды арматурных сталей и арматурных изделий заводского изготовления и общие требования к ним установлены государственным стандартом. Основные виды арматурной стали: горячекатаная стержневая гладкая и периодического профиля; холоднокатаная проволочная гладкая и периодического профиля; горячекатаная термически упрочненная и упрочненная вытяжкой; арматурные пряди и арматурные канаты; сварные сетки и каркасы.
В зависимости от вида арматурную сталь подразделяют на прутковую и бунтовую. Прутковая поступает в прутках (связках), состоящих из одной партии длиной от 6 до 24 м, бунтовая - в мотках (бунтах). Каждый моток состоит из одного отрезка проволоки массой 80...500 кг. Для получения стержней нужной длины прутки режут: диаметром до 10 мм при небольшом объеме работ - ручными станками, диаметром до 70 мм - с помощью приводимых автоматических станков. Арматурные стержни больших диаметров режут ацетилено-кислородными резками или керосинорезами.
Процесс производства арматуры состоит из последовательных операций: заготовки стержней, изготовлении плоских сеток и каркасов, их гибки, сборки объемных арматурных каркасов. Эти операции выполняют на отдельных машинах и на автоматических линиях.
Процесс изготовления арматурных элементов включает очистку от ржавчины и масла, предварительную обработку стали, заготовку элементов из проволоки и стержней, пучков, канатов для напряженных конструкций, изготовление закладных деталей.
К обработке арматурной стали относят правку, волочение, сплющивание, силовую калибровку, электротермические напряжения.
Размотку, чистку, правку и резку на стержни производят на правильно-отрезных станках.
Волочение - протаскивание металла через конусные отверстия - фильеры. В результате одновременно происходит растягивание и сжатие, металл теряет значительную часть пластических свойств и делается более жестким. Сталь, подвергнутую волочению, называют холоднокатаной. Ее поставляют металлургические заводы.
Сплющивание - распространенный способ упрочнения арматурной стали, заключающийся в прокатывании прутка между парой рифленых валков, в результате пруток деформируется в одной или двух взаимно перпендикулярных плоскостях, приобретая периодический профиль. Вследствие наклёпа, возникающего при сжатии стержня, предел текучести арматурной стали повышается на 25...30 %. Для сплющивания используют станки - автоматы, которые очищают арматуру, сплющивают стержни, правят, режут на прутья заданной длины.
Силовая калибровка - вытягивание стержней до напряжения, превышающего нормированный предел текучести данной стали. В результате повышается ее предел текучести. Вытяжка отличается от силовой калибровки тем, что процесс контролируется не определенным напряжением, а величиной удлинения.
Термическое упрочнение стали - один из экономических методов упрочнения при больших объемах работ. Технологический процесс включает доставку стержней в арматурный цех, укладку их на подающее устройство, подачу под электроды, электронагрев до 900...1000°С, сброс стрежней в закалочную ванну, выемку охлажденных стержней и укладку под электроды, электронагрев до температуры отпуска 325...375°С, охлаждение до температуры окружающей среды, выдачу упрочненных стержней. Термическое упрочнение принимают главным образом для напрягаемой арматуры периодического профиля.
Изготовление арматурных элементов включает резку арматуры по заданной длине, гнутье стержней, изготовление хомутов и монтажных петель. Резку и гнутье производят на ручных и приводных станках. Для снижения себестоимости изготовления железобетонных изделий желательно получать с металлургических заводов готовые арматурные сетки и изготовлять на месте объемные каркасы путем гнутья напрягаемой арматуры. Стержни в местах их пересечения сваривают точеной сваркой, применяя одноточечные и многоточечные машины, сварочные клещи. Гнутье сеток производят на гибочных машинах, изготовление объемного пространственного каркаса - на специальной монтажной установке.
Предварительное напряжение арматуры - трудоемкая операция при изготовлении предварительно напряженных железобетонных изделий. Напряжение арматуры можно производить механическим, электротермическим, электротермомеханическим способами, а также за счет расширяющих цементов. При механическом способе применяют гидравлические и винтовые домкраты, грузовые устройства, лебедки и динамометры, машины для непрерывной навивки. При электротермическом способе используют свойство стали удлиняться при нагреве электротоком. Уложенные в упоры нагретые стержни при остывании сокращаются и натягиваются. Электромеханический способ сочетает в себе электротермический и механический способы натяжения арматуры.
Для натяжения арматуры электромеханическим способом необходимо определить величину удлинения арматурных стержней при нагреве и необходимую температуру их нагрева, установить мощность трансформаторов и количество электроэнергии, расходуемое на нагрев стержней.
На чертежах предварительно напряженных железобетонных конструкций со стержневой арматурой, натягиваемой электротермическим способом, указывают величины минимального smin и максимального smax натяжения арматуры.
Формовочная оснастка при изготовлении железобетонных изделий придает уплотняемой смеси требуемые очертания и размеры в соответствии с проектными параметрами изделия. В зависимости от способа производства, вида бетонной смеси и типа изделий форму или оснастку снимают в различные периоды: непосредственно после формования, после приобретения изделием распалубочной прочности или достижения им 70 % проектной мощности.
От качества форм зависят не только геометрические размеры изделий и их внешний вид, но и плотность и прочность бетона, трещиностойкость и жесткость изделий, заанкеривание арматуры.
Формы подразделяют на несколько типов: по организации процесса - неподвижные (стендовые и перемещаемые), передвижные и переносные; по условию работ - рассчитанные на напряжение арматуры; по числу изделий - одновременно изготовляемые в форме, одиночные и пакетные; по виду изделий - линейные, плоскостные, трубчатые; по материалу -металлические стальные, алюминиевые, железобетонные, деревянные и комбинированные; по конструкции форм - с поддонами, бортовые (боковая оснастка), матрицы; по конструктивным особенностям, связанным с освобождением изделий от форм, - неразъемные, сборно-разборные, с шарнирно открывающимися или отодвигающимися стенками.
Поддержание форм и формовочного оборудования в хорошем техническом состоянии, улучшающем чистоту поверхности изделий, обеспечивает высокое качество продукции. После формовая изделий на металлической форме остаются кусочки бетона, поверхности покрываются цементной пленкой, остатками смазки. Если форму не чистить, на ней образуется слой затвердевшего бетона, который ухудшает качество изделий и чрезвычайно затрудняет распалубку. Поэтому металлические формы после каждого цикла формования очищают, применяя приспособления ручные и механические, вращающиеся стальные щетки и шлифовальные машины.
На качество железобетонных изделий существенно влияет сцепление бетона с поверхностью форм. Одним из способов уменьшения сцепления является применение различных смазок. Смазки бывают водные и водно-масляные, водно-мыльно-керосиновые эмульсии, машинные масла и смеси из них. Предпочтительны смазки, изготавливаемые химической промышленностью. Смазку на поверхность формы наносят, распыляя ее сжатым воздухом или кистями (при небольших объемах).
Свежеизготовленная цементобетонная смесь представляет рыхлую структуру с высокой пористостью и значительным объемом вовлеченного при формовании воздуха. Высокоподвижные смеси легко деформируются и заполняют форму под действием собственной массы. При этом основной объем вовлеченного воздуха поднимается в верхнюю часть изделия и удаляется. Уплотнение жестких смесей связано с необходимостью приложения значительных внешних сил. При уплотнении бетонной смеси обеспечиваются два условия: удаление излишнего вовлечения воздуха из малоподвижных и жестких смесей путем приложения внешних механических воздействий; удаление избыточной воды как основного носителя пористости из высокоподвижных смесей.
Основные способы механического воздействия на бетонную смесь с целью ее уплотнения и придания формы - вибропрессование, вибрирование, вибровакуумирование, виброштампование. Воздействие вибрационных импульсов вызывает снижение вязкости и разжижение смеси с одновременным ее уплотнением. В процессе вибрации уплотнение жестких смесей происходит в две стадии. На первой разрушается первоначальная структура смеси. Частицы меняют взаимную ориентацию, перемещаются, контакты между ними нарушаются, и под влиянием сил тяжести образуется новая, более постоянная и устойчивая структура. Объем уменьшается вместе с цементным тестом и раствором, действующим как смазка и снижающим внутренее трение. На второй стадии бетонная смесь вибрирует как одно целое. Частицы находятся в тесном контакте, незначительное взаимное перемещение возможно лишь в связи с происходящими химическими процессами и выделениями защемленной) воздуха.
Вибропрессование - метод вибрационного формования с одновременным давлением на бетонную смесь - позволяет использовать более жесткие смеси и формовать изделия с профилированной верхней поверхностью.
Вибрирование изделий на виброплощадках с пригрузом повышает эффективность уплотнения бетонной смеси примерно вдвое, сокращается продолжительность уплотнения обеспечивает получения гладкой поверхности.
При изготовлении железобетонных изделии широко используют вакуумирование как дополнительное воздействие на уплотняемую бетонную смесь. Сущность процесса состоит в том, что уложенную в форму смесь предварительно уплотняют на виброплощадке, подвергают воздействию вакуумных устройств, приложенных к поверхности уплотняемого бетона или введенных в него. При этом в плоскостях вакуумных устройств создают разряжение, вследствие разности давления происходит отсасывание из смеси воздуха и избыточной воды. Одновременно под действием атмосферного давления бетонная смесь уплотняется.
Виброштампование - воздействие на бетонную смесь виброштампом, который сочетает функции виброуплотнения, пригруза и формообразования. Рабочая поверхность виброштампа в зависимости от вида формуемых изделий может быть плоской, рельефной и с пустообразователями.
Относительно новой эффективной технологией уплотнения является ударно-вибрационная, при этом, используя принцип, основанный на вибрации и ударе (виброрезонансные площадки). Данная технология значительно улучшает качество изделий, их заводскую готовность.
Центробежные формования для уплотнения смеси центрифугированием эффективно используют при изготовлении напорных и безнапорных труб, бетонных свай, опор линии электропередачи и других конструкций кольцевого сечения.
Процесс формования изделий состоит из трех стадии: загрузка бетонной смеси в форму, распределение ее по периметру формы, уплотнение с отжатием воды. При изготовлении труб смесь загружают в форму при ее вращении. При воздействии центробежных сил она равномерно распределяется по стенкам формы.
При изготовлении дорожных плит используют вибропрокатные станы Козлова Н.Я. По этой технологии бетонную смесь укладывают и уплотняют механизмами формующей системы. Поступающая непрерывным потоком из смесителя смесь распределяется по всей ширине формовочной ленты. Одновременно с разравниванием происходит уплотнение смеси вибробрусом через формовочную ленту. При дальнейшем движении формующей ленты изделие подвергается калибровке путем проката виброваликами калибрующей секции для получения его проектной толщины. Готовое изделие краном подают в пропарочную камеру для тепловлажностной обработки. Вибропрокат производят на стационарных и передвижных станах.
Наиболее распространенным способом ускорения твердения изделий является тепловлажностная обработка. Сущность ее заключается в том, что с повышением температуры среды до 80...1000°С скорость гидротации цемента значительно увеличивается, т.е. процесс твердения ускоряется, и изделие в более короткие сроки, чем при обычной температуре, приобретает механическую прочность, допускающую транспортирование и монтаж.
Наиболее широко используют установки периодического и непрерывного действия - ямные и туннельные камеры, автоклавы, камеры с обогревом в поле индукционного действия.
К установкам непрерывного действия относят туннельные камеры вибропроката. Существуют установки, работающие при атмосферном давлении и выше атмосферного, обогреваемые паром и электроэнергией.
Режим тепловлажностной обработки определяют температурой, влажностью и давлением, поступающим на изделие в течение определенного времени и обуславливающим оптимальную скорость процесса. Весь цикл тепловлажностной обработки делят на три периода: подогрев до наибольшей температуры; выдержка при этой температуре (изотермическая выдержка) и охлаждение до температуры окружающей среды. Рекомендуемый режим пропаривания бетонных и железобетонных изделий приведен в табл. 7.6.1.
Таблица 7.6.1
Рекомендуемые режимы пропаривания
|
Виды изделий с применением портландцемента |
Продолжительность, ч |
Температура изотермического пропаривания, °С |
Продолжительность пропаривания до достижения прочности, ч |
||||
|
подъема температуры до предельной |
изотермического периода пропаривания |
||||||
|
50%R28 |
70%R28 |
90%R28 |
|||||
|
Тонкостенные |
2...3 |
2...3 |
80 |
4 |
10 |
14 |
|
|
2...3 |
2...3 |
90 |
3 |
7 |
12 |
||
|
Массивные |
3...4 |
3...4 |
80 |
5 |
10 |
16 |
|
|
3...4 |
3...4 |
90 |
4 |
8 |
14 |
||
В качестве теплоносителя широко используют пар, паровую смесь, реже подогретый и увлажненный воздух.
При использовании электроэнергии изделие нагревают путем непосредственного прохождения электрического тока через бетон (арматуру) или косвенным способом с помощью разного рода излучателей. Автоматизация тепловой обработки позволяет сократить ее продолжительность, уменьшить расход пара, увеличить пропускную способность установок, улучшить качество изделий и повысить культуру производства. Система автоматизации режимов тепловлажностной обработки с использованием электронных программных регуляторов температуры позволяет производить в установках контроль температуры, автоматическое ведение процесса тепловлажностной обработки по заданной программе, автоматическую вентиляцию камер.
Хранение готовых железобетонных изделий осуществляют на открытых площадках, неподалеку от цеха пропаривания. Площадка должна иметь покрытие и уклон для стока атмосферных вод. Изделия хранят по типоразмерам и назначению Короткие изделия укладывают в штабеля горизонтально, чтобы исключить возможность появления трещин или перенапряжения в бетоне. Нижние ряды изделий опирают на подкладку. Толщина подкладки должна быть 2/3 её ширины. На 1 м2 полезной площадки склада укладывают 2...2,5 т изделий железобетонных конструкций.
В качестве подъемно-транспортного оборудования на складах готовой продукции принимают мостовые, консольно-козловые, бетонные самоходные краны и вилочные автопогрузчики. Грузоподъемность кранов должна соответствовать наибольшей массе отпускаемых заводом изделий (с учетом коэффициента запаса).
Между штабелями должны быть проходы шириной не менее 0,6 м и проезды шириной в зависимости от вида применяемых транспортных средств и порядка их движения. Проходы между штабелями в продольном направлении устраивают через 25 м. Вместимость склада определяют расчетом, но, как правило, не менее 15-суточной выработки.
Контроль качества на заводе возложен на лабораторию и отдел технического контроля (ОТК).
ОТК осуществляет контроль за качеством поступающих материалов и полуфабрикатов, за соблюдением всех технологических режимов на каждой операции технологического процесса в соответствии с ГОСТами и техническими условиями; за соответствием качества выпускаемой продукции требованиям технической документации, а также производят маркировку принятой продукции, анализ и оформление забракованной.
Во время приемки поступающих материалов проверяют наличие документов (паспортов на сталь и цемент, актов испытания заполнителей и т.д.), прибывших вместе с материалами.
В лаборатории производят контрольные испытания каждой партии цемента, поступающей на завод, проверяют качество заполнителей, арматуры добавок, вводимых в бетонную смесь. Каждая партия цемента должна сопровождаться паспортом, в котором указывается: номер паспорта, дата выдачи, завод-изготовитель, название и марка цемента, номер партии и вагонов, дата изготовления и т.д.
Для лабораторных испытаний от каждой партии цемента отбирают пробу в количестве 20 кг. Из каждой партии щебня, песка (200 м3) отбирают из пяти мест пробу по 5 кг. Для испытания арматуры на растяжение и изгиб из каждой партии (60 т) отбирают образцы. При поступлении арматуры в прутках количество образцов для каждого вида испытания должно быть не менее пяти, отрезанных от различных стержней. Если же арматура поступает в мотках, следует отобрать по два образца от 10 % мотков. При хранении необходимо предусмотреть мероприятия, предотвращающие коррозию и загрязнение арматурной стали.
Важнейшим этапом технологического процесса в производстве железобетонных изделий является дозирование компонентов для приготовления бетонной смеси. В соответствии с нормативными документами дозирование материалов следует производить по массе: цемента, воды, добавок - с точностью ± 2 %, песка и щебня ± 5 %.
Ответственным этапом в процессе приготовления бетонной смеси является перемешивание. От качества перемешивания зависит не только однородность и прочность бетона, но и структура цементного камня. Режим и время перемешивания должны корректироваться при изменении состава бетона, вида материалов, температуры, эксплуатационного состояния смесительной машины и других факторов. Контроль за продолжительностью перемешивания осуществляется с помощью реле времени и обеспечивается средствами световой и звуковой сигнализации.
Контроль качества готовой бетонной смеси осуществляется определением ее удобоукладываемости и испытанием на сжатие образцов - кубиков.
В процессе сваривания сеток и каркасов проверяют прочность сварных соединений, соответствие диаметров свариваемой арматуры и размеров сеток и каркасов диаметрам и размерам, заданным в проекте.
Перед укладкой бетонной смеси ОТК проверяет геометрические размеры опалубки, правильность сборки форм, расположение арматуры и закладных деталей, фиксаторов, обеспечивающих необходимую толщину защитного слоя, а также других элементов, предусмотренных рабочими чертежами.
Формы и бортоснастку тщательно очищают от затвердевшего раствора и равномерно покрывают смазкой. Они не должны иметь щелей, через которые была бы возможна утечка цементного теста. Металлические формы, предназначенные для изготовления предварительно напряженных железобетонных конструкций, должны обладать необходимой прочностью и жесткостью для восприятия всех нагрузок, возникающих при изготовлении изделия.
При изготовлении конструкций с предварительным напряжением арматуры производят проверку правильности расположения напряженной арматуры по высоте сечения изделия, а также степень ее натяжения. Контроль за натяжением осуществляется прибором ПРД. С его помощью можно замерять натяжение стержней различных диаметров. Принцип действия прибора основан на упругой оттяжке стержня посредине его пролета между упорами с помощью тарированной пружины. Деформации пружины измеряются индикаторами. Контроль натяжения проволочной арматуры осуществляют прибором ПД-500, принцип действия которого аналогичен прибору ПРД.
В процессе формования изделий и их тепловлажностной обработки проверяют правильность последовательности укладки бетонной смеси в формы, степень уплотнения и отделки поверхности, режим выдержки изделий до пропаривания и режим термообработки.
Контроль степени уплотнения бетонной смеси осуществляется электрическими, механическими и радиометрическими методами. НИИ железобетон разработан электрический прибор ИСУ-1, позволяющий определить степень уплотнения бетонной смеси по изменению ее электропроводности в процессе уплотнения.
Контроль равномерности уплотнения бетонной смеси с помощью механических приборов основан на принципе заглубления металлического стрежня под действием находящегося в корпусе прибора тарированной пружины. О степени уплотнения смеси судят по величине максимального усилия, необходимого для заглубления стержня на определенную величину.
Контроль степени уплотнения бетонной смеси с помощью радиоактивных методов основан на ослаблении интенсивности гамма-лучей, проходящих через бетонную смесь в процессе ее уплотнения.
Важной операцией в процессе изготовления бетонных и железобетонных изделий является ускорение твердения бетона в пропарочных камерах. В этом случае лаборатория экспериментальным путем устанавливает оптимальный режим пропаривания. Общий цикл тепловой обработки изделия складывается их трех этапов: подъема температуры, изотермического нагрева при максимальной температуре и охлаждения изделия. На каждом этапе тепловой обработки ведут систематический контроль температуры с помощью дистанционных термометров и автоматических программных регуляторов. После тепловлажностной обработки готовые изделия отправляют на склад.
Перед отправкой готовых изделий на склад представитель ОТК проверяет соответствие формы и размеров изделия, а также внешнего вида и качества отделки рабочим чертежам и требованиям действующих ГОСТов и ТУ.
К предварительно напряженным железобетонным плитам предъявляются следующие требования:
1. Отклонение геометрических размеров готовых плит не должны превышать: по длине + 8, -4 мм, по ширине ± 5 мм, по высоте ± 5 мм, по толщине защитного слоя бетона + 5 мм.
2. Внешний вид плит должен удовлетворять следующим условиям: на верхней и нижней плоскостях и боковых гранях не должно быть трещин; поверхность должна быть ровной и достаточно шероховатой; величина искривлений всех плоскостей допускается не более 5 мм на всю длину или ширину плиты, концы напряженной арматуры не должны выступать из тела плиты.
После проверки каждое изделие маркируют. На его поверхность наносят несмываемой, хорошо видимой краской марку завода - изготовителя, паспортный номер, индекс и сорт изделия, номер браковщика ОТК.
При изготовлении бетонных и железобетонных изделий лаборатории завода производят контрольные статистические испытания. Для этого от каждой партии отбирают не менее 1 % конструкций. Статистические испытания производят с целью определения их прочности, жесткости и трещиностойкости. Наряду с разрушающими методами применяют физические методы контроля прочности бетона в конструкциях без их разрушения и прежде всего электронно-акустический, подразделяющий на три вида: вибрационный (резонансный или звуковой), импульсный (ультразвуковой) и ударный.
Результаты внешнего осмотра и испытания изделий и образцов оформляются актами, в которых записывают все обнаруженные от проекта отклонения, дефекты, требующие немедленного устранения, действительную марку бетона в конструкции и общую характеристику, состояния конструкции или изделия. Каждое изделие, отправляемое потребителю, имеет индивидуальный паспорт, в котором указаны не только основные технологические данные, но и правила складирования, перевозки и строповки.
Дорожной одеждой называют совокупность конструктивных слоев разной прочности, обычно уменьшающейся книзу, устраиваемых из различных материалов. Многослойная конструкция дорожной одежды показана на рис. 8.1.1.

Рис. 8.1.1. Конструкции дорожной одежды
Поверхностная обработка на усовершенствованных покрытиях капитального типа защищает покрытие от износа. Слой износа систематически возобновляется по мере истирания, устраивается из наиболее прочных и морозостойких материалов с таким количеством вяжущего материала, чтобы обеспечить шероховатость, но не в ущерб водонепроницаемости покрытия.
Поверхностная обработка на покрытиях усовершенствованных облегченных выполняет роль временного защитного слоя В этом случае временный защитный слой обеспечивает повышение устойчивости ещё не полностью сформировавшейся поверхности покрытия и основания в период формирования. Защитный слой можно устраивать из менее прочных материалов в сравнении с материалами, используемыми для устройства слоя износа. Если защитный слой периодически возобновляется, то он переходит в слой износа.
Покрытие в зависимости от технической категории, состава, интенсивности движения, качества используемых материалов и технологических особенностей производства работ может состоять из одного и более слоев. Покрытие должно обеспечивать ровность, шероховатость, гигиеничность, водонепроницаемость атмосферных осадков, увеличение прочности дорожной одежды.
Основание обеспечивает прочность, водонепроницаемое и, грунтовых вод в конструктивные слои дорожной одежды. Основание в зависимости от назначения конструкции дорожной одежды, применяемых дорожно-строительных материалов и способа производства работ может состоять из одного или нескольких слоев, прочность которых уменьшается сверху вниз, а водонепроницаемость повышается.
Дополнительным слоем основания называют слой, размещенный непосредственно на земляном полотне. На дополнительный слой укладывают нижний слой основания. Различают дополнительные слои по назначению - подстилающие, теплоизолирующие и дренирующие.
Дорожные одежды по типам покрытия классифицируются на:
1. Капитальные:
- цементобетонные;
- асфальтобетонные из горячих плотных смесей I и II марок;
- асфальтобетонные из холодных смесей I марки;
- дегтебетонные из горячих плотных смесей I марки.
2. Облегченные:
- асфальтобетонные из горячих смесей III марки;
- асфальтобетонные из холодных смесей II марки;
- дегтебетонные из горячих и холодных смесей II марки;
- из каменных материалов, обработанных органическими вяжущими материалами (смешением в установке, на дороге, пропиткой);
- переходные с поверхностной обработкой.
3. Переходные:
- щебеночные;
- гравийные;
- булыжные из колотого камня;
- грунтовые, укрепленные вяжущими материалами,
4. Низшие:
- из малопрочных каменных материалов, шлаков;
- грунтовые, улучшенные различными местными материалами.
Развитие механики грунтов позволило не только установить, какие грунты хорошо зарекомендовали себя в земляном полотне, но и создать теоретическую базу проектирования оптимальных смесей.
Установлено, что щебеночно(гравийно)-песчаные смеси, малопрочные материалы и шлаки, грунты, улучшенные различными местными материалами, должны обеспечить определенное сопротивление вертикальному воздействию колес и тангенциальным усилиям. Для повышения сопротивления грунта нагрузкам необходимо придать ему возможно больший угол трения и высокое сцепление.
Наиболее высокий угол внутреннего трения можно обеспечить за счет использования более крупных неокатанных частиц. Повышение сцепления достигается введением в смесь грунтового вяжущего (пылеватые и глинистые частицы).
Допустимое сопротивление вдавливанию штампа Д в смесь равно
(8.1.1)
где с - общее сцепление смеси, Па;
j - угол внутреннего трения, град.
Модуль деформации Е равен
(8.1.2)
где
- относительная
деформация;
l - глубина вдавливания штампа, см.
Из выражения 8.1.1 видно, что угол внутреннего трения <р оказывает большое влияние на сопротивление смеси вдавливанию штампа q и модуль деформации Е. При этом, чем больше сцепление с, тем больше влияние оказывает j. Отсюда следует, что путем повышения j и с можно получить смесь с более высокими характеристиками.
Повышение качества смеси сводится к трем основным задачам:
1. Подобрать наиболее плотную смесь из крупных неокатанных материалов, заполняя поры между крупных частиц более мелким материалом.
2. Произвести качественное перемешивание основного материала с добавками.
3. Обеспечить плотность смеси не менее 0,98 от оптимальной.
Строительные нормы и правила допускают применение низших типов дорожных покрытий на дорогах V категории при интенсивности движения до 100 автомобилей в сутки. Оптимальные составы грунтов, рекомендуемые к использованию в покрытии низшего типа, приведены в табл. 8.1.1.
Таблица 8.1.1
Оптимальные составы грунтов, рекомендуемые для дорожных одежд низшего типа
|
Размеры частиц, мм |
Тип местности по характеру и степени увлажнения |
|||
|
1-й |
2 и 3-й |
|||
|
Содержание фракции, % по массе в смесях |
||||
|
|
А1 |
А2 |
Б1 |
Б2 |
|
2,0...0,25 |
45...60 |
20...45 |
45...70 |
25...45 |
|
0,25...0,05 |
10...20 |
20...40 |
15...30 |
25...55 |
|
0,05...0,005 |
15...35 |
15...35 |
15...25 |
15...25 |
|
Менее 0,005 |
6...12 |
8...14 |
3...8 |
3...10 |
Смеси А1 и Б2 - более устойчивые крупнозернистые, их применение предпочтительнее.
Краткая характеристика добавок для улучшения грунтовых покрытий приведена в табл. 8.1.2.
Таблица 8.1.2
Скелетные добавки
|
Материал |
Требования к материалу |
Толщина слоя, см |
Коэффициент уплотнения |
Особенности применения |
|
Гравийные и песчано-гравийные смеси |
Состав должен приближаться к оптимальному |
20 и более |
1,3 |
Наиболее распространенный и удобный материал для улучшения грунтовых покрытии |
|
Отходы камнедробления |
То же |
20 |
1,2...1,3 |
Используют без сортировки |
|
Шлаки металлургические (кислые или основные) |
Наибольший размер 75 мм. Частиц крупнее 5 мм не менее 60 % |
20 |
1,3 |
Используют без сортировки |
|
Горелые породы |
Отсутствие частиц мельче 1 мм |
25 |
1,25...1,40 |
Материал истираемый. Применяют в нижние слои. |
|
Шлаки котельные |
Влажность менее 30 % |
20 |
1,4...1,7 |
Материал размокающий |
|
Отходы заводов силикатного кирпича |
Содержание до 45 % извести |
20 |
1,5 |
Для укрепления песчаных грунтов 50 % силикатной крошки и для водоустойчивости 2...3 % цемента |
Скелетные добавки в грунтовое покрытие можно вводить:
1. путем смешения на дороге;
2. насыщать верхний слой земляного полотна.
В первом случае сразу формируется устойчивое покрытие, но усложняется технология и увеличивается расход добавок. Во втором случае меньший расход и более рациональное их использование.
Недостатки при строительстве грунтовых покрытии и способы их устранения приведены в табл. 8.1.3.
Таблица 8.1.3
Основные недостатки в процессе строительства и эксплуатации
|
Недостатки |
Возможные причины |
Способы предотвращения и устранения |
|
Катающиеся на поверхности или выступающие из покрытия чрезмерно крупные скелетные добавки |
Наибольший размер добавок более 25 мм |
Полностью неустраним Улучшает положение укладка дополнительного слоя из правильно подобранного состава |
|
В сухую погоду нарушается сплошность поверхности, образуется волнистость |
Недостаток связующего |
Для удержания в покрытии влаги ввести хлористый кальций |
|
При увлажнении покрытие деформируется, образуются колеи, прореди, на поверхности выступает глинистая пленка |
Избыток в смеси мелкозема, а в нем глины |
Вскирковать покрытие, ввести 2...3 % негашенной извести, хорошо перемешать, разравнять и уплотнить |
|
Скопление на поверхности в отдельных местах однородного (крупною или мелкого) материала |
Неоднородный состав или плохое перемешивание |
Проверить состав смеси, если необходимо улучшить, вскирковать, перемешать снова, разравнять, уплотнить |
|
Сухие проломы, просадки, образование колеи |
Недостаточная толщина |
Уложить дополнительный усиливающий слой |
|
При достаточной толщине покрытия образуются крупные просадки, волны |
Плохое уплотнение земляного полотна |
Брак, устранимый только при полной переделки всех работ |
В условиях избыточного увлажнения нижнюю часть дорожной одежды устраивают из фильтрующих материалов в большинстве случаев из песков. В период оттаивания земляного полотна свободная вода отжимается в пористый (дренирующий) слой Кроме того, в дренирующий слой поступает и часть поверхностной воды
Для сброса воды из дренирующего слоя применяют:
- сплошные песчаные слои;
- поперечные трубы или прорези;
- продольные и поперечные трубчатые дрены;
- поперечные прорези мелкого заложения.
1. Сплошной песчаный слой весной в период оттаивания верхней части земляного полотна под проезжей частью не обеспечивает сброс воды из дренирующего слоя из-за того, что не произошло его оттаивание под обочинами. В результате в течение ряда дней грунт земляного полотна остается в переувлажненном состоянии, что в свою очередь ведет к разрушению дорожной одежды. Кроме того, при ширине обочины более 2,5 м и крутизне откосов насыпи 1:3 в технико-экономическом отношении устройство сплошного песчаного дренирующего слоя нецелесообразно.
2. При наличии песков с коэффициентом фильтрации более 5 м в сутки и удельным избытком свободной воды менее 2...3 л/м2 в сутки отвод свободной воды из дренирующего слоя, устраиваемого под проезжей частью дороги, можно осуществлять с использованием поперечных труб или прорезей.
3. На сырых и мокрых участках во II дорожно-климатической зоне, особенно пылеватых грунтах, когда удельный избыток свободной воды превышает 3 л/м2 в сутки и коэффициент фильтрации песков удовлетворяет расчету, рекомендуется устраивать продольные трубчатые дрены. В этом случае существенно уменьшается путь фильтрации.
4. На участках с продольным уклоном более поперечного свободная вода фильтруется в пористых слоях дорожных одежд, снижая срок их службы. С целью устранения продольной фильтрации дренирующий слой можно осушать поперечными прорезями мелкого заложения. Для повышения расхода воды в дренирующем слое по краям проезжей части следует устраивать продольные ровики с обязательной укладкой трубчатой дрены.
Технологический процесс устройства сплошного песчаного слоя мало чем отличается от устройства дополнительно слоя основания.
Технологический процесс устройства поперечных трубчатых дрен следующий:
- уплотнение грунта земляного полотна и тщательная планировка поверхности;
- рытьё поперечных ровиков;
- россыпь песка в ровиках;
- укладка труб;
- устройство присыпной части воронок;
- засыпка ровиков местным грунтом или песком с уплотнением;
- устройство дренирующего слоя.
Трубы для устройства дрен должны удовлетворять следующим условиям:
- не менять свойства в течение 50 лет;
- не являться питательной средой для микроорганизмов;
- не обладать хрупкостью и текучестью.
Стыки труб обертывают толем или полиэтиленовой пленкой. Верхний конец трубы должен входить на один диаметр в приемную часть, а нижний на 1,5...2 диаметра выступать относительно откоса насыпи.
Продольный трубчатый дренаж устраивают в две нитки. Технология устройства аналогична технологии устройства поперечного трубчатого дренажа.
Диаметр водопропускных отверстий не должен превышать 7,5 мм. При большем диаметре отверстий усиливается процесс заиливания труб. Наилучшее положение водопропускных отверстий достигается тогда, когда они сделаны ниже горизонтальной оси трубы под углом 22...25 град, в 2...3 ряда по длине труб с общим количеством круглых отверстий 70...90 на 1 м трубы.

Рис. 8.1.2. Конструкция поперечного трубчатого дренажа:
1 - покрытие; 2 - основание; 3 - дренирующий слой; 4 - зона свободной воды; 5 -
дренажная труба; 6 - приемная часть воронки
Устройство поперечных прорезей мелкого заложения состоит из следующих операций:
- рытьё поперечных ровиков;
- укладка труб;
- устройство фильтровых обсыпок;
- засыпка песком и уплотнение.
Дренажные устройства выбирают с учетом природных условий местности, свойств грунтов, качества и стоимости местных песков, наличия дренирующих труб. За счет хорошо работающего дренажа можно уменьшить толщину конструктивных слоев дорожной одежды.
Гравий - обломочная порода с окатанными частицами размером от 5(3) до 70 мм. Хорошо окатанный гравийный материал наблюдается у моря, а менее окатанный (остроугольный) - а верховьях рек (особенно горных).
Строительные свойства гравия зависят от прочности горной породы, из которой он получен, степени выветривания и степени окатанности. Частицам, менее окатанным, отдается предпочтение при строительстве оснований и покрытий. Качество гравийного материала оценивают по следующим показателям: истинная плотность, насыпная плотность, зерновой состав, содержание пылеватых и глинистых частиц, морозостойкость, марка по дробимости, марка по износу, пустотность, содержание игловатых и пластинчатых зерен, содержание слабых зерен.
Гравий является одним из самых распространенных местных дорожно-строительных материалов. Основным недостатком гравийных материалов является повышенное содержание глинистых частиц и частиц крупнее 70 мм. Большое содержание глинистых частиц приводит к потере прочности при увлажнении.
Повышение качества гравийного материала можно достигнуть за счет:
- удаления крупных фракций (более 70 мм);
- обогащения (промывка) на плоских виброгрохотах с брызгами или в гравиамойках;
- подбора искусственных смесей за счет смешения разных фракций в пределах требуемого оптимального состава.
Типы гравийных покрытий и оснований и зерновые составы приведены в табл. 8.2.1.
Таблица 8.2.1
Конструкции гравийных покрытий и оснований
|
Тип конструкции |
Материал |
Пределы применения |
|
Из фракционированного дробленого гравия |
||
|
Гравийные основания |
Гравий марок по дробимости (износу): Др8(И1), |
|
|
|
Др12(И12); |
Для дорог всех категорий |
|
|
Др16(И3); |
Для дорог III...V категорий |
|
|
Др24(И4) |
Для дорог IV...V категорий |
|
Гравийные покрытия |
Гравий марок по дробимости (износу): |
|
|
|
Др8(И1); Др12(И12); Др16(И3); |
При интенсивности движения до 1000 авт. сут |
|
Из гравийных смесей оптимального состава |
||
|
Гравийные основания |
Гравий марок по дробимости (износу): Др8(И1), |
|
|
|
Др12(И12); |
Для дорог всех категорий |
|
|
Др16(И3); |
Для дорог III...V категорий |
|
|
Др24(И4) |
Для дорог IV...V категорий |
|
Гравийные покрытия |
Гравий марок по дробимости (износу): |
|
|
|
Др8(И1); Др12(И12); |
Для дорог IV...V категорий |
|
|
Др16(И3); Др24(И4) |
Для дорог всех категорий при интенсивности движения до 500 авт. сут |
Таблица 8.2.2
Зерновой состав гравийных смесей для оснований
|
Слои дорожной одежды |
Количество частиц, % по массе, мельче данного размера, мм |
|||||||
|
70 |
20 |
10 |
5 |
2,5 |
0,063 |
менее 0.05 |
||
|
Основания |
100 |
20...40 |
20...35 |
15...25 |
10...15 |
5...10 |
0...3 |
|
|
100 |
40...60 |
35...50 |
20...35 |
15...25 |
5...15 |
0...5 |
||
|
Дополнительные слои основания |
100 |
60...80 |
35...75 |
25...60 |
15...50 |
10...30 |
0...3 |
|
|
- |
90...100 |
60...90 |
30...70 |
20...55 |
15...40 |
0...3 |
||
Таблица 8.2.3
Зерновой состав гравийных и песчано-гравийных смесей для покрытий
|
Вид смеси |
Количество частиц, % по массе, мельче данного размера, мм |
||||||
|
40 |
20 |
10 |
5 |
2,5 |
0,63 |
менее 0,05 |
|
|
Крупнозернистые |
100 |
60...80 |
45...65 |
30...55 |
20...45 |
15...35 |
7...20 |
|
Среднезернистые |
- |
80...95 |
65...90 |
50...75 |
35...65 |
20...45 |
8...25 |
|
Мелкозернистые |
- |
- |
90...10 |
70...85 |
45...75 |
25...55 |
8...25 |
Примечания. 1. Граница текучести фракций мельче 0,63 мм должна быть не более 25, а число пластичности - не более 6,2. Для избыточно увлажненных районов содержание частиц мельче 0,05 мм следует принимать по меньшему значению, а для сухих районов по большему.
Технологическая последовательность устройства однослойного покрытия или основания включает:
1. Профилирование земляного полотна автогрейдером с приданием полотну поперечного уклона 10...20‰.
2. Улучшение грунтового основания.
1. Уплотнение основания катками на пневматических шинах.
2. Вывозка гравийного материала автомобилями-самосвалами.
3. Разравнивание и планирование автогрейдером (бульдозером).
4. Уплотнение с поливкой водой.
5. Окончательное профилирование.
6. Прикатка с поливкой водой.
При устройстве гравийного основания или покрытия в зимнее время земляное полотно должно быть подготовлено летом. Основание очищают от снега, льда, подвозят гравийный материал, разравнивают, профилируют и уплотняют до замерзания.
Признаком окончания укатки может служить:
- отсутствие следа при движении катка;
- полное прекращение движения волны перед вальцом катка.
Для ускорения уплотнения и повышения несущей способности гравийного основания или покрытия, содержащего более 50 % очень окатанных зерен, вводят добавки щебня (в том числе из гравия) в количестве 20...30 % по массе.
Более объективным показателем степени уплотнения является плотность и пустотность.
Недостатки, возникающие в процессе строительства гравийных оснований и покрытий, и меры по их устранению приведены в табл. 8.2.4.
Таблица 8.2.4
Дефекты гравийных покрытий и способы исправления
|
Недостатки |
Возможные причины |
Способы предотвращения или устранения |
|
После продолжительных дождей слой не уплотняется |
Переувлажнение земляного полотна и гравия |
Прекратить работы до полного просыхания |
|
В сухую погоду на поверхности образуется катун |
Недостаток пылевато-глинистых частиц |
Убрать катун, полить поверхность хлористым кальцием |
|
На поверхности накатываются гребни, волнистость |
Недостаточная скелетность, избыток мелких фракций |
Срезать гребни, удалить с поверхности мелкие фракции; усиленно утюжить с поливкой водой |
|
В период усиленного увлажнения покрытие деформируется (колеи, прорези) |
Избыток мелкозема (частиц мельче 0,05 мм), высокая его пластичность |
Вскирковать и ввести в смесь 2...3 % извести по массе |
При приемке выполненных работ СНиП допускает в отдельных местах следующие отклонения от проекта:
- ширина ±10 см;
- отклонение толщины в сторону уменьшения - 10 %;
- ровность, измеряется 3-метровой рейкой в поперечном направлении -1,5 см, в продольном -2 см;
- уклон поперечного профиля ±0,05 %.
Щебеночное основание и покрытие часто устраивают на песчаном подстилающем слое, которое должно быть тщательно спланировано и уплотнено. Перед укладкой щебня подстилающий слой увлажняют. Расход воды составляет около 5 % от массы щебня.
Надлежащее качество щебеночного основания или покрытия может быть достигнуто при условии:
- применения каменных материалов, обладающих хорошей цементирующей способностью;
- качественного уплотнения.
Форма частиц щебня должна быть близка к кубовидной. Содержание лещадки в смеси не должно превышать 15 %. Наилучшим исходным материалом для получения щебня являются карбонатные породы прочностью 60...70 МПа. Нежелательно применять каменные породы, не обладающие достаточной цементирующей способностью, со стекловатой структурой: кварциты, граниты, песчаники и др. Марки щебня по морозостойкости приведены в табл. 8.2.5.
Таблица 8.2.5
Рекомендуемые марки щебня по морозостойкости для конструктивных слоев дорожной одежды в различных условиях
|
Категория дороги |
Климатические условия |
Рекомендуемые марки щебня по морозостойкости |
||
|
для щебеночных покрытии |
для щебеночных оснований |
|||
|
из стандартных фракций |
из укрупненных фракций |
|||
|
I, II |
Суровые Умеренные Мягкие |
- - - |
F.50 F.25 F.15 |
F.20 F.25 F.15 |
|
III |
Суровые Умеренные Мягкие |
F.50 F.25 F.15 |
F.50 F.25 F.15 |
F.25 F.25 F.15 |
|
IV, V |
Суровые Умеренные Мягкие |
F.50 F.25 F.15 |
F.25 F.15 F.15 |
F.25 F.15 F.15 |
Примечание. Климатические условия считаются суровым при среднемесячной температуре наиболее холодного месяца в году ниже -15 °С, умеренными от -5 до -15°С. мягкими - до -5 °С.
Толщина конструктивного слоя щебеночного основания или покрытия колеблется в зависимости от характера и интенсивности движения и составляет от 12...14 до 25...30 см. Типы щебеночных покрытий и оснований приведены в табл. 8.2.6.
Таблица 8.2.6
Щебеночные основания и покрытия
|
Тип конструкции |
Материалы |
Пределы применения |
|
|
А. Конструкции из фракционированного щебня |
|
|
Щебеночные основания |
1. Щебень из метаморфических и осадочных пород марок по прочности (износу): 1200(И1), 1000(И2), 800(И3); из изверженных пород: 1400(И1), 1200(И2); 1000(И3); |
Для дорог всех категорий |
|
|
2. Щебень марок по прочности (износу): 800(И4), 600(И4) |
Для дорог III...IV категорий |
|
Щебеночные покрытия |
То же, что по п. 1 |
При интенсивности движения до 1000 авт./cyт. |
|
|
Б. Конструкции из рядовых щебеночных смесей |
|
|
Щебеночные основания |
Смесь из щебня марок но прочности (износу): 800(И4), 600(И4); |
Для дорог IV...V категорий |
|
Щебеночные покрытия |
То же |
При интенсивности движения до 200 авт./сут. |
|
|
То же, с добавками до оптимальною состава, по типу гравийных смесей |
То же, до 500 авт./сут. |
Технологическая последовательность работ при устройстве покрытия из фракционированного щебня заключается в следующем:
1. Вывозка щебня фракции 40...70 мм из расчета около 70 % от общей потребности.
2. Разравнивание щебня бульдозером или автогрейдером.
3. Прикатка щебня легким или средним катком в зависимости от прочности щебня.
4. Вывозка щебня фракции 15...25 мм из расчета около 20 % от общей потребности.
5. Распределение щебня щебнераспределителем.
6. Уплотнение щебня средним или тяжелым катком с поливом водой.
7. Вывозка и распределение щебня фракции 5...10 мм из расчета около 10 %.
8. Уплотнение щебня тяжелым катком с поливкой водой. Техническая характеристика щебнераспределителей приведена в табл. 8.2.7.
Таблица 8.2.7
Техническая характеристика щебнераспределителей
|
Модель, марка |
Скорость рабочая, км/ч |
Ширина обработки, м |
Плотность распределения щебня, м3/100 м2 |
Производительность, м3/ч |
Габаритные размеры, м |
Масса, т |
|
Подвесной с гидроприводом на КамАЗ-55111 |
||||||
|
ЩРП-3,05 |
до 8 |
0,25...3,05 |
0,7...1,4 |
125..340 |
2,0´2,7´l,7 |
1,8 |
|
Прицепной к самосвалам КамАЗ, МАЗ, ЗИЛ |
||||||
|
ДРО-645 |
до 3 |
0,25...3,05 |
0,7... 1,4 |
120 |
3,2´3,4´1,46 |
2,1 |
|
Самоходный на колесном шасси |
||||||
|
ДС-49 |
до 6,3 |
2,5...3,7 |
- |
75 |
- |
9,5 |
|
Самоходный на гусеничном ходу |
||||||
|
ДС-8 ДС-127 |
0,1...0,8 0,05...1,1 |
3,0...3,5 5,0...9,0 |
- - |
70...115 300 |
- - |
12,4 2,5 без трактора |
|
Навесной на тракторе «Беларусь» |
||||||
|
Т-224 |
до 5,6 |
3,5 |
- |
30 |
- |
2,3 без трактора |
Укатка щебеночного покрытия является самым важным этапом работ, от которого в большой степени зависит качество готового покрытия. При несоблюдении технологии в процессе укатки могут появиться дефекты:
1. Волнообразование. Волны (гребёнка) появляются вследствие превышения скорости движения катка, избыточного увлажнения основания, превышения допустимой массы катка.
2. Перекат. Отсутствие заклинки происходит из-за излишнего числа проходов катка, стекловидной структуры щебня; несвоевременного увлажнения щебня и др.
3. Образование мертвых полей. Они возникают в тех случаях, когда в щебеночную россыпь снизу проникает песок во время укатки. Песок расстраивает процесс уплотнения, проникая между щебенками. Песок разобщает щебень и препятствует образованию монолита. Поэтому на поверхности песчаного подстилающего слоя необходимо создавать противозаиливающий слой, например, из щебня фракции 3(5)...10-мм толщиной 3...4 см или путем укладки геотекстиля.
Для устранения волнообразования необходимо снизить скорость катка до минимума, и если не помогает, использовать для уплотнения каток меньшей массы. Волны следует устранять автогрейдером. Если образование волн произошло из-за переувлажнения основания, то уплотнение надо приостановить до просыхания грунта. В некоторых случаях удаляют щебень и песок и заменяют неустойчивый грунт.
Исправление переката требует перегрохочения всей массы щебня или его части вдоль перекатанной полосы и добавления остроугольного щебня или поливки вяжущими материалами.
Если песок проникает в россыпь, необходимо немедленно приостановить уплотнение или увеличить слой щебня, или, разобрав его, распределить на подстилающем слое высевки толщиной 2...3 см.
Признаками окончания уплотнения россыпи могут служить: отсутствие следа от катка и подвижности щебенок, исчезновение волны, раздавливание щебенки, брошенной под валец катка, тогда как при недостаточном уплотнении происходит Вдавливание в кору брошенной под каток щебенки. Рекомендуемые типы катков для различных материалов по периодам укатки приведены в табл. 8.2.8.
Таблица 8.2.8
Рекомендуемые типы катков
|
Марка щебня по прочности |
Масса катка, т |
Давление кгс/см Па |
Масса катка, т |
Давление кгс/см Па |
Масса катка, т |
Давление кгс/см Па |
|
I период уплотнения |
II период уплотнения |
III период уплотнения |
||||
|
1400 и 1000 для изверженных и 1200 для метаморфических пород |
6 10...16 |
30...40 4...5 |
8...13 16...35 |
65...75 5...6 |
10...18 16...35 |
65...80 6...7 |
|
800 для изверженных, 1000 для метаморфических, 1000... 800 для осадочных пород |
6 10...16 |
30...40 4...5 |
8...13 16...35 |
45...70 5...6 |
10...13 16...35 |
60...75 6...7 |
|
600 для осадочных и метаморфических пород |
3...6 10 |
20...30 3...4 |
6...10 10...16 |
40...45 4...5 |
6...10 10...16 |
45...70 4...6 |
|
600 для изверженных, 300 для метаморфических пород |
3...6 10 |
20...30 3...4 |
6...8 10...16 |
30...40 4...5 |
6...8 10..16 |
30...40 4...5 |
Примечание. В числителе приведены масса и линейное давление для катков с металлическими вальцами, в знаменателе - масса и давление воздуха в шинах для катков на пневматиках.
Мостовой называется дорожное покрытие, состоящее из небольших элементов различных форм и размеров, укладываемых вплотную друг к другу. По материалу они подразделяются на мостовые из естественного камня и из искусственных материалов. Мостовые требуют больших затрат ручного труда, поэтому применять их следует лишь в редких случаях после тщательного технико-экономического сравнения с другими возможными вариантами.
Типы мостовых, пределы их применения и технология устройства мостовых различных типов приведены в табл. 8.2.9. и 8.2.10.
Таблица 8.2.9
Типы мостовых
|
Типы мостовых и виды мощения |
Варианты оснований |
Размеры камня, см |
Пределы применения |
||
|
ширина |
длина |
высота |
|||
|
1. Из булыжного камня |
Песчаное, гравийное |
10...20 |
10...20 |
14...18 |
Для дорог IV...V категорий при наличии местного камня |
|
2. Из колотого камня (шашки) |
То же |
10...20 |
10...20 |
14...18 |
То же |
|
3. Из литой шлаковой брусчатки |
То же |
12...15 |
15...30 |
14...16 |
В районах металлургических заводов при организованном производстве шлаковой брусчатки |
|
4. Из мозаиковой шашки, уложенной поперечными рядами, косыми рядами или по кривым дугам |
Щебеночное |
8...10 |
8...11 |
9...10 |
В районах каменных карьеров |
|
Бетонное |
7...10 |
7...11 |
8...9 |
По особому обоснованию |
|
|
5. Из колотой брусчатки, уложенной поперечными или косыми рядами |
Песчаное |
12...15 |
15...30 |
14...16 |
То же |
|
Щебеночное |
12...15 |
15...30 |
11...13 |
|
|
|
Бетонное |
12...15 |
15...30 |
9...11 |
|
|
Таблица 8.2.10
Технология устройства мостовых
|
Рабочие операции |
Машины |
Фронт работ, м |
Типы покрытий по табл. 8.2.9 |
||||
|
1 |
2 |
3 |
4 |
5 |
|||
|
Подготовка земляного полотна |
Автогрейдеры |
400 |
+ |
+ |
+ |
+ |
+ |
|
Подготовка основания (по специальной технологии) |
- |
- |
+ |
+ |
+ |
+ |
+ |
|
Подготовка песчаного слоя |
Вручную |
Любой |
+ |
+ |
+ |
+ |
+ |
|
Доставка штучного материала на обочины |
Автомобили |
Любой |
+ |
+ |
+ |
+ |
+ |
|
Сортировка и подача материала мостовщику |
Вручную |
50 |
+ |
+ |
+ |
+ |
+ |
|
Установка версты с опережением |
Вручную |
50 |
+ |
+ |
- |
+ |
- |
|
Мощение |
Вручную |
50 |
+ |
+ |
+ |
+ |
+ |
|
Расщебенка мостовой |
Вручную |
50 |
+ |
+ |
- |
- |
- |
|
Уплотнение трамбованием |
Вручную |
50 |
+ |
+ |
+ |
+ |
+ |
|
То же, катками |
Самоходные катки (5 т) |
200 |
+ |
+ |
+ |
+ |
+ |
|
Засыпка песком |
Вручную |
50 |
+ |
+ |
- |
- |
- |
|
Поливка водой |
Поливомоечная машина |
200 |
+ |
+ |
- |
- |
- |
|
Заливка швов цементным раствором или битумной мастикой |
Вручную заливщиком швов |
50 |
- |
- |
+ |
+ |
+ |
|
Уборка излишнего песка |
Поливомоечная машина |
200 |
+ |
+ |
- |
- |
- |
Примечания.
1. Знаком «+» отмечены выполняемые операции и применяемые машины при устройстве мостовых различных типов
2. Укладка версты на 8...10 м опережает основные работы, высота верстового камня на 4 см более принятой средней.
1. Мощение ведут одновременно по всей ширине с небольшим (0,7...1,0 м) опережением у обочин. При продольном уклоне мощение ведут снизу вверх.
2. Высота соседних камней не должна отличаться более чем на 2 см; камни удлиненной формы укладывают перпендикулярно к оси дороги удлиненными гранями; более крупные камни укладывают ближе к краям проезжей части; укладку ведут с перевязкой швов в продольном и поперечном направлениях; зазоры между камнями должны быть треугольной формы
Грунты и малопрочные каменные материалы, укрепленные вяжущими, применяют для устройства дорожных оснований под усовершенствованные капитальные и облегченные покрытия, а также для устройства покрытий облегченных и переходных типов со слоем износа в виде поверхностной обработки с использованием прочных каменных материалов.
Важнейшие факторы, определяющие возможность укрепления грунтов, выбор вяжущих и оптимальное количество, находятся в прямой зависимости от минералогического и зернового составов коллоидно-химических свойств, содержания и состава солей, содержания и состава гумусовых веществ.
Под искусственным укреплением следует понимать совокупность технологических операций в сочетании с добавками вяжущих или других веществ, обеспечивающих стабильность грунтов. Методы укрепления и характеристика основных свойств укрепленных грунтов приведена в табл. 8.3.1.
Таблица 8.3.1
Методы укрепления грунтов
|
Методы укрепления |
Материалы, применяемые для укрепления |
Грунты, рекомендуемые для укрепления |
Характеристика основных свойств укрепленных грунтов |
|
Солевые растворы со скелетными добавками и уплотнением |
Хлористый кальции СаС12, хлористый магний MgСl2, хлористый натрий NaС1, вода в оптимальном количестве |
Гравелистые оптимальною состава, глины, суглинки, супеси и пески, улучшенные добавками до оптимального состава |
Уменьшение истираемости и устранение пылимости в засушливых районах. Уменьшение водопроницаемости и стабильное сохранение плотности |
|
Методы укрепления |
Материалы, применяемые для укрепления |
Грунты, рекомендуемые для укрепления |
Характеристика основных свойств укрепленных грунтов связности на дорогах со слабым движением |
|
Минеральные вяжущие материалы |
Портландцементы, шлакопортландцементы, и известковошлаковые, гипсошлаковые цементы, известь гашеная и негашеная, силикат натрия |
Суглинки, супеси, гравелистые и щебенистые грунты |
Высокая механическая прочность и связность, высокая морозо- и водоустойчивость, плохое сопротивление истиранию |
|
Органические вяжущие материалы |
Битумы вязкие и жидкие, лепи, битумные и дегтевые эмульсии, пасты, высокосмолистые нефти |
Суглинки, супеси, гравелистые и щебенистые грунты |
Грунты приобретают необратимую связность, водоустойчивость, водонепроницаемость и способность к повторному уплотнению, хорошо сопротивляются истиранию |
|
Высокомолекулярные соединения и синтетические гидрофобные смолы |
Фурфулол-анилиновые и формальдегидные, карборидные и др. смолы |
Все разновидности, но преимущественно суглинки и глины |
Гидрофобность, капиляронепроницаемость, необратимая связность и неразмокаемость |
|
Комплексные |
Сочетание добавок минеральных и органических вяжущих, а также высокополимерных соединении или синтетических гидрофобных веществ |
Те же |
Наиболее высокая необратимая связность. Водоустойчивость и прочность достигается при меньших оптимальных дозировках вяжущих веществ |
|
Термическая обработка (прогрев, обжиг, плавление) фунта |
Уголь, газ, электрическая энергия |
Глины, суглинки |
Высокая механическая прочность (происходит коренное изменение свойств и химико-минералогического состава грунтов) |
|
Электрохимическая обработка |
Электрический постоянный ток при длительном воздействии, известь негашеная |
Глины, суглинки, супеси |
Уменьшение влажности повышение связности и прочности грунта |
Для устройства дорожных оснований и покрытий можно применять все виды и разновидности крупнообломочных, песчаных и глинистых грунтов [23]. При этом крупнообломочные грунты не должны иметь частиц крупнее 40 мм, суммарное количество частиц от 2 до 25 мм не должно быть более 70 % по массе, для частиц мельче 0,5 мм число пластичности Wпл должно быть не более 12.
Жирные глины с числом пластичности более 27 непригодны для укрепления любыми видами вяжущих. Непригодны также грунты с содержанием гумусовых веществ более 2 % для дорожных одежд во II дорожно-климатической зоне и 4 % - в III...V климатических зонах.
При подборе составов смесей крупнообломочных грунтов руководствуются кривыми оптимального зернового состава (рис. 8.3.1). В смесях, близких к оптимальному составу, отклонения содержания отдельных фракций не должны быть более 10 %. Допускается применение крупнообломочных грунтов с прерывистой гранулометрией, если наибольшие и наименьшие размеры не выходят за пределы кривых оптимальных смесей.

Рис. 8.3.1. Кривые оптимального гранулометрического состава
крупнообломочных грунтов, укрепляемых вяжущими материалами, при максимальном
содержании частиц размером:
1 - 5 мм, 2 - 15 мм; 3 - 25 мм, 4 - 40 мм
Требования к минеральному вяжущему устанавливаются в зависимости от назначения конструктивного слоя в дорожной одежде и дорожно-климатической зоны проложения дороги. Рекомендуется применять портландцементы М-400 для покрытий и М-300 для основания дорог во II и III зонах; портландцемент, шлакопортландцемент, пуццолановый портландцемент М-200 для нижнего слоя основания во II...V зонах, для основания и покрытия в IV-V зонах. Предпочтение следует отдавать портландцементам алитовым (не менее 40 % 3CaOSiО2 трехкальциевого силиката с содержанием не более 10 % трехкальциевого алюмината 3CaOAI2О3) с удельной поверхностью не ниже 4000 см2/г.
Известь можно применять I и II сортов как гашеную так и негашеную. Предпочтение отдают негашеной извести. В гашеной извести чистой окиси кальция должно быть более 70 %. Расход минеральных вяжущих для укрепления грунта приведен в табл. 8.3.2.
Таблица 8.3.2
Расход минеральных вяжущих
|
Грунты |
Расход (ориентировочный), % массы смеси (в числителе), кг на м3 грунта (в знаменателе) |
|||||
|
портландцемента, шлакопортландцемента |
извести |
известково-шлакового цемента |
||||
|
для верхнего слоя основания или покрытия |
для нижнего слоя основании |
для верхнею слоя основания или покрытия |
для нижнего слоя основании |
для верхнею слоя основания или покрытия |
для нижнего слоя основании |
|
|
Крупнообломочные, гравийные, дресвяные, щебенистые, грунтогравийные, грунтощебенистые смеси, пески гравелистые, крупные, средние, близкие к оптимальному составу |
4...8 80...180 |
3...6 60...120 |
3...6 60...120 |
3...4 60...80 |
|
|
|
|
|
|||||
|
Супеси (близкие к оптимальному составу) легкие крупные, пылеватые; суглинки |
8...12 160...240 |
4...7 80...140 |
6...8 100...140 |
4...6 70..100 |
|
|
|
|
|
|||||
|
Пески и супеси с числом пластичности не менее 3 при добавке золы уноса или золошлаковой смеси (15...25 % массы смеси) |
4...7 80...140 |
3...4 60...80 |
2...4 35...80 |
2...3 35...60 |
|
|
|
|
|
|||||
Назначение активных добавок к основному вяжущему приведено в табл. 8.3.3.
Таблица 8.3.3
Активные добавки для улучшения свойств грунтов, укрепляемых минеральными вяжущими
|
Основное вяжущее для укрепления грунта |
Добавки к укрепляемой грунтовой смеси и их назначение |
|
Портландцемент |
Известь гашеная и негашеная - для повышения прочности при укреплении кислых глин, тяжелых суглинков, супесей и песков при водородном показателе рН менее 7; засоленных грунтов; грунтов с влажностью на 4...6 % больше оптимальной Хлористый кальций, хлористый нутрий, углекислый калий - для приготовления и укладки укрепленною грунта при температурах воздуха ниже +5°С и отрицательных; при укреплении тяжелых суглинков; кислых и гумусированных грунтов Водные растворы жидкого стекла, сернокислого магния, сернокислого и углекислого натрия, каустической соды - для ускорения и увеличения прочности укрепленною грунта Жидкий битум, сырая высокосмолистая нефть - для повышения морозостойкости крупнообломочных и песчаных грунтов неоптимального зернового состава Хлорное железо, сернокислое железо - для повышения водо- и морозостойкости при укреплении глин и суглинков |
|
Известь |
Жидкое стекло, хлористый кальций, хлорное или сернокислое железо, сернокислый натрий, каустическая сода - для ускорения твердения, повышения прочности и водоустойчивости при укреплении глинистых грунтов |
Органические вяжущие материалы применяют с учетом климатических условий района строительства, назначения конструктивного слоя в дорожной одежде, минералогического и зернового состава укрепляемого грунта (табл. 8.3.4).
Таблица 8.3.4
Органические вяжущие материалы, применяемые для укрепления грунтов
|
Виды вяжущих |
Рекомендуемые марки вяжущих |
|
Нефтяные жидкие битумы |
Классы СГ, МГ, МГО марок 25/40, 40/70, 70/130 |
|
Разжиженные нефтяные битумы |
Приготавливаемые из вязких
битумов марок БНД 40/60, 60/90, 90/130 с использованием разжижителей: для
класса СГ - масел сланцевого или
каменноугольного, керосина, моторного топлива; для класса МГ - дёгтя,
дорожного мазута, сырой нефти. Вязкость |
|
Сланцевые жидкие битумы |
Марки С 12/30, С 20/35, С 35/70, С 70/130 |
|
Битумные эмульсии |
Анионные прямого типа, медленно распадающиеся из вязких битумов марок БНД 200/300, 130/200, 90/130, 60/90, 40/60. Содержание битума в эмульсии 35...55 % |
|
Каменноугольные жидкие дегти |
Марки Д-2, Д-3, Д-4, Д-5 |
|
Битумные пасты |
По свойствам близкие к эмульсиям на твердых эмульгаторах |
|
Высокосмолистые нефти |
Содержание фракции,
вскипающих при температурах до 360°С в количестве до 35 %. Вязкость |
Для повышения качества грунтов, укрепленных органическими вяжущими материалами, вводят различные добавки в зависимости от используемого вяжущего и вида грунта (известь, сланцевая зола, зола уноса, амины, синтетические жирные кислоты и др.).
Расход органических вяжущих для укрепления грунтов дан в табл. 8.3.5.
Ориентировочный расход органических вяжущих для укрепления грунтов
|
Укрепляемые грунты |
Расход, % от массы грунта (в числителе), кг на 1 м3 грунта (в знаменателе) |
||
|
жидкого нефтяного битума, сланцевого битума |
битумной эмульсии (по содержанию битума) |
каменноугольного дегтя |
|
|
Крупнообломочные, несцементированные, близкие к оптимальному составу, пески гравелистые, супеси, близкие к оптимальному составу |
3...5 66...1 10 |
3...5 66...1 10 |
3...5 66...110 |
|
Крупнообломочные, неоптимального состава, пески гравелистые, супеси пылеватые с числом пластичности менее 3 |
4...6 88...130 |
4...6 88..130 |
4...6 88...130 |
|
Супеси легкие пылеватые, тяжелые пылеватые, суглинки легкие и легкие пылеватые |
5...8 110...180 |
6...7 130...160 |
8...13 180...290 |
|
Суглинки тяжелые и суглинки тяжелые пылеватые, глины песчаные и пылеватые с числом пластичности более 22 |
8...10 180...220 |
6...7 130...160 |
8...13 180...290 |
Свойства грунтов, укрепленных различными вяжущими, приведены в табл. 8.3.6...8.3.8
Таблица 8.3.6
Расчетные значения модуля упругости
|
Способ укрепления грунта |
Модуль упругости, Па по классам прочности |
||
|
I |
II |
III |
|
|
Минеральными вяжущими |
5000...8000 |
2500...5000 |
800...2500 |
|
Битумной эмульсией совместно с цементом или карбомидной смолой |
5000...8000 |
4000...5000 |
- |
|
Битумной эмульсией |
2000...3000 |
2000...3000 |
2000...3000 |
|
Жидким битумом или дегтем |
800...2000 |
800...2000 |
800...2000 |
Таблица 8.3.7
Физико-механические свойства грунтов, укрепленных минеральными вяжущими (в том числе с добавками других веществ)
|
Физико-механические свойства |
Показатели по классам прочности |
||
|
I |
II |
III |
|
|
Предел прочности при сжатии водонасыщенных образцов, Па |
60...40 |
40...20 |
20...10 |
|
Предел прочности на растяжение при изгибе водонасыщенных образцов не менее, Па |
10 |
6
|
2 |
|
Допустимые напряжения на растяжение при изгибе, Па |
4 |
2 |
1 |
|
Коэффициент морозостойкости, не менее |
0,75 |
0,70 |
0,65 |
|
Влажность образца после испытания па замораживание-оттаивание, % массы, не более сверх оптимальной для уплотнения |
2 |
4 |
4 |
Таблица 8.3.8
Физико-механические свойства грунтов, укрепленных битумными эмульсиями и жидкими битумами совместно с цементом
|
Физико-механические свойства |
Показатели по классам прочности |
|
|
I |
II |
|
|
Предел прочности при сжатии водонасыщенных образцов при 20°С, Па |
40...25 |
25...15 |
|
Предел прочности при сжатии при 50°С, Па |
20 |
12 |
|
Предел прочности на растяжение при изгибе водонасыщенных образцов при 20°С, Па, не менее |
10 |
6 |
|
Коэффициент морозостойкости, не менее |
0,85 |
0,80 |
|
Водонасыщение, % объема, не более |
3,0 |
5,0 |
К наиболее пригодным для укрепления цементом относят грунты:
- супеси с числом пластичности 3...12;
- песчано-глинистые смеси оптимального состава. Прочность, водоустойчивость, долговечность тем выше,
чем больше добавка цемента и выше его марка, чем ниже поглощаемость грунтом продуктов гидролиза цемента, тем прочнее микроструктура грунта, а также зависит от качества производства работ.
Независимо от применяемых машин, последовательность работ при укреплении грунта цементом на дороге будет следующей:
1. Вывозка на дорогу грунта, подлежащего укреплению или добавок к грунту земляного полотна.
2. Разрыхление и измельчение грунта. Для предварительного разрыхления грунта применяют рыхлители. Измельчение осуществляют последовательными проходами специальных фрез (табл. 8.3.9, 8.3.10). Проходы повторяют до тех пор, пока в грунте останется комочков крупнее 5 мм не более 15 %.
Таблица 8.3.9
Дорожные фрезы
|
Показатели |
ДС-18 |
ДС-73 |
ДС-74 |
Профилировщик ДС-97 |
|
Тип базового трактора |
С-100МГП |
Т-130 |
Т-158 |
- |
|
Ходовое оборудование |
Гусеничное |
Пневмоколесное |
Гусеничное |
|
|
Мощность двигатели, кВт |
79,4 |
100,7 |
118,7 |
312,5 |
|
Ширина обрабатываемой полосы, м |
2,5 |
2,5 |
2,4 |
8,5; 10 |
|
Глубина обработки, см |
20 |
20 |
25 |
30 |
|
Скорости передвижения, км/ч: |
|
|
|
|
|
рабочие |
0,1...0,75 |
0,11...0,81 |
0,1...0,96 |
До 1,1 |
|
транспортная вперед |
2,36...5,4 |
3,16...10,6 |
5,13...44,8 |
До 4,0 |
|
транспортная назад |
2,79...6,37 |
3,05...8,5 |
5,5...18,0 |
До 4,0 |
|
Диаметр фрезерного ротора, мм |
800 |
800 |
900 |
- |
|
Частота вращения ротора, об/мин |
250 |
255 |
257 |
- |
|
Пределы дотирования жидких вяжущих и воды, л/м2 |
5,3...90,0 |
5,3...90,0 |
2,2...133,0 |
- |
|
Масса, кг |
14720 |
17060 |
11940 |
40600 |
Таблица 8.3.10
Самоходные грунтосмесительные машины
|
Показатели |
ДС-16Б |
ДС-152 |
|
Ширина обрабатываемой полосы, м |
2,4 |
3,3 |
|
Глубина обработки, см |
до 25 |
до 25 |
|
Фрезерный ротор: |
|
|
|
диаметр, мм |
800 |
- |
|
частота вращения, об/мин |
248 |
- |
|
Частота вращения ротора наполнителя мешалки об/мин |
89 |
- |
|
Частота вращения двухпольной лопостной мешалки, об/мин |
89 |
- |
|
Нормы дозирования: |
|
|
|
жидких вяжущих и воды, л/м2 |
4...80 |
- |
|
порошкообразных, кг/м2 |
5...100 |
5...110 |
|
Объем расходного бака для жидкого вяжущего, м3 |
3,8 |
- |
|
Объем расходного бункера для цементов, м3 |
3,5 |
3,5 |
|
Способ загрузки цемента в бункер |
Пневматический |
Пневматический |
|
Скорость передвижения, км/ч: |
|
|
|
рабочие |
от 0,38 до 0,64 |
0,06...0,3 |
|
транспортные |
до 17,6 |
до 20 |
|
Радиус поворота, м |
6,5 |
- |
|
Мощность двигателя, кВт |
220,5 |
- |
|
Масса, кг |
25900 |
- |
3. Добавление в измельченный грунт скелетных добавок или 1...2 % извести для кислых или засоленных грунтов. Добавку минерального материала в грунт вносят либо для уменьшения расхода цемента, либо для повышения устойчивости смеси или с целью облегчения операций по измельчению.
4. Разравнивание и прикатка смеси. Прикатку производят с целью обеспечения одинаковой толщины укрепляемого слоя, который обычно составляет от 8 до 20 см.
5. Введение цемента. Цемент распределяют цементораспределителем (табл. 8.3.11) из расчета (табл. 8.3.12), в зависимости от укрепляемого грунта и требований, предъявляемых к грунтоцементу.
Таблица 8.3.11
Распределители цемента
|
Показатели |
ДС-9 |
ДС-72 |
|
Тип распределителя |
Прицепной |
Полуприцепной |
|
Тягач |
Т-74-С-2 |
Т-158 |
|
Ширина распределителя, м |
2,45 |
2,40 |
|
Объем расходного бункера при дозаторе, м3 |
3,5 |
3,5 |
|
Объем цистерны, м3 |
- |
6,8 |
|
Нормы дотирования, кг/м2 |
6,3...67,0 |
5,0 ...511,11 |
|
Скорость передвижения, км/ч; |
|
|
|
рабочие |
0,53...0,93 |
0,1 ..0.4(1 |
|
транспортные |
до 11,7 |
до 44.Х |
|
Масса, кг |
7700 |
133011 |
Расход смолобитумного вяжущего
|
Укрепляемые грунты |
Расход вяжущего, % от массы грунта (в числителе), кг на 1 м3 грунта (в знаменателе) |
Оптимальная влажность смеси при уплотнении, % от массы смеси |
|
Крупнообломочные, пески гравелистые, крупные, средние и мелкие, в том числе одномерные, супеси оптимального состава, супеси легкие |
4...6 88...130 |
6...10 |
|
Супеси пылеватые, тяжелые, суглинки легкие и легкие пылеватые |
6...8 130...180 |
10...12 |
6. Перемешивание грунта с цементом. Данную рабочую операцию осуществляют на всю толщину слоя последовательными проходами специальных фрез. Если влажность смеси менее оптимальной, то производят увлажнение.
7. Профилирование смеси. После окончания перемешивания вся масса грунтоцемента распределяется равномерным слоем заданной толщины по всей ширине устраиваемой полосы.
8. Уплотнение. Производство работ по уплотнению должно обеспечить равномерную плотность не менее 0,98 от установленной стандартным уплотнением. Для уплотнения наиболее эффективны катки на пневматических шинах. Общее число проходов катка по одному следу от 15 до 20. Укатка должна быть начата через 2...4 ч после внесения цемента и закончена в течение 4...6 ч после окончания перемешивания.
Перед окончанием укатки для повышения ровности конструктивного слоя рекомендуется произвести разрыхление верхней части слоя на 2...3 см, добавить 1...2 кг/м2 цемента и произвести окончательное уплотнение гладким вальцовым катком.
9. Устройство защитного слоя с применением эмульсии или укладка покрытия. Если грунт, укрепленный цементом, используют в качестве основания усовершенствованного покрытия, то последнее устраивают через 24 ч после окончания укатки основания.
Если покрытие сразу не устраивают, то основание покрывают пленкообразующими материалами (лак этиноль, помароль). Эта пленка хорошо удерживает влагу.
Укрепление грунтов следует производить при температуре выше 5°С. При более низкой температуре следует добавлять соли NaC1 или СаС12 или обе соли вместе.
Нельзя открывать движение по слою грунта, укрепленному минеральным вяжущим, так как происходит быстрое истирание покрытия.
При использовании для укрепления грунта комплекта ДС-100 или ДС-110 технология работ значительно упрощается, а производительность увеличивается до 1500 м в смену.
Производительность дорожной фрезы, м3 в смену
(8.3.1)
Производительность распределителя цемента, т в смену
(8.3.2)
где П - продолжительность смены, ч;
kв - коэффициент использования рабочего времени;
b - ширина полосы, обрабатываемой за один проход, м;
l - длина захватки, м;
b - коэффициент уменьшения производительности за счет перекрытия слоев (b = 0,95);
V - рабочая скорость фрезы, распределителя, м/ч;
t - продолжительность поворота фрезы, 0,03 ч;
q - норма расхода цемента (распределения), т/м2.
Процентное содержание в смеси добавок, цемента, воды, битума или эмульсии устанавливают в лаборатории, добиваясь лучших показателей, характеризующих прочность и устойчивость конструктивного слоя (табл. 8.3.5).
Приготовление смеси грунта с органическими вяжущими осуществляется так же, как и с минеральными вяжущими, способами смещения на земляном полотне дорожной фрезой или однопроходной грунтосмесительной машиной, а также в карьерной грунтосмесительной установке. Готовую смесь укладывают в дорожную одежду самоходным укладчиком или автогрейдером с уплотнением самоходным катком на пневматических колесах.
При необходимости дополнительного увлажнения грунта при его укреплении битумной эмульсией следует учитывать количество воды, находящееся в эмульсии, при этом целесообразно изменять концентрацию эмульсии от 55...50 до 35...40 %.
При укреплении грунта органическими вяжущими с добавкой извести сначала должен быть обработан грунт известью и только через 12...14 ч смесь грунта с известью обрабатывают органическим вяжущим.
При укреплении грунта органическим вяжущим с цементом уход за уложенным слоем должен быть аналогичен укреплению грунта только цементом.
Для улучшения размельчения тяжелых суглинков и глин в сухую погоду их следует предварительно размельчать с введением добавки ПАВ (ССБ, ОП-7, ОП-10 в количестве 0,05...0,5 % массы грунта).
Грунты, укрепленные смолобитумным вяжущим (битумная эмульсия - эмульсированное вяжущее 40 % и карбомидная смола 60 %), применяют для устройства покрытий на дорогах IV и III категорий и верхних слоев основания под асфальтобетонные покрытия.
Битумная эмульсия должна быть анионная прямого типа, медленнораспадающаяся, карбомидная смола типа УКС и М 19-92. Отвердителем служит аммоний хлористый (ГОСТ 2210-73) в количестве 10...20 % массы вяжущего. Расход смолобитумного вяжущего для укрепления грунтов приведен в табл. 8.3.12. Смолобитумное вяжущее с добавкой отвердителя должно быть введено в грунт и уплотнено в течение не более 3 ч. Вяжущее без отвердителя допускается хранить не более 3 суток. Движение по слою грунта, укрепленному смолобитумным вяжущим, может быть открыто через 2 суток в условиях сухой погоды с температурой 15°С и выше.
Усовершенствованным называют такое покрытие, которое дает возможность в любое время года с наибольшей полнотой использовать скорость и грузоподъемность современного автомобиля.
Усовершенствованные покрытия облегченного типа устраивают в качестве верхних слоев дорожных одежд, предназначенных для пропуска автомобильного транспорта от 100 до 3000 авт/сут.
При устройстве усовершенствованных покрытий применяются вяжущие материалы, которые увеличивают сцепление в смесях и делают их более водоустойчивыми. Обработка каменных материалов вяжущими приводит к повышению эксплуатационных качеств, увеличению срока службы, удешевлению содержания дороги, уменьшению транспортных расходов и сокращению расходов каменных материалов.
Усовершенствованные покрытия облегченного типа устраивают толщиной от 4 до 12 см. Многочисленные дорожные конструкции, получаемые путем обработки щебеночных и гравийных материалов органическими вяжущими - битумами и дегтями, а также эмульсиями, по способу производства работ могут быть разделены на следующие группы:
конструкции, получаемые в результате обработки каменных материалов путем послойных розливов разогретого битума (дегтя) или эмульсии, послойных россыпей каменных материалов с их укаткой;
конструкции, получаемые обработкой каменных материалов органическими вяжущими смешением на дороге;
конструкции из смесей каменных материалов с органическими вяжущими, приготовленных в специальных установках по определенному режиму и укладываемых в холодном или горячем состоянии.
Классификация усовершенствованных покрытий облегченного типа показана на рис. 8.4.1

Рис. 8.4.1. Классификация покрытий облегченного типа
Из вышеизложенного видно многообразие типов усовершенствованных покрытий облегченного типа. В районах с холодным и влажным климатом предпочтение отдают покрытиям, устраиваемым из материалов, приготовленных смешением в стационарных и передвижных установках. В районах с сухим и теплым климатом применяют покрытия, устраиваемые смешением на дороге, а при наличии прочных щебеночных материалов также способом пропитки.
Основания и покрытия, по способу пропитки и смешения в установке, устраивают в сухую и теплую погоду весной и летом при температуре не ниже 5°С, а осенью - не ниже 10°С. Смешение на дороге следует производить при температуре выше +15°С, а при использовании эмульсий - не ниже 5°С.
Работы должны быть закончены с таким расчетом, чтобы формирование покрытия в процессе эксплуатации автомобильной дороги было завершено за 10...20 дней до начала периода с пониженными температурами воздуха и дождями.
Конструкции с применением битумов и дегтей весьма требовательны к соблюдению правил производства работ и температурному режиму. Вяжущие применяют строго определенных марок, соответствующих данной конструкции. Каменные материалы должны отвечать установленным требованиям по прочности, морозостойкости, быть сухими, чистыми без примеси пыли, глины или ила. Для повышения качества в гравийный материал следует вводить дробленый гравий в количестве 25...45 % объема фракций гравийного материала крупнее 5 мм.
Правильный выбор вяжущего имеет большое значение, поскольку оно увеличивает сцепление между частицами минерального материала, частично заполняет пустоты между этими частицами и таким образом повышает плотность и водоустойчивость смеси. Чтобы получить хорошие результаты, вяжущее должно обладать совокупностью определенных свойств, во-первых, вязкость должна быть достаточно высокой, чтобы связать рыхлый минеральный материал в монолит и, во-вторых, в производственных условиях распределять вяжущее тонкой пленкой по поверхности минеральных частиц.
Эти требования противоречат друг другу. Лучшее сцепление и более высокая прочность покрытия достигаются при использовании вязких битумов, однако лучшее обволакивание обеспечивается при применении жидких битумов. Для повышения качества покрытий прибегают к технологическим приемам, позволяющим снизить вязкость вяжущих в период их смешения с минеральными материалами. Снижение вязкости может быть достигнуто путем:
- повышения температуры вяжущего;
- введения в его состав разжижителей, которые быстро улетучиваются;
- создания водных эмульсий.
Способность органических вяжущих к уменьшению вязкости с повышением температуры играет положительную роль при приготовлении смеси и укладке, но отрицательно сказывается на прочности дорожных одежд. Поэтому для устройства дорожных одежд лучше использовать теплоустойчивые вяжущие материалы.
Выбор вяжущего зависит от следующих факторов:
- типа минеральной смеси и характера минеральных частиц;
- проектируемой конструкции дорожной одежды;
- способа приготовления смеси и ее укладки;
- наличия оборудования для приготовления и укладки смеси;
- климатических и гидрологических условий;
- сезона производства работ.
Технология способа пропитки заключается в последовательной россыпи и уплотнении рыхлых минеральных материалов нескольких фракций и поливке их органическими вяжущими материалами. Монолитность и прочность пропитанного слоя обеспечиваются заклинкой частиц минерального материала и их сцеплением за счет вяжущих свойств битумов (дегтей) или эмульсий.
В зависимости от толщины обрабатываемого слоя различают два вида пропитки:
- глубокую - 6...8 см;
- облегченную (полупропитку) - 4...6 см.
По способу пропитки устраивают покрытия для дорог с интенсивностью движения до 2000 авт/сут или же основания для усовершенствованных капитальных покрытий с интенсивностью движения более 2000 авт/сут. Основными преимуществами таких покрытий являются высокая прочность почти равная асфальтобетону, отсутствие трещин, возможность широкой механизации. К недостаткам пропитки следует отнести повышенный расход вяжущего по сравнению с другими способами обработки минерального материала вяжущими, неполное обволакивание минеральных частиц вяжущим и требуется щебень из прочных каменных материалов (1...3 классов прочности).
Покрытия по способу глубокой пропитки устраивают с применением трех или четырех фракций щебня в зависимости от толщины слоя и размера щебня в первой россыпи. Для облегченной пропитки применяют щебень двух или трех фракций. Максимальный размер щебня в первой россыпи не должен превышать 0,85 толщины конструктивного слоя.
В качестве вяжущего для пропитки применяют вязкие битумы БНД 90/130, деготь Д-7. При использовании щебня из мягких пород вязкость вяжущих можно несколько понизить.
Последовательность работ по устройству пропиток и нормы расхода материалов приведены в табл. 8.4.1.
Таблица 8.4.1
Технология устройства покрытий и оснований из щебня, обработанного способом пропитки толщиной 6...8 см
|
Последовательность работ |
Нормы расхода материалов, количество проходов катков при применении щебня |
|
|
трех фракций |
четырех фракций |
|
|
1-я россыпь щебня фракции 40...70 мм, м3/100 м2 |
8...10 |
5...6 |
|
Уплотнение катками, проходов по одному следу |
5...7 |
5...6 |
|
Розлив вяжущею, л/м2 |
5...7 |
3...4 |
|
2-я россыпь щебня фракции 20(25)...40 мм, м3/100 м2 |
- |
3...4 |
|
То же, фракций 10...20(15...25) мм, м3/100 м2 |
1,0...1,1 |
- |
|
Уплотнение катками, проходов по одному следу |
5...7 |
3...4 |
|
3-я россыпь щебня фракции 3(5)...10(5...15) мм, м3/100 м2 |
0,9...1,1 |
- |
|
То же, фракций 10...20(15...25) мм, м3/100 м2 |
- |
1,0...1,1 |
|
Уплотнение катками, проходов по одному следу |
3...4 |
3...4 |
|
Розлив вяжущего, л/м2 |
- |
2,0...2,5 |
|
4-я россыпь щебня фракций 3(5)...10(5...1 5) мм, м3/100 м2 |
- |
0,9...1,1 |
|
Уплотнение катками, проходов по одному следу |
- |
3...4 |
Примечания.
1. Меньшие нормы расхода - для слоя 6 см, большие - для слоя 8 см.
2. В скобках указаны допускаемые размеры щебня.
3. При устройстве оснований последнюю россыпь и связанный с ней розлив производить не обязательно.
4. При использовании трех фракций щебня первую россыпь можно выполнять щебнем 20(25)...40 мм.
5. Расход эмульсий в пересчете на битум меньше на 10...20 %.
Россыпь щебня производят щебнераспределителем (табл.8 .2.7). В процессе укатки нужно следить, чтобы края щебня не обламывались, поскольку мелочь закупоривает поры и препятствует проникновению в глубь вяжущего. При применении щебня из мягких пород в качестве вяжущего лучше применять битумную эмульсию. Суммарный расход вяжущего примерно равен 1,0...1,2 л/м2 на 1 см толщины. Розлив вяжущего осуществляют автогудронаторами (табл. 8.4.2). Для хорошего проникновения в слой щебня вязкого битума его нагревают до рабочей температуры 80...170°С. Эмульсии разливают без подогрева.
Таблица 8.4.2
Техническая характеристика автогудронаторов
|
Показатели |
ДС-39Б |
ДС-142 |
|
Вместимость цистерны, л |
4000 |
7000 |
|
Ширина распределения битумных материалов, м |
2...4 |
2...4 |
|
Интервал изменения ширины распределения, м |
0,19 |
0,19 |
|
Норма розлива битумных материалов, л/м2 |
0,5...3,0 |
0,5...3,0 |
|
Битумный насос: |
|
|
|
тип |
шестеренный |
шестеренный |
|
привод |
от коробки отбора мощности |
от гидромотора |
|
Максимальное давление в системе при распределении битумных материалов, МПа |
0,2 |
0,2 |
|
Система подогрева битумных материалов в цистерне |
стационарными горелками |
стационарными горелками |
|
Топливо |
дизельное |
дизельное |
|
Расход топлива, л/ч |
8,0 |
16,0 |
|
Вместимость топливных баков горелок, л |
20 |
40 |
|
Эксплуатационная масса, кг: |
|
|
|
без груза |
5780 |
10725 |
|
с грузом |
9935 |
18790 |
|
Скорость передвижения, км/ч: |
|
|
|
рабочая (минимальная) |
3,5 |
4,1 |
|
транспортная (максимальная) |
90 |
80 |
|
Расход топлива, л/100 км |
29 |
27 |
В случае нарушения технологии выполнения работ или несоблюдения требований, предъявляемых и исходным материалам в процессе строительства, выявляются дефекты:
1. Избыток вяжущего (покрытие деформируется в жаркую погоду), на нем образуются наплывы, волны, просадки. Такие участки исправляют россыпью дополнительного слоя каменной мелочи с последующим уплотнением. При значительном избытке вяжущего рекомендуется полная замена.
2. Недостаток вяжущего (сухие места). Исправляют дополнительным розливом вяжущего. После розлива распределяют щебень фракции 15...20 мм из расчета 1 м3 на 100 м2. Далее щебень разметают метлами и производят уплотнение.
Уплотнение считают законченным, когда поверхность станет ровной и под вальцом катка не будет заметно движение щебенок.
При сухой и теплой погоде формирование покрытия заканчивается через 3...4 недели. В начале эксплуатации за покрытием организуют усиленный уход, включающий:
- регулирование движения по ширине проезжей части и ограничение его скорости;
- наметание каменной мелочи, разбрасываемой автомобилями при движении;
- присыпку каменной мелочью участков с избытком вяжущего;
- ремонт отдельных мест, разрушающихся под движением.
В процессе формирования покрытия могут появиться выбоины, волны, недостаточная плотность, отслаивание тонких верхних слоев, потение покрытия.
Выбоины образуются в местах, пропущенных при розливе вяжущего. Исправления производят ямочным ремонтом.
Волны образуются от избытка вяжущего. Отдельные волны исправляются ямочным ремонтом. При сплошной волнистости материал следует вскирковать и удалить с дороги для устройства покрытия смешением на дороге. После удаления материала покрытие устраивают заново.
Недостаточная плотность покрытия бывает причиной его замедленного просыхания после дождя. На общей сухой поверхности сохраняются темные пятна, полосы. Для исправления необходимо убрать часть покрытия (каменную мелочь), сделать розлив вяжущего 1 л на 1 м2, распределить чистую каменную мелочь и уплотнить.
Отслаивание тонких верхних слоев происходит в результате розлива вяжущего на влажный или загрязненный щебень основной россыпи, а также при плохом распределении щебня при второй или третьей россыпи, когда не происходит заклинка. Для исправления удаляют отслаивающий слой, просушивают и очищают основной слой щебня и заново делают вторую и третью россыпь с поливкой битума и уплотнением.
Потение покрытия происходит в жаркую погоду из-за избытка вяжущего или низкой теплоустойчивости битума. Исправление осуществляют россыпью каменной мелочи с минеральным порошком или цементом.
После исправления всех дефектов покрытие подвергают одиночной поверхностной обработке.
Для пропитки используют крупный щебень фракции 40...70 или 70...120 мм из трудноуплотняемых изверженных пород марки 1000, 1200. Пескоцементную смесь готовят в грунтосмесительных установках.
В состав пескоцементной смеси входит мелко- или среднезернистый песок, портландцемент марки М400 8...12 % от массы смеси и 6...10 % воды.
Глубина пропитки обычно составляет 7...9 см. Работы выполняют при температуре воздуха более 5°С.
Технологическая последовательность работ:
1. Вывозка и разравнивание щебня.
2. Прикатка щебня с поливкой водой. Прикатку делают для выявления неровностей и для обеспечения проезда автомобилей-самосвалов. Поливку водой из расчета 15...25 л/м2 производят через поднятие вверх сопла поливомоечной машины.
3. Прием, разравнивание и планировка пескоцементной смеси.
Ориентировочный расход пескоцементной смеси можно определить по формуле
Q = b·l·(hпр·Vщ + hпц)·Kп, (8.4.1)
где b - ширина щебеночного основания, м;
l - длина участка, м;
hпр - глубина пропитки щебня пескоцементной смесью, м;
Vщ - пустотность щебня в долях единицы (0,3...0,4);
hпц - толщина пескоцементного слоя (1...2 см);
Kп - коэффициент, учитывающий потери (Kп = 1,03).
Окончательную потребность в пескоцементной смеси определяют опытным путем (и она, как правило, составляет от 3,5 до 5,0 м3 на 100 м2).
Пескоцементную смесь доставляют автосамосвалами средней грузоподъемности, разравнивают за 3...4 прохода автогрейдерами при начальной толщине пескоцементного слоя около 5 см.
4. Вдавливание смеси в щебеночное основание производят вибрационными катками или катками на пневмошинах.
Способом смешения на дороге называют устройство слоев покрытия или основания путем смешения минеральных материалов с органическими вяжущими, разливаемыми в холодном или слегка подогретом состоянии.
Способ смешения на дороге с точки зрения технологического процесса лучше пропитки за счет более полного обволакивания минерального материала вяжущим и более экономного его расходования.
При смешении материалов на дороге очень важно выбрать наилучший состав и обеспечить его постоянство во время производства работ, так как процесс приготовления смеси проходит при относительно низких температурах, без сушки материалов, с применением жидких вяжущих и менее строгой дозировке материалов.
Требования к щебню и гравию, предназначенным для обработки органическими вяжущими способом смешения в установке и на дороге, даны в табл. 8.4.3.
Таблица 8.4.3
Требования к щебню и гравию, обрабатываемым органическими вяжущими способом смешения на дороге, в районах с умеренными климатическими условиями
|
Категория дороги |
Рекомендуемые марки щебня и гравия по прочности и морозостойкости |
|||||||
|
для щебеночных |
для гравийных |
|||||||
|
покрытий |
оснований |
покрытий |
оснований |
|||||
|
по прочности |
по морозостойкости |
по прочности |
по морозостойкости |
по прочности |
по морозостойкости |
по прочности |
по морозостойкости |
|
|
I и II |
- |
- |
1200...800 1000...600 |
F25 |
- |
- |
Др8-16 |
F25 |
|
III |
1200...800 1000...600 |
F25 |
1200...600 1000...400 |
F25 |
Др8-16 |
F25 |
Др8-16 |
F15 |
|
IV, V |
1200...800 1000...600 |
F15 |
1200...600 1000...400 |
F15 |
Др8-16 |
F15 |
Др8-16 |
F15 |
Примечание. В знаменателе указаны марки щебня по прочности из осадочных горных пород.
Влажность минеральных материалов обрабатываемой смеси должна быть в пределах 1...4 %. При большей влажности смесь требуется просушить путем перемешивания автогрейдером.
Для щебеночных и гравийных покрытий и оснований, устраиваемых способом смешения на дороге, рекомендуются следующие вяжущие: жидкие битумы марок МГ 70/130, МГО 70/130 и СГ 70/130; дегти марок Д-4, Д-5; сланцевые битумы С-4, С-5; дорожные эмульсии марок МА-1.МА-2.
Зерновой состав щебеночных и гравийных смесей для смешения на дороге принимают ориентировочно для оснований по табл. 8.4.4, а для покрытий - по табл. 8.4.5.
Таблица 8.4.4
Зерновой состав гравийных смесей для оснований
|
Вид смеси |
Количество частиц, % по массе, мельче данного размера, мм |
||||||
|
70 |
20 |
10 1 |
5 |
2,5 |
0,63 |
менее 0,05 |
|
|
Крупнозернистая |
100 |
20...40 |
20...35 |
15...25 |
10...15 |
5...10 |
0...3 |
|
100 |
40...60 |
35...50 |
20...35 |
15...25 |
5...15 |
0...5 |
|
Таблица 8.4.5
Зерновой состав гравийных (щебеночных) и песчано-гравийных смесей для покрытий
|
Вид смеси |
Количество частиц, % по массе, мельче данного размера, мм |
||||||
|
70 |
20 |
10 |
5 |
2,5 |
0,63 |
менее 0,05 |
|
|
Крупнозернистые |
100 |
60...80 |
45...65 |
30...55 |
20...45 |
15...35 |
7...20 |
|
Среднезернистые |
- |
80...95 |
65...90 |
50...75 |
35...65 |
20...45 |
8...25 |
|
Мелкозернистые |
- |
- |
90...100 |
70...85 |
45...75 |
25...55 |
8...25 |
Состав смесей, расход каменных материалов и вяжущих уточняют путем лабораторного подбора по требованиям, приведенным в табл. 8.4.6.
Таблица 8.4.6
Требования к гравийным и щебеночным смесям, получаемым способом смешения на дороге
|
Показатели физико-механических свойств |
Гравийные смеси |
Щебеночные смеси (гравийные с добавкой щебня) |
Плотные щебеночные смеси |
Пористые щебеночные смеси |
|
с жидкими вяжущими |
с эмульсиями |
|||
|
Предел прочности при сжатии при температуре 50°С, Па |
4 |
5 |
- |
- |
|
То же, при 20°С, не менее |
7 |
8 |
13 |
9,5 |
|
Коэффициент водоустойчивости |
0,50 |
0,50 |
0,65 |
0,60 |
|
Водонасыщение, % по объему |
2...7 |
2...7 |
5,5 |
7,8 |
|
Набухание, %, не более |
3 |
3 |
1,8 |
2,4 |
Примечания. 1. К гравийным эмульсионно-минеральным смесям требования снижаются на 15 %. 2. Образцы на эмульсиях испытывают через 94 сут. хранения на воздухе при температуре 18...22°С
Технологический процесс по устройству покрытий и оснований смешением на дороге включает следующие операции:
1. Подготовка основания (ямочный ремонт, исправление поперечного профиля).
2. Вывозка и подготовка к смешению минерального материала (оправка валика и обмер шаблоном).
3. Разравнивание валика под розлив вяжущего.
4. Первый розлив вяжущего.
5. Предварительное перемешивание (1...2 прохода фрезы или 7...15 проходов автогрейдера).
6. Оправка в валик и разравнивание под розлив.
7. Второй розлив вяжущего.
8. Перемешивание (4...5 проходов фрезы или 30...45 проходов автогрейдера).
9. Распределение смеси.
10. Уплотнение (6...8 проходов по одному следу).
11. Исправление дефектных мест.
Минеральные материалы смешивают с вяжущими автогрейдерами или фрезами. При этом жидкие битумы или дегти, нагретые до температуры 60...80°С, а также эмульсии подают автогудронаторами или битумовозами. Минеральные материалы не подогревают. Общее число проходов устанавливают в зависимости от объемов смешиваемых материалов и температуры воздуха. При применении эмульсий количество проходов уменьшают на 20..25 %.
Качество оснований и покрытий, устраиваемых способом смешения на дороге, зависит от постоянства состава смеси, качества ее перемешивания и обеспечения сцепления вяжущих с каменными материалами. Значительно улучшить сцепление можно, вводя в минеральную часть 2...3 % по массе извести, а в битум до 15 % дегтя или 5... 10 % каменноугольного масла.
Причины появления недостатков и меры по их устранению при строительстве покрытий и оснований способом смешения на дороге приведены в табл. 8.4.7.
Таблица 8.4.7
Недостатки при устройстве оснований и покрытий, обработанных органическими вяжущими смешением на дороге, и способы их устранения
|
Недостатки |
Возможные причины |
Способы предотвращения или устранения |
|
Покрытие пластичное, местами сильно деформируется на небольших площадях |
Минеральная часть имеет избыток мелкозема и недостаток щебня |
Частичная кирковка и новое перемешивание с добавлением крупных фракции каменных материалов |
|
То же, на больших площадях |
Избыток вяжущего |
То же, но сплошная кирковка |
|
Вскоре после постройки начинаются разрушения при плохом сцеплении каменных материалов с вяжущими (выкрашивание щебня или гравия) |
Применен грязный каменный материал пли породы камня не имеют необходимого сцепления с вяжущими материалами |
Кирковка, добавление 3 % извести, при необходимости - вяжущего; тщательное перемешивание, разравнивание и уплотнение |
|
Покрытие очень «сухое», поверхность покрывается сечкой трещин |
Недостаток вяжущего. Во время перемешивания каменный материал был очень сухой |
Частичная или сплошная кирковка, добавление вяжущею с предварительным увлажнением каменного материала, далее - все работы по технологии |
|
Поверхность раковистая с местными разрушениями |
Недостаточное уплотнение пли пористая смесь |
Дополнительная укатка катками па пневматических шинах. При пористой смеси - обработка черным песком с применением битума той же марки, что и при основном смешении. Устройство уплотняющего слоя из шлама |
Поверхностную обработку можно устраивать:
- методом поливок;
- из готовых смесей.
Поверхностная обработка может быть одиночной или двойной. Общая толщина составляет от 1,0 до 4,0 см.
Поверхностная обработка на покрытиях переходного типа:
- улучшает санитарно-гигиенические условия;
- повышает технико-эксплуатационные качества;
- усиливает конструкцию дорожной одежды.
На облегченных покрытиях:
- усиливает конструкцию дорожной одежды; повышает технико-эксплуатационные качества;
- делает покрытие более водонепроницаемым.
На капитальных покрытиях:
- повышает шероховатость;
- предохраняет покрытие от износа;
- создает водонепроницаемый слой.
Поверхностную обработку устраивают из самых прочных, износостойких, слабо шлифующихся, водо- и морозостойких материалов. Требования к щебню для поверхностных обработок приведены в табл. 8.4.8.
Таблица 8.4.8
Требования к щебню для поверхностных обработок
|
Категория дороги |
Климатические условия |
Рекомендуемые марки щебня |
|
|
по прочности |
по морозостойкости |
||
|
I, II |
Суровые |
1200 |
F100 |
|
|
Умиренные |
1200 |
F50 |
|
|
Мягкие |
1200 |
F25 |
|
III |
Суровые |
1200...1000 |
F50 |
|
|
Умеренные |
1200...1000 |
F25 |
|
|
Мягкие |
1200...1000 |
F15 |
|
IV, V |
Суровые |
1200...1000 |
F25 |
|
|
Умеренные |
1200...1000 |
F25 |
|
|
Мягкие |
1200...1000 |
F15 |
Рекомендуемые вяжущие материалы приведены в табл. 8.4.9.
Таблица 8.4.9
Вяжущие материалы для поверхностных обработок и пропиток
|
Способ производства работ |
Рекомендуемые вяжущие |
|
Подгрунтовка (обеспыливание) покрытия |
МГ 25/40, МГО 25/40, СТ 15/25, СТ 25/40, С-1, С-2. Прямые эмульсии всех видов |
|
Поверхностная обработка: |
|
|
битумом |
БНД 200/300, БНД 130/200, БНД 90/130, СГ 130/200, МГ 130/200, МГО 130/200 |
|
эмульсией |
ВК, СК, ВА-1,СА, пасты |
Рекомендуемые фракции щебня и нормы расходов материалов для поверхностных обработок, устраиваемых методом поливок, приведены в табл. 8.4.10.
Таблица 8.4.10
Расход материалов для поверхностных обработок
|
Вид обработки |
Толщина слоя, см |
Фракции щебня, мм |
Номер розлива |
Расход щебня, м3/100 м2 |
Расход битума, л/м2 |
|
Одиночная |
1,0...1,5 |
10...15 |
1 |
1,1...1,4 |
1,0...1,2 |
|
1,5...2,0 |
15...20 |
1 |
1,3...1,5 |
1,2...1,4 |
|
|
Двойная |
2,5 |
10...20 |
1 |
2,25 |
1,6...1,8 |
|
3,0 |
15...25 |
1 |
3,0 |
2,1...2,4 |
|
|
2,5; 3,0 |
5...10 |
2 |
1,8 |
1,4...1,6 |
Примечания. 1. Нормы расхода приведены для нефтяных битумов. При применении битумных эмульсий расход в пересчете на битум уменьшается на 30...35 %, при использовании для обработок черного щебня, что всегда предпочтительнее, расход битума уменьшается на 30...40 %, для получения большей шероховатости при интенсивном движении расход битума уменьшают на 40...50 % против норм, приведенных в таблице.
При устройстве поверхностных обработок тщательно очищают обрабатываемую поверхность механическими щетками, выполняют ямочный ремонт и подгрунтовку поверхности. Перечень операций при устройстве поверхностной обработки приведен в табл. 8.4.11.
Таблица 8.4.11
Укрупненная технология устройства поверхностных обработок
|
Рабочие операции |
Применяемые машины |
Длина захватки, м |
|
Очистка обрабатываемой поверхности |
Механические щетки |
500 |
|
Предварительный розлив |
Автогудронаторы |
500 |
|
1-й розлив вяжущего |
Автогудронаторы |
500 |
|
1-я россыпь щебня |
Самоходные или навесные распределители щебня |
500 |
|
Уплотнение (два, три прохода по одному следу) |
Пневмокатки или катки с металлическими вальцами |
500 |
|
2-й розлив вяжущего |
Автогудронаторы |
500 |
|
2-я россыпь щебня |
Самоходные или навесные распредели гели щебня |
500 |
|
Уплотнение (два-три прохода по одному следу) |
Пневмокатки или катки с металлическими вальцами |
500 |
|
3-й розлив вяжущего |
Автогудронаторы |
500 |
|
3-я россыпь щебня |
Самоходные или навесные распределители щебня |
500 |
|
Уплотнение |
Катки на пневматических шинах |
500 |
|
Поправка мелких дефектов формируемой поверхности |
Вручную с ручным гудронатором |
- |
Так как для поверхностной обработки применяют прочные каменные материалы, то для их уплотнения применяют средние и тяжелые катки, предпочтительно на пневматических шинах.
Для лучшего сцепления следует применять черный щебень, для шероховатости - одноразмерный щебень в одну щебенку с открытием движения не ранее 8 ч по окончании работ. Несвязанный щебень необходимо убрать с покрытия.
Поверхностная обработка должна обеспечить равномерное формирование и плотность поверхности, шероховатость поверхности для улучшения сцепления с ней колес автомобилей, ровность, однородную структуру, отсутствие раковин, шелушения и других дефектов. Хороших результатов при устройстве поверхностной обработки методом поливок можно достигнуть только при выполнении работ в сухую жаркую погоду. Во II дорожно-климатической зоне поверхностные обработки очень неустойчивы, особенно при сильном движении и неблагоприятных погодных условиях. В этом случае необходимо заменить поверхностную обработку укладкой тонких слоев из одномерного горячего черного щебня.
Для обеспечения высокого качества устройства поверхностей обработки следует использовать битумощебнераспределители (табл. 8.4.12), в которых распределительная штанга с соплами для розлива вяжущего максимально приближена к распределительному устройству щебня.
Таблица 8.4.12
Техническая характеристика битумощебнераспределителей
|
Марка |
Базовая машина |
Основные параметры |
|||
|
ширина обработки, м |
емкость цистерны, м3 |
вместимость бункера, м3 |
загрузка щебня |
||
|
Россия ДС-180 |
КамАЗ |
2,5 |
1,0 |
7,0
|
Из автомобиля-самосвала сзади |
|
Россия РД-701 |
T-130K |
3,5 |
6,0 |
6,0 |
» |
|
Германия PZA 14000 |
Седельный тягач |
3,0 |
14,0 |
7,0 |
» |
|
Франция Chp-40 |
" |
3,6 |
6,0 |
12,0 |
Самозагрузка грейфером |
|
Швеция НГ-27 |
Автосамосвал |
2,7 |
1,1...1,2 |
6...8 |
Погрузчиком |
Другим наиболее современным способом устройства поверхностной обработки является способ с использованием литой эмульсионно-минеральной смеси. Сущность данного способа заключается в нанесении на очищенную и увлажненную поверхность покрытия эмульсионно-минеральной смеси в состав которой входят:
- щебень фракции 5...10 мм;
- песок дробленый или смесь природного с дробленым;
- битумная эмульсия и вода;
- специальные добавки (стабилизатор времени распада эмульсии и цемента).
При использовании смесей следует использовать отсевы дробления щебня кубовидной формы из трудношлифуемых изверженных и метаморфических горных пород и дробленые пески.
Минеральный материал, используемый для приготовления литых эмульсионно-минеральных смесей, по физико-механическим свойствам должен удовлетворять следующим требованиям:
- содержание пылеватых и глинистых частиц, не более, %................0,5
- марка каменного материала по дробимости, не менее......................1000
- марка по истираемости..........................................................................И1
- марка по морозостойкости...................................................................F50
Ориентировочный состав катионной битумной эмульсии:
- битум нефтяной дорожный, не менее, %..................60
- эмульгатор типа «Redicote», %, .................................0,8...2,0
- стабилизатор CaCl2, не более, % ...............................0,4
- кислота HCl, % (до рН 2...5) ......................................2...5
- латекс, не менее, % .....................................................3,0
Для регулирования времени распада эмульсии и консистенции смеси применяют портландцемент (ГОСТ 10178-85) или молотую гашеную известь (ГОСТ 9179-77).
При использовании катионных эмульсий используется их свойство самопроизвольно распадаться при соприкосновении с поверхностью каменного материала и благодаря одновременной абсорбции эмульгатора, вытеснять воду с этой поверхности. Вследствие распада эмульсии происходит быстрый (в течение часа) переход от жидкого состояния к образованию твердого слоя. Естественное уплотнение без использования уплотняющих средств происходит за счет отделения воды и уменьшения объема вяжущего. При этом происходит образование шероховатости зернами минерального материала, выступающими над поверхностью слоя. Коэффициент сцепления при добавках дробленого песка достигает 0,60...0,65
Классификация эмульсионно-минеральных смесей и зерновые составы приведена в табл.8.4.13.
Таблица 8.4.13
Классификация эмульсионно-минеральных смесей
|
Тип смеси |
Количество частиц, % по массе, мельче данного размера, мм |
|||||||
|
10 |
5 |
2,5 |
1,25 |
0,63 |
0,315 |
0,14 |
0,071 |
|
|
I |
100 |
100 |
90...100 |
65...90 |
40...65 |
25...42 |
15...30 |
10...20 |
|
II |
100 |
90...100 |
65...90 |
45...70 |
30...50 |
18...30 |
10...21 |
5...1 5 |
|
III |
100 |
70...90 |
45...70 |
28...50 |
19...34 |
12...25 |
7...18 |
5...15 |
I и II типы используют для мест парковки и внутриквартальных проездов; III - для автомагистралей.
Смесь приготовляют в лопастной мешалке, установленной на автомобиле, и сразу после ее приготовления распределяют на поверхности покрытия слоем толщиной 5...10 мм. Смесь быстро затвердевает и не требует уплотнения катками.
Машина для приготовления и распределения эмульсионно-минеральной смеси представляет из себя навесное оборудование на автомобильном шасси и включает бункеры для щебня, цемента, емкости (баки) для битумной эмульсии и воды, системы дозирующих всех составляющих эмульсионно-минеральной смеси, мешалки для приготовления смеси и навесного (в транспортном положении) и протягиваемого по покрытию бездонного бункера для распределения готовой смеси.
Смесители укладчики эмульсионно-минеральной смеси разделяют на цикличного действия, которые доставляют к месту укладки порцию всех составляющих и выработав возвращаются за новой порцией, и непрерывного действия, когда на дорогу доставляют компоненты другим видом транспорта. Производительность машин цикличного действия от 60 до 150 т/ч, непрерывного - от 150 до 240 т/ч.
Причины появления и способы устранения недостатков, возникающих при устройстве поверхностных обработок приведены в табл. 8.4.14.
Таблица 8.4.14
Недостатки при устройстве поверхностных обработок
|
Недостатки |
Возможные причины |
Способы предотвращения или устранения |
|
Поверхностная обработка отстает от основания и даже уносится колесами Щебень при движении сбрасывается на обочины из-за отсутствия сцепления с вяжущим |
Загрязненная поверхность основания, розлив битума низкой температуры. Влажная поверхность. Движение открыто рано, вяжущее не затвердело. Щебень покрыт пылью. С россыпью запоздали - битум загустел |
Удалим, на дефектных местах поверхностную обработку и тщательно восстановить с применением ручного гудронатора. Исправить нельзя. В дальнейшем следует применять черный щебень и открывать движение на следующий день. Начинать розлив, имея в запасе в распределителях достаточно щебня |
|
Поверхность покрытия затягивается битумом и теряет шероховатость |
Избыточное количество битума |
Можно исправить дополнительной россыпью черного щебня при высокой температуре воздуха. |
|
На поверхности образуются жирные пятна в отдельных местах |
Подтек вяжущего из гудронатора |
При небольших площадях битум счищают горячими лопатами с последующей засыпкой дефектных участков одномерным щебнем. Под распределитель гудронатора на стоянках обязательно подкладывают металлический поддон |
|
Щебень раздавливается при укатке |
Избыток щебня. Допущено применение щебня слабых пород |
Убрать лишний щебень до укатки. Исправить нельзя. Полностью переделать участок с использованием щебня требуемых марок |
|
Щебень сбрасывается с проезжей части продольными полосами |
При розливе отдельные сопла распределителя не работали |
Перед каждым розливом очищать все сопла распределителя. Пропуски заделать ручным распределителем |
Технология приготовления и распределения литых эмульсионно-минеральных смесей принципиально одинакова при использовании машин различных фирм-изготовителей (рис. 8.4.1).

Рис. 8.4.1. Передвижная установка для приготовления и
распределения литых эмульсионно-минеральных смесей:
1 - резервуар для воды; 2 - бункеры для минеральных материалов; 3 - бункер для
цемента; 4 - объемный дозатор присадок; 5 - система подачи воды и присадок; 6 -
система подачи эмульсии; 7- смесительное отделение; 8 - распределительная
рампа; 9 - конвейер для подачи минеральных материалов; 10 - резервуар для
присадок; 11 - резервуар для эмульсии
Для транспортировки асфальтобетонной смеси от асфальтобетонного завода к асфальтоукладчику используют грузовые автомобили-самосвалы. Допускаемая дальность транспортирования зависит от вида смеси, климатических условий, состояния путей подвоза. Температура горячей асфальтобетонной смеси по прибытии на место укладки должна быть в пределах от 115 до 155°С. Для ориентировочных расчетов можно считать, что смесь остывает на 1°С при перевозке на каждый километр пути или на 20°С за каждый час пути. Исходя из опыта в сухую жаркую погоду, горячую плотную смесь можно перевозить на расстояние до 40...50 км, а в прохладную - до 20...30 км.
При транспортировке горячей асфальтобетонной смеси на большие расстояния без покрытия смесь покрывается сверху коркой, которая остывает и начинает затвердевать. Образование корки создает защитный слой для остальной массы смеси и уменьшает скорость ее дальнейшего охлаждения. Таким образом, образование корки в определенных обстоятельствах выгодно, так как она позволяет сохранить приемлемую температуру остальной части материала в кузове самосвала.
Если транспортируемая смесь укрывается сверху, например, тканым покрытием, то образование корки бывает минимальным, так как покрытие защищает смесь от охлаждения под воздействием ветра. Тонкая корка, образующаяся при транспортировке, полностью разрушается при выгрузке горячей асфальтобетонной смеси в бункер асфальтоукладчика и последующем перемешивании пластинчатым и винтовым конвейерами к выглаживающей плите асфальтоукладчика. Пока куски асфальтобетонной смеси не оказывают отрицательного влияния на качество слоя, создаваемого асфальтоукладчиком, корка, образующаяся на горячей смеси во время транспортировки, не считается опасной для эксплуатационных характеристик покрытия.
Те же самые факторы необходимо учитывать и для случаев дождливой погоды на строительной площадке, когда горячая асфальтобетонная смесь находится в самосвалах, ожидающих разгрузку. При этом возможны различные варианты.
Первый вариант предполагает приостановку укладки, возврат смеси на завод для вторичной обработки и последующего использования на менее ответственных объектах. Если же дождь слабый и затяжной, поверхность дороги обработана вяжущим материалом и не имеет луж, то строительство можно продолжить. При этом самосвалы следует разгружать быстро и сразу же после укладки вести уплотнение смеси до ее окончательного остывания. Если же дождь по прогнозу должен быстро закончиться, то лучше не разгружать смесь в асфальтоукладчик, а укрыть ее в автосамосвале пологом из непромокаемой ткани. Укладку смеси можно продолжить после того, как поверхность дороги высохнет. Сразу же после прекращения дождя и удаления всех луж с поверхности дороги следует разгрузить стоящие в ожидании самосвалы и приступить к укладке смеси. Если комки смеси не появляются в асфальтобетонном слое, создаваемом выглаживающей плитой, и катки в состоянии эффективно уплотнять асфальтобетонную смесь, можно считать, что смесь не теряет своих качеств при выдерживании в самосвалах в течение 2...3 ч ввиду плохой погоды [54], если были соблюдены условия ГОСТ 9128-97 [55] в части соблюдения температуры смеси при отгрузке потребителю (табл. 8.5.1).
Таблица 8.5.1
Температура смеси при отгрузке потребителю
|
Вид смеси |
Температура смеси, °С, в зависимости от показателя битума |
||||||
|
глубины проникания иглы при 25°С, 0,1 мм |
условной вязкости по вискозиметру с отверстием 5 мм при 60°С, с |
||||||
|
40...60 |
61...90 |
91...130 |
131...200 |
201...300 |
70...130 |
121...200 |
|
|
Горячая |
От 150 до 160 |
От 145 до 155 |
От 140 до 150 |
От 130 до 140 |
От 120 до 130 |
- |
От 110 до 120 |
|
Холодная |
- |
- |
- |
- |
- |
От 80 до 100 |
От 100 до 120 |
Примечания:
1. При использовании ПАВ и активированных минеральных порошков допускается снижать температуру горячих смесей на 20°С
2. Для высокоплотных асфальтобетонов и асфальтобетонов на полимерно-битумных вяжущих допускается увеличивать температуру готовых смесей на 20°С, соблюдая при этом требования ГОСТ 12.1.005 к воздуху рабочей зоны.
Перед загрузкой смеси в самосвал со дна кузова удаляют весь мусор, оставшийся от предыдущей ездки. Дно кузова не должно иметь углублений, в которых могли бы скапливаться вещества, применяемые для смазывания внутренней поверхности кузова, или асфальтобетонная смесь.
После того, как кузов будет очищен, его следует обработать специальным раствором, предотвращающим прилипание смеси к его внутренней поверхности. В качестве таких веществ применяют различные материалы, не содержащие нефть, например, известковую суспензию, мыльный раствор, сульфитно-спиртовую барду.
Для смазки кузова нельзя использовать дизельное топливо, соляровое масло или топочный мазут. В случае применения одного из этих веществ может произойти изменение характеристик транспортируемой смеси.
Необходимым условием для достижения требуемого качества устраиваемого слоя наряду с обязательным соблюдением технологических режимов является грамотная организация работ.
1. Укладку асфальтобетонной смеси производить при благоприятных погодных условиях (табл. 8.5.2).
Таблица 8.5.2
Условия для устройства асфальтобетонных покрытий
|
Вид асфальтобетонной смеси |
Температура воздуха в сухую погоду, °С |
|
|
весной и летом |
осенью |
|
|
Горячая Холодная |
Не ниже +5 Не ниже +5 |
Не ниже +10 Не ниже +10; до начала осенних дождей с учетом времени на формирование |
Примечание. Работу организуют, как правило, в две смены; причем, в дневное время укладывают верхний слой и в любую смену - нижний слой покрытия.
2. Покрытия и основания из асфальтобетонных смесей устраивают в сухую погоду. Для укладки смеси должны быть сформированы механизированные звенья, включающие самоходный асфальтоукладчик (один, два или три в зависимости от ширины проезжей части), моторные катки, вспомогательные машины и приспособления. Наиболее эффективно применение современных широкозахватных асфальтоукладчиков с активными рабочими органами - трамбующим брусом и виброплитой, позволяющими за один проход укладывать смесь на всю ширину [57] проезжей части, что исключает продольные сопряжения, являющиеся слабым местом при устройстве и эксплуатации асфальтобетонного покрытия (рис. 8.5.1).

Рис. 8.5.1. Технологическая схема устройства двухслойного
асфальтобетонного покрытия на проектную ширину при работе в одну смену:
1 - автомобиль-самосвал; 2 - асфальтоукладчик; 3 - каток на пневматических
шинах; 4 - каток тяжелый гладковальцовый массой 11-18 т; 5 - поливомоечная
машина
При невысоких темпах и объемах допускается осуществлять работу сопряженными полосами (табл. 8.5.3) одним асфальтоукладчиком. В этом случае длина полосы укладки (в пределах сменной захватки), позволяющая обеспечить хорошее сопряжение смежных полос, зависит от погодных условий (температуры воздуха и наличия или отсутствия ветра), а также от температуры самой смеси и от рабочей и транспортной скорости асфальтоукладчика [57].
Таблица 8.5.3
Длина полосы укладки
|
Температура воздуха, °С |
Длина укладываемой полосы, м |
||
|
одним асфальтоукладчиком |
двумя асфальтоукладчиками |
||
|
на открытых участках |
на защищенных от ветра, застроенных и лесных участках, в глубоких выемках |
||
|
5...10 |
25...30 |
30...40 |
60...70 |
|
10...15 |
30...50 |
40...60 |
70...80 |
|
15...20 |
50...70 |
60...80 |
80...100 |
|
20...25 |
70...80 |
80...100 |
100...150 |
|
Более 25 |
80...100 |
100...150 |
150...200 |
Примечание. При устройстве покрытия из холодной асфальтобетонной смеси длина укладываемой полосы может допускаться до 350...500 м в зависимости от погодных условий [58].
3. При любых вариантах организации работ доставка асфальтобетонной смеси должна быть ритмичной. Количество остановок асфальтоукладчика должно быть сокращено до минимума.
При непродолжительных перерывах в доставке смеси последнюю не рекомендуют полностью вырабатывать из бункера асфальтоукладчика (во избежание остывания питателя и затвердевания на нем смеси); бункер с оставшейся смесью закрывают до возобновления доставки смеси.
В конце смены и при продолжительных перерывах (летом при перерыве более 30...60 мин, при пониженных температурах воздуха - не более 15 мин) необходимо расходовать всю смесь, находящуюся в бункере, шнековой камере и под плитой, во избежание поломки асфальтоукладчика. Асфальтоукладчик при этом должен выдвигаться вперед, чтобы обеспечить возможность уплотнения всей уложенной смеси до ее остывания.
4. Состав звена катков зависит от скорости потока, вида асфальтоукладчиков, вида и типа асфальтобетонной смеси, характеристик катков.
При использовании асфальтоукладчиков с рабочим органом, состоящим из трамбующего бруса и пассивной выглаживающей плиты, звено следует формировать не менее чем из трех катков: гладковальцового легкого, гладковальцового (или на пневматических шинах) среднего и тяжелого. Легкий и средний катки можно заменить одним вибрационным катком массой 6...8 т, так как при работе с выключенным вибратором он выполняет функции легкого катка, а с включенным - среднего. При укладке горячих асфальтобетонных смесей с содержанием щебня более 40 % в состав звена легкий каток можно не включать. При возможности выбора вида среднего катка предпочтение следует отдавать катку на пневматических шинах.
В случае использования асфальтоукладчиков с рабочим органом, состоящим из трамбующего бруса и вибрационной плиты, укатку мелко- или крупнозернистых горячих смесей осуществляют звеном из средних и тяжелых катков, легкий каток необходим только при укатке песчаных смесей.
Кроме основных ведущих машин бригада, работающая на укладке асфальтобетонных смесей, укомплектовывается дополнительным оборудованием, выполняющим вспомогательные операции: компрессорами с пневмомолотками или лопатками для обрубки краев ранее устроенных полос покрытия и для очистки основания от пыли сжатым воздухом; поливомоечными машинами со щеткой для очистки и промывки основания; автогудронаторами для доставки и распределения по основанию битумной эмульсии; разогревателями, использующими тепловую энергию инфракрасного излучения для разогрева мест сопряжений полос и исправления дефектных мест.
Кроме того бригаде выдают следующие основные приборы, приспособления и инвентарь: нивелир и набор визирок для геодезической разбивки и переноса высотных отметок к месту укладки смеси; вибротрамбовки и ручные трамбовки для уплотнения смеси вручную в недоступных для работы катков местах; металлические рейки с уровнем, шаблоны для контроля ровности устраиваемого покрытия.
Перед началом работ по укладке асфальтобетонной смеси проводятся подготовительные работы. Конструктивный слой, на который предстоит укладывать асфальтобетонную смесь, должен быть в состоянии, соответствующем требованиям СНиП 3.06.03-85, т.е. иметь нормативную плотность и ровность поверхности, быть чистым, сухим без повреждений.
Подготовительные работы включают:
- обработку поверхности основания жидким битумом или битумной эмульсией равномерным слоем не менее, чем за 6 час до укладки смеси. Расход вяжущего составляет: при обработке жидким битумом необрабатываемых минеральных материалов - 0,5...0,8 л/м2, при обработке 50 % битумной эмульсией - 0,4...0,7 л/м2, а слоя из асфальтобетона - 0,2...0,3 л/м2. Обработку нижнего слоя вяжущим можно не производить в случае, если интервал времени между устройством верхнего и нижнего слоев составляет не более 2 суток и отсутствует движение построечного транспорта. Недостаточное количество вяжущего обусловит слабую связь между нижним и верхним слоями покрытия, избыточное количество может стать причиной пластических деформаций верхнего слоя или просачивания вяжущего сквозь верхний слой на его поверхность;
- геодезическую разбивку и установку контрольных «маяков». Асфальтобетонные или деревянные «маяки» устанавливаются по визиркам вдоль дороги на уплотненном нижнем слое. Требования при приемке нижележащего слоя должны соответствовать СНиП 3.06.03-85 (табл. 8.5.4).
Таблица 8.5.4
|
Контролируемый параметр |
Конструктивный элемент |
Допуски при приемке |
|
Поперечный уклон |
Все виды слоев |
Не более 10 % результатов определений могут иметь отклонения от проектных значений от -0,015 до +0,030, остальные до ±0,010 |
|
Ровность (просвет под 3-метровой рейкой) |
Основания щебеночные и из тощего бетона |
Не более 5 % результатов определений могут иметь значения просветов в пределах до 20 мм, остальные - до 10 мм |
|
Нижележащие слои из асфальтобетона и монолитного цементобетона |
Не более 5 % результатов определений могут иметь значения просветов в пределах до 10 мм, остальные - до 5 мм |
|
|
Разница в уровне поверхности шва |
Монолитные цементобетонные основания |
Не более 20 % результатов определений могут иметь значения в пределах до 10 мм, остальные - до 3 мм |
|
Превышение граней смежных плит |
Сборные цементобетонные основания |
Не более 20 % результатов определений могут иметь значения в пределах до 10 мм, остальные - до 5 мм |
Минимально допустимая температура смесей при укладке в зависимости от толщины слоя, вязкости битума и температуры воздуха должна соответствовать данным, приведенным в табл. 8.5.5 [56].
В процессе выгрузки из автомобиля асфальтобетонной смеси асфальтоукладчик продвигает автомобиль впереди себя до тех пор, пока он полностью не освободится от смеси. При этом необходимо путем регулирования угла наклона кузова автомобиля обеспечивать равномерную загрузку приемного бункера асфальтоукладчика.
При выгрузке необходимо следить за тем, чтобы смесь не просыпалась на нижележащий слой. Просыпавшуюся смесь следует убрать лопатами. В случае непродолжительных перерывов в доставке смеси последнюю не рекомендуется полностью вырабатывать из бункера асфальтоукладчика во избежание остывания питателя и затвердения на нем смеси. В этом случае бункер с оставшейся смесью закрывают до возобновления приема новой порции смеси. При длительных перерывах в работе (более 30 мин) или в конце смены асфальтоукладчик должен быть освобожден от асфальтобетонной смеси. Асфальтоукладчик должен при этом выдвигаться вперед, чтобы обеспечить возможность уплотнения всей уложенной смеси до ее остывания.
Таблица 8.5.5
Минимальная температура асфальтобетонной смеси при укладке
|
Толщина слоя, см |
Марка битума |
Температура воздуха, °С |
|||||||
|
30 |
20 |
15 |
10 |
5 |
0 |
-5 |
-10 |
||
|
До 5 |
БН, БНД 40/60, 60/90, 90/130 |
115 120 |
125 135 |
130 110 |
135 145 |
140 150 |
145 155 |
- |
- |
|
5...10 |
То же |
105 110 |
115 120 |
120 125 |
125 130 |
130 135 |
135 140 |
- |
- |
|
До 5 |
БН, БНД 130/200, 200/300, СТ 130/200, МГ 130/200, мго 130/200 |
90 100 |
95 105 |
100 110 |
105 115 |
110 120 |
115 125 |
120 130 |
125 135 |
|
5...10 |
То же |
90 95 |
90 100 |
95 105 |
100 110 |
105 115 |
110 115 |
115 125 |
120 130 |
Примечание. Над чертой - при скорости ветра 6 м/с, под чертой - 6...13 м/с
Толщина слоя из горячих асфальтобетонных смесей, укладываемых асфальтоукладчиками с трамбующим брусом и пассивной выглаживающей плитой, должна быть больше проектной на 15...20 %, при использовании асфальтоукладчика с трамбующим брусом и виброплитой - на 10... 15 %.
Распределение асфальтобетонной смеси производится асфальтоукладчиками. Техническая характеристика отечественных асфальтоукладчиков дана в табл. 8.5.6. Количество смеси, подаваемое в шнековую камеру, должно быть постоянным, насколько это возможно. Оптимальной считается такая глубина материала в шнековои камере, при которой уровень смеси доходит до середины шнекового вала.
Таблица 8.5.6
Техническая характеристика отечественных асфальтоукладчиков
|
Модель |
Параметры асфальтоукладчиков |
|||||||||
|
производительность, т/ч |
ширина укладываемой полосы, м |
толщина укладываемого слоя, мм |
вместимость бункера, т |
скорость передвижения |
ходовая часть |
мощность двигателя кВт |
масса, т |
габариты, м |
||
|
рабочая, м/мин |
транспортная, км/ч |
|||||||||
|
Техническая характеристика отечественных асфальтоукладчиков |
||||||||||
|
ДС-48 |
150...200 |
3,03...3,78 |
30...150 |
10 |
1,9...17,1 |
9,5 |
Колесный |
66 |
|
|
|
ДС-94 |
100...150 |
3,0...4,5 |
20...150 |
8 |
1,48...13,7 |
5,2 |
Гусеничный |
37 |
|
|
|
ДС-126А |
До 150 |
3,0...3,75 |
До 200 |
7 |
1,6...12,8 |
20,0 |
Гусеничный |
- |
|
|
|
ДГ-113 |
200...250 |
3,0...7,5 |
До 150 |
10 |
1,2...18,07 |
До 15 |
Колесный |
66 |
|
|
|
ДГ-114 |
300...400 |
До 12.0 |
До 150 |
10 |
1,2...10,7 |
До 15 |
Колесный |
95 |
|
|
|
СД-404М |
200 |
3,0...7,5 |
20...300 |
10 |
0,927...9,7 |
13,34 |
Колесный |
97 |
|
|
|
ДС-143 |
До 170 |
До 4,5 |
- |
10 |
1,58...8,57 |
4,64 |
Гусеничный |
44 |
|
|
|
ДС-155 |
До 250 |
3,0...7,0 |
До 200 |
12 |
1,7...21,64 |
10,33 |
Колесный |
44 |
|
|
|
Техническая характеристика современных отечественных асфальтоукладчиков |
||||||||||
|
ДС-195 |
210 |
3...4,5 |
30...220 |
10 |
1,75...8,57 |
0,95...4,64 |
Гусеничный |
- |
13,5 |
5,25´3,15´3,3 |
|
ДС-179 |
250 |
3...7 |
300 |
12 |
1...14 |
4,6 |
Гусеничный |
- |
17,6 |
6,15´3,15´3,6 |
|
ДС-181 |
250 |
3...7,5 |
300 |
10 |
15 |
15,5 |
Колесный |
- |
20,0 |
7,2´3,1´2,81 |
|
СД-4045 |
450 |
3...7 |
300 |
12 |
1,6...5,6 |
17 |
Колесный |
- |
17,3 |
6,4´3,15´3,6 |
|
АК-7,5 |
450 |
3...7,5 |
300 |
- |
- |
17 |
Колесный |
- |
17,5 |
- |
|
ДС-169-6.0 |
120 |
6,0 |
160...240 |
- |
1...20 |
- |
Колесный |
- |
22,6 |
5,67´8,47´3,72 |
|
ДС-189 |
210 |
3...5 |
200 |
10 |
1,8...8,6 |
- |
Гусеничный |
44 |
15,0 |
5,71´3,15´3,3 |
|
ДС-199 |
210 |
3...4,5 |
220 |
10 |
1,56...7,68 |
- |
Гусеничный |
44 |
13,5 |
5,15´3,15´3,3 |
|
ДС-191 |
250 |
3...4,5 |
30...300 |
12 |
2,0...10 |
- |
Колесный |
- |
19,6 |
7,2´3,15´3,85 |
|
Техническая характеристика асфальтоукладчиков типа «Супер» |
||||||||||
|
Супер-Бой |
50 |
1,1...2,0 |
- |
- |
- |
- |
- |
28 |
- |
- |
|
Супер-1400 |
300 |
2,0 |
- |
- |
- |
- |
Гусеничный |
46 |
- |
- |
|
Супер-1800 |
600 |
2,5...10 |
300 |
- |
18 |
- |
Гусеничный |
121 |
- |
- |
|
Супер-2000 |
800 |
3,0...12,5 |
До 300 |
- |
18 |
- |
Гусеничный |
160 |
- |
- |
Если в уложенном слое появляются разрывы, трещины, пустоты по краям полосы, или поверхность получается неровной, то машинист регулирует скорость движения асфальтоукладчика, следит за тем, чтобы трамбующий брус работал без остановки, а выглаживающая плита периодически прогревалась горелкой.
Сразу после прохода асфальтоукладчика проверяют толщину слоя и поперечный уклон. Если толщина слоя смеси не соответствует заданной, то изменяют положение выглаживающей плиты регулировочными винтами. Этими же винтами устраняют отклонения поперечного профиля покрытия от заданного.
Ровность проверяют трехметровой рейкой. Под рейкой, уложенной в любом месте, не должно быть просвета. На возвышениях смесь слегка разрыхляют граблями и лопатой.
При окончании укладки смеси слой ее клинообразно утончается. При возобновлении работ клинообразная часть слоя обрубается вертикально по рейке или шнуру в направлении, перпендикулярном оси дороги. Для образования качественного поперечного стыка в месте обрубки слоя вертикальная грань ранее уложенного слоя смазывается битумной эмульсией и на это место устанавливается плита асфальтоукладчика. Необходимо, чтобы плита перед началом укладки была прогрета обогревающими устройствами или горячей асфальтобетонной смесью. Другим способом устройства поперечного шва является укладка в поперечном направлении деревянного бруса по толщине равного толщине уплотняемого слоя асфальтобетона. Для смягчения толчков от движущего транспорта перед брусом укладывают клинообразный упор из асфальтобетонной смеси.
При укладке смеси в две или более полосы одним асфальтоукладчиком необходимо обращать особое внимание на то, чтобы укладываемые полосы покрытия были хорошо сопряженными. В противном случае в этих местах, как правило, начинается разрушение покрытия. Чтобы обеспечить полную однородность фактуры покрытия в местах сопряжения полос, необходимо до начала укладки новой полосы вертикальный край ранее уложенного асфальтобетона смазать тонким слоем битумной эмульсии. При устройстве новой полосы неуплотненную смесь укладывают с таким расчетом, чтобы после уплотнения слой имел такую же толщину, как и ранее уложенная полоса. Несоблюдение в зоне шва этого правила приводит к тому, что смесь в этом месте недоуплотняется, что приводит либо к преждевременному разрушению в связи с повышенной остаточной пористостью и, следовательно, повышенным водонасыщением, либо к образованию колеи в результате доуплотнения смеси в процессе движения автотранспорта.
При разработке технологической карты на устройство асфальтобетонного покрытия длину захватки определяют по формуле
(8.5.1)
где l - длина захватки, м;
Кп - коэффициент, учитывающий потери смеси при транспортировании и укладке (0,98);
Q - количество асфальтобетонной смеси, отпускаемой АБЗ на объект, кг;
b - ширина проезжей части, м;
q - расход асфальтобетонной смеси, кг/м2 (табл. 8.5.7).
В соответствии со СНиП 2.05.02-85 толщины конструктивных слоев в уплотненном состоянии следует принимать не менее приведенных в табл. 8.5.8.
Таблица 8.5.7
Расход асфальтобетонной смеси на 100 м2 покрытия в зависимости от толщины слоя, m
|
Вид смеси |
Плотность, смеси, кг/м3 |
Толщина слоя, мм |
||||||
|
35 |
40 |
45 |
50 |
60 |
70 |
80 |
||
|
Крупнозернистая: |
|
|
|
|
|
|
|
|
|
плотная |
2340 |
- |
- |
- |
- |
14,0 |
16,38 |
18,7 |
|
пористая |
2300 |
- |
- |
- |
- |
13,8 |
16,1 |
18,4 |
|
Мелкозернистая типа: |
|
|
|
|
|
|
|
|
|
А |
2385 |
8,35 |
9,54 |
10,73 |
11,92 |
- |
- |
- |
|
Б |
2370 |
8,29 |
9,48 |
10,66 |
11,85 |
- |
- |
- |
|
В |
2340 |
8,19 |
9,36 |
10,53 |
11,7 |
- |
- |
- |
|
Песчаная Г, Д |
2280 |
7,98 |
9,12 |
10,26 |
- |
- |
- |
- |
Таблица 8.5.8
Толщины конструктивных слоев асфальтобетонного покрытия
|
Вид смеси |
Толщина слоя, мм |
|
Однослойное покрытие: |
|
|
крупнозернистая |
6...7 |
|
мелкозернистая |
3...5 |
|
песчаная |
3....4 |
|
Общая толщина двухслойных покрытии с верхним слоем: |
|
|
из щебенистого асфальтобетона (тип А, Б, В) |
7,5...13 |
|
из песчаного асфальтобетона (тип Г, Д) |
7,0...4,5 |
|
Наименьшая толщина асфальтобетона на основании из цементобетона |
12,0 |
Примечания: 1. Большие толщины асфальтобетонных покрытий следует принимать для дорог I и II категорий, а меньшие для дорог III и IV категорий.
2. Толщину конструктивного слоя следует принимать во всех случаях не менее 1,5 размера наиболее крупной фракции, применяемого в слое минерального материала.
Уплотнение асфальтобетонной смеси - основная технологическая операция, которая предопределяет физико-механические свойства покрытия. Недостаточное уплотнение асфальтобетонного покрытия - одна из основных причин его разрушения. Высококачественного уплотнения покрытия можно добиться только в том случае, когда в процессе укладки и уплотнения будут соблюдаться температурный режим, очередность смены катков и требуемое количество их проходов.
Продолжительность остывания асфальтобетонной смеси после ее укладки зависит от толщины слоя, начальной температуры смеси и погодно-климатических условий. Чем тоньше слой, тем быстрее он остывает и тем меньше времени отводится для работы каждого катка в указанном интервале температур. На рис. 8.5.2 показаны графики остывания смеси [54].

Рис. 8.5.2. Графики остывания асфальтобетонной смеси в слоях
разной толщины:
а - при температуре воздуха 10°С; б - при температуре воздуха 23...25°С
Для обеспечения правильного температурного режима при уплотнении горячих асфальтобетонных смесей СНиП 3.06.03-85 «Автомобильные дороги» регламентирует температуру в начале уплотнения в соответствии с табл. 8.5.9.
Рекомендуемая температура смесей
|
Вид смеси |
Марка битума |
Температура смеси в начале уплотнения °С |
|
|
высокоплотный, плотный асфальтобетон типов А и Б, пористый и высокопористый асфальтобетон с содержанием щебня (гравия) более 40 % |
плотный асфальтобетон типов В, Г и Д, пористый и высокопористый асфальт с содержанием щебня (гравия) менее 40 % массы и высокопористый песчаный |
||
|
Горячая |
БНД 40/60 БНД 60/90 БНД 90/130 БН 60/90 БН 90/130 |
120...160 |
100...130 |
|
БНД 130/200 БНД 200/300 БН 130/200 БН 200/300 |
100...140 |
80...110 |
|
|
|
СГ 130/200 МГ 130/200 МГО 130/200 |
70...110 |
|
Примечание. При использовании смесей с ПАВ температуру снижают на 10 20°С.
Уплотнение смеси начинают непосредственно после ее распределения при температуре, при которой давление катка не превышает сопротивления сдвигу уплотняемого слоя при определенной длительности нагружения. Рекомендуемая температура для эффективного уплотнения смесей приведена в табл. 8.5.10.
Таблица 8.5.10
Температурные интервалы этапов уплотнения
|
Этапы уплотнения смеси в покрытии |
Температура смеси, °С |
||||
|
Тип А |
Тип Б |
Тип В |
Тип Г |
Тип Д |
|
|
Начало предварительного |
145...140 |
135...130 |
125...120 |
130...125 |
110...105 |
|
Начало основного |
125..120 |
115...110 |
105...100 |
110...105 |
90...85 |
|
Начало заключительного |
100...95 |
95...90 |
85...80 |
90...85 |
75...70 |
|
Окончание заключительного |
80...75 |
75...70 |
65...60 |
75...70 |
60...55 |
Примечание Температура начала укатки на последующем этапе соответствует окончанию работ на предыдущем этапе
Общее время охлаждения различных слоев смеси от 140...135°С до 65...60°С при определенных погодных условиях составит от 15 до 100 мин. В рамках этого времени необходимо выполнить весь объем работы по уплотнению.
Суммарное время работы укладчика и всех трех катков согласно [59] следует распределить между раскладкой и этапами уплотнения в пропорции примерно 1:1:2:2 (табл. 8.5.11).
Таблица 8.5.11
Временные интервалы уплотнения асфальтобетонных смесей
|
Толщина слоя покрытия, см |
Ориентировочное время, отводимое по условиям остывания слоя (мин.) на выполнение операции его уплотнения всеми катками при температуре наружного воздуха, °С |
|||||
|
0...2 |
4...5 |
8...10 |
13... 15 |
18...20 |
23...25 |
|
|
3...4 |
13...15 |
16...18 |
19...21 |
22...24 |
26...28 |
30...35 |
|
5...6 |
20...23 |
24...27 |
28...30 |
32..35 |
37...40 |
43...48 |
|
8...10 |
43...48 |
52...58 |
62...68 |
70...77 |
80...90 |
95...110 |
Примечание Указанное время соответствует скорости ветра 3...5 м/с. При его усилении до 8...10 м/с это время уменьшается на треть, в солнечную безветренную погоду увеличивается примерно на треть.
Техническая характеристика дорожных катков, которые могут быть использованы для уплотнения асфальтобетонных смесей, приведена в табл. 8.5.12. Рекомендации по назначению типоразмеров катков и количества их проходов даны в табл. 8.5.13 [59]. Последовательность проходов катков при уплотнении всех типов одинакова. При укладке смеси на всю ширину проезжей части на двухскатном профиле катки должны двигаться по уплотняемому покрытию от краев полосы к середине, а затем от середины к краям, перекрывая каждый след на 20...30 см. При устройстве покрытия с односкатным профилем уплотнение начинают с низовой стороны.
Таблица 8.5.12
Техническая характеристика отечественных дорожных катков
|
Параметры |
Статические самоходные катки с гладкими вальцами |
Самоходные вибрационные катки |
Самоходные пневмоколесные катки |
Комбинированные катки |
||||||
|
ДУ-48Б |
ДУ-49А |
ДУ-54А |
ДУ-47Б |
ДУ-31А |
ДУ-29 |
ДУ-52 |
ДУ-57-1 |
ДУ-58 |
ДУ-62 |
|
|
Масса катка, т |
|
|
|
|
|
|
|
|
|
|
|
с балластом |
12,0 |
18,0 |
1,5 |
6,0 |
13,5 |
15,0 |
- |
- |
- |
- |
|
без балласта |
9,0 |
15,0 |
2,2 |
8,0 |
16,0 |
30,0 |
16,0 |
20,5 |
16,0 |
13,0 |
|
Ширина уплотняемой полосы, м |
1,85 |
1,29 |
0,87 |
1,40 |
1,92 |
2,22 |
2,0 |
2,4 |
2,0 |
2,2 |
|
Габаритные размеры, м |
|
|
|
|
|
|
|
|
|
|
|
длина |
5,07 |
6,57 |
2,8 |
4,65 |
4,75 |
6,16 |
5,7 |
6,2 |
5,9 |
6,0 |
|
ширина |
1,85 |
2,04 |
1,1 |
1,8 |
1,80 |
2,89 |
2,4 |
2,7 |
2,4 |
2,4 |
|
высота |
3,00 |
3,41 |
2,2 |
2,85 |
3,09 |
3,41 |
3,4 |
3,2 |
3,3 |
3,2 |
|
Рабочая скорость движения, км/ч |
1,94...6,55 |
До 7,80 |
До 6,0 |
До 6,8 |
До 25 |
До 20 |
10,8 |
До 8 |
До 16 |
До 16 |
|
Марка двигателя |
- |
- |
- |
- |
- |
- |
- |
- |
- |
- |
|
Марка тягача |
Д-144-67 |
Д-144 |
УД25-Г |
Д-144-67 |
- |
- |
- |
- |
- |
- |
|
Мощность двигателя, кВт |
- |
- |
- |
- |
66 |
95 |
110 |
147 |
95,5 |
95,5 |
|
Давление в шинах, МПа |
- |
- |
- |
- |
0,5 |
0,3...0,8 |
0,3...0,8 |
0,35 |
0,3...0,8 |
0,3...0,8 |
|
Глубина уплотнения |
- |
- |
- |
- |
- |
- |
- |
- |
- |
- |
Катки и количество их проходов для уплотнения асфальтобетонных смесей
|
Содержание щебня в смеси |
Тип выглаживающей плиты асфальтоукладчика |
Этапы уплотнения |
Масса катков, т Количество проходов по одному следу |
||
|
До 40 %, песчаные |
Пассивная |
I |
6...8 2...3 |
- |
6...8 2...3* |
|
II |
10...13 8...10 |
16 6...10 |
6...8 3...4** |
||
|
III |
11...18 4...8 |
- |
- |
||
|
|
Вибрационная |
I |
6...8 2...3 |
- |
6...8 2...3* |
|
II |
10...13 6...8 |
16 4...6 |
6...8 3...4** |
||
|
III |
11...18 4 |
- |
- |
||
|
Более 40 % |
Пассивная |
I |
10...13 8...10 |
16 6...10 |
6...8 8...10 |
|
II |
11...18 6...8 |
- |
- |
||
|
|
Вибрационная |
I |
10...13 8...10 |
16 4...6 |
6...8 4...6 |
|
II |
11..18 4...6 |
- |
- |
||
Примечания. 1. В числителе масса катка, т, в знаменателе - количество проходов катка по одному следу; * - вибратор включен; ** - вибратор выключен.
В процессе уплотнения необходимо соблюдать следующие правила:
1. Уплотнение следует производить в строгом соответствии с рекомендациями табл. 8.5.9...8.5.13.
2. Каток должен двигаться параллельно оси дороги со скоростью 2...3 км/ч, гладковальцовые катки в статическом режиме, в вибрационном - 3...4 км/ч, и катки комбинированного действия в статическом режиме - 3...4 км/ч, вибрационном - 5...6 км/ч, пневмоколесный - 6...11 км/ч.
3. На проезжей части с продольным уклоном более 30 ‰ уплотнение следует производить снизу вверх.
4. При первых проходах гладковальцовых катков во избежание волн и трещин ведущие вальцы должны быть впереди. Исключение составляют условия работ, указанные в п.3.
5. Во время уплотнения катки должны быть в непрерывном и равномерном движении.
6. Запрещается останавливать катки или резко менять направление движения на неуплотненном и неостывшем слое.
7. Проезд катка с одной полосы на другую должен осуществляться только на ранее уплотненной захватке.
8. Виброуплотнение проводить только в процессе движения катка. Включать и отключать вибрацию необходимо за пределами уплотняемой полосы на двигающемся катке.
9. Перед уплотнением пневмошины и вальцы катков необходимо смачивать (водой, водным 1 %-ным раствором отходов мыловаренной промышленности или смесью воды с керосином 1:1) и прогревать во избежание налипания на них смеси.
10. Для исключения образования волны каждый последующий след катка должен быть смещен в направлении уплотнения относительно предыдущего на величину, примерно равную диаметру вальца или пневмоколес (рис. 8.5.3).

Рис. 8.5.3. Последовательность прохода катков по слою, уложенному на всю ширину проезжей части
Недостатки, которые могут возникнуть при устройстве асфальтобетонных покрытий, и способы их устранения приведены в табл. 8.5.14 [58].
Таблица 8.5.14
Дефекты и способы их устранения
|
Возможные недостатки |
Причины их возникновения |
Способы устранения или предотвращения |
|
Состояние смеси |
||
|
Смесь дымится (синий дымок над смесью) |
Смесь перегрета свыше 180°С |
Сообщить на АБЗ о необходимости отрегулировать температурный режим. Смесь для верхнего слоя применять нельзя |
|
Смесь дымится (серый дымок над смесью) |
Избыточная смазка кузова |
Сообщить на АБЗ о том, чтобы смазку наносили более тонким слоем |
|
Глянцевая пленка на поверхности смеси (в кузове автомобиля) |
Расслоение смеси при перевозке или недостаточное перемешивание |
Увеличить продолжительность перемешивания |
|
Комья, трудно разрабатываемые, несмотря на высокую температуру смеси |
Недостаточное перемешивание или применен влажный минеральный порошок |
Указать АБЗ о контроле качества минерального порошка и о раздельном перемешивании: сначала сухого замеса, затем с битумом |
|
Смесь трудно укладывается |
Низкая температура смеси, избыток минерального порошка или недостаточное перемешивание |
Указать АБЗ: повысить температуру смеси; проверить работу дозировочного узла; раздельно перемешивать смесь сначала сухого замеса, затем с битумом |
|
Показатели укладки смеси |
||
|
Задирание (частичное или сплошное) поверхности укладываемого слоя |
Попадание в смесь крупного щебня, комков застывшей смеси, посторонних предметов, которые волокутся плитой укладчика пли трамбующим брусом |
Остановить укладчик, поднять рабочие органы и удалить посторонние предметы и др. |
|
Негладкая рваная поверхность, местами углубленная вдоль укладываемой полосы |
Смесь прилипает к поверхности выглаживающей плиты укладчика |
Очистить поверхность плиты и смазать ее (мазутом, соляровым маслом); подогреть плиту |
|
Неровная поверхность укладываемого слоя в продольном направлении |
Неправильное регулирование толщины слоя покрытия или неровность основания |
Проверить высотную разбивку и установить выглаживающую плиту в постоянном положении; при необходимости регулировать плиту плавно, без резкой смены толщины слоя |
|
Разрывы в покрытии в середине пли по краям |
Неправильная установка выглаживающей плиты. Увеличение подачи смеси |
Установить плиту в горизонтальное положение. Отрегулировать величину открытия шиберных заслонок |
|
Разрывы по всей ширине укладываемой полосы покрытия |
Неправильная установка трамбующею бруса по отношению к выглаживающей плите (брус установлен выше плиты) |
Установить трамбующий брус (в крайнем нижнем положении) на 4 мм ниже поверхности выглаживающей плиты |
|
Сдвижка слоя, наплывы па покрытии при укатке |
Высокая температура смеси или жирная смесь |
Сообщить на АБЗ о снижении температуры выпускаемой смеси и о проверке дозирования битума |
|
Появление трещин при уплотнении слоя покрытия |
Сухая смесь или недостаточно прочное основание |
Сообщить на АБЗ о недостаче битума в смеси. Проверить основание впереди укладки и рассыпать асфальтобетонную смесь слоем 10...15 мм и доуплотнить |
Способ транспортирования литой смеси к месту производства работ зависит от типа смеси.
I и V типы смесей перевозят в специальных самоходных установках с котлом-термосом или бункером, оборудованных обогревом и мешалкой. При транспортировании должны обеспечиваться непрерывное перемешивание и температура смеси 180...240°С. Техническая характеристика установок для перевозки смесей I и V типов приведена в табл. 8.5.15.
Таблица 8.5.15
Техническая характеристика установок
|
Показатель |
УРД-2М |
КДМ-150 |
КДМ-1501 |
КДМ-1502 |
КДМ-1503 |
|
Допустимая заполняемая масса, т, не более |
6,6 |
9,2 |
6,6 |
9,2 |
5,0 |
|
Конструктивная масса, т, не более |
11,4 |
5,8 |
12,4 |
15,5 |
10 |
|
Максимальная скорость автомобиля при полной массе, км/ч |
До 60 |
- |
80 |
75 |
50 |
|
Тип двигателя для привода мешалки |
Внутреннего сгорания |
||||
|
Система подогрева: |
|
|
|||
|
вид топлива |
Дизельное |
Газ пропан |
|||
|
максимальная температура |
|
|
|
|
|
|
транспортируемой смеси |
250 |
250 |
250 |
250 |
250 |
|
расход жидкого топлива, кг/ч |
4 |
- |
- |
- |
- |
|
расход газа, кг/ч |
- |
6...10 |
6...10 |
6...10 |
6...10 |
|
скорость нагрева смеси, град/ч |
10...20 |
10...20 |
10...20 |
10..20 |
10..20 |
II и III типы литых смесей перевозят в автомобилях-самосвалах большой грузоподъемности, оборудованных утепленными кузовами. Продолжительность транспортирования смеси при этом не должна превышать 30...40 мин.
Осуществлять перевозку IV типа можно в автомобилях-самосвалах любой грузоподъемности.
Перед началом загрузки зажигают форсунки, и котел-термос (бункер) прогревается в течение 10 мин до 180...190°С. Выгрузку смеси производят при наклоне выпускного лотка и одновременной работе лопастной мешалки в котле.
Устройство покрытия из литой асфальтобетонной смеси производят в следующей последовательности:
- установка в продольном направлении деревянного бруса, высота которого должна соответствовать толщине укладываемого слоя покрытия;
- установка копирной струны (для работы автоматической следящей системы);
- укладка (распределение) смеси. Для распределения смеси могут использоваться самоходные асфальтоукладчики, оборудованные электронной следящей системой с обогреваемыми выглаживающей плитой и приемным бункером, загружаемым смесью из передвижных котлов, а также асфальтоукладчики, оборудованные вибротрамбующей плитой и приемным бункером, загружаемым смесью из передвижных котлов, а также асфальтоукладчики, оборудованные вибротрамбующей плитой и приемным бункером, позволяющим производить выгрузку смеси из автомобилей-самосвалов большой грузоподъемности (тип II и III).
Температура смеси в асфальтоукладчике должна быть для смеси типа I - 220...240°С, типа II и III - 200...230°С. Распределение смеси, как правило, должно производиться одновременно и непрерывно по всей ширине проезжей части. При укладке смеси двумя укладчиками один из них двигается с опережением другого на 25...30 м. В случае укладки смеси одним асфальтоукладчиком, длину захватки устанавливают с таким расчетом, чтобы край ранее уложенной полосы имел температуру не ниже 100...130°С.
Литую асфальтобетонную смесь I и V типов после распределения не уплотняют. Упорные брусья переставляют, когда температура смеси понизится до 70...80°С.
Уплотнение смеси II типа осуществляется вибротрамбующим брусом асфальтоукладчика, а смесь III типа дополнительно прикатывают самоходным моторным катком массой до 10 т.
С целью повышения сцепных качеств покрытия из литых асфальтобетонных смесей обработка поверхности покрытия производится россыпью по нему щебня черного горячего или необработанного фракций 3...5 или 5...10 мм. Россыпь щебня производят немедленно после распределения смеси вслед за асфальтоукладчиком равномерным слоем в одну щебенку. Ориентировочный расход щебня для смеси типа I - 5...8 кг/ м2. После остывания покрытия до температуры 80...100°С допускается прикатка распределенного щебня ручным катком массой 30...50 кг. После охлаждения уложенного слоя покрытия до температуры наружного воздуха невтопившийся щебень сметают.
Движение автомобильного транспорта по готовому покрытию открывают по достижении им температуры наружного воздуха, но не ранее чем через 3 ч после завершения работ.
При устройстве покрытий из литых смесей проверяют:
- ровность, плотность и чистоту основания, на которое планируется укладка литой асфальтобетонной смеси, правильность установки упорных брусьев и копирной струны;
- температуру смеси в каждом автомобиле-самосвале (передвижном котле), находящемся на месте укладки;
- равномерность распределения смеси и заданную толщину укладываемого слоя;
- поперечный и продольный уклон, ровность покрытия;
- качество отделки обработки мест сопряжения смежных полос.
В готовом покрытии проверяют толщину слоя, прочность сцепления слоя литого асфальтобетона с нижним слоем покрытия, соответствие показателей свойств литого асфальтобетона техническим требованиям [56].
Для контроля качества готового асфальтобетонного покрытия пробы (вырубки, керны) берут не ближе 1,5 м от кромки проезжей части. Пробы отбирают не ранее 3 суток после окончания укладки и открытия по нему движения автомобильного транспорта из расчета одна проба с каждых 3000 м2 покрытия.
Монолитные цементобетонные покрытия устраивают на дорогах I...III категорий с интенсивным и тяжелым движением, а также на дорогах промышленных предприятий при наличии в составе движения тяжелых машин.
Основными компонентами для получения дорожного бетона являются цемент, мелкий заполнитель (песок), крупный заполнитель (щебень или гравий), вода.
При строительстве покрытия из дорожного бетона на песчаном основании, а также при прохождении автомобильной дороги через болота и на участках, где высота земляного полотна превышает пять метров, предусматривается армирование покрытия плоскими сварными сетками из стали периодического профиля с расходом арматуры 1,8...4 кг/м2 покрытия. Кроме того, металл используют в качестве штырей в покрытии.
В качестве прокладок в швах расширения применяют такие материалы, как доски из дерева мягких пород, гидроизол, асбестовый картон, пропитанный битумом, прокладки из синтетических материалов. Заполнение швов производят мастикой, а уход за свежеуложенным бетоном путем распределения пленкообразующих материалов.
Цемент. Для дорожного бетона применяют портландцемент и его разновидности; пластифицированный и гидрофобный портландцемент М 500. В порядке исключения на дорогах III, IV категорий - М 400. При устройстве оснований разрешается применять шлакопортландцемент марки не ниже 300. Основные характеристики цементов, применяемых для устройства цементобетонных покрытий и оснований, приведены в ГОСТ 30515-97.
Выбор марки цемента определяется проектной прочностью бетона. Начало схватывания цемента должно наступить не ранее чем через 2 часа после его затворения водой.
Мелкий заполнитель. В качестве мелкого заполнителя для приготовления цементобетонной смеси используют природные и дробленые пески. Основной характеристикой песков является их зерновой состав, который характеризуется модулем крупности песка Мк и полным остатком на сите 0,63. Модуль крупности песка определяют на основании рассева песка (фракции 0...5 мм) на стандартных ситах по формуле
Мк = (А2,5 + А1,25 + А0,63 + А0,315 + А0,14)/100, (8.6.1)
где А2,5, А1,25, А0,63, А0,315, А0,14- полные остатки на ситах с размерами ячеек 2,5; 1,25; 0,63; 0,315; 0,14 мм.
Классификация песков по крупности приведена в главе 6, табл. 6.2.6.
Содержание в песке для дорожного бетона глинистых и пылеватых фракций допускается не более 2 % по массе для природных песков и не более 5 % - для дробленых.
Крупный заполнитель. В качестве крупного заполнителя применяют щебень, получаемый при дроблении горных пород, гравия или доменного шлака, а также гравий крупностью до 40 мм для покрытий и до 70 мм для оснований.
Физико-механические свойства горной породы для крупного заполнителя должны соответствовать требованиям, указанным в ГОСТ 8267-93.
Наибольший размер зерен щебня и гравия должен быть не более:
а) для однослойных и нижнего слоя двухслойных покрытий - 40 мм;
б) для верхнего слоя двухслойных покрытий - 20 мм;
в) для оснований капитальных усовершенствованных покрытий - 70 мм.
Чтобы обеспечить постоянство зернового состава заполнителей, щебень или гравий дозируют по двум фракциям. При максимальной крупности заполнителя 70 мм - на фракции - 5...40 и 40...70 мм, при максимальной крупности 40 мм - 5...20 и 20...40 мм, при максимальной крупности 20 мм - 5...10 и 10...20 мм. Форма зерен щебня должна быть кубовидная.
Вода. Для приготовления бетона и поливки цементобетонного покрытия применяют воду, пригодную для питья. Вода не должна содержать вредных примесей, препятствующих нормальному схватыванию и твердению цемента. Общее содержание растворимых солей в воде должно быть не более 5000 мг/л. Содержание ионов SО4 должно быть не более 2700 мг/л, водородный показатель рН должен быть менее 4.
Арматурная сталь. При недостаточной надежности земляного полотна обычные монолитные бетонные покрытия армируют сварными сетками с продольной арматурой диаметром 6 мм и поперечной - диаметром 4 мм. Продольная рабочая арматура сеток выполнена из горячекатаной стали периодического профиля марки 25 ГС или 35 ГС. Расстояние между продольными стержнями принимают 100 мм, поперечными -250 мм. Расход металла при армировании сварными сетками составляет 3...4 кг/м2.
Штыри деформационных швов изготовляют длиной 0,5 м из горячекатаной стали класса A-I, А-II диаметром 16..18 мм для швов сжатия и 20...25 мм для швов расширения. В продольных швах применяют гладкую арматуру класса A-I длиной 0,75 мм и диаметром 16 мм.
Стальные каркасы для закрепления штырей и прокладок выполняют из холоднотянутой проволоки диаметром 6 мм (класс B-I).
Основные характеристики арматурных сталей приведены в [58].
Пленкообразующие материалы. Пленкообразующие материалы обеспечивают наиболее надежную и экономическую защиту свежеуложенного бетона в период строительства. Их применяют при температуре воздуха выше +5°С. Нормы расхода наиболее распространенных пленкообразующих материалов, применяемых для ухода за бетоном, приведены в [68].
Требования к цементобетону. Требования к дорожному бетону определяются проектом автомобильной дороги в зависимости от конструкции дорожной одежды и климатических условий района строительства. В соответствии с этим к дорожному бетону предъявляют требования по прочности и морозостойкости.
Основные показатели цементобетонных смесей и бетонов, применяемых для дорожных одежд, приведены в ГОСТ 26633-91.
При проектировании состава бетонной смеси водоцементное отношение двухслойных покрытий следует принимать не более 0,50; для нижнего слоя двухслойных покрытий - не более 0,60; для оснований усовершенствованных капитальных покрытий - не более 0,75.
Дорожная одежда с покрытием из цементобетона должна удовлетворять требованиям нормальной эксплуатации автомобильного транспорта, иметь необходимую прочность и долговечность. Цементобетонные покрытия при высоте насыпи более 1,5 м, как правило, строят через год после возведения земляного полотна. В год устройства покрытия верхнюю часть земляного полотна необходимо выровнять, ликвидировать просадки, вновь тщательно уплотнить. Конструкции дорожных одежд с монолитным цементобетонным покрытием показаны на рис. 8.6.1. и 8.6.2.

Рис. 8.6.1. Поперечный разрез жесткой дорожной одежды с
основанием из цементогрунта:
1 - цементобетонное покрытие; 2 - основание из цементогрунта; 3 -
дополнительный слой основания; 4 - земляное полотно; 5 -
растительный грунт; В - ширина
проезжей части; С - обочина; С1 - обочина, укрепленная скелетными
добавками; С2 - укрепительная полоса

Рис. 8.6.2. Поперечный разрез жесткой дорожной одежды с
основанием из щебня или гравия:
1 - цементобетонное покрытие; 2 -
выравнивающий слой (песок, обработанный битумом); 3 - щебень, гравий; 4
-дополнительный слой основания (песок, гравийно-песчаная смесь);
5 - земляное полотно; 6 - растительный грунт
Дополнительный слой основания рекомендуется устраивать из укрепленных материалов с целью обеспечения прохода транспортных средств без разрушения.
При подвозе материалов по обочине расстояние от одной из бровок земляного полотна до края основания должно быть не менее 3,3 м. Необходимость уширения земляного полотна устанавливает проектная организация. При ширине обочин 3,75 м и заложении откосов 1:2 и более уширения земляного полотна не требуется. На высоких насыпях при заложении откосов менее 1:2 допускается увеличение ширины одной из обочин на 20 см за счет другой.
При устройстве бетонных покрытий на дорогах II категории на основании из песка и песчано-гравийных материалов края покрытия армируют двумя стержнями из арматуры периодического профиля диаметром 12 мм, располагаемыми на 5 см выше основания: первый стержень в 10 см от края покрытия, а второй в 20 см от первого. Когда покрытие армируют плоской сеткой, то ее укладывают на 6 см ниже поверхности покрытия и не доводят до поперечных швов на 50 см. При бетонировании покрытий в скользящей опалубке допускается армирование только продольными стержнями с расположением их на уровне половины толщины покрытия.
На дорогах I и II категории вдоль краев покрытия устраивают укрепительные полосы из монолитного или сборного бетона шириной 0,75 м. На дорогах III категории ширина укрепительной полосы - 0,5 м. В монолитных бетонных укрепительных полосах устраивают только швы сжатия без армирования и нарезают их как продолжение швов основного покрытия.
Выравнивающий слой под бетонным покрытием служит для устранения неровностей основания. Выравнивающий слой не устраивают, если основание из каменных материалов или грунтов, укрепленных минеральными вяжущими материалами I класса прочности. В этом случае роль разделительной прослойки выполняет пленкообразующий материал, используемый для ухода за основанием.
Для выравнивающего слоя используют черный песок - 3...4 см, или необработанный песок толщиной 4...5 см. При использовании для выравнивания песка и при песчаном основании под бетон укладывают прослойку из битумированной бумаги.
Основание на дорогах I...III категорий устраивают преимущественно из каменных материалов или грунтов, укрепленных минеральными вяжущими I класса прочности. Ширина основания должна обеспечить установку рельс-форм (8...8,5 м) или проход гусеничных безрельсовых бетоноукладочных машин (9,6 м). Толщину основания назначают в зависимости от грунта земляного полотна, климата и грузоподъемности построечных автомобилей. При грузоподъемности построечных автомобилей 7...12 т минимальную толщину основания принимают: из укрепленных минеральными или органическими вяжущими материалов соответственно 14 и 16 см; из неукрепленных каменных материалов 15 и 17 см. Толщина основания из песка должна быть не менее величин, указанных в табл. 8.6.1.
Таблица 8.6.1
Толщина основания из песка
|
Грунт земляного полотна |
Минимальная толщина основания из крупного или среднего песка, см, для дорожно-климатических зон |
|||
|
II |
III |
IV |
V |
|
|
Песок (мелкий, пылеватый) |
15 |
10 |
10 |
10 |
|
Супесь |
25 |
20 |
15 |
10 |
|
Суглинок тяжелый и глина |
30 |
25 |
20 |
15 |
|
Суглинок пылеватый |
35 |
25 |
20 |
20 |
Для обеспечения прохода построечных автомобилей песчаное основание на толщину 10...12 см укрепляют вяжущими материалами, щебнем, шлаком, гравием или высевками.
Дополнительный слой основания выполняет функции морозозащитного или дренирующего слоя. При устройстве дорожной одежды с использованием комплекта высокопроизводительных машин типа ДС-100 рекомендуется морозозащитные и подстилающие слои устраивать из укрепленных материалов с целью обеспечения прохода машин комплекта и транспортных средств. Толщину дополнительных слоев устанавливают расчетом.
Бетонные покрытия могут быть одно- и двухслойными. Двухслойные покрытия применяют с целью использования в нижнем слое менее прочных и морозостойких каменных материалов. Толщина верхнего слоя покрытия принимается не менее 6 см. Толщину бетонного покрытия назначают с учетом интенсивности движения и материала основания (табл. 8.6.2) [58].
Таблица 8.6.2
Толщина цементобетонного покрытия
|
Материал основания |
Толщина покрытия, см, при расчетной суточной интенсивности движения, авт/cyт. |
|||||
|
более 10000 |
от 7000 до 10000 |
от 5000 до 7000 |
от 3000 до 5000 |
от 2000 до 3000 |
от 1000 до 2000 |
|
|
Каменные материалы и труты, укрепленные минеральными вяжущими |
24 |
22 |
22 |
20 |
18 |
18 |
|
Грунты, укрепленные органическими вяжущими, шлак |
|
|
22 |
20 |
18 |
18 |
|
Песок и песчано-гравийные смеси |
- |
- |
- |
22 |
20 |
18 |
В связи с высоким значением модуля упругости цементобетона при изменении температуры возникают значительные растягивающие напряжения, для уменьшения которых покрытие или основание разрезают на отдельные плиты с устройством поперечных и продольных температурных швов (рис. 8.6.3).

Рис. 8.6.3. Схема расположения штырей в деформационных швах:
1 - шов сжатия при устройстве покрытия на прочном основании (щебень, грунт,
укрепленный цементом); 2 - шов расширения; 3 - продольный шов; 4 - шов сжатия
на слабом основании (песок, песчано-гравийная смесь); 5 - рабочий шов; 6 -
штыри
Швы сжатия (рис. 8.6.4) разрезают плиту на глубину 5...6 см, ослабляя бетонное сечение в этом месте примерно на 25 %. Они позволяют бетону сжиматься при охлаждении, усадке и высыхании. Расстояние между швами сжатия должно быть таким, чтобы возникающее в плите растяжение не привело к образованию трещин в бетоне между швами сжатия. Расстояние между швами сжатия принимают в зависимости от толщины покрытия и температуры воздуха во время укладки бетона (табл. 8.6.3).

Рис. 8.6.4. Конструкции поперечных швов сжатия:
а) - в свежеуложенном бетоне; 6) - комбинированным способом; в) - в
затвердевшем бетоне, одноступенчатый;
г) - то же, двухступенчатый; 1 - обмазка
битумом
Таблица 8.6.3
Расстояния между швами сжатия
|
Тип покрытия |
Длина плиты, м при толщине покрытия, см |
||
|
24 |
22...20 |
18 |
|
|
Неармированные покрытия в условиях: |
|
|
|
|
умеренного климата |
5,5...7 |
5...6 |
4,5...5 |
|
континентального климата |
4,5...6 |
4...5 |
3,5...4 |
|
Армированное покрытие при расходе продольной арматуры, кг/м2 |
|
|
|
|
1,5 |
- |
- |
9 |
|
2,0 |
7 |
8 |
12 |
|
3,0 |
11 |
12 |
17 |
|
4,0 |
15 |
17 |
- |
Примечания: 1. Меньшая длина плиты соответствует надежности около 85 %, большая - около 50 %; 2 - количество арматуры принято из условия раскрытия трещин до 0,2 мм
Штыревые соединения в швах сжатия назначают с целью исключения образования уступов между плитами и частично для передачи нагрузки с плиты на плиту. Расстояние между штырями назначают 100 см, когда покрытие устраивают на жестком основании или на основании из укрепленного грунта, и 65 см - на песчаных основаниях. В связи с усложнением технологии при установке штырей нормативные документы допускают в районах с континентальным климатом не применять штыревое соединение при бетонировании покрытия комплектом машин со скользящей опалубкой.
Швы расширения разрезают бетонную плиту по всей ширине и на всю толщину (рис. 8.6.5). Изменение длины бетонных плит происходит при изменениях температуры. Так, длина плит увеличивается, если температура превышает ту, при которой строилось покрытие, и наоборот. Расстояние между швами расширения принимают по табл. 8.6.4 в зависимости от толщины покрытия и температуры воздуха во время укладки бетона.

Рис. 8.6.5. Конструкции поперечных швов расширения:
а) - при устройстве в свежеуложенном бетоне; б) - при устройстве в затвердевшем
бетоне (положение прокладки до нарезки шва); 1- каркас-корзинка; 2 - штырь; 3 -деревянная
прокладка; 4 - мастика 5 - обмазка битумом; 6 - гильза-колпачок из резины или
полиэтилена; 7 - утолщение стенки гильзы-колпачка для образования воздушного
зазора 3 см между штырем и задней стенкой гильзы-колпачка
Таблица 8.6.4
Расстояния между швами расширения
|
Тип покрытия, климат |
Толщина покрытия, см |
Расстояние между швами расширения, м, при температуре воздуха во время бетонирования покрытия, °С |
|||
|
весной и осенью |
летом |
||||
|
менее 5 |
от 5 до 15 |
от 10 до 25 |
более 25 |
||
|
Неармированные покрытия в условиях: |
|
|
|
|
|
|
умеренного климата |
24...22 |
25...28 |
50...56 |
80...90 |
90...110 |
|
20 |
24...25 |
35...42 |
50...54 |
80...90 |
|
|
18 |
18...20 |
25...30 |
30...35 |
40...45 |
|
|
континентального климата |
24...22 |
20...24 |
40...48 |
80...90 |
90...110 |
|
20 |
18...20 |
32...36 |
40...45 |
60...66 |
|
|
18 |
16...18 |
22...25 |
25...28 |
36...40 |
|
|
Армированные покрытия в любом климате |
24...20 |
28...40 |
76...80 |
Не устраивают |
Не устраивают |
|
18 |
21...40 |
35...40 |
40...60 |
60...80 |
|
Примечания: 1. Климат считается континентальным при колебании суточной температуры воздуха более 12°С в течение не менее 50 дней в году. 2. При укладке бетона комплектом машин со скользящей опалубкой, толщине покрытия 24...22 см и температуре воздуха во время бетонирования выше 10°С швы расширения не устраивают на основаниях из каменных материалов или грунтов, укрепленных минеральными вяжущими, но перед мостами и путепроводами обязательно устраивают с каждой стороны не менее трех швов расширения через 20...30 м.
Продольный шов. Продольный шов (рис. 8.6.6) отделяет плиты одной полосы движения от плиты смежной полосы. Продольный шов допускает только поворот краев плит по линии их сопряжения. Штыри в этом шве препятствуют раздвижке плит; при шпунтовых швах необходимы бортовые камни или небольшое число штырей.

Рис. 8.6.6. Конструкции продольных швов:
а) - продольный шов при устройстве покрытия на всю ширину; б) - продольный шов
в виде шпунта при устройстве покрытия по половине проезжей части; 1 - штырь; 2
- эластичная полимерная прокладка
Рабочие и компенсационные швы расширения. При строительстве покрытия без швов расширения в конце рабочей смены, а также вынужденных перерывах в бетонировании устраивают рабочие швы, а перед мостами, путепроводами и после них - компенсационные швы расширения. В рабочих швах часть нагрузки с одной плиты на другую передается посредством штырей, располагаемых через 40 см. Ширину швов, глубину паза и глубину его заполнения назначают в зависимости от длины плит (табл. 8.6.5).
Основные размеры швов
|
Тип шва |
Расстояние между швами, м |
Ширина шва, мм |
Глубина паза шва, доли толщины покрытия |
Глубина заполнения шва мастикой, мм |
|
Сжатия |
5 и менее |
3,5...8 |
0,25 и более |
20...25 |
|
|
5,5...8 |
8...10 |
0,25 и более |
20...25 |
|
|
8...12 |
15 |
0,25 и более |
20...25 |
|
Расширения |
12...20 |
20 |
0,25 и более |
25...30 |
|
|
любое |
30...35 |
На всю толщину |
30...35 |
|
Продольный |
3,5...3,75 |
3...5 |
0,25 и более |
20...25 |
Для выбора рационального способа строительства цементобетонного покрытия необходимо рассчитать скорость потока с учетом строгого соблюдения технологической последовательности, климатических условий и директивного срока.
Скорость потока должна быть такой, чтобы все операции одного технологического цикла были закончены в течение рабочего дня, а отдельные процессы (например, уплотнение) были выполнены в более короткие сроки.
Среднюю скорость потока в смену V определяют по формуле
V = L/(Tcp·n), (8.6.2)
где L - годовой участок работы, м;
Tcp - среднее число рабочих дней в строительном сезоне, дни;
n - среднее количество смен за один день.
Потребное количество материалов на строительство цементобетонного покрытия определяют в зависимости от конструкции покрытия и класса цементобетона.
Потребность цементобетонной смеси Q на строительство 1 км покрытия можно определить по формуле
Q = 1000·B·h·Kп·Ky, (8.6.3)
где В - ширина покрытия, м;
h - толщина покрытия, м;
Кп - коэффициент, учитывающий потери смеси (Кп = 1,03);
Ку - коэффициент уплотнения бетонной смеси.
Расчет состава бетона производят по абсолютным объемам на основе формул для определения расходов песка, щебня (гравия) (п.6.2.4).
Потребность в герметизирующих материалах для заполнения деформационных швов зависит от расстояния между швами, ширины и глубины их заполнения. Расчет потребности в герметизирующих материалах на 1 км цементобетонного покрытия производится по формулам:
qр = (1000/ар - l)Вhр·dр·g· Kр, (8.6.4)
qc = (1000/ac - l)Bhс·dс·g·Kc, (8.6.5)
qп = 1000·hп·dп·g·Kп, (8.6.6)
где qр, qc, qn - потребность в герметизирующих материалах для заполнения швов расширения, сжатия и продольного шва;
ар, ас - расстояние между швами расширения и сжатия, м;
В - ширина цементобетонного покрытия, м;
hр, hc, hn - глубина заполнения шва расширения, сжатия и продольного, м;
dр, dс, dп - ширина шва расширения, сжатия и продольного, м;
g - плотность герметизирующих материалов, кг/м3;
Кп - коэффициент, учитывающий потери (Кп = 1,02).
Для заполнения деформационных швов применяют герметизирующие материалы, приведенные в табл. 8.6.6 и аналогичные им по свойствам.
Таблица 8.6.6
Герметизирующие материалы
|
Материалы |
Температура размягчения, плюс °С |
Температура хрупкости, минус °С |
|
Резино-битумные вяжущие: |
|
|
|
РБВ-25 |
160 |
25 |
|
РБВ-35 |
150 |
35 |
|
РБВ-50 |
150 |
50 |
|
Битумно-бутилкаучуковые мастики: |
|
|
|
МББГ-70 |
70 |
30 |
|
МББГ-80 |
80 |
30 |
|
Полимерные герметики холодного отверждения: |
|
|
|
Гидром |
- |
55 |
|
УТ-38Г |
- |
55 |
При армировании цементобетонного покрытия арматурной сеткой расход её определяют по формуле
А1 = 1000Вg1. (8.6.7)
где g1 - расход арматурной сетки на 1 м2 покрытия (g1 = 3...4 кг/м2).
Расход арматурной стали для установки штырей в швах расширения Ар, швах сжатия Ас (при необходимости установки штырей) и в продольных швах Ап определяют по формулам:
Ap= (1000/l - l)nbp, (8.6.8)
Ас = (1000/l1 - l)n1b1p1, (8.6.9)
Ап = (1000/l2 - l)b2p2, (8.6.10)
где l, l1 - соответственно расстояние между швами расширения, сжатия (табл. 8.6.5), м;
b, b1, b2 - длина штыря соответственно в швах расширения, сжатия, продольном, м;
р, p1, p2 - масса 1 п.м штыря, устанавливаемого соответственно в швах расширения, сжатия, продольных швах, кг;
l2 - расстояние между штырями в продольном шве, м;
n, n1 - соответственно число штырей в одном поперечном шве расширения, сжатия, шт.
Размеры штырей и расстояния между ними в плане принимают по табл. 8.6.7.
Таблица 8.6.7
Размеры штырей и их расположение
|
Тип шва |
Размеры штырей |
Расстояния в плане, м |
||
|
длина, см |
диаметр, мм |
от края плиты до штыря |
между штырями |
|
|
Сжатия: |
|
|
|
|
|
прочное основание |
45 |
20 |
0,25 |
1,0 |
|
слабое основание |
45 |
20 |
0,15 |
0,65 |
|
Расширение |
50 |
25 |
0,15 |
0,30 |
|
Продольный |
75 |
16 |
1,0 |
1,0 |
Объем монтажной арматуры для крепления штырей в швах расширения конструктивно можно принять в пределах 5 % от потребности в металле для штырей в швах расширения.
Потребность в пленкообразующем материале М для нанесения пленки на 1 км покрытия равна
M = 1000(B + 2h1)g1, (8.6.11)
где h1 - высота боковой поверхности цементобетонного покрытия, м;
g1 - удельный расход пленкообразующего материала на 1 м2 поверхности, кг.
Объем досок для устройства прокладок в швах расширения равен
Д = (1000/l - 1)Bhgd, (8.6.12)
где hg - высота деревянной прокладки, м;
d - толщина доски, м.
Зная конструкцию и протяженность деформационных швов, нетрудно определить потребность в материалах для их герметизации.
Пазы поперечных и продольных швов заполняют битуморезиновыми, битумополимерными и полимерными мастиками или запрессовывают в них полимерные готовые прокладки.
Укладка бетона включает несколько самостоятельных операций, выполняемых последовательно специальными машинами. Машины для устройства бетонных покрытий, осуществляющие распределение, уплотнение бетонной смеси и отделку поверхности бетона, подразделяются на рельсовые и безрельсовые.
Рельсовые машины перемещаются вдоль трассы строящейся дороги по металлическим рельс-формам, служащим опалубкой для бетона.
Безрельсовые машины перемещаются вдоль полотна строящейся дороги на гусеничном ходу. Главные преимущества безрельсовых укладчиков, как их называют, укладчиков со скользящими формами, состоят в их высокой производительности и хорошем качестве работ.
Комплекты машин для строительства цементобетонных покрытий приведены в табл. 8.6.8...8.6.13.
Таблица 8.6.8
Профилировщики основания
|
Показатели |
ДС-502А (ДС-502Б) |
ДС-97 |
ДС-108 |
|
Ширина обрабатываемой полосы, м |
3,5; 7,0; 7,5 |
8,5 (10,0 с открылками) |
8,5 (10,0 с уширителем) |
|
Профиль обрабатываемой полосы |
Одно- и двухскатный |
||
|
Рабочие органы |
Отвал, вибробрус |
Фреза, отвал фрезы, шнек, отвал шнека, вибробрус |
Число: фрез - 2; шнеков - 2; отвалов - 4 |
|
Обрабатываемый материал |
Неуплотненный песок |
Песок, грунт, щебень, укрепленные материалы |
Грунт, укрепленный вяжущими материалами |
|
Толщина уплотняемого материала, м |
0,30 |
0,30 |
- |
|
Толщина обрабатываемою слоя, см |
|
До 10 за один проход |
До 15 за один проход |
|
Мощность двигателя, кВт |
29,4 |
312,8 |
368 |
|
Тип привода |
Механический |
Гидравлический |
Гидравлический |
|
Тип ходовой масти |
Металлические колеса |
Гусеницы |
Гусеницы |
|
Скорость передвижения: |
|
|
|
|
вперед, м/мин |
0,81; 7,62 |
0,0...72,0 |
- |
|
назад, м/мин |
1,82; 17,0 |
0,0...72,0 |
- |
|
рабочая, м/мин |
- |
- |
2,0...36,0 |
|
транспортная, м/мин |
- |
- |
54,0 |
|
Масса, г |
7,128 (7,235) |
40,6 |
40,0 |
Таблица 8.6.9
Распределители цементобетонной смеси
|
Показатели |
ДС-503А (ДС-503Б) |
ДС-99 |
ДС-109 |
|
Ширина распределения, м |
3,5; 7,0; 7,5 |
До 8,53 |
7,3...8,5 |
|
Профиль строящегося покрытия |
Одно- и двухскатный |
||
|
Рабочие органы |
Бездонный бункер |
Транспортер-бункер, фреза-шнек |
Отвал |
|
Распределяемый материал |
Цементобетонная смесь |
Песок, щебень, укрепленные материалы, цементобетонная смесь |
|
|
Толщина распределяемого слоя в плотном теле, см |
Равна высоте рельс-форм |
45,0 |
18,0...28,0 |
|
Мощность двигателя, кВт |
29,4 |
172,96 |
221,0 |
|
Тип привода |
Механический |
Гидравлический |
|
|
Скорость передвижения: |
|
|
|
|
вперед, м/мин |
22,0 |
0,0...72,0 |
- |
|
назад, м/мин |
22,0 |
0,0...72,0 |
- |
|
рабочая, м/мин |
- |
- |
1,0...18,0 |
|
Транспортная, м/мин |
- |
- |
54,0 |
|
Масса, т |
9,08 (9,22) |
40,0 |
40,5 |
Таблица 8.6.10
Бетоноукладчики и бетоноотделочные машины
|
Показатели |
ДС-504А (ДС-504Б) |
УМБ-7,5 |
ДС-101 |
ДС-111 |
|
Ширина уклады ваемого покрытия, м |
3,5; 7,0; 7,5 |
7,0; 7,5 |
7,0; 7,5 |
7,5 |
|
Профиль укладываемого покрытия |
Одно- и двухскатный |
|||
|
Рабочие органы |
Лопастный отвал, вибробрус, выглаживающий брус |
Вибробрус, диагональные брусья, выглаживающий брус |
Шнек, отвал, глубинные вибраторы, виброотвал, качающиеся брусья, выглаживающая плита |
|
|
Обрабатываемый материал |
Бетонная смесь с осадкой конуса 0...2см |
Бетонная смесь с осадкой конуса 0...4 см |
||
|
Толщина уплотняемого материала, см |
До 30 |
До 30 |
До 35 |
До 34 |
|
Мощность двигателя, кВт |
29,4 |
44,16 |
312,8 |
221 |
|
Тип привода |
Механический |
Гидравлический |
||
|
Тип ходовой части |
Металлические колеса |
Самоходный на четырех самоходных тележках |
||
|
Скорость передвижения: |
|
|
||
|
вперед, м/мин |
0,7; 6,7; 35,8 |
0,6 |
0,0...72,0 |
- |
|
назад, м/мин |
0,7; 6,7; 35,8 |
1,2 |
0,0...72,0 |
- |
|
рабочая, м/мин |
- |
- |
- |
1,0...18,0 |
|
транспортная, м/мин |
- |
- |
- |
До 36,0 |
|
Масса, т |
9,245 (9,405) |
18,0 |
41,8 |
41,5 |
|
Габаритные размеры, м |
|
|
|
12,7´9,6´3,6 |
Таблица 8.6.11
Машины для отделки поверхности и ухода за бетоном
|
Показатели |
ЭНЦ-3 |
ДС-104 |
ДС-104 А |
ДС-105 |
ДС-105А |
|
Ширина обрабатываемой полосы, м |
7,0...7,5 |
3,65...7,92 |
7,5 |
3,65...7,92 |
7,5 |
|
Профиль обрабатываемой полосы |
Одно- и двухскатный |
||||
|
Рабочие органы |
Распределитель пленкообразующей жидкости |
Выглаживающая труба, выглаживающая лента, ролик для намотки ленты |
Щетка, распределитель пленкообразующей жидкости, ролик для намотки ленты |
||
|
Мощность двигателя, кВт |
14,7 |
34,6 |
37,0 |
34,6 |
37,0 |
|
Тип привода |
Электромеханический |
Гидравлический |
|||
|
Тип ходовой части |
Металлические колеса |
Пневмоколеса |
|||
|
Скорость передвижения: |
|
|
|
|
|
|
вперед, м/ мин |
1,5; 20,7 |
0,0...71,3 |
- |
0,0...71,9 |
- |
|
назад, м/мин |
|
0,0...71,3 |
- |
0,0...71,9 |
- |
|
рабочая, м/мин |
1,5; 20,7 |
|
До 25,0 |
- |
До 20 |
|
транспортная, м/мин |
- |
- |
До 72,0 |
- |
До 70 |
|
Масса, т |
4,24 |
6,4 |
6,8 |
6,4 |
7,0 |
|
Объем бака для жидкости, л |
2´200´1200 |
2´512 |
- |
1140 |
300 |
Таблица 8.6.12
Нарезчики швов
|
Показатели |
ДНШС-60 |
ДС-510 |
ДС-112 |
ДС-115 |
|
Ширина покрытия, м |
3,5...7,5 |
Любая |
7,0...7,5 |
- |
|
Профиль покрытия |
Одно- и двухскатный |
|||
|
Глубина нарезаемого паза, мм |
До 60 |
До 50 |
До 80 |
До 80 |
|
Рабочие органы |
Вибросошник |
2 диска |
4 диска |
3 диска |
|
Мощность двигателя, кВт |
- |
36,8 |
2´36,8 |
36,8 |
|
Тип привода |
Электромеханический и гидравлический |
Механический и гидравлический |
||
|
Тип ходовой части |
Металлические колеса |
Обрезиненные колеса |
Пневмоколеса |
|
|
Скорость передвижения: |
|
|
|
|
|
вперед, м/мин |
- |
0,5...1 |
30,0...166 |
1,0...3,0 |
|
назад, м/мин |
- |
12,0 |
- |
5,0 |
|
Скорость рабочего органа (подача), м/мин |
- |
- |
0,6...1,3 |
- |
|
Масса, т |
2,6 |
2,0 |
5,5 |
2,15 |
Таблица 8.6.13
Заливщики швов
|
Показатели |
ДС-67 |
ДС-128 |
|
Тип |
Самоходный на базе УАЗ-452Д |
Самоходный на базе Т-16М |
|
Производительность (техническая), м |
700 |
2400 |
|
Объем бака для мастики, л |
150 |
230´230 |
|
Объем заливочного бачка (рабочего органа), л |
25 |
4´25 |
|
Объем бака для грунтовочнои смеси, л |
40 |
- |
|
Давление воздуха для продувки швов, Па |
6 |
6 |
|
Обслуживающий персонал, чел. |
3 |
7 |
|
Масса, т |
2,62 |
2,9 |
Технологическая последовательность строительства цементобетонного покрытия зависит от применяемых машин, конструкции дорожной одежды, климатических условий и т.д.
Схема 1. Устройство однослойного цементобетонного покрытия рельсовым комплектом машин в летний период на основании из грунта, укрепленного цементом.
1. Установка рельс-форм. Комплект бетоноукладочных машин перемещается по рельс-формам, которые одновременно служат опалубкой для боковых граней плит. Рельс-формы подвозят на двухосном прицепе с тягачом. Грузят, разгружают, укладывают и снимают их при помощи автомобильного крана.
2. Устройство выравнивающего слоя. Выравнивающий слой (из песка, обработанного битумом, или битумоминеральных смесей толщиной 3...5 см) делают, когда не может быть обеспечена проектная ровность основания.
Часто на основании из цементогрунта, вместо устройства выравнивающего слоя, производят выравнивание его за счет срезки неровностей основания профилировщиком.
3. Установка каркасов швов расширения. Каркасы швов расширения, состоящие из двух частей по 3,5 или 3,75 м, устанавливают строго вертикально по направлению шва и прикрепляют к основанию штырями через 0,8-1 м. Подвозку каркасов и штырей осуществляют на автомобилях.
4. Транспортирование смеси. Предельную продолжительность транспортирования бетонной смеси с учетом срока схватывания цемента назначают в зависимости от температуры наружного воздуха. При температуре ниже 20°С продолжительность транспортирования не должна превышать 60 мин и не более 30 мин при температуре до 30°С. При температуре воздуха выше 30°С и времени транспортирования более 30 мин смесь укрывают брезентом.
5. Укладка смеси. Бетонную смесь распределяют бетонораспределителем с помощью беззатворного бункера объемом 2,4 м3, который перемещается двумя тросовыми лебедками в поперечном направлении.
При устройстве покрытий, двухслойных или армированных стальной сеткой, смесь лучше укладывать двумя распределителями. Нижний слой укладывают на 2/3 общей толщины покрытия, а после раскладки арматурной сетки - второй слой.
6. Установка штырей в швах сжатия и продольном шве. Установку штырей наиболее эффективно по трудозатратам и удобству работ производить сразу после распределения бетонной смеси.
7. Уплотнение бетонной смеси. Смесь уплотняют бетоноотделочными машинами, которые точнее, чем распределители, разравнивают смесь, уплотняют и отделывают бетонную поверхность.
8. Нанесение пленкообразующего материала. Пленкообразующий материал наносят на бетонное покрытие при помощи распределительных машин, передвигающихся по рельс-формам.
9. Устройство продольного шва. Продольный шов нарезают немедленно после отделки поверхности бетона машиной ДНШС-60. Вибросошник нарезает шов и одновременно укладывает в него ленту рулонного гидроизола.
10. Снятие рельс-форм. Рельс-формы снимают не раньше суток после укладки смеси. Боковые грани бетонной плиты после удаления рельс-форм засыпают влажным песком или покрывают пленкообразующим материалом.
11. Нарезка швов сжатия и расширения. Деформационные швы покрытия можно нарезать в затвердевшем и в свежеуложенном бетоне. В затвердевшем бетоне швы нарезают при достижении им прочности примерно 10 МПа. Летом нарезку швов в затвердевшем бетоне начинают через 10...20 ч после уплотнения бетона. Для предупреждения температурных деформаций в покрытии сначала нарезают швы расширения, затем поперечные швы сжатия.
12. Герметизация швов. Швы, нарезанные в свежеуложенном или затвердевшем бетоне, заполняют герметизирующими материалами. Шов в затвердевшем бетоне перед заливкой тщательно просушивают и очищают, стенки его промазывают битумом или мастикой.
Схема II. Устройство однослойного цементобетонного покрытия комплектом машин со скользящей опалубкой в летний период на основании из грунта, укрепленного цементом.
1. Установка копирных струн (шнура). Для установки копирного шнура необходимы металлические стойки в комплексе с поперечными штангами и струбцинами. Штанги закрепляют на стойках на требуемой высоте с помощью зажимных винтов.
Перемещение штанги по стойке по высоте и перпендикулярно к ней дает возможность устанавливать шнур в требуемом плановом и высотном положении.
Операции 2...4 выполняют аналогично операциям 2-4 схемы 1.
5. Распределение цементобетонной смеси. При устройстве покрытий, армированных сеткой или продольной арматурой, а также в случаях, когда нельзя заезжать автомобилям на основание, на которое укладывается покрытие, или когда последнее устраивается в два слоя, прием цементобетонной смеси из автомобилей-самосвалов производят с обочин и распределяют вдоль покрытия распределителем ДС-99. В этом случае распределитель ДС-99 выполняет только одну промежуточную операцию - распределение нужного количества смеси по основанию для последующей ее обработки и формирования покрытия. В связи с тем, что производительность распределителя ДС-99 в 3...4 раза ниже бетоноукладчика ДС-101, на практике по возможности избегают его включения в комплект отряда.
6. Укладка бетонной смеси. Бетоноукладчик ДС-101 оснащен рабочими органами, которые обеспечивают уплотнение и формование смеси в подвижной опалубке с высокой степенью точности. Соблюдение этих требований обеспечивается многоступенчатой системой непрерывного дозирования бетонной смеси. Во время движения бетоноукладчика бетонная смесь проходит семь ступеней дозирования.
Нормальное формование покрытия обеспечивается, если перед первичным качающимся брусом будет валик из бетонной смеси 20...25 см и 10...20 см - перед вторичным брусом. Расстояние между верхними кромками боковой опалубки должно быть на 2...4 см меньше ширины покрытия, а край кромкообразователя должен быть выше поверхности покрытия на 1...3 см. В этом случае кромка покрытия после прохождения выглаживающей плиты будет иметь требуемое очертание.
Прохождение ДС-101 над закладными элементами без подъема глубинных вибраторов невозможно. Когда вибраторы приблизятся к закладному элементу на 30...40 см, их поднимают в верхнее крайнее положение, а после прохождения всей конструкции шва опускают в исходное положение.
Бетоноукладочная машина имеет оборудование для погружения арматурных стержней в продольном шве, а также оборудование для нарезки продольного шва в свежеуложенном бетоне с запрессовкой в него эластичной прокладки.
7. Окончательная отделка покрытия. Для завершения отделки покрытия используют бетоноотделочную машину ДС-104. Основным рабочим органом бетоноотделочной машины являются расположенные диагонально легкие дюралевые трубы по 12 м на пружинных подвесках.
Для повышения сцепления покрышек автомобиля с поверхностью цементобетонного покрытия на последнем создают продольные и поперечные борозды, продвигая по поверхности щетки или специальные стержни из пружинной стали. В затвердевшем бетоне повышение шероховатости покрытия обеспечивают с помощью алмазных дисков, установленных на шпиндель нарезчика в виде пакетов из 5...7 штук через 1...1,5 см один диск от другого.
8. Нанесение пленкообразующего материала. В начале смены лак «помароль» в металлических бочках доставляют к месту работ и раскладывают вдоль предстоящего фронта работ через 100...150 м (в зависимости от емкости бочек и ширины покрытия). В дальнейшем лак «помароль» из бочек насосом машины ДС-105 перекачивают в ее расходную емкость.
Пленкообразующий материал при уходе за покрытием разливает специальная самоходная машина ДС-105. Ширина обрабатываемой полосы 7,65 и 7,92 м.
9. Нарезка швов. Нарезку швов в цементобетонном покрытии можно производить как в свежеуложенном, так и в затвердевшем бетоне. Для нарезки продольных и поперечных швов в свежеуложенном бетоне используют модернизированный нарезчик ДНШС-60. Нарезку швов в свежеуложенном бетоне производят после окончательной отделки покрытия до нанесения пленкообразующего материала.
Нарезку швов в затвердевшем бетоне производят через 10...20 часов после уплотнения бетона. Для этой цели используют самоходные на пневмоколесном ходу нарезчики - трехдисковый ДС-115 для продольных и четырехдисковый ДС-112 для поперечных швов; каждый из них обладает выработкой до 1000 м в смену.
10. Герметизация швов. Для заливки швов герметизирующим материалом применяют заливщики ДС-128 и ДС-67. Заполнение швов герметизирующими материалами должно проводиться в возможно короткий срок после их нарезки и при всех условиях до открытия движения.
Технологическая карта содержит описание процессов в строгой последовательности с расчетом потребности в материалах и средствах механизации, с помощью которых процессы выполняются. Технологическая карта представляет собой дальнейшую детализацию проекта производства работ. Ее оформляют в табличной форме. Технологическая последовательность строительства рельсовым комплектом машин однослойного цементобетонного покрытия на основании из грунта, укрепленного цементом, приведена в табл. 8.6.14.
Таблица 8.6.14
Технологическая последовательность строительства цементобетонного покрытия рельсовым комплектом машин
|
№ процесса |
№ захватки |
Источник обоснования выработки |
Описание рабочих процессов и расчет объемов работ |
Единица измерении |
Количество работ на 1 км |
Производительность в смену |
Потребность, машино-смен |
|
1 |
I |
ЕниР, Е17-16, №2 |
Установка и перестановка рельс-форм автомобильным краном К-61 М с перевозкой двухосным прицепом-тягачом МТЗ-5 |
м |
2000 |
342 |
5,84 |
|
2 |
II |
ЕниР, E17-17 |
Профилирование и уплотнение цементогрунтового основания профилировщиком ДС-502 Б |
м2 |
8500 |
1414 |
5,9 |
|
3 |
II |
Расчет |
Подвозка каркасов для швов расширения и штырей для продольного шва автомобилем ЗИЛ-130 на 20 км |
т |
6 |
12 |
0,5 |
|
4 |
II |
Расчет |
Подвозка бетонной смеси автомобилями-самосвалами МАЗ-503 на среднее расстояние 12 км с выгрузкой в бункер распределителя ДС-503 А. Потребность смеси на 1 км: 1000·7,5·0,2·2,4·1,03=3700 т |
т |
3700 |
26,1 |
141,8 |
|
5 |
II |
ЕниР, Е17-19, табл.2 |
Устройство цементобетонного покрытия с помощью комплекта машин ДС-503 А, ДС-504 Б |
м2 |
7500 |
1012 |
7,4 |
|
6 |
II |
Расчет |
Подвозка битумной эмульсии автобитумовозом на среднее расстояние 20 км |
т |
5,25 |
10 |
0,5 |
|
7 |
II |
Расчет |
Распределение эмульсии с помощью ЭНЦ-3 |
м2 |
7500 |
970 |
7,7 |
|
8 |
II |
Расчет |
Нарезка продольного шва в свежеуложенном бетонном покрытии машиной ДНШС-60 (рабочая скорость от 0,55 до 2,8 м/мин) |
м |
1000 |
410 |
2,4 |
|
9 |
III |
ЕниР, Е17-16, №3 |
Снятие рельс-форм автомобильным краном К-61 М с погрузкой в двухосный прицеп-тягач МТЗ-5 |
м |
2000 |
356 |
5,6 |
|
10 |
III |
ЕниР, Е17-21, табл .2, № 2 |
Нарезка швов сжатия и расширения нарезчиком ДС-506К Количество на 1 км: |
м |
|
|
|
|
|
|
|
а) швов сжатия 134·7,5=1005 |
|
1005 |
120 |
8,37 |
|
б) швов расширения 33·7,5=248 |
|
248 |
126 |
1,97 |
|||
|
II |
III |
ЕниР, Е17-22, № 2, а |
Заполнение поперечных швов в покрытии мастикой с предварительной очисткой шва от пыли и грязи сжатым воздухом |
м |
1253 |
171 |
7,32 |
Потребность машино-смен на 1 км:
автомобильных кранов К-61 М - 11,44;
двухосных прицепов с тягачом МТЗ-5 - 11,44;
профилировщиков ДС-502В - 5,9;
автомобилей ЗИЛ-130 - 0,5;
распределителей бетона ДС-503А - 7,4;
бетоноотделочных машин ДС-504Б - 7,4.
машин ЭНЦ-3 - 7,7;
машин ДНШС-60 - 2,4;
нарезчиков швов ДС-506 - 10,34;
заливщиков швов ДС-67 - 7,32.
При разработке технологических схем строительства цементобетонного покрытия рельсовым комплектом машин можно пользоваться типовыми схемами, привязывая их к конкретным условиям строительства.
Технологическая последовательность строительства однослойного цементобетонного покрытия толщиной 20 см на цементогрунтовом основании безрельсовым комплектом машин дана в табл. 8.6.15.
Таблица 8.6.15
Технологическая последовательность строительства цементобетонного покрытия безрельсовым комплектом машин
|
№ процесса |
№ захватки |
Источник обоснования выработки |
Описание рабочих процессов и расчет объемов работ |
Единица измерения |
Количество работ на 1 км |
Производительность в смену |
Потребность, машино-смен |
|
1 |
I |
ЕниР, E17-13, табл.2 |
Чистовая планировка основания планировщиком ДС-97 при скорости 2 м/мин с отсыпкой конвейером-перегружателем ДС-98 срезаемого цементогрунта на обочину |
м2 |
9600 |
7455 |
1,29 |
|
2 |
II |
Расчет |
Подвозка каркасов для швов расширения и штырей для продольного шва автомобилем ЗИЛ-130 на 20 км |
т |
6 |
12 |
0,5 |
|
3 |
II |
Расчет |
Доставка бетонной смеси автомобилями-самосвалами КрАЗ-256Б на среднее расстояние 12 км с выгрузкой на цементогрунтовое основание. Потребность смеси на 1 км: 1000·7,5·0,2·2,4·1,03=3700 т |
т |
3700 |
65 |
57,0 |
|
4 |
II |
ЕниР, E17-15, № 1,б |
Распределение, дозирование и уплотнение бетонной смеси, отделка кромок и поверхности покрытия самоходным бетоноукладчиком на гусеничном ходу ДС-101 с рабочей скоростью 2...2,5 м/мин. |
м2 |
7500 |
6308 |
1,20 |
|
5 |
II |
ЕниР, E17-15, № 1,б |
Окончательная отделка цементобетонного покрытия бетоноотделочной машиной ДС-104 |
м2 |
7500 |
6308 |
1,20 |
|
6 |
II |
Расчет |
Подвозка автомобилем ЗИJI-130 пленкообразующего материала на расстояние 20 км |
л |
8000 |
1000 |
0,8 |
|
7 |
II |
Расчет |
Распределение пленкообразующего материала машиной ДС-105 |
м2 |
7500 |
6308 |
1,20 |
|
8 |
II |
Расчет |
Нарезка продольного шва в свежеуложенном бетонном покрытии машиной ДНШС-60 (рабочая скорость до 2,8 м/мин) |
м |
1000 |
410 |
2,4 |
|
9 |
III |
ЕниР, Е17-21, табл.2, №2 |
Нарезка швов сжатия и расширения в затвердевшем бетоне нарезчиком ДС-112. Количество на 1 км: |
|
|
|
|
|
|
|
|
а) швов сжатия 134´7,5=1005 м; |
м |
1005 |
120 |
8,37 |
|
|
|
|
б) швов расширения 33´7,5=248м. |
м |
248 |
126 |
1,97 |
|
10 |
III |
ЕниР, Е17-22, №2, а |
Заполнение швов мастикой заливщиком ДС-67 с предварительной очисткой шва от пыли и грязи сжатым воздухом |
м |
1253 |
171 |
7,32 |
Потребность машино-смен на 1 км:
профилировщиков ДС-97 с конвейером-перегружателем ДС-98 - 1,29;
автомобилей ЗИЛ-130 - 1,3;
автомобилей-самосвалов КрАЗ-256Б - 57;
бетоноукладчиков ДС-101 - 1,20;
бетоноотделочных машин ДС-104 - 1,20;
распределителей пленкообразующего материала ДС-105 - 1,20;
нарезчиков швов в свежеуложенном бетоне ДНШС-60 - 2,4;
нарезчиков швов в затвердевшем бетоне ДС-112 - 10,34;
заливщиков швов ДС-67 - 7,32.
На основании технологической карты (табл. 8.6.15) разрабатывают технологическую схему устройства цементобетонного покрытия.
Правильная организация работ по строительству покрытия способствует улучшению его качества, повышению производительности труда и снижению стоимости строительства. Организация строительства цементобетонного покрытия тесно связана со своевременным и качественным строительством земляного полотна и дорожного основания. Другим важным условием успешной организации строительства является бесперебойная работа бетонного завода и других подсобных производств.
При применении современного комплекта бетоноукладочных машин со скользящей опалубкой решающую роль играет своевременное обеспечение строительства необходимыми ресурсами. Для оперативного руководства и взаимодействия между бетонным заводом, автотранспортом и бригадой по укладке бетона должна быть организована телефонная или радиосвязь.
Наиболее прогрессивной организацией труда является комплексная бригада, которая расчленяется на несколько специализированных звеньев, каждое из которых выполняет определенный вид работ в течение всей смены.
Участок бетонных работ обеспечивают необходимой технической и проектной документацией, а также инструментами. Рабочие до начала работ должны быть ознакомлены с нормами выработки и расценками и иметь наряды на работы.
Захватки при строительстве бетонного покрытия не всегда имеют четкое разграничение в пространстве: на одном участке могут одновременно вестись работы, выполняемые звеньями, закрепленными за разными захватками.
Организация работ определяет принципиальную направленность решения основных организационных вопросов: последовательность производства работ и их взаимную увязку, структуру специализированных подразделений, расстановку и порядок перемещения взаимодействия трудовых и материально-технических ресурсов, систему обеспечения строительными материалами. Строительство цементобетонного покрытия ведут поточным методом. Основным рабочим документом организации работ является линейный календарный график. Время вступления в работу каждого последующего звена зависит от конструкции покрытия и строгого соблюдения технологических правил при выполнении тех или иных работ, связанных со строительством покрытия.
Конструкции сборных бетонных и железобетонных плит должны быть просты в изготовлении и соответствовать имеющемуся технологическому оборудованию завода-изготовителя, а также соответствовать средствам механизации укладки плит, должны иметь минимальный расход материалов при заданных прочности, работоспособности, надежности, минимальную стоимость.
Бетонные покрытия из сборных плит находят применение на автомобильных дорогах с неблагоприятными гидрологическими условиями земляного полотна, на городских улицах, подъездных дорогах к промышленным предприятиям и месторождениям природных ресурсов, а также на временных дорогах и на дорогах, куда невозможно доставить цементобетонную смесь.
Основными достоинствами применения сборных покрытий являются:
- возможность круглогодичного ведения работ по изготовлению плит и строительству покрытий из них;
- многократное использование (при необходимости) одних и тех же конструкций;
- изготовление плит индустриальными методами;
- открытие движения сразу же после завершения строительства покрытия;
- упрощение ремонта по сравнению с другими плитами монолитных покрытий;
- сокращение трудоемкости линейности работ и др.
Недостатками сборных покрытий являются:
- сложность технологии строительства;
- большое количество швов;
- низкая производительность труда из-за отсутствия специальных высокопроизводительных машин и оборудования для укладки плит;
- относительно большой расход арматуры в плитах по сравнению с монолитными покрытиями аналогичных размеров.
Плиты сборных покрытий изготавливают прямоугольные, квадратные и шестиугольной формы размером от 1,0 до 12,0 м2, толщиной 12...14 см с предварительно напряженной арматурой и 16...18 с обычной арматурой (табл. 8.7.1).
Стремление увеличить устойчивость плит под движением и обеспечить совместную работу плиты и основания привело к большому разнообразию форм опорной (нижней) поверхности плит, которые бывают: гладкие, с боковыми упорами, ребристые, ячеистые.
Покрытие из сборных плит в зависимости от интенсивности движения может быть сплошным на всю ширину проезжей части или колейными (рис. 8.7.1).
Таблица 8.7.1
Характеристика плит сборных дорожных покрытий [58]
|
Тип плиты |
Размеры плиты, м |
Масса плиты, т |
Расход материалов на 1 м2 плиты |
Расчетная нагрузка на спаренное колесо, тс |
|
|
бетона, м3 |
арматуры, т |
||||
|
Со сплошной опорной поверхностью |
1,75´1,5´0,13 |
0,85 |
0,13; 0,13 |
11,0; 7,5 |
4/3; 3/2 |
|
2,0´2,0´0,17 |
1,7 |
0,17 |
16,5 |
16/10 |
|
|
3,0´1,75´0,15 |
1,9 |
0,17 |
11,5 |
10/5 |
|
|
|
|
|
0,15; 0,15 |
14,5; 10,0 |
10,5; 5,3 |
|
Решетчатые |
2,5´1,0´0,16 |
0,7 |
0,11 |
12,2 |
7/4 |
|
3´1,5´0,25 |
1,8 |
0,16 |
15,4 |
18/12 |
|
|
С предварительно напряженной арматурой |
6,0´2,0´0,14 |
4,2 |
0,14 |
9,8 |
18/12 |
|
6,0´1,5´0,14 |
3,15 |
0,14 |
10,3 |
18/12 |
|
|
|
|
|
|
|
|
Примечание. В числителе указана расчетная нагрузка на искусственном основании, в знаменателе - на естественном грунтовом основании.

Рис. 8.7.1. Схемы конструкций сборных покрытий:
а - сплошное покрытие; б - двухпунктное колейное покрытие; 1 - плита сборного
покрытия; 2 - основание; 3 - гравийная (щебеночная) засыпка; 4 - укрепленные
обочины; 5 - растительный грунт; а -
ширина колесопровода; с - ширина межколейного пространства
От качества укладки плит в значительной степени зависят транспортно-эксплуатационные показатели готового покрытия. К технологии производства работ по укладке плит предъявляют следующие основные требования:
- поверхность покрытия должна быть равной с заданными уклонами;
- каждая плита должна опираться всей нижней поверхностью на основание;
- ширина швов и стыковых соединений смежных плит должна соответствовать нормативным требованиям.
Плиты могут быть уложены на основание из песчано-гравийной смеси, грунта, укрепленного вяжущими материалами. В качестве выравнивающего слоя для обеспечения плотного прилегания плиты и основания поверх его укладывают прослойку из пескоцементной смеси 1:10 или цементопесчаного раствора. Уступы между смежными плитами не должны превышать 3 мм.
Покрытие шириной 6,0; 7,0; 8,0 м укладывают поперечными рядами длинными сторонами плит параллельно оси дороги. Поперечные швы на 2/3 глубины заполняют пескоцементным раствором. Верхнюю часть шва на 1/3 - битумополимерной мастикой. Швы расширения на всю глубину заполняют мастикой.
В тех случаях, когда укладку сборных плит производят непосредственно на песчаное основание, возможны просадки последнего из-за выдавливания песка из-под плит во время движения тяжелого транспорта. Для сохранения стабильности песчаного основания сверху укладывают геотекстиль, который не только предотвращает выдавливание песка, но и повышает устойчивость всей конструкции дорожной одежды.
При строительстве сборных покрытий следует выполнять следующие работы:
- грунтовку (обмазку) жидким битумом или битумной эмульсией граней плит;
- планировку верхнего слоя основания или устройство выравнивающего слоя основания;
- укладку плит;
- сварку стыковых соединений и заполнение швов.
Строительство сборных покрытий, как правило, должно вестись в одну стадию. Однако, при необходимости срочного проезда автотранспорта, в соответствии с проектом допускается двухстадийное строительство. При двухстадийном строительстве на первой стадии плиты укладывают на земляное полотно или основание, стыковые соединения не сваривают, швы не заполняют, обочины и откосы не укрепляют. На второй стадии производят переукладку плит в соответствии с требованиями и с заменой дефектных плит.
Укладку плит производят с помощью самоходных стреловых кранов. Выбор крана производят по производительности и вылету стрелы. Грузоподъемность крана должна соответствовать массе одной плиты с запасом (20..40 %). Для повышения производительности большое значение имеет маневренность кранов, поэтому при выборе кранового оборудования предпочтение отдают автомобильным кранам (табл. 8.7.2).
Таблица 8.7.2
Технические характеристики автомобильных кранов
|
Модели кранов |
Наименование показателей |
|||||||
|
Грузоподъемность, т |
Вылет (наименьший -наибольший), м |
Длина основной стрелы, м |
Скорость подъема груза, м/мин |
Скорость передвижения, км/час |
Габаритные размеры в транспортном положении, мм |
Масса крана с основной стрелой, т |
||
|
на выносных опорах |
без выносных опор |
|||||||
|
КС-2561 |
6,3-1,8 |
1,0-0,18 |
3,3-7 |
8 |
0,4-13 |
90 |
10600´2500´3600 |
9 |
|
КС-2568 |
6,3-1,4 |
0,9-0,25 |
3,3-8 |
8,6 |
0,4-13 |
75 |
11500´2500´3800 |
9,3 |
|
СМ К-10 |
10-0,8 |
- |
4-16 |
К) |
0,4-10,02 |
40 |
13420´2810´3860 |
14,6 |
|
МКА-10М |
10-2,4 |
2,0-0,5 |
4-10 |
10 |
3,7-18,3 |
50 |
13280´2650´3945 |
14,6 |
|
КС-3562Б |
10-1,8 |
1,6-0,4 |
4-17,55 |
10 |
0,18-20,2 |
15 |
13150´2500´3800 |
14,3 |
|
КС-2571 КС-3574 КС-35714 |
10-2,5 |
3,0-0,5 |
4-13 |
8 |
0,3-10,02 |
77 |
9800´2800´3380 |
14,96 |
|
КС-4561А |
16-4,7 |
4,4-2,2 |
3,8-14 |
10 |
2,7-7,2 |
65 |
14000´2500´3800 |
22,34 |
|
КС-4572 КС-45717 |
16-1,5 |
3-0,5 |
3,817,5 |
9,7 |
0,2-8,4 |
50 |
12000´2500´3550 |
21,5 |
|
МКА-16 |
16-4,0 |
5,0-1.5 |
4,1-10,0 |
10 |
2,7-12,7 |
50 |
14800´2700´4000 |
23,55 |
|
MKAT-40 |
40 |
- |
2-24 |
11-37 |
0,24-9,6 |
70 |
12040´2500´3660 |
35 |
Автомобильные краны в процессе монтажа плит обычно размещают на уложенной части покрытия (рис. 8.7.2).

Рис. 8.7.2. Схема укладки плит сборного покрытия: I…VI - порядок укладки плит
Различают две технологии укладки плит: «с колес» или из штабелей, расположенных на обочинах. В первую очередь укладывают плиты, примыкающие к оси покрытия, а затем крайние. После укладки одного полного поперечного ряда кран продвигается вперед по только что уложенным плитам. При этом осуществляется первая проверка качества укладки. При хорошем примыкании плит к основанию они не должны раскачиваться или заметно оседать под краном.
Для повышения производительности и качества укладки плит краны оснащают специальными захватами, с помощью которых обеспечивают горизонтальное положение плиты в момент опускания ее на основание.
Подъем плит краном за специальные петли из арматурной стали имеет значительные недостатки: дополнительный расход металла на устройство петель; дополнительные работы по отгибанию и срезанию этих петель после укладки плит в покрытие; потеря времени и затраты ручного труда на захват петель стропами крана и их освобождение после укладки. Эти недостатки устраняются при использовании для укладки плит вакуум-захватного оборудования. Основное преимущество такого оборудования - быстрота захвата и опускания плиты (в пределах нескольких секунд) без затрат дополнительного ручного труда [1].
Окончательная посадка пли г на основание должна производиться путем прикатки покрытия гружеными автомобилями или катками на пневматических шинах до исчезновения осадки плит. После прикатки плита (с гладкой опорной поверхностью) должна иметь контакт с основанием (выравнивающим слоем) не менее 95 % ее площади.
Сварку соединений в стыках плит и заполнение швов герметизирующим материалом на основе битума следует производить сразу же после окончательной посадки плит.
Монтаж сборного покрытия в зимних условиях следует производить по выравнивающей прослойке из сухого песка, мелкого щебня (высевок), шлака или других несмерзающихся материалов, укладываемых в основание. При укладке сборного покрытия на жесткое основание выравнивающую прослойку следует устраивать из сухой цементно-песчаной смеси.
На постоянных дорогах, особенно в нефтегазоносных районах Сибири, получили широкое распространение плиты напряженно-армированные, которые обладают высокой работоспособностью и упрощают монтаж, так как имеют меньшую массу, чем аналогичные по размеру железобетонные. На лесовозных и временных дорогах широкое распространение получили железобетонные плиты в колейном исполнении.
Движение по сборному покрытию при одностадийном строительстве и завершении второй стадии при двухстадийном строительстве разрешается открывать только после сварки стыковых соединений и, как правило, после заполнения швов.
В соответствии с земельным законодательством земля является важнейшим богатством общества, главным средством производства в сельском хозяйстве. Поэтому рациональное использование земель является общенародной задачей. Освоение новых территорий с ускорением темпов развития современной инфраструктуры ведет к изъятию земель. На уже освоенных территориях развитие промышленного производства также требует создания сети дорог, а соответственно, и передачи в бессрочное и временное пользование земель, используемых в сельскохозяйственном производстве [23].
В соответствии с действующими нормативными документами ширина полосы отвода в зависимости от категории дороги, высоты насыпи или глубины выемки составляет в среднем от 20 до 40 м, а для автомагистралей первой технической категории до 150 м. Следовательно, при строительстве автомобильных дорог в постоянное пользование изымаются от 2 до 15 га земель на каждый километр. Расчеты показывают, что при средней плотности сети автомобильных дорог 0,4 км на 1 км территории дороги занимают 2,0...2,5 % территории. В промышленных районах до 40 % территории занято дорогами и другими коммуникациями.
Площадь временного отвода, включающего территории карьеров, резервов, построечных и объездных дорог, временных зданий и сооружений составляет от 30 до 60 % площадей постоянного отвода. Нередко территории временного отвода не приводятся в состояние, пригодное для использования в сельском хозяйстве, а так и остаются долгое время в бросовом состоянии.
Экологическое качество автомобильных дорог определяется воздействием её сооружений и транспортного потока на окружающую среду.
Проектирования экологических мероприятий до начала строительства автомобильной дороги позволяют исключить или смягчить воздействие вредных веществ на окружающую среду по следующим показателям:
- загрязнение атмосферного воздуха вредными веществами отработанных газов автомобильных двигателей,
- загрязнение почвы вредными веществами, особенно выбросами свинца;
- шумовое воздействие транспорта;
- загрязнение водной среды вредными веществами поверхностного стока с автодороги.
Прокладка новых автотрасс, реконструкция действующих и последующая их эксплуатация должны вестись с учетом экологических требований, и, прежде всего, с ограничением отрицательных воздействий на человека.
На здоровье людей неблагоприятно действуют вредные выбросы транспортных потоков, шум, вибрация и другие факторы. Различные токсиканты от дороги попадают в близлежащие почвы, водные объекты, загрязняют воздух в зоне дыхания человека. Через сельскохозяйственные культуры, воду многие ингредиенты - загрязнители попадают в организм человека и снижают показатели здоровья. Прежде всего от воздействий автотранспортных потоков страдают органы дыхания человека.
На здоровье населения оказывает влияние как качество питьевой воды, так и качество атмосферного воздуха.
В большинстве районов воду для питья жители получают из рек, скважин и колодцев. Питьевая вода не всегда соответствует гигиеническим нормативам, что связано с природным и антропогенным загрязнением поверхностных и подземных вод. В ряде районов до 50 % подземных вод не отвечает норме по мутности, цветности, минерализации, бактериальному загрязнению. Недостаток фтора в питьевой воде приводит к тому, что район является эндемичным по заболеваемости кариесом.
Понижение количества йода вызывает увеличение заболеваемости эндемичным зобом, повышенная бактериальная загрязненность воды ведет к возрастанию случаев инфекционного гепатита.
При работе двигателей автомобилей в воздух с газообразными компонентами попадают аэрозольные и пылевидные частицы, среди которых соединения свинца и углерода (сажи) составляют основную долю. Наибольшую опасность для окружающей среды представляют соединения свинца, образующиеся при работе двигателей сгорания на этилированном бензине.
Соединения свинца употребляются в качестве антидетонирующей добавки в этилированном бензине марки А-76 в количестве 0,17 г на кг топлива и марки А-92 в количестве 0,37 г на кг топлива.
Хорошо известно, что опасность накопления соединений свинца в почве обусловлена доступностью его растениям и переходом по звеньям пищевой цепи в животных, птиц и человека.
В расчетной оценке уровня загрязнения почв свинцом полагается, что 20 % общего количества соединений свинца разносится в атмосфере в виде аэрозолей, 80 % выпадает в виде твердых частиц размером до 25 мкм и водорастворимых соединений на поверхности земель, прилегающих к дороге. Эти соединения накапливаются в почве на глубине пахотного слоя или на глубине фильтрации дождевых осадков.
Оценка загрязнения придорожных земель выбросами свинца автомобильным транспортом проводится путем расчетного определения уровня загрязнения поверхностного слоя почвы, который определяется по формуле
Pc = Pп/(h·P), (9.2.1)
где Pc - уровень загрязнения поверхностного слоя почвы свинцом, мг/кг;
h - толщина почвенного слоя (в метрах), в котором располагаются выбросы свинца, для пахотных земель принимается 0,2 м, для остальных угодий - 0,1 м;
Р - плотность почвы, кг/м3;
Рп - отложение свинца на поверхности земли (мг/м3), определяемое по формуле
Рп = 0,4·Kl·Uv·Tр·Pэ (9.2.2)
где: Kl - коэффициент, учитывающий расстояние от проезжей части (Kl = 0,1);
Uv - коэффициент, зависящий от силы и направления ветров, принимается равным отношению площади розы ветров со стороны дороги, противоположной рассматриваемой зоне к общей площади;
Tр - расчетный срок эксплуатации дороги в сутках, принимается равным 7300 суток, что соответствует 20-летнему прогнозному сроку;
Pэ - мощность эмиссии свинца.
Мощность эмиссии свинца при данной среднесуточной интенсивности движения автомобилей определяют по формуле
Pэ = Kп·Kо·mp·Kт·S(Gi·Pi·Ni), (9.2.3)
где Pэ - измеряется в мг/м в сутки;
Кп = 0,74 - коэффициент пересчета единиц измерения;
mp - коэффициент, учитывающий дорожные и автотранспортные условия, принимается в зависимости от средней скорости потока;
Kо = 0,8 - коэффициент, учитывающий оседание свинца в системе выпуска отработавших газов;
Кт - коэффициент, учитывающий долю выбрасываемого свинца в виде твердых частиц в общем объеме выбросов;
Gi - средний эксплуатационный расход топлива для соответствующей марки автомобиля, л/км;
Ni - среднесуточная интенсивность движения автомобилей соответствующей марки;
Pi - содержание добавки свинца в топливе, применяемом на автомобиле рассматриваемого типа, г/кг.
Полученные расчетом уровни загрязнения почвы свинцом сопоставляют с общесанитарным показателем, который равен 32 мг/кг.
Оценка уровня загрязнений производится для оксидов азота (NOx), оксида углерода (СО), углеводородов (CxHx), соединении свинца (Рb) на различном удалении от дороги. Мощность эмиссии первых трех компонент для каждого газообразного загрязнителя вычисляется по формуле
qpb = 2,06·10-4·m·(SGik·Nik·Kk + SGid·Nid·Kd), (9.3.1)
где i - индекс суммирования (тип автомобиля);
q - мощность эмиссии данного вида загрязнений от транспортного потока на конкретном участке дороги, г/(мс);
m - коэффициент, зависящий от средней скорости транспортного потока ( m = 0,1);
Gik - средний эксплуатационный расход топлива для данного типа карбюраторных автомобилей , л/км;
Gid - то же, для дизельных автомобилей, л/км;
Nik - перспективная расчетная интенсивность движения каждого типа карбюраторных автомобилей, авт/час;
Nid - то же, для дизельных автомобилей, авт/час;
Kk и Kd - коэффициенты, принимаемые для данного компонента загрязнения для карбюраторных и дизельных двигателей согласно табл. 9.3.1.
Таблица 9.3.1
Коэффициенты, учитывающие загрязнение
|
Наименование |
Kk |
Kd |
|
СО |
0,6 |
0,14 |
|
СхНу |
0,12 |
0,037 |
|
NOx |
0,06 |
0,015 |
Мощность эмиссии в воздушную среду соединений свинца в виде аэрозолей определяется по формуле
qpb = 2,06·10-4·Ko·mp·Kг·(SGik·Nik·Рik). (9.3.2)
где qpb - мощность эмиссии в воздушную среду соединений свинца от транспортного потока, г/(мс);
mp - коэффициент, учитывающий дорожные условия и зависящий от средней скорости потока;
Ko - 0,8 - коэффициент, учитывающий оседание свинца в системе выпуска отработавших газов;
Kг - 0,2 - коэффициент, учитывающий долю выбрасываемого свинца в виде аэрозолей в общем объеме выбросов;
Рik - содержание добавки свинца в топливе, применяемом в автомобилях.
Среднесуточные предельно допустимые концентрации вредных выбросов приведены в табл. 9.3.2
Таблица 9.3.2
Допустимые концентрации вредных выбросов
|
Вид вещества |
Класс опасности |
Среднесуточные предельно допустимые концентрации, мг/м3 |
|
|
в воздухе населенных мест |
для лесного участка (п.5.5 стр. 68 «Руководства...» |
||
|
Оксид углерода СО |
4 |
3,0 |
1,0 |
|
Углеводороды СН |
3 |
1,5 |
|
|
Оксиды азота NO |
2 |
0,04 |
|
|
Соединения свинца Рb |
1 |
0,0003 |
|
Эквивалентный уровень транспортного шума в придорожной полосе определяется по формуле
Lэкв = Lтрп + DLv + DLi + DLd + DLk + DLдиз - (DLl - Kp), (9.4.1)
где Lтрп - уровень шума на расстоянии 7,5 м от оси ближней полосы движения, дБА.
Lтрп = 50 + 8,8·lgN
С учетом поправки на скорость движения определяется величина
Lтрп + DLv
Kp =1,1 - коэффициент, учитывающий тип поверхности между дорогой и точкой замера (зеленый газон).
Уровень шума в зависимости от расстояния от крайней полосы движения будет изменяться в соответствии с уменьшением величины DLl.
Предельно допустимый уровень шума для территорий сельскохозяйственного назначения - 50 дБА.
Если дорога проходит через лесные массивы, то в этом случае лес служит хорошей преградой для шума, так как на расстоянии 20...25 м при углублении в лес шум убывает на 10...18 дБа и, таким образом, его негативное действие будет резко ограничено.
В процессе строительства дороги существенные шумовые воздействия на окружающую среду оказывают строительно-дорожные машины. Такое воздействие будет осуществляться только в дневное время и на ограниченных участках, связанных непосредственно со строительством на конкретном участке дороги. Для снижения уровней шума на строительных площадках необходимо использовать шумозащитные кожухи на излучающих интенсивный шум агрегатах, а также переносные временные шумозащитные экраны. В табл. 9.4.1 указаны уровни шума для отдельных строительно-дорожных машин и агрегатов. Шум от работы дорожных машин в среднем на 25...30 дБа больше, чем при движении транспортного потока. Однако такое интенсивное шумовое воздействие будет носить временный характер.
Таблица 9.4.1
Уровни звука дорожно-строительных машин
|
Тип (марка) машины |
Уровень звука, дБА |
|
|
в кабине (на рабочем месте) |
на расстоянии 7 м |
|
|
Скрепер |
- |
84 |
|
Автогрейдер |
92 |
85 |
|
Бульдозер |
90 |
90 |
|
Экскаватор с вместимостью ковша 2 м3 |
95 |
92 |
|
Экскаватор с вместимостью ковша 1 м3 |
90 |
88 |
|
Каток тяжелый |
90 |
80 |
|
Бетономешалка на 500 л |
- |
95 |
|
Дизель-молот |
- |
113 |
|
Вибропогружатель |
- |
92 |
|
Компрессор с ДВС |
101 |
87 |
|
Отбойный молоток пневматический |
115 |
108 |
|
Мотопила «Дружба» |
111 |
105 |
При сооружении земляного полотна автомобильных дорог важнейшей задачей является сохранение плодородного слоя почвы, который представляет собой сложную органоминеральную систему, требующую для своего существования определенных условий. На каждом гектаре почвенного слоя содержится более 1 т бактериальной биомассы, обеспечивающей жизнедеятельность множества растительных и животных организмов, дающих около 90 % продуктов питания человеку. Эти весьма ценные плодородные качества почв уничтожаются при несоблюдении природоохранных мероприятий в процессе возведения земляного полотна.
При выполнении подготовительных работ и сооружении земляного полотна необходимо провести следующие мероприятия:
- расчистку дорожной полосы и площадей для дорожных сооружений в строго отведенных границах (а в залесенных участках - лишь в зимнее время), размещение лесосечных складов, трелевочных волоков в пределах отведенной дорожной полосы;
- снятие, сохранение плодородного слоя почвы и использование его в сельском хозяйстве;
- недопущение размывов, оползней, эрозии.
В процессе возведения земляного полотна можно выявить следующие виды нарушения почв:
а) эрозия почв (неудовлетворительное ведение работ, инженерной подготовки и др.);
б) уплотнение почв (выполнение строительно-монтажных, транспортных и заготовительных работ);
в) разрушение почвенной структуры (использование дорожной техники без достаточного учета физико-механических свойств плодородного слоя);
г) заболачивание (изменение водного режима земель из-за необеспеченности водоотвода или поднятия грунтовых вод);
д) иссушение (например, связанное с понижением уровня грунтовых вод);
е) оползни (отрыв и перемещение вниз по склону земляных масс).
Все эти факторы должны учитываться при проектировании земляного полотна, выборе средств механизации, а также технологии и организации работ.
Если весьма ценные плодородные качества почв сравнительно легко и быстро уничтожаются, то процесс восстановления плодородия почв - очень сложен и длителен, например, чтобы воссоздать слой плодородной почвы толщиной 10 см требуется около 100 лет [10].
Снятие плодородного слоя почвы производится, как правило, в талом состоянии в теплый и сухой период года. Плодородный слой почвы снимают как с территорий постоянного отвода, занимаемых дорожной конструкцией и искусственными сооружениями, так и с территорий, отводимых во временное пользование для размещения временных зданий и сооружений, карьеров и резервов, отвалов материалов и др.
При подготовке территории под земляное полотно с устройством притрассовых боковых резервов или без них плодородный слой почвы сдвигают в валы на границе полосы отвода. В дальнейшем плодородный грунт используют для рекультивации притрассовых боковых резервов, для укрепления откосов земляного полотна, а также для рекультивации сосредоточенных карьеров, временных дорог, повышения плодородия малопродуктивных угодий и других сельскохозяйственных целей.
Вопросы рекультивации земель сравнительно недавно стали обязательными элементами проекта организации строительства дорог. Все работы по рекультивации проводят в два этапа: технический и биологический.
Техническая рекультивация выполняется непосредственно в процессе выполнения земляных работ или сразу же после освобождения временно занимаемых земель. Она включает снятие и хранение плодородного слоя почвы, вертикальную планировку нарушенных земель, откосов, мероприятия по предотвращению водной и ветровой эрозии, нанесению плодородного слоя почвы и т.п. Все эти работы не отличаются особой спецификой и поэтому выполняются организацией, строящей дорогу.
Биологический этап включает агрохимические мероприятия по восстановлению плодородия нарушенных земель, а также непосредственное возвращение земель к первоначальному виду, Эти работы отличаются большой специфичностью и зависят от назначения рекультивируемых земель (пашня, лесопосадки, выгоны). Биологическую рекультивацию выполняют землепользователи за счет средств предприятий, организаций и учреждений, проводивших на этих землях работы, связанные с нарушением почвенного покрова.
На основе общих требований по восстановлению плодородия земель с учетом способов обработки почв и процесса роста сельскохозяйственных культур и других растений установлены следующие требования к рекультивируемым территориям.
1. Поперечные уклоны восстанавливаемых рекультивацией земель должны обеспечить устойчивость земли против водной эрозии. Для большинства разновидностей почв допускаемым уклоном рекультивации iq можно принимать iq < 100‰ при ширине рекультивируемой полосы 10...30 м. При рекультивации под пастбища и сенокосы допускается уклон рекультивации до 20...40‰, при рекультивации под водоем допускается заложение откоса - 1:4.
2. Равенство урожайности приведенной рекультивированной земли и основного поля. Основным показателем этого требования является толщина плодородного слоя hn, которая должна быть не меньше толщины плодородного слоя почвы основного поля h0.
3. Максимальное удобство обработки земель под все виды
сельскохозяйственных культур всеми видами сельскохозяйственных машин.
4. Соблюдение условий водно-теплового режима земляного полотна.
На основе накопленного дорожными организациями опыта перечень работ по рекультивации нарушенных земель включает следующее:
подготовка поверхности для снятия растительного слоя (удаление кустарника, пней, камней и др.);
- снятие плодородного слоя почвы;
- погрузка и транспортировка плодородного грунта на рекультивируемую поверхность;
- уположивание рекультивируемой поверхности с таким расчетом, чтобы была возможность провести биологическую рекультивацию;
- внесение удобрений, посев многолетних трав, кустарников, деревьев.
Для выполнения работ рекультивации могут быть использованы различные типы землеройно-транспортных машин. Наиболее благоприятным периодом для выполнения работ является весенне-летний период.
В равнинной и слабо пересеченной местности рекультивацию земель, занятых боковыми резервами, осуществляют по дуге параболы и касательной к ней линии допустимого уклона, что наиболее просто выполнить в процессе возведения земляного полотна бульдозером или автогрейдером (рис. 9.6.1).

Рис. 9.6.1. Поперечное сечение рекультивированного притрассового бокового резерва
Рекультивацию притрассовых боковых резервов глубиною более 1,0 м можно производить по одной из предлагаемых схем:
- засыпкой привозным инертным материалом с последующей укладкой на него плодородного слоя почвы (рис. 9.6.2., а);
- уположение внешнего откоса резерва с использованием грунта с прилегающей к резерву территории (рис. 9.6.2, б).

Рис. 9.6.2. Схемы рекультивации притрассовых боковых
резервов:
а - засыпка привозным материалом; б - уположение внешнего откоса
Техническую рекультивацию сосредоточенных карьеров и резервов производят по схемам, аналогичным при рекультивации притрассовых боковых резервов, т.е. путем засыпки выработанного пространства материалами отвалов вскрыши или выполаживанием откосов выработки. При сельскохозяйственном направлении рекультивации плодородный слой почвы лучше укладывать не сразу после засыпки карьера, а после использования спланированной территории под сенокосы или пастбища в течение двух-трех лет. При этом перед укладкой плодородного слоя почвы должно быть проведено рыхление или вспашка спланированной поверхности. Толщина плодородного слоя почвы должна быть не менее 20...50 см, если рекультивируемая территория будет использоваться под пашню.
Заполнение выработанного пространства карьеров можно производить также промышленными и бытовыми отходами с последующей засыпкой отходов плодородной почвы толщиной не менее 10 см. Создание растительного покрова производится посевом многолетних трав.
Действующая классификация ремонтно-профилактических мероприятий [74] предусматривает следующие виды работ по ремонту и содержанию дорог: капитальный ремонт, ремонт и содержание, своевременное и полное выполнение которых необходимо, чтобы сохранять и поддерживать транспортно-эксплуатационное состояние дороги в течение всего срока эксплуатации на уровне, обеспечивающем установленные для данной категории требования к потребительским свойствам дороги.
Потребительские свойства дороги - это совокупность её транспортно-эксплуатационных показателей, непосредственно отвечающих интересам пользователей. К потребительским свойствам относятся: скорость, непрерывность, безопасность и удобство движения, пропускная способность и уровень загрузки движением, способность пропускать автомобили и автопоезда с разрешенными для движения по дорогам общего пользования осевыми нагрузками, общей массой и габаритами, экологическая безопасность, эстетические и другие свойства.
Требуемый вид ремонта, состав и объёмы работ по ремонту каждой автомобильной дороги и участка дороги, а также по каждому дорожному сооружению устанавливают на основании результатов диагностики и оценки их фактического состояния, инженерных изысканий, испытаний и обследований, ведомостей дефектов и других документов, содержащих оценку фактического состояния дорог и дорожных сооружений в объёме, позволяющем сопоставить это состояние с критериями назначения соответствующего вида ремонта.
Требования к эксплуатационному состоянию автомобильных дорог, улиц и дорог городов и других населенных пунктов определяются ГОСТ Р 50597-93 [73].
Указанный стандарт устанавливает перечень и допустимые по условиям обеспечения безопасности движения предельные значения показателей эксплуатационного состояния автомобильных дорог, улиц и дорог городов и других населенных пунктов, а также требования к эксплуатационному состоянию технических средств организации дорожного движения.
Все требования стандарта являются обязательными и направлены на обеспечение безопасности дорожного движения, сохранение жизни, здоровья и имущества населения, охрану окружающей среды.
Стандарт распространяется: с 01.01.95 на все эксплуатируемые автомобильные дороги общего пользования с цементобетонным покрытием и любым покрытием из битумоминеральных смесей и на все дороги и улицы городов и других населенных пунктов.
Автомобильные дороги, дороги и улицы городов и других населенных пунктов по их транспортно-эксплуатационным характеристикам объединены в три группы:
группа А - автомобильные дороги с интенсивностью движения более 3000 авт./сут; в городах и населенных пунктах - магистральные дороги скоростного движения, магистральные улицы общегородского значения непрерывного движения;
группа Б - автомобильные дороги с интенсивностью движения от 1000 до 3000 авт./сут; в городах и населенных пунктах - магистральные дороги регулируемого движения, магистральные улицы общегородского значения регулируемого движения и районного значения;
группа В - автомобильные дороги с интенсивностью движения менее 1000 авт./сут; в городах и населенных пунктах - улицы и дороги местного значения.
Установленные стандартом требования должны обеспечиваться организациями, в ведении которых находятся автомобильные дороги, а также улицы и дороги городов и других населенных пунктов.
В случае, когда эксплуатационное состояние дорог и улиц не отвечает требованиям настоящего стандарта, на них должны быть введены временные ограничения, обеспечивающие безопасность движения, вплоть до полного запрещения движения.
Проезжая часть дорог и улиц, покрытия тротуаров, пешеходных и велосипедных дорожек, посадочных площадок, остановочных пунктов, а также поверхность разделительных полос, обочин и откосов земляного полотна должны быть чистыми, без посторонних предметов, не имеющих отношения к их обустройству.
Покрытие проезжей части не должно иметь просадок, выбоин, иных повреждений, затрудняющих движение транспортных средств с разрешенной "Правилами дорожного движения" скоростью.
Предельно допустимые повреждения покрытия, а также сроки их ликвидации приведены в табл. 10.2.1.
Таблица 10.2.1
Требования к покрытиям и сроки ликвидации повреждений
|
Группа дорог и улиц по их транспортно-эксплуатационным характеристикам |
Повреждения на 1000 м2 покрытия, м2, не более |
Сроки ликвидации повреждений, сут., не более |
|
А Б В |
0,3(1,5) 1,5(3,5) 2,5(7,0) |
5 7 10 |
Примечания:
1. В скобках приведены значения повреждений для весеннего периода.
2. Сроки ликвидации повреждений указаны дня строительного сезона, определяемого погодно-климатическими условиями, приведенными в СНиП 3.06.03 по конкретным видам работ.
Предельные размеры отдельных просадок, выбоин и т.п. не должны превышать по длине 15 см, ширине - 60 см и глубине - 5 см.
Ровность покрытия проезжей части должна соответствовать требованиям, приведенным в табл. 10.2.2.
Таблица 10.2.2
Требования к ровности покрытий
|
Группа дорог и улиц по их транспортно-эксплуатационным характеристикам |
Состояние покрытия по ровности |
|
|
Показатель ровности по прибору ПКРС-2, см/км, не более |
число просветов под 3-метровой рейкой, %, не более |
|
|
А Б В |
660 860 1200 |
7 9 14 |
Примечание. Число просветов подсчитывают по значениям, превышающим указанные в СНиП 3.06.03
Коэффициент сцепления покрытия должен обеспечивать безопасные условия движения с разрешенной "Правилами дорожного движения" скоростью и быть не менее 0,3 при его измерении шиной без рисунка протектора и 0,4 - шиной, имеющей рисунок протектора.
Значения коэффициента сцепления приведены для условий его измерения прибором ПКРС-2 (ТУ 78.1.003-83).
Время, необходимое для устранения причин, снижающих сцепные качества покрытий в зависимости от вида работ, устанавливают с момента обнаружения этих причин, и оно не должно превышать значений, приведенных в табл. 10.2.3.
Таблица 10.2.3
Время, необходимое для восстановления сцепных качеств покрытий
|
Работы по повышению сцепных качеств покрытия |
Время, необходимое для выполнения работ, сут., не более |
|
1. Устранение скользкости покрытия, вызванной выпотеванием битума |
4 |
|
2. Очистка покрытия от загрязнений |
5 |
|
3. Повышение шероховатости покрытия |
15 |
Сроки ликвидации зимней скользкости и окончания снегоочистки для автомобильных дорог, а также улиц и дорог городов и других населенных пунктов с учетом их транспортно -эксплуатационных характеристик приведены в табл. 10.2.4.
Таблица 10.2.4
Сроки ликвидации зимней скользкости и окончания снегоочистки
|
Группа дорог и улиц по их транспортно-эксплуатационным характеристикам |
Нормативный срок ликвидации зимней скользкости и окончания снегоочистки, ч |
|
А Б В |
4 5 6 |
Примечание. Нормативный срок ликвидации зимней скользкости принимается с момента ее обнаружения до полной ликвидации, а окончание снегоочистки - с момента окончания снегопада или метели до момента завершения работ.
На дорогах и улицах городов и других населенных пунктов снег с проезжей части следует убирать в лотки или на разделительную полосу и формировать в виде снежных валов с разрывами на ширину 2,0...2,5 м.
После очистки проезжей части снегоуборочные работы должны быть проведены на остановочных пунктах общественного транспорта, тротуарах и площадках для стоянки и остановки транспортных средств. Формирование снежных валов не допускается:
- на пересечениях всех дорог и улиц в одном уровне и вблизи железнодорожных переездов в зоне треугольника видимости;
- ближе 5 м от пешеходного перехода;
- ближе 20 м от остановочного пункта общественного транспорта;
- на участках дорог, оборудованных транспортными ограждениями или повышенным бордюром;
- на тротуарах.
В городах и населенных пунктах уборку тротуаров и пешеходных дорожек следует осуществлять с учетом интенсивности движения пешеходов после окончания снегопада или метели в сроки, приведенные в табл. 10.2.5.
Таблица 10.2.5
Время, необходимое для очистки тротуаров от снега
|
Интенсивность движения пешеходов, чел./час |
Время проведения работ, ч, не более |
|
Св. 250 От 100 до 250 До 100 |
1 2 3 |
Люки смотровых колодцев должны соответствовать требованиям ГОСТ 3634. Не допускается отклонение крышки люка относительно уровня покрытия более 2,0 см.
Дождеприемники должны соответствовать требованиям ГОСТ 26008. Не допускается отклонение решетки дождеприемника относительно уровня лотка более 3,0 см.
Устранение указанных недостатков по крышкам люков и решеткам дождеприемников следует осуществлять в течение не более суток с момента их обнаружения.
Разрушенные крышки и решетки должны быть немедленно ограждены и обозначены соответствующими дорожными знаками. Их замена должна быть проведена в течение не более 3 ч.
Не допускается отклонение верха головки рельса трамвайных или железнодорожных путей, расположенных в пределах проезжей части, относительно покрытия более 2,0 см.
На железнодорожных переездах не допускается возвышение междурельсового настила над верхом рельсов более 3,0 см, а глубина неровностей в покрытии междурельсового пространства (настиле) не должна быть более 4,0 см. Устранение указанных недостатков должно быть осуществлено в течение не более 2 суток с момента их обнаружения.
Обочины и разделительные полосы, не отделенные от проезжей части бордюром, не должны быть ниже уровня прилегающей кромки проезжей части более чем на 4,0 см.
Возвышение обочины (разделительной полосы) над проезжей частью при отсутствии бордюра не допускается.
Состояние укрепительных полос по степени деформации и ровности их покрытия должно соответствовать значениям, установленным для покрытий проезжей части.
Устранение дефектов укрепительной полосы следует осуществлять в течение не более 14 суток с момента обнаружения.
Повреждения грунтовых обочин (разделительных полос) не должны превышать значений, приведенных в табл. 10.2.6.
Таблица 10.2.6
Предельные размеры повреждения обочин и разделительных полос
|
Группа дорог и улиц по их транспортно-эксплуатационным характеристикам |
Повреждения на 1000 м2 покрытия, м2, не более |
Глубина повреждений, см, не более |
|
А |
5,0 |
5,0 |
|
Б |
7,0 |
7,0 |
|
В |
15,0 |
10,0 |
На пересечениях автомобильных дорог в одном уровне при отсутствии застройки должно быть обеспечено расстояние видимости в соответствии с требованиями действующих строительных норм и правил.
На неохраняемых железнодорожных переездах водителям транспортных средств, находящихся на удалении не более 50 м от ближнего рельса, должна быть обеспечена видимость приближающегося с любой стороны поезда в соответствии с нормами табл. 10.2.7.
Таблица 10.2.7
Расстояния видимости поезда на железнодорожных переездах
|
Скорость движения поезда, км/ч |
121-140 |
81-120 |
41-80 |
26-40 |
25 и менее |
|
Расстояние видимости, м, не менее |
500 |
400 |
250 |
150 |
100 |
Примечание. Принимается скорость движения пассажирских поездов дальнего следования, а при их отсутствии - наибольшая из скоростей движения пригородных пассажирских поездов или товарных поездов с порожними вагонами.
Автомобильные дороги, а также улицы и дороги городов и других населенных пунктов должны быть оборудованы дорожными знаками, изготовленными по ГОСТ 10807 и размещенными по ГОСТ 23457 в соответствии с утвержденной в установленном порядке дислокацией.
Поверхность знаков должна быть чистой, без повреждений, затрудняющих их восприятие.
Для дорожных знаков с световозвращающей поверхностью в процессе их эксплуатации допускается снижение удельного коэффициента силы света (кд·лк-1·м-2) до не менее: 35 -для белого цвета, 20 - желтого, 6 - красного, 4 - зеленого, 2 -синего.
Средняя яркость элементов изображения дорожных знаков с внутренним освещением (кд·м-2) не должна быть меньше: 90 - для белого и желтого цветов, 20 - зеленого, 10 -красного, 5 - синего.
Яркость элементов черного цвета не должна превышать 4 кд·м2.
Замену или восстановление поврежденных дорожных знаков (кроме знаков приоритета 2.1...2.7) следует осуществлять в течение 3 суток после обнаружения, а знаков приоритета - в течение суток.
Временно установленные знаки должны быть сняты в течение суток после устранения причин, вызвавших необходимость их установки.
Разметку автомобильных дорог, а также улиц и дорог городов и других населенных пунктов следует выполнять по ГОСТ 13508 и наносить в соответствии с ГОСТ 23457 и утвержденными схемами.
Дорожная разметка в процессе эксплуатации должна быть хорошо различима в любое время суток (при условии отсутствия снега на покрытии).
Дорожная разметка должна быть восстановлена, если в процессе эксплуатации износ по площади (для продольной разметки измеряется на участке протяженностью 50 м) составляет более 50 % при выполнении ее краской и более 25 % - термопластичными массами.
Светотехнические параметры дорожной разметки в процессе эксплуатации должны отвечать следующим требованиям:
- коэффициент яркости должен быть не менее значений, приведенных в табл. 10.2.8;
- коэффициент силы света (мкд·лк-1·м-2) разметки, выполненной из световозвращающих материалов, должен быть не менее: 80 - для белого цвета, 48 - желтого.
Таблица 10.2.8
Требования к яркости разметки
|
Цвет |
Коэффициент яркости разметки, % |
|
|
из обычных лакокрасочных и термопластичных материалов |
из лакокрасочных и термопластичных материалов со световозвращающими свойствами |
|
|
Белый |
48 |
28 |
|
Желтый |
29 |
21 |
Восстановление разметки следует проводить в соответствии с действующей технологией. Коэффициент сцепления разметки должен быть не менее 0,75 значения коэффициента сцепления покрытия.
Светофоры должны соответствовать требованиям ГОСТ 25695, а их размещение и режим работы - требованиям ГОСТ 23457. Не допускается наличие видимых повреждений и разрушений на отдельных деталях светофора либо элементов его крепления. Рассеиватель не должен иметь трещин и сколов. Символы, наносимые на рассеиватели, должны распознаваться с расстояния не менее 50 м. Подлежат замене отражатели с разрушениями и коррозией, приводящими к появлению зон пониженной яркости, различимых с расстояния 50 м.
В процессе эксплуатации допускается снижение силы света сигнала светофора в осевом направлении не более чем на 30 % значений, установленных по ГОСТ 25695.
Замену вышедшего из строя источника света следует осуществлять в течение суток с момента обнаружения неисправности, а поврежденной электромонтажной схемы в корпусе светофора или электрического кабеля - в течение 3 сут.
Опасные для движения участки автомобильных дорог, улиц и дорог городов и других населенных пунктов, в том числе проходящие по мостам и путепроводам, должны быть оборудованы ограждениями в соответствии с ГОСТ 25804, ГОСТ 23457, СНиП 2.05.02 и СНиП 2.05.03.
Ограждения должны быть окрашены в соответствии с ГОСТ 13508. Не требуют окраски оцинкованные поверхности ограждений.
Поврежденные элементы ограждений подлежат восстановлению или замене в течение 5 сут. после обнаружения дефектов. Не допускаются к эксплуатации железобетонные стойки и балки ограждений с раскрытой сеткой трещин, сколами бетона до арматуры, а деревянные и металлические стойки и балки - с механическими повреждениями или уменьшенным расчетным поперечным сечением.
Отдельные бортовые камни подлежат замене, если их открытая поверхность имеет разрушения более чем на 20 % площади или на поверхности имеются сколы глубиной более 3,0 см. Не допускается отклонение бортового камня от его проектного положения.
Сигнальные столбики и маяки следует устанавливать в соответствии с требованиями ГОСТ 23457.
Сигнальные столбики и маяки не должны иметь видимых разрушений и деформаций и должны быть отчетливо видны в светлое время суток с расстояния не менее 100 м, а также иметь окраску, вертикальную разметку и световозвращатели в соответствии с требованиями ГОСТ 13508.
Поврежденные сигнальные столбики должны быть заменены в течение 5 сут. после обнаружения повреждения.
Замену вышедшего из строя источника света или поврежденного элемента маяка следует осуществлять в течение суток с момента обнаружения неисправности.
Включение наружных осветительных установок следует проводить в вечерние сумерки при снижении естественной освещенности до 20 лк, а отключение - в утренние сумерки при естественной освещенности до 10 лк.
Переключение освещения транспортных тоннелей с дневного на ночной режим и обратно следует проводить при достижении естественной освещенности 100 лк.
Доля действующих светильников, работающих в вечернем и ночном режимах, должна составлять не менее 95 %. При этом не допускается расположение неработающих светильников подряд, один за другим.
Допускается частичное (до 50 %) отключение наружного освещения в ночное время в случае, когда интенсивность движения пешеходов менее 40 чел./ч. и транспортных средств в обоих направлениях - менее 50 ед./ч.
Отказы в работе наружных осветительных установок, связанные с обрывом электрических проводов или повреждением опор, следует устранять немедленно после обнаружения.
Сцепление и ровность покрытия следует оценивать приборами ПКРС, ППК-МАДИ-ВНИИБД, 3-метровой рейкой с клином в соответствии с прилагаемыми к ним инструкциями по эксплуатации.
Контроль линейных параметров, характеризующих техническое состояние дорог и улиц, следует осуществлять с помощью линейки или рулетки.
Контроль других параметров, не имеющих количественной оценки, осуществляется визуально.
Свето- и цветотехнические характеристики дорожной разметки следует определять по ГОСТ 13508, сигналов дорожных светофоров - по ГОСТ 25695, дорожных знаков - по ГОСТ 10807.
Назначение ремонтных мероприятий основывается на результатах диагностики и обследования технического состояния автомобильной дороги. Основные объемы ремонтов выполняются с целью восстановления земляного полотна и дорожной одежды - наиболее ответственных элементов дороги. Их деформации и разрушения систематизированы в справочнике [75] и приведены в табл. 10.3.1.
Таблица 10.3.1
Наиболее распространенные деформации и разрушения земляного полотна и дорожных одежд
|
Наименование и характер деформаций |
Наиболее вероятные причины возникновения деформаций |
|
1 |
2 |
|
Земляное полотно |
|
|
1. Осадки неравномерные |
Недостаточное уплотнение, переувлажнение грунтов, в результате чего снижаются параметры сдвига (j, с) грунта и под влиянием собственной массы и транспортных нагрузок он деформируется |
|
2. Просадки насыпей на основаниях из слабых грунтов - на болотах, просадочных грунтах, карстах |
Не обеспечена устойчивость насыпей против выпирания грунта в основании. Недостаточное сопротивление сдвигу, обусловленному главными касательными напряжениями |
|
3. Просадки и расползание высоких насыпей |
Не обеспечена устойчивость насыпей против расползания. Применение при сооружении высоких насыпей грунтов с влажностью, превышающей допустимые нормы, без осуществления мер по осушению грунта. При производстве зимних работ использованы связанные грунты с недопустимым содержанием мерзлых комьев |
|
4. Сползание откосов насыпей и выемок |
Неправильное возведение насыпей: присыпка грунта на откосах без соединения с основным телом земляного полотна ступеньками; неудовлетворительный отвод воды с его поверхности; нe обеспечено достаточное укрепление откосов; повышенная против норм крутизна откосов. На косогорных участках оползанию откосов выемок, сползанию и обрушению насыпей способствует наклонное расположение водоносных слоев, образующих поверхности скольжения при малом сопротивлении сдвигу по ним, а также по основаниям насыпей |
|
5. Пучины-деформации расширения объема грунта (разуплотнение), главным образом, в направлении поверхности земляного полотна |
Возникают вследствие интенсивного осенне-зимнего накопления влаги при промерзании пылеватых пучинистых грунтов. Нередко в местах образования пучин при оттаивании скапливаются в теле земляного полотна водные мешки, вызывающие его повреждение |
|
6. Размывы земляного полотна (обочин, откосов) |
Происходят, когда неукрепленные поверхности не могут противостоять поверхностному стоку (водная эрозия), обусловленному атмосферными осадками, ливневыми и талыми водами, приз екающими к земляному полотну с прилегающей местности, речными, озерными и морскими водами. При продолжительном застое воды из-за недостаточного уклона водоотводных канав или наличия препятствий в них. Эта вода при недостаточном расстоянии от земляного полотна может проникнуть в него и существенно переувлажнить грунт |
|
7. Выдувание грунта из обочин и откосов слабосвязанных и несвязанных грунтов |
Происходит из-за того, что поверхности не могут противостоять воздействию ветровой эрозии |
|
8. Колеи и выбоины на обочинах |
Заезды транспортных средств на неукрепленные обочины, особенно в период, когда грунты значительно увлажнены |
|
Дорожная одежда |
|
|
Деформации покрытия при достаточно прочной дорожной одежде |
|
|
9. Истирание (износ) всех видов покрытия. Усиленное и, чаще всего, неравномерное истирание наблюдается на участках торможения автомобилей, на спусках, перед кривыми, в населенных пунктах, перед перекрестками и на участках с интенсивным тяжелым движением |
Недостаточная износостойкость покрытия (слабая связность) |
|
10. Выкрашивание и шелушение - поверхностное и послойное разрушение покрытия н отслаивание вяжущего от минерального материала. Наблюдается на покрытиях, содержащих вяжущее (на цементобетонном, асфальтобетонном и подобном им покрытии) |
Недостаточно прочное сцепление вяжущего с каменным материалом |
|
11. Выбоины - местные разрушения покрытия, имеющие вид углубления с резко очерченными краями. Наблюдаются на всех видах покрытий |
Недостаточное сопротивление покрытия касательным усилиям от транспортных средств, выбивающих н выдергивающих каменные частицы; выщелачивание органических вяжущих водой; непрочное сцепление вяжущего с каменным материалом; дефекты уплотнения покрытия |
|
12. Волны - чередование (через 0,4...2,0 м) на покрытии гребней и впадин вдоль дороги. Наблюдаются на покрытиях, содержащих органическое вяжущее, а также на гравийных покрытиях, не обработанных вяжущими - чаще всего в местах остановок транспортных средств, вблизи пересечений в одном уровне, па крутых спусках |
Излишняя пластичность покрытия из-за избытка вяжущего или недостаточной теплоустойчивости смеси при высоких температурах. Недостаточное содержание щебня. На гравийных необработанных покрытиях образование волн («гребенки») вызвано динамическим воздействием транспортных средств на смесь с недостаточным количеством частиц, придающих связность покрытию |
|
13. Сдвиги - смешения покрытия по основанию, сопровождающиеся часто наплывом слоя по слою. Наблюдаются на покрытиях, содержащих органическое вяжущее, на крутых спусках, в местах остановок и торможения автомобилем |
Излишняя пластичность покрытия, обусловленная избытком вяжущего или недостаточной вязкостью его и теплоустойчивостью смеси при высоких температурах. Недостаточно прочное сцепление покрытия с основанием |
|
14. Трещины на покрытии, содержащем органическое вяжущее: - одиночные, разного направления, расположены, обычно, друг от друга на большом расстоянии; - отдельные поперечные трещины, расположенные примерно через одинаковое расстояние (не менее 10 м) - так называемые температурные; - редкие поперечные и косые трещины, не связанные между собой (расстояние между соседними трещинами 4-10 м), - частые поперечные и косые трещины с ответвлениями, иногда связанные между собой, но, как правило, не образующие замкнутых фигур, расстояние между соседними трещинами соответственно 2-4 м и 1-2 м; - сетка трещин с крупными ячейками; - трещины произвольного очертания, образуют замкнутые фигуры, расположены в разных местах по ширине проезжей части |
Дефекты организации работ, технологии укладки и укатки смеси. Недостаточная деформативная способность покрытия и малая сопротивляемость его напряжениям, возникающим от изменения температуры и многократного воздействия нагрузки. Неоднородность свойств покрытий и основания, а также ряд случайных факторов |
|
15. Трещины на цементобетонных покрытиях: поперечные сквозные |
Изменение температуры покрытия при большем, чем допустимо, расстоянии между швами сжатия или расширения, при невысоком качестве их устройства, перерыве в бетонировании более 2 ч |
|
продольные сквозные |
Дефекты в устройстве продольных швов. Неоднородность качества земляного полотна |
|
неглубокие |
Неравномерное распределение температуры но толщине плиты, обусловливающее ее коробление, и недостаточная деформативная способность плиты при одновременном с температурой воздействием нагрузок |
|
волосные усадочные |
Усадка бетона, особенно при неправильном уходе после укладки, а также от замерзания воды, попадающей в пего |
|
косые вблизи углов плиты |
Недостаточно плотное прилегание бетонной плиты к основанию и повышенные напряжения в плите при проезде транспортных средств |
|
Деформации всей конструкции дорожной одежды |
|
|
16. Сетка трещин с мелкими ячейками (10...20 см) на полосах наката покрытий, содержащих органическое вяжущее |
Недостаточная прочность дорожной конструкции |
|
17. Частые, отстоящие друг от друга на 20...40 см, продольные трещины на полосах наказа в сочетании с частыми (1...4 м) поперечными трещинами на всю ширину проезжей части. Наблюдаются на покрытиях, содержащих органическое вяжущее, построенных на основаниях из грунта (материала), укрепленного цементом или другим минеральным вяжущим |
Недостаточная прочность дорожной конструкции |
|
18. Просадки - резкие искажения профиля покрытия, имеющие вид впадин с округлой поверхностью. На покрытиях, содержащих органическое вяжущее, нередко сопровождаются сеткой трещин |
Недостаточная прочность дорожной конструкции |
|
19. Келейность - плавное искажение поперечного профиля покрытия на полосах наката. Наблюдается на всех типах покрытия |
Недостаточная прочность дорожной конструкции |
|
20. Проломы - полное разрушение дорожной одежды с резким искажением поперечного профиля. Наблюдаются на всех типах покрытий |
Весьма незначительная прочность дорожной одежды в сравнении с требуемой по условиям движения |
|
21. Те же деформации и разрушения, что и в пп. 16, 18, 19 и 20, когда оттаяла лишь дорожная одежда, а грунт земляного полотна находится в мерзлом состоянии. Наблюдается на всех типах одежд, за исключением цементобетонных |
Неустойчивость (пластичность) и недостаточная прочность хотя бы одного промежуточного слоя дорожной одежды |
|
22. Продольные и косые пересекающиеся трещины или паутинообразная сетка трещин при искаженном поперечном профиле проезжей части, связанные с неравномерным поднятием (пучением) земляного полотна при промерзании. Чаще всего наблюдаются на усовершенствованных монолитных покрытиях. Весной в местах этих деформаций иногда наблюдается «зыбь» покрытия под колесом автомобиля |
Неудовлетворительные грунтовые условия при неблагоприятных условиях увлажнения, главным образом, подземными или длительно застаивающимися поверхностными водами и глубоком промерзании земляного полотна |
|
23. Местные просадки и искажения профиля покрытия, образующиеся в первые годы после постройки дороги при достаточно благоприятных грунтово-гидрологических условиях на всех типах покрытия |
Недостаточное уплотнение грунта земляного полотна, особенно его верхней части |
Срок службы дорожной одежды - это период времени, в пределах которого происходит снижение несущей способности дорожной конструкции до уровня, предельно допускаемого по условиям движения [77].
Ремонт дорожной одежды осуществляется при достижении в процессе эксплуатации расчетного уровня надежности дорожной одежды и соответствующего ему предельного состояния покрытия по ровности.
Под надежностью дорожной одежды понимают вероятность безотказной работы конструкции в течение всего периода эксплуатации до ремонта. Количественно уровень надежности представляет отношение протяженности прочных (неповрежденных) участков к общей протяженности дорожной одежды с соответствующим значением коэффициента прочности.
Нормативные межремонтные сроки службы дорожной одежды и соответствующие им нормы уровней надежности принимают по табл. 10.4.1.
Таблица 10.4.1
Нормы межремонтных (расчетных) сроков службы (То) и нормы уровней надежности (Кн) нежестких дорожных одежд
|
Категория дороги |
Интенсивность движения транспортного потока. авт/сут. |
Тип дорожной одежды |
Дорожно-климатическая зона |
|||||
|
I-II |
III |
IV - V |
||||||
|
Кн |
То, годы |
Кн |
То, годы |
Кн |
То, годы |
|||
|
I |
>7000 |
кап. |
0,95-0,90 |
А-18 |
0,93-0,88 |
15-19 |
0,90-0,86 |
16-20 |
|
II |
3000-7000 |
кап. |
0,94-0,89 |
11-15 |
0,92-0,87 |
12-16 |
0,89-0,85 |
13-16 |
|
III |
1000-3000 |
кап. |
0,92-0,87 |
11-15 |
0,90-0,85 |
12-16 |
0,87-0,83 |
13-16 |
|
|
|
облег. |
0,88-0,84 |
10-13 |
0,86-0,82 |
11-14 |
0,84-0,80 |
12-15 |
|
IV |
500-1000 |
кап. |
0,85-0,82 |
11-15 |
0,83-0,80 |
12-16 |
0,80-0,78 |
13-16 |
|
|
|
облег. |
0,87-0,83 |
8-10 |
0,85-0,81 |
9-11 |
0,82-0,80 |
10-12 |
|
V |
100-500 |
перех. |
0,82 |
3-8 |
0,80 |
3-9 |
0,77 |
3-9 |
|
|
до 100 |
облег. |
0,83-0,80 |
8-10 |
0,80-0,78 |
9-11 |
0,78-0,75 |
10-12 |
|
|
|
перех. |
0,65 |
3-8 |
0,60 |
3-9 |
0,58 |
3-9 |
|
|
|
низ. |
0,65 |
2-4 |
0,60 |
2-4 |
0,58 |
2-4 |
Примечание. Промежуточные значения принимаются по интерполяции (для Кн и То). При расчете слоев усиления капитальных и облегченных дорожных одежд допускается уменьшение на 15% нормы срока службы от минимальных значений при сохранении нормы уровня надежности. При проектировании автомобильных дрог для расчета дорожных одежд рекомендуется использовать нормы наибольших сроков службы из указанного диапазона для каждого типа дорожной одежды
Срок службы покрытия - это период времени, в пределах которого снижаются сцепные качества покрытий (капитальные и облегченные дорожные одежды) или увеличивается износ поверхности покрытий (переходные и низшие дорожные одежды) до величин, предельно допускаемых по условиям движения.
Нормы межремонтных сроков службы дорожных покрытий (Тп) на дорогах с капитальными и облегченными дорожными одеждами принимаются в зависимости от интенсивности движения транспортного потока в первый год после строительства или работ по устройству шероховатых поверхностей при ремонте дорог (табл. 10.4.2).
Таблица 10.4.2
Нормы межремонтных сроков службы дорожных покрытий
|
Интенсивность движения по наиболее нагруженной полосе, авт/сут. |
Дорожно-климатические зоны |
Нормы межремонтных сроков службы дорожных покрытия (Тн) |
|
до 200 |
IV |
8 |
|
от 200 до 2500 |
I-II |
|
|
от 200 до 2000 |
III |
6 |
|
от 200 до 1500 |
IV-V |
|
|
от 2500 до 4500 |
I-II |
|
|
от 2000 до 4000 |
III |
4 |
|
от 1500 до 3000 |
IV-V |
|
|
от 4500 до 6500 |
I-II |
|
|
от 4000 до 6000 |
III |
3 |
|
от 3000 до 5000 |
IV-V |
|
|
свыше 6500 |
I-II |
|
|
6000 |
III |
2 |
|
5000 |
IV-V |
|
Норму срока службы покрытия допускается понижать на: 20 % - при использовании в качестве вяжущего для поверхностных обработок дегтей и смол; 30 % - при использовании известнякового щебня.
В случаях, когда межремонтные сроки службы дорожной одежды и покрытия отличаются не более чем на 30 %, сроки службы покрытий принимают равным 50 % от нормы срока службы дорожной одежды.
Возмещение износа покрытий переходных дорожных одежд предусматривают с периодичностью не позже, чем через 3 года.
Содержание автомобильной дороги - комплекс работ по уходу за дорогой, дорожными сооружениями и полосой отвода, по профилактике и устранению постоянно возникающих мелких повреждений, по организации и обеспечению безопасности движения, а также по зимнему содержанию и озеленению дороги.
Задача содержания состоит в обеспечении сохранности дороги и дорожных сооружений и поддержании их состояния в соответствии с требованиями, допустимыми по условиям обеспечения непрерывного и безопасного движения в любое время года.
Работы по содержанию не требуют составления проектной документации и выполняются на основе нормативов, ведомостей дефектов и смет. По усмотрению заказчика (инвестора) может разрабатываться проектная документация.
В основу настоящего раздела положена классификация работ по содержанию автомобильных дорог общего пользования, приведенная в нормативном документе [74].
К содержанию автомобильной дороги относят работы:
По полосе отвода, земляному полотну и водоотводу:
- систематическое поддержание полосы отвода, обочин, откосов и разделительных полос в чистоте и порядке;
- очистка от мусора и посторонних предметов, планировка;
- скашивание травы и вырубка кустарника с уборкой порубочных остатков; ликвидация нежелательной растительности химическим способом;
- очистка обочин от пыли и грязи;
- систематическое поддержание в работоспособном состоянии системы водоотвода;
- прочистка и профилирование кюветов и водоотводных канав, устранение дефектов их укреплений;
- прочистка и устранение мелких повреждений ливневой канализации, дренажных устройств, подводящих и отводящих русел у мостов и труб, быстротоков, перепадов и т.д., исправление повреждений и планировка откосов насыпей и выемок (с добавлением при необходимости грунта);
- подсыпка, срезка, планирование и уплотнение неукрепленных обочин;
- устранение деформаций и повреждений на укрепленных обочинах;
- ликвидация съездов и въездов в неустановленных местах, устройство и профилирование летних тракторных путей;
- выполнение мероприятий по обеспечению охраны природной среды;
- установление и обозначение придорожных полос автомобильных дорог.
По дорожным одеждам:
- очистка дорожных покрытий от мусора, пыли и грязи, уборка посторонних предметов, устранение скользкости, вызванной выпотеванием битума, устранение мелких деформаций и повреждений (заделка выбоин, просадок и др.), исправление кромок (бордюров) на всех типах покрытий, заливка трещин на асфальтобетонных и цементобетонных покрытиях, восстановление и заполнение деформационных швов в цементобетонных покрытиях;
- ремонт сколов и обломов плит цементобетонных покрытий, замена, подъемка и выравнивание отдельных плит;
- защита цементобетонных покрытий от поверхностных разрушений;
- устройство защитных слоев из эмульсионно-минеральных смесей на участках шелушения и выкрашивания асфальтобетонных и цементобетонных покрытий;
- ликвидация колей глубиной до 30 мм путём укладки двух слоев эмульсионно-минеральной смеси или поверхностной обработки по полосам наката шириной до 0,8 м;
- частичное фрезерование или срезка гребней выпора и неровностей по колеям с заполнением колей чёрным щебнем или асфальтобетонной смесью и устройством защитного слоя из эмульсионно-минеральной смеси на всю ширину покрытия;
- остановка и предупреждение развития трещин и сетки трещин устройством изолирующего слоя мелкозернистой поверхностной обработки локальными картами;
- восстановление изношенных верхних слоев асфальтобетонных покрытий и укладка их вновь на отдельных небольших по протяжённости (до 20 м) участках дороги; исправление профиля щебеночных и гравийных покрытий с добавлением щебня или гравия;
- профилировка грунтовых и грунтовых улучшенных дорог, восстановление профиля и улучшение их проезжей части щебнем, гравием, шлаком и другими материалами с расходом до 100 м3 на 1 километр;
- обеспыливание дорог; уход за участками дорог с пучинистыми и слабыми грунтами.
По обустройству дорог, организации и обеспечению безопасности движения:
- уход за знаками, замена повреждённых и установка вновь недостающих дорожных знаков;
- удаление отслужившей, восстановление изношенной и нанесение вновь вертикальной и горизонтальной разметки, в том числе, на элементах искусственных сооружений;
- исправление и замена повреждённых и морально устаревших, а также установка вновь недостающих дорожных ограждений и направляющих устройств;
- содержание в чистоте и порядке автобусных остановок, пешеходных переходов, площадок отдыха и элементов их обустройства, а также шумозащитных сооружений;
- исправление отдельных повреждений элементов архитектурно-художественного оформления дорог, надлежащий уход за этими элементами;
- очистка туалетов;
- установка и содержание в чистоте и порядке беседок, скамеек, панно и др.;
- обустройство источников питьевой воды и артезианских колодцев, содержание их в чистоте и порядке;
- окраска обстановки и элементов обустройства дорог, содержание их в чистоте и порядке;
- оборудование и содержание объездов разрушенных, подтопляемых, наледных и заносимых участков дорог, закрываемых для движения мостов;
- содержание, восстановление и устройство вновь пунктов учёта движения, снегомерных постов и постов для измерения температуры и оценки состояния дорожной конструкции и других устройств, необходимых для изучения работы дороги, её отдельных элементов и сооружений;
- содержание включенных в балансовую стоимость автомобильных дорог и дорожных сооружений линий электроосвещения дорог, мостов, путепроводов, тоннелей, транспортных развязок, паромных переправ и других сооружений, замена ламп и светильников, вышедших из строя, проводов, кабелей и других элементов электроосвещения, ревизия трансформаторов, плата за расход электроэнергии на освещение;
- содержание включенных в балансовую стоимость автомобильной дороги и дорожных сооружений линейной телеграфной (телетайпной) или радиосвязи и других средств технологической и сигнально-вызывной связи, кабельной сети, а также светофорных объектов, средств организации движения, диспетчерского и автоматизированного управления движением;
- содержание включенных в балансовую стоимость автомобильных дорог и дорожных сооружений пунктов весовою контроля, водомерных постов, метеопунктов и систем мониторинга погодных условий и условий движения.
Зимнее содержание дорог:
- изготовление, установка, устройство и ремонт постоянных снегозащитных сооружений (заборов, панелей, навесов, грунтовых валов и др.);
- уход за снегозащитными сооружениями;
- изготовление, установка (перестановка), разборка и восстановление временных снегозадерживающих устройств (щитов, изгородей, сеток и др.);
- создание снежных валов и траншей для задержания снега на придорожной полосе и их периодическое обновление;
- патрульная снегоочистка дорог, расчистка дорог от снежных заносов, уборка и разбрасывание снежных валов с обочин;
- профилирование и уплотнение снежного покрова на проезжей части дорог низких категорий;
- регулярная расчистка от снега и льда автобусных остановок, павильонов, площадок отдыха и т.д.;
- очистка от снега и льда всех элементов мостового полотна, а также зоны сопряжения с насыпью, подферменных площадок, опорных частей, пролетных строений, опор, конусов и регуляционных сооружений, подходов и лестничных сходов;
- оборудование и содержание зимних автомобильных дорог (автозимников) и ледовых переправ;
- борьба с зимней скользкостью;
- восстановление существующих и создание новых баз противогололёдных материалов, устройство подъездов к ним;
- бурение, обустройство и обслуживание скважин для добычи природных рассолов;
- приготовление и хранение противогололёдных материалов;
- устройство и содержание верхнего слоя покрытия с антигололёдными свойствами;
- устройство и содержание автоматических систем раннего обнаружения и прогнозирования зимней скользкости, а также автоматических систем распределения антигололёдных реагентов на мостах, путепроводах, развязках в разных уровнях и т.д.;
- борьба с наледями, устройство противоналедных сооружений, расчистка и утепление русл около искусственных сооружений; ликвидация наледных образований;
- проведение противолавинных мероприятий, уборка лавинных отложений.
Озеленение дорог:
- подготовка почвы под посадку и лесопитомники;
- выращивание саженцев (или оплата их стоимости);
- устройство снегозащитных лесных полос;
- противоэрозионные и декоративные посадки;
- уход за посадками, рубки ухода, обрезка веток для обеспечения видимости, уборка сухостоя, защита лесопосадок от пожаров;
- борьба с вредителями и болезнями растений;
- засев травой полосы отвода и разделительной полосы.
Прочие работы по содержанию:
- разработка по усмотрению заказчика проектно-сметной документации и ее экспертиза;
- оценка качества содержания дорог и дорожных сооружений;
- охрана автомобильных дорог и отдельных дорожных сооружений, сторожевая и пожарная охрана;
- ограничение в установленном порядке движения транспорта на дорогах в весенне-осеннюю распутицу;
- инвентаризация и паспортизация дорог и отвод земель;
- диагностика и оценка состояния автомобильных дорог;
- текущие и периодические осмотры, обследования и испытания мостов, путепроводов и других сооружений;
- учёт интенсивности движения;
- формирование и ведение банков данных о состоянии дорог, мостов и других дорожных сооружений;
- разработка схем дислокации дорожных знаков и разметки;
- учёт дорожно-транспортных происшествий и участие в расследовании причин их возникновения;
- организация дежурно-диспетчерской службы, метеорологическое обеспечение и т.д.;
- инженерное и научно-техническое сопровождение наиболее сложных работ по содержанию автомобильных дорог и дорожных сооружений. ,
Разделы, связанные с технологией выполнения работ по содержанию, составлены на основе справочника [75].
Содержание земляного полотна. Работы заключаются в предупреждении, устранении или ослаблении воздействия природных факторов и транспортных средств, в ликвидации последствий этих воздействий, если они небольшого объема. Большие деформации или разрушения устраняют путем капитального или среднего ремонта.
С целью предупреждения, устранения и ослабления воздействия ливневых и талых вод на земляное полотно проводят систематические работы по обеспечению беспрепятственного пропуска воды по водоотводным сооружениям с заблаговременной, регулярной прочисткой боковых водоотводных канав, с вырубкой кустарника, скашиванием травы, удалением камней и других предметов. Непрерывно наблюдают за проходом ливневых и талых вод, устраняют задержки потока и ликвидируют начинающиеся размывы земляного полотна.
Подготовка системы водоотвода к зимнему периоду включает закрытие деревянными щитами отверстий труб и малых мостов для предотвращения забивания их снегом и последующего обледенения, а также расчистку канав и русел небольших водотоков у искусственных сооружений. При наличии ливневой канализации колодцы очищают от ила с помощью илососных машин (табл. 11.3.1), а коллекторы промывают машинами для гидродинамической очистки (табл. 11.3.2). Весной необходимо быстро подготовить систему водоотвода к пропуску талых вод, боковые канавы очистить от снега автогрейдерами с кюветовосстановителями полностью по всему сечению. Водоотводные канавы можно расчищать вручную, устраивая в снегу прорези шириной 0,7 м и глубиной до уровня грунта. У малых мостов и труб убирают щиты, забывавшие их отверстия, удаляют лед и снег, накопившиеся за зиму, расчищают снег перед отверстиями на ширину, равную ширине отверстий, на длину не менее 30 м от каждого оголовка.
Таблица 11.3.1
Технические характеристики илососных машин
|
Параметры |
Марки машин |
||
|
КО-510 |
КО-519 |
КО-507А |
|
|
Базовое шасси |
ЗИЛ-433362, ЗИЛ-431412 |
ЗИЛ-133Д4 |
КамАЗ-53213 |
|
Вместимость цистерны, м |
3,25 |
6,2 |
7,0 |
|
в том числе илового отсека |
2,85 |
- |
6 |
|
отсека для иловой воды |
0,4 |
- |
0,5 |
|
Масса загружаемых материалов, кг |
4565 |
- |
8550 |
|
Глубина всасывания, м |
4,5 |
6 |
6,0 |
|
Наибольшее разрежение, создаваемое в цистерне, МПа |
0,09 |
0,095 |
0,095 |
|
Производительность вакуум-насоса, м3/ч |
396 |
720 |
20 |
|
Угол подъема цистерны, град. |
- |
60 |
- |
|
Полная масса, кг |
11000 |
18620 |
20500 |
|
Габаритные размеры, м |
7,0´2,5´3,5 |
8,0´2,5´3,3 |
8,5´2,5´3,3 |
Таблица 11.3.2
Технические характеристики машин для гидродинамической очистки ливневой канализации
|
Параметры |
Марки машин |
||
|
КО-512 |
КО-514 |
КО-502Б |
|
|
Базовое шасси |
КамАЗ-53213 |
КамАЗ-4925 |
ЗИЛ-433362 |
|
Объем цистерны, м3 |
9,05 |
5,75 |
5,4 |
|
Масса загружаемой воды, кг |
9050 |
- |
- |
|
Производительность насоса, м3/ч |
12,5 |
12,5 |
10 |
|
Рабочее давление воды, Мпа |
- |
- |
10 |
|
Максимальное давление, Мпа |
16 |
16 |
|
|
Диаметр очищаемых труб, мм |
150-1000 |
150-1000 |
150-1000 |
|
Максимальная дальность струи, м |
15 |
- |
- |
|
Ширина рабочей зоны при мойке, м |
- |
3,5 |
- |
|
Рабочее давление при мойке дорожного покрытия, МПа |
- |
1,5 |
- |
|
Количество обслуживающего персонала, чел. |
2 |
2 |
|
|
Полная масса, кг |
20500 |
15200 |
11500 |
Содержание обочин и откосов включает полное удаление с них снега и льда по окончании зимы, окашивание травы, удаление кустарника и посторонних предметов, систематическую планировку и утюжку, заравнивание ям, колей и других углублений.
Весьма ответственно содержание пучинистых участков. Пучины возникают вследствие накопления влаги в земляном полотне осенью и зимой и неравномерного оттаивания полотна весной. Особенно сильно пучины проявляются на участках с затрудненным водоотводом в районах, где зимой наблюдаются колебания температуры от положительных до отрицательных значений. Скопление влаги под дорожной одеждой может также происходить от неудовлетворительного содержания, при котором вода проникает внутрь через трещины и другие дефекты покрытия.
Ослабить в некоторой мере процессы пучинообразования можно правильной очисткой дороги от снега, особенно в конце зимы и начале весны. Земляное полотно целесообразно очищать на всю ширину, а с наступлением потепления полностью удалять снег не только с обочин, но и с откосов и из кюветов. Задача состоит в том, чтобы максимально ускорить оттаивание и просыхание в первую очередь боковых частей земляного полотна.
С началом весеннего потепления устанавливают тщательное наблюдение за дорогой, чтобы своевременно обнаружить признаки пучинообразования. Первый признак - появление в отдельных местах на покрытии продольных и поперечных трещин, влажных пятен. Число трещин постепенно увеличивается, они соединяются, образуя сетку трещин.
Важной мерой, которая предотвращает пучины или максимально ослабляет их воздействие на дорогу, является прокопка осушительных воронок на обочинах, которую лучше всего выполнять с помощью машины ЭД-201 с рабочим органом роторного типа. Воронки роют с обеих сторон пучинистого участка в шахматном порядке на расстоянии 3...4 м одну от другой. Они имеют ширину 0,2...0,3 м, а глубина равна толщине дорожной одежды с подстилающим песчаным слоем. Дну их придается продольный уклон 40...50 ‰. Воронки, соприкасаясь с теплым воздухом и подвергаясь прямому нагреву солнечными лучами, способствуют быстрейшему оттаиванию земляного полотна и отводу образующейся воды.
Если признаки пучинообразования все же появились, необходимо предохранить покрытие от разрушения. Для этого на пучинистом участке устраивают «подушку» из котельного шлака, несмерзшегося сухого песка или гравийно-песчаной смеси слоем 10...15 см. На «подушку» укладывают деревянные щиты или временное колейное покрытие.
На отдельных участках, где дорожная одежда обладает малой прочностью, движение переносят на объезд или ограничивают скорость и грузоподъемность автомобилей. Такие участки необходимо ограждать барьерами, устанавливать указатели объездов, знаки ограничения скорости и грузоподъемности. Решение о временном прекращении или ограничении движения выносят администрации субъектов РФ. Необходимо своевременно через средства массовой информации оповещать население о закрытии или ограничении движения. Борьбу с пучинами прекращают, когда грунт земляного полотна полностью оттает и просохнет. С проезжей части убирают настилы, щиты, маты, шлак и песок, засыпают осушительные воронки на обочинах. Места на покрытии, подвергшиеся разрушению или деформациям, должны быть обязательно исправлены. В конце весны устраняют повреждения земляного полотна: засыпают промоины, исправляют бровки, убирают оплывший грунт с откосов выемок и насыпей, подсыпают и укрепляют обрушившиеся откосы.
Содержание полосы отвода. Дорожные организации проводят следующие работы по содержанию полосы отвода: уничтожение или скашивание сорных трав; вырубку кустарника, растущего близко к дороге и могущего вызвать снежные заносы; уборку мусора с полосы отвода; уход за резервами и кавальерами; улучшение стока воды с полосы отвода с планировкой отдельных участков и приданием им необходимого уклона; ликвидацию застоя воды в пониженных местах; содержание летних и тракторных путей с утюжкой, а при необходимости с профилированием их; ликвидацию ям, рвов, колеи и прочих углублений и неровностей; охрану полосы отвода с проведением противопожарных мероприятий, особенно в лесной местности; недопущение устройства мусорных ям и свалок. Нельзя допускать засорения полей, принадлежащих смежным землепользователям, сорняковой растительностью. Для борьбы с ней можно использовать химические средства, называемые гербицидами (табл. 11.3.3) в виде рабочих растворов или суспензий. В каждом случае возможность применения гербицидов следует согласовать с агрономами местных сельскохозяйственных органов.
Таблица 11.3.3
Характеристика гербицидов
|
Наименование гербицида |
Краткая характеристика |
Норма расхода, кг/га |
|
Монурон |
Порошок с содержанием около 80 % химического продукта. Представляет собой производное мочевины. Применяют в виде раствора, опрыскивают почву до появления всходов сорных растений |
20-40 |
|
Фенурон |
Порошок, близкий по составу к монурону. Применяют так же, как монурон |
20-40 |
|
Атразин |
Порошок содержит около 50% химического продукта. Применяют в виде суспензии, опрыскивают почву до появления всходов сорняков |
10-15 |
|
Симазин |
Порошок содержит 50 % химического продукта. Применяют в виде суспензии, опрыскивают почву до всходов сорняков |
15-20 |
|
Дилапон |
Порошок содержит 85 % химического продукта. Проникает в растение через опрыснутые листья. Применяют в виде раствора, когда высота растущих сорняков достигнет 10...20 см |
30-40 |
|
ТХА (трихлорацетанатрия) |
Порошок содержит 85 % химическою продукта. Эффективно подавляет как однолетние, так и многолетние сорняки. Применяют в виде раствора опрыскиванием почвы. Способен сохранять в почве свои токсические свойства до 4 мес. |
100-120 |
|
Сульфамат аммония |
Порошок содержит 70...90 % химического продукта. Можно применял, для борьбы с травянистой и с нежелательной древесно-кустарниковой растительностью. Используют в виде раствора для опрыскивания растительности |
300-500 |
Для опрыскивания почвы и растительности на полосе отвода используют прицепные и навесные опрыскиватели разных марок на тракторах и самоходных шасси, поливомоечные машины (табл. 11.3.4). В отдельных случаях для опрыскивания участков небольшой площади можно применять ручные опрыскиватели.
Таблица 11.3.4
Технические характеристики поливомоечного оборудования
|
Параметры |
Марка машины |
|
|
ПО-451 |
ТМ-20 |
|
|
Базовый трактор |
МТЗ-80/82 |
МТЗ-80/82 |
|
Вместимость цистерны, м3 |
4,5 |
4,5 |
|
Ширина обрабатываемой полосы, м: |
|
|
|
при мойке |
5,0 |
3,0 |
|
при поливке |
13 |
8 |
|
Площадь обрабатываемая с одного |
|
|
|
наполнения цистерны, м2: |
|
|
|
при мойке |
5290 |
5100 |
|
при поливке |
12850 |
13600 |
|
Масса снаряженная, кг |
1350 |
1635 |
|
Габаритные (длина поезда), м |
8,2´2,2´2,3 |
4,4´2,01´1,76 |
Гербициды губительно действуют не только на сорняки, но и на культурные растения. Кроме того, они в известной мере токсичны для людей и животных. Поэтому при работе с ними нужно соблюдать большую осторожность, строго выполняя требования правил охраны труда и техники безопасности.
С гербицидами не должны работать лица моложе 18 лет, беременные и кормящие женщины, а также лица, имеющие болезни почек и печени, заболевания крови и органические расстройства нервной системы, больные туберкулезом и язвой желудка.
Все работающие с гербицидами должны быть обеспечены комбинезонами, сапогами, рукавицами, защитными очками, респираторами или марлевыми повязками с ватной прокладкой. Продолжительность работы с гербицидами - не более 5...6 ч в день.
На участках, где применяют гербициды, и в местах их приготовления нельзя принимать пищу, курить, хранить пищу в карманах. Перед приемом пищи необходимо снять спецодежду, вымыть с мылом руки и лицо, прополоскать рот и горло. По окончании работы спецодежду нужно сдать в отведенное для ее хранения помещение, вымыться или принять душ. Категорически запрещается уносить домой спецодежду или индивидуальные средства защиты.
Хранят гербициды в прочной, хорошо закрытой таре в отдельном складе. После работы опрыскивающую аппаратуру и тару, в которой готовили растворы, следует тщательно очистить, промыть горячей водой и сдать на склад. Остатки рабочих растворов закапывают в землю на глубину не менее 1 м вдали от жилых построек, скотных дворов, источников питьевой воды. На обработанных гербицидами участках запрещается выпас скота, сбор ягод и грибов, кошение травы, пока не истечет 15 дней со времени обработки.
Потребность в средствах механизации и затратах труда для выполнения работ по содержанию земляного полотна и полосы отвода приведена в табл. 11.3.5.
Таблица 11.3.5
Укрупненные показатели потребности в средствах механизации и трудовых ресурсах на содержание земляного полотна и полосы отвода (на 1 км дороги в год)
|
Вид работы |
Средства механизации |
Рабочие |
||
|
наименование |
кол-во, маш.-ч |
профессия и квалификация |
кол-во, чел.-ч |
|
|
Земляное полотно и система водоотвода |
||||
|
Содержание системы водоотвода с очисткой канав весной от снега, а летом от наносов и грязи с вывозкой мусора. Очистка от снега русел весной на подходах к трубам |
Кюветовосстановитель ДЭ-9 на автогрейдере ДЗ-31-1 |
0,84 |
Машинист 6-го разряда |
0,84 |
|
Автомобиль ЗИЛ-ММЗ-555 с грейфером КДМ-130 В |
0,80 |
Водитель 3-го класса |
0,80 |
|
|
|
|
Дорожные рабочие 2-го разряда |
0,20 |
|
|
Очистка труб весной от снега, льда и наносов с вывозкой мусора |
Оборудование для очистки Т-927 на комбинированной дорожной машине КДМ-130 В |
0,20 |
Водитель 3-го класса |
0,20 |
|
|
Дорожный рабочий 3-го разряда |
0,20 |
||
|
Рытье и засыпка осушительных воронок на обочинах весной на пучинистых участках |
Автомобиль ЗИЛ-ММЗ-555 с грейфером |
0,20 |
Водитель 3-го класса |
0,20 |
|
Машина ЭД 201 на колесном тракторе МТЗ-50 для рытья дренажных прорезей |
20,90 |
Машинист 5-го разряда |
20,90 |
|
|
Планировка откосов и засев травами |
Автогрейдер ДЗ-31 -1 |
0,52 |
Машинист 6-го разряда |
0,52 |
|
Машина для гидропосева СД-101 |
4,40 |
Водитель 3-го класса |
4,40 |
|
|
|
|
|
Дор. рабочий 2-го разряда |
|
|
Окашивание откосов и уборка скошенной травы |
Косилка ЭД-101 на колесном тракторе МТЗ-50 |
0,40 |
Водитель 3-го класса |
0,40 |
|
|
|
|
Дор. рабочий 2-го разряда |
0,40 |
|
Содержание укрепленных обочин с подсыпкой, планировкой, уплотнением |
КДМ-130 А |
0,50 |
Машинист 4-го разряда |
0,50 |
|
Автомобиль ЗИЛ-ММЗ-555 |
10,00 |
Водитель 3-го класса |
10,00 |
|
|
Автогрейдер ДЗ-31-1 |
6,28 |
Машинист 6-го разряда |
6,28 |
|
|
Каток ДУ-11 |
15,00 |
Машинист 5-го разряда |
15,00 |
|
|
Содержание неукрепленных обочин с подсыпкой, планировкой, окашиванием и уборкой скошенной травы |
Автомобиль ЗИЛ-ММЗ-555 |
10,00 |
Водитель 3-го класса |
10,00 |
|
КДМ-130А |
0,12 |
Машинист 4-го разряда |
0,12 |
|
|
Автогрейдер ДЗ-31-1 |
6,28 |
|
|
|
|
Каток ДУ-11 |
15,00 |
Машинист 6-го разряда |
6,28 |
|
|
Косилка ЭД-101 на колесном тракторе МТЗ-50 |
0,06 |
Машинист 6-го разряда |
15,00 |
|
|
|
|
Машинист 4-го разряда |
0,06 |
|
|
|
|
Дор. рабочий 2-го разряда |
0,06 |
|
|
Полоса отвода |
||||
|
Планировка полосы для обеспечения стока |
Бульдозер ДЗ-37 |
6,26 |
Машинист 4-го разряда |
6,26 |
|
Автогрейдер ДЗ-31-1 |
0,52 |
Машинист 6-го разряда |
0,52 |
|
|
Сбор мусора, погрузка и вывозка его с полосы |
ЗИЛ-ММЗ-555 с грейфером |
0,40 |
Водитель 3-го класса |
0,40 |
|
|
|
Дор. рабочий 2-го разряда |
0,40 |
|
|
Окашивание полосы и уборка скошенной травы |
Косилка ЭД-101 на МТЗ-50 |
1,40 |
Машинист 4-го разряда |
1,40 |
|
|
Дор. рабочие 3-го разряда |
1,40 |
||
|
|
Дор. рабочие 2-го разряда |
1,40 |
||
Работы по содержанию проезжей части весной, летом и осенью заключаются в основном в систематическом уходе за дорожной одеждой с целью поддержания ее в чистоте и порядке, предотвращении и ликвидации небольших повреждений, возникающих под воздействием транспортных средств и природных факторов. Характер мероприятий по содержанию проезжей части в значительной мере зависит от типа покрытия. На грунтовых дорогах, не имеющих дорожной одежды, содержание проезжей части, по существу, включает мероприятия по содержанию земляного полотна.
Содержание дорог с усовершенствованными покрытиями. Выполняются работы по очистке покрытий от пыли, грязи и мойка их с помощью поливомоечных машин (табл. 11.8). На отдельных участках покрытий, построенных с применением избыточного количества органического вяжущего, в жаркие дни оно может выступать на поверхность. Такие места присыпают каменной мелочью, высевками или крупнозернистым песком. Сбрасываемый колесами автомобилей материал вновь наметают на покрытие. Укрупненные показатели затрат машинного времени и труда на содержание проезжей части весной, летом и осенью приведены в табл. 11.3.6.
Таблица 11.3.6
Укрупненные показатели на содержание проезжей части с усовершенствованными и переходными покрытиями (на 1 км дороги в год)
|
Вид работы |
Средства механизации |
Рабочие |
||
|
наименование |
кол-во, маш.-ч |
профессия и квалификация |
кол-во, чел.-ч |
|
|
Проезжая часть с усовершенствованным покрытием |
||||
|
Подметание и мойка |
Комбинированная дорожная машина КДМ-130В |
9,60 |
Машинист 4-го разряда |
9,60 |
|
Уход за участками с избытком вяжущего |
Распределитель каменной мелочи ДС-49 |
0,04 |
Машинист 5-го разряда |
0,04 |
|
Каток ДУ-11 |
7,50 |
Машинист 5-го разряда |
7,50 |
|
|
Проезжая часть с гравийным покрытием |
||||
|
Обеспыливание водой |
Комбинированная дорожная машина КДМ-130В |
0,19 |
Машинист 4-го разряда |
0,19 |
|
Профилирование и уплотнение |
Автогрейдер ДЗ-31-1 |
4,62 |
Машинист 6-го разряда |
4,62 |
|
Каток ДУ-11 |
30,00 |
Машинист 5-го разряда |
30,00 |
|
Содержание дорог с переходными покрытиями. Производятся наметание каменной мелочи и высевок на покрытие, уборку катуна и обеспыливание водой. Другие обеспыливающие материалы, например, хлористый кальций или органические вяжущие применяют при ремонте. Весной и осенью переходные покрытия приходится очищать от грязи, заносимой колесами с обочин, а также отводить воду, если она задерживается в местных понижениях проезжей части. Гравийные покрытия выравнивают профилировкой автогрейдерами или утюжкой металлическими утюгами.
Содержание грунтовых и грунтово-улучшенных дорог. Интенсивное и частое профилирование проводят для устранения образовавшихся ям, колеи и других неровностей. Утюжка - профилактическое мероприятие, проводимое заранее, до образования крупных неровностей, когда грунт имеет оптимальную влажность. При интенсивных дождях или в периоды распутицы проезд по грунтовым дорогам целесообразно закрывать.
Усовершенствованные покрытия очищают механическими щетками, поливомоечными или подметально-уборочными машинами в сочетании с мойкой.
При большом скоплении грязи на покрытии (около переездов, съездов и т. д.) прибегают к комбинированной очистке, т. е. механической щеткой и поливомоечной машиной.
Обеспыливание покрытий переходного и низшего типов, устроенных без применения органических вяжущих, осуществляют путем обработки их поверхности обеспыливающими материалами. Виды обеспыливающих материалов, ориентировочные нормы их расхода на 1 м2 и продолжительность действия даны в табл. 11.3.7.
Таблица 11.3.7
Нормы расхода материалов и продолжительность действия
|
Материал |
Ед. изм |
Нормы расхода материалов на 1 м2 покрытия |
Срок действия, сут. |
||
|
гравийного |
щебеночного |
грунтового |
|||
|
1 |
2 |
3 |
4 |
5 |
6 |
|
Гигроскопические |
|||||
|
Кальций хлористый технический: кальцинированный |
кг |
0,6-0,7 0,8-0,9 |
0,4-0,5 0,6-0,7 |
0,7-0,8 0,9-1,0 |
20-40 |
|
Плавленый |
кг |
0,8-0,9 1,0-1,01 |
0,6-0,8 0,7-1,0 |
0,9-1,0 1,1-1,2 |
20-40 |
|
Жидкий |
л |
1,3-1,7 2,0-2,2 |
1,0-1,5 1,5-2,0 |
1,7-2,0 2,2-2,4 |
15-25 |
|
Кальций хлористый ингибированный фосфатами (ХКФ) |
кг |
0,7-0,8 0,9-1,0 |
0,5-0,6 0,7-0,8 |
0,8-0,9 1,0-1,1 |
25-40 |
|
Техническая поваренная соль (в виде раствора 30 %-ной концентрации) |
л |
1,5-2,2 2,4-3,0 |
1,2-2,0 2,0-2,6 |
1,8-2,8 3,4-4,0 |
15-20 |
|
Техническая соль сильвинитовых отвалов: твердая |
кг |
0,8-1,2 1,4-1,8 |
0,6-1,0 1,2-1,6 |
1,0-1,4 1,6-2,0 |
15-25 |
|
Жидкая |
л |
1,6-2,5 2,7-3,3 |
1,4-2,2 2,4-3,0 |
2,0-3,0 3,6-4,2 |
15-20 |
|
Вода морская лиманная или соленых озер |
л |
1,0-1,5 1,5-2,0 |
0,8-1,3 1,3-1,8 |
1,5-2,0 2,0-2,5 |
3-5 |
|
Вода техническая |
л |
1,0-2,0 |
0,5-1,5 |
1,5-2,5 |
0,04-0,12 (1-3 ч) |
|
Органические |
|||||
|
Лигносульфонаты технические (марка В 50 %-ной концентрации) |
л |
1,6-2,0 1,2-1,6 |
1,4-1,8 1,0-1,4 |
1,8-2,2 1,6-2,0 |
20-30 |
|
Лингнодор |
л |
1,6-2,0 1,2-1,6 |
1,4-1,8 1,0-1,4 |
1,8-2,2 1,6-2,0 |
40-45 |
|
Сульфитный щелок (10 %-ной концентрации) |
л |
4,0-6,0 3,0-5,0 |
3,5-5,0 2,5-4,0 |
4,5-6,5 3,5-5,5 |
15-20 |
|
Жидкий битум и дегти |
л |
0,8-1,0 |
0,7-1,0 |
1,0-1,2 |
30-90 |
|
Битумные эмульсии |
л |
1,2-1,5 |
1,0-1,3 |
1,5-2,0 |
30-90 |
|
Сырые нефти |
л |
0,8-1,0 |
0,7-1,0 |
1,0-1,2 |
30-90 |
Повторно обрабатывают при появлении первых признаков образования пыли. Нормы расхода обеспыливающих материалов при этом уменьшают в 2 раза по сравнению с нормами для первой обработки.
Число обработок за сезон определяют с учетом продолжительности, теплого периода, в течение которого наблюдается образование пыли, числа дождливых дней и срока действия обеспыливающих материалов.
Готовые растворы и рассолы хранят в цистернах вместимостью 20...100 м3 или в бетонных закрытых хранилищах. Органические обеспыливающие вяжущие, поставляемые в цистернах, хранят в закрытых хранилищах, оборудованных системой подогрева.
Для распределения обеспыливающих материалов наряду с дорожными поливомоечными машинами (табл.11.3.8) могут быть использованы сельскохозяйственные распределители жидких и твердых минеральных удобрений (РЖТ, РУМ-3, КСА-3 и т. д.).
Таблица 11.3.8
Технические характеристики универсальных машин для содержания дорог
|
Параметры |
Марка машины |
|||
|
КО-804 |
КДМ-130В |
КО-806 |
КО-713 |
|
|
Базовое шасси |
ЗИЛ-433362 |
ЗИЛ-433362, ЗИЛ-431412 |
КамАЗ-4925 |
ЗИЛ-433362 |
|
Вместимость цистерны, м3 |
6,0 |
6,0 |
- |
6,35 |
|
Вместимость кузова, м3 |
- |
3,25 |
- |
3,0 |
|
Масса загружаемой воды, кг |
- |
- |
8000 |
- |
|
Ширина рабочей зоны, м: |
|
|
|
|
|
при мойке |
8 |
8 |
8,5 |
8,5 |
|
при поливке |
18 |
18 |
20 |
20 |
|
при подметании |
2,3 |
2,34 |
- |
- |
|
при снегоочистке |
2,3-2,65 |
2,7-3,0 |
- |
2,5 |
|
при распределении противогололедных материалов (4 м) |
|
4-10 |
- |
4-9 |
|
Диаметр очищаемых трубопроводов, мм |
50-300 |
- |
- |
- |
|
Длина очищаемых с одной установки трубопроводов, м |
30 |
- |
- |
- |
|
Удельный расход воды, л/м2: |
|
|
|
|
|
при мойке |
- |
- |
0.7 |
- |
|
при поливке |
- |
- |
0,2 |
- |
|
Полная масса, кг |
12490 |
- |
15200 |
11600 |
|
Габаритные размеры, м |
- |
- |
7,4´2,5´3,0 |
8,6´3´2,7 |
Гравийные покрытия обеспыливают двумя способами: пропиткой и смешиванием на дороге минерального материала покрытия с обеспыливающим материалом.
Раствор при пропитке желательно разливать на покрытие, материал которого имеет влажность, равную или меньшую оптимальной. При норме более 1,5 л/м2 разливают за два-три приема. Каждый последующий розлив производят после того, как раствор предыдущего полностью впитался в покрытие. Органические обеспыливающие материалы разливают при температуре, обеспечивающей нормальное впитывание (табл. 11.3.9).
Таблица 11.3.9
Температура материала при разливе
|
Материал |
Марка |
Температура разлива, С |
|
Нефтяные жидкие битумы |
МГ 40/70, СГ 40/70 |
50-70 |
|
Дегти |
Д-1, Д-2 |
25-50; 50-60 |
|
Технический лигносульфонта (ТЛС): |
|
|
|
50 %-ной концентрации |
А, В |
50-70 |
|
40 %-ной концентрации |
А, В |
20-30 |
|
30 %-ной концентрации |
А, В |
10-20 |
|
Сульфитный щелок |
- |
Без подогрева |
|
Отработанные масла |
- |
Без подогрева |
|
Битумные эмульсии |
Анионные |
Без подогрева |
Твердые гигроскопические соли распределяют в такой последовательности: разливают воду 0.5...2 л/м2 (при сухом покрытии); распределяющие проезжей части твердые соли по норме, приведенной в табл. 11.3.7.
Метод смешивания на дороге при обработке покрытия обеспыливающими материалами применяют на завершающем этапе ремонта гравийных и им подобных покрытий. В этом случае вывезенную в конуса гравийную смесь оптимального состава для верхнего слоя покрытия (слоя износа) разравнивают автогрейдером за четыре круговых прохода на всю ширину покрытия; разливают раствор или распределяют твердый обеспыливающий материал в количестве 80 % от нормы. Нормы, приведенные в табл. 11.3.7, увеличивают в 3...5 раз в зависимости от толщины обрабатываемого слоя. При скорости распределительных средств 8...10 км/ч, тщательно перемешивают смесь, разравнивают и профилируют автогрейдером. При необходимости в гравийный материал добавляют воду, доводя смесь до оптимальной или близкой к ней влажности, уплотняют самоходными пневмокатками за 8...10 проходов по каждому следу, разливают по покрытию готовый раствор или распределяют материал в твердом виде в количестве 20 % от нормы.
В течение 5...7 дней после проведения мероприятий по обеспыливанию регулируют движение транспортных средств, чтобы получить равномерно накатанную поверхность и обеспечить лучшее формирование покрытия.
В состав работ по содержанию дорожных ограждений входит периодический осмотр ограждений и сигнальных столбиков, замена и мелкий ремонт неисправных элементов, подтягивание креплений, очистка от пыли и грязи, мойка, а при необходимости окраска ограждений.
Содержание дорожных знаков состоит в систематической очистке щитков и стоек от пыли и грязи, окраске тыльной стороны знаков и поверхности стоек, выпрямлении или замене щитков и стоек, подтягивании болтов, замене источников света в подсвечиваемых знаках.
Автопавильоны содержат в чистоте, моют, возобновляют окраску, исправляют мелкие повреждения, заменяют испорченные детали.
Дорожные здания и подсобные сооружения необходимо регулярно осматривать (целесообразно дважды в год - весной и осенью) с целью определения их состояния и требуемых мер по устранению недостатков.
К содержанию дорожных зданий и сооружений относят: устранение небольших дефектов кровли, укрепление лестниц и их перил, утепление окон и дверей, устранение мелких повреждений центрального отопления и течи водопровода и канализации, ликвидацию утечки газа, смену кранов и выключателей газовых плит, окраску трубопроводов, устранение повреждений электропроводки, прочистку мусоропроводов и исправление запорных частей мусороприемников, очистку дворовых колодцев и выгребов, систематическую уборку территории приусадебных участков, подъездных путей от основной дороги к зданиям, проездов и пешеходных дорожек. Периодически проводят побелку и покраску зданий, вспомогательных построек, заборов. В табл. 11.3.10 приведена потребность в средствах механизации и трудозатрат на содержание элементов дороги.
Таблица 11.3.10
Укрупненные показатели потребности в средствах механизации и рабочих на содержание элементов обстановки дороги (на 1 км дороги в год)
|
Вид работы |
Средства механизации |
Рабочие |
||
|
наименование |
кол-во, маш.-ч |
профессия и квалификация |
кол-во, чел.-ч |
|
|
Содержание ограждений и сигнальных столбиков |
Оборудование для мойки обстановки дороги ПО-451 на тракторе МТЗ-80 |
0,70 |
Машинист 4-го разряда |
0,70 |
|
Мастерская технического обслуживания А-701М |
3,00 |
Водитель 2-го класса |
3,00 |
|
|
|
Дорожный рабочий 3-го разряда |
6,00 |
||
|
Маркировочная машина с краскопультом ДЭ-3 |
4,14 |
Машинист 4-го разряда |
4,14 |
|
|
|
Дор. рабочий 3-го разряда |
4,14 |
||
|
Содержание дорожных знаков |
Оборудование для мойки обстановки дороги ПО-451 |
0,16 |
Машинист 4-го разряда |
0,16 |
|
Мастерская технического обслуживания А-701М |
0,40 |
Водитель 2-го класса |
0,40 |
|
|
|
Дор. рабочий 3-го разряда |
0,88 |
||
|
Автомобиль ЗИЛ-ММЗ-555 с краном |
0,60 |
Водитель 3-го класса |
0,60 |
|
|
Маркировочная машина с краскопультом ДЭ-3 |
0,76 |
Машинист 4-го разряда |
0,76 |
|
|
|
Дор. рабочий 3-го разряда |
6,40 |
||
|
Содержание автопавильонов |
Оборудование дли мойки обстановки дороги ПО-451 |
3,20 |
Машинист 4-го разряда |
3,20 |
|
Мастерская технического обслуживания А-701M |
4,00 |
Водитель 2-го класса |
4,00 |
|
|
|
Дор. рабочий 3-го разряда |
8,00 |
||
|
Маркировочная машина с краскопультом ДЭ-3 |
0,80 |
Машинист 4-го разряда |
0,80 |
|
|
|
Дор. рабочий 3-го разряда |
1,60 |
||
Ледоход и паводки бывают как весной, так и осенью. На отдельных реках в южных районах РФ во время оттепелей наблюдаются зимние паводки, сопровождаемые кратковременным ледоходом. Однако для дорог и сооружений наиболее опасны паводок и ледоход весной, так как в этот период толщина льда больше, чем осенью, а скорость течения и уровень воды выше, чем осенью и зимой. Мероприятия по пропуску весеннего ледохода и паводка включают: подготовительные работы; пропуск ледохода и паводка; заключительные работы.
Подготовительные работы включают следующие мероприятия:
Осмотр и ремонт опор и ледорезов. Плоскости деревянных опор и ледорезов обшивают брусьями или пластинами, а на реках с интенсивным ледоходом - листовой сталью толщиной 2...3 мм. Высота обшивки - до линии горизонта воды при ледоходе +0,5 м. Ремонтируют водомерные рейки. Указатель наивысшего горизонта паводка должен быть нанесен суриком на устой моста или на одну из опор.
Промеры дна у опор и ледорезов с укреплением его в необходимых местах каменной наброской. Устойчивую наброску, хорошо сопротивляющуюся воздействию водяных струй, образует угловатый, неокатанный камень. В местах, где легко заготовить хворост, можно укреплять русло тюфяками из фашин. Длина фашин 3...6 м, диаметр 0,3...0,7 м; длина тюфяков - до 12 м, перед спуском на дно они загружаются камнем. При больших скоростях можно укреплять русло габионами. Нужно следить, чтобы не загромоздить русло, так как это приведет к усилению размывов вместо их ликвидации.
Обследование ледовых условий в районе моста. Необходимо выявить толщину, структуру и прочность ледяного покрова, наличие участков, где можно ожидать образования заторов и торосистых участков. Проверить наличие наледей, обследовать водоемы, откуда могут появиться большие ледяные поля, временные плотины, паромные переправы, вмерзшие баржи, скопления бревен и другие предметы, которые могут быть сорваны и нанесены на мост, Установить надежные места для возможных съездов на лед. Предметы, вмерзшие в ледяной покров, должны быть своевременно удалены.
Предварительное ослабление льда и освобождение опор и ледорезов. На реках, где возможно поднятие горизонта воды, освобождают опоры от льда, делая вокруг них прорези сразу после образования ледяного покрова в начале зимы, и поддерживают их в незамерзшем состоянии всю зиму. На реках, где нет зимнего подъема воды, прорези устраивают в конце зимы до поднятия горизонта воды. Ширина прорези 0,3...0,5 м. После ослабления льда весенней оттепелью сделанные ранее прорези удлиняют перед мостами на 10...20 м вверх по течению. Если ожидается сильный ледоход, ледяной покров раскалывают сплошь выше по течению и ниже моста. При этом, чем толще и крепче лед, тем больше длина раскола, но не менее чем на 100 м в обе стороны от моста. В отдельных случаях - до 5 км в верховую сторону и до нескольких сотен метров в низовую. Непосредственно перед мостом ширина, на которой проводится раскалывание, должна быть равна ширине реки. У сооружений, имеющих малые пролеты, или ветхих делают майну (табл. 11.3.11).
Таблица 11.3.11
Размеры майн
|
Тип водотока |
Длина манны |
Ширина манны |
||
|
выше моста |
ниже моста |
выше моста |
ниже моста |
|
|
Большие и средние реки |
³2В |
³В |
В |
(1/3¸1/4)В |
|
Малые реки |
(5¸7)В |
2В |
В |
В |
|
В - ширина реки |
||||
Раскалывание ледяного покрова позволяет обезопасить мост от ударов больших ледяных полей, а также предотвратить заторы и уменьшить давление на опоры при подвижках льда. Раскалывание проводят взрывным способом. Для подготовки лунок, через которые опускают под лед заряды взрывчатых веществ (ВВ), а также прорезей у опор используют отбойные молотки, ледобуры и ледорезные машины. Необходимо помнить, что возможность использования ледорезных машин и ледобуров зависит от состояния и толщины ледяного покрова (табл. 11.3.12).
Таблица 11.3.12
Минимально допустимая толщина льда при выполнении работ машинами
|
Общая масса груза, г |
Наименьшая толщина кристаллического льда, см, для машин |
Наименьшее расстояние до кромки льда, м |
|
|
на гусеничном ходу |
на колесном ходу |
||
|
До 0,5 |
12 |
15 |
8 |
|
0,5-1,0 |
14 |
18 |
12 |
|
1,0-1,5 |
16 |
20 |
14 |
|
1,5-2,0 |
18 |
22 |
16 |
|
2,0-3,0 |
22 |
26 |
18 |
|
3,0-4,0 |
26 |
30 |
20 |
|
4,0-6,0 |
31 |
36 |
22 |
|
6,0-8,0 |
36 |
42 |
24 |
|
8,0-10,0 |
40 |
48 |
26 |
|
10,0-12,0 |
45 |
53 |
27 |
|
12,0-15,0 |
50 |
58 |
28 |
При продолжительной оттепели и наличии мутного льда несущая способность ледяного покрова резко снижается и в расчет принимают половину его толщины.
Раскалывание ледяного покрова в ближайших водоемах. Учитывая, что в ледоходе участвует не только речной лед, но и лед, выносимый с ближайших водоемов, откуда могут появиться большие ледяные поля, необходимо раскалывать ледяной покров на всей поверхности озер, прудов и других водоемов, находящихся в пределах 5-километровой зоны выше моста. Взрывают ту часть ледяного покрова, которая не раскалывается естественным путем.
Подготовка взрывников, завоз ВВ и средств взрывания (СВ), их опробование. Потребность во взрывниках (табл. 11.3.13) и взрывчатых материалах (табл. 11.3.14) определяют, исходя из площади и толщины ледяного покрова и ожидаемого объема взрывных работ во время ледохода с учетом опыта прошлых лет. Материалы завозят за месяц до начала ледохода, хранят и используют в соответствии с инструкциями и правилами безопасности при ведении взрывных работ.
Таблица 11.3.13
Ориентировочные затраты труда взрывников на раскалывание ледяного покрова
|
Толщина льда, м |
Затраты труда, смены, на 100 м2 ледяного покрова при расстоянии между зарядами |
|||||
|
5h |
6h |
8h |
10h |
12h |
15h |
|
|
0,4-0,7 |
0,60 |
0,40 |
0,25 |
0,20 |
0,12 |
0,08 |
|
0,7-1,0 |
0,50 |
0,35 |
0,20 |
0,15 |
0,10 |
0,07 |
|
1,0-1,3 |
0,40 |
0,30 |
0,15 |
0,10 |
0,08 |
0.06 |
Таблица 11.3.14
Расход взрывчатых материалов
|
Толщина льда, м |
Расстояние между зарядами, выраженное в глубине h опускания зарядов в воду |
Расход на 100 м2 ледяного покрова |
|||
|
ВВ, кг |
электродетонаторы или капсюли-детонаторы, шт. |
огнепроводный шнур, м |
электропровод, м |
||
|
0,3-0,6 |
5h |
6 |
1,5 |
1,5 |
18 |
|
7h |
3 |
0,8 |
0,8 |
13 |
|
|
10h |
1,5 |
0,4 |
0,4 |
10 |
|
|
15h |
0,7 |
0,2 |
0,2 |
7 |
|
|
1,0-1,2 |
5h |
10 |
0,7 |
0,7 |
15 |
|
7h |
5 |
0,4 |
0,4 |
10 |
|
|
10h |
2,5 |
0,2 |
0,2 |
6 |
|
|
15h |
1,1 |
0,1 |
0,1 |
4 |
|
|
1,3-1,5 |
5h |
112 |
0,6 |
0,6 |
14 |
|
7h |
6 |
0,3 |
0,3 |
8 |
|
|
10h |
3 |
0,2 |
0,2 |
5 |
|
|
15h |
1,3 |
0,1 |
0,1 |
3 |
|
Примечание. Если для раскалывания ледяного покрова на крупные карты применяют заряды уменьшенного веса, то нормы их снижаются в 1,7 раза.
Заготовка материалов для борьбы с размывами: мешков с песком, камней, хвороста.
Заготовка инструментов и инвентаря, необходимых при пропуске льда: багров, шестов длиной 2...3 м, ломов, топоров, пешен, лопат, досок, спасательных лодок, кругов, поясов. Для промера глубины должны быть заготовлены рейки с делениями и веревки с грузом до 10 кг. Материалы, инструмент и инвентарь хранят у моста в течение всего ледохода и паводка. На опорах моста на 1,5 м выше ожидаемого уровня ледохода устраивают площадки для рабочих, оборудованные спасательными средствами. Потребность в спасательных средствах на один мост длиной более 100 м: лодка - 1, спасательные круги - 3...4. Кроме того, каждому работающему на пропуске ледохода выдается один спасательный пояс.
Разведение наплавных мостов, снятие паромных переправ и укрытие их в затонах.
Разработка оперативного плана пропуска ледохода и паводка.
Пропуск ледохода и паводка. К этим работам относятся:
наблюдение за проходом льда через сооружение с размельчением ледяных полей и отдельных льдин до таких размеров, чтобы они могли беспрепятственно пройти под мостом;
наблюдение за движением льда выше и ниже моста, особенно в местах, где имеются крутые повороты и излучины, способствующие образованию заторов и зажоров. В особо сложных случаях ликвидация заторов и зажоров производится взрывным способом, бомбометанием или обстрелом из минометов. Применяют минометы калибра 120 мм. Безопасное расстояние при стрельбе из минометов не менее 300 м;
наблюдение за состоянием речного русла под мостом, выше и ниже его. Измерение глубин с помощью металлической рейки или веревки с привязанной к ней гирей; обнаружение размывов и ликвидация их путем заполнения камнями, мешками с песком, бетонными массивчиками, тяжелыми фашинами и другими предметами с большим объемным весом;
наблюдения за колебаниями горизонта воды, скоростью и направлением течения, состоянием и характером ледяного покрова. Результаты наблюдений заносят в мостовую книгу;
надзор за наплавными мостами и паромами в затонах и охрана их от повреждений ледоходом.
Заключительные работы. К ним относят:
актирование разрушений, происходящих во время пропуска ледохода паводка;
очистку искусственных сооружений и приведение их в порядок после окончания ледохода и спада воды. Исправление повреждений, уборку неиспользованных материалов;
восстановление паромных переправ, наплавных и низководных мостов.
Взрывные работы в период ледохода. Если ледоход проходит спокойно без образования заторов, лед небольшой толщины, а плывущие льдины невелики, то не требуется прибегать к раскалыванию льда взрыванием. Основная работа заключается в направлении льдин шестами в пролеты моста. При этом следят, чтобы льдины не задерживались у опор.
Если плывут круглые льдины и ледяные поля или образуются заторы, их разрушают взрыванием. В качестве взрывчатых веществ используют аммонит или тротил. Средствами взрывания служат капсюли-детонаторы и огнепроводный шнур. Лед, если на него можно высадиться, подрывают, преимущественно, подводными зарядами (табл. 11.3.15). Если же высадиться нельзя или трудно сделать лунки для подводного взрыва, бросают заряды, взрывающиеся на поверхности льда.
Таблица 11.3.15
Масса подводных зарядов при разной толщине льда
|
Толщина льда, м |
Глубина погружения заряда в воду, м |
Масса заряда, кг, при расчете |
|
|
на рыхление льда |
на выбрасывание льда |
||
|
0,3-0,4 |
1,4 |
1,4 |
2,5 |
|
0,4-0,5 |
1,5 |
1,7 |
3,0 |
|
0,5-0,6 |
1,6 |
2,0 |
3,6 |
|
0,6-0,7 |
1,7 |
2,5 |
4,4 |
|
0,7-0,8 |
1,9 |
3,4 |
6,2 |
|
0,8-0,9 |
2,1 |
4,6 |
8,3 |
|
0,9-1,0 |
2,3 |
6,1 |
10,9 |
|
1,0-1,1 |
2,5 |
7,8 |
14,0 |
|
1,1-1,2 |
2,7 |
8,8 |
17,7 |
|
1,2-1,3 |
2,9 |
12,2 |
21,9 |
|
1,3-1,5 |
3,3 |
18,0 |
32,3 |
Заторы подрывают в начале их образования. Заряды закладывают в зазоры между льдинами на глубину 1,5-2 м. При близком расстоянии от моста следует брать заряды массой 10 кг, при большом - массой 25 кг. Разрыв должен образовать канал в самом заторе. Если река широкая (более 200 м), в заторе можно делать два канала. Длину огнепроводных шнуров у всех зарядов делают одинаковой и зажигают по команде, чтобы обеспечить одновременный взрыв.
Бросать заряды на плывущие льдины разрешается только опытным подрывникам со стажем ледокольных работ не менее двух сезонов. Масса зарядов не должна превышать 2 кг.
Борьба с оползнями. Для борьбы с оползнями применяют следующие способы:
- регулирование поверхностного и подземного стоков;
- изменение рельефа склона;
- возведение удерживающих сооружений;
- изменение физико-механических свойств грунтов;
- укрепление береговых склонов;
- установление специального режима в оползневой зоне.
Регулирование поверхностного стока имеет целью защитить склоны и откосы от воздействия поверхностных вод и предотвратить или уменьшить эрозию и фильтрацию воды в грунт. Для этого применяют следующие меры:
- планируют откосы и склоны;
- устраивают водоотводные и нагорные канавы, водосбросные лотки;
- высевают траву и высаживают кустарники.
Регулирование подземного стока применяют для перехвата или понижения уровня подземных вод. С этой целью выполняют горизонтальный дренаж (сплошные прорези, траншейный дренаж с трубами, дренажные галереи, штольни, пластовые дренажи), вертикальный дренаж (буровые скважины и шахты, дренажные колодцы), комбинированные водопонижающие системы, представляющие собой сочетание вертикальных и горизонтальных дренажных устройств.
Изменение рельефа склона с целью уменьшения его крутизны или придания очертания способствует повышению устойчивости. Для этого устраивают террасы, удаляют или заменяют неустойчивые грунты, на которых обнаружены активные деформации, срезают грунт в верхней части склона и отсыпают для пригрузки в нижней части, где ожидается выпирание.
Возведение удерживающих сооружений преследует цель противодействовать смещению оползневых масс. Применяют следующие сооружения:
- подпорные стены монолитные или сборные железобетонные, каменные, из армированного грунта;
- контрбанкеты и контрфорсы;
- анкерные конструкции;
- забивные и буронабивные сваи с ростверком и без него, комбинированные свайные конструкции.
Изменением физико-механических свойств грунтов на оползневых склонах повышают их устойчивость и водонепроницаемость. С этой целью производят: цементацию, смолизацию, силикатизацию, газовую силикатизацию с использованием углекислого газа в качестве отвердителя, обжиг грунтов, производимый через скважины диаметром 20 см с помощью форсунок, покрытие поверхности оползневых склонов и откосов торкретбетоном, набрызгбетоном, аэрированным цементопесчаным раствором со вспенивающими добавками.
Укрепляя береговые склоны морей, рек и водохранилищ, защищают их от абразии и водной эрозии. С этой целью строят волноотбойные стены, подводные и надводные волноломы, боны-полузапруды, контрбанкеты из каменной кладки или наброски, мостят откосы берегов камнем, защищают их тюфяками, решетчатыми конструкциями, габионами.
Установлением специального режима в оползневой зоне предотвращают нарушение устойчивости склонов, вызываемое деятельностью людей. Этот режим включает ограничение производства работ, которые могут нарушить устойчивость склонов, соблюдение правильной эксплуатации сооружений, способствующей предотвращению оползней, охранительные меры, не допускающие деятельность, которая может привести к возникновению оползневых явлений.
Защита от обвалов. Меры по защите от скальных обвалов делят на профилактические и защитные. К профилактическим относят очистку склонов и откосов с удалением неустойчивых глыб и обломков скального грунта, угрожающих падением, заблаговременное обрушение неустойчивых скальных массивов, которые могут вызвать обвал, уменьшение крутизны откосов и склонов, если она превышает допустимую, путем террасирования или уменьшения угла наклона откосов с помощью взрывных работ.
К защитным мерам относят: возведение поддерживающих сооружений, закрепление с помощью анкеров и свайных конструкций, защиту от выветривания склонов и откосов, применение улавливающих сооружений и устройств, противообвальных галерей.
Поддерживающие сооружения строят, чтобы удержать слои горных пород, слагающие откос, если удаление этих слоев затруднено или экономически невыгодно. С этой целью строят подпорные стены или контрфорсы. Поддерживающие сооружения возводят из каменной кладки на цементном растворе, из монолитного или сборного железобетона, а также из бутобетона.
Закрепление с помощью анкеров применяют на неустойчивых участках откосов или для обеспечения устойчивости крупных глыб на скальном основании. Анкерные крепления делают двух типов:
- анкерные крепи, состоящие из одиночных анкеров длиной от 1 до 5 м или анкеров в сочетании с металлической сеткой между ними;
- анкеры глубокого заложения длиной от 6 до 30 м.
Анкеры закрепляют в скальном массиве концевыми замками или инъекцией вяжущего.
Свайные конструкции обеспечивают устойчивость слаботрещиноватых массивов при уклоне поверхности смещения не круче 50°. Используют железобетонные сваи с ростверком или без него. Сваи могут быть сплошными или трубчатыми, сборными или изготавливаемыми на месте.
Защиту от выветривания поверхности склонов и откосов, общая устойчивость которых обеспечена, выполняют путем устройства одевающих стен, обработки защитными материалами поверхности, подвергающейся выветриванию, посадки деревьев и кустарников или посева трав. Одевающие стены делают из каменной кладки на цементном растворе или из монолитного бетона. Для обработки защищаемой поверхности применяют торкретбетон, набрызгбетон или аэроцемент. К числу древесных пород, используемых для защитных агролесомелиоративных мероприятий, относят: белую акацию, терн, облепиху, дуб, и др. Из травянистых растений можно использовать донник, псоралею и другие злаки.
Улавливающими сооружениями и устройствами автомобильные дороги защищают от небольших обвалов и отдельных обломков, скатывающихся со склонов. С этой целью используют траншеи, валы, оградительные стены, сетки и надолбы. Их размещают, в основном, у подошвы склонов, кроме надолб, которые устанавливают на склонах и которые по существу выполняют лишь тормозящие функции.
Противообвальные галереи предназначены защищать дороги от скальных обвалов на участках, где применить другие защитные способы нельзя. Галереи - это капитальные, дорогие сооружения, для постройки которых в основном используют железобетон и бетон. Конструкции противообвальных галерей аналогичны конструкциям галерей, служащих для защиты дорог от снежных лавин.
Защита автомобильных дорог от осыпей. В процессе содержания дорог в горной местности предусматривают следующие меры защиты: улучшение водоотвода с целью повышения устойчивости осыпи, строительство сооружений, препятствующих движению осыпи или защищающих от нее дорогу, закрепление склонов.
Улучшение водоотвода с целью повышения устойчивости осыпи предотвращает излишнее увлажнение осыпи поверхностными и подземными водами. Такое переувлажнение может превратить осыпь в оползень. Чтобы избежать этого, принимают меры по перехвату поверхностных и подземных вод, аналогичные мерам на оползневых участках. С верховой стороны прокладывают нагорные и водоотводные канавы, устраивают дренажи.
Движению осыпи препятствуют террасирование склонов, заградительные стены, улавливающие траншеи и валы, подпорные стены, дощатые щиты и металлические сетки на кольцах. Если осыпь удается остановить, то она начинает постепенно закрепляться. В результате выветривания распадаются крупные обломки, а промежутки между ними заполняются мелкими частицами. Осыпь уплотняется, зарастает травой, а впоследствии кустарником, деревьями и превращается в устойчивую. Склоны, питающие осыпь обломочным материалом, закрепляют древесно-кустарниковой и травянистой растительностью.
Защита автомобильных дорог от селей. В зависимости от количества и состава наносов сель может быть водокаменным, грязекаменным или грязевым. Характерные особенности селевых потоков: внезапность возникновения, кратковременность прохождения и большая скорость (до 7-8 м/с). Давление селей при ударе о препятствие может достигать 30 000 Па. Селевые потоки могут переносить каменные глыбы больших размеров.
Мероприятия по защите дорог и дорожных сооружений от селей наиболее целесообразно предусматривать в процессе проектирования и строительства, но их приходится выполнять и в период эксплуатации дорог. Для защиты дорог от селей принимают профилактические и защитные меры.
Профилактические меры проводят в двух направлениях: предотвращение селевых потоков или их ослабление, предупреждение о селевой опасности. Предотвратить образование селевых потоков или ослабить их деятельность возможно путем:
- сохранения и развития древесной, кустарниковой и травянистой растительности на селеопасных склонах;
- улучшения сенокосов с применением многолетних луговых культур;
- пропашки и поперечной обработки склонов для замедления стока;
- запрещения вырубки лесной растительности;
- защиты лесов от вредителей и пожаров;
- объявления покрытых лесом склонов заповедными зонами;
- регулирования выпаса скота на эродированных склонах;
- улучшения водоотвода с расчисткой водоотводных и селеотводящих канав и лотков, ремонта гидротехнических устройств и ухода за ними;
- ускорения снеготаяния зачернением снега;
- заблаговременного выпуска воды из ледниковых и моренных озер, которые могут угрожать прорывом;
- расчистки межозерных моренных перемычек;
- профилактической уборки завалов и других накоплений рыхлого материала, который может быть захвачен возникающим селевым потоком.
Предупреждение о селевой опасности включает организацию службы предупреждения, оснащенной автоматическими приборами, оповещающими о возникновении и прохождении селей, установку на селевых руслах и в селевых бассейнах датчиков и радиооповестителей, регистрирующих подъем уровней воды и сигнализирующих о нарастании селевой опасности, контроль за всей хозяйственной деятельностью, проводимой на селеопасной территории.
К защитным мерам относят стабилизацию селевых русел и задержание селевых выносов, пропуск селевых потоков над дорогой, защиту русел от размыва, отвод селевого потока от дороги, задержание селей и защиту дорог.
Стабилизация селевых русел и задержание селевых выносов с верховой стороны дороги включает устройство одиночных запруд-барражей или системы запруд глухих или решетчатых (задерживающих твердую фракцию селевого потока). Запруды перегораживают русло потока, имеют высоту от 2 до 5 м; их делают из камня, бетона, железобетона, металла. Глубинные наносоуловители строят в виде котлованов, располагаемых на пути селевого потока, наносоудерживающих дамб на подходе к мостам на расстоянии от дороги не менее тройной длины дамбы.
Пропуск селевых потоков над дорогой осуществляется по селеспускам (железобетонным лоткам), ширина и высота которых рассчитывается на свободное прохождение селя. У входа на селеспуск устраивают направляющие крылья. Селевой поток можно также пропускать через отверстие моста, построенного над руслом потока. Для беспрепятственного пропуска необходимо, чтобы отверстие моста имело достаточную ширину и отсутствовали препятствия, которые могут вызвать торможение потока, выпадение твердой фазы и закупорку отверстия.
Для защиты русел от размыва устраивают бетонные или железобетонные боны-полузапруды, укрепляют дно мощением или бетонированием, дно и берега бетонными тетраэдрами или габионами.
Селевой поток отводят в сторону от дороги путем строительства на пути селевого потока отводящих дамб, которые перехватывают поток, изменяют его направление и отводят в другое русло или в специально построенный отводной канал.
Задержание селей и защиту дорог от их ударного воздействия можно осуществлять с помощью селеотбойных стен, селерезов-гасителей, высоких плотин (например, плотина в Медео имеет высоту 145 м). Плотины строят из грунта, камня, бетона в комплексе с селехранилищами.
Задачи и виды очистки дорог от снега. Очистка от снега должна обеспечивать такое состояние дороги, при котором в максимальной степени удовлетворяются требования непрерывного, удобного и безопасного движения автомобилей с расчетной скоростью и снижается до минимума объем снежных отложений на проезжей части и обочинах. Время очистки регламентируется ГОСТ Р 50597-93 [73].
Для решения перечисленных задач выполняют следующие основные виды снегоочистительных работ: патрульную очистку, удаление валов, расчистку снегопадных отложений и снежных заносов небольшой толщины, расчистку снежных заносов значительной толщины, лавинных завалов.
Технология очистки дорог от снега. При патрульной очистке дорогу очищают путем систематических проездов (патрулирования) машин по обслуживаемому участку в течение всего времени, пока продолжается метель или снегопад. К патрульной очистке нужно приступить, как только начинается метель или снегопад. Очистку следует вести на возможно большей скорости, что способствует увеличению дальности отбрасывания снега. Учитывая это, используют как плужные автомобильные снегоочистители на базе комбинированных дорожных машин (табл. 11.4.3) и другие машины. При небольшой толщине снежного слоя автомобильные снегоочистители не сдвигают, а отбрасывают снег, распределяя его на полосе шириной 4...5 м. Для удаления снега без образования валов необходимо вести очистку со скоростью не менее 30...35 км/ч.
В зависимости от метелевых условий и ширины дорожного полотна можно применять различные схемы очистки. Можно вести ее как одиночными машинами, так и отрядом снегоочистителей. Применение одиночных машин допустимо в случаях, когда интенсивность метелей и снегопадов невелика (толщина снега, накапливающегося на покрытии за час, не превышает 3...5 см).
При интенсивных метелях и снегопадах, а также на дорогах с интенсивным движением, где опоздание с уборкой может привести к закатыванию снега, работу ведут отрядом снегоочистителей. Преимущество работы отрядом заключается в том, что снег сразу удаляется за пределы дорожного полотна, благодаря чему устраняются препятствия для снеговетрового потока и дорога хорошо продувается.
Схемы снегоочистки выбирают, исходя из минимума перемещения снега и направления ветра при метелях. При работе отрядом одноотвальных снегоочистителей часто снег перемещают от оси дороги к обочинам. Ближнюю к обочине машину снабжают боковым крылом, что увеличивает дальность отбрасывания снега и позволяет разравнивать небольшие валы, если они образуются у края полосы расчистки. В местности с интенсивными метелями, где на дорогах регулярно появляются снежные косы и переметы, в отряд добавляют двухотвальный плужный снегоочиститель на базе трактора К-701, который идет по оси проезжей части. Он пробивает встречающиеся на пути отряда косы и переметы, а идущие за ним одноотвальные снегоочистители сдвигают снег к обочинам, расчищая дорогу на полную ширину.
Удаление снежных валов. Обычно их удаляют роторными снегоочистителями или валоразбрасывателями с выносным рабочим органом. Снежные валы часто расположены над кюветом или очень близко к нему, так как полосу расчистки всегда стремятся сделать как можно шире. В этом случае вал сначала сдвигают автогрейдером на проезжую часть, а затем шнекороторным снегоочистителем удаляют его, отбрасывая снег в сторону. В табл. 11.4.1 приведены технические характеристики некоторых моделей шнекороторных снегоочистителей.
Таблица 11.4.1
Технические характеристики шнекороторных снегоочистителей
|
Параметры |
Марка машины |
||
|
ДЭ-226 |
ДЭ-210У (КО-605) |
ДЭ-210Б |
|
|
Базовое шасси |
Урал-4320 |
Урал-4320 |
ЗИЛ-13111 |
|
Производительность, т/ч |
1500 |
2000 |
1216 |
|
Максимальная толщина очищаемого слоя снега, м |
- |
- |
1,3 |
|
Толщина слоя снега, очищаемая за один проход, м |
1,6 |
- |
- |
|
Ширина рабочей зоны, м |
- |
2,7 |
2,56 |
|
Ширина полосы, очищаемая за один проход, м |
2,81 |
- |
- |
|
Дальность отброса снега, м |
30 |
35 |
33 |
|
Максимальная плотность убираемого снега, т/м3 |
0,7 |
0,7 |
0,6 |
|
Высота убираемого снега, м |
- |
1,36 |
- |
|
Диаметр шнеков ротора, мм |
- |
- |
530/1020 |
|
Скорость движения, км/ч: |
|
|
|
|
рабочая |
0,334-6,740 |
0,55-3 |
0141-2,178 |
|
транспортная |
52 |
50 |
- |
|
Расход топлива, л/ч |
- |
48 |
|
|
Масса, кг |
14000 |
- |
10697 |
|
Габаритные размеры, м |
10,05´2,81´3,0 |
- |
8,47´2,57´2,84 |
Расчистка снежных заносов. Для их расчистки применяют весь комплекс снегоочистительных машин. В начальной стадии образования заносов, когда толщина отложений бывает небольшой (0,2...0,3 м), их расчищают плужными автомобильными снегоочистителями, которые должны работать в комплексе со шнекороторным снегоочистителем, необходимым для удаления валов.
Возможность расчистки дороги во время метели зависит от ряда причин: интенсивности переноса снега, которая иногда столь велика, что полностью отсутствует видимость, числа снегоочистителей, состава снегоочистительного парка. Если видимость позволяет выполнять работы, а снегоочистителей, имеющихся в данном хозяйстве, достаточно для быстрого удаления снега с дороги, расчистку во время метели нужно производить обязательно. Очень важно, чтобы в отряде машин, используемых при расчистке, было достаточное число шнекороторных снегоочистителей для удаления валов, образуемых плужными машинами. Соотношение между шнекороторными и плужными снегоочистителями в зависимости от интенсивности метелей должно быть в пределах от 2:10 до 4:10.
Если же машин мало или нет машин отбрасывающего типа, чтобы своевременно удалять валы, срезать отвесные стены, образующиеся при снегоочистке, работы во время метели могут привести к резкому усилению снегонакопления и ускорению образования снежных заносов. В таких условиях снегоочистку во время метели производить нельзя.
Если толщина снежных отложений становится значительной, для расчистки применяют тяжелые снегоочистительные машины: автогрейдеры, двухотвальные плужные снегоочистители на гусеничных или колесных тракторах, роторные снегоочистители, бульдозеры.
Образование высоких валов - существенный недостаток работы плужных тракторных снегоочистителей, так как такие валы способствуют быстрому возникновению мощных снежных заносов. Поэтому целесообразно вести расчистку снежных заносов двухотвальными тракторными снегоочистителями не самостоятельно, а в сочетании со шнекороторным снегоочистителем. В этом случае он идет вслед за двухотвальным тракторным снегоочистителем, уширяя полосу расчистки и одновременно удаляя создаваемый им вал.
Эффективность работы автогрейдеров при самостоятельном использовании на расчистке снежных заносов невелика. Поэтому их следует применять в комплексе со шнекороторными снегоочистителями. Автогрейдер сдвигает снег к полосе, с которой его удаляет шнекороторный снегоочиститель.
Автогрейдер эффективен при удалении с покрытий уплотненного снега. С этой целью на отвалы автогрейдеров устанавливают зубчатые ножи. После очистки зубчатым ножом с покрытия удаляют оставшиеся небольшие снежные гребешки автогрейдером с обычным ножом.
Снежные отложения толще 1 м расчищают бульдозерами или роторными снегоочистителями, применяя их самостоятельно или совместно. Наиболее целесообразна работа бульдозеров в комплексе со шнекороторным снегоочистителем.
Эти работы по очистке автомобильных дорог от снега почти полностью механизированы (табл. 11.4.2).
Таблица 11.4.2
Условия целесообразного применения снегоочистительных машин
|
Машины |
Плотность снега, г/см3 |
Высота слоя снега, разрабатываемого за один проход, м |
Работы, на которых целесообразно применение машин |
|
Одноотвальные плужные автомобильные снегоочистители |
0,3 |
0,3 |
Патрульная очистка, расчистка снежных заносов небольшой толщины, уширение полосы, расчистка |
|
Двухотвальные автомобильные |
0,4 |
На коротком участке до 0,6; |
Патрульная очистка, расчистка снежных заносов средней толщины, уширение полосы расчистки |
|
плужные снегоочистители |
на длинном до 0,5 |
||
|
Двухотвальные тракторные (колесные и гусеничные) снегоочистители |
0,6 |
1,0 |
Расчистка снежных заносов средней толщины, уширение полосы расчистки, разравнивание снежных валов боковым крылом, прокладка снежных траншей |
|
Роторные снегоочистители |
0,7 |
До 1,2-1,5 |
Расчистка снежных заносов или снегопадных отложений большой толщины. Удаление снежных валов. Расчистка лавинных завалов |
|
Автогрейдеры |
0,6 |
0,5 |
Расчистка снежных отложении средней толщины. Разравнивание снежных валов или их удаление совместно с роторными снегоочистителями. Удаление уплотненного слоя снега |
|
Бульдозеры |
0,7 |
1,0 |
Расчистка снежных отложений большой толщины (в том числе лавинных завалов); при толщине более 1 м - послойными проходами. Удаление уплотненного слоя снега |
|
Валоразбрасыватели |
0,6 |
1,0 |
Удаление снежных валов (в том числе расположенных над кюветами) |
Таблица 11.4.3
Укрупненные показатели затрат машинного времени и труда на снегоочистку (на 1 км дороги с проезжей частью шириной 7 м)
|
Операции |
Машины |
Рабочий |
||
|
наименование |
маш.-ч |
профессия и квалификация |
маш.-ч |
|
|
Патрульная снегоочистка |
||||
|
Очистка с отбрасыванием за бровку дорожного полотна |
Плужный одноотвальный автомобильный снегоочиститель на КДМ-130В |
0,24 |
Машинист 4-го разряда |
0,24 |
|
|
Плужный одноотвальный автомобильный снегоочиститель с боковым крылом ЭД-207 |
0,24 |
Машинист 4-го разряда |
0,24 |
|
Очистка с оставлением снежных валов (при толщине снега 10 см и более) |
Плужный одноотвальный снегоочиститель наКДМ-130Б |
0,35 |
Машинист 4-го разряда |
0,35 |
|
Автогрейдер ДЗ-31-1 |
1,80 |
Машинист 4-го разряда |
1,80 |
|
|
Уборка снежных валов |
Шнекороторный снегоочиститель ДЭ-210Б |
1,17 |
Машинист 4-го разряда |
1,17 |
|
Дорожный рабочий 3-го разряда |
1,17 |
|||
|
Расчистка снежных заносов |
||||
|
Пробивка снежных заносов (при толщине снега 0,3-0,5 м) |
Двухотвальный плужным снегоочиститель на колесном тракторе К-701 |
0,12 |
Машинист 4-го разряда |
0,12 |
|
Уширение полосы расчистки |
Двухотвальный плужным снегоочиститель па колесном тракторе К-701 |
1,40 |
Машинист 4-го разряда |
1,40 |
|
Автогрейдер ДЗ-31-1 |
4,40 |
Машинист 4-го разряда |
4,40 |
|
|
Удаление снежных палов |
Шнекороторный снегоочиститель ДЭ-210Б |
2.92 |
Машинист 4-го разряда |
2,92 |
|
Окончательная очистка с удалением снега с покрытия |
Плужный одноотвальный снегоочиститель со теткой на КДМ-1 ЗОН |
0,23 |
Машинист 4-го разряда |
0,23 |
|
Удаление уплотненного снега |
||||
|
Скалывание уплотненного снега |
Бульдозер ДЗ-18 или автогрейдер ДЗ-99-1-4 с зубчатым ножом на отвале |
12,50 |
Машинист 4-го разряда |
12,5 |
|
Отбрасывание сколотого снега |
Шнекороторный снегоочиститель ДЭ-210Б |
1,91 |
Машинист 4-го разряда |
1,91 |
Дорожная классификация зимней скользкости.
П.11.4.2 составлен с использованием руководства [76]. Все виды снежно-ледяных отложений, образующихся на дорожном покрытии, по внешним признакам подразделяют на рыхлый снег, снежный накат, стекловидный лед. Определяют каждый вид скользкости по следующим признакам:
Рыхлый снег откладывается на дорожном покрытии в виде ровного по толщине слоя. Плотность свежевыпавшего снега может изменяться от 0,06 до 0,20 г/см3. В зависимости от содержания влаги снег может быть сухим, влажным и мокрым. При наличии слоя рыхлого снега на дорожном покрытии коэффициент сцепления шин с покрытием снижается до 0,2.
Снежный накат представляет собой слой снега, уплотненного колесами проходящего автотранспорта. Он может иметь различную толщину - от нескольких миллиметров до нескольких десятков миллиметров - и плотность от 0,3 до 0,6 г/см3. Коэффициент сцепления шин с поверхностью снежного наката составляет от 0,1 до 0,25.
Стекловидный лед появляется на покрытии в виде гладкой стекловидной пленки толщиной от 1 до 3 мм и изредка в виде матовой белой шероховатой корки толщиной до 10 мм и более. Отложения стекловидного льда имеют плотность от 0,7 до 0,9 г/см3, а коэффициент сцепления составляет от 0,08 до 0,15. Этот вид зимней скользкости является наиболее опасным. Отложения льда в виде матово-белой корки имеют плотность от 0,5 до 0,7 г/см3.
Для организации работ по борьбе и предотвращению образования зимней скользкости необходимо учитывать ее вид, погодные условия, предшествующие и сопутствующие образованию скользкости, и тенденцию их изменения.
Отложения рыхлого снега на дорожном покрытии образуются при выпадении твердых осадков в безветренную погоду. Сохранение снега в рыхлом состоянии наиболее вероятно при температуре воздуха ниже -10°С, так как при низких температурах воздуха процесс уплотнения снега автотранспортом замедляется, а при температуре воздуха от -6° до - 10°С снег не будет уплотняться при относительной влажности воздуха менее 90 %.
Образование снежного наката происходят при наличии влажного снега на дорожном покрытии под действием автомобильного транспорта и определенных метеорологических условиях. Наибольшая вероятность образования снежного наката происходит при следующих погодных условиях:
- выпадение снега при температуре воздуха от -0° до - 6°С;
- при температуре воздуха от -6° до - 10°С образование снежного наката происходит при влажности воздуха выше 90 %;
- при положительных температурах снежный накат образуется при высокой интенсивности снегопада (более 0,6 мм/ч), при которых снег не успевает растаять на покрытии и легко уплотняется транспортными средствами.
Образование стекловидного льда может иметь различные причины и возможно при различных погодных условиях
1. Замерзание влаги, имеющейся на дорожном покрытии, при резком понижении температуры воздуха. Такой вид обледенения называют гололедицей. Источниками увлажнения покрытия могут быть дождь, тающий снег, снег с дождем, выпадающие при положительных, но близких к нулю температурах воздуха, а также влага, оставшаяся после обработки дорожного покрытия противогололедными материалами. Процессу образования скользкости в этом случае предшествуют следующие погодные условия:
- устойчивое повышение атмосферного давления на фоне выпадающих осадков;
- установление ясной, безоблачной погоды после прекращения выпадения осадков;
- пониженная относительная влажность воздуха;
- понижение температуры воздуха от положительных значений до отрицательных.
Образование скользкости наиболее вероятно при температуре воздуха от -2° до -6°С, относительной влажности воздуха от 65 до 85 %. Так как процесс образования скользкости идет на фоне устойчивого понижения температуры воздуха, для организации работ по ликвидации скользкости необходимо иметь прогноз отрицательной температуры на ближайшее время. Для этих случаев образования стекловидного льда температура дорожного покрытия всегда выше температуры воздуха в силу тепловой инерции дорожной конструкции.
2. Конденсация и замерзание влаги из воздуха на сухой поверхности дорожного покрытия при его температуре ниже точки росы и, одновременно, ниже точки замерзания влаги. Такой вид обледенения называют «черный лед», изморозь или иней.
Процессу образования скользкости в этих случаях сопутствуют и предшествуют следующие погодные условия:
- ясная морозная погода (полное отсутствие облачности);
- отсутствие ветра;
- высокая относительная влажность воздуха, близкая к 100 %.
В результате радиационного охлаждения дорожного покрытия ниже точки росы влага из воздуха конденсируется на нем и превращается в очень тонкий и прозрачный слой льда, который трудно обнаружить визуально («черный лед»).
Образование этого вида скользкости возможно также при перемещении в утренние часы более теплой и влажной воздушной массы с моря на сушу, имеющую более низкую температуру воздуха и отрицательную температуру дорожного покрытия.
В зимний и переходный периоды такое сочетание погодных условий наиболее вероятно в прибрежных морских районах и в горной местности, где из-за высокой прозрачности воздуха температура покрытия сильно понижается в ночные часы при радиационном охлаждении. Такой вид скользкости может более часто возникать на автодорожных мостах, которые обладают меньшей теплоинерционностью, чем дорожная одежда, и имеют более низкую температуру покрытия в ночное время. Образованию скользкости, способствует и более высокая относительная влажность воздуха в поймах рек, около озер и других водоемов, особенно в переходный период до установления ледового покрова, а также около крупных ТЭЦ и других предприятий.
3. Выпадение переохлажденных осадков в виде дождя, мороси, тающего снега на дорожное покрытие, имеющее отрицательную температуру. Такой вид скользкости называется гололед. К этой же группе относят и непереохлажденные осадки
Основной причиной образования скользкости в этом случае является потепление после длительных морозов и перемещение теплой воздушной массы, которая приносит с собой осадки (переохлажденные, непереохлажденные). Процессу образования скользкости предшествуют:
- устойчивое падение атмосферного давления в течение суток;
- устойчивый рост относительной влажности и температуры воздуха;
- возможность выпадения жидких осадков - по данным прогноза.
Образование скользкости в этом случае наиболее вероятно при температуре воздуха от 2°С до -5°С, относительной влажности воздуха выше 90 %.
Противогололедные материалы.
К противогололедным материалам (ПГМ) относятся:
а) химические: твердые сыпучие (кристаллические, гранулированные или чешуированные); жидкие (растворы или рассолы химических реагентов);
б) фрикционные: мелкий щебень; песок; песчано-гравийная смесь (ПГС); шлак; золы уноса;
в) комбинированные: смесь фрикционных и химических материалов (рис. 11.4.1).

Рис. 11.4.1. Классификация противогололедных
материалов
*ППС - пескосоляная смесь
**ПГС - песчано-гравийная смесь
Фрикционные ПГМ должны повышать коэффициент сцепления со снежно-ледяными отложениями на покрытии для обеспечения безопасных условий движения; иметь высокие физико-механические свойства, препятствующие разрушению, износу, дроблению и шлифованию ПГМ, и обладать свойствами, препятствующими увеличению запыленности воздуха и загрязнения придорожной полосы.
Фрикционные материалы должны применяться в сухом, рассыпчатом состоянии с влажностью, не превышающей безопасную, в отношении смерзания. Безопасная влажность для некоторых фрикционных ПГМ приведена в табл. 11.4.4.
Таблица 11.4.4
Безопасная в отношении смерзания влажность некоторых фрикционных ПГМ
|
Вид материала |
Объемная масса, ч/м |
Безопасная влажность, %, при температуре, °С |
||||
|
-5 |
-10 |
-20 |
-30 |
-40 |
||
|
Известняковый щебень |
1450 |
3,0 |
3,0 |
2,5 |
2,2 |
2,2 |
|
Гранитный щебень |
1600 |
3,0 |
2,5 |
2,0 |
1,5 |
1,0 |
|
Гравий |
1500 |
2,0 |
1,8 |
1,5 |
1,3 |
1,2 |
|
Песчано-гравийная смесь |
1600 |
2,5 |
2,0 |
1,8 |
1,5 |
1,3 |
|
Песок |
1500 |
2,2 |
2,0 |
1,6 |
1,0 |
0.4 |
|
Отсевы дробления |
1700 |
2,8 |
2,5 |
2,0 |
1,5 |
1.0 |
Наиболее распространенным фрикционным материалом является природный песок, наибольшая величина частиц которого не должна превышать 5,0 мм. Оптимальным является песок с модулем крупности от 2 до 3,5. В нем не допускается содержание пылеватых, глинистых и других загрязняющих примесей более 3 %, а также отдельных крупных камней или щебня. В качестве фрикционного материала может быть использован отсев от дробления щебня, дробленый песок. Размер фракции до 5,0 мм.
Для предотвращения смерзания и придания сыпучести в мелкий щебень добавляют сухой песок 20 % по объему или 5 %-10 % - по массе (технический хлористый натрий).
Шлаки не должны содержать обломков металла и агрессивных химических веществ. В связи с тем, что топочный шлак легко крошится, применять его в населенных пунктах не рекомендуется.
Комбинированные ПГМ обладают одновременно функциями фрикционных и химических материалов и состоят, как правило, из смеси песка и химических ПГМ. В качестве химических добавок используют твердые соли: технический хлористый натрий, соль сильвинитовых отвалов и хлористый кальций.
Из жидких хлоридов пригодны для этих целей высококонцентрированные растворы хлоридов натрия, кальция и магния. Они могут применяться как каждый в отдельности, так и смешанными между собой в различных пропорциях. Наилучший эффект достигается при использовании насыщенных растворов или растворов, близких к ним по концентрации. Комбинированные ПГМ должны иметь в своем составе не менее 10 % химически чистых солей. Эффективность борьбы с зимней скользкостью повышается с увеличением количества соли в смеси.
При использовании в смеси высококонцентрированных жидких хлоридов их количество, в качестве добавки, определяется с учетом концентрации растворенных химически чистых солей. Добавляя раствор, нельзя допускать переувлажнения ПГМ до состояния, при котором он начинает расплываться.
Пескосоляную смесь приготавливают на базах ПГМ путем тщательного перемешивания компонентов смеси. Целесообразно заготовку смеси производить в сухое время летнего или осеннего периода и по возможности в объеме, достаточном для предупреждения и ликвидации зимней скользкости в течение всего зимнего периода на обслуживаемом участке дороги.
Химические ПГМ применяют в твердом, жидком и смоченном виде. Сырьем для получения этих материалов чаще всего являются природные запасы Бишофита, галита или отходы промышленности (сильвинитовые, карнолитовые отходы и др.).
С целью снижения расхода твердых ПГМ (чаще всего хлористого натрия), повышения плавящей способности и увеличения адгезии к поверхности покрытия их обрабатывают растворами солей с пониженной точкой эвтектики (кристаллизации). Наибольшую эффективность смоченные таким образом соли приобретают при обработке их раствором хлористого кальция (магния) 20-25 %-ной концентрации в количестве 20-30 % по массе. Все химические ПГМ, применяемые для борьбы с зимней скользкостью на дорогах и улицах, должны обладать следующими общими свойствами:
- понижать температуру замерзания раствора;
- обеспечивать таяние снежно-ледяных отложений на дорожных покрытиях;
- проникать сквозь слои снега и льда, разрушая межкристаллические связи, и снижать силы смерзания слоев отложений с дорожным покрытием;
- не увеличивать скользкость обработанных покрытий, особенно при использовании ПГМ в виде растворов;
- быть технологичными при хранении, транспортировке и применении;
- быть экологически безопасными и не оказывать вредного влияния на природную среду(растения, вода, почва и др.), металл, бетон, кожу и резину.
По химическому составу ПГМ этой группы разделяют на четыре подгруппы.
Первая подгруппа - хлориды.
К ней относятся ПГМ на основе NaC1, СаС12 и МqС12:
- ХКМ - хлористый кальций модифицированный, ингибированный. Выпускается в жидком виде по ТУ 2149-026-13164401-98 «Жидкий противогололедный состав ХКМ»;
- Биомаг - модифицированный хлористый магний (Бишофит), выпускается 4-х марок в твердом и жидком виде по ТУ 2152-001-53561075-02 «Противогололедный материал Биомаг -ХММ»;
- ХКФ - хлористый кальций фосфатированный, выпускается по ТУ 2152-057-05761643-2000;
- технический хлористый натрий карьерный выпускается в твердом виде по ТУ 2152-067-00209527-95 «Натрий хлористый технический карьерный»;
- противогололедный материал на основе хлористого натрия выпускается в твердом виде по ТУ 2152-082-00209527-99 "Материал противогололедный";
- природные рассолы. Природные рассолы по химическому составу чаще относятся к хлористо-натриевым или хлористо-кальциево-натриевым жидким материалам. Распространены, в основном, в Европейской части России и используются как местные ПГМ.
Вторая подгруппа - ацетаты:
- Нордикс - разработан на основе ацетата калия и выпускается двух марок, в жидком виде по ТУ 2149-002-40874358-00 «Антигололедный реагент на ацетатной основе»;
- Антиснег-1 - разработан на основе ацетата аммония и выпускается в жидком виде по ТУ 2149-001-45052508-00 «Антиснег-1» противогололедная жидкость (раствор ацетата аммония)»;
Третья подгруппа - карбамиды:
- КАС - карбамидно-аммиачная селитра, выпускается по ТУ 2149-001-40128052-97 «Состав жидкий противогололедный».
Четвертая подгруппа - нитраты:
- НКМ (АНС) - химический реагент на основе нитрата кальция и мочевины, выпускается в твердом виде по ТУ 6-03-349-73;
- НКММ - реагент разработан на основе нитрата кальция, магния и мочевины и выпускается в твердом виде по ТУ 2149-051-05761643-98 «Антигололедный реагент НКММ».
Все ПГМ, применяемые на автомобильных дорогах, должны выпускаться по ТУ, согласованным с федеральным дорожным органом или организацией (предприятием), уполномоченной им, а также иметь сертификат соответствия качества.
Способы борьбы с зимней скользкостью. При зимнем содержании автомобильных дорог применяют химический, комбинированный, фрикционный и физико-химический способы борьбы с зимней скользкостью.
Химический способ основан на использовании химических материалов, обладающих способностью при контакте со снежно-ледяными отложениями переводить их в раствор, не замерзающий при отрицательных температурах.
При химическом способе распределяют чистые ПГМ в твердом (техническая соль, ХКФ, Биомаг и др.) или жидком (ХКМ, Нордикс, Антиснег и др.) виде, с целью предупреждения (профилактический метод) образования зимней скользкости или ликвидации уже образовавшихся снежно-ледяных отложений (снежный накат, стекловидный лед).
Применяют химический способ в различных регионах на дорогах I и II категорий с учетом народнохозяйственного и социального значения дороги.
Комбинированный способ (химико-фрикционный) предусматривает совместное применение химических и фрикционных ПГМ. Комбинированный способ используют при необходимости ликвидации снежно-ледяных отложений и повышения коэффициента сцепления на них. При применении этого способа результат борьбы с зимней скользкостью получается такой же, как и при использовании химических ПГМ.
Фрикционный способ применяют на дорогах (участках) III...V категорий, а также на дорогах, расположенных в регионах с продолжительными и устойчивыми низкими температурами (ниже -20...-25°С), или где использование отдельных химических ПГМ запрещено.
Физико-химический способ заключается в придании противогололедных свойств асфальтобетонному покрытию путем введения в асфальтобетонную смесь антигололедного наполнителя «Грикол», который на поверхности покрытия создает гидрофобный слой, снижающий адгезию снежно-ледяных отложений к покрытию или предотвращающий их образование.
Применяют этот способ на участках дорог, подверженных частому гололедообразованию (участках в горной местности, у водоемов, ТЭЦ, на мостах, путепроводах, эстакадах и др.).
«Грикол» представляет собой тонкодисперсный порошок от светло-серого до темно-серого цвета, растворимый в воде, спирте, не смешивается с углеводородами. По своим физико-химическим показателям должен удовлетворять ТУ 5718-003-052-04773-95 «Антигололедный наполнитель «Грикол».
Технология приготовления и укладки асфальтобетонных смесей с наполнителем «Грикол» приведена в «Методических рекомендациях по применению наполнителя «Грикол» в составах асфальтобетонных смесей для устройства покрытий с антигололедными свойствами», утвержденных распоряжением Росавтодора от 27.06.02 № ОС-564-Р.
Нормы распределения противогололедных материалов.
Противогололедные материалы распределяют равномерно по поверхности покрытия в соответствии с необходимыми нормами расхода.
Оптимальные величины норм распределения твердых химических противогололедных материалов (г/м2) и жидких (л/ м2) представлены в табл. 11.4.5
Помимо представленных в табл. 11.4.5 химических противогололедных материалов для борьбы с зимней скользкостью рекомендуется применение природных рассолов и соляных растворов, приготавливаемых в условиях дорожного производства.
На территории России имеются значительные запасы природных концентрированных рассолов.
Растворы солей рекомендуется приготавливать из NaC1, СаС12 и МqС12. Для приготовления растворов могут быть использованы и другие химические реагенты, при условии соответствующего технико-экономического и экологического обоснования.
Оптимальные величины норм распределения природных рассолов и растворов, приготовленных собственными силами, в зависимости от состояния снежно-ледяных отложений и температуры воздуха представлены в табл. 11.4.6
Виды и нормы распределения противогололедных материалов
|
Наименование НГМ |
Соответствующий номер ТУ и ПГМ |
Рыхлый снег и накат, t °C |
Стекловидный лед, t °C |
|||||||
|
-2 |
-4 |
-8 |
-12 |
-16 |
-20 |
-2 |
-4 |
-8 |
||
|
Твердые, г/м2 |
||||||||||
|
Хлориды |
||||||||||
|
Технический хлористый натрии карьерный |
ТУ 2152-06-00209-527-95 |
10 |
20 |
30 |
50 |
60 |
- |
45 |
90 |
160 |
|
ПГМ на основе хлористого натрия |
ТУ 2152-082-002-09527-99 |
10 |
15 |
30 |
45 |
55 |
- |
40 |
80 |
145 |
|
Биомаг |
ТУ 2152-001-53561075-02 |
15 |
30 |
50 |
60 |
70 |
80 |
80 |
140 |
340 |
|
ХКФ |
ТУ 2152-05761643-2000 |
10 |
20 |
30 |
40 |
50 |
60 |
40 |
85 |
150 |
|
Карбамиды |
||||||||||
|
КАС |
ТУ 3149-001-4018052-97 |
30 |
2 |
60 |
- |
- |
- |
50 |
115 |
- |
|
Ни граты |
||||||||||
|
АНС (НКМ) |
ТУ 6-03-349-73 |
20 |
25 |
50 |
75 |
- |
- |
65 |
130 |
- |
|
НКММ |
ТУ 2149-051-05-761643-98 |
10 |
20 |
40 |
65 |
- |
- |
45 |
95 |
200 |
|
Жидкие, мл/м2 |
||||||||||
|
Хлориды |
||||||||||
|
ХКМ |
ТУ 2149-026-13164401-98 |
20 |
40 |
65 |
80 |
95 |
110 |
- |
- |
- |
|
Биомаг |
ТУ 2152-001-53561075-02 |
20 |
50 |
70 |
90 |
100 |
115 |
- |
- |
- |
|
Ацетаты |
||||||||||
|
Антиснег |
ТУ 3149-001-45052508-00 |
10 |
20 |
30 |
50 |
60 |
80 |
- |
- |
- |
|
Нордикс |
ТУ 2149-002-40874358-00 |
5 |
10 |
15 |
35 |
30 |
40 |
- |
- |
- |
Нормы распределения природных рассолов и растворов из хлористых солей, л/м2 (на 1 мм атмосферных осадков)
|
Название хлорида |
Концентрация хлоридов, % |
Рыхлый снег и накат |
||||
|
температура воздуха, t °С |
||||||
|
-4 |
-8 |
-12 |
-16 |
-20 |
||
|
NaC1 |
25 20 |
0,04 0,06 |
0,08 0,10 |
0,11 0,14 |
0,13 0,17 |
0,15 - |
|
СаС12 |
35 30 20 |
0,03 0,04 0,06 |
0,05 0,07 0,10 |
0,07 0,09 0,14 |
0,08 0,10 0,16 |
0,09 0,11 |
|
MgС12 |
35 30 20 |
0,03 0,03 0,05 |
0,04 0,05 0,08 |
0,05 0,06 0,10 |
0,06 0,07 0,12 |
0,07 0,08 0,13 |
Примечания к табл. 11.4.5 и 11.4.6:
1. Прочерк в таблице означает, что вещество сданной концентрацией при указанной температуре применять нельзя.
2. Приведенные в таблице нормы распределения хлоридов обеспечивают лишь частичное плавление уплотненного или рыхлого снега до состояния приобретения этими отложениями 20% влажности, при которой ранее уплотненный слой снега (накат) разрыхляется, а свежевыпавший снег не уплотняется под действием транспортных средств. Нормы для борьбы со стекловидным льдом рассчитаны с учетом полного расплавления отложений. При толщине снежно-ледяных отложений, превышающей 1 мм льда (в пересчете на воду), норму распределения увеличивают с учетом фактической толщины. При этом распределение производят за два и более приемов.
3. Вышеуказанные оптимальные величины норм распределения химических ПГМ рассчитаны из условий ликвидации скользкости на 1 м2 дороги при наличии на этой площади 1 мм льда в перерасчете на воду ( 1 мм отложений в виде льда на площади 1 м2 равен 1 кг отложений или 1 л воды). Для каждого конкретного случая ликвидации скользкости расход химических ПГМ на 1 м2 определяют с учетом фактического количества выпавших осадков и температуры воздуха. В случае, когда толщина льда на покрытии превышает 3 мм, следует проводить посыпку (поливку) хлоридами в два приема и более (при необходимости) при той же норме распределения в каждый прием. При значениях температуры воздуха и концентрации вещества, не указанных в таблице 11.21, норму определяют путем интерполяции.
4. В начальный период зимнего сезона (ноябрь-декабрь) нормы распределения ПГМ на мостах, путепроводах, эстакадах и т.п. принимают по температурной графе таблицы на 2° ниже, чем для дорог.
Температуру воздуха и количество выпавших осадков принимают по показаниям дорожных метеослужб. При отсутствии метеослужб температуру воздуха определяют термометром.
Количество снежно-ледяных отложений, образовавшихся на 1 м2 дорожного покрытия, определяют с помощью штангенциркуля или металлической линейки. В пяти характерных точках на заснеженной или обледенелой дороге замеряют толщину отложений и по этим замерам определяют среднюю толщину. Затем определяют плотность отложений путем взвешивания пробы отложений, взятых с дороги в ненарушенном состоянии. До взвешивания должен быть произведен замер сторон пробы и по этим данным рассчитывают ее объем. Отношение массы пробы к объему дает величину плотности отложений.
Нормы расхода фрикционных материалов назначают в зависимости от интенсивности движения:
<500 авт./сут - 100...150 г/мг
500-1000 авт./сут - 150...250 г/м2
1000-3000 авт./сут - 250...400 г/м2.
Норму распределения комбинированных материалов назначают с учетом состояния снежно-ледяных отложений, температуры воздуха, количества отложении и количества химических ПГМ в смеси.
При комбинированном способе борьбы с зимней скользкостью нормы распределения ПГМ рассчитывают по формуле 11.4.1.
Nk= 100·N/Nф, г/м2, (11.4.1)
где N - норма распределения химического ПГМ, принятая по табл. 11.20, г/м2;
Nф - принятое количество химических ПГМ (10-20 %) или фактическое содержание в готовой смеси, определенное лабораторным путем, %.
Технология работ по борьбе с зимней скользкостью. Для предупреждения образования или ликвидации зимней скользкости проводят следующие мероприятия:
- профилактическую обработку покрытий противогололедными материалами до появления зимней скользкости или в начале снегопада, чтобы предотвратить образование снежного наката;
- ликвидацию снежно-ледяных отложений с помощью химических или комбинированных ПГМ;
- обработку снежно-ледяных отложений фрикционными материалами.
Профилактический способ позволяет снизить затраты дорожной службы на борьбу с зимней скользкостью, обеспечить допустимые сцепные качества покрытий и безопасность движения в зимний период, уменьшить вредное воздействие ПГМ на окружающую среду за счет применения рациональной технологии и минимально допустимых норм распределения ПГМ. Однако эффективность этого способа возможна лишь при обеспечении зимних работ специализированными прогнозами образования зимней скользкости.
Профилактическую обработку покрытий осуществляют при:
- прогнозировании образования на покрытии стекловидного льда;
- ожидании снегопада и метелей с возможным образованием на покрытии снежного наката.
При получении информации о погодных условиях с возможным образованием на покрытии ледяных отложений (стекловидного льда) необходимо провести предварительную обработку покрытия химическими ПГМ в количестве 5...15 г/м2. Предварительная обработка может производиться за 1...2 ч до прогнозируемого явления погоды. Для предварительной обработки на дорогах могут быть использованы твердые, жидкие хлориды, а также смоченная соль.
Сухие соли эффективно применять только в том случае, если на поверхности дорожного покрытия имеется достаточное количество влаги для ускорения действия химических ПГМ. Если покрытие сухое или на нем недостаточное количество влаги, то целесообразно использовать смоченные соли.
При температуре воздуха выше -5°С более эффективно использовать растворы солей или природные рассолы, которые могут распределяться и на сухое покрытие перед выпадением осадков для предотвращения образования скользкости.
Если выпадение осадков продолжается, то для предотвращения замерзания раствора ПГМ производят дополнительную обработку покрытия. При этом норму распределения дополнительной обработки принимают равной норме, приведенной в табл. 11.4.5 и 11.4.6, за вычетом произведенного предварительного распределения (5...15 г/м2).
Технология работ с целью предупреждения образования снежного наката в период снегопада предусматривает распределение химических или комбинированных ПГМ непосредственно во время снегопада, пока свежевыпавший снег еще не уплотнился в результате движения автомобилей. К распределению ПГМ (твердых или жидких) приступают после того, как на проезжей части образуется слой снега, достаточный для закрепления в нем химических ПГМ. Это позволяет сохранить выпавший на покрытие снег в рыхлом состоянии. После прекращения снегопада необходимо полностью удалить снег с дорожного покрытия с помощью снегоуборочных машин.
Нормы внесения в снег ПГМ зависят от температуры воздуха и интенсивности выпадения осадков. Для предварительной обработки, предотвращающей уплотнение снежных отложений на покрытии, рекомендуется использовать твердые или смоченные соли с нормой расхода 5... 15 г/м2.
Норма дополнительной обработки устанавливается по табл. 11.4.5 и 11.4.6 с учетом количества ПГМ, распределенных при предварительной обработке.
Для предотвращения образования снежного наката при прогнозируемом резком понижении температуры воздуха патрульную снегоочистку начинают сразу после получения сообщения от Росгидромета. Работы не прекращают до полной уборки снега.
Технология работ по предотвращению образования снежного наката во время снегопадов предусматривает следующие этапы: выдержку, обработку свежевыпавшего снега ПГМ, интервал, очистку покрытия от снега.
Выдержка - промежуток времени от начала снегопада, до момента распределения химических ПГМ. Продолжительность выдержки зависит от интенсивности снегопада и температуры воздуха. При этом, распределение ПГМ по покрытию производится в тот момент, тогда на нем уже имеется некоторое количество снега. В период снегопада интенсивностью 1-3 мм/ч и выше к распределению противогололедных материалов приступают через 15-20 мин после начала снегопада. При слабом снегопаде интенсивностью 0,5-1 мм/ч противогололедные материалы распределяют через 30-45 мин после его начала.
Если после окончания указанного цикла снегопад продолжается, последующее распределение ПГМ и соответствующие операции цикла должны повторяться необходимое количество раз до полной уборки снега с дорожного покрытия.
Интервал, устанавливаемый с момента распределения ПГМ до начала снегоочистки, повторяемость снегоочистки и последующих обработок должны устанавливаться с учетом интенсивности снегонакопления и химической активности ПГМ.
Очистка проезжей части от снега и шуги должна производиться с таким расчетом, чтобы снегоочистка осуществлялась на высокой скорости и на ширину покрытия, предусмотренную принятым уровнем содержания дороги. После окончания снегопада необходимо произвести удаление оставшихся снежно-ледяных отложений или завершающее подметание.
В случае образования снежного наката его ликвидируют следующим образом. Сначала распределяют химические противогололедные материалы по поверхности вновь образовавшегося наката согласно установленным нормам для данного вида скользкости (см. табл. 11.4.5, 11.4.6). После распределения ПГМ необходимо сделать выдержку до тех пор, пока отложения, вследствие частичного их плавления химическими ПГМ, не разрыхлятся в результате воздействия колес автомобилей. Образовавшаяся разрыхленная масса должна быть незамедлительно убрана с проезжей части дороги.
При образовании на дорожном покрытии стекловидного льда работы по ликвидации этого, наиболее опасного вида скользкости заключаются лишь в распределении химического ПГМ по поверхности ледяной корки с учетом норм, приведенных в табл. 11.4.5
Ликвидацию зимней скользкости с помощью комбинированных ПГМ осуществляют аналогично химическим материалам.
При фрикционном способе обработку снежно-ледяных отложений осуществляют с целью повышения шероховатости поверхности дорожного покрытия. Для этого по покрытию распределяют подогретые песок, высевки, шлак. Этот метод временно повышает сцепные качества покрытий за счет наличия на нем абразивных материалов. Повторную и последующие обработки покрытий осуществляют при удалении 50 % фрикционных материалов с проезжей части.
При норме распределения фрикционных материалов более 200 г/м2 его производят за два приема. В табл. 11.4.7 приведены технические характеристики разбрасывателя противогололедных материалов ПР-1.
Таблица 11.4.7
Технические характеристики разбрасывателя технологических материалов
|
Параметры |
Марка машины |
|
ПР-1 |
|
|
Базовое шасси |
ЗИЛ-433362 |
|
Вместимость кузова, м3 |
3,0 |
|
Масса загружаемых материалов, кг |
5350 |
|
Ширина рабочей зоны, м: |
|
|
при снегоочистке плугом |
2,5 |
|
при распределении противогололедных материалов |
4-10 |
|
Плотность посыпки, г/м2 |
30-200 |
|
Максимальная рабочая скорость, км/ч |
20 |
|
Масса снаряженная, кг |
5500 |
|
Масса полная, кг |
11000 |
|
на переднюю ось |
3000 |
|
на заднюю ось |
8000 |
|
Габаритные размеры, м |
8,2´3,0´2,8 |
Охрана окружающей среды при борьбе с зимней скользкостью. Мероприятия по охране окружающей природной среды необходимо предусматривать по каждому виду работ, выполняемых при борьбе с зимней скользкостью на автомобильных дорогах: при транспортировке, распределении и хранении противогололедных материалов.
Для уменьшения отрицательного воздействия химических противогололедных материалов на придорожную почву, воду и растительность необходимо применять их в минимальном количестве, соблюдая режим и нормативы, предусмотренные технологией борьбы с зимней скользкостью.
Распределение ПГМ необходимо производить только механическими способами. Обработку покрытий чешуированными или гранулированными реагентами следует осуществлять солераспределителями и универсальными распределителями.
Розлив жидких ПГМ следует производить распределителями жидких ПГМ на базе комбинированных дорожных машин (табл. 11.8). Рабочие органы распределительных средств должны быть отрегулированы таким образом, чтобы распределение материалов осуществлялось исключительно по проезжей части дороги.
Ориентировочно количество распределяемых за зимний период противогололедных материалов (хлоридов) не должно превышать: для I и II дорожно-климатической зоны - 2 кг на 1 м2 покрытия, для III, IV - 1,5 кг/м2.
Для предупреждения образования скользкости следует отдавать предпочтение профилактической обработке покрытия.
Ранней весной для профилактики образования скользкости допускается применять минимальное количество хлоридов - до 10 г/м2 на одну обработку с учетом того, что в этот период почва и растительность наиболее чувствительны к их воздействию.
Для хранения твердых химических ПГМ, применяемых для борьбы с зимней скользкостью, следует использовать закрытые механизированные склады, имеющие твердые полы и дренажную систему. Материал, поступающий в дорожные хозяйства без тары (навалом), следует хранить в складах бункерного или силосного типа.
В исключительных случаях допускается хранение химических ПГМ (хлористый натрий технический) в буртах (конусах) на специальных площадках с бетонным основанием и бортами по периметру, чтобы предотвратить вытекание образующихся растворов солей. Для защиты хлоридов от атмосферных осадков, штабели, конуса и бурты должны быть закрыты водонепроницаемыми пленками или другими средствами.
Для хранения растворов солей и природных рассолов на базах дорожных хозяйств следует использовать цистерны емкостью 20-50 м3 или закрытые сверху котлованы с изолированными стенками, предотвращающими вытекание растворов в почву и загрязнение поверхностных и подземных вод.
Уровень растворов в хранилищах для жидких материалов следует еженедельно контролировать. При обнаружении утечки - срочно ее устранять.
Для улучшения состояния окружающей природной среды при борьбе с зимней скользкостью на автомобильных дорогах обвалованные снежно-ледяные отложения в населенных пунктах, на мостах, путепроводах, эстакадах и других подобных объектах должны быть утилизированы и складированы на специально отведенных для этой цели площадках - снегосвалках.
Месторасположение складов для противогололедных материалов следует выбирать с учетом особенностей природной среды, рельефа местности, наличия водотоков, водоемов и других источников воды. Запрещается устраивать штабели или склады в водоохранных зонах и на расстоянии менее 200 м от источников воды.
При выборе противогололедных материалов, содержащих хлориды, предпочтение следует отдавать ХКМ, ХКФ, Биомаг и природным рассолам.
В целях снижения отрицательного влияния противогололедных веществ на растения и почву следует проводить следующие мероприятия.
В местах с большим количеством вносимых хлоридов необходимо обеспечить водоотвод путем заложения перехватывающих и отводящих дренажей или создавать в сторону кювета поперечный уклон придорожной полосы не менее 5...7 град. Форма поперечного профиля разделительной полосы должна быть выпуклой.
В случае, если хлориды попадают в почву вновь созданных лесных полос, в них необходимо проводить рыхление почв не менее пяти раз в первый год и трех - в последующие годы, полив до 2-3 раз по 30-50 л/м2 в месяц и ежегодную подкормку удобрениями.
При содержании газонов в зонах наибольшего попадания хлоридов (разделительная полоса, откосы кюветов) необходимо 2-3 раза в месяц проводить полив (20-30 л/м2) и ежегодно подсевать семена с предварительным рыхлением, поливом почвы (40-60 л/м2) и внесением удобрений.
При использовании удобрений особое значение следует уделять органическим, а из минеральных - азотным, фосфорным, магниевым, марганцевым и борным удобрениям. Не вносить хлор- и натрийсодержащих удобрений.
Доя контроля за степенью загрязнения полосы отвода противогололедными материалами следует наладить учет количества внесенных веществ на проезжую часть и зону их распространения в полосе отвода. Ежегодно в снеге и один раз в 3-4 года в почве и растениях следует определять содержание хлора. Образцы снега отбирают в декабре и марте, почв - в мае-июне, растений - в июне-августе. Образцы передают в специализированные лаборатории для анализа и контроля загрязнения полосы отвода, кроме того, необходимо проводить в весенне-летний период наблюдения за состоянием растений, обращая внимание на их рост, признаки отравления, появление или исчезновение индикаторных растений.
Базы для хранения, приготовления и погрузки противогололедных материалов. В зависимости от вида противогололедных материалов устраивают базы: для химических реагентов, для фрикционных материалов, комбинированные, на которых хранят и те и другие материалы. Объем хранения на базах зависит, в основном, от климатических условий и значения обслуживаемых дорог. Рекомендуется рассчитывать базы химических противогололедных реагентов на следующие объемы хранения: на 700 т для дорог I-III категорий в сильногололедных районах (до 100 посыпок за сезон), на 500 т для дорог I-III категорий в среднегололедных районах (до 50 посыпок за сезон) и для дорог IV и V категорий в сильногололедных районах, на 350 т для дорог IV и V категорий в среднегололедных районах. Базы химических реагентов размещают у источников их получения (железнодорожных станций, пристаней, скважин для добычи рассолов) или непосредственно у дорог на целесообразных расстояниях между ними: для дорог I категории - 20 км; для остальных дорог в зависимости от их значения - от 40 до 50 км.
Базы фрикционных материалов размещают в карьерах или непосредственно у дорог на указанных выше расстояниях. Объем хранения на придорожных базах: в сильногололедных районах - до 2000 м3; в среднегололедных - до 1000 м3 фрикционных материалов.
По техническому уровню сооружений, организации хранения, транспортных и погрузочных операций базы могут быть капитальными, высокомеханизированными или упрощенного типа с передвижными средствами механизации. Помимо баз, можно создавать у дорог погрузочные установки или небольшие склады, снабжаемые материалами с основных баз.
Важным элементом технологического процесса на базах противогололедных материалов является их хранение. Хранить твердые химические реагенты лучше всего в закрытых помещениях. В качестве таких помещений могут быть использованы деревянные или кирпичные склады. Их размеры зависят от количества солей, на хранение которых они рассчитаны. Желательно завозить в склад материалы на автомобилях-самосвалах. Хлористый натрий хранят навалом, хлористый кальций - в бумажных или полиэтиленовых мешках. Пол склада делают бетонным и покрывают асфальтобетоном или пластмассой. Склад делают отапливаемым, оборудуют электроосвещением и вентиляцией. Металлические конструкции перекрытий окрашивают для противодействия коррозии.
Жидкие хлориды содержат в цистернах или бетонных резервуарах. Цистерны вместимостью 50 т устанавливают на площадках с твердым покрытием, соединяя несколько цистерн (до 8...10 и более) в единую батарею с помощью трубопроводов, позволяющих производить перекачку из одной цистерны в другую, а также подавать рассол в распределители жидких хлоридов.
На базах противогололедных материалов, помимо хранения и погрузки, выполняют операции, связанные с приготовлением материалов и улучшением их свойств.
Фрикционные материалы приходится смешивать с солью, а химические реагенты - между собой и с ингибиторами. На базах упрощенного типа смешивание выполняют на открытых площадках с помощью бульдозеров, экскаваторов, автогрейдеров, самоходных погрузчиков и других машин. Приготовленные смеси закладывают на хранение или подают в погрузочные установки.
Базы капитального типа имеют комплекс стационарного оборудования, выполняющего все операции. На высокомеханизированной базе комбинированного типа для фрикционных и химических противогололедных материалов должны быть два склада - теплый и холодный.
Смешивание песка с солью в нужной пропорции или различных солей между собой осуществляется путем дозировки материалов, подаваемых через дозаторы из бункеров и отсеков складов на нижний конвейер. В результате такой организации технологических процессов база может использоваться для борьбы с зимней скользкостью как при химическом, так и при фрикционном способе.
Базы упрощенного типа для условий пересеченного и равнинного рельефа могут использоваться как при фрикционном, так и при химическом способе борьбы с зимней скользкостью. Химические вещества поступают на эти базы в кристаллическом виде.
На базах для жидких противогололедных материалов в мешалке приготавливают нужную смесь компонентов: ингибированный рассол, ингибированный жидкий хлористый кальций или жидкую смесь (NаС1+СаС12+ингибитор). При отсутствии жидкого хлористого кальция можно завозить на базу кристаллический хлористый кальций и использовать его для обогащения рассола. Готовую смесь перекачивают в свободный резервуар и хранят до того времени, когда потребуется отгружать ее на дорогу. Преимущество таких баз в том, что они позволяют применять материалы, выгодные при тех температурах, при которых образовалась зимняя скользкость.
Наледь - послойное накопление льда, образовавшееся на ледяном покрове водотоков или водоемов, мерзлом грунте или инженерных сооружениях в результате замерзания периодически изливающихся природных или технических вод. Наибольшее распространение наледи имеют в районах с суровым зимним климатом, где встречается многолетняя мерзлота.
Применяют следующие меры борьбы с наледями: общий дренаж, мерзлотные пояса, заградительные сооружения, подъем насыпей, утепление русла водотоков, их углубление, спрямление и расчистку, обогрев водопропускных труб.
Общий дренаж прилегающей к дороге местности может быть выполнен устройством узких (не более 0,5 м) канав с обкладкой дна и стен слоями мха или прокладкой подземных дрен. Поверхностный дренаж имеет ограниченную дренирующую способность и осложняется возможностью замерзания канав. Подземный дренаж, при котором прокладывают гончарные трубы или перфорированные асбестоцементные, эффективно снижает уровень грунтовых вод, но может применяться лишь в районах глубокого сезонного промерзания грунтов. В районах вечной мерзлоты применение подземного дренажа затруднено.
Устройство мерзлотных поясов имеет целью вызвать образование наледи на пути притекающей воды в стороне от дороги на безопасном для нее расстоянии. С этой целью на достаточном расстоянии от дороги роют канаву глубиной 1,2 м и шириной 3...4 м. Под канавой возникает мерзлая перемычка, соединяющаяся с вечной мерзлотой и преграждающая путь грунтовой воде, которая выходит на поверхность и образует наледь. Мерзлотный пояс должен размещаться поперек течения подземных вод и быть достаточно длинным, чтобы наледь не обтекла вокруг его концов и не приблизилась к дороге. При большом притоке делают несколько параллельных мерзлотных поясов на расстоянии от 20 до 80 м один от другого. Чем больше уклон местности в сторону дороги, тем меньше должно быть расстояние между поясами.
Если по каким-либо причинам нельзя создать постоянный мерзлотный пояс, делают простейший, временный, мерзлотный пояс, расчищая от мха и кустарника полосу земли шириной от 3 до 10 м. Временные пояса недостаточно эффективны, и в дальнейшем их следует заменять постоянными.
Мерзлотные пояса в виде канав применяют и для борьбы с речными наледями. Их прокладывают поперек всей речной долины на 80-100 м выше моста. Береговые участки мерзлотных поясов делают летом, а зимой прорубают во льду канавы, представляющие речную часть пояса. По мере промерзания реки канавы углубляют, создавая в реке ледяную плотину, вызывающую образование наледи на безопасном расстоянии от моста.
Заградительные сооружения - земляные валы и дамбы, заборы, бревенчатые барьеры, переносные щиты, валы из снега (обледеневающие после того, как они пропитываются водой) - возводят на пути натечных наледей, чтобы не допустить их к дороге.
Земляные валы и дамбы можно применять не только для того, чтобы остановить наледь, но и для того, чтобы отвести ее от дороги. В этом случае им придают соответствующее очертание и расположение по отношению к дороге.
Увеличение высоты земляного применяют чаще всего при пересечении водотоков с небольшим продольным уклоном и широкой поймой, по которой вода растекается невысоким слоем.
Утепление русла водотоков имеет целью воспрепятствовать охлаждению воды, протекающей через искусственные сооружения. Эта мера целесообразна, если водоток имеет узкое и глубокое русло. Над небольшими речками, ручьями или канавами на утепляемом участке русла укладывают настил из жердей, на который настилают полиэтиленовую пленку или кладут хворост слоем 0,3...0,5 м, а поверх - слой мха толщиной 0,5 м. Все это засыпается снегом. Чтобы накопить снег, можно ставить снегозадерживающие решетчатые щиты, за которыми образуется снежный вал, покрывающий основной материал утепления. Длина утепляемого участка - 50 м в верховую сторону от сооружения и 30...50 м в низовую.
Углубление, спрямление и расчистка русла водотоков позволяют уменьшить растекание воды, препятствуют замедлению ее течения, придают живому сечению потока форму, менее подверженную промерзанию. С этой целью ликвидируют каменистые перекаты, петли, крутые повороты русла, удаляют большие валуны. В местах, где русло большой ширины, его сужают и углубляют, а в очень узких местах несколько расширяют. Работы выполняют гусеничными тракторами с навесным оборудованием для разработки водоносного грунта, бульдозерами, корчевателями-собирателями. Русло выправляют на протяжении до 1 км вверх по водотоку и до 0,5 км в низовую сторону от искусственного сооружения. Помимо выправления русла, принимают меры для собирания растекающейся по пойме воды в единый сосредоточенный поток. С этой целью с верховой стороны устраивают валы из недренирующих грунтов, которые направляют воду в отверстие искусственного сооружения.
Обогрев водопропускных труб для безналедного пропуска водотока использовался на автомобильной дороге Большой Невер - Якутск. Внутри водопропускной трубы прокладывалась обогревающая трубка, в приемную часть которой подается керосин или дизельное топливо и сгорает. Подача жидкого топлива производится из расходного бака через капельницу. Отходящие газы отдают свое тепло наледной воде, которая, благодаря этому, не замерзает и свободно проходит через водопропускную трубу.
Способы защиты дорог от лавин. Мероприятия по защите дорог от лавин могут быть инженерные и профилактические.
Инженерные меры защиты заключаются в строительстве противолавинных устройств и сооружений или создании защитных насаждений на лавиноопасных склонах (табл. 11.4.8).
Таблица 11.4.8
Инженерные меры защиты дорог от лавин
|
Принцип действия |
Тип устройства |
|
Лавинопредупреждающие |
|
|
Предотвращение соскальзывания снега |
Снегозадерживающие устройства. Террасирование и облесение склонов |
|
Предотвращение образования снежных карнизов |
Снеговыдувающие заборы |
|
Уменьшение накопления снега в лавиносборах или перераспределение в зонах снегонакопления |
Снегозадерживающие щиты и заборы, установление на подходе к лавиносборам. Кольктафели |
|
Лавинозащитные |
|
|
Пропуск лапин над защищаемым объектом |
Противолавинные галереи |
|
Уменьшение скорости лавин |
Тормозящие сооружения |
|
Отклонение лавин в сторону от защищаемого объекта |
Лавинорезы и направляющие дамбы |
|
Остановка лавин на подходе к объекту |
Отбойные дамбы |
К профилактическим относят мероприятия по ликвидации опасности путем заблаговременного искусственного обрушения лавин.
Снегоудерживающие устройства. К ним относят щиты и заборы различной конструкции, устанавливаемые на лавиноопасных склонах (или в логах), препятствующие соскальзыванию снежного покрова и, благодаря этому, предотвращающие образование лавин. Стационарные снегоудерживающие устройства проектируются с учетом особенностей лавиноопасных склонов. Снегоудерживающие устройства на склонах размещают непрерывными рядами или с разрывами в соответствии с проектом.
Для надежной работы снегоудерживающих устройств важно правильно назначить их высоту. Высота снегоудерживающих устройств вычисляется по формуле 11.4.2.
Н = Нр + DН, (11.4.2)
где Нр - расчетная высота;
DН - запас высоты.
За расчетную принимают среднюю наибольшую многолетнюю высоту снежного покрова по данным гидрометеорологической службы с вероятностью превышения 2 % для дорог I...III категорий, для остальных - 5 %. DН при ориентировочных расчетах принимают равной 0,3...0,5 м.
Снегоудерживающие устройства в вертикальной плоскости должны быть перпендикулярны к поверхности склона. Допускается отклонение от перпендикулярного положения в сторону подножия склона на угол не более 15 град.
Террасирование склонов. Террасы могут служить самостоятельным средством для предотвращения соскальзывания снежного покрова со склонов, имеющих крутизну не более 25 град. На более крутых склонах террасы служат вспомогательным средством при облесении склонов или их застройке снегоудерживающими щитами и заборами. Механизированная прокладка террас возможна, если угол горных склонов до 40 град. Ширину террас определяют исходя из требований, предъявляемых к выращиванию насаждений, и эффективной работы землеройных машин. Поверхность полок должна быть горизонтальной. Для сброса поверхностного стока делают водоотводные устройства. Террасы проектируются с учетом топографических и инженерно-геологических условий местности.
Облесение склонов. На склонах гор, покрытых густым лесом, не происходит отрыва лавин, так как стволы деревьев удерживают снежный пласт от оползания.
Посадку леса в целях защиты от лавин производят на горных склонах, имеющих достаточный почвенный покров, в пределах естественной границы распространения лесов в данной местности. Следует иметь в виду, что защитное действие леса обеспечивается лишь в том случае, если выше верхней границы леса нет других лавинных очагов, так как сходящие оттуда лавины могут ломать лес и прорываться через него.
Лесопосадки должны покрывать весь лавиноопасный склон, начиная от вершины и заканчивая в 20-30 м от подошвы. В качестве посадочного материала надо использовать быстро растущие породы деревьев и кустарников, имеющие сильно разветвленную горизонтальную корневую систему и нетребовательные к качеству почвы. Посадка растений на склоне производится в шахматном порядке с размещением через 1 м в ряду при расстоянии между рядами 2 м.
Снеговыдувающие заборы. Предназначены предотвращать образование снежных карнизов и уменьшать нагрузки на снегоудерживающие сооружения. Заборы устанавливают на гребне склона так, чтобы нижний край ветронаправляющей панели возвышался над гребнем на 0,5 м. Возводить забор следует в таких местах, где отсутствуют интенсивные снегопады без ветра, иначе продуваемый проем забора может быть закрыт снегом. Если забор предназначен для ликвидации снежных карнизов на гребне склона, то он должен идти непрерывным рядом длиной не меньше, чем протяженность гребня в пределах данного лавиносборного бассейна.
Заборы снеговыдувающего действия, применяемые в противолавинных целях, имеют такую же конструкцию, как и снеговыдувающие заборы для борьбы со снежными заносами на автомобильных дорогах.
Снегозадерживающие щиты и заборы. Для уменьшения накопления в лавиносборах снега, подносимого метелями, на подступах к ним устанавливают снегозадерживающие заборы (или щиты), имеющие такую же конструкцию, как и заборы для защиты автомобильных дорог от заносов.
Снегозадерживающие щиты применяют в составе так называемой комплексной застройки склона, которая, как правило, включает: один или два ряда снегозадерживающих заборов (или щитов), располагаемых с наветренной стороны на подступах к лавиноопасному склону; снегорегулирующие устройства (обычно снеговыдувающие заборы с кольктафелями или без них), устанавливаемые на гребне склона или сразу за гребнем; снегоудерживающие устройства на самом лавинном склоне.
Галереи. Наиболее надежными, но дорогими сооружениями для защиты дорог от лавин являются галереи. Их строят по индивидуальным проектам с учетом местных особенностей.
Тормозящие устройства. С целью уменьшения скорости лавин применяют различные тормозящие устройства, устанавливаемые на их пути. Действие тормозящих устройств основано на том, что лавина рассекается на отдельные потоки, которые направляются друг на друга и взаимно тормозятся.
Дамбы и лавинорезы. Эти сооружения изменяют движение лавин путем отвода их от защищаемого объекта или останавливают лавины на пути к защищаемому объекту. К сооружениям первого рода относят лавинорезы и направляющие дамбы, к сооружениям второго рода - отбойные дамбы.
Лавинорез - треугольное (в плане) сооружение из камня или бетона, обращенное режущим ребром навстречу лавине. Угол между крыльями лавинореза, образующими в месте их соединения режущее ребро, составляет от 30 до 40 град. Правильно запроектированный и построенный лавинорез рассекает лавину и отводит снег, скользящий по его боковым граням, в сторону в какой-нибудь лог или овраг. Направляющие дамбы отклоняют движущуюся лавину и направляют по новому пути. Если невозможно отвести лавину в сторону, применяют отбойные дамбы, которые располагают перпендикулярно пути движения лавины. Дамба должна погасить анергию лавины и задержать переносимый ею снег, не допустив до дороги.
Дамбы, как правило, представляют собой земляную насыпь (возможно также устройство каменных дамб) трапецеидального сечения или в отдельных случаях имеющую вертикальную железобетонную или бетонную отбойную грань, за которой (со стороны, противоположной лавиноопасному склону) располагается грунтовая отсыпка. Крутизна земляных откосов дамбы от 40 до 60 град.
При очень высоких скоростях лавин нужны и очень высокие дамбы. Поэтому противолавинные дамбы рекомендуется проектировать и строить там, где скорость лавин не превышает 25 м/с, или принимать меры, снижающие скорость. Эти меры заключаются в устройстве на пути лавины различных тормозящих сооружений.
Профилактический способ защиты дорог от лавин. Профилактическое обрушение лавин можно выполнять следующими способами: обстрелом лавиносборов из артиллерийских орудий или минометов; взрыванием зарядов ВВ в зоне снегонакопления; подпиливанием снежных карнизов. Эта мера имеет существенные недостатки: после схода лавины на дороге образуется снежный завал, нередко значительного протяжения, высота которого может достигать 20...26 м, снег имеет плотность 0,60 г/см3 и содержит включения. Расчистка крупных завалов требует большого времени, значительных затрат труда и работы снегоочистительных машин. На период расчистки завалов проезд по дороге прерывается, что ухудшает условия движения по ней и удорожает перевозки.
По указанным причинам профилактические меры защиты от лавин при оценке целесообразности их применения на автомобильных дорогах надо рассматривать в основном как временные, осуществляемые лишь в период, пока на дороге не построены инженерные защитные сооружения.
Снегозащитные насаждения должны удовлетворять следующим основным требованиям:
- их конструкции и размещение должны соответствовать объему приносимого к дороге снега;
- расстояние от посадок до дороги должно быть достаточным, чтобы снежный шлейф не мог выйти на дорогу;
- породно-видовой состав насаждений должен соответствовать местным почвенно-климатическим условиям произрастания и подбираться с учетом снегозащитных свойств деревьев и кустарников, их декоративных свойств и хозяйственной ценности;
- насаждения надо закладывать с минимальным отводом земельной площади и затратами.
Насаждения для защиты автомобильных дорог от снежных заносов создают в виде живых изгородей или лесных полос. Живая изгородь - это густая посадка, формируемая из деревьев или кустарников одной породы. Она имеет небольшое число рядов, чаще всего один - два. Лесная полоса - посадка из нескольких рядов деревьев и кустарниковой опушки. Общее число рядов в лесных полосах на автомобильных дорогах составляет от 4 до 9. В каждой полосе первый ряд со стороны поля создают из низких кустарников, второй - из высоких, остальные ряды - из древесных пород.
При объемах снегоприноса до 350 и до 500 м3/м рекомендуется применять (соответственно) двух- и трехполосные снегозащитные насаждения с увеличенными межполосными разрывами и расстояниями от дороги.
Древесные и кустарниковые породы для снегозащитных насаждений выбирают с учетом лесорастительных условий, а также биологических, хозяйственных, специфических снегозадерживающих свойств деревьев и кустарников. Для подбора пород можно пользоваться таблицей 11.4.9.
Таблица 11.4.9
Ассортимент деревьев и кустарников для снегозащитных полос
|
Порода |
Зона |
||||
|
лесная |
лесостепная |
степная |
сухих степей |
полупустынная |
|
|
Низкие кустарники |
|||||
|
Смородина черпая |
+ |
+ |
+ |
- |
- |
|
Смородина красная |
+ |
+ |
+ |
- |
- |
|
Смородина золотистая |
+ |
+ |
+ |
+ |
- |
|
Вишня степная |
- |
+ |
+ |
+ |
- |
|
Шиповник |
+ |
+ |
+ |
+ |
- |
|
Спирея средняя |
+ |
+ |
+ |
+ |
- |
|
Спирея рябинолистная |
+ |
+ |
+ |
+ |
- |
|
Дерен сибирским |
+ |
+ |
- |
- |
- |
|
Дерен красный |
- |
- |
+ |
+ |
- |
|
Жимолость татарская |
+ |
+ |
+ |
+ |
+ |
|
|
|||||
|
Можжевельник обыкновенный |
+ |
+ |
- |
- |
- |
|
Можжевельник виргинский |
- |
- |
+ |
+ |
- |
|
Алыча |
- |
- |
+ |
+ |
- |
|
Акация желтая |
+ |
+ |
+ |
+ |
+ |
|
Ива пурпурная |
+ |
+ |
- |
- |
- |
|
Ирга |
+ |
+ |
+ |
+ |
- |
|
Вишня обыкновенная |
- |
+ |
+ |
- |
- |
|
Вишня магалебская |
- |
- |
+ |
+ |
- |
|
Лох узколистный |
- |
+ |
+ |
+ |
+ |
|
Облепиха |
+ |
+ |
+ |
+ |
- |
|
Сирень |
+ |
+ |
+ |
- |
- |
|
Скумпия |
- |
- |
+ |
+ |
- |
|
Гордовина |
- |
+ |
+ |
- |
- |
|
Клен татарский |
+ |
+ |
+ |
+ |
- |
|
Тамарикс |
- |
- |
- |
+ |
+ |
|
Лещина |
+ |
+ |
- |
- |
- |
|
Низкокорные деревья |
|||||
|
Абрикос |
- |
- |
+ |
+ |
- |
|
Берест |
- |
+ |
+ |
+ |
+ |
|
Вяз обыкновенный |
+ |
+ |
+ |
+ |
- |
|
Груша |
- |
+ |
+ |
+ |
- |
|
Ильм (е) |
- |
+ |
+ |
+ |
- |
|
Клен ясенелистный |
+ |
+ |
+ |
+ |
- |
|
Клен полевой |
- |
- |
+ |
+ |
- |
|
Рябина |
+ |
+ |
+ |
- |
- |
|
Шелковина белая (е) |
- |
- |
+ |
+ |
- |
|
Яблоня |
+ |
+ |
+ |
+ |
- |
|
Калина |
+ |
+ |
- |
- |
- |
|
Высокогорные деревья |
|||||
|
Ель обыкновенная |
+ |
+ |
- |
- |
- |
|
Сосна обыкновенная |
+ |
+ |
+ |
+ |
- |
|
Береза бородавчатая |
+ |
+ |
+ |
- |
- |
|
Тополь канадский |
+ |
+ |
+ |
+ |
+ |
|
Тополь бальзамический |
+ |
+ |
+ |
+ |
+ |
|
Тополь белый |
- |
- |
+ |
+ |
+ |
|
Ива белая |
+ |
+ |
+ |
+ |
+ |
|
Дуб черешчатый (е) |
+ |
+ |
+ |
+ |
- |
|
Вяз мелколистный |
- |
- |
+ |
+ |
+ |
Примечание. Знаком "+" обозначена пригодность породы для данной зоны, знаком "-" непригодность, буквой "е" - пригодность только для Европейской части России
Не допускается вводить в насаждения породы, которые могут служить передатчиками болезней и вредителей для сельскохозяйственных культур. Вблизи посевов хлебных злаков и овса не размещать посадки барбариса, передатчика черной и линейной ржавчины, и крушины - передатчика корончатой ржавчины. Вблизи садов не размещать посадки боярышника, черемухи обыкновенной и диких плодовых (яблони и груши), которые могут иметь общих вредителей с культурными плодовыми насаждениями. Вблизи свекловичных плантаций не рекомендуется садить бересклет бородавчатый.
Расстояние между рядами деревьев и кустарников в лесной полосе должно быть одинаковым: в благоприятных лесорастительных условиях - 2,5 м, в тяжелых условиях 3...4 м. Расстояние в ряду принимается между деревьями 1-2 м, между кустарниками - 0,5...1 м.
В состав декоративных насаждений входят: основные декоративные посадки вдоль дорог, посадки на разделительных полосах, у развилок, пересечений, примыканий, искусственных сооружений, насаждения у комплексов дорожных зданий, автобусных станций, площадок отдыха.
Основными приемами и способами размещения декоративных посадок на дорогах служат регулярный, ландшафтный и смешанный.
Регулярный прием заключается в строго определенном размещении элементов озеленения. Группы имеют однообразное построение и размещаются по прямым или правильным кривым линиям. Расстояние в ряду между отдельными растениями или их группами остается постоянным или последовательно изменяющимся на всем протяжении каждого участка оформления. Этот прием используют для озеленения дорог, проходящих в равнинной местности, въездов в города и населенные пункты или на участках, проходящих внутри них. Чтобы избежать однообразия и монотонности впечатления, создающегося при таком приеме озеленения, в регулярные посадки вводят так называемые акценты - отдельные деревья и кустарники или группы, резко отличающиеся по высоте, форме, окраске листьев, цветению.
Ландшафтный, или свободный, прием размещения декоративных насаждений состоит в свободном, живописном расположении элементов в увязке с окружающей природой. Отдельные деревья, кустарники или группы размещают на разных расстояниях от дороги и между собой. Группы могут быть крупные (16...20 м в поперечнике), средние (10...15 м) и малые (8...10 м). Крупные и средние группы создают из одной или нескольких пород деревьев и кустарников, малые - из одной породы деревьев в сочетании с различными кустарниками.
Крупные группы размещают не ближе 80 м одна от другой, а средние и малые группируют около крупных, стараясь, чтобы расстояния между ними были разными. При этом крупные группы располагают на заднем плане, средние и малые - на переднем. Группы с темной окраской листвы или хвои следует размещать ближе к дороге на фоне групп с менее темной окраской. Высокие растения размещают в середине групп, а менее высокие - по периферии. Рекомендуемые расстояния между растениями в группах: деревья - от 2 до 7 м, а при очень плотной посадке - от 1 до 2 м, кустарники крупные - 1,2...2 м, средние - 0,8...1,2 м, мелкие - 0,4...0,8 м. Растения с красивой окраской листьев, плодов и эффектным цветением следует размещать на переднем плане. Ландшафтный прием размещения декоративных посадок производит наибольший эффект при использовании на дорогах, проходящих по пересеченной местности.
Смешанный прием предусматривает сочетание регулярных посадок с ландшафтными группами. Его применяют на дорогах, где прилегающая местность характерна чередованием участков с равнинным и пересеченным рельефом. Ландшафтные группы следует размещать в разрывах регулярных посадок, у пересечений автомобильных и железных дорог, у искусственных сооружений.
Качество снегозащитных и декоративных насаждений в значительной мере зависит от своевременности и тщательности ухода за ними. Основной уход за снегозащитными насаждениями до смыкания крон заключается в обработке почвы, ее разрыхлении и борьбе с сорняками. Обработку почвы ведут по мере ее уплотнения и массового появления сорной растительности. В первый год производится не менее четырех-пяти обработок за лето, во второй - трех-четырех, в третий - двух-трех и в последующие - одной - двух до смыкания крон деревьев. В междурядьях уход за почвой выполняют с помощью тракторных культиваторов, лущильников и борон. Почву в рядах обрабатывают ротационными культиваторами или вручную, рыхлят на глубину 5...6 см, а степных районах - на 7...8 см. Уход за почвой в междурядьях проводят один раз в 4-6 лет, в рядах - 2...3 года.
После смыкания крон деревьев и прекращения культивации ежегодно осенью делают опашку закраек, чтобы предохранить лесные полосы от сорняков, предотвратить пожары и не допустить распространения поверхностных корней и корневых отпрысков на прилегающие поля.
Помимо создания новых, эффективно работающих насаждений, перед дорожной службой стоит задача повысить эффективность действия старых насаждений, которые или недостаточно хорошо защищают дорогу или даже способствуют образованию на ней снежных заносов. К их числу чаще всего относят насаждения, созданные по неправильным старым схемам или потерявшие работоспособность вследствие недостаточного ухода.
Неудовлетворительная работа насаждений вызывается недостаточной снегозадерживающей способностью, вследствие чего часть снега проносится через насаждения и образует снежные заносы на дороге, а также недостаточной снегосборностью, что не позволяет задержать весь снег, приносимый к дороге в течение зимы (снегосборность меньше объема снегоприноса), расположением насаждений от дороги на расстоянии меньшем, чем длина подветренного снежного шлейфа, в результате чего шлейф выходит на проезжую часть, образуя снежные заносы.
Снегозадерживающую способность можно повысить, увеличив густоту (плотность) насаждений. Снегосборность насаждений можно довести до требуемой, при которой она будет соответствовать объему снегоприноса, увеличением ширины полосы путем добавления дополнительных рядов к ней, устройством дополнительных лесных полос с полевой стороны от существующей полосы.
Предотвратить выход на дорогу снежного шлейфа, образующегося с подветренной стороны насаждений, можно в том случае, если крайний ряд насаждений с полевой стороны будет удален от дороги на достаточное расстояние.
Рубки ухода, которым было уделено большое внимание в исследованиях ГипродорНИИ, являются эффективной мерой для поддержания или усиления снегозадерживающих свойств насаждений и их биологической устойчивости. Выполняют следующие виды рубок: текущего ухода, конструктивные, восстановительные, специального назначения, декоративные. Производство работ заключается в периодическом удалении (опиливании или срубании топором) стволов деревьев или кустарников с целью последующего порослевого возобновления или расчистки насаждений от сухостойных, пораженных болезнями, пострадавших от снеголома деревьев и кустарников, мешающих росту основных пород.
Рубки текущего ухода делят на прочистки, рубки омоложения кустарников и освобождения ценных пород, санитарные рубки.
При прочистке удаляют деревья и кустарники, мешающие нормальному росту насаждений, спиливают (или срубают) нежелательную растительность у поверхности почвы с уборкой хвороста и порубочных остатков. Рекомендуется проводить прочистки в летний период.
Рубки омоложения кустарников выполняют в любое время года с целью их порослевого возобновления. Работа состоит в периодическом удалении надземной части кустарников с оставлением невысоких пеньков (не более 5 см при срубании топором и срезке ручными пилами; если удаляют машинами, то не более 10 см).
Рубки освобождения ценных пород применяют, когда их угнетают соседние деревья или кустарники. При таких рубках угнетающие породы спиливают или срубают «на пень» или «на штамб». Рубки «на пень» выполняют так, чтобы высота оставляемых пней не превышала 10 см. При рубках «на штамб» спиливают стволы удаляемых деревьев, оставляя высокие пни (штамбы), возвышающиеся над поверхностью земли на 1,3-1,5 м. Рубки освобождения выполняют летом. Их надо проводить, когда деревья достигнут возраста 10-20 лет, в котором признаки угнетения ценных пород явственно заметны.
Санитарные рубки выполняют весной и летом на протяжении всего срока существования насаждений с целью их оздоровления. При санитарных рубках из насаждений удаляют сухостойные, поврежденные в результате снеголома, ветровала, гололеда, деятельности вредителей, грибковых заболеваний деревья. Остатки после санитарных рубок необходимо выносить из полосы и сжигать.
Конструктивные рубки имеют целью формирование плотной конструкции насаждений и постоянное поддержание их в этом состоянии. Необходимость в таких рубках возникает, если насаждения имеют ажурную конструкцию и образуют длинный растянутый вал, который достигает дороги и выходит на дорожное полотно. Конструктивные рубки выполняют «на штамб» или «на пень» (последний прием применяют в сравнительно молодых лесных полосах). Рубки «на штамб» проводят осенью, зимой или ранней весной, а «на пень» - осенью или ранней весной. После конструктивных рубок деревья, подвергавшиеся срезанию, формируют новую густую крону из порослевых побегов, благодаря чему работа лесной полосы по снегозадержанию улучшается, а образующийся снежный вал укорачивается и перестает угрожать дороге.
Рубки специального назначения выполняют, когда на территории, занятой придорожными насаждениями, имеются различные сооружения, например линии связи или электропередачи. Правила требуют, чтобы от ветвей деревьев до линии связи и электропередачи было расстояние не менее: для линий связи в городах - 1,25 м, в пригородах - 2 м, на остальной части трассы - 2,5 м; для линий электропередачи при напряжении до 20 кВ - 3 м, до 110 кВ - 4 м, до 220 кВ - 5 м. Чтобы обеспечить такие расстояния, проводят специальные рубки, с помощью которых понижают высоту насаждений и ограничивают их рост в дальнейшем. Рубки выполняют «на штамб» или «на пень» с последующим формированием необходимой кроны после образования поросли.
Декоративные рубки выполняют в любое время года, но отбирают деревья, подлежащие рубке, весной или летом. Их проводят в декоративных насаждениях для улучшения биологических свойств и эстетических качеств, а также в снегозащитных насаждениях, утративших по тем или иным причинам свое снегозащитное значение. При декоративных рубках формируют красивые ландшафтные группы, а также выделяют отдельные ценные в декоративном отношении деревья и кустарники. С этой целью вырубают «на пень» все лишние деревья и кустарники, чтобы придать оставшейся растительности необходимый декоративный вид.
Восстановительные рубки проводят с начала осеннего листопада, в течение всей зимы и ранней весной до начала распускания листьев. Их выполняют с целью исправления состарившихся или поврежденных придорожных насаждений, сформированных из лиственных пород (кроме березы). Работа выполняется путем рубки «на пень», причем уже в течение 1-2 лет происходит интенсивное восстановление насаждений за счет поросли, образующейся на пнях и корнях срубленных деревьев и кустарников.
При рубках ухода необходимо использовать бензомоторные пилы, сучкорезы, ручные электромеханические кусторезы, различные кусторезы с дисковыми пилами на колесных тракторах и другие средства механизации.
Ремонт автомобильной дороги - комплекс работ по воспроизводству ее первоначальных транспортно-эксплуатационных характеристик, при котором производится возмещение износа покрытия, восстановление и улучшение его ровности и сцепных качеств, устранение всех деформаций и повреждений дорожного покрытия, земляного полотна, дорожных сооружений, элементов обстановки и обустройства дороги, организации и обеспечения безопасности движения.
При этом под (первоначальными понимаются транспортно-эксплуатационные характеристики и потребительские свойства дороги и дорожных сооружений в момент сдачи в эксплуатацию после строительства, реконструкции или капитального ремонта.
Задача ремонта состоит в восстановлении транспортно-эксплуатационного состояния дороги и дорожных сооружений до уровня, позволяющего обеспечить выполнение нормативных требований в период до очередного ремонта при интенсивности движения, не превышающей расчетную для данной категории дороги.
Критерием для назначения ремонта дороги является такое состояние дорожного покрытия, при котором его ровность и сцепные качества снизились до предельно допустимых значений или когда на других элементах дороги и дорожных сооружениях накопились деформации и разрушения, устранение которых работами по содержанию дороги невозможно или экономически нецелесообразно.
В состав ремонта могут включаться работы по содержанию тех элементов дороги и дорожных сооружений в пределах ремонтного участка, которые не требуют ремонта.
Ремонт производится комплексно по всем элементам и сооружениям на отдельных участках (перегонах) ремонтируемой дороги. Допускается проведение выборочного ремонта отдельных элементов дороги или дорожных сооружений.
Ремонт, как правило, осуществляется в соответствии с проектно-сметной документацией, разрабатываемой на основе материалов диагностики и оценки состояния дорог или инженерных изысканий. При выполнении отдельных видов работ допускается взамен проекта разработка сметной документации на основании результатов диагностики и оценки состояния дорог или ведомостей дефектов с приложением или без приложения чертежей и описания технических решений.
К ремонту автомобильных дорог и дорожных сооружений относятся следующие работы [74]:
По земляному полотну и водоотводу:
- восстановление размытых и разрушенных участков, в том числе вследствие пучинообразования и оползневых явлений; очистка обвалов, оползней и селевых выносов;
- уменьшение крутизны откосов насыпей и выемок, засев травами откосов земляного полотна и резервов с проведением необходимых агротехнических мероприятий по созданию устойчивого дернового покрытия;
- укрепительные и другие работы, обеспечивающие устойчивость земляного полотна;
- поднятие небольших по протяженности участков земляного полотна на сырых или снегозаносимых местах, ликвидация небольших пучинистых участков;
- раскрытие снегозаносимых выемок, устройство аккумуляционных полок, срезка откосов выемок для обеспечения видимости на кривых в плане и для размещения сбрасываемого снега, устройство грунтовых банкетов и берм для защиты откосов от размывов и для задержания приносимого снега;
- восстановление земляного полотна и водоотвода на пересечениях и примыканиях, площадках для остановки, стоянках автомобилей, подъездных дорогах к объектам дорожно-ремонтной службы, достопримечательным местам, паромным переправам и т.п.
- сплошная прочистка водоотводных канав, устройство новых канав, укрепление стенок и дна канав на участках, подверженных размыву;
- исправление и восстановление дренажных, защитных и укрепительных устройств, водоотводных лотков, быстротоков и водобойных колодцев, подводящих и отводящих русл у мостов и труб, ливневой канализации; восстановление берегозащитных и противоэрозионных сооружений; подсыпка и укрепление обочин;
- отвод в постоянное и временное пользование земель, необходимых для обеспечения работ по ремонту дороги.
По дорожным одеждам:
- восстановление изношенных верхних слоев дорожных покрытий с обеспечением требуемой ровности и шероховатости; восстановление покрытий способами и методами, обеспечивающими повторное использование материала старого покрытия;
- устройство поверхностной обработки, защитных слоев и слоев износа на всех типах дорожных одежд;
- ликвидация колей глубиной до 45 мм и других неровностей методами поверхностного фрезерования, укладки нового слоя покрытия или поверхностной обработки; восстановление бордюров по краям усовершенствованных покрытий, фрезерование и устройство покрытий из битумоминеральных смесей на укрепительных полосах и обочинах;
- замена, подъемка и выравнивание плит цементобетонных покрытий, нарезка продольных или поперечных бороздок на цементобетонных покрытиях;
- перемощение отдельных участков мостовых с заменой основания;
- восстановление профиля и усиление щебеночных, гравийных и грунтовых улучшенных покрытий с добавлением щебеночных или гравийных материалов в количестве до 500 м3 на километр дороги в среднем.
По обустройству дорог, организации и обеспечению безопасности движения:
- восстановление и установка вновь недостающих дорожных знаков и табло индивидуального проектирования;
- восстановление и совершенствование элементов и систем диспетчерского и автоматизированного управления движением;
- восстановление существующих и установка вновь автономных и дистанционно управляемых знаков и табло со сменной информацией и светофорных объектов;
- восстановление существующих остановочных, посадочных площадок и автопавильонов на автобусных остановках, туалетов, площадок для остановки или стоянки автомобилей; восстановление пешеходных переходов и ремонт тротуаров, пешеходных и велосипедных дорожек, шумозащитных сооружений на участках дорог, проходящих через населённые пункты,
- устройство виражей на опасных для движения кривых;
- архитектурно-художественное оформление обустройства и благоустройства дорог и их отдельных участков, развязок, площадок отдыха, автобусных остановок, смотровых площадок и других объектов;
- восстановление электроосвещения на отдельных участках дорог, мостах, путепроводах и паромных переправах, в тоннелях;
- восстановление дорожной линейной телеграфной (телетайпной) или радиосвязи и других средств технологической и сигнально-вызывной связи;
восстановление кабельной сети; нанесение временной разметки на период ремонта, удаление временной разметки и нанесение постоянной после завершения ремонта.
Прочие работы по ремонту:
- устройство площадок для складирования материалов и рекультивация земель, нарушенных при проведении ремонта;
- устройство и ликвидация временных объездов ремонтируемых участков дороги;
- предпроектное обследование мостовых сооружений, диагностика и оценка состояния автомобильных дорог и других дорожных сооружений;
- разработка проектно-сметной документации и ее экспертиза (в установленном порядке);
- инженерное и научно-техническое сопровождение наиболее сложных работ по ремонту.
Ремонт земляного полотна направлен на обеспечение сохранности геометрической формы его элементов, поддержание в работоспособном состоянии водоприемных, дренажных и водоотводных сооружений, обочин, полосы отвода. Работы, как правило, выполняют в весенне-летне-осенний периоды в объемах, определенных проектом по результатам обследования дороги.
Бровку земляного полотна восстанавливают и укрепляют посевом трав независимо от наличия на обочине укрепления и его конструктивных особенностей. Одновременно устраняют причины, вызывающие ее разрушение.
При ремонте неукрепленных обочин профилируют и планируют их поверхность с приданием поперечного уклона до 50...60‰. Для подсыпки обочин используют супесчаный, песчаный грунт или аналогичный тому, из которого отсыпана насыпь. Если на обочинах на период проведения ремонтных работ не предусматривается устройство слоев повышенной прочности, следует осуществить травосеяние. В этих случаях ремонтные работы необходимо проводить в сроки, обеспечивающие нормальный рост трав и развитие их корневой системы. Укрепление травосеянием применяют при грунтах с показателем кислотности рН>5. Растительный грунт должен содержать необходимые компоненты питательных веществ. Бедные почвы обогащают минеральными и органическими удобрениями, руководствуясь нормами внесения удобрений (табл. 12.3.1), высева семян трав (табл. 12.3.2).
Таблица 12.3.1
Нормы внесения удобрений
|
Удобрения |
Количество кг на 100 м2 |
|
Минеральные: азотные фосфорные калийные Органические - торфокомпост |
3,0 3,0 1,5 100-200 |
Таблица 12.3.2
Нормы высева семян
|
Вид граны |
Наименование |
Количество кг на 100 м2 |
|
Низовые Корневищные |
Мятлик луговой Овсяница красная Полевица белая |
0,45-0,50 1,00-1,20 0,25-0,30 |
|
Корневищно-рыхлокустовые |
Мятлик луговой Овсяница красная Полевица обыкновенная |
0,45-0,50 1,00-1,20 0,20-0,25 |
|
Рыхлокустовые |
Овсяница луговая Райграс пастбищный Гребенник обыкновенный Пырей бескорневищный |
1,20-1,40 1,20-1,40 0,70-0,90 1,20-1,40 |
На укрепленных обочинах заделывают разрушения покрытий и нижних слоев укрепления, усиливают конструкцию. Эти работы целесообразно совмещать с ремонтом проезжей части. Поперечный уклон обочин делают не менее 40‰. Для ремонта используют материалы, аналогичные принятым в конструкции укрепления или с лучшими свойствами.
При ремонте выполняют работы и по новому укреплению обочин, которое должно учитывать грунтовые и климатические условия, интенсивность и состав транспортных средств. Предпочтение следует отдавать местным материалам и отходам промышленности.
Для снижения расхода строительных материалов и повышения срока службы укрепления в конструкцию вводят прослойки синтетических материалов тканого и нетканого типов, которые могут выполнять функции армирующего, дренирующего или гидроизоляционного слоя, а также защитной прослойки между слоями укрепления (табл. 12.3.3). Толщина полотен тканого и нетканого типов не должна превышать 2...6 мм, ширина - не менее 0,7 м.
Ориентировочные показатели производства работ при различных вариантах укрепления обочин приведены в табл. 12.3.4...12.3.6.
Таблица 12.3.3
Требования к синтетическим материалам
|
Показатель |
Синтетические материалы, применяемые в качестве слоя |
||
|
армирующего |
защитного (на контакте с крупнофракционным материалом) |
дренирующего и защитного |
|
|
Прочность на разрыв, МПа |
55 |
65 |
40 |
|
Модуль деформации при растяжении, Н/см |
250 |
100 |
- |
|
Модуль упругости при растяжении, Н/см |
350 |
150 |
- |
Таблица 12.3.4
Укрепление обочин гравийно-песчаной смесью оптимального состава с применением синтетического материала в рулонах шириной 1,5 м и массой 50 кг (измеритель - 100 м2 укрепленных обочин при ширине укрепления 2,0 м и толщине слоя 0,15 м)
|
Вид работы |
Состав звена |
Трудоемкость, чел.-ч |
|
Устройство корыта автогрейдером с перемещением грунта на откосы земляного полотна |
Машинист 6-го разряда - 1 |
0,23 |
|
Укладка синтетического материала с отгибом на 0,1 м у кромки покрытия (вручную) |
Дорожные рабочие 2-го разряда - 2 |
0,01 |
|
Разравнивание и планировка гравийно-песчаной смеси автогрейдером за четыре прохода |
Машинист 6-го разряда - 1 |
0,25 |
|
Поливка поверхности слоя гравийного материала водой (из расчета 6% воды от массы материала) |
Машинист поливомоечной машины 4-го разряда - 1 |
0,075 |
|
Подкатка слоя легкими вальцовыми катками за четыре прохода по каждому следу |
Машинист 5-го разряда - 1 |
0,22 |
|
Уплотнение слоя средними катками за 15 проходов по каждому следу |
Машинист 5-го разряда- 1 |
0,82 |
Таблица 12.3.5
Укрепление обочин щебнем с поверхностной обработкой (измеритель - 100 м2 укрепленных обочин при ширине укрепления 2,0 м и толщине слоя 0,15 м)
|
Вид работы |
Состав звена |
Трудоемкость, чел.-ч |
|
Рыхление грунта обочины кирковщиком, смонтированным на автогрейдере, за четыре прохода по одному следу |
Машинист 6-го разряда - 1 |
0,58 |
|
Устройство корыта автогрейдером с перемещением грунта на откосы земляного полотна |
Машинист 6-го разряда - 1 |
0,23 |
|
Разравнивание и планировка щебня в корыте автогрейдером за четыре прохода |
Машинист 6-го разряда - 1 |
0,45 |
|
Уплотнение щебня самоходным катком массой 5-6 т за 12 проходов по одному следу |
Машинист 5-го разряда - 1 |
0,68 |
|
Розлив битума автогудронатором по норме 1,5 л/м2 |
Машинист 5-го разряда - 1, 4-го разряда -1 |
0,11 |
|
Россыпь черного клинца автомобилем-самосвалом, оборудованным съемным приспособлением для россыпи, по норме 25 кг/м2 |
Машинист 4-го разряда - 1 |
0,11 |
|
Уплотнение клинца самоходным катком массой 8-10 т за 10 проходов по одному следу |
Машинист 5-го разряда - 1 |
0,56 |
Таблица 12.3.6
Укрепление обочин асфальтобетоном на основании из щебня фракции 70-120 мм (измеритель - 100 м2 укрепленных обочин при ширине укрепления 2,5 м и толщине слоя 0,17 м, в том числе 0,04 м - асфальтобетонное покрытие)
|
Вид работы |
Состав звена |
Трудоемкость, чел.-ч |
|
Рыхление грунта обочины кирковщиком, смонтированным на автогрейдере, за четыре прохода по одному следу |
Машинист 6-го разряда - 1 |
0,62 |
|
Устройство корыта автогрейдером с перемещением грунта на откосы земляного полотна |
Машинист 6-го разряда - 1 |
0,25 |
|
Выравнивание кромки с частичной подломкой старого покрытия пневматическим инструментом (25 % всей длины) |
Асфальтобетонщики (асфальтировщики) 3-го разряда - 1 , 1-го разряда - 1 |
0,52 |
|
Разравнивание и планировка щебня в корыте автогрейдером за четыре прохода |
Машинист 6-го разряда - 1 |
0,45 |
|
Уплотнение слоя щебня толщиной 13 см катком массой 8-10 т за 12 проходов |
Машинист 5-го разряда - 1 |
0,68 |
|
Подгрунтовка щебеночного основания жидким битумом по норме 0,5 л/м2 с помощью автогудронатора |
Машинист 5-го разряда - 1, 4-го разряда - 1 |
0,028 |
|
Укладка асфальтобетонной смеси слоем 4 см асфальтоукладчиком |
Машинист 6-го разряда - 1; асфальтобетонщики (асфальтировщики) 5-го разряда - 1, 3-го разряда - 1, 2-го разряда - 1 |
3,08 |
|
Подкатка слоя легкими катками за 4-6 проходов по одному следу |
Машинист 5-го разряда - 1 |
0,33 |
|
Уплотнение слоя средними или тяжелыми катками за 8...10 проходов по одному следу |
Машинист 5-го разряда - 1 |
0,55 |
При ремонте земляного полотна укрепляют откосы насыпей и выемок в местах оплывов, промоин и т.д. Такие места планируют, предварительно засыпав ямы грунтом, и укрепляют посевом многолетних трав, решетчатыми конструкциями из сборных элементов и др. При потере общей устойчивости откосы уполаживают, устраивают дренаж по специальным проектам.
При ремонте откосов используют рулонные синтетические материалы. Примерные нормы трудовых затрат на некоторые виды укрепления откосов указаны в табл. 12.3.7 и 12.3.8.
Таблица 12.3.7
Укрепление откосов засевом травой (на 100 м2 укрепленных откосов)
|
Вид работы |
Состав звена |
Трудоемкость, чел.-ч |
|
Выравнивание грунта на откосах граблями, разбивка комьев, удаление камней (грунт II группы) |
Рабочий зеленого строительства 2-го разряда - 1 |
4,4 |
|
Разметка верха укреплений откосов шнуром |
Раб. зеленого строит. 2-го раз. - 1 |
0,67 |
|
Укрепление откосов засевом травы |
Рабочий зеленого строительства 3-го разряда- 1 |
1,15 |
|
Поливка засеянной площади водой из поливомоечной машины через шланг |
Рабочий зеленого строительства 4-го разряда - 1 |
1,2 |
Таблица 12.3.8
Укрепление откосов решетчатыми конструкциями из сборных
|
Вид работы |
Состав звена |
Трудоемкость, чел.-ч |
|
Устройство упора из железобетонных плит |
Дорожные рабочие: 4-го разряда - 1, 2-го разряда - 1 |
0,98 |
|
Укладка решетчатых конструкций с частичной планировкой поверхности откоса, закрепление элементов штырями |
Дорожные рабочие: 4-го разряда - 1, 3-го разряда - 1, 2-го разряда - 2 |
2,3 |
|
Заполнение ячеек песчано-гравийной смесью, планировка смеси и уплотнение ручными трамбовками |
Дорожные рабочие: 3-го разряда - 1, 2-го разряда - 1 |
2,0 |
При ремонте откосов насыпей и выемок выравнивают отдельные участки, восстанавливают нарушенный травяной покров, исправляют укрепленные места. Восстановление травяного покрова на откосах осуществляют путем посева многолетних трав, предварительно покрыв места растительным грунтом и удобрениями. Восстановление разрушенных мест укрепленных откосов выполняют из материалов, использованных в укреплении.
При ремонте земляного полотна восстанавливают деформированные и разрушенные элементы поверхностного водоотвода, системы дренажей, обочины, подпорные стены и откосы, притрассовые резервы с устранением причин деформаций и разрушений.
Водоотводные и нагорные канавы прочищают на всем протяжении ремонтируемого участка, создавая требуемый поперечный профиль и продольный уклон не менее 10‰ особое внимание уделяют заиливающимся низовым участкам.
При постоянном размыве боковых канав ливневыми и талыми водами, подмыве оснований насыпей и выемок, конусов и укреплений малых искусственных сооружений дно, стены канав, выходные русла укрепляют сборными бетонными элементами, мощением, дернованием и другими способами с учетом скорости течения и объема перемещаемой воды, степени размываемости грунтов. Во всех случаях стены канав должны иметь укрепление на 10-15 см выше максимального уровня воды в период пропуска наибольших объемов.
Недостаточно эффективный водоотвод приводит к переувлажнению земляного полотна, поэтому на полосе отвода выполняют планировочные работы. Дно резерва во избежание застоя воды должно иметь поперечный уклон не менее 20‰ в сторону от насыпи и продольный уклон не менее 10‰. Если необходимо пропустить нерасчетное количество воды, делают поперечные выпуски в дополнительную водоотводную канаву, устраиваемую на границе полосы отвода. Размеры выпусков и канав зависят от местных, климатических условий.
При сильном увлажнении насыпей грунтовыми водами на границе полосы отвода следует устраивать продольные дренажные прорези открытого или закрытого типа в зависимости от грунтовых и гидрологических условий по специальным проектам на производство осушительных работ. Наряду с ремонтом открытой водоотводной системы прочищают и ремонтируют поврежденные подземные водостоки, дренажи, дренажные воронки и прорези, промывают заилившиеся дренажи с помощью гидромелиорационных машин. Если обнаружен вынос песка через дренажные трубы, необходимо перестроить приемную часть дрен, усилив щебеночный фильтр. На этих работах целесообразно использовать нетканые синтетические материалы, обеспечивающие долговременную и эффективную работу фильтров. Их следует также применять для новых продольных дренажей закрытого типа. При ремонте дренажа заменяют отдельные дрены или дрены на небольших по протяжению участках дренажа, ремонтируют устья, колодцы, заменяют на отдельных участках фильтровальную обсыпку.
На отдельных пучинистых участках частично заменяют грунт, с использованием в подстилающих слоях рулонных синтетических материалов, инъецируют растворы закрепляющих материалов, выполняют сплошную очистку дренажных устройств и водоотводных канав, на участках с малыми или затяжными продольными уклонами периодически устраивают дополнительные выпуски из боковых канав в сторону полосы отвода.
Гравийные и щебеночные покрытия. При их ремонте проводят периодическую ремонтную профилировку, устраняют выбоины, колеи и просадки, а также осуществляют мероприятия по обеспыливанию. Ремонтную профилировку покрытия с добавлением нового материала выполняют автогрейдерами или грейдерами при оптимальной влажности (от 10 до 15 % в зависимости от состава песчано-глинистых фракций), соответствующей такому состоянию гравийного или щебеночного материала, когда он хорошо срезается, перемещается и уплотняется (табл. 12.4.1).
Таблица 12.4.1
Ремонтная профилировка гравийных (щебеночных) покрытий с добавлением нового материала (на 1000 м покрытия)
|
Вид работы |
Ширина покрытия, м |
Число круговых проходов |
Состав звена |
Трудоемкость, чел.-ч |
|
Кирковка покрытия кирковщиком, смонтированным на автогрейдере |
6 7 |
4 5 |
Машинист 5-го разряда - 1 |
0,59 0,63 |
|
|
|
Дорожный рабочий 2-го разряда - 1 |
|
|
|
Перемещение автогрейдером дополнительного гравийного материала с обочины, разравнивание по всей ширине покрытия |
6 |
6 |
Машинист 5-го разряда - 1 |
0,77 |
|
7 |
6 |
|
0,66 |
|
|
Перемешивание автогрейдером вскиркованного и вновь добавленного материала со сбором в мерный вал |
6 |
4 |
Машинист 5-го разряда - 1 |
0,51 |
|
7 |
4 |
|
0,44 |
|
|
Разравнивание и планировка материала на всю ширину покрытия |
6 |
6 |
Машинист 5-го разряда - 1 |
0,77 |
|
7 |
6 |
|
0,66 |
|
|
Поливка распланированною гравийного материала водой (норма до 0,9 м3 на 100 м2) |
6-7 |
- |
Машинист 4-го разряда - 1 |
0,75 |
|
Уплотнение материала самоходным катком (8-10 т) за 4 прохода по одному следу |
6-7 |
- |
Машинист 5-го разряда - 1 |
2,2 |
|
Регулирование движения по ширине покрытии и уход та покрытием в течение 3 дней с перестановкой ограждений |
6-7 |
- |
Дорожный рабочий 2-го разряда -1 |
1,38 |
Подлежащее ремонту вскирковывают. Удалив вскиркованный материал, выбоину засыпают гравийным материалом, по составу близкому к материалу верхнего слоя покрытия с зернами не крупнее 20 мм, на 1...2 см выше уровня покрытия. Для заделки выбоин можно использовать вскиркованный материал, но только после его грохочения.
При большом объеме работ гравийный материал уплотняют самоходными катками на пневматических шинах или катками массой 5...10 т, а при небольшом объеме пневматическими, электрическими или ручными трамбовками массой 25...30 кг. Уплотняют от краев к середине выбоин. Для лучшего уплотнения материал поливают водой из расчета 1,5...2 л/ м2 на каждый сантиметр глубины выбоины. Вместо воды целесообразно применять 30 %-ный водный раствор хлористого кальция CaCl2 или 30-40 %-ный водный раствор технического лигносульфоната.
Ремонт выбоин или просадок щебеночного покрытия, построенного способом заклиники, выполняют тем же методом, а покрытия из смеси оптимального состава - как и гравийных покрытий (табл. 12.4.2 и 12.4.3).
Таблица 12.4.2
Расход материалов на ремонт
|
Материалы |
Расход материалов, м3 на 10 м2 ремонтируемых мест, при глубине выбоин или просадок, см до |
||
|
3 |
6 |
10 |
|
|
Щебень |
0,42 |
0,67 |
1,0 |
|
Гравий |
0,41 |
0,66 |
0,99 |
Таблица 12.4.3
Состав звена и затраты труда
|
Покрытие |
Состав звена |
Трудовые затраты чел.-ч на 1 м2, при глубине ремонтируемых мест, см, до |
||
|
3 |
6 |
10 |
||
|
Гравийное |
Дорожные рабочие |
0,15 |
0,17 |
0.25 |
|
Щебеночное |
4-го разряда - 1 |
0,15 |
0,24 |
0.33 |
Колеи и небольшие гребни, образующиеся под воздействием движения, выравнивают с помощью тяжелых катков, предварительно увлажнив покрытие. Такой способ применяют для ликвидации небольших неровностей на достаточно прочном покрытии. В других случаях колеи устраняют путем ямочного ремонта.
Щебеночные и гравийные покрытия, обработанные органическими вяжущими. В процессе ремонта устраняют выбоины, повреждения и неровности кромок, бугры и наплывы, небольшие проломы и просадки покрытия.
Ямочный ремонт производят преимущественно холодными щебеночными (гравийными) смесями, обработанными органическими вяжущими.
В отдельных случаях допускается применять холодные или горячие асфальтобетонные смеси или способ пропитки прямой или обратный. В холодных смесях в качестве вяжущего используют жидкие (или вязкие) битумы, каменноугольные дегти, битумные эмульсии.
Ремонт производят: холодным способом, если температура воздуха не ниже 5 °С и горячим способом, если температура воздуха не ниже 10 °С.
Холодный способ целесообразен при глубине выбоин до 3 см, а горячий - при выбоинах глубже 3 см.
При любом из указанных способов подготавливают ремонтируемое место, включая обрубку (раскирковку) краев, очистку от пыли и грязи, обработку очищенной поверхности органическим растворителем (соляровым маслом, керосином) по норме 0,1...0,15 л/м с помощью краскопультов или распылителей и нанесение на нее жидкого битума, остаточного битума (гудрона) вязкостью 20-70 или дегтя в количестве 0,3...0,5 л/м3, нагретых до 60 °С.
Непосредственно после подгрунтовки выбоину заполняют ремонтным материалом, толщину слоя которого назначают с учетом коэффициента уплотнения.
При использовании горячих смесей материал укладывают в один слой, когда глубина выбоин не превышает 5 см, и в два слоя, если глубина более 5 см, и тщательно послойно уплотняют. Если применяют способ пропитки, в подготовленную выбоину укладывают щебень размером не более 0,8 глубины выбоины, но не мельче 16 мм, и уплотняют. Затем разливают вязкий битум или деготь из расчета 0,8-1,0 л/м2 на каждый сантиметр глубины выбоины. Температура вяжущего при розливе должна быть: битума марок БНД 200/300, БНД 130/200 - 120...160°С. Разлив вяжущее, распределяют щебень фракции 5...15 мм и уплотняют. Небольшие ремонтируемые площади уплотняют трамбовками.
Участки покрытия, поврежденного многочисленными выбоинами, ремонтируют картами. Поврежденные участки кромок покрытия в местах сопряжения с обочинами исправляют указанными выше способами ямочного ремонта, обеспечивая надлежащий упор со стороны обочины.
Асфальтобетонные покрытия. К основным работам по ремонту асфальтобетонных покрытий относят восстановление изношенных верхних слоев, устранение повреждений в виде выбоин, трещин, отдельных волн, бугров и наплывов, обломов и неровностей кромок, устройство поверхностной обработки, защитных слоев и слоев износа. К выполнению этих работ приступают весной с наступлением теплой и устойчивой погоды. Ремонтные работы начинают с заделки выбоин методами ямочного ремонта с использованием холодного фрезерования покрытия. Фрезерование выполняется при помощи машин для холодного фрезерования. Технические характеристики ряда фрез фирмы "Wirtgen" приведены в табл. 12.4.4 [80].
Таблица 12.4.4
Технические характеристики фрез "Wirtgen"
|
Параметры |
Марка фрезы |
||||
|
W 350 |
W 500 |
W 600 DС |
W 1000 F |
W 1200 F |
|
|
Ширина фрезерования |
350 мм |
500 мм |
600, 500, 400 мм |
1000 мм |
1200 |
|
Глубина фрезерования |
0...100 мм |
0...160 мм |
0...300 мм |
0...315 мм |
0...315 мм |
|
Мощность двигателя |
35 кВт (48 л.с.) |
19 кВт (107 л.с.) |
123 кВт (167 л.с.) |
185 кВт (252 л.с.) |
185 кВт (252 л.с.) |
|
Рабочая масса |
4400 даН (кг) |
7400 даН (кг) |
12030 даН (кг) |
17300 даН (кг) |
17300 даН (кг) |
|
Привод фрезерующего барабана |
механич. |
гидравл. |
механич. |
механич. |
механич. |
|
Число колес |
3 |
3 |
3 (доп. оборуд. 4) |
4 |
4 |
|
Ходовой привод |
гид./на перед. колеса |
гид./на перед. колеса |
гид./на перед. колеса |
гид./на перед. колеса |
гид./на перед. колеса |
При ремонте соблюдают общую технологическую последовательность, которая включает подготовку поврежденного места, приготовление, укладку и разравнивание смеси, уплотнение.
В качестве ремонтных материалов служат горячие и холодные асфальтобетонные смеси, литой асфальт, щебеночные и гравийные материалы, обработанные органическим вяжущим. Горячие асфальтобетонные смеси и литой асфальт используют преимущественно не дорогах I и II категорий.
Ремонт покрытий с применением горячих асфальтобетонных смесей производят в сухое и теплое время года при температуре воздуха не ниже 10°С. Литой асфальт допускается укладывать и при пониженных температурах воздуха - до -5°С.
Подготовку ремонтируемого места ведут в следующем порядке: границы выбоин оконтуривают прямыми линиями, захватывая на 3-5 см неповрежденную часть покрытия, несколько небольших выбоин, близко отстоящих друг от друга, объединяют в одну общую карту; старый асфальтобетон удаляют по очерченному контуру, выбоину очищают и (при необходимости) просушивают; дно и ее стенки подгрунтовывают битумной эмульсией жидким или вязким битумом, нагретым до 60°С, по норме 0,3- 0,5 л/м2.
После подготовительных работ заполняют выбоину ремонтным материалом с учетом коэффициента запаса на уплотнение. Если глубина выбоин до 5 см, смесь укладывают в один слой, более 5 см - в два слоя.
Небольшие изолированные одна от другой выбоины уплотняют электро- или пневмотрамбовками, ручными виброкатками, а значительные площади - гладковальцовыми катками массой 4-10 т. Лучшие результаты достигаются при использовании катков с обрезиненными вальцами.
Уплотнение проводят от краев к середине, при этом поверхность ремонтируемых мест после уплотнения должна быть на уровне покрытия. Ориентировочные показатели работ приведены в табл. 12.4.5.
Таблица 12.4.5
Затраты труда и выработка при ремонте покрытия
|
Материалы |
Трудоемкость, чел.-ч, при площади карт, м2, до |
||
|
3 |
20 |
25 |
|
|
Затраты груда на 100 м2 ремонта асфальтобетонного покрытия при заделке выбоин и просадок |
54,1 |
46,1 |
24,1 |
|
Выработка на 1 чел.-день отремонтированного покрытия при заделке выбоин и просадок, м2 |
14,8 |
17,4 |
33,2 |
При заделке выбоин глубже 5 см, когда удаляют не только верхний, но и нижний слой асфальтобетона, порядок работы не меняется: в нижний слой укладывают крупнозернистую смесь и уплотняют, затем мелкозернистую в верхний слой и уплотняют. Если выбоина глубиной до 8 см и отсутствует крупнозернистая смесь, в два слоя укладывают среднезернистую. Мелкозернистую или песчаную смесь используют только для верхнего слоя.
При использовании горелок инфракрасного излучения выбоину, очистив от пыли и грязи, разогревают до 140-170°С, раскирковывают разогретые кромки на глубину 1-2 см, дно выбоины взрыхляют, а вскиркованный материал распределяют по дну и добавляют необходимое количество новой смеси, уплотняют ее (если это не литая смесь) до требуемой плотности. Количество добавляемой смеси устанавливают по размерам и глубине выбоины с учетом осадки при уплотнении (табл. 12.4.6).
Таблица 12.4.6
Потребность в смеси
|
Глубина выбоины, мм |
Количество добавляемой смеси, кг при площади выбоины, м2 |
||||||||
|
0,1 |
0,2 |
0,3 |
0,4 |
0,5 |
0,6 |
0,7 |
0,8 |
0,9 |
|
|
30 |
7 |
13 |
19 |
26 |
33 |
39 |
46 |
53 |
59 |
|
40 |
9 |
18 |
26 |
35 |
44 |
53 |
62 |
70 |
79 |
|
50 |
11 |
22 |
33 |
44 |
55 |
66 |
77 |
88 |
99 |
|
60 |
13 |
26 |
39 |
52 |
65 |
78 |
91 |
104 |
117 |
|
70 |
15 |
30 |
45 |
60 |
75 |
90 |
105 |
120 |
135 |
При заделке выбоин, опасных для движения, в ранний весенний или осенний период, когда покрытие находится во влажном состоянии, а температура воздуха выше 0°С, рекомендуется применять щебеночные материалы, обработанные битумом с ПАВ. Для этой же цели минеральный материал обрабатывают активаторами - известью или цементом - 1,5...2 % от массы минерального материала.
Наплывы, волны и сдвиги на покрытии устраняют способом ямочного ремонта или срезают ножом автогрейдера (после их предварительного разогрева) с последующей поверхностной обработкой. Для разогрева целесообразны самоходные асфальторазогреватели с горелками инфракрасного излучения (рабочая скорость передвижения 0,5...3,0 м/мин). Трещины в покрытии заделывают, когда они раскрыты - в сухую и теплую погоду, температура не менее 5°С. Трещины шириной 5 мм и более заделывают мастикой, а мелкие заливают битумом и присыпают каменной мелочью. Отдельные трещины шириной более 5 мм заделывают следующим образом: очищают от пыли и грязи сжатым воздухом, щеткой или металлическими крючьями; смачивают органическим растворителем (соляровым маслом, керосином) по норме 0,1...0,15 л/м2 с помощью распылителей или краскопультов с малым углом распыления; заливают битумной мастикой (табл. 12.4.7). Трещины заполняют с избытком. Удалив избыток мастики, трещину присыпают горячими каменными высевками или песком. Трещины с разрушенными краями разделывают, вырубая или фрезеруя асфальтобетон полосой 10...15 см с каждой стороны на всю толщину деформированного слоя. Вырубку материала можно заменить разогревом горелками инфракрасного излучения.
Таблица 12.4.7
Рекомендуемые составы мастики
|
Дорожно-климатическая зона |
Номер состава смеси |
Состав смеси, % По массе |
|||
|
битум марки БНД 90/130 или БНД 60/90 |
минеральный порошок |
резиновая крошка |
асбестовая крошка |
||
|
II |
1 |
60 |
25 |
5 |
10 |
|
II и III |
2 |
80 |
10 |
10 |
- |
|
3 |
60 |
25 |
- |
15 |
|
|
III и IV |
4 |
70 |
25 |
5 |
- |
|
5 |
60 |
20 |
- |
20 |
|
|
IV и V |
6 |
50 |
35 |
5 |
10 |
На покрытиях, содержащих органические вяжущие, в том числе асфальтобетонных, при ремонте устраивают одиночную или двойную поверхностную обработку или укладывают тонкий слой из асфальтобетонных и подобных им смесей (табл. 12.4.8). До выполнения этих работ покрытие должно быть очищено от пыли и грязи, ликвидированы выбоины и заделаны трещины.
Таблица 12.4.8
Устройство одиночной поверхностной обработки на асфальтобетонных и других черных покрытиях (на 1000 м2 покрытия)
|
Вид работы |
Состав звена |
Трудоемкость, чел.-ч |
|
Очистка покрытия от пыли и грязи за шесть проходов механической щетки |
Машинист 4-го разряда - 1 |
0,25 |
|
Решив битума автогудронатором (норма 0,5...1,1 л/м2) |
Машинист 5-го разряда - 1 |
0,43-0,45 |
|
Распределение мерного щебня распределителем Т-224 (норма 15...30 кг/м2) |
Машинист 5-го разряда - 1, дорожные рабочие 3-го разряда - 2 |
0,39 |
|
Уплотнение (прикатка) черного щебня легким катком (5...6 т) за 5...6 проходов по одному следу |
Машинист 5-го разряда - 1 |
2,1 |
|
Уплотнение черного щебня тяжелым пневмокатком (10... 16 т) за 5...6 проходов по одному следу |
Машинист 5-го разряда - 1 |
1,5 |
К ремонту асфальтобетонных покрытий относят также работы по восстановлению сплошности и ровности верхнего слоя с применением технологии термопрофилирования, основанной на принципе регенерации (восстановления утраченных свойств).
Повышение сцепных качеств асфальтобетонных и цементобетонных покрытий осуществляется, главным образом, путем устройства двойной поверхностной обработки. Технология выполнения работ изложена в разделе 4.
Для устройства поверхностной обработки на цементобетонных покрытиях целесообразно применять резинобитумное вяжущее: битум БНД 60/90 или БНД 90/130 от 85 до 91 %; каменноугольное масло - 6...10 %; резиновая крошка - 3...5 %.
Резинобитумное вяжущее приготавливают в котлах с лопастной мешалкой. В мешалку сначала загружают обезвоженный и нагретый до 150-160°С битум в количестве 10 % от требуемого объема, затем расчетное количество обезвоженного и нагретого до 40...70°С каменноугольного масла и смесь тщательно перемешивают в течение 10...15 мин. В разжиженный таким образом битум небольшими порциями добавляют заданное количество просушенной резиновой крошки, просеянной через сетку с отверстиями 3 мм. Смесь в течение 1,0...1,5 ч перемешивают при температуре 150-160°С. Затем, не прекращая перемешивания, загружают остальной обезвоженный и нагретый до 160°С битум. Окончательно перемешивают все составляющие в течение 30 мин при температуре 160°С. Технология устройства поверхностной обработки изложена в разделе 4.
Состав работ по устройству слоев износа, а также ориентировочные показатели работ приведены в табл. 12.4.9
Таблица 12.4.9
Устройство слоя износа толщиной 1,5-3 см из асфальтобетонных и им подобных смесей на черных покрытиях (на 1000 м2 покрытия)
|
Вид работы |
Состав звена |
Трудоемкость, чел.-ч. |
|
Очистка покрытия от ныли и грязи механической щеткой |
Машинист 4-го разряда - 1 |
0,25 |
|
Подгрунтовка покрытия жидким битумом, распределяемым автогудронатором (норма 0,5 л/м2) |
Машинист 5-го разряда - 1 |
0,24 |
|
Укладка асфальтобетонной смеси асфальтоукладчиком ДС-181 |
Машинист 6-го разряда 1, асфальтобетонщики: 5-го разряда - 1, 4-го разряда - 1, 3-го разряда - 3, 2-го разряда - 1, 1-го разряда - 1 |
21,6 (2,7) |
|
Предварительное уплотнение слоя легкими катками за 5-8 проходов по одному следу |
Машинист 5-го разряда - 1 |
5,2 |
|
Уплотнение слоя тяжелыми катками на пневматических шинах за 10-12 проходов по одному следу |
Машинист 5-го разряда - 1 |
7,6 |
Термопрофилирование асфальтобетонных покрытий. Для восстановления верхнего слоя асфальтобетонных покрытий все более широкое применение находит технология, основанная на регенерации покрытий с помощью специальных машин.
Регенерацию выполняют различными способами термопрофилирования, основными операциями которых являются: разогрев покрытия; рыхление (фрезерование) его на глубину 2-5 см; планирование разрыхленной смеси; уплотнение. Способы термопрофилирования имеют разновидности: термопланирование; термогомогенизация; термоукладка; термосмешение; термопластификация.
Способ термопланирования - наиболее простой, предусматривает выполнение только основных операций, указанных выше. Средняя глубина рыхления ремонтируемого покрытия зависит от ряда факторов, в том числе от типа асфальтобетона и температуры воздуха (табл. 12.4.10).
Таблица 12.4.10
Средняя глубина рыхления покрытия
|
Тип асфальтобетона |
Глубина рыхления, мм, мри температуре воздуха, °С |
||||
|
5...10 |
10...15 |
15...20 |
20...25 |
>25 |
|
|
Песчаный |
20 |
25 |
30 |
30 |
35 |
|
25 |
30 |
35 |
40 |
45 |
|
|
35 |
40 |
45 |
50 |
- |
|
|
Мелкозернистый (до 20 мм) |
15 |
20 |
25 |
25 |
30 |
|
20 |
25 |
30 |
35 |
40 |
|
|
30 |
35 |
40 |
45 |
50 |
|
|
Крупнозернистый (£ 40 мм) |
10 |
15 |
20 |
20 |
25 |
|
15 |
20 |
25 |
30 |
35 |
|
|
25 |
30 |
45 |
40 |
45 |
|
В режиме термопланирования ремонтируют покрытия из песчаного асфальтобетона с водонасыщением, не превышающим 3 % по объему (1,5 % для районов с избыточным увлажнением).
При ремонте покрытия из мелкозернистого асфальтобетона с водонасыщением, не превышающим 4 % (3 % для районов с избыточным увлажнением), или песчаного с водонасыщением более 3 % (до 4 % включительно) термопланирование сочетают с поверхностной обработкой или ковриком износа При этом достигается исправление поперечного уклона покрытия в пределах до 4 %.
В остальных случаях после термопланирования на покрытие укладывают защитный слой из новой асфальтобетонной смеси. Наиболее эффективно осуществлять эту операцию в одном потоке с термопланированием. Асфальтоукладчик перемещается на 15-20 м or термопрофилировщика. Благодаря тому, что окончательное уплотнение старой и новой смесей производится в одном слое, повышается его плотность. Кроме того, толщина защитного слоя из новой смеси может быть уменьшена до 1-2 см против 3 см в традиционном способе. Данный режим является разновидностью способа термоукладки.
Способ термогомогенизации отличается от термопланирования тем, что кроме основных операций он предусматривает и регенерацию асфальтобетона путем перемешивания старой асфальтобетонной смеси. При этом повышается однородность асфальтобетона и улучшается уплотняемость слоя, что позволяет несколько расширить область применения этого способа по сравнению с предыдущим.
Способом термогомогенизации ремонтируют покрытия с водонасыщением, не превышающим 4%. Термогомогенизацию осуществляют с применением термопрофилировщиков, оснащенных мешалкой в виде одной машины или комплекта машин.
Способ термоукладки, кроме основных операций, предусматривает добавление новой смеси в виде самостоятельного слоя над разрыхленной старой смесью.
Этот способ, в отличие от предыдущих, имеет более широкую область применения, так как позволяет ремонтировать покрытия с большими амплитудами неровностей, более глубокими колеями, значительной ямочностью, неудовлетворительными поперечными уклонами и более высоким водонасыщением. Кроме того этот способ эффективен, когда по каким-либо причинам покрытие не удается разрыхлить на глубину, равную или превышающую минимально допустимую.
Способом термоукладки можно ремонтировать покрытия с водонасыщением до 6 %. Количество добавляемой новой смеси зависит от ровности ремонтируемого покрытия, степени его износа и обычно назначается в пределах 25...50 кг/м2. При необходимости исправления поперечного уклона покрытия более чем на 4 % расход добавляемой асфальтобетонной смеси увеличивают (табл. 12.4.11).
Таблица 12.4.11
Увеличение расхода добавляемой смеси
|
Ширина полосы термопрофилирования, м |
Количество смеси, кг на 1 м длины покрытия, при исправлении поперечного уклона ‰ |
|||
|
5 |
10 |
15 |
20 |
|
|
3,0 3,5 3,75 |
11 14 16 |
62 85 97 |
114 155 178 |
166 226 259 |
Преимущество способа термоукладки - возможность одновременного уплотнения старой и новой смеси в одном слое, что повышает его плотность. Термоукладку осуществляют с применением термопрофилировщика, оснащенного оборудованием для приема и распределения новой смеси в виде одной машины или комплекта машин. Можно также использовать комплект оборудования, включающий асфальтоукладчик для добавления новой смеси.
Способ термосмешения, в отличие от термоукладки, предусматривает перемешивание новой добавляемой смеси со старой и укладку полученной смеси одним слоем.
Его преимущество - возможность коррекции в определенной мере состава старой смеси и ее регенерации. При производстве работ этим способом не предъявляется к старому покрытию требований, ограничивающих его водонасыщение. Расход добавляемой смеси устанавливают в зависимости от ровности ремонтируемого покрытия, степени его износа и желаемого изменения свойств старого асфальтобетона. Термосмешение осуществляют с применением термопрофилировщика, оснащенного, кроме оборудования для термоукладки, также и мешалкой.
Способ термопластификации отличается от предыдущих добавлением пластификатора в старую смесь в количестве 0,1-0,6 % от массы последней. Эта операция должна сопровождаться перемешиванием. Способ обладает всеми преимуществами термопланирования и термогомогенизации, так как не требует добавления новой смеси. Кроме того он позволяет регенерировать старый асфальтобетон, расширяет область применения этого способа, распространяя его на покрытия с водонасыщением, превышающим 3 %. (Единственное ограничение применимости способа термопластификации - наличие больших неровностей на покрытии и сильного износа, требующих добавления смеси. Термопластификацию осуществляют теми же машинами, что и термогомогенизацию, при условии оснащения их узлом введения пластификатора. В качестве пластификатора целесообразно использовать масла нефтяного происхождения, содержащие ароматические углеводороды не менее 25 % по массе. Наиболее доступен ренобит - пластификатор, предложенный ГипродорНИИ. Можно также применять экстракты селективной очистки масляных фракций нефти, моторную нефть. Показатели физических свойств пластификаторов должны отвечать требованиям:
Вязкость кинематическая при 50°С, м2/с........(25...70) 106
Температура вспышки в открытом тигле, °С, не менее....100
Механические примеси, % массовой доли, не более... 2,0
Вода, % массовой доли, не более...................4,0
Горючее, % массовой доли, не более.............6,0
Расход пластификатора в зависимости от глубины рыхления покрытия и скорости термосмесителя приведен в табл. 12.4.12.
Таблица 12.4.12
Нормы расхода пластификатора, л/мин
|
Глубина рыхления, см |
Дозировка пластификатора, % по массе асфальтобетонной смеси |
|||||||||||
|
0,3 |
0,5 |
0,7 |
||||||||||
|
Скорость движения машины, м/мин |
||||||||||||
|
1,5 |
2,0 |
2,5 |
3,0 |
1,5 |
2,0 |
2,5 |
3,0 |
1,5 |
2,0 |
2,5 |
3,0 |
|
|
2 |
0,8 |
1,1 |
1,3 |
1,5 |
1,3 |
1,8 |
2,2 |
2,5 |
2,3 |
2,6 |
3,0 |
3,5 |
|
3 |
1,2 |
1,5 |
2,0 |
2,3 |
2,0 |
2,5 |
3,3 |
3,8 |
2,8 |
3,5 |
4,7 |
5,4 |
|
4 |
1,6 |
2,0 |
2,6 |
3,1 |
2,7 |
3,3 |
4,3 |
5,2 |
3,7 |
4,7 |
6,1 |
7,2 |
|
5 |
2,0 |
2,6 |
3,3 |
3,8 |
3,3 |
4,3 |
5,5 |
6,3 |
4,6 |
6,1 |
7,7 |
8,9 |
Термопрофилирование без использования дополнительного асфальторазогревателя при всех способах (кроме третьего с расходом новой смеси более 25 кг/м ) осуществляют при температуре воздуха не ниже 15°С; в третьем способе при расходе новой смеси 25...50 кг/м2 работы производят при температуре воздуха 10°С и выше, а при расходе более 50 кг/м2 - 5°С и выше.
С применением дополнительного асфальторазогревателя работы всеми способами можно выполнять, когда температура воздуха не ниже 5°С.
Работы по термопрофилированию выполняют при скорости ветра не более 7 м/с. Температура на поверхности разогретого асфальтобетонного покрытия не должна превышать при первом и третьем способах термопрофилирования (расход новой смеси менее 25 кг/м2) - 180°С.
Температура смеси перед трамбующим брусом при всех способах термопрофилирования (кроме пятого) не должна быть ниже 100°С, при пятом способе - не ниже 85°С.
Специалистами Миндорстроя Украины установлена следующая продолжительность разогрева слоя асфальто- и дегтебетонного покрытия до средней температуры соответственно 110 и 80°С (табл. 12.4.13).
Таблица 12.4.13
Продолжительность разогрева слоя покрытия
|
Толщина слоя, см |
Продолжительность разогрева, мин, мри начальной температуре, °С |
||||
|
+ 10 |
+ 20 |
+ 30 |
+ 40 |
+ 50 |
|
|
1 |
0,6/0,8 |
0,5/0,7 |
0,4/0,6 |
0,40/0,50 |
0,3/0,4 |
|
2 |
2,2/3,2 |
2,0/2,8 |
1,7/2,4 |
1,5/2,0 |
1,3/1,4 |
|
3 |
5,0/7,2 |
4,5/6,4 |
3,9/5,4 |
3,3/4,5 |
2,8/3,2 |
|
4 |
8,8/12,9 |
8,0/11,4 |
6,9/9,6 |
5,9/8,0 |
5,0/5,0 |
Примечание. В числителе - время разогрева асфальтобетона до допустимой температуры 200°С, а знаменателе - дегтебетона до допустимой температуры 125°С.
Ориентировочная потребность в ресурсах для различных способов ремонта асфальтобетонных покрытий (на 1000 м ) приведена в табл. 12.4.14.
Таблица 12.4.14
Потребность в ресурсах
|
Способ ремонта |
Трудовые затраты, чел.-ч |
Условное топливо, кг |
Число автомобилей-самосвалов |
|
Устройство нового слоя (традиционный способ) |
207 |
3562 |
8 |
|
Термосмешение |
125 |
3282 |
4 |
|
Термопластификация |
119 |
3196 |
2 |
Ремонт с использованием литого асфальта и холодных органо-минеральных смесей. В соответствии с положениями действующих нормативных документов ремонт с использованием литого асфальта типа V может производиться практически в течение всего года (при температуре до -10°С) [54].
Подготовительные работы выполняют в соответствии с установленными требованиями. В зимний период в состав подготовительных работ включается очистка ремонтируемых карт от пескосоляного наноса, снега, льда, удаление воды.
Транспортирование смеси к месту производства работ производится в специальных самоходных установках с котлом-термосом или бункером, оборудованных обогревом и мешалкой. При транспортировании должны обеспечиваться непрерывное перемешивание и температура смеси 180-240°С, а в необходимых случаях - порционная выгрузка с варьированием скорости выдачи смеси.
Перед началом загрузки котел-термос (бункер) прогревается в течение 10 мин двумя подогревателями или форсункой до 180-190°С. Крышка загрузочного отверстия должна быть открыта не ранее чем за 5 мин до загрузки котла смесью.
Запрещается включать сцепление привода мешалки перед запуском двигателя, а также привод мешалки до прогрева бункера и при наличии в нем остатков затвердевшей (неразогретой) смеси, препятствующей движению лопастей мешалки. В процессе транспортирования общее время перемешивания смеси в передвижной установке должно быть не менее 20 мин.
Прибыв к месту укладки, самоходная установка устанавливается перед подготовленной картой с таким расчетом, чтобы выпускной лоток при наклоне котла (бункера) был направлен непосредственно в карту. Выгрузка смеси производится при наклоне выпускного лотка с одновременной работой лопастной мешалки в котле. Работы по распределению смеси с распределением на края карты и удалением излишков, а также заглаживание и затирку мест сопряжения выполняют вручную.
Отдельной операцией является распределение черного (или необработанного) щебня по поверхности свежеуложенной литой смеси для обеспечения требуемых сцепных свойств на отремонтированных участках.
Щебень размером 3-5 (8) или 5-8 (10) мм доставляют к месту проведения ремонтных работ автомобилями-самосвалами в количестве, необходимом для бесперебойной работы. Россыпь щебня производится равномерным слоем в одну щебенку немедленно после распределения смеси. Ориентировочный расход щебня для смеси типа I - 5...8 кг/м2. После остывания покрытия до температуры 80-100°С допускается прикатка распределенного щебня ручным катком массой 30-50 кг. После охлаждения уложенного слоя до температуры наружного воздуха невтопившийся щебень должен сметаться.
Движение автомобильного транспорта по готовому покрытию открывается по достижении покрытием температуры наружного воздуха, но не ранее чем через 3 часа после завершения работ.
При незначительных объемах ремонта картами до 3 м2 (чаще всего аварийного) целесообразно использовать холодные органо-минеральные смеси. В строительный сезон, при температуре воздуха выше 5°С для ремонта применяют смесь I марки, в зимнее время - II марки. В отличие от ранее изложенных способов ремонта малыми картами, в данном случае допускается укладывать смесь даже в дождливую погоду [54]. Как и при ремонте с использованием литого асфальта нет необходимости в обработке подготовленных карт битумными материалами. Также исключена необходимость специального уплотнения уложенной органо-минеральной смеси.
Смесь распределяется в подготовленную карту вручную с коэффициентом запаса на уплотнение 1,25-1,30. После распределения смесь достаточно прикатать колесом любого автомобиля, в том числе легкового за один проход по одному следу. Возможно использование для этой цели виброплит.
Движение на отремонтированном участке можно открывать сразу после прикатки. Окончательное формирование слоя органо-минеральной смеси происходит в процессе эксплуатации дорожного покрытия под воздействием транспортной нагрузки.
Ремонт покрытий с использованием органо-минеральных смесей на участках разгона и торможения транспорта (перекрестки, остановки общественного транспорта) из-за особенностей формирования слоя может быть только временным мероприятием, например, аварийным ремонтом в дождливый или зимний периоды. Более длительный срок службы подобных карт (прямо пропорциональный интенсивности движения транспортных средств) отмечается на перегонных участках.
За рубежом при текущем ремонте с использованием подобных материалов допускается их укладка непосредственно в выбоины (без подготовки карт) минимальной глубиной, равной размеру крупного заполнителя.
По результатам обследования отремонтированных участков на объектах федеральной дорожной сети установлено, что оптимальной следует считать толщину слоя в плотном теле, составляющую не менее двух диаметров крупного заполнителя.
Основным условием правильного назначения способа ремонта является определение причины образования трещины, степень разрушения материалов основания и покрытия, обоснованный выбор времени производства ремонтных работ и экономическая целесообразность затрат на выполнение ремонтных работ.
Плановые работы по заделке температурных трещин целесообразно выполнять в периоды их максимального раскрытия. Наиболее оптимальные периоды - весенний при наступлении сухой и теплой погоды или поздней осенью, когда ночные заморозки вызывают сжатие асфальтобетона дорожного покрытия, но днем сравнительно тепло (не ниже 5...10°С).
При заделке трещин кроме их герметизации должен быть создан «мягкий шарнир» из ремонтного материала между разделенными в горизонтальной плоскости слоями асфальтобетона. Поэтому в теплое время года, когда трещины раскрыты на меньшую ширину, рекомендуется их дополнительная разделка с образованием деформационной камеры (резервуара).
В табл. 12.4.15 приведены рекомендации фирм «Ирмаст-Холдинг» и «CRAFCO» по геометрическим параметрам разделки трещин с целью создания деформационных камер.
Таблица 12.4.15
Параметры деформационных камер
|
Параметры, мм |
Рекомендации фирм |
|
|
"Ирмаст-Холдинг" |
"CRAFCO" |
|
|
Глубина h, не менее Ширина b |
15 По расчету |
19 16...38 |
Расчет ширины камеры может быть выполнен по упрощенной формуле
В = 100·b·К1·Т/l, (12.4.1)
где b - расстояние между трещинами, установленное при визуальном обследовании покрытия, мм;
К1 - коэффициент линейного температурного расширения асфальтобетона, принимается в зависимости от марки и типа асфальтобетона, вида использованных каменных материалов и вяжущих, градус (ориентировочно 2,1´10° для асфальтобетонов типа «А» и «Б»; 3,3´10° - асфальтобетонов типа «В» и «Г»);
Т - разность между температурой воздуха в период производства работ и минимально возможной температурой в зимний период, °С;
l - предельное относительное удлинение ремонтного материала при минимальной температуре воздуха, % (по соответствующим нормативным документам, менее 50 %).
В случае разрушения кромок температурных трещин ширина камеры принимается не менее ширины разрушения.
При всех способах заделки трещин обязательной операцией является очистка с помощью ручного инструмента или щеточной машины с последующей продувкой сжатым воздухом. Трещины с разрушенными кромками должны быть разделаны с помощью швонарезчиков со сменными фрезами, позволяющими регулировать ширину разделки. Трещины шириной до 5 мм после очистки промазывают жидким битумом марок СГ 15/25, СГ 25/40, МГО 25/40, затем с помощью заливщика трещин заполняют битумом марок СГ 130/200, МГ 130/200, МГО 130/ 200 или БНД 200/300, нагретым до 160-170°С.
На объектах с приведенной интенсивностью движения в одном направлении до 2000 авт./ч трещины шириной более 5 мм заполняют полимерно-битумной мастикой. Для повышения адгезии мастики к материалу покрытия стенки трещин предварительно обрабатывают полимерной грунтовкой с помощью распылителя. При заделке трещин или деформационных швов цементобетонных покрытий такая операция строго обязательна. При работе на асфальтобетонных покрытиях достаточно продуть и подогреть стенки трещин газогенераторной установкой до выступания на них капель вяжущего. При этом не допускать выгорания битума.
На магистралях с повышенной интенсивностью движения необходимо использовать мастику с повышенной работоспособностью - битумно-полимерную с добавкой натурального каучука. Температура мастики при заливке трещин 160-180°С. Глубина заливки мастикой должна быть равна толщине верхнего слоя покрытия. При сквозных трещинах, проходящих через всю конструкцию дорожной одежды, глубина заливки ограничивается за счет укладки уплотнительного шнура из пористой резины. Трещины заполняют с избытком. После удаления выступающей над поверхностью покрытия мастики заделанную трещину засыпают дробленым песком с размером частиц 3-5 мм. На магистралях с непрерывным движением целесообразно производить заливку трещин с устройством пластыря на ширину не менее 5 см и толщину до 2 мм с целью дополнительного укрепления кромок с обязательной посыпкой дробленым песком. На объектах, где возможна стоянка транспортных средств, во избежание прилипания мастики к колесам пластырь не устраивают.
При ширине трещин (камер) более 20 мм вместо мастики необходимо использовать минерально-мастичные или органо-минеральные ремонтные смеси. Отраженные трещины при величине раскрытия до 5 мм и отсутствии вертикальных перемещений заделывают аналогично температурным. При возможных больших горизонтальных перемещениях и наличии вертикальных перемещений плит или блоков основания ремонт отраженных трещин производится путем разделки трещин до геометрических размеров, определенных расчетом, устройством прослойки из антиадгезионного материала и заполнением минерально-мастичной смесью.
Одиночные силовые трещины также заделывают мастикой по технологии ремонта температурных трещин.
При наличии сетки трещин долговременный ремонт возможен только путем замены разрушенных элементов основания и покрытия. Замена конструктивных слоев основания и покрытия должна предусматриваться в случаях, когда не ожидается дальнейшей консолидации основания.
Технологические трещины подлежат ремонту путем удаления разрушенного асфальтобетона на ширину не менее 50 мм от кромок фрезерованием или обрезкой алмазными дисками по контуру с последующим удалением асфальтобетона отбойными молотками и грунтовкой стенок. Заделка трещин при большой ширине повреждений производится асфальтобетонной смесью, при ширине разрушений до 50 мм минерально-мастичной смесью и при ширине до 15 мм битумно-полимерной мастикой. Поверхность заполненных пазов посыпается минеральным материалом фракции 2-5 мм.
При многообразии технологических операций с целью сокращения общего времени производства работ (особенно при заделке повторяющихся с постоянной периодичностью температурных трещин) их целесообразно выполнять поточным способом.
Технология приготовления и распределения литых эмульсионно-минеральных смесей принципиально одинакова при использовании машин различных фирм-изготовителей.
Эмульсионно-минеральная смесь литой консистенции при распределении должна образовывать непрерывный защитный коврик.
Укладку защитных слоев целесообразно выполнять полосами, равными ширине полосы движения конкретной проезжей части (3,75 или 3,5 м).
В рабочие смены, предшествующие непосредственно укладке защитного слоя, необходимо выполнить следующие подготовительные работы:
- ремонт покрытия с заделкой выбоин и трещин;
- демаркировку линий разметки проезжей части;
- заготовку требуемого количества каменных материалов на притрассовых складах (запас не менее чем на одну смену).
Бортовой камень, дождеприемные решетки и люки колодцев, уровень которых находится в нормативных пределах, перестановки не требуют.
Непосредственно перед укладкой слоя производится ограждение участка, очистка и увлажнение (с расходом 0,5 л/м2) его поверхности.
Рабочий цикл укладки защитного слоя включает следующие технологические операции: загрузка бункеров и емкостей машины компонентами ЛЭМС на притрассовом складе; переезд машины к месту производства работ, укладка защитного слоя на огражденном участке; переезд машины для загрузки на притрассовом складе.
При необходимости сокращения временного интервала между укладкой слоя и открытием движения предусматривают его прикатку катком на пневмоходу массой до 10 т c целью отжатия воды при распаде эмульсии.
Работы по укладке защитного слоя выполняет бригада в составе 7 человек: машинист укладочной машины 6 разряда - 1; помощники машиниста (операторы) 5-го разряда - 2; дорожные рабочие: 5-го разряда - 1; 4-го разряда - 2; 3-го разряда - 1. При необходимости в состав бригады включают машиниста катка 5-го разряда.
Машинист управляет укладочной машиной, при необходимости, с использованием системы связи, выполняет указания оператора об изменении режимов подачи материалов и их смешения. Оператор с дорожным рабочим 5-го разряда регулирует положение распределительной рампы, визуально оценивает степень увлажнения уложенной смеси, в случае необходимости дополнительно ее увлажняет с помощью распылительного устройства. Дорожный рабочий 5-го разряда проверяет качество и равномерность распределения смеси, совместно с рабочим 3-го разряда устраняют выявленные дефекты, заделывают места сопряжения полос, перед последующими заправками машины очищают распределительную рампу. Дорожные рабочие 4-го разряда выполняют обязанности регулировщиков и находятся впереди распределительной машины.
При загрузке распределительной машины в технологическом процессе участвуют машинисты фронтального погрузчика, поливомоечной машины, автогудронатора, а также дорожный рабочий 3-го разряда.
В операциях по расстановке и снятию дорожных знаков и ограждений участвуют дорожные рабочие основной бригады (совместно с водителем бортового автомобиля).
Распад уложенной смеси наступает, когда частицы битума в эмульсии начинают соединяться друг с другом и каменным материалом, при этом коричневый цвет смеси сменяется на черный. Формирование слоя начинается при образовании битумной пленки на минеральном заполнителе и почти полном испарении воды. Окончательное обезвоживание уложенного материала, практически не влияющее на эксплуатационные свойства защитного слоя, может занять 2-4 недели. Полное формирование слоя, при котором допускается открытие движения, происходит (в зависимости от погодных условий) в дневное время за 0,5-2,0 часа. При работе в ночное время возможно закрытие участка с уложенным слоем до 4 часов.
В процессе производства работ необходимо контролировать качество исходных материалов, смеси и уложенного слоя в соответствии с положениями ТУ 5718-001-53737504-00. Зерновой состав каменного материала и качество эмульсии необходимо определять каждую смену.
При каждой заправке распределительной машины проверяются дозировочные устройства.
Ровность и сцепные качества защитного слоя контролируют в соответствии с требованиями СНиП 3.06.03-85 и ВСН 3-90.
Технология ремонта цементобетонных покрытий. Ремонт цементобетонных покрытий включает ремонт швов и трещин, заделку повреждений кромок швов, граней плит и отдельных раковин, ликвидацию местных просадок, вспучивания плит, заделку отдельных участков с шелушением поверхностного слоя бетона. Ремонтные работы должны обеспечивать требуемую ровность покрытия и плавное сопряжение его с поверхностью отремонтированного участка.
Текущий ремонт швов предусматривает исправление повреждений граней бетона плит и на их поверхности непосредственно у кромки шва, очистку и заливку мастикой. При текущем ремонте трещины предварительно разделывают пальцевыми фрезами, очищают, а затем заливают мелкие трещины шириной до 5 мм жидким битумом (дегтем), нагретым до рабочей температуры, поверхность трещин, заполненных вяжущим, присыпают песком; швы и трещины от 5 до 25 мм - преимущественно битумными мастиками (в том числе резинобитумными), составы которых подбирают в зависимости от категории дороги и дорожно-климатической зоны согласно нормативно-техническим документам. Применение полимерных герметиков для заполнения швов дает наибольший эффект.
Ориентировочные нормы затрат труда на ремонт швов и трещин приведены в табл. 12.4.16
Таблица 12.4.16
Нормы времени на 100 м шва или трещин
|
Вид работы |
Состав звена |
Трудоемкость, чел.-ч |
|
Приготовление мастики |
Асфальтобетонщики |
0,8 |
|
Заполнение швов мастикой при помощи: |
|
|
|
|
Асфальтобетонщики |
|
|
Лейки |
3-го разряда - 1 |
8,4 |
|
Передвижной воронки |
1-го разряда - 2 |
7,0 |
Раковины, выбоины, очаги поверхностного разрушения заделывают цементо- и полимербетонными смесями, а также смесями на жидком промышленном стекле. Цементобетонные смеси применяют при возможности закрытия движения на ремонтируемых участках в период набора бетоном необходимой прочности (до 7 сут.). В отдельных случаях допускается применять асфальтобетонные смеси. Рекомендуются другие методы ремонта, например способ пропитки минеральных материалов (щебня, гравия, песка, предварительно нагретых до 120...140°С) расплавленной пластифицированной технической серой или заполнение выбоин горячей литой смесью подобранного состава из серы, пластификатора и минерального наполнителя (содержание серы в смеси - 25..30 % от общего объема).
Ремонт покрытия с помощью цементобетонных или асфальтобетонных (в том числе литых), а также смесей на жидком стекле должен выполняться в теплое время года, когда температура воздуха не ниже 5°С. Полимербетонные смеси применяют при температуре воздуха не ниже 15°С.
Смесь укладывают на очищенную, сухую поверхность бетона (цементобетонные смеси укладывают на увлажненную поверхность). При ремонте цементо- и полимербетонными смесями, а также смесями на жидком промышленном стекле производят дополнительную очистку участков, где имеются битумные, топливные и другие пятна. Их удаляют механическим способом - выжиганием или химическим способом - обработкой поверхности 28 %-ным раствором соляной кислоты (плотность по ареометру 1,139) из расчета 0,4...0,5 л/м2. Затем покрытие тщательно промывают водой и просушивают.
Применяемые для ремонта бетоны на минеральных вяжущих должны иметь прочность на растяжение при изгибе не менее 3,5 МПа, а морозоустойчивость - не ниже морозоустойчивости ремонтируемого бетона.
Для ремонта повреждений глубиной менее 5 см следует применять мелкозернистый (песчаный) цементобетон. При большей глубине разрушений используют песчаные или щебенистые бетоны с предельной крупностью щебня до 20 мм. Перед укладкой цементобетонной смеси (за 10...20 мин) на подготовленную поверхность наносят тонкий слой цементного клея из пластифицированного цемента марки не ниже 500. Клей приготавливают в металлической емкости. Для этого пластифицированный цемент затворяют необходимым количеством воды (исходя из водоцементного отношения 0,3...0,35) и в течение 1...3 мин перемешивают смесь. Затем цементный клей подвергают виброактивации глубинным вибратором. Срок хранения клея не должен превышать 30 мин.
Чтобы ускорить твердение ремонтного бетона, для его приготовления применяют высокоактивный дорожный цемент марки не ниже 500, а также вводят в воду затворения бетонной смеси хлористый или азотнокислый кальций - до 2 % от массы цемента.
Ускоренное формирование отремонтированных мест (6...12 ч при температуре 20...25°С) достигается также использованием быстротвердеющих бетонов, для затворения которых вместо воды (в том же количестве) применяют жидкую фазу - пульпу гипохлорита кальция с содержанием 4-6 % активного хлора, являющуюся побочным продуктом хлорперерабатывающей промышленности. Максимальная крупность заполнителя в таких бетонах 20 мм.
Быстротвердеющие бетоны, приготовленные с использованием пульпы гипохлорита кальция, можно применять при срочном ремонте в осенний и весенний периоды при температуре воздуха 5°С. Движение на отремонтированном участке может быть открыто через 1...7 сут.
Бетонную смесь на пульпе гипохлорита кальция готовят в передвижных бетоносмесителях непосредственно на месте или доставляют к месту ремонта в автобетоносмесителях. Смесь должна быть уложена в течение не более 1 ч. Перед укладкой смеси ремонтируемую поверхность подготавливают, как указано ранее.
Бетонную смесь укладывают с запасом на уплотнение 2...3 см. В зависимости от толщины слоя смесь уплотняют поверхностными вибраторами или виброрейками (при уплотнении песчаных цементобетонных смесей применяют поверхностные вибраторы с пригрузом 10...30 Па), глубинными вибраторами, сочетанием глубинной и поверхностной вибрации - вначале глубинные, а затем поверхностные вибраторы.
Если разрушения глубже 3 см, применяют мелкозернистый торкретбетон. Ремонтные работы ведут с помощью комплекта оборудования, включающего: бетоншприцмашину с загрузочным устройством БМ-60 или БМ-68; компрессорную станцию, передвижную электростанцию, водяной бак и насос, передвижную платформу.
Для получения торкретбетона класса В20 и выше используют портландцемент марки не ниже 500, заполнители с относительной влажностью от 2 до 6 %. Водоцементное отношение принимают в пределах 0,40...0,45.
Работы по ремонту покрытия торкретбетоном включают: подготовку поверхности, приготовление сухих смесей в стационарных бетоносмесителях или непосредственно на месте. Точность дозировки компонентов смеси цемента ±2 % и наполнителя ±3 % по массе. Торкретбетон наносят на всю глубину выбоины с превышением над поверхностью покрытия в 1-2 см. Окончательную отделку выполняют с помощью поверхностных вибраторов или виброреек.
Уход за свежеуложенным бетоном осуществляют так же, как и при новом строительстве цементобетонных покрытий. Следует преимущественно использовать пленкообразующие материалы. Их наносят с помощью пневматических опрыскивателей или ручных насосов, малогабаритных распределителей пленкообразующих жидкостей.
Движение по отремонтированному участку открывают при наборе бетоном не менее 70 % требуемой прочности (5-7 сут. после окончания работ при температуре воздуха 15...25°С).
Срочный ремонт сколов кромок и углов плит, раковин и выбоин (глубиной 5-15 и шириной до 50 см) можно выполнять с помощью быстротвердеющих мелкозернистых (песчаных) бетонов на промышленном жидком стекле, состав которых (% по массе):
натриевое жидкое стекло плотностью 1380 кг/см3 - 13;
феррохромовый шлак саморассыпающийся - 4...6;
гранулированный доменный тонкомолотый шлак с удельной поверхностью 2500...3000 см2/г - 20...22;
песок (модуль крупности более 2, относительная влажность менее 5 %) - 59...63.
Помимо указанных, можно применять и другие материалы, содержащие двухкальциевый силикат различных модификаций.
Чтобы сократить продолжительность ремонта, сухую смесь из шлака и песка приготавливают заранее и хранят в крафтмешках. Жидкое стекло разбавляют водой до плотности 1380 кг/см3 (по ареометру) и хранят в металлических бочках, флягах и канистрах, а перед применением перемешивают до однородной консистенции. Разбавленное жидкое стекло, а также смесь шлака и песка можно хранить в закрытых неотапливаемых помещениях неограниченное время.
При выполнении ремонтных работ стенки и дно выбоины за 15...20 мин до укладки бетонной смеси смазывают тонким слоем грунтовочного раствора из жидкого стекла и феррохромового шлака в соотношении 1:2 по объему.
Готовую смесь равномерно распределяют мастерками и деревянными гладилками на 3...4 см выше поверхности покрытия, а затем уплотняют механическими трамбовками с прямоугольным башмаком (2-3 удара по каждому следу) и заканчивают уплотнение виброплощадкой.
Следует учитывать сроки схватывания ремонтных составов: при температуре воздуха 15...20°С схватывание смеси происходит через 20...50 мин после приготовления. Уход за отремонтированным участком аналогичен указанному выше. Движение открывают через 5-7 ч после окончания работ.
Эффективно также применение полимербетонных смесей на основе эпоксидного вяжущего.
Для приготовления вяжущего в емкость с эпоксидной смолой добавляют пластификатор (дибутилфталат или разогретый до 40-60°С каменноугольный деготь) и перемешивают. После того как смесь приобретает температуру наружного воздуха, к ней добавляют отвердитель (полиэтиленполиамин). Во избежание преждевременного отверждения эпоксидное вяжущее готовят небольшими, порядка 25-30 кг, порциями, чтобы использовать его в течение не более часа при температуре воздуха 15-25°С и примерно четверти часа при более высокой температуре.
После обработки стенок и дна эпоксидным вяжущим по норме 0,3...0,4 кг/м2 выбоину заполняют полимербетонной смесью. Через 20...30 мин уложенный материал уплотняют ручным катком. Если вяжущее выступает на поверхность, присыпают каменными высевками и повторно уплотняют. Движение по отремонтированному участку открывают через 5...8 ч.
Полимербетонную смесь целесообразно использовать и при восстановлении поврежденных граней плит, в том числе в температурных швах. В этом случае к поврежденной грани приставляют доску, обернутую полиэтиленовой пленкой (а при поврежденных кромках плиты у шва доску устанавливают в паз шва, предварительно очистив его от остатков мастики). Доска должна выступать над поверхностью покрытия на 3...5 см. Затем поврежденное место заполняют полимербетонной смесью.
Если для ремонта используют асфальтобетонные смеси, то их укладывают в ремонтируемое место после подгрунтовки разжиженным битумом или битумной эмульсией из расчета 0,3...0,5 л/м2. При глубине разрушения менее 5 см смесь укладывают в один слой, при большей глубине - в два слоя с послойным уплотнением ручным катком или нагретыми трамбовками массой 12...16 кг. Литыми асфальтобетонными смесями выбоины заполняют сразу на всю глубину, а уплотнение не производят.
В местах выпучивания плит необходимо вырубить цементобетонное покрытие на ширину 0,5...1 м и уложить асфальтобетонное покрытие на всю толщину плиты.
При ремонте обстановки дороги устраивают вновь отдельные ограждения, осуществляют окраску и ремонт ограждений с заменой отдельных поврежденных конструктивных элементов, устанавливают вновь, заменяют (ремонтируют) дорожные знаки и направляющие устройства. Оформляют и благоустраивают отдельные развязки, площадки отдыха, стоянки автомобилей, а также достопримечательные места.
Затраты труда и материалов по отдельным видам работ приведены в табл. 12.5.1.
Таблица 12.5.1
Затраты труда и потребность в материалах на установку дорожных ограждений, знаков и указателей
|
Вид работы |
Измеритель |
Затраты труда, чел.-ч |
Вид и количество материалов |
|
Установка ограждении: а) из стали на железобетонных столбах |
10 м ограждений |
9,473 |
Столбы железобетонные 0,244 м3, конструкции металлические - 0,171 т |
|
б) из стали на металлических столбах |
10 м ограждений |
13,93 |
Бетон М-150 - 0,372 м3 конструкции металлические - 0,248 т |
|
в) из железобетонного криволинейного бруса. |
10 м ограждений |
10,93 |
Столбы железобетонные - 0,72 м3, конструкции железобетонные сборные - 0,34 м3 |
|
Устройство тросовых ограждений на железобетонных столбах |
10 м ограждений |
8,769 |
Столбы железобетонные по проекту, трос 20 мм - 21,4 м, поковки - 55,8 кг |
|
Установка указательных, запрещающих, предупреждающих, предписывающих и километровых знаков на железобетонной стойке |
1 знак |
2,938 |
Щитки металлические - 1 шт., блоки бетонные сборные - 0,04 м3, столбы железобетонные - по проекту |
|
То же на металлической стойке |
1 знак |
3,666 |
Щиты металлические-1 шт., блоки бетонные сборные - 0,04 м3, стойки металлические - 27,3 кг |
|
Установка дорожных указателей на двух металлических стойках |
1 указатель |
6,132 |
Стойки металлические - 42,0 кг, блоки бетонные сборные - 0,48 м3, поковки - 2,56 кг, щиты металлические - 1 шт. |
|
Установка дорожных указателей на V-образной железобетонной. |
1 указатель |
3,19 |
Столбы железобетонные - 0,24 м , блоки бетонные сборные 0,86 м3, щиты металлические 1 шт. |
Капитальный ремонт автомобильной дороги - комплекс работ, при котором производится полное восстановление и повышение работоспособности дорожной одежды и покрытия, земляного полотна и дорожных сооружений, осуществляется смена изношенных конструкций и деталей или замена их на более прочные и долговечные, в необходимых случаях повышаются геометрические параметры дороги с учетом роста интенсивности движения и осевых нагрузок автомобилей в пределах норм, соответствующих категории, установленной для ремонтируемой дороги, без увеличения ширины земляного полотна на основном протяжении дороги.
Задача капитального ремонта состоит в полном восстановлении и повышении транспортно-эксплуатационного состояния дороги до уровня, позволяющего обеспечить нормативные требования в период до очередного капитального ремонта при интенсивности движения, соответствующей расчетной для данной категории дороги, при превышении которой необходима реконструкция дороги с переводом в более высокую категорию.
Критерием для назначения капитального ремонта является такое транспортно-эксплуатационное состояние дороги, при котором прочность дорожной одежды снизилась до предельно допустимого значения или параметры и характеристики других элементов дороги и дорожных сооружений не удовлетворяют возросшим требованиям движения настолько, что невозможно или экономически нецелесообразно приводить их в соответствие с указанными требованиями посредством работ по ремонту и содержанию.
Капитальный ремонт, как правило, должен производиться комплексно по всем сооружениям и элементам дороги на всем протяжении ремонтируемого участка дороги.
Допускается при соответствующем обосновании проведение выборочного капитального ремонта отдельных участков и элементов дороги, а также дорожных сооружений. Капитальный ремонт выполняется в соответствии с разработанной и утвержденной в установленном порядке проектно-сметной документацией.
Капитальный ремонт автомобильных дорог и дорожных сооружений, подвергшихся разрушению в результате обстоятельств непреодолимой силы (чрезвычайные ситуации природного и техногенного характера, передислокация воинских формирований и др.), разрешается выполнять по ведомостям дефектов и исполнительным сметам в установленном порядке.
В состав капитального ремонта могут быть включены работы по ремонту, а также содержанию элементов дороги и дорожных сооружений на ремонтируемом участке, состояние которых не требует капитального ремонта, если указанные работы не были выполнены до начала капитального ремонта. К капитальному ремонту автомобильных дорог и дорожных сооружений относятся следующие работы [74]:
По земляному полотну и водоотводу:
- поднятие земляного полотна на подтопляемых и снегозаносимых участках;
- перестройка пучинистых, оползневых и обвальных участков;
- усиление земляного полотна с заменой грунтов устройством изолирующих и армирующих прослоек; устройство новых дренажей, системы водоотвода (в том числе прикромочных и телескопических лотков), осушительных канав, берегозащитных и противоэрозионных сооружений, водобойных колодцев, ливневой канализации;
- исправление параметров земляного полотна на отдельных участках с доведением его геометрических параметров до норм, соответствующих категории, установленной для ремонтируемой дороги (смягчение продольных уклонов, обеспечение видимости в плане и продольном профиле, увеличение радиусов вертикальных и горизонтальных кривых, устройство виражей);
- устройство земляного полотна и водоотвода на пересечениях и примыканиях, площадках для остановки, стоянках автомобилей, площадках для отдыха, разворотных площадках, тротуарах, пешеходных и велосипедных дорожках, отдельных переездах, съездах, подъездных дорогах к объектам дорожно-ремонтной службы, историческим и достопримечательным местам, паромным переправам;
- отвод в постоянное и временное пользование земель, необходимых для обеспечения работ по капитальному ремонту.
По дорожным одеждам:
- усиление дорожных одежд с исправлением продольных и поперечных неровностей, укладкой дополнительных слоев основания и покрытия (в том числе с использованием армирующих, изолирующих, дренирующих и других материалов);
- устройство более совершенных типов покрытий с использованием существующих дорожных одежд в качестве основания; перекрытие изношенных цементобетонных покрытий слоями из цементобетона или асфальтобетона; уширение дорожной одежды до норм, соответствующих категории ремонтируемой дороги;
- устройство вновь бордюров и укрепительных полос по краям усовершенствованных покрытий;
- устройство вновь дорожных одежд в местах исправления и перестройки земляного полотна, на пересечениях и примыканиях, разворотных площадках, на тротуарах, пешеходных и велосипедных дорожках, отдельных переездах, съездах, подъездных дорогах к объектам дорожно-ремонтной службы, на объездах ремонтируемых дорог и подъездных дорогах к паромным переправам;
- ликвидация колей глубиной более 45 мм с заменой нестабильных слоев дорожной одежды методами фрезерования и регенерации на ширину полос наката или на всю ширину покрытия с укладкой одного или нескольких слоев сдвигоустойчивого асфальтобетона;
- сплошное перемощение мостовых с полной или частичной заменой песчаного основания.
По обустройству дорог, организации и обеспечению безопасности движения:
- устройство вновь недостающих остановочных и посадочных площадок и автопавильонов на автобусных остановках, туалетов, площадок для остановки или стоянки автомобилей с обустройством для отдыха участников движения, смотровыми ямами или эстакадами;
- устройство переходно-скоростных полос и разделительных островков на съездах и въездах, пересечениях и примыканиях, на автобусных остановках, а также дополнительных полос для движения тихоходного транспорта на подъемах; устройство аварийных улавливающих съездов (карманов) на затяжных спусках;
- устройство пешеходных переходов (в том числе в разных уровнях), тротуаров, пешеходных и велосипедных дорожек, шумозащитных сооружений на участках дорог, проходящих в пределах населенных пунктов;
- переустройство существующих пересечений и примыканий в одном уровне в более совершенные узлы в одном уровне; улучшение параметров и устройство дополнительных въездов и съездов на существующих пересечениях и примыканиях в разных уровнях;
- устройство электроосвещения на отдельных участках дорог, мостах, путепроводах и паромных переправах, в тоннелях, сооружение линейной телеграфной (телетайпной) или радиосвязи и других средств технологической и сигнально-вызывной связи, кабельных сетей;
- устройство (монтаж) новых и переустройство существующих средств организации и регулирования движения на пересечениях автомобильных дорог с автомобильными и железными дорогами;
- устройство систем мониторинга состояния дорог и условий движения, диспетчерского и автоматизированного управления движением с применением дистанционно управляемых знаков и табло со сменной информацией, светофоров и систем автоматики и телемеханики;
- нанесение и удаление временной разметки на период капитального ремонта, нанесение постоянной разметки после капитального ремонта.
Прочие работы по капитальному ремонту:
- изыскание и освоение резервов грунта и месторождений местных каменных материалов для производства ремонтных работ, устройство подъездных дорог и железнодорожных тупиков к производственным базам и карьерам, высоковольтных ЛЭП для энергообеспечения;
- устройство площадок для складирования дорожно-строительных материалов, устройство и ликвидация временных объездов ремонтируемых участков, а также ликвидация объездов участков дорог, разрушенных стихийными бедствиями;
- природоохранные мероприятия, рекультивация временной полосы отвода, рекультивация земель, ранее занятых под карьерами, резервами, объездными дорогами, ненужными участками дорог, дорожными сооружениями и производственными объектами и др.;
- разработка проектно-сметной документации на капитальный ремонт дороги и дорожных сооружений и её экспертиза, разработка документации по отводу земель;
- инженерное и научно-техническое сопровождение проектирования и выполнения работ по капитальному ремонту.
При капитальном ремонте земляного полотна восстанавливают и повышают его несущую способность, перестраивают пучинистые, оползневые и обвальные участки, устраивают дренажи, изолирующие прослойки и производят другие работы, обеспечивающие устойчивость земляного полотна.
Кроме того, изменяют геометрические параметры земляного полотна, доводя их до норм категории, установленной для ремонтируемой дороги (уширение, подъемка, замена грунтов, обеспечение видимости, увеличение радиусов закруглений, смягчение продольных уклонов), а также спрямляют отдельные участки до 25 % общего протяжения ремонтируемой дороги. За счет средств на капитальный ремонт строят земляное полотно и систему водоотвода на пересечениях и примыканиях автомобильных дорог, а также площадки для остановки, стоянки автомобилей и площадки отдыха вне проезжей части дорог. Восстанавливают, перестраивают существующие и строят вновь необходимые водоотводные устройства, берегозащитные и противоэрозионные сооружения.
Удалив покрытие, досыпают или перестраивают земляное полотно, соблюдая требования по его возведению. На пучинистых участках целесообразно удалить не только покрытие, но и слои основания дорожной одежды, которые в таких местах сильно загрязнены. Затем разрыхляют и убирают слой пучинистого грунта, корыто заполняют песчаным грунтом с послойным уплотнением. Сопряжение мест замены грунта на пучинистых участках с соседними неперестраиваемыми осуществляют в виде клина с крутизной откоса вдоль его оси 1:10. Такая мера позволяет предотвратить неравномерное морозное пучение в местах сопряжений.
Для уменьшения толщины слоев основания новой дорожной одежды при перестройке земляного полотна создают прослойки из рулонных синтетических текстильных материалов.
Технология укладки синтетических материалов на поверхность земляного полотна (под песчаный слой) приведена в табл. 13.3.1.
Таблица 13.3.1
Последовательность и показатели производства работ
|
Номер захватки |
Технологические процессы |
Ед. изм |
Кол-во на 1 км |
Производительность в смену |
Потребность, маш.-см. (чел.-см.) |
|
I |
Планировки верха насыпи автогрейдером за 9 круговых проходов при длине хода 200 м |
м |
1000 |
620 |
1,61 |
|
II |
Укладка полотен на верх земляного полотна (11 полотен шириной 1,5 м каждое) вручную |
м |
1000 |
270 |
(3,7) |
|
II |
Соединение полотен при помощи установки |
м |
1000 |
260 |
(3,85) |
|
III |
Подвозка пески автомобилями-самосвалами грузоподъемностью 4,5 т на расстояние до 5 км |
м3 |
2880 |
29,3 |
96,3 |
|
III |
Разравнивание песка бульдозером слоем 0,2 м с перемещением до 10 м |
м3 |
2880 |
1460 |
1,97 |
|
IV |
Подвозка воды на расстояние 5 км и ее розлив поливомоечной машиной ПМ-130 из расчет 4 л/м2 по поверхности песчаного слоя |
л |
55200 |
42600 |
1,29 |
|
IV |
Уплотнение песчаного слоя толщиной 0,2 м катком на пневматических шинах за 8 проходов по одному следу при длине захватки 200 м |
м3 |
2880 |
720 |
4,0 |
Рулоны синтетического материала раскатывают двое рабочих вдоль земляного полотна, начиная от его краев. Полотна укладывают с перекрытием на 8-12 см. После укладки первого и 15-20 м второго полотна приступают к соединению смежных полотен друг с другом. В дальнейшем укладку и соединение полотен ведут одновременно.
Полотна соединяют с помощью портативной установки, оснащенной газовой горелкой.
Уширение земляного полотна возможно по нескольким вариантам:
двустороннее уширение, при котором ось капитально отремонтированной дороги совмещают с осью существующей. При этом с двух сторон досыпают откосы насыпей или срезают откосы выемок. Достоинство этого варианта в том, что дорожная одежда (или ее большая часть) остается на прочном основании, хорошо сформировавшемся под действием движения. Метод наиболее приемлем при малой высоте насыпей;
одностороннее уширение, при котором ось отремонтированной дороги смещена в сторону от оси старой дороги. Недостаток этого варианта - новая существенная часть дорожной одежды располагается на свежеотсыпанном грунте, которому трудно придать такую же степень уплотнения, как у старого земляного полотна. Вместе с тем увеличивается потребность в материалах для устройства покрытия. При таком уширении земляные работы сосредоточены с одной стороны дороги, благодаря чему создаются лучшие условия для дорожных машин и работы могут быть выполнены более качественно.
На косогорных участках целесообразно в первую очередь рассматривать вариант смещения оси дороги к откосу, при котором уширение земляного полотна осуществляется за счет выемки.
Для надежного сопряжения присыпаемого грунта с грунтом существующего полотна при высоте насыпи менее 2 м, как и при косогорах крутизной 1:10-1:5, ограничиваются разрыхлением грунта на старых откосах или нарезкой борозд глубиной 0,2-0,25 м. На более высоких насыпях и косогорах крутизной до 1:3 на откосах нарезают уступы высотой до 0,5 м, придавая им уклон 50 ‰. В насыпях из песчаных грунтов уклон уступов делают к оси дороги, в глинистых - от оси дороги. При симметричном уширении выемок глубже 2 м для повышения устойчивости откосов целесообразно вместо боковых канав устраивать укрепленные лотки треугольного сечения.
При уширении земляного полотна засыпают и боковые канавы. Здесь важно обеспечить такую же степень уплотнения грунта, как и существующего полотна.
Перестраивая земляное полотно, особое внимание следует уделять системе водоотвода: восстановлению или устройству новых боковых канав (в том числе и отводящих воду в сторону от полотна, в пониженные места или к водопропускным сооружениям), а также дренажей для перехвата, сбора, отвода и понижения уровня грунтовых вод.
При устройстве или перестройке траншейного дренажа (щебеночно-трубного, беструбного и бесщебеночного) целесообразно использовать искусственные фильтры из синтетических текстильных материалов. В первом и втором вариантах дренажа их укладывают в подготовленную траншею вплотную к дну и стенам, закрепляя края материала анкерами. Затем укладывают дренажную трубу, траншею засыпают щебнем с послойным уплотнением, края полотен освобождают от анкеров и закрывают поверхность засыпки с перекрытием на 25-30 см. При этом фильтровальное полотно предотвращает заиливание щебня и трубы.
В третьем варианте в траншею помещают дренажную трубу, обернутую текстильным полотном, и засыпают песком. Песок предотвращает засорение синтетического фильтра, который в свою очередь защищает дренажную трубу от забивания песком.
Дренажные трубы применяют, когда уклон дренажа не превышает 30‰. Если уклон больше, в качестве дренирующей среды целесообразно использовать щебень в оболочке из пленки. Пленкой эффективно укреплять откосы земляного полотна (повышать местную устойчивость), а также усиливать грунтовой массив (повышать общую устойчивость откосов).
Как правило, синтетические материалы используют в комбинации с другими типами укрепления - биологическими, несущими, защитными и изолирующими. Если сочетают с биологическими типами укрепления в виде посева трав различными способами, полотна укладывают непосредственно на поверхность откоса под растительный грунт или на поверхность растительного грунта. В первом случае создается более плотный травяной покров и выравнивается влажностный режим. Во втором случае синтетический материал предотвращает вымывание семян и защищает откос от эрозии на период формирования травяного покрова, при этом служит временным элементом. Если синтетический материал используют в качестве постоянного элемента, над ним создают замыкающий слой из грунтовой засыпки не тоньше 5 см. На откосах выемок, сложенных глинистыми грунтами повышенной влажности, при выклинивающихся водоносных грунтах целесообразно применять пленку в сочетании с верхним замыкающим слоем из засеянного травами растительного или дренирующего грунта толщиной 10-30 см. Синтетический материал, применяемый в качестве постоянного элемента, закрепляют на обочине. Одновременно с откосами целесообразно укреплять и обочины.
Полотна также используют в сочетании с несущими решетчатыми сборными конструкциями укрепления, заполняя ячейки решетки каменным материалом фракции 40-100 мм, или в сочетании с защитными и изолирующими решетчатыми сборными облегченными конструкциями, заполняя ячейки растительным грунтом с посевом трав, торфо-песчаной или гравийно-песчаной смесями. Полотна укладывают непосредственно на поверхность откоса под решетку в качестве фильтра. Их можно укладывать и под несущие бетонные или железобетонные, монолитные или сборные конструкции укрепления конусов и откосов, периодически подтопляемых насыпей.
Для создания местной устойчивости откосов, подверженных эрозии и размывам при временном подтоплении, а также при возведении земляного полотна из грунтов, легко размываемых или резко снижающих свою прочность от увлажнения, полотна заглубляют в откос для армирования его поверхностной зоны. Свободные концы прослоек выводят на откос, чтобы создать поверхностную защиту, или объединяют их в обоймы. Заделка прослоек в грунт должна быть не менее 1,5 м, а расстояние между ними 0,5-0,7 м. Армирование откосов дополняют устройством защитного слоя и последующим засевом трав.
Синтетические материалы применяют и для повышения общей устойчивости откосов. При этом полотна закладывают в тело насыпи с таким расчетом, чтобы они пересекали предполагаемую поверхность скольжения. При таком расположении прослойки воспринимают часть растягивающих напряжений, что обеспечивает возможность в ряде случаев увеличить крутизну откосов, сократив тем самым объем земляных работ. Количество прослоек назначают расчетом исходя из обеспечения требуемого коэффициента запаса устойчивости, а длина их заделки в грунт должна превышать минимальную, чтобы не допустить проскальзывания полотен относительно грунта.
Для одновременного повышения и местной устойчивости прослойки укладывают с выводом на откос, а при необходимости увеличения жесткости нижней части насыпи их можно объединять в обойму. При выводе прослоек на откос устраивают защитный замыкающий слой из растительного грунта или применяют другое укрепление в соответствии с проектом.
Капитальный ремонт дорожных одежд предусматривает повышение их прочности с учетом роста интенсивности и изменения состава потока автомобилей, уширение проезжей части с целью повысить пропускную способность дороги.
Выбор усиления дорожной одежды зависит от фактического состояния участков. Если земляное полотно и система водоотвода отвечают всем требованиям, возможны три основные способа повышения прочности (усиления) дорожной одежды:
- строительство нового покрытия поверх старой дорожной одежды с учетом требуемой прочности конструкции;
- замена верхнего или всех слоев покрытия (толщину новых слоев устанавливают по расчету) с сохранением или усилением основания;
- полная замена всей дорожной одежды с учетом перспективы роста интенсивности движения.
Первый способ по сравнению с другими требует меньших первоначальных затрат, однако применять его целесообразно в том случае, когда недостаточная прочность дорожной одежды связана с частичной потерей прочности материалов или слоев покрытия.
Толщину слоев усиления устанавливают расчетом в соответствии с нормативными документами. Перед их укладкой устраняют имеющиеся повреждения на старом покрытии и при необходимости укладывают выравнивающий слой из асфальтобетонной смеси.
На старых гравийных и щебеночных покрытиях (не обработанных или обработанных органическим вяжущим) слой усиления целесообразно строить из влажных органоминеральных смесей толщиной 4-5 см в уплотненном состоянии. При необходимости создания двухслойного покрытия верхний слой укладывают после тщательного уплотнения нижнего. Если для уплотнения используют катки на пневмошинах, верхний слой можно строить непосредственно после уплотнения нижнего слоя. При использовании катков с гладкими вальцами верхний слой укладывают с технологическим разрывом в 30 суток. В этом случае после уплотнения нижнего слоя по нему открывают регулируемое по ширине проезжей части движение автомобилей, ограничивая скорость до 40 км/ч. Слои допускается укладывать на влажное старое покрытие или основание.
На старых дорожных одеждах облегченного типа слой усиления можно строить из влажных органоминеральных смесей, а также из черного щебня прочных пород, укладываемого в горячем состоянии, с пропиткой битумным шламом на основе битумных паст. Толщину слоя и глубину пропитки назначают исходя из требуемой прочности дорожной одежды (минимальная толщина - 5 см, максимальная - 10 см).
Марка щебня фракций 10-20 или 15-25 мм по дробимости должен быть не ниже 800 из изверженных пород и не ниже 600 из осадочных или метаморфических. Его обрабатывают вязкими дорожными битумами по норме 1,5-2,5 %. Марку битума выбирают в соответствии с рекомендациями табл. 13.4.1.
Таблица 13.4.1
Рекомендуемая марка битума
|
Дорожно-климатическая зона |
Способ обработки щебня |
Марка битума |
|
II и III |
Горячий |
БНД 60/90; БНД 90/130 БНД 130/200; БНД 200/300 |
|
IV и V |
Горячий |
БНД 40/60; БНД 60/90 БНД 130/200, БНД 200/300 |
Если вяжущее неудовлетворительно прилипает к щебню, добавляют ПАВ или щебень обрабатывают активатором, руководствуясь нормативными документами. В качестве структурирующей добавки при приготовлении черного щебня в смеситель добавляют минеральный порошок (3-5 % от массы щебня).
Для обработки щебня используют малопористый или среднепористый битумный шлам типа В (согласно техническим указаниям) с массовой долей зерен крупнее 2 мм в минеральном материале не более 10 %. Битумный шлам должен удовлетворять следующим требованиям:
- текучесть смеси в жидком состоянии не более, с - 10;
- в сформировавшемся уплотненном состоянии:
- коэффициент фильтрации не более, см/с 1·10-8;
- водонасыщение, объемных долей не более 3 %;
- набухание вакуумированных образцов после 15 сут. выдерживания в воде, % объемной доли, не более 1,5.
Чтобы придать битумному шламу требуемую текучесть, в него добавляют пластификатор 0,03- 0,06 % по массе (абиетат натрия, СДБ и др.).
Ориентировочное содержание компонентов в шламе, %:
песок.......................................................................36-25;
битум .....................................................................15-17;
минеральный порошок с известью .....................25-30;
вода.........................................................................24-28;
пластификатор, массовая доля в шламе..............0,03-0,06.
Черный щебень укладывают щебне- или асфальтоукладчиком на очищенное старое покрытие и уплотняют катками на пневмошинах (6-8 т) за 2-3 прохода по каждому следу.
Сразу после остывания черного щебня слой пропитывают битумным шламом при его расходе 20-40 кг/м2. Для распределения шлама используют навесные распределители к пасторастворовозу ПС-402. Расход шлама регулируют скоростью пасторастворовоза и размером выходной щели распределителя.
Потребность в материалах на 1000 м2 слоя усиления толщиной 10 см (в тоннах):
Черный щебень:
щебень .....................................................................145;
битум (2 % от массы щебня) .................................2,9.
Битумный шлам (в количестве 25 кг/м2):
песок - 31 % ...........................................................7,8;
минеральный порошок - 26 %...............................6,5;
битум - 15 % ...........................................................3,7;
вода - 28 % ..............................................................7,0.
Движение по построенному слою может быть открыто, когда при пробном проезде автомобиля смесь не прилипает к протектору. Скорость в первые 3-5 дней ограничивают 40 км/ч.
При капитальном ремонте асфальтобетонных покрытий необходимо стремиться к максимально эффективному повторному использованию старого асфальтобетона. С этой целью применяют технологию регенерации. Как правило, поверх регенерированного слоя устраивают слои износа, если коэффициент прочности старой дорожной одежды не менее 0,9 или слои усиления при коэффициенте прочности менее 0,9. При этом толщина слоя усиления по сравнению с расчетной может быть уменьшена на 20-25 %.
При усилении дорожной одежды традиционным способом на старое покрытие укладывают один или несколько слоев асфальтобетона. В этом случае технология работ в основном не отличается от применяемой при новом строительстве. Однако поверхность эксплуатируемого покрытия нуждается в более тщательной подготовке, чтобы создать надежный контакт с новым слоем: покрытие очищают с помощью механических щеток, затем смачивают органическим растворителем (соляровым маслом, керосином и др.) в количестве 0,1-0,15 л/м2, используя краскопульты или распылители, подгрунтовывают жидким битумом по норме 0,3-0,5 л/м2.
Во всех случаях необходимо стремиться к применению энерго- и ресурсосберегающих технологий.
К числу эффективных ресурсосберегающих технологий относят: строительство слоя из асфальтобетонов на основе разнопрочных каменных материалов, шлаковых асфальтобетонов, асфальтобетонного слоя с втапливанием прочного щебня и др.
Асфальтобетоны на основе разнопрочных каменных материалов целесообразны в районах, где прочный щебень является привозным. В таком асфальтобетоне прочный щебень, отвечающий требованиям стандарта, от 20 до 50 % заменен местным малопрочным каменным материалом. Требования к щебню приведены в табл. 13.4.2 и 13.4.3.
Таблица 13.4.2
Показатели свойств прочного щебня
|
Щебень |
Марка смеси |
Марка щебня для смеси |
||
|
тип А |
тип Б |
тип В |
||
|
Из изверженных и метаморфических пород не ниже |
I II |
1200/И-1 1000/И-2 |
1000/И-2 1000/И-2 |
1000/И-2 800/И-3 |
|
Из осадочных пород не ниже |
I II |
1200/И-1 1000/И-2 |
1000/И-2 800/И-2 |
800/И-2 600/И-3 |
|
Из шлаков не ниже |
I II |
- 1200/И-1 |
1200/И-1 1000/И-2 |
1000/- 800/И-3 |
|
Из гравия не ниже |
I II |
Др.8/И-1 Др.8/И-1 |
Др.8/И-1 Др.12/И-2 |
Др.12/И-2 Др.16/И-3 |
Таблица 13.4.3
Показатели свойств малопрочного щебня
|
Щебень |
Марка смеси |
Марка щебня для смеси |
||
|
тип А |
тип Б |
тип В |
||
|
Из осадочных пород |
I II |
600-800/И-2 400-600/И-3 |
600-800/И-2 300-600/И-3 |
400-600/И-2 200-400/И-4 |
|
Из шлаков |
I II |
600-800/И-2 600-800/И-2 |
600-800/И-2 400-600/И-2 |
400-600/И-2 300-400/И-3 |
|
Из гравия |
I II |
Др.12/И-2 Др.12/И-2 |
Др.12/11-2 Др.16/11-3 |
Др.16/И-3 Др.24/И-4 |
Прочный щебень применяют фракций 10...20 или 5...20 мм, малопрочный - 5...10 или 5...15 мм (допускается 0...10 или 0...15 мм).
Ориентировочное содержание компонентов в асфальтобетонной смеси (в %): щебень - 30...60 (в том числе, от 20 до 80 малопрочный); песок - 30-50 (25-35); минеральный порошок - 4-12 (10-15) (для смесей повышенной плотности); битум - 5...7 (6,5-8,5)
Физико-механические свойства асфальтобетона должны отвечать требованиям, изложенным в разделе 2.
Асфальтобетонное покрытие из разнопрочных каменных материалов за счет неравномерного износа частиц сохраняет достаточно стабильную шероховатость поверхности.
В районах, где имеются металлургические шлаки, асфальтобетонные смеси целесообразно приготавливать на шлаковой минеральной основе.
Асфальтобетонные смеси из шлаковых материалов в зависимости от вязкости содержащихся в них битума и вида шлака, температуры укладки подразделяют на горячие и холодные (табл. 13.4.4). Зерновой состав минеральной части асфальтобетонной смеси с применением шлаковых материалов должен соответствовать требованиям стандарта.
Таблица 13.4.4
Классификация асфальтобетонных смесей и шлаковых материалов
|
Смесь |
Марка битума |
Вил шлакового материала |
Температура смеси при укладке, °С , не ниже |
|
Горячая |
БНД 60/90, БНД 90/130 |
Отвальные доменные шлаки |
100 |
|
Горячая Холодная |
БНД 60/40, БНД 90/130, БНД 130/200, БНД 200/300 |
Гранулированные шлаки и шлакопемзовые пески |
70 50 |
|
СГ 130/200, СГ 70/130, МГ 70/130, МГ 130/200 |
Отвальные доменные и гранулированные шлаки, шлакопемзовые пески |
5 |
Расход битума в горячих шлаковых асфальтобетонных смесях составляет (% сверх минеральной части):
- в мелкозернистых (зерна до 15 или 10 мм) всех типов - 6,0...8,0;
- в песчаных (зерна до 5 мм) - 8...10;
- в крупнозернистых (зерна до 30 мм) для нижнего слоя - 4,5...5,5.
Технология укладки слоя аналогична применяемой для традиционных асфальтобетонных смесей.
В районах с привозным прочным щебнем слои усиления целесообразно устраивать из малощебенистых асфальтобетонных смесей, втапливая щебень преимущественно изверженных разнозернистых горных пород марки по дробимости 1000...1200, по износу И-1 или И-2. Благодаря такой технологии, обеспечивается требуемая шероховатость покрытия. Асфальтобетонные смеси, в которые втапливают щебень, должны быть типа В (мелкозернистые смеси). Толщина укладываемого слоя должна быть не менее 3 см.
Для втапливания применяют щебень размером 5...10 (для дорог не выше III категории), 10...15, 15...20 и 20...25 мм с расходом соответственно 6...8, 7...10 и 9...12 кг/м2 (для последних двух фракций). Щебень должен быть предварительно обработан органическим вяжущим по норме 1,0-1,3 % от массы щебня в асфальтосмесительных установках. Перед обработкой его высушивают и нагревают. В зависимости от марки вяжущего температуру нагрева щебня и вяжущего принимают в пределах, указанных в табл. 13.4.5.
Таблица 13.4.5
Температура нагрева вяжущего и щебня
|
Марка вяжущего |
Температура нагрева, °С |
|
|
вяжущего |
щебня |
|
|
БНД 60/90, БНД 90/130 БНД 130/200, БНД 200/300 БНД 130/200, СГ 130/200, Д-6 МГО 70/130, СГ 70/130, Д-5 |
140- 160 110-130 90-120 80-100 |
150-170 120-160 110-130 100-120 |
Щебень, обработанный вяжущим и применяемый горячим или теплым, сразу после приготовления доставляют на место укладки при температуре не менее 120°С, а при применении холодного смесь можно укладывать при температуре 5°С.
Строительство слоя усиления включает укладку смеси асфальтоукладчиком с включенным трамбующим брусом, распределение черного щебня (по установленной норме) с помощью механических распределителей, втапливание его за 1-2 прохода легких катков, уплотнение средними (4-6 проходов) и затем тяжелыми катками (10-12 проходов).
Втапливание щебня и окончательное уплотнение слоя целесообразно проводить самоходными пневмоколесными катками.
Ориентировочные затраты труда на устройство слоя усиления с втапливанием черного щебня приведены в табл. 13.4.6.
Таблица 13.4.6
Состав звена и затраты на 100 м2 покрытия
|
Вид работы |
Состав звена |
Трудоемкость, чел.-ч |
|
Очистка старого покрытия за шесть проходов механический щетки |
Машинист 4-го разряда - 1 |
0,025 |
|
Подгрунтовка покрытия жидким битумом (или битумной эмульсией) с расходом 0,5-0,7 л/м2 с помощью автогудронатора |
Машинист 5-го разряда - 1 |
0,014 |
|
Укладка асфальтобетонной смеси асфальтоукладчиком (с включенным трамбующим брусом) слоем 5 см на ширину 7,5 м |
Машинист 6-го разряда - 1, асфальтобетонщики: 5-го разряда - 1, 4-го разряда - 1, 3-го разряда - 3, 2-го разряда -1, 1-го разряда - 1 |
2,16 |
|
Распределение черного щебня фракции 15-20 мм навесным распределителем на тракторе «Беларусь» по норме 10 кг/м2 |
Машинист 4-го разряда - 1, дорожные рабочие 2-го разряда - 3 |
0,078 |
|
Втапливание черного щебня за 1-2 прохода легкого катка |
Машинист 5-го разряда - 1 |
0,21 |
|
Уплотнение катком 8-10 т за 5-6 проходов по одному следу |
Машинист 5-го разряда - 1 |
0,33 |
|
Окончательное уплотнение слоя катком 10 т за 5-6 проходов по одному следу |
Машинист 5-го разряда - 1 |
0,20 |
Цементобетонные покрытия при усилении перекрывают асфальтобетонным или новым цементобетонным покрытием. Асфальтобетонное покрытие менее трудоемко в строительстве, не требуется длительного отвода движения. Такое покрытие в дальнейшем сравнительно легко ремонтировать. Во избежание растрескивания асфальтобетонное покрытие в данном случае должно состоять из нескольких слоев и иметь общую толщину 9 - 18 см. Чем больше интенсивность грузового движения по дороге и расстояние между швами в старом цементобетонном покрытии, тем толще должно быть асфальтобетонное покрытие.
Усиление новым цементобетонным покрытием позволяет сохранить старую дорожную одежду и внешний вид на всем протяжении дороги. Однако это покрытие более трудоемкое и требует в процессе строительства и формирования длительного отвода движения.
Второй способ усиления, заключающийся в замене верхнего слоя или всех слоев покрытия с сохранением основания, применяют, если на старом покрытии имеется много повреждений в виде сетки и трещин и выбоин, связанных с существенной потерей прочности материалов покрытия или его слоев. Кроме того этот способ целесообразен, если нельзя увеличивать толщину покрытия (например, на мостах во избежание снижения их грузоподъемности, в тоннелях или на участках, расположенных под путепроводами, во избежание уменьшения габаритов по высоте).
Снятие асфальтобетонных слоев осуществляют с помощью специальных фрез. Для удаления старого цементобетонного покрытия используют автобетоноломы. Сняв старое покрытие (или его верхний слой), проводят подготовительные работы: очищают обнаженную поверхность оставленного слоя покрытия или основания одежды, заделывают мелкие повреждения и при необходимости подгрунтовывают поверхность. Затем строят новое покрытие (или его верхний слой).
Третий способ усиления предусматривает полную замену всей дорожной одежды. Это может потребоваться при потере прочности материалами или слоями основания, необходимости строительства новых дополнительных слоев основания (дренирующих, теплоизолирующих и др.), а также исправления земляного полотна. В каждом случае рекомендуется определять возможность повторного использования материала старой дорожной одежды.
Конструкцию новой дорожной одежды назначают исходя из конкретных условий, стремясь к максимальному использованию местных дорожно-строительных материалов, отходов и побочных продуктов промышленности .
Одним из широко распространенных видов работ при капитальном ремонте дорожных одежд является их уширение от 0,5 до 3,75 м. Возможны два варианта уширения: одностороннее (несимметричное) и двустороннее. Выбор варианта и определение уширения проезжей части осуществляют на стадии разработки проекта.
При одностороннем уширении дорожной одежды, как правило, строят выравнивающий слой и новое покрытие на всю ширину проезжей части. Этот вариант чаще требует и уширения земляного полотна с соответствующей стороны.
Двустороннее уширение может быть выполнено двумя способами: уширение проезжей части за счет обочин или краевых укрепительных полос (т. е. с каждой стороны на 0,25-0,75 м) без уширения земляного полотна; устройство дорожной одежды на уширенном с двух сторон земляном полотне.
В первом случае на обочине вдоль кромки покрытия подготавливают корыто на глубину до низа дополнительною слоя основания (дренирующего или морозозащитного). Дну корыта придают поперечный уклон 30-120‰ в сторону обочины, чтобы обеспечить водоотвод из основания. Для устройства полос малой ширины (0,25-0,75 м) применяют траншеекопатели и ряд приспособлений к машинам, в том числе, навесные и прицепные плуги, накладки на отвал автогрейдера или бульдозера, а также механизмы для уширения проезжей части.
Технологический процесс на полосах уширения включает: обрезку кромки существующего покрытия с помощью дисковых пил, навешиваемых на трактор; послойную отсыпку основания с тщательным уплотнением каждого слоя; строительство покрытия. На полосах уширения при необходимости делают поверхностную обработку, захватывая на 0,2-0,3 м прикромочную полосу старого покрытия, целесообразно на всю ширину, перекрывая старое покрытие и полосы уширения.
Во втором случае после уплотнения земляного полотна до нижней поверхности дополнительного слоя основания (дренирующего или морозозащитного) отсыпают материал для уширения этого слоя. Затем укладывают и уплотняют материал для уширения основания и вровень с ним отсыпают и уплотняют грунт земляного полотна в пределах образуемой новой обочины. После этого устраивают покрытие, укладывают (при необходимости) выравнивающий слой, а на него новый верхний слои на всю ширину покрытия. Затем укрепляют обочины и окончательно отделывают земляное полотно.
Капитальный ремонт обстановки дороги проводят одновременно с капитальным ремонтом земляного полотна, дорожных одежд и искусственных сооружений. В процессе капитального ремонта состояние обстановки дороги приводят в соответствие с требованиями, предъявляемыми к автомобильным дорогам соответствующей категории.
При капитальном ремонте выполняют следующие работы:
- восстанавливают существующие и устанавливают новые направляющие устройства, дорожные знаки, барьерные ограждения;
- устраивают в необходимых местах остановочные, посадочные площадки и автопавильоны, площадки отдыха и для остановки или стоянки автомобилей, пешеходные переходы (в том числе в разных уровнях), тротуары и пешеходные (велосипедные) дорожки на участках, проходящих в пределах населенных пунктов;
- перестраивают существующие и создают новые пересечения и примыкания автомобильных дорог в одном и разных уровнях, а также переезды, съезды и виражи на всей дороге или на ее участках, подъездные дороги к зданиям дорожно-ремонтной службы и достопримечательным местам (при длине этих дорог не свыше 200 м);
- восстанавливают существующие и строят новые летние тракторные пути;
- оборудуют посты техническими средствами организации и регулирования движения, устраивают электроосвещение на отдельных участках, на мостах и паромных переправах, дорожную линейную телефонную или радиосвязь и другие средства связи;
- создают пункты учета движения, снегомерные пункты и водомерные посты и другие устройства, необходимые для изучения работы дороги, ее отдельных элементов и проходящих по ней транспортных потоков;
- выполняют архитектурно-художественное оформление дороги или ее отдельных участков.
Все указанные работы выполняют на основе проектно-сметной документации.
Основным требованием к природозащитным мероприятиям при содержании и ремонте автомобильных дорог и инженерных сооружений является соблюдение действующих нормативно-правовых, нормативно-технических и методических документов, разработанных с учетом требований по охране окружающей среды и безопасности дорожного движения [79].
При выполнении работ по ремонту и содержанию автомобильных дорог дорожные службы обязаны постоянно учитывать требования охраны природной среды путем ограничения их отрицательного воздействия на землю, воду и воздух.
Дорожные службы должны обеспечивать:
- сохранение или улучшение существующего ландшафта;
- защиту почв и растительности;
- повышение устойчивости земляного полотна на оползневых участках;
- создание благоприятных условий для использования землевладельцами в дальнейшем временно выделяемых земель под дорожно-ремонтные работы;
- защиту поверхностных и грунтовых вод от загрязнения дорожной пылью, горюче-смазочными материалами, обеспыливающими, противогололедными и другими химическими веществами;
- выполнение мероприятий по предупреждению загрязнения воздуха выбросами в атмосферу газов и пыли, а также защиту от шума и вибрации.
Предприятия и организации дорожного хозяйства обязаны строго соблюдать рекомендации, изложенные в ВСН 8-89, а также требования действующих законодательных актов, директивных и нормативных документов. Ответственность за соблюдением установленных правил и требований по охране окружающей природной среды и рациональному использованию природных ресурсов несут руководители работ по ремонту и содержанию автомобильных дорог и дорожных сооружений.
При планировании, составлении проектно-сметной документации и выполнении работ по реконструкции и ремонту автомобильных дорог должны рассматриваться мероприятия по минимальному изъятию земельных площадей и использованию природных ресурсов, сбережению сельскохозяйственных угодий (особенно пашни), сохранению плодородного слоя почв, предотвращению загрязнения поверхности земли, водоемов и атмосферы, а также по предупреждению возможности возникновения отрицательных гео- и гидрологических явлений, эстетического ущерба и непосредственного уничтожения или ухудшения условий существования животных, птиц и растительности.
Для проведения указанных мероприятий должны по возможности использоваться земли несельскохозяйственного назначения или сельскохозяйственные угодья худшего качества. Из земель лесного фонда прежде всего необходимо использовать массивы, занятые кустарником и мелколесьем неценных пород. При необходимости изъятия земель сельскохозяйственного назначения и земель, покрытых лесом, следует обосновывать принятые решения. Оформление документации на отвод земель производится в соответствии с действующими нормативными документами. В состав документации должен входить проект (или раздел) рекультивации временно отведенных земель для возвращения их землепользователям в состоянии, пригодном для дальнейшего использования в сельском или лесном хозяйстве.
Запрещается приступать к производству работ или иному пользованию предоставленным земельным участком до установления местными землеустроительными органами границ этого участка в натуре (на местности) и выдачи документа, удостоверяющего право пользования землей.
Увеличение радиусов кривых в плане, смягчение продольных уклонов дороги необходимо осуществлять без нарушения ландшафта, не вызывая эрозии почв, развития оврагов, изменения водоотвода в придорожной полосе и при строгом соблюдении требований земельного законодательства.
Затраты на рекультивацию земель по восстановлению их плодородия, а также снятие плодородного слоя почвы, хранение и нанесение его на рекультивируемые земли или малопродуктивные угодья при ремонте (капитальном ремонте) автомобильных дорог и дорожных сооружений относятся на стоимость этих объектов, а при разработке месторождений - на себестоимость продукции.
Рекультивация земель, почвенный покров которых нарушен землепользователями при ремонте автомобильных дорог и разработке месторождений нерудных материалов, производится ими за свой счет с отнесением затрат согласно статьям, указанным выше.
Работы по рекультивации земель в соответствии с требованиями действующего законодательства и нормативно-технических документов, должны начинаться в период реконструкции или капитального ремонта автомобильной дороги и заканчиваться не позднее чем через 1 год после их окончания. Заключительным этапом рекультивации является передача в установленном порядке восстановленных земель и угодий землевладельцам.
Рекультивация нарушенных земель проводится в соответствии с рекомендациями раздела 5.
При ремонте автомобильных дорог должны быть приняты мероприятия по сохранению и предупреждению от загрязнения водоемов, рек и грунтовых вод.
С целью защиты окружающей местности, поверхностных и грунтовых вод от загрязнения пылью, бытовыми отходами, горюче-смазочными и другими материалами рекомендуется предусматривать устройство покрытий, исключающих пылеобразование, в первую очередь, на участках дорог, проходящих через населенные пункты, в непосредственной близости от больниц, санаториев, школ, детских садов, зон отдыха, водоохранных зон, через земельные угодья, где пыль снижает урожайность или качество сельскохозяйственных культур; предусматривать устройство достаточного количества площадок для стоянок автомобилей и мест отдыха, предъявляя повышенные требования к их санитарно-гигиеническому обустройству и оборудованию.
При расположении участка дороги в пределах водоохранной зоны запрещается устраивать площадки для стоянок автомобилей.
В целях сохранения животных рекомендуется в местах с установившимися путями миграции предусматривать мероприятия по предотвращению появления животных на дороге и устраивать специальные пути для их пропуска.
При проведении работ по содержанию дорожная служба не должна допускать ухудшения природной среды на прилегающей к дороге местности, особое внимание следует обращать на применение химических противогололедных и обеспыливающих материалов. На дорогах с пылящими покрытиями в сухое время года проводят обеспыливание в соответствии с рекомендациями, изложенными в [78].
Твердые хлориды, применяемые для борьбы с зимней скользкостью и обеспыливания, рекомендуется хранить в закрытых складах, имеющих твердые полы и дренажную систему. Материалы, поступающие в рыхлом виде, следует хранить в складах бункерного или силосного типа.
Растворы солей, природные рассолы, другие жидкие противоморозные реагенты хранят в стальных или бетонных закрытых резервуарах, исключающих попадание материалов в почвы и грунты.
При устройстве хранилищ для гигроскопических материалов и технических лигносульфонатов необходимо принимать во внимание следующее:
- хранилища не должны располагаться в водоохранной зоне и ближе 200 м от других источников водоснабжения;
- уровень материала в хранилищах необходимо контролировать 1 раз в неделю;
- при обнаружении утечек срочно их устранять;
- состояние хранилищ проверять 1 раз в год и фиксировать в специальном журнале.
Для уменьшения отрицательного влияния на почву и придорожную растительность противогололедных и обеспыливающих химических веществ необходимо соблюдать следующие основные правила:
- рабочие органы распределительных средств должны быть отрегулированы таким образом, чтобы исключалось попадание материалов за пределы проезжей части и не создавалось помех движению автомобилей;
- строго следить за нормами распределения противогололедных и обеспыливающих веществ;
- в населенных пунктах запрещается производить обеспыливание дорог солями в мелкодисперсном виде (порошке).
При появлении первых признаков засоления почв следует применять гипсование, известкование, промывку почв или другие мероприятия.
При борьбе с зимней скользкостью и обеспыливании запрещается использовать материалы и отходы промышленности, не перечисленные в действующих нормативно-технических документах или специальных методических рекомендациях без согласования с территориальными органами охраны природы.
Строительство, ремонт и эксплуатацию сооружений для очистки ливневых, талых и сточных вод рекомендуется осуществлять силами специализированных организаций.
Все источники питьевой воды (родники, колодцы и т.п.), расположенные около автомобильных дорог, должны быть оформлены с учетом удобного их пользования, постоянно поддерживаться в чистоте и порядке. Не реже 1 раза в 2 года следует производить контроль качества воды с привлечением для этой цели органов санэпиднадзора.
При невозможности обеспечения достаточно большой буферной зоны между дорогой и населенными пунктами или отдельно стоящими больницами, санаториями, домами отдыха, пионерскими лагерями, детскими садами, школами, базами отдыха должны быть предусмотрены специальные мероприятия по защите от транспортного шума.
При разработке шумозащитных мероприятий сложность достижения требуемого снижения уровней шума можно оценить по табл. 14.4.1.
Таблица 14.4.1
Сложность достижения снижения уровня шума
|
Требуемое снижение уровня шума, дБА |
5 |
10 |
15 |
20 |
|
Сложность |
Легко |
Достижимо (возможно) |
Сложно |
Очень сложно |
Основной принцип разработки мероприятий по защите от транспортного шума - функциональное зонирование придорожных территорий с учетом допустимых уровней звука для зданий различного назначения.
При проектировании обходов населенных пунктов, развитии сети автомобильных дорог необходимо учитывать, что снижение уровней шума наиболее эффективно в диапазоне интенсивности движения в час пик до 400 авт/ч, когда уменьшение интенсивности, например, на 200 авт/ч приводит к снижению уровня шума на 1,5 дБА. Изменение интенсивности от 2000 авт/ч до 1500 авт/ч снижает уровень шума транспортного потока всего на 0,5 дБА.
При прохождении дорог вблизи застройки следует использовать элементы рельефа в качестве естественных преград на пути распространения шума, трассировать дорогу в естественных выемках, по дну оврагов, ложбин.
Поскольку увеличение расстояния от автомобильной дороги до населенного пункта создает дополнительные трудности для местных пользователей, расстояние удаления должно быть минимально необходимым, а вызванный этим перепробег учтен при сравнении различных методов защиты от транспортного шума.
В случаях, когда уровни транспортного шума не превышают допустимые более чем на 15 дБА, а увеличение расстояния до жилой застройки невозможно или нецелесообразно, необходимо предусматривать специальные шумозащитные сооружения и рациональный поперечный профиль земляного полотна. Существенное влияние на снижение транспортного шума оказывают препятствия в виде шумозащитных барьеров, галерей, грунтовых валов, откосов выемок.
Размещение шумозащитных сооружений и их ограждения на поперечном профиле должны обеспечивать безопасность движения, минимум затрат на их содержание, удобную очистку проезжей части и обочин, доступность для производства работ по эксплуатации. Расстояние от кромки проезжей части до шумозащитного барьера должно обеспечивать размещение снега при его уборке с проезжей части.
Шумозащитные барьеры не должны являться элементами повышенной опасности. Для достижения этих целей барьеры могут быть вынесены за границу полосы отвода автомобильной дороги, выполнены комбинированными с ограждениями или защищены ограждениями. В последнем случае расстояние между ограждениями и шумозащитным сооружением должно быть больше максимального прогиба ограждения при наезде автомобиля с расчетной скоростью и достаточным для обеспечения возможности механизированной уборки снега. Длину отгона ограждений за шумозащитным сооружением назначают не менее 9 м.
При расположении жилой застройки с обеих сторон от автомобильной дороги отражение шума от поверхности барьера может привести к его увеличению в жилой застройке. В таких случаях применяют шумопоглощающие барьеры, которые в результате поглощения звуковой энергии в отличие от шумоотражающих не вызывают увеличения уровней шума на противоположной стороне и в салонах проезжающих автомобилей.
Снижение шума в застройке можно достичь также за счет наклона шумоотражающего барьера и отражения шума в сторону от жилой застройки, либо строительством ступенчатого шумоотражающего барьера.
Минимальная длина шумозащитного барьера за пределами жилой застройки должна составлять не менее 100...150 м и может быть уменьшена, если его концы отогнуты в плане и сторону от источника шума.
Для придания шумозащитным барьерам лучшего внешнего вида рекомендуется сажать около них декоративные растения, которые, украшая дорогу и частично устраняя однообразный вид барьера, усиливают шумопоглощающее действие барьера, особенно в летнее время.
Шумозащитные барьеры и их стойки должны рассчитываться на ветровые нагрузки, быть прочными и долговечными, легко монтироваться в полевых условиях, вписываться в ландшафт. Их устройство не должно приводить к снижению бе-
В северных районах с устойчивой снежной зимой и слабыми грунтами можно эффективно использовать зимние дороги. Промерзание грунтов освобождает строителей от необходимости устраивать земляное полотно и дорожную одежду с использованием каменных материалов.
К зимним автомобильным дорогам (автозимникам) относятся сезонные дороги с полотном и дорожной одеждой из снега, льда и мерзлого грунта.
Автозимники подразделяются следующим образом [19]:
а) по продолжительности эксплуатации:
- регулярные, временные (используемые в течение одного или двух зимних сезонов), разового пользования;
б) по расположению на местности:
- сухопутные, прокладываемые по суше;
- ледовые, прокладываемые по льду рек, водохранилищ или морей;
- ледяные переправы через водотоки на сухопутных автозимниках и автомобильных дорогах постоянного действия;
в) по продолжительности использования сезона:
- обычные, предназначенные для эксплуатации только в период с устойчивыми отрицательными температурами воздуха;
- автозимники с продленными сроками эксплуатации, обеспечивающие проезд в течение зимнего и части летнего периодов года.
Регулярные и временные автозимники в зависимости от расчетной годовой грузонапряженности или расчетной интенсивности движения делятся на три категории:
I - с перспективной (на 3...5 лет) грузонапряженностью свыше 100 тыс. т нетто в год или с расчетной интенсивностью движения, приведенной к автомобилю грузоподъемностью 5 т, свыше 500 авт./сут.;
II - с перспективной грузонапряженностью от 50 до 100 тыс. т нетто в год или с расчетной интенсивностью движения от 150 до 500 авт./сут.;
III - с перспективной грузонапряженностью до 50 тыс. т нетто в год или с расчетной интенсивностью движения до 150 авт./сут.
Основные параметры поперечного профиля регулярных и временных автозимников следует принимать по табл. 15.1.1.
Основные параметры поперечного профиля автозимников
|
Параметры элементов авто зимников |
Значение параметра в зависимости от категории автозимника |
||
|
I |
II |
III |
|
|
Число полос движения Ширина полосы движения bo, м Ширина проезжей части bн, м Ширина обочин, м Ширина полотна автозимника b, м |
2 4,0 8 2,0 12 |
2 3,5 7 1,5 10 |
2 3,0 6 1,5 9 |
Примечания 1. Ширина полосы движения bo дана для расчетного автомобиля шириной d = 2,75 м. Если d > 2,75 м, то значение bo следует устанавливать по формуле bo = d + 1,5.
2. Ширину обочин на участках автозимника, где предусматривается интенсивное движение гусеничного транспорта и санных поездов, следует принимать не менее 4 м.
На сильнопересеченной и в горной местности регулярные автозимники III категории и временные автозимники II и III категорий допускается проектировать с одной полосой движения шириной 4,5 м при ширине полотна не менее 6 м. В этих случаях необходимо предусматривать устройство разъездов длиной не менее 50 м и шириной не менее 8 м.
При назначении элементов плана и продольного профиля в качестве основных параметров следует принимать: продольные уклоны - не более 40 ‰; радиусы кривых в плане - не менее 500 м; расстояние видимости поверхности дороги - не менее 200 м; радиусы вертикальных выпуклых кривых - не менее 5000 м и вертикальных вогнутых кривых - не менее 2000 м.
В тех случаях, когда по условиям местности выполнение таких требований не представляется возможным или вызывает существенное увеличение стоимости строительства, при проектировании допускается снижать нормы в зависимости от расчетной скорости движения.
Поперечные уклоны проезжей части и виражи на автозимниках обычно не предусматривают. На участках, где автозимники устраивают в выемках или насыпях из минеральных грунтов, следует предусматривать проезжую часть с двускатным профилем с поперечными уклонами 20...30 ‰, а на кривых в плане с радиусом 1000 м и менее - с односкатным поперечным профилем.
Сухопутные автозимники на участках с прочными грунтовыми основаниями на снегонезаносимой местности проектируют в корытообразном поперечном профиле и устраивают методом постепенного наращивания снежного полотна по мере выпадения снега в течение зимы. Для выравнивания оснований, сложенных скальными и щебенистыми грунтами, на регулярных автозимниках I...III категорий и временных автозимниках I и II категорий следует предусматривать устройство выравнивающего слоя из гравия или щебня.
На косогорных участках местности регулярные автозимники проектируют в полунасыпи-полувыемке.
Несущая способность ледовых автозимников определяется толщиной естественного ледяного покрова, которая нарастает в течение зимнего периода. На ледяном покрове рек, озер морей устраивают дорогу, оставляя на проезжей части слой снега до 10 см, если он рыхлый, и до 5 см при слежавшемся снеге. При интенсивности движения свыше 150 авт./сут. на ледовых автозимниках, прокладываемых по льду крупных рек, озер и морей, между полосами движения следует предусматривать не расчищаемую от снега разделительную полосу. Более подробно о ледовых переправах рассказано в главе 16.
Основной принцип проектирования сухопутных автозимников с продленными на весенне-летний период сроками эксплуатации - сохранение тела насыпи и основания в мерзлом состоянии в течение установленного срока эксплуатации путем применения в конструкциях естественных или искусственных теплоизоляторов.
Конструкция сухопутного автозимника, предназначенного для эксплуатации в зимний период и в начале весенне-летнего периода при интенсивности движения до 150 авт./сут., состоит из мерзлого основания и теплоизолирующего полотна из смеси снега со льдом или мхом, мохоторфом, опилками. По условиям обеспечения водонепроницаемости, достаточной прочности и незначительной интенсивности таяния плотность теплоизолирующего полотна должна быть не менее 650 кг/м3 в верхних и не менее 550 кг/м3 в нижних слоях. Для пропуска тяжелых нагрузок и высокой интенсивности движения на автозимниках I и II категорий следует предусматривать конструкции с отсыпкой земляного полотна из грунтов.
Земляное полотно предназначено воспринимать нагрузки от проходящих транспортных средств. Его отсыпают на ширину согласно табл. 15.1.1 и высотой не менее 0,5 м с откосами 1:1,5 или 1:3 из крупнообломочных, щебенистых, гравийно-песчаных или песчаных грунтов.
В основании автозимников, проектируемых в I дорожно-климатической зоне, следует полностью сохранять мохорастительный покров, а на участках с сильнольдистыми грунтами (мари) и подземными льдами дополнительно предусматривать в основании земляного полотна слой теплоизоляции из мха, торфа или хворостяную выстилку толщиной 15...20 см.
При проектировании сухопутных регулярных автозимников I...III категорий, предназначенных для эксплуатации в I дорожно-климатической зоне в течение всего теплого периода года, а также при возможности перевода в перспективе автозимника в постоянную автомобильную дорогу, целесообразно предусматривать следующую конструкцию (рис. 15.1.1).

Рис. 15.1.1. Поперечный профиль автозимника для
круглогодичной эксплуатации:
1 - земляное полотно из грунта; 2 - слой теплоизоляции из торфа, мха, опилок и
т.п.; 3 - снежно-ледяное ядро; 4 - естественный мохорастительный покров; 5 -
мерзлое грунтовое основание
Толщину снежно-ледяного ядра назначают исходя из условия обеспечения общей высоты насыпи, но не менее 0,8...1 м. Толщину насыпного слоя минерального грунта и толщину слоя теплоизоляции рассчитывают из условия недопущения оттаивания снежно-ледяного ядра.
Поверхностные и грунтовые воды от дорожного полотна
отводят с помощью следующих сооружений:
- боковых водоотводных канав, лотков или боковых резервов;
- нагорных грунтовых валиков и нагорных канав;
- поперечных водоотводных канав.
При проектировании регулярных автозимников I...III категорий, на периодически действующих и постоянных водотоках, на пересечении оврагов и балок следует предусматривать водопропускные сооружения капитального типа.
Строительство автозимников, как правило, включает два этапа. На первом этапе выполняют подготовительные работы, на втором (зимой) - устраивают снежное (снежно-ледяное) полотно на сухопутных автозимниках или подготавливают ледяную поверхность на автозимниках, прокладываемых по льду рек, озер и морей.
На первом этапе строительства сухопутных автозимников выполняют следующие работы:
а) обозначают трассу в соответствии с проектом;
б) расчищают полосу автозимника от леса, кустарника и камней;
в) планируют грунтовое основание, выполняют земляные работы на косогорных участках, на съездах на берегах рек и выездах с них и на участках, где требуется уменьшить продольные уклоны;
г) сооружают мосты, трубы и противоналедные сооружения;
д) строят линейные здания;
е) подготавливают грунтовые карьеры для работы в зимних условиях;
ж) заготовляют дорожные знаки, вехи, материалы для усиления ледовых переправ.
На участках, где автозимник устраивают в снежных насыпях, отсыпают выравнивающий слой из грунтов или, где к началу эксплуатации автозимника формируется мощный (20 см и более) естественный снежный покров, деревья спиливают в уровень с землей и пни не корчуют.
При производстве земляных работ на вечномерзлых грунтах рекомендуются следующие способы организации работ:
- послойная разработка грунта бульдозерами по мере его оттаивания;
- рыхление грунта механическим или взрывным способом. В районах с относительной влажностью грунта до 0,8Wt (влажности на границе текучести) земляные работы выполняют бульдозерами в летний период. При более высокой влажности грунта расчистку просеки следует вести поздней осенью или зимой, а земляные работы и планировку основания -весной, по мере оттаивания грунта.
На автозимниках, прокладываемых по заболоченным поймам и долинам рек, где нет угрозы развития термокарстовых процессов, подготовка грунтового основания включает удаление мохорастительного покрова в пределах проезжей части.
На бугристых вечномерзлых торфяниках с близким залеганием от поверхности сильнольдистых грунтов и подземных льдов удалять мохорастительный покров запрещается. На таких участках при подготовке основания выполняют проминку трассы продольными проходами вездеходной гусеничной техники.
Для получения ровного основания допускается рыхление мохорастительного покрова и перемешивание его с грунтом деятельного слоя с последующей планировкой и уплотнением слоя гладилками, прицепными волокушами или отвалом бульдозера за три-четыре прохода трактора по одному следу.
Подготовка основания автозимников на болотах производится с учетом повышения несущей способности торфяных грунтов при их промерзании. Для ускорения промерзания болот необходимо: проминать мохорастительный покров, чтобы прорвать верхнюю корку болот и выжать воду на поверхность; систематически расчищать снежный покров в начале зимнего периода с последующим переходом к его уплотнению.
На переходах через овраги устраивают снежно-ледяные насыпи.
При строительстве сухопутных автозимников в осенне-зимний период (второй этап) сооружают снежное или снежно-ледяное полотно, ледовые переправы и устанавливают дорожные знаки и ориентирующие вехи.
В зависимости от природно-климатических условий, принятой конструкции автозимника и времени производства работ рекомендуются следующие методы устройства снежного (снежно-ледяного) полотна автозимников:
- постепенное наращивание снежного полотна в течение зимы на подготовленном грунтовом основании;
- устройство снежных насыпей в начале зимы с последующим регулярным уплотнением в течение зимы свежевыпавшего снега;
- прокладка временных автозимников по снежной целине без подготовки грунтового основания.
Уплотнять снег на полотне автозимника целесообразно при толщине снежного покрова до 20 см. Если снегопад или метель в период строительства продолжается, работы по уплотнению не прекращают, так как укатка толстых (25 см и более) слоев снежного покрова затруднительна. При толщине снежного покрова до 10 см последний уплотняется под действием движения автомобилей с одновременной планировкой снежного полотна автогрейдером или волокушами-гладилками. Слой снега толщиной более 10 см следует уплотнять прицепными катками на пневматических шинах массой 10...15 т, пригруженными трейлерами, многополозными санями или волокушами-гладилками. Доуплотнение снежного полотна происходит под действием движения автомобилей. Снег слоями толщиной более 25 см уплотняют после предварительного рыхления и перемешивания его ребристыми металлическими катками, навешиваемыми на трактор.
При послойном наращивании снежного полотна в течение зимы плотность снега в слое должна быть не менее 600 кг/м3 для автозимников I и II категорий и не менее 550 кг/м3 - III категории.
Снежные насыпи при достаточной толщине снежного покрова (более 30 см) возводят бульдозерами путем поперечной или продольной надвижки снега послойно или набрасывают снег в тело насыпи шнекороторными снегоочистителями. Надвинутые слои снега толщиной 30...40 см планируют и частично уплотняют опущенным отвалом бульдозера при заднем ходе трактора, а затем уплотняют катками на пневматических шинах за 2...3 прохода по одному следу.
При недостаточной толщине естественного снежного покрова для накопления снега на месте будущей насыпи устраивают траншеи, снежные стенки или валы высотой, равной проектной высоте насыпи
Технологию уплотнения снега уточняют в каждом конкретном случае в зависимости от требуемой плотности снега в слоях и его состояния в момент обработки. При этом руководствуются следующими положениями:
- плотность снега до 450 кг/м3 достигается уплотнением его опущенным отвалом бульдозера;
- плотность снега до 550 кг/м3 (при температуре воздуха, до -10°С) и до 500 кг/м3 (при температуре ниже -10°С) достигается уплотнением его катками;
- плотность снега более 600 кг/м3 достигается дополнительным поливом полотна водой после уплотнения; количество воды зависит от требуемой плотности снега.
При устройстве снежно-ледяной одежды слой снега поливают водой на ширину проезжей части через 12...14 ч после уплотнения; расход воды - 2...4 л на 1 м2 покрытия.
Для получения необходимой прочности уплотненного снега требуется некоторое время для его смерзания. Движение автомобилей допускается, если снежное полотно плотностью 500 кг/м3 и более выдержано при температуре воздуха: -10°С - не менее 24 ч; ниже -10°С - не менее 15 ч.
При строительстве временных автозимников на снежной целине целесообразно использовать специальные фрезерно-вибрационные снегоуплотняющие машины, выполняющие за один проход рыхление и перемешивание снега, прогрев снежной массы и виброуплотнение.
Содержание проезжей части включает:
- устранение деформаций и разрушений, возникающих на полотне автозимника в процессе его эксплуатации;
- проведение мероприятий по уменьшению снегозаносимости дороги и ликвидации снежных заносов;
- выполнение мероприятий по предупреждению выхода наледных вод на проезжую часть и ликвидации наледи.
Деформации истирания, выбивания, выкрашивания и раздавливания материала полотна устраняют регулярно, не допуская образования глубоких выбоин и колей (более 5 см), с помощью прицепных угольников, автогрейдеров или фрезерно-вибрационных машин. Колеи, ухабы, просадки (проломы), отдельные глубокие ямы и выбоины заделывают снегом и , тщательно уплотняют (желательно с поливкой водой).
Для обеспечения безопасности движения следует поддерживать коэффициент сцепления шин с дорогой j > 0,20. При образовании скользкой ледяной корки на уплотненном слое снега по поверхности проезжей части рассыпают песок, мелкий гравий, повышающие коэффициент сцепления шин с дорогой. Распределение скелетных материалов осуществляют пескоразбрасывателями.
Для повышения безопасности движения и снижения затрат на обеспечение требуемой степени шероховатости покрытия в течение всего срока службы автозимника целесообразно перед вводом его в эксплуатацию наносить шероховатый слой износа путем дождевания в морозном воздухе гидропульпы на крутых спусках и подъемах, на кривых малого радиуса, на участках пересечений и примыканий дорог, на участках с недостаточной видимостью и т.п.
К мероприятиям, уменьшающим заносимость автозимника снегом и улучшающим его эксплуатационные качества, относят: систематическое уплотнение на полотне свежевыпавшего снега и метелевых отложений небольшой толщины (проезжающими машинами или снегоуплотняющими машинами); уширение полотна автозимника; перетрассирование отдельных, нерационально запроектированных участков; создание, надлежащее содержание и правильную эксплуатацию снегозащитных ограждений.
На автозимниках с продленными сроками эксплуатации служба ремонта и содержания в теплый период года должна выполнять следующие мероприятия:
- регулярно профилировать поверхность полотна, поддерживая выпуклое очертание поперечного профиля земляного полотна;
- проводить ремонт и устранять деформации и разрушения на дорожном покрытии и земляном полотне;
- укреплять ненадежные участки и ликвидировать размывы полотна дороги;
- не допускать скопления воды на проезжей части и систематически отводить поверхностные воды за пределы дорожного полотна;
- засыпать проезжую часть дороги опилками, шлаком и т.п. на подъемах и спусках, а также на других слабых участках, где наблюдается интенсивное оттаивание теплоизолирующего полотна;
- своевременно подготавливать к пропуску паводков водопропускные сооружения и контролировать их работу в течение всего теплого периода года.
Профилирование и утюжку полотна дороги осуществляют автогрейдерами, угольниками и волокушами, обеспечивая удаление или уплотнение рыхлого снега, воды, скопившейся в колеях. Колеи и выбоины, которые невозможно устранить утюжкой и профилировкой, следует засыпать грунтом, предусматривая его уплотнение проходящим транспортом.
Для предотвращения снежных заносов на автозимниках рекомендуется применять защитные средства (переносные щиты, снегозадерживающие траншеи, снежные валы, изгороди из хвороста или лапника), действие которых основано на задержании переносимого ветром снега. Конструкции переносных щитов, правила их установки и эксплуатации на автозимниках те же, что и на дорогах постоянного действия.
Для борьбы с наледями на автозимниках применяют: активизацию наледного процесса на безопасном расстоянии от полотна дороги; задержание наледи и недопущение выхода наледных вод на полотно дороги; тепловую мелиорацию наледных участков.
Активизацию наледного процесса на безопасном расстоянии от полотна дороги осуществляют с помощью грунтовых мерзлотных поясов простейшего типа и наледных поясов. Грунтовый мерзлотный пояс закладывают перпендикулярно грунтовому потоку в заболоченных логах с неглубоким залеганием водоупорного слоя. Пояс представляет собой расчищенную полосу шириной 12...15 м и глубиной 0,8 м. Расчистку ведут бульдозером, укладывая мохорастительный покров и грунт валом по низовой кромке пояса.
Наледный пояс представляет собой расчищенный, спланированный и мощенный камнем участок русла малых водотоков, располагаемый не менее чем в 100 м от полотна дороги. Ширину пояса выбирают таким образом, чтобы водный поток распластывался слоем толщиной до 2 см, а его длину принимают не менее 20 м. В пределах наледного пояса водный поток должен охлаждаться до 0°С и ниже. Наледь у полотна дороги задерживают временными заборами. Перед началом эксплуатации заборы с обеих сторон обсыпают снегом, который для повышения водонепроницаемости пропитывают водой.
Тепловую мелиорацию наледных участков проводят при выходе наледных вод непосредственно у полотна дороги или у искусственных сооружений. При этом утепляют русло водотоков в пределах мостовых переходов, подпруживают водоток, утепляют канавы и лотки и прилегающие к ним территории, устраивают насыпи и накапливают снег траншеями или щитами в придорожной полосе. Утепляют русло инвентарными деревянными щитами или накатом из тонкомерного леса с последующей укладкой слоя мха или опилок.
Дорожная служба выполняет следующие работы по содержанию автозимника: ежегодно в осенне-зимний период устраивает снежное (снежно-ледяное) полотно на сухопутных автозимниках или подготавливает поверхность льда на ледовых автозимниках; систематически устраняет повреждения и деформации снежного и ледяного полотна; ведет борьбу со снежными заносами; осуществляет противоналедные и противолавинные мероприятия; выполняет мероприятия по продлению сроков эксплуатации автозимников; поддерживает в исправном состоянии элементы обстановки пути и искусственные сооружения; в летний период устраняет размывы грунтового основания; выравнивает основание автозимника; уширяет просеки и уничтожает подрост на полосе автозимника; ремонтирует мосты и трубы, отсыпает земляное полотно из минеральных грунтов на подходах к мостам, на переходах через болота и т.п.
В тундровых районах, где часто наблюдаются сильные метели и пурга, предусматривают установку вех через каждые 15...20 м на прямых и кривых, обозначающих ширину полотна автозимника.
При плохой видимости (туман, сильный снегопад, метель) движение по автозимнику запрещается.
В весенний период движение по автозимникам допускается только в ночные и предрассветные часы, т.е. в наиболее холодное время суток, а ремонт проезжей части следует осуществлять в дневные часы.
На всех комплексах дорожной и автотранспортной служб следует иметь информационные табло со схемой автозимника, на которой указаны трудные участки трассы, условия движения, часы работы и грузоподъемность переправ, пункты отдыха водителей, сеть автозаправочных и ремонтных пунктов.
Ледовые переправы - это переправы, проложенные по ледяному покрову рек и озер. Их организуют в случаях отсутствия мостовых переходов и при образовании на водных преградах требуемого ледяного покрова. Эти переправы могут быть частью временных автозимников, временно заменять недействующий мост или в зимний период паромную переправу постоянной автодороги.
Ледовые переправы классифицируются:
- по продолжительности эксплуатации - регулярные, временные (возводимые на одну зиму), разовые (возводимые для одного пропуска колонны автомобилей или другого агрегата);
- по расчетной интенсивности движения - переправы I категории с интенсивностью движения свыше 150 авт./сут. (приведенных к автомобилю грузоподъемностью 5 т) и переправы II категории с интенсивностью движения 150 авт./сут. и менее;
- по типу водоема - переправы речные, озерные и морские;
- по солености водоема - переправы через пресные, соленые или водоемы промежуточной солености;
- по характеру ледяного покрова, используемого для движения транспортных средств:
- естественный ледяной покров;
- покров, утолщаемый намораживанием сверху;
- покров, утолщаемый намораживанием снизу;
- покров, утолщаемый одновременно с двух сторон;
- по крутизне берегов водоема (90‰ и более или менее);
- по длительности зимнего периода с устойчивыми отрицательными температурами;
- по наличию усиления или армирования ледяного покрова и его характеру и конструкции.
Ледовые переправы устраиваются в виде двух полос с односторонним движением или в виде одной полосы с поочередным пропуском транспортных средств. Расстояние между осями полос должно быть не менее 100 м. Ширина полосы устанавливается на 5 м более ширины наиболее габаритного груза, но не менее 20 м для переправ нефтегазопромысловых зимников. С обеих сторон переправы необходимо предусматривать, по возможности, место для устройства резервных полос на расстоянии 100 м от основных.
Ледовые переправы должны иметь пропускную способность, обеспечивающую установленную для них расчетную интенсивность движения, обеспечивать пропуск расчетных нагрузок, безопасные условия пересечения переправы транспортными средствами и пассажирами (пешеходами), безопасность движения автомобилей на переправах и подходах к ним. Перспективная расчетная суточная интенсивность движения и состав транспортного потока для ледовых переправ определяются на год ввода переправы в эксплуатацию.
При определении места переправы выбирают берега реки, промеряют глубины русла и толщины льда, а также определяют качество льда и состояние снежного покрова.
В месте расположения переправ (на 100 м в обе стороны от оси трассы) не должно быть полыней, площадок для заготовки льда, выходов грунтовых вод, мест сброса теплых вод электростанций, нагромождений торосов.
Берега следует выбирать по возможности пологие и удобные для подхода к реке и спуску на лед. Ось ледовой переправы рекомендуется назначать в конце плеса, выше переката.
Трасса ледовой переправы должна быть по возможности прямолинейна и пересекать реку под углом не менее 45°. Минимальный радиус закругления должен быть не менее 60 м. Съезды на лед необходимо устраивать с продольным уклоном не более 60 ‰.
При организации ледовой переправы следует оценить возможную грузоподъемность переправы и требуемые меры по усилению ледяного покрова. Расчетная нагрузка принимается, исходя из состава транспортного потока. Толщину льда на этой стадии можно принимать по данным наблюдений за режимом водоема в створе переправы.
Допускаемые нагрузки на ледяной покров при проезде по нему гусеничных автомобилей массой до 60 т и колесных автомобилей массой до 40 т определяются по данным табл. 16.1.1 и 16.1.2, составленным для прозрачного без трещин намерзшего снизу льда [9].
При перевозке по льду трейлеров с числом осей более трех допускаемые нагрузки следует находить как средние значения показателей табл. 16.1.1 и 16.1.2.
Допустимые нагрузки на ледяной покров при пропуске по нему гусеничных автомобилей
|
Допускаемая нагрузка (масса перемещаемого агрегата), т |
Необходимая толщина ледяного покрова, см, при средней температуре воздуха за трое суток |
||
|
-10°С и менее |
-5°С |
0°С (кратковременная оттепель) |
|
|
4 |
18 |
20 |
25 |
|
6 |
22 |
24 |
31 |
|
10 |
28 |
31 |
39 |
|
16 |
35 |
38 |
49 |
|
20 |
40 |
44 |
56 |
|
30 |
47 |
53 |
66 |
|
40 |
55 |
61 |
77 |
|
50 |
63 |
69 |
88 |
|
60 |
71 |
77 |
99 |
|
70 |
79 |
87 |
III |
|
80 |
88 |
97 |
123 |
|
90 |
97 |
107 |
136 |
|
100 |
106 |
116 |
149 |
Допустимые нагрузки на ледяной покров при пропуске по нему колесных автомобилей
|
Допускаемая нагрузка (масса перемещаемого агрегата), т |
Необходимая толщина ледяного покрова, см, при средней температуре воздуха за трое суток |
||
|
-10°С и менее |
-5°С |
0°С (кратковременная оттепель) |
|
|
4 |
23 |
26 |
32 |
|
6 |
29 |
31 |
40 |
|
10 |
36 |
40 |
51 |
|
16 |
46 |
49 |
64 |
|
20 |
52 |
57 |
73 |
|
30 |
61 |
69 |
86 |
|
40 |
72 |
78 |
100 |
|
50 |
82 |
90 |
114 |
|
60 |
92 |
100 |
129 |
|
70 |
103 |
113 |
144 |
|
80 |
114 |
126 |
160 |
|
90 |
127 |
139 |
177 |
Следует различать: hтр - требуемую толщину льда, определяемую в зависимости от расчетной нагрузки для кристально прозрачного льда; h - расчетную толщину льда, определяемую в зависимости от структуры ледяного покрова в створе переправы. При соблюдении условия h > hтр переправу можно организовать по естественному льду. Для защиты поверхности льда от износа снежный покров сохраняют на толщину до 10 см при плотном и до 15 см при рыхлом снеге или устраивают деревянный настил.
При h < hтр требуется усиление льда намораживанием (сверху или снизу) при стабильных отрицательных температурах или устройством настила.
Конструкция переходного участка переправы на ее съезде (выезде) должна иметь достаточную прочность, обеспечивающую требуемую грузоподъемность, при спаде и подъеме уровня воды в реке (озере). При h > hтр в месте сопряжения его с берегом рекомендуется наморозить слой льда толщиной до 1,5 м (рис. 16.1.1). Зачастую это позволяет снизить объем земляных работ на съезде. При h < hтр у берега и в случаях зависания льда необходимо передать давление от переправы на грунт путем устройства свайного съезда (рис. 16.1.2). При этом в качестве опор и продольного настила следует брать деревянные балки диаметром 20 см и более.

Рис. 16.1.1. Намораживание съездов

Рис. 16.1.2. Устройство свайного съезда
При необходимости усиления ледяного покрова выбирают один из возможных вариантов: намораживание сверху, намораживание снизу, усиление деревянным колейным настилом или комбинацию этих вариантов в зависимости от условий переправы.
Намораживание льда сверху производят на величину до 0,3 толщины основного льда, чтобы не нарушить тепловое равновесие между температурами воды и воздуха. Намороженный сверху лед по прочности приравнивается к прочности мутного льда.
При намораживании сверху поверхность льда очищают от снега на ширину 30...40 м. Намораживание сверху следует предусматривать слоями толщиной 3...5 см, чтобы они успели надежно промерзнуть и набрать запас холода. По краям намораживаемого слоя надо уложить рейки или жерди и обложить их снаружи утрамбованным смоченным снегом. При намораживании следующего слоя эти рейки (жерди) надо переставить, создав при этом откос порядка 12 град, с заложением сторон 1:5 (рис. 16.1.3). Взамен реек (жердей) можно применять валики из мокрого снега высотой 20...30 см.

Рис. 16.1.3. Послойное намораживание ледяного покрова на
переправе:
а - с ограждением намораживаемых слоев рейками; б - с ограждением
намораживаемых слоев снежным валиком
Толщина намораживаемого за сутки льда зависит от температуры воздуха:
|
t, °C |
-10 |
-15 |
-20 |
-25 |
-30 |
-35 |
|
h, см/сут. |
7,5 |
9,0 |
11,5 |
14,5 |
16,5 |
19,0 |
Процесс намораживания ускоряется укладкой на очищенный от снега ледяной покров кусков льда, мелкого ледяного щебня.
Значительного ускорения процесса намораживания ледяного покрова сверху можно добиться методом льдодождевания с помощью передвижных установок типа «Град». Этот метод основан на интенсивном промораживании капель водяной струи при температуре -15 град, и ниже. При правильно отрегулированных установках 55 % капель успевает замерзнуть в воздухе и падает в виде градинок (фирна), а остальная часть в виде воды заполняет пустоты между градинками и обеспечивает создание ледяного монолита плотностью до 900 кг/м3.
Наморожение льда снизу рекомендуется при устойчивых среднесуточных температурах воздуха ниже -15°С. По прочности намороженный снизу лед приравнивается к прочности прозрачного льда.
При намораживании снизу поверхность льда очищают от снега на ширину 30...40 м.
Намораживание ледяного покрова снизу отработано с помощью наклонных термосифонов, состоящих из гладкой трубы и ребристого конденсатора, внутри которых циркулирует фреон. Возможно также применение керосиновых свай либо термосифонов, внутри которых циркулирует керосин. В процессе внедрения находятся и другие устройства для этой цели.

Рис. 16.1.4. Усиление ледяного покрова деревянным колейным настилом
Для усиления льда может быть применен колейный деревянный настил (рис. 16.1.4). Поперечины укладывают по выровненной поверхности льда и по возможности вмораживают. Деревянный настил повышает грузоподъемность льда толщиной 20...40 см до массы 20...25 т.
Строительство ледовой переправы целесообразно осуществлять в два этапа:
- на первом этапе - летом - необходимо выполнить весь объем подготовительных работ по подготовке инженерного оборудования переправы, дорожных знаков, необходимой техники и материалов, а также по возможности выполнить все строительные работы на подходах к переправе;
- на втором этапе - после ледостава и наступления устойчивых морозов следует в возможно более короткие сроки выполнить все основные работы по строительству и обустройству переправы.
На первом этапе строительства ледовой переправы необходимо провести следующие работы: устройство подходов к переправе, включая основные и резервные полосы движения; устройство съездов к переправе; углубление, а в отдельных случаях и спрямление русла реки; подготовку механизмов для работы на ледяном покрове зимой; заготовку указательных знаков и ориентирующих вех; закрепление створа переправы; заготовку элементов конструкций сопряжения ледяного покрова с берегом.
Русло реки углубляют прежде всего на перекатах (для снижения скорости воды в реке и предотвращения образования крупных наледей). Для этого при малых глубинах используют бульдозеры или специальные навесные приспособления на мощных тракторах с уширенными гусеницами. Наиболее крупные валуны дробят накладными зарядами.
Работы второго этапа начинают с установки по береговым створам ориентирующих вех и контрольного промера по всей намеченной трассе толщин льда и глубин воды под ним. При необходимости направление трассы корректируют и промеры повторяют.
Для ускорения ледостава ниже по течению реки (на 150...200 м от створа переправы) с одного берега на другой на поплавках натягивают трос или боны для остановки шуги.
После этого:
- очищают поверхность льда от снега;
- срезают ледорезной машиной, бульдозерным отвалом или отбойным молотком наплывы льда и торосов;
- односторонне или двусторонне наращивают ледяной покров или усиливают его копейным настилом;
- заменяют ориентирующие вехи маркированными;
- устанавливают утепленные «колпаки» над лунками;
- устанавливают дорожные знаки, шлагбаумы и другие средства инженерного оборудования переправы.
Очистка рабочей полосы переправы от снега допускается при толщине льда не менее 15 см вручную, механизированная очистка - при толщине льда, допускающей продвижение снегоочистителей (табл. 16.1.1, 16.1.2). Для тепловой и механической защиты ледяного покрова на его поверхности следует оставлять слой уплотнённого снега толщиной 3...5 см.
Снежным отвалам, образовавшимся при снегоочистке на ледяном покрове, следует придавать уклон не менее 6 град., чтобы предотвратить концентрацию напряжений по их кромкам.
После промеров толщины льда по обеим сторонам рабочей полосы трассы определяется необходимая расчетная толщина ледяного покрова и на основе этого - толщина слоя, подлежащего намораживанию. Перед послойным намораживанием переправы необходимо сделать ограждение полосы. При использовании установок типа «Град» потребность в таком ограждении отпадает.
Для контроля толщины намороженного слоя можно ориентироваться на сделанные яркой краской полосы вокруг маркированных вех. В промежутках между вехами толщина слоя определяется визуально. При послойном намораживании каждый последующий слой намораживают только после полного промерзания предыдущего слоя. Качество промерзания проверяется выборочно сверлением контрольных несквозных лунок.
Агрегат «Град» по оси переправы вначале движется по естественному льду, нанося слои льда позади себя, а затем по намороженному льду. Расстояния между позициями льдонаморожения следует выбирать так, чтобы перекрываемые зоны были не менее 5 м и не оставалось непромороженных участков.
При движении агрегата по ледяному покрову на расстоянии 3...4 м вдоль обочины агрегат намораживает слои соответственно «от себя», «на себя» и сбоку. При выборе каждого из этих вариантов следует исходить из условия совпадения направления струи с направлением ветра.
На малых реках шириной до 200 м льдодождевание можно вести с берега при еще недостаточной толщине ледяного покрова: сначала с одного берега, затем с другого, а потом уже продолжая намораживание со льда.
Если при выборе трассы не удалось обойти полынью, то в процессе возведения переправы ее перекрывают пластмассовой сеткой (которой придан прогиб, равный толщине ледяного покрова), заполняют ледяным щебнем, послойно замораживают. При отсутствии пластмассовой сетки устраивают перехват в виде протянутых крест накрест через полынью жердей, соединенных между собой проволокой, или в виде тросов, закрепленных за вмороженные в лед колья.
Перед сдачей ледовой переправы в эксплуатацию, при определении ее грузоподъемности в диапазонах нагрузок для гусеничных машин массой свыше 60 т и для колесных машин массой свыше 40 т, при решении вопроса о провозе сверхнормативной нагрузки производится провоз по переправе контрольного блока массой, увеличенной на 10 % от номинального значения нагрузки.
Провоз контрольного блока должен сопровождаться определением прогибов ледяного покрова. При этом следует иметь в виду, что, если деформации получаются упругими и полностью восстанавливаются после эксперимента, то переправа считается принятой на заданную грузоподъемность. При наличии остаточных пластических деформаций более 5 % от толщины льда эксперимент прекращается, ледяной покров следует усилить.
Наличие при этом трещин само по себе не является противопоказанием проверки и эксплуатации переправы, но оно свидетельствует об изменении режима работы ледяного покрова под влиянием внешней нагрузки или температурных расширений.
В качестве контрольного блока целесообразно применять набор железобетонных пригрузов постепенно увеличивающейся массы; можно взять ящик с песком переменной высоты, но лучше всего - цистерну с послойно намораживаемой в ней водой.
Контрольный блок по ледовой переправе при малых толщинах льда следует перемещать легким тягачом, а затем и более мощным. Взамен тягача можно использовать на одном берегу электролебедку и на другом - отводной ролик. Для лучшего скольжения по льду контрольный блок целесообразно установить на термолыжи.
Для повседневной эксплуатации переправы и выполнения на ней необходимых ремонтных работ назначается специализированная бригада (звено) дорожных рабочих. На действующей ледовой переправе проверяют толщину льда и снежного покрова, температуру воздуха, структуру льда, а также следят за образованием трещин и полыней на трассе и вблизи нее.
Температуру воздуха проверяют ежедневно. При оттепелях следует обязательно определять структуру льда по излому образца со сторонами 20...30 см, взятого из стенки лунки. Во всех сомнительных случаях надо считать лед игольчатым, т.е. более слабым. Игольчатая структура льда может образоваться через 3 суток после появления талой воды.
При содержании ледовых переправ устраняют неровности на полосе проезда путем скола ледяных горбов и заделки рытвин и колей намораживанием, убирают лишний снег, удаляя его на расстояние не менее 50 м от переправы, меняют изношенные элементы усиления. Снег следует очищать регулярно, оставляя лишь для шероховатости слой утрамбованного снега толщиной 3...5 см.
При образовании в процессе эксплуатации трещин в ледяном покрове их необходимо сразу же заделать. Несквозные трещины и выбоины достаточно залить водой, и они, как правило, сами надежно смерзнутся. Сквозные трещины при ширине до 15 см следует заполнить колотым льдом и перекрыть настилом.
При образовании сетки трещин или сквозных трещин одного направления длиной более 2...3 м и шириной свыше 15 см, а также местных сквозных промоин движение по этой полосе переправы следует прекратить и сделать поочередным по одной полосе или перенести на запасную полосу (при наличии ее), а трещины заделать.
Образовавшуюся полынью вблизи переправы искусственно замораживают при помощи хворостяных плавучих тюфяков или заполнения кусками льда. При транспортировке грузов с массой более 60 т на гусеничном и более 40 т на колесном ходу прекращается движение всего остального транспорта на данной полосе.
Не допускаются на переправе какие-либо остановки транспорта. Вынужденные остановки автомобилей не должны превышать величин, указанных в ОДН 218.010-98 [9], с учетом фактических запасов прочности ледяного покрова и температуры окружающего воздуха.
На ледовой переправе также запрещается: перемещение транспортных средств в туман или пургу; остановки, рывки, развороты, обгоны автомобилей, заправка их горючим.
На переправу транспортные средства должны выезжать со скоростью не более 10 км/ч без толчков и торможения. Автомобили при этом должны двигаться по переправе на второй или третьей передаче.
Перевозка пассажиров допускается лишь при условии массы-брутто транспортного средства (кроме рейсовых автобусов и автомобилей, перевозящих группы людей), в три раза меньшей допустимой расчетной нагрузки.
Вблизи переправы должны быть запасы песка и других материалов, необходимых в процессе эксплуатации и ремонта. Для возможности эвакуации с рабочей полосы переправы неисправных транспортных средств, вблизи нее должны находиться тягачи с необходимым такелажем.
При появлении на переправе наледной воды необходимо устранить источник ее поступления, засыпать эту воду снегом, кусочками льда и для лучшего промерзания уплотнить этот слой.
При увеличении или уменьшении толщины льда или средней за трое суток температуры воздуха необходимо пересчитать допускаемые нагрузки на ледяной покров. При появлении на ледяном покрове потоков талой воды необходимо преградить ей путь валами из утрамбованного снега.
Во время оттепелей в весенний период рекомендуется движение по переправе организовать в наиболее холодное время суток: утром и ночью.
Весной движение по переправе (прекращается: при появлении на льду колеи, заполненной на большом расстоянии водой; при образовании сквозных трещин шириной более 15 см большой протяженностью; при уменьшении толщины и прочности льда; при разрушении льда у съездов.
Ледовая переправа должна быть оборудована служебными помещениями, спасательными средствами и средствами связи. На обоих берегах у въезда на переправу должны быть оборудованы павильоны для ожидания пассажиров и пешеходов во время закрытия движения по переправе.
Рекомендуется устанавливать дистанцию между автомобилями не менее 30 м и скорость движения не выше 20 км/ч. Тяжелые автопоезда и автомобили (массой более 25 т) пропускают с минимальной дистанцией не менее 70 м впереди и сзади.
На ледовых переправах необходимо устанавливать дорожные знаки, показывающие установленную на данный день грузоподъемность ледяного покрова, скорость движения автомобилей, интервал между ними, часы разрешенного проезда по переправе, заблаговременную предупредительную надпись о переправе. По обеим сторонам переправы на расстоянии 0,5 м от обочин должны стоять хорошо заметные ограничительные вешки с интервалом между ними 15...20 м. При возможности их следует покрывать светоотражающей пленкой.
17.1.1. Выполнение инструкции [29] обеспечивает безопасное передвижение по ледовым дорогам, переправам и через водные преграды.
17.1.2. Непосредственную ответственность за соблюдение правил безопасности при переправах через водные преграды несет лицо, прошедшее ознакомление с инструкцией. Допускать к руководству переправой лиц, не имеющих опыта, запрещается.
17.1.3. Запрещается нахождение людей, кроме водителей, в транспортных средствах при переправах через водные преграды по ледовым дорогам. Перед началом движения по ледовой переправе водитель обязан высадить всех пассажиров.
17.1.4. Переправы через водные преграды при сильном ветре, большой волне, тумане, в темное время суток, а также переправы во время паводков и дождей запрещаются.
17.1.5. Переправы через водные преграды во всех случаях производятся только после тщательной подготовки, включающей:
а) выбор и изучение места переправы;
б) разработку плана мероприятий;
в) проверку переправочных и спасательных средств.
17.1.6. При переправах любым способом особое внимание уделять лицам, не имеющим плавать. Переправа через водные преграды вплавь запрещается.
17.1.7. Лица в нетрезвом состоянии к переправам через водные преграды не допускаются.
17.1.8. Все плавсредства, применяемые для переправы, должны быть исправными и обеспечены необходимыми и в достаточном количестве надежными спасательными средствами. Запрещается переправа на неисправных или ненадежных плавсредствах, не гарантирующих безопасность.
17.1.9. К управлению плавсредствами (катера, моторные лодки) допускаются только лица, имеющие права вождения. На реках с опасными препятствиями управление разрешается только опытным рулевым, хорошо знающим особенности местных рек.
17.1.10. Переправы через водные преграды допускаются только при условии соблюдения общих требований безопасности передвижения:
17.1.10.1. Приемлемое состояние пути: отсутствие больших волн, порогов, перекатов, мелей, отмелей, камней, топляков, завалов, заломов, шуги, ледохода. Скорость течения реки не более 2 м/сек.
17.1.10.2. Исправное техническое состояние средств передвижения: машин, вездеходов, лодок, подвесных моторов, катеров и их оборудования.
17.1.10.3. Наличие опытных мотористов, шоферов, рулевых, гребцов.
17.1.10.4. Наличие и исправное состояние противоаварийных и спасательных средств на машинах, вездеходах, лодках, плотах и катерах: насосы, кожухи, спасательные круги и спасательные нагрудники на каждого пассажира, багры, лопаты, веревки, черпаки, запасные весла и т.п.
17.1.10.5. Безопасное равномерное размещение грузов (без перегрузки сверх нормы и крена).
17.1.10.6. Надлежащее оборудование и безопасное размещение пассажиров (количество людей не должно быть выше нормы).
17.1.11. При возникновении аварийных ситуаций участники переправы обязаны принять меры по оказанию помощи пострадавшим и ликвидации аварии всеми имеющимися средствами.
17.2.1. Переправа по льду всех транспортных средств разрешается только в местах, где дорожной службой (УАД) установлены соответствующие дорожные знаки: ограничение веса, ограничение скорости движения, предписывающие обязательные направления движения.
17.2.2. В случае необходимости переправы транспортных средств, которые по весу или по виду не соответствуют установленным на переправе дорожным знакам, за 24 часа руководство предприятия направляет в дорожную службу (УАД) письмо с просьбой разрешить разовую переправу таких транспортных средств. Переправа в этом случае допускается только при наличии письменного разрешения дорожной службой (УАД) и под руководством ответственного лица из числа инженерно-технических работников НГДУ с соблюдением необходимых мер безопасности.
17.2.3. При необходимости переправы в местах, не обозначенных дорожными знаками, начальник цеха (участка) подает заявку в отдел охраны труда НГДУ, который за подписью руководства предприятия подает заявку на организацию ледовой переправы в Управление автомобильных дорог (УАД).
В случае отказа УАД выполнить заявку по организации незапланированной ледовой переправы для выбора трассы, определения толщины и расстояния льда приказом по предприятию назначается комиссия, которая составляет акт по определению трассы и замеру толщины льда и дает заключение о его несущей способности.
17.2.4. Перед переправой по льду следует внимательно осмотреть данный участок водоема и определить общую пригодность его для переправы. Пробное удаление от берега и пробные переходы одного человека и транспортных средств с целью определения прочности льда запрещаются.
17.2.5. Обследование льда при выборе места переправы должно производиться не менее, чем двумя работниками, связанными между собой распущенной страховочной веревкой длиной не менее 30 м. При этом первый идущий обвязан за пояс, второй страхует по мере движения, удерживая веревку в руках. В поисках пути они должны двигаться клином (под углом 45 град. к фронту) на расстоянии 5-10 м друг от друга. Первый из них по мере движения должен проверять прочность льда пешней с петлей, надетой на руку (петля не менее 25 см в диаметре), чтобы в случае необходимости было легко высвободить из нее руку. В случае, если пешня пробивает лед с одного удара, следует вернуться и избрать другой путь или прекратить работы. Работники, выполняющие эти работы, должны надеть спасательные жилеты или нагрудники.
17.2.6. В случае провала одного человека под лед другой должен немедленно принять меры по его извлечению с помощью страховочной веревки и других подручных средств (шеста, палки, своей спецодежды).
17.2.7. За работой лиц, проводящих определение прочности льда, должно быть установлено наблюдение с берега для оказания в случае необходимости немедленной помощи. Участники работ для оказания помощи провалившемуся под лед должны иметь в достаточном количестве средства спасения: багры, доски, бросательный конец (длиной не менее 50 м) и другое.
17.2.8. Водитель (тракторист) транспортных средств перед началом и в процессе движения по ледовым переправам обязан строго руководствоваться дорожными знаками.
17.2.9. При выборе места ледяной переправы, кроме удобства съезда и выезда, необходимо:
а) установить отсутствие прибрежных трещин на льду;
б) установить надежность (крепость) сопряжения ледяного покрова реки с берегом;
в) установить отсутствие в местах переправы полыньи, сушняка, заторов, торосов;
г) установить характер и объем работ по устройству переправы;
д) определить толщину снега, покрывающего лед;
е) установить строение льда и измерить толщину льда;
ж) определить грузоподъемность льда.
Примечание:
Полынья - незамерзшее место среди льда реки или место, имеющее очень тонкий опасный лед. Полынья часто образуется в местах быстрого течения воды или в местах выхода грунтовых вод - ключей, а также встречается ниже ледяных заторов.
Заторы - скопление льда в узких местах реки, имеющих препятствия для прохода льда. При усилении мороза лед в местах заторов смерзается, вызывая подъем уровня воды выше затора и образование полыньи ниже затора.
Шуга - всплывание на поверхность частиц донного льда в виде простых ледяных игл и зерен.
Зажоры - скопление шуги донного льда. Зажоры, заполняя русло, вызывают подпор воды, создающей взлом верхнего льда и образующейся наледи с выходом воды из берегов.
Сушняк - сухое русло реки подо льдом, появляющееся вследствие отсутствия питания реки грунтовыми водами и значительного понижения уровня воды. Иногда русло покрыто двумя - тремя слоями опасного льда, под которым мало или совсем нет воды.
17.2.10. Измерение толщины льда производится с соблюдением правил безопасности. Для измерения толщины льда и определения его грузоподъемности делают лунки в 10 м от оси переправы с обеих сторон ее, на расстоянии 10 м друг от друга по ходу переправы и непременно в 3 м от берега.
Вода в лунках должна заливать 0,8...0,9 толщины льда. Измерять толщину льда (в см) при помощи ледомера. Строение льда обычно бывает таким: сверху находится снег, под ним снеговой лед, ниже мутный лед и самая нижняя часть (толстая) - прозрачный лед. При измерении толщины в расчет принимать только толщину прозрачного льда.
17.2.11. При определении грузоподъемности льда пользоваться приведенной ниже табл. 17.2.1
Таблица 17.2.1
Допустимые грузоподъемности ледяного покрова для зимнего льда при передвижении по нему людей и транспорта
|
Наименование |
Вес, т |
Толщина без опасения речного ледяного покрова при температуре воздуха от 1 ° до -20°С, см |
Минимальное расстояние до кромки льда, м |
|
Человек со снаряжением |
0,1 |
10 |
5 |
|
Автомашина грузоподъёмностью 1,5 т с грузом |
3,5 |
25 |
19 |
|
Автомашина с грузом |
6,5 |
35 |
25 |
|
Автосамосвал с грузом пли бульдозер |
8,5 |
39 |
25 |
|
Автосамосвал с грузом или трактор |
10 |
40 |
26 |
|
Трактор с грузом до |
20 |
55 |
30 |
|
Сверхтяжелый груз до |
40 |
95 |
38 |
Примечания: 1. Таблица составлена для пресноводных водоемов.
2. При измерении толщины ледяного покрова в расчет берется только прозрачный лед. а слои снежного и пористого, пропитанного водой, в расчете принимаются.
3. Весенний лед слабее зимнего в 2 раза.
4. Допускаемое расстояние между оборудованием и сопровождающими его людьми должно быть не менее 25 м.
5. При появлении воды на льду нагрузка на ледяную дорогу должна быть снижена на 50...80 %.
6. Если температура воздуха несколько дней была выше 0°С, необходимую толщину льда, полученную по таблице, увеличить на 25 %.
17.2.12. Увеличить грузоподъемность можно путем укладки по льду поперек пути шпал длиной 7 м на расстоянии друг от друга не более 0,5 м, а под колеса машин укладывать бруски сечением 18´18 по 5 брусков под каждую линию колес, скрепляя их скобками. При таком увеличении грузоподъемности льда толщина его может быть меньше толщины льда, указанной в табл. 17.2.1 на 10 % для гусеничных машин и на 15 % для колесных автомашин. Увеличение грузоподъемности льда хворостом, соломой, камышом запрещается, так как эти материалы способствуют подтаиванию льда.
17.2.13. При толщине льда менее 10 см на обоих берегах должны вывешиваться соответствующие дорожные сигнальные знаки и плакаты, запрещающие движение людей и автотранспорта через реку. В темное время суток эти знаки и плакаты вывешиваются на столбах высотой от земли 2,5 м, установленных в начале переходов через реку, справа по ходу. Плакаты изготавливаются в виде щитов размеров 100´60 см, на которых делаются надписи с величиной букв 12 см.
17.2.14. В течение всей зимы ледовая дорога, а также съезды к ней должны очищаться от снега. Ширина ледовой дороги должна быть не менее 6 м. При расчистке дорог от снега необходимо оставлять на проезжей части слой снега до 10 см, если он рыхлый, и до 5 см при слежавшемся снеге.
17.2.15. При ледяных переправах скорость машин не должна быть более 5...8 км/час. Во время движения по льду люди должны сойти с машины и идти за ней на расстоянии не менее 25 м
Водители должны вести машины с открытыми дверцами кабин.
Во время движения машин по льду не допускаются остановки, рывки и развороты, обгон впереди идущих машин.
Запрещаются ледяные переправы по снежуре, наледи, сушняку и вблизи полыньи.
17.2.16. Во время ледяной переправы необходимо установить наблюдение за состоянием льда. В случае появления трещин на льду, выхода воды из трещин, отколов льда у трещин, опускания льда у берегов переправу в этом месте немедленно прекратить.
17.2.17. В местах впадения ключей, канализации и речек переход людей и транспорта запрещаются.
17.2.18. Измерение толщины льда в местах передвижения людей и транспорта должно производиться:
а) зимой - один раз в 10 дней;
б) на быстром течении реки - один раз в неделю;
в) весной - при температуре выше 0°С не реже, чем 3 раза в день.
Замеры должны быть произведены по одному входу и выходу дороги правого и левого берегов через 100 м, не менее одного замера.
17.2.19. При выгрузке грузов на лед, в целях рассредоточения нагрузки, должны устанавливаться настилы. Сбрасывать груз с транспорта на лед запрещается.
17.2.20. Движение людей и транспорта по ледовым дорогам разрешается только по заранее проложенным трассам, обставленным всеми указателями и дорожными знаками.
17.2.21. При обнаружении провалов льда, больших трещин на трассе ответственный за переход рабочих по льду или водитель машины обязаны немедленно прекратить дальнейшее продвижение по льду и сообщить об этом ответственному лицу для принятия надлежащих мер.
Для обеспечения организации и безопасности дорожного движения на автомобильных дорогах устанавливают дорожные знаки в соответствии с ГОСТ 10807-78 «Знаки дорожные. Общие технические условия», ГОСТ 23457-86 «Технические средства организации дорожного движения. Правила применения».
Места расположения дорожных знаков зависят от конкретных дорожных условий на каждом участке автомобильной дороги. Для каждой автомобильной дороги разрабатывается дислокация дорожных знаков, которая утверждается органами ГИБДД и является обязательным документом для соблюдения дорожной организацией, занимающейся содержанием автомобильной дороги. Внесение изменений в утвержденную дислокацию производится с разрешения органов, ее утверждавших, при наличии письменного обоснования. Дислокация пересматривается не реже, чем раз в три года. Старые дислокации и последующие изменения к ним хранятся один год после их переутверждения.
Дорожные знаки должны быть размещены с учетом их наилучшей видимости участниками дорожного движения, как в светлое, так и в темное время суток, удобства эксплуатации и обслуживания, а также исключения возможности их преднамеренных повреждений. При этом они не должны закрываться от участников дорожного движения какими-либо препятствиями (зелеными насаждениями, мачтами наружного освещения, автопавильонами и т.п.) [96].
При размещении дорожных знаков должна быть обеспечена направленность передаваемой ими информации только тем участникам дорожного движения, для которых она предназначена.
В пределах полосы отвода допускается в установленном порядке размещать рекламу, плакаты, транспаранты и другие устройства при условии, что это не затруднит восприятия участниками движения технических средств организации дорожного движения.
Не допускается помещать на опорах, на которых размещаются дорожные знаки, рекламу, плакаты, транспаранты и другие устройства, не имеющие отношения к организации дорожного движения.
Дорожные знаки, применение которых было вызвано причинами временного характера (дорожно-ремонтные работы, сезонные особенности движения и т.п.), должны быть немедленно демонтированы после устранения указанных причин. При этом знаки допускается закрывать чехлами.
Действие знака распространяется на проезжую часть, велосипедную или пешеходную дорожку, у которой или над которой он установлен.
Знаки со световозвращающей поверхностью применяются на участках дорог без стационарного освещения, знаки с внутренним и внешним освещением - на участках дорог со стационарным освещением.
Знаки со световозвращающей поверхностью допускается применять на участках дорог со стационарным освещением, если обеспечивается видимость знаков на расстоянии не менее 100 м.
В одном поперечном сечении дороги допускается устанавливать не более трех знаков, без учета дублирующих знаков и знаков дополнительной информации (табличек).
Знаки, установленные на дороге последовательно, за исключением знаков, установленных на перекрестке, должны быть расположены вне населенных пунктов на расстоянии не менее 50 м, а в населенных пунктах - не менее 25 м друг от друга.
Дорожные знаки, кроме специальных случаев, должны устанавливаться с правой стороны дороги вне проезжей части и обочины. На дорогах с двумя и более полосами для движения в одном направлении знаки с учетом характера содержащейся на них информации и местных условий должны дублироваться, если они могут быть своевременно не замечены водителями из-за крупногабаритных транспортных средств, движущихся по правым полосам проезжей части. Дублирующие знаки устанавливаются на разделительной полосе, а при ее отсутствии - на левой стороне дороги, если для движения во встречном направлении имеется не более двух полос, или над проезжей частью, если не обеспечивается видимость знака, установленного на левой стороне дороги, а также если для движения во встречном направлении имеется три полосы и более.
Расстояние от кромки проезжей части, а при наличии обочины - от бровки земляного полотна до ближайшего к ней края знака, установленного сбоку от проезжей части, должно составлять от 0,5 до 2,0 м, а до края информационно-указательных знаков - от 0,5 до 5,0 м.
В стесненных условиях (у обрывов, выступов скал, парапетов и т.п.) допускается установка знаков на обочинах. При этом расстояние между кромкой проезжей части и ближайшим к ней краем знака должно составлять не менее 1,0 м, а высота установки - не менее 2,0 м.
При отсутствии ограждения знаки, расположенные на обочине, а также на разделительной полосе, должны устанавливаться на безопасных опорах в соответствии с ГОСТ 25459-82 «Опоры железобетонные дорожных знаков. Технические условия» и ГОСТ 25458-82 «Опоры деревянные дорожных знаков. Технические условия».
Верхний обрез фундамента опоры знака должен быть выполнен заподлицо с поверхностью обочины, разделительной полосы или присыпной бермы.
В местах проведения работ на проезжей части и при оперативных изменениях в схемах организации движения знаки на переносных опорах допускается устанавливать на проезжей части.
Расстояние от нижнего края знака до поверхности дорожного покрытия (высота установки) кроме случаев, специально оговоренных, должно составлять:
- от 1,5 до 2,2 м - при установке сбоку от дороги вне населенных пунктов, от 2,0 до 4,0 м - в населенных пунктах;
- не менее 0,6 м - при установке на островках безопасности и на проезжей части дороги;
- от 5,0 до 6,0 м - при размещении над проезжей частью; при размещении знаков на пролетных строениях искусственных сооружений при расстоянии от поверхности дорожного покрытия до низа пролетного строения сооружения менее 5 м знаки не должны выступать за их нижний край. Высота установки знаков, расположенных сбоку от дороги, определяется от поверхности дорожного покрытия на краю проезжей части.
При расположении знаков друг под другом высота установки определяется по нижнему знаку.
На протяжении одной дороги высота установки знаков должна быть по возможности одинаковой.
Расстояние между соседними знаками, размещенными на одной опоре и распространяющими свое действие на одну и ту же проезжую часть, за исключением знаков, выполненных в одном корпусе, должно составлять от 50 до 200 мм.
Знаки не должны устанавливаться на расстоянии менее 1 м от проводов сети высокого напряжения. В пределах охранной зоны высоковольтных линий подвеска знаков на тросах-растяжках запрещается.
Дорожные знаки изготавливаются четырех типоразмеров: I - малого, II - нормального, III - большого, IV - очень большого. Типоразмеры знаков в зависимости от условий применения должны выбираться в соответствии с таблицей 18.1.1.
Если для данных условий движения типоразмер знака не оговорен, должны применяться знаки ближайшего типоразмера.
Таблица 18.1.1
|
Типоразмер знака |
Применение знаков |
|
|
вне населенных пунктов |
в населенных пунктах |
|
|
I |
Дороги с одной полосой |
Дороги местного значения |
|
II |
Дороги с двумя и тремя полосами |
Магистральные дороги |
|
III |
Дороги с четырьмя и более полосами и автомагистрали |
Скоростные дороги |
|
IV |
Ремонтные работы на автомагистралях, опасные участки на других дорогах при обосновании целесообразности применения |
|
Дорожная разметка в виде линий, надписей и других обозначений, наносимых на проезжую часть, бортовой камень, элементы дорожных сооружений и обстановки дорог, устанавливает порядок движения, показывает габариты дорожных сооружений или указывает направление дороги и опасных ее участков [35].
Разметку выполняют в соответствии с требованиями ГОСТ 13508-74 «Разметка дорожная», ГОСТ 23457-86 «Технические средства организации дорожного движения. Правила применения».
Разметка применяется, как самостоятельно, так и в сочетании с дорожными знаками, но при их совместном использовании информация, передаваемая водителю, не должна быть противоречивой.
Дорожная разметка разделяется на две группы: горизонтальная и вертикальная.
Для горизонтальной разметки используют два цвета: белый и желтый. Вертикальная разметка представляет из себя сочетание полос белого и черного цвета. На скоростных дорогах разметка должна быть выполнена из световозвращающих материалов.
Дорожные ограждения [35] устанавливают для предотвращения непредвиденных съездов автомобилей с откосов насыпей, падения с мостов, путепроводов и эстакад, переездов разделительной полосы, наездов на массивные препятствия, а также для упорядочения движения пешеходов.
По функциональному назначению конструкции дорожных ограждений разделяют на две группы. К первой группе относятся конструкции, рассчитанные на силовое воздействие транспортных средств. К второй группе относят конструкции, предназначенные для регулирования движения пешеходов.
По условиям взаимодействия автомобиля и ограждения конструкции ограждений первой группы разделяются на два вида: направляющие и останавливающие. Направляющие ограждения устанавливают вдоль оси дороги на обочине, разделительной полосе или у края проезжей части моста (путепровода) и рассчитывают на противодействие скользящим ударам автомобилей (угол наезда на ограждение до 30°). Останавливающие ограждения рассчитывают на фронтальный удар автомобиля (угол наезда 90°) и устанавливают на участках дорог, где направляющие ограждения не могут удержать автомобиль от падения с моста, высокой насыпи или ослабить удар о массивное неподвижное препятствие.
По конструктивному исполнению направляющие ограждения первой группы разделяют на несколько типов: барьерные - металлические профилированные планки [60], прикрепленные к амортизаторам (консолям), установленным на металлических стойках которые имеют несколько модификаций; парапетные - железобетонные блоки со специальной формой поперечного сечения и блоки прямоугольной формы из бетона и бутобетона; бордюрные - отдельные железобетонные блоки закрепленные у тротуара на мостах и путепроводах с целью ограничения габарита проезжей части; комбинированные - состоят из элементов барьерных, парапетных или бордюрных ограждений, а также ограждений второй группы.
В качестве ограждений второй группы для регулирования движения пешеходов применяют конструкции перильного типа из стальных труб и цепей, а также сетки.
Конструкции ограждений и схемы их установки следует выбирать в соответствии с типовыми проектными решениями, типовыми конструкциями и ГОСТ 26804-86 «Ограждения дорожные металлические барьерного типа. Технические условия».
Направляющие устройства предназначены [35] для указания водителю изменения направления движения, расположения границ проезжей части и обочин, протяженности и формы опасных участков дороги или дорожных сооружений преимущественно в темное время суток и при неблагоприятных погодных условиях.
К направляющим устройствам относят: направляющие столбики; световые тумбы с проблесковыми или постоянными огнями; плитки, кнопки и устройства со световозвращающими элементами, закрепляемые на проезжей части и дорожных сооружениях; переносные барьеры, стойки, щиты, конусы и вехи применяемые в местах производства дорожных работ.
Направляющие устройства не должны наносить серьезных повреждений автомобилям и каких-либо травм участникам движения при случайном наезде на них.
Направляющие столбики устанавливают на обочине, ближе к бровке земляного полотна, но не менее чем на 0,35 м от нее. При этом нельзя приближать столбик к проезжей части на расстояние менее 0,75 м. На разделительной полосе установка столбиков не рекомендуется из-за возникновения эффекта перемещающихся теней при освещении столбиков светом фар встречных автомобилей.
В соответствии с требованиями ГОСТ 23457-86 «Технические средства организации дорожного движения. Правила применения» направляющие столбики следует устанавливать на дорогах, не имеющих стационарного искусственного освещения, при условиях, когда не требуется установка ограждений первой группы:
- в пределах закруглений дорог в продольном профиле и на подходах к закруглению (по три столбика с каждой стороны дороги) при высоте насыпи не менее 2,0 м и интенсивности движения не менее 1000 авт/сут;
- на прямолинейных участках дорог при высоте насыпи не менее 2,0 м и интенсивности движения не менее 1000 авт/сут - через 50 м;
- в пределах закруглениях на пересечениях и примыканиях дорог в одном уровне;
- на дорогах расположенных в 15 м и менее от болот и водотоков глубиной от 1 до 2 м - на расстоянии 10 м;
- у мостов и путепроводов перед и после ограждений, установленных на подходах к сооружению, по три столбика с двух сторон дороги до и после сооружения - на расстоянии 10 м;
- у водопропускных труб по одному столбику с каждой стороны дороги вдоль оси трубы и по три столбика с двух сторон дороги до и после сооружения - на расстоянии 10 м.
Сигнальные световые тумбы с постоянными или проблесковыми огнями применяют преимущественно на освещенных участках автомобильных дорог и улиц для указания водителям островков безопасности, разрывов в разделительной полосе для разворота транспортных средств, начала рампового участка тоннеля, расположения пешеходных переходов, опор путепроводов и возвышающихся над проезжей частью массивных блоков островков безопасности на пешеходных переходах.
Металлические, керамические, пластмассовые кнопки, плитки и устройства применяют для улучшения видимости линий продольной разметки в темное время суток и в дождливую погоду. В них могут быть использованы световозвращающие элементы. Плитки и кнопки приклеивают на поверхность покрытия или встраивают в проезжую часть таким образом, что они возвышаются над поверхностью покрытия. Они должны быть надежно закреплены на покрытии для противостояния воздействию отвалов снегоочистительных машин.
Различные устройства со световозвращающими элементами могут быть применены для установки на ограждениях, торцовых частях перил мостов и путепроводов, железнодорожных шлагбаумах и габаритных воротах, островках безопасности.
Организация движения в местах проведения дорожных работ производится в соответствии с ВСН 37-84 «Инструкция по организации движения и ограждению мест производства работ» и разработанного на ее основе альбома «Схемы организации движения и ограждения мест производства дорожных работ».
До начала производства работ [95] дорожная организация должна составить привязанные к местности схемы организации движения транспортных средств и пешеходов в местах производства дорожных работ, обеспечивающие безопасность, как работающих на дороге, так и всех участников дорожного движения.
На схемах показывают геометрические параметры ремонтируемого участка (ширина проезжей части и обочин, радиусы кривых в плане, продольный уклон, тип покрытия и т.д.) с указанием искусственных сооружений, расположения съездов, въездов и объездов, мест расстановки дорожных знаков, нанесения при необходимости временной разметки, ограждений, расположения сигнальных фонарей, складирования строительных материалов. На схеме указывают вид и характер дорожных работ, сроки их исполнения, наименование организации, проводящей работы, телефоны и фамилии должностных лиц, составивших схему и ответственных за проведение работ.
Схемы утверждаются руководителем дорожной организации и до начала производства работ согласовываются с органами ГИБДД, а в случае выполнения работ, связанных с переносом или переустройством инженерных коммуникаций, необходимо согласование со всеми заинтересованными организациями.
При выполнении работ по содержанию автомобильных дорог (уборка мусора, мойка знаков, ограждений, их окраска и т.д.) составление схем не производится, но местные органы ГИБДД ставят в известность о проведении таких работ.
Неотложные работы по устранению повреждений дороги и дорожных сооружений, нарушающих безопасность движения, а также аварийные работы можно выполнять без предварительного согласования и утверждения схем, но с обязательным извещением органов ГИБДД о месте и времени проведения таких работ, если их продолжительность составляет более одних суток.
К выполнению дорожных работ, в том числе размещению дорожных машин, инвентаря, материалов, нарушающих режим движения, разрешается приступать после полного обустройства места работ всеми необходимыми временными дорожными знаками и ограждениями.
За границы участка дорожных работ следует считать первое и последнее ограждающее средство, установленное на проезжей части, обочине или тротуаре и изменяющее направление движения.
Применяемые при дорожных работах временные дорожные знаки, ограждения и другие технические средства устанавливают и содержат организации, выполняющие дорожные работы.
Ответственность за соблюдение нормативных требований по организации дорожного при проведении дорожных работ возлагается на руководителя дорожных хозяйств и на лиц, непосредственно руководящих дорожными работами, а при производстве работ сторонними организациями - на соответствующих работников этих организаций.
При составлении схем организации движения в местах производства дорожных работ необходимо выполнение следующих требований:
- предупредить заранее водителей транспортных средств и пешеходов об опасности, вызванной дорожными работами;
- четко обозначить направление объезда имеющихся на проезжей части препятствий, а при устройстве объезда ремонтируемого участка его маршрут;
- создать безопасный режим движения транспортных средств и пешеходов, как на подходах, так и на самих участках проведения дорожных работ.
Основными средствами организации движения в местах производства дорожных работ являются временные дорожные знаки, разметка проезжей части, ограждающие и направляющие устройства.
Расстановку знаков, ограждающих и направляющих устройств необходимо осуществлять с конца участка, наиболее удаленного от места производства работ, причем в первую очередь со стороны, свободной от дорожных работ. Сначала устанавливают дорожные знаки, затем ограждающие и направляющие устройства. Снятие знаков, ограждающих и направляющих устройств производится в обратной последовательности.
На дорогах вне населенных пунктов для обеспечения видимости, ограждающие и направляющие устройства в темное время суток должны быть снабжены световозвращающими элементами размером 5´5 см, а на автомагистралях размером 10´10 см, закрепленных на верхней перекладине возвращающих устройств, через 0,5 м.
На автомагистралях, оборудованных освещением и на застроенной территории, зона дорожных работ должна быть оборудована сигнальными фонарями, установленными на переносных барьерах или щитах. Их размещают из расчета 1 фонарь на 1 м длины барьера или щита, установленного поперек дороги. Если инвентарные щиты установлены вдоль дороги, то фонари размещают на них через 15 м.
Цвет сигнальных огней или световозвращающих элементов, применяемых совместно с ограждающими устройствами, должен быть красным. Сигнальные фонари устанавливают на высоте 1,5...2 м над уровнем проезжей части. Мощность ламп в светильниках не должна превышать 15...25 Вт. Расстояние их видимости должно составлять 150...300 м. Они не должны вызывать ослепление участников движения. Сигнальные фонари включают с наступлением вечерних сумерек, выключают с окончанием утренних сумерек. В дневное время фонари включают при наличии тумана. Допускается установка мигающих фонарей с частотой мигания 50...80 в минуту.
Особо опасные места (траншеи, котлованы, ямы, устраиваемое при укреплении корыто глубиной более 0,1 м и т.п.) необходимо ограждать, применяя сигнальные ленты или направляющие конусы, а также инвентарные щиты или барьеры, которые устанавливают на всем протяжении зоны работ через 15 м и оборудуют сигнальными фонарями.
Для сохранения оптимальной пропускной способности дороги не следует без необходимости ограничивать скорость движения в местах дорожных работ менее 40 км/ч.
Для плавного изменения скоростей транспортных средств перед участком дорожных работ необходимо производить последовательное снижение скорости ступенями с шагом не более 20 км/ч. Временные дорожные знаки, регламентирующие ступенчатое ограничение скоростей, располагают друг от друга на расстоянии не менее 100 м. Число знаков, ограничивающих скорость, зависит от разности скоростей до и после ограничения.
Для разделения встречных потоков транспортных средств в местах дорожных работ, обозначения рядности и обеспечения безопасной траектории движения используют переносные направляющие конусы, вехи или стойки. Этой же цели служат нанесенная на проезжую часть временная разметка и дорожные знаки.
При нанесении на проезжую часть в местах дорожных работ линий разметки, расстановке направляющих конусов или вех, отклоняющих транспортные потоки, длину отгона (Lотг) следует назначать в соответствии с табл. 18.5.1.
Таблица 18.5.1
Рекомендуемая длина отгона (Lотг) ширины проезжей части, закрываемой для движения при различной скорости на подходе
|
Скорость на подходе, км/ч |
Длина отгона, м, при ширине проезжей части, закрываемой для движения, м |
|||||
|
2,5 |
3,0 |
3,5 |
4,0 |
5,0 |
7,5 |
|
|
30 40 50 60 80 100 |
12 20 30 45 60 80 |
25 30 40 55 65 90 |
25 40 50 65 75 100 |
30 50 60 75 85 105 |
35 60 80 95 100 115 |
50 70 110 125 130 160 |
В населенных пунктах, имеющих городской поперечный профиль или небольшое расстояние до застройки (менее 5 м), при проведении дорожных работ, захватывающих тротуар, необходимо оборудовать дополнительные (временные) пешеходные переходы с двух сторон за пределами ремонтируемого участка. Временный пешеходный переход не устраивают, если до следующего действующего перехода менее 150 м. В этом случае пешеходный поток пропускают по этому ближайшему переходу.
Все временные дорожные знаки и другие технические средства организации движения, связанные с проводимыми работами, после завершения работ следует немедленно убирать.
Размеры временных знаков, используемых для организации движения в местах производства дорожных работ, не должны быть менее тех, которые применяются для данной категории дороги, а при ремонтах на автомагистралях применяют знаки увеличенного размера в соответствии со стандартом на дорожные знаки.
В настоящем разделе приведены тарифно-квалификационные характеристики профессий, наиболее часто встречающихся дорожно-строительных специальностей рабочих и профессий машинистов строительных и дорожно-строительных машин.
За основу при разработке приняты тарифно-квалификационные характеристики рабочих, переработанные АО «Центр по труду в строительстве» (ЦТС), Единые тарифно-квалификационные справочники (выпуск I..III и др.) и разрядность машинистов дорожных машин и механизмов, утвержденные «Отраслевым тарифным соглашением между ЦК профсоюза работников автомобильного транспорта и дорожного хозяйства Российской Федерации, Федеральным дорожным департаментом Минтранса Российской Федерации, акционерным обществом «концерн РОСАВТОДОР», Российской ассоциацией подрядных организаций в дорожном хозяйстве, Министерством труда Российской Федерации на 1995 год» (в дальнейшем ОТС).
Тарифные разряды машинистов строительных и дорожно-строительных машин и механизмов 7...9 разрядов приняты согласно ОТС.
По профессиям: бетонщик, изолировщик на гидроизоляции, маляр строительный, столяр строительный приняты тарифно-квалификационные характеристики, переработанные АО ЦТС.
Квалификационные требования для рабочих общестроительных специальностей (землекоп, каменщик, маляр, мостовщик и др.) сохранены согласно ЕТКС, так как у этой категории работников условия труда и уровень механизации работ практически не изменились.
В квалификационной характеристике «машинист» в разделе «Должен знать» включено требование знания «Правил дорожного движения» при работе на машинах и механизмах на шасси автомобиля.
В соответствии с постановлением Министерства труда РФ от 10.11.94 № 30 «Об утверждении тарифно-квалификационных характеристик по общеотраслевым должностям служащих» введены понятия групп участков:
- для начальника участка, производителя работ (включая старшего), мастера участка (включая старшего) - I, II, III группы участков (табл. 19.1.1).
Должностные обязанности. Своевременно подготавливает производство, обеспечивает расстановку рабочих и бригад, контролирует соблюдение технологических процессов, оперативно выявляет и устраняет причины их нарушения. Участвует в разработке новых и совершенствовании действующих технологических процессов и режимов производства, а также производственных графиков. Проверяет качество выпускаемой продукции или выполняемых работ, осуществляет мероприятия по предупреждению брака и повышению качества продукции (работ, услуг). Принимает участие в приемке законченных работ по реконструкции участка, ремонту технологического оборудования, механизации и автоматизации производственных процессов и ручных работ. Организует внедрение передовых методов и приемов труда. Обеспечивает выполнение рабочими норм выработки, правильное использование производственных площадей, оборудования, оргтехоснастки (оснастки и инструмента), равномерную (ритмичную) работу участка. Осуществляет формирование бригад (их количественного, профессионального и квалификационного состава), разрабатывает и внедряет мероприятия по рациональному обслуживанию бригад, координирует их деятельность, принимает меры по созданию укрупненных комплексных бригад. Устанавливает и своевременно доводит производственные задания бригадам и отдельным рабочим (не входящим в состав бригад) в соответствии с утвержденными планами и графиками производства, плановые показатели по использованию оборудования, сырья, материалов, инструментов, топлива, энергии, фонда заработной платы. Осуществляет производственный инструктаж рабочих, проводит мероприятия по выполнению правил охраны труда, техники безопасности и производственной санитарии, технической эксплуатации оборудования и инструмента, а также контроль за их соблюдением. Содействует развитию совмещения профессий, расширению зон обслуживания и применения других прогрессивных форм организации труда, вносит предложения о пересмотре норм выработки и расценок, а также о присвоении в соответствии с Единым тарифно-квалификационным справочником работ и профессий рабочих разрядов рабочим, принимает участие в тарификации работ и присвоении квалификационных разрядов рабочим участка. Анализирует результаты производственной деятельности, контролирует расходование фонда заработной платы, установленного участку, обеспечивает правильность и своевременность оформления первичных документов по учету рабочего времени, выработки, заработной платы, простоев. Содействует распространению передового опыта, починов, развитию творческих инициатив, внедрению рационализаторских предложений и изобретений. Обеспечивает своевременный пересмотр в установленном порядке норм трудовых затрат, внедрение технически обоснованных норм и нормированных заданий, правильное и эффективное применение систем заработной платы и премирования. Принимает участие в осуществлении работ по выявлению резервов производства, в разработке мероприятий по созданию благоприятных условий труда, повышению культуры производства, рациональному использованию рабочего времени и обязательств по снижению трудоемкости продукции, в организации их выполнения на участке, содействует развитию инициативы рабочих в пересмотре действующих норм. Контролирует соблюдение рабочими правил охраны труда и техники безопасности, производственной и трудовой дисциплины, правил внутреннего трудового распорядка. Способствует созданию в коллективе обстановки взаимной помощи и взыскательности, развитию у рабочих чувства высокой ответственности за выполнение производственных планов. Премирует в установленном порядке (за счет средств премиального фонда мастера) передовиков производства, а также представляет предложения о поощрении отличившихся рабочих участка или привлечении к дисциплинарной ответственности за нарушение производственной и трудовой дисциплины, применении при необходимости мер материального воздействия. Организует работу по повышению квалификации и профессионального мастерства рабочих и бригадиров, обучению их вторым и смежным профессиям, развитию наставничества, проводит воспитательную работу в коллективе.
Должен знать: постановления, распоряжения, приказы вышестоящих органов, методические, нормативные и другие руководящие материалы, касающиеся производственно-хозяйственной деятельности участка; технические характеристики и требования, предъявляемые к продукции, выпускаемой участком, технологию ее производства; оборудование участка и правила его технической эксплуатации; методы технико-экономического и производственного планирования; хозяйственный расчет; порядок тарификации работ и рабочих; нормы и расценки на работы, порядок их пересмотра; действующие положения по оплате труда; передовой отечественный и зарубежный опыт по управлению производством; основы экономики, организации производства, труда и управления; правила внутреннего трудового распорядка; основы трудового законодательства; правила и нормы охраны труда, техники безопасности, производственной санитарии и противопожарной защиты.
Квалификационные требования
Высшее техническое образование и стаж работы на производстве не менее 1 года или среднее специальное образование и стаж работы на производстве не менее 3 лет. При отсутствии специального образования - стаж работы на производстве не менее 5 лет.
Квалификационный разряд мастера зависит от возможных должностных обязанностей (таблица. 19.1.1)
|
Разряд |
Должностные обязанности |
|
7 |
Мастер участка III группы |
|
8 |
Старшего мастера участка III группы |
|
8 |
Мастер участка II группы |
|
9 |
Старшего мастера участка II группы |
|
9 |
Мастер участка I группы |
|
10 |
Старшего мастера участка I группы |
Должностные обязанности. Обеспечивает выполнение производственных заданий (работ, услуг) участком (сменами и бригадами), соблюдение установленной технологии производства изделий, ритмичный выпуск продукции высокого качества. Организует своевременную подготовку производства, полную загрузку и бесперебойную работу оборудования. Осуществляет оперативный контроль за обеспечением материальными и энергетическими ресурсами, технически правильной эксплуатацией оборудования и других основных средств, экономным расходованием сырья, топлива, материалов, выявляет, предотвращает и устраняет причины нарушений хода производства. Проводит работу по изысканию и организации использования дополнительных производственных резервов повышения производительности труда, снижению трудоемкости и себестоимости продукции. Принимает участие в работе по оперативному планированию производства, улучшению нормирования, рационализации рабочих мест, распространению передовых приемов и методов, снижению затрат труда. Анализирует результаты производственной деятельности участка (смены), причины, вызывающие простои оборудования и снижение качества изделий (работ, услуг), участвует в разработке и внедрении мероприятий по устранению выявленных недостатков. Организует оперативный учет движения продукции по рабочим местам и выполнения производственных заданий. Контролирует соблюдение работниками технологической, производственной и трудовой дисциплины, правил и норм охраны труда, техники безопасности, производственной санитарии и противопожарной защиты, представляет предложения о наложении дисциплинарных взысканий на нарушителей производственной и трудовой дисциплины.
Должен знать: постановления, распоряжения, приказы вышестоящих органов, методические, нормативные и другие руководящие материалы по оперативному управлению производством, перспективы технического развития участка, цеха; назначение, принципы работы, а также технические требования, предъявляемые к выпускаемой продукции, технологию производства; производственное оборудование цеха и правила по технической эксплуатации; системы и методы учета хода производства; основы экономики, организации производства, труда и управления; технико-экономическое и оперативно-производственное планирование; методы хозяйственного расчета; действующие положения об оплате труда и форме материального стимулирования; основы трудового законодательства; правила и нормы охраны труда, техники безопасности, производственной санитарии и противопожарной защиты.
Квалификационные требования
Высшее техническое образование и стаж работы по специальности не менее 2 лет или среднее специальное образование и стаж работы по оперативному управлению производством не менее 3 лет.
10 разряд
При выполнении должностных обязанностей начальника участка III группы или начальника смены цеха III группы.
11 разряд
При выполнении должностных обязанностей начальника участка II группы или начальника смены цеха II группы.
12 разряд
При выполнении должностных обязанностей начальника участка I группы или начальника смены цеха I группы.
Должностные обязанности. Осуществляет руководство производственно-хозяйственной деятельностью участка. Обеспечивает выполнение плана по вводу объектов в эксплуатацию в установленные сроки и выполнению строительно-монтажных и пусконаладочных работ по всем количественным и качественным показателям с соблюдением проектов производства работ. Организует производство строительно-монтажных работ в соответствии с проектной документацией, строительными нормами и правилами, техническими условиями и другими нормативными документами. Обеспечивает соблюдение технологической последовательности производства строительно-монтажных работ на участке. Осуществляет мероприятия по повышению уровня механизации работ, внедрению новой техники, совершенствованию организации труда, снижению стоимости строительно-монтажных и пусконаладочных работ, экономному расходованию материалов. Проводит работу по распространению передовых приемов и методов труда. Обеспечивает получение технической документации на строительство объектов. Составляет заявки на строительные машины, транспорт, средства механизации, материалы, конструкции, детали, инструмент, инвентарь и обеспечивает их эффективное использование. Ведет учет выполненных работ, оформляет техническую документацию. Участвует в сдаче заказчикам законченных строительством объектов, отдельных этапов и комплексов работ по возводимым объектам. Приготавливает фронт работ для субподрядных (специализированных) организаций и участвует в приемке от них выполненных работ. Оформляет допуски на право производства работ в охранных зонах. Устанавливает мастерам производственные задания по объемам строительно-монтажных и пусконаладочных работ, контролирует их выполнение. Инструктирует рабочих непосредственно на рабочем месте по безопасным методам выполнения работ. Обеспечивает применение технологической оснастки (лесов, подмостей, защитных приспособлений, креплений стенок котлованов и траншей, подкосов, кондукторов и других устройств), строительных машин, энергетических установок, транспортных средств и средств защиты работающих. Следит за соблюдением норм переноски тяжестей, чистоты и порядка на рабочих местах, в проходах и на подъездных путях, правильным содержанием и эксплуатацией подкрановых путей, обеспечением рабочих мест знаками безопасности. Организует приобъектное складское хозяйство и охрану материальных ценностей. Контролирует состояние техники безопасности и принимает меры к устранению выявленных недостатков, нарушений правил производственной санитарии, соблюдение рабочими инструкций по охране труда. Обеспечивает соблюдение работниками производственной и трудовой дисциплины. Представляет предложения о поощрении отличившихся работников, наложении дисциплинарных взысканий на нарушителей трудовой и производственной дисциплины. Оказывает помощь рационализаторам, проводит воспитательную работу в коллективе, организует повышение квалификации рабочих.
Должен знать: постановления, распоряжения, приказы вышестоящих органов, методические, нормативные и другие руководящие материалы, определяющие производственно-хозяйственную деятельность на участке или объекте; организацию и технологию строительного производства; проектно-сметную документацию на строящиеся объекты; строительные нормы и правила, технические условия на производство и приемку строительно-монтажных и пусконаладочных работ; методы хозяйственного расчета участка и бригады; единые нормы и расценки на выполняемые работы, положения об оплате труда; основы экономики, организации производства, труда и управления; порядок взаимоотношений подрядной организации с заказчиками и субподрядчиками; систему производственно-технологической комплектации и диспетчеризации строительной организации; достижения науки, передовой отечественный и зарубежный опыт организации строительного производства; основы трудового законодательства; правила и нормы охраны труда, техники безопасности, производственной санитарии и противопожарной защиты.
Квалификационные требования
Высшее техническое образование и стаж работы в строительстве на инженерно-технических должностях не менее 3 лет или среднее специальное (техническое) образование и стаж работы в строительстве на инженерно-технических должностях не менее 5 лет.
Квалификационный разряд производителя работ (прораба) зависит от возложенных должностных обязанностей (табл. 19.1.2)
Таблица 19.1.2
|
Разряд |
Должностные обязанности |
|
9 |
Производитель работ участка III группы |
|
10 |
Старшего производителя работ участка III группы |
|
10 |
Производитель работ участка II группы |
|
11 |
Старшего производителя работ участка II группы |
|
11 |
Производитель работ участка I группы |
|
12 |
Старшего производителя работ участка I группы |
Должностные обязанности. Под руководством более квалифицированного специалиста выполняет работу по обработке информации, проведению необходимых технических расчетов, разработке несложных проектов и простых схем, обеспечивая их соответствие техническим заданиям, действующим стандартам и нормативным документам. Осуществляет наладку, настройку, регулировку и опытную проверку оборудования и систем в лабораторных условиях и на объектах, следит за его исправным состоянием. Участвует в проведении экспериментов и испытаний, подключает приборы, регистрирует необходимые характеристики и параметры и проводит обработку полученных результатов. Принимает участие в разработке программ, инструкций и другой технической документации, в изготовлении макетов, а также в испытаниях и экспериментальных работах по проводимым исследованиям и разработкам. В процессе осуществления исследований и разработок в соответствии с утвержденной методической программой выполняет работу по сбору, обработке и накоплению исходных материалов, данных статистической отчетности, научно-технической информации. Составляет описания проводимых исследований и разрабатываемых проектов, необходимые спецификации, диаграммы, графики и другую техническую документацию. Изучает с целью использования в работе справочную и специальную литературу. Участвует в обосновании экономической эффективности внедрения новой техники и технологии; рационализаторских предложений и изобретений. Выполняет техническую работу по оформлению рукописей, плановой и отчетной документации, осуществляет графическое оформление материалов. Вносит необходимые изменения и исправления в техническую документацию в соответствии с решениями, принятыми при рассмотрении и обсуждении выполняемой работы. Сверяет и исправляет материалы после копирования и размножения. Принимает и регистрирует поступающую документацию и корреспонденцию, обеспечивает ее сохранность, ведет учет прохождения документов и контроль за сроками их исполнения, а также осуществляет техническое оформление документов, законченных делопроизводством. Систематизирует, обрабатывает и подготавливает данные для составления отчетов о работе.
Должен знать: методические, нормативные и справочные материалы по выполняемой работе; основные методы исследования и проектирования, выполнения наладочных работ; терминологию, применяемую в специальной литературе по профилю работы, рабочих программах и инструкциях; действующие стандарты и технические условия на разрабатываемую техническую документацию, порядок ее составления и правила оформления; последовательность и технику проведения измерений, наблюдений и экспериментов; контрольно-измерительную аппаратуру и правила пользования ею; основы технологии производства, технические характеристики, конструктивные особенности, назначение, принципы работы и правила эксплуатации используемого оборудования, методы осмотра, обнаружения его дефектов; методы и средства измерения параметров, - характеристик и данных режима работы оборудования, выполнения технических расчетов, графических и вычислительных работ; технические средства получения, обработки и передачи информации; правила эксплуатации вычислительной техники; применяемые формы учета и отчетности, порядок их ведения и составления; методы расчета экономической эффективности внедрения новой техники и технологии, рационализаторских предложений и изобретений; основы ведения делопроизводства; основы экономики, организации труда и производства; правила и нормы охраны труда, техники безопасности, производственной санитарии и противопожарной защиты.
Квалификационные требования
4 разряд
Среднее специальное образование без предъявления требований к стажу работы (техник).
5 разряд
Среднее специальное образование и стаж работы в должности техника или в других должностях, замещаемых специалистами со средним специальным образованием, не менее 2 лет (техник II категории).
6 разряд
Среднее специальное образование и стаж работы в должности техника II категории не менее 2 лет (техник I категории)1.
1 Высококвалифицированные техники, занятые эксплуатацией и обслуживанием сложного оборудования, могут тарифицироваться исходя из 7-го и 8-го разрядов (Пост. Минтруда № 66 от 31.02.92г.)
Должностные обязанности. Выполняет лабораторные анализы, испытания, измерения и другие виды работ при проведении исследований и разработок. Принимает участие в сборе и обработке материалов в процессе исследований в соответствии с утвержденной программой работы. Следит за исправным состоянием лабораторного оборудования, осуществляет его наладку. Подготавливает оборудование (приборы, аппаратуру) к проведению экспериментов, осуществляет его проверку и простую регулировку согласно разработанным инструкциям и другой технической документации. Участвует в выполнении экспериментов, осуществляет необходимые подготовительные и вспомогательные операции, проводит наблюдения, снимает показания приборов, ведет рабочие журналы. Обеспечивает сотрудников подразделения учреждения, организации, предприятия необходимыми для работы оборудованием, материалами, реактивами и т.п. Обрабатывает, систематизирует и оформляет в соответствии с методическими материалами результаты анализов, испытаний, измерений, ведет их учет. Производит выборку данных из литературных источников, реферативных и информационных изданий, нормативно-технической документации в соответствии с установленным заданием. Выполняет различные вычислительные и графические работы, связанные с проводимыми исследованиями и экспериментами. Принимает участие в составлении и оформлении технической документации по выполненным подразделением учреждения, организации, предприятия работам.
Должен знать: руководящие, нормативные и справочные материалы по тематике работы; методы проведения анализов, испытаний и других видов исследований; действующие стандарты и технические условия на разрабатываемую техническую документацию, порядок ее оформления; лабораторное оборудование, контрольно-измерительную аппаратуру и правила ее эксплуатации; методы и средства выполнения технических расчетов, вычислительных и графических работ; правила эксплуатации вычислительной техники; основы экономики, организации труда и организации производства; правила и нормы охраны труда, техники безопасности, производственной санитарии и противопожарной защиты.
Квалификационные требования
Высшее или среднее специальное образование без предъявления требований к стажу работы.
4 разряд
При выполнении должностных обязанностей лаборанта.
5 разряд
При выполнении должностных обязанностей старшего лаборанта.
3 разряд
Характеристика работ. Ведение процесса окисления битума под руководством аппаратчика более высокой квалификации. Заполнение битумохранилищ битумом из битумоприемных ванн. Обслуживание запорной арматуры, трубопроводов и топочных устройств реактора. Контроль за циркуляцией битума через трубчатые печи.
Должен знать: принцип действия окислительной установки; емкость резервуаров, дозировочных и смесительных бачков; правила обращения с горючими материалами; требования, предъявляемые к качеству мастики государственными стандартами и техническими условиями; правила технической эксплуатации обогреваемых трубопроводов.
4 разряд
Характеристика работ. Ведение процесса окисления битума в соответствии с заданным режимом. Осмотр реакторов, аккумуляторных установок, конверторов. Пуск и остановка оборудования. Наполнение аккумуляторов жидким битумом. Регулирование подачи жидкого топлива в топки реактора. Подача в реактор смеси обезвоженного битума со сжатым воздухом. Наблюдение за тепловым режимом трубчатых печей, за работой систем автоматики и контрольно-измерительных приборов. Перекачивание окисленного битума в емкости. Контроль за сбросом нефтепродуктов в промканализацию. Участие в ремонте установки.
Должен знать: устройство и назначение всех узлов окислительной установки; принцип работы турбовоздуходувок, массопроводов и насосов, систем маслообогрева; правила и приемы ведения процесса окисления битума; требования технологической карты к качеству сырья и окисленному битуму; правила эксплуатации газового хозяйства; правила пользования контрольно-измерительной аппаратурой и автоматикой; методы устранения неполадок в работе окислительной установки.
1 разряд
Характеристика работ. Выполнение подсобных работ при устройстве и ремонте дорожных покрытий из асфальтобетона и материалов, обрабатываемых органическими вяжущими.
Примеры работ. Очистка основания от пыли и грязи вручную и сжатым воздухом. Уборка материалов после разборки или обрубки покрытий. Очистка кузовов автомашин от остатков смеси.
2 разряд
Характеристика работ. Выполнение простейших работ при устройстве и ремонте дорожных покрытий из асфальтобетона и материалов, обрабатываемых органическими вяжущими.
Должен знать: правила и приемы подготовки оснований для устройства покрытий. Приемы разборки и обрубки покрытий вручную.
Примеры работ. Подготовка оснований при устройстве и ремонте покрытий. Разборка и обрубка вручную. Разравнивание и окучивание дорожных материалов. Обрубка оснований отбойным молотком.
3 разряд
Характеристика работ. Выполнение простых работ при устройстве и ремонте дорожных покрытий из асфальтобетона и материалов, обработанных органическими вяжущими.
Должен знать: основные виды асфальтобетонных покрытий из материалов, обрабатываемых органическими вяжущими. Виды мастик, эмульсий, асфальтобетонных смесей и инертных заполнителей, применяемых при устройстве покрытий. Приемы разборки, обрубки и заделки с помощью механизированных инструментов асфальтобетонных покрытий, а также покрытий, обработанных органическими вяжущими.
Примеры работ. Обработка оснований органическими вяжущими материалами с помощью ручных распределителей. Установка упорных брусьев. Подача и раскладка вручную асфальтобетонных смесей и материалов, обрабатываемых органическими вяжущими в горячем или холодном состоянии. Вырубка образцов и заделка мест вырубки. Очистка и заделка трещин в асфальтобетонных покрытиях. Мелкий ремонт асфальтобетонных покрытий и покрытий из материалов, обработанных органическими вяжущими, вручную и с применением асфальторазогревателей или ремонтеров. Разборка и обрубка с помощью механизированных инструментов асфальтобетонных покрытий и покрытий из материалов, обработанных органическими вяжущими. Устройство оснований под покрытия.
4 разряд
Характеристика работ. Выполнение работ средней сложности при устройстве и ремонте дорожных покрытий из асфальтобетона и материалов, обрабатываемых органическими вяжущими.
Должен знать: основные требования, предъявляемые к основаниям под асфальтобетонные покрытия и под покрытия из материалов, обработанных органическими вяжущими. Требования к качеству мастик, эмульсий, асфальтобетонных смесей и смесей из материалов, обрабатываемых органическими вяжущими. Правила устройства, ремонта и приемки покрытий. Правила и приемы ямочного ремонта асфальтобетонных покрытий и покрытий из материалов, обработанных органическими вяжущими.
Примеры работ. Профилирование и отделка дорожных покрытий из асфальтобетона и материалов, обрабатываемых органическими вяжущими, с установкой маяков и маячных реек. Ремонт асфальтобетонных покрытий отдельными картами, а также тротуаров, садовых дорожек и отмосток. Ямочный ремонт покрытий асфальтобетонной или битумоминеральной смесями.
5 разряд
Характеристика работ. Выполнение сложных работ при устройстве и ремонте дорожных покрытий из асфальтобетонных смесей и материалов, обработанных органическими вяжущими.
Должен знать: требования, предъявляемые к асфальтобетонным покрытиям и покрытиям из материалов, обработанных вяжущими. Правила и схемы уплотнения асфальтобетонных смесей и материалов, обработанных органическими вяжущими. Температурный режим укладки и уплотнения смесей и материалов, обработанных органическими вяжущими. Правила устройства усовершенствованных покрытий. Способы применения различных асфальтобетонных смесей с поверхностно-активными добавками. Способы устройства сопряжений полос между собой и с люками колодцев, решетками и трамвайными путями. Способы разбивки оснований сложной конфигурации под асфальтобетонные покрытия и покрытия из материалов, обработанных органическими вяжущими. Схемы устройства шероховатой поверхности на асфальтобетонных покрытиях.
Примеры работ. Профилирование и отделка покрытий дорог и площадей из асфальтобетонных смесей и материалов, обработанных органическими вяжущими при ручной и механизированной раскладке материалов в покрытие. Разбивка укладываемой полосы перед асфальтированием. Регулирование толщины слоя укладываемых материалов под уплотнение катками. Окончательная отделка асфальтобетонных покрытий и покрытий из материалов, обработанных органическими вяжущими, после укладки смесей асфальтоукладчиком. Отделка покрытий из специально подобранных смесей с повышенным коэффициентом сцепления из цветного асфальтобетона.
2 разряд
Характеристика работ. Выполнение простейших работ при приготовлении бетонной смеси и укладке ее в конструкции.
Должен знать: способы приготовления бетонных смесей вручную. Способы укладки бетонных поверхностей. Приемы подачи готовых бетонных смесей в конструкции. Правила ухода за бетоном. Приемы разборки бетонных и железобетонных конструкций вручную. Способы разборки опалубки простейших конструкций.
Примеры работ. Насечка бетонных поверхностей ручными инструментами. Приемка бетонной смеси из транспортных средств. Дозировка составляющих по массе и объему с помощью приспособлений (тачек, мерников). Приготовление бетонной смеси вручную. Разборка бетонных и железобетонных конструкций вручную. Пробивка отверстий и борозд в бетонных и железобетонных конструкциях ручными инструментами. Уход за бетоном. Разборка опалубки простейших конструкций. Очистка опалубки от бетона.
3 разряд
Характеристика работ. Бетонирование простых бетонных и железобетонных монолитных конструкций.
Должен знать: основные свойства и марки цемента, заполнителей и бетонных смесей. Основные элементы монолитных бетонных и железобетонных конструкций. Основные способы укладки и уплотнения бетонной смеси. Устройство и приемы работы электрифицированным и пневматическим инструментом. Правила сборки опалубки и арматуры. Прием разломки бетонных и железобетонных конструкций с помощью механизированного инструмента. Правила перемещения и подачи грузов.
Примеры работ. Укладка бетонной смеси в фундаменты, основания и массивы. Укладка бетонной смеси на горизонтальных плоскостях. Устройство бутобетонных фундаментов под залив. Устройство подстилающих слоев и бетонных оснований полов. Устройство цементной стяжки. Зацепка бадей инвентарными стропами за петли (скобы, крюки). Насечка и разломка бетонных и железобетонных конструкций пневматическими и электрифицированными инструментами. Заделка выбоин, отверстий и борозд бетонной смесью. Устройство щитов опалубки прямолинейного очертания и установка прямолинейных элементов опалубки всех видов. Разборка опалубки простых конструкций. Срубка голов железобетонных свай вручную и пневматическим инструментом.
4 разряд
Характеристика работ. Бетонирование бетонных и железобетонных монолитных конструкций средней сложности.
Должен знать: основные требования, предъявляемые к качеству бетонных смесей, готовых конструкций и изделий. Правила устройства цементобетонных дорожных покрытий и предъявляемые требования к их качеству. Виды и основы устройства бетононасосов и бетоноводов, машин и приспособлений для прорезки каркасов швов при устройстве цементобетонных дорожных покрытий, бетоноукладочных и бетоноотделочных дорожных машин, вибраторов и виброплощадок, вакуумных агрегатов. Правила бетонирования конструкций в зимнее время и способы прогрева бетона. Противоморозные добавки и область их применения. Правила установки и разборки опалубки конструкций средней сложности и поддерживающих лесов. Правила и приемы сборки и установки простой арматуры.
Примеры работ. Укладка бетонной смеси в колонны, стены, балки, плиты, мостовые опоры, бычки. Укладка бетонной смеси на наклонные плоскости (откосы плотин, каналов, дамб и т.п.). Изготовление на полигонах строительных площадок блоков плитных пролетных строений мостов. Устройство и ремонт бетонных полов. Укладка бетонной смеси под воду методом вертикально перемещаемых труб и заполнение под водой пустот бутовой наброски методом восходящего раствора. Заглаживание поверхностей металлическими гладилками с посыпкой цементом. Нарезка температурных швов с отделкой их при устройстве цементобетонных дорожных покрытий. Отделка кромок швов и поверхности дорожных цементобетонных покрытий. Электропрогрев и паропрогрев бетона.
5 разряд
Характеристика работ. Бетонирование сложных железобетонных монолитных конструкций.
Должен знать: способы изготовления напряженно-армированных конструкций и изделий. Правила и приемы сборки и установки сложной арматуры. Методы контроля прочности и водонепроницаемости бетона.
Примеры работ. Укладка бетонной смеси в тонкостенные конструкции куполов, сводов, перекрытий и отсасывающих труб гидросооружений, в ребристые, коробчатые и другие сложные конструкции пролетных строений мостов, а также во все напряженно-армированные монолитные конструкции. Изготовление на полигонах строительных площадок напряженно-армированных железобетонных изделий (пролетных строений мостов и путепроводов, длинномерных свай и опор, ферм и балок больших пролетов и др.).
6 разряд
Характеристика работ. Валка деревьев бензиномоторными пилами в соответствии с установленными правилами. Валка сухостойных и других опасных деревьев. Спиливание деревьев заподлицо с землей при выполнении подготовительных работ на лесосеках, погрузочных пунктах и трассах лесовозных дорог и усов. Содержание пилы, пильных цепей и валочного гидравлического клина в исправном состоянии. Текущий ремонт пилы и валочного гидравлического клина, замена пильных цепей очистка и смазка пилы. При одиночной валке - подготовка рабочего места около спиливаемых деревьев.
Должен знать: устройство и правила эксплуатации моторной пилы, двигателя и валочного гидравлического клина; схемы организации механизированной разработки лесосеки; правила разработки лесосеки; технические условия и государственные стандарты на лесоматериалы; правила точки пильных цепей.
5 разряд
При валке леса безредукторными пилами с одновременной обрезкой сучьев.
2 разряд
Характеристика работ. Ведение процесса мокрого и сухого грохочения (рассева) материала на грохотах (ситах) производительностью до 100 м3/ч. Наблюдение за работой грохотов, сит и другого оборудования в зоне обслуживания, равномерным поступлением и распределением материала на грохоты, сита, питатели, конвейеры, за прохождением подрешетного и надрешетного материала в последующую аппаратуру. Удаление посторонних предметов. Контроль за качеством грохочения. Регулирование работы грохотов, сит, питателей и подачи воды при мокром грохочении. Отбор проб для анализа. Разбивка крупных кусков, слежавшейся и смерзшейся массы. Чистка и смазка трущихся частей обслуживающего оборудования. Установка, чистка и смена сит и колосников. Выявление и устранение неисправностей в работе обслуживаемого оборудования, участие в его ремонте.
Должен знать: устройство, принцип действия и правила эксплуатации грохотов, сит, двигателей, питателей, транспортеров, аспирационных систем; технологию грохочения; технические условия, стандарты и допускаемые отклонения от стандартов; наивыгоднейшие режимы грохочения и рассева; физико-механические свойства продукта; схемы автоматизации и сигнализации; назначение средств измерения и их показаний; способы крепления смены сит; слесарное дело.
3 разряд
При ведении процесса грохочения материалов на вибрационных грохотах производительностью свыше 100 м3/ч, а алмазосодержащих материалов до 250 м3/ч.
4 разряд
При ведении процесса грохочения материалов на вибрационных грохотах производительностью свыше 500 м3/ч, а алмазосодержащих материалов свыше 250 м3/ч.
Характеристика работ. Ведение процесса крупного, среднего и мелкого дробления сырья, материалов, полуфабрикатов сухим и мокрым способом на дробилках, дробильных агрегатах, дробильно-сортировочных установках различных систем. Наблюдение за техническим состоянием оборудования и его маслохозяйства. Осмотр и чистка оборудования. Пуск и останов дробилок, питателей, конвейеров, питающих дробилку. Регулирование подачи воды на орошение, равномерной загрузки и скорости, производительности, зазоров между рабочими механизмами дробилок в зависимости от вида сырья, материалов и их крупности. Контроль за качеством сырья, материалов (по внешним признакам или ситовым анализам), равномерной влажностью шахты, системой смазки оборудования, системой автоматического контроля и регулирования. Дистанционное управление работой дробилок. Управление подъемно-транспортным оборудованием при строповке и извлечении негабаритов, посторонних предметов, некачественного сырья из дробилок. Определение окончания процесса дробления и распределения дробильного материала по бункерам в зависимости от скорости. Включение и выключение систем гидрообеспыливания. Передача дробленного сырья, материалов на повторное дробление, последующую переработку или хранение. Наблюдение за сигналами, заправка машин горючим при работе с двигателями внутреннего сгорания. Уборка просыпи в зоне обслуживания. Выявление и устранение неисправностей в работе обслуживаемого оборудования, участие в его ремонте. Выполнение стропальных работ.
Должен знать: устройство, принцип работы дробилок, дробильных агрегатов, дробильно-сортировочных установок, дезинтеграторов, копров, грохотов, транспортных и аспирационных устройств, вспомогательного оборудования (сушилок, элеваторов и др.); схему подачи сырья на дробильные установки; технологическую схему обслуживаемого участка; правила и способы регулирования и наладки обслуживаемого оборудования; режим дробления, просева; назначение и принцип работы средств измерений; требования, предъявляемые к качеству и степени дробления; влияние засоренности и примесей на качество дробимого сырья, материалов, полуфабрикатов; нормы выхода готового продукта, отходов; допустимые потери; классификацию дробимого сырья, материалов, полуфабрикатов по свойствам, видам, назначению, отличительным признакам; номера сит; нормы нагрузок на оборудование; последовательность пуска и остановки, правила регулирования и наладки, условия эффективного использования обслуживаемого оборудования; рецептуру (номенклатуру) компонентов и правила составления шихты; системы и режим смазки; виды смазочных материалов; схемы подключения оборудования и электросети, блокировки, сигнализации; методы обеспыливания при дроблении и транспортировке; средства герметизации оборудования; технические условия на выпускаемую продукцию; правила хранения, складирования, нанесения трафаретов (маркировки), ведения ситового анализа; устройство весов и правила пользования весами и другим применяемым оборудованием и инструментом; правила пользования пусковой аппаратурой и средствами автоматизации и сигнализации; цели, правила и конкретные схемы обработки проб; приборы, приспособления и аппаратуру, применяемые на различных стадиях обработки проб; причины возникновения неисправностей и способы их устранения; основы слесарного дела.
2 разряд
При обслуживании дробилок, дробильных агрегатов, дробильно-сортировочных установок всех систем производительностью до 50 т/ч.
3 разряд
При обслуживании дробилок, дробильных агрегатов, дробильно-сортировочных установок всех систем производительностью свыше 50 т/ч до 200 т/ч:
4 разряд
При обслуживании дробилок, дробильных агрегатов, дробильно-сортировочных установок всех систем производительностью свыше 200 т/ч до 700 т/ч.
5 разряд
При обслуживании дробилок, дробильных агрегатов, дробильно-сортировочных установок всех систем производительностью свыше 700 т/ч до 1500 т/ч.
6 разряд
При обслуживании дробилок, дробильных агрегатов, дробильно-сортировочных установок всех систем производительностью свыше 1500 т/ч.
Примечание. При обслуживании нескольких дробилок тарификация производится по суммарной производительности дробилок, находящихся в работе.
1 разряд
Характеристика работ. Выполнение подсобных работ при строительстве, ремонте и содержании автомобильных дорог и тротуаров.
Примеры работ. Очистка оснований и покрытий от снега, грязи и пыли вручную. Перекидка песка, гравия и щебня. Поливка водой оснований и покрытий. Очистка и смазка поверхности рельс-форм при устройстве цементобетонных покрытий. Засыпка цементобетонных покрытий песком. Очистка дорожных знаков и элементов пути вручную.
2 разряд
Характеристика работ. Выполнение простейших работ при строительстве, ремонте и содержании автомобильных дорог, искусственных сооружений на них и тротуаров.
Должен знать: виды основных дорожно-строительных материалов, конструкций дорожных одежд и искусственных сооружений на дорогах. Способы приготовления асфальтобетонных, цементобетонных, битумоминеральных и других смесей. Приемы борьбы с гололедом и снежными заносами. Правила дорожного движения.
Примеры работ. Распределение дорожно-строительных материалов при устройстве и ремонте дорожных оснований и покрытий. Подчистка корыта вручную после землеройных машин. Разборка оснований, покрытий и бордюров вручную. Устройство и ремонт сплошной одерновки. Просеивание песка, гравия и щебня вручную на переносных грохотах.
3 разряд
Характеристика работ. Выполнение простых работ при строительстве, ремонте и содержании автомобильных дорог, искусственных сооружений на них и тротуаров.
Должен знать: основные свойства дорожно-строительных материалов. Правила устройства и ремонта грунтовых и грунтовых улучшенных дорог, тротуаров и оснований под асфальтобетонные и цементобетонные покрытия. Правила пользования механизированным инструментом, применяемым при строительстве и ремонте дорог. Приемы разборки и обрубки покрытий и оснований с помощью механизированных инструментов. Способы ликвидации последствий разрушений и восстановления дорожной одежды. Приемы подготовки оснований рельс-формы при строительстве цементобетонных дорог. Основы устройства дренажей.
Примеры работ. Устройство и профилирование под укатку по маякам, маячным рейкам, шаблонам дорожных оснований из песка, гравия, щебня. Профилирование грунтовых и грунтовых улучшенных дорог. Установка дорожных знаков. Устройство и ремонт дренажей. Ямочный ремонт грунтовых улучшенных дорог, гравийных, щебеночных покрытий, а также ремонт грунтовых дорог отдельными картами. Разборка дорожных покрытий и оснований с помощью механизированных инструментов. Устройство и ремонт одерновки в клетку. Устройство оснований под укладку бортового камня. Устройство и восстановление кюветов, водоотводных и нагорных канав с соблюдением продольных уклонов и поперечных профилей.
4 разряд
Характеристика работ. Выполнение работ средней сложности при строительстве, ремонте и содержании автомобильных дорог, искусственных сооружений на них и тротуаров.
Должен знать: требования к качеству материалов, применяемых при устройстве и ремонте дорог. Правила бетонирования в зимнее время и способы подогрева бетона. Правила строительства и эксплуатации дорожных одежд, искусственных сооружений и обстановки пути.
Примеры работ. Устройство и профилирование покрытий из щебня и гравия вручную по маякам, маячным рейкам и шаблонам. Ремонт щебеночных, гравийных покрытий отдельными картами. Окончательная планировка поверхности дорожных покрытий после разравнивания машинами. Установка бордюрного камня. Установка маяков и маячных реек. Устройство подготовительного слоя из щебня или гравия под фундаменты опор и труб. Отвод атмосферных осадков с дорог и искусственных сооружений. Отделка и ремонт кромок и поверхностей цементобетонных покрытий. Устройство и обслуживание барьерного и троссового ограждения.
5 разряд
Характеристика работ. Выполнение сложных работ при строительстве, ремонте и содержании автомобильных дорог, искусственных сооружений на них и тротуаров.
Должен знать: методы оценки состояния дорожных покрытий и искусственных сооружений. Устройство и правила применения геодезических инструментов. Методы борьбы с эрозией почв. Способы ликвидации гололеда на дорогах
Примеры работ. Ликвидация мест просадок дорожных покрытий. Устройство и ремонт труб, лотков, оголовков, подпорных стен и парапетов. Исправление отдельных повреждений элементов архитектурного оформления автомобильных дорог. Разбивка пикетажа и элементов дорог в плане. Определение высотных отметок дорожных сооружений с помощью геодезических инструментов. Устройство и ремонт дренажей с восстановлением фильтров. Установка ограждающих и сигнальных устройств. Закрепление развивающихся оврагов.
1 разряд
Характеристика работ. Рыхление и перемещение разработанных грунтов.
Примеры работ. Рыхление ранее разработанных грунтов. Погрузка разрыхленных грунтов на приборы перемещения. Выгрузка грунтов из приборов перемещения. Очистка габарита. Разравнивание свеженасыпанного грунта. Перекидка грунтов по горизонтали. Засыпка грунтом траншей, котлованов и пазух фундаментов.
2 разряд
Характеристика работ. Разработка вручную нескальных и немерзлых грунтов I...III группы в котлованах и траншеях.
Должен знать: виды и основные свойства нескальных грунтов. Способы оттаивания мерзлых грунтов. Способы разработки грунтов вручную в котлованах и траншеях без креплений. Способы планировки поверхностей на глаз. Способы заготовки и укладки дерна. Способы уплотнения грунта вручную.
Примеры работ. Разработка вручную легких, средних и тяжелых грунтов в траншеях и котлованах без креплений с выкидкой грунта на бровку или с погрузкой на приборы перемещения. Оттаивание мерзлых грунтов дымовыми газами. Уплотнение грунта ручными трамбовками. Планировка и зачистка поверхностей на глаз. Нарезка уступов и откосов насыпей и косогоров. Заготовка дерна вручную. Заготовка спиц для крепления одерновки. Сплошная одерновка откосов земляного полотна.
3 разряд
Характеристика работ. Разработка вручную грунтов I...III группы в котлованах и траншеях, ранее раскрепленных или с одновременным устройством креплений. Разработка вручную грунтов IV группы, а также нескальных мерзлых и скальных грунтов. Разработка грунтов всех групп с применением механизированного инструмента.
Должен знать: виды и основные свойства скальных и мерзлых грунтов. Способы разработки грунтов в котлованах и траншеях при наличии креплений. Правила устройства и разборки креплений котлованов и траншей. Способы разработки грунтов IV группы, а также скальных и мерзлых грунтов. Устройство пневматического и электрифицированного инструмента. Простейшие приемы разбивки земляных сооружений. Правила пользования грузоподъемными приспособлениями при подъеме грунта из траншей и котлованов. Правила заложения откосов.
Примеры работ. Разработка грунтов IV группы, а также скальных и нескальных грунтов. Разработка грунта I...III группы в раскрепленных котлованах или траншеях. Рыхление и уплотнение грунтов пневматическими и электрифицированными инструментами. Устройство кюветов, лотков, корыт в земляном полотне и копание ям для строительных конструкций. Планировка и зачистка поверхностей по рейке или по шаблону. Срезка и планировка по шаблону откосов и выемок, разработанных экскаваторами. Подъем грунта из траншей и котлованов с помощью подъемных приспособлений и механизмов. Укрепление откосов дерном в клетку и стенку. Устройство закрытых засыпных и откосных дренажей с укладкой труб. Заполнение дренажных колодцев фильтровыми матами. Укладка многослойных плоских фильтров сложного очертания. Укладка гончарных перфорированных труб.
4 разряд
Характеристика работ. Разработка сыпучих песков (барханных, дюнных и т.п.) и текучих грунтов (плывунов) вручную со сплошным и шпунтовым креплением. Проходка питьевых и водозаборных колодцев.
Должен знать: виды и свойства сыпучих песков и текучих грунтов (плывунов). Правила и способы выполнения земляных работ в сыпучих песках и текучих грунтах (плывунах). Способы сплошного и шпунтового крепления в сыпучих песках и текучих грунтах. Правила и способы замены деформированного крепления. Правила и способы устройства колодцев водохозяйственного назначения.
Примеры работ. Разработка траншей и котлованов в сыпучих песках и текучих грунтах (плывунах). Шпунтовое крепление траншей и котлованов в текучих грунтах (плывунах). Сплошное крепление траншей и котлованов в сыпучих песках. Замена деформированных креплений. Копание колодцев и установка в них деревянных срубов или железобетонных колец. Устройство донных и боковых фильтров в колодцах.
5 разряд
Характеристика работ. Проходка опускных колодцев.
Должен знать: правила и способы разработки грунта в опускных колодцах. Способы посадки опускных колодцев.
Примеры работ. Разработка грунтов вручную и с помощью пневматических инструментов под ножом опускного колодца. Удаление камней и других препятствий из-под ножа колодца. Подготовка к посадке и посадка опускного колодца. Выдача грунта из опускных колодцев.
2 разряд
Характеристика работ. Выполнение простейших работ при гидроизоляции конструкций и сооружений.
Должен знать: номенклатуру и классификацию основных изоляционных материалов и их назначение. Способы подготовки поверхностей и материалов для гидроизоляции. Способы транспортирования горячих изоляционных материалов.
Примеры работ. Перемотка и нарезка рулонных материалов и очистка их от слоя талька. Насечка изолируемых поверхностей вручную. Грунтовка поверхностей битумной пастой. Устройство песчаной подушки для защиты гидроизоляции в надземных сооружениях. Покрытие тяжелой нефтью откосов и дна котлованов. Разборка изоляции.
3 разряд
Характеристика работ. Выполнение простых работ по гидроизоляции конструкций и сооружений.
Должен знать: основные свойства изоляционных материалов. Способы приготовления битумных мастик и грунтовок. Способы выполнения гидроизоляции плоских поверхностей сверху.
Примеры работ. Покрытие холодными мастиками наружных бетонных поверхностей. Приготовление битумных мастик и грунтовок. Гидроизоляция простых плоских кровель. Укладка асфальтовых смесей на горизонтальные поверхности. Защита гидроизоляции цементной стяжкой. Изоляция перекрытий литым железобетоном. Наклейка на горизонтальные поверхности битумных плит. Герметизация стыков специальными герметиками с нанесением их кистью или штапелем. Приготовление тиоколовых герметиков и простых эпоксидных составов. Пропитка изоляционных материалов горячим битумом или бензино-битумным раствором.
4 разряд
Характеристика работ. Выполнение работ средней сложности по гидроизоляции конструкций и сооружений.
Должен знать: основные конструкции гидроизоляционных покровов. Способы нанесения битумной мастики и наклейки рулонных материалов на вертикальные поверхности. Требования, предъявляемые к качеству изоляционных материалов и покрытий. Способы изоляции шпонок и деформационных швов в гидротехнических сооружениях. Способы нанесения штукатурной, литой, окрасочной и оклеечной изоляции.
Примеры работ. Гидроизоляция вертикальных поверхностей матами, рулонными материалами и битумными мастиками. Штукатурная гидроизоляция из холодных и горячих асфальтовых смесей. Устройство литой и окрасочной гидроизоляции Цементация строительных швов. Заполнение деформационных швов в бетонных гидротехнических сооружениях холодными мастиками. Заливка гидроизоляционных шпонок. Гидроизоляция плоских поверхностей снизу. Защита гидроизоляции на вертикальных поверхностях железобетонными плитами или деревянной опалубкой. Гидроизоляция простых наклонных кровель. Герметизация стыков специальными герметиками с помощью пневматических инструментов.
5 разряд
Характеристика работ. Выполнение сложных работ по гидроизоляции конструкций и сооружений.
Должен знать: способы выполнения гидроизоляции поверхностей с особо сложной конфигурацией. Технические условия на производство и приемку гидроизоляционных работ. Способы устройства многослойных уплотнений в гидроизоляционных шпонках. Способы выполнения особо сложных работ по гидроизоляции гидротехнических сооружений.
Примеры работ. Устройство гидроизоляционного покрова в местах сопряжений гидроизоляции с закладными частями и деформационными швами. Устройство асфальтовых шпонок деформационных швов бетонных массивов гидротехнических сооружений, возводимых на сжимаемых основаниях. Устройство розеток из рулонных гидроизоляционных материалов для пропуска через изоляционные покрытия анкеров и трубопроводов. Установка в гидроизоляционных шпонках и деформационных швах металлических диафрагм из нержавеющей стали. Устройство многослойных уплотнений в шпонках.
2 разряд
Характеристика работ. Выполнение простейших работ при кладке и ремонте каменных конструкций зданий, мостов, промышленных и гидротехнических сооружений.
Должен знать: основные виды стеновых материалов. Способы приготовления растворов. Способы пробивки гнезд и отверстий в кладке. Правила разборки кладки фундаментов, стен и столбов. Виды стропов и захватных приспособлений. Основные виды такелажной оснастки. Правила перемещения и складирования грузов малой массы.
Примеры работ. Кладка кирпичных столбиков под половые лаги. Приготовление растворов вручную. Очистка кирпича от раствора. Пробивка гнезд, борозд и отверстий в кирпичной и бутовой кладке вручную. Разборка бутовых фундаментов, кирпичной кладки стен и столбов. Засыпка каналов или коробов порошкообразными материалами или минеральной ватой. Зацепка поддонов, контейнеров, железобетонных изделий и других грузов инвентарными стропами за монтажные петли, скобы, крюки и т.п.
3 разряд
Характеристика работ. Выполнение простых работ при кладке и ремонте каменных конструкций зданий, мостов, промышленных и гидротехнических сооружений.
Должен знать: основные свойства стеновых материалов и растворов, а также гидроизоляционных материалов, применяемых для изоляции фундаментов и стен. Простые системы кладки и перевязки швов. Приемы кладки простых стен. Способы расстирания растворов на стене, раскладка кирпича и забутки. Правила работы пневматическим и электрифицированным инструментом. Основные виды деталей и сборных конструкций, применяемых при возведении каменных зданий и сооружений. Требования к качеству кирпичной кладки и сборных железобетонных конструкций, монтируемых в каменных зданиях.
Примеры работ. Кладка простых стен из кирпича и мелких блоков под штукатурку или с расшивкой швов по ходу кладки. Заполнение каркасных стен. Устройство фундаментов из бутового камня и кирпичного щебня под залив. Устройство цементной стяжки. Устройство горизонтальной гидроизоляции фундамента рулонными материалами. Заделка кирпичом и бетоном борозд, гнезд и отверстий. Пробивка проемов в кирпичных и бутовых стенах с помощью механизированного инструмента. Разборка кладки мостовых опор с помощью механизированного инструмента. Пробивка гнезд, борозд и отверстий механизированным инструментом. Монтаж в каменных зданиях железобетонных перемычек над оконными и дверными проемами и нишами.
4 разряд
Характеристика работ. Выполнение работ средней сложности при кладке и ремонте каменных конструкций зданий, мостов, промышленных и гидротехнических сооружений.
Должен знать: способы кладки стен средней сложности. Способы кладки простых стен с одновременной облицовкой. Способы кладки стен облегченных конструкций. Способы кладки из стеклоблоков. Способы монтажа сборных элементов и деталей средней массы. Способы строповки и крепления монтируемых элементов. Армирование кирпичных стен и перегородок.
Примеры работ.
1. Здания и промышленные сооружения.
Кладка стен средней сложности Из кирпича и мелких блоков под штукатурку или с расшивкой швов по ходу кладки. Кладка простых стен с одновременной облицовкой. Кладка простых стен облегченных конструкций. Монтаж в каменных зданиях железобетонных балок, плит перекрытий, перегородок, лестничных маршей, площадок, балконных плит, ступеней. Установка оконных и дверных балконных коробок и блоков, подоконных досок и плит. Устройство перегородок из кирпича, а также из гипсошлаковых и других плит. Расшивка швов ранее выложенной кладки. Конопатка и заливка швов в сборных железобетонных конструкциях перекрытий и покрытий. Укладка стальных элементов и деталей в кладку. Кладка стен и фундаментов из бутового камня под лопатку. Кладка колодцев постоянного сечения и коллекторов прямоугольного сечения. Разборка кирпичных сводов всех видов. Ремонт поверхностей кирпичных стен с выломкой негодных кирпичей и заделкой новым кирпичом с соблюдением перевязки швов со старой кладкой. Ремонт и замена отдельных участков кирпичных и бутовых фундаментов в существующих зданиях.
2. Мосты и гидротехнические сооружения.
Кладка фундаментов и мостовых опор. Кладка соединительных щековых стенок опор. Кладка прямолинейных надводных стенок и кордонных камней портовых сооружений. Монтаж сборных и железобетонных элементов конструкций средней массы, применяемых при возведении каменных мостов и гидротехнических сооружений.
5 разряд
Характеристика работ. Выполнение сложных работ при кладке и ремонте каменных конструкций зданий, промышленных сооружений, мостов и гидротехнических сооружений.
Должен знать: способы кладки сложных стен. Способы кладки стен средней сложности и сложных с одновременной облицовкой.
Примеры работ.
1. Мосты и гидротехнические сооружения.
Кладка из естественного камня надсводного строения арочных мостов. Кладка из естественного камня труб, лотков и оголовков. Кладка из тесаного камня наружных верстовых рядов мостовых опор прямолинейного очертания.
6 разряд
Характеристика работ. Выполнение особо сложных работ при кладке и ремонте каменных конструкций зданий, промышленных сооружений, мостов и гидротехнических сооружений.
Должен знать: способы кладки особо сложных конструкций, их возведения и раскружаливания.
Примеры работ.
1. Мосты и гидротехнические сооружения.
Кладка из естественного тесаного камня ледорезов с подбором камня. Укладка карнизных и подферменных камней мостовых опор. Кладка подпятовых камней в арках и сводах каменных мостов. Кладка сводов и арок.
2 разряд
Характеристика работ. Выполнение простейших работ при мощении.
Должен знать: основные виды мощения. Способы разборки мощения вручную.
Примеры работ. Штабелировка камня. Грохочение и сортировка каменной мелочи. Разборка каменных мостовых. Разборка каменных выстилок. Подсыпка грунта у версты с трамбованием.
3 разряд
Характеристика работ. Выполнение простых работ при устройстве и ремонте каменных мостовых, берегоукрепительных и выправительных сооружений.
Должен знать: виды камня, применяемого для мощения, и требования, предъявляемые к его качеству. Простые способы разбивки поверхностей. Способы распределения каменных материалов на рабочем месте. Простые виды фильтров, мощений, способы их устройства и ремонта. Допускаемые уклоны откосов в зависимости от классификации грунтов.
Примеры работ.
1. Дорожные работы.
Разбивка и планировка поверхностей. Распределение камня на рабочем месте. Сортировка и околка камня. Расщебенка и засыпка песком мостовых. Заполнение швов мостовой. Частичная подсыпка песчаного основания с уплотнением.
2. Берегоукрепительные и выправительные работы. Планировка поверхностей с помощью шнура, кольев и визирок. Укрепление откосов однослойной каменной отмосткой на мху. Ремонт глиняного основания понурной части плотин. Заделка промоин в днищах камер шлюза каменной наброской. Устройство основания под каменное мощение из щебня, мха или глины. Разборка каменной мостовой на гравийном основании и каменной выстилки понурной части плотин с помощью механизированного инструмента.
4 разряд
Характеристика работ. Выполнение работ средней сложности при устройстве и ремонте каменных мостовых берегоукрепительных и выправительных сооружений.
Должен знать: способы устройства и ремонта мостовых из грубооколотого и булыжного камня. Устройство и правила пользования шаблонами. Способы устройства обратных фильтров. Свойства материалов, применяемых при укреплении поверхностей. Устройство, назначение и правила работ пневматическим инструментом, применяемым при мостовых работах. Требования, предъявляемые к качеству мостовых и откосов.
Примеры работ.
1. Дорожные работы.
Мощение мостовых, подъездов и съездов из грубооколотого и булыжного камня. Мощение отмостки у зданий. Ремонт мостовых и подзоров отдельными картами. Плинтовка камня вручную. Установка бордюрного камня.
2. Берегоукрепительные и выправительные работы.
Отделка поверхностей из каменной наброски с тщательной укладкой камня. Профилирование оснований под закладку фильтров, каменного мощения или укладку бетонных плит. Устройство обратных фильтров. Мощение откосов и площадок бетонными или каменными плитами. Отделка под шаблон упорных призм из камня или щебня. Ликвидация мест просадок в креплении откосов каменными или бетонными плитами. Крепление откосов одиночной мостовой с расщебенкой по каменной отсыпке. Заделка стыков между бетонными или каменными плитами, уложенными в мощение. Уплотнение креплений из камня или щебня с помощью пневматических трамбовок или молотков.
5 разряд
Характеристика работ. Выполнение сложных работ при устройстве и ремонте каменных мостовых, берегоукрепительных и выправительных сооружений всех типов.
Должен знать: способы устройства и ремонта мостовых из брусчатки и клинкера, а также мозаиковых мостовых. Способы производства разбивочных работ по мощению откосов фильтров, дренажей сточных систем. Виды упорных сооружений. Способы выполнения работ по укреплению откосов и площадок.
Примеры работ.
1. Дорожные работы.
Устройство и ремонт мостовой из брусчатки. Устройство и ремонт клинкерной мостовой. Устройство и ремонт мозаиковой мостовой. Устройство дренажей.
2. Берегоукрепительные и выправительные работы.
Разбивочные работы под мощение откосов бетонными или каменными плитами. Устройство отводов и стоков в мостовых. Устройство дренажей. Устройство упорных призм из каменной наброски или щебня. Каменное мощение в плетневых клетках с расщебенкой. Устройство фильтров из пористых бетонов. Устройство банкетов из камня или щебня. Крепление откосов двойной мостовой на щебеночном основании. Ремонт двухслойного каменного мощения с восстановлением фильтра. Ремонт стоков и отводов в каменном мощении.
2 разряд
Характеристика работ. Выполнение простейших плотничных и опалубочных работ. Выполнение простейших работ при устройстве рулонных кровель насухо с пришивкой гвоздями и кровель из штучных материалов.
Должен знать: основные виды лесоматериалов и свойства древесины. Способы грубой обработки лесоматериалов. Правила обращения с антисептирующими и огнезащитными составами и приемы покрытия ими деревянных деталей и конструкций с помощью кистей. Способы разборки простых деревянных конструкций и их очистки. Правила перемещения и складирования грузов малой массы Виды рулонных и штучных кровельных материалов. Способы разборки простых кровельных покрытий из рулонных и штучных материалов.
Примеры работ. Грубая отеска, острожка, поперечное перепиливание и окорка лесоматериалов. Смазка накатов и опалубки. Обмазка кистью деревянных конструкций и деталей антисептирующими и огнезащитными составами. Осмолка, обивка войлоком и толем элементов деревянных конструкций. Разборка опалубки фундаментов, стен и перегородок, разборка временных зданий, заборов, мостиков и настилов. Разборка полов, подборов и накатов. Разборка заборных стенок. Очистка опалубки от бетона и раствора. Очистка рулонных кровельных материалов от посыпки. Сортировка штучных кровельных материалов.
3 разряд
Характеристика работ. Выполнение простых плотничных и опалубочных работ. Покрытие крыш простой формы рулонными (насухо) и штучными кровельными материалами.
Должен знать: основные породы и пороки древесины. Основы устройства электрифицированного инструмента. Приемы чистой острожки лесоматериалов, отески бревен, заготовки одиночных свай и одностоечных опор. Способы заготовки прямолинейных щитов опалубки и перегородок под штукатурку. Способы устройства цоколей, дощатых настилов, перегородок, черных обшивок и элементов крыш. Способы приготовления антисептических и огнезащитных составов.
Примеры работ.
1. Общестроительные работы.
Изготовление простых щитов для перегородок под штукатурку. Устройство обрешетки. Обшивка стен и потолков под штукатурку и облицовку. Устройство нижнего дощатого настила в двухслойных полах (черных полов). Установка плинтусов и галантерей. Конопатка стен, оконных проемов. Обрешетка стропил и подшивка карнизов. Устройство временных заборов и ворот, нанесение антисептических и огнезащитных составов на деревянные конструкции и детали краскопультами и распылителями. Устройство деревянных водосборных колодцев, лотков и зумпфов.
Изготовление и ремонт простого строительного инвентаря. Отеска бревен на канты и накругло, отеска кромок досок и пластин. Затеска концов бревен. Чистая острожка лесоматериалов, выборка пазов, гребней и четвертей. Обработка лесоматериалов электрифицированным инструментом. Разборка обрешетки и деревянной кровли. Укладка лежней и дощатого настила. Изготовление плавучего рештования. Обшивка стен ряжей и ледорезов досками. Заготовка одиночных свай, насаживание на сваи бугелей и башмаков. Отпиливание голов свай и верха шпунтовых рядов. Заготовка одностоечных опор линий связи и электропередач. Отделка поверхностей сухой штукатуркой. Покрытие и ремонт односкатных и шипцовых крыш рулонными материалами насухо и пришивкой гвоздями, асбестоцементными листами или плитками (шифером) и ремонт кровельных покрытий из этих материалов. Обделка свесов и примыканий. Разборка подмостей.
2. Опалубочные работы.
Изготовление и ремонт щитов опалубки прямолинейного очертания (прямоугольные и косоугольные) и прямолинейных элементов опалубки всех видов. Заготовка элементов простых лесов, поддерживающих опалубку, без наращивания. Разборка опалубки перекрытий, балок, колонн, ледорезов, балочного пролетного и подарочного строения мостов.
4 разряд
Характеристика работ. Выполнение плотничных и опалубочных работ средней сложности. Покрытие крыш средней сложности штучными кровельными материалами. Должен знать: основные элементы деревянных частей зданий и деревянных конструкций и требования, предъявляемые к их качеству. Способы устройства каркасов стен, чистых обшивок и устройства временных сооружений. Способы заготовки шпунтовых свай. Способы соединения деталей простыми врубками. Способы сухого антисептирования. Способы пропитки деревянных конструкций и деталей антисептическими и огнезащитными составами в ваннах. Способы разметки и покрытия крыш средней сложности. Требования, предъявляемые к качеству штучных кровельных материалов и покрытий. Устройство монтажных поршневых пистолетов и правила работы с ними.
Примеры работ
1. Общестроительные работы.
Устройство каркасов перегородок. Заготовка, сборка, установка, разборка и смена мауэрлатов и наклонных стропил. Рубка внутренних стен из бревен. Устройство простых временных сооружений: террас, веранд, тамбуров, крылец, а также навесов, сараев, сторожевых будок, контор, проходных, кубовых, душевых борных. Устройство, перестилка и сплачивание верхних дощатых покрытий (чистых полов) из отдельных досок. Устройство полов из брусков, клееных щитов, древесно-волокнистых плит, торцовой шашки, из древесно-стружечных плит с заделкой стыков. Крепление столярных изделий к железобетонным деталям с помощью монтажных поршневых пистолетов. Установка оконных и дверных коробок, блоков и подоконных досок. Устройство чистых заборов. Сухое антисептирование. Антисептическая и огнезащитная пропитка деревянных конструкций и деталей в ваннах. Изготовление, укладка, разборка и смена лаг, балок и прогонов. Устройство подмостей, лесов и эстакад без наращивания стоек. Монтаж блочных подмостей. Ремонт каркасных стен, полов и дощатой кровли. Устройство сопряжений под углом с помощью врубок, пластинчатых нагелей и шпоночных соединений. Устройство деревянных ледорезов и стапелей. Устройство шпальных клеток под тяжеловесные конструкции и оборудование. Выправка и подклинивание накаточных путей при надвижке пролетных строений мостов. Изготовление и постановка схваток со сваями или стойками, вкладышей и затяжек, подкосов, раскосов и стропил ледорезов. Изготовление ригелей и установка шпоночных брусьев по сваям. Установка ножа ледореза. Укладка упорных брусьев с закреплением их насадками. Изготовление и укладка мауэрлатных брусьев на опоры, поперечин, охранных и колесо-отбойных брусьев. Заготовка деревянных шпунтовых свай и шпунтовых пакетов. Изготовление и постановка подбабков (прирубов). Укладка насадок по маячным сваям и шпунтовому ряду. Заготовка и сборка А-образных, трехстоечных и П-образных деревянных опор линий связи и электропередач. Покрытие и ремонт трех- и четырехскатных шатровых, мансардных, вальмовых, Т- и Г-образных в плане крыш асбестоцементными листами и плитками (шифером). Обделка свесов, примыканий, коньков, ребер и слуховых окон. Устройство деревянных каркасов для подвесных потолков всех типов и обшивки стен. Устройство подвесных потолков. Обшивка стен и потолков древесно-волокнистыми и древесно-стружечными плитами (кроме декоративных).
2. Опалубочные работы.
Устройство лесов, поддерживающих опалубку. Установка опалубки колонн, балок, плит перекрытий, стен и перегородок, фундаментов, массивов, стоек рам и прогонов. Изготовление и установка кружал домкратных рам, заглушён, щитов для скользящей опалубки и рабочего настила. Изготовление и ремонт щитов опалубки для массивов морских гидротехнических сооружений с продольными и поперечными люками и крупнопанельных щитов опалубки с ребрами. Устройство настилов в гибких швах из досок и брусьев. Разборка опалубки арок, куполов, сводов, оболочек, резервуаров, баков, бункеров, спиральных камер, отсасывающих и подводящих труб, а также лесов, поддерживающих опалубку.
5 разряд
Характеристика работ. Выполнение сложных плотничных и опалубочных работ.
Должен знать: способы разметки и изготовление сложных деревянных конструкций, сложных соединений и врубок. Устройство такелажных приспособлений, применяемых при установке деревянных конструкций. Способы пропитки деревянных конструкций и деталей антисептическими и огнезащитными составами с помощью компрессорных установок.
Примеры работ.
1. Общестроительные работы.
Рубка наружных стен из бревен и сборка домов из бревен и брусьев. Изготовление клееных конструкций и конструкций на врубках, нагелях, гвоздевых, болтовых и шпоночных соединениях. Сборка и установка висячих стропил и строительных ферм, а также арок и балок пролетом до 15 м. Устройство световых фонарей. Устройство и разборка лесов и эстакад с наращиванием стоек. Смена венцов стен из бревен и брусьев. Прорезка и заделка проемов в стенах из бревен и брусьев. Пропитка деревянных конструкций и деталей антисептическими и огнезащитными составами с помощью компрессорных установок. Изготовление и сборка рамных опор. Изготовление и сборка пролетных строений балочных мостов. Сборка ряжей из брусьев и рубка ряжей из бревен. Изготовление, укладка и постановка элементов конструкций мостов стоек, подкосов, ригелей, прогонов, подкосных подушек, перил и противопожарных площадок. Передвижка, спуск на воду и установка ряжей в створ сооружения. Изготовление и сборка деревянных копров. Заготовка и сборка деревянных АП-образных опор линий связи и электропередачи.
2. Опалубочные работы.
Устройство опалубки галерей, резервуаров, баков, бункеров, ригелей, высоких опор. Сборка и установка на место кружал мостов пролетом до 50 м. Устройство многогранной и криволинейной опалубки. Устройство опалубки колонн переменного сечения. Укрупнительная сборка опорных конструкций отсасывающих и подводящих труб и спиральных камер. Установка и крепление болтами и упорными брусьями щитов боковых поверхностей опалубки якорей. Изготовление и укладка косяков в опалубку арочных мостов. Ремонт опалубочных криволинейных крупнопанельных щитов.
6 разряд
Характеристика работ. Выполнение особо сложных опалубочных работ.
Должен знать: особо сложные деревянные конструкции ответственных инженерных сооружений. Конструкции и способы устройства всех видов опалубки. Способы изготовления инвентарных шаблонов крупноразмерных элементов.
Примеры работ.
Устройство опалубки сводов, оболочек и куполов. Установка опалубки арок. Сборка и установка на место кружал мостов пролетом св. 50 м. Изготовление шаблонов для разметки косяков кружал. Сборка коробов опалубки арок. Сборка и установка строительных ферм и балок пролетом св. 15 м.
2 разряд
Характеристика работ. Строповка и увязка простых изделий, деталей лесных (длиной до 3 м) и других аналогичных грузов массой до 5 т для их подъема, перемещения и укладки. Отцепка стропов на месте установки и укладки. Подача сигналов машинисту крана (крановщику) и наблюдение за грузом при подъеме, перемещении и укладке. Выбор необходимых стропов в соответствии с массой и размером перемещаемого груза. Определение пригодности стропов.
Должен знать: визуальное определение массы перемещаемого груза; места застроповки типовых изделий; правила строповки, подъема и перемещения малогабаритных грузов; условную сигнализацию для машинистов кранов (крановщиков); назначение и правила применения стропов-тросов, цепей, канатов и др.; предельные нормы нагрузки крана и стропов; требуемую длину и диаметр стропов для перемещения грузов; допускаемые нагрузки стропов и канатов.
3 разряд
Характеристика работ. Строповка и увязка простых изделий, деталей, лесных (длиной до 3 м) и других аналогичных грузов массой свыше 5 до 25 т для их подъема, перемещения и укладки. Строповка и увязка грузов средней сложности, лесных грузов (длиной свыше 3 до 6 м), изделий, деталей и узлов с установкой их на станок, подмостей и других монтажных приспособлений и механизмов, а также других аналогичных грузов массой до 5 т для их подъема, перемещения и укладки. Выбор способов для быстрой и безопасной строповки и перемещения грузов в различных условиях. Сращивание и связывание стропов разными узлами.
Должен знать: визуальное определение массы и центра тяжести перемещаемых грузов; правила строповки, подъема и перемещения простых тяжелых грузов и грузов средней сложности; наиболее удобные места строповки грузов; сроки эксплуатации стропов, их грузоподъемность, методы и сроки испытаний; способы сращивания и связывания стропов; принцип работы грузозахватных приспособлений.
4 разряд
Характеристика работ. Строповка и увязка простых изделий, деталей, лесных (длиной до 3 м) и других аналогичных грузов массой свыше 25 т для их подъема, перемещения и укладки. Строповка и увязка грузов средней сложности, лесных грузов (длиной свыше 3 до 6 м), изделий, деталей и узлов с установкой их на станок, подмостей и других монтажных приспособлений и механизмов, а также аналогичных грузов массой свыше 5 до 25 т для их подъема, перемещения и укладки. Строповка и увязка лесных грузов (длиной свыше 6 м), изделий, деталей и узлов, требующих повышение осторожности, технологического оборудования и связанных с ним конструкций, изделий, узлов, машин и механизмов непосредственно при стапельной и секционной сборке и разборке, а также при сборке и разборке машин, аппаратов, конструкций сборных элементов зданий и сооружений и аналогичных сложных грузов массой до 5 т для их подъема, монтажа, перемещения и укладки. Заплетка концов стропов. Выбор стропов в соответствии с массой и родом грузов.
Должен знать: способы строповки тяжелых грузов; устройство грузозахватных приспособлений, применяемых при подъеме и перемещении грузов для предохранения его от прогиба и порчи; правила и способы сращивания стропов; сроки эксплуатации стропов и их грузоподъемность.
5 разряд
Характеристика работ. Строповка и увязка грузов средней сложности, лесных (длиной свыше 3 до 6 м) изделий, деталей и узлов с установкой их на станок, подмостей и других монтажных приспособлений и механизмов, а также аналогичных грузов массой свыше 25 т для их подъема, перемещения и укладки. Строповка и увязка лесных грузов (длиной свыше 6 м), особо ответственных изделий, узлов машин и механизмов непосредственно при стапельной и секционной сборке и разборке, а также при сборке и разборке машин, аппаратов, конструкций сборных элементов зданий и сооружений и аналогичных сложных грузов массой свыше 5 до 50 т для их подъема, перемещения и укладки.
Должен знать: конструкции приспособлений, применяемых при подъеме и перемещении грузов, для предохранения их от прогиба и порчи; методы и сроки испытания стропов.
6 разряд
Характеристика работ. Строповка и увязка сложных лесных грузов (длиной свыше 6 м), особо ответственных изделий, узлов, машин и механизмов непосредственно при стапельной и секционной сборке и разборке, а также при сборке и разборке машин, аппаратов, конструкций сборных элементов зданий и сооружений и аналогичных сложных грузов массой свыше 50 т для их подъема, монтажа, перемещения и укладки.
Должен знать: правила и способы строповки особо ответственных грузов; конструкции приспособлений, применяемых при подъеме и перемещении ответственных грузов для предохранения их от порчи и прогиба.
Характеристика работ. Управление машинами и механизмами, применяемыми при выполнении строительных, монтажных и ремонтно-строительных работ (согласно перечню). Обслуживание и профилактический ремонт соответствующих машин и механизмов.
Должен знать (применительно к управляемой машине или механизму): устройство машин (механизма), правила и инструкции по ее эксплуатации, техническому уходу и профилактическому ремонту. Правила дорожного движения при работе с машинами на автоходу. Способы производства работ при помощи соответствующей машины. Технические требования к качеству работ, материалов и элементов сооружений. Нормы расхода горючих и смазочных материалов и электроэнергии. Слесарное дело в объеме, предусмотренном для слесаря строительного, но на один разряд ниже разряда, присваиваемого машинисту.
В зависимости от сложности выполняемой работы, операторам машин и механизмов может быть присвоен разряд в соответствии с табл. 19.3.1.
Таблица 19.3.1
Тарифно-квалификационная характеристика операторов машин и механизмов
|
Перечень машин и механизмов |
Ед. изм. |
Разряды машинистов |
|||||||
|
2 |
3 |
4 |
5 |
6 |
7 |
8 |
9 |
||
|
1 |
2 |
3 |
4 |
5 |
6 |
7 |
8 |
9 |
10 |
|
Автобетононасосы производительностью |
м3/ч |
|
- |
- |
до 40 |
св. 40 до 60 |
св. 60 до 180 |
св. 180 |
- |
|
Автовышки и автогидроподъемники с высотой подъема: |
м |
|
- |
до 15 |
св. 15 до 25 |
св. 25 до 35 |
св. 35 |
- |
- |
|
Автокомпрессоры производительностью: |
м3/мин |
|
- |
до 3 |
св. 3 |
- |
- |
- |
- |
|
Автоямобуры |
раз |
|
- |
- |
5 |
- |
- |
- |
- |
|
Буровые установки на тракторах мощностью |
кВт |
|
- |
до 43 |
св. 43 до 73 |
св. 73 |
|
|
|
|
Бетононасосные установки производительностью |
м3/ч |
|
- |
до 20 |
- |
- |
- |
- |
- |
|
Бетоносмесители передвижные с объемом замеса: |
л |
|
до 425 |
св. 425 до 1200 |
св. 1200 до 2400 |
- |
- |
- |
- |
|
Битумоплавильные передвижные установки |
раз |
|
- |
- |
- |
6 |
- |
- |
- |
|
Бурильные строительные машины: |
|
|
|
|
|
|
|
|
|
|
- с глубиной бурения |
м |
|
- |
- |
до 6 |
в 6 |
- |
- |
- |
|
- при диаметре бурения |
мм |
|
- |
|
|
- |
св. 400 до 1200 |
св. 1200 |
|
|
- для бурения скважин типа СБШ-160, БТС-75, УБШ-507, БТСЭ-600 |
раз |
|
- |
- |
- |
- |
9 |
- |
9 |
|
Вакуумные установки |
раз |
|
- |
- |
5 |
- |
- |
- |
- |
|
Гидросеялки самоходные |
раз |
|
- |
- |
5 |
- |
- |
- |
- |
|
Землеройно-фрезерные самоходные машины |
раз |
|
- |
- |
6 |
- |
- |
- |
- |
|
Компрессоры передвижные с двигателем внутреннего сгорания производительностью: |
м3/мин |
|
- |
до 10 |
св. 10 до 50 |
св. 50 до 70 |
св. 70 |
- |
- |
|
Компрессоры передвижные с электродвигателем производительностью: |
м3/мин |
|
до 10 |
св. 10 |
- |
- |
- |
- |
- |
|
Компрессоры для подачи воздуха водолазам |
раз |
|
- |
- |
5 |
- |
- |
- |
- |
|
Краны: |
|
|
|
|
|
|
|
|
|
|
- автомобильного тина на спецшасси грузоподъемностью: |
т |
|
- |
до 6,3 |
св. 6,3 до 10 |
св. 10 до 20 |
св. 20 до 40 |
св. 40 до 60 |
св. 60 |
|
- гусеничные грузоподъемностью: |
т |
|
- |
- |
- |
- |
св. 40 до 60 |
св. 60 до 100 |
св. 100 |
|
- пневмоколесные грузоподъемностью: |
т |
|
- |
- |
- |
- |
св. 25 до 63 |
св. 63 до 100 |
св. 100 |
|
Лебедки электрические: |
|
|
|
|
|
|
|
|
|
|
- однобарабанные |
раз |
2 |
- |
- |
- |
- |
- |
- |
- |
|
- многобарабанпые |
раз |
- |
3 |
- |
- |
- |
- |
- |
- |
|
Ледорезные машины |
раз |
- |
- |
4 |
- |
- |
- |
- |
- |
|
Подъемники грузовые строительные |
раз |
- |
3 |
- |
- |
- |
- |
- |
- |
|
Погрузчики одноковшовые (колесные и гусеничные) мощностью двигателя: |
кВт |
|
- |
- |
до 74 |
св. 74 до 148 |
св. 148 до 260 |
св. 260 до 370 |
св. 370 |
|
Растворонасосы |
раз |
|
3 |
- |
- |
- |
- |
- |
- |
|
Растворосмесители передвижные объемом замеса: |
л |
- |
до 325 |
св. 325 до 750 |
- |
- |
- |
- |
- |
|
Трубоукладчики с двигателем мощностью; |
кВт |
- |
|
|
до 73 |
- |
- |
- |
- |
|
Уплотняющие и планировочно-уплотняющие машины |
раз |
- |
- |
- |
5 |
- |
- |
- |
- |
|
Установка передвижная непрерывною действия для приготовления бетонной смеси производительностью: |
м3/ч |
- |
- |
- |
до 60 |
св. 60 |
- |
- |
- |
|
Электросварочные передвижные агрегаты с двигателями внутреннего сгорания мощностью: |
кВт |
- |
до 37 |
св. 37 до 74 |
св. 74 до 100 |
св. 100 |
- |
- |
- |
|
Электростанции передвижные мощностью: |
кВт |
- |
- |
до 37 |
св. 37 до 100 |
св. 100 |
- |
- |
- |
|
- входящие в комплекс машин "Север" |
раз |
- |
- |
- |
- |
- |
- |
8 |
- |
Примечание. Оператор имеет один разряд независимо от марки машины или механизма
3 разряд
При управлении грузовыми автомобилями всех типов и марок грузоподъемностью до 3 тонн.
4 разряд
Характеристика работ. Управление легковыми автомобилями всех типов, грузовыми автомобилями (автопоездами) всех типов грузоподъемностью свыше 3 и до 10 тонн (автопоездов - по суммарной грузоподъемности автомобиля и прицепа), автобусами габаритной длиной до 7 метров. Управление подъемным механизмом самосвала, крановой установкой автокрана, насосной установкой автоцистерны, подметально-уборочными механизмами и другим специальным оборудованием специализированных автомобилей с соблюдением техники безопасности. Заправка автомобилей топливом, смазочными материалами и охлаждающей жидкостью. Проверка технического состояния и прием автомобиля перед выездом на линию, сдача его и постановка на отведенное место по возвращению в автохозяйство. Подача автомобилей под погрузку и разгрузку грузов и контроль за погрузкой, размещением и креплением груза в кузове автомобиля. Устранение возникших во время работы на линии мелких неисправностей, не требующих разборки механизмов.
Должен знать: назначение, устройство, принцип действия, работу и обслуживание агрегатов, механизмов и приборов обслуживаемых автомобилей; правила дорожного движения и технической эксплуатации автомобилей; основы безопасности движения; причины, способы обнаружения и устранения неисправностей, возникших в процессе эксплуатации автомобилей; порядок проведения технического обслуживания и правила хранения автомобилей в гаражах и на открытых стоянках; правила эксплуатации аккумуляторных батарей и автомобильных шин; правила обкатки новых автомобилей и после капитального ремонта; правила перевозки опасных грузов; влияние погодных условий на безопасность вождения автомобиля; способы предотвращения дорожно-транспортных происшествий; правила заполнения первичных документов по учету работы обслуживаемого автомобиля.
5 разряд
Характеристика работ. Управление грузовыми автомобилями (автопоездами) всех типов грузоподъемностью свыше 10 и до 40 тонн (автопоездов - по суммарной грузоподъемности автомобиля и прицепа). Устранение возникших во время работы на линии эксплуатационных неисправностей обслуживаемого автомобиля, требующих разборки механизмов. Выполнение регулировочных работ в полевых условиях при отсутствии технической помощи.
Должен знать: назначение, устройство, принцип действия, работу и обслуживание агрегатов, механизмов и приборов обслуживаемых автомобилей; признаки, причины, способы определения и устранения неисправностей; объемы, периодичность и основные правила выполнения работ по техническому обслуживанию; способы увеличения межремонтных пробегов автомобилей; особенности организации технического обслуживания и ремонта автомобилей в полевых условиях; способы увеличения пробега автомобильных шин и срока службы аккумуляторных батарей; основы диспетчерского руководства перевозками, технические средства диспетчерской связи и контроль за движением автомобилей; методы работы передовых водителей.
6 разряд
Характеристика работ. Управление грузовыми автомобилями (автопоездами) всех типов грузоподъемностью свыше 40 тонн (автопоездов по суммарной грузоподъемности автомобиля и прицепа).
Должен знать: назначение, устройство и правила технического обслуживания автопоездов, устройство и правила технического обслуживания автомобилей последних выпусков; влияние отдельных эксплуатационных показателей работы автомобилей на себестоимость перевозок; способы обеспечения высокопроизводительного и экономичного использования подвижного состава; основные технико-эксплуатационные качества обслуживаемых автомобилей и их влияние на безопасность движения; элементы теории автомобиля; основные положения службы безопасности движения автотранспортного хозяйства.
Характеристика работ. Управление машинами различных типов и назначений, применяемых при сооружении и ремонте верхнего строения автомобильных дорог и строительстве аэродромов. Техническое обслуживание машины, проверка исправности ее систем и узлов. Выявление и устранение неисправностей в работе машины. Участие в планово-профилактических ремонтах. Заправка горючими и смазочными материалами.
Должен знать: назначение и устройство соответствующих машин, правила и инструкции по их эксплуатации; способы производства работ и технические требования к их качеству; нормы расхода горючих и смазочных материалов; сорта и свойства масел и топлива, их технологические характеристики, правила безопасного хранения; правила дорожного движения.
В зависимости от сложности выполняемой работы и мощности двигателя машин и механизмов, машинистам может быть присвоен разряд в соответствии с табл. 19.4.1.
Таблица 19.4.1
Тарифно-квалификационная характеристика машинистов машин и механизмов
|
Перечень машин и механизмов |
Ед. изм. |
Разряды машинистов |
|||||
|
4 |
5 |
6 |
7 |
8 |
9 |
||
|
1 |
2 |
3 |
4 |
5 |
6 |
7 |
8 |
|
Автобетонолом |
раз |
- |
5 |
- |
- |
- |
- |
|
Автогрейдер мощностью: |
кВт |
- |
до 59 |
св. 59 до 148 |
св. 148 до 177 |
св. 177 |
- |
|
Автогудронатор |
раз |
- |
5 |
- |
- |
- |
- |
|
Автополивочная машина |
раз |
4 |
- |
- |
- |
- |
- |
|
Бетоноукладчики: |
|
|
|
|
|
|
|
|
- на рельс-формах |
раз |
- |
|
|
7 |
- |
|
|
- ДС-100, ДС-110 производительностью: |
м3/ч |
- |
|
- |
- |
до 132,6 |
св. 132,6 |
|
Бульдозер мощностью: |
кВт |
до 44 |
св. 44 до 74 |
св. 74 до 283 |
св. 283 |
- |
- |
|
Грейдер прицепной с длиной ножа: |
мм |
до 3000 |
св. 3000 |
- |
- |
- |
- |
|
Каток самоходный с гладкими вальцами массой: |
т |
до 5 |
св. 5 до 10 |
св. 10 |
- |
- |
- |
|
Маркировочная машина для разметки а/дорог |
раз |
- |
5 |
- |
- |
- |
- |
|
Машина для нанесения пленкообразующей жидкости |
раз |
- |
5 |
- |
- |
- |
- |
|
Машина для устройства укрепительных полос |
раз |
|
5 |
- |
- |
|
- |
|
Машины для устройства швов в свежеуложенном бетоне при выполнении дорожных работ |
раз |
4 |
- |
- |
- |
- |
- |
|
Профилировщики: |
|
|
|
|
|
|
|
|
- на рельс-формах |
раз |
- |
- |
- |
7 |
- |
- |
|
- ДС-100, ДС-110 мощностью: |
кВт |
- |
- |
- |
- |
до 125 |
св. 125 |
|
Распределитель цемента гравитационный прицепной |
раз |
4 |
- |
- |
- |
- |
- |
|
Распределитель цемента аэрационный самоходный |
раз |
- |
5 |
- |
- |
- |
- |
|
Скрепер мощностью: |
кВт |
- |
до 73,6 |
св. 73,6 до 118 |
св. 118 до 264,8 |
св. 264,8 до 625,6 |
св. 625,6 |
|
Смесители асфальтобетона производительностью: |
т/ч |
- |
- |
до 25 |
св. 25 до 50 |
св. 50 до 100 |
св. 100 |
|
- в том числе типа "Тельтомат" |
раз |
- |
- |
- |
- |
- |
9 |
|
Укладчики асфальтобетона производительностью: |
т/ч |
- |
- |
до 100 |
св. 100 |
- |
- |
|
- в комплексе машин термопрофилирования |
раз |
- |
- |
- |
- |
8 |
- |
|
Экскаваторы: |
|
|
|
|
|
|
|
|
- роторные траншейные производительностью: |
м3/ч |
- |
до 1000 |
св. 1000 |
- |
- |
- |
|
- роторные траншейные производительностью: |
кВт |
- |
- |
- |
св. 147,2 до 183 |
св. 183 до 210,8 |
св. 210,8 |
|
- одноковшовые емкостью ковша: |
м3 |
до 0,15 |
св. 0,15 до 0,4 |
св. 0,4 до 1,25 |
св. 1,25 до 4,0 |
св. 4,0 до 9.0 |
св. 9,0 |
|
- планировщик (типа УДС-110, УДС-114) на шасси автомобиля для рытья траншей при устройстве сооружении методами "стенка в грунте" глубиной: |
м |
- |
- |
- |
св. 20 до 40 |
св. 40 |
|
Характеристика работ. Разработка, перемещение и планировка грунтов при устройстве выемок, насыпей, резервов, кавальеров и банкетов при строительстве автомобильных и железных дорог, оросительных и судоходных каналов, плотин, оградительных земляных дамб, котлованов под здания и сооружения, опор линий и других аналогичных сооружений.
Должен знать: устройство, принцип работы и технические характеристики тягачей и навесного оборудования; монтаж и демонтаж навесного оборудования; причины возникновения неисправностей и способы их устранения; правила разработки и перемещения грунтов различных категорий при разной глубине разработки; правила послойной отсыпки насыпей; правила разработки выемок; отсыпке насыпей и планировки площадей по заданным профилям и отметкам.
Квалификационный разряд машиниста бульдозера зависит от типа и марки бульдозера и мощности двигателя (табл. 19.4.2).
Таблица 19.4.2
Квалификационный разряд машинистов бульдозера
|
Разряд |
Должностные обязанности |
|
4 |
При управлении бульдозером мощностью до 43 кВт |
|
5 |
При управлении бульдозером мощностью свыше 43 до 73 кВт |
|
6 |
При управлении бульдозером мощностью свыше 73 до 281 кВт исключительно |
|
7 |
При управлении бульдозером мощностью свыше 281 кВт |
|
8 |
При управлении бульдозером с дистанционным управлением для подводных работ |
Примечание. Машинисты бульдозеров, занятые на выполнении горных и горно-капитальных работ, а также всех других работ, не указанных в характеристике, тарифицируются по разделу Единого тарифно-квалификационного справочника "Горные, горно-капитальные работы, обогащение, агломерация и брикетирование"
Характеристика работ. Разработка и перемещение грунтов при устройстве выемок, насыпей, резервов, кавальеров при строительстве автомобильных и железных дорог, оросительных и судоходных каналов, плотин, оградительных земляных дамб, котлованов под здания и сооружения.
Должен знать: устройство, принцип и технические характеристики тягачей и прицепного оборудования; монтаж и демонтаж прицепного оборудования; причины возникновения неисправностей и способы их устранения; правила разработки и перемещения грунтов различных категорий при разной глубине разработки; правила послойной отсыпки насыпей; правила разработки выемок и отсыпки насыпей по заданным профилям и отметкам, правила дорожного движения.
Квалификационный разряд машиниста скрепера зависит от типа и марки скрепера, а также мощности двигателя (табл. 19.4.3).
Таблица 19.4.3.
Квалификационный разряд машинистов скрепера
|
Разряд |
Должностные обязанности |
|
5 |
При управлении самоходным скрепером или скрепером с тягачом мощностью до 75 кВт |
|
6 |
При управлении самоходным скрепером иди скрепером с тягачом мощностью более 75 до 120 кВт исключительно |
|
7 |
При управлении самоходным скрепером мощностью oт 120 до 270 кВт исключительно |
|
8 |
При управлении самоходным скрепером мощностью более 270 до 640 кВт исключительно |
|
9 |
При управлении самоходным скрепером мощностью более 640 кВт |
2 разряд
Характеристика работ. Управление трактором с мощностью двигателя до 25,7 кВт (до 35 л.с), работающим на жидком топливе, при транспортировке различных грузов, машин, механизмов, металлоконструкций и сооружений разной массы и габаритов с применением прицепных приспособлений и устройств. Наблюдение за погрузкой, креплением и разгрузкой транспортируемых грузов. Заправка трактора топливом и смазывание трактора и всех прицепных устройств. Выявление и устранение неисправностей в работе трактора и участие во всех видах ремонта обслуживаемого трактора и прицепных устройств.
Должен знать: принцип работы и устройство обслуживаемого трактора; правила уличного движения; правила погрузки, укладки, строповки и разгрузки различных грузов; правила производства работ с прицепными приспособлениями и устройствами; способы выявления и устранения недостатков в работе трактора; мощность обслуживаемого двигателя и предельную нагрузку прицепных приспособлений; порядок оформления приемо-сдаточных документов на перевозимые грузы или выполняемые работы.
Квалификационный разряд машиниста трактора зависит от типа и марки трактора, а также мощности двигателя (табл. 19.4.4).
Таблица 19.4.4
|
Разряд |
Должностные обязанности |
|
3 |
При управлении трактором с мощностью двигателя свыше 25,7 до 44,1 кВт |
|
4 |
При управлении трактором с мощностью двигателя свыше 44,1 до 73,5 кВт |
|
5 |
При управлении трактором с мощностью двигателя свыше 73,5 до 150 кВт |
|
6 |
При управлении трактором с мощностью двигателя свыше 150,0 до 225,0 кВт |
|
7 |
При управлении трактором с мощностью двигателя свыше 225,0 до 375,0 кВт |
|
8 |
При управлении трактором с мощностью двигателя свыше 375,0 кВт |
Характеристика работ. Разработка грунтов при устройстве выемок, насыпей, резервов, кавальеров и банкетов при строительстве автомобильных и железных дорог, оросительных и судоходных каналов, плотин, оградительных земляных дамб, котлованов под здания и сооружения, опор линий электропередачи и контактной сети, траншей для подземных коммуникаций, водоотводных кюветов, нагорных и забанкетных канав и других аналогичных сооружений.
Должен знать: устройство, принцип работы и технические характеристики экскаваторов; принцип работы механического, гидравлического и электрического оборудования; монтаж и демонтаж навесного оборудования экскаваторов; принцип возникновения неисправностей и способы их устранения; правила экскавации грунтов различных категорий при различной глубине забоя; правила экскавации грунтов с соблюдением заданных профилей и отметок; правила дорожного движения.
Квалификационный разряд машиниста экскаватора зависит от вместимости ковша, типа и марки экскаватора (табл. 19.4.5).
Таблица 19.4.5
Тарифно-квалификационный разряд машиниста экскаватора
|
Разряд |
Должностные обязанности |
|
4 |
При управлении одноковшовым экскаватором с ковшом вместимостью до 0,15 м3 |
|
5 |
При управлении одноковшовым экскаватором с ковшом вместимостью свыше 0,15 до 0,4 м3 иди роторным экскаватором (канавокопатели и траншейные) с ковшом вместимостью до 20 л. |
|
6 |
При управлении одноковшовым экскаватором с ковшом вместимостью более 0,4 до 1,25 м3 (исключительно) иди роторным экскаватором (канавокопатели и траншейные) с ковшом вместимостью более 20 л, или универсальной землеройно-планировочной машиной типа Э-2516, Э-4010, "Сатурн" |
|
7 |
При управлении одноковшовым экскаватором с ковшом вместимостью от 1,25 до 4,0 м3 (исключительно) или роторным экскаватором (канавокопателем и траншейные) с мощностью двигателя от 150 кВт (200 л.с.) до 187 кВт (250 л.с.). |
|
8 |
При управлении одноковшовым экскаватором с ковшом вместимостью от 4,0 до 9,0 м3 или роторным экскаватором (канавокопатели и траншейные) с мощностью двигателя от 187 кВт (250 л.с.) до 225 кВт (300 л.с.). |
|
9 |
При управлении одноковшовым экскаватором с ковшом вместимостью более 9,0 м или роторным экскаватором (канавокопатели и траншейные) мощностью более 225 кВт (300 л.с.). |
Примечание. Машинисты экскаваторов, занятые на выполнении горных и горно-капитальных работ, а также асах других работ, не указанных в характеристике, тарифицируется по раздену Единого тарифно-квалификационного справочника «Горные, горно-капитальные работы, обогащение, агломерация брикетирование».
1 разряд
Характеристика работ. Разборка простых узлов дорожно-строительных машин, тракторов и прицепных механизмов. Рубка зубилом, резка ножовкой, опиливание, зачистка заусенцев, промывка, очистка и смазка деталей. Участие в ремонте под руководством слесаря более высокой квалификации.
Должен знать: основные приемы выполнения несложных слесарных работ; назначение и правила применения простого слесарного и контрольно-измерительного инструмента, наименование и маркировку металлов, масел, топлива, смазок, моющих веществ.
Примеры работ.
1. Детали простые - опиливание заусенцев, резка заготовок ножовкой, рубка зубилом, прогонка резьбы.
2. Детали и узлы простые дорожно-строительных машин и тракторов - очистка и мойка.
3. Тракторы и машины дорожно-строительные - очистка от грязи перед разборкой.
2 разряд
Характеристика работ. Разборка дорожно-строительных машин, тракторов, прицепных механизмов и подготовка их к ремонту. Разборка, ремонт, сборка простых соединений и узлов дорожно-строительных машин и тракторов с заменой отдельных частей и деталей. Снятие и установка несложной осветительной арматуры. Выполнение крепежных работ при техническом осмотре и обслуживании. Слесарная обработка узлов и деталей по 12-14-му квалитетам (5-7-му классам точности) с применением приспособлений. Выполнение более сложных работ по ремонту и монтажу под руководством слесаря более высокой квалификации.
Должен знать: основные сведения об устройстве дорожно-строительных машин и тракторов; правила и последовательность разборки на узлы и подготовки к ремонту дорожно-строительных машин и тракторов; назначения и правила применения наиболее распространенных универсальных и специальных приспособлений и средней сложности контрольно-измерительного инструмента; назначение и применение охлаждающих и тормозных жидкостей, масел, топлива; механические свойства обрабатываемых материалов; основные сведения о допусках и посадках, квалитеты (классы точности) и параметры шероховатости (классы чистоты); основы электротехники и технологии металлов в объеме выполняемой работы.
Примеры работ.
1. Бензобаки, аккумуляторы, кабины, кожухи - установка на машины и крепление.
2. Диски, тормозные ленты и фрикционные накладки - установление повреждений и клепка.
3. Кронштейны, скобы, хомуты - изготовление.
4. Лебедки, муфты сцепления, мосты передние, тележки гусеничные, рулевое управление, механизмы реверсивные - снятие, разборка и подготовка к ремонту.
5. Мосты задние, двигатели, коробки передач - снятие.
6. Плафоны, фонари световые, свечи, стартеры - снятие и установка.
7. Фильтры масляные, насосы водяные, вентиляторы двигателей - снятие.
3 разряд
Характеристика работ. Ремонт, сборка и регулировка узлов и агрегатов средней сложности с заменой отдельных частей и деталей. Определение и устранение неисправностей в работе узлов, механизмов, агрегатов и приборов при техническом осмотре и обслуживании дорожно-строительных машин и тракторов. Разборка и подготовка к ремонту наиболее ответственных и сложных агрегатов, узлов и электрооборудования. Соединение и пайка проводов, изоляция их и замена поврежденных участков. Общая сборка средней сложности дорожно-строительных машин и тракторов на колесном ходу.
Слесарная обработка узлов и деталей по 11 и 12-му квалитетам (4 и 5-му классам точности) с применением универсальных приспособлений. Выполнение более сложных работ по ремонту дорожно-строительных машин, тракторов и прицепных механизмов к ним под руководством слесаря более высокой квалификации.
Должен знать: устройство дорожно-строительных машин, тракторов, прицепных механизмов, назначение и взаимодействие основных узлов и деталей; технологическую последовательность разборки, ремонта и сборки машин и прицепных механизмов; методы выявления и способы устранения дефектов в работе машин и отдельных агрегатов; сорта масел, применяемых для смазки узлов машин; устройство универсальных и специальных приспособлений и средней сложности контрольно-измерительного инструмента; допуски и посадки, квалитеты (классы точности) и параметры шероховатости (классы чистоты обработки); электротехнические материалы и правила сращивания, пайки и изоляции проводов.
Примеры работ.
1. Автогрейдеры, краны автомобильные и краны самоходные на пневмоколесном ходу - разборка на узлы и детали.
2. Вентиляторы - насосы водяные и масляные двигателей - ремонт и сборка.
3. Двигатели, коробки перемены передач, мосты задние - разборка и подготовка к ремонту.
4. Замки зажигания - ремонт, сборка, регулировка.
5. Клапаны - притирка.
6. Колеса ведущие и ведомые, гусеницы и цепи, ролики поддерживающие и опорные, тяги рулевые, колодки тормозные и ленты - ремонт и сборка.
7. Лебедки, мосты передние, бортовые передачи, механизмы подъема и отвала, рейки выноса отвала, балансиры, тормоза -ремонт, сборка и установка.
8. Трубопроводы - ремонт и устранение неисправностей.
9. Управление рулевое - замена, установка.
4 разряд
Характеристика работ. Ремонт, сборка, стендовые испытания и регулировка сложных агрегатов и узлов дорожно-строительных машин и тракторов. Выявление и устранение дефектов в процессе ремонта, сборки и испытания агрегатов, узлов машин и тракторов. Слесарная обработка узлов и деталей по 7...10-му квалитетам (2 и 3-му классам точности) с применением универсальных приспособлений и специального инструмента. Общая сборка сложных дорожно-строительных машин, тракторов на гусеничном ходу, агрегатов электрооборудования и приборов. Выполнение сложных монтажных работ с применением подъемно-транспортных механизмов и специальных приспособлений.
Должен знать: конструктивное устройство ремонтируемых дорожно-строительных машин и тракторов; устройство двигателей внутреннего сгорания различных типов и назначений; методы регулирования отдельных агрегатов и узлов машин; методику и режимы испытаний агрегатов дорожно-строительных машин и тракторов; способы устранения дефектов в процессе ремонта, сборки и испытания узлов и агрегатов; электроприборы и электрооборудование дорожно-строительных машин и тракторов; систему допусков и посадок, квалитеты (классы точности) и параметры шероховатости (классы чистоты обработки), устройство, назначение и правила применения сложного контрольно-измерительного инструмента; конструкцию универсальных и специальных приспособлений.
Примеры работ.
1. Автогрейдеры и автокраны - ремонт и сборка муфт сцепления мультипликаторов, рулевых механизмов, механизмов подъема и поворота стрелы.
2. Бульдозеры, грейдеры, скреперы (самоходные) - испытание подъемных механизмов и устранение дефектов в их работе.
3. Втулки шатунов - подгонка по поршневым пальцам.
4. Гидроприводы дорожно-строительных машин - ремонт, сборка, испытание на стенде.
5. Двигатели внутреннего сгорания мощностью до 73,6 кВт (100 л.с.) - ремонт, полная сборка, регулировка узлов и механизмов, устранение дефектов газораспределения, шатунно-поршневой группы и других узлов двигателя.
6. Коробки передач тракторов - испытание на стенде.
7. Клапаны - регулировка зазоров.
8. Кольца поршневые - подгонка к поршням.
9. Механизмы газораспределения - сборка.
10. Механизмы планетарные поворота трактора - сборка и регулировка.
11. Подшипники коренные и шатунные - шабрение.
12. Управление рулевое, редукторы, задний мост, коробка передач, фрикционы - ремонт, сборка и регулировка.
13. Экскаваторы с ковшом вместимостью до 15 куб. м - регулировка пневматического или гидравлического привода управления механизмов экскаватора, испытание главной лебедки, смена напорного барабана, регулировка открывания днища ковша.
5 разряд
Характеристика работ. Ремонт, сборка, регулировка и испытание на стендах и на шасси особо сложных агрегатов и узлов дорожно-строительных машин и мощных тракторов. Определение на слух и устранение неисправностей в работе двигателя внутреннего сгорания и в работе особо сложных узлов и механизмов дорожно-строительных машин и тракторов. Поверка и испытание электрооборудования с применением специальной аппаратуры и приборов. Сложная слесарная обработка деталей по 6...7-му квалитетам (1 и 2-му классам точности).
Должен знать: конструктивное устройство ремонтируемых мощных тракторов и сложных дорожно-строительных машин, технические условия на ремонт, сборку, испытание и регулировку сложных и ответственных агрегатов и электрооборудования; особо сложные электрические и монтажные схемы; причины износа сопряженных деталей, способы из выявления и устранения, устройство испытательных стендов.
Примеры работ.
1. Валы коленчатые с маховиками - балансировка.
2. Двигатели внутреннего сгорания мощностью свыше 73,6 кВт - капитальный ремонт, полная сборка, регулировка и испытание.
3. Краны автомобильные и самоходные на пневмоколесном ходу - подготовка к испытанию после капитального ремонта и испытание.
4. Экскаваторы с ковшом вместимостью свыше 15 куб. м - регулировка пневматического и гидравлического привода управления механизмов экскаватора, испытание главной лебедки, регулирование открывания днища ковша.
6 разряд
Характеристика работ. Ремонт, сборка, регулировка, комплексные испытания и сдача в соответствии с техническими условиями особо сложных и ответственных агрегатов и узлов дорожно-строительных машин и тракторов различных марок. Проверка правильности сборки со снятием эксплуатационных характеристик.
Должен знать: конструктивные особенности дорожно-строительных машин и тракторов различных марок; технические условия на ремонт, испытание и сдачу особо сложных и ответственных агрегатов и узлов; способы полного восстановления и упрочнения изношенных деталей.
Примеры работ.
1. Коробки передач автоматические - сборка, регулировка, испытание.
2. Образцы опытных, экспериментальных дорожно-строительных машин (автогрейдеров, асфальтоукладчиков, особо сложных дробильно-размольных, формовочных для железобетонных работ) - ремонт, наладка, испытание.
Дата введения 01.01.94 г.
Бетонщики при производстве работ согласно имеющейся квалификации обязаны выполнять требования безопасности, изложенные в «Типовой инструкции по охране труда для работников строительства, промышленности строительных материалов и жилищно-коммунального хозяйства», настоящей типовой инструкции, разработанной с учетом строительных норм и правил Российской Федерации, а также требования инструкций заводов-изготовителей по эксплуатации применяемого оборудования и технологической оснастки.
Требования безопасности перед началом работы
1. Перед началом работы бетонщики обязаны:
а) предъявить руководителю удостоверение о проверке знаний безопасных методов работ и пройти инструктаж на рабочем месте с учетом специфики выполняемых работ;
б) надеть спецодежду, каску и спецобувь установленного образца;
в) получить задание на выполнение работы у бригадира или руководителя.
2. После получения задания у бригадира или руководителя бетонщики обязаны:
а) подготовить необходимые средства индивидуальной защиты и проверить их исправность;
б) проверить рабочее место и подходы к нему на соответствие требованиям безопасности;
в) подобрать технологическую оснастку, инструмент, необходимые при выполнении работы, и проверить их соответствие требованиям безопасности;
г) проверить целостность опалубки и поддерживающих лесов.
3. Бетонщики не должны приступать к выполнению работ при следующих нарушениях требований безопасности:
а) неисправностях технологической оснастки, средств защиты работающих и инструмента, указанных в инструкциях заводов-изготовителей по их эксплуатации, при которых не допускается их применение;
б) несвоевременном проведении очередных испытаний (технологического осмотра) технологической оснастки, инструмента и приспособлений;
в) несвоевременном проведении очередных испытаний или истечении срока эксплуатации средств защиты работающих, установленного заводом-изготовителем;
г) недостаточной освещенности рабочих мест и подходов к ним;
д) повреждении целостности или потере устойчивости опалубки или поддерживающих лесов.
Обнаруженные нарушения требований безопасности должны быть устранены собственными силами, а при невозможности сделать это бетонщики обязаны незамедлительно сообщить о них бригадиру или руководителю работ.
Требования безопасности во время работы
4. При необходимости в процессе работы перехода с одного рабочего места на другое бетонщики должны использовать оборудованные системы доступа (лестницы, тралы, мостики).
Переход по строительным конструкциям или находящимся на них лестницам, трапам, мостикам, а также пребывание на них работников разрешается при условии закрепления конструкций в соответствии с проектом. Нахождение работников на элементах строительных конструкций, удерживаемых краном, не допускается.
5. При доставке бетона автосамосвалами необходимо соблюдать следующие требования:
во время движения автосамосвала бетонщики должны находиться на обочине дороги в поле зрения водителя; разгрузку автосамосвала следует производить только при полной его остановке и поднятом кузове; поднятый кузов Следует очищать от налипших кусков бетона совковой лопатой или скребком с длинной рукояткой, стоя на земле.
6. При разгрузке бетоносмесителей бетонщикам запрещается ускорять разгрузку лопатами и другими ручными инструментами. Чистка и ремонт бетоносмесителей и других машин, занятых на бетонных работах, допускаются только после отключения от источника питания (снятия напряжения) и вывешивания на рубильнике плаката «Не включать - работают люди!».
7. Для предотвращения обрушения опалубки от действия динамических нагрузок (бетона, ветра и т.п.), необходимо устраивать дополнительные крепления (расчалки, распорки и т.п.), согласно проекту.
8. При приеме бетонной смеси из бункеров (бадей) расстояние между нижней кромкой бункера (бадьи) и ранее уложенным слоем или поверхностью, на которую укладывается бетонная смесь, должно быть не более 1 м, если иные расстояния не предусмотрены проектом. Укладывать бетонную смесь в опалубку следует плавно, небольшими порциями, исключая возможность больших динамических и ударных нагрузок на опалубку и арматуру.
9. Монтаж, демонтаж и ремонт бетоноводов, а также удаление из них задержавшейся бетонной смеси (пробок) следует выполнять только после снижения давления в бетоноводе до атмосферного. Во время прочистки (испытания, продувки) бетоноводов сжатым воздухом запрещается нахождение работников, не занятых выполнением этих работ, на расстоянии ближе 10 м от бетоновода.
10. При подаче бетонной смеси конвейером необходимо выполнение следующих требований:
располагать верхний конец конвейера над грузоподъемной площадкой на высоте не менее 0,5 м;
следить во время работы за устойчивостью конвейера, а также исправностью защитных ограждений и настилов, ограждающих конвейер в местах проходов;
очищать ролики и ленту конвейера от бетона, а также натягивать и закреплять ленту только при выключенном электродвигателе и установленной на пускателе надписи «Не включать - работают люди!».
11. При уплотнении бетонной смеси электровибратором бетонщики обязаны выполнять такие требования: отключать электровибратор при перерывах в работе и переходе в процессе бетонирования с одного места на другое; перемещать площадочный вибратор во время уплотнения бетонной смеси только с помощью специальных гибких тяг; выключать вибратор на 5-7 мин для охлаждения через каждые 30-35 мин работы; не допускать работу вибратором с приставных лестниц; подвешивать электропроводку вибратора, а не прокладывать по уложенному бетону; закрывать (изолировать) от попадания влаги во время дождя или обильного снегопада выключатели электровибратора.
12. Поливать водой уложенный бетон следует только после снятия электрического напряжения в сети и вывешивания на рубильнике плаката «Не включать - работают люди!». Выполнение работ на участке электропрогрева, находящегося под электрическим напряжением, запрещается. Открытую (незабетонированную) арматуру железобетонных конструкций, связанную с участком, находящимся под электропрогревом, необходимо заземлить.
13. Разбирать и передвигать опалубку следует только с разрешения руководителя работ.
Элементы разборной опалубки необходимо опустить на землю, рассортировав с удалением выступающих гвоздей и скоб, и складировать в штабель.
Запрещается складировать разбираемые элементы опалубки на подмостях (лесах) или рабочих настилах, а также сбрасывать их с высоты.
14. Бетонщики, работающие с электровибраторами, а также производящие электропрогрев, должны работать в диэлектрических перчатках и обуви.
15. Измерение температуры бетона в зоне электропрогрева следует осуществлять дистанционными приборами после снятия электрического напряжения.
16. При механической обработке бетонных конструкций не допускается выполнение работ при нахождении людей ниже места производства работ по одной вертикали.
17. При укладке бетона с химическими добавками бетонщики обязаны применять средства индивидуальной защиты согласно технологической карте на выполнение указанных работ.
18. При пробивке борозд в бетоне отбойным молотком бетонщики обязаны пользоваться защитными очками.
19. Строповка бункера (бадьи) должна осуществляться бетонщиками, имеющими удостоверение стропальщика. При осуществлении этих работ, необходимо выполнять требования «Типовой инструкции охране труда для стропальщиков»
Требования безопасности в аварийных ситуациях
20. При обнаружении неисправностей крепления опалубки, подмащивания, средств механизации или технологической оснастки работы необходимо приостановить и сообщить об этом бригадиру или руководителю работ.
21. При подаче бетона грузоподъемным краном работы должны быть приостановлены в следующих случаях:
а) возрастании скорости ветра до 15 м/с и более;
б) при грозе или тумане, исключающих видимость в пределах фронта работ.
Требования безопасности по окончании работ
22. По окончании работы бетонщики обязаны:
а) отключить от электросети механизированный инструмент и механизмы, применяемые во время работы;
б) очистить от загрязнений после полной остановки механизмов движущиеся части;
в) привести в порядок рабочее место;
г) электровибраторы и другие инструменты убрать в отведенное для этого место;
д) сообщить бригадиру или руководителю работ о всех неполадках, возникших во время работы.
Дата введения 01.01.94 г.
Землекопы при производстве работ согласно имеющейся квалификации обязаны выполнять требования безопасности, изложенные в «Типовой инструкции по охране труда для работников строительства, промышленности строительных материалов и жилищно-коммунального хозяйства», настоящей типовой инструкции, разработанной с учетом строительных норм и правил Российской Федерации, а также требования инструкций заводов-изготовителей по эксплуатации применяемого оборудования и технологической оснастки.
Требования безопасности перед началом работы
1. Перед началом работы землекопы обязаны:
а) предъявить руководителю удостоверение о проверке знаний безопасных методов работы;
б) надеть каску, спецодежду и спецобувь установленного образца;
в) получить задание на выполнение работы у бригадира или руководителя и пройти инструктаж на рабочем месте с учетом специфики выполняемых работ.
2. После получения задания у бригадира или руководителя землекопы обязаны:
а) подготовить необходимые средства индивидуальной защиты (виброзащитные перчатки и защитные очки - при рыхлении грунта с помощью отбойного молотка и работе с другим пневмоинструментом);
б) проверить рабочее место и подходы к нему на соответствие требованиям безопасности;
в) подобрать оборудование, инструмент и технологическую оснастку, необходимые при выполнении работ, проверить их исправность и соответствие требованиям безопасности.
3. Землекопы не должны приступать к выполнению работы при следующих нарушениях требований безопасности:
а) неисправностях технологической оснастки, средств защиты работающих или инструмента, указанных в инструкции завода-изготовителя, при которых не допускается их применение;
б) несвоевременном проведении очередных испытаний (техническом осмотре) технологической оснастки, инструмента, приспособлений;
в) несвоевременном проведении очередных испытаний или истечении срока эксплуатации средств защиты работающих, установленного заводом-изготовителем;
г) недостаточной освещенности рабочих мест и подходов к ним;
д) неустойчивости откосов грунта или креплений стенок выемок, наличии обнажившихся на откосах валунов, глыб, камней, находящихся в неустойчивом состоянии.
Обнаруженные нарушения требований безопасности должны быть устранены собственными силами до начала работы, а при невозможности этого землекопы обязаны сообщить о них бригадиру или руководителю работ.
Требования безопасности во время работы
4. Землекопы при разработке грунта в выемках котлованов, траншеях, колодцах обязаны выполнять следующие требования безопасности:
а) разработка грунта в выемках с вертикальными стенками без крепления допускается на глубину не более, м:
1 - в насыпных песчаных и крупнообломочных грунтах;
1,25 - в супесях;
1,5 - в суглинках и глинах;
б) разработка грунта в выемках глубиной более указанной допускается с устройством соответствующих, предусмотренных технологической картой, откосов или установкой креплений их стенок.
5. При установке креплений стенок в выемках грунта землекопы обязаны выполнять следующие требования:
а) верхняя часть креплений должна быть выше бровки выемки не менее чем на 0,15 м;
б) устанавливать крепления следует в направлении сверху вниз по мере разработки выемки на глубину не более 0,5 м;
в) стойки креплений следует устанавливать не реже чем через каждые 1,5 м;
г) распорки креплений следует размещать одну от другой по вертикали на расстоянии не более 1 м, на концы распорок (сверху и снизу) закреплять фиксирующие бобышки;
д) в грунтах естественной влажности, кроме песчаных, толщина досок должна быть не менее 4 см, а зазоры между досками - не более 0,15 м. В грунтах повышенной влажности и в сыпучих грунтах доски толщиной не менее 5 см следует располагать без зазоров;
е) в случае образования вывалов или обрушений грунта это место после установки крепления следует засыпать грунтом;
ж) при сильном притоке грунтовых вод или наличии водо-насыщенных расплывающихся грунтов (плывунов) следует устраивать искусственное водопонижение или шпунтовое крепление. Шпунт следует забивать в водонепроницаемый грунт на глубину, указанную в паспорте крепления, но не менее 0,75 м.
6. Разработку грунта в выемках следует осуществлять послойно, не допускается производить эти работы «подкопом», с образованием «козырьков». В случае образования «козырьков» вследствие обвала грунта землекопы обязаны принять меры по обеспечению устойчивости грунта.
7. Землекопам не допускается находиться или выполнять работы в зоне действия экскаватора на расстоянии менее 10 м от места действия его ковша. Очищать ковш от налипшего грунта следует только при опущенном положении ковша.
8. При извлечении грунта из выемок с помощью бадей или других емкостей в выемках следует устраивать защитные навесы-козырьки для укрытия работников в выемке во время подъема или спуска бадей.
9. Разборку креплений стенок в выемках грунта землекопы обязаны производить в направлении снизу вверх по мере возведения подземных строительных конструкций или прокладки подземных коммуникаций и обратной засыпки их грунтом. В грунтах естественной влажности допускается одновременное удаление креплений не более чем на 0,5 м (трех досок) по высоте, а в грунтах повышенной влажности и сыпучих грунтах - не более 0,2 м (одной доски). При удалении досок следует соответственно переставлять распорки по мере установки новых. В случаях, когда разборка креплений может повлечь за собой деформацию существующих зданий и сооружений, крепление следует частично или полностью оставлять в грунте.
10. Погрузку грунта в автосамосвалы следует производить со стороны заднего или бокового борта. Нахождение людей между землеройной машиной и транспортным средством не допускается.
11. Выполнение земляных работ в охранной зоне подземных коммуникаций разрешается только при наличии оформленного наряда-допуска в присутствии представителя организации, эксплуатирующей коммуникации, попадающие в зону производства земляных работ. Использовать при этом инструмент ударного действия (лом, кирки, клинья и инструмент с электро- и пневмоприводом) для рыхления грунта в непосредственной близости (ближе 0,25 м) от коммуникаций не допускается.
12. Производство работ в выемках с откосами, разработанных в зимнее время, с наступлением оттепели, а также подвергшихся обогреву грунта или действию длительных атмосферных осадков, разрешается только после осмотра мастером или производителем работ состояния грунта откосов и обрушения неустойчивого грунта и местах образовавшихся «козырьков» или трещин (отслоении), а при необходимости -дополнительного раскрепления.
13. При разработке грунта в зимнее время землекопы обязаны выполнять следующие требования:
а) при механическом рыхлении мерзлого грунта (клин-молотом и шар-молотом) землекопам следует находиться и радиусе не менее 20 м от места рыхления;
б) в случае необходимости выполнения работ по электропрогреву мерзлого грунта не допускается пребывание работников на участках прогреваемой площади, находящихся под напряжением. При этом разрешается приближаться на расстояние не менее 3 м от контура прогреваемого участка, который должен быть огражден, вывешены предупредительные надписи и сигналы, а в темное время суток - сигнальное освещение.
в) разработка грунта на участке с применением электропрогрева допускается только после снятия электрического напряжения и освобождения участка от проводов;
г) разработка грунта в выемках без креплений разрешается только до уровня промерзания грунта (не более 0,5 м), при этом состояние стенок необходимо постоянно контролировать. Разработка грунта в выемках ниже указанного уровня допускается только с установкой крепления стенок.
14. Разработка грунта в опускных колодцах допускается при выполнении следующих требовании безопасности;
а) работу выполнять только под непосредственным руководством мастера или производителя работ;
б) под ножом опускного колодца разработку грунта следует осуществлять только вручную. Не допускается разрабатывать грунт более чем на 1 м ниже кромки ножа опускного колодца, при этом порядок разработки грунта и удаления подкладок из-под ножа должен обеспечивать его равномерное и симметричное оседание;
в) подъем и опускание землекопов из опускного колодца допускается только по установленным внутри колодца навесным лестницам (не менее двух);
г) при перемещении грунта в бадьях или грейфером при помощи грузоподъемного крана землекопы должны находиться под защитным козырьком, установленным по всему периметру колодца, с противоположной стороны от места перемещения грунта, а движение бадьи - осуществлять по специальным направляющим;
д) при необходимости использования у колодца сигнальщика он должен находиться на площадке с ограждением, установленной вне зоны работы грейфера.
Требования безопасности в аварийных ситуациях
15. В случае обнаружения при производстве работ подземных коммуникаций или взрывоопасных материалов, не указанных производителем или бригадиром, разработку грунта следует остановить и выйти из опасной зоны, поставив в известность руководителя работ. К работе можно приступать только после получения соответствующего разрешения.
16. При появлении в откосах выемок признаков сдвига или сползания грунта, землекопам следует незамедлительно остановить выполнение работ и выйти из опасной зоны до выполнения мероприятий, обеспечивающих устойчивость откосов.
Требования безопасности по окончании работы
17. По окончании рабочего дня землекопы обязаны:
а) осмотреть состояние стенок выемок и в случае обнаружения неустойчивости откосов выполнить необходимые мероприятия по их закреплению;
б) очистить берму выемки от разработанного грунта;
в) убедиться в отсутствии на откосах выемки комьев, глыб грунта, при обнаружении их следует удалить;
г) инструмент, оснастку и другие приспособления, применяемые в процессе выполнения задания, очистить от грунта и убрать в отведенное место;
д) спецодежду, спецобувь и другие средства индивидуальной защиты очистить и убрать в предназначенное для их хранения место;
е) если не закончена работа в колодце или шурфе, закрыть или оградить их, в темное время суток включить сигнальное освещение;
ж) о всех недостатках или неполадках во время выполнения работы сообщить бригадиру или руководителю.
Дата введения 01.01.94 г.
Монтажники стальных и железобетонных конструкций (далее - «монтажники») при производстве работ согласно имеющейся квалификации обязаны выполнять требования безопасности, изложенные в «Типовой инструкции по охране труда для работников строительства, промышленности строительных материалов и жилищно-коммунального хозяйства», настоящей типовой инструкции, разработанной с учетом строительных норм и правил Российской Федерации, а также требования инструкций заводов-изготовителей по эксплуатации технологической оснастки, инструмента и средств защиты, применяемых в процессе работы.
Требования безопасности перед началом работы
1. Перед началом работы монтажники обязаны:
а) предъявить руководителю удостоверение о проверке знаний безопасных методов работ и пройти инструктаж на рабочем месте с учетом специфики выполняемых работ;
б) надеть каску, спецодежду, спецобувь установленного образца;
в) получить задание на выполнение работы у бригадира или руководителя.
2. После получения задания монтажники обязаны:
а) подготовить необходимые средства индивидуальной защиты, в том числе: пояс предохранительный и канат страховочный - при выполнении верхолазных работ; защитные очки - при пробивке отверстий в железобетонных конструкциях;
б) проверить рабочее место и подходы к нему на соответствие требованиям безопасности;
в) подобрать технологическую оснастку и инструмент, необходимые при выполнении работы, проверить их на соответствие требованиям безопасности труда;
г) осмотреть элементы строительных конструкций, предназначенные для монтажа, и убедиться в отсутствии у них дефектов.
3. Монтажники не должны приступать к выполнению работы при:
а) неисправностях технологической оснастки, средств защиты работающих, инструмента, указанных в инструкциях заводов-изготовителей, при которых не допускается их применение;
б) несвоевременном проведении очередных испытаний технологической оснастки, инструментов и приспособлений;
в) несвоевременном проведении очередных испытаний или истечении срока эксплуатации средств защиты работающих, установленного заводом-изготовителем;
г) недостаточной освещенности рабочих мест и подходов к ним.
Обнаруженные неисправности должны быть устранены собственными силами, а при невозможности сделать это монтажники обязаны сообщить о них бригадиру или руководителю работ.
Требования безопасности во время работы
4. Для прохода на рабочее место монтажники должны использовать оборудованные системы доступа (лестницы, трапы, мостики). Нахождение монтажников на элементах строительных конструкций, удерживаемых краном, не допускается.
5. Навесные монтажные площадки, лестницы и другие приспособления, необходимые для работы монтажников на высоте, следует устанавливать и закреплять на монтируемых конструкциях до их подъема.
6. При отсутствии ограждения рабочих мест на высоте монтажники обязаны применять предохранительные пояса в комплекте со страховочным устройством. При этом монтажники должны выполнять требования «Типовой инструкции по охране труда для работников, выполняющих верхолазные работы».
7. Очистку подлежащих монтажу элементов строительных конструкций от грязи и наледи следует осуществлять до их подъема. При строповке строительных конструкций монтажники обязаны выполнять требования «Типовой инструкции по охране труда для стропальщиков».
8. При монтаже конструкций сигналы машинисту крана должны подаваться только одним лицом: при строповке изделий стропальщиком, при их установке в проектное положение бригадиром или звеньевым, кроме сигнала «Стоп», который может быть подан любым работником, заметившим явную опасность.
9. В процессе перемещения конструкций на место установки с помощью крана монтажники обязаны соблюдать следующие габариты приближения их к ранее установленным конструкциям и существующим зданиям и сооружениям:
а) допустимое приближение стрелы крана - не более 1 м,
б) минимальный зазор при переносе конструкций над ранее установленными - 0,5 м;
в) допустимое приближение поворотной части грузоподъемного крана - не менее 1 м.
10. Предварительное наведение конструкции на место установки необходимо осуществлять с помощью оттяжек пенькового или капронового каната. В процессе подъема-подачи и наведения конструкции на место установки монтажникам запрещается наматывать на руку конец каната.
11. Перед установкой конструкции в проектное положение монтажники обязаны:
а) осмотреть место установки конструкции и проверить наличие разбивочных и геометрических осей на опорной поверхности;
б) приготовить необходимую оснастку для ее проектного пли временного закрепления;
в) проверить отсутствие людей внизу непосредственно под местом монтажа конструкции. Запрещается нахождение людей под монтируемыми элементами до установки их в проектное положение и окончательного закрепления.
12. При установке элементов строительных конструкций в проектное положение монтажники обязаны:
а) производить наводку конструкции на место установки, не применяя значительных физических усилий;
б) осуществлять окончательное совмещение разбивочных и геометрических осей с помощью монтажного ломика или специального инструмента (конусных оправок, сборочных пробок и др.). Проверять совпадение отверстий пальцами рук не допускается.
13. После установки конструкции в проектное положение необходимо произвести ее закрепление (постоянное или временное) согласно требованиям проекта. При этом должна быть обеспечена устойчивость и неподвижность смонтированной конструкции при воздействии монтажных и ветровых нагрузок. Крепление следует производить за ранее закрепленные конструкции, обеспечивая геометрическую неизменяемость монтируемого здания (сооружения).
14. Расстроповку элементов конструкций, установленных в проектное положение, следует производить после их постоянного или временного закрепления согласно проекту при соблюдении следующих требований безопасности:
а) расстроповку элементов конструкций, соединяемых заклепками или болтами повышенной прочности, при отсутствии специальных указаний в проекте следует производить после установки в соединительном узле не менее 30 % от проектных заклепок или болтов, если их более пяти, в других случаях - не менее двух;
б) расстроповку элементов конструкций, закрепляемых электросваркой и воспринимающих монтажную нагрузку, следует производить после сварки проектными швами или прихватками согласно проекту. Конструкции, не воспринимающие монтажные нагрузки, допускается расстрапливать после прихватки электросваркой длиной не менее 60 мм.
15. Временное крепление монтируемых конструкций разрешается только после их постоянного закрепления в соответствии с требованиями проекта.
16. При возведении зданий методом подъема этажей (перекрытий) монтажники обязаны:
а) устранить перед началом подъема перекрытий все выступающие части на колоннах, препятствующие подъему конструкций, а также извлечь клинья между плитой перекрытия и ядром жесткости;
б) не допускать перекосов поднимаемых перекрытий из-за несинхронной работы подъемного оборудования;
в) обеспечить по окончании смены опирание поднимаемого перекрытия на каркас здания или неподвижные опоры тяги;
г) обеспечить в случае неисправности подъемного оборудования опирание поднимаемого перекрытия на колонны каркаса здания, на которые закреплены вышедшие из строя подъемники.
17. При подъеме конструкций двумя кранами монтажники обязаны строповку, подъем-подачу и установку конструкции в проектное положение осуществлять под непосредственным руководством лица, ответственного за безопасное производство работ по перемещению грузов краном.
18. При монтаже конструкций вертолетами монтажники обязаны:
а) применять принудительное наведение монтируемых конструкций на место установки с помощью специальных ловителей или дистанционного управления процессом наведения;
б) не допускать закрепления гибких оттяжек за ранее установленные конструкции.
Требования безопасности в аварийных ситуациях
19. В случаях обнаружения неисправности грузоподъемного крана, рельсового пути, грузоподъемных устройств или технологической оснастки монтажники обязаны дать машинисту крана команду «Стоп» и поставить об этом в известность руководителя работ.
20. При обнаружении неустойчивого положения монтируемых конструкций, технологический оснастки или средств защиты монтажники должны поставить об этом в известность руководителя работ или бригадира.
21. При изменении погодных условий (увеличении скорости ветра до 15 м/с и более, при снегопаде, грозе или тумане), ухудшающих видимость, работы необходимо приостановить и доложить руководителю.
Требования безопасности по окончании работы
22. По окончании работы монтажники обязаны:
а) сложить в отведенное для хранения место технологическую оснастку и средства защиты работающих;
б) очистить от отходов строительных материалов и монтируемых конструкций рабочее место и привести его в порядок;
в) сообщить руководителю или бригадиру о всех неполадках, возникших в процессе работы.
Дата введения 01.01.94 г.
Стропальщики при производстве работ согласно имеющейся квалификации обязаны выполнять требования безопасности, изложенные в «Типовой инструкции по охране труда для работников строительства, промышленности строительных материалов и жилищно-коммунального хозяйства», настоящей типовой инструкции, разработанной с учетом строительных норм и правил Российской Федерации и правил Госгортехнадзора России, а также требования инструкций заводов-изготовителей грузозахватных устройств и тары по их эксплуатации.
Требования безопасности перед началом работы
1. Перед началом работы стропальщик обязан:
а) предъявить удостоверение руководителю о проверке знаний безопасных методов работы;
б) надеть каску, спецодежду, спецобувь установленного образца;
в) получить задание на выполнение работы у бригадира или руководителя и пройти инструктаж на рабочем месте с учетом специфики выполняемых работ.
2. После получения задания у бригадира или руководителя стропальщик обязан:
а) подготовить необходимые средства индивидуальной защиты;
б) проверить рабочее место и подходы к нему на соответствие требованиям безопасности;
в) подобрать грузозахватные приспособления и тару, соответствующие перемещаемому краном грузу, с учетом его массы, числа строповочных узлов, геометрических размеров (угол между строповочными ветвями, образующийся при строповке груза, не должен превышать 90°);
г) осмотреть элементы строительных конструкций, подлежащих перемещению краном, и убедиться в отсутствии у них дефектов.
3. Стропальщик не должен приступать к выполнению работы при следующих нарушениях требований безопасности:
а) неисправности грузозахватных устройств, тары, указанных в инструкциях заводов-изготовителей, при которых не допускается их применение, или их несоответствии характеру перемещаемого груза;
б) несвоевременном проведении очередных испытаний грузозахватных устройств и тары;
в) несвоевременном проведении очередных испытаний или истечении срока эксплуатации средств защиты работающих,
установленного заводом-изготовителем;
г) недостаточной освещенности рабочих мест;
д) дефектах строповочных узлов или нарушении целостности перемещаемых конструкций;
е) отсутствии указаний о массе поднимаемого груза.
Обнаруженные нарушения требований безопасности должны быть устранены собственными силами, а при невозможности сделать это стропальщик обязан сообщить о них бригадиру или руководителю работ.
Требования безопасности во время работы
4. Перед строповкой груза, подлежащего перемещению грузоподъемным краном, стропальщик обязан проверить его массу по списку груза или маркировке на грузе. Не допускается строповка груза, если его масса превышает грузоподъемность крана. В случае, если стропальщик самостоятельно не может определить массу груза, он обязан обратиться к лицу, ответственному за безопасное производство работ по перемещению грузов краном.
5. Строповку или обвязку грузов следует осуществлять в соответствии со схемами строповки. Строповку грузов, на которые отсутствуют схемы строповки, необходимо выполнять под руководством лица, ответственного за безопасное производство работ краном.
6. При обвязке грузов канатами или цепями их следует накладывать на груз без узлов, перекруток и петель. Под ребра груза следует подкладывать прокладки, предназначенные для предохранения стропов и груза от повреждений. Груз следует обвязывать таким образом, чтобы он не выскальзывал, не рассыпался и сохранял устойчивое положение. Для этого длинномерные грузы следует застропить не менее чем в двух местах.
7. Строповку строительных конструкций, оборудования и технологической оснастки (подмостей), имеющих строповочные узлы, следует осуществлять за все монтажные петли, рымы, цапфы.
8. Ветви грузозахватного устройства, не использованные при строповке груза, следует закреплять таким образом, чтобы при перемещении груза краном исключалась возможность зацепления их за встречающиеся на пути предметы.
9. При подъеме груза двумя кранами его строповку следует осуществлять под непосредственным руководством лица, ответственного за безопасное производство работ краном.
10. Элементы сборных железобетонных конструкций, подлежащих установке в проектное положение, должны быть очищены от наледи и грязи до начала их строповки.
11. При строповке грузов не допускается:
а) пользоваться поврежденными или немаркированными грузозахватными приспособлениями и тарой;
б) соединять звенья разорванной цепи болтами, проволокой, канатами и другими предметами, а также связывать разорванные канаты;
в) осуществлять строповку изделий с поврежденными монтажными петлями или рымами;
г) забивать грузоподъемный крюк стропа в монтажные петли изделий;
д) поправлять ветви стропов в зеве грузозахватного крюка ударами молотка или других предметов.
12. Для подачи сигналов машинисту крана стропальщик обязан пользоваться знаковой сигнализацией, рекомендуемой Госгортехнадзором России. При обслуживании крана несколькими стропальщиками сигналы машинисту должен подавать старший стропальщик. Сигнал «Стоп» может быть подан любым работником, заметившим опасность.
13. Перед подачей сигнала машинисту крана о подъеме груза стропальщик обязан убедиться:
а) в отсутствии на грузе незакрепленных деталей, инструмента и других предметов;
б) в том, что груз не защемлен, не завален другими грузами, не примерз к земле или другим грузам;
в) в отсутствии людей между поднимаемым грузом и неподвижными предметами (стеной здания, штабелем), а также в отсутствии людей вблизи поворотной части крана.
14. До перемещения груза краном стропальщик обязан подать сигнал крановщику о подъеме груза на ограниченную высоту (0,2-0,3 м), проверить правильность строповки груза, равномерность натяжения стропов, убедиться в соответствии массы поднимаемого груза, подлежащего перемещению, грузоподъемности крана и, только убедившись в отсутствии нарушений требований безопасности, выйти из опасной зоны и подать сигнал для дальнейшего перемещения груза к месту назначения. При замеченных нарушениях стропальщик обязан дать сигнал для опускания груза в исходное положение.
15. При перемещении груза краном стропальщику, а также другим людям запрещается:
а) находиться на грузе;
б) находиться под грузом или стрелой крана;
в) осуществлять оттяжку поднятого груза;
г) нагружать и разгружать транспортные средства при нахождении в кабине людей.
16. Перемещать сыпучие и мелкоштучные грузы следует в таре, специально предназначенной для этих грузов и заполненной не выше ее бортов.
17. При выполнении работ в охранной зоне воздушной линии электропередачи стропальщику необходимо руководствоваться мероприятиями, предусмотренными в наряде-допуске Перед каждым перемещением груза стропальщик должен убедиться в том, что стрела или канаты крана находятся на безопасном расстоянии от проводов линии электропередачи.
18. При складировании груза на приобъектном складе стропальщик обязан:
а) осмотреть место для складирования груза;
б) уложить подкладки и прокладки на место расположения груза, не нарушая габаритов, установленных для складирования, и не занимая мест, отведенных для прохода людей и проезда транспорта;
в) освободить груз от грузозахватных устройств только после того, как груз будет находиться в устойчивом положении или закреплен согласно указаниям руководителя работ;
г) убедиться в невозможности падения, опрокидывания или сползания груза после его расстроповки.
Требования безопасности в аварийных ситуациях
19. При обнаружении неисправностей крана, рельсового пути, грузозахватных устройств или тары стропальщику необходимо дать команду машинисту крана «Опустить груз», приостановить работу крана и поставить в известность об этом лицо, ответственное за безопасное производство работ краном.
20. При обнаружении неустойчивого расположения грузов на транспортных средствах или месте складирования стропальщик должен поставить в известность об этом руководителя работ или бригадира.
Требования безопасности по окончании работы
21. По окончании работы стропальщик обязан:
а) сложить в отведенное для хранения место все грузозахватные устройства и другие приспособления, применяемые при выполнении работы;
б) очистить и привести в порядок рабочее место;
в) сообщить руководителю работ или бригадиру о всех неполадках, возникших во время работы.
Дата введения 01.01.94 г.
Электросварщики ручной сварки (далее - «электросварщики») при производстве работ согласно имеющейся квалификации обязаны выполнять требования безопасности, изложенные в «Типовой инструкции по охране труда для работников строительства, промышленности строительных материалов и жилищно-коммунального хозяйства», настоящей типовой инструкции, разработанной с учетом строительных норм и правил Российской Федерации, а также требования инструкций заводов-изготовителей по эксплуатации сварочного аппарата и другого применяемого оборудования.
Требования безопасности перед началом работы
1. Перед началом работы электросварщик обязан:
а) предъявить руководителю удостоверение о проверке знаний безопасных методов работ;
б) надеть каску, спецодежду, спецобувь установленного образца;
в) получить задание на выполнение работы у бригадира или руководителя.
2. После получения задания у бригадира или руководителя электросварщик обязан:
а) подготовить необходимые средства индивидуальной защиты (при выполнении потолочной сварки - асбестовые или брезентовые нарукавники; при работе лежа - тепловые подстилки; при производстве работ во влажных помещениях - диэлектрические перчатки, галоши или коврики; при сварке или резке цветных металлов и сплавов - шланговый противогаз);
б) проверить рабочее место и подходы к нему на соответствие требованиям безопасности;
в) подготовить инструмент, оборудование и технологическую оснастку, необходимые при выполнении работ, проверить их исправность, соответствие требованиям безопасности;
г) в случае производства сварочных работ в закрытых помещениях или на территории действующего предприятия проверить выполнение требований пожаровзрывобезопасности и вентиляции в зоне работы.
3. Электросварщик не должен приступать к работе при следующих нарушениях требований безопасности:
а) отсутствии или неисправности защитного щитка, сварочных проводов, электродержателя, а также средств индивидуальной защиты;
б) отсутствии или неисправности заземления корпуса сварочного трансформатора, вторичной обмотки, свариваемой детали и кожуха рубильника;
в) недостаточной освещенности, рабочих мест и подходов к ним;
г) отсутствии ограждений рабочих мест, расположенных на высоте 1,3 м и более, и оборудованных систем доступа к ним;
д) пожаровзрывоопасных условиях;
е) отсутствии вытяжной вентиляции в случае работы в закрытых помещениях.
Обнаруженные неисправности и нарушения требований безопасности должны быть устранены собственными силами до начала работ, а при невозможности сделать это электросварщик обязан сообщить о них бригадиру или руководителю.
Требования безопасности во время работы
4. Электросварщик обязан выполнять работы при соблюдении следующих требований безопасности:
а) место производства работ, а также нижерасположенные места должны быть освобождены от горючих материалов в радиусе не менее 5 м, а от взрывоопасных материалов и установок - 10 м;
б) при производстве электросварочных работ вне помещений (во время дождя или снегопада) над рабочим местом сварщика и местонахождения сварочного аппарата должен быть установлен навес;
в) электросварочные работы на высоте должны выполняться с лесов и подмостей с ограждениями. Запрещается производить работы с приставных лестниц;
г) сварка должна осуществляться с применением двух проводов, один из которых присоединяется к электродержателю, а другой (обратный) - к свариваемой детали. Запрещается использовать в качестве обратного провода сети заземления, металлические конструкции зданий, технологическое оборудование, трубы санитарно-технических сетей (водопровод, газопровод и т.п.);
д) сварочные провода должны соединяться способом горячей пайки, сварки или при помощи соединительных муфт с изолирующей оболочкой. Места соединений должны быть заизолированы; соединение сварочных проводов методом скрутки не допускается;
е) сварочные провода должны прокладывать так, чтобы их не могли повредить машины и механизмы. Запрещается прокладка проводов рядом с газосварочными шлангами и трубопроводами, расстояние между сварочным проводом и трубопроводом кислорода должно быть не менее 0,5 м, а трубопроводом ацетилена и других горючих газов - 1 м.
5. Перед сваркой электросварщик должен убедиться, что кромки свариваемого изделия и прилегающая к ним зона (20-30 мм) очищены от ржавчины, шлака и т.п. При очистке необходимо пользоваться защитными очками. Свариваемые детали до начала сварки должны быть надежно закреплены. При резке элементов конструкций электросварщик обязан применять меры против случайного падения отрезаемых элементов.
6. Емкости, в которых находились горючие жидкости или кислоты, до начала электросварочных работ должны быть очищены, промыты, просушены с целью устранения опасной концентрации вредных веществ.
Запрещается производить сварку на сосудах, находящихся под давлением. Сварку (резку) свежеокрашенных конструкций и деталей следует производить только после полного высыхания краски.
7. При выполнении электросварочных работ в закрытых емкостях или полостях конструкций электросварщик обязан соблюдать следующие требования безопасности:
а) рабочее место должно быть обеспечено вытяжной вентиляцией, а в особых случаях сварку следует производить в шланговом противогазе;
б) применять освещение напряжением не выше 12 В, устанавливая трансформатор вне емкости;
в) работы необходимо осуществлять с применением предохранительного пояса с креплением его к веревке, другой конец которой должен держать страхующий снаружи емкости;
г) электросварочный аппарат должен иметь электроблокировку, обеспечивающую автоматическое отключение напряжения холостого хода или ограничение его до напряжения 12 В с выдержкой времени не более 0,5 с;
д) сварщик при работе должен пользоваться диэлектрическими перчатками, галошами, ковриком, а также изолирующим шлемом.
8. При работе в одном месте нескольких электросварщиков их рабочие места необходимо ограждать светонепроницаемыми щитами из несгораемого материала.
Запрещается одновременная работа электросварщика и газосварщика (газорезчика) внутри закрытой емкости или резервуара.
9. Во время перерывов в работе электросварщику запрещается оставлять на рабочем месте электродержатель, находящийся под напряжением, сварочный аппарат необходимо отключать, а электродержатель закреплять на специальной подставке или подвеске. Подключение и отключение сварочных аппаратов, а также их ремонт должны осуществляться специальным персоналом через индивидуальный рубильник.
10. При выполнении работ на действующих объектах с установленным режимом проведения огневых работ электросварщик обязан выполнять дополнительные требования инструкций, утвержденных Госгортехнадзором России.
Требования безопасности в аварийных ситуациях
11. При обнаружении в процессе работы загораний необходимо работу приостановить и принять меры к их тушению. В случае невозможности ликвидировать загорание собственными силами необходимо сообщить бригадиру или руководителю работ.
12. В случае возникновения неисправности сварочного агрегата, сварочных проводов, электродержателей, защитного щитка или шлема-маски необходимо прекратить работу и сообщить об этом бригадиру или руководителю работ. Возобновить работу можно только после устранения всех неисправностей соответствующим персоналом.
13. В случае возникновения загазованности помещений при отсутствии вытяжной вентиляции работы необходимо приостановить и проветрить помещение. Работы также должны быть прекращены при выполнении их вне помещений (при возникновении дождя или снегопада). Работы могут быть возобновлены только после прекращения дождя или снегопада или устройства навеса над местом работы электросварщика.
Требования безопасности по окончании работы
14. По окончании работы электросварщик обязан:
а) отключить электросварочный аппарат;
б) привести в порядок рабочее место, собрать инструмент, смотать в бухты сварочные провода и убрать в отведенные для их хранения места;
в) убедиться в отсутствии очагов загорания, при их наличии залить водой;
г) обо всех нарушениях требований безопасности, имевших место в процессе выполнения работы, сообщить бригадиру или руководителю работ.
Дата введения 01.07.95 г.
Аккумуляторщики при производстве работ согласно имеющейся квалификации обязаны выполнять требования безопасности, изложенные в «Типовой инструкции по охране труда для работников строительства, промышленности строительных материалов и жилищно-коммунального хозяйства», настоящей типовой инструкции, разработанной с учетом строительных норм и правил Российской Федерации, «Правил по охране труда на автомобильном транспорте», «Правил техники безопасности при эксплуатации электроустановок потребителей», а также требования инструкций заводов-изготовителей по эксплуатации применяемого механизированного инструмента, оборудования, технологической оснастки.
Требования безопасности перед началом работы
1. Перед началом работы аккумуляторщики обязаны:
а) предъявить руководителю удостоверение о проверке знаний безопасных методов работ;
б) надеть спецодежду и спецобувь установленного образца;
в) получить задание на выполнение работы у бригадира или руководителя и пройти инструктаж на рабочем месте по специфике выполняемых работ.
2. После получения задания у бригадира или руководителя работ аккумуляторщики обязаны:
а) подготовить необходимые средства индивидуальной защиты, убрать волосы под головной убор;
б) проверить наличие и исправность заземления электрооборудования;
в) подобрать инструмент, оборудование, аппараты и приборы, необходимые при выполнении работы, проверить их исправность и соответствие требованиям безопасности;
г) проверить освещенность рабочего места и работу систем вентиляции, наличие противопожарного инвентаря;
д) проверить наличие вблизи умывальника мыла, ваты в упаковке, полотенца и средств для нейтрализации кислоты или щелочи при попадании их на кожу и в глаза.
3. Аккумуляторщики не должны приступать к выполнению работы при следующих нарушениях требований безопасности:
а) неработающей приточно-вытяжной вентиляции;
б) неисправностях, указанных в инструкциях заводов-изготовителей по эксплуатации применяемых средств защиты и оборудования, при которых не допускается их применение;
в) недостаточной освещенности рабочего места;
г) неисправности электропроводок и зарядных установок;
д) отсутствии раствора питьевой соды или раствора борной кислоты.
Обнаруженные нарушения требований безопасности должны быть устранены собственными силами до начала работ, а при невозможности сделать это аккумуляторщики обязаны сообщить о них бригадиру или руководителю.
Требования безопасности во время работы
4. Аккумуляторные работы должны производиться в специально выделенном помещении, куда должен быть ограничен доступ людей. На дверях должны быть надписи: «Аккумуляторная», «Огнеопасно», «С огнем не входить». Приточно-вытяжная вентиляция аккумуляторного помещения должна включаться перед началом заряда батареи и отключаться после удаления всех газов не менее чем через 1,5 ч после отключения заряда.
5. Бутыли с аккумуляторной кислотой или электролитом должны быть закрыты притертыми пробками и храниться в отдельном проветриваемом помещении.
6. Во время работы аккумуляторщики обязаны:
а) не допускать замыкания клемм аккумуляторов металлическими предметами;
б) перевозить батареи на специальных тележках с гнездами по размеру батареи, исключающими возможность их падения;
в) не допускать одновременного прикосновения к двум клеммам аккумуляторов для предотвращения короткого замыкания и искрения;
г) проверять напряжение аккумуляторных батарей только вольтметром;
д) присоединять клеммы аккумуляторов на зарядку и отсоединять их после зарядки при выключенном оборудовании зарядного места;
е) соединять аккумуляторные батареи освинцованными клеммами, создающими плотный контакт и исключающими искрение.
7. Присоединять батареи к зарядной сети постоянного тока и соединять аккумуляторы между собой необходимо в резиновых перчатках и резиновой обуви.
8. При необходимости работы на токоведущих частях следует пользоваться инструментом с изолированными рукоятками.
9. Для осмотра аккумуляторных батарей необходимо использовать переносные светильники во взрывобезопасном исполнении с электролампами не выше 42 В.
10. Переносить бутыли с кислотой, щелочью и электролитами следует вдвоем. Бутыли должны быть надежно закрепленными на носилках или обрешетках с закрытыми пробками.
11. Для безопасного слива кислоты следует устанавливать бутыли в специальные шарнирные подставки (качалки) или пользоваться специальным сифоном.
12. Приготавливать кислотный электролит следует в специальных сосудах (керамических, пластмассовых и т.п.), при этом сначала необходимо налить дистиллированную воду, а затем в нее - тонкой струей кислоту.
13. Заливку кислоты и приготовление электролита следует производить в защитных очках и резиновых перчатках.
14. Открывать сосуд с щелочью при приготовлении щелочного электролита следует осторожно и без применения больших усилий, для облегчения открывания флакона, пробка которого залита парафином, необходимо прогреть горловину флакона тряпкой, смоченной в горячей воде.
15. Большие куски едкого калия следует раскалывать, накрывая их чистой тканью. Раздробленные куски едкого калия необходимо опускать в дистиллированную воду осторожно при помощи стальных щипцов, пинцета или металлической ложки и перемешивать стеклянной или эбонитовой палочкой до полного растворения.
16. Заливать готовый электролит в аккумуляторные батареи следует через стеклянную воронку, предварительно вывернув пробки из заливочных отверстий и охладив электролит до температуры 25°С ± 5°С. Замер уровня электролита следует производить с помощью стеклянной трубки диаметром 3-5 мм.
17. Заряжать новые аккумуляторные батареи следует только после пропитки пластин электролитом: для батарей с сухими заряженными пластинами - через 3 ч, а для батарей с незаряженными пластинами - 4-6ч.
18. Осуществлять контроль за ходом зарядки следует с помощью контрольных приборов (термометра, нагрузочной вилки, ареометра и др.).
19. Производить пайку аккумуляторных батарей в аккумуляторном помещении необходимо не ранее чем через 2 ч после окончания зарядки. Батареи, работающие в режиме постоянного подзаряда, за 2 ч до начала пайки следует перевести в режим заряда.
20. Аккумуляторщикам запрещается:
а) работать без спецодежды и других средств индивидуальной защиты;
б) хранить и принимать пищу и воду в аккумуляторном помещении;
в) входить в аккумуляторную с огнем и курить;
г) пользоваться электронагревательными приборами;
д) допускать в помещение посторонних;
с) пользоваться для приготовления электролита стеклянной посудой;
ж) перемешивать электролит, вдувая воздух через резиновый шланг;
з) соединять клеммы аккумуляторных батарей проводами без зажимов;
и) покидать помещение во время зарядки аккумуляторов;
к) производить зарядку аккумуляторных батарей при неработающей приточно-вытяжной вентиляции;
л) переносить и перемещать одному бутыли с кислотой, щелочью электролитами с открытыми пробками.
21. Не допускается совместно хранить и заряжать кислотные и щелочные аккумуляторные батареи в одном помещении, а также хранить бутыли с кислотой и флаконы со щелочью в аккумуляторном помещении в количестве, большем суточной потребности.
Требования безопасности в аварийных ситуациях
22. В случае попадания серной кислоты на кожу или в глаза необходимо смыть ее струей воды, затем промыть 5-процентным раствором питьевой соды (для кожи тела) и 2-3-процентным (для глаз) и доложить об этом руководителю работ.
23. При попадании на кожу или в глаза щелочи необходимо смыть ее струей воды, затем промыть 5-10 процентным раствором борной кислоты (для кожи тела) и 2-процентным раствором борной кислоты (для глаз) и сообщить руководителю.
24. Пролитую серную кислоту следует засыпать опилками, смочить раствором соды или засыпать содой и вытереть насухо.
25. При возгорании водорода или горючих материалов следует приступить к тушению очага возгорания первичными средствами пожаротушения. В случае невозможности ликвидации пожара своими силами аккумуляторщик должен вызвать пожарную охрану в установленном порядке и сообщить руководителю работ о происшествии.
Требования безопасности по окончании работы
26. По окончании работы аккумуляторщики обязаны:
а) привести в порядок рабочее место, протереть и убрать инструменты и приспособления и сложить их в отведенное место;
б) выключить после окончания зарядки аккумуляторных батарей зарядный агрегат, очистить батареи и клеммы от электролита и протереть их насухо, проверить чистоту отверстий в пробках батарей;
в) снять спецодежду, спецобувь и средства индивидуальной защиты, очистить и убрать их в предназначенное для хранения место;
г) вымыть лицо и руки теплой водой с мылом, прополоскать рот;
д) сообщить обо всех замеченных, во время работы неполадках бригадиру или руководителю работ.
Дата введения 01.07.95 г.
Арматурщики при производстве работ согласно имеющейся квалификации обязаны выполнять требования безопасности, изложенные в «Типовой инструкции по охране труда для работников строительства, промышленности строительных материалов и жилищно-коммунального хозяйства», настоящей типовой инструкции, разработанной с учетом строительных норм и правил Российской Федерации, а также требования инструкций заводов-изготовителей по эксплуатации применяемого оборудования и технологической оснастки.
Требования безопасности перед началом работы
1. Перед началом работы арматурщики обязаны:
а) предъявить руководителю удостоверение о проверке знаний безопасных методов работ, получить задание у бригадира или руководителя и пройти инструктаж на рабочем месте по специфике выполняемых работ;
б) надеть спецодежду, спецобувь и каску установленного образца.
2. После получения задания у бригадира или руководителя работ арматурщики обязаны:
а) подготовить необходимые средства индивидуальной защиты и проверить их исправность;
б) проверить рабочее место и подходы к нему на соответствие требованиям безопасности;
в) подобрать инструмент, оборудование и технологическую оснастку, необходимые при выполнении работы, проверить их исправность и соответствие требованиям безопасности;
г) убедиться в отсутствии дефектов у применяемых материалов;
д) проверить устойчивость и целостность опалубки и поддерживающих лесов.
3. Арматурщики не должны приступать к выполнению работы при следующих нарушениях требований безопасности:
а) отсутствии ограждений рабочего места или оборудованных систем доступа при работе на высоте 1,3 м и более;
б) неисправностях применяемого оборудования и технологической оснастки, указанных в инструкциях заводов-изготовителей, при которых не допускается их применение;
в) несвоевременном проведении очередных испытаний (технического осмотра) технологической оснастки, инструмента и приспособлений;
г) недостаточной освещенности или загроможденности рабочего места;
д) нахождении в неустойчивом положении вертикальных конструкций армокаркаса, опалубки или наличии дефектов крепления лесов;
е) несоответствии параметров арматуры требованиям инструкции заводов-изготовителей по эксплуатации применяемого оборудования.
Обнаруженные нарушения требований безопасности должны быть устранены собственными силами, а при невозможности сделать это арматурщики обязаны сообщить бригадиру или руководителю работ.
Требования безопасности во время работы
4. Складировать арматуру следует на специально отведенных для этого местах. Не допускается занимать проходы и рабочее место у станка арматурными заготовками.
5. Для изготовления армоконструкций следует использовать арматурные стержни, очищенные от ржавчины и грязи. При выполнении этой работы арматурщики должны применять металлические щетки. Для защиты глаз от попадания твердых частиц следует надевать защитные очки.
6. При правке и резке арматурной стали на правильно-обрезных станках арматурщики обязаны:
а) заправлять концы проволоки или катанки из бухты в правильный барабан, а также в ролики станка при отключенном электродвигателе;
б) закрывать перед пуском электродвигателя правильный барабан защитным кожухом.
7. При резке арматурных стержней на станках с механическим приводом арматурщики обязаны:
а) начинать резку арматуры только после разгона махового колеса;
б) при отсутствии на станке специальных приспособлений отрезать стержни длиной не менее 30 см;
в) осуществлять резку арматуры, которая по диаметру и марке стали соответствует паспортным данным применяемого станка.
8. При гибке арматурных стержней на станках с механическим приводом арматурщики обязаны:
а) остановить гибочный диск перед закладкой арматурных стержней;
б) производить гибку стержней диаметром не более допускаемого по паспортным данным для применяемого станка; заменять упоры и гибочные пальцы только после остановки станка.
9. При гибке арматуры на ручном станке необходимо использовать предназначенные для этого рукоятки, которые следует перемещать от себя вперед. Не допускается удлинять рукоятки станка трубами или другими предметами, а также использовать при этом вес тела.
10. При гибке нескольких стержней арматуры одновременно арматурщики обязаны следить за тем, чтобы все стержни находились в одной вертикальной плоскости. Для этого необходимо применять специальные держатели.
11. Ремонт, чистку и обтирку оборудования следует производить после отключения и полной остановки. Металлическую пыль и окалину, образующиеся при обработке арматуры, следует удалять металлической щеткой.
12. Выполняя работы совместно с электросварщиком, арматурщики для защиты глаз должны использовать специальные очки со светофильтрами, а рабочее место сварщика должно быть ограждено переносными щитами или ширмами.
13. При изготовлении вязаных арматурных каркасов арматурщики обязаны использовать отожженную проволоку. Заготовка арматурных каркасов должна выполняться в специально отведенных местах. Не допускается производить работы по заготовке арматурных каркасов, их укрупнительной сборке вблизи от неогражденных или неотключенных токоведущих частей оборудования.
14. Строповку арматурных стержней или каркасов при перемещении их грузоподъемными кранами должны осуществлять арматурщики, имеющие удостоверение стропальщика и выполняющие требования «Типовой инструкции по охране труда для стропальщиков». Не допускается сбрасывать арматурные стержни или каркасы с высоты (с лесов, с края котлована и т.п.).
15. Сборку арматурных каркасов колонн, стен и других вертикальных конструкций следует осуществлять с оборудованных рабочих настилов шириной не менее 0,8 м с перилами. Расстояние между настилами по высоте должно составлять не более 2 м.
16. Для перехода через участки уложенной арматуры арматурщики должны использовать трапы шириной не менее 0,6 м на подставках, установленных на опалубку. Выпуски арматуры должны быть загнуты на 180°, а при невозможности выполнения этого - обозначены красными флажками. В местах массового прохода людей выпуски арматуры должны быть ограждены.
17. Для предварительного натяжения арматуры необходимо применять стержни, не имеющие подрезов, загибов, скруток и других дефектов.
18. Не допускаются нахождение и проход людей в зонах, расположенных по торцам стендов или силовых ферм, для предварительного натяжения арматуры. Эти места должны быть ограждены сетками или щитами высотой не менее 1,8 м. Рабочее место машиниста натяжной установки также должно быть ограждено сеткой.
19. Прихватку стержней арматуры с использованием электроконтактной или электродуговой сварки должны осуществлять арматурщики, имеющие удостоверение электросварщика 1-го разряда и выполняющие требования «Типовой инструкции по охране труда для электросварщиков».
Требования безопасности в аварийных ситуациях
20. В случае потери устойчивости вертикальных конструкций армокаркаса, рабочих настилов или опалубки арматурщики обязаны прекратить работу и принять меры к приведению их в устойчивое положение. При невозможности сделать это собственными силами арматурщики обязаны сообщить о случившемся бригадиру или руководителю работ.
21. При обрыве отдельных проволок или стержней арматуры во время ее натяжения или обнаружении неисправности натяжной установки арматурщики обязаны немедленно снять давление в системе и сообщить о случившемся бригадиру или руководителю работ.
22. Во время заготовки арматуры на станках арматурщикам следует следить за тем, чтобы подшипники и трущиеся детали не перегревались. При обнаружении перегрева станка, а также стука, мелких поломок и т.п. станок необходимо отключить и принять меры к устранению неисправности.
Требования безопасности по окончании работы
23. По окончании работы арматурщики обязаны:
а) при работе на станке отключить его;
б) привести в порядок рабочее место, спецодежду и средства индивидуальной защиты;
в) убрать инструмент и технологическую оснастку в помещение их хранения;
г) о всех нарушениях, имеющих место в процессе работы, сообщить бригадиру или руководителю работ.
Дата введения 01.07.95 г.
Асфальтобетонщики при производстве работ согласно имеющейся квалификации обязаны выполнять требования безопасности, изложение в «Типовой инструкции по охране труда для работников строительства, промышленности строительных материалов и жилищно-коммунального хозяйства», настоящей типовой инструкции, разработанной с учетом строительных норм и правил Российской Федерации, а также требования инструкций заводов-изготовителей по эксплуатации применяемого оборудования и технологической оснастки.
Требования безопасности перед началом работы
1. Перед началом работы асфальтобетонщики обязаны:
а) предъявить руководителю удостоверение о проверке знаний безопасных методов работ;
б) надеть спецодежду, спецобувь, сигнальный жилет и каску установленного образца;
в) получить задание у бригадира или руководителя и пройти инструктаж на рабочем месте по специфике выполняемых работ;
г) определить места установки дорожных знаков и ограждений.
2. После получения задания у бригадира или руководителя работ асфальтобетонщики обязаны:
а) проверить рабочее место и подходы к нему на соответствие требованиям безопасности, наличие ограждений и предупредительных знаков;
б) подобрать технологическую оснастку и инструмент, необходимые для выполнения работы, проверить их на соответствие требованиям безопасности.
3. Асфальтобетонщики не должны приступать к выполнению работы при следующих нарушениях требований безопасности:
а) неисправностях технологической оснастки, оборудования, средств защиты работающих и инструмента, указанных в инструкциях заводов-изготовителей, при которых не допускается их применение;
б) отсутствии ограждений места производства работ и предупредительных знаков;
в) загроможденности или недостаточной освещенности рабочего места и подходов к нему.
Обнаруженные нарушения требований безопасности должны быть устранены собственными силами, а при невозможности сделать это асфальтобетонщики обязаны сообщить о них бригадиру или руководителю работ.
Требования безопасности во время работы
4. Во время работы асфальтобетонщики обязаны:
а) соблюдать порядок на рабочем месте, не допускать его загромождения отходами производства, материалами, различными предметами;
б) ограждать рабочее место и обозначать соответствующими дорожными знаками: запрещающими - «Въезд запрещен», «Ограничение максимальной скорости»; предупреждающими - Дорожные работы». Включать сигнальное освещение в темное время суток;
в) включать светильники для освещения рабочих мест в темное время суток. Светильники должны быть расположены так, чтобы исключалось слепящее действие светового потока.
5. При нахождении строительных материалов и отходов в местах выполнения работы асфальтобетонщики обязаны размещать их на обочине или обрезе дороги, прилегающих к ремонтируемой или строящейся ее части. При складировании материалов и отходов на обочине дороги перед ними на расстоянии 5-10 м по ходу движения транспорта должен быть установлен барьер с предупреждающим знаком, освещаемым в темное время суток. Размещать материалы на обрезе дороги, проходящей по насыпи, допускается не ближе 1 м от бровки насыпи. Песок, складируемый в штабелях, должен иметь откосы крутизной, соответствующей углу естественного откоса для данного вида материала.
6. При применении отбойного молотка необходимо выполнять следующие требования:
а) перед началом работы проверить исправность молотка, исправность шлангов, подающих к нему сжатый воздух, а также узлов их соединения;
б) подключать шланги к воздуховодам сжатого воздуха следует только через вентили, установленные на воздухораспределительных коробках или отводах от магистрали. Подключать или отсоединять шланги допускается только после выключения подачи воздуха;
в) работать в небьющихся защитных очках или защитном щитке.
7. При вырубке дефектных мест в дорожном покрытии необходимо следить за тем, чтобы в зоне разлетающихся осколков не находились рабочие.
8. При приемке доставленной автосамосвалом асфальтобетонной смеси в бункер асфальтобетоноукладчика или на подготовленное основание асфальтобетонщики обязаны выполнять следующие требования:
а) находиться во время подъезда автосамосвала на обочине дороги в поле зрения водителя;
б) подходить к автосамосвалу для его разгрузки только после его остановки и поднятия кузова;
в) очищать кузов автосамосвала от асфальтобетонной смеси следует скребком или лопатой с удлиненной рукояткой в положении стоя на земле;
г) загружать смесь в бункер асфальтобетоноукладчика, выпавшую при разгрузке автосамосвала, следует после полной разгрузки автосамосвала.
9. При укладке асфальтобетонной смеси не допускается:
а) становиться на свежеуложенное горячее дорожное покрытие;
б) прикасаться к кожуху выравнивающей плиты асфальтобетоноукладчика;
в) находиться перед движущимся катком.
10. При укладке асфальтобетонной смеси вручную следует выполнять следующие требования:
а) подносить горячую смесь совковыми лопатами допускается на расстояние не более 8 м;
б) перемещать горячую смесь на расстояние свыше 8 м следует на носилках, огражденных бортами с трех сторон, или тачками с разгрузкой опрокидыванием вперед;
в) подавать горячую смесь к месту укладки переброской не допускается.
11. При устройстве дорожного полотна из материалов, обрабатываемых черными вяжущими веществами, следует выполнять следующие требования:
а) проверять уровень уложенного дорожного покрытия, отсыпать или снимать лишний объем материалов после окончания механизированной укладки материалов на данном участке или после остановки работы машины;
б) при заливке дорожного покрытия черными вяжущими веществами не допускается нахождение посторонних лиц на расстоянии ближе 10 м от места заливки. Площадки заливки должны быть ограждены.
Требования безопасности в аварийных ситуациях
12. Работы должны быть приостановлены:
а) при грозе, дожде, а также тумане и снегопаде, исключающих видимость в пределах фронта работ;
б) при неисправности асфальтобетоноукладчика или ручного инструмента;
в) при утечке битума из автогудронатора;
г) при опрокидывании или повреждении транспортными средствами дорожных знаков и ограждений места производства работ;
д) при дорожно-транспортном происшествии, связанном с заездом транспортных средств на место работы.
Требования безопасности по окончании работы
13. По окончании работы асфальтобетонщики обязаны:
а) отключить от сети механизированный инструмент;
б) инструмент и технологическую оснастку, применяемые во время работы, перенести в места, отведенные для их хранения;
в) навести порядок на рабочем месте;
г) сообщить бригадиру или руководителю работ о всех неполадках, возникших во время работы.
Дата введения 01.07.95 г.
Дорожные рабочие при производстве работ согласно имеющейся квалификации обязаны выполнять требования безопасности, изложенные в «Типовой инструкции по охране труда для работников строительства, промышленности строительных материалов и жилищно-коммунального хозяйства», настоящей типовой инструкции, разработанной с учетом строительных норм и правил Российской Федерации, а также требования инструкций заводов-изготовителей по эксплуатации применяемого оборудования и технологической оснастки.
Требования безопасности перед началом работы
1. Перед началом работы дорожные рабочие обязаны:
а) предъявить руководителю удостоверение о проверке знаний безопасных методов работ и пройти инструктаж на рабочем месте по специфике выполняемых работ;
б) надеть спецодежду, сигнальный жилет, спецобувь и каску установленного образца;
в) получить задание на выполнение работ у бригадира или руководителя работ.
2. После получения задания дорожные рабочие обязаны:
а) подготовить ограждения, дорожные знаки, сигнальные фонари и устройства безопасности и проверить их исправность;
б) подобрать инструмент, оснастку и средства защиты, проверив на соответствие требованиям безопасности;
в) проверить рабочее место и подходы к нему на соответствие требованиям безопасности.
3. Дорожные рабочие не должны приступать к выполнению работ при следующих нарушениях требований безопасности:
а) неисправностях технологической оснастки, оборудования, средств защиты работающих или инструмента, указанных в инструкциях заводов-изготовителей по их эксплуатации, при которых не допускается их применение;
б) несвоевременном проведении очередных испытаний (технического осмотра) оборудования, технологической оснастки и инструмента;
в) недостаточной освещенности рабочих мест и подходов к ним;
г) отсутствии ограждений и знаков безопасности.
Обнаруженные нарушения требований безопасности должны быть устранены собственными силами, а при невозможности сделать это дорожные рабочие обязаны сообщить о них бригадиру или руководителю работ.
Требования безопасности во время работы
4. Во время работы дорожные рабочие обязаны:
а) ограждать рабочее место штакетным барьером или щитами при изменении его местоположения и обозначать соответствующими дорожными знаками с сигнальным освещением: запрещающими - «Въезд запрещен», «Ограничение скорости», предупреждающими - «Дорожные работы». Включать сигнальное освещение в темное время суток;
б) включать светильники для освещения рабочих мест в темное время суток. Светильники должны быть расположены таким образом, чтобы исключалось слепящее действие светового потока.
5. При размещении строительных материалов в местах выполнения работ дорожные рабочие обязаны выполнять следующие требования:
а) размещать материалы на обочине или обрезе дороги, прилегающих к ремонтируемой или строящейся ее части;
б) при складировании материалов на обочине дороги на расстоянии 5-10 м против хода движения транспорта установить барьер с предупреждающим знаком, освещаемым в темное время суток;
в) размещать материалы на обрезе дороги, проходящей по насыпи, допускается не ближе 1 м от бровки насыпи;
г) сыпучие материалы (песок, щебень, гравий) размещать в компактных объемах с крутизной откосов, соответствующей углу естественного откоса;
д) бортовые и бордюрные камни, укрепительную плитку, лотки и брусчатку следует складировать в штабели высотой не более 1,2 м.
6. На территории, где ведутся работы, дорожные рабочие обязаны выполнять следующие требования:
а) переходить дорогу только в установленных для этого местах;
б) не выходить за установленные ограждения рабочей зоны, на открытую полосу движения транспорта;
в) не приближаться к двигающимся автомобилям, каткам, скреперам, бульдозерам, погрузчикам, кранам, укладчикам и другим механизмам ближе чем на 5 м;
г) во время работы находиться вне опасной зоны работы подъемного крана или экскаватора (радиус вылета стрелы + 5 м).
7. При выполнении работ в зоне трамвайных путей с полным частичным закрытием движения трамваев следует выполнять следующие требования:
а) размещать инструмент, технологическую оснастку или материалы, образующиеся при разборе существующего дорожного покрытия, вновь доставляемые, следует вдоль путей не ближе 1 м от головки рельса. Размещение инструмента, материалов или технологической оснастки между путями, а также на проезжей части дороги, где происходит движение транспорта, не допускается;
б) находиться при укладке дорожного камня в штабели с одной стороны штабеля;
в) следить, чтобы при разборке отдельных участков дорожного покрытия из штучных камней с применением ломов расстояние между рабочими было не менее 1,5 м;
г) при укладке штучных камней на проезжей части следует: укладывать камни, находясь лицом навстречу движения трамвая, а при его приближении - сойти с полотна пути на правую сторону по ходу движения трамвая;
ограничивать количество камней, предназначенных для укладки в проектное положение, при их размещении между путями. Не допускать возвышение этих камней над головкой рельса более чем на 5 см;
не допускать размещения камней, инструмента и других материалов на проезжей части улицы, где происходит движение транспорта.
8. При вырубке дефектных мест в дорожном покрытии с применением пневматического инструмента и инструмента с электроприводом дорожные рабочие обязаны выполнять следующие требования:
а) подключать шланги к магистралям сжатого воздуха через вентили, установленные на воздухораспределительных коробках или отводах от магистрали. Подключать шланги в магистраль без вентилей не допускается. Подключать или отсоединять шланги следует только после выключения подачи воздуха посредством вентиля;
б) следить за тем, чтобы в зоне разлетающихся осколков не находились другие рабочие.
9. При приемке материалов (песка, щебня, гравия и т.п.), доставляемых автосамосвалами для устройства дорожного покрытия, дорожные рабочие обязаны:
а) находиться во время подъезда автосамосвала на обочине дороги в поле зрения водителя;
б) подходить к автосамосвалу для его разгрузки только после его остановки и поднятия кузова;
в) очищать кузов автосамосвала от остатков доставленного материала следует скребками или лопатой с удлиненной рукояткой в положении стоя на земле.
10. При устройстве и профилировании дорожного основания из песка, цемента, гравия, щебня и других материалов с последующим их уплотнением катками следует:
находиться при укладке материалов с применением машин за пределами опасной зоны, возникающей в местах работы машины;
визирование, отсыпку или снятие лишнего объема материалов (песка, щебня и др.) выполнять только на участках, где закончена работа машинами или во время перерывов в их работе.
11. При укладке бортовых или бордюрных камней вручную дорожные рабочие обязаны:
переносить камни вдвоем или вчетвером с применением предназначенных для этого клещей;
устанавливать камни в проектное положение с применением трамбовки только через деревянную прокладку.
Требования безопасности в аварийных ситуациях
12. Дорожные работы вблизи проезжей части автодорог, железнодорожных путей или на междупутье разрешается производить только при выполнении мероприятий, предусмотренных специальным инструктажем, проводимым при выдаче наряда-допуска на работы повышенной опасности.
13. Работа должна быть приостановлена:
а) при грозе, дожде, а также тумане и снегопаде, ухудшающих видимость, в пределах фронта работ;
б) при нарушении целостности или смещении ограждений, знаков безопасности, а также при дорожно-транспортных происшествиях в зоне работы.
Требования безопасности по окончании работы
14. По окончании работы дорожные рабочие обязаны:
а) механизированный инструмент, применяемый во время работы, отключить от электросети или магистрали сжатого воздуха;
б) инструмент и технологическую оснастку, применяемые во время работы, перенести в места, отведенные для их хранения;
в) навести порядок на рабочем месте;
г) сообщить бригадиру или руководителю работ о всех неполадках, возникших во время работы.
Дата введения 01.07.95 г.
Изолировщики на гидроизоляции(далее - «гидроизолировщики») при производстве работ согласно имеющейся квалификации обязаны выполнять требования безопасности, изложенные в «Типовой инструкции по охране труда для работников строительства, промышленности строительных материалов и жилищно-коммунального хозяйства», настоящей типовой инструкции, разработанной с учетом строительных норм и правил Российской Федерации, а также требования инструкций заводов-изготовителей по эксплуатации применяемого оборудования и технологической оснастки.
Требования безопасности перед началом работ
1. Перед началом работы гидроизолировщики обязаны:
а) предъявить руководителю удостоверение о проверке знаний безопасных методов работ, получить задание у бригадира или руководителя и пройти инструктаж на рабочем месте по специфике выполняемых работ;
б) надеть спецодежду, спецобувь и каску установленного образца.
2. После получения задания у бригадира или руководителя гидроизолировщики обязаны:
а) подготовить необходимые материалы и проверить соответствие их требованиям безопасности;
б) проверить рабочее место и подходы к нему на соответствие требованиям безопасности;
в) подобрать технологическую оснастку, инструмент, средства защиты, необходимые при выполнении работы, и проверить их соответствие требованиям безопасности.
3. Гидроизолировщики не должны приступать к выполнению работ при следующих нарушениях требований безопасности:
а) неисправностях технологической оснастки, средств защиты работающих и инструмента, указанных в инструкциях заводов-изготовителей по их эксплуатации, при которых не допускается их применение;
б) несвоевременном проведении очередных испытаний (технического осмотра) технологической оснастки, инструмент и приспособлений;
в) недостаточной освещенности или захламленности рабочих мест или подходов к ним;
г) неустойчивости откосов грунта или креплений стенок котлована или траншей, наличии обнажившихся на откосах валунов, глыб, камней, находящихся в неустойчивом состоянии;
д) наличии неогражденных проемов и отверстий в перекрытиях, а также неогражденных перепадов по высоте по периметру перекрытия здания или сооружения.
Обнаруженные нарушения требований безопасности должны быть устранены собственными силами, а при невозможности сделать это гидроизолировщики обязаны незамедлительно сообщить о них бригадиру или руководителю работ.
Требования безопасности во время работы
4. Гидроизолировщики при загрузке котла для разогрева битума обязаны выполнять следующие требования безопасности;
а) следить за тем, чтобы куски битума, предназначенные для загрузки котла, были сухими и масса каждого куска битума не превышала 2-3 кг;
б) опускать куски битума в котел вдоль стенок с осторожностью, не допуская разбрызгивания разогретого битума;
в) загружать битумом котел не более чем на 3/4 его вместимости.
5. Гидроизолировщики при выполнении работ с разогретым битумом обязаны выполнять следующие требования безопасности:
а) для переноски горячего битума использовать предназначенные для этого конусные бачки с плотно закрывающимися крышками и запорными устройствами, которые должны заполняться битумом не более их вместимости;
б) ограничивать переноску бачков с горячим битумом по горизонтали на расстояние до 50 м. При больших расстояниях следует применять битумопроводы или подъемно-транспортные машины;
в) пользоваться при подъеме бачков с горячим битумом на высоту до 3 м прочной веревкой с грузозахватным крюком на конце;
г) поднимать бачки с горячим битумом на высоту свыше 3 м грузопассажирскими подъемниками или в вертикально установленном коробе с применением грузоподъемных механизмов (лебедок, талей). При этом короб с дверцей внизу должен доходить до основания котлована, а при перемещении битума вверх - начинаться на уровне подошв работающих. Дверцу короба разрешается открывать только во время приемки и установки бачка;
д) подавать бачки с горячим битумом в котлован или траншею следует с помостов шириной не менее 1 м, оборудованных защитными ограждениями;
е) запрещается перемещать бачки с горячим битумом по приставным лестницам.
6. При работе с применением горячего битума в одной захватке нескольких рабочих звеньев расстояние между ними должно быть не менее 10 м.
7. При устройстве гидроизоляции на вертикальных поверхностях следует применять средства подмащивания. Пользоваться приставными лестницами, стремянками запрещается. Выполнение других работ ниже одной вертикали не допускается.
8. При выполнении работ на кровле с уклоном более 20° следует использовать страховочные канаты и предохранительные пояса. Не допускается выполнение работ на расстоянии менее 2 м от неогражденных перепадов по высоте.
9. При выполнении гидроизоляционных работ в закрытых помещениях гидроизолировщики обязаны обеспечить проветривание помещения, а также включение при недостаточном проветривании принудительной приточно-вытяжной вентиляции.
10. Гидроизолировщикам запрещается выполнение работ вблизи электрических приборов и других токоведущих частей, находящихся под напряжением.
До начала работ электросеть должна быть отключена. Если выключить электросеть невозможно, вокруг указанных мест необходимо установить сплошное ограждение из диэлектрических материалов.
11. Наносить битумную мастику на поверхность следует кистью с ручкой. Не допускается наносить мастику выплескиванием.
12. Размещать на кровле материалы следует только в местах, предусмотренных проектом производства работ.
13. Места производства гидроизоляционных работ должны быть обеспечены не менее чем двумя эвакуационными выходами, а также первичными средствами пожаротушения.
14. Во время работы с газовоздушной горелкой гидроизолировщикам запрещается;
а) перемещаться вне рабочей зоны с зажженной горелкой, в том числе подниматься или опускаться по лестницам, трапам и т.п.;
б) держать газовые рукава под мышкой, зажимать ногами, обматывать вокруг пояса, носить на плечах, перегибать, перекручивать;
в) курить и приближаться менее чем на 10 м к газовому баллону. При перерывах в работе горелку следует потушить
15. При устройстве гидроизоляции с применением органических растворителей или рулонных наплавляемых материалов с помощью горелок с открытым пламенем, в ветреную погоду гидроизолировщикам необходимо располагаться с наветренной стороны.
16. При нанесении мастик механизированным способом гидроизолировщики обязаны:
а) следить за тем, чтобы напорный рукав и удочка имели надежную теплоизоляцию;
б) держать удочку горизонтально, направляя факел распыления под углом 30-45° к изолируемой поверхности.
17. Гидроизолировщикам запрещаются хранение чистой одежды и продуктов, а также прием пищи и курение в местах приготовления мастик и выполнения работ.
Требования безопасности в аварийных ситуациях
18. В случае возгорания мастики в процессе ее варки необходимо закрыть котел металлической крышкой, залить огонь пеной из огнетушителя, а отдельные горящие места засыпать песком. Тушить горящий битум водой запрещается. Разлитый битум или мастику следует незамедлительно удалить или засыпать песком.
19. В случае поломки приточно-вытяжной вентиляции в закрытых помещениях все выполняемые работы необходимо приостановить и удалиться в безопасное место, после чего сообщить о случившемся руководителю работ.
Требования безопасности по окончании работы
20. По окончании работы гидроизолировщики обязаны:
а) погасить огонь в топке котла;
б) очистить рабочее место от мусора и отходов строительных материалов;
в) инструмент, тару и материалы, применяемые в процессе выполнения задания, очистить и убрать в отведенное для этого место;
г) сообщить бригадиру или руководителю работ о всех неполадках, возникших во время работы.
Дата введения 01.07.95 г.
Слесари по ремонту дорожно-строительных машин и тракторов (далее - «слесари») при производстве работ согласно имеющейся квалификации обязаны выполнять требования безопасности, изложенные в «Типовой инструкции по охране труда для работников строительства, промышленности строительных материалов и жилищно-коммунального хозяйства», настоящей типовой инструкции, разработанной с учетом строительных норм и правил Российской Федерации, «Правил по охране труда на автомобильном транспорте», а также требования инструкций заводов-изготовителей по эксплуатации обслуживаемого оборудования и технологической оснастки.
Требования безопасности перед началом работы
1. Перед началом работы слесари обязаны:
а) предъявить руководителю удостоверение о проверке знаний безопасных методов работ, получить задание и пройти инструктаж на рабочем месте по специфике выполняемых работ;
б) надеть спецодежду, спецобувь и при работе на строительной площадке - каску установленного образца.
2. После получения задания у бригадира или руководителя работ слесари обязаны:
а) подготовить необходимые средства индивидуальной защиты и проверить их исправность;
б) проверить рабочее место и подходы к нему на соответствие требованиям безопасности;
в) подобрать инструмент, оборудование и технологическую оснастку, необходимые при выполнении работы, проверить их исправность и соответствие требованиям безопасности;
г) при пользовании переносной электролампой проверить ее исправность и целостность изоляции шлангового провода.
3. Слесари не должны приступать к выполнению работ при следующих нарушениях требований безопасности:
а) неисправностях технологической оснастки, средств защиты работающих и инструмента (гаечных ключей, слесарных молотков, кувалд, зубил, керн и т.д., указанных в инструкциях заводов-изготовителей по их эксплуатации, при которых не допускается их применение;
б) несвоевременном проведении очередных испытаний (технического осмотра) технологической оснастки, инструмента и приспособлений;
в) несвоевременном проведении очередных испытаний или истечении срока эксплуатации средств защиты работающих, установленного заводом-изготовителем;
г) неустойчивом положении узлов, агрегатов строительной техники;
д) вблизи электрических проводов и электроустановок, находящихся под напряжением;
е) недостаточной освещенности или загроможденности рабочих мест и подходов к ним;
ж) отсутствии средств пожаротушения.
Обнаруженные нарушения требований безопасности должны быть устранены собственными силами до начала работ, а при невозможности сделать это слесари обязаны сообщить о них бригадиру или руководителю работ.
Требования безопасности во время работы
4. В процессе работы слесари обязаны соблюдать следующие требования:
а) при ремонте или техническом обслуживании дорожностроительной техники повесить на рулевое колесо или рычаги машины табличку «Двигатель не пускать - работают люди!»;
б) выполнять работы по ремонту или техническому обслуживанию дорожно-строительных машин при неработающем двигателе, за исключением работ по регулировке карбюратора, проверке электрооборудования и тормозной системы;
в) залезать под машину и вылезать из-под нее следует со стороны противоположной проезду, а находясь под машиной, следует размещаться между колесами или гусеницами вдоль машины;
г) до начала производства сварочных работ слить бензин, дизельное топливо и масло, а бензобаки закрыть асбестовыми чехлами;
д) разборку и сборку агрегатов выполнять в стационарных или передвижных мастерских только на специальных стендах, оснащенных устройствами закрепления;
е) не производить работы на отдельных узлах машин, поднятых грузоподъемным механизмом;
ж) опустить на опоры или заблокировать сборочные единицы машин, агрегатов, которые могут перемещаться под действием собственной массы, а также подложить под гусеницы и колеса машин противооткатные упоры (башмаки);
з) не хранить на рабочем месте легковоспламеняющиеся жидкости и обтирочный материал.
5. Домкраты следует устанавливать на прочную и устойчивую деревянную подкладку. Высота подъема домкрата должна соответствовать необходимой высоте подъема машины и ее частей. После подъема машины домкратами следует подставлять козелки. Работать под машиной, поднятой только домкратом, но не установленной на козелки, запрещается.
6. При выполнении работ на самосвале с поднятым кузовом следует предварительно установить кузов на упорную штангу.
7. Слив масла и воды из агрегатов машины необходимо производить только в специальную тару. Случайно пролитое на пол масло или оброненный солидол следует немедленно засыпать опилками или сухим песком и собрать в специально отведенное место.
8. При работах, связанных с проворачиванием коленчатого и карданного валов, слесари должны проверить, выключены ли зажигание и подача топлива (для дизельных машин), поставить рычаг переключения передач в нейтральное положение, освободить стояночный тормоз. После окончания работ следует затянуть рычаг тормозной системы и включить первую передачу.
9. Разборку и сборку колес следует производить на стенде или ровной чистой площадке. Накачивать шины колес следует только при наличии ограждения или страхующего устройства. Осаживать стопорное кольцо молотком или кувалдой запрещается
10. При ремонте и обслуживании дорожно-строительных машин с высокой платформой слесари должны пользоваться специальными лестницами-стремянками со ступенями шириной не менее 300 мм. Применять приставные лестницы не допускается.
11. При ремонте дорожно-строительных машин следует снимать, транспортировать и устанавливать двигатель, коробку передач, задний и передний мосты, кузов и раму с помощью подъемно-транспортных механизмов, оборудованных инвентарными захватными приспособлениями, гарантирующими безопасное выполнение работ.
12. Проверку соосности отверстий при сборке узлов следует выполнять с помощью конусной оправки.
13. Производить осмотр и ремонт машин в смотровой яме следует в защитных очках.
14. При сметании стружки и пыли с верстака или деталей необходимо пользоваться волосяной щеткой и защитными очками. Запрещается сдувать сжатым воздухом металлическую стружку (опилки).
15. При осмотре машин в стационарных помещениях следует пользоваться переносной электролампой напряжением не выше 42 В, а при повышенной влажности или на открытом воздухе - не выше 12 В. Пользоваться открытым огнем при осмотре машин не разрешается.
16. При работе с электросварщиком следует пользоваться очками с защитными светофильтрами.
17. При применении грузоподъемных механизмов к строповке агрегатов и деталей допускаются слесари, имеющие удостоверение стропальщика.
18. К работе с электрифицированным инструментом допускаются слесари, имеющие II квалификационную группу по электробезопасности.
Требования безопасности в аварийных ситуациях
19. В случае возникновения загорания необходимо работу прекратить, принять участие в тушении пожара (огнегушителями, асбестовыми покрывалами, песком или сильной струей воды), а при невозможности ликвидировать загорание следует вызвать пожарную охрану.
20. При потере устойчивости узлов и агрегатов дорожно-строительных машин во время ремонтных работ их следует прекратить и сообщить о случившемся бригадиру или руководителю работ. После этого слесари должны принять участие в предотвращении произвольного перемещения частей машин.
Требования безопасности по окончании работы
21. По окончании работы слесари обязаны:
а) привести в порядок рабочее место, убрать инструмент, приспособления и материалы;
б) отключить от сети применяемые в работе электроинструмент, станки и механизмы;
в) убрать ручной инструмент и спецодежду, спецобувь и средства индивидуальной защиты в предназначенное для хранения место;
г) о всех замеченных во время работы неполадках сообщить бригадиру или руководителю работ.
Дата введения 01.01.94 г.
Машинисты автомобильных, гусеничных и пневмоколесных кранов (далее - «машинисты») при производстве работ согласно имеющейся квалификации обязаны выполнять требования безопасности, изложенные в «Типовой инструкции по охране труда для работников строительства, промышленности строительных материалов и жилищно-коммунального хозяйства», настоящей типовой инструкции, разработанной с учетом строительных норм и правил Российской Федерации, «Правил по устройству и безопасной эксплуатации грузоподъемных кранов» Госгортехнадзора России, а также требования инструкций заводов-изготовителей по эксплуатации управляемых ими кранов.
Требования безопасности перед началом работы
1. Перед началом работы машинист обязан:
а) предъявить лицу, ответственному за безопасное производство работ по перемещению грузов кранами, удостоверение на право управление краном и пройти инструктаж на рабочем месте с учетом специфики выполняемых работ;
б) надеть спецодежду, спецобувь установленного образца;
в) получить задание и проверить наличие удостоверения на право производства работ у стропальщика.
2. После получения задания на выполнение работы машинист обязан:
а) произвести ежесменное техническое обслуживание крана, если не производился технический осмотр перед направлением на работу;
б) перед пуском крана проверить работоспособность механизмов на холостом ходу и их исправность, а также приборов и устройств безопасности;
в) проверить совместно со стропальщиком исправность съемных грузозахватных приспособлений, а также наличие на них клейма и бирок с указанием грузоподъемности, даты испытания, номера и убедиться в соответствии их характеру выполняемых работ;
г) осмотреть место установки и зону работы крана и убедиться, что уклон местности, прочность грунта, габариты приближения строений соответствуют требованиям безопасности, а характеристики крана по грузоподъемности и вылету стрелы соответствуют характеру выполняемой работы;
д) при заливке масла в редукторы к рабочей жидкости и гидробак не допускать попадания их на части машины.
3. Машинист не должен приступать к работе при следующих нарушениях требований безопасности:
а) неисправности механизмов, а также дефектов металлоконструкций или канатов, при которых запрещается эксплуатация крана;
б) дефектах грузозахватных приспособлений при несоответствии их характеру выполняемых работ;
в) несоответствии характеристик крана по грузоподъемности и вылету стрелы условиям работ;
г) отсутствии или неисправности ограничителя грузоподъемности и сигнального устройства.
Обнаруженные неисправности следует устранить собственными силами, а при невозможности сделать это машинист обязан сообщить о них лицу, ответственному за безопасное производство работ по перемещению грузов кранами, а также лицу по надзору за безопасной эксплуатацией кранов.
Требования безопасности во время работы
4. Перед включением механизмов перемещения груза машинист обязан дать предупредительный звуковой сигнал и убедиться, что в зоне перемещения груза нет посторонних лиц.
5. Передвижение крана под линией электропередачи следует осуществлять при нахождении стрелы в транспортном положении.
6. Установка крана для работы на свежеутрамбованном грунте, на площадке с уклоном более указанного в паспорте, а также под линией электропередачи, находящейся под напряжением, не допускается.
Машинист обязан произвести установку крана на дополнительные опоры во всех случаях, когда это предусмотрено по характеристике крана. При этом он должен следить, чтобы опоры были исправны и под них подложены прочные и устойчивые подкладки.
7. Установка крана на краю откоса выемки в грунте допускается только при нахождении ближайшей опоры крана за пределами призмы разрушения. При невозможности соблюдения этого расстояния откос выемки должен быть укреплен.
8. При установке крана вблизи здания, штабеля груза или каких-либо других объектов расстояние между поворотной частью крана при любом его положении и габаритом указанных объектов должно быть не менее 1 м.
9. При перемещении груза машинист обязан выполнять следующие требования:
а) начинать работу только по сигналу стропальщика. Сигнал «Стоп» машинист обязан выполнять независимо от того, кто его подал;
б) в случае недостаточной обзорности зоны работы и плохой видимости стропальщика, подающего сигнал машинисту, между ними должна быть использована двусторонняя радио- или телефонная связь;
в) определять грузоподъемность крана с учетом вылета стрелы по указателю грузоподъемности;
г) производить погрузку или разгрузку автомашин, прицепов, железнодорожных полувагонов и платформ, а также других транспортных средств только при отсутствии людей в зоне перемещения груза;
д) не допускать при подъеме груза косое натяжение каната грузового полиспаста;
е) производить фиксацию груза при его подъеме на высоте 20-30 см для того, чтобы убедиться в правильности его строповки и выходе стропальщика из опасной зоны, устойчивости крана и исправности тормозов, после чего производить дальнейший подъем его на необходимую высоту;
ж) выдерживать расстояние между обоймой крюка или грейфера и оголовком стрелы при подъеме груза не менее 0,5 м;
з) при горизонтальном перемещении груза предварительно поднимать его на высоту не менее 0,5 м над встречающимися на пути предметами;
и) перед подъемом или опусканием груза, находящегося вблизи стены, колонны, штабеля, железнодорожного вагона, автомашины, необходимо предварительно убедиться в отсутствии стропальщика или других людей между поднимаемым грузом и указанным препятствием, а также в возможности свободного прохождения стрелы крана и груза вблизи этих препятствий;
к) подъем кирпича на поддонах без ограждения производить только при разгрузке транспортных средств на место складирования;
л) перед опусканием груза в выемку грунта убедиться в наличии на барабане грузовой лебедки не менее 1,5 витков каната, не считая находящихся под зажимным устройством;
м) укладку и снятие груза производить плавно, без нарушения установленных для складирования грузов габаритов и загромождения проходов;
н) при эксплуатации крана принимать меры, предупреждающие его опрокидывание или самопроизвольное перемещение под действием ветра или при наличии уклона местности;
о) устанавливать кран или перемещать груз на расстоянии ближе 30 м от крайнего провода линии электропередачи только при наличии наряда-допуска, подписанного главными инженером или энергетиком предприятия, являющегося владельцем крана, под непосредственным руководством ответственного, назначенного приказом по организации с указанием его фамилии в наряде-допуске.
10. При подъеме и перемещении грузов машинисту запрещается:
а) допускать к строповке грузов случайных лиц, не имеющих удостоверения стропальщика, а также применять грузозахватные приспособления, не имеющие бирок и клейм. Если это произошло, машинист обязан прекратить работу и поставить об этом в известность ответственного за безопасное производство работ по перемещению грузов кранами, а также лицо по надзору за безопасной их эксплуатацией;
б) поднимать или кантовать груз, масса которого превышает грузоподъемность крана для данного вылета стрелы. Если машинист не знает массы груза, то он должен получить о ней письменные сведения ответственного за безопасное производство работ по перемещению кранами,
в) опускать стрелу с грузом до вылета, при котором грузоподъемность крана будет меньше массы поднимаемого груза;
г) резко тормозить механизмы крана, в том числе при повороте стрелы с грузом;
д) подтаскивать груз крюком крана при косом натяжении каната;
е) отрывать крюком груз, засыпанный землей или примерзший к основанию, заложенный другими грузами, закрепленный болтами, залитый бетоном, а также раскачивать груз в целях его отрыва;
ж) освобождать краном защемленные грузом съемные грузозахватные приспособления;
з) поднимать железобетонные изделия с поврежденными петлями, груз, неправильно обвязанный или находящийся в неустойчивом положении, а также в таре, заполненной выше бортов;
и) опускать груз на электрические кабели и трубопроводы, а также ближе 1 м от края откоса или траншеи;
к) поднимать груз с находящимися на нем людьми, а также неуравновешенный и выравниваемый массой людей или поддерживаемый руками;
л) передавать управление краном лицу, не имеющему на это соответствующего удостоверения, а также оставлять без контроля учеников или стажеров для работы;
м) осуществлять погрузку и разгрузку автомашин при нахождении шофера или других людей в кабине;
н) поднимать баллоны со сжатым или сжиженным газом, не уложенные в специально предназначенные для этого контейнеры;
о) проводить регулировку тормоза механизма подъема при поднятом грузе.
11. При передвижении крана своим ходом по дорогам общего пользования машинист обязан выполнять требования «Правил дорожного движения», утвержденных МВД России.
12. Техническое обслуживание крана следует осуществлять только после остановки двигателя и снятия давления в гидравлической и пневматической системах, кроме тех случаев, которые предусмотрены инструкцией завода-изготовителя.
Сборочные единицы крана, которые могут перемещаться под действием собственной массы, при техническом обслуживании следует заблокировать или опустить на опору для исключения их перемещения.
13. При ежесменном техническом обслуживании крана машинист обязан:
а) обеспечивать чистоту и исправность механизмов и оборудования крана;
б) своевременно осуществлять смазку трущихся деталей крана и канатов согласно указаниям инструкций завода-изготовителя;
в) хранить смазочные и обтирочные материалы в закрытой металлической таре;
г) следить за тем, чтобы на конструкции крана и его механизмах не было незакрепленных предметов (инструмента, ограждений, механизмов);
д) следить за своевременностью проведения номерных технических обслуживании крана и его отдельных механизмов и узлов.
Требования безопасности в аварийных ситуациях
14. Машинист обязан опустить груз, прекратить работу крана и поставить в известность об этом ответственного за безопасное производство работ по перемещению грузов кранами, а также лицо по надзору за эксплуатацией кранов в следующих случаях:
а) при возникновении неисправности механизмов крана, при которых согласно требованиям инструкций завода-изготовителя запрещается его эксплуатация;
б) при ветре, скорость которого превышает допустимую для данного крана;
в) при ухудшении видимости в вечернее время, сильном снегопаде и тумане, когда машинист плохо различает сигналы стропальщика и перемещаемый груз;
г) при отрицательной температуре воздуха ниже допустимой, указанной в паспорте крана;
д) при закручивании каната грузового полиспаста
15. При потере устойчивости крана во время подъема или перемещения груза машинист обязан уменьшить вылет стрелы, опустить его и сообщить об этом лицу, ответственному за безопасное производство работ по перемещению грузов кранами, а также лицу по надзору за эксплуатацией кранов.
16. При случайном касании стрелой или грузовым канатом линии электропередачи машинист должен выпрыгнуть из кабины на землю таким образом, чтобы в момент касания ногами земли не держаться руками за металлические части крана.
17. При возникновении на кране пожара машинисту необходимо приступить к его тушению собственными силами, одновременно вызвав через членов бригады пожарную охрану. При пожаре на электрическом кране должен быть отключен рубильник, подающий напряжение на кран.
Требования безопасности по окончании работы
18. По окончании работы крана машинист обязан:
а) поставить кран в предназначенное для стоянки место, затормозить его;
б) установить стрелу и крюк в положение, определяемое инструкцией завода-изготовителя по монтажу и эксплуатации крана;
в) остановить двигатель, отключить у крана с электроприводом рубильник;
г) закрыть дверь кабины на замок;
д) сообщить своему сменщику, а также ответственному за безопасное производство работ по перемещению грузов кранами обо всех неполадках, возникших во время их эксплуатации, и сделать в вахтенном журнале соответствующую запись
Дата введения 01.07.95
Водители грузовых автомобилей (далее - «водители») при производстве работ согласно имеющейся квалификации обязаны выполнять требования безопасности, изложенные в «Типовой инструкции по охране труда для работников строительства, промышленности строительных материалов и жилищно-коммунального хозяйства», настоящей типовой инструкции, разработанной с учетом строительных норм и правил Российской Федерации, «Правил по охране труда на автомобильном транспорте», «Правил дорожного движения», утвержденных МВД России, а также требования инструкций заводов-изготовителей по эксплуатации автомобилей.
Требования безопасности перед началом работы
1. Перед началом работы водитель обязан:
а) убедиться в наличии удостоверения на право управления автомобилем и о проверке знаний безопасных методов работ;
б) иметь при себе талон технического паспорта автомобиля и путевой маршрутный лист;
в) получить наряд-задание на выполнение работы и путевой лист, пройти инструктаж по специфике предстоящих работ и предрейсовый медицинский осмотр;
г) надеть спецодежду и спецобувь установленного образца.
2. После получения наряда-задания водитель обязан:
а) проверить наличие медицинской аптечки, огнетушителей и комплекта инструментов;
б) в целях обеспечения безопасной и бесперебойной работы на линии проверить техническое состояние автомобиля, обратив внимание на исправность шин, тормозов, рулевого управления, болтов крепления карданного вала, исправность проводки, фар, стоп-сигнала, указателей поворотов, звукового сигнала, контрольно-измерительных приборов, зеркал заднего вида;
в) произвести ежесменное техническое обслуживание и заправку автомобиля топливом, маслом, водой, антифризом (в холодное время года) и тормозной жидкостью, проверить уровень электролита в аккумуляторной батарее;
г) после заправки автомобиля топливом и маслом вытереть насухо все части машины, испачканные нефтепродуктами.
Пролитые во время заправки горюче-смазочные материалы убрать с помощью ветоши, песка или опилок;
д) проверить работоспособность и исправность двигателя на холостом ходу, осветительных и контрольно-измерительных приборов, а также проверить на малом ходу работу тормозов и рулевого управления;
е) предъявить автомобиль ответственному за выпуск технически исправных машин из гаража (механику) и получить отметку в путевом листе о технической исправности автомобиля.
3. Водитель не должен выезжать на линию при следующих нарушениях требований безопасности:
а) неисправностях механизмов и систем, при которых запрещается эксплуатация автомобиля;
б) несоответствии характеристик автомобиля характеристикам груза по объему, грузоподъемности, длине и другим параметрам;
в) отсутствии или неисправности осветительных приборов, зеркал заднего вида, сигнального устройства, огнетушителей
Обнаруженные нарушения следует устранить собственными силами, а при невозможности сделать это водитель обязан сообщить о них лицу, ответственному за содержание автомобиля в исправном состоянии, а также лицу по надзору за безопасной эксплуатацией автомобилей.
Требования безопасности во время работы
4. По прибытии на объект, указанный в путевом листе, водитель обязан:
а) явиться к руководителю работ, в распоряжение которого направлен, предъявить путевой лист и удостоверение о проверке знаний безопасных методов труда, получить производственное задание и пройти инструктаж на рабочем месте по специфике выполняемых работ;
б) ознакомиться с местом погрузки и разгрузки, убедиться в безопасности и удобстве подъездов, в достаточной освещенности площадки;
в) обратить внимание на качество дорожного покрытия и его состояние (наличие выбоин, луж, штырей, арматуры, а в холодное время года - снега и льда).
5. Во время работы водитель автомобиля обязан:
а) выполнять маневрирование, только предварительно убедившись в безопасности маневра для окружающих пешеходов и в отсутствии помех для других транспортных средств;
б) перед выходом из кабины автомобиля выключить двигатель, включить стояночный тормоз и первую передачу, вынуть ключ из замка зажигания, а после выхода из кабины запереть дверцы;
в) убедиться в отсутствии движущихся транспортных средств в попутном и встречном направлениях прежде чем выйти из кабины на проезжую часть;
г) подавать автомобиль при сцепке к прицепу на минимально возможной скорости;
д) осуществлять сцепку автопоезда в одиночку в исключительных случаях с соблюдением указанной последовательности операций:
затормозить прицеп стояночным тормозом;
проверить исправность буксирного устройства;
подложить упоры под задние колеса прицепа;
сцепить автомобиль и прицеп;
закрепить страховочный трос прицепа за поперечину рамы автомобиля;
соединить разъемы гидравлической, пневматической и электрической системы автомобиля и прицепа;
е) находясь на линии, периодически проверять исправное состояние прицепа и буксирного устройства;
ж) при необходимости разгрузки самосвала у откоса, оврага или обрыва и отсутствии колесоотбойного бруса устанавливать его не ближе 1 м от края обрыва;
з) при управлении автомобилем с цистерной, заполненной менее чем 3/4 ее объема, снижать на поворотах скорость до минимальной.
6. Перед заправкой топливом газобаллонного автомобиля следует убедиться в отсутствии людей в кабине, выключить двигатель, избегать попадания газа на открытые участки кожи (для исключения обморожения в результате испарения газа), перед включением зажигания и пуском двигателя в течение 3 мин держать капот открытым до полного выветривания газа.
7. Перед постановкой газобаллонного автомобиля на крытую стоянку или при техническом обслуживании необходимо закрыть вентиль баллона и выработать весь газ из системы питания.
8. Для заливки горячей воды при разогреве двигателя следует использовать специальные ведра с носиком в верхней части, создающим направленную струю. При разогреве двигателя при помощи пара или горячего воздуха шланг необходимо присоединить к горловине радиатора и надежно закрепить.
9. После использования калорифера для прогрева двигателя кабину автомобиля следует проветрить для удаления продуктов сгорания.
10. При выполнении ремонтных работ водитель обязан выключить двигатель, затормозить автомобиль стояночным тормозом и включить первую передачу.
11. При остановке на уклоне необходимо подложить под колеса не менее чем два противооткатных упора.
12. Неисправности системы питания следует устранять только после охлаждения двигателя, а засорившиеся топливопроводы и жиклеры продувать с помощью насоса.
13. Перед подъемом автомобиля домкратом следует удалить пассажиров из кабины, затормозить автомобиль стояночным тормозом, подложить противооткатные упоры под колеса, не подлежащие подъему, выровнять площадку под домкрат и подложить под него широкую подкладку из древесины.
14. Выполняя работы, связанные со снятием колес, водитель обязан подставить козелки, а под неснятые колеса подложить противооткатные упоры.
15. При накачивании шины колеса, снятого с автомобиля, следует пользоваться приспособлением, предохраняющим от удара при выскакивании замочного кольца.
16. Для выполнения работ под поднятым кузовом самосвала необходимо закрепить кузов специальными страховочными упорами.
17. Водителям запрещается:
а) перевозить пассажиров в кузове необорудованного автомобиля без соответствующей записи в Путевом (маршрутном) листе;
б) управлять автомобилем в нетрезвом состоянии;
в) ставить газобаллонный автомобиль на длительную стоянку с открытыми вентилями баллонов и системы питания;
г) использовать камеры для заливки горячей воды при подогреве двигателя;
д) применять для разогрева двигателя газовые горелки, не оборудованные сигнальными устройствами и устройствами, автоматически отключающими подачу газа при его утечке или погасании горелки;
е) пользоваться прямой передачей во время длительного спуска;
ж) двигаться на крутом спуске с выключенным сцеплением или передачей;
з) закреплять страховочный канат или цепь прицепа за крюк буксирного устройства;
и) буксировать порожним автомобилем груженый прицеп;
к) применять в качестве козелков и подставок для автомобиля со снятыми колесами случайные предметы (камни, доски, бочки, диски колес и т.п.);
л) отдыхать или спать в кабине автомобиля с работающим двигателем.
18. Запрещается выполнять работы по ремонту и обслуживанию автомобиля под приподнятым кузовом самосвала, а также во время погрузочно-разгрузочных работ и в случае установки автомобиля в опасной зоне действующих грузоподъемных механизмов.
19. При производстве погрузочно-разгрузочных работ водитель обязан выйти из кабины автомобиля и наблюдать за правильностью погрузки или разгрузки автомобиля. Погрузку и разгрузку грузов, а также их крепление на автомобиле следует осуществлять силами и средствами грузоотправителей, грузополучателей или специальных организаций с соблюдением правил техники безопасности. Водитель обязан проверить соответствие укладки и надежность крепления груза на транспортном средстве, а в случае обнаружения нарушений в укладке и креплении груза - потребовать от грузоотправителя устранить их. Погрузка прицепа должна осуществляться с передней части, а разгрузка с задней части во избежание его опрокидывания.
20. При размещении автомобилей на погрузочно-разгрузочных площадках расстояние между автомобилями, стоящими друг за другом (в колонну), должно быть не менее 1 м, а между автомобилями, стоящими в ряд, - не менее 1,5 м. Если автомобили устанавливаются для погрузки или разгрузки вблизи здания, то между зданием и задним бортом автомобиля должен соблюдаться интервал не менее 1,5 м. Расстояние между автомобилем и штабелем груза должно быть не менее 1 м.
21. При загрузке кузова автомобиля навалочным грузом он должен укладываться не выше борта кузова (стандартного и наращенного) и должен располагаться равномерно по всей площади пола. Штучные грузы, возвышающиеся над бортами кузова, необходимо увязывать крепкими исправными канатами.
22. Ящики, бочки и другой штучный груз должны быть уложены плотно, без промежутков, укреплены или увязаны так, чтобы при движении (резком торможении, трогании с места и крутых поворотах) они не могли перемещаться по полу кузова. При наличии промежутков между местами груза следует вставлять между ними прочные деревянные прокладки и распорки.
При укладке грузов в катно-бочковой таре в несколько рядов их накатывают по слегам или по катам боковой поверхностью. Бочки с жидким грузом устанавливаются пробкой вверх. Каждый ряд должен укладываться на прокладках из досок с подклиниванием всех крайних рядов.
23. Грузы, превышающие габариты грузовой платформы автомобиля по длине на 2 м и более (длинномерные грузы), должны перевозиться на автомобилях с прицепами-роспусками, к которым грузы должны надежно крепиться.
При загрузке длинномерных грузов (труб, рельсов, бревен и др.) на автомобиль с прицепом-роспуском необходимо оставлять зазор между щитом, установленным за кабиной автомобиля, и торцами груза для того, чтобы на поворотах груз не цеплялся за щит. Для предупреждения перемещения груза вперед при торможении и движении по уклон груз должен быть надежно закреплен.
Запрещается:
перевозить грузы с концами, выступающими за боковые габариты автомобиля;
загораживать грузом двери кабины водителя;
располагать длинномерные грузы выше стоек.
Крупногабаритные и тяжеловесные грузы перевозятся в соответствии с требованиями «Инструкции о перевозке крупногабаритных и тяжеловесных грузов автомобильным транспортом».
24. При эксплуатации автомобиля в неблагоприятных атмосферных условиях водитель обязан:
а) во время тумана, сильного снегопада или дождя сбавить скорость и не обгонять транспортные средства, движущиеся в попутном направлении;
б) не открывать резко дроссельную заслонку и избегать быстрых поворотов рулевого колеса;
в) трогаться с места на обледеневшей дороге на одной из низших передач при слабо открытой дроссельной заслонке;
г) при спуске с уклона торможение выполнять двигателем и притормаживать рабочим тормозом;
д) двигаться по льду рек, водоемов только в случае наличия разрешения службы безопасности движения и по специально оборудованным съездам и дорогам, обставленным вехами и имеющим указатели, дорожные знаки.
Требования безопасности в аварийных ситуациях
25. При выходе из строя деталей или агрегатов движущегося автомобиля водитель обязан съехать с проезжей части дороги, выключить двигатель, включить первую передачу и стояночный тормоз, подложить под колеса противооткатные упоры и установить сзади автомобиля предупреждающий знак.
26. В случае возгорания топлива или перевозимого груза водитель должен погасить огонь при помощи огнетушителей, кошмы, брезента, песка и других подручных средств. При невозможности самостоятельной ликвидации пожара водитель должен вызвать пожарную охрану в установленном порядке и сообщить руководителю работ.
27. При дорожно-транспортном происшествии водитель, причастный к нему, обязан:
а) без промедления остановиться и не трогать с места транспортное средство, а также другие предметы, имеющие отношение к происшествию;
б) вызвать при необходимости «скорую помощь», а если это невозможно, отправить пострадавших на попутном или отвезти на своем транспорте в ближайшее лечебное заведение и сообщить там свою фамилию, номерной знак транспортного средства, после чего возвратиться к месту происшествия;
в) сообщить о случившемся в ГАИ, записать фамилию и адреса очевидцев происшествия и ожидать прибытия работников милиции или следственных органов;
г) если невозможно движение других транспортных средств, освободить проезжую часть, предварительно зафиксировав положение транспортного средства и относящихся к дорожно-транспортному происшествию предметов и следов.
Требования безопасности по окончании работы
28. По окончании работы водитель обязан:
а) проверить вместе с механиком автомобиль после возвращения с линии;
б) в случае необходимости оставить заявку на текущий ремонт с перечнем неисправностей, подлежащих устранению;
в) выключить двигатель;
г) при безгаражном хранении автомобиля в зимнее время слить воду из радиатора и двигателя, затянуть рычаг стояночного тормоза;
д) закрыть кабину на замок;
е) сообщить руководителю работ или ответственному за содержание автомобиля в исправном состоянии о всех неполадках, возникших во время работы.
Дата введения 01.07.95 г.
Машинисты бетононасосных установок (далее - «машинисты») при производстве работ согласно имеющейся квалификации обязаны выполнять требования безопасности, изложенные в «Типовой инструкции по охране труда для работников строительства, промышленности строительных материалов и жилищно-коммунального хозяйства», настоящей типовой инструкции, разработанной с учетом строительных норм и правил Российской Федерации, а также требования инструкций заводов-изготовителей по эксплуатации бетононасосных установок.
Требования безопасности перед началом работы
1. Перед началом работы машинист обязан:
а) предъявить руководителю удостоверение о проверке знаний безопасных методов работ, получить задание у руководителя и пройти инструктаж на рабочем месте по специфике выполняемых работ;
б) надеть спецодежду, спецобувь и каску установленного образца.
2. После получения задания у руководителя машинист обязан:
а) осмотреть рабочее место и подходы к нему на соответствие требованиям безопасности и убрать ненужные предметы. Проверить оборудование рабочего места защитным козырьком и сигнализацией;
б) убедиться в наличии и исправности защитных кожухов и щитков, ограждающих движущиеся части бетононасосной установки, проверить„визуально исправность манометров, предохранительных клапанов и защитного заземления;
в) проверить место приемки бетона, исправность механизмов и металлоконструкций бетоновода и других составных частей бетононасоса. Замковые соединения бетоновода перед подачей бетонной смеси следует очистить, плотно закрыть и зафиксировать. Трубы бетоновода не должны иметь трещин, разрывов или вмятин. Над трубопроводами, уложенными в местах прохода людей или проезда транспорта, должны быть оборудованы соответствующие мостики.
3. Выполнение работ не допускается при следующих нарушениях требований безопасности:
а) наличии неисправностей, указанных в инструкции завода-изготовителя по эксплуатации бетононасоса, при которых не допускается его эксплуатация;
б) несвоевременном проведении очередных испытаний (технического осмотра) бетононасоса;
в) недостаточной освещенности и захламленности рабочего места и подходов к нему;
г) отсутствии или неисправности связи с бетонщиками.
Обнаруженные нарушения требований безопасности должны быть устранены собственными силами, а при невозможности сделать это машинист обязан сообщить о них руководителю работ и лицу, ответственному за содержание бетононасосной установки в исправном состоянии.
Требования безопасности во время работы
4. Во время работы бетононасосной установки машинист обязан:
а) принять бетон в приемную воронку или приемный бункер бетононасоса из выпускного лотка автобетоносмесителя или бадьи для бетона;
б) контролировать исправность всех механизмов установки;
в) следить за давлением в системе бетононасоса и поддерживать связь с бетонщиками;
г) не допускать в системе бетононасоса давление, величина которого превышает паспортные данные;
д) прекратить приемку бетонной смеси в приемный бункер в случае образования пробки в бетоноводе до удаления пробки.
5. Осмотр и техническое обслуживание бетононасоса в процессе его эксплуатации допускается производить только при выключенных приводах его механизмов и сниженном давлении до атмосферного в системе бетоновода. Отсоединение бетоновода от бетононасоса или отсоединение отдельных звеньев бетоновода допускается только после его освобождения от бетонной смеси посредством реверсирования двигателя бетононасоса.
6. Очистку, техническое обслуживание или ремонт смесителя, шиберного устройства или бетонотранспортных цилиндров следует производить после выключения привода смесителя и бетононасоса. Поршни бетонотранспортных цилиндров и поворотная труба шибера при этом должны быть установлены в крайних положениях.
7. Во время приемки бетона машинист обязан:
а) руководить подъездом автосамосвала или автобетоносмесителя к загрузочному бункеру или к приемной воронке;
б) после приемки бетона очистить кузов самосвала при помощи длинной ручки;
в) очистить решетку загрузочного бункера от бетона и вывесить трафарет «Бетон не выгружать!».
8. Загружать бетон следует после подачи машинистом предупредительного сигнала и поступления обратного сигнала от бетонщика.
9. Промывать бетононасос и бетоновод следует после освобождения системы от бетонной смеси, заполнения ее водой из водопровода или емкости и слива воды путем реверсирования двигателя бетононасоса.
10. При перебазировке и установке бетононасоса на новое место машинист обязан:
а) совместно с руководителем работ убедиться в отсутствии опасных производственных факторов на месте установки машины (от строящихся, работающих машин и механизмов, откосов котлованов и траншей);
б) установить машину на ровной горизонтальной площадке и закрепить ее, поставив на аутригеры и подложив противооткатные башмаки, если машина на колесах, и выровнять клиньями, если машина на полозьях;
в) установить коммутирующую аппаратуру (рубильник). Бетононасос к сети должен присоединять дежурный электромонтер. Запрещается машинисту самостоятельно подключать бетононасос к сети и к сети заземления;
г) забить стержни инвентарного заземляющего устройства.
Требования безопасности в аварийных ситуациях
11. При обнаружении неисправности бетононасоса во время его работы, осмотра или опробования работу следует приостановить до устранения неисправностей. На пусковом устройстве или главном рубильнике при этом следует вывесить табличку «Не включать - работают люди!»
После устранения неисправностей в журнале машины должна быть сделана запись об имевшихся неисправностях и полноте их устранения.
12. В случае образования пробки в бетоноводе во время подачи бетонной смеси необходимо откачать смесь из трубопровода в приемный бункер посредством реверсирования двигателя бетононасоса. При неэффективности этого метода пробку следует удалять подачей сжатого воздуха.
13. Удаление пробки в бетоноводе сжатым воздухом допускается при условии:
а) наличия защитного щита у выходного отверстия бетоновода;
б) нахождения работающих на расстоянии не менее 10 м от выходного отверстия бетоновода;
в) подачи воздуха в бетоновод равномерно и неинтенсивно;
г) недопущения в пневмосистеме бетоновода давления, величина которого превышает паспортные данные.
14. При невозможности удаления пробки машинисту следует освободить бетоновод от бетонной смеси, простукиванием найти место нахождения пробки в бетоноводе, отсоединить закупоренное звено и заменить его.
15. При появлении на корпусе бетононасоса электрического напряжения следует выключить главный рубильник, повесить на нем табличку «Не включать - работают люди!» и немедленно вызвать дежурного электромонтера для устранения неисправности.
Машинистам запрещается самостоятельно подключать к сети и отключать бетононасос, подсоединять защитное заземление к системам связи или сигнализации.
Требования безопасности по окончании работы
16. По окончании работы машинист обязан:
а) выключить электропитание, снизить давление в бетоноводе до атмосферного и отключить подачу воды;
б) отсоединить головные секции бетоновода, промыть из резинового шланга приемный и промежуточный бункеры;
в) очистить (промыть) бетоновод от остатков бетонной смеси;
г) сообщить руководителю работ или ответственному за содержание установки в исправном состоянии о всех неполадках, возникших во время работы.
Дата введения 01.07.95 г.
Машинисты бетоносмесителей передвижных (далее - «машинисты») при производстве работ согласно имеющейся квалификации обязаны выполнять требования безопасности, изложенные в «Типовой инструкции по охране труда для работников строительства, промышленности строительных материалов и жилищно-коммунального хозяйства», настоящей типовой инструкции, разработанной с учетом строительных норм и правил Российской Федерации, «Правил по охране труда на автомобильном транспорте», «Правил дорожного движения», утвержденных МВД России, а также требования инструкций заводов-изготовителей по эксплуатации бетоносмесителей передвижных.
Требования безопасности перед началом работы
1. Перед началом работы машинист обязан.
а) иметь при себе удостоверение на право управления базовым автомобилем, получить путевой (маршрутный) лист и пройти предрейсовый медицинский осмотр;
б) иметь при себе удостоверение о проверке знаний безопасных методов работ и талон технического паспорта автомашины, получить наряд-задание на выполнение работы и маршрут движения (место загрузки сухой или жидкой бетонной смесью и место работы автобетоносмесителя);
в) надеть спецодежду и спецобувь установленного образца.
2. После получения наряда-задания у непосредственного руководителя машинист обязан:
а) проверить наличие медицинской аптечки, огнетушителей и комплекта инструмента;
б) в целях обеспечения безопасной и бесперебойной работы на линии проверить техническое состояние базового автомобиля, обратив внимание на исправность шин, тормозов, рулевого управления, болтов крепления карданного вала, исправность проводки, фар, стоп-сигнала, указателей поворотов, звукового сигнала, контрольно-измерительных приборов, зеркал заднего вида;
в) произвести ежесменное техническое обслуживание и заправить автомобиль топливом, маслом, водой, антифризом (в холодное время года) и тормозной жидкостью, проверить уровень электролита в аккумуляторной батарее;
г) после заправки автомобиля топливом и маслом вытереть насухо все части машины, испачканные нефтепродуктами. Пролитые во время заправки горюче-смазочные материалы убрать с помощью ветоши, опилок или песка;
д) проверить исправность бетоносмесительного агрегата;
е) проверить работоспособность двигателя и его исправность на холостом ходу, а также осветительные и контрольно-измерительные приборы, проверить на малом ходу работу тормозов и рулевого управления;
ж) предъявить автомобиль ответственному за выпуск технически исправных машин из гаража (механику) и получить отметку в путевом листе о технической исправности базового автомобиля.
3. Машинист не должен выезжать на линию при следующих нарушениях требований безопасности:
а) неисправности механизмов и систем, при которых запрещается эксплуатация базового автомобиля;
б) наличии трещин и деформаций в металлоконструкциях несущей рамы и бетоносмесителя;
в) отсутствии первичных средств пожаротушения.
Обнаруженные нарушения должны быть устранены собственными силами до начала работы, а при невозможности сделать это машинист обязан сообщить о них непосредственному руководителю и лицу, осуществляющему надзор за безопасной эксплуатацией автобетоносмесителя.
Требования безопасности во время работы
4. Перед загрузкой сухой смеси или непромешанной жидкой бетонной смеси машинист должен убедиться, что выпускное отверстие бункера бетонного узла совпадает по вертикали с горловиной бетоносмесителя.
5. По прибытии на объект, указанный в путевом листе, машинист обязан:
а) явиться к руководителю работ, в распоряжение которого направлен, предъявить путевой лист и удостоверение о проверке знаний безопасных методов работ, получить производственное задание и пройти инструктаж на рабочем месте по специфике выполняемых работ;
б) совместно с руководителем работ убедиться в отсутствии опасных производственных факторов на месте разгрузки бетонной смеси (от строящихся зданий, работающих машин и механизмов, откосов котлованов и траншей, коммуникаций и линий электропередачи);
в) условиться с бетонщиком о системе звуковых и знаковых сигналов во время разгрузки бетонной смеси;
г) определить с руководителем работ место слива воды после промывки барабана автобетоносмесителя.
6. При разгрузке смеси машинист обязан установить автобетоносмеситель на горизонтальной, с ровным покрытием, площадке, имеющей подъездные пути. Вокруг автобетоносмесителя должен быть обеспечен свободный проход не менее 1 м. После направления лотка бетоновода в место выгрузки машинист включает обратное вращение барабана бетоносмесителя и отпускает бетонную смесь в необходимом количестве.
7. При установке и перемещении автобетоносмесителя вблизи выемок (котлованов, траншей, канав и т.п.) машинист обязан соблюдать минимальные расстояния от основания выемок до ближайшей опоры автобетоносмёсителя, приведенные ниже в табл. 21.1.
Таблица 21.1
Минимальное расстояние для безопасной работы автобетоносмесителей вблизи котлованов, траншей
|
Глубина выемки, м |
Расстояние по горизонтали от основания откоса выемки до ближайшей опоры автобетоносмесителя, м, при груше |
|||
|
песчаном |
супесчаном |
суглинистом |
глинистом |
|
|
I |
1,5 |
1,25 |
1,00 |
1,00 |
|
2 |
3,0 |
2,40 |
2,00 |
1,50 |
|
3 |
4,0 |
3,60 |
3,25 |
1,75 |
|
4 |
5,0 |
4,40 |
4,00 |
3,00 |
|
5 |
6,0 |
5,30 |
4,75 |
3,50 |
8. При выполнении работы машинист обязан:
а) содержать кабину управления и бетоносмесительный агрегат в чистоте, не оставлять в барабане бетонную смесь;
б) не допускать перевозки бетонной смеси в количестве, превышающем грузоподъемность автобетоносмесителя;
в) не оставлять автобетоносмеситель с работающим двигателем без присмотра;
г) не начинать движение автобетоносмесителя и подачу бетона при нахождении людей на подножках и верхней его площадке.
9. При остановке и стоянке автобетоносмесителя на неосвещенных участках дороги, в темное время суток или других условиях недостаточной видимости (тумане) машинист обязан включить габаритные или стояночные огни.
10. При перемещении автобетоносмесителя своим ходом по дороге общего пользования машинист обязан выполнять требования «Правил дорожного движения», утвержденных МВД России.
11. Барабан автобетоносмесителя следует промывать на специально отведенных местах. После промывки барабана сливать воду следует в емкость для отстоя воды и отделения щебня.
12. Работать в охранной зоне действующей воздушной линии электропередачи машинист обязан под непосредственным руководством инженерно-технического работника, ответственного за безопасное ведение работ, при наличии письменного разрешения организации - владельца линии и наряда-допуска, определяющего безопасные условия работ.
Требования безопасности в аварийных ситуациях
13. Работа должна быть остановлена при возникновении следующих неисправностей:
а) появлении трещин или деформаций в металлоконструкциях несущей рамы и смесительного агрегата;
б) обнаружении течи в топливной или масляной системе;
в) падении давления в шинах;
г) появлении подозрительных шумов, треска, скрежета и других признаков неисправности двигателя или смесительного агрегата;
д) неисправности стояночного или рабочего тормоза;
е) отсутствии на машине штатных средств пожаротушения;
ж) отсутствии наряда-допуска на работу вблизи ЛЭП.
14. В случае воспламенения топлива на автобетоносмесителе машинист обязан прекратить доступ топлива к очагу огня и гасить пламя огнетушителем, землей, песком или брезентом. Запрещается заливать горящее топливо и электропроводку водой.
Требования безопасности по окончании работы
15. По окончании работы машинист обязан:
а) промыть барабан и очистить автобетоносмеситель от бетона;
б) поставить автобетоносмеситель на место стоянки;
в) выключить двигатель, перекрыть подачу топлива;
г) затормозить автомобиль, установить передачу в нейтральное положение;
д) о всех замеченных во время работы неполадках сообщить руководителю работ или лицу, осуществляющему надзор за безопасной эксплуатацией автобетоносмесителя.
Дата введения 01.07.95 г.
Машинисты компрессоров передвижных с электродвигателем (далее - «машинисты») при производстве работ согласно имеющейся квалификации обязаны выполнять требования безопасности, изложенные в «Типовой инструкции по охране труда для работников строительства, промышленности строительных материалов и жилищно-коммунального хозяйства», настоящей типовой инструкции, разработанной с учетом строительных норм и правил Российской Федерации, «Правил устройства и безопасной эксплуатации сосудов, работающих под давлением» Госгортехнадзора России, а также требования инструкций заводов-изготовителей по эксплуатации компрессоров передвижных с электродвигателем (далее - «компрессоров»).
Требования безопасности перед началом работы
1. Перед началом работы машинист обязан:
а) предъявить руководителю удостоверение о проверке знаний безопасных приемов и методов работ, а также о наличии II квалификационной группы по электробезопасности, получить задание и пройти инструктаж на рабочем месте по специфике выполняемых работ;
б) надеть спецодежду, спецобувь и каску установленного образца, приготовить другие средства индивидуальной защиты.
2. После получения задания у руководителя работ машинист обязан:
а) проверить рабочее место и подходы к нему на соответствие требованиям безопасности и убрать ненужные предметы. В зимнее время площадка, где расположен компрессор, должна быть очищена от снега и льда, а при гололеде - посыпана песком;
б) убедиться в наличии и исправности щитков, ограждающих движущиеся части механизмов компрессора, проверить исправность всех его манометров и предохранительных клапанов;
в) проверить наличие и уровень масла в редукторе и воздушных фильтрах компрессора, а также наличие и исправность защитного заземления.
3. В случае установки компрессора на новом месте после его передислокации машинист обязан:
а) совместно с руководителем работ убедиться и отсутствии опасных производственных факторов на месте установки компрессора (от строящихся зданий, работающих машин и механизмов, откосов, котлованов и траншей);
б) поставить компрессор на ровной горизонтальной площадке и закрепить его, установив противооткатные башмаки, если машина на колесах; выровнять клиньями, если машина на полозьях;
в) установить коммутирующую аппаратуру (рубильник) и размотать электрокабель. Подсоединять компрессор к сети должен дежурный электромонтер. Запрещается машинисту самостоятельно подключать компрессор к электросети и к очагу заземления;
г) при отсутствии рядом сети заземления забить стержни инвентарного заземляющего устройства;
д) проложить шланги от компрессора к местам производственных работ;
е) проверить работоспособность машины на холостом ходу.
4. Эксплуатация компрессора не допускается при следующих нарушениях требований безопасности:
а) неисправностях, указанных в инструкции завода-изготовителя по эксплуатации компрессора, при которых не допускается его применение;
б) несвоевременном проведении очередных испытаний (технического освидетельствования) компрессора и ресивера;
в) неисправности манометров или предохранительных клапанов в пневмосистеме компрессора. Манометры и предохранительные клапаны должны быть своевременно испытаны и опломбированы;
г) недостаточной освещенности рабочего места и подходов к нему;
д) отсутствии или неисправности защитного заземления корпуса компрессора;
е) неисправности вентилей на раздаточной гребенке.
Обнаруженные нарушения требований безопасности и неисправности компрессора должны быть устранены собственными силами, а при невозможности сделать это машинист обязан сообщить о них руководителю работ и ответственному за содержание компрессора в исправном состоянии.
Требования безопасности во время работы
5. Во время работы компрессора машинист обязан:
а) следить за работой компрессора и показаниями приборов, контролировать исправность работы всех его механизмов;
б) следить за давлением в пневмосистеме компрессора;
в) не допускать в пневмосистеме компрессора давления, величина которого превышает паспортные данные.
6. Машинисту компрессора запрещается:
а) запускать двигатель компрессора при давлении в воздухосборнике выше атмосферного;
б) присоединять шланги непосредственно к магистрали или инструменту без вентилей на магистрали;
в) допускать переламывание шлангов, их запутывание и перекручивание, а также соприкосновение с горячими и масляными поверхностями;
г) направлять струю сжатого воздуха на себя или на работающих;
д) изменять резко давление в пневмосистеме;
е) обслуживать машину, в том числе чистить, регулировать или смазывать отдельные ее части во время работы компрессора;
ж) производить ремонт отдельных механизмов, воздуховодов или соединений шлангов;
з) оставлять рабочее место при включенном двигателе;
и) подключать компрессор и отсоединять его от сети. Подключать и отключать электрокабель, а также защитное заземление обязан дежурный электрослесарь.
7. Подключать или отсоединять шланги к воздухосборнику, воздуховоду или пневмоинструменту допускается только при закрытых вентилях на воздухосборнике. Подключать шланги допускается только с применением соответствующих штуцеров и стяжных хомутов. Открывать вентиль на воздухосборнике компрессора следует плавно, без рывков.
8. Ремонтировать компрессор, а также чистить и смазывать его механизмы допускается только после отключения силовой электролинии, остановки компрессора и спуска воздуха из ресивера. На пусковом рубильнике при этом должна быть вывешена табличка «Не включать - работают люди!».
Требования безопасности в аварийных ситуациях
9. При возникновении неисправностей компрессора его работу следует остановить. Если устранить неисправности собственными силами не представляется возможным, то машинист обязан поставить в известность о случившемся руководителя работ и ответственного за содержание компрессора в исправном состоянии.
Пуск компрессора после аварийной остановки допускается только по разрешению ответственного за содержание компрессора в исправном состоянии.
10. При возгорании горюче-смазочных или других материалов машинист обязан немедленно приступить к тушению очагов загорания стационарным углекислотным огнетушителем и другими подручными средствами. При невозможности выполнить это собственными силами машинист обязан вызвать пожарную охрану в установленном порядке и сообщить бригадиру и руководителю работ.
Требования безопасности по окончании работы
11. По окончании работы машинист компрессора обязан:
а) продуть ресивер, отключить компрессор, закрыть раздаточные краны, выключить электродвигатель, запереть пусковой рубильник на замок;
б) очистить и смазать трущиеся части механизмов, собрать шланги, очистить их от загрязнений и уложить в отведенное для хранения место;
в) сообщить руководителю работ и ответственному за содержание компрессора в исправном состоянии о всех неполадках, возникших во время работы.
Дата введения 01.07.95 г.
Машинисты погрузчиков автомобильных (далее - «машинисты») при производстве работ согласно имеющейся квалификации обязаны выполнять требования безопасности, изложенные в «Типовой инструкции по охране труда для работников строительства, промышленности строительных материалов и жилищно-коммунального хозяйства», настоящей типовой инструкции, разработанной с учетом строительных норм и правил Российской Федерации, «Правил по охране труда на автомобильном транспорте», «Правил дорожного движения», утвержденных МВД России, а также требования инструкций заводов-изготовителей по эксплуатации погрузчиков автомобильных.
Требования безопасности перед началом работы
1. Перед началом работы машинист обязан:
а) предъявить руководителю удостоверение на право управления автомобилем и удостоверение о проверке знаний безопасных методов работ, получить задание, пройти инструктаж на рабочем месте по специфике выполняемых работ;
б) надеть спецодежду и спецобувь установленного образца;
в) ознакомиться с записями сменщика в бортовом журнале.
2. После получения задания машинист обязан:
а) осмотреть и проверить исправность двигателя, рабочего органа, гидравлической системы, состояние шин;
б) убрать все посторонние предметы на площадке погрузчика и убедиться в отсутствии их на вращающихся деталях двигателя, коробки передач и т.п.;
в) убедиться в нахождении рычага переключения передач в нейтральном положении;
г) перед запуском двигателя предупредить работающих, которые заняты обслуживанием машины или находятся на пути ее следования;
д) после запуска двигателя провести контрольную проверку исправности машины, в том числе:
выполнить на малой скорости повороты направо и налево;
проверить работу тормозов;
проверить работу механизмов наклона рамки движения каретки;
проверить исправность сцепления;
проверить исправность приборов освещения и звукового сигнала;
е) произвести осмотр стрелы кранового гуська, грузозахватных приспособлений (строп, траверсы, захватов) и других рабочих органов (ковша, вил);
ж) убедиться в соответствии требованиям безопасности габаритов проездов, разворотов, уклонов и перепадов дорожного покрытия;
з) проверить отсутствие в зоне производства работ линий электропередачи, трубопроводов и других опасных сооружений.
3. Машинист не должен приступать к выполнению работ при следующих нарушениях требований безопасности:
а) наличии трещин или деформаций в металлоконструкциях погрузчика;
б) обнаружении течи в топливной или масляной системе;
в) падении давления в шинах;
г) наличии треска, скрежета и других признаков неисправности гидросистемы или двигателя;
д) неисправности стояночного или рабочего тормоза;
е) неисправности кранового гуська (износа грузового каната, дефекта механизма подъема груза и т.п.) и грузозахватных приспособлений;
ж) недостаточной освещенности и загроможденности зоны работ;
з) наличии в зоне работ линий электропередачи и других коммуникаций;
и) несоответствии груза грузоподъемности машины, установленным рабочим органам и грузозахватным приспособлениям.
Указанные нарушения требований безопасности должны быть устранены собственными силами до начала работы, а при невозможности сделать это машинист обязан сообщить руководителю работ и ответственному за содержание автопогрузчика в исправном состоянии.
Требования безопасности во время работы
4. При передвижении автопогрузчика по территории строительной площадки или предприятия машинист обязан:
а) убедиться перед началом движения в отсутствии людей на пути движения, а также машин и механизмов и дать предупредительный сигнал;
б) при движении в местах скопления людей, возможного их появления (проходов, выходов из помещения) снизить скорость и дать звуковой сигнал;
в) соблюдать установленную для транспортных средств скорость движения на строительной площадке и территории предприятия;
г) не покидать кабину погрузчика при работающем двигателе;
д) избегать резкого торможения на мокрой дороге и при гололеде.
5. При выполнении погрузочно-разгрузочных и транспортных работ машинист обязан;
а) при приближении к месту погрузки (разгрузки) снижать скорость;
б) транспортировать груз на высоте не менее 300-400 мм от уровня дороги;
в) приближаться к транспортному средству для производства погрузочно-разгрузочных работ только после его остановки и выключения двигателя;
г) перемещать крупногабаритный груз, закрывающий видимость пути следования, только в сопровождении специально выделенного лица;
д) захватывать длинномерный груз так, чтобы центр тяжести груза располагался по центру продольной оси стрелы.
6. При погрузке или штабелировании грунта и сыпучих материалов машинист обязан:
а) погрузку материала производить по всему фронту штабеля или забоя, не углубляясь внутрь штабеля по одному следу;
б) очищать ковш от налипшего грунта или материала в опущенном положении лопатой или скребком;
в) при штабелировании сыпучих материалов останавливать погрузчик на расстоянии не менее 1,0 м от бровки откоса.
Машинисту запрещается поворачивать погрузчик с заглубленным в материал или грунт ковшом, а также передвигаться на поперечных уклонах более 10°, на продольных - свыше 20°.
7. При работе погрузчика, оборудованного вилочным захватом, машинист обязан:
а) до начала работы проверить наличие под грузом зазора для свободного прохода вилочного захвата;
б) размещать груз равномерно по всей длине вилочного захвата, упирая его в спинки вилок путем запрокидывания груза при захвате назад на угол 10-15°.
Запрещается транспортировать груз, находящийся на вилочном захвате в неустойчивом положении.
8. При подъеме и транспортировании груза погрузчиком, оборудованным крановым гуськом, машинист обязан:
а) начинать работу только по сигналу стропальщика, закрепленного руководителем работ;
б) применять для строповки груза маркированные стропы, соответствующие массе поднятого груза и схеме строповки;
и) при подъеме груза, близкого по массе к предельной грузоподъемности погрузчика, сначала зафиксировать груз на высоте не более 100-300 мм, после чего осуществлять подъем груза на требуемую высоту;
г) опускать груз на предварительно уложенные прокладки для извлечения строп из-под груза без их повреждения.
Машинисту запрещается:
резко тормозить при движении погрузчика с грузом на крюке;
подтаскивать груз крюком;
освобождать крюком защемленные грузом стропы.
9. При необходимости перевозки погрузчика машинисту следует затормозить машину на трейлере, опустить рабочий орган, подставить под колеса противооткатные упоры (башмаки) и закрепить расчалками.
10. Устранение неисправностей, осмотр, регулировку агрегатов следует проводить при остановленном двигателе, опущенном на землю или установленном на надежные подставки рабочем органе, затянутом тормозе и переведенном в нейтральное положение рычаге переключении передач.
11. При проведении технического обслуживания машинист обязан:
а) поднять капот погрузчика в крайнее верхнее положение, зафиксировать его крюками-фиксаторами, находящимися на капоте;
б) при перегреве двигателя осторожно открыть крышку горловины, защищая руки от горячего пара, не наклоняя лицо над горловиной;
в) пользоваться насосом для продувки топливопропода;
г) пользоваться специальным ограждением при накачивании шин в гаражных условиях.
При выполнении указанных работ машинисту запрещается: открывать водяной краник радиатора при работе двигателя; заливать жидкость в радиатор при перегретом двигателе; засасывать топливо ртом через шланг.
12. При необходимости проезда по населенному пункту и по автомобильным дорогам машинист обязан:
а) привести рабочий орган в транспортное положение;
б) определить состояние трассы, выяснить возможность преодоления косогоров, подъемов, бродов и искусственных сооружений;
в) сохранять включенной передачу при Движении под уклон;
г) переезжать через железнодорожные пути только в установленных местах по сплошному настилу;
д) при остановке погрузчика включить стояночный тормоз;
е) выходя из кабины погрузчика на проезжую часть дороги, убедиться в отсутствии движения транспорта в попутном и встречном направлениях;
ж) применять при транспортировке погрузчиков на буксире или при буксировке других машин жесткую сцепку;
з) выполнять требования «Правил дорожного движения», утвержденных МВД России.
13. Производить погрузочно-разгрузочные работы в охранной зоне действующей воздушной линии электропередачи машинист обязан под непосредственным руководством инженерно-технического работника, ответственного за безопасное производство работ, при наличии письменного разрешения организации - владельца ЛЭП и получении наряда-допуска, определяющего безопасные условия работ.
14. Машинистам в зимнее время запрещается:
а) подогревать двигатель открытым пламенем;
б) работать на погрузчике с неисправным устройством для обогрева кабины;
в) выполнять работы лежа под автопогрузчиком без применения утепленного мата.
15. При работе в ночное время освещенность зоны работ должна обеспечиваться за счет внешних источников света. Применение машинистом фар допускается в качестве дополнительного источника света.
16. Передвижение погрузчика вброд, по льду, по заболоченной местности следует осуществлять только с письменного разрешения руководителя работ в местах, оборудованных указателями. Двери кабины во время переправы по льду водоемов следует держать открытыми.
17. Передвижение погрузчика через канавы, бугры и другие препятствия следует осуществлять под прямым углом на малой скорости, избегая резких толчков и больших кренов машины. Следует при этом избегать крутых поворотов на косогорах.
Требования безопасности в аварийных ситуациях
18. При проколе в процессе работы шины и утечке воздуха, а также появлении, признаков неисправности двигателя, гидросистемы или рабочего оборудования работу необходимо прекратить и принять меры к устранению неисправности.
19. В случае потери устойчивости погрузчика в процессе подъема или перемещения груза необходимо опустить груз и упором каретки в грунт привести погрузчик в нормальное положение. Продолжение работы допускается после устранения причины потери устойчивости погрузчика.
Требования безопасности по окончании работы
20. По окончании работы машинист обязан:
а) отвести погрузчик на стоянку;
б) опустить рабочий орган на землю или установить на подставку;
в) привести рычаги управления в нейтральное положение;
г) затянуть стояночный тормоз и заглушить двигатель;
д) очистить элементы ходовой рамы погрузчика и рабочее оборудование;
е) о всех замеченных неисправностях в работе погрузчика сообщить руководителю или ответственному за содержание машины в исправном состоянии.
Дата введения 01.01.94 г.
Машинисты бульдозеров (далее - «машинисты») при производстве работ согласно имеющейся квалификации обязаны выполнять требования безопасности, изложенные в «Типовой инструкции по охране труда работников строительства, промышленности строительных материалов и жилищно-коммунального хозяйства», настоящей типовой инструкции, разработанной с учетом строительных норм и правил Российской Федерации, а также требования инструкций заводов-изготовителей по эксплуатации управляемых ими машин.
Требования безопасности перед началом работы
1. Перед началом работы машинист обязан:
а) предъявить руководителю удостоверение на право управления бульдозером и пройти инструктаж на рабочем месте с учетом специфики выполняемых работ;
б) надеть спецодежду, спецобувь установленного образца;
в) получить задание у бригадира или руководителя работ.
2. После получения задания на выполнение работы машинист обязан:
а) осмотреть с руководителем место расположения подземных сооружений и коммуникаций, которые должны быть обозначены флажками или вешками;
б) уточнить последовательность выполнения работы и меры по обеспечению безопасности;
в) произвести ежесменное техническое обслуживание согласно инструкции по эксплуатации бульдозера;
г) предупредить о запуске двигателя работников, обслуживающих машину или находящихся в зоне ее работы, и убедиться, что рычаг переключения скоростей находится в нейтральном положении;
д) произвести запуск двигателя (при наличии устройств, выключающих трансмиссию и исключающих обратный ход вращаемых элементов - вне кабины);
е) после запуска двигателя проверить на холостом ходу работу механизмов и на малом ходу работу тормозов.
3. Машинист обязан не приступать к работе в случае следующих нарушений требований безопасности:
а) при неисправностях или дефектах, указанных в инструкции завода-изготовителя, при которых не допускается его эксплуатация;
б) при обнаружении подземных коммуникаций, не указанных руководителем работ, при выполнении работ по срезке или планировке грунта;
в) при уклоне местности, превышающем указанный в паспорте завода-изготовителя.
Обнаруженные нарушения требований безопасности следует устранить собственными силами, а при невозможности сделать это машинист обязан сообщить о них руководителю работ и лицу по надзору за безопасной эксплуатацией машины.
Требования безопасности во время работы
4. Перед началом движения машины машинист обязан убедиться в отсутствии людей в зоне движения и подать звуковой сигнал.
5. При работе на пересеченной местности машинист обязан:
выключить первую скорость при движении машины под уклон;
затормозить машину при остановке ее на уклоне.
6. При засыпке выемок в грунте машинист обязан убедиться в отсутствии в них людей, оборудования, инструмента и строительных материалов и не допускать выход отвала бульдозера за край откоса. Запрещается передвижение бульдозера в пределах призмы обрушения откосов.
7. Работа бульдозера в опасной зоне работающего экскаватора не допускается. Производство работ бульдозером в зоне действия экскаватора разрешается только при остановке экскаватора и нахождении ковша на земле.
8. Одновременная работа двух бульдозеров с прицепными скреперами допускается при расстоянии между ними не менее 20 м. Интервал между работающими бульдозерами без скреперов должен быть не менее 10 м.
9. При работе бульдозера в местах проведения взрывных работ перед каждым взрывом грунта бульдозер следует удалить на безопасное расстояние, указанное руководителем. Возвращение бульдозера к месту производства работ после взрыва разрешается только после соответствующего сигнала.
10. При необходимости очистки отвала бульдозера машинист обязан опустить отвал на землю и выключить двигатель.
11. При транспортировании машины своим ходом с одного места работы на другое машинист обязан:
а) поднять отвал бульдозера на ограниченную высоту, обеспечивающую необходимую видимость машинисту по ходу движения;
б) следить за тем, чтобы нож отвала не врезался и не задевал встречающиеся на пути предметы;
в) соблюдать правила дорожного движения;
г) пересекать железнодорожный путь только на действующем переезде, руководствуясь соответствующими сигналами;
д) устанавливать сигнальные красные фонари в случае вынужденной остановки бульдозера на дороге в ночное время.
12. Буксировать или вытаскивать бульдозером застрявшую машину допускается с применением жесткого буксира, без сильных рывков. Применение для этих целей стального каната разрешается только при защищенности стекол кабины машиниста решеткой или проволочной сеткой.
13. При выполнении сцепки машинист обязан:
осуществлять маневрирование на первой передаче и внимательно следить за работником, выполняющим сцепку машины;
избегать резких рывков;
по первому сигналу быть готовым затормозить машину;
осуществлять сцепку только после остановки машины.
14. Перед погрузкой бульдозера на трейлер машинист обязан убедиться в том, что трейлер устойчив и заторможен. После погрузки бульдозера следует опустить его отвал и закрепить бульдозер. Во время перевозки бульдозера машинисту не разрешается находиться в кабине.
15. Машинисту в процессе работы не разрешается:
а) передавать управление машиной лицам, не имеющим на это прав;
б) оставлять машину с работающим двигателем;
в) перевозить в кабине посторонних лиц;
г) выходить из кабины и входить в нее на ходу.
16. При техническом обслуживании бульдозера машинист обязан остановить двигатель и снять давление в гидросистеме.
17. Во время заправки бульдозера горючим машинисту и лицам, находящимся вблизи, не разрешается курить и пользоваться огнем. После заправки машину необходимо вытереть от подтеков топлива и смазки, а замасленную обтирочную ветошь положить в металлический закрывающийся ящик. Разведение огня на расстоянии менее 50 м от места работы или стоянки машины не допускается.
18. При необходимости ремонта или профилактического осмотра бульдозера отвал следует заблокировать в поднятом состоянии страховочными цепями или опустить на прочную и устойчивую опору. При промывке деталей пользоваться этилированным спиртом не допускается.
19. При обнаружении на участке выполнения земляных работ, не указанных при получении задания, подземных коммуникаций и сооружений, машинист обязан немедленно приостановить работу и сообщить об этом руководителю.
20. При работе на косогорах машинисту не следует:
а) делать резких поворотов машины;
б) поворачивать машину с заглубленным рабочим органом;
в) передвигать машину поперек склонов, угол которых превышает указанный в паспорте машины.
21. При передвижении машины по льду водоема машинисту следует:
а) трогать машину с места плавно на пониженной скорости без пробуксовки;
б) осуществлять повороты осторожно и на сниженной скорости;
в) держать двери кабины открытыми.
Требования безопасности по окончании работы
22. По окончании работы машинист обязан:
а) поставить машину на стоянку;
б) поставить рычаг переключения скорости в нейтральное положение и включить тормоз;
в) выключить двигатель;
г) закрыть кабину на замок;
д) сообщить руководителю работ или ответственному за исправное состояние машины о всех неполадках, возникших во время работы.
Дата введения 01.01.94 г.
Машинисты экскаваторов одноковшовых (далее - «машинисты» при производстве работ согласно имеющейся квалификации обязаны выполнять требования безопасности, изложенные в «Типовой инструкции по охране труда для работников строительства, промышленности строительных материалов и жилищно-коммунального хозяйства», настоящей типовой инструкции, разработанной с учетом строительных норм и правил Российской Федерации, а также требования инструкций заводов-изготовителей по эксплуатации управляемых ими экскаваторов.
Требования безопасности перед началом работы
1. Перед началом работы машинист обязан:
а) предъявить руководителю удостоверение на право управления экскаватором и пройти инструктаж на рабочем месте с учетом специфики выполняемых работ;
б) надеть спецодежду, спецобувь установленного образца;
в) получить задание на выполнение работы у бригадира или руководителя и вместе с ним осмотреть месторасположение подземных сооружений и коммуникаций, которые должны быть обозначены флажками или вешками.
2. После получения задания машинист обязан:
а) произвести ежесменное техническое обслуживание согласно инструкции по эксплуатации экскаватора;
б) перед запуском двигателя убрать все посторонние предметы на платформе машины и убедиться в отсутствии их на вращающихся деталях двигателя;
в) после запуска двигателя опробовать работу механизмов на холостом ходу;
г) перед установкой экскаватора на место работы убедиться, что грунт спланирован, экскаватор расположен за пределами призмы обрушения, имеется достаточное место для маневрирования, уклон местности не превышает допустимый по паспорту экскаватора.
3. Машинист не должен приступать к работе при следующих нарушениях требований безопасности:
а) неисправности механизмов, а также дефектах металлоконструкций, канатов гидросистемы экскаватора, при которых согласно требованиям инструкции завода-изготовителя запрещается его эксплуатация;
б) несоответствии места работы экскаватора требованиям безопасности;
в) наличии в зоне работы экскаватора посторонних людей.
Обнаруженные нарушения требований безопасности должны быть устранены собственными силами, а при невозможности сделать это машинист обязан сообщить о них лицу, ответственному за техническое состояние экскаватора, и руководителю работ.
Требования безопасности во время работы
4. Перед началом маневрирования в процессе работы экскаватора машинист обязан убедиться в отсутствии людей в опасной зоне работающего экскаватора, определяемой длиной стрелы и вытянутой рукояти (длиной стрелы и подвеской ковша драглайна).
5. Во время работы машинисту экскаватора запрещается:
а) производить поворот платформы, если ковш не извлечен из грунта;
б) планировать грунт, очищать площадку боковым движением рукояти;
в) очищать, смазывать, регулировать, ремонтировать экскаватор при поднятом ковше;
г) производить какие-либо работы при нахождении людей между забоем и экскаватором;
д) покидать рабочее место при поднятом ковше.
6. Выполнять работы экскаватором в охранной зоне подземных коммуникаций допускается только при наличии письменного разрешения владельца этих коммуникаций и под непосредственным надзором руководителя работ, а в охранной зоне газопроводов или кабелей, находящихся под электрическим напряжением, кроме того, под наблюдением работников газового или электрического хозяйства.
Выполнять работы в охранной зоне воздушной линии электропередачи допускается при наличии письменного разрешения владельца линии электропередачи, наряда-допуска, определяющего безопасные условия работы, и под надзором руководителя работ.
7. Работы на участках с патогенным заражением почвы (свалках, скотомогильниках, кладбищах) допускается выполнять при наличии разрешения органов государственного санитарного надзора.
8. При рыхлении грунта взрывным способом на время выполнения взрывных работ машинист обязан удалить экскаватор от места взрывных работ на расстояние, указанное руководителем работ, но не менее чем на 50 м.
9. При рыхлении грунта ударными приспособлениями (клин-молотом, шар-молотом) лобовое стекло кабины экскаватора должно быть оборудовано защитной сеткой.
10. Грунт, извлеченный из котлована или траншеи, следует погружать в транспортные средства или размещать за пределами призмы обрушения. Не допускается разработка грунта методом «подкопа». При обработке грунта экскаватором с прямой лопатой высоту забоя следует определять с таким расчетом, чтобы в процессе работы не образовались «козырьки» из грунта.
11. Погрузку грунта в автосамосвалы следует осуществлять со стороны заднего бокового борта. Не допускается перемещение ковша экскаватора над кабиной водителя. Погрузка грунта в автосамосвал допускается только при отсутствии в кабине шофера или других людей.
12. При необходимости очистки ковша машинист экскаватора обязан опустить его на землю и выключить двигатель.
13. При транспортировании экскаватора с одного объекта на другой на трейлере или платформе нахождение машиниста в кабине экскаватора не допускается. При транспортировании экскаватора своим ходом или на буксире машинист обязан находиться в кабине экскаватора и выполнять при этом требования «Правил дорожного движения», утвержденных МВД России.
14. Машинисту экскаватора запрещается:
а) передавать управление лицам, не имеющим соответствующего удостоверения;
б) оставлять экскаватор с работающим двигателем;
в) перевозить в кабине экскаватора посторонних лиц.
При необходимости выхода из кабины экскаватора машинист обязан поставить рычаг переключения скоростей в нейтральное положение и затормозить движение.
15. При техническом обслуживании экскаватора машинист обязан остановить двигатель и снять давление в гидросистеме.
16. Во время заправки экскаватора горючим машинисту и другим лицам, находящимся вблизи экскаватора, запрещается курить и пользоваться огнем. Разведение огня ближе 50 м от места работы или стоянки экскаватора не допускается.
Требования безопасности в аварийных ситуациях
17. При обнаружении в забое не указанных руководителем кабелей электропередач, трубопроводов, взрывоопасных или других неизвестных предметов работу экскаватора следует незамедлительно остановить до получения разрешения от соответствующих органов надзора.
18. При просадке или сползании грунта машинисту следует прекратить работу, отъехать от этого места на безопасное расстояние и доложить а случившемся руководителю работ.
Требования безопасности по окончании работы
19. По окончании работы машинист обязан:
а) поставить экскаватор на стоянку;
б) опустить ковш на землю;
в) выключить двигатель;
г) закрыть кабину на замок;
д) сообщить руководителю работ и ответственному о состоянии экскаватора, всех неисправностях, возникших во время работы.
Дата введения 01.07.95 г.
Машинисты автогрейдеров (далее - «машинисты») при производстве работ согласно имеющейся квалификации обязаны выполнять требования безопасности, изложенные в «Типовой инструкции по охране труда для работников строительства, промышленности строительных материалов и жилищно-коммунального хозяйства», настоящей типовой инструкции, разработанной с учетом строительных норм и правил Российской Федерации, «Правил дорожного движения», утвержденных МВД России, а также требования инструкций заводов-изготовителей по эксплуатации автогрейдеров.
Требования безопасности перед началом работы
1. Перед началом работы машинист обязан:
а) предъявить руководителю удостоверение о проверке знаний безопасных методов работ, получить задание и пройти инструктаж на рабочем месте по специфике выполняемых работ;
б) надеть спецодежду и спецобувь установленного образца.
2. После получения задания машинист обязан:
а) осмотреть с руководителем работ место расположения подземных сооружений и коммуникаций, которые должны быть обозначены флажками или вешками, проверить наличие ограждений и обозначений опасных зон знаками безопасности, а также убедиться в отсутствии помех от других машин и механизмов;
б) уточнить последовательность выполнения работы и меры по обеспечению безопасности;
в) произвести ежесменное техническое обслуживание согласно инструкции по эксплуатации автогрейдера;
г) осмотреть двигатель и узлы машины, проверить их исправность и состояние смазки трущихся частей. Проверить наличие и достаточность горючего в топливном баке, воды - в системе охлаждения, масла - в картере двигателя. Проверить исправность гидросистемы, систем сигнализации и электроосвещения, наличие и исправность инструментов и средств пожаротушения;
д) предупредить о запуске двигателя работников, обслуживающих машину или находящихся в зоне ее работы, и убедиться, что рычаг переключения передач находится в нейтральном положении; произвести запуск двигателя, проверить на холостом ходу работу механизмов и на малом ходу - работу тормозов.
3. Машинист не должен приступать к работе при следующих нарушениях требований безопасности:
а) неисправностях или дефектах, указанных в инструкции завода-изготовителя автогрейдера, при которых не допускается его эксплуатация;
б) обнаружении подземных коммуникаций, не указанных руководителем работ;
в) уклоне местности, превышающем указанный в паспорте завода-изготовителя;
г) наличии деревьев, пней или крупных камней. Обнаруженные нарушения требований безопасности следует устранить собственными силами, а при невозможности сделать это машинист обязан сообщить о них руководителю работ и лицу, осуществляющему надзор за безопасной эксплуатацией автогрейдера.
Требования безопасности во время работы
4. Перед началом маневрирования во время работы автогрейдера машинист обязан убедиться в отсутствии людей в зоне действия автогрейдера и подать звуковой сигнал. На крутых поворотах скорость перемещения автогрейдера должна быть минимальной.
5. Во время подъема плужной балки автогрейдера машинист обязан контролировать процесс подъема и выключить механизм подъема при снижении плужной балкой предельного положения.
6. При рыхлении грунта взрывным способом на время выполнения взрывных работ машинист обязан отогнать автогрейдер от места взрывных работ на расстояние, указанное руководителем взрывных работ, но не менее чем на 50 м.
7. При выполнении работ автогрейдером с гидравлической системой управления машинист обязан следить за исправностью предохранительного клапана и соединениями гибких шлангов. Шланги, имеющие вздутие или течь масла в соединениях, следует заменить. Ремонт шлангов высокого давления не допускается. При эксплуатации шлангов не допускаются их скручивание, зажатие, перегибы.
8. Машинист обязан контролировать исправность манометров в системе гидропривода. Манометры должны быть исправны и опломбированы.
9. Во время работы машинисту автогрейдера запрещается:
а) открывать кран слива воды из радиатора при работающем двигателе, а также сразу после его выключения;
б) заливать жидкость в радиатор, если двигатель перегрет;
в) заправлять автогрейдер горючим при работающем двигателе;
г) оставлять автогрейдер с работающим двигателем, а также передавать управление автогрейдером лицу, не имеющему удостоверения на право управления им;
д) перевозить на площадках или в кабине автогрейдера посторонних лиц, а также легковоспламеняющиеся материалы.
10. Устранять неисправности, осматривать отдельные узлы автогрейдера, а также осуществлять их смазку или регулирование следует только при остановленном двигателе, включенном тормозе и установленном в нейтральное положение рычаге переключения передач.
11. При перегреве двигателя машинист обязан с осторожностью открывать крышку заливной горловины радиатора, не наклоняясь над ней, находясь с подветренной стороны и следя за тем, чтобы горячий пар не обжег лицо и руки.
12. При перемещении автогрейдера своим ходом по дорогам общего пользования машинист обязан выполнять требования «Правил дорожного движения», утвержденных МВД России.
13. При движении автогрейдера на -уклоне во избежание сползания или опрокидывания не следует допускать резких поворотов автогрейдера. При движении автогрейдера под уклон не следует выключать первую передачу, а при движении на подъем - переключать передачи.
14. При планировке или отсыпке грунта расстояние от крайнего колеса до бровки насыпи должно быть не менее 1 м.
15. Техническое обслуживание автогрейдера следует осуществлять только после остановки двигателя и снятия давления в гидравлической и пневматической системах, кроме тех случаев, которые предусмотрены инструкцией завода-изготовителя.
Сборочные единицы автогрейдера, которые могут перемещаться под действием собственной массы, при техническом обслуживании следует заблокировать или опустить на опору в целях исключения произвольного их перемещения.
16. В процессе эксплуатации автогрейдера машинист обязан:
а) содержать механизмы и оборудование автогрейдера в чистоте и исправном состоянии;
б) своевременно смазывать трущиеся детали автогрейдера в соответствии с указаниями инструкции завода-изготовителя;
в) хранить смазочные и обтирочные материалы в закрытой металлической таре; удалять с автогрейдера использованный обтирочный материал;
г) следить, чтобы на автогрейдере не было каких-либо незакрепленных предметов;
д) знать сроки и результаты проведения слесарями и электромонтерами профилактических осмотров автогрейдера и его отдельных механизмов и узлов по записи в журнале периодических осмотров.
Требования безопасности в аварийных ситуациях
17. При возникновении неисправностей (поломок) отдельных узлов автогрейдера машинист обязан остановить работу автогрейдера до устранения этих неисправностей. Если устранить неисправности собственными силами не представляется возможным, то машинист обязан поставить об этом в известность руководителя работ и ответственного за техническое состояние автогрейдера.
18. При сползании автогрейдера под откос или потере устойчивости вследствие попадания колеса в выемку в грунте машинисту следует опустить нож до упора в грунт, покинуть машину и вытащить ее на ровное место на буксире.
19. При возгорании горюче-смазочных или других материалов машинист обязан немедленно затушить очаги пожара огнетушителем или другими подручными средствами: песком, землей или брезентом.
Запрещается заливать водой горящее топливо.
При невозможности затушить очаги пожара собственными силами машинист обязан вызвать пожарную охрану и поставить в известность руководителя работ.
Требования безопасности по окончании работы
20. По окончании работы машинист обязан:
а) поставить автогрейдер на место, отведенное для его стоянки;
б) выключить двигатель и перекрыть подачу топлива. В зимнее время слить воду из системы охлаждения двигателя;
в) затормозить автогрейдер и поставить рычаги управления в нейтральное положение;
г) снять спецодежду и убрать ее для хранения в отведенное для этого место;
д) сообщить руководителю работ и лицу, осуществляющему надзор за техническим состоянием автогрейдера, о всех неполадках, возникших во время работы, и сделать запись в вахтенном журнале.
Дата введения 01.07.95 г.
Машинисты автогудронаторов (далее - «машинисты») при производстве работ согласно имеющейся квалификации обязаны выполнять требования безопасности, изложенные в «Типовой инструкции по охране труда для работников строительства, промышленности строительных материалов и жилищно-коммунального хозяйства», настоящей типовой инструкции, разработанной с учетом строительных норм и правил Российской Федерации, «Правил по охране труда на автомобильном транспорте», «Правил дорожного движения», утвержденных МВД России, а также требования инструкций заводов-изготовителей по эксплуатации автогудронаторов.
Требования безопасности перед началом работы
1. До начала работы машинист обязан:
а) иметь при себе удостоверение на право управления автомобилем, получить путевой (маршрутный) лист и пройти предрейсовый медицинский осмотр;
б) иметь при себе удостоверение о проверке знаний безопасных методов работ и талон технического паспорта, получить наряд-задание на выполнение работы и маршрут движения (место заправки битумом и место работы автогудронатора);
в) надеть спецодежду и спецобувь установленного образца для водителя автомобиля.
2. После получения наряда-задания у непосредственного руководителя машинист обязан:
а) проверить наличие медицинской аптечки, огнетушителей и комплекта инструментов;
б) в целях обеспечения безопасной и бесперебойной работы на линии проверить техническое состояние автомобиля, обратив внимание на исправность шин, тормозов, рулевого управления, болтов крепления карданного вала, проводки, фар, стоп-сигнала, указателей поворотов, звукового сигнала, контрольно-измерительных приборов, зеркал заднего вида;
в) провести ежесменное техническое обслуживание и заправку автомобиля топливом, маслом, водой, антифризом (в холодное время года), тормозной жидкостью, проверить уровень электролита в аккумуляторной батарее;
г) после заправки автомобиля топливом и маслом вытереть насухо все части машины, испачканные нефтепродуктами. Пролитые во время заправки горюче-смазочные материалы убрать с помощью ветоши, опилок или песка;
д) проверить исправность системы разогрева битума (запальника, битумопроводов, распределителей, насоса, запорного клапана);
е) проверить работоспособность и исправность двигателя на холостом ходу, осветительных и контрольно-измерительных приборов, а также проверить на малом ходу работу тормозов и рулевого управления;
ж) предъявить автомобиль ответственному за выпуск технически исправных машин из гаража (механику) и получить отметку в путевом листе о технической исправности автомобиля.
3. Машинист не должен выезжать на линию при следующих нарушениях требований безопасности:
а) неисправностях механизмов и систем, при которых запрещается эксплуатация базового автомобиля;
б) наличии трещин и деформаций в металлоконструкции цистерны и механизмов подачи битума;
в) неисправности системы разогрева битума;
г) отсутствии комплекта спецодежды, спецобуви и средств индивидуальной защиты установленного образца (как для гидроизолировщика);
д) отсутствии первичных средств пожаротушения.
Обнаруженные нарушения требований безопасности должны быть устранены собственными силами до начала работы, а при невозможности сделать это машинист обязан сообщить о них руководителю работ или лицу, осуществляющему надзор за безопасной эксплуатацией автогудронатора.
Требования безопасности во время работы
4. При обслуживании гудронатора (заправке битумом, его разогреве и подаче к месту заливки) машинист обязан надевать брезентовую спецодежду, резиновые сапоги, рукавицы, каску, прозрачную маску, при этом брюки и рукава надевать навыпуск.
5. При заполнении цистерны автогудронатора вяжущими материалами машинист обязан:
а) установить автогудронатор на горизонтальной площадке, затормозить его и убедиться в надежности присоединения заборного шланга к выпускному патрубку и к люку цистерны;
б) следить при заполнении цистерны за показанием указателей уровня и своевременно прекратить наполнение, не допуская перелива вяжущих материалов;
в) вытереть места подтеков после окончания заправки автогудронатора горячим вяжущим материалом, закрыть крышку люка и закрепить ее.
6. По прибытии на объект, указанный в путевом листе, машинист обязан:
а) явиться к руководителю работ, в распоряжение которого направлен, предъявить путевой лист и удостоверение о проверке знаний безопасных методов труда, получить производственное задание и пройти инструктаж на рабочем месте по специфике выполняемых работ;
б) совместно с руководителем работ убедиться в отсутствии опасных производственных факторов на месте установки машины (от строящихся зданий, работающих машин и механизмов, откосов котлованов и траншей), а также в ограждении опасной для нахождения людей зоны работы автогудронатора;
в) проконтролировать прочность крепления шланга в местах его подвески и убедиться в надежности стыковых соединений;
г) условиться с гидроизолировщиками о системе звуковых и знаковых сигналов во время работы;
д) по окончании работы закрыть крышку люка и закрепить ее.
7. При разогреве вяжущих материалов в цистерне автогудронатора машинист обязан:
а) до начала разогрева проверить уровень вяжущих материалов в цистерне. Разогревать битум разрешается, если уровень материала превышает верх жаровых труб более чем на 200 мм;
б) зажигать форсунку при помощи факела (запальника) с длинной ручкой (1,5-2 м), находясь сбоку;
в) подавать топливо к форсункам вначале слабой струей, постепенно увеличивая подачу до нормальной;
г) в процессе разогрева осуществлять надзор за работой системы подогрева.
8. При установке и перемещении автогудронатора вблизи выемок (котлованов и траншей) машинист обязан соблюдать минимальные расстояния приближения от основания откоса выемки до ближайшей опоры автогудронатора не менее указанных в табл. 22.1.
Таблица 22.1
Минимальное расстояние для безопасной работы машиниста автогудронатора вблизи котлованов, траншей и др.
|
Глубина выемки, м |
Расстояние по горизонтали от основания откоса выемки до ближайшей опоры автогудронатора, м, при грунте |
|||
|
песчаном |
супесчаном |
суглинистом |
глинистом |
|
|
1 |
1,5 |
1,25 |
1,00 |
1,00 |
|
2 |
3,0 |
2,40 |
2,00 |
1,50 |
|
3 |
4,0 |
3,60 |
3,25 |
1,75 |
|
4 |
5,0 |
4,40 |
4,00 |
3,00 |
|
5 |
6,0 |
5,30 |
4,75 |
3,50 |
9. Перед началом розлива вяжущего материала машинист обязан погасить форсунку и закрыть вентили трубопровода подачи топлива.
10. При эксплуатации автогудронатора во избежание утечки вяжущего материала машинист обязан периодически подтягивать болты крепления фланцев крана, проверять сальниковые уплотнители поплавкового указателя уровня. В случае выплескивания и подтекания через крышку верхнего люка следует сменить уплотняющую прокладку.
11. После окончания поступления вяжущего материала машинист обязан выключить насос, закрыть запорный клапан и слить остатки битума из шланга, закрыть крышку люка и закрепить ее.
12. Ремонтировать, смазывать и очищать автогудронатор машинист обязан только при выключенном двигателе и после принятия мер против самопроизвольного движения.
13. При перемещении автогудронатора своим ходом по дорогам общего пользования машинист обязан выполнять требования «Правил дорожного движения», утвержденных МВД России.
14. При эксплуатации базового автомобиля машинист автогудронатора обязан выполнять требования «Типовой инструкции по охране труда водителей грузовых автомобилей».
Требования безопасности в аварийных ситуациях
15. В случае возгорания топлива машинист обязан перекрыть топливный кран, остановить двигатель, открыть капот (если он закрыт) и направить струю из огнетушителя на очаг пожара.
16. При воспламенении битума в цистерне машинист обязан плотно закрыть крышку, а если имеются горящие подтеки на цистерне, направить на них струю из огнетушителя.
При невозможности ликвидировать очаг возгорания своими силами машинист должен вызвать пожарную охрану и сообщить о случившемся руководителю работ.
17. При разрыве битумопровода машинист обязан выключить насос или двигатель автомобиля, закрыть запорный клапан, слить остатки из шланга и заменить поврежденный участок битумопровода.
18. При неисправности двигателя или рабочего оборудования работу автогудронатора необходимо прекратить и принять меры к устранению неисправности.
Требования безопасности по окончании работы
19. По окончании работы машинист обязан:
а) слить из цистерны и распределительных битумопроводов остатки вяжущих материалов;
б) поставить автогудронатор на место стоянки, затормозить его и принять меры, исключающие его запуск посторонним лицом;
в) очистить гудронатор от вяжущих материалов, прочистить и поставить на место сетки фильтров;
г) о всех замеченных неисправностях в работе автогудронатора сообщить руководителю работ и лицу, осуществляющему надзор за его безопасной эксплуатацией.
Дата введения 01.07.95 г
Машинисты катков самоходных с гладкими вальцами (далее - «машинисты») при производстве работ согласно имеющейся квалификации обязаны выполнять требования безопасности, изложенные в «Типовой инструкции по охране труда для работников строительства, промышленности строительных материалов и жилищно-коммунального хозяйства», настоящей типовой инструкции, разработанной с учетом строительных норм и правил Российской Федерации, «Правил дорожного движения», утвержденных МВД России, а также требования инструкций заводов-изготовителей по эксплуатации катков самоходных с гладкими вальцами (далее - «катков»).
Требования безопасности перед началом работы
1. Перед началом работы машинист обязан:
а) предъявить руководителю удостоверение о проверке знаний безопасных методов работ и пройти инструктаж на рабочем месте по специфике выполняемых работ;
б) надеть спецодежду, спецобувь и каску установленного образца;
в) получить задание у бригадира или руководителя работ.
2. После получения задания машинист обязан:
а) осмотреть с руководителем фронт работ, согласовать последовательность их выполнения и меры по обеспечению безопасности, проверить наличие и исправность ограждений места работ и знаков безопасности;
б) произвести ежесменное техническое обслуживание согласно инструкции по эксплуатации катка;
в) предупредить о запуске двигателя работников, обслуживающих машину или находящихся в зоне ее работы, и убедиться, что рычаг переключения передач находится в нейтральном положении;
г) произвести запуск двигатели;
д) проверить после запуска двигателя на холостом ходу работу всех агрегатов и на малой скорости работу тормозов.
3. Машинист не должен приступать к работе при следующих нарушениях требований безопасности:
а) неисправностях или дефектах, указанных и инструкции завода-изготовителя катка, при которых не допускается его эксплуатация;
б) появлении течи в топливной или масляной системе;
в) уклоне местности, превышающем указанный в паспорте завода-изготовителя.
Обнаруженные нарушения требований безопасности следует устранить собственными силами, а при невозможности сделать это машинист обязан сообщить о них руководителю работ и лицу, ответственному за содержание машины и исправном состоянии.
Требования безопасности во время работы
4. Перед запуском машины машинист обязан убедиться в отсутствии людей в зоне ее движения и подать звуковой сигнал.
5. Одновременная работа двух катков и более, двигающихся один за другим, допускается при расстоянии между ними не менее 10 м, а при параллельном движении - не менее 1 м.
Приближение катка к бригаде укладчиков асфальта допускается на расстояние не менее 5 м.
6. При движения катка на уклоне во избежание сползания или опрокидывания не следует допускать резких поворотов катка. При движении катка под уклон не следует выключать первую передачу, а при движении на подъем - переключать передачи.
7. Нахождение катка вблизи выемок в грунте с неукрепленными откосами допускается только за пределами призмы обрушения грунта.
При укатке насыпей грунта расстояние от края вальца катка до бровки насыпи должно быть не менее 1 м.
8. При выполнении работ катком с гидравлической системой управления машинисту необходимо следить за исправностью предохранительного клапана и соединениями гибких шлангов. Шланги со вздутием или течью масла в соединениях следует заменить. Ремонт шлангов высокого давления не допускается.
При появлении шумов в гидравлической системе или других узлах катка, не свойственных нормальной его работе, машинист обязан прекратить работу до устранения неисправностей.
9. Устранять неисправности, осматривать отдельные узлы катка, а также смазывать и регулировать их следует при остановленном двигателе, включенном тормозе и установленном в нейтральное положение рычаге переключения передач.
10. При перегреве двигателя машинисту следует, находясь с подветренной стороны, осторожно открыть крышку заливной горловины радиатора, не наклоняясь над горловиной во избежание ожога горячим паром лица и рук.
11. Машинисту в процессе работы не разрешается:
а) открывать кран слива воды при работающем двигателе, а также сразу после его выключения;
б) заливать жидкость в радиатор, если двигатель перегрет;
в) заправлять каток горючим при работающем двигателе;
г) оставлять каток с работающим двигателем, а также передавать управление катком лицу, не имеющему на это права;
д) перевозить на площадке (кабине) катка посторонних лиц, а также легковоспламеняющиеся материалы.
12. Во время заправки катка горючим машинисту и лицам, находящимся вблизи, не разрешается курить и пользоваться огнем.
После заправки машину необходимо вытереть от подтеков и смазки, а замасленную обтирочную ветошь положить в металлический закрывающийся ящик. Разведение огня на расстоянии менее 50 м от места работы или стоянки машины не допускается.
13. Перед погрузкой катка на трейлер машинист обязан убедиться в том, что трейлер устойчив и заторможен. После погрузки катка его следует затормозить, подложив под вальцы упоры, и закрепить соответствующими оттяжками. Во время перевозки катка машинисту не разрешается находиться в кабине.
Требования безопасности в аварийных ситуациях
14. При возникновении неисправностей отдельных узлов и агрегатов катка работу необходимо приостановить и доложить об этом руководителю работ.
15. В случае возгорания горюче-смазочных или других материалов необходимо залить огонь пеной из огнетушителя, а отдельные горящие места засыпать песком, землей или накрыть брезентом.
Тушить горящее топливо водой запрещается.
В соответствии со статьей 221 Трудового кодекса Российской Федерации, Правилами обеспечения работников специальной одеждой, специальной обувью и другими средствами индивидуальной защиты [88] и Тарифно-квалификационным справочником должностей специалистов, служащих и рабочих дорожного хозяйства [93] на работах с вредными и (или) опасными условиями труда, а также на работах, выполняемых в особых температурных условиях или связанных с загрязнением, выдаются сертифицированные средства индивидуальной защиты в соответствии с нормами, утвержденными в порядке, установленном Правительством Российской Федерации.
Приобретение средств индивидуальной защиты и обеспечение ими работников в соответствии с требованиями охраны труда производятся за счет средств работодателя (статьи 212 и 219 Трудового кодекса Российской Федерации).
К средствам индивидуальной защиты относятся: специальная одежда, специальная обувь и другие средства индивидуальной защиты (изолирующие костюмы, средства защиты органов дыхания, средства защиты рук, средства защиты головы, средства защиты лица, средства защиты органа слуха, средства защиты глаз, предохранительные приспособления).
Типовые отраслевые нормы бесплатной выдачи специальной одежды, специальной обуви и других средств индивидуальной защиты предусматривают обеспечение работников средствами индивидуальной защиты независимо от того, к какой отрасли экономики относятся производства, цехи, участки и виды работ, а также независимо от форм собственности организаций и их организационно-правовых форм.
Работникам, профессии и должности которых предусмотрены в Типовых нормах бесплатной выдачи специальной одежды, специальной обуви и других средств индивидуальной защиты, работникам сквозных профессий и должностей всех отраслей экономики, средства индивидуальной защиты выдаются независимо от того, в каких производствах, цехах и на участках они работают, если эти профессии и должности специально не предусмотрены в соответствующих Типовых отраслевых нормах.
В отдельных случаях в соответствии с особенностями производства работодатель может по согласованию с государственным инспектором по охране труда и соответствующим профсоюзным органом или иным уполномоченным работниками представительным органом заменять один вид средств индивидуальной защиты, предусмотренных Типовыми отраслевыми нормами, другим, обеспечивающим полную защиту от опасных и вредных производственных факторов: комбинезон хлопчатобумажный может быть заменен костюмом хлопчатобумажным или халатом и наоборот, ботинки (полусапоги) кожаные - сапогами резиновыми и наоборот, ботинки (полусапоги) кожаные - сапогами кирзовыми и наоборот, валенки сапогами кирзовыми и наоборот, фартук прорезиненный -фартуком из полимерных материалов и наоборот, рукавицы - перчатками и наоборот, нарукавники пластикатовые - нарукавниками из полимерных материалов и наоборот (пункт дополнен с 22 марта 2004 года постановлением Минтруда России от 3 февраля 2004 года № 7 - см. предыдущую редакцию).
В тех случаях, когда такие средства индивидуальной защиты, как жилет сигнальный, предохранительный пояс, диэлектрические галоши и перчатки, диэлектрический резиновый коврик, защитные очки и щитки, респиратор, противогаз, защитный шлем, подшлемник, накомарник, каска, наплечники, налокотники, самоспасатели (в том числе аварийно-спасательное средство типа «капюшон защитный «Феникс», газодымо-защитный комплект универсальный и другие), антифоны, заглушки, шумозащитные шлемы, светофильтры, виброзащитные рукавицы и другие, не указаны в Типовых отраслевых нормах, они могут быть выданы работодателем работникам на основании аттестации рабочих мест в зависимости от характера выполняемых работ со сроком носки - до износа или как дежурные и могут включаться в коллективные договоры и соглашения.
При заключении трудового договора работодатель знакомит работников с настоящими Правилами, а также нормами выдачи им средств индивидуальной защиты.
В соответствии с Типовыми отраслевыми нормами [89, 91] выдача бесплатной спецодежды, обуви и других средств индивидуальной защиты специалистам и служащим дорожного хозяйства приведена в таблице 23.1.1.
В соответствии с Типовыми отраслевыми нормами [89, 90, 91, 92] выдача бесплатной спецодежды, обуви и других средств индивидуальной защиты рабочим, занятым на объектах дорожного хозяйства, приведена в таблице 23.1.2.
В соответствии с Типовыми отраслевыми нормами [89, 90, 91, 92] выдача бесплатной спецодежды, обуви и других средств индивидуальной защиты машинистам машин и механизмов, занятых на объектах дорожного хозяйства, приведена в таблице 23.1.3.
В соответствии с Типовыми отраслевыми нормами [88, 89, 90, 91] выдача бесплатной спецодежды, обуви и других средств индивидуальной защиты машинистам дорожно-строительных машин приведена в таблице 23.1.4.
Таблица 23.1.1
Норма выдачи средств индивидуальной защиты работникам
|
№№ п/п |
Профессия, должность |
Наименование средств индивидуальной зашиты |
Норма выдачи на год (единицы, комплекты) |
|
1 |
2 |
3 |
4 |
|
1 |
Начальник участка, прораб, стар, прораб, мастер участка |
Костюм хлопчатобумажный |
1 комп. на 1,5 года |
|
Плащ непромокаемый |
1 комп. на 2 года |
||
|
Куртка на утепляющей прокладке |
по поясам |
||
|
Валенки |
по поясам |
||
|
2 |
Техник Лаборант |
Халат хлопчатобумажный |
1 на 1,5 года |
|
Фартук прорезиненный с нагрудником |
дежурный |
||
|
Перчатки резиновые |
дежурный |
||
|
Очки защитные |
до износа |
Таблица 23.1.2
Норма выдачи средств индивидуальной защиты рабочим, занятых на объектах
|
№№ п/п |
Профессии, должность |
Наименование средств индивидуальной защиты |
Норма выдачи на год (единицы, комплекты) |
|
1 |
2 |
3 |
4 |
|
1 |
Аппаратчик окисления битума |
Костюм брезентовый |
1 комплект |
|
Ботинки кожаные |
1 пара |
||
|
Рукавицы брезентовые |
4 пары |
||
|
2 |
Асфальтобетонщик |
При выполнении работ но укладке холодного асфальтобетона: |
|
|
-полукомбинезон хлопчатобум-ный |
1 комплект |
||
|
- ботинки или полусапоги кожаные |
1 пара |
||
|
- рукавицы комбинированные |
6 пар |
||
|
При выполнении работ но укладке горячего асфальтобетона: |
|
||
|
-полукомбинезон хлопчатобум-ный |
1 комплект |
||
|
- ботинки кожаные |
1 пары |
||
|
- рукавицы брезентовые |
2 пары |
||
|
При выполнении работ по укладке горячего асфальтобетона вручную дополнительно: |
1 единица |
||
|
- наколенники брезентовые (на вате) |
1 единица до износа |
||
|
При постоянной занятости на ремонте дорог дополнительно: |
|
||
|
Жилет сигнальный |
1 комплект |
||
|
3 |
Бетонщик |
Брюки брезентовые |
1 единица |
|
Куртка хлопчатобумажная |
1 единица |
||
|
Рукавицы комбинированные |
12 пар |
||
|
Сапоги резиновые или ботинки кожаные |
1 пара |
||
|
На работах с виброинструментом: |
|
||
|
- рукавицы антивибрационные, вместо рукавиц комбинированных |
6 пар |
||
|
На наружных работах зимой дополнительно: |
|
||
|
- куртка на утепляющем прокладке; |
по поясам |
||
|
- брюки на утепляющей прокладке; |
по поясам |
||
|
- валенки |
по поясам |
||
|
4 |
Вальщик леса |
Костюм хлопчатобумажный с водоотталкивающей пропиткой |
1 комплект |
|
Сапоги кирзовые с защитным подноском |
1 пара |
||
|
Рукавицы комбинированные |
12 пар |
||
|
Комплект одежды «Лес» |
по поясам |
||
|
Валенки |
по поясам |
||
|
5 |
Водитель автомобиля |
Комбинезон хлопчатобумажный |
1 комплекс |
|
Сапоги резиновые |
1 пара |
||
|
Рукавицы комбинированные |
6 пар |
||
|
На наружных работах зимой дополнительно; |
|
||
|
- куртка на утепляющей прокладке; |
по поясам |
||
|
- брюки на утепляющей прокладке; |
по поясам |
||
|
- валенки |
по поясам |
||
|
6 |
Грохотовщик |
При работе на барабанных и вибрационных грохотах: |
|
|
- комбинезон хлопчатобумажный |
1 комплект |
||
|
- рукавицы комбинированные |
12 пар |
||
|
- ботинки кожаные |
1 пара |
||
|
При постоянной занятости на наружных работах зимой дополнительно: |
|
||
|
- куртка на утепляющей прокладке |
по поясам |
||
|
- брюки на утепляющей прокладке |
по поясам |
||
|
- валенки |
по поясам |
||
|
7 |
Дорожный рабочий |
Костюм хлопчатобумажный |
1 комплект |
|
Рукавицы комбинированные |
12 пар |
||
|
Жилет сигнальный |
1 единима |
||
|
Ботинки кожаные |
1 пара |
||
|
Наколенники брезентовые (на вате) |
до износа |
||
|
Плащ непромокаемый |
|
||
|
На наружных работах зимой дополнительно: |
один на 3 года |
||
|
- куртка на утепляющей прокладке |
по поясам |
||
|
- брюки на утепляющей прокладке |
по поясам |
||
|
- валенки |
по поясам |
||
|
8 |
Дробильщик |
Комбинезон хлопчатобумажный |
1 комплект |
|
Рукавицы комбинированные |
12 нар |
||
|
Ботинки кожаные |
1 пара |
||
|
При постоянной занятости на наружных работах зимой дополнительно: |
|
||
|
- куртка на утепляющей прокладке |
по поясам |
||
|
- брюки на утепляющей прокладке |
по поясам |
||
|
- валенки |
по поясам |
||
|
9 |
Землекоп |
Костюм хлопчатобумажный |
1 комплект |
|
Рукавицы комбинированные |
12 пар |
||
|
Ботинки кожаные с жестким носком |
1 пара |
||
|
Па гидромеханизированных работах; |
|
||
|
Костюм брезентовый |
1 комплект |
||
|
Сапоги резиновые |
1 пара |
||
|
10 |
Изолировщик на гидроизоляции |
Комбинезон хлопчатобумажным |
1 комплект |
|
Ботинки кожаные |
1 пара |
||
|
Наколенники брезентовые (на вате) |
дежурные |
||
|
Рукавицы брезентовые или рукавицы кислотозащитные, либо перчатки резиновые на трикотажной основе |
6 пар |
||
|
На рабочих по герметизации швов: |
|
||
|
- костюм хлопчатобумажный |
1 комплект |
||
|
- ботинки кожаные |
1 пара |
||
|
- рукавицы брезентовые |
12 пар |
||
|
На наружных работах зимой дополнительно: |
|
||
|
- куртка на утепляющей прокладке |
по поясам |
||
|
- брюки на утепляющей прокладке |
по поясам |
||
|
- валенки |
по поясам |
||
|
11 |
Каменщик |
Полукомбинезон хлопчатобумажный |
1 комплект |
|
Ботинки кожаные |
1 пара |
||
|
Рукавицы с наладонниками из винилискожи-Т прерывистой |
6 пар |
||
|
На наружных работах зимой дополнительно: |
|
||
|
- куртка на утепляющей прокладке |
по поясам |
||
|
- брюки на утепляющей прокладке |
по поясам |
||
|
- валенки |
по поясам |
Таблица 23.1.3
Норма выдачи средств индивидуальной защиты машинистам машин и механизмов, занятых на объектах
|
№№ п/п |
Профессия или должность |
Наименование средств индивидуальной защиты |
Норма выдачи на год (единицы, комплекты) |
|
1 |
2 |
3 |
4 |
|
1 |
Машинист автовышки и автогидроподьемника; машинист автоямобура |
Комбинезон хлопчатобумажный |
1 комплект |
|
Сапоги резиновые |
1 пара |
||
|
Рукавицы комбинированные |
6 пар |
||
|
Ботинки кожаные |
1 пара |
||
|
При постоянной занятости на открытом воздухе зимой дополнительно: |
|
||
|
- куртка на утепляющей прокладке |
по поясам |
||
|
- брюки на утепляющей прокладке |
по поясам |
||
|
- валенки |
по поясам |
||
|
2 |
Машинист буровой установки |
Полукомбинезон хлопчатобумажный |
1 комплект |
|
Рукавицы комбинированные |
|
||
|
При постоянной занятости на открытом воздухе зимой дополнительно: |
6 пар |
||
|
- куртка на утепляющей прокладке |
по поясам |
||
|
- брюки на утепляющей прокладке |
по поясам |
||
|
- валенки |
по поясам |
||
|
3 |
Машинист бетононасосных установок; моторист бетоносмесителя передвижного; машинист растворонасоса; машинист растворосмесителя передвижного |
Комбинезон хлопчатобумажный |
1 комплект |
|
Сапоги резиновые |
1 пара |
||
|
Рукавицы комбинированные |
6 пар |
||
|
При постоянной занятости на открытом воздухе зимой дополнительно: |
|
||
|
- куртка на утепляющей прокладке |
по поясам |
||
|
- брюки на утепляющей прокладке |
по поясам |
||
|
- валенки |
по поясам |
||
|
|
|
||
|
4 |
Машинист битумоплавильной передвижной установки; машинист бурильной строительной машины; машинист вакуумной установки |
Комбинезон хлопчатобумажный |
1 комплект |
|
Ботинки кожаные |
1 пара |
||
|
Рукавицы комбинированные |
12 пар |
||
|
При постоянной занятости на открытом воздухе зимой дополнительно: |
|
||
|
- куртка на утепляющей прокладке |
по поясам |
||
|
- брюки на утепляющей прокладке |
по поясам |
||
|
- валенки |
по поясам |
||
|
5 |
Машинист землеройнофрезерной самоходной машины |
Полукомбинезон хлопчатобумажный |
1 пара |
|
Рукавицы комбинированные |
6 пар |
||
|
При постоянной занятости на открытом воздухе зимой дополнительно: |
|
||
|
- куртка на утепляющей прокладке |
по поясам |
||
|
- брюки на утепляющей прокладке |
по поясам |
||
|
- валенки |
по поясам |
||
|
6 |
Машинист автокомпрессора для подачи воздуха водолазам; машинист компрессора передвижного с двигателем внутреннего сгорания; машинист компрессора передвижного с электродвигателем |
Комбинезон хлопчатобумажный |
1 комплекс |
|
Ботинки кожаные |
1 пара |
||
|
Рукавицы комбинированные |
12 пар |
||
|
Противогаз |
до износа |
||
|
Наушники противошумные |
до износа |
||
|
Па наружных работах зимой дополнительно: |
|
||
|
- куртка на утепляющей прокладке |
по поясам |
||
|
- брюки на утепляющей прокладке |
по поясам |
||
|
- валенки |
по поясам |
||
|
7 |
Машинист крана |
Комбинезон хлопчатобумажный |
1 комплект |
|
Сапоги резиновые |
1 пара |
||
|
Рукавицы комбинированные |
6 пар |
||
|
При постоянной занятости на открытом воздухе зимой дополнительно: |
|
||
|
- куртка на утепляющей прокладке |
по поясам |
||
|
- брюки на утепляющей прокладке |
по поясам |
||
|
- валенки |
по поясам |
||
|
8 |
Машинист лебедки электрической однобарабанной; машинист лебедки электрической многобарабанной |
Полукомбинезон хлопчатобумажный |
1 комплект |
|
Рукавицы комбинированные |
6 пар |
||
|
На наружных работах зимой дополнительно: |
|
||
|
- куртка на утепляющей прокладке |
по поясам |
||
|
- брюки на утепляющей прокладке |
по поясам |
||
|
- валенки |
по поясам |
||
|
9 |
Машинист машины для изоляции газонефтепродуктов в стационарных условиях |
Полукомбинезон хлопчатобумажный |
1 комплект |
|
Рукавицы комбинированные |
6 пар |
||
|
На наружных работах зимой дополнительно: |
|
||
|
- куртка на утепляющей прокладке |
по поясам |
||
|
- брюки на утепляющей прокладке |
по поясам |
||
|
- валенки |
по поясам |
||
|
10 |
Машинист подъемника грузового строительного; машинист подъемника грузопассажирского строительного |
Комбинезон хлопчатобумажный |
1 комплект |
|
Сапоги резиновые |
1 пара |
||
|
Рукавицы комбинированные |
6 пар |
||
|
Зимой дополнительно: |
|
||
|
- куртка на утепляющей прокладке |
по поясам |
||
|
- брюки на утепляющей прокладке |
по поясам |
||
|
- валенки |
по поясам |
||
|
11 |
Машинист погрузчика одноковшового |
Комбинезон хлопчатобумажный |
1 комплект |
|
Сапоги резиновые |
1 пара |
||
|
Рукавицы комбинированные |
6 пар |
||
|
Зимой дополнительно: |
|
||
|
- куртка на утепляющей прокладке |
по поясам |
||
|
- брюки на улепляющей прокладке |
по поясам |
||
|
- валенки |
по поясам |
||
|
12 |
Машинист трубогибочной установки передвижной; машинист трубоочистительной машины; машинист трубоукладчика |
Полукомбинезон хлопчатобумажный |
1 комплект |
|
Рукавицы комбинированные |
6 пар |
||
|
На наружных работах зимой дополнительно: |
|
||
|
- куртка на утепляющей прокладке |
по поясам |
||
|
- брюки на утепляющей прокладке |
по поясам |
||
|
- валенки |
по поясам |
||
|
13 |
Машинист уплотняющей и планировочно-уплотняющей машины |
Полукомбинезон хлопчатобумажный |
1 комплект |
|
Рукавицы комбинированные |
6 пар |
||
|
На наружных работах зимой дополнительно: |
|
||
|
- куртка на утепляющей прокладке |
по поясам |
||
|
- брюки на утепляющей прокладке |
по поясам |
||
|
- валенки |
по поясам |
||
|
14 |
Машинист электросварочного передвижною агрегата с двигателем внутреннего сгорания |
Комбинезон хлопчатобумажный |
1 комплект |
|
Ботинки кожаные |
1 пара |
||
|
Рукавицы комбинированные |
12 пар |
||
|
При постоянной занятости на открытом воздухе зимой дополнительно: |
|
||
|
- куртка на утепляющей прокладке |
по поясам |
||
|
- брюки на утепляющей прокладке |
по поясам |
||
|
- валенки |
по поясам |
||
|
15 |
Машинист электростанции передвижной |
Комбинезон хлопчатобумажный |
1 комплект |
|
Галоши диэлектрические |
дежурные |
||
|
Перчатки резиновые |
дежурные |
||
|
Рукавицы комбинированные |
4 пары |
||
|
Зимой дополнительно: |
|
||
|
- куртка на утепляющей прокладке |
по поясам |
||
|
- брюки на утепляющей прокладке |
по поясам |
||
|
- валенки |
по поясам |
Таблица 23.1.4
Норма выдачи средств индивидуальной защиты машинистам дорожно-строительных машин
|
№№ п/п |
Профессия или должность |
Наименование средств индивидуальной защиты |
Норма выдачи на год (единица, комплект) |
|
1 |
2 |
3 |
4 |
|
1 |
Машинист автогрейдера; машинист бульдозера; машинист катка самоходного; машинист экскаватора |
Комбинезон хлопчатобумажный |
1 комплект |
|
Сапоги резиновые |
1 пара |
||
|
Рукавицы комбинированные |
6 пар |
||
|
На наружных работах зимой дополнительно: |
|
||
|
- куртка на утепляющем прокладке |
по поясам |
||
|
- брюки на утепляющей прокладке |
по поясам |
||
|
- валенки |
по поясам |
||
|
2 |
Машинист автогудронатора; машинист ледорезной машины |
Комбинезон хлопчатобумажный |
1 комплект |
|
Ботинки кожаные |
1 пара |
||
|
Рукавицы комбинированные |
12 пар |
||
|
На наружных работах зимой дополнительно: |
|
||
|
- куртка на утепляющей прокладке |
по поясам |
||
|
- брюки па утепляющей прокладке |
по поясам |
||
|
- валенки |
по поясам |
||
|
3 |
Машинист автополивочной машины |
Полукомбинезон хлопчатобумажный |
1 комплект |
|
Рукавицы комбинированные |
6 пар |
||
|
4 |
Машинист бетоноукладчика |
Комбинезон хлопчатобумажный |
1 комплект |
|
Ботинки кожаные |
1 пара на 2 года |
||
|
Рукавицы комбинированные |
4 пары |
||
|
5 |
Машинист грейдера; Машинист скрепера |
Полукомбинезон хлопчатобумажный |
1 комплект |
|
Рукавицы комбинированные |
6 пар |
||
|
На наружных работах зимой дополнительно: |
|
||
|
куртка на утепляющей прокладке |
по поясам |
||
|
- брюки на утепляющей прокладке |
по поясам |
||
|
- валенки |
по поясам |
||
|
6 |
Машинист машины для устройства швов в свежеуложенном бетоне |
Полукомбинезон хлопчатобумажный |
1 комплект |
|
Ботинки кожаные |
1 пара |
||
|
Рукавицы комбинированные |
6 пар |
||
|
7 |
Машинист распределителя цемента гравитационного прицепного |
Комбинезон Хлопчатобумажный |
1 комплект |
|
Ботинки кожаные |
1 пара |
||
|
Рукавицы комбинированные |
12 пар |
||
|
8 |
Машинист смесителя асфальтобетона; машинист укладчика асфальтобетона |
Комбинезон хлопчатобумажный |
1 пара |
|
Ботинки кожаные |
1 пара |
||
|
Рукавицы комбинированные |
12 пар |
||
|
9 |
Тракторист |
Комбинезон хлопчатобумажный |
1 комплект |
|
Сапоги резиновые |
1 пара |
||
|
Рукавицы комбинированные |
6 пар |
||
|
Па наружных работах зимой дополнительно: |
|
||
|
- куртка на утепляющей прокладке |
по поясам |
||
|
- брюки на утепляющей прокладке |
по поясам |
||
|
- валенки |
по поясам |
||
|
10 |
Мостовщик |
Рукавицы брезентовые |
6 пар |
|
Ботинки кожаные |
1 пара |
||
|
Наколенники брезентовые |
до износа |
||
|
11 |
Плотник |
Костюм хлопчатобумажный |
1 комплект |
|
Ботинки кожаные |
1 пара |
||
|
Рукавицы с наладонниками из винилискожи-Т прерывистой |
6 пар |
||
|
На работах по пропитке древесины антисептиками: |
|
||
|
- костюм брезентовый; |
|
||
|
- перчатки резиновые; |
1 комплект |
||
|
- наплечники брезентовые |
6 пар |
||
|
На работах по конопатке деревянных конструкций и сооружений: |
дежурные |
||
|
- костюм хлопчатобумажный |
|
||
|
- рукавицы комбинированные |
1 комплект |
||
|
На наружных работах зимой дополнительно: |
6 пар |
||
|
- куртка на утепляющей прокладке |
по поясам |
||
|
- брюки на утепляющей прокладке |
по поясам |
||
|
- валенки |
по поясам |
||
|
12 |
Слесарь но ремонту дорожно-строительных машин и тракторов |
Па работах по ремонту дорожно-строительных машин и механизмов: |
|
|
- комбинезон хлопчатобумажный |
1 комплект |
||
|
- рукавицы комбинированные |
12 пара |
||
|
- ботинки кожаные с металлическим носком |
1 пара |
||
|
На работах по заправке буров; |
|
||
|
- фартук хлопчатобумажный с нагрудником |
2 единицы |
||
|
- рукавицы комбинированные |
6 пар |
||
|
- ботинки кожаные с металлическим подноском |
1 пара |
||
|
13 |
Стропальщик |
Комбинезон хлопчатобумажный |
1 комплект |
|
Рукавицы комбинированные |
12 пар |
||
|
Каска защитная |
до износа |
||
|
На наружных работах зимой дополнительно: |
|
||
|
- куртка на утепляющей прокладке |
по поясам |
||
|
- брюки на утепляющей прокладке |
по поясам |
||
|
- валенки |
по поясам |
Примечания:
1. Средства индивидуальной защиты (предохранительный пояс, диэлектрические галоши и перчатки, диэлектрический резиновый коврик, защитные очки, респиратор, противогаз, защитный шлем, каска и др.) рабочим всех профессий выдаются в зависимости от характера и условий выполняемых работ как дежурные, если они не предусмотрены настоящими Нормами.
2 В зависимости от производственных и климатических условий работодатель по согласованию с государственным инспектором по охране труда может заменить валенки на валенки обрезиненные или на сапоги кожаные со съемным утеплителем, или на сапоги резиновые утепленные, вместо курток и брюк на утепляющей прокладке могут выдаваться костюмы для защиты от пониженных температур из шелковых и шерстяных тканей с тем же сроком носки.
3. Работодатель может по согласованию с соответствующим профсоюзным органом или иным уполномоченным работниками представительным органом выдавать работникам, осуществляющим работу по техническому перевооружению и реконструкции производства в действующих цехах с вредными условиями труда без остановки производства, спецодежду, спецобувь и другие средства индивидуальной защиты по нормам, установленным для эксплуатационного персонала указанных цехов.
1 Технология и организация строительства автомобильных дорог. / Под. ред. Н.В. Горелышева -М.: Транспорт, 1992 -550с
2. Строительство автомобильных дорог. T1/Под ред. В.К. Некрасова. - М.: Транспорт, 1980. -415с
3. Машины для строительства и содержания дорог и аэродромов. / Под ред. А.З. Шварца - М :Машиностроение, 1985 -334 с.
4. Строительство улиц и городских дорог/ Под ред. А.Я. Тулаева. - М .: Стройиздат, 1974 -421 с
5. Бобриков Б.В., Русаков И.М., Царьков А.А. Строительство мостов. - М.: Транспорт, 1987 -303 с
6. Евгеньев И.Е., Казарновский В.Д. Земляное полотно автомобильных дорог на слабых грунтах. -М.: Транспорт , 1976 -270с
7. Чернышев М.А. Железнодорожный путь. М.: Транспорт, 1974 -349 с.
8. Михайлов В.В., Бабков В.Ф., Могылев Ю.Л., Курденков Б.И. Строительство и эксплуатация автомобильных дорог. М.: Транспорт, 1972 -288 с.
9. ОДН 218.010-98 Инструкция по проектированию, строительству и эксплуатации ледовых переправ. ФДС России, -М.: 1998.
10. Евгеньев И.Е., Савин В.В. Защита природной среды при строительстве, ремонте и содержании автомобильных дорог, М.: Транспорт, 1989 -237 с.
11. Баловнев В.И , Хмара Л.А. Интенсификация земляных работ в дорожном строительстве М.: Транспорт, 1983. -181 с
12. Львович Ю.М., Мотылев Ю.Л. Укрепление откосов земляного полотна автомобильных дорог. М.: Транспорт, 1983 -181 с
13. Цупиков С.Г Повышение эффективности использования скреперов // Автомобильные дороги, 1984 - №3 - с.23...25.
14. Производство земляных работ: Учебное пособие / С.Г. Цупиков ИГАСА г.Иваново. 1995. -105 с.
15. Руководство по сооружению земляного полотна автомобильных дорог. - М.: Транспорт, 1980 -160 с
16. Черкашин В.А. Производство земляных работ в зимних условиях. Справочное пособие - М . Стройиздат, 1971. -157 с
17. Земляное полотно автомобильных дорог в северных условиях /Под ред. А.А. Малышева - М.: Транспорт, 1974 -284 с
18. Автомобильные дороги Севера / Под ред. И.А. Золоторя - М.: Транспорт, 1981. -247 с
19. ВСН 137-89 Проектировании, строительство и содержание зимних автомобильных дорог в условиях Сибири и Северо-Востока СССР Минтрансстрой СССР, -М.: 1991.
20. Рувинский В.И. Оптимальные конструкции земляного полотна - М.: Транспорт, 1982 -166 с
21. СНиП 2.05.02-85 Автомобильные дороги, Госстрой СССР - М.: ЦИПТ Госстрой СССР, 1986 -56 с
22. Хархута Н.Я., Васильев Ю.М. Прочность, устойчивость и уплотнение грунтов земельного полотна автомобильных дорог. М.: Транспорт, 1975. -288 с
23. Безрук В.М. Основные принципы укрепления грунтов М.: Транспорт, 1987. -31с
24. Алоян Р.М., Цупиков С.Г. Технология и организация строительства автомобильных дорог. Часть 1. Возведение земляного полотна Иваново: ИГАСА. 2003. 350 с.
25. Цупиков С.Г. Производственные предприятия дорожного хозяйства. Иваново: ИГАСА, 2001 -214с
26. Цупиков С.Г. Основы дорожно-строительных материалов. Иваново: ИГАСА, 2002 -150 с
27. Цупиков С.Г. Особенности возведения земляного полотна в пересеченной местности. Известия Ивановского отделении Петровской академии наук и искусств (ПАНИ). ИГАСА, Иваново, 1995 - 3 с
28. Цупиков С.Г. Продление строительного сезона при возведении земляного полотна Известия Ивановского отделения Петровской академии наук и искусств (ПАНИ) ИГАСА, Иваново, 1996 -с 141-143.
29. Инструкция по безопасному передвижению по ледовым дорогам, переправам и через водные преграды. НК «ЮКОС»
30. Цупиков С.Г. Определение оптимальных границ работы землеройно-транспортных машин по затратам топлива. Сборник статей Информационная среда вуза. VII международная научно-техническая конференция Иваново. ИГАСА, 2001 -318.321 с.
31. Цупиков С.Г., Котлярова Н.С. Об экономии энергетических ресурсов при возведении земляного полотна. Информационная среда вуза IX международная научно-техническая конференция, Иваново, ИГАСА, 2001 -345 348 с.
32. Автомобильные дороги СНиП 3.06.03-85. М.: Госстрой СССР, 1989 -111с
33. Автомобильные дороги. СНиП 2.05.02-85. М: Государственный комитет СССР по делам строительства, 1986. -51 с.
34. Операционный контроль качества земляного полотна. /Под ред. А.Я. Тулаева. - М.: Транспорт, 1985 -222 с.
35. Проектирование автомобильных дорог. Справочник инженера-дорожника / Под ред. Г.А. Федотова. М.: Транспорт, - 1989 -437с.
36. ГОСТ. 10807-78. Знаки дорожные. Общие технические условия. М., 1980.
37. Батраков О.Т., Сиденко В.М. Организация дорожно-строительных работ. - М.: Транспорт, 1966, - 336 с.
38. Сорокин П.И. Комплексная механизация возведения земляного полотна автомобильных дорог. -М.: Транспорт, 1967, -159с.
39. Технологические схемы комплексной механизации основных видов дорожно-строительных работ ВСН 10-72. - М.: Транспорт, 1974, - 207с.
40. Могилевич В.М. Организация и технология дорожно-строительных работ в зимнее время. - М.: Высшая школа, 1971, -267 с.
41. Новости в дорожном деле //Научно-технический информационный сборник - 2004, -№6, -64с.
42. Пособие строительному мастеру и производителю работ по сооружению земляного полотна /Под. ред. В.П. Чернавского. - М.: Транспорт, 1977, -254 с.
43. Горецкий Л.И. и др. Строительство аэродромов. - М.: Транспорт, 1968, -511 с.
44. Иевлев В.М. Подготовка к зимней разработке карьеров и выемок // Автомобильные дороги -1972, -№10 с. 9 и 10.
45. ГОСТ Р 51256-99. Разметка дорожная. Типы и основные параметры. Общетехнические требования. М. 1999.
46. Технологические указания по строительству автомобильных дорог в зимних условиях. ВСН 120-65. - М.: Оргтрансстрой, 1966, - 106с.
47. Назаров Л.В., Соколов а.С. Электрохимический метод оттаивания мерзлых грунтов. - 1968. -№1 -с. 105..110
48. Никольский Е.Г. Циклический метод оттаивания мерзлых грунтов трубчатыми электронагревателями. - М: Стройиздат, 1967, -25с.
49. Земляное полотно, сооружаемое в зимних условиях. Комитет по земляному полотну при научно-техническом совете МПС и техническом совете Минтрансстроя. Вып. 10. - М.: Транспорт, 1970, - 112с.
50. Томирдиадо С.В. Тепловые расчеты оснований в районах вечной мерзлоты. Вып. 4 Магадан, 1963,- 113 с.
51. Сиденко В.М. Расчет утепления карьеров при возведении земляного полотна зимой //Автомобильные дороги. 1964. - №11. -с. 15.. 16.
52. Трофимов Г.Т. Строительство автомобильных дорог в условиях многолетней мерзлоты. -М.: Автотрансиздат, 1960.43 с.
53 Манаков Н.А., Глазов А.А., Понкратов А.В. и др. Строительная, дорожная и специальная техника. Краткий справочник. М.: Профтехника, 1996. -297с.
54. Ищенко И.С, Калашникова Т.Н., Семенов Д.А. Технология устройства и ремонт асфальтобетонных покрытий. Учебное пособие. - М: АИР-АРТ, 2001. - 170с
55. ГОСТ 9128-97. Смеси асфальтобетонные дорожные, аэродромные и асфальтобетон. Технические условия МНТКС. -М., 1998. -24с.
56. Технические рекомендации по устройству дорожных конструкций с применением асфальтобетона. ТР 103-00. М.: ГУП «НИИМстрой», 2000.
57. Пособие по строительству асфальтобетонных покрытий и оснований автомобильных дорог и аэродромов. М.: СоюздорНИИ, 1991.
58. Строительство автомобильных дорог. Справочник инженера-дорожника / Под ред. В.А. Бочина, -М.: Транспорт, 1980. -510с
59 Истомин B.C. Практическое руководство по текущему ремонту асфальтобетонных покрытий городской дорожной сети. - М.: Прима-Пресс-М, 2001 - 110с
60. ГОСТ 26804-86. Ограждения дорожные металлические барьерного типа. Технические условия. М., 1986
61. Якунин О.А., Горелышев Н.В. Исследование процессов охлаждения слоев асфальтобетонной смеси. Сб. научн. трудов СоюздорНИИ. М., 1972.
62. ТУ 400-24-107-91. Смеси асфальтобетонные (горячие) и асфальтобетон для монолитных дорожных конструкций. М.: НИИМострой, 1995.
63. Уплотнение асфальтобетонных смесей в дорожном строительстве. ЭИ "Зарубежный опыт». М.: ЦБНТИ. 1989
64. ГОСТ 8267-93. Щебень и гравий из плотных горных пород для строительных работ. Технические условия.
65. ГОСТ 26633-91. Бетоны тяжелые и мелкозернистые. Технические условия.
66. ГОСТ 22245-90. Битумы нефтяные дорожные вязкие. Технические условия
67. ГОСТ 18659-81. Эмульсии битумные дорожные. Технические условия.
68. Марышев Б.С., Петрушин А.К, Шейнин A.M. Скоростное строительство дорожных одежд с цементобетонным покрытием. М.: Транспорт, 1978. -216с.
69. ГОСТ 310.1-76 Цементы. Методы испытаний, общие положения. М.: Изд-во стандартов, 1992. -2с.
70. ГОСТ 11955-82 Битумы нефтяные дорожные жидкие. Технические условия. М: Государственный комитет по стандартам, 1982. - 50 с.
71 Кувалдин Б.И., Ионов Б.Д. Дорог и в лесхозах М.: Изд-во лесная промышленность, 1967. -259с.
72. Ярмолинская Н.И. Дорожный асфальтобетон с применением минеральных порошков из техногенных отходов промышленности. Хабаровск, Изд-во Хабаров, гос. техн. ун-та, 2002. - 103 с.
73. ГОСТ Р 50597-93 "Автомобильные дороги и улицы. Требования к эксплуатационному состоянию, допустимому по условиям обеспечения безопасности дорожного движения".
74. Классификация работ по ремонту и содержанию автомобильных дорог общего пользования Министерство транспорта Российской Федерации Государственная служба дорожного хозяйства (Росавтодор) Москва. 2002.
75. Ремонт и содержание автомобильных дорог: Справочник инженера-дорожника А.П. Васильев, В.И. Баловнев, М.Б., Корсунский и др.; /Под ред. А.П. Васильева - М.: Транспорт, 1989. -287 с.
76. Региональные и отраслевые нормы межремонтных сроков службы нежестких дорожных одежд и покрытий ВСН 41-88. Министерство автомобильных дорог РСФСР. Москва, 1988.
77. Технические правила ремонта и содержания автомобильных дорог. ВСН 24-88. Министерство автомобильных дорог РСФСР. Москва, 1989.
78. Руководство по оценке воздействия на окружающую среду при проектировании, строительстве, реконструкции и эксплуатации объектов дорожного хозяйства. Отраслевая дорожная методика -Москва, 2001.
79. Каталог WIRTGEN. Wtilgen international GmbH & Со, 1999
80. Руководство по борьбе с зимней скользкостью на автомобильных дорогах. Утверждено распоряжением Минтранса РФ от 16.06.2003г. № ОС-548-Р. М.: 2003.
81. Постановление Правительства Российской Федерации от 14.10.92г № 785 "О дифференциации в условиях оплаты труда работников бюджетной сферы на основе Единой тарифной сетки"
82. Постановление Министерства труда Российской Федерации и Министерства юстиции Российской Федерации от 23.10.92г. №27 "Об утверждении Основных положений о порядке проведения аттестации служащих учреждений, организаций и предприятий, находящихся на бюджетном финансировании".
83. Постановление Министерства труда Российской Федерации от 10.11.92г. №30 «Об утверждении тарифно-квалификационных характеристик по общеотраслевым должностям служащих»
84. Постановление Министерства труда Российской Федерации от 11.11.92г. №32 "Об утверждении Методических рекомендаций по совершенствованию организации заработной платы работников учреждений, организаций и предприятий, находящихся на бюджетном финансировании на основе применения Единой тарифной сетки оплаты труда".
85. Квалификационный справочник должностей руководителей, специалистов и служащих, утвержденный постановлением Госкомтруда СССР и Секретариата ВЦСПС от 27.03.86; 01.10.87; 18.03.88; 27.06.88; 12.07.88; 13.09.88; 23.02.89 и Постановлением Госкомтруда СССР от 30 1286г.
86. Единый тарифно-квалификационный справочник работ и профессий рабочих (вып. 1; 2; 3; 4) с учетом изменений и дополнений, внесенных АО "ЦТС"
87. Сборник тарифно-квалификационных характеристик основных профессий и должностей руководителей, специалистов, служащих и рабочих дорожного хозяйства. Фед. дор. департ. Минтранса РФ - М, Центроргпруд. 1998 -173 с
88. Правила обеспечения работников специальной одеждой, специальной обувью и другими средствами индивидуальной защиты. Постановление Минтруда и социальной защиты РФ от 18 декабря 1998 года № 51 (с изменениями на 3 февраля 2004 года)
89. Типовые отраслевые нормы бесплатной выдачи специальной одежды, специальной обуви и других средств индивидуальной защиты работникам автомобильного транспорта и шоссейных дорог. Постановление Минтруда и социальной зашиты РФ от 16 декабря 1997 года № 63
90. Типовые отраслевые нормы бесплатной выдачи специальной одежды, специальной обуви и других средств индивидуальной защиты работникам, занятым на строительных, строительно-монтажных и ремонтно-строительных работах Постановление Минтруда и социальной защиты РФ от 25 декабря 1997 года № 66 (с изменениями на 2 марта 2004 года)
91. Типовые нормы бесплатной выдачи специальной одежды, специальной обуви и других средств индивидуальной защиты работникам сквозных профессий и должностей всех отраслей экономики Постановление Минтруда и социальной защиты РФ от 30 декабря 1997 года № 69 (с изменениями на 17 декабря 2001 года)
92. Типовые нормы бесплатной выдачи специальной одежды, специальной обуви и других средств индивидуальной защиты работникам лесозаготовительных, лесосплавных, лесоперевалочных, лесохозяйственных организаций. Постановление Минтруда и социальной защиты РФ от 29 декабря 1997 года №68 (с изменениями на 17 декабря 2001 года)
93. Сборник тарифно-квалификационных характеристик основных профессий и должностей руководителей, специалистов, служащих и рабочих дорожного хозяйства. Фед. дор. депар. Минтранса РФ - М, Центроргтруд, 1998. - 173 с.
94. ВСН 23-75. Указания по разметке автомобильных дорог. М.: /976
95. ВСН 37-84. Инструкция по организации движения и ограждению мест производства дорожных работ/М: Транспорт, 1985.
96. ГОСТ 23457-86 Технические средства организации дорожного движения. Правила применения.
97. Справочник кадровика: инструкция по охране груда. - М.: С 74 ИНФРА-М, 2003. -558 с.
|
ГОСТЫ, СТРОИТЕЛЬНЫЕ и ТЕХНИЧЕСКИЕ НОРМАТИВЫ. Некоммерческая онлайн система, содержащая все Российские Госты, национальные Стандарты и нормативы. В Системе содержится более 150000 файлов нормативно-технической документации, действующей на территории РФ. Система предназначена для широкого круга инженерно-технических специалистов. Copyright © www.gostrf.com, 2008 - 2026 |