Крупнейшая бесплатная информационно-справочная система онлайн доступа к полному собранию технических нормативно-правовых актов РФ. Огромная база технических нормативов (более 150 тысяч документов) и полное собрание национальных стандартов, аутентичное официальной базе Госстандарта. GOSTRF.com - это более 1 Терабайта бесплатной технической информации для всех пользователей интернета. Все электронные копии представленных здесь документов могут распространяться без каких-либо ограничений. Поощряется распространение информации с этого сайта на любых других ресурсах. Каждый человек имеет право на неограниченный доступ к этим документам! Каждый человек имеет право на знание требований, изложенных в данных нормативно-правовых актах!

  


 

МЕЖГОСУДАРСТВЕННЫЙ СОВЕТ ПО СТАНДАРТИЗАЦИИ, МЕТРОЛОГИИ И СЕРТИФИКАЦИИ
(МГС)

INTERSTATE COUNCIL FOR STANDARDIZATION, METROLOGY AND CERTIFICATION
(ISC)

МЕЖГОСУДАРСТВЕННЫЙ
СТАНДАРТ

ГОСТ
31371.5-
2008
(ИСО 6974-5:2000
)

Газ природный

ОПРЕДЕЛЕНИЕ СОСТАВА МЕТОДОМ ГАЗОВОЙ
ХРОМАТОГРАФИИ С ОЦЕНКОЙ НЕОПРЕДЕЛЕННОСТИ

Часть 5

ОПРЕДЕЛЕНИЕ АЗОТА, ДИОКСИДА УГЛЕРОДА И УГЛЕВОДОРОДОВ C1 - С5 И С6+
В ЛАБОРАТОРИИ И ПРИ НЕПРЕРЫВНОМ КОНТРОЛЕ С ИСПОЛЬЗОВАНИЕМ ТРЕХ КОЛОНОК

ISO 6974-5:2000
Natural gas-Determination of composition with defined uncertainty by gas
chromatography-Part - 5: Determination of nitrogen, carbon dioxide and C1 to C5 and C6+
hydrocarbons for a laboratory and on-line process application using three columns
(MOD)

Москва
Стандартинформ
2009

Предисловие

Цели, основные принципы и основной порядок проведения работ по межгосударственной стандартизации установлены ГОСТ 1.0-92 «Межгосударственная система стандартизации. Основные положения» и ГОСТ 1.2-97 «Межгосударственная система стандартизации. Стандарты межгосударственные, правила и рекомендации по межгосударственной стандартизации. Порядок разработки, принятия, применения, обновления и отмены»

Сведения о стандарте

1 ПОДГОТОВЛЕН Открытым акционерным обществом «Газпром» и Федеральным государственным унитарным предприятием «Всероссийский научно-исследовательский институт метрологии им. Д.И. Менделеева» (ФГУП «ВНИИМ им. Д.И. Менделеева») на основе собственного аутентичного перевода стандарта, указанного в пункте 4

2 ВНЕСЕН Федеральным агентством по техническому регулированию и метрологии

3 ПРИНЯТ Межгосударственным советом по стандартизации, метрологии и сертификации (протокол № 33 от 6 июня 2008г.)

За принятие стандарта проголосовали:

Краткое наименование страны по MK (ИСО 3166) 004-97

Код страны по MK (ИСО 3168) 004-97

Сокращенное наименование национального органа по стандартизации

Азербайджан

AJ

Азстандарт

Беларусь

BY

Госстандарт Республики Беларусь

Казахстан

KZ

Госстандарт Республики Казахстан

Кыргызстан

KG

Кыргызстандарт

Молдова

MD

Молдова-Стандарт

Российская Федерация

RU

Федеральное агентство по техническому регулированию и метрологии

Таджикистан

TJ

Таджикстандарт

Туркменистан

TM

Главгосслужба «Туркменстандартлары»

Узбекистан

UZ

Узстандарт

Украина

UA

Госпотребстандарт Украины

4 Настоящий стандарт является модифицированным по отношению к международному стандарту ИСО 6974-5:2000 «Газ природный. Определение состава методом газовой хроматографии с оценкой неопределенности. Часть 5. Определение азота, диоксида углерода и углеводородов С1 - С5 и С6+ в лаборатории и при непрерывном контроле процесса с использованием трех колонок» (ISO 6974-5:2000 «Natural gas - Determination of composition with defined uncertainty by gas chromatography - Part 5: Determination of nitrogen, carbon dioxide and C1 to C5 and C6+ hydrocarbons for a laboratory and on-line process application using three columns»). При этом дополнительные положения, включенные в текст стандарта для учета потребностей национальной экономики и/или особенностей межгосударственной стандартизации, выделены курсивом

5 Приказом Федерального агентства по техническому регулированию и метрологии от 3 декабря 2008 г. № 340-ст межгосударственный стандарт ГОСТ 31371.5-2008 введен в действие в качестве национального стандарта Российской Федерации с 1 января 2010 г.

6 ВВЕДЕН ВПЕРВЫЕ

Информация о введении в действие (прекращении действия) настоящего стандарта публикуется в указателе «Национальные стандарты».

Информация об изменениях к настоящему стандарту публикуется в указателе «Национальные стандарты», а текст изменений - в информационных указателях «Национальные стандарты». В случае пересмотра или отмены настоящего стандарта соответствующая информация будет опубликована в информационном указателе «Национальные стандарты»

СОДЕРЖАНИЕ

Предисловие

Введение

1 Область применения

2 Нормативные ссылки

3 Принцип анализа

4 Материалы

5 Аппаратура

6 Методика проведения анализа

6.1 Условия работы газового хроматографа

6.2 Градуировка

6.3 Требования к аналитическим характеристикам газохроматографической системы

6.3.1 Разделение пиков

6.3.2 Хроматограмма

6.4 Выполнение измерений

6.4.1 Продувка крана-дозатора

6.4.2 Анализ

7 Выражение результатов

7.1 Прецизионность и точность

8 Протокол анализа

Приложение А (справочное) Методика установки времени срабатывания кранов

Приложение В (справочное) Типичные значения прецизионности

Приложение С (справочное) Сведения о соответствии ссылочных международных стандартов межгосударственным стандартам

Библиография

 

Введение

Комплекс межгосударственных стандартов ГОСТ 31371.1-2008 (ИСО 6974-1:2000) - ГОСТ 31371.6-2008 (ИСО 6974-6:2002) и ГОСТ 31371.7-2008 под общим наименованием «Газ природный. Определение состава методом газовой хроматографии с оценкой неопределенности» (далее - комплекс стандартов) состоит из следующих частей:

- Часть 1. Руководство по проведению анализа;

- Часть 2. Характеристики измерительной системы и статистические оценки данных;

- Часть 3. Определение водорода, гелия, кислорода, азота, диоксида углерода и углеводородов до С8 с использованием двух насадочных колонок;

- Часть 4. Определение азота, диоксида углерода и углеводородов С1 - С5 и С6+ в лаборатории и с помощью встроенной измерительной системы с использованием двух колонок;

- Часть 5. Определение азота, диоксида углерода и углеводородов С1 - С5 и С6+ в лаборатории и при непрерывном контроле с использованием трех колонок;

- Часть 6. Определение водорода, гелия, кислорода, азота, диоксида углерода и углеводородов С1 - С8 с использованием трех капиллярных колонок;

- Часть 7. Методика выполнения измерений молярной доли компонентов.

Комплекс стандартов распространяется на измерения молярной доли компонентов природного газа хроматографическим методом с оценкой неопределенности измерений.

Части 1 - 6 являются модифицированными по отношению к соответствующим международным стандартам ИСО 6974-1 - ИСО 6974-6.

В части 7 приведена методика выполнения измерений молярной доли компонентов природного газа, адаптирующая положения международных стандартов ИСО 6974-1 - ИСО 6974-6 с учетом потребностей национальной экономики стран СНГ и особенностей межгосударственной стандартизации.

В настоящем стандарте описан прецизионный метод определения состава природного газа. Полученные данные по составу используют для вычисления теплоты сгорания, относительной плотности и числа Воббе.

В данном методе используется автоматическое переключение нескольких хроматографических колонок, выбранных по их разделяющей способности в отношении отдельных групп компонентов.

В настоящем стандарте представлен один из методов, который можно использовать для определения состава природного газа в соответствии с ГОСТ 31371.1 и ГОСТ 31371.2.

МЕЖГОСУДАРСТВЕННЫЙ СТАНДАРТ

Газ природный
ОПРЕДЕЛЕНИЕ СОСТАВА МЕТОДОМ ГАЗОВОЙ ХРОМАТОГРАФИИ С ОЦЕНКОЙ НЕОПРЕДЕЛЕННОСТИ

Часть 5

ОПРЕДЕЛЕНИЕ АЗОТА, ДИОКСИДА УГЛЕРОДА И УГЛЕВОДОРОДОВ С1 - С5 И С6+
В ЛАБОРАТОРИИ И ПРИ НЕПРЕРЫВНОМ КОНТРОЛЕ С ИСПОЛЬЗОВАНИЕМ ТРЕХ КОЛОНОК

Natural gas. Determination of composition with defined uncertainty by gas chromatography
method. Part 5. Determination of nitrogen, carbon dioxide and C1 to C5 and C6+ hydrocarbons for a
laboratory and on-line process application using three columns

Дата введения - 2010-01-01

1 Область применения

Настоящий стандарт устанавливает метод количественного газохроматографического определения содержания компонентов природного газа с использованием трех колонок. Метод применим к анализу природного газа при ограниченном диапазоне значений молярной доли компонентов в непрерывном режиме при автоматической периодической градуировке для газовых проб, не содержащих углеводородного конденсата и/или воды. Он применим для анализа газов, содержащих компоненты в диапазонах молярной доли, приведенных в таблице 1. Приведенные диапазоны могут быть уже, чем реализуемые на конкретных хроматографах, и ограничены областью, для которой оценена неопределенность. Метод может быть применен, даже если один или несколько компонентов в пробе этим методом не обнаруживаются.

Настоящий стандарт следует применять совместно с ГОСТ 31371.1 и ГОСТ 31371.2.

Таблица 1 - Диапазоны молярной доли компонентов, на которые распространяется настоящий стандарт

Компонент

Диапазон молярной доли, %

Азот

0,001 - 15,0

Диоксид углерода

0,001 - 8,5

Метан

75 - 100

Этан

0,001 - 10,0

Пропан

0,001 - 3,0

Изобутан (2-метилпропан)

0,001 - 1,0

н-Бутан

0,001 - 1,0

Неопентан (2,2-диметилпропан)

0,001 - 0,5

Изопентан (2-металбутан)

0,001 - 0,5

н-Пентан

0,001 - 0,5

Гексаны + сумма всех углеводородов С6 и выше

0,001 - 1,0

Примечание 1 - Более тяжелые углеводороды, чем н-пентан, рассматриваются как «псевдокомпонент» С6+, который измеряется как один составной пик и градуируется как таковой. Реальный состав С6+ определяют расширенным анализом отдельных С6 и более тяжелых углеводородов или исходя из статистических данных.

Примечание 2 - Обычно природный газ не содержит кислорода и он отсутствует в газовой пробе для потокового прибора. Если кислород присутствует в результате загрязнения пробы воздухом, то он будет измеряться суммарно с азотом. Определение суммарного значения молярной доли (кислород + азот) по сравнению с раздельным измерением молярной доли этих компонентов будет вносить небольшой вклад в погрешность результата измерений из-за маленькой разности между откликами детектора на кислород и азот. Тем не менее, результат для смеси природный газ/воздух будет обоснованно точным, поскольку ни один из компонентов не вносит вклада в значение теплоты сгорания.

Примечание 3 - Содержание гелия и аргона предполагается пренебрежимо малым и не изменяющимся, так что нет необходимости определять эти газы 1).

1) Примечание 3 справедливо также для водорода.

Настоящий стандарт следует применять как руководство для создания рабочих процедур в соответствии с ГОСТ 8.010 для конкретных измерительных задач с учетом норм точности, приведенных в ГОСТ 31371.7.

Примечание - Дополнительное положение направлено на обеспечение разработки нормативных документов по анализу компонентного состава природного газа в конкретных условиях применения, значительно отличающихся от условий, установленных в комплексе стандартов, и с учетом современного парка приборов.

2 Нормативные ссылки

В настоящем стандарте использованы нормативные ссылки на следующие межгосударственные стандарты:

ГОСТ 8.010-99 2) Государственная система обеспечения единства измерений. Методики выполнения измерений. Основные положения

2) На территории Российской Федерации действует ГОСТ Р 8.563-96.

ГОСТ 31371.1-2008 (ИСО 6974-1:2000, MOD) Газ природный. Определение состава газовой хроматографии с оценкой неопределенности. Часть 1. Руководство по проведению анализа

ГОСТ 31371.2-2008 (ИСО 8974-2:2001, MOD) Газ природный газ. Определение состава методом газовой хроматографии с оценкой неопределенности. Часть 2. Характеристики измерительной системы и статистические оценки данных

ГОСТ 31371.7-2008 Газ природный. Определение состава методом газовой хроматографии с оценкой неопределенности. Часть 7. Методики выполнения измерений молярной доли компонентов

Примечание - При пользовании настоящим стандартом целесообразно проверить действие ссылочных стандартов по указателю «Национальные стандарты», составленному по состоянию на 1 января текущего года, и по соответствующим информационным указателям, опубликованным в текущем году. Если ссылочный стандарт заменен (изменен), то при пользовании настоящим стандартом следует руководствоваться заменяющим (измененным) стандартом. Если ссылочный стандарт отменен без замены, то положение, в котором дана ссылка на него, применяется в части, не затрагивающей эту ссылку,

3 Принцип анализа

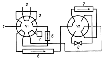
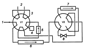
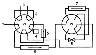
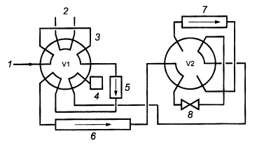
Определение азота, диоксида углерода и углеводородов от С1 до С6+высшие проводят методом газовой хроматографии на трех колонках с использованием приемов переключения потока газа-носителя и обратной продувки. Возможные варианты системы показаны на рисунке 1. Три хроматографические колонки соединяют двумя 6-портовыми кранами для управления вводом пробы и операциями по обратной продувке (в качестве альтернативы используют один 10-портовый кран), после разделения проба поступает на вход детектора по теплопроводности (ДТП), который используют для количественного определения компонентов.

Газовая проба попадает в соединенные между собой хроматографические колонки, разделяющие компоненты по их температурам кипения: углеводороды С6 и более тяжелые удерживаются короткой колонкой 1; длинная колонка 2 удерживает углеводороды С3 - С5. Более легкие компоненты (азот, метан, диоксид углерода и этан) в неразделенном виде проходят в колонку с полимерной насадкой, пригодной для их разделения. Краном-переключателем автоматически изменяется направление движения газа-носителя. При обратной продувке колонки 1, расположенной как можно ближе к детектору, более тяжелые углеводороды С6+ (определяемые как рекомбинированный «псевдокомпонент», а не суммированием результатов измерений содержания отдельных компонентов) выходят первыми и количественно определяются как один пик.

а - Кран 1 (V1) в положении 1 и кран 2 (V2) в положении 1

b - Кран 1 (V1) в положении 2 и кран 2 (V2) в положении 1

с - Кран 1 (V1) в положении 1 и кран 2 (V2) в положении 2

Рисунок 1 - Схема переключения кранов при анализе природного газа

d - Кран 1 (V1) в положении 2 и кран 2 (V2) в положении 2

1 - газ-носитель; 2 - ввод пробы; 3 - петля дозатора; 4 - ДТП; 5 - колонка 1; 6 - колонка 2; 7 - колонка 3; 8 - ограничитель А

Рисунок 1, лист 2

Затем выходят разделенные на колонке 2 углеводороды С3 - С5 и количественно определяются ДТП. Наконец, с помощью повторного направления газа-носителя в колонку с полимерной насадкой проводится разделение легких компонентов, т.е. азота, диоксида углерода, метана и этана, которые количественно определяются детектором ДТП. Шестипортовый кран соединяет эту колонку с потоком газа-носителя или направляет его в обход во время измерения компонентов С3 - С5.

На колонках происходят следующие процессы разделения:

Колонка 1 удерживает компоненты С6+, анализируемые при обратной продувке в виде одного неразделенного пика.

Колонка 2 разделяет пропан, изобутан, н-бутан, неопентан, изопентан и н-пентан (которые элюируются после того, как С6+ вышел из колонки 1).

Колонка 3 удерживает и разделяет азот, метан, диоксид углерода и этан, которые элюируются после того, как н-пентан вышел из колонки 2.

4 Материалы

4.1 Газ-носитель гелий (Не) с содержанием основного компонента не менее 99,99%, свободный от кислорода и воды.

4.2 2,2-диметил-бутан, используемый для проверки полноты обратной продувки, с содержанием основного компонента не менее 95%.

4.3 Рабочие эталонные газовые смеси (ГСО), состав которых следует выбирать близким к составу ожидаемой пробы 1).

1) Относительное отклонение значений молярной доли компонента в ГСО и анализируемой пробе не должно превышать значений, указанных в ГОСТ 31371.2, таблица 1.

Природный газ в баллоне под давлением, содержащий все компоненты, молярная доля которых измерена этим методом, предназначается для применения в лаборатории в качестве контрольного газа.

ГСО готовят гравиметрическим методом в соответствии с [1] и/или аттестуют и подтверждают содержание компонентов по [2]. В состав ГСО должны входить азот, диоксид углерода, метан, этан, пропан, н-бутан, изобутан и, возможно, изопентан, н-пентан, неопентан и н-гексан.

5 Аппаратура

5.1 Лабораторная газохроматографическая система, состоящая из следующих компонентов:

5.1.1 Газового хроматографа (ГХ), работающего в изотермическом режиме и оборудованного следующими устройствами:

a) термостатом колонок, обеспечивающим поддержание температуры в пределах ± 0,1°С в диапазоне от 70°С до 105°С;

b) термостатом крана/кранов, обеспечивающим поддержание температуры в диапазоне от 70°С до 105°С, или, в качестве альтернативы, возможно размещение кранов в термостате колонок;

c) регуляторами потока, обеспечивающими регулирование расхода газа-носителя.

5.1.2 Устройства ввода пробы, состоящего из 10-портового крана ввода пробы V1, используемого также для обратной продувки компонентов С6+ (для этой цели можно использовать два 6-портовых крана) (рисунок 1).

5.1.3 Крана для изолирования колонки, 6-портового крана для направления потока газа в колонку с пористым полимером (колонка 3) (рисунок 1, кран 2).

5.1.4 Металлических колонок, заполненных Chromosorb PAW с 28% DC-200/500 или Porapak N с 15% DC-200/500, удовлетворяющих требованиям эффективности, приведенным в 6.3, содержащих сорбенты и имеющих размеры, приведенные в качестве примеров, для использования вместе с соответствующими кранами ввода пробы и ДТП.

Можно использовать любую другую комбинацию колонок, которая обеспечивает аналогичное разделение и удовлетворяет требованиям к эффективности. Можно выбрать микронасадочные или даже капиллярные колонки с подходящими по размерам системами ввода проб и детекторов, в которых насадки или материалы покрытий могут различаться.

Колонки должны удовлетворять следующим требованиям:

a) металлическая трубка:

- колонка 1: длина 0,75 м, внутренний диаметр 2 мм,

- колонка 2: длина 5,2 м, внутренний диаметр 2 мм,

- колонка 3: длина 2,4 м, внутренний диаметр 2 мм;

b) сорбент:

- колонка 1: Chromosorb PAW (45 - 60 меш) с 28 % DC-200/500;

- колонка 2: Chromosorb PAW (45 - 60 меш) с 28 % DC-200/500;

- колонка 3: Porapak N (50 - 80 меш) с 15 % DC-200/500 для разделения азота, метана, диоксида углерода и этана.

Примечание - Колонки 1 и 2 являются колонками, разделяющими в соответствии с температурой кипения пропан, изобутан, н-бутан, неопентан, изопентан, н-пентан. Они фактически являются одной колонкой, разделенной на короткую и длинную секции для быстрой обратной продувки компонентов С6+ в детектор;

c) метод заполнения: любой подходящий метод, обеспечивающий однородное заполнение колонки и характеристики эффективности в соответствии с 6.3. Если колонка приобретается отдельно, как часть системы, или заполняется индивидуально, то ее эффективность должна удовлетворять требованиям спецификации. При индивидуальном заполнении предполагается, что ее заполнение будет проведено по принятой методике.

Примечание - Используют следующий метод заполнения: закрывают выход колонки пористым диском или пробкой из стекловаты. К входу колонки подсоединяют емкость с насадкой в количестве, большем, чем нужно для заполнения ею колонки, и подают в эту емкость азот при избыточном давление 0,4 МПа. Подаче насадки в колонку способствует вибрация. После заполнения колонки медленно сбрасывают давление, затем отсоединяют емкость;

d) регенерация: на свежеприготовленных колонках можно получить более стабильные нулевые линии с помощью их кондиционирования в потоке газа-носителя в течение 8 ч при температуре на 50°С выше температуры применения. Если это необходимо, но трудно реализовать в газовом хроматографе, в котором: предполагается использовать колонки, то их можно кондиционировать в другом термостате.

5.1.5 ДТП с постоянной времени не больше 0,1 с и внутренним объемом, соответствующим размерам колонки и используемой скорости газа.

5.1.6 Системы измерений параметров пиков с контроллером, имеющей широкий диапазон чувствительности (0 - 1 В) и обеспечивающей измерение высоты/площади пиков на наклонной нулевой линии и контроль автоматического управления кранами в соответствии с выбранной оператором последовательностью.

5.1.7 Вспомогательного оборудования, состоящего из кранов, газопроводов и любых других приспособлений для контроля потока отбираемого в хроматограф газа и для отключения этого потока на определенный период перед вводом пробы.

6 Методика проведения анализа

6.1 Условия работы газового хроматографа

Должны соблюдаться следующие условия работы аппаратуры (5.1):

a) термостат колонки: температура от 70°C до 105°С с погрешностью поддержания в пределах ± 01°С;

b) скорость потока газа-носителя: зависит от диаметра колонки. Для газа-носителя, протекающего через все колонки от колонки 1 в колонку 2 и колонку 3 (рисунок 1b), устанавливают скорость потока такой, чтобы получить среднюю линейную скорость потока (общая длина колонки, деленная на время удерживания азота) от 10 до 15 см/с;

c) краны: если краны не помещены в термостат колонок, устанавливают их температуру от 70°С до 150°С (но не ниже температуры колонки) в изотермическом режиме с погрешностью поддержания в пределах ± 2°С;

d) детектор: ДТП

- установка температуры: от 70°С до 105°С;

- установка тока моста: в соответствии с инструкциями изготовителя;

e) система измерений параметров пиков с контроллером: устанавливают в соответствии с инструкциями изготовителя.

Настраивают газовый хроматограф в соответствии с инструкциями изготовителя. В таблице 2 приведены обобщенные данные по колонкам и рабочим условиям для типового варианта реализации этого метода.

Таблица 2 - Типичные условия работы хроматографа

Характеристики колонки

Колонка 1

Колонка 2

Колонка 3

Нанесенная фаза

Силиконовое масло DC-200/500

Силиконовое масло DC-200/500

Силиконовое масло DC-200/500

Содержание, %

28

28

15

Инертный носитель

Chromosorb PAW

Chromosorb PAW

-

Сорбент

-

-

Porapak N

Фракция, меш

45/60

45/60

50/80

Длина колонки, м

0,75

5,2

2,4

Внутренний диаметр колонки, мм

2

2

2

Материал

Нержавеющая сталь

Условия работы газового хроматографа

Температура термостата, °С

100

Газ-носитель

Гелий

Давление, кПа (бар)

400 (4)

Скорость газа-носителя, мл/мин

28

Детектор

ДТП

Температура детектора, °С

100

Устройство ввода

Кран

Температура устройства ввода, °С

100

Объем пробы, мл

0,1

6.2 Градуировка

Градуировку прибора проводят в соответствии с методиками, описанными в ГОСТ 31371.1 и ГОСТ 31371.2.

Применение для градуировки одного эталона сравнения допустимо в том случае, если градуировочная зависимость для этого компонента представляет собой прямую линию, проходящую через начало координат, или если она является другой функцией, вид которой был надежно установлен. Если градуировочная зависимость отличается от предполагаемой, то применение одного эталона сравнения будет вносить погрешность. Значение погрешности можно оценить при проверке линейности с применением метода, приведенного в [1], с помощью приготовленных по [2] газовых смесей, охватывающих широкий диапазон. Описание метода такой проверки находится вне сферы действия настоящего стандарта.

6.3 Требования к аналитическим характеристикам газохроматографической системы

6.3.1 Разделение пиков

Важно, чтобы все компоненты измерялись при отсутствии наложения других пиков. Возможные влияния наложения пиков можно оценить с помощью определения разрешения пиков. Разрешение пиков оценивают как наименьшую разность для идентифицируемого компонента между показаниями регистрирующего или отображающего устройства, которая может быть достоверно различена. Хотя важно разделение всех пиков, на практике для природного газа критические пары пиков отсутствуют. Однако приемлемое разделение одной пары пиков может означать приемлемое разделение других пиков.

Необходимое разрешение, вероятно, меняется в зависимости от требуемой неопределенности измерения содержания компонента, хотя в некоторых случаях и недостаточное разрешение может считаться приемлемым. При корректной реализации методики следует ожидать получения значений разрешения пиков, приведенных в таблице 3. Для получения более высокого разрешения может потребоваться изменение размеров колонки, температуры и скорости потока, а также, вероятно, более продолжительное время анализа.

Таблица 3 - Разрешение пиков

Компонент 1

Компонент 2

Приемлемое разрешение

Высокое разрешение

Изобутан

н-Бутан

1,0

1,5

Азот

Метан

0,75

1,5

Диоксид углерода

Этан

2,0

2,3

Проверка разрешения должна являться частью аналитического цикла, а не какой-то альтернативной процедурой, разработанной только для определения этих параметров.

6.3.2 Хроматограмма

На рисунке 2 приведена типичная хроматограмма.

Порядок выхода компонентов не должен изменяться, но действительные значения времени удерживания следует определять для каждой отдельной системы.

Измеряют площади или высоты пиков компонентов с помощью интегратора или системы обработки данных (используют площади всех основных компонентов, но в некоторых случаях высоты пиков дают лучшую сходимость для некоторых компонентов с малым содержанием, таких как пентаны, где пики являются как маленькими, так и относительно широкими). Параметры интегрирования устанавливают такими, чтобы можно было корректно выделить нулевую линию и чтобы на измерения пиков не оказывало влияние переключение кранов.

Рисунок 2 - Пример типичной хроматограммы

6.4 Выполнение измерений

6.4.1 Продувка крана-дозатора

Продувают кран-дозатор анализируемым газом, при этом объем продувочного газа должен быть не менее чем 20-кратный суммарный объем петли крана-дозатора и подводящих трубок.

Прекращают продувку, дают газу достичь температуры крана и окружающего давления, после этого начинают аналитический цикл, вводя пробу в хроматограф и переключая краны соответствующим образом.

Если используемый объем пробы недостаточен для продувки крана, то загрязнение линий воздухом или предшествующей пробой будет мешать определению. В таком случае увеличивают объем пробы, используемой для продувки.

Примечание - Дозирующую петлю следует продувать газом в течение точного периода времени с определенной скоростью, и затем пробу перед ее вводом выдерживают до выравнивания с давлением окружающей среды. При отсутствии оборудования, которое может подтвердить наступление равновесия, между переключением крана отбора пробы и вводом должно пройти некоторое время.

6.4.2 Анализ

Система анализа, приведенная на рисунке 1, включает 10-портовый кран V1 для ввода проб и обратной продувки и 6-портовый кран V2. Ограничитель А поддерживает пневматический баланс системы, когда изолирована колонка 3. Подробная методика установки времени срабатывания кранов и методика установки ограничения времени приведены в приложении А. (Вместо 10-портового крана можно использовать два 6-портовых крана: один - для контроля ввода пробы, а другой - для обратной продувки колонки 1. Если эти операции выполняют одновременно, то их значения времени срабатывания могут быть такими же, как и время для одного 10-портового крана).

Установки времени переключений кранов должны гарантировать, что:

а) кран V1 возвращается в положение обратной продувки (положение 1) после того, как весь н-пентан выходит из колонки 1, но до того, как первый изомер С6 выходит из колонки 1 по пути в колонку 2;

b) кран V2 переключается для того, чтобы отделить колонку 2 (положение 2) до того, как весь пропан выходит из колонки 2 (по пути в колонку 3) и после того, как весь этан вышел из колонки 2 и поступил в колонку 3;

c) кран V2 не поворачивают, чтобы переключить колонку 3 (положение 1), до тех пор, пока не проанализирован весь н-пентан, вышедший из колонки 2 через колонку 1.

7 Выражение результатов

Выражение результатов - в соответствии с ГОСТ 31371.1.

7.1 Прецизионность и точность

Прецизионность и точность - в соответствии с ГОСТ 31371.2. Типичные значения прецизионности приведены в приложении В,

8 Протокол анализа

Протокол анализа оформляют в соответствии с ГОСТ 31371.1, раздел 14,

Приложение А
(справочное)
Методика установки времени срабатывания кранов

А.1 Устанавливают все краны в положение 1 (рисунок 1а) так, чтобы газ-носитель выходил из колонки 2 (длинная, разделяющая по температурам кипения колонка) в колонку 3 (колонка с пористым полимером), в колонку 1 (короткая, разделяющая по температурам кипения колонка), в детектор. Устанавливают температуру колонки и расход потока газа через ДТП в соответствии с документацией изготовителя. При отсутствии таковой устанавливают для систем с колонками диаметром 2 мм температуру 95°С и расход 28 мл/мин.

А.2 Переключают кран 2 в положение 2 (рисунок 1с), в обход колонки 3. Дают потоку газа-носителя стабилизироваться, а затем регулируют положение ограничителя А так, чтобы расход через ДТП равнялся расходу, измеренному в А.1.

А.3 Устанавливают расход газа со сравнительным компонентом через ДТП, равным измеренному в А.1.

А.4 Через кран 2, установленный в положение 2, вводят пробу природного газа, переключив кран 1 в положение 2 (рисунок 1d). Записывают хроматограмму компонентов, выходящих из колонки 2. При этом убеждаются, что время удерживания н-пентана равно двум третям ожидаемого времени цикла анализа. Если оно значительно отличается, то повторяют операции по А.1 после соответствующей регулировки расхода. Затем повторяют операции по А.2 - А.4.

А.5 Если время переключения не указано изготовителем, измеряют время от момента ввода до момента достижения минимума между пиками этана и пропана (tfirst cut). Это будет начальным временем, используемым для удерживания более легких компонентов на колонке 3.

A.6 Обратная продувка

А.6.1 Операция обратной продувки позволяет определить все выходящие последними компоненты С5 (н-С5) с помощью прямого элюирования, а все С6, начиная с наиболее плохо сорбируемого (2,2-диметилбутана) - обратной продувкой. Используют газовую смесь, содержащую н-С5 и 2,2-диметилбутан без С6 или более тяжелых компонентов, для настройки времени переключения крана обратной продувки.

А.6.2 Устанавливают начальное время срабатывания, через которое кран V1 после ввода возвращается в положение 1, на 1 мин (или как рекомендовано изготовителем), а пик, соответствующий н-С5, должен появиться как нормально элюируемый пик с несколько большим временем удерживания, чем время, измеренное по А.4, (так как он должен дважды пройти через колонку 1). При отсутствии пика С6+ на хроматограмме уменьшают установку начального времени срабатывания и повторяют операции, описанные в настоящем подразделе.

А.6.3 Продолжают вводить газовую смесь, увеличивая время обратной продувки (V1 переводят в положение 1) на 0,05 мин для каждого последующего ввода. Отмечают время, при котором начнется уменьшение площади пика С6+ при обратной продувке (в действительности 2,2-диметилбутана).

А.6.4 Продолжают вводить газовую смесь, уменьшая время обратной продувки на 0,05 мин для каждого последующего ввода. Отмечают время, при котором площадь пика С6+ в первый раз становится постоянной (tback, high).

А.6.5 Продолжают вводы при последующих постепенных уменьшениях времени переключения крана обратной продувки до тех пор, пока высота пика н-пентана не начнет уменьшаться при одновременном росте высоты пика С6+. Отмечают самое последнее время переключения крана обратной продувки, при котором площади обоих пиков все еще остаются постоянными (обозначают как tback, low).

А.6.6 Определяют значение tback обратной продувки колонки 1 (V1 переводят в положение 1) по формуле

tback = tback, low + tback, high)/2.

(A.1)

А.7 Установка времени срабатывания крана 2 (V2)

А.7.1 При отсутствии указанного изготовителем времени срабатывания устанавливают время tback обратной продувки (V1 переводят в положение 1) и tfirst cut отключения колонки 3 (V2 переводят в положение 2).

Переключают оба крана в положение 1. Вводят пробу природного газа и после выхода н-пентана переключают кран 2 в положение 1. Отмечают это время как tV2, off и используют его для операций, приведенных далее в настоящем подразделе.

Измеряют площадь пика пропана, вышедшего из колонки 2 (через колонку 1), и площадь пика этана, вышедшего из колонки 3 (также через колонку 1).

А.7.2 Повторяют анализ, последовательно уменьшая tfirst cut с шагом 0,05 мин до тех пор, пока не уменьшится пик этана, вышедшего из колонки 3.

А.7.3 Продолжают повторять анализ, увеличивая теперь tfirst cut с шагом 0,05 мин до тех пор, пока размер пика для этана, вышедшего из колонки 3, не станет постоянным. Отмечают минимальное время срабатывания крана, при котором это происходит, как tfirst low.

А.7.4 Продолжают повторять анализ до тех пор, пока размер пика для пропана, выходящего из колонки 2, начинает уменьшаться. Отмечают время срабатывания крана, при котором начнется уменьшение пика, как tfirst high.

А.7.5 Определяют значение tV2, on как время, необходимое для отключения колонки 3, по формуле

tV2, o = (tfirst, low + tfirst, high)/2.

(A.2)

А.8 Установка конечного времени срабатывания

Реализуют процедуру установки времени срабатывания крана в соответствии с таблицей А.1.

Таблица А.1 - Порядок операций при установлении времени срабатывания

Время

Действие

Положение крана

Вариант соединения

0,01 мин

Ввод

V1 переводят в положение 2

Рисунок 1b

tback

Обратная продувка

V1 переводят в положение 1

Рисунок 1а

tV2, on

В обход колонки 3

V2 переводят в положение 2

Рисунок 1с

tV2, off

Повторное подсоединение колонки 3

V2 переводят в положение 1

Рисунок 1а

Приложение В
(справочное)
Типичные значения прецизионности

Сходимость нормализованных результатов вычисляют по 'формуле

lnr = -4,5+0,25·lnx,

(В.1)

где r- сходимость значений молярной доли компонента, %;

х - значение молярной доли компонента, %.

Типичные значения прецизионности для сходимости и воспроизводимости приведены в таблице В.1

Таблица В.1 - Сходимость и воспроизводимость результатов измерений

В процентах

Молярная доля x, %

Абсолютная сходимость

Абсолютная воспроизводимость

x < 0,1

0,006

0,012

0,1 < х < 1

0,006 - 0,011

0,012 - 0,022

1 < х < 50

0,011 - 0,03

0,022 - 0,06

50 < х < 100

0,03 - 0,035

0,06 - 0,07

Примечание - Приведенные значения были получены экспериментально и указывают на эффективность метода. Их нельзя сравнивать со значениями по прецизионности, упомянутыми в приложениях других частей комплекса стандартов, поскольку они получены, исходя из качества ГСО и опыта участвовавших лабораторий.

Приложение С
(справочное)
Сведения о соответствии ссылочных международных стандартов межгосударственным стандартам

Таблица С.1

Обозначение и наименование международного стандарта

Степень соответствия

Обозначение и наименование межгосударственного стандарта

ИСО 6974-1:2000

«Газ природный. Определение состава методом газовой хроматографии с оценкой неопределенности. Часть 1. Руководство по проведению анализа»

MOD

ГОСТ 31371.1-2008

«Газ природный. Определение состава методом газовой хроматографии с оценкой неопределенности. Часть 1. Руководство по проведению анализа»

ИСО 6974-2:2001

«Газ природный. Определение состава методом газовой хроматографии с оценкой неопределенности. Часть 2. Характеристики измерительной системы и статистические оценки данных»

MOD

ГОСТ 31371.2-2008

«Газ природный. Определение состава методом газовой хроматографии с оценкой неопределенности. Часть 2. Характеристики измерительной системы и статистические оценки данных»

Библиография 1)

[1] ИСО 6142:2001           Газовый анализ. Приготовление калибровочных газовых смесей. Гравиметрический метод

(ISO 6142:2001)         (Gas analysis - Preparation of calibration gas mixtures - Gravimetric method)

[2] ИСО 6143:2001           Газовый анализ. Определение состава калибровочных газовых смесей. Сравнительные методы

(ISO 6143:2001)         (Gas analysis - Determination of the composition of calibration gas mixtures - Comparison methods)

1) Переводы международных стандартов находятся в Федеральном информационном фонде технических регламентов и стандартов,

Ключевые слова: природный газ, компонентный состав, хроматографический метод анализа, насадочные колонки, азот, диоксид углерода, углеводороды, непрерывный контроль, обратная продувка

 

 




ГОСТЫ, СТРОИТЕЛЬНЫЕ и ТЕХНИЧЕСКИЕ НОРМАТИВЫ.
Некоммерческая онлайн система, содержащая все Российские Госты, национальные Стандарты и нормативы.
В Системе содержится более 150000 файлов нормативно-технической документации, действующей на территории РФ.
Система предназначена для широкого круга инженерно-технических специалистов.

Рейтинг@Mail.ru Яндекс цитирования

Copyright © www.gostrf.com, 2008 - 2026