Крупнейшая бесплатная информационно-справочная система онлайн доступа к полному собранию технических нормативно-правовых актов РФ. Огромная база технических нормативов (более 150 тысяч документов) и полное собрание национальных стандартов, аутентичное официальной базе Госстандарта. GOSTRF.com - это более 1 Терабайта бесплатной технической информации для всех пользователей интернета. Все электронные копии представленных здесь документов могут распространяться без каких-либо ограничений. Поощряется распространение информации с этого сайта на любых других ресурсах. Каждый человек имеет право на неограниченный доступ к этим документам! Каждый человек имеет право на знание требований, изложенных в данных нормативно-правовых актах!

  


 

МЕЖГОСУДАРСТВЕННЫЙ СОВЕТ ПО СТАНДАРТИЗАЦИИ, МЕТРОЛОГИИ И СЕРТИФИКАЦИИ
(МГС)

INTERSTATE COUNCIL FOR STANDARDIZATION, METROLOGY AND CERTIFICATION
(ISC)

межгосударственный
стандарт

ГОСТ
12.2.120-
2005

Система стандартов безопасности труда

КАБИНЫ И РАБОЧИЕ МЕСТА ОПЕРАТОРОВ
ТРАКТОРОВ
И САМОХОДНЫХ
СЕЛЬСКОХОЗЯЙСТВЕННЫХ
МАШИН

Общие требования безопасности

Москва

Стандартинформ

2010

Предисловие

Цели, основные принципы и основной порядок проведения работ по межгосударственной стандартизации установлены ГОСТ 1.0-92 «Межгосударственная система стандартизации. Основные положения» и ГОСТ 1.2-2009 «Межгосударственная система стандартизации. Стандарты межгосударственные, правила и рекомендации по межгосударственной стандартизации. Правила разработки, принятия, применения, обновления и отмены»

Сведения о стандарте

1 РАЗРАБОТАН научно-производственным республиканским унитарным предприятием «Белорусский государственный институт стандартизации и сертификации (БелГИСС)»

2 ВНЕСЕН Комитетом по стандартизации, метрологии и сертификации при Совете Министров Республики Беларусь

3 ПРИНЯТ Межгосударственным советом по стандартизации, метрологии и сертификации (протокол 28 от 9 декабря 2005 г.)

За принятие стандарта проголосовали:

Краткое наименование страны по MK (ИСО 3166) 004-97

Код страны по MK (ИСО 3166) 004-97

Сокращенное наименование национального органа по стандартизации

Армения

AM

Минторгэкономразвития

Беларусь

BY

Госстандарт Республики Беларусь

Казахстан

KZ

Госстандарт Республики Казахстан

Кыргызстан

KG

Кыргызстандарт

Молдова

MD

Молдова-Стандарт

Российская Федерация

RU

Федеральное агентство по техническому регулированию и метрологии

Таджикистан

TJ

Таджикстандарт

Узбекистан

UZ

Узстандарт

4 В настоящем стандарте учтены основные нормативные положения следующих европейских Директив:

- 2003/37/ЕС Директива Европейского Парламента и Совета от 26 мая 2003 г. на официальное утверждение типа сельскохозяйственных и лесохозяйственных тракторов, трейлеров к ним и взаимозаменяемых буксируемых машин вместе с их системами, компонентами и отдельными техническими блоками, отменяющая Директиву 74/150/ЕЕС;

- 75/321/ЕЕС Директива Совета от 20 мая 1975 г. относительно сближения законодательств государств-членов, касающихся рулевого управления колесных сельскохозяйственных и лесовозных тракторов;

- 76/432/ЕЕС Директива Совета от 6 апреля 1976 г. относительно сближения законодательств государств-членов, касающихся тормозных устройств колесных сельскохозяйственных и лесопромышленных тракторов;

- 86/415/ЕЕС Директива Совета от 24 июля 1986 г. об установке, расположении, работе и идентификации устройств управления тракторов сельскохозяйственного и лесохозяйственного назначения

5 УТВЕРЖДЕН И ВВЕДЕН В ДЕЙСТВИЕ Приказом Федерального агентства по техническому регулированию и метрологии от 10 ноября 2009 г. 498-ст

6 ВЗАМЕН ГОСТ 12.2.120-88

Информация о введении в действие (прекращении действия) настоящего стандарта публикуется в указателе «Национальные стандарты.

Информация об изменениях к настоящему стандарту публикуется в указателе «Национальные стандарты», а текст изменений - в информационных указателях «Национальные стандарты». В случае пересмотра или отмены настоящего стандарта соответствующая информация будет опубликована в информационном указателе «Национальные стандарты»

Содержание

МЕЖГОСУДАРСТВЕННЫЙ СТАНДАРТ

Система стандартов безопасности труда

КАБИНЫ И РАБОЧИЕ МЕСТА ОПЕРАТОРОВ
ТРАКТОРОВ И САМОХОДНЫХ
СЕЛЬСКОХОЗЯЙСТВЕННЫХ
МАШИН

Общие требования безопасности

Occupational safety standards system. Cabs and operator's workplaces of tractors
and powered agricultural machines. General safety requirements

Дата введения - 2010-07-01

1 Область применения

Настоящий стандарт распространяется на кабины и рабочие места операторов тракторов, самоходных сельскохозяйственных машин, универсальных энергетических средств (далее - машин) и устанавливает требования к размерам минимального пространства, системам доступа на рабочее место оператора, расположению органов управления, условиям труда оператора и защитным свойствам кабины.

Стандарт не распространяется на малогабаритные тракторы и самоходные машины с колеей менее 1150 мм, а также на самоходные машины, предназначенные для работы в закрытых помещениях (теплицах, животноводческих фермах).

2 Нормативные ссылки

В настоящем стандарте использованы ссылки на следующие стандарты:

ГОСТ 12.2.002.2-91* Система стандартов безопасности труда. Тракторы сельскохозяйственные и лесные колесные. Метод статических испытаний защитных конструкций

ГОСТ ЕН 632-2003 Машины сельскохозяйственные. Комбайны зерноуборочные и кормоуборочные. Требования безопасности

ГОСТ ЕН 894-2-2002** Безопасность машин. Эргономические требования по конструированию средств отображения информации и органов управления. Часть 2. Средства отображения информации

ГОСТ ИСО 2867-2002*** Машины землеройные. Системы доступа

ГОСТ ИСО 3164-2002*4) Машины землеройные. Защитные устройства. Характеристика объема ограничения деформации при лабораторных испытаниях

ГОСТ ИСО 3411-2003*5) Машины землеройные. Антропометрические данные операторов и минимальное рабочее пространство вокруг оператора

ГОСТ ИСО 4252-2005 Тракторы сельскохозяйственные. Рабочее место оператора, вход и выход. Размеры

ГОСТ ИСО 4253-2005 Тракторы сельскохозяйственные. Расположение сиденья оператора. Размеры

ГОСТ ИСО 4254-3-2005 Тракторы и машины для сельскохозяйственных работ и лесоводства. Технические средства обеспечения безопасности. Часть 3. Тракторы

ГОСТ ИСО 4254-7-2005 Тракторы и машины для сельскохозяйственных работ и лесоводства. Технические средства обеспечения безопасности. Часть 7. Комбайны зерноуборочные, кормоуборочные и хлопкоуборочные

ГОСТ ИСО 5353-2003*6) Машины землеройные, тракторы и машины для сельскохозяйственных работ и лесоводства. Контрольная точка сиденья

ГОСТ 5727-88 Стекло безопасное для наземного транспорта. Общие технические условия

ГОСТ ИСО 8082-2002*7) Машины лесозаготовительные, тракторы лесопромышленные и лесохозяйственные. Устройство защиты при опрокидывании. Требования безопасности и методы испытаний

ГОСТ ИСО 8083-2002*8) Машины лесозаготовительные, тракторы лесопромышленные и лесохозяйственные. Устройство защиты от падающих предметов. Требования безопасности и методы испытаний

ГОСТ ИСО 8084-2002*9) Машины лесозаготовительные, тракторы лесопромышленные и лесохозяйственные. Устройство защиты оператора. Требования безопасности и методы испытаний

ГОСТ ИСО 11112-2000*10) Машины землеройные. Сиденье оператора. Размеры и технические требования

ГОСТ ИСО 14269-2-2003 Тракторы и самоходные машины для сельскохозяйственных работ и лесоводства. Окружающая среда рабочего места оператора. Часть 2. Метод испытаний и характеристики систем отопления, вентиляции и кондиционирования воздуха

ГОСТ ИСО 14269-5-2003 Тракторы и самоходные машины для сельскохозяйственных работ и лесоводства. Окружающая среда рабочего места оператора. Часть 5. Метод испытания системы герметизации

ГОСТ 20062-96 Сиденье тракторное. Общие технические условия

ГОСТ 21480-76 Система «Человек-машина». Мнемосхемы. Общие эргономические требования

ГОСТ 21753-76 Система «Человек-машина». Рычаги управления. Общие эргономические требования

ГОСТ 26336-97*11) Тракторы, машины для сельского и лесного хозяйства, самоходные механизмы для газонов и садов. Условные обозначения (символы) элементов систем управления, обслуживания и отображения информации

ГОСТ 27258-87 (ИСО 6682-86) Машины землеройные. Зоны комфорта и досягаемости органов управления

ГОСТ 30879-2003 (ИСО 3795:1989) Транспорт дорожный, тракторы и машины для сельскохозяйственных работ и лесоводства. Определение характеристик горения материалов для отделки салона

Примечание - При пользовании настоящим стандартом целесообразно проверить действие ссылочных стандартов по указателю «Национальные стандарты», составленному по состоянию на 1 января текущего года, и по соответствующим информационным указателям, опубликованным в текущем году. Если ссылочный стандарт заменен (изменен), то при пользовании настоящим стандартом следует руководствоваться заменяющим (измененным) стандартом. Если ссылочный стандарта отменен без замены, то положение, в котором дана ссылка на него, применяется в части, не затрагивающей эту ссылку.

*На территории Российской Федерации действует ГОСТ Р ИСО 3463-2008.

**На территории Российской Федерации действует ГОСТ Р ИСО 51341-99.

***На территории Российской Федерации действует ГОСТ Р ИСО 2867-99.

*4)На территории Российской Федерации действует ГОСТ Р ИСО 3164-99.

*5)На территории Российской Федерации действует ГОСТ Р ИСО 3411-99.

*6)На территории Российской Федерации действует ГОСТ 27715-88.

*7)На территории Российской Федерации действует ГОСТ Р ИСО 8082-2005 «Машины для леса самоходные. Устройства защиты при опрокидывании. Технические требования и методы испытаний»

*8)На территории Российской Федерации действует ГОСТ Р ИСО 8083-2008 «Машины для леса. Устройства защиты от падающих предметов. Технические требования и методы испытаний»

*9)На территории Российской Федерации действует ГОСТ Р ИСО 8084-2005 «Машины для леса. Устройства защиты оператора. Технические требования и методы испытаний»

*10)На территории Российской Федерации действует ГОСТ 20062-96 «Сиденье тракторное. Общие технические условия»

*11)На территории Российской Федерации действует ГОСТ 26336-84 «Тракторы и сельскохозяйственные машины, механизированное, газонное и садовое оборудование. Система символов для обозначения органов управления и средств отображения информации. Символы»

3 Требования к конструкции кабины

3.1 Точкой отсчета параметров кабин, зон расположения органов управления является контрольная точка сиденья (SIP) по ГОСТ ИСО 5353.

3.2 Для одноместной кабины минимальное рабочее пространство для оператора должно соответствовать:

- для тракторов - ГОСТ ИСО 4252, для промышленных, лесопромышленных и лесохозяйственных тракторов - ГОСТ ИСО 3411;

- для зерноуборочных, кормоуборочных и хлопкоуборочных комбайнов - ГОСТ ЕН 632 и ГОСТ ИСО 4254-7.

Для остальных машин минимальное рабочее пространство для оператора, рассчитанное на работу сидя, ограниченное элементами кабины и ее оборудования при среднем по регулировкам (вертикальной, горизонтальной и по массе оператора) положении сиденья, - в соответствии с рисунком 1.

Примечание - Минимальное рабочее пространство по 3.2 и 3.3 не определяет форму кабины.

Рисунок 1

Минимальная ширина двухместной кабины машины на высоте от 310 до 810 мм над SIP должна быть не менее 1400 мм.

3.3 Минимальное рабочее пространство в кабинах, рассчитанных на работу оператора в положении стоя, - по ГОСТ ИСО 3411.

3.4 Для машин с реверсивным постом управления минимальное рабочее пространство и размеры кабины при реверсивном управлении - по техническим условиям (ТУ) на машины конкретных моделей.

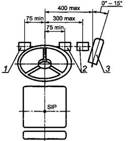
3.5 Размеры дверного проема и прохода при максимально возможной открытой двери для кабин тракторов, кроме лесопромышленных и лесохозяйственных, - по ГОСТ ИСО 4252, для кабин зерноуборочных, кормоуборочных и хлопкоуборочных комбайнов - по ГОСТ ЕН 632 и ГОСТ ИСО 4254-7, для остальных машин - в соответствии с рисунком 2. Для лесопромышленных и лесохозяйственных тракторов - по ГОСТ ИСО 2867.

Для колесных тракторов классов менее 1,4 допускается по согласованию с потребителем уменьшение высоты дверного проема не более чем на 50 мм.

*Высота дверного проема при максимально возможной открытой двери кабины, предназначенной для работы стоя.

**Минимальная высота дверного проема для кабин, предназначенных для работы сидя.

Примечание - Чертеж не определяет форму дверного проема.

Рисунок 2

3.6 Машины, за исключением самоходных сельскохозяйственных машин, гусеничных сельскохозяйственных, лесопромышленных и лесохозяйственных тракторов (кроме виноградниковых тракторов) должны быть оборудованы защитными кабинами или иметь устройства, обеспечивающие ограничение деформации при опрокидывании машины и (или) падении на кабину случайных предметов.

Промышленные тракторы должны быть оборудованы защитными кабинами или устройствами по требованию потребителя.

Размеры и расположение относительно точки SIP и сиденья операторов:

- зоны свободного пространства для защитных кабин (устройств) колесных сельскохозяйственных тракторов - по ГОСТ 12.2.002.2;

- объема ограничения деформации для защитных кабин (устройств) промышленных, лесопромышленных и лесохозяйственных тракторов - по ГОСТ ИСО 3164.

Лесопромышленные и лесохозяйственные тракторы должны быть оснащены кабинами и оборудованы устройствами защиты при опрокидывании по ГОСТ ИСО 8082, от падающих предметов - по ГОСТ ИСО 8083 и проникающих предметов - по ГОСТ ИСО 8084.

При двухместной кабине аналогичное ограничение деформации должно быть обеспечено и для второго рабочего места.

Для кабин с реверсивным постом управления ограничение деформации кабины должно быть обеспечено для обоих положений поста управления.

3.7 В случае установки защитного каркаса или дуги безопасности следует выполнять требования 3.2, 3.3 и 3.6.

3.8 Кабины тракторов, кроме лесопромышленных и лесохозяйственных, должны иметь аварийные выходы по ГОСТ ИСО 4252, кабины зерноуборочных, кормоуборочных, хлопкоуборочных комбайнов - по ГОСТ ЕН 632 и ГОСТ ИСО 4254-7. Кабины лесопромышленных и лесохозяйственных тракторов должны иметь запасной (второй) выход по ГОСТ ИСО 2867.

Остальные машины должны иметь не менее трех аварийных выходов, которыми могут служить двери, окна, люки. Аварийные выходы должны быть расположены на разных сторонах (стенках, крыше) кабины и иметь форму эллипса с главными осями 640 и 440 мм или квадрата со стороной 600 мм, ил и прямоугольника 650 × 470 мм, или круга диаметром 650 мм.

Аварийные выходы должны открываться без помощи инструмента. Если аварийными выходами являются застекленные окна, то в кабине должны находиться средства, которыми при аварийной ситуации можно разбить или выставить стекло аварийного выхода.

3.9 Кабины машин должны защищать оператора от атмосферных осадков.

4 Требования к оборудованию кабин

4.1 Кабины самоходных сельскохозяйственных машин должны быть оборудованы стеклоочистителями передних стекол, а остальных машин - передних и задних стекол.

Число стеклоочистителей должно быть установлено в ТУ на машины конкретных моделей.

Стеклоочистители должны работать независимо от режима работы двигателя и скорости движения машины.

Допускается при отсутствии реверсивного поста управления для стеклоочистителей задних стекол иметь только ручной привод.

4.2 Кабины тракторов должны быть оборудованы омывателями передних стекол.

Установка омывателей передних стекол в кабинах остальных машин - по требованию заказчика.

4.3 Кабины машин должны быть застеклены стеклами по ГОСТ 5727 или другими стеклами при условии обеспечения требований безопасности по ГОСТ 5727.

По требованию заказчика допускается остекление окон кабин операторов машин теплопоглощающими стеклами.

4.4 Открываемые окна кабины машины должны открываться изнутри и иметь устройство для фиксации их в открытом и закрытом положениях.

4.5 Двери кабин машин должны иметь замки, запирающиеся на ключ, и фиксатор для удержания их в крайнем открытом положении.

Допускается устанавливать замок на одной двери при наличии на другой двери внутреннего запора.

Аварийные люки (при их наличии) должны иметь внутренние запоры.

4.6 Рабочее место оператора тракторов, кроме лесопромышленных и лесохозяйственных, и машин должно быть оборудовано подрессоренным сиденьем со спинкой по ГОСТ 20062. Лесопромышленные и лесохозяйственные тракторы должны быть оснащены сиденьем - по ГОСТ ИСО 11112.

На специальных модификациях сельскохозяйственных тракторов в технически обоснованных случаях по согласованию с потребителем допускается установка неподрессоренного сиденья.

Для рабочих мест с реверсивным постом управления должен обеспечиваться поворот сиденья на 180° с фиксацией его в рабочих положениях.

При необходимости несимметричного расположения сиденья допускается по согласованию с заказчиком уменьшение расстояния до ближайшей боковой стенки не более чем на 75 мм.

Размеры дополнительного сиденья при его наличии - по ТУ на машины конкретных моделей.

4.7 Кабины машин должны быть оборудованы плафонами внутреннего освещения с автономным включением.

Рекомендуемая освещенность на уровне пульта управления и щитка приборов от внутреннего освещения кабины - не менее 5 лк.

4.8 В кабине машин должны быть предусмотрены места для расположения футляра с аптечкой первой медицинской помощи, устройств для крепления термоса или другой емкости для питьевой воды и для верхней одежды оператора.

4.9 В кабине машин должно быть предусмотрено место для установки радиоприемника и антенны.

4.10 Кабины машин должны быть оборудованы устройством, защищающим лицо оператора от прямых солнечных лучей.

4.11 Кабины колесных машин, которые могут перемещаться по дорогам общего пользования, должны быть оборудованы наружными зеркалами заднего вида слева и справа. Кабины самоходных сельскохозяйственных машин, кроме комбайнов зерноуборочных и кормоуборочных, должны быть оборудованы наружным зеркалом заднего вида только слева, обеспечивающим обзор назад. Оборудование зеркалами кабин зерноуборочных и кормоуборочных комбайнов - по ГОСТ ЕН 632.

4.12 Контрольные приборы в кабине машины должны иметь подсветку, исключающую появление бликов.

4.13 Материалы, применяемые для отделки салона кабин тракторов и машин, должны быть неогнеопасными по ГОСТ 30879.

5 Требования к рабочему месту оператора

5.1 Кабины должны быть оборудованы системами вентиляции и отопления. Рабочие характеристики систем вентиляции и отопления рабочего места оператора должны соответствовать ГОСТ ИСО 14269-2.

Конструкция кабины должна обеспечивать герметичность по ГОСТ ИСО 14269-5.

Для самоходных машин, предназначенных для эксплуатации преимущественно в теплый период года, допускается не устанавливать систему отопления.

При установке кондиционера рабочие характеристики системы кондиционирования воздуха должны соответствовать ГОСТ ИСО 14269-2.

5.2 Концентрация пыли в кабине в зависимости от содержания SiO2 не должна быть более указанной в таблице 1.

Таблица 1

Содержание кристаллического SiO2 в пыли, %

Средняя концентрация пыли, мг/м3

До 2

Св. 2 до 10

Св. 10 до 70

Св. 70

10

4

2

1

5.3 Концентрация окиси углерода в кабине при работающем двигателе не должна быть выше 20 мг/м3.

5.4 Расположение педалей и рулевого колеса относительно точки SIP для тракторов - по ГОСТ ИСО 4253. Для машин размеры, взаимное расположение сиденья, рулевого колеса, педалей муфты сцепления и тормоза при выбранном свободном ходе должны соответствовать приведенным на рисунках 3, 4 и в таблице 2. Регулируемая рулевая колонка при этом должна находиться в среднем по регулировкам положении.

1 - рулевое колесо; 2 - педали тормоза и муфты сцепления

Примечание - Размеры на чертеже указаны при следующих условиях:

- педали находятся в положении, когда выбран свободный ход;

- сиденье нагружено и находится в среднем по регулировкам положении.

Рисунок 3

1 - сцепление; 2 - тормоз; 3 - акселератор

Рисунок 4

Таблица 2

В миллиметрах

А
±20

В
±20

435

715

455

695

475

685

495

665

515

645

535

625

Расположение органов управления лесопромышленных и лесохозяйственных тракторов - по ГОСТ 27258.

Расположение основных и вспомогательных органов управления для машин с реверсивным постом управления - по ТУ на машины конкретных моделей.

5.5 Зоны досягаемости рук и ног оператора для тракторов - по ГОСТ ИСО 4254-3, для зерноуборочных и кормоуборочных комбайнов - по ГОСТ ЕН 632.

Для остальных машин при работе оператора в положении сидя:

- в зоне В (рисунок 5) не должно быть никаких элементов, которые могут мешать оператору пользоваться органами управления;

- в зоне А должно обеспечиваться свободное пространство не менее 120 мм между соседними движущимися элементами.

Рисунок 5 - Сферические зоны свободного пространства

5.6 Типовые способы приведения в действие основных органов управления даны в приложении А.

5.7 Расположение рулевого колеса для тракторов - по ГОСТ ИСО 4253, для зерноуборочных и кормоуборочных комбайнов - по ГОСТ ЕН 632. Для остальных машин рулевое колесо должно располагаться относительно горизонтальной плоскости в пределах 10° - 30° при работе сидя и в пределах 0°-30° - при работе стоя, при этом регулирование следует проводить бесступенчато или с фиксацией не менее чем в четырех положениях, рулевое колесо этих машин должно иметь регулирование по высоте (вдоль оси колонки) на (100 ± 20) мм бесступенчато или с фиксацией не менее чем в пяти положениях.

5.8 Расположение органов управления для тракторов - по ГОСТ ИСО 4252, для зерноуборочных и кормоуборочных комбайнов - по ГОСТ ЕН 632.

Для остальных машин расстояния от рукояток рычагов управления (во всех положениях) до элементов рабочего места и между рукоятками, кроме рычагов, приводимых в движение одновременно горизонтально расположенной кистью, должны быть не менее 50 мм для приводимых в движение кистью с управляющим усилием свыше 150 Н и не менее 25 мм - для приводимых в действие пальцами с управляющим усилием от 80 до 150 Н (кроме органов управления двигателем).

Минимальная длина свободной части рычага вместе с рукояткой в любом его положении, приводимого в движение пальцами, должна быть не менее 50 мм, приводимого в движение кистью - не менее 150 мм.

5.9 Эргономические требования по конструированию средств органов управления - по ГОСТ ЕН 894-2. Размеры рукояток рычагов и других ручных органов управления - по ГОСТ 21753.

5.10 Опорные площадки основных педалей должны иметь длину и ширину не менее чем по 60 мм.

Если в кабине машины не предусмотрены педали управления, то на полу кабины должны быть наклонные упоры или опорные площадки для ног под углом 25°-40° к горизонтали, покрытые малотеплопроводным материалом. Размеры их должны обеспечивать устойчивое положение ног оператора.

5.11 Расстояние между кромками площадок рядом расположенных неблокируемых педалей должно быть в пределах 50-100 мм, блокируемых - 5-20 мм. Угол разворота от продольной оси машины опорных площадок педалей, приводимых в действие стопой ноги, не должен превышать 15°.

5.12 Силы сопротивления перемещению органов управления не должны превышать значений, приведенных в таблице 3.

Таблица 3

Управляемый орган

Сила сопротивления, Н

Ножное управление

Ручное управление

Рекомендуемое значение

Максимальное значение

Рекомендуемое значение

Максимальное значение

Муфта главного сцепления

120

250

-

-

Коробка переключения передач:

 

 

 

 

- без разрыва потока мощности

-

-

60

-

- с разрывом потока мощности

-

-

160

-

Механизм поворота:

 

 

 

 

- без усилителя

-

-

-

250

-с усилителем:

 

 

 

 

на рулевом колесе

-

-

-

30

на рулевом колесе с гидрообъемным приводом при аварийной ситуации

-

-

-

600

на рычагах

-

-

40

60

Рабочий тормоз

200

600

160

200

Стояночный тормоз

-

-

200

400

Регулятор частоты вращения двигателя

50

90

30

80

Деселератор

60

120

90

120

Распределитель гидросистемы:

 

 

 

 

- механический привод (рычаги)

-

-

60

100

- электрогидравлический привод:

 

 

 

 

рукоятка

-

-

15

30

кнопка

-

-

1

5

- гидравлический привод

60

75

20

60

- механогидравлический привод

-

-

60

100

Вал отбора мощности

-

-

160

200

Остальные органы

-

250

-

150

5.13 Элементы органов управления, с которыми соприкасаются руки оператора или обслуживающего персонала, следует изготовлять из материала с теплопроводностью не более 0,2 Вт/(м·К), или они должны иметь покрытие из этого материала толщиной не менее 0,5 мм.

5.14 Обозначать средства отображения информации следует символами по ГОСТ 26336 и (или) надписями, которые должны быть расположены на панели приборов в непосредственной близости от индикатора (прибора, сигнальной лампочки и др.) или на самом индикаторе.

Требования по конструированию средств отображения информации - по ГОСТ ЕН 894-2, построение мнемосхем - по ГОСТ 21480.

Приложение А
(рекомендуемое)

Типовые способы приведения в действие основных органов управления

Таблица А.1

Наименование органа управления

Управляющее воздействие оператора

Направляющее перемещение

Рычаг подачи топлива

Приведение в действие предпочтительно правой рукой

Перемещение вперед и вверх и (или) вперед и в сторону вертикальной плоскости, проходящей через продольную ось машины, для увеличения числа оборотов двигателя

Педаль подачи топлива

Приведение в действие стопой или носком стопы правой ноги

Перемещение нажатием вперед и (или) вниз для увеличения числа оборотов двигателя

Рулевое колесо

Приведение в действие двумя руками

Вращение рулевого колеса по часовой стрелке для поворота машины вправо, против часовой стрелки - влево

Рычаги поворота (правый и левый) для машин с гусеничным движителем

Приведение в действие правой и (или) левой руками

Перемещение правого рычага назад для поворота машины вправо, левого рычага назад - влево

Педали тормозов для тракторов и машин с колесным движителем

Приведение в действие правой ногой

Перемещение нажатием вперед и (или) вниз при торможении

Педали тормозов для машин с гусеничным движителем

Приведение в действие правой и (или) левой ногами

Перемещение нажатием вперед и (или) вниз при торможении

Рычаг стояночного тормоза

Приведение в действие правой или левой рукой

Перемещение тянущим движением при торможении

Педаль муфты сцепления

Приведение в действие левой ногой

Перемещение нажатием вперед - вниз для отключения муфты

Рычаг реверса

Приведение в действие правой или левой рукой

Перемещение вперед для переднего хода

Рычаг изменения скорости движения при бесступенчатой коробке передач

Приведение в действие предпочтительно правой рукой

Перемещение вверх и (или) вперед для увеличения скорости переднего хода. Перемещение назад и (или) вниз для увеличения скорости заднего хода

Рычаг переключения передач

Приведение в действие правой или левой рукой

Направление перемещения относительно нейтрального положения обозначать мнемосхемой

Рычаги управления гидросистемой навесного оборудования

Приведение в действие предпочтительно правой рукой

Перемещение вверх и (или) назад для подъема, вниз и (или) вперед - для опускания навесного оборудования

 

Ключевые слова: кабины и рабочие места операторов, тракторы, машины самоходные сельскохозяйственные, требования безопасности

 

 




ГОСТЫ, СТРОИТЕЛЬНЫЕ и ТЕХНИЧЕСКИЕ НОРМАТИВЫ.
Некоммерческая онлайн система, содержащая все Российские Госты, национальные Стандарты и нормативы.
В Системе содержится более 150000 файлов нормативно-технической документации, действующей на территории РФ.
Система предназначена для широкого круга инженерно-технических специалистов.

Рейтинг@Mail.ru Яндекс цитирования

Copyright © www.gostrf.com, 2008 - 2026