|
|
|
ОТКРЫТОЕ АКЦИОНЕРНОЕ ОБЩЕСТВО "ГАЗПРОМ" Общество с ограниченной ответственностью "Газпромэнергодиагностика" Общество с ограниченной
ответственностью СТАНДАРТ ОРГАНИЗАЦИИ ДОКУМЕНТЫ НОРМАТИВНЫЕ ДЛЯ ПРОЕКТИРОВАНИЯ, СТРОИТЕЛЬСТВА И ЭКСПЛУАТАЦИИ ОБЪЕКТОВ ОАО "ГАЗПРОМ" МЕТОДИКА ПО ПРОДЛЕНИЮ СРОКА БЕЗОПАСНОЙ ЭКСПЛУАТАЦИИ ВЗРЫВОЗАЩИЩЕННЫХ ЭЛЕКТРОДВИГАТЕЛЕЙ СТО Газпром 2-2.3-057-2006 Дата введения - 2006-09-01 Содержание Предисловие 1 РАЗРАБОТАН Обществом с ограниченной ответственностью "Газпромэнергодиагностика" 2 ВНЕСЕН Управлением энергетики Департамента по транспортировке, подземному хранению и использованию газа ОАО "Газпром" 3 УТВЕРЖДЕН И ВВЕДЕН В ДЕЙСТВИЕ Распоряжением ОАО "Газпром" от 14 апреля 2006 г. № 46 4 ВВЕДЕН ВПЕРВЫЕ ВведениеНастоящий стандарт разработан в соответствии с Федеральным законом "О промышленной безопасности опасных производственных объектов" [1] с учетом требований Положения "О порядке продления срока безопасной эксплуатации технических устройств, оборудования и сооружений на опасных производственных объектах", утвержденного Постановлением Госгортехнадзора России от 9 июля 2002 г. № 43 (РД 03-484-02) [2] с целью нормативно-методического обеспечения работ по продлению срока безопасной эксплуатации взрывозащищенных электродвигателей на опасных производственных объектах ОАО "Газпром". 1 Область применения1.1 Настоящий стандарт устанавливает требования к периодичности, последовательности, составу и документальному оформлению работ по техническому освидетельствованию взрывозащищенных электродвигателей с целью оценки их состояния, условий эксплуатации и продления срока безопасной эксплуатации на опасных производственных объектах дочерних обществ и организаций ОАО "Газпром". 1.2 Настоящий стандарт является обязательным к применению дочерними обществами и организациями ОАО "Газпром", осуществляющими эксплуатацию взрывозащищенных электродвигателей, а также специализированными организациями, выполняющими работы на объектах дочерних обществ и организаций ОАО "Газпром" по техническому освидетельствованию, техническому диагностированию, техническому обслуживанию и ремонту, испытаниям и измерениям после капитального ремонта взрывозащищенных электродвигателей. 2 Нормативные ссылкиВ настоящем стандарте используются нормативные ссылки на следующие стандарты: ИСО 2372 Международный стандарт. Станки. Правила оценки механической вибрации при рабочих скоростях от 10 до 200 об/с ГОСТ 5639-82 Стали и сплавы. Методы выявления и определения величины зерна ГОСТ 10243-75 Сталь. Методы испытаний и оценки макроструктуры ГОСТ 11828-86 Машины электрические вращающиеся. Общие методы испытаний ГОСТ 14782-86 Контроль неразрушающий. Соединения сварные. Методы ультразвуковые ГОСТ 17494-87* (МЭК 34-5-81) Машины электрические вращающиеся. Классификация степеней защиты, обеспечиваемых оболочками вращающихся электрических машин ГОСТ 18442-80 Контроль неразрушающий. Капиллярные методы. Общие требования ГОСТ 18661-73 Сталь. Измерение твердости методом ударного отпечатка ГОСТ 18895-97 Метод фотоэлектрического спектрального анализа ГОСТ 20911-89 Техническая диагностика. Термины и определения ГОСТ 21105-87 Контроль неразрушающий. Магнитопорошковый метод ГОСТ 22727-88 Прокат листовой. Методы ультразвукового контроля ГОСТ 22761-77 Металлы и сплавы. Методы измерения твердости по Бринеллю переносными твердомерами статического действия ГОСТ 22762-77 Металлы и сплавы. Метод измерения твердости на пределе текучести вдавливанием шара ГОСТ 27.002-89 Надежность в технике. Основные понятия. Термины и определения ГОСТ Р 51330.0-99 (МЭК 60079-0-98) Электрооборудование взрывозащищенное. Часть 0. Общие требования ГОСТ Р 51330.1-99 (МЭК 60079-1-98) Электрооборудование взрывозащищенное. Часть 1. Взрывозащита вида "взрывонепроницаемая оболочка" ГОСТ Р 51330.3-99 Электрооборудование взрывозащищенное. Часть 2. Заполнение или продувка оболочки под избыточным давлением р ГОСТ Р 51330.5-99 (МЭК 60079-4-75) Электрооборудование взрывозащищенное. Часть 4. Метод определения температуры самовоспламенения ГОСТ Р 51330.6-99 (МЭК 60079-5-97) Электрооборудование взрывозащищенное. Часть 5. Кварцевое заполнение оболочки q ГОСТ Р 51330.7-99 (МЭК 60079-6-95) Электрооборудование взрывозащищенное. Часть 6. Масляное заполнение оболочки о ГОСТ Р 51330.8-99 Электрооборудование взрывозащищенное. Часть 7. Защита вида е ГОСТ Р 51330.9-99 (МЭК 60079-10-95) Электрооборудование взрывозащищенное. Часть 10. Классификация взрывоопасных зон ГОСТ Р 51330.10-99 (МЭК 60079-11-99) Электрооборудование взрывозащищенное. Часть 11. Искробезопасная электрическая цепь i ГОСТ Р 51330.13-99 (МЭК 60079-14-96) Электрооборудование взрывозащищенное. Часть 14. Электроустановки во взрывоопасных зонах (кроме подземных выработок) ГОСТ Р 51330.16-99 (МЭК 60079-17-96) Электрооборудование взрывозащищенное. Часть 17. Проверка и техническое обслуживание электроустановок во взрывоопасных зонах (кроме подземных выработок) ГОСТ Р 51330.18-99 (МЭК 60079-19-93) Электрооборудование взрывозащищенное. Часть 19. Ремонт и проверка электрооборудования, используемого во взрывоопасных газовых средах (кроме подземных выработок или применений, связанных с переработкой и производством взрывчатых веществ) ГОСТ Р 52350.0-2005 (МЭК 60079-0:2004) Электрооборудование для взрывоопасных газовых сред. Часть 0. Общие требования. Примечание - При пользовании настоящим стандартом необходимо проверить действие ссылочных стандартов по соответствующему указателю, составленному на 1 января текущего года, и информационным указателям, опубликованным в текущем году. Если ссылочный документ заменен (изменен), то при пользовании настоящим стандартом следует руководствоваться замененным (измененным) документом. Если ссылочный документ отменен без замены, то положение, в котором дана ссылка на него, применяется в части, не затрагивающей эту ссылку. 3 Основные термины и определенияВ настоящем стандарте применены термины в соответствии с ГОСТ 27.002, ГОСТ 20911, а также следующие термины с соответствующими определениями: 3.1 опасные производственные объекты: Предприятия или их цехи, участки, площадки, а также иные производственные объекты, отнесенные статьей 2 Федерального закона от 21 июля 1997 года № 116-ФЗ "О промышленной безопасности опасных производственных объектов" [1] к категории опасных. 3.2 требования промышленной безопасности: Условия, запреты, ограничения и другие обязательные требования, содержащиеся в Федеральном законе от 21 июля 1997 года № 116-ФЗ "О промышленной безопасности опасных производственных объектов" [1], федеральных законах и иных нормативных правовых актах Российской Федерации, а также в нормативных технических документах, которые применяются в установленном порядке и соблюдение которых обеспечивает промышленную безопасность. 3.3 специализированная организация: Организация, проводящая на конкурсной основе по договору с эксплуатирующей организацией работы по продлению срока безопасной эксплуатации взрывозащищенных электродвигателей ОАО "Газпром", имеющая лицензию Ростехнадзора на проведение экспертизы промышленной безопасности технических устройств, применяемых на опасном производственном объекте. 3.4 непосредственная проверка: Проверка, выявляющая такие дефекты, которые обнаруживаются только с применением дополнительного оборудования, обеспечивающего доступ к проверяемому объекту, и инструментов. Непосредственная проверка не требует вскрытия защитной оболочки или отключения электрооборудования. 3.5 детальная проверка: Проверка, выявляющая дефекты, которые обнаруживаются только после вскрытия защитной оболочки и применения инструментов и контрольно-измерительного оборудования. Для проведения детальной проверки требуется отключение электрооборудования от источника питания с его остановом. 3.6 взрывоопасная газовая среда (атмосфера): Смесь с воздухом, при атмосферных условиях, горючих веществ в виде газа, пара или тумана, горение в которой после начала воспламенения распространяется на весь объем взрывоопасной смеси. 3.7 взрывонепроницаемая оболочка: Вид взрывозащиты электрооборудования, в котором его части, способные воспламенить взрывоопасную смесь, заключены в оболочку, способную выдерживать давление взрыва воспламенившейся смеси без повреждения и передачи воспламенения в окружающую взрывоопасную смесь, для которой она предназначена. Примечание - Взрывозащиту этого вида обозначают буквой "d". 3.8 свободный объем оболочки (отделения) V: Внутренний объем оболочки (отделения) за вычетом объема, занимаемого встроенными элементами. 3.9 взрывонепроницаемое соединение: Соединение частей оболочки через щель которого взрыв внутри оболочки не распространяется в окружающую взрывоопасную смесь с установленным коэффициентом безопасности. 3.10 длина щели L: Кратчайший путь по взрывозащитной поверхности из оболочки в окружающую среду или из одного отделения в другое на участке, где отсутствует отверстие для болта или другого элемента крепления. 3.11 ширина щели: Расстояние между соответствующими поверхностями взрывонепроницаемого соединения. При цилиндрических поверхностях за ширину щели принимают диаметральный зазор (разность диаметров). 3.12 взрывозащитная поверхность: Поверхность части оболочки, которая совместно с соответствующей ей поверхностью другой части образует щель взрывонепроницаемого соединения. 3.13 вал: Деталь круглого поперечного сечения, применяемая для передачи вращательного движения. 3.14 ширина радиальной щели: Расстояние между поверхностями отверстия и вала в цилиндрическом соединении. 3.15 длина щели до отверстия l: Кратчайший путь по взрывозащитной поверхности из оболочки в окружающую среду или из одного отделения в другое на участке, где имеется отверстие для болта или другого элемента крепления. 3.16 параметры взрывонепроницаемого соединения: Значения ширины и длины щели, обеспечивающие взрывонепроницаемость оболочки с установленным коэффициентом безопасности. 3.17 взрывоустойчивость оболочки: Способность оболочки сопротивляться давлению, возникшему при взрыве в ней взрывоопасной смеси, без нарушения средств взрывозащиты. 3.18 плоское взрывонепроницаемое соединение: Соединение частей взрывонепроницаемой оболочки, в котором щель образуется между плоскими взрывозащитными поверхностями. 3.19 цилиндрическое взрывонепроницаемое соединение: Соединение частей взрывонепроницаемой оболочки, в котором щель образуется между цилиндрическими взрывозащитными поверхностями. 3.20 плоскоцилиндрическое взрывонепроницаемое соединение: Соединение частей взрывонепроницаемой оболочки, в котором щель образуется частично плоскими и частично цилиндрическими взрывозащитными поверхностями. 3.21 резьбовое взрывонепроницаемое соединение: Соединение частей взрывонепроницаемой оболочки, в котором щель образуется между резьбовыми взрывозащитными поверхностями. 3.22 максимальная температура поверхности: Наибольшая температура, возникающая в процессе эксплуатации при наиболее неблагоприятных условиях (но в пределах регламентированных отклонений) на любой части или поверхности электрооборудования, которая может привести к воспламенению окружающей взрывоопасной газовой среды. 3.23 оболочка: Совокупность стенок, крышек, кабельных вводов, валов и т.п. частей, которые содействуют обеспечению вида взрывозащиты и (или) степени защиты IP электрооборудования. 3.24 средство взрывозащиты: Конструктивное и (или) схемное решение для обеспечения взрывозащиты электрооборудования. 3.25 электрооборудование повышенной надежности против взрыва: Взрывозащищенное электрооборудование, в котором взрывозащита обеспечивается только в признанном нормальном режиме его работы. 3.26 взрывобезопасное электрооборудование: Взрывозащищенное электрооборудование, в котором взрывозащита обеспечивается как при нормальном режиме работы, так и при признанных вероятных повреждениях, определяемых условиями эксплуатации, кроме повреждений средств взрывозащиты. 3.27 особовзрывобезопасное электрооборудование: Взрывозащищенное электрооборудование, в котором по отношению к взрывобезопасному электрооборудованию приняты дополнительные средства взрывозащиты, предусмотренные стандартами на виды взрывозащиты. 4 Общие положения4.1 Срок эксплуатации взрывозащищенных электродвигателей устанавливается изготовителем и указывается в технических паспортах. По завершении этого срока дальнейшая эксплуатация взрывозащищенных электродвигателей без технического освидетельствования не допускается. 4.2 Продление сроков безопасной эксплуатации электродвигателей осуществляется на период не более 5 лет. Продленный срок безопасной эксплуатации электродвигателей устанавливается в качестве дополнительного нормативного ресурса. 4.3 Работы по продлению срока безопасной эксплуатации электродвигателей (далее - работы по ПСБЭЭ) проводятся специализированными организациями, имеющими лицензию Ростехнадзора на проведение экспертизы промышленной безопасности технических устройств, применяемых на опасных производственных объектах, с привлечением экспертов, аттестованных в соответствии с Правилами аттестации экспертов Системы экспертизы промышленной безопасности [3]. 4.4 Работы по ПСБЭЭ должны проводиться: - до достижения предельных сроков эксплуатации, установленных изготовителем; - до достижения сроков очередного технического освидетельствования, установленного комиссией эксплуатирующей организации. 4.5 Проведение работ по ПСБЭЭ должно осуществляться как на работающих (эксплуатируемых), так и на находящихся в резерве, на хранении или консервации электродвигателях, с последующим проведением отдельных видов контрольных измерений и испытаний после приведения электродвигателей в состояние готовности к пуску. 5 Порядок проведения работ по продлению срока безопасной эксплуатации взрывозащищенных электродвигателей5.1 Работы по ПСБЭЭ как комплекс организационных и технических мероприятий включают в себя: - техническое диагностирование и оценку фактического технического состояния электродвигателей; - определение возможности, условий и срока дальнейшей безопасной эксплуатации электродвигателей; - проведение технического обслуживания и ремонта (при обоснованной необходимости); - проведение контрольных испытаний и измерений после ремонта; - регистрацию и утверждение в установленном порядке в территориальных органах Ростехнадзора заключения о возможности продления срока безопасной эксплуатации электродвигателей, поднадзорных Ростехнадзору. 5.2 Настоящий стандарт устанавливает три этапа последовательно выполняемых работ по ПСБЭЭ: 5.2.1 Первый этап включает в себя: - анализ технической документации на электродвигатель; - составление программы работ по продлению срока безопасной эксплуатации; - выполнение подготовительных работ, проведение технического диагностирования, непосредственной и детальной проверок. 5.2.2 Второй этап включает в себя: - анализ параметров технического состояния электродвигателя; - определение возможности, условий и срока дальнейшей безопасной эксплуатации электродвигателя; - разработку (при необходимости) плана корректирующих мероприятий по обеспечению безопасной эксплуатации электродвигателя на период до достижения срока очередного технического освидетельствования; - проведение корректирующих мероприятий, предусмотренных заключением о продлении срока безопасной эксплуатации электродвигателя. 5.2.3 Третий этап включает в себя: - разработку, согласование и утверждение заключения о возможности продления срока безопасной эксплуатации электродвигателей или заключения о выводе электродвигателя из эксплуатации. 6 Анализ технической документации6.1 Анализ технической документации на электродвигатель проводится с целью установления фактических условий его эксплуатации и сравнения их соответствия требованиям изготовителя. 6.2 Анализу должна подвергаться следующая техническая документация: - технический паспорт электродвигателя; - техническое описание и инструкция по эксплуатации электродвигателя с подробным описанием средств взрывозащиты и мер по их сохранению при монтаже, эксплуатации и ремонте; - инструкции по монтажу и подключению электродвигателя; - копии сертификатов соответствия на взрывозащищенное электрооборудование; - эксплуатационный журнал регистрации сведений о повреждениях и неисправностях в работе электродвигателя, обо всех предыдущих ремонтах, проверках и изменениях. 6.3 Особое внимание должно уделяться анализу сведений о повреждениях и неисправностях в работе электродвигателя и о причинах, приведших к ним. 6.4 Результаты анализа технической документации должны оформляться в виде протокола. Форма протокола приведена в приложении Ж. 7 Составление программы работ по продлению срока безопасной эксплуатации электродвигателей7.1 После проведения анализа технической документации должна быть составлена программа работ по продлению срока безопасной эксплуатации электродвигателя, включающая в себя программы: - выполнения подготовительных работ; - технического диагностирования, непосредственной и детальной проверок; - технического обслуживания; - проведения контрольных испытаний и измерений. Программы должны составляться на основе типовых программ с учетом индивидуальной специфики типов взрывозащищенных электродвигателей. 7.2 Программа работ утверждается руководителем специализированной организации, проводящей работы по ПСБЭЭ, и согласовывается техническим руководителем эксплуатирующей организации. 8 Выполнение подготовительных работ, проведение технического диагностирования, непосредственной и детальной проверок8.1 Выполнение подготовительных работ 8.1.1 Вывод электродвигателя из эксплуатации для обследования производится в соответствии с инструкцией изготовителя с соблюдением нормативных требований, обеспечивающих безопасность работ. 8.1.2 Отключение электродвигателя от источника питания для проведения работ по продлению срока безопасной эксплуатации осуществляется персоналом службы энерговодоснабжения эксплуатирующей организации. 8.1.3 Перед отключением электродвигателя от источника питания службой энерговодоснабжения эксплуатирующей организации проводятся мероприятия по отключению соответствующего технологического оборудования, привод которого обеспечивается этим электродвигателем. 8.1.4 После отключения от источника питания представителями эксплуатирующей и специализированной организаций подписывается акт о готовности взрывозащищенного электродвигателя к проведению работ по продлению срока безопасной эксплуатации согласно утвержденной программе. 8.1.5 Демонтаж электродвигателей и вывод из взрывоопасной зоны производятся силами и техническими средствами специализированной организации, проводящей работы по ПСБЭЭ, в соответствии с инструкцией изготовителя с применением подъемно-транспортных средств, средств малой механизации и искробезопасного инструмента. 8.1.6 После демонтажа электродвигателя и вывода из взрывоопасной зоны представителями эксплуатирующей и специализированной организаций подписывается акт демонтажа взрывозащищенного электродвигателя. 8.1.7 С целью определения соответствия нормативным требованиям и выявления недопустимого изменения параметров, произошедшего за период эксплуатации, проводится непосредственная проверка электродвигателя при номинальном режиме работы. Непосредственная проверка электродвигателя должна включать в себя: - проверку маркировки взрывозащиты; - проверку соответствия классу взрывоопасной зоны; - проверку соответствия вида взрывозащиты категории и группе взрывоопасной смеси; - проверку соответствия температурному классу; - проверку примыкания перегородок к взрывонепроницаемым фланцевым соединениям; - проверку средств защиты от коррозии, атмосферных воздействий, вибраций и других неблагоприятных факторов; - проверку идентификации цепей. 8.1.8 Программа непосредственной проверки составляется на основании типовой программы, приведенной в приложении А. Результаты непосредственной проверки оформляются в виде протокола, приведенного в приложении Ж, и прилагаются к заключению о возможности продления срока безопасной эксплуатации электродвигателя. 8.2 Проведение технического диагностирования 8.2.1 С целью контроля и прогнозирования технического состояния средств взрывозащиты электродвигателя, поиска места и определения причин неисправности для установления сроков и условий дальнейшей безопасной эксплуатации проводится техническое диагностирование взрывозащищенного электродвигателя. Перечень работ по техническому диагностированию включает в себя: - неразрушающий контроль; - определение механических характеристик металла; - металлографические исследования; - определение химического состава металла; - измерение параметров заземления (зануления); - проверку пусковых характеристик и проверку работы электродвигателя на номинальном режиме под нагрузкой, обеспечиваемой технологическим оборудованием; - измерение сопротивления изоляции обмоток статора и ротора; - визуальный и эндоскопический осмотр статора и ротора. 8.2.2 Программа технического диагностирования составляется на основании типовой программы, в соответствии с приложением В. Результаты технического диагностирования оформляются в виде протокола, приведенного в приложении Ж, и прикладываются к заключению о продлении срока безопасной эксплуатации электродвигателя. 8.2.3 Если по результатам работ по техническому диагностированию установлено, что электродвигатель находится в состоянии, опасном для дальнейшей эксплуатации, то использование по назначению такого электродвигателя эксплуатирующей организацией прекращается. Решение о продолжении эксплуатации электродвигателя в пределах продленного срока, замене или ремонте принимается руководителем эксплуатирующей организации. 8.3 Проведение детальной проверки 8.3.1 С целью определения соответствия нормативным требованиям параметров взрывозащиты и монтажа электроустановки, выявления дефектов и несанкционированных изменений проводится детальная проверка с разборкой взрывозащищенного электродвигателя. 8.3.2 Детальная проверка включает в себя: - проверку соответствия величины зазоров взрывонепроницаемых соединений нормативным требованиям; - разборку электродвигателя на составные части и комплектующие изделия; - выявление несанкционированных изменений; - проверку соответствия крепежных деталей нормативным требованиям; - проверку устройства, подбора, комплектации и установки кабельных вводов, вводных отделений; - проверку просвета между лопастями вентилятора двигателя и защитной оболочкой и (или) кожухом; - проверку соответствия типа кабеля нормативным требованиям; - проверку заполнения заглушек и кабельных муфт; - проверку системы трубопроводов и переходников комбинированной системы электропроводки; - проверку контакта и поперечного сечения заземляющих проводников; - проверку полного сопротивления короткого замыкания (TN системы) или сопротивления заземления (IT системы) на соответствие нормативным требованиям; - проверку параметров срабатывания автоматических электрических защитных устройств. 8.3.3 На электродвигателях взрывозащиты вида е согласно ГОСТ Р 51330.8 дополнительно проверяется: - наличие и исправность прокладок, состояние фланцевых соединений, обеспечивающих защиту электродвигателя от внешних воздействий; - целостность изоляционных деталей; - наличие защиты от перегрузки и соответствие времени ее срабатывания времени, указанному в табличке или паспорте электродвигателя. 8.3.4 На электродвигателях взрывозащиты вида о, "масляное заполнение оболочки", согласно ГОСТ Р 51330.7 дополнительно проверяется: - состояние средств контроля уровня масла; - высота слоя масла; - состояние эластичных прокладок, отсутствие течи масла из оболочки; - соответствие минерального масла нормативным требованиям. 8.3.5 На электродвигателях взрывозащиты вида р, "заполнение или продувка оболочки под избыточным давлением", согласно ГОСТ Р 51330.3 дополнительно проверяется: - выполнение требований, указанных в инструкции изготовителя по монтажу и эксплуатации электродвигателя; - исправность системы подачи защитного газа (вентиляторов, фильтров, трубопроводов); - целостность уплотнений в оболочке электродвигателя и газопроводах; - исправность и показания измерительных приборов, контролирующих избыточное давление в оболочке и температуру подшипников, оболочки, а также входящего и выходящего из оболочки электродвигателя защитного газа; - исправность блокировок, контролирующих давление и количество воздуха, продуваемого через электродвигатель перед пуском.
Рисунок 1 - Процедура оценки технического состояния и принятия решения о возможности продления срока безопасной эксплуатации 8.3.6 На электродвигателях взрывозащиты вида q, "кварцевое заполнение оболочки", согласно ГОСТ Р 51330.6 дополнительно проверяется: - состояние средств контроля толщины защитного слоя заполнителя (кварцевого песка); - отсутствие повреждений оболочки и эластичных прокладок; - исправность блокировок и сигнализации. 8.3.7 На электродвигателях взрывозащиты вида i согласно ГОСТ Р 51330.10 дополнительно проверяется: - комплектность и соответствие электродвигателя требуемым параметрам; - соответствие внешних соединений электроустановки схеме, длине и маркам соединительных кабелей; - соответствие максимально допустимого значения емкости и индуктивности; - соответствие значения проводимого напряжения требованиям монтажно-эксплуатационной инструкции на электродвигатель; - наличие и целостность заземляющего устройства; - целостность заливки компаундом блоков искрозащиты; - наличие и целостность предохранителей. 8.3.8 Программа детальной проверки с разборкой электродвигателя составляется на основании типовой программы, приведенной в приложении Б. Результаты детальной проверки оформляются в виде протокола, приведенного в приложении Ж, и прикладываются к заключению о продлении срока безопасной эксплуатации электродвигателя. 9 Анализ параметров технического состояния9.1 При проведении непосредственной проверки, технического диагностирования, детальной проверки с разборкой выявляются дефекты электродвигателя и определяются значения параметров технического состояния. Выявленные дефекты и повреждения подлежат регистрации в ведомости дефектов. 9.2. С целью оценки текущего технического состояния электродвигателя проводится анализ дефектов и параметров его технического состояния, выполняемый на основании информации, полученной при анализе технической документации, технического диагностирования непосредственной и детальной проверок. 9.3 В зависимости от выявленных дефектов и значений параметров технического состояния электродвигателя анализ может состоять из одного, двух или трех последовательно выполняемых уровней (см. рисунок 1). 9.4 На уровне анализа 1 проверяется соответствие нормативным требованиям: - условий эксплуатации электродвигателя; - параметров технического состояния средств взрывозащиты; - параметров технического состояния электромеханической части электродвигателя; - параметров технического состояния средств электропитания, заземления, управления и электрозащиты электродвигателя. 9.5 К определяющим параметрам технического состояния электродвигателя относятся: - параметры всех взрывонепроницаемых соединений; - параметры шероховатости взрывозащитных поверхностей; - прочность крепежных деталей; - герметичность кабельных вводов; - механические свойства металла взрывонепроницаемой оболочки; - текущая толщина элементов взрывонепроницаемой оболочка; - значение сопротивления изоляции обмоток статора и ротора; - степень разрушения и старения изоляции лобовых частей обмоток; - наличие (отсутствие) повреждений сегментов активной стали; - степень износа шеек вала ротора. 9.6 Достаточным условием для заключения о соответствии текущей толщины элемента оболочки требованиям конструкторской документации является условие: s* ≥ sн - c1, (1) где s* - текущая толщина элемента согласно результатам контроля (минимальное измеренное значение толщины по данным ультразвуковой толщинометрии); sн - номинальная толщина элемента (по конструкторской документации); c1 - прибавка к расчетной толщине элемента для компенсации коррозии. При отсутствии данных о величине прибавки c1, принять c1 = 2 мм. 9.7 При соответствии параметров технического состояния электродвигателя требованиям эксплуатационной и нормативной документации его техническое состояние оценивается как "исправное", и дальнейший анализ не проводится. Если хотя бы один из параметров технического состояния не соответствует требованиям эксплуатационной и нормативной документации, проводится дальнейший анализ. 9.8 На уровне анализа 2 проверяется соответствие повреждений и дефектов нормам и критериям, приведенным в таблице В.1. Осуществляется оценка развития дефектов по результатам предшествующих обследований 9.9 При выполнении норм и критериев, приведенных в таблице В.1, или при положительном результате проверки прочности взрывонепроницаемой оболочки техническое состояние электродвигателя оценивается как "работоспособное", и третий уровень анализа не проводится. В противном случае техническое состояние электродвигателя оценивается как "неработоспособное", и проводится третий уровень анализа. 9.10 На уровне анализа 3 рассматривается технически обоснованная возможность перевода взрывозащищенного электродвигателя в "работоспособное" техническое состояние (если в результате выполнения первого или второго этапов анализа его техническое состояние было оценено как "неработоспособное"). Результатом выполнения данного этапа должно быть принятие следующих решений: - проведение ремонта взрывозащищенного электродвигателя; - проведение корректирующих мероприятий по восстановлению средств взрывозащиты электроустановки. Если данные решения не реализуемы или экономически не целесообразны, эксплуатирующей организацией принимается решение о выводе такого электродвигателя из эксплуатации. 10 Определение возможности, условий и срока дальнейшей безопасной эксплуатации электродвигателя10.1 К дальнейшей эксплуатации допускаются взрывозащищенные электродвигатели, находящиеся в "исправном" или "работоспособном" техническом состоянии. 10.2 Технически обоснованное решение о возможности продления срока безопасной эксплуатации с назначением срока безопасной эксплуатации или заключения о выводе электродвигателя из эксплуатации принимается руководителем экспертной группы специализированной организации, проводящей работы по ПСБЭЭ. 10.3 Решение о возможности продления срока безопасной эксплуатации с назначением срока безопасной эксплуатации и указанием условий эксплуатации оформляется в заключительной части итогового документа - заключении о возможности продления срока безопасной эксплуатации взрывозащищенного электродвигателя. Величина назначаемого продленного срока службы электродвигателя не должна превышать указанную в таблице 1. Таблица 1 Предельная величина назначаемого срока дальнейшей эксплуатации
10.4 Для взрывозащищенных электродвигателей, находящихся в "неисправном" техническом состоянии, при необходимости разрабатывается экономически обоснованная программа проведения ремонта или программа проведения корректирующих мероприятий по восстановлению средств взрывозащиты электроустановки для перевода таких электродвигателей в "работоспособное" техническое состояние. 10.5 Решение о возможности перевода неисправных взрывозащищенных электродвигателей в работоспособное техническое состояние принимается руководителем экспертной группы специализированной организации, проводящей работы по ПСБЭЭ. Решение о возможности перевода и программа проведения ремонта (или корректирующих мероприятий по восстановлению средств взрывозащиты электроустановки) оформляются в виде Предварительного заключения о возможности продления срока безопасной эксплуатации взрывозащищенного электродвигателя на срок не более полугода. 10.6 После проведения ремонта взрывозащищенных электродвигателей или корректирующих мероприятий по восстановлению средств взрывозащиты электроустановки, при положительных результатах контрольных послеремонтных испытаний, техническое состояние взрывозащищенных электродвигателей оценивается как "работоспособное" и принимается решение о возможности продления срока эксплуатации с назначением продленного срока службы. 10.7 В случае, если мероприятия по переводу неисправного взрывозащищенного электродвигателя в "работоспособное" состояние технически нереализуемы или экономически нецелесообразны (когда капитальные затраты на восстановление работоспособности электродвигателя сопоставимы с суммарной стоимостью закупки, поставки и монтажа нового взрывозащищенного электродвигателя, обладающего аналогичными характеристиками), принимается решение о невозможности продления срока эксплуатации такого электродвигателя. 10.8 Решение о невозможности продления срока эксплуатации принимается руководителем экспертной группы специализированной организации, проводящей работы по ПСБЭЭ. Решение о невозможности продления срока эксплуатации оформляется в заключительной части итогового документа - заключения о возможности продления срока безопасной эксплуатации взрывозащищенного электродвигателя. 10.9 Решение о продолжении эксплуатации взрывозащищенных электродвигателей в пределах продленных сроков эксплуатации, выводе электродвигателей из эксплуатации или ремонте принимается комиссией эксплуатирующей организации, возглавляемой ее техническим руководителем. 11 Проведение технического обслуживания и ремонта11.1 До сборки, монтажа и подключения электродвигателей, допущенных к дальнейшей эксплуатации, проводится их обязательное техническое обслуживание для сохранения технического состояния и обеспечения безопасной эксплуатации взрывозащищенных электродвигателей на продлеваемый период. Перед выполнением технического обслуживания или ремонта должна быть составлена соответствующая программа. Типовая программа технического обслуживания приведена в приложении Г. Типовая программа ремонта взрывозащищенных электродвигателей приведена в приложении Д. 11.2 Специализированная организация, проводящая ремонт электродвигателей, должна гарантировать, что лица, непосредственно связанные с ремонтом электрооборудования, прошли обучение, и осуществляется надлежащий надзор за уровнем их квалификации. 11.3 Информация о ремонте должна заноситься в соответствующий формуляр Паспорта технического состояния электродвигателя. Должны производиться записи в регистрационном журнале специализированной организации, проводящей ремонт, с подробной информацией о проделанной работе при ремонте взрывозащищенных электродвигателей. 12 Сборка, контрольные испытания, монтаж и подключение электродвигателей12.1 Сборка электродвигателей должна обеспечивать их нормальную работу и производиться с помощью специальных приспособлений и оснастки, исключающих повреждение взрывозащитных поверхностей и нарушение взрывобезопасности электродвигателей. Составные части электродвигателей должны быть скомплектованы перед сборкой и проверены на соответствие нормативной и эксплуатационной документации. 12.2 После сборки электродвигателей необходимо проверить: а) плотность и надежность затяжки крепежных деталей и соединений взрывонепроницаемой оболочки, а также наличие пружинных и стопорных шайб или других устройств, предотвращающих самоотвинчивание крепежных деталей; б) надежность контактных соединений во вводном устройстве (отсутствие люфтов и проворотов болтов и шпилек и наличие необходимого набора крепежа); в) размеры зазоров взрывонепроницаемых соединений; г) наличие и соответствие нормативным требованиям заземляющих устройств. 12.3 После сборки электродвигатель должен быть подвергнут контрольным испытаниям. Типовая программа контрольных и послеремонтных испытаний приведена в приложении Е. 12.4 При контрольных испытаниях электродвигателей проводятся измерения электрических и неэлектрических величин измерительными приборами и способами измерения согласно ГОСТ 11828, ИСО 2372, ПТЭЭП [11], ПУЭ [5] и Межотраслевым правилам по охране труда при эксплуатации электроустановок [10]. 12.5 Результаты проведения контрольных испытаний электродвигателей оформляются в виде протокола и прикладываются к Заключению о возможности продления срока безопасной эксплуатации взрывозащищенного электродвигателя. 12.6 После проведения контрольных и послеремонтных испытаний осуществляется монтаж и подключение электродвигателей в соответствии с инструкцией изготовителя. 12.7 После монтажа электродвигателя представителями эксплуатирующей и специализированной организаций подписывается Акт монтажа взрывозащищенного электродвигателя. 13 Требования к оформлению отчетной документации13.1 Весь процесс проведения работ по ПСБЭЭ должен быть документирован (см. таблицу 2). Необходимо соблюдать единообразие форм отчетной документации для удовлетворения требований по формированию отраслевой информационной базы данных по техническому состоянию взрывозащищенных электродвигателей ОАО "Газпром". 13.2 Итоговым документом проведенных работ по ПСБЭЭ является Заключение о возможности продления срока безопасной эксплуатации взрывозащищенного электродвигателя. Таблица 2 Отчетная документация
13.3 При первичном обследовании электродвигателя итоговыми документами проведенных работ являются Заключение о возможности продления срока безопасной эксплуатации и Паспорт технического состояния взрывозащищенного электродвигателя. 13.4 Заключение о возможности продления срока безопасной эксплуатации взрывозащищенного электродвигателя подписывается специалистами, проводившими работы по продлению, утверждается руководителем специализированной организации и заверяется печатью специализированной организации. 13.5 Заключение о возможности продления срока безопасной эксплуатации взрывозащищенных электродвигателей, поднадзорных Ростехнадзору, регистрируется и утверждается в территориальных органах Ростехнадзора согласно [12]. 13.6 В случае необходимости проведения корректирующих мероприятий к Заключению о возможности продления срока безопасной эксплуатации прилагают План мероприятий по обеспечению безопасной эксплуатации электродвигателей на продлеваемый период, согласованный с эксплуатирующей организацией. 13.7 По результатам первичного обследования электродвигателя составляется Паспорт технического состояния взрывозащищенного электродвигателя (приложение И). Приложение А
|
|||||||||||||||||||||||||||||||||||||||||||||||||||||||||||||||||||||||||||||||||||||||||||||||||||||||||||||||||||||||||||||||||||||||||||||||||||||||||||||||||||||||||||||||||||||||||||||||||||||||||||||||||||||||||||||||||||||||||||||||||||||||||||||||||||||||||||||||||||||||||||||||||||||||||||||||||||||||||||||||||||||||||||||||||||||||||||||||||||||||||||||||||||||||||||||||||||||||||||||||||||||||||||||||||||||||||||||||||||||||||||||||||||||||||||||||||||||||||||||||||||||||||||||||||||||||||||||||||||||||||||||||||||||||||||||||||||||||||||||||||||||||||||||||||||||||||||||||||||||||||||||||||||||||||||||||||||||||||||||||||||||||||||||||||||||||||||||||||||||||||||||||||||||||||||||||||||||||||||||||||||||||||||||||||||||||||||||||||||||||||||||||||||||||||||||||||||||||||||||||||||||||||||||||||||||||||||||||||||||||||||||||||||||||||||||||||||||||||||||||||||||||||||||||||||||||||||||||||||||||||||||||||||||||||||||||||||||||||||||||||||||||||||||||||||||||||||||||||||||||
|
Уровень взрывозащиты |
Вид взрывозащиты |
Группа (подгруппа) |
Температурный класс |
Маркировка |
|
Повышенной надежности против взрыва |
Защита вида "е" |
II |
Т6 |
2ExeIIT6 |
|
Защита вида "е" и взрывонепроницаемая оболочка |
IIВ |
ТЗ |
2ExedIIBT3 |
|
|
Взрывонепроницаемая оболочка и искробезопасная электрическая цепь |
IIВ |
Т5 |
2Exd[ic]IIBT5 |
|
|
Взрывобезопасное |
Взрывонепроницаемая оболочка |
IIА |
ТЗ |
1ExdIIAT3 |
|
Искробезопасная электрическая цепь |
IIС |
Т6 |
1ЕхibIIСТ6 |
|
|
Продувка оболочки под избыточным давлением |
II |
Т6 |
1ЕхрIIТ6 |
|
|
Кварцевое заполнение оболочки |
II |
Т6 |
1ExqIIT6 |
|
|
Специальный |
IIА |
Т6 |
1ExsIIAT6 |
|
|
Специальный и взрывонепроницаемая оболочка |
IIА |
Т6 |
1ExsdIIAT6 |
|
|
Специальный, искробезопаспасная цепь и взрывонепроницаемая оболочка |
IIВ |
Т4 |
1Exs[ia]dIIBT4 |
|
|
Особо взрывобезопасное |
Искробезопасная электрическая цепь |
IIС |
Т6 |
0ЕхiIIСТ6 |
|
Специальный и искробезопасная цепь |
IIС |
Т4 |
0ExsiIICT4 |
A.4.4 Маркировка взрывозащиты электродвигателей должна включать (см. таблицу А.1):
а) наименование изготовителя или его зарегистрированный товарный знак;
б) обозначение типа электрооборудования;
в) знак Ех, указывающий, что электрооборудование соответствует стандартам на взрывозащиту конкретного вида.
Маркировка взрывозащиты электрооборудования группы II должна содержать перед знаком Ех знак уровня взрывозащиты:
0 - для особовзрывобезопасных электродвигателей;
1 - для взрывобезопасных электродвигателей;
2 - для электродвигателей повышенной надежности против взрыва;
г) обозначение вида взрывозащиты:
о - масляное заполнение оболочки;
р - заполнение или продувка оболочки под избыточным давлением;
q - кварцевое заполнение оболочки;
d - взрывонепроницаемая оболочка;
е - защита вида "е";
ia - искробезопасность, уровень "ia" (категория "ia");
ib - искробезопасность, уровень "ib" (категория "ib");
ic - искробезопасность, уровень "ic" (категория "ic");
m - герметизация компаундом;
n - защита вида "n";
s - специальный вид взрывозащиты;
д) обозначение группы (подгруппы) электродвигателей: I или II (IIА, или IIВ, или IIС);
е) обозначение температурного класса или максимальной температуры поверхности, или того и другого вместе. Если в маркировке указаны оба этих данных, температурный класс должен указываться последним, в скобках. На кабельных вводах температурный класс не маркируют.
Пример - T1 или 350 °С, или 350 °С (Т1).
Электродвигатели, предназначенные для применения в определенном газе, не требуют указания значения температуры.
Маркировка должна включать обозначение ta или tamb вместе с диапазоном окружающей температуры;
ж) порядковый (заводской) номер электродвигателя;
з) название или знак органа по сертификации и номер сертификата (при выдаче сертификата);
и) специальные условия для обеспечения безопасности в эксплуатации, после маркировки взрывозащиты должен размещаться знак X.
В случае использования на различных частях электродвигателей (Ех-компонентах) различных видов взрывозащиты, каждая соответствующая часть должна иметь обозначение принятого в ней вида взрывозащиты. Если в электродвигателях используют взрывозащиту нескольких видов, на первом месте ставят обозначение основного вида взрывозащиты, а затем других видов.
Маркировки по перечислениям в)-е) должны размещаться в приведенной последовательности.
А.4.5 Ex-компоненты должны иметь маркировку на видном месте. Эта маркировка должна быть разборчивой, долговечной и содержать:
а) наименование или зарегистрированный товарный знак изготовителя;
б) обозначение типа Ех-компонента;
в) обозначение Ех;
г) обозначение каждого примененного вида взрывозащиты;
д) обозначение группы взрывозащищенного комплектующего изделия;
е) наименование или знак органа по сертификации;
ж) обозначение сертификации и знак U, нанесенный после маркировки взрывозащиты (знак X применяться не должен);
з) дополнительную маркировку, предписываемую стандартами на конкретные примененные виды взрывозащиты;
и) маркировку, требуемую в общем случае стандартами на комплектующие взрывозащищенные изделия.
А.5 Проверка соответствия электродвигателей классу взрывоопасной зоны
А.5.1 Для проверки выбора электродвигателей на соответствие классу взрывоопасной зоны согласно ГОСТ Р 51330.13 необходима следующая информация: класс взрывоопасной зоны; группа взрывоопасной смеси или температура ее самовоспламенения; где это необходимо, категория взрывоопасной смеси; сведения о внешних воздействиях и температуре окружающей среды.
А.5.2 В зоне класса 0 могут использоваться электродвигатели с взрывозащитой вида "искробезопасная электрическая цепь", а также электродвигатели с взрывозащитой специального вида s, сконструированные для использования в зоне класса 0.
А.5.3 В зоне класса 1 могут использоваться электродвигатели, сконструированные для использования в зоне класса 0 или имеющие, по крайней мере, взрывозащиту одного из следующих видов:
- взрывонепроницаемая оболочка d;
- заполнение или продувка оболочки под избыточным давлением р;
- кварцевое заполнение оболочки q;
- масляное заполнение оболочки о;
- защита вида е;
- искробезопасная электрическая цепь i;
- герметизация компаундом m;
- специальный вид s.
А.5.4 В зоне класса 2 могут использоваться следующие электродвигатели:
а) электродвигатели для зон класса 0 или 1;
б) электродвигатели, разработанные специально для использования в зоне класса 2 (например, с защитой вида n);
в) электродвигатели, отвечающие требованиям конкретного стандарта для соответствующего вида промышленного электрооборудования, нагретые поверхности которых при нормальной работе не способны воспламенить взрывоопасную смесь, и, кроме того, удовлетворяющие по крайней мере одно из следующих условий:
1) электродвигатели не производят дуговых или искровых разрядов;
2) при эксплуатации электродвигателей возникают дуговые или искровые разряды, но при этом значения электрических параметров (U, I, L и С) цепей (включая кабели) не превышают установленных в ГОСТ Р 51330.10 с коэффициентом безопасности, равным единице;
г) электродвигатели со взрывозащитой специального вида s.
А.6 Проверка соответствия вида взрывозащиты электродвигателей категории и группе взрывоопасной смеси (см. табл. А.2).
Таблица А.2
Связь между категорией взрывоопасной газовой смеси и подгруппой электродвигателей
|
Категория взрывоопасной смеси |
Подгруппа электродвигателей |
|
IIА |
IIА, IIВ или IIС |
|
IIВ |
IIВ или IIС |
|
IIС |
IIС |
А.6.1 Электродвигатели с взрывозащитой видов е, т, о, р, q должны относиться к группе II.
А.6.2 Электродвигатели с взрывозащитой видов d, i, s должны относиться к подгруппам IIА, IIВ или IIС.
А.6.3 Электродвигатели с взрывозащитой вида n должны, как правило, относиться к группе II, но если они содержат разрыватели закрытого типа, компоненты, предотвращающие воспламенение, или электротехнические устройства (схемы) с ограниченной энергией, то они должны относиться к подгруппам IIА, IIВ или IIС.
А.7 Проверка соответствия электродвигателей температурному классу
А.7.1 Необходимо проверить согласно ГОСТ Р 51330.16, что максимальная температура поверхности оболочки электродвигателя не превышает температуры самовоспламенения любого газа или пара, которые могут присутствовать в атмосфере взрывоопасной зоны.
А.7.2 При продолжительной эксплуатации электродвигателя возможно возникновение таких неисправностей (межвитковые замыкания в обмотках, износ подшипников и т.д.), которые приводят к значительному увеличению температуры поверхности оболочки и фактическому изменению температурного класса.
А.7.3 Следует произвести тепловой/тепловизионный контроль при номинальном режиме работы электродвигателей для получения информации о фактической температуре поверхности оболочки и выявления мест максимального нагрева.
А.7.4 При тепловом/тепловизионном контроле электродвигателя по локальным нагревам поверхности оболочки оценивается отсутствие витковых замыканий в обмотках, проходимость вентиляционных каналов, качество контактных соединений в герметичной коробке выводов по нагреву крышки коробки.
А.7.6 Результаты теплового/тепловизионного контроля поверхностей оболочки электродвигателя и вводного отделения оформляются в виде протокола теплового/тепловизионного контроля и прилагаются к Заключению о возможности продления срока безопасной эксплуатации.
А.7.7 Электродвигатели должны быть классифицированы в соответствии с температурными классами согласно таблице А.3 или снабжены указанием фактической максимальной температуры поверхности оболочки или элементов (в зависимости от вида взрывозащиты).
Таблица А.3
Соответствие температурного класса максимальной температуре поверхности электродвигателей
|
Температурный класс |
Максимальная температура поверхности, °С |
Температурный класс |
Максимальная температура поверхности, °С |
|
Т1 |
450 |
Т4 |
135 |
|
Т2 |
300 |
Т5 |
100 |
|
Т3 |
200 |
Т6 |
85 |
А.7.8 Необходимо проверить, что электродвигатель рассчитан на работу при максимальной и минимальной температурах окружающей среды, которые могут иметь место при его эксплуатации. Если маркировка и эксплуатационная документация взрывозащищенного электродвигателя не содержат указаний на диапазон температур окружающей среды, он может использоваться только при температурах от минус 20 до плюс 40 °С, если же диапазон указан, электродвигателем следует пользоваться только в этом диапазоне.
А.8 Проверка примыкания перегородок к взрывонепроницаемым фланцевым соединениям
А.8.1 Следует проверить методом измерительного контроля расстояние от взрывонепроницаемых фланцевых соединений электродвигателей до любого ближайшего сплошного препятствия, такого, как стальные конструкции, защитные кожухи, монтажные кронштейны, несгораемые перегородки, стены, трубы или другое оборудование.
А.8.2 Сплошные препятствия не должны примыкать к взрывонепроницаемым фланцевым соединениям электродвигателей ближе, чем указано в таблице А.4.
А.9 Проверка средств защиты от коррозии, атмосферных воздействий, вибрации и других неблагоприятных факторов
А.9.1 Следует проверить, что электродвигатели выбраны и установлены так, чтобы обеспечивалась их защита от внешних воздействий, которые могут оказать влияние на взрывозащиту.
Таблица А.4
Минимальное удаление взрывонепроницаемого фланца от препятствия в зависимости от категории взрывоопасной смеси
|
Категория взрывоопасной смеси |
Минимальное удаление, мм |
|
IIA |
10 |
|
IIВ |
30 |
|
IIС |
50 |
А.9.2 Проверке подлежит функционирование противоконденсационных устройств электродвигателей, таких, как вентиляционные, дренажные элементы или элементы обогрева.
А.9.3 Должны предприниматься меры, предотвращающие попадание посторонних предметов в открытые вентиляционные отверстия вертикально расположенных электродвигателей.
А.9.4 Необходимо проверить, что все части электроустановок содержатся в чистоте и не накапливают пыль и вредные вещества в количествах, способных вызвать избыточный рост температуры.
А.9.5 Если электродвигатель подвергается вибрации, должны предприниматься специальные меры по обеспечению плотной затяжки резьбовых соединений, в том числе кабельных вводов.
А.10 Проверка идентификации цепей
А.10.1 Проверка проводится для обеспечения возможности правильного отключения электродвигателя. Способы идентификации цепей:
а) электродвигатель снабжен несъемной биркой с указанием источника питания;
б) электродвигатель снабжен ярлыком с порядковым номером или кабелю присвоен номер электродвигателя, к которому он подключается. Источник питания можно определить из чертежа или спецификации с помощью ссылки на номер на ярлыке или номер кабеля;
в) электродвигатель четко и однозначно изображен на чертеже, на котором источник питания также указан либо непосредственно, либо с помощью спецификации.
А.10.2 Каждое устройство разъединения должно снабжаться табличками, устанавливаемыми непосредственно на все примыкающие линии, чтобы обеспечить быструю идентификацию цепи или группы цепей, управляемых этим устройством.
А.10.3 На случай аварии в любом подходящем месте вне взрывоопасной зоны должны быть предусмотрены одиночные или дублированные средства отключения подачи электроэнергии во взрывоопасную зону.
А.10.4 Электродвигатели, которые должны продолжать работать во избежание возникновения дополнительной опасности, не следует включать в цепь с аварийным отключением, они должны быть подключены к отдельной цепи.
Программа пригодна для разработки индивидуальных программ детальной проверки с разборкой.
Б.1 Детальная проверка с разборкой взрывозащищенных электродвигателей проводится с целью определения соответствия нормативным требованиям параметров взрывозащиты и монтажа электроустановки, выявления дефектов и несанкционированных изменений.
Б.2 Детальная проверка, проводимая дополнительно к непосредственной проверке, включает:
- проверку соответствия величины зазоров взрывонепроницаемых соединений нормативным требованиям;
- разборку электродвигателей на составные части и комплектующие изделия;
- выявление несанкционированных изменений;
- проверку соответствия крепежных деталей нормативным требованиям;
- проверку устройства, подбора, комплектации и установки кабельных вводов, вводных отделений;
- проверку просвета между лопастями вентилятора двигателя и защитной оболочкой и (или) кожухом;
- проверку соответствия типа кабеля нормативным требованиям;
- проверку заполнения заглушек и кабельных муфт;
- проверку системы трубопроводов и переходников комбинированной системы электропроводки;
- проверку контакта и поперечного сечения заземляющих проводников;
- проверку полного сопротивления короткого замыкания (TN системы) или сопротивления заземления (IT системы) на соответствие нормативным требованиям;
- проверку параметров срабатывания автоматических электрических защитных устройств.
Б.3 Результаты детальной проверки с разборкой оформляются в виде протокола, приведенного в приложении Ж, и прикладываются к Заключению о возможности продления срока безопасной эксплуатации взрывозащищенного электродвигателя.
Б.4 Проверка соответствия величины зазоров взрывонепроницаемых соединений нормативным требованиям
Б.4.1 Необходимо измерить параметры всех взрывонепроницаемых соединений электродвигателей. Контроль следует производить, используя стандартные средства измерений (см. таблицу Б.1), поверенные (калиброванные) в установленном порядке метрологическими службами.
Таблица Б.1
Номенклатурный перечень измерительного инструмента для контроля параметров взрывозащиты электродвигателей
|
Наименование измерительного инструмента |
|
1 Линейка металлическая |
|
2 Штангенциркуль |
|
3 Микрометр |
|
4 Нутромер микрометрический |
|
5 Резьбовые калибры (пробки) |
|
6 Линейка поверочная |
|
7 Щупы |
|
8 Образцы шероховатости поверхности |
|
9 Предельные калибры для контроля отверстий и валов 2-3 классов точности |
|
10 Ключ динамометрический |
Б.4.2 Параметры всех взрывонепроницаемых соединений согласно ГОСТ Р 51330.1 должны в отсутствии избыточного давления соответствовать значениям, указанным в таблицах Б.2-Б.5.
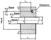
Б.4.3 Если металлическую или покрытую металлом уплотняющую прокладку применяют для электродвигателей подгруппы IIС (см. рисунок Б.1), то ширина щели i между каждой поверхностью плоской части и уплотняющей прокладкой должна быть измерена после уплотнения.
Если применяют прокладку из эластичного материала (например, для защиты от доступа влаги или пыли, или утечки жидкости), то она должна применяться как дополнение к взрывонепроницаемому соединению, но не должна включаться в него (см. рисунки Б.2-Б.5). Это требование не применяют к уплотнению ввода проводов или кабелей.
Параметры взрывонепроницаемых соединений оболочек электродвигателей и вводных отделений подгруппы IIА
|
Вид взрывонепроницаемого соединения |
Длина щели L, мм |
Максимальная ширина щели i, мм, для объема оболочки |
||
|
V ≤ 100 см3 |
100 < V ≤ 2000см3 |
V > 2000 см3 |
||
|
Плоские и цилиндрические соединения |
6,0 ≤ L < 12,5 |
0,30 |
- |
- |
|
12,5 ≤ L < 25,0 |
0,30 |
0,20 |
||
|
25,0 ≤ L |
0,40 |
0,40 |
0,40 |
|
|
Валы с подшипниками скольжения |
6,0 ≤ L < 12,5 |
0,30 |
- |
- |
|
12,5 ≤ L <25,0 |
0,40 |
0,40 |
0,40 |
|
|
25,0 ≤ L < 40,0 |
0,35 |
0,30 |
0,20 |
|
|
40,0 ≤ L |
0,50 |
0,50 |
0,50 |
|
|
Валы с подшипниками качения |
6,0 ≤ L < 12,5 |
0,45 |
- |
- |
|
12,5≤ L <25,0 |
0,50 |
0,45 |
0,30 |
|
|
25,0 ≤ L < 40,0 |
0,60 |
0,60 |
0,60 |
|
|
40,0 ≤ L |
0,75 |
0,75 |
0,75 |
|
Параметры взрывонепроницаемых соединений оболочек электродвигателей и вводных отделений подгруппы IIВ
|
Вид взрывонепроницаемого соединения |
Длина щели L, мм |
Максимальная ширина щели i, мм, для объема оболочки |
||
|
V ≤ 100 см3 |
100 < V ≤ 2000см3 |
V > 2000 см3 |
||
|
Плоские и цилиндрические соединения |
6,0 ≤ L < 12,5 |
0,20 |
- |
- |
|
12,5 ≤ L < 25,0 |
0,20 |
0,15 |
||
|
25,0 ≤ L |
0,20 |
|||
|
Валы с подшипниками скольжения |
6,0 ≤ L < 12,5 |
|
- |
- |
|
12,5 ≤ L < 25,0 |
0,25 |
0,20 |
0,15 |
|
|
25,0 ≤ L < 40,0 |
0,30 |
0,25 |
0,20 |
|
|
40,0 ≤ L |
0,40 |
0,30 |
0,25 |
|
|
Валы с подшипниками качения |
6,0 ≤ L < 12,5 |
0,30 |
- |
- |
|
12,5 ≤ L < 25,0 |
0,40 |
0,30 |
0,20 |
|
|
25,0 ≤ L < 40,0 |
0,45 |
0,40 |
0,30 |
|
|
40,0 ≤ L |
0,60 |
0,45 |
0,40 |
|
Параметры взрывонепроницаемых соединений оболочек электродвигателей и вводных отделений подгруппы IIС
|
Вид взрывонепроницаемого соединения |
Длина щели L, мм |
Максимальная ширина щели, мм, для объема оболочки |
|||
|
V ≤ 100 см3 |
100 < V ≤ 500 см3 |
500 < V ≤ 2000 см3 |
V > 2000 см3 |
||
|
Плоские |
6,0 ≤ L < 9,5 |
0,10 |
- |
- |
- |
|
9,0 < L |
0,10 |
- |
- |
||
|
Цилиндрические |
6,0 ≤ L < 12,5 |
0,10 |
0,10 |
- |
- |
|
12,5 ≤ L < 25,0 |
0,15 |
0,15 |
0,15 |
- |
|
|
25,0 ≤ L < 40,0 |
0,15 |
||||
|
40,0 ≤ L |
0,20 |
0,20 |
0,20 |
0,20 |
|
|
Плоскоцилиндрические* С > 6 мм, f < 1 мм, d > 0,5L, L = С + d; |
12,5 ≤ L < 25,0 |
0,15 |
0,15 |
0,15 |
- |
|
25,0 ≤ L < 40,0 |
0,18 |
0,18 |
0,18 |
0,18 |
|
|
40,0 ≤ L |
0,20 |
0,20 |
0,20 |
0,20 |
|
|
Валы с подшипниками качения |
6,0 ≤ L < 9,5 |
0,15 |
- |
- |
- |
|
9,5 ≤ L < 12,5 |
0,15 |
- |
- |
||
|
12,5 ≤ L < 25,0 |
0,25 |
0,25 |
0,25 |
- |
|
|
25,0 ≤ L < 40,0 |
0,25 |
||||
|
40,0 ≤ L |
0,30 |
0,30 |
0,30 |
0,30 |
|
_____________
* Если размер фаски f ≤ 0,5 мм, то вместо 0,18 и 0,20 мм допускается принимать соответственно 0,20 и 0,25 мм.
Параметры взрывонепроницаемых резьбовых соединений
|
Шаг резьбы, мм |
≥ 0,7 |
|
Число полных неповрежденных непрерывных ниток резьбы |
≥ 5 |
|
Осевая длина резьбы, мм, для оболочек объемом: |
|
|
V ≤ 100 см3 |
≥ 5 |
|
V > 100 см3 |
≥ 8 |
|
Качество резьбы |
Среднее и хорошее |

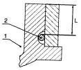
1 - внутренняя часть оболочки; 2 - металлическая или покрытая металлом упругая прокладка; L - длина взрывопроницаемой щели
Рисунок Б.1 - Взрывонепроницаемое соединение с металлической прокладкой
|
|
|
|
Рисунок Б.3 |
|
|
|
|
|
Рисунок Б.4 |
1 - внутренняя часть оболочки; 2 - прокладка; L - длина взрывонепроницаемой щели
Рисунки Б.2-Б.5 - Прокладки из эластичного материала во взрывонепроницаемых соединениях
Б.4.4 Отверстия во взрывонепроницаемых соединениях
В плоских соединениях длина щели до отверстия 1 должна измеряться между каждым отверстием и внутренней частью оболочки, если отверстия расположены снаружи оболочки, и между каждым отверстием и наружной частью оболочки, если отверстия расположены внутри оболочки (см. рисунки Б.6-Б.8, таблицу Б.6).
|
|
|
|
|
Рисунок Б.6 |
Рисунок Б.7 |
Рисунок Б.8 |
1 - внутренняя часть оболочки; l - длина щели до отверстия; L - длина щели
Рисунки Б.6-Б.8 - Отверстия под крепежные элементы во взрывонепроницаемых соединениях
Минимальная длина щели до отверстия 1 для крепежных болтов или шпилек
|
Длина щели взрывонепроницаемого соединения L, в мм |
Минимальная длина щели до отверстия l, в мм |
|
L < 12,5 |
6 |
|
12,5 ≤ L < 25,0 |
8 |
|
L ≥ 25,0 |
9 |
В плоскоцилиндрических соединениях длина щели до отверстия l является суммой длин цилиндрической а и плоской b частей соединения, если размер фаски f < 1 мм и i < 0,2 мм для электродвигателей подгруппы IIА, i = 0,15 мм - для подгруппы IIВ или i = 0,1 мм - для подгруппы IIС (см. рисунки Б.9-Б.10). Если одно из этих условий не выполняется, то длина щели до отверстия l должна измеряться только в части b плоскоцилиндрического соединения.

L = c + d; с ≥ 6 мм; d ≥ 0,5L; f ≤ 1 мм для электродвигателей подгруппы IIС
Рисунок Б.9 - Плоскоцилиндрическое взрывонепроницаемое соединение

i ≤ 0,2 мм для подгруппы IIA;
i ≤ 0,15 мм для подгруппы IIВ;
i ≤ 0,15 мм для подгруппы IIС;
1 - внутренняя часть оболочки для крепежной детали
Рисунок Б.10 - Плоскоцилиндрическое взрывонепроницаемое соединение с отверстием
Б.4.5 Резьбовые соединения
Параметры резьбовых соединений должны соответствовать таблице Б.5.
Б.4.6 Герметизированные соединения (см. таблицу Б.7)
Таблица Б.7
Параметры герметизированных соединений
|
Наикратчайший путь через герметизированное соединение изнутри наружу взрывонепроницаемой оболочки |
Для оболочек объемом |
|
|
V ≤ 100 см3 |
V > 100 см3 |
|
|
6 мм |
10 мм |
|
Б.4.7 Соединения валов с подшипниковыми щитами
Взрывонепроницаемые соединения валов с подшипниковыми щитами электродвигателей могут быть:
- цилиндрическими (см. рисунок Б.11);
- лабиринтными (см. рисунок Б.12);
- с плавающими втулками (см. рисунок Б.13).
Ширина радиальной щели (см. рисунок Б.14) во взрывонепроницаемом соединении вала с подшипниковым щитом должна быть не менее 0,075 мм для электродвигателей подгрупп IIА, IIВ и 0,05 мм - для подгруппы IIС.
|
|
|
|
1 - максимальная ширина щели; 2 - стопор; 3 - ширина щели; 4 - подшипниковый щит; L - длина соединения Рисунок Б.13 - Соединение с плавающими втулками |
1 - подшипниковый щит; 2 - вал электродвигателя; k - минимальная ширина радиальной щели; m - максимальная ширина радиальной щели; D-d - ширина диаметральной щели Рисунок Б.14 - Соединение вала с подшипниковым щитом электродвигателей |
Б.4.8 Подшипники скольжения
Использование подшипников скольжения для электродвигателей подгруппы ПС не допускается.
Б.4.9 Подшипники качения
В электродвигателях с подшипниками качения максимальная ширина радиальной щели во взрывонепроницаемом соединении вала с подшипниковым щитом за счет эксцентричности вала должна быть не более двух третьих максимальной ширины щели, установленной в таблицах Б.2-Б.4. Ширина маслоулавливающих канавок и промежутки между ними не должны включаться в значение длины щели взрывонепроницаемого соединения. Непрерываемая длина соединения должна быть не менее значений, приведенных в таблицах Б.2-Б.4 (см. рисунок Б.11).
Ширина диаметральной щели между валом и подшипниковым щитом не должна превышать соответствующее значение, приведенное в таблицах Б.2-Б.4, но быть не менее 0,1 мм.
Б.5 Разборка электродвигателя
Б.5.1 Разборка взрывозащищенных электродвигателей должна производиться в строгом соответствии с инструкцией изготовителя.
Б.5.2 Для предотвращения повреждений взрывозащитных и посадочных поверхностей разборка электродвигателей, съем деталей и сборочных единиц с трудноразъемными соединениями должны производиться с помощью специальных приспособлений и съемников с применением, при необходимости, местного подогрева [4]. Ударный инструмент должен быть оснащен насадками из мягких сплавов, пластмассы, дерева, резины.
Б.5.3 Во избежание повреждения посадочных поверхностей деталей и сборочных единиц не допускается разборка двигателей ударами по выступающему концу вала [4].
Б.5.4 При разборке электродвигателей необходимо принять меры, исключающие перекос ротора [4].
Б.5.5 Последовательность разборки электродвигателей, предназначенных для безредукторного привода аппаратов воздушного охлаждения газа (см. рисунки - Б.15-Б.17):
- отсоединить кабель провода от шпилек коробки выводов 14;
- отсоединить двигатель от привода;
- снять наружную крышку подшипника 5 со стороны привода;
- ввернуть отжимные болты 15 и отжать наружную крышку 6;
- снять подшипниковый щит 7 со стороны привода;
- отвинтить болты подшипникового щита 11 со стороны, обратной приводу;
- установить двигатель горизонтально;
- выдвинуть ротор 9 с подшипниковым щитом 11 в сторону, обратную приводу, не повредив при этом лобовые части обмотки;
- ротор совместно со щитом 11 положить на подставку (стеллаж), чтобы не повредить детали.

Рисунок Б.15 - Снятие подшипникового щита со стороны привода отжимными болтами

Рисунок Б.16 - Продольный разрез двигателя

Дальнейшую разборку подшипниковых узлов производить в такой последовательности:
- отвинтить болты наружной крышки подшипника 12;
- снять наружную крышку подшипника 12;
- отвинтить болты внутренней крышки подшипника 10;
- снять внутреннюю крышку подшипника 10;
- снять подшипниковый щит 11;
- снять кольцо пружинное 13;
- снять подшипник.
Б.6 Выявление несанкционированных изменений
Б.6.1 Необходимо проверить наличие/отсутствие несанкционированных изменений, допущенных за период эксплуатации и влияющих на взрывозащиту электродвигателей.
Б.6.2 Оболочки
Б.6.2.1 Не допускается согласно ГОСТ Р 51330.18 проведение каких-либо изменений, которые влияют на взрывозащиту, на частях взрывонепроницаемой оболочки.
Б.6.2.2 Отверстия, просверленные сквозь стенку оболочки по технологическим причинам, должны быть заглушены при помощи пробок, закрепленных сваркой, накладок или других деталей, или резьбовыми заглушками, обеспечивающими соединение в соответствии с таблицей Б.5. Такие заглушки должны быть зафиксированы сваркой или другим, равноэффективным способом.
Б.6.2.3 Следует проявлять осторожность при изменении отделки поверхностей, окраски и т.д., так как это может повлиять на температуру поверхности оболочки и, таким образом, на температурную классификацию.
Б.6.3 Кабельные вводы и вводные устройства
Б.6.3.1 Не допускается монтировать дополнительные кабельные вводы и вводные устройства. Кабельные вводы, где внешние провода подключены с помощью электрических соединений внутри соединительной коробки, не допускается превращать в прямые вводы, предусматривающие соединения внешних проводов и кабелей внутри оболочки электродвигателя.
Б.6.3.2 Неиспользуемые отверстия в электрооборудовании для кабельных или трубных вводов должны быть закрыты заглушками, соответствующими виду взрывозащиты электрооборудования. Средства, применяемые для этих целей, за исключением искробезопасного электрооборудования, должны быть такими, чтобы заглушку можно было удалить только при помощи инструментов.
Б.6.4 Соединительные зажимы
Не допускается изменять узлы соединительных зажимов, имеющих взрывонепроницаемые соединения, например зажимы с вводами между соединительной коробкой косвенного ввода и основной оболочкой. Узлы соединительных зажимов, не содержащие взрывонепроницаемые соединения, можно заменять на другие, имеющие такое же исполнение и конструкцию в отношении количества, токонесущей способности, контактов путей утечки по поверхности электроизоляционного материала, электрического зазора и качества.
Б.6.5 Обмотки
Б.6.5.1 При замене обмотки с целью использования ее на другое напряжение следует проконсультироваться с предприятием-изготовителем. В таких случаях необходимо гарантировать, что, например, магнитная нагрузка, плотность тока и потери не изменились, нормируемые пути утечки по поверхности электроизоляционного материала и электрический зазор соблюдены, как требуется, напряжения находятся в пределах, установленных в сертификационных документах. Табличку с техническими данными следует заменить, предусмотрев указание на ней новых параметров.
Б.6.5.2 Не допускается производить перемотку обмоток электродвигателя с целью использования их на другое напряжение без консультации с предприятием-изготовителем, так как электрические и тепловые характеристики электродвигателя могут существенно измениться и выйти за пределы, установленные присвоенным температурным классом.
Б.7 Проверка соответствия крепежных деталей нормативным требованиям
Б.7.1 Проверке подлежат наличие и состояние крепежных деталей взрывонепроницаемых оболочек электродвигателей, а также соответствие крепежных деталей следующим нормативным требованиям:
Б.7.1.1 Части, обеспечивающие стандартный вид взрывозащиты или используемые для предотвращения доступа к неизолированным электрическим частям, находящимся под напряжением, должны сниматься или освобождаться только с помощью инструмента.
Б.7.1.2 Крепеж должен удовлетворять следующим условиям:
- резьба должна быть с крупным шагом с полем допуска 6g/6H;
- отверстия под крепежные детали должны иметь длину резьбы, обеспечивающую ввинчивание крепежной детали на глубину h, равную, по крайней мере, величине основного диаметра резьбы крепежной детали (см. рисунки Б.18-Б.19), резьба должна иметь поле допуска 6Н.
|
|
|
|
Рисунок Б.18 |
Рисунок Б.19 |
Допуск резьбы - 6Н; размер h должен быть не менее основного диаметра резьбы крепежной детали; размер С должен быть не более максимального зазора при допуске Н13
Рисунки Б.18 и Б.19 - Допуски и зазор для резьбовых крепежных деталей
Б.7.1.3 В случае установочных винтов с шестигранным углублением "под ключ" винт должен иметь допуск зазора 6Н и не должен выступать из отверстия под резьбу после затяжки винта.
Б.7.1.4 Крепежные болты не должны проходить сквозь стенку оболочки.
Б.7.1.5 Толщина металла, окружающего отверстие под крепежный болт, должна быть не менее 3 мм или одной трети диаметра отверстия.
Б.7.1.6 В глухих отверстиях после затяжки болта без шайбы должен оставаться запас резьбы, не менее одного полного витка резьбы.
Б.7.1.7 Шпильки должны быть надежно закреплены к корпусу, например, сваркой или другим равно эффективным способом.
Б.7.1.8 Прочность на разрыв металлических болтов и гаек должна быть не менее 392 Н/мм2. Если необходима прочность болтов на разрыв выше 392 Н/мм2, то в технических условиях должна быть указана прочность на разрыв, предусмотренная изготовителем.
Б.8 Проверка устройства, подбора, комплектации и установки кабельных вводов, вводных отделений
Б.8.1 Детальная проверка требует демонтажа кабельных вводов. Необходимо проверить соответствие устройства, подбора, комплектации и установки кабельных вводов, вводных отделений электродвигателей следующим требованиям:
Б.8.1.1 Провода и кабели могут быть введены в оболочку любым из следующих двух способов:
- промежуточным вводом через вводное отделение или через электрический соединитель;
- прямым вводом внутрь оболочки.
При любом способе должны быть приняты меры, исключающие влияние натяжения или перекручивания кабеля на качество присоединения проводников.
Б.8.1.2 Промежуточный ввод
Б.8.1.2.1 Если вводное отделение имеет взрывонепроницаемую оболочку, то требования пункта 8.1.3 должны выполняться.
Б.8.1.2.2 Если вводное отделение имеет взрывозащиту другого вида, то оно должно отвечать требованиям стандарта на взрывозащиту этого вида.
Б.8.1.2.3 Подсоединение внешних проводов и кабелей к внутренним цепям взрывонепроницаемой оболочки должно осуществляться через проходные зажимы, встроенные в перегородку, отделяющую вводное отделение от взрывонепроницаемой оболочки электродвигателя.
Б.8.1.2.4 Вместо проходных зажимов могут применяться провода, залитые в обойме или перегородке изоляционной затвердевающей массой, не изменяющей взрывозащитные свойства оболочки.
Б.8.1.3 Прямой ввод
Б.8.1.3.1 Прямой ввод проводов и кабелей может осуществляться при помощи эластичных уплотнительных колец или герметизирующих материалов, которые не изменяют взрывозащитные свойства оболочки электродвигателя.
Б.8.1.3.2 Минимальная осевая высота х уплотнительного кольца в сжатом состоянии должна соответствовать длине щели L, указанной в таблицах Б.2-Б.4 (см. рисунок Б.20).
Б.8.1.3.3 Если кабель введен в оболочку герметично (например, залит компаундом), то длина кабеля должна быть не менее 1 м.
Б.9 Проверка просвета между лопастями вентилятора двигателя и защитной оболочкой и (или) кожухом
Б.9.1 Необходимо проверить величину зазора между наружным вентилятором электродвигателя и кожухом, а также соответствие вентиляционных отверстий и применяемых материалов следующим требованиям:

х - осевая высота уплотнительного кольца в сжатом состоянии; 1 - уплотнительное кольцо; 2 - кабель
Рисунок Б.20 - Пример прямого кабельного ввода
Б.9.1.1 Наружный конец вала с вентилятором для охлаждения электродвигателя должен закрываться кожухом, который не рассматривают как часть оболочки электрооборудования.
Б.9.1.2 В нормальных условиях работы, учитывая конструктивные допуски, зазор между наружным вентилятором и его кожухом, вентиляционными жалюзи и элементами их крепления должен быть не менее 1/100 максимального диаметра вентилятора. Допускается не увеличивать зазор более 5 мм. Этот зазор может быть уменьшен до 1 мм, если технология изготовления противостоящих частей гарантирует необходимую точность и стабильность их размеров. В любом случае упомянутый зазор должен быть не менее 1 мм.
Б.9.1.3 Допускается не выдерживать требования по зазорам между вращающимися и неподвижными элементами, если для наружных вентиляторов применяются материалы - латунь и цинковый сплав. Наружные вентиляторы, вентиляционные кожухи, вентиляционные жалюзи электродвигателей, изготовленные из материалов, содержащих легкие металлы, не должны содержать по массе более 6 % магния.
Б.9.1.4 Степень защиты вентиляционных отверстий наружных вентиляторов должна указываться в стандартах и технических условиях на электродвигатели. Степень защиты IP вентиляционных отверстий для наружных вентиляторов электродвигателей согласно ГОСТ 17494 должна быть не ниже:
- IP20 - со стороны поступления воздуха;
- IP 0 - со стороны выхода воздуха.
Для установленных вертикально электродвигателей должны быть предприняты меры, предотвращающие попадание в вентиляционные отверстия падающих инородных тел.
Б.10 Проверка соответствия типа кабеля нормативным требованиям
Б.10.1 Следует проверить соответствие питающих кабельных линий электродвигателей требованиям, предъявляемым к электроустановкам во взрывоопасных зонах, а также соответствие требованиям изготовителя к типам кабелей, предназначенных для использования с конкретным кабельным вводом электродвигателя.
Б.10.2 В зоне класса 0 должны использоваться бронированные кабели стационарной прокладки с металлической (кроме алюминиевой), поливинилхлоридной или резиновой оболочкой, не распространяющей горение, с резиновой или поливинилхлоридной изоляцией.
Б.10.3 В зоне класса 1 и 2 для стационарной электропроводки можно использовать кабели с металлической, термопластической, эластомерной оболочкой или кабели с металлизированной оболочкой из неорганической изоляции.
Б.10.4 В зоне класса 1 и 2 для переносного или передвижного электрооборудования должны использоваться кабели, имеющие усиленную поливинилхлоридную оболочку или другую эквивалентную синтетическую оболочку, кабели с усиленной резиновой оболочкой или кабели равноценной конструкции. Проводники должны иметь поперечное сечение не менее 1,0 мм2. В качестве нулевого защитного проводника, при необходимости его наличия, используется одна из жил питающего кабеля. Переносное электрооборудование с номинальным напряжением, не превышающим 250 В относительно земли, и номинальным током не более 6 А может иметь кабели с обычной поливинилхлоридной или другой эквивалентной синтетической оболочкой, кабели с обычной резиновой оболочкой или кабели равноценной конструкции. Такие кабели не могут применяться для переносного и передвижного электрооборудования, подвергаемого большим механическим нагрузкам. Металлическая гибкая броня или экран кабеля переносного и передвижного электрооборудования не могут использоваться в качестве единственного защитного проводника.
Оболочка кабеля должна быть маслобензостойкой, не распространяющей горение.
Б.10.5 Гибкие кабели должны быть выбраны из числа следующих:
- гибкие кабели с резиновой оболочкой;
- гибкие кабели с поливинилхлоридной оболочкой;
- кабели с пластмассовой изоляцией, равноценные гибким кабелям с усиленной резиновой оболочкой.
Б.11 Проверка заполнения заглушек и кабельных муфт
Б.11.1 Необходимо проверить наличие и заполнение соответствующими герметизирующими материалами уплотнительных устройств, обеспечивающих безопасный ввод кабелей во взрывонепроницаемые оболочки электродвигателей.
Б.11.2 Взрывонепроницаемые уплотнительные устройства, такие, как заглушки или уплотнительные муфты, должны содержать компаунд или другие соответствующие уплотнения, которые позволяют заполнить пространство вокруг отдельных жил. Уплотнительные устройства должны быть установлены в месте ввода кабелей в электрооборудование.
Б.11.3 Уплотнительные устройства должны устанавливаться в пределах 450 мм от всех взрывонепроницаемых оболочек.
Б.11.4 Документация, представляемая изготовителем, должна свидетельствовать, что использующиеся для предлагаемых условий герметизирующие материалы, от которых зависит безопасность, обладают термической стабильностью, адекватной наименьшей и наибольшей температурам, при которых они будут работать в номинальном режиме работы данного электрооборудования. Термическую стабильность считают адекватной, если предельные значения температуры для материала ниже или равны наименьшей рабочей температуре и не менее чем на 20 °С превышают наибольшую температуру.
Б.12 Проверка системы трубопроводов и переходников комбинированной системы электропроводки
Б.12.1 Необходимо проверить соответствие системы электропроводки в трубах следующим нормативным требованиям:
Б.12.1.1 Для электрооборудования с взрывозащитой вида d трубопровод должен быть одного из следующих типов:
а) жесткий стальной с резьбой, цельнотянутый или сварной;
б) гибкий трубопровод из металла или составной конструкции (например, металлический трубопровод с пластмассовой или эластомерной оболочкой).
Б.12.1.2 Трубопровод должен иметь не менее пяти витков резьбы для обеспечения требуемой длины зацепления между трубопроводом и взрывонепроницаемой оболочкой или трубопроводом и соединительной муфтой.
Б.12.1.3 Если оболочка спроектирована специально для соединения с трубной электропроводкой, но ее требуется соединить с кабелями, тогда с трубным вводом оболочки с помощью трубы длиной не более 150 мм может быть соединен взрывонепроницаемый переходник, содержащий проходные изоляторы и соединительную коробку. Кабель может быть соединен с соединительной коробкой (например, взрывонепроницаемой или с защитой вида е) в соответствии с требованиями к виду взрывозащиты клеммной коробки.
Б.12.1.4 Трубопровод системы электропроводки должен быть снабжен уплотнительной арматурой в следующих местах:
а) в месте входа или выхода из взрывоопасной зоны;
б) в пределах 450 мм от всех оболочек, содержащих источник воспламенения в условиях нормальной работы;
в) у любой оболочки, содержащей ответвления, стыки, сочленения или концевые заделки, если диаметр трубы превышает или равен 50 мм.
Б.12.1.5 Все резьбовые соединения трубопровода должны быть туго затянуты.
Б.12.1.6 Если систему трубопроводов используют в качестве защитного проводника, резьбовые соединения должны быть рассчитаны на протекание тока короткого замыкания, который будет возникать, если цепь соответствующим образом защищена плавкими предохранителями или устройствами защитного отключения.
Б.12.1.7 Если трубопровод проложен в коррозионной среде, материал труб должен быть коррозионностойким, или трубопровод должен быть соответствующим образом защищен от коррозии. Следует избегать использования комбинаций металлов, которые могут привести к гальванической коррозии.
Б.12.1.8 После размещения кабелей в трубе уплотнительная арматура должна быть заполнена компаундом, который не дает усадки при отверждении, не восприимчив к химическим соединениям, присутствующим во взрывоопасной зоне, и не подвержен их влиянию. Уплотнительную арматуру и компаунд используют для ограничения эффекта нарастания давления, предотвращения проникновения раскаленных газов в систему трубопроводов из оболочки с источником воспламенения и предупреждения выхода взрывоопасного газа в невзрывоопасную зону.
Б.12.1.9 Толщина компаунда в уплотнительной арматуре должна быть равна внутреннему диаметру трубы, но не менее 16 мм.
Б.12.1.10 Оболочки электропроводки большой протяженности следует обеспечивать подходящими устройствами, чтобы гарантировать удовлетворительный слив конденсата. Кроме того, изоляция кабеля должна иметь соответствующую водостойкость.
Б.13 Проверка контакта и поперечного сечения заземляющих проводников
Б.13.1 Следует проверить надежность контакта и соответствие площади поперечного сечения заземляющих проводников электродвигателей следующим нормативным требованиям:
Б.13.1.1 Соединительный контактный зажим для присоединения заземляющего или нулевого защитного проводника должен предусматриваться внутри вводного устройства, рядом с другими контактными зажимами.
Б.13.1.2 Электродвигатели с металлической оболочкой должны иметь дополнительный наружный контактный зажим для заземляющего или нулевого защитного проводника.
Б.13.1.3 Соединительные контактные зажимы для заземляющих и нулевых защитных проводников должны обеспечивать надежное подсоединение, по крайней мере, одного проводника с площадью поперечного сечения, приведенной в таблице Б.8. Наружные контактные зажимы электродвигателей должны обеспечивать надежное подсоединение проводника сечением не менее 4 мм2.
Б.13.1.4 Соединительные контактные зажимы должны быть надежно защищены от коррозии. Кроме того, должно обеспечиваться постоянство контактного давления.
Б.13.1.5 Контактное давление в электрических соединениях не должно ухудшаться вследствие изменений размеров изоляционных материалов под воздействием температуры или влажности и т.п.
Б.13.1.6 Проверка соединений заземлителей с заземляемыми элементами, а также естественных заземлителей с заземляющим устройством должна проводиться путем простукивания мест соединений молотком и осмотра для выявления обрывов и других дефектов.
Таблица Б.8
Минимальная площадь поперечного сечения нулевых защитных и заземляющих проводников
|
Площадь поперечного сечения фазных проводников электрооборудования S в мм2 |
Минимальная площадь поперечного сечения соответствующего нулевого защитного и заземляющего проводника Sp в мм2 |
|
S < 16 |
S |
|
16 < S < 35 |
16 |
|
S > 35 |
0,5S |
Б.14 Проверка полного сопротивления короткого замыкания (TN системы) или сопротивления заземления (IT системы)
Б.14.1 К основным факторам, от которых зависит безопасность, относятся ограничение тока замыкания на землю (по величине или продолжительности) в каркасах или оболочках электрооборудования и предупреждение появления повышенного потенциала в проводниках уравнивания потенциалов.
Б.14.2 К зонам классов 1, 2 и к питающим сетям на напряжения до 1000 В переменного и 1500 В постоянного тока, не являющимся искробезопасными электрическими цепями, предъявляют следующие требования:
Б.14.1.1 При использовании питающей сети системы TN должна применяться TN-S система (с раздельными нулевым рабочим (N) и нулевым защитным (РЕ) проводниками) во взрывоопасной зоне, т.е. в пределах взрывоопасной зоны нулевой рабочий и нулевой защитный проводники не должны соединяться между собой или выполняться одним проводом. В каждой точке перехода от системы TN-C к системе TN-S нулевой защитный проводник должен быть соединен с основной системой уравнивания потенциалов вне взрывоопасной зоны.
Во взрывоопасной зоне необходимо контролировать наличие тока утечки между нулевым рабочим и защитным проводниками.
Б.14.1.2 Если используют питающую сеть системы IT (нейтраль, изолированная от земли или заземленная через сопротивление), необходимо применять устройство контроля изоляции для сигнализации о первом замыкании на землю.
Б.15 Проверка параметров срабатывания автоматических электрических защитных устройств
Б.15.1 Электродвигатели должны быть защищены от перегрузки, если они не способны выдерживать продолжительное время пусковой ток при номинальных напряжении и частоте без недопустимого нагрева. В качестве устройства защиты от перегрузок следует применять:
а) токозависимое с задержкой защитное устройство, контролирующее все три фазы, которое устанавливается не более чем на номинальный ток машины, срабатывает не позже 2 ч при токе, равном 1,20 номинального, и не срабатывает в течение 2 ч при токе, равном 1,05 номинального;
б) устройства для непосредственного контроля температуры с помощью встроенных датчиков температуры;
в) другие равноценные устройства.
Б.15.2 В случаях, когда автоматическое отключение электродвигателя влечет за собой угрозу безопасности, которая более существенна, чем угроза, обусловленная одним лишь риском воспламенения, следует использовать устройство (устройства) предупредительной сигнализации в качестве альтернативы автоматическому отключению при условии, что срабатывание такого устройства (устройств) сразу же фиксируется для принятия оперативных мер по устранению неисправности.
Б.15.3 Устройства защиты от короткого замыкания и замыкания на землю должны исключать возможность автоматического повторного включения в условиях неустраненного замыкания.
Программа пригодна для разработки индивидуальных программ технического диагностирования взрывозащищенных электродвигателей.
В.1 Техническое диагностирование взрывозащищенных электродвигателей проводится с целью контроля и прогнозирования технического состояния средств взрывозащиты электродвигателей, поиска места и определения причин неисправности для установления сроков и условий дальнейшей безопасной эксплуатации.
В.2 Работы по техническому диагностированию средств взрывозащиты предусматривают:
- неразрушающий контроль;
- определение механических характеристик;
- металлографические исследования;
- определение химического состава металла;
- измерение сопротивления обмоток постоянному току;
- измерение сопротивления изоляции обмоток статора и ротора;
- визуальный и эндоскопический осмотр статора и ротора.
В.3 Визуальный и измерительный контроль
В.3.1 Визуальный и измерительный контроль средств взрывозащиты проводится с целью выявления видимых искажений формы элементов взрывонепроницаемой оболочки, поверхностных или выходящих на поверхность дефектов и повреждений в основном материале и сварных соединениях, образовавшихся при эксплуатации взрывозащищенного электродвигателя.
В.3.2 Специалисты, осуществляющие визуальный и измерительный контроль, должны быть аттестованы в соответствии с Правилами [6].
В.3.3 При визуальном и измерительном контроле согласно [7] применяют:
- лупы, в т.ч. измерительные;
- линейки измерительные металлические;
- угольники поверочные 900 лекальные;
- штангенциркули, штангенрейсмасы и штангенглубиномеры;
- щупы;
- угломеры с нониусом;
- микрометры;
- нутромеры микрометрические и индикаторные;
- калибры;
- эндоскопы;
- шаблоны, в том числе специальные и универсальные (например, типа УШС), радиусные, резьбовые и др.;
- поверочные плиты;
- штриховые меры длины (стальные измерительные линейки, рулетки).
В.3.4 Допускается применение других средств визуального и измерительного контроля при условии наличия соответствующих инструкций и методик их применения.
В.3.5 Для определения шероховатости поверхности следует применять профилографы-профилометры, аттестованные образцы шероховатости (сравнения), а также другие средства измерения.
В.3.6 Измерительные приборы и инструменты должны периодически, а также после ремонта проходить поверку (калибровку) в метрологических службах.
В.3.7 Визуальному и измерительному контролю подвергаются внутренние и наружные поверхности подшипниковых щитов, станины, подшипниковых крышек, вводных отделений, поверхности взрывонепроницаемых фланцевых соединений, взрывонепроницаемых соединений вала с подшипниками, сварные соединения и крепежные детали.
В.3.8 Перед проведением визуального и измерительного контроля согласно [7] поверхность объекта в зоне контроля подлежит зачистке до чистого металла от ржавчины, грязи, краски, масла, влаги, шлака, продуктов коррозии и других загрязнений, препятствующих проведению контроля.
В.3.9 Визуальный контроль средств взрывозащиты электродвигателей выполняют с целью выявления поверхностных повреждений (трещин, коррозионных повреждений, деформированных участков, наружного износа элементов и т.д.), образовавшихся в процессе эксплуатации электродвигателей.
В.3.10 Измерительный контроль средств взрывозащиты электродвигателей выполняют с целью определения соответствия геометрических размеров конструкции и допустимости повреждений материала и сварных соединений, выявленных при визуальном контроле, нормативным требованиям.
В.3.11 При визуальном контроле средств взрывозащиты электродвигателей проверяют:
- отсутствие (наличие) механических повреждений поверхностей;
- отсутствие (наличие) формоизменения элементов конструкций;
- отсутствие (наличие) трещин и других поверхностных дефектов, образовавшихся (получивших развитие) в процессе эксплуатации;
- отсутствие (наличие) коррозионного и механического износа поверхностей.
В.3.12 При измерительном контроле состояния средств взрывозащиты электродвигателей определяют:
- размеры механических повреждений материала и сварных соединений;
- размеры пороков литья;
- глубину коррозионных язв и размеры зон коррозионного повреждения, включая их глубину;
- значения шероховатости взрывозащитных поверхностей.
В.3.13 Выявленные повреждения и дефекты (критерии и нормы см. таблицу В.1) необходимо изобразить на карте контроля или эскизе элементов взрывонепроницаемой оболочки.
В.3.14 Результаты визуального и измерительного контроля средств взрывозащиты электродвигателей фиксируются в протоколе контроля и прилагаются к Заключению о возможности продления срока безопасной эксплуатации взрывозащищенного электродвигателя.
В.3.15 Руководитель экспертной группы в случае выявления повреждений и дефектов вносит дополнения в программу работ по продлению:
- контроль толщины ультразвуковым методом в зонах максимального коррозионного повреждения металла оболочки;
- контроль магнитопорошковым (капиллярным) методом участка поверхности с выявленной трещиной для подтверждения наличия трещины и уточнения границ на поверхности, ультразвуковым методом - для определения глубины проникновения в металл;
- контроль магнитопорошковым (капиллярным), ультразвуковым методами ремонтных участков (если ремонт обусловлен ранее выявленной трещиной).
В.4 Контроль толщины стенки элементов взрывонепроницаемой оболочки методом ультразвуковой толщинометрии. Контроль сплошности металла методом ультразвуковой дефектоскопии
В.4.1 Ультразвуковой контроль проводится с целью определения текущей (на момент контроля) толщины стенок элементов взрывонепроницаемой оболочки электродвигателя. Ультразвуковая дефектоскопия проводится в зонах структурной неоднородности металла, если они обнаружены при контроле толщины, с целью определения характера структурной неоднородности металла (строчечные дефекты без расслоения металла или расслоение металла).
В.4.2 При обнаружении строчечных "полупрозрачных" дефектов число точек контроля увеличивается вдвое.
В.4.3 При выявлении расслоения металла число точек измерения увеличивается до количества, достаточного для определения границы расслоения.
В.4.4 Если при измерении толщины элемента взрывонепроницаемой оболочки получены отдельные минимальные значения, отличающиеся более чем на 5 % от среднего значения результатов измерения, необходимо провести дополнительные измерения толщины в зоне минимальных значений для определения минимальной толщины и размера зоны с уменьшенной толщиной.
В.4.5 Результаты измерений толщины в протоколе контроля оформляются в виде таблицы, содержащей наименование элемента, номера точек, в которых проведено измерение, и результаты измерения.
При выявлении расслоений, "полупрозрачных" строчечных включений в протоколе контроля необходимо указать толщину элемента в этой зоне, а в протоколе контроля сплошности металла - привести характеристику выявленной несплошности, указать местоположение и размеры зоны несплошности. Зону несплошности металла необходимо изобразить на карте контроля.
В.5 Контроль поверхности элементов взрывонепроницаемой оболочки методами магнитопорошковой и/или капиллярной дефектоскопии
В.5.1 Контроль поверхности элементов взрывонепроницаемой оболочки методами магнитопорошковой и (или) капиллярной дефектоскопии проводится с целью выявления поверхностных и подповерхностных дефектов (поверхностных и подповерхностных трещин, расслоений, выходящих на поверхность), определения их ориентации и размеров.
В.5.2 Контроль проводится в соответствии с требованиями ГОСТ 21105, ГОСТ 18442.
В.5.3 В протоколе контроля должно быть приведено описание местоположения выявленных дефектов, формы и размеров индикаторного следа. Местоположение выявленных дефектов следует также изобразить на карте контроля или эскизе.
В.5.4 Руководитель экспертной группы в случае выявления трещин вносит дополнения в программу работ:
- измерение твердости металла в зоне выявленных трещин;
- металлографический анализ структуры металла в зоне выявленных трещин.
В.6 Контроль сварных соединений взрывонепроницаемой оболочки методами ультразвуковой дефектоскопии
В.6.1 Контроль сварных соединений методами ультразвуковой дефектоскопии проводится с целью выявления внутренних дефектов, определения вида и типа выявленных дефектов, их местоположения и размеров.
В.6.2 Ультразвуковая дефектоскопия сварных соединений проводится в соответствии с требованиями ГОСТ 14782.
В.6.3 Выявленные дефекты должны быть отнесены к одному из типов:
- объемные непротяженные;
- объемные протяженные;
- плоскостные.
В.6.4 Положение и условные размеры выявленных дефектов должны быть изображены на карте контроля и на эскизе сварного соединения (в поперечном сечении сварного соединения и в плане).
В.7 Измерение твердости металла
В.7.1 Измерение твердости проводят с целью проверки соответствия твердости металла элементов и сварных соединений взрывонепроницаемой оболочки нормативным требованиям, определения механических свойств металла (косвенным методом), выявления изменений в материале, возникших в результате длительной эксплуатации.
В.7.2 Измерение твердости непосредственно на взрывонепроницаемой оболочке проводят переносными твердомерами статического или динамического действия в соответствии с требованиями ГОСТ 22761, ГОСТ 22762, ГОСТ 18661.
В.7.3 При определении твердости сварного соединения измерения проводят для всех зон контролируемого сварного соединения:
- металла шва (на усилении);
- металла зоны термического влияния (от линии сплавления на расстоянии 1,5-2,0 мм - при автоматической сварке, 2,0-5,0 мм - при электрошлаковой сварке);
- основного металла (на расстоянии 25 мм от линии сплавления).
В.7.4 В каждой зоне должно быть сделано не менее трех измерений, а за результат принимается их среднеарифметическое значение.
В.7.5 При несоответствии твердости металла или сварного шва нормативным требованиям, на расстоянии 5-50 мм от точек, показавших неудовлетворительный результат, проводят дополнительные измерения. Количество дополнительных измерений определяют специалисты, проводящие измерения.
В.7.6 Результаты измерений заносятся в протокол измерения твердости. Местоположение зон измерений твердости необходимо указать на карте контроля.
В.7.7 При твердости металла, выходящей за рамки допускаемой, Руководитель экспертной группы принимает решение о необходимости проведения дополнительных исследований:
- определение химического состава металла;
- определение механических свойств металла;
- исследование микроструктуры металла;
- оценка склонности металла к хрупкому разрушению (проводится при твердости, превышающей допускаемые нормативные значения).
В.8 Определение механических свойств металла методами неразрушающего контроля
В.8.1 Определение механических свойств металла методами неразрушающего контроля проводят с целью установления причин возникновения повреждений и дефектов, в том числе зон с аномальными значениями твердости и аномальными изменениями структуры металла.
В.8.2 Прочностные характеристики (пределы прочности и текучести) допускается оценивать неразрушающим (косвенным) методом по результатам измерения твердости согласно ГОСТ 22761, ГОСТ 22762.
В.8.3 Оценку склонности металла к хрупкому разрушению в процессе длительной эксплуатации допускается проводить, используя результаты измерения твердости и электронно-фрактографического анализа микропроб.
В.9 Металлографические исследования
В.9.1 Металлографический анализ структуры металла проводят с целью установления причин возникновения повреждений и дефектов металла элементов взрывонепроницаемой оболочки, снижающих прочность и(или) увеличивающих склонность металла к хрупкому разрушению, а также для установления возможных изменений структуры металла в результате длительных сроков эксплуатации.
В.9.2 Анализ структуры следует выполнять непосредственно на обследуемом электродвигателе неразрушающим (безобразцовым) методом путем снятия реплик (оттисков) согласно ГОСТ 5639, ГОСТ 10243 с последующим идентифицированием микроструктуры оптическим методом.
В.9.3 Результаты макро- и микроанализа представляются в виде заключения о качестве материала, содержащего фотографии и описание структуры металла, выявленных неоднородностей и повреждений, величину (балл) зерна.
В.9.4 При выявлении аномальной структуры (при наличии микротрещин и/или закалочных структур) металла по данным металлографического анализа необходимо проверить химический состав металла; при выявлении закалочных структур необходимо оценить склонность металла к хрупкому разрушению.
В.10 Определение химического состава металла
В.10.1 Определение химического состава металла проводится методами химического и спектрального анализа согласно ГОСТ 18895 с целью установления соответствия требованиям конструкторской документации и идентификации материала.
В.10.2 Для определения химического состава основного металла на наружной предварительно зачищенной до металлического блеска поверхности берется стружка путем высверливания отверстий диаметром не более 5 мм, на глубину не более 30 % толщины элемента взрывонепроницаемой оболочки, но не более 5 мм. Расстояние до ближайших кромок отверстий и ближайшего сварного шва должно быть не менее 50 мм.
В.10.3 При отборе стружки не допускается наличие следов побежалости на металле.
В.10.4 Допускается применение переносных аналитических приборов типа ARCMET (без взятия стружки) после получения разрешения на проведение огневых работ.
В.10.5 Места отбора проб металла для химического анализа или зону стилоскопирования следует указать на карте контроля.
В.10.6 Результаты анализа химического состава оформляются в виде заключения, в котором указываются метод контроля, химический состав и соответствующая ему марка стали по нормативной документации.
В.11 Измерение сопротивления обмоток постоянному току
В.11.1 Измерения производятся цифровым микроомметром с фиксированием температуры обмоток.
В.11.2 При проведении измерений каждое сопротивление необходимо измерить не менее трех раз. За истинное значение сопротивления принимается среднеарифметическое измеренных значений. При этом результат отдельного измерения не должен отличаться от среднего более чем на 0,5 %.
В.11.3 При сравнении значений сопротивления они должны быть приведены к одной температуре (20 °С). При измерении сопротивления каждой фазы обмотки значения сопротивления обмотки не должны отличаться друг от друга более чем на 2 %. Результаты измерений сопротивления одних и тех же фаз не должны отличаться от исходных данных более чем на 2 %.
В.12 Измерение сопротивления изоляции обмоток
Сопротивление изоляции измеряется [8] мегаомметром на напряжение:
500 В - у электродвигателей напряжением до 500 В,
1000 В - у электродвигателей на напряжение до 1000 В,
2500 В - у электродвигателей напряжением выше 1000 В.
Значения сопротивлений изоляции обмоток статора электродвигателей на напряжение до 1000 В должны быть не менее 1 Мом при температуре 10-30 °С, а при температуре 60 °С - 0,5 Мом. Значения сопротивлений относятся ко всем видам изоляции.
Для взрывозащищенных электродвигателей аппаратов воздушного охлаждения газа:
- двигатель необходимо осмотреть и измерить сопротивление изоляции обмотки статора в холодном состоянии. Сопротивление изоляции должно быть не менее 10 Мом (измерение проводить мегаомметром на напряжение 500 В). После измерения обмотку разрядить;
- двигатель с сопротивлением изоляции менее 10 Мом необходимо сушить. Во время сушки наивысшая температура обмотки статора не должна превышать 150-155 °С;
- двигатель считается высушенным, если в процессе сушки сопротивление изоляции, замеряемое через каждые 20-30 минут, увеличивается на 2-2,5 Мом и при дальнейшей сушке не будет изменяться, или будет возрастать очень медленно.
В.13 Визуальный и эндоскопический осмотр статора и ротора
Визуальное обследование электродвигателя проводится с помощью гибкого технического эндоскопа и комплекта для визуального и измерительного контроля. Места, подлежащие осмотру и оценке технического состояния.
По статору:
1) при осмотре лобовых частей обмоток вблизи выхода секций из пазов оцениваются:
- зазоры между лобовыми частями верхней и нижней полусекции одного паза и наличие истирания изоляции в случае закрытия зазоров;
- выдвижение межслоевой прокладки из паза;
- чистота зазоров между лобовыми частями стержней соседних пазов;
- степень разрушения и старения изоляции;
- состояние распорок лобовых частей;
- искривление стержней на выходе из паза;
- повреждение изоляции стержней обмоток при выходе из пазов, а также сегментов крайних пакетов активной стали;
2) при осмотре лобовых частей обмоток на эвольвентных участках оцениваются:
- наличие или отсутствие зазоров между соседними лобовыми частями;
- наличие и глубина истирания изоляции дистанционными прокладками;
- признаки перегрева изоляции (изменение цвета);
3) при осмотре торцевой части сердечника оцениваются:
- нажимные пальцы и приклепанные к ним сегменты крайних пакетов активной стали;
- загрязнение на коронках зубцов и вдоль нажимных пальцев;
- деформация сегментов активной стали в каналах крайних пакетов;
- распушение и выкрашивание сегментов зубцов;
4) при осмотре расточки статора оцениваются:
- смещение концевых клиньев;
- характер ослабления пазовых клиньев;
- признаки задевания ротора о статор из-за смещения ротора относительно расточки статора (вследствие износа подшипника или искривления вала);
Критерии и нормы оценки дефектов, выявленных при обследовании взрывозащищенных электродвигателей
|
Вид дефекта |
Нормы и критерии оценки |
Примечания |
|
1 Дефекты поверхности фланцев взрывонепроницаемых соединений |
||
|
1.2 Коррозионные язвы (одиночные и скопления) |
Недопустимы |
- |
|
2 Дефекты элементов взрывонепроницаемой оболочки |
||
|
2.1 Трещины в основном металле всех видов и направлений |
Недопустимы |
- |
|
2.2 Коррозионные язвы (одиночные и скопления) или другие дефекты нетрещиноподобного вида |
По допускам в конструкторской документации на конкретный тип и марку электродвигателя |
- |
|
2.3 Утонение стенки элемента оболочки |
По допускам в конструкторской документации на конкретный тип и марку электродвигателя |
|
|
2.4 Изменение твердости металла |
по марке стали |
- |
|
2.5 Изменение шероховатости взрывозащитной поверхности |
не более Ra 12,5 мкм |
- |
|
3 Дефекты ротора |
||
|
3.1 Износ шеек вала ротора |
по параметрам i |
- |
|
3.2 Местные подплавления стержней обмотки ротора |
Недопустимы |
Ремонтопригоден |
|
3.3 Дефект стержней короткозамкнутой клетки - обмотки ротора |
Недопустимы |
Ремонтопригоден |
|
3.4 Ослабление посадки деталей на вал |
Недопустимы |
Ремонтопригоден |
|
4 Дефекты статора |
||
|
4.1 Разрушение и старение изоляции лобовых частей обмоток |
Не более 0,5 % |
Глубина истирания |
|
4.2 Искривление стержней на выходе из паза |
Не более 2-х стержней |
- |
|
4.3 Признаки перегрева изоляции (изменение цвета) |
Не более 2-х стержней |
- |
|
4.4 Распушение и выкрашивание сегментов зубцов |
Не более 5 % |
- |
|
4.6 Смещение концевых клиньев расточки |
Недопустимы |
Ремонтопригоден |
|
4.7 Ослабление пазовых клиньев |
Не более 2-х клиньев |
- |
5) при осмотре соединительных шин секций обмоток оцениваются:
- наличие прокладок и колодок;
- разрывы шнуровых вязок;
- ослабление креплений и наличие признаков истирания изоляции соединительных шин.
По ротору:
1) при осмотре ротора оцениваются:
- признаки ослабления посадки деталей на вал;
- признаки локальных перегревов листов электротехнической стали;
- целостность стержней короткозамкнутой клетки - обмотки ротора;
- наличие местных подплавлений стержней обмотки ротора;
- состояние шеек вала ротора.
Техническое обслуживание взрывозащищенных электродвигателей, допущенных к дальнейшей эксплуатации, проводится с целью сохранения работоспособного технического состояния и обеспечения их безопасной эксплуатации на продлеваемый период.
Техническое обслуживание проводится до сборки и монтажа взрывозащищенных электродвигателей и в общем случае включает в себя:
- антикоррозионную обработку;
- замену прокладок;
- замену уплотнительных колец кабельных вводов;
- замену смазки подшипниковых узлов;
- замену подшипников.
Г.1 Антикоррозионная обработка
На металлические оболочки электрооборудования при необходимости следует нанести соответствующие защитные покрытия, предупреждающие возникновение коррозии, при этом частота и характер такой обработки определяются условиями окружающей среды.
Для предотвращения коррозии и обеспечения защиты от атмосферных воздействий все соединения взрывонепроницаемых оболочек должны быть тщательно очищены и покрыты тонким слоем соответствующей смазки. Глухие резьбовые отверстия должны быть свободны от смазки. Для чистки фланцев следует применять только неметаллические скребки и очищающие жидкости, не вызывающие коррозию.
Если на взрывонепроницаемых соединениях не используются прокладки, их следует защитить с помощью смазки, неотверждающегося герметика или незатвердевающей ленты, накладываемой снаружи.
Незатвердевающую ленту следует применять только в электрооборудовании, которое используется при наличии взрывоопасной смеси, отнесенной к категории взрывоопасности IIА. Кроме того, ее допускается использовать после консультации с предприятием-изготовителем в электрооборудовании подгрупп IIВ и IIС при его применении при наличии взрывоопасной смеси категории IIВ. Не допускается использовать незатвердевающую ленту в электрооборудовании подгруппы IIС при его применении во взрывоопасной смеси категории взрывоопасности IIС.
Г.2 Замена прокладок
Прокладки, применяемые во взрывонепроницаемых соединениях, заменяются прокладками из того же материала и размера, что и оригинал. Относительно любых замен материала следует консультироваться с изготовителем электрооборудования, или органами по сертификации.
Г.3 Замена уплотнительных колец кабельных вводов
Части, используемые для уплотнения в соответствии со спецификацией на электрооборудование, заменяются только на части, указанные в перечне запасных частей.
Если в кабельном вводе устанавливается уплотнительное кольцо с надрезами (шаг надрезов не более 2 мм) или ряд уплотнительных колец под вводимые кабели различного диаметра, то такие кольца должны иметь минимальную осевую высоту в несжатом состоянии:
- 20 мм для кабелей диаметром до 20 мм;
- 25 мм для кабелей диаметром св. 20 мм, и на них должны быть обозначены минимальный и максимальный диаметр вводимого кабеля.
Для взрывонепроницаемых оболочек электродвигателей подгруппы IIС объемом свыше 2000 см3, в которых при нормальном режиме работы возникают электрические разряды или образуются нагретые поверхности с температурой выше температурного класса, уплотнительные кольца с осевой высотой менее 20 мм в несжатом состоянии не допускаются.
Г.4 Замена смазки подшипниковых узлов
По инструкции изготовителя взрывозащищенных электродвигателей, применяемых на аппаратах воздушного охлаждения (далее по тексту - АВО) газа, во время эксплуатации двигателя замену смазки производить через 10000 ч работы. Камеры для консистентной смазки подшипникового узла во внутренних крышках заполняются полностью, но без тугой набивки. В наружных крышках смазка должна заполнить 85-90 % свободного объема. Количество смазки на подшипники - по 600 г.
Г.5 Замена подшипников
По инструкции изготовителя взрывозащищенных электродвигателей, применяемых на АВО газа, рекомендуемая периодичность замены подшипников со стороны рабочего вала и со стороны, обратной приводу, равна четырем годам (не менее 25000 ч).
Шарикоподшипник и внутреннюю обойму роликоподшипника следует насаживать на вал нагретыми до температуры 80-90 °С. Нагрев производить в чистом минеральном масле. Наружную обойму роликоподшипника следует собирать совместно со щитом подшипниковым.
Д.1 Наиболее распространенный вид взрывозащиты по всем уровням - "взрывонепроницаемая оболочка" [4], которая создается в результате обеспечения высокой прочности корпуса и подшипниковых узлов, крепления деталей и узлов с соблюдением регламентированных параметров взрывозащиты.
Взрывозащита электрооборудования этого вида обеспечивается за счет:
а) высокой механической прочности составных частей оболочки;
б) соблюдения параметров взрывонепроницаемых соединений оболочки;
в) уплотнения вводов проводов или кабеля эластичными уплотнительными кольцами или затвердевающей массой;
г) применения пружинных шайб и других специальных устройств для предупреждения самоотвинчивания деталей крепления оболочки или частей, токоведущих и заземляющих зажимов;
д) применения охранных колец или углублений для головок болтов и гаек, скрепляющих части оболочки, что обеспечивает невозможность разборки электрооборудования без помощи специального инструмента;
е) применения специальных зажимов заземления и блокировок;
ж) ограничения допустимой температуры нагрева наружных частей оболочки;
з) применения антикоррозионных смазок для покрытия взрывозащитных поверхностей, что обеспечивает длительную сохранность их от разрушения коррозией и, как следствие, сохранение взрывонепроницаемых соединений;
и) нормированных значений параметра шероховатости взрывозащитных поверхностей;
к) выполнения других требований, оговоренных в нормативной и эксплуатационной документации на конкретное электрооборудование.
Д.2 Электродвигатели, как правило, должны поступать в ремонт без деталей сочленения с другими механизмами (шкивов, шестерен, муфт и т.д.).
Д.3 Номенклатура работ при ремонте взрывозащищенных электродвигателей:
- восстановление элементов взрывозащиты взрывонепроницаемой оболочки;
- замена любых деталей и сборочных единиц деталями и сборочными единицами, поступающими как запасные части;
- ремонт подшипниковых щитов и корпусов;
- ремонт валов;
- контроль воздушного зазора;
- полная разборка электродвигателя с полной или частичной заменой обмоток;
- замена бандажей;
- переклиновка ослабленных клиньев обмоток;
- подизолировка лобовых частей и выводных концов обмоток;
- устранение обрывов выводных концов;
- пропитка обмоток пропиточным лаком, покрытие лобовых частей электроизоляционной эмалью;
- сушка электродвигателей с пониженным сопротивлением изоляции обмоток;
- ремонт активной стали ротора;
- балансировка роторов;
- замена роторов новыми;
- гидравлические испытания деталей и сборочных единиц взрывонепроницаемой оболочки.
Д.4 Восстановление элементов взрывозащиты
Д.4.1 Предпочтительно получать новые части от завода-изготовителя. Поврежденные части следует ремонтировать только в случаях, когда сохраняется вид взрывозащиты, указанный в сертификационных документах. Особое внимание необходимо уделять правильной сборке взрывонепроницаемых оболочек после их ремонта, чтобы гарантировать соответствие взрывонепроницаемых соединений требованиям стандарта и, в необходимых случаях, сертификационным документам.
Д.4.2 Некоторые части не подлежат восстановлению. К ним относятся:
- крепежные детали;
- компоненты частей, например некоторые герметизированные узлы, в отношении которых предприятие-изготовитель указывает, что они не подлежат ремонту.
Д.4.3 В случаях, когда электродвигатель имеет взрывозащищенный электромашинный тормоз, подлежащий ремонту, рекомендуется отправить его на предприятие-изготовитель для ремонта вместе с электродвигателем. Такой порядок действий связан с конструктивными особенностями тормоза.
Д.4.4 Пайка твердым припоем и сварка используется только в случае, когда применяемый способ восстановления обеспечивает достаточное сцепление припоя или сварного шва с базовым металлом, что приводит к упрочнению, предотвращению деформации, уменьшению механических напряжений и отсутствию раковин. Следует учитывать, что при пайке твердым припоем и сварке происходит повышение температуры восстанавливаемой части до достаточно высокого уровня, что может вызвать распространение усталостных трещин.
Д.4.5 Металлический стежковый шов. Холодное восстановление треснувшей литой части способом заполнения трещины стежками никелевого сплава и герметизации трещины рядом заклепок из того же сплава может быть допустимо при достаточной толщине литой части.
Д.4.6 Резьбовые отверстия для крепежных деталей. Резьбы, поврежденные в допустимых пределах, могут быть восстановлены с учетом вида взрывозащиты следующими средствами:
- сверлением сверлом большего диаметра и повторной нарезкой резьбы;
- сверлением сверлом большего диаметра, повторной нарезкой резьбы и использованием самодельной вставки с резьбой;
- сверлением сверлом большего диаметра, установкой пробки, повторным сверлением и повторной нарезкой резьбы;
- установкой сварной пробки, повторным сверлением и нарезкой резьбы.
Д.4.7 Диаметр резьбы и материал крепежных элементов должны соответствовать ремонтной документации [4].
Допускается замена материала только материалом с повышенными, по сравнению с указанными в ремонтной документации, прочностными характеристиками (временное сопротивление на разрыв, предел текучести, относительное удлинение и т.п.) при полном сохранении чертежных размеров и форм.
Д.4.8 Повторная механическая обработка изношенных или поврежденных поверхностей, как способ восстановления, производится:
- если часть не ослаблена свыше безопасного предела;
- целостность оболочки сохраняется;
- достигается требуемое качество обработки поверхности.
Д.4.9 Поврежденные детали, не являющиеся неотъемлемой частью взрывонепроницаемой оболочки, например лапы для крепления можно ремонтировать с помощью сварки или металлического стежкового шва, не повредив при этом целостность и устойчивость электродвигателя. Необходимо проверить, что ни одна из заделанных трещин не проникает во взрывонепроницаемую оболочку.
Д.5 Ремонт взрывонепроницаемых соединений
Д.5.1 Поврежденные или подверженные коррозии поверхности взрывонепроницаемых соединений механически обрабатывают, если размеры соединительного зазора и фланца не повреждены до такой степени, что они не соответствуют стандарту на электрооборудование.
Д.5.2 Незначительные по размерам пороки литья [4] (раковины, чернота и т.п.), незначительные сварочные раковины, обнаруженные на взрывозащищенных поверхностях после окончательной обработки, а также следы механических повреждений (забоины, вмятины и т.п.) на этих поверхностях допускается устранять путем запайки мягкими припоями, медью или латунью - для стальных деталей, медью или латунью - для чугунных.
Д.5.3 Устранение указанных в п. Д.5.2 дефектов может также осуществляться заделкой пластическими материалами. Материалы, применяемые для заделки дефектов литья, должны иметь следующие параметры:
а) теплоустойчивость в интервале температур, при которых может эксплуатироваться электродвигатель, и при максимально возможной температуре нагрева электродвигателя в процессе его эксплуатации;
б) устойчивую адгезию с металлом;
в) твердость по Бринеллю материала заделки не менее 25;
г) устойчивость к воздействию агрессивных и коррозионных сред;
д) устойчивость к воздействию смазочных и антикоррозионных материалов, применяемых в электродвигателях с видом взрывозащиты "взрывонепроницаемая оболочка".
Д.5.4 Методы исправления дефектов литья должны удовлетворять следующим условиям [4]:
а) размеры и расположение подготовленного к заделке дефекта принимаются по п. Д.5.5;
б) материал заделки должен легко (вручную) вдавливаться в раковину и отверждаться на воздухе либо при местном подогреве;
в) параметр шероховатости поверхности на месте исправленного дефекта должен быть не более Ra 12,5 мкм.
Д.5.5 При устранении дефектов на взрывозащитных поверхностях [4] необходимо руководствоваться рисунком Д.1, таблицей Д.1 и следующими требованиями:
а) должна быть произведена разделка поверхностей дефектов до неповрежденного металла;
б) кратчайший неповрежденный путь между двумя любыми разделками должен быть не менее значений, приведенных в таблице Д.1;
в) поверхность разделанного литьевого дефекта, находящегося в зоне Вн, должна вписываться в окружность диаметром d, при этом если часть разделки выходит за пределы зоны Вн, то размеры этой части не нормируются;
г) проекция разделки следов механических повреждений, находящихся в зоне Вн, на размерную линию, по которой определяется длина Вн, должна быть не более размера d с глубиной разделки не более h (таблица Д.1). При этом, если часть разделки выходит за пределы зоны Вн, то размеры этой части не нормируются;
д) допускается заделка дефектов вокруг отверстия для винта или других деталей крепления в кольцевой зоне Н = аф - ан, т.е. в зоне превышения фактического взрывонепроницаемого пути от кромки отверстия до внутренней кромки оболочки (аф) или до ближайшей разделки над нормированным (ан) по действовавшей в период изготовления электрооборудования нормативно-технической документации;
е) в пределах зоны ан заделка дефектов не допускается;
ж) размеры и расположение разделок в зоне Н и на поверхности вне зоны Вн не нормируются;
з) материал заделки должен иметь хорошую адгезию;
и) поверхность заделки должна быть расположена заподлицо с основной поверхностью и иметь тот же параметр шероховатости;
к) не допускаются местные забоины или выступы, увеличивающие зазор между сопрягающимися поверхностями.

Вк - конструктивный размер части взрывонепроницаемого соединения; Вс - фактическая длина взрывонепроницаемого соединения; Вн - длина взрывонепроницаемого соединения по действовавшей в период изготовления электродвигателя нормативной и технической документации
Рисунок Д1. Разделка дефектов взрывозащитных
Д.5.6 Устранение любых дефектов [4] на взрывозащитных поверхностях с нормированной длиной взрывонепроницаемого соединения Вн = 5 мм должно производиться только путем заварки. Не допускается заливка дефектов свинцом.
Д.5.7 Заделка любых повреждений в расточках втулок для валов электродвигателей не допускается [4]. Детали с такими повреждениями должны растачиваться с последующей установкой в процессе ремонта втулок. Поврежденные втулки подлежат замене.
Д.5.8 Раковины в глухом или сквозном отверстии в стенке оболочки или на поверхности фланцев допускается исправлять рассверливанием или расточкой отверстия и запрессовкой в него глухой пробки или втулки по посадке Н8/u8 (рисунок Д.2).
Параметры ремонтопригодности взрывозащитных поверхностей [4]
|
Параметры |
Длина взрывонепроницаемого соединения (щели), мм |
||
|
25 |
15 и 12,5 |
8 |
|
|
Допустимая по действовавшей в период изготовления электродвигателя нормативно-технической документации длина щели между поверхностями прилегания от кромки отверстий под болт до кромки оболочки, ан, мм, не менее |
9,0 |
8,0 |
5,0 |
|
Диаметр окружности, описанной вокруг разделки, для литьевого порока или проекция разделки на линию, по которой определяется Вн, d, мм, не более |
5,0 |
3,0 |
2,0 |
|
Кратчайший путь по неповрежденной поверхности между разделками (в пределах Вн), 1, мм, не менее |
9,0 |
8,0 |
5,0 |
|
Ширина разделки при механическом повреждении, b, мм, не более |
2,0 |
1,5 |
1,0 |
|
Глубина разделки при механическом повреждении, h, мм, не более |
4,0 |
3,0 |
2,0 |

Рисунок Д.2 - Посадка втулок Н8/u8
Д.5.9 Толщина втулок или пробок в каждом отдельном случае выбирается в зависимости от конструкции оболочки.
Д.5.10 Для особо нагруженных болтов пробки должны устанавливаться по резьбе.
Д.5.11 Пробки и втулки должны завариваться с одного или двух торцов. После сварки необходимо произвести обработку взрывозащитных поверхностей с соблюдением требуемой шероховатости.
Д.5.12 Втулки, устанавливаемые на вал или в подшипниковый щит, могут изготовляться из чугуна, меди, бронзы, латуни с запрессовкой по посадке Н8/u8.
Д.5.13 Крепление втулки осуществляется либо ее развальцовкой с обеих сторон, либо упорным буртом и развальцовкой другой стороны втулки (рисунок Д.3), либо винтом (рисунок Д.4).
Д.5.14 Упорный бурт или винты должны располагаться с внутренней стороны взрывонепроницаемой оболочки.


D-d - не более, a L1 - не менее значений по нормативной и технической документации, действовавшей в период изготовления электродвигателя
Рисунок Д.3 - Сопряжение валика управления с запрессованной втулкой

D-d - не более, a L1 и L2 - не менее значений по нормативной и технической документации, действовавшей в период изготовления электродвигателя
Рисунок Д.4 - Сопряжение вала двигателя со щитом с запрессованной втулкой, закрепленной винтом
Е.1 Восстановленные части взрывонепроницаемых оболочек должны использоваться только после испытания на избыточное давление.
Гидравлические испытания проводятся по методике, приведенной в ГОСТ Р 51330.1, по нормам и схемам, указанным в [13].
Е.2 После гидравлических испытаний [4] допускается производить дополнительную механическую обработку частей оболочки с сохранением нормируемых размеров деталей без последующих повторных гидроиспытаний.
Е.3 Обмотки после полного или частичного ремонта должны быть подвергнуты испытаниям, в собранном электродвигателе.
Е.4 Проверка сопротивления изоляции должна быть проведена путем измерения сопротивления между обмотками и землей где возможно - между обмотками, между обмотками и вспомогательными цепями, между вспомогательными цепями и землей. Следует применять минимальное испытательное напряжение 500 В постоянного тока.
Е.5 Минимально допустимые значения сопротивления изоляции зависят от номинального напряжения, температуры, типа машины и от того, был ли ремонт обмотки частичным или полным.
Е.6 Электродвигатель следует проверить при максимальной частоте вращения, осмотреть и устранить причины любых аномальных шумов и вибраций.
Е.7 Для высоковольтных (например, 1000 В переменного тока/1500 В постоянного тока и выше) электродвигателей могут потребоваться дополнительные испытания.
Е.8 При испытаниях взрывозащищенных электродвигателей проводятся измерения электрических и неэлектрических величин измерительными приборами и способами измерения согласно ГОСТ 11828, ИСО 2372, Правил [11], [5] и [10].
Таблица Е.1
Контрольные испытания взрывозащищенных электродвигателей
|
Наименование испытаний |
Средство измерения |
Примечание |
|
1 Измерение сопротивления изоляции обмоток статора |
Мегаомметр на напряжение 500 В |
Для электродвигателей напряжением до 500 В |
|
Мегаомметр на напряжение 1000 В |
Для электродвигателей напряжением до 1000В |
|
|
Мегаомметр на напряжение 2500 В |
Для электродвигателей напряжением выше 1000 В |
|
|
2 Измерение зазоров между сталью ротора и статора |
Набор ВИК, в соответствии РД [7] |
Для всех электродвигателей |
|
3 Измерение вибрации подшипников электродвигателя |
Виброметр, в соответствии ИСО 2372 |
Для всех электродвигателей |
|
4 Измерение коэффициента абсорбции (отношение R60/R15) обмоток статора |
Мегаомметр на напряжение 2500 В |
Для электродвигателей напряжением выше 1000 В |
|
5 Измерение сопротивления обмоток ротора |
Мегаомметр на напряжение 1000 В (допускается 500 В) |
Для синхронных и асинхронных с фазным ротором электродвигателей напряжением 3 кВ и выше или мощностью более 1 МВт |
|
6 Измерение сопротивления обмоток статора постоянному току |
Микроомметр |
Для электродвигателей напряжением 3 кВ и выше |
|
7 Измерение сопротивления обмоток ротора постоянному току |
Микроомметр |
Для синхронных и асинхронных с фазным ротором электродвигателей напряжением 3 кВ и выше |
|
ОТКРЫТОЕ АКЦИОНЕРНОЕ ОБЩЕСТВО "ГАЗПРОМ" ________________________________________________ (Наименование специализированной организации) ЗАКЛЮЧЕНИЕ №_________ о возможности продления срока безопасной эксплуатации взрывозащищенного электродвигателя Тип Зав. номер Место установки _______________________________________ (Руководитель специализированной организации) ___________ _____________________ (Подпись) (Фамилия, И.О.) "_____" ___________ 200 _ г. М.П. _____________ (Город) _____________ (Год)
|
|
ЗАКЛЮЧЕНИЕ о возможности продления срока безопасной эксплуатации взрывозащищенного электродвигателя |
||
|
Содержание |
Стр. |
|
|
1 Вводная часть |
|
|
|
2 Объект обследования |
|
|
|
3 Цель обследования |
|
|
|
4 Сведения о рассмотренных документах |
|
|
|
5 Краткая техническая характеристика объекта обследования |
|
|
|
6 Программа работ по продлению срока эксплуатации |
|
|
|
7 Работы, выполненные в процессе обследования |
|
|
|
8 Рекомендации |
|
|
|
9 Заключительная часть |
|
|
|
Приложения |
|
|
|
Приложение 1. |
Протокол анализа технической документации |
|
|
Приложение 2. |
Протокол непосредственной проверки |
|
|
Приложение 3. |
Протокол детальной проверки |
|
|
Приложение 4. |
Протокол технического диагностирования |
|
|
Приложение 5. |
Протоколы контроля |
|
|
Приложение 6. |
Протоколы испытаний |
|
|
Приложение 7. |
Ведомость дефектов |
|
|
|
|
|
|
ЗАКЛЮЧЕНИЕ о возможности продления срока безопасной эксплуатации взрывозащищенного электродвигателя |
|||||
|
1 Вводная часть 1.1 Основание для проведения работ по продлению срока безопасной эксплуатации взрывозащищенного электродвигателя: 1) выработка электродвигателем нормативного срока службы; 2) договор от _______ с ______________________________ № ______ (Дата) (Наименование организации-заказчика) (Номер) 1.2 Сведения о специализированной организации Наименование организации __________________________________________________ Почтовый адрес _____________________________________________________________ Телефон ___________________________________________________________________ Факс ______________________________________________________________________ E-mail_____________________________________________________________________ 1.3 Сведения о наличии лицензий и свидетельств об аккредитации Лицензия _______ № _____ на право осуществления деятельности по проведению Дата выдачи: _____________ Срок действия: до _________________________________ Свидетельство об аккредитации ___________ № _________ на право осуществления деятельности по проведению _________________________________________________ Дата выдачи: _____________ Срок действия: до _________________________________ 1.4 Сведения об исполнителях работы
|
|||||
|
Наименование работы |
Организация-исполнитель |
Фамилия И.О. ответственного исполнителя |
Квалификация и уровень |
Номер удостоверения |
Срок действия удостоверения |
|
|
|
|
|
|
|
|
|
|
|
|
|
|
|
|
|
|
|
|
|
|
1.5 Сведения о заказчике Наименование организации__________________________________________________ Руководитель организации___________________________________________________ Почтовый адрес_____________________________________________________________ Телефон ___________________________________________________________________ Факс______________________________________________________________________ E-mail_____________________________________________________________________
|
|||||
|
ЗАКЛЮЧЕНИЕ о возможности продления срока безопасной эксплуатации взрывозащищенного электродвигателя |
|
2 Объект обследования Наименование ____________________________________________________________ Тип электродвигателя ______________________________________________________ Заводской номер __________________________________________________________ Станционный номер _______________________________________________________ Предприятие изготовитель __________________________________________________ Место установки электродвигателя ___________________________________________ Дата изготовления _________________________________________________________ Дата ввода в эксплуатацию __________________________________________________ 3 Цель обследования Целью работ по продлению срока безопасной эксплуатации взрывозащищенного электро двигателя является оценка его технического состояния, возможности, сроков и условш дальнейшей эксплуатации. 4 Сведения о рассмотренных документах Паспорт _________________ зав. № ______________ с приложениями Техническое описание и инструкция по эксплуатации ____________________________ Журнал эксплуатации ______________________________________________________ за период с "___"___________198 _ г. по "___"____________200 _ г. 5 Краткая техническая характеристика объекта обследования Назначение электродвигателя _______________________________________________ Исполнение электродвигателя по взрывозащите ________________________________ Климатическое исполнение электродвигателя __________________________________ Номинальная мощность электродвигателя ______________________ кВт Номинальная скорость вращения _____________________________ об/мин Номинальное напряжение ___________________________________ В Номинальный ток __________________________________________А
|
|
ЗАКЛЮЧЕНИЕ о возможности продления срока безопасной эксплуатации взрывозащищенного электродвигателя |
|
6 Программа работ по продлению срока эксплуатации 6.1 Проведение непосредственной проверки электродвигателя при номинальном режиме работы 6.2 Демонтаж электродвигателя, вывод из взрывоопасной зоны 6.3 Проведение детальной проверки с разборкой электродвигателя 6.4 Проведение технического диагностирования взрывозащищенного электродвигателя 6.5 Регистрация выявленных дефектов 6.6 Анализ дефектов и оценка технического состояния 6.7 Принятие решения о возможности продления 6.8 Назначение продленного срока службы электродвигателя 6.9 Составление программы корректирующих мероприятий по сохранению средств взрывозащиты и обеспечению безопасной эксплуатации взрывозащищенного электродвигателя на продлеваемый период 6.10 Контроль за выполнением корректирующих мероприятий 6.11 Проведение технического обслуживания 6.12 Сборка взрывозащищенного электродвигателя 6.13 Проведение контрольных испытаний 6.14 Монтаж взрывозащищенного электродвигателя 6.15 Оформление отчетной документации 6.16 Оформление паспорта технического состояния
|
|
ЗАКЛЮЧЕНИЕ о возможности продления срока безопасной эксплуатации взрывозащищенного электродвигателя |
|
|
7 Работы, выполненные в процессе обследования двигателя |
|
|
Наименование работ |
Наименование и номер отчетной документации |
|
7.1 Анализ технической документации |
Протокол от " ____" _______ 200 г. № ___ |
|
7.2 Непосредственная проверка |
Протокол от" ____" _______ 200 г. № ___ |
|
7.3 Демонтаж |
Акт готовности от _____ 200 г. № ____ Акт демонтажа от _____ 200 г. № ____ |
|
7.3 Детальная проверка с разборкой |
Протокол от " ____" _______ 200 г. № ___ |
|
7.4 Техническое диагностирование |
Протокол от " ____" _______ 200 г. № ___ |
|
7.5 Регистрация выявленных дефектов |
Ведомость дефектов от _____ 200 г. № ____ |
|
7.6 Техническое обслуживание |
Протокол от " ____" _______ 200 г. № ___ |
|
7.7 Сборка |
Протокол от " ____" _______ 200 г. № ___ |
|
7.8 Контрольные испытания |
Протокол испытаний от _____ 200 г. № ____ |
|
7.9 Монтаж |
Акт монтажа от _____ 200 г. № ____ |
|
8 Рекомендации ____________________________________________________________________________ ____________________________________________________________________________ ____________________________________________________________________________ ____________________________________________________________________________
|
|
|
ЗАКЛЮЧЕНИЕ о возможности продления срока безопасной эксплуатации взрывозащищенного электродвигателя |
|
9 Заключительная часть 9.1 Заключение о техническом состоянии взрывозащищенного электродвигателя на момент проведения обследования _______________________________________ 9.2 Заключение о возможности и условиях дальнейшей эксплуатации взрывозащищенного электродвигателя ______________________________________ 9.3 Назначенный срок службы _____________________________________________ 9.4 Дата очередного обследования __________________________________________ 9.5 Подписи специалистов, проводивших работы по продлению срока безопасной эксплуатации взрывозащищенного электродвигателя ___________________________ ____________________ ______________ ________________________ (Должность) (Подпись) (Фамилия, И.О.) ____________________ ______________ ________________________ (Должность) (Подпись) (Фамилия, И.О.) ____________________ ______________ ________________________ (Должность) (Подпись) (Фамилия, И.О.) ____________________ ______________ ________________________ (Должность) (Подпись) (Фамилия, И.О.)
|
|
ЗАКЛЮЧЕНИЕ о возможности продления срока безопасной эксплуатации взрывозащищенного электродвигателя |
|
Приложение 1 Протокол анализа технической документации тип _________ зав. № _________, установленного ___________________ Наименование специализированной организации ___________________ дата начала проверки ____________ дата окончания проверки __________ Цель: определение соответствия технической документации нормативным требованиям Действия: Выводы: Исполнители: ____________ _____________ _________________ (Должность) (Подпись) (Фамилия, И.О.)
|
|
ЗАКЛЮЧЕНИЕ о возможности продления срока безопасной эксплуатации взрывозащищенного электродвигателя |
|
Приложение 2 Протокол непосредственной проверки электродвигателя тип _________ зав. № _________, установленного ____________ Наименование специализированной организации ____________ дата начала проверки __________ дата окончания проверки __________ Цель: определение соответствия нормативным требованиям и выявление недопустимого изменения параметров взрывозащищенной электроустановки, произошедшего за период эксплуатации Действия: Выводы: Исполнители: ____________ _____________ _________________ (Должность) (Подпись) (Фамилия, И.О.) ____________ _____________ _________________ (Должность) (Подпись) (Фамилия, И.О.)
|
|
ЗАКЛЮЧЕНИЕ о возможности продления срока безопасной эксплуатации взрывозащищенного электродвигателя |
|
Приложение 3 Протокол детальной проверки электродвигателя
тип _________ зав. № _________, установленного _____________________ Наименование специализированной организации _____________________ дата начала проверки _____________ дата окончания проверки ___________ Цель: определение соответствия нормативным требованиям параметров взрывозащиты и монтажа электроустановки, выявление дефектов и несанкционированных изменений Действия: Выводы: Исполнители: ____________ _____________ _________________ (Должность) (Подпись) (Фамилия, И.О.) ____________ _____________ _________________ (Должность) (Подпись) (Фамилия, И.О.)
|
|
ЗАКЛЮЧЕНИЕ о возможности продления срока безопасной эксплуатации взрывозащищенного электродвигателя |
|
Приложение 4 Протокол технического диагностирования электродвигателя
тип _________ зав. № _________, установленного ____________ Наименование специализированной организации ____________ дата начала тех. диагностирования ____________ дата окончания тех. диагностирования __________ Цель: контроль и прогнозирование технического состояния средств взрывозащиты электродвигателя, поиск места и определение причин неисправности Действия: Выводы: Исполнители: ____________ _____________ _________________ (Должность) (Подпись) (Фамилия, И.О.) ____________ _____________ _________________ (Должность) (Подпись) (Фамилия, И.О.)
|
|
ЗАКЛЮЧЕНИЕ о возможности продления срока безопасной эксплуатации взрывозащищенного электродвигателя |
|
Приложение 5
__________________________________ _____________________________________ (Организация-исполнитель контроля) (Организация эксплуатирующая двигатель) ___________________________ ________________________ (Адрес) (Тип электродвигателя) ___________________________ ________________________ (Телефон, факс) (Заводской номер) Протокол от "__"______200 _ г. № _ _______________________________________ контроля (Наименование вида контроля: тепловой/тепловизионный; визуальный и измерительный; ультразвуковой и проч.) Нормативная документация, по которой выполнен контроль ______________ Наименование прибора (инструмента) ____________, зав. номер _____________ Свидетельство о поверке от ________ № ________ Карта контроля: см. приложение __ Результаты контроля _____________________________________________________ _____________________________________________________ ______________________________________________________ Контроль выполнили: ____________ _____________ _________________ (Должность) (Подпись) (Фамилия, И.О.) ____________ _____________ _________________ (Должность) (Подпись) (Фамилия, И.О.)
|
|
ОТКРЫТОЕ АКЦИОНЕРНОЕ ОБЩЕСТВО "ГАЗПРОМ"
|
||
|
"Утверждаю" __________________ " ____" _________ 20 г. |
|
"Согласовано" __________________ " ____" _________ 20 г. |
|
ПАСПОРТ ТЕХНИЧЕСКОГО СОСТОЯНИЯ ВЗРЫВОЗАЩИЩЕННОГО ЭЛЕКТРОДВИГАТЕЛЯ
|
||
|
|
Тип Зав. номер Место установки (по состоянию на )
|
|
|
__________________ " ____" _________ 20 г. |
|
__________________ " ____" _________ 20 г. |
|
ПАСПОРТ ТЕХНИЧЕСКОГО СОСТОЯНИЯ ВЗРЫВОЗАЩИЩЕННОГО ЭЛЕКТРОДВИГАТЕЛЯ |
|
|
Содержание |
Стр. |
|
Часть 1. Документальные сведения. |
|
|
Формуляр № 1 Регистрация работ |
|
|
Формуляр № 2 Документация, использованная при оформлении паспорта |
|
|
Формуляр № 3 Паспортные данные двигателя |
|
|
Формуляр № 4 Данные приемо-сдаточных испытаний |
|
|
Формуляр № 5 Общий вид двигателя |
|
|
Формуляр № 6 Электрическая схема подключения двигателя |
|
|
Формуляр № 7 Сведения об эксплуатации, испытаниях и ремонтах двигателя |
|
|
Часть 2. Контрольные измерения и осмотр |
|
|
Формуляр № 8 Контроль параметров взрывозащиты |
|
|
Формуляр № 9 Визуальное обследование статора |
|
|
Формуляр № 10 Визуальное обследование ротора |
|
|
Часть. 3. Результаты обследования |
|
|
Формуляр № 11 Выявленные дефекты |
|
|
Формуляр № 12 Рекомендации по ремонту и дальнейшей эксплуатации. |
|
|
Заключение |
|
|
Формуляр № 1. Регистрация работ |
|
|
ОБЪЕКТ |
|
|
ВИД РАБОТ |
Продление срока безопасной эксплуатации взрывозащищенного электродвигателя типа: |
|
ДАТА НАЧАЛА |
|
|
ДАТА ОКОНЧАНИЯ |
|
|
СОСТАВ БРИГАДЫ СПЕЦИАЛИСТОВ |
1 |
|
2 |
|
|
3 |
|
|
4 |
|
|
ОРГАНИЗАЦИЯ |
|
|
РАЗРЕШЕНИЕ |
|
|
ПОДПИСИ ЧЛЕНОВ БРИГАДЫ |
____________________ ____________________ ____________________
|
ПАСПОРТ ТЕХНИЧЕСКОГО СОСТОЯНИЯ ВЗРЫВОЗАЩИЩЕННОГО ЭЛЕКТРОДВИГАТЕЛЯ
Часть 1. Документальные сведения.
Формуляр № 2. Документация, использованная при оформлении паспорта
|
ОБЪЕКТ |
|
|
|
|
ВИД ДОКУМЕНТАЦИИ: |
ОТМЕТКА ОБ ИСПОЛЬЗОВАНИИ: |
||
|
Паспорт завода-изготовителя на взрывозащищенный электродвигатель |
|
||
|
Техническое описание и инструкция по эксплуатации |
|
||
|
Журнал эксплуатации взрывозащищенного электродвигателя |
|
||
|
Ремонтная ведомость |
|
||
|
Протоколы штатных измерений и испытаний |
|
||
|
Журнал ремонта |
|
||
|
Сертификат |
|
||
|
ПАСПОРТ ТЕХНИЧЕСКОГО СОСТОЯНИЯ ВЗРЫВОЗАЩИЩЕННОГО ЭЛЕКТРОДВИГАТЕЛЯ Часть 1. Документальные сведения. |
|
|
Формуляр № 3. Паспортные данные двигателя |
|
|
Показатель |
Данные двигателя |
|
Тип |
|
|
Исполнение по взрывозащите |
|
|
Заводской номер |
|
|
Станционный № |
|
|
Завод - изготовитель |
|
|
Год изготовления |
|
|
Год ввода в эксплуатацию |
|
|
Заводской номер статора |
|
|
Соединение фаз |
|
|
Номинальная мощность кВт, |
|
|
Номинальный ток ротора, А |
|
|
Номинальный ток статора, А |
|
|
Номинальная частота вращения, об/мин |
|
|
Отношение номинального значения начального пускового момента к номинальному вращающему моменту |
|
|
Отношение номинального значения начального пускового тока к номинальному току |
|
|
Отношение номинального значения максимального временного момента к номинальному моменту |
|
|
Коэффициент полезного действия, % |
|
|
Коэффициент мощности, cos |
|
|
Класс нагревостойкости изоляции |
|
|
ПАСПОРТ ТЕХНИЧЕСКОГО СОСТОЯНИЯ ВЗРЫВОЗАЩИЩЕННОГО ЭЛЕКТРОДВИГАТЕЛЯ Часть 1. Документальные сведения. |
|||
|
Формуляр № 4. Данные заводских замеров и приемо-сдаточных испытаний |
|||
|
Показатели |
Заводские замеры |
Приемосдаточные испытания |
Установленная норма |
|
Сопротивление изоляции обмотки статора относительно корпуса двигателя и между фаз при 20 °С, МОм |
|
|
|
|
Сопротивление фазы обмотки статора при постоянном токе в холодном состоянии при 20 °С, Ом |
|
|
Разница не более 2% от заводских данных |
|
Средняя величина воздушного зазора (односторонняя), мм |
|
|
Разница не более 10% от среднего значения |
|
Сопротивление обмотки ротора при постоянном токе в холодном состоянии, при 20 °С, Ом |
|
|
Разница не более 2% от заводских данных |
|
Сопротивление изоляции обмотки ротора относительно корпуса при температуре 20 °С, МОм |
|
|
Более 0,2 МОм |
|
Сопротивление изоляции обмотки ротора относительно корпуса при температуре 100 °С, МОм |
- |
- |
- |
|
ПАСПОРТ ТЕХНИЧЕСКОГО СОСТОЯНИЯ ВЗРЫВОЗАЩИЩЕННОГО ЭЛЕКТРОДВИГАТЕЛЯ Часть 1. Документальные сведения. |
||
|
Формуляр № 5. Общий вид двигателя |
||
|
|
||
|
Формуляр № 6. Электрическая схема подключения двигателя |
||
|
|
||
|
Формуляр № 7. Сведения об эксплуатации, испытаниях и ремонтах двигателя |
||
|
а) Сведения об эксплуатации |
||
|
Дата |
Число пусков |
Суммарная наработка |
|
|
|
|
|
б) Сведения об испытаниях |
||
|
Дата |
Вид испытаний |
Краткие результаты |
|
|
|
|
|
в) Сведения о ремонтах |
||
|
Дата |
Тип ремонта |
Объем выполненных работ |
|
|
|
|
|
ПАСПОРТ ТЕХНИЧЕСКОГО СОСТОЯНИЯ ВЗРЫВОЗАЩИЩЕННОГО ЭЛЕКТРОДВИГАТЕЛЯ Часть 2. Контрольные измерения и осмотр |
|
|
Формуляр № 8. Контроль параметров взрывозащиты |
|
|
Дата обследования: Измерительное оборудование: |
|
|
|
|
|
|
|
|
|
|
|
|
|
|
Заключение: |
Заключение: |
|
|
|
|
|
|
|
|
|
|
Заключение: |
Заключение: |
|
|
|
|
|
|
|
|
|
|
Заключение: |
Заключение: |
|
ПАСПОРТ ТЕХНИЧЕСКОГО СОСТОЯНИЯ ВЗРЫВОЗАЩИЩЕННОГО ЭЛЕКТРОДВИГАТЕЛЯ Часть 2. Контрольные измерения и осмотр |
|
|
Формуляр № 9. Визуальное обследование статора |
|
|
Дата обследования: Инструменты для обследования: |
|
|
Сопротивление изоляции фаза "А", МОм |
|
|
Сопротивление изоляции фаза "В", МОм |
|
|
Сопротивление изоляции фаза "С", МОм |
|
|
Сопротивление обмотки фаза "А", Ом |
|
|
Сопротивление обмотки фаза "В", Ом |
|
|
Сопротивление обмотки фаза "С", Ом |
|
|
Осмотр статора |
|
|
Возможные дефекты |
|
|
а) расточка статора |
|
|
Ослабление пазовых клиньев (3 шт. подряд или подвижные от руки) Наличие продуктов контактной коррозии сердечника статора Механические повреждения расточки Ослабление, выкрашивание зубцов Признаки перегрева активной стали Наличие запыления, ржавчины. |
|
|
б) лобовые части обмотки статора |
|
|
Повреждение изоляции краем нажимного пальца Ослабление крепления лобовых частей, наличие продуктов истирания изоляции, деформация лобовых дуг Признаки теплового старения изоляции, наличие признаков перегрева Загрязнение лобовых частей Обугливание изоляции Провисание "корзины" лобовых частей |
|
|
е) другие дефекты |
|
|
|
|
|
ПАСПОРТ ТЕХНИЧЕСКОГО СОСТОЯНИЯ ВЗРЫВОЗАЩИЩЕННОГО ЭЛЕКТРОДВИГАТЕЛЯ Часть 2. Контрольные измерения и осмотр |
|
|
Формуляр № 10. Визуальное обследование ротора |
|
|
Дата обследования: |
|
|
Инструменты для обследования: |
|
|
Сопротивление изоляции обмотки ротора, МОм |
|
|
Сопротивление обмотки ротора, Ом |
|
|
Возможные дефекты |
Результаты осмотра |
|
Ротор двигателя |
|
|
Дефекты шеек вала ротора |
|
|
Дефекты бандажного кольца |
|
|
Признаки ослабления посадки деталей на ротор |
|
|
Ослабление клиновки обмотки в пазах |
|
|
Повреждения шин токоподвода |
|
|
Повреждения контактных колец |
|
|
Повреждения подбандажной изоляции |
|
|
Повреждения бочки ротора |
|
|
Выпадение дистанционных распорок в полости ротора |
|
|
Формуляр №11. Выявленные дефекты Дата обследования:
|
|
|
Формуляр № 12. Рекомендации по ремонту и дальнейшей эксплуатации. Заключение. |
|
|
Дата обследования: |
|
|
Рекомендации по ремонту: Заключение:
|
|
К.1 Цель создания и назначение базы данных и программно-математического обеспечения
К.1.1 Создание базы данных необходимо для информационного обеспечения работ по продлению срока безопасной эксплуатации взрывозащищенных электродвигателей в структурных подразделениях, дочерних обществах и организациях ОАО "Газпром".
К.1.2 Основными задачами, для решения которых создается база данных (БД) взрывозащищенных электродвигателей, являются:
- централизованный сбор, хранение, обработка и анализ информации о техническом состоянии взрывозащищенных электродвигателей;
- подготовка справочных и информационно-аналитических отчетов о техническом состоянии оборудования отрасли, газотранспортного предприятия, линейного предприятия, цеха и т.п.;
- обеспечение работ по паспортизации взрывозащищенных электродвигателей, сбор, хранение и обработка соответствующей информации.
К.1.3 Программы, реализующие методы статистической теории распознавания, создаются для осуществления следующих мероприятий:
- статистическая экспертиза и оценка эффективности существующих методик диагностического обследования, и определение вероятностных характеристик распознавания дефектов оборудования для этих методик;
- исследование надежности прогнозирования динамики изменения технического состояния оборудования в различных эксплуатационных условиях;
- модификация и усовершенствование диагностических методик на основе полученных данных.
К.1.4 Программы, реализующие методы статистического моделирования и теории оптимальных решений, создаются для решения следующих задач:
- прогноз динамики изменения технического состояния взрывозащищенных электродвигателей;
- разработка эффективной стратегии капиталовложений на ремонтно-восстановительные работы и продление срока безопасной эксплуатации взрывозащищенных электродвигателей.
К.2 Технические требования к базе данных
К.2.1 Структура базы данных и программно-математического обеспечения
Разрабатываемая структура базы данных должна состоять из двух основных частей:
- базы данных (ядро);
- программно-математического обеспечения для подготовки, ввода и статистической обработки данных.
К.2.2 Состав информации базы данных
Для выполнения поставленных задач в базе данных должна накапливаться следующая информация:
К.2.2.1 Информация по каждой единице оборудования:
- данные, полученные в ходе эксплуатации электродвигателя;
- данные проведенных обследований;
- дефектные ведомости;
- сведения о ремонтах электродвигателя;
- информация по результатам испытаний;
- оценка технического состояния на момент обследования;
- продленный срок эксплуатации;
- дополнительные данные, необходимые для паспортизации.
К.2.2.2 Списки данных
В базе данных должны содержаться списки объектов ОАО "Газпром" и объектов энергохозяйства отрасли:
- список дочерних обществ;
- список линейных производственных управлений;
- список компрессорных станций;
- список цехов.
Также должны формироваться следующие списки:
- реквизитов дочерних обществ;
- субподрядных организаций;
- реквизитов субподрядных организаций;
- лицензий;
- должностей;
- бригад;
- приборов;
- типов оборудования и его составных частей;
- технических характеристик для каждого типа оборудования;
- заводов-изготовителей;
- технической и эксплуатационной документации;
- методов контроля;
- диагностических параметров для каждого типа оборудования;
- норм по диагностическим параметрам для каждого типа оборудования;
- нормативной и технической документации;
- видов ремонтов;
- возможных состояний по каждому виду контроля.
К.2.2.3 Справочная и нормативная и техническая документация:
- описания используемых диагностических методик, алгоритмов обработки информации и правил принятия решений по оценке технического состояния электродвигателей;
- таблицы пороговых значений параметров, характеризующих техническое состояние электродвигателей и динамику его изменения;
- действующая нормативная документация по данной тематике;
- информация о изготовителях, ремонтных и специализированных организациях.
К.2.3 Функции программно-математического обеспечения (см. рисунок К.1):
- ввод всей необходимой информации;
- защита информации от несанкционированного доступа и удаления;
- обработка диагностических параметров и запись результатов обработки в БД;
- формирование всех необходимых запросов и их обработка;
- просмотр данных и запросов, вывод на печать и в файл.

Рисунок К.1 - Структура программно-математического обеспечения диагностической базы данных по взрывозащищенным электродвигателям
К.2.4 Требования к программно-математическому обеспечению
Прикладное программно-математическое обеспечение по видам выполняемых задач подразделяется на пять основных групп:
К.2.4.1 Первая группа сервисных программ предназначена для подготовки информации и ввода ее в базу данных. В нее должны входить программы:
- заполнения паспортов технического состояния;
- подготовки информации для заполнения базы данных;
- ввода всех данных в базу.
Программа заполнения паспортов технического состояния должна быть рассчитана на широкий круг пользователей. Должна быть обеспечена максимальная корректность ввода информации. Для ввода адресации объектов необходимо организовать связанные списки для объектов всех уровней. Для ввода паспортных данных должны быть сформированы списки типов оборудования, изготовителей, основных технических характеристик. Все даты и числовые значения должны проверяться при вводе, и в случае необходимости форматироваться соответствующим образом.
К.2.4.2 Вторая группа сервисных программ осуществляет обработку диагностических параметров по каждому методу контроля и запись результатов обработки в базу данных. В нее должны входить алгоритмы:
- оценки состояния по отдельному диагностическому параметру для каждого метода контроля;
- оценки состояния по совокупности диагностических параметров для каждого метода контроля;
- оценки работоспособности оборудования по степени отклонения диагностических параметров от норм по всем методам контроля;
- прогнозирования ремонтов и обслуживания оборудования по степени отклонения диагностических параметров от норм по всем методам контроля.
К.2.4.3 Третья группа сервисных программ предназначена для подготовки справочных и информационно-аналитических отчетов о техническом состоянии оборудования отрасли, газотранспортного предприятия, линейного предприятия, цеха и т.п.
Также в эту группу должны входить программы, обеспечивающие возможность интерактивного диалога в рамках указанных задач.
Все программы этой группы должны осуществлять формирование необходимых отчетов, их просмотр, вывод на печать и в файл.
К.2.4.4 В четвертую группу должны входить прикладные программы статистической обработки и анализа данных, выполняющие следующие функции:
- оценку эффективности методик диагностического обследования взрывозащищенных электродвигателей;
- определение их вероятностных характеристик при распознавании дефектов;
- построение феноменологических моделей динамики изменения технического состояния;
- оценку параметров этих моделей на основе данных диагностических обследований;
- прогнозирование изменения технического состояния в зависимости от текущего состояния и режимов эксплуатации;
- запись результатов обработки информации в базу данных;
- вывод результатов обработки на печать и в файл.
К.2.4.5 Пятая группа прикладных программ предназначена для оценки состояния групп оборудования по цехам, компрессорным станциям, управлениям, предприятиям и отрасли в целом. Частью этой группы должны быть программы разработки оптимальной стратегии капиталовложений на эксплуатацию оборудования.
К.2.5 Требования к системе проектирования базы данных
Система проектирования базы данных должна обеспечивать оптимальное хранение и обработку данных.
Система проектирования базы данных должна иметь все необходимые возможности для реализации поставленных задач, а так же быть системой визуального программирования, так как это обеспечит минимальные сроки создания базы данных.
Данные должны быть легко доступны для использования в программах, разработанных в IDE Borland Builder и Pascal. Так же необходима возможность передачи данных в различные оболочки Microsoft Office (в частности Excel).
Возможности обеих систем должны позволять организовать сетевой обмен информацией с отраслевой базой данных.
К.2.6 Требования к системе разработки программно-математического обеспечения
Система разработки программ должна иметь все необходимые средства для реализации разрабатываемых методик, хорошее быстродействие и возможность работы с данными базы.
К.2.7 Надежность базы данных и программно-математического обеспечения
База данных должна обеспечивать целостность информации, защиту от несанкционированного доступа и неумелого пользователя, корректный ввод, хранение и удаление информации, устанавливать разграничение доступа к данным.
Прикладные программы не должны оказывать разрушающее воздействие на содержимое базы данных. Считывание и запись информации в базу данных должны производиться с соблюдением условий целостности данных и правил доступа.
К.2.8 Удобство обслуживания базы данных и программно-математического обеспечения
Должен использоваться однотипный, удобный и понятный интерфейс. Цветовая гамма интерфейса не должна вызывать раздражение пользователей и утомлять зрение. Следует уделить особое внимание удобству ввода и поиску информации в связи с ее большими объемами.
К.2.9 Требования к системе
Оптимальная скорость с процессором Pentium I-IV. Занимаемый объем жесткого диска не более 40 Гбайт. Оперативная память 128-524 Мбайт. На базе Windows 2000/XP.
|
[1] Федеральный закон от 21.07.1997 г. № 116-ФЗ "О промышленной безопасности опасных производственных объектов" (в редакции Федерального закона от 09.05.2005 г. № 45-ФЗ) |
|
|
[2] Руководящий документ Ростехнадзора |
Положение о порядке продления срока безопасной эксплуатации технических устройств, оборудования и сооружений на опасных производственных объектах |
|
[3] Система документации по аккредитации Ростехнадзора СДА-12 |
Правила аттестации экспертов Системы экспертизы промышленной безопасности |
|
[4] Руководящий документ |
Электрооборудование взрывозащищенное. Ремонт |
|
[5] Правила устройства электроустановок. 7-е издание доп. с исправл. (Утверждены приказом Минэнерго России от 08.07.2002 г. № 204) |
|
|
[6] Правила Ростехнадзора |
Правила аттестации персонала в области неразрушающего контроля |
|
[7] Руководящий документ Ростехнадзора |
Инструкция по визуальному и измерительному контролю |
|
[8] Руководящий документ |
Объем и нормы испытаний электрооборудования |
|
[9] Правила Ростехнадзора |
Правила безопасности в нефтяной и газовой промышленности |
|
[10] Руководящий документ РД 153-34.0-03.150-00, |
Межотраслевые правила по охране труда (правила безопасности) при эксплуатации электроустановок |
|
[11] Правила технической эксплуатации электроустановок потребителей. (Утверждены приказом Минэнерго России 13.01.2003 г. № 6) |
|
|
[12] Руководящий документ Ростехнадзора РД-03-298-99 (в ред. Изменений № 1 РДИ 03-530(298)-03) |
Положение о порядке утверждения заключений экспертизы промышленной безопасности |
|
[13] Руководящий документ Ростехнадзора РД 16.209-84 |
Испытания гидравлические |
Ключевые слова: электродвигатели взрывозащищенные, вид взрывозащиты, взрывонепроницаемая оболочка, непосредственная проверка, детальная проверка, техническое диагностирование, оценка технического состояния, техническое обслуживание, ремонт, контрольные испытания, продление срока безопасной эксплуатации
|
ГОСТЫ, СТРОИТЕЛЬНЫЕ и ТЕХНИЧЕСКИЕ НОРМАТИВЫ. Некоммерческая онлайн система, содержащая все Российские Госты, национальные Стандарты и нормативы. В Системе содержится более 150000 файлов нормативно-технической документации, действующей на территории РФ. Система предназначена для широкого круга инженерно-технических специалистов. Copyright © www.gostrf.com, 2008 - 2026 |