Крупнейшая бесплатная информационно-справочная система онлайн доступа к полному собранию технических нормативно-правовых актов РФ. Огромная база технических нормативов (более 150 тысяч документов) и полное собрание национальных стандартов, аутентичное официальной базе Госстандарта. GOSTRF.com - это более 1 Терабайта бесплатной технической информации для всех пользователей интернета. Все электронные копии представленных здесь документов могут распространяться без каких-либо ограничений. Поощряется распространение информации с этого сайта на любых других ресурсах. Каждый человек имеет право на неограниченный доступ к этим документам! Каждый человек имеет право на знание требований, изложенных в данных нормативно-правовых актах!

  


 

ГОСУДАРСТВЕННЫЙ ПРОЕКТНО-ТЕХНОЛОГИЧЕСКИЙ ТРЕСТ
«ОРГТЕХСТРОЙ-11»

СХЕМЫ
ВХОДНОГО И ОПЕРАЦИОННОГО КОНТРОЛЯ
КАЧЕСТВА СТРОИТЕЛЬНО-МОНТАЖНЫХ
РАБОТ

Часть I, выпуск 3

ОТДЕЛОЧНЫЕ РАБОТЫ

Москва 2001

Разработаны Государственным проектно-технологическим трестом «Оргтехстрой-11» Департамента нормативно-правового обеспечения Минатом России (лицензия ФЛЦ № 000721-1)

Директор треста «Оргтехстрой-11»

(тел. 237-6400, тел. секретаря 237-38-14)                                 О. Ф. Капура

1-й заместитель директора

(тел. 237-64-02)                                                                           А. В. Бетлий

Исполнитель

(тел. 237-38-04)                                                                           А. С. Каревский

Применение на территории Российской Федерации импортных строительных материалов

В связи со случаями поставки на российский рынок строительных материалов и изделий (поливинилхлоридные облицовочные материалы, гипсокартонные листы, трубы и другие изделия) с показателями ниже требований нормативных документов на аналогичную продукцию, действующую на территории РФ, Минстрой России разъясняет.

Применяемые в строительстве на территории РФ импортные материалы и изделия должны соответствовать требованиям действующих государственных стандартов и нормативных документов. Законодательством предусматривается подтверждение такого соответствия сертификатами соответствия или документом о качестве материалов и изделий поставщика.

При отсутствии в России государственных стандартов и нормативных документов на эти материалы и изделия и их поставке в Россию по зарубежным стандартам необходимо в соответствии с постановлением Минстроя России № 18-25 от 19.04.96 г. наличие Технического свидетельства Минстроя России, подтверждающего пригодность продукции для её применения в строительстве.

Минстрой России обратился с просьбой к органам экспертизы и архитектурно-строительного надзора усилить контроль за соблюдением указанного порядка.

(Письмо Минстроя России от 12 февраля 1997 г. № ЛХ-76/13)

СОДЕРЖАНИЕ

Пояснительная записка.. 3

ОТДЕЛОЧНЫЕ РАБОТЫ... 3

Производство стекольных работ. 3

- требования к стеклу листовому, стеклопакетам и стеклу строительному профильному. 3

- технические требования. 3

Входной контроль облицовочных и штукатурных растворов. 3

- требования ГОСТ 28013-98. 3

- требования СП 82-101-98. 3

Внутренняя облицовка стен керамическими и другими плитками. 3

- требования к облицовочным материалам.. 3

- технические требования. 3

Облицовка наружных стен керамическими, стеклянными и другими плитками. 3

- требования к облицовочным материалам.. 3

- технические требования. 3

Внутренняя облицовка стен плитами. 3

- требования к облицовочным материалам.. 3

- технические требования. 3

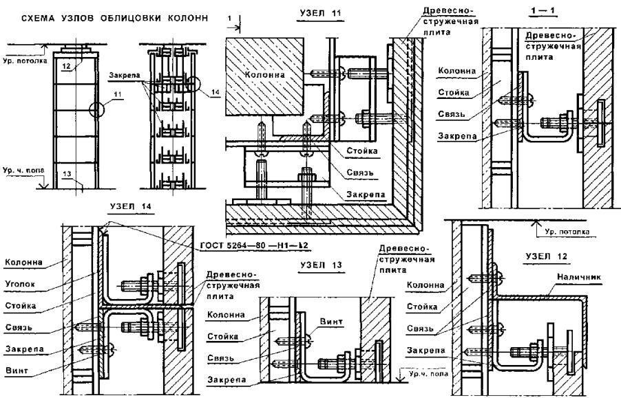
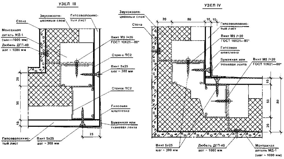
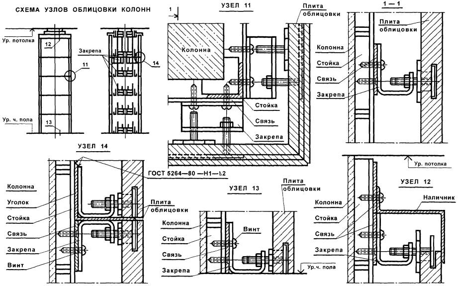
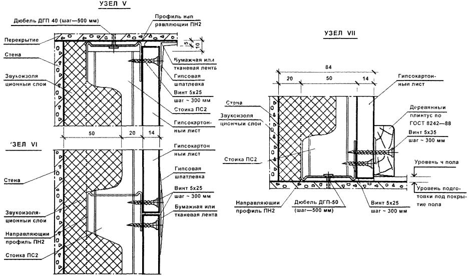
- узлы облицовки стен и колонн в интерьере производственных и административно-бытовых зданий естественными и искусственными материалами по серии 2.473-1. 3

Облицовка наружных стен плитами. 3

- требования к облицовочным материалам.. 3

- технические требования. 3

Облицовка стен листами, плитами и панелями. 3

- требования к облицовочным материалам.. 3

- технические требования. 3

- облицовка листовыми материалами на клеящей прослойке. 3

- облицовка листовыми материалами на каркасе. 3

- контроль качества облицовочных работ. 3

- узлы облицовки стен и колонн в интерьере производственных и административно-бытовых зданий естественными и искусственными материалами по серии 2.473-1. 3

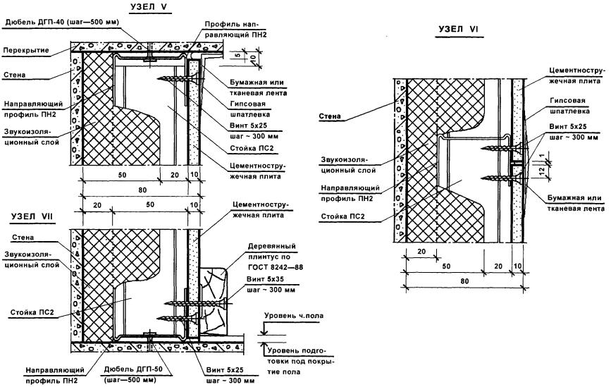
- детали облицовки внутренних стен и металлоконструкций сухой гипсовой штукатуркой повышенного качества по серии 2.230-1 вып. 11. 3

- облицовки для общественных зданий из гипсокартонных листов на деревянном каркасе по серии 1.273.9-5 вып. 1. 3

- облицовки из гипсокартонных листов на металлическом каркасе по серии 1.273.9-5 вып. 2. 3

- облицовки из цементностружечных плит на деревянном каркасе по серии 1.273.9-5 вып. 3. 3

- облицовки из цементностружечных плит на металлическом каркасе по серии 1.273.9-5 вып. 4. 3

- облицовки из гипсоволокнистых листов на деревянном каркасе по серии 1.273.9-5 вып. 5. 3

- облицовки из гипсоволокнистых листов на металлическом каркасе по серии 1.273.9-5 вып. 6. 3

Облицовки СП ТИГИ KNAUF. 3

Облицовки СП АВАНГАРД KNAUF. 3

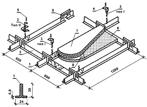
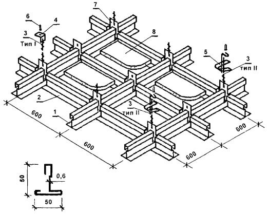
Устройство подвесных потолков из листов, плит и других материалов. 3

- требования к облицовочным материалам.. 3

- технические требования. 3

- подвесные потолки с деревянным каркасом.. 3

- контроль качества выполнения работ. 3

- непроходные подвесные потолки для общественных зданий, производственных и вспомогательных зданий промышленных предприятий по серии 1.045.9. 3

- технические требования. 3

- подвесные потолки из гипсовых и цементно-стружечных плит. 3

- подвесные потолки из металлических элементов. 3

- подвесные потолки ОАО СП «ТИГИ KNAUF» и «АВАНГАРД KNAUF». 3

- подвесные потолки ЗАО «Завод Мосметаллоконструкция» (МОСМЕК) 3

Производство штукатурных работ. 3

- технические требования. 3

- подготовка поверхностей. 3

- требования к качеству штукатурных растворов. 3

- устройство штукатурных покрытий. 3

Производство декоративных отделочных работ. 3

- технические требования. 3

- подготовка поверхностей. 3

- требования к качеству штукатурных и декоративных растворов. 3

- производство штукатурных и декоративных отделочных работ. 3

Производство малярных работ. 3

Производство обойных работ. 3

- требования к обойным материалам.. 3

- технические требования. 3

- подготовка поверхностей. 3

- производство обойных работ. 3

Пояснительная записка

Схемы входного и операционного контроля качества СМР составлены в соответствии с требованиями СНиП 3.01.01-85* «Организация строительного производства».

Схемы входного и операционного контроля предназначены для линейных инженерно-технических работников, бригадиров и рабочих, работников отдела контроля качества СМР, работников лабораторной, геодезической и сварочной служб, осуществляющих самоконтроль, входной, операционный и приёмочный контроль качества СМР.

Схемы могут быть использованы:

- работниками служб по подготовке строительного производства в качестве типовых для включения их в проекты производства СМР или разработки на их основе схем, отражающих специфику конкретных проектов зданий и сооружений;

- работниками служб по подготовке кадров в качестве учебного пособия при подготовке, переподготовке и повышении квалификации рабочих и ИТР;

- преподавательским составом высших и средних технических учебных заведений при подготовке инженерно-технических работников строительного профиля;

- руководителями подразделений, основных функциональных отделов и служб, а также руководством строительных организаций при проверке знаний проектов и нормативных требований по качеству выполнения СМР у линейного персонала, а также при осуществлении инспекционного контроля качества СМР;

- работниками авторского надзора проектных организаций;

- работниками технического надзора заказчика, осуществляющими приемку выполненных работ, работниками служб архитектурно-строительного надзора, федеральных и региональных центров по лицензированию строительной деятельности и других организаций, осуществляющих надзор за строительством.

Схемы входного и операционного контроля качества СМР составлены на основании требований строительных норм и правил, государственных стандартов, технических условий, типовой проектной документации и содержат:

- основные требования к качеству применяемых материалов, конструкций и деталей;

- перечень технологических операций, подлежащих контролю в процессе выполнения строительно-монтажных работ;

- перечень технических требований, подлежащих соблюдению при выполнении строительно-монтажных работ;

- схемы основных монтажных узлов;

- основные требования к качеству при приемке законченных этапов и видов работ.

Строительные конструкции, изделия, материалы и инженерное оборудование, поступающие на строительную площадку, должны пройти входной контроль. Производители работ (мастера) обязаны проверять путем внешнего осмотра и выполнения необходимых замеров соответствие качества поступающих конструкций, изделий, материалов и инженерного оборудования требованиям рабочих чертежей, государственных стандартов, технических условий.

При выполнении входного контроля на комплектовочных базах прорабу (мастеру) должны быть представлены документы (паспорта, сертификаты, акты и т.д.), подтверждающие качество поставляемых материалов и изделий. При возникновении сомнений в качестве поставляемых материалов прораб (мастер) обязан потребовать контрольной проверки поступивших материалов и изделий.

Входной контроль должен предотвратить запуск в производство материалов, конструкций и изделий, не соответствующих требованиям проектной и нормативно-технической документации. На строительной площадке входной контроль должен выполняться прорабом или мастером с привлечением в необходимых случаях лабораторной и других служб.

Операционный контроль должен осуществляться в процессе выполнения строительно-монтажных работ и обеспечивать своевременное выявление дефектов и причин их возникновения, а также своевременное принятие мер по их устранению и предупреждению.

При осуществлении операционного контроля должны проверяться:

- соблюдение заданной в проектах производства работ и технологических картах технологии производства работ;

- соответствие качества выполняемых работ требованиям проекта и нормативно-технической документации.

Операционный контроль должен осуществляться производителем работ (мастером), инженером (лаборантом) строительной лаборатории, геодезистом, работником сварочной службы или лаборатории сварки. Участие той или иной службы в осуществлении операционного контроля должно быть регламентировано технологической картой на конкретный технологический процесс.

Приемочный контроль должен осуществляться по завершении этапов или отдельных видов работ, а также ответственных конструкций. Приемка оформляется актами освидетельствования скрытых работ, актами приемки отдельных этапов или видов работ, а также ответственных конструкций.

Приемка должна производиться прорабом, работниками отдела контроля качества СМР с привлечением в необходимых случаях работников лабораторной, геодезической или сварочной служб, и представителями технического надзора заказчика.

При осуществлении производственного контроля надлежит пользоваться измерительным инструментом и приборами, прошедшими метрологическую поверку в установленные сроки.

Ссылки на нормативную литературу даны по состоянию на 25.12.2000 г. Данные о новой нормативной документации и изменениях действующей приводятся в информационных указателях Госстандарта и Госстроя России.

ОТДЕЛОЧНЫЕ РАБОТЫ

ГОСТ 111-90 Стекло листовое. Технические условия.

ТУ 21-00284503-112-90, ТУ 21-00284461-063-91 Стекло листовое.

ТУ 5913-005-45436143-98 Стекло листовое с напыленным металлизированным покрытием.

ГОСТ 5533-86 Стекло листовое узорчатое. Технические условия.

ТУ 5912-001-46626087-97 Стекло декоративное «Мороз».

ГОСТ 7481-78 Стекло армированное листовое. Технические условия.

ГОСТ 30698-2000 Стекло закаленное строительное. Технические условия.

ГОСТ 9272-81* Блоки стеклянные пустотелые. Технические условия.

ГОСТ 21992-83 Стекло строительное профильное. Технические условия.

ГОСТ 24866-99 Стеклопакеты клееные строительного назначения. Технические условия.

ТУ 5913-002-11951307-98, ТУ 5913-002-46348731-97, ТУ 5913-008-12906390-98 Стеклопакеты клееные.

ТУ 5913-003-45392894-97 Стеклопакеты клееные изолирующие.

ТУ 5913-001-27427548-97 Стеклопакеты клееные без обрамляющей рамки.

ТУ 5913-001-45539185-97, ТУ 5913-001-46905143-97, ТУ 5913-002-12453534-98, ТУ 5913-002-43465258-98, ТУ 5913-001-00242105-98 Стеклопакеты клееные для светопрозрачных строительных конструкций.

ТУ 5913-002-29191432-96, ТУ 5913-001-40117731-96, ТУ 5913-002-39790165-98 Стеклопакеты.

ТУ 5913-008-00109866-97 Стеклопакеты энергосберегающие.

ГОСТ Р 51136-98 Стекла защитные многослойные. Общие технические условия.

ТУ 7399-001-45499698-99 Стекла защитные многослойные.

ТУ 5923-076-04882451-98 Стекло защитное триплекс.

ТУ 21-0284461-071-95 Стекло многослойное повышенной прочности.

ТУ 5923-072-00284461-96, ТУ 5924-001-44616647-98 Стекло многослойное пулестойкое.

ТУ 5923-073-00284461-96 Стекло многослойное.

ТУ 5924-002-43928445-99 Стекло ударопрочное тонированное.

ТУ 5913-001-11491403-95 Стеклопанели с декоративным покрытием.

ТУ 5923-001-17071027-96 Стекло безосколочное и полимерные пленки для нанесения на стекло.

ТУ 6-15-1320-94 Замазки универсальные.

ТУ 6-15-1392-93 Замазка рамная-У.

ТУ 6-15-1645-94 Замазка оконная.

Стандарты и технические условия на стекло, стеклопакеты, стеклопанели, замазку, штапики, прокладки, профили, мастики и т.д., предусмотренные проектом.

СНиП 3.04.01-87 Изоляционные и отделочные покрытия.

СН 428-74 Указания по проектированию, монтажу и эксплуатации конструкций из профильного стекла.

СН 481-75 Инструкция по проектированию, монтажу и эксплуатации стеклопакетов.

ПРОИЗВОДСТВО СТЕКОЛЬНЫХ РАБОТ

Требования к стеклу листовому, стеклопакетам и стеклу строительному профильному

Входной контроль материалов для производства стекольных работ должен осуществляться в соответствии с требованиями проекта, государственных стандартов и технических условий на конкретные материалы, предусмотренные проектом, и технологической документации, утвержденной в установленном порядке.

ГОСТ 111-90 Стекло листовое. Технические условия.

Данный стандарт распространяется на листовое стекло, предназначенное для остекления светопрозрачных конструкций, изделий остекления средств транспорта, а также мебели, зеркал и других изделий технического и бытового назначения.

Стандарт не распространяется на армированное, узорчатое, цветное, теплопоглощающее стекло и другие виды листовых стекол со специальными свойствами.

Стекло в соответствии с его назначением и регламентируемыми свойствами подразделяют на семь марок М1 ÷ М7.

Марка стекла

Толщина стекла, мм

Условное наименование

Рекомендуемая область применения

М1

2,0-6,0

Зеркальное улучшенное

Изготовление высококачественных зеркал, ветровых стекол легковых автомобилей

М2

2,0-6,0

Зеркальное

Изготовление зеркал массового применения, безопасных стекол средств транспорта

М3

2,0-6,0

Техническое полированное

Изготовление декоративных зеркал, изделий для мебели, безопасных стекол средств транспорта

М4

2,0-6,0

Оконное полированное

Высококачественное остекление светопрозрачных конструкций, изготовление изделий для мебели, безопасных стекол средств транспорта

М5

2,0-6,0

Оконное неполированное улучшенное

Остекление светопрозрачных конструкций, изготовление изделий для мебели, безопасных стекол сельскохозяйственных машин и тихоходного транспорта

М6

2,0-6,0

Оконное неполированное

Остекление светопрозрачных конструкций

М7

6,5-12,0

Витринное полированное

Высококачественное остекление витрин, витражей

Для высококачественного остекления светопрозрачных конструкций рекомендуется применять оконное полированное стекло марки М4 толщиной 2 ÷ 6 мм.

Для обычного остекления светопрозрачных конструкций рекомендуется применять оконное неполированное улучшенное стекло марки М5 толщиной 2 ÷ 6 мм и оконное неполированное стекло марки M6 толщиной 2 ÷ 6 мм.

Стекло изготовляют и поставляют с размерами по спецификации потребителя (твердые размеры - ТР).

При отсутствии спецификации допускается изготовление и поставка стекол в заводском ассортименте размеров (свободные размеры - СВР).

Толщина, предельные отклонения по толщине и разнотолщинность одного и того же листа стекла в мм должны соответствовать указанным в нижеследующей таблице.

Толщина стекла

Пред. откл. по толщине стекла

Разнотолщинность стекла

марок М4 - М6

марки M7

марок М4 - М6

марки M7

2,0; 2,5; 3,0; 3,5

±0,2

-

0,2

-

4,0; 5,0; 6,0

+0,2; -0,4

-

0,3

-

6,5; 7,0; 8,0; 10,0; 12,0

-

+0,4; -0,5

-

0,5

Стекло марок М5 и M6 толщиной 5 и 6 мм допускается выпускать с разнотолщинностью 0,4 мм, стекло марки M7 толщиной 10 и 12 мм - с разнотолщинностью 0,7 мм.

Стекло марок М5 и M6 переходных толщин (СВР) от 4,3 до 4,5 мм относят к стеклу толщиной 4,0 мм, толщиной от 5,3 до 5,5 мм - к стеклу толщиной 5,0 мм.

Ширина и длина стекла, а также предельные отклонения размеров стекла ТР должны соответствовать указанным в нижеследующей таблице.

Толщина, мм

Максимальная ширина и длина, мм

Пред. откл. размеров при длине кромок

до 1000 мм

свыше 1000 мм

2,0; 2,5

1000 × 1600

±2

±3

3,0; 3,5

1300 × 2000

4,0; 5,0; 6,0

1600 × 2500

±3

±4

Св. 6,0 до 12,0 включ.

3000 × 6000

Минимальные размеры стекол  400 × 500 мм.

Предельные отклонения размеров стекла СВР по длине и ширине не должны превышать для стекол толщиной до 3 мм: +10; -5 мм, а для стекол толщиной св. 3 мм: +20; -5 мм.

Условное обозначение стекла должно состоять из обозначения марки, категории размеров, ширины, длины и толщины стекла и обозначения данного стандарта.

Пример условного обозначения листового стекла марки М4 твердых размеров шириной 1200 мм, длиной 1800 мм и толщиной 4 мм:

Стекло листовое M4 - ТР  1200 × 1800 × 4 ГОСТ 111-90 или

Стекло ЛМ4 - ТР ГОСТ 111-90 1200 × 1800 × 4

Пример условного обозначения листового стекла марки M6 свободных размеров шириной 1300 мм, длиной 2000 мм и толщиной 3 мм:

Стекло листовое M6 - СВР  1300 × 2000 × 3 ГОСТ 111-90 или

Стекло ЛМ6 - СВР ГОСТ 111-90 1300 × 2000 × 3

Стекло должно иметь прямоугольную форму. Разность длин диагоналей не должна превышать значений, указанных в нижеследующей таблице.

Длина диагоналей

Разность длин диагоналей стекла, мм, толщиной, мм

от 2,0 до 4,0 включ. марок

от 5,0 и более марок

М4

М5, М6

М4

М5, М6

До 1600

3

5

4

7

Св. 1600 до 2500

5

7

7

7

Св. 2500 до 3200

-

7

7

7

Св. 3200

-

-

7

7

Стекло должно иметь ровные кромки и целые углы (отламываться по линии нареза, не растрескиваясь).

Щербление края стекла, сколы, выступы края стекла и повреждение углов (по биссектрисе) не должны превышать предельных отклонений размеров по ширине и длине.

Расстояние между пороками (сосредоточенность) и общее количество допускаемых неразрушающих пороков всех видов на 1 м стекла должны соответствовать значениям, указанным в ниже следующей таблице.

Наименование показателя

Норма ограничения для стекла марок

М4, М7

М5

М6

Расстояния между пороками, мм, не менее

50

-

-

Количество допускаемых пороков на 1 м2, не более

12

15

20

Разрушающие пороки не допускаются.

При уменьшении размеров или количества допускаемых пороков сосредоточенность пропорционально уменьшается.

По показателям внешнего вида (порокам) стекло марки М4 должно соответствовать требованиям, приведенным в нижеследующей таблице.

Наименование порока

Норма на 1 м2 стекла

Пузыри размером, мм:

 

внутренние: до 0,5 включ.

Не допускаются в сосредоточенном виде

св. 0,5 до 1,0 включ.

Не допускаются более 6 шт.

св. 1,0 до 2,0 включ.

Не допускаются более 4 шт.

св. 2,0 до 3,0 включ.

Не допускаются более 2 шт.

св. 3,5 до 5,0 включ.

Не допускаются более (2) шт.

поверхностные: до 1,0 вкл.

В счет общего количества внутренних пузырей регламентируемого размера.

св. 1,0

Размером до 3,0 мм не допускаются, более - 3 (3) шт.

Инородные неразрушающие включения и свиль узловая, мм: до 1,0 включ.

Не допускаются в сосредоточенном виде

св. 1,0 до 2,0 включ.

Не допускаются более 1 (2) шт.

Свиль нитевидная

Не допускается более 4 (6) шт.

Царапины, мм:

 

волосные

Не допускаются в сосредоточенном виде

грубые

Не допускаются общей длиной более 50 (100) мм

Пороки поверхности площадью до 10 мм2: слабые

Не допускаются в сосредоточенном виде

грубые

Не допускаются более 2 (2) шт.

Примечания к вышеприведенной таблице:

1. Цифра, заключенная в скобках, означает норму ограничения в крае стекла.

2. Край листа - полоса вдоль его контура шириной 0,15 линейных размеров листа стекла. Остальная часть - поле листа стекла.

3. В крае листа стекла на расстоянии не более 50 мм от кромки царапины длиной не более 20 мм не регламентируются.

По показателям внешнего вида (порокам) стекло марок М5, М6 и М7 должно соответствовать требованиям, приведенным в нижеследующей таблице.

Наименование порока

Нормы ограничения на 1 м2 стекла марок

М5

М6

М7

Пузыри размером, мм

 

до 2 включ.

Не допускаются в сосредоточенном виде

св. 2 до 6 включ.

Не допускаются более, шт.:

 

3

12

3

св. 6 до 12 включ.

Не допускаются более, шт.

Не допускаются

 

1

4

 

св. 12 до 20 включ.

Не допускаются

Не допускаются более 1 шт. на расстоянии не более 20 мм от кромки листа стекла

Не допускаются

Инородные неразрушающие включения размером, мм: до 1 включ.

Не нормируются

Не допускаются в сосредоточенном виде

св. 1 до 3 включ.

Не допускаются более, шт.:

 

3

4

2

св. 3 до 4 включ.

Не допускаются

Не допускаются более 3 шт.

Не допускаются

Поверхностный «рух»

Не допускается в сосредоточенном виде

Царапины: волосные

Не допускаются в сосредоточенном виде

грубые

Не допускаются общей длиной более, мм:

 

150

300

100

Радужные, матовые пятна и др. следы выщелачивания, а также отпечатки валов, снижающие требования к оптическим искажениям

Не допускаются

Требования к оптическим искажениям стекла - не допускаются искажения полос экрана «кирпичная стена» под углом более или равным 60° для стекла марок М4 и М7 и 90° - для стекла марок М5 и М6.

При упаковывании листы стекла марок М4 и М7 должны быть переложены прокладочными материалами. В качестве прокладочного материала применяют бумагу по ГОСТ 16711-84*, ГОСТ 8273-75* (кроме марок Ж и Е) или другой вид бумаги, не содержащий царапающих включений. По согласованию изготовителя с потребителем допускается применять порошковые материалы, прокладки на основе полимеров и другие материалы, не содержащие абразивные включения и обеспечивающие защиту стекла от коррозии и механических повреждений.

Стекло других марок также допускается перекладывать указанными материалами.

Листы стекла должны быть упакованы в дощатые ящики по ГОСТ 4295-80*, специализированные контейнеры для листового стекла, ящичные специализированные поддоны и пакетирующие кассеты для витринного стекла по нормативно-технической документации, утвержденной в установленном порядке, транспортные многооборотные пакеты по ТУ 21-РСФСР-60-86 и пакеты, сформированные из уголков для пакетирования стекла по ТУ 21ССР-403-86 и ТУ 21-23/23-07-88.

В каждую стопу стекла контейнера или ящика должны быть установлены листы стекла одной марки, одного размера и толщины.

Листы должны быть установлены так, чтобы исключалась возможность смещения отдельных листов стекла относительно стопы. Между стопами стекла в контейнере должны устанавливаться предохранительные вставные перегородки (деревянные, из гофрированного картона и др.).

Пространство между стопами стекла и стенками ящиков должно быть заполнено уплотняющим материалом.

В качестве уплотняющего прокладочного материала в ящиках может быть использованы древесная стружка по ГОСТ 5244-79* или изоляционные древесно-волокнистые плиты по ГОСТ 4598-86*, или гофрированный картон по ГОСТ 7376-89.

При упаковывании стекла марок М4 и М7 в специализированный контейнер стопа стекла сверху должна быть закрыта бумагой по ГОСТ 515-77*, ГОСТ 8828-89 (кроме марок Ж и Е).

При упаковывании стекла марок М4 и М7 в ящик между стопой стекла и стружкой по всей поверхности стекла должна быть проложена бумага по ГОСТ 16711-84*, ГОСТ 8273-75*(кроме марок Ж и Е), нижние и верхние края листов должны быть завернуты, образуя пакет.

По согласованию изготовителя с потребителем допускается не упаковывать в пакет листы стекла площадью более 1 м2.

Стекло других марок допускается упаковывать указанным способом.

В каждый контейнер должен быть вложен или наклеен ярлык, в котором указывают:

- наименование и/или товарный знак предприятия-изготовителя;

- условное обозначение стекла;

- количество листов стекла в шт. и/или м2;

- номер или фамилию упаковщика;

- дату упаковки.

Стекла, отправляемые в районы Крайнего Севера и труднодоступные районы, упаковывают в ящики по ГОСТ 4295-80*, в универсальные и специализированные контейнеры по нормативно-технической документации, утвержденной в установленном порядке.

Каждая партия листов стекла должна сопровождаться документом о качестве, в котором указывают:

- наименование и/или товарный знак предприятия-изготовителя;

- условное обозначение стекла;

- количество листов стекла в шт. и/или м2;

- количество контейнеров, ящиков;

- номер и дату составления документа.

Маркировка на ящиках должна содержать манипуляционные знаки, означающие «Хрупкое. Осторожно», «Верх», «Беречь от влаги» по ГОСТ 14192-96 и следующие данные:

- наименование и/или товарный знак предприятия-изготовителя;

- условное обозначение стекла (в одну или несколько строк на одной или разных стенках ящика);

- количество листов стекла в шт. и/или м2;

- маркировку, характеризующую тару, по ГОСТ 14192-96.

Контейнеры, ящики, разборные пакеты, ящичные поддоны, кассеты пакетирующие с листами стекла транспортируют в соответствии с правилами перевозок грузов, действующими на данном виде транспорта, их размещение и крепление в транспортных средствах осуществляют в соответствии с «Техническими условиями погрузки и крепления грузов».

Контейнеры, разборные пакеты, ящичные поддоны, кассеты пакетирующие с листами стекла транспортируют на открытом подвижном железнодорожном транспорте (полувагоны, платформы), автомобилях с открытым кузовом, в трюмах судов.

Ящики с листами стекла транспортируют в крытых железнодорожных вагонах, автомобилях, в трюмах судов.

Ящики с листами стекла при длине кромки св. 1800 мм транспортируют на открытом подвижном железнодорожном транспорте (полувагонах) и специальных автомобилях, обеспечивая защиту стекла от атмосферных осадков.

При транспортировании контейнеров, ящиков, пакетов разборных, ящичных поддонов, пакетирующих кассет с листами стекла они должны устанавливаться так, чтобы торцы листов стекла были расположены в них по направлению движения. Допускается при транспортировании ящиков со стеклом массой св. 600 кг устанавливать их перпендикулярно движению.

При транспортировании, погрузке и выгрузке стекла должны быть приняты меры, обеспечивающие его сохранность от механических повреждений.

Ящики, разборные пакеты, ящичные поддоны, кассеты пакетирующие с листами стекла и распакованное стекло должны храниться в сухих закрытых помещениях. Хранение стекла в контейнерах не допускается.

При хранении листы стекла должны быть установлены на пирамиды или стеллажи на резиновые, войлочные или деревянные подкладки в наклонном положении с углом наклона к вертикали 10-15°.

При хранении стекла марок М4 и М7 листы должны быть переложены бумагой или другими прокладочными материалами.

При хранении ящики и пакеты с листами стекла должны быть установлены в наклонном положении с углов наклона к вертикали 10-15°.

При хранении тары с листами стекла транспортные манипуляции с ней должны быть сведены до минимума. Если транспортная тара влажная, необходимо стекло распаковать на складах получателя.

ГОСТ 24866-99 Стеклопакеты клееные строительного назначения. Технические условия.

Данный стандарт распространяется на стеклопакеты клееные строительного назначения, предназначенные для остекления светопрозрачных конструкций: оконных и дверных блоков, перегородок, зенитных фонарей и др.

Стандарт не распространяется на специальные виды стеклопакетов, применяемые в строительных конструкциях (пулестойкие, огнестойкие, с полимерными пленками в межстекольном пространстве, с криволинейными поверхностями и т.п.).

Стеклопакеты представляют собой объемные изделия, состоящие из двух или трех листов стекла, соединенных между собой по контуру с помощью дистанционных рамок и герметиков, образующих герметически замкнутые камеры, заполненные осушенным воздухом или другим газом.

Стеклопакеты в зависимости от числа камер подразделяют на следующие типы:

СПО - однокамерные;

СПД - двухкамерные.

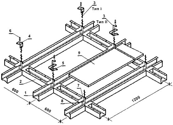
Типы и конструкции стеклопакетов приведены на следующем рисунке.

Камеры стеклопакетов могут быть заполнены:

- осушенным воздухом;

- инертным газом (аргон - Ar, криптон - Kr и др.);

- шестифтористой серой (SF6).

Допускается по согласованию изготовителя с потребителем изготавливать стеклопакеты из четырех плоских листов стекла и более, а также устанавливать декоративные рамки внутри стеклопакетов.

Стеклопакеты в зависимости от назначения подразделяют на виды:

- стеклопакеты общестроительного назначения;

- стеклопакеты строительного назначения со специальными свойствами: ударостойкие (Уд); энергосберегающие (Э); солнцезащитные (С); морозостойкие (М); шумозащитные (Ш).

Требования, предъявляемые к каждому виду стеклопакетов строительного назначения, дополняющие требования данного стандарта, должны быть изложены в НД (стандартах, технических условиях, технических свидетельствах, договорах на поставку, утвержденных в установленном порядке) на соответствующий вид стеклопакета.

ТИПЫ И КОНСТРУКЦИИ СТЕКЛОПАКЕТОВ

1 - стекло; 2 - дистанционная рамка; 3 - влагопоглотитель; 4 - нетвердеющий герметик; 5 - отверждающийся герметик; 6 - воздушная прослойка (межстекольное расстояние); 7 - рекомендуемые варианты расположения низкоэмиссионного покрытия в случае его применения; 8 - дегидратационные отверстия; δ - толщина стекла; h - толщина стеклопакета; hc - расстояние между стеклами; D - глубина герметизирующего слоя

Для изготовления стеклопакетов применяют стекла толщиной не менее 3 мм.

Виды стекла, применяемые при изготовлении стеклопакетов, приведены в нижеследующей таблице.

Номинальная толщина стеклопакетов рекомендуется от 14 до 60 мм, расстояние между стеклами - от 8 до 36 мм.

Предельное отклонение номинальной толщины стеклопакетов - ±1 мм.

ВИДЫ СТЕКЛА

Наименование вида стекла

Обозначение документации

Обозначение стекла (марки)

Листовое

ГОСТ 111-90

M1, М2, М7

Узорчатое

ГОСТ 5533-86

У

Армированное

ГОСТ 7481-78

А

Армированное полированное

НД

Ап

Многослойное:

 

 

ударостойкое

НД

А1, А2, A3

устойчивое к пробиванию

НД

Б1, Б2, Б3

безопасное

НД

СМ1, СМ2, СМ3

СТ1, СТ2, СТ3

Окрашенное в массе

НД

Т

Упрочненное:

 

 

химически упрочненное

НД

X

закаленное

ГОСТ 30698-2000

З

Солнцезащитное

НД

С

Энергосберегающее:

 

 

с твердым покрытием

НД

К

с мягким покрытием

НД

И

В сложных конструкциях стеклопакетов (например, в случае применения многослойного стекла) допускается по согласованию изготовителя с потребителем увеличение предельных отклонений толщины до ±1,5 мм.

Размеры стеклопакетов по высоте и ширине, как правило, не должны превышать 3,2 × 3,0 м. Номинальные размеры стеклопакетом устанавливают в договоре на их изготовление (поставку).

Не рекомендуется изготовление стеклопакетов с размерами менее 300 × 300 мм, а также с соотношением сторон более 5:1.

Стеклопакеты сложной конфигурации (например, круглые, овальные, треугольные) изготавливают по рабочим чертежам или шаблонам, утвержденным в установленном порядке.

Предельные отклонения размеров стеклопакетов по высоте и ширине, мм, должны соответствовать приведенным в нижеследующей таблице.

Номинальный размер по высоте или ширине, мм

Однокамерный стеклопакет

Двухкамерный стеклопакет

До 1000

±1,0

±1,5

От 1000 до 2000

±2,0

±2,5

Св. 2000

±2,5

±3,0

Для стеклопакетов, имеющих прямоугольную форму, разность длин диагоналей не должна превышать: 3 мм - для диагоналей до 1300 мм; 4 мм - для диагоналей св. 1300 до 2300 мм; 5 мм - для диагоналей св. 2300 мм.

Отклонение от плоскостности листов стекла в стеклопакете не должно превышать 0,001 длины наименьшей стороны стеклопакета при использовании листового стекла по ГОСТ 111-90. При использовании других видов стекол отклонение от плоскостности не должно превышать значений, предусмотренных нормативной документацией на конкретный вид стекла (при отсутствии в нормативной документации этих показателей допускается принимать их равными 0,001 длины наименьшей стороны стеклопакета).

Отклонение от прямолинейности кромок стеклопакета не должно превышать приведенные выше предельные отклонения по высоте и ширине.

Для стеклопакетов, имеющих сложную конфигурацию, отклонение формы должны находиться в пределах полей допусков, которые устанавливают в чертежах (шаблонах) на их изготовление.

Глубина внутреннего герметизирующего слоя F (первый слой) должна быть не менее 4 мм, толщина (Н) - должна устанавливаться в технологической документации в зависимости от вида применяемого герметика. Глубина наружного герметизирующего слоя по торцу стеклопакета (Е) должна быть не менее 3 мм.

Расстояние между декоративной рамкой и поверхностью стекла должно быть не менее 3 мм.

Условное обозначение стеклопакета должно состоять: из обозначения типа, характеристики применяемого стекла (вид стекла и его толщина), расстояния между стеклами, вида газонаполнения, высоты, ширины, толщины стеклопакета, вида стеклопакета и обозначения данного стандарта.

Пример условного обозначения однокамерного стеклопакета, состоящего из двух листовых стекол толщиной 4 мм марки М1 по ГОСТ 111-90, с расстоянием между стеклами 16 мм, заполненного аргоном, высотой 1500 мм, шириной 800 мм, толщиной 24 мм, общестроительного назначения:

Стеклопакет СПО 4M1-16Ar-4M1 1500 × 800 × 24 ГОСТ 24866-99.

По нормам ограничения пороков внешнего вида стекла стеклопакеты должны соответствовать требованиям, указанным в стандартах и (или) технических условиях на применяемые виды стекла.

Стеклопакеты должны иметь ровные кромки и целые углы. Щербление края стекла в стеклопакете, сколы, выступы края стекла, повреждение углов стекла не допускаются.

Рекомендуется использовать стекло со шлифованной кромкой (при применении закаленного стекла кромку обрабатывают до его закалки).

Поверхности стекол в стеклопакетах должны быть чистыми, не допускаются загрязнения, масляные пятна.

Герметизирующие слои в стеклопакетах (в том числе в местах угловых соединений и соединениях первого и второго слоя герметизации) должны быть сплошными, без разрывов и нарушений герметизирующего слоя.

Герметик не должен попадать внутрь камеры стеклопакета (в том числе в местах угловых соединений и на границе первого и второго слоев герметизации).

Стеклопакеты должны быть герметичными.

Оптические искажения стеклопакетов, кроме стеклопакетов, изготовленных с применением узорчатого или армированного стекла, видимые в проходящем свете при наблюдении экрана «кирпичная стена» под углом более или равном 60°, не допускаются.

Точка росы внутри стеклопакетов должна быть не выше минус 45 °С, у морозостойких - не выше минус 55 °С.

Стеклопакеты должны быть долговечными (стойкими к длительным циклическим климатическим воздействиям). Долговечность (надежность) стеклопакетов должна составлять не менее 20 условных лет эксплуатации. До 01.07.2002 г. допускается применять показатель долговечности 10 условных лет эксплуатации.

Объем заполнения стеклопакета газом должен составлять не менее 90 % объема межстекольного пространства стеклопакета.

На каждый стеклопакет (на дистанционную рамку или на стекло в нижнем левом углу) наносят четкую, несмываемую маркировку, читаемую из помещения и содержащую:

- наименование и (или) товарный знак предприятия-изготовителя;

- условное обозначение стеклопакета;

- месяц и две последние цифры года изготовления.

В случае применения в стеклопакете многослойного или закаленного стекла маркировка на стеклопакете должна быть расположена так, чтобы была видна маркировка многослойного или закаленного стекла.

Допускается в маркировке указывать дополнительную кодовую информацию по согласованию изготовителя и потребителя, расшифровку которой указывают в договоре или технических условиях.

До 01.07.2001 г. допускается маркировать стеклопакеты водостойкими этикетками, наклеиваемыми на кромки (торцы), при этом в случаях когда стеклопакет должен быть смонтирован определенной стороной наружу (или внутрь помещения), условия маркировки этой стороны устанавливают в договоре на поставку.

На каждый контейнер или ящик должен быть наклеен ярлык, в котором указывают:

- наименование и (или) товарный знак предприятия-изготовителя;

- условное обозначение стеклопакетов;

- количество стеклопакетов в штуках и квадратных метрах;

- сведения о сертификации;

- дату упаковки;

- номер упаковщика.

Маркировка на ящиках должна содержать манипуляционные знаки: «Хрупкое. Осторожно», «Верх», «Беречь от влаги» по ГОСТ 14192-96.

Стеклопакеты должны быть упакованы в дощатые ящики по ГОСТ 4295-80* (типы 1, 2, 3, 4, 5), ГОСТ 10198-91 (типы 1-1, 1-2, 11-1, 11-2) или ящики по нормативной документации; размещены в универсальных контейнерах по ГОСТ 20435-75*, ГОСТ 15102-75*, специализированных контейнерах или специальной таре по нормативной документации, обеспечивающих сохранность стеклопакетов.

По согласованию изготовителя и потребителя допускаются другие способы упаковки.

Пространство между стеклопакетами и стенками контейнера или ящика должно быть заполнено древесной стружкой по ГОСТ 5244-79* или другим уплотняющим материалом.

При упаковке стеклопакеты должны быть разделены пробковыми или эластичными полимерными прокладками по углам стеклопакета. Толщину прокладок выбирают исходя из размеров стеклопакета и возможных перепадов давления в процессе транспортирования и хранения стеклопакетов.

Предприятие-изготовитель должно сопровождать каждую партию стеклопакетов паспортом, в котором указывают:

- наименование и (или) товарный знак предприятия-изготовителя;

- условное обозначение стеклопакетов;

- количество ящиков или контейнеров в партии;

- количество стеклопакетов, м2 (шт.);

- номер и дату выдачи документа;

- основные технические характеристики стеклопакетов: коэффициент направленного пропускания света, сопротивление теплопередаче, точку росы, звукоизоляцию, класс защиты (для ударостойких стеклопакетов);

- сведения о сертификации;

- отметку о приемке продукции.

Контейнеры или ящики со стеклопакетами транспортируют любым видом транспорта в соответствии с Правилами перевозок грузов, а размещение и крепление в транспортных средствах - в соответствии с Техническими условиями погрузки и крепления грузов, действующими на данном виде транспорта.

Универсальные и специализированные контейнеры со стеклопакетами перевозят на железнодорожных платформах или полувагонах с учетом наиболее рационального использования грузоподъемности и вместимости подвижного состава. Ящики со стеклопакетами перевозят в крытых транспортных средствах или полувагонах при условии обеспечения защиты от атмосферных осадков.

При транспортировании, погрузке и разгрузке стеклопакетов должны соблюдаться требования ГОСТ 22235-76*.

При транспортировании специализированные контейнеры или ящики со стеклопакетами должны быть установлены вертикально, торцами по направлению движения транспорта и закреплены так, чтобы была исключена возможность их перемещения и качания в процессе транспортирования.

Стеклопакеты должны храниться у изготовителя и потребителя в закрытых сухих отапливаемых помещениях в распакованном виде.

При хранении стеклопакеты должны быть установлены торцом на стеллажи или пирамиды перпендикулярно их основанию. Основание стеллажа или пирамиды должно быть оклеено войлоком или резиной и иметь наклон 5-15° к горизонтали.

Между стеклопакетами должны быть установлены прокладки из пробки или эластичных полимерных материалов.

На стеллаже или пирамиде следует хранить стеклопакеты одинаковых размеров и одного вида.

Допускается хранить стеклопакеты в ящиках при условии, если тара и прокладочные материалы не подвергались увлажнению в процессе транспортирования.

Изготовитель должен гарантировать соответствие стеклопакетов требованиям данного стандарта при соблюдении требований упаковки, транспортирования, хранения, эксплуатации и монтажа, установленных данным стандартом, а также области их применения согласно действующим строительным нормам.

Гарантийный срок службы (эксплуатации) стеклопакетов устанавливают в технической документации, но не менее 5 лет со дня отгрузки изделий изготовителем.

ГОСТ 21992-83 Стекло строительное профильное. Технические условия

Данный стандарт распространяется на строительное профильное стекло, предназначенное для устройства светопрозрачных ограждающих конструкций в зданиях и сооружениях различного назначения.

Типы, марки, размеры и форма стекла должны соответствовать указанным в нижеследующих таблицах и рисунках.

Тип

Марка

Ширина b, мм

Высота h, мм

Толщина t, мм

Длина, l, мм не более

Ширина шва, b1

Швеллерное профильное

ШП-240

244

35

5,5

3600

-

ШП-250

250

40, 50

5,5, 6,0

5000

-

ШП-300

294

35, 40, 50

5,5, 6,0

5000

-

ШП-500

500

40, 50

5,5, 6,0

3000

-

Коробчатое профильное

 

 

 

 

 

 

а) с одним швом

КП-1-250

244

50

5,5

3600

20

КП-1-300

294

50

5,5

3600

22

б) с двумя швами

КП-2-250

244

55

5,5

3600

22

КП-2-300

294

55

5,5

3600

22

Ребристое профильное

РП-600

594

50

5,5

3600

-

Примечания к вышеприведенной таблице:

1. Длина стекла должна быть кратной 5 мм.

2. Стекло марок ШП-240 и ШП-300 высотой 35 мм допускается изготавливать для ремонтных целей.

ТИПЫ СТЕКЛА

Отклонения размеров стекла не должны превышать, мм:

по длине и ширине........................................... ±5

по высоте........................................................... ±3

по толщине........................................................ ±0,5

по ширине шва коробчатого стекла................. ±5

радиуса углов..................................................... ±1

по ширине основания среднего ребра............ ±5

для стекла высшей категории качества:

по длине............................................................. ±3

по ширине и высоте......................................... ±2

Стекло может изготавливаться бесцветным и цветным, армированным и неармированным, с гладкой (кованой), рифленой или узорчатой поверхностью.

Условное обозначение стекла должно состоять из марки, длины, высоты, толщины, наличия цвета (Ц) и армирования (А), характеристик поверхности (рифленая - Р, узорчатая - Уз) и обозначения данного стандарта.

Пример условного обозначения швеллерного стекла марки ШП-300, длиной 3600 мм, высотой 40 мм, толщиной 5,5 мм, бесцветного, неармированного, с гладкой поверхностью:

ШП-300-3600-40-5,5 ГОСТ 21992-83

То же, цветного, армированного, с рифленой поверхностью:

ШП-300-3600-40-5,5-Ц-А-Р ГОСТ 21992-83

Бесцветное стекло может иметь желтоватый, голубоватый или зеленоватый оттенок.

Цвет и фактура поверхности стекла, рисунок рифленой или узорчатой поверхности должны соответствовать образцам-эталонам, утвержденным в установленном порядке.

Для армирования стекла должна применяться стальная проволока диаметром 0,5 или 0,6 мм с защитным алюминиевым покрытием или сетки из нее.

Проволочная арматура в армированном стекле должна быть размещена параллельно боковым его поверхностям.

Отклонение от прямого угла, образуемого лицевыми и боковыми поверхностями стекла, не должно превышать ±2 мм.

Отклонение от прямого угла, образуемого плоскостью торцов стекла с его лицевыми и боковыми поверхностями, не должно превышать ±2 мм.

Разность высот боковых поверхностей стекла не должна превышать 3 мм.

Лицевая и боковая поверхности стекла должны быть плоскими. Отклонение от прямолинейности в плоскости (выпуклость или вогнутость) лицевых поверхностей стекла не должно превышать 2 мм по ширине и 4 мм по длине стекла на 1 м его длины. Отклонение от прямолинейности в плоскости боковых поверхностей стекла не должно превышать 2 мм на 1 м его длины.

В стекле не допускаются:

- открытые пузыри;

- более 20 закрытых пузырей на лицевой поверхности размером по наибольшему измерению св. 3 до 8 мм включ.;

- инородные разрушающие включения (непроваренные частицы огнеупорных материалов);

- более 6 шт. инородных неразрушающих включений (непроваренных частиц шихты, закристаллизовавшегося стекла «рух») размером по наибольшему измерению св. 1 до 2 мм;

- трещины и посечки;

- выступы на торцах швеллерного стекла;

- выступы на торцах коробчатого стекла высотой более 5 мм;

- отбитые углы и сколы на торцах глубиной более 10 мм;

- окраска окислившейся арматуры, видимая с расстояния более 2 м;

- более одного разрыва проволок в арматуре более 30 мм;

- более одного соединения проволок в арматуре;

- выход арматуры на поверхность стекла;

- выщелачивание в виде помутнений и радужных пятен.

Сварной шов коробчатого стекла должен быть герметичным, сплошным (не иметь пустот), прямым и находиться посередине лицевой или боковых поверхностей.

Стекло должно поставляться по спецификации потребителя в комплекте с уплотнителями и герметиками. Условия поставки уплотнителей и герметиков определяются соглашением между изготовителем и потребителем.

Уплотнители, герметики и мастики должны изготавливаться по техническим условиям, утвержденным в установленном порядке.

Стекло должно быть упаковано в транспортные пакеты по техническим условиям, утвержденным в установленном порядке.

В каждый транспортный пакет должен быть вложен ярлык, в котором указывают:

- наименование или товарный знак предприятия-изготовителя;

- условное обозначение стекла;

- количество стекла, м2;

- номер упаковщика и дату упаковывания.

Тара должна быть замаркирована в соответствии с требованиями ГОСТ 14192-96.

Предприятие-изготовитель должно сопровождать каждую партию стекла документом о качестве установленной формы, в котором указывают:

- наименование и адрес предприятия-изготовителя;

- наименование, цвет и условное обозначение стекла;

- количество стекла, м2;

- результаты физико-механических испытаний;

- номер партии и дату изготовления;

- наименование уплотнителей и герметиков.

Упакованное стекло транспортируют любым видом транспорта в соответствии с правилами перевозки грузов, действующими на конкретном виде транспорта, утвержденными в установленном порядке.

При транспортировании, погрузке и выгрузке стекла должны приниматься меры, обеспечивающие его сохранность от механических повреждений.

При транспортировании тара должна быть установлена так, чтобы торцы стекла были расположены по направлению движения транспорта.

Стекло должно храниться в закрытых помещениях или под навесом стопами. Коробчатое и швеллерное стекло должно быть уложено на боковую поверхность, а ребристое - плашмя с перекладкой каждого ряда деревянными планками, расположенными на расстоянии % длины стекла от его торцов.

Число рядов в стопе не должно превышать для коробчатого и швеллерного стекла четырех при его ширине 244, 250, 294 мм и двух - при ширине 500 мм, для ребристого стекла - не более десяти рядов.

Монтаж и эксплуатацию конструкций из стекла следует производить в соответствии с указаниями по проектированию, монтажу и эксплуатации конструкций из профильного стекла СН 428-74.

На строительной площадке в процессе входного контроля:

- необходимо проверить наличие сопроводительной документации и полноту содержащихся в ней данных;

- по имеющейся сопроводительной документации, маркировке и ярлыкам необходимо убедиться в соответствии поступивших изделий из стекла и комплектующих материалов и изделий требованиям проекта;

- необходимо путем внешнего осмотра проверить отсутствие на изделиях из стекла и комплектующих материалах и изделиях недопустимых дефектов внешнего вида;

- необходимо провести в соответствии с требованиями технологической карты необходимые измерения геометрических параметров изделий из стекла и комплектующих изделий и лабораторные испытания комплектующих материалов на соответствие их нормативным требованиям;

- при возникновении сомнений в качестве поступивших материалов должны быть вызваны представители строительной лаборатории или функциональных служб, ответственных за поставку материалов.

Технические требования

Производство стекольных работ должно осуществляться в соответствии с требованиями проекта, СНиП 3.01.01-85*, СНиП 3.04.01-87, СН 428-74, СН 481-75, ППР, технологических карт, схем операционного контроля качества работ и другой технологической документации, утвержденной в установленном порядке.

Стекольные работы должны осуществлять строительно-монтажные организации, получившие лицензию на выполнение отделочных работ в Федеральных или региональных лицензионных органах.

Стекольные работы должны выполняться квалифицированным персоналом, прошедшим специальную подготовку и обладающим надлежащими навыками по производству стекольных работ.

Производству стекольных работ должны предшествовать:

- разработка проектов производства стекольных работ; разработка (или привязка типовых) технологических карт и схем операционного контроля качества на выполнение стекольных работ;

- завершение и надлежащее оформление всех предусмотренных проектом предшествующих работ;

- входной контроль стекла, стеклопакетов, стеклоблоков, стеклопанелей и других изделий из стекла и комплектующих материалов и изделий, предусмотренных проектом;

- изучение инженерно-техническим персоналом проектной и технологической документации, обучение мастеров и рабочих передовым методам труда.

При входном контроле рабочей документации должна производиться проверка ее комплектности и достаточности содержащейся в ней технической информации для производства работ.

Входной контроль изделий из стекла и комплектующих материалов и изделий должен производиться в соответствии с требованиями проекта, стандартов и технических условий на конкретные изделия и материалы в порядке, предусмотренном технологическими картами или другой технологической документацией, утвержденной в установленном порядке.

Входной контроль должен предотвратить поступление на строительную площадку материалов и изделий, не отвечающих требованиям соответствующей нормативной документации.

Технические требования к стеклу листовому, стеклопакетам клееным и стеклу строительному согласно ГОСТ 111-90, ГОСТ 24866-89 и ГОСТ 21992-83 приведены выше.

Стекольные работы должны выполняться в соответствии с проектом производства работ (ПНР) на возведение зданий и сооружений.

Запрещается осуществление строительно-монтажных работ без утвержденного проекта производства работ. Не допускаются отступления от решений проектов производства работ без согласования с организациями, разработавшими и утвердившими их. Замена предусмотренных проектом материалов, изделий и составов допускается только по согласованию с проектной организацией и заказчиком.

До начала стекольных работ должны быть произведены следующие работы:

- выполнена защита отделываемых помещений от атмосферных осадков; устроены гидроизоляция, тепло-звуко-изоляция и выравнивающие стяжки перекрытий;

- загерметизированы швы между блоками и панелями; заделаны и изолированы места сопряжений оконных, дверных и балконных блоков;

- остеклены световые проемы;

- смонтированы закладные изделия, проведены испытания систем тепло-, водоснабжения и отопления.

Стекольные работы следует выполнять после проверки правильности выполнения предшествующих работ с составлением актов освидетельствования скрытых работ.

Стекольные работы должны выполняться при положительной температуре окружающей среды. Остекление при отрицательной температуре воздуха допускается только в случае невозможности снятия переплетов, при применении замазки, подогретой не ниже чем до 20 °С.

Крепление стекол в деревянных переплетах должно выполняться при помощи штапиков или шпилек с заполнением фальцев переплета замазкой, наносимой с обеих сторон стекла или с применением эластичных прокладок, обеспечивающих водо-воздухонепроницаемость по периметру остекления, с дополнительным креплением стекла раскладками.

Стекло должно перекрывать фальцы переплетов не более чем на 3/4 ширины. Размеры стекла по ширине и высоте должны быть на 4-6 мм меньше соответствующих размеров проема под стекло. Стекло должно быть установлено так, чтобы с каждой стороны зазор между кромкой стекла и стороной проема под стекло составлял 2-3 мм.

Замазка должна наноситься равномерным сплошным слоем, без разрывов, до полного уплотнения фальца переплета.

Замазка после образования на поверхности твердой пленки не должна иметь трещин, отставать от поверхности стекла и фальца.

Обрез замазки в месте соприкосновения со стеклом должен быть ровным и параллельным кромке фальца, без выступающих крепежных приборов.

Наружные фаски штапиков должны плотно прилегать к внешней грани фальцев, не выступая за их пределы и не образуя впадин.

Штапики, установленные на стекольной замазке, должны быть прочно соединены между собой и с фальцами переплета.

Резиновые прокладки должны быть плотно защемлены стеклом и плотно прилегать к поверхности фальца, стекла и штапиков, не выступать над гранью штапика, не иметь трещин и разрывов.

Поверхность стекол должна быть без трещин, выколов, пробоин, без следов замазки, раствора, краски, жировых пятен и т.п.

Резиновые профили при применении любых крепежных приборов должны быть плотно прижаты к стеклу и пазу фальца, крепежные приборы должны соответствовать проектным и плотно запасованы в пазах фальца.

Листовое стекло в алюминиевых переплетах следует устанавливать на опорных, фиксирующих и ограничительных прокладках. Соприкосновение стекла с алюминиевыми элементами изделий не допускается.

Для уплотнения зазоров между остеклением и алюминиевыми элементами изделий должны применяться профилированные прокладки из морозостойкой резины или эластичных пластмасс, не вызывающих коррозии алюминиевых сплавов, указанные в стандартах или технических условиях на конкретные типы изделий. Прокладки следует устанавливать в пазы алюминиевых профилей, не применяя клей.

Стыкование стекол, а также установка стекол с дефектами (трещины, выколы более 10 мм, несмываемые пятна, инородные включения) при остеклении жилых домов и объектов культурно-бытового назначения не допускается.

Крепление увиолевого, матового, матово-узорчатого, армированного и цветного стекла, а также закаленного в оконных и дверных проемах должно выполняться таким же способом, как листовое, в зависимости от материала переплета.

Оконные и дверные балконные переплеты, как правило, поставляются потребителям собранными в блоки полной заводской готовности.

По требованию потребителя оконные и дверные балконные блоки могут поставляться без прокладок и остекления.

Работы по остеклению должны выполняться в следующей последовательности:

- снятие штапиков и выемка стекол (при смене стекол);

- очистка фальцев от пыли и грязи, снега и наледи (старой замазки - при смене стекол);

- сушка их и в случае необходимости промазка олифой;

- раскрой и доставка листового или другого стекла, предусмотренного проектом;

- наложение постельной замазки слоем 2-3 мм;

- вставка стекла на равных расстояниях от всех сторон фальца (2-3 мм) и прижатие его к фальцам;

- закрепление стекла шпильками, штапиками, эластичными пластмассовыми или резиновыми прокладками;

- промазка стекол при остеклении на двойной замазке;

- протирка стекол.

Обеспыливание поверхностей следует производить перед нанесением каждого слоя стекольных замазок.

При остеклении металлических и железобетонных переплетов металлические штапики необходимо устанавливать после укладки в фальц резиновых прокладок.

Монтаж стеклопакетов и выбор материалов для прокладок должен осуществляться согласно требований проекта, Инструкции СН 481-75, ППР, технологической карты, схемы операционного контроля качества СМР и другой технологической документации, утвержденной в установленном порядке.

Контролируемые операции

Состав и средства контроля

Документация

Подготовительные работы

Проверить:

- завершение и надлежащее оформление предшествующих монтажных работ (наличие актов приемки и актов освидетельствования скрытых работ, геодезических исполнительных схем и другой приемо-сдаточной документации);

Акт приемки, акты освидетельствования скрытых работ, исполнительные схемы

- наличие проекта, ППР, технологических карт и схем операционного контроля качества стекольных работ;

ППР, технологические карты, СОКК

- наличие документов о качестве и полноту содержащихся в них данных на поступившие на строительную площадку стекло и комплектующие материалы; ярлыки, маркировку; соответствие их требованиям проекта и нормативных документов;

Документы о качестве, акты лабораторных испытаний

- внешним осмотром отсутствие недопустимых дефектов внешнего вида на стекле и комплектующих материалах;

- очистку фальцев от пыли и грязи, снега и наледи.

Общий журнал работ

Производство стекольных работ

Контролировать:

- соблюдение заданной ППР технологии выполнения стекольных работ;

- соответствие качества выполненных стекольных работ требованиям проекта и нормативных документов (установку листового стекла, стеклопакетов, стеклопанелей, стеклоблоков в проектное положение); качество уплотнения фальца переплета при установке листового стекла, заделки зазоров между переплетом и стеклопакетами, герметизации стыков между элементами профильного стекла.

Общий журнал работ

Приёмка

Проверить:

- соответствие качества выполненных стекольных работ требованиям проекта и нормативных документов;

- составление и надлежащее оформление приемосдаточной исполнительной документации.

Акт приемки

ВХОДНОЙ И ОПЕРАЦИОННЫЙ КОНТРОЛЬ осуществляют:

мастер (прораб), лаборант (инженер) - в процессе производства работ.

ПРИЁМОЧНЫЙ КОНТРОЛЬ ОСУЩЕСТВЛЯЮТ:

прораб (мастер), представители технадзора заказчика.

КИП - металлическая линейка, металлическая рулетка, лабораторные приборы и оборудование.



Оконные переплеты, как правило, следует заполнять стеклопакетами в заводских условиях.

Перед установкой в конструкцию необходимо провести тщательный осмотр каждого стеклопакета. Не допускается применять стеклопакеты, имеющие трещины или сколы в торцах, отслоения герметика.

Работы по остеклению деревянных оконных переплетов и витрин стеклопакетами с использованием прокладок и нетвердеющих мастик выполняются в следующей последовательности:

- подготовка стеклопакетов и комплектующих материалов (прокладок, штапиков, мастик и т.д.);

- наклейка боковых прокладок на фальцы переплета симметрично с обеих сторон стеклопакета (при эксплуатации не допускается использование стеклопакетов без подкладок (прокладок) между строительными конструкциями и стеклопакетом. Касание стеклопакетов поверхностей строительных конструкций не допускается. Схемы установки подкладок должны быть приведены в проектной и нормативной документации);

- установка стеклопакета в переплет и плотное его прижатие к боковым прокладкам, установка опорных и распорных прокладок (опорные, распорные и боковые прокладки должны изготовляться согласно ГОСТ 24699-81 из древесины твердолиственных пород, пропитанных гидрофобным составом или из полимера «Агат»);

- нанесение и уплотнение слоя нетвердеющей мастики (или герметика) вдоль торцов стеклопакета (работы по уплотнению и герметизации стыков следует проводить при температуре наружного воздуха не ниже минус 5 °С, если нет других указаний);

- установка боковых прокладок и штапиков;

- уплотнение зазоров нетвердеющей мастикой (или герметиком).

При установке стеклопакетов и их креплении не допускаются перекосы и чрезмерное «обжатие» стеклопакетов штапиками или накладками.

Работы по уплотнению и герметизации стыков между стеклопакетами и переплетами следует производить непосредственно после их установки и крепления. При нанесении нетвердеющих герметиков следует использовать герметизаторы, а тиоколовых герметиков - пневматические или ручные шприцы. Герметизируемые поверхности должны быть предварительно очищены, просушены и обезжирены.

Расположение опорных, распорных и боковых прокладок, устанавливаемых по периметру стеклопакетов (по ГОСТ 24699-81)


ПОСЛЕДОВАТЕЛЬНОСТЬ ВЫПОЛНЕНИЯ ОПЕРАЦИЙ ПРИ МОНТАЖЕ СТЕКЛОПАКЕТОВ

Поверхность стеклоконструкций должна быть без трещин, выколов, пробоин, без следов мастики, краски, жировых пятен и т.п.

При монтаже стеклопакетов не должна нарушаться ориентация стеклопакетов (наружная сторона - внутренняя сторона, верх - низ), рекомендованная изготовителем.

Вся конструкция после установки стеклопакета должна быть вертикальной, с допусками, не превышающими 2 мм на 1 м поверхности. Температура воздуха в помещениях, остекленных стеклопакетами в зимний период строительства, должна быть не ниже +5 °С.


Стеклопакеты в алюминиевых переплетах следует устанавливать на опорных, фиксирующих и ограничительных подкладках.

Соприкосновение стеклопакетов с алюминиевыми элементами изделий не допускается.

Для уплотнения зазоров между остеклением и алюминиевыми элементами изделий должны применяться профилированные прокладки из морозостойкой резины или эластичных пластмасс, не вызывающих коррозии алюминиевых сплавов, указанные в стандартах или технических условиях на конкретные типы изделий.

Прокладки следует устанавливать в пазы алюминиевых профилей, не применяя клей.

Для уплотнения зазоров между остеклением и стальными переплетами применяются резиновые профили по ТУ 38.105376-82.

При остеклении металлических и железобетонных переплетов металлические штапики необходимо устанавливать после укладки в фальц резиновых прокладок.

Монтаж стеклопакетов одновременно на нескольких ярусах (один над другим) не допускается.

Монтаж конструкций из профильного стекла должен осуществляться согласно требований проекта, Инструкции СН 428-74, ППР, технологической карты, схемы операционного контроля качества СМР и другой технологической документации, утвержденной в установленном порядке.

Для окон в зависимости от климатических условий района строительства, а также температуры и влажности внутри помещений должно предусматриваться коробчатое или расположенное в один или два слоя швеллерное профильное стекло.

Для зенитных фонарей должно предусматриваться ребристое или швеллерное стекло. Перегородки проектируются из коробчатого, расположенного в два слоя швеллерного или ребристого стекла.

В окнах коробчатое стекло располагается вертикально или горизонтально, а швеллерное - только вертикально. Высота окон при горизонтальном расположении стекла должна быть не более 1,2 м.

В перегородках профильное стекло располагается вертикально.

Окна и перегородки из профильного стекла проектируются в один или несколько ярусов по высоте.

Жесткое соединение элементов профильного стекла с несущими или ограждающими конструкциями зданий, а также между собой не допускается.

В окнах и перегородках между профильным стеклом и верхним элементом, к которому оно крепится, должен предусматриваться зазор, превышающий на 10 мм величину расчетного прогиба верхнего элемента.

Ограждающие конструкции из профильного стекла проектируются в виде стеклопанелей. Допускается предусматривать поэлементную сборку конструкций из профильного стекла.

Стальные элементы обвязки и рамы стеклопанелей проектируются из холодногнутых профилей. Прогиб в плоскости остекления элементов, на которые опирается профильное стекло, должен быть не более 15 мм.

Профильное стекло в ограждающих конструкциях крепится металлическими уголками или деревянными штапиками.

Монтаж стеклопанелей и сборка их обвязок должны осуществляться в соответствии с проектом.

Стеклопанели крепятся к несущим конструкциям зданий с помощью связей, обеспечивающих независимость их деформаций.

Стыки между элементами профильного стекла в конструкциях окон должны быть уплотнены резиновыми прокладками с обязательной двухсторонней герметизацией их мастиками. При применении прокладок «Бутепрол» герметизация стыков не требуется.

Стыки между элементами профильного стекла с герметизацией их мастиками

1. Профильное стекло. 2. Уплотнительная прокладка из резины. 3. Мастика

Стыки между элементами профильного стекла без их герметизации

1. Профильное стекло. 2. Уплотнительная прокладка из резины.

Стыки между элементами профильного стекла в конструкциях перегородок, к которым не предъявляются требования герметичности, допускается уплотнять прокладками из поливинилхлорида, губчатой резины и других эластичных материалов без промазки их мастикой.

В рабочих чертежах и ППР может быть принят поэлементный способ сборки конструкций из профильного стекла и стеклопанелями.

В состав основных работ по поэлементной сборке ограждающих конструкций входит: подготовка элементов профильного стекла, установка их в проектное положение, герметизация стыков мастикой или герметикой.

Подготовка профильного стекла предусматривает его очистку, заготовку и наклейку уплотнительных прокладок, складирование элементов для последующей подачи к месту монтажа.

В теплый период года подготовка элементов профильного стекла выполняется под навесом, а в холодный - в закрытых помещениях при температуре не ниже +5 °С.

Перед наклейкой уплотнителей элементы профильного стекла раскладывают на столе-верстаке в положение «на ребро» и обезжиривают растворителем их боковую поверхность.

Прокладки губчатой резины протирают растворителем и наклеивают на одну из боковых поверхностей элементов. Для наклейки используют клей КН-2 или КН-3 (ГОСТ 24064-80) или другой, предусмотренный проектом. Прокладки из Бутэпрол-2 приклеивают, смачивая одну из поверхностей прокладок уайт-спиритом, после чего накладывают их на боковую поверхность профильного стекла, прижимая прокатным роликом.

Поэлементную сборку конструкций из профильного стекла выполняют в следующей последовательности:

- устанавливают с неполной затяжкой верхние крепежные уголки;

- набирают в проем не более пяти элементов профильного стекла;

- устанавливают с неполной затяжкой нижние крепежные уголки;

- с помощью сжимов, закрепленных на обвязке, уплотняют стыки до проектной толщины;

- проверяют вертикальность установленных элементов профильного стекла;

- устанавливают на обвязке фиксаторы для временного закрепления набранных элементов в проектное положение;

- снимают сжимы и затягивают крепежные уголки.

Стыки между профильным стеклом и простенком, колонной, стойкой уплотняют гернитом (ГОСТ 19177-81).

Стыки между элементами профильного стекла в конструкциях окон обязательно герметизируются с двух сторон мастиками. Для герметизации стыков применяется мастика «Бутепрол-2М» (ТУ 21-29-58-77) или тиоколовые мастики УТ-32, AM-0,5.

Герметизация стыков мастиками должна производиться при температуре не ниже +5 °С в условиях, исключающих их увлажнение.

Перед герметизацией мастикой стыки очищают, а затем обезжиривают растворителем.

Работы по сборке стеклопанелей производят в той же последовательности, что и при поэлементном заполнении проемов.

Установку стеклоблоков на растворе следует выполнять со строго постоянными горизонтальными и вертикальными стыками постоянной ширины в соответствии с проектом (стыки должны быть заполнены заподлицо с поверхностью стеклопакетов). Предельные отклонения - не более +10 мм по всей высоте.

Приемка стекольных работ должна осуществляться путем технического осмотра выполненных работ и оформляться актом приемки.

ВХОДНОЙ КОНТРОЛЬ ОБЛИЦОВОЧНЫХ И ШТУКАТУРНЫХ РАСТВОРОВ

ГОСТ 28013-98 Растворы строительные. Общие технические условия.

ТУ 5745-005-11322110-97 Смеси сухие цементно-песчаные клеевые специализированные для облицовочных работ.

ТУ 5745-013-05668056-99 Клеи строительные для облицовочных работ.

ТУ 5745-001-01307947-97 Клеевая смесь.

ТУ 5745-001-46478149-99 Смеси сухие строительные штукатурно-плиточные клеевые, универсальные, шпаклевочные, кладочные и монтажные.

ТУ 5745-005-368874298-96 Смеси сухие (клеящие, кладочные, выравнивающие).

ТУ 5772-002-46434927-2000 Сухие клеящие смеси.

ТУ 5745-004-11322110-97 Смеси сухие цементно-песчаные, специализированные для производства штукатурных работ.

ТУ 5745-003-05668056-98 Смеси сухие штукатурные специализированные.

ТУ 5745-001-42645900-97 Сухие штукатурные и кладочные смеси, цементно-песчаные растворы.

ТУ 5745-001-03986987-97 Смесь штукатурная сухая.

ТУ 5744-001-05305951-95 Смеси известково-песчаные штукатурно-растворные.

ТУ 5745-001-11164874-96 Смеси сухие «Витанит-компан» растворов строительных.

ТУ 5745-001-50876007-99 Смеси сухие строительные (Плитонит Т и ТВ, А, В, С, З, КГ).

ТУ 5745-003-46434927-2000 Сухие штукатурные смеси.

ТУ 5745-001-07828469-97 Смеси сухие цементные, цементно-известковые, известково-песчаные.

ТУ 5745-002-02069579-97 Смеси растворные сухие известково-песчаные.

ТУ 5745-011-04001508-97 Сухие гипсовые смеси (СГС).

ТУ 5744-008-03515377-98 Смеси строительные гипсовые сухие.

Технические условия на строительные растворы и сухие смеси конкретных видов, предусмотренные проектом.

СНиП 3.03.01-87 Несущие и ограждающие конструкции.

СП 82-101-98 Приготовление и применение растворов строительных.

Входной контроль качества строительных растворов должен осуществляться в соответствии с требованиями проекта, СНиП 3.01.01-85*, СНиП 3.03.01-87, ГОСТ 28013-98, требованиями технических условий на растворы конкретных видов, ППР и другой технологической документации, утвержденной в установленном порядке.

ГОСТ 28013-98 Растворы строительные. Общие технические условия.

Данный стандарт распространяется на строительные растворы на минеральных вяжущих, применяемые для каменной кладки и монтажа строительных конструкций при возведении зданий и сооружений, крепления облицовочных изделий, штукатурки.

Стандарт не распространяется на специальные растворы (жаростойкие, химически стойкие, огнестойкие, тепло- и гидроизоляционные, тампонажные, декоративные, напрягающие и др.).

Строительные растворы классифицируют по:

- основному назначению;

- применяемому вяжущему;

- средней плотности.

По основному назначению растворы подразделяют на:

- кладочные (в том числе и для монтажных работ);

- облицовочные;

- штукатурные.

По применяемым вяжущим растворы подразделяются на:

- простые (на вяжущем одного вида);

- сложные (на смешанных вяжущих).

По средней плотности растворы подразделяют на:

- тяжелые;

- легкие.

Условное обозначение строительного раствора при заказе должно состоять из сокращенного обозначения с указанием степени готовности (для сухих растворных смесей), назначения, вида применяемого вяжущего, марок по прочности и подвижности, средней плотности (для легких растворов) и обозначения данного стандарта.

Пример условного обозначения сухой растворной смеси, легкой, штукатурной, на цементном вяжущем, марки по прочности М50 по подвижности - Пк3, средней плотности D900:

Смесь сухая растворная штукатурная, цементная, М50, Пк3, D900 ГОСТ 28013-98.

Растворы строительные должны приготавливаться в соответствии с требованиями данного стандарта по технологическому регламенту, утвержденному предприятием-изготовителем.

Свойства строительных растворов включают свойства растворных смесей и затвердевшего раствора.

Основные свойства растворных смесей:

- подвижность;

- водоудерживающая способность;

- расслаиваемость;

- температура применения;

- средняя плотность;

- влажность (для сухих растворных смесей).

Основные свойства затвердевшего раствора:

- прочность на сжатие;

- морозостойкость;

- средняя плотность.

В зависимости от подвижности растворные смеси (облицовочные и штукатурные) подразделяются на марки в соответствии с нижеприведенной таблицей.

Марка по подвижности Пк

Норма подвижности, см

Назначение растворной смеси (рекомендуемая подвижность по глубине погружения конуса, см)

Пк2

Св. 4 до 8 включ.

Для крепления плит из природного камня и керамической плитки по готовой кирпичной стене, для крепления облицовочных изделий легкобетонных панелей и блоков в заводских условиях (6-8).

Раствор для грунта (7-8).

Раствор для накрывки без применения гипса (7-8).

Пк3

Св. 8 до 12 включ.

Раствор для набрызга при ручном нанесении (8-12).

Раствор для накрывки с применением гипса (9-12)

Пк4

Св. 12 до 14 включ.

Раствор для набрызга при механизированном способе нанесения (9-14)

Водоудерживающая способность растворных смесей должна быть не менее 90 %, глиносодержащих растворов - не менее 93 %.

Расслаиваемость свежеприготовленных смесей не должна превышать 10 %.

Растворная смесь не должна содержать золы-уноса более 20 % от массы цемента.

Влажность сухих растворных смесей не должна превышать 0,1 % по массе.

Температура растворных смесей в момент использования должна быть:

- облицовочных растворов для облицовки глазурованными плитками при минимальной температуре наружного воздуха от 5 °С и выше - не менее 15 °С;

- штукатурных растворов при минимальной температуре наружного воздуха:

от 0 до 5 °С - не менее 15 °С;

от 5 °С и выше - не менее 10 °С.

Нормируемые показатели качества затвердевшего раствора должны быть обеспечены в проектном возрасте.

За проектный возраст раствора, если иное не установлено проектной документацией, следует принимать, сут:

- для растворов, приготовленных без применения гидравлических вяжущих..... 7;

- для растворов, приготовленных с применением гидравлических вяжущих...... 28.

Прочность растворов на сжатие в проектном возрасте характеризуют марками: М4, М10, М25, М50, М75, М100, М150, М200.

Марку по прочности на сжатие назначают и контролируют для всех видов растворов.

Морозостойкость растворов характеризуют марками.

Для растворов установлены следующие марки по морозостойкости: F10, F15, F25, F35, F50, F75, F100, F150, F200.

Для растворов марок по прочности на сжатие М4 и М10, а также для растворов, приготовленных без применения гидравлических вяжущих, марки по морозостойкости не назначают и не контролируют.

Средняя плотность, D, затвердевших растворов в проектном возрасте должна быть, кг/м3: для тяжелых растворов - 1500 и более, для легких растворов - менее 1500.

Нормируемое значение средней плотности растворов устанавливает потребитель в соответствии с проектом работ.

Увеличение средней плотности растворов допускается на величину не более 10 % от проектной.

Материалы, применяемые для приготовления строительных растворов, должны соответствовать требованиям стандартов или технических условий на эти материалы и требованиям данного стандарта.

В качестве вяжущих материалов следует применять: гипсовые вяжущие по ГОСТ 125-79, известь строительную по ГОСТ 9179-77*, портландцемент и шлакопортландцемент по ГОСТ 10178-85*, цементы пуццолановые и сульфатостойкие по ГОСТ 22266-94, цементы для строительных растворов по ГОСТ 25328-82, глина по техническим требованиям, приведенным в приложении В к данному стандарту, другие, в том числе смешенные вяжущие, по нормативным документам на конкретный вид вяжущих.

Вяжущие материалы для приготовления растворов следует выбирать в зависимости от их назначения, вида конструкций и условий их эксплуатации.

Расход цемента на 1 м3 песка в облицовочных и штукатурных растворах на цементном и цементсодержащих вяжущих должен быть не менее 100 кг.

Содержание щелочей в цементных вяжущих, предназначенных для приготовления штукатурных и облицовочных растворов, не должно превышать 0,6 % по массе.

Известковое вяжущее применяют в виде гидратной извести (пушонки), известкового теста и известкового молока.

Известковое молоко должно иметь плотность не менее 1200 кг/м3 и содержать извести не менее 30 % по массе.

Известковое вяжущее для штукатурных и облицовочных растворов не должно содержать непогасившиеся частицы извести.

Известковое тесто должно иметь температуру не ниже 5 °С.

В качестве заполнителя должны применятся: песок для строительных работ по ГОСТ 8736-93*, зола-уноса по ГОСТ 25818-91, золошлаковый песок по ГОСТ 25592-91, пористые пески по ГОСТ 25820-83*, песок из шлаков тепловых электростанций по ГОСТ 26644-85, песок из шлаков черной и цветной металлургии для бетонов по ГОСТ 5578-94.

Наибольшая крупность зерен заполнителя должна быть не более:

2,5 мм - для штукатурных растворов (кроме накрывочного слоя);

1,25 мм - для облицовочных растворов и накрывочного слоя штукатурных растворов.

Содержание зерен песка размером более 2,5 мм для штукатурных растворов и более 1,25 мм - для облицовочных и штукатурных накрывочных растворов не допускается.

Сыпучие исходные материалы для растворных смесей должны дозироваться по массе, жидкие составляющие - по массе или объему.

Погрешность дозирования не должна превышать для вяжущих материалов, воды и добавок ±1 %, заполнителей ... ±2 %.

Для растворосмесительных установок производительностью до 5 м3/ч допускается объемное дозирование всех материалов с теми же погрешностями.

Химические добавки должны соответствовать требованиям ГОСТ 24211-91.

Добавки вводят в растворные смеси, готовые к применению, в виде водных растворов или водных суспензий, в сухие растворные смеси - в виде водорастворимого порошка или гранул.

Сухие растворные смеси упаковывают в пакеты из полиэтиленовой пленки по ГОСТ 10354-82* массой до 8 кг или бумажные мешки по ГОСТ 2226-88* массой до 50 кг.

Упакованные сухие растворные смеси следует маркировать на каждой упаковке. Маркировка должна быть четко нанесена на упаковку несмываемой краской.

Растворные смеси должны иметь документ о качестве.

Сухую растворную смесь предприятие-изготовитель должно сопровождать этикеткой или маркировкой, наносимыми на упаковку, а растворную смесь, готовую к употреблению, отпускаемую в транспортное средство, - документом о качестве, которые должны содержать следующие данные:

- наименование или товарный знак и адрес предприятия-изготовителя;

- условное обозначение строительного раствора;

- класс материалов, использованных для приготовления смеси, по удельной эффективной активности естественных радионуклидов и цифровое значение Аэфф;

- марку по прочности на сжатие;

- марку по подвижности (Пк);

- объем воды, необходимой для приготовления растворной смеси, л/кг (для сухих растворных смесей);

- вид и количество введенной добавки (% массы вяжущего);

- срок хранения (для сухих растворных смесей), мес;

- массу (для сухих растворных смесей), кг;

- количество смеси (для растворных смесей, готовых к употреблению), м3;

- дату приготовления;

- температуру применения, °С;

- обозначение данного стандарта.

При необходимости маркировка и документ о качестве могут содержать дополнительные данные.

Документ о качестве должен быть подписан должностным лицом предприятия-изготовителя, ответственным за технический контроль.

Растворные смеси, готовые к применению, должны доставляться потребителю в транспортных средствах, специально предназначенных для их перевозки.

При согласии потребителя допускается перевозка смесей в бункерах (бадьях).

Применяемые способы транспортирования растворных смесей должны исключать потери вяжущего теста, попадания в смесь атмосферных осадков и посторонних примесей.

Упакованные сухие растворные смеси транспортируют автомобильным, железнодорожным и другими видами транспорта в соответствии с Правилами перевозки и крепления грузов, действующими на данном виде транспорта.

Доставленные на строительную площадку растворные смеси, готовые к применению, должны быть перегружены в перегружатели-смесители или в другие емкости при условии сохранения заданных свойств смесей.

Упакованные растворные сухие смеси должны храниться в крытых сухих помещениях.

Мешки с сухой смесью должны храниться при температуре не ниже 5 °С в условиях, обеспечивающих сохранность упаковки и предохранение от увлажнения.

Срок хранения сухой растворной смеси - 6 мес со дня приготовления.

По истечении срока хранения смесь должна быть проверена на соответствие требованиям настоящего стандарта. В случае соответствия смесь может быть использована по назначению.

СП 82-101-98 Приготовление и применение растворов строительных

Требования данного свода правил распространяются на приготовление растворов, применяемых при возведении конструкций зданий из каменных мелкоштучных изделий, монтаже крупноблочных и крупнопанельных зданий и сооружений, растворов штукатурных, для крепления облицовочных плиток, специальных (инъекционных, жаростойких, кислотостойких) и растворов, перекачиваемых по трубопроводам.

При приготовлении и применении растворов для возведения объектов в районах с особыми природными условиями (сейсмические, вечномерзлые грунты и др.), а также с особыми эксплуатационными условиями (влажные и мокрые цехи и др.) кроме требований данного свода правил следует учитывать требования соответствующих строительных норм и правил и других нормативных документов.

Растворы, как правило, должны приготавливаться централизованно на растворных заводах (узлах).

Доставка растворов на объекты должна производиться растворовозами или специально приспособленными автосамосвалами.

Составляющие растворов (вяжущие, заполнители, добавки, вода) должны удовлетворять требованиям соответствующих нормативных документов на эти материалы.

Вода для затворения растворов должна быть проверена лабораторными анализами на предмет выявления вредных примесей, препятствующих нормальному твердению вяжущего. Вода из системы питьевого водоснабжения может применяться без предварительной проверки.

Качество исходных материалов должно быть подтверждено паспортами предприятий-поставщиков или при необходимости результатами лабораторных испытаний завода-изготовителя раствора.

Растворы в период срока их годности должны обладать заданной проектной подвижностью и водоудерживающей способностью.

Растворы, расслоившиеся при перевозке, должны быть перемешаны до подачи на рабочее место. Применение схватившихся растворов, не обладающих заданной подвижностью, не допускается. Также не допускается добавлять воду и цемент в схватившиеся растворные смеси.

При производстве работ в жаркую и сухую погоду (при относительной влажности воздуха менее 50 % и температуре выше 30 °С) должны обеспечиваться влажностные условия твердения растворов за счет введения в их состав специальных добавок (извести, глины и др.).

Для обычных штукатурок применяют цементные, цементно-известковые, известковые, известково-гипсовые, гипсовые и глиноизвестковые растворы.

Выбор и применение растворов для обычных штукатурок в зависимости от влажностных условий, в которых будут находиться в период эксплуатации здания и сооружения, помещения и отдельные конструктивные элементы, следует производить в соответствии с нижеприведенной таблицей.

Условия эксплуатации помещений и конструкций

Наименование растворов

Помещения с относительной влажностью воздуха свыше 60 %, а также наружные стены, цоколи, карнизы и т.п., подвергающиеся систематическому увлажнению

Цементные и цементно-известковые

Помещения с относительной влажностью воздуха до 60 %, а также наружные стены, не подвергающиеся систематическому увлажнению:

 

наружные каменные и бетонные стены, а также внутренние каменные и бетонные стены, перегородки и перекрытия

Известковые и цементно-известковые

наружные и внутренние каменные, деревянные и гипсовые стены (в районах с устойчиво сухим климатом)

Известково-гипсовые и глиноизвестковые

внутренние деревянные и гипсовые стены и перегородки

Известково-гипсовые и гипсовые

Применение вяжущих для растворов в зависимости от вида штукатурки производится по данным нижеследующей таблицы.

Заполнителем растворов для обычных штукатурок применяют песок, отвечающий требованиям ГОСТ 8736-93*. Размер зерен песка для подготовительных слоев обрызга и грунта не должен превышать 2,5 мм, для отделочного слоя (накрывки) - 1,2 мм.

Растворы для обычных штукатурок должны быть процежены и иметь следующую подвижность (погружение стандартного конуса):

для обрызга и накрывки, содержащей гипс............ 9-12 см;

для грунта и накрывки без гипса............................. 7-8 см.

Вид штукатурки

Вид оштукатуриваемых поверхностей

Наименование вяжущих

Наружная - для стен, цоколей, карнизов и т.п., подвергающихся систематическому увлажнению, а также внутренняя - для стен, перегородок и перекрытий, в помещениях с относительной влажностью воздуха свыше 60 %

Каменные и бетонные

Пуццолановый портландцемент, шлакопортландцемент, портландцемент марок 300-400

Наружная - для стен, перегородок и перекрытий в помещениях с относительной влажностью воздуха до 60 %

Каменные и бетонные

Известь, известково-шлаковые и т.п., местные вяжущие, портландцемент марки 300

Деревянные и гипсовые

Смесь извести с гипсом, глиной

Внутренняя - для стен, перегородок и перекрытий в помещениях с относительной влажностью воздуха до 60 %

Каменные и бетонные

Известь, известь с добавкой гипса, портландцемент марки 300, глина

Для повышения подвижности штукатурных растворов следует применять добавки-пластификаторы.

Для увеличения времени начала схватывания растворов с добавками гипса в их состав следует вводить замедлители схватывания согласно нижеприведенной таблице.

Наименование замедлителя

Вид применяемого замедлителя

Количество замедлителя на сухое вещество, %

Мездровый и костный клей

Водный раствор

0,2-0,5

Гашеная известь

Тесто плотностью 1400 кг/м3

5-20

Квасцы

Водный раствор

5-20

Бура

Водный раствор

5-20

Клееизвестковый состав 1:0,5:8,5 (клей : известковое тесто : вода)

Водный раствор

0,2-0,5

Составы растворов (по объему) для обычных штукатурок устанавливаются с учетом их назначения и условий эксплуатации здания или сооружения.

Вид и состав раствора для подготовительных слоев наружных и внутренних штукатурок (обрызг и грунт) приведены в нижеследующей таблице.

Вид оштукатуриваемой поверхности

Вид и состав раствора

цементного

цементно-известкового

известкового

известково-гипсового

Наружная штукатурка стен, цоколей, карнизов и т.п., подвергающихся систематическому увлажнению, а также внутренняя штукатурка в помещениях с относительной влажностью воздуха свыше 60 %

Для обрызга

Каменные и бетонные

От 1:2,5

От 1:0,3:3

-

-

 

до 1:4

до 1:0,5:5

Для грунта

Каменные и бетонные

От 1:2

От 1:0,7:2,5

-

-

 

до 1:3

до 1:1,2:4

Наружная штукатурка стен, не подверженных систематическому увлажнению, и внутренняя штукатурка в помещениях с относительной влажностью воздуха до 60 %

Для обрызга

Каменные и бетонные

-

От 1:0,5:4

От 1:2,5

-

Деревянные и гипсовые

до 1:0,7:6

до 1:4

От 1:0,3:2 до 1:1:3

Для грунта

Каменные и бетонные

-

От 1:0,7:3

От 1:2

-

Деревянные и гипсовые

до 1:1:5

до 1:3

От 1:0,5:1,5 до 1:1,5:2

Вид и состав раствора для отделочного слоя (накрывки) наружных и внутренних штукатурок следует принимать по нижеследующей таблице.

Вид грунта оштукатуриваемых поверхностей

Вид и состав раствора

цементного

цементно-известкового

известкового

известково-гипсового

Наружная штукатурка стен, цоколей, карнизов и т.п., подвергающихся систематическому увлажнению, а также внутренняя штукатурка в помещениях с относительной влажностью воздуха свыше 60 %

Цементный и цементно-известковый

От 1:1

От 1:1:1,5

-

-

до 1:4

до 1:1,5:2

Наружная штукатурка стен, не подверженных систематическому увлажнению, и внутренняя штукатурка в помещениях с относительной влажностью воздуха до 60 %

Цементный и цементно-известковый

-

От 1:1:2

-

-

до 1:1,5:3

Известковый и известково-гипсовый

-

-

От 1:1

От 1:1:0

до 1:2

до 1:1,5:0

Известь в растворах должна применяться для обычных штукатурок в виде теста плотностью 1400 кг/м3. При применении известкового теста или молока плотностью большей или меньшей 1400 их количество по объему определяется умножением объема известкового теста плотностью 1400 кг/м3 на коэффициент, приведенный в нижеследующей таблице.

Плотность

Коэфф.

Плотность

Коэфф.

Плотность

Коэфф.

Плотность

Коэфф.

1,50

0,80

1,39

1,02

1,28

1,43

1,17

2,35

1,49

0,81

1,38

1,05

1,27

1,48

1,16

2,50

1,48

0,83

1,37

1,08

1,26

1,54

1,15

2,66

1,47

0,85

1,36

1,11

1,25

1,60

1,14

2,86

1,46

0,87

1,35

1,14

1,24

1,67

1,13

3,08

1,45

0,89

1,34

1,17

1,23

1,74

1,12

3,33

1,44

0,90

1,33

1,21

1,22

1,82

1,11

3,54

1,43

0,93

1,32

1,25

1,21

1,90

1,10

4,00

1,42

0,95

1,31

1,29

1,20

2,00

 

 

1,41

0,97

1,30

1,33

1,19

2,10

 

 

1,40

1,00

1,29

1,38

1,18

2,22

 

 

Допускается применение в цементно-известковых растворах для обычных штукатурок вместо извести цементной пыли с соотношением цемента и цементной пыли 1:1. Указанное соотношение зависит от сорта извести и активности цементной пыли и должно уточняться на пробных замесах.

Для наружной штукатурки стен зданий, не подвергающихся систематическому увлажнению, а также для внутренней штукатурки стен, перегородок и перекрытий с относительной влажностью воздуха помещений до 60 % допускается применение вместо цементно-известковых растворов цементно-глиняных при дозировке глины в виде теста с глубиной погружения стандартного конуса 13-14 см. Отношение объема глиняного теста к объему цемента не должно быть более 1,5:1. При применении вместо теста глиняного порошка грубого помола его дозировка должна производиться при тощей глине в таком же количестве, как и теста, при глине средней жирности дозировка по сравнению с объемом теста уменьшается на 15 %, а при жирной глине - на 25 %.

Жирность глины определяется по плотности теста при величине погружения в него стандартного конуса на 13-14 см.

Характеристика глины по жирности и плотности глиняного теста приведена ниже.

Вид глины

Плотность, кг/м3, глиняного теста при погружении в него стандартного конуса на 13-14 см

средняя

максимальная

Жирная с содержанием песка до 5 %

1350

1400

Средней жирности с содержанием песка до 15 %

1450

1500

Тощая или суглинок с содержанием песка до 30 %

1450

1500

Для оштукатуривания стен из грунтовых материалов в сухом климате при относительной влажности воздуха помещений не выше 60 % могут применяться глиняные растворы, приведенные в нижеследующей таблице.

Состав раствора

Вид добавки

Состав раствора по объему (глиняное тесто:добавки:песок)

Марка раствора

в сухом климате

в умеренном ном влажном климате

Глиняный:

 

 

 

 

на жирной глине

Без добавки

1:0:4

10

2

на глине средней жирности

Без добавки

1:0:3

10

2

на тощей глине или суглинке

Без добавки

1:0:2,5

10

2

с черными вяжущими

Черные вяжущие (дегти, битумы, пеки)

От 1:0,05:2,5 до 1:0,1:4

4

4

Примечания

1. Марки растворов в таблице даны для оштукатуривания стен, защищенных от увлажнения, в состоянии естественной влажности.

2. Дозировка песка в глиняных растворах с черными вяжущими принимается в зависимости от жирности глины.

3. Добавка черных вяжущих производится для повышения водостойкости растворов. При применении твердых черных вяжущих предварительно приготовляют эмульсии из глины с черными вяжущими в подогретом состоянии.

4. При применении глины в виде порошка грубого помола следует руководствоваться изложенными выше указаниями.

При применении для обычных штукатурок цементно-песчаных и известково-песчаных сухих растворных смесей следует руководствоваться данными, приведенными в нижеследующих таблицах.

Вид оштукатуриваемой поверхности

Наносимый слой штукатурки

Состав раствора по объему (цемент:песок)

Каменные и бетонные

Обрызг

От 1:2 до 1:3

Грунт

От 1:1,5 до 1:2,5

Отделочный

От 1:1 до 1:1,5

Приведенные выше составы применяются для наружной штукатурки стен, цоколей, карнизов и других элементов, подвергающихся систематическому увлажнению, а также для внутренней штукатурки в помещениях с относительной влажностью воздуха выше 60 %.

Вид оштукатуриваемой поверхности

Наносимый слой штукатурки

Состав раствора по объему (известь:песок)

Каменные и бетонные

Обрызг и грунт

От 1:2 до 1:3

Отделочный

От 1:1 до 1:1,5

Приведенные выше составы применяются для наружной штукатурки стен, не подверженных систематическому увлажнению, а также для внутренней штукатурки в помещениях с относительной влажностью воздуха до 60 %.

При производстве штукатурных работ в зимнее время в отапливаемых зданиях при температуре воздуха не ниже 10 °С применяются составы растворов такие же, как и в летних условиях.

При производстве штукатурных работ при температуре воздуха от 5 до 8 °С растворы в момент их нанесения на обрабатываемую поверхность должны иметь температуру не ниже 8 °С.

Для понижения температуры замерзания растворов в их состав следует вводить противоморозные химические добавки (поташ, нитрит натрия, нитрат кальция с мочевиной), обеспечивающие твердение растворов при отрицательных температурах.

Приготовление растворных смесей

При приготовлении растворных смесей следует обеспечить обязательные условия:

- дозировка составных частей раствора должна производиться по массе и корректироваться при изменении вида, плотности и активности вяжущего, влажности и плотности заполнителя, вида пластифицирующих добавок и т.п.;

- подвижность раствора должна отвечать заданной величине;

- перемешивание составляющих должно продолжаться до получения однородной массы, но не менее 1 мин.

Погрешность дозирования материалов, составляющих растворную смесь, не должна превышать:

1 % - при дозировании вяжущих, воды и добавок;

2,0 % - при дозировании песка.

При применении неорганических пластификаторов (извести или глины), а также при приготовлении цементных и сложных растворов следует в растворосмеситель вначале подавать воду, а затем загружать заполнитель, вяжущее и пластификатор.

При приготовлении растворов с органическими пластификаторами-микропенообразователями вначале перемешивают пластификатор с водой в течение 30-45 с, затем загружают остальные материалы.

Перемешивание всех указанных выше растворов должно продолжаться до получения однородной массы, но не менее 1 мин.

Приготавливать растворы в зимних условиях без химических добавок при средней температуре наружного воздуха ниже 5 °С и минимальной суточной температуре ниже 0 °С следует в отапливаемом помещении.

Песок, применяемый для приготовления раствора, не должен содержать смерзшихся комьев размером более 1 см, а также льда. При подогреве песка его температура должна быть не выше 60 °С.

Известковое и глиняное тесто следует применять только не подвергавшееся замерзанию и имеющее температуру не ниже 5 °С.

Температура воды должна быть не выше 80 °С.

Растворы с химическими добавками приготавливают как обычные растворы с тем лишь отличием, что затворение их производится водными растворами химических добавок. Песок может применяться холодный, но не смерзшийся в комья.

Заполнитель и химические добавки загружаются в растворосмеситель и перемешиваются в течение 1,5-2 мин, после чего засыпается цемент и перемешивание продолжается еще в течение 2-3 мин.

При применении поташа на растворных заводах рекомендуется приготавливать сухие растворные смеси с последующим затворением их холодной водой и введением добавок поташа на передвижных или приобъектных смесительных установках. Рабочая смесь должна доставляться на рабочее место немедленно после приготовления и должна быть израсходована в установленный для нее срок. Подогрев растворных смесей с поташом запрещается.

Растворы с нитритом натрия и с нитратом кальция с мочевиной приготовляются так же, как и растворы без химических добавок. Температура раствора с химическими добавками в момент укладки допускается от 0 до 5 °С. В случае необходимости замедления схватывания растворных смесей с поташом в них вводится раствор СДБ или другие замедлители. Необходимое количество СДБ устанавливается на пробных замесах, но должно быть не более 1 % массы вяжущего в растворах на портландцементе и не более 2,5 % - в растворах на шлакопортландцементе (в пересчете на сухое вещество).

Водные растворы солей допускается приготавливать заранее при условии их хранения в плотно закрытой емкости. Для предотвращения выпадения кристаллов солей водные растворы следует периодически перемешивать с проверкой соответствия требуемой плотности.

Приготовление водных растворов солей следует производить в металлической или деревянной емкости, а также в специальных установках-солерастворителях.

В целях экономии емкостей водные растворы солей рекомендуется применять плотностью (по ареометру) 1,375 кг/л для раствора поташа и 1,29 кг/л для раствора нитрита натрия, содержащие 0,5 кг безводной соли в 1 л водного раствора.

В связи с различным количеством дозировки нитрата кальция и мочевины приготовление водных растворов указанных добавок рекомендуется производить раздельно. В целях экономии емкостей допускается водный раствор каждой добавки готовить концентрированным, а именно: нитрата кальция - плотностью 1,34 кг/л (50 %ый раствор), и мочевины - плотностью 1,085 кг/л (30 %ый раствор). Таблицы для определения потребного количества водных растворов химических добавок (поташа, нитрита натрия, нитрата кальция, мочевины) при приготовлении растворов приведены ниже.

Доставка растворных смесей заводского приготовления на строительные объекты должна производиться в специальных растворовозах или приспособленных для этих целей автосамосвалах, выгрузка - в приемно-расходные бункера или в контейнеры-ящики, в которых растворная смесь должна подаваться к рабочему месту.

Растворы, содержащие цемент, при отсутствии добавок, изменяющих их свойства, должны быть израсходованы не позднее чем через 2 часа после приготовления, а растворы, не содержащие цемент, - в день приготовления.

Запрещается перевозка растворных смесей в неприспособленных автосамосвалах, а также в обычных кузовах бортовых автомобилей и выгрузка их на землю.

Растворная смесь должна доставляться на строительный объект с учетом возможности ее использования до начала схватывания.

При расположении растворного завода на значительном расстоянии следует обеспечить централизованное приготовление и поставку на строительные объекты сухих растворных смесей с последующим их затворением на месте производства работ.


Определение потребности водных растворов химических добавок

Поташ

Нитрит натрия

Нитрат кальция

Мочевина

Плотность раствора при 20 °С, кг/л

Содержание безводного К2СO3 в 1 л раствора, кг

Температура замерзания раствора, °С

Плотность раствора при 20 °С, кг/л

Содержание безводного К2СO3 в 1 л раствора, кг

Температура замерзания раствора, °С

Плотность раствора при 20 °С, кг/л

Содержание безводного Ca (NO3)2 в 1 л раствора, кг

Температура замерзания раствора, °С

Плотность раствора при 20 °С, кг/л

Содержание безводного Ca (NO3)2 в 1 л раствора, кг

Температура замерзания раствора, °С

1,016

0,020

-0,7

1,011

0,020

-0,8

1,02

0,030

-0,8

1,015

0,058

-2,0

1,034

0,041

-1,3

1,024

0,41

-1,8

1,04

0,058

-1,7

1,020

0,076

-2,6

1,053

0,063

-2,0

1,038

0,062

-2,8

1,06

0,087

-2,6

1,025

0,093

-3,2

1,072

0,086

-2,8

1,052

0,084

-3,9

1,08

0,113

-3,2

1,030

0,111

-3,7

1,090

0,109

-3,6

1,065

0,106

-4,7

1,10

0,142

-4,0

1,035

0,128

-4,1

1,110

0,138

-4,4

1,078

0,129

5,8

1,12

0,170

-5,1

1,040

0,146

-4,6

1,129

0,158

-5,4

1,092

0,153

-6,9

1,14

0,197

-6,0

1,045

0,164

-5,0

1,139

0,171

-5,9

1,099

0,164

-7,5

1,16

0,227

-7,2

1,050

0,182

-5,6

1,149

0,184

-6,4

1,107

0,177

-8,1

1,18

0,253

-8,7

1,055

0,200

-6,2

1,159

0,197

-7,0

1,114

0,189

-8,7

1,20

0,285

-10,1

1,060

0,216

-6,6

1,169

0,210

-7,6

1,122

0,202

-9,2

1,22

0,317

-11,9

1,065

0,224

-6,8

1,179

0,224

-8,2

1,129

0,214

-10,0

1,24

0,347

-13,6

1,070

0,252

-7,3

1,190

0,238

-8,9

1,137

0,227

-10,8

1,26

0,380

-15,6

1,075

0,268

-7,6

1,200

0,252

-9,6

1,145

0,240

-11,7

1,28

0,412

-16,8

1,080

0,287

-8,0

1,211

0,266

-10,3

1,153

0,254

-12,5

1,30

0,448

-18,0

1,085

0,305

-8,3

1,221

0,281

-11,2

1,161

0,267

-13,9

1,32

0,473

-19,2

1,090

0,323

-8,5

1,232

0,296

-12,1

1,168

0,280

-14,4

1,34

0,503

-20,4

 

 

 

1,243

0,311

-13,0

1,176

0,293

-15,7

1,36

0,536

-21,6

 

 

 

1,254

0,326

-14,1

1,183

0,308

-17,0

1,38

0,560

-23,8

 

 

 

1,265

0,341

-15,1

1,191

0,322

-18,3

1,42

0,620

-28,2

 

 

 

1,276

0,357

-16,2

1,198

0,336

-19,6

 

 

 

 

 

 

1,287

0,373

-17,4

1,206

0,350

-17,8

 

 

 

 

 

 

1,298

0,390

-18,7

1,214

0,364

-16,5

 

 

 

 

 

 

1,321

0,423

-21,5

1,238

0,394

-14,0

 

 

 

 

 

 

1,344

0,457

-24,8

1,247

0,424

-11,7

 

 

 

 

 

 

1,367

0,492

-28,5

1,264

0,455

-9,5

 

 

 

 

 

 

1,375

0,500

-30,0

1,282

0,488

-7,5

 

 

 

 

 

 

1,390

0,528

-32,5

1,299

0,520

-6,0

 

 

 

 

 

 

1,414

0,566

-36,5

 

 

 

 

 

 

 

 

 


Применение химических добавок

В качестве противоморозных химических добавок следует применять поташ, нитрит натрия и комплексную химическую добавку, состоящую из нитрата кальция и мочевины. Нормативное количество этих добавок в % по массе цемента в пересчете на сухое вещество при разных отрицательных температурах приведено в нижеследующей таблице.

Допускается применение других противоморозных добавок, удовлетворяющих требованиям ГОСТ 24211-91, не вызывающих вредных последствий в период эксплуатации конструкций.

Вид добавки

Среднесуточная температура воздуха, °С

Количество добавок, % от массы цемента

Соотношение между компонентами добавки по массе в пересчете на сухое вещество

Поташ

От 0 до -5

5

-

От -6 до -15

10

-

От -16 до -30

15

-

Нитрит натрия

От 0 до -5

5

-

От -6 до -9

8

-

От -10 до -15

10

-

Нитрат кальция с мочевиной (НКМ)

От 0 до - 5

5

НК:М - 1:1

От -6 до -15

10

НК:М - 2:1

От -16 до -25

15

НК:М - 3:1

Примечания:

1. В случаях, когда не требуется интенсивного твердения растворов с химическими добавками, допускается их использование при температуре наружного воздуха ниже указанной в таблице, а именно: до минус 20 °С - при добавке 10 % нитрита натрия; до минус 30 °С - при добавке 15 % НКМ; до минус 35 °С - при добавке 15 % поташа.

2. Добавка поташа в растворы при возведении конструкций из силикатных материалов допускается в количестве не более 10 % от массы цемента.

Не допускается:

- вводить добавки поташа в растворы с заполнителями, содержащими реакционноспособный кремнезем (опал, халцедон и др.);

- применять растворы с добавками поташа для облицовки стен из силикатного кирпича и блоков марки 75 и ниже.

Расчетная прочность растворов марки 50 и выше с добавками поташа, нитрита натрия и НКМ, приготовленными на портландцементе марки 300 и выше и твердеющими при отрицательной температуре, приведена в нижеследующей таблице.

Вид добавки

Среднесуточная температура воздуха, °С

Количество добавок, % от массы цемента

Прочность раствора, % от марки, при твердении на морозе

3 сут

7 сут

28 сут

90 сут

Поташ

От 0 до -5

5

15

25

60

80

От -6 до -15

10

10

20

50

65

От -16 до -30

15

5

10

35

50

Нитрит натрия

От 0 до -5

5

5

10

40

55

От -6 до -15

8-10

3

5

30

40

Нитрат кальция с мочевиной (НКМ)

От 0 до -5

5

20

30

50

90

От -6 до -15

10

10

15

40

70

От -16 до -25

15

5

10

30

50

Примечание - При использовании нитрита натрия в виде жидкого продукта, а также при применении шлакопортландцемента и пуццоланового портландцемента приведенные в таблице данные снижаются на 20 %.

В целях повышения пластичности растворов с добавками поташа в их состав рекомендуется вводить глиняное тесто в объеме не более 40 % от объема цемента. Известь в этих растворах применять не следует. При использовании растворов с добавками нитрита натрия и нитрата кальция с мочевиной в качестве пластификаторов могут использоваться известковое и глиняное тесто.

Контроль качества строительных растворов

Контроль качества растворов производится в соответствии с требованиями ГОСТ 5802-86 и состоит из определения следующих основных показателей:

- подвижности растворной смеси;

- расслаиваемости растворной смеси;

- водоудерживающей способности растворной смеси;

- плотности растворной смеси и затвердевшего раствора;

- предела прочности на сжатие (марки) раствора;

- морозостойкости раствора.

Подвижность растворной смеси определяется для каждого состава раствора, а также при всяком изменении качества материалов: вида вяжущего, крупности и влажности песка, вида добавок и т.п. При одном и том же качестве материалов подвижность растворной смеси определяется не менее 1 раза в смену.

Расслаиваемость растворной смеси определяется в тех случаях, когда ее хранение или транспортирование (автомобилями, вагонетками и другими транспортными средствами) может вызвать расслоение и нарушение однородности.

Водоудерживающая способность растворной смеси определяется с целью установления состава раствора, обеспечивающего получение расчетной прочности (марки) раствора в условиях отсоса из него воды кирпичом или камнем.

Плотность растворной смеси и отвердевшего раствора определяется в случаях, когда она нормируется.

Прочность раствора (марку) должна определяться у изготовителя:

- по ранее выполненным подборам составов растворов и данным контрольных испытаний;

- при изменении качества материалов (вяжущего, заполнителя, добавки) и состава раствора, но не реже 1 раза в смену.

Морозостойкость раствора определяется (когда это оговорено в проекте) не реже 1 раза в 6 месяцев.

Предел прочности раствора с противоморозными добавками определяется на контрольных образцах-кубах в соответствии с требованиями ГОСТ 5802-86. Количество образцов-кубов должно быть не менее 3 на каждый срок испытаний. Сроки испытаний и условия хранения контрольных образцов должны быть установлены в проекте производства работ и технологической карте на производство штукатурных или облицовочных работ.

Растворы декоративные

Растворы декоративные применяются при заводской отделке лицевых поверхностей стеновых панелей и крупных блоков, а также для отделки фасадов зданий и интерьеров.

В зависимости от вида отделки применяют растворы декоративные цементно-песчаные, известково-песчаные, терразитовые и камневидные, а также декоративные составы: полимерцементные, цементно-перхлорвиниловые, цементно-коллоидные и др.

Растворы декоративные и составы, используемые для отделки лицевых поверхностей стеновых панелей, крупных блоков, фасадов зданий и интерьеров, должны обладать необходимой прочностью на сжатие, сцеплением с отделываемой поверхностью, а также морозостойкостью, светостойкостью и водостойкостью.

Вяжущие для приготовления растворов и составов декоративных в зависимости от их назначения и вида отделываемых поверхностей принимаются по нижеследующей таблице.

Вид отделываемых поверхностей

Вяжущие для растворов и составов

Лицевые поверхности панелей из тяжелых и легких бетонов

Портландцементы цветные

Лицевые поверхности панелей и блоков из силикатного бетона

Известь, портландцементы цветные, полимерцементы, цементно-коллоидный клей (КЦК)

Фасады зданий из панелей и блоков, фасады зданий кирпичные

Известь, портландцементы цветные

Интерьеры в панельных и блочных зданиях

Гипсополимерцемент (ГПЦП), цементно-коллоидный клей (КЦК), цементо-перхлорвинил (ЦПХВ)

Интерьеры в кирпичных зданиях

Известь, гипс, гипсополимерцемент (ГПЦП), цементоперхлорвинил (ЦПХВ)

Для приготовления цветных цементно-песчаных штукатурок следует применять цветные цементы.

Красящие добавки в растворах для известково-песчаных, терразитовых и камневидных декоративно-отделочных слоев штукатурок должны быть свето-, щелоче- и кислотостойкие природные или искусственные пигменты, обеспечивающие окраску раствора в соответствии с цветами, которые приведены в нижеследующей таблице. Белые пигменты используются в виде извести, мраморной муки, белого цемента.

Пигменты-красители должны иметь тонкость помола, соответствующую полному проходу пигментов через сито 1600 отв/см2 и остатку на сите 3600 отв/см2 не более 2 %.

Подвижность декоративных растворов в зависимости от их назначения должна соответствовать следующим величинам погружения стандартного конуса:

раствор известково-песчаный для подготовительного слоя:

при ручном нанесении.............................................................. 8-12 см;

при механизированном нанесении.......................................... 6-10 см;

раствор известково-песчаный для накрывочного слоя......... 7-9 см;

растворы с минеральной крошкой для накрывочных слоев (мелко-, средне-, крупнозернистый) подбираются путем опытного нанесения раствора на стену.

Наименование пигмента

Цвет

Технические свойства пигмента

Расход пигмента к массе сухого вяжущего, %

кислотостойкость

красящая способность

Охра

Желтый

Слабая

Средняя

10-12

Умбра сырая

Коричневый

Слабая

Высокая

10-12

Умбра жженая

Темно-коричневый

Слабая

Высокая

10-12

Сурик железный

Красный

Средняя

Средняя

10-12

Мумия

Красный

Слабая

Средняя

10-12

Перекись марганца

Черный

Слабая

Средняя

10-12

Графит

Серый

Высокая

Средняя

4-6

Окись хрома

Зеленый

Средняя

Средняя

5-6

Ультрамарин

Голубой

Низкая

Средняя

5-8

Кость жженая

Черный

Средняя

Высокая

3-4

Заполнителями декоративных растворов могут быть применены мытые кварцевые пески, крошки дробленых горных пород. Применяемые заполнители - пески и крошки - должны соответствовать требованиям ГОСТ 8736-93*, размер зерен песка для подготовительных слоев обрызга и грунта не должен превышать 2,5 мм, для отделочного слоя (накрывки) - 1,2 мм. Для цветных декоративных отделок фасадов и интерьеров может применяться гранитная, стеклянная, керамическая, угольная, сланцевая, пластмассовая крошка с размером частиц 2-5 мм на клеящем полимерцементном составе (внешняя отделка) и водоэмульсионной краске (отделка интерьеров).

При декоративной отделке фасадов и интерьеров цветной мелкозернистой крошкой из естественных каменных пород и искусственных материалов предусматривается последовательность обработки поверхностей в соответствии с нижеприведенной таблицей.

По просохшей грунтовке наносится клеящий состав слоем, равным двум третям размера применяемой крошки.

Декоративная крошка под давлением сжатого воздуха наносится на поверхность, обработанную клеящим составом в начальный период его загустевания до схватывания. Все операции нанесения грунтовок, клеящих составов, крошки и защитного слоя производятся механическим способом.

Вид обработки

На фасадах

В интерьерах

Огрунтовочный слой

Поливинилацетатной водоэмульсионной краской, разведенной до вязкости 30-40 с (по ВЗ-4) марки

 

ВА-17

ВА-27

Клеящий состав

Цельной поливинилацетатной краской марки ВА-17

Цельной водоэмульсионной краской марки ВА-27

 

Полимерцементным составом

Декоративный отделочный слой

Гранитной, мраморной, угольной, сланцевой, керамической, стеклянной, пластмассовой крошкой и песком с размером частиц в пределах 2-5 мм

Защитный гидрофобизирующий слой

Прозрачным бесцветным кремнийорганическим лаком марки АК-113

Прозрачным бесцветным лаком «Силикон-4»

Нанесенную декоративную отделку из цветной крошки защищают гидрофобизирующим покрытием, применяя прозрачный бесцветный кремнийорганический лак АК-113 при внешней отделке и прозрачный бесцветный лак «Силикон-4» - в интерьерах.

Для придания блеска поверхности отделочного слоя штукатурки в декоративный раствор добавляют слюду или дробленое стекло.

Для декоративной отделки крупнопанельных железобетонных стен, бетонных блоков в заводских условиях и непосредственно на строительстве, а также фасадов и внутренних стен интерьеров применяются декоративные полимерные составы, отделочные составы на основе коллоидно-цементного клея (КЦК) и клеящие составы с мелкозернистой декоративной крошкой.

Полимерные декоративные составы приготавливают непосредственно на месте работ с учетом ограничения периода времени (0,6-3 ч) между процессом приготовления составов и началом схватывания.

Перед нанесением полимерных декоративных составов должна быть выполнена огрунтовка обрабатываемой поверхности тем же полимером, растворяемым водой до 15-20 с по В3-4.

Ограниченный период времени от момента приготовления декоративных отделочных составов КЦК до начала их схватывания (1-2 ч) обусловливает их приготовление непосредственно на рабочем месте.

Обрабатываемая поверхность грунтуется водным составом (КЦК - 1 ч., вода - 0,5 ч. по массе), затем наносится слой обрызга толщиной 1-1,5 мм, после чего наносится грунт и отделочный слой. Между каждой из операций соблюдается технологический интервал 15-30 мин. Все операции выполняются механизированным способом.

Составы цветных известково-песчаных растворов, цветных терразитовых смесей, растворов, имитирующих каменные породы, и процентное соотношение их компонентов по массе приведены в нижеследующих таблицах.

При приготовлении декоративных растворов цветные цементы сначала перемешиваются с наполнителем в сухом виде в растворо- или бетоносмесителях, после чего полученную смесь затворяют водой и производят перемешивание.

При добавлении извести в цементные растворы для камневидных декоративных отделочных слоев и штукатурок в растворосмеситель сначала загружают известковое тесто, затем засыпают цветной цемент или портландцемент, ранее тщательно перемешанный (в сухом виде) с порошком красителя, и производят перемешивание в течение 2-3 мин. В полученную массу засыпают заполнитель и производят перемешивание до получения однородной смеси.

Для терразитовых отделочных слоев и штукатурок применяют сухую смесь, которую затворяют водой и производят перемешивание непосредственно на рабочем месте. Никакие добавки в раствор перед его употреблением не допускаются.

Не разрешается добавлять воду и известковое тесто в готовый цветной раствор во избежание изменения его цвета.

Песок должен быть чистым и хорошо промытым.

Перед применением известкового теста необходимо удалить из него непогасившиеся частицы путем процеживания раствора через сито с отверстиями 0,5-1 мм.

Сухая растворная смесь не должна содержать слежавшихся комков и посторонних загрязнений. Это следует определять просеиванием проб через сито с отверстиями 0,6 мм.

Красящие пигменты перед применением должны проверяться на щелочеустойчивость и светоустойчивость.

Наименование компонентов

Состав растворов цветных известково-песчаных штукатурок при цвете штукатурки, % по массе

белый

серый

терракотовый

зеленый

светло-зеленый

желтый

желтый насыщенный

кремовый

Известь-тесто

10

20

15

15

22

10

20

12

Портландцемент М400 белый

7

-

-

-

2

-

6

-

Портландцемент М400

-

5

10

15

-

20

-

8

Песок кварцевый

-

74

-

-

74

-

-

-

Песок кварцевый белый

-

-

58

-

-

-

68

-

Песок горный желтый

-

-

-

-

-

15

-

-

Песок белого известняка

-

-

-

-

-

-

-

60

Песок мраморный

70

-

-

-

-

40

-

18

Мука мраморная

13

-

-

-

-

10

-

-

Молотый кирпичный щебень

-

-

15

-

-

-

-

-

Крошка мраморная (окольцит) 0,5-2 мм

-

-

-

60

-

-

-

-

Перекись марганца

-

1

-

-

-

-

-

-

Сурик железный

-

-

2

-

-

-

-

-

Пигмент зеленый

-

-

-

5

-

-

-

-

Окись хрома

-

-

-

5

2

-

-

-

Охра

-

-

-

-

-

4,5

6

2

Мумия

-

-

-

-

-

0,5

-

-

 

Наименование компонентов

Состав терразитовых сухих смесей для декоративных штукатурок в объемных частях и цвет смеси

белый

серый

темно-серый

красный

коричневый

кремовый

желтый

зеленый

Портландцемент М300

0,75

1

2,5

1

1

1

0,75

0,75

Известь-пушонка

3

3

0,5

3

3

3

2

2

Мука мраморная белая

2

2

-

-

3

3

2

2

Крошка мраморная белая

8

3,5

3

3

0,5

8

-

3

Крошка мраморная желтая

-

-

-

-

-

-

4

-

Слюда

0,5

0,5

0,5

0,5

-

0,5

0,5

0,5

Песок кварцевый белый

-

3,5

5

5

5

-

4

5

Сажа (в % от массы цемента)

-

0,2

0,3

-

-

-

-

-

Сурик железный (все пигменты - в % от массы с. смеси)

-

-

-

2,5

-

-

-

-

Умбра жженая

-

-

-

-

0,1

-

-

-

Охра

 

 

 

 

 

 

 

 

Окись хрома

-

-

-

-

-

-

-

0,5

 

Наименование компонентов

Состав растворов, имитирующих каменные породы при цвете штукатурки, % по массе

белый

желтый и светло-желтый

№ 1

№ 2

№ 3

№ 4

№ 5

№ 1

№ 2

№ 3

№ 4

№ 5

Портландцемент белый

25

22

20

-

-

-

-

-

-

-

Пуццолановый цемент

-

-

-

17

19

16

21

20

18

18

Известь-тесто

-

3

5

3

2

4

3

4

3

-

Известняковая мука

-

-

-

9

4

7

-

-

4

4

Крошка белого мрамора 0,6-2,5 мм

-

75

-

-

-

-

-

67

-

-

Крошка известняка 0,6-5 мм

75

-

75

71

75

72

-

-

72

75

Крошка доломита 0,6-2,5 мм

-

-

-

-

-

-

73

-

-

-

Мраморная мука

-

-

-

-

-

-

-

6

-

-

Охра

-

-

-

-

-

1

3

2

2

2,5

Мумия

-

-

-

-

-

-

-

1

1

0,5

 

Наименование компонентов

Состав растворов, имитирующих каменные породы при цвете штукатурки, % по массе

песочный

красный под гранит

серый под гранит

№ 1

№ 2

№ 3

№ 1

№ 2

№ 3

№ 1

№ 2

№ 3

№ 4

№ 5

Портландцемент белый

-

23

22

6

6

-

-

-

-

-

17

Пуццолановый цемент

21

-

-

-

-

21

-

23

24

-

-

Портландцемент

-

-

-

18

19

-

27

-

-

24

-

Известь-тесто

-

-

-

-

-

-

-

-

3

-

3

Крошка белого мрамора 0,6-2,5 мм

-

19

-

-

-

-

-

-

-

-

-

Крошка черного мрамора

-

-

-

-

-

-

-

18

-

-

-

Крошка гранита (серого)

-

-

-

30

-

7

52

57

72

70

72

Крошка лабрадорита

-

-

-

15

13

7

18

-

-

-

-

Крошка гранита (красного)

-

-

-

30

62

56

-

-

-

-

-

Крошка мраморная желтая

-

-

19

-

-

-

-

-

-

-

-

Песок кварцевый

56

56

56

-

-

-

-

-

-

-

-

Песок мраморный

19

-

-

-

-

-

-

-

-

-

-

Мраморная мука

-

-

-

-

-

-

-

-

-

-

8

Охра

-

-

2,5

1

-

7,5

-

-

-

-

-

Ультрамарин

-

-

-

-

-

-

-

0,5

-

-

-

Мумия

-

-

0,5

-

-

-

-

-

1

-

-

Графит

-

-

-

-

-

-

3

-

-

-

-

ВНУТРЕННЯЯ ОБЛИЦОВКА СТЕН КЕРАМИЧЕСКИМИ И ДРУГИМИ ПЛИТКАМИ

ГОСТ 6141-91 Плитки керамические глазурованные для внутренней облицовки стен. Технические условия.

ТУ 21-0284757-9-91 Плитка керамическая для внутренней облицовки стен.

ТУ 21-0284676-16-91 Плитки керамические литые и ковры из них.

ТУ 21-0284676-24-92 Плитки керамические с декоративным лакированным покрытием.

ТУ 67-13-359-91 Плитки декоративные для внутренней отделки.

ТУ 400-1-212-8-93 Плитки керамические облицовочные универсальные.

ТУ 400-1-212-10-93 Плитки керамические глазурованные декоративные для внутренней облицовки стен.

ТУ 5752-001-03987662-93 Плитки керамические глазурованные для внутренней облицовки стен.

ТУ 5752-002-11173560-93 Плитки керамические декоративные.

ТУ 5752-001-05293001-96 Плитки керамические универсальные.

ТУ 5752-002-13232172-93 Плитки керамические с декоративным покрытием из титана и нитрида титана.

ТУ 5752-011-04001443-95 Панно-вставка керамическая.

ТУ 5752-012-04001443-97 Изразцы керамические декоративные.

ТУ 37.454.014-97 Плитка изразцово-керамическая для облицовки каминов и других поверхностей.

ТУ 5752-002-11173956-97 Плитки керамические глазурованные для внутренней облицовки стен.

ТУ 5752-018-17757926-97 Плитка из керамического гранита.

ТУ 5752-020-00288030-98 Детали фасонные к плиткам керамическим глазурованным.

ТУ 5752-021-00288030-98 Плитки керамические глазурованные для внутренней облицовки стен размером 200 × 250 × 6,5 мм.

ТУ 5752-113-21399667-97 Плитка керамическая универсальная.

ГОСТ 17057-89 Плитки стеклянные облицовочные коврово-мозаичные и ковры из них. Технические условия.

ТУ 5742-541-01261240-97 Плитки гипсовые декоративные.

ТУ 5714-37-31031916-93 Плитка силикатная облицовочная.

ГОСТ 28013-98 Растворы строительные. Общие технические условия.

ТУ 5745-005-11322110-97 Смеси сухие цементно-песчаные клеевые специализированные для облицовочных работ.

ТУ 5745-012-04001508-97 Клей для облицовочной плитки и природного камня.

ТУ 5745-001-50876007-99 Смеси сухие строительные.

Стандарты и технические условия на облицовочные плитки, растворы и мастики, предусмотренные проектом.

СНиП 3.04.01-87 Изоляционные и отделочные покрытия.

Требования к облицовочным материалам

Входной контроль материалов для производства облицовочных работ должен осуществляться в соответствии с требованиями проекта, государственных стандартов и технических условий на конкретные материалы, предусмотренные проектом, а также требованиями технологической документации, утвержденной в установленном порядке.

ГОСТ 6141-91 Плитки керамические глазурованные для внутренней облицовки стен. Технические условия.

Данный стандарт распространяется на керамические глазурованные плитки и фасонные детали к ним. Плитки предназначаются для внутренней облицовки стен зданий.

Плитки и фасонные детали изготавливают двух сортов: первого и второго.

По форме плитки подразделяют на квадратные, прямоугольные и фигурные. Боковые грани плиток могут быть без завала и с завалом.

Квадратные плитки выпускают размерами: 200 × 200 мм толщиной 7 и 8 мм, 150 × 150 мм толщиной 5 и 6 мм, 100 × 100 мм толщиной 5 и 6 мм; прямоугольные: 200 × 150 мм и 200 × 100 мм толщиной 7 и 8 мм, 150 × 75 мм толщиной 5 и 6 мм. По согласованию изготовителя с потребителем допускается изготовление плиток и фасонных деталей других размеров и формы.

Отклонение от номинальных размеров плиток должны быть, %, не более: по длине и ширине ... ±0,8; по толщине: для плиток до 150 мм включ. ... ±10; для плиток св. 150 мм ... ±0,8. Разница между наибольшим и наименьшим размерами плиток одной партии по длине и ширине не должна превышать 1,5 мм. Разброс показателей по толщине плиток одной партии не должен превышать 1,0 мм. Различие в толщине одной плитки (разнотолщинность) не допускается более 0,5 мм.

Лицевая поверхность плиток и фасонных деталей может быть гладкой или рельефной, одноцветной или многоцветной (декорированной различными методами). Декорирование плиток может осуществляться методом сериографии, набрызгивания, нанесения глазурей с различным поверхностным натяжением и др. Глазурь может быть блестящей или матовой, прозрачной или заглушенной.

Цвет, оттенок цвета, рисунок и рельеф лицевой поверхности плиток и фасонных деталей должен соответствовать образцам-эталонам, утвержденным в установленном порядке. Утвержденный эталон цвета может быть распространен на плитки и фасонные детали всех типов.

Кривизна лицевой поверхности плиток не должна превышать 0,8 мм для плиток 1 сорта и 1,1 мм - для плиток 2 сорта. Косоугольность не должна превышать 0,5 мм для плиток длиной до 150 мм включ. и 1 мм - для плиток длиной свыше 150 мм.

Плитки должны иметь на монтажной поверхности рифления высотой не менее 0,3 мм.

Общее число допустимых дефектов на одной плитке не должно быть более: двух - на плитках 1 сорта; трех - на плитках 2 сорта.

Показатели внешнего вида плиток должны соответствовать требованиям, приведенным в нижеследующей таблице.

Вид дефекта

Норма для плиток

1 сорта

2 сорта

Отбитость со стороны лицевой поверхности

Не допускается

Допускается длиной не более 2 мм в количестве не более 2 шт.

Щербины, зазубрины на ребрах со стороны лицевой поверхности

Не допускаются

Допускаются шириной не более 1 мм общей длиной не более 10 мм

Плешина

Не допускается

Допускается общей площадью не более 10 мм2

Пятно

Не допускается

Допускается невидимое с расстояния 2 м

Мушки

Допускаются невидимые с расстояния:

1 м

2 м

Засорка

Не допускается

Допускается невидимая с расстояния 2 м

Наколы

Допускаются невидимые с расстояния:

1 м

2 м

Пузыри, прыщи и вскипание глазури

Не допускаются

Допускаются вдоль ребра плитки шириной не более 2 мм

Волнистость и углубления глазури

Не допускаются

Допускаются невидимые с расстояния 2 м

Слипыш

Не допускается

Допускается общей площадью не более 5 мм2

Просвет вдоль краев цветных плиток

Не допускается

Допускается вдоль края плитки шириной не более 2 мм

Следы от зачистных приспособлений вдоль ребра лицевой поверхности

Не допускаются

Допускаются невидимые с расстояния 2 м

Нарушение декора (разрыв краски декора, смещение декора, нарушение интенсивности окраски)

Допускаются невидимые с расстояния:

1 м

2 м

На монтажную поверхность каждой плитки должен быть нанесен товарный знак предприятия-изготовителя.

Каждый транспортный пакет, ящичный поддон, а также стопа или ящик, поставляемые отдельными грузовыми единицами, должны быть снабжены ярлыком, в котором указывают: наименование или товарный знак предприятия-изготовителя, дату изготовления, наименование изделия, сорт, размеры, количество плиток, шт. (квадратные метры), цвет, рисунок, обозначение данного стандарта.

На ярлыке должно быть указано: «При отделочных работах не рекомендуется использовать клей «Бустилат» и другие синтетические клеи и замазки».

На ящики и стопы, из которых сформирован пакет, маркировку не наносят.

Ярлык должен быть прочно прикреплен к упаковке или вложен в нее, или напечатан на упаковочной бумаге. На стопу плиток, упакованную в бумагу, допускается наносить штамп.

При поставке в торговую сеть маркируют каждый ящик или стопу.

Каждая отгружаемая партия изделий должна сопровождаться документом, удостоверяющим их качество, в котором указывают:

- номер и дату выдачи документа;

- наименование и адрес предприятия-изготовителя;

- наименование продукции;

- сорт;

- размеры, цвет, рисунок;

- водопоглощение;

- термическую стойкость глазури;

- символ ТР для плиток с закристаллизованной, реакционноспособной или другой специальной глазурью или для плиток с реакционными красками;

- количество плиток, шт. (квадратные метры);

- обозначение данного стандарта.

На каждое грузовое место должны быть нанесены манипуляционные знаки «Хрупкое. Осторожно» и «Беречь от влаги».

Плитки одного типа, цвета, рисунка и сорта упаковывают в деревянные или картонные ящики, ящичные поддоны. В деревянные и картонные ящики плитки должны быть уложены вертикально вплотную друг к другу и, при необходимости, расклинены.

В ящичные поддоны укладывают плитки, предварительно собранные в стопы, обернутые в бумагу, перевязанные шпагатом или полипропиленовой лентой. Плитки должны быть уложены вертикально. Между каждым горизонтальным рядом плиток, дном и стенками поддона должен быть проложен картон.

Упакованные в деревянные или картонные ящики плитки укладывают в контейнеры или плоские поддоны. В контейнер допускается укладка плиток стопами, обернутыми бумагой и перевязанными шпагатом или полипропиленовой лентой.

Плитки транспортируют всеми видами транспорта в соответствии с Правилами перевозок грузов, действующими на данном виде транспорта.

Плитки в упакованном виде должны храниться в закрытых помещениях, в условиях защиты их от механических повреждений, влияния мороза, высоких температур и агрессивных сред.

Высота штабеля плиток при хранении не должна превышать:

транспортными пакетами............................................. 2 ярусов;

в деревянных и картонных ящиках............................... 10 ярусов;

в ящичных поддонах...................................................... 2 ярусов.

ГОСТ 17057-89 Плитки стеклянные облицовочные коврово-мозаичные и ковры из них. Технические условия.

Данный стандарт распространяется на плитки стеклянные коврово-мозаичные, изготовленные методом непрерывного проката из глушенного стекла, неокрашенного или цветного, и ковры из них.

Плитки и ковры предназначены для наружной и внутренней облицовки стен зданий различного назначения, для изготовления декоративно-художественных панно.

Плитки выпускают размерами 21 ± 1 × 21 ± 1 мм и 46 ± 1 × 46 ± 1 мм, толщиной 5 ± 1 мм. Допускается по соглашению изготовителя с потребителем изготавливать плитки другой формы и размеров.

Размеры ковров из плиток должны соответствовать указанным в спецификации потребителя, согласованной с изготовителем.

Расстояние между плитками в ковре должно быть 3-7 мм. На ковре допускается смещение плиток от указанных размеров в количестве не более 5 %.

Отклонения размеров ковров от номинальных не должны превышать ±4 мм на каждый метр длины ковра, а по ширине ... ±3 мм.

Плитки должны поставляться в коврах. Ковры изготавливают путем наклеивания на бумагу плиток одного или нескольких цветов. Ковры, фактура поверхности и цвет плиток должны соответствовать образцам-эталонам, утвержденным в установленном порядке. Допускается по соглашению изготовителя с потребителем поставлять плитки россыпью.

Плитки не должны иметь более одного отбитого угла с размерами по стороне плитки 3 мм - для плиток 21 × 21 мм и 4 мм - для плиток 46 × 46 мм. Трещины на плитках не допускаются. Посечки поверхностные допускаются в соответствии с образцом-эталоном.

На каждую стопу плиток должен быть наклеен ярлык или нанесен штамп, в котором указывают наименование или товарный знак предприятия-изготовителя, наименование продукции, размеры и ковров в миллиметрах, цвет плиток или ковров, число ковров или площадь в квадратных метрах, номер упаковщика и дату упаковки, обозначение данного стандарта.

Транспортная маркировка наносится в соответствии с требованиями ГОСТ 14192-96 с указанием манипуляционных знаков «Хрупкое. Осторожно» и «Беречь от влаги».

Предприятие-изготовитель должно сопровождать каждую партию ковров или плиток документом о качестве установленной формы, в котором указывают:

- наименование и адрес предприятия-изготовителя;

- цвет плиток или ковров;

- размеры плиток или ковров в миллиметрах;

- число плиток (в килограммах, квадратных метрах) или ковров (в квадратных метрах);

- дату изготовления;

- обозначение данного стандарта.

Ковры укладывают на плоские поддоны, изготовленные по утвержденной НТД, стопами. Число ковров в стопе не должно превышать 200.

При поставке россыпью плитки одинаковых размеров, фактуры поверхности и одного цвета упаковывают в бумажные 4- или 5-слойные мешки по ГОСТ 2226-88*, укладывают на поддоны и формируют в транспортные пакеты или укладывают в контейнеры.

Ковры и плитки транспортируют любым видом транспорта в соответствии с Правилами перевозок, действующими на данном виде транспорта.

Плитки в упаковке и ковры должны храниться в закрытых помещениях.

Гарантийный срок хранения ковров - не более 30 суток со дня изготовления.

На строительной площадке в процессе входного контроля:

- необходимо проверить наличие сопроводительной документации и полноту содержащихся в ней данных;

- по имеющейся сопроводительной документации, маркировке, ярлыкам необходимо убедиться в соответствии поступивших плиток, раствора и мастики требованиям проекта;

- необходимо путем внешнего осмотра проверить целостность упаковки, отсутствие на плитках недопустимых дефектов внешнего вида;

- провести в соответствии с требованиями технологической карты необходимые испытания плиток, раствора, мастики на соответствие их нормативным требованиям;

- при возникновении сомнений в качестве поступивших материалов должны быть вызваны представители строительной лаборатории или функциональных служб, ответственных за поставку материалов.

Технические требования

Производство облицовочных работ должно осуществляться в соответствии с требованиями проекта, СНиП 3.01.01-85*, СНиП 3.04.01-87, ППР, технологических карт, схем операционного контроля качества работ и другой технологической документации, утвержденной в установленном порядке.

Облицовочные работы должны осуществлять строительно-монтажные организации, получившие лицензию на выполнение отделочных работ в Федеральных или региональных лицензионных органах.

Облицовочные работы должны выполняться квалифицированным персоналом, прошедшим специальную подготовку и обладающим надлежащими навыками по производству облицовочных работ.

Производству облицовочных работ должны предшествовать:

- разработка проектов производства облицовочных работ; разработка (или привязка типовых) технологических карт и схем операционного контроля качества на выполнение облицовочных работ;

- завершение и надлежащее оформление всех предусмотренных проектом предшествующих работ;

- входной контроль керамических и стеклянных плиток, растворов и мастик;

- изучение инженерно-техническим персоналом проектной и технологической документации, обучение мастеров и рабочих передовым методам труда.

При входном контроле рабочей документации должна производиться проверка ее комплектности и достаточности содержащейся в ней технической информации для производства работ.

Входной контроль керамических и стеклянных плиток, растворов и мастик должен производиться в соответствии с требованиями проекта, стандартов и технических условий на конкретные изделия и материалы в порядке, предусмотренном технологическими картами или другой технологической документацией, утвержденной в установленном порядке.

Входной контроль должен предотвратить поступление на строительную площадку материалов и изделий, не отвечающих требованиям соответствующей нормативной документации.

Технические требования к керамическим и стеклянным плиткам согласно ГОСТ 6141-91 и ГОСТ 17057-89 приведены выше.

Облицовочные работы должны выполняться в соответствии с проектом производства работ (ППР) на возведение зданий и сооружений.

Запрещается осуществление строительно-монтажных работ без утвержденного проекта производства работ. Не допускаются отступления от решений проектов производства работ без согласования с организациями, разработавшими и утвердившими их. Замена предусмотренных проектом материалов, изделий и составов допускается только по согласованию с проектной организацией и заказчиком.

До начала облицовочных работ должны быть произведены следующие работы:

- выполнена защита отделываемых помещений от атмосферных осадков;

- устроены гидроизоляция, тепло-звукоизоляция и выравнивающие стяжки перекрытий;

- загерметизированы швы между блоками и панелями;

- заделаны и изолированы места сопряжений оконных, дверных и балконных блоков;

- остеклены световые проемы;

- смонтированы закладные изделия, проведены испытания систем тепло- водоснабжения и отопления.

Облицовочные работы следует выполнять после проверки правильности выполнения предшествующих работ с составлением актов освидетельствования скрытых работ.

Облицовочные работы должны выполняться при температуре окружающего воздуха и облицовываемой поверхности не ниже 10 °С и влажности воздуха не более 60 %. Такую температуру в помещении необходимо поддерживать круглосуточно, не менее чем за 2 сут до начала и 12 сут после окончания работ.

Поверхности, подлежащие облицовке, должны удовлетворять следующим требованиям:

- стены должны иметь нагрузку не менее 65 % проектной при внутренней облицовке их поверхности,

- бетонные поверхности и поверхности кирпичных и каменных стен, выложенных с полностью заполненными швами должны иметь насечку;

- поверхности стен, выложенных впустошовку, необходимо подготавливать без их насечки с заполнением швов раствором;

- любые поверхности необходимо перед их облицовкой очистить, промыть и перед нанесением клеящей прослойки из раствора и других водных составов увлажнить до матового блеска,

- перед облицовкой в помещениях следует произвести окраску потолков и плоскости стен над облицовываемой поверхностью.

Отклонения поверхностей конструкций, подлежащих облицовке, от вертикали не должны превышать 10 мм для кирпичной кладки и 10-12 мм для сборных железобетонных конструкций. Если стены из кирпича и бетона имеют отклонения от вертикали в отдельных местах или неровности сверх допустимых, их выправляют, срубая неровности. При невозможности это сделать на стены наносят выравнивающий намет их цементно-песчаного раствора. При креплении плиток на мастиках поверхность стены независимо от того, из какого материала она выполнена, предварительно выравнивают, так как толщина мастики под плитками не должна быть более 2 мм.

Выравнивающие слои из цементно-песчаного раствора должны отвечать требованиям, предъявляемым к оштукатуренным поверхностям.

Внутренние поверхности каменных и кирпичных стен, возводимых методом замораживания, следует оштукатуривать после оттаивания кладки с внутренней стороны не менее чем на половину толщины стены.

Поверхности, подлежащие облицовке на растворах, должны быть проверены отвесом или 2-х метровой рейкой для установления их вертикальности и толщины облицовки.

Контролируемые операции

Состав и средства контроля

Документация

Подготовительные работы

Проверить:

- завершение и надлежащее оформление предшествующих монтажных работ (наличие актов приемки и актов освидетельствования скрытых работ, геодезических исполнительных схем и другой приемо-сдаточной документации);

Акт приемки, акты освидетельствования скрытых работ, исполнительные схемы

- наличие ППР, технологических карт и схем операционного контроля качества облицовочных работ;

ППР, технологические карты, СОКК

- наличие документов о качестве на каждую партию поступивших плиток, мастик, раствора, ярлыки, маркировку, соответствие их требованиям проекта и нормативных документов;

Документы о качестве, акты лабораторных испытаний

- внешним осмотром отсутствие недопустимых дефектов внешнего вида на плитках;

- соответствие качества подготовленных поверхностей оснований требованиям проекта и нормативных документов.

Общий журнал работ

Внутренняя облицовка стен керамическими и стеклянными плитками

Контролировать:

- соблюдение заданной ППР технологии выполнения облицовочных работ;

- соответствие качества выполненных облицовочных работ требованиям проекта и нормативных документов (толщину клеевой прослойки, отклонения от вертикали облицованной поверхности, отклонения расположения швов, несовпадение профиля на стыках, неровности поверхности, отклонения ширины шва облицовки).

Общий журнал работ

Приёмка

Проверить:

- соответствие качества выполненных облицовочных работ требованиям проекта и нормативных документов;

- составление и надлежащее оформление приемосдаточной исполнительной документации.

Акт приемки

ВХОДНОЙ И ОПЕРАЦИОННЫЙ КОНТРОЛЬ осуществляют:

мастер (прораб), лаборант (инженер) - в процессе производства работ.

ПРИЁМОЧНЫЙ КОНТРОЛЬ ОСУЩЕСТВЛЯЮТ:

прораб (мастер), представители технадзора заказчика.

КИП - двухметровая рейка, металлическая линейка, металлическая рулетка, отвес, уровень, лабораторные приборы и оборудование.

Проверка вертикальности граней должна осуществляться с помощью отвеса, а замер отклонений - металлической линейкой.

На облицовываемых поверхностях согласно требований ППР должны быть размечены: оси для установки опорных марок и маяков; оси диагональных и фризовых рядов, верхние уровни горизонтальных рядов, вертикальные грани выступающих элементов, углов, пилястр, колонн, величины и направления швов.

Размеры и оси швов облицовки, верхние уровни горизонтальных швов могут размечаться с помощью намеливаемых шнуров или капроновых нитей с красящими фиксаторами, с помощью вертикально натянутых струн, между которыми горизонтально крепят шнур-причалку, который перемещаясь последовательно отмечает каждый последующий ряд облицовки.

Плоскость облицовки при креплении облицовочных плиток на растворах должна быть закреплена с помощью опорных марок и маяков толщиной не более 15 мм.

Опорные марки и маяки должны устанавливаться: на верхнем уровне облицовки, внизу не ниже 30-40 мм от уровня пола, в местах выпусков коммуникаций, подвески бытового оборудования, вокруг выступающих элементов, на гранях выступающих плоскостей.

В качестве маяков могут быть использованы плитки, устанавливаемые на гипсовом растворе в размеченных рядах облицовки, вдоль оконных и дверных проемов. Допускается вместо маяков использование вертикальных струн из тонкой проволоки, тросика или капроновой нити толщиной в 1 мм и горизонтального шнура-причалки. Натяжение струн обеспечивается стяжными муфтами, а шнура-причалки - с помощью зажимных муфт.

Разметка верхнего и нижнего уровня облицовки должна выполняться натяжением по маякам и маркам шнуров-причалок, на которых размечают вертикальные ряды, величину швов и количество целых и доборных плиток. При необходимости укладки плиток по диагонали шнуры-причалки натягивают под углом 45° к горизонтали. При разметке облицовки колонн и выступающих элементов конструкций шнуры-причалки должны быть натянуты по каждой грани с учетом толщины облицовки со швом.

Разбивка швов должна выполняться с учетом их толщины с помощью рейки, имеющей цену деления 1,0 мм. Разметка числа целых и полномерных плиток и ковров в ряду должна осуществляться с учетом симметричности их расположения, сопряжений с оконными и дверными проемами, нишами, пилястрами и другими выступающими элементами поверхностей, а также в зависимости от рисунка облицовки.

Облицовку поверхностей необходимо выполнять согласно ППР в соответствии с проектом. Соединение поля облицовки с основанием должно осуществляться при применении плит и блоков размером 400 см2 и менее, толщиной не более 10 мм, а также при облицовке плитами любых размеров горизонтальных и наклонных (не более 45 %) поверхностей - на растворе или мастике (в соответствии с проектом) без дополнительного крепления к основанию.

Облицовку стен, колонн, пилястр, интерьеров помещений следует выполнять перед устройством покрытия пола.

Элементы облицовки по клеящей прослойке из раствора и мастики необходимо устанавливать горизонтальными рядами снизу вверх от угла поля облицовки.

Перед облицовкой для лучшего сцепления плитки с основанием его поверхность должна быть очищена от пыли и грязи. Выполнение облицовочных покрытий по основаниям, имеющим ржавчину, высолы, жировые и битумные пятна, не допускается. Обеспыливание поверхностей должно производиться перед нанесением каждого слоя приклеивающих составов.

Перед установкой первого ряда плиток при всех способах облицовки на стены должна быть вынесена отметка чистого пола, ниже уровня которой по периметру стен должны быть установлены деревянные рейки для поддержания первого ряда облицовки. Если по проекту нижний ряд облицовки должен быть из плинтусных плиток, то его укладывают после настилки пола, а вместо него должна быть установлена доска на ребро по ширине плинтусных плиток с учетом толщины горизонтального шва.

Первый ряд плиток или ковров, являющийся маячным, должен укладываться от центра в стороны с заменой крайних маячных на постоянные с точным соблюдением разбивки швов и их толщины.

Второй ряд и последующие ряды должны укладываться после установки пары крайних маячных плиток с проверкой их вертикальности по верхнему маяку и натяжения горизонтального шнура-причалки для выравнивания промежуточных плиток при их укладке, идя от одного угла к другому и соблюдая вертикальность швов.

Облицовка мест сопряжений и примыканий должна выполняться при помощи установки:

- угловых плиток в местах сопряжения двух облицовываемых плоскостей;

- карнизного ряда из фасонных плиток;

- нижнего ряда из фасонных плинтусных плиток;

- плиток с отверстиями в местах примыканий.

Материал сопряжения и герметизации швов, размеры и рисунки облицовки должны соответствовать проектным.

Мастику и раствор клеящейся прослойки следует наносить равномерным, без потеков, слоем до начала установки плиток. Мелкоразмерные плитки на мастиках или растворах с замедлителями следует устанавливать после нанесения последних по всей облицовываемой площади в одной плоскости при загустевании мастик и растворов с замедлителями.

Толщина клеевой прослойки, мм, должна быть не более:

- из раствора............................. 7 (предельное отклонение +8);

- мастики................................... 1 (предельное отклонение +1);

контроль - измерительный, не менее 5 измерений на 70-100 м2 поверхности или на отдельном участке меньшей площади в местах, выявленных сплошным визуальным осмотром, регистрация - в журнале работ.

Облицовывание поверхностей плитками на растворах и мастиках должно осуществляться со строгим соблюдением горизонтальности и вертикальности рядов и швов, размеры которых должны указываться в проекте.

Отклонения расположения швов от вертикали и горизонтали (мм на 1 м длины) во внутренней облицовке керамическими, стеклокерамическими, другими изделиями в облицовке не должны превышать 1,5 (контроль - измерительный, не менее 5 измерений на 50-70 м2 поверхности или на отдельном участке меньшей площади в местах, выявленных сплошным визуальным осмотром, регистрация - в журнале работ).

Отделка участка и всей поверхности интерьера облицовочными плитками разного цвета, фактуры, текстуры и размеров должна производиться с подбором всего рисунка поля облицовки в соответствии с проектом. Поверхности, облицованные однотонными искусственными материалами должны иметь однотонность.

Допускаемые несовпадения профиля на стыках архитектурных деталей и швов, мм, облицованных керамическими, стеклокерамическими и другими изделиями в облицовке не должны превышать 3 (контроль - измерительный, не менее 5 измерений на 70-100 м2 поверхности или на отдельном участке меньшей площади в местах, выявленных сплошным визуальным осмотром, регистрация - в журнале работ).

Горизонтальные и вертикальные швы облицовки должны быть однотипными, ровными, одинаковой ширины. Сколы в швах допускаются не более 0,5 мм.

Отклонение ширины шва внутренней облицовки керамическими, стеклокерамическими и другими изделиями не должны превышать ±0,5 мм (контроль - измерительный, не менее 5 измерений на 70-100 м2 поверхности или на отдельном участке меньшей площади в местах, выявленных сплошным визуальным осмотром, регистрация - в журнале работ).

Поверхность облицовки в процессе укладки плитки или ковров рядами должна систематически (не менее 5 измерений на 50-70 м2 поверхности) проверяться на сохранение заданной плоскости. Облицованная поверхность должна соответствовать заданным геометрическим формам. Поверхность всей облицовки должна быть жесткой.

Трещины, пятна, потеки раствора, высолы на облицованной поверхности не допускаются.

Отклонения от вертикали поверхности, облицованной керамическими, стеклокерамическими и другими изделиями не должны превышать во внутренней облицовке 1,5 мм на 1 м длины и 4 мм на этаж (контроль - измерительный, не менее 5 измерений на 50-70 м2 поверхности или на отдельном участке меньшей площади в местах, выявленных сплошным визуальным осмотром, регистрация - в журнале работ).

Неровности плоскости, облицованной керамическими, стеклокерамическими и другими изделиями не должны превышать (при контроле двухметровой рейкой) во внутренней облицовке 2 мм (контроль - измерительный, не менее 5 измерений на 70-100 м2 поверхности или на отдельном участке меньшей площади в местах, выявленных сплошным визуальным осмотром, регистрация - в журнале работ).

Облицовка поверхности должна осуществляться без заполнения швов, которые независимо от материала крепления плиток должны после окончания облицовки заполняться в соответствии с требованиями проекта жирным цементным раствором на обычном, белом или цветном портландцементе.

Поверхности из плиток после облицовки должны быть очищены от наплывов раствора и мастики немедленно, при этом поверхности глазурованных плиток промыты горячей водой.

Соответствие готовых облицовочных покрытий требованиям проекта и нормативных документов выявляется в процессе технического осмотра покрытий, проведения необходимых инструментальных обследований и рассмотрения приемо-сдаточной документации, и оформляется актом приемки.



ОБЛИЦОВКА НАРУЖНЫХ СТЕН КЕРАМИЧЕСКИМИ, СТЕКЛЯННЫМИ И ДРУГИМИ ПЛИТКАМИ

ГОСТ 13996-93 Плитки керамические фасадные и ковры из них. Технические условия.

ТУ 5752-004-23357408-97 Плитки керамические фасадные и ковры из них.

ГОСТ 17057-89 Плитки стеклянные облицовочные коврово-мозаичные и ковры из них. Технические условия.

ТУ 21-0284676-16-91 Плитки керамические литые и ковры из них.

ТУ 5714-37-31031916-93 Плитка силикатная облицовочная.

ТУ 5752-018-17757926-97 Плитка из керамического гранита.

ТУ 5745-051-11322110-96 Плитка декоративная цементно-песчаная облицовочная.

ТУ 5746-001-02069024-98 Плитки облицовочные из цементно-песчаной композиции.

ТУ 5741-001-0536501-93 Плитка силикатная лицевая для облицовки фасадов промышленных и гражданских зданий.

ТУ 5741-187-00284807-97 Плитки цементно-песчаные облицовочные с нелицевой ребристой поверхностью.

ГОСТ 28013-98 Растворы строительные. Общие технические условия.

ТУ 5745-005-11322110-97 Смеси сухие цементно-песчаные клеевые специализированные для облицовочных работ.

ТУ 5772-002-46434927-2000 Сухие клеящие смеси.

ТУ 5745-013-05668056-99 Клеи строительные для облицовочных работ.

ТУ 5745-012-04001508-97 Клей для облицовочной плитки и природного камня.

ТУ 5775-005-25057366-96 Мастика клеящая строительная «Гарант».

Стандарты и технические условия на облицовочные плитки, растворы и сухие смеси, предусмотренные проектом.

СНиП 3.04.01-87 Изоляционные и отделочные покрытия. Проектирование и применение панельных и кирпичных стен с различными видами облицовки (справочное пособие к СНиП II-22-81, ЦНИИСК им В. А. Кучеренко. - М.: Стройиздат, 1990).

Требования к облицовочным материалам

Входной контроль материалов для производства облицовочных работ должен осуществляться в соответствии с требованиями проекта, государственных стандартов и технических условий на конкретные материалы, предусмотренные проектом, а также требованиями технологической документации, утвержденной в установленном порядке.

ГОСТ 13996-93 Плитки керамические фасадные и ковры из них. Технические условия

Данный стандарт распространяется на керамические фасадные плитки и ковры из них, предназначенные для облицовки цоколей и стен зданий и сооружений.

Плитки изготавливают квадратной и прямоугольной формы.

Основные размеры плиток в миллиметрах указаны в нижеследующей таблице.

Координационные размеры

Номинальная толщина

Координационные размеры

Номинальная толщина

Длина

Ширина

Длина

Ширина

50

50

4

200

150

9

(120)

(65)

7

200

200

9

(125)

(60)

(240)

(65)

7; 9

(140)

(120)

(250)

(65)

150

75

250

100

150

100

7; 9

300

100

9

150

150

300

150

200

100

 

Координационный размер соответствует суммарной величине номинального размера плитки и ширины шва.

Размеры, заключенные в скобки, менее предпочтительны.

Предприятие-изготовитель должно устанавливать номинальную длину и ширину плиток таким образом, чтобы в пределах координационных размеров обеспечивалась ширина шва от 4 до 8 мм. По согласованию предприятия-изготовителя с потребителем могут быть изготовлены плитки других размеров.

Предельные отклонения от номинальных размеров плиток не должны превышать:

по длине и ширине.......... ±2,0 % - для плиток размерами до 50 мм включ.;

±1,5 % - для плиток размерами св. 50 мм до 200 мм включ.;

±1,0 % - для плиток размерами св. 200 мм;

по толщине....................... ±15,0 % - для плиток всех размеров.

Разница между наибольшим и наименьшим значениями толщины одной плитки (разнотолщинность) не должна быть более 1 мм.

Косоугольность плитки не должна быть более 1 % длины ее грани, но не более 2 мм.

Кривизна плитки (отклонение лицевой поверхности плитки от плоскости) не должна быть более 0,75 % длины наибольшей диагонали, но не более 2 мм.

Монтажная поверхность плиток должна иметь рифления - пазы (глубиной) и выпуклости (высотой) - для плиток:

длиной до 50 мм включ. - пазы и выпуклости размером не менее 0,7 мм;

длиной св. 50 мм до 150 мм включ. - пазы и выпуклости размером не менее 2,0 мм, при этом отношение суммы периметров рифлений к периметру плитки должно быть не менее 0,5;

длиной св. 150 мм - пазы и выпуклости в виде «обратного конуса» размером не менее 2,0 мм, при этом отношение суммы периметров рифлений к периметру плитки должно быть не менее 1,2.

Условное обозначение плиток должно состоять из:

- буквенных обозначений: П - плитка; Г - глазурованная; ЧГ - частично глазурованная; НГ - неглазурованная;

- слов «стеновые, «цокольные»;

- размера плитки;

- обозначения данного стандарта.

Примеры условных обозначений:

плитки неглазурованные стеновые размерами 150 × 75 × 7 мм:

ПНГ стеновые 150 × 75 × 7 ГОСТ 13996-93

плитки глазурованные цокольные размерами 125 × 60 × 7 мм:

ПГ цокольные 125 × 60 × 7 ГОСТ 13996-93

Лицевая поверхность плиток может быть гладкой или рельефной, неглазурованной, частично или полностью покрыта одно- или многоцветной глазурью, или декорированной различными методами.

Глазурь может быть блестящей или матовой.

Плитки могут изготавливаться с завалом или без завала. Радиус завала устанавливает изготовитель.

Цвет (оттенок цвета), рисунок или рельеф лицевой поверхности плиток должен соответствовать утвержденным образцам-эталонам.

Эталон на отдельный (разовый) заказ согласовывают с потребителем.

На лицевой поверхности плиток не допускаются трещины и цек (тонкие волосообразные трещины глазури). Допускаемые дефекты приведены в нижеследующей таблице.

Вид дефекта

Норма для плиток размерами, мм

50

св. 50 до 200 включ.

св. 200

Отбитость углов не более:

 

 

 

- общая площадь

4

10

15

- число, шт.

1

2

2

Отбитость ребер, мм, не более:

 

 

 

- ширина

1

2

3

- общая длина

3

15

20

Посечка общей длиной, мм, не более

2

25

30

На лицевой поверхности плиток не допускаются видимые с расстояния 1 м щербины, зазубрины, плешины, выплавки (выгорки), засорки, слипыш, мушки, пузыри, пятна, прыщи, наколы, а с расстояния 2 м - сухость глазури, сборка глазури, волнистость, неравномерность окраски глазурью, нечеткость контура рисунка, разрыв декора, смещение декора, недожог красок.

Допускается частичное покрытие граней плиток глазурью толщиной не более 2 мм.

Водопоглощение плиток, %: стеновых - не менее 2, не более 9; цокольных - не менее 2, не более 5; для стеновых плиток, изготовленных из масс, содержащих шлаки, полиминеральные глины и карбонаты, не более 12.

Морозостойкость стеновых плиток - не менее 40 циклов, цокольных - 50 циклов.

На монтажную поверхность каждой плитки, кроме плиток размерами 50 × 50 мм, должен быть нанесен товарный знак предприятия-изготовителя.

Каждая упаковочная единица (пакет, ящичный поддон, ящик, мешок, стопа) должна быть снабжена ярлыком, на котором указывают:

- наименование предприятия-изготовителя;

- условное наименование изделия (при необходимости буквенные обозначения могут быть заменены словами);

- количество изделий, м2 (шт.);

- дату изготовления и номер партии.

Ярлык должен быть прочно прикреплен к упаковке, вложен в нее или нанесен штемпелеванием на упаковочную бумагу.

На ящики или стопы, из которых сформирован пакет, маркировку не наносят.

На каждое грузовое место должен быть нанесен манипуляционный знак «Хрупкое, осторожно».

В каждой упаковке должны быть плитки одного размера, цвета, рисунка, вида лицевой поверхности.

Плитки упаковывают в деревянные или картонные ящики, ящичные поддоны вертикально вплотную друг к другу и при необходимости расклинивают отходами древесины или картона. В ящичном поддоне между каждым горизонтальным рядом, дном и стенками поддона должна быть проложена бумага или картон.

В универсальные контейнеры плитки должны быть уложены предварительно упакованными в деревянные или картонные ящики. Допускается укладывать плитки стопами с обертыванием или без обертывания бумагой и перевязанными шпагатом или полипропиленовой лентой.

Каждая партия плиток должна сопровождаться документом о качестве, в котором указывают:

- номер и дату выдачи документа;

- наименование и адрес предприятия-изготовителя;

- условное обозначение изделия;

- количество плиток, квадратные метры, (шт.);

- водопоглощение;

- морозостойкость (данные за предыдущий квартал);

- номер партии.

Транспортирование плиток осуществляют в упакованном виде: в универсальных контейнерах или крытых транспортных средствах в ящичных поддонах или транспортными пакетами транспортом всех видов в соответствии с Правилами перевозок грузов, действующими на данном виде транспорта.

Плитки в упакованном виде следует хранить в закрытых помещениях или под навесом.

ГОСТ 17057-89 Плитки стеклянные облицовочные коврово-мозаичные и ковры из них. Технические условия.

Данный стандарт распространяется на плитки стеклянные коврово-мозаичные, изготовленные методом непрерывного проката из глушенного стекла, неокрашенного или цветного, и ковры из них.

Плитки и ковры предназначены для наружной и внутренней облицовки стен зданий различного назначения, для изготовления декоративно-художественных панно.

Плитки выпускают размерами 21 ± 1 × 21 ± 1 мм и 46 ± 1 × 46 ± 1 мм, толщиной 5 ± 1 мм. Допускается по соглашению изготовителя с потребителем изготавливать плитки другой формы и размеров.

Размеры ковров из плиток должны соответствовать указанным в спецификации потребителя, согласованной с изготовителем.

Расстояние между плитками в ковре должно быть 3-7 мм. На ковре допускается смещение плиток от указанных размеров в количестве не более 5 %.

Отклонения размеров ковров от номинальных не должны превышать ±4 мм на каждый метр длины ковра, а по ширине ... ±3 мм.

Плитки должны поставляться в коврах. Ковры изготавливают путем наклеивания на бумагу плиток одного или нескольких цветов. Ковры, фактура поверхности и цвет плиток должны соответствовать образцам-эталонам, утвержденным в установленном порядке. Допускается по соглашению изготовителя с потребителем поставлять плитки россыпью.

Плитки не должны иметь более одного отбитого угла с размерами по стороне плитки 3 мм - для плиток 21 × 21 мм и 4 мм - для плиток 46 × 46 мм. Трещины на плитках не допускаются. Посечки поверхностные допускаются в соответствии с образцом-эталоном.

На каждую стопу плиток должен быть наклеен ярлык или нанесен штамп, в котором указывают наименование или товарный знак предприятия-изготовителя, наименование продукции, размеры и ковров в миллиметрах, цвет плиток или ковров, число ковров или площадь в квадратных метрах, номер упаковщика и дату упаковки, обозначение данного стандарта.

Транспортная маркировка наносится в соответствии с требованиями ГОСТ 14192-96 с указанием манипуляционных знаков «Хрупкое. Осторожно» и «Беречь от влаги».

Предприятие-изготовитель должно сопровождать каждую партию ковров или плиток документом о качестве установленной формы, в котором указывают:

- наименование и адрес предприятия-изготовителя;

- цвет плиток или ковров;

- размеры плиток или ковров в миллиметрах;

- число плиток (в килограммах, квадратных метрах) или ковров (в квадратных метрах);

- дату изготовления;

- обозначение данного стандарта.

Ковры укладывают на плоские поддоны, изготовленные по утвержденной НТД, стопами. Число ковров в стопе не должно превышать 200.

При поставке россыпью плитки одинаковых размеров, фактуры поверхности и одного цвета упаковывают в бумажные 4- или 5-слойные мешки по ГОСТ 2226-88*, укладывают на поддоны и формируют в транспортные пакеты или укладывают в контейнеры.

Ковры и плитки транспортируют любым видом транспорта в соответствии с Правилами перевозок, действующими на данном виде транспорта.

Плитки в упаковке и ковры должны храниться в закрытых помещениях.

Гарантийный срок хранения ковров - не более 30 суток со дня изготовления.

На строительной площадке в процессе входного контроля:

- необходимо проверить наличие сопроводительной документации и полноту содержащихся в ней данных;

- по имеющейся сопроводительной документации, маркировке, ярлыкам необходимо убедиться в соответствии поступивших плиток и раствора требованиям проекта;

- необходимо путем внешнего осмотра проверить целостность упаковки, отсутствие на плитках недопустимых дефектов внешнего вида;

- провести в соответствии с требованиями технологической карты необходимые испытания плиток и раствора на соответствие их нормативным требованиям;

- при возникновении сомнений в качестве поступивших материалов должны быть вызваны представители строительной лаборатории или функциональных служб, ответственных за поставку материалов.

Технические требования

Производство облицовочных работ должно осуществляться в соответствии с требованиями проекта, СНиП 3.01.01-85*, СНиП 3.04.01-87, ППР, технологических карт, схем операционного контроля качества работ и другой технологической документации, утвержденной в установленном порядке.

Облицовочные работы должны осуществлять строительно-монтажные организации, получившие лицензию на выполнение отделочных работ в Федеральных или региональных лицензионных органах.

Облицовочные работы должны выполняться квалифицированным персоналом, прошедшим специальную подготовку и обладающим надлежащими навыками по производству облицовочных работ.

Производству облицовочных работ должны предшествовать:

- разработка проектов производства облицовочных работ; разработка (или привязка типовых) технологических карт и схем операционного контроля качества на выполнение облицовочных работ;

- завершение и надлежащее оформление всех предусмотренных проектом предшествующих работ;

- входной контроль керамических и стеклянных плиток, растворов;

- изучение инженерно-техническим персоналом проектной и технологической документации, обучение мастеров и рабочих передовым методам труда;

При входном контроле рабочей документации должна производиться проверка ее комплектности и достаточности содержащейся в ней технической информации для производства работ.

Входной контроль плиток и растворов должен производиться в соответствии с требованиями проекта, стандартов и технических условий на конкретные изделия и материалы в порядке, предусмотренном технологическими картами или другой технологической документацией, утвержденной в установленном порядке.

Входной контроль должен предотвратить поступление на строительную площадку материалов и изделий, не отвечающих требованиям соответствующей нормативной документации.

Технические требования к керамическим и стеклянным плиткам согласно ГОСТ 13996-93 и ГОСТ 17057-89 приведены выше.

Облицовочные работы должны выполняться в соответствии с проектом, в котором должны быть указаны: вид кирпича или камня для кладки стен, марка раствора, материал облицовки и их физико-механические характеристики, раскладка плиток и способы ее крепления.

Плоские керамические плитки применяются только для облицовки возведенных (готовых) стен из кирпича и керамических камней с креплением на растворе или других клеящих составах, обеспечивающих необходимую надежность крепления облицовки в период эксплуатации зданий (для реконструкции и реставрации выпускаются специальные плитки).

Применение для облицовки плоских керамических плиток с креплением на растворе разрешается в зданиях не свыше девяти этажей при кладке стен из керамического кирпича пластического формования или керамических камней, и не выше пяти этажей - при кладке из силикатного кирпича и керамического полусухого прессования. При этом высота плитки (по высоте стены) должна быть не более 140 мм при кладке из керамического кирпича и камней и 65 мм - при кладке из силикатного кирпича и керамического полусухого прессования, ширина плиток должна быть не более 250 мм. Крепление на растворе к кирпичной кладке плиток более крупных размеров не допускается.

Разрешается, как исключение, применение керамических плиток с креплением на растворе для стен зданий из силикатного кирпича высотой до девяти этажей при условии их установки на растворе по арматурной сетке, закрепленной в швах кладки.

Облицовка по возведенным стенам из бетона с креплением плиток только на растворе не допускается вследствие слабой адгезии раствора с затвердевшей поверхностью бетона.

Крепление облицовочных плиток к панельным стенам производится только в заводских условиях (к панелям из тяжелого бетона - непосредственно к бетону, к панелям из легкого бетона - на слое цементно-песчаного раствора).

Облицовочные работы должны выполняться в соответствии с проектом производства работ (ППР).

Запрещается осуществление строительно-монтажных работ без утвержденного проекта производства работ. Не допускаются отступления от решений проектов производства работ без согласования с организациями, разработавшими и утвердившими их. Замена предусмотренных проектом материалов, изделий и составов допускается только по согласованию с проектной организацией и заказчиком.

Растворы для облицовочных работ не должны образовывать высолов на поверхности стены. Рекомендуется применять цементно-песчаные растворы средней жесткости на портландцементах и пуццолановых цементах. Содержание щелочей в цементе не должно превышать 0,6 %. Подвижность цементно-песчаного раствора для крепления керамической плитки по готовой кирпичной стене должна соответствовать глубине погружения стандартного конуса не более 7 см.

До начала облицовочных работ должны быть произведены следующие работы:

- выполнена защита отделываемых помещений от атмосферных осадков;

- устроены гидроизоляция, тепло-звукоизоляция и выравнивающие стяжки перекрытий;

- загерметизированы швы между блоками и панелями;

- заделаны и изолированы места сопряжений оконных, дверных и балконных блоков;

- остеклены световые проемы;

- смонтированы закладные изделия, проведены испытания систем тепло-, водоснабжения и отопления.

Контролируемые операции

Состав и средства контроля

Документация

Подготовительные работы

Проверить:

 - завершение и надлежащее оформление предшествующих монтажных работ (наличие актов приемки и актов освидетельствования скрытых работ, геодезических исполнительных схем и другой приемодаточной документации);

Акт приемки, акты освидетельствования скрытых работ, исполнительные схемы

- наличие ППР, технологических карт и схем операционного контроля качества облицовочных работ;

ППР, технологические карты, СОКК

- наличие документов о качестве и полноту содержащихся в них данных на поступившие на строительную площадку плитки и раствор, ярлыки, маркировку, соответствие их требованиям проекта и нормативных документов;

Документы о качестве, акты лабораторных испытаний

- внешним осмотром отсутствие недопустимых дефектов внешнего вида на плитках;

- соответствие качества подготовленных поверхностей оснований требованиям проекта и нормативных документов.

Общий журнал работ

Облицовка наружных стен керамическими, стеклянными и др. плитками

Контролировать:

- соблюдение заданной ППР технологии выполнения облицовочных работ;

- соответствие качества выполненных облицовочных работ требованиям проекта и нормативных документов (толщину клеевой прослойки, отклонения от вертикали облицованной поверхности, отклонения расположения швов, несовпадение профиля на стыках, неровности поверхности, отклонения ширины шва облицовки).

Общий журнал работ

Приёмка

Проверить:

- соответствие качества выполненных облицовочных работ требованиям проекта и нормативных документов;

- составление и надлежащее оформление приемо-сдаточной исполнительной документации.

Акт приемки

ВХОДНОЙ И ОПЕРАЦИОННЫЙ КОНТРОЛЬ осуществляют:

мастер (прораб), лаборант (инженер) - в процессе производства работ.

ПРИЁМОЧНЫЙ КОНТРОЛЬ ОСУЩЕСТВЛЯЮТ:

прораб (мастер), представители технадзора заказчика.

КИП - двухметровая рейка, металлическая линейка, металлическая рулетка, отвес, уровень, лабораторные приборы и оборудование.

До отделки фасадов дополнительно должны быть выполнены следующие работы:

- наружная гидроизоляция и кровля с деталями и примыканиями;

- устройство всех конструкций пола на балконах;

- монтаж и закрепление всех металлических картин окаймления архитектурных деталей на фасаде здания;

- установка всех крепежных приборов водосточных труб (согласно проекту).

Облицовочные работы следует выполнять после проверки правильности выполнения предшествующих работ с составлением актов освидетельствования скрытых работ.

Облицовочные работы должны выполняться при устойчивой положительной температуре окружающего воздуха не ниже +6 °С не ранее чем через 6 месяцев после получения стенами полной расчетной нагрузки.

Поверхности, подлежащие облицовке, должны удовлетворять следующим требованиям:

- стены должны иметь нагрузку не менее 80 % проектной, за исключением стен, облицовка которых выполняется одновременно с кладкой;

- поверхности кирпичных и каменных стен, выложенных с полностью заполненными швами должны иметь насечку на глубину не менее 3 мм;

- поверхности стен, выложенных впустошовку, необходимо подготавливать без их насечки с заполнением швов раствором;

- любые поверхности необходимо перед их облицовкой очистить, промыть и перед нанесением клеящей прослойки из раствора увлажнить до матового блеска.

Поверхности, подлежащие облицовке на растворах, должны быть проверены отвесом или 2-х метровой рейкой для установления их вертикальности и толщины облицовки.

Провешивание начинают с разметки вертикальных линий осей пилястр, проемов и выступов. Разметку отвесных линий облицовки наносят по всей высоте здания (от карниза до цоколя). Сначала провешивают наружные углы и плоскости стен, затем откосы проемов.

Местоположение элемента облицовки определяют вертикальными и горизонтальными рейками.

К стенам крепят вертикальные маячные рейки через 10-15 м и размечают все ряды облицовки по высоте с учетом перемычек. Одновременно костылями закрепляют горизонтальные рейки с разметкой вертикальных швов облицовки.

Отклонения поверхностей конструкций, подлежащих облицовке, от вертикали не должны превышать для кирпичной и каменной кладки 10 мм на один этаж. Если стены из кирпича и камней имеют отклонения от вертикали или неровности сверх допустимых, их выправляют, срубая неровности. При невозможности это сделать на стены наносят выравнивающий намет из цементно-песчаного раствора. Общая толщина слоя раствора, нанесенного на стену для крепления облицовки, не должна превышать 20 мм. При необходимости нанесения более толстого слоя раствора для выравнивания стены его следует по сетке, прикрепленной к стене штырями.

Выравнивающие слои из цементно-песчаного раствора должны отвечать требованиям, предъявляемым к оштукатуренным поверхностям.

Перед облицовкой для лучшего сцепления плитки с основанием его поверхность должна быть очищена от пыли и грязи. Выполнение облицовочных покрытий по основаниям, имеющим ржавчину, высолы, жировые и битумные пятна, не допускается. Обеспыливание поверхностей должно производиться перед нанесением каждого слоя приклеивающих составов.

Элементы облицовки по клеящей прослойке из раствора необходимо устанавливать горизонтальными рядами снизу вверх от угла поля облицовки. Сначала устанавливают угловые и маячные плитки, затем по причалке - основные плитки ряда. Отклонения от вертикали и горизонтали контролируют причалкой, отвесом и уровнем.

Крепление облицовочных плиток к стене на растворе производится в следующей последовательности: на стену наносят выравнивающий слой раствора и не ранее чем через сутки по этому слою крепят плитку. Слой раствора наносят горкой на поверхность плитки, отступая от краев на 10-15 мм, после чего ее прижимают к стене с пристукиванием легким молотком. Плитки устанавливают на клинья или специальные рейки, обеспечивающие вертикальность их положения. После затвердения раствора клинья вынимают и производят расшивку швов между плитками.

Раствор клеящейся прослойки следует наносить равномерным, без потеков, слоем до начала установки плиток. Мелкоразмерные плитки на растворах с замедлителями следует устанавливать после нанесения последних по всей облицовываемой площади в одной плоскости при загустевании растворов с замедлителями.

Отделка участка и всей поверхности фасада облицовочными плитками разного цвета, фактуры, текстуры и размеров должна производиться с подбором всего рисунка поля облицовки в соответствии с проектом.

Швы облицовки должны быть ровными и одинаковой ширины.

После облицовки поверхности из плиток должны быть очищены от наплывов раствора немедленно, при этом поверхности глазурованных и полированных плиток должны быть промыты горячей водой.

При производстве облицовочных работ необходимо систематически контролировать:

- качество применяемых облицовочных материалов и растворов;

- качество лицевой поверхности (оттенок плиток, рисунок, толщину и заполнение швов и др.);

- горизонтальность рядов, вертикальность углов и откосов;

- морозостойкость облицовочных плиток и облицованных изделий;

- прочность сцепления плиток с раствором.

Поверхности, облицованные плитками, должны удовлетворять следующим требованиям:

- поверхности должны соответствовать заданным геометрическим формам;

- материал сопряжения и герметизации швов, размеры и рисунки облицовки должны соответствовать проектным;

- поверхности, облицованные однотонными искусственными материалами, должны иметь однотонность;

- горизонтальные и вертикальные швы облицовки должны быть однотипны, однорядны и равномерны по ширине;

- поверхность облицовки должна быть жесткой;

- сколы в швах допускаются не более 0,5 мм;

- трещины, пятна, потеки раствора, высолы не допускаются;

- отклонения контролируемых показателей от проектных не должны превышать приведенных в нижеследующей таблице.

Прочность сцепления облицовочных плиток с кладкой должна контролироваться испытанием на отрыв и составлять для случая крепления плиток на растворе по готовым кирпичным стенам не менее 0,3 МПа (3 кгс/см2).

Устройство каждого элемента облицовочного покрытия следует выполнять после проверки правильности выполнения соответствующего нижележащего элемента с составлением акта освидетельствования скрытых работ.

Технические требования

Предельные отклонения, мм

Контроль (метод, объем, вид регистрации)

Толщина клеевой прослойки из раствора - 7 мм

+8

Измерительный, не менее 5 измерений на 70-100 м2 поверхности или на отдельном участке меньшей площади в местах, выявленных сплошным визуальным осмотром, журнал работ

Отклонения облицованной поверхности от вертикали на 1 м длины - 2 мм

не более 5 мм на этаж

То же, не менее 5 измерений на 50-70 м2 поверхности

Отклонения расположения швов от вертикали и горизонтали на 1м длины до 2 мм

 

То же, не менее 5 измерений на 50-70 м2 поверхности

Допускаемые несовпадения профиля на стыках архитектурных деталей и швов ... до 4 мм

 

Измерительный, не менее 5 измерений на 70-100 м2 поверхности или на отдельном участке меньшей площади в местах, выявленных сплошным визуальным осмотром, журнал работ

Неровности плоскости (при контроле двухметровой рейкой) ... до 3 мм

 

То же

Отклонение ширины шва облицовки

±0,5 мм

 

Соответствие готовых облицовочных покрытий требованиям проекта и нормативных документов выявляется в процессе технического осмотра покрытий, проведения необходимых инструментальных измерений и лабораторных испытаний, рассмотрения приемосдаточной документации, и оформляется актом приемки.



ВНУТРЕННЯЯ ОБЛИЦОВКА СТЕН ПЛИТАМИ

ГОСТ 9480-89 Плиты облицовочные пиленые из природного камня. Технические условия.

ГОСТ 24099-80* Плиты декоративные на основе природного камня. Технические условия.

ТУ 5714-001-23180281-95 Плиты декоративные облицовочные на магнезиальном вяжущем ПДОМВ.

ТУ 5714-001-31103277-95 Плиты облицовочные из искусственного камня.

ТУ 5714-001-45523037-97 Изделия из полимербетона (искусственного мрамора).

ТУ 5740-006-04000706-97 Плиты бетонные декоративные, имитирующие породы природного камня.

ТУ 5746-001-39583839-96 Плиты бетонные декоративно-облицовочные «Микор».

ТУ 65-07-486-93 Плиты облицовочные гипсовые.

ТУ 21-31-68-89 Плиты гипсовые облицовочные мраморовидные.

ТУ 21-0285491-01-90 Плиты гипсовые облицовочные мраморовидные.

ТУ 21-31-10-86 Плиты гипсовые декоративные.

ТУ 35-2086-91 Плиты декоративные из гипсополимерной композиции.

ТУ 21-0284757-2-90 Плиты гипсовые облицовочные литые (структурой под природный камень).

ГОСТ 28013-98 Растворы строительные. Общие технические условия.

ТУ 5745-005-11322110-97 Смеси сухие цементно-песчаные клеевые специализированные для облицовочных работ.

ТУ 5772-002-46434927-2000 Сухие клеящие смеси.

ТУ 5745-013-05668056-99 Клеи строительные для облицовочных работ.

ТУ 5745-012-04001508-97 Клей для облицовочной плитки и природного камня.

ТУ 5775-005-25057366-96 Мастика клеящая строительная «Гарант».

Стандарты и технические условия на облицовочные плиты, растворы и мастики, предусмотренные проектом.

СНиП 3.04.01-87 Изоляционные и отделочные покрытия.

Требования к облицовочным материалам

Входной контроль материалов для производства облицовочных работ должен осуществляться в соответствии с требованиями проекта, государственных стандартов и технических условий на конкретные материалы, предусмотренные проектом, а также требованиями технологической документации, утвержденной в установленном порядке.

ГОСТ 9480-89 Плиты облицовочные пиленые из природного камня. Технические условия.

Данный стандарт распространяется на облицовочные плиты, изготовляемые распиливанием блоков из природного камня и предназначаемые для наружной и внутренней облицовки элементов зданий и сооружений.

Плиты изготовляют следующих размеров: длиной - от 150 до 1500 мм, шириной - от 150 до 1200 мм, толщиной - от 8 до 30 мм.

Размеры плит устанавливаются по соглашению изготовителя с потребителем. Допускается по согласованию изготовителя с потребителем изготовление облицовочных плит больших размеров по длине и ширине, а также плит толщиной 40 мм из мраморизованного известняка, туфа, ракушечника и известняка.

Предельные отклонения от номинальных размеров плит не должны превышать:

по длине и ширине: ±1 мм - для плит размером до 600 мм;

±2 мм - для плит размером св. 600 мм;

по толщине: ±1 мм - для плит размером от 8 до 15 мм;

±2 мм - для плит размером св. 15 до 30 мм из мрамора;

±3 мм - для плит размером св. 15 до 30 мм из других горных пород.

Плиты должны изготовляться прямоугольной или квадратной формы с обрезными гранями. По согласованию с потребителем допускается изготовление плит с необрезными гранями.

Отклонение от прямого угла плит на 1 м длины граней не должно превышать ±1 мм.

Фактура лицевой поверхности облицованных плит должна соответствовать указанной ниже: полированная - с зеркальным блеском, четким отражением предметов, без следов обработки предыдущей операции; гладкая матовая (лощеная) - без следов обработки предыдущей операции и с полным выявлением рисунка камня; шлифованная - равномерно-шероховатая со следами обработки, получаемыми только при шлифовании, с неровностями рельефа высотой до 0,5 мм; пиленая - неравномерно-шероховатая - с неровностями рельефа высотой до 2 мм; обработанная ультразвуком - с выявленным цветом и рисунком камня; термообработанная - шероховатая поверхность со следами шелушения; точечная (бучардованная) - равномерно-шероховатая с неровностями рельефа высотой до 5 мм.

По согласованию изготовителя с потребителем допускаются другие виды фактуры лицевой поверхности.

Плиты с полированной и гладкой матовой фактурой в зависимости от качества лицевой поверхности подразделяют на два класса. Плиты 1-го класса не должны иметь на лицевой поверхности видимых повреждений.

Плиты 2-го класса могут иметь на лицевой поверхности следующие повреждения: 2 повреждения углов длиной по ребру не более 5 мм; 3 скола длиной не более 5 мм по ребрам периметра плит из гранита и других прочных пород; 2 скола - у плит из мрамора, песчаника, известняка, травертина, туфа и других пород средней прочности и низкопрочных пород; каверны и раковины только для плит из травертина, туфа и ракушечника, если они не снижают декоративности плит.

Отклонение от плоскостности на 1 м длины по периметру и диагоналям не должно превышать: ±1 мм - для плит с полированной и гладкой матовой фактурой 1-го класса; ±2 мм - для тех же плит 2-го класса; ±3 мм - для плит со шлифованной фактурой; ±5 мм - для плит остальных видов.

Плиты не должны иметь трещин. На плитах из цветного мрамора и мраморизованного известняка допускается одна несквозная трещина тектонического происхождения с нарушением сплошности шириной не более 0,05 мм и длиной 1/3 ширины плит. Плиты с указанными трещинами применяют только для внутренней облицовки зданий.

На лицевой поверхности плит допускаются прожилки и полосы, не ухудшающие декоративные свойства плит.

Плиты должны быть упакованы в ящики или ящичные поддоны в вертикальном положении не более двух рядов по высоте лицевыми поверхностями друг к другу. Допускается упаковка плит из прочных горных пород в пакеты. Между лицевыми поверхностями полированных плит должны быть уложены бумажные или деревянные прокладки.

На ящике должен стоять штамп отдела технического контроля и товарный знак предприятия-изготовителя, на поддоне или пакете должна быть прикреплена бирка со штампом отдела технического контроля или товарным знаком предприятия-изготовителя.

Каждая партия поставляемых плит должна иметь документ о качестве, в котором указывают:

- наименование и адрес предприятия-изготовителя;

- номер и дату составления документа; дату отгрузки;

- номер партии;

- число плит в партии и их размеры;

- породу камня, наименование месторождения;

- фактуру лицевой поверхности плит;

- физико-механические показатели свойств породы блоков, нормируемые по ГОСТ 9479-84*; обозначение данного стандарта.

Плиты транспортируют в ящиках, ящичных поддонах или пакетах, приспособленных для механизированной погрузки и выгрузки, любым видом транспорта в соответствии с Правилами перевозки грузов, действующими на данном виде транспорта. При погрузке, выгрузке и транспортировании плит должны быть приняты меры, предохраняющие их от загрязнения и повреждения.

Плиты должны храниться под навесом или на открытых спланированных площадках, обеспечивающих отвод воды и предохранение плит от повреждений и загрязнений. При хранении на складах без тары плиты должны быть установлены на деревянных прокладках в вертикальном положении лицевыми поверхностями друг к другу. Между полированными плитами укладывают бумажные или деревянные прокладки.

Плиты из пород с низкой морозостойкостью должны храниться в условиях, предохраняющих их от резкого перепада температур и атмосферных осадков.

ГОСТ 24099-80* Плиты декоративные на основе природного камня. Технические условия

Данный стандарт распространяется на облицовочные декоративные плиты с мозаичной, брекчиевидной и орнаментной поверхностью, изготовляемые с использованием природного камня и неорганических или синтетических связующих и предназначаемые для наружной и внутренней облицовки элементов зданий и сооружений.

Плиты на синтетических связующих не допускается применять для внутренней облицовки жилых домов, детских дошкольных учреждений, санаториев и учреждений отдыха, закрытых спортивных учреждений и служебных помещений с постоянным пребыванием людей.

В зависимости от способа изготовления плиты подразделяют на три типа: I - прессованные или формованные; II - пиленые из искусственно отформованных блоков; III - склеенные из кусков камня правильной или произвольной формы, либо с песчано-щебеночным слоем.

Лицевая поверхность плит должна быть для:

I типа - мозаичной (М), брекчиевидной (Б) или орнаментной (О),

II типа - мозаичной или брекчиевидной;

III типа - мозаичной, брекчиевидной, орнаментной или со сплошным песчано-щебеночным слоем (С).

Мозаичную лицевую поверхность получают с использованием декоративного щебня из природного камня; брекчиевидную лицевую поверхность получают из кусков природного камня произвольной формы или из смеси кусков природного камня произвольной формы и декоративного щебня; орнаментную лицевую поверхность получают из природного камня правильной формы; лицевую поверхность плит с песчано-щебеночным декоративным слоем получают путем образования сплошного слоя из декоративного щебня и песка, покрытых прозрачным синтетическим связующим.

Плиты I и III типов изготавливают однослойными или двухслойными. Плиты I типа изготавливают не армированными или армированными.

Плиты изготавливают прямоугольной формы размерами, приведенными в нижеследующей таблице.

Тип плиты

Размер, мм

Длина

Ширина

Толщина

I

От 200 до 800

От 200 до 600

10; 15; 20; 25; 28; 30; 35; 40

II

От 200 до 1500

От 200 до 1200

10; 15; 20; 25; 30; 35; 40

III

От 200 до 600

От 200 до 600

10; 15; 20; 25; 30; 40

Размеры плит по длине и ширине должны быть кратными 50 мм.

Размеры и форма плит должны быть согласованы заказчиком с предприятием-изготовителем при заключении договора на поставку. Плиты другой формы в плане допускается изготавливать по индивидуальному заказу.

Допускается производство брекчиевидных формованных плит толщиной до 60 мм, если в качестве кусков природного камня используются отходы от производства плит или архитектурно-строительных изделий толщиной до 40 мм.

Пример условного обозначения декоративной плиты из природного камня I типа с мозаичной лицевой поверхностью (М) длиной и шириной 500 мм, толщиной 30 мм:

IМ 50.50.30 - ГОСТ 24099-80

По цветовой гамме и рисунку орнаментные плиты должны соответствовать чертежам, согласованным с заказчиком, а мозаичные и брекчиевидные - образцам предприятия-изготовителя.

Плиты должны иметь ровную лицевую поверхность без трещин, выпуклостей, сколов и инородных включений.

Фактура лицевой поверхности плит должна быть полированной, лощеной, шлифованной или пиленой по ГОСТ 9480-89.

Отклонения размеров плит и качества лицевой поверхности от нормативных не должны превышать величин, указанных в нижеследующей таблице.

Вид допуска

Значение

По длине и ширине, мм

±3

По толщине, мм

±3

Сколы на ребрах лицевой грани на 1 м периметра:

 

количество, шт.

3

длина скола по ребру, мм

3

Отклонение от прямого угла смежных граней на 1 м длины, мм

±3

Отклонение от плоскости на 1 м длины, мм

±2

Отбитые углы: количество, шт.

2

длина по ребру, мм

5

Ширина шва между отдельными элементами орнамента в плитах III типа, мм

2

Раковины и каверны в природном камне (туфе, травертине и ракушечнике), длина, мм

50

Диаметр раковин в связующем материале, мм:

 

в плитах I и III типов

3

в плитах II типа

5

Плиты должны быть очищены от загрязнений.

Плиты декоративные на синтетическом связующем не должны выделять вредные вещества в атмосферный воздух и в воздушную среду зданий и сооружений выше предельно допустимых концентраций (ПДК), утвержденных Минздравом РФ.

На таре для транспортирования плит должны быть нанесены парафиновым карандашом или несмываемой краской товарный знак предприятия-изготовителя, штамп ОТК и обозначение данного стандарта.

Каждая партия плит должна сопровождаться установленной формы документом, в котором указывают:

- наименование и адрес предприятия-изготовителя;

- номер и дату составления документа;

- марку, количество и область применения плит;

- обозначение данного стандарта;

- сведения о количестве выделяемых вредных веществ из плит на синтетическом связующем.

Плиты должны перевозиться в прочной таре, приспособленной для механизированной погрузки и выгрузки. Плиты должны быть установлены в вертикальном положении попарно лицевыми поверхностями друг к другу с прокладкой между ними бумаги либо деревянных прокладок и закреплены клиньями. Плиты должны быть рассортированными по типам, размерам, фактуре и уложены в тару не более чем в два ряда по высоте.

По соглашению с потребителем допускается перевозка автомобильным транспортом прессованных плит в многооборотной таре в горизонтальном положении без прокладок между ними.

При хранении в складах без тары плиты должны быть установлены на деревянные прокладки в вертикальном положении лицевыми поверхностями друг к другу не более чем в два ряда по высоте.

Плиты должны храниться рассортированными по типам, размерам и фактуре и быть предохранены от повреждений и увлажнения.

На строительной площадке в процессе входного контроля:

- необходимо проверить наличие сопроводительной документации и полноту содержащихся в ней данных;

- по имеющейся сопроводительной документации, маркировке, ярлыкам и биркам необходимо убедиться в соответствии поступивших плит, раствора и мастики требованиям проекта;

- необходимо путем внешнего осмотра проверить целостность упаковки, отсутствие на плитках недопустимых дефектов внешнего вида, наличие на упаковке и бирках штампа ОТК;

- провести в соответствии с требованиями технологической карты необходимые измерения геометрических параметров плит и лабораторные испытания плит, раствора, мастики на соответствие их нормативным требованиям;

- при возникновении сомнений в качестве поступивших материалов должны быть вызваны представители строительной лаборатории или функциональных служб, ответственных за поставку материалов.

Технические требования

Производство облицовочных работ должно осуществляться в соответствии с требованиями проекта, СНиП 3.01.01-85*, СНиП 3.04.01-87, ППР, технологических карт, схем операционного контроля качества работ и другой технологической документации, утвержденной в установленном порядке.

Облицовочные работы должны осуществлять строительно-монтажные организации, получившие лицензию на выполнение отделочных работ в Федеральных или региональных лицензионных органах.

Облицовочные работы должны выполняться квалифицированным персоналом, прошедшим специальную подготовку и обладающим надлежащими навыками по производству облицовочных работ.

Производству облицовочных работ должны предшествовать:

- разработка проектов производства облицовочных работ; разработка (или привязка типовых) технологических карт и схем операционного контроля качества на выполнение облицовочных работ;

- завершение и надлежащее оформление всех предусмотренных проектом предшествующих работ;

- входной контроль облицовочных и декоративных плит, растворов и мастик;

- изучение инженерно-техническим персоналом проектной и технологической документации, обучение мастеров и рабочих передовым методам труда.

При входном контроле рабочей документации должна производиться проверка ее комплектности и достаточности содержащейся в ней технической информации для производства работ.

Входной контроль облицовочных и декоративных плит, растворов и мастик должен производиться в соответствии с требованиями проекта, стандартов и технических условий на конкретные изделия и материалы в порядке, предусмотренном технологическими картами или другой технологической документацией, утвержденной в установленном порядке.

Входной контроль должен предотвратить поступление на строительную площадку материалов и изделий, не отвечающих требованиям соответствующей нормативной документации.

Технические требования к облицовочным и декоративным плитам согласно ГОСТ 9480-89 и ГОСТ 24099-80* приведены выше.

Облицовочные работы должны выполняться в соответствии с проектом производства работ (ППР) на возведение зданий и сооружений.

Запрещается осуществление строительно-монтажных работ без утвержденного проекта производства работ. Не допускаются отступления от решений проектов производства работ без согласования с организациями, разработавшими и утвердившими их. Замена предусмотренных проектом материалов, изделий и составов допускается только по согласованию с проектной организацией и заказчиком.

До начала облицовочных работ должны быть произведены следующие работы:

- выполнена защита отделываемых помещений от атмосферных осадков; устроены гидроизоляция, тепло-звукоизоляция и выравнивающие стяжки перекрытий;

- загерметизированы швы между блоками и панелями;

- заделаны и изолированы места сопряжений оконных, дверных и балконных блоков;

- остеклены световые проемы;

- смонтированы закладные изделия, проведены испытания систем тепло- водоснабжения и отопления.

Облицовочные работы следует выполнять после проверки правильности выполнения предшествующих работ с составлением актов освидетельствования скрытых работ.

Облицовочные работы должны выполняться при температуре окружающего воздуха и облицовываемой поверхности не ниже 10 °С и влажности воздуха не более 60 %. Такую температуру в помещении необходимо поддерживать круглосуточно, не менее чем за 2 сут до начала и 12 сут после окончания работ.

Поверхности, подлежащие облицовке, должны удовлетворять следующим требованиям:

- стены должны иметь нагрузку не менее 65 % проектной при внутренней облицовке их поверхности;

- бетонные поверхности и поверхности кирпичных и каменных стен, выложенных с полностью заполненными швами должны иметь насечку;

- поверхности стен, выложенных впустошовку, необходимо подготавливать без их насечки с заполнением швов раствором;

- любые поверхности необходимо перед их облицовкой очистить, промыть и перед нанесением клеящей прослойки из раствора и других водных составов увлажнить до матового блеска;

- перед облицовкой в помещениях следует произвести окраску потолков и плоскости стен над облицовываемой поверхностью.

Отклонения поверхностей конструкций, подлежащих облицовке, от вертикали не должны превышать 10 мм для кирпичной кладки и 10-12 мм для сборных железобетонных конструкций. Если стены из кирпича и бетона имеют отклонения от вертикали в отдельных местах или неровности сверх допустимых, их выправляют, срубая неровности. При невозможности это сделать на стены наносят выравнивающий намет из цементно-песчаного раствора.

Контролируемые операции

Состав и средства контроля

Документация

Подготовительные работы

Проверить:

- завершение и надлежащее оформление предшествующих монтажных работ (наличие актов приемки и актов освидетельствования скрытых работ, геодезических исполнительных схем и другой приемо-сдаточной документации);

Акт приемки, акты освидетельствования скрытых работ, исполнительные схемы

- наличие ПНР, технологических карт и схем операционного контроля качества облицовочных работ;

ППР, технологические карты, СОКК

- наличие документов о качестве на каждую партию поступивших плит, мастик, раствора, ярлыки, бирки, маркировку, соответствие их требованиям проекта и нормативных документов;

Документы о качестве, акты лабораторных испытаний

- внешним осмотром отсутствие недопустимых дефектов внешнего вида на плитах;

- соответствие качества подготовленных поверхностей оснований требованиям проекта и нормативных документов.

Общий журнал работ

Внутренняя облицовка стен плитами

Контролировать:

- соблюдение заданной ППР технологии выполнения облицовочных работ;

- соответствие качества выполненных облицовочных работ требованиям проекта и нормативных документов (толщину клеевой прослойки, отклонения от вертикали облицованной поверхности, отклонения расположения швов, несовпадение профиля на стыках, неровности поверхности, отклонения ширины шва облицовки).

Общий журнал работ

Приёмка

Проверить:

- соответствие качества выполненных облицовочных работ требованиям проекта и нормативных документов;

- составление и надлежащее оформление приемосдаточной исполнительной документации.

Акт приемки

ВХОДНОЙ И ОПЕРАЦИОННЫЙ КОНТРОЛЬ осуществляют:

мастер (прораб), лаборант (инженер) - в процессе производства работ.

ПРИЁМОЧНЫЙ КОНТРОЛЬ ОСУЩЕСТВЛЯЮТ:

прораб (мастер), представители технадзора заказчика.

КИП - двухметровая рейка, металлическая линейка, металлическая рулетка, угольник металлический, щуп, отвес, уровень, лабораторные приборы и оборудование.

Выравнивающие слои из цементно-песчаного раствора должны отвечать требованиям, предъявляемым к оштукатуренным поверхностям.

Внутренние поверхности каменных и кирпичных стен, возводимых методом замораживания, следует оштукатуривать после оттаивания кладки с внутренней стороны не менее чем на половину толщины стены.

Поверхности, подлежащие облицовке на растворах, должны быть проверены отвесом или 2-х метровой рейкой для установления их вертикальности и толщины облицовки.

Проверка вертикальности граней должна осуществляться с помощью отвеса, а замер отклонений - металлической линейкой.

На облицовываемых поверхностях согласно требований ППР должны быть размечены: оси для установки опорных марок и маяков; оси диагональных и фризовых рядов, верхние уровни горизонтальных рядов, вертикальные грани выступающих элементов, углов, пилястр, колонн, величины и направления швов.

Размеры и оси швов облицовки, верхние уровни горизонтальных швов могут размечаться с помощью намеливаемых шнуров или капроновых нитей с красящими фиксаторами, с помощью вертикально натянутых струн, между которыми горизонтально крепят шнур-причалку, который перемещаясь последовательно отмечает каждый последующий ряд облицовки.

Плоскость облицовки при креплении облицовочных плит на растворах должна быть закреплена с помощью опорных марок и маяков толщиной не более 15 мм.

Опорные марки и маяки должны устанавливаться: на верхнем уровне облицовки, внизу не ниже 30-40 мм от уровня пола, в местах выпусков коммуникаций, подвески бытового оборудования, вокруг выступающих элементов, на гранях выступающих плоскостей.

В качестве маяков могут быть использованы плитки, устанавливаемые на гипсовом растворе в размеченных рядах облицовки, вдоль оконных и дверных проемов. Допускается вместо маяков использование вертикальных струн из тонкой проволоки, тросика или капроновой нити толщиной в 1 мм и горизонтального шнура-причалки. Натяжение струн обеспечивается стяжными муфтами, а шнура-причалки - с помощью зажимных муфт.

Разметка верхнего и нижнего уровня облицовки должна выполняться натяжением по маякам и маркам шнуров-причалок, на которых размечают вертикальные ряды, величину швов и количество целых и доборных плит. При разметке облицовки колонн и выступающих элементов конструкций шнуры-причалки должны быть натянуты по каждой грани с учетом толщины облицовки со швом.

Разбивка швов должна выполняться с учетом их толщины с помощью рейки, имеющей цену деления 1,0 мм.

Облицовку поверхностей необходимо выполнять согласно ППР в соответствии с проектом. Соединение поля облицовки с основанием должно осуществляться:

- при применении плит и блоков размером более 400 см2 и толщиной более 10 мм - креплением к основанию и с заполнением раствором пространства между облицовкой и поверхностью стены (пазух) или без заливки пазух при относе облицовки от стены;

- при применении плит и блоков размером 400 см2 и менее, толщиной не более 10 мм, а также при облицовке плитами любых размеров горизонтальных и наклонных (не белее 45 %) поверхностей - на растворе или мастике (в соответствии с проектом) без дополнительного крепления к основанию.

Облицовку стен, колонн, пилястр, интерьеров помещений следует выполнять перед устройством покрытия пола.

Элементы облицовки по клеящей прослойке из раствора и мастики необходимо устанавливать горизонтальными рядами снизу вверх от угла поля облицовки.

Перед облицовкой для лучшего сцепления плитки с основанием его поверхность должна быть очищена от пыли и грязи. Выполнение облицовочных покрытий по основаниям, имеющим ржавчину, высолы, жировые и битумные пятна, не допускается. Обеспыливание поверхностей должно производиться перед нанесением каждого слоя приклеивающих составов.

Если облицовка выполняется до устройства чистого пола, то первый ряд плит или плинтус устанавливается на цементно-песчаный раствор, уложенный и уплотненный по уровню так, чтобы верхняя поверхность его находилась на отметке чистого пола.

Отделка участка и всей поверхности интерьера облицовочными плитами разного цвета, фактуры, текстуры и размеров должна производиться с подбором всего рисунка поля облицовки в соответствии с проектом.

Элементы облицовки при применении природного и искусственного камня полированной и лощеной фактуры необходимо сопрягать насухо, подгоняя кромки подобранных по рисунку смежных плит с креплением по проекту. Швы плит необходимо заполнять мастикой после заливки пазух раствором и его затвердения.

Плиты со шлифованной, точечной, бугристой и бороздчатой структурой, а также с рельефом типа «скала» необходимо устанавливать на растворе; вертикальные швы следует заполнять раствором на глубину 15-20 мм или герметиком после затвердения раствора клеящей прослойки.

Толщина клеевой прослойки, мм, должна быть не более:

- из раствора.................... 7 (предельное отклонение +8);

- мастики.......................... 1 (предельное отклонение +1);

контроль - измерительный, не менее 5 измерений на 70-100 м2 поверхности или на отдельном участке меньшей площади в местах, выявленных сплошным визуальным осмотром, регистрация - в журнале работ.

Облицовывание поверхностей плитами на растворах и мастиках должно осуществляться со строгим соблюдением горизонтальности и вертикальности рядов и швов, размеры которых должны указываться в проекте.

Горизонтальные и вертикальные швы облицовки должны быть однотипными, ровными, одинаковой ширины. Сколы в швах допускаются не более 0,5 мм.

Отклонения расположения швов от вертикали и горизонтали (мм на 1 м длины) во внутренней облицовке не должны превышать:

1,5 мм - для плит зеркальной и лощеной фактуры;

3 мм - для плит шлифованной, точечной, бугристой и бороздчатой фактуры;

3 мм - для фактуры типа «скала»;

(контроль - измерительный, не менее 5 измерений на 50-70 м2 поверхности или на отдельном участке меньшей площади в местах, выявленных сплошным визуальным осмотром, регистрация - в журнале работ).

Отклонение ширины шва внутренней облицовки не должны превышать:

±0,5 мм - для плит зеркальной и лощеной фактуры;

±0,5 мм - для плит из гранита, искусственного камня, мраморов;

±1 мм - для плит шлифованной, точечной, бугристой и бороздчатой фактуры;

±2 мм - фактуры типа «скала»;

(контроль - измерительный, не менее 5 измерений на 70-100 м2 поверхности или на отдельном участке меньшей площади в местах, выявленных сплошным визуальным осмотром, регистрация - в журнале работ).

Заливку пазух раствором необходимо производить после установки постоянного или временного крепления поля облицовки. Раствор следует заливать горизонтальными слоями, оставляя после заливки последнего слоя раствора пространство до верха облицовки в 5 см.

Раствор, залитый в пазухи, при технологических перерывах, превышающих 18 ч, следует защищать от потери влаги. Перед продолжением работ незаполненную часть пазухи необходимо очистить от пыли сжатым воздухом.

После облицовки поверхности из плит должны быть очищены от наплывов раствора и мастики немедленно, при этом поверхности полированных и лощеных плит промыты горячей водой, а шлифованные, точечные, бугристые, бороздчатые и типа «скала» обработаны 10 %ым раствором соляной кислоты и паром при помощи пескоструйного аппарата.

Поверхности из-под распила плит мягких пород (известняка, туфа и т.п.), а также выступающие более чем на 1,5 мм кромки плит с полированной, шлифованной, бороздчатой и точечной поверхностями должны быть соответственно отшлифованы, подполированы или подтесаны до получения четкого контура кромок плит.

Допускаемые несовпадения профиля на стыках архитектурных деталей и швов не должны превышать:

0,5 мм - для плит зеркальной и лощеной фактуры;

1 мм - для плит шлифованной, точечной, бугристой и бороздчатой фактуры;

2 мм - для фактуры типа «скала»;

(контроль - измерительный, не менее 5 измерений на 70-100 м2 поверхности или на отдельном участке меньшей площади в местах, выявленных сплошным визуальным осмотром, регистрация - в журнале работ).

Поверхность облицовки в процессе укладки плит должна систематически (не менее 5 измерений на 50-70 м2 поверхности) проверяться на сохранение заданной плоскости. Облицованная поверхность должна соответствовать заданным геометрическим формам. Поверхность всей облицовки должна быть жесткой.

Трещины, пятна, потеки раствора, высолы на облицованной поверхности не допускаются.

Отклонения от вертикали поверхности, облицованной плитами, не должны превышать во внутренней облицовке:

2 мм на 1 м длины и 4 мм на этаж - для плит зеркальной и лощеной фактуры;

3 мм на 1 м длины и 8 мм на этаж - для плит шлифованной, точечной, бугристой и бороздчатой фактуры;

(контроль - измерительный, не менее 5 измерений на 50-70 м2 поверхности или на отдельном участке меньшей площади в местах, выявленных сплошным визуальным осмотром, регистрация - в журнале работ).

Неровности облицованной плоскости при контроле двухметровой рейкой во внутренней облицовке не должны превышать:

2 мм - для плит зеркальной и лощеной фактуры;

4 мм - для плит шлифованной, точечной, бугристой и бороздчатой фактуры;

(контроль - измерительный, не менее 5 измерений на 70-100 м2 поверхности или на отдельном участке меньшей площади в местах, выявленных сплошным визуальным осмотром, регистрация - в журнале работ).

Устройство каждого элемента облицовочного покрытия следует выполнять после проверки правильности выполнения соответствующего нижележащего элемента с составлением акта освидетельствования скрытых работ.

Соответствие готовых облицовочных покрытий требованиям проекта и нормативных документов выявляется в процессе технического осмотра покрытий, проведения необходимых инструментальных измерений и лабораторных испытаний, рассмотрения приемо-сдаточной документации, и оформляется актом приемки.

Серия 2.473-1 Узлы облицовки стен и колонн в интерьере производственных и административно-бытовых зданий естественными и искусственными материалами.

Материалы данной серии предусматривают облицовку стен и колонн облицовочными плитами из природного камня при относе от стены и колонны с помощью металлических крепежных элементов - закреп, стоек связей.

Облицовка колонн производится с нижних рядов. Облицовка стен - с нижних рядов и от дверного проема в обе стороны к углам.

До начала облицовки колонн и стен необходимо выполнить конструкцию чистого пола.

Монтаж облицовочных плит необходимо производить до устройства подвесных потолков.

Через каждые 3-3,6 м по высоте плиты устанавливаются на опорную металлическую балку-уголок. Балка устанавливается в соответствии с разбивкой плит.

Основные этапы подготовительных работ и монтажа облицовок стен:

- выровнять горизонтальность положения нижнего ряда закреп;

- наметить и просверлить отверстие в стене, забить в отверстие дюбель; прикрепить закрепу шурупами;

- вставить плиту и отрегулировать ее положение болтами;

- вставить закрепу в верхний паз плиты; прикрепить ее к стене;

- болтами отрегулировать положение плиты и закрепить ее.

Основные этапы подготовительных работ и монтажа облицовки колонн:

- к металлическим стойкам по периметру колонн прикрепить связи; выровнять горизонтальность положения нижнего ряда закреп;

- прикрепить закрепы к связям винтами;

- вставить плиту и отрегулировать ее положение болтами;

- вставить закрепу в верхний паз плиты и прикрепить ее к связи;

- болтами отрегулировать положение плиты и закрепить ее.

Пространство между колоннами, стеной и плитами раствором не заполняется.

Схема узлов облицовки стены плитами


УЗЛЫ ОБЛИЦОВКИ СТЕН ПО СЕРИИ 2.473-1

УЗЛЫ ОБЛИЦОВКИ СТЕН ПО СЕРИИ 2.473-1

Крепежные приборы (закрепы) для облицовки, подвергающиеся воздействию агрессивных сред, должны быть покрыты антикоррозионными составами или изготовлены из цветного металла в соответствии с проектом.

УЗЛЫ ОБЛИЦОВКИ КОЛОНН ПО СЕРИИ 2.473-1


ОБЛИЦОВКА НАРУЖНЫХ СТЕН ПЛИТАМИ

ГОСТ 9480-89 Плиты облицовочные пиленые из природного камня. Технические условия.

ГОСТ 24099-80* Плиты декоративные на основе природного камня. Технические условия.

ГОСТ 23342-91 Изделия архитектурно-строительные из природного камня. Технические условия.

ГОСТ 6927-74 Плиты бетонные фасадные. Технические требования.

ТУ 5894-074-02495336-98 Плиты бетонные фасадные.

ТУ 5746-019-08498991-98 Плиты бетонные фасадные на основе ВНВ-100.

ТУ 5746-001-04001232-94 Плиты бетонные цветные со вскрытой фактурой для облицовки наружных стен жилых и общественных зданий ПЦ.

ТУ 5746-001-39583839-96 Плиты бетонные декоративно-облицовочные «Микор».

ТУ 5740-006-04000706-97 Плиты бетонные декоративные, имитирующие породы природного камня.

ТУ 5741-001-41760-95 Плиты фасадные силикатные.

ТУ 5789-003-46393022-98 Плиты облицовочные «Форпост».

ТУ 5741-001-24946035-96 Камни силикатные лицевые для облицовки фасадов промышленных и гражданских зданий.

ТУ 5789-002-00281594-96 Плитки асбестоцементные плоские.

ТУ 5789-054-00281588-97 Плитки асбестоцементные плоские прессованные.

ГОСТ 28013-98 Растворы строительные. Общие технические условия.

ТУ 5745-005-11322110-97 Смеси сухие цементно-песчаные клеевые специализированные для облицовочных работ.

Стандарты и технические условия на облицовочные плиты, растворы и сухие смеси, предусмотренные проектом.

СНиП 3.04.01-87 Изоляционные и отделочные покрытия.

Требования к облицовочным материалам

Входной контроль материалов для производства облицовочных работ должен осуществляться в соответствии с требованиями проекта, государственных стандартов и технических условий на конкретные материалы, предусмотренные проектом, а также требованиями технологической документации, утвержденной в установленном порядке.

ГОСТ 9480-89 Плиты облицовочные пиленые из природного камня. Технические условия.

Данный стандарт распространяется на облицовочные плиты, изготовляемые распиливанием блоков из природного камня и предназначаемые для наружной и внутренней облицовки элементов зданий и сооружений.

Плиты изготовляют следующих размеров: длиной - от 150 до 1500 мм, шириной - от 150 до 1200 мм, толщиной - от 8 до 30 мм.

Размеры плит устанавливаются по соглашению изготовителя с потребителем. Допускается по согласованию изготовителя с потребителем изготовление облицовочных плит больших размеров по длине и ширине, а также плит толщиной 40 мм из мраморизованного известняка, туфа, ракушечника и известняка.

Предельные отклонения от номинальных размеров плит не должны превышать:

по длине и ширине: ±1 мм - для плит размером до 600 мм;

±2 мм - для плит размером св. 600 мм;

по толщине: ±1 мм - для плит размером от 8 до 15 мм;

±2 мм - для плит размером св. 15 до 30 мм из мрамора;

±3 мм - для плит размером св. 15 до 30 мм из других горных пород.

Плиты должны изготовляться прямоугольной или квадратной формы с обрезными гранями. По согласованию с потребителем допускается изготовление плит с необрезными гранями.

Отклонение от прямого угла плит на 1 м длины граней не должно превышать ±1 мм.

Фактура лицевой поверхности облицованных плит должна соответствовать указанной ниже:

полированная - с зеркальным блеском, четким отражением предметов, без следов обработки предыдущей операции;

гладкая матовая (лощеная) - без следов обработки предыдущей операции и с полным выявлением рисунка камня;

шлифованная - равномерно-шероховатая со следами обработки, получаемыми только при шлифовании, с неровностями рельефа высотой до 0,5 мм;

пиленая - неравномерно-шероховатая - с неровностями рельефа высотой до 2 мм;

обработанная ультразвуком - с выявленным цветом и рисунком камня;

термообработанная - шероховатая поверхность со следами шелушения;

точечная (бучардованная) - равномерно-шероховатая с неровностями рельефа высотой до 5 мм.

По согласованию изготовителя с потребителем допускаются другие виды фактуры лицевой поверхности.

Плиты с полированной и гладкой матовой фактурой в зависимости от качества лицевой поверхности подразделяют на два класса. Плиты 1-го класса не должны иметь на лицевой поверхности видимых повреждений.

Плиты 2-го класса могут иметь на лицевой поверхности следующие повреждения: 2 повреждения углов длиной по ребру не более 5 мм; 3 скола длиной не более 5 мм по ребрам периметра плит из гранита и других прочных пород; 2 скола - у плит из мрамора, песчаника, известняка, травертина, туфа и других пород средней прочности и низкопрочных пород; каверны и раковины только для плит из травертина, туфа и ракушечника, если они не снижают декоративности плит.

Отклонение от плоскостности на 1 м длины по периметру и диагоналям не должно превышать: ±1 мм - для плит с полированной и гладкой матовой фактурой 1-го класса; ±2 мм - для тех же плит 2-го класса; ±3 мм - для плит со шлифованной фактурой; ±5 мм - для плит остальных видов.

Плиты не должны иметь трещин. На плитах из цветного мрамора и мраморизованного известняка допускается одна несквозная трещина тектонического происхождения с нарушением сплошности шириной не более 0,05 мм и длиной 1/3 ширины плит. Плиты с указанными трещинами применяют только для внутренней облицовки зданий.

На лицевой поверхности плит допускаются прожилки и полосы, не ухудшающие декоративные свойства плит.

Плиты должны быть упакованы в ящики или ящичные поддоны в вертикальном положении не более двух рядов по высоте лицевыми поверхностями друг к другу. Допускается упаковка плит из прочных горных пород в пакеты. Между лицевыми поверхностями полированных плит должны быть уложены бумажные или деревянные прокладки.

На ящике должен стоять штамп отдела технического контроля и товарный знак предприятия-изготовителя, на поддоне или пакете должна быть прикреплена бирка со штампом отдела технического контроля или товарным знаком предприятия-изготовителя.

Каждая партия поставляемых плит должна иметь документ о качестве, в котором указывают:

- наименование и адрес предприятия-изготовителя;

- номер и дату составления документа; дату отгрузки;

- номер партии;

- число плит в партии и их размеры;

- породу камня, наименование месторождения;

- фактуру лицевой поверхности плит;

- физико-механические показатели свойств породы блоков, нормируемые по ГОСТ 9479-84*; обозначение данного стандарта.

Плиты транспортируют в ящиках, ящичных поддонах или пакетах, приспособленных для механизированной погрузки и выгрузки, любым видом транспорта в соответствии с Правилами перевозки грузов, действующими на данном виде транспорта. При погрузке, выгрузке и транспортировании плит должны быть приняты меры, предохраняющие их от загрязнения и повреждения.

Плиты должны храниться под навесом или на открытых спланированных площадках, обеспечивающих отвод воды и предохранение плит от повреждений и загрязнений. При хранении на складах без тары плиты должны быть установлены на деревянных прокладках в вертикальном положении лицевыми поверхностями друг к другу. Между полированными плитами укладывают бумажные или деревянные прокладки.

Плиты из пород с низкой морозостойкостью должны храниться в условиях, предохраняющих их от резкого перепада температур и атмосферных осадков.

ГОСТ 24099-80* Плиты декоративные на основе природного камня. Технические условия

Данный стандарт распространяется на облицовочные декоративные плиты с мозаичной, брекчиевидной и орнаментной поверхностью, изготовляемые с использованием природного камня и неорганических или синтетических связующих и предназначаемые для наружной и внутренней облицовки элементов зданий и сооружений.

Плиты на синтетических связующих не допускается применять для внутренней облицовки жилых домов, детских дошкольных учреждений, санаториев и учреждений отдыха, закрытых спортивных учреждений и служебных помещений с постоянным пребыванием людей.

В зависимости от способа изготовления плиты подразделяют на три типа: I - прессованные или формованные; II - пиленые из искусственно отформованных блоков; III - склеенные из кусков камня правильной или произвольной формы, либо с песчано-щебеночным слоем.

Лицевая поверхность плит должна быть для:

I типа - мозаичной (М), брекчиевидной (Б) или орнаментной (О);

II типа - мозаичной или брекчиевидной;

III типа - мозаичной, брекчиевидной, орнаментной или со сплошным песчано-щебеночным слоем (С).

Мозаичную лицевую поверхность получают с использованием декоративного щебня из природного камня; брекчиевидную лицевую поверхность получают из кусков природного камня произвольной формы или из смеси кусков природного камня произвольной формы и декоративного щебня; орнаментную лицевую поверхность получают из природного камня правильной формы; лицевую поверхность плит с песчано-щебеночным декоративным слоем получают путем образования сплошного слоя из декоративного щебня и песка, покрытых прозрачным синтетическим связующим.

Плиты I и III типов изготавливают однослойными или двухслойными. Плиты I типа изготавливают не армированными или армированными.

Плиты изготавливают прямоугольной формы размерами, приведенными в нижеследующей таблице.

Тип плиты

Размер, мм

Длина

Ширина

Толщина

I

От 200 до 800

От 200 до 600

10; 15; 20; 25; 28; 30; 35; 40

II

От 200 до 1500

От 200 до 1200

10; 15; 20; 25; 30; 35; 40

III

От 200 до 600

От 200 до 600

10; 15; 20; 25; 30; 40

Размеры плит по длине и ширине должны быть кратными 50 мм.

Размеры и форма плит должны быть согласованы заказчиком с предприятием-изготовителем при заключении договора на поставку.

Плиты другой формы в плане допускается изготавливать по индивидуальному заказу.

Допускается производство брекчиевидных формованных плит толщиной до 60 мм, если в качестве кусков природного камня используются отходы от производства плит или архитектурно-строительных изделий толщиной до 40 мм.

Пример условного обозначения декоративной плиты из природного камня I типа с мозаичной лицевой поверхностью (М) длиной и шириной 500 мм, толщиной 30 мм:

I М 50.50.30 - ГОСТ 24099-80

По цветовой гамме и рисунку орнаментные плиты должны соответствовать чертежам, согласованным с заказчиком, а мозаичные и брекчиевидные - образцам предприятия-изготовителя.

Плиты должны иметь ровную лицевую поверхность без трещин, выпуклостей, сколов и инородных включений.

Фактура лицевой поверхности плит должна быть полированной, лощеной, шлифованной или пиленой по ГОСТ 9480-89.

Отклонения размеров плит и качества лицевой поверхности от нормативных не должны превышать величин, указанных в нижеследующей таблице.

Вид допуска

Значение

По длине и ширине, мм

±3

По толщине, мм

±3

Сколы на ребрах лицевой грани на 1 м периметра:

 

количество, шт.

3

длина скола по ребру, мм

3

Отклонение от прямого угла смежных граней на 1 м длины, мм

±3

Отклонение от плоскости на 1 м длины, мм

±2

Отбитые углы: количество, шт.

2

длина по ребру, мм

5

Ширина шва между отдельными элементами орнамента в плитах III типа, мм

2

Раковины и каверны в природном камне (туфе, травертине и ракушечнике), длина, мм

50

Диаметр раковин в связующем материале, мм:

 

в плитах I и III типов

3

в плитах II типа

5

Плиты должны быть очищены от загрязнений.

Плиты декоративные на синтетическом связующем не должны выделять вредные вещества в атмосферный воздух и в воздушную среду зданий и сооружений выше предельно допустимых концентраций (ПДК), утвержденных Минздравом РФ.

На таре для транспортирования плит должны быть нанесены парафиновым карандашом или несмываемой краской товарный знак предприятия-изготовителя, штамп ОТК и обозначение данного стандарта.

Каждая партия плит должна сопровождаться установленной формы документом, в котором указывают:

- наименование и адрес предприятия-изготовителя;

- номер и дату составления документа;

- марку, количество и область применения плит;

- обозначение данного стандарта;

- сведения о количестве выделяемых вредных веществ из плит на синтетическом связующем.

Плиты должны перевозиться в прочной таре приспособленной для механизированной погрузки и выгрузки. Плиты должны быть установлены в вертикальном положении попарно лицевыми поверхностями друг к другу с прокладкой между ними бумаги либо деревянных прокладок и закреплены клиньями. Плиты должны быть рассортированными по типам, размерам, фактуре и уложены в тару не более чем в два ряда по высоте.

По соглашению с потребителем допускается перевозка автомобильным транспортом прессованных плит в многооборотной таре в горизонтальном положении без прокладок между ними.

При хранении в складах без тары плиты должны быть установлены на деревянные прокладки в вертикальном положении лицевыми поверхностями друг к другу не более чем в два ряда по высоте.

Плиты должны храниться рассортированными по типам, размерам и фактуре и быть предохранены от повреждений и увлажнения.

На строительной площадке в процессе входного контроля:

- необходимо проверить наличие сопроводительной документации и полноту содержащихся в ней данных;

- по имеющейся сопроводительной документации, маркировке, ярлыкам и биркам необходимо убедиться в соответствии поступивших плит и раствора требованиям проекта;

- необходимо путем внешнего осмотра проверить целостность упаковки, отсутствие на плитках недопустимых дефектов внешнего вида, наличие на упаковке и бирках штампа ОТК;

- провести в соответствии с требованиями технологической карты необходимые измерения геометрических параметров плит и лабораторные испытания плит и раствора на соответствие их нормативным требованиям;

- при возникновении сомнении в качестве поступивших материалов должны быть вызваны представители строительной лаборатории или функциональных служб, ответственных за поставку материалов.

Технические требования

Производство облицовочных работ должно осуществляться в соответствии с требованиями проекта, СНиП 3.01.01-85*, СНиП 3.04.01-87, ППР, технологических карт, схем операционного контроля качества работ и другой технологической документации, утвержденной в установленном порядке.

Облицовочные работы должны осуществлять строительно-монтажные организации, получившие лицензию на выполнение отделочных работ в Федеральных или региональных лицензионных органах.

Облицовочные работы должны выполняться квалифицированным персоналом, прошедшим специальную подготовку и обладающим надлежащими навыками по производству облицовочных работ.

Производству облицовочных работ должны предшествовать:

- разработка проектов производства облицовочных работ, разработка (или привязка типовых) технологических карт и схем операционного контроля качества на выполнение облицовочных работ;

- завершение и надлежащее оформление всех предусмотренных проектом предшествующих работ;

- входной контроль облицовочных и декоративных плит, растворов;

- изучение инженерно-техническим персоналом проектной и технологической документации, обучение мастеров и рабочих передовым методам труда.

При входном контроле рабочей документации должна производиться проверка ее комплектности и достаточности содержащейся в ней технической информации для производства работ.

Входной контроль облицовочных и декоративных плит, растворов должен производиться в соответствии с требованиями проекта, стандартов и технических условии на конкретные изделия и материалы в порядке, предусмотренном технологическими картами или другой технологической документацией, утвержденной в установленном порядке.

Входной контроль должен предотвратить поступление на строительную площадку материалов и изделий, не отвечающих требованиям соответствующей нормативной документации.

Технические требования к облицовочным и декоративным плитам согласно ГОСТ 9480-89 и ГОСТ 24099-80* приведены выше.

В зависимости от физико-механических свойств камня рекомендуется применять следующие породы для облицовки отдельных частей зданий:

цоколя, порталов - гранит, габбро, лабрадорит, базальт, диабаз;

поля стены - мрамор, травертин, известняк, туф, доломит, песчаник;

отдельно стоящих конструкций (ограждений балконов, парапетов и др.) - гранит.

Технические характеристики облицовочных изделий из природного камня должны удовлетворять требованиям ГОСТ 9479-84*, ГОСТ 9480-89, ГОСТ 23342-91.

Природный камень для облицовки должен иметь следующие физико-механические характеристики:

а) при облицовке поля стены: предел прочности при сжатии - не менее 10 МПа (100 кгс/см2), морозостойкость - не менее Мрз 25;

б) при облицовке цоколей, порталов и др. выступающих частей зданий, отдельно стоящих конструкций: предел прочности при сжатии - не менее 40 МПа (400 кгс/см2), морозостойкость - не менее Мрз 50.

Бетонные фасадные плиты, применяемые для облицовки стен зданий, изготавливаются плоскими, с ребрами на тыльной поверхности и Г-образной формы. Плиты могут быть однослойными и двухслойными, армированными и неармированными. В двухслойных плитах толщина лицевого слоя должна быть не менее 15 мм.

Плиты изготавливают из тяжелого или силикатного бетона класса не менее В15.

Технические характеристики плит из тяжелого бетона должны удовлетворять требованиям ГОСТ 6927-74 и технических условий заводов-изготовителей, плит из силикатного бетона - требованиям технических условий заводов-изготовителей.

Размеры бетонных плит не стандартизованы и определяются проектом и техническими условиями на их изготовление. Толщина плит из тяжелого бетона должна быть не менее 30 мм, из силикатного - не менее 40 мм.

Плиты из силикатного бетона крепятся к кирпичной кладке прокладными рядами из тех же плит, поэтому толщина их для прокладного ряда должна быть равной толщине кирпича.

В случае применения для облицовки кирпичных стен Г-образных бетонных плит толщина закладной части плит также должна быть равной толщине кирпича.

Плоские и Г-образные плиты из цементного бетона изготавливаются обязательно с армированием стенки и закладной части.

Плоские бетонные плиты крепятся к стенам на стальных анкерах.

Анкеры и крепежные петли выполняют из коррозионно-стойкой стали.

Облицовочные работы должны выполняться в соответствии с проектом производства работ (ППР) на возведение зданий и сооружений.

Запрещается осуществление строительно-монтажных работ без утвержденного проекта производства работ. Не допускаются отступления от решений проектов производства работ без согласования с организациями, разработавшими и утвердившими их. Замена предусмотренных проектом материалов, изделий и составов допускается только по согласованию с проектной организацией и заказчиком.

До начала облицовочных работ должны быть произведены следующие работы:

- выполнена защита отделываемых помещений от атмосферных осадков; устроены гидроизоляция, тепло-звуко-изоляция и выравнивающие стяжки перекрытий;

- загерметизированы швы между блоками и панелями; заделаны и изолированы места сопряжений оконных, дверных и балконных блоков;

- остеклены световые проемы;

- смонтированы закладные изделия, проведены испытания систем тепло-, водоснабжения и отопления.

До отделки фасадов дополнительно должны быть выполнены следующие работы:

- наружная гидроизоляция и кровля с деталями и примыканиями;

- устройство всех конструкций пола на балконах;

- монтаж и закрепление всех металлических картин окаймления архитектурных деталей на фасаде здания;

- установка всех крепежных приборов водосточных труб (согласно проекту).

Облицовочные работы следует выполнять после проверки правильности выполнения предшествующих работ с составлением актов освидетельствования скрытых работ.

Поверхности, подлежащие облицовке, должны удовлетворять следующим требованиям:

- стены должны иметь нагрузку не менее 80 % проектной при наружной облицовке их поверхности, за исключением стен, облицовка которых выполняется одновременно с кладкой;

- бетонные поверхности и поверхности кирпичных и каменных стен, выложенных с полностью заполненными швами должны иметь насечку глубиной не менее 3 мм;

- поверхности стен, выложенных впустошовку, необходимо подготавливать без их насечки с заполнением швов раствором;

- любые поверхности необходимо перед их облицовкой очистить, промыть и перед нанесением клеящей прослойки из раствора и других водных составов увлажнить до матового блеска.

Отклонения поверхностей конструкций, подлежащих облицовке, от вертикали не должны превышать 10 мм для кирпичной кладки и 10-12 мм для сборных железобетонных конструкций. Если стены из кирпича и бетона имеют отклонения от вертикали в отдельных местах или неровности сверх допустимых, их выправляют, срубая неровности. При невозможности это сделать на стены наносят выравнивающий намет из цементно-песчаного раствора.

Выравнивающие слои из цементно-песчаного раствора должны отвечать требованиям, предъявляемым к оштукатуренным поверхностям.

Поверхности, подлежащие облицовке на растворах, должны быть проверены отвесом или 2-х метровой рейкой для установления их вертикальности и толщины облицовки.

Проверка вертикальности граней должна осуществляться с помощью отвеса, а замер отклонений - металлической линейкой.

Общая толщина слоя раствора, нанесенного на стену для крепления облицовки, не должна превышать 20 мм. При необходимости нанесения более толстого слоя раствора для выравнивания стены его следует делать по сетке, прикрепленной к стене штырями.

Облицовку поверхностей необходимо выполнять согласно ППР в соответствии с проектом. Соединение поля облицовки с основанием должно осуществляться:

- при применении плит и блоков размером более 400 см2 и толщиной более 10 мм - креплением к основанию и с заполнением раствором пространства между облицовкой и поверхностью стены (пазух) или без заливки пазух при относе облицовки от стены;

- при применении плит и блоков размером 400 см2 и менее, толщиной не более 10 мм, а также при облицовке плитами любых размеров горизонтальных и наклонных (не белее 45 %) поверхностей - на растворе (в соответствии с проектом) без дополнительного крепления к основанию;

- при облицовке закладными плитами одновременно с кладкой стен - на кладочном растворе.

Облицовка плитами из природного камня выполняется по возведенным ранее (готовым) стенам и при индустриальной отделке панелей (блоков) в заводских условиях.

В проекте облицовки из природного камня должна быть дана точная спецификация типов элементов облицовки с указанием вида используемого камня, месторождения, размеров, фактуры их лицевой поверхности, а также спецификация монтажных деталей крепления облицовки.

Минимальные толщины плит для различных пород камня при облицовке стен из штучных материалов:

30 мм - для плит из гранита и других твердых пород, белого мрамора, вулканического туфа:

40 мм - для плит из известняка и доломита;

10, 30 мм - для плит из травертина.

Наибольший размер сторон плит не должен превышать 600 мм при облицовке по возведенным ранее стенам. Размеры плит из природного камня для индустриальной отделки панелей (блоков) не должны превышать 400×600 мм (400 мм - высота плиты). Размеры архитектурно-строительных деталей для облицовки цоколей, парапетов, подоконников принимают по ГОСТ 23342-91.

Форма и фактура лицевой поверхности плит принимаются в соответствии с архитектурным решением стены и требованиями ГОСТ 9480-89.

По возведенным (готовым) стенам облицовочные плиты крепятся:

- вплотную к стене на растворе и стальных связях;

- на растворе для 1-го этажа зданий (не выше 5 м);

- на относе от стены с креплением на связях из коррозионно-стойких сталей.

Только на относе от стены допускается облицовка плитами из природного камня несущих конструкций стен из керамзитобетона и облицовка стен для Северной климатической зоны страны.

Для крепления плит применяются цементно-песчаные растворы марки не ниже 100. Растворы не должны образовывать высолов на поверхности стены. Рекомендуется применять цементно-песчаные растворы средней жесткости на портландцементе и пуццолановом цементе, для светлых пород природного камня - раствор на белом цементе. Содержание щелочей в цементе не должно превышать 0,6 %. Подвижность цементно-песчаного раствора должна соответствовать глубине погружения стандартного конуса не более 6 см.

При выполнении облицовки плитами из природного камня или тяжелого бетона с креплением к стене или рабочей арматуре стальными крюками подвижность раствора для заполнения пазухи между стеной и облицовкой должна быть не более 8 см.

Для крепления облицовки поля стены на растворе и стальных связях должны быть предусмотрены (в соответствии с требованиями проекта:

V-образные петли-выпуски диаметром 8 А1 для удержания рабочей арматуры, заделываемые в кладку на глубину не менее 250 мм в процессе возведения стены;

рабочую арматуру диаметром 10 ÷ 12 А1, прикрепляемую к петлям, штыри и скобы для соединения смежных элементов облицовки между собой (диаметром 4 ÷ 6 мм);

крюки простые для крепления элементов облицовки к рабочей арматуре (диаметром 4 ÷ 6 мм).

а - общий вид, б - V-образная петля, в - крюк, г - штырь (пирон), д - скоба

1 - V-образная петля, 2 - рабочая арматура, 3 - облицовочные плиты, 4 - крюк

Петли-выпуски должны выполняться из арматурной предварительно оцинкованной стали. В случае приварки рабочей арматуры к петлям-выпускам последние должны быть дополнительно защищены протекторным грунтом. Рабочая арматура должна выполняться из арматурной стали без оцинковки. Крюки, штыри и скобы должны быть изготовлены из коррозионно-стойкой стали, либо латуни.

Рабочая арматура крепится к стене с помощью петель-выпусков, устанавливаемых с шагом 500 мм по горизонтали и вертикали.

Плиты между собой дополнительно соединяют штырями и скобами, располагаемыми в горизонтальных и вертикальных швах.

В случае крепления плит к готовым стенам на анкерах расстояние между плитой и стеной не должно превышать 50 мм и заполняться раствором.

При облицовке плитами из природного камня рекомендуют, как правило отверстия для установки крепежных крюков, а также выборку в плитах в месте их установки делать в условиях заводов-поставщиков плит, отверстия для крюков (штырей) должны иметь диаметр на 1 мм больше диаметра устанавливаемого в него крюка (штыря).

Не допускается отгибать крюки (анкеры) при заделке их в стену или креплении к рабочей арматуре более чем на 15° к горизонтали.

В целях избежания отколов плит при установке крюков и штырей не разрешается прикладывать к ним усилия (забивать).

Крепление облицовочных плит на растворе разрешается только для плит из травертина толщиной 10 мм в первом этаже высотой до 5 м и с обязательным устройством растворных швов по контуру плит.

Облицовку плитами по возведенным ранее стенам с креплением на растворе допускается производить не ранее чем через 6 месяцев после получения стенами полной расчетной нагрузки и только при устойчивой положительной температуре не ниже +6 °С.

Облицовку плитами с креплением к стенам на стальных связях и растворе разрешается производить на высоту между опорными поясами, при температуре до минус 10 °С.

При этом для заполнения пазухи между облицовкой и стеной должен применяться цементно-песчаный раствор без противоморозных добавок и является обязательным последующий электропрогрев облицованных участков стен.

Последующая облицовка стен, возведенных из бетонных блоков с креплением плит только на растворе, не допускается вследствие слабой адгезии раствора с затвердевшей поверхностью бетона.

Облицовка цоколя здания может выполняться плитами: западающими за плоскость стены, расположенными в плоскости стены, выступающими за плоскость стены.

а - облицовка плитами, западающими за плоскость стены; б - расположенными в плоскости стены; в - выступающими за плоскость стены; 1 - опора; 2 - уровень отмостки; 3 - стальной клин; 4 - крюк

В первых двух случаях толщина цокольных плит принимается равной толщине плит поля стены (30 ÷ 40 мм), а в последнем - не менее 60 мм. Высота цоколя из соображений предохранения вышележащих плит от загрязнения должна быть, как правило, не менее 600 мм. Для выступающего за плоскость стены цоколя должны быть предусмотрены соответствующие мероприятия по удалению воды от горизонтальной его части.

Цоколь должен опираться на конструкцию стены (выпуски кладки, уголки арматуру и т.д.).

Каждый элемент цоколя должен крепиться не менее чем двумя крюками независимо от его длины.

Нижняя цокольная плита в составном цоколе должна закрепляться сверху и сбоку.

Оконные, дверные и другие проемы должны облицовываться массивными элементами, которые изготавливаются промышленностью как специальные изделия.

При облицовке подоконников, накрывочных плит, парапетов, ограждений лестниц, выполняемых из отдельных плит, их соединение между собой следует производить штырями из нержавеющей стали, либо латуни не менее двух на плиту. Крепление плит к рабочей арматуре производится комбинированными крюками. По всей длине подоконника или парапета предусматривается капельник. Плиты должны устанавливаться с уклоном в сторону слива не менее 0,01 %.

Плиты должны укладываться на растворе, швы между плитами зачеканиваться жесткой цементной смесью или герметизироваться мастиками.

Вертикальные поверхности стен ограждений балконов, лоджий, лестниц, цветочниц, подпорных стен и т.п. с внутренней стороны должны иметь гидроизоляционную защиту на всю высоту ограждения с заведением ее на горизонтальный участок. Гидроизоляцию защищают оштукатуриванием цементным раствором по сетке, керамической плиткой, асбестоцементными листами или другим способом.

При облицовке поверхностей проемов отдельными облицовочными плитами из природного камня последние должны опираться на надежную конструкцию, закрепленную в проеме.

Облицовку бетонными плитами допускается производить одновременно с возведением стен зданий из различного вида кирпича, керамических и бетонных камней.

Плоские или с ребрами по контуру неармированные плиты из силикатного бетона перевязываются с кладкой прокладными рядами плит, располагаемыми после каждого ряда плит по высоте стены.

а - облицовка плоскими бетонными плитами стен из кирпича толщиной 65 мм; б - из кирпича толщиной 88 мм; 1 - плиты; 2 - прокладной ряд плит.

Толщина плит принимается в этом случае равной или кратной толщине кирпича, высота - не более 300 мм.

Г-образные армированные плиты из тяжелого бетона перевязывают с основной кладкой закладной частью плиты на глубину не менее 75 мм. Толщина стенки плиты должна быть не менее 30 мм, толщина закладной части - равной или кратной толщине кирпича, высота не более 600 мм.

Размеры плит из тяжелого бетона устанавливают по технологическим условиям их изготовления и архитектурным требованиям. Крепят плиты на гибких связях, которые закладывают в швы кладки.

При проектировании стен с облицовкой такими плитами является обязательным их опирание в уровне каждого этажа на специальные Г-образные элементы, заделанные в кладку или на железобетонные пояса. Под опорной плитой или поясом оставляют компенсационный шов толщиной 15 ÷ 20 мм, который заполняют изнутри мягкой прокладкой, а с наружной стороны - гидроизоляционной мастикой. Вертикальные швы между плитами расшивают раствором.

Контролируемые операции

Состав и средства контроля

Документация

Подготовительные работы

Проверить:

- завершение и надлежащее оформление предшествующих монтажных работ (наличие актов приемки и актов освидетельствования скрытых работ, геодезических исполнительных схем и другой приемо-сдаточной документации);

Акт приемки, акты освидетельствования скрытых работ, исполнительные схемы

- наличие ППР, технологических карт и схем операционного контроля качества облицовочных работ;

ППР, технологические карты, СОКК

- наличие документов о качестве и полноту содержащихся в них данных на поступившие на строительную площадку плиты и раствор; ярлыки, бирки, маркировку; соответствие их требованиям проекта и нормативных документов;

Документы о качестве, акты лабораторных испытаний

- внешним осмотром отсутствие недопустимых дефектов внешнего вида на плитах;

- соответствие качества подготовленных поверхностей оснований требованиям проекта и нормативных документов.

Общий журнал работ

Облицовка наружных стен плитами

Контролировать:

- соблюдение заданной ППР технологии выполнения облицовочных работ;

- соответствие качества выполненных облицовочных работ требованиям проекта и нормативных документов олщину клеевой прослойки, отклонения от вертикали облицованной поверхности, отклонения расположения швов, несовпадение профиля на стыках, неровности поверхности, отклонения ширины шва облицовки).

Общий журнал работ

Приёмка

Проверить:

- соответствие качества выполненных облицовочных работ требованиям проекта и нормативных документов;

- составление и надлежащее оформление приемосдаточной исполнительной документации.

Акт приемки

ВХОДНОЙ И ОПЕРАЦИОННЫЙ КОНТРОЛЬ осуществляют:

мастер (прораб), лаборант (инженер) - в процессе производства работ.

ПРИЁМОЧНЫЙ КОНТРОЛЬ ОСУЩЕСТВЛЯЮТ:

прораб (мастер), представители технадзора заказчика.

КИП - двухметровая рейка, металлическая линейка, металлическая рулетка, угольник металлический, щуп, отвес, уровень, лабораторные приборы и оборудование.

Облицовка стен зданий Г-образными закладными бетонными плитами

Армирование стен, облицованных бетонными плитами, жестко связанными со стеной сетками, в целях повышения их несущей способности разрешается только в уровне расположения рядов кладки, где осуществляется ее связь с облицовкой (в уровне прокладных рядов или под закладной частью Г-образных плит). При этом сетки укладываются по всему сечению стены, включая облицовку.

При гибких связях бетонных облицовочных плит со стеной армирование кладки производится по правилам, принятым для обычной кладки без облицовки.

В уровне перекрытия каждого этажа бетонные плиты должны устанавливаться на специальные упорные пояса. Под поясом должен оставляться компенсационный шов толщиной 15 ÷ 20 мм, заполняемый герметикой.

Облицовочные плиты разрешается устанавливать со швами по контуру или вплотную друг к другу, в последнем случае является обязательной шлифовка торцевых граней плит.

Вертикальный зазор между плоскостью стены и облицовкой в процессе возведения заполняется раствором. Заполнение зазора производится послойно, каждый слой укладывается не более чем на 1/3 высоты плиты и только после тщательного уплотнения предыдущего.

Возведение стен с одновременной их облицовкой плитами из силикатного и тяжелого бетонов, жестко связанных со стенкой при отрицательных температурах, рекомендуется, как правило, производить на растворе с противоморозной добавкой нитрита натрия. В виде исключения эти облицовки могут применяться при возведении кирпичных стен методом замораживания в зданиях не выше четырех этажей.

Облицовка одновременно с возведением стен методом замораживания производится на том же растворе, что и кладка, но не ниже марки 50.

Облицовку бетонными плитами с креплением на анкерах и растворе в процессе возведения стен допускается производить при отрицательных температурах на растворах с противоморозной добавкой нитрита натрия.

Крепежные приборы (закрепы) для облицовки, подвергающиеся воздействию агрессивных сред, должны быть покрыты антикоррозионными составами или изготовлены из цветного металла в соответствии с проектом.

Поверхности, облицованные однотонными искусственными материалами, должны иметь однотонность, природным камнем - однотонность или плавность перехода оттенков.

Элементы облицовки при применении природного и искусственного камня полированной и лощеной фактуры необходимо сопрягать насухо, подгоняя кромки подобранных по рисунку смежных плит с креплением по проекту. Швы плит необходимо заполнять мастикой после заливки пазух раствором и его затвердения.

Плиты со шлифованной, точечной, бугристой и бороздчатой структурой, а также с рельефом типа «скала» необходимо устанавливать на растворе; вертикальные швы следует заполнять раствором на глубину 15 ÷ 20 мм или герметикой после затвердения раствора клеющей прослойки.

Толщина клеевой прослойки из раствора не должна быть более 7 мм (предельное отклонение +8 мм) (контроль - измерительный, не менее 5 измерений на 70-100 м2 поверхности или на отдельном участке меньшей площади в местах, выявленных сплошным визуальным осмотром, регистрация - в журнале работ).

Облицовывание поверхностей плитками на растворах должно осуществляться со строгим соблюдением горизонтальности и вертикальности рядов и швов, размеры которых должны указываться в проекте. Горизонтальные и вертикальные швы облицовки должны быть однотипны, однорядны и равномерны по ширине. Сколы в швах допускаются не более 0,5 мм.

Отклонения расположения швов от вертикали и горизонтали (мм на 1 м длины) в наружной облицовке не должны превышать:

1,5 мм - для плит зеркальной и лощеной фактуры;

3 мм - для плит шлифованной, точечной, бугристой и бороздчатой фактуры;

3 мм - для фактуры типа «скала»;

(контроль - измерительный, не менее 5 измерений на 50-70 м2 поверхности или на отдельном участке меньшей площади в местах, выявленных сплошным визуальным осмотром, регистрация - в журнале работ).

Отклонение ширины шва наружной облицовки не должны превышать:

±0,5 мм - для плит зеркальной и лощеной фактуры;

±0,5 мм - для плит из гранита, искусственного камня, мраморов;

± 1 мм - для плит шлифованной, точечной, бугристой и бороздчатой фактуры;

±2 мм - фактуры типа «скала»;

(контроль - измерительный, не менее 5 измерений на 70-100 м2 поверхности или на отдельном участке меньшей площади в местах, выявленных сплошным визуальным осмотром, регистрация - в журнале работ).

Заливку пазух раствором необходимо производить после установки постоянного или временного крепления поля облицовки. Раствор следует заливать горизонтальными слоями, оставляя после заливки последнего слоя раствора пространство до верха облицовки в 5 см.

Раствор, залитый в пазухи, при технологических перерывах, превышающих 18 ч, следует защищать от потери влаги. Перед продолжением работ незаполненную часть пазухи необходимо очистить от пыли сжатым воздухом.

После облицовки поверхности из плит должны быть очищены от наплывов раствора и мастики немедленно, при этом поверхности полированных и лощеных плит промыты горячей водой, а шлифованные, точечные, бугристые, бороздчатые и типа «скала» обработаны 10 %ым раствором соляной кислоты и паром при помощи пескоструйного аппарата.

Поверхности из-под распила плит мягких пород (известняка, туфа и т.п.), а также выступающие более чем на 1,5 мм кромки плит с полированной, шлифованной, бороздчатой и точечной поверхностями должны быть соответственно отшлифованы, подполированы или подтесаны до получения четкого контура кромок плит.

Допускаемые несовпадения профиля на стыках архитектурных деталей и швов не должны превышать:

0,5 мм - для плит зеркальной и лощеной фактуры;

1 мм - для плит шлифованной, точечной, бугристой и бороздчатой фактуры;

2 мм - для фактуры типа «скала»;

(контроль - измерительный, не менее 5 измерений на 70-100 м2 поверхности или на отдельном участке меньшей площади в местах, выявленных сплошным визуальным осмотром, регистрация - в журнале работ).

Поверхность облицовки в процессе укладки плит должна систематически (не менее 5 измерений на 50-70 м2 поверхности) проверяться на сохранение заданной плоскости. Облицованная поверхность должна соответствовать заданным геометрическим формам. Поверхность всей облицовки должна быть жесткой.

Трещины, пятна, потеки раствора, высолы на облицованной поверхности не допускаются.

Отклонения от вертикали поверхности, облицованной плитами, не должны превышать в наружной облицовке:

2 мм на 1 м длины и 4 мм на этаж - для плит зеркальной и лощеной фактуры;

3 мм на 1 м длины и 8 мм на этаж - для плит шлифованной, точечной, бугристой и бороздчатой фактуры;

(контроль - измерительный, не менее 5 измерений на 50-70 м2 поверхности или на отдельном участке меньшей площади в местах, выявленных сплошным визуальным осмотром, регистрация - в журнале работ).

Неровности облицованной плоскости при контроле двухметровой рейкой в наружной облицовке не должны превышать:

2 мм - для плит зеркальной и лощеной фактуры;

4 мм - для плит шлифованной, точечной, бугристой и бороздчатой фактуры;

(контроль - измерительный, не менее 5 измерений на 70-100 м2 поверхности или на отдельном участке меньшей площади в местах, выявленных сплошным визуальным осмотром, регистрация - в журнале работ).

Устройство каждого элемента облицовочного покрытия следует выполнять после проверки правильности выполнения соответствующего нижележащего элемента с составлением акта освидетельствования скрытых работ.

Соответствие готовых облицовочных покрытий требованиям проекта и нормативных документов выявляется в процессе технического осмотра покрытий, проведения необходимых инструментальных измерений и лабораторных испытаний, рассмотрения приемо-сдаточной документации, и оформляется актом приемки.



ОБЛИЦОВКА СТЕН ЛИСТАМИ, ПЛИТАМИ И ПАНЕЛЯМИ

ГОСТ 6266-97 Листы гипсокартонные. Технические условия.

ТУ 400-1-231-90 Панель отделочная гипсокартонная.

ТУ 5772-002-04001508-94 Гипсовая комбинированная панель ГКП ПС.

ТУ 5767-019-04001508-99 Плиты гипсокартонные звукопоглощающие и декоративные.

ТУ 5742-004-03515377-97 Листы гипсоволокнистые.

ТУ 5767-001-02068580-94 Плиты декоративные гипсовермикулитовые.

ГОСТ 18124-95 Листы асбестоцементные плоские. Технические условия.

ГОСТ 8904-81* Плиты древесноволокнистые твердые с лакокрасочным покрытием. Технические условия.

ТУ 5536-006-00260221-96 Плиты древесноволокнистые сухого способа производства с лакокрасочным покрытием.

ТУ 5536-072-00279410-98 Плиты древесно-волокнистые облагороженные.

ТУ 5536-001-51035632-99 Панели древесно-волокнистые, облицованные декоративной пленкой.

ГОСТ 10632-89* Плиты древесно-стружечные. Технические условия.

ТУ 400-1-199-80 Плиты древесно-стружечные с лакокрасочным покрытием.

ТУ 5534-002-0252424-93 Плиты древесно-стружечные, облицованные пленками на основе термоактивных полимеров.

ГОСТ 26816-86 Плиты цементно-стружечные. Технические условия.

ТУ 5361-008-07510307-97 Плиты для внутренней отделки стен и подвесных потолков из древесных материалов.

ГОСТ 19111-77 Изделия погонажные профильные поливинилхлоридные. Технические условия.

ГОСТ 24944-81 Пленка поливинилхлоридная декоративная отделочная. Технические условия.

ТУ 5772-001-100289622-97, ТУ 5772-001-12568007-96, ТУ 5772-023-00282332-95, ТУ 95-8621753-052-93, ТУ 5772-106-05742755-96 Пленки поливинилхлоридные вспененные на бумажной подоснове «Пеноплен».

ТУ 5772-001-41073376-97 Материал поливинилхлоридный вспененный на бумажной подоснове «Исплен».

ТУ 5770-001-00282323-94 Материал поливинилхлоридный со вспененным слоем для стен и потолков на бумажной основе «Пенополистен».

ТУ 5772-062-00282332-99 Материал отделочный бесфоновый с ластизольным поливинилхлоридным рисунком «Полистен».

ТУ 5772-046-04001232-99 Пленка поливинилхлоридная декоративная отделочная.

ТУ 5772-004-04001232-94 Пленка поливинилхлоридная для мебельной промышленности.

ТУ 5770-105-05744716-95 Материал поливинилхлоридный отделочный на бумажной подоснове «Полиплен».

ТУ 2256-020-04001232-96 Пластик бумажно-слоистый декоративный.

ТУ 1111-004-04001508-95 Профили оцинкованные металлические ПОМ.

Стандарты и технические условия на облицовочные плиты, листы, панели и комплектующие изделия и материалы, предусмотренные проектом.

СНиП 3.04.01-87 Изоляционные и отделочные покрытия.

СНиП 3.01.01-85* Организация строительного производства.

СП 55-101-2000 Ограждающие конструкции с применением гипсокартонных листов.

ВСН 36-95 Инструкция по индустриальным методам отделки интерьеров. Облицовка стен.

Требования к облицовочным материалам

Входной контроль листов, плит и панелей, а также комплектующих изделий и материалов должен осуществляться в соответствии с требованиями стандартов и технических условий на облицовочные и комплектующие материалы и изделия, предусмотренные проектом, а также требованиями технологической документации, утвержденной в установленном порядке.

Контролируемые операции

Состав и средства контроля

Документация

Подготовительные работы

Проверить:

- наличие проекта, ППР, технологической карты, схемы операционного контроля качества работ по облицовке стен листами, плитами и панелями;

Проект, ППР, технологическая карта, СОКК

- завершение и надлежащее оформление всех, предусмотренных проектом, предшествующих общестроительных и специальных работ (до устройства чистых полов) (наличие актов освидетельствования скрытых работ и другой приемо-сдаточной документации);

Акты приемки, акты на скрытые работы, исполнительные геодезические схемы

- наличие документов о качестве на поступившие на строительную площадку листы, плиты и панели и другие материалы, соответствие их требованиям проекта и нормативных документов; маркировку листов, плит и панелей и наличие штампа ОТК;

 - внешним осмотром отсутствие недопустимых дефектов внешнего вида на листах, плитах и панелях; подготовку и очистку стен от загрязнений.

Документы о качестве

Облицовка стен листами, плитами и панелями

Контролировать:

- соблюдение заданной ППР (технологической картой) технологии облицовки стен листами, плитами и панелями;

- надежность крепления листов, плит и панелей, устойчивость каркаса, качество поверхности.

Общий журнал работ

Приёмка

Проверить:

- соответствие готовой облицовки требованиям проекта и нормативных документов;

- составление и надлежащее оформление приемо-сдаточной документации.

Акт приемки

Акты освидетельствования скрытых работ

ВХОДНОЙ И ОПЕРАЦИОННЫЙ КОНТРОЛЬ осуществляют:

мастер (прораб), лаборантнженер) - в процессе производства работ.

ПРИЁМОЧНЫЙ КОНТРОЛЬ ОСУЩЕСТВЛЯЮТ:

прораб (мастер), представители технадзора заказчика.

КИП - линейка и рулетка измерительные металлические, отвес строительный, правило и т.д.

ГОСТ 6266-97 Листы гипсокартонные. Технические условия

Стандарт распространяется на гипсокартонные листы, предназначенные для отделки стен, устройства перегородок, подвесных потолков, огнезащиты конструкций, изготовления декоративных и звукопоглощающих изделий.

В зависимости от свойств и области применения листы подразделяют на следующие виды:

- обычные (ГКЛ);

- влагостойкие (ГКЛВ);

- с повышенной сопротивляемостью воздействию открытого пламени (ГКЛО);

- влагостойкие с повышенной сопротивляемостью воздействию открытого пламени (ГКЛВО).

По внешнему виду и точности изготовления листы подразделяют на две группы: А и Б.

По форме продольные кромки листов подразделяют на типы, приведенные ниже.

Номинальные размеры листов приведены в нижеследующей таблице.

Наименование показателя

Значение, мм

Длина

2000-4000 с шагом 50

Ширина

600; 1200

Толщина

6,5; 8,0; 9,5; 12,5; 14,0; 16,0; 18,0; 20,0; 24,0

Примечание: По согласованию изготовителя с потребителем могут быть изготовлены листы других номинальных размеров.

Предельные отклонения от номинальных размеров не должны быть более указанных в нижеследующей таблице.

Толщина листов

Предельные отклонения от номинальных размеров для листов группы, мм

А

Б

по длине

по ширине

по толщине

по длине

по ширине

по толщине

До 16 включ.

0; -5

0; -5

±0,5

±0,8

0; -5

±0,5

Св. 16

0; -5

0; -5

±0,9

±0,8

0; -5

±0,9

Листы должны иметь в плане прямоугольную форму. Отклонение от прямоугольности не должно быть 3 мм для листов группы А и 8 мм - для листов группы Б.

Для листов группы А не допускаются повреждения углов и продольных кромок.

Для листов группы Б не допускаются повреждения углов и продольных кромок (малозначительные дефекты), размеры и количество которых превышают нижеприведенные значения.

Наименование показателя

Значение для одного листа, не более

Повреждение углов:

 

- длина наибольшего катета, мм

20

- число, шт.

2

Повреждение продольных кромок:

 

- длина, мм

20

- глубина, мм

5

- число, шт.

2

Число листов с малозначительными дефектами не должно быть более двух от числа листов, отобранных для контроля.

Водопоглощение листов ГКЛВ и ГКЛВО не должно быть более 10 %.

Сопротивляемость листов ГКЛО и ГКЛВО воздействию открытого пламени должна быть не менее 20 мин.

Условное обозначение листов должно состоять из: буквенного обозначения вида листов (ГКЛ, ГКЛВ, ГКЛО, ГКЛВО), обозначения группы листов (А, Б), обозначения типа продольных кромок листов (ПК, УК, ПЛК, ПЛУК, ЗК), цифр, обозначающих номинальную длину, ширину и толщину листа в мм; обозначения данного стандарта.

Пример условного обозначения обычного гипсокартонного листа группы А с утоненными с лицевой стороны кромками длиной 3000 мм, шириной 1200 мм и толщиной 12,5 мм:

ГКЛ-А-УК-3000 × 1200 × 12,5 ГОСТ 6266-97

Маркировка листов должна быть произведена на тыльной стороне каждого изделия несмываемой краской при помощи трафаретов, штампов или другим способом, обеспечивающим необходимое качество маркировки. Маркировка должна быть отчетливой и содержать: товарный знак или (и) наименование изготовителя, условное обозначение листов, кроме обозначения группы листов (А и Б). Надписи должны быть выполнены на листах ГКЛ и ГКЛВ синим цветом, а на листах ГКЛО и ГКЛВО - красным цветом.

Маркировка транспортных пакетов должна быть произведена при помощи ярлыков, прикрепляемых к пакету любым способом, обеспечивающим его сохранность при транспортировании. На ярлыке должно быть указано: наименование изготовителя и (или) его товарный знак; условное обозначение листов; номер партии и дата ее изготовления; количество листов в квадратных метрах и (или) в штуках; штамп службы технического контроля.

Каждое грузовое место должно иметь транспортную маркировку по ГОСТ 14192-96, на него должны быть нанесены манипуляционные знаки «Хрупкое. Осторожно» и «Беречь от влаги».

Листы транспортируют всеми видами транспорта в соответствии с Правилами перевозок грузов, действующими на данном виде транспорта, и требованиями другой документации, утвержденной в установленном порядке.

Транспортирование листов осуществляют в пакетированном виде. Транспортные пакеты формируют из листов одного вида, группы, типа продольных кромок и размеров с использованием поддонов или подкладок, которые изготавливают из древесины, гипсокартонных листов и других материалов. В качестве обвязок применяют стальную или синтетическую ленту. По согласованию с потребителем допускается транспортировать листы в непакетированном виде.

Габариты пакетов не должны превышать по длине 4100 мм, по ширине 1300 мм, по высоте 800 мм; масса пакета не должна превышать 3000 кг.

При перевозке в автомобильных транспортных средствах пакеты должны быть защищены от увлажнения.

Листы следуют хранить в помещениях с сухим и нормальным влажностным режимом раздельно по видам и размерам.

Транспортные пакеты листов при хранении у потребителя могут быть установлены друг на друга в штабели высотой не более 3,5 м.

ТУ 5742-004-03515377-97 Листы гипсоволокнистые

Технические условия распространяются на листы гипсоволокнистые обычные (ГВЛ), предназначенные для устройства межкомнатных перегородок, подвесных потолков и внутренней облицовки стен в жилых, гражданских, культурно-бытовых помещениях, промышленных зданиях, а также в медицинских учреждениях, школах, детских садах, санаториях и листы влагостойкие (ГВЛВ), предназначенные для тех же областей применения, но в условиях повышенной влажности.

ГВЛ применяют в зданиях и помещениях с сухим и нормальным влажностным режимом по СНиП II-3-79*.

ГВЛВ применяют в зданиях и помещениях с сухим, нормальным, влажным и мокрыми влажностным режимом по СНиП II-3-79*.

Условное обозначение листов состоит из буквенного обозначения вида листов (ГВЛ, ГВЛВ), обозначения группы листов (А, Б), обозначения типа продольных кромок листов (ПК - прямая кромка, УК - утоненная с лицевой стороны кромка), цифр, обозначающих номинальную длину, ширину и толщину листа в мм; обозначения данных технических условий.

Пример условного обозначения при заказе листов влагостойких, группы А, с прямой кромкой, длиной 2500 мм, шириной 1200 мм, толщиной 10 мм:

ГВЛВ-АПК-2500 × 1200 × 10 ТУ 5742-004-03515377-97

В зависимости от свойств и области применения листы подразделяют на виды:

- обычные (ГВЛ);

- влагостойкие (ГВЛВ);

По точности изготовления листы подразделяют на две группы: А и Б.

По форме продольные кромки листов подразделяют на типы, приведенные ниже.

Номинальные размеры листов приведены в нижеследующей таблице.

Наименование показателя

Величина, мм

Длина (L)

1200; 1500; 2500; 2700; 3000; 3600

Ширина (В)

500; 600; 1000; 1200; 1500

Толщина (S)

10; 12; 14,0; 16,0; 19,0

Примечание: По согласованию изготовителя с потребителем могут быть изготовлены листы других номинальных размеров.

Предельные отклонения от номинальных размеров не должны быть более указанных в нижеследующей таблице.

Размеры листов, мм

Предельные отклонения от номинальных размеров для листов группы, мм

А

Б

L

В

S

L

В

S

L < 2500

В < 1200

0; -3

0; -3

±0,4

±3

±3

±0,5

L ³ 2500

В ³ 1200

0; -5

0; -4

±0,4

±5

0; -5

±0,5

Размеры утоненной кромки с лицевой стороны листа должны быть следующими:

- ширина утонения (а) ... 25 ± 5 мм;

- глубина утонения (с) ... 4 ± 0,6 мм.

Листы должны иметь в плане прямоугольную форму. Отклонение от прямоугольности не должно быть более 5 мм для листов группы А и 8 мм - для листов группы Б.

Для листов группы А не допускаются повреждения углов и продольных кромок.

Для листов группы Б допускаются малозначительные дефекты, приведенные в нижеследующей таблице.

Дефекты, допускаемые в листах группы Б

Наименование показателя

Значение для одного листа, не более

Повреждение углов:

 

- длина наибольшего катета, мм

20

- число, шт.

2

Повреждение продольных кромок:

 

- длина, мм

20

- глубина, мм

5

- число, шт.

2

Влажность листов не должна быть более 1,5 %.

Маркировка листов должна быть произведена на тыльной стороне каждого листа несмываемой краской при помощи трафаретов, штампов или другим способом, обеспечивающим необходимое качество маркировки.

Маркировка должна быть отчетливой и содержать:

- товарный знак или (и) наименование предприятия-изготовителя;

- условное обозначение листов;

- дату и время изготовления листов.

Маркировка транспортных и технологических пакетов должна быть произведена при помощи ярлыков, прикрепляемых к пакету любым способом, обеспечивающим его сохранность при транспортировке.

На ярлыке должно быть указано:

- наименование изготовителя и (или) его товарный знак;

- условное обозначение листов;

- номер партии и дата ее изготовления;

- количество листов в квадратных метрах и (или) в штуках;

- штамп службы технического контроля.

Каждое грузовое место должно иметь транспортную маркировку по ГОСТ 14192-96, на него должны быть нанесены манипуляционные знаки «Хрупкое. Осторожно» и «Беречь от влаги».

Листы одного вида, формы, размеров должны быть уложены в стопы и упакованы в полиэтиленовую пленку по ГОСТ 25951-83*, с обвязкой или без обвязки через защитные уголки (металлические или деревянные) металлической лентой по ГОСТ 3560-73* вместе с поддонами.

По заказу потребителя при согласовании с изготовителем листы могут быть поставлены без упаковки.

Предприятие-изготовитель должно сопровождать каждую партию (часть партии) листов документом о качестве, в котором должно указывать:

- наименование изготовителя и его адрес;

- условное обозначение листов;

- номер партии и дату ее изготовления;

- количество листов в квадратных метрах и (или) в штуках;

- штамп службы технического контроля и подпись начальника службы технического контроля или его заместителя.

Листы транспортируют всеми видами транспорта в соответствии с Правилами перевозок грузов, действующими на данном виде транспорта, и требованиями другой документации, утвержденной в установленном порядке.

Транспортирование листов осуществляют в пакетированном виде. Транспортные пакеты формируют из листов одного вида, группы, типа кромок и размеров с использованием поддонов или подкладок, которые изготавливают из древесины, гипсоволокнистых листов и других материалов. Количество обвязок, их сечение, размеры подкладок и поддонов должно соответствовать требованиям нормативной документации.

Габариты пакетов не должны превышать по длине 4100 мм, по ширине 1300 мм, по высоте 1000 мм; масса пакета не должна превышать 5000 кг.

Листы без упаковки в термоусадочную полиэтиленовую пленку должны перевозиться закрытым видом транспорта.

При перевозке транспортных пакетов в открытых автомобильных транспортных средствах листы должны быть защищены от увлажнения.

Листы следуют хранить стопами на поддонах (подкладках) в помещениях с сухим и нормальным влажностным режимом раздельно по видам и размерам.

Транспортные пакеты листов при хранении у потребителя могут быть установлены друг на друга в штабели высотой не более 3,5 м.

При погрузочно-разгрузочных, транспортно-складских и других работах не допускаются удары по листам.

Гарантийный срок хранения листов - один год.

ГОСТ 18124-95 Листы асбестоцементные плоские. Технические условия

Данный стандарт распространяется на асбестоцементные плоские листы, предназначенные для изготовления и облицовки строительных конструкций.

Условное обозначение листа должно состоять из буквенного обозначения ЛП-П (лист плоский прессованный) или ЛП-НП (лист плоский непрессованный), размеров листа по ширине и длине в метрах, толщине листа в миллиметрах и обозначения данного стандарта.

Пример условного обозначения асбестоцементного плоского прессованного листа длиной 3000 мм, шириной 1500 мм и толщиной 10 мм:

ЛП-П-3,0 × 1,5 × 10 ГОСТ 18124-95

Листы должны иметь в плане прямоугольную форму. Отклонение от прямоугольности не должно быть более 5 мм.

Кромки листов должны быть прямолинейными. Отклонения от прямолинейности не должно быть более 5 мм.

Листы должны быть плоскими. Отклонения от плоскостности не должны быть более 4 мм для прессованных листов и не более 8 мм для непрессованных листов.

Размеры листов и предельные отклонения от них приведены в нижеследующей таблице.

Длина

Ширина

Толщина

номинал.

пред. откл.

номинал.

пред. откл.

номинал.

пред. откл.

3600

±10

1500

±6

10,8

±1,0; -0,6

3000

1500

 

 

2500

1200

6

±0,7; -0,3

По согласованию предприятия-изготовителя с потребителем могут быть изготовлены листы других размеров. Предельные отклонения должны соответствовать вышеприведенным.

Листы выпускают двух типов: прессованные и непрессованные.

Физико-механические показатели листов должны соответствовать указанным в нижеследующей таблице.

Наименование показателя

Значения для листов

прессованных

непрессованных

Предел прочности при изгибе, МПа (кг/см2), не менее

23 (230)

18 (180)

Плотность, г/см2, не менее

1,80

1,60

Ударная вязкость, кДж/м2 (кгс×см/см2), не менее

2,5 (2,5)

2,0 (2,0)

Морозостойкость:

 

 

- число циклов попеременного замораживания и оттаивания

50

25

- остаточная прочность, %, не менее

90

90

Листы не должны иметь отколов, сквозных трещин, сдиров, а также других дефектов, нарушающих целостность изделия.

Не менее чем на 1 % листов от партии должны быть нанесены (или наклеена этикетка):

- товарный знак или наименование предприятия-изготовителя;

- номер партии;

- символическое изображение листа с включением толщины листа в мм.

Прессованный                                                                      Непрессованный

                                              

Качество маркировки должно быть таким, чтобы исключалась возможность оспорить ее содержание.

Листы поставляются без упаковки. В районы Крайнего Севера и труднодоступные районы листы должны поставляться в упакованном виде или в специализированных кассетах.

Предприятие-изготовитель должно сопровождать каждую поставку листов документом о качестве, в котором должно указывать:

- наименование и адрес предприятия-изготовителя;

- условное обозначение листов;

- номера партий и даты изготовления;

- количество листов каждой партии в поставке;

- результаты испытаний каждой партии.

Транспортирование листов производится в пакетированном виде любым видом транспорта с соблюдением Правил перевозок грузов, установленных для данного вида транспорта, и требований другой документации, утвержденной в установленном порядке.

Габаритные размеры пакетов не должны превышать по длине 3900 мм, по ширине 1800 мм, по высоте 1000 мм, масса пакета не должна быть более 5000 кг.

Транспортные пакеты должны быть маркированы в соответствии с требованиями ГОСТ 14192-96 с указанием основных, дополнительных и информационных надписей, выполненных на ярлыке, надежно прикрепленном к пакету.

Допускается транспортировать листы стопами в непакетированном виде в крытых железнодорожных вагонах и автомобилях.

Транспортные пакеты при хранении у потребителя могут устанавливаться друг на друга в штабели.

Стопы листов должны храниться у потребителя на поддонах (подкладках). Стопы вместе с поддонами могут устанавливаться друг на друга в штабели. Общая высота штабеля из транспортных пакетов не должна превышать 3,5 м, а из стоп - 2,5 м.

ГОСТ 8908-81* Плиты древесноволокнистые твердые с лакокрасочным покрытием. Технические условия

Данный стандарт распространяется на твердые древесноволокнистые плиты с нанесенным на их лицевые поверхности лакокрасочным покрытием.

Плиты применяют в качестве отделочного материала при строительстве жилых, общественных и производственных зданий, изготовлении транспортных средств, торгового оборудования, мебели, дверных полотен и других изделий.

В зависимости от внешнего вида лицевого лакокрасочного покрытия плиты подразделяют на типы:

А - с декоративным печатным рисунком;

Б - одноцветные.

В зависимости от применяемых лакокрасочных материалов лицевая поверхность плит может быть глянцевой (Г) или матовой (М).

Нелицевую поверхность плит по соглашению с потребителем допускается покрывать грунтовочными составами.

В зависимости от механической обработки плиты изготовляют:

- гладкие (1);

- с рустованной поверхностью в полоску (2) или клетку (3);

- с перфорацией (4).

Плита состоит из твердой древесноволокнистой плиты-основы и лакокрасочного покрытия.

Размеры плиты-основы и предельные отклонения от размеров должны соответствовать указанным в нижеследующей таблице.

Длина

Ширина

Толщина

номинал.

пред. откл.

номинал.

пред. откл.

номинал.

пред. откл.

2700

±5,0

1700

13,0

2,5

±0,3

2500

1600

3,2

2350

1220

4,0

2050

1200

5,0

1200

1000

6,0

Древесноволокнистые плиты с размерами, не указанными в данной таблице, допускается применять в качестве основы по соглашению потребителя с предприятием-изготовителем.

Условное обозначение плиты состоит из сокращенного наименования продукции - ДВПО, типа плиты - А или Б, обозначения лакокрасочного материала по ГОСТ 9825-73*, класса покрытия по ГОСТ 24404-80, степени блеска покрытия - матового или глянцевого, наименования рисунка или цвета покрытия с указанием номера образца-эталона, наличия грунтовки на обратной стороне плиты - негрунтованная (НГ) или грунтованная (ГР), вида дополнительной обработки плиты - гладкой, рустованной в полоску, рустованной в клетку или перфорированной, размера плиты в мм и обозначения данного стандарта.

Пример условного обозначения плиты типа А с лакокрасочным покрытием II класса; с внешним слоем из лака НЦ-2101, матовой, с декоративным печатным рисунком под тик, образец-эталон № 16; с негрунтованной обратной стороной; гладкой; длиной 2500 мм, шириной 1600 мм, толщиной 4 мм:

ДВПО - А; лак НЦ-2101.II. тик-16; НГ; 1; 2500 × 1600 × 4; ГОСТ 8904-81

Лакокрасочные материалы, применяемые для формирования покрытия, должны отвечать требованиям утвержденной на них нормативно-технической документации и быть разрешенными Министерством здравоохранения к применению для отделки внутри помещений.

Внешний вид, цвет и декоративный печатный рисунок лакокрасочного покрытия на плитах должны соответствовать образцам-эталонам, согласованным с основным потребителем и утвержденным руководителем предприятия-изготовителя.

Окраска рустов на плитах светлых тонов должна производиться темными лакокрасочными материалами, на плитах темных тонов - светлыми. Допускается окрашивать русты в основной цвет плиты.

Русты и оси перфораций должны быть расположены параллельно друг другу и сторонам плиты в продольном и поперечном направлениях и не должны проходить по линии обреза. Предельные отклонения от параллельности рустов и осей перфораций - не более ±0,5 мм на длине 1 м.

Русты и отверстия перфораций должны быть без бахромы.

Номинальные размеры рустов и отверстий перфораций, расстояние между осями рустов или отверстий перфораций и предельные отклонения от установленных размеров должны соответствовать указанным в нижеследующей таблице.

Измеряемые величины

Номин. размеры, мм

Пред, откл., мм

Ширина рустов

3,0; 4,0; 5,0

±0,3

Глубина рустов

0,4 ÷ 0,8

±0,1

Расстояние между осями рустов в продольном и поперечном направлениях плиты

80; 100; 150

±0,3

Диаметр отверстий перфораций

3,0; 4,0; 5,0

±0,3

Расстояние между осями отверстий перфорации

15; 20; 25

±2,0

По согласованию с потребителем допускается изготовлять плиты с другими размерами рустовки или перфораций с предельными отклонениями, установленными в данной таблице.

Плиты одного типа, цвета, декоративного печатного рисунка и одинаковых размеров должны быть упакованы в пакеты. Число плит в пакете должно составлять 30; 50; 100; 150 и 200 шт.

Плиты укладывают лицевыми поверхностями друг к другу. Между плитами должна быть проложена оберточная бумага, размеры, которой должны быть равными размерам плит.

По соглашению с потребителем плиты допускается укладывать в пакеты лицевыми сторонами к нелицевым без прокладки между плитами бумаги. Верхняя плита пакета при этом должна быть уложена лицевой стороной вовнутрь и проложена бумагой.

Пакет плит должен быть уложен на деревянный решетчатый поддон и перевязан вместе с поддоном стальной упаковочной лентой: в продольном направлении в двух местах, в поперечном направлении при длине пакета св. 2350 мм - в четырех, при длине - от 2350 до 2050 мм - в трех, менее 2050 мм - в двух местах. Ширина стальной упаковочной ленты должна быть не менее 20 мм, толщина - не менее 0,7 мм.

Сверху пакета под ленту должны быть уложены деревянные бруски сечением 30 × 80 мм, а с боков пакета - обрезки плит.

Размеры поддонов по длине и ширине должны соответствовать размерам плит.

Пакеты плит должны иметь транспортную маркировку по ГОСТ 14192-96 и дополнительную маркировку, содержащую следующие данные:

- наименование предприятия-изготовителя и его адрес;

- обозначение продукции по данному стандарту;

- число плит в пачке и их общую площадь в м2;

- способ укладки плит (если укладка производилась без бумажной прокладки);

- штамп ОТК предприятия-изготовителя.

Каждая партия плит должна сопровождаться документом, в котором указывают:

- наименование предприятия-изготовителя и его адрес;

- площадь плит в партии в м2;

- способ укладки плит (если укладка производилась без бумажной прокладки);

- номер партии и дату изготовления;

- результаты контрольных испытаний (отметки о приемке продукции);

- штамп ОТК предприятия-изготовителя.

Плиты должны перевозиться транспортными средствами, предохраняющими их от воздействия атмосферных осадков, механических повреждений и загрязнения.

При близких расстояниях допускается перевозка плит автомобильным транспортом потребителя в пакетах без поддонов.

Плиты должны храниться в сухих закрытых проветриваемых помещениях уложенными горизонтально на деревянные поддоны или подкладки.

На строительной площадке в процессе входного контроля листов, плит, панелей, комплектующих материалов и изделий для облицовки стен:

- необходимо проверить наличие сопроводительной документации и полноту содержащихся в ней данных;

- по имеющейся сопроводительной документации, маркировке, ярлыкам необходимо убедиться в соответствии поступивших материалов требованиям проекта;

- необходимо путем внешнего осмотра проверить целостность упаковки, отсутствие недопустимых дефектов внешнего вида, наличие штампа ОТК;

- провести в соответствии с требованиями технологической карты необходимые измерения геометрических параметров листов, плит, панелей и лабораторные испытания облицовочных материалов на соответствие их нормативным требованиям;

- при возникновении сомнений в качестве поступивших материалов должны быть вызваны представители строительной лаборатории или функциональных служб, ответственных за поставку материалов.

Технические требования

Облицовка стен листовыми материалами должна осуществляться в соответствии с требованиями проекта, СНиП 3.01.01-85*, СНиП 3.04.01-87, ППР, технологических карт, схем операционного контроля качества работ и другой технологической документации, утвержденной в установленном порядке.

Облицовочные работы должны осуществлять строительно-монтажные организации, получившие лицензию на выполнение отделочных работ в Федеральных или региональных лицензионных органах.

Облицовочные работы должны выполняться квалифицированным персоналом, прошедшим специальную подготовку и обладающим надлежащими навыками по выполнению монтажно-отделочных работ.

Производству облицовочных работ должны предшествовать:

- разработка проектов производства работ по облицовке стен листовыми материалами; разработка (или привязка типовых) технологических карт и схем операционного контроля качества выполнения облицовочных работ;

- завершение и надлежащее оформление всех предусмотренных проектом предшествующих общестроительных и специальных работ (до устройства чистых полов), когда все «мокрые» процессы закончены, выполнены разводки электротехнических и санитарно-технических систем, а также опробованы системы водоснабжения и отопления;

- входной контроль проектно-сметной документации, листов, плит и панелей и других комплектующих изделий и материалов;

- изучение инженерно-техническим персоналом проектной и технологической документации, обучение мастеров и рабочих передовым методам труда.

При входном контроле рабочей документации должна производиться проверка ее комплектности и достаточности содержащейся в ней технической информации для производства работ.

Входной контроль облицовочных и декоративных листов, плит, панелей и комплектующих изделий и материалов должен производиться в соответствии с требованиями стандартов и технических условий на конкретные изделия и материалы в порядке, предусмотренном проектом, технологическими картами или другой технологической документацией, утвержденной в установленном порядке.

Входной контроль должен предотвратить поступление на строительную площадку материалов и изделий, не отвечающих требованиям соответствующей нормативной документации.

Технические требования к облицовочным материалам согласно ГОСТ 6266-97, ГОСТ 18124-95, ТУ 5742-004-03515377-97, ГОСТ 8904-81* и ГОСТ 10632-89* приведены выше.

Отделочные материалы для индустриальной отделки стен на основе полимеров или с лицевым покрытием полимерными материалами следует применять в соответствии с «Перечнем полимерных материалов и изделий, разрешенных к применению в строительстве», утвержденным Министерством здравоохранения СССР.

В Перечне принята следующая классификация всех типов зданий и сооружений, которая учитывает их эксплуатационно-функциональные особенности, время и характер пребывания в них людей:

- группа А: жилые дома, детские сады и ясли, лечебно-профилактические учреждения, учебные заведения, дома отдыха, закрытые спортивные сооружения;

- группа Б: административные здания, магазины продовольственные, предприятия общественного питания и их склады;

- группа В: магазины промтоварные, зрелищные предприятия, ателье, библиотеки, музеи, прочие вспомогательные сооружения;

- группа Г: промышленные предприятия, склады предприятий, вспомогательные сооружения, бани, прачечные, химчистки.

В соответствии с указанным Перечнем разрешается применять:

- декоративные панели на основе древесно-стружечных плит в помещениях всех вышеперечисленных групп зданий и сооружений (не рекомендуется применять в некоторых помещениях зданий и сооружений группы Б: в раздаточных цехах, в складах для сухих продуктов, в обеденных залах, а также в холодильных цехах и камерах);

- панели на основе гипсокартонных листов, облицованные различными полимерными пленками, а также древесно-волокнистые плиты в помещениях всех групп зданий и сооружений (не рекомендуется применять в некоторых помещениях зданий и сооружений группы Г: в помещениях, в которых производственные процессы могут сопровождаться накоплением в массе вредных веществ или розливом агрессивных веществ (кислот и щелочей), а также в помещениях, в которых производственные процессы сопровождаются накоплением статического электричества, выделением тепла и влаги).

Все виды отделки стен, потолков и перегородок, для которых применяют декоративные листы и панели на основе полимерных материалов или с лицевым покрытием полимерными материалами разрешается применять в помещениях с малым количеством работающих: приемных, кабинетах, преподавательских, буфетах, приемных пунктах бытовых служб, пунктах проката и в других административных помещениях зданий общественного назначения.

Такие виды отделки запрещается применять:

- на путях эвакуации людей (лестничные клетки, коридоры, холлы и т.п.);

- в детских, учебных, лечебных и оздоровительных учреждениях (детских яслях и садах, школах, больницах, санаториях и т.п.); в помещениях с массовым пребыванием людей (залах собраний, кинотеатрах и др.).

Отделку стен, потолков и перегородок с использованием декоративных панелей на основе асбестоцемента, гипса, стекла и металла разрешается применять во всех помещениях зданий общественного назначения без исключения.

Изделия из гипса разрешается применять в помещениях с относительной влажностью воздуха до 60 % при температуре до 27-30 °С и влажностью воздуха до 75 % при температуре до 24 °С.

Область применения облицовочных материалов должна конкретизироваться в стандартах и технических условиях на эти материалы и подтверждаться в гигиенических сертификатах на них, выдаваемых органами санитарно-эпидемиологического надзора.

Так, согласно ГОСТ 6266-97 и ТУ 5742-004-03515377-97 гипсокартонные и гипсоволокнистые влагостойкие листы применяют в зданиях и помещениях не только с сухим и нормальным влажностным режимом, но и с влажным и мокрыми режимами.

Однако при этом их следует защищать с лицевой поверхности водостойкими грунтовками, шпатлевками, красками, керамической плиткой или покрытиями их ПВХ, а в помещениях предусматривать вытяжную вентиляцию, обеспечивающую нормативный воздухообмен.

Облицовочные работы должны выполняться в соответствии с проектом производства работ (ППР) на возведение зданий и сооружений.

Запрещается осуществление строительно-монтажных работ без утвержденного проекта производства работ. Не допускаются отступления от решений проектов производства работ без согласования с организациями, разработавшими и утвердившими их. Замена предусмотренных проектом материалов, изделий и составов допускается только по согласованию с проектной организацией и заказчиком.

До начала облицовочных работ должны быть произведены следующие работы:

- выполнена защита отделываемых помещений от атмосферных осадков; устроены гидроизоляция, тепло-звуко-изоляция и выравнивающие стяжки перекрытий;

- загерметизированы швы между блоками и панелями;

- заделаны и изолированы места сопряжений оконных, дверных и балконных блоков;

- остеклены световые проемы;

- смонтированы закладные изделия, проведены испытания систем тепло-водоснабжения и отопления;

- выполнены конструкции чистого пола (при облицовке с помощью каркаса);

- произведена окраска потолков и плоскости стен над облицовываемой поверхностью;

- устроена скрытая проводка (перед облицовкой стен листами и панелями с лицевой отделкой).

Облицовочные работы следует выполнять после проверки правильности выполнения предшествующих работ с составлением актов освидетельствования скрытых работ.

Облицовочные работы должны выполняться при температуре окружающего воздуха и облицовываемой поверхности не ниже 10 °С и влажности воздуха не более 60 %. Такую температуру в помещении необходимо поддерживать круглосуточно, не менее чем за 2 сут до начала и 12 сут после окончания работ.

Поверхности, подлежащие облицовке, должны удовлетворять следующим требованиям:

- стены должны иметь нагрузку не менее 65 % проектной при внутренней облицовке их поверхности;

- бетонные поверхности и поверхности кирпичных и каменных стен, выложенных с полностью заполненными швами, при облицовке на клеящей прослойке должны иметь насечку;

- поверхности стен, выложенных впустошовку, необходимо подготавливать без их насечки с заполнением швов раствором;

- любые поверхности необходимо перед их облицовкой очистить от пыли и грязи, и если это предусмотрено технологической картой - промыть и перед нанесением клеящей прослойки из раствора и других водных составов увлажнить до матового блеска;

- влажность кирпичных и каменных поверхностей, подлежащих облицовке, не должна превышать 8 %.

Отклонения поверхностей конструкций, подлежащих облицовке, от вертикали не должны превышать 10 мм на этаж для кирпичной кладки и 10-12 мм для сборных железобетонных конструкций. Если стены из кирпича и бетона имеют отклонения от вертикали в отдельных местах или неровности сверх допустимых, их выправляют, срубая неровности. При невозможности это сделать на стены наносят выравнивающий намет из цементно-песчаного раствора.

Выравнивающие слои из цементно-песчаного раствора должны отвечать требованиям, предъявляемым к оштукатуренным поверхностям (см. СОКК «Производство штукатурных работ» в данном альбоме).

Облицовку стен листовыми материалами необходимо выполнять согласно ППР в соответствии с проектом. Соединение поля облицовки с основанием должно осуществляться на клеящей прослойке или на относе облицовки от стены (с помощью деревянного или металлического каркаса, а также с помощью унифицированных узлов крепления облицовочных материалов по серии 2.473-1).

Облицовку стен, колонн, пилястр, интерьеров помещений на клеящей прослойке следует выполнять перед устройством покрытия пола, а при относе облицовки от стены - после устройства «чистого» пола.

Рекомендуемые ВСН-95 способы крепления облицовочных материалов к стенам индустриальными методами приведены в нижеследующей таблице (обозначены знаком +).

Облицовочные материалы

На клеящих составах

По деревянному каркасу

На стальных профилях

на мастиках

на клеях по гипсокартонным полоскам

на клеях по деревянным пластинам

Гипсокартонные плиты

+

+

 

+

+

Панели гипсокартонные, облицованные пленочным материалом

 

 

+

+

+

Асбестоцементные листы

 

 

 

+

 

Панели асбестоцементные с печатным рисунком или облицованные пленочным материалом

 

 

 

+

+

Панели из древесно-стружечных и древесноволокнистых плит, облицованных пленочным материалом или шпоном

 

 

+

+

+

Столярные плиты, облицованные шпоном

 

 

+

+

 

ОБЛИЦОВКА ЛИСТОВЫМИ МАТЕРИАЛАМИ НА КЛЕЯЩЕЙ ПРОСЛОЙКЕ

Облицовку стен листами, плитами и панелями выполняют в соответствии с требованиями проекта, технологической карты и рекомендациями заводов-изготовителей листовых материалов в следующей технологической последовательности:

- подготавливают поверхности, подлежащие облицовке, в соответствии с требованиями ППР;

- провешивают или проверяют 2-метровой рейкой поверхность, подлежащую облицовке, с целью определения ее неровности и вертикальности, размечают проектное положение облицованной поверхности на полу (например, с помощью шнуроотбойного приспособления) и переносят разметку с помощью отвеса на потолок;

- удаляют с облицовываемой поверхности пыль и грязь;

- подносят к месту облицовки заранее отсортированные и раскроенные листы, плиты и панели;

- приготавливают раствор клеящей прослойки;

- устраивают маячные опорные марки (маяки) и выверяют их вертикальность;

- устанавливают и выверяют первый лист (панель) (облицовку стен следует начинать от угла облицовываемой поверхности в направлении к оконным и дверным проемам);

- устраивают маячные опорные марки (маяки) для следующего листа и устанавливают его с проектным зазором аналогично первому и т.д. (нижний край листов не должен доходить до уровня чистого пола на 10-15 мм);

- производят заделку швов между смежными листами и зазоров у пола и потолка согласно проекту;

- устраивают чистый пол и производят декоративную отделку стен (для листов и плит без декоративной отделки).

Технология установки и приклеивания листовых материалов и панелей на их основе зависит от ровности подлежащей облицовыванию поверхности, ее размеров и требований, предъявляемых к качеству готовой облицованной поверхности.

При ровной и небольшой по размерам облицовываемой поверхности применяют способ безмаячного крепления листов под правило.

При этом клеящий раствор наносят на облицовываемую поверхность (в пределах листа) в виде марок, размером 80 × 80 мм, на площади не менее 10 % вдоль потолка, пола, углов вертикальной плоскости через 120-150 мм, в промежутках между ними на расстоянии не более 400 мм, вдоль вертикальных кромок - сплошной полосой.

Начиная с угла, на эти марки устанавливают первый лист, затем с помощью правила его прижимают к маркам и тщательно выверяют в вертикальной и горизонтальной плоскостях, чтобы он в дальнейшем служил маячным и контрольным листом. Таким же образом устанавливают марки под второй лист, затем устанавливают его с проектным зазором между листами и выверяют его положение с помощью прижимного правила, прикладываемого сразу к обоим листам на разных высотах.

АО «ТИГИ-МАРКЕТИНГ» рекомендует наносить марки не на облицовываемую поверхность, а на поверхность гипсокартонного листа. В случае ровной поверхности рекомендуется наносить гипсовый раствор гребешковым шпателем сплошными продольными полосами и по периметру. При неровной поверхности раствор наносится лепками вдоль листов с интервалом 35 см, а по периметру - с минимальным интервалом.

При большом фронте работ и повышенных требованиях к качеству отделки применяют крепление листов по опорным маякам и маркам.

По одному из возможных вариантов опорные маяки выполняют из гипсового раствора или обрезков листов размерами 80 × 80 мм. Маяки устанавливают строго по вертикали, что и определяет вертикальность приклеиваемого листа. Начиная с угла, маяки устанавливают так, чтобы лист опирался на них всеми кромками. Их располагают вертикальными рядами (расстояние между рядами 600 мм) по 3-4 маяка в зависимости от высоты помещения, при этом верхний маяк устанавливают у потолка, а нижний - на уровне пола. Для повышения качества отделки могут дополнительно устанавливаться горизонтальные маяки в верхней части стены и в нижней ее части у пола, изготовленные из полос листов шириной 6-7 см, наклеиваемых заподлицо с опорными маяками.

Крепежные марки выполняют из гипсового раствора (или другого, предусмотренного проектом) в виде сплошных вертикальных и горизонтальных полос шириной 70-80 мм и толщиной, обеспечивающей прижатие листов к плоскости маяков, между крайними, вертикальными маяками, а также между маяками у потолка и пола и по стыкам листов на расстоянии 0,9-1 м друг от друга для образования замкнутых пространств, внутри которых в шахматном порядке на расстоянии 300-400 мм друг от друга наносят крепежные марки в виде лепешек диаметром до 100 мм. Такие же марки наносят в местах расположения различных приборов электрооборудования, вентиляции.

Листы устанавливают после нанесения крепежных марок и прижимают до соприкосновения с маяками, чем обеспечивают их вертикальность. После установками и выверки первого листа вдоль вертикальной кромки и по линии стыка наносят раствор сплошной полосой и выравнивают его заподлицо с плоскостью установленного листа, обеспечивая маячную полосу для опоры кромки следующего листа, устанавливаемого аналогичным способом с проектным зазором между листами.

По другому варианту на каждый лист устанавливается по 3-4 вертикальных маяка, которые представляют собой сплошную полосу из раствора или обрезков листов. Два крайних маяка шириной 80 мм, на которых стыкуются листы, и 1-2 промежуточных шириной 50 мм. У пола и потолка устанавливают горизонтальные маяки (при такой системе между облицовываемой поверхностью и листами образуется замкнутая полость, куда не могут попасть грызуны и насекомые).

Вместо промежуточных маяков можно устанавливать опорные марки размерами 80 × 80 мм из гипсового раствора или обрезков листов. Так же, как и маяки, марки в данном варианте являются опорой приклеиваемых листов и определяют их вертикальность. Опорные марки располагают вертикальными рядами (расстояние между рядами 500 мм) по 3-4 маяка в зависимости от высоты помещения.

По варианту ТИГИ Knauf маячная плоскость, строго выверенная по вертикали, создается на облицовываемой стене из сплошных полос шириной 10 см из ГКЛ, располагаемых по периметру листа и 1-2 продольных. Гипсовый раствор гребешковым шпателем наносится на лист сплошными продольными полосами (1-2 полосы, являющиеся зеркальным отображением полос из раствора на стене) и по периметру листа. Далее лист с клеящей прослойкой прижимается к маячной поверхности на стене и выверяется.

Установку гипсокартонных листов на маяки из гипсокартонных обрезков или полос допускается производить после полного схватывания мастики, на которой приклеены маяки, но не ранее чем через сутки после установки маяков.

По варианту ВСН 36-95 маячная плоскость, строго выверенная по вертикали, может создаваться на облицовываемой стене из деревянных прокладок (бобышек) размером 100 × 100 × 25. Прокладки изготавливаются из древесины хвойных или лиственных пород не ниже 2 сорта. Прокладки крепятся к стенам из полнотелого и многодырчатого кирпича, к стенам из шлакоблоков, гипсоблоков и к бетонным стенам на специальном клее (сухая цементно-песчаная смесь М-100 - 87 %, полиизоцианатный преполимер УР-293 или УР-294 - 8,7 %, опилки хвойных пород - 1,3 %, кислотный отвердитель - 0,87 %, вода - 2,18 %). Выдержка прокладок, приклеенных этим клеем к стене - одни сутки. После чего можно крепить к ним другие элементы облицовки.

Правильность установки прокладок в вертикальной плоскости определяют провешиванием.

Выравнивание прокладок в вертикальной плоскости осуществляется приклеиванием или креплением с помощью гвоздей к ним прокладок из некондиционных листовых материалов, используемых при облицовке стен. Для этих же целей могут использоваться прокладки регулируемой толщины.

Установка плит и панелей из листовых материалов с покрытием, выполненным в заводских условиях, производится аналогично установке листов и плит без покрытий. В зависимости от ровности облицовываемой поверхности и ее размеров, в зависимости от требуемого качества облицованной поверхности установка производится по правилу или по маякам.

АО «ТИГИ-МАРКЕТИНГ» при ровной облицовываемой поверхности рекомендует наносить гипсовый раствор на панель гребешковым шпателем сплошными продольными полосами и по периметру. При неровной поверхности раствор наносится лепками вдоль панелей с интервалом 35 см, а по периметру - с минимальным интервалом. При невозможности такими способами получить гарантированную вертикальную облицованную поверхность рекомендуется устанавливать на базовой стене опорные маяки из расчета 4-6 шт. на одну панель. В качестве маяков рекомендуется применять гипсокартонные или другие пластины размером примерно 100 × 100 мм.

Качество заделки швов на стыках листов, плит и панелей является одним из основных критериев оценки готовой облицовки.

Стыки между листами, плитами и панелями оформляют закрытыми, с рустом, с раскладкой.

Для устройства закрытых стыков прямые кромки готовых или обрезанных листов готовят к шпаклеванию двумя способами (а) или (б) (на выбор). При первом из них у прямых кромок кромочным рубанком снимают фаски под углом 45° на 1/3 толщины листа и удаляют картон в области укладки армирующей ленты, при втором - снимают фаску под углом 22,5° на 2/3 толщины листа. При том и другом способе края картона после снятия фасок зашкуривают.

Стык, образованный по способу (а), покрывают слоем шпаклевки, разравнивают ее и снимают излишки шпаклевки, затем укладывают в стык армирующую ленту, плотно вдавливая ее шпателем в слой шпаклевки. После этого на стык наносится накрывочный выравнивающий слой шпаклевки. Все операции по нанесению шпаклевки должны быть выполнены до начала схватывания раствора. Шпаклевочная масса не должна оседать, выступая из шва. После того как шов просохнет его обрабатывают при помощи затирки, не повреждая облицовочный картон.

Стык, образованный по способу (б), шпаклюется в один проход.

Аналогично стыкам, образованным по способу (а), устраиваются закрытые стыки между листами с утоненными с лицевой стороны кромками (в). Утонение предназначено для устройства закрытого, прочного и незаметного стыка. Вариант с подготовленными по способу (а) кромками требует нанесения более широкого выравнивающего слоя шпаклевки, т.к. в месте укладки армирующей ленты возможно небольшое утолщение.

Стык, образованный двумя полукруглыми и утоненными кромками листов (г), позволяет вместе с традиционной технологией заделки швов (с помощью армирующей ленты) использовать технику шпаклевания стыков без армирующей ленты.

Стыки, образованные прямыми кромками, оформляют открытыми рустами и профильными поливинилхлоридными и другими раскладками.

Внешние углы укрепляют металлическим перфорированным уголком, который вдавливают в предварительно нанесенную шпаклевку, а затем накрывают выравнивающим слоем шпаклевки.

Внутренние углы шпаклюются с применением армирующей ленты, согнутой под углом.

ОБЛИЦОВКА ЛИСТОВЫМИ МАТЕРИАЛАМИ НА КАРКАСЕ

Облицовку стен листами, плитами и панелями выполняют в соответствии с требованиями проекта, технологической карты и рекомендациями заводов-изготовителей листовых материалов в следующей технологической последовательности:

- подготавливают поверхности, подлежащие облицовке, в соответствии с требованиями ППР;

- провешивают или проверяют 2-метровой рейкой поверхность, подлежащую облицовке, с целью определения ее неровности и вертикальности, размечают проектное положение облицованной поверхности на полу (например, с помощью шнуроотбойного приспособления) и переносят разметку с помощью отвеса на потолок;

- удаляют с облицовываемой поверхности пыль и грязь;

- размечают места крепления элементов каркаса;

- подготавливают поверхности стен к установке каркаса;

- подготавливают листовые материалы (листы, плиты, панели);

- устанавливают каркас, прикрепляют его к поверхности стен, выверяют положение установленного каркаса;

- монтируют внутри каркаса электрические, слаботочные разводки и закладные детали для крепления на стене стационарного оборудования (если это предусмотрено проектом);

- устанавливают и крепят к каркасу листы, плиты или панели;

- выверяют положение облицованной поверхности;

- заделывают согласно проекту швы между смежными листами, плитами и панелями, заделывают зазоры между облицованной поверхностью, потолком и полом.

- устраивают чистый пол и производят декоративную отделку стен (для листов и плит без декоративной отделки).

Осевые линии, по которым крепят элементы каркаса, должны наноситься горизонтально с расстоянием между ними по вертикали 500-600 мм, при этом линия крепления нижнего элемента каркаса должна находиться на расстоянии 100 мм от «чистого» пола. Осевые линии на поверхность стены наносят с помощью разметочного шнура, расстояние между линиями по вертикали устанавливают с помощью шаблона.

При подготовке поверхности стен к установке каркаса проверяют их горизонтальность и вертикальность по линиям крепления элементов каркаса, предварительно удалив с этих мест наплывы затвердевшего раствора. Наплывы слабого раствора счищают скребками, а более прочного - срубают зубилом.

Если облицовываемая поверхность отвечает требованиям нормативных документов (отклонения поверхностей конструкций, подлежащих облицовке, от вертикали не должны превышать 10 мм на этаж для кирпичной кладки и 10-12 мм для сборных железобетонных конструкций), то каркас может крепиться непосредственно к стене. При неровной поверхности, или повышенных требованиях к вертикальности и ровности облицованной поверхности под деревянные бруски каркаса устанавливают опорные деревянные прокладки, которые могут быть регулируемой толщины, или к которым для выравнивания опорной поверхности в вертикальной плоскости приклеивают или прибивают прокладки из некондиционных листовых материалов, используемых при облицовке стен.

Разбивку поверхностей стен для крепления опорных прокладок производят согласно требованиям технологической карты. Согласно ВСН 36-95 разбивку производят следующим образом. По верху стены, отступая примерно 150 мм от потолка и от примыкающих стен, а также по середине стены (если стены имеют длину более 2,5 м) наносят опорные марки из гипсовой мастики размером 80 × 80 мм или 100 × 100 мм. Вместо гипсовой мастики для устройства марок могут быть использованы обрезки досок, гипсокартонных листов, древесностружечных плит.

В установленные марки 1 и 2 забивают гвозди. По шляпкам этих гвоздей натягивают шнур А-А. В марку 3, установленную по середине облицовываемой стены, забивают гвоздь таким образом, чтобы его шляпка касалась шнура А-А. Затем со шляпок гвоздей марок 1 и 2 опускают отвес и отступая примерно 150 мм от пола устанавливают марки 4 и 5. В марки 4 и 5 забивают гвозди таким образом, чтобы расстояние между гвоздями марок 1 и 2 и марок 4 и 5 были равными. По маркам 4 и 5 натягивают шнур Б-Б и в пересечении отвеса марки 3 и шнура Б-Б устанавливают марку 6 и забивают гвоздь так, чтобы шляпка гвоздя соприкасалась с горизонтальным шнуром Б-Б и отвесом, спущенным с гвоздя марки 3. Шляпки всех гвоздей должны находиться в одной плоскости. Для проверки полученной плоскости натягивают шнур В и шнур Г по шляпкам гвоздей 1-5 и 2-4. Если шнур при этом касается какой-либо части стены, значит гвозди забиты слишком глубоко. Тогда их необходимо перебить или срубить выпуклости на поверхности стены, либо увеличить толщину марок. Если же пространство между стеной и натянутым шнуром слишком велико, то гвозди забивают глубже или же выравнивают впадины раствором.

Схема разбивки и провешивания поверхности стены

По полученным координатам облицовываемой поверхности стены производят разметку и установку опорных элементов каркаса.

Опорные элементы представляют собой деревянные прокладки размером 100 × 100 × 25 мм или регулируемые деревянные прокладки с изменяемой толщиной. Прокладки изготавливают из антисептированной древесины хвойных или лиственных пород не ниже 2 сорта влажностью 12 ± 3 %.

Установку прокладок производят согласно требованиям технологической карты. Согласно ВСН 36-95 установку производят следующим образом. Первый горизонтальный ряд прокладок устанавливается непосредственно под потолком так, чтобы осевые центры прокладок были на расстоянии ширины лицевых элементов (листов, панелей) плюс 14 мм (зазор 14 мм - для установки раскладки между панелями).

Затем устанавливают вертикальные ряды прокладок, ориентируясь по первому горизонтальному ряду прокладок. Расстояние между осями прокладок по вертикали должно быть равно ширине лицевого элемента плюс 14 мм.

Первый вертикальный ряд прокладок пристыковывается непосредственно к углу примыкающей стены. Последний горизонтальный ряд прокладок устанавливается у пола. При помощи двухметровой рейки по центрам прокладок наносятся риски в вертикальном и горизонтальном направлении. Пересечение рисок дает координаты для установки вертикальных и горизонтальных элементов каркаса.

Крепление прокладок осуществляется в соответствии с требованиями проекта. Крепление может осуществляться на клее, при помощи стальной ленты, пристреливаемой к стене дюбель-гвоздями, дюбелями.

Правильность установки прокладок в вертикальной плоскости определяется провешиванием. Отклонение от вертикали и горизонтали не должно быть более 2 мм на 1 м и не более 10 мм на всю высоту помещения.

Выравнивание нерегулируемых прокладок в вертикальной плоскости осуществляется приклеиванием или креплением к ним с помощью гвоздей к ним прокладок из некондиционных листовых материалов.

Если облицовываемые поверхности отвечают требованиям проекта и нормативных документов, то каркас может крепиться непосредственно к стене. Деревянные бруски, например, могут крепиться при помощи пристрелки металлических полос к стене, а затем гвоздями бруски крепятся к металлической полосе.

Элементы каркаса устанавливают согласно разбивке с выверкой их вертикальности, горизонтальности и расстояний между ними и крепят к бетонным, кирпичным и другим стенам согласно требованиям проекта (с помощью дюбелей-гвоздей, разжимных дюбелей, гвоздей, шурупов, металлических полос, самосверлящих винтов) с шагом 500-600 мм (шаг по проекту, но не более 1000 мм).

Деревянный каркас на относе от стены монтируют из вертикальных и горизонтальных брусков сечением 25 × 40 мм (гипсоволокнистые плиты монтируют на деревянном каркасе из бруса 50 × 50 мм). Вертикальные бруски под гипсокартонные и гипсоволокнистые листы устанавливают с шагом 600 мм. Каркас под гипсокартонные панели устанавливают из горизонтального бруса 25 × 40 мм с шагом 800 ÷ 850 мм таким образом, чтобы торцы панелей приходились на профиль (основание для раскладки), вертикальные вставки из бруса 40 × 50 мм устанавливают с шагом, равным ширине отделочной панели.

Деревянные бруски каркаса должны быть антисептированными и антипирированными. Их влажность должна быть в пределах 12 ± 3 %. Деревянный каркас крепят к стенам с помощью антисептированных пробок и шурупов, а также с помощью дюбелей, гвоздей, пристреливаемых металлических полос с шагом 1 м (по проекту). Вертикальные вставки крепятся двумя дюбелями.

Монтаж деревянного каркаса и облицовок производится в следующей последовательности:

- выполняется разметка и к бетонным, кирпичным и т.п. конструкциям крепятся верхние и нижние направляющие или деревянные подкладки с помощью разжимных дюбелей с шагом 500 мм (вид крепления и его шаг - по проекту);

- к направляющим или деревянным подкладкам с шагом 600 мм устанавливаются по отвесу и крепятся гвоздями стойки (вид крепления и его шаг - по проекту);

- между стойками устанавливаются прошивные маты или минераловатные плиты (наличие звукоизоляции и ее вид - по проекту);

- устанавливаются и крепятся листы, плиты или панели гвоздями, шурупами или поливинилхлоридными раскладками по ГОСТ 19111-77 (вид крепления и его шаг - по проекту).

Металлический каркас монтируют из алюминиевых или стальных (из рулонной оцинкованной стали толщиной 0,5 - 0,7 мм длиной 2,5-6,0 м) гнутых профилей. На полу и потолке устанавливают направляющие профили (ПН-профиль), в направляющие профили устанавливают и закрепляют стоечные профили (ПС-профиль). Крепление направляющих профилей производится дюбелями или гвоздями с шагом не более 1 м. Расстояние между стоечными профилями в общем случае должно составлять 60 см. При высоте стены свыше 4 м металлический каркас усиливается креплением к основной стене прямыми подвесами (высота стены до 10 м) или крепежными кронштейнами (высота стены до 7 м).

При использовании металлических профилей ПП-1 сначала на полу согласно разбивке устанавливают деревянный брусок для крепления плинтуса, а затем согласно разбивке устанавливают и закрепляют стойки из профиля ПП-1. Металлические профили ПП-1 при ровной облицовываемой поверхности пристреливаются непосредственно к стене (вид крепления и его шаг - по проекту), при необходимости выравнивать облицовываемую поверхность используются деревянные прокладки (бобышки), к которым металлический профиль крепится с помощью самосверлящих самонарезающих винтов или на шурупах с предварительной просверловкой металлического профиля (вид крепления и его шаг - по проекту).

Облицовка стен гипсокартонными плитами по металлическому каркасу
(по материалам ТИГ
И -
Knauf)

1 - гипсокартонный лист или панель; 2 - направляющий профиль; 3 - стоечный профиль; 4 - шуруп; 5 - герметик; 6 - подвес прямой; 7 - дюбель.

Основные операции при монтаже металлических каркасов выполняются в следующей последовательности (по данным ТИГИ - Knauf):

- размечают положение облицовываемой поверхности на полу при помощи шнуроотбойного приспособления, с помощью отвеса производят ответную разметку облицовки на потолке;

- наклеивают на направляющие профили (ПН), предназначенные для крепления каркаса к полу и потолку, а также стоечные профили (ПС), примыкающие к стенам, звукоизолирующую (упругую) ленту; по другому варианту на направляющие и сточные профили наносится слой мастики (герметика);

- в соответствии с разметкой закрепляют направляющие профили (ПН) на полу и потолке с помощью дюбелей (или гвоздей), устанавливаемых с шагом не более 1 м - для гипсокартонных листов, и не более 1,2 м - для гипсоволокнистых листов;

- устанавливают крайние, примыкающие к стенам, стоечные профили (ПС) и закрепляют их также дюбелями;

- устанавливают стоечные профили (ПС) в направляющие с шагом 60 см для листов и с шагом, равным ширине панели, для панелей и выставляют их вертикально по отвесу, закрепляют их в направляющих при помощи просекателя или шурупов (стойки необходимо отрезать по фактическому расстоянию между нижней и верхней направляющей, при этом длина стойки должна быть меньше высоты помещения максимум на 1 см);

- при монтаже панелей устанавливают горизонтальные перемычки из направляющего профиля ПН между вертикальными стойками с шагом 800 ÷ 850 мм таким образом, чтобы торцы панелей приходились на профиль (основание для раскладки);

- в случае необходимости стоечные профили соединяют при помощи шурупов LN с нахлестом одного профиля на другой не менее 0,5 м (0,5 м - для ПС 50; 0,75 м - для ПС 75 и 1,0 м - для ПС 100);

- устанавливают опорные стоечные профили и горизонтальную перемычку по дверной коробке; над дверной коробкой устанавливают промежуточную стойку из ПС-профиля (на ней должен располагаться стык смежных гипсокартонных листов, в случае 2-х слойной обшивки устанавливают две стойки для обеспечения перехлеста стыков);

- под дверь весом до 30 кг опорные стойки укрепляют деревянными брусками, которые вставляют в стойки и укрепляют в них, или монтируют дополнительные стойки, которые скрепляют с основными через вкладыши из того же профиля;

- укладывают, если это предусмотрено проектом, между стойками каркаса звукоизоляционный (минеральная вата) или теплоизоляционный (пенополистирол) материал с обязательной фиксацией их с помощью вкладышей.

Правильность смонтированного каркаса должна проверяться провешиванием. Отклонения от вертикали элементов каркаса не должно превышать 1 мм на 1 м.

При подготовке облицовочных материалов необходимо: доставить листы, плиты или панели к месту их установки, просверлить и вырезать в них требуемые согласно проекту отверстия, нарезать по требуемым размерам доборные листы, плиты или панели, бруски и профили, просверлить отверстия под шурупы в раскладках и т.п. Декоративные плиты и панели должны поставляться на строительную площадку с размерами, указанными в проекте отделки.

Крепление листов, плит и панелей к каркасу или закладным деталям производят по проекту с помощью шурупов, оцинкованных шурупов, самонарезающих шурупов с антикоррозионным покрытием, прокалывающих TN и сверлящих ТВ шурупов, клеев (КН-2, КН-3 и др.).

Гипсокартонные листы крепятся при помощи самонарезающих шурупов с шагом 25 см, гипсоволокнистые - с шагом 30 см, гипсокартонные панели крепятся с помощью поливинилхлоридных раскладок, которые в свою очередь крепятся к каркасу с помощью шурупов с шагом 250 ÷ 300 мм.

Верхнюю кромку листа при монтаже необходимо прижимать к потолку. Нижний край листов и панелей не должен доходить до пола на 10-15 мм.

При 2-х слойной обшивке швы 1-го и 2-го слоя не должны совпадать. Второй слой должен устанавливаться со смещением относительно первого на 60 см.

Монтаж листов, плит и панелей следует начинать от угла облицовываемой поверхности и вести в двух взаимно перпендикулярных направлениях. Горизонтальные стыки листов и панелей, не предусмотренные проектом не допускаются.

При наличии горизонтальных стыков между листами и панелями их стыковка и закрепление должны проводиться на металлическом горизонтальном профиле, а сами стыки должны быть смещены по вертикали относительно друг друга.

Шурупы, крепящие гипсокартонные и гипсоволокнистые листы к каркасу, должны входить в лист или панель под прямым углом и проникать в металлический каркас на глубину не менее 10 мм, а в деревянный - не менее 20 мм. Головки шурупов должны быть утоплены в лист или панель на глубину около 1 мм, а образовавшееся углубление должно быть зашпаклевано.

Самонарезающие шурупы необходимо устанавливать не ближе 10 мм от края облицованной картоном кромки, и не ближе 15 мм от края необлицованной поверхности гипсокартонного листа.

Изогнутые, неправильно завернутые шурупы должны быть удалены и заменены новыми в местах не ближе 50 мм от прежних.

Зазоры у пола и потолка заделываются полосами изоляционного материала (минеральная вата) и уплотняются шпаклевкой.

Оформление стыков в облицовках на металлическом и деревянном каркасах аналогично оформлению стыков в облицовках на клеящих прослойках.

КОНТРОЛЬ КАЧЕСТВА ОБЛИЦОВОЧНЫХ РАБОТ

При входном контроле листов, плит и панелей, их транспортировке на объекты строительства, организации хранения и доставки на рабочие места следует следить за неукоснительным соблюдением правил транспортирования и хранения листовых материалов, призванных обеспечить сохранность как самих материалов, так и их кромок и лицевых поверхностей.

Облицовку стен листами, плитами и панелями следует производить после разметки поверхности и начинать от угла облицовываемой поверхности. Горизонтальные стыки листов (панелей), не предусмотренные проектом не допускаются.

Выполнение облицовочных покрытий по основаниям, имеющим ржавчину, высолы, жировые пятна и битумные пятна, не допускается.

Обеспыливание поверхностей следует производить перед нанесением каждого слоя приклеивающих составов.

При облицовке стен листами, плитами и панелями в интерьерах зданий должны быть соблюдены требования, приведенные в нижеследующей таблице.

Технические требования

Предельные отклонения, мм

Контроль (метод, объем, вид регистрации)

Допускаемая влажность облицовываемых поверхностей

не более 8 %

Измерительный, не менее 3 измерений на 10 м2 поверхности

Температура воздуха в отделываемых помещениях в течение 2 суток до начала отделочных работ, в процессе их производства, а также в течение 12 суток после их окончания

не ниже 10 °С

Измерительный

Относительная влажность воздуха в отделываемых помещениях

не более 60 %

Измерительный

Неровности на вертикальной поверхности кладки, отклонения поверхности кладки от вертикали на один этаж

не более 10 мм

Измерительный, не менее 5 измерений на 50-70 м2 поверхности покрытия или на площади отдельных участков, выявленных сплошным визуальным осмотром, журнал работ

Отклонение от вертикали верха панелей несущих стен и объемных блоков, перегородок, навесных стеновых панелей

не более 10-12 мм

Качество лицевых поверхностей листовых материалов, плит и панелей

согласно требований нормативных документов

Технический осмотр всей лицевой поверхности

Прочность сцепления гипсокартонных листов с клеевой прослойкой должна быть для внутренних поверхностей не менее 0,1 МПа

-

Измерительный, не менее 5 измерений на 50-70 м2 поверхности покрытия или на площади отдельных участков, выявленных сплошным визуальным осмотром, акт приемки

Неровности облицованной гипсокартонными листами поверхности должны соответствовать высококачественной штукатурке, т.е.:

 

Измерительный, не менее 5 измерений контрольной двухметровой рейкой на 50-70 м2 поверхности покрытия или на отдельном участке меньшей площади

отклонения от вертикали не должны превышать 1 мм на 1 м

не более 5 мм на всю высоту помещения

неровности плавного очертания (на 4 м2) не должны превышать 2 мм, глубиной (высотой) до 2 мм

-

Измерительный, не менее 5 измерений контрольной двухметровой рейкой на 50-70 м2 поверхности покрытия или на отдельном участке меньшей площади в местах, выявленных сплошным визуальным осмотром, журнал работ

отклонения по горизонтали не должны превышать 1 мм на 1 м

-

отклонения оконных и дверных откосов, пилястр, столбов, лузг и прочих деталей от вертикали и горизонтали не должны превышать 1 мм на 1 м

до 3 мм на весь элемент

Измерительный, журнал работ

отклонения радиуса криволинейных поверхностей, проверяемого лекалом, от проектной величины (на весь элемент) не должны превышать 5 мм

-

Измерительный, журнал работ

отклонения ширины откоса от проектной не должны превышать 2 мм

-

Измерительный, журнал работ

Швы между гипсокартонными листами и участки, примыкающие к ним, подлежащие окраске и оклейке обоями, должны быть огрунтованы, прошпатлеваны, отшлифованы заподлицо с поверхностью или обработаны рустами (в соответствии с проектом), а при оклейке обоями дополнительно оклеены полосами бумаги, марли и т.п.

-

Журнал работ

Покрытия, облицованные гипсокартонными листами на клеевой прослойке, не должны быть зыбкими, при легком постукивании деревянным молотком в стыках не должны появляться трещины; допускаются провесы в стыках не более 1 мм

-

Измерительный, не менее 5 измерений контрольной двухметровой рейкой на 50-70 м2 поверхности покрытия или на отдельном участке меньшей площади в местах, выявленных сплошным визуальным осмотром, акт приемки

Отклонения поверхности, облицованной плитами и панелями, по диагонали, вертикали и горизонтали не должны превышать 1,5 мм на 1 м

Не более 7 мм на всю поверхность

Измерительный, не менее 5 измерений контрольной двухметровой рейкой на 50-70 м2 поверхности покрытия или на отдельном участке меньшей площади в местах, выявленных сплошным визуальным осмотром, журнал работ

Отклонения направления стыка элементов облицовки стен от вертикали не должны превышать 1 мм на 1 м

-

То же

Максимальные величины уступов между плитами и панелями в готовой облицовке не должны превышать 2 мм

-

То же

На поверхности стен, облицованных листами, плитами и панелями с заводской отделкой, трещины, воздушные пузыри, царапины, пятна и т.п. не допускаются

-

Технический осмотр, акт приемки

Крепление листов, плит и панелей к основанию должно быть прочным, без зыбкости (при легком простукивании деревянным молотком не должно наблюдаться коробления изделий, разрушения их кромок и смещения листов). Швы должны быть равномерными, строго горизонтальными и вертикальными.

Крепежные приборы и расстояние между ними, а также материал, размеры и рисунок должны соответствовать проекту; крепежные приборы, располагаемые под картоном, или подвергающиеся воздействию агрессивных сред, должны быть покрыты антикоррозионными составами или изготовлены из цветного металла в соответствии с проектом.

-

Технический осмотр, акт приемки

Устройство каждого элемента облицовочного покрытия следует выполнять после проверки правильности выполнения соответствующего нижележащего элемента с составлением акта освидетельствования скрытых работ.

Соответствие готовых облицовочных покрытий требованиям проекта и нормативных документов выявляется в процессе технического осмотра покрытий, проведения необходимых инструментальных измерений и лабораторных испытаний, рассмотрения приемо-сдаточной документации, и оформляется актом приемки.

В Федеральном фонде типовой проектной документации имеется следующая проектная документация по облицовке стен листовыми и плитными материалами:

2.473-1 Узлы облицовки стен и колонн в интерьере производственных и административно-бытовых зданий естественным и искусственными отделочными материалами (09.89 г.):

- вып. 1 Указания по применению, узлы облицовок стен и колонн, рабочие чертежи;

- вып. 2 Изделия, технические условия, рабочие чертежи.

2.230-1 Детали стен и перегородок жилых и общественных зданий:

- вып. 11 Детали облицовки внутренних стен и металлоконструкций сухой гипсовой штукатуркой повышенного качества (20.04.82).

1.273.9-5 Облицовки из листовых материалов для общественных зданий:

- вып. 1 Облицовки из гипсокартонных листов на деревянном каркасе, рабочие чертежи (01.05.86);

- вып. 2 Облицовки из гипсокартонных листов на металлическом каркасе, рабочие чертежи (01.05.86);

- вып. 3 Облицовки из цементно-стружечных плит на деревянном каркасе, рабочие чертежи (01.05.86);

- вып. 4 Облицовки из цементно-стружечных плит на металлическом каркасе, рабочие чертежи (01.05.86);

- вып. 5 Облицовки из гипсоволокнистых листов на деревянном каркасе, рабочие чертежи (01.07.87);

- вып. 6 Облицовки из гипсоволокнистых листов на металлическом каркасе, рабочие чертежи (01.07.87).

Серия 2.473-1 Узлы облицовки стен и колонн в интерьере производственных и административно-бытовых зданий естественными и искусственными материалами.

Материалы данной серии предусматривают облицовку стен и колонн асбестоцементными листами, древесностружечными плитами, алюминиевыми профилями при относе от стены и колонны с помощью металлических крепежных элементов - закреп, стоек связей.

Экономические преимущества данного способа облицовки заключаются в снижении материальных и трудовых затрат при облицовке колонн и стен путем использования изделий заводского производства без применения «мокрых» процессов.

Рекомендуемая область применения облицовочных материалов

Вид помещений

Материал облицовок

древесностружечные плиты

алюминиевый профиль

асбестоцементные плиты

Вестибюль

 

+

+

Холл

 

+

+

Коридор

 

+

+

Залы собраний

 

+

+

Фойе

 

+

+

Обеденные залы

 

+

+

Буфеты

 

+

+

Кабинеты

+

 

 

Конторские помещения

 

+

 

Цеха механосборки

 

+

+

Цеха сборки

 

+

+

Склады готовой продукции

 

 

+

Облицовки применяются в интерьерах производственных и административно-бытовых зданий.

Облицовки следует применять в помещениях с неагрессивной средой, влажностью воздуха 50-60 % и температурой воздуха 12 ÷ 24 °С.

В облицованных помещениях разрешается применять влажную уборку.

Облицовка колонн производится с нижних рядов. Облицовка стен - с нижних рядов и от дверного проема в обе стороны к углам.

До начала облицовки колонн и стен необходимо выполнить конструкцию чистого пола.

Монтаж облицовочных плит необходимо производить до устройства подвесных потолков.

Через каждые 3-3,6 м по высоте асбестоцементные и древесностружечные плиты устанавливаются на опорную металлическую балку-уголок. Балка устанавливается в соответствии с разбивкой плит.

Основные этапы подготовительных работ и монтажа облицовок стен:

- выровнять горизонтальность положения нижнего ряда закреп;

- наметить и просверлить отверстие в стене, забить в отверстие дюбель; прикрепить закрепу шурупами;

- вставить плиту и отрегулировать ее положение болтами;

- вставить закрепу в верхний паз плиты; прикрепить ее к стене;

- болтами отрегулировать положение плиты и закрепить ее.

Основные этапы подготовительных работ и монтажа облицовки колонн:

- к металлическим стойкам по периметру колонн прикрепить связи; выровнять горизонтальность положения нижнего ряда закреп;

- прикрепить закрепы к связям винтами;

- вставить плиту и отрегулировать ее положение болтами;

- вставить закрепу в верхний паз плиты и прикрепить ее к связи;

- болтами отрегулировать положение плиты и закрепить ее.

Пространство между колоннами, стеной и облицовочными материалами клеящим раствором не заполняется. Все шурупы и винты должны быть оцинкованными или кадмированы, алюминиевые детали анодированы.

Схема узлов облицовки стены древесно-стружечными плитами


УЗЛЫ ОБЛИЦОВОК СТЕН ДРЕВЕСНО-СТРУЖЕЧНЫМИ ПЛИТАМИ ПО СЕРИИ 2.473-1

УЗЛЫ ОБЛИЦОВОК СТЕН ДРЕВЕСНО-СТРУЖЕЧНЫМИ ПЛИТАМИ ПО СЕРИИ 2.473-1

Крепежные приборы (закрепы) для облицовки, подвергающиеся воздействию агрессивных сред, должны быть покрыты антикоррозионными составами или изготовлены из цветного металла в соответствии с проектом.

УЗЛЫ ОБЛИЦОВОК КОЛОНН ИЗ ДРЕВЕСНО-СТРУЖЕЧНЫХ ПЛИТ

УЗЛЫ ОБЛИЦОВОК СТЕН АСБЕСТОЦЕМЕНТНЫМИ ПЛИТАМИ

УЗЛЫ ОБЛИЦОВОК СТЕН АСБЕСТОЦЕМЕНТНЫМИ ПЛИТАМИ


УЗЛЫ ОБЛИЦОВОК СТЕН АСБЕСТОЦЕМЕНТНЫМИ ПЛИТАМИ

СХЕМА УЗЛОВ ОБЛИЦОВКИ КОЛОНН


УЗЛЫ ОБЛИЦОВОК КОЛОНН АСБЕСТОЦЕМЕНТНЫМИ ПЛИТАМИ


Серия 2.230-1 Детали стен и перегородок общественных и жилых зданий. Вып. 11 Детали облицовки внутренних стен и металлоконструкций сухой гипсовой штукатуркой повышенного качества.

В материалах данного выпуска разработаны детали крепления облицовки внутренних стен и металлоконструкции сухой гипсовой штукатуркой повышенного качества (по современной терминологии - гипсокартонными листами по ГОСТ 6266-97) при строительстве общественных и жилых здании со стенами из кирпича при нормальном влажностном режиме помещений, отсутствии агрессивной среды и обычных условиях строительства.

Детали облицовки кирпичных стен разработаны в трех вариантах:

- облицовка гипсокартонными листами по деревянному каркасу с проклейкой стыков бумагой или клейкой лентой;

- облицовка плитами или панелями, изготовленными из гипсокартонных листов, оклеенных пленками и декоративными материалами;

- облицовка гипсокартонными листами «по опорным маячным маркам» с проклейкой стыков бумагой или клейкой лентой.

Выбор варианта облицовки производится при конкретном проектировании. Детали разработаны для условий выполнения работ в законченном, отапливаемом здании.

Крепление регулирующих прокладок к кирпичным стенам производится пристрелкой дюбелями или гвоздями к пробкам в кирпичной кладке, что должно определяться проектом.

Крепление облицовок предусматривается по деревянным или металлическим рамкам, что должно определяться проектом в каждом конкретном случае.

В выпуске дан пример крепления электротехнических изделий в стенах, облицованных гипсокартонными листами с заранее вырезанными отверстиями под них.

В выпуске разработаны варианты деталей огнезащитной облицовки стальных колонн и балок гипсокартонными листами.


Узлы облицовок внутренних стен гипсокартонными листами и панелями на их основе

Узлы облицовок внутренних стен гипсокартонными листами и панелями на их основе

Узлы облицовок внутренних стен гипсокартонными листами и панелями на их основе

Узлы облицовок внутренних стен гипсокартонными листами и панелями на их основе


Серия 1.273.9-5 Облицовки из листовых материалов для общественных зданий. Вып. 1 Облицовки из гипсокартонных листов на деревянном каркасе

Материалы данного выпуска содержат перечень типов облицовок, монтажные узлы, комплектующие элементы и детали, рекомендации по заделке швов и методам отделки лицевых поверхностей.

Облицовки предназначены для применения в проектах общественных зданий (предприятия общественного питания, торговли, бытового обслуживания, школ, учебных, лечебных и детских учреждений), а также в гостиницах, административно-бытовых зданиях др., с высотами этажей равными 2,8 м; 3,3 м; 3,6 м; 4,2 м. В облицовках гостиниц, школ, детских садов, учебных и лечебно-профилактических учреждений в качестве звукоизоляционного слоя следует применять прошивные минераловатные маты по ТУ 21-РСФСР-1.301-86 или другие звукопоглощающие маты, в прочих общественных зданиях разрешается применять минераловатные плиты по ГОСТ 9573-96.

Облицовки следует применять в помещениях с нормальным температурно-влажностным режимом в зданиях II степени огнестойкости с неагрессивной средой. Для отделки облицовок на путях эвакуации, а также в помещениях лечебных и детских дошкольных учреждений следует применять несгораемые материалы (рекомендуется применять керамические плитки, асбестоцементные листы, водоэмульсионные, клеевые краски и др.).

Облицовки поэлементной сборки представляют собой каркасную конструкцию, обшитую с одной стороны гипсокартонными листами. Каркас облицовок (вертикальные стойки и горизонтальные направляющие) следует изготавливать из пиломатериалов хвойных пород по ГОСТ 8486-86*. Бруски каркаса следует антисептировать. Максимальная влажность древесины каркаса допускается не выше 15-17 %.

Материалом обшивки являются гипсокартонные листы по ГОСТ 6266-97 с прямоугольными и обжатыми по всей длине листа кромками толщиной 14 мм. Гипсокартонные листы с прямоугольными кромками применяются для внутреннего слоя при двухслойном варианте обшивки. Крепление листов к каркасу осуществляется гвоздями 2,0 × 40 мм, 2,2 × 50 мм по ГОСТ 4034-63* с шагом 200 мм или шурупами 3 × 30 мм, 3,5 × 40 мм по ГОСТ 1145-80* с шагом 300 мм. Для повышения звукоизоляции облицовок предусмотрены прошивные минераловатные звукопоглощающие маты γ = 125 кг/м3 по ТУ 21-РСФСР-1.301-86 или полужесткие минераловатные плиты толщиной 50 мм γ = 125 кг/м3 и на синтетической связке по ГОСТ 9573-96.

Для отделки поверхностей гипсокартонных облицовок рекомендуется применять пленки декоративные отделочные самоклеющие ПДСО по ГОСТ 24944-81, поливинилхлоридные отделочные материалы, обои, клеевые, водоэмульсионные краски, эмали, синтетические краски и другие материалы из числа разрешенных для применения в строительстве Министерством здравоохранения СССР.

Монтаж облицовок может производиться только в период отделочных работ (в зимнее время - при подключении отопления) и до устройства чистого пола в следующей последовательности:

- выполняется разметка и к бетонным, кирпичным и т.п. конструкциям крепятся верхние и нижние направляющие или деревянные подкладки с помощью разжимных дюбелей с шагом 500 мм;

- к направляющим или деревянным подкладкам с шагом 600 мм устанавливаются по отвесу и крепятся гвоздями стойки;

- между стойками устанавливаются прошивные маты или минераловатные плиты;

- устанавливаются и крепятся гипсокартонные листы гвоздями, шурупами или поливинилхлоридными раскладками по ГОСТ 19111-77;

- все стыки гипсокартонных листов, углы и примыкания проклеиваются перфорированной бумажной или тканевой лентой;

- выполнение наружного отделочного слоя (моющиеся обои, синтетические пленки, обычные обои, покраска) должны производиться после подготовки поверхностей облицовки (шпатлевка заподлицо, зачистка);

- по окончании отделочных работ устанавливается электротехнический плинтус по ГОСТ 19111-77 или деревянный - по ГОСТ 8242-88.

Расшифровка типа облицовки ОГКД-1м (2м, 3, 4):

ОГКД - облицовка гипсокартонная на деревянном каркасе;

1 - толщина облицовки 84 мм (2 - 98 мм, 3 - 59 мм, 4 - 73 мм);

м - наличие минераловатного звукоизоляционного слоя.

Типы облицовок

Тип

Эскиз

Толщина, мм

ОГКД-1

84

ОГКД-1м

84

ОГКД-2

98

ОГКД-2м

98

ОГКД-3

59

ОГКД-4

73

УЗЛЫ ОБЛИЦОВОК ТИПА ОКД-1М ПО СЕРИИ 1.273.9-5 ВЫП. 1


УЗЛЫ ОБЛИЦОВОК ТИПА ОКД-1М ПО СЕРИИ 1.273.9-5 ВЫП. 1

УЗЛЫ ОБЛИЦОВОК ТИПА ОКД-1М ПО СЕРИИ 1.273.9-5 ВЫП. 1


УЗЛЫ ОБЛИЦОВОК ТИПА ОКД-1М ПО СЕРИИ 1.273.9-5 ВЫП. 1

УЗЛЫ ОБЛИЦОВОК ТИПА ОКД-1М ПО СЕРИИ 1.273.9-5 ВЫП. 1


УЗЛЫ ОБЛИЦОВОК ТИПА ОКД-1М ПО СЕРИИ 1.273.9-5 ВЫП. 1

Пустотелая облицовка ОКД-1 аналогична приведенной облицовке ОКД-1м за исключением звукоизоляционного слоя.


Серия 1.273.9-5 Облицовки из листовых материалов для общественных зданий. Вып. 2 Облицовки из гипсокартонных листов на металлическом каркасе

Материалы данного выпуска содержат перечень типов облицовок, монтажные узлы, комплектующие элементы и детали, рекомендации по заделке швов и методам отделки лицевых поверхностей.

Облицовки предназначены для применения в проектах общественных зданий (предприятия общественного питания, торговли, бытового обслуживания, школ, учебных, лечебных и детских учреждений), а также в гостиницах, административно-бытовых зданиях др., с высотами этажей равными 2,8 м; 3,3 м; 3,6 м; 4,2 м. В облицовках гостиниц, школ, детских садов, учебных и лечебно-профилактических учреждений в качестве звукоизоляционного слоя следует применять прошивные минераловатные маты по ТУ 21СФСР-1.301-86 или другие звукопоглощающие маты, в прочих общественных зданиях разрешается применять минераловатные плиты по ГОСТ 9573-96.

Облицовки следует применять в помещениях с нормальным температурно-влажностным режимом в зданиях II степени огнестойкости с неагрессивной средой. Для отделки облицовок на путях эвакуации, а также в помещениях лечебных и детских дошкольных учреждений следует применять несгораемые материалы (рекомендуется применять керамические плитки, асбестоцементные листы, водоэмульсионные, клеевые краски и др.).

Облицовки поэлементной сборки представляют собой каркасную конструкцию, обшитую с одной стороны гипсокартонными листами. Каркас облицовок запроектирован из гнутых профилей, изготовленных путем профилирования рулонной тонколистовой оцинкованной стали на профилегибочных станках. В стенках стоек предусмотрены отверстия 40 × 40 мм для пропуска силовой и слаботочной электропроводок.

Материалом обшивки являются гипсокартонные листы по ГОСТ 6266-97 с прямоугольными и обжатыми по всей длине листа кромками толщиной 14 мм. Гипсокартонные листы с прямоугольными кромками применяются для внутреннего слоя при двухслойном варианте обшивки. Для крепления листов к металлическому каркасу приняты винты самосверлящие самонарезающие с шагом 300 мм. Для повышения звукоизоляции облицовок предусмотрены прошивные минераловатные звукопоглощающие маты γ = 125 кг/м3 по ТУ 21СФСР-1.301-86 или полужесткие минераловатные плиты толщиной 50 мм γ = 125 кг/м3 на синтетической связке по ГОСТ 9573-96.

Для отделки поверхностей гипсокартонных облицовок рекомендуется применять пленки декоративные отделочные самоклеющие ПДСО по ГОСТ 24944-81, поливинилхлоридные отделочные материалы, обои, клеевые, водоэмульсионные краски, эмали, синтетические краски и другие материалы из числа разрешенных для применения в строительстве Министерством здравоохранения СССР.

Монтаж облицовок может производиться только в период отделочных работ (в зимнее время - при подключении отопления) и до устройства чистого пола в следующей последовательности:

- выполняется разметка и к бетонным, кирпичным и т.п. конструкциям крепятся верхние и нижние направляющие с помощью дюбелей «ДГП» с шагом 500 мм; точка забивки дюбеля должна отстоять от края строительного основания на расстоянии не менее 100 мм;

- в направляющие с шагом 600 мм устанавливаются стойки каркаса и крепятся с помощью просечных клещей с последующим отгибом; монтажными деталями МД-1 с шагом 1000 мм стойки каркаса крепятся к облицовываемой поверхности; выверка стоек каркаса производится по отвесу или магнитному уровню;

- через отверстия в стойках каркаса пропускается силовая и слаботочная проводка, вывод наружу проводки производится через отверстия в обшивке облицовки, обозначенные в проекте;

- между стойками устанавливаются прошивные маты или минераловатные плиты;

- устанавливаются и крепятся гипсокартонные листы самосверлящими винтами впотай;

- все стыки гипсокартонных листов, углы и примыкания проклеиваются перфорированной бумажной или тканевой лентой, а также угловыми и торцевыми металлическими накладками;

- выполнение наружного отделочного слоя (моющиеся обои, синтетические пленки, обычные обои, покраска) должно производиться после подготовки поверхностей облицовки (шпатлевка заподлицо, зачистка);

- по окончании отделочных работ устанавливается электротехнический плинтус по ГОСТ 19111-77 или деревянный - по ГОСТ 8242-88.

Расшифровка типа облицовки ОГКМ-1м (ОГКМ-2м):

ОГКМ - облицовка гипсокартонная на металлическом каркасе;

1 - толщина облицовки 84 мм (2-98 мм);

м - наличие минераловатного звукоизоляционного слоя.

Типы облицовок

Тип

Эскиз

Толщина, мм

ОГКМ-1

84

ОГКМ-1м

84

ОГКМ-2

98

ОГКМ-2м

98

УЗЛЫ ОБЛИЦОВОК ТИПА ОГКМ-1М ПО СЕРИИ 1.273.9-5 ВЫП. 2


УЗЛЫ ОБЛИЦОВОК ТИПА ОГКМ-1М ПО СЕРИИ 1.273.9-5 ВЫП. 2

УЗЛЫ ОБЛИЦОВОК ТИПА ОГКМ-1М ПО СЕРИИ 1.273.9-5 ВЫП. 2

Пустотелая облицовка ОГКМ-1 аналогична приведенной облицовке ОГКМ-1м за исключением звукоизоляционного слоя.

УЗЛЫ ОБЛИЦОВОК ТИПА ОГКМ-1М ПО СЕРИИ 1.273.9-5 ВЫП. 2


Серия 1.273.9-5 Облицовки из листовых материалов для общественных зданий. Вып. 3 Облицовки из цементностружечных плит на деревянном каркасе

Материалы данного выпуска содержат перечень типов облицовок, монтажные узлы, комплектующие элементы и детали, рекомендации по заделке швов и методам отделки лицевых поверхностей.

Облицовки предназначены для применения в проектах общественных зданий (предприятия общественного питания, торговли, бытового обслуживания, школ, учебных, лечебных и детских учреждений), а также в гостиницах, административно-бытовых зданиях др., с высотами этажей равными 2,8 м; 3,3 м; 3,6 м; 4,2 м. В облицовках гостиниц, школ, детских садов, учебных и лечебно-профилактических учреждений в качестве звукоизоляционного слоя следует применять прошивные минераловатные маты по ТУ 21-РСФСР-1.301-86 или другие звукопоглощающие маты, в прочих общественных зданиях разрешается применять минераловатные плиты по ГОСТ 9573-96.

Облицовки следует применять в помещениях с нормальным температурно-влажностным режимом в зданиях II степени огнестойкости с неагрессивной средой. Для отделки облицовок на путях эвакуации, а также в помещениях лечебных и детских дошкольных учреждений следует применять несгораемые материалы (рекомендуется применять керамические плитки, асбестоцементные листы, водоэмульсионные, клеевые краски и др.).

Облицовки поэлементной сборки представляют собой каркасную конструкцию, обшитую с одной стороны цементностружечными плитами. Каркас облицовок (вертикальные стойки и горизонтальные направляющие) следует изготавливать из пиломатериалов хвойных пород по ГОСТ 8486-86*. Бруски каркаса следует антисептировать. Максимальная влажность древесины каркаса допускается не выше 15-17 %.

Материалом обшивки являются цементностружечные плиты по ГОСТ 26816-86 толщиной 10 мм. Перед установкой обшивки в проектное положение в ней просверливаются и зенкуются отверстия под шурупы. Крепление цементностружечных плит к каркасу осуществляется шурупами 3 × 30 мм, 3,5 × 40 мм по ГОСТ 1145-80*с шагом 300 мм или поливинилхлоридными раскладками по ГОСТ 19111-77.

Для повышения звукоизоляции облицовок предусмотрены прошивные минераловатные звукопоглощающие маты γ = 125 кг/м3 по ТУ 21СФСР-1.301-86 или полужесткие минераловатные плиты толщиной 50 мм γ = 125 кг/м3 на синтетической связке по ГОСТ 9573-96.

Для отделки поверхностей цементностружечных облицовок рекомендуется применять пленки декоративные отделочные самоклеющие ПДСО по ГОСТ 24944-81, поливинилхлоридные отделочные материалы, обои, клеевые, водоэмульсионные краски, эмали, синтетические краски и другие материалы из числа разрешенных для применения в строительстве Министерством здравоохранения СССР.

Монтаж облицовок может производиться только в период отделочных работ (в зимнее время - при подключении отопления) и до устройства чистого пола в следующей последовательности:

- выполняется разметка и к бетонным, кирпичным и т.п. конструкциям крепятся верхние и нижние направляющие или деревянные подкладки с помощью разжимных дюбелей с шагом 500 мм;

- к направляющим или деревянным подкладкам с шагом 625 мм устанавливаются по отвесу и крепятся гвоздями стойки;

- между стойками устанавливаются прошивные маты или минераловатные плиты;

- устанавливаются и крепятся шурупами цементностружечные плиты;

- все стыки цементностружечных плит, углы и примыкания проклеиваются перфорированной бумажной или тканевой лентой;

- выполнение наружного отделочного слоя (моющиеся обои, синтетические пленки, обычные обои, покраска) должны производиться после подготовки поверхностей облицовки (шпатлевка заподлицо, зачистка);

- по окончании отделочных работ устанавливается электротехнический плинтус по ГОСТ 19111-77 или деревянный - по ГОСТ 8242-88.

Расшифровка типа облицовки ОЦД-1м:

ОЦД - облицовка на деревянном каркасе цементностружечная;

1 - толщина облицовки 80 мм (2-55 мм);

м - наличие минераловатного звукоизоляционного слоя.

УЗЛЫ ОБЛИЦОВОК ТИПА ОЦД-1М ПО СЕРИИ 1.273.9-5. ВЫП. 3

Типы облицовок

Тип

Эскиз

Толщина, мм

ОЦД-1

80

ОЦД-1м

80

ОЦД-2

55


УЗЛЫ ОБЛИЦОВОК ТИПА ОЦД- ПО СЕРИИ 1.273.9-5 ВЫП. 3

УЗЛЫ ОБЛИЦОВОК ТИПА ОЦД-1М ПО СЕРИИ 1.273.9-5 ВЫП. 3


УЗЛЫ ОБЛИЦОВОК ТИПА ОЦД-1М ПО СЕРИИ 1.273.9-5 ВЫП. 3

УЗЛЫ ОБЛИЦОВОК ТИПА ОЦД-1М ПО СЕРИИ 1.273.9-5 ВЫП. 3


УЗЛЫ ОБЛИЦОВОК ТИПА ОЦД-1М ПО СЕРИИ 1.273.9-5 ВЫП. 3

Пустотелая облицовка ОЦД-1 аналогична приведенной облицовке ОЦД-1м за исключением звукоизоляционного слоя.

УЗЛЫ ОБЛИЦОВОК ТИПА ОЦД-1М ПО СЕРИИ 1.273.9-5 ВЫП. 3

УЗЛЫ ОБЛИЦОВОК ТИПА ОЦД-1М ПО СЕРИИ 1.273.9-5 ВЫП. 3

УЗЛЫ ОБЛИЦОВОК ТИПА ОЦД-2 ПО СЕРИИ 1.273.9-5 ВЫП. 3

УЗЛЫ ОБЛИЦОВОК ТИПА ОЦД-2 ПО СЕРИИ 1.273.9-5 ВЫП. 3

УЗЛЫ ОБЛИЦОВОК ТИПА ОЦД-2 ПО СЕРИИ 1.273.9-5 ВЫП. 3


Серия 1.273.9-5 Облицовки из листовых материалов для общественных зданий. Вып. 4 Облицовки из цементностружечных плит на металлическом каркасе

Материалы данного выпуска содержат перечень типов облицовок, монтажные узлы, комплектующие элементы и детали, рекомендации по заделке швов и методам отделки лицевых поверхностей.

Облицовки предназначены для применения в проектах общественных зданий (предприятия общественного питания, торговли, бытового обслуживания, школ, учебных, лечебных и детских учреждений), а также в гостиницах, административно-бытовых зданиях др., с высотами этажей равными 2,8 м; 3,3 м; 3,6 м; 4,2 м. В облицовках гостиниц, школ, детских садов, учебных и лечебно-профилактических учреждений в качестве звукоизоляционного слоя следует применять прошивные минераловатные маты по ТУ 21СФСР-1.301-86 или другие звукопоглощающие маты, в прочих общественных зданиях разрешается применять минераловатные плиты по ГОСТ 9573-96.

Облицовки следует применять в помещениях с нормальным температурно-влажностным режимом в зданиях II степени огнестойкости с неагрессивной средой. Для отделки облицовок на путях эвакуации, а также в помещениях лечебных и детских дошкольных учреждений следует применять несгораемые материалы (рекомендуется применять керамические плитки, асбестоцементные листы, водоэмульсионные, клеевые краски и др.).

Облицовки поэлементной сборки представляют собой каркасную конструкцию, обшитую с одной стороны цементностружечными плитами. Каркас облицовок запроектирован из гнутых профилей, изготовленных путем профилирования рулонной тонколистовой оцинкованной стали на профилегибочных станках. В стенках стоек предусмотрены отверстия 40 × 40 мм для пропуска силовой и слаботочной электропроводок.

Материалом обшивки являются цементностружечные плиты по ГОСТ 26816-86 толщиной 10 мм. Перед установкой обшивки в проектное положение в ней просверливаются и зенкуются отверстия под винты. Крепление плит к металлическому каркасу осуществляется винтами самосверлящими самонарезающими.

Для повышения звукоизоляции облицовок предусмотрены прошивные минераловатные звукопоглощающие маты γ = 125 кг/м3 по ТУ 21СФСР-1.301-86 или полужесткие минераловатные плиты толщиной 50 мм γ = 125 кг/м3 на синтетической связке по ГОСТ 9573-96.

Для отделки поверхностей цементностружечных облицовок рекомендуется применять пленки декоративные отделочные самоклеющие ПДСО по ГОСТ 24944-81, поливинилхлоридные отделочные материалы, обои, клеевые, водоэмульсионные краски, эмали, синтетические краски и другие материалы из числа разрешенных для применения в строительстве Министерством здравоохранения СССР.

Монтаж облицовок может производиться только в период отделочных работ (в зимнее время - при подключении отопления) и до устройства чистого пола в следующей последовательности:

- выполняется разметка и к бетонным, кирпичным и т.п. конструкциям крепятся верхние и нижние направляющие с помощью дюбелей «ДГП» с шагом 500 мм; точка забивки дюбеля должна отстоять от края строительного основания на расстоянии не менее 100 мм;

- в направляющие с шагом 625 мм устанавливаются стойки каркаса и крепятся с помощью просечных клещей с последующим отгибом; монтажными деталями МД-1 с шагом 1000 мм стойки каркаса крепятся к облицовываемой поверхности; выверка стоек каркаса производится по отвесу или магнитному уровню;

- через отверстия в стойках каркаса пропускается силовая и слаботочная проводка, вывод наружу проводки производится через отверстия в обшивке облицовки, обозначенные в проекте;

- между стойками устанавливаются прошивные маты или минераловатные плиты;

- устанавливаются и крепятся цементностружечные плиты самосверлящими самонарезающими винтами впотай;

- все стыки цементностружечных плит, углы и примыкания проклеиваются перфорированной бумажной или тканевой лентой, а также угловыми и торцевыми металлическими накладками;

- выполнение наружного отделочного слоя (моющиеся обои, синтетические пленки, обычные обои, покраска) должны производиться после подготовки поверхностей облицовки (шпатлевка заподлицо, зачистка);

- по окончании отделочных работ устанавливается электротехнический плинтус по ГОСТ 19111-77 или деревянный - по ГОСТ 8242-88.

Расшифровка типа облицовки ОЦМ-1м (ОЦМ-2м):

ОЦМ - облицовка цементностружечная на металлическом каркасе;

1 - толщина облицовки 80 мм (2-90 мм);

м - наличие минераловатного звукоизоляционного слоя.

Типы облицовок

Тип

Эскиз

Толщина, мм

ОЦМ-1

80

ОЦМ-1м

80

ОЦМ-2

90

ОЦМ-2м

90

УЗЛЫ ОБЛИЦОВОК ТИПА ОЦМ-1М ПО СЕРИИ 1.273.9-5 ВЫП. 4


УЗЛЫ ОБЛИЦОВОК ТИПА ОЦМ-1М ПО СЕРИИ 1.273.9-5 ВЫП. 4

УЗЛЫ ОБЛИЦОВОК ТИПА ОЦМ-1М ПО СЕРИИ 1.273.9-5 ВЫП. 4

Пустотелая облицовка ОЦМ-1 аналогична приведенной облицовке ОЦМ-1м за исключением звукоизоляционного слоя.


Серия 1.273.9-5 Облицовки из листовых материалов для общественных зданий. Вып. 5 Облицовки из гипсоволокнистых листов на деревянном каркасе

Материалы данного выпуска содержат перечень типов облицовок, монтажные узлы, комплектующие элементы и детали, рекомендации по заделке швов и методам отделки лицевых поверхностей.

Облицовки предназначены для применения в проектах общественных зданий (предприятия общественного питания, торговли, бытового обслуживания, школ, учебных, лечебных и детских учреждений), а также в гостиницах, административно-бытовых зданиях др., с высотами этажей равными 2,8 м; 3,3 м; 3,6 м; 4,2 м. В облицовках гостиниц, школ, детских садов, учебных и лечебно-профилактических учреждений в качестве звукоизоляционного слоя следует применять прошивные минераловатные маты по ТУ 21СФСР-1.301-86 или другие звукопоглощающие маты, в прочих общественных зданиях разрешается применять минераловатные плиты по ГОСТ 9573-96.

Облицовки следует применять в помещениях с нормальным температурно-влажностным режимом в зданиях II степени огнестойкости с неагрессивной средой. Для отделки облицовок на путях эвакуации, а также в помещениях лечебных и детских дошкольных учреждений следует применять несгораемые материалы (рекомендуется применять керамические плитки, асбестоцементные листы, водоэмульсионные, клеевые краски и др.).

Облицовки поэлементной сборки представляют собой каркасную конструкцию, обшитую с одной стороны гипсоволокнистыми листами. Каркас облицовок (вертикальные стойки и горизонтальные направляющие) следует изготавливать из пиломатериалов хвойных пород по ГОСТ 8486-86*. Бруски каркаса следует антисептировать. Максимальная влажность древесины каркаса допускается не выше 15-17 %.

Материалом обшивки являются гипсоволокнистые листы по ТУ 5742-004-03515377-97 толщиной 10 мм. Крепление листов к каркасу осуществляется шурупами 3 × 30 мм, 3,5 × 40 мм по ГОСТ 1145-80* с шагом 300 мм или поливинилхлоридными раскладками по ГОСТ 19111-77.

Для повышения звукоизоляции облицовок предусмотрены прошивные минераловатные звукопоглощающие маты γ = 125 кг/м3 по ТУ 21-РСФСР-1.301-86 или полужесткие минераловатные плиты толщиной 50 мм γ = 125 кг/м3 на синтетической связке по ГОСТ 9573-96.

Для отделки поверхностей гипсокартонных облицовок рекомендуется применять пленки декоративные отделочные самоклеющие ПДСО по ГОСТ 24944-81, поливинилхлоридные отделочные материалы, обои, клеевые, водоэмульсионные краски, эмали, синтетические краски и другие материалы из числа разрешенных для применения в строительстве Министерством здравоохранения СССР.

Монтаж облицовок может производиться только в период отделочных работ (в зимнее время - при подключении отопления) и до устройства чистого пола в следующей последовательности:

- выполняется разметка и к бетонным, кирпичным и т.п. конструкциям крепятся верхние и нижние направляющие или деревянные подкладки с помощью разжимных дюбелей с шагом 500 мм;

- к направляющим или деревянным прокладкам с шагом 600 мм устанавливаются по отвесу и крепятся гвоздями стойки или бруски обрешетки;

- между стойками устанавливаются прошивные маты или минераловатные плиты;

- устанавливаются и крепятся шурупами гипсоволокнистые листы;

- все стыки гипсоволокнистых листов, углы и примыкания проклеиваются перфорированной бумажной или тканевой лентой;

- выполнение наружного отделочного слоя (моющиеся обои, синтетические пленки, обычные обои, покраска) должны производиться после подготовки поверхностей облицовки (шпатлевка заподлицо, зачистка);

- по окончании отделочных работ устанавливается электротехнический плинтус по ГОСТ 19111-77 или деревянный - по ГОСТ 8242-88.

Расшифровка типа облицовки ОГВД-1м (2):

ОГВД - облицовка гипсоволокнистая на деревянном каркасе;

1 - толщина облицовки 80 мм (2-55 мм);

м - наличие минераловатного звукоизоляционного слоя.

УЗЛЫ ОБЛИЦОВОК ТИПА ОГВД-1М ПО СЕРИИ 1.273.9-5 ВЫП. 5

Типы облицовок

Тип

Эскиз

Толщина, мм

ОГВД-1

80

ОГВД-1м

80

ОГВД-2

55


УЗЛЫ ОБЛИЦОВОК ТИПА ОГВД-1М ПО СЕРИИ 1.273.9-5 ВЫП. 5

УЗЛЫ ОБЛИЦОВОК ТИПА ОГВД-1М ПО СЕРИИ 1.273.9-5 ВЫП. 5


УЗЛЫ ОБЛИЦОВОК ТИПА ОГВД-1М ПО СЕРИИ 1.273.9-5 ВЫП. 5

УЗЛЫ ОБЛИЦОВОК ТИПА ОГВД-1М ПО СЕРИИ 1.273.9-5 ВЫП. 5


УЗЛЫ ОБЛИЦОВОК ТИПА ОГВД-1М ПО СЕРИИ 1.273.9-5 ВЫП. 5

Пустотелая облицовка ОГВД-1 аналогична приведенной облицовке ОГВД-1м за исключением звукоизоляционного слоя.


Серия 1.273.9-5 Облицовки из листовых материалов для общественных зданий. Вып. 6 Облицовки из гипсоволокнистых листов на металлическом каркасе

Материалы данного выпуска содержат перечень типов облицовок, монтажные узлы, комплектующие элементы и детали, рекомендации по заделке швов и методам отделки лицевых поверхностей.

Облицовки предназначены для применения в проектах общественных зданий (предприятия общественного питания, торговли, бытового обслуживания, школ, учебных, лечебных и детских учреждений), а также в гостиницах, административно-бытовых зданиях др., с высотами этажей равными 2,8 м; 3,3 м; 3,6 м; 4,2 м. В облицовках гостиниц, школ, детских садов, учебных и лечебно-профилактических учреждений в качестве звукоизоляционного слоя следует применять прошивные минераловатные маты по ТУ 21СФСР-1.301-86 или другие звукопоглощающие маты, в прочих общественных зданиях разрешается применять минераловатные плиты по ГОСТ 9573-96.

Облицовки следует применять в помещениях с нормальным температурно-влажностным режимом в зданиях II степени огнестойкости с неагрессивной средой. Для отделки облицовок на путях эвакуации, а также в помещениях лечебных и детских дошкольных учреждений следует применять несгораемые материалы (рекомендуется применять керамические плитки, асбестоцементные листы, водоэмульсионные, клеевые краски и др.).

Облицовки поэлементной сборки представляют собой каркасную конструкцию, обшитую с одной стороны гипсоволокнистыми листами. Каркас облицовок запроектирован из гнутых профилей, изготовленных путем профилирования рулонной тонколистовой оцинкованной стали на профилегибочных станках. В стенках стоек предусмотрены отверстия 40 × 40 мм для пропуска силовой и слаботочной электропроводок.

Материалом обшивки являются гипсоволокнистые листы по ТУ 5742-004-03515377-97 толщиной 10 мм. Крепление листов к каркасу осуществляется винтами самосверлящими самонарезающими с шагом 300 мм. Для повышения звукоизоляции облицовок предусмотрены прошивные минераловатные звукопоглощающие маты γ = 125 кг/м3 по ТУ 21-РСФСР-1.301-86 или полужесткие минераловатные плиты толщиной 50 мм γ = 125 кг/м2 на синтетической связке по ГОСТ 9573-96.

Для отделки поверхностей гипсокартонных облицовок рекомендуется применять пленки декоративные отделочные самоклеющие ПДСО по ГОСТ 24944-81, поливинилхлоридные отделочные материалы, обои, клеевые, водоэмульсионные краски, эмали, синтетические краски и другие материалы из числа разрешенных для применения в строительстве Министерством здравоохранения СССР.

Заделку и шпатлевку стыков между гипсоволокнистыми плитами рекомендуется производить гипсополимерными шпатлевками.

Монтаж облицовок может производиться только в период отделочных работ (в зимнее время - при подключении отопления) и до устройства чистого пола в следующей последовательности:

- выполняется разметка и к бетонным, кирпичным и т.п. конструкциям крепятся верхние и нижние направляющие с помощью дюбелей «ДГП» с шагом 500 мм; точка забивки дюбеля должна отстоять от края строительного основания на расстоянии не менее 100 мм;

- в направляющие с шагом 600 мм устанавливаются стойки каркаса и крепятся с помощью просечных клещей с последующим отгибом; монтажными деталями МД-1 с шагом 1000 мм стойки каркаса крепятся к облицовываемой поверхности; выверка стоек каркаса производится по отвесу или магнитному уровню;

- через отверстия в стойках каркаса пропускается силовая и слаботочная проводка, вывод наружу проводки производится через отверстия в обшивке облицовки, обозначенные в проекте;

- между стойками устанавливаются прошивные маты или минераловатные плиты;

- устанавливаются и крепятся гипсоволокнистые листы самосверлящими винтами впотай;

- все стыки гипсокартонных листов, углы и примыкания проклеиваются перфорированной бумажной или тканевой лентой;

- выполнение наружного отделочного слоя (моющиеся обои, синтетические пленки, обычные обои, покраска) должно производиться после подготовки поверхностей облицовки (шпатлевка заподлицо, зачистка);

- по окончании отделочных работ устанавливается электротехнический плинтус по ГОСТ 19111-77 или деревянный - по ГОСТ 8242-88.

Расшифровка типа облицовки ОГВМ-1м (ОГВМ-2м):

ОГВМ - облицовка гипсоволокнистая на металлическом каркасе;

1 - толщина облицовки 80 мм (2-90 мм);

м - наличие минераловатного звукоизоляционного слоя.

Типы облицовок

Тип

Эскиз

Толщина, мм

ОГВМ-1

80

ОГВМ-1м

80

ОГВМ-2

90

ОГВМ-2м

90

УЗЛЫ ОБЛИЦОВОК ТИПА ОГВМ-1М ПО СЕРИИ 1.273.9-5 ВЫП. 6


УЗЛЫ ОБЛИЦОВОК ТИПА ОГВМ-1М ПО СЕРИИ 1.273.9-5 ВЫП. 6

УЗЛЫ ОБЛИЦОВОК ТИПА ОГВМ-1М ПО СЕРИИ 1.273.9-5 ВЫП. 6

Пустотелая облицовка ОГВМ-1 аналогична приведенной облицовке ОГВМ-1м за исключением звукоизоляционного слоя.


Облицовки СП ТИГИ KNAUF

Совместное предприятие ТИГИ KNAUF предлагает следующие типы облицовок с применением гипсокартонных листов.

Конструкция данной облицовки состоит из металлического каркаса (профиль направляющий ПН 28 × 27 × 0,6, закрепляемый к полу и потолку с помощью дюбелей или гвоздей с шагом не более 1 м; профиль потолочный ПП 60 × 27 × 0,6 с шагом 60 см), усиленного прямыми подвесами, прикрепляемыми к базовой стене с шагом 1,5 м через изолирующие прокладки из упругой резины, и обшитого одним или двумя слоями гипсокартонных листов (крепление шурупами с шагом 25 см). Допускаемая высота облицованной стены - до 10 м.

Конструкция данной облицовки состоит из металлического каркаса (профиль направляющий ПН 50 (75, 100) × 40 × 0,6, закрепляемый к полу и потолку с помощью дюбелей или гвоздей с шагом не более 1 м; профиль стоечный ПС 50 (75, 100) × 50 × 0,6 с шагом 60 см), усиленного кронштейнами при высоте облицованной стены свыше 4 до 7 м, прикрепляемыми к базовой стене через изолирующие прокладки из упругой резины, и обшитого одним слоем гипсокартонных листов (крепление шурупами с шагом 25 см). Допускаемая высота облицованной стены - до 4 м (с кронштейнами - до 7 м).

Конструкция облицовки С 626 состоит из металлического каркаса (профиль направляющий ПН 50 (75, 100) × 40 × 0,6, закрепляемый к полу и потолку с помощью дюбелей или гвоздей с шагом не более 1 м; профиль стоечный ПС 50 (75, 100) × 50 × 0,6 с шагом 60 см), усиленного кронштейнами при высоте облицованной стены свыше 4 до 7 м, прикрепляемыми к базовой стене через изолирующие прокладки из упругой резины, и обшитого двумя слоями (в отличие от облицовки С 625) гипсокартонных листов (крепление шурупами с шагом 25 см). Допускаемая высота облицованной стены - до 4,25 м (с кронштейнами - до 7 м).

Конструкция данной облицовки является безкаркасной и состоит из гипсокартонного листа, приклеенного к базовой стене при помощи клея (шпаклевка Фугенфюллер). Высота стены определяется высотой гипсокартонного листа.

Конструкция данной облицовки также является безкаркасной и состоит из комбинированной панели (гипсокартонный лист с изоляционным материалом - пенополистиролом), закрепленной на базовой стене при помощи клея (шпаклевка Фугенфюллер). Высота стены определяется высотой комбинированной панели (ТУ 5772-002-04001508-94). Гипсовая комбинированная панель имеет размеры 1,2 × 2,5 м и толщину в зависимости от толщины используемой пенополистирольной плиты (20, 30, 40, 50 и 60 мм). Панель состоит из гипсокартонного листа толщиной 12,5 мм с приклеенной к нему с тыльной стороны пенополистирольной плиты марки ПСБ-С. Панель одновременно используется не только для отделки стен помещений, но и для утепления наружных стен зданий путем приклеивания их к внутренней поверхности стены. Панели могут быть изготовлены иных размеров.

Конструкция облицовки С 511 состоит из металлического каркаса (профиль направляющий ПН 50 (75, 100) × 40 × 0,6, закрепляемый к полу и потолку с помощью дюбелей или гвоздей с шагом 1 м через упругую ленту; профиль стоечный ПС 50 (75, 100) × 50 × 0,6, закрепляемый в направляющие профили с шагом равным ширине панели, горизонтальные перемычки из профиля ПН между вертикальными стойками, устанавливаемые с шагом 800 ÷ 850 мм таким образом, чтобы торцы панелей приходились на профиль (основание раскладки), с установленными и закрепленными на нем с помощью поливинилхлоридных раскладок панелями. Раскладки крепятся шурупами с шагом 250 ÷ 300 мм. Панель отделочная гипсокартонная, изготавливаемая по ТУ 400-1-31-90 или в построечных условиях, представляет собой гипсокартонный лист, облицованный пленкой ПДО или ПДСО или другими декоративными отделочными материалами.

Конструкция облицовки С 512 состоит из металлического каркаса (профиль ПО несущий, закрепляемый вертикально (под раскладку) к стене с помощью дюбелей или гвоздей с шагом 1 м через упругую ленту и выравнивающие прокладки (при неровной поверхности), длина профиля должна быть на 1 см меньше проема между потолком и полом; вертикальные вспомогательные ПО-профили длиной 2 м между несущими профилями, нижний конец которых устанавливается на уровне пола; горизонтальный отрезок (~ 100 мм) профиля под горизонтальными стыками панелей) с установленными и закрепленными на нем с помощью поливинилхлоридных раскладок панелями. Раскладки крепятся шурупами с шагом 250 ÷ 300 мм.

Конструкция облицовки С 521 состоит из деревянного каркаса, в который входят: горизонтальный брус сечением 40 × 25 мм, закрепляемый на стене при помощи дюбелей с шагом 1 м таким образом, чтобы торцы панелей приходились на брус; вертикальные вставки из бруса сечением 40 × 25 мм, закрепляемые двумя дюбелями, с шагом, равным ширине отделочной панели, и устанавливаемых и закрепляемых на каркасе с помощью поливинилхлоридных раскладок отделочных панелей. Раскладки крепятся гвоздями или шурупами с шагом 250 ÷ 300 мм.

Конструкция облицовки С 531 является безкаркасной и сосной и из отделочной панели, закрепленной на базовой стене при помощи клея (шпаклевка Фугенфюллер - при ровной поверхности, клей Перлфикс - при неровности стены до 20 мм). Высота стены - до 3 м. Для получения гарантированной опорной базы на стену при помощи клея устанавливают опорные маяки из расчета 4 ÷ 6 шт. на одну панель из гипсокартонных или иных пластин размером примерно 100 × 100 мм. По вертикали плоскость проверяется по отвесу, по горизонтали - 2-х метровой рейкой.

Облицовки СП АВАНГАРД KNAUF

Совместное предприятие АВАНГАРД KNAUF предлагает следующие типы облицовок с применением гипсоволокнистых листов.

Конструкция данной облицовки состоит из металлического каркаса (профиль направляющий ПН 28 × 27 × 0,6, закрепляемый к полу и потолку с помощью дюбелей или гвоздей с шагом не более 1,2 м; профиль потолочный ПП 60 × 27 × 0,6 с шагом 60 см), усиленного прямыми подвесами, прикрепляемыми к базовой стене с шагом 1,5 м через изолирующие прокладки из упругой резины, и обшитого одним или двумя слоями гипсоволокнистых листов (крепление шурупами с шагом 25 см). Допускаемая высота облицованной стены - до 10 м.

Конструкция данной облицовки состоит из металлического каркаса (профиль направляющий ПН 50 (75, 100) × 40 × 0,6, закрепляемый к полу и потолку с помощью дюбелей или гвоздей с шагом не более 1 м; профиль стоечный ПС 50 (75, 100) × 50 × 0,6 с шагом 60 см), усиленного кронштейнами при высоте облицованной стены свыше 4 до 7 м, прикрепляемыми к базовой стене через изолирующие прокладки из упругой резины, и обшитого одним слоем гипсоволокнистых листов (крепление шурупами с шагом 30 см). Допускаемая высота облицованной стены - до 4 м (с кронштейнами - до 7 м).

Конструкция облицовки СД 626 состоит из металлического каркаса (профиль направляющий ПН 50 (75, 100) × 40 × 0,6, закрепляемый к полу и потолку с помощью дюбелей или гвоздей с шагом не более 1 м; профиль стоечный ПС 50 (75, 100) × 50 × 0,6 с шагом 60 см), усиленного кронштейнами при высоте облицованной стены свыше 4 до 7 м, прикрепляемыми к базовой стене через изолирующие прокладки из упругой резины, и обшитого двумя слоями (в отличие от облицовки СД 625) гипсоволокнистых листов (крепление шурупами с шагом 30 см). Допускаемая высота облицованной стены - до 4,25 м (с кронштейнами - до 7 м).

Конструкция данной облицовки является безкаркасной и состоит из гипсоволокнистого листа, приклеенного к базовой стене при помощи клея (шпаклевка Фугенфюллер ГВ - при ровной поверхности, клей Перлфикс - при неровности стены до и более 20 мм). Шпаклевка Фюгенфюллер ГВ и клей Перлфикс ГВ выпускаются ОАО АВАНГАРД KNAUF по ТУ 5744-008-03515377-98 «Смеси строительные гипсовые сухие».

Высота облицованной стены определяется высотой гипсоволокнистого листа.

При неровности стены до 20 мм клей Перлфикс ГВ наносится лепками вдоль листов с интервалом 350 мм и по периметру с минимальным интервалом.

Для получения гарантированной опорной базы на стену при помощи клея Перлфикс ГВ устанавливают опорные маяки из гипсоволокнистых пластин размером примерно 100 × 100 мм по периметру листов и продольно вдоль листа. По вертикали плоскость проверяется по отвесу, по горизонтали - 2-х метровой рейкой.

Конструкция данной облицовки также является безкаркасной и состоит из комбинированной панели (гипсоволокнистый лист с изоляционным материалом - пенополистиролом), закрепленной на базовой стене при помощи клея (шпаклевка Фугенфюллер ГВ). Высота стены определяется высотой комбинированной панели.

УСТРОЙСТВО ПОДВЕСНЫХ ПОТОЛКОВ ИЗ ЛИСТОВ, ПЛИТ И ДРУГИХ МАТЕРИАЛОВ

ГОСТ 6266-97 Листы гипсокартонные. Технические условия.

ТУ 5767-019-04001508-99 Плиты гипсокартонные звукопоглощающие и декоративные.

ТУ 400-1-283-82 Плиты перфорированные гипсокартонные звукопоглощающие.

ТУ 5742-004-03515377-97 Листы гипсоволокнистые.

ТУ 21-31-69-89 Листы гипсоволокнистые.

ТУ 5767-001-02068580-94 Плиты декоративные гипсовермикулитовые.

ТУ 21-0281963-01-93 Плиты вермикулитовые.

ТУ 5742-001-11168205-95 Плиты гипсовые сборные декоративные.

ТУ 5742-001-40112068-96 Плиты гипсовые армированные декоративные.

ТУ 21-31-10-86 Плиты гипсовые декоративные.

ГОСТ 26816-86 Плиты цементностружечные. Технические условия.

ТУ 40-1-495-91 Плиты для подвесных потолков минераловолокнистые.

ТУ 21-4656571-03-90 Плиты акустические минераловатные самонесущие.

ТУ 2244-009-04000706-97 Плиты пенополистирольные декоративные потолочные.

ТУ 5772-001-04001508-96 Плиты декоративные на основе пенополистирола.

ТУ 4440-001-04001508-94 Плиты декоративные на основе полистирола ПД.

ГОСТ 18124-95 Листы асбестоцементные плоские. Технические условия.

ТУ 5361-008-07510307-97 Плиты для внутренней отделки стен и подвесных потолков из древесных материалов.

ТУ 5271-010-04001597-97 Потолки подвесные реечные.

ТУ 5271-011-01394283-98 Потолки подвесные ЛАК, ЛАП.

ТУ 5271-021-04001597-98 Потолки подвесные алюминиевые.

ТУ 5271-007-31093308-96 Панели перфорированные алюминиевые.

ТУ 5271-001-20805384-94 Потолки подшивные из алюминиевых сплавов.

ТУ 5262-001-43313643-98 Профили стальные оцинкованные тонкостенные для подвесных потолков и обшивки зданий.

ТУ 1111-004-04001508-95 Профили оцинкованные металлические.

Стандарты и технические условия на листовые, плитные и комплектующие материалы и детали, предусмотренные проектом.

СНиП 3.04.01-87 Изоляционные и отделочные покрытия. Рекомендации по конструктивно-технологическим решениям облицовок стен листовыми материалами, устройству подвесных потолков и сборных перегородок (М., 1987).

СП 55-101-2000 Ограждающие конструкции с применением гипсокартонных листов.

ВСН 28-95 Инструкция по технологии монтажа и отделке подвесных потолков индустриальными методами.

Требования к облицовочным материалам

Входной контроль листов, плит и других лицевых материалов, а также комплектующих изделий и материалов должен осуществляться в соответствии с требованиями стандартов и технических условий на материалы и изделия, предусмотренные проектом, а также требованиями технологической документации, утвержденной в установленном порядке.

Контролируемые операции

Состав и средства контроля

Документация

Подготовительные работы

Проверить:

- наличие проекта, ППР, технологической карты, схемы операционного контроля качества работ по устройству подвесных потолков из листовых, плитных и других материалов;

Проект, ППР, технологическая карта, СОКК

- завершение и надлежащее оформление всех, предусмотренных проектом, предшествующих общестроительных и специальных работ (наличие актов освидетельствования скрытых работ и другой приемосдаточной документации);

Акты приемки, акты на скрытые работ, исполнительные геодезические схемы

- наличие документов о качестве на поступившие на строительную площадку листы, плиты и другие материалы, их маркировку и наличие штампа ОТК;

- внешним осмотром отсутствие недопустимых дефектов внешнего вида на листах, плитах и других материалах;

соответствие их требованиям нормативных документов путем проведения предусмотренных технологической каргой измерений и испытаний;

- обмер помещения в натуре, вынос согласно ППР отметок чистого потолка на стены и колонны (или нанесение на стены, углы и выступающие части реперных марок (отметок низа каркаса), разбивку основных взаимно перпендикулярных осей помещения, разметку потолка и верха стен и колони, закрепление осей, линий подвесок каркаса, отметок нижней плоскости обрамляющих уголков (профилей).

Документы о качестве

Устройство подвесных потолков

Контролировать:

- соблюдение заданной ППР (технологической картой) технологии монтажа каркасов, установки лицевых элементов (листов, плит и других материалов), светильников, вентиляционных решеток и т.п.;

- установку элементов каркаса и лицевых элементов в проектное положение;

- соответствие качества поверхности (уступы между листами, плитами, рейками, отклонения направления стыков, рисунок потолка) требованиям проекта и нормативных документов.

Общий журнал работ

Приёмка

Проверить:

- соответствие готового подвесного потолка требованиям проекта и нормативных документов;

- составление и надлежащее оформление приемо-сдаточной документации.

Акт приемки

Акты освидетельствования скрытых работ

ВХОДНОЙ II ОПЕРАЦИОННЫЙ КОНТРОЛЬ осуществляют:

мастер (прораб), лаборант (инженер) - в процессе производства работ.

ПРИЁМОЧНЫЙ КОНТРОЛЬ ОСУЩЕСТВЛЯЮТ:

прораб (мастер), представители технадзора заказчика.

КИП - линейка и рулетка измерительные металлические, отвес строительный, уровень гибкий, шнур разметочный, деревянный угольник, теодолит и т.д.

ГОСТ 6266-97 Листы гипсокартонные. Технические условия

Стандарт распространяется на гипсокартонные листы, предназначенные для отделки стен, устройства перегородок, подвесных потолков, огнезащиты конструкций, изготовления декоративных и звукопоглощающих изделий.

В зависимости от свойств и области применения листы подразделяют на следующие виды:

- обычные (ГКЛ);

- влагостойкие (ГКЛВ);

- с повышенной сопротивляемостью воздействию открытого пламени (ГКЛО);

- влагостойкие с повышенной сопротивляемостью воздействию открытого пламени (ГКЛВО).

По внешнему виду и точности изготовления листы подразделяют на две группы: А и Б.

По форме продольные кромки листов подразделяют на типы, приведенные ниже.

Номинальные размеры листов приведены в нижеследующей таблице.

Наименование показателя

Значение, мм

Длина

2000-4000 с шагом 50

Ширина

600; 1200

Толщина

6,5; 8,0; 9,5; 12,5; 14,0; 16,0; 18,0; 20,0; 24,0

Примечание: По согласованию изготовителя с потребителем могут быть изготовлены листы других номинальных размеров.

Предельные отклонения от номинальных размеров не должны быть более указанных в нижеследующей таблице.

Толщина листов

Предельные отклонения от номинальных размеров для листов группы, мм

А

Б

по длине

по ширине

по толщине

по длине

по ширине

по толщине

До 16 включ.

0; -5

0; -5

±0,5

±0,8

0; -5

±0,5

Св. 16

0; -5

0; -5

±0,9

±0,8

0; -5

±0,9

Листы должны иметь в плане прямоугольную форму. Отклонение от прямоугольности не должно быть 3 мм для листов группы А и 8 мм - для листов группы Б.

Для листов группы А не допускаются повреждения углов и продольных кромок.

Для листов группы Б не допускаются повреждения углов и продольных кромок (малозначительные дефекты), размеры и количество которых превышают нижеприведенные значения.

Наименование показателя

Значение для одного листа, не более

Повреждение углов:

 

- длина наибольшего катета, мм

20

- число, шт.

2

Повреждение продольных кромок:

 

- длина, мм

20

- глубина, мм

5

- число, шт.

2

Число листов с малозначительными дефектами не должно быть более двух от числа листов, отобранных для контроля.

Водопоглощение листов ГКЛВ и ГКЛВО не должно быть более 10 %.

Сопротивляемость листов ГКЛО и ГКЛВО воздействию открытого пламени должна быть не менее 20 мин.

Условное обозначение листов должно состоять из: буквенного обозначения вида листов (ГКЛ, ГКЛВ, ГКЛО, ГКЛВО), обозначения группы листов (А, Б), обозначения типа продольных кромок листов (ПК, УК, ПЛК, ПЛУК, ЗК), цифр, обозначающих номинальную длину, ширину и толщину листа в мм; обозначения данного стандарта.

Пример условного обозначения обычного гипсокартонного листа группы А с утоненными с лицевой стороны кромками длиной 3000 мм, шириной 1200 мм и толщиной 12,5 мм:

ГКЛ-А-УК-3000 × 1200 × 12,5 ГОСТ 6266-97

Маркировка листов должна быть произведена на тыльной стороне каждого изделия несмываемой краской при помощи трафаретов, штампов или другим способом, обеспечивающим необходимое качество маркировки.

Маркировка должна быть отчетливой и содержать:

- товарный знак или (и) наименование изготовителя;

- условное обозначение листов, кроме обозначения группы листов (А и Б).

Надписи должны быть выполнены на листах ГКЛ и ГКЛВ синим цветом, а на листах ГКЛО и ГКЛВО - красным цветом.

Маркировка транспортных пакетов должна быть произведена при помощи ярлыков, прикрепляемых к пакету любым способом, обеспечивающим его сохранность при транспортировании. На ярлыке должно быть указано: наименование изготовителя и (или) его товарный знак; условное обозначение листов; номер партии и дата ее изготовления; количество листов в квадратных метрах и (или) в штуках; штамп службы технического контроля.

Каждое грузовое место должно иметь транспортную маркировку по ГОСТ 14192-96, на него должны быть нанесены манипуляционные знаки «Хрупкое. Осторожно» и «Беречь от влаги».

Листы транспортируют всеми видами транспорта в соответствии с Правилами перевозок грузов, действующими на данном виде транспорта, и требованиями другой документации, утвержденной в установленном порядке.

Транспортирование листов осуществляют в пакетированном виде. Транспортные пакеты формируют из листов одного вида, группы, типа продольных кромок и размеров с использованием поддонов или подкладок, которые изготавливают из древесины, гипсокартонных листов и других материалов. В качестве обвязок применяют стальную или синтетическую ленту. По согласованию с потребителем допускается транспортировать листы в непакетированном виде.

Габариты пакетов не должны превышать по длине 4100 мм, по ширине 1300 мм, по высоте 800 мм; масса пакета не должна превышать 3000 кг.

При перевозке в автомобильных транспортных средствах пакеты должны быть защищены от увлажнения.

Листы следуют хранить в помещениях с сухим и нормальным влажностным режимом раздельно по видам и размерам.

Транспортные пакеты листов при хранении у потребителя могут быть установлены друг на друга в штабели высотой не более 3,5 м.

ТУ 5742-004-03515377-97 Листы гипсоволокнистые

Технические условия распространяются на листы гипсоволокнистые обычные (ГВЛ), предназначенные для устройства межкомнатных перегородок, подвесных потолков и внутренней облицовки стен в жилых, гражданских, культурно-бытовых помещениях, промышленных зданиях, а также в медицинских учреждениях, школах, детских садах, санаториях и листы влагостойкие (ГВЛВ), предназначенные для тех же областей применения, но в условиях повышенной влажности.

ГВЛ применяют в зданиях и помещениях с сухим и нормальным влажностным режимом по СНиП II-3-79*.

ГВЛВ применяют в зданиях и помещениях с сухим, нормальным, влажным и мокрыми влажностным режимом по СНиП II-3-79*.

Условное обозначение листов состоит из буквенного обозначения вида листов (ГВЛ, ГВЛВ), обозначения группы листов (А, Б), обозначения типа продольных кромок листов (ПК - прямая кромка, УК - утоненная с лицевой стороны кромка), цифр, обозначающих номинальную длину, ширину и толщину листа в мм; обозначения данных технических условий.

Пример условного обозначения при заказе листов влагостойких, группы А, с прямой кромкой, длиной 2500 мм, шириной 1200 мм, толщиной 10 мм:

ГВЛВПК-2500 × 1200 × 10 ТУ 5742-004-03515377-97

В зависимости от свойств и области применения листы подразделяют на виды:

- обычные (ГВЛ);

- влагостойкие (ГВЛВ).

По точности изготовления листы подразделяют на две группы: А и Б.

По форме продольные кромки листов подразделяют на типы, приведенные ниже.

Прямая кромка (ПК)                             Утоненная с лицевой стороны кромка (УК)

                          

Номинальные размеры листов приведены в нижеследующей таблице.

Наименование показателя

Величина, мм

Длина (L)

1200; 1500; 2500; 2700; 3000; 3600

Ширина (В)

500; 600; 1000; 1200; 1500

Толщина (S)

10; 12; 14,0; 16,0; 19,0

Примечание: По согласованию изготовителя с потребителем могут быть изготовлены листы других номинальных размеров.

Предельные отклонения от номинальных размеров не должны быть более указанных в нижеследующей таблице.

Размеры листов, мм

Предельные отклонения от номинальных размеров для листов группы, мм

А

Б

L

В

S

L

В

S

L < 2500

В < 1200

0; -3

0; -3

±0,4

±3

±3

±0,5

L ³ 2500

В ³ 1200

0; -5

0; -4

±0,4

±5

0; -5

±0,5

Размеры утоненной кромки с лицевой стороны листа должны быть следующими:

- ширина утонения (а)..... 25 ± 5 мм;

- глубина утонения (с)..... 4 ± 0,6 мм.

Листы должны иметь в плане прямоугольную форму. Отклонение от прямоугольности не должно быть более 5 мм для листов группы А и 8 мм - для листов группы В.

Для листов группы А не допускаются повреждения углов и продольных кромок.

Для листов группы Б допускаются малозначительные дефекты, приведенные в нижеследующей таблице.

Дефекты, допускаемые в листах группы Б

Наименование показателя

Значение для одного листа, не более

Повреждение углов:

 

- длина наибольшего катета, мм

20

- число, шт.

2

Повреждение продольных кромок:

 

- длина, мм

20

- глубина, мм

5

- число, шт.

2

Влажность листов не должна быть более 1,5 %.

Маркировка листов должна быть произведена на тыльной стороне каждого листа несмываемой краской при помощи трафаретов, штампов или другим способом, обеспечивающим необходимое качество маркировки.

Маркировка должна быть отчетливой и содержать:

- товарный знак или (и) наименование предприятия-изготовителя;

- условное обозначение листов;

- дату и время изготовления листов.

Маркировка транспортных и технологических пакетов должна быть произведена при помощи ярлыков, прикрепляемых к пакету любым способом, обеспечивающим его сохранность при транспортировке.

На ярлыке должно быть указано:

- наименование изготовителя и (или) его товарный знак;

- условное обозначение листов;

- номер партии и дата ее изготовления;

- количество листов в квадратных метрах и (или) в штуках;

- штамп службы технического контроля.

Каждое грузовое место должно иметь транспортную маркировку по ГОСТ 14192-96, на него должны быть нанесены манипуляционные знаки «Хрупкое. Осторожно» и «Беречь от влаги».

Листы одного вида, формы, размеров должны быть уложены в стопы и упакованы в полиэтиленовую пленку по ГОСТ 25951-83*, с обвязкой или без обвязки через защитные уголки (металлические или деревянные) металлической лентой по ГОСТ 3560-73* вместе с поддонами.

По заказу потребителя при согласовании с изготовителем листы могут быть поставлены без упаковки.

Предприятие-изготовитель должно сопровождать каждую партию (часть партии) листов документом о качестве, в котором должно указывать:

- наименование изготовителя и его адрес;

- условное обозначение листов;

- номер партии и дату ее изготовления;

- количество листов в квадратных метрах и (или) в штуках;

- штамп службы технического контроля и подпись начальника службы технического контроля или его заместителя.

Листы транспортируют всеми видами транспорта в соответствии с Правилами перевозок грузов, действующими на данном виде транспорта, и требованиями другой документации, утвержденной в установленном порядке.

Транспортирование листов осуществляют в пакетированном виде. Транспортные пакеты формируют из листов одного вида, группы, типа кромок и размеров с использованием поддонов или подкладок, которые изготавливают из древесины, гипсоволокнистых листов и других материалов. Количество обвязок, их сечение, размеры подкладок и поддонов должно соответствовать требованиям нормативной документации.

Габариты пакетов не должны превышать по длине 4100 мм, по ширине 1300 мм, по высоте 1000 мм; масса пакета не должна превышать 5000 кг.

Листы без упаковки в термоусадочную полиэтиленовую пленку должны перевозиться закрытым видом транспорта.

При перевозке транспортных пакетов в открытых автомобильных транспортных средствах листы должны быть защищены от увлажнения.

Листы следуют хранить стопами на поддонах (подкладках) в помещениях с сухим и нормальным влажностным режимом раздельно по видам и размерам.

Транспортные пакеты листов при хранении у потребителя могут быть установлены друг на друга в штабели высотой не более 3,5 м.

При погрузочно-разгрузочных, транспортно-складских и других работах не допускаются удары по листам.

Гарантийный срок хранения листов - один год.

ТУ 5767-019-04001508-99 Плиты гипсокартонные звукопоглощающие и декоративные.

Данные технические условия распространяются на плиты перфорированные гипсокартонные звукопоглощающие (ППГЗ), плиты гипсокартонные декоративные потолочные (ПГД) и плиты гипсокартонные декоративные потолочные влагостойкие (ПГДВ), предназначенные для использования при облицовке внутренних поверхностей потолков, перегородок и стен помещений с сухим и нормальным влажностными режимами.

ППГЗ представляют собой плиты из гипсокартонных листов с перфорацией и наклеенным подстилающим слоем из нетканного полотна. Лицевая сторона окрашена водно-дисперсионными красками или оклеена декоративными пленками, обоями и другими материалами.

ПГД представляют собой плиты из гипсокартонных листов, лицевая сторона которых окрашена водно-дисперсионными красками или оклеена декоративными пленками, обоями и другими материалами.

ПГДВ представляют собой плиты из влагостойких гипсокартонных листов, лицевая сторона которых окрашена водно-дисперсионными красками или оклеена декоративными пленками, обоями и другими материалами.

Номинальные размеры плит и предельные отклонения от них приведены в нижеследующей таблице.

Наименование размера

Номинальные размеры и предельные отклонения

Длина

595 ± 2

1195 ± 2

Ширина

595 ± 2

395 ± 2

Толщина

8,5 ± 0,5

10,5 ± 0,5

Прямоугольность формы плиты (отклонение от перпендикулярности смежных граней на длину измеряемой грани должно быть не более 2,0 мм)

По согласованию изготовителя с потребителем могут изготовляться плиты других размеров.

В зависимости от свойств и области применения плиты подразделяются на следующие виды:

- плиты перфорированные гипсокартонные звукопоглощающие (ППГЗ);

- плиты гипсокартонные декоративные потолочные (ПГД);

- плиты гипсокартонные декоративные потолочные влагостойкие (ПГДВ).

В зависимости от рисунка перфорации и показателя коэффициента перфорации (Кп) плиты ППГЗ подразделяются на следующие типы:

Стандарт-12 - Кп = 12 %, рисунок перфорации Стандарт

Диагональ-9 - Кп = 9 %, рисунок перфорации Диагональ

Перекресток-9 - Кп = 9 %, рисунок перфорации Перекресток

В зависимости от декоративного покрытия лицевой стороны плиты подразделяются на группы:

К - окрашенные водно-дисперсионными красками;

П - оклеенные декоративными пленками, обоями и другими материалами.

Цвет и рисунок декоративного покрытия устанавливается по согласованию изготовителя с потребителем.

Условное обозначение плит должно состоять из:

- обозначения вида плит;

- цифр, обозначающих размеры плит в мм;

- обозначения типа плит;

- букв, обозначающих группу декоративного покрытия;

- обозначения данных технических условий.

Пример обозначения плиты перфорированной гипсокартонной звукопоглощающей (ППГЗ) длиной 595 мм, шириной 595 мм, толщиной 8,5 мм, типа Стандарт-12, с декоративным покрытием группы К:

ППГЗ-595 × 595 × 8,5 - Стандарт-12 - К ТУ 5767-019-04001508-99

Пример обозначения плиты гипсокартонной декоративной потолочной влагостойкой (ПГДВ) длиной 1195 мм, шириной 395 мм, толщиной 10,5 мм, с декоративным покрытием группы П:

ПГДВ-1195 × 395 × 10,5 - П ТУ 5767-019-04001508-99

Изготовитель должен сопровождать каждую партию (часть партии) плит документом о качестве, в котором должен указывать:

- наименование изготовителя, его товарный знак и адрес;

- наименование и условное обозначение плит;

- номер партии, дату изготовления;

- количество плит в штуках и (или) квадратных метрах;

- знак и подпись представителя службы технического контроля.

Плиты одного размера, вида, типа и одной группы декоративного покрытия укладывают в пачки. Пачку плит упаковывают в оберточную бумагу по ГОСТ 8273-75* или ГОСТ 2228-81* или полиэтиленовую пленку по ГОСТ 10354-82*. По углам пачек для предохранения углов плит от повреждении следует устанавливать картонные прокладки.

В каждой пачке должно быть не более шести штук плит размером 595 × 595 мм и четырех штук размером 1195 × 395 мм.

На каждую пачку должна быть приклеена или в каждую пачку должна быть вложена этикетка, в которой должны быть указаны:

- наименование изготовителя, его товарный знак и адрес;

- наименование продукции и ее условное обозначение в соответствии с требованиями данных технических условий;

- дата изготовления;

- количество плит в штуках и квадратных метрах.

Транспортирование пачек с плитами должно осуществляться в пакетированном виде.

Транспортные пакеты должны формироваться из пачек плит одного размера, вида, типа и одной группы путем укладки их на деревянный поддон.

Габариты транспортного пакета не должны превышать по длине и ширине 1200 мм, по высоте - 1800 мм; масса транспортного пакета не должна быть более 2000 кг.

Маркировка транспортных пакетов должна производиться при помощи ярлыков, прикрепляемых к пакету любым способом, обеспечивающим его сохранность при транспортировании. На ярлыке должны быть указаны все данные, приведенные в этикетке, и дополнительно номер партии и количество пачек.

Каждый транспортный пакет должен иметь маркировку по ГОСТ 14192-96, на него должны быть нанесены манипуляционные знаки «Хрупкое. Осторожно» и « Беречь от влаги».

Плиты могут транспортироваться всеми видами транспорта в соответствии с Правилами перевозки грузов, действующими на каждом виде транспорта, и требованиями другой документации, утвержденной в установленном порядке.

При транспортировании плиты должны быть защищены от увлажнения, загрязнения и механических повреждений.

Плиты должны храниться в закрытых помещениях с сухим и нормальным влажностным режимами.

ГОСТ 28816-86 Плиты цементностружечные. Технические условия

Данный стандарт распространяется на цементностружечные плиты, изготовленные прессованием древесных частиц с цементным вяжущим и химическими добавками.

Плиты относятся к группе трудносгораемых материалов повышенной биостойкости и предназначаются для применения в строительстве в стеновых панелях, плитах покрытий, в элементах подвесных потолков, вентиляционных коробах, при устройстве полов, а также в качестве подоконных досок, обшивок, облицовочных деталей и других строительных изделий.

Стандарт не распространяется на облицованные и отделанные плиты.

Плиты в зависимости от физико-механических свойств подразделяются на две марки: ЦСП-1 и ЦСП-2.

Размеры плит и их предельные отклонения должны соответствовать указанным в нижеследующей таблице.

Наименование размера

Номинальный размер, мм

Пред. отклонения для плит марок

ЦПС-1

ЦПС-2

Длина

3200, 3600

±3

±5

Ширина

1200, 1250

±3

±5

Толщина

(градация через 2 мм)

8-10

±0,6

±0,8

12-16

±0,8

±1,0

18-28

±1,0

±1,2

30-40

±1,4

±1,6

Примечания:

1. Плиты шириной 1250 мм разрешается изготовлять на оборудовании, установленном до 01.07.86. Изготовление плит других размеров допускается по согласованию изготовителя с потребителем, с градацией через 25 мм, в пределах технической возможности оборудования, устанавливаемой технологическим регламентом.

2. Предельные отклонения по толщине приведены для нешлифованных плит. Предельные отклонения для шлифованных плит - ±0,3 мм.

Условное обозначение плит должно состоять из марки, размеров по длине, ширине, толщине и обозначения данного стандарта.

Пример условного обозначения цементностружечной плиты марки ЦСП-1 размерами 3200 × 1200 × 8 мм:

ЦПС-1 3200 × 1200 × 8 ГОСТ 26816-86

Плиты должны иметь прямые углы.

Разность длин диагоналей по пластине должна превышать 0,2 % длины плиты.

Отклонение от плоскостности для плит марки ЦСП-1 должно быть не более 0,8 мм, для плит марки ЦСП-2 - не более 1,0 мм.

Отклонение от прямолинейности кромок плит, измеренное на отдельных отрезках длиной 1000 мм, не должно быть более 1 мм.

По физико-механическим свойствам плиты должны соответствовать нормам, указанным в нижеследующей таблице.

Наименование показателя

Норма для плит марок

ЦСП-1

ЦСП-2

Плотность, кг/м3

1100-1400

1100-1400

Влажность, %

9 ± 3

9 ± 3

Разбухание по толщине за 24 ч, %, не более

2,0

2,0

Водопоглощение за 24 ч, %, не более

16,0

16,0

Прочность при изгибе, МПа, не менее, для толщин, мм:

 

 

от 8 до 16 включ.

12,0

9,0

от 18 до 24 включ.

10,0

8,0

от 26 до 40 включ.

9,0

7,0

Прочность при растяжении, перпендикулярно к пласти плиты, МПа, не менее

0,4

0,35

Шероховатость пласти Rz по ГОСТ 7016-82*, мкм, не более, для плит: нешлифованных

320

320

шлифованных

80

100

По качеству поверхности плиты должны соответствовать нормам, указанным в нижеследующей таблице.

Наименование дефекта

Число и размеры дефектов для плит марок

ЦСП-1

ЦСП-2

Сколы кромок и выкрашивание углов

Не допускаются свыше предельных отклонений по длине (ширине) плиты

Пятна, в том числе от масла, ржавчины и др.

Не допускаются

Не допускаются более 1 шт. диаметром более 20 мм на 1 м2

Вмятины

Не допускаются более 1 шт. глубиной более 1 мм, диаметром более 10 мм на 1 м2

Не допускаются более 3 шт. глубиной более 2 мм, диаметром более 20 мм на 1 м2

В плитах не допускаются расслоения по толщине, посторонние включения и механические повреждения.

На каждую плиту должна быть нанесена маркировка, содержащая марку, толщину плиты, наименование или товарный знак предприятия-изготовителя, обозначение данного стандарта и дату выпуска.

Маркировка должна быть нанесена для плит толщиной, мм:

от 8 до 14 включительно - на пласть плиты;

от 16 до 40 включительно - на продольную кромку плиты.

Каждая отгружаемая партия плит должна сопровождаться документом о качестве, содержащим:

- наименование предприятия-изготовителя, его товарный знак и адрес;

- марку плит и размеры;

- количество плит в партии;

- дату изготовления плит и номер партии;

- результаты испытаний;

- обозначение данного стандарта.

Плиты должны храниться в закрытых помещениях в пачках толщиной не более 600 мм рассортированными по маркам и размерам.

Пачки плит укладывают горизонтально на ровные поддоны или деревянные бруски-прокладки прямоугольного сечения шириной не менее 80 мм, толщиной не менее 60 мм и длиной, меньшей ширины плиты не более чем на 200 мм.

Допустимая разность толщин прокладок, используемых для одной пачки, - 5 мм.

Бруски-прокладки должны быть уложены поперек плиты с интервалами не более 600 мм. Расстояние крайних прокладок от торцов плиты должно быть не более 200 мм.

Пачки плит при хранении допускается укладывать в штабеля высотой не более 4,5 м. При этом бруски-прокладки, разделяющие пачки, располагают в одних вертикальных плоскостях.

Плиты перевозят в горизонтальном положении в пачках всеми видами транспорта с обязательным предохранением от атмосферных осадков, механических повреждений и деформации в соответствии с технической документацией, согласованной с соответствующими транспортными организациями и потребителем.

Транспортирование плит должно осуществляться согласно действующим Правилам перевозки грузов. Транспортная маркировка должна отвечать требованиям ГОСТ 14192-96.

Изготовитель должен гарантировать соответствие плит требованиям данного стандарта при соблюдении потребителем условий транспортирования и хранения, установленных стандартом.

Гарантийный срок хранения плит - 2 года со дня изготовления.

ГОСТ 18124-95 Листы асбестоцементные плоские. Технические условия

Данный стандарт распространяется на асбестоцементные плоские листы, предназначенные для изготовления и облицовки строительных конструкций.

Условное обозначение листа должно состоять из буквенного обозначения ЛП-П (лист плоский прессованный или ЛП-НП (лист плоский непрессованный), размеров листа по ширине и длине в метрах, толщине листа в миллиметрах и обозначения данного стандарта.

Пример условного обозначения асбестоцементного плоского прессованного листа длиной 3000 мм, шириной 1500 мм и толщиной 10 мм:

ЛП-П-3,0 × 1,5 × 10 ГОСТ 18124-95

Листы должны иметь в плане прямоугольную форму. Отклонение от прямоугольности не должно быть более 5 мм.

Кромки листов должны быть прямолинейными. Отклонения от прямолинейности не должно быть более 5 мм.

Листы должны быть плоскими. Отклонения от плоскостности не должны быть более 4 мм для прессованных листов и не более 8 мм для непрессованных листов.

Размеры листов и предельные отклонения от них приведены в нижеследующей таблице.

Длина

Ширина

Толщина

номинал

пред. откл.

номинал

пред. откл.

номинал

пред. откл.

3600

±10

1500

±6

10,8

±1,0; -0,6

3000

1500

 

 

2500

1200

6

±0,7; -0,3

По согласованию предприятия изготовителя с потребителем могут быть изготовлены листы других размеров. Предельные отклонения должны соответствовать вышеприведенным.

Листы выпускают двух типов: прессованные и непрессованные.

Физико-механические показатели листов должны соответствовать указанным в нижеследующей таблице.

Наименование показателя

Значения для листов

прессованных

непрессованных

Предел прочности при изгибе, МПа (кг/см2) не менее

23 (230)

18 (180)

Плотность г/см3, не менее

1,80

1,60

Ударная вязкость, кДж/м (кгс. см/см2), не менее

2,5 (2,5)

2,0 (2,0)

Морозостойкость:

 

 

- число циклов попеременного замораживания и оттаивания

50

25

- остаточная прочность, %, не менее

90

90

Листы не должны иметь отколов, сквозных трещин, сдиров, а также других дефектов нарушающих целостность изделия.

Не менее чем на 1 % листов от партии должны быть нанесены (или наклеена этикетка):

- товарный знак или наименование предприятия-изготовителя;

- номер партии;

- символическое изображение листа с включением толщины листа в мм.

Прессованный                                                  Непрессованный

                            

Качество маркировки должно быть таким, чтобы исключалась возможность оспорить ее содержание.

Листы поставляются без упаковки. В районы Крайнего Севера и труднодоступные районы листы должны поставляться в упакованном виде или в специализированных кассетах.

Предприятие-изготовитель должно сопровождать каждую поставку листов документом о качестве, в котором должно указывать:

- наименование и адрес предприятия-изготовителя;

- условное обозначение листов;

- номера партий и даты изготовления;

- количество листов каждой партии в поставке;

- результаты испытаний каждой партии.

Транспортирование листов производится в пакетированном виде любым видом транспорта с соблюдением Правил перевозок грузов, установленных для данного вида транспорта, и требований другой документации, утвержденной в установленном порядке.

Габаритные размеры пакетов не должны превышать по длине 3900 мм, по ширине 1800 мм, по высоте 1000 мм, масса пакета не должна быть более 5000 кг.

Транспортные пакеты должны быть маркированы в соответствии с требованиями ГОСТ 14192-96 с указанием основных, дополнительных и информационных надписей, выполненных на ярлыке, надежно прикрепленном к пакету.

Допускается транспортировать листы стопами в непакетированном виде в крытых железнодорожных вагонах и автомобилях.

Транспортные пакеты при хранении у потребителя могут устанавливаться друг на друга в штабели.

Стопы листов должны храниться у потребителя на поддонах (подкладках). Стопы вместе с поддонами могут устанавливаться друг на друга в штабели. Общая высота штабеля из транспортных пакетов не должна превышать 3,5 м, а из стоп - 2,5 м.

На строительной площадке в процессе входного контроля листов, плит, комплектующих материалов и изделий для устройства подвесных потолков:

- необходимо проверить наличие документов о качестве на поступившие материалы и изделия и полноту содержащихся в ней данных;

- по имеющимся документам о качестве, маркировке, ярлыкам, этикеткам необходимо убедиться в соответствии поступивших материалов требованиям проекта;

- необходимо путем внешнего осмотра проверить целостность упаковки, отсутствие недопустимых дефектов внешнего вида, наличие штампа ОТК;

- провести в соответствии с требованиями технологической карты необходимые измерения геометрических параметров листов, плит, и лабораторные испытания облицовочных материалов на соответствие их нормативным требованиям;

- при возникновении сомнений в качестве поступивших материалов должны быть вызваны представители строительной лаборатории или функциональных служб, ответственных за поставку материалов.

Технические требования

Устройство подвесных потолков должно осуществляться в соответствии с требованиями проекта, СНиП 3.01.01-85*, СНиП 3.04.01-87, ППР, технологических карт, схем операционного контроля качества работ и другой технологической документации, утвержденной в установленном порядке.

Облицовочные работы должны осуществлять строительно-монтажные организации, получившие лицензию на выполнение отделочных работ в Федеральных или региональных лицензионных органах.

Монтаж подвесных потолков в помещениях должен выполняться квалифицированным персоналом, прошедшим специальную подготовку и обладающим надлежащими навыками по выполнению монтажно-отделочных работ.

Производству работ по монтажу подвесных потолков должны предшествовать:

- разработка проектов производства работ по устройству подвесных потолков; разработка (или привязка типовых) технологических карт и схем операционного контроля качества выполнения облицовочных работ;

- завершение и надлежащее оформление всех предусмотренных проектом предшествующих строительно-монтажных и специальных работ, в том числе санитарно-технических, вентиляционных, электротехнических и других видов открытых работ, а также всех отделочных работ, связанных с «мокрыми» процессами (штукатурка стен и их подготовка под отделку и другие), помещения должны быть очищены от строительного мусора и застеклены, системы водоснабжения и отопления - опробованы;

- входной контроль проектно-сметной документации, листов, плит и других комплектующих изделий и материалов;

- изучение инженерно-техническим персоналом проектной и технологической документации, обучение мастеров и рабочих передовым методам труда.

При входном контроле рабочей документации должна производиться проверка ее комплектности и достаточности содержащейся в ней технической информации для производства работ.

Входной контроль листов и плит, а также комплектующих изделий и материалов должен производиться в соответствии с требованиями стандартов и технических условий на конкретные изделия и материалы в порядке, предусмотренном проектом, технологическими картами или другой технологической документацией, утвержденной в установленном порядке.

Входной контроль должен предотвратить поступление на строительную площадку материалов и изделий, не отвечающих требованиям соответствующей нормативной документации.

Технические требования к облицовочным материалам согласно ГОСТ 6266-97, ГОСТ 18124-95, ГОСТ 26816-86, ТУ 5767-019-04001508-99, ТУ 5742-004-03515377-97 приведены выше.

Отделочные материалы для устройства подвесных потолков на основе полимеров или с лицевым покрытием полимерными материалами следует применять в соответствии с «Перечнем полимерных материалов и изделий, разрешенных к применению в строительстве», утвержденным Министерством здравоохранения СССР.

В Перечне принята следующая классификация всех типов зданий и сооружений, которая учитывает их эксплуатационно-функциональные особенности, время и характер пребывания в них людей:

- группа А: жилые дома, детские сады и ясли, лечебно-профилактические учреждения, учебные заведения, дома отдыха, закрытые спортивные сооружения;

- группа Б: административные здания, магазины продовольственные, предприятия общественного питания и их склады;

- группа В: магазины промтоварные, зрелищные предприятия, ателье, библиотеки, музеи, прочие вспомогательные сооружения;

- группа Г: промышленные предприятия, склады предприятий, вспомогательные сооружения, бани, прачечные, химчистки.

В соответствии с указанным Перечнем разрешается применять:

- декоративные панели на основе древесно-стружечных плит в помещениях всех вышеперечисленных групп зданий и сооружений (не рекомендуется применять в некоторых помещениях зданий и сооружений группы Б: в раздаточных цехах, в складах для сухих продуктов, в обеденных залах, а также в холодильных цехах и камерах);

- панели на основе гипсокартонных листов, облицованные различными полимерными пленками, в помещениях всех групп зданий и сооружений (не рекомендуется применять в некоторых помещениях зданий и сооружений группы Г: в помещениях, в которых производственные процессы могут сопровождаться накоплением в массе вредных веществ или розливом агрессивных веществ (кислот и щелочей), а также в помещениях, в которых производственные процессы сопровождаются накоплением статического электричества, выделением тепла и влаги);

- плиты типа «Акмигран» для подвесных потолков - в помещениях всех групп зданий и сооружений (не рекомендуется их применение в выше указанных помещениях зданий и сооружений группы Г).

Все виды отделки стен, потолков и перегородок, для которых применяют декоративные листы и панели на основе полимерных материалов или с лицевым покрытием полимерными материалами разрешается применять в помещениях с малым количеством работающих: приемных, кабинетах, преподавательских, буфетах, приемных пунктах бытовых служб, пунктах проката и в других административных помещениях зданий общественного назначения.

Такие виды отделки запрещается применять:

- на путях эвакуации людей (лестничные клетки, коридоры, холлы и т.п.);

- в детских, учебных, лечебных и оздоровительных учреждениях (детских яслях и садах, школах, больницах, санаториях и т.п.); в помещениях с массовым пребыванием людей (залах собраний, кинотеатрах и др.).

Отделку стен, потолков и перегородок с использованием декоративных панелей на основе асбестоцемента, гипса, стекла и металла разрешается применять во всех помещениях зданий общественного назначения без исключения.

Изделия из гипса разрешается применять в помещениях с относительной влажностью воздуха до 60 % при температуре до 27-30 °С и влажностью воздуха до 75 % при температуре до 24 °С.

Область применения облицовочных материалов должна конкретизироваться в стандартах и технических условиях на эти материалы и подтверждаться в гигиенических сертификатах на них, выдаваемых органами санитарно-эпидемиологического надзора.

Работы по монтажу подвесных потолков должны выполняться в соответствии с проектом производства работ (ППР) на возведение зданий и сооружений.

Запрещается осуществление строительно-монтажных работ без утвержденного проекта производства работ. Не допускаются отступления от решений проектов производства работ без согласования с организациями, разработавшими и утвердившими их. Замена предусмотренных проектом материалов, изделий и составов допускается только по согласованию с проектной организацией и заказчиком.

Все виды сборных подвесных потолков должны иметь конструктивное решение, позволяющее вести их монтаж снизу, а также снимать в любом месте отдельные листы, панели, плиты или участки потолка для ремонта проводок или установки светильников.

В надпотолочном пространстве не допускается прокладка сгораемых элементов оборудования или материалов.

До начала работ по монтажу подвесных потолков в помещениях должны быть выполнены все строительно-монтажные и специальные работы, в том числе: санитарно-технические, вентиляционные, электротехнические и другие виды открытых работ, а также все отделочные работы, связанные с «мокрыми» процессами (штукатурка стен и их подготовка под отделку и другие), помещения должны быть очищены от строительного мусора и застеклены.

Монтаж подвесных потолков следует начинать после проверки правильности выполнения предшествующих работ с составлением актов освидетельствования скрытых работ.

Относительная влажность и температура воздуха в помещениях при устройстве подвесных потолков должны соответствовать эксплуатационным условиям помещений, предусмотренным проектом. Такие же условия должны быть и в помещениях, предназначенных для хранения деревянных и декоративных материалов для отделки потолков (согласно ВСН 28-95 для сухих и нормальных температурно-влажностных условий влажность воздуха должна быть до 70 %, а температура - не ниже 15 °С).

Набор необходимых материалов и комплектующих деталей для устройства подвесных потолков должен включать в себя: лицевые элементы из листовых и плитных материалов, элементы каркаса (металлические и деревянные), а также регулирующие крепежные изделия.

Крепление лицевых элементов осуществляется при помощи самонарезающих винтов или способом надвижки или укладки на полки направляющих профилей (таврового или двутаврового сечения из тонколистовой оцинкованной стали или алюминиевых сплавов).

Направляющие профили с помощью регулирующих подвесок крепятся к несущему каркасу, выполненному из черного металла и прикрепленному к перекрытию при помощи пристрелки дюбелями или приваркой к закладным анкерам, предусмотренным в швах панелей перекрытия.

Лицевые элементы подвесного потолка (листы и плиты) необходимо устанавливать в соответствии с планом их раскладки.

Стальные элементы каркаса, в том числе, соприкасающиеся с алюминиевыми изделиями, должны быть оцинкованными, а винты и болты - оцинкованными и кадмированными.

Пристенный профиль, стальной или алюминиевый, крепится к стене путем его пристреливания дюбель-гвоздями.

Несущие профили каркаса при монтаже целесообразно не доводить с одного конца до стены на расстояние, равное 1,5-2,5 размера плит, с последующим наращиванием профиля при помощи соединительных накладок.

Монтаж подвесных потолков необходимо начинать с организации рабочего места, включающей в себя:

- установку стола или верстака дня прирезки лицевых элементов;

- размещение и складирование материалов, необходимых для работы, а также подсобных материалов и инвентаря.

После организации рабочего места работы ведутся в следующей последовательности:

- подготовительные работы;

- монтаж каркаса;

- установка лицевых элементов с проверкой качества.

Подготовительные работы включают в себя:

- отбраковку лицевых материалов, не отвечающих требованиям нормативной документации, и их сортировку по размерам, цвету и декоративной фактуре;

- установку реперных марок (отметки низа несущих профилей каркаса) на стенах, углах, выступающих частях или колоннах помещений;

- разметку линий, соответствующих уровню низа несущих профилей каркаса на стенах, колоннах, выступающих частях;

- разметку взаимно-перпендикулярных осевых линий помещения и линий установки подвесок;

- закрепление осевых линий;

- нанесение линии установки подвесок каркаса на полу (при большом числе коммуникаций и воздуховодов, затрудняющих разбивку) и перенесение отметок на потолок с помощью отвеса;

- нанесение на линии подвесок отметок мест пристрелки дюбелей, мест установки подвесок и встроенных светильников;

- установку шаблонов или гребенок, облегчающих крепление и монтаж основных элементов каркаса.

Нанесение на стены, углы и выступающие части реперных марок (отметок низа каркаса) осуществляют с помощью теодолита или водяного уровня.

Разметку линий, соответствующих уровню низа несущих профи-леи каркаса на стенках и других элементах помещения, разметку и нанесение осевых линий помещения и линий подвесок каркаса осуществляют меловым шнуром по реперным маркам.

Разметку взаимно перпендикулярных осей осуществляют (независимо от материала каркаса) при помощи деревянных угольников и капроновой нити, для чего к противоположным стенам помещения прикладывают одной стороной угольники, которые перемещают до тех пор, пока вторые стороны не образуют прямую линию, фиксируемую капроновой нитью. Затем производят разбивку осей по всей длине стены.

Закрепление осей помещения и линий подвесок каркаса производят путем натяжения по разметке проволоки или капроновой нити с пометкой на них мест пристрелки дюбелей и установки подвесок, светильников и т.д., с перевязкой их узелками или установкой на них пластмассовых фиксаторов.

Устройство шаблонов осуществляют путем установки и закрепления вертикальных деревянных брусков через 1,5-2 м перпендикулярно линии подвесок. Длина брусков берется с таким расчетом, чтобы они были ниже уровня отметки «чистого» потолка на 150-200 мм. К вертикальным брускам крепят горизонтальные рейки таким образом, чтобы верхняя их грань находилась на отметке нижней плоскости направляющих профилей каркаса. Отметки нижней плоскости направляющих профилей каркаса на деревянные рейки выносят с помощью водяного уровня.

Расстояние между несущими профилями фиксируют при помощи гребенок.

Монтаж каркасов (вариант с пристрелкой дюбелями к перекрытию) выполняют в следующей технологической последовательности:

- пристреливают (по разметке) дюбелями пристенные профили и подвески;

- закрепляют несущий элемент каркаса;

- подготавливают направляющие путем установки на них скоб, ползунков и зажимных приспособлений;

- устанавливают направляющие на горизонтальные брусья шаблона (параллельно друг другу с шагом, равным ширине листа или плиты) и крепят к подвескам;

- окончательно фиксируют направляющие с выверкой их проектного положения и расстояния между ними с помощью кондуктора или гребенок;

- удаляют монтажные деревянные элементы шаблона.

Монтаж каркасов (вариант с выпусками анкеров из перекрытия) выполняют в следующей технологической последовательности:

- приваривают несущие уголки к выпускам анкеров;

- крепят деревянные бруски к несущим уголкам;

- устраивают дощатую обрешетку;

- крепят лицевые элементы к обрешетке шурупами, отверстия заполняют гипсовым раствором.

Устройство подвесных потолков необходимо производить после монтажа и крепления всех элементов каркаса (в соответствии с проектом), проверки горизонтальности его плоскости и соответствия отметкам.

Лицевые элементы из тонколистовой стали и алюминиевых сплавов крепятся к направляющим при помощи специальных зажимов или пружинных приспособлений, предусмотренных в направляющих профилях и лицевых элементах.

Декоративные гипсовые литые плиты крепятся к направляющим при помощи шурупов и винтов.

Гипсовые перфорированные плиты укладываются на полки несущих профилей, а минераловатные плиты типа «Акмигран» надвигаются на полки направляющих в пазы, предусмотренные на торцах лицевых элементов.

Лицевые элементы из гипсокартонных и гипсоволокнистых листов крепятся к направляющим при помощи самонарезающих винтов или надеваются на полки направляющих профилей.

Подвесные потолки с деревянным каркасом

При отсутствии стальных профилей для устройства каркаса подвесных потолков в помещениях с сухим и нормальным температурно-влажностным режимом могут быть использованы деревянные антисептированные и антиперированные бруски с влажностью 12 ± 3 %.

Каркас подвесного потолка может быть двухосным с размещением брусков в двух уровнях и одноосным. Одноосный каркас рекомендуется использовать при небольших площадях потолка.

Рекомендуется для устройства каркаса подвесных потолков использовать бруски сечением 48 × 24, 50 × 30, 60 × 35, 60 × 40 и 60 × 50 мм. В практике устройства подвесных потолков в качестве основных брусков (ближних к перекрытию) применяют доски размером 80 × 25, которые крепятся к перекрытию дюбелями.

При ровном потолке бруски крепятся непосредственно к потолку, при неровной поверхности - через выравнивающие прокладки.

При относе от потолка для крепления брусков используются прямые подвесы и подвесы с зажимом.

Фрагмент потолка

1 - основные бруски, 2 - несущие бруски, а - расстояние между подвесами, b - расстояние между несущими брусками, с - расстояние между основными брусками.

Допускаемый шаг подвесов и деревянных брусков каркаса

Класс нагрузки Р (кН/м2)

Тип каркаса

1

2

3

Шаг, мм

подвесов (а)

основных брусков (с)

подвесов (а)

основных брусков (с)

подвесов (а)

основных брусков (с)

< 0,15

850

-

850

850

1000

850

0,15 < Р < 0,3

750

-

750

750

850

750

0,3 < Р < 0,5

600

-

600

600

700

600

Шаг несущих брусков каркаса рекомендуется принимать равным 500 мм при поперечном размещении гипсокартонных листов и 400 мм при продольном размещении их относительно несущих брусков каркаса.

Шаг шурупов для крепления гипсокартонных листов не должен превышать 170 мм при однослойной обшивке и 500 мм - для первого слоя двухслойной обшивки в случае установки обоих слоев в один день.

Конструктивные схемы подвесного потолка с деревянным каркасом

1 - потолок с одноосным каркасом, закрепленным непосредственно к перекрытию или с помощью прямых подвесов с небольшим относом от перекрытия;

2 - потолок с двухосным каркасом, закрепленным непосредственно к перекрытию или с помощью прямых подвесов с небольшим относом от перекрытия;

3 - потолок с двухосным каркасом на подвесах со значительным относом от перекрытия (а - расстояние между подвесами, b - расстояние между несущими брусками, с - расстояние между основными брусками).

Тип

Эскиз

1

2

3

В практике устройства подвесных потолков находит применение смешанный металлодеревянный каркас. Этот каркас представляет собой каркас из металла, состоящий из направляющих (уголок 40 × 40 × 4 мм), приваренных к монтажной арматуре, закладываемой в швы плит перекрытия с шагом 1200 × 1800 мм, и укрепленного на них с помощью подвесок каркаса из деревянных поперечных брусков с сечением 40 × 40 мм с шагом 505 мм.

Контроль качества выполнения работ

Монтаж элементов подвесного потолка следует производить после разметки поверхности и начинать от угла облицовываемой плоскости.

Плоскость поверхности, облицованная листами и плитами, должна быть ровной, без провесов в стыках, жесткой, без вибрации листов и плит.

При монтаже подвесных потолков должны быть соблюдены требования нижеследующей таблицы.

Технические требования

Предельные отклонения, мм

Контроль (метод, объем, вид регистрации)

Максимальные величины уступов между листами и плитами в готовой облицовке, а также рейками (подвесных потолков) не должны превышать 2 мм

-

Измерительный, не менее 5 измерений контрольной двухметровой рейкой на 50-70 м2 поверхности покрытия или на отдельном участке меньшей площади в местах, выявленных сплошным визуальным осмотром, журнал работ

Отклонение плоскости всего поля отделки листами и плитами по диагонали и горизонтали (от проектной) не должно превышать 1,5 мм на 1 м

Не более 7 мм на всю поверхность

То же

Устройство каждого элемента подвесного потолка следует выполнять после проверки правильности выполнения соответствующего вышележащего элемента с составлением акта освидетельствования скрытых работ.

Соответствие готового подвесного потолка требованиям проекта и нормативных документов выявляется в процессе технического осмотра потолка, проведения необходимых инструментальных измерений и лабораторных испытаний, рассмотрения приемо-сдаточной документации, и оформляется актом приемки.

Серия 1.045.9-1 Непроходные подвесные потолки для общественных зданий, производственных и вспомогательных зданий промышленных предприятий

Технические требования

В данной серии приведены конструкции непроходных подвесных потолков заводского изготовления для различных помещений вновь строящихся и реконструируемых одноэтажных и многоэтажных зданий.

Непроходной подвесной потолок - конструктивно-функциональный элемент зданий и сооружений, являющийся составной частью покрытия или перекрытия, пространство над которым, как правило, используется для размещения инженерных сетей и оборудования.

Подвесные потолки предназначены для отделки помещений, для экранирования выступающих частей конструкций, инженерных сетей и оборудования, для решения акустических задач, для эффективной организации освещения и вентиляции, а также для повышения предела огнестойкости покрытий и перекрытий. Подвесной потолок одновременно или в различных комбинациях должен выполнять вышеперечисленные функции.

Подвесные потолки при наличии перфорации в лицевых элементах и акустического заполнения применяются в помещениях, где необходимо снизить уровень шума и улучшить условия слышимости.

В нижеследующей таблице приведены рекомендуемые области применения подвесных потолков с учетом функциональных требований, предъявляемых к помещениям.

Размеры ячеек каркасов подвесных потолков должны соответствовать модулю М = 300 мм, например 600 × 600, 600 × 1200 мм. Длина и ширина лицевых элементов должны быть на 2-5 мм меньше размеров ячеек каркасов.

Профили каркасов должны иметь декоративно-антикоррозионное покрытие. Профили открытого каркаса с лицевой стороны по цвету и качеству должны соответствовать эталонным образцам.

Подвесной потолок состоит из каркаса, лицевых элементов, пристенных опорных элементов, звукопоглощающих и прокладочных материалов и элементов крепления (подвески, пружины, соединительные элементы и т.д.).

Для подвесных потолков используются каркасы из тонкостенных гнутых профилей, из оцинкованной стали или с лакокрасочным покрытием. Профили по длине соединяются при помощи стыковых накладок.


ОБЛАСТЬ ПРИМЕНЕНИЯ ПОДВЕСНЫХ ПОТОЛКОВ И ВЫБОР ЛИЦЕВЫХ ЭЛЕМЕНТОВ

Виды помещений и типы зданий

Функциональная нагрузка

(-) не требуется

(+) рекомендуется

(++) необходима

Основания для применения подвесных потолков

Лицевые элементы

 

Металлические

Гипсовые

Минераловатные

 

Рейки и панели

Решетчатые

Из просечной сетки

Гипсокартонные и гипсоволокнистые листы и плиты

Литые

Плиты типа «Акмигран»

Самонесущие с декоративной отделкой

 

С перфорацией или щелями

Без перфорации

акустическая

светотехническая

вентиляционная

Без перфорации

С перфорацией

Без перфорации

С перфорацией

 

Вестибюли и гардеробы

+

+

-

по заданию

+

+

+

+

+

+

+

+

+

+

 

Коридоры

+

+

-

при коммуникациях

+

+

+

-

+

+

+

+

+

+

 

Конторские помещения

++

++

+

площадь 34 м2

+

-

-

+

-

+

-

+

+

-

 

Залы заседаний

++

++

-

по заданию

+

+

+

-

+

+

+

+

+

+

 

Машинописные бюро

++

+

+

без ограничений

+

-

-

-

-

+

-

+

+

-

 

Залы проектных и конструкторских организаций

++

++

+

площадь ≥ 54 м2

+

-

-

-

-

+

-

+

+

-

 

Залы ожиданий, салоны предприятий быт. обслуж.

++

++

+

площадь 72 м2

+

-

+

-

-

+

-

+

+

-

 

Демонстрационные залы предприятий быт. обслуж.

+

+

-

площадь 72 м2

+

-

+

-

-

+

-

+

+

-

 

Обеденные залы кафе, буфетов

+

-

+

ко мест 150

+

-

+

-

-

+

-

+

+

-

 

Обеденные залы столовых

+

+

 

к-во мест 300

+

-

-

-

-

+

-

+

+

-

 

Залы ресторанов

++

+

-

без ограничений

+

-

+

-

-

+

-

+

+

-

 

Торговые залы магазинов, торговых центров, универмагов

++

++

++

площадь ≥ 250 м2

+

-

+

-

-

+

-

+

+

-

 

Коридоры лечебных учреждений

++

++

-

по заданию

+

-

-

-

-

+

-

+

-

-

 

Места ожиданий больных и посетителей

+

-

-

по заданию

+

-

-

-

+

+

-

+

+

-

 

Залы для всех видов спорта, требующие музыкального сопровождения

++

-

-

без ограничений

+

-

-

+

-

+

-

+

-

-

 

Спортивные залы

+

-

-

по заданию

+

-

-

+

-

+

-

+

-

-

 

Залы крытых бассейнов

++

-

-

без ограничений

+

-

-

-

-

-

-

-

-

-

 

Зрительные залы

++

-

-

без ограничений

+

+

+

+

+

+

+

+

+

-

 

Пассажирские залы вокзалов и аэропортов

++

+

-

без ограничений

+

-

-

+

-

-

-

-

-

-

 


В качестве подвесок применяются стальные стержни и мягкая стальная оцинкованная проволока. Их выбор обусловлен требуемой точностью регулировки и весом потолка.

Предусмотрено три типа подвесок:

тип I - подвеска из мягкой оцинкованной проволоки на скрутке Ø 2,5 мм;

тип II - подвеска с повышенной точностью регулировки уровня, достигаемой соединением двух отрезков проволоки Ø 2,5 мм, пропускаемых через отверстия в распорных пружинах;

тип III - подвеска из круглого стержня Ø 5 мм с крюком и нарезкой с другой стороны для закрепления двумя гайками в Z-образном профиле; применяется для тяжелых литых гипсовых плит весом более 20 кгс/м2.

Выбор шагов подвесок и расстояний между профилями каркаса должен осуществляться с учетом несущей способности профилей и лицевых элементов потолка.

Конструкции зданий должны разрабатываться с учетом того, что высота помещений общественных зданий при наличии подвесного потолка должна быть не менее 270 мм, а в холлах и коридорах - 240 мм, в производственных помещениях - по проекту.

Конструкция подвесного потолка должна, как правило, обеспечивать полный или частичный доступ в надпотолочное пространство, необходимый для ревизии или ремонта инженерного оборудования и сетей или замены лицевых элементов.

При устройстве подвесных потолков с доступом в надпотолочное пространство электропроводки и слаботочные сети следует располагать под перекрытием, что позволяет уменьшить толщину бетонной подготовки вышележащего этажа до 4 см.

Монтаж подвесного потолка должен осуществляться на основе проекта производства работ.

До начала работ по устройству подвесного потолка должны быть завершены все строительно-монтажные и специальные работы, помещение очищено от строительного мусора, выверена горизонтальность поверхности перекрытия.

Основные этапы подготовительных работ и монтажа:

- вынести на углы помещения и на колонны отметки низа несущих профилей;

- отбить меловым шнуром на стенах и колоннах линию, соответствующую уровня низа несущего профиля;

- обозначить на стенах помещения оси несущих профилей и места крепления подвесок на плитах перекрытия. При большом числе коммуникаций и воздуховодов, препятствующих разбивке, следует предварительно натянуть леску с красящими фиксаторами на полу помещения и вынести с помощью отвеса места установки на потолок дюбелей;

- прикрепить дюбелями подвески;

- установить несущие профили и окончательно отрихтовать их по уровню, пользуясь натяжным шнуром и водяным уровнем;

- смонтировать лицевые элементы.

В данной серии разработано кропление подвесок к перекрытию встреливаемыми дюбелями-винтами. Однако крепление подвесок может осуществляться также при помощи распорных дюбелей-втулок, распорных дюбелей с полиамидным корпусом, проволочных подвесок, устанавливаемых в швы железобетонных плит, дюбелей-гвоздей, откидных анкеров, устанавливаемых в отверстия, пробитые по оси каналов многопустотных плит, «черного каркаса» на выпусках из швов железобетонных плит.

Окончательный выбор способа крепления, включая назначение марок крепежных деталей, решается при конкретном проектировании с учетом функционального назначения помещения и типа перекрытия.

При многопустотных плитах рекомендуется производить крепление подвесок на встреливаемых, распорных дюбелях и на откидных анкерах. Допускается в обоснованных случаях использование «черного каркаса». При встреливаемых дюбелях место крепления следует назначать в зонах между пустотами плит шириною не более 70 мм. Главные профили каркасов следует располагать перпендикулярно каналам (пустотам). При этом шаг подвески может меняться, отличаясь от проектного на величину до 50 мм.

При перекрытии из ребристых плит крепление подвесок рекомендуется производить на встреливаемых или распорных дюбелях, а также на проволочных подвесках, устанавливаемых в швы плит при их ширине 1200 мм.

Для крепления огнезащитных потолков допускается использование лишь стальных дюбелей-втулок.

Подвесные потолки из гипсовых и цементно-стружечных плит

Подвесные потолки из гипсовых материалов и цементно-стружечных плит могут применяться в помещениях с относительной влажностью не более 65 %. Их следует использовать в декоративно-акустических целях, а также для повышения предела огнестойкости покрытий и перекрытий.

Гипсовые акустические потолки отличаются высоким звукопоглощением на средних частотах, огнестойкими свойствами при наличии добавки рубленного стекловолокна в гипсовую массу и хорошими звукоизоляционными свойствами от воздушного шума. В случае использования гипсовых листовых материалов могут применяться лицевые элементы крупных габаритов. Благодаря пластическим свойствам гипса можно получать высокие художественно-архитектурные качества подвесного потолка.

Гипсовые потолки применяются с открытым и скрытым каркасами. Открытый каркас создает поверхность, члененную на ячейки с шагом 600 или 1200 мм.

При скрытом каркасе можно получить сплошную ровную или рельефную поверхность с разнообразным рисунком.

Каркасы потолков выполнены из легких стальных профилей открытого или таврового сечения. Профили каркаса имеют прямой рез, что облегчает их изготовление и сборку.

Каркас представляет собой решетку, собираемую непосредственно при монтаже и состоит из главных профилей, которые крепятся к подвескам, и второстепенных профилей, закрепляемых с проектным шагом к главным профилям, чем создается необходимый размер ячейки. Второстепенные профили соединяются с главными при помощи соединительных пластин и накладок, фиксируемых на месте плоскогубцами или пресс-клещами, что позволяет, в случае необходимости, легко изменять размер ячейки.

Пристенные профили крепятся к стенам с помощью дюбель-гвоздей.

Несущий каркас крепится к перекрытию с помощью подвесок двух типов, пристреливаемых непосредственно к перекрытию.

Выверка и установка плоскости потолка осуществляется благодаря переменным размерам элементов подвесок (длина проволоки, длина части проволоки, защемленной специальной пружинкой).

Узлы крепления подвесок к плите перекрытия

Потолки из влагостойких гипсокартонных и гипсоволокнистых листов, цементно-стружечных плит, защищенных влагозащитными отделочными составами или красками, могут применяться в помещениях с влажными и мокрыми влажностными режимами (в соответствии с ограничениями на область применения материалов, накладываемыми Гигиеническими сертификатами).

Подвесные потолки в данной серии маркируются по буквенно-цифровой системе. Буквенные индексы при обозначении марки потолка характеризуют материал заполнения лицевого элемента и тип каркаса:

ГКП - гипсокартонная плита, полученная путем разрезки по требуемым размерам гипсокартонного листа (ГКЛ, ГКЛВ, ГКЛО и ГКЛВО);

ГВП - гипсоволокнистая плита, полученная путем разрезки по требуемым размерам гипсоволокнистого листа (ГВЛ, ГВЛВ);

ЦСТП - цементно-стружечная плита;

ГПД и ГПА - гипсовая плита, соответственно, декоративная и акустическая;

О и С - открытый и скрытый каркасы.

Цифровые индексы обозначают размер ячейки потолка в дм и тип подвески.

Общий вид подвесных потолков из перфорированных гипсокартонных плит (ГКП 6.6-1, ГКП 6.6-2)

1 - профиль каркаса главный l = 3600 мм с шагом 600 мм; 2 - профиль каркаса второстепенный l = 575 мм с шагом 600 мм; 3 - подвеска из проволоки Æ 2,5 l = 450 мм (тип I); подвеска из проволоки Æ 2,5 l = 300 мм (тип II) с шагом 1200 мм; 4 - уголок подвески 36 × 25 × 3; 5 - дюбель-винт ДВН М8 × 35 с гайкой; 6 - плита гипсокартонная перфорированная (595 × 595 × 10); 7 - плита минераловатная ПП-100 (δ = 40 мм) по ГОСТ 9573-96; 8 - пленка полиэтилентерефталатная ПЭТ общего назначения (δ = 0,02 мм) по ГОСТ 24234-80*; 9 - накладка соединительная.

По согласованию с заказчиком допускается заполнение каркаса подвесного потолка гипсокартонными плитами без перфорации. В этом варианте минераловатная плита и полиэтилентерефталатная пленка не требуются.

Общий вид подвесных потолков из перфорированных гипсокартонных плит (ГКП 6.12-1, ГКП 6.12-2)

1 - профиль каркаса главный l = 3600 мм с шагом 600 мм; 2 - профиль каркаса второстепенный l = 575 мм с шагом 1200 мм; 3 - подвеска из проволоки Æ 2,5 l = 450 мм (тип I); подвеска из проволоки Æ 2,5 l = 300 мм (тип II) с шагом 1200 мм; 4 - уголок подвески 36 × 25 × 3; 5 - дюбель-винт ДВН М8 × 35 с гайкой; 6 - плита гипсокартонная перфорированная (1195 × 595 × 12); 7 - плита минераловатная ПП-100 (δ = 40 мм) по ГОСТ 9573-96; 8 - пленка полиэтилентерефталатная ПЭТ общего назначения (δ = 0,02 мм) по ГОСТ 24234-80*; 9 - накладка соединительная.

По согласованию с заказчиком допускается заполнение каркаса подвесного потолка гипсокартонными плитами без перфорации. В этом варианте минераловатная плита и полиэтилентерфталатная пленка не требуются.


Узлы подвесных потолков из гипсокартонных плит (перфорированных и неперфорированных) ГКП 6.6-1, ГКП 6.6-2, ГКП 6.12-1, ГКП 6.12-2.

Узлы подвесных потолков из гипсокартонных плит (перфорированных и неперфорированных) ГКП 6.6-1, ГКП 6.6-2, ГКП 6.12-1, ГКП 6.12-2.


Общий вид подвесных потолков с открытым каркасом из перфорированных гипсокартонных плит (ГКПО 6.12-1, ГКПО 6.12-2) и гипсоволокнистых плит (ГВПО 6.12-1, ГВПО 6.12-2)

1 - профиль каркаса главный l = 3600 мм с шагом 600 мм; 2 - профиль каркаса второстепенный l = 559 мм с шагом 1200 мм; 3 - подвеска из проволоки Æ 2,5 l = 450 мм (тип I), подвеска из проволоки Æ 2,5 l = 300 мм (тип II) с шагом 1200 мм; 4 - уголок подвески 36 × 25 × 3, 5 - пружина подвески 20 × 0,5 мм; 6 - дюбель-винт ДВН М8 × 35 с гайкой; 7 - накладка стыковая l = 50 мм 40 × 0,6; 8 - хомут крепления каркаса, 9 - плита гипсокартонная перфорированная (1195 × 595 × 12) или лист гипсоволокнистый (1200 × 600 × 10).

При применении перфорированных плит поверх них предусматривается покрытие из пленки полиэтилентерефталатной ПЭТ общего назначения (δ = 0,02 мм) по ГОСТ 24234-80* и плиты минераловатной ПП-100 (δ = 40 мм) по ГОСТ 9573-96. По согласованию с заказчиком допускается заполнение каркаса подвесного потолка гипсокартонными плитами без перфорации. В этом варианте минераловатная плита и полиэтилентерефталатная пленка не требуются.

Общий вид подвесных потолков со скрытым каркасом из перфорированных гипсокартонных плит (ГКПС 6.12-1, ГКПС 6.12-2) и гипсоволокнистых листов (ГВПС 6.12-1, ГВПС 6.12-2)

1 - профиль каркаса главный l = 3600 мм с шагом 600 мм; 2 - профиль каркаса второстепенный l = 559 мм с шагом 1200 мм; 3 - подвеска из проволоки Æ 2,5 l = 450 мм (тип I), подвеска из проволоки Æ 2,5 l = 300 мм (тип II) с шагом 1200 мм; 4 - уголок подвески 36 × 25 × 3; 5 - пружина подвески 20 × 0,5 мм; 6 - дюбель-винт ДВН М8 × 35 с гайкой; 7 - накладка стыковая l = 50 мм 40 × 0,6; 8 - хомут крепления каркаса; 9 - плита гипсокартонная перфорированная (1195 × 595 × 10) или лист гипсоволокнистый.

Поверх перфорированных плит должно предусматриваться покрытие из пленки ПЭТ и минераловатной плиты. По согласованию с заказчиком допускается заполнение каркаса подвесного потолка гипсокартонными плитами без перфорации. В этом варианте минераловатная плита и полиэтилентерефталатная пленка не требуются.


Узлы подвесных потолков с открытым каркасом из гипсокартонных плит (перфорированных и неперфорированных) ГКПО 6.12-1 и ГКПО 6.12-2

Отгибы стыковых накладок после выверки проектного положения оси стыковых профилей следует поджать плоскогубцами.

По согласованию с заказчиком допускается заполнение каркаса подвесного потолка гипсокартонными плитами без перфорации. В этом варианте минераловатная плита и полиэтилентерефталатная пленка не требуются.

Узлы подвесных потолков с открытым каркасом из гипсокартонных плит (перфорированных и неперфорированных) ГКПО 6.12-1 и ГКПО 6.12-2

Отгибы стыковых накладок после выверки проектного положения оси стыковых профилей следует поджать плоскогубцами.

Узлы подвесных потолков с открытым каркасом из гипсоволокнистых листов ВПО 6.12-1 и ГВПО 6.12-2)

Отгибы стыковых накладок после выверки проектного положения оси стыковых профилей следует поджать плоскогубцами.

Узлы подвесных потолков с открытым каркасом из гипсоволокнистых листов (ГВПО 6.12-1 и ГВПО 6.12-2)

Отгибы стыковых накладок после выверки проектного положения оси стыковых профилей следует поджать плоскогубцами.

Узлы подвесных потолков со скрытым каркасом из гипсокартонных плит (ГКПС 6.12-1, ГКПС 6.12-2) и гипсоволокнистых листов ВПС 6.12-1 и ГВПС 6.12-2)

Отгибы стыковых накладок после выверки проектного положения оси стыковых профилей следует поджать плоскогубцами.

Узлы подвесных потолков со скрытым каркасом из гипсокартонных плит (ГКПС 6.12-1, ГКПС 6.12-2) и гипсоволокнистых листов (ГВПС 6.12-1 и ГВПС 6.12-2)

Отгибы стыковых накладок после выверки проектного положения оси стыковых профилей следует поджать плоскогубцами.


Общий вид подвесных потолков из цементно-стружечных плит (ЦСТП 6.6-1, ЦСТП 6.6-2)

1 - профиль каркаса главный l = 3600 мм с шагом 600 мм; 2 - профиль каркаса второстепенный l = 575 мм с шагом 600 мм; 3 - подвеска из проволоки Æ 2,5 l = 450 мм (тип I); подвеска из проволоки Æ 2,5 l = 300 мм (тип II) с шагом 1200 мм; 4 - уголок подвески 36 × 25 × 3; 5 - пружина подвески 20 × 0,5 мм; 6 - дюбель-винт ДВН М8 × 35 с гайкой; 7 - пластина соединительная l = 120 мм; 8 - плита цементно-стружечная (595 × 595 × 10 мм)

Общий вид подвесных потолков из цементно-стружечных плит (ЦСТП 6.12-1, ЦСТП 6.12-2)

1 - профиль каркаса главный l = 3600 мм с шагом 600 мм; 2 - профиль каркаса второстепенный l = 575 мм с шагом 600 мм; 3 - подвеска из проволоки Æ 2,5 l = 450 мм (тип I); подвеска из проволоки Æ 2,5 l = 300 мм (тип II) с шагом 1200 мм; 4 - уголок подвески 36 × 25 × 3; 5 - пружина подвески 20 × 0,5 мм; 6 - дюбель-винт ДВН М8 × 35 с гайкой; 7 - пластина соединительная l = 120 мм; 8 - плита цементно-стружечная (1195 × 595 × 10 мм).


Узлы подвесных потолков из цементно-стружечных плит (ЦСТП 6.6-1, ЦСТП 6.6-2, ЦСТП 6.12-1, ЦСТП 6.12-2)

Узлы подвесных потолков из цементнотружечных плит (ЦСТП 6.6-1, ЦСТП 6.6-2, ЦСТП 6.12-1, ЦСТП 6.12-2)


Подвесные потолки из металлических элементов

Подвесные потолки из металлических элементов могут применяться в помещениях с относительной влажностью воздуха не более 65 %. Их следует использовать в декоративно-акустических целях, а также для повышения предела огнестойкости покрытий и перекрытий.

Металлические подвесные потолки представлены в данной серии четырьмя видами:

- панельными (с глубоким рельефам и плоские);

- реечными;

- решетчатыми;

- сетчатыми.

Подвесные потолки в данной серии маркируются по буквенно-цифровой системе.

Буквенные индексы при обозначении марки потолка характеризуют материал лицевого элемента и тип каркаса:

ПА - панель алюминиевая;

ПСТ - панель стальная;

ПАЛС - сетка алюминиевая просечная;

ПССТ - сетка стальная просечная;

РСТ - рейка стальная;

РША - решетка алюминиевая;

ППА - панель плоская алюминиевая;

Л - каркас алюминиевый (для марки потолка ППА).

Цифровые индексы первой группы означают размеры ячейки потолка или расстояние между лицевыми элементами в дм, а цифры второй группы - тип подвески.

Таким образом потолок ППАЛ 6.6-1 означает: потолок подвесной из плоских алюминиевых панелей с алюминиевым каркасом с ячейкой 600 × 600 мм и подвеской типа 1.

Металлические подвесные потолки применяются с открытым и скрытым каркасами. Открытый каркас создает поверхность, члененную на ячейки с шагом 600 или 1200 мм.

Каркасы потолков выполнены из легких стальных профилей таврового и коробчатого сечения и алюминиевого профиля коробчатого сечения. Профили каркасов имеют прямой рез, что облегчает их изготовление и сборку.

Каркас представляет собой решетчатую или линейную систему, собираемую непосредственно при монтаже и состоит из главных профилей, которые крепятся к подвескам, и второстепенных профилей, закрепляемых с проектным шагом к главным профилям, чем создается необходимый размер ячейки. Второстепенные профили соединяются с главными при помощи соединительных пластин и накладок, фиксируемых на месте плоскогубцами или пресс-клещами, что позволяет, в случае необходимости, легко изменять размер ячейки.

Пристенные профили крепятся к стенам с помощью дюбель-гвоздей.

Несущий каркас крепится к перекрытию с помощью подвесок двух типов, пристреливаемых непосредственно к перекрытию.

Выверка и установка плоскости потолка осуществляется благодаря переменным размерам элементов подвесок (длина проволоки, длина части проволоки, защемленной специальной пружинкой).

После монтажа укладываются лицевые элементы и, в случае необходимости, звукопоглотитель (минераловатная плита и пленка).

Общий вид подвесных потолков из алюминиевых и стальных панелей (ПА 6.6-1, ПА 6.6-2, ПСТ 6.6-1,ПСТ 6.6-2), алюминиевой и стальной просечно-растяжной сетки (ПАЛС 6.6-1, ПАЛС 6.6-2, ПССТ 6.6-1, ПССТ 6.6-2)

1 - профиль каркаса главный l = 3600 мм с шагом 600 мм; 2 - профиль каркаса второстепенный l = 575 мм с шагом 600 мм; 3 - подвеска из проволоки Æ 2,5 l = 450 мм (тип I); подвеска из проволоки Æ 2,5 l = 300 мм (тип II) с шагом 1200 мм; 4 - уголок подвески 36 × 25 × 3; 5 - дюбель-винт ДВН М8 × 35 с гайкой; 6 - лицевой элемент (594 × 594 × 40 или 595 × 595 × 5); 7 - плита минераловатная ПП-100 (δ = 40 мм) по ГОСТ 9573-96; 8 - пленка полиэтилентерефталатная ПЭТ общего назначения (δ = 0,02 мм) по ГОСТ 24234-80*; 9 - пластина соединительная.

По согласованию с заказчиком допускается заполнение каркаса подвесного потолка лицевыми элементами без перфорации.

Общий вид подвесных потолков из алюминиевых и стальных панелей (ПА 6.12-1, ПА 6.12-2, ПСТ 6.12-1,ПСТ 6.12-2), алюминиевой и стальной просечно-растяжной сетки (ПАЛС 6.12-1, ПАЛС 6.12-2, ПССТ 6.12-1, ПССТ 6.12-2)

1 - профиль каркаса главный l = 3600 мм с шагом 600 мм; 2 - профиль каркаса второстепенный l = 575 мм с шагом 1200 мм; 3 - подвеска из проволоки Æ 2,5 l = 450 мм (тип I); подвеска из проволоки Æ 2,5 l = 300 мм (тип II) с шагом 1200 мм; 4 - уголок подвески 36 × 25 × 3; 5 - дюбель-винт ДВН М8 × 35 с гайкой; 6 - лицевой элемент (1194 × 594 × 40 или 1195 × 595 × 5); 7 - плита минераловатная ПП-100 (δ = 40 мм) по ГОСТ 9573-96; 8 - пленка полиэтилентерефталатная ПЭТ общего назначения (δ = 0,02 мм) по ГОСТ 24234-80*; 9 - пластина соединительная.

По согласованию с заказчиком допускается заполнение каркаса подвесного потолка лицевыми элементами без перфорации.


Узлы подвесных потолков из алюминиевых и стальных панелей (ПА 6.6-1, ПА 6.6-2, ПСТ 6.6-1,ПСТ 6.6-2, ПА 6.12-1, ПА 6.12-2, ПСТ 6.12-1, ПСТ 6.12-2)

Узлы подвесных потолков из алюминиевой и стальной просечно-растяжной сетки (ПАЛС 6.6-1, ПАЛС 6.6-2, ПАЛС 6.12-1, ПАЛС 6.12-2, ПССТ 6.6-1, ПССТ 6.6-2, ПССТ 6.12-1, ПССТ 6.12-2)

Узлы подвесных потолков из алюминиевой и стальной просечно-растяжной сетки (ПАЛС 6.6-1, ПАЛС 6.6-2, ПАЛС 6.12-1, ПАЛС 6.12-2, ПССТ 6.6-1, ПССТ 6.6-2, ПССТ 6.12-1, ПССТ 6.12-2)


Общий вид подвесных потолков с алюминиевым каркасом и алюминиевыми панелями ППА-1(ППАЛ 6.6-1, ППАЛ 6.6-2)

1 - профиль каркаса СПА-0017-3 l = 3600 мм с шагом 600 мм; 2 - подвеска из проволоки Æ 2,5 l = 450 мм (тип I); подвеска из проволоки Æ 2,5 l = 300 мм (тип II) с шагом 1200 мм; 3 - уголок подвески 36 × 25 × 3; 4 - дюбель-винт ДВН М8 × 35 с гайкой; 5 - лицевой элемент ППА-1 (599 × 599 × 38); 6 - плита минераловатная ПП-100 (600 × 600 × 40) по ГОСТ 9573-96; 7 - пленка полиэтилентерефталатная ПЭТ общего назначения (δ = 0,02 мм) по ГОСТ 24234-80*.

По согласованию с заказчиком допускается заполнение каркаса подвесного потолка лицевыми элементами без перфорации.

Общий вид подвесных потолков со стальным каркасом и алюминиевыми панелями ППА-1(ППСТ 6.6-1, ППАСТ 6.6-2)

1 - профиль каркаса стальной 48 × 14 × 0,7 с шагом 600 мм; 2 - подвеска из проволоки Æ 2,5 l = 450 мм (тип I); подвеска из проволоки Æ 2,5 l = 300 мм (тип II) с шагом 1200 мм; 3 - уголок подвески 36 × 25 × 3; 4 - дюбель-винт ДВН М8 × 35 с гайкой; 5 - лицевой элемент ППА-1 (599 × 599 × 38); 6 - плита минераловатная ПП-100 (600 × 600 × 40) по ГОСТ 9573-96; 7 - пленка полиэтилентерефталатная ПЭТ общего назначения (δ = 0,02 мм) по ГОСТ 24234-80*; 8 - наездник 2 × 25 мм.

По согласованию с заказчиком допускается заполнение каркаса подвесного потолка лицевыми элементами без перфорации.


Узлы подвесных потолков с алюминиевым каркасом и алюминиевыми панелями ППА-1 (ППАЛ 6.6-1, ППАЛ 6.6-2)

Узлы подвесных потолков со стальным каркасом и алюминиевыми панелями ППА-1 (ППАСТ 6.6-1, ППАСТ 6.6-2)


Общий вид подвесных потолков из стальных реек ПС-2 (РСТ 0,75-1, РСТ 0,75-2)

1 - профиль каркаса ПГ-4 l = 3000 мм с шагом 1350 мм; 2 - подвеска из проволоки Æ 2,5 l = 450 мм (тип I), подвеска из проволоки Æ 2,5 l = 300 мм (тип II) с шагом 1000 мм; 3 - уголок подвески 36 × 25 × 3; 4 - дюбель-винт Д8Н М8 × 35 с гайкой; 5 - рейка (профиль ПС-2) l = 3000 мм с шагом 75 мм; 6 - плита минераловатная ПП-100 (1350 × 800 × 40) по ГОСТ 9573-96; 7 - пленка полиэтилентерефталатная ПЭТ общего назначения (1400 × 3000 × 0,02 мм) по ГОСТ 24234-80*.

Общий вид подвесных потолков из стальных реек ПС-2 (РСТ 1-1, РСТ 1-2)

1 - профиль каркаса ПГ-4 l = 3000 мм с шагом 1350 мм; 2 - подвеска из проволоки Æ 2,5 l = 450 мм (тип I); подвеска из проволоки Æ 2,5 l = 300 мм (тип II) с шагом 1000 мм; 3 - уголок подвески 36 × 25 × 3; 4 - дюбель-винт ДВН М8 × 35 с гайкой; 5 - рейка (профиль ПС-2) l = 3000 мм с шагом 75 мм; 6 - плита минераловатная ПП-100 (1350 × 800 × 40) по ГОСТ 9573-96; 7 - пленка полиэтилентерефталатная ПЭТ общего назначения (1400 × 3000 × 0,02 мм) по ГОСТ 24234-80*.


Узлы подвесных потолков из стальных реек ПС-2 (РСТ 0,75-1, РСТ 0,75-2, РСТ 1-1, РСТ 1-2)

Узлы подвесных потолков из стальных реек ПС-2 (РСТ 0,75-1, РСТ 0,75-2, РСТ 1-1, РСТ 1-2)


Общий вид подвесных решетчатых алюминиевых потолков (РША 1-1, РША 1-2)

1 - профиль каркаса ПГ-4 l = 3000 мм с шагом 900 мм; 2 - подвеска из проволоки Æ 2,5 l = 450 мм (тип I); подвеска из проволоки Æ 2,5 l = 300 мм (тип II) с шагом 1200 мм; 3 - уголок подвески 36 × 25 × 3; 4 - дюбель-винт ДВН М8 × 35 с гайкой; 5 - пружина подвески (0,5 × 20 × 75); 6 - решетчатый элемент РЭО9-1, РЭО9-1л (h = 100, δ = 0,8).

Общий вид подвесных решетчатых алюминиевых потолков (РША 0,5-1, РША 0,5-2)

1 - профиль каркаса ПГ-4 l = 3000 мм с шагом 900 мм; 2 - подвеска из проволоки Æ 2,5 l = 450 мм (тип I); подвеска из проволоки Æ 2,5 l = 300 мм (тип II) с шагом 1200 мм (до стены ≤ 300); 3 - уголок подвески 36 × 25 × 3; 4 - дюбель-винт ДВН М8 × 35 с гайкой; 5 - пружина подвески (0,5 ×20×75); 6 - решетчатый элемент РЭО9-1 (h = 100, δ = 0,8)


Узлы подвесных решетчатых алюминиевых потолков (РША 1-1, РША 1-2)

Узлы подвесных решетчатых алюминиевых потолков (РША 0,5-1, РША 0,5-2)


Подвесные потолки ОАО СП «ТИГИ KNAUF» и «АВАНГАРД KNAUF»

СП «ТИГИ KNAUF» и «АВАНГАРД KNAUF» выпускают следующие виды подвесных потолков:

1. Потолки из гипсокартонных листов (ГКЛ):

комплектная система П 111 - потолок на двухуровневом деревянном каркасе;

комплектная система П 112 - потолок на двухуровневом металлическом каркасе;

комплектная система П 113 - потолок на одноуровневом металлическом каркасе.

2. Потолки из гипсоволокнистых листов (ГВЛ):

комплектная система ПД 111 - потолок на одноуровневом деревянном каркасе;

комплектная система ПД 112 - потолок на двухуровневом деревянном каркасе;

комплектная система ПД 113 - потолок на двухуровневом металлическом каркасе;

комплектная система ПД 114 - потолок на одноуровневом металлическом каркасе.

3. Потолки из гипсокартонных плит, выпускаемых по ТУ 5767-019-04001508-99 «Плиты гипсокартонные звукопоглощающие и декоративные»:

комплектная система П 411 - потолок из перфорированных гипсокартонных звукопоглощающих плит (ППГЗ) и металлического одноуровневого каркаса;

комплектная система П 412 - потолок из гипсокартонных декоративных потолочных плит (ПГД) и металлического одноуровневого каркаса.

4. Потолки AMF - потолки из импортной термо-звукоизоляционной минераловатной плиты «THERMATEX» (типа «Акмигран») и открытого одноуровневого металлического каркаса.

5. Потолки с применением декоративных плит из полистирола, выпускаемых по ТУ 5772-001-04001508-96 «Плиты декоративные на основе пенополистирола»:

комплектная система П 211 - потолок из декоративных плит но основе полистирола, приклеенных непосредственно к базовому потолку;

комплектная система П 212 - потолок из декоративных плит на основе полистирола, приклеенных к каркасу из деревянных брусков, закрепленному на базовом потолке через выравнивающие прокладки;

комплектная система П 213 - потолок из декоративных плит на основе полистирола с дополнительными элементами крепления из полос гипсокартона и металлического каркаса.

6. Потолки подвесные реечные металлические:

комплектная система П 161 - подвесной металлический каркас с различными видами подвесов, крепящихся к несущим конструкциям перекрытий и реечные профили типа «А» в комплекте с заполняющим профилем;

комплектная система П 162 - подвесной металлический каркас с различными видами подвесов, крепящихся к несущим конструкциям перекрытий и реечные профили типа «Б».

Потолок из ГКЛ на двухуровневом деревянном каркасе (П 111)

1 - основные бруски, 2 - несущие бруски, а - расстояние между подвесами, b - расстояние между несущими брусками, с - расстояние между основными брусками.

Технические характеристики и требования:

сечение деревянных брусков.............. 30 ´ 50 мм;

толщина гипсокартонных листов...... 12,5 мм; гипсокартонные листы должны, как правило, располагаться перпендикулярно несущим брускам; швы между листами как первого, так и второго слоя листов (в случае двухслойной обшивки), должны обязательно заделываться армирующей лентой и шпаклевкой «Фугенфюллер»; стыки торцов гипсокартонных листов должны быть расположены на бруске и смещены относительно стыков смежных листов на расстояние не менее 400 мм; в условиях повышенной влажности (санузлы, кухни) рекомендуется использовать влагостойкие гипсокартонные листы (ГКЛВ);

максимальное расстояние между точками крепления каркаса к базовому потолку (а) 850 мм;

максимальное расстояние между осями несущих брусков (b)................... 500 мм;

максимальное расстояние между осями основных брусков (с)................. 850 мм;

расстояние между стеной и осью крайнего основного бруска (d)............ ~ 100 мм;

шурупы, крепящие гипсокартонный лист к каркасу, должны входить в лист под прямым углом и проникать в деревянный брусок на глубину не менее 20 мм;

головки шурупов должны быть утоплены в лист на глубину около 1 мм - и зашпаклеваны;

изогнутые, неправильно завернутые шурупы необходимо удалять и заменять новыми в местах, расположенных на расстоянии 5 см от прежних;

расположение электрических проводок в пространстве каркаса потолка должно исключать возможность повреждения их острыми краями элементов каркаса или шурупами во время крепления гипсокартонных листов.

Работы по устройству подвесных потолков должны выполняться в условиях сухого и нормального влажностного режима и температуре не ниже 15 °С.

В общем случае монтаж должен осуществляться в следующей последовательности:

- разметка мест расположения основных брусков и мест крепления подвесов;

- крепление подвесов к базовому потолку с помощью анкерных элементов (ж/б основание);

- закрепление на подвесах основных брусков и выравнивание их в одной плоскости (для подвесов с зажимом - регулировка);

- крепление к основным брускам несущих брусков;

- установка с помощью специальных подпорок или телескопического подъемника гипсокартонных листов в проектное положение и крепление их к каркасу шурупами с шагом не более 170 мм;

- заделка швов между гипсокартонными листами и грунтование поверхности подвесного потолка (грунтовкой «Тифенгрунд).

Потолок из ГКЛ на двухуровневом металлическом каркасе (П 112)

1 - гипсокартонный лист, 2 - профиль потолочный 60/27, 3 - соединитель двухуровневый 60/27, 4 - подвес с зажимом, 5 - анкерный элемент (для ж/б потолка), 6 - лента армирующая и шпаклевка.

Технические характеристики

Тип листа

Толщина, мм

Расстояние, см, между

 

подвесами (а)

основными профилями (с)

несущими профилями (b) расположенными

 

перпендикулярно листу

параллельно листу

 

ГКЛ

ГКЛВ

12,5

90

100

50

40

 

15

18

75

55

60

 

ГКЛО

12,5

90

50

нет

 

15

18

75

40

 

ГКЛ

ГКЛО

2 × 12,5

75

50

40

 

15 ÷ 18

60

75

40

 

Технические требования:

металлический каркас - из потолочного профиля 60/27;

толщина гипсокартонных листов ... 12,5 ÷ 18 мм; гипсокартонные листы должны, как правило, располагаться перпендикулярно несущим профилям, швы между листами как первого, так и второго слоя листов (в случае двухслойной обшивки), должны обязательно заделываться армирующей лентой и шпаклевкой «Фугенфюллер»; стыки торцов гипсокартонных листов должны быть расположены на несущем профиле и смещены относительно стыков смежных листов на расстояние не менее 400 мм; в условиях повышенной влажности (санузлы, кухни) рекомендуется использовать влагостойкие гипсокартонные листы (ГКЛВ);

максимальное расстояние между точками крепления каркаса к базовому потолку (а) ......900 мм;

максимальное расстояние между осями несущих профилей (b) ... 500 мм;

максимальное расстояние между осями основных профилей (с) ... 1000 мм;

расстояние между стеной и осью крайнего основного профиля (d) ... ~ 100 мм;

шурупы, крепящие гипсокартонный лист к каркасу, должны входить в лист под прямым углом и проникать в металлический профиль на глубину не менее 10 мм;

головки шурупов должны быть утоплены в лист на глубину около 1 мм - и зашпаклеваны;

изогнутые, неправильно завернутые шурупы должны быть удалены и заменены новыми в местах, расположенных на расстоянии 5 см от прежних;

расположение электрических проводок в пространстве каркаса потолка должно исключать возможность повреждения их острыми краями элементов каркаса или шурупами во время крепления гипсокартонных листов.

Работы по устройству подвесных потолков должны выполняться в условиях сухого и нормального влажностного режима и температуре не ниже 15 °С.

В общем случае монтаж должен осуществляться в следующей последовательности:

- разметка мест расположения основных профилей и мест крепления подвесов;

- крепление подвесов к базовому потолку с помощью анкерных элементов (ж/б основание);

- закрепление на подвесах основных профилей и выравнивание их в одной плоскости (для подвесов с зажимом - регулировка);

- крепление к основным профилям несущих профилей;

- установка с помощью специальных подпорок или телескопического подъемника гипсокартонных листов в проектное положение и крепление их к каркасу шурупами с шагом не более 170 мм, при двухслойной обшивке максимальное расстояние между шурупами также 170 мм за исключением случаев, когда второй слой гипсокартонных листов устанавливается в тот же день - в этом случае расстояние между шурупами первого слоя могут быть увеличены в три раза (до 510 мм);

- заделка швов между гипсокартонными листами и грунтование поверхности подвесного потолка (грунтовкой «Тифенгрунд).

Потолок из ГКЛ на одноуровневом металлическом каркасе (П 113)

1 - гипсокартонный лист, 2 - профиль потолочный 60/27, 3 - профиль направляющий потолочный 28/27, 4 - соединитель одноуровневый 60/27, 5 - подвес с зажимом, 6 - анкерный элемент (для ж/б потолка), 7 - лента армирующая и шпаклевка.

Технические характеристики

Тип листа

Толщина, мм

Расстояние, см, между

подвесами (а)

основными профилями (с)

несущими профилями (b)

ГКЛ

ГКЛВ

12,5

15

100

120

50

55

18

2 × 12,5

65

60

50

ГКЛО

12,5

75

50

15

18

2 × 12,5

65

50

40

50

18 ÷ 15

40

40

В соответствии с требованиями пожарной безопасности расстояния между подвесками и профилями в потолках П 112 и П 113 из плит ГКЛО могут быть уменьшены.

Технические требования:

металлический каркас - из потолочного профиля 60/27 и направляющего потолочного профиля 28/27; основные профили, подвешенные с использованием подвесов к базовому потолку, и несущие профили, к которым крепятся гипсокартонные листы, расположены в одном уровне;

расстояние между дюбелями при креплении направляющих профилей 28/27 к стене должно быть не более 500 мм, а в случае требований к пределу огнестойкости EI 90 - не более 300 мм;

толщина гипсокартонных листов ...... 12,5 ÷ 18 мм; гипсокартонные листы должны, как правило, располагаться перпендикулярно несущим профилям, швы между листами как первого, так и второго слоя листов (в случае двухслойной обшивки), должны обязательно заделываться армирующей лентой и шпаклевкой «Фугенфюллер»; стыки торцов гипсокартонных листов должны быть расположены на несущем профиле и смещены относительно стыков смежных листов на расстояние не менее 400 мм; в условиях повышенной влажности (санузлы, кухни) рекомендуется использовать влагостойкие гипсокартонные листы (ГКЛВ);

максимальное расстояние между точками крепления каркаса к базовому потолку (а) ...... 1000 мм;

максимальное расстояние между осями несущих профилей (b) ... 500 мм;

максимальное расстояние между осями основных профилей (с) ... 1200 мм;

расстояние между стеной и осью крайнего основного профиля (d) ... 1200 мм;

шурупы, крепящие гипсокартонный лист к каркасу, должны входить в лист под прямым углом и проникать в металлический профиль на глубину не менее 10 мм;

головки шурупов должны быть утоплены в лист на глубину около 1 мм - и зашпаклеваны;

изогнутые, неправильно завернутые шурупы необходимо удалять и заменять новыми в местах, расположенных на расстоянии 5 см от прежних;

крепление гипсокартонных листов шурупами с шагом 170 мм должно осуществляться как к несущим, так и к основным профилям;

расположение электрических проводок в пространстве каркаса потолка должно исключать возможность повреждения их острыми краями элементов каркаса или шурупами во время крепления гипсокартонных листов.

Работы по устройству подвесных потолков должны выполняться в условиях сухого и нормального влажностного режима и температуре не ниже 15 °С.

В общем случае монтаж должен осуществляться в следующей последовательности:

- разметка мест расположения основных профилей и мест крепления подвесов;

- крепление подвесок к базовому потолку с помощью анкерных элементов (ж/б основание);

- закрепление на подвесах основных брусков и выравнивание их в одной плоскости (для подвесов с зажимом - регулировка);

- крепление к основным профилям несущих профилей;

- установка с помощью специальных подпорок или телескопического подъемника гипсокартонных листов в проектное положение и крепление их к каркасу шурупами с шагом не более 170 мм, при двухслойной обшивке максимальное расстояние между шурупами также 170 мм за исключением случаев, когда второй слой гипсокартонных листов устанавливается в тот же день - в этом случае расстояние между шурупами первого слоя могут быть увеличены в три раза (до 510 мм);

- заделка швов между гипсокартонными листами и грунтование поверхности подвесного потолка (грунтовкой «Тифенгрунд).

Потолок из ГВЛ на одноуровневом деревянном каркасе (ПД 111)

1 - гипсоволокнистый лист, 2 - брусок 30 × 50 мм, 3 - подвес прямой для брусков и два шурупа для крепления подвеса к бруску (или подвес с зажимом), 4 - лента армирующая и шпаклевка.

Технические характеристики и требования:

сечение деревянных брусков ...... 30 × 50 мм;

толщина гипсоволокнистых листов ...... 10 мм; гипсоволокнистые листы должны, как правило, располагаться перпендикулярно несущим брускам; швы между листами как первого, так и второго слоя листов (в случае двухслойной обшивки), должны обязательно заделываться армирующей лентой и шпаклевкой; стыки торцов гипсоволокнистых листов должны быть расположены на бруске и смещены относительно стыков смежных листов на расстояние не менее 400 мм; в условиях повышенной влажности (санузлы, кухни) рекомендуется использовать влагостойкие гипсоволокнистые листы (Г8ЛВ);

максимальное расстояние между точками крепления подвесов к конструктивному потолку (а) ...... 850 мм;

максимальное расстояние между осями основных брусков (с) ... 750 мм;

расстояние между конструктивным (существующим) и подвесным потолком ... 200 ÷ 400 мм;

шурупы, крепящие гипсоволокнистый лист к каркасу, должны входить в лист под прямым углом и проникать в деревянный брусок на глубину не менее 20 мм;

головки шурупов должны быть утоплены в лист на глубину около 1 мм - и зашпаклеваны;

изогнутые, неправильно завернутые шурупы должны быть удалены и заменены новыми в местах, расположенных на расстоянии 50 мм от прежних;

расположение электрических проводок в пространстве каркаса потолка должно исключать возможность повреждения их острыми краями элементов каркаса или шурупами во время крепления гипсоволокнистых листов.

Работы по устройству подвесных потолков должны выполняться в условиях сухого и нормального влажностного режима и температуре не ниже 15 °С.

В общем случае монтаж должен осуществляться в следующей последовательности:

- разметка мест расположения основных брусков и мест крепления подвесов;

- крепление подвесов к конструктивному потолку при помощи шурупов или дюбелей (в зависимости от материала конструктивного потолка);

- закрепление на подвесах основных брусков, выверка и выравнивание их в одной плоскости (для подвесов с зажимом - регулировка);

- установка с помощью специальных подпорок или телескопического подъемника гипсоволокнистых листов в проектное положение и крепление их к каркасу шурупами с проектным шагом;

- заделка швов между гипсоволокнистыми листами.

Потолок из ГВЛ на двухуровневом деревянном каркасе (ПД 112)

1 - гипсоволокнистый лист, 2 - основной брусок 30 × 50 мм, 3 - подвес прямой для брусков и два шурупа для крепления подвеса к бруску (или подвес с зажимом), 4 - несущий брусок 30 × 50 мм; 5 - лента армирующая и шпаклевка.

Технические характеристики и требования:

сечение деревянных брусков ...... 30 × 50 мм; основные бруски непосредственно прикреплены к конструктивному потолку, а несущие бруски, к которым крепится гипсоволокнистый лист, расположены на разных уровнях;

толщина гипсоволокнистых листов ...... 10 мм; гипсоволокнистые листы должны, как правило, располагаться перпендикулярно несущим брускам; швы между листами как первого, так и второго слоя листов (в случае двухслойной обшивки), должны обязательно заделываться армирующей лентой и шпаклевкой; стыки торцов гипсоволокнистых листов должны быть расположены на бруске и смещены относительно стыков смежных листов на расстояние не менее 400 мм; в условиях повышенной влажности (санузлы, кухни) рекомендуется использовать влагостойкие гипсоволокнистые листы (ГВЛВ);

максимальное расстояние между точками крепления подвесов к конструктивному потолку (а) ..... 850 мм;

максимальное расстояние между осями несущих брусков (b) ... 300 мм;

максимальное расстояние между осями основных брусков (с) ... 750 мм;

расстояние между конструктивным (существующим) и подвесным потолком ... 200 ÷ 400 мм;

шурупы, крепящие гипсоволокнистый лист к каркасу, должны входить в лист под прямым углом и проникать в деревянный брусок на глубину не менее 20 мм;

головки шурупов должны быть утоплены в лист на глубину около 1 мм - и зашпаклеваны;

изогнутые, неправильно завернутые шурупы необходимо удалять и заменять новыми в местах, расположенных на расстоянии 5 см от прежних;

расположение электрических проводок в пространстве каркаса потолка должно исключать возможность повреждения их острыми краями элементов каркаса или шурупами во время крепления гипсоволокнистых листов.

Работы по устройству подвесных потолков должны выполняться в условиях сухого и нормального влажностного режима и температуре не ниже 15 °С.

В общем случае монтаж должен осуществляться в следующей последовательности:

- разметка мест расположения основных брусков и мест крепления подвесов;

- крепление подвесов к конструктивному потолку при помощи шурупов или дюбелей (в зависимости от материала конструктивного потолка);

- закрепление на подвесах основных брусков, выверка и выравнивание их в одной плоскости (для подвесов с зажимом - регулировка);

- крепление к основным брускам несущих брусков;

- выверка горизонтальности низа каркаса и проверка соответствия его «чистым» отметкам лицевой поверхности потолка;

- установка с помощью специальных подпорок или телескопического подъемника гипсоволокнистых листов в проектное положение и крепление их к каркасу шурупами с проектным шагом;

- заделка швов между гипсоволокнистыми листами.

Потолок из ГВЛ на двухуровневом металлическом каркасе (ПД 113)

1 - гипсоволокнистый лист, 2 - профиль потолочный 60/27, 3 - соединитель двухуровневый 60/27, 4 - подвес с зажимом, 5 - анкерный элемент (для ж/б потолка), 6 - лента армирующая и шпаклевка.

Технические требования:

металлический каркас - из потолочного профиля 60/27; основные профили, которые подвешены с использованием подвесов непосредственно к конструктивному потолку, и несущие профили, к которым крепится гипсоволокнистый лист, расположены на разных уровнях;

толщина гипсоволокнистых листов ...... 10 ÷ 16 мм; гипсоволокнистые листы должны, как правило, располагаться перпендикулярно несущим профилям, швы между листами как первого, так и второго слоя листов (в случае двухслойной обшивки), должны обязательно заделываться армирующей лентой и шпаклевкой; стыки торцов гипсоволокнистых листов должны быть расположены на несущем профиле и смещены относительно стыков смежных листов на расстояние не менее 400 мм; в условиях повышенной влажности (санузлы, кухни) рекомендуется использовать влагостойкие гипсоволокнистые листы (ГВЛВ);

максимальное расстояние между точками крепления каркаса к конструктивному потолку (а) ...... 900 мм;

максимальное расстояние между осями несущих профилей (b) ... 400 мм;

максимальное расстояние между осями основных профилей (с) ... 750 мм;

шурупы, крепящие гипсоволокнистый лист к каркасу, должны входить в лист под прямым углом и проникать в металлический профиль на глубину не менее 10 мм;

головки шурупов должны быть утоплены в лист на глубину около 1 мм - и зашпаклеваны;

изогнутые, неправильно завернутые шурупы должны быть удалены и заменены новыми в местах, расположенных на расстоянии 50 мм от прежних;

расположение электрических проводок в пространстве каркаса потолка должно исключать возможность повреждения их острыми краями элементов каркаса или шурупами во время крепления гипсоволокнистых листов.

Работы по устройству подвесных потолков должны выполняться в условиях сухого и нормального влажностного режима и температуре не ниже 15 °С.

В общем случае монтаж должен осуществляться в следующей последовательности:

- разметка мест расположения основных профилей и мест крепления подвесов;

- крепление подвесов к конструктивному потолку при помощи шурупов или дюбелей (в зависимости от материала конструктивного потолка);

- закрепление на подвесах основных профилей, выверка и выравнивание их в одной плоскости (для подвесов с зажимом - регулировка);

- крепление к основным профилям несущих профилей;

- выверка горизонтальности низа каркаса и проверка соответствия его «чистым» отметкам лицевой поверхности потолка;

- установка с помощью специальных подпорок или телескопического подъемника гипсоволокнистых листов в проектное положение и крепление их к каркасу шурупами с проектным шагом;

- заделка швов между гипсоволокнистыми листами.

Потолок из ГВЛ на одноуровневом металлическом каркасе (ПД 114)

1 - гипсоволокнистый лист, 2 - профиль потолочный 60/27, 3 - профиль направляющий потолочный 28/27, 4 - соединитель одноуровневый 60/27, 5 - подвес с зажимом, 6 - анкерный элемент (для ж/б потолка), 7 - лента армирующая и шпаклевка.

Технические требования:

металлический каркас - из потолочного профиля 60/27; основные профили, которые подвешены с использованием подвесов непосредственно к конструктивному потолку, и несущие профили, к которым крепится гипсоволокнистый лист, расположены на одном уровне;

толщина гипсоволокнистых листов ...... 10 ÷ 16 мм; гипсоволокнистые листы должны, как правило, располагаться перпендикулярно несущим профилям, швы между листами как первого, так и второго слоя листов (в случае двухслойной обшивки), должны обязательно заделываться армирующей лентой и шпаклевкой; стыки торцов гипсоволокнистых листов должны быть расположены на несущем профиле и смещены относительно стыков смежных листов на расстояние не менее 400 мм; в условиях повышенной влажности (санузлы, кухни) рекомендуется использовать влагостойкие гипсоволокнистые листы (ГВЛВ);

максимальное расстояние между точками крепления каркаса к конструктивному потолку (а) ...... 900 мм;

максимальное расстояние между осями несущих профилей (b) ... 400 мм;

максимальное расстояние между осями основных профилей (с) ... 800 мм;

шурупы, крепящие гипсоволокнистый лист к каркасу, должны входить в лист под прямым углом и проникать в металлический профиль на глубину не менее 10 мм;

головки шурупов должны быть утоплены в лист на глубину около 1 мм - и зашпаклеваны;

изогнутые, неправильно завернутые шурупы должны быть удалены и заменены новыми в местах, расположенных на расстоянии 50 мм от прежних;

расположение электрических проводок в пространстве каркаса потолка должно исключать возможность повреждения их острыми краями элементов каркаса или шурупами во время крепления гипсоволокнистых листов.

Работы по устройству подвесных потолков должны выполняться в условиях сухого и нормального влажностного режима и температуре не ниже 15 °С.

В общем случае монтаж должен осуществляться в следующей последовательности:

- разметка мест расположения основных профилей и мест крепления подвесов;

- крепление подвесов к конструктивному потолку при помощи шурупов или дюбелей (в зависимости от материала конструктивного потолка);

- закрепление на подвесах основных профилей, выверка и выравнивание их в одной плоскости (для подвесов с зажимом - регулировка);

- крепление к основным профилям несущих профилей;

- выверка горизонтальности низа каркаса и проверка соответствия его «чистым» отметкам лицевой поверхности потолка;

- установка с помощью специальных подпорок или телескопического подъемника гипсоволокнистых листов в проектное положение и крепление их к каркасу шурупами с проектным шагом;

- заделка швов между гипсоволокнистыми листами.

Потолки из гипсокартонных плит, выпускаемых по ТУ 5767-019-04001508-99 «Плиты гипсокартонные звукопоглощающие и декоративные»

На основе гипсокартонных плит, выпускаемых по ТУ 5767-019-04001508-99 СП ТИГИ KNAUF комплектует два потолка:

потолок ППГЗ - комплектная система П 411 - потолок из перфорированных гипсокартонных звукопоглощающих плит (ППГЗ) и металлического одноуровневого каркаса;

потолок ПГД - комплектная система П 412 - потолок из гипсокартонных декоративных потолочных плит (ПГД) и металлического одноуровневого каркаса.

1 - плита перфорированная гипсокартонная звукопоглощающая (в потолке ППГЗ) или плита потолочная гипсокартонная декоративная (в потолке ПГД) размером 595 × 595 мм, или плита ПГД размером 1195 × 395 мм, 2 - Т-профиль основной, L = 3700 мм, 3 - Т-профиль поперечный, L = 1200 мм, 4 - Т-профиль продольный, L = 600 мм (в потолке ПГД с плитами размером 1195 × 395 мм продольный профиль не монтируется), 5 - подвес с зажимом, 6 - тяга к подвесу, 7 - ПУ-профиль 25 × 25 мм (L = периметру помещения), устанавливаемый на стены при помощи дюбелей с шагом 0,5 м.

Технические требования к потолку ППГЗ (П 411):

металлический каркас - из Т-образных профилей; основные профили, которые подвешены с использованием подвесов непосредственно к несущим конструкция перекрытия, а также продольные и поперечные профили расположены на одном уровне;

размер перфорированных звукопоглощающих плит (ППГЗ):

- длина ... 595 ± 2 мм;

- ширина ... 595 ± 2 мм;

- толщина ...8,5 ± 0,5 мм;

коэффициент перфорации плит - 9 ÷ 12 %;

максимальный шаг крепления подвесов (а) ...... 1200 мм;

шаг монтажа основного Т-профиля (b) ... 1200 мм;

шаг монтажа поперечного Т-профиля (с) ... 600 мм;

минимальный относ от несущих конструкций - не менее 50 мм, что исключает снижение показателей по звукопоглощению.

Работы по устройству подвесных потолков должны выполняться в условиях сухого и нормального влажностного режима и температуре не ниже 15 °С.

В общем случае монтаж должен осуществляться в следующей последовательности:

- обмер помещения в натуре и разбивка основных взаимоперпендикулярных осей;

- вынос отметок чистого потолка на стены и колонны;

- разметка потолка от осей помещения для выявления размеров крайних к стенам плит, мест расположения светильников, вентрешеток и других устройств;

- крепление опорных обрамляющих уголков (ПУ-профиля) на стены и колонны при помощи дюбелей, устанавливаемых с шагом 0,5 м;

- монтаж подвесов (тяги) к существующим конструкциям перекрытия (анкерные гвозди применять только для ж/б перекрытий);

- монтаж и закрепление вентиляционных, электротехнических и других инженерных устройств в межпотолочном пространстве;

- монтаж основных Т-профилей подвесного потолка на регулируемых подвесах;

- монтаж поперечных Т-профилей;

- монтаж продольных Т-профилей;

- выверка и выравнивание основных и поперечных профилей в одной плоскости при помощи водяного или лазерного уровня;

- укладка плит на полки Т-профилей каркаса;

- плиты, примыкающие к стенам, колоннам и т.п. конструкциям, обрезать по месту, плотно подгоняя их к вертикальным конструкциям;

- установка светильников, вентиляционных решеток и т.п. (производится до или в процессе монтажа потолочных плит;

- укладка предусмотренного проектом тепло- или звукоизоляционного материала (производится в процессе монтажа потолочных плит); шаг подвесов в этом случае должен определяться расчетом и указан в проекте.

Конструкция потолка из плит ППГЗ и ПГД рассчитана только на собственный вес и исключает возможность дополнительных монтажных нагрузок (вес человека и инструментов). Установка массивных светильников должна осуществляться путем подвески их на самостоятельные несущие конструкции.

Чистка потолков должна производиться при помощи пылесоса с насадкой из мягкой щетки.

Технические требования к потолку ПГД (П 412):

металлический каркас - из Т-образных профилей; основные профили, которые подвешены с использованием подвесов непосредственно к несущим конструкция перекрытия, а также продольные и поперечные профили расположены на одном уровне;

размер гипсокартонных декоративных потолочных плит (ПГД):

- длина ... 595 ± 2 мм, 1195 ± 2 мм;

- ширина ... 595 ± 2 мм, 395 ± 2 мм;

- толщина ...8,5 ± 0,5 мм, 10,5 ± 0,5 мм;

максимальный шаг крепления подвесов (а) ...... 1200 мм;

шаг монтажа основного Т-профиля (b) ... 1200 мм;

шаг монтажа поперечного Т-профиля (с) ... 600 (400) мм;

в каркасе потолка с размером плит 1195 × 395 мм продольный профиль отсутствует;

плиты ПГДВ можно использовать в помещениях с влажным режимом и подвергать их влажной протирке.

Монтаж каркаса и плит ПГД осуществляется в том же порядке и последовательности, как и монтаж потолка ППГЗ, за одним исключением: при монтаже плит ПГД размером 1195 × 395 мм продольный профиль не монтируется.

СП «ТИГИ KNAUF» предлагает варианты применения перфорированных звукопоглощающих плит (ППГЗ) для устройства подвесных потолков с небольшим относом от перекрытий в каркасе комплектной системы П 113 «Одноуровневый потолок с металлическим каркасом». Следует учесть, что при использовании плит ППГЗ шаг несущего профиля должен соответствовать размеру плиты.

В первом из предлагаемых вариантов плиты могут монтироваться встык. Края плит могут быть обработаны кромочным рубанком. Швы и шурупы должны быть прошпатлеваны шпаклевкой «Унифлот». Количество шурупов должно быть не менее 4 по стороне плиты. В этом случае создается перфорированная плоскость без видимых швов.

Во втором варианте монтаж плит предусматривается с применением раскладок (раскладки не должны относиться к горючим материалам), которые крепятся непосредственно к профилю и подбираются в зависимости от толщины ППГЗ.

Потолок AMF с плитами «ТНERMATEX»

Технические требования к потолку AMF:

металлический каркас - из Т-образных профилей; основные профили, которые подвешены с использованием подвесов непосредственно к несущим конструкциям перекрытия, а также продольные и поперечные профили расположены на одном уровне (тот же каркас, который применяется для монтажа потолков ППГЗ и ПГД);

размер термо-звукоизоляционной плиты (THERMATEX) – 595 × 595 × 15 мм; THERMATEX - минераловатная плита, которая производится по влажному способу формования и состоит из 90 % неорганических компонентов (минеральная вата, глина) и связующего на основе крахмала (аналог плиты «Акмигран»).

максимальный шаг крепления подвесов (а) ...... 1200 мм;

шаг монтажа основного Т-профиля (b) ... 1200 мм;

шаг монтажа поперечного Т-профиля (с) ... 600 мм;

минимальный относ от несущих конструкций - не менее 50 мм.

Потолки с применением декоративных плит из полистирола, выпускаемых по ТУ 5772-001-04001508-96 «Плиты декоративные на основе пенополистирола»

Потолочные системы на основе декоративных плит из полистирола предназначены для внутренней отделки помещений промышленных и жилых зданий.

Потолок П 211 - из плит, приклеенных непосредственно к базовому потолку, применяется в условиях ровной поверхности базового потолка.

При неровностях в плоскости перекрытия до 20 мм используется система П 212 - конструкция из плит, приклеиваемых к каркасу из деревянных брусков, закрепленному на базовом потолке через выравнивающие прокладки.

При неровностях в плоскости перекрытия как менее, так и более 20 мм, а также в случаях, когда существует необходимость устройства электрических и других проводок в межпотолочном пространстве, используется система П 213 - конструкция из плит с дополнительными элементами крепления из полос гипсокартона и металлического каркаса из ПП-профиля, закрепленного на базовом потолке при помощи подвесов.

Монтаж потолка П 211 осуществляется в следующем порядке: с поверхности ровного, прочного основания удаляется пыль, грязь, остатки обоев и краски; при наличии незначительных неровностей поверхность основания выравнивается при помощи шпаклевки; излишне пористые, гигроскопичные участки зашпаклевываются и тщательно загрунтовываются; определяется и отмечается центр потолка; размечаются взаимно перпендикулярные центральные оси; на плиты гребешковым шпателем сплошь или пятнами (по углам и в середине) наносится клей («Стиропорклебер»)и плиты устанавливаются на поверхность базового потолка рядами во взаимно перпендикулярных направлениях, начиная с центра.

Монтаж потолка П 212 осуществляется в следующем порядке: аналогично потолку П 211 производится разметка потолка с дальнейшей разбивкой под обрешетку; обрешетка закрепляется через выравнивающие прокладки с расстоянием между брусками - 300 мм; на плиты только в области сопряжения с обрешетки наносится клей («Монтажклебер», «Стиропорклебер») и плиты наклеиваются на обрешетку рядами во взаимно перпендикулярных направлениях, начиная с центра.

Монтаж потолка П 213 осуществляется в следующем порядке: на плиты перед монтажом приклеиваются (клеем «Стиропорклебер») планки из гипсокартона размером 700 × (50 ÷ 70) мм, при этом на каждую следующую плиту ряда планки клеятся со смещением равным ширине планки плюс 5 ÷ 10 мм; далее производится разбивка потолка по осям и разметка стен под обрамляющий уголок; уголки устанавливаются в проектное положение при помощи дюбелей с шагом 0,5 м; при помощи анкерных гвоздей устанавливаются подвесы; устанавливаются ПП-профили, производится их выверка и выравнивание в одной плоскости; устанавливаются и крепятся с помощью самонарезающих шурупов полистирольные декоративные плиты (длина шурупов должна обеспечить их выход из тела профиля на величину не менее, чем 10 мм; головки шурупов должны быть утоплены в гипсокартонную планку на глубину около 1 мм).

Подвесные потолки ЗАО «Завод Мосметаллоконструкция» (МОСМЕК)

ЗАО «Мосметаллоконструкция» выпускает подвесные алюминиевые потолки - панельные, реечные и с декоративной решеткой - по следующим техническим условиям:

- ТУ 5271-011-04001597-97 «Потолок подвесной алюминиевый ППА-1. Детали и элементы»;

- ТУ 5271-021-04001597-98 «Потолки подвесные алюминиевые»;

- ТУ 5271-010-04001597-97 «Потолки подвесные реечные».

Потолки предназначены для установки во внутренних помещениях административных, производственных и других зданий и сооружений и декоративной их отделки.

Потолки состоят из лицевых элементов, направляющих профилей, соединительных элементов и деталей подвесок.

В качестве лицевых элементов используются:

- алюминиевые панели (с перфорацией и без перфорации). Габаритные размеры панелей - 599 × 599 × 38 мм (предельные отклонения длины и ширины панелей не должны превышать +0,5 мм). Лицевая поверхность панелей должна иметь цветное анодно-окисное покрытие толщиной 15 мкм или лакокрасочное покрытие с применением порошковых красителей на основе полиэфирных смол толщиной не менее 50 мкм. Диаметр отверстий перфорации лицевой поверхности панелей - 5 мм;

- алюминиевые рейки (с перфорацией и без перфорации). Размеры реек: длина – 6000 ± 8,0 мм, ширина - 150-0,5 мм; высота - 20+1,0 мм, диаметр отверстий перфорации лицевой поверхности реек - 3 мм. Лицевая поверхность реек должна иметь цветное анодно-окисное покрытие толщиной 15 мкм или лакокрасочное покрытие с применением порошковых красителей на основе полиэфирных смол толщиной не менее 50 мкм;

- алюминиевые декоративные решетки размером 590 × 590 × 60 мм.

В качестве направляющих используются:

для панельного потолка ППА-1 - холоднокатанный профиль ППА-1.00.08 из оцинкованной тонколистовой стали по ГОСТ 14918-80* размером 5995 × 14 × 48 (допускается изготавливать направляющие из алюминиевого прессованного профиля по ГОСТ 22233-93);

для реечного потолка - холодногнутый профиль ППР-2.00.01 из оцинкованной тонколистовой стали по ГОСТ 14918-80*.

Конструкции потолков самонесущие, нагрузки на них не допускаются. Установка светильников, анемостатов должна осуществляться путем подвески их на самостоятельные несущие конструкции.

Монтаж подвесного потолка рекомендуется производить в следующей последовательности:

- подвесить направляющие с помощью крючков, скоб и наездников к подготовленной согласно проекту здания арматуре;

- при необходимости произвести стыковку направляющих между собой с помощью накладок и винтов;

- по мере подвески направляющих необходимо производить контроль за отклонением от прямолинейности и отклонением от общей прилегающей плоскости направляющих. Допустимое отклонение 1 мм на длине 1 м;

- контроль за правильностью установки направляющих производить с помощью водяного уровня;

- установить потолочные панели в паз направляющих. Для удобства монтажа использовать отвертку с целью расжатия усов направляющих. Максимальная величина расжатия 4 мм. Взаимное смещение панелей по высоте не должно, превышать 2 мм;

- монтаж потолочных панелей следует производить в чистых хлопчатобумажных перчатках.

Запрещается производство штукатурных, бетонных и малярных работ в непосредственной близости от установленных алюминиевых элементов потолка.

В процессе эксплуатации промывку элементов потолка от пыли необходимо производить нещелочными растворами ОП-7, ОП-10 по ГОСТ 8433-81 или теплым раствором нещелочного мыла с последующей промывкой чистой водой и протиркой элементов потолка насухо.

Хранение элементов потолка должно производиться в упакованном виде на деревянных подкладках в сухих закрытых помещениях с твердым покрытием пола. Не допускается складирование элементов потолка на открытых площадках.

Срок гарантии потолка - 5 лет со дня отгрузки с предприятия-изготовителя.

На каждом упаковочном месте, содержащем панели, рейки, направляющие, соединительные элементы, детали подвески и крепежные изделия, должны быть укреплены любым способом в легко обозреваемом месте бирки с этикеткой, на которой должны быть указаны:

- знак соответствия;

- наименование предприятия-изготовителя или товарный знак;

- обозначение изделий по чертежу и количество их в упаковочном месте;

Общий вид подвесного алюминиевого реечного потолка ППР-2

- обозначение технических условий;

- масса, кг;

- наименование заказчика;

- номер заказа;

- подпись производственного мастера;

- дата изготовления;

- штамп ОТК.

Продольный разрез потолка (вдоль реек)

Монтаж подвесного реечного потолка рекомендуется производить в следующей последовательности:

- подвесить направляющие с помощью крючков, скоб и наездников к подготовленной согласно проекту здания арматуре;

- при необходимости произвести стыковку направляющих между собой с помощью стыковых накладок и винтов;

- по мере подвески направляющих необходимо производить контроль за отклонением от прямолинейности и отклонением от общей прилегающей плоскости направляющих. Допустимое отклонение 1 мм на длине 1 м;

- контроль за правильностью установки направляющих производить с помощью водяного уровня;

- последовательно установить потолочные рейки в замки направляющих;

- монтаж реек следует производить в чистых хлопчатобумажных перчатках.

Запрещается производство штукатурных, бетонных и малярных работ в непосредственной близости от установленных алюминиевых реек потолка.

Потолки должны транспортироваться в упакованном виде.

Комплектность потолков должна контролироваться по рабочим чертежам.

Упаковка потолков должна контролироваться внешним осмотром.

Хранение элементов потолка должно производиться в упакованном виде на деревянных подкладках в сухих закрытых помещениях с твердым покрытием пола. Не допускается складирование элементов потолка на открытых площадках.

Срок гарантии потолка - 5 лет со дня отгрузки с предприятия-изготовителя при соблюдении потребителем условий транспортирования, хранения и эксплуатации, установленными техническими условиями завода-изготовителя.

В процессе эксплуатации промывку реек потолков от пыли необходимо производить нещелочными растворами ОП-7, ОП-10 по ГОСТ 8433-81 или теплым раствором нещелочного мыла с последующей промывкой чистой водой и протиркой реек насухо.



ПРОИЗВОДСТВО ШТУКАТУРНЫХ РАБОТ

ГОСТ 28013-98 Растворы строительные. Общие технические условия.

ТУ 5742-020-02495285-96 Раствор штукатурный.

ТУ 5744-001-05305951-95 Смеси известково-песчаные штукатурно-растворные.

ТУ 5745-003-05668056-98 Смеси сухие штукатурные специализированные.

ТУ 5745-001-46478149-99 Смеси сухие строительные штукатурно-плиточные клеевые, универсальные, шпаклевочные, кладочные и монтажные.

ТУ 5745-005-368874298-96 Смеси сухие (клеящие, кладочные, выравнивающие).

ТУ 5745-004-11322110-97 Смеси сухие цементно-песчаные, специализированные для производства штукатурных работ.

ТУ 5745-001-42645900-97 Сухие штукатурные и кладочные смеси, цементно-песчаные растворы.

ТУ 5745-001-03986987-97 Смесь штукатурная сухая.

ТУ 5845-429-03986987-94 Смесь штукатурная сухая СШС-1.

ТУ 5745-001-11164874-96 Смеси сухие «Витанит-компан» растворов строительных.

ТУ 5745-001-50876007-99 Смеси сухие строительные (плитонит Т и ТВ, З).

ТУ 5745-003-46434927-2000 Сухие штукатурные смеси.

ТУ 5745-001-07828469-97 Смеси сухие цементные, цементно-известковые, известково-песчаные.

ТУ 5745-002-02069579-97 Смеси растворные сухие известково-песчаные.

ТУ 5745-011-12027642-97 Сухие растворные смеси.

ТУ 5745-011-04001508-97 Сухие гипсовые смеси (СГС).

ТУ 5744-008-03515377-98 Смеси строительные гипсовые сухие.

Технические условия на штукатурные растворы, предусмотренные проектом.

СНиП 3.04.01-87 Изоляционные и отделочные покрытия.

СНиП 3.01.01-85* Организация строительного производства.

СП 82-101-98 Приготовление и применение растворов строительных.

Технические требования

Штукатурные работы следует выполнять в соответствии с требованиями проекта, СНиП 3.01.01-85*, СНиП 3.04.01-87, ППР, технологических карт, схем операционного контроля качества работ и другой технологической документации, утвержденной в установленном порядке.

Штукатурные работы должны выполнять строительно-монтажные организации, получившие лицензию на выполнение отделочных работ в Федеральных или региональных лицензионных органах.

Штукатурные работы должны выполняться квалифицированным персоналом, прошедшим специальную подготовку и обладающим надлежащими навыками по выполнению отделочных работ.

Производству штукатурных работ должны предшествовать:

- разработка проектов производства штукатурных работ; разработка (или привязка типовых) технологических карт и схем операционного контроля качества выполнения штукатурных работ;

- завершение и надлежащее оформление всех предусмотренных проектом предшествующих общестроительных и специальных работ (до устройства чистых полов);

- входной контроль проектно-сметной документации, штукатурных растворных и сухих смесей;

- изучение инженерно-техническим персоналом проектной и технологической документации, обучение мастеров и рабочих передовым методам труда.

При входном контроле рабочей документации должна производиться проверка ее комплектности и достаточности содержащейся в ней технической информации для производства работ.

Входной контроль растворных и сухих штукатурных смесей должен производиться в соответствии с требованиями стандартов и технических условий на конкретные смеси в порядке, предусмотренном проектом, технологическими картами или другой технологической документацией, утвержденной в установленном порядке.

Входной контроль должен предотвратить поступление в производство растворных и сухих штукатурных смесей, не отвечающих требованиям проекта и соответствующей нормативной документации.

Технические требования к растворным и сухим штукатурным смесям согласно ГОСТ .28013-98, СНиП 3.03.01-87 и СП 82-101-98 приведены в данном альбоме в схеме операционного контроля «Входной контроль облицовочных и штукатурных растворов».

Для обычных штукатурок применяют цементные, цементно-известковые, известковые, известково-гипсовые, гипсовые и глиноизвестковые растворы.

Выбор и применение растворов для обычных штукатурок в зависимости от влажностных условий, в которых будут находиться в период эксплуатации здания и сооружения, помещения и отдельные конструктивные элементы, следует производить в соответствии с нижеприведенной таблицей.

Условия эксплуатации помещений и конструкций

Наименование растворов

Помещения с относительной влажностью воздуха свыше 60 %, а также наружные стены, цоколи, карнизы и т.п., подвергающиеся систематическому увлажнению

Цементные и цементно-известковые

Помещения с относительной влажностью воздуха до 60 %, а также наружные стены, не подвергающиеся систематическому увлажнению:

 

наружные каменные и бетонные стены, а также внутренние каменные и бетонные стены, перегородки и перекрытия

Известковые и цементно-известковые

наружные и внутренние каменные, деревянные и гипсовые стены (в районах с устойчиво сухим климатом)

Известково-гипсовые и глиноизвестковые

внутренние деревянные и гипсовые стены и перегородки

Известково-гипсовые и гипсовые

Применение вяжущих для растворов в зависимости от вида штукатурки производится по данным нижеследующей таблицы.

Заполнителем растворов для обычных штукатурок применяют песок, отвечающий требованиям ГОСТ 8736-93*. Размер зерен песка для подготовительных слоев обрызга и грунта не должен превышать 2,5 мм, для отделочного слоя (накрывки) - 1,2 мм.

Растворы для обычных штукатурок должны быть процежены и иметь на месте применения следующую подвижность - глубину погружения стандартного конуса, см:

раствор для грунта ...... 7-8 (марка по подвижности Пк2);

раствор для набрызга:

при ручном нанесении ...... 8-12 (марка по подвижности Пк3);

при механизированном способе нанесения ...... 9-14 (марка по подвижности Пк4);

раствор для накрывки:

без применения гипса ...... 7-8 (марка по подвижности Пк2);

с применением гипса ...... 9-12 (марка по подвижности Пк3).

Для повышения подвижности штукатурных растворов следует применять добавки-пластификаторы.

Вид штукатурки

Вид оштукатуриваемых поверхностей

Наименование вяжущих

Наружная - для стен, цоколей, карнизов и т.п., подвергающихся систематическому увлажнению, а также внутренняя - для стен, перегородок и перекрытий, в помещениях с относительной влажностью воздуха свыше 60 %

Каменные и бетонные

Пуццолановый портландцемент, шлакопортландцемент, портландцемент марок 300-400

Наружная - для стен, перегородок и перекрытий в помещениях с относительной влажностью воздуха до 60 %

Каменные и бетонные

Известь, известково-шлаковые и т.п., местные вяжущие, портландцемент марки 300

Деревянные и гипсовые

Смесь извести с гипсом, глиной

Внутренняя - для стен, перегородок и перекрытий в помещениях с относительной влажностью воздуха до 60 %

Каменные и бетонные

Известь, известь с добавкой гипса, портландцемент марки 300, глина

Для увеличения времени начала схватывания растворов с добавками гипса в их состав следует вводить замедлители схватывания согласно нижеприведенной таблице.

Наименование замедлителя

Вид применяемого замедлителя

Количество замедлителя на сухое вещество, %

Мездровый и костный клей

Водный раствор

0,2-0,5

Гашеная известь

Тесто плотностью 1400 кг/м3

5-20

Квасцы

Водный раствор

5-20

Бура

Водный раствор

5-20

Клееизвестковый состав 1:0,5:8,5 (клей:известковое тесто:вода)

Водный раствор

0,2-0,5

Составы растворов (по объему) для обычных штукатурок устанавливаются с учетом их назначения и условий эксплуатации здания или сооружения.

Вид и состав раствора для подготовительных слоев наружных и внутренних штукатурок (обрызг и грунт) приведены в нижеследующей таблице.

Вид оштукатуриваемой поверхности

Вид и состав раствора

цементного

цементно-известкового

известкового

известково-гипсового

Наружная штукатурка стен, цоколей, карнизов и т.п., подвергающихся систематическому увлажнению, а также внутренняя штукатурка в помещениях с относительной влажностью воздуха свыше 60 %

Для обрызга

Каменные и бетонные

От 1:2,5

до 1:4

От 1:0,3:3

до 1:0,5:5

-

-

Для грунта

Каменные и бетонные

От 1:2

до 1:3

От 1:0,7:2,5

до 1:1,2:4

-

 

Наружная штукатурка стен, не подверженных систематическому увлажнению, и внутренняя штукатурка в помещениях с относительной влажностью воздуха до 60 %

Для обрызга

Каменные и бетонные

-

От 1:0,5:4

От 1:2,5

-

Деревянные и гипсовые

до 1:0,7:6

до 1:4

От 1:0,3:2 до 1:1:3

Для грунта

Каменные и бетонные

-

От 1:0,7:3

От 1:2

-

Деревянные и гипсовые

до 1:1:5

до 1:3

От 1:0,5:1,5 до 1:1,5:2

Вид и состав раствора для отделочного слоя (накрывки) наружных и внутренних штукатурок следует принимать по нижеследующей таблице.

Вид грунта оштукатуриваемых поверхностей

Вид и состав раствора

цементного

цементно-известкового

известкового

известково-гипсового

Наружная штукатурка стен, цоколей, карнизов и т.п., подвергающихся систематическому увлажнению, а также внутренняя штукатурка в помещениях с относительной влажностью воздуха свыше 60 %

Цементный и цементно-известковый

От 1:1 до 1:4

От 1:1:1,5 до 1:1,5:2

-

-

Наружная штукатурка стен, не подверженных систематическому увлажнению, и внутренняя штукатурка в помещениях с относительной влажностью воздуха до 60 %

Цементный и цементно-известковый

-

От 1:1:2 до 1:1,5:3

-

-

Известковый и известково-гипсовый

-

-

От 1:1 до 1:2

От 1:1:0 до 1:1,5:0

Известь в растворах должна применяться для обычных штукатурок в виде теста плотностью 1400 кг3. При применении известкового теста или молока плотностью большей или меньшей 1400 их количество по объему определяется умножением объема известкового теста плотностью 1400 кг/м3 на коэффициент, приведенный в нижеследующей таблице.

Плотность

Коэфф.

Плотность

Коэфф.

Плотность

Коэфф.

Плотность

Коэфф.

1,50

0,80

1,39

1,02

1,28

1,43

1,17

2,35

1,49

0,81

1,38

1,05

1,27

1,48

1,16

2,50

1,48

0,83

1,37

1,08

1,26

1,54

1,15

2,66

1,47

0,85

1,36

1,11

1,25

1.60

1,14

2,86

1,46

0,87

1,35

1,14

1,24

1,67

1,13

3,08

1,45

0,89

1,34

1,17

1,23

1,74

1,12

3,33

1,44

0,90

1,33

1,21

1,22

1,82

1,11

3,54

1,43

0,93

1,32

1,25

1,21

1,90

1,10

4,00

1,42

0,95

1,31

1,29

1,20

2,00

 

 

1,41

0,97

1,30

1,33

1,19

2,10

 

 

1,40

1,00

1,29

1,38

1,18

2,22

 

 

Допускается применение в цементно-известковых растворах для обычных штукатурок вместо извести цементной пыли с соотношением цемента и цементной пыли 1:1. Указанное соотношение зависит от сорта извести и активности цементной пыли и должно уточняться на пробных замесах.

Для наружной штукатурки стен зданий, не подвергающихся систематическому увлажнению, а также для внутренней штукатурки стен, перегородок и перекрытий с относительной влажностью воздуха помещений до 60 % допускается применение вместо цементно-известковых растворов цементно-глиняных при дозировке глины в виде теста с глубиной погружения стандартного конуса 13-14 см. Отношение объема глиняного теста к объему цемента не должно быть более 1,5: 1. При применении вместо теста глиняного порошка грубого помола его дозировка должна производиться при тощей глине в таком же количестве, как и теста, при глине средней жирности дозировка по сравнению с объемом теста уменьшается на 15 %, а при жирной глине - на 25 %.

Жирность глины определяется по плотности теста при величине погружения в него стандартного конуса на 13-14 см.

Характеристика глины по жирности и плотности глиняного теста приведена ниже.

Вид глины

Плотность, кг/м3, глиняного теста при погружении в него стандартного конуса на 13-14 см

средняя

максимальная

Жирная с содержанием песка до 5 %

1350

1400

Средней жирности с содержанием песка до 15 %

1450

1500

Тощая или суглинок с содержанием песка до 30 %

1450

1500

Для оштукатуривания стен из грунтовых материалов в сухом климате при относительной влажности воздуха помещений не выше 60 % могут применяться глиняные растворы, приведенные в нижеследующей таблице.

Состав раствора

Вид добавки

Состав раствора по объему (глиняное тесто: добавки: песок)

Марка раствора

в сухом климате

в умеренном ном влажном климате

Глиняный:

 

 

 

 

на жирной глине

Без добавки

1:0:4

10

2

на глине средней жирности

Без добавки

1:0:3

10

2

на тощей глине или суглинке

Без добавки

1:0:2,5

10

2

с черными вяжущими

Черные вяжущие (дегти, битумы, пеки)

От 1:0,05:2,5 до 1:0,1:4

4

4

Примечания

1. Марки растворов в таблице даны для оштукатуривания стен, защищенных от увлажнения, в состоянии естественной влажности.

2. Дозировка песка в глиняных растворах с черными вяжущими принимается в зависимости от жирности глины.

3. Добавка черных вяжущих производится для повышения водостойкости растворов. При применении твердых черных вяжущих предварительно приготовляют эмульсии из глины с черными вяжущими в подогретом состоянии.

4. При применении глины в виде порошка грубого помола следует руководствоваться изложенными выше указаниями.

При применении для обычных штукатурок цементно-песчаных и известково-песчаных сухих растворных смесей следует руководствоваться данными, приведенными в нижеследующих таблицах.

Вид оштукатуриваемой поверхности

Наносимый слой штукатурки

Состав раствора по объему (цемент : песок)

Каменные и бетонные

Обрызг

От 1:2 до 1:3

Грунт

От 1:1,5 до 1:2,5

Отделочный

От 1:1 до 1:1,5

Приведенные выше составы применяются также для наружной штукатурки стен, цоколей, карнизов и других элементов, подвергающихся систематическому увлажнению, а также для внутренней штукатурки в помещениях с относительной влажностью воздуха выше 60 %.

Вид оштукатуриваемой поверхности

Наносимый слой штукатурки

Состав раствора по объему (известь : песок)

Каменные и бетонные

Обрызг и грунт

От 1:2 до 1:3

Отделочный

От 1:1 до 1:1,5

Приведенные выше составы применяются также для наружной штукатурки стен, не подверженных систематическому увлажнению, а также для внутренней штукатурки в помещениях с относительной влажностью воздуха до 60 %.

При производстве штукатурных работ в зимнее время в отапливаемых зданиях при температуре воздуха не ниже 10 °С применяются составы растворов такие же, как и в летних условиях.

Штукатурные работы должны выполняться в соответствии с проектом производства работ (ППР) на возведение зданий и сооружений.

Запрещается осуществление строительно-монтажных работ без утвержденного проекта производства работ. Не допускаются отступления от решений проектов производства работ без согласования с организациями, разработавшими и утвердившими их. Замена предусмотренных проектом материалов и составов допускается только по согласованию с проектной организацией и заказчиком.

До начала штукатурных работ должны быть произведены следующие работы:

- завершен монтаж конструктивных элементов под устройство штукатурных покрытий и полов;

- завершена прокладка всех коммуникаций и заделка коммуникационных каналов:

- завершен монтаж сетей электрообеспечения, телефонизации, радиофикации, телевидения и др.,

- выполнена защита отделываемых помещений от атмосферных осадков; устроены гидроизоляция, тепло-звуко-изоляция и выравнивающие стяжки перекрытий;

- загерметизированы швы между блоками и панелями;

- заделаны и изолированы места сопряжений оконных, дверных и балконных блоков;

- остеклены световые проемы;

- смонтированы закладные изделия, проведены испытания систем тепло-водоснабжения и отопления; проведена промывка канализационных трубных разводок и проверка систем вентиляции; создан нормальный температурно-влажностный режим для выполнения штукатурных работ.

Оштукатуривание и облицовку (по проекту) поверхностей в местах установки закладных изделий санитарно-технических систем необходимо выполнить до начала их монтажа.

До отделки фасадов дополнительно должны быть выполнены следующие работы:

- наружная гидроизоляция и кровля с деталями и примыканиями;

- устройство всех конструкций пола на балконах;

- монтаж и закрепление всех металлических картин окаймления архитектурных деталей на фасаде здания;

- установка всех крепежных приборов водосточных труб (согласно проекту).

Штукатурные работы следует выполнять после проверки правильности выполнения предшествующих работ с составлением актов освидетельствования скрытых работ.

Штукатурные работы, за исключением отделки фасадов, должны выполняться при положительной температуре окружающего воздуха и оштукатуриваемых поверхностей не ниже 10 °С и влажности воздуха не более 60 %. Такую температуру в помещении необходимо поддерживать круглосуточно, не менее чем за 2 сут до начала и 12 сут после окончания работ.

При производстве штукатурных работ при температуре воздуха от 5 до 8 °С растворы в момент их нанесения на обрабатываемую поверхность должны иметь температуру не ниже 8 °С.

Для понижения температуры замерзания растворов в их состав следует вводить противоморозные химические добавки (поташ, нитрит натрия, нитрат кальция с мочевиной), обеспечивающие твердение растворов при отрицательных температурах.

ПОДГОТОВКА ПОВЕРХНОСТЕЙ

Выполнение штукатурных покрытий по основаниям, имеющим ржавчину, высолы, жировые и битумные пятна, не допускается.

Обеспыливание поверхностей следует производить перед нанесением каждого слоя штукатурных составов.

Методы очистки и обеспыливания поверхностей основания должны быть установлены в ППР и технологической карте по производству штукатурных работ.

Прочность оснований должна быть не менее прочности штукатурного покрытия и соответствовать проектной.

Выступающие архитектурные детали, места сопряжений с деревянными каменных, кирпичных и бетонных конструкций должны оштукатуриваться по прикрепленной к поверхности основания металлической сетке или плетеной проволоке; деревянные поверхности - по щитам из драни.

Внутренние поверхности каменных и кирпичных стен, возведенных методом замораживания, следует оштукатуривать после оттаивания кладки с внутренней стороны не менее чем на половину толщины стены.

Вертикальность и горизонтальность поверхностей, подлежащих оштукатуриванию, должны проверяться провешиванием по маркам и маякам с помощью отвеса или уровня с рейкой.

Предельные отклонения поверхностей и углов кладки от вертикали не должны превышать: на один этаж ... 10 мм; на здание высотой более двух этажей - 30 мм. Предельные отклонения рядов кладки от горизонтали на 10 м длины стены не должны превышать 15 мм. Неровности на вертикальной поверхности кладки, обнаруженные при накладывании рейки длиной 2 м, не должны превышать 10 мм.

Предельные отклонения от вертикали поверхностей и углов смонтированных панелей несущих стен и объемных блоков не должны превышать 10 мм, крупных блоков несущих стен перегородок, навесных стеновых панелей - 12 мм. Поверхности сборных плит и панелей должны удовлетворять требованиям стандартов и технических условий на соответствующие изделия.

Методы выравнивания обнаруженных при провешивании неровностей должны быть установлены в ППР и технологической карте по производству штукатурных работ.

Влажность кирпичных и каменных поверхностей при оштукатуривании не должна быть более 8 %.

При оштукатуривании стен из кирпича при температуре окружающей среды 23 °С и выше поверхность основания перед нанесением раствора необходимо увлажнять.

ТРЕБОВАНИЯ К КАЧЕСТВУ ШТУКАТУРНЫХ РАСТВОРОВ

Растворы штукатурные, готовые к применению, следует доставлять потребителю в транспортных средствах, специально предназначенных для их перевозки.

При согласии потребителя допускается перевозка растворных смесей в бункерах (бадьях).

Применяемые способы транспортирования растворных смесей должны исключать потери вяжущего теста, попадания в смесь атмосферных осадков и посторонних примесей.

Запрещается перевозка растворных смесей в неприспособленных автосамосвалах, а также в обычных кузовах бортовых автомобилей и выгрузка их на землю.

Доставленные на строительную площадку растворные смеси, готовые к применению, должны быть перегружены в перегружатели-смесители или в другие емкости при условии сохранения заданных свойств.

Растворная смесь должна доставляться на строительный объект с учетом возможности ее использования до начала схватывания.

Штукатурная смесь, готовая к применению, отпускаемая в транспортное средство, должна иметь документ о качестве, который должен содержать следующие данные:

- наименование или товарный знак и адрес предприятия-изготовителя;

- условное обозначение строительного раствора;

- класс материалов, использованных для приготовления смеси, по удельной эффективной активности естественных радионуклидов и цифровое значение Аэфф;

- марку по прочности на сжатие;

- марку по подвижности (Пк);

- вид и количество введенной добавки (% массы вяжущего);

- количество смеси (для растворных смесей, готовых к употреблению), м;

- дату приготовления;

- температуру применения. °С;

- обозначение данного стандарта.

При необходимости документ о качестве может содержать дополнительные данные.

Растворы, содержащие цемент, при отсутствии добавок, изменяющих их свойства, должны быть израсходованы не позднее чем через 2 часа после приготовления, а растворы, не содержащие цемент, - в день приготовления.

Растворы в период срока их годности должны обладать заданной проектной подвижностью и водоудерживающей способностью.

Растворы, расслоившиеся при перевозке, должны быть перемешаны до подачи на рабочее место. Применение схватившихся растворов, не обладающих заданной подвижностью, не допускается. Также не допускается добавлять воду и цемент в схватившиеся растворные смеси.

При производстве работ в жаркую и сухую погоду (при относительной влажности воздуха менее 50 % и температуре выше 30 °С) должны обеспечиваться влажностные условия твердения растворов за счет введения в их состав специальных добавок (извести, глины и др.) и смачивания водой каменных стеновых материалов.

Подвижность штукатурных растворов должна быть в пределах, установленных ППР и технологической картой (контроль - измерительный, периодический согласно требований технологической карты, но не реже одного раза в смену, регистрация - в журнале работ).

Расслаиваемость растворной смеси должна быть не более 15 % (контроль - измерительный в лабораторных условиях, периодический, 3-4 раза в смену, регистрация - в лабораторном журнале).

Водоудерживающая способность растворной смеси должна быть не менее 90 %, глиносодержащих растворов - не менее 93 % (контроль - измерительный в лабораторных условиях, периодический, 3-4 раза в смену, регистрация - в лабораторном журнале).

Контролируемые операции

Состав и средства контроля

Документация

Подготовительные работы

Проверить:

- завершение и надлежащее оформление предшествующих монтажных работ (наличие актов приемки и актов освидетельствования скрытых работ, геодезических исполнительных схем и другой приемо-сдаточной документации);

Акт приемки, акты освидетельствования скрытых работ, исполнительные схемы

- наличие ППР, технологических карт и схем операционного контроля качества штукатурных работ;

ППР, технологические карты, СОКК

- наличие документов о качестве на поступившие на строительную площадку растворные смеси, готовые к употреблению, соответствие их требованиям проекта и нормативных документов;

Документы о качестве, акты лабораторных испытаний

- внешним осмотром отсутствие признаков начала схватывания раствора, расслоения;

- соответствие качества подготовленных поверхностей оснований требованиям проекта и нормативных документов; температурно-влажностный режим в отделываемых помещениях (в зимнее время).

Общий журнал работ

Производство штукатурных работ

Контролировать:

- соблюдение заданной ППР технологии выполнения штукатурных работ;

- соответствие качества выполненных штукатурных покрытий требованиям проекта и нормативных документов (толщину однослойной штукатурки, толщину каждого слоя многослойных штукатурок, неровности оштукатуренных поверхностей, отклонения от вертикали и горизонтали оштукатуренных поверхностей, отклонения от вертикали и горизонтали оконных и дверных откосов, пилястр, столбов, лузг и т.д.).

Общий журнал работ

Приёмка

Проверить:

- соответствие качества выполненных штукатурных работ требованиям проекта и нормативных документов;

- составление и надлежащее оформление приемо-сдаточной исполнительной документации.

Акт приемки

ВХОДНОЙ И ОПЕРАЦИОННЫЙ КОНТРОЛЬ осуществляют:

мастер (прораб), лаборант (инженер) - в процессе производства работ.

ПРИЁМОЧНЫЙ КОНТРОЛЬ ОСУЩЕСТВЛЯЮТ:

прораб (мастер), представители технадзора заказчика.

КИП - двухметровая рейка, металлическая линейка, металлическая рулетка, отвес, уровень, лабораторные приборы и оборудование.

Температура штукатурных растворов должна быть не менее:

15 °С - при минимальной температуре наружного воздуха от 0 до 5 °С;

10 °С - при минимальной температуре наружного воздуха от 5 °С и выше (контроль - измерительный, периодический согласно требованиям технологической карты, регистрация - в журнале работ).

Нормируемые показатели качества затвердевшего раствора (прочность на сжатие, морозостойкость, средняя плотность) должны быть обеспечены в проектном возрасте.

За проектный возраст раствора, если иное не установлено в проектной документации, следует принимать, сут:

7 - для растворов, приготовленных без применения гидравлических вяжущих;

28 - для растворов с применением гидравлических вяжущих.

Изготовитель обязан сообщить потребителю по его требованию результаты контрольных испытаний не позднее, чем через 3 сут после их окончания, а в случае неподтверждения нормируемого показателя - сообщить об этом потребителю немедленно.

Потребитель имеет право осуществлять контрольную проверку качества растворной смеси в соответствии с требованиями ГОСТ 28013-98 по методикам ГОСТ 5802-86. Периодичность этих испытаний должна быть установлена в технологической карте или другом документе, утвержденном в установленном порядке.

Растворы для обычных штукатурок должны быть процежены.

Растворы должны проходить без остатка через сетку с размерами ячеек:

2,5 мм - для обрызга и грунта;

1,25 мм - для накрывочного слоя и однослойных покрытий (контроль - измерительный, периодический, 3-4 раза в смену, регистрация - в журнале работ).

Прочность сцепления штукатурного раствора с основанием должна быть не менее:

0,1 МПа - для внутренних работ (предельные отклонения 10 %);

0,4 МПа - для наружных работ (предельные отклонения 10 %)

(операционный контроль - измерительный, не менее 3 измерений на 50-70 м2 поверхности покрытия, регистрация - в лабораторном журнале; приемочный контроль - измерительный, не менее 5 измерений на 50-70 м2 поверхности покрытия, регистрация - в акте приемки).

УСТРОЙСТВО ШТУКАТУРНЫХ ПОКРЫТИЙ

Штукатурные покрытия выполняют простыми, улучшенными и высококачественными.

Последовательность выполнения технологических операций при устройстве штукатурных покрытий приведена в нижеследующей таблице.

Технологические операции

Штукатурка

простая

улучшенная

высококачественная

Подготовка поверхности под оштукатуривание

+

+

+

Провешивание поверхностей

+

+

+

Установка марок

-

+

+

Установка маяков

-

-

+

Нанесение обрызга

+

+

+

Нанесение грунта

+

+

+

Разравнивание нанесенного грунта

+

+

+

Нанесение второго слоя грунта

-

-

+

Разравнивание второго слоя грунта

-

-

+

Выверка грунта правилом

-

+

-

Выверка грунта по маякам

-

-

+

Разделка углов (лузг, усенков)

+

+

+

Разделка потолочных рустов

+

+

+

Нанесение накрывочного слоя

-

+

+

Затирка

+

+

+

Отделка откосов и заглушин

+

+

+

Простая штукатурка состоит из двух слоев - обрызга и слоя грунта, улучшенная состоит из трех слоев - обрызга, слоя грунта и накрывочного слоя, высококачественная штукатурка состоит из четырех-пяти слоев - обрызга, двух (или трех) слоев грунта и накрывочного слоя.

При устройстве однослойных покрытий их поверхность следует разравнивать сразу же после нанесения раствора, в случае применения затирочных машин - после его схватывания.

При устройстве многослойного штукатурного покрытия каждый слой необходимо наносить после схватывания предыдущего (накрывочный слой - после схватывания раствора). Разравнивание грунта следует выполнять до начала схватывания раствора.

Улучшенную и высококачественную штукатурку следует выполнять по маякам, толщина которых должна быть равна толщине штукатурного покрытия без накрывочного слоя.

Допускаемые толщины слоев штукатурного покрытия приведены в нижеследующей таблице.

Технические требования

Контроль (метод, объем, вид регистрации)

Допускаемая толщина однослойной штукатурки:

Измерительный, не менее 5 измерений на 70-100 м2 поверхности покрытия или в одном помещении меньшей площади в местах, выявленных сплошным визуальным осмотром, журнал работ

до 20 мм - при применении всех видов растворов, кроме гипсового

до 15 мм - из гипсовых растворов

Допускаемая толщина каждого слоя при устройстве многослойных штукатурок без полимерных добавок:

Измерительный, не менее 5 измерений на 70-100 м2 поверхности покрытия или в одном помещении меньшей площади в местах, выявленных сплошным визуальным осмотром, журнал работ

до 5 мм - обрызга по каменным, кирпичным, бетонным поверхностям

до 9 мм - обрызга по деревянным поверхностям (включая толщину драни)

до 5 мм - грунта из цементных растворов

до 7 мм - грунта из известковых, известково-гипсовых растворов

до 2 мм - накрывочного слоя штукатурного покрытия

Допускаемые неровности оштукатуренной поверхности и отклонения ее от вертикали и горизонтали приведены в нижеследующей таблице.

Технические требования

Предельные отклонения

Контроль (метод, объем, вид регистрации)

Оштукатуренные поверхности

 

Измерительный, не менее 5 измерений контрольной двухметровой рейкой на 50-70 м2 поверхности или на отдельном участке меньшей площади в местах, выявленных сплошным визуальным осмотром (для погонажных изделий - не менее 5 на 35-40 м и трех на элемент, журнал работ)

отклонения от вертикали (мм на 1 м), мм:

 

3 - при простой штукатурке

Не более 15 мм на всю высоту помещения

2 - то же, улучшенной

То же, не более 10 мм

1 - то же, высококачественной

То же, не более 5 мм

неровности поверхностей плавного очертания ( на 4 м2):

 

при простой штукатурке - не более 3, глубиной (высотой) до 5 мм

-

то же, улучшенной - не более 2, глубиной (высотой) до 3 мм

-

то же, высококачественной - не более 2, глубиной (высотой) до 2 мм

-

отклонения по горизонтали (мм на 1 м) не должны превышать, мм:

-

3 - при простой штукатурке

2 - то же, улучшенной

1 - то же, высококачественной

Отклонения оконных и дверных откосов, пилястр, столбов, лузг и т.п. от вертикали и горизонтали (мм на 1 м) не должны превышать, мм:

 

Измерительный, не менее 5 измерений контрольной двухметровой рейкой на 50-70 м2 поверхности или на отдельном участке меньшей площади в местах, выявленных сплошным визуальным осмотром (для погонажных изделий - не менее 5 на 35-40 м и трех на элемент), журнал работ

4 - при простой штукатурке

До 10 мм на весь элемент

2 - то же, улучшенной

То же, до 5 мм

1 - то же, высококачественной

То же, до 3 мм

Отклонения радиуса криволинейных поверхностей, проверяемого лекалом, от проектной величины (на весь элемент) не должны превышать, мм:

-

10 - при простой штукатурке

7 - то же, улучшенной

5 - то же, высококачественной

Отклонения ширины откоса от проектной не должны превышать, мм:

-

5 - при простой штукатурке

3 - то же, улучшенной

2 - то же, высококачественной

Отклонения тяг от прямой линии в пределах между углами пересечения тяг и раскреповки не должны превышать, мм:

-

То же

6 - при простой штукатурке

3 - то же, улучшенной

2 - то же, высококачественной

Соответствие готового штукатурного покрытия требованиям проекта и нормативных документов выявляется в процессе сплошного визуального осмотра покрытия, проведения необходимых инструментальных измерений и лабораторных испытаний, рассмотрения приемо-сдаточной документации, и оформляется актом приемки.

Технические требования, предъявляемые к готовым штукатурным покрытиям, приведены ниже.

Технические требования

Предельные отклонения

Контроль (метод, объем, вид регистрации)

Прочность сцепления покрытия из штукатурных составов с основанием должна быть:

-

Измерительный, не менее 5 измерений на 50-70 м2 поверхности покрытия или на площади отдельных участков, выявленных сплошным визуальным осмотром, акт приемки

не менее 0,1 МПа - для внутренних оштукатуренных поверхностей

0,4 МПа - для наружных оштукатуренных поверхностей

Неровности оштукатуренной поверхности и отклонения ее от горизонтали и вертикали не должны превышать значений, приведенных в предыдущей таблице.

 

То же, акт приемки

ПРОИЗВОДСТВО ДЕКОРАТИВНЫХ ОТДЕЛОЧНЫХ РАБОТ

ГОСТ 22856-89 Щебень и песок декоративные из природного камня. Технические условия.

ГОСТ 8736-93 Песок для строительных работ.

ГОСТ 28013-98 Растворы строительные. Общие технические условия.

ТУ 5745-003-05668056-98 Смеси сухие штукатурные специализированные.

ТУ 5745-007-11322110-97 Смеси сухие терразитовые цветные, специализированные для производства декоративных цементно-известковых материалов (ЦИМ).

ТУ 5772-001-27966133-94 Смесь штукатурная сухая декоративная для приготовления жидких обоев марки «Вариант-С».

ТУ 5744-002-01043049-94 Полимерно-минеральный отделочный состав «Полигипс».

ТУ 5772-001-00110036-96 Защитно-декоративный состав «Рельеф»

ТУ 5772-001-46393022-97 Материал отделочный декоративный (Пластоун).

ТУ 5772-002-46393022-98 Покрытие минеральное для полов и стен «Пластоун-пол».

ТУ 5772-002-48796964-98 Материалы отделочные фасадные и интерьерные «Санарджи».

ТУ 5772-011-10442391-98 Декоративно-отделочное покрытие «Мультицвет».

ТУ 5772-001-23082992-96 Состав отделочный для фасадных покрытий «Мультифейс».

ТУ 2294-004-27484290-94 Состав отделочный для фасадных покрытий «Декор».

ТУ 5745-041-29163021-95 Состав декоративно-защитный.

ТУ 5772-001-00110036-96 Состав декоративно-защитный.

ТУ 5772-008-03989419-96 Состав латексный наполненный цветной.

ТУ 5775-40297330-001-96 Состав окрасочный фактурный декоративный.

ТУ 5744-002-01043049-94 Состав отделочный полимерно-минеральный.

ГОСТ 30547-97 Цементы. Общие технические условия.

ГОСТ 10178-85* Портландцемент и шлакопортландцемент. Технические условия.

ГОСТ 965-89 Портландцементы белые. Технические условия.

ГОСТ 15825-80 Портландцемент цветной. Технические условия.

ГОСТ 9179-77* Известь строительная. Технические условия.

ГОСТ 125-79 Вяжущие гипсовые. Технические условия.

Государственные стандарты и технические условия на декоративную минеральную крошку (гранитную, стеклянную, керамическую, угольную, сланцевую, пластмассовую), пигменты-красители, водоэмульсионные краски, дисперсию ПВА, латекс СКС-65 ГП, штукатурные растворы и др. материалы, предусмотренные проектом.

СНиП 3.04.01-87 Изоляционные и отделочные покрытия.

СП 82-101-98 Приготовление и применение растворов строительных.

СНиП 3.01.01-85* Организация строительного производства.

Технические требования

Декоративные отделочные работы следует выполнять в соответствии с требованиями проекта, СНиП 3.01.01-85*, СНиП 3.04.01-87, ППР, технологических карт, схем операционного контроля качества работ и другой технологической документации, утвержденной в установленном порядке.

Декоративные отделочные работы должны выполнять строительно-монтажные организации, получившие лицензию на выполнение отделочных работ в Федеральных или региональных лицензионных органах.

Декоративные отделочные работы должны выполняться квалифицированным персоналом, прошедшим специальную подготовку и обладающим надлежащими навыками по выполнению отделочных работ.

Производству декоративных отделочных работ должны предшествовать:

- разработка проектов производства декоративных отделочных работ; разработка (или привязка типовых) технологических карт и схем операционного контроля качества выполнения декоративных отделочных работ;

- завершение и надлежащее оформление всех предусмотренных проектом предшествующих общестроительных и специальных работ (до устройства чистых полов);

- входной контроль проектно-сметной документации, штукатурных растворных и сухих смесей;

- изучение инженерно-техническим персоналом проектной и технологической документации, обучение мастеров и рабочих передовым методам труда.

При входном контроле рабочей документации должна производиться проверка ее комплектности и достаточности содержащейся в ней технической информации для производства работ.

Входной контроль растворных и сухих декоративных отделочных смесей должен производиться в соответствии с требованиями стандартов и технических условий на конкретные смеси в порядке, предусмотренном проектом, технологическими картами или другой технологической документацией, утвержденной в установленном порядке.

Входной контроль должен предотвратить поступление в производство растворных и сухих штукатурных смесей, не отвечающих требованиям проекта и соответствующей нормативной документации.

Технические требования к растворным и сухим штукатурным смесям согласно ГОСТ 28013-98, СНиП 3.03.01-87 и СП 82-101-98 приведены в данном альбоме в схеме операционного контроля «Входной контроль облицовочных и штукатурных растворов».

Растворы декоративные применяются при заводской отделке лицевых поверхностей стеновых панелей и крупных блоков, а также для отделки фасадов зданий и интерьеров.

В зависимости от вида отделки применяют растворы декоративные:

- цементно-песчаные;

- известково-песчаные;

- терразитовые;

- камневидные,

а также декоративные составы: полимерцементные, цементно-перхлорвиниловые, цементно-коллоидные и др.

Растворы декоративные и составы, используемые для отделки лицевых поверхностей стеновых панелей, крупных блоков, фасадов зданий и интерьеров, должны обладать необходимой прочностью на сжатие, сцеплением с отделываемой поверхностью, а также морозостойкостью, светостойкостью и водостойкостью.

Вяжущие для приготовления растворов и составов декоративных в зависимости от их назначения и вида отделываемых поверхностей принимаются по нижеследующей таблице.

Вид отделываемых поверхностей

Вяжущие для растворов и составов

Лицевые поверхности панелей из тяжелых и легких бетонов

Портландцементы цветные

Лицевые поверхности панелей и блоков из силикатного бетона

Известь, портландцементы цветные, полимерцементы, цементно-коллоидный клей (КЦК)

Фасады зданий из панелей и блоков, фасады зданий кирпичные

Известь, портландцементы цветные

Интерьеры в панельных и блочных зданиях

Гипсополимерцемент (ГПЦП), цементно-коллоидный клей (КЦК), цементо-перхлорвинил (ЦПХВ)

Интерьеры в кирпичных зданиях

Известь, гипс, гипсополимерцемент (ГПЦП), цементоперхлорвинил (ЦПХВ)

Для приготовления цветных цементно-песчаных штукатурок следует применять цветные цементы.

Красящие добавки в растворах для известково-песчаных, терразитовых и камневидных декоративно-отделочных слоев штукатурок должны быть свето-, щелоче- и кислотостойкие природные или искусственные пигменты, обеспечивающие окраску раствора в соответствии с цветами, которые приведены в нижеследующей таблице. Белые пигменты используются в виде извести, мраморной муки, белого цемента.

Наименование пигмента

Цвет

Технические свойства пигмента

Расход пигмента к массе сухого вяжущего, %

кислотостойкость

красящая способность

Охра

Желтый

Слабая

Средняя

10-12

Умбра сырая

Коричневый

Слабая

Высокая

10-12

Умбра жженая

Темно-коричневый

Слабая

Высокая

10-12

Сурик железный

Красный

Средняя

Средняя

10-12

Мумия

Красный

Слабая

Средняя

10-12

Перекись марганца

Черный

Слабая

Средняя

10-12

Графит

Серый

Высокая

Средняя

4-6

Окись хрома

Зеленый

Средняя

Средняя

5-6

Ультрамарин

Голубой

Низкая

Средняя

5-8

Кость жженая

Черный

Средняя

Высокая

3-4

Пигменты-красители должны иметь тонкость помола, соответствующую полному проходу пигментов через сито 1600 отв/см2 и остатку на сите 3600 отв/см2 не более 2 %.

Подвижность декоративных растворов в зависимости от их назначения должна соответствовать следующим величинам погружения стандартного конуса:

раствор известково-песчаный для подготовительного слоя:

при ручном нанесении................................................................. 8-12 см;

при механизированном нанесении............................................. 6-10 см;

раствор известково-песчаный для накрывочного слоя............. 7-9 см;

растворы с минеральной крошкой для накрывочных слоев (мелко-, средне-, крупнозернистый) подбираются путем опытного нанесения раствора на стену.

Заполнителями декоративных растворов могут служить мытые кварцевые пески, крошки дробленых горных пород. Применяемые заполнители - пески и крошки - должны соответствовать требованиям ГОСТ 8736-93*, размер зерен песка для подготовительных слоев обрызга и грунта не должен превышать 2,5 мм, для отделочного слоя (накрывки) - 1,2 мм. Для цветных декоративных отделок фасадов и интерьеров может применяться гранитная, стеклянная, керамическая, угольная, сланцевая, пластмассовая крошка с размером частиц 2-5 мм на клеящем полимерцементном составе (внешняя отделка) и водоэмульсионной краске (отделка интерьеров).

При декоративной отделке фасадов и интерьеров цветной мелкозернистой крошкой из естественных каменных пород и искусственных материалов предусматривается последовательность обработки поверхностей в соответствии с нижеприведенной таблицей.

Вид обработки

На фасадах

В интерьерах

Огрунтовочный слой

Поливинилацетатной водоэмульсионной краской, разведенной до вязкости 30-40 с (по ВЗ-4) марки

 

ВА-17

ВА-27

Клеящий состав

Цельной поливинилацетатной краской марки ВА-17

Цельной водоэмульсионной краской марки ВА-27

 

Полимерцементным составом

Декоративный отделочный слой

Гранитной, мраморной, угольной, сланцевой, керамической, стеклянной, пластмассовой крошкой и песком с размером частиц в пределах 2-5 мм

Защитный гидрофобизирующий слой

Прозрачным бесцветным кремнийорганическим лаком марки АК-113

Прозрачным бесцветным лаком «Силикон-4»

По просохшей грунтовке наносится клеящий состав слоем, равным двум третям размера применяемой крошки.

Декоративная крошка под давлением сжатого воздуха наносится на поверхность, обработанную клеящим составом в начальный период его загустевания до схватывания. Все операции нанесения грунтовок, клеящих составов, крошки и защитного слоя производятся механизированным способом (пистолетом-распылителем, пневмораспылителем, пневмоагрегатом и т.д.).

Нанесенную декоративную отделку из цветной крошки защищают гидрофобизирующим покрытием, применяя прозрачный бесцветный кремнийорганический лак АК-113 при внешней отделке и прозрачный бесцветный лак «Силикон-4» - в интерьерах.

Для придания блеска поверхности отделочного слоя штукатурки в декоративный раствор добавляют слюду или дробленое стекло.

Для декоративной отделки крупнопанельных железобетонных стен, бетонных блоков в заводских условиях и непосредственно на строительстве, а также фасадов и внутренних стен интерьеров применяются декоративные полимерные составы, отделочные составы на основе коллоидно-цементного клея (КЦК) и клеящие составы с мелкозернистой декоративной крошкой.

Полимерные декоративные составы приготавливают непосредственно на месте работ с учетом ограничения периода времени (0,6-3 ч) между процессом приготовления составов и началом схватывания.

Перед нанесением полимерных декоративных составов должна быть выполнена огрунтовка обрабатываемой поверхности тем же полимером, растворяемым водой до 15-20 с по ВЗ-4.

Ограниченный период времени от момента приготовления декоративных отделочных составов КЦК до начала их схватывания (1-2 ч) обусловливает их приготовление непосредственно на рабочем месте.

Обрабатываемая поверхность грунтуется водным составом (КЦК - 1 ч., вода - 0,5 ч. по массе), затем наносится слой обрызга толщиной 1-1,5 мм, после чего наносится грунт и отделочный слой. Между каждой из операций соблюдается технологический интервал 15-30 мин. Все операции выполняются механизированным способом.

Составы цветных известково-песчаных растворов, цветных терразитовых смесей, растворов, имитирующих каменные породы, и процентное соотношение их компонентов по массе приведены в нижеследующих таблицах.

Наименование компонентов

Состав растворов цветных известково-песчаных штукатурок при цвете штукатурки, % по массе

белый

серый

терракотовый

зеленый

светло-зеленый

желтый

желтый насыщенный

кремовый

Известь-тесто

10

20

15

15

22

10

20

12

Портландцемент М400 белый

7

-

-

-

2

-

6

-

Портландцемент М400

-

5

10

15

-

20

-

8

Песок кварцевый

-

74

-

-

74

-

-

-

Песок кварцевый белый

-

-

58

-

-

-

68

-

Песок горный желтый

-

-

-

-

-

15

-

-

Песок белого известняка

-

-

-

-

-

-

-

60

Песок мраморный

70

-

-

-

-

40

-

18

Мука мраморная

13

-

-

-

-

10

-

-

Молотый кирпичный щебень

-

-

15

-

-

-

-

-

Крошка мраморная (окольцит) 0,5-2 мм

-

-

-

60

-

-

-

-

Перекись марганца

-

1

-

-

-

-

-

-

Сурик железный

-

-

2

-

-

-

-

-

Пигмент зеленый

-

-

-

5

-

-

-

-

Окись хрома

-

-

-

5

2

-

-

-

Охра

-

-

-

-

-

4,5

6

2

Мумия

-

-

-

-

-

0,5

-

-

 

Наименование компонентов

Состав терразитовых сухих смесей для декоративных штукатурок в объемных частях и цвет смеси

белый

серый

темно-серый

красный

коричневый

кремовый

желтый

зеленый

Портландцемент М300

0,75

1

2,5

1

1

1

0,75

0,75

Известь-пушонка

3

3

0,5

3

3

3

2

2

Мука мраморная белая

2

2

-

-

3

3

2

2

Крошка мраморная белая

8

3,5

3

3

0,5

8

-

3

Крошка мраморная желтая

-

-

-

-

-

-

4

-

Слюда

0,5

0,5

0,5

0,5

-

0,5

0,5

0,5

Песок кварцевый белый

-

3,5

5

5

5

-

4

5

Сажа (в % от массы цемента)

-

0,2

0,3

-

-

-

-

-

Сурик железный (все пигменты - в % от массы с. смеси)

-

-

-

2,5

-

-

-

-

Умбра жженая

-

-

-

-

0,1

-

-

-

Охра

 

 

 

 

 

 

 

 

Окись хрома

-

-

-

-

-

-

-

0.5

 

Наименование компонентов

Состав растворов, имитирующих каменные породы при цвете штукатурки, % по массе

белый

желтый и светло-желтый

№ 1

№ 2

№ 3

№ 4

№ 5

№ 1

№ 2

№ 3

№ 4

№ 5

Портландцемент белый

25

22

20

-

-

-

-

-

-

-

Пуццолановый цемент

-

-

-

17

19

16

21

20

18

18

Известь-тесто

-

3

5

3

2

4

3

4

3

-

Известняковая мука

-

-

-

9

4

7

-

-

4

4

Крошка белого мрамора 0,6-2,5 мм

-

75

-

-

-

-

-

67

-

-

Крошка известняка 0,6-5 мм

75

-

75

71

75

72

-

-

72

75

Крошка доломита 0,6-2,5 мм

-

-

-

-

-

-

73

-

-

-

Мраморная мука

-

-

-

-

-

-

-

6

-

-

Охра

-

-

-

-

-

1

3

2

2

2,5

Мумия

-

-

-

-

-

-

-

1

1

0,5

 

Наименование компонентов

Состав растворов, имитирующих каменные породы при цвете штукатурки, % по массе

песочный

красный под гранит

серый под гранит

№ 1

№ 2

№ 3

№ 1

№ 2

№ 3

№ 1

№ 2

№ 3

№ 4

№ 5

Портландцемент белый

-

23

22

6

6

-

-

-

-

-

17

Пуццолановый цемент

21

-

-

-

-

21

-

23

24

-

-

Портландцемент

-

-

-

18

19

-

27

-

-

24

-

Известь-тесто

-

-

-

-

-

-

-

-

3

-

3

Крошка белого мрамора 0,6-2,5 мм

-

19

-

-

-

-

-

-

-

-

-

Крошка черного мрамора

-

-

-

-

-

-

-

18

-

-

-

Крошка гранита (серого)

-

-

-

30

-

7

52

57

72

70

72

Крошка лабрадорита

-

-

-

15

13

7

18

-

-

-

-

Крошка гранита (красного)

-

-

-

30

62

56

-

-

-

-

-

Крошка мраморная желтая

-

-

19

-

-

-

-

-

-

-

-

Песок кварцевый

56

56

56

-

-

-

-

-

-

-

-

Песок мраморный

19

-

-

-

-

-

-

-

-

-

-

Мраморная мука

-

-

-

-

-

-

-

-

-

-

8

Охра

-

-

2,5

1

-

7,5

-

-

-

-

-

Ультрамарин

-

-

-

-

-

-

-

0,5

-

-

-

Мумия

-

-

0,5

-

-

-

-

-

1

-

-

Графит

-

-

-

-

-

-

3

-

-

-

-

При приготовлении декоративных растворов цветные цементы сначала перемешиваются с наполнителем в сухом виде в растворо- или бетоносмесителях, после чего полученную смесь затворяют водой и производят перемешивание.

При добавлении извести в цементные растворы для камневидных декоративных отделочных слоев и штукатурок в растворосмеситель сначала загружают известковое тесто, затем засыпают цветной цемент или портландцемент, ранее тщательно перемешанный (в сухом виде) с порошком красителя, и производят перемешивание в течение 2-3 мин. В полученную массу засыпают заполнитель и производят перемешивание до получения однородной смеси.

Для терразитовых отделочных слоев и штукатурок применяют сухую смесь, которую затворяют водой и производят перемешивание непосредственно на рабочем месте. Никакие добавки в раствор перед его употреблением не допускаются.

Не разрешается добавлять воду и известковое тесто в готовый цветной раствор во избежание изменения его цвета.

Песок должен быть чистым и хорошо промытым.

Перед применением известкового теста необходимо удалить из него непогасившиеся частицы путем процеживания раствора через сито с отверстиями 0,5-1 мм.

Сухая растворная смесь не должна содержать слежавшихся комков и посторонних загрязнений. Это следует определять просеиванием проб через сито с отверстиями 0,6 мм.

Красящие пигменты перед применением должны проверяться на щелочеустойчивость и светоустойчивость.

Декоративные отделочные работы должны выполняться в соответствии с проектом производства работ (ППР) на возведение зданий и сооружений.

Запрещается осуществление строительно-монтажных работ без утвержденного проекта производства работ. Не допускаются отступления от решений проектов производства работ без согласования с организациями, разработавшими и утвердившими их. Замена предусмотренных проектом материалов и составов допускается только по согласованию с проектной организацией и заказчиком.

До начала декоративных отделочных работ должны быть произведены следующие работы:

- завершен монтаж конструктивных элементов под устройство декоративных отделочных покрытий и полов;

- завершена прокладка всех коммуникаций и заделка коммуникационных каналов;

- завершен монтаж сетей электрообеспечения, телефонизации, радиофикации, телевидения и др.,

- выполнена защита отделываемых помещений от атмосферных осадков; устроены гидроизоляция, тепло-звуко-изоляция и выравнивающие стяжки перекрытий;

- загерметизированы швы между блоками и панелями;

- заделаны и изолированы места сопряжений оконных, дверных и балконных блоков;

- остеклены световые проемы;

- смонтированы закладные изделия, проведены испытания систем тепло-, водоснабжения и отопления; проведена промывка канализационных трубных разводок и проверка систем вентиляции; создан нормальный температурно-влажностный режим для выполнения внутренних декоративных отделочных работ.

Оштукатуривание и облицовку (по проекту) поверхностей в местах установки закладных изделий санитарно-технических систем необходимо выполнить до начала их монтажа.

До отделки фасадов дополнительно должны быть выполнены следующие работы:

- наружная гидроизоляция и кровля с деталями и примыканиями;

- устройство всех конструкций пола на балконах;

- монтаж и закрепление всех металлических картин окаймления архитектурных деталей на фасаде здания;

- установка всех крепежных приборов водосточных труб (согласно проекту).

Декоративные отделочные работ следует выполнять после проверки правильности выполнения предшествующих работ с составлением актов освидетельствования скрытых работ.

Отделочные работы, за исключением отделки фасадов, должны выполняться при положительной температуре окружающего воздуха и отделываемых поверхностей не ниже 10 °С и влажности воздуха не более 60 %. Такую температуру в помещении необходимо поддерживать круглосуточно, не менее чем за 2 сут до начала и 12 сут после окончания работ.

При производстве отделочных работ при температуре воздуха от 5 до 8 °С растворы в момент их нанесения на обрабатываемую поверхность должны иметь температуру не ниже 8 °С (если другие условия не оговорены в технологической карте на производство работ).

ПОДГОТОВКА ПОВЕРХНОСТЕЙ

Выполнение отделочных покрытий по основаниям, имеющим ржавчину, высолы, жировые и битумные пятна, не допускается.

Обеспыливание поверхностей следует производить перед нанесением каждого слоя штукатурных, огрунтовочных и декоративных отделочных составов.

Методы очистки и обеспыливания поверхностей основания должны быть установлены в ППР и технологической карте по производству декоративных отделочных работ.

Прочность оснований должна быть не менее прочности отделочного покрытия и соответствовать проектной.

Выступающие архитектурные детали, места сопряжений с деревянными каменных, кирпичных и бетонных конструкций должны оштукатуриваться по прикрепленной к поверхности основания металлической сетке или плетеной проволоке; деревянные поверхности - по щитам из драни.

Внутренние поверхности каменных и кирпичных стен, возведенных методом замораживания, следует оштукатуривать после оттаивания кладки с внутренней стороны не менее чем на половину толщины стены.

Вертикальность и горизонтальность поверхностей, подлежащих оштукатуриванию, должны проверяться провешиванием по маркам и маякам с помощью отвеса или уровня с рейкой.

Предельные отклонения поверхностей и углов кладки от вертикали не должны превышать: на один этаж ... 10 мм; на здание высотой более двух этажей - 30 мм. Предельные отклонения рядов кладки от горизонтали на 10 м длины стены не должны превышать 15 мм. Неровности на вертикальной поверхности кладки, обнаруженные при накладывании рейки длиной 2 м, не должны превышать 10 мм.

Предельные отклонения от вертикали поверхностей и углов смонтированных панелей несущих стен и объемных блоков не должны превышать 10 мм, крупных блоков несущих стен перегородок, навесных стеновых панелей - 12 мм. Поверхности сборных плит и панелей должны удовлетворять требованиям стандартов и технических условий на соответствующие изделия.

Методы выравнивания обнаруженных при провешивании неровностей должны быть установлены в ППР и технологической карте по производству декоративных отделочных работ.

Влажность кирпичных и каменных поверхностей при оштукатуривании не должна быть более 8 %.

При оштукатуривании стен из кирпича при температуре окружающей среды 23 °С и выше поверхность основания перед нанесением раствора необходимо увлажнять.

ТРЕБОВАНИЯ К КАЧЕСТВУ ШТУКАТУРНЫХ И ДЕКОРАТИВНЫХ РАСТВОРОВ

Декоративная штукатурка состоит из трех слоев: обрызга, грунта и отделочного слоя (накрывка).

Для подготовительного слоя (обрызг и грунт) следует применять обычные штукатурные растворы по ГОСТ 28013-98.

Растворы штукатурные по ГОСТ 28013-98, готовые к применению, следует доставлять потребителю в транспортных средствах, специально предназначенных для их перевозки.

При согласии потребителя допускается перевозка растворных смесей в бункерах (бадьях).

Применяемые способы транспортирования растворных смесей должны исключать потери вяжущего теста, попадания в смесь атмосферных осадков и посторонних примесей.

Запрещается перевозка растворных смесей в неприспособленных автосамосвалах, а также в обычных кузовах бортовых автомобилей и выгрузка их на землю.

Доставленные на строительную площадку растворные смеси, готовые к применению, должны быть перегружены в перегружатели-смесители или в другие емкости при условии сохранения заданных свойств.

Растворная смесь должна доставляться на строительный объект с учетом возможности ее использования до начала схватывания.

Штукатурная смесь по ГОСТ 28013-98, готовая к применению, отпускаемая в транспортное средство, должна иметь документ о качестве, который должен содержать следующие данные:

- наименование или товарный знак и адрес предприятия-изготовителя;

- условное обозначение строительного раствора;

- класс материалов, использованных для приготовления смеси, по удельной эффективной активности естественных радионуклидов и цифровое значение Аэфф;

- марку по прочности на сжатие;

- марку по подвижности (Пк);

- вид и количество введенной добавки (% массы вяжущего);

- количество смеси (для растворных смесей, готовых к употреблению), м;

- дату приготовления;

- температуру применения, °С;

- обозначение данного стандарта.

При необходимости документ о качестве может содержать дополнительные данные.

Для отделочного слоя (накрывки) декоративных покрытий должны использоваться декоративные растворы (составы), приготовляемые на строительной площадке из сухих смесей или готовых компонентов. Сухие смеси и растворы (составы) должны отвечать требованиям соответствующих технических условий и иметь документы о качестве.

Растворы, содержащие цемент, при отсутствии добавок, изменяющих их свойства, должны быть израсходованы не позднее чем через 2 часа после приготовления, а растворы, не содержащие цемент, - в день приготовления.

Растворы в период срока их годности должны обладать заданной проектной подвижностью и водоудерживающей способностью.

Растворы, расслоившиеся при перевозке, должны быть перемешаны до подачи на рабочее место. Применение схватившихся растворов, не обладающих заданной подвижностью, не допускается. Также не допускается добавлять воду и цемент в схватившиеся растворные смеси.

Контролируемые операции

Состав и средства контроля

Документация

Подготовительные работы

Проверить:

- завершение и надлежащее оформление предшествующих монтажных работ (наличие актов приемки и актов освидетельствования скрытых работ, геодезических исполнительных схем и другой приемо-сдаточной документации);

Акт приемки, акты освидетельствования скрытых работ, исполнительные схемы

- наличие ППР, технологических карт и схем операционного контроля качества штукатурных и декоративных отделочных работ;

ППР, технологические карты, СОКК

- наличие документов о качестве на поступившие на строительную площадку растворные смеси, готовые к употреблению, соответствие их требованиям проекта и нормативных документов; наличие документов о качестве на сухие штукатурные и декоративные смеси;

Документы о качестве, акты лабораторных испытаний

- внешним осмотром отсутствие признаков начала схватывания раствора, расслоения;

- соответствие качества подготовленных поверхностей оснований требованиям проекта и нормативных документов; температурно-влажностный режим в отделываемых помещениях (в зимнее время).

Общий журнал работ

Производство декоративных отделочных работ

Контролировать:

- соблюдение заданной ППР технологии приготовления декоративных растворов и выполнения декоративных отделочных работ;

- соответствие качества выполненных декоративных покрытий требованиям проекта и нормативных документов.

Общий журнал работ

Приёмка

Проверить:

- соответствие качества выполненных декоративных покрытий требованиям проекта и нормативных документов;

- составление и надлежащее оформление приемо-сдаточной исполнительной документации.

Акт приемки

ВХОДНОЙ И ОПЕРАЦИОННЫЙ КОНТРОЛЬ осуществляют:

мастер (прораб), лаборант (инженер) - в процессе производства работ.

ПРИЁМОЧНЫЙ КОНТРОЛЬ ОСУЩЕСТВЛЯЮТ:

прораб (мастер), представители технадзора заказчика.

КИП - двухметровая рейка, металлическая линейка, металлическая рулетка, отвес, уровень, лабораторные приборы и оборудование.

При производстве работ в жаркую и сухую погоду (при относительной влажности воздуха менее 50 % и температуре выше 30 °С) должны обеспечиваться влажностные условия твердения растворов за счет введения в их состав специальных добавок (извести, глины и др.) и смачивания водой каменных стеновых материалов.

Подвижность декоративных растворов должна быть в пределах, установленных ППР и технологической картой (контроль - измерительный, периодический согласно требований технологической карты, но не реже одного раза в смену, регистрация - в журнале работ).

В зависимости от назначения декоративных растворов их подвижность должна соответствовать следующим величинам погружения стандартного конуса (по ГОСТ 5802-86):

раствор известково-песчаный для подготовительного слоя:

при ручном нанесении............................................................ 8-12 см;

при механизированном нанесении........................................ 6-10 см;

раствор известково-песчаный для накрывочного слоя........ 7-9 см.

Для декоративных растворов с минеральной крошкой для накрывочных слоев (мелко-, средне-, крупнозернистый) и других растворов и составов подвижность определяется путем опытного нанесения раствора на стену. Полученные значения подвижности затем находят отражение в технологической карте. Все значения подвижности растворов, почерпнутые из типовых технологических карт, должны уточняться при опытном нанесении растворов на стену.

Расслаиваемость растворной смеси должна быть не более 15 % (контроль - измерительный в лабораторных условиях, периодический 3-4 раза в смену, регистрация - в лабораторном журнале).

Водоудерживающая способность растворной смеси должна быть не менее 90 %, глиносодержащих растворов - не менее 93 % (контроль - измерительный в лабораторных условиях, периодический 3-4 раза в смену, регистрация - в лабораторном журнале).

Температура штукатурных растворов должна быть не менее:

15 °С - при минимальной температуре наружного воздуха от 0 до 5 °С,

10 °С - при минимальной температуре наружного воздуха от 5 °С и выше (контроль - измерительный, периодический согласно требованиям технологической карты, регистрация - в журнале работ).

Нормируемые показатели качества затвердевшего раствора (прочность на сжатие, морозостойкость, средняя плотность) должны быть обеспечены в проектном возрасте.

За проектный возраст раствора, если иное не установлено в проектной документации, следует принимать, сут:

7 - для растворов, приготовленных без применения гидравлических вяжущих;

28 - для растворов с применением гидравлических вяжущих.

Изготовитель растворов по ГОСТ 28013-98 обязан сообщить потребителю по его требованию результаты контрольных испытаний не позднее, чем через 3 сут после их окончания, а в случае неподтверждения нормируемого показателя - сообщить об этом потребителю немедленно.

Потребитель имеет право осуществлять контрольную проверку качества растворной смеси в соответствии с требованиями ГОСТ 28013-98 по методикам ГОСТ 5802-86. Периодичность этих испытаний должна быть установлена в технологической карте или другом документе, утвержденном в установленном порядке.

Растворы для обычных штукатурок должны быть процежены.

Растворы должны проходить без остатка через сетку с размерами ячеек:

2,5 мм - для обрызга и грунта;

1,25 мм - для накрывочного слоя и однослойных покрытий

(контроль - измерительный, периодический, 3-4 раза в смену, регистрация - в журнале работ).

Крупность заполнителей для декоративной отделки интерьеров и фасадов зданий должна быть:

2 мм (предельные отклонения ... +3) - для составов по клеевой прослойке из гранитной, мраморной, сланцевой, керамической, стеклянной и пластмассовой крошки, а также из крупнозернистого песка;

0,5 мм (предельные отклонения ... +1,5) - для цементно-известковых, известково-песчаных и цементных составов с кварцевым песком;

0,25 мм (предельные отклонения ... +0,25) - для цементно-известковых, известково-песчаных и цементных составов с мраморным песком;

1 мм (предельные отклонения ... +1) - для терразитовых смесей с мелким заполнителем из песка и слюды;

2 мм (предельные отклонения ... +2) - для терразитовых смесей со средним заполнителем из песка;

2,5 мм (предельные отклонения ... +0,5) - для терразитовых смесей со средним заполнителем из слюды;

4 мм (предельные отклонения ... +2) - для терразитовых смесей с крупным заполнителем из песка;

4 мм (предельные отклонения ... +1) - для терразитовых смесей с крупным заполнителем из слюды (контроль - измерительный, периодический, не менее 5 измерений в смену, регистрация - в лабораторном журнале).

ПРОИЗВОДСТВО ШТУКАТУРНЫХ И ДЕКОРАТИВНЫХ ОТДЕЛОЧНЫХ РАБОТ

Подготовительные слои декоративных покрытий (один слой обрызга и один или несколько слоев грунта) выполняют из обычных растворов. Согласно требований проекта их выполняют улучшенными или высококачественными.

Последовательность выполнения технологических операции при устройстве штукатурных покрытий приведена в нижеследующей таблице.

Технологические операции

Штукатурка

улучшенная

высококачественная

Подготовка поверхности под оштукатуривание

+

+

Провешивание поверхностей

+

+

Установка марок

+

+

Установка манков

-

+

Нанесение обрызга

+

+

Нанесение грунта

+

+

Разравнивание нанесенного грунта

+

+

Нанесение второго слоя грунта

-

+

Разравнивание второго слоя грунта

-

+

Выверка грунта правилом

+

-

Выверка грунта по маякам

-

+

Разделка углов (лузг, усенков)

+

+

При устройстве однослойных покрытии их поверхность следует разравнивать сразу же после нанесения раствора, в случае применения затирочных машин - после его схватывания.

При устройстве многослойного штукатурного покрытия каждый слой необходимо наносить после схватывания предыдущего (накрывочный слой - после схватывания раствора). Разравнивание грунта следует выполнять до начала схватывания раствора.

Улучшенную и высококачественную штукатурку следует выполнять по маякам, толщина которых должна быть равна толщине штукатурного покрытия без накрывочного слоя.

Допускаемые толщины слоев штукатурного покрытия приведены в нижеследующей таблице.

Технические требования

Контроль (метод, объем, вид регистрации)

Допускаемая толщина однослойной штукатурки:

Измерительный, не менее 5 измерений на 70-100 м2 поверхности покрытия или в одном помещении меньшей площади в местах, выявленных сплошным визуальным осмотром, журнал работ

до 20 мм - при применении всех видов растворов, кроме гипсового

до 15 мм - из гипсовых растворов

Допускаемая толщина каждого слоя при устройстве многослойных штукатурок без полимерных добавок:

Измерительный, не менее 5 измерений на 70-100 м2 поверхности покрытия или в одном помещении меньшей площади в местах, выявленных сплошным визуальным осмотром, журнал работ

до 5 мм - обрызга по каменным, кирпичным, бетонным поверхностям

до 9 мм - обрызга по деревянным поверхностям (включая толщину драни)

до 5 мм - грунта из цементных растворов

до 7 мм - грунта из известковых, известковоипсовых растворов

до 7 мм - накрывочного слоя декоративной отделки.

Допускаемые величины втапливания декоративной крошки в клеящую прослойку и толщин декоративного покрытия приведены в нижеследующей таблице.

Технические требования

Контроль (метод, объем, вид регистрации)

Величина втапливания в клеящую прослойку декоративной крошки должна составлять 2/3 ее размера (предельные отклонения 10 %)

Измерительный, не менее 5 измерений на 50-70 м2 поверхности покрытия в местах, выявленных сплошным визуальным осмотром, журнал работ

Допустимая толщина декоративного покрытия:

То же; не менее 5 измерений на 30-50 м2, журнал работ

до 7 мм - для покрытия с применением крошки по клеевой прослойке;

до 5 мм - для покрытий с применением паст (по штукатурке);

до 12 мм - для покрытий с применением терразитовых составов

При устройстве однослойных покрытий их поверхность следует разравнивать сразу же после нанесения раствора, в случае применения затирочных машин - после его схватывания.

При устройстве многослойного штукатурного покрытия каждый слой необходимо наносить после схватывания предыдущего (накрывочный слой - после схватывания раствора). Разравнивание грунта следует выполнять до начала схватывания раствора.

Улучшенную и высококачественную штукатурку следует выполнять по маякам, толщина которых должна быть равна толщине штукатурного покрытия без накрывочного слоя.

При декоративной отделке составами с наполнителями поверхность основания должна быть незаглаженной; производить шпатлевку и шлифование шероховатых поверхностей не допускается.

При отделке поверхностей декоративными пастами и терразитовыми составами каждый слой многослойных декоративных покрытий необходимо выполнять после отвердения предыдущего, без шлифовки лицевой поверхности.

При устройстве отделочных покрытий из декоративных паст по штукатурке вместо накрывочного слоя работы следует выполнять с соблюдением правил, предъявляемых к устройству накрывочного слоя штукатурных покрытий.

При устройстве отделочных покрытий клеевыми составами основание должно удовлетворять следующим требованиям:

- поверхность основания должна быть сглаженной, без шероховатостей;

- поверхностные трещины должны быть раскрыты, заделаны клеящим составом на глубину не менее 2 мм, отшлифованы и огрунтованы;

- раковины и неровности заделаны клеящим составом, сглажены, отшлифованы и огрунтованы;

- отслоения, потеки раствора, следы обработки затирочными машинами удалены.

При отделке поверхностей декоративной крошкой ее необходимо наносить по непросохшему клеящему слою. Нанесенная крошка должна иметь прочное (не менее 0,3 МПа) сцепление с основанием и образовывать сплошное, без пропусков, покрытие с плотным прилеганием крошек друг к другу.

Перед нанесением гидрофобизирующего состава поверхность должна быть очищена сжатым воздухом.

Декоративная отделка терразитовыми составами должна выполняться однослойной с соблюдением требований, предъявляемых к устройству однослойных штукатурных покрытий.

Кирпичные, каменные, бетонные, оштукатуренные поверхности при отделке цементными и известковыми составами должны быть увлажнены до появления капельно-жидкой влаги на их поверхности (контроль - измерительный, не менее 3 измерений на 10 м2 поверхности).

Неровности оштукатуренной поверхности основания декоративных покрытий и отклонения ее от вертикали и горизонтали должны удовлетворять требованиям, приведенным в нижеследующей таблице.

Технические требования

Предельные отклонения

Контроль (метод, объем, вид регистрации)

Оштукатуренные поверхности:

отклонения от вертикали (мм на 1 м), мм:

 

Измерительный, не менее 5 измерений контрольной двухметровой рейкой на 50-70 м2 поверхности или на отдельном участке меньшей площади в местах, выявленных сплошным визуальным осмотром (для погонажных изделий - не менее 5 на 35-40 м и трех на элемент), журнал работ

2 - при улучшенной штукатурке

Не более 10 мм на всю высоту помещения

1 - то же, при высококачественной

То же, не более 5 мм

неровности поверхностей плавного очертания (на 4 м2):

 

при улучшенной штукатурке - не более 2, глубиной (высотой) до 3 мм

-

то же, высококачественной - не более 2, глубиной (высотой) до 2 мм

-

отклонения по горизонтали (мм на 1 м) не должны превышать, мм:

-

2 - при улучшенной штукатурке

 

1 - то же, высококачественной

 

Отклонения оконных и дверных откосов, пилястр, столбов, лузг и т.п. от вертикали и горизонтали (мм на 1 м) не должны превышать, мм:

 

Измерительный, не менее 5 измерений контрольной двухметровой рейкой на 50 - 70 м2 поверхности или на отдельном участке меньшей площади в местах, выявленных сплошным визуальным осмотром (для погонажных изделий - не менее 5 на 35-40 м и трех на элемент), журнал работ

2 - при улучшенной штукатурке

До 5 мм на весь элемент

1 - то же, высококачественной

То же, до 3 мм

Отклонения радиуса криволинейных поверхностей, проверяемого лекалом, от проектной величины (на весь элемент) не должны превышать, мм:

-

7 - при улучшенной штукатурке

 

5 - то же, высококачественной

 

Отклонения ширины откоса от проектной не должны превышать, мм:

-

3 - при улучшенной штукатурке

 

2 - то же, высококачественной

 

Отклонения тяг от прямой линии в пределах между углами пересечения тяг и раскреповки не должны превышать, им:

-

То же

3 - при улучшенной штукатурке

 

2 - то же, высококачественной

 

Соответствие готовых декоративных покрытий требованиям проекта и нормативных документов выявляется в процессе сплошного визуального осмотра покрытий, проведения необходимых инструментальных измерений и лабораторных испытаний, рассмотрения приемосдаточной документации, и оформляется актом приемки.

Технические требования, предъявляемые к готовым штукатурным покрытиям, приведены ниже.

Технические требования

Предельные отклонения

Контроль (метод, объем, вид регистрации)

Прочность сцепления декоративной крошки с основанием должна быть не менее 0,3 МПа

5 %

Измерительный, не менее 5 измерений на 50-70 м2 поверхности покрытия или на площади отдельных участков, выявленных сплошным визуальным осмотром, акт приемки

Прочность сцепления штукатурных покрытий с основанием должна быть не менее:

 

0,1 МПа - для внутренних оштукатуренных поверхностей;

-

0,4 МПа - для наружных оштукатуренных поверхностей

-

Внешний вид, фактура и цвет покрытия

соответствие проекту (утвержденному эталону)

Технический осмотр, акт приемки

Физико-механические свойства покрытия (прочность, морозостойкость, водопоглощение и др.)

соответствие проекту и требованиям нормативной документации

Акты лабораторных испытаний, акт приемки

Неровности оштукатуренной поверхности и отклонения ее от горизонтали и вертикали не должны превышать значений, приведенных в предыдущей таблице.

 

То же, акт приемки

ПРОИЗВОДСТВО МАЛЯРНЫХ РАБОТ

ТУ 6-10-02959729-10-95 Побелка меловая.

ТУ 5772-0001339083-97 Паста меловая.

ТУ 400-2-88-95 Паста меловая.

ТУ 5775-051-03986987-94 Состав окрасочный.

ТУ 5775-001-12682080-94 Покрытие для отделочных работ.

ГОСТ 18958-73 Краски силикатные.

ТУ 2312-006-07507601-97 Краска органосиликатная ОСМ различных цветов для наружных работ.

ТУ 400-1-404-89 Краска фасадная «Акриал».

ТУ 2329-009-04001232-95 Краска фасадная «Ским».

ТУ 2329-005-03990339-97 Краска фасадная «Ским интеко-850».

ТУ 2312-009-03990339-99 Эмали кремнеорганические КО-168С.

ТУ 2312-085-05034239-96 Краска КО-42.

ГОСТ 19279-73 Краски полимерцементные.

ГОСТ 28196-89* Краски водно-дисперсионные. Технические условия.

ТУ 2316-001-45145919-96 Комплекс водно-дисперсионных отделочных материалов.

ТУ 2313-003-45145919-97 Комплекс акриловых водно-дисперсионных материалов для наружных работ.

ТУ 2316-001-47570236-97 Водно-дисперсионные материалы.

ТУ 2312-004-27576432-93 Фасадный декоративный окрасочный состав на акриловом связующем «Морозно».

ТУ 2316-064-05766741-95 Краски водно-дисперсионные для строительных работ.

ТУ 2316-002-17201234-94, ТУ 2316-007-05015319-97 Краска водно-дисперсионная ВД-АК-101.

ТУ 2316-001-34895698-96 Краска защитно-декоративная фосфатополимерная ВД-КЧ-1Ф «Полифан».

ТУ 2313-003-07506500-95 Краска фасадная КЧ-141.

ТУ 2149-001-02495285-96 Защитно-декоративные фосфатополимерные краски.

ТУ 2316-002-47618581-98 Водно-дисперсионная акрилатная краска для фасадных работ.

ТУ 2316-001-03990399-95 Краска водно-дисперсионная акриловая.

ТУ 2316-003-27512165-2000 Краски водно-дисперсионные.

ТУ 2316-4124-0511907-95 Краски фасадные «Акра».

ТУ 2316т-02954821-01-93 Краска фасадная «Акра».

ТУ 6-01-5-62-94 Краска водно-дисперсионная для наружных работ.

ТУ 2316-001-44410874-98 Краска водно-дисперсионная фасадная «Дружба-Люкс».

ТУ 2313-008-49331636-98 Краска фасадная «Акриал-люкс» различных цветов.

ТУ 2313-006-17201234-97 Краска фасадная «Акриал-люкс».

ТУ 2313-003-22299554-96 Фасадные краски «Белфас».

ТУ 2313-004-22299554-96 Пропитки акриловые «Белфас».

ТУ 2316-002-40400809-97 Полиминеральная фасадная латексная краска «Фалакс».

ТУ 2316-001-18464622-98 Акриловая краска для фасадных и внутренних работ.

ТУ 2316-011-29408070-2000 Краски водно-дисперсионные «Святозар».

ТУ 2313-012-29408070-2000 Составы дисперсионные «Святозар».

ТУ 2316-260-05763458-98 Краска водно-дисперсионная ВД-ХС-12.

ТУ 2316-001-27551219-97 Состав отделочный «Милак».

ТУ 5775-40297330-001-96 Состав окрасочный фактурный декоративный.

ТУ 2316-007-03986987-99 Краска водно-дисперсионная для потолков.

ТУ 2316-012-27512165-2000 Краски побелочные.

ТУ 2316-007-45807256-99 Краска водно-дисперсионная для стен и потолков.

ТУ 2316-001-47618581-98 Водно-дисперсионная краска для внутренних работ.

ТУ 2316-013-03989419-98 Краски водно-дисперсионные.

ТУ 2316-063-05766741-95 Побелочный состав.

ТУ 2316-001-45500214-98 Композиции полимерные водно-дисперсионные строительные ПВС.

ТУ 2316-138-0511907-97 Материал для окраски потолков и стен «Кралат» (краска латексная).

ТУ 5772-008-03989419-96 Состав латексный наполненный цветной.

ТУ 2329-004-27576432-99 Фасадная краска «Алтэс».

ТУ 6-05-40297330-002-95 Фасадная краска «Алпафасад».

ТУ 2329-003-01393678-94 Краска фасадная «АРЮГ».

ТУ 2329-004-01393678-94 Краска минеральная фасадная.

ТУ 21-530768-004-94 Краска полимерная для наружных работ.

ГОСТ 482-77* Белила цинковые густотертые. Технические условия.

ТУ 2321-018-02954821-95 Белила цинковые.

ТУ 6-27-5011902-103-90 Белила свинцовые густотертые.

ТУ 2329-012-03989419-98 Белила титановые.

ТУ 113-00-38-161-95 Белила титановые марки МА-25, готовые к применению.

ГОСТ 10503-71* Краски масляные, готовые к употреблению. Технические условия.

ГОСТ 8292-85* Краски масляные цветные густотертые. Технические условия.

ТУ 2317-041-00204300-95 Краски, готовые к применению.

ТУ 2317-007-17201234-98 Краски масляные, готовые к применению.

ТУ 2317-002-27512165-2001 Краски масляные, готовые к применению.

ТУ 2312-013-27512165-2001 Эмали алкидные.

ТУ 2313-041-27512165-2000 Лаки водоразбавляемые.

ТУ 6-15-1821-95 Краски масляные для пола, готовые к применению.

ГОСТ 9980.1-86* - ГОСТ 9980-86 Материалы лакокрасочные. Правила приемки. Отбор проб для испытаний. Упаковка. Маркировка. Транспортирование и хранение.

ГОСТ 10277-90 Шпатлевки. Технические условия.

ТУ 5772-004-03989419-96 Шпаклевка клеевая универсальная водная.

ТУ 2332-005-29021632-96 Шпатлевка масляно-клеевая.

ТУ 2314-001-27512165-2000 Шпаклевка масляно-клеевая.

ТУ 2314-011-27512165-2000 Шпаклевка латексная.

Технические условия на краски, окрасочные составы, шпаклевки и грунтовки, предусмотренные проектом.

СНиП 3.04.01-87 Изоляционные и отделочные покрытия.

СНиП 3.01.01-85* Организация строительного производства.

Малярные работы следует выполнять в соответствии с требованиями проекта, СНиП 3.01.01-85*, СНиП 3.04.01-87, ППР, технологических карт, схем операционного контроля качества работ и другой технологической документации, утвержденной в установленном порядке.

Малярные работы должны выполнять строительно-монтажные организации, получившие лицензию на выполнение отделочных работ в Федеральных или региональных лицензионных органах.

Малярные работы должны выполняться квалифицированным персоналом, прошедшим специальную подготовку и обладающим надлежащими навыками по выполнению отделочных работ.

Производству малярных работ должны предшествовать:

- разработка проектов производства малярных работ; разработка (или привязка типовых) технологических карт и схем операционного контроля качества выполнения малярных работ;

- завершение и надлежащее оформление всех предусмотренных проектом предшествующих общестроительных и специальных работ (до устройства чистых полов);

- входной контроль проектно-сметной документации, красок, малярных составов, грунтовок и шпаклевок;

- изучение инженерно-техническим персоналом проектной и технологической документации, обучение мастеров и рабочих передовым методам труда.

При входном контроле рабочей документации должна производиться проверка ее комплектности и достаточности содержащейся в ней технической информации для производства работ.

Входной контроль малярных составов должен производиться в соответствии с требованиями стандартов и технических условий на конкретные краски и составы в порядке, предусмотренном проектом, технологическими картами или другой технологической документацией, утвержденной в установленном порядке.

Входной контроль должен предотвратить поступление в производство окрасочных материалов, не отвечающих требованиям проекта и соответствующей нормативной документации.

Малярные работы должны выполняться в соответствии с проектом производства работ (ППР) на возведение зданий и сооружений и технологической картой на производство малярных работ.

Запрещается осуществление строительно-монтажных работ без утвержденного проекта производства работ. Не допускаются отступления от решений проектов производства работ без согласования с организациями, разработавшими и утвердившими их. Замена предусмотренных проектом материалов и составов допускается только по согласованию с проектной организацией и заказчиком.

До начала малярных работ должны быть произведены следующие работы:

- завершены монтаж предусмотренных проектом конструктивных элементов и отделочные работы (штукатурные и облицовочные), при выполнении которых возможно повреждение малярных покрытий;

- завершена прокладка всех коммуникаций и заделка коммуникационных каналов;

- завершен монтаж сетей электрообеспечения, телефонизации, радиофикации, телевидения и др.,

- выполнена защита отделываемых помещений от атмосферных осадков; устроены гидроизоляция, тепло-звуко-изоляция и выравнивающие стяжки перекрытий;

- загерметизированы швы между блоками и панелями;

- заделаны и изолированы места сопряжений оконных, дверных и балконных блоков;

- остеклены световые проемы;

- установлены ограждения лестниц и встроенные шкафы;

- установлены конструкции и каркасы для крепления подвесных потолков, облицовки из природного камня и подвески светильников;

- смонтированы закладные изделия, проведены испытания систем тепло-, водоснабжения и отопления; проведена промывка канализационных трубных разводок и проверка систем вентиляции; создан нормальный температурно-влажностный режим для выполнения малярных работ.

Оштукатуривание и облицовку (по проекту) поверхностей в местах установки закладных изделий санитарно-технических систем необходимо выполнить до начала их монтажа.

До отделки фасадов дополнительно должны быть выполнены следующие работы:

- наружная гидроизоляция и кровля с деталями и примыканиями;

- устройство всех конструкций пола на балконах;

- монтаж и закрепление всех металлических картин окаймления архитектурных деталей на фасаде здания;

- установка всех крепежных приборов водосточных труб (согласно проекту).

Малярные работы следует выполнять после проверки правильности выполнения предшествующих монтажных и отделочных работ с составлением актов освидетельствования скрытых работ.

Малярные работы должны выполняться при положительной температуре окружающего воздуха и окрашиваемых поверхностей не ниже 10 °С и влажности воздуха не более 60 % (если другие температурно-влажностные условия не регламентированы ППР или технологической картой). Заданные условия необходимо выдерживать круглосуточно, не менее чем за 2 сут до начала и 12 сут после окончания работ.

ППР или технологическая карта должны регламентировать:

- температурные, влажностные и другие условия, необходимые для качественной подготовки поверхностей под окраску, выполнения малярных работ, сушки и твердения каждого слоя окрасочных покрытий, а также методы контроля, периодичность и ответственных за контроль заданных условий;

- требования к лакокрасочным и другим материалам, применяемым для подготовки поверхностей к окраске и для малярных работ, а также порядок осуществления входного контроля этих материалов и ответственных за его осуществление;

- требования к поверхностям, подлежащим подготовке и подготовленным к нанесению окрасочных покрытий;

- состав и последовательность выполнения технологических операций по подготовке поверхностей оснований к окраске;

- вид окраски (простая, улучшенная или высококачественная), состав и последовательность выполнения технологических операций при окраске;

- методы контроля качества подготовленных оснований и слоев окрасочных покрытий; периодичность контроля и участие в контроле лабораторных и других служб предприятия и сторонних организаций (по договору).

Окраска поверхностей должна выполняться готовыми к применению окрасочными растворами промышленного или централизованного приготовления. Окрасочные составы с короткими сроками годности следует приготавливать на строительной площадке непосредственно перед применением.

Готовые к применению окрасочные материалы должны проходить входной контроль на соответствие их требованиям государственных стандартов или технических условий:

при поступлении на склад, базу производственно-технологической комплектации;

на складе - при нарушении целостности упаковки или маркировки, при несоответствии условий хранения требованиям нормативной документации, по истечении гарантийного срока хранения;

на строительной площадке - на соответствие требованиям проекта; при нарушении целостности упаковки или маркировки, при несоответствии условий хранения требованиям нормативной документации, при возникновении сомнений в качестве поступивших окрасочных материалов и составов.

Окрасочные материалы централизованного приготовления должны иметь этикетки, маркировку и документы о качестве установленного образца и проходить входной контроль на строительной площадке на соответствие требованиям проекта и нормативной документации.

Объем входного контроля, его периодичность, участие в нем тех или иных служб должны быть регламентированы в технологической карте на подготовку строительных конструкций к окраске и на производство малярных работ.

Поверхности строительных конструкций и места их сопряжений (углы, примыкания, стыки), подлежащие подготовке к окраске, должны быть приняты по акту освидетельствования скрытых работ после проверки соответствия их требованиям нормативной документации. Эти поверхности не должны иметь сверхнормативных отклонений от проектного положения и сверхдопустимых дефектов внешнего вида.

Предельные отклонения от вертикали поверхностей и углов смонтированных панелей несущих стен и объемных блоков не должны превышать 10 мм, крупных блоков несущих стен перегородок, навесных стеновых панелей - 12 мм. Поверхности панелей и других изделий индустриального изготовления должны удовлетворять требованиям ГОСТ 13015.0-83*, стандартов и технических условий на соответствующие изделия.

Допускаемые неровности оштукатуренной поверхности и поверхности, облицованной гипсокартонными и другими листами и панелями, и отклонения их от вертикали и горизонтали приведены в нижеследующей таблице.

Технические требования

Предельные отклонения

Оштукатуренные поверхности:

 

отклонения от вертикали (мм на 1 м):

3 - при простой штукатурке

Не более 15 мм на всю высоту помещения

2 - то же, улучшенной

Не более 10 мм на всю высоту помещения

1 - то же, высококачественной

Не более 5 мм на всю высоту помещения

неровности поверхностей плавного очертания ( на 4 м2):

 

при простой штукатурке - не более 3, глубиной (высотой) до 5 мм

-

то же, улучшенной - не более 2, глубиной (высотой) до 3 мм

-

то же, высококачественной - не более 2, глубиной (высотой) до 2 мм

-

отклонения по горизонтали (мм на 1 м) не должны превышать, мм:

-

3 - при простой штукатурке

 

2 - то же, улучшенной

 

1 - то же, высококачественной

 

отклонения оконных и дверных откосов, пилястр, столбов, лузг и т.п. от вертикали и горизонтали (мм на 1 м) не должны превышать, мм:

 

4 - при простой штукатурке

До 10 мм на весь элемент

2 - то же, улучшенной

До 5 мм на весь элемент

1 - то же, высококачественной

До 3 мм на весь элемент

отклонения радиуса криволинейных поверхностей, проверяемого лекалом, от проектной величины (на весь элемент) не должны превышать, мм:

-

10 - при простой штукатурке

7 - то же, улучшенной

5 - то же, высококачественной

отклонения ширины откоса от проектной не должны превышать, мм:

-

5 - при простой штукатурке

3 - то же, улучшенной

2 - то же, высококачественной

отклонения тяг от прямой линии в пределах между углами пересечения тяг и раскреповки не должны превышать, мм:

-

6 - при простой штукатурке

3 - то же, улучшенной

2 - то же, высококачественной

Поверхности, облицованные гипсокартонными листами:

 

отклонения от вертикали - 1 мм на 1 м

Не более 5 мм на всю высоту помещения

неровности поверхностей плавного очертания (на 4 м2) - не более 2, глубиной (высотой) до 2 мм

-

отклонения по горизонтали не должны превышать - 1 мм на 1 м

 

отклонения оконных и дверных откосов, пилястр, столбов, лузг и т.п. от вертикали и горизонтали (мм на 1 м) не должны превышать - 1 мм на 1 м

До 3 мм на весь элемент

отклонения радиуса криволинейных поверхностей, проверяемого лекалом, от проектной величины (на весь элемент) не должны превышать - 5 мм

-

отклонения ширины откоса от проектной не должны превышать - 2 мм

-

отклонения тяг от прямой линии в пределах между углами пересечения тяг и раскреповки не должны превышать - 2 мм

-

провесы в стыках не должны превышать - 1 мм

-

поверхности не должны быть зыбкими - при легком простукивании деревянным молотком в стыках не должны появляться трещины

-

Поверхности, облицованные листами, плитами и панелями:

 

отклонения всего поля отделки по вертикали, горизонтали и диагонали от проектной не должны превышать - 1,5 мм на 1 м

-

максимальные уступы между плитами, листами и панелями - 2 мм

-

трещины, царапины, пятна и т.п. - не допускаются

-

поверхности не должны быть зыбкими - при легком простукивании деревянным молотком не должно наблюдаться коробления изделий, разрушения их кромок и смещения листов

-

Допускаемая влажность бетонных, оштукатуренных или прошпаклеванных поверхностей:

до 8 % - при окраске малярными составами, кроме цементных и известковых;

до появления капельно-жидкой влаги на поверхности - при окраске цементными и известковыми составами.

Допускаемая влажность деревянных поверхностей, подготовленных под окраску - не более 12 %.

Способы подготовки поверхности под окраску должны быть определены в ППР и технологической карте на подготовку поверхности и производство малярных работ. Они должны быть определены в зависимости вида основания, окрасочного состава и от категории окраски (простой, улучшенной или высококачественной).

Технологические операции, выполняемые при подготовке оснований и окраске, приведены в нижеследующих таблицах.


ТЕХНОЛОГИЧЕСКИЕ ОПЕРАЦИИ, ВЫПОЛНЯЕМЫЕ ПРИ ПОДГОТОВКЕ И ОКРАСКЕ ВОДНЫМИ КРАСКАМИ ПОВЕРХНОСТЕЙ ВНУТРИ ПОМЕЩЕНИЙ

Технологические операции

Вид окраски

клеевая

известковая

казеиновая

силикатная

водно-дисперсионная

цементная

полимерцементная

простая

улучшенная

высококачественная

по штукатурке и бетону

по дереву и кирпичу

улучшенная

высококачественная

Очистка

+

+

+

+

+

+

+

+

+

+

+

Смачивание водой

-

-

-

-

-

-

-

-

-

+

-

Сглаживание поверхности

+

+

+

+

+

+

+

+

+

+

+

Расшивка трещин

+

+

+

+

-

+

+

+

+

+

+

Первая огрунтовка

+

+

+

+

+

+

+

+

+

-

-

Частичная подмазка

-

+

+

+

-

+

+

-

+

-

-

Шлифовка подмазанных мест

-

+

+

+

-

+

+

-

+

-

-

Первая сплошная шпатлевка

-

-

+

-

-

-

+

-

-

-

-

Шлифовка

-

-

+

-

-

-

+

-

-

-

-

Вторая сплошная шпатлевка

-

-

+

-

-

-

+

-

-

-

-

Шлифовка

-

-

+

-

-

-

+

-

-

-

-

Вторая огрунтовка

-

+

+

-

-

-

+

-

-

-

-

Третья огрунтовка с подмазкой

-

-

+

-

-

-

-

-

-

-

-

Окраска

+

+

+

+

+

+

+

+

+

+

+

Торцевание

-

-

+

-

-

-

+

-

-

-

-


ТЕХНОЛОГИЧЕСКИЕ ОПЕРАЦИИ, ВЫПОЛНЯЕМЫЕ ПРИ ПОДГОТОВКЕ И ОКРАСКЕ МАСЛЯНЫМИ, ЭМАЛЕВЫМИ И СИНТЕТИЧЕСКИМИ КРАСКАМИ ПОВЕРХНОСТЕЙ ВНУТРИ ПОМЕЩЕНИЙ

Технологические операции

Вид окраски

по дереву

по штукатурке и бетону

по металлу

простая

улучшенная

простая

улучшенная

простая

улучшенная

Очистка

+

+

+

+

+

+

Сглаживание поверхности

-

-

+

+

-

-

Вырезка сучков и засмолов с расшивкой щелей

+

+

-

-

-

-

Расшивка трещин

-

-

+

+

-

-

Проолифка (огрунтовка)

+

+

+

+

+

+

Частичная подмазка с проолифкой подмазанных мест

+

+

+

+

+

+

Шлифовка подмазанных мест

+

+

+

+

+

+

Сплошная шпатлевка

-

+

-

+

-

+

Шлифовка

-

+

-

+

-

+

Огрунтовка

-

+

-

+

-

+

Флейцевание

-

+

-

+

-

-

Шлифовка

-

+

-

+

-

-

Первая окраска

+

+

+

+

+

+

Флейцевание

-

+

-

+

-

-

Шлифовка

-

+

-

+

-

-

Вторая окраска

+

+

+

+

+

+

Флейцевание или торцевание

-

+

-

+

-

-

Примечания: 1. При высококачественной окраске поверхностей добавляется вторая сплошная шпатлевка с последующей шлифовкой.

2. Знаком « обозначены процессы, выполнение которых обязательно.

ТЕХНОЛОГИЧЕСКИЕ ОПЕРАЦИИ, ВЫПОЛНЯЕМЫЕ ПРИ ПОДГОТОВКЕ И ОКРАСКЕ НАРУЖНЫХ ПОВЕРХНОСТЕЙ

Технологические операции

Составы

силикатные

известковые и цементные

водно-дисперсионные синтетические

перхлорвиниловые

масляные и эмалевые

полимерцементные и вязкие цементные

Очистка

+

+

+

+

+

+

Расшивка трещин

+

+

+

+

+

+

Подмазка

+

+

+

+

+

+

Шлифовка

+

+

+

+

+

+

Шпатлевание

-

-

+

+

+

-

Шлифовка

-

-

+

+

+

-

Смачивание водой

-

+

-

-

-

+

Огрунтовка

+

-

+

-

+

+

Первая окраска

+

+

+

+

+

+

Вторая окраска

+

+

+

+

+

+

Примечания: 1. Смачивание поверхности производится при применении цементных красок.

2. Знаком «+» обозначены процессы, выполнение которых обязательно.

Очистку - удаление пыли, брызг раствора с поверхностей - производят стальным шпателем, стальным скребком на длинной ручке, стальными щетками, маховыми кистями, пылесосом, компрессором. При большом объеме работ зачистку производят затирочно-шлифовальными машинами.

Сглаживание - придание оштукатуренной поверхности гладкости - производят шарнирной теркой на удлиненной ручке, лещадью, пемзой или торцом древесины.

Расшивку трещин на поверхностях производят малярным ножом или шпателем на глубину не менее 2 мм.

После сглаживания и расшивки трещин поверхность вновь очищают и обеспыливают.

      Обеспыливание поверхностей следует производить перед нанесением каждого слоя огрунтовочных и малярных составов.

Жировые и масляные пятна смывают 5 %ым раствором тринатрий фосфата или кальцинированной соды, разводя их в воде с температурой 30 ÷ 40 °С, используя при этом ветошь, щетку или кисть. После истечения 0,5-1 ч поверхность нейтрализуют 5 %-ным раствором соляной кислоты. Масляные пятна могут также удаляться пастой из жженой магнезии, затворенной бензином, толуолом, бензолом или другими растворителями, а высолы - металлическими щетками с обработкой поверхности слабым раствором соляной кислоты и последующей промывкой чистой водой и высушиванием.

      Выполнение отделочных покрытий по основаниям, имеющим ржавчину, высолы, жировые и битумные пятна, не допускается.

На следующем подготовительном этапе выполняют огрунтовку поверхностей жидкими окрасочными составами, наносимыми перед каждой шпатлевкой сплошным ровным слоем.

До начала огрунтовки поверхность очищают от пыли струей сжатого воздуха.

Огрунтовочный состав выбирают в соответствии со связующим окрашивающего состава. Для покрытий, содержащих известь, применяют квасцовую грунтовку; поверхности, не содержащие извести, огрунтовывают мыловаром; под силикатную окраску применяют силикатную грунтовку; под казеиновое окрашивание - казеиновую грунтовку; под водно-дисперсионные составы - эмульсионную и латексную грунтовку.

Под масляную окраску выполняют грунтовочную проолифку с помощью кистей или валиков, применяя, как правило, олифу-оксоль с добавлением в нее 5÷10 % пигмента под цвет масляного колера. Этот грунтовочный состав высыхает в течение 24 ч.

Контролируемые операции

Состав и средства контроля

Документация

Подготовительные работы

Проверить:

- завершение и надлежащее оформление предшествующих монтажных и отделочных работ (наличие актов приемки и актов освидетельствования скрытых работ, геодезических исполнительных схем и другой приемосдаточной документации);

Акт приемки, акты освидетельствования скрытых работ, исполнительные схемы

- наличие ППР, технологических карт и схем операционного контроля качества малярных работ;

ППР, технологические карты, СОКК

- наличие документов о качестве на поступившие на строительную площадку окрасочные составы, готовые к употреблению, соответствие их требованиям проекта и нормативных документов;

Документы о качестве, акты лабораторных испытаний

- соблюдение заданной технологии подготовки поверхностей под окраску (в т.ч. температурно-влажностный режим в отделываемых помещениях (в зимнее время);

- соответствие качества подготовленных поверхностей оснований требованиям проекта и нормативных документов;

Общий журнал работ

Производство малярных работ

Контролировать:

- соблюдение заданной ППР технологии выполнения малярных работ;

- соответствие качества выполненных окрасочных покрытий требованиям проекта и нормативных документов (толщину слоев шпатлевки и окрасочного покрытия, неровности окрасочных поверхностей, внешний вид окрашенных поверхностей).

Общий журнал работ

Приёмка

Проверить:

- соответствие качества выполненных малярных работ требованиям проекта и нормативных документов;

- составление и надлежащее оформление приемо-сдаточной исполнительной документации.

Акт приемки

ВХОДНОЙ И ОПЕРАЦИОННЫЙ КОНТРОЛЬ осуществляют:

мастер (прораб), лаборант (инженер) - в процессе производства работ.

ПРИЁМОЧНЫЙ КОНТРОЛЬ ОСУЩЕСТВЛЯЮТ:

прораб (мастер), представители технадзора заказчика.

КИП - двухметровая рейка, металлическая линейка, металлическая рулетка, отвес, уровень, лабораторные приборы и оборудование.

При водных составах окраски первоначальное огрунтование может осуществляться в два-три приема (при улучшенной и высококачественной окраске), а при неводных составах - в один прием.

      Второй слой грунтовки можно наносить после того, как первый окончательно просох.

Нанесение каждого окрасочного состава должно начинаться после полного высыхания предыдущего.

Грунтовочные составы наносят, как правило, механизированным способом посредством ручных и электрокраскопультов, различных краскораспылителей и малярных удочек, а также шпатлевочных агрегатов. Для ручной грунтовки используют малярные кисти, валики и др.

      Огрунтовка поверхностей должна производиться перед окраской малярными составами, кроме кремнийорганических. Огрунтовку необходимо выполнять сплошным равномерным слоем, без пропусков и разрывов. Высохшая грунтовка должна иметь прочное сцепление с основанием, не отслаиваться при растяжении, на приложенном к ней тампоне не должно оставаться следов вяжущего. Окраску следует производить после высыхания грунтовки.

Предварительно прогрунтованные расширенные разрезкой трещины в отдельно поврежденных местах штукатурки и бетонных конструкций, а также щели, образовавшиеся на деревянных поверхностях, заполняют подмазочными пастами или шпатлевками на глубину не менее 2 мм (частичная подмазка) с последующей заделкой сглаживанием и зачисткой для обеспечения гладкости и однородности основания под окраску. Одновременно заполняют и сглаживают раковины и неровности.

Частичная подмазка должна выполняться после контроля качества огрунтованной поверхности и только специальной подмазочной пастой или шпатлевкой, выделяющейся цветом на слое грунтовки. Подмазочные пасты и шпатлевки должны соответствовать материалу поверхности и виду покрытия. Наносят составы резиновыми, деревянными или металлическими шпателями по высохшей грунтовке или олифе.

После высыхания подмазанные места должны быть отшлифованы, очищены от пыли, огрунтованы или проолифлены.

Если на огрунтованных или проолифленных местах будут обнаружены усадочные трещины, необходимо произвести вторичную подмазку этих мест с последующим шлифованием, очисткой и проолифкой или огрунтовкой.

В зависимости от качества поверхности, подготавливаемые под окраску, подразделяются на следующие четыре группы:

- поверхности, не требующие обработки шпаклевками;

- поверхности, облицованные древесноволокнистыми плитами, а также другие, на 15 % площади которых производится заделка трещин и шпатлевка;

- оштукатуренные и другие поверхности, на 35 % площади которых производится заделка трещин и шпатлевка;

- поверхности, на всей площади которых производится заделка трещин и шпатлевка.

Качество поверхностей бетонных, железобетонных, гипсобетонных и других конструкций заводского изготовления, предназначенных под окраску, не должно вызывать необходимости шпатлевания их перед окраской.

Сплошное шпатлевание загрунтованных поверхностей производится лишь при улучшенных и высококачественных окрасках. Оно выполняется равномерным слоем 0,5 ÷ 2 мм за 1 ÷ 3 раза в зависимости от категории окраски с огрунтовкой каждого слоя. Поверхности, подлежащие шпатлеванию, должны быть просушены, очищены от потеков раствора, пыли; места вырубки сучков и засмолов, трещины и неровности подмазаны подмазочными пастами. Сплошное шпатлевание производится только по огрунтованным и полностью просохшим поверхностям.

Шпатлевочные составы должны быть правильно подобраны в соответствии с видом окраски и материалом поверхности и доведены до рабочей консистенции. Шпатлевка должна хорошо прилипать к шпателю и поверхности, но не тянуться, не отслаиваться и легко разравниваться по поверхности, а при высыхании - не образовывать трещин.

      Время высыхания шпатлевок должно быть не более 24 ч, прочность сцепления, МПа: через 24 ч - не менее 0,1; через 72 ч - не менее 0,2; (контроль - измерительный, периодический, не менее 5 измерений на 50-70 м2 поверхности покрытия, регистрация в журнале работ); жизнеспособность шпатлевки должна быть не менее 20 мин (технический осмотр, не менее трех пробных вышпатлевок на партию, регистрация в журнале работ).

При ручном способе шпатлевку наносят шпателями различных конструкций и размеров посредством набора ими порции материала и намазывания на поверхность движениями в одном направлении. Разравнивают шпатлевку движениями в разных направлениях. При больших объемах малярных работ шпатлевку наносят механизированным способом, а разравнивают ручным - с помощью широкого шпателя с резиновым рабочим полотном (лезвием).

      При производстве малярных работ сплошное шпатлевание поверхности следует выполнять только при высококачественной окраске, при улучшенной окраске сплошное шпатлевание следует выполнять только по металлу и дереву.

        Допускаемая толщина слоев шпаклевки - 0,5 мм (предельные отклонения - 1,5 мм) (контроль - измерительный, не менее 5 измерений на 50 ÷ 70 м2 поверхности покрытия или в одном помещении меньшего размера, после визуального осмотра регистрация в журнале работ).

      Шпатлевку из малоусадочных составов с полимерными добавками необходимо разравнивать сразу после нанесения со шлифованием отдельных участков; при нанесении других видов шпатлевочных составов поверхность шпатлевки следует отшлифовывать после ее высыхания.

        Шпатлевочное покрытие после высыхания должно быть ровным, без пузырьков, трещин и механических включений (контроль - технический осмотр, не менее трех пробных вышпатлевок на партию, регистрация в журнале работ).

Шлифование высохшей шпатлевки выполняют вручную пемзой или наждачной шкуркой или механизировано шлифовально-затирочными машинами. Эту операцию проводят после каждого подмазывания и шпатлевания, а также в особых случаях при качественной отделке и после грунтующего и первого окрасочного слоя.

Шлифуют поверхность после полного просыхания покрытия. Поверхности, подлежащие шлифованию, должны быть тщательно заделаны подмазочной пастой и прошпатлеваны шпатлевкой, соответствующей материалу поверхности и роду окраски. Шлифование производят до полного сглаживания, чтобы не было шероховатостей и наплывов.

На отделанной поверхности после шлифования не должно оставаться царапин или следов от песчинок, попавших под шлифующий инструмент или машину.

После шлифования поверхности очищают от пыли, обметая их волосяной щеткой, кистью, обдувая струей сжатого воздуха или пылесосом.

     При окраске качество подготовленных оснований должно удовлетворять следующим требованиям:

- поверхности оснований при окраске масляными, клеевыми и водно-дисперсионными составами должны быть сглаженными, без шероховатости;

- поверхностные трещины должны быть раскрыты, огрунтованы, заполнены шпатлевкой на глубину не менее 2 мм и отшлифованы;

- раковины и неровности огрунтованы, прошпатлеваны и сглажены;

- отслоения, потеки раствора, следы обработки затирочными машинами удалены;

- швы между гипсокартонными листами и участки, примыкающие к ним, огрунтованы, прошпатлеваны, отшлифованы заподлицо с поверхностью или обработаны рустами (в соответствии с проектом);

- местные неровности высотой (глубиной) до 1 мм допускаются а количестве не более 2 на площади 4 м2 поверхности покрытий.

Подготовленные поверхности окрашивают водными и неводными составами в строгой технологической последовательности, определенной требованиями ППР и технологической карты.

Окрасочные покрытия на фасадах следует предохранять вплоть до их полного высыхания от прямого воздействия солнечных лучей.

Малярные составы необходимо наносить сплошным слоем. Нанесение каждого окрасочного состава должно начинаться после полного высыхания предыдущего. Флейцевание или торцевание красочного состава следует производить по свеженанесенному окрасочному составу.

При окраске дощатых полов каждый слой, за исключением последнего, необходимо прошлифовывать до удаления глянца.

При производстве малярных работ должны быть соблюдены требования, приведенные в нижеследующей таблице.

Технические требования

Контроль (метод, объем, вид регистрации)

Допускаемая толщина окрасочного покрытия - не менее 25 мкм

Измерительный, не менее 5 измерений на 50 ÷ 70 м2 поверхности покрытия или в одном помещении меньшего размера, после сплошного визуального осмотра, регистрация в журнале работ).

Поверхность каждого слоя малярного покрытия при улучшенной и высококачественной внутренней окраске безводными составами должна быть ровной, без потеков краски, не иметь зубчатого строения и т.п.

То же, на 70 ÷ 100 м2 поверхности покрытия (при освещении электрической лампой с рефлектором, имеющим узкую щель, луч света, направленный параллельно окрашенной поверхности, не должен образовывать теневых пятен).

Соответствие готовых малярных покрытий требованиям проекта и нормативных документов выявляется в процессе сплошного визуального осмотра покрытий, проведения необходимых инструментальных измерений и лабораторных испытаний, рассмотрения приемосдаточной документации, и оформляется актом приемки.

Технические требования, предъявляемые к готовым малярным покрытиям, приведены ниже.

Технические требования

Контроль (метод, объем, вид регистрации)

Приемку отделочных покрытий необходимо производить после высыхания водных красок и образования прочной пленки на поверхностях, окрашенных безводными составами. Поверхности после высыхания водных составов должны быть однотонными, без полос, пятен, подтеков, брызг, истирания (омелования) поверхностей. Местные исправления, выделяющиеся на общем фоне (кроме простой окраски), не должны быть заметны на расстоянии 3 м от поверхности.

Технический осмотр, акт приемки

Поверхности, окрашенные малярными безводными составами, должны иметь однотонную глянцевую или матовую поверхность. Не допускаются просвечивания нижележащих слоев краски, отслоения, пятна, морщины, потеки, видимые крупинки краски, сгустки пленки на поверхности, следы кисти и валика, неровности, отпечатки высохшей краски на приложенном тампоне.

Технический осмотр, акт приемки

Поверхности, окрашенные лаками, должны иметь глянцевые покрытия, без трещин, видимых утолщений, следов лака (после высыхания) на приложенном тампоне.

Технический осмотр, акт приемки

В местах сопряжений поверхностей, окрашенных в различные цвета, искривления линий, закраски высококачественной окраски (для других видов) на отдельных участках не должны превышать, мм:

5 - для простой окраски;

2 - для улучшенной окраски;

1 (на 1 м поверхности) - искривление линий филенок и закраска поверхностей при применении разных колеров.

Технический осмотр, акт приемки

ПРОИЗВОДСТВО ОБОЙНЫХ РАБОТ

ГОСТ 6810-86* Обои. Технические условия.

ТУ 5462-014-00279341-94 Наборы обоев для оклейки помещений.

ТУ 5462-001-00279309-94 Обои высокодекоративные глубокого способа печати.

ТУ 5462-012-00279309-97 Обои для массового жилищного строительства с повышенным закреплением красочного слоя.

ТУ 5462-003-00279309-99 Обои тисненные устойчивого рельефотиснения (дуплекс).

ТУ 5462-001-00280382-95 Обои печатные декоративные.

ТУ 84.7505708-92-95 Обои тисненые.

ТУ 5462-009-00279031-97 Обои дублированные декоративные.

ТУ 5462-001-00279456-96 Обои высокодекоративные флексографического способа печати.

ТУ 5462-138-00281022-97 Обои способа флексографической печати.

ТУ 400-1-527-93 Обои бумажные двухслойные декоративные.

ТУ 400-1-528-93 Обои поливинилхлоридные декоративные на бумажной основе.

ТУ 5456-001-35471641-95 Материал бумажный облицовочный с текстильным покрытием «Нитилин».

ГОСТ 9590-76 Пластик бумажно-слоистый декоративный. Технические условия.

ТУ 2256-020-04001232-96 Пластик бумажно-слоистый декоративный.

ГОСТ 5724-75 Линкруст.

ГОСТ 24944-81 Пленка поливинилхлоридная декоративная отделочная. Технические условия.

ТУ 5772-046-04001232-99 Пленка поливинилхлоридная декоративная отделочная.

ТУ 5772-004-04001232-94 Пленка поливинилхлоридная для мебельной промышленности.

ТУ 5772-001-100289622-97, ТУ 5772-001 - 12568007-96, ТУ 5772-023-00282332-95, ТУ 95-8621753-052-93, ТУ 5772-106-05742755-96 Пленки поливинилхлоридные вспененные на бумажной подоснове «Пеноплен».

ТУ 5772-001-41073376-97 Материал поливинилхлоридный вспененный на бумажной подоснове «Исплен».

ТУ 5770-001-00282323-94 Материал поливинилхлоридный со вспененным слоем для стен и потолков на бумажной основе «Пенополистен».

ТУ 5772-062-00282332-99 Материал отделочный бесфоновый с ластизольным поливинилхлоридным рисунком «Полистен».

ТУ 5770-105-05744716-95 Материал поливинилхлоридный отделочный на бумажной основе «Полиплен».

ГОСТ 11107-90* Искожа-Т галантерейная. Общие технические условия.

ТУ 5772-001-05668056-97 Клей обойный универсальный.

ТУ 5772-007-03989419-96 Клей «Лателин».

ТУ 2513-002-10408436-99, ТУ 5772-006-03989419-96, ТУ 2385-002-42223441-97 Клей универсальный «Бустилат».

ТУ 2385-004-11830354-97, ТУ 5744-001-2956580-95, ТУ 7-004-01232712-94 Клей универсальный «Бустилат-М».

ТУ 2242-136-05011907-97 Клей поливинилацетатный.

ТУ 2385-004-47618581-98 Клей ПВА универсальный.

ТУ 2385-001-49920491-99 Клей «Д-ПВА Универсал».

ТУ 2262-006-26582716-99 Клей обойный «Мастер клей».

ТУ 2313-012-29408070-2000 Составы дисперсионные «Святозар».

ТУ 400-1-177-79 Клей дисперсионный АДМ-К.

ТУ 2316-003-23182386-97 Композиции водоэмульсионные «ВАК» (клеи ВАК-С-1 «Бустилат» и ВАК-0 обойный).

ТУ 6-15-1077-92 Клей для обоев КМЦ-Н.

ТУ 6-15-1425-94 Клей обойный латексный.

ГОСТ 30307-95 Мастики строительные полимерные клеящие латексные.

ТУ 5772-001-42788835-96 Мастика клеящая «Полакс».

Стандарты и технические условия на материалы для производства обойных работ, предусмотренные проектом.

СНиП 3.04.01-87 Изоляционные и отделочные покрытия.

СНиП 3.01.01-85* Организация строительного производства.

Требования к обойным материалам

Входной контроль материалов, предусмотренных проектом для производства обойных работ должен осуществляться в соответствии с требованиями стандартов и технических условий, а также требованиями технологической документации, утвержденной в установленном порядке.

ГОСТ 6810-86*. Обои. Технические условия.

Стандарт распространяется на обои, представляющие собой рулонный декоративный отделочный материал на бумажной основе, изготовляемый нанесением на бумагу декоративного покрытия печатным способом (глубоким, высоким, флексографическим и др.) с последующей отделкой или без нее, а также другими способами, и предназначенные для оклейки стен и потолков жилых и общественных зданий.

Стандарт не распространяется на фотообои, обои из стекловолокна и на основе текстильных материалов.

По фактуре бумаги обои подразделяются на 3 типа:

1 - гладкие;

2 - тисненые;

3 - гофрированные.

По структуре декоративного покрытия обои включают виды:

А - фоновые;

Б - с печатным рисунком без фона;

Г - с фоном и печатным рисунком,

Д - с печатным полутоновым рисунком без фона;

Е - с фоном и печатным полутоновым рисунком;

Ж - с рельефным фоном и печатным рисунком или без него;

З - с фоном и печатным рельефным рисунком или без фона;

И - фоновые с отделкой «под шелк»;

К - с печатным рисунком с отделкой «под шелк» без фона;

Л - с фоном и печатным рисунком с отделкой «под шелк»;

М - с фоном и печатным рельефным рисунком с отделкой «под шелк»;

О - металлизированные с фоном и печатным рисунком или без него;

П - велюровые с фоном или без него.

Допускается по заказу потребителей выпуск обоев других типов.

В зависимости от стойкости поверхности к обработке в процессе эксплуатации обои должны изготовляться следующих марок:

В-0, В-1 - устойчивые к влажному истиранию без применения моющих средств (влагостойкие);

В-2, В-3, В-4 - с пленочным покрытием, устойчивые к истиранию растворами моющих средств (моющиеся);

Обои марки В-1 могут изготовляться с пленочным покрытием;

С - устойчивые к сухому истиранию.

Назначение обоев по маркам:

С, В-0 - для оклейки стен и потолков жилых и общественных зданий;

В-1, В-2, В-3 - для оклейки стен и потолков прихожих, межквартирных коридоров жилых зданий, общежитий и других общественных зданий, за исключением игровых, спальных комнат детских учреждений, палат лечебно-профилактических учреждений;

В-4 - для оклейки санузлов и ванных комнат всех типов зданий.

Обои изготовляют в рулонах с кромками или без них. Ширина рулона с необрезанными кромками должна быть 500, 560, 600, 620 мм.

Предпочтительная ширина рулона 600 мм.

Полезная ширина обоев без кромок должна составлять при ширине рулона:

500 мм - от 470 до 480 мм;

560 мм - от 520 до 540 мм;

600 мм - от 570 до 580 мм;

620 мм - от 590 до 600 мм.

Допускается полезная ширина обоев без кромок (500 ± 3), (530 ± 3) и (750 ± 3) мм.

Длина рулона должна быть 6,0; 10,05; 10,5; 12,0; 18,0; 25,0; 32,0 и 42,0 м.

Предпочтительная длина рулона 10,5 м.

Для строительных организаций допускается длина рулонов от 270 до 750 м. По требованию потребителя допускается изготовлять рулоны длиной свыше 750 м, но не более чем 1000 м.

Отклонения по длине не должны быть более ±2 %.

По физико-механическим показателям обои должны соответствовать нормам, указанным в нижеследующей таблице.

Наименование показателя

Норма для обоев типа

Метод испытания

1

2

3

Устойчивость окраски к воздействию света, баллы, не менее

5

5

5

По ГОСТ 8702-88 и п. 4.6 данного стандарта

Прочность закрепления декоративного покрытия, число истираний, не менее

по нижеследующей таблице

По п. 4.3 данного стандарта

Белизна, %, не менее

70,0

 

 

По ГОСТ 30113-94

Устойчивость рельефа тиснения, %, не менее:

 

 

 

 

для обоев на склеенной бумаге

 

70

 

По п. 4.5 данного стандарта

для обоев на двухслойной несклеенной бумаге

 

35

 

По п. 4.5 данного стандарта

Разрушающее усилие во влажном состоянии (в машинном направлении), Н, не менее

6,0

6,0

6,0

По ГОСТ 13525.7-68 (разд. 3) и п. 4.4 данного стандарта

Примечания к таблице:

1. Для обоев с пленочным покрытием марок В-1, В-2, В-3, В-4 норма показателя устойчивости окраски к воздействию света не менее 4 баллов.

2. Норма показателя белизны установлена для обоев с белым фоном, предназначенных для оклейки потолков.

Марка обоев

Прочность закрепления декоративного покрытия, число истираний, не менее

Материалы и средства, применяемые при испытании

сухое истирание

Влажное истирание

Истирание раствором моющего средства

В-0

-

5

-

Губка (поролон) в водной среде

В-1

-

15

-

В-2

-

-

35

Губка (поролон) в среде 2 %-ного раствора мыла или CMC

В-3

-

-

100

В-4

-

-

250

С

6

-

-

Сухая губка (поролон)

По художественно-эстетическим показателям и техничности исполнения обои должны соответствовать образцам-эталонам, утвержденным в соответствии с требованиями ГОСТ 15.009-91 и другой нормативно-технической документации.

Красочный фон должен быть равномерным, без пятен, полос и контрастных включений.

Обои не должны иметь разрывов кромок и механических повреждений. В рулоне обоев для строительных организаций длиной от 270 до 750 м допускается не более одной склейки, в рулоне свыше 750 м - не более двух склеек. Концы полотна в местах обрывов должны быть склеены склеивающей лентой типа ЛСД по ТУ 6-17-924-82 или клеевой лентой по ГОСТ 18251-87 или тонким слоем клея. Ширина места склейки не должна быть более 150 мм. Не допускается склеивание смежных слоев в рулоне.

Смещение отдельных элементов рисунка не должно превышать 2 мм, для обоев, изготовленных способом глубокой печати - 1 мм.

Малозаметные подтеки, пятна (кроме масляных) и непропечатки рисунка размером от 1,5 до 2,0 мм включительно (в наибольшем измерении) допускаются, если их общее количество не превышает 5 шт. на каждом метре длины рулона, размером более 2 мм - не допускаются.

Обои переводят во 2-й сорт при наличии разрывов кромок, не затрагивающих рисунка.

Рулоны обоев 2-го сорта допускается составлять из двух частей, одинаковых по рисунку и оттенку и не соединенных между собой или склеенных при условии, что коротая часть составляет не менее 3,0 м.

Намотка рулонов должна быть плотной, боковая поверхность - ровной. Выступы по торцам рулона с необрезанными кромками, а также рулона обоев с обрезанными кромками, упакованного в полимерную пленку, не должны быть более 1 % от его ширины.

Каждый рулон должен быть намотан напечатанной стороной внутрь. При упаковывании в полимерную пленку или укладке в контейнер-тележку допускается намотку рулонов производить напечатанной стороной вверх.

При совмещении двух полотен обоев одного рисунка и одной расцветки по линии обреза кромок не должно быть искажения рисунка.

На кромке обоев должны быть нанесены: наименование предприятия-изготовителя, направление и номер рисунка, линии обреза кромок сплошной линией, штрихом или пунктиром и риски, указывающие чередование раппорта.

Допускается не наносить на кромку указанные сведения при печати обоев с импортных шаблонов способом ротационно-трафаретной печати.

В одной партии обои одного рисунка и расцветки не должны иметь разнооттеночности.

За партию принимаются упаковочные единицы обоев одного рисунка, расцветки, типа, вида и марки, изготовленные на бумаге-основе одного вида и марки, предъявляемые к сдаче одновременно и сопровождаемые одним документом о качестве.

Документ о качестве должен составляться по результатам приемосдаточных испытаний обоев.

В документе о качестве должны быть указаны:

- наименование предприятия-изготовителя и его товарный знак;

- наименование продукции; тип, вид, марка;

- артикул;

- номер рисунка и расцветки;

- сорт;

- обозначение данного стандарта;

- наименование упаковочных единиц и их количество;

- дата выработки;

- результаты проведенных испытаний или подтверждение о соответствии обоев требованиям данного стандарта.

За упаковочную единицу принимают ящик, мешок, кипу, контейнер-тележку и рулон (для строительных организаций).

По согласованию изготовителя с потребителем при одновременной отгрузке обоев от разных партий, сопровождаемых одной товаросопроводительной документацией, допускается оформление единого документа о качестве с указанием приведенных выше характеристик по каждому типу, виду, марке обоев, их рисунку и расцветке.

Перед упаковкой в транспортную тару (ящики, мешки, кипы, контейнеры-тележки) каждый рулон должен быть упакован в прозрачную полимерную пленку, полностью защищающую торцы рулона обоев.

Допускается рулон обоев с необрезанными кромками заклеивать бумажной лентой (бандеролью) шириной не менее 50 мм.

Маркировка каждого рулона должна содержать:

- страну, наименование, товарный знак (при наличии) и юридический адрес предприятия-изготовителя;

- наименование продукции, обозначение и наименование типа и марки обоев;

- артикул;

- длину и полезную ширину;

- ограничение области применения обоев, если оно предусмотрено в заключении национального органа санитарно-эпидемиологического надзора;

- обозначение данного стандарта;

- сорт;

- инструкцию по наклейке обоев;

- штриховой код (при наличии).

Сведения должны быть нанесены типографским способом на этикетку, вкладываемую под полимерную пленку, или на бумажную ленту (бандероль).

Допускается проставлять вид обоев, а также дополнять маркировку другими сведениями.

Маркировка рулонов должна быть четкой и доступной для ознакомления с продукцией. Допускается инструкцию по наклейке обоев наносить на обратную сторону этикетки или бумажной ленты (бандероли).

Национальный знак соответствия для сертифицированной продукции проставляется на одном и (или) нескольких из указанных мест:

- в документе о качестве;

- в маркировке каждого рулона;

- в товаросопроводительной документации;

- на каждой упаковочной единице.

Рулоны обоев, маркированные согласно вышеперечисленным требованиям, упаковывают в ящики из гофрированного картона или в ящики из коробчатого картона по нормативно-технической документации, кипы, а также в бумажные мешки по нормативно-технической документации. Рулоны обоев без кромок, не завернутые в пленку, упаковывают в ящики из картона.

Масса брутто ящиков, мешков и кип не должна превышать 15 кг.

В каждом ящике, мешке, кипе и контейнере-тележке должно быть одинаковое количество рулонов обоев одного артикула, рисунка, цвета, сорта, типа, вида, марки.

В партии допускается одна упаковочная единица с меньшим количеством рулонов.

Рулоны обоев для строительных организаций для перевозки автомобильным транспортом и железнодорожным транспортом в контейнерах упаковывают в три слоя оберточной бумаги по ГОСТ 8273-75* плотностью 100 г/м2 (из сульфатной целлюлозы - плотностью 80 г/м2) с загибанием на торцы внахлест и заклейкой ее, затем перевязывают рулон в двух местах по краям шпагатом полипропиленовым по нормативной документации или из лубяных волокон по ГОСТ 17308-88 или оклеивают клеевой лентой по ГОСТ 18251-87.

При внутригородских перевозках закрытыми автомашинами по согласованию с потребителем допускается рулоны для строительных организаций не упаковывать. При этом конец полотна обоев по ширине рулона должен быть заклеен клеевой лентой или тонким слоем клея. Ширина места заклейки не должна быть более 100 мм. Склеивание смежных слоев в рулоне не допускается.

Масса брутто рулона обоев должна быть не более 60 кг. По согласованию с потребителем допускается масса брутто рулона обоев более 60 кг.

Допускается использовать для упаковывания кип и рулонов для строительных организаций вместо оберточной бумаги по ГОСТ 8273-75* отходы обоев и бумаги для обоев.

Транспортная маркировка грузовых мест - по ГОСТ 14192-96.

Обои транспортируют в крытых транспортных средствах всеми видами транспорта в соответствии с правилами перевозки, действующими на данном виде транспорта, мелкими или повагонными (на железнодорожном транспорте) отправками.

Обои должны храниться в крытых складах, защищенных от атмосферных осадков и почвенной влаги.

Технические требования

Обойные работы следует выполнять в соответствии с требованиями проекта, СНиП 3.01.01-85*, СНиП 3.04.01-87, ППР, технологических карт, схем операционного контроля качества работ и другой технологической документации, утвержденной в установленном порядке.

Обойные работы должны выполнять строительно-монтажные организации, получившие лицензию на выполнение отделочных работ в Федеральных или региональных лицензионных органах.

Обойные работы должны выполняться квалифицированным персоналом, прошедшим специальную подготовку и обладающим надлежащими навыками по выполнению отделочных работ.

Производству обойных работ должны предшествовать:

- разработка проектов производства обойных работ; разработка (или привязка типовых) технологических карт и схем операционного контроля качества выполнения обойных работ;

- завершение и надлежащее оформление всех предусмотренных проектом предшествующих общестроительных и специальных работ (до устройства чистых полов);

- входной контроль проектно-сметной документации, бумажных и синтетических обоев;

- изучение инженерно-техническим персоналом проектной и технологической документации, обучение мастеров и рабочих передовым методам труда.

При входном контроле рабочей документации должна производиться проверка ее комплектности и достаточности содержащейся в ней технической информации для производства работ.

Входной контроль обойных материалов должен производиться в соответствии с требованиями стандартов и технических условий на конкретные обои и клеи в порядке, предусмотренном проектом, технологическими картами или другой технологической документацией, утвержденной в установленном порядке.

Входной контроль должен предотвратить поступление в производство обойных материалов, не отвечающих требованиям проекта и соответствующей нормативной документации.

Обойные работы должны выполняться в соответствии с проектом производства работ (ППР) на возведение зданий и сооружений и технологической картой на производство обойных работ.

Запрещается осуществление строительно-монтажных работ без утвержденного проекта производства работ. Не допускаются отступления от решений проектов производства работ без согласования с организациями, разработавшими и утвердившими их. Замена предусмотренных проектом материалов и составов допускается только по согласованию с проектной организацией и заказчиком.

До начала обойных работ должны быть произведены следующие работы:

- завершены монтаж предусмотренных проектом конструктивных элементов и отделочные работы (штукатурные и облицовочные), при выполнении которых возможно повреждение оклеенных поверхностей;

- завершена прокладка всех коммуникаций и заделка коммуникационных каналов;

- завершен монтаж сетей электрообеспечения, телефонизации, радиофикации, телевидения и др.,

- выполнена защита отделываемых помещений от атмосферных осадков; устроены гидроизоляция, тепло-звуко-изоляция и выравнивающие стяжки перекрытий;

- загерметизированы швы между блоками и панелями;

- заделаны и изолированы места сопряжений оконных, дверных и балконных блоков;

- остеклены световые проемы;

- установлены ограждения лестниц и встроенные шкафы;

- установлены конструкции и каркасы для крепления подвесных потолков, облицовки из природного камня и подвески светильников;

- смонтированы закладные изделия, проведены испытания систем тепло- водоснабжения и отопления; проведена промывка канализационных трубных разводок и проверка систем вентиляции; создан нормальный температурно-влажностный режим для выполнения обойных работ.

Обойные работы следует выполнять после проверки правильности выполнения предшествующих монтажных и отделочных работ с составлением актов освидетельствования скрытых работ.

Обойные работы должны выполняться при положительной температуре окружающего воздуха и оклеиваемых поверхностей не ниже 10 °С и влажности воздуха не более 60 % (если другие температурно-влажностные условия не регламентированы ППР или технологической картой). Заданные условия необходимо выдерживать круглосуточно, не менее чем за 2 сут до начала и 12 сут после окончания работ.

При производстве обойных работ помещения до полной просушки обоев необходимо предохранять от сквозняков и прямого воздействия солнечных лучей с установлением постоянного влажностного режима. Температура воздуха при сушке наклеенных обоев не должна превышать 23 °С.

ППР или технологическая карта должны регламентировать:

- температурные, влажностные и другие условия, необходимые для качественной подготовки поверхностей под оклейку обоями, выполнения обойных работ, сушки наклеенных обоев, а также методы контроля, периодичность и ответственных за контроль заданных условий;

- требования к бумажным и синтетическим обоям и другим материалам, применяемым для подготовки поверхностей к оклейке обоями и для производства обойных работ, а также порядок осуществления входного контроля этих материалов и ответственных за его осуществление;

- требования к поверхностям, подлежащим подготовке и подготовленным к оклейке обоями;

- состав и последовательность выполнения технологических операции по подготовке поверхностей оснований к оклейке;

- состав и последовательность выполнения технологических операций при оклейке обоями;

- методы контроля качества подготовленных оснований и оклеенных поверхностей, периодичность контроля и участие в контроле лабораторных и других служб предприятия и сторонних организаций (по договору).

Оклейка поверхностей должна выполняться готовыми к применению обойными материалами промышленного или централизованного приготовления. При небольших площадях оклеиваемых поверхностей допускается приготовление материалов на строительной площадке.

Материалы, применяемые для оклейки поверхностей, должны проходить входной контроль на соответствие их требованиям государственных стандартов или технических условий:

при поступлении на склад, базу (участок) производственно-технологической комплектации;

на складе - при нарушении целостности упаковки или маркировки, при несоответствии условий хранения требованиям нормативной документации, по истечении гарантийного срока хранения;

на строительной площадке - на соответствие требованиям проекта; при нарушении целостности упаковки или маркировки, при несоответствии условий хранения требованиям нормативной документации, при возникновении сомнений в качестве поступивших обойных материалов и составов.

Обойные материалы централизованного приготовления должны иметь этикетки, маркировку и документы о качестве установленного образца и проходить входной контроль на строительной площадке на соответствие требованиям проекта и нормативной документации.

Объем входного контроля, его периодичность, участие в нем тех или иных служб должны быть регламентированы в технологической карте на подготовку строительных конструкций к оклейке и на производство обойных работ.

ПОДГОТОВКА ПОВЕРХНОСТЕЙ

Поверхности строительных конструкций и места их сопряжений (углы, примыкания, стыки), подлежащие подготовке к оклейке, должны быть приняты по акту освидетельствования скрытых работ после проверки соответствия их требованиям нормативной документации. Эти поверхности не должны иметь сверхнормативных отклонений от проектного положения и сверхдопустимых дефектов внешнего вида.

Предельные отклонения от вертикали поверхностей и углов смонтированных панелей несущих стен и объемных блоков не должны превышать 10 мм, крупных блоков несущих стен перегородок, навесных стеновых панелей - 12 мм. Поверхности панелей и других изделий индустриального изготовления должны удовлетворять требованиям ГОСТ 13015.0-83*, стандартов и технических условий на соответствующие изделия.

Допускаемые неровности оштукатуренной поверхности и поверхности, облицованной гипсокартонными и другими листами и панелями, и отклонения их от вертикали и горизонтали приведены в нижеследующей таблице.

Технические требования

Предельные отклонения

Оштукатуренные поверхности:

 

отклонения от вертикали (мм на 1 м):

 

3 - при простой штукатурке

Не более 15 мм на всю высоту помещения

2 - то же, улучшенной

Не более 10 мм на всю высоту помещения

1 - то же, высококачественной

Не более 5 мм на всю высоту помещения

неровности поверхностей плавного очертания (на 4 м2):

 

при простой штукатурке - не более 3, глубиной (высотой) до 5 мм

-

то же, улучшенной - не более 2, глубиной (высотой) до 3 мм

-

то же, высококачественной - не более 2, глубиной (высотой) до 2 мм

-

отклонения по горизонтали (мм на 1 м) не должны превышать, мм:

-

3 - при простой штукатурке

 

2 - то же, улучшенной

 

1 - то же, высококачественной

 

отклонения оконных и дверных откосов, пилястр, столбов, лузг и т.п. от вертикали и горизонтали (мм на 1 м) не должны превышать, мм:

 

4 - при простой штукатурке

До 10 мм на весь элемент

2 - то же, улучшенной

До 5 мм на весь элемент

1 - то же, высококачественной

До 3 мм на весь элемент

отклонения радиуса криволинейных поверхностей, проверяемого лекалом, от проектной величины (на весь элемент) не должны превышать, мм:

-

10 - при простой штукатурке

7 - то же, улучшенной

5 - то же, высококачественной

отклонения ширины откоса от проектной не должны превышать, мм:

-

5 - при простой штукатурке

3 - то же, улучшенной

2 - то же, высококачественной

отклонения тяг от прямой линии в пределах между углами пересечения тяг и раскреповки не должны превышать, мм:

-

6 - при простой штукатурке

3 - то же, улучшенной

2 - то же, высококачественной

Поверхности, облицованные гипсокартонными листами:

 

отклонения от вертикали - 1 мм на 1 м

Не более 5 мм на всю высоту помещения

неровности поверхностей плавного очертания ( на 4 м2) - не более 2, глубиной (высотой) до 2 мм

-

отклонения по горизонтали не должны превышать - 1 мм на 1 м

 

отклонения оконных и дверных откосов, пилястр, столбов, лузг и т.п. от вертикали и горизонтали (мм на 1 м) не должны превышать - 1 мм на 1 м

До 3 мм на весь элемент

отклонения радиуса криволинейных поверхностей, проверяемого лекалом, от проектной величины (на весь элемент) не должны превышать - 5 мм

-

отклонения ширины откоса от проектной не должны превышать - 2 мм

-

отклонения тяг от прямой линии в пределах между углами пересечения тяг и раскреповки не должны превышать - 2 мм

-

провесы в стыках не должны превышать - 1 мм

-

поверхности не должны быть зыбкими - при легком простукивании деревянным молотком в стыках не должны появляться трещины

-

Поверхности, облицованные листами, плитами и панелями:

 

отклонения всего поля отделки по вертикали, горизонтали и диагонали от проектной не должны превышать - 1,5 мм на 1 м

-

максимальные уступы между плитами, листами и панелями - 2 мм

-

трещины, царапины, пятна и т.п. - не допускаются

-

поверхности не должны быть зыбкими - при легком простукивании деревянным молотком не должно наблюдаться коробления изделий, разрушения их кромок и смещения листов

-

Допускаемая влажность бетонных, оштукатуренных или прошпаклеванных поверхностей при оклейке обоями не должна превышать 8 %.

Способы подготовки поверхности под оклейку должны быть определены в ППР и технологической карте на подготовку поверхности и производство обойных работ. Они должны быть определены в зависимости от вида основания (по монолитной штукатурке и бетону; по гипсокартонным и другим листам; по дереву) и вида обоев.

Во всех случаях при подготовке поверхностей к оклейке обоями должны выполняться следующие технологические операции:

- очистка поверхности;

- огрунтовка очищенной поверхности;

- заполнение трещин и раковин;

- очистка и обеспыливание.

Очистку - удаление пыли, набела, следов краски, высолов, брызг раствора с поверхностей - производят стальным шпателем, стальным скребком на длинной ручке, стальными щетками, маховыми кистями, пылесосом, компрессором. При большом объеме работ зачистку производят затирочно-шлифовальными машинами. Шероховатые поверхности тщательно сглаживают с помощью шарнирной терки, шлифовальной шкурки. После очистки загрязненные места должны быть промыты и просушены.

Жировые и масляные пятна смывают 5 %ым раствором три-натрий фосфата или кальцинированной соды, разводя их в воде с температурой 30 ÷ 40 °С, используя при этом ветошь, щетку или кисть (или другим способом, предусмотренным технологической картой). После истечения 0,5 ÷ 1 ч поверхность нейтрализуют 5 %-ным раствором соляной кислоты. Масляные пятна могут также удаляться пастой из жженой магнезии, затворенной бензином, толуолом, бензолом или другими растворителями, а высолы - металлическими щетками с обработкой поверхности слабым раствором соляной кислоты и последующей промывкой чистой водой и высушиванием. Повторно выступившие высолы следует смести без последующей промывки.

      Обеспыливание поверхностей следует производить перед нанесением каждого слоя огрунтовочных составов.

        Выполнение отделочных покрытий по основаниям, имеющим ржавчину, высолы, жировые и битумные пятна, не допускается.

На следующем подготовительном этапе выполняют предусмотренную технологической картой огрунтовку поверхностей жидкими клеевыми и другими составами, наносимыми перед шпатлевкой сплошным ровным слоем.

      Клеевой состав при огрунтовке поверхности под обои должен наноситься сплошным равномерным слоем, без пропусков и потеков, и выдерживаться до начала загустения. Дополнительный слой клеящей прослойки следует наносить по периметру оконных и дверных проемов, по контуру и в углах отделываемой поверхности полосой шириной 75 ÷ 80 мм в момент начала загустевания основного слоя.

До начала огрунтовки поверхность очищают от пыли.

Отдельные трещины на поверхности конструкций должны быть расшиты, заполнены шпаклевками на глубину не менее 2 мм, а раковины и неровности - заполнены и сглажены.

Число шпаклевочных операций зависит от шероховатости поверхности.

Зашпаклеванные поверхности конструкций должны быть зачищены и отшлифованы механизированным способом при помощи шлифовальной бумаги и очищены от пыли.

Большое количество микротрещин, царапин и неровностей можно удалить шпаклевкой всей поверхности. Сплошное шпатлевание всей поверхности предусматривается также при подготовке поверхностей под оклейку синтетическими рулонными материалами. В этом случае подготовленные поверхности должны отвечать требованиям, предъявляемым к качеству подготовки поверхности под улучшенную масляную окраску.

Гипсокартонные листы в перегородках и облицовках образуют стык из утоненных, облицованных картоном кромок, а также стыки из обрезанных кромок, обработанных с образованием фасок под углом 45° или 22,5°.

Шов между гипсокартонными листами с утоненными кромками и обрезанными кромками с фаской 45° формируется с помощью армирующей ленты следующим образом:

- на стык наносится шпателем слой шпаклевки; слой шпаклевки для шва с кромками 45° должен быть более широким, т.к. в месте укладки армирующей ленты возможно небольшое утолщение; для шва с утоненными кромками перед шпатлеванием должны быть подвернуты выступающие шурупы;

Контролируемые операции

Состав и средства контроля

Документация

Подготовительные работы

Проверить:

- завершение и надлежащее оформление предшествующих монтажных и отделочных работ (наличие актов приемки и актов освидетельствования скрытых работ, геодезических исполнительных схем и другой приемосдаточной документации);

Акт приемки, акты освидетельствования скрытых работ, исполнительные схемы

- наличие ППР, технологических карт и схем операционного контроля качества обойных работ;

ППР, технологические карты, СОКК

- наличие документов о качестве на поступившие на строительную площадку обойные материалы, соответствие их требованиям проекта и нормативных документов;

Документы о качестве, акты лабораторных испытаний

- соблюдение заданной технологии подготовки поверхностей под оклейку обоями (в т.ч. температурно-влажностный режим в отделываемых помещениях (в зимнее время);

- соответствие качества подготовленных поверхностей оснований требованиям проекта и нормативных документов;

Общий журнал работ

Производство обойных работ

Контролировать:

- соблюдение заданной ППР технологии выполнения обойных работ;

- соответствие качества готовых обойных покрытий требованиям проекта и нормативных документов.

Общий журнал работ

Приёмка

Проверить:

- соответствие качества выполненных обойных работ и готовых покрытий требованиям проекта и нормативных документов;

- составление и надлежащее оформление приемо-сдаточной исполнительной документации.

Акт приемки

ВХОДНОЙ И ОПЕРАЦИОННЫЙ КОНТРОЛЬ осуществляют:

мастер (прораб), лаборант (инженер) - в процессе производства работ.

ПРИЁМОЧНЫЙ КОНТРОЛЬ ОСУЩЕСТВЛЯЮТ:

прораб (мастер), представители технадзора заказчика.

КИП - двухметровая рейка, металлическая линейка, отвес, уровень, лабораторные приборы и оборудование.

- на шпаклевку укладывается армирующая лента и плотно вдавливается шпателем в слой шпаклевки; операция должна производится сразу после нанесения шпаклевки, до начала процесса ее схватывания;

- широким шпателем (200 ÷ 300 мм) поверх армирующей ленты наносится накрывочный, выравнивающий слой шпаклевки.

При нанесении первого и второго слоя шпаклевочная масса не должна оседать, выступая из шва.

Стыки с кромками, обработанными под углом 22,5°, шпатлюются в один проход. Также, в один проход, может шпаклеваться стык с утоненной полукруглой кромкой гипсокартонных листов.

После того, как шов просохнет, его обрабатывают при помощи затирки, не повреждая облицовочный картон, и удаляют пыль.

Внешние углы, образованные гипсокартонными листами, требующие дополнительной защиты, укрепляются металлическим перфорированным уголком. Уголок вдавливается в предварительно нанесенную шпаклевку, а затем покрывается выравнивающим слоем шпаклевки. Внутренние углы шпатлюются с применением армирующей ленты, согнутой под угол.

Перед наклейкой обоев поверхность гипсокартонных листов и швов должна быть обработана грунтовкой, которая наносится щеткой или кистью. СП «ТИГИ KNAUF» рекомендует для этой цели грунтовку «Тифенгруд», которую следует наносить только щеткой или кистью.

Оклейка обоями должна производиться по хорошо высохшему грунтовому слою.

При монтаже перегородок и облицовок с применением гипсоволокнистых листов рекомендуется использовать листы только с прямыми кромками. Листы устанавливаются не вплотную, а с зазором, равным половине толщины листа. Фаски под шпаклевку не снимаются. Шов между листами формируется следующим образом:

- в зазор, образованный состыкованными листами, при помощи шпателя укладывается заподлицо с поверхностью обшивки шпаклевка; одновременно зашпаклевываются места установки шурупов; затем убираются излишки шпаклевки;

- после высыхания шпаклевки производится окончательное шпатлевание;

- производится затирка мест укладки шпаклевки с целью удаления неровностей и выступов;

- места укладки шпаклевки после затирки покрываются грунтовкой. Грунтование всей поверхности листов производится только в случае необходимости, т.к. поверхность гипсоволокнистых листов при их производстве обрабатывается специальным укрепляющим составом.

Внешние углы, для которых существует опасность механического повреждения, укрепляются металлическим угловым профилем, который накрывается выравнивающим слоем шпаклевки.

      Шпатлевочное покрытие после высыхания должно быть ровным, без пузырьков, трещин и механических включений (контроль - технический осмотр, не менее трех пробных вышпатлевок на партию, регистрация в журнале работ).

      Время высыхания шпатлевок должно быть не более 24 ч, прочность сцепления, МПа: через 24 ч - не менее 0,1; через 72 ч - не менее 0,2; (контроль - измерительный, периодический, не менее 5 измерений на 50 ÷ 70 м2 поверхности покрытия, регистрация в журнале работ); жизнеспособность шпатлевки должна быть не менее 20 мин (технический осмотр, не менее трех пробных вышпатлевок на партию, регистрация в журнале работ).

      Допускаемая толщина слоев шпаклевки - 0,5 мм (предельные отклонения - 1,5 мм) (контроль - измерительный, не менее 5 измерений на 50 ÷ 70 м2 поверхности покрытия или в одном помещении меньшего размера, после визуального осмотра, регистрация в журнале работ);

      Шпатлевку из малоусадочных составов с полимерными добавками необходимо разравнивать сразу после нанесения со шлифованием отдельных участков; при нанесении других видов шпатлевочных составов поверхность шпатлевки следует отшлифовывать после ее высыхания.

Шлифование высохшей шпатлевки выполняют вручную пемзой или наждачной шкуркой или механизировано шлифовально-затирочными машинами. Эту операцию проводят после каждого подмазывания и шпатлевания.

Шлифуют поверхность после полного просыхания покрытия. Поверхности, подлежащие шлифованию, должны быть тщательно заделаны подмазочной пастой и прошпатлеваны шпатлевкой. Шлифование производят до полного сглаживания, чтобы не было шероховатостей и наплывов.

На отделанной поверхности после шлифования не должно оставаться царапин или следов от песчинок, попавших под шлифующий инструмент или машину.

После шлифования поверхности очищают от пыли, обметая их волосяной щеткой, кистью, обдувая струей сжатого воздуха или пылесосом.

     При оклейке обоями качество подготовленных оснований должно удовлетворять следующим требованиям:

- поверхности оснований при оклейке обоями должны быть сглаженными, без шероховатости;

- поверхностные трещины должны быть раскрыты, огрунтованы, заполнены шпатлевкой на глубину не менее 2 мм и отшлифованы;

- раковины и неровности огрунтованы, прошпатлеваны и сглажены;

- отслоения, потеки раствора, следы обработки затирочными машинами удалены;

- швы между гипсокартонными листами и участки, примыкающие к ним, огрунтованы, прошпатлеваны, отшлифованы заподлицо с поверхностью или обработаны растами (в соответствии с проектом).

При оклейке поверхностей обоями должна быть закончена окраска потолков и выполнены другие малярные работы.

Поверхности всех крепежных приборов, располагаемых под картоном, бумагой или непосредственно под обоями, должны быть покрыты антикоррозионным составом.

ПРОИЗВОДСТВО ОБОЙНЫХ РАБОТ

Вид и цвет обоев для оклейки поверхностей строительных конструкций должен соответствовать указанным в проекте или согласованным с заказчиком.

      Клеевой состав при огрунтовке поверхности под обои должен наноситься сплошным равномерным слоем, без пропусков и потеков, и выдерживаться до начала загустения. Дополнительный слой клеящей прослойки следует наносить по периметру оконных и дверных проемов, по контуру и в углах отделываемой поверхности полосой шириной 75 ÷ 80 мм в момент начала загустевания основного слоя.

        При оклеивании оснований бумагой отдельными полосами или листами расстояние между ними должно быть 10 ÷ 12 мм.

        Приклейку полотнищ бумажных обоев следует выполнять после их набухания и пропитки клеевым составом.

        Обои поверхностной плотностью до 100 г/м2 необходимо наклеивать внахлестку, 100 ÷ 120 г/м2 и более - впритык.

        При стыковании полотнищ внахлестку оклейку поверхностей обоями необходимо производить в направлении от световых проемов без устройства стыков вертикальных рядов полотнищ на пересечениях плоскостей.

        При оклейке поверхностей синтетическими обоями на бумажной или тканевой основе углы стен необходимо оклеивать целым полотнищем. Пятна клея на их поверхности необходимо удалять немедленно.

Вертикальные кромки смежных полотнищ пленок на тканевой основе должны при наклейке перекрывать по ширине предыдущее полотнище с нахлесткой 3 ÷ 4 мм. Обрезку перекрывающихся кромок следует производить после полного высыхания клеевой прослойки, и после извлечения кромки дополнительно нанести клей в местах приклейки кромок смежных полотнищ.

        При наклейке ворсовых обоев полотнища при приклейке следует приглаживать в одном направлении.

        При оклейке поверхностей обоями не допускается образование воздушных пузырей, пятен и других загрязнений, а также доклеек и отслоений.

        При производстве обойных работ помещения до полной просушки обоев необходимо предохранять от сквозняков и прямого воздействия солнечных лучей с установлением постоянного влажностного режима. Температура воздуха при сушке наклеенных обоев не должна превышать 23 °С.

Краткая инструкция по наклейке рулонного декоративного отделочного материала на бумажной основе (бумажных обоев по ГОСТ 6810-86*):

перед обрезкой кромок обои проверяют по оттенку, при этом бандероли на отобранных рулонах должны быть напечатаны краской одного цвета;

обои наклеивают на сухую, предварительно оклеенную бумагой, стену клеем для обоев (в соответствии с инструкцией по его применению), реализуемым через торговую сеть. Клей, подготовленный к употреблению, наносят на обои чистой щеткой, равномерным тонким слоем, не допуская размокания обоев и попадания клея на лицевую сторону. Обои на стене разглаживают сухой чистой тряпкой или щеткой.

Соответствие готовых обойных покрытий требованиям проекта и нормативных документов выявляется в процессе сплошного визуального осмотра покрытий, проведения необходимых инструментальных измерений и лабораторных испытаний, рассмотрения приемосдаточной документации, и оформляется актом приемки.

Технические требования, предъявляемые к готовым обойным покрытиям, приведены ниже.

Технические требования

Контроль (метод, объем, вид регистрации)

При оклейке обоями поверхности должны быть выполнены:

с кромками нахлесток полотнищ, обращенных к световым проемам, без теней от них (при наклейке внахлестку);

из полотнищ одинакового цвета и оттенков;

с точной пригонкой рисунка на стыках.

Отступление кромок должны быть не более 0,5 мм (незаметными с расстояния 3 м); воздушные пузыри, пятна, пропуски, доклейки и отслоения, а в местах примыкания к откосам проемов перекосы, морщины, заклейки обоями плинтусов, наличников, розеток, выключателей и т.п. не допускаются.

Технический осмотр, акт приемки

 

 




ГОСТЫ, СТРОИТЕЛЬНЫЕ и ТЕХНИЧЕСКИЕ НОРМАТИВЫ.
Некоммерческая онлайн система, содержащая все Российские Госты, национальные Стандарты и нормативы.
В Системе содержится более 150000 файлов нормативно-технической документации, действующей на территории РФ.
Система предназначена для широкого круга инженерно-технических специалистов.

Рейтинг@Mail.ru Яндекс цитирования

Copyright © www.gostrf.com, 2008 - 2026