|
|
|
СТАНДАРТ ПРЕДПРИЯТИЯ Проектная документация СПЕЦИАЛЬНЫЕ ВСПОМОГАТЕЛЬНЫЕ Нормы и правила проектирования ОАО «Институт Гипростроймост» Москва 1999 Предисловие1. Разработан ОАО «Институт Гипростроймост» 2. Утвержден и введен в действие Приказом генерального директора ОАО «Институт Гипростроймост» № 28 oт 10.03.1999 г. 3. Настоящий стандарт представляет собой переработанную «Инструкцию по проектированию вспомогательных сооружений и устройств для строительства мостов» (ВСН 136-78 Минтрансстроя) с изменениями и дополнениями № 1 1984 г. к инструкции. 4. Введен впервые. СодержаниеВведение.Необходимость разработки настоящего стандарта вызвана теми изменениями, которые произошли в системе нормативных документов для строительства, а также в административно-правовой структуре системы организаций, связанных с проектированием строительства мостов, за период времени от введения в действия ВСН 136-78 до введении в действие настоящего стандарта. При разработке стандарта за основу принято содержание Инструкции ВСН 136-78 и "Изменений и дополнений № 1" к ней, утвержденных Главным техническим управлением Мннтрансстроя 10.01.84 г., сведенные в единый текст с минимальными изменениями редакционного характера (Раздел "Противоналедные устройства и лежневые дороги" в стандарт не вошел). Содержание откорректировано в соответствии с действующими на момент выпуска стандарта соответствующими федеральными документами по строительству (СНиП и ГОСТ), перечисленными в приложениях 1 и 27. При корректировке учтены также замечания и предложения организаций, полученные на предварительных стадиях подготовки документа и при разработке окончательной его редакции (ЦНИИС, Союздорпроект, Мостострой-6, Главмостострой). Все технические величины в формулах и таблицах приведены в соответствие с системой единиц СИ с сохранением в скобках их прежних значений. Наименование и обозначение документа принято в соответствии со СНиП 10-01-94 и ГОСТ Р 1.4-93. Построение, изложение и оформление стандарта выполнено в соответствии с ГОСТ Р 1.5-92. 4. ОБЩИЕ ПОЛОЖЕНИЯ.4.1. Настоящий стандарт рассматривает общие вопросы проектирования СВСиУ в целом и особенности проектирования отдельных их видов (согласно приложению 3), являясь в этой части дополнительным документом по отношению к СНиП 2.05.03-84* и СНиП 3.06.04-91 Стандарт также содержит указания и определяет порядок применения положений и других глав СНиП, перечисленных в приложении 27, по вопросам, составляющим предмет настоящего стандарта. 4.2. Проектирование СВСиУ должно выполняться на всех стадиях разработки проектной документации основного сооружения, предусмотренных СНиП 11-01-95. 4.3. На стадии проекта в разделе «Организация строительства» определяется состав специальных сооружений и устройств, применяемые в них материалы и конструкции, разрабатываются варианты конструктивных решений СВСиУ и их обоснование в увязке с проектом мостового сооружения и принятой технологией его строительства 4.4. Рабочую документацию СВСиУ разрабатывают на основе утвержденного проекта (утверждаемой части рабочего проекта) в соответствии с заданием на проектирование и в увязке с технологическими решениями производства работ. 4.5. Основные конструкции моста на тех же стадиях проектирования должны проверяться расчетом по нормам СНиП 2.05.03-84* для всех этапов монтажа на действие строительных нагрузок, возникающих при совместной работе основных конструкций сооружения и проектируемых СВСиУ. 4.6. Рабочая документация СВСиУ должна содержать: а) рабочие чертежи конструкций в объеме, достаточном для изготовления этих конструкций с указанием требований по качеству и применяемых материалов и изделий; б) технические требования к изготовлению конструкций; в) указания о порядке загружения, испытания и эксплуатации с учетом климатических условий места строительства; г) расчеты (расчетные листы), а в случаях, когда они не включаются в состав документации, выдаваемой заказчику, указываются основные расчетные характеристики конструкций (расчетные нагрузки, расчетные схемы, несущая способность, величина воздействия на основные конструкции, работающие совместно с СВСиУ и т.п.); д) технические решения по обеспечению безопасности работающих в соответствии с требованиями СНиП III-4-80*; е) указания и мероприятия по обеспечению требований охраны окружающей среды на период возведения, эксплуатации и демонтажа данного вида СВСиУ. 4.7. СВСиУ, находящиеся в пределах судоходных участков мостового перехода, помимо установки сигнальных знаков, должны быть обеспечены от навала обращающихся в период строительства судов путем создания необходимых условий провода судов в створе моста. Эти мероприятия должны быть согласованы с органами эксплуатации речного флота. В особых случаях, при наличии соответствующих указаний, в проекте следует предусмотреть установку специальных защитных ограждений или расчет вспомогательного сооружения на навал судна. 4.8. Заглубление оснований шпунтовых ограждений, перемычек и других подводных сооружений должно назначаться с учетом размыва грунта при принятом рабочем уровне воды. 4.9. Как правило, СВСиУ должны выполняться из инвентарных конструкций заводского изготовления (приложения 4-8). Применение индивидуальных конструкции, в том числе деревянных, допускается при соответствующем обосновании. Конструкция СВСиУ должна отвечать требованиям максимально скоростного строительства, быть технологичной в изготовлении, монтаже и демонтаже, обеспечивать удобство и безопасность эксплуатации. 5. ГАБАРИТЫ.5.1. Габариты приближения конструкций проектируемых сооружений должны удовлетворять требованиям: на железных дорогах - ГОСТ 9238; на автомобильных дорогах общего пользования, внутрихозяйственных автомобильных дорогах, в сельскохозяйственных предприятиях и организациях, на дорогах промышленных предприятий, а также на улицах и дорогах в городах, поселках и сельских населенных пунктах - в соответствии со СНиП 2.05.03-84*, СНиП 2.05.02-85 и СНиП 2.07.01-89. 5.2. Подмостовые габариты в просветах подмостей в пределах судового и сплавного фарватеров устанавливаются в зависимости от характера судоходства в период строительства и класса водного пути с учетом требований ГОСТ 26775 и в каждом случае подлежат согласованию с местными органами речного флота. 5.3. На водотоках возвышение конструкций СВСиУ и величины просветов между опорами следует устанавливать проектом в зависимости от местных условий с учетом следующих требований: а) за рабочий уровень воды в проекте принимается наивысший возможный в период производства данного вида работ сезонный уровень воды, соответствующий расчетному расходу вероятностью превышения 10 %. При этом должны учитываться также возможные превышения уровня от воздействия нагонных ветров и стеснения русла. На реках с регулируемым стоком рабочий уровень назначается на основе данных организаций, регулирующих сток. Допускается принимать рабочий уровень воды вероятностью превышения до 30 % при соответствующем технико-экономическом обосновании (когда возможный ущерб от затопления меньше полученного эффекта или предусматривается усиление сооружения в период паводка и т.п.); при этом проектом производства работ должны быть разработаны меры по обеспечению пропуска льда и высокой воды. При проектировании причалов и плавучих опор, предназначенных для перевозки пролетных строений, надлежит учитывать также наинизший возможный в период перевозки уровень воды вероятностью понижения 10%; б) верх шпунтовых ограждений, бездонных ящиков, грунтовых перемычек должен возвышаться над рабочим уровнем и над уровнем грунтовых вод не менее, чем на 0,7 м; островки для опускания колодцев и кессонов должны возвышаться над рабочим уровнем не менее чем на 0,5 м; в) возвышение низа пролетных строений рабочих мостиков, подкрановых эстакад, подмостей на несудоходных и несплавных реках, а также в несудоходных пролетах судоходных рек должно быть не менее 0,7 м над рабочим уровнем. Разрешается уменьшать величины возвышения при непродолжительном стоянии высоких уровней, допустимости временного затопления конструкций СВСиУ, возможности их кратковременного снятия; г) на переходах с карчеходом, селями не рекомендуется устраивать вспомогательные сооружения в пролетах между капитальными опорами. При необходимости их устройства расстояние между опорами подмостей в свету должно быть не менее 10 м и они должны устраиваться в период наименьшей вероятности появления опасных воздействий. На водотоках с карчеходами и селевыми потоками возвышение низа конструкций пролетных строений подкрановых эстакад, рабочих мостиков, сборочных подмостей и т.п. над рабочим уровнем должно быть не менее 1,0 м. На переходах с наледями следует избегать устройства промежуточных опор в пределах возможной наледи. Низ конструкции пролетных строений должен возвышаться на 0,5 м над рабочим уровнем, соответствующим высоте - ΔНр, где ΔНр - расчетная мощность наледи. 6. УКАЗАНИЯ ПО РАСЧЕТУ КОНСТРУКЦИЙ И ОСНОВАНИЙ.6.1. Конструкции СВСиУи их основания должны быть рассчитаны по методу предельных состояний на силовые и другие воздействия. Основные положения по расчету принимаются в соответствии с ГОСТ 27751 и СТ СЭВ 384. 6.2. Кроме расчетов на силовые воздействия в необходимых случаях должны быть выполнены и другие, обосновывающие принимаемые конструктивные и технологические решения, расчеты, например: тяговых усилий для перемещения конструкций, теплотехнические расчеты опалубок при зимнем бетонировании, фильтрационные расчеты ограждений котлованов, расчеты размывов у оснований вспомогательных опор и шпунтовых ограждений, электротехнические расчеты заземления монтируемых конструкций и вспомогательных сооружений и т.п. 6.3. Расчетная схема конструкции СВСиУ должна соответствовать ее проектной геометрической схеме с учетом конструктивных решений для каждого этапа производства работ и порядка загруження конструкций. Строительный подъем и деформации под нагрузкой при назначении расчетной схемы не учитываются. Определение усилий в элементах конструкций производится в предположении упругой работы материала. При этом допускается пространственную конструкцию расчленять на отдельные плоские системы. В необходимых случаях учитывается взаимное влияние плоскостных систем в металлических конструкциях. 6.4. Расчет конструкций вспомогательных сооружений и их оснований по первой группе предельных состояний производится на расчетные нагрузки, по второй группе предельных состояний - на нормативные нагрузки и воздействия. Расчет СВСиУ на выносливость не производится. Указания по назначению коэффициентов и их величин для применения в расчетах конструкций СВСиУ приведены в разделе 7. 6.5. Нагрузки должны приниматься при расчетах в наиболее неблагоприятных, возможных на отдельных этапах производства работ, положениях и сочетаниях как для отдельных элементов и конструкций вспомогательных сооружений, их оснований, так и в целом. Положения и сочетания нагрузок должны устанавливаться при проектировании с учетом рекомендаций, приведенных в соответствующих разделах. 6.6. Величины напряжений (деформаций), определяемые в элементах конструкций при расчетах вспомогательных сооружений на различных стадиях их эксплуатации, не должны превышать расчетных сопротивлений материалов (предельных деформаций), установленных в нормах на проектирование соответствующих конструкций с учетом указаний разделов 8-38. 6.7. Проектирование вспомогательных элементов, работающих на стадии монтажа совместно с основной конструкцией (соединительные элементы между пролетными строениями, аванбеки, шпренгелн, приемные консоли, обстройки постоянных опор, анкеровка пролетных строений на постоянных опорах), следует производить по нормам главы СНиП 2.05.03-84*. 6.8. Устойчивость конструкций против опрокидывания следует рассчитывать по формуле
где Мu - расчетный момент опрокидывающих сил относительно оси возможного поворота (опрокидывания) конструкции, проходящей по крайним точкам опирания; Мz - расчетный момент удерживающих сил относительно той же оси; m - коэффициент условий работы, принимаемый равным для конструкций, опирающихся на отдельные опоры - 0,95; для массивных опор, ряжей и клеток - 0,9; для шпунтовых стенок - согласно разд. 17; γn - коэффициент надежности по назначению, принимаемый равным 1.1. Все опрокидывающие силы принимают с коэффициентом надежности по нагрузке γf > 1. Все удерживающие силы принимают с γf < 1. В соответствующих случаях необходимо учитывать уменьшение веса конструкций вследствие взвешивающего действия воды. При расчете устойчивости конструкций, имеющих анкер, удерживающий момент определяется с учетом расчетной несушей способности анкера. 6.9. Устойчивость конструкций против сдвига (скольжения) следует рассчитывать по формуле:
где Qr - расчетная сдвигающая сила, равная сумме проекций сдвигающих сил на направление возможного сдвига (скольжения); Qz - расчетная удерживающая сила, равная сумме проекций удерживающих сил на направление возможного сдвига; m - коэффициент условий работы, принимаемый равным 0.9; γn - коэффициент надежности но назначению, принимаемый равным 1.1. Все сдвигающие силы принимаются с коэффициентами надежности по нагрузке γf > 1. Все удерживающие силы принимаются с γf < 1. Примечания. 1. В качестве удерживающей горизонтальной силы, создаваемой грунтом, следует принимать его активное давление. 2. Силы трения в основании следует определять по минимальным значения коэффициентов трения подошвы фундамента по грунту. 3. При расчете на сдвиг конструкций, закрепленных грунтовыми якорями или упорами, удерживающая сила определяется с учетом расчетной несущей способности грунтового якоря или упора. 6.10. В сооружениях с монтажными соединениями на обычных (не высокопрочных) болтах грубой и нормальной точности деформации определяются путем увеличения расчетных величин на 30%. В конструкциях с растянутыми фланцевыми стыками дополнительно учитываются деформации стыка. Величины остаточных деформаций (на одно пересечение) следует принимать в местах примыкания, мм: дерева к дереву - 2 дерева к металлу и бетону - 1 металла к бетону - 0.5 металла к металлу, в т.ч. в сжатых фланцевых стыках - 0.2 Осадку плотно подбитых лежней следует принимать равной 10 мм, осадку песочниц, заполненных песком - 5 мм. 7. НАГРУЗКИ И ВОЗДЕЙСТВИЯ.7.1. Конструкции СВСиУ следует рассчитывать на воздействие нагрузок, приведенных в табл.7.1. Сейсмические воздействия на СВСиУ в проектной документации не учитываются.
7.2. Нормативные значения нагрузок определяются согласно указаниям п.п. 7.5 - 7.30. Расчетное значение нагрузки следует определять как произведение ее нормативного значения на коэффициент надежности по нагрузке γf, значения которого приведены в табл. 7.1. Указанные в таблице коэффициенты надежности по нагрузке γf по каждой строке принимаются одинаковыми в пределах целой части сооружения (пролетного строения, подмостей, пирсов, промежуточных опор, призм обрушения и т.п.) за исключением расчета на устойчивость положения конструкции. В этом случае коэффициенты надежности по нагрузке принимаются но табл. 7.1 с учетом указаний п.п. 6.8 и 6.9. 7.3. Выбор значений коэффициента надежности по назначению γn производится генеральным проектировщиком по согласованию с заказчиком. Во всех случаях значение γn при расчетах конструкции СВСиУ должно приниматься не ниже 0.9, а для СВСиУ, работающих на стадии монтажа совместно с основной конструкцией принимается не ниже значений, принятых для этой конструкции. 7.4. Значения коэффициентов динамики - 1 + μ; условий работы - m; сочетаний нагрузок - η при расчетах конструкций различных видов СВСиУ принимаются согласно указаниям разделов 12-38. А. ПОСТОЯННЫЕ НАГРУЗКИ.7.5. Вертикальную нагрузку от собственного веса конструкций вспомогательных сооружений (1) следует определять по проектным объемам элементов и частей конструкции (включая водный балласт плашкоутов) и нормативным значениям плотности материалов, приведенным в приложении 9. Распределение нагрузки от собственного веса в рассчитываемых конструкциях принимается: а) в настилах, поперечинах, прогонах, насадках, балочных и кружальных фермах, коробах опалубки и т.п. линейных элементах - равномерным по длине конструкции, если действительная неравномерность не превышает 10 % средней величины; б) в стойках подмостей, пирсов, опор, подкрановых эстакад и т.п. поддерживающих конструкциях - равномерным между всеми стойками рамы или опоры; в) в прочих конструкциях - по фактическому весу отдельных ее частей. Вес сварных швов допускается принимать в процентах к общему весу металла: для болтосварных конструкций - 1 % для сварных конструкций - 2 % Вес выступающих частей высокопрочных болтов с гайками и двумя шайбами - 4 % 7.6. Давление от веса грунта (2), кПа (тс/м2), определяется: а) вертикальное давление - по формуле:
где γ - нормативный удельный вес грунта, кН/м3 (тс/м3) h - толщина слоя грунта, м б) горизонтальное (боковое) давление грунта на ограждения котлованов и подпорные стенки временного типа определяются согласно указаниям глав СНиП 2.06.07-87 и СНиН 2.09.03-85 (раздел 2, подпорные стенки). Допускается также использовать для этой цели рекомендации приложения 10. Нормативные значения характеристик грунтов: объемного веса - γ, кН/м3 (тс/м3) удельного сцепления - с, кПа (кгс/см2) угол внутреннего трения - φ, град. принимаются по данным непосредственного испытания грунтов. Для предварительных расчетов допускается принимать указанные характеристики грунтов по данным приложения 11. 7.7. Гидростатическое давление воды (3) учитывается для частей сооружений и грунтов, расположенных ниже уровня поверхностных или грунтовых вод, путем уменьшения веса частей сооружений и введения в расчет бокового давления воды, а также давления воды на днища. Гидростатическое давление воды определяется по формуле, кПа (тс/м2):
где γ - удельный вес воды, кН/м3 (тс/м3) h - расчетная высота слоя воды, м. 7.8 Гидродинамическое давление воды (4) на подводную часть конструкций (плавсредства) определяется: а) от воздействия текущей воды - по формуле, Н (кгс):
где Nл - лобовое давление воды, Н (кгс), равное
Nт - сила трения воды по поверхности обтекаемого тела, Н (кгс), равная:
где V - для неподвижных конструкций средняя скорость течения воды, принимаемая по данным поплавковых наблюдений и измерений вертушкой в пределах горизонта погружения; для перемещающихся конструкций V - относительная скорость перемещения воды и плавающего тела, м/с. В случае, если подводная часть конструкции (плавсистемы) стесняет живое сечение более чем на 10 %, необходимо учитывать возрастание скорости водного потока; φо - коэффициент, учитывающий степени обтекаемости погруженного в воду тела, принимаемый для заостренных или закругленных в плане очертаний равным - 0.75, а для прямоугольных очертаний - 1.00; f - коэффициент, характеризующий трение воды по поверхности погруженного тела, Н с2/м4 (кгс с2/м4), принимаемый: для металлических поверхностей равным - 1.70 (0.17); для деревянных - 2.50 (0.25); для бетонных - 2.0 (0.20) F - подводная площадь по миделю (наиболее широкому) поперечному сечению, м2; S - площадь смоченной поверхности (поверхность трения воды), м2. Значения F и S принимаются равными: для плашкоутов и барж:
для бездонных ящиков, кессонов и т.п.:
где: t - осадка плашкоута или баржи, м; Н - глубина воды в месте опускания бездонного ящика или кессона, м; В - ширина плашкоута, баржи, бездонного ящика, кессона, м; L - длина плашкоута, баржи, бездонного ящика, кессона, м; При V ≥ 2 м/с следует учитывать возрастание уровня воды у сооружения:
где g - ускорение силы тяжести, м/с2. При наличии косины течения, когда продольная ось тела составляет с направлением струй угол, отличный от 00, лобовое давление воды должно исчисляться не по площади миделя, а по проекции погруженной в воду части плавучего тела на плоскость, нормальную к направлению течения. б) от воздействия волн: - для акваторий с большой высотой волны (озера, водохранилища) - в соответствии со СНиП 2.06.04-82*; - для прочих случаев давление воды на 1 п.м. ширины проекции, перпендикулярной направлению воды, может быть принято приближенно в размере: 0,30 кН/м (0,03 тс/м) - для рек шириной 300 - 500 м; 1,20 кН/м (0,12 тс/м) - для рек шириной 500 м и более. При строительстве на акваториях с большими высотами волн (oзеpa, водохранилища, широкие реки) должен производиться более точный расчет волнового давления в соответствии со СНиП 2.06.04-82* В соответствии с "Правилами плавания по внутренним водным путям" в зависимости от высоты волн степень волнения на озерах и водохранилищах оценивается по десятибальной шкале, приведенной в приложении 12. Б. ВРЕМЕННЫЕ ТЕХНОЛОГИЧЕСКИЕ НАГРУЗКИ7.9. Вес возводимых конструкций (5) определяется на основании проектных спецификации, объемов, приведенных в проекте конструкции, и нормативных удельных весов, заложенных в конструкции материалов. При реконструкции существующих мостов вес конструкций должен определяться с учетом их фактического состояния. Вес возводимых конструкций, передаваемый на вспомогательные сооружения (сборочные клетки, прогоны и т.п.), допускается принимать равномерно распределенным по длине, если фактические колебания его величины по длине не превышают 10 %. При наличии в расчетной схеме нескольких (более двух) прогонов, рядов сборочных клеток и т.п. в плоскости, поперечной к оси моста нагрузка от возводимых конструкций принимается равномерно распределенной в поперечном направлении, если крутильная жесткость возводимой конструкции равна или более крутильной жесткости вспомогательных сооружений. Вес устанавливаемых или укладываемых кранами на вспомогательные сооружения (подмости и т.п.) элементов и грузов учитывается с динамическим коэффициентом, равным 1,1. 7.10. Вес складируемых материалов и грузов (6) определяется по количеству и физическим характеристикам материалов и грузов, складируемых на рассматриваемой конструкции, согласно принимаемым проектным решениям. 7.11. Нормативная нагрузка от веса людей, инструмента и мелкого оборудования (7) учитывается согласно ГОСТ 24258 и табл. 7.2. Таблица 7.2
7.12. Вес монтажного (кранового, копрового и технологического оборудования) (8) принимается по паспортным данным и каталогам, а нестандартизированного оборудования - по проектной документации этого оборудования. Монтажное оборудование в расчетной схеме принимается в положении, вызывающем наибольшее силовое воздействие на рассчитываемую конструкцию. Нагрузки от веса строительно-монтажного оборудования в расчете конструкции принимаются с динамическим коэффициентом (1+μ), равным а) для веса наклоняющейся стрелы крана и подвешенного к ней груза весом до 200 кН (20 тс) - 1,2 то же при весе груза более 200 кН (20тс) - 1,1 б) для веса наклоняющейся стрелы копра - 1,2 в) для веса поднимаемой копровой лебедкой сваи - 1,4 г) для веса молота при подъеме - 1,3 При этом, если отсутствие груза на кране (копре) может оказать более неблагоприятное влияние, чем его наличие, воздействие крана (копра) в расчете принимается без груза. 7.13. Горизонтальные инерционные нагрузки от монтажного оборудования (9) вызываются различными причинами и подразделяются на следующие нагрузки и воздействия: 7.13.1. Нагрузка, вызванная торможением электрического крана (козлового, башенного) и направленная вдоль кранового пути. Нормативное значение нагрузки принимается но паспорту крана или в размере 0,1 полного нормативного значения вертикальной нагрузки на тормозные колеса рассматриваемой стороны крана, кН (тс) (СНиП 2.01.07-85*) Аналогично принимается продольная тормозная нагрузка для копров с электрическим приводом ходовой части. 7.13.2. Нагрузка, вызванная ударом крана о тупиковый упор и направленная вдоль оси пути, определяется согласно СНнП 2.01.07-85*. Эта нагрузка учитывается только при расчете упоров и их креплении к подкрановым конструкциям. 7.13.3. Нагрузка, вызванная торможением электрической крановой тележки (козлового крана) и направленная поперек кранового пути. Нормативное значение нагрузки принимается по паспорту крана или в размере 0,05 суммы подъемной силы крана и веса тележки, кН (тс). Нагрузка передается на одну нитку кранового пути, распределяется поровну между всеми колесами, опирающимися на нее и может быть направлена как внутрь, так и наружу колеи. 7.13.4. Нагрузка, вызванная перекосом ног козлового крана или непараллельностью крановых путей и направленная поперек кранового пути. Нормативное значение нагрузки принимается равным 0,12 нормативной вертикальной нагрузки на ведущие колеса, кН (тс). Горизонтальные нагрузки от торможения крана, торможения крановой тележки и перекоса ног считаются приложенными в месте контакта ходовых колес крана с рельсом и распределяется между колесами пропорционально вертикальному давлению на них. 7.13.5. Реактивный момент, возникающий при пуске и остановке двигателя поворота механизма (крана, копра, буровой машины) вычисляются по формулам:
где Nпов - мощность двигателя поворота в л.с. или
где Nпoв - мощность двигателя поворота в квт n - в обоих случаях число оборотов в минуту поворотной части механизма Крутящие моменты буровых машин, передаваемые на рабочий орган или обсадную трубу принимаются по паспорту буровой машины. Реактивный момент поворота и реактивный крутящий моменты передаются на поддерживающие конструкции СВСиУ в точках опирания (закрепления) механизма в виде пары (пар) сил, величина которых определяется в зависимости от характера опирания (гусеницы, колеса, аутригеры) и координат точек опирания относительно центра вращения. 7.14. Вес транспортных средств (10) принимается по паспортным данным и каталогам. Нормативная вертикальная нагрузка от железнодорожного подвижного состава и от автотранспортных средств может также приниматься по СНиП 2.05.03-84*. Нагрузки от консольных кранов и железнодорожного подвижного состава (локомотивов, вагонов) приведены в приложении 13. 7.15. Горизонтальные нагрузки от транспортных средств (11) вдоль направления движения принимается: для автомашин и автокранов при скоростях не свыше 30 км/ч - 0,25 Ра, где Ра - вес автомашины (автокрана); для тракторов и бульдозеров - 0,30 Рт, где Рт - вес гусеничного крана (трактора, бульдозера); для железнодорожной нагрузки - 0,1 Рж, где Рж - вертикальная нагрузка на тормозные колеса. для нагрузки А - в соответствии со СНиП 2.05.03-84*. При скоростях менее 5 км/ч тормозная нагрузка не учитывается. 7.16. Воздействие домкратов при регулировании усилий или выправке положения и строительного подъема возводимых конструкций (12) определяется как опорное давление на домкраты от нормативных нагрузок плюс дополнительное, устанавливаемое проектом конструкции усилие, необходимое для регулирования в ней напряжений (положения). Определение опорных давлений (реакций на домкраты) от монтируемой конструкции производится по расчетной схеме, имевшей место к началу регулирования напряжений или выправки положения и строительного подъема, независимо от предшествовавшего порядка монтажа и распределения усилий (указанными факторами нельзя пренебречь при расчете самой конструкции). 7.17. Воздействие искусственного регулирования усилий (13) в конструкциях вспомогательных сооружений учитывается в случаях, предусмотренных проектом (например: придание плашкоутам первоначально обратного выгиба соответствующим порядком их балластировки). Величина усилий устанавливается при составлении проекта. 7.18. Сила трения (14) при перемещении пролетных строений, бездонных ящиков, подкрановых и подкопровых мостиков и др. по горизонтальной плоскости определяется по формулам, кН (тс): а) при перемещении по рельсам на подкладках (салазках) или бетонному, грунтовому и деревянному основанию
б) при перемещении по рельсам на катках
в) при перемещении по рельсам на тележках с подшипниками скольжения
то же с подшипниками качения
г) при перемещении по полимерным устройствам скольжения
где Р - нормативная нагрузка от веса перемещаемой конструкции (механизма), кН (тс); f1 - коэффициент трения скольжения, принимаемый по приложению 14; f2 - коэффициент трения качения катка (колеса) по рельсам, принимаемый по табл. 7.3. f3 - коэффициент трения скольжения в подшипниках, принимается равным от 0,05 до 0,10 см; f4 - коэффициент трения качения в подшипниках, равный 0,02 см; f5 - коэффициент трения скольжения для полимерных материалов, принимаемый по табл. 7.4. R1 - радиус катка, см; R2 - радиус колеса, см; k=2 - коэффициент, учитывающий влияние местных неровностей рельсов и катков, перекоса катков, непараллельноcти накаточных путей и прочих факторов, вызывающих возрастание сопротивления движению; r - радиус оси колеса (в подшипнике) Таблица 7.3
Таблица 7.4
7.19. Воздействие электрических лебедок при подъеме, опускании и передвижении грузов и конструкций принимается равным паспортной грузоподъемности лебедок с коэффициентом надежности по нагрузке γf = 1.3, если не предусмотрены специальные конструктивные решения по ограничению этого воздействия. 7.20. Действующее в перпендикулярном направлении передвижки надвигаемой конструкции боковое усилие (15) от перекоса катков, от давления на боковые ограждения и от непараллельности накаточных путей, Н (кгс), определяются по формулам: а) при перемещении по пирсам на тележках с устройством подвижного опирания одного конца пролетного строения H = 0,015R (7.18.) б) то же при неподвижном опирании обоих концов пролетного строения Н = 0,15R (7.19.) в) при продольном перемещении на катках H=0,03R (7.20.) г) при перемещении на полимерных устройствах скольжения Н = f5R (7.21) где R - нормативная опорная реакция от веса надвигаемой конструкции; Н (кгс) f5 - коэффициент фения по таблице 7.4 При поперечной передвижке элементов распорных арок (сводов) устройство подвижного опирания одного конца передвигаемого элемента и его проверка на прочность при измененной статической схеме являются обязательными. 7.21. Нагрузки от бетонной смеси (16) при ее укладке и вибрировании принимаются: а) вертикальные - при вибрировании бетонной смеси - 2 кПа (200 кгс/м2); б) горизонтальные (на боковую поверхность опалубки): - от давления свежеуложенной бетонной смеси - по табл. 7.5; - от сотрясения при выгрузке бетонной смеси - по табл. 7.6; - от вибрирования бетонной смеси, кПа (кгс/м2) - 4k3(400k3) где: k3 - коэффициент, учитывающий неодновременную работу вибраторов по ширине бетонируемого изделия и вводимый в расчет прогонов и опалубки; k3 = 1 - для изделий шириной 1,5 м и менее и изделий, уплотняемых с помощью наружных вибраторов; k3 = 0,8 - для изделий шириной свыше 1,5 м. Для поверхности форм, наклонных в сторону изделия, давление бетонной смеси определяется путем умножения горизонтального давления бетонной смеси на синус угла наклона поверхности формы к горизонту. При угле наклона менее 30º градусов к горизонтали горизонтальное давление бетонной смеси на форму не учитывается. Таблица 7.5
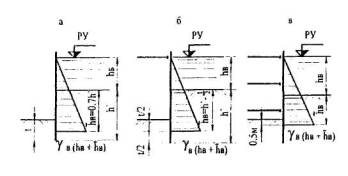
В таблице 7.5: Р - нормативное максимальное боковое давление бетонной смеси, Па (кгс/м2); γ - нормативный удельный вес бетонной смеси; Н - высота уложенного слоя бетона, оказывающего давление на опалубку (но не более слоя, уложенного в течение 4 часов); V - скорость бетонирования ( по вертикали ), м/ч; R - радиус действия внутреннего вибратора, м; R1 - радиус действия наружного вибратора, м; k1 - коэффициент, учитывающий влияние консистенции бетонной смеси;
k2 - коэффициент, учитывающий влияние температуры бетонной смеси;
hд - высота «действующего столба» подводного бетона принимается hд = k J м, где k - показатель сохранения подвижности бетонной смеси в часах; J - скорость бетонирования, м/ч. Примечания. 1. Ориентировочно принимается: радиус действия внутренних вибраторов R = 0.75 м, наружных вибраторов R1 = 1 м. 2. В случае, если температура бетона неизвестна, значение k1 принимается равным 1.0. 3. Показатель подвижности бетонной смеси k1 следует принимать не менее 0.7 - 0.8 часа, а скорость бетонирования J - не менее 0.3 м/ч. 4. Во всех случаях величину бокового давления следует ограничивать величинойРmах = γH при γ = 250 кн/м3 (2500 кгс/м3) для тяжелого бетона.
В. ВРЕМЕННЫЕ ПРОЧИЕ НАГРУЗКИ.7.22. Величину ветровой нагрузки (17) следует определять как сумму нормативных значений средней (Wm) и пульсационной (Wp) составляющих. Значение средней составляющей, кПа (кгс/м2), исчисляется по формуле: Wm = Wo k с (7.22) где Wo - нормативное значение ветрового давления, принимаемое в зависимости от ветрового района по табл. 7.7.* ___________ *При проектировании грузоподъемных кранов, эксплуатируемых на открытом воздухе (на суше), ветровое давление принимается по ГОСТ 1451 (приложение 15) Для горных и малоизученных районов нормативное значение ветрового давления следует определять по формуле: Wo = 0,61 Vo2 (7,22a) где Vo - скорость ветра на уровне 10 м над поверхностью земли по данным метеостанций; k - коэффициент, учитывающий изменения ветрового давления по высоте от уровня земли, определяемый по табл. 7.8 в зависимости от типа местности. с - по аэродинамический коэффициент, принимаемый таблице 7.9. или приложению 4 СНиП 2.01.07-85 Таблица 7.7.
При проверке прочности и устойчивости сооружений на стадиях работы продолжительностью эксплуатации не более двух недель или в безветренный период (опалубка перед бетонированием, монтажная вышка перед загружением и т.п.) допускается величину нормативного ветрового давления принимать равным 0,8 от значений, приведенных в таблице. Кроме градации по ветровому давлению сила воздействия ветра в зависимости от скорости оценивается по двенадцатибальной шкале, приведенной в приложении 16. Таблица 7.8.
Приняты следующие типы местности: А - открытые побережья озер, водохранилищ, пустыни, степи, лесостепи, тундра. В - городские территории, лесные массивы и другие местности, покрытые препятствиями высотой более 10 м. С - городские районы с застройкой зданиями высотой более 25 м. Сооружение считается расположенным в местности данного типа, если эта местность имеет с наветренной стороны сооружения на расстоянии 30h - при высоте сооружений h до 60 м и 2 км - при большей высоте.
7.23. В случаях, когда скорость ветра при производстве работ ограничивается по условиям техники безопасности, нормативное ветровое давление принимается равным: а) при расчете мощности тяговых обустройств и буксиров для установки пролетных строений на плавучих опорах из условия производства работ при ветре скоростью до 10 м/с; - 61 на (6.1 кгс/ м2); б) при расчете: подмостей, опор, подкрановых эстакад и других устройств в процессе работы монтажных кранов; тяговых средств в процессе перекатки (надвижки) пролетного строения; подъемных устройств и средств в процессе подъемки пролетного строения; устройств, воспринимающих воздействие домкратов в процессе регулирования напряжений или выправки положения и строительного подъема монтируемых конструкций из условия производства работ при ветре до 15 м/с - 140 на (14.0 кгс/ м2). Расчетную ветровую поверхность принимают по проектным контурам, т.е. по площади проекции частей сооружения (силуэта судна, крана, копра) на вертикальную поверхность, перпендикулярную направлению ветра. Для решетчатых конструкций (ферм) с однотипными элементами расчетную поверхность следует принимать равной площади фермы, вычисленной по ее наружному габариту, умноженному на коэффициент заполнения, вычисляемый по формуле:
где: Ai - площадь проекции i-ro элемента на плоскость конструкции; Аk - площадь, ограниченная контуром конструкции. Величину коэффициента φ разрешается принимать равной: а) для монтируемых балочных пролетных строений со сквозными фермами: первая ферма - 0.2; вторая и последующая фермы - 0.15; б) для вспомогательных сооружений: решетчатые башни из инвентарных конструкций МИК-С при количестве плоскостей 2 - 0.5, 4 и более - 0.9; решетчатые башни и стрелы кранов (копров) - 0.8 . Для других видов решетчатых конструкций значения с и ф должны определяться согласно указаниям СНиП 2.01.07-85* 7.24. Горизонтальная продольная ветровая нагрузка на сквозные фермы монтируемых и вспомогательных сооружений принимается в размере 60 % и на балки со сплошной стенкой в размере 20 % от полной нормативной поперечной ветровой нагрузки. На остальные сооружения и подъемно-транспортное оборудование продольная ветровая нагрузка определяется так же как и поперечная ветровая нагрузка. В конструкциях, имеющих развитые горизонтальные (наклонные) плоскости (пастилы, опалубки, навесы), должно учитываться образование зон разрежения и скоростного напора у горизонтальных (наклонных) плоскостей, вызывающее образование вертикальных (подъемных) усилий. Эти усилия должны определяться при значении С = - 0.4. 7.25. Нормативное значение пульсационной составляющей ветровой нагрузки (Wp) на высоте Z следует определять согласно указаниями СНиП 2.05.03-84* и СНиП 2.01.07-85*. 7.26. Ледовая нагрузка (18) на защитные конструкции СВСиУ, подвергающиеся по условиям производства работ ледовым воздействиям на реках с ледоходом, МН, (тс) определяется но формуле:. Fв.p = Rc b hd (7.24) где Rс - нормальное сопротивление льда сжатию, МПа (тс/м2) по таблице 7.10. b - ширина сооружения по фронту действия льда, м. hd - расчетная толщина льда, м, принимается для речного льда равной 0.8 от максимальной за зимний период толщины льда, вероятностного превышения 10 %. На реках промерзающих до дна, должна приниматься толщина льда, наблюдаемая при осеннем ледоставе. За уровень приложения ледовой нагрузки на сооружение принимается уровень высокого ледохода вероятностного превышения 10 %. Таблица 7.10.
На ледорезы с наклонным режущим ребром давление льда учитывается в виде: - вертикальной составляющей, МН (тс), по формуле:
- горизонтальной составляющей, МН (тс), по формуле: Fн = Fv tg β, (7.26) где β - угол наклона режущего ребра к горизонту, град. Толщина льда, принятая в расчете, должна указываться в проекте. В случае отличия фактических ледовых условий от принятых в проекте должны быть приняты дополнительные меры при пропуске ледохода. Для особо ответственных сооружений (опоры при полунавесной сборке), а также при действии заторных масс льда и нагрузки от ледяных полей ледовая нагрузка должна определяться точными способами в соответствии с указаниями СНиП 2.06.04-82*. 7.27. Нагрузка от навала судов (19) и плавсистем на СВСиУ или защищающих их устройства принимается: - от обращающихся по реке судов - по табл. 7.11. - от плавсистем, имеющихся на строительстве, согласно приведенным ниже указаниям. Кинетическую энергию навала судов Eq в (кДж) при подходе его к причальному сооружению следует определять по формуле:
В (тc.м) - по формуле (7.27а):
где Dc - расчетное водоизмещение судна, тс ; V - нормальная к поверхности сооружения составляющая скорости подхода судна, м/с, принимаемая в обычных условиях равной 0,2 м/с; Ψ - коэффициент, учитывающий поглощение кинетической энергии подходящего судна и равный 0,45 для сооружений на сваях. g - ускорение силы тяжести Энергию деформации причальных сооружений в кДж допускается определять по формуле:
где ki - коэффициент жесткости причального сооружения в горизонтальном направлении, кН/м (тс/м) Ориентировочно можно принять: к = 2000 кН/м (200 тс/м) Fq - поперечная горизонтальная сила от навала судов на причал при подходе к сооружению, кН/м (тс/м). Значение Fq определяют, приравнивая выражения (7.27) и (7.28). Продольная сила Fп, МН (тс), от навала судов при подходе к сооружению должна определятся по формуле: Fп = μ Fq, (7.29) где μ - коэффициент трения, принимаемый в зависимости от материала лицевой поверхности отбойного устройства. При поверхности из бетона или резины μ = 0,5, при деревянной поверхности μ = 0,4. Нагрузка от навала на вспомогательные сооружения считается приложенной посередине их длины или ширины на уровне рабочего горизонта воды, за исключением случаев, когда имеются выступы, фиксирующие уровень действия этой нагрузки, и когда при более низком уровне нагрузка вызывает более значительные воздействия. 7.28. Нормативное температурно-климатическое воздействие (20) следует учитывать при расчете перемещений и при определении усилий во внешне статически неопределимых системах. Среднюю по сечению нормативную температуру элементов СВСиУ или их частей, а также влияние солнечной радиации на температуру элементов следует принимать и учитывать согласно СНиП 2.05.03-84*. 7.29. Воздействие осадки грунта (21) в основаниях вспомогательных сооружений следует принимать по результатам расчета оснований. Осадка грунта учитывается при расчетах сборочных плазов на насыпях, опор сборочных подмостей при сборке (надвижке) по неразрезной схеме в тех случаях, когда осадка не исключается конструктивными мерами. Таблица 7.11.
7.30. Нагрузка от наезда автомашинами (22) учитывается в расчете временных опор подмостей при расположении их в пределах полотна действующей автомобильной дороги в виде сосредоточенной горизонтальной силы величиной 200 кН (20 тс), приложенной на высоте 1,0 м над уровнем проезжей части (при условии ограничения скорости автомашин до 25 км/час). 8. ОСНОВАНИЯ И ФУНДАМЕНТЫА. ОБЩИЕ ПОЛОЖЕНИЯ8.1. Основания СВСиУ должны проектироваться на основе: а) результатов инженерно-геологических и инженерно-гидрологических изысканий; б) данных, характеризующих значения, конструктивные и технологические особенности сооружения, нагрузки, действующие на фундамент, и условия его эксплуатации; в) технико-экономического сравнения возможных вариантов решений для принятия варианта, обеспечивающего наиболее полное использование прочностных и деформационных характеристик грунтов и физико-механических свойств материалов фундаментов. При проектировании оснований и фундаментов следует учитывать местные условия строительства, а также имеющийся опыт проектирования, строительства и эксплуатации сооружений в аналогичных условиях. 8.2. Результаты инженерных изысканий должны содержать данные, необходимые для выбора типа основания и фундамента, в том числе свайного, для определения размеров и глубины заложения фундамента, вида свай, их длины и размеров поперечного сечения, расчетной нагрузки, допускаемой на сваю. Грунты оснований в описаниях результатов инженерных изыскании должны именоваться согласно ГОСТ 25100. 8.3. Проектом оснований и фундаментов должна предусматриваться срезка плодородного слоя почвы для последующего использования в целях рекультивации земель, озеленения и т.п. 8.4. Исходя из условий, изложенных в п. 8.1, СВСиУ следует, как правило, сооружать на фундаментах: в русле реки - из забивных свай и, в отдельных случаях, из свай-оболочек. Применение ряжевых или свайно-ряжевых фундаментов, засыпанных камнем, допускается при невозможности заглубления свай в неразмываемую толщу, либо при необходимости восприятия тяжелой ледовой нагрузки; вне русла реки применяются фундаменты на естественном основании (в виде деревянных лежней, бетонной или железобетонной плиты), а также свайные фундаменты. 8.5. Настоящим разделом не рассматриваются вопросы проектирования оснований и фундаментов в условиях: - вечномерзлых грунтов; - просадочных грунтов. Проектирование оснований и фундаментов для этих случаев должно выполняться согласно СНнП 2.02.04-88 и СНиП 2.01.09-91 соответственно. Б. ФУНДАМЕНТЫ НА ЕСТЕСТВЕННОМ ОСНОВАНИИ8.6. Основания должны рассчитываться по двум группам предельных состояний: а) первой группы - по несущей способности конструкций оснований, устойчивости фундаментов против опрокидывания и сдвига; б) второй группы - по деформациям (осадкам) оснований. 8.7. Основания рассчитываются по деформациям во всех случаях, по несущей способности - в случаях если: а) на основание передаются значительные горизонтальные нагрузки; б) сооружение расположено на откосе или вблизи откоса; в) основание сложено медленно уплотняющимися водонасыщенными пылевато-глинистыми и биогенными грунтами (при степени влажности Sr ≥ 0,85 и коэффициенте консолидации Cv ≤ 107 см2/год); г) основание сложено скальными грунтами. Расчет оснований по несущей способности и деформациям производится согласно СНнП 2.02.01-83*. 8.8. Взвешивающее действие воды на грунты и части сооружения, расположенные ниже уровня поверхностных или подземных вод необходимо учитывать при расчетах по несущей способности оснований и по устойчивости положения фундаментов, если фундаменты заложены в песках, супесях и илах. При заложении фундаментов в суглинках и глинах взвешивающее действие воды требуется учитывать в случаях, когда оно создает более неблагоприятные расчетные условия. Уровень воды принимается невыгоднейший - наинизший или наивысшим. 8.9. Проверка устойчивости фундаментов против сдвига (см. раздел 6) производится при следующих значениях коэффициентов трения подошвы фундаментов по грунту: для глин и скальных грунтов с омыливающейся поверхностью (глинистые известняки, глинистые сланцы и т.п.) при затоплении водой - 0.10 для тех же грунтов во влажном состоянии - 0.25 для тех же грунтов в сухом состоянии - 0.30 для песков - 0.40 для гравелистых и галечниковых грунтов - 0.50 для суглинков и супесей - 0.30 для скальных пород с неомыливающейся поверхностью - 0.60 8.10. Для оснований из нескальных грунтов под
фундаменты мелкого заложения, рассчитываемых без учета заделки в грунт,
положение равнодействующей расчетных нагрузок, характеризуемое относительным
эксцентриситетом - 1) на нескальных грунтах при отсутствии бокового давления грунта на фундамент а) при учете только постоянных нагрузок 0.2 б) при учете постоянных и временных нагрузок 1.0 2) на нескальных грунтах при наличии бокового давления грунта на фундамент: а) при учете только постоянных нагрузок 0.5 б) при учете постоянных и временных нагрузок 0.6 3) на скальных грунтах при учете постоянных и временных нагрузок 1.2, где
8.11. Наибольшее расчетное давление фундамента на основание определяется по формуле
где σ - наибольшее давление на грунт основания N - осевая сжимающая сила от расчетных нагрузок в уровне подошвы фундамента М - момент от расчетных нагрузок в уровне подошвы фундамента относительно его центра тяжести F и W площадь и момент сопротивления подошвы фундамента Формула действительна при условии В частном случае, при
где а - длина подошвы фундамента b - ширина подошвы фундамента (размер в направлении перпендикулярном плоскости действия момента М). 8.12. При проектировании фундаментов на естественном основании следует применять: а) в лежневых фундаментах - окантованные бревна местных хвойных и лиственных пород (преимущественно короткомер), отвечающих требованиям раздела 9, шпалы и брусья; б) в ряжевых фундаментах - лес местных хвойных и лиственных пород, отвечающих требованиям раздела 9; в) фундаменты из монолитного и сборного железобетона. 8.13. Применение монолитного бетона и железобетона марок, указанных в разделе 10, допускается в массивных фундаментах на естественном основании, как правило, не подлежащих последующей разборке после демонтажа вспомогательных конструкций. 8.14. Глубина заложения фундаментов вспомогательных сооружений должна назначаться по результатам расчета грунтовых оснований с учетом: а) геологических и гидрогеологических условий расположения сооружения; б) глубины промерзания; в) условий размыва грунтов основания; г) характерных особенностей конструкции фундамента и метода производства работ по его возведению. 8.15. Подошву фундамента сборного, ряжевого и лежневого типов следует закладывать: а) на суходолах и неразмываемых поймах при пучинистых грунтах - не менее чем на 0,25 м ниже расчетной глубины промерзания; б) на суходолах и неразмываемых поймах при непучинистых крупнопесчаных, гравелистых и галечниковых грунтах и при скальных породах - независимо от глубины промерзания грунтов; в) на размываемых поймах на 0,5 м ниже глубины местного размыва у данной опоры с соблюдением вышеприведенных указаний относительно промерзания. В случаях принятия защитных мер от подмыва (каменная обсыпка, укрепление фашинами, шпунтовые ограждения и т.п.) - только с учетом условий промерзания; г) в руслах рек при размываемых грунтах - на 0,5 м ниже глубины местного размыва у данной опоры, в случае принятия защитных мер от подмыва или при неразмываемом грунте допускается непосредственное опирание фундамента на выровненную его поверхность. 8.16. В местах отсутствия подмыва грунтов основания допускается подошву фундамента мелкого заложения располагать на подсыпках толщиной не менее 0,3 м, устраиваемых из щебенистых, галечниковых, гравелистых или песчаных грунтов. Подсыпки под фундаменты, сооружаемые в пределах суходолов, должны устраиваться на предварительно очищенных от растительного покрова площадках. Размеры подсыпки под подошвой фундамента в плане следует назначать с расчетом, чтобы ширина бермы была на 0,5 м больше размеров фундамента. Откосы подсыпки принимаются не круче 1:1,5, а в пределах водотоков не круче 1:2. В. ФУНДАМЕНТЫ НА ЗАБИВНЫХ СВАЯХ8.17. Расчет свайных фундаментов СВСиУ и их оснований должен быть выполнен по предельным состояниям: а) первой группы - по прочности материала свай и свайных ростверков; по несущей способности грунта основания свай; б) второй группы - по осадкам оснований свай и свайных фундаментов от вертикальных нагрузок по перемещениям свай (горизонтальным и углам поворота головы сваи) совместно с грунтом основания от действия горизонтальных нагрузок и моментов. 8.18. Расчет по прочности материала свай и ростверков должен производиться в зависимости от материала конструкций в соответствии с требованиями СНиП II-25-80, СНиП 2.03.01-84*, СНиП II-23-81*, СНиП 2.05.03-84*, СНиП 2.02.03-85 и указаниями настоящего раздела. 8.19. Одиночную сваю в составе фундамента и вне его по несущей способности грунтов основания следует рассчитывать исходя из условия
где N - расчетная нагрузка, передаваемая на сваю (продольное усилие, возникающее в ней от расчетных нагрузок, действующих на фундамент при наиболее невыгодном их сочетании); Fd - расчетная несущая способность грунта основания одиночной сваи, называемая в дальнейшем несущей способностью сваи. γk - коэффициент надежности. Значения величин N, Fd, γk определяются (принимаются) согласно СНиП 2.02.03-85 и указаниям настоящего раздела. Несущую способность Fd, кН (тс), висячей забивной сваи, работающей на сжимающую нагрузку, следует определять, как сумму расчетных сопротивлений грунтов оснований под нижним концом сваи и по боковой поверхности согласно указаниям раздела 4 СНиП 2.02.03-85. 8.21. Несущая способность Fd, кН (тс), висячей забивной сваи с уширенной пятой (рис. 8.1), воспринимающей осевую сжимающую нагрузку, определяется исходя из тех же условий по формуле:
где An - площадь уширенной пяты опирания, м2; Rn - расчетное сопротивление грунта под нижним концом пяты, кПа (тс/м2); Абn - площадь боковой поверхности уширенной пяты и нижерасположенного конца сваи на контакте с грунтом, в котором они остановлены, м2; fin - расчетное сопротивление i-слоя грунта основания на боковой поверхности пяты, кПа (тс/м2);
Аб - площадь боковой поверхности ствола выше верха уширенной пяты, м2; fi = 10 кПа (1 тс/м2) - расчетное сопротивление грунта по боковой поверхности Аб; учитывается только при прохождении стволом сваи толщи минеральных грунтов. Величины, входящие в формулу (8.4) определяются (принимаются) как для сваи без уширенной пяты согласно разделу 4 СНиП 2.02.03-85.
Рис.8.1. расчетная схема определения несущей способности забиваемой сваи с уширенной пятой 8.22. Расчетный остаточный отказ сваи при забивке или добивке ее молотом принятого в проекте типа определяется по формуле:
где γк - коэффициент надежности по п. 8.19.; η - коэффициент, принимаемый по таблице 8.1 в зависимости от материала сваи, кН/м2 (тс/м2); А - площадь, ограниченная наружным контуром сплошного или полого поперечного сечения ствола сваи (независимо от наличия или отсутствия у сваи острия), м2; М - коэффициент, принимаемый при забивке свай молотами ударного действия равным единице, а при вибропогружении свай - по табл. 8.2 в зависимости от вида грунтов под их нижними концами; Ed - расчетная энергия удара молота, кДж (тс.м), принимаемая по табл. 8.3, или расчетная энергия вибропогружения - по табл. 8.4; m1 - масса молота или вибропогружателя, т; m2 - масса сваи и наголовника, т; m3 - масса подбабка (при вибропогружении свай m3=0), т; ε - коэффициент восстановления удара: при забивке железобетонных свай молотами ударного действия с применением наголовника с деревянным вкладышем ε2 - 0.2, а при вибропогружении ε2 = 0. Таблица 8.1
Таблица 8.2
Таблица 8.3
Таблица 8.4
8.23. Расчетную нагрузку на сваю N, кН (тс), следует определять, рассматривая фундамент как рамную конструкцию, воспринимающую вертикальные и горизонтальные нагрузки и изгибающие моменты. 8.24. В общем случае свайные фундаменты следует рассчитывать как пространственные конструкции. Расчет свайных фундаментов, имеющих вертикальную плоскость симметрии, на нагрузки, действующие в этой плоскости, допускается производить по плоской расчетной схеме, представляющей собой проекцию фундамента на указанную плоскость. По плоской расчетной схеме допускается рассчитывать также фундаменты с одними вертикальными сваями на нагрузки, действующие в вертикальной плоскости, которая проходит через центр тяжести поперечных сечений всех свай перпендикулярно вертикальной плоскости симметрии фундамента. В расчетах свайных фундаментов допускается использовать формулы, приведенные в п.п. 8.30-8.32. 8.25. Верхние концы свай следует принимать жестко защемленными, если конструкция сопряжения свай с вышерасположенной частью фундамента (плитой фундамента, распределительной балкой или насадкой) полностью исключает возможность их взаимного поворота, в противном случае - шарнирно закрепленными. Примыкание верхних концов деревянных свай к насадкам следует рассматривать как шарнирное. 8.26. Перемещения фундаментной конструкции, усилия, действующие на каждую сваю, а также гибкость свай допускается определять в предположении, что сваи в нижней части имеют жесткую заделку (закрепление против поперечных смещений и поворота), расположенную на глубине hм от расчетной поверхности грунта. Исключение составляют фундаменты со сваями, погруженными в грунт на глубину менее 3 м и опертыми на скальную породу, а также фундаменты со сваями, погруженными в грунт с предварительным устройством уширения в нижней части свай. Такие фундаменты рекомендуется рассчитывать, рассматривая закрепление свай в грунте шарнирным. При опирании свай на скальную породу шарнир следует принимать на уровне поверхности скальной породы, а при наличии у свай уширения - на уровне верха уширения. 8.27. Глубину hм расположения жесткой заделки следует определять по формуле:
где h - глубина погружения сваи, считая от расчетной поверхности грунта; d - толщина ствола сваи (сторона квадратного сечения или диаметр круглого); η - коэффициент, принимаемый по таблице 8.5 в зависимости о г материала сваи и вида верхнего слоя грунта (считая от его расчетной поверхности). Таблица 8.5
В тех случаях, когда сваи заделаны в грунте, который сохраняется в мерзлом состоянии в течение всего периода эксплуатации временного сооружения, величину hм следует определять по формуле hм = ηd независимо от глубины h. При срезке грунта или возможности размыва дна расчетную поверхность грунта следует принимать соответственно на отметке срезки или местного размыва у опоры. 8.28. В случаях, когда замена закрепления верхнего и нижнего концов свай, принятого согласно пп. 8.25 и 8.26 на шарнирное не приводит к геометрической изменяемости конструкции, допускается расчет фундамента (за исключением определения гибкости сваи) упрощать, принимая свои шарнирно закрепленными вверху и внизу. 8.29. Свайные фундаменты усиленные каркасом следует рассчитывать как пространственные конструкции, при этом предполагается, что каркас внизу имеет решетку, в ячейках которой без зазоров расположены сваи. Это требование должно обеспечиваться надежными методами заклинки сваи в ячейках каркаса (дерево-металлическими клиньями, мешками с цементом и т.п.). 8.30. Если в фундаменте только вертикальные сваи и в расчете они рассматриваются как жестко заделанные в вышерасположенной конструкции и в грунте, то продольное усилие N и наибольший изгибающий момент М в свае допускается определять по формулам:
где Pz; Нх; M0 - вертикальная и горизонтальная составляющая внешней нагрузки на фундамент и се момент относительно точки О, расположенной в уровне низа конструкции, объединяющей головы свай, на вертикали, проходящей через центр тяжести поперечных сечении всех свай (рис. 8.2) nоδ - общее число свай в фундаменте; x - координата головы сваи, для которой определяется продольная сила N; хi - координата головы сван каждого (i-ro) ряда, перпендикулярного плоскости действия внешней нагрузки (i-oй сваи на плоской схеме); ki - число свай в каждом (i-ом) ряду; l0 - длина участка сваи над расчетной поверхностью грунта; при подошве плиты фундамента, расположенной на уровне этой поверхности или ниже, следует принимать l0 = 0; hм - глубина расположения жесткой заделки сваи, считая от расчетной поверхности грунта (определяется по п. 8.27).
Рис. 8.2. расчетная схема свайного фундамента из вертикальных cвай 8.31. Если в фундаменте только вертикальные сваи и в расчете они рассматриваются как шарнирно прикрепленные к вышерасположенной конструкции и жестко заделанные в грунте, то продольное усилие N и наибольший (по длине свай) изгибающий момент М1 в поперечном сечении допускается определять по формулам:
где d - толщина ствола сваи; η1 - коэффициент, принимаемый равным 0,5 за исключением районов распространения вечномерзлых грунтов, для которых следует принимать η1 = 1,0; η - коэффициент, принимаемый по п. 8.27 Остальные величины пояснены в п. 8.30. 8.32. Для свайных фундаментов с симметричной плоской расчетной схемой, показанной на Рис. 8.3, допускается согласно п. 8.28 принимать сваи шарнирно закрепленными вверху и внизу и при показателе наклона свай iн ≥ 3 продольные усилия N определять по формулам: а) в наклонных сваях
б) в вертикальных сваях
где nн и nв - число наклонных и вертикальных свай noб = (nн +nв) (8.13) е - расстояние на плоской расчетной схеме между вертикальными сваями и осью опоры; Pz, Hx и М0 - по п. 8.30.
Рис. 8.3. расчетная схема свайного фундамента с вертикальными и наклонными сваями 8.33. Свободную длину свай lc следует определять с учетом вида закрепления свай вверху и внизу, принимаемого по пп. 8.25 и 8.26 и схемы расположения свай в фундаменте: а) в случае однорядного фундамента, как правило, следует принимать lc = 2 lм; б) в случае наличия в фундаменте наклонных свай, сопротивляющихся смещению конструкции, объединяющей головы свай, в любом направлении, допускается принимать: lc = 0,5 lм при заделке свай вверху и внизу; lc = 0,75 lм при заделке вверху и шарнире внизу или при шарнире вверху и заделке внизу; lc = lм при шарнирах вверху и внизу; в) в остальных случаях допускается принимать: lc = lм при заделке свай вверху и внизу. lc = 2 lм при заделке вверху и шарнире внизу или при шарнире вверху и заделке внизу. Здесь lм - длина изгиба сваи. Если свая рассматривается как жестко защемленная в грунте, длину изгиба сваи следует определять по формуле: lм = l0 + hм., а если свая рассматривается как шарнирно закрепленная в грунте - принимать равной расстоянию по вертикали от головы сваи до места расположения шарнира (см. п. 8.26). 8.34. Прочность конструкции, объединяющей головы свай, следует рассчитывать, учитывая фактическую передачу усилий на нее от обстройки опоры и от свай, а при наличии каркаса и от каркаса. Прочность каркаса следует рассчитывать, рассматривая его закрепленным на конструкции, объединяющей головы свай и загруженным усилиями, передаваемыми сваями решетке каркаса. 8.35. Расчет фундамента на висячих сваях и его основания по деформациям следует, как правило, производить как для условного фундамента на естественном основании в соответствии с требованиями СНиП 2.02.01-83. При этом границы условного фундамента следует определять согласно СНиП 2.02.03-85. КОНСТРУИРОВАНИЕВ зависимости от свободной длины сваи (см. п.п. 8.24 и 8.32 инструкции) рекомендуется применять фундаменты, состоящие: а) из одиночных деревянных вертикальных свай - при свободной их длине до 2 м с постановкой горизонтальных, продольных и поперечных схваток около верхних концов свай. При свободной длине свай менее 1 м постановка схваток не обязательна; б) из пакетных деревянных свай - при свободной их длине до 4 м с постановкой горизонтальных, продольных и поперечных схваток около верхних концов свай, при свободной длине сваи менее 2 м постановка схваток не обязательна; в) из вертикальных и наклонных деревянных свай (как одиночных, так и пакетных) - при свободной их длине не свыше 4 м; г) из стальных и железобетонных вертикальных свай - при свободной их длине не свыше 6 м, при условии обеспечения требуемой жесткости опор; д) из вертикальных свай любого типа, объединенных пространственным каркасом, - при глубинах воды свыше 4 м. 8.37. На немерзлых грунтах с твердыми включениями и любых мерзлых грунтах следует применять стальные сваи, на мерзлых грунтах без включений - стальные и железобетонные. 8.38. Глубина погружения свай в грунт определяется в зависимости от расчетной нагрузки на сваю и геологических условий, но должна быть для висячих свай не менее 3 м от уровня возможного местного размыва дна реки у данной опоры. В случаях последующего устройства вокруг свайного фундамента ряжа с загрузкой камнем может быть допущена меньшая глубина забивки свай, но при условии получения требуемого отказа. Для свай-стоек глубина погружения определяется отметкой опорного пласта грунта. На суходоле глубина погружения сваи считается от уровня подошвы низкого свайного ростверка, а при высоком ростверке от уровня дневной поверхности грунта (естественной или в результате срезки). 8.39. Сваи, работающие на растягивающие усилия, должны иметь необходимую прочность на растяжение в сопряжениях с ростверком (плитой) в стыках и заделке их в грунте. Если по расчету получаются растягивающие усилия в сваях, то в случаях, когда конструкция сопряжения свай с вышерасположенной частью фундамента не может обеспечить передачу таких усилий, требуется повторить расчет, изменив плоскую расчетную схему фундамента путем исключения из нее растянутых свай. 8.40. При расчетном шарнирном опирании свай на скальную породу их низ должен быть заглублен в неразмываемую толщу плотных или средней плотности наносных отложений не менее чем на 1 м. При необходимости свайный фундамент укрепляется путем обсыпки камнем (например, oгpaждением в виде ряжевой перемычки высотой не менее 1 м, заполненной камнем). При опирании свай непосредственно на скалу (без укрепления путем обсыпки камнем), глубине забивки свай ниже уровня размыва менее 3 м, а также во всех случаях, когда глубина воды в месте устройства опор более 4 м, свайные фундаменты должны сооружаться с применением подводных каркасов, связей или наклонных свай. 8.41. Если фундаменты из одних вертикальных свай не могут воспринять расчетные горизонтальные нагрузки, то независимо от свободной длины свай часть из них или все следует располагать с наклоном до 5:1. В конструкции фундаментов с наклонными сваями следует предусматривать сваи, имеющие наклоны вдоль и поперек опоры. 8.42. Сваи размещаются в рядовом или шахматном порядке с расчетом возможно более равномерного распределения на них нагрузки. Расстояние между осями забивных висячих свай должно быть не менее трех толщин свай в уровне их острия и не менее 1.5 толщин свай - в уровне низа плиты (ростверка), а для свай-оболочек - не менее 1 м в свету. При двухрядном расположении вертикальных свай допускается уменьшать расстояние между осями рядов до двух толщин свай. Расстояние между осями свай - стоек в уровне их низа должно быть не менее двух толщин свай. 8.43. Размещение свай в плане внецентренно нагруженного фундамента следует производить в соответствии с расчетной нагрузкой, действующей в плоскости подошвы плиты ростверка. При этом равнодействующая постоянных сил, действующих на свайный фундамент, должна проходить возможно ближе к центру тяжести плана спайного фундамента в уровне нижних концом свай. 8.44. Для фундаментов допускается использовать деревянные сваи с диаметром в верхнем отрубе не менее 18 см. При необходимости устройства стыка сваи (Рис. 8.4) последний выполняется на штыре и стальных накладках (полосовых, уголковых, швеллерных) в количестве не менее 4 штук, прикрепляемых 4-6 шурупами или глухарями каждая. Длина накладок должна быть равна трем диаметрам свай. Накладки свай, погружаемых через каркасы, должны быть плоскими, поставленными с расчетом, чтобы головки болтов и гайки с концами болтов были заподлицо с поверхностью ствола сваи, а поперечное сечение сваи - постоянным но всей длине, что должно быть оговорено в проекте.
Рис. 8.4. стык деревянных свай а) в торец с накладками; б) в торец с патрубком; 1 - накладки из металлической полосы или уголка; 2 - шуруп, 3 - стык; 4 - патрубок; 5 - штырь 8.45. Стыки одиночных деревянных свай следует располагать в разных уровнях и не менее чем на 1,5-2 м ниже уровня возможного местного размыва. Если стыки свай не заглублены в грунт, в их уровне должны быть поставлены схватки. 8.46. Пакетные сваи составляются из бревен или брусьев, соединяемых между собой болтами. Стыки бревен или брусьев размещаются вразбежку с расстоянием между стыками смежных элементов не менее 1,5 м и перекрываются стальными (преимущественно уголковыми) накладками длиной, равной трем диаметрам бревна или стороны бруса на болтах, по 4-6 болтов в накладке. Расстояние между болтами, скрепляющими бревна или брусья в пакет, не должно превышать (в каждом ряду) 55 см. 8.47. На поймах и суходолах низ насадок и схваток свайных опор необходимо располагать выше естественной поверхности грунта не менее чем на 0,5 м; в руслах рек - возможно ближе к уровню воды. 8.48. Подводные диагональные связи применять не рекомендуется, но допускается при условии обеспечения систематического надзора и подтягивания тяжей, что должно быть оговорено в проекте. 8.49. В местах залегания с поверхности больших толщ слабых и относительно слабых грунтов (текучепластичных, текучих, торфа) допускается применение забивных свай с уширенными пятами. Такие грунты, как правило, должны быть пройдены стволом сваи, а уширенная пята заведена в нижележащие более прочные грунты. Уширенные пяты забивных деревянных свай рекомендуется устраивать в комлевой части и конструировать по схемам, приведенным на рис. 8.5. 8.50. Головы деревянных сваи должны быть объединены деревянным или стальным ростверком, обеспечивающим распределение на сваи нагрузок, действующих на свайный фундамент. В особых случаях допускается головы свай объединять железобетонной плитой. 8.51. Толщина насадок деревянных ростверков должна быть не менее 22 см, а ширина - обеспечивать перекрытие голов сваи ряда. Соединение свай с насадками должно осуществляться хомутами, либо шишками, на болтах и шурупах (глухарях) с постановкой осевых штырей. 8.52. Деревянные элементы распределительной клетки ростверка должны быть скреплены с насадками и между собой штырями, а металлические элементы с деревянными соединены костылями либо шурупами. 8.53. Схватки всех видов должны быть прирублены к сваям и прикреплены к ним болтами. Для обеспечения заделки голов свай схватки должны быть парными.
Рис 8 5. забивные деревянные сваи с уширенной пятой а - из двух продольных коротышей; б - из четырех продольных коротышей; - свая; 2 - коротыш; 3 - болты δ ≥ 6 1 8.54. Конструкция железобетонной плиты ростверка и заделки в ней свай принимается по СНиП 2.05.03-84* "Мосты и трубы" Класс бетона плиты должен быть не ниже В15. 8.55. Головы стальных свай рекомендуется объединять ростверком стальных конструкций, жестко соединенных со сваями с помощью привариваемых к ним переходных опорных башмаков. 9. ДЕРЕВЯННЫЕ КОНСТРУКЦИИ.А. ОБЩИЕ ТРЕБОВАНИЯ9.1. Расчет и конструирование деревянных конструкций СВСиУ и их узлов должны выполняться в соответствии с главой СНиП II-25-80 и требованиями настоящего раздела. Кроме того, в зависимости от вида проектируемых сооружений в расчетах принимаются коэффициенты условий работы и коэффициенты надежности по назначению, принимаемые согласно соответствующим разделам настоящего стандарта. 9.2. В деревянных конструкциях СВСиУ следует применять древесину в зависимости от назначения элементов конструкций согласно таблице 9.1 и удовлетворяющую требованиям ГОСТ 2695, ГОСТ 8486, ГОСТ 9462, ГОСТ 9463. Таблица 9.1.
В конструкциях тепляков, утеплений опалубки, ограждений допускается использовать круглый лес диаметром 4-7 см (жерди) и подтоварник хвойных и лиственных пород. 9.3. Лесоматериалы, бывшие в употреблении, допускаются к применению при условии, что они удовлетворяют по качеству всем приведенным выше требованиям. 9.4. Влажность древесины расчетных элементов или элементов, требующих особо тщательного изготовления и плотной подгонки должна быть не более 25 % . В остальных случаях влажность древесины не ограничивается. 9.5. Размеры сечений элементов и соединительных деталей должны быть не менее указанных в табл. 9.2. Таблица 9.2.
При конструировании элементов из круглого леса следует учитывать естественный сбег бревен, равный 1см на погонный метр бревна. 9.6. При назначении расчетных сопротивлений древесины и расчетной несушей способности соединительных деталей влияние условий эксплуатации учитывается умножением их нормативных значений на коэффициенты условий работы m согласно таблице 9.3. 9.7. В изгибаемых элементах, в сечениях с наибольшими изгибающими моментами необходимо избегать ослабления подрезками крайних растянутых волокон. Глубина подрезки в опорных сечениях допускается не более чем на 1/3 толщины элемента, длина опорной площади подрезки не должна превышать толщины элемента. Глубина врубок и врезок в стойках, насадках и связях должна быть не более 1/3 толщины элемента и не менее 2 см в брусьях и 3 см в бревнах. Рабочую плоскость смятия, как правило, следует располагать перпендикулярно к оси примыкающего сжатого элемента. Несимметричное ослабление сечения стоек не должно превышать 0,4 площади поперечного сечения и симметричное - 0,5. 9.8. Для уменьшения размеров поперечного сечения элементов, работа которых определяется напряжением на смятие древесины поперек волокон, следует применять в узлах металлические прокладки. Прокладки должны рассчитываться на изгиб. Скобы в узловых сопряжениях применяются только в качестве нерасчетных скреплений. Таблица 9.3.
9.9. Неинвентарные деревянные конструкции могут проектироваться без соблюдения требований о проветривании и доступе к местам соединения для осмотра. При сроке службы деревянных конструкций менее 5 лет допускается не предусматривать их защиты от загнивания. Б. ДОПОЛНИТЕЛЬНЫЕ ТРЕБОВАНИЯ К ДЕРЕВЯННЫМ ОПОРАМ ПОДКРАНОВЫХ ЭСТАКАД, РАБОЧИХ МОСТИКОВ, МОНТАЖНЫХ ПОДМОСТЕЙ9.10. Опоры следует проектировать свайными, свайно-рамными, рамно-ряжевыми, ряжевыми, лежневыми или клеточными (последние преимущественно для устоев высотой не более 2 м). При установке опор вне русла реки на лежневое основание должны быть приняты меры к отводу от опор поверхностных вод и обеспечению защиты основания от подмыва, пучения и просадки грунта. При высоте до 6 м и пролетах до 6 м рекомендуется применять плоские спайные опоры. При больших высотах и пролетах следует применять двухрядные башенные опоры с расстоянием по фасаду моста 1/4 - 1/5 высоты опоры. При высоте опоры над грунтом более 2 м должны ставиться диагональные схватки, крепящиеся к сваям на врубках с болтами. При высоте опор более 6 м следует забивать наклонные спаи или ставить укосины с уклоном не более 4:1. Разрешается установка верхнего конца укосины под насадку; нижний конец укосины должен врубаться в вертикальную откосную сваю или нижнюю насадку. Насадки должны крепиться к сваям вертикальными штырями и дополнительно с помощью скоб, двухсторонних планок или хомутов. 9.11. Надстройку опор на свайном основании рекомендуется выполнять, как правило, из инвентарных элементов, а при соответствующем обосновании из индивидуальных объемных рамных блоков, изготавливаемых в стороне и устанавливаемых в собранном виде. 9.12. Опоры рекомендуется обшивать пластинами толщиной 10 см до уровня на 0,5 м выше горизонта ледохода вероятностью превышения 10 %, а при возможном карчеходе ограждать защитной застроенной в плане стенкой. 9.13. В клеточных опорах нижний ряд брусьев следует делать сплошным. Число бpycьев в ряду подбирается по условиям смятия поперек волокон. Каждый брус должен прикрепляться к нижнему ряду двумя скобами. 9.14. Деревянные опоры рассчитывают в предположении, что укосины, диагональные связи и раскосы не воспринимают вертикальных сил. Глубина забивки откосных свай опор, а также сван ледорезов назначается, исходя из условной расчетной нагрузки на сваю, принимаемой 100 кН (10 тс), если в проекте не указана большая нагрузка. Усилия D в схватках и диагональных связях деревянных опор определяют по формуле:
где ΣН - сумма горизонтальных усилий; α - угол наклона связей к горизонтали. 9.15.Свободную длину стоек башенных опор принимают равной расстояниям между узлами связей. Свободную длину свай принимают по указаниям разд. 8. Гибкость деревянных стоек должна быть не более 100, связей - 150. 9.16. Расчеты на устойчивость положения опор против опрокидывания производят относительно сроста наружной коренной сваи при опорах без укосин или наклонных свай и относительно нижней точки боковой укосины пли наклонной сваи - при опорах с боковыми укосинами или наклонными сваями. 9.17. Длина свободного конца лежней и насадок рам, а также опорных элементов, к которым примыкают сжатые стойки, должна быть не менее толщины опорного элемента и не менее 20 см. Стыки стоек следует осуществлять впритык на штыре с примыканием торцов всей плоскостью и перекрытием стыка стальными накладками на болтах или обрезком трубы. При условии расположения стыков стоек в узлах или непосредственно около узлов, имеющих в обоих направлениях горизонтальные и диагональные связи, указанные стыки допускается рассматривать как конструктивные. В противном случае стыки стоек нужно рассчитывать как стыки сжатых поясов сквозных пролетных строений. В соединениях связей со стойками обязательно устройство врубок. Все соединяемые элементы опор должны быть стянуты болтами, а при необходимости хомутами. Болты должны иметь стальные шайбы с обоих концов. 9.18. При устройстве ряжевого основания опор могут применяться ряжевые опоры на всю высоту или опоры с рамной надстройкой из инвентарных или индивидуальных конструкций (рамно-ряжевые опоры). На водотоках с сильным ледоходом рекомендуется рамную надстройку возводить, начиная с отметки на 1,0 м выше уровня ледохода вероятностью превышения 10 %. Целесообразно высокие ряжи делать телескопическими. Выше уровня ледохода ряжи рекомендуется делать со сквозными наружными стенками без врубок. 9.19. Ширину ряжа (вдоль моста) следует назначать не менее 1/3 его высоты и не менее 2 м. Верх ряжа должен возвышаться над наивысшим уровнем ледохода вероятностью превышения 10 % не менее чем на 0,75 м над рабочим горизонтом воды. Высота ряжа назначается с запасом 5 % на осадку и усушку. 9.20. На суходолах и реках со слабым течением ряжи рекомендуются прямоугольными в плане. Ряжи, подверженные действию льда, следует совмещать с ледорезами. В этом случае с верховой стороны ряжа необходимо устраивать вертикальное режущее ребро. При сильном ледоходе ряжи следует устраивать с ледорезами, имеющими режущее ребро с наклоном 1:1,5 - 1:1,75. На реках с особо сильным ледоходом необходимо предусматривать также сооружение аванпостных ледорезов. 9.21. Венцы стен ряжа укладываются или с просветами, равными высоте бруса или окантованного бревна, или вплотную друг к другу. 9.22. Ряж заполняется камнем. При ряжах, венцы которых укладываются с просветами, размеры камня должны быть больше просветов. 9.23. Ряжи следует рубить из брусьев сечением не меньше 18×18 см, либо из круглых или окантованных на два каната бревен диаметром не меньше 18 см. Диаметр бревен и размеры поперечных сечении брусьев принимаются в зависимости от величии давлений, передаваемых на ряж. 9.24. Между наружными стенами ряжа необходимо устраивать поперечные и продольные перегородки (внутренние стены). Размеры сторон ячеек, образуемых внутренними стенами, не должны превышать 2 м. 9.25. Стыки бревен или брусьев в стенах ряжа следует располагать вразбежку. В крайних ячейках ряжа стыкование бревен или брусьев не допускается. 9.26. В углах наружных стен ряжа, а также в местах примыкания перегородок должны устанавливаться вертикальные брусья или окантованные бревна - сжимы с опальными по высоте дырами (прорезями) для болтов, через три венца в четвертом. В поперечном направлении наружные стены ряжа должны соединяться также стальными стяжками диаметром 22 мм, пропускаемыми через сжимы. 9.27. Под опорными частями опирающихся на ряж конструкций или под стойками рамных надстроек должны делаться стены на всю высоту ряжа. В других местах поперечные и продольные стены можно выполнять в виде отдельных распорок высотой в несколько венцов, располагая их по фасаду ряжа в шахматном порядке. Венцы ряжа следует соединять между собой штырями. 9.28. В нижней части ряжа должен быть устроен пол (днище) на высоте 2 - 4 венца от низа (тем выше, чем слабее грунт) из бревен, врубленных в венцы наружных стен. Расстояние между бревнами пола следует назначать в зависимости от крупности камня, которым загружается ряж. В ряжах, устанавливаемых на плаву, венцы, расположенные ниже пола, соединяются стальными хомутами с двумя рядами венцов, расположенных выше пола. 9.29. Ряжи устанавливаются на выровненное каменной наброской дно. Нижние два венца ряжа должны быть заделаны в подсыпку. 9.30. Для предохранения от подмыва по периметру ряжа следует устраивать каменную наброску на высочу 1,0 - 1,5 м выше подошвы ряжа с горизонтальной бермой шириной не менее 0,5 м и с уклоном откосов порядка 1:1,5 - 1:2. 10. БЕТОННЫЕ И ЖЕЛЕЗОБЕТОННЫЕ КОНСТРУКЦИИ10.1. Проектирование бетонных и железобетонных элементов СВСиУ (спай, ростверков, фундаментных блоков, стоек и других элементов, не входящих в состав конструкций постоянных мостов) должен выполняться в соответствии с главой СНиП 2.03.01-84* "Бетонные и железобетонные конструкции" с учетом дополнительных указаний настоящего раздела. Коэффициенты условий работы и коэффициенты надежности по назначению принимаются в соответствии с указаниями разделов настоящего стандарта в зависимости от видов и назначения сооружений. Допускается производить расчет железобетонных конструкций по нормам главы СНиП 2.05.03-84* "Мосты и трубы". 10.2. Бетонные и железобетонные конструкции должны рассчитываться: а) по первой группе предельных состояний - на прочность и устойчивость формы; б) по второй группе предельных состояний - по деформациям, а также по образованию и раскрытию трещин, если по условиям эксплуатации образование и раскрытие трещин не допускаются. 10.3. Из нормируемых показателей качества бетона для конструкций СВСиУ назначается класс по прочности на сжатие, если из технических или других особенностей проектируемого сооружения не вытекает необходимость назначения других показателей качества СНиП 2.03.01-84*. 10.4. Арматура для железобетонных конструкций должна назначаться в соответствии с общими требованиями СНиП 2.03.01-84*. При этом за расчетную температуру принимается температура наиболее холодной пятидневки, с обеспеченностью 0,92, ожидаемая в период эксплуатации сооружения. Арматуру марок, предназначенных для применения при температуре выше минус 40°С допускается применять и для температуры ниже 40°С при условии снижения на 30 % ее расчетного сопротивления. 10.5. В проектах СВСиУ для зон с расчетной температурой ниже минус 40°С изготовление бетонных и железобетонных конструкций может предусматриваться без учета дополнительных технологических требований к конструкциям северного исполнения, за исключением конструкций, воспринимающих подвижную временную нагрузку от железнодорожного или автомобильного транспорта. 10.6. При расчетах закладных анкерных креплений в бетоне вспомогательных сооружений следует учитывать коэффициент надежности по назначению γn - 1,5 для анкеров в соединениях стоек опор с ростверками. Для закладных деталей конструкций, эксплуатируемых при температуре выше 40°С, должны применяться стали марок, приведенных в главе СНиП 2.03.01-84*. При температурах ниже минус 40°С следует применять стали в соответствии с рекомендациями раздела 11. 10.7. Расчет заделки анкеров в бетон необходимо производить согласно требованиям главы СНиП 2.03.01-84* При расчете заделки величину сцепления их с бетоном принимают 1 МПа (10 кгс/см2) для элементов с гладкой поверхностью и 1,5 МПа (15 кгс/см2) для элементов периодического профиля. Несущую способность анкерного массива следует проверять в плоскости конца анкеров. При этом нужно учитывать только собственный вес вышележащего массива и не учитывать работу бетона на растяжение. Независимо от результатов расчета глубина заделки анкеров в бетоне должна быть не менее 1 м. 10.8. Конструкция вертикального анкера над подвижной опорной частью должна обеспечивать свободу температурных перемещений. 11. СТАЛЬНЫЕ КОНСТРУКЦИИ11.1 Проектирование стальных конструкций СВСиУ следует выполнять в соответствии с главой СНиП II-23-81* (изд. 1991 г.), СНиП 2.05.03-84* с учетом требований глав СНиП III-18-75, СНиП 3.03.01-87 и указаний настоящего раздела. 11.2. Стали для металлических конструкций СВСиУ следует назначать в зависимости от группы конструкции и климатического района строительства в соответствии с данными таблиц 50*, 51б СНиП II-23-81* изд. 1991 г., изложенными с незначительными сокращениями в приложении 17. 11.3. Различные конструкции СВСиУ и их элементы применительно к классификации по группам, принятой в таблице 50*, распределяются следующим образом: Группа 1. Сварные конструкции либо их элементы, работающие в особо тяжелых условиях и подвергающиеся непосредственному воздействию динамических, вибрационных и подвижных нагрузок (пролетные строения и опоры подкрановых, бункерных и разгрузочных эстакад и рабочих мостиков; подкопровые мосты; подмости для погружения свай и оболочек; элементы конструкций разгрузочных эстакад, непосредственно воспринимающих нагрузку от подвижного состава и т.п.). Конструкции группы 1 следует проектировать с применением таких конструктивных решений, которые не вызывают значительной концентрации напряжений. Группа 2. Сварные конструкции либо их элементы, работающие при статической нагрузке (монтажные подмости, ростверки, крепление котлованов, устройства для подъема (опускания) и надвижки, временные промежуточные опоры, понтоны и другие растянутые, изгибаемые и растянуто-изгибаемые элементы и т.п.), а также конструкции и их элементы группы 1 при отсутствии сварных соединений. Группа 3. Сварные конструкции, либо их элементы, работающие при статической нагрузке (стойки, колонны, опорные плиты и другие сжатые и сжато-изогнутые элементы и т.п.), а также конструкции и их элементы группы 2 при отсутствии сварных соединений. Группа 4. Вспомогательные конструкции и их элементы (лестницы, площадки, бункера, оборудование для укладки бетона и т.п.), а также конструкции и элементы группы 3 при отсутствии сварных соединений. 11.4. С целью унификации марок стали вспомогательных сооружений группы 1 конструкций для северных климатических районов I1, I2, II2 и II3 с марками стали для мостовых конструкций рекомендуется применять марки стали в соответствии с главой СНиП 2.05.03-84*. Для унификации снабжения прокатом рекомендуется в первую очередь применять сталь марок Вст3, 09Г2С, 15ХСНД, а для труб - сталь 10Г2 группы В по ГОСТ 8731. Кроме того, следует использовать прокат из углеродистой и низколегированной стали по ТУ 14-1-3023-80 с гарантированным уровнем механических свойств, дифференцированным по двум группам прочности. В случае отсутствия полных данных в сертификатах или отсутствия сертификатов на металл для вспомогательных сооружений общие правила приемки, методы отбора образцов для механических испытаний и на химический состав проводят по ГОСТ 7566, ГОСТ 7564 и ГОСТ 7565. Прокат по вышеуказанным ТУ, дифференцированный по группам прочности, при отсутствия сертификатов следует принимать по ГОСТ 380. Механические свойства металла проката устанавливают при следующих видах испытаний: а) испытания на статическое (кратковременное) растяжение для определения временного сопротивления, предела текучести и относительного удлинения (ГОСТ 1497); б) испытания на ударный изгиб (на надрезанных образцах типа "'шарпи"), а для категорий стали 10-15 и после механического старения (ГОСТ 9454, ГОСТ 7268); в) испытания на изгиб в холодном состоянии на оправке диаметром, равным двум толщинам проката, на угол 180°. 11.5. Для несущих элементов трубчатого сечения в конструкциях, предназначенных для эксплуатации в северных климатических районах Il, I2, II2 и II3, трубы нужно применять термообработанными с гарантией нормированных характеристик ударной вязкости. Элементы конструкций из бесшовных горячедеформированных труб допускается использовать для инвентарных конструкций вспомогательных сооружений: во всех климатических районах, кроме Il, I2, II2 и II3, из стали марки 20 по ГОСТ 8731 с дополнительным требованием к металлу труб по ударной вязкости при температуре минус 20°С - не менее 30 Дж/см 2(3 кгс·м/см2); в климатических районах I2, II2 и III3 из стали марки 09Г2С по ГОСТ 8731 дополнительным требованием по ударной вязкости при температуре минус 40°С - не менее 40 Дж/см2 (4 кгc м/см2) при толщине стенки до 9 мм и 35 Дж/см2 (3.5 кгc м/см2) при толщине стенки 10 мм и более или из стали марки 16Г2Ф по ТУ 14-3-829-79; в климатическом районе I1 из стали марки 09Г2С по ТУ 14-3-500-76. Допускается применение в указанных районах Il, I2, II2 и II3, стальных бесшовных труб по ГОСТ 8731 группы В из стали марки 10Г2 (без термообработки) при условии дополнительного контроля ударной вязкости металла каждой партии труб на образцах типов 1-4 по ГОСТ 9454. Испытанию на ударную вязкость по ГОСТ 9454 подвергаются образцы, как в исходном состоянии металла труб, так и после механического старения. Выбор типа образца с «U» - образным надрезом производят в зависимости от толщины стенки и диаметра трубы (ГОСТ 8732). Температурный режим испытания образцов назначают в зависимости от категории стали. Испытанию на ударную вязкость в исходном состоянии после механического старения подвергается металл труб по следующей методике: отбор заготовок производят от каждой партии труб одной плавки, одной марки стали, одного размера и одного вида термообработки (при поставке в термообработанном состоянии). От каждой партии отбирают по две контрольные трубы, из которых вырезают по ГОСТ 6996 заготовки механическим способом или кислородной резкой. Из заготовок изготавливают механической обработкой образцы по ГОСТ 9454 типов 1-4 с максимальным приближением их по высоте к толщине трубы. Процесс механического старения образцов выполняют по методике ГОСТ 6996 (остаточное удлинение на 10 ± 0.5 %, нагрев до 250 ± 10°С с выдержкой в течение 1 часа и т.д.). Количество образцов для испытания назначают не менее трех для каждого типа. 11.6. Для фрикционных соединений элементов СВСиУ необходимо применять высокопрочные болты, гайки и шайбы к ним в соответствии с указаниями раздела 2 СНиП II-23-81*. Механические свойства высокопрочных болтов приведены в приложении 17. Допускается повторное (не более 3-кратного) использование во фрикционных соединениях высокопрочных болтов (ВПБ), не имеющих задиров и повреждений на опорных поверхностях и на резьбе болтов и гаек. При этом надлежит обеспечивать подготовку болтов, гаек и шайб к установке в конструкцию. При неполном натяжении ВПБ с затяжкой обычным ключом с крутящим моментом порядка 20 - 30 кгс·м допускается их многократное использование до износа в пределах допусков. 11.7. Для обычных (нефрикционных) болтовых соединений следует назначать болты (грубой, нормальной и повышенной точности) в соответствии с требованиями раздела 2 главы СНиП II-23-81*. При нецентрализованном изготовлении нестандартных расчетных болтов для стальных конструкций, эксплуатируемых в климатических районах I2, II2 и II3, следует применять сталь марки 0912С категории 13 по ТУ 14-1-3023-80, гайки к ним из стали 20, 25, 30 и 35 по ГОСТ 1050 и 40Х по ГОСТ 4543. 11.8. Для сварки стальных конструкций СВСиУ следует принимать материалы в соответствии со СНиП II-23-81*, приведенные в табл. 55* приложения 17. Допускается при соответствующем обосновании применять другие марки электродов и флюсов, обеспечивающие механические свойства сварных швов на уровне требований к свойствам основного металла. 11.9. Для ручной сварки конструкций из сталей марок Вст.3сп5 и Вст.3пс5, эксплуатируемых при температурах ниже минус 40°С, следует применять электроды типа Э42А-Ф марки УОНИ-13/45. Для сварки низколегированных сталей конструкций, эксплуатируемых при температурах ниже минус 40°С, следует применять электроды типа Э5ОА-Ф марки УОНИ-13/55, а для сварки соединительных (нерасчетных) швов также электроды типа Э42А-Ф марки УОНИ-13/45. Если сварка производится при отрицательной температуре, следует применять электроды типа Э42А и Э42А-Ф (марок УОНИ-13/55, УОНИ-13/45) - для углеродистой стали и Э5ОА и Э5ОА-Ф тех же марок для низколегированных сталей. Сварку низколегированных сталей с углеродистыми следует выполнять электродами для низколегированных сталей. 11.10. Основные положения по технологии изготовления элементов стальных конструкций (обработка кромок, гибка и правка, допуски и т.п.) определяются главой СНиП III-18-75. Основным видом сварки соединении стальных конструкции вспомогательных сооружении на заводах Минтрансстроя рекомендуется полуавтоматическая сварка в среде углекислого газа сварочной проволокой Св-08ГС. 11.11. Непосредственная приварка различных вспомогательных детален (кронштейны, перила) к несущим элементам конструкций не допускается. Приваривать эти детали допускается только к ребрам жесткости. 11.12. В конструкциях, предназначенных для эксплуатации в климатических зонах Il, I2, II2 и II3,не допускается приварка диафрагм, связей и ребер жесткости к поясам балок. 11.13. В конструкциях, предназначенных для эксплуатации в климатических зонах Il, I2, II2 и II3, следует применять элементы со сплошной стенкой, без обрыва отдельных частей по длине элемента, а в узлах применять соединения, обеспечивающие плавное изменение напряжении Прикрепление отдельных элементов рекомендуется осуществлять без эксцентриситетов. Пояса балок и стоек следует проектировать однолистовыми с постоянным сечением. 11.14. При повторном использовании проката, бывшего в употреблении, нужно выполнять его подготовку в части исправления дефектных мест, а в необходимых случаях - их усиление. Особое внимание следует уделять прочности с учетом хрупкого разрушения центрально- и внецентренно-растянутых элементов конструкций, возводимых в климатических районах Il, I2, II2 и II3. Проверку на прочность с учетом сопротивлений хрупкому разрушению от хладоломкости указанных элементов и зон растяжения производят согласно главе СНиП II-23-81* (раздел 10). Металл указанного проката отбирают и испытывают аналогично требованиям п. 11.4. 11.15. В примыкании ребер жесткости к поясам следует утраивать треугольные срезы углов ребер со стороны стенки балки (рис. 11.1). Ребра должны плотно прилегать к поясным листам балки, для чего следует предусматривать постановку прокладок толщиной 16-20 мм между концом ребер и поясом. Допускается приваривать ребра жесткости к листу сжатого пояса балки, а также к листу нижнего пояса на опоре, только для конструкций, работающих в климатических зонах Il, I2, II2 и II3. 11.16. Сопряжения углов рамных конструкций рекомендуется выполнять с помощью вставок. Ребра жесткости, параллельные стыковым швам стенки, необходимо удалять от стыков на расстояние, в 10 раз превышающее толщину стенки (рис. 11.2). При пересечении стыковых швов они должны зачищаться на длину 50 мм (рис. 11.3). В сварных узлах не следует допускать пересечения угловых швов.
Pиc. 11.1. Примыкание ребер жесткости к поясам балки
Рис. 11.2. Расположение ребер жесткости, параллельных стыковым швам стенки балки 1 - стык; 2 - ребра жесткости
Рис.11.3. Пересечение стыковых швов 11.17. Сварные конструкции для эксплуатации в климатических зонах Il, I2, II2 и II3, рекомендуется проектировать с широким применением автоматической и полуавтоматической сварки (взамен ручной). 11.18. В пакетных конструкциях из двутавровых балок отдельные балки в полупакете связывают между собой, как правило, поперечными диафрагмами. Между полупакетами необходимо устанавливать металлические продольные связи в плоскости верхнего пояса с панелью не более 3,0 м и поперечными связями на расстояниях, не превышающих 5,5 м. Усилия отпора для приварки элементов, используемых для уменьшения свободной длины элементов (распорки, стяжки), следует принимать в размере 3 % продольного усилия сжатого элемента. 11.19. В соединениях с фланцевыми стыками и фрезерованными торцами элементов сжимающая сила считается полностью передающейся через торцы. Во внецентренно сжатых элементах болты или заклепки указанных соединений проверяются на наибольшее растягивающее усилие от действия изгибающего момента, соответствующего минимальной продольной силе. 11.20. Расчет прикрепляемых элементов на прочность при применении фрикционных соединений следует производить по сечению нетто в предположении, что 50 % усилия, приходящегося на каждый болт в рассматриваемом сечении, уже передано силами трения. 11.21. При определении прогибов изгибаемых конструкций со стыками на обычных болтах прогибы балок увеличиваются на 20 %. 11.22. Наименьшие размеры сечений частей стальных конструкций вспомогательных сооружений, за исключением понтонов, допускаются следующие (мм): Толщина листов, кроме перечисленных ниже случаев - 10/8 Толщина планок - 8/6 Толщина прокладок - 6/4 Толщина опорных листов - 16/16 Размеры уголков в основных сечениях - 75×75×8 Размеры уголков соединительной решетки составных стержней - 63×40×6 Диаметр болта - 16 Диаметр стержневых тяг, подвесок - 10 Примечание: в числителе приведены значения для инвентарных конструкций, в знаменателе - для конструкций одноразового использования. Элементы инвентарных стальных конструкций нужно защищать антикоррозионными покрытиями. Для неинвентарных конструкций и устройств вид защитного покрытия элементов и соединений назначают в зависимости от срока службы и возможностей их повторного использования. Допускается при малом сроке службы не защищать их антикоррозионными покрытиями. Тросовые элементы и пучки из высокопрочной проволоки подлежат антикоррозионной защите (смазке) во всех случаях. Увеличение толщины проката и стенок труб взамен защиты конструкций от коррозии не допускается. 12. ПОДКРАНОВЫЕ ЭСТАКАДЫ12.1. Подкрановые эстакады предназначаются для установки и передвижения по ним в процессе строительства монтажных кранов на рельсовом ходу - козловых, башенных, дерриков. 12.2. Габариты и уровни конструкций подкрановых эстакад назначаются в соответствии с разделом 5, при проектировании оснований опор подкрановых эстакад следует руководствоваться указаниями раздела 8. 12.3. Мостовое полотно подкрановой эстакады должно иметь настил шириной 0,75 м и двусторонние перила в соответствии с требованиями раздела 14. Это условие распространяется и на мостовое полотно раздельных эстакад под каждую ногу козлового крана. Расстояние в свету от перильного ограждения до движущихся частей крана должно быть не менее 0,8 м. 12.4. В пределах пойменной части при достаточной несушей способности грунтов основания и высотах до 6 м эстакаду рекомендуется заменять насыпью из минерального грунта. Растительный слои под подошвой насыпи должен быть удален перед отсыпкой. Верхняя площадка насыпи должна иметь поперечный уклон 0,008. На участках с вечномерзлыми грунтами отсыпка насыпи для козловых кранов не рекомендуется. Допускается устройство продуваемой наброски из камня. Ширина верхней площадки насыпи под каждую ногу козлового крана К-651 должна быть не менее 3,50 м, крутизна откосов - 1:1,5. 12.5. Конструкция верхнего строения пути на эстакаде и подходах назначается в соответствии с требованиями паспорта крана. Согласно указаниям по устройству кранового пути козлового крана К-651 она должна быть следующей: а) рельсы - типа Р 50, ГОСТ 24128 б) подрельсовое основание - полушпалы из шпал типа 1, ГОСТ 78 расстояние между осями пол у шпал - 0,45 м (на насыпи подходов рекомендуется рельсовое основание из сборных железобетонных инвентарных плит); в) рельсовое скрепление в стыках - накладки двухголовые шестидырные, ГОСТ 19128 - болты путевые М24 × 150 с гайками и пружинными шайбами, ГОСТ 11530 г) крепление рельсов к поперечинам - костыльное с плоскими подкладками типа СД50 ГОСТ 12135, подкладка крепится двумя костылями, рельс - тремя костылями, - клеммно-шурупное с плоскими подкладками типа СК50 по ГОСТ 16277, подкладка крепится к поперечине четырьмя шурупами, рельс к подкладке двумя клеммными болтами через клеммы, д) поперечины крепятся к металлическим пролетным строениям двумя лапчатыми болтами; е) материал балласта на земляном полотне на подходах - щебень, размеры балластной призмы: - ширина по верху - 1,75 м - толщина под полушпалой - 0,30 м - крутизна откосов - 1:1,5 - возвышение верха шпалы над балластом - 0,05 м ж) предельно допустимые величины: - продольный уклон по головке рельса -0,002; - возвышение одного рельса относительно другого - 15мм. - допуски: - на ширину колеи ±10 мм - на разность уровней головок рельсов в стыке ±1 мм и) требования по заземлению: - стыки рельсов и обе нитки колеи должны соединяться перемычками, обеспечивающими непрерывность электрической цепи; - рельсы должны быть присоединены к сети защитного заземления. 12.6. Конструкция верхнего строения пути башенных кранов должна отвечать требованиям СНиП 3.08.01-85. 12.7. На расстоянии не менее 1,0 м от последней полушпалы на концах рельсовых нитей подкранового пути должны быть установлены и закреплены четыре тупиковых упора. Упоры должны быть установлены таким образом, чтобы в аварийной ситуации наезд крана происходил одновременно на два тупиковых упора. 12.8. На обоих концах рельсового пути должно быть установлено и закреплено по одной отключающей линейке для концевых выключателей механизма передвижения крана. Линейки следует устанавливать таким образом, чтобы отключение механизма передвижения происходило на расстоянии до тупиковых упоров не менее полного пути торможения крана, указанного в паспорте. 12.9. При отсутствии на кране кабельного барабана вдоль рельсового пути должен предусматриваться лоток для размещения питающего кабеля. 12.10. Подкрановые эстакады должны быть рассчитаны по первому и второму предельным состояниям на нагрузки и воздействия в их невыгодном сочетании. В табл. 12.1 приведены сочетания нагрузок, рассматриваемые при расчете подкрановых эстакад для козловых кранов на рельсовом ходу, в табл. 12.2 - сочетания нагрузок, рассматриваемые при расчете подкрановых опор (подставок) и эстакад для других чипов монтажных кранов (деррик-кранов и т.п.). В случае если, в соответствии с п. 5.3, проектом предусматривается затопление эстакады паводковыми водами, она должна быть рассчитана на гидродинамическое воздействие воды с учетом возможных размывов у опор. 12.11. Расчет эстакад под козловые краны производится отдельно под жесткую и гибкую (шарнирную) ноги крана в продольном и поперечном направлениях на следующие нагрузки (Рис. 12.1): собственный вес пролетных строений эстакады Gпc; собственный вес опор эстакады Go; давление на эстакаду ветра Wпc и Wo; нагрузки от перемещающегося по эстакаде крана: вертикальную Р, горизонтальную продольную N и горизонтальную поперечную Q. Паспортные характеристики козлового крана К-651 приведены в приложении 18. Следует иметь ввиду, что указанные в паспорте крана нагрузки на колесо определены с учетом воздействия на кран ветровой нагрузки согласно ГОСТ 1451.
Рис. 12.1. Схемы приложения нагрузок в подкрановых эстакадах а - к пролетному строению; б - к опоре в продольном направлении; в - к опоре в поперечном направлении 12.12. Усилия Р, Q и N считаются приложенными в уровне головки рельса подкранового пути. 12.13. Величины Р, N, Q определяются отдельно под гибкой и жесткой ногой крана с учетом положения и особенностей передачи горизонтальных воздействий на гибкую и жесткую ногу в козловых кранах. При определении усилий по сочетаниям 4, 5 и 6 (табл. 12.1) временные нагрузки учитываются с коэффициентом сочетаний η = 0.90. В сочетаниях 1 - 9 вес груза учитывается без динамического коэффициента; в сочетании 10 - с динамическим коэффициентом. 12.14. При проверке эстакады на устойчивость в поперечном направлении для нахождения горизонтальных сил Q и минимальных вертикальных нагрузок Р на тележки жесткой (гибкой) ноги крана расположение грузовой тележки и номинального груза принимается у противоположной ноги, а направление инерционных сил и ветра - разгружающим искомую вертикальную нагрузку. Из этих же условия определяется в необходимых случаях минимальное усилие в сваях с целью проверки их работы на выдергивание. В случае растягивающего усилия в свае конструкция узла сопряжения сваи с ростверком должна обеспечивать восприятие этого усилия. Таблица 12.1
Рис. 12.2. Схема приложения нагрузок к козловому крану а - на жесткую ногу; б - на гибкую ногу; Gжн, Gгн, Gp, Gxт, Gг, Gгp - веса собственно жесткой ноги, гибкой ноги, ригеля, ходовой тележки, грузового полиспаста, груза; Wт, Wp, Wжн, Wгн, Wгp - усилия от продольно направленного ветра, приходящиеся соответственно на грузовую тележку, ригель, жесткую и гибкую ноги, груз; W'т, W'p, W'жн, W'гн - усилия от поперечно направленного ветра, приходящиеся соответственно на грузовую тележку, ригель, жесткую и гибкую ноги, груз; Нт, Нгр, Нр, Нжн, Нгн - инерционные силы при торможении крана, приложенные соответственно к грузовой тележке, грузу, ригелю, жесткой ноге, гибкой ноге; Н'т, Н'гр - инерционные силы при торможении тележки и груза
12.15. При учете воздействия на опоры ледохода и волновой нагрузки последние в сочетаниях с технологической нагрузкой принимаются с η = 0,8, с ветровой с η - 0,7. 12.16. Продольные усилия, передаваемые на эстакаду через подкрановый рельс, допускается распределять равномерно между опорами на длине не более 50 м. При этом должны быть приняты конструктивные меры по передаче продольной силы с подкранового пути на опоры. 12.17. Распределение приходящихся на тележку вертикальных и горизонтальных нагрузок принимается равномерным между всеми колесами этой тележки. 12.18. Величина горизонтальной поперечной силы, приходящаяся на рассчитываемую опору эстакады, принимается пропорционально вертикальной нагрузке на опору. 12.19. Наибольшие прогибы от временной нагрузки пролетных строений подкрановых эстакад для кранов, перемещающихся на рельсовом ходу, не должны превышать величины 1/500, где 1 - расчетный пролет балки эстакады. 12.20. В расчетах пролетных строений подкрановых эстакад применяется коэффициент надежности по назначению γn = 1,05. 13. РАБОЧИЕ МОСТИКИ13.1. Рабочие мостики служат для пропуска и работы транспортных средств, строительных и грузоподъемных механизмов. 13.2. Рабочие мостики рекомендуется устраивать прямые в плане и с продольным уклоном не более 0,005. Габарит проезжей части рабочих мостиков принимается в каждом конкретном случае в зависимости от их назначения, используемого оборудования и других факторов, но во всех случаях расстояние между колесоотбоями должно быть не менее 3,8 м (для проезда в одном направлении). Сопряжение рабочего мостика с насыпью разрешается выполнять в виде аппарели или въездного щита. 13.3. Пролетные строения рабочих мостиков рекомендуется устраивать металлическими, разрезной, конструкции, преимущественно из инвентарных балок. Опоры рабочих мостиков в зависимости от условий строительства следует устраивать свайными, свайными с надстройкой из инвентарных элементов, а при невозможности забивки свай - ряжевыми или рамно-ряжевыми. Как исключение, допускается устройство клеточных опор. 13.4. Пролетные строения рабочих мостиков при длине до 18 м следует устанавливать на деревянные брусья (мауэрлаты) или балки ростверков инвентарных конструкций, а свыше 18 м - на опорные части. Пролетные строения должны крепиться к деревянным брусьям (насадкам) штырями на каждом конце, а к металлическим балкам ростверка - болтами, пропущенными через овальные отверстия. 13.5. Общая устойчивость балок (прогонов, пакетов) в необходимых по расчету случаях обеспечивается постановкой жестких поперечных связей сжатых поясов или учетом узлов неизменяемых продольных связей. Для балок высотой менее 50 см допускается в качестве поперечной связи учитывать жесткий диск деревянной проезжей части. Распорки между сжатыми поясами следует принимать в качестве поперечных связей, если они являются элементами неизменяемых поперечных и продольных связей. Допускается принимать в качестве жестких закреплений от поперечных смешений узлы сбалчивания пакетов из двутавров через деревянные прокладки, размещенные по всей высоте балки. 13.6. Проезжая часть рабочих мостиков может устраиваться из сборных железобетонных плит, забетонированных при изготовлении заодно с колесоотбойным "брусом", а также на деревянных поперечинах. 13.7. Проезжую часть на поперечинах рекомендуется устраивать колейного типа. Поперечины изготавливаются из бревен, опиленных на два канта с шириной канта не менее 1/3 диаметра. Настил из поперечин закрепляется колесоотбойным брусом высотой 15 см, связующие болты диаметром 20 мм устанавливают с шагом 1 м. Колейный настил устраивается из досок, пришитых через 1,5 м к поперечинам гвоздями диаметром 4-4,5 мм и длиной 100 мм. Сечение и шаг поперечин и толщина досок настила определяются расчетом. Внутреннее расстояние между проезжими частями колей не должно быть более 0,8 м. Межколейный промежуток рекомендуется перекрывать щитами настила или ограждать внутренними колесоотбоями. Вместо колейного настила допускается покрытие из слоя гравия толщиной 10 см по сплошному настилу из поперечин (преимущественно на мостиках для пропуска гусеничной нагрузки). 13.8. На рабочих мостиках должны устраиваться односторонние или двухсторонние тротуары шириной по 0,75 м и двухстороннее перильное ограждение высотой 1,1 м. В конструкции рабочих мостиков под стреловые самоходные краны в необходимых случаях следует предусматривать специальные площадки для установки выносных опор (аутригеров) крана в местах, предусмотренных технологической схемой монтажных работ. 13.9. Рабочие мостики должны рассчитываться на реально обращающуюся по ним временную нагрузку или нагрузку А11 и НК-80 по первому и второму предельному состоянию. При ограничении скорости движения до 10 км/ч динамический коэффициент для металлических главных балок определяется по формуле
где λ - длина загружения. 13.10. Расчет рабочих мостиков производится на сочетания нагрузок, приведенных в табл. 13.1 с учетом коэффициентов сочетаний нагрузок η Таблица 13.1
14. СРЕДСТВА ПОДМАЩИВАНИЯ, ПРЕДОХРАНИТЕЛЬНЫЕ ОГРАЖДЕНИЯ14.1.Средства подмащивания и предохранительные ограждения предназначены для обеспечения безопасности работающих при выполнении строительно-монтажных работ на высоте 1,3 м и более над уровнем земли или сплошной поверхности строительной конструкции (ростверк, подферменная площадка опоры, плита проезжей части и т.п.). Средства подмащивания также должны обеспечивать удобные условия работ и способствовать технологичности выполняемых с их помощью операций. Виды средств подмащивания приведены в приложении 19. 14.2. Там где позволяют условия строительства, рекомендуется применять инвентарные конструкции средств подмащивания. Электрические подвесные люльки разрешается применять только инвентарные, заводского изготовления в соответствии с их эксплуатационными документами (паспорт, инструкция по эксплуатации). 14.3. Средства подмащивания и ограждения изготавливаемые и монтируемые в условиях строительства должны: а) соответствовать требованиям ГОСТ 24258, ГОСТ 26887, ГОСТ 27321 и ГОСТ 28012; б) иметь простую конструкцию, отвечающую условиям их изготовления силами строительной организации; в) быть удобными и безопасными для монтажа и демонтажа; г) иметь минимальное количество типоразмеров (для данного объекта) и отвечать требованиям оборачиваемости конструкций. 14.3. Размеры подмостей в плане определяются характером технологических операций, производимых с их помощью и размерами используемых инструментов и технологической оснастки. Так подмости, с которых с помощью динамометрических ключей закручиваются гайки высокопрочных болтов должны иметь длину вдоль фронта работ не менее, чем А+2,2 м, где А - расстояние между крайними болтами но горизонтали. Независимо от технологических условий ширина подмостей в свету (ширина прохода) должна быть не менее 1,0 м. Ширина проходов, соединяющих соседние участки работ должна быть не менее 0,6 м, а высота прохода в свету - не менее 1,8 м. 14.4. Отдельные секции передвижных подмостей могут соединяться друг с другом переходными площадками с габаритами по п. 14.3, прочно закрепленными и огражденными перилами. Соединение площадками, стремянками или лестницами подвесных люлек не допускается. 14.5. Средства подмащивания, рабочий настил которых расположен на высоте 1,3 м и более, должны иметь перильное и бортовое ограждение. 14.6. Высота перильного ограждения должна быть не менее 1,0 м. Расстояние между горизонтальными элементами ограждения в вертикальной плоскости должно быть не более 0,45 м, или ограждение должно иметь сетчатое или решетчатое заполнение. Высота бортового ограждения настила должна быть не менее 0,15 м. 14.7. При невозможности установки ограждения безопасность работ должна быть обеспечена установкой страховочных канатов по ГОСТ 12.4.107 с использованием работающими предохранительных поясов по ГОСТ 12.4.089. 14.8. Опасная зона, в пределах которой имеется опасность падения с высоты, но конкретных технологических операций с присутствием в ней людей не предусматривается, должна быть обозначена установкой сигнального ограждения по ГОСТ 12.4.059. 14.9. Для подъема работающих на рабочие места, расположенные на высоте, должны применяться лестницы в соответствии с ГОСТ 26887 (приложение 20): а) навесные - неподвижно прикрепленные к конструкциям сооружения - при высоте до 10 м; б) приставные - устойчивое положение которых обеспечивается креплением их к конструкциям сооружения, вертикальные и наклонные - при высоте до 22 м; в) маршевые - при высоте до 30 м. 14.10. При высоте подъема более 25 м необходимо применять пассажирские или грузопассажирские подъемники. 14.11. Расстояние между тетивами лестниц должно быть от 0,45 м до 0,80 м. Расстояние между ступенями - от 0,30 м до 0,34 м, а расстояние от первой ступени до уровня установки на настиле - не более 0,40 м. 14.12. Приставные лестницы высотой более 5 м, устанавливаемые под углом более 75° к горизонту, должны иметь, начиная с высоты 2 м от нижнего конца, дуговое ограждение, а устанавливаемые под углом от 70° до 75° - перильное ограждение с обеих сторон высотой по вертикали от 0,9 м до 1,4 м, начиная с высоты 5 м. 14.13. Навесные лестницы длиной более 5 м, установленные под углом более 75° к горизонту должны иметь дуговое ограждение. 14.14. Дуги ограждения должны быть расположены на расстоянии 0,80 м друг от друга и соединены не менее, чем тремя продольными полосами. Расстояние от лестницы до дуги должно быть не менее 0,70 м и не более 0,80 м при ширине ограждения от 0,70 до 0,80 м. 14.15. Вместо дугового ограждения приставные и навесные лестницы по п.п. 14.12 и 14.13 могут быть оборудованы канатом с ловителем для закрепления карабина предохранительного пояса. 14.16. Несущие элементы средств подмащивания должны изготавливаться металлическими. Деревянный настил подмостей должен изготавливаться из древесины хвойных и лиственных пород первого и второго сорта по ГОСТ 8486 и ГОСТ 2695. 14.17. При проектировании средств подмащивания, ограждений и лестниц должны быть выполнены следующие расчеты: прочности и устойчивости положения проектируемых устройств; прочности элементов, обеспечивающих закрепление подмостей, площадок и пр.; прочности элементов основных конструкций, непосредственно воспринимающих нагрузку от подмостей, площадок, перил и пр. 14.18. При выполнении расчетов, учитываются следующие нагрузки: собственный вес устройств; временная нагрузка от веса тяжелого оборудования (если его установка предусмотрена технологией производства работ); временная нагрузка от людей, инструмента, мелкого оборудования (по таблице 7.2 раздела 7). Ветровая нагрузка учитывается только для отдельно стоящих устройств. На поручень перильного ограждения учитываются нагрузки: равномерно распределенная, 400 Н/м (40 кгс/м); горизонтальная и вертикальная поочередно; сосредоточенная, 700 Н (70 кгс), приложенная в середине пролета в горизонтальной и вертикальной плоскости поочередно. 14.19. В расчетах средств подмащивания и ограждений необходимо принимать следующие коэффициенты: а) надежности по нагрузке, в том числе: γf ~ 1,2 от людей и материалов (для подмостей сборно-разборных γf = l,25) γf = 1,1 от собственного веса б) надежности но назначению γn = 1,5 при расчете креплений средств подмащнвания к строительным конструкциям γn = 4 при расчете стержневых подвесок в) условий работы m = 1,5 при расчете перильного ограждения 14.20. Величины нормативных нагрузок принятых в расчетах средств подмащивания должны быть указаны в рабочих чертежах этих конструкций. 15. ЛЕДОРЕЗЫ И КАРЧЕОТБОЙНИКИ15.1. При необходимости защиты рабочих мостиков, монтажных подмостей подкрановых эстакад, шпунтовых ограждений от ледохода впереди них устанавливаются ледорезы, если это необходимо по условиям организации строительства (графика работ). Ледорезы устанавливаются отдельно от опор на расстоянии до 3 м. Ширина ледореза не должна быть меньше ширины опоры. Верх ледорезов должен располагаться на 0.5 м выше уровня ледохода вероятностью превышения 10 %. Передний конец режущего ребра ледореза должен быть ниже уровня низкого ледохода на 0.5 м. Наружные поверхности ледореза не должны иметь выступающих углов. 15.2. На реках, промерзающих до дна, рекомендуется устройство ряжевых ледорезов или шатровых с ряжевым основанием. 15.3. Сваи шатровых ледорезов в продольном направлении располагают с шагом 2-3 м. 15.4. Уклон режущего ребра шатра вдоль реки должен быть 1:1.5 - 1:1.75. Уклоны боковых граней должны составлять от 1:1.5 до 1:2.5. Режущее ребро ледореза должно устраиваться из трех сплоченных бревен и усиляться уголком или листовым железом толщиной не менее 6 мм на ширине не менее 20 см. 15.5. На водотоках со слабым ледоходом и грунтами, допускающими забивку свай, устраиваются кустовые ледорезы с крыльями и без них из 4-7 свай, забитых на глубину 3-4 м. Сваи кустового ледореза объединяются болтами и хомутами из полосовой стали, устанавливаемыми через 1 м. Глубина забивки свай ледорезов без крыльев должна быть не менее 4 м. При устройстве кустовых ледорезов с крыльями задние сваи располагают на расстоянии 2.5 м от куста свай и связывают их подкосами и обшивкой, образующей крылья. 15.6. В грунтах, допускающих забивку свай, разрешается устройство цилиндрических ледорезов из сплошного ряда свай диаметром 24 см, забитых по контуру круга диаметром, равным ширине опоры моста. Внутри ледорез засыпают камнем. Снаружи ледореза устанавливаются хомуты из полосового металла с расстоянием между ними 1.5 м. 15.7. Элементы шатра должны быть объединены в продольном и поперечном направлениях схватками и подкосами. В узлах примыкания необходимо устанавливать металлические хомуты и болты. Обшивка шатровой части должна быть сплошной с направлением досок (пластин) обшивки толщиной 8-10 см вдоль ледохода. Пластины должны прикрепляться гвоздями диаметром 10 мм. Рамы надстройки шатрового ледореза должны устраиваться из бревен диаметром не менее 24-26 см. Подводную часть ледореза рекомендуется защищать ряжевой рубашкой с засыпкой камнем. 15.8. Режущее ребро ряжевого ледореза должно поддерживаться продольной стенкой. 15.9. Ледорезы должны соединяться переходами с защищаемой конструкцией. 15.10. Ледорезы рассчитываются на действие собственного веса с коэффициентом надежности по нагрузке γf <1 и расчетное давление льда. На ледорезы с наклонным режущим ребром нормативное давление льда учитывается в виде: вертикальной составляющей, кН (тс), Fv = 350h2d; (Fv = 35h2d) (15.1) горизонтальной составляющей, кН (тс), Fн = Fvtgβ, (15.2) где β - угол наклона режущего ребра к горизонту, град. hd - толщина льда, м. 15.11. Перед опорами на горных и полугорных реках, несущих в период паводков карчи, необходимо устраивать карчеотбойники на расстоянии 2,5 -3,0 м. Карчеотбойник состоит из двух рядов свай диаметром 26-30 см, расположенных под углом друг к другу, соединенных схватками и обшитых в два слоя досками толщиной 5 см. Со стороны опоры обшивка досками не делается. По переднему ребру карчеотбойника, обращенному против течения, закрепляется вертикально рельс. Карчеотбойники внутри засыпаются камнем. Высота карчеотбойника делается не менее чем на 0.5 м над рабочим уровнем воды (см. п. 5.3). Карчеотбойники рассчитываются на удар одиночного бревна, кН (тс) по формуле: Fн = 15V2 (Fн = 1,5V2) (15.3) где V - скорость течения воды, м/с. 16. ШПУНТОВЫЕ ОГРАЖДЕНИЯ16.1. Временные ограждения из забивных шпунтовых свай, металлических или деревянных, применяются в условиях строительства мостов для крепления стенок котлованов, при сооружении опор в русле реки, при устройстве искусственных островков и в других случаях, требующих повышенной плотности конструкции ограждения. 16.2. Материал и сечение шпунтовых свай назначается на основании технико-экономических расчетов. 16.3. Ограждение из деревянного шпунта следует проектировать при глубине погружения в грунт в зависимости от его плотности до 6 м, если в грунте нет включений в виде камней, затонувших деревьев и т.п. На открытых водотоках при глубине воды 3-4 м ограждение из деревянного шпунта рекомендуется проектировать двойное с расстоянием между шпунтовыми стенками не менее 1 м с заполнением пазух между стенками мелким песком, супесями или суглинками, с содержанием глинистых частиц не более 20 %. 16.4. Деревянный шпунт применяется из лесоматериалов второго сорта хвойных пород, а из лиственных при длине не свыше 3 м. Наилучшая форма гребня и паза шпунта - прямоугольная. Гребень и паз треугольной формы применяют при толщине шпунта не более 8 см. Рекомендуемые соотношения размеров поперечного сечения для разных типов деревянного шпунта приведены на Рис. 16.1. Длина заострения шпунтовой сваи назначается в зависимости от проходимых грунтов и должна составлять от одной (для тяжелых грунтов) до трех (для легких грунтов) толщин шпунта (Рис. 16.2). Верх шпунтовых свай, погружаемых забивкой, должен быть срезан строго перпендикулярно к оси сваи и снабжен бугелем прямоугольной формы (см. Рис. 16.2). Все болты и скобы в шпунтовых сваях устанавливают «впотай». Маячные сваи рекомендуется располагать вне направляющих схваток. Расстояние между маячными сваями не должно превышать 2 м.
Рис. 16.1. Поперечное сечение деревянного шпунта
Рис. 16.2. Конструкция деревянных шпунтовых свай 1 - бугель 16.5. Необходимая величина заглубления шпунта в грунт устанавливается расчетом в соответствии с указаниями, приведенными в разделе 17. При любых условиях величина заглубления однорядного шпунта в связные, крупнопесчаные и гравелистые грунты должна быть не менее 1 м, а для мелкопесчаных и плывунных грунтов - 2 м ниже уровня дна котлована. Глубина погружения внешнего ряда двойного деревянного шпунтового ограждения во всех случаях должна быть не менее 2 м. 16.6. Ограждения из стального шпунта следует применять при глубине воды более 2 м. Стальной шпунт должен извлекаться для повторного использования, за исключением случаев, когда он входит в конструкцию опоры. Потребность в шпунте на строительство моста (объекта) и его оборачиваемость определяется в проекте с учетом конкретных условий производства работ. 16.7. Для ограждения котлованов мостовых опор основным профилем стального шпунта является корытный профиль. Шпунт плоского профиля ввиду его незначительного момента сопротивления следует применять преимущественно для образования стенок ограждения искусственных островков, цилиндрических в плане. Характеристики стальных шпунтовых свай приведены в приложении 8. 16.8. Внутренние размеры в плане (в свету) шпунтового ограждения фундаментов, сооружаемых как с применением тампонажной подушки, так и без нее, имеющих вертикальные сваи или при отсутствии свай, нужно принимать, исходя из условия установки опалубки фундамента, но не менее чем на 30 см больше проектируемых размеров фундамента. При забивке наклонных свай расположение шпунта должно быть назначено с таким расчетом, чтобы острие шпунтин отстояло от свай не менее чем на 1 м. 16.9. Верх шпунтового ограждения следует назначать на 0.3 м выше уровня грунтовых вод в котловане, на 0.3 м выше уровня планировочной отметки вокруг ограждения на суходоле и на 0.7 м выше рабочего горизонта при устройстве ограждения в русле реки. Расчетная отметка дна реки вокруг шпунтового ограждения принимается с учетом возможного размыва при рабочем уровне воды в реке. Отметка низа шпунта определяется расчетом. Независимо от результатов расчета глубину забивки шпунта ниже дна котлована или отметки размыва следует принимать в случаях текучих и текуче-пластичных глин, суглинков и супесей, водонасыщенных илов, пылеватых и мелких песков не менее 2 м, а в остальных случаях - не менее 1 м. 16.10. Шпунтовые ограждения в случаях, определяемых расчетом, раскрепляются горизонтальными поясами - обвязками по контуру котлована. Места установки обвязок (по высоте) назначаются по расчету с учетом способа разработки котлована. Каждый ярус обвязки может состоять из системы поперечных, продольных и угловых распорок. Размещение распорок в плане назначается в зависимости от конструкции опоры и применяемых механизмов. При сооружении под защитой шпунта оснований фундаментов из свай или оболочек распорные конструкции должны проектироваться с учетом использования их одновременно как направляющих каркасов. 16.11. Для упрощения и значительного облегчения распорных креплений в ряде случаев целесообразно ограждения из стального шпунта делать кольцевого очертания в плане с креплением из кольцевых поясов-обвязок без поперечных распорок. Количество поясов и места установки их по высоте котлована определяются расчетом. Для удобства установки и разборки поясов рекомендуется делать их составными на болтовых стыках. Под обвязки следует предусматривать столики. 16.12. При низком горизонте грунтовых вод следует предусматривать разработку котлованов до отметки, близкой к горизонту грунтовых вод, без крепления, но с устройством бермы, ширина которой должна обеспечивать удобное производство всех работ по забивке шпунта и сооружению фундамента. При устройстве шпунтового ограждения на местности, покрытой водой, забивку шпунта следует производить после установки обвязки или каркасов, служащих для фиксации положения шпунта в плане и включающих пояса креплений, необходимые по расчету. Каркасы или обвязки могут устанавливаться на маячные сваи, спланированное основание, подводный ростверк или удерживаться на плаву в процессе забивки на специальных плашкоутах. 17. РАСЧЕТЫ ШПУНТОВЫХ ОГРАЖДЕНИЙА. ОБЩИЕ ПОЛОЖЕНИЯ17.1. Расчеты шпунтовых ограждений котлованов производят на: - устойчивость положения и прочность по материалу их элементов на стадиях разработки котлована и установки распорных креплений, полного удаления грунта и воды из котлована, а также обратной засыпки грунта и снятия креплений, - устойчивость дна котлована против выпучивания и фильтрационного выпора - для шпунтовых ограждений, заглубленных в пески, супеси и песчаные илы, на стадии откачки воды из ограждения. 17.2. Проверка на выпучивание производится по формуле Рв ≥ Рγn (17.1) где Рв - предельное сопротивление грунта дна котлована силам выпучивания, кПа (тс/м2), определяемое по формуле (17.2) Р - давление столба грунтовой массы высотой h2 и слоя воды высотой h1 на основание ав (сила выпучивания), кПа (тс/м2) согласно Рис. 17.1. и вычисляемая по формуле (17.3).
Рис. 17.1. Расчетная cxema к проверке дна котлована на выпучивание γn - коэффициент надежности по назначению принимаемый не менее 1.4; Рв = kcNc+γ A Nq М γ В Нγ + γв h (17.2) где k и М- коэффициенты, принимаемые по табл. 17.1; с - расчетное сцепление в грунте, кН (тс/м2); γ - удельный вес грунта, кН/м3 (тс/м3); γв - то же воды, кН/ м3(тс/м3); Nc, Nq, Нγ - опытные коэффициенты (табл. 17.2) несущей способности грунта, находящегося в пределах шпунтового ограждения, зависящие от расчетного угла внутреннего трения грунта φ; А - расстояние от дна котлована до нижнего края шпунта, м; В - меньшая сторона прямоугольного, сторона квадратного или радиус круглого котлована, м; h - слой воды над дном котлована, м;
где h1 и h2 - высота слоя воды и слоя грунта согласно Рис. 17.1. Таблица 17.1
Таблица 17.2
Расчетные значения величин φ и С определяют по материалам инженерно-геологических изысканий. В условиях гидродинамического воздействия (для случаев откачки воды из котлованов) значения φ следует уменьшать в два раза. 17.3. Фильтрационный выпор грунта котлована происходит только при откачке из него воды в песчаных грунтах, супесях и песчаных илах. Выпор начинается около шпунтового ограждения. Проверку на фильтрационный выпор производят по формуле
где γn - коэффициент надежности по назначению, принимаемый не менее 1.4; Аф - суммарная высота столба речной и грунтовой воды внутри котлована, считая от низа шпунта, м; H - разность высот столбов речной и грунтовой воды снаружи и внутри котлована, считая от низа шпунта, м. Глубина погружения шпунта ниже дна котлована может также определяться зависящим от нее дебетом грунтовой воды, фильтрующей через дно котлована, методика расчета которого приведена в приложении 21. 17.4. Минимальную глубину забивки шпунта (считая от дна котлована или отметки размыва) по условию обеспечения устойчивости стенок против опрокидывания определяют согласно п. 6.8. где Мu - расчетный момент опрокидывающих сил относительно оси возможного поворота (опрокидывания) стенки; Mz - расчетный момент удерживающих сил относительно той же оси; m - коэффициент условий работы, принимаемый по п.п. 17.9 и 17.21; γn - коэффициент надежности по назначению, принимаемый равным 1.1. Независимо от результатов расчета по любой ниже приведенной схеме глубину забивки шпунта t, считая от дна котлована, или отметки размыва следует принимать: в случаях текучих и текучепластичных глин, суглинков, супесей, водонасыщенных илов, пылеватых и мелких песков - не менее 2 м, в остальных случаях - не менее 1 м. В ограждениях с тампонажным слоем бетона глубина забивки должна быть не менее 1м при любых грунтах. 17.5. Расчетные давления воды и грунта (активного и пассивного) получают умножением нормативных давлений, определяемых согласно разделу 7, на коэффициенты надежности по нагрузке, принимаемые для активного давления грунта γf = 1,2, а для пассивного γf = 0,8. 17.6. При устройстве ограждения в водопроницаемых грунтах с укладкой подводной тампонажной подушки в расчете шпунтовой стенки на стадии ее работы до бетонирования подушки учитывают гидростатическое давление, соответствующее стадии откачки воды из котлована на глубину, необходимую для постановки яруса креплений, но не менее 1,5 м. 17.7. Ограждение из шпунта, забиваемого в водонепроницаемый грунт (суглинок или глину), расположенный ниже горизонта воды, следует рассчитывать на горизонтальные нагрузки, соответствующие двум схемам: а) принимают, что ниже поверхности водонепроницаемого грунта горизонтальное давление на шпунтовую стенку обусловлено только гидростатическим давлением воды, проникающей между стенкой и грунтом на глубину hв б) не предусматривают возможности проникания воды между стенкой и водонепроницаемым грунтом и принимают, что этот грунт оказывает горизонтальное давление на стенку, будучи пригруженным сверху гидростатическим давлением, а при наличии над водонепроницаемым грунтом водопроницаемого и весом последнего, при этом вес слоя водопроницаемого грунта, расположенного ниже горизонта воды, определяют с учетом его взвешивания в воде. В обеих схемах выше поверхности водонепроницаемого грунта учитывают горизонтальную нагрузку на стенку от гидростатического давления и, в необходимых случаях, от давления водопроницаемого грунта. Глубину проникания воды между стенкой и водонепроницаемым грунтом (считая от его поверхности) принимают равной: а) для ограждений, не имеющих распорных креплений (Рис. 17.2а)
где h' - глубина погружения шпунта в водонепроницаемый грунт; б) для ограждений с одним ярусом креплений (Рис. 17.2б)
где t - глубина погружения шпунта ниже дна котлована; в) для ограждения с несколькими ярусами креплений (Рис. 17.2в) - на 0,5 м ниже уровня грунта в котловане при установке верхнего яруса креплений, расположенного в пределах водонепроницаемого грунта. 17.8. Элементы креплений должны рассчитываться на совместное действие горизонтальной нагрузки, передаваемой шпунтовыми стенками, и вертикальной нагрузки от веса обустройств и конструкций, предусмотренных проектом. Наибольший изгибающий момент в элементе от веса обустройств и конструкций не должен быть меньше наибольшего изгибающего момента от равномерно распределенной нагрузки интенсивностью
где q1 - нагрузка, принимаемая равной 500 Па (50 кгс/м2) для верхнего яруса креплений и 250 на (25 кгс/м2) для остальных ярусов; F - площадь котлована, приходящаяся на рассчитываемый элемент крепления, м2; l - длина элемента, м.
Рис. 17.2. схемы для определения глубины проникания воды между шпунтовой стенкой и водонепроницаемым грунтом: а - при ограждениях, не имеющих распорных креплений; б - при ограждениях с одним ярусом крепления; в - при ограждениях с несколькими ярусами креплений 17.9. Расчеты элементов шпунтовых ограждений на прочность выполняются с применением коэффициентов - надежности по назначению: γn = 1.1 - для шпунтовых ограждений на местности, покрытой водой; γn = 1.0 - во всех остальных случаях; - коэффициентов условий работы, учитывающими возможность относительных смешений шпунтин в замках (для шпунта типа Шк или Ларсен): m = 0.7 - в случае слабых грунтов и отсутствии обвязок, прикрепленных к шпунту; m = 0.8 - в случае тех же грунтов и наличии обвязок, прикрепленных к шпунту; m = 1.0 - в остальных случаях, при расчете прочности шпунтовых стенок (но не креплений) должны вводиться коэффициенты условий работы, равные: m = 1.15 - для стенок кольцевых в плане ограждений; m = 1.10 - для стенок длиной менее 5 м замкнутых в плане ограждений прямоугольной формы с промежуточными ярусами распорных креплений. 17.10. Расчетные сопротивления элементов шпунтовых ограждений принимаются в зависимости от материала согласно указаниям разделов 9, 10 и 11. 17.11. Расчетные геометрические характеристики стальных шпунтовых свай принимаются согласно приложению 8. Б. РАСЧЕТЫ ШПУНТОВЫХ ОГРАЖДЕНИЙ, НЕ ИМЕЮЩИХ РАСПОРНЫХ КРЕПЛЕНИЙ.17.12. При устройстве ограждения без тампонажной подушки минимальную глубину забивки шпунта ниже дна котлована принимают равной t = t0 + Δt (17.9) Глубину t0 определяют на основе равенства (17.5), считая ось поворота стенки, расположенной на этой глубине, и пренебрегая моментом пассивного давления грунта, действующего на стенку со стороны, противоположной котловану, относительно указанной оси (точки 0 на Рис. 17.3). В соответствии с этим в равенстве (17.5) принимают Мu равным моменту активного давления грунта и гидростатического давления, действующих выше глубины t0, относительно оси поворота стенок, a Mz - моменту пассивного давления, действующего со стороны котлована выше глубины t0 относительно той же оси. В общем случае для решения уравнения, выражающего условия (17.5), принимают способ последовательного приближения, т.е. задаются глубиной t0, которую затем уточняют. Расчетная схема, принимаемая при определении глубины t0, показана на Рис. 17.3; эпюры давлений, показанные на Рис. 17.3а, относятся к случаю расчета стенки, погруженной в песок или супесь; эпюры давлений, показанные на Рис. 17.3б, в - к случаю расчета стенки, погружаемой в глину или суглинок (см. п. 17.7). При наличии над глинистым грунтом слоя воды hв активное давление необходимо увеличивать на величин hвλa,
Гак как глубина t0 не является полной глубиной погружения шпунта ниже дна котлована (см. формулу 17.9), то при учете проникания воды между стенкой и суглинком или глиной рекомендуется принимать глубину по Рис. 17.3в
Дополнительную глубину Δt определяют по формуле
где
Равнодействующую пассивного давления грунта с внешней стороны котлована определяют по формуле:
где Еn, Еа, ЕB - равнодействующие соответственно пассивного давления грунта со стороны котлована, активного давления грунта и гидростатического давления, действующих на стенку выше глубины t0. Интенсивность Н = hгр + t0 (17.13) 17.13. Изгибающие моменты, действующие в поперечных сечениях шпунтовой стенки, определяют как для консольного стержня с заделкой на глубине t0 (от дна котлована); за нагрузку принимают гидростатическое давление, а также активное и пассивное давление, действующее на стенку выше этой глубины (см. Рис. 17.3.). 17.14. При устройстве ограждения в водопроницаемых грунтах с осуществлением тампонажной подушки расчет шпунтовой стенки, отражающей стадию ее работы до бетонирования подушки, выполняют согласно п.п. 17.12 и 17.13, а расчет шпунтовой стенки, отражающий стадию ее работы после бетонирования подушки, выполняют согласно п. 17.15. 17.15.Глубину t0 погружения стенки ниже дна котлована определяют из условия обеспечения ее устойчивости против поворота вокруг оси, расположенной на 0.5 м ниже верха тампонажной подушки (точка 0 на Рис. 17.4.). В соответствии с этим в равенстве (17.5) принимают Мu равным моменту активного давления взвешенного в воде грунта и гидростатического давления, действующих на стенку выше оси ее поворота, относительно этой оси, a Mz - моменту пассивного давления взвешенного в воде грунта, действующего на стенку ниже оси ее поворота, относительно этой оси. m = 0.95 - коэффициент условий работы. При определении момента Mz эпюру пассивного давления грунта считают треугольной с нулевой ординатой на уровне оси поворота стенки; наибольшую ее ординату находят, принимая Н = hгp + t. Величина наибольшего изгибающего момента в поперечном сечении стенки может быть принята равной моменту Мu.
Рис. 17.3. Схема, используемая в расчетах шпунтовых ограждений, не имеющих распорных креплений и эпюры давлений а - при расчете стенки, погружаемой в песок или супесь; б и в - при расчете стенки, погружаемой в суглинок или глину
Рис. 17.4. схема, используемая в расчетах шпунтовых ограждений. не имеющих распорных креплений, в водонепроницаемых грунтах с осуществлением водозащитной подушки В. РАСЧЕТ ШПУНТОВЫХ ОГРАЖДЕНИЙ С ОДНИМ ЯРУСОМ РАСПОРНЫХ КРЕПЛЕНИЙ17.16. Минимальную глубину t погружения стенки ниже дна котлована (без тампонажной подушки) определяют из условия обеспечения ее устойчивости против поворота вокруг оси опирания стенки на крепление (точки 0 на Рис. 17.5). В соответствии с этим в равенстве (17.5) принимают Мu равным моменту активного давления грунта и гидростатическою давления относительно оси поворота стенки, а Мz - моменту пассивного давления грунта относительно этой оси. m - коэффициент условий работы, принимаемый согласно п. 7.17. Для замкнутыx в плане шпунтовых ограждений глубину забивки t, определенную расчетом на устойчивость, допускается уменьшать на 15 % для кольцевых ограждений с радиусом менее 5 м и на 10 % для прямоугольных с длиной большей стороны менее 5 м. 17.17. Коэффициент m условий работы в расчете устойчивости (см. п. 17.16) принимают: а) в случае связных грунтов, а также несвязных, но при заглублении острия шпунта в слой глины или суглинка - 0,95; б) в остальных случаях несвязных грунтов: - при частичной откачке воды из котлована на глубину (от горизонта волы) не более 0,25 h на водотоках и не более 0,25 hв' на местности, не покрытой водой - 0,95; - при полной откачке воды из котлована - по графику Рис. 17.6 на открытых водотоках и по графику Рис. 17.7 на местности, не покрытой водой Здесь, а также на графиках Рис. 17.6 и 17.7: h - глубина котлована; hв' - расстояние от дна котлована до горизонта грунтовых вод; hгp - расстояние от дна котлована до уровня грунта снаружи котлована:
φ - угол внутреннего трения грунта. При промежуточных значениях h,
Рис. 17.5. Схемы расчета шпунтовых ограждений с одним ярусом распорных креплений а) для определения минимальной глубины забивки шпунта; б) для определения изгибающих моментов в его поперечных сечениях (На Рис. 17.5 показаны схемы, относящиеся к случаю расчета стенки, погруженной в песок или супесь.)
Рис. 17.6 Схема и график для определения коэффициента условий работы в расчете устойчивости шпунтового ограждения на открытом водотоке при одном ярусе распорных креплений
Рис. 17.7. Схема и график для определения коэффициента условий работы в расчете устойчивости шпунтового ограждения на местности, не покрытой водой 17.18.
Изгибающие моменты, действующие в поперечных сечениях шпунтовой стенки,
определяют по схеме балки, свободно лежащей на двух опорах, одну из которых
принимают на уровне оси опирания стенок на крепление (точки 0 на Рис. 17.5.), а
другую на глубине Изгибающий момент в сечении шпунтовой стенки, расположенном в пролете, допускается принимать равным М = Мв + 75Мгр (17.15) где Мв - изгибающий момент в поперечном сечении шпунта от гидростатического давления воды, определенный по указанной выше схеме; Мгр - то же от давления грунта; 0,75 - коэффициент, учитывающий перераспределение давления грунта. В случаях недостаточной прочности шпунтовой стенки по материалу целесообразно изменить положение распорки по высоте или увеличить глубину погружения шпунта в грунт с тем, чтобы за счет обеспечения заделки нижней части стенки снизить величины изгибающих моментов в ее поперечных сечениях. Расчет стенки с учетом заделки ее нижней части в грунте может быть выполнен графо-аналитическим способом. По схеме, приведенной на Рис. 17.5б, определяют также давление q стенки на обвязку крепления (как реакцию на верхней опоре). Усилие в распорке допускается принимать равным где lЛ, lПP - пролеты обвязки слева и справа от рассматриваемой распорки. 17.19. При устройстве ограждения с тампонажной подушкой расчет шпунтовой стенки, отражающий стадию ее работы до бетонирования подушки, выполняет согласно п.п. 17.16-17.18. Для стадии работы стенки после бетонирования подушки и полной откачки воды из котлована проверяют прочность стенки и крепления; при этом стенку по-прежнему рассматривают по схеме балки, свободно лежащей на двух опорах, но нижнюю опору принимают на 0,5 м ниже верха подушки. Г. РАСЧЕТ ШПУНТОВЫХ ОГРАЖДЕНИЙ С ДВУМЯ И БОЛЕЕ ЯРУСАМИ РАСПОРНЫХ КРЕПЛЕНИЙ.17.20. Минимальную глубину t погружения стенки ниже дна котлована при отсутствии тампонажной подушки определяют из условия обеспечения ее устойчивости против поворота вокруг оси, расположенной на уровне нижнего яруса крепления (точки 0 на Рис. 17.8а). В соответствии с этим равенство (17.5) записывают в виде Ма + Мв = m [Мп + (2М'а + М'в)] (17.17) где Ма и Мв - моменты соответственно активного давления грунта и гидростатического давления, действующих на стенку ниже оси ее поворота, относительно этой оси; М'а и М'в - то же для давлений, действующих на стенку выше оси поворота; Мп - момент пассивного давления грунта на стенку относительно той же оси; m - коэффициент условий работы, принимаемый согласно п. 17.21. Формула (17.17) справедлива, если 2М'а+М'в ≤ Wx R, при невыполнении этого неравенства для определения минимальной глубины t погружения стенки используют формулу: Ма + Мв = m (Мп + WxR), (17.18) где Wx - момент сопротивления поперечного сечения шпунтовой стенки (см. п. 17.10); R - расчетное сопротивление материала шпунта. При многоярусном креплении определение давлений на ярусы креплений необходимо производить с учетом постадинной разработки грунта, порядка установки креплений и перераспределения при этом нагрузки на ярусы креплений и напряжений в шпунте.
РИС. 17.8. Схемы расчета шпунтовых ограждений с двумя и более ярусами креплений а - для определения минимальной глубины забивки шпунта; б - для определения изгибающих моментов в его поперечных сечениях. 17.21. Коэффициент условий работы m (см. п. 17.20) следует принимать по рекомендациям п. 17.17 (как для ограждения с одним ярусом креплений) с той лишь разницей, что при полной откачке воды из котлована, разрабатываемого в несвязных грунтах на открытых водотоках, значение m следует принимать не по графику, приведенному на Рис. 17.6, а по графику 17.9, на котором использованы те же обозначения. Для замкнутых в плане шпунтовых ограждений глубину забивки t, определенную расчетом на устойчивость, допускается уменьшать согласно п. 17.16. Уменьшения глубины забивки шпунта по условию обеспечения устойчивости стенки можно достичь понижением уровня расположения нижнего яруса крепления (если это возможно по условиям производства работ).
Рис. 17.9. График для определения коэффициента условий работы в расчете устойчивости шпунтового ограждения на открытом водотоке при двух и более ярусах креплений 17.22. Изгибающие моменты, действующие в поперечных сечениях шпунтовой стенки, а также давление q стенки на обвязку каждого из ярусов крепления определяют по схеме свободно лежащей многопролетной неразрезной балки, нижнюю опору которой принимают расположенной на глубине 0.5 t, где t - минимальная глубина погружения стенки, определяемая с учетом требований п.п. 17.1, 17.2 и 17.20, а остальные опоры - на уровне ярусов креплений. При этом активное и пассивное давления фунта, а также гидростатическое давление, действующее на стенку ниже глубины 0.5 t, не учитывают (см. Рис. 17.8б). Усилие в распорке каждого из ярусов допускается определять по формуле (17.16). 17.23. Если предусматривается укладка тампонажной подушки, то следует производить расчет прочности стенки и креплений, соответствующий полной откачке воды из котлована. Такой расчет производят, по-прежнему рассматривая стенку как многопролетную неразрезную балку, но нижнюю опору принимают расположенной на 0.5 м ниже верха тампонажной подушки. Д. ОСОБЫЕ СЛУЧАИ РАСЧЕТА ШПУНТА.17.24. В случае, если на шпунт дополнительно передается вертикальная нагрузка (от копров, кранов и т.п.), глубина забивки шпунтин на участке передачи вертикальной нагрузки должна быть проверена на восприятие вертикальных усилий в соответствии с нормами проектирования свай. При этом поверхность грунта принимают на отметке дна котлована, а ширину участка ограждения, передающего сосредоточенную нагрузку, определяют из условия распространения усилия в ограждении от точки (границы) приложения нагрузки под углом 30° к вертикали. 17.25. Шпунтовые ограждения, подвергающиеся воздействию льда или возможности навала судов, должны быть дополнительно проверены расчетом на эти нагрузки. При этом, как правило, должны устраиваться дополнительные плоскости распорок на уровне приложения этих нагрузок (при разности уровней первой подвижки льда и высокого ледохода более 1,5 м - две плоскости распорок). Лед вокруг ограждения должен окалываться. 17.26. При устройстве шпунтовых ограждений (перемычек) опор на высоком свайном ростверке необходимо проверить прочность и устойчивость ограждения при действии распора изнутри (от грунта, находящегося внутри ограждения). При этом отметка поверхности окружающего фунта должна приниматься с учетом размыва. Расчет должен проводиться по методике, рекомендованной для расчета искусственных островков. 17.27. Замкнутые шпунтовые ограждения должны проверяться на всплытие при наивысшей отметке рабочего уровня воды. При этом, определяя силу трения грунта по боковой поверхности шпунта, горизонтальное давление грунта на ограждение следует принимать с коэффициентом надежности по нагрузке γf = 0,8. 17.28. При проектировании шпунтовых ограждении вблизи существующих зданий и сооружений, конструкции которых не допускают осадки основания, для установки распорок крепления должны предусматриваться устройства (клинья, домкраты) для создания предварительного обжатия, равного расчетному усилию. 18. ГРУНТОВЫЕ ПЕРЕМЫЧКИ18.1 Грунтовые перемычки для ограждения котлована следует устраивать при глубине воды до 2 м, скорости течения 0,3 - 0,5 м/с и малофильтрующем, неразмываемом грунте дна. 18.2. При проектировании грунтовых перемычек необходимо учитывать стеснение ими живого сечения реки и вызываемое этим повышение скорости течения. В случае необходимости может быть предусмотрена защита откосов перемычки от размыва путем укладки по откосам хворостяных тюфяков или отсыпки щебня, гравия или камня крупностью d (см), определяемой по формуле d = 3V2 (18.1) где V, м/сек - скорость течения 18.3. В месте проектного положения перемычки следует предусматривать очистку дна от карчей, камней и других препятствий, могущих уменьшить водонепроницаемость перемычки, эти требования должны быть оговорены в рабочей документации перемычки. 18.4. Для отсыпки перемычек следует применять мелкие пески, супеси и суглинки с содержанием глинистых частей до 20%. 18.5. Ширина грунтовых перемычек по верху должна быть не менее 1 м. Крутизну откосов следует назначать в зависимости от угла естественного откоса грунта перемычки в водонасыщенном состоянии, но не круче 1:2. Возвышение верха перемычки над рабочим уровнем воды (ледохода) в реке должно приниматься по п. 5.3б. 18.6. В целях уменьшения стеснения живого сечения реки и фильтрации воды через перемычку следует проектировать грунтовые перемычки в комбинации с деревянным шпунтовым ограждением, забиваемым внутри перемычки по ее периметру, или в виде двойного ряда с засыпкой грунта между ними. В грунтах, не допускающих забивку шпунта, возможно применение ограждения из ряжево-грунтовых перемычек. 19. ИСКУССТВЕННЫЕ ОСТРОВКИ.19.1 Искусственные островки в акваториях водных объектов проектируются для производства с их помощью работ по изготовлению и погружению кессонов и опускных колодцев, размещения бурового и сваебойного оборудования. В зависимости от конкретных условий строительства островки могут отсыпаться как без ограждения, так и в ограждении различной конструкции (Рис. 19.1).
Рис. 19.l. схемы искусственных островков А - без ограждения; б - с ограждением, не воспринимающим давления грунта засыпки; в - с ограждением, воспринимающим давление грунта засыпки; г - расчетная схема островка 19.2. Неограждаемые островки следует применять при глубине воды не более 2 м, возможности стеснения живого сечения реки и средних скоростях течения не выше 0.30 м/с при отсыпке островка из мелкого песка, 0.80 м/с - из крупного песка и соответственно 1.20 м/с и 1.50 м/с - при отсыпке из среднего и крупного гравия. Не допускается отсыпка искусственных островков из илистых, торфянистых и лессовидных грунтов. Крутизна откосов должна приниматься от 1:2 для гравелистых грунтов до 1:5 для мелкого песка. 19.3. Островки с ограждением, предохраняющим подмыв откосов, но не воспринимающих давления засыпки (Рис. 19.1б), следует применять при глубине воды не свыше 3 м. Ограждение островков устраивают из легкого шпунта, щитов, расположенных между парными сваями, или козелковых опор со щитами, устраиваемых по всему контуру островка или с верховой стороны. Ограждение должно сопротивляться воздействию водного потока, определяемому в соответствии с требованиями раздела 7. Глубина забивки шпунтин (свай) назначается с учетом возможного размыва. Рекомендуется отсыпка камнем по периметру ограждения. Ограждению с верховой стороны следует придавать обтекаемую форму в плане. 19.4. Островки с ограждением, воспринимающим давление засыпки (Рис. 19.1в), следует устраивать при глубине воды до 8 м, скорости течения выше 1.5 м/с, а также для уменьшения стеснения живого сечения реки. Ограждения островков, воспринимающие давление засыпки, могут выполняться: а) щитовыми; б) ряжевыми; в) шпунтовыми (деревянными или стальными). 19.5. Щитовые ограждения (см. Рис. 19.1в) устраивают при глубине до 2 м из щитов, заводимых в пространство между парными предварительно забитыми в грунт сваями. 19.6. Деревянный шпунт применяют при глубине воды до 4 м. Шпунт забивают между парными направляющими схватками, прикрепленными к маячным сваям диаметром порядка 22 см, забитыми через 2-2.5 м. Распор от давления засыпки передается верхней частью шпунта через подкосы на откосные сваи (Рис. 19.2).
Рис. 19.2. островок в деревянном шпунтовом ограждении: 1 - насыпной грунт; 2 - деревянный шпунт; 3 - подкосы; 4 - сваи 19.7. Стальной шпунт следует применять преимущественно в виде цилиндрического ограждения из плоского шпунта типа ШП при глубине воды более 2 м, а также в случае невозможности применения деревянного шпунтового ограждения. 19.8. Проектные размеры рабочей площадки островка назначаются из условия обеспечения удобного и безопасного выполнения проектируемых строительно-технологических операций по сооружению опоры. Ширина бермы до граней опускного колодца (кессона) при любых условиях должна быть не менее 2 м. Отметка верха островка назначается в соответствии с п. 5.3б. 19.9. При проектировании островков, расположенных в местах с крутыми склонами дна реки, следует предусматривать меры, предотвращающие возможность сползания отсыпки по наклонной поверхности дна (предварительная планировка дна, применение песчано-гравелистых грунтов для отсыпки). 19.10. При слабых грунтах засыпки (с расчетным сопротивлением 1.2 - 2.0 кгс/см2) верхняя площадка островка для изготовления колодца должна покрываться по контуру ножа песчаной подушкой толщиной 0.3 - 0.6 м. Под нож колодца укладывают подкладки, размеры и количество которых назначаются из условия, чтобы давление под ними от расчетной нагрузки не превышало 2.0 кгс·см2. 19.11. Расчет шпунтовых ограждений искусственных островков ведется в соответствии с требованиями раздела 17 с учетом указаний настоящего раздела. 19.12. Глубина забивки шпунта цилиндрического ограждения ниже линии размыва должна назначаться из условий исключения выпирания грунта из-под низа шпунта.
где q - расчетное давление от веса засыпки и нагрузки на ней в уровне дна реки, кПа (тс/м2) φ - угол внутреннего трения грунта на дне реки. 19.13. Минимальная глубина забивки стального шпунта, ограждающего островок с прямолинейными сторонами в плане и деревянного шпунта, определяется расчетом на выпирание грунта и устойчивость стенки и, во всяком случае, должна быть не менее 2.0 м ниже линии размыва. 19.14. Шпунт цилиндрического ограждения проверяется на разрыв замков по формулам:
где Р - расчетное горизонтальное (окружное) усилие в контуре ограждения, кН/п.м. (тс); определяемое по формуле:
m, γn - коэффициент условий работы и коэффициент надежности по назначению, принимаемые по п. 17.9 Р3 - расчетное сопротивление разрыву при растяжении замков шпунтовых свай принятого профиля, кН/п.м (тс.п.м), вычисляемое по формуле:
D - диаметр контура ограждения островка по осевой линии, м; еmax - интенсивность горизонтального давления грунта на внутреннюю поверхность ограждения на уровне дна водоема с учетом возможного размыва и нагрузки на поверхности островка. R3 - разрывное усилие замка, кН/п.м (тс/п.м), определяемое для плоских профилей по табл. 19.1 γm - коэффициент надежности по материалу 1.3. При применении шпунта типа ШК и Ларсен, растягивающие усилия должны восприниматься объемлющими стальными поясами. Таблица 19.1
20. ЗАКЛАДНЫЕ КРЕПЛЕНИЯ20.1. Закладное крепление стен котлованов следует предусматривать на суходолах в устойчивых грунтах (при φ > 25°) при отсутствии грунтовых вод. 20.2. Закладное крепление рекомендуется устраивать из металлических двутавровых (предпочтительно широкополочных) свай, забиваемых в грунт по периметру котлована с шагом 1.2 - 1.5 м и закладываемых между ними по мере разработки котлована досок забирки (Рис. 20.1). Сваи, как правило, должны раскрепляться системой металлических или деревянных распорок (расстрелов), или раскрепляться тягами в наружную от котлована сторону за анкерные сваи.
Рис. 20.1. Закладное крепление из металлических двутавровых свай 20.3. Внутренние размеры закладного крепления в плане назначаются из условий установки опалубки для бетонирования фундамента опоры. 20.4. Шаг свай, глубина их забивки ниже дна котлована, расположение распорок, размеры сечения свай, а также распорок и досок забирки определяются расчетом на прочность и устойчивость положения с учетом следующих рекомендаций: а) давление от собственного веса грунта и временной нагрузки на призме обрушения определяется согласно п. 7.6б; б) для креплений с двумя и более ярусами распорок по высоте возможно не заглублять сваи ниже дна котлована, располагая нижний ярус распорок вблизи подошвы котлована. При необходимости расположения распорок выше дна котлована глубину забивки определяют расчетом с учетом рекомендаций подпункта г) и пунктов 17.20 - 17.23. Металлические сваи допускается проверять на прочность по расчетному изгибающему моменту, определенному из условия выравнивания опорных и пролетных моментов согласно СНиП II-23-81*. Усилия в распорках должны определяться с учетом неразрезности свай. Расчеты прочности и устойчивости крепления должны выполняться для каждого этапа устройства, перекрепления и разборки крепления; в) для креплений с одним ярусом распорок минимальная глубина забивки свай определяется по расчету из условия обеспечения ее устойчивости против поворота вокруг оси опирания на крепление. Расчет должен выполняться по методике, принятой для расчета шпунтовых ограждений с одним ярусом распорных креплений (п.п. 17.16 - 17.19). При этом величину активного давления учитывают в пределах высоты забирки, включая ширину полки сваи, а пассивное давление - в пределах ширины, равной b+0.3 м, где b - ширина полки сваи в м; г) для креплений, не имеющих распорок, минимальная глубина забивки сван h = t0 +Δt определяется по расчету на устойчивость, считая ось поворота стенки, расположенной на глубине t0 от подошвы котлована. Величины t0, а также Δt (заглубление сваи ниже оси поворота) определяют по методике, принятой для расчета шпунтовых стенок (п.п. 17.12 - 17.15). При этом величину активного давления учитывают в пределах высоты забирки, включая ширину полки сваи, а пассивное давление - в пределах ширины, равной b+0.5 t0tgφ м, где b - ширина полки сваи в м. Рекомендуется в пределах заглубления приваривать к полке балки лист δ = 20 мм и шириной 1.5 ширины полки; д) толщину досок следует определять расчетом на прочность для уровня посередине глубины котлована и для подошвы котлована. При этом во всех случаях толщина досок должна приниматься не менее 4 см; е) распорки следует располагать по высоте с учетом минимально возможного количества перекрепленнй при бетонировании фундамента опоры. При значительной ширине котлованов (более 10 м) с целью сокращения свободной длины распорок следует применять средние сваи, забиваемые параллельно основным сваям крепления в их створе; ж) на концах свай рекомендуется устраивать симметричное заострение под углом 45° с горизонтальным участком стенки на торце 8-10 см. Острие следует усиливать сварными накладками. 21. БЕЗДОННЫЕ ЯЩИКИ И ПЕРЕМЫЧКИ21.1. Съемные и несъемные бездонные ящики для ограждения котлованов опор следует применять, как правило, на водотоках с глубиной воды до 4 м. Ящики могут изготавливаться деревянными пли металлическими. Для глубины до 7 м целесообразно применять бездонные ящики из понтонов типа КС с ножом в нижней части (Рис. 21.1).
Рис. 21.1. Бездонный ящик из понтонов КС а - устройство тампонажного слоя; б - бетонирование ростверка; 1 - бетонолитная груба; 2 - железобетонный ростверк; 3 - подводным бетон; 4 - понтоны типа КС; 5 - нож. Соединения ножевой и надножевой конструкции должны допускать возможность их разъема без водолазных работ на случай невозможности извлечения ножа. Примечание. Бездонные ящики в виде железобетонных тонконстенных конструкций, входящих в состав фундамента, должны разрабатываться в составе проекта моста по нормам проектирования мостов. 21.2. Конструкция бездонных ящиков должна быть прочной, жесткой и водонепроницаемой. Внутренние размеры ящика в плане (в свету) необходимо принимать с учетом возможных отклонений осей ящика от проектных осей опоры при наводке ящика в условиях течения реки и при всех условиях не менее чем на 30 см больше проектных размеров фундамента. При больших скоростях течения следует устраивать ящики с обтекателями. 21.3. В деревянных ящиках водонепроницаемая обшивка должна выполняться из двух слоев досок толщиной не менее 4 см с прослойкой рубероида. Доски обшивки должны быть тщательно прифугованы и припазованы под конопатку (со стороны давления воды) в три пряди. Каждый слой после конопатки должен быть просмолен. Доски для обшивки следует пришивать под углом 45°, используя обшивку в качестве стенки ферм жесткости, поясами которой будут служить брусья каркаса ящика. Распорки, оставляемые в теле фундамента, следует устраивать железобетонными. 21.4. Низ ящика оснащается ножом из того же материала что и ящик, облегчающим заглубление ящика в грунт. При укладке тампонажной подушки из подводного бетона рекомендуется высоту ножа при съемных ящиках принимать равной толщине подушки. 21.5. Бездонные ящики следует устанавливать на дно, заранее спланированное до отметки, близкой к проектной (с учетом размыва грунта при опускании и посадке). Для уменьшения притока воды в месте опирания бездонного ящика на дно реки следует предусматривать обсыпку камнем, укладку мешков с глиной по периметру, с внешней стороны, а также укладку изнутри подводного бетона тампонажной подушки. 21.6. Собранный ящик устанавливают на месте сооружения фундамента, используя его собственную плавучесть или с помощью кранов, судов, барж, а также понтонов КС, обстроенных для опускания ящика в проектное положение. При использовании понтонов установку ящика в проектное положение по высоте следует осуществлять балластировкой понтонов. 21.7. Для погружения на дно и для предотвращения всплытия деревянного бездонного ящика при подъеме уровня воды в акватории необходимо применять пригруз ящика, величина которого определяется расчетом. 21.8. В качестве ограждения для устройства плит высоких ростверков рекомендуется применять перемычки из металлических щитов (Рис. 21.2), стальных шпунтин и собираемые из понтонов типа КС (Рис. 21.1). 21.9. В конструкции перемычек для сооружения плит ростверков, расположенных в воде выше поверхности грунта, следует устраивать деревянное, дерево-металлическое или железобетонное днище с отверстиями для пропуска свай или оболочек (см. Рис. 21.2 и 21.3). Диаметр отверстий должен превышать наружный диаметр сваи или оболочки на 4 - 5 см. Зазоры в местах соединения днища водонепроницаемой перемычки со стенами колодцев (оболочек) следует уплотнять резиновыми шлангами, пеньковыми канатами, деревянными кружалами, мешками с песком или подводным бетоном. При расстоянии от дна реки до низа плиты ростверка порядка 3 - 5 м следует обследовать целесообразность устройства перемычки до дна с устройством подсыпки из песка или щебня на высоту от дна до плиты ростверка.
Рис. 21.2. Металлическое щитовое ограждение ростверка 1 - тело опоры; 2 - фундаментная плита; 3 - тампонажная бетонная подушка; 4 - оболочка; 5 - бетонное заполнение; 6 - деревянное днище; 7 - стальные шиты; 8 - приспособление для подвешивания ограждения на оболочке; 9 - устройство для подвешивания ограждения на забетонированной опоре; 10 - гидравлический домкрат.
Рис. 21.3. Перемычка из понтонов: 1 - понтоны КС; 2 - днище, 3 - тампонажная бетонная подушка; 4 - распорное крепление; 5 - оболочки 21.10. Щиты перемычки (понтоны) следует опирать на днище. Днище рекомендуется прикреплять к распорно-направляющему каркасу. Для уменьшения сцепления щитов с тампонажным слоем подводного бетона рекомендуется устраивать обмазочную изоляцию. Стыки щитов (понтонов) должны герметизироваться резиновыми прокладками. 21.11. При устройстве перемычек из понтонов, в конструкции днища должны быть предусмотрены устройства, позволяющие отсоединять понтоны под водой. 21.12. Распорные крепления перемычек и ящиков, воспринимающие давление воды, следует, по возможности, одновременно использовать в качестве направляющих устройств для погружения оболочек, а также несущих элементов рабочих подмостей. 21.13. При сооружении фундаментов опор в реках с применением опускных колодцев рекомендуется устройство инвентарных металлических форшахт, демонтируемых после выведения тела опоры выше уровня воды. Для круглых в плане колодцев безростверковых опор рекомендуется применять форшахты в виде обечаек из листовой стали толщиной 6 - 12 мм с внутренними распорными креплениями, установленными с шагом 1 - 2 м (Рис. 21.4).
Рис. 21.4. Стальное ограждение верхней части круглого колодца 1 - колодец; 2 - обшивка ограждения; 3 - распорные крепления; 4 - резиновый уплотнитель. 21.14. При конструировании съемных распорных креплений необходимо учитывать последовательность их разборки или перестановки по мере бетонирования плиты и тела опоры. 21.15. Для бездонных ящиков и водонепроницаемых перемычек должны быть выполнены следующие расчеты: прочности и устойчивости формы под воздействием гидростатического давления воды, давления подводного бетона фундаментной подушки при укладке и собственного веса рассчитываемой конструкции; остойчивости и плавучести при подаче на плаву к месту опускания и устойчивости против опрокидывания после установки ящика (перемычки) на дно, расчет пригруза в случае необходимости; прочности при установке ящика (перемычки) краном; мощности буксиров, лебедок и якорного закрепления при транспортировке и опускании ящика (перемычки) на дно; устойчивости против всплытия при откачке воды. 22. НАПРАВЛЯЮЩИЕ КАРКАСЫ22.1. В тех случаях, когда копровое оборудование не обеспечивает с надлежащей точностью проектное положение погружаемых свай и оболочек, а также при бескопровой бойке следует предусматривать направляющие каркасы (кондукторы), конструкция которых определяется типом сооружения и местными условиями. Следует по возможности использовать направляющие каркасы для свай и оболочек одновременно в качестве распорных креплений ограждений котлована, а также в качестве направляющих для забивки шпунта ограждения и для рабочих площадок при производстве работ по погружению свай и оболочек. 22.2. Направляющие каркасы следует устраивать из одной (одноярусные), двух (двухярусные) или нескольких (многоярусные) решетчатых горизонтальных плоскостей с ячейками для пропуска свай или оболочек. Плоскости необходимо объединять системой вертикальных, горизонтальных и диагональных связей (по вертикальным и горизонтальным плоскостям) в неизменяемую пространственную конструкцию. Направляющие каркасы рекомендуется проектировать из дерева (Рис. 22.1), из неинвентарного металла (Рис. 22.2) и, при соответствующем обосновании, из инвентарных конструкций.
Рис. 22.1. Направляющий каркас из деревянных элементов 1 - сваи; 2 - поперечные схватки сечением 22/2 Применение каркасов разового использования, остающихся в бетоне фундаментной плиты, допускается в случаях включения их в работу основной конструкции опоры в качестве жесткой арматуры. Одноярусные каркасы при забивке свай на суходолах разрешается выполнять в виде железобетонных плит. Расстояние между плоскостями каркаса при бескопровом погружении должно быть не менее 3.0 м. 22.3. Одноярусные каркасы рекомендуется применять при погружении свай и вертикальных оболочек на суходолах или водотоках со скоростью течения менее 1 м/с при незначительной глубине воды. На водотоках со скоростью течения воды более 1 м/с, а также при погружении наклонных свай и оболочек необходимо предусматривать двухъярусные или многоярусные каркасы. 22.4. Для облегчения установки, а также предохранения оболочек от повреждения металлическими элементами в ячейках каркаса должны предусматриваться направляющие деревянные брусья длиной не менее 2 м в одноярусных каркасах и не менее 4 м в двухъярусных каркасах (Рис. 22.2).
Рис. 22.2. Направляющий каркас из металлических элементов 1 - металлические элементы; 2 - направляющие деревянные брусья; 3 - оболочки; 4 - болты Для наклонных оболочек длину брусьев следует принимать не менее 6 м. Кольцевой зазор между оболочками и направляющими брусьями необходимо принимать равным 2-3 см. 22.5. Каркасы для русловых опор могут в собранном виде доставляться к месту установки с помощью плавсредств (плашкоутов), убираемых после закрепления каркаса в проектном положении, например, на сваях-шпильках, заранее закрепленных на каркасе и опускаемых на дно на месте его установки. 2.26. Каркасы кроме своего прямого назначения могут служить несущей конструкцией для установки на них сваебойного и бурового оборудования. 22.7. Конструкция каркаса должна быть рассчитана на прочность и устойчивость положения при действии следующих нагрузок: - от собственного веса при установке; - от веса сваебойного или бурового оборудования; - возникающих при установке в проектное положение наклонных свай, а также вертикальных свай. В последнем случае горизонтальные усилия принимаются равными 0.03 веса сваи с направлением в любую сторону и приложенными в любом ярусе каркаса; - усилия давления грунта и воды, передаваемые от шпунта (при использовании направляющего каркаса одновременно в качестве распорных креплений ограждений котлована); - усилия отжатия при забивке или вибропогружении свай (свай-оболочек), принимаемые равными 0.002 Wp кН (тс), где Wp - расчетная энергия удара кН.см (тс.см); - воздействие водного потока (для плавучих кондукторов). 22.8. В проектах каркасов должны содержаться указания по выверке положения и решения по жесткому закреплению их во время забивки. При необходимости направляющие каркасы устанавливают на деревянные сваи (на суходолах) или подвешивают на маячные сваи (на водотоках) и дополнительно расчаливают тросами с натяжными приспособлениями не менее чем к четырем жестким якорям. 23. ВСПОМОГАТЕЛЬНЫЕ УСТРОЙСТВА ДЛЯ ПОГРУЖЕНИЯ СВАЙ, ОБОЛОЧЕК, СТОЛБОВ И БУРЕНИЯ СКВАЖИН23.1. Указания настоящего подраздела должны учитываться при проектировании: подкопровых мостов для самоходных и несамоходных копров; подмостей для копров, подкопровых мостов и буровых станков. Примечания: 1. Плашкоуты для копров и буровых станков должны проектироваться в соответствии с указаниями раздела 33. При установке копров на льду должны учитываться требования раздела 36. 2. Пути для копров на рельсовом ходу и подкопровых мостов должны удовлетворять требованиям раздела 12. 23.2. Давление от копра на подкопровый мост и подмости должно определяться для рабочего состояния (ветер скоростью 15 м/с) и нерабочего (ветер расчетной интенсивности). Положение стрелы должно приниматься вертикальным или наклонным. 23.3. Отдельные балки подкопрового моста должны быть объединены связями, обеспечивающими устойчивость формы и положения и рассчитанными, кроме того, на восприятие поперечных усилий, возникающих при повороте копра (крана) и от воздействия ветровой нагрузки. Реактивный момент М, действующий на подкопровую тележку, при вращении поворотной платформы копра (крана), кН.м (тс м) определяется в соответствии с п. 7.13.5. При установке на копровой тележке буровых станков, погружающих обсадные трубы, реактивный момент, действующий на тележку, принимается по паспортным данным бурового станка. Реактивный момент передается на мост в виде пары сил, Н (кгс) направленных поперек оси пути:
где b - расстояние между центрами тележек (ползунов) вдоль оси пути. 23.4. Пути для копра на подкопровом мосту должны оборудоваться по концам упорами и концевыми выключателями, тележки моста должны иметь стопорные устройства для закрепления моста. 23.5. Подмости для установки копров (подкрановых мостов) должны рассчитываться с учетом собственного веса, ветровой нагрузки, инерционных сил торможения копра (для самоходных копров) или тяговых усилий перемещения копров, усилий, возникающих при вращении копров (буровых установок). Инерционные нагрузки должны приниматься в соответствии с указаниями разделом 7, нагрузки от вращения платформы - в соответствии с п. 7.13.5. Подмости должны обладать жесткостью, гарантирующей от раскачивания копра (буровой установки) при работе. Для повышения горизонтальной жесткости следует предусматривать установку связей между балками ростверка и сваями подмостей при глубине воды более 2 м. При опирании подмостей (подкранового моста) на шпунтовое ограждение необходимо повысить его горизонтальную жесткость путем приварки элементов верхнего яруса распорного крепления к шпунтинам и создания таким образом жесткого диска. 24. ВСПОМОГАТЕЛЬНЫЕ УСТРОЙСТВА ДЛЯ УКЛАДКИ ПОДВОДНОГО БЕТОНА24.1. В проекте вспомогательных устройств для укладки подводного бетона методом ВПТ должны быть приведены: а) толщина слоя подводного бетона, определяемая расчетом, но не менее 1 м; б) схема расположения бетонолитных труб; в) конструкция бетонолитной трубы с загрузочной воронкой (бункером) на трубе и скользящими пробками; г) конструкция подмостей и приспособлений для навешивания, подъема и опускания труб и размещения оборудования, а также отдельные подмости для размещения персонала; д) конструкция устройства для подачи бетонной смеси к воронке трубы. Кроме того, должны быть приведены чертежи: при бетонировании оболочек - оборудования для промывки забоя от шлама; при посекционной укладке подводного бетона в сооружении большой площади - конструкции опалубки. 24.2. Количество бетонолитных труб должно назначаться из условий: а) радиус действия трубы не должен превышать 6 м; б) зоны действия соседних труб должны перекрывать друг друга на 10 - 20 % радиуса действия труб; в) расчетный радиус действия трубы r должен удовлетворять условию r ≤ 6кJ (24.1) где к - показатель сохранения подвижности бетонной смеси в часах, не менее 0.7 - 0.8 часа; J - скорость бетонирования, м/ч (не менее 0.3). Места установки труб должны определяться с учетом указаний в проекте производства работ. 24.3. Для подачи бетонной смеси в полость оболочек и скважин должна применяться бетонолитная труба диаметром 300 мм. Для укладки бетонной смеси в котлованы и опускные колодцы должны применяться бетонолитные трубы диаметром 200 - 300 мм в зависимости от требуемой интенсивности бетонирования: при 11 м3/ч - 200 мм; при 17 м3/ч - 250 мм; при 25 м3/ч - 300 мм. 24.4. Толщина стенок труб должна быть 4-5 мм. Верхняя часть трубы на высоту, равную толщине слоя бетона плюс 1 м, должна состоять из звеньев длиной 1 м. Нижний конец трубы должен быть усилен ободком толщиной 6 мм и высотой 100 мм. Звенья труб следует соединять с помощью замковых или фланцево-болтовых соединений с уплотнительными прокладками из листовой резины или паранита толщиной 6 мм. На верхнем конце бетонолитной трубы должен устанавливаться бункер-воронка объемом не менее 1.5 объема трубы и не менее 2 м3 (Рис. 24.1). Для стенок бункера должна применяться листовая сталь толщиной не менее 4 мм. Угол наклона листов нижней части бункера к горизонтали должен быть не менее 45°. В случае, если размеры и вес бетонолитной трубы ограничивают объем воронки, а также для улучшения условий подачи бетона, следует устраивать вертикально над воронкой дополнительный бункер емкостью 2 - 5 м3 с затвором. Бункер можно предусматривать один на 1 - 3 бетонолитиые трубы.
Рис. 24.1. Конструкция приемной воронки объемом 2 м3 с площадками 1 - скобы; 2 - площадка и лестница из арматуры периодического профиля 24.5. Бетонолнтная труба с бункером должна быть подвешена на тросе, закрепленном к лебедке. При этом: общая высота подъема трубы должна быть не менее длины звена бетонолитной трубы плюс 1 м; грузоподъемность лебедки должна соответствовать сумме усилий от веса труб с приемной воронкой, заполненных бетоном, и сил трения, возникающих при извлечении трубы из уложенного бетона. 24.6. Бетонолитные трубы, устанавливаемые в оболочках, должны снабжаться набавляющими устройствами («фонарями»), расположенными друг от друга на расстоянии не менее 3 м и обеспечивающими центрирование трубы. В верхней части каждого звена должны быть приварены скобы диаметром 25 мм для фиксации положения трубы в процессе заполнения приемной воронки. 24.7. Для предохранения бетонной смеси от воды в начальный период должны применяться скользящие пробки из мешковины, пакли, мешков с опилками, подвешиваемые к горловине воронки перед началом заполнения ее бетонной смесью. При подводной укладке бетона в скважины, пробуренные в скальной породе, рекомендуется применять стальные пробки (Рис. 24.2). 24.8. У приемных бункеров (воронок) должны устраиваться площадки с перилами для размещения рабочих, принимающих бетон. При разности уровней затвора бадьи с бетоном и воронки более 1.5 м должны устанавливаться звеньевые хоботы. 24.9. Конструкции вышки для подвески труб и размещения механизмов, оборудования и персонала должна обеспечивать: заполнение воронки труб бетонной смесью при различном их положении; подъем и опускание труб; сохранение положения труб при смене и снятии верхних звеньев; предохранение труб от горизонтальных смешений и перекосов во время бетонирования. При укладке бетона в котлованы должны предусматриваться два яруса направляющих, удаленных на 2 - 3 м друг от друга, с ячейками, на 5 см превышающими наружный диаметр трубы.
Рис. 24.2. Стальная пробка, устанавливаемая в основании воронки при подводной укладке бетона в скважины а - стальная пробка; б - схема установки пробки; 1 - листовая резина; 2 - направляющие дужки; 3 - пробка; 4 - подвес пробки; 5 - бетон; L - глубина установки пробки - не менее диаметра трубы 24.10. Конструкция вышки должна быть рассчитана на прочность в нагруженном состоянии, а в незагруженном - на устойчивость при действии ветровой нагрузки. При этом: нагрузка от веса труб и воронки с бетоном должна приниматься с динамическим коэффициентом 1.2 при весе меньше 3 т и 1.1 при большем весе; усилия выдергивания бетонолитных труб из свежеуложенной бетонной смеси принимаются равными 3F, Н (0.3F, тс), где F - площадь соприкасающихся поверхностей трубы и бетона, м2. Сечение бетонолитной трубы и конструкция стыков звеньев должны быть проверены расчетом на усилия, возникающие при подъеме из горизонтального положения в вертикальное, и на нагрузки от веса бетона и усилий выдергивания в рабочем положении. 25. СБОРОЧНЫЕ ПОДМОСТИ И ПРОМЕЖУТОЧНЫЕ ОПОРЫ ДЛЯ ПОЛУНАВЕСНОЙ СБОРКИ ПРОЛЕТНЫХ СТРОЕНИЙ25.1. Полунавесная сборка балочных пролетных строений осуществляется с опиранием собираемой конструкции на систему опорных устройств, состоящую из участков сплошных подмостей, временных промежуточных опор и капитальных опор моста. 25.2. Выбор схемы и конструкции подмостей и типа их оснований следует производить с учетом конструкции пролетного строения, принятого в проекте способа монтажа и местных условий мостового перехода (гидрогеологических, судоходных и др.) 25.3. Количество, расположение в пролетах моста и размеры промежуточных опор для полунавесной сборки назначаются из условий: - обеспечения устойчивости положения и прочности элементов собранной части пролетного строения в момент перед опиранием его переднего конца на последующую опору (приемную консоль); - прочности и устойчивости положения промежуточной опоры при действии вертикальных и горизонтальных нагрузок в их невыгодном сочетании. 25.4. Длину устройств для сборки базовой части пролетного строения, собираемого уравновешенно-навесным способом (Рис. 25.1), назначают из условий обеспечения его устойчивости против опрокидывания относительно крайних граней опорных устройств в процессе двусторонней навесной сборки и прочности его элементов перед опиранием собираемых консолей на постоянные или временные опоры. 25.5. Опоры подмостей для сборки пролетных строений со сквозными фермами следует располагать под основными узлами ферм. Опоры подмостей для сборки пролетных строений со сплошными главными балками следует располагать в местах, согласованных с организацией-разработчиком пролетного строения. 25.6. Отметка настила подмостей должна назначаться с учетом установки под нижними поясами пролетного строения домкратов и сборочных (страховочных) клеток высотой, обеспечивающей удобство работ по установке соединений (обычно 80 см).
Рис. 25.1. Опорные устройства для уравновешенной сборки а - с опиранием на временную опору; б - закрепляемые за постоянную опору; 1 -сборочные краны; 2 -опорное устройство; 3 - временная опора; 4 - постоянная опора. 25.7. Сборочные (страховочные) клетки и домкраты для выверки строительного подъема, а также регулирования напряжений должны устанавливаться в местах, где исключена опасность потерь местной устойчивости или повреждения монтируемой и поддерживающей конструкции. В необходимых, определяемых расчетом случаях, конструкции должны быть усилены, рабочие чертежи усиления должны быть согласованы с организацией-разработчиком основной конструкции пролетного строения. 25.8. Опирание домкратов и конструкций на домкраты следует производить в соответствии с указаниями раздела 31. 25.9. На оголовках промежуточных опор и опорных устройствах при полунавесной сборке должны быть предусмотрены распределительные ростверки с домкратными батареями и опорными (страховочными) клетками для регулирования положения монтируемого пролетного строения. 25.10. Отметка верха распределительных ростверков промежуточных опор при полунавесной сборке должна назначаться из условия обеспечения проектного положения опорных узлов пролетного строения с учетом возможных деформаций опоры и прогиба монтируемой консоли, а также связанного с ним допустимого уклона пути сборочного крана. В случаях, когда прогиб монтируемой консоли велик, следует принимать специальные меры по опиранию конца пролетного строения на опору (монтаж в повышенном уровне, устройство столиков, аванбеков, подъемных приспособлений на конце консоли и т.п.). 25.11. При замыкании в пролете пролетных строений, собираемых уравновешенно-навесным или навесным способом, на опорных устройствах и капитальных опорах следует предусматривать специальные обустройства, обеспечивающие возможность горизонтального перемещения пролетного строения в пределах, необходимых для установки элементов замыкающей панели (с учетом колебаний температуры и солнечной радиации). 25.12. В течение всего времени монтажа пролетных строений необходимо обеспечивать свободу их температурных деформаций и упругих перемещений, а при невозможности обеспечения перемещений должны быть учтены возникающие при этом усилия. 25.13. Оголовки опор и опорные устройства должны иметь рабочие площадки и ограждения, отвечающие требованиям раздела 14. 25.14. На реках с карчеходом и в судовых ходах надстройка опор и нижний ростверк должны быть объединены для обеспечения опор от сдвига. Для защиты одиночных стоек от повреждения при навале бревен рекомендуется устраивать защитные стенки треугольного очертания в плане. 25.15. Стойки опор должны быть связаны в неизменяемую пространственную конструкцию поперечными, продольными, а в необходимых случаях диагональными и горизонтальными связями. Отдельные опоры из плоских рам должны быть связаны с прогонами и ростверками. 25.16. Временные промежуточные опоры по фасаду моста следует проектировать, как правило, не рассчитывая их на восприятие продольных горизонтальных нагрузок (кроме ветра при сборке опоры). Продольная устойчивость системы пролетного строения и опор должна быть обеспечена закреплением пролетного строения за капитальную опору. Размеры опоры поперек моста назначаются из условия обеспечения поперечной устойчивости системы под действием вертикальных и горизонтальных нагрузок, с учетом ширины и конструкции поперечного сечения пролетного строения. 25.17. Конструкции опор должны быть рассчитаны на прочность и устойчивость положения при воздействии нагрузок в наиболее невыгодных их сочетаниях, согласно табл. 25.1, могущих иметь место до момента вступления в работу монтируемого пролетного строения. При этом учитываются коэффициенты сочетаний нагрузок η, коэффициент надежности по назначению γn и условий работы m, которые принимаются по СНиП 2.05.03-84*. 25.18. Элементы оголовков промежуточных опор и подмостей рассчитываются на нагрузку: а) передаваемую от сборочных опорных клеток (при сборке) и домкратов (при поддомкрачивании); б) от собственного веса, а также веса людей, инструмента и мелкого оборудования на рабочих площадках оголовков. 25.19. Прогоны сборочных подмостей рассчитываются как однопролетные балки на равномерно распределенную по длине прогона нагрузку и сосредоточенные нагрузки, передающиеся через сборочные клетки (при сборке) и домкраты (при поддомкрачивании). Равномерно распределенная нагрузка слагается: из собственного веса настила, поперечин и прогонов; веса людей, инструмента и мелкого оборудования (на тротуарах) и веса подкрановых и транспортных путей, если они располагаются на настиле подмостей. Сосредоточенная нагрузка слагается: из веса монтируемого пролетного строения и веса рештований на нем; веса подкрановых и транспортных путей, сборочного крана и транспортных средств (с грузами), если они расположены на пролетном строении; давления поперечно направленного ветра на пролетное строение. Таблица 25.1
25.20. Величины сосредоточенных нагрузок под узлами пролетного строения определяются для двух случаев .монтажа: а) при опирании пролетного строения на сборочные клетки в предположении его разрезности в узлах (строка вторая - пятая и восьмая табл. 25.1) б) при опирании пролетного строения на домкраты в предположении его неразрезности в узлах (строка вторая, третья и восьмая табл. 25.1). 25.21. Промежуточные опоры и опорные обустройства при полунавесной сборке рассчитываются по первому предельному состоянию на прочность и устойчивость положения в соответствии с расчетными схемами, изображенными на Рис. 25.2 а, б. Нагрузки определяются при предельной длине консоли монтируемого пролетного строения и наиболее невыгодных положениях сборочного крана, транспортных средств и подвесных подмостей. В случае подачи монтажных элементов сбоку от крана при определении нагрузок от крана Ркр следует учитывать эксцентричный характер нагрузки.
Рис. 25.2. Расчетные схемы нагрузок на промежуточные опоры и опорные устройства а - при полунавесной сборке; б - при уравновешенно-навесной сборке На Рис. 25.2. обозначено: q - равномерно распределенная нагрузка от веса пролетного строения, рештований, подкрановых и транспортных путей, трубопроводов, людей, инструмента и мелкого оборудования; Ркр - равнодействующая собственного веса крана; Рэл - вес наиболее тяжелого монтажного элемента (с динамическим коэффициентом) при наибольшем вылете стрелы; Ртс - равнодействующая веса транспортных средств с грузом (при наличии); Рn - равнодействующая веса передвижных подмостей с людьми и инструментом (при наличии); G - собственный вес промежуточной опоры (опорных устройств); Wкp, Wnc, W0 - давление ветра соответственно на кран, пролетное строение и опору. 25.22. Вертикальные нагрузки для каждой из промежуточных опор в пролете при полунавесной сборке определяются в предположении полной разгрузки всех предыдущих промежуточных временных опор. 25.23. Вертикальные нагрузки на опорные устройства для уравновешенно-навесного монтажа пролетного строения, не закрепленного за опору (или обстройку опоры), определяют по схеме двухконсольной балки на двух опорах, при этом за опорную базу балки принимают расстояние между постоянной опорной частью и опорной клеткой (расстояние "С" на Рис. 25.2.б) со стороны перегруженной консоли слева или справа от оси опоры. 25.24. Давление поперечно направленного ветра на пролетное строение и кран передаются на опоры подмостей в виде горизонтальных сил Wl (Wnc) и W2 (Wкр), а также в виде пары вертикальных сил Pw (Рис. 25.3.). Горизонтальные нагрузки от ветра на пролетное строение и краны передаются на опорные устройства через клетки или домкраты пропорционально приходящейся на них доле вертикальной нагрузки.
Pиc. 25.3. Расчетная схема сборочных подмостей 25.25. Промежуточные опоры должны проверяться на устойчивость до загрузки пролетным строением и после. Устойчивость ненагруженных опор должна проверяться при действии ветровой нагрузки вдоль и поперек моста, а после загрузки только поперек (см. п. 25.16.). В необходимых случаях для обеспечения устойчивости опор следует устанавливать ванты и расчалки, рассчитанные на ветровое давление поперечного и продольного ветра на опору, или заанкеривать надстройку за основание. При размещении промежуточных опор в реке или на акватории они должны проверяться также на устойчивость от действия ветра или ледохода или гидродинамического воздействия воды в незагруженном состоянии. При этом горизонтальные нагрузки принимаются с коэффициентом сочетаний η = 1. 25.26. Усилия в стойках опор должны определяться без учета работы стоек на растяжение (если конструкция сопряжений стоек с ростверками и нижнего ростверка с основанием не обеспечивает передачу растягивающих усилий). Если по расчету в стойках оказываются растягивающие усилия, расчет повторяется с исключением растянутых стоек. 25.27. При проектировании анкеров, удерживающих пролетное строение от опрокидывания при навесной сборке, необходимо предусматривать свободу горизонтальных перемещений анкеруемого конца пролетного строения от изменения температуры и изменения знака напряжений в поясах монтируемого пролетного строения. 26. ОПОРЫ ДЛЯ ПРОДОЛЬНОЙ НАДВИЖКИ ПРОЛЕТНЫХ СТРОЕНИЙ26.1. Монтаж пролетных строений методом продольной надвижки предусматривает сборку пролетного строения на стапеле и последующее его перемещение в проектное положение с помощью устройств скольжения (качения) по накаточным путям (разделы 28б, в), уложенным на опоры стапеля и временные промежуточные опоры в пролете (пролетах) и капитальные опоры. Стапелем именуется площадка на насыпи подхода, оборудованная устройствами для сборки и надвижки пролетного строения. 26.2. Количество, размеры и взаимное расположение в пролетах моста и на стапеле опор для надвижки, размеры стапеля назначаются из условий: прочности и устойчивости против опрокидывания надвигаемого пролетного строения в момент перед опиранием его переднего конца (аванбека) на очередную промежуточную временную или капитальную опору (обстройку опоры); прочности и устойчивости против опрокидывания опоры под действием расчетных нагрузок в их невыгодном сочетании; возможности размещения устройств скольжения, накаточных путей и опорных площадок для установки домкратов на оголовке опоры. 26.3. При расположении сборочного стапеля на насыпи подхода следует обеспечивать достаточную жесткость основания за счет заблаговременной отсыпки насыпи с тщательным послойным уплотнением или за счет устройства жесткого лежневого или свайного основания. Сборочный стапель должен иметь опоры с регулируемыми отметками опорных площадок для учета просадок свежеотсыпанной насыпи, изменения продольного профиля монтируемой части пролетного строения и изменения упругой линии торца смонтированной и надвигаемой части конструкции. Пределы регулирования высоты опорных площадок стапеля, расположенного на насыпи, определяются расчетом, но должны быть не менее 1/100 высоты насыпи. При отсыпке насыпи после сооружения несущих конструкций устоя рекомендуется сборочный стапель располагать на расстоянии не менее трети высоты насыпи от торца шкафной стенки. Опоры для сборки надвигаемой конструкции на стапеле выполняют в виде шпальных клеток или из железобетона. 26.4. При продольной надвижке пролетных строений с прерывистыми верхними накаточными путями размер опоры определяется длиной нижних накаточных путей на опоре, которая должна обеспечивать размещение на них двух смежных участков верхних накаточных путей. 26.5. На оголовках опор должны быть предусмотрены распределительные ростверки, обеспечивающие восприятие и передачу возникающих при надвижке горизонтальных и вертикальных сил. Конструкция распределительных ростверков должна предусматривать возможность размещения на них необходимого количества регулируемых по высоте устройств скольжения (накаточных путей), устройств для поддомкрачивания пролетного строения, устройств для ограничения его боковых смещений и выправки в плане (при необходимости). 26.6. При расположении накаточных путей (устройств скольжения) под продольными балками проезжей части на распределительных ростверках под поясами главных ферм должны быть предусмотрены страховочные клетки с зазором не более 3 см. 26.7. Устройства скольжения (накаточные пути) в целях снижения изгибающего момента в опорах разрешается располагать эксцентрично относительно центра опор, сдвигая их вдоль моста против направления движения. Величина эксцентриситета должна определяться расчетом прочности опоры как в момент надвижки, так и при неподвижных конструкциях, при этом следует учитывать возможность появления горизонтальных усилий, направленных против направления движения (температурных, ветровых, от расположения надвигаемой конструкции на уклоне и т.п.). 26.8. При надвижке пролетных строения полупролетами с замыканием их в пролете на оголовках опор должны предусматриваться устройства, обеспечивающие возможность перемещения (горизонтального и вертикального) полупролетов при замыкании. 26.9. Оголовки опор должны быть снабжены приспособлениями для перестановки деталей устройств скольжения, улавливания и установки катков. При применении полимерных устройств скольжения должен быть обеспечен автоматический контроль горизонтальных усилий, если грузоподъемность тянущих и толкающих устройств превышает расчетную несущую способность перекаточной опоры на восприятие нагрузок при надвижке. 26.10. Отметки распределительных ростверков перекаточных опор назначаются с учетом уровня надвижки пролетного строения (проектного или повышенного), прогиба его консоли в момент перед накаткой ее на промежуточную временную или капитальную опору и упругих и остаточных деформаций опор под нагрузкой. 26.11. В конструкции оголовков капитальных опор должна быть предусмотрена возможность установки опорных частей после надвижки пролетного строения без демонтажа конструкций уширения. В тех случаях, когда ширина оголовков капитальных опор недостаточна для размещения устройств скольжения (накаточных путей), а также при необходимости сокращения вылета консоли надвигаемого пролетного строения устройства скольжения размещают на вспомогательных конструкциях уширения оголовков этих опор. 26.12. Опоры для надвижки, обстройка капитальных опор, устройства скольжения, накаточные пути должны быть рассчитаны на воздействие нагрузок, в соответствии с табл. 26.1. 26.13. Опоры рассчитываются на прочность и устойчивость положения в продольном и поперечном направлениях в соответствии со схемами приложения нагрузок на опору, изображенными на Рис. 26.1. Удельные давления Р1 и Р2 определяются с учетом жесткости передвигаемой конструкции и накаточных устройств. При определении усилий во втором сочетании учитывается коэффициент сочетаний η = 0.9 (к нагрузкам от поперечного ветра) Расчеты по второму предельному состоянию при надвижке металлических пролетных строений производятся при вычислении строительного подъема опор, а также в тех случаях, когда возможно появление осадок опор, опасных для надвигаемого пролетного строения. Таблица 26.1
26.14. Дополнительно к расчетам на сочетания нагрузок, приведенных в табл. 26.1, опоры должны быть проверены на следующие нагрузки: а) давление продольного и поперечного ветра расчетной интенсивностью на ненагруженную пролетным строением опору; б) поперечное гидродинамическое воздействие воды и давление льда на незагруженную опору; в) от домкратов, если в процессе надвижки предусмотрено поддомкрачивание конца консоли надвигаемого пролетного строения; г) от пролетного строения и монтажного крана, если после надвижки пролетного строения (например, металлической балки сталежелезобетонного пролетного строения), его сборка будет продолжена в пролете с использованием перекаточных опор; д) усилия, возникающие при выправке пролетного строения в плане, перекосе катков и непараллельности путей.
Рис. 26.1.Схема приложения нагрузок к пеpeкaточной опоре а - в продольном направлении; б - в поперечном направлении; Р1 и Р2 - удельные давления на накаточные устройства кН/м, (тс/м); ΣP1 и Р2 - общая нагрузка на отдельные нитки накаточных устройств (с учетом ветровой нагрузки); Wпc и Wo - давление ветра соответственно на пролетные строения и опору, направленное поперек оси моста; W'пc и Wo - то же вдоль оси моста; Nт - тяговое усилие; G - собственный вес опоры. 26.15 Давление от металлического пролетного строения на опоры (при числе их не более двух) допускается определять исходя из предположения об абсолютной жесткости пролетного строения: а) при опирании пролетного строения на одном участке накаточных путей (рис. 26.2а) по формулам: случай 1, с < 3а
случай 2, с > 3а
Рис. 26.2. Расчетные схемы нижнего накаточного пути при продольной перекатке а - при опирании пролетного строения на одном участке накаточного пути; б - при опирании пролетного строения на двух участках накаточного пути б) при опирании пролетного строения на двух участках накаточного пути (Рис. 26.2б) по формулам: давление в любой точке накаточного пути
наибольшая величина давления
В приведенных формулах на Рис. 26.2 обозначено: Q - вес пролетного строения и верхних накаточных путей, кН (тс); Рх - удельное давление на накаточный путь, кН/м (тс/м) СП - длина участка опирания пролетного строения на накаточный путь, м; l0 - положение общего центра всех площадок опирания, определяемое из выражения
е - расстояние от центра площадок опирания до точки приложения силы Q, м; li - координаты центров площадок опирания; αn - расстояние от центра тяжести площадок опирания до середины каждой площадки; с 3
При количестве опор более двух давление на каждую опору от пролетного строения определяется с учетом его жесткости, податливости опор и взаимного смещения линии отметок накаточных путей и упругой линии сборки пролетного строения. При продольной надвижке неразрезных пролетных строений расчет усилий следует производить на ЭВМ. При этом шаг надвижки необходимо принимать не более длины блока или шага изменения расчетных сечений. Проверка стенки на местную устойчивость обязательна. 26.16. Тяговое усилие и давление продольного и поперечно направленного на пролетное строение ветра распределяются между опорами (участками опирания) пропорционально вертикальным нагрузкам, приходящимся на опоры от надвигаемого пролетного строения:
где Nт - полное тяговое усилие, определяемое по указанию п. 29.5; Nтn - усилие, приходящееся на n-ю опору; Wд и Wn - давление продольного и поперечного ветра на пролетное строения; Wдn и Wnn - соответственно давление ветра, приходящееся на n-ю опору; Q - полная вертикальная нагрузка от пролетного строения; Qn - вертикальная нагрузка, приходящаяся на n-ю опору. Тяговое усилие и давление ветра следует считать приложенными в уровне верха нижних накаточных путей. 26.17. Вертикальные нагрузки на опоры от веса пролетного строения и верхних накаточных путей определяется как площадь соответствующих эпюр давления, вычесленных по выше приведенным формулам. 27. ПИРСЫ27.1. Под пирсами понимаются парные опорные сооружения для размещения на них, поперечной передвижки по ним и перестановки пролетных строений с них на плавучие или капитальные опоры. 27.2. Пирсы, предназначенные для перестановки (перегрузки) пролетных строений на плавучие опоры именуются (условно) «береговые», а предназначенные для перестановки (передвижки) на капитальные опоры - «речные» (условно). 27.3. «Береговые» пирсы и подмости для сборки пролетных строений, устанавливаемых на плаву, должны быть расположены, как правило, с низовой стороны моста и на расстоянии, обеспечивающем свободный вывод, перемещение плавучей системы вдоль моста, разворот и завод ее в пролет. Пирсы для выкатки пролетных строений на плавучие опоры следует располагать под опорными узлами перпендикулярно продольной оси сборочных подмостей. 27.4. Длина «береговых» пирсов должна обеспечивать возможность заводки между ними плавучих опор для снятия с пирсов пролетных строений при рабочем горизонте воды с учетом его колебания и запасом глубины под днищем плавучих опор не менее установленного в п. 32.2. В целях сокращения длины пирсов и для защиты их от воздействия льда, при возможности производства дноуглубительных работ, следует устраивать ковш. Уклон подводной части откосов ковша следует принимать в зависимости oт грунта в пределах 1:3 - 1:5. 27.5. При значительной высоте моста или длине перекатки (на мелководье) береговые пирсы следует сооружать в низком уровне. Перекатку пролетных строений в этом случае производят: а) в проектном уровне на специальных перекаточных опорах, являющихся концевыми частями сборочных подмостей; б) в низком уровне на тележках (катках) или специальными передвижными подъемниками. Подъемка пролетных строений с тележек в уровень перевозки на плаву осуществляется подъемниками, сооружаемыми в конце пирсов. 27.6. «Речные» пирсы для перекатки на опоры пролетных строений, смонтированных в пролете параллельно оси моста, следует располагать под опорными узлами пролетных строений, как правило, с низовой стороны от капитальных опор. Сопряжение пирсов с капитальными опорами должно обеспечивать плавный, без толчков, переход катков или тележек с пирса на опору, для чего пирсам должен быть придан строительный подъем, компенсирующий их деформации под нагрузкой. На суходоле «речные» пирсы могут располагаться под промежуточными (не опорными) узлами пролетных строений. В этом случае передвинутое по пирсам на проектную ось пролетное строение, переставляется на капитальные опоры с помощью домкратов. 27.7. Конструкция пирса может предусматривать размещение накаточного пути под один конец пролетного строения - одиночный пирс, или под концы пролетных строений двух смежных пролетов - совмещенный пирс. 27.8. Поперечные размеры пирсов определяются количеством накаточных путей (одиночный или совмещенный пирс) и условиями обеспечения их поперечной устойчивости под действием вертикальных и горизонтальных нагрузок. Отметка верха пирсов назначается с учетом конструкции накаточного пути, перекаточных и подъемных устройств, упругих деформаций конструкций пирсов и накаточных путей и должна быть увязана с отметкой сборочных подмостей и отметками установки пролетных строений на плавучих или капитальных опорах. 27.9. Свайный фундамент низких пирсов рекомендуется перекрывать металлическими балками, а при значительных нагрузках железобетонной монолитной плитой. 27.10. Конструкция пирсов должна предусматривать возможность установки на них домкратов для поддомкрачивания пролетного строения при установке его на накаточном пути и снятия с него. Пирсы в уровне накаточных путей должны иметь рабочий настил и тротуары, отвечающие требованиям раздела 14. 27.11. Пирсы, накаточные пути и устройства должны быть рассчитаны на прочность и устойчивость положения в продольном и поперечном направлениях в соответствии со схемами приложения нагрузок, изображенными на Рис. 27.1 в сочетаниях, приведенных в табл. 27.1.
Pиc. 27.1. Схемы приложения нагрузок к пирсам а - вдоль пирсов; б - поперек пирсов; Q - нагрузка от перекатываемого пролетного строения; Nт - тяговое усилие; G - собственный вес рассчитываемых элементов пирса; Wпс, Wo - давление ветра соответственно на пролетное строение и опору вдоль перекатки; W'пc, W'o - то же поперек перекатки. 27.12. Давление Q от веса пролетного строения на нижний накаточный путь разрешается принимать равномерно распределенным по длине верхних накаточных путей при симметричном относительно середины пролетного строения их расположении. В поперечном направлении давление Q прикладывается на одиночные пирсы центрально, а на совмещенные с эксцентриситетом е (Рис. 27.1). 27.13. Давление на накаточный путь Рх Н/м (тс/м) от воздействия на пролетное строение ветра (см. Рис. 27.2) вдоль перекатки допускается определять по методу внецентренного сжатия по формуле
где Q, Wпc - приходящаяся на пирс часть нагрузки от пролетного строения и давления ветра; h - возвышение центра ветрового давления над верхом нижних накаточных путей; m - коэффициент условий работы, принимаемый m = 1.1 при с2 = 0; m = 1.0 при с2 ≠ 0.
Рис. 27.2. Расчетная схема давления на накаточный путь 27.14. Тяговое усилие Nт, давление ветра на пролетное строение поперек перекатки Wпc и воздействие от перекоса катков Н прикладываются в уровне верха нижних накаточных путей. Распределение между опорами пирса тягового усилия и нагрузки от ветра на пролетное строение вдоль перекатки принимаются: - при длине пирса 50 м и менее (при любой величине пролета в пирсах) - равномерно между всеми опорами; - при большей длине пирса - равномерно между опорами на длине 50 м. 27.15. При расчете элементов опор и прогонов (ферм) пирсов расчетные сопротивления материалов делятся на коэффициент надежности по назначению γп = 1.05. Прогибы прогонов (ферм) пирсов от временной нагрузки не должны превышать 1/300 длины. 28. НАКАТОЧНЫЕ ПУТИ И УСТРОЙСТВА СКОЛЬЖЕНИЯ (КАЧЕНИЯ)А. ОБЩИЕ ТРЕБОВАНИЯ.28.1. Устройства скольжения, накаточные пути, перекаточные устройства, тяговые и тормозные средства, применяемые при надвижке (перекатке) пролетных строений, должны обеспечивать плавное, без рывков и перекосов движение перемещаемых конструкций, надежность их закрепления и безопасность работы. 28.2. Конструкция устройств скольжения и накаточных путей должна обеспечивать: возможность поворота опорных сечений пролетных строений; исключение смещения надвигаемой конструкции поперек на правления надвижки; контроль горизонтальных усилий, передающихся на опоры, с автоматическим выключением (например, концевым выключателем) механизмов надвижки при превышении заданных значений деформаций. Конструкция устройств должна исключать появление в пролетном строении недопустимых напряжений из-за местных неровностей, изгиба и перекоса. Длина накаточных путей назначается, исходя из условия обеспечения местной и общей устойчивости основных конструкций пролетных строений. 28.3. Во всех случаях верхний накаточный путь (прерывистый и непрерывный) должен быть прямолинейным в горизонтальной и вертикальной плоскостях. Прямолинейность накаточного пути в вертикальной плоскости следует обеспечивать применением поперечин переменной высоты и их прирубкой к поясам ферм (продольных балок) или применением металлических распределительных прокладок переменной высоты. 28.4. Конструкция накаточных путей (устройств скольжения) должна обеспечивать возможность размещения домкратов для установки пролетного строения на накаточные пути и опорные части. 28.5. Нижние накаточные пути на насыпи подходов должны быть уложены на щебеночный или крупнозернистый песчаный балласт, толщина которого под подошвой шпалы должна быть не менее 25 см. Шаг шпал в зависимости от погонной нагрузки на накаточный путь принимается равным: при давлении до 600 кН/м (60 тс/м) - 0.7 м от 600 кН/м (60 тс/м) до 1000 кН/м (100 тс/м) - 0.5 м более 1000 кН/м (100 тс/м) - сплошная выкладка из шпал или железобетонная плита. На оголовках опор для нижних путей устраивается сплошная выкладка из металлических балок или брусьев, скрепленных между собой для обеспечения восприятия горизонтальных нагрузок. 28.6. Уклон накаточных путей в сторону надвижки не должен превышать 5 % и уклона, соответствующего половине минимального значения от коэффициента трения в перекаточных устройствах. 28.7. Нижние накаточные пути (устройства скольжения) на оголовках опор должны обеспечивать восприятие ими горизонтальных сил, возникающих при надвижке (перекатке) пролетных строений. 28.8. Опирание на накаточные пути берегового конца пролетного строения, надвигаемого с плавучей опорной, должно осуществляться с помощью специальной балансирной каретки, обеспечивающей равномерную передачу нагрузок независимо от вертикальных колебаний плавучей опоры. 28.9. Накаточные пути и устройства скольжения должны быть рассчитаны на наибольшие величины удельных давлений. При продольной надвижке пролетных строений по насыпи подходов или перекаточным опорам величины удельных давлений на перекаточные устройства принимаются по огибающим эпюрам давлений, определяемым в соответствии с указаниями пп. 26.12 - 26.15, для различных участков накаточного пути и стадий надвижки. При поперечной передвижке пролетных строений величины удельных давлений определяются по указаниям п. 27.12 и 27.13. Б. УСТРОЙСТВА СКОЛЬЖЕНИЯ.28.10. Для надвижкы следует применять специальные устройства скольжения. Использовать в качестве устройств скольжения резиново-стальные опорные части пролетных строений не рекомендуется. В зависимости от конкретных условий применяют различные схемы устройств скольжения для надвижки пролетных строений с применением антифрикционных полимерных прокладок. Устройства скольжения могут быть непрерывного (Рис. 28.1) и циклического (Рис. 28.2) действия. В первом случае пролетное строение (балку) надвигают на значительную часть длины без остановок и поддомкрачивания, во втором случае пролетное строение периодически приподнимают с помощью домкратов для изменения положения кареток и контртел. 28.11. Антифрикционные прокладки для устройств скольжения изготавливают из фторопласта - 4 марки А или Б незакаленного по ГОСТ 10007 или полиэтилена ВП (высокой плотности, например, полиэтилена марок 20206-002, 20306-005, 20406-007, 203-03, 203-18) по ГОСТ 16338, высокомолекулярного полиэтилена и нафтленовой ткани. Размер прокладок в плане должен быть не менее 20×20 см. 28.12. Контртела (элементы, по которым перемещается антифрикционная прокладка) изготавливают из: полированных листов нержавеющей стали с шероховатостью Ra 0.080.32 по ГОСТ 2789, листов конструкционной стали, хромированных и полированных с шероховатостью по Ra 0.080.32 ГОСТ 2789 проката конструкционной стали, покрытого атмосферостойкими, имеющими глянцевый блеск грунтами или эмалями, например, эмалью ПФ-115 (ГОСТ 6465). Перед покраской поверхность проката должна быть ровной, без следов ржавчины, шероховатостью не ниже Rz 20 по ГОСТ 2789. Лакокрасочные материалы наносят ровным слоем с помощью краскораспылителя или кистью. Поверхность контртела после покраски должна иметь шероховатость Ra 1.25 по ГОСТ 2789.
Рис. 28.1. Устройства скольжения непрерывного действия а - с переставными полимерными прокладками; б - с переставными салазками; в - по полимерным прокладкам; г - с составными путями скольжения; д - по путям скольжения; е - с переставным упором; 1 - путь скольжения; 2 - контртело; 3 - каретка; 4 - резиновый шарнир; 5 - полимерная прокладка; 6 - надвигаемая конструкция; 7 - выравнивающий лист; 8 - реечный домкрат; 9 - переставной упор.
Рис. 28.2 .Устройства скольжения циклического действия а - с переставным контртелом; б - с переставной кареткой; 1 - путь скольжения; 2 - контртело; 3 - каретка; 4 - резиновый шарнир; 5 - полимерная прокладка; 6 - надвигаемая конструкция; 7 - домкрат для подъемки; 8 - домкрат для надвижки 28.13. Режим сушки после покраски дан в табл. 28.1. Таблица 28.
28.14. Контртело по длине стыкуют без выступов, сварные швы зачищают заподлицо с последующей полировкой или покраской; рекомендуется устраивать уклоны (скосы) спереди и сзади по ходу надвижки. 28.15. Прокладки в устройствах скольжения располагают свободно на стальном листе, поверхность которого имеет шероховатость Rz 40320 (Рис. 28.3а), или закрепляют в обойму (Рис. 28.3б) с шероховатостью дна Rz 40320 по ГОСТ 2789, или закрепляют на фанерных карточках с металлическим листом (при применении нафтленовой ткани). 28.16. При свободном расположении прокладок рекомендуется принимать толщину прокладки 2-5 мм, при расположении в обойме - 4 - 20 мм. Листы фторопласта следует укладывать в обойме на резиновую и стальную прокладки. При этом из обоймы может выступать до половины толщины прокладки, но не менее 2-3 мм. 28.17. При потолочном расположении применяют полимерные прокладки толщиной 5-20 мм. Их монтажные крепления выполняют потайными винтами или планками, которые не должны выходить за поверхность обоймы. 28.18. Упругую прокладку между фторопластом и нижней поверхностью пролетного строения выполняют из полос пятислойной фанеры, стыкуемой «в торец». Уступы на нижней поверхности балок перед установкой фанеры устраняют стальными прокладками (в том числе клиновидными). 28.19. В схемах, изображенных на Рис. 28.1 и 28.2, рекомендуются при положительных температурах номинальные осевые давления для фторопласта-4 до 15 МПа (150 кгс/см2), для полиэтилена ВП - до 15 МПа (150 кгс/см2), а при отрицательных температурах соответственно до 20 и 30 МПа (200 и 300 кгс/см2). На нафтленовую ткань давление не должно превышать 30 Мпа (300 кгс/см2). 28.20. При надвижке пролетных строений, расположенных на продольном уклоне или вертикальной кривой, уклон плоскости скольжения устройств скольжения на каждой опоре должен быть равен уклону пролетного строения на этой опоре. 28.21. В случае надвижки пролетных строения при температурах ниже 0°С для уменьшения коэффициента трения следует применять устройства скольжения с обогреваемым контртелом (Рис. 28.4). Конструкция устройства скольжения и терморегулятора должна обеспечивать равномерный нагрев контртела и постоянство температуры с точностью ±5°С.
Рис. 28.3. Расположение в устройствах антифрикционных прокладок а - свободно опирающихся на шероховатую поверхность; б - заключенных в обойму; 1 - надвигаемая конструкция; 2 - контртело; 3 - полимерная прокладка; 4 - опорная поверхность; 5 - обойма 28.22. Для обеспечения проектного положения пролетных строений в плане при надвижке их по полимерным устройствам скольжения следует предусматривать специальные направляющие устройства (Рис. 28.5), рассчитанные на восприятие бокового усилия при надвижке. Величина последнего принимается равной сумме нагрузок от давления ветра рабочего состояния (V = 15 м/с) в сочетании с усилиями от бокового смешения надвигаемой конструкции (по п. 7.18) или на полное ветровое усилие. Боковые устройства должны быть также рассчитаны на разность усилия от давления ветра расчетной интенсивности поперек надвижки и горизонтального усилия в устройствах скольжения (третье сочетание нагрузок, см. табл. 27.1). Механизм изменения зазора в направляющем устройстве рассчитывается на усилие бокового смещения надвигаемой конструкции. Направляющие устройства, обеспечивающие правильное положение надвигаемой конструкции в плане, должны устанавливаться на каждой капитальной опоре и не менее чем на трети временных опор (на расстоянии не более 40 м). Направляющие устройства на каждой из опор устанавливаются попарно. Расстояние между роликами (упорами) направляющих устройств при их максимальной раздвижке должно быть не более чем на 30 мм больше габарита надвигаемой конструкции с учетом допусков на изготовление и монтаж. При применении полимерных устройств скольжения надвигаемую конструкцию необходимо заземлять на всех стадиях сборки и надвижки.
Рис. 28.4. Деталь устройства скольжения с обогреваемым контртелом 1 - надвигаемая конструкция; 2 - фанера; 3 - фторопласт; 4 - контртело; 5 - стальной лист с пазами; 6 - трубчатые электронагреватели; 7 - листовой асбест; 8 - стальной лист δ = 4 ÷ 6 мм; 9 - резиновая прокладка; 10 - опорная конструкция
Рис. 28.5. Напралвяющее устройство: 1 - домкрат винтовой; 2 - направляющий ролик; 3 - устройство скольжения; 4 - опорная конструкция В. НАКАТОЧИЫЕ ПУТИ, ТЕЛЕЖКИ, КАРЕТКИ, КАТКИ.28.23. При перекатке на катках накаточные пути рекомендуется выполнять преимущественно из старогодных железнодорожных рельсов на деревянных поперечинах. Количество и тип рельсов (или балок) в накаточных путях, а также шаг поперечин определяется расчетом с учетом конструкции перекаточных устройств. Нижний накаточный путь, как правило, должен иметь на 1 рельс (балку) больше, чем верхний. Стыки рельсов следует располагать вразбежку, а рельсы соединять без зазоров и перекрывать накладками. Концы рельсов накаточных путей должны быть плавно отогнуты по радиусу не менее 50 см в сторону подошвы с уклоном до 15 % - нижние на длине не менее 1.0 м, верхние - на длине не менее 0.20 м. Рабочие поверхности накаточных путей должны быть ровными, сварные стыки и прочие выступы - зачищены. Старогодные рельсы должны иметь одинаковую высоту. Конструкция крепления рельсового пути к шпалам должна обеспечивать передачу продольных усилий. 28.24. Верхний накаточный путь может быть как непрерывным, так и прерывистым. Прерывистый путь устраивают под узлами ферм в случаях недостаточной прочности и жесткости поясов пролетных строений, а также при надвижке их по непрерывному нижнему накаточному пути на насыпи подходов или сплошных подмостях. Допускается использование нижнего пояса балок со сплошной стенкой без накаточного пути. 28.25. Распределительные устройства, каретки и роликовые тележки должны обеспечивать равномерное распределение нагрузки на катки или ролики. Изгибающие моменты в распределительных устройствах принимаются равными изгибающему моменту консоли, загруженной равномерно распределенной нагрузкой, соответствующей площади опирания катков (Рис. 28.6). Каретки для поперечной перекатки на катках должны быть жестко скреплены с перекатываемой конструкцией и рассчитаны с учетом возможного бокового усилия (распора). 28.26. Роликовые опоры должны состоять из отдельных двухроликовых элементов, последовательно объединяемых шарнирно в группы из двух, четырех, восьми элементов. 28.27. Конструкция тележек для поперечной перекатки (Рис. 28.7) должна обеспечивать: равномерную нагрузку на все ролики тележки; возможность продольного перемещения одного из концов перекатываемого пролетного строения по тележке для уменьшения влияния распора, возникающего от непараллельности накаточных путей, забега тележек и от изменения длины пролетного строения при прогибах и температурных перепадах. Тележки должны быть устойчивыми в свободном состоянии. Высота реборд колес менее 20 мм не допускается. Тип рельса для перекаточного пути должен выбираться применительно к рекомендациям для подкрановых путей (раздел 12). 28.28. Катки для перекатки рекомендуется применять диаметром 80 - 120 мм из твердых сталей не ниже марки Ст.5 с шероховатостью поверхности катания Rz 20 (ГОСТ 2789). Длина катков должна быть на 20 - 30 см больше ширины накаточного пути. Расстояние между катками в свету не должно быть менее 5 см. Расчетная схема каретки
Рис. 28.6. Балансирное опирапие узла пролетного строения на накаточные пути при продольной надвижке на плаву 1 - опорный узел пролетного строения; 2 - опорные части; 3 - каретка; 4 - катки; 5 - нижний накаточный путь 28.29. Количество рельсов накаточного пути, длина накаточных кареток, диаметр катков и их количество на погонный метр пути назначаются, исходя из величин предельных нагрузок на пересечение катка с рельсом или балкой накаточного пути, принимаемых по табл. 28.2, и наибольших величин удельных давлений на накаточный путь, с учетом коэффициента надежности по нагрузке γf = 1.25. Таблица 28.2
Рис. 28.7. Опирапие узла пролетного строения при поперечной перекатке на тележках 1 - опорный узел пролетного строения; 2 - катки; 3 - перекаточная тележка; 4 - опорные плиты тележки; 5 - ограничители положения катков 29. ТЯГОВЫЕ (ТОЛКАЮЩИЕ) И ТОРМОЗНЫЕ УСТРОЙСТВА.29.1. Надвигаемые конструкции должны оснащаться тяговыми, тормозными и стопорными устройствами. Тяговые (толкающие) устройства должны обеспечить плавную надвижку конструкций и иметь тормозные и стопорные приспособления и ограничители грузоподъемности. Скорость перемещения не должна превышать 0.25 м/мин при надвижке на устройствах скольжения и 0.5 м/мин при перекатке на катках и на роликовых тележках. В проекте должна быть обеспечена синхронность работы тяговых и тормозных устройств или предусмотрены ограничители их грузоподъемности. 29.2. Тормозные устройства должны обязательно устраиваться в случаях: надвижки по уклону, тангенс угла которого превышает половину минимального коэффициента трения в накаточных устройствах; надвижки с помощью тяговых лебедок; если ветровая нагрузка вдоль надвижки больше половины нормативного усилия трения в устройствах скольжения. Мощность стопорных устройств должна обеспечивать остановку пролетных строений при коэффициенте трения равном 0.1 от расчетного. Для восприятия наибольшей расчетной продольной ветровой нагрузки во всех случаях должны быть предусмотрены стопорные устройства, исключающие произвольное перемещение надвиемых конструкций. 29.3. Для перемещения пролетных строений следует применять лебедки с канатоемкостью 200 - 400 м или домкраты со скоростью рабочего хода не свыше 5 мм/с. Автомобили и тракторы как тяговые средства не допускаются. Тяговые лебедки для перемещения пролетного строения с помощью плавучей опоры на переднем конце следует располагать на пролетном строении, а на плавучей опоре следует располагать пеленажные лебедки. 29.4. Относительно продольной оси перекатки полиспасты располагаются строго симметрично, а угол между направлением перекатки и осью полиспаста был не более 10°. Расстояние между блоками при максимальном сближении должно быть не менее 5 диаметров роликов. Подвижные блоки полиспаста должны крепиться к пролетному строению так, чтобы исключить разворот блока вокруг горизонтальной оси. Расположение отводных роликов и лебедки должно удовлетворять условию, чтобы трос к барабану подходил снизу под углом не более 5° выше и 90° ниже горизонта. При длине перекатки, превышающей максимальную длину полиспастов (определяемую канатоемкостью лебедки), необходимо предусматривать возможность быстрого перекрепления блоков и перепасовки полиспаста. 29.5. Тяговые и тормозные средства должны быть подобраны на суммарную нагрузку от силы трения, определяемой по указанию раздела 7, давления продольного ветра на пролетное строение в процессе его надвижки (при скорости V = 15 м/с), составляющей веса, направленной вдоль плоскости надвижки (при наклонном ее положении), а также гидродинамического усилия (при надвижке с помощью плавучей опоры). Коэффициент надежности по назначению для тяговых канатов следует принимать γn = 4.5. В процессе надвижки конструкций тормозные средства должны находиться в слабонапряженном состоянии. 29.6. Выбор мощности лебедок производится с учетом
отношения величины нормативного тягового усилия N к усилию Р в сбегающем конце
троса у лебедки Величина K приведена ориентировочно и может уточняться в зависимости от конструкции полиспаста (например, типа подшипников). Паспортная грузоподъемность лебедки при надвижке пролетных строений должна не менее чем на 30 % превышать усилие Р. Паспортная грузоподъемность домкратов должна не менее чем на 30 % превышать величину тягового усилия. Диаметр роликов (отводных, полиспаста) должен приниматься равным не менее 15 диаметрам троса. 29.7. При применении тянущих домкратов должны применяться тяги с вытяжкой при расчетном тяговом усилии не более 10 см (предпочтительно в виде пластинчатых цепей). Рекомендуется тянущие домкраты располагать на устоях мостов, передавая нагрузку на тягу через рамку или траверсы. Рекомендуется предусматривать специальные домкраты для возврата поршней рабочих (тянущих) домкратов в исходное положение. Таблица 29.1
29.8. При надвижке пролетных строений с помощью домкратов, упираемых в хвостовую часть пролетного строения, рекомендуется устраивать передвижные упоры и съемные вставки, устанавливаемые между домкратами и торцом пролетного строения. При сплошных нижних накаточных путях, закрепленных от смещения, рекомендуется применять перемещающиеся домкраты с зажимами (типа гидропередвижчика). Для повышения трения между упорными плитами гидродомкрата и накаточным путем следует укладывать стальные прокладки с насеченной и закаленной поверхностью. 29.9. Домкраты должны располагаться строго симметрично относительно оси надвижки и объединения в общую батарею. Не рекомендуется толкание пролетного строения одним домкратом. 29.10. Конструкция тяговых (толкающих) устройств независимо от типа должна обеспечивать автоматический контроль и ограничение тягового (толкающего) усилия и выключение системы в случае превышения расчетной величины этого усилия. 29.11. При надвижке в период, когда температура наружного воздуха ниже минус 40°С, должны применяться механизмы (лебедки, домкраты), отвечающие общим техническим требованиям ГОСТ 15150. 29.12. Надвижка должна осуществляться с использованием систем контроля усилий в опорах, их автоматического ограничения и системы управления надвижкой. 30. АВАНБЕКИ, АРЬЕРБЕКИ, ШПРЕНГЕЛИ, ПРИЕМНЫЕ КОНСОЛИ30.1. Конструкция аванбеков, шпренгелей, приемных консолей и анкерных устройств должна разрабатываться с учетом минимальных изменений основной конструкции пролетного строения. Рабочая документация на эти вспомогательные сооружения должна быть в обязательном порядке согласована с организацией проектировщиком основных конструкций. 30.2. При надвижке пролетного строения с применением аванбека длина последнего должна назначаться из условия обеспечения прочности и устойчивости против опрокидывания подвижной системы (аванбека с пролетным строением) в момент перед опирапием аванбека на следующую капитальную или временную опору. При надвижке неразрезных пролетных строений или при опирании на несколько опор при надвижке длина аванбека и его жесткость должны назначаться из условия обеспечения прочности, устойчивости элементов пролетного строения и, по возможности, минимальных усилий в надвигаемом пролетном строении. 30.3. Конец аванбека для облегчения его накатывания на опору следует выполнять с плавным подъемом кверху на величину прогиба от собственного веса консольной части, при большиих прогибах на переднем конце аванбека закрепляются устройства для выборки прогиба (Рис. 30.1). Ход этих устройств назначается на 15 % больше максимального прогиба при надвижке, определяемого по расчету на нормативные нагрузки. 30.4. Конструкция аванбека и его крепление к пролетному строению должны быть рассчитаны для следующих трех положений: а) нахождение аванбека на весу, когда он работает как консоль; б) поддомкрачивание переднего конца аванбека; в) опиранне аванбека в любом из его промежуточных узлов. 30.5. При надвижке пролетного строения со шпренгелем рекомендуется устраивать короткий аванбек для приема конца пролетного строения на очередной опоре. 30.6. Приемные консоли на капитальных опорах проектируются с учетом их демонтажа после окончания работ и обеспечения при этом нормальных условий эксплуатации моста (отсутствия подтеков и др.). Приемные консоли должны быть рассчитаны на воздействие нагрузок, приведенных в табл. 31.1. 30.7. Для выполнения условий обеспечения прочности и устойчивости против опрокидывания надвигаемой системы в момент схода ее заднего конца с опоры в случае необходимости система может быть оснашена арьербеком - конструкцией, аналогичной аванбеку. 30.8 Конструкция шпренгеля должна обеспечивать возможность регулирования прогиба консоли пролетного строения при надвижке его на капитальные опоры (обычно поддомкрачиванием стойки шпренгеля). В проекте шпренгеля должны быть указаны способы непосредственного измерения усилий в шпренгеле и стойке на всех стадиях надвижки пролетного строения.
Рис. 30.1. Устройства для выборки прогиба консолей а - с домкратным треугольником; б - с домкратной штангой; 1 - домкрат с ходом поршня 1120 мм; 2 - балансирная балка; 3 - каретка; 4 - установка домкрата с малым ходом поршня и возвратной пружиной; 5 - передвигаемое пролетное строение; 6 - клетка. 31. УСТРОЙСТВА ДЛЯ ПОДЪЕМКИ (ОПУСКАНИЯ) И СБРАСЫВАНИЯ ПРОЛЕТНЫХ СТРОЕНИЙ31.1. Конструкция неподвижных подъемных средств (мачт, подъемников и др.) должна обеспечивать: устойчивость поднимаемого пролетного строения или его части на всех этапах подъемки; равномерно нагрузку на подъемные устройства; необходимые горизонтальные перемещения подъемных устройств или узлов подвешивания (опирания) пролетного строения; возможность закрепления поднимаемого пролета в процессе подъема; удобство и безопасность обслуживания. 31.2. Подъемка (опускание) пролетных строений полиспастами рекомендуется при нагрузке на полиспаст до 50 тс. Подвешивание пролетных строений к полиспастам должно осуществляться по статически определимой схеме, исключающей перегрузку полиспастов или полиспастных групп. 31.3. При подъемке за один конец пролетного строения с поворотом вокруг шарнира под другим концом конструкция поворотного шарнира и его закрепление должны допускать восприятие возникающих при этом горизонтальных усилий. Опирание поднимаемого конца на домкратную установку должно обеспечивать вертикальную передачу нагрузки на домкраты и возможность беспрепятственного горизонтального перемещения поднимаемого конца конструкции в пределах, устанавливаемых геометрическими расчетами. 31.4. Опускание пролетных строений возможно производить на домкратах и металлических песочницах. При этом должны быть приняты конструктивные меры, обеспечивающие устойчивость домкратов (песочниц) и восприятие системой горизонтальных нагрузок (от ветра). 31.5. Песочницы должны быть цилиндрической формы. Конструкция песочниц должна допускать иx демонтаж в процессе опускания пролетного строения. Соединения элементов корпуса песочниц должны быть плотными и не допускать высыпания песка под нагрузкой. Применяемый в песочницах песок должен быть чистым, сухим и просеянным на сите с ячейками 1-1.2 мм. Давление на песок в песочницах не должно превышать 50 кгс/см2. Песочницы должны быть защищены от попадания в них воды и снега. 31.6. При проектировании песочниц должны быть выполнены расчеты: а) поршня - на прочность при действии сосредоточенной нагрузки сверху и равномерно распределенного давления по плоскости опирания на песок; б) основания песочницы - на равномерно распределенную нагрузку по площади песчаного заполнения; в) боковых стенок песочниц - на вертикальное и боковое давление. Величина вертикальной нагрузки принимается равной весу опускаемого груза. Величина бокового давления σп принимается равной σп = ξ σv (31.1) где σv - вертикальные напряжения в песке (от внешней нагрузки и веса столба песка); ξ - коэффициент бокового давления, равный 0.4 для песочниц с выборкой песка сверху и 1.0 - для песочниц с выпуском песка через нижние отверстия. Сечение цилиндрических песочниц допускается проверять на прочность в предположении равномерного давления изнутри по периметру окружности. Усилие N, Н/см (кгс/см) радиального сечения принимается равным
где d - диаметр песочницы, см. 31.7. Подъемка (опускание) пролетных строений или их блоков домкратами на клетках допускается, как правило, при высоте клеток не свыше 2 м. Материал и размеры клеток должны обеспечивать устойчивое положение поднимаемого пролетного строения и равномерное распределение нагрузки по их площади и основанию. Брусья клеток должны быть соединены скобами. 31.8. Опирание домкратов на металлическое основание (клетки, оголовок) следует производить через фанерные прокладки, а на деревянное основание - через распределительный металлический пакет. Опирание пролетных строений на домкраты допускается только через распределительную плиту или наддомкратные пакеты. На головы домкратов во всех случаях должны быть уложены фанерные прокладки. Применение металлических прокладок или прокладок из досок не допускается. 31.9. Домкратные установки для подъемки (опускания) пролетных строений должны иметь, как правило, приводные гидронасосы для питания и централизованное управление, позволяющее регулировать режим работы каждого или группы домкратов. Домкратные установки, а также отдельно стоящие домкраты должны быть снабжены опломбированными манометрами и страховочными приспособлениями в виде стопорных гаек или набора полуколец (помимо клеток), что должно быть оговорено в проекте. В процессе подъема или опускания пролетное строение должно всегда опираться не менее чем в четырех точках. Домкраты (батареи домкратов), установленные под каждым концом пролетного строения, должны иметь централизованное управление. 31.10. В проекте устройств для подъемки (опускания) пролетного строения должны быть указаны средства и способы контроля его положения по отметкам и в плане, а в необходимых случаях - приборы по определению напряжений и прогибов. 31.11. Нагрузки и их сочетания для расчета подъемных устройств принимаются по табл. 31.1. 31.12. Грузоподъемность домкратов и лебедок должна превышать не менее чем на 30 % приходящуюся на них нормативную нагрузку с учетом перегруза от ветра скоростью 15 м/с (при η = 0.8). Коэффициент надежности по назначению в стальных канатах подъемных устройств следует принимать γn = 4.5. Испытания грузоподъемных устройств необходимо производить на расчетную нагрузку. 31.13. Элементы обстройки и распределительных конструкций, непосредственно воспринимающие нагрузку от подъемных средств, и узлы подвеса или опирания поднимаемого пролетного строения должны быть рассчитаны на восприятие сосредоточенной опорной реакции, увеличенной на 30 %. 31.14. При необходимости опирания пролетного строения в период опускания (подъемки) на три опоры и более (по длине его) в проекте должен быть строго определен порядок работ в зависимости от усилий и деформаций, возникающих при опускании. 31.15. Вспомогательные устройства для сбрасывания заменяемых пролетных строений должны проектироваться с учетом: обеспечения четкой траектории падения пролетного строения; зашиты от повреждения капитальных опор и новых пролетных строений; обеспечения синхронности работы обрушающих устройств.
31.16. Устойчивость старого пролетного строения на позиции перед сбрасыванием должна быть обеспечена по п. 6.8 с учетом коэффициента условий работы m = 0.9. 31.17. Усилия, сбрасывающие пролетное строение с вспомогательных устройств, должны создаваться лебедками, домкратами или другими механизмами с устойчивыми характеристиками. Работа этих механизмов должна быть синхронизирована для обоих концов пролетного строения. Использование для сбрасывания автомобилей или тракторов запрещается. 31.18. Перед включением в работу сбрасывающих механизмов из опасной зоны должны быть удалены все работающие. Управление сбрасывающих механизмов, расположенных в опасной зоне, должно осуществляться дистанционно. 31.19. Размер опасной зоны поперек оси (от оси сбрасывания) моста равен высоте опор плюс двойная высота пролетного строения. 32. ПЛАВУЧИЕ ОПОРЫ И УСТРОЙСТВА ДЛЯ ИХ ПЕРЕМЕЩЕНИЯ32.1. Проектирование плавучих опор для перевозки пролетных строений надлежит производить с учетом данных о режиме реки в районе перевозки (глубина воды на путях перемещения плавучей системы, скорость и направление течения, высота волн при различных скоростях и направлениях ветра, отметка уровня воды в период перевозки вероятностью повышения и понижения 10 %, сроки ледостава, образование размывов и отмелей), режиме судоходства и лесосплава, преимущественном направлении и скорости ветра (роза ветров) и температурном режиме. 32.2. Размеры и водоизмещение плашкоутов (барж) плавучих опор и их взаимное расположение должны приниматься, исходя из условия обеспечения необходимой грузоподъемности и остойчивости в продольном и поперечном направлениях как отдельных плавучих опор, так и плавучей системы в целом, определяемых по указанию п.п. 32.20. и 32.22. При этом должны быть соблюдены зазоры между бортами плавучих опор и пирсами, а также постоянными опорами не менее 0.5 м при выводе плавучей системы из ковша и 1 м при установке ее в пролете. Запас глубины воды под днищем плавучих опор должен быть не менее 0.2 м с учетом возможного колебания горизонта воды в районе перевозки, определяемого в соответствии с указаниями п. 32.1. 32.3. Плашкоуты плавучих опор следует, как правило, комплектовать из инвентарных металлических понтонов закрытого типа, допускающих балластировку через донные отверстия, а сброс водного балласта - подачей воздуха в балластируемые понтоны. При применении плавучих опор в условиях возможного резкого подъема воды в результате нагона ее ветром использование указанных понтонов является обязательным. Разрешается использование металлических палубных барж при достаточной прочности и жесткости их корпуса на действие возникающих в процессе перевозки сил. В необходимых (определяемых расчетом) случаях корпус барж следует усилять. При устройстве плавучей опоры из нескольких барж последние должны быть жестко соединены между собой в поперечном направлении. 32.4. Плашкоуты плавучих опор из понтонов следует принимать преимущественно прямоугольного очертания в плане, располагая понтоны симметрично относительно оси опорного давления. Понтоны типа КС (см. прил. 7) при соединении их в плашкоуты следует располагать продольной стороной в направлении действия наибольшего изгибающею момента. Объединение понтонов типа КС в плашкоуты допускается при высоте борта как 1.80 м, так и 3.60 м. Последнее рекомендуется при наличии (обеспечении) достаточных глубин воды на путях перемещения плавучей системы и обеспечении остойчивости плавучей опоры (системы). 32.5. При использовании в плавучих опорах барж следует руководствоваться их паспортными данными и исполнительными чертежами, с учетом результатов натурного обследования их состояния. Баржи для плавучих опор могут быть использованы как сухогрузные, так и наливные с продольной и поперечными переборками. При выборе барж, кроме указанного выше, следует руководствоваться следующим: максимальную длину барж рекомендуется принимать не более 50 м; грузоподъемность барж принимать не менее чем на 25 % больше расчетной нагрузки на них; при образовании плавучей опоры из нескольких барж последние должны быть однотипные и одинаковой грузоподъемности. 32.6. Плавучие опоры прямоугольного в плане очертания, имеющие значительную ширину и осадку, перемещаемые при скорости течения более 1 м/с, следует оборудовать обтекателями преимущественно закрытого типа. Плавучие опоры прямоугольного в плане очертания должны в необходимых случаях иметь в носовой и кормовой части фальшборта, продолженные на 3 - 4 м вдоль бортов плашкоута. Высота фальшборта hф должна быть не менее: hф =l,5hв - hб, (32.1) где hв - расчетная высота волны, возможная во время перевозки пролетных строений, вероятностью превышения 10 %; hб - высота сухого борта при крене плавучей системы на нос или корму от действия расчетной ветровой нагрузки. Волновую нагрузку на фальшборта можно определять по указаниям главы СНиП 2.06.04-82*. 32.7. При значительных сосредоточенных нагрузках на плавучую опору от веса перевозимого пролетного строения или его блока для распределения усилий в плашкоуте плавучей опоры рекомендуется: а) применение металлических ферм усиления, включаемых в совместную с корпусом плашкоута работу. В этом случае усилия между плашкоутом и фермами обстройки при расчете плавучих опор должны распределяться из условия совместности деформаций. При этом должна быть учтена деформативность плашкоутов из понтонов КС вследствие остаточных деформаций в их стыках, соединяемых на болтах; б) создание предварительного напряжения в плавучей опоре путем придания плашкоуту обратного выгиба посредством балластировки его концевых частей, объединения обстройки с плашкоутом в единую конструкцию и последующего сбрасывания балласта. При значительном запасе в грузоподъемности барж и наличии достаточных глубин воды создание предварительного напряжения допускается производить только посредством балластировки носового и кормового отсеков. 32.8. Для восприятия горизонтальных поперечных составляющих усилий, передаваемых на плашкоуты (баржи) при буксировке, пролетное строение должно быть раскреплено тросовыми расчалками за носовую и кормовую части плашкоутов (барж). В состав этих расчалок должны быть включены натяжные устройства. Аналогичные расчалки (поперечные и диагональные) должны быть установлены между плавучими опорами. 32.9. При вынужденной передаче нагрузки от веса перевозимого пролетного строения эксцентрично относительно продольной оси отдельно установленного в плавучей системе плашкоуга (баржи) обстройка смежных плашкоутов (барж) должна быть объединена соединительными фермами, установленными в средней части плавучих опор. Обстройка плавучих опор должна распределять вес перевозимого пролетного строения в соответствии с расчетом плашкоуга (баржи) на прочность корпуса, а также местную прочность и устойчивость набора. Обстройку плавучих опор следует, как правило, выполнять из инвентарных конструкций. Высоту обстройки плавучих опор необходимо назначать, исходя из возможного максимального уровня воды в период перевозки, с учетом длительных и суточных колебаний его. При колебаниях воды более ±0.2 м высоту обстройки следует регулировать съемными оголовками и балочными клетками. 32.12. Плавучие опоры должны быть оборудованы средствами для регулирования и контроля находящегося в них водного балласта, положения пролетного строения по высоте перемещения плавучей системы, раскрепления пролетного строения к постоянным опорам при заводке в пролет моста, раскрепления плавучих опор между собой и с пролетным строением и раскрепления на якорях при сильном ветре, включая аварийные якоря и приспособления для непосредственного закрепления якорных тросов на палубах плашкоутов (барж). Конструкция указанных приспособлений должна обеспечивать быстрое и плавное торможение плавучей системы после сброса якорей. 32.13. Балластировочные средства и устройства должны обеспечивать: а) балластировку плавучих опор в течение 1.5 - 2.0 и разбалластировку течение 2.0 - 2.5 часов; б) подачу водного балласта во все балластируемые понтоны и отсеки плавучей опоры; в) сброс водного балласта из всех без исключения понтонов и отсеков плавучей опоры. При балластировке понтонов через донные отверстия на каждом плашкоуте должен находиться резервный самовсасывающий насос для откачки воды из глухих понтонов, если они протекают и невозможно удалить воду сжатым воздухом; г) безотказную подачу сжатого воздуха в понтоны для отжатия балласта в течение всего периода эксплуатации плавучей опоры; д) бесперебойность работы системы балластирования в случае погружения палубы плашкоута ниже горизонта воды до 20 см; е) минимальную высоту неоткачиваемого «мертвого» (остаточного) балласта, указанную в п. 32.26. 32.14. При балластировке понтонов через донные отверстия часть понтонов, распределенных равномерно по площади плашкоута, должна быть закрыта от поступления воды через донные отверстия. Количество этих понтонов должно определяться по указаниям п. 32.20. Остальные понтоны должны быть объединены в четыре симметрично расположенные секции, каждая из которых должна иметь обособленную воздушную разводящую сеть к пульту управления. Конструкция пульта управления должна допускать подачу сжатого воздуха как от компрессоров, установленных на плавучей опоре, так и от береговых компрессорных станций (при наличии). В последнем случае на плавучей опоре допускается установка только рабочего и запасного компрессоров, используемых в особых случаях (при утечке воздуха из балластируемых понтонов, при водотечении небалластируемых понтонов). Мощность рабочего и запасного компрессоров должна составлять не менее 15 % мощности компрессоров, определенной но указаниям п. 32.13. Конструкция пульта управления и воздушной разводящей сети должна допускать подачу (выпуск) сжатого воздуха: а) одновременно во все секции; б) только в любую секцию; в) только в любой понтон. Каждый понтон должен иметь отдельный кран на воздушной разводящей сети. 32.15. Порядок балластировки и разбалластировки плавучих опор устанавливается проектом и должен обеспечивать равномерное их загружение, не вызывать перенапряжения в конструкциях плавучей опоры или ее обстройки, а также обеспечивать остойчивость отдельных плавучих опор и всей плавучей системы в целом. 32.16. Порядок погрузки, перевозки и установки пролетных строений на опорные части определяется проектом производства работ с учетом требований главы СНиП 3.06.04-91 «Мосты и трубы». Средства для перемещения и закрепления плавучих опор должны отвечать требованиям п.п. 32.30 - 32.40. 32.17. При расчете плавучих опор должны быть проверены: а) по первому предельному состоянию (на расчетные нагрузки): - плавучесть - остойчивость плавучих опор и плавучей системы в целом; - плавучесть отдельной опоры, балластируемой через донные отверстия в понтонах; - прочность плашкоутов (барж), обстройки соединительных ферм; б) по второму предельному состоянию (на нормативные нагрузки): - объем водного балласта и емкость балластных резервуаров (отсеков), с учетом допустимых осадок, деформации плавучих опор и погрузочных обустройств. 32.18. Плавучие опоры должны рассчитываться на действие следующих нагрузок: вес перевозимого пролетного строения с обустройствами; вес плавучей опоры с обустройствами и оборудованием; вес водного балласта; ветровая нагрузка; гидростатическое давление воды; волновая нагрузка. 32.19. Сочетания нагрузок, рассматриваемые при расчете плавучих опор в продольной и поперечном направлениях, принимается по табл. 32.1. При расчете плавучих опор на прочность при втором сочетании нагрузок коэффициенты сочетаний к временным нагрузкам принимаются равными η - 0.95 Таблица 31.2
32.20. Плавучесть плавучих опор должна определяться по формуле: где γ - удельный вес воды, равный для пресной воды 10 кН/м3 (1 тс/м3); ΣVп - предельное водоизмещение опор плавучей системы, равное суммарному водоизмещению их при осадке равной высоте борта по миделю. Для плашкоутов собранных из понтонов, прогиб плашкоута допускается не учитывать; ΣQ - расчетный вес плавучей системы кН (тс), равный сумме расчетных весов: перевозимого пролетного строения с обустройствами - Р, плавучих опор с обустройствами и оборудованием - G, регулировочного и остаточного балласта - Gper+G ост; γn - коэффициент надежности по назначению, принимаемый равным: для плавучих опор, образованных из понтонов, балластируемых через донные отверстия - 1.125; для плавучих опор, образованных из понтонов и барж, балластируемых с помощью насосов - 1.20. Для плавучих опор, собранных из понтонов, балластируемых через донные отверстия, плавучесть от воздействия постоянных нагрузок должна обеспечиваться только глухими небалластируемыми понтонами. 32.21. Для контроля за фактической осадкой плавучих опор в рабочих чертежах должны быть приведены осадки плавучих опор от нормативных нагрузок. 32.22. Остойчивость должна определяться следующими условиями (Рис. 32.1): а) метацентрическая высота ρ-а должна быть положительной во всех расчетных случаях, т.е. ρ - а > 0, (32.3) где ρ - метацентрический радиус, равный расстоянию между центром тяжести вытесненного объема воды (центром водоизмещения Zv) и метацентром Zm, расположенным в точке пересечения вертикали, проходящей через смешенный центр водоизмещения Z'v, с осью 0-0 плавучей системы или опоры; а - расстояние от центра тяжести плавучей системы до центра водоизмещения Zv, принимаемое равным тому же расстоянию при начальном положении плавучей опоры (системы); б) при крене и дифференте плавучих опор и плавучей системы в целом от действия расчетной ветровой нагрузки кромка палубы в любой точке не должна уходить под воду; расчет осадок должен производиться согласно указаниям п. 32.24 и 32.25; в) запас надводного борта плавучих опор, образованных из закрытых понтонов и металлических палубных барж, при максимальном крене или дифференте с учетом действия нормативных нагрузок должен быть не менее 20 см. Примечания. 1. При проверке остойчивости по подпунктам «а» и «б» все нагрузки должны приниматься расчетные. Значение коэффициента надежности по нагрузке для собственного веса плашкоута с обстройкой и оборудованием должно приниматься в их невыгодном значении (0.9 или 1.1). 2. В расчетах остойчивости плавучей системы, а также отдельных плавучих опор, в случае применения плашкоутов из понтонов, балластируемых через донные отверстия, принимается, что все балластируемые понтоны изолированы от воздухопроводящей сети, т.е. краны у каждого понтона перекрыты, что должно быть особо оговорено в проекте. 32.23. Величина метацентрического радиуса ρ (м) должна определяться по формуле:
где J - момент инерции площади плашкоутов (барж) в уровне ватерлинии плавучей опоры относительно оси ее наклонения, принимаемый при кренах, относительно оси с меньшим моментом инерции, а при дифферентах относительно оси с большим моментом инерции площади, м4; Σin - сумма собственных моментов инерции поверхности балласта в понтонах (отсеках барж) относительно осей, проходящих через центры тяжести этих поверхностей, параллельно осям наклонения плавучей опоры (системы), м4; ΣVp - объем (водоизмещение) погруженной части опор плавучей системы или отдельной опоры, м3. В плашкоутах, образованных из понтонов, балластируемых в соответствии с п. 32.14 через донные отверстия, собственные моменты инерции поверхности балласта в понтонах должны учитываться только для балластируемых понтонов. Примеры определения моментов инерции для различных случаев расположения понтонов в опорах и способов их балластировки приведены в приложении 22. Последовательность балластировки в пролете плашкоутов, образованных из понтонов, балластируемых через донные отверстия, должна быть указана в рабочих чертежах. 32.24. Осадка плавучих опор tв (м) от вертикальных нагрузок должна определяться по формуле:
где ΣQ - расчетная (или нормативная, см. п. 32.21.) нагрузка, приходящаяся на данную плавучую опору, кН(тс); Ω - площадь плавучей опоры по ватерлинии, м2; kв - коэффициент полноты водоизмещения, принимаемый для понтонов типа КС равным 0.97. В случае балластировки понтонов через донные отверстия (по п. 32.14.) осадка отдельной опоры t'в.(M) определяется при отсутствии избыточного давления воздуха в балластируемых понтонах по формуле:
где Σω - суммарная площадь небалластируемых понтонов. Осадка барж плавучей опоры определяется по паспортным данным в зависимости от расчетной нагрузки на баржу.
Рис. 32.1. Схема определения остойчивости плавучей опоры. 32.25.Осадка плавучих опор tr (м) от расчетных ветровых нагрузок, вызывающих крен или дифферент отдельной опоры (плавучей системы), определяется по формуле: tr = b tgφ, ( 32.7 ) где φ - угол крена (дифферента) плавучей опоры (системы); b - половина размера плавучей опоры в плоскости кренящего (дифферентующего) момента (см. Рис. 32.1). Значения tgφ находятся из выражения:
где ΣM - суммарный момент относительно центра водоизмещения от расчетных ветровых нагрузок, приходящийся на плавучую опору, кН.м (тем); 1+μ - коэффициент, учитывающий динамическое воздействие ветра при порывах его и инерцию плавучей опоры (системы) и принимаемый равным 1.2. Угол φ должен удовлетворять условиям: φ ≤ φ1, φ ≤ φ2, (32.9 ) где φ1 - угол крена (дифферента), соответствующий началу входа кромки палубы в воду; φ2 - угол крена (дифферента), соответствующий началу выхода из воды днища (середины скулы). 32.26. Объем водного балласта V (м3) для балластировки плавучих опор должен определяться по формуле: V = Vpaб + Vper + Vocт, (32.10) где Vpaб, Vper и Vocт - объемы соответственно рабочего, регулировочного и остаточного балласта, м3. Величину Vpaб, необходимую для погружения (всплытия) плавучих опор при погрузке пролетного строения или установке его на опорные части, следует определять по формуле: Vpaб = Р + ΔkвΩ (32.11) где Р - нормативный вес пролетного строения, кН (тс) Δ = Δ1 + Δ2 + Δ3 + Δ4 (32.12) Δ - погружение (всплытие) опоры, м; Δ1 - упругие деформации пролетного строения при погрузке или установке его на опорные части; Δ2 и Δ3 - деформации погрузочных обустройств плавучей опоры; Δ4 - зазор между низом пролетного строения и верхом погрузочных обустройств или опорных частей, принимаемый 0.05 - 0.10м Для предварительных расчетов допускается принимать Δ ≈ 0.15 ÷ 0.20 м. Объем Vper определяется по формуле: Vpеr = kвΩhреr (32.13) где hper - величина регулирования осадки плавучих опор на случай возможных колебаний уровня воды за время одного цикла перевозки, но не менее чем за сутки. Величина hper должна приниматься не менее максимального суточного изменения уровня воды, зафиксированного за последние 10 лет наблюдений на период перевозки. В необходимых случаях должен быть учтен балласт, применяемый для устранения крена или дифферента несимметричной плавучей опоры или системы. Объем остаточного балласта следует определять по формуле: Vocт = kвΩ δ (32.14) где δ - толщина слоя остаточного балласта (м), принимаемая для понтонов КС, балластируемых наливом воды насосами, равной 0.10 м, а для барж - в зависимости от конструкции набора днища. Для понтонов КС, балластируемых через донные отверстия, толщина слоя остаточного балласта принимается равной 0.08 м, а для глухих не балластируемых понтоном того же плашкоута - равной нулю. 32.27. Объем балластных резервуаров плавучей опоры должен быть достаточен для размещения расчетного объема балласта, что должно быть проверено расчетом. При балластировке понтонов через донные отверстия следует учитывать, что уровень воды в балластных понтонах не может быть выше уровня воды за бортом. 32.28. Командный пункт плавучей системы должен быть оборудован радиотелефонной связью с буксирами и береговыми обустройствами и громкоговорящей связью с плавучими опорами. 32.29. При расчете плашкоутов и барж на изгиб и поперечную силу от гидростатического давления в уровне днища плашкоутов (барж) форма эпюры гидростатического давления должна соответствовать форме эпюры объема вытесненной плашкоугом (баржей) воды. Определенные изгибающие моменты и поперечные силы алгебраически суммируются с моментами и поперечными силами от волновой нагрузки, вычисляемыми согласно приложению 23. 32.30. Устройства для перемещения плавучей системы (буксиры, лебедки, полиспасты) должны обеспечивать перемещение в заданном направлении при скорости ветра до 10 м/с. Якорные и раскрепляющие обустройства, включая аварийные якоря, должны обеспечивать удержание плавучей системы при расчетном давлении ветра. 32.31. Вывод плавучей системы с акватории пирса (ковша) и заводка в пролет моста допускаются только с помощью лебедок. Перемещение плавучей системы следует производить с помощью буксиров, а при небольших расстояниях - электролебедками. Точная наводка при установке пролетного строения на опорные части должна производиться с помощью талей, установленных на оголовках опор, и лебедок с короткими тросами, установленных на плашкоутах (баржах). 32.32. Лебедки для перемещения плавучих систем следует размещать: при перевозке на плаву пролетных строений с помощью буксиров - на плашкоутах плавучей системы; при перевозке на плаву пролетных строений с помощью лебедок - на плашкоутах плавучей системы и на одном или обоих берегах; при продольной надвижке пролетных строений - с опиранием одного конца на плавучую опору; тяговые лебедки - на пролетном строении; тормозные лебедки - на берегу; пеленажные лебедки - на плашкоуте плавучей опоры. Количество лебедок и мощность полиспастов следует выбирать такими, чтобы номинальная грузоподъемность каждой лебедки была на 30 % больше нормативного усилия в выходной ветви полиспаста. 32.33. Тросы тяговых лебедок должны проходить через закрепленные к палубе устройства (например: киповую планку проектировки СКБ Главмостостроя), обеспечивающие: а) изменение направления тросов как в плане, так и в вертикальной плоскости; б) относительно быстрое (до 5 мин) закрепление тросов и восприятие полностью нагрузок на случай раскрепления плавучей системы на якорях при усилении ветра; в) закрепление троса без скольжения. Конструкция соединений тяговых и буксирных тросов должна быть простой и обеспечивать быстрое выполнение работ по их соединению и разъединению при наводке. 32.34. Переносные донные якоря должны удовлетворять следующим требованиям: а) обеспечивать расчетную грузоподъемность при изменении направления троса в секторе до 120° с начальным перемещением якоря по дну не более 15 м от места его установки; б) иметь поплавки для определения местоположения якоря и размещения на них тросовых соединений. На судоходных реках поплавки должны быть оборудованы сигналами речного флота; в) донные якоря - присосы должны быть испытаны на нагрузку, равную 1,4 от расчетной. Схема якорного закрепления плашкоута приведена в приложении 24. 32.35. Расположение якорей не должно нарушать условий судоходства и должно обеспечивать удобное перемещение плавучей системы. Переносные донные якоря, как правило, следует размещать в створе с капитальными опорами. 32.36. Лебедки и якоря для перемещения и раскрепления плавучих систем (опор) должны рассчитываться на сочетания нагрузок, приведенных в табл. 32.2. Таблица 32.2
32.37. Якоря и якорные канаты должны рассчитываться на горизонтальные усилия S, Н (кгс) (Рис. 32.2), определяемые но формулам: для верховых закреплений Sв = Wp + Nмax (32.15) и для низовых закреплений Sн = Wp - Nmin (32.16) где Wp, Nmax и Nmin принимаются по таблице 32.2 с соответствующими коэффициентами надежности по нагрузке. Минимальная длина якорного каната lmin (м) определяется из условия, чтобы канат подходил к якорю горизонтально, по формуле:
где q - погонный вес якорного каната, H/пог.м (кгс/пог.м); Н - по Рис. 32.2. Горизонтальное усилие на якорь адмиралтейского типа допускается принимать в пределах 5-6 весов якоря при песчаных и 8 - 12 весов якоря при глинистых грунтах. Горизонтальное усилие на железобетонный якорь - присос допускается принимать в пределах 1.3 - 1.6 весов якоря, но не более 70 % предельного усилия, определенного при испытании якоря.
32.2. Схема определения длины якорного каната. 32.38. Подбор лебедок и тросов для пеленажиых раскреплений должен производиться на максимальные усилия, возникающие в них от действия расчетных нагрузок при указанных в таблице 32.2 сочетаниях, для различных положений перемещаемой системы. 32.39. Коэффициент надежности по назначению для тросов должен приниматься γn = 3.5 по отношению к разрывному усилию троса в целом. 32.40. При перемещении плавучих систем буксиром мощность его кВт (в л.с.) допускается определять по формуле:
где W10 - расчетное давление ветра при скорости его V = 10 м/с на надводную часть плавучей системы; Nmax - расчетная гидродинамическая нагрузка на подводную часть плавучей системы, Н (кгс) Р - удельная сила тяги буксира, принимаемая 1.4÷2Н/кВт (10÷15 кгс/л.с.) 33. ПЛАШКОУТЫ ДЛЯ УСТАНОВКИ СУХОПУТНЫХ КРАНОВ И КОПРОВ, А ТАКЖЕ ДЛЯ ПЕРЕВОЗКИ СТРОИТЕЛЬНЫХ КОНСТРУКЦИЙ И МАТЕРИАЛОВ.33.1. Проектирование плашкоутов для установки сухопутных кранов и копров, а также для перевозки строительных конструкций и материалов должно производиться по указаниям предыдущего подраздела с учетом изложенных ниже дополнительных указаний. 33.2. Установка копров и кранов на плашкоуты рекомендуется при глубине воды свыше 0.6 м. Размеры и конструкция плашкоутов в плане при установке на них копра назначаются в зависимости от принятой технологии сооружения фундамента, порядка забивки свай и размеров опоры. На плашкоуты допускается как бортовая (на одном плашкоуте), так и центральная установка копров (на мостике или портале, опирающихся на два плашкоута, располагающихся с разрывом). В последнем случае плашкоуты должны иметь в носу и корме съемное жесткое раскрепление по палубе. Бортовая установка копра или другой своебойной машины рекомендуется для дизельных или пневматических молотов, а также для вибропогружателей или других сваебойных средств, которые в рабочем состоянии закрепляются на голове сван. Бортовая установка позволяет свободное передвижение плашкоута вокруг забиваемой группы свай (при отсутствии шпунтового ограждения). Для копров со свободно падающим молотом следует применять нейтральную установку на мостиках или порталах, располагая молот над центром расчетной площади ватерлинии обоих плашкоутов. Размеры и расположение плашкоутов и их балластировка (расположение контргрузов) подбираются так, чтобы стрела копра во время забивки была вертикальной или имела заданный наклон. Высота обстройки плашкоута должна быть увязана с возможной отметкой верха свай после их забивки. 33.3. Козловые краны должны устанавливаться на два плашкоута, располагающиеся с разрывом. Установка козлового крана на плашкоуты и раскрепление их друг с другом производятся аналогично случаю установки копра на мостике или портале. 33.4. При установке на плашкоуте крана с неповоротной стрелой размеры плашкоута в плане определяются плавучестью и остойчивостью плавучей системы. 33.5. При установке на плашкоуте кранов с поворотной стрелой ширина плашкоута должна назначаться исходя из того, чтобы при подъеме наиболее тяжелого груза при необходимом вылете стрелы, направленной перпендикулярно к продольной оси плашкоута, угол крена плашкоута не превышал предельного угла наклона крана, определяемого по паспортным данным. Длина плашкоута и вес необходимого постоянного контргруза (твердого балласта), располагаемого в кормовой части плашкоута, должны назначаться исходя из того, чтобы при подъеме наиболее тяжелого груза при необходимом вылете стрелы, направленной вдоль продольной оси плашкоута, дифферент на нос был равен дифферету на корму при нерабочем положении крана, а угол дифферента не превышал предельного угла наклона крана, определяемого по паспортным данным. 33.6. При проектировании плавучих средств для размещения на них стреловых кранов, копров и другого аналогичного оборудования, а также перевозки грузов необходимо выполнить следующие расчеты: а) по первому предельному состоянию (на расчетные нагрузки): плавучести системы; остойчивости системы; прочности плашкоута, распределительных ростверков и других элементов; мощности тяговых средств и якорных закреплений; б) по второму предельному состоянию (на нормативные нагрузки): объема и размещения противовесов из условия допустимого для данного крана или копра крена (дифферента) плашкоута. Нагрузки и их сочетания для расчета плавучих средств под краны, копры и другое оборудование принимаются по указанию таблицы 33.1. 33.7. Плавучесть плашкоутов допускается определять по формуле 32.2 при следующих коэффициентах надежности по назначению: а) при установке на плашкоутах копров и стреловых кранов коэффициент надежности по назначению γn = 2; б) при установке на плашкоутах козловых кранов, а также при перевозке строительных конструкций и материалов γn = 1.25. 33.8. Остойчивость плашкоутов следует проверять согласно указаниям п. 32.22 с дополнительным требованием о недопущении выхода из воды днища середины скулы. Таблица 33.1
33.9. При установке на плашкоутах копров или стреловых кранов должно учитываться наклонение плашкоута (крен и дифферент) от действия кренящего (дифферентующего) момента. Дополнительная осадка определяется по п. 32.25, а угол крена или дифферента плашкоута вычисляется по формуле:
где ΣМп - расчетный момент от постоянных нагрузок; ΣМвр - расчетный момент от временных нагрузок; 1+μ - принимается равным 1.2. 33.10. Плашкоут должен иметь в плане минимум два понтона, установленных вдоль плашкоута, и поперек его. Не допускается применение одиночных инвентарных понтонов. 33.11. Понтоны, образующие плашкоут, рекомендуется устанавливать плашмя, т.е. с высотой борта 1.80 м. 33.12. Плашкоут с копром (краном) во время работы должен быть расчален не менее чем в четырех направлениях к якорям, заложенным на берегу, к якорям, уложенным на дно, или к ранее забитым сваям. 33.13. При установке копров и козловых кранов на двух раздельных плашкоутах связи между ними должны быть рассчитаны на усилие от расчалок при транспортировке и разворотах плавучей установки с помощью лебедок. При этом в расчете должно учитываться наличие поперечных связей (между плашкоутами) только с одной (носовой, кормовой) стороны. 33.14. На углах плашкоута должны быть нанесены несмываемой краской водомерные рейки. Ноль рейки должен соответствовать уровню днища. 33.15. Плашкоуты, запроектированные для перевозки строительных конструкций и материалов, должны иметь нанесенную несмываемой краской ватерлинию, располагаемую при высоте борта 1.8 м на высоте 1.40 м от днища. 33.16. Стапеля для спуска на воду плашкоутов, а также ряжей, колодцев и т.п.) следует устраивать из металлических, железобетонных или деревянных прогонов, опирающихся на каменную подсыпку (сплошную или участками) или свайное основание. Верх металлических прогонов служит одновременно путем скольжения (или путем для тележек). По верху деревянных и железобетонных прогонов должны укладываться специальные устройства скольжения. Стапеля с каменной подсыпкой следует устраивать на участках, где дно имеет крутизну в пределах 1/4 ÷ 1/7 и сложено глинистыми грунтами или песками гравелистыми, крупными и средними. При крутом дне или пылеватых песках, плах, плавуне рекомендуется устраивать свайные основания под прогоны. Длину надводной части стапеля определяют условиями изготовления и установки погружаемой конструкции и подготовки ее к спуску на воду. Длину подводной части - условием перемещения конструкции по стапелю до момента полного ее всплытия с учетом возможного падения уровня воды за время производства работ. При расчете длины подводной части стапеля необходимо вес сдвигаемой конструкции принимать с коэффициентом перегрузки большим единицы и учитывать запас под низом конструкции 0.20 м (Рис. 33.1). 33.17. Рекомендуется уклон стапеля принимать по возможности параллельным береговому откосу. Максимальный уклон стапеля должен обеспечивать устойчивость от опрокидывания вокруг передней стенки (грани) опускаемой конструкции. При расчетах устойчивости положение прогонов стапеля при опиранни их на подсыпку следует принимать с условной осадкой руслового конца на 0.5 м против проектного положения. Расчеты устойчивости должны выполняться с учетом взвешивающего действия воды и тяговых (тормозных) усилий. При крутом откосе дна и укладке прогонов на подсыпку следует применять треугольные прогоны с нижними поясами, расположенными по дну, и верхними - под уклоном, определяемым условиями спуска, или устраивать салазки треугольного очертания (с верхним горизонтальным настилом). Верхняя (надводная) часть стапеля может быть либо горизонтальной, либо иметь наклон. Угол наклона верхней части должен быть не более величины, соответствующей 0.5 коэффициента трения. Сопряжение наклонных накаточных путей верхней и нижней частей стапеля производится вставками из рельсов, изогнутых по дуге радиуса не менее 1 м.
Рис.33.1. Схема для расчета длины наклонной части стапеля 1 - фальшборт; 2 - прогоны; 3 - свайный якорь; h - осадка, соответствующая положению тела на плаву 33.18. Прогоны должны быть закреплены к береговым свайным якорям, рассчитанным на восприятие усилия трения при движении конструкции по прогонам стапеля. Для наброски под прогоны должен применяться камень (щебень) крупностью не менее d = 3V2 см, где V - скорость течения, м/с. Верхние слои должны отсыпаться из более мелкого камня, нижние - из крупного. Край подсыпки должен отстоять от наружной грани прогона на 0,5 м, боковые грани подсыпки должны иметь уклон не круче 1:1. Конструкция прогонов должна обеспечивать их от опрокидывания. Узкие и высокие прогоны должны объединяться между собой поперечными связями. 33.19. При опирании на каменную подсыпку толщиной не менее 20 см и весе спускаемой конструкции до 100 т сечение прогона может назначаться конструктивно, но не менее четырех брусьев сечением 20×20 см (в 2 ряда) при деревянных прогонах и двух двутавров N 24, связанных в пакет, при металлических прогонах. При весе менее 50 т допускается устройство прогонов из одиночных рельсов типа Р50 на плашкоутах с шагом 0,5 м. При весе более 50 т сечение прогона определяется расчетом как балки на упругом основании. Прогоны при этом рассчитываются на нагрузку от веса конструкции (с учетом плавучести), распределенную на три точки опирания. При опирании на сваи прогоны рассчитываются как разрезные балки. Глубина забивки и сечение свай должны определяться с учетом действия только вертикальных сил, а наклонные усилия в прогонах рекомендуется полностью воспринимать свайными якорями, устраиваемыми выше уреза воды и соединенными с верхним концом погона. Рекомендуется сваи стапеля объединить попарно насадками из лежачих двутавров, расположенными параллельно урезу воды и служащими для опирания прогонов. 33.20. Для перемещения спускаемой конструкции могут использоваться тяговые лебедки с закреплением тянущего троса за куст свай или подводный якорь, а также толкающие домкраты. При большой крутизне следует ставить тормозные лебедки. Мощность тяговых лебедок (домкратов) должна подбираться с учетом сил трения и гидродинамического усилия при условной скорости 0.1 м.мин. Схема спуска плашкоута высотой 1.8 м из понтонов КС приведена в приложении 25. 34. ВРЕМЕННЫЕ ПРИЧАЛЫ34.1. Причалы предназначаются для перегрузки грузов и конструкций и перевозки людей во время строительства моста. Причалы могут устраиваться ряжевыми, на свайном основании или плавучими. Выбор типа конструкции причала должен производиться в зависимости от геологических и гидрогеологических условий, грузоподъемности и типа применяемых кранов, от конструкции и назначения обслуживаемых плавсредств. 34.2. Расчетный судоходный уровень должен назначаться с учетом планируемого характера движения судов и. как правило, соответствовать межпаводковому уровню межени. При сезонных завозах грузов со стороны (в паводковый период) за расчетный судоходный уровень принимается отметка паводкового горизонта вероятностью превышения расхода 50 %. 34.3. Глубина акватории у причала должна определяться исходя из наибольшей осадки судна, навигационного запаса глубины, равного 0.2 м, запаса 0.3 м на засорение акватории, а также запаса на сгон воды. При необходимости предусматриваются дноуглубительные работы. На реках с регулируемым стоком должны учитываться суточные и сезонные колебания уровня. 34.4. Расположение причалов рекомендуется назначать из условия обеспечения длины свободного пространства акватории с каждой стороны причала не менее двойной длины наибольшего судна. Местоположение причала должно выбираться с учетом естественных условий, обеспечивающих удобный подъезд к причалу и защиту сооружения от ледохода и волны. Рекомендуется располагать причалы с низовой стороны строящегося моста. 34.5. Отметка верха причала должна назначаться с учетом высоты швартующихся судов (катеров, плашкоутов). Разность между отметкой палубы пассажирского судна и отметкой площадки, как правило, не должна превышать ±0.75 м. В случае швартовки судов с разной высотой следует устраивать причал с площадками в разных уровнях или оборудовать причал лестничными сходами. 34.6. На причалах следует предусматривать швартовые и отбойные устройства. Необходимо также иметь колесоотбои высотой 20 см, леерные и перильные ограждения высотой 1.1 м. Отбойные устройства рекомендуется выполнять навесными из отдельных секций, без жестких креплений к причалу. 34.7. Причальный плашкоут должен устанавливаться не менее чем на четырех якорях или швартоваться за тумбы на берегу. 34.8. При навесных отбойных устройствах верхняя часть свайной причальной стенки должна быть обшита деревянными пластинами толщиной не менее 12 см. Сваи следует защищать от истирающего действия льда. 34.9. Съезды от причала к береговой территории должны иметь крутизну не свыше 10 %. Лестничные сходы с причалов на берег должны иметь уклон не свыше 1:2 и иметь двустороннее боковое ограждение. Переходные мостики с причальных плашкоутов должны шарнирно крепиться к плашкоуту и свободно опираться на береговую опору. 34.10. Конструкция причала в целом и отдельных узлов должны рассчитываться на действие следующих нагрузок: собственного веса; от навала судна при причаливании; швартовых (от гидродинамического и ветрового воздействия на ошвартованные суда); от веса людей, инструмента и мелкого оборудования интенсивностью 4 кПа (400 ктс/м2); от веса складируемых грузов (для грузовых причалов); от подъемных и транспортных механизмов на причале (вертикальные и горизонтальные нагрузки); от давления грунта (для причалов - набережных). 34.11. Нагрузки от навала судов при причаливании прикладываются в уровне отбойных устройств; швартовые - по фактическому расположению устройств. 34.12. Конструкция узлов ростверков свайных причалов должна обеспечивать передачу горизонтальных нагрузок через насадки и балки ростверка на сваи. 34.13. Расчет свайных фундаментов причальных сооружений должен производиться с учетом рекомендаций раздела 8; нагрузки от горизонтального давления грунта на причалы - набережные должны определяться с учетом рекомендаций раздела 8. Плавучие причалы должны рассчитываться на остойчивость и плавучесть в соответствии с указаниями раздела 32. 34.14. Причалы должны оборудоваться противопожарным и спасательным инвентарем. 35. ГРУНТОВЫЕ ЯКОРЯ35.1. Для закрепления вант, оттяжек, блоков полиспастов, отводных роликов, тяговых и анкерных тросов на суше следует применять: а) полузакопанные и закопанные якоря (в том числе свайные и закланные); б) наземные якоря. 35.2. Свайные якоря устраивают из одиночных бревен (брусьев), пакетов бревен (брусьев), железобетонных свай (стоек), забитых или закопанных в грунт. Для повышения несущей способности якорь усиливают плитами (щитами) в верхней части, расположенными со стороны внешнего усилия. Стойки (сваи) якоря рекомендуется закапывать (забивать) в грунт под углом около 90° к направлению внешнего усилия. Отдельные бревна свайных якорей должны объединяться между собой и со щитом болтами диаметром не менее 20 мм. Опирание тяжей (тросов) на деревянные элементы должно производиться перпендикулярно направлению усилия через металлические прокладки толщиной 4 мм. Тросы (тяжи) должны закрепляться скобами для предотвращения соскальзывания. 35.3. При проектировании свайных якорей должны быть выполнены следующие расчетные проверки: прочности сечения столбов, плиты (щита); глубины заделки столбов. 35.4. Расчет прочности свайного якоря должен производиться на уровне на 0.75 м ниже поверхности грунта и без учета отпора верхней части грунта. Момент сопротивления якоря из пакета бревен принимается равным сумме моментов сопротивлений отдельных бревен (брусьев), т.е. без учета их совместной работы. При устройстве врубки в месте опирания троса (тяжа) дополнительно проверяется опорное сечение. 35.5. Глубина закопки столба якоря h (м) и размеры опорной плиты а, b, d (Рис.35.1) должны назначаться из условия h >1.15t0
Значения φ и γ для закопанных якорей должны приниматься по приложению 11 как для насыпного грунта. Свайные якоря должны проверяться на выдергивание от действия составляющей, направленной вдоль свай (как висячая свая, работающая на трение). 35.6. Сечение элементов плиты должно рассчитываться в предположении равномерного реактивного давления по всей площади плиты. 35.7. При расчете закопанных закладных якорей в виде закрытой в землю плиты или горизонтального бревна (пакета бревен) со щитом или без (Рис. 35.1) расчет по несущей способности производится по формуле:
где γn - коэффициент надежности по назначению; γn = 1,0 - для устройств горизонтальной перекатки; γn =1,2 - для сухопутных анкеров плавучих систем и анкеров лебедок, работающих на подъем; gф,- вес плиты якоря; β - угол наклона силы Nп - несущая способность основания плиты якоря
где γ3 - удельный вес насыпного грунта засыпки; V - объем обелиска выпирания, определяемый по Рис. 35.2; ωi - площадь боковой поверхности грани обелиска выпирания; сo = 0.5с, где с - удельное сцепление грунта; αi - углы наклона к вертикали граней обелиска выпирания (см. Рис. 35.2); φ - угол внутреннего трения насыпного грунта засыпки. 35.8. Расчет прочности сечений самой плиты (пакет
бревен) производится на равномерно распределенную по площади нагрузку
интенсивностью 1.1
Рис. 35.1. Свайный якорь 35.9. Наземные якоря проверяют на подъем и сдвиг. На подъем якоря проверяют по формуле: Q ≥ 1.5Psinα, (35.4) где Q - вес якоря; Р - расчетное усилие на якорь; α - угол наклона усилия Р к горизонту. Проверку якоря на сдвиг производят по формуле: (Q - Psinα) f ≥ 1.8Pcosα, (35.5) где f - коэффициент трения нижней поверхности якоря о грунт.
Рис. 35.2. Расчетная схема закопанного закладного якоря36. УСТРОЙСТВА ДЛЯ ПРОИЗВОДСТВА РАБОТ СО ЛЬДА36.1. на основании технических решений проекта организации строительства в зимних условиях допускается устраивать ледовые дороги и размещать на льду грузоподъемное (краны, копры) и технологическое оборудование. 36.2. При определении грузоподъемности ледяного покрова для автодорог следует использовать данные табл. 36.1, составленной для зимнего льда. Грузоподъемность льда весной уменьшается вдвое. При появлении на льду воды нагрузка на лед должна быть снижена на 80 %. При измерениях учитывается только толщина прочных слоев льда. Слой снежного и пористого, пропитанного водой, льда из общей толщины исключается. 36.3. При забивке шпунта, свай и в других случаях, когда нагрузка длительное время находится на льду, требуемая толщина льда должна приниматься на 30 % больше значений, приведенных в табл. 36.1. Допускаемое время t (ч) нахождения фактической нормативной нагрузки Qнф определяется с учетом зависимости:
где Qn - наибольшая нормативная нагрузка по таблице 36.1. Таблица 36.1
36.4. Для увеличения грузоподъемности льда допускается послойное намораживание его поверх ледяного покрова на толщину не более 30 % его начальной толщины. В расчетах грузоподъемности учитывают приведенную толщину льда h = h1+0.7h2, где h1 - толщина естественного и h2 - искусственно полученного льда. Для повышения грузоподъемности ледяного покрова толщиной менее 30 см допускается также укладывать верхнее строение из деревянных поперечин и прогонов с заливкой их водой и вмораживанием. При этом длина поперечин должна быть на 2 м больше ширины груза. Поперечины должны укладываться с шагом 0.4 - 0.5 м с укладкой поверх их со стыками в разбежку колей из бревен или брусьев. Доля нагрузки Qл, H (тс), приходящейся на ледяной покров, определяется формулой:
где где JдЕд - жесткость поперечины, Н.см2, (кгс.см2) bп - шаг укладки поперечин, см; hл - толщина льда, см; 107 (106)- модуль упругости льда Н/см2 Р - общая нагрузка, кН (тс). 36.5. При установке копров на льду под передние, наиболее нагруженные, части копров должны укладываться щиты из бревен диаметром 20 см длиной на 3 м больше ширины копра. Майна для опускания свай должна иметь минимально необходимые размеры и раскрываться по мере забивки. 36.6. Устройство ледовых дорог допускается на расстоянии не менее 100 м от полыней. Дороги должны проектироваться с односторонним движением и расположением дороги противоположного направления на расстоянии 150 м. Сопряжения дорог с берегом (Рис. 36.1.) должны обеспечивать надежность переходного участка.
Рис.36.1. Сопряжение ледовой дороги с берегом а - шпальная клетка на льду; б - шпальная клетка на бepeгy; 1 - снежно-хворостяная гать; 2 - прогоны; 3 - снежный валик 37. САМОПОДЪЕМНЫЕ ПЛАВУЧИЕ ПЛАТФОРМЫ37.1. Самоподъемная плавучая платформа (СПП) представляет собой понтон, оснащенный опорными колоннами, которые могут опускаться и подниматься внутри шахт в корпусе понтона. С помощью электрических подъемников понтон может быть поднят на опорных колоннах, опертых на дно водоема, и закреплен на них над уровнем плавания. 37.2. Таким образом, самоподъемная плавучая платформа может быть использована при строительстве мостов на акватории и как плавучая система и как опора с высоким свайным ростверком. Функционально СПП могут применяться в качестве: - плавучих опор для перевозки пролетных строений при сооружении новых и разборки старых мостов; - плавучих систем для размещения копрового, кранового и другого необходимого оборудования при сооружении причальных стенок из металлического или железобетонного шпунта; - плашкоутов для размещения на них плавучих бетонных заводов, деррик-кранов и другого оборудования; - рабочих островков для размещения технологического оборудования при сооружении опор мостов на акваториях (Рис. 37.1в и г); - временных опор при сооружении способами продольной надвижки (Рис. 37.2), поперечной передвижки, выкатки, монтажа укрупненными блоками (Рис. 37.3), а также при демонтаже, ремонте и восстановлении пролетных строений мостов; - рабочего мостика для пропуска и работы транспортных средств и механизмов; - временного причала с размещением на нем тяжелого кранового оборудования.
Рис. 37.1. примеры использования самоподъемной плавучей платформы а) плавучая опора; б) плашкоут при сооружении причальной стенки; в), г) рабочие островки при сооружении опор
Рис 37.2. Временные опоры для надвижки пролетных строений
Рис. 37.3. Временные опоры при монтаже пролетных строений 37.3. При проектировании СПП расчетные схемы конструкции должны учитывать и отражать виды функционального назначения проектируемой платформы. 37.4. Расчет сомоподъемных платформ должен производиться по первому и второму предельным состояниям на нагрузки и воздействия в их невыгодном сочетании. Сочетание нагрузок необходимо принимать в зависимости от того, в каком качестве применяется СПП - рабочий островок, временная опора, плавучая опора, рабочий мостик, временный причал, плашкоут и т.д. в соответствии с указаниями соответствующих разделов настоящего стандарта. 37.5. При разработке ППР с применением СПП в каждом конкретном случае необходимо комплексно учитывать конструктивные особенности сооружаемой конструкции, гидрологические характеристики водоема, применяемый набор технологического оборудования. 37.6. При сооружении опор на акваториях с небольшим перепадом уровней в строительный период и небольшими скоростями течения воды допускается выполнять работы с платформ жестко не закрепленных на колоннах. В этом случае, необходимо с помощью пригруза или балластировкой ограничить крен и дифферент платформ в допускаемых техническими нормами применяемого оборудования пределах. 37.7. При сооружении фундаментов опор с применением одной СПП (рабочий мостик по консольной схеме) рекомендуется после сооружения ближнего к СПП ряда буровых свай укладывать на него распределительный пакет и, увеличив консоль рабочего мостика, сооружать буровые сваи второго ряда. Таким образом, можно уйти от необходимости переставлять СПП на новую стоянку. 37.8. При применении СПП в качестве временных опор для надвижки или перекатки пролетных строений, при монтаже внавес или укрупненными блоками рекомендуется закреплять СПП на колоннах на уровне плавания. В этом случае при подъеме уровня воды в водоеме необходимо обеспечить балластировку всех отсеков понтонов. При понижении уровня воды, балласт необходимо своевременно сбрасывать. 37.9. При разработке ППР необходимо предусмотреть мероприятия, исключающие воздействие ледовых нагрузок превышающих расчетные. В период ледостава вокруг СПП следует поддерживать майну. 37.10. В случае прогнозируемого мощного ледохода следует на этот период либо снимать СПП с рабочих стоянок, либо обстраивать их соответствующими ледорезами. 37.11. Глубину погружения колонн СПП в грунт дна следует назначать, исходя из расчетных нагрузок и с учетом возможного размыва дна. 37.12. В зависимости от вида работ СПП необходимо оснащать различными дополнительными обустройствами: рабочими мостиками, бортовыми опорными пакетами, устройствами подвески на колоннах, опорами, соединительными элементами. 37.13. Рабочие мостики под буровые станки и копровые установки устраиваются, как правило, из элементов МИК-П либо из индивидуального металла с железобетонными плитами проезжей части. По статической схеме рабочие мостики могут быть как балочными на двух опорах (при использовании двух СПП), так и консольными (при использовании одной СПП). 37.14. Рабочие мостики передают нагрузку на СПП через специально устраиваемые по борту СПП опорные пакеты. По этим пакетам рабочие мостики перемещаются с помощью домкратов вдоль борта СПП вместе с установленными на них механизмами. 37.15. При консольной схеме рабочего мостика задний конец его необходимо либо пригружать противовесом, либо заводить под специально устраиваемую анкерную балку. 37.16. Для закрепления понтона на погруженных в грунт дна колоннах можно использовать штатные электромеханические подъемники, либо специальные обустройства. Конструкции этих специальных обустройств могут быть как одноразовыми, так и инвентарными. В качестве одноразового крепления могут служить проушины, привариваемые к колонне, выступающей над палубой понтона. Подвеска последнего к проушинам осуществляется серьгами, нижние концы которых заводят в специальные карманы понтона и закрепляют пальцами. В качестве инвентарных обустройств могут служить закладные пальцы, закрепленные в проушинах, вваренных в понтон. Закрепление понтона к колоннам в этом случае осуществляется заведением концов закладных пальцев в "окна" стальных реек, имеющихся на колоннах. 37.17. Опоры, размещаемые на палубе СПП, могут сооружаться из элементов МИК-С либо из индивидуального металла. Опоры могут устанавливаться на железобетонные плиты, уложенные на песчаную подушку на палубе понтона. В этом случае для предотвращения выдувания песка из-под плит необходимо устраивать прибетонку по контуру плитного основания. Значительные нагрузки с помощью обстройки следует передавать в места расположения шахт, которые усилены системой переборок понтона. В справочном приложении 26 приведены характеристики самоподъемной плавучей опоры ПМК-67, использовавшейся на строительстве моста через р. Волга в г. Астрахани, сданного в эксплуатацию в 1988году. 38. ОПАЛУБКА МОНОЛИТНЫХ КОНСТРУКЦИЙ38.1. Указания настоящего раздела распространяются на проектирование опалубки монолитных конструкций, а также опалубки швов и стыков сборных и сборно-монолитных конструкций. 38.2. Опалубка и опалубочные работы должны выполняться в соответствии с требованиями ГОСТ 2347. Мелкощитовая опалубка должна удовлетворять требованиям ГОСТ 23477. 38.3. Опалубка должна обладать прочностью, жёсткостью и устойчивостью под воздействием монтажных и транспортных нагрузок, а также нагрузок при бетонировании; обеспечивать заданную форму и точность размеров монолитных конструкций; обеспечивать получение гладкой поверхности с минимальной пористостью, а также со скругленными прямыми и острыми углами конструкции; обеспечивать быстрый монтаж и демонтаж, быстроразъёмность соединительных элементов; обеспечивать возможность разборки с минимальными усилиями отрыва и в порядке, указанном в проекте производства работ; быть экономичной, нетрудоёмкой в изготовлении и монтаже, допускать возможность многократного применения; быть герметичной в стыках между щитами и по поверхности палубы, не допускать вытекания цементного молока при бетонировании; обеспечивать удобство и безопасность работ по установке арматуры и укладке бетонной смеси; обеспечивать заданный режим твердения бетона. 38.4. Конструкция опалубки должна быть увязана с принятыми способами подачи и укладки (установки) арматуры и бетона. Рекомендуется при необходимости предусматривать закладные щитки для удобства очистки форм от мусора и воды перед бетонированием и для укладки бетона в труднодоступные места. Применение закладных щитков для видимых участков лицевых поверхностей не рекомендуется. Доски обшивки боковых вертикальных поверхностей опор следует располагать вертикально; горизонтальных поверхностей и боковых поверхностей оголовков и ригелей - вдоль наиболее длинной стороны. 38.5. Для изготовления опалубки разрешается применять: пиломатериалы хвойных и лиственных пород по ГОСТ 8486 и ГОСТ 2695, фанеру бакелизированную марок ФБС и ФБСВ толщиной 10 мм и более по ГОСТ 11539, фанеру клееную марок ФСВ, ФК, ФБА толщиной 8 мм и более по ГОСТ 3916, древесноволокнистые плиты твердые и сверхтвердые по ГОСТ 4598. Лиственницу не разрешается, а пихту не рекомендуется применять в гвоздевых конструкциях; древесноволокнистые плиты следует защищать от длительного увлажнения. Для металлических деталей опалубок должны применяться стали марок, указанных в разделе 11. Толщина досок должна назначаться по расчёту, но не менее 19 мм, а для многократно оборачиваемых щитов - 25 мм. Толщина металлических элементов (косынок, уголков, шайб) должна быть не менее 4 мм. Ширина досок опалубки должна быть не более 15 см; на закруглениях ширина реек должна быть не более 5 см. Ширина досок опалубок стыков и швов при изготовлении их из одной доски не ограничивается. Доски должны сплачиваться в четверть. Поддерживающие элементы опалубки должны выполняться главным образом из стали. В качестве палубы может применяться металл, фанера, древесина, древесно-волокнистые плиты, синтетические материалы. Одним из наиболее эффективных материалов для палубы является фанера с водостойким синтетическим покрытием (типа финской). 38.6. Для обеспечения нормативной оборачиваемости фанерной и деревянной палубы её торцы должны быть защищены от увлажнения водостойким герметиком, а от механических повреждений пластмассовыми или металлическими обоймами. 38.7. С целью значительного (в 5 - 10 раз) снижения сцепления между бетоном и опалубкой следует применять эффективные смазки или антиадгезионные полимерные покрытия и футеровки для опалубки. 38.8. Смазки для опалубки должны отвечать следующим основным требованиям: обладать хорошей адгезией к материалу опалубки и плохой к бетону; не растворяться в воде, не оставлять на бетоне тёмных и масляных пятен; не вызывать коррозии стальной опалубки; хорошо удерживаться на формующих поверхностях опалубки; быть безвредными для организма человека и пожаробезопасными. Основным критерием эффективности смазок является степень снижения сцепления между бетоном и опалубкой по сравнению со сцеплением эталонных (не смазанных) образцов. 38.9. Антиадгезионные защитные покрытия наносится путём горячего напыления порошкообразных полимеров, путём пневмонанесения жидких полимерных композиций и нанесения пастообразных полимерных составов. Антиадгезионные футеровки выполняют из пластмассовых листов или полимерных плёнок путём их горячей напрессовки и наклейки на опалубку. Пластмассовые футеровки крепят к опалубке также шурупами, винтами или комбинированным способом. 38.10. Сопряжения щитов между собой, а также с ранее забетонированными элементами должны герметизироваться поролоновыми лентами, прокладками губчатой резины (по типу, применяемому в стыках крупнопанельных зданий), заделываться паклей. Сопряжения щитов не должны создавать взаимного защемления, препятствующего распалубке. 38.11. Внутренние (входящие), прямые и острые углы опалубки в целях предохранения углов бетонных конструкций от повреждений должны скругляться. В деревянной опалубке рекомендуется нашивать рейки с размером сторон 25 мм (если проектом конструкции не предусмотрено иное скругление). 38.12. Для взаимного раскрепления элементов опалубки следует применять болты, накладки и тяжи. Проволочные стяжки допускаются только для подземных конструкций. Количество тяжей должно быть по возможности меньшим (за счёт более мощных ребер, кружал и стоек опалубки). Для видимых бетонных поверхностей должны устанавливаться тяжи со съёмными наконечниками (Рис. 38.1.).
Рис. 38.1. Тяжи со съемными наконечниками а - при установленной опалубке; б - после снятия опалубки; 1 - элементы опалубки; 2 - гайка; 3 - шайба; 4 - съемный конический наконечник; 5 - стяжка, остающаяся в бетоне; 6 - заделка раствором; 7 - бетон конструкции. 38.13. Разборка опалубки должна производиться, как правило, поворотом щитов. В конструкциях щитов должны предусматриваться строповочные приспособления и устройства для отрыва щита от бетона. РАСЧЕТ ЭЛЕМЕНТОВ ОПАЛУБКИ38.14. При проектировании опалубок должны быть проверены расчетом: а) прочность отдельных щитов при перевозке и установке; б) прочность и устойчивость положения собранной опалубки и отдельных щитов при действии собственного веса, напора и отсоса от ветровой нагрузки; в) прочность и деформация отдельных элементов опалубки во время бетонирования (при сочетаниях нагрузок, приведенных в табл. 38.1); г) усилия и прочность щитов опалубки при отрыве; д) прочность узлов крепления наружных вибраторов. Прогибы изгибаемых элементов опалубки при бетонировании не должны превышать 1/400 пролёта для лицевых поверхностей надземных конструкций и 1/200 для прочих конструкций.
38.15. В зависимости от материала элементы опалубки рассчитываются в соответствии с требованиями СНиП II-23-81* (стальные) и СНиП II-25-80 (деревянные). Нагрузки принимаются согласно разделу 7 и СНиП 3.03.01-87. 38.16. Деревянную опалубку разрешается рассчитывать путем последовательной проверки отдельных её элементов на действующие нагрузки в невыгодных сочетаниях (см. табл. 38.1). По расчёту должны определяться минимальные сечения обшивки, ребер, прогонов, поддерживающих конструкций, тяжей, анкеров, болтов. 38.17. Доски обшивки опалубки рассчитываются с учётом их неразрезности. Пролет досок принимается равным расстоянию между рёбрами. Доски горизонтальных поверхностей опалубки рассчитываются на равномерно распределенную по их длине вертикальную нагрузку в сочетаниях, приведенных в табл. 38.1. Палуба, настилы и непосредственно поддерживающие их элементы должны проверяться на сосредоточенную нагрузку от массы рабочего с грузом 1300 Н (130 кгс), либо от давления колёс двухколёсной тележки 2500 Н (250 кгс) или иного сосредоточенного груза в зависимости от способа подачи бетонной смеси, но не менее 1300 Н (130 кгс). При ширине досок палубы или настила менее 150 мм указанный сосредоточенный груз распределяется на две смежные доски. Доски вертикальных поверхностей опалубки рассчитывают: а) горизонтально расположенные - на равномерно распределенную по их длине горизонтальную нагрузку в сочетаниях, приведенных в табл. 38.1; б) вертикально расположенные - на нагрузку, соответствующую расчетной эпюре давления бетона (см. раздел 7), приложенную в первом нижнем пролете при определении максимального пролетного момента и прогиба, и во втором пролете - при определении максимального опорного момента. 38.18. Рёбра, несущие обшивку, рассчитываются как балки, расчетная схема которых устанавливается в соответствии с конструктивным решением опалубки (многопролетные, однопролетные, консольные). Нагрузка на горизонтальные ребра имеет постоянную интенсивность, равную вертикальной или горизонтальной расчетной нагрузке на погонный метр ребра. Нагрузка на вертикальные ребра соответствует расчетной эпюре бокового давления бетона, измененной пропорционально расстоянию между рёбрами по горизонтали. 38.19. Горизонтальные кружальные рёбра для опалубки опор с полукруглым очертанием носовой и кормовой частей, не имеющие опорных стоек, рассчитываются на растяжение усилием: N = 0.5 q d где d - диаметр окружности (ширина опоры); q - интенсивность нагрузки на ребро. На это же усилие рассчитывается количество гвоздей, соединяющих отдельные доски в кружальное ребро, и прикрепление кружального ребра к прямолинейным рёбрам в точках А и В (Рис. 38.2). 38.20. Прогоны, стойки и обвязка (для случая горизонтальных досок обшивки), служащие опорами рёбер, рассчитываются как разрезные или неразрезные балки, загруженные сосредоточенными грузами - опорными реакциями ребер. Опорами прогонов служат насадки подмостей, опорами стоек - стяжки или подкосы, опорами обвязки - стяжки или анкерные тяжи. Если тяжи поставлены в каждом пересечении рёбер со стойками или обвязками, последние на изгиб не рассчитываются, являясь, однако, необходимыми монтажными элементами каркаса опалубки. При определении сечений рёбер, стоек и обвязки следует учитывать их ослабление болтами, тяжами и анкерами. 38.21. Тяжи и анкеры рассчитываются на опорные реакции от стоек или обвязок. Для случая, изображенного на Рис. 38.2, усилие в крайнем тяже АВ (от 1 пог.м по высоте опоры) равно:
Рис. 38.2. Расчетная схема кружальных ребер опалубки опор 1 - тяжи 38.22. Изгибающие моменты и прогибы при расчете элементов опалубки с учетом их неразрезности допускается определять по следующим приближенным формулам: от равномерно распределенной нагрузки q: максимальный момент:
максимальный прогиб:
от сосредоточенной силы Р: максимальный момент:
максимальный прогиб:
38.23. При расчете опалубки на стадии перевозки и монтажа собственный вес конструкций должен приниматься с динамическим коэффициентом 1.1. 38.24. При расчёте усилий отрыва в момент распалубки прямолинейных участков инвентарной опалубки сила сцепления с бетоном учитывается в виде распределенной нагрузки нормальной к рабочей поверхности опалубки. Если отделение формы от поверхности бетона происходит путем параллельного перемещения (например, извлечение коробов) , то нормативное усилие принимают равным произведению площади на величину удельного сцепления qmax = 15 кН/м2(1.5 тс/м2) для деревянной и 10 кН/м2 (1 тс/м2) для пластиковой опалубки. Если отделение опалубки от поверхности происходит путем поворота опалубки, то величина усилий отрыва определяется, в предположении, что удельное сцепление q в любой точке формы определяется по формуле
где Rmах - максимальный радиус точки формы относительно оси поворота; r - радиус точки, для которой определяется удельное сцепление (Рис. 38.3.). qmax - максимальная величина удельного сцепления. Удельное сцепление опалубки с бетоном qmax принимается равным 5 кН/м2 (0.05 кгс/см2) - для покрытия из полимерной плёнки, 10 кН/м2 (0.1 кгс/см2) - для деревянной, 8 кН/м2 (0.08 кгс/см2) - для фанерной опалубки.
Рис.38.3. Расчетная схема давления для определения сцепления с бетоном прямоугольного участка опалубки 38.25. Детали опалубки и крепления, воспринимающие нагрузку от наружных вибраторов, должны быть рассчитаны на прочность при действии возмущающей силы вибратора. Величина возмущающей силы принимается по паспорту вибратора с учетом динамического коэффициент равного 1.3. РАСЧЕТ УТЕПЛЕНИЯ ОПАЛУБОК38.26. Выбор наиболее экономичного метода выдерживания бетона при зимнем бетонировании монолитных конструкций в зависимости от типа и массивности конструкций для различных значений температуры наружного воздуха делается согласно рекомендациям приложения 9 СНиП 3.03.01-87. Теплотехнический расчет опалубки делается по общим правилам теплотехнических расчетов ограждающих конструкций при этом рекомендуется учитывать выделение тепла в массиве твердеющего бетона за счёт экзотермии цемента, величина которой принимается по данным строительной лаборатории для конкретного вида применяемого цемента. 38.27. При бетонировании зимой монолитных опор толщиной более 2 м методом термоса требуемое термическое сопротивление опалубки R рекомендуется применять по графику Рис. 38.4 в зависимости от ожидаемой температуры наружного воздуха в период выдержки бетона. Для конструкций, в которых замораживание бетона допускается при 100 % прочности (северное исполнение, зона ледохода), значения R по графику Рис. 38.4 должны увеличиваться на 30 %. При известной величине термического сопротивления R толщина слоев ограждения (утепления) δi определяется с использованием зависимости:
где δi -толщина каждого слоя ограждения, м; λi - расчетная величина коэффициента теплопроводности каждого слоя ограждения (табл. 38.2); β - поправочный коэффициент, учитывающий влияние ветра; β = 0.6 - для ожидаемых скоростей ветра менее 5 м/с и β =0.4- для больших скоростей. Примечания. 1. Требования п. 38.27. распространяются на опалубку, в которую укладывается бетонная смесь с температурой не ниже 15 °С. 2. При бетонировании сборно-монолитных опор термическое сопротивление определяется с учетом сборных контурных элементов. Таблица 38.2
38.28. Для утепления опалубки рекомендуется применение эффективных утеплителей с плотностью не выше 200 кг/м3. 38.29. При устройстве опалубки швов в боковой поверхности сборно-монолитных опор опалубка должна утепляться с наружной стороны (если не устраивается общее утепление контурных блоков). Термическое сопротивление R утепления должно соответствовать термическому сопротивлению сборных блоков, равному 0.3δ м2 °С/Вт, где δ - толщина блоков в м. 38.30. Утепленная опалубка стыков (швов) должна заходить на сборный элемент не менее, чем на 50 см. При этом в пределах крайнего участка от начала сборного элемента до конца опалубки утепление должно уменьшаться от расчетной величины (кривая R1 на Рис. 38.4.) до нуля.
Рис. 38.4. Кривые зависимости оптимального термического сопротивления боковых поверхностей опоры R(в м2 °С/Вт) от расчетной температуры наружного воздуха, °С (R1 - для торцовых поверхностей и боковых частей поверхности, прилегающих на 2 м к углам опоры; R2 - для остальных частей боковых поверхностей). 38.31. Опалубка с перифирийным искусственным прогревом допускается только для стыков (швов) замоноличивания сборных конструкций и монолитных бетонных конструкций сечением не свыше 60 × 60 см. 38.32. Массивные опоры должны выдерживаться в тепляках с температурой внутри помещения от +5 до +10 °С. Между поверхностью опалубки или неопалубленной поверхностью бетона и конструкцией тепляка должен быть зазор не менее 20 см. В помещении тепляка должно быть не менее двух выходов для людей. 38.33. При проектировании опалубки с паровыми рубашками необходимо руководствоваться следующими указаниями: а) паровые рубашки допустимо применять только для конструкций сечением бетона не свыше 60 × 60 см; б) термическое сопротивление наружной обшивки рубашки должно приниматься в зависимости от температуры наружного воздуха по кривой R1 Рис. 38.4. в) для равномерного прогрева вертикальных конструкций их паровые рубашки надлежит разделять на отсеки высотой не более 3 - 4 м, причём необходимо предусматривать самостоятельную подачу пара снизу в каждый отсек; г) ввод пара в паровые рубашки прогонов, балок, ригелей необходимо предусматривать не реже, чем через 2 - 3 м по их длине, а в паровые рубашки плит - не менее, чем один ввод на каждые 5 - 8 м2 поверхности; д) должны быть предусмотрены мероприятия для удаления конденсата и предотвращения образования сосулек льда. Приложение 1
|
|||||||||||||||||||||||||||||||||||||||||||||||||||||||||||||||||||||||||||||||||||||||||||||||||||||||||||||||||||||||||||||||||||||||||||||||||||||||||||||||||||||||||||||||||||||||||||||||||||||||||||||||||||||||||||||||||||||||||||||||||||||||||||||||||||||||||||||||||||||||||||||||||||||||||||||||||||||||||||||||||||||||||||||||||||||||||||||||||||||||||||||||||||||||||||||||||||||||||||||||||||||||||||||||||||||||||||||||||||||||||||||||||||||||||||||||||||||||||||||||||||||||||||||||||||||||||||||||||||||||||||||||||||||||||||||||||||||||||||||||||||||||||||||||||||||||||||||||||||||||||||||||||||||||||||||||||||||||||||||||||||||||||||||||||||||||||||||||||||||||||||||||||||||||||||||||||||||||||||||||||||||||||||||||||||||||||||||||||||||||||||||||||||||||||||||||||||||||||||||||||||||||||||||||||||||||||||||||||||||||||||||||||||||||||||||||||||||||||||||||||||||||||||||||||||||||||||||||||||||||||||||||||||||||||||||||||||||||||||||||||||||||||||||||||||||||||||||||||||||||
|
СТ СЭВ 384-76 |
Строительные конструкции и основания. Основные положения по расчёту. |
|
Стандарты отраслей, стандарты предприятий, стандарты научно-технических обществ и других общественных объединений. Общие положения. |
|
|
Общие требования к построению, изложению, оформлению и содержанию стандартов. |
|
|
ССБТ. Ограждения предохранительные инвентарные. Общие технические условия. |
|
|
ГОСТ 12.4.089-61 |
ССБТ. Пояса предохранительные. Общие технические условия. |
|
ССБТ. Канаты страховочные. Общие технические требования. |
|
|
Шпалы деревянные для железных дорог широкой колеи. Технические условия. |
|
|
ГОСТ 380-88* |
Сталь углеродистая обыкновенного качества. Марки. |
|
Краны грузоподъёмные. Нагрузка ветровая. |
|
|
Металлы. Методы испытания на растяжение. |
|
|
Пиломатериалы лиственных пород. Технические условия. |
|
|
ГОСТ 2789-83 |
Шероховатость поверхности. Параметры и характеристики. |
|
ГОСТ 3916.1-96 |
Фанера общего назначения с наружными слоями из шпона лиственных пород. |
|
Плиты древесноволокнистые. Технические условия. |
|
|
Профили стальные горячекатанные для шпунтовых свай. Технические условия. |
|
|
Эмали ПВ-115. Технические условия. |
|
|
Сварные соединения. Методы определения механических свойств. |
|
|
ГОСТ 7268-82 |
Сталь. Методы определения склонности к механическому старению но испытанию на ударный изгиб. |
|
Сталь. Общие правила отбора проб, заготовок и образцов для механических и технологических испытаний. |
|
|
Чугун, сталь и сплавы. Методы отбора проб для химического состава. |
|
|
Металлоконструкция. Приёмка, маркировка, упаковка, транспортирование и хранение. |
|
|
Пиломатериалы хвойных пород. Технические условия. |
|
|
ГОСТ 8731-87 |
Трубы стальные бесшовные горячедеформированные. Технические условия. |
|
Трубы стальные бесшовные горячедеформированные. Сортамент. |
|
|
Габариты приближения строений и подвижного состава железных дорог колеи 1520 мм. |
|
|
Металлы. Методы испытания на ударный изгиб при пониженной, комнатной и повышенных температурах. |
|
|
ГОСТ 9462-88* |
Лесоматериалы круглые лиственных пород. Технические условия. |
|
ГОСТ 9463-88* |
Лесоматериалы круглые хвойных пород. Технические условия. |
|
Фторопласт-4. Технические условия. |
|
|
Болты для рельсовых стыков железнодорожного пути. Технические условия. |
|
|
Фанера бакелитизированная. Технические условия. |
|
|
ГОСТ 12135-75* |
Подкладка костыльного скрепления к железнодорожным рельсам типа Р50. |
|
Машины, приборы и другие технические изделия. Исполнения для различных климатических районов. |
|
|
ГОСТ 16277-93 |
Подкладки раздельного скрепления к железнодорожным рельсам типов Р50, Р65, Р75. |
|
Полиэтилен низкого давления. Технические условия. |
|
|
Климат СССР. Районирование и статистические параметры климатических факторов для технических целей. |
|
|
Накладки двухголовые к рельсам типа Р50. Конструкция и размеры. |
|
|
Опалубка разборно-переставная мелкощитовая инвентарная для возведения монолитных бетонных и железобетонных конструкций. Технические условия. |
|
|
Опалубка для возведения монолитных бетонных и железобетонных конструкций. Классификация и общие технические требования. |
|
|
ГОСТ 24128-80 |
Рельсы железнодорожные широкой колеи типов Р75, Р65, Р50 из мартеновской стали. Технические условия. |
|
Средства подмащивания. Общие технические условия. |
|
|
ГОСТ 25100-82 |
Грунты. Классификация |
|
Краны грузоподъемные. Режимы работы |
|
|
ГОСТ 26775-85 |
Габариты подмостовые судоходных пролетов мостов на внутренних водных путях. |
|
Площадки и лестницы для строительно-монтажных работ. Общие технические условия. |
|
|
Леса стоечные приставные для строительно-монтажных работ. Технические условия. |
|
|
Надежность строительных конструкций и оснований. |
|
|
Подмости передвижные сборно-разборные. Технические условия. |
|
В разделе 6. Указания по расчету конструкций и оснований. |
|
|
мu |
- расчетный момент опрокидывающих сил; |
|
Мz - |
- расчетный момент удерживающих сил; |
|
Qr |
- расчетная сдвигающая сила; |
|
Qz |
- расчетная удерживающая сила; |
|
γn |
- коэффициент надежности по назначению; |
|
m |
- коэффициент условий работы. |
|
В разделе 7. Нагрузки и воздействия. |
|
|
γf |
- коэффициент надёжности по нагрузке. |
|
1+μ |
- динамический коэффициент; |
|
η |
- коэффициент сочетания нагрузок; |
|
Pv |
- вертикальное давление от веса грунта; |
|
Рn |
- горизонтальное давление грунта; |
|
φn |
- нормативный угол внутреннего трения; |
|
с |
- нормативное удельное сцепление грунта; |
|
γ |
- нормативный удельный вес (грунта, воды); |
|
h |
- толщина слоя (грунта, воды); |
|
Nвп |
- гидродинамическое давление текущей поды на подводную часть конструкции; |
|
Nл |
- лобовое давление воды; |
|
Nт |
- сила трения воды на поверхности обтекаемого тела; |
|
V |
- скорость поды относительно погруженной конструкции; |
|
φо |
- коэффициент, учитывающий степень обтекаемости погруженной конструкции; |
|
f |
- коэффициент трения воды по поверхности погруженной конструкции; |
|
F |
- подводная площадь по миделю; |
|
S |
- площадь смоченной поверхности; |
|
t |
- осадка плашкоута; |
|
Н |
- глубина поды в месте погружения бездонного ящика, кессона и т.п.; |
|
В |
- ширина плашкоута, баржи, бездонного ящика; |
|
L |
- длина плашкоута, баржи, бездонного ящика; |
|
M |
- реактивный момент, возникающий при пуске (остановке) двигателя поворота; |
|
Nпов |
- мощность двигателя поворота; |
|
n |
- число оборотов в минуту поворотной части механизма; |
|
Nтн |
- но5рмативная сила трения при перемещении груза (конструкции); |
|
Р |
- нормативная нагрузка от веса перемещаемого туча; |
|
f1 |
- коэффициент трения скольжения в паре материалов; |
|
f2 |
- коэффициент трения качения катка (колеса) по рельсу; |
|
f3 |
- коэффициент трения в подшипниках скольжения; |
|
f4 |
- коэффициент трения в подшипниках качения; |
|
f5 |
- коэффициент трения скольжения в паре полимер-контртело; |
|
R1 |
- радиус катка; |
|
R2 |
- радиус колеса; |
|
r |
- радиус оси колеса (в подшипнике); |
|
k |
- коэффициент местного сопротивления движению; |
|
R |
- нормативная опорная реакция; |
|
H |
- сила поперечного перемещения конструкции; |
|
k1 |
- коэффициент, учитывающий влияние консистенции бетона; |
|
k2 |
- коэффициент, учитывающий влияние температуры бетона; |
|
k3 |
- коэффициент неоднородной работы вибраторов; |
|
P |
- нормативное боковое давление бетонной смеси; |
|
γ |
- нормативный удельный вес бетонной смеси; |
|
H |
- высота уложенного слоя бетона; |
|
V |
- скорость бетонирования; |
|
R |
- радиус действия внутреннего вибратора; |
|
R1 |
- радиус действия наружного вибратора; |
|
hд |
- высота "действующего столба" подводного бетона; |
|
wo |
- нормативное ветровое давление; |
|
wm |
- средняя составляющая нормативного ветрового давления; |
|
wp |
- пульсирующая составляющая ветрового давления; |
|
k |
- коэффициент, учитывающий изменение ветрового давления по высоте; |
|
с |
- аэродинамический коэффициент; |
|
V |
- скорость ветра на уровне 10 м над поверхностью земли; |
|
φ |
- коэффициент заполнения контура конструкции; |
|
Ai |
- площадь проекции i-го элемента на плоскость конструкции; |
|
Aк |
- площадь, ограниченная контуром конструкции; |
|
Fвр |
- сила воздействия льда; |
|
Rс |
- нормативное сопротивление льда сжатию; |
|
b |
- ширина сооружения по фронту действия льда; |
|
hd |
- толщина льда; |
|
Fv |
- вертикальная составляющая давления льда на наклонную грань ледореза; |
|
Fн |
- горизонтальная составляющая давления льда на наклонную грань ледореза; |
|
β |
- угол наклона режущего ребра ледореза к горизонту; |
|
Еq |
- кинетическая энергия навала судна на причальное устройство; |
|
Dc |
- расчётное водоизмещение судна; |
|
V |
- нормальная к поверхности сооружения скорость подхода судна; |
|
ψ |
- коэффициент, учитывающий поглощение кинетической энергии судна причальным сооружением; |
|
Еi |
- энергия деформации причального сооружения; |
|
Fq |
- поперечная горизонтальная сила навала судна на причал; |
|
ki |
- коэффициент жесткости причального сооружения; |
|
Fn |
- продольная сила от навала судна на причал; |
|
μ |
коэффициент трения судна о причал. |
|
В разделе 8. Основания и фундаменты. |
|
|
σ |
- наибольшее давление на грунт основания; |
|
N |
- осевая сжимающая сила в уровне подошвы; |
|
М |
- момент сил в уровне подошвы; |
|
F |
- площадь подошвы фундамента; |
|
W |
- момент сопротивления подошвы фундамента; |
|
ρ |
- радиус ядра сечения по подошве фундамента; |
|
ео |
- эксцентриситет приложения вертикальной равнодействующей; |
|
N |
- расчетная нагрузка на сваю; |
|
Fd |
- несущая способность сваи; |
|
γк |
- коэффициент надежности; |
|
m |
- наибольший изгибающий момент в свае; |
|
nоб |
- общее число свай; |
|
x |
- координата головы сван; |
|
l0 |
- длина участка сваи над расчетной поверхностью грунта; |
|
hм |
- глубина жесткой заделки сваи; |
|
d |
- толщина ствола сван; |
|
Rn |
- расчетное сопротивление грунта под нижним концом сваи; |
|
An |
- площадь уширенной пяты сваи; |
|
Aбп |
- площадь боковой поверхности уширенной пяты сваи; |
|
fi |
- расчетное сопротивление i-го слоя грунта по боковой поверхности сваи; |
|
γcp. γcп |
- коэффициенты условий работы грунта по боковой поверхности и под нижним концом пяты; |
|
Aб |
- площадь боковой поверхности ствола выше пяты; |
|
Ed |
- расчётная энергия удара молота; |
|
sа |
- расчетный остаточный отказ; |
|
m1 |
- масса молота или вибропогружателя; |
|
m2 |
- масса сваи и наголовника; |
|
m3 |
- масса подбабка; |
|
ε |
- коэффициент восстановления удара; |
|
η |
- коэффициент в зависимости от материала сваи; |
|
А |
- площадь, ограниченная наружным контуром сваи; |
|
m |
- коэффициент в зависимости от типа молота (вибропогружателя). |
|
В разделе 17. Расчеты шпунтовых ограждений. |
|
|
рв |
- предельное сопротивление грунта дна котлована силам выпучивания; |
|
γ, γв |
- удельный вес грунта, воды; |
|
Nc, Ng, Nγ |
- опытные коэффициенты, зависящие от угла внутреннего трения грунта; |
|
А |
- расстояние от дна котлована до нижнего края шпунта; |
|
В |
- меньшая сторона прямоугольного или радиус круглого котлована. |
|
h |
- высота слоя воды над грунтом внутри котлована; |
|
Р |
- давление столба открытой воды и грунтовой массы снаружи котлована; |
|
Н |
- разность высот столбов речной и грунтовой воды снаружи и внутри котлована; |
|
Аф |
- суммарная высота столба речной и грунтовой воды внутри котлована (считая от низа шпунта); |
|
Мu |
- расчетный момент опрокидывающих сил, действующих на шпунт; |
|
Мz |
- то же удерживающих сил относительно той же оси; |
|
m |
- коэффициент условий работы; |
|
γn |
- коэффициент надежности по назначению; |
|
|
- глубина проникновения воды между шпунтом и водонепроницаемым грунтом; |
|
h' |
- глубина погружения шпунта в водонепроницаемый грунт; |
|
t |
- глубина погружения шпунта ниже дна котлована; |
|
q |
- распределенная нагрузка на ярус крепления; |
|
F |
- площадь котлована, приходящаяся на рассчитываемый элемент крепления; |
|
l |
- длина элемента; |
|
to |
- расстояние от дна котлована до расчетной точки; |
|
Δt |
- расстояние от точки поворота шпунта до его нижнего края; |
|
Е'n |
- равнодействующая пассивного давления грунта с внешней стороны котлована; |
|
P'n |
- интенсивность этого давления на глубине to; |
|
Е, Еа, Ев |
- равнодействующие пассивного, активного и гидростатического давления на стенку выше глубины tо; |
|
Р |
- усилие в распорке крепления шпунта; |
|
q |
- давление шпунтовой стенки на обвязку; |
|
lд, lпр |
- пролеты обвязки слева и справа от распорки; |
|
В разделе 18. Грунтовые перемычки. |
|
|
d |
- поперечный размер каменных частиц отсыпки; |
|
V |
- скорость течения. |
|
В разделе 19. Искусственные островки. |
|
|
h |
- глубина забивки шпунта цилиндрического ограждения ниже уровня размыва; |
|
q |
- расчетное давление от веса засыпки в уровне дна реки; |
|
φ |
- угол внутреннего трения грунта; |
|
D |
- диаметр островка; |
|
emax |
- интенсивность горизонтального давления засыпки на уровне дна реки; |
|
Р |
- расчетная нагрузка на погонный метр замка; |
|
ρ3 |
- сопротивление погонного метра замка на разрыв; |
|
γm |
- коэффициент надежности по материалу. |
|
В разделе 23. Вспомогательные устройства для погружения свай и бурения скважин. |
|
|
N |
- реакция на колесо от поворота; |
|
b |
- расстояние между колесами вдоль пути. |
|
В разделе 24. Вспомогательные устройства для укладки подводного бетона. |
|
|
r |
- расчетный радиус бетонолитной трубы; |
|
К |
- показатель подвижности бетона; |
|
J |
- скорость бетонирования. |
|
В разделе 26. Опоры для продольной надвижки. |
|
|
P1, P2, Px |
- интенсивность давления надвигаемой конструкции на накаточный путь; |
|
Q |
- вес надвигаемой конструкции; |
|
Cn |
- длина участка опирания на накаточный путь; |
|
l0 |
- координата общего центра тяжести; |
|
li |
- координаты центров площадок опирания; |
|
аn |
- расстояния от центра тяжести площадок опирания до середины площадок; |
|
j |
- момент инерции площадок опирания; |
|
Nт |
- тяговое усилие надвижки; |
|
Nтn |
- усилие от надвижки на n-ю опору; |
|
Wд и Wп |
- давление продольного и поперечного ветра на пролетное строение; |
|
Wдn и Wпn |
- то же на n-ю опору. |
|
В разделе 27. Пирсы. |
|
|
Px |
- давление на накаточный путь от воздействия ветра; |
|
Q, wпс |
- приходящаяся на пирс часть нагрузки от веса пролетного строения и ветра; |
|
h |
- высота центра ветрового давления над накаточным путём; |
|
m |
- коэффициент условий работы; |
|
c1, c2 |
- размеры, ограничивающие накаточные пути. |
|
В разделе 29. Тяговые и тормозные устройства. |
|
|
N |
- нормативное тяговое усилие; |
|
Р |
- усилие в сбегающем тросе у лебёдки; |
|
К |
- характеристика полиспаста. |
|
В разделе 31. Устройство для подъёмки пролетных строений. |
|
|
σn |
- величина бокового давления на стенки песочницы; |
|
σv |
- вертикальное напряжение в песке; |
|
ξ |
- коэффициент бокового давления; |
|
N |
- усилие в радиальном сечении песочницы; |
|
d |
- диаметр песочницы. |
|
В разделе 32. Плавучие опоры и устройства для их перемещения. |
|
|
hф |
- высота фальшборта; |
|
h6 |
- высота сухого борта; |
|
Vn |
- водоизмещение плавучей опоры; |
|
Q |
- расчетная вертикальная нагрузка на плавучую опору; |
|
γn |
- коэффициент надежности по назначению; |
|
ρ |
- метацентрический радиус плашкоута; |
|
а |
- расстояние от центра тяжести до центра водоизмещения плавсистемы; |
|
J |
- момент инерции площади плашкоута; |
|
in |
- момент инерции поверхности балласта в i-том понтоне; |
|
Vp |
- водоизмещение погруженной части; |
|
tв |
- осадка плавучей опоры; |
|
Ω |
- площадь плавучей опоры по ватерлинии; |
|
кв |
- коэффициент полноты водоизмещения; |
|
tr |
- осадка от ветровых нагрузок, вызывающих крен (дифферент); |
|
φ |
- угол крена (дифферента); |
|
м |
- момент относительного водоизмещения от ветровой нагрузки; |
|
р |
- нормативный вес пролётного строения; |
|
Δ |
- погружение (всплытие) плавучей опоры; |
|
S |
- усилие в якорном канате. |
|
Вспомогательные сооружения и устройства. |
Область применения. |
|
1. Вспомогательные опоры. |
При продольной надвижке и полунавесной сборке пролетных строений. |
|
2. Пирсы. |
При поперечной перекатке пролетных строений. |
|
3. Подмости, рештования, ограждения. |
Для размещения людей, инструмента, оборудования при выполнении технологических операций при сборке и надвижке пролетных строений, а также при сооружении фундаментов и опор. |
|
4. Ограждающие устройства - шпунтовые стенки, перемычки, бездонные ящики. |
При сооружении фундаментов постоянных и вспомогательных опор. |
|
5. Самоподъёмные и переставные платформы. |
То же. |
|
6. Направляющие каркасы. |
При погружении оболочек, устройстве свайных оснований и шпунтовых ограждений. |
|
7. Сборочные подмости и стапели. |
Для сборки пролетных строений. |
|
8. Усиление пролетных строений, включая аванбеки и шпренгели |
При продольной надвижке пролетных строений. |
|
9. Приёмные консоли. |
При продольной надвижке, навесной и полунавесной сборке пролетных строений. |
|
10. Анкерные устройства. |
При навесной и полунавесной сборке пролетных строений. |
|
11. Устройство для выборки прогиба пролетных строений. |
При продольной надвижке пролетных строений. |
|
12. Ходовые части и накаточные пути. |
То же. |
|
13. Устройства для приведения в движение пролетных строений. |
То же. |
|
14. Устройства защиты вспомогательных опор от навала судов и ледохода. |
При продольной надвижке и полунавесной сборке пролетных строений. |
|
15. Плавучие опоры с якорными системами. |
Для перевозки на плаву и установки на опоры пролетных строений. В качестве поддерживающей конструкции при продольной надвижке пролетных строений. |
|
16. Плашкоуты из понтонов. |
Для установки монтажных кранов, копров и перевозки строительных конструкций и материалов. |
|
17. Подкрановые эстакады. |
Для пропуска и работы монтажных козловых кранов. |
|
18. Рабочие мостики. |
Для пропуска и работы транспортных средств, строительных и грузоподъёмных машин. |
|
19.Временные причалы. |
Для перегрузки массовых грузов и конструкций, а также перевозки людей. |
|
20.Устройства для подводного бетонирования фундаментов. |
При подводном бетонировании фундаментов. |
|
* - СниП 3.06.04-91 |
|
Примечания.
1. Перечень может быть дополнен (в конкретных случаях) данными из проекта.
2. Проектирование временных и краткосрочных железнодорожных мостов, а также пролетных строений, устанавливаемых временно на капитальные опоры и предназначенных для организованного движения поездов, должно выполняться согласно "Инструкции по проектированию железнодорожных временных и краткосрочных мостов и труб".
|
Наименование инвентаря |
Наименование проектной организации, разработавшей проект, и год разработки |
Условия применения при температуре ниже минус 40°С |
примечание |
|
Мостовые инвентарные конструкции стоечные МИК-С |
СКБ Главмостостроя, 1974 г. |
Без ограничений |
|
|
Мостовые инвентарные конструкции пакетные МИК-П |
СКБ Главмостостроя, 1975 г. |
То же |
|
|
Понтоны типа КС и КС-У |
ЦПКБ Главмостостроя, 1951 г. |
|
Понтоны типов КС-У и КС-63 взаимозаменяемы |
|
Понтоны типа КС-3 |
ЦПКБ Главмостостроя, 1953 г. |
|
|
|
Понтоны типа КС-63 |
ЦИКБ Мостотреста, 1963 г. |
|
Мостовые инвентарные конструкции стоечные МИК-С предназначаются для вспомогательных опор, монтажных подмостей, опор для надвижки пролетных строений, подкрановых эстакад, рабочих мостиков и других конструкций. МИК-С можно эксплуатировать в климатическом районе I по ГОСТ 16350-80 при расчетной температуре минус 60°С.
Основной комплект МИК-С состоял из 12 марок: 4 марки стоек (Л-1÷Л-4) длиной 4 и 2 м, 5 марок раскосов и распорок (Л-5÷Л-9), одна соединительная планка (Л-10), один цельносварной ростверк (Л-11) и один тип болта (Л-12) диаметром 24 мм (см. ведомость марок). С 1982 г. вместо марок Л-1÷Л-4 и Л-5÷Л-9 выпускают марки ЛУ-1, ЛУ-2 и ЛУ-7÷ЛУ-9, все из труб 180×9 мм. Всего в комплект МИК-С входит 10 марок.
Стойки запроектированы из труб по ГОСТ 8731-74*. На концах стойки снабжены фланцами для примыкания друг к другу и к ростверкам и фасонками для присоединения раскосов, расположенными в вертикальных плоскостях, проходящих через ось трубы под углом 90° друг к другу. С одной стороны стоек фланцы развиты для присоединения распорок.
На концах распорки и раскосы имеют проушины с отверстием для одного болта диаметром 24 мм и вспомогательным отверстием для наводки на монтаже.
Соединения элементов осуществляются на высокопрочных болтах диаметром 24 мм, закручиваемых обычным ключом с моментом порядка 20-30 кгс.м без специальной обработки контактных поверхностей и без контроля величины натяжения.
Марка ростверка Л-11 состоит из сварных двутавров и швеллерных связей, объединенных на сварке.
Из элементов стоек, распорок, раскосов и ростверков собирается основной элемент МИК-С - башня из 4 (8) стоек размером в плане 2×2 м и высотой, кратной 2 м (Рис. 5.1).
С 1980 г. выпускают сборный ростверк из широкополочного проката с соединением на болтах (марки Л-20÷Л-25). Схема сборки ростверка из этих марок приведена на Рис. 5.2. Как правило, ростверк применяют без разборки.
Отдельные башни можно объединить между собой в продольном и поперечном направлениях с помощью раскосов и распорок в пространственные конструкции опор неограниченного размера. При этом расстояние между башнями может быть 2, 4 и 6 м.
Сборку башен следует производить плоскостными и пространственными секциями, а также из отдельных линейных элементов.
Ведомость марок.
|
Марка |
Эскиз марки |
Предельное усилие, тс |
Масса кг |
|
|
+30, -100 +30, -100 |
251 |
|
|
Л-2 |
|
+30, -100 |
139 |
|
|
+20, -43 +20, -33 |
165 |
|
|
|
+20, -43 |
97 |
|
|
|
+12 |
30 |
|
|
Л-6 |
|
+12 |
22 |
|
Л-7 |
|
+12 |
103 |
|
Л-8 |
|
+12 |
103 |
|
|
+12 |
170 |
|
|
|
|
2 |
|
|
|
|
1975 |
|
|
|
|
0.65 |
|
|
|
|
435 |
|
|
Л-21 |
|
|
138 |
|
Л-22 |
|
|
28 |
|
Л-23 |
|
|
24 |
|
Л-24 |
|
|
23 |
|
|
|
23 |
|
|
|
+30, -100 +30, -88 |
236 |
|
|
|
+30, -100 |
132 |
|
|
|
+12 |
200 |
|
|
ЛУ-8 |
|
+12 |
169 |
|
|
+12 |
273 |
|
|
Примечания. 1. Предельные усилия марок Л-1, Л-3 и ЛУ-1 даны для свободной длины L = 200 см (числитель) и L = 400 см (знаменатель). Усилие указано для стыка стоек одинакового диаметра. 2. В графе предельных усилий знаком "+" обозначены растягивающие усилия, знаком "-" обозначены сжимающие усилия. |
|||

Рис. 5.1 Схема сборки опоры из элементов МИК-С:
а - плоскостная секция; б - башенная опора;
в - линейный элемент.

Рис. 5.2. Схемы сборки ростверков из марок Л-20÷Л-25
Мостовые инвентарные конструкции пакетные МИК-П предназначаются для применения в различных вспомогательных сооружениях в комплекте со стоечными конструкциями МИК-С, а также без них. Конструкции МИК-П могут быть применены в рабочих мостиках, подмостях, пирсах, подкрановых эстакадах, причалах, распределительных конструкциях на плавучих опорах и опорах для надвижки пролетных строений, а также для перекрытия прогалов в насыпи над водопропускными трубами до их постройки и засыпки; для перекрытия пролетов временных железнодорожных мостов при строительстве на обходах; при восстановлении и в разгрузочных конструкциях. Примеры монтажных схем пакетных пролетных строений приведены на Рис. 6.1.
Проверка несущей способности пролетных строений в составе конкретного сооружения является обязательной.
Конструкции МИК-П можно эксплуатировать в климатическом районе I по ГОСТ 16350-80 при расчетной температуре минус 60°С.
Комплект конструкций МИК-П состоит из 19 марок: 4 марки несущих балок (П-3; П-3а; П-4 и П-4а); 4 марки распорок (П-11; П-12; П-14; П-16); 6 марок продольных связей (П-18÷П-23); 3 марки накладок (П-30; П-34; П-35); одна марка ребра жесткости (П-32) и один тип болта (П-31) диаметром 24 мм (см. ведомость марок).
МИК-П могут опираться как на конструкции башен из МИК-С, так и на опоры любой другой конструкции.
Пакетные конструкции изготовляют из сварных двутавров высотой 1040 мм, длиной 8000 и 11920 мм. Из отдельных балок могут быть собраны пакеты длиной 8,0; 11,92; 16,0; 19,92 м (в отдельных случаях 23,84 м). Несущие балки имеют следующие характеристики:
момент инерции I = 404433 см4;
момент сопротивления W = 7778 см3;
Соединения элементов осуществляются на высокопрочных болтах диаметром 24 мм, закручиваемых обычным ключом с моментом порядка 20-30 кгс.м без специальной обработки контактных поверхностей и без контроля натяжения.
К стенкам балок приварены через определенные расстояния полудиафрагмы, состоящие из вертикальных и горизонтальных ребер, к которым приварен фланцевый лист.
Полудиафрагмы приварены в марках П-3а и П-4а с двух сторон, в марках П-3 и П-4 с одной. С помощью полудиафрагм отдельные балки объединяются в пространственную конструкцию из любого числа балок, устанавливаемых с шагом 550 мм в поперечном направлении. Объединение диафрагм осуществляется также высокопрочными болтами диаметром 24 мм.
При необходимости установки балок с большим шагом в поперечном направлении между фланцевыми листами полудиафрагм устанавливают набор вставок требуемой ширины (марки П-11; П-12; П-14; П-16). Балки объединяются также уголковыми продольными связями, прикрепляемыми к горизонтальным фасонкам полудиафрагм. В фасонках устроены дугообразные прорези с краями, очерченными по дугам окружностей, центры которых совмещены с центром узла (точкой пересечения оси балок с осью полудиафрагм). Такое решение узла позволяет обеспечить центрировку диагональных связей при любом расстоянии между балками.
Ведомость марок
|
Марка |
Эскиз марки |
Масса кг |
|
|
2950 |
|
|
|
3270 |
|
|
|
1970 |
|
|
|
2210 |
|
|
|
267 |
|
|
|
216 |
|
|
|
372 |
|
|
|
148 |
|
|
|
47 |
|
|
П-19 |
|
41 |
|
П-20 |
|
46 |
|
П-21 |
|
53 |
|
П-22 |
|
45 |
|
|
33 |
|
|
|
40 |
|
|
|
0.86 |
|
|
|
15 |
|
|
|
48 |
|
|
|
21 |

Рис. 6.1. Примеры монтажных схем пакетных пролетных строений:
а - под железнодорожную нагрузку; б - под автомобильную нагрузку; в - для подкрановых эстакад пролетом 16 м под козловый кран.
|
Показатель |
Изм. |
КС-3 |
КС-63 |
|
Габаритные размеры: |
|
|
|
|
Длина |
м |
7.2 |
7.2 |
|
Ширина |
« |
3.6 |
3.6 |
|
Высота |
« |
1.8 |
1.8 |
|
Масса |
т |
5.9 |
5.9 |
|
Полное водоизмещение |
м3 |
45 |
45 |
|
Осадка от собственной массы |
м |
0.25 |
0.25 |
|
Грузоподъемность нормативная при сухом борте 0.5 м |
КН (тс) |
263 (26.3) |
263 (26.3) |
|
Предельные нагрузки (Рис. 7.1): |
|
|
|
|
в узлах усиленных шпангоутных рам Р |
« |
460 (46) |
470 (47) |
|
по всем бортовым узлам шпангоута Рi |
« |
310 (31) |
320 (32) |
|
в узлах понтона Р2 |
« |
260 (26) |
240 (24) |
|
в узлах торцевой стенки Р3 |
« |
260 (26) |
280 (28) |
|
в любой точке пролета шпангоута Р4 |
« |
25 (2.5) |
25 (2.5) |
|
Материал понтона |
|
Ст.3 |
|
|
Толщина обшивки, мм: |
|
|
|
|
бортов и торцов |
|
4 |
4 |
|
палубы и днища |
|
3 |
3 |

Рис. 7.1. Схема универсального понтона КС.
Предельные усилия на понтон и на стык понтонов
|
Вид деформации |
Фактор, определяющий несущую способность |
КС-3 |
КС-63 |
|||
|
Мпр, кН.м (тс.м) |
Qпр, кН (тс) |
Мпр, кН.м (тс.м) |
Qпр, кН (тс) |
|||
|
Изгиб понтона в плоскости бортов h = 1.8 м |
Прочность понтона |
См. график (рис. 7.2) |
||||
|
Прочность стыка |
5460 (546) |
1380 (138) |
5750 (575) |
1380 (138) |
||
|
Изгиб понтона в плоскости палубы h = 3.6 м |
Прочность понтона |
См. график (рис. 7.3) |
||||
|
Прочность стыка |
6080 (608) |
2070 (207) |
6080 (608) |
2760 (276) |
||
|
Изгиб понтона в плоскости торцов h = 1.8 м |
Прочность понтона и стыка |
При наличии местной нагрузки W=18 кПа (1.8 тс/м2) |
2290* (229*) |
1190* (229*) |
3480* (229*) |
1240* (229*) |
|
При отсутствии местной нагрузки |
3800* (380*) |
1190* (119*) |
4860* (486*) |
1240* (124*) |
||
|
Изгиб понтона в плоскости торцов h = 3.6 м |
Прочность понтона и стыка |
При наличии местной нагрузки W=36 кПа (3.6 тс/м2) |
1480* (148*) |
2380* (238*) |
4300* (430*) |
2480* (248*) |
|
При отсутствии местной нагрузки |
7920* (792*) |
2380* (238*) |
9930* (993*) |
2480* (248*) |
||
|
Примечания. 1. Расчет понтона произведен на случай работы понтона как части плашкоута с осадкой 1.8 и 3.6 м. 2. * Указаны значения Мпр при Q = 0 и Qпр при М = 0 3. При одновременном действии М и Q прочность понтона должна быть проверена расчетом в каждом конкретном случае. 4. При допущении замены понтонов КС-63 на КС-3 в расчете учитывается меньшее из двух значений грузоподъемности. |
||||||

Рис 7.2. График предельных усилий на понтон при изгибе в плоскости бортов и при наличии местной нагрузки (гидростатического давления) W = 18 кПа (1.8 тс/м2)

Рис.7.3. График предельных усилий на понтон при изгибе в плоскости палубы:
1 - при отсутствии местной нагрузки;
2 - по изгибу кильсона при наличии местном нагрузки (гидростатического давления) W = 36 кПа (3.6 тс/м2);
3 - по прочности стыка; 4- по прочности шпангоута;
5 - но местной устойчивости обшивки палубы и днища при наличии гидростатического давления W = 36 кПа (3.6 тс/м2)

Рис. 7.4. Схема предельных нагрузок на понтон при использовании его в конструкциях подмостей:
а - на узлы борта; б - на узлы торца.
P1 == 500 кН (50 тс) при условии постановки металлических вкладышей в горизонтальные коробки в месте опирания.
|
Профиль |
ГОСТ |
Наименование |
Ширина, мм |
Толщина, мм |
Длина, мм |
|
|
от |
до |
|||||
|
|
Сталь прокатная для шпунтовых свай. Шпунтовая свая ШП-1 |
400 |
10 |
8 |
22 |
|
|
|
Сталь прокатная для шпунтовых свай. Шпунтовая свая ШК-1 |
400 |
10 |
8 |
22 |
|
|
|
ТУ-14-2-879-89 |
Сталь прокатная для шпунтовых свай. Шпунтовая корытная свая Ларсен |
400 |
10 |
5 |
22 |
Характеристика шпунтовых свай
|
Поперечное сечение шпунтовых свай |
Тип шпунтовых свай |
Вес пог. м шпунтовой сваи, кг |
площадь сечения шпунтовой сваи, см2 |
Момент инерции |
Момент сопротивления |
|
|
|
||
|
отдельной шпунтовой сваи, Ix1, см4 |
пог. м шпунтовой стенки, Ix, см4 |
отдельной шпунтовой сваи, Wx1, см3 |
пог. м шпунтовой стенки, Wx, см3 |
Расчетная ширина шпунтовой сваи, В, мм |
Толщина шпунтовой стенки, Н, мм |
Толщина стенки сваи, d, мм |
||||
|
|
ШП-1 |
64 |
82 |
332 |
961 |
73 |
188.5 |
400 |
- |
10 |
|
|
ШК-1 |
50 |
64 |
730 |
3000 |
114 |
400 |
400 |
2×75 |
10 |
|
|
JI-IV |
74 |
94.3 |
4660 |
39600 |
405 |
2200 |
400 |
2×180 |
14.8 |
|
Л-V |
100 |
127.6 |
6243 |
50943 |
461 |
2962 |
420 |
2×172 |
21 |
|
ПАНЕЛИ ШПУНТОВЫЕ СВАРНЫЕ
Опытная партия
Технические условия
ТУ 5264-004-01393674-96
(впервые)

Рис. 8.1. Панель рядовая ПШС
1 - полка, 2 - стенка, 3 - замковый элемент - стенка обоймы, 4 - замковый элемент - кулачок, 5 - сварное соединение У1 или У2
"O - O" - ось шпунтовой стены,
"С - С" - центральная ось инерции панели
Характеристики панелей ПШС
Таблица 1.
|
Панель |
Размеры поперечного сечения |
|||||||
|
высота |
ширина |
шаг ячеек |
толщина стенки |
толщина полки |
расстояние между проекциями характерных точек |
|||
|
h |
hk |
bf |
а |
tw |
tf |
b |
bk |
|
|
ПШС 41/150-3200 |
400 |
|
460 |
495 |
|
16 |
|
|
|
ПШС 40/150-3500 |
220 |
12 |
18 |
22,5 |
436,0 |
|||
|
ПШС 40/150-3800 |
|
|
20 |
|
|
|||
|
ПШС 40/150-3300 |
|
|
16 |
|
|
|||
|
ПШС 40/150-3600 |
224 |
14 |
18 |
23,0 |
432,0 |
|||
|
ПШС 40/150-3900 |
|
|
20 |
|
|
|||
|
ПШС 50/150-4300 |
500 |
|
460 |
495 |
|
16 |
|
|
|
ПШС 50/150-4700 |
270 |
12 |
18 |
22,5 |
436,0 |
|||
|
ПШС 50/150-5000 |
|
|
20 |
|
|
|||
|
ПШС 50/150-4400 |
|
|
16 |
|
|
|||
|
ПШС 50/150-4800 |
273 |
14 |
18 |
23,0 |
432,0 |
|||
|
ПШС 50/150-5200 |
|
|
20 |
|
|
|||
|
ПШС 60/150-5400 |
600 |
|
460 |
495 |
|
16 |
|
|
|
ПШС 60/150-5900 |
320 |
12 |
18 |
22,5 |
436,0 |
|||
|
ПШС 60/150-6300 |
|
|
20 |
|
|
|||
|
ПШС 60/150-5600 |
|
|
16 |
|
|
|||
|
ПШС 60/150-6100 |
323 |
14 |
18 |
23,0 |
432,0 |
|||
|
ПШС 60/150-6500 |
|
|
20 |
|
|
|||
|
ПШС 70/150-6600 |
700 |
|
460 |
495 |
|
16 |
|
|
|
ПШС 70/150-7200 |
370 |
12 |
18 |
22,5 |
436,0 |
|||
|
ПШС 70/150-7700 |
20 |
|||||||
|
ПШС 70/150-9100 |
|
|
25 |
|
|
|||
|
ПШС 70/150-6900 |
|
|
16 |
|
|
|||
|
ПШС 70/150-7500 |
373 |
14 |
18 |
23,0 |
432,0 |
|||
|
ПШС 70/150-8000 |
20 |
|||||||
|
ПШС 70/150-9300 |
|
|
25 |
|
|
|||
|
ПШС 80/150-7900 |
800 |
|
460 |
495 |
|
16 |
|
|
|
ПШС 80/150-8600 |
420 |
12 |
18 |
22,5 |
436,0 |
|||
|
ПШС 80/150-9200 |
20 |
|||||||
|
ПШС 80/150-10700 |
|
|
25 |
|
|
|||
|
ПШС 80/150-8300 |
|
|
16 |
|
|
|||
|
ПШС 80/150-8900 |
423 |
14 |
18 |
23,0 |
432,0 |
|||
|
ПШС 80/150-9600 |
20 |
|||||||
|
ПШС 80/150-11100 |
|
|
25 |
|
|
|||
Характеристики панелей ПШС.
Таблица 1
(окончание)
|
Панель |
Расстояние от центра тяжести сечения до оси "О-О", е |
Площадь поперечного сечения, см2 |
Масса 1 м, кг |
Справочные значения момента инерции для осей |
|
|
"С-С" |
"О-О" |
||||
|
Iс, см4 |
Iо, см4 |
||||
|
ПШС 40/150-3200 |
49 |
375,7 |
295 |
87300 |
96500 |
|
ПШС 40/150-3500 |
50 |
402,1 |
316 |
95100 |
105300 |
|
ПШС 40/150-3800 |
51 |
428,5 |
336 |
102800 |
113800 |
|
ПШС 40/150-3300 |
48 |
401,8 |
315 |
89700 |
99000 |
|
ПШС 40/150-3600 |
49 |
427,9 |
336 |
97500 |
107700 |
|
ПШС 40/150-3900 |
50 |
454,2 |
357 |
105100 |
116200 |
|
ПШС 50/150-4300 |
60 |
411,8 |
323 |
145300 |
160200 |
|
ПШС 50/150-4700 |
61 |
438,1 |
344 |
158000 |
174400 |
|
ПШС 50/150-5000 |
62 |
464,5 |
365 |
170400 |
188400 |
|
ПШС 50/150-4400 |
59 |
443,9 |
348 |
150200 |
165400 |
|
ПШС 50/150-4800 |
60 |
470,2 |
369 |
162800 |
179500 |
|
ПШС 50/150-5200 |
61 |
496,3 |
390 |
175100 |
193300 |
|
ПШС 60/150-5400 |
71 |
448,1 |
352 |
221100 |
243500 |
|
ПШС 60/150-5900 |
72 |
474,5 |
372 |
239800 |
264400 |
|
ПШС 60/150-6300 |
73 |
500,8 |
393 |
258300 |
285100 |
|
ПШС 60/150-5600 |
69 |
486,3 |
382 |
229800 |
252700 |
|
ПШС 60/150-6100 |
70 |
512,3 |
402 |
248300 |
273400 |
|
ПШС 60/150-6500 |
71 |
538,7 |
423 |
266600 |
293900 |
|
ШПС 70/150-6600 |
81 |
484,1 |
380 |
316000 |
348000 |
|
ПШС 70/150-7200 |
82 |
510,5 |
401 |
342000 |
377000 |
|
ПШС 70/150-7700 |
84 |
537,1 |
422 |
368000 |
406000 |
|
ПШС 70/150-9100 |
86 |
603,2 |
474 |
431000 |
476000 |
|
ПШС 70/150-6900 |
78 |
528,4 |
415 |
330000 |
363000 |
|
ПШС 70/150-7500 |
80 |
554,7 |
435 |
356000 |
392000 |
|
ПШС 70/150-8000 |
82 |
580,8 |
456 |
382000 |
420000 |
|
ПШС 70/150-9300 |
84 |
646,2 |
507 |
444000 |
490000 |
|
ПШС 80/150-7900 |
91 |
520,5 |
409 |
433000 |
475000 |
|
ПШС 80/150-8600 |
92 |
546,8 |
429 |
467000 |
514000 |
|
ПШС 80/150-9200 |
94 |
573,2 |
450 |
501000 |
552000 |
|
ПШС 80/150-10700 |
97 |
639,6 |
502 |
584000 |
645000 |
|
ПШС 80/150-8300 |
88 |
570,8 |
448 |
454000 |
498000 |
|
ПШС 80/150-8900 |
90 |
597,1 |
469 |
488000 |
536000 |
|
ПШС 80/150-9600 |
92 |
623,2 |
489 |
522000 |
574000 |
|
ПШС 80/150-11100 |
95 |
688,6 |
541 |
60500 |
666000 |
Характеристики панелей ПШС.
Таблица 2.
|
Панель |
Характеристики шпунтовой стены 1 м |
|||
|
Площадь поперечного сечеиия*, см2 |
Удельный расход стали*, кг/см2 |
Справочные значения величин для оси "О-О" |
||
|
Iо, см4 |
Wo, см3 |
|||
|
ПШС 40/150-3200 |
250,5 |
197 |
64300 |
3215 |
|
ПШС 40/150-3500 |
268,1 |
210 |
70200 |
3510 |
|
ПШС 40/150-3800 |
285,6 |
224 |
75900 |
3795 |
|
ПШС 40/150-3300 |
267,9 |
210 |
66000 |
3300 |
|
ПШС 40/150-3600 |
285,2 |
224 |
71800 |
3590 |
|
ПШС 40/150-3900 |
302,8 |
238 |
77500 |
3875 |
|
ПШС 50/150-4300 |
274,5 |
215 |
106800 |
4275 |
|
ПШС 50/150-4700 |
292,1 |
229 |
116300 |
4650 |
|
ПШС 50/150-5000 |
309,6 |
243 |
125600 |
5025 |
|
ПШС 50/150-4400 |
295,9 |
232 |
110300 |
4410 |
|
ПШС 50/150-4800 |
313,5 |
246 |
119600 |
4785 |
|
ПШС 50/150-5200 |
330,9 |
260 |
128900 |
5155 |
|
ПШС 60/150-5400 |
298,7 |
234 |
162300 |
5410 |
|
ПШС 60/150-5900 |
316,3 |
248 |
176300 |
5875 |
|
ПШС 60/150-6300 |
333,9 |
262 |
190000 |
6335 |
|
ПШС 60/150-5600 |
324,2 |
254 |
168400 |
5615 |
|
ПШС 60/150-6100 |
341,5 |
268 |
182300 |
6075 |
|
ПШС 60/150-6500 |
359,1 |
282 |
195900 |
6530 |
|
ПШС 70/150-6600 |
322,8 |
253 |
232000 |
6630 |
|
ПШС 70/150-7200 |
340,3 |
267 |
251000 |
7180 |
|
ПШС 70/150-7700 |
358,1 |
281 |
270000 |
7720 |
|
ПШС 70/150-9100 |
402,1 |
316 |
317000 |
9060 |
|
ПШС 70/150-6900 |
352,2 |
277 |
242000 |
6910 |
|
ПШС 70/150-7500 |
369,8 |
290 |
261000 |
6460 |
|
ПШС 70/150-8000 |
387,2 |
304 |
280000 |
8000 |
|
ПШС 70/150-9300 |
430,8 |
338 |
326000 |
9320 |
|
ПШС 80/150-7900 |
347,0 |
272 |
317000 |
7920 |
|
ПШС 80/150-8600 |
364,6 |
286 |
342000 |
8560 |
|
ПШС 80/150-9200 |
382,1 |
300 |
368000 |
9200 |
|
ПШС 80/150-10700 |
426,4 |
335 |
430000 |
10750 |
|
ПШС 80/150-8300 |
380,6 |
299 |
332000 |
8300 |
|
ПШС 80/150-8900 |
398,1 |
312 |
357000 |
8930 |
|
ПШС 80/150-9600 |
415,5 |
326 |
382000 |
9560 |
|
ПШС 80/150-11100 |
459,1 |
360 |
444000 |
11100 |
|
* с учетом металла усиления сварных швов в размере 1% от номинального значения показателя |
||||
|
Наименование материалов |
Плотность т/м3 |
|
Сталь |
7,85 |
|
Чугун |
7,20 |
|
Свинец |
11,40 |
|
Алюминий и его сплавы |
2,70 |
|
Бетон вибрированный на гравии или щебне из природного камня |
2,35 |
|
Железобетон (в зависимости от величины коэффициента армирования μ в процентах) |
|
|
Кладка из тесаных или грубо околотых камней гранита |
2,7 |
|
То же песчаника |
2,4 |
|
То же известняка |
2,0 |
|
Кладка бутовая и бутобетонная на известковом камне |
2,0 |
|
на песчаниках и кварцитах |
2,2 |
|
на граните и базальте |
2,4 |
|
Кладка кирпичная |
1,8 |
|
Мастика асфальтовая |
1,6 |
|
Асфальтобетон песчаный |
2,0 |
|
среднезернистый |
2,3 |
|
Балласт щебеночный |
1,7 |
|
Сосна, ель, кедр: |
|
|
пропитанные |
0,7 |
|
непропитанные |
0,6 |
|
Дуб и лиственница: |
|
|
пропитанные |
0,9 |
|
непропитанные |
0,8 |
|
Шлакобетон |
1,8 |
|
Керамзитобетон |
1,6 |
|
Шлак |
0,6 - 0,8 |
|
Вата минеральная |
0,1 - 0,15 |
|
Плиты минераловатные |
0,1 - 0,2 |
|
Фанера клееная |
0,6 |
|
Плиты древесноволокнистые и древесно-стружечные |
1,0 |
|
Опилки |
0,25 |
|
Пенопласт |
0,08 - 0,15 |
|
Рубероид, пергамин, толь |
0,6 |
|
Снег |
0,1 - 0,3 |
|
лед |
0,9 |
|
Примечание. Масса металла сварных швов принимается - 1.0 % от массы основного металла для болто-сварных и 2.0 % для сварных конструкций. Масса головок болтов, гаек, выступающих концов болтов принимается равной 3 % от массы основного металла. |
|
______________
* - в настоящем приложении речь идет только о нормативных величинах (давления, веса, нагрузки, характеристик грунта); в целях избежания повторении слово «нормативное» далее опускается.
1. Давление воды на ограждение котлована принимают распределенным по закону гидростатики. Давление грунта (активное и пассивное) определяют по теории Кулона, учитывая сцепление в суглинках и глинах.
2. Нормативное активное давление и нормативное пассивное давление грунта определяют в зависимости от нормативных характеристик грунта (удельного веса γ, угла внутреннего трения φ, а для суглинков и глин также и от сцепления с), устанавливаемых на основании данных инженерно-геологических изысканий с учетом природного состояния грунта.
Для предварительных расчетов допускается нормативные характеристики грунтов принимать по табл. приложения 11.
3. При определении давлений на ограждение допускается разнородные грунты, различающиеся значениями каждой из характеристик (объемного веса γ, угла внутреннего трения φ и сцепления с) не более чем на 20 %, рассматривать как однородный грунт со средневзвешенными значениями характеристик
(1)
где γi, φi, сi - значения γ, φ, с для i-гo слоя грунта толщиной hi.
4. Если песок или супесь расположены ниже поверхности воды, то горизонтальное давление на ограждение следует определять, суммируя гидростатическое давление и активное или пассивное давление взвешенного в воде грунта.
Удельный вес грунта во взвешенном состоянии определяют по формуле:
(2)
где ε - коэффициент пористости грунта;
γ0 - удельный вес грунта, принимаемый в среднем 27 кН/м3
γв = 10 кН/м3 - удельный вес воды.
Допускается принимать γвзв = 10 кН/м3.
5. В случаях, когда котлован разрабатывают на местности, не покрытой водой, и превышение h'в уровня грунтовых вод над дном котлована составляет не более 2 м и не более трети глубины котлована, допускается в расчете ограждений с одним или несколькими ярусами распорных креплений определять прямой отпор грунта (пассивное давление грунта со стороны котлована) с учетом трения грунта по стенке ограждения. Угол трения грунта по стенке принимают равным:
![]()
где φ - угол внутреннего трения грунта в котловане.
В остальных случаях давление грунта (активное и пассивное) на ограждение следует определять, принимая δ = 0.
6. Вертикальную нагрузку на призме обрушения принимают:
а) от веса материалов и возможной отсыпки грунта - в виде равномерно распределенной нагрузки интенсивностью, соответствующей предполагаемым проектным размерам материалов и отсыпки, но не менее 10 кН/м3.

Рис. 10.1. Вертикальная нагрузка на призме обрушения от автотранспорта.
б) от строительного оборудования, кранов, копров и транспортных средств, перемещающихся по рельсам, - по паспортным данным, каталогам и справочникам (с учетом загружения, наиболее неблагоприятного для рассчитываемой конструкции);
в) от автотранспорта, проходящего по дороге, расположенной вдоль котлована, в виде полосовой нагрузки р с шириной полосы 3,0 м для каждого ряда машин (Рис. 10.1.).

Рис. 10.2. Вертикальная нагрузка на призме обрушения от гусеничных и колесных кранов.
При расстоянии b между краем котлована и бровкой дороги b = 3,0-2,0 м и весе машин до 250 кн величина р принимается равной 20 кПа, при расстоянии 2,0-1,0 м - р=30 кПа и при меньшем расстоянии - 40 кПа. При расстоянии между дорогой и котлованом больше 3,0 м величина р = 10 кПа. При весе машин до 300 кН значения р увеличиваются в 1,2 раза; при весе до 450 кН - в 1,9 раза и весе 600 кН - в 2,5 раза;
г) от гусеничных и колесных кранов, работающих в непосредственной близости от котлована, в виде полосовой нагрузки р шириной 1,5 м (Рис. 10.2.). Величина р принимается равной 3,0 тс/м2 при рабочем весе (собственный вес крана и максимального груза) до 100 кН; 60 кПа при рабочем весе 300 кН; 90 кПа при рабочем весе 500 кН и 120 кПа (при рабочем весе 700 кН (промежуточные значения - по интерполяции);
д) от трамвая, проходящего параллельно стенке, принимается в виде полосовой нагрузки, равной 15 кПа при распределении ее на ширине 3,0 м;
е) от железнодорожного пути, проходящего параллельно стенке ограждения, принимается в виде полосовой нагрузки, распределенной на ширине 3,5 м с интенсивностью 280 кН/м на линиях, где проходит нагрузка, близкая к расчетной С14 (тяжелые транспортеры, электровозы).
Допускается уменьшать интенсивность нагрузки с учетом реально обращающейся нагрузки и рекомендаций приложения 12.

Рис. 10.3. К определению эквивалентной нагрузки от однорельсовой тележки на призме обрушения.

Рис. 10.4. К определению эквивалентной нагрузки от двухрельсовой тележки на призме обрушения.
7. При определении активного давления на ограждение вертикальную нагрузку на призме обрушения, распределенную в пределах двух площадок с общей осью, параллельной стенке (Рис. 10.3. и 10.4.), приводят к эквивалентной нагрузке, распределенной по сплошной полосе, имеющей неограниченную протяженность вдоль стенки и ширину b. Под размером b (шириной полосы распределения эквивалентной нагрузки) понимают: для рельсовой нагрузки - длину полушпалы при однорельсовых тележках (см. Рис. 10.3.) или длину шпалы при двухрельсовых тележках (см. Рис. 10.4.).
8. Интенсивность эквивалентной нагрузки (см. п. 7.) определяют по формуле:
![]()
где Q - равнодействующая вертикальной нагрузки, распределенной на поверхности призмы обрушения в пределах одной площадки или двух площадок b x f с общей осью, параллельной стенке (см. Рис. 10.3. и 10.4.);
l - длина участка стенки, в пределах которого на стенку действует боковое давление грунта от загружения призмы обрушения этой вертикальной нагрузкой.
В случаях, когда нагрузка на призме обрушения приложена по схемам Рис. 10.3. и 10.4. и при этом удовлетворяется условие:
(4)
принимают:
(5)
в остальных случаях следует принимать:
(6)
где с - для рельсовой нагрузки - база тележки крана, рабочего мостика или платформы (см. Рис. 10.3. и 10.4.);
f - для рельсовой нагрузки - длина распределения нагрузки рельсом (см. Рис. 10.3. и 10.4.), принимаемая равной 1 м;
а - расстояние от центра площадки передачи нагрузки до стенки ограждения;
φ - угол внутреннего трения грунта за стенкой.
Если в пределах высоты
расположены слои
грунта с углами внутреннего трения, отличающимися друг от друга не более чем на
20 %, допускается принимать φ = φср, где φср
- средневзвешенное для глубины h значение угла внутреннего трения грунта. При
большем различии в значениях углов внутреннего трения грунта длину l определяют на основе
построения, показанного на Рис. 10.5.
9. Если поверхность грунта ограничена плоскостью и на ней равномерно распределена нагрузка интенсивностью q, то активное давление песка или супеси на стенку ограждения принимают изменяющимся по прямолинейному закону от значения P1 на уровне верха стенок до значения Р2 на глубину Н (Рис. 10.6.):
P1 = q λa;
Р2 = (q + γН) λa; (7)
где: γ - объемный вес грунта;
λa - коэффициент активного давления грунта, определяемый выражением:
(8)
φ - угол внутреннего трения грунта;
а - угол между плоскостью, ограничивающей поверхность грунта, и горизонтальной поверхностью; правило знаков для угла α показано на Рис. 10.6.

Рис. 10.5. К определению эквивалентной нагрузки при наличии за стенкой нескольких слоев грунта, отличающихся углами внутреннего трения.

Рис. 10.6. К определению активного давления песка или супеси на стенку ограждения в случае, если поверхность грунта ограничена плоскостью и на ней равномерно распределена нагрузка.
При горизонтальной поверхности грунта (α = 0) и отсутствии на ней нагрузки:
(9)
10. В случаях, не охваченных п. 9., активное давление песка или супеси на стенку ограждения может быть определено излагаемым ниже способом.
Находят равнодействующую активного давления грунта - силу Е, как наибольшее из значений Еi, подсчитанных по формуле:
Ei = Gi tg(Θi - φ), (10)
где: Gi - сумма веса Gгр, предполагаемой призмы обрушения ABCi и равнодействующей, расположенной над ней нагрузки (Рис. 10.7., а);
Θi - угол между предполагаемой плоскостью обрушения и горизонтальной плоскостью.
Значение Θi, которому соответствует наибольшее значение Ei, определенное по формуле (10), принимают за угол Θ между плоскостью обрушения и горизонтальной плоскостью.
Силу Е рассматривают как сумму силы Егр от веса призмы обрушения и сил Eq от каждой из нагрузок* на призме обрушения.
______________
* В целях упрощения Рис. 10.7. на нем показана лишь одна нагрузка интенсивностью q, распределенная на ширине b.
Силу Егр определяют по формуле:
Егр = Gгp tg(Θ - φ) (11)
Принимают, что сила Егр является равнодействующей давлений, эпюра которых имеет вид прямоугольника (см. Рис. 10.7. б).
Силу Eq от нагрузки q, расположенной на призме обрушения и распределенной по ширине b, определяют по формуле:
Eq = q b tg (Θ - φ) (12)
Принимают, что сила Eq является равнодействующей давления на стенку, равномерно распределенного между точками А1 и А2 на пересечении со стенкой прямых, проведенных параллельно следу плоскости обрушения из начала и конца участка, в пределах которого действует нагрузка q (см. Рис. 10.7. б). Если плоскость обрушения делит участок, на котором расположена нагрузка q, то за конец участка следует принимать след пересечения плоскости обрушения с поверхностью грунта.

Рис. 10.7. К определению активного давления песка или супеси на стенку ограждений при произвольном очертании поверхности грунта и расположении на ней нагрузки
11. Если поверхность грунта горизонтальна и на ней равномерно распределена нагрузка интенсивностью q, то активное давление грунта из нескольких слоев песка или супеси в пределах каждого (i-гo) слоя принимают изменяющимся прямолинейно от давления pi, на уровне кровли этого слоя до давления p'i на уровне его подошвы (Рис. 10.8.):
;
; (13)
где: hi - толщина i-го слоя грунта с объемным весом γi, и углом внутреннего трения φi;
-
коэффициент активного давления грунта i-гo слоя.
12. Активное давление суглинка или глины допускается определять, учитывая сцепление грунта с путем уменьшения ординат эпюры, построенной как для несвязного грунта (по объемному весу γ и углу φ внутреннего трения суглинка или глины) на величину, которая при плоской поверхности грунта, наклоненной к горизонту под углом α, определяется выражением:
(14)
λа - коэффициент активного давления грунта, определяемый по формуле (8)

Рис. 10.8. К определению активного давления грунта из нескольких слоев песка или супеси на стенку ограждения
В пределах участка, на котором величина рс превышает ординаты активного давления, вычисленные как для несвязного грунта, активное давление суглинка или глины не учитывают.
Построение эпюры активного давления однородного грунта в виде суглинка или глины показано на Рис. 10.9.
В случае разнородного грунта уменьшение активного давления за счет сцепления учитывают в пределах каждого слоя суглинка или глины, определяя величину рс по формуле (14) по характеристикам φ и с соответствующего слоя.
При горизонтальной поверхности грунта (α = 0) формула (14) может быть представлена в виде:
(5)
13. Эпюру пассивного давления супеси или песка на стенку принимают в виде треугольника с наибольшей ординатой (Рис. 10.10.):
рn = γНλn (16)
где: λn - коэффициент пассивного давления грунта, определяемый выражением:
(17)
Угол δ трения грунта по стенке следует принимать по п. 5. При δ = 0 формула (17) упрощается и принимает вид:
(18)
14. Ординаты эпюры пассивного давления суглинка или глины на стенку (Рис. 11) получают суммированием соответствующих ординат двух эпюр: эпюры, построенной как для несвязного грунта (по значению угла φ внутреннего трения суглинка пли глины) и эпюры с ординатами, равными:
![]()

Рис. 10.9. К определению активного давления суглинка или глины

Рис. 10.10. Эпюра пассивного давления песка или супеси на стенку ограждения
Дня поверхностного слоя, где возможно нарушение структуры суглинка или глины, расчетное сцепление с принимают уменьшающимся по линейному закону от полной величины (определяемой по п. 2) на глубине 1,0 м до нуля у поверхности грунта.
15. При проектировании замкнутых в плане ограждений узких и глубоких котлованов, расположенных в сухих грунтах с углом внутреннего трения более 30°, допускается учитывать снижение активного давления грунта за счет пространственных условий работы.

Рис. 10.11. Эпюра пассивного давления суглинка или глины на стенку ограждения
Снижение учитывается коэффициентом η, вводимым к величине давления Е от собственного веса грунта. Коэффициент η следует принимать равным 0,7 при k = В : Н = 0,5 и 1,0 при k ≥ 2 (В - наибольший размер в плане и Н - глубина котлована). При значениях 0,5 < k < 2 величина его принимается по интерполяции.
а) Песчаных грунтов.
|
Виды песков |
Характеристика грунтов |
Характеристика грунтов При коэффициенте пористости |
|||
|
0.45 |
0.55 |
0.65 |
0.75 |
||
|
Гравелистые и крупные |
γ |
20.5 (2.05) |
19.5 (1.95) |
19.0 (1.90) |
- |
|
С |
2 (0.02) |
1 (0.01) |
- |
- |
|
|
φ |
43 |
40 |
38 |
- |
|
|
Средней крупности |
γ |
20.5 (2.05) |
19.5 (1.95) |
19.0 (1.90) |
- |
|
С |
3 (0.03) |
2 (0.02) |
1 (0.01) |
- |
|
|
φ |
40 |
38 |
35 |
- |
|
|
Мелкие |
γ |
19.5 (1.95) |
19.5 (1.95) |
19.0 (1.90) |
19.0 (1.90) |
|
С |
6 (0.06) |
4 (0.04) |
2 (0.02) |
- |
|
|
φ |
38 |
36 |
32 |
28 |
|
|
Пылеватые |
γ |
19.5 (1.95) |
19.5 (1.95) |
19.0 (1.90) |
19.0 (1.90) |
|
С |
8 (0.08) |
6 (0.06) |
4 (0.04) |
2 (0.02) |
|
|
φ |
36 |
34 |
30 |
26 |
|
Примечание.
Для насыпного грунта φ принимается на 5° ниже, а γ - на 10 % меньше.
б) Глинистых грунтов четвертичных отложений.
|
Наименование грунтов и консистенция IL |
Характеристика грунтов |
Характеристика грунтов при коэффициенте пористости |
||||||
|
0.45 |
0.55 |
0.65 |
0.75 |
0.85 |
0.95 |
1.05 |
||
|
Супеси 0 ≤ IL ≤ 0.25 |
γ |
21.0 |
20.0 |
19.5 |
- |
- |
- |
- |
|
|
(2.10) |
(2.00) |
(1.95) |
- |
- |
- |
- |
|
|
С |
21 |
17 |
15 |
13 |
- |
- |
- |
|
|
|
(0.21) |
(0.17) |
(0.15) |
(0.13) |
- |
- |
- |
|
|
φ |
30 |
29 |
27 |
- |
- |
- |
- |
|
|
Супеси 0.25 ≤ IL ≤ 0.75 |
γ |
21.0 |
20.0 |
19.5 |
19.0 |
- |
- |
- |
|
|
(2.10) |
(2.00) |
(1.95) |
(1.90) |
- |
- |
- |
|
|
С |
19 |
15 |
13 |
11 |
9 |
- |
- |
|
|
|
(0.19) |
(0.15) |
(0.13) |
(0.11) |
(0.09) |
- |
- |
|
|
φ |
28 |
26 |
24 |
21 |
- |
- |
- |
|
|
Суглинки 0 ≤ IL ≤ 0.25 |
γ |
21.0 |
20.0 |
19.5 |
19.0 |
18.5 |
18.0 |
17.5 |
|
|
(2.10) |
(2.00) |
(1.95) |
(1.90) |
(1.85) |
(1.80) |
(1.75) |
|
|
С |
47 |
37 |
31 |
25 |
22 |
19 |
15 |
|
|
|
(0.47) |
(0.37) |
(0.31) |
(0.25) |
(0.22) |
(0.19) |
(0.15) |
|
|
φ |
26 |
25 |
24 |
23 |
22 |
20 |
20 |
|
|
Суглинки 0.25 ≤ IL ≤ 0.50 |
γ |
21.0 |
20.0 |
19.5 |
19.0 |
18.5 |
18.0 |
- |
|
|
(2.10) |
(2.00) |
(1.95) |
(1.90) |
(1.85) |
(1.80) |
- |
|
|
С |
39 |
34 |
28 |
23 |
18 |
15 |
- |
|
|
|
(0.39) |
(0.34) |
(0.28) |
(0.23) |
(0.18) |
(0.15) |
- |
|
|
φ |
24 |
23 |
22 |
21 |
19 |
17 |
- |
|
|
Суглинки 0.50 ≤ IL ≤ 0.75 |
γ |
- |
- |
19.5 |
19.0 |
18.5 |
18.0 |
17.5 |
|
|
- |
- |
(1.95) |
(1.90) |
(1.85) |
(1.80) |
(1.75) |
|
|
С |
- |
- |
25 |
20 |
16 |
14 |
12 |
|
|
|
- |
- |
(0.25) |
(0.20) |
(0.16) |
(0.14) |
(0.12) |
|
|
φ |
- |
- |
19 |
18 |
16 |
14 |
12 |
|
|
Глины 0 ≤ IL ≤ 0.25 |
γ |
|
20.0 |
19.5 |
19.0 |
18.5 |
18.0 |
17.5 |
|
|
- |
(2.00) |
(1.95) |
(1.90) |
(1.85) |
(1.80) |
(1.75) |
|
|
С |
- |
81 |
68 |
54 |
47 |
41 |
36 |
|
|
|
- |
(0.81) |
(0.68) |
(0.54) |
(0.47) |
(0.41) |
(0.36) |
|
|
φ |
- |
21 |
20 |
19 |
18 |
16 |
14 |
|
|
Глины 0.25 ≤ IL ≤ 0.50 |
γ |
- |
- |
19.5 |
19.0 |
18.5 |
18.0 |
17.5 |
|
|
- |
- |
(195) |
(1.90) |
(1.85) |
(1.80) |
(1.75) |
|
|
С |
- |
- |
57 |
50 |
43 |
37 |
32 |
|
|
|
- |
- |
(0.57) |
(0.50) |
(0.43) |
(0.37) |
(0.32) |
|
|
φ |
- |
- |
18 |
17 |
16 |
14 |
11 |
|
|
Глины 0.50 ≤ IL ≤ 0.75 |
γ |
- |
- |
19.5 |
19.0 |
18.5 |
18.0 |
17.5 |
|
|
- |
- |
(1.95) |
(1.90) |
(1.85) |
(1.80) |
(175) |
|
|
С |
- |
- |
45 |
41 |
36 |
33 |
29 |
|
|
|
- |
- |
(0.45) |
(0.41) |
(0.36) |
(0.33) |
(0.29) |
|
|
φ |
- |
- |
15 |
14 |
12 |
10 |
7 |
|
|
Баллы |
Высота волны, м |
Характеристика волнения |
Состояние водной поверхности |
|
0 |
0 |
Волнение отсутствует |
Зеркально-гладкая поверхность. |
|
1 |
до 0.25 |
Слабое |
Рябь, появляются небольшие гребни волн. |
|
2 |
0.25 - 0.75 |
Умеренное |
Небольшие гребни волн начинаются, но пена не белая, а стекловидная. |
|
3 |
0.75- 1.25 |
Умеренное |
Хорошо заметные небольшие волны, гребни некоторых на них опрокидываются, образуя местами белую клубящуюся пену - «барашки». |
|
4 |
1.25-2 |
Значительное |
Волны принимают хорошо выраженную форму, повсюду образуются «барашки». |
|
5 |
2-3.5 |
Сильное |
Появляются гребни большой высоты, их вершины занимают большие площади, ветер начинает срывать пену. |
|
6 |
3.5-6 |
Сильное |
Гребни очерчивают длинные валы ветровых волн, пена, срываемая с гребней ветром, начинает вытягиваться полосами по склонам волн. |
|
7 |
6-8.5 |
Очень сильное |
Длинные полосы пены, срываемой ветром, покрывают склоны волн и местами, сливаясь, достигают их подошв. |
|
8 |
8.5-11 |
Очень сильное |
Пена широкими плотными сливающимися полосами покрывает склоны волн, отчего поверхность становится белой, только местами, во впадинах волн видны свободные от пены участки. |
|
9 |
11 и более |
Исключительное |
Поверхность моря покрыта плотным слоем пены, воздух наполнен водяной пылью и брызгами; видимость уменьшена. |
|
10 |
11 и более |
Исключительное |
Поверхность моря покрыта плотным слоем пены, воздух наполнен водяной пылью и брызгами; видимость значительно уменьшена. |
1. Изгибающие моменты в середине пролета разрезных балочных пролетных строений, возникающие при проходе по ним консольных кранов ГЭПК-130 и ГЭК-80 с блоками железобетонных пролетных строений, определяются по эквивалентным равномерно распределенным нагрузкам k в кН/м (тс/м) пути при α = 0.5 (для линий влияния треугольного очертания), приведенным в табл. 1.1. и 1.2.
Таблица 1.1.
|
Расчетная длина загружаемого пролета λ, м |
Эквивалентные нагрузки k в кН/м (тс/м) от консольного крана ГЭПК-130 с блоками пролетных строений весом, кН (тс) длиной, м |
|||
|
500 (50) 16.5 |
600 (60) 18.7 |
850 (85) 23.6 |
1080(108) 27.6 |
|
|
15.8 |
197 (19.7) |
201 (20.1) |
210 (21.0) |
218 (21.8) |
|
18.0 |
194 (19.4) |
198 (19.8) |
206 (20.6) |
214 (21.4) |
|
22.9 |
188 (18.8) |
192 (19.2) |
202 (20.2) |
- |
|
26.9 |
185 (18.5) |
188 (18.8) |
196 (19.6) |
204 (20.4) |
|
Давление на ось крана, кН (тс) |
344 (34.4) |
351 (35.1) |
367 (36.7) |
381 (38.1) |
Таблица 1.2.
|
Расчетная длина загружаемого пролета λ, м |
Эквивалентные нагрузки k в кН/м (тс/м) от консольного крана ГЭК-80 с блоками пролетных строений весом, кН (тс) длиной, м |
||
|
500/450 (50/45)* 16.5 |
600/600 (60/60) 18.7 |
850/750 (85/75) 23.6 |
|
|
15.8 |
160 (16.0) |
165 (16.5) |
190 (19.0) |
|
18.0 |
151 (15.1) |
155 (15.5) |
179 (17.9) |
|
22.9 |
131 (13.1) |
135 (13.5) |
155 (15.5) |
|
Давление на ось крана, кН (тс) |
280 (28.0) |
290 (29.0) |
336 (33.6) |
* - вес блоков указан с учетом строповочных приспособлений, через дробь дан вес противовесов.
Здесь
- положение вершины
линии влияния,
где: a - проекция наименьшего расстояния от вершины линии влияния, м;
λ - длина загружения линии влияния, м.
Опорные реакции допускается определять по упомянутым табличным значениям эквивалентных нагрузок, увеличенным на 15 %.
Схема строповки блоков принята по действующим типовым проектам сборных пролетных строений (с нормальной высотой) из предварительно напряженного железобетона.
2. Схемы наиболее часто обращающегося на сети подвижного состава, а также схемы строящихся восьмиосных цистерн (в габарите для цистерн - Тц) и тепловозов шестиосных (в одной секции) приведены на рисунке.
Характеристики каждой из единиц подвижного состава помещены в табл. 2.
Таблица 2.
|
Подвижной состав |
Характеристики единиц подвижного состава |
|||||
|
число осей |
грузоподъемность кН (тс) |
нагрузка на ось, кН (тс) |
длина по осям сцепления автосцепок, м |
нагрузка на погонный метр пути, кН/м (тс/м) |
||
|
обращающиеся |
хоппер-дозатор |
4 |
600 (60) |
206.4 (20.64) |
10.87 |
76.0 (7.60) |
|
полувагон |
6 |
940 (94) |
209.0 (20.90) |
16.40 |
76.5 (7.65) |
|
|
полувагон |
8 |
1250 (125) |
210.0 (21.00) |
20.24 |
83.0 (8.30) |
|
|
тепловоз ТЭ-3 |
6 (в секции) |
- |
210.0 (21.00) |
16.97 |
74.2 (7.42) |
|
|
строящиеся |
цистерна |
8 |
1250 (125) |
220.0 (22.00) |
18.90 |
94.2 (9.42) |
|
тепловоз ТЭ-121 |
6 (в секции) |
- |
250.0 (25.00) |
22.00 |
68.2 (6.82) |
|
3. Эквивалентные нагрузки R в кН/м (тс/м) пути от воздействия приведенных на рисунке схем для загружения линий влияния треугольного очертания (при λ = 0.5 и λ = ) от однотипных вагонов приведены в табл. 3, а от ряда тепловозов ТЭ-3 и ТЭ-121 (без учета вагонной нагрузки) - в табл. 4.
Таблица 3.
|
Длина загружения λ, м |
Эквивалентные нагрузки k в кН/м (тс/м) пути от обращающихся полувагонов с количеством осей |
|||||
|
4 |
6 |
8 |
||||
|
α = 0 |
α = 0.5 |
α = 0 |
α = 0.5 |
α = 0 |
α = 0.5 |
|
|
1 |
440.0 (44.00) |
440.0 (44.00) |
440.0 (44.00) |
440.0 (44.00) |
440.0 (44.00) |
440.0 (44.00) |
|
2 |
236.5 (23.65) |
220.0 (22.00) |
275.0 (27.50) |
220.0 (22.00) |
291.5 (29.15) |
220.0 (22.00) |
|
3 |
202.9 (20.29) |
146.7 (14.67) |
220.0 (22.00) |
165.0 (16.50) |
227.3 (22.73) |
176.2 (17.62) |
|
4 |
169.1 (16.91) |
130.0 (13.00) |
206.3 (20.63) |
165.0 (16.50) |
204.9 (20.49) |
154.0 (15.40) |
|
5 |
157.2 (15.72) |
116.9 (11.69) |
184.8 (18.48) |
158.4 (15.84) |
183.9 (18.39) |
151.4 (15.14) |
|
6 |
145.8 (14.58) |
116.8 (11.68) |
165.5 (16.55) |
146.7 (14.67) |
169.9 (16.99) |
141.8 (14.18) |
|
7 |
142.4 (14.24) |
112.8 (11.28) |
157.5 (15.75) |
134.7 (13.47) |
160.7 (16.07) |
136.5 (13.65) |
|
8 |
136.5 (13.65) |
107.0 (10.70) |
151.8 (15.18) |
123.8 (12.38) |
150.6 (15.06) |
132.0 (13.20) |
|
9 |
129.6 (12.96) |
103.9 (10.39) |
147.3 (14.73) |
115.0 (11.50) |
145.2 (14.52) |
126.0 (12.60) |
|
10 |
122.6 (12.26) |
101.7 (10.17) |
145.7 (14.57) |
115.1 (11.51) |
139.6 (13.96) |
119.9 (11.99) |
|
12 |
113.0 (11.30) |
95.1 (9.51) |
137.9 (13.79) |
110.7 (11.07) |
135.5 (13.55) |
113.9 (11.39) |
|
14 |
108.4 (10.84) |
89.4 (8.94) |
128.2 (12.82) |
108.3 (10.83) |
132.7 (13.27) |
110.0 (1 1.00) |
|
16 |
105.2 (10.52) |
85.6 (8.56) |
118.8 (11.88) |
103.5 (10.35) |
129.1 (12.91) |
108.3 (10.83) |
|
18 |
103.5 (10.35) |
82.6 (8.26) |
112.4 (11.24) |
98.1 (9.81) |
123.7 (12.37) |
106.8 (10.68) |
|
20 |
101.5 (10.15) |
82.3 (8.23) |
109.4 (10.94) |
92.7 (9.27) |
117.8 (11.78) |
104.1 (10.41) |
|
25 |
96.4 (9.64) |
81.9 (8.19) |
104.3 (10.43)_ |
84.9 (8.49) |
110.0 (11.00) |
95.4 (9.54) |
|
30 |
94.4 (9.44) |
82.8 (8.28) |
101.6 (10.16) |
81.2 (8.12) |
106.4 (10.64) |
90.8 (9.08) |
|
35 |
92.0 (9.20) |
82.3 (8.23) |
97.2 (9.72) |
81.0 (8.10) |
105.0 (10.50) |
88.4 (8.84) |
|
40 |
90.9 (9.09) |
81.3 (8.13) |
95.2 (9.52) |
82.2 (8.22) |
102.4 (10.24) |
87.2 (8.72) |
|
45 |
89.4 (8.94) |
81.2 (8.12) |
94.3 (9.43) |
82.7 (8.27) |
100.1 (10.01) |
87.7 (8.77) |
|
50 |
88.7 (8.87) |
81.6 (8.16) |
92.4 (9.24) |
82.8 (8.28) |
98.9 (9.89) |
88.3 (8.83) |
|
60 |
87.4 (8.74) |
81.2 (8.12) |
90.7 (9.07) |
81.1 (8.11) |
97.2 (9.72) |
88.9 (8.89) |
|
70 |
86.5 (8.65) |
81.2 (8.12) |
89.0 (8.90) |
80.8 (8.08) |
85.5 (8.55) |
87.7 (8.77) |
|
80 |
85.9 (8.58) |
81.2 (8.12) |
88.1 (8.81) |
81.4 (8.14) |
94.7 (9.47) |
87.0 (8.70) |
|
90 |
85.3 (8.53) |
81.0 (8.10) |
87.1 (8.71) |
80.8 (8.08) |
93.6 (9.36) |
87.3 (8.73) |
|
100 |
84.8 (8.48) |
81.1 (8.11) |
86.4 (8.64) |
80.6 (8.06) |
93.1 (9.31) |
87.5 (8.75) |
Примечание.
1. При учете распределения сосредоточенного давления элементами верхнего строения пути k принимаются не более:
- 220 кП/м (22 тс/м) пути при передаче давления мостовой поперечиной и при непосредственном прикреплении рельсов к пролетному строению;
- 170 кН/м (17 тс/м) пути при передаче давления через балласт (и при расчете подпорных стен).
Таблица 4.
|
Длина загружения λ, м |
Эквивалентные нагрузки k в кН/м (тс/м) пути от тепловозов |
|||
|
ТЭ-3, давление на ось 210 кН (21 тс) |
ТЭ-121, давление на ось 250 кН (25 тс) |
|||
|
α = 0 |
α = 0.5 |
α = 0 |
α = 0.5 |
|
|
1 |
420.0 (44.00) |
420.0 (42.00) |
500.0 (50.00) |
500.0 (50.00) |
|
2 |
210.0 (21.00) |
210.0 (21.00) |
250.0 (25.00) |
250.0 (25.00) |
|
3 |
182.0 (18.20) |
140.0 (14.00) |
213.9 (21.39) |
166.7 (16.67) |
|
4 |
154.9 (15.49) |
114.2 (11.42) |
182.8 (18.28) |
133.7 (13.37) |
|
5 |
146.2 (14.62) |
110.9 (11.09) |
171.0 (17.10) |
128.0 (12.80) |
|
6 |
136.5 (13.65) |
112.0 (11.20) |
160.4 (16.04) |
130.6 (13.06) |
|
7 |
126.0 (12.60) |
108.0 (10.80) |
148.5 (14.85) |
126.5 (12.65) |
|
8 |
116.2 (11.62) |
102.4 (10.24) |
137.1 (13.71) |
120.3 (12.03) |
|
9 |
110.6 (11.06) |
96.4 (9.64) |
126.9 (12.69) |
113.6 (11.36) |
|
10 |
106.4 (10.64) |
90.7 (9.07) |
119.8 (11.98) |
107.0 (10.70) |
|
12 |
101.7 (10.17) |
80.5 (8.05) |
111.8 (11.18) |
95.1 (9.51) |
|
14 |
99.2 (9.92) |
77.3 (7.73) |
107.9 (10.79) |
85.2 (8.52) |
|
16 |
95.6 (9.56) |
75.6 (7.56) |
106.1 (10.61) |
81.3 (8.13) |
|
18 |
92.4 (9.24) |
75.3 (7.53) |
102.3 (10.23) |
79.6 (7.96) |
|
20 |
90.5 (9.05) |
75.7 (7.57) |
97.9 (9.79) |
78.0 (7.80) |
|
25 |
87.4 (8.74) |
77.1 (7.71) |
89.7 (8.97) |
74.1 (7.41) |
|
30 |
85.3 (8.53) |
74.8 (7.48) |
86.6 (8.66) |
71.4 (7.14) |
|
35 |
83.6 (8.36) |
74.5 (7.45) |
83.9 (8.39) |
71.2 (7.12) |
|
40 |
82.6 (8.26) |
75.1 (7.51) |
82.7 (8.27) |
68.8 (6.88) |
|
45 |
81.5 (8.15) |
74.9 (7.49) |
80.4 (8.04) |
68.4 (6.84) |
|
50 |
80.9 (8.09) |
74.4 (7.44) |
79.2 (7.92) |
68.7 (6.87) |
|
60 |
79.7 (7.97) |
74.7 (7.47) |
77.6 (7.76) |
69.1 (6.91) |
|
70 |
78.9 (7.89) |
74.3 (7.43) |
76.0 (7.60) |
68.6 (6.86) |
|
80 |
78.3 (7.83) |
74.4 (7.44) |
75.1 (7.51) |
68.7 (6.87) |
|
90 |
77.9 (7.79) |
74.4 (7.44) |
74.3 (7.43) |
68.3 (6.83) |
|
100 |
75.5 (7.55) |
74.3 (7.43) |
73.7(7.37) |
68.6(6.86) |
Примечание.
Ограничения величин эквивалентных нагрузок k, кН/м (тс/м), пути принимаются такие же, как и для вагонов с осевым давлением 220 кН 22 тс).

Схемы осевых нагрузок подвижного состава:
а - обращающиеся вагоны: четырехосный хоппер-дозатор, цельнометаллические шести- и восьмиосные полувагоны;
б - строящиеся восьмиосные цистерны;
в - обращающиеся тепловозы ТЭ-3;
г - строящиеся тепловозы ТЭ-121.
|
Пара трущихся тел |
Коэффициенты трения скольжения (при трогании с места) |
||
|
Поверхности |
|||
|
сухие |
смоченные водой |
смазанные |
|
|
Сталь по стали (без обработки) |
0.20 |
0.45 |
0.15 |
|
Дерево по дереву: |
|
|
|
|
при параллельных волокнах |
0.60 |
0.70 |
0.15 |
|
|
0.48 |
|
|
|
|
(для дуба) |
|
|
|
при взаимно перпендикулярных волокнах |
0.55 |
0.71 |
0.20 |
|
торцом |
0.45 |
|
|
|
Дерево по стали |
0.50 |
0.65 |
0.20 |
|
« « льду |
0.04 |
- |
- |
|
« « грунту |
0.50-0.60 |
0.1-0.25 |
- |
|
« « бетону |
0.40 |
|
|
|
Бетон по глине |
0.25 |
0.10 |
- |
|
« « суглинкам и супесям |
0.30 |
0.25 |
- |
|
« « песку |
0.40 |
0.25 |
- |
|
« « гравию и гальке |
0.50 |
- |
- |
|
« « скале |
0.60 |
- |
- |
|
« « бетону |
0.60 |
- |
- |
|
« « тиксотропной рубашке из глинистого раствора |
- |
0.01 |
- |
|
Сталь по льду |
0.02 |
- |
- |
|
Полимерные прокладки по стали |
см. |
|
|
|
Сталь но асфальту |
0.35 |
0.40 |
- |
|
Сталь по неопалубленной поверхности бетона |
0.45 |
- |
0.25 |
|
Сталь по гладкой бетонной поверхности |
0.35 |
- |
0.20 |
|
Примечание. 1. Коэффициенты трения стали по стали указаны для давления до 2 Мпа (20 кгс/см2). Для обработанных поверхностей в стыках на высокопрочных болтах см. СНиП II-23-81* изд. 1991 г. 2. При проверке устойчивости против скольжения фундаментов вспомогательных сооружений следует руководствоваться также п. 8.13 |
|||
___________
*ГОСТ 1451 (извлечение)
Нерабочее состояние
|
Наименование показателей ветровой нагрузки |
Районы СССР |
||||||
|
I |
II |
III |
IV |
V |
VI |
VII |
|
|
Скорость ветра v, м/с |
|
24 |
27 |
30 |
33 |
37 |
40 |
|
Динамическое давление q, Па |
270 |
350 |
450 |
550 |
700 |
850 |
1000 |
Рабочее состояние
|
Назначение кранов |
Скорость ветра v, м/с |
Динамическое давление q, Па |
|
Краны: строительные, монтажные, для полигонов железобетонных изделий, штучных грузов, а также стреловые самоходные общего назначения |
14,0 |
125 |
|
Краны всех типов, устанавливаемые в речных и морских портах |
20,0 |
250 |
|
Краны, устанавливаемые на объектах, исключающих возможность перерыва в работе |
28,5 |
500 |
|
Баллы |
Характеристика ветра |
Скорость |
Описание явлений, сопровождающих ветер |
|
|
м/сек |
км/ч |
|||
|
0 |
Штиль |
0-0.5 |
0-1 |
Дым поднимается отвесно, листья деревьев неподвижны. |
|
1 |
Тихий |
0.6-1.7 |
2-6 |
Движения флюгера незаметны; направление ветра определяется без прибора. |
|
2 |
Легкий |
1.8-3.3 |
7-12 |
Дуновение ветра ощущается кожей лица; листья шелестят; флюгер начинает двигаться. |
|
3 |
Слабый |
3.4-5.2 |
13-18 |
Листья и тонкие ветки деревьев всё время колышутся; ветер развивает легкие флаги. |
|
4 |
Умеренный |
5.3-7.4 |
19-26 |
Ветер поднимает пыль; тонкие ветки деревьев качаются. |
|
5 |
Свежий |
7.5-9.8 |
27-35 |
Качаются тонкие стволы деревьев; на воде появляются волны с гребешками. |
|
6 |
Сильный |
9.9-12.4 |
36-44 |
Качаются толстые ветки деревьев; гудят телефонные провода; трудно удержать в руках раскрытый зонтик. |
|
7 |
Крепкий |
12.5-15.2 |
45 - 54 |
Качаются стволы деревьев; гнутся большие ветки; при ходьбе против ветра испытываются заметные затруднения. |
|
8 |
Очень крепкий |
15.3-18.2 |
55-65 |
Ветер ломает тонкие ветки и сухие сучья деревьев; затрудняет движение. |
|
9 |
Шторм |
18.3-21.5 |
66-77 |
Небольшие разрушения; ветер срывает дымовые трубы и черепицу. |
|
10 |
Сильный шторм |
21.6-25.1 |
78-90 |
Значительные разрушения; деревья вырываются с корнем. |
|
11 |
Жестокий шторм |
25.2-29 |
91-104 |
Большие разрушения. |
|
12 |
Ураган |
Более 29 |
Свыше |
Производит опустошение. |
Таблица 50*
|
Сталь |
ГОСТ или ТУ |
Категория стали для климатического района строительства (расчетная температура, °С) |
||
|
II4(-30 > t ≥ -40); |
I2, II2, II3 |
I1 |
||
|
II5 и др. (t ≥ -30) |
(-40 > t ≥ 50) |
(-50 > t ≥ 65) |
||
|
Группа 1. Сварные конструкции либо их элементы, работающие в особо тяжелых условиях или подвергающиеся непосредственному воздействию динамических, вибрационных или подвижных нагрузок |
||||
|
С255 |
+ |
- |
- |
|
|
С285 |
+ |
- |
- |
|
|
С345 |
3 |
3 |
4а) |
|
|
С375 |
3 |
3 |
4а) |
|
|
С390 |
+ |
+ |
+б) |
|
|
С390К |
+ |
+ |
+б) |
|
|
С440 |
+ |
+б) |
+в) |
|
|
Группа 2. Сварные конструкции либо их элементы работающие при статической нагрузке, а также конструкции и их элементы группы 1 при отсутствии сварных соединений |
||||
|
С245 |
|
+г) |
- |
- |
|
С255 |
|
+ |
- |
- |
|
С275 |
|
+г) |
- |
- |
|
С285 |
|
+ |
- |
- |
|
С345 |
|
1 |
3 |
|
|
С345К |
|
+ |
- |
- |
|
С375 |
1 |
3 |
||
|
С390 |
|
+ |
+ |
+б) |
|
С390К |
|
+ |
+ |
+б) |
|
С440 |
|
+ |
+ |
+в) |
|
С590 |
|
+ |
- |
- |
|
С590К |
|
- |
+ |
+ |
|
ВСт3кп |
2е) |
2е) |
- |
|
|
толщ. до 4 мм |
группа В, табл. 1 |
|
|
|
|
ВСт3пс |
То же |
2е) |
- |
- |
|
толщ. до 5.5 мм |
|
|
|
|
|
BCт3пc |
То же |
6 |
- |
- |
|
толщ. 6-10 мм |
|
|
|
|
|
16Г2АФ |
ТУ 14-3-567-76 |
+ |
+ |
+ |
|
толщ. 6-9 мм |
|
|
|
|
|
Группа 3. Сварные конструкции либо их элементы работающие при статической нагрузке, а также конструкции и их элементы группы 2 при отсутствии сварных соединений. |
||||
|
С235 |
|
- |
- |
|
|
С245 |
|
+ |
- |
- |
|
С255 |
|
+ |
+ж) |
- |
|
С275 |
|
+ |
- |
- |
|
С285 |
|
+ |
+ж) |
- |
|
С345 |
|
1 |
1 |
2 или 3 |
|
С345К |
+ |
+ |
|
|
|
С375 |
|
1 |
1 |
2 или 3 |
|
С390 |
|
+ |
+ |
+ |
|
С390К |
|
+ |
+ |
+ |
|
С440 |
|
+ |
+ |
+ |
|
С590 |
|
+ |
- |
- |
|
С590К |
|
- |
+ |
+ |
|
ВСт3кп |
2е) |
2е) |
- |
|
|
толщ. до 4 мм |
группа В, табл. 1 |
|
|
|
|
ВСт3кп |
2е) |
- |
- |
|
|
толщ. 4.5-10 мм |
группа В, табл. 1 |
|
|
|
|
ВСт3пс |
4 |
- |
- |
|
|
толщ. 5-15 мм |
группа В. с доп. |
|
|
|
|
|
треб, по п. 1.6 |
|
|
|
|
ВСт3пс |
2е) |
2е) |
- |
|
|
Толщ. до 5.5 мм |
группа В, табл. 1 |
|
|
|
|
ВСт3пс |
6 |
- |
- |
|
|
толщ. 6-10 мм |
группа В, табл.1 |
|
|
|
|
16Г2АФ |
ТУ 14-3-567-76 |
+ |
+ |
+ |
|
толщ. 6-9 мм |
|
|
|
|
|
Группа 4. Вспомогательные конструкции зданий и сооружений, а также конструкции и их элементы группы 3 при отсутствии сварных соединений. |
||||
|
С235 |
|
+ |
- |
- |
|
С245 |
|
- |
+ |
+ |
|
С255 |
- |
+ |
+ |
|
|
С275 |
|
- |
+ |
+ |
|
С285 |
|
- |
+ |
+ |
|
ВСт3кп |
2е) |
2е) |
2е) |
|
|
Толщ. до 4 мм |
группа В, табл. 1 |
|
|
|
|
ВСт3пс |
То же |
2е) |
- |
- |
|
толщ. 4.5-10 мм |
|
|
|
|
|
ВСт3пс |
4 |
4 |
- |
|
|
толщ. 5-15 мм |
группа В, с доп. |
|
|
|
|
|
треб, по п. 1.6 |
|
|
|
|
ВСт3пс |
2е) |
2е) |
2е) |
|
|
толщ. до 5.5 мм |
группа В, табл. 1 |
|
|
|
|
ВСт3пс |
Тоже |
6 |
6 |
- |
|
толщ. 6-10 мм |
|
|
|
|
|
Обозначения, принятые в табл. 50* а) фасонный прокат толщиной до 11 мм, а при согласовании с изготовителем - до 20 мм, листовой - всех толщин; б) требование по ограничению углеродного эквивалента по ГОСТ 27772-88 для толщин свыше 20 мм; в) требование по ограничению углеродного эквивалента по ГОСТ 27772-88 для всех толщин; г) для района II4 для неотапливаемых зданий и конструкций, эксплуатируемых при температуре наружного воздуха, применять прокат толщиной не более 10 мм; д) при толщине проката не более 11 мм допускается применять сталь категории 3; ж) прокат толщиной до 10 мм и с учетом требований разд. 10; и) кроме района II4 для неотапливаемых зданий и конструкций, эксплуатируемых при температуре наружного воздуха. Знак "+" означает, что данную сталь следуег применять;знак "-" означает, что данную сталь в указанном климатическом районе применять не следует. Примечания. 1. Требования настоящей таблицы не распространяются на стальные конструкции специальных сооружений: магистральные и технологические трубопроводы, резервуары специального назначении, кожухи доменных печей и воздухонагревателей и т.п. Стали для этих конструкций устанавливаются соответствующими СНиП или другими нормативными документами. 2. Требования настоящей таблицы распространяются на листовой прокат толщиной от 2 мм и фасонный прокат толщиной от 4 мм по ГОСТ 27772-88, сортовой прокат (круг, квадрат, полоса) по ТУ 14.1.3023-80. ГОСТ 380-71** (с 1990 г. ГОСТ 535-88) и ГОСТ 19281-73*. Указанные категории стали относятся к прокату толщиной не менее 5 мм. При толщине менее 5 мм приведенные в таблице стали применяются без требований по ударной вязкости. Для конструкций всех групп, кроме группы I и опор ВЛ и ОРУ, во всех климатических районах, кроме I1, допускается применять прокат толщиной менее 5 мм из стали С235 по ГОСТ 27772-88. 3. Климатические районы строительства устанавливаются в соответствии с ГОСТ 16350-80 «Климат СССР. Районирование и статистические параметры климатических факторов дня технических целей». Указанные в головке таблицы в скобках расчетные температуры соответствуют температуре наружного воздуха соответствующего района, за которую принимается средняя температура наиболее холодной пятидневки согласно указаниям СНиП по строительной климатологии и геофизике. 4. К конструкциям, подвергающимся непосредственному воздействию динамических, вибрационных или подвижных нагрузок, относятся конструкции либо их элементы, подлежащие расчету на выносливость или рассчитываемые с учетом коэффициентов динамичности. 5. При соответствующем технико-экономическом обосновании стали С345, С375, С440, С590, С590К, 16Г2АФ могут заказываться как стали с повышенной коррозионной стойкости (с медью) - С345Д, С375Д, С440Д, С590Д, С590КД, 16Г2АФД. 6. Применение термоупрочненного с прокатного нагрева фасонного проката из стали С345Т и С365Т, поставляемого по ГОСТ 27772-88 как сталь С345 и С375, не допускается в конструкциях, которые при изготовлении подвергаются металлизации или пластическим деформациям при температуре выше 700 °С. 7. Бесшовные горячедеформированные трубы по ГОСТ 8731-87 допускается применять только для элементов специальных опор больших переходов линий электропередачи высотой более 60 м, для антенных сооружений связи и других специальных сооружений, при этом следует применять марки стали: - во всех климатических районах, кроме I1, I2, II2 и II3, марку 20 по ГОСТ 8731-87, но с дополнительным требованием по ударной вязкости при температуре минус 20 °С не менее 30 Дж/см2 (3 кгс·м/см2); - в климатических районах I2, II2 и II3 - марку 09Г2С по ГОСТ 8731-87, но с дополнительным требованием по ударной вязкости при температуре минус 40 °С не менее 40 Дж/см2 (4 кгс·м/см2) при толщине стенки до 9 мм и 35 Дж/см2 (3.5 кгс·м/см2) при толщине стенки 10 мм и более. 8. К сортовому прокату (круг, квадрат, полоса) по ТУ 14-1-3023-80, ГОСТ 389-71** (с 1990 г. ГОСТ 535-88) и ГОСТ 19281-73* предъявляются такие же требования, как к фасонному прокату такой же толщины по ГОСТ 27772-88. Соответствие марок сталей по ТУ 14-1-3023-80, ГОСТ 380-71*, ГОСТ 19281-73* и ГОСТ 19282-73* сталям по ГОСТ 27772-88 следует определять по табл. 51,б |
||||
Таблица 51* СНиП II-23-81*
Нормативные и расчетные сопротивления при растяжении, сжатии и изгибе листового, широкополосного универсального и фасонного проката по ГОСТ 27772-88 для стальных конструкций зданий и сооружений.
|
Сталь |
Толщина проката1, мм |
Нормативное сопротивление2, МПа (кгс/мм2), проката |
Расчетное сопротивление3 МПа (кгс/см2). проката |
||||||
|
листового, широкополосного универсального |
фасонного |
листового, широкополосного универсального |
фасонного |
||||||
|
Rvn |
Run |
Rvn |
Run |
Rv |
Ru |
Rv |
Ru |
||
|
С235 |
от 2 до 20 |
235(24) |
360(37) |
235(24) |
360(37) |
230(2350) |
350(3600) |
230(2350) |
350(3600) |
|
св. 20 до 40 |
225(23) |
360(37) |
225(23) |
360(37) |
220(2250) |
350(3600) |
220(2250) |
350(3600) |
|
|
св.40 до 100 |
215(22) |
360(37) |
- |
- |
210(2150) |
350(3600) |
- |
- |
|
|
св. 100 |
195(20) |
360(37) |
- |
- |
190(1950) |
350(3600) |
- |
- |
|
|
С245 |
от 2 до 20 |
245(25) |
370(38) |
245(25) |
370(38) |
240(2450) |
360(3700) |
240(2450) |
360(3700) |
|
св. 20 до 30 |
- |
- |
235(24) |
370(38) |
- |
- |
230(2350) |
360(3700) |
|
|
С255 |
от 2 до 3.9 |
255(26) |
380(39) |
- |
- |
250(2550) |
370(3800) |
- |
- |
|
от 4 до 10 |
245(25) |
380(39) |
255(26) |
380(39) |
240(2450) |
370(3800) |
250(2550) |
370(3800) |
|
|
св. 10 до 20 |
245(25) |
370(38) |
245(25) |
370(38) |
240(2450) |
360(3700) |
240(2450) |
360(3700) |
|
|
св. 20 до 40 |
235(24) |
370(38) |
235(24) |
370(38) |
230(2350) |
360(3700) |
230(2350) |
360(3700) |
|
|
С275 |
от 2 до 10 |
275(28) |
380(39) |
275(28) |
390(40) |
270(2750) |
370(3800) |
270(2750) |
380(3900) |
|
св. 10 до 20 |
265(27) |
370(38) |
275(28) |
380(39) |
260(2650) |
360(3700) |
270(2750) |
370(3800) |
|
|
С285 |
от 2 до 3.9 |
285(29) |
390(40) |
- |
- |
280(2850) |
380(3900) |
- |
- |
|
от 4 до 10 |
275(28) |
390(40) |
285(29) |
400(41) |
270(2750) |
380(3900) |
280(2850) |
390(4000) |
|
|
св. 10 до 20 |
265(27) |
380(39) |
275(28) |
390(40) |
260(2650) |
370(3800) |
270(2750) |
380(3900) |
|
|
С345 |
от 2 до 10 |
345(35) |
490(50) |
345(35) |
490(50) |
335(3400) |
480(4900) |
335(3400) |
480(4900) |
|
св. 10 до 20 |
325(33) |
470(48) |
325(33) |
470(48) |
315(3200) |
460(4700) |
315(3200) |
460(4700) |
|
|
св. 20 до 40 |
305(31) |
460(47) |
305(31) |
460(47) |
300(3050) |
450(4600) |
300(3050) |
450(4600) |
|
|
св. 40 до 60 |
285(29) |
450(46) |
- |
- |
280(2850) |
440(4500) |
- |
- |
|
|
св. 60 до 80 |
275(28) |
440(45) |
- |
- |
270(2750) |
430(4400) |
- |
|
|
|
св.80 до 160 |
265(27) |
430(44) |
- |
- |
260(2650) |
420(4300) |
- |
|
|
|
С345К |
от 4 до 10 |
345(35) |
470(48) |
345(35) |
470(48) |
335(3400) |
460(4700) |
335(3400) |
460(4700) |
|
С375 |
от 2 до 10 |
375(38) |
510(52) |
375(38) |
510(52) |
365(3700) |
500(5100) |
365(3700) |
500(5100) |
|
св. 10 до 20 |
355(36) |
490(50) |
355(36) |
490(50) |
345(3500) |
480(4900) |
345(3500) |
480(4900) |
|
|
св. 20 до 40 |
335(34) |
480(49) |
335(34) |
480(49) |
325(3300) |
470(4800) |
325(3300) |
470(4800) |
|
|
С390 |
от 4 до 50 |
390(40) |
540(55) |
- |
- |
380(3850) |
530(5400) |
- |
- |
|
С390К |
от 4 до 30 |
390(40) |
540(55) |
- |
- |
380(3850) |
530(5400) |
- |
- |
|
С440 |
от 4 до 30 |
440(45) |
590(60) |
- |
- |
430(4400) |
575(5850) |
- |
- |
|
св. 30 до 50 |
410(42) |
570(58) |
- |
- |
400(4100) |
555(5650) |
- |
- |
|
|
С590 |
от 10 до 36 |
540(55) |
635(65) |
- |
- |
515(5250) |
605(6150) |
- |
- |
|
С590К |
от 16 до 40 |
540(55) |
635(65) |
- |
- |
515(5250) |
605(6150) |
- |
- |
|
1 - за толщину фасонного проката следует принимать толщину полки (минимальная его толщина 4 мм). 2 - за нормативное сопротивление приняты нормативные значения предела текучести и временного сопротивления по ГОСТ 27772-88, 3 - значения расчетных сопротивлений получены делением нормативных сопротивлений на коэффициенты надежности по материалу, определенные в соответствии с п. 3.2*. с округлением до 5 МПа (50 кгс/см2). |
|||||||||
Таблица 51,а
Нормативные и расчетные сопротивления при растяжении, ежа гни и изгибе труб для стальных конструкций зданий и сооружений.
|
Марка стали |
ГОСТ или ТУ |
Толщина стенки |
Нормативное сопротивление1 MПa (кгс/мм2) |
Расчетное сопротивление2 Мпа (кгс/см2) |
||
|
мм |
Rvn |
Run |
Rv |
Ru |
||
|
ВСт3кп, ВСт3пс. ВСт3сп |
до 10 |
225(23) |
370(38) |
215(2200) |
350(3550) |
|
|
ВСт3пс, ВСт3сп |
5÷15 |
4 |
370(38) |
235(2400) |
350(3550) |
|
|
20 |
ГОСТ 8731-87 |
4÷36 |
4 |
410(42) |
225(2300) |
375(3800) |
|
16Г2АФ |
ТУ 14-3-567-76 |
6÷9 |
440(45) |
590(60) |
400(4100) |
535(5450) |
|
1 - за нормативные сопротивления приняты минимальные значения предела текучести и временного сопротивления, приводимые в государственных общесоюзных стандартах или технических условиях, МПа (кгс/мм2). В тех случаях, когда эти значения в государственных общесоюзных стандартах или технических условиях приведены только в одной системе единиц - (кгс/мм2), нормативные сопротивления, МПа, вычислены умножением соответствующих величин на 9.81 с округлением до 5 МПа. 2 - значения расчетных сопротивлении получены делением нормативных сопротивлений, МПа, на коэффициенты надежности но материалу, определяемые в соответствии с п. 3.2*, с округлением до 5 МПа; значения расчетных сопротивлений, кгс/см2 получены делением расчетных сопротивлений, МПа, на 0.0981. Примечание. Нормативные сопротивления труб из стали марки 09Г2С по ГОСТ 8731-87 устанавливаются по соглашению сторон в соответствии с требованиями указанного стандарта; расчетные сопротивления - согласно п. 3.2* настоящих норм. |
||||||
Марки стали, заменяемые сталями по ГОСТ 27772-88.
|
Стали по ГОСТ 27772-88 |
Заменяемая марка стали |
ГОСТ или ТУ |
|
С235 |
ВСт3кп2 |
ГОСТ 380-71** |
|
ВСт3кп2-1 |
ТУ14-1-3023-80 |
|
|
18кп |
ГОСТ 23570-79 |
|
|
С245 |
ВСт3пс6 (листовой прокат толщиной до 20 мм, фасонный - до 30 мм) |
ГОСТ 380-71** |
|
ВСт3пс6-1 |
ТУ 14-1-3023-80 |
|
|
18пс |
ГОСТ 23570-79 |
|
|
С255 |
ВСт3сп5, ВСт3Гпс5, ВСт3пс6 (листовой прокат толщиной свыше 20 мм до 40 мм, фасонный - свыше 30 мм) |
ГОСТ 380-71** |
|
ВСт3сп5-1, ВСт3Гпс5-1 |
ТУ 14-1-3023-80 |
|
|
18сп, 18Гпс, 18Гсп |
ГОСТ 23570-79 |
|
|
С275 |
ВСт3пс6-2 |
ТУ 14-1-3023-80 |
|
С285 |
ВСт3сп5-2, ВСт3Гпс5-2 |
ТУ 14-1-3023-80 |
|
С345, С345Т |
09Г2 |
ГОСТ 19281-73* |
|
09Г2С 14Г2 (листовой, фасонный прокат толщиной до 20 мм) 15ХСНД (листовой прокат толщиной до 10 мм, фасонный - до 20 мм) |
||
|
12Г2Сгр. 1 |
ТУ 14-1-4323-88 |
|
|
09Г2 гр. 1, 09Г2 гр. 2, 09Г2С гр. 1, 14Г2 гр. 1 (фасонный - до 20мм) |
ТУ 14-1-3023-80 |
|
|
390 |
ТУ 14-15-146-85 |
|
|
ВСтТпс |
ГОСТ 14637-79* |
|
|
С345К |
10ХНДП |
ГОСТ 19281-73* |
|
ТУ 14-1-1217-75 |
||
|
С375, С375Т |
09Г2С гр. 2 |
ТУ 14-1-3023-80 |
|
12Г2С гр. 2 |
ТУ 14-1-4323-88 |
|
|
14Г2 гр. 1 (фасонный прокат толщиной свыше 20 мм) 14Г2 гр. 2 (фасонный прокат толщиной до 20 мм) |
ТУ 14-1-3023-80 |
|
|
14Г2 (листовой и фасонный прокат толщиной свыше 20 мм) 10Г2С1 15ХСНД (листовой прокат толщиной свыше 10 мм, фасонный - свыше 20 мм) 10ХСНД (листовой прокат толщиной до 10 мм, фасонный - без ограничения толщины) |
||
|
С390, С390Т |
14Г2АФ 10Г2С1 термоупрочненная 10ХСНД (листовой прокат толщиной свыше 10 мм) |
|
|
С390К |
15Г2АФДпс |
|
|
С440 |
16Г2АФ, 18Г2Афпс 5Г2СФ термоупрочненная |
|
|
С590 |
12Г2СМФ |
ТУ 14-1-1308-75 |
|
С590К |
12ГН2МФАЮ |
ТУ 14-1-1772-76 |
|
Примечание. 1. Стали С345 и С375 категорий 1, 2, 3, 4 по ГОСТ 27772-88 заменяют стали категорий соответственно 6, 7 и 9, 12, 13 и 15 по ГОСТ 19281-73* и ГОСТ 19282-73*. 2. Стали С345К, С390, С390К, С440, С590, С590К по ГОСТ 27772-88 заменяют соответствующие марки стали категорий 1-15 по ГОСТ 19281-73* и ГОСТ 19282-73*, указанные в настоящей таблице. 3. Замена сталей по ГОСТ 27772-88 сталями, поставляемыми по другим государственным общесоюзным стандартам и техническим условиям, не предусмотрена. |
||
МАТЕРИАЛЫ ДЛЯ СОЕДИНЕНИЙ СТАЛЬНЫХ КОНСТРУКЦИЙ
И ИХ РАСЧЕТНЫЕ СОПРОТИВЛЕНИЯ.
Таблица 55*
Материалы для сварки, соответствующие стали.
|
Группы конструкций в климатических районах |
Стали |
Материалы для сварки |
|||
|
под флюсом |
в углекислом газе (по ГОСТ 8050-85) или в его смеси с аргоном (ГОСТ 10157-79*) |
покрытыми электpoдами типов по ГОСТ 9467-75* |
|||
|
Марки |
|||||
|
флюсов (ГОСТ 9087-81*) |
сварочной проволоки (ГОСТ 2246-70*) |
||||
|
2, 3 и 4 - во всех районах, кроме I1, I2, II2 и II3 |
С235, С245, С255, С275, С285, 20, ВСт3кп, ВСт3пс, ВСт3сп |
АН-348-А, |
Св-08А, |
Св-08Г2С |
Э42, |
|
АН-60 |
Св-08ГА |
Э46 |
|||
|
С345, С345Т, С375, |
АН-47, АН-43 |
Св-10НМА |
Э-50 |
||
|
С375Т, С390, С390Т С390К, С440, 16Г2АФ, 09Г2С |
AH-I7-M |
Св-10Г22 |
|||
|
АИ-348А1 |
Св-08ГА2 |
||||
|
|
Св-10ГА2 |
||||
|
С345К |
АН-348А |
Св-08Х1ДЮ |
Св-08Г2СДЮ |
Э50А3 |
|
|
1 - во всех районах, 2, 3 и 4-в районах I1, I2, II2 и II3 |
С235, С245, С255, С275, С285, 20, ВСт3кп, ВСт3пс, ВСт3сп |
АН-348-А, |
СП-08А, |
Св-08Г2С |
Э42А |
|
Св-08ГА |
Э46А |
||||
|
С345, С345Т, С375, |
АН-47, АН-43 |
Св-10НМА |
Э-50А |
||
|
С375Т, 09Г2С |
АН-348А1 |
Св-10Г22 |
|||
|
|
Св-08ГА2 |
||||
|
|
Св-10ГА2 |
||||
|
С390, С390Т, С390К С440, 16Г2АФ |
АН-47 |
Св-10НМА |
Э-50А |
||
|
AН-17-М |
Св-10Г22 |
||||
|
АН-348А1 |
Св-08ГА2 |
||||
|
|
Св-10ГА2 |
||||
|
С345К |
АН-348А |
Св-08Х1ДЮ |
Св-08ХГ2СДЮ |
Э50А3 |
|
|
С590, С590К |
АН-17-М |
СВ-08ХН2ГМЮ |
Св-10ХГ2СМА |
Э60 |
|
|
C590KШ |
|
Св-10НМА |
Св-08ХГСМА |
Э70 |
|
|
|
|
Св-08Г2С |
|
||
|
1 - применение флюса АН-348-А требует проведения дополнительного контроля механических свойств металла шва при сварке соединений элементов всех толщин для конструкций в климатических районах I1, I2, II2 и II3 и толщин свыше 32 мм - в остальных климатических районах. 2 - не применять в сочетании с флюсом АН-43. 3 - применять только электроды марок ОЗС-18 и КД-11. Примечания. 1. Проволока марки Св-08Х1ДЮ поставляется по ТУ 14-1-1148-75, марки Св-О8ХГ2СДЮ - по ТУ 14-1-3665-83. 2. При соответствующем технико-экономическом обосновании для сварки конструкций разрешается использовать сварочные материалы (проволоки, флюсы, защитные газы), не указанные в настоящей таблице. При этом механические свойства металла шва, выполняемого с их применением, должны быть не ниже свойств, обеспечиваемых применением материалов согласно настоящей таблице. |
|||||
Таблица 56
Нормативные и расчетные сопротивления металла швов сварных соединений с угловыми швами.
|
Сварочные материалы |
Rwun, МПа (кгс/см2) |
Rwf, МПа (кгс/см2) |
|
|
тип электрода (ГОСТ 9467-75) |
марка проволоки |
||
|
Э42, Э42А |
Св-08, Св-08А |
410(4200) |
180(1850) |
|
Э46, Э46А |
Св-08ГА |
450(4600) |
200(2050) |
|
Э50, Э50А |
Св-10ГА, Св-08Г2С, Св-08Г2СЦ, ПП-АН8, ПП-АНЗ |
490(5000) |
215(2200) |
|
Э60 |
Св-08Г2С*, Св-08Г2СЦ*, Св-10НМА, Св-10Г2 |
590(6000) |
240(2450) |
|
Э70 |
Св-10ХГ2СМА, Св-08ХН2ГМЮ |
685(7000) |
280(2850) |
|
Э85 |
- |
835(8500) |
340(3450) |
|
* - только для швов с катетом kf ≤ 8 мм в конструкциях из стали с пределом текучести 440 МПа (4500 кгс/см2) и более. |
|||
Таблица 57*
|
Условия применения |
Технологические требования по ГОСТ 1759.4-87* |
|||
|
климатический район |
условия работы болтов |
класс прочности (табл. 1) |
дополнительные виды испытаний (табл. 10) |
марка стали болтов |
В конструкциях, не рассчитываемых на выносливость |
||||
|
Все районы, кроме I1, I2, II2 и II3 ** |
Растяжение или срез |
4.6; 5.6 |
поз. 1 |
по табл. 1 |
|
4.8; 5.8 |
поз. 1 |
по табл. 1 |
||
|
6.6 |
поз. 1 |
35 |
||
|
8.8 |
- |
35Х; 38ХА |
||
|
10.9 |
- |
40Х |
||
|
I1, I2, II2 и II3 |
Растяжение или срез |
4.6; 5.6 |
и 4 |
по табл. 1 |
|
4.8*; 5.8* |
поз. 1 |
по табл. 1 |
||
|
8.8 |
поз. 3 и 7 |
35Х;38ХА |
||
|
срез |
4.8; 5.8 |
поз. 1 |
по табл. 1 |
|
|
8.8 |
- |
35Х; 38ХА |
||
|
10.9 |
- |
40Х |
||
В конструкциях, рассчитываемых на выносливость |
||||
|
Все районы, кроме I1, I2, II2 и II3 ** |
Растяжение или срез |
4.6; 5.6 |
поз. 1 и 4 |
по табл. 1 |
|
6.6 |
поз. 1 и 4 |
35 |
||
|
8.8 |
- |
35Х; 38ХА |
||
|
Срез |
4.8; 5.8 |
поз. 1 |
по табл. 1 |
|
|
I1, I2, II2 и II3 |
Растяжение или срез |
4.6; 5.6 |
поз. 1 и 4 |
по табл. 1 |
|
8.8 |
поз. 3 и 7 |
35Х; 38ХА |
||
|
Срез |
4.8; 5.8 |
поз. 1 |
по табл. 1 |
|
|
8.8 |
|
35Х; 38ХА |
||
|
I1 |
Растяжение или срез |
8.8 |
поз. 3 и 7 |
35Х; 38ХА |
|
|
4.6; 5.6 |
поз. 1 и 4 |
по табл. 1 |
|
|
Срез |
4.8*; 5.8* |
поз. 1 |
по табл. 1 |
|
|
|
8.8 |
- |
35Х; 38ХА |
|
|
* - требуется дополнительный последующий отпуск при t = 650°С ** - а также для конструкций, возводимых в климатических районах I1, I2, II2 и II3, но эксплуатируемых в отапливаемых помещениях. Примечания. 1. Во всех климатических районах, кроме I1, I2, II2 и II3, в нерасчетных соединениях допускается применять болты с подголовком класса точности С и В по ГОСТ 15590-70* и ГОСТ 7795-70* бет дополнительных видов испытаний, предусмотренных в настоящей таблице. 2. При заказе баллов классов прочности 6.6, 8.8, 10.9 по ГОСТ 1759.4-87* следует указывать марки стали. 3. При заказе болтов классов прочности 4.8, 5.8 необходимо указывать, что применение автоматной стали не допускается. 4. Высокопрочные болты но ГОСТ 22356-77* из стали марки 40Х «селект» без регулируемого натяжения применяются в тех же конструкциях, что и болты класса прочности 10.9. |
||||
Таблица 58*
Расчетные сопротивления срезу и растяжению болтов
|
Напряженное состояние |
Условное обозначение |
Расчетное сопротивление МПа (кгс/см2), болтов классов |
||||||
|
4.6 |
4.8 |
5.6 |
5.8 |
6.6 |
8.8 |
10.9 |
||
|
Cpeз |
Rbs |
150(1500) |
160(1600) |
190(1900) |
200(2000) |
230(2300) |
320(3200) |
400(4000) |
|
Растяжение |
Rbt |
170(1700) |
160(1600) |
210(2100) |
200(2000) |
250(2500) |
400(4000) |
500(5000) |
|
Примечание. В таблице указаны значения расчетных сопротивлений для одноболтовых соединений, вычисленные но формулам разд. 3 настоящих норм с округлением до 5 МПа (50 кгс/см2). |
||||||||
Таблица 59*
Расчетные сопротивления смятию элементов, соединяемых болтами
|
Временное сопротивление стали соединяемых элементов, МПА (кгс/см2) |
Расчетные сопротивления, МПА (кгс/см2), смятию элементов, соединяемых болтами |
|
|
класса точности А |
классов точности В и С, высокопрочных без регулируемого натяжения |
|
|
360 (37) |
475 (4800) |
430 (4350) |
|
365 (37) |
485 (4900) |
440 (4450) |
|
370 (38) |
495 (5100) |
450 (4600) |
|
380 (39) |
515 (5300) |
465 (4800) |
|
390 (40) |
535 (5500) |
485 (5000) |
|
400 (41) |
560 (5750) |
505 (5200) |
|
430 (44) |
625 (6400) |
565 (5800) |
|
440 (45) |
650 (6650) |
585 (6000) |
|
450 (46) |
675 (6900) |
605 (6200) |
|
460 (47) |
695 (7150) |
625 (6400) |
|
470 (48) |
720 (7350) |
645 (6600) |
|
480 (49) |
745 (7600) |
670 (6850) |
|
490 (50) |
770 (7850) |
690 (7050) |
|
500 (51) |
795 (8150) |
710 (7250) |
|
510 (52) |
825 (8400) |
735 (7500) |
|
520 (53) |
850 (8650) |
760 (7750) |
|
530 (54) |
875 (8950) |
780 (7950) |
|
540 (55) |
905 (9200) |
805 (8200) |
|
570 (58) |
990 (10050) |
880 (8950) |
|
590 (60) |
1045 (10600) |
930 (9450) |
|
Примечание. Значения расчетных сопротивлений получены по формулам разд. 3 настоящих норм с округлением до 5 МПа (50 кгс/см2). |
||
Таблица 61*
Механические свойства высокопрочных болтов по ГОСТ 22356-77*
|
Номинальный диаметр резьбы, d мм |
Марка стали. По ГОСТ 4543-71* |
Наименьшее временное сопротивление Rbun, Н/мм2 (кгс/мм2) |
|
От 16 до 27 |
40Х «селект» |
1100 (110) |
|
30Х3МФ, 30Х2НМФА |
1350 (135) |
|
|
30 |
40Х «селект» |
950 (95) |
|
30Х3МФ, 35Х2АФ |
1200 (120) |
|
|
36 |
40Х «селект» |
750 (75) |
|
30Х3МФ |
1100 (110) |
|
|
42 |
40Х «селект» |
650 (65) |
|
30Х3МФ |
1000 (100) |
|
|
48 |
40Х «селект» |
600 (60) |
|
30Х3МФ |
900 (90) |
Таблица 62*
Площади сечения болтов согласно СТ СЭВ 180-75, СТ СЭВ 181-75 и СТ СЭВ 182-75.
|
d, мм |
16 |
18* |
20 |
22* |
24 |
27* |
30 |
36 |
42 |
48 |
|
Аb, см2 |
2.01 |
2.54 |
3.14 |
3.80 |
4.52 |
5.72 |
7.06 |
10.17 |
13.85 |
18.09 |
|
Abn, см2 |
1.57 |
1.92 |
2.45 |
3.03 |
3.52 |
4.59 |
5.60 |
8.16 |
11.20 |
14.72 |
|
* - болты указанных диаметров применять не рекомендуется. |
||||||||||
Таблица 63
Физические характеристики материалов для стальных конструкций.
|
Характеристика |
Значение |
|
Плотность ρ, кг/м3: |
|
|
проката и стальных отливок |
7850 |
|
отливок из чугуна |
7200 |
|
Коэффициент линейного расширения α, °С-1 |
0.12 • 10-4 |
|
Модуль упругости Е, МПА (кгс/см2): |
|
|
прокатной стали и стальных отливок |
2.06 • 105 (2.1 • 106) |
|
отливок из чугуна марок: |
|
|
СЧ 15 |
0.83 • 105 (0.85 • 106) |
|
СЧ20, СЧ25, СЧ30 |
0.98 • 105 (1.0 • 106) |
|
пучков и прядей параллельных проволок |
1.96 • 105 (2.0 • 106) |
|
канатов стальных: |
|
|
спиральных и закрытых несущих |
1.67 • 105 (1.7 • 106) |
|
двойной свивки |
1.47 • 105 (1.5 • 106) |
|
двойной свивки с неметаллическим сердечником |
1.27 • 105(1.3 • 106) |
|
Модуль сдвига прокатной стали и стальных отливок G, МПА (кгс/см2): |
0.78 • 105(0.81 • 106) |
|
Коэффициент поперечной деформации (Пуассона), v |
0.3 |
|
Примечание. Значения модуля упругости даны для канатов, усилием не менее 60 % разрывного усилия для предварительно вытянутых канатов в целом. |
|
|
Обозначение |
Грузоподъемность крюка, кН (т) |
Режим работы крана |
Пролет крана |
Высота подъема крюка, м |
||
|
главного |
вспомогательного |
главного |
вспомогательного |
|||
|
К-651 |
650 (65) |
- |
4к-6к |
30 |
24.52 |
- |
|
К-651 с электроталью |
50 (5) |
4к-6к |
30 |
23.50 |
23.54 |
|
|
К-651 Б |
- |
4к-6к |
30 |
12.15 |
- |
|
|
К-651Б с электроталью |
50 (5) |
4к-6к |
30 |
11.13 |
11.17 |
|
(продолжение)
|
Обозначение |
База крана, м |
Скорость передвижения, м/мин. |
Рабочая зона крана, м |
||
|
грузовой тележки |
крана (рабочая) |
главного |
вспомогательного |
||
|
К-651 |
12.100 |
29.6 |
22.2 |
26 |
- |
|
К-651 с электроталью |
12.100 |
29.6 |
22 2 |
26 |
31.5 |
|
К-651 Б |
7.368 |
29.6 |
22.2 |
26 |
- |
|
К-651Б с электроталыо |
7.368 |
29.6 |
22.2 |
26 |
31.5 |
Характеристики кранов К-651.
(окончание)
|
|
Тип подкранового рельса по ГОСТ 7174-75 |
Нагрузка на колесо при работе КН не более |
Установленная мощность, квт. |
Общая масса, т |
|
К-651 |
Р50 |
305 |
140 |
136.2 |
|
К-651 с электроталью |
Р50 |
310 |
152 |
141.3 |
|
К-651Б |
Р50 |
270 |
110 |
107.3 |
|
К-651 Б с электроталью |
Р50 |
275 |
122 |
113.4 |
1. Типы и основные параметры.
Типы и основные параметры средств подмащивания должны соответствовать приведенным в таблице.
|
Наименование средств подмащивания |
Значение нормативной поверхностной нагрузки, на (кгс/м2) |
Высота рабочей площадки средств подмащивания, м, не более |
|
Леса стоечные приставные |
1000 (100) |
100.0 |
|
2000 (200) |
||
|
2500 (250) |
||
|
3000 (300) |
||
|
5000 (500) |
||
|
Леса свободностоящие |
1000 (100) |
20.0 |
|
2000 (200) |
||
|
Леса передвижные |
1000 (100) |
20.0 |
|
2000 (200) |
||
|
Леса навесные |
1000 (100) |
20.0 |
|
2000 (200) |
||
|
Подмости сборно-разборные |
2000 (200) |
16.0 |
|
Подмости передвижные с перемещаемым рабочим местом |
2000 (200) |
120.0 |
|
3000 (300) |
||
|
5000 (500) |
||
|
Подмости навесные |
2000 (200) |
10.0 |
|
Вышки передвижные |
1000 (100) |
20.0 |
|
2000 (200) |
||
|
Люльки электрические подвесные |
1000 (100) |
150.0 |
|
2000 (200) |
||
|
Площадки, навешиваемые на лестницы |
2000 (200) |
2.0 |
|
Площадки, навешиваемые на строительные конструкции |
2000 (200) |
8.0 |
|
Лестницы свободно стоящие |
2000 (200) |
20.0 |
|
Лестницы навесные |
2000 (200) |
10.0 |
|
Лестницы приставные наклонные |
2000 (200) |
22.0 |
|
Лестницы приставные вертикальные |
2000 (200) |
22.0 |
|
Лестницы маршевые |
1000 (100) |
30.0 |
|
2000 (200) |
_____________
* ГОСТ 24258-88 (извлечение)
2. Технические требования.
2.1. Средства подмащивания должны быть разработаны и изготовлены в соответствии с требованиями настоящего стандарта, стандартов на средства подмащивания конкретного типа, ГОСТ 15.001; по конструкторской документации, утвержденной в установленном порядке. Средства подмащивания с машинным приводом для перемещения рабочих мест по высоте должны также удовлетворять требованиям «Правил устройства и безопасной эксплуатации грузоподъемных кранов» Госгортехнадзора СССР и «Правил устройства электроустановок (ПУЭ)» Минэнерго СССР.
2.2. Характеристики.
2.2.1. Средства подмащивания должны быть разработаны и изготовлены в климатическом исполнении У или ХЛ по ГОСТ 15150.
2.2.2. При разработке конструкции средства подмашивания следует руководствоваться СНиП 2.01.07-85, СНиП II-23-81*, СНиП 2.03.06-85, СНиП II-25-80.
2.2.3. Средства подмащивания должны выдерживать нагрузку от собственной массы и временные нагрузки от людей, материалов и ветра.
2.2.4. При разработке конструкторской документации следует принимать:
- коэффициент надежности по нагрузке:
1.2 - от людей и материалов,
1.1 - от собственной массы,
1.3 - от ветра;
- коэффициент надежности по назначению:
7 - при расчете подвесок из стального каната,
9 - при расчете канатов лебедок, предназначенных для подъема людей,
4 - при расчете стержневых подвесок,
1.5 - при расчете креплений средств подмащивания к строительным конструкциям,
3.0 - при расчете удельного давления опор на грунт,
1.0 - при расчете прочих элементов;
- коэффициент условий работы элементов конструкции:
0.9 - при расчете стоек на устойчивость,
1.5 - при расчете перил ограждения;
- коэффициент запаса на опрокидывание:
1.4 - при расчете устойчивости свободностоящих и передвижных средств подмашивания.
2.2.5. Марки материалов несущих элементов средств подмащивания должны быть указаны в стандартах или технических условиях на средства подмашивания конкретного типа.
2.2.6. Предельные отклонения размеров деталей средств подмащивания должны быть приведены в конструкторской документации.
2.2.7. Масса сборочных элементов, приходящаяся на одного рабочего при ручной сборке средств подмащивания на строительном объекте, должна быть, кг, не более:
25 - при монтаже средств подмащивания на высоте,
50 - при монтаже средств подмащивания на земле или перекрытии (с последующей установкой их в рабочее положение монтажными кранами, лебедками и т.п.).
2.2.8. Значение и направление нормативной нагрузки на перильное ограждение должны быть указаны в стандартах или технических условиях на средства подмащивания конкретных типов.
2.2.9. Усилие на рукоятках при вращении ручных приводов средств подмащивания должно быть не более 160 Н (16 кгс).
2.2.10. Превышение массы средств подмащивания от проектной должно быть не более 3 %.
2.2.11. Для подъема кранами средства подмащивания должны иметь строповочные устройства.
2.2.12. В коробчатых и трубчатых конструкциях должны быть предусмотрены меры против скопления в них влаги.
2.2.13. Стальные конструкции средств подмащивания должны быть oгрунтованы и окрашены на предприятии-изготовителе лакокрасочными материалами, соответствующими слабоагрессивной среде по СНиП 2.03.11-85.
2.2.14. Поверхность стальных элементов средств подмащивания должна быть перед окраской очищена до 4-ой степени по ГОСТ 9.402.
2.2.15. Стальные детали, имеющие контакт с элементами конструкций из алюминиевых сплавов, должны иметь покрытие, исключающее возможность образования электропары между ними.
2.2.16. Средства подмащивания, рабочий настил которых расположен на высоте 1.3 м и более от поверхности земли или перекрытия, должны иметь перильное и бортовое ограждение.
2.2.17. Высоту ограждения указывают в стандартах на средства подмащивания конкретного типа. Расстояние между горизонтальными элементами ограждения должно быть не более 0.45 м или ограждение должно иметь сетчатое, решетчатое и т.п. заполнение.
2.2.18. Средства подмащивания с машинным приводом для перемещения рабочего места по высоте должны иметь: аппарат управления перемещением, расположенный непосредственно на рабочем месте; ограничители высоты подъема; предохранительные устройства (ловители), препятствующие самопроизвольному опусканию (падению) рабочего места.
2.2.19. Конструкции разъемных соединений должны иметь фиксирующие устройства, предохраняющие их от самопроизвольного разъединения.
2.2.20. На металлических деталях и элементах не допускается наличие острых кромок, заусенцев, трещин, раковин, расслоений.
2.2.21. Сигнальная окраска средств подмащивания должна соответствовать ГОСТ 12.4.026.
1.Типы.
1.1. Типы площадок и лестниц должны соответствовать указанным в табл. 1.
|
Обозначение типа |
Наименование типа |
Основной материал конструкции |
|
ПЛС |
Площадки, навешиваемые на лестницы |
Сталь |
|
ПЛА |
Алюминиевый сплав |
|
|
ПКС |
Площадки, навешиваемые на строительные конструкции |
Сталь |
|
ПКА |
Алюминиевый сплав |
|
|
ЛПНС |
Лестницы приставные наклонные |
Сталь |
|
ЛПНА |
Алюминиевый сплав |
|
|
ЛПВС |
Лестницы приставные вертикальные |
Сталь |
|
ЛПВА |
Алюминиевый сплав |
|
|
ЛНС |
Лестницы навесные |
Сталь |
|
ЛНА |
Алюминиевый сплав |
|
|
ЛСС |
Лестницы свободностоящие |
Сталь |
|
ЛСА |
Алюминиевый сплав |
_________
* ГОСТ 26887-86 (извлечение)
2. Технические требования.
2.1. Площадки и лестницы должны изготавливаться в соответствии с требованиями настоящего стандарта, ГОСТ 24258-88 по рабочим чертежам, утвержденным в установленном порядке.
2.2. Площадки и лестницы должны изготавливаться в климатических исполнениях У и ХЛ по ГОСТ 15150-69.
2.3. Несущие элементы перильного ограждения площадок и лестниц должны выдерживать нагрузку 400 Н (40 кгс), приложенную к ограждающему поручню в направлении, перпендикулярном его оси, поочередно в горизонтальной и вертикальной плоскостях. Максимальная величина прогиба поручня при этом не должна превышать 0.05 м.
2.4. Элементы площадок и лестниц должны изготавливаться из материалов, указанных в табл. 2.
|
Элементы конструкций |
Материалы для изготовления элементов конструкций в соответствии с климатическим исполнением по ГОСТ 15150-69 |
|||
|
У |
ХЛ |
|||
|
сталь марок |
алюминиевые сплавы марок |
сталь марок |
алюминиевые сплавы марок |
|
|
Несущие элементы |
ВСт3пс6 и ВСт3сп5 по ГОСТ 380-88 и ТУ 14-1-3023-80 |
Амг6 и 1915 по ГОСТ 4784-74 |
09Г2С12 и 15ХСНД12 по ГОСТ 19281-73 и ГОСТ 19282-73 |
Амг6 и 1915 по ГОСТ 4784-74 |
|
Элементы ограждения |
ВСт3кп2 по ГОСТ 380-88 |
Амг6 и 1915 по ГОСТ 4784-74 |
ВСт3пс6 и ВСт3сп5 по ГОСТ 380-88 |
Амг6 и 1915 по ГОСТ 4784-74 |
|
Примечание. По согласованию с разработчиком технической документации допускается применение других марок сталей и алюминиевых сплавов, механические свойства которых должны быть не ниже указанных в табл. 2. |
||||
2.5. Опорные концы приставных вертикальных и наклонных лестниц должны иметь при установке на асфальтовые, бетонные и другие твердые поверхности башмаки из нескользящего материала (резины и т.п.).
2.6. Окраска ограждений площадок и лестниц - по ГОСТ 12.4.026-76.
2.7. Расстояние между тетивами лестниц должно быть от 0.45 до 0.80 м.
2.8. Расстояние между ступенями лестниц должно быть от 0.30 до 0.34 м, а расстояние от первой ступени до уровня установки (пола, перекрытия и т.п.) - не более 0.40 м.
2.9. Приставные и свободностоящие лестницы высотой более 5 м, устанавливаемые под углом более 75° к горизонту, должны иметь, начиная с высоты 2 м от ее нижнего конца, дуговое ограждение или должны быть оборудованы канатом с ловителем для закрепления карабина предохранительного пояса, а устанавливаемые под углом от 70° до 75° к горизонту - перильное ограждение с обеих сторон с высотой по вертикали от 0.9 м до 1.4 м, начиная с высоты 5 м.
2.10. Навесные лестницы длиной более 5 м вертикальные и устанавливаемые с углом наклона к горизонту более 75° должны иметь дуговое ограждение или канаты с ловителями для закрепления карабина предохранительного пояса.
2.11. Дуги ограждения должны быть расположены на расстоянии не более 0.80 м друг от друга и соединены не менее чем тремя продольными полосами. Расстояние от лестницы до дуги должно быть не менее 0.70 и не более 0.80 м при ширине ограждения от 0.70 до 0.80 м.
2.12. Высота перильного ограждения площадок должна быть не менее 1.00 м.
2.13. Высота бортового ограждения площадок должна быть не менее 0.1 м.
Дебит Q м3/с приближенно определяется по формуле:
Q = k • НΣP • qr,
где: k - коэффициент водопроницаемости грунта (табл. 1), м/с;
Н - разность уровней воды в водоеме и котловане, м;
ΣР - периметр ограждения, м;
qr - поправочный коэффициент.
|
Грунт |
Коэффициент водопроницаемости грунтов |
|
Глинистые мелкие и пылеватые пески |
2 • 10-5÷5 • 10-5 |
|
Мелкий песок |
2 • 10-5÷10-4 |
|
Песок средней крупности |
10-4÷10-3 |
|
Крупный гравелистый песок |
10-3÷5 • 10-3 |
|
Гравий |
5 • 10-3÷10-2 |
|
Примечание. Меньшие значения коэффициента соответствуют грунтам с малой пористостью. |
|

Рис. 1. График для определения qr = f (S:b; t:b) в водопроницаемых грунтах
Для случая, когда под подошвой шпунтового ограждения нет поблизости водоупорного слоя, величина qr определяется по графику Рис. 1 в зависимости от отношений S : b и t : b,
где: t - глубина котлована от дна водоема;
S - заглубление шпунта ниже дна котлована;
b - половина ширины котлована (ширина котлована принимается равной большей стороне для прямоугольных котлованов и диаметру для круглых).
В случае, если поблизости от подошвы шпунта залегает слой водоупорного грунта, величина qr определяется по графику Рис. 2 и зависимости от отношений S1 : Т1, S2 : Т2,
где: S1 - заглубление шпунта ниже дна водоема;
S2 - заглубление шпунта ниже дна котлована;
Т1 - расстояние от дна водоема до водоупора;
Т2 - расстояние от дна котлована до водоупора.

Рис. 2. График для определения qr = f (S1 : Т1, S2 : Т2) в случае близкого расположения водоупорного слоя (Ф1 определяется в функции S1 : T1; Ф2 - в функции S2 : Т2)
При определении мощности водоотливных средств следует учитывать дополнительный приток воды через неплотности в боковых стенках ограждения.
Величину дополнительного притока следует принимать в размере 20 % от дебита, определенного по приведенной выше методике.
|
Схема плашкоута опоры |
Монеты инерции площади плашкоута |
|
|
1. При балластировке понтонов наливом воды насосами (балластируемые понтоны заштрихованы) Момент инерции при определении крена
Момент инерции при определении дифферента
|
|
|
2. При балластировке понтонов через донные отверстия (балластируемые понтоны заштрихованы). Момент инерции при определении крена
Момент инерции при определении дифферента
где:
при условии разобщения воздухопроводов, идущих к понтонам. |
Принятые обозначения:
а и b - размеры понтона, соответственно вдоль оси X - X и Y - Y;
n и n1 - число понтонов, соответственно вдоль оси X - X и Y - Y;
m - общее количество балластируемых потопов в опоре;
w - площадь поверхности водного балласта в одном понтоне;
iхп и iyп - моменты инерции площади w относительно собственных осей хп и уп, параллельных соответствующим осям плашкоута опоры;
lx и lу - расстояние от центра тяжести площади w каждого балластируемого понтона соответственно до оси наклонения Y - Y и X - X;
k - коэффициент, учитывающий влияние разобщения балластируемых понтонов от воздухопроводной сети, при сообщении внутреннего пространства понтонов с наружным воздухом k = 1;
λ - разность уровней воды внутри понтона и снаружи для рассматриваемого положения плавучей опоры, м;
t - высота надводного борта для рассматриваемого положения плавучей опоры, м.
Дополнительный волновой изгибающий момент Δ М (в тс•м) вычисляется по формуле:
ΔМ = ± k0 k1 k2 k6 В L2 h,
где: k6 - коэффициент полноты водоизмещения;
В - ширина плашкоута в уровне ватерлинии по миделю, м;
L - длина плашкоута в уровне ватерлинии, м;
h - расчетная высота волны во время перевозки пролетных строений, м.
Расчетная высота волны должна назначаться на основании данных местного пароходства, относящихся к району перемещения плавучих опор при строительстве данного моста, и приниматься не менее 0.6 м.
Коэффициент k0 вычисляется по формуле:
![]()
Коэффициент k1 в зависимости от длины судна L, принимается равным:
при длине судна 20 м - 0.0123;
при длине судна 40 м - 0.0101;
при длине судна 60 м - 0.0085;
при длине судна 100 м - 0.0061.
При промежуточных значениях L коэффициент k1 определяется по интерполяции.
Коэффициент k2 вычисляется по формуле:
![]()
где:
Тн - осадка судна носом, м.
Эпюра дополнительного волнового изгибающего момента ΔМ принимается по Рис. 23.1.

Рис. 23.1. Эпюра момента ΔM от волновой нагрузки
Дополнительная волновая перерезывающая сила ΔQ (в тс) определяется по формуле:
![]()

Рис. 23.2. Эпюра поперечной силы ΔQ от волновой нагрузки
Эпюра дополнительной волновой перерезывающей силы ΔQ принимается по Рис. 23.2.

1 - железобетонный якорь-присос; 2 - строповочный канат; 3 - бакен; 4 - плашкоут; 5 - плавучий рым; 6 - якорный канат; 7 - папильонажный канат; 8 - весовой якорь (положение до сростки якорного и папильонажного каната)
1. Начало движения плашкоута.

2. Всплытие плашкоута S = Sв.
Давление заднего конца плашкоута на стапель.
Nст достигает максимального значения.

3. Задний конец плашкоута проходит под порогом.
Плашкоут отделился от спускового устройства и свободно плавает.

Обозначения (к схеме спуска плашкоута).
λ - длина подводной части спусковых дорожек, м;
Т0 - глубина воды на пороге при расчетном горизонте воды в период спуска плашкоута, м;
t0 - осадка свободно плавающего плашкоута, м;
Т - глубина воды в реке в месте спуска плашкоута на воду,
T = t + 0.20, м;
t - осадка переднего конца плашкоута в момент всплытия (при S = Sв);
Sв - путь, пройденный передним концом плашкоута от момента, когда передний конец плашкоута пересекает плоскость уреза воды, до момента всплытия;
γ • W - сила плавучести (гидростатическая сила, действующая на подводную часть плашкоута), т.
1. Спусковые дорожки должны быть параллельны.
Рельсы спусковых дорожек не должны иметь неровностей, мешающих движению.
2. Рельсы спускового устройства и скользуны перед спуском покрываются смазкой.
3. Сдвиг с места производится при помощи реечных домкратов.
1. Минимальный комплект СПП включает следующие модифицированные элементы "причала морского колонного":
понтон прямоугольный с размерами в плане 42×13.1×2.7м с восемью шахтами в корпусе для установки в них опорных колонн;
опорные колонны d = 1.42 м в комплекте в зависимости от глубины акватории;
четыре подъемника с электрическим приводом, служащие для подъема понтона на колоннах над уровнем плавания.
2. Корпус понтона системой продольных и поперечных переборок разбит на 11 водонепроницаемых отсеков. Во все отсеки через водонепроницаемые двери или люки обеспечен доступ.
Система набора палубы - поперечная; бортов и днища - продольная.
По длине понтон разбит на 28 шпаций.
Размер шпации -1.5 м.
Обшивка днища и бортов толщиной - 6 мм.
Обшивка палубы, транца и подзора - 8 мм.
Водоизмещение понтона в порожнем состоянии - 215 т.
Водоизмещение по походному - до 650 т.
Площадь ватерлинии - 550 м2.
3. Допустимые эксплуатационные нагрузки на понтон: равномерно распределенная нагрузка по всей палубе - 20 кПа (2т/ м2);
гусеничная- 1350 кН (135 тс);
колесная (давление на ось) - 400 кН (40 тс);
от выносных опор кранов при передаче давления через штатные распределительные балки длиной 1м - 500 кН (50 тс);
длиной 3 м - 800 кН (80 тс);
удельное давление от штампа колеса - 500 кПа (50 кг/см2);
разрывное усилие на палубный рам - 300 кН (30 тс);
допускаемая швартовая нагрузка на кнехт - 500 кН (50 тс).
Непотопляемость понтона при нагрузке по походному обеспечивается при затоплении двух любых отсеков.
4. Комплект колонн может состоять из секций следующих размеров: секции нормальной колонны - 24÷30 м,
секции усиленной колонны - 27÷30 м,
надставка - 6 м.
Колонна представляет собой трубу наружным диаметром 1.42 м и толщиной стенки 14 мм.
Снаружи колонна имеет две стальные литые рейки сечением 100×350 мм, в которых с шагом 500 мм выполнены прямоугольные "окна" размером 260×270 мм.
Внутри колонна имеет продольный набор из 8 стрингеров полособульбового профиля № 16а.
В качестве поперечного набора с шагом 3 м приварены кольцевые диафрагмы.
Внутри колонны имеется трап.
Надставка по своей конструкции аналогична колонне.
На концах надставки припарены фланцы.
Верхний фланец колонн и надставок имеет 16 отверстий d = 45 мм дли крепления наголовника вибропогружателя ВУ1.6
Общая длина колонн от дна (с учетом размыва) до днища понтона не должна превышать 20 м.
5. Шахта-узел сопряжения колонн с понтоном оснащена обустройствами для закрепления штатных электромеханических подъемников. Допускаемая нагрузка на обустройства - 2500 кН (250 тс).
6. Подъемка понтона на колоннах осуществляется с помощью четырех электромеханических домкратов с системой питания и управления.
|
СНиП |
|
|
Система нормативных документов в строительстве. |
|
|
Инструкция о порядке разработки, согласования, утверждения и составе проектной документации на строительство предприятий, зданий и сооружений. |
|
|
Строительная климатология и геофизика. |
|
|
Нагрузки и воздействия. |
|
|
Здания и сооружения на подрабатываемых территориях и просадочных грунтах. |
|
|
Основания зданий и сооружений. |
|
|
Свайные фундаменты. |
|
|
Основания и фундаменты на вечномерзлых грунтах. |
|
|
Бетонные и железобетонные конструкции. |
|
|
Стальные конструкции. |
|
|
Деревянные конструкции. |
|
|
Автомобильные дороги. |
|
|
Мосты и трубы. |
|
|
Промышленный транспорт. |
|
|
Нагрузки и воздействия на гидротехнические сооружения (Волновые, ледовые и от судов). |
|
|
Подпорные стены, судоходные шлюзы, рыбопропускные и рыбозащитные сооружения. |
|
|
Градостроительство. Планировки и застройка городских и сельских поселений. |
|
|
Сооружения промышленных предприятий. |
|
|
Организация строительного производства. |
|
|
Техника безопасности в строительстве. |
|
|
Несущие и ограждающие конструкции. |
|
|
Металлические конструкции. |
|
|
Мосты и трубы. |
|
|
Механизация строительного производства. Рельсовые пути башенных кранов. |
|
|
ГОСТЫ, СТРОИТЕЛЬНЫЕ и ТЕХНИЧЕСКИЕ НОРМАТИВЫ. Некоммерческая онлайн система, содержащая все Российские Госты, национальные Стандарты и нормативы. В Системе содержится более 150000 файлов нормативно-технической документации, действующей на территории РФ. Система предназначена для широкого круга инженерно-технических специалистов. Copyright © www.gostrf.com, 2008 - 2026 |