Крупнейшая бесплатная информационно-справочная система онлайн доступа к полному собранию технических нормативно-правовых актов РФ. Огромная база технических нормативов (более 150 тысяч документов) и полное собрание национальных стандартов, аутентичное официальной базе Госстандарта. GOSTRF.com - это более 1 Терабайта бесплатной технической информации для всех пользователей интернета. Все электронные копии представленных здесь документов могут распространяться без каких-либо ограничений. Поощряется распространение информации с этого сайта на любых других ресурсах. Каждый человек имеет право на неограниченный доступ к этим документам! Каждый человек имеет право на знание требований, изложенных в данных нормативно-правовых актах!

  


 

Группа компаний «Трансстрой»

СТО-ГК «Трансстрой»-014-2007

Стандарт организации

Траншейная стена в грунте. Конструкция и технология сооружения для объектов транспортного строительства

Москва 2007

Содержание

Предисловие

1 Область применения

2 Нормативные ссылки

3 Термины, определения, обозначения и сокращения

4 Общие положения

5 Проектирование стены в грунте

5.1 Исходные данные и изыскания

5.2 Состав проекта

5.3 Основные расчетные требования

6 Типовые конструкции стен

6.1 Общие требования

6.2 Стены из монолитного железобетона

6.3 СВГ из сборных элементов

6.4 Сборно-монолитные СВГ

7 Строительные растворы и смеси

7.1 Глинистые растворы

7.2 Тампонажные растворы

7.3 Бетонные смеси

8 Производство работ по сооружению стен в грунте

8.1 Подготовительные работы

8.2 Устройство форшахты

8.3 Разработка траншей

8.4 Заполнение траншей монолитным железобетоном

8.5 Заполнение траншей сборными железобетонными элементами

8.6 Специальные мероприятия при производстве работ в зимний период

9 Контроль качества и приемка работ

10 Техника безопасности при производстве работ .

11 Охрана окружающей среды

Приложение А (справочное) Методика лабораторных работ при подборе составов тиксотропных глинистых растворов. Приборы и оборудование

Приложение Б (обязательное) Журнал контроля качества бентонитового глинистого раствора (суспензии)

Приложение В (обязательное) Журнал разработки траншеи при ведении работ методом «стена в грунте»

Приложение Г (обязательное) АКТ комиссионного освидетельствования металлокаркасов для армирования конструкций стены в грунте

Приложение Д (обязательное) Акт освидетельствования и приемки под бетонирование разработанной захватки при производстве работ методом «стена в грунте»

Приложение Е (обязательное) Журнал бетонирования при ведении работ методом «стена в грунте».

Приложение Ж (стравочное) Сводная таблица контроля технологических операций при сооружении траншейной «стены в грунте»

Приложение И (обязательное) Акт освидетельствования и приемки участка стены в грунте от ПК _ до ПК__

Предисловие

1 РАЗРАБОТАН POO «Научно-техническая ассоциация ученых и специалистов транспортного строительства» и филиалом «Научно-исследовательский центр «Тоннели и метрополитены» ОАО "ЦНИИС" (инж. Малый И.М.) по заданию ООО «Группа компаний «Трансстрой».

2 ВНЕСЕН Департаментом развития технологии и стандартизации ООО «Группа компаний «Трансстрой».

3 ПРИНЯТ И ВВЕДЕН В ДЕЙСТВИЕ ООО «Группа компаний «Трансстрой» распоряжением № ГК/ПН-38 от. 05.06.2007 г.

4 СОГЛАСОВАН ООО «Организатор» (исх № 3/329 от 14.03.2007 г.), ОАО «Союздорпроект» (исх № 3012-03/229 от 22.03.2007 г.), ОАО «Институт Гипростроймост» (исх. № C-386 от 06.03.2007 г.), ЗАО «Трансмонолит» (исх. № Т-01-10-192 от 06.02.2007 г.), ОАО «Метрогипротранс» (исх. № 3016-01-14/236 от 29.01.2007 г.), Управлением по строительству тоннелей и метрополитенов «Тоннельметрострой» ОАО «Корпорация «Трансстрой» (исх. № К/03-49 от 29.05.2007 г.).

5 Разработка стандарта организации предусмотрена статьей 13 Федерального закона «О техническом регулировании» от 27.12.2002 г. № 184-ФЗ.

6 Стандарт разработан в соответствии с СТО-ГК «Трансстрой»-002-2006 «Правила построения, изложения и обозначения при разработке стандартов организации Группы компаний «Трансстрой».

7 ЗАРЕГИСТРИРОВАН ФГУП «Стандартинформ» 08.06.2007 г. № 200/103524 и ООО «Группа компаний «Трансстрой» 21.06. 2007 г. № ГК/331.

8 ДЕРЖАТЕЛЬ ПОДЛИННИКА - ООО «Группа компаний «Трансстрой».

9 ВВЕДЕН взамен СТП-014-2001.

СТО-ГК «Трансстрой»-014-2007

Траншейная стена в грунте. Конструкция и технология сооружения для объектов транспортного строительства

Введен взамен
СТП-014-2001

Утвержден и введен в действие распоряжением ООО «Группа компаний «Трансстрой» от 05.06 2007 г. № ГК/ПН-38

Дата введения 2007-06-10

1 Область применения

Стандарт распространяется на типовые конструктивные решения и технологию сооружения траншейных стен в грунте, используемых в качестве несущего элемента постоянной конструкции и (или) ограждения котлована при строительстве железнодорожных и автодорожных тоннелей, метрополитенов, коллекторов, фундаментов и подземных частей зданий, подпорных стен, других заглубленных объектов транспортного назначения в условиях обычной климатической зоны.

Настоящий стандарт может быть применен при проектировании вышеуказанных объектов.

2 Нормативные ссылки

В настоящем Стандарте организации использованы ссылки на следующие нормативные документы:

ГОСТ 380-94

Сталь углеродистая обыкновенного качества. Марки.

ГОСТ 969-91
(СТ СЭВ 6826-89)

Цементы глиноземистые и высокоглиноземистые. Технические условия.

ГОСТ 5781-82*

Сталь горячекатаная для армирования железобетонных конструкций. Технические условия.

ГОСТ 6727-80*

Проволока из низкоуглеродистой стали холоднотянутая для армирования железобетонных конструкций. Технические условия.

ГОСТ 7348-81*

Проволока из углеродистой стали для армирования предварительно-напряженных железобетонных конструкций. Технические условия.

ГОСТ 7473-94

Смеси бетонные. Технические условия.

ГОСТ 8239-89

Двутавры стальные горячекатаные. Сортамент.

ГОСТ 8240-97

Швеллеры стальные горячекатаные. Сортамент.

ГОСТ 8267-93*

Щебень и гравий из плотных горных пород для строительных работ. Технические условия.

ГОСТ 8509-93

Уголки стальные горячекатаные равнополочные. Сортамент.

ГОСТ 8510-86*

Уголки стальные горячекатаные неравнополочные. Сортамент.

ГОСТ 8736-93

Песок для строительных работ. Технические условия.

ГОСТ 10060.1-95

Бетоны. Базовый метод определения морозостойкости.

ГОСТ 10178-85*

Портландцемент и шлакопортландцемент. Технические условия.

ГОСТ 10180-90

Бетоны. Методы определения прочности по контрольным образцам.

ГОСТ 10181-2000

Смеси бетонные. Методы испытаний.

ГОСТ 10690-73*

Калий углекислый технический (поташ). Технические условия.

ГОСТ 10704-91

Трубы стальные электросварные прямошовные. Сортамент.

ГОСТ 10884-94

Сталь арматурная термомеханически упрочненная для железобетонных конструкций. Технические условия.

ГОСТ 12730.5-84*

Бетоны. Методы определения водонепроницаемости.

ГОСТ 13078-81*

Стекло натриевое жидкое. Технические условия.

ГОСТ 14098-91

Соединения сварные арматуры и закладных изделий железобетонных конструкций. Типы, конструкции и размеры.

ГОСТ 16504-81*

Система государственных испытаний продукции. Испытания и контроль качества продукции. Основные термины и определения.

ГОСТ 17624-87

Бетоны. Ультразвуковой метод определения прочности.

ГОСТ 18105-86*

Бетоны. Правила контроля прочности.

ГОСТ 19903-74*

Прокат листовой горячекатаный. Сортамент.

ГОСТ 22266-94

Цементы сульфатостойкие. Технические условия.

ГОСТ 22685-89

Формы для изготовления контрольных образцов бетона. Технические условия.

ГОСТ 22690-88

Бетоны. Определение прочности механическими методами неразрушающего контроля.

ГОСТ 23616-79*

Система обеспечения точности геометрических параметров в строительстве. Контроль точности.

ГОСТ 23732-79

Вода для бетонов и растворов. Технические условия.

ГОСТ 23735-79*

Смеси песчано-гравийные для строительных работ. Технические условия.

ГОСТ 24211-2003

Добавки для бетонов и строительных растворов. Общие технические условия.

ГОСТ 25192-82*

Бетоны. Классификация и общие технические условия.

ГОСТ 26020-83

Двутавры стальные горячекатаные с параллельными гранями полок. Сортамент.

ГОСТ 26633-91*

Бетоны тяжелые и мелкозернистые. Технические условия.

ГОСТ 26871-86

Материалы вяжущие гипсовые. Правила приемки. Упаковка, маркировка, транспортирование и хранение.

ГОСТ 27006-86

Бетоны. Правила подбора состава.

ГОСТ 28570-90
(СТ СЭВ 3978-83)

Бетон. Методы определения прочности по образцам, отобранным из конструкции.

ГОСТ 30515-97

Цементы. Общие технические условия.

ГОСТ 12.1.003-83*. ССБТ

Шум. Общие требования безопасности.

ГОСТ 12.3.010-82. ССБТ

Тара производственная. Требования безопасности при эксплуатации.

СНиП II-23-81*

Стальные конструкции.

СНиП 11-02-96

Инженерные изыскания для строительства. Основные положения.

СНиП 12-01-2004

Организация строительства.

СНиП 12-03-2001

Безопасность труда в строительстве. Часть I. Общие требования.

СНиП 12-04-2002

Безопасность труда в строительстве. Часть II. Строительное производство.

СНиП 23-03-2003

Защита от шума.

СНиП 32-04-97

Тоннели железнодорожные и автодорожные.

СНиП 32-02-2003

Метрополитены.

СНиП 52-01-2003

Бетонные и железобетонные конструкции. Основные положения.

СНиП 2.01.07-85*

Нагрузки и воздействия.

СНиП 2.02.01-83*

Основания зданий и сооружений.

СНиП 2.03.11-85

Защита строительных конструкций от коррозии.

СНиП 2.05.03-84*

Мосты и трубы.

СНиП 2.06.07-87

Подпорные стены, судоходные шлюзы, рыбопропускные и рыбозащитные сооружения.

СНиП 3.01.04-87*

Приемка в эксплуатацию законченных строительством объектов. Основные положения.

СНиП 3.02.01-87

Земляные сооружения. Основания и фундаменты.

СНиП 3.03.01-87

Несущие и ограждающие конструкции.

СНиП 3.06.04-91

Мосты и трубы.

СНиП 3.09.01-85

Производство сборных железобетонных конструкций и изделий.

СП 32-105-2004

Метрополитены.

СП 52-101-2003

Бетонные и железобетонные конструкции без предварительного напряжения арматуры.

СП 52-102-2004

Предварительно напряженные железобетонные конструкции.

ВСН 190-78

Инструкция по инженерно-геологическим изысканиям для проектирования и строительства метрополитенов, горных железнодорожных и автодорожных тоннелей. -М.: Минтрансстрой СССР, 1978.

ВСН 488-86

Омоноличивание стыков элементов сборных конструкций подземных сооружений. - М.: ЦБНТИ Минмонтажспецстроя СССР, 1987.

ВСН 261-86

Инструкция по вибрационной укладке бетона способом ВПГ под водой и глинистым раствором.

ПБ 03-428-2002

Правила безопасности при строительстве подземных сооружений. Постановление Госгортехнадзора от 01.11.2001 г. № 49. - М.: 2002 г.

ППБ 01-03

Правила пожарной безопасности в Российской Федерации.

ТУ 5264-004-01393674-2001

Панели шпунтовые сварные. ОАО ЦНИИС.

ТУ 39-0147001-105-93

Глинопорошки для буровых растворов. НИИ Буровой техники.

ТУ 5751-001-58156178-02

Глинопорошки для бентонитовых суспензий, используемых в качестве пригруза при щитовой проходке тоннелей, сооружения "стен в грунте", опускных колодцев и противофильтрационных завес. ЗАО «Бентопром».

ТУ 5751-002-72007717-2006

Глинопорошки для пригруза забоя при щитовой проходке тоннелей, сооружения «стен в грунте», и других строительных работ, буровых растворов. ООО «Метпром».

 

Правила подготовки и производства земляных работ, обустройства и содержания строительных площадок в г. Москве. Приложение к постановлению Правительства Москвы от 07.12.2004 г. № 857-ПП

 

Руководство по проектированию и технологии устройства анкерного крепления в транспортном строительстве. -М.: ЦНИИС, 1987.

 

Руководство по применению глинистых и тампонажных растворов при строительстве способом «стена в грунте». - М.: ЦБНТИ, 1977.

 

Рекомендации по проектированию и возведению сборно-монолитных «стен в грунте» с листовой арматурой. - М.: МАДИ, ИИЦ «ЗЭСТ», 1998.

 

Пособие по проектированию оснований зданий и сооружений (к СНиП 2.02.01-83*). - М.: Стройиздат, 1986.

 

Пособие по производству работ при устройстве оснований и фундаментов (к СНиП 3.02.01-83). -М.: Стройиздат, 1986.

 

Методические указания по проектированию сооружений метрополитена, возводимых методом «стена в грунте». - М.: Метрогипротранс, 1987.

При пользовании настоящим Стандартом целесообразно проверить действие ссылочных норм и стандартов в информационной системе общего пользования - на официальном сайте национального органа Российской Федерации по Стандартизации в сети Интернет или по ежегодно издаваемому информационному указателю «Национальные стандарты».

3 Термины, определения, обозначения и сокращения

3.1 траншейная стена в грунте: Подземная стена, сооружаемая разработкой глубоких узких траншей под тиксотропным глинистым (или иным) раствором, с последующим заполнением траншей монолитным железобетоном или сборными элементами.

3.2 несущая стена в грунте: Траншейная стена, предназначенная для использования в качестве несущего элемента постоянной конструкции.

3.3 ограждающая стена в грунте: Траншейная стена, предназначенная для использования только в качестве ограждения строительного котлована (выемки).

3.4 тиксотропный глинистый раствор: Смесь глинистых частиц с водой.

3.5 тиксотропность: Способность раствора загустевать в покое, образуя студенистую массу - гель и разжижаться при механическом воздействии, превращаясь в вязкую жидкость - золь. Процесс может повторяться многократно.

3.6 кольматация: Проникновение глинистых частиц в грунт с образованием физико-химических связей между этими частицами и скелетом фильтрующего грунта.

3.7 суспензия: Раствор, образующийся при крупности частиц твердого вещества более 0,2 мкм в диаметре. По крупности частиц глинистые растворы, используемые для крепления стенок траншей относятся к суспензиям.

3.8 выход глинистого раствора: Объем раствора с заданной эффективной вязкостью, получаемый из 1 т глинистого порошка.

3.9 тампонажный раствор: Твердеющий цементно-глинисто-песчаный раствор (ЦГПР), подаваемый в траншею для соединения сборных элементов и заполнения полостей между ними.

3.10 напорное бетонирование: Укладка бетона под избыточным давлением с применением бетононасоса.

3.11 захватка траншеи: Фрагмент траншеи, разрабатываемый для последующего бетонирования или заполнения сборными элементами с омоноличиванием.

3.12 секция стены: Отделяемый ограничителями бетонирования (стыковыми конструкциями) составляющий элемент железобетонной стены.

3.13 СВГ: Стена в грунте.

3.14 МСВГ: Метод «стена в грунте».

3.15 ВПТ: Метод укладки бетона с применением вертикально-перемещаемой бетонолитной трубы.

3.16 ТПМК: Тоннелепроходческий механизированный комплекс.

4 Общие положения

4.1 Настоящий Стандарт организаций (СТО) должен использоваться проектными и строительными организациями ГК «Трансстрой» для обеспечения качества и безопасности сооружения траншейных СВГ в развитие СНиП 32-04-97, СНиП 32-02-2003, СП 32-105-2004, СНиП 3.02.01-87, СНиП 3.03.01-87*, СНиП 2.05.03-84*, СНиП 2.06.07-87.

4.2 Требования и положения СТО, основанные на современных достижениях науки, технологии и практическом опыте строительства, допускают обоснованную инициативу пользователей СТО в освоении новых областей применения и способов устройства СВГ.

4.3 Наряду с настоящим СТО при проектировании и производстве работ при сооружении траншейных СВГ следует руководствоваться указаниями соответствующих глав СНиП и ГОСТ РФ по р.3 настоящего СТО, а также нормативных документов органов государственного управления, надзора и ведомственных нормативных документов.

4.4 Сооружение СВГ включает проходку траншеи под защитой тиксотропного глинистого или иного раствора, заполнение траншея монолитным или сборным железобетоном при вытеснении или твердении раствора.

4.5 Способ СВГ следует применять, как правило, в нескальных грунтах (пески, супеси, суглинки, глины), в которых при помощи тиксотропного раствора обеспечивается устойчивость вертикальных стенок траншеи.

К геологическим условиям, в которых применение способа СВГ затруднено или невозможно, относятся: подземные воды с большим напором, неустойчивые грунты текучей консистенции, крупно-обломочные грунты и грунты с крупными включениями естественного или искусственного происхождения (валуны, обломки железобетонных плит, отходы металлургического производства и т.п.), неустойчивые площадки (карст, оползни, подрабатываемые территории).

При соответствующем оборудовании для проходки траншеи и технико-экономическом обосновании возможно сооружение СВГ с заглублением в скальный грунт или в грунтах с твердыми включениями.

4.6 СВГ наиболее целесообразно применять в сложных инженерных и гидрогеологических условиях, при строительстве в непосредственной близости от зданий и сооружений, с заглублением в водоупорный слой грунта. При необходимости водоупор может быть образован с поверхности инъекционными методами.

4.7 Применение несущих СВГ в качестве постоянной конструкции транспортных тоннелей и сооружений метрополитена без устройства гидроизоляции не допускается. Ограждения котлованов, постоянные подпорные конструкции и подземные части зданий, выполняемые методом СВГ, допускается применять без устройства дополнительной гидроизоляции.

4.8 На стадии строительства заглубленного сооружения открытым способом СВГ следует использовать в качестве ограждения котлована, раскрепляя се, при необходимости, грунтовыми анкерами, расстрелами, подкосами. Рекомендуется включать стены в состав конструкции постоянного сооружения в качестве несущего элемента.

4.9 Для каждого конкретного объекта применение СВГ должно быть обосновано технико-экономическими расчетами путем сравнения возможных вариантов строительства.

5 Проектирование стены в грунте

5.1 Исходные данные и изыскания

5.1.1 Для проектирования СВГ необходимы следующие исходные данные:

- генеральный план участка территории, отведенной под строительную площадку с нанесенными коммуникациями, контурами прилегающих зданий и сооружений, а также отметками их заложения;

- характеристики прилегающих коммуникаций, зданий и сооружений, их фундаментов, а также нагрузки, передаваемые ими на основание;

- результаты инженерно-геологических изысканий по всей трассе (площадке) строительства;

- ТЭО (обоснование инвестиций).

5.1.2 Инженерно-геологические изыскания следует производить в соответствии с требованиями СНиП 11-02-96 и Инструкции по инженерно-геологическим изысканиям ВСН 190-78.

Отчет по инженерно-геологическим изысканиям должен содержать:

- разрезы и буровые колонки, включающие все грунтовые прослойки и напластования, мощности слоев и их наклоны;

- количественную и качественную оценку встречаемых твердых включений и скальных пород;

- физико-механические характеристики грунтов, в том числе плотность, угол внутреннего трения, сцепление, коэффициент пористости, степень влажности, коэффициент фильтрации, модуль деформации, коэффициент Пуассона, а кроме того, для песчаных грунтов - гранулометрический состав, для глинистых - показатель текучести, для скальных - предел прочности на сжатие;

- данные об уровнях и режимах подземных вод (с учетом сезонных колебаний), степень их агрессивности.

5.1.3 Инженерно-геологические изыскания для проектирования и сооружения несущих СВГ должны быть проведены на глубину не менее 1,5Н+5 м, где Н - глубина заложения подошвы СВГ.

5.1.4 При наличии в непосредственной близости от проектируемой СВГ в грунте зданий и сооружений необходимо проводить обследования состояния их конструкций, оснований и фундаментов для учета и оценки возможных деформаций от разработки траншеи и раскрытия котлована. В необходимых случаях следует обеспечить укрепление оснований и фундаментов, а также проведение мониторинга технического состояния ограждений котлованов, зданий и сооружений.

5.2 Состав проекта

5.2.1 Проектная документация по сооружению СВГ должна содержать оптимальные конструктивно-технологические решения, выявленные в результате расчета и сравнения технико-экономических показателей вариантов, включая:

- пояснительную записку с расчетом и обоснованием принятых проектных решений;

- детальные рабочие чертежи конструкции СВГ;

- сметную документацию;

- проект организации строительства.

5.2.2 Производство работ без утвержденного проекта производства работ запрещается. Для контроля за применяемыми технологиями и качеством сооружения СВГ, в состав проекта производства работ должен входить, разработанный на основе положений настоящего СТО и с учетом специфики конкретного объекта, Технологический регламент (Карта), в котором должны быть изложены последовательность и методы выполнения работ (операций), требования по технике безопасности, схемы операционного контроля, состав руководящего и контролирующего персонала. Технологический регламент сооружения СВГ в грунте должен быть согласован с генподрядчиком и заказчиком строящегося объекта.

5.2.3 Так как технология сооружения СВГ и применяемое оборудование могут существенно влиять на конструктивные решения, рабочая документация должна, как правило, разрабатываться одновременно с проектом производства работ. Если разрабатывается только рабочая документация (конструктивная часть), то в ее составе должны содержаться основные положения по производству работ.

5.2.4 Проект производства работ по сооружению СВГ, кроме общестроительных, должен содержать следующие разделы:

- состав и параметры глинистого или иного раствора для крепления стенок траншеи, технология его приготовления, подачи, очистки и регенерации;

- конструкция и устройство форшахты;

- разбивка траншеи на захватки и порядок их разработки;

- заполнение траншеи монолитным или сборным железобетоном, омоноличивание стыков и метенного пространства для стен из сборных элементов;

- мероприятия по обеспечению производства работ в зимнее время;

- техника безопасности.

5.3 Основные расчетные требования

5.3.1 Конструкции СВГ и их основания должны удовлетворять требованиям расчета по прочности, несущей способности и устойчивости (предельные состояния первой группы), а также по пригодности к нормальной эксплуатации, предупреждая чрезмерное раскрытие трещин или недопустимые деформации (предельные состояния второй группы), в соответствии со СНиП 52-01-2003, СП 52-101-2003, СП 52-102-2004 и СНиП 2.02.01-83*.

5.3.2 Расчет по предельным состояниям конструкции в целом, а также отдельных ее элементов должен выполняться как для стадии строительства, так и на период эксплуатации в качестве постоянной несущей или временной ограждающей конструкции. Расчет для стадии строительства должен учитывать этапы производства работ, включая поярусную разработку грунта, установку крепления, устройство лотковой часть.

5.3.3 Расчеты СВГ и их оснований должны производиться на наиболее неблагоприятные сочетания нагрузок и воздействий при соответствующих коэффициентах перегрузки согласно требованиям СНиП 2.01.07-85* и СНиП 2.02.01-83* с учетом совместной работы с временными и постоянными элементами конструкции подземного сооружения: анкерами, распорками, лотковой частью, перекрытиями, сводом.

5.3.4 Все расчеты СВГ и их оснований должны выполняться с использованием расчетных значений характеристик грунтов с учетом возможности изменения гидрогеологических условий в процессе строительства и эксплуатации.

5.3.5 Для монолитных СВГ расчетные сопротивления бетона на осевое сжатие и растяжение для предельных состояний первой группы Rb и Rbt, в соответствии со СНиП 52-01-2003, снижаются путем умножения на коэффициент условий работы бетона gb3 = 0,7, учитывающий способ бетонирования в вертикальном положении под глинистым раствором.

Расчетные сопротивления бетона СВГ из сборных железобетонных элементов заводского изготовления следует принимать по СНиП без учета коэффициента условий работ.

5.3.6 Результаты расчетов элементов сборных СВГ на стадиях изготовления, транспортирования и монтажа следует сравнить с соответствующими результатами статического расчета СВГ для стадии строительства и на период эксплуатации. Армирование должно соответствовать экстремальной стадии работы сборного элемента.

5.3.7 Для всех типов СВГ минимально-необходимая глубина заложения определяется статическим расчетом и расчетами устойчивости, исходя из совместной работы сооружения и основания. При расчете устойчивости положения значение коэффициента надежности должно приниматься не менее 1,2.

5.3.8 Расчет СВГ и их оснований по деформациям должен производиться с целью ограничения перемещений такими пределами, при которых гарантируются нормальная эксплуатация сооружения, исходя из условия S £ Su, где S - максимальная величина горизонтального или вертикального перемещения СВГ или основания, определяемая расчетом; Su - предельная величина перемещения СВГ, устанавливаемая в задании на проектирование по условиям эксплуатации.

5.3.9 При назначении предельной величины перемещений СВГ и их оснований необходимо учитывать возможные деформации расположенных в непосредственной близости зданий, сооружений и коммуникаций на стадиях возведения СВГ и их эксплуатации как подпорных конструкций.

6 Типовые конструкции стен

6.1 Общие требования

6.1.1 Использование МСВГ допускает, изменяя расположение составляющих захваток в плане, возводить заглубленные сооружения прямолинейного, криволинейного, ломаного или замкнутого очертания.

6.1.2 СВГ, используемые в качестве подпорных стен, могут быть свободно стоящими (консольного типа), а также подкрепленными распорными конструкциями или грунтовыми анкерами. Высота консольной части СВГ, как правило, не должна превышать 6-8 м.

6.1.3 Для увеличения устойчивости и несущей способности возможно устройство СВГ с контрфорсами, которые могут быть выполнены в виде прямоугольных ребер жесткости или буронабивных свай, располагаемых с шагом 1,5-2,5 м по длине СВГ (рисунок 1). При этом конфигурация форшахты должна соответствовать контуру СВГ.

1 – ребро жесткости; 2 – СВГ; 3 – буронабивная свая
Рисунок 1 – Варианты контрфорсных стен в грунте

6.1.4 При возведении СВГ в водонасыщенных грунтах, для окончательного назначения её глубины, с целью обеспечения производства работ в котловане без применения водопонижения и водоотлива или сокращения их объема, следует учитывать технико-экономическую целесообразность заглубления СВГ в водоупорный слой (в скальные грунты, пластичные и плотные глины - не менее чем на 0,5-1 м, в мягкопластичные суглинки и глины - на 1-1,5 м).

6.1.5 При залегании водоупорного слоя ниже расчетной отметки подошвы СВГ (до 5-7 м), для тех случаев, когда это обосновано технико-экономическим и прочностным расчетом, допускается устройство нижней части СВГ в виде противофильтрационной диафрагмы из твердеющего материала или низкомарочного бетона с врезкой в водоупорный слой.

6.1.6 При заглублении СВГ в водоупорный слой следует проверять расчетом возможность прорыва напорными водами водоупорного слоя в соответствии с указаниями СНиП 2.02.01-83* и «Пособия по проектированию оснований зданий и сооружений».

6.1.7 Для объектов метрополитена, транспортных тоннелей и других заглубленных сооружений, в которых СВГ используются как несущие, целесообразно, взамен временных анкеров или расстрелов, использовать на стадии строительства для обеспечения устойчивости СВГ конструктивные элементы сборных или монолитных постоянных сводов, балочных перекрытий с разработкой грунта в котловане полузакрытым способом.

6.1.8 Анкерное крепление СВГ в один или несколько ярусов следует, как правило, применять в следующих случаях

- при широких котлованах (ширина свыше 20 м);

- при ширине котлована свыше 10 м, когда в силу особенностей конструктивного решения могут быть использованы только временные расстрелы, требующие перекрепления.

6.1.9 Конструкцию и технологию устройства анкеров следует выбирать по результатам технико-экономического сравнения вариантов с учетом нагрузок на анкеры, гидрогеологических условий строительной площадки и уточнять по результатам пробных испытаний, выполняемых в комплексе проектно-изыскательских работ. Анкеры допускается устанавливать во всех грунтах, за исключением рыхлых песков, торфов, глин текучей консистенции, просадочных грунтов. Проектирование и устройство анкеров следует выполнять в соответствии с «Руководством по проектированию и технологии устройства анкерного крепления в транспортном строительстве».

6.2 Стены из монолитного железобетона

6.2.1 Для монолитных СВГ следует применять тяжелый конструкционный бетон плотной структуры, соответствующий ГОСТ 25192-82* и ГОСТ 26633-91*, и имеющий заданные проектом показатели, включая:

- класс по прочности на сжатие по ГОСТ 18105-86* не ниже В20;

- марку по водонепроницаемости по ГОСТ 12730.5-84* не ниже W6;

- марку по морозостойкости по ГОСТ 10060.1-95 не ниже F100.

Проектные показатели бетона СВГ определяются в зависимости назначения и условий работы конструкции.

6.2.2 В бетоне конструкций СВГ не допускаются непробетонированные места, включения грунта и глинистого раствора, уменьшение толщины защитного слоя и обнажение арматуры, продольные холодные швы, а также трещины, за исключением поверхностных усадочных.

6.2.3 Траншейные СВГ следует устраивать с разбивкой на отдельные секции, бетонируемые в захватках траншеи последовательно или через одну. Объем секции должен быть, как правило, не более 100-120 м3.

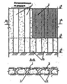
6.2.4 Для обеспечения совместной работы секций, должны быть предусмотрены соответствующие конструктивные решения их стыков и монолитная обвязка по верху СВГ с непрерывным горизонтальным армированием. Конструкция и технология устройства стыков секций устанавливаются проектом в зависимости от назначения и конструктивных особенностей СВГ (рисунок 2). Нерабочие (конструктивные) стыки должны противодействовать взаимному сдвигу секций в поперечном направлении. Они выполняются без перепуска и соединения арматуры смежных захваток.

а - шарнирный стык, образуемый извлекаемым трубчатым элементом или полутрубой в составе арматурного каркаса; б-е - варианты стыков со стальным профильным извлекаемым или остающимся разделительным элементом; ж-з - варианты стыков с железобетонным разделительным элементом
Рисунок 2 - Принципиальные конструктивные решения стыков монолитной стены в грунте

Конструкция рабочего стыка должна обеспечить восприятие растягивающих усилий и совместную работу секций СВГ в продольном направлении, для чего необходимо предусмотреть соединение рабочей арматуры соседних секций.

6.2.5 Конструкция и технология устройства стыков отдельных секций должны соответствовать требованиям по водонепроницаемости СВГ в целом. Для обеспечения водонепроницаемости стыков возможны следующие типовые решения:

- применение противофильтрационных элементов из профильной резины или из металла, устанавливаемых перед бетонированием на границе смежных захваток;

- заполнение конструктивных шпонок между секциями по вибронабивной технологии в соответствии с ВСН 488-86;

- применение стационарных ограничителей остающихся в теле бетона и снабженных противофильтрационными элементами;

- повышение темпов и качества укладки за счет применения напорного бетонирования и виброуплотнения, что улучшает сцепление бетона соседних секций, препятствуя образованию плотной глинистой корки по их торцам.

6.2.6 Деформационные швы в несущих СВГ должны располагаться с шагом, предусмотренным проектом в стыках соответствующих секций, а их конструкция выполняться с учетом требований по водонепроницаемости.

6.2.7 Армирование монолитных СВГ следует производить при помощи пространственных каркасов (рисунок 3) длиной на 200-300 мм менее глубины траншеи, шириной на 100-150 мм менее длины захватки, толщиной - на 60-150 мм менее ширины траншеи. Толщина защитного слоя бетона для рабочей арматуры стен, при отсутствии грунтовых вод должна быть не менее диаметра рабочей арматуры, но не менее 30 мм. Для постоянных конструкций, работающих в агрессивных средах, толщина защитного слоя бетона и, соответственно, толщина каркаса, должны назначаться с учетом требований СНиП 2.03.11-85.

1 - рабочая арматура; 2 - направляющие; 3 - места установки бетонолитных труб
Рисунок 3 - Конструкция арматурных каркасов

6.2.8 При глубине траншеи более 12 м каркас, как правило, должен состоять из отдельных блоков, стыкуемых по высоте при опускании в траншею. Стык арматурных блоков должен производиться сваркой выпусков продольной арматуры с обеспечением равнопрочности в соответствии с ГОСТ 14098-91. Длину блоков следует назначать, избегая размещения стыков в зонах максимальных расчетных усилий. Количество типоразмеров арматурных каркасов и составляющих их блоков должно быть минимально возможным.

6.2.9 Каркасы должны обладать достаточной жесткостью, исключающей возможные деформации при их транспортировке и подъеме в вертикальное положение. Жесткость каркаса достигается введением в его состав диагональных поперечных связей или прокатных профилей.

6.2.10 В качестве элементов каркаса следует преимущественно применять:

- горячекатаную арматуру класса А-II и А-III по ГОСТ 5781-82* и термически упрочненную стержневую свариваемую арматуру классов Ат-III; Ат-IV по ГОСТ 10884-94 для рабочей стержневой арматуры;

- горячекатаную арматуру классов А-II и A-I по ГОСТ 5781-82* для поперечной конструктивной и монтажной арматуры;

- двутавры стальные горячекатаные по ГОСТ 8239-89 (СТ СЭВ 2209-80) и ГОСТ 26020-83; швеллеры стальные горячекатаные по ГОСТ 8240-97 (СТ СЭВ 2210-80) при балочно-арматурных каркасах (рисунок 4а) в качестве жесткой арматуры и неизвлекаемых ограничителей;

- элементы стальных труб по ГОСТ 10704-91 для закладных и ограничителей (рисунок 4б);

- горячекатаный листовой и фасонный прокат из углеродистой стали марки Ст3 по ГОСТ 380-94; Вст3 для закладных деталей;

- проволоку по ГОСТ 6727-80*.

1 - неизвлекаемые ограничители; 2 - стержневой каркас; 3 - лист металоизоляции; 4 - границы секции бетонирования, сформированные трубчатыми ограничителями; 5 - строповочные петли
Рисунок 4 - Арматурные каркасы «стен в грунте»

6.2.11 Стыкование составляющих секций СВГ может производиться при помощи входящих в состав каркасов не извлекаемых разделительных элементов из полутруб диаметром, соответствующим ширине траншеи. Так, при ширине траншеи 800 мм следует применять, как правило, полутрубы диаметром 720 мм по ГОСТ 10704-91, с наваренными уголками с шириной полки 50-70 мм по ГОСТ 8509-93 или ГОСТ 8510-86*.

Каркасы с разделительными полутрубами должны устанавливаться по краям каждой захватки первой очереди (нечетной), образуя в бетоне шпоночный кольцевой стык между соседними секциями СВГ (рисунок 5).

1 - разделитель из полутрубы; 2 - засыпка щебнем 20-40 мм; 3 - закладные трубы для грунтовых анкеров
Рисунок 5 - Типовая конструкция стены с неизвлекаемыми разделителями из полутруб (размеры для справок)

6.2.12 Для обеспечения устойчивости неизвлекаемого ограничителя и предотвращения выхода бетона, объем между грунтовым торцом захватки и полутрубой в составе крайнего каркаса, должен быть заполнен до верха конструктивного бетона щебнем по ГОСТ 8267-93* с составом фракций не крупнее 20-40 мм. Засыпку допускается производить методом свободного сброса, с одновременной откачкой глинистого раствора крепления стенок траншеи.

6.2.13 При использовании СВГ в качестве несущих в водонасыщенных грунтах, в тех случаях, когда это обосновано технико-экономическим расчетом, допускается облицовка внутренней стороны каркаса металлическими листами по ГОСТ 19903-74* толщиной 6-10 мм, служащими для гидроизоляции сооружения. Металлоизоляцию допускается учитывать при расчете конструкции в качестве листовой арматуры при жестком соединении с армокаркасом и заанкеривании в бетон. Для обеспечения сплошности металлоизоляции стыки листов соседних каркасов по мере разработки грунта со стороны котлована следует соединять между собой на сварке или при помощи накладок.

6.2.14 Конструкция и расположение элементов каркаса не должны препятствовать полному замещению глинистого тиксотропного раствора поднимающейся бетонной смесью при ее укладке и обеспечивать предотвращение образования непробетонированных полостей в узлах.

6.2.15 Расстояние между стержнями каркаса следует подбирать по расчету СВГ с учетом подвижности бетонной смеси и структурной прочности глинистого раствора. Расстояние между продольными стержнями рабочей арматуры должно быть, как правило, не менее 150 мм, расстояние между поперечными стержнями - не менее 150 мм и не более 20 диаметров рабочей арматуры, но не более 500 мм. Следует избегать размещения поперечной арматуры и закладных деталей в зоне действия максимального изгибающего момента.

6.2.16 Для снижения стоимости и металлоемкости конструкции СВГ целесообразно устраивать арматурные каркасы с размещением рабочей арматуры, преимущественно в растянутой зоне, в соответствии с эпюрой изгибающих моментов. Стороны такого каркаса следует маркировать для правильной установки в траншею.

6.2.17 Внутри каркасов должны быть предусмотрены вертикальные проемы с направляющими для установки бетонолитных труб. При длине захватки до 4 м принимается один проем в середине каркаса; при длине захватки 4-6 м - два проема.

6.2.18 В необходимых случаях в составе каркаса следует предусматривать закладные детали для пропуска грунтовых анкеров и инженерных коммуникаций, формообразования плоского стыка для установки гидрошпонки, а также проемообразование для ввода ТПМК в забой, дверей и т.п.

6.2.19 Для обеспечения точной установки каркаса в траншее и требуемой толщины защитного слоя бетона по бокам каркаса не менее, чем в трех вертикальных осях и через 3-4 м по длине следует крепить направляющие (салазки) из стальной полосы шириной 30-50 мм или специальные катки на горизонтальных осях. В верхней части каркас должен иметь поперечные стержни или балки при помощи которых он подвешивается на форшахте после опускания в траншею.

6.2.20 Сопряжения лотка, свода либо перекрытия с монолитными железобетонными СВГ могут выполняться в виде свободно опирающихся конструкций при помощи образования штраб в бетонируемой СВГ, либо в виде жестких соединений. Для образования штраб к каркасу крепятся специальные извлекаемые закладные элементы.

Жесткое соединение элементов реализуется при помощи металлических закладных деталей или выпусков арматуры, соединяемых сваркой. При установке армокаркаса в траншею арматурные выпуски должны быть отогнуты заподлицо с каркасом и защищены соответствующими извлекаемыми закладными элементами.

6.3 СВГ из сборных элементов

6.3.1 СВГ из сборного железобетона

6.3.1.1 СВГ в грунте, как несущие так и ограждающие, могут сооружаться из сборных железобетонных или стальных элементов заводской готовности, представляющих собой плоские, многопустотные или ребристые панели (рисунок 6), а также стойки таврового, двутаврового, прямоугольного сплошного сечения (рисунок 7). Возможны другие конструкции сборных СВГ, отличающиеся типом панелей или стоек, способами их соединения и закрепления в траншее. Некоторые типовые конструкции сборных СВГ приведены на рисунке 8.

а - плоская стеновая панель; б - многопустотная стеновая панель; в - ребристые стеновые панели и блоки из них; 1 - выпуски арматуры; 2 - монтажные петли; 3 - закладные детали
Рисунок 6 - Конструкция панелей для сборных стен в грунте

а - тавровое сечение; б - прямоугольное (коробчатое) сечение; в - двутавровое сечение.
Рисунок 7 - Типы сечений несущих элементов (стоек) для сборных стен в грунте

1 - несущая панель; 2 - несущая стойка; 3 - промежуточная панель; 4 - твердеющий тампонажный раствор
Рисунок 8 - Примеры конструкции сборных стен

6.3.1.2 Разбивка СВГ на сборные элементы осуществляется в соответствии с конструктивной схемой сооружения. Габаритные размеры сборных элементов назначаются проектом в зависимости от глубины СВГ, ширины траншеи, результатов расчета на стадиях изготовления, транспортирования, монтажа и эксплуатации, принятой технологии работ. Следует учитывать грузоподъемность имеющихся монтажных кранов и транспортных средств.

6.3.1.3 Допускаемые отклонения от проектных размеров сборных элементов должны назначаться в соответствии с требованиями государственных стандартов на сборные железобетонные конструкции, а для нестандартизованных конструкций - в соответствии с требованиями технических условий на их изготовление.

6.3.1.4 Для сокращения количества и общей длины вертикальных стыков стеновые панели следует принимать максимально возможной ширины, как правило, в пределах 1000-3500 мм. Толщина стенового элемента должна обеспечивать зазор со стенкой траншеи не менее 60-100 мм, определяемый формой его поперечного сечения и технологией омоноличивания.

Длину стеновых элементов следует назначать, как правило, не более 15-18 м. При устройстве сборных СВГ большой глубины стеновые элементы выполняют составными по длине.

6.3.1.5 При конструкции сборной СВГ, состоящей из несущих стоек, обеспечивающих устойчивость конструкции, и промежуточных стеновых панелей, допускается использовать панели уменьшенной длины по сравнению со стойками. При этом промежуточные панели должны быть заглублены в грунт ниже дна котлована не менее чем на 1 м.

6.3.1.6 Для облегчения стеновых панелей их целесообразно выполнить в виде многопустотных или ребристых объемных блоков. Ребристые панели устраиваются преимущественно с одним (тавровое сечение) или двумя продольными ребрами. Устройство поперечных ребер следует избегать, как затрудняющих распространение омоноличивающего раствора. Стеновые панели могут выполняться с постоянной или переменной по высоте толщиной.

6.3.1.7 Сборные элементы следует изготовлять из бетона класса прочности на сжатие не ниже В25 для несущих стен и В20 для ограждающих. Армирование сборных элементов производится по расчету в соответствии с требованиями СНиП с учетом всех видов нагрузок, возникающих от момента распалубливания до стадии эксплуатации. Следует преимущественно использовать горячекатаную арматуру из стали классов АII и АIII по ГОСТ 5781-82*.

6.3.1.8 Арматурный каркас сборных элементов формируется из объемных блоков или плоских сеток, необходимых закладных и накладных деталей для пропуска тяг грунтовых анкеров, а также для соединения элементов между собой и с внутренними конструкциями. Составляющие каркасы должны соответствовать положениям, приведенным в пункте 6.2.10 настоящего СТО. Диаметр арматурных стержней, к которым приваривают закладные детали, должен быть не меньше 8 мм.

6.3.1.9 К каркасу должны крепиться строповочные петли для транспортировки и складирования - на боковой поверхности, для опускания в траншею и подвески на форшахте - на верхнем торце элемента.

6.3.1.10 В зависимости от назначения СВГ и инженерно-геологических условий сборные элементы могут быть снабжены гидроизоляцией, например металлической, закрепленной на внутренней поверхности. Стальные листы металлоизоляции, жестко соединенные с армокаркасом, рекомендуется учитывать при расчете конструкции в качестве листовой арматуры.

6.3.1.11 Конструкции стыков сборных элементов СВГ должны соответствовать ее назначению, условиям статической работы и принятой расчетной схеме сооружения.

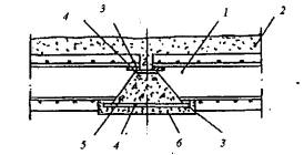
6.3.1.12 Рабочий стык (равнопрочный со стеновыми панелями) следует устраивать для постоянных несущих СВГ, когда в стыках их элементов имеют место растягивающие напряжения. Такие стыки выполняются, как правило, открытыми, клинообразными. Рабочая арматура наружной и внутренней сеток смежных элементов соединяется при помощи накладок и закладных деталей (рисунок 9). Суммарная площадь сечения накладок должна быть не менее площади сечения рабочей арматуры. Рабочие стыки заделываются изнутри сооружения по мере разработки грунта котлована.

1- панель; 2 - тампонажный раствор; 3 - закладные детали; 4 - накладки; 5 - бетон; 6 – набрызгбетон
Рисунок 9 - Пример устройства рабочего стыка панелей из сборного железобетона

6.3.1.13 Нерабочий (конструктивный) стык допускается устраивать без соединения арматуры смежных элементов. Нерабочие стыки (рисунок 10) могут быть простыми и с взаимной фиксацией, без омоноличивания или с омоноличиванием цементным раствором, нагнетаемым через цилиндрические пазы по торцам панелей.

а,б,в,г - простые стыки; д,е,ж - стыки с взаимной фиксацией панелей; з - цилиндрический стык
Рисунок 10 - Примеры устройства нерабочих стыков панелей из сборного железобетона

6.3.1.14 Требования по водонепроницаемости стыков сборных элементов соответствуют приведенным в пункте 6.2.5 настоящего СТО. Дополнительно к приведенным типовым конструктивно-технологическим решениям рекомендуется:

- устройство открытых стыков с внутренней стороны сооружения при их омоноличивании или заделке набрызгбетоном по мере разработки грунта;

- использование листовых накладок, привариваемых к закладным деталям сплошным швом и перекрывающих стык;

- применение эластичных трубчатых оболочек, заполняемых твердеющим составом.

6.3.1.15 Омоноличивание сборных элементов в траншее, с заполнением пазух и стыков, следует осуществлять твердеющими тампонажными растворами или бетонной смесью. Вид и состав раствора назначается в соответствии с принятой технологией работ и исходя из условия обеспечения проектной прочности и водонепроницаемости. Состав и свойства тампонажных растворов должны соответствовать требованиям раздела 7 настоящего СТО.

В отдельных случаях допускается применение для заполнения пазух гравийно-песчаного материала.

6.3.2 Стены из шпунтовых элементов

6.3.2.1 При необходимости сооружения СВГ в водонасыщенных грунтах, когда к стенам предъявляются повышенные требования по обеспечению их водонепроницаемости, возможно использование в качестве сборных несущих и одновременно гидроизолирующих элементов шпунтовых панелей, погружаемых в предварительно пройденную траншею. В качестве погружных элементов могут применяться трубчатые шпунтовые панели (рисунок 11), или панели из профильного шпунта, например, типа ПШС-50 по ТУ 5264-004-01393674-2001 (рисунок 12).

1 - трубчатая шпунтовая панель Æ 720´10 мм; 2 - трубчатый разделитель с наваренным уголком; 3 - опускные армированные рукава Æ 100 мм для подачи тампонажного раствора; 4 - бетон заполнения труб; 5 - твердеющий раствор
Рисунок 11 - Схема расположения трубчатых шпунтовых элементов на типовой захватке (размеры приведены для справок)

1 - шпунтовая панель типа ПШС-50; 2 - шпунтовый замок; 3 - твердеющий раствор или мелкозернистый бетон
Рисунок 12 - Конструкция стены из погружных профильных шпунтовых панелей

6.3.2.2 При использовании трубчатого шпунта СВГ собирают из типовых панелей, состоящих, как правило, из двух труб и одиночных разделительных (при необходимости, также угловых и поворотных) труб по ГОСТ 10704-91, выполняющих функцию ограничителя захватки (рисунок 13).

Рисунок 13 - Конструкции типовой шпунтовой трубчатой панели (а) и разделителя (б)

Соединение составляющих элементов СВГ должно осуществляться при помощи специальных шпунтовых замков (рисунок 14), состоящих из приемной трубы (поз.1) и сварного внутреннего Т-образного кулачка (поз. 2 и 3).

Рисунок 14 - Конструкция шпунтового замка
(* - размеры приведены для справки)

6.3.2.3 Для возведения СВГ из шпунтовых элементов при их замкнутой конфигурации (подземные камеры различного назначения), в углах сооружения следует предусматривать размещение трубчатых элементов, соединение которых производится при помощи замков «плавающего» типа (рисунок 15), позволяющих выполнить стыковку с регулированием расстояния между элементами в шпунтовом ряду стены.

Рисунок 15 - Соединение трубчатых элементов в углах камеры при помощи замка «плавающего типа»
(* - размеры приведены для справки)

6.3.2.4 Внутренние полости шпунтовых труб следует заполнить бетоном, а межтрубное пространство - твердеющим тампонажным раствором. В соответствии с проектом, допускается заполнение шпунтовых труб низкомарочным бетоном, щебнем или песком.

В случае применения для СВГ профильных шпунтовых элементов траншея омоноличивается твердеющим раствором или мелкозернистым бетоном.

6.3.2.5 По мере разработки котлована, соединения в шпунтовых замках составляющих панелей должны быть обварены сплошными вертикальными швами, обеспечивающими получение соединений, прочность и коррозионная стойкость которых должна быть не ниже, чем у основного металла труб. Сварка замков и контроль качества соединений должны производиться по соответствующему регламенту.

6.3.2.6 Составляющие СВГ шпунтовые панели должны соответствовать требованиям к точности их изготовления, приведенным в таблице 1.

Таблица 1 - Допускаемые отклонения размеров и формы панелей от номинальных показателей

Наименование показателя

Предельное отклонение, мм

Длина панели

+50, -0

Стрела кривизны панелей (отклонение от прямолинейности) и замковых элементов

0,001 L (L - длина панели)

Смещение кромок в стыках замковых элементов

±2

Отклонение замкового элемента относительно оси панели

±5

6.4 Сборно-монолитные СВГ

6.4.1 Конструкция сборно-монолитных железобетонных СВГ состоит из несущих стеновых элементов, устанавливаемых в траншее с определенными интервалами, и монолитного заполнения между ними из бетона или цементно-песчаного раствора, армированного в случае необходимости облегченными каркасами (рисунок 16).

1 - стеновой блок; 2 - металлоизоляция; 3 - бетонное заполнение; 4 - отметка верха стены; 5 - отметка дна котлована; 6 - отметка низа стены; 7- контур траншеи
Рисунок 16 - Принципиальная схема сборно-монолитной стены

6.4.2 При глубоком расположении водоупорного слоя грунта, допускается устройство СВГ смешанной конструкции, состоящих в верхней части из несущих сборных элементов, образующих стены подземного сооружения, а в нижней части (до расположения водоупорного слоя грунта) - из монолитных (рисунок 17). Сборные элементы должны быть заглублены в бетонную, монолитную часть сооружения не менее, чем на 500 мм. Монолитную нижнюю часть СВГ, выполняющую роль противофильтрационной завесы и основания сборных элементов, устраивают, как правило, из тощего бетона класса прочности на сжатие не выше В15, с добавками бентонитовых глин.

1 - железобетонная панель; 2 - тампонажный раствор; 3 - монолитная часть из пластичного бетона; 4 – водоупор
Рисунок 17 - Сборно-монолитная конструкция стены в грунте

6.4.3 Для обеспечения гидроизоляции несущих СВГ, устраиваемых в обводненных грунтах, стеновые элементы могут иметь с внутренней стороны металлоизоляцию из стального листа с выпусками для соединения с металлоизоляцией смежных элементов (рисунок 18). Для обеспечения качества и точности соединения выпусков металлоизоляции, используемой в качестве листовой арматуры, применяют замковые устройства (рисунок 19).

1 - блок; 2 - металлический лист, 3 - отверстия для грунтовых анкеров
Рисунок 18 - Конструкция стенового блока с выпуском металлоизоляции

1 - арматурный стержень; 2 - косынка; 3 - уголок; 4 - сварные швы; 5,6,7 - сваренные между собой уголки
Рисунок 19 - Варианты замковых устройств для соединения выпусков листовой арматуры

6.4.4 Металлоизоляцию, используемую в качестве листовой арматуры, выполняют, как правило, из стальных листов толщиной 6-10 мм. Отдельные листы объединяют между собой накладками на сварке.

При проектировании и возведении сборно-монолитных СВГ с листовой арматурой следует учитывать «Рекомендации по проектированию и возведению сборно-монолитных стен в грунте с листовой арматурой».

7 Строительные растворы и смеси

7.1 Глинистые растворы

7.1.1 Состав и свойства растворов, используемых при разработке траншей должны обеспечивать:

- предохранение стенок траншей от обрушения и вывалов грунта;

- удержание частиц разрыхленного грунта во взвешенном состоянии;

- кольматацию прилегающего слоя грунта и образование глинистой корки на стенках траншей.

В качестве таких растворов используют тиксотропные глинистые растворы, полимерно-бентонитовые составы, полимерные растворы.

7.1.2. Для крепления стенок траншей следует применять тиксотропные глинистые растворы (суспензии) на основе тонкодисперсных высокопластичных монтмориллонитовых (бентонитовых) глин, используемых в виде глинопорошка. Допускается использовать модифицированные или немодифицированные (полимерной добавкой или кальцинированной содой) глинопорошки для приготовления бентонитовых суспензий с выходом раствора эффективной вязкостью 20 МПа´с, не менее 16 м3/т, соответствующие ТУ 39-0147001-105-93, ТУ 5751-001-551561-02, ТУ 5751-002-72007717-2006.

7.1.3. В отдельных случаях при отсутствии бентонитовых глинопорошков возможно применение пластичных местных глин в виде глинопорошков или комовой глины. Применяемые глины должны иметь показатели качества, соответствующие приведенным в таблице 2. Пригодность местных глин определяется по результатам лабораторных испытаний глинистых растворов, получаемых на их основе.

Таблица 2. Показатели качества глины для приготовления раствора (по СНиП 3.02.01-87*)

Показатель

Величина отклонения

Метод и объем контроля

Число пластичности

Не менее 0,2

Содержание частиц размером, мм:

Крупнее 0,05

От 0,001 до 0,005

Менее 0,001

 

Не более 10%

Не менее 30%

Не менее 10%

Измерительный, 1 проба на 500 м3

7.1.4 Параметры свежеприготовленного глинистого раствора, подаваемого в траншею при ее разработке и перед бетонированием, должны соответствовать контрольным показателям качества, приведенный в таблице 3

Таблица 3 Показатели качества глинистого раствора и методы контроля

Измеряемая характеристика

Значение параметра

Контроль

Рекомендуемый прибор

Метод и объем контроля

Плотность раствора, г/см3;

 

 

Измерительный. Каждый замес. При непрерывном изготовлении - через 30 мин.

- из бентонитовых глин

1,03-1,10

Ареометр АБР-1

- из глин других видов

1,10-1,25 г/см3

Рычажные весы

Условная вязкость, с

£ 30

£ 45

Вискозиметр ВБР-1

Воронка Марша

Измерительный. Не менее одного раза в смену из накопительной емкости; после разработки траншеи до проектных отметок перед установкой арматурных каркасов и перед бетонированием

Структурная прочность, Н/м2

(предельное статическое напряжение сдвига)

33,0

38,0

СНС-2 «Шарики»

Содержание песка, %

£ 4

Отстойник ОМ-2

Стабильность, г/см3

£ 0,05

Цилиндр ЦС-2

Измерительный. При подборе состава, перед началом работ, для каждой новой партии бентонита, но не реже одного раза в месяц.

Водоотдача, см3

£ 17

£ 22

ВМ-6 Фильтр-пресс

Толщина глинистой корки, мм

£ 4

ВМ-6 Фильтр-пресс

Суточный отстой воды, %

£ 4

Мерный цилиндр

Величина водородного показателя реакции среды, рН

8-11

Индикаторная бумага или лабораторный рН-милливольтметр

7.1.5 На стадии разработки траншеи допускается повторное (многократное) использование глинистого раствора, если его параметры после очистки и регенерации на сепараторной установке соответствуют значениям, приведенным в таблице 4. Форма журнала контроля качества глинистого раствора (суспензии) приведена в приложении Б.

Таблица 4 - Параметры раствора при многократном применении

Параметры раствора

Прибор

Значение

Плотность раствора, г/см3

АБР-1 (рычажные весы)

1,12-1,20

Условная вязкость, сек

ВБР-1 (воронка Марша)

£ 40

£ 55

Структурная прочность, Н/м2

СНС-2 («Шарики»)

33,0

38,0

Водоотдача за 30 мин., см3

ВМ-6 (пресс-фильтр)

£ 17

£ 22

Толщина глинистой корки, мм

ВМ-6 (пресс-фильтр)

£ 4,5

Содержание песка, %

ОМ-2

£ 4

Отстой, %

Мерный цилиндр

£ 4

7.1.6 Рабочий глинистый раствор должен сохранять относительную стабильность своих основных параметров на весь период использования, до замены свежим или замещения бетонной смесью. Перед заполнением траншеи бетонной смесью или сборными элементами плотность раствора в ней доводится до значения 1,05-1,12 г/см3, заменой свежей суспензией или разбавлением водой рабочего раствора при соответствии его параметров требуемым.

7.1.7 Перед началом работ расчетную плотность глинистого раствора следует определять исходя из устойчивости стенок траншеи с учетом гидрогеологических условий строительной площадки, глубины копания траншеи, наличия поверхностных нагрузок. Устойчивость стенок траншеи повышается при увеличении плотности раствора, разности уровней раствора и грунтовых вод, за счет уменьшения длины захватки.

Плотность раствора должна соответствовать условию:

р ³ (рr + рв),                                                                                                                          (1)

где: р, рr и рв - соответственно интенсивность давления раствора, грунта и грунтовых вод в любом сечении по глубине траншеи ниже защитных стенок форшахты.

Давление раствора на глубине z

р = r(z - hр),                                                                                                                         (2)

где r - плотность глинистого раствора;

z - глубина рассматриваемого сечения траншеи от дневной поверхности грунта;

hр - уровень раствора ниже основания воротника форшахты.

Давление грунта на глубине z

рr = рo + рq ,                                                                                                                          (3)

где рo - интенсивность бокового давления на глубине z от собственного веса фунта с учетом разнородного напластования слоев, взвешивающего действия воды и эффективного сцепления;

рq - интенсивность бокового давления на глубине z от возможных нагрузок на поверхности.

Если форшахта располагается на специальной отсыпке выше поверхности грунта, то значение hр принимается со знаком минус.

Гидростатическое давление грунтовых вод на глубине z

рв = rв(z - hв),                                                                                                                       (4)

где hв - уровень грунтовых вод.

7.1.8 Для определения необходимой из условия (1) плотности тиксотропного раствора (r), в соответствии с зависимостями (3) и (4) строится суммарная эпюра давления грунта и грунтовых вод. Для каждого из характерных сечений суммарной эпюры находится соответствующая уравновешивающая плотность тиксотропного раствора по формуле

                                                                                                                        (5)

В качестве характерных сечений следует рассматривать уровни перелома эпюры, соответствующие отметкам слоистости грунта, уровню грунтовых вод, низу траншеи. За расчетную плотность тиксотропного раствора принимается наибольшее значение ri.

7.1.9 Окончательный подбор состава глинистого раствора для обеспечения принятых показателей качества должен производиться лабораторным путем в соответствии с методикой и с применением оборудования по приложению А.

7.1.10 При разработке неустойчивых грунтов с напорными водами для повышения плотности глинистого раствора допускается применять специальные утяжелители (молотый барит, гематит, магнетит, железные опилки, колошниковую пыль и другие) в количестве, зависящем от требуемой плотности раствора, но, как правило, не более 7% массы глины.

7.1.11 При использовании не модифицированных глинопорошков или местных глин для регулирования свойств глинистых растворов допускается обрабатывать их химическими реагентами, которые в виде водных растворов вводятся в глинистые растворы в процессе их приготовления.

Наиболее часто применяются:

- кальцинированная сода - улучшает качество раствора, переводя кальциевые глины в хорошо набухаемые и легко диспергируемые натриевые, а также для смягчения жесткой воды;

- жидкое стекло (силикат натрия или калия)- значительно повышает вязкость, статическое напряжение сдвига и водородный показатель (рН);

- полимерные добавки.

7.1.12 Необходимое количество глинистого раствора на 1 м3 траншеи следует определять с учетом потерь, связанных с поглощением раствора грунтом и составляющих 15-20%.

7.1.13 Глинопорошок заводского изготовления следует хранить на складе, под навесом или в передвижном вагончике, в таре предприятия-поставщика, в условиях, предотвращающих его замачивание или увлажнение. Комовые глины допускается хранить под навесом или открыто, на бетонированной огороженной площадке. Химические реагенты должны в обязательном порядке храниться в отдельном запираемом помещении, в таре предприятия-поставщика. В случае порчи тары они немедленно должны быть переложены в другую исправную тару, а просыпавшиеся и непригодные к использованию должны быть ликвидированы.

7.1.14 Приготовление глинистых растворов и их очистка производятся на технологическом комплексе, включающем узел приготовления глинистого раствора; емкости для хранения приготовленного глинистого раствора; узел перекачки глинистого раствора; емкости-отстойники для раствора, бывшего в употреблении; склады для хранения глины и химреагентов; узел очистки глинистого раствора

7.1.15 Для приготовления глинистого раствора из комовых глин следует применять механические, а из глинопорошков - механические, турбинные или гидравлические смесители.

7.1.16 Емкости для хранения приготовленного глинистого раствора должны представлять собой закрытые сверху баки или резервуары объемом не менее 10 м3, оборудованные штуцерами, задвижками и вентилями для подачи и перекачки глинистого раствора и указателями уровня раствора в емкости. В верхней части емкостей должны быть предусмотрены лазы с крышками для осмотра и очистки внутренней полости

7.1.17 В качестве временных и резервных емкостей для отстоя глинистого раствора могут применяться приямки, отрываемые в грунте. Вокруг приямков обязательно должно быть устроено ограждение. По окончании использования приямки должны быть засыпаны грунтом.

7.1.18 Для хранения и перевозки глинистого раствора при строительстве в городских стесненных условиях возможно использование прицепных автоцистерн.

7.2 Тампонажные растворы

7.2.1 Твердеющие тампонажные растворы для омоноличивания сборных элементов СВГ состоят, как правило, из цемента, бентонитовых или местных глин, песка, воды и химических добавок различного назначения для регулирования его свойств.

7.2.2 Для приготовления тампонажных растворов применяют бентонит по ТУ 39-0147001-105-93, ТУ 5751-001-551561-02, ТУ 5751-002-72007717-2006; цемент марки не ниже М400 (ГОСТ 10178-85*); песок кварцевый природный (ГОСТ 8736-93) с модулем крупности Мк = 1,6-3,0 или его искусственные смеси (ГОСТ 23735-79*); сульфитно-спиртовую барду ССБ; синтетическую поверхностно-активную добавку СПД (ТУ 38-101253-72); полиакриламидгель технический (ТУ 6-01-1094-76); стекло натриевое жидкое (ГОСТ 13078-81*); смолу нейтрализованную воздухововлекающую (СНВ) (ТУ 81-05-75-74); кремний-органические жидкости ГКЖ и другие добавки по ГОСТ 24211-2003. Вода для приготовления раствора должна быть пресной и соответствовать требованиям ГОСТ 23732-79.

7.2.3 Тампонажные растворы должны иметь следующие показатели:

- начало схватывания, 12-96 ч в зависимости от назначения раствора;

- расплыв по конусу АзНИИ 12-18 см;

- подвижность (вязкость по СПВ-5) - 18-24 с;

- водоцементное отношение (В/Ц) - 2-4;

- статическое напряжение сдвига (СНС) за 1 ч 10 мин - не менее 40-100 мгс/см2;

- отстой воды - до 3 %;

- плотность rт - не менее 1,20 г/см3.

7.2.4 Затвердевший тампонажный раствор в возрасте 7 суток должен иметь следующие характеристики:

- водонепроницаемость, характеризуемую коэффициентом фильтрации 10-6 см/с ³ Кф ³ 10-8 см/с;

- модуль деформации Е £ 100 МПа;

- сцепление С ³ 5 КПа;

- прочность на одноосное сжатие  МПа (но не менее прочности окружающего грунта);

- то же в возрасте 28 суток  МПа.

7.2.5 Необходимые свойства и показатели тампонажных растворов следует назначать в каждом конкретном случае исходя из принятой технологии строительства и инженерно-геологических условий строительной площадки.

7.2.6 При одноэтапной технологии строительства, когда раствор используется сначала на этапе разработки траншеи, а затем твердеет, следует использовать раствор с замедленным началом схватывания (не менее 48 ч), предотвращающий обрушение и вывалы грунта.

7.2.7 При двухэтапной технологии строительства, когда перед погружением сборных элементов тиксотропный глинистый раствор заменяется на твердеющий, допускается применение быстротвердеющего раствора с началом схватывания не менее 12 ч.

7.2.8 Подбор состава тампонажного раствора следует производить в два этапа. Первоначально расчетным путем в зависимости от требуемой прочности на сжатие тампонажного раствора определяют необходимые весовые количества цемента, песка, глины и принятых химических добавок. Ориентировочный расход цемента приведен в таблице 5.

Таблица 5 - Расход цемента для приготовления тампонажного раствора

Масса цемента марки М 400 на 1 м3 раствора, кг

Прочность раствора, МПа в возрасте

7 суток

28 суток

100

0,1

0,25

200

0,3

0,55

300

0,4

0,85

400

1

1,2

500

2

2,6

7.3 Бетонные смеси

7.3.1 Показатели и составы бетонных смесей для сооружения СВГ должны обеспечивать требуемое качество бетона конструкции (пункты 6.2.1 и 6.2.2 настоящего СТО) и соответствовать принятой технологии работ.

7.3.2 Бетонные смеси следует подбирать и приготовлять в соответствии с требованиями ГОСТ 27006-86, положений настоящего СТО; эти смеси характеризуются следующими основными показателями:

- подвижность или марка по удобоукладываемости;

- водоотделение;

- водоцементное отношение;

- срок схватывания;

- крупность заполнителей;

- расслаиваемость и температура.

Контрольные значения и требования для основных показателей бетонных смесей при укладке их в траншею приведены в таблице 6.

Таблица 6 - Требуемые свойства бетонных смесей

Наименование показателя

Значение показателя

Подвижность бетонных смесей (осадка конуса см) при методе бетонирования:

 

ВПТ без вибрации

16-20

ВПТ с вибрацией

6-10

Напорном

14-24

Марка по удобоукладываемости в соответствии с ГОСТ 7473-94 при методе бетонирования

 

ВПТ без вибрации

П4

ВПТ с вибрацией

П2

Напорном

П3-П4

Относительное водоотделение смеси

0,01-0,02

Водоцементное отношение

Не более 0,6

Срок схватывания бетонной смеси

Не менее времени транспортирования смеси и не менее 2 ч

Размер фракций крупного заполнителя, мм

Не более 20

Связность

Обеспечивающая свободное прохождение по бетонолитной трубе и распределение площади захватки без расслоения

Расслаиваемость, %

Не более 5

Воздухосодержание, %

4-5

Температура, °С

10-25

7.3.3 Порядок и методика контроля за значениями показателей бетонных смесей и прочностными характеристиками бетона должны соответствовать пунктам 9.15-9.20 настоящего СТО.

7.3.4 Для приготовления бетонных смесей следует применять цементы с нормальной густотой и отсутствием признаков ложного схватывания по ГОСТ 30515-97, ГОСТ 10178-85*, ГОСТ 969-91, ГОСТ 22266-94.

7.3.5 Выбор цементов для приготовления бетонных смесей следует производить в соответствии с Приложением 6 к СНиП 3.03.01-87* и ГОСТ 30515-97*. При агрессивных воздействиях в процессе эксплуатации на конструкцию стены, при выборе цемента необходимо учитывать требования СНиП 2.03.11-85.

7.3.6 Приемку цементов следует производить по ГОСТ 30515-97, транспортирование и хранение - по ГОСТ 30515-97* и СНиП 3.09.01-85.

Для каждой поступающей партии цемента (не менее 8 т) следует определять его густоту, сроки схватывания, равномерность изменений объема, а для пластифицированного или гидрофобного портландцемента - пластичность и гидрофобность.

7.3.7 В качестве мелкого заполнителя рекомендуется использовать плотный, песок, удовлетворяющий требованиям ГОСТ 8736-93, ГОСТ 26633-91*, ГОСТ 23735-79*, ГОСТ 26871-86. Рекомендуется использовать крупно- и среднезернистые пески, содержащие минимальное количество глинистых и пылеватых частиц (2-3%).

7.3.8 Применение мелкого песка с модулем крупности от 1,5 до 1,2 допускается лишь в случае отсутствия крупного или среднего песка при обязательном условии обеспечения стабильности зернового состава крупного заполнителя (в пределах требования ГОСТ 26633-91*). Очень мелкий песок следует укрупнять добавкой природного крупного песка или дробленого песка из отсевов дробления, доводя зерновой состав до требований ГОСТ 26633-91*.

7.3.9 В качестве крупного заполнителя применяется фракционированный и мытый щебень или гравий из прочных горных пород (гранит, диабаз и т.п.) по ГОСТ 8267-93*. Максимальный размер зерен крупного заполнителя 20 мм, при этом рекомендуется следующее соотношение фракций щебня по массе: фракция 5-10 мм - 35%; фракция 10-20 мм - 65%.

7.3.10 Каждая партия поставляемых на бетонный завод песка, крупных заполнителей и камня должна иметь документ (паспорт) предприятия (карьера) - изготовителя установленной формы, удостоверяющий соответствие качества материалов требованиям действующих ГОСТов.

При отсутствии этих документов и в случае применения местных материалов (песка, гравия, щебня) производят их испытания и установление соответствия требованиям проекта и ГОСТов. Результаты испытаний оформляют соответствующими актами.

7.3.11 Для обеспечения требуемых технологических свойств и показателей бетонной смеси, прочности, водонепроницаемости и морозостойкости бетона СВГ, в состав смеси следует вводить химические добавки или их комплексы по ГОСТ 24211-2003. Выбор добавок в соответствии с рекомендациями приложения 8 к СНиП 3.03.01-87*.

7.3.12 Вода для затворения бетонной смеси и растворения химических добавок должна удовлетворять требованиям ГОСТ 23732-79.

7.3.13 Номинальный состав бетона следует подбирать в соответствии с ГОСТ 27006-86. Процедура подбора включает оценку качества исходных материалов, назначение прочности бетона, расчет состава бетона для опытных замесов, приготовление замесов, испытания контрольных образцов, корректировку расходов компонентов и проверку рабочего состава бетона.

7.3.14 Водоцементное отношение и расход цемента надлежит принимать по СНиП 3.06.04-91 в зависимости от проектных классов и марок бетона.

7.3.15 Состав бетона подбирают исходя из условия обеспечения среднего уровня прочности, значение которого следует определять по ГОСТ 18105-86* с учетом однородности бетона. При отсутствии данных о фактической однородности бетона средний уровень прочности необходимо принимать равным требуемой прочности для бетона данного класса при коэффициенте вариации 13,5%.

При подборе состава бетона следует руководствоваться приложениями 4 и 5 СНиП 3.06.04-91 и ГОСТ 26633-91*.

7.3.16 Оптимальную дозировку добавок, вводимых в бетонную смесь, следует устанавливать экспериментально. Дозировку воздухововлекающего компонента определяют при строгом контроле времени перемешивания бетонной смеси и в последующем регулярно корректируют из условия обеспечения на месте укладки заданного содержания в смеси вовлеченного воздуха (с учетом его возможной потери при транспортировании смеси).

7.3.17 После приготовления опытных замесов необходимо определить среднюю плотность бетонной смеси в уплотненном состоянии по ГОСТ 10181-2000 и по полученным данным рассчитать фактический расход материалов на 1 м3 бетона.

7.3.18 Подбор и назначение состава бетонной смеси должна производить лаборатория (заводская, строительная или центральная) перед началом производства работ. При изменении проектных характеристик бетона, вида или поставщика цемента, заполнителей и технологических режимов укладки, первоначальный состав бетона подлежит обязательной проверке и корректировке. Результаты подбора состава бетона оформляются в виде специальной карты.

7.4.1 Требования к транспортировке и показателям бетонной смеси при укладке

7.4.1.1 Транспортирование бетонной смеси к месту укладки должно осуществляться автобетоносмесителями с загрузкой не менее 80%. Наиболее эффективно применять автобетоносмесители, оснащенные герметичной изотермической емкостью, обеспечивающей незначительное изменение температуры бетонной смеси.

Продолжительность транспортирования от завода-изготовителя до места укладки, как правило, не должна превышать 2 ч.

Между заводом-изготовителем бетонной смеси и строительной площадкой должна быть установлена оперативная двухсторонняя связь для обеспечения своевременной доставки и укладки бетонной смеси в соответствии с требованиями настоящего СТО и с заявкой на бетонную смесь.

7.4.1.2 Для исключения расслоения бетонной смеси при транспортировании ее рекомендуется периодически перемешивать, а перед спуском в приемную воронку смесь следует перемешивать в течение не менее 5 мин при максимальной скорости вращения барабана автобетоносмесителя (10-12 об/мин).

7.4.1.3 Бетонная смесь должна иметь на месте укладки показатели, соответствующие приведенным в таблице 6. Порядок и методика контроля за значениями показателей бетонных смесей при их укладке в траншею должны соответствовать пунктам 9.15 и 9.16 настоящего СТО.

7.4.1.4 До начала укладки бетонной смеси строительная лаборатория организации-производителя работ должна определить ее подвижность путем отбора пробы на выходе выпускного лотка автобетоносмесителя.

Если подвижность бетонной смеси не соответствует требуемой, то данная бетонная смесь непригодна для укладки в конструкцию. Запрещается добавление в бетонную смесь воды для увеличения ее подвижности.

8 Производство работ по сооружению стен в грунте

8.1 Подготовительные работы

8.1.1 До начала работ по сооружению СВГ должны быть выполнены следующие подготовительные работы:

- устроено ограждение стройплощадки;

- вскрыты и переложены подземные коммуникации, попадающие в габариты СВГ;

- разбиты оси СВГ;

- снят слой растительного грунта, спланирована поверхность и устроены временные дороги;

- размещены временные административно-бытовые помещения;

- подготовлены места для складирования строительных материалов и конструкций;

- завезено и смонтировано необходимое технологическое оборудование;

- при необходимости проведены пробные испытания грунтовых анкеров крепления СВГ.

8.1.2 СВГ необходимо сооружать в соответствии с проектом производства работ или основных его положений в составе рабочей документации. Содержание проекта производства работ должно соответствовать пунктам 5.2.2-5.2.4 настоящего СТО.

8.2 Устройство форшахты

8.2.1 Для предотвращения обрушения грунта и обеспечения проектного направления разработки траншеи необходимо выполнять крепление ее верхней части (путем устройства форшахты) из монолитного или сборного железобетона (рисунок 20).

а, б - монолитная; в - стенки монолитные, пииты сборные; г - стенки и плиты сборные; д - стенки монолитные, плит нет; е - стенки сборные из балок; ж, з - сборные элементы уголкового профиля.
Рисунок 20 - Варианты конструкции форшахты

8.2.2 Продольная ось форшахты должна совпадать с продольной осью траншеи, а расстояние между вертикальными стенками форшахты - превышать ширину рабочего органа траншеекопателя на 50-100 мм.

8.2.3 Высотное положение воротника форшахты и ее глубину следует назначать исходя из конкретных инженерно-геологических условий. Необходимо обеспечить поддержание уровня глинистого раствора выше уровня грунтовых вод не менее, чем на 1-1,5 м и не ниже 0,2 м от верха форшахты. При высоком уровне грунтовых вод для устройства форшахты следует отсыпать специальную насыпь с поверхностной технологической дорогой из плит или монолитного железобетона (рисунок 21). Для сокращения поглощения глинистого раствора целесообразно обеспечить там, где это возможно, врезку форшахты в плотный коренной грунт.

а - при низком уровне грунтовых вод; б - при высоком уровне грунтовых вод
Рисунок 21 - Варианты расположения форшахты

8.2.4 Конструкция форшахты должна обеспечивать возможность подвески на ней армокаркасов или сборных элементов, установки оборудования для бетонирования траншеи методом ВПТ.

8.2.5 При назначении конструкции форшахты необходимо учитывать нагрузки передаваемые на верхнюю часть траншеи от землеройных и транспортных машин, от подвешиваемых элементов, а также возможность использования форшахты в составе постоянного сооружения.

8.2.6 Для предупреждения возможных смещений вертикальных стенок форшахты от давления грунта и действия нагрузок от машин и механизмов между стенками следует устанавливать временные распорки из железобетона, стальных элементов или деревянных брусьев.

8.2.7 Форшахту из монолитного железобетона надлежит сооружать отдельными секциями длиной 4-6 м в следующей последовательности:

- разработка пионерной траншеи с естественными откосами;

- установка секции опалубки;

- монтаж арматурных сеток и каркасов;

- укладка и уплотнение бетонной смеси;

- засыпка пазух за стенками форшахты сухим и несвязным грунтом.

8.2.8 Для устройства форшахты следует применять, как правило, бетон класса по прочности на сжатие не менее В15.

8.2.9 При устройстве форшахты из монолитного железобетона необходимо использовать преимущественно инвентарную сборно-разборную металлическую или дерево-металлическую опалубку. Снятие опалубки форшахты и продолжение работ по сооружению СВГ следует производить после набора бетоном прочности на сжатие не менее 150 кгс/см2 (по результатам испытаний стандартных кубов согласно ГОСТ 10180-90).

8.2.10 При устройстве форшахты из сборных элементов их устанавливают в траншее в проектное положение краном. Сборные элементы должны быть жестко соединены между собой сваркой по закладным деталям или выпускам арматуры, а стыки омоноличены.

8.2.11 Для предотвращения вывалов грунта и с целью усиления форшахты вследствие значительных статических и динамических нагрузок воротник форшахты следует соединять с временной технологической дорогой из монолитного бетона или сборных плит при помощи арматурных сеток (рисунок 20).

Конструкция временной технологической дороги устанавливается в ППР в зависимости от инженерно-геологических условий строительства. В рыхлых грунтах (пески, насыпи) дорогу, во избежание вывалов в траншею, необходимо устраивать монолитной.

8.3 Разработка траншей

8.3.1 Траншею следует разрабатывать после проходки пионерной траншеи и устройства форшахты под защитой тиксотропного глинистого раствора отдельными захватками, последовательно одна за другой вдоль оси траншеи или поочередно на различных участках траншеи (рисунок 22).

а - последовательная разработка траншея с секционным заполнением; б, в - поочередная разработка траншеи из секущихся (б) и соединяющихся (в) захваток; г - поочередная разработка траншеи с инвентарным разделителем;
I - захватки траншей первой очереди; II - захватки траншей второй очереди
Рисунок 22 - Схема разбивки траншеи и очередность проходки захваток

8.3.2 Способ и технологическая последовательность разработки траншей должны быть определены ППР в соответствии с инженерно- и гидрогеологическими условиями строительства, размерами, конфигурацией и назначением возводимой СВГ, характеристиками траншеепроходческого оборудования

8.3.3 При использовании буровой фрезы для проходки траншеи необходимо выполнить предварительную экскавацию грунта в форшахте на глубину 2,5-3 м по длине разрабатываемой захватки (рисунок 23). При этом, ниже основания форшахты предэкскавация должна вестись под защитой бентонитового раствора.

1 - разрабатываемая пионерная траншея; 2 - железобетонный воротник пионерной траншеи; 3 - экскаватор; 4 - автосамосвал; 5 - деревянные щиты
Рисунок 23 - Предэкскавация пионерной траншеи
(* размеры приведены для справки)

8.3.4 Длина отдельной захватки должна определяться ППР из условия обеспечения устойчивости стенок траншеи, с учетом глубины проходки и размеров рабочего органа траншеекопателя. При этом объем секции бетонирования не должен превышать, как правило, 100-120 м3.

8.3.5 Захватка траншеи может быть разработана за один или несколько (чаще всего за 3) проходов рабочего органа траншеекопателя (рисунок 24 и 25). Захватка длиной 5-8 м формируется за три прохода: два боковых при полном раскрытии ковша грейфера и один промежуточный при раскрытии ковша на 40-80% (рисунок 25).

Рисунок 24 - Разработка захватки траншеи за один проход грейфера

Рисунок 25 - Порядок проходки типовой захватки длиной 8 м за три прохода грейфера раскрытием 3,2 м

8.3.6 В зоне устройства сопряжений продольных и поперечных участков стен траншея формируется путем устройства Т-образных захваток. На пересечениях должны быть предусмотрены разрывы в монолитной форшахте, замещаемые на время проходки направляющими съемными железобетонными плитами. Угловые захватки устраиваются Г-образными.

8.3.7 В случае обнаружения при проходке траншеи негабаритов или включений твердых пород грейфер следует заменить на тяжелое долото, которым твердое включение необходимо пробить или вытеснить из траншеи в боковые грунтовые стенки. При обнаружении негабаритных включений об этом необходимо поставить в известность проектную организацию и согласовать дальнейшую технологию работ.

8.3.8 Извлеченный при проходке грунт следует немедленно грузить в специальные герметичные транспортные средства и вывозить со строительной площадки или перемещать погрузчиком на специально огражденную площадку - накопитель грунта, с которой его регулярно убирают.

8.3.9 В процессе разработки траншей следует вести постоянный контроль за проведением работ в соответствии с указаниями пунктов 9.8 и 9.9 настоящего СТО. Форма журнала приводится в приложении В.

8.3.10 Перед разработкой траншей необходимо произвести монтаж, опробование и запуск комплекса оборудования для приготовления, подачи, очистки и регенерации глинистого раствора, который первоначально должен заполнить пространство между стенками пионерной траншеи. Далее по мере разработки грунта в захватку должна производиться непрерывная подача глинистого раствора с поддерживанием его уровня не ниже 0,2-0,5 м от верха форшахты.

8.3.11 Показатели качества глинистого раствора подлежат обязательному контролю в соответствии с пунктом 9.6. настоящего СТО как в накопительной емкости, так и в траншее. Пробы раствора могут отбираться вручную с помощью ковша с закрывающейся крышкой, подаваемого в траншею на мерном тросе. Форма журнала контроля качества глинистого раствора приведена в приложении Б.

8.3.12 При ведении работ методом СВГ необходимо обеспечить повторное использование загрязненного и смешанного с частицами грунта глинистого раствора из траншеи путем его откачки, отстаивания, очистки и обогащения. Примерная схема циркуляции и очистки глинистого раствора приведена на рисунке 26.

Рисунок 26 - Примерная схема циркуляции глинистого раствора при разработке траншеи

8.3.13 После проходки очередной захватки должны проводиться подготовительные работы перед монтажом армокаркасов и заполнением ее бетоном (монолитным или сборным). Подготовительные работы должны включать: проверку глубины траншеи опускным лотом или футштоком, зачистку забоя от слоя осыпавшегося грунта и осадку глинистого раствора; контроль параметров и замену глинистого раствора; приемку траншеи по акту (приложение Д) непосредственно перед ее заполнением бетоном или сборными элементами. При использовании буровой фрезы зачистка должна производиться плавным перемещением фрезы по плоскости дна забоя.

8.4 Заполнение траншей монолитным железобетоном

8.4.1 Установка ограничителей

8.4.1.1 При использовании грейферного оборудования для разграничения секций бетонирования в торцах каждой захватки следует размешать специальные межсекционные ограничители. Конструкция ограничителей должна воспринимать давление укладываемого бетона, предотвращать попадание бетона из одной захватки в другую и обеспечивать соединение соседних секций СВГ.

8.4.1.2 В качестве ограничителей при устройстве нерабочих (конструктивных) стыков могут использоваться как извлекаемые инвентарные металлические элементы (трубы, сварные конструкции из прокатных профилей и т.п.) так и неизвлекаемые, как правило, железобетонные элементы. При глубинах траншеи свыше 20 м рекомендуется применять неизвлекаемые ограничители, входящие в конструкцию арматурного каркаса.

8.4.1.3 Ограничители следует устанавливать в траншею краном в створ стыка между отдельными захватками. Конструкция ограничителя должна обеспечивать врезку в грунтовые стены траншеи не менее, чем на 3-5 см.

8.4.1.4 Нижний торец ограничителя должен быть заглублен ниже дна траншеи на 30-50 см. При наличии плотных грунтов в дне траншеи для заглубления ограничителя рекомендуется пробурить скважину глубиной 50 см.

8.4.1.5 Верх ограничителя должен быть надежно закреплен на конструкции форшахты с превышением уровня воротника во избежание перелива глинистого раствора и бетонной смеси из бетонируемой захватки в соседнюю.

8.4.1.6 Инвентарные ограничители следует извлекать через 5-6 ч после окончания бетонирования (до начала сцепления с бетоном). Образовавшееся в торце шпоночное углубление готовой захватки, заполняется при бетонировании смежной секции. Извлеченный из траншеи инвентарный ограничитель, перед опусканием в следующую захватку, должен быть очищен механическим способом от загрязнений, бетона, глинистой пленки.

8.4.1.7 Для герметизации стыков секций в состав разделительных элементов, устанавливаемых по торцам захваток 1-ой очереди, может включаться водонепроницаемый пластиковый или резиновый элемент, ориентированный поперек шва бетонирования и образующий гидрошпонку, после извлечения инвентарного разделителя при проходке захватки 2-й очереди (рисунок 27).

а - установка разделительных элементов с уплотнителями в захватках первой очереди; б- извлечение разделителей при проходке захваток второй очереди
Рисунок 27 - Герметизация стыка соседних секций

8.4.1.8 При использовании бурофрезерного оборудования инвентарные ограничители бетонирования, как правило, не применяются. Стык секций формируется при проходке промежуточных захваток за счет врезки фрезы в бетон секции первой очереди на 100-150 мм.

8.4.2 Установка арматурных каркасов в траншею

8.4.2.1 Изготовление армокаркасов может производиться на заводе в виде отдельных блоков или на стройплощадке. При изготовлении на заводе следует учитывать условия транспортировки. Хранение готовых армокаркасов на стройплощадке следует осуществлять на деревянных подкладках под навесом.

8.4.2.2 Устанавливаемый в захватку арматурный каркас должен соответствовать рабочим чертежам. Готовые арматурные каркасы перед монтажом комиссионно освидетельствуются и принимаются по акту. Форма акта приводится в приложении Г.

8.4.2.3 Перед погружением армокаркаса в захватку его необходимо очистить и удалить с арматуры ржавчину, масло. Для обеспечения сцепления с бетоном арматурный каркас следует смачивать водой или предусмотреть другие технологические мероприятия, препятствующие обволакиванию несущей арматуры частичками глины, например, продувку сжатым воздухом (барботаж) через специальные трубки, входящие в состав каркаса или опускные шланги.

8.4.2.4 Способы строповки, подъема и опускания арматурного каркаса в захватку должны быть указаны в ППР и исключать появление в нем деформаций. Каркас опускают в положении, допускающем его свободное прохождение в траншею при геодезическом контроле за вертикальностью и обеспечением проектной величины защитного слоя между несущей арматурой и грунтом.

8.4.2.5 Положение каждого каркаса, монтируемого в захватку должно быть заранее размечено на воротнике форшахты. Если в захватку устанавливаются несколько каркасов для обеспечения их проектного положения, то можно использовать вспомогательные опускные балки (или трубы), фиксирующие необходимый зазор между каркасами.

8.4.2.6 При установке в захватку (рисунок 28) армокаркасы вывешивают на креплении верха форшахты или шпальной клетке, с помощью поперечных профильных балок или труб так, чтобы продольные несущие стержни армокаркасов не опирались на грунт низа траншеи и имели с ним просвет 20-30 см. Должны быть выдержаны отметки всех закладных деталей в арматурном каркасе.

а - монтаж нижней секции каркаса; б - то же верхней секции
Рисунок 28 - Монтаж армокаркаса

8.4.2.7 Армокаркасы можно укрупнять непосредственно при их установке в захватку ручной электродуговой сваркой их отдельных элементов. Тип и конструкция монтажных стыков элементов арматурного каркаса должны соответствовать проекту или согласовываться с проектной организацией.

8.4.3 Бетонирование

8.4.3.1 Бетонирование стен под защитой глинистого раствора следует производить не позднее, чем через 8 ч после окончания проходки траншеи на захватке и не позднее, чем через 4 ч после опускания арматурных каркасов. При увеличении этого временного интервала необходимо провести повторную замену или барботаж суспензии в захватке (перемешивание с помощью подачи сжатого воздуха через опускные трубки или шланги). Приемку очередной секции под бетонирование следует оформлять актом по форме приложения Д.

8.4.3.2 Транспортирование бетонных смесей с бетонных заводов на стройку следует осуществлять с помощью автобетоносмесителей. Суммарное время, затрачиваемое на доставку бетонных смесей и извлечение бетонолитных труб, не должно превышать срока схватывания бетона, указываемого в карте подбора смеси.

8.4.3.3 Температура бетонной смеси в момент ее укладки в скважину должна быть в пределах плюс 10-25 °С.

8.4.3 4 При бетонировании под глинистым раствором необходимо обеспечивать:

- изоляцию бетонной смеси от раствора в процессе ее подачи в траншею;

- недопустимость перемешивания бетонной смеси с раствором при укладке;

- непрерывность бетонирования в пределах секции;

- контроль за технологией в процессе бетонирования.

8.4.3.5 Каждую очередную секцию следует бетонировать без перерывов в подаче бетона. Темп бетонирования , должен составлять не менее 20 м3/ч. Скорость подъема смеси должна быть не менее 3 м/ч. В случае вынужденных перерывов необходимо перед возобновлением укладки выполнить барботаж глинистого раствора, особенно тщательно - в зоне, примыкающей к поверхности ранее уложенного бетона.

Перерывы, продолжительностью более срока схватывания бетонной смеси не допускаются: при превышении указанного ограничения конструкцию следует считать бракованной и не подлежащей ремонту с применением метода подводного бетонирования. В процессе бетонирования необходимо вести специальный журнал по форме приложения Е.

8.4.3.6 Бетонирование следует осуществлять методом вертикально перемещаемой трубы (ВПТ) или методом напорного бетонирования в соответствии с ППР и требованиями раздела «Специальные методы бетонирования» СНиП 3.03.01-87.

8.4.3.7 Напорное бетонирование, путем непрерывного нагнетания бетонной смеси при избыточном давлении, следует применять для возведения ответственных сильноармированных конструкций, а также при повышенных требованиях к качеству бетона.

8.4.3.8 Бетонирование методом ВПТ следует вести при помощи сборно-разборной или цельной бетонолитной трубы с внутренним диаметром 250-325 мм. Перед началом бетонирования составная бетонолитная труба должна быть собрана в горизонтальном положении с заглушками на торцах, размечена по длине через 20 см, проверена на герметичность опрессовкой сжатым воздухом под давлением до 0,2-0,4 МПа.

8.4.3.9 Монтаж сборной бетонолитной трубы включает следующие операции:

- очистка и подготовка к работе звеньев;

- установка на воротнике форшахты опорной рамы;

- монтаж става бетонолитной трубы с последовательным наращиванием звеньев при помощи быстроразъемных соединений, при этом ранее смонтированная часть подвешивается на опорной раме;

- установка и закрепление на трубе приемного бункера объемом не менее 1,2 объема бетонолитной трубы.

В верхнюю горловину трубы следует установить пробку (например, в виде резинового детского мяча) или обратный клапан.

8.4.3.10 Бетонолитную трубу следует устанавливать в траншею перед бетонированием так, чтобы нижний конец трубы был расположен выше забоя скважины на 20-25 см (начальное положение).

8.4.3.11 Бетонную смесь из автобетоносмесителя загружают в приемный бункер (рисунок 29) в объеме, на 20% превышающем объем бетонолитной трубы. После этого трубу необходимо поднять на 20-40 см относительно начального положения и отпустить пробку (открыть клапан). При понижении уровня бетонной смеси до устья воронки приемный бункер заполняют вновь.

а - подача бетонной смеси; б - перемонтаж бетонолитной трубы в ходе бетонирования
Рисунок 29 - Схема бетонирования

8.4.3.12 Для продолжения бетонирования следует обеспечить постоянную подачу смеси в бункер при постепенном поднятии и осаживании бетонолитной трубы. Бункер загружают после снижения уровня бетонной смеси до устья приемной воронки не допуская ее опорожнения. С целью облегчения опускания бетона по трубе может быть применен вибратор, укрепленный на бункере. Вытесняемый бетонной смесью глинистый раствор откачивают насосами по трубопроводам для последующей очистки.

8.4.3.13 При извлечении бетонолитной трубы на длину секции, трубу крепят на раме, верхнее звено вместе с бункером демонтируют, бункер устанавливают на оставшейся части и процесс бетонирования захватки продолжают (рисунок 29). Снятые звенья бетонолитной трубы следует промыть водой, а быстроразъемные замки - смазать консистентной смазкой.

8.4.3.14 Нижний конец бетонолитной трубы при бетонировании методом ВПТ без вибрации должен быть заглублен в бетон не менее, чем на 2 м и не более, чем на 6-8 м. Уровень уложенного бетона в захватке контролируют при помощи футштока с упорной площадкой на конце или лота, а положение бетонолитной трубы - по рискам разметки.

8.4.3.15 Бетонирование следует вести до уровня, превышающего проектный не менее, чем на 0,5 м, с последующим удалением шлама и верхнего слоя бетона, загрязненного глинистыми частицами. Работы по зачистке верхней части стены рекомендуется производить через 2-3 дня после окончания бетонирования захватки, в «молодом» возрасте бетона.

8.4.3.16 При длинах захваток более 4 м укладку следует вести с применением двух (трех) бетонолитных труб в следующем порядке:

- установка труб в начальное положение;

- заполнение бункеров бетоном;

- начальный выпуск бетона из обеих труб соблюдая порядок операций по пунктам 8.4.3.10 и 8.4.3.12 настоящего СТО;

- одновременная подача смеси через обе трубы с интенсивностью, обеспечивающей равномерный подъем бетона по всей длине секции;

- поднятие труб и демонтаж верхних звеньев.

8.4.3.17 Для повышения прочности, сплошности и водонепроницаемости несущих монолитных стен в грунте допускается применять укладку малоподвижных бетонных смесей с маркой по удобоукладываемости П2 по ГОСТ 7473-94 (осадка конуса 5-9 см) и вибрационным уплотнением в соответствии с ВСН 261-86. Вибраторы, служащие для облегчения распределения бетона и его уплотнения, могут быть размещены на нижней части бетонолитной трубы и (или) у приемного бункера. Мощность вибраторов и режим виброукладки устанавливаются ППР в зависимости от глубины траншеи и размеров захватки. Удаление звеньев бетонолитной трубы допускается только при выключенных вибраторах.

8.4.3.18 Напорное бетонирование стен производится с подачей смеси в бетонолитную трубу при помощи бетононасоса. Для этого к верхнему фланцу бетонолитной трубы должно быть прикреплено переходное звено с гибким «хоботом» бетононасоса или воронкой. В устье трубы подвешивают мягкую пробку и работы по бетонированию ведутся в соответствии с пунктами 8.4.3.10-8.4.3.13 настоящего СТО в непрерывном режиме. При демонтаже верхнего звена бетонолитной трубы переходное звено с «хоботом» бетононасоса прикрепляется к оставшейся в траншее части трубы.

8.5 Заполнение траншей сборными железобетонными элементами

8.5.1 Изготовление сборных железобетонных элементов СВГ следует осуществлять, как правило, в заводских условиях, с соблюдением проектных допусков по точности конструкции. Изготовление крупногабаритных элементов стен, перевозка которых затруднена, допускается производить на приобъектном полигоне.

8.5.2 Сборные элементы доставляют на строительную площадку на автомобильных полуприцепах или прицепах-роспусках, обеспечивая надежное закрепление этих элементов и возможность движения прицепов при поворотах.

8.5.3 Перед установкой сборных элементов в траншею следует очистить их от грязи, а металлические детали - от наплывов бетона, а также проверить:

- наличие и положение закладных деталей и устройств;

- надежность закрепления строповочных приспособлений.

8.5.4 Сборные элементы необходимо подвешивать к стреле крана при помощи двойного строповочного приспособления за монтажные петли или сквозные монтажные отверстия. Подвеска должна обеспечить безопасность монтажных работ даже при отрыве одного из строповочных канатов. При подъеме и подаче не следует допускать рывков, раскачивания и вращения элементов, а также перемещения их подтягиванием (волоком).

8.5.5 До установки в траншею сборных элементов на воротнике форшахты должны быть размечены места их расположения в пределах очередной захватки. С целью обеспечения заданной точности установки и закрепления элементов по длине захватки целесообразно применять инвентарные или постоянные монтажные приспособления, направляющие устройства и шаблоны.

8.5.6 Стеновые элементы для обеспечения проектной отметки их верха, подвешивают, как правило, на воротнике форшахты при помощи сборных приспособлений, извлекаемых после омоноличивания. Допускается установка стеновых элементов на отсыпанный заранее по дну траншеи слой щебня или гравия необходимой высоты.

8.5.7 Составные по высоте элементы стыкуют в процессе монтажа в траншею. Нижний блок подвешивают на воротнике форшахты, на него краном устанавливают верхний блок и сваривают по закладным арматурного каркаса. Стык должен обеспечивать равнопрочность по всей длине элемента. Для подвешивания элементов в них должны быть предусмотрены отверстия или специальные закладные детали.

8.5.8 Сборные элементы СВГ надлежит омоноличивать в соответствии с ВСН 488-86 и пунктом 6.3.1.13 настоящего СТО следующими способами:

- инъецированием цементно-глинистого или цементно-песчаного раствора через инъекционные трубки, заложенные в стеновых элементах или опущенные в траншею рядом с ними;

- заполнением до монтажа стеновых элементов методом ВПТ нижней части траншеи пластичным бетоном, в который погружают стеновые элементы, и последующим заполнением пазух с наружной стороны цементно-глинистым или цементно-глино-песчаным раствором, а с внутренней - легко разрабатываемым материалом (песком, гравием, щебнем);

- заполнением до монтажа стеновых элементов методом ВПТ траншеи цементно-глинистым или цементно-песчаным раствором, в который погружают стеновые элементы; вытесняемый при этом раствор заполняет пазухи и стыки между стеновыми элементами;

- погружением стеновых элементов в заполняющий траншею цементно-глинистый раствор, под защитой которого производится разработка траншеи и который впоследствии твердеет.

8.5.9 При использовании шпунтовых панелей в качестве сборных несущих элементов стен, омоноличивание по каждой выделенной секции производится заполнением «снизу-вверх» пространства между шпунтом и стенками траншеи твердеющим цементно-глинистым тампонажным раствором, замещающим бентонитовую суспензию, откачиваемую из верхней части траншеи и подаваемую в систему очистки для дальнейшего использования.

Тампонажный раствор следует подавать напорным методом при помощи бетононасоса через опускные гибкие армированные рукава или разъемные металлические трубы диаметром 76-100 мм

8.5.10 Каждую очередную секцию стены следует омоноличивать твердеющим тампонажным раствором без перерывов во избежание перемешивания с бентонитовой суспензией. Подачу тампонажного раствора можно прекращать, когда плотность отобранного у поверхности траншеи раствора будет соответствовать плотности подаваемого от забоя тампонажного раствора (разница не более ±0,01 г/см3).

8.6 Специальные мероприятия при производстве работ в зимний период

8.6.1 Настоящий СТО предполагает, что работы по устройству СВГ будут выполняться в условиях круглогодичного строительства и круглосуточно. При среднесуточных температурах наружного воздуха ниже плюс 5 °С в зимний период, следует принимать специальные, ниже приводимые, меры по предупреждению замерзания бетона, глинистых и тампонажных растворов. При температуре наружного воздуха ниже минус 15 °С бетонирование и перекачка глинистых и тампонажных растворов, как правило, не предусматривается.

8.6.2 Форшахту следует бетонировать под укрытием тепляка. После завершения бетонирования форшахту накрыть утепленными щитами (теплоизоляционным покрытием) и выдерживать до набора бетоном проектной прочности.

8.6.3 Глинорастворный узел и оборудование для перекачки и очистки глинистого раствора должны располагаться в тепляке. Трубопроводы для подачи и откачки глинистого раствора должны быть утеплены. Целесообразно производить периодическую откачку глинистого раствора из траншеи в накопительные емкости, заменяя его подогретым.

8.6.4 При ведении работ методом СВГ в зимнее время следует использовать морозоустойчивые глинистые растворы. Для приготовления таких растворов целесообразно использовать воду с температурой плюс 10-40 °С. Все компоненты таких составов следует вводить в воду затворения последовательно в установленном порядке и перемешивать в течение установленного времени. Во время введения очередного компонента растворомешалка останавливается.

8.6.5 При перерывах в разработке грунта ковш грейфера надлежит опускать в утепленную емкость с горячей водой.

8.6.6 Перед монтажом арматурный каркас следует очистить от снега и льда, а после опускания в захватку выдержать до бетонирования в течение 20-30 мин.

8.6.7 Забетонированную захватку закрывают утепленными щитами, обеспечивая температуру на поверхности бетона не менее плюс 5° С, и выдерживая до набора бетоном проектной прочности.

9 Контроль качества и приемка работ

9.1 Качество возведения конструкции СВГ должно соответствовать проекту и оцениваться в соответствии с требованиями ГОСТ 16504-81* и настоящего СТО.

9.2 При возведении СВГ надлежит выполнять все виды производственного контроля, предусмотренные СНиП 12-01-2004, входной, операционный, приемочный и инспекционный. При входном контроле проверяют качество поступающих на стройплощадку конструкций, изделий и материалов. Операционный контроль обеспечивает качество выполнения строительно-монтажных работ. Приемочный - оценивает качество законченного сооружения. Результаты контроля качества следует фиксировать в журналах работ, в актах на скрытые работы и др. производственных документах.

9.3 Материалы и готовые изделия для возведения стен в грунте должны соответствовать требованиям проекта, ГОСТов, СНиПов, и других нормативных документов. Требования к качеству исходных глинопорошков и комовых глин приведены в пунктах 7.1.2 и 7.1.3, требования к материалам для тампонажных растворов приведены в пунктах 7.2.1-7.2.6, требования к исходным материалам для бетонных смесей приведены в пунктах 7.3.3-7.3.14 настоящего СТО.

При входном контроле проверяют наличие паспортов, сертификатов и др. документов, устанавливающих качество материалов и изделий, а также соблюдение требований разгрузки и хранения. При необходимости выполняются испытания и сертификация используемых материалов. Входной контроль возлагается на службу производственно-технологической комплектации организации-производителя работ.

9.4 Технический операционный контроль за производством работ на всех этапах строительства проводится инженерно-техническими работниками строительной организации-исполнителя под руководством Главного инженера, авторский надзор - силами проектной организации.

9.5 Ответственность за последовательность, качество и технику безопасности ведения работ в течении смены несет прораб/сменный мастер. В приложении Ж приведена сводная таблица контроля выполнения технологических операций при сооружении траншейной СВГ.

9.6. Контроль качества глинистых растворов предусматривает определение основных показателей растворов, проверку их соответствия заданным в Технологическом регламенте и производится не реже одного раза в смену работниками строительной лаборатории. Образцы глинистого раствора отбирают с помощью пробоотборника из накопительных рабочих емкостей, из каждой захватки траншеи при ее разработке, а также перед бетонированием и установкой стеновых сборных элементов. Перед бетонированием контроль за параметрами раствора следует проводить, отбирая образцы через каждые 5 м по высоте захватки. Результаты контроля заносят в журнал (приложение Б).

9.7 При устройстве форшахты контролируют:

- геометрические размеры опалубки;

- положение воротника в плане и профиле;

- расстояние между стенками форшахты.

Точность геометрических измерений должна соответствовать требованиям ГОСТ 23616-79*. Предельные отклонения отметки верха воротника форшахты составляют ±50 мм, расстояния между стенками форшахты - ±15 мм.

9.8 В процессе разработки грунта в траншее следует контролировать:

- положение захватки в плане и ее габариты;

- вертикальность и глубину копания;

- уровень и показатели глинистого раствора.

9.9 Контроль за направлением и глубиной траншеи осуществляют при помощи штатных приборов траншеекопателя или геодезическими методами. Форма журнала разработки траншеи приводится в приложении В. Отклонение траншеи от вертикали не должно превышать 0,5% (тангенс угла отклонения 0,005).

9.10 Перед опусканием разделителей армокаркасов или установкой сборных железобетонных элементов глубину траншеи необходимо проверить дополнительно и, при необходимости, удалить осадок грунта на дне траншеи. Каждая захватка траншеи должна быть принята для бетонирования по акту, форма которого приводится в приложении Д.

9.11 При установке ограничителей секции бетонирования необходимо соблюдать вертикальность положения, проектное расстояние между ними, отметку верха ограничителя.

9.12 Арматурные каркасы перед погружением в траншею комиссионно освидетельствуют и принимают по акту, форма которого приводится в приложении Г.

9.13 Контроль при установке арматурных каркасов должен обеспечить соблюдение проектного положения в захватке (вертикальности, заданных отметок верха и закладных деталей).

Предельные отклонения положения каркаса от проектного составляют:

- вдоль захватки ±30 мм;

- поперек захватки ±10 мм;

- по высоте - ±50 мм.

9.14 В процессе бетонирования подлежат контролю:

- подвижность бетонной смеси;

- количество уложенного бетона;

- интенсивность бетонирования;

- уровень уложенного бетона;

- заглубление труб в бетон.

Данные наблюдений записывают в журнал бетонирования (приложение Е).

9.15 При укладке бетонных смесей контролируют их подвижность и температуру. Подвижность (марку по удобоукладываемости) бетонных смесей контролируют по ГОСТ 10181-2000 и ГОСТ 7473-94. Величина подвижности (удобоукладываемости) бетонной смеси на месте укладки должна отличаться не более чем на ±2 см от принятой при подборе состава бетона. Подвижность и температуру бетонных смесей на месте укладки следует контролировать из каждого автобетоносмесителя, отбирая пробы из выпускного лотка.

9.16 Контроль воздухосодержания для несущих стен следует осуществлять по ГОСТ 10181-2000 не реже чем после каждых 50 м3 укладываемой бетонной смеси. Объем вовлеченного воздуха в бетонную смесь, принятый при подборе состава бетона, не должен отклоняться более чем на 1% по абсолютной величине.

9.17 Набор бетоном стен прочности на сжатие контролируют в соответствии с ГОСТ 18105-86* и ГОСТ 10180-90 путем испытаний нескольких серий контрольных образцов размерами 10´10´10 см, при числе образцов не менее трёх штук в каждой серии. Первая серия образцов должна выдерживаться в условиях, аналогичных твердению бетона в грунтовой траншее при температуре плюс 8-10 °С и испытываться в возрасте 7-10 суток, для оценки набранной прочности и определения возможности приложения к конструкции стен внешней нагрузки (например, разработки грунта в котловане). Вторая серия образцов должна храниться в нормальных по ГОСТу условиях и испытываться в возрасте 28 суток.

9.18 Контрольные образцы необходимо отбирать при бетонировании из автобетоносмесителя. Укладывать бетонную смесь в формы следует не позднее, чем через 20 мин после отбора смеси из автобетоносмесителя. Пробы бетонной смеси для определения прочности на сжатие отбирают для каждой секции (захватки).

9.19 Образцы для определения прочности бетона на сжатие, а также марок по водонепроницаемости и морозостойкости следует изготавливать в поверенных формах, соответствующих требованиям ГОСТ 22685-89. Внутренняя поверхность форм должна быть покрыта тонким слоем смазки. Образцы распалубливают не ранее чем через 48 ч после изготовления.

9.20 Марки бетона по водонепроницаемости и морозостойкости следует определять в 28-суточном возрасте соответственно по ГОСТ 12730.5-84* и ГОСТ 10060.1-95 на заводе не реже одного раза в полугодие, а на стройке по требованию заказчика или проектной организации, а также при изменении состава бетонной смеси и ее составляющих.

9.21 Качество железобетонных элементов сборных СВГ следует контролировать по ходу всего технологического процесса их изготовления. Опалубку принимают в собранном виде, проверяя соответствие ее геометрических форм, размеров и крепежных элементов проектным. Арматурные каркасы, закладные и накладные детали принимают техническим контролем изготовителя перед установкой в опалубку, проверяя длины стержней, диаметры, расстояния между ними, положение и размеры листовой арматуры и т.п. В случае необходимости проводят испытания используемых материалов. В соответствии с проектными данными и требованиями СНиП 3.03.01-87* в процессе бетонирования стенового элемента контролируют качество бетонной смеси, технологию ее укладки и уплотнения, правильность ухода за бетоном, термовлажностную обработку, сроки распалубливания и пр.

9.22 После распалубливания блока его визуально осматривают с целью выявления возможных трещин, сколов, раковин, дефектов закладных деталей и строповочных приспособлений и т.п. При обнаружении дефектов и повреждений, которые не могут быть устранены за счет ремонта, изделие бракуют. Помимо осмотра, проверяют геометрические размеры блока, принимая допускаемые отклонения согласно требованиям стандартов на сборные железобетонные конструкции. При приемке готовых элементов устанавливают класс бетона и на каждое изделие или группу изделий составляют технический паспорт или сертификат, в котором указывают характеристики и качество изготовления. По требованию заказчика или проектной организации производят статические испытания конструкций стеновых элементов на специальном стенде, выявляя их фактическую несущую способность, трещиностойкость и устойчивость к деформации.

9.23 Правильность установки в траншею стеновых элементов контролируют геодезическими методами или с применением специальных шаблонов и монтажных приспособлений. Определяют положение элементов в плане, отметку верха и наклон относительно продольной и поперечной осей траншеи. Допускаемые отклонения в положении стеновых элементов в плане составляют ±30 мм, по высоте ±20 мм, а тангенс угла отклонения от вертикали ±0,005.

9.24 При заполнении зазоров между стеновыми элементами бетонной смесью контролируют режим и качество бетонирования в соответствии с требованиями СНиП 3.03.01-87* и пунктов 9.14-9.18 настоящего СТО.

9.25 В ходе омоноличивания сборных элементов СВГ твердеющим раствором контролируют его основные показатели, отбирая пробы из накопительной емкости и по глубине траншеи.

Контроль свойств твердеющего раствора включает определение:

- плотности;

- расплыва;

- сроков схватывания;

- выхода цементного камня;

- прочности цементного камня.

9.26 Приемка сооруженных участков СВГ производится комиссией в составе ответственных представителей: организации-производителя работ, проектной организации, генподрядчика, заказчика, организации, осуществляющей научно-техническое сопровождение. По результатам приемки должен быть составлен соответствующий акт освидетельствования и приемки (приложение И), а при необходимости - ведомость дефектов качества стен и протокол по их устранению.

9.27 Приемка производится на основании:

- проектной документации;

- регламента производства работ;

- актов приемки, сертификатов, технических паспортов материалов и изделий;

- журналов производства и контроля качества работ;

- актов или журналов испытаний бетонных смесей и контрольных образцов кубов бетона.

- актов на скрытые работы;

- исполнительной съемки сооруженного участка стены в грунте;

- заключения специализированной организации по качеству, прочности и сплошности бетона, сооруженного участка несущей стены в грунте.

9.28 Заключение по качеству сооруженного участка несущей стены в грунте должна разработать специализированная организация, осуществляющая научно-техническое сопровождение строительства и имеющая соответствующую лицензию на обследование технического состояния несущих и ограждающих конструкций.

9.29 Отклонения от проекта положения стен в плане, профиле и основных габаритных размеров не должны превышать значений, приведенных в таблице 7.

Таблица 7 - Предельные отклонения сооружений, возведенных по способу «стена в грунте», от проектного положения (по СНиП 3.02.01-87*)

Показатель

Величина отклонения

Метод и объем контроля

Смещения осей сооружения в плане, мм

±30

Измерительный метод (геодезический). Не реже, чем через 10 м по длине стены

Тангенс угла отклонения стены от вертикали

0,005

Толщина стены, мм

+ 10

Заглубление стены, мм

+ 200

9.30 Сплошность и прочность бетона несущих СВГ следует определять методами неразрушающего контроля по ГОСТ 22690-88 (в т.ч. упругий отскок, ударный импульс, отрыв со скалыванием), ультразвуковым просвечиванием по ГОСТ 17624-87, сейсмоакустическим зондированием.

При использовании ультразвукового метода, в состав арматурных каркасов каждой секции стены необходимо вводить не менее 2-х стальных полых трубок с внутренним диаметром более 50 мм, размещая их по оси стены с интервалом 1-2 м. В случае использовании сейсмоакустического зондирования бетона дополнительные устройства не требуются.

Неразрушающий приемочный контроль сплошности и прочности несущих СВГ должен производиться в соответствии со специальным регламентом.

Объем контроля должен составлять не менее одного образца или контрольной точки на каждые 100 м1 поверхности стены или на объект строительства, включая дополнительно участки, при устройстве которых была изменена или нарушена технология производства работ.

10 Техника безопасности при производстве работ .

10.1 Работы по сооружению СВГ следует вести с учетом требований следующих нормативных документов:

- СНиП 12-03-2001. Часть 1;

- СНиП 12-04-2002. Часть 2;

- ПБ 03-428-2002 «Правила безопасности при строительстве подземных сооружений»;

- ППБ 01-03 «Правила пожарной безопасности в Российской Федерации»;

- Правила эксплуатации машин, установок, приборов, которыми пользуются при устройстве и испытаниях анкеров (свай);

- «Правила подготовки и производства земляных работ, обустройства и содержания строительных площадок в г. Москве».

10.2 Ответственность за соблюдение и выполнение Правил техники безопасности и требований настоящего СТО возлагается на главного инженера организации-производителя работ.

10.3 Работы по сооружению СВГ можно начинать только тогда, когда в зоне разработки траншей не выявлены или перенесены все подземные коммуникации, линии электропередачи и связи, спланирована и ограждена строительная площадка, устроены временные дороги для автотранспорта и технологического оборудования. Готовность строительной площадки к производству работ следует фиксировать соответствующим актом.

10.4 Строительная площадка, участки работ, рабочие места, проезды и подходы к ним в темное время суток должны быть освещены.

10.5 К началу производства работ все механизмы, стропы, оборудование и инвентарь должны быть освидетельствованы и приняты по акту производителем работ. В процессе выполнения работ за их состоянием и исправностью следует вести постоянный контроль. Стальные канаты, такелажные приспособления, тара и т.п. должны соответствовать требованиям ГОСТ 12.3.010-82.

10.6 К работам по сооружению СВГ допускаются лица, сдавшие экзамен техминимума по производству работ и технике безопасности. Со всеми привлекаемыми рабочими и ИТР должен быть проведен конкретный инструктаж по порядку выполнения и безопасному ведению СМР с записью под расписку в Журнале регистрации инструктажа на рабочем месте.

10.7 Во время производства работ все рабочие и ИТР должны быть в защитных касках и спецодежде. Персонал, занятый приготовлением и подачей раствора с химическими добавками, должен быть обеспечен защитными очками, резиновыми перчатками и респираторами. На стройплощадке необходимо иметь аптечку первой медицинской помощи с перевязочными материалами, бачок с питьевой водой.

10.8 Опасные зоны работы оборудования и механизмов должны быть снабжены ограждающими щитами и надписями установленного образца. Присутствие посторонних лиц в зоне производства работ запрещается.

10.9 Разработанная траншея должна быть закрыта настилом, а вдоль нее на расстоянии 3 м с каждой стороны устанавливают ограждения. Проход людей через открытые участки траншеи допускается только по специальным переходным мостикам.

10.10 В процессе выполнения работ следует вести постоянный контроль за исправностью защитных ограждений с записью в соответствующий Журнал производства работ.

10.11 Перемещение и установка землеройного оборудования, кранов, автотранспорта и др. машин и механизмов вдоль траншеи допускается только в порядке и на расстоянии, установленных в ППР.

10.12 Приемная воронка бетонолитной трубы, накопительные и другие емкости комплекса оборудования для приготовления и регенерации глинистого раствора должны быть обустроены проходами, рабочими площадками и лестницами с ограждениями.

10.13 Бетонолитная труба должна иметь разметку яркой несмываемой краской по всей длине, включая остающуюся вне зоны погружения в траншею-захватку.

10.14 Емкости для хранения глинистого раствора и химических добавок должны содержаться в закрытом виде, люк растворомешалки - закрываться решеткой с запором.

10.15 При работе с кислотами необходимо постоянно иметь 10%-ный раствор соды для нейтрализации кислоты в случае ее разбрызгивания или пролива.

11 Охрана окружающей среды

11.1 При проектировании СВГ и производстве работ по их сооружению следует предусматривать и осуществлять необходимые мероприятия, предотвращающие нарушения окружающей городской застройки, загрязнение территории, воздушного бассейна, поверхностных и подземных вод.

11.2 Конструкции СВГ и дополнительное крепление в виде анкеров или распорок, показатели растворов крепления стенок траншей и технология их разработки должны исключить недопустимые осадки и смещения грунтового массива за стеной, а также расположенных поблизости зданий, их фундаментов и инженерных коммуникаций

11.3 При проектировании протяженных СВГ в водонасыщенных грунтах следует рассмотреть последствия, связанные с возможным нарушением режима грунтовых вод и повышением их уровня. При необходимости следует предусмотреть устройство дренажных труб или специальных проемов в теле СВГ.

11.4 Уровни шума и вибрации от работающего оборудования при сооружении СВГ не должны превышать допустимых значений, установленных СНиП 23-03-2003 и ГОСТ 12.1.003-83*. При необходимости технологическое оборудование следует оснащать защитными средствами по гашению шума и вибрации или осуществлять другие необходимые мероприятия.

11.5 Для предотвращения загрязнения водотоков или водоемов следует обеспечить раздельное отведение со строительной площадки нормативно чистых грунтовых или поверхностных вод и загрязненных производственных сточных вод.

11.6 Грунтовые и поверхностные воды можно сбрасывать в дождевую городскую канализацию без предварительной очистки, если концентрация в них нетоксичных взвесей, масляных и нефтяных веществ не превышает предельно допустимого значения.

11.7 Производственные сточные воды, содержащие глинистый и цементный раствор, бензин, масла и т.п., должны быть пропущены через грязеотстойники, бензомаслоуловители и биофильтры с целью очистки от вредных примесей.

11.8 Отработанные и не подлежащие регенерации глинистые растворы запрещается сливать в канализацию, водоемы или на землю. Их следует вывозить со строительной площадки в автоцистернах «иловозах» на специально предусмотренные полигоны или подвергать химическим методам очистки, включая технологию сгущения отработанных глинистых растворов, предусматривающую разделение отработанного раствора на плотную глину и осветвленную воду, пригодную для слива в канализацию.

11.9 Выезды со строительной площадки должны быть оборудованы пунктами мойки колес, с организованным сливом воды.

Приложение А
(справочное)

Методика лабораторных работ при подборе составов тиксотропных глинистых растворов. Приборы и оборудование

А.1 Лабораторным путем следует уточнить расчетную массу глинопорошка (комовой глины) с учетом ее влажности для получения раствора необходимой плотности, которая рассчитывается в соответствии с пунктами 7.8 и 7.9 настоящего СТО.

А.2 Предварительно определяют удельный вес самого глинопорошка. В зависимости от сорта (I-IV) глинопорошка задаются первоначальной плотностью раствора от 1,03 т/м3 (г/см3) и более, приготавливают 5-10 л раствора. В ходе приготовления раствора бентонит вводят в воду небольшими порциями, смесь перемешивают до однородного состояния и затем добавляют очередную порцию бентонита.

А.3 Определяют количество добавок для отдельных проб раствора объемом 1-1,5 л (количество, необходимое для определения всех параметров раствора) из расчета 2-4% от массы бентонита в пробе. Добавки вводят в раствор при постоянном его перемешивании.

А.4 Воздействие добавки определяют измерением структурной прочности необработанного и обработанного раствора через 1-10 мин после приготовления. При условии роста структурной прочности пробы раствора оставляют на суточную выдержку, наполнив мерные цилиндры для определения суточного отстоя раствора. Хранить пробы раствора рекомендуется при температурах наружного воздуха, близких к производственным.

А.5 После суточной выстойки определяют все показатели качества растворов по пункту 7.4. настоящего СТО, сравнивают их с требуемыми и выбирают соответствующий состав раствора. В случае, если показатели качества оказываются ниже требуемых, увеличивают плотность раствора, меняют вид добавки и комплекс исследований повторяют.

А.6 Показатели глинистых растворов при проведении полного комплекса лабораторных работ рекомендуется определять с использованием лабораторного оборудования, представленного в таблице А.1, и следующего вспомогательного инвентаря:

- лабораторная мешалка для приготовления растворов;

- стеклянные цилиндры с делениями, лабораторная посуда, формы для получения образцов раствора, емкости металлические объемом до 10 л.

Таблица А.1 - Лабораторное оборудование

Измеряемая

характеристика

Ед. изм.

Наименование прибора

Комплект ЛГР-3

Другое лабораторное оборудование

Плотность(концентрация) глинистого раствора

г/см3

Ареометр АБР-1

Рычажные весы: плотномер ВПР-1; ареометр АГ-3ПГ

Условная вязкость

с

Вискозиметр ВБР-1

Воронка Марша; прибор СПВ-5

Суточный отстой воды

%

Мерный цилиндр

Мерный цилиндр

Структурная прочность (предельное статическое напряжение сдвига)

Н/м2

СНС-2

"Шарики" (DIN 4126)

Стабильность

г/см3

Цилиндр ЦС-2

-

Водоотдача

см3

ВМ-6

Фильтр-пресс

Толщина глинистой корки

мм

Содержание песка

%

Отстойник ОМ-2

Набор для определения содержания песка

Величина показателя реакции среды

рН

Индикаторная бумага

Индикаторная бумага

Приложение Б
(обязательное)

Наименование строительной организации___________________________________

Объект_________________________________________________________________

Журнал контроля качества бентонитового глинистого раствора (суспензии)

1. Тип глиномешалки_________________________________________________

2. Наименование и характеристика бентонита____________________________

Состав раствора на 1 м3: глина, кг

                                           вода, л

                                           химреагенты

Дата, смена

Место отбора пробы раствора

Показатели качества раствора

Плотность, г/см3

Вязкость, с

Структурная прочность Н/м2

Содержание песка, %

Стабильность, г/см3

Водоотдача, см3

Толщ. глинист. корки, мм

Отстой, %,

1

2

3

4

5

б

7

8

9

10

 

 

 

 

 

 

 

 

 

 

 

 

 

 

 

 

 

 

 

 

 

 

 

 

 

 

 

 

 

 

 

 

 

 

 

 

 

 

 

 

Продолжение таблицы

Показатель реакции среды, рН

Исполнитель: фамилия, имя, отчество, подпись

Примечание

11

12

13

 

 

 

 

 

 

 

 

 

 

 

 

Примечания:

1. Приборы для определения параметров растворов (суспензий) приведены в приложении А настоящего СТО.

2. Плотность, вязкость, отстой и содержание песка определяют регулярно на участке работ, остальные параметры - периодически в центральной лаборатории, с занесением результатов в журнал.

Приложение В
(обязательное)

Наименование строительной организации___________________________________

Объект_________________________________________________________________

Журнал разработки траншеи при ведении работ методом «стена в грунте»

Траншеепроходческое оборудование____________________

Проектная глубина траншеи___________________________

Дата смена

№ захватки

Время разработки захватки

Объем разработки грунта за смену, м3

Глубина захватки

Отклонение от вертикали, %

Исполнитель: фамилия, имя, отчество, подпись

Примечание

Начало ч, мин.

Окончание ч, мин.

вначале смены, м

в конце смены, м

1

2

3

4

5

6

7

8

9

10

 

 

 

 

 

 

 

 

 

 

 

 

 

 

 

 

 

 

 

 

 

 

 

 

 

 

 

 

 

 

 

 

 

 

 

 

 

 

 

 

 

 

 

 

 

 

 

 

 

 

 

 

 

 

 

 

 

 

 

 

 

 

 

 

 

 

 

 

 

 

 

 

 

 

 

 

 

 

 

 

 

 

 

 

 

 

 

 

 

 

Приложение Г
(обязательное)

АКТ
комиссионного освидетельствования металлокаркасов для армирования
конструкций стены в грунте

«___»_______200_ г.

Наименование объекта, для которого изготовлены каркасы___________________________

_____________________________________________________________________________

Наименование проектной организации, выпустившей техническую документацию_______

_____________________________________________________________________________

Наименование организации - «заказчика» (генподрядчика)___________________________

_____________________________________________________________________________

Условное обозначение каркасов__________________________________________________

Шифр проектной документации, на основании которой изготовлены каркасы___________

_____________________________________________________________________________

Проектное количество каркасов на объект_________________________________________

Проектный вес каркасов________________________________________________________

Присутствовали:

от организации-заказчика_______________________________________________________

от генподрядчика ______________________________________________________________

от проектной организации_______________________________________________________

от организации-изготовителя____________________________________________________

от производителя работ_________________________________________________________

Бригадир сварщиков____________________________________________________________

Настоящий акт составлен в том, что к комиссионному освидетельствованию предъявлены

каркасы_________________________________________________________________________

типа____________________________________________________________________________

В количестве_____________________________________________________штук.

Предъявленные каркасы имеют следующие технические характеристики:

1.Фактический вес каркаса (проектный вес каркаса)__ _______________________________

Перечень изменений и дополнений, внесенных в первоначальный проект (указать дату и

основание внесений изменений и дополнений)________________________________________

2. Длина каркаса, мм (проектная длина, мм)________________________________________

Ширина каркаса, мм (проектная ширина, мм)_______________________________________

Высота каркаса, мм (проектная высота, мм)________________________________________

3. Количество, диаметр, шаг и класс установленной рабочей арматуры (проектные

данные) ______________________________________________________________________

4. То же для распределительной арматуры (проектные данные)________________________

5. Электроды, используемые при изготовлении каркасов (проектный тип)

_____________________________________________________________________________

6. Класс и диаметр петель, рымов (по проекту) _____________________________________

Замечания к качеству изготовления каркаса

- замечания по геометрическим размерам каркаса___________________________________

- замечания по соблюдению шага установки рабочей арматуры________________________

- замечания по соблюдению шага установки распределительной и поперечной арматуры

_____________________________________________________________________________

- замечания к устройству стыков стержней рабочей арматуры_________________________

- замечания по качеству и правильности установки закладных деталей_________________

- прочие замечания по качеству каркасов__________________________________________

Заключение:

_____________________________________________________________________________

Подписи: ___________________

                 ___________________

 

Приложение Д
(обязательное)

Наименование строительной организации___________________________________

Объект_________________________________________________________________

АКТ №____
освидетельствования и приемки под бетонирование разработанной
захватки при производстве работ методом «стена в грунте»

Захватка № _______________ Длина ___________м.
«___»________________200__ г.

Комиссия в составе представителей

Организации-производителя работ________________________________________________

Ген. подрядчика_______________________________________________________________

Технического надзора заказчика__________________________________________________

Проектной организации_________________________________________________________

произвела освидетельствование и приемку работ по разработке грунта и установке става(ов)

бетонолитных труб в захватку № _______ длиной ____________м.

Комиссии предъявлены:

1. Рабочие чертежи ___________ разработанные ____________________________________

2. Журнал разработки траншеи под глинистым раствором.

3. Журнал контроля качества глинистой суспензии.

4. Акты освидетельствования и приемки арматурных каркасов №№____________________

Комиссия, ознакомившись с предъявленными документами и проверив выполнение

работ в натуре, установила: ____________________________________________________

1. Захватка № ___ длиной ___ м, шириной ___ м, глубиной ___ м разработана

на абсолютную отметку ___________ и соответствует рабочим чертежам.

2. Уровень бентонитовой суспензии_______________________________________________

3. В захватку в проектное положение установлено ____ шт. армокаркасов типа __________

длиной _____ м, шириной ____ м.

4. Общая длина става бетонолитных труб________ м из отдельных секций в количестве

установлены на абсолютную отметку (низ става труб) _______________________________

5. Схема захватки а или б (ненужное зачеркнуть)

При сопоставления данных натурного освидетельствования смонтированной заходки с проектными материалами установлено:

_____________________________________________________________________________

Разрешить работы по бетонированию захватки

_____________________________________________________________________________

Подписи____________________

               ____________________

 

Приложение Е
(обязательное)

Наименование строительной организации______________

Объект____________________________________________

Журнал бетонирования при ведении работ методом «стена в грунте».

Дата/смена

№ захватки

Температура воздуха, t°

Параметры бетонной смеси

Марка по прочности на сжатие, В

Марка по водонепроницаемости, W

Марка по морозостойкости, F

Марка по удобоукладываемости (П) и осадка конуса (ОК)

Время схватывания

Начало

Конец

1

2

3

4

5

6

7

8

9

 

 

 

 

 

 

 

 

 

Продолжение таблицы

Параметры бетонной смеси

Фактическое расстояние от низа BПT до дна траншеи в первоначальном положении, м

Количество бетона, уложенного в захватку, м3

Количество бетона, уложенного в захватку (нарастающим итогом), м3

Средняя интенсивность бетонирования, м3

Уровень уложенного бетона от верха форшахты, м

Заглубление труб в бетон, м

Исполнители: фамилия, имя, отчество, подпись

Примеч.*

Температура бетонной смеси при укладке, t°

Фактическая подвижность бетона, см

10

11

12

13

14

15

16

17

18

19

 

 

 

 

 

 

 

 

 

 

* В графу «примечания» заносятся сведения о дополнительном введении суперпластификатора в бетонную смесь и др.

Приложение Ж
(стравочное)

Сводная таблица контроля технологических операций при сооружении траншейной «стены в грунте»

Технологическая операция

Контролируемый параметр

Метод и средство контроля

1. Устройство форшахты

Направление оси, расстояние между стенками форшахты, высотные отметки, положение сборных элементов.

Геодезические методы

2. Приготовление, подача, очистка, регенерация, замена глинистого раствора

Соответствие параметров раствора контрольным показателям качества

Измерительный

Отбор проб при изготовлении, а также из накопительных емкостей и траншеи не менее одного раза в смену. Отбор проб по окончании проходки, перед опусканием армокаркаса и бетонированием. Определение плотности, вязкости, содержания песка

Лаборатория глинистых растворов на участке работ

Определение стабильности, водоотдачи, структурной прочности, толщины глинистой корки перед началом работ, затем для каждой партии бентонита, но не реже одного раза в месяц

Центральная лаборатория

3. Разработка грунта в траншее

Положение захватки в плане и по глубине

Геодезические методы

Вертикальность разработки грунта (отклонение не более 0,5%)

Штатный прибор контроля траншеекопателя

Уровень глинистого раствора - не ниже 0,2-0,5 м от верха форшахты.

Метр стальной

4. Установка ограничителя секции бетонирования

Вертикальность положения ограничителя.

Расстояние между ограничителями.

Превышение ограничителя над форшахтой

Отвес

Рулетка

Визуально

5. Установка армокаркаса в траншею

Вертикальность положения каркаса, положение каркаса в плоскости сооружения стены, отметки верха и закладных

Теодолит, отвес

6. Установка в захватку бетонолитной трубы

Положение трубы.

Соединения труб при их опускании и извлечении не должны задевать арматурный каркас

Визуальный (отсчет по разметке на трубе)

7. Бетонирование захватки методом ВПТ

Интенсивность бетонирования

По объему укладываемого бетона

Перемещение бетонной смеси в приемной воронке трубы

Визуальный

Заглубление трубы в бетон (не менее чем на 2 м и не более 6-8 м)

Измерительный. Сравнение отсчетов по делениям на трубе с уровнем бетонной смеси у труб, определяемым с помощью лота или футштока

Прочность бетона

Изготовление и испытание образцов, методы неразрушающего контроля

Показатели бетонной смеси (подвижность, температура).

Строительная лаборатория. Измерительный

Начало бетонирования

Проверка наличия скользящей пробки в бетонолитной трубе

Сроки перерывов в бетонировании

Перерывы не допускаются

Сроки выдержки в траншее извлекаемого разделительного элемента

Через 1-2 ч после укладки бетона - поддергивание элемента краном, через 3-5 ч - извлечение элемента домкратной установкой или извлечение грейфером при проходке следующей захватки

Интенсивность вибрирования бетона

Виброметр с погружным вибродатчиком - определяется радиус действия вибратора

Температура твердения бетона (при зимнем бетонировании)

Термометр электрический

Конец бетонирования

Бетонирование до уровня, превышающего не менее, чем на 50 см проектную отметку. Контроль - стальным метром

8. Установка сборных железобетонных элементов

Положение элемента в плане. Отметка верха

Геодезические методы, шаблон, монтажные приспособления

9. Омоноличивание сборных железобетонных элементов

Показатели твердеющего тампонажного раствора или бетонной смеси

Измерительный. Строительная лаборатория

Приложение И
(обязательное)

Наименование строительной организации_________________________________

Наименование объекта_________________________________________________

АКТ №_
освидетельствования и приемки участка стены в грунте
от ПК ______ до ПК___________

«___»___________ 200_ г.

Комиссия в составе представителей:

Организации-производителя работ________________________________________________

Генподрядчика________________________________________________________________

Заказчика_____________________________________________________________________

Проектной организации_________________________________________________________

произвела освидетельствование и приемку участка «стены в грунте» от ПК___до ПК_____

захватки №________________

Работы выполнены в период с___________ по чертежам ______________ разработанным

_____________________________________________________________________________

Комиссии предъявлена следующая рабочая документация:

Журнал контроля качества бентонитовой суспензии.

Паспорта на армокаркасы.

Журнал бетонирования методом ВПТ.

Акты испытаний контрольных образцов кубов на сжатие бетона №№__________________

Сводная ведомость захваток участка стены в грунте.

Исполнительная съемка участка стены в грунте.

Акты освидетельствования и приемки арматурных каркасов №№______________________

Заключение по результатам контроля прочности и сплошности бетона стен (для несущих стен)

Комиссия, освидетельствовав участок «стены в грунте» и ознакомившись с предъявленными документами, установила:

Захватки шириной ______ с отметкой верха и отметкой дна (см. Сводную ведомость).

Грунт в основании_____________________________________________________________

Во все захватки опущены арматурные каркасы высотой______________________________

Низ арматурного каркаса расположен на отметке_____________(см. Сводную ведомость).

Арматурные каркасы с продольными стержнями из арматуры_________________________

и поперечные _______________ с шагом _________________________

Качество выполненных работ соответствует требованиям: Проекта, Регламента и стандарта организации.

На основании изложенного комиссия решила:

Принять участок «стены в грунте» от ПК __________ до ПК __________

Разрешить производство последующих работ_______________________________________

Подписи _________________

                _________________

 

Ключевые слова: анкер, арматура, армирование, бентонит, бетон, грунт, грейфер, закладной элемент, захватка, каркас, качество, контроль, оборудование, плотность, прочность, разделительный элемент, раствор, сборный элемент, секция, сплошность, стена, стык, суспензия, траншея, фреза, форшахта.

 

 




ГОСТЫ, СТРОИТЕЛЬНЫЕ и ТЕХНИЧЕСКИЕ НОРМАТИВЫ.
Некоммерческая онлайн система, содержащая все Российские Госты, национальные Стандарты и нормативы.
В Системе содержится более 150000 файлов нормативно-технической документации, действующей на территории РФ.
Система предназначена для широкого круга инженерно-технических специалистов.

Рейтинг@Mail.ru Яндекс цитирования

Copyright © www.gostrf.com, 2008 - 2026