Крупнейшая бесплатная информационно-справочная система онлайн доступа к полному собранию технических нормативно-правовых актов РФ. Огромная база технических нормативов (более 150 тысяч документов) и полное собрание национальных стандартов, аутентичное официальной базе Госстандарта. GOSTRF.com - это более 1 Терабайта бесплатной технической информации для всех пользователей интернета. Все электронные копии представленных здесь документов могут распространяться без каких-либо ограничений. Поощряется распространение информации с этого сайта на любых других ресурсах. Каждый человек имеет право на неограниченный доступ к этим документам! Каждый человек имеет право на знание требований, изложенных в данных нормативно-правовых актах!

  


 

ФЕДЕРАЛЬНОЕ АГЕНТСТВО
ПО
ТЕХНИЧЕСКОМУ РЕГУЛИРОВАНИЮ И МЕТРОЛОГИИ

НАЦИОНАЛЬНЫЙ

СТАНДАРТ

российской

ФЕДЕРАЦИИ

ГОСТ Р

53296-

2009

УСТАНОВКА ЛИФТОВ
ДЛЯ ПОЖАРНЫХ
В ЗДАНИЯХ И СООРУЖЕНИЯХ.

Требования пожарной безопасности

Москва

Стандартинформ

2009

Предисловие

Цели и принципы стандартизации в Российской Федерации установлены Федеральным законом от 27 декабря 2002 г. 184-ФЗ «О техническом регулировании», а правила применения национальных стандартов Российской Федерации - ГОСТ Р 1.0-2004 «Стандартизация в Российской Федерации. Основные положения».

Сведения о стандарте

1 РАЗРАБОТАН ФГУ ВНИИПО МЧС России, МОС ОТИС

2 ВНЕСЕН Техническим комитетом по стандартизации ТК 274 «Пожарная безопасность»

3 УТВЕРЖДЕН И ВВЕДЕН В ДЕЙСТВИЕ Приказом Федерального агентства по техническому регулированию и метрологии от 18 февраля 2009 г. 72-ст

4 ВВЕДЕН ВПЕРВЫЕ

Информация об изменениях к настоящему стандарту публикуется в ежегодно издаваемом информационном указателе «Национальные стандарты», а текст изменений и поправок - в ежемесячно издаваемых информационных указателях «Национальные стандарты». В случае пересмотра (замены) или отмены настоящего стандарта соответствующее уведомление будет опубликовано в ежемесячно издаваемом информационном указателе «Национальные стандарты». Соответствующая информация, уведомление и тексты размещаются также в информационной системе общего пользования - на официальном сайте Федерального агентства по техническому регулированию и метрологии в сети Интернет.

Содержание

НАЦИОНАЛЬНЫЙ СТАНДАРТ РОССИЙСКОЙ ФЕДЕРАЦИИ

УСТАНОВКА ЛИФТОВ ДЛЯ ПОЖАРНЫХ
В ЗДАНИЯХ И СООРУЖЕНИЯХ.

Требования пожарной безопасности

Fire fighting lifts placing. Requirements of fire safety

Дата введения - 2010-01-01
с правом досрочного применения

1 Область применения

1.1 Настоящий стандарт устанавливает требования пожарной безопасности к пассажирским лифтам, имеющим режим работы «перевозка пожарных подразделений».

1.2 Оборудование зданий и сооружений лифтами для пожарных должно производиться в соответствии с требованиями настоящего стандарта, а также государственных стандартов, норм и правил, действующих на территории Российской Федерации.

1.3 Требования настоящего стандарта обязательны для предприятий, организаций, объединений и юридических лиц независимо от форм собственности и принадлежности на всей территории Российской Федерации, а также для граждан.

2 Нормативные ссылки

В настоящем стандарте использованы нормативные ссылки на следующие стандарты:

ГОСТ Р 51032-97. Материалы строительные. Метод испытания на распространение пламени.

ГОСТ Р МЭК 60332-3-22-2005. Испытание электрических и оптических кабелей в условиях воздействия пламени. Часть 3-22. Распространение пламени по вертикальным пучкам проводов или кабелей. Категория А.

ГОСТ 12.1.044-89 ССБТ. Пожаровзрывоопасность веществ и материалов. Номенклатура показателей и методы их определения.

ГОСТ 22011-95. Лифты пассажирские и грузовые. Технические условия.

ГОСТ 28911-91. Лифты и малые грузовые лифты. Устройства управления, сигнализации и дополнительные приспособления.

ГОСТ 30247.0-94. Конструкции строительные. Методы испытаний на огнестойкость. Общие требования.

ГОСТ 30247.1-94. Конструкции строительные. Методы испытаний на огнестойкость. Несущие и ограждающие конструкции.

ГОСТ 30247.3-2002. Конструкции строительные. Методы испытаний на огнестойкость. Двери шахт лифтов.

ГОСТ 30244-94. Материалы строительные. Методы испытаний на горючесть.

ГОСТ 30402-94. Материалы строительные. Метод испытания на воспламеняемость.

ГОСТ Р 52382-2005 (ЕН 81-72:2003). Лифты пассажирские. Лифты для пожарных.

ГОСТ Р 53299-2009 Воздуховоды. Метод испытаний на огнестойкость.

ГОСТ Р 53300-2009 Противодымная защита зданий и сооружений. Методы приемосдаточных и периодических испытаний.

ГОСТ Р 53301-2009 Клапаны противопожарные вентиляционных систем. Методы испытаний на огнестойкость.

ГОСТ Р 53303-2009 Конструкции строительные. Противопожарные двери и ворота. Метод испытаний на дымогазопроницаемость.

Примечание - При пользовании настоящим стандартом целесообразно проверить действие ссылочных стандартов и классификаторов в информационной системе общего пользования - на официальном сайте Федерального агентства по техническому регулированию и метрологии в сети Интернет или по ежегодно издаваемому информационному указателю «Национальные стандарты», который опубликован по состоянию на 1 января текущего года, и по соответствующим ежемесячно издаваемым информационным указателям, опубликованным в текущем году Если ссылочный документ заменен (изменен), то при пользовании настоящим стандартом следует руководствоваться замененным (измененным) документом. Если ссылочный документ отменен без замены, то положение, в котором дана ссылка на него, применяется в части, не затрагивающей эту ссылку.

3 Термины и определения

В настоящем стандарте применяются следующие термины с соответствующими определениями:

3.1 лифт для транспортирования пожарных подразделений: Лифт, оснащенный системами управления, защиты и связи, обеспечивающими перемещение пожарных подразделений на этажи зданий (сооружений) при пожаре.

3.2 основной посадочный этаж: Этаж главного входа в здание (сооружение).

3.3 режим «пожарная опасность»: Установленная последовательность действий системы управления лифтом, предусматривающая при возникновении пожара в здании (сооружении) принудительное движение кабины лифта на основной посадочный этаж с исключением команд управления из кабины и зарегистрированных попутных вызовов.

3.4 режим «перевозка пожарных подразделений»: Установленная последовательность действий системы управления лифтом для транспортирования пожарных подразделений, обеспечивающая его работу с выполнением команд управления, подаваемых пожарными только из кабины лифта.

4 Функциональное назначение, основные параметры и размеры

4.1 Лифты для транспортирования пожарных подразделений (далее - лифты для пожарных) являются составной частью комплекса инженерного оборудования зданий и сооружений различного назначения, а также одним из видов пожарно-технических средств, обеспечивающих перемещение пожарных подразделений на этажи зданий (сооружений) различного назначения для выполнения работ по спасанию людей, обнаружению и тушению пожара.

4.2 Основные параметры и размеры лифтов для пожарных должны соответствовать требованиям ГОСТ Р 52382.

5 Конструктивное исполнение

5.1 Требования к конструкциям лифтов для пожарных

5.1.1 Конструкции лифтов для пожарных должны соответствовать требованиям настоящего стандарта, [4], ГОСТ 28911 и ГОСТ Р 52382.

5.1.2 На каждый наземный этаж здания (сооружения) должен быть обеспечен доступ пожарных подразделений, как минимум, одним лифтом для пожарных. Остановка лифтов для пожарных в подвальных и цокольных этажах должна обеспечиваться в оговоренных случаях. Размещение лифтов для пожарных должно быть предусмотрено на путях движения пожарных подразделений, которые должны иметь возможность доступа во все помещения на этажах.

5.1.3 В период нормального функционирования лифт для пожарных должен находиться в эксплуатации в качестве пассажирского либо служебно-хозяйственного лифта.

Лифты для пожарных могут устанавливаться в самостоятельном лифтовом холле или в общем лифтовом холле с другими пассажирскими лифтами и объединяться с ними системами автоматического группового управления.

5.1.4 В непосредственной близости от лифта для пожарных, как правило, должен предусматриваться выход на эвакуационную лестничную клетку.

5.1.5 Каждый этаж здания должен обслуживаться не менее чем одним лифтом для пожарных. Один и тот же лифт для пожарных, как правило, не должен иметь остановок в надземных и подземных частях зданий (сооружений). Допускается, чтобы лифт имел остановки в надземной и двух уровнях подземной частях здания (сооружения), включая цокольный этаж. При трех и большем количестве уровней (этажей) подземной части следует применять отдельный лифт для пожарных, имеющий остановки на этих уровнях и основном посадочном этаже.

5.1.6 Двери кабин и шахт лифтов для пожарных должны быть автоматическими горизонтально-раздвижными центрального или бокового открывания, включая телескопическое исполнение, и должны сохранять работоспособность при избыточном давлении в шахте, создаваемом приточной противодымной вентиляцией. Величина избыточного давления должна быть в пределах от 20 до 70 Па.

5.1.7 Двери шахт лифтов для пожарных должны быть противопожарными с пределами огнестойкости не менее 60 мин (EI 60 по [1] и ГОСТ 30247.3). В случае размещения лифта для пожарных в общей шахте с другими пассажирскими лифтами двери шахт всех лифтов в этой общей шахте (см. приложение А, рис. А.3) должны быть противопожарными с пределами огнестойкости не менее 60 мин (EI 60 по [1] и ГОСТ 30247.3).

5.1.8 В крыше кабины лифта для пожарных должен быть предусмотрен люк в соответствии с ГОСТ Р 52382.

5.1.9 Ограждающие конструкции (стены, пол, потолок и двери) купе кабины лифтов для пожарных следует изготавливать из негорючих материалов или материалов группы горючести Г1 по ГОСТ 30244.

Пожарно-технические характеристики материалов для отделки (облицовки) поверхностей конструкций стен и потолков, покрытий пола купе кабин лифтов для пожарных должны соответствовать требованиям ГОСТ Р 52382.

5.1.10 В кабине лифта для пожарных должно быть установлено сигнальное устройство о перегрузке.

5.2 Требования к строительным конструкциям и оборудованию систем противопожарной защиты

5.2.1 Лифт для пожарных должен размещаться в выгороженной шахте. Ограждающие конструкции шахт должны иметь предел огнестойкости не менее 120 мин (REI 120 по [1] и ГОСТ 30247.1). В ограждающих конструкциях шахт допускается выполнять проемы и отверстия для установки дверей, оборудования лифта, а также для систем вентиляции.

5.2.2 Перед дверьми шахт лифтов для пожарных должны быть предусмотрены лифтовые холлы (тамбуры), как показано на рис. А.1-А.4, приведенных в приложении А, с размерами, указанными в соответствующих нормативных документах.

При установке лифтов для пожарных в группе с другими пассажирскими лифтами лифтовой холл на основном посадочном этаже допускается не выгораживать.

5.2.3 В случае установки лифта для пожарных в выгороженной шахте с общим лифтовым холлом с другими лифтами (см. приложение А, рис. А.2, А.4) ограждающие конструкции шахт этих лифтов должны иметь пределы огнестойкости не менее указанных в соответствующих нормативных документах, а двери шахт - 30 мин (Е 30 по [1], ГОСТ 30247.3, EI 30 по [1], ГОСТ 30247.3, в зданиях повышенной этажности).

5.2.4 Ограждающие конструкции лифтовых холлов (тамбуров) должны быть выполнены из противопожарных перегородок 1-го типа с противопожарными дверями 2-го типа по [1] в дымогазонепроницаемом исполнении. Удельное сопротивление дымогазопроницанию дверей не должно быть менее 1,96·105 м3/кг.

5.2.5 Ограждающие конструкции и двери машинных помещений лифтов для пожарных вне зависимости от типа привода лифтов должны быть противопожарными с пределами огнестойкости не менее 120 мин и 60 мин соответственно (REI 120 и EI 60 по [1] и ГОСТ 30247.1, ГОСТ 30247.2).

Удельное сопротивление дымогазопроницанию дверей не должно быть менее 1,96·105 м3/кг. Каналы для прокладки гидроприводов должны иметь пределы огнестойкости не менее 60 мин (REI 60 по [2] и ГОСТ 30247.1).

5.2.6 Шахты лифтов для пожарных, а также их лифтовые холлы (тамбуры) в подземных и цокольных этажах зданий (сооружений) должны быть оснащены автономными системами приточной противодымной вентиляции для создания избыточного давления при пожаре по [3]. Количество подаваемого воздуха следует определять расчетом при скорости истечения не менее 1,3 м/с через одну открытую дверь лифтового холла или тамбура, для шахты - с учетом одной открытой двери на этаже пожара.

Для подачи воздуха в лифтовые холлы или тамбуры допускается применение систем, обслуживающих лифтовые шахты, при устройстве в проемах их ограждающих конструкций нормально закрытых противопожарных клапанов, пределы огнестойкости которых не меньше пределов огнестойкости ограждающих конструкций шахт.

5.2.7 В лифтовых холлах или тамбурах лифтов для пожарных должны быть установлены пожарные извещатели системы пожарной сигнализации зданий (сооружений). При применении систем пожарной сигнализации адресно-аналогового типа допускается установка этого пожарного извещателя в каждом лифтовом холле. При срабатывании хотя бы одного из двух извещателей приемно-контрольный прибор должен автоматически подать команду на перевод лифта в режим работы «пожарная опасность» в соответствии с 6.3 и на создание избыточного давления в шахте лифта (шахтах лифтов) согласно 5.1.6.

5.2.8 При оборудовании зданий (сооружений) водяными установками пожаротушения размещение оросителей перед лифтами для пожарных и в холлах (тамбурах) этих лифтов не допускается.

5.2.9 Проникновение воды, используемой для тушения пожара, в шахты и машинные помещения лифтов для пожарных следует предотвращать посредством необходимых строительных мероприятий и в соответствии с ГОСТ Р 52382.

6 Системы управления, сигнализации, связи и электроснабжения

6.1 Система управления лифтом для пожарных должна отвечать требованиям настоящего раздела, [4], ГОСТ Р 52382 и ГОСТ 28911.

6.2 Система управления должна:

объединять групповым управлением лифты для пожарных между собой, а также с другими пассажирскими лифтами в соответствии с [4];

обеспечивать возможность подключения к системе диспетчеризации и (или) центральному пульту управления системы противопожарной защиты (ЦПУ СПЗ).

6.3 Система управления лифтом для пожарных должна обеспечивать выполнение режимов:

«пожарная опасность»;

«перевозка пожарных подразделений».

6.4 В режиме «пожарная опасность» должен выполняться алгоритм согласно ГОСТ Р 52382.

6.5 Перевод лифта в режим «перевозка пожарных подразделений» может быть произведен только после выполнения режима «пожарная опасность».

6.6 Режим «перевозка пожарных подразделений» должен осуществляться по ГОСТ Р 52382.

6.7 В режиме работы лифта «перевозка пожарных подразделений» должна быть обеспечена прямая переговорная связь между диспетчерским пунктом или ЦПУ СПЗ, если такие имеются, и кабиной лифта, а также с основным посадочным этажом.

6.8 Энергоснабжение лифтов для пожарных должно производиться как для электроприемников I категории согласно 1.2.17 и 1.2.18 [5]. При этом в общественных зданиях высотой более 50 м от уровня подъезда пожарных машин до низа оконных проемов верхнего этажа (не считая верхних технических этажей) энергоснабжение лифтов для пожарных производится как для особой группы электроприемников I категории.

7 Методы контроля

7.1 Конструкции, оборудование и материалы, применяемые в лифтах для пожарных, подлежат испытаниям на огнестойкость и пожарную опасность.

Перечень конструкций, оборудования и материалов лифтов для пожарных, для которых необходимо проведение испытаний, включает в себя:

противопожарные двери шахт;

противопожарные дымогазонепроницаемые двери лифтовых холлов (тамбуров) и машинных помещений;

воздуховоды приточной противодымной вентиляции;

противопожарные клапаны приточной противодымной вентиляции;

силовые и слаботочные электрокабели систем электропитания и связи пожарных лифтов;

материалы кабин.

7.2 Противопожарные двери шахт лифтов для пожарных подлежат испытаниям на огнестойкость согласно требованиям ГОСТ 30247.3.

7.3 Противопожарные дымогазонепроницаемые двери лифтовых холлов (тамбуров) и машинных помещений лифтов для пожарных подлежат испытаниям на огнестойкость согласно требованиям ГОСТ 30247.2, ГОСТ Р 53303.

7.4 Воздуховоды приточной противодымной вентиляции подлежат испытаниям на огнестойкость согласно требованиям ГОСТ Р 53299.

7.5 Противопожарные клапаны приточной противодымной вентиляции подлежат испытаниям на огнестойкость согласно требованиям ГОСТ Р 53303.

7.6 Электрокабели систем электропитания и связи лифтов для пожарных, подводимые к машинным помещениям, подлежат испытаниям на пожарную опасность согласно требованиям стандарта ГОСТ Р МЭК 60332-3-22.

7.7 Материалы кабин лифтов для пожарных подлежат испытаниям на пожарную опасность согласно требованиям ГОСТ 30244, ГОСТ 12.1.044, ГОСТ 30402.

7.8 Лифты для пожарных должны подвергаться техническому освидетельствованию согласно требованиям раздела 11 [4].

При проведении полного и периодического технических освидетельствований должна проверяться работоспособность лифта в режимах «пожарная опасность» и «перевозка пожарных подразделений».

7.9 Системы приточной противодымной вентиляции лифтов для пожарных подлежат приемосдаточным и периодическим испытаниям согласно требованиям ГОСТ Р 53300.

Приложение А
(рекомендуемое)

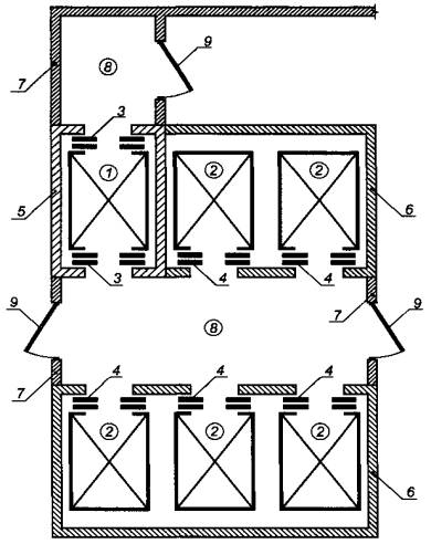
1 - лифт для пожарных; 2 - противопожарная дверь шахты лифта для пожарных с пределом огнестойкости EI 60; 3 - ограждающие конструкции шахты с пределом огнестойкости REI 120; 4 - противопожарные перегородки 1-го типа, ограждающие лифтовый холл (тамбур); 5 - лифтовый холл (тамбур); 6 - противопожарные двери 2-го типа лифтового холла (тамбура) в дымогазонепроницаемом исполнении

Рис. А.1 Схема размещения одиночного лифта для пожарных

1 - лифт для пожарных; 2 - пассажирские лифты; 3 - противопожарная дверь шахты лифта для пожарных с пределом огнестойкости EI 60; 4 - противопожарные двери шахты пассажирских лифтов с пределом огнестойкости по 5.2.3 настоящего стандарта; 5 - ограждающие конструкции шахты лифта для пожарных с пределом огнестойкости REI 120; 6 - ограждающие конструкции шахты пассажирских лифтов с пределами огнестойкости, установленными соответствующими нормативными документами; 7 - противопожарные перегородки 1-го типа, ограждающие лифтовый холл; 8 - лифтовый холл (тамбур); 9 - противопожарные двери 2-го типа лифтового холла в дымогазонепроницаемом исполнении

Рис. А.2 - Схема размещения лифта для пожарных в обособленной (выгороженной) шахте с общим лифтовым холлом с другими пассажирскими лифтами

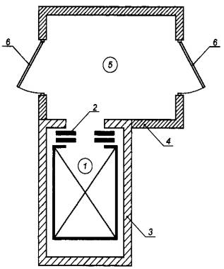
1 - лифт для пожарных; 2 - пассажирские лифты; 3 - противопожарная дверь шахты лифта для пожарных с пределом огнестойкости EI 60; 4 - противопожарные двери шахты пассажирских лифтов с пределом огнестойкости EI 60; 5 - ограждающие конструкции общей шахты с пределом огнестойкости REI 120; 6 - противопожарные перегородки 1-го типа, ограждающие лифтовый холл (тамбур); 7 - противопожарные двери 2-го типа лифтового холла (тамбура) в дымогазонепроницаемом исполнении; 8 - лифтовый холл (тамбур)

Рис. А.3 - Схема размещения лифта для пожарных в общей шахте с другими пассажирскими лифтами

1 - лифт для пожарных; 2 - пассажирские лифты; 3 - противопожарная дверь шахты лифта для пожарных с пределом огнестойкости EI 60; 4 - противопожарные двери шахт пассажирских лифтов с пределом огнестойкости по 5.2.3 настоящего стандарта; 5 - ограждающие конструкции шахты лифта для пожарных с пределом огнестойкости REI 120; 6 - ограждающие конструкции шахт пассажирских лифтов с пределами огнестойкости, установленными соответствующими нормативными документами; 7 - противопожарные перегородки 1-го типа, ограждающие лифтовые холлы; 8 - лифтовые холлы (тамбуры); 9 - противопожарные двери 2-го типа лифтовых холлов в дымогазонепроницаемом исполнении

Рис. А.4 - Схема размещения лифта для пожарных с проходной кабиной в обособленной (выгороженной) шахте с общим лифтовым холлом с другими пассажирскими лифтами

БИБЛИОГРАФИЯ

[1]

СНиП 21-01-97*

Пожарная безопасность зданий и сооружений.

[2]

СНиП 31-01-2001

Здания жилые многоквартирные.

[3]

Проект СП

Отопление, вентиляция и кондиционирование. Противопожарные требования

[4]

ПБ 10-558-03

Правила устройства и безопасной эксплуатации лифтов.

[5]

ПУЭ

Правила устройства электроустановок.

Ключевые слова: испытания, вентиляция, лифт для пожарных, лифтовый холл, двери шахт лифтов.

 




ГОСТЫ, СТРОИТЕЛЬНЫЕ и ТЕХНИЧЕСКИЕ НОРМАТИВЫ.
Некоммерческая онлайн система, содержащая все Российские Госты, национальные Стандарты и нормативы.
В Системе содержится более 150000 файлов нормативно-технической документации, действующей на территории РФ.
Система предназначена для широкого круга инженерно-технических специалистов.

Рейтинг@Mail.ru Яндекс цитирования

Copyright © www.gostrf.com, 2008 - 2026