Крупнейшая бесплатная информационно-справочная система онлайн доступа к полному собранию технических нормативно-правовых актов РФ. Огромная база технических нормативов (более 150 тысяч документов) и полное собрание национальных стандартов, аутентичное официальной базе Госстандарта. GOSTRF.com - это более 1 Терабайта бесплатной технической информации для всех пользователей интернета. Все электронные копии представленных здесь документов могут распространяться без каких-либо ограничений. Поощряется распространение информации с этого сайта на любых других ресурсах. Каждый человек имеет право на неограниченный доступ к этим документам! Каждый человек имеет право на знание требований, изложенных в данных нормативно-правовых актах!

  


 

МИНИСТЕРСТВО ВНУТРЕННИХ ДЕЛ РОССИЙСКОЙ ФЕДЕРАЦИИ

ГЛАВНОЕ УПРАВЛЕНИЕ ВНЕВЕДОМСТВЕННОЙ ОХРАНЫ

ВЫБОР И ПРИМЕНЕНИЕ СРЕДСТВ
ОХРАННО-ПОЖАРНОЙ СИГНАЛИЗАЦИИ
И СРЕДСТВ ТЕХНИЧЕСКОЙ УКРЕПЛЕННОСТИ
ДЛЯ ОБОРУДОВАНИЯ ОБЪЕКТОВ

Рекомендации

Р 78.36.007-99

МОСКВА 1999

Рекомендации разработаны сотрудниками НИЦ «Охрана» ГУВО МВД России Н.Н. Котовым, Л.И. Савчук, Е.П. Тюриным под руководством В.Г. Синилова и утверждены ГУВО МВД России 27 июня 1998 года.

Выбор и применение средств охранно-пожарной сигнализации и средств технической укрепленности для оборудования объектов: Рекомендации. - М.: НИЦ «Охрана», 1999.

Рассмотрены особенности выбора и применения средств охранно-пожарной сигнализации (ОПС) и средств технической укрепленности на охраняемых объектах и в их помещениях, вопросы проектирования и монтажа средств ОПС.

Рекомендации предназначены для инженерно-технических работников проектно-монтажных групп и центров вневедомственной охраны, а также специалистов служб безопасности различных организаций, занимающихся вопросами выбора, проектирования и монтажа средств ОПС и средств технической укрепленности на объектах.

Ил. 8, табл. 13.

Вниманию читателя!

Настоящему документу присвоено условное обозначение, подтверждающее его ведомственную принадлежность. Данный текст идентичен ранее выпущенному изданию (- М.: НИЦ "Охрана", 1998).

ВВЕДЕНИЕ

Главную роль в обеспечении комплексной безопасности объекта играют технические средства охранно-пожарной сигнализации (ТС ОПС) и средства технической укрепленности. Правильный выбор и применение ТС ОПС и средств технической укрепленности на объекте позволяет обеспечить достаточно высокую надежность защиты объекта от всех возможных внутренних и внешних видов угроз и опасных ситуаций. В то же время отсутствие должного подхода к процессу выбора и применения ТС ОПС и средств технической укрепленности понижает уровень (или эффективность) безопасности и приводит к непомерно высоким затратам на обеспечение требуемой безопасности.

Выбор варианта оборудования объекта ТС ОПС и средствами технической укрепленности определяется характеристиками значимости помещений объекта, его строительными и архитектурно-планировочными решениями, условиями эксплуатации и обслуживания, режимом работы, помехами, возникающими на объекте, и многими другими факторами, которые необходимо учитывать при проектировании комплексной системы безопасности.

В настоящей работе даны рекомендации и изложены требования, которые прежде всего необходимо учитывать организациям, ведущим проектные и монтажные работы по оборудованию объектов ТС ОПС и средствами технической укрепленности.

1 ОБЩИЕ ПОЛОЖЕНИЯ

Чем выше уровень (или эффективность) безопасности, тем выше вероятность сохранения всех ценностей объекта от хищений или уничтожения. Уровень безопасности, в свою очередь, в основном зависит от времени реагирования ТС ОПС на возникающую угрозу и от времени преодоления физических барьеров: решеток, замков, сейфов, задвижек на окнах и дверях, специальным образом укрепленных дверей, стен, полов, потолков и т.п., то есть средств технической укрепленности на пути возможного движения нарушителя. Чем раньше можно обнаружить возникшую угрозу объекту, тем эффективнее ее можно пресечь. Это достигается путем правильного выбора и использования ТС ОПС и их оптимальным размещением в охраняемых зонах. Применение средств технической укрепленности увеличивает время, необходимое нарушителю для их преодоления, что делает более вероятной возможность его задержания. Особенно это проявляется при использовании указанных средств в сочетании с ТС ОПС. Средства технической укрепленности помимо функций физического препятствия выполняют функции и психологического препятствия, предупреждающего возможность проникновения нарушителя на охраняемый объект.

Этап проектирования системы безопасности - наиболее важный период, в течение которого закладываются все основные функции и структуры системы безопасности. На этом этапе проводится обследование объекта, целями которого являются:

- изучение на месте характеристик объекта, определяющих его устойчивость к предполагаемым преступным посягательствам и возможным чрезвычайным ситуациям;

- определение комплекса мероприятий и разработка технических предложений по организации охраны объекта с учетом сформированных типовых решений, обеспечивающих достаточную безопасность.

По результатам обследования разрабатывается техническое задание на проектирование комплекса технических средств охраны. Обследование объекта проводится межведомственной комиссией (МВК в составе представителей администрации (или службы безопасности) объекта, подразделения вневедомственной охраны, госпожнадзора и, при необходимости, других заинтересованных организаций.

Проектирование, подготовка и выполнение работ должны осуществляться в соответствии с нормативно-техническими документами:

- РД 78.143-92 Системы и комплексы охранной сигнализации. Элементы технической укрепленности объектов. Нормы проектирования;

- РД 78.145-93 Системы и комплексы охранной, пожарной и охранно-пожарной сигнализации. Правила производства и приемки работ;

- РД 78.146-93 Инструкция о техническом надзоре за выполнением проектных и монтажных работ по оборудованию объектов средствами охранной сигнализации;

- РД 78.147-93 Единые требования по технической укрепленности и оборудованию сигнализацией объектов;

- РД 78.148-94 Защитное остекление. Классификация, методы испытаний. Применение;

- ГОСТ Р 50862-96 Сейфы и хранилища ценностей. Требования и методы испытаний на устойчивость к взлому и огнестойкость;

- ГОСТ Р 50941-96 Кабина защитная. Общие технические требования и методы испытаний;

- ГОСТ Р 51072-97 Двери защитные. Требования и методы испытаний на устойчивость к взлому;

- Правила устройства электроустановок (ПУЭ);

- Типовыми требованиями по технической укрепленности и оборудованию сигнализацией предприятий торговли;

- СНиП 2.04.09-84, СНиП 3.05.06-85 и другими действующими нормативно-техническими документами, утвержденными в установленном порядке, в частности, технологическими картами и инструкциями по монтажу систем и приборов ОПС, а также технической документацией на изделия.

2 КАТЕГОРИРОВАНИЕ ПОМЕЩЕНИЙ

Выбор варианта оборудования объекта ТС ОПС и средствами технической укрепленности определяется важностью помещений объекта, видом и размещением ценностей в этих помещениях. Все помещения любого объекта можно разделить условно (по виду и размещению в них ценностей) на четыре категории:

первая категория - помещения, где размещены товары, предметы и изделия особой ценности и важности, утрата которых может привести к особо крупному или невосполнимому материальному и финансовому ущербу, создать угрозу здоровью и жизни большого числа людей, находящихся на объекте и вне его, привести к другим тяжким последствиям.

Обычно к таким помещениям относятся: хранилища (кладовые) ценностей, склады хранения оружия и боеприпасов, помещения с постоянным хранением наркотических и ядовитых веществ, а также секретной документации и других особо ценных и особо важных товарно-материальных ценностей;

вторая категория - помещения, где размещены ценные и важные товары, предметы и изделия, утрата которых может привести к значительному материальному и финансовому ущербу, создать угрозу здоровью и жизни людей, находящихся на объекте.

К таким помещениям можно отнести: спецархивы и спецбиблиотеки, сейфовые комнаты, помещения хранения табельного огнестрельного оружия, радиоизотопных веществ и препаратов, ювелирных изделий, предметов старины, искусства и культуры, денежных средств, валюты и ценных бумаг (главные кассы объектов);

третья категория - помещения, где размещены товары, предметы и изделия повседневного спроса и использования.

К таким помещениям относятся: служебные, конторские помещения, торговые залы и помещения промышленных товаров, бытовой техники, продуктов питания и т.п.;

четвертая категория - помещения, где размещены товары, предметы и изделия технологического и хозяйственного назначения.

К таким помещениям можно отнести: подсобные и вспомогательные помещения, помещения с постоянным или временным хранением технологического и хозяйственного оборудования, технической и конструкторской документации и т.п.

3 ТЕХНИЧЕСКАЯ УКРЕПЛЕННОСТЬ ПОМЕЩЕНИЙ ОБЪЕКТА

Техническая укрепленность - совокупность мероприятий, направленных на усиление конструктивных элементов зданий, помещений и охраняемых территорий, обеспечивающих необходимое противодействие несанкционированному проникновению в охраняемую зону, взлому и другим преступным посягательствам.

Классификация конструктивных элементов (стен; дверей, оконных проемов) приведена в приложениях А - В. Выбираемая группа защиты от взлома конструктивных элементов должна соответствовать стоимости и значимости имущества (ценностей), находящегося в помещении, то есть соответствующей категории помещения. Кроме этого, необходимо учитывать месторасположение объекта и доступность проникновения в его помещения. При этом повышенные требования должны быть предъявлены к местам, где злоумышленник может действовать в относительной безопасности.

Для повышения надежности охраны помещений объекта техническая укрепленность, являющаяся основой построения системы технической безопасности, должна применяться в сочетании с ТС ОПС. При несоответствии или недостаточной технической укрепленности конструктивных элементов категориям помещений эти элементы или помещения рекомендуется усиливать дополнительными средствами (рубежами) охранной сигнализации в соответствии с приложением Г.

3.1 Стены и перекрытия

Несущие и внутренние стены и перегородки, перекрытия пола и потолка помещений объекта, где размещены ценности, должны иметь достаточную степень защиты от возможного несанкционированного проникновения. В приложении А приведена классификация строительных конструкций по устойчивости к взлому. В зависимости от категории помещения, его расположения в здании проводят выбор конструкции или ее усиления.

Усиление стен, перекрытий и перегородок обычно производят по всей площади металлическими решетками и сетками (приложение А), устанавливаемыми с внутренней стороны помещения. Решетки или сетки приваривают к прочно заделанным в стену (перекрытие) на глубину 80 мм стальным анкерам диаметром 12 мм и больше (к пристреливаемым четырьмя дюбелями закладным деталям из стальной полосы размерами 100´50´6 мм) с шагом не более 500´500 мм. После установки решетки или сетки должны быть замаскированы штукатуркой (облицовочными панелями).

При невозможности установки решетки или сетки с внутренней стороны допускается (по согласованию с подразделениями охраны) устанавливать их с наружной стороны помещения.

3.2 Двери

Двери (в основном входные) помещений так же, как и стены, должны иметь достаточную степень защиты от возможного несанкционированного проникновения. В приложении Б приведена классификация строительных конструкций дверей по устойчивости к взлому. В зависимости от категории помещения, его расположения в здании проводят выбор конструкции дверей или их усиления.

Дополнительные решетчатые двери, применяемые для усиления защиты помещения, устанавливают с внутренней стороны. Двери могут быть распашными или раздвижными и закрываться на замки.

Для усиления деревянную дверную коробку рекомендуется обрамлять стальным уголком размерами не менее 45´28´4 мм, а также закреплять коробку в стене стальными "ершами" (костылями) диаметром 10 мм и больше и длиной не менее 120 мм.

Входные двери на объект рекомендуется оборудовать не менее чем двумя врезными несамозащелкивающимися электромеханическими и/или механическими замками, установленными на расстоянии 300 мм и более друг от друга.

3.3 Оконные проемы

Все окна, фрамуги и форточки в помещениях объекта должны быть остеклены и иметь надежные и исправные запоры. Стекла должны быть целыми и надежно закреплены в пазах. В приложении В приведена классификация оконных проемов и их конструкций по устойчивости к взлому. В зависимости от категории помещения, его расположения в здании производят выбор оконных проемов или конструкции их усиления.

Оконные проемы помещений первой - третьей категорий, расположенных на первом этаже здания, а также оконные проемы этих помещений (независимо от этажности), выходящие к пожарным лестницам, крышам разновысоких строений и козырькам, по которым можно попасть в помещения, оборудуют охранительными конструкциями: решетками, ставнями, жалюзи, экранами и т.п.) или защитным остеклением в соответствии с приложением В.

Если все оконные проемы помещений объекта, расположенных на одном этаже здания, оборудуют решетками, то одну из них делают открывающейся с возможностью ее закрытия на замок (встроенный или навесной).

При установке на оконные проемы помещения стационарных металлических решеток концы прутьев этих решеток необходимо заделать в стену здания на глубину не менее 80 мм и залить цементным раствором или приварить к имеющимся конструкциям. При невозможности выполнить это, решетку обрамляют уголком размерами не менее 35´35´4 мм и приваривают по периметру к прочно заделанным в стену здания на глубину 80 мм стальным анкерам диаметром 10 мм и более и длиной не менее 120 мм.

Решетки могут быть установлены как с внутренней стороны помещения, так и между оконными рамами. В отдельных случаях допускается устанавливать стационарные и декоративные металлические решетки с наружной стороны помещения.

Помещение кассы предприятия, организации, учреждения должно быть оборудовано специальным окном размерами не более 200´300 мм с дверцей для операций с клиентами. Если размеры окна превышают указанные выше, то снаружи его следует укрепить защитными конструкциями (в соответствии с РД 78.147-93).

Специальное окно кассы может быть выполнено в виде передаточного узла по ГОСТ Р 50941-96.

3.4 Вентиляция и дымоходы

Вентиляционные шахты, короба и дымоходы диаметром более 200 мм, имеющие выход на крышу (или в смежные помещения) и своим сечением входящие в помещение, в котором размещены ценности, должны быть оборудованы (на входе в него) металлическими решетками, выполненными из уголка сечением не менее 35´35´4 мм, арматуры диаметром не менее 16 мм, с размерами ячейки не более 150´150 мм. Решетки в вентиляционных коробах со стороны помещения должны отстоять от внутренней поверхности стены (перекрытия) не более чем на 100 мм.

Стены помещений первой и второй категорий (если в них проходят вентиляционные шахты, короба или дымоходы диаметром 200 мм и больше) с внутренней стороны должны быть укреплены решеткой по всей граничащей с ними площади. Решетку выполняют из арматуры диаметром 10 мм и больше и размерами ячейки не более 150´150 мм, которую затем оштукатуривают. Монтаж решеток аналогичен монтажу их при усилении стен помещения.

Вентиляционные короба и дымоходы диаметром более 200 мм, проходящие по помещениям первой и второй категорий, должны быть оборудованы на входе в эти помещения (выходе из них) металлическими решетками, выполненными из прутка диаметром 10 мм и больше или прочной металлической сечкой с последующей их обвивкой проводом для подключения к охранной сигнализации.

Для защиты вентиляционных шахт, коробов и дымоходов допускается использовать фальшрешетки из металлической трубки с диаметром отверстия 6 мм и больше и с ячейкой размерами 100´100 мм (для прокладки провода шлейфа сигнализации).

3.5 Замки и запорные устройства

В качестве запирающих устройств, устанавливаемых на дверях и окнах, применяют врезные, накладные несамозащелкивающиеся и навесные замки, задвижки, засовы, шпингалеты и др.

Навесные замки должны применяться, в основном, для дополнительного запирания дверей, решеток, ставней, жалюзи и т.п. Эти замки достаточно эффективны (с точки зрения защиты) только в том случае, если имеют дужки из закаленной стали и массивные прочные корпуса (амбарный замок), а также, если в местах их установки на запираемых конструкциях имеются защитные кожухи, пластины и другие устройства, которые могут предотвратить возможность свертывания или перепиливания ушков и дужек замков.

Обычно для запирания дверей используют следующие типы замков:

- штифтовые цилиндровые;

- дисковые цилиндровые;

- пластинчатые цилиндровые;

- сувальдные;

- электромеханические;

- электромагнитные.

В соответствии с проектом разрабатываемого ГОСТа Р "Замки механические и электромеханические для защитных конструкций дверных и оконных проемов. Требования и методы испытании на устойчивость к криминальному открыванию и взлому", предполагаемое введение которого 01.01.1999 г., все замки, поставляемые на российский рынок и пригодные для использования на объектах, принимаемых под охрану, должны быть сертифицированы и иметь соответствующий класс устойчивости к криминальному открыванию и взлому.

Для входных дверей помещений и объектов, в которых расположены эти помещения, рекомендуется применять замки (врезные и накладные), имеющие классы устойчивости к криминальному открыванию и взлому не ниже указанных:

- помещения четвертой категории - замки класса U2;

- помещения третьей категории - замки класса U3;

- помещения первой и второй категорий - замки класса U4, за исключением кладовых ценностей и сейфов, двери которых должны быть оснащены замковыми устройствами, обеспечивающими секретность и устойчивость к взлому согласно ГОСТ Р 50862-96 и ГОСТ Р 51053-97.

Замки класса U1 рекомендуется применять, в основном, для дополнительного запирания дверей.

3.5.1 Замки штифтовые цилиндровые

Подавляющее большинство выпускаемых в нашей стране штифтовых цилиндровых замков имеют механизм секретности с пятью парами штифтов, расположенных в один ряд (обычный "английский замок"), что определяет их низкую секретность (до 2500 комбинаций). Изготовление механизмов секретности с большими допусками и из мягких материалов (ЦАМ 4-1 или алюминиевые сплавы), а также отсутствие штифтов с проточкой снижают устойчивость механизма секретности к криминальному открыванию. Замки с такими же механизмами секретности, изготовленные из латуни и с меньшими допусками, более устойчивы (примерно в два раза) к криминальному открыванию.

Замки, имеющие механизм секретности с 8 - 12 парами штифтов, расположенных в 2, 3 или 4 ряда, обладают значительно большей секретностью (от 6000 до 50000 комбинаций).

Существенным конструктивным недостатком врезного штифтового замка является наличие выступа механизма секретности на 10 - 12 мм относительно полотна двери. Это может привести к возможности захватывания выступающей части механизма секретности механическим инструментом и разрушения его свертыванием, открывая тем самым доступ к механизму перемещения засова. Требуемое усилие на свертывание механизма секретности, изготовленного из латуни, в два раза больше, чем изготовленного из ЦАМ 4-1 или алюминиевого сплава. Время открывания замка во многом зависит от крепления (шурупами или винтами) наружной накладки, препятствующей захватыванию механизма секретности. Крепление винтами значительно увеличивает время, затрачиваемое на взлом.

Увеличение стойкости замка к взлому путем высверливания достигается применением механизма секретности, имеющего запрессованную вставку из твердосплавного материала, которая защищает корпус механизма секретности, цилиндр и штифты.

3.5.2 Замки дисковые цилиндровые

Замки с дисковым механизмом секретности (типа "Аблой") являются одними из самых надежных по устойчивости к криминальному открыванию. Это обусловлено наличием конструкции механизма секретности, позволяющей достигать секретности 1000000 и более комбинаций. Небольшое ключевое отверстие механизма секретности сильно ограничивает возможность манипулировать отмычками.

Конструктивным недостатком большинства врезных дисковых замков является наличие выступа механизма секретности на 20 мм и более (относительно полотна двери), что позволяет легко взламывать эти замки путем свертывания механизма секретности.

Увеличение стойкости замка к взлому путем высверливания достигается применением механизма секретности, имеющего запрессованную закаленную шайбу, устанавливаемую в лицевой части механизма секретности.

3.5.3 Замки пластинчатые цилиндровые

В большинстве своем пластинчатые механизмы секретности имеют шесть кодовых элементов (пластин), поэтому секретность их выше, чем у пяти штифтовых механизмов секретности и составляет около 5000 комбинаций. Устойчивость к открыванию их отмычками, взлому и высверливанию такая же, как у штифтовых механизмов.

3.5.4 Замки сувальдные

Основными критериями, определяющими секретность сувальдных механизмов, являются: количество сувальд в механизме, величина зазора между проходным пазом сувальд и сувальдной стойкой. В зависимости от этих параметров секретность сувальдных замков составляет от 80 до 2500000 комбинаций.

Увеличение стойкости замка к взлому путем высверливания достигается применением механизма секретности, в котором сувальдная стойка защищена пластиной из закаленной стали или твердосплавного материала.

Для защиты входной двери помещения рекомендуется применять замок, имеющий не менее шести сувальд (симметричных или асимметричных). Количество сувальд соответствует числу ступенек бородки ключа, уменьшенному на одну ступеньку, которая предназначена для перемещения засова замка.

3.5.5 Засовы и запорные планки замков

Устойчивость засовов к динамическим нагрузкам определяется следующими критериями:

- материалом, из которого изготовлен засов;

- площадью сечения засова;

- длиной, головки засова (по ГОСТ 5089-97 длина, головки засова должна быть не менее 40 мм, вылет засова - не менее 22 мм, оставшаяся часть засова в корпусе замка - не менее 18 мм);

- прочностью крепления лицевой планки к корпусу замка.

При недостаточной длине головки засова и значительном вылете засова происходит сгибание засова (после нанесения ударов по замку).

Для защиты засовов от возможного перепиливания рекомендуется применять замки с засовами, которые изготовлены из твердосплавных материалов или имеют запрессованные вставки из этих материалов.

На устойчивость запорных планок влияют: толщина, конфигурация и материал запорной планки. Надежные, запорные планки должны быть изготовлены из стали и иметь толщину стенки не менее 3 мм.

Высокими показателями устойчивости к взлому обладает запорная планка Г-образной формы, крепление которой можно производить не только к дверной коробке, но и к стене при помощи анкеров.

3.5.6 Замки электромеханические и электромагнитные

В последнее время широкое применение получили электромеханические и электромагнитные замки, а также защелки.

Электромеханический принцип действия исполнительного механизма замка основан на перемещении закрывающих элементов (запоров, ригелей замков и т.п.) с помощью включения на время их передвижения электромотора или электромагнита.

В исполнительных механизмах с электромагнитным принципом действия отсутствуют движущиеся механические закрывающие элементы, то есть блокировка устройств заграждения (например, дверей) осуществляется с помощью сил магнитного притяжения, создаваемых мощным магнитом.

Часто в механических замках применяют электромагнитную блокировку (магнитные защелки, задвижки и т.п.) закрывающих элементов с возможностью перемещения их вручную при открывании или закрывании в экстремальных условиях.

Электромеханический замок рекомендуется устанавливать на деревянной и/или металлической дверях массой до 100 кг при условии средней нагруженности (100...200 проходов в день). Применение этого замка для дверей с высокой нагруженностью неэффективно из-за высокого механического износа и, как следствие, снижения надежности и срока службы. Чаще всего электромеханический замок устанавливают на двери (накладной или врезной замок), но иногда его устанавливают и на дверной коробке.

Электромагнитный замок рекомендуется устанавливать на деревянной и металлической дверях массой до 650 кг при условии высокой нагруженности (более 200 проходов в день). Отсутствие деталей, подверженных трению и износу, делают этот замок практически вечным. Особенностью данного замка является необходимость постоянной подачи тока на обмотку электромагнита, так как при пропадании напряжения в сети (например, при аварии или умышленном обрыве проводов) замок открывается. В связи с этим для надежной работы необходимо дублировать электромагнитный замок механическим или применять дополнительное резервное питание.

Электромагнитную защелку рекомендуется монтировать в косяке дверной коробки. Данная установка позволяет блокировать ригель замка, установленного в двери (при ее закрывании), и разблокировать замок при подаче сигнала управления на открывание двери. Такая установка защелки позволяет полностью сохранить замочно-скобяную фурнитуру двери.

4 ОБОРУДОВАНИЕ ПОМЕЩЕНИЙ ОБЪЕКТА ТЕХНИЧЕСКИМИ СРЕДСТВАМИ ОХРАННО-ПОЖАРНОЙ СИГНАЛИЗАЦИИ

Оборудование помещений объекта ТС ОПС выполняют после проведения работ по технической укрепленности. Подготовка и выполнение работ по оборудованию объекта ТС ОПС должны осуществляться в соответствии с нормативными документами, указанными в разделе 1 настоящих Рекомендаций.

На объектах (охраняемых или подлежащих передаче под охрану подразделениям вневедомственной охраны) следует устанавливать только аппаратуру ОПС, включенную в утверждаемый ГУВО МВД России действующий Перечень технических средств вневедомственной охраны, разрешенных к применению, с соответствующими ежегодными изменениями и дополнениями.

Для повышения надежности охраны объекта и его помещений определяют структуру комплекса ОПС исходя из:

- режима работы этого объекта;

- порядка проведения операций с ценностями;

- особенностей расположения помещений с ценностями внутри здания;

- выбора количества охраняемых зон.

4.1 Оборудование помещений объекта техническими средствами охранной сигнализации

На объекте техническими средствами охранной сигнализации (ТС ОС) оборудуют все помещения с постоянным или временным хранением материальных ценностей, а также смежные с ними другие помещения и все уязвимые места (окна, двери, люки, вентиляционные шахты и короба), расположенные на первом и последнем этажах здания по периметру объекта.

Помещения третьей и четвертой категорий рекомендуется оборудовать однорубежной охраной, помещения первой и второй категорий - многорубежной охраной.

В помещениях третьей и четвертой категорий, расположенных на втором и выше этажах здания, а также внутри объекта устанавливать ТС ОС не требуется, если здание охраняется по всему периметру (первый и последний этажи и все уязвимые места).

Оконные проемы помещений первой и второй категорий, расположенные на втором и выше этажах здания, охраняемого по всему периметру (первый и последний этажи и все уязвимые места), допускается не оборудовать ТС ОС.

Выбор наиболее оптимального варианта защиты помещений объекта ТС ОС рекомендуется проводить в соответствии с приложением Г настоящих Рекомендаций. В зависимости от категории хранящихся в помещениях ценностей охранную сигнализацию разбивают на четыре группы (классы) защиты от проникновения: первая группа защиты - недостаточная (организация в помещении неполного первого рубежа охраны), четвертая группа защиты - очень высокая (организация трехрубежной охраны помещения).

Первым рубежом охраны защищают:

- строительные конструкции по периметру здания или помещений объекта, то есть все оконные и дверные проемы;

- места ввода коммуникаций, вентиляционные каналы;

- выходы к пожарным лестницам;

- некапитальные и капитальные стены (если необходима защита).

Строительные конструкции здания (помещений) объекта блокируют:

- дверные проемы, погрузоразгрузочные люки - на "открывание" и "пролом" (только для деревянных);

- остекленные конструкции - на "открывание" и "разрушение стекла;

- места ввода коммуникаций, некапитальные и капитальные стены (если необходима защита) - на "пролом";

- вентиляционные короба, дымоходы - на "разрушение".

Вместо блокировки остекленных конструкций на "открывание" и "разрушение", внутренних некапитальных стен на "пролом", дверей на "открывание" и "пролом" допускается проводить с помощью объемных и линейных извещателей блокировку указанных конструкций только на "проникновение". При этом следует иметь в виду, что используемые для указанных целей пассивные оптико-электронные извещатели (типа "Фотон" и др., работа которых построена на том же принципе действия) обеспечивают защиту помещений только от непосредственного проникновения нарушителя.

Блокировку строительных конструкций (двери, остекленные конструкции) на "открывание" рекомендуется проводить простейшими магнитоконтактными извещателями, а блокировку ворот, погрузоразгрузочных люков, дверей хранилищ, лифтовых шахт - конечными выключателями.

Блокировку остекленных конструкций на "разрушение" стекла рекомендуется проводить омическими извещателями (типа "фольга"), поверхностными ударно-контактными или звуковыми извещателями.

Блокировку стен на "пролом" следует проводить поверхностными пьезоэлектрическими или омическими (типа "провод") извещателями.

Вторым рубежом охраны защищают объемы помещений пассивными оптико-электронными извещателями с объемной зоной обнаружения, ультразвуковыми, комбинированными или радиоволновыми извещателями.

Третьим рубежом охраны защищают сейфы и отдельные предметы или подходы к ним емкостными, пьезоэлектрическими, пассивными и активными оптико-электронными или радиоволновыми извещателями.

4.2 Выбор и размещение технических средств охранной сигнализации в помещениях объекта

В помещениях объекта следует устанавливать такие ТС ОС, чтобы, с одной стороны, был обеспечен необходимый уровень надежности охраны объекта, а с другой - были бы сокращены (по возможности) расходы на приобретение, монтаж и эксплуатацию ТС ОС.

Выбор конкретных типов извещателей определяют исходя из:

- сопоставления конструктивно-строительных характеристик объекта, подлежащего оборудованию, и тактико-технических характеристик извещателей;

- характера и размещения ценностей в помещениях;

- этажности здания;

- помеховой обстановки на объекте;

- вероятных путей проникновения нарушителя;

- режима и тактики охраны;

- требований скрытности установки, дизайна;

- криминогенной значимости объекта и т.п.

4.2.1 Магнитоконтактные извещатели

При блокировке окон и дверей на открывание (в зависимости от их конструкций) магниты и герконы магнитоконтактных извещателей могут быть установлены как на подвижных, так и на неподвижных частях конструкций. При использовании металлических рам, дверей или рам и дверей с металлической обвязкой необходимо устанавливать магнитоконтактные извещатели типа ИО 102-6, специально предназначенные для этих целей. Рекомендуемое размещение извещателей - на верхних частях оконных рам и дверей. При невозможности данной установки магнитоконтактных извещателей (из-за конструктивных или архитектурных особенностей окон и дверей) допускается устанавливать их на боковых частях (противоположным петлям) рам и дверей. Допускается установка таких извещателей на нижних частях оконных рам.

Для исключения возможности деблокирования магнитоконтактного извещателя, установленного на входной двери, с помощью мощного магнита рекомендуется устанавливать рядом с основным извещателем дополнительный извещатель-ловушку. (Извещатель-ловушка - это обычный магнитоконтактный извещатель, из корпуса которого удален магнит.) Геркон извещателя, который подключают к шлейфу сигнализации (ШС), параллельно работает на замыкание ШС при воздействии на него мощного магнита.

Основные характеристики магнитоконтактных извещателей приведены в таблице 1.

Таблица 1

Характеристика извещателя

Извещатели

СМК-1, ИО 102-2

СМК-3

ИО 102-4

ИО 102-5

ИО 102-6

Способ установки

Открытый

Скрытый малогабаритный

Открытый

Скрытый малогабаритный

Скрытый металлоконструкции

Расстояние между герконом и магнитом, мм:

 

 

 

 

 

- для замыкания контактов

8

6

10

10

10

- для размыкания контактов

30

25

45

45

45

Диапазон рабочих температур, °С

От минус 40 до плюс 50

От минус 50 до плюс 50

Габаритные размеры, мм:

 

 

 

 

 

- геркона

60´11´12

Æ08´21

31´13´6,5

Æ10´27,5

Æ23,5´37,5

- магнита

60´11´12

Æ8´25

31´13´6,5

Æ10´27,5

Æ23,5´37,5

4.2.2 Оптико-электронные извещатели

Активные и пассивные оптико-электронные извещатели с линейной или поверхностной узконаправленной зоной обнаружения (типа "занавес") рекомендуется применять для блокировки окон, дверей, стен, потолков, полов, коридоров и подходов к защищаемым предметам на проникновение или на подход.

В зависимости от архитектурных особенностей блокируемых конструкций извещатели можно устанавливать как на стенах помещения, так и на потолке (для защиты пола - только на стенах). При этом необходимо устанавливать извещатель так, чтобы его зона обнаружения была расположена не далее 1,0 м (для пола 0,5 м) по всей ширине или высоте от блокируемой поверхности.

Следует иметь в виду, что при блокировке пола или потолка пассивными извещателями с поверхностной узконаправленной зоной обнаружения (извещатель повернут на 90°) дальность обнаружения уменьшается в два раза.

Пассивные оптико-электронные извещатели с объемной зоной обнаружения рекомендуется применять для защиты помещений, а также для одновременной блокировки окон, дверей, стен, перекрытия и самих ценностей, расположенных в помещении.

Для обеспечения устойчивой работы указанных извещателей необходимо соблюдать следующие правила:

- не устанавливать извещатель над отопительными приборами;

- не направлять извещатель на вентиляторы теплого воздуха, прожекторы, лампы накаливания и другие источники, являющиеся причиной быстрых изменений температуры;

- не допускать попадания на извещатель прямых солнечных лучей;

- не допускать нахождения в зоне обнаружения извещателя животных и предметов (штор, перегородок, шкафов и т.п.), которые могут создавать "мертвые" зоны.

Основные характеристики активных оптико-электронных извещателей приведены в таблице 2, пассивных инфракрасных извещателей - в таблице 3.

4.2.3 Радиоволновые и комбинированные извещатели

Радиоволновые и комбинированные (оптико-электронный + радиоволновой) извещатели могут быть применены для охраны объемов закрытых помещений, внутренних и внешних периметров помещений, отдельных предметов и строительных конструкций, открытых площадок. Для обеспечения устойчивой работы указанных извещателей необходимо соблюдать следующие правила:

- устанавливать извещатели таким образом, чтобы их зоны обнаружения не выходили за пределы блокируемых помещений (оконные проемы, тонкие деревянные перегородки);

- не устанавливать извещатели на токопроводящие конструкции (металлические балки, сырую кирпичную кладку и т.п.), так как между извещателем и источником питания возникает двойной контур заземления, что может стать причиной ложного срабатывания извещателя;

- вынести за пределы зоны обнаружения извещателя колеблющиеся или движущиеся предметы, имеющие значительную отражающую поверхность, а также крупногабаритные предметы, которые могут создавать "мертвые" зоны, или сформировать зону обнаружения таким образом, чтобы эти предметы в нее не попадали.

При наличии "мертвых" зон необходимо следить за тем, чтобы они не создали нарушителю свободный путь к материальным ценностям;

- не устанавливать извещатели в районах, где имеются мощные радиопередающие устройства;

- на период охраны:

- закрывать на запоры двери, окна, форточки, фрамуги, люки, а также выключать, вентиляционные и силовые переключающие установки;

- не допускать попадания в зону обнаружения извещателя пластмассовых труб, по которым возможно движение воды;

- выключать люминесцентные и неоновые лампы.

Таблица 2

Характеристика извещателя

Извещатели

"Вектор-2"

"Вектор-СПЭК"

Назначение

Защита периметра помещения

Защита периметра открытых площадок и помещений

Зона обнаружения

Линейная (однолучевой барьер)

Дальность действия, м:

 

75, 150

- режим А

100

 

- режим Б

20

 

Извещение "Проникновение"

Размыкание контактов реле

Напряжение питания постоянного тока, В

10,2…13,2

10,2...30,0

Амплитуда пульсации, мВ

100

240

Потребляемый ток при напряжении питания 12 В, мА:

 

70

- режим А

50

 

- режим Б

25

 

Диапазон рабочих температур, °С

От минус 10 до плюс 50

От минус 40 до плюс 55

Габаритные размеры, мм

102´91´90

75´95´145 (БИ и БФ)

Масса, кг

0,8

1,0 (БИ и БФ)


Таблица 3

Характеристика извещателя

Извещатели

9981

«Фотон-6»

« Фотон-6А»

«Фотон-6Б»

«Фотон-СК»

«Фотон-8»

«Фотон-8Б»

Назначение

Защита объема закрытого помещения

Защита протяженных помещений (коридоров)

Защита строительных конструкций и подходов к ценностям

Защита объема закрытого отапливаемого помещения

Защита объема закрытого помещения

Защита строительных конструкций и подходов к ценностям

Зона обнаружения

Объемная

Объемная

Линейная (лучевой оарьер)

Поверхностная («занавес»)

Объемная

Объемная

Поверхностная («занавес»)

Максимальная дальность, м

15

12

20

10

10

12

10

Угол обзора, град.:

 

 

 

 

 

 

 

- в вертикальной плоскости

5…20

30

45

90

90

30

90

- в горизонтальной плоскости

90

90

5

5

90

90

5

Контролируемая площадь, м2

-

120

-

50

120

120

50

Извещение "Проникновение"

Размыкание контактов реле

Обр./ КЗ ШС

Напряжение питания постоянного тока, В

11,4...12,6

10,2...15,0

10,0...14,0

От ШС 10,0…72,0

Потребляемый ток, мА

18,0

15,0

20,0

0,7

Диапазон рабочих температур, °С

От минус 10 до плюс 50

От минус 30 до плюс 50

От 0 до плюс 50

От минус 10 до плюс 50

Габаритные размеры, мм

67´111´51

106´106´63

68´127´48

107´107´64

Масса, кг

0,10

0,35

0,09

0,25

Таблица 4

Характеристика извещателя

Извещатели

"Аргус-2"

"Аргус -3"

"Тюльпан-3"

"Волна-5"

"Радий-2"

"Радий-2/1"

"Радий-2/2"

"Фон- 1М"

"Шторм-2"

Принцип обнаружения

Радиоволновой

Назначение

Защита внутреннего объема помещения

Защита периметра открытых площадок

Защита площади и объема открытых площадок и помещения

Зона обнаружения

Объемная сплошная

Объемный барьер эллипсоидной формы

Объемная

Минимальная контролируемая площадь, м2

90

25

90

90

 

 

 

300

400

Максимальная дальность действия, м

16,0

7,5

7,0

15,0

200,0

75,0

30,0

 

50,0

Извещение "Проникновение"

Размыкание контактов реле

Обрыв / КЗ ШС

Размыкание контактов реле

Напряжение, питания переменного тока, В

 

 

 

 

187…242

187...242

187...242

187...242

187...242

Резервное питание (от источника постоянного тока):

 

 

 

 

 

 

 

 

 

- напряжение, В

 

 

 

 

18...30

18...30

18...30

21…27

21...27

- потребляемый ток, А

 

 

 

 

0,08

0,08

0,08

0,60

1,20

Напряжение питания постоянного тока, В

10,2...15,0

10,2...15,0

10,2...24,0

От ШС 2...72

 

 

 

 

 

Потребляемый ток, мА

16,0

30,0

70,0

1,5

 

 

 

 

 

Диапазон рабочих температур, °С

От минус 30 до плюс 50

От минус 10 до плюс 50

От минус 30 до плюс 50

От минус 30 до плюс 50

От минус 40 до плюс 50

От минус 40 до плюс 50

От минус 40 до плюс 50

От минус 45 до плюс 50

От минус 45 до плюс 50

Габаритные размеры, мм:

100´90´65

90´75´40

95´75´70

100´90´65

 

 

 

310´350´160

300´350´125

- блока передатчика

 

 

 

 

260´210´60

205´130´60

110´95´65

 

 

- блока приемника

 

 

 

 

260´210´60

205´130´60

110´95´65

 

 

- блока питания

 

 

 

 

270´220´150

270´220´150

270´220´150

 

 

- механизма юстировки

 

 

 

 

 

 

 

160´120´130

140´60´115

Масса, кг:

0,25

0,10

0,25

0,20

 

 

 

15,0

16,0

- передатчика

 

 

 

 

0,9

0,7

0,3

 

 

- приемника

 

 

 

 

0,9

0,7

0,7

 

 

- блока питания

 

 

 

 

1,8

1,8

1,8

 

 


Во избежание ложных срабатываний не рекомендуется устанавливать извещатели таким образом, чтобы пересекались радиоволновые зоны обнаружения нескольких извещателей.

Основные характеристики радиоволновых и комбинированных извещателей приведены в таблицах 4 и 5.

Таблица 5

Характеристика извещателя

Извещатели

DТ 4201Т

DТ 4351Т

DТ 4501Т

Назначение

Защита объема отапливаемых помещений с повышенным уровнем помех

Зона обнаружения

Объемная комбинированная (радиоволновая + инфракрасная пассивная)

Максимальная дальность действия, м

6

11

15

Максимальная контролируемая площадь, м2

20

65

125

Максимальный контролируемый объем, м3

45

150

280

Извещение "Проникновение"

Размыкание контактов реле

Напряжение питания постоянного тока, В

9…14

Потребляемый ток, мА

35

Диапазон рабочих температур, °С

От 0 до плюс 50

Габаритные размеры, мм

130´70´60

Масса, кг

0,35

4.2.4 Ультразвуковые извещатели

Ультразвуковые извещатели предназначены для охраны объемов закрытых помещений. Для обеспечения устойчивой работы указанных извещателей необходимо соблюдать следующие правила:

- не применять извещатели в помещениях с уровнем акустических шумов более 60 дБ;

- не устанавливать извещатели в витринах, над батареями отопления, на подоконниках, вблизи оконных штор и комнатных растений, а также не допускать попадания этих предметов в зону обнаружения извещателя;

- производить прокладку соединительных линий извещателя на расстоянии не менее 75 см от электропроводов, кабелей и электроустановок. (Допускается пересечение указанных линий с силовыми цепями под прямым углом не более двух раз);

- вынести за пределы зоны обнаружения извещателя вибрирующие и крупногабаритные предметы, которые могут создавать "мертвые" зоны, или сформировать зону обнаружения таким образом, чтобы эти предметы в нее не попадали;

- на период охраны закрывать на запоры двери, окна, форточки, фрамуги, люки, а также выключать вентиляционные и силовые переключающие установки, калориферы, телефоны, электрические звонки, громкоговорители и т. п.;

- не допускать нахождения в охраняемом помещении животных и птиц;

- не применять извещатели в помещениях площадью менее 2´2 м2;

- не размещать в одном помещении два и более извещателя или отрегулировать их таким образом, чтобы зоны обнаружения извещателя не пересекались при максимальной чувствительности.

Основные характеристики ультразвуковых извещателей приведены в таблице 6.

Таблица 6

Характеристика извещателя

Извещатели

"Эхо-А"

"Эхо-3"

Назначение

Защита объема и локальных зон отапливаемых помещений

Зона обнаружения

Объемная каплевидной формы

Объемная шарообразной формы

Максимальная дальность действия, м

8,5

8,0

Максимальная контролируемая площадь, м2

25,0

60,0

Извещение "Проникновение"

Размыкание контактов реле

Напряжение питания постоянного тока, В

10,2…15,0

10,0...27,0

Потребляемый ток (при напряжении питания 12 В), мА

28,0

25,0

Диапазоны рабочих температур, °С

От плюс 5 до плюс 45

От плюс 1 до плюс 40

Габаритные размеры, мм

227´63´50

205´130´50

Масса, кг

0,35

1,00

4.2.5 Емкостные извещатели

Емкостные извещатели предназначены для блокировки металлических шкафов, сейфов, отдельных предметов, а также для создания защитных заграждений. Для обеспечения устойчивой работы указанных извещателей необходимо соблюдать следующие правила:

- не устанавливать извещатели вблизи мощных электроустановок, которые не могут быть отключены на период охраны;

- обеспечить надежный контакт антенны и заземления в местах их подсоединения;

- устанавливать блокируемые предметы на основаниях, хорошо изолированных от "земли";

- устанавливать блокируемые предметы на расстоянии не менее 0,2 м от стен, окон и перегородок, за которыми возможно появление людей или животных.

Основные характеристики емкостных извещателей приведены в таблице 7.

Таблица 7

Характеристика извещателя

Извещатели

"Пик"

"Градиент"

Назначение

Защита металлических предметов

Защита поверхности внутренних периметров строений

Зона обнаружения

 

Эллиптическая, сечением 0,6´2,5 м

Максимальная ёмкость чувствительного элемента, пФ

2000

7000

Максимальная протяженность блокировки, м

 

500

Диапазон регулировки чувствительности, м

0...0,2

0...0,5±0,2

Минимальное сопротивление утечки чувствительного элемента, кОм

8,0

7,0

Извещение "Проникновение"

Размыкание контактов реле

Напряжение питания постоянного тока, В

10,2...15,0

Потребляемый ток (при напряжении питания 12 В), мА

15,0

45,0

Диапазон рабочих температур, °С

От минус 10 до плюс 50

Габаритные размеры, мм

180´125´50

180´120´50

Масса, кг

1,0

4.2.6 Пьезоэлектрические и ударно-контактные извещатели

Пьезоэлектрические и ударно-контактные извещатели предназначены для блокировки строительных конструкций на разрушение или давление и формируют извещение о проникновении путем преобразования энергии упругих волн ультразвукового или звукового диапазона, возникающих при попытках разрушения блокируемой конструкции нарушителем.

При блокировке установленных на подиумах отдельных предметов пьезоэлектрическими извещателями, работающими на давление (типа "Гюрза"), сенсоры извещателя можно располагать как под самим предметом, так и под подиумом.

Для надежной блокировки стен, пола, потолка на пролом с помощью поверхностных пьезоэлектрических вибрационных извещателей (типа "Шорох", "Грань") их следует устанавливать таким образом, чтобы извещатели охватывали не менее 75 процентов блокируемой площади.

Ударно-контактные извещатели (типа "Окно") в основном применяют для блокировки окон на разрушение стекла. Рекомендуемая установка: один датчик на полотно стекла площадью не более 4 м2.

Ударно-контактные и пьезоэлектрические извещатели особенно чувствительны к помехам, вызываемым вибрациями строительных конструкций. Поэтому на объектах, подверженным таким помехам, указанные извещатели применять не следует.

Основные характеристики пьезоэлектрических и ударно-контактных извещателей приведены в таблицах 8 и 9.

Таблица 8

Характеристика извещателя

Пьезоэлектрические извещатели

"Грань-2

"Шорох-1"

"Гюрза-050М"

Назначение

Обнаружение разрушения строительных конструкций и металлических сейфов

Охрана отдельных предметов или групп предметов

Максимальная охраняемая площадь, м2:

 

 

 

- на строительной конструкции

15,0 (одним ДСВ)

12,0

 

- на сейфе

8,0

6,0

 

Масса, кг:

 

 

 

- охраняемого предмета

 

 

0,05...60,00

- охраняемой картины

 

 

0,30 и более

Максимальное количество сенсоров, шт.

10

 

40

Извещение "Проникновение"

Размыкание контактов реле

Увеличение тока в ШС

Размыкание контактов реле

Напряжение питания постоянного тока, В

10,2...15,0

10,0...30,0 от ШС

10,2...15,0

Потребляемый ток, мА:

 

1,0

40,0

- в режиме "Охрана"

До 80,0

 

 

- в режиме "Тревога"

До 200,0

 

 

Диапазон рабочих температур, °С

От минус 10 до плюс 50

Габаритные размеры, мм:

 

123´57´26

 

- БОС

190´155´45

 

205´110´42

- ДСВ 1, ДСВ 2

80´42´31

 

 

- сенсор КХ-1

 

 

0,10

- сенсор МХ-1

 

 

0,01

Таблица 9

Характеристика извещателя

Извещатели

"Окно-4"

"Окно-5"

Назначение

Обнаружение разрушения стеклянных конструкций

Извещение "Проникновение"

Увеличение тока потребления ШС

Блокируемая площадь, м2, стеклянного полотна:

 

- одним ДРС

4

- комплектом ДРС (5 шт.)

20

Напряжение питания от ШС, В:

 

- при постоянном токе

10…30

- при пульсирующем токе

15...30

Потребляемый ток, мкА

35, не более

Диапазон рабочих температур, °С

От минус 40 до плюс 50

Габаритные размеры, мм:

 

 

- БОС

38,0´21,0´12,5

46´46´17

- ДРС (корпуса без выводов)

35´9´8

31,0´9,5´8,5

Масса, кг:

 

- БОС

0,030

- ДРС

0,008

4.2.7 Звуковые извещатели

Звуковые извещатели предназначены для блокировки остекленных конструкций на разрушение. Принцип работы указанных извещателей основан на бесконтактном методе акустического контроля разрушения стеклянного полотна.

Данные извещатели рекомендуется устанавливать на стене (на высоте не менее 2 м) или на потолке таким образом, чтобы все остекленные части блокируемой конструкции находились в пределах прямой видимости (угол обзора извещателя 90°).

На период охраны в помещении, где размещены извещатели, должны быть плотно закрыты все двери, окна, фрамуги, форточки, отключены вентиляция, телефонные аппараты, громкоговорители, электрические звонки.

Во избежание потери чувствительности извещателей не допускается их маскирование.

Основные характеристики звуковых извещателей приведены в таблице 10.

4.2.8 Омические извещатели

Алюминиевую фольгу применяют для блокировки от разбития конструкций из стекла, подверженных воздействию вибрационных и ударных помех. Рекомендуемое применение: блокировка стеклянных конструкций, где не предъявляются повышенные требования к интерьеру (склады, помещения производственного и хозяйственного назначения).

Таблица 10

Характеристика извещателя

Извещатели

"Стекло-1"

"Стекло-2-1"

"Стекло-2"

Назначение

Обнаружение разрушения стеклянных конструкций

Максимальная дальность действия, м

6,0

Минимальная контролируемая площадь стекла, м2

0,2

Извещение "Проникновение"

Размыкание контактов реле

Увеличение тока потребления ШС

Напряжение питания постоянного тока, В

10,2...15,0

9,0…17,0

 

Напряжение питания от ШС, В:

 

 

 

- при постоянном токе

 

 

10...30

- при пульсирующем токе

 

 

15...30

Потребляемый ток, мА

25, не более

1, не более

Диапазон рабочих температур, °С

От плюс 1 до плюс 40

Габаритные размеры, мм

100´90´40

100´85´35

100´85´35

Масса, кг

0,25

0,20

0,20

Блокировку алюминиевой фольгой производят путем ее приклеивания по периметру стеклянных полотен на расстоянии:

- 2...10 мм - от боковой стороны деревянной рамы;

- 10...15 мм - от боковой стороны металлической рамы;

- до 50 мм - от нижней, стороны рамы в сухих, отапливаемых помещениях;

- 150...200 мм - от нижней стороны рамы во влажных и неотапливаемых помещениях.

Допускается проводить блокировку фольгой по периметру стекла на 2/3 общей высоты его от нижнего края.

Для защиты строительных конструкций (двери, люки, ворота, некапитальные стены, перегородки и т.п.) на разрушение (пролом) используют провод типа НВМ сечением не более 0,2 мм2 или аналогичный по параметрам провод.

Провод должен быть проложен по внутренней стороне всей площади строительной конструкции (параллельно контурным линиям) и закреплен скобами с шагом не более 200 мм. Под скобу необходимо подложить неразрезанную полихлорвиниловую трубку длиной 10 мм. Расстояние между проводами должно быть не более 200 мм.

Блокировку внутренних металлических решеток следует производить путем обвивания горизонтальных и вертикальных прутьев проводом с шагом витка 30...70 мм. В местах пересечения проводом прутьев решетки делают узел, который должен охватывать оба прута.

Решетки из металлических трубок допускается блокировать пропусканием провода через все трубки.

4.2.9 Приборы приемно-контрольные

Приборы приемно-контрольные (ППК), которые являются промежуточным звеном между извещателями и системами передачи извещений (СПИ), следует устанавливать в местах, защищенных от механических повреждений и вмешательства в их работу посторонних лиц:

- на стенах на высоте не менее 2,2 м от уровня пола;

- при отсутствии специально выделенного помещения;

- на высоте не менее 1,5 м от уровня - при наличии специального помещения.

Установку приборов в доступных посторонним лицам местах необходимо производить в запираемых металлических шкафах (конструкция которых не влияет на их работоспособность) на высоте, удобной для технического обслуживания. Не допускается устанавливать приборы в сгораемых шкафах, а также на расстоянии менее 1 м от отопительных систем.

Примечание - Металлические корпуса приборов должны быть обязательно заземлены!

Внешние оповещатели (световой и звуковой) должны быть установлены в местах, удобных для визуального и слухового контроля. Рекомендуемая электрическая мощность оповещателей - 25 ВА.

Не допускается производить разводку проводов ШС и пультовых линий вблизи силовых электрических проводов и кабелей (в том числе и линий подключения оповещателей к ППК). При прокладке ШС и пультовых линий параллельно силовым цепям расстояние между ними должно быть не менее 50 см. Пересечение силовых цепей, ШС и пультовых линий, при необходимости, должно осуществляться под прямым углом.

Устройство оконечное ППК следует устанавливать в конце ШС скрытно, в недоступных для посторонних лиц местах.

Запрещается производить монтаж ШС, а также его отдельных участков в виде наружных воздушных линий.

Основные характеристики ППК приведены в таблице 11.


Таблица 11

Наименование ППК

Основное питание

Резервное питание

Оповещатели Рпот, ВА

Шлейфы сигнализации

Температура, °С

Габаритные размеры, мм 1)

U, В

Рпот, ВА

U, В

Iпот, ВА

Кол-во

Rл, кОм

Rут, кОм

Выносной элемент

Сигнал-41М

220,0

5,0

2)

-

1

1,0

20,0

4,30 кОм

От плюс 1 до плюс 40

230´180´85

Сигнал-ВК (исполнение 01)

220,0

12,0

24,0

25,0

60,0

1

1,0

20,0

8,20 кОм

От минус 30 до плюс 50

190´170´85

Сигнал-ВК (исполнение 02)

Радиоуправляемое взятие под охрану и снятие с охраны. Передача тревожного сигнала (нападение) с носимого брелока. Характеристики такие же, как у ППК "Сигнал-ВК" (исполнение 01)

Сигнал-ВК-4

220,0

12,0

12...18

150,0

60,0

4

1,0

20,0

8,20 кОм

От минус 30 до плюс 50

190´170´85

Сигнал-СПИ

220,0

12,0

24 2)

60,0

60,0

1

1,0

20,0

8,20 кОм

От минус 30 до плюс 50

190´170´85

Аккорд

220,0

8,0

12/24

80,0

25,0

4 (8 - исполнение 2)

1,0

20,0

5,60 кОм

От минус 30 до плюс 50

300´246´82

Рубин-6

220,0

22,0

24,0

300,0

60,0

20

1,0

20,0

0,47 мкФ

От плюс 1 до плюс 40

500´230´220

Сигнал-20

10,2... 15,0 пост. тока

15,0

 

 

Световой - 0,6 Вт

20

Охр. ШС - 1,0

20,0

8,20 кОм

От плюс 1 до плюс 45

400´200´60

Звуковой - 12 Вт

Пож. ШС - 0,47

50,0

МСП

-

-

-

-

-

2

0,5

20,0

0,47 мкФ

От плюс 1 до плюс 40

-

Адрес (контроль 2-провод-ной линии связи)

220,0

50,0

12,0

2000,0

60,0

32/96

0,1

50/200

6,8/30,0 кОм

От плюс 1 до плюс 40

280´230´50

Виста-101 (контроль радиальных, 2-х и 4-х проводной линий связи)

220,0

Определяется конфигурацией

12,0

Определяется конфигурацией

 

36

0,3

-

-

-

-

Виста-501 (контроль радиальных, 2-, 4-проводной линий связи)

220,0

Определяется конфигурацией

12,0

Определяется конфигурацией

 

87

0,3/0,1

-

-

-

-

Сеть (контроль по сети 220 В или выделенной линии)

220,0

УОО-4

УОО - 11,8...14,3

УОО-100

660,0

68

1,0

20,0

5,60 кОм

УОО - от минус 30 до плюс 50

100´100´65

УОП-15

УОП - встроенный аккумулятор

УОП-500

УОП - от 0 до плюс 50

300´246´62

Примечания

1) Указаны габаритные размеры только самого ППК (пазового блоки).

2) Переключение ШС на прямой контроль со стороны СПИ при пропадании питания.


4.3 Оборудование помещений объекта техническими средствами пожарной сигнализации и противопожарной защиты

Техническими средствами пожарной сигнализации (ТС ПС) оборудуют все помещения объекта независимо от их назначения, за исключением помещений с мокрыми технологическими процессами (душевые комнаты, сауны и т.п.).

Примечание - На объектах допускается применять только ТС ПС и пожаротушения российского и зарубежного производства, имеющих сертификат соответствия ГОСТ Р в области пожарной безопасности.

Пожарные извещатели включают в самостоятельные шлейфы пожарной сигнализации, которые должны быть подключены с функцией "Без права отключения" на пульт внутренней охраны или ППК. Вывод тревожных извещений с пульта внутренней охраны или ППК может быть осуществлен на пульт централизованного наблюдения (ПЦН) или внешние световые и звуковые оповещатели.

Примечание - Система пожарной сигнализации должна быть рассчитана на круглосуточную непрерывную работу.

При недостатке телефонных линий допускается выводить тревожное извещение о пожаре на ПЦН не отдельным пультовым номером, а через объединяющий ППК. В этом случае в нерабочее время на ПЦН поступает общий сигнал тревоги о пожаре и проникновении, а в рабочее время (когда помещение снято с охраны ПЦН) тревожное извещение о пожаре выдается только на выносные звуковые и световые оповещатели.

В помещениях объекта следует предусматривать централизованную систему оповещения о пожаре и других кризисных ситуациях. В одно- и двухэтажных зданиях для оповещения о пожаре допускается использовать звонки, сирены и т.д., отличающиеся, по тональности от других сигналов.

Помещение пожарного поста необходимо совмещать с помещением охраны.

Банковские хранилища ценностей (при объеме помещения более 150 м3) оборудуют установками автоматического пожаротушения. Выбор типа установки, вида огнетушащего состава (вещества), а также средств объемного пожаротушения осуществляет проектная организация совместно с заказчиком.

Если в здании банка хранение ценностей организовано в металлических шкафах или контейнерах, то в хранилищах ценностей (независимо от их объема) установки автоматического пожаротушения можно не применять.

Помещения вычислительных центров, центральных ЭВМ, АТС, криптозащиты с архивов, коридоры, холлы, залы заседаний и конференц-залы высотой до 10 м следует оборудовать дымовыми или тепловыми максимально дифференциальными пожарными извещателями, а также дополнительно оснащать первичными средствами порошкового или газового пожаротушения (огнетушителями). При высоте указанных помещений свыше 10 м вместо названных извещателей следует применять пожарные извещатели пламени.

Помещения вычислительных центров, центральных ЭВМ, АТС должны быть оборудованы автоматическими установками пожаротушения в соответствии с требованиями Инструкции СН 512-78.

Внутри здания объекта на путях эвакуации (в коридорах, проходах, на лестничных клетках и т.д.) и, при необходимости, в отдельных помещениях следует устанавливать ручные пожарные извещатели.

4.3.1 Размещение пожарных извещателей в помещениях объекта

Автоматические пожарные извещатели (тепловые, дымовые), за исключением световых, устанавливают в помещениях объекта на потолке. При невозможности размещения извещателей на потолке из-за архитектурно-художественных особенностей объекта разрешается устанавливать извещатели на стенах и колоннах на расстоянии не более 300 мм от потолка, при условии соблюдения максимально допустимых расстояний между извещателями.

В зданиях со сложными железобетонными, металлическими и стеклянными потолочными перекрытиями, а также с перекрытиями, имеющими световые фонари, допускается подвешивать извещатели на тросах (струнах). При этом прогиб троса (струны) с вертикально расположенными на нем извещателями не должен превышать 300 мм от потолочного перекрытия, включая габариты извещателя.

В помещениях объекта, где имеются стеллажи или штабеля различных предметов, верхние края которых расположены на расстоянии 600 мм и менее от потолка, извещатели должны быть установлены и каждой зоне помещения, образованной штабелями или стеллажами. В помещениях объекта с перекрытиями, имеющими выступающие более чем на 400 мм конструкции (балки, прогоны, ребра жесткости железобетонных плит), извещатели должны быть установлены в каждой зоне потолка.

Один шлейф пожарной сигнализации должен блокировать не более пяти помещений, при условии их расположения на одном этаже здания. В административных зданиях объекта разрешается блокировать одним шлейфом до 10 (при наличии выносной сигнализации из каждого помещения - до 20) помещений, имеющих общий коридор, или смежных.

Шлейфы пожарной сигнализации, и соединительные линии следует выполнять при условии обеспечения автоматического контроля целостности их по всей длине. Это требование не распространяется на аппаратуру, принцип действия которой не позволяет осуществить автоматический контроль.

Пожарные извещатели, применяемые для обнаружения возгораний в местах прохода проводов, кабелей и других горючих материалов, проложенных между перекрытием и подвесным потолком, должны быть установлены за подвесным потолком на перекрытии или кронштейнах и включены в отдельный ШС.

Количество тепловых извещателей, включаемых в один шлейф пожарной сигнализации, должно быть определено возможностью своевременного установления очага возгорания и техническими характеристиками ППК (но не более 50 шт.).

В одном помещении объекта следует производить установку не менее двух пожарных извещателей. Допускается (по согласованию с УГПС, ОГПС) устанавливать в помещении один адресуемый пожарный извещатель.

Площадь, контролируемую одним пожарным извещателем, а также максимальные расстояния между извещателями и от извещателя до стены согласно СНиП 2.04.09-84 определяют по таблице 12. При этом характеристики, указанные в технических условиях и паспортах на конкретные типы извещателей, не должны быть превышены.

Таблица 12

Высота установки извещателя, м

Площадь, контролируемая одним извещателем, м2

Максимальные расстояния, м,

между извещателями

от извещателя до стены

Дымовые извещатели

До 3,5

До 85

9,0

4,5

Свыше 3,5 до 6,0

До 70

8,5

4,0

Свыше 6,0 до 10,0

До 65

8,0

4,0

Свыше 10,0 до 12,0

До 55

7,5

3,5

Тепловые извещатели

До 3,5

До 25

5,0

2,5

Свыше 3,5 до 6,0

До 20

4,5

2,0

Свыше 6,0 до 9,0

До 15

4,0

2,0

В помещениях шириной не более 3 м расстояние между дымовыми извещателями допускается увеличивать до 15 м.

4.4 Оборудование помещений объекта техническими средствами тревожной сигнализации

Для оперативной передачи сообщений в дежурные части органов внутренних дел (ОВД) или на ПЦН о нападении преступников объект должен быть оборудован техническими средствами тревожной сигнализации (кнопки, педали, оптико-электронные извещатели и т.п.). Такие устройства устанавливают в хранилищах ценностей, сейфовых комнатах, на служебных местах сотрудников, работающих с ценностями, в кабинетах руководителя объекта, главного бухгалтера, комнатах хранения оружия и боеприпасов, у дверей запасных выходов, на посту и в помещении охраны. Тревожными извещателями рекомендуется оборудовать маршруты переноса ценностей.

Систему тревожной сигнализации выполняют с функцией "Без права отключения" и выводят через пульт внутренней охраны или непосредственно на ПЦН, или в дежурную часть ОВД.

5 ЭЛЕКТРОСНАБЖЕНИЕ ТЕХНИЧЕСКИХ СРЕДСТВ ОХРАННО-ПОЖАРНОЙ СИГНАЛИЗАЦИИ

Обеспечение электроснабжением ТС ОПС должно соответствовать требованиям СНиП 2.04.09-84 и РД 78.143-92.

Технические средства ОПС, установленные на объектах, согласно ПУЭ следует относить к первой категории электроприемников по надежности электроснабжения, в силу чего их электропитание должно быть бесперебойным (либо от двух независимых источников переменного тока, либо от одного источника переменного тока с автоматическим переключением в аварийном режиме на резервное питание от аккумуляторных батарей).

Примечание - При использовании резервной аккумуляторной батареи или сухих элементов в качестве резервного источника питания должна быть обеспечена работа ТС ОПС и течение не менее одних суток в дежурном режиме и не менее трех часов в режиме "Тревога".

Допускается (по согласованию с УВО, ОВО и УГПС, ОГПС) питание резервного источника:

- в городах и поселках городского типа в течение не менее 4 ч в дежурном режиме и не менее 1 ч в режиме "Тревога";

- в сельских районах в течение не менее 12 ч в дежурном режиме и не менее 2 ч в режиме "Тревога";

- в труднодоступных районах в течение не менее 24 ч в дежурном режиме и не менее 3 ч в режиме "Тревога".

После согласования должна быть сделана соответствующая запись в проектной документации или в акте обследования. Исключением являются случаи, когда электропитание осуществляется:

- от сухих элементов;

- по абонентским линиям телефонной сети (42 В или 60 В).

Электроснабжение ТС ОПС должно осуществляться от свободной группы щита дежурного освещения. При отсутствии на объекте щита дежурного освещения (или свободной группы на нем) заказчик устанавливает самостоятельный щит электропитания на соответствующее количество групп. Щит электропитания, устанавливаемый вне охраняемого помещения, должен быть размещен в запираемом металлическом шкафу и заблокирован на открывание.

Аккумуляторные батареи, как правило, размещают в специальных помещениях аккумуляторных на стеллажах или полках шкафа в соответствии с требованиями ТУ 45-4-ДО.610.236-87 в поддонах, стойких к воздействию агрессивных сред.

Свинцовые аккумуляторы (емкостью не более 72 А/ч) и щелочные аккумуляторные батареи (емкостью не более 100 А/ч к напряжением до 60 В) могут быть установлены в общих производственных невзрыво-и непожароопасных помещениях в металлических шкафах с обособленной приточно-вытяжной вентиляцией.

Примечание - Аккумуляторные установки должны быть оборудованы в соответствии с требованиями ПУЭ.

При длительном отключении электроэнергии на объекте должны применяться агрегаты бензоэлектрические унифицированные типа АБ или аналогичные им.

6 ПРОЕКТИРОВАНИЕ ТЕХНИЧЕСКИХ СРЕДСТВ ОХРАННО-ПОЖАРНОЙ СИГНАЛИЗАЦИИ

Комплексы ОПС строят и проектируют по своим специфическим требованиям, с особой тактикой охраны. В связи с этим вся проектная и эксплуатационная документация должна быть по сути конфиденциальной, исключающей возможность ознакомления случайными лицами (то есть существует необходимость обеспечения соответствующих условий хранения и работы с данными документами). Кроме этого, главным требованием, предъявляемым к проектированию, является высокий профессиональный уровень разработок. Все эти условия могут быть выполнены только в специализированной проектной организации, имеющей достаточную нормативную базу и опыт работы.

В состав проектной документации обычно входят:

- пояснительная записка;

- схемы закладных (по требованию заказчика или монтажной организации);

- план сети ОПС (совмещенный или раздельный по каждому виду сигнализации);

- схема соединений структурная общая (совмещенная или раздельная по каждому виду сигнализации);

- электрическая схема соединений (совмещенная или раздельная по каждому виду сигнализации);

- схема (таблица) разводки электропитания;

- спецификация оборудования.

В зависимости от назначения объекта, архитектурно-планировочных решений, требований заказчика и монтажных организаций состав проектной документации может быть изменен и дополнен.

6.1 Пояснительная записка

Пояснительная записка (в общем случае) содержит следующие разделы:

- Общие положения;

- Описание и характеристика объекта;

- Основные технические решения;

- Монтаж оборудования и электропроводов;

- Электропитание и заземление оборудования;

- Приложение.

В разделе "Общие положения" указывают документы (акт обследования, техническое задание, строительные чертежи и т.д.), на основании которых разработан проект; руководящие и нормативные документы, которым отвечают технические решения, принятые в данном проекте.

Основными руководящими и нормативно-техническими документами являются:

- РД 25.953-90 Системы автоматические пожаротушения, пожарной, охранной и охранно-пожарной сигнализации. Обозначения условные графические элементов системы;

- РД 78.143-92 Системы и комплексы охранной сигнализации. Элементы технической укрепленности объектов. Нормы проектирования;

- РД 78.145-93 Системы и комплексы охранной, пожарной и охранно-пожарной сигнализации. Правила производства и приемки работ;

- РД 78.146-93 Инструкция о техническом надзоре за выполнением проектных и монтажных работ по оборудованию объектов средствами охранной сигнализации;

- РД 78.147-93 Единые требования по технической укрепленности и оборудованию сигнализацией объектов;

- РД 78.148-94 Защитное остекление. Классификация, методы испытаний, применение;

- Рекомендации по комплексному оборудованию банков, пунктов обмена валюты, оружейных и ювелирных магазинов, коммерческих и других фирм и организаций техническими средствами охраны, видеоконтроля и инженерной защиты. Типовые варианты;

- Рекомендации по выбору и применению телевизионных систем видеоконтроля;

- Рекомендации по проверке обеспечения надежности охраны объектов при сдаче в эксплуатацию установок охранной сигнализации;

- Рекомендации по выбору и применению современных технических средств охранно-пожарной сигнализации на объектах народного хозяйства;

- Выбор и применение систем контроля и управления доступом: Рекомендации;

- Справочник инженерно-технических работников и электромонтеров технических средств охранно-пожарной сигнализации;

- СНиП 11-01-95. Инструкция о составе, порядке разработки, согласования и утверждения проектно-сметной документации предприятий;

- СНиП 2.04.09-84. Пожарная автоматика зданий и сооружений;

- СНиП IV-06-82 Сборники расценок на монтаж оборудования № 8, 10, 11 (с коэффициентом пересчета 1,4);

- СНиП 4.06-91 Сборники расценок на монтаж оборудования № 8, 10, 11;

- Единые районные единичные, расценки на строительные конструкции и работы (ЕРЕР);

- ВНТП 116-80 Проводные средства связи. Линейно-кабельные сооружения;

- Временное положение о приемке законченных строительных объектов на территории Российской Федерации (взамен СНиП 3.01.04-87), одобренное коллегией Минстроя России (Протокол от 10.06.92 № 10);

- Правила устройства электроустановок (ПУЭ);

- Перечень технических средств вневедомственной охраны, разрешенных к применению, утверждаемый ГУВО МВД России с соответствующими ежегодными изменениями и дополнениями.

В данном разделе также указывают назначение комплекса ОПС и места вывода и регистрации тревожных извещений о проникновении, пожаре, разбойном нападении и других чрезвычайных ситуациях.

В разделе "Описание и характеристика объекта" дают краткое описание объекта, особенности его расположения, а также основных помещений, подлежащих защите, состояние технической укрепленности, наличие телефонизации и т.п.

Раздел "Основные технические решения" является основным разделом, который, как правило, включает в себя следующие подразделы (отдельные или обобщенные):

- организация охранной сигнализации;

- организация тревожной сигнализации;

- организация пожарной сигнализации;

- организация видеоконтроля и системы контроля доступа и т.п.

В общей части данного раздела следует кратко указывать основу построений комплекса ОПС (системы или ППК), его конфигурацию, размещение, вывод и регистрацию тревожных извещений с объекта. В названных подразделах указывают:

- помещения, оборудованные указанными видами сигнализации, количество рубежей охраны;

- распределение или группировку ШС;

- применяемые извещатели и устройства для блокировки строительных конструкций и уязвимых мест, особенности блокировки;

- вывод и регистрацию тревожных извещений на системах или ППК (с функциями "С правом отключения", "Без права отключения" и т.п.)

В разделе "Монтаж оборудования и электропроводов" указывают особенности размещения и монтажа ТС ОПС в помещениях объекта, прокладки ШС и соединительных линий.

В разделе "Электропитание и заземление оборудования" указывают:

- категорию электропитания объекта;

- основное и резервное электропитание всего комплекса ОПС и отдельных составных частей;

- время работы комплекса ОПС от резервного источника в дежурном и тревожном режимах;

- особенности размещения и обслуживания резервного источника;

- распределение или группировку цепей питания по току потребления ТС ОПС;

- особенности заземления ТС ОПС.

В разделе "Приложение" приводят:

- схемы подключения и расположения ТС ОПС;

- варианты блокировки отдельных строительных конструкций;

- зоны обнаружения извещателей, расположения закладных;

- условные обозначения, используемые на схемах.

Если раздел «Приложение» отсутствует, то названные схемы входят отдельными составляющими в проект.

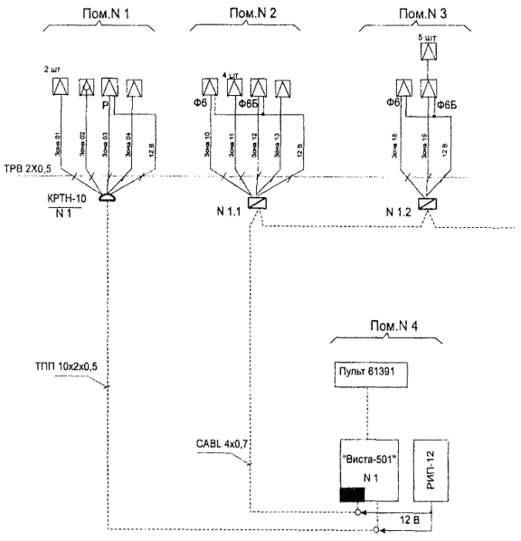
На рисунках 1 - 4 приведены примеры оформления вариантов блокировки строительных конструкций, схемы внешних соединений и расположения закладных для некоторых типов ТС ОПС.

Рисунок 1 - Варианты установки магнитоконтактных извещателей на дверь

Рисунок 2 - Вариант блокировки двери (окна) на открывание и проникновение. (Размещение и схема подключения извещателей)

Рисунок 3 - Вариант блокировки объема помещения радиоволновым извещателем. (Размещение и схема подключения извещателя)

Рисунок 4 - Варианты расположения закладных для ТС ОПС в помещениях объекта

В условных обозначениях приводят наименование и тип ТС ОПС с их условными графическими изображениями на схемах, которые рекомендуется выполнять в соответствии с РД 25.953-90 Системы автоматические пожаротушения, пожарной и охранно-пожарной сигнализации. Обозначения условные графические элементов систем".

- Извещатель пожарный автоматический тепловой

- Извещатель пожарный автоматический дымовой

- Извещатель пожарный автоматический пламени

- Извещатель пожарный ручной

 - Извещатель охранный автоматический

- Извещатель охранный тревожный ручной/ножной

 - Извещатель охранно-пожарный автоматический

* - Оповещатель охранный

или

* - Световой

 - Звуковой

* - Прибор приемно-контрольный (прибор управления)

*    - Извещатель омический (типа «провод», «фольга»)

- Выключатель конечный на воротах, дверях, люках

- Антенна охранного извещателя

- Шифрустройство

- Световозвращатель

- Устройство оконечное

- Ретранслятор

* - Пульт централизованного наблюдения

 - Устройство уплотнения телефонных линий

* - Камера передающая телевизионной установки с поворотным устройством

* - Камера передающая телевизионной установки без поворотного устройства

 - Устройство видеоконтрольное телевизионной установки

 - Промежуточно-исполнительный орган

 - Исполнительный блок регулятора-сигнализатора.

Примечания

1 Графическое обозначение извещателя вычерчивают вершиной треугольника в направлении зоны его действия.

2 Тип извещателя указывают буквами около его графического изображения. Рекомендуемый список сокращений:

- эк - электроконтактный;

- ук - ударно-контактный;

- мк - магнитоконтактный (или обозначения отсутствуют);

оптико-электронный:

- ои - излучатель;

- оп - приемник;

- ос или о - совмещенный;

- е - емкостный;

радиоволновой:

- ри - излучатель;

- рп - приемник;

- рс - или р - совмещенный;

- пэ - пьезоэлектрический;

ультразвуковой:

- уи - излучатель;

- уп - приемник;

- ус или у - совмещенный;

- к - комбинированный;

- з - звуковой.

3 При использовании ТС ОПС разных наименований, но одного типа (назначения), рекомендуется под графическим изображением произвольным образом указывать отличие, а в условных обозначениях - полностью расшифровывать надпись. Например, ф6, ф8, где в условных обозначениях указывают:

ф6 - извещатель оптико-электронный пассивный "Фотон-6";

ф8 - извещатель оптико-электронный пассивный "Фотон-8".

4 Элементы систем, не указанные в приведенных условных графических обозначениях, могут быть выполнены произвольно.

6.2 Схемы закладных

Схемы закладных служат для обозначения трасс прокладки цепей сигнализации по помещениям объекта. В качестве закладных обычно используют трубы и короба. За подвесным потолком разрешается прокладывать цепи сигнализации в желобах, металлорукавах или непосредственно по наикратчайшему пути.

Для ответвления и соединений труб и коробов следует применять коробки, ящики и т.п. изделия.

Расстояние между протяжными коробками (ящиками) при соединении труб и глухих коробов не должно превышать:

- 50 м - при наличии одного изгиба;

- 40 м - при наличии двух изгибов;

- 20 м - при наличии трех изгибов.

Провода и кабели в трубах должны лежать свободно, без натяжения. Суммарное сечение, рассчитанное по их наружным диаметрам, не должно превышать:

- 20 - 30% от сечения трубы - для труб;

- 35% сечения короба в свету - для глухих коробов;

- 40% сечения короба в свету - для коробов с открываемыми крышками.

Примечание - Не допускается прокладывать силовые кабели и линии связи совместно в одной трубе или одном коробе.

На схемах следует указывать: диаметр труб, сечение коробов, их количество, расположение протяжных (разветвительных, подштукатурных) коробок, распределительных щитов, шкафов и ящиков.

На рисунке 5 приведен вариант выполнения схемы закладных.

6.3 План сети охранно-пожарной сигнализации

Схемы планов сети охранно-пожарной сигнализации служат для обозначения и размещения ТС ОПС в помещениях объекта, прокладки ШС и соединительных линий в помещениях объекта. Вариант выполнения схемы плана сети охранной сигнализации на базе ППК "Виста-501" приведен на рисунке 6.

Условные обозначения:

 - Распределительный шкаф (стояк, узел);

* - Коробка распределительная напольная;

* - Коробка подштукатурная;

* - Труба;

* - Кабель или провод;

* - Расположение закладных для ТС ОПС в помещениях согласно рисунку 4

Рисунок 5 - Вариант выполнения схемы закладных

Условные обозначения:

* - Извещатель магнитоконтактный ИО 102-4 (цифрами около обозначения указано количество в шт.);

 - Извещатель оптико-электронный "Фотон-6";

 - Извещатель оптико-электронный "Фотон-6Б";

* - Извещатель радиоволновой "Аргус-2";

* - Извещатель тревожной сигнализации ИО 102-1/1А;

* - Прибор приемно-контрольный "Виста-501";

*  - Расширитель двухпроводной линии 42081U (1-я цифра - номер ППК "Виста-501", 2-я цифра - номер расширителя);

* - Коробка соединительная КСЗ;

* - Коробка распределительная;

* - Соединение, ответвление линии;

*    - Шлейф сигнализации, подключенный непосредственно к ППК "Виста-501" (1-я цифра - номер ППК "Виста-501", 2-я цифра - номер шлейфа (зоны));

* - Шлейф сигнализации, подключенный к расширителям (1-я цифра - номер ППК "Виста-501", 2-я цифра - номер расширителя, 3-я цифра - номер шлейфа (зоны));

* - Магистральная линия (кабель) связи

Экспликация помещений

Nпом.

Наименование

1

Помещение

2

Помещение

3

Помещение

4

Помещение

Рисунок 6 - Вариант выполнения схемы плана сети охранной сигнализации на базе ППК "Виста-501"

Рисунок 7 - Вариант выполнения структурной схемы соединений

Рисунок 8 - Вариант выполнения электрической схемы соединений

6.4 Схемы соединений структурная и электрическая

Схема соединений структурная общая служит для обозначения соединений между основными составными частями системы ОПС, электрическая схема - для обозначения электрических соединений (контактов, колодок подключения и т.п.) между ними. Варианты выполнения схем на базе ППК "Виста-501" приведены на рисунках 7 и 8 соответственно.

6.5 Схема (таблица) разводки электропитания

На схеме или в таблице указывают все токоприемники системы, максимальные токи потребления в тревожных режимах, сечение питающих проводников, нагрузку источников питания (в процентах), время работы (в часах) источников резервного питания при пропадании основного питания.

6.6 Спецификация оборудования

Спецификацию оборудования оформляют в виде таблицы (см. таблицу 13).

Таблица 13

Поз.

Наименование

Тип, марка

Ед. изм.

Завод-изготовитель

Цена, ед. изделия

Кол-во

Суммарная цена

1

ППК

"Виста-501"

Комп.

АО "МЗЭП", Москва

396 $

2

792$

2

Извещатель радиоволновой

"Аргус-2"

Шт.

АО "Аргус-Спектр", С-Петербург

269 р.

10

2690 р.

3

Извещатель инфракрасный пассивный

"Фотон-6"

Шт.

АО "Риэлта", С-Петербург

226 р.

20

4520 р.


ПРИЛОЖЕНИЕ А

КЛАССИФИКАЦИЯ СТРОИТЕЛЬНЫХ КОНСТРУКЦИЙ ПО УСТОЙЧИВОСТИ К ВЗЛОМУ

Группа защиты

Степень защиты от взлома

Материалы и конструкции

Применение

 

1

Недостаточная

Гипсолитовые, гипсобетонные, цементно-стружечные панели

Наружные стены и перекрытия помещений четвертой категории

 

Наружные стены помещений третьей категории, расположенных на 2-ом и выше этажах, но не примыкающих к помещениям зданий других собственников

Конструкции из древесины и пластмасс

 

Каркасные перегородки с обшивкой металлическими, в том числе профилированными, листами

Стены и перекрытия помещений третьей категории, расположенных внутри здания, но не примыкающих к помещениям других собственников

 

Стены, перегородки (внутренние) помещений, расположенных в пределах каждой категории помещений.

Стеклоблоки, профилированное и армированное сеткой стекло

 

Каменные, кирпичные, блочные, бетонные и пустотные железобетонные конструкции толщиной менее 250 мм

 

Конструкции из легких бетонов (ячеистого, пенобетона) толщиной менее 400 мм

 

Конструкции из монолитного железобетона толщиной менее 100 мм

 

2

Средняя

Каменные, кирпичные, блочные, бетонные и пустотные железобетонные конструкции толщиной от 250 до 500 мм

Наружные стены и перекрытия помещений третьей категории, расположенных по периметру здания

 

Стены и перекрытия помещений третьей категории, расположенных внутри здания, примыкающие к помещениям зданий других собственников

Конструкции из монолитного железобетона толщиной от 100 до 200 мм.

Стены и перекрытия помещений первой и второй категорий, расположенных внутри здания, но не примыкающие к помещениям других собственников.

Конструкции из легких бетонов (ячеистого, пенобетона) толщиной 400 мм и более

 

Материалы и конструкции 1-ой группы защиты, усиленные стальной арматурной сеткой, изготовленной из проволоки диаметром не менее 5 мм, сваренной в соединениях с размерами ячейки не более 150´150 мм.

 

3

Высокая

Каменные, кирпичные, блочные, бетонные и пустотные железобетонные конструкции толщиной более 500 мм

Наружные стены и перекрытия помещении первой и второй категорий, расположенных по периметру здания, или граничащие с техническими помещениями (подвал, чердак, бойлерная и т.п.), в которые возможно проникновение посторонних лиц

 

Монолитные фибробетонные конструкции толщиной более 200 мм

Стены и перекрытия помещений первой и второй категорий, расположенных внутри здания, примыкающие к помещениям других собственников.

Материалы и конструкции 1-ой группы защиты, усиленные (изнутри) стальной, сваренной в соединениях, решеткой из прутьев толщиной не менее 10 мм с размерами ячейки не более 150´150 мм

 

Материалы и конструкции 2-ой группы защиты, усиленные стальной арматурной сеткой, изготовленной из проволоки диаметром не менее 5 мм, сваренной в соединениях, с размерами ячейки не более 150´150 мм.

 

4

Очень высокая

Монолитные фибробетонные конструкции толщиной 200 мм и более

Конструкции оболочек хранилищ (кладовых) ценностей.

 

Конструкции, выполненные в соответствии с ГОСТ Р 50862-96 по классу устойчивости не ниже V.

 

Примечания

1 Конструкции стен и перекрытий конкретных помещений должны быть по устойчивости к взлому равноценны.

2 Конструкция стыков сборных элементов по устойчивости к взлому должна отвечать требованиям, предъявляемым к конструкции в целом.

ПРИЛОЖЕНИЕ Б

КЛАССИФИКАЦИЯ ДВЕРНЫХ КОНСТРУКЦИЙ ПО УСТОЙЧИВОСТИ К ВЗЛОМУ

Группа защиты

Степень защиты от взлома

Материалы и конструкции

Применение

 

1

Недостаточная

Двери деревянные внутренние с мелкопустотным заполнением полотен и остекленными полотнами (типа ГОК, по ГОСТ 6629-88) с использованием стекла, не соответствующего РД 78.148-94

Внутренние двери в помещениях каждой категории

 

Входные двери помещений четвертой категории, расположенные внутри здания.

Двери с полотнами из стекла в металлических рамах или без них; стекло простое, закаленное или многослойное, не соответствующее РД 78.148-94

 

Двери со сплошным заполнением полотен (типа У, по ГОСТ 6629-88) при их толщине менее 40 мм.

 

2

Средняя

Двери деревянные внутренние со сплошным заполнением полотен (типа У, по ГОСТ 6629-88) при их толщине не менее 40 мм

Входные двери помещений третьей категории, за исключением дверей запасных выходов, а также дверей, которые выходят во дворы и малолюдные переулки

 

Двери деревянные наружные (типа НС, по ГОСТ 24698-81) при толщине полотен не менее 40 мм, глухие и остекленные при использовании многослойного стекла класса А1 и выше по РД 78.148-94 или обычного стекла, оклеенного защитной пленкой по классу А1

Входные наружные двери помещений четвертой категории.

 

Двери с полотнами из стекла в металлических рамах или без них с использованием защитного остекления класса А1 и выше по РД 78.148-94 или обычного стекла, оклеенного защитной пленкой по классу А1

 

Двери деревянные (по ГОСТ 30109-94) и остекленные при использовании многослойного стекла класса А1 и выше, по РД 78.148-94 или обычного стекла, оклеенного защитной пленкой по классу А1.

 

3

Высокая

Двери защитные (по ГОСТ 51072-97), класс устойчивости I и выше

Входные двери помещений первой и сторон категорий

 

Двери запасных выходов, а также двери, которые выходят на крышу (чердак), во дворы и малолюдные переулки.

Двери деревянные 2 группы защиты, усиленные обивкой с двух сторон листовой сталью толщиной не менее 0,6 мм с загибом листа на внутреннюю поверхность двери или на торец полотна внахлест с креплением по периметру и диагоналям полотна гвоздями диаметром 3 мм, длиной 40 мм и шагом не более 50 мм

 

Двери деревянные 2 группы защиты с дополнительным усилением дверных полотен металлическими накладками

Двери с полотнами из стекла в металлических рамах или без них при использовании защитного остекления класса Б1 и выше по РД 78.148-94

 

Двери 2 группы защиты с дополнительно установленными изнутри решетчатыми стальными дверями (распашными, раздвижными или складывающимися).

 

4

Очень высокая

Бронедвери для хранилищ ценностей, сейфов, отвечающие ГОСТ Р 50862-96 и имеющие сертификат, подтверждающий их соответствие данному назначению.

Входные двери хранилищ ценностей.

 

ПРИЛОЖЕНИЕ В

КЛАССИФИКАЦИЯ ОКОННЫХ ПРОЕМОВ ПО УСТОЙЧИВОСТИ К ВЗЛОМУ

Группа защиты

Степень защиты от взлома

Материалы переплетов, остекления защитных средств

Применение

 

1

Недостаточная

Окна с обычным стеклом незащищенные.

Оконные проемы помещений четвертой категории за исключением оконных проемов, которые выходят во дворы и малолюдные переулки

 

Оконные проемы помещений первой - третьей категорий, расположенные на 2-ом и выше этажах здания (кроме оконных проемов, примыкающих к лестницам, балконам, карнизам и т.п.).

 

2

Средняя

Окна 1 группы защиты с защитным остеклением класса А1 и выше по РД 78.148-94 или использование защитного стекла, оклеенного защитной пленкой по классу А1

Оконные проемы помещений третьей категории, расположенные на 1-ом или последующих этажах, примыкающие к лестницам, балконам, карнизам и т.п.

 

Оконные проемы помещений четвертой категории, выходящие во дворы и малолюдные переулки.

Окна I группы защиты с металлическими решетками, сетками произвольной конструкции

 

Окна 1 группы защиты, защищенные дополнительными деревянными ставнями или жалюзи согласно требованиям РД 78.147-93.

 

3

Высокая

Окна 1 группы защиты, дополнительно защищенные деревянными ставнями, обитыми с двух сторон стальным листом толщиной не менее 0,6 мм, или жалюзи соответствующей прочности согласно требованиям РД 78.14-93

Оконные проемы помещений первой и второй категорий, расположенные на 1-ом или последующих этажах, примыкающих к лестницам, балконам, карнизам и т.п.

 

Окна 1 группы защиты, дополнительно защищенные металлическими решетками, изготовленными из стальных прутьев диаметром не менее 16 мм, образующих ячейки не более 150´150 мм, или раздвижными, распашными решетками и жалюзи соответствующей прочности

 

Окна специальной конструкции с защитным остеклением класса А2 и выше по РД 78.148-94 или использование защитного стекла, оклеенного защитной пленкой по классу А2-

 

4

Очень высокая

Окна 1 группы защиты, дополнительно защищенные металлическими открывающимися ставнями толщиной стального листа не менее 3 мм

Оконные проемы помещений 1-ой категории, расположенные в зонах с повышенной криминогенной опасностью

 

Оконные проемы помещений 1-ой категории, выполненные по заданию проектирования.

Окна специальной конструкции с защитным остеклением класса Б1 и выше по РД 78.148-94 или использование защитного стекла, оклеенного защитной пленкой по классу Б1.

 

ПРИЛОЖЕНИЕ Г

КЛАССИФИКАЦИЯ ОХРАННОЙ СИГНАЛИЗАЦИИ ПО СТЕПЕНИ ЗАЩИТЫ ОТ ПРОНИКНОВЕНИЯ

Группа защиты

Степень защиты от проникновения

Организация охранной сигнализации

Применение

 

1

Недостаточная

Блокировка отдельных участков (дверей, окон, стен и т.д.) периметра (1-го рубежа) помещения.

Для усиления охраны (ловушки) различных конструкций (стен, перекрытий, перегородок, дверей, оконных проемов), не отвечающих требованиям приложений А - В настоящих Рекомендаций.

 

2

Средняя

Однорубежная охрана:

Помещения третьей и четвертой категорий, расположенные по периметру здания на 1-ом и последнем этажах или примыкающие к лестницам, балконам, карнизам и т.п. на остальных этажах

 

- блокировка только периметра (1-го рубежа) помещения или здания (блокировка всех окон, дверей и, при необходимости, строительных конструкций данного помещения или здания);

Помещения второй категории, расположенные на 2-ом и выше этажах (кроме, 1-го и последнего этажей) и не примыкающие к помещениям и зданиям других собственников, а также к лестницам, балконам, карнизам и т.п. здания, оборудованному по всему периметру (1-ый и последний этажи и все уязвимые места) охранной сигнализацией.

- блокировка только объема (2-го рубежа) помещения.

 

3

Высокая

Двухрубежная охрана:

- блокировка периметра (1-го рубежа) и объема (2-го рубежа) помещения;

Помещения второй категории за исключением помещений, указанных во 2-ой группе

 

Помещения первой категории.

 

- блокировка входных дверей (не полного 1-го рубежа ) и объема (2-го рубежа) помещения.

Помещения первой категории, расположенные на 2-ом и выше этажах здания (кроме 1-го и последнего этажей) и не примыкающие к помещениям и зданиям других собственников, а также к лестницам, балконам, карнизам и т.п.

 

4

Очень высокая

Трехрубежная охрана:

Помещения первой категории, оборудованные охранной сигнализацией по заданию на проектирование (хранилища ценностей, специальные запасники и хранилища музеев и т.п.).

 

- блокировка периметра (1-го рубежа), объема (2-го рубежа) и самих материальных ценностей или подходов к ним (3-го рубежа) помещения.

 


СОДЕРЖАНИЕ

Введение. 1

1 общие положения. 1

2 категорирование помещений. 2

3 техническая укрепленность помещений объекта. 3

3.1 Стены и перекрытия. 3

3.2 Двери. 3

3.3 Оконные проемы.. 4

3.4 Вентиляция и дымоходы.. 4

3.5 Замки и запорные устройства. 5

3.5.1 Замки штифтовые цилиндровые. 5

3.5.2 Замки дисковые цилиндровые. 6

3.5.3 Замки пластинчатые цилиндровые. 6

3.5.4 Замки сувальдные. 6

3.5.5 Засовы и запорные планки замков. 6

3.5.6 Замки электромеханические и электромагнитные. 7

4 оборудование помещений объекта техническими средствами охранно-пожарной сигнализации. 7

4.1 Оборудование помещений объекта техническими средствами охранной сигнализации. 7

4.2 Выбор и размещение технических средств охранной сигнализации в помещениях объекта. 8

4.2.1 Магнитоконтактные извещатели. 9

4.2.2 Оптико-электронные извещатели. 9

4.2.3 Радиоволновые и комбинированные извещатели. 10

4.2.4 Ультразвуковые извещатели. 14

4.2.5 Емкостные извещатели. 15

4.2.6 Пьезоэлектрические и ударно-контактные извещатели. 15

4.2.7 Звуковые извещатели. 16

4.2.8 Омические извещатели. 16

4.2.9 Приборы приемно-контрольные. 17

4.3 Оборудование помещений объекта техническими средствами пожарной сигнализации и противопожарной защиты.. 20

4.3.1 Размещение пожарных извещателей в помещениях объекта. 20

4.4 Оборудование помещений объекта техническими средствами тревожной сигнализации. 21

5 электроснабжение технических средств охранно-пожарной сигнализации. 22

6 проектирование технических средств охранно-пожарной сигнализации. 22

6.1 Пояснительная записка. 23

6.2 Схемы закладных. 28

6.3 План сети охранно-пожарной сигнализации. 28

6.4 Схемы соединений структурная и электрическая. 31

6.5 Схема (таблица) разводки электропитания. 31

6.6 Спецификация оборудования. 31

Приложение а Классификация строительных конструкций по устойчивости к взлому. 32

Приложение б Классификация дверных конструкций по устойчивости к взлому. 33

Приложение в Классификация оконных проемов по устойчивости к взлому. 34

Приложение г Классификация охранной сигнализации по степени защиты от проникновения. 34

 

 




ГОСТЫ, СТРОИТЕЛЬНЫЕ и ТЕХНИЧЕСКИЕ НОРМАТИВЫ.
Некоммерческая онлайн система, содержащая все Российские Госты, национальные Стандарты и нормативы.
В Системе содержится более 150000 файлов нормативно-технической документации, действующей на территории РФ.
Система предназначена для широкого круга инженерно-технических специалистов.

Рейтинг@Mail.ru Яндекс цитирования

Copyright © www.gostrf.com, 2008 - 2026