Крупнейшая бесплатная информационно-справочная система онлайн доступа к полному собранию технических нормативно-правовых актов РФ. Огромная база технических нормативов (более 150 тысяч документов) и полное собрание национальных стандартов, аутентичное официальной базе Госстандарта. GOSTRF.com - это более 1 Терабайта бесплатной технической информации для всех пользователей интернета. Все электронные копии представленных здесь документов могут распространяться без каких-либо ограничений. Поощряется распространение информации с этого сайта на любых других ресурсах. Каждый человек имеет право на неограниченный доступ к этим документам! Каждый человек имеет право на знание требований, изложенных в данных нормативно-правовых актах!

  


 

НАУЧНО ИССЛЕДОВАТЕЛЬСКИЙ ИНСТИТУТ
СТРОИТЕЛЬНОГО ПРОИЗВОДСТВА ГОССТРОЯ УССР

МЕТОДИЧЕСКИЕ РЕКОМЕНДАЦИИ
ПО ТЕХНОЛОГИИ УСИЛЕНИЯ
МЕТАЛЛИЧЕСКИХ КОНСТРУКЦИЙ
НА РЕКОНСТРУИРУЕМЫХ ОБЪЕКТАХ

Одобрены Ученым советом НИИСП Госстроя УССР
Протокол № 5 от 31.05.84

КИЕВ 1984

Настоящие методические рекомендации распространяются на технологию усиления стальных конструкции промышленных зданий и сооружений при реконструкции и технологическом перевооружении предприятий различных отраслей промышленности.

Предназначены для инженерно-технических работников, разрабатывающих проекты производства работ, а, также для специалистов ремонтных и строительных организаций, связанных с усилением металлических конструкций.

Методические рекомендации разработали: канд. техн. наук В.С. Балицкий (НИИСП Госстроя УССР), канд. техн. наук А.С. Файвусович, инженеры Е.П. Уваров, Л.Л. Михеева (Ворошиловградский филиал НИИСП Госстроя УССР); кандидаты техн. наук Е.Д. Косенков, В.Г. Колесниченко, инженеры З.М. Раскина, Г.Н. Тонкачеев, Н.Н. Шевцова (Макеевский инженерно-строительный институт); канд. техн. наук В.К. Черненко, инж. С.В. Кожемяка (Киевский инженерно-строительный институт); инж. Е.С. Кривицкий (УкрПТКИмонтажспецстрой Минмонтажспецстроя УССР; инж. В.П. Зайцев (ЦНИИОМТП Госстроя СССР).

Научные руководители кандидаты техн. наук В.С. Балицкий, Е.Д. Косенков.

СОДЕРЖАНИЕ

1. общие ПОЛОЖЕНИЯ

2. ТЕХНОЛОГИЧЕСКИЕ И ТЕХНИЧЕСКИЕ ТРЕБОВАНИЯ К КОНСТРУКЦИЯМ УСИЛЕНИЯ

3. КЛАССИФИКАЦИЯ МЕТОДОВ УСИЛЕНИЯ СТАЛЬНЫХ КОНСТРУКЦИЙ

4. ОСНОВНЫЕ ПРАВИЛА ПРОИЗВОДСТВА РАБОТ

Приемка и складирование конструкций усиления

Подготовительные работы

Монтаж элементов и конструкций усиления

Выполнение соединений на болтах, усиление болтовых и заклепочных соединений

Сварочные работы

Создание предварительного напряжения и включение в работу конструкций усиления

5. ТЕХНОЛОГИЯ УСИЛЕНИЯ СТАЛЬНЫХ КОНСТРУКЦИЙ

Усиление колонн промышленных зданий дополнительными ненапрягаемыми элементами

Усиление ферм дополнительными ненапрягаемыми элементам

Усиление пролетных конструкций предварительно напряженными гибкими затяжками

Усиление опор установкой и включением в работу дополнительных ветвей.

Усиление и замена конструкций подведением временных и постоянных опор

Усиление опорных узлов ферм

6. КОНТРОЛЬ КАЧЕСТВА РАБОТ

7. ТРЕБОВАНИЯ БЕЗОПАСНОСТИ

8. ТЕХНИКО-экономическая ОЦЕНКА МЕТОДОВ УСИЛЕНИЯ

ПРИЛОЖЕНИЕ ТЕХНИКО-ЭКОНОМИЧЕСКИЕ ПОКАЗАТЕЛИ МЕТОДА УСИЛЕНИЯ ВВЕДЕНИЕМ ДОПОЛНИТЕЛЬНЫХ НЕНАПРЯГАЕМЫХ ЭЛЕМЕНТОВ

1. общие ПОЛОЖЕНИЯ

1.1. Настоящие методические рекомендации распространяются на усиление основных несущих стальных конструкций каркасов промышленных зданий, транспортных и пешеходных галерей, крановых эстакад, надземных трубопроводов и других аналогичных сооружений.

Не рассматривается технология усиления оболочек листовых конструкций (резервуаров, бункеров, силосов и т.д.), высотных сооружений (опор ЛЭП, башенных и мачтовых конструкций), гидротехнических сооружений, настилов рабочих площадок, магистральных трубопроводов, а также конструкций зданий и сооружений, подвергающихся сейсмическим воздействиям.

1.2. Настоящие рекомендации разработаны с учетом основных положений СНиП II-23-81, СНиП III-18-75, СНиП III-4-80.

1.3. Предусматривается применение индустриальных методов производства работ, основанных на применении конструкций заводского изготовления максимальной готовности. Выбор метода усиления и разработка проекта производства работ осуществляется после обследования конструкций, поверочных расчетов и технико-экономического анализа различных вариантов усиления.

1.4. При разработке проектов производства работ по усилению металлических конструкций следует стремиться к максимальному сокращению сроков остановочного периода основного технологического процесса промышленного предприятия.

1.5. К производству работ по усилению металлических конструкций следует допускать специализированные бригады, прошедшие обучение с учетом настоящих методических рекомендаций.

2. ТЕХНОЛОГИЧЕСКИЕ И ТЕХНИЧЕСКИЕ ТРЕБОВАНИЯ К КОНСТРУКЦИЯМ УСИЛЕНИЯ

2.1. Для элементов и конструкций усиления следует поменять углеродистую сталь марок ВСт3кп2, ВСт3пс6, ВСт3сп5 по ТУ 14-1-3023-80 (допускается применять по ГОСТ 380-71) и по ГОСТ 10705-80 для труб, а также низколегированную сталь марок 09Г2, 09Г2С по ТУ 14-1-3032-80 (допускается применять по ГОСТ 19281-73 для фасонного проката и по ГОСТ 19282-73 для листового проката) и 10Г2С1 по ГОСТ 19282-73. Марку стали следует выбирать в зависимости от степени ответственности усиливаемых конструкций и условий их эксплуатации в соответствии со СНиП II-23-81.

Для элементов усиления следует применять следующие виды прокатов: сталь угловая по ГОСТ 8509-72 и ГОСТ 8510-72, швеллеры по ГОСТ 8240-72, балки двутавровые по ГОСТ 8239-72, сталь листовая горячекатаная по ГОСТ 19903-74, сталь прокатная широкополосная универсальная по ГОСТ 82-70, сталь полосовая по ГОСТ 103-76, сталь горячекатаная круглая по ГОСТ 2590-71, сталь горячекатаная квадратная по ГОСТ 2591-71, трубы стальные бесшовные горячедеформированные по ГОСТ 6732-78.

Для предварительно напряженных конструкций рекомендуется применять канаты спиральные по ГОСТ 3062-80, ГОСТ 3063-80, ГОСТ 3064-80; канаты двойной свивки по ГОСТ 3066-80, ГОСТ 3067-74, ГОСТ 3068-74, ГОСТ 3081-80 и ГОСТ 7669-80; канаты закрытые несущие по ГОСТ 3090-73, ГОСТ 18900-73, ГОСТ 18901-73, ГОСТ 18902-73, ГОСТ 7675-73 и ГОСТ 7676-73.

Для болтовых соединений следует применять стальные болты и гайки, удовлетворяющие требованиям ГОСТ 1759-70 (грубой, нормальной и повышенной точности) и ГОСТ 22356-77 (высокопрочные). При этом для фиксации положения усиливающих элементов или узлов следует применять болты по ГОСТ 15589-70 и ГОСТ 15591-70 и гайки к ним по ГОСТ 15526-70. При ограничении деформаций соединений следует применять болты повышенной точности по ГОСТ 7805-70 и гайки к ним по ГОСТ 5927-70. В болтовых соединениях, воспринимающих рабочие нагрузки, следует применять болты повышенной и нормальной точности по ГОСТ 7798-70 (гайки к ним по ГОСТ 5915-70), а также высокопрочное болты по ГОСТ 22353-77 (гайки к ним по ГОСТ 22354-77 и шайбы по ГОСТ 22355-77).

Для сварки стальных конструкций следует применять электроды для ручной дуговой сварки типа Э42, Э42А, Э46, Э46А, Э50 Э50А по ГОСТ 9467-75.

2.2. Проект производства работ по усилению конструкций необходимо разрабатывать на основании данных о фактическом состоянии усиливаемых конструкций, данных о действующих и проектируемых нагрузках, фактических технологических режимах и степени воздействия агрессивности среды, а также результатов лабораторных испытаний образцов из стали. Размеры конструкций усиления проектируются на основании обмерочных чертежей, учитывающих фактические размеры усиливаемых конструкций. Размеры конструкций усиления назначаются с учетом требований унификации. Количество типоразмеров, профилей, сечений в пределах реконструируемого объекта необходимо сводить к минимуму.

Монтажные узлы конструкций усиления должны обладать компенсационной способностью, т.е. предусматривать возможность погашения монтажных зазоров (которые должны быть не менее 50 мм) и неточности в размерах усиливаемых элементов. Допуски элементов и конструкций назначаются в соответствии со СНиП III-18-75.

Максимальные размеры усиливающих элементов следует назначать исходя из наличия свободного пространства в зоне монтажа, возможности установки этих элементов в связи со стесненностью мест их заводки, с учетом характеристики монтажных механизмов. Для гибких длинномерных элементов, устанавливаемых при усилении методом увеличения сечения, максимальная длина монтажных элементов назначается исходя из предельно допустимой гибкости элемента в процессе подъема. При невозможности монтажа конструкций усиления укрупненными блоками следует предусматривать на заводе-изготовителе контрольную сборку конструкций, монтируемых поэлементно.

2.3. При проектировании конструкций усиления необходимо учитывать воздействие агрессивной среды реконструируемого промышленного объекта и указывать решения по защитному покрытию. Конструкции, работающие в агрессивной среде, рекомендуется проектировать из замкнутых профилей (трубчатого, коробчатого и т.п. сечений). При этом необходимо учитывать, что особенно нетехнологичны в эксплуатации сечения из спаренных уголков. При установке элементов усиления необходимо предусматривать зазоры для свободного восстановления антикоррозионного покрытия.

Конструкции усиления следует проектировать таким образом, чтобы наиболее ответственные узлы (опорные узлы ригелей поперечных рам, стыки растянутых поясов ферм, узлы опирания и монтажные стыки подкрановых балок и т.п.) находились вне зон систематического увлажнения и были доступны для регулярных осмотров и ремонтов работниками службы эксплуатации зданий и сооружений действующего предприятия: анкерные болты, размещаемые на базах колонн, должны располагаться выше нулевой отметки, предварительно напряженные конструкции не должны подвергаться непосредственному воздействие повышенных температур » и т.п.

2.4. В промышленных зданиях и сооружениях, технологические процессы которых связаны с пожаро- и взрывоопасностью, следует исключать сварочные работы, предусмотрев монтажные соединения на болтах (обычных иди высокопрочных).

2.5. На конструкциях усиления следует предусматривать устройства для их строповки, которые необходимо включать в спецификацию отправочного элемента. Они должны располагаться таким образом, чтобы вертикальная ось крюка подъемного механизма совпадала с центром тяжести поднимаемой конструкции. Кроме того, элементы усиления должны быть снабжены приспособлениями для сборки и выверки (различного рода фиксаторами и т.п.).

На конструкциях усиления необходимо предусматривать устройства для установки домкратов, винтов, рычагов, стяжек, контрольно-измерительных приборов (индикаторов, тензометров, прогибомеров и т.д.).

2.6. Болтовые соединения конструкций усиления следует располагать с учетом требований простоты закручивания гаек и регулирования усилий типовыми монтажными инструментами. При этом должна быть обеспечена возможность поддержки головки болта при затягивании гайки.

При закреплении конструкций усиления болтовыми соединениями необходимо проверить возможность размещения болтов на усиливаемой конструкции: минимальное расстояние между центрами болтов 2,5d, минимальное расстояние от центра болта до края элемента вдоль усилия 2d, поперек усилия при прокатных кромках - 1,2d, при обрезках - 1,5d (d - диаметр отверстия для болта). При проектировании болтовых соединений в случае усиления элементов, для которых определяющим является не устойчивость, а прочность усиленного стержня, следует стремиться к минимальному ослаблению сечения.

Сварные соединения должны назначаться таким образом, чтобы расстояние между существующими сварными швами усиливаемой конструкции и монтажными сварными швами было не менее 50 мм.

В сварных монтажных узлах, выполняемых в проектном положении, должны быть предусмотрены отверстия для сборочных болтов, что позволит исключить процессы разметки и выноски осей, подгонки и фиксации элементов с помощью струбцин.

Для быстрого, точного и безопасного сопряжения элементов при монтаже следует предусматривать установку опорных столиков.

2.7. При конструировании сварных соединений следует соблюдать следующие правила:

расположение монтажных сварных швов предусматривать в местах, удобных для выполнения сварочных работ; учитывать предельные габариты выступающих деталей, при которых возможна сварка; избегать потолочных швов;

избегать скоплений и пересечений швов, а также швов, образующих замкнутый контур; во всех случаях сварные швы должны быть сплошными;

в усиливаемых под нагрузкой конструкциях нельзя предусматривать сварные швы, расположенные поперек действующих усилий;

при проектировании стыковых соединений листов разной толщины, если разница между толщинами стыкуемых элементов более 4 мм, а величина уступа более 1/8 толщины более тонкого листа, предусматривать на более толстом листе переходной скос с уклоном 1:5;

размеры сварных швов назначать из расчета передачи необходимых усилий и принимать в соответствии со СНиП II-23-81; форму сварных швов принимать в зависимости от толщины свариваемых элементов и типа шва в соответствии с ГОСТ 5264-80.

2.8. До принятия решения об усилении конструкции с применением сварки на стадии проведения обследования материал усиливаемых конструкций должен быть проверен на свариваемость. Оценку свариваемости проводят по химическому составу через эквивалент углерода и по результатам испытания на свариваемость по ГОСТ 23870-79. Соединение элементов конструкций из несвариваемой стали следует предусматривать на болтах. Комбинированные соединения разной жесткости, например заклепочные или на обычных болтах совместно со сварными, запрещаются. Монтажные соединения клепаных конструкций должны выполняться на болтах повышенной прочности или на высокопрочных болтах, обеспечивающих близкое к заклепочному малодеформативное соединение.

При проектировании конструкций усиления путем увеличения сечения элементов следует руководствоваться следующими требованиями:

радиус инерции нового сечения должен быть больше существующего;

центровку элементов в узлах следует сохранять неизменной, располагая детали усиления так, чтобы центры тяжести основного и усиленного сечения элементов совпадали или были близки к нему;

при усилении растянутых элементов концы деталей усиления должны быть заведены за пределы зоны максимальных напряжений усиливаемого элемента. В решетчатых конструкциях участками меньших напряжений являются концы элементов усиления и фасонки поясов;

следует стремиться к сохранению прежних габаритов усиливаемой конструкции; для этого дополнительные элементы желательно располагать внутри усиливаемых;

необходимо избегать вырезания деталей, препятствующих прикреплению элементов усиления по всей длине (ребер жесткости, сухариков, накладок и т.д.).

3. КЛАССИФИКАЦИЯ МЕТОДОВ УСИЛЕНИЯ СТАЛЬНЫХ КОНСТРУКЦИЙ

3.1. Усиление стальных конструкций может осуществляться следующими методами (рис. 1): введением дополнительных ненапрягаемых элементов; введением предварительно напрягаемых гибких или жестких элементов подведением дополнительных разгружающих элементов (конструкций); усилением стыковых соединений конструкций, и их элементов; исключением элементов из конструкций.

Рис. 1. Классификация методов усиления

3.2. С целью повышения несущей способности отдельных элементов и их соединений следует использовать следующие методы усиления: постановка дополнительных деталей, включаемых в совместную работу с усиливаемыми элементами; усиление сварных, заклепочных, болтовых соединений элементов.

Ряд способов - регулирование усилий в балочных конструкциях за счет изменения уровня опор, включение в работу фонаря, соединение несущих и ограждающих конструкций для совместной их работы и другие - не вошли в приведенную классификацию по причине содержания в себе тех же элементов технологического состава методов производства работ по усилению конструкций.

3.3. Приведенная классификация охватывает существующие методы усиления стальных конструкций и может служить основанием для составления вариантов, выбора и обоснования технических решений усиления конструкций при разработке ППР, а также для разработки новых методов усиления.

3.4. Характеристика производства работ по усилению различными методами приведена в таблице.

Таблица

Методы усиления стальных конструкций

Метод усиления

Способ усиления

Схема усиления

Область применения и особенности усиления

Постановка дополни­тельных ненапряга­емых элементов

Увеличение поперечного сечения усиливаемого элемента

Усиление любого конструктивного элемента. Усиливающие детали растянутых элементов должны доводиться до конца старых элементов. Требуется предварительная разгрузка конструкций до 50%

Введение дополнительных стержней в решетчатых конструкциях: шпренгельных элементов, связей, стоек раскосов

Уменьшение гибкости элементов решетчатых конструкции, увеличение пространственной жесткости, значительные погнутости стержней (прогиб 50-70 мм)

Постановка дополни­тельных ненапряга­емых элементов

Постановка дополнительных ребер и диафрагм жесткости накладок, косынок, коротышей

Повышение местной устойчивости конструкций, жесткости узлов и сопряжений. Не рекомендуется устанавливать накладку в конструкциях, к сварным соединениям которых предъявляются особо высокие требования

Введение предвари­тельно ненапряга­емых элементов

Введение и напряжение затяжек

Усиление одно- и многопролетных балочных, а также рамных конструкций

Введение предвари­тельно напряжен­ных гибких элементов

Постановка оттяжек и гибких связей

Разгрузка колонн и увеличение жесткости подкрановых балок. Гибкие крестовые связи при большой высоте и длине пролетов более рациональны, чем жесткие диагональные раскосы. Применение ограничено, так как требуется наличие свободного пространства

Настройка висячих и вантовых систем

Усиление конструкций (преимущественно ферм) при наличии надежных существующих опор для крепления вант. Ферму можно подвешивать и в том случае, если, имеется  более высокий смежный пролет

Введение предвари­тельно напряжен­ных жестких элементов

Установка и напряжение диагональных раскосов

Увеличение жесткости рамы и разгружение ее стоек. Требуется наличие свободного пространства

Установка и напряжение шпренгеля

Усиление ферм и балок. Требуется наличие свободного пространства под нижним поясом конструкции. Шпренгель в случае необходимости может располагаться в пределах высоты усиливаемой конструкции в виде двух симметричных ветвей

Введение предвари­тельно напряжен­ных жестких элементов

Усиление косыми стойками

Усиление сжатоизогнутых стоек. Предварительно сжатые косые стойки устанавливаются под максимальным углом по боковым граням усиливаемой стойки

Установка предварительно напряженных телескопических труб

Увеличение жесткости рам и разгрузки ее стоек. Требуется наличие свободного пространства

Подведение дополни­тельных разгружаю­щих конструк­ций

Установка дополнительных колонн

Разгрузка существующих опор и уменьшение пролета несущих балочных конструкций. Требуется наличие свободного пространства. Применяется в тех случаях, когда все остальные способы не применимы

Установка дополнительных балочных конструкций

Уменьшение нагрузки на существующие балки, разгружение несущих конструкций, а также необходимость удаления колонн при перепланировке цеха

Увеличение несущей способно­сти соединений элементов и конструк­ций

Увеличение длины существующих сварных швов. Увеличение толщины существующих сварных швов

Увеличение несущей способности соединений и конструкций в целом, а также устранение дефектов и повреждений сварных соединений. Толщину существующих сварных швов следует увеличивать только в том случае, если нет места для увеличения их длины

Постановка дополнительных обычных болтов, замена болтов на больший диаметр. Постановка высокопрочных болтов

Усиление и устранение дефектов, повреждений болтовых и заклепочных соединений

4. ОСНОВНЫЕ ПРАВИЛА ПРОИЗВОДСТВА РАБОТ

Приемка и складирование конструкций усиления

4.1. Конструкции усиления для реконструируемого объекта необходимо принимать от завода-изготовителя по ведомостям, сертификатам с обязательной проверкой марки стали поперечных сечений, длины элементов, сварных швов (высота и длина), болтовых соединений (диаметр, расстояния), а также качества выполненных в заводских условиях узловых соединений (сварных, болтовых). В предварительно напряженных конструкциях следует проверять сечение затяжек, качество выполнения анкерных креплений. Обнаруженные отклонения размеров от проектных не должны превышать допусков по СНиП III-18-75.

4.2. Запрещается принимать неогрунтованные и неокрашенные элементы усиления, поступающее с завода-изготовителя. При этом не должны быть огрунтованы и окрашены зоны монтажной сварки шириной до 100 мм с двух сторон шва, а также поверхности,

Подготовительные работы

4.8. Перед монтажом конструкций необходимо выполнить подготовительные работы, которые обеспечивают безопасное и качественное проведение всех работ по усилению. До начала всех работ необходимо оградить рабочую зону.

4.9. В подготовительный период к рабочему месту следует подвести воду и сжатый воздух, установить и подключить к электросети сварочные трансформаторы, рабочие места оснастить необходимыми инструментами и приспособлениями, в зоне монтажа установить средства пожаротушения.

4.10. До начала основных работ по усилению конструкций следует собрать и сдать в эксплуатацию монтажные механизмы, навесные блоки, устроить якоря лебедок и т.д., защитить технологическое оборудование, находящееся в монтажной зоне; от механических повреждений, а в случае необходимости часть оборудования демонтировать. Кроме того, следует устроить защитные козырьки, настилы, ограждения опасной зоны, а при усилении подкрановых балок необходимо удалить из рабочей зоны мостовые краны, поставить тупиковые упоры на рельсах и обеспечить троллеи.

4.11. Для обеспечения безопасного выполнения работ по усилению конструкции необходимо навесить люльки и лестницы, установить леса и подмости и др., в случае невозможности применения типовых приспособлений из-за стесненности фронта работ использовать индивидуальные монтажные средства, которые изготавливают по специальным чертежам согласно СНиП III-4-80 и соответствующим государственным стандартам.

4.12. Усиление конструкций следует выполнять при частичном снятии действующих нагрузок. Величина снижения нагрузки зависит от условий работы элемента или конструкции, от принятого метода усиления. При усилении путем увеличения сечения с применением сварки работы необходимо производить при напряжениях, не превышающих 0,5 R для центрально-растянутых и изгибаемых элементов, 0,4 R - для внецентренно-сжатых и внецентренно-растянутых, 0,6 R - для центрально-сжатых элементов. Конструкции следует разгружать от временных нагрузок: пыли, снега, материалов, инструментов и т.д. При этом должно быть ограничено пребывание людей на рабочих площадках, в проходах галереи и т.п. без снижения интенсивности протекания технологического процесса производства. В случае необходимости уменьшения постоянных нагрузок рекомендуется использовать временные опоры с домкратами, с помощью которых разгружают колонны и элементы ферм. Место установки временной опоры и требуемое усилие в домкратах определяют расчетом и указывают в ППР. При усилении подкрановых балок постановкой дополнительных ребер жесткости следует предварительно разгрузить конструкцию "путем подвода временных опор, проверить ее устойчивость и при необходимости установить временные связи. При усилении подкрановых балок другими методами (когда не требуется полное снятие нагрузок) разгружать их установкой временных тупиковых упоров для ограничения зоны действия кранов или установкой удлиненных буферных устройств, снижающих габариты приближения кранов.

Разгружать конструкции путем демонтажа вышележащих конструкций (кровли, плит покрытия) или технологического оборудования целесообразно только в тех случаях, когда проектом реконструкции предусмотрена замена элементов покрытия или смена оборудования.

4.13. Конструкции должны быть очищены от ржавчины и остатков краски (в местах примыкания) при небольших объемах работ - металлическими скребками и щетками вручную, а при значительных - механизированным способом, например с помощью дробеметных, дробеструйных, гидропескоструйных установок. Для этого на очищаемую поверхность под давлением (0,5-0,7) МПа подают смесь кварцевого песка с водой и сжатым воздухом. В эту смесь рекомендуется добавлять замедлители коррозии - нитрат натрия, тринитрит фосфата, хромпик (5-10% от объема).

Рекомендуется применять наиболее эффективные способы очистки стальных конструкций от ржавчины (например, химическую очистку с использованием специальных ингибированных паст), которые наносят шпателем слоем 3-5 мм и выдерживают в течение 6-12 ч. Затем поверхность промывают водой под напором или кистями, после чего нейтрализуют 3%-ным раствором кальцинированной соды и просушивают.

4.14. В подготовительный период на элементы необходимо наносить оси, отметки, риски, в местах строповки просверливать отверстия с последующим обустройством монтажных приспособлений. Следует учитывать, что под новые опоры и колонны должны быть выполнены фундаменты.

4.15. Канаты, используемые для затяжек, предварительно вытягивают в стенде с приложением усилия, превышающего проектное на 20%, и выдерживают под натяжением в течение 1 ч. Одновременно с вытяжкой необходимо проверить прочность анкерных закреплений. При вытяжке не допускается раскручивание каната и вращение анкеров. По возможности стенд размещают в зоне действия монтажных механизмов. Если вытяжка произведена на заводе-изготовителе, канаты к месту установки затяжки перевозят в бухтах. Вытяжку можно производить и другим способом, заключающимся в повторных (5-7 раз) нагружениях и разгрузках каната усилием вытяжки без выдержки.

4.16. Антикоррозионную защиту канатов, применяемых для усиления конструкций, необходимо выполнять с использованием традиционных покрытий (солидола, канатной мази и др.), а также современных эффективных защитных средств (например, состав "антистарителя" ОМСК-7 в смеси с трансформаторным маслом в соотношении 2:1). Для этого очищенный канат пропускают через ванну с жидкой, хорошо перемешанной и разогретой до 80°С смазкой и образуют плотное равномерное покрытие всей поверхности каната антикоррозионной пленкой толщиной 0,6-0,8 мм.

Монтаж элементов и конструкций усиления

4.17. Монтажные работы следует выполнять в соответствии с ППР, технологическими картами и СНиП III-18-75. В случае невозможности применения обычных методов и средств производства монтажных работ различные поддерживающие элементы усиления (балки, шпренгели и др.), используемые для усиления несущих конструкций (ферм, ригелей), следует устанавливать в проектное положение с использованием монтажных столиков. В этом случае поддерживающие элементы располагают на усиливаемых или других конструкциях, а затем с помощью домкратов, винтовых, и других приспособлений выводят в проектное положение.

4.18. Наводку конструкций в проектное положение следует производить с помощью оттяжек из пеньковых или капроновых канатов. При этом запрещается принудительная подгонка конструкций усиления при их монтаже. На конструкциях усиления следует устанавливать фиксаторы, упоры, направляющие и другие приспособления, которые обеспечивают упрощение выполнения монтажных процессов и увеличивают точность установки, а также повышают производительность труда. Устанавливаемые элементы до их расстроповки должны быть надежно закреплены прихватками, болтами, пробками, струбцинами, расчалками и др. (рис. 2).

Рис. 2. Приспособления для сборки и выверки конструкций усиления:

1 - усиливаемая конструкция; 2 - элемент усиления; 3 - скоба; 4 - клин; 5 - фиксатор; 6 - эксцентриковый зажим; 7 - струбцина, 8 - кляммер; 9 - вилка; 10 - стяжка; 11 - риска; 12 - упор

Выполнение соединений на болтах, усиление болтовых и заклепочных соединений

4.19. При усилении конструкций соединение элементов на болтах следует предусматривать в следующих случаях:

при усилении болтовых соединений, невозможности выполнения сварных соединений из-за пожаро- и взрывоопасности среды или если усиливаемые конструкции выполнены из несвариваемой стали;

при усилении заклепочных соединений;

для фиксации элементов усиления в процессе монтажа.

Отверстия под болты повышенной точности следует устанавливать по номинальному диаметру их стержней либо меньших размеров с последующим рассверливанием их до проектного диаметра в собранных элементах. Отверстия под болты грубой и нормальной точности, а также под высокопрочные болты следует выполнять на 3 мм больше диаметра болта. Болт должен входить в отверстие без перекосов с плотным прилеганием головки к плоскости детали. В противном случае отверстие рассверливается на больший диаметр и производится повторная сборка.

Под гайки болтов грубой, нормальной и повышенной точности следует устанавливать круглые шайбы по ГОСТ 11371-78 (не более двух), а под каждую головку и гайку высокопрочных болтов должно быть поставлено по одной термически обработанной шайбе с диаметром на калибр большим, чем диаметр болта, по ГОСТ 22355-77.

4.20. При усилении конструкций с увеличением площади сечения элементов и применении высокопрочных болтов необходимо предварительно тщательно очистить соприкасающиеся поверхности нового и старого металла от старой краски, ржавчины, масляных пятен и т.д., а также удалить заусеницы в отверстиях и по кромкам деталей. При этом соединяемые поверхности рекомендуется обрабатывать одним из следующих способов: химическим (растворами кислот); ручным или механическим (с использованием стальных щеток, пескоструйных или дробеструйных установок); огневым (обжигом широкозахватными газовыми горелками).

Огневую очистку поверхности допускается выполнять при толщине металла не менее 5 мм. После обработки продукты горения необходимо удалить мягкой проволочной щеткой, а затем волосяной щеткой (протирка ветошью не рекомендуется).

Установку высокопрочных болтов следует осуществлять не позднее чем через трое суток после очистки и сборки пакета. Перед натяжением болта резьбу гайки нужно смазать минеральным маслом.

4.21. При замене дефектных заклепок высокопрочными болтами без добавления нового металла трение между соприкасающимися поверхностями старого металла обеспечивается за счет развития процессов коррозии, в связи с чем очистку следует вести только на наружных поверхностях в пределах постановки высокопрочных болтов (под шайбами). При этом соблюдаются следующие правила:

нельзя создавать смешанные клепано-болтовые соединения, в которых болты расположены только по одну сторону от продольной оси симметрии элемента. Замене подлежат все заклепки поперечного ряда, расположенные симметрично относительно продольной оси симметрии элемента;

при частичной замене заклепок с целью повышения выносливости необходимо заменять их высокопрочными болтами в двух-трех поперечных рядах от края фасонки;

при замене заклепок используют болты диаметром: для заклепок 3/4 (19-21 мм) - М 18; 7/8 (23-25 мм) - М 22; 1 (26-27 мм) - М 24.

Усиление болтовых узлов и соединений может бить выполнено постановкой дополнительных болтов, заменой имеющихся болтов болтами большего диаметра, заменой обычных болтов высокопрочными.

4.22. Затяжку болтов следует осуществлять от центра стыка к краям равномерно и повторять не менее двух раз. При этом плотность пакета проверяют щупом толщиной 0,3 мм, который не должен входить между собранными деталями более чем на 20 мм в соединениях на болтах обычной прочности, а в высокопрочных - совсем не должен проходить.

Гайки в высокопрочных болтах завертываются в два этапа: вначале закручивают гайку обычным накидным ключом до отказа или пневматическим гайковертом типа ИП 3103, затем на гайку и шайбу наносят черту масляной краской, от которой отмеряют заданный угол доворачивания (например, при числе пластин в пакете, равном 2-3, этот угол составляет для болтов M18 и М22 180°, а для болтов М24 и М27 - 120°) и после этого наносят черту, до которой любым ключом или гайковертом доворачивают гайку. Натягиваются высокопрочные болты с контролем крутящего, момента динамометрическими ключами или пневматическими гайковертами типа ИП 3106 или ИП 3205. При этом натяжное оборудование должно быть предварительно протарировано. Если в соединения наряду с высокопрочными болтами предусмотрена сварка деталей, последнюю следует выполнять после постановки всех высокопрочных болтов и затяжки их на проектное усилие. После сварки необходимо провести контрольную проверку натяжения всех высокопрочных болтов.

Сварочные работы

4.23. При усилении конструкций с применением сварки вначале следует разгрузить несущие элементы в соответствии с п. 4.12 настоящих рекомендаций.

Производство работ по усилению конструкций под нагрузкой с применением сварки допускается при температуре: для конструкций из кипящих сталей - не ниже минус 5°С; для конструкций из спокойных и полуспокойных сталей при толщине свариваемых деталей до 30 мм - не ниже минус 15°С; для конструкций из спокойных и полуспокойных сталей при толщине свариваемых деталей более 30 мм - не ниже 0 °С.

При усилении слабонагруженных конструкций (напряжение в момент усиления не более 0,25 расчетного сопротивления) минимальная температура, при которой допускается производить работы, может быть снижена до минус 15 °С для кипящих сталей и до минус 25 °С - для спокойных и полуспокойных. При более низких температурах для аварийных ситуаций следует предусматривать производство работ с применением болтовых соединений. В момент усиления должны быть исключены все подвижные нагрузки, передающие на усиливаемые конструкции удары и вибрации.

4.24. Для сварки следует принимать тип и марку электрода в зависимости от марки свариваемой стали и условий работы усиливаемых конструкций. В случае усиления конструкций, которые подвергаются непосредственному воздействию динамических и вибрационных нагрузок, рекомендуется применять электроды типа Э42А для сварки углеродистых сталей, Э46А и Э50А - для сварки низколегированных сталей. В остальных случаях применяют электроды типа Э42, Э46, Э50. При сварке сталей, различных по химическому составу, необходимо использовать электроды, близкие к наименее легированной стали. Сварку при усилении конструкций следует производить электродами диаметром не более 4 мм при силе тока не более 220 А. Толщина швов за один проход не должна превышать б мм. При необходимости наложения швов толщиной более 6 мм сварку производят в 2-3 и более слоев. При этом увеличение толщины шва за один проход не должно превышать 2 мм. Последующие слои можно накладывать только после охлаждения предыдущего слоя до 100 °С.

4.25. При усилении элементов под нагрузкой запрещается Наложение швов поперек элемента или в поперечном направлении по отношению к действующим усилиям в элементе. Сварные швы должны выполняться только сплошными и преимущественно в нижнем положении.

4.26. Сварку необходимо выполнять с учетом соблюдения технологической последовательности и порядка наложения швов. В случае усиления конструкций путем увеличения сечения вначале накладываются расчетные швы по концам детали в направлении от ее торца к середине, а затем тонкие сплошные швы по всей длине усиливаемого элемента от середины к краям. При усилении балок и ферм с применением сварки сначала усиливают нижние пояса, а затем верхние при том же порядке наложения швов. Для элементов из уголков наложения швов начинают со стороны пера уголка - от края фасонки, переходят к наложению шва второго парного уголка с обратной стороны той же фасонки, накладывают швы по перу уголков с противоположного конца элемента у второй фасонки, после чего переходят к наложению швов по обушку уголков в той же последовательности. Ребра жесткости необходимо приваривать одновременно с двух сторон двумя сварщиками, при этом продольные ребра приваривают сначала к поперечным ребрам, а затем к стенке балки.

4.27. При усилении длинномерных элементов (более 0,5 м) сварку выполняют от середины элемента к краям обратноступенчатым способом (длина ступени 0,1-0,4 м), при этом ступень выполняют в направлении, обратном общему направлению сварки. Длина ступени зависит от толщины свариваемого металла: чем толще прокат, тем меньше длина ступени. Если толщина швов превышает 6 мм, то их накладывают за несколько проходов, при этом общее направление в последующем проходе меняется на противоположное. Окончания ступеней в смежных слоях не должны совпадать. Вертикальные швы выполняются сверху вниз.

4.28. При выполнении стыковых соединений между усиливающими и усиливаемыми элементами можно допускать одностороннюю сварку с подваркой корня шва, а также сварку на остающейся стальной подкладке.

4.29. В случае усиления сварных соединений увеличением толщины существующих швов новые слои наплавляют при отсутствии места для наложения новых швов. При необходимости одновременного увеличения длины и толщины швов сварку следует начинать с увеличения длины шва. Увеличение длины существующих рабочих швов и наплавку новых сварных слоев производить электродом диаметром не более 4 мм на сварочном токе не более 220 А. При этом катет новых швов, выполняемых за один проход, не должен превышать 6 мм, а увеличение толщины существующих швов за один проход - 2 мм.

Для элементов из уголков наложение новых швов при увеличении длины следует начинать со стороны пера от края фасонки в направлении существующих швов. Увеличение толщины существующих швов наплавкой новых слоев следует начинать по перу уголка, используя всю их длину примыкания к фасонке.

4.30. Величину сварочного тока назначают в зависимости от места расположения сварных швов. Для случаев нижнего размещения швов эту величину следует принимать в пределах 160-200 А, для вертикального - 120-160 А и потолочного - 110-150 А.

4.31. При усилении сварных соединений участки швов с дефектами в виде скоплений пор и трещин необходимо удалять пневматическим зубилом или специальным воздушно-дуговым или кислородным резаком и заваривать вновь. Перерывы швов и кратеры после зачистки нужно заваривать. Подрезы глубиной до 2 мм следует заваривать тонким швом, глубиной более 2 мм - заваривать с предварительной разделкой кромок непровара.

4.32. При усилении конструкций, воспринимающих динамические и вибрационные нагрузки, необходимо швы выполнять с плавным переходом к основному металлу, лобовые швы устраивать с отношением катетов 1:1,5, а фланговые - 1:1, валик шва по возможности должен иметь вогнутую поверхность, концы фланговых и лобовых швов должны подвергаться механической обработке.

4.33. При монтаже или укрупнительной сборке положение деталей следует фиксировать прихватками, при этом их располагают вне зоны максимальных напряжений. Прихватки накладывают длиной 50-100 Мм через 400-500 мм и сечением менее 2/3 высоты основного шва. Для прихватки конструкций необходимо применять те же электроды, что и для основных сварных швов.

Создание предварительного напряжения и включение в работу конструкций усиления

4.34. В условиях действующего предприятия рекомендуется применять механические способы создания предварительного напряжения и включения в работу конструкций и элементов усиления, так как они являются более простыми, обеспечивают достаточную точность и могут применяться без ограничений при любых технологических условиях действующего промышленного производства.

4.35. До начала предварительного напряжения на усиливаемые конструкции следует установить детали для крепления анкерных и натяжных устройств; выполнить усиление элементов, в которых при натяжении возможно появление напряжений, превышающих расчетные; установить связи, диафрагмы, фиксаторы, обеспечивающие устойчивость конструкций в процессе усиления.

4.36. Для создания предварительного напряжения механическим способом применяют установки с гидравлическими домкратами, динамометрические ключи, винтовые распорки и стяжки, натяжные параллелограммы, полиспасты, тали, тяжи, талрепы и т.д. Кроме того, допускается использовать пригруз и распорные устройства. Выбор средств натяжения должен обосновываться величиной требуемого усилия натяжения, особенностями конструкции затяжки и производственными возможностями. При создании больших усилий рекомендуется применять натяжные устройства с толкающими гидравлическими домкратами, при небольших усилиях - тали, тяги, стяжки и т.п.

4.37. Натяжение затяжек (рис. 3) следует осуществлять продольным усилием с упором на жесткую часть конструкции; стягиванием ветвей или шпренгелей в продольном направлении; оттягиванием в поперечном направлении.

Рис. 3. Натяжение затяжек:

а - продольным стягиванием с помощью домкратов; б - то же, с помощью стяжных муфт; в - то же, с помощью натяжного параллелограмма; г - поперечным оттягиванием с помощью винтовой распорки; 1 - затяжка; 2 - накладка (ставится после натяжения); 3 - подвижная траверса; 4 - домкрат; 5 - стяжная муфта; 6 - усиливаемая конструкция; 7 - натяжной параллелограмм; 8 - опорный столик (приваривается после натяжения); 9 - винтовая распорка

Натяжение затяжек первым способом может осуществляться с одной стороны. Если в обоих опорных узлах нет места для установки домкратов, натяжение необходимо выполнять вторым или третьим способом, при этом применение третьего способа позволяет значительно уменьшить тяговое усилие натяжного устройства.

4.38. После натяжения положение затяжки необходимо фиксировать диафрагмами, ребрами, упорными столиками, накладками и т.д. Только после окончательного закрепления этих элементов и соответствующего контроля допускается снимать натяжное устройство.

4.39. При включении в работу конструкций усиления используются в основном те же приспособления, что и при натяжении затяжек (см. п. 4.36). При подведении дополнительных опор следует располагать их под узлами, с помощью которых осуществляется включение опор в работу. Чтобы исключить применение люлек, подмостей, лесов, устройства включения располагают под опорами на земле. Включение в работу подводимых дополнительных опор, а также разгрузку усиливаемых конструкций следует выполнять одним из следующих способов (рис. 4): раздвижкой телескопической стойки с помощью домкратов, устанавливаемых между упорами внешней и внутренней труб и фиксацией положения опоры приваркой направляющих ребер; выжиманием опоры с помощью винтовых приспособлений, устанавливаемых в нижней части опоры с последующей обваркой гаек и обетонированием башмаков опор; подклиниванием опоры снизу путем забивки клиньев с помощью специальной установки; стягиванием ветвей опоры, выполненных с переломом, с помощью винтовых стяжек до установки ветвей в вертикальное положение, после чего в местах переломов привариваются накладки; установкой специального распорного устройства со стяжными болтами и пружиной, которыми передают усилие распора.

Рис. 4. Способы включения г работу дополнительных опор:

а - раздвижка телескопической стойки; б - стягивание ветвей опоры; в - с помощью специальной установки; г - устройство для забивки клиньев; 1 - внутренняя труба; 2 - упоры; 3 - наружная труба; 4 - домкрат; 5 - направляющие ребра; 6 - конструкция опоры усиления; 7 - винтовые стяжки муфты; 8 - накладки (привариваются после стягивания); 9 - усиливаемая конструкция; 10 - фиксаторы; 11 - регулирующие стяжные болты; 12 - пружины; 13 - клинья; 14 - напрягающая подвижная траверса; 15 - неподвижная траверса

При усилении необходимо следить за синхронной работой всех домкратов, производить одновременное вывинчивание гаек во избежание возможных перекосов.

С целью удобства монтажа распорного устройства между стойкой и усиливаемой конструкцией пружину нужно сжимать на несколько большую величину, чем расстояние между опорой и усиливаемым элементом.

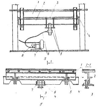
4.40. Дополнительные балочные конструкции включаются в работу с помощью домкратов или винтовых приспособлений  (рис. 5) в такой последовательности: на нижнюю полку балки усиления, прикрепленной к усиливаемой балке хомутами, навешивается захватно-натяжное устройство, снабженное гидродомкратом, и фиксируется в требуемом положении упорами, после чего с помощью гидродомкрата между усиливаемой и усиливающей балками создается распор и в образовавшийся зазор вставляются прокладки. При усилении легких балочных конструкций (типа прогонов и т.п.) включение следует выполнять с помощью выжимного устройства, представляющего собой гайку, упирающуюся в столик, и винт, упирающийся в полку усиливаемой конструкции.

Рис. 5. Включение в работу балочных конструкций:

а - с помощью домкратной установки; б - с помощью винтового приспособления; 1 - усиливаемая балка; 2 - балка усиления; 3 - прокладка; 4 - хомуты; 5 - захватно-натяжное устройство; 6 - шланг; 7 - маслонасосная станция; 8 - винт

4.41. При выполнении работ по усилению с применением предварительного напряжения и установке дополнительных разгружающих конструкций необходимо осуществлять измерительный контроль.

Напряжение в затяжках контролируется двумя способами, основанными на разных принципах измерения: по величине предварительного напряжения; по величине удлинения или по деформациям усиливаемой конструкции.

Контроль напряжения в затяжке следует вести приборами (манометрами гидравлической установки, динамометрами, специальными тензовставками, динамометрическими ключами), непосредственно измеряющими усилие.

Усилие натяжения вынесенных затяжек ломаного очертания можно контролировать измерением прогиба в месте подвеса груза постоянной величины прогибомерами или канатными динамометрами.

По удлинению затяжек напряжение следует контролировать измерением относительного смещения меток на затяжках, измерением выхода штока домкрата, часовыми индикаторами или прогибомерами.

По деформациям усиливаемой конструкции напряжения можно контролировать измерением прогиба в середине пролета (прогибомерами нивелирами, индикаторами и тензометрами).

5. ТЕХНОЛОГИЯ УСИЛЕНИЯ СТАЛЬНЫХ КОНСТРУКЦИЙ

Усиление колонн промышленных зданий дополнительными ненапрягаемыми элементами

5.1. Работа по усилению колонн дополнительными ненапрягаемыми элементами (рис. 6), повышающими несущую способность усиливаемых конструкций, выполняется в следующей технологической последовательности:

колонну освобождают от коммуникаций;

элементы усиления размещают в зоне работ с укладкой их на деревянные подкладки;

отключают троллеи мостового крана в пределах рабочей зоны;

устанавливают приставную лестницу с площадкой либо обстраивают колонну подмостями;

в узлах расположенных выше конструкций закрепляют монтажные блоки и устанавливают электролебедки;

подготавливают поверхности ветвей колонны;

снижают действующую на колонну нагрузку так, чтобы расчетное напряжение в ветвях колонны не превышало 0,4R; разгрузку следует осуществлять ограничением зоны работы мостового крана и освобождением конструкций покрытия от временных нагрузок (пыли, снега);

приваривают к усиливаемой колонне фиксаторы, служащие для выверки и временного закрепления элементов усиления, располагая их с шагом 600-1000 мм в соответствии с шагом отверстий под них на усиливающих элементах по проекту усиления;

устанавливают элементы усиления в проектное положение, закрепляя их струбцинами либо совмещая отверстия с фиксаторами и  временно закрепляют их с помощью клиньев, после чего разрешается выполнять расстроповку элементов усиления;

окончательно закрепляют усиливающие детали путем сварки, при этом вначале накладывают проектные сварные швы в концах элементов, а затем обратно ступенчатые швы по всей длине элементов;

покрывают антикоррозионным составом неокрашенные части усиленной колонны и усиливающих элементов;

снимают блоки, разбирают подмости, убирают электролебедки.

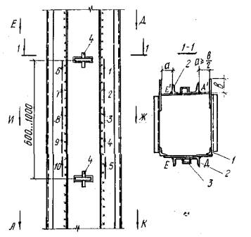
Рис. 6. Усиление колонны дополнительными ненапрягаемыми элементам:

1 - усиливаемая колонна; 2 - элементы усиления; 3 - фиксаторы; 4 - клинья

Усиление ферм дополнительными ненапрягаемыми элементам

5.2. Работы по усилению ферм дополнительными ненапрягаемыми элементами выполняют в такой последовательности:

снижают нагрузку на конструкции в соответствии с проектом усиления;

поднимают и устанавливают элементы усиления в проектное положение с временным закреплением их прихватками электродуговой сваркой;

сваривают швы по всей длине усиливающих деталей, причем вначале выполняют швы элементов нижнего пояса, затем решетки и в последнюю очередь - верхнего пояса. Сварку при этом следует производить, соблюдая порядок и направление сварных швов;

покрывают антикоррозионными составами поверхность усиленных элементов и деталей усиления.

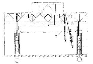
5.3. Производство работ по усилению стальных, ферм транспортных галерей, переходов, мостов и т.п. рекомендуется производить с использованием оборудования и приспособлений, изображенных на технологической схеме (рис. 7), включающих салазки, люльки и систему перемещения.

Рис. 7. Усиление конструкций транспортерной галереи дополнительными ненапрягаемыми элементами:

1 - люльки; 2 - усиливающие элементы; 3 - отводной блок; 4 - двухветвевой строп; 5 - съемная связь; 6 - направляющие; 7 - канат лебедки

Конструкция салазок, состоящих из ног, съемных ригелей, связей и переходных настилов, должна отвечать эксплуатационным и конструктивным требованиям ГОСТ 12.2.003-74 и ГОСТ 12.2.012-75. Салазки такой конструкции можно использовать при реконструкции сооружений различной ширины путем замены съемных ригелей, связей, переходных настилов. При этом перемещение салазок с установленными на его консолях строительными люльками осуществляется с помощью лебедки и отводных блоков. Лебедку можно установить на перекрытиях примыкающих зданий либо на земле. При установке лебедки в рабочее положение ее раму следует прикреплять к стационарному якорю, к несущим конструкциям здания или закреплять установленным на раму грузом. Салазки перемещаются по направляющим швеллерам, которые крепятся к несущим элементам покрытия. Удерживающий салазки канат закрепляется двухветвевым стропом к проушинам салазок. Для выполнения работ по усилению горизонтальных связей по нижнему поясу ферм и устройства антикоррозионного покрытия необходимо устраивать переходной настил, который закрепляют на днище строительных люлек, обеспечивая геометрическую неизменность системы салазки - люльки - настил.

5.4. Несущую способность элементов верхнего пояса фермы можно увеличить постановкой шпренгельных элементов (рис. 8).

Рис. 8. Усиление ферм шпренгельными элементами:

1 - связи по верхним поясам ферм; 2 - канат для перемещения люльки; 3 - усиливаемый пояс фермы; 4 - элементы усиления; 5 - монтажный блок; 6 - лестница с люлькой; 7 - страховочный трос; 8 - лебедка; 9 - приставная лестница с площадкой

При этом работы нужно выполнять в следующей технологической последовательности:

подготовите поверхности усиливаемых элементов фермы в местах примыкания шпренгельных конструкций;

снизить нагрузки на ферму путем освобождения покрытия от временных нагрузок (снега, пыли);

установить по разметке узловые фасонки и зафиксировать их проектное положение вначале прихватками, а затем приваркой проектными швами;

поднять и установить шпренгели в проектное положение и временно закрепить их на болтах грубой точности;

в узлах крепления шпренгельных элементов наложить проектные сварные швы;

покрыть антикоррозионными составами неокрашенные части усиленных конструкций и шпренгельные элементы.

5.5. Все операции по усилению фермы необходимо производить с помощью лестницы с люлькой, которая перемещается вдоль фермы по направляющему канату. При этом концы канатов крепятся к вертикальным связям и фиксируются сжимами (не менее трех на один конец). Для подъема рабочих на усиливаемую ферму следует использовать приставные лестницы, а для безопасного перехода по ферме на высоте 1-1,2 м от нижнего пояса необходимо натянуть страховочный трос.

5.6. Подъем элементов усиления следует выполнять с помощью монтажного блока, навешиваемого на прогон горизонтальных связей по верхним поясам и лебедки. После окончания работ по усилению в одной или двух соседних панелях монтажный блок переносится в следующий узел, а лестница с люлькой перемещается к новому месту, где она крепится к верхнему и нижнему поясам.

5.7. При наличии в цехе мостовых кранов рекомендуется такая последовательность работ:

на мостовом кране устанавливается настил и на нем раскладываются элементы подмостей;

мостовой кран устанавливается под усиливаемой фермой;

отключаются троллеи мостового крана в пределах опасной зоны;

с помощью блоков и электролебедки на мостовом кране устанавливаются подмости (рис. 9) с закреплением их в соответствии с ППР и обеспечением их жесткости и устойчивости;

проводятся работы по усилению ферм в соответствии с п. 5.4; снимаются подмости с мостового крана, отводные блоки и лебедки.

Рис. 9. Усиление ферм о мостовых кранов:

1 - элементы усиления; 2 - отводной блок; 3 - подмости; 4 - мостовой кран

Усиление пролетных конструкций предварительно напряженными гибкими затяжками

5.8. Усиление конструкций предварительно напрягаемыми элементами (рис. 10) может выполняться без снижения нагрузок. Однако, поскольку подкрановые конструкции подвержены действию динамических нагрузок, не допустимых при выполнении работ, то на период их усиления необходимо ограничить зону действия мостовых кранов, установив тупиковые упоры за пределами усиливаемом балки.

Рис. 10. Усиление пролетных конструкций предварительно напряженными затяжками:

а - подкрановые балки; б - фермы; 1 - монтажный блок; 2 - усиливаемая конструкция; 3 - затяжка; 4 - анкеры; 5 - приставная лестница с площадкой; 6 - передвижная вышка; 7 - лебедка; 8 - стойки шпренгеля; 9 - подвесные подмости

5.9. Работы по усилению подкрановых балок необходимо выполнять в следующей технологической последовательности:

отключить троллеи с обеих сторон подкрановых балок в пределах зоны работ;

подготовить поверхности нижнего пояса балки в местах опирания затяжки; при этом работы необходимо выполнять с использованием приставных лестниц с площадками и передвижных вышек;

просверлить отверстия в нижнем поясе для крепления опорных частей затяжки и фиксаторы;

установить на болтах грубой точности опорные узлы затяжки, состоящие из опорной плиты, ребер жесткости и упорной планки с прорезью;

приварить опорные плиты к нижнему поясу балки;

установить затяжку с помощью лебедок и монтажных блоков, которые подвешивают в узлах подстропильной фермы (в случае их отсутствия - в узлах вертикальных связей по фермам); при этом затяжку следует монтировать с надетыми фиксатором, шайбами и гайками;

закрепить фиксатор к нижнему поясу балки на болтах грубой точности, приварить, а концы затяжки закрепить приваркой шайбы к упорным планкам;

выполнить напряжение затяжки оттарированными динамометрическими ключами. При этом напряжение затяжки вести в два этапа: вначале создать напряжение конструкции усилием до 50% проектного значения и выдержать его в течение 10 мин с осмотром конструкций и всех креплений; затем усилие напряжения доводится до 100% проектного. При этом усилие натяжения следует определять по крутящему моменту на рукоятке ключа, а также по удлинению затяжки, определяемому по меткам. Для того чтобы на затяжку не передавался крутящий момент, необходимо со стороны пролета дополнительно надевать на затяжку гайку и контргайку, которая в процессе напряжения удерживается ключом с удлиненной рукояткой. Отклонение напряжения от проектного значения на обоих этапах не должно превышать +5%.

5.10. Работы по усилению несущих ферм могут выполняться без снижения действующих нагрузок. Остановка технологических процессов требуется лишь на период производства сварочных работ, чтобы исключить динамические воздействия на усиливаемые конструкции.

5.11. Для монтажа элементов усиления необходимо установить внизу две электролебедки грузоподъемностью 20 кН (2 т), навесить монтажные блоки на нижние пояса ферм и закрепить на ближайших опорах отводные блоки. После монтажа элементов усиления одна лебедка должна быть установлена на перекрытии в местах примыкания галереи к зданию. Напряжение затяжек нужно производить в одном узле, выполняя второй узел глухим.

5.12. Для обеспечения безопасного производства работ следует устроить подвесные струнные подмости, жесткость которых должна быть обеспечена крестовыми связями.

5.13. До начала производства работ по усилению необходимо: временно оградить рабочую зону под усиливаемой галереей и вывесить предупредительные знаки;

доставить в зону усиления конструкций нужные приспособления, инвентарь и инструменты;

разработать пол и устроить люки в нижнем перекрытии галереи для выхода рабочих на подмости;

устроить площадки для складирования конструкций усиления;

надеть анкеры и произвести предварительную вытяжку канатов;

протарировать контрольно-измерительную аппаратуру и натяжное оборудование;

подготовить поверхности усиливаемых ферм в местах сопряжения с элементами усиления;

подготовить металлоконструкции элементов усиления с антикоррозионным покрытием и доставить к месту установки.

5.14. Работы по усилению производятся в следующей технологической последовательности:

просверливаются отверстия в нижних поясах ферм для крепления стоек шпренгеля;

устанавливается стойки шпренгеля и связи между ними, выполняется временное закрепление на болтах грубой точности, а окончательное - на сварке;

________________________

Текст соответствует источнику

неокрашенные части шпренгельных элементов и усиливаемых балок покрываются антикоррозионными составами.

5.17. Для производства строительно-монтажных работ по усилению несущих балок транспортерных галерей и других аналогичных сооружений необходимо установить в нижней зоне монтажную лебедку и к нижнему поясу балки закрепить подъемный блок. Работы при этом следует выполнять с применением инвентарных строительных лесов, которое закрепляются к стойкам опор.

Рис. 11. Усиление балок напрягаемым жестким шпренгелем:

1 - усиливаемые балки; 2 - монтажный блок; 3 - элементы шпренгеля; 4 - строп: 5 - винтовая стяжная муфта; 6 - ограждение; 7 - рабочий настил; 8 - защитный настил; 9- скрутка из арматуры; 10 - элементы инвентарных лесов; М111 - очередность установки элементов

Усиление опор установкой и включением в работу дополнительных ветвей.

5.18. Работы по усилению пространственных центрально-сжатых опор (транспортных галерей, переходов, трубопроводов и т.п.) следует выполнять в следующей последовательности:

устанавливают на очищаемую поверхность плиты (базы опоры) опорные столики и приваривают их к траверсам и плите, при этом необходимо обеспечить строгую горизонтальность верхней полки столика;

монтируют последовательно элементы ветвей с приваренными к ним с одной стороны планками и временно закрепляют их струбцинами к ветвям усиливаемой опоры;

соединяют планками ветви стойки с помощью сварки и аналогично выполняют монтаж второй стойки опоры;

включают стойки в работу с помощью упорных болтов и передают им усилия распора двумя этапами в соответствии с п. 5.9, контролируя процесс включения стоек в совместную работу по показаниям динамометрических ключей; при этом во избежание перекосов споры необходимо производить одновременное синхронное завинчивание всех упорных болтов на опоре.

5.19. После создания в стойках требуемого усилия распора следует в образовавшийся зазор установить клинья и приварить их к опорным столикам и опорным плитам ветвей.

5.20. В последнюю очередь устанавливаются новые вертикальные связи между стойками и привариваются к существующим фасонкам усиливаемой опоры. При этом порядок и направление сварных швов выполняют в соответствии с п. 4.26.

5.21. После монтажа опорный узел необходимо покрыть цементным молоком и обетонировать.

Усиление и замена конструкций подведением временных и постоянных опор

5.22. Напряженное состояние стержневых систем ферм регулируют приложением внешнего расчетного усилия в заданном узле с помощью инвентарной разгружающей опоры в такой технологической последовательности (рис. 12):

выполняется усиление узла, в котором будет производиться поддомкрачивание, если это требуется по результатам расчета;

устанавливается инвентарная опора под пролетным строением (непосредственно под требуемым узлом);

на опору навешиваются лестницы с площадками;

с помощью домкратов выбирается зазор между траверсой инвентарной опоры и узлом фермы, к которому требуется приложить внешнюю силу по проекту;

к траверсе инвентарной опоры закрепляется на болтах нормальной точности нижняя связевая распорка галерей;

поддомкрачивается узел фермы на расчетное усилие и тем самым в элементе фермы, требующем усиления или замены, создается нулевое усилие. При этом элементы фермы следует разгружать в два этапа (50% и 100%. расчетного значения);

контролируется величина усилий, создаваемых домкратами, одновременно двумя способами: по показаниям манометров, установленных на домкратах, и по величине обратного прогиба узла фермы, определяемого с помощью прогибомеров. Параллельно с этим с помощью тензодатчиков необходимо контролировать напряжения в усиливаемом элементе фермы и в других ее стержнях, сходящихся в данном узле.

Рис. 12. Усиление и замена элементов ферм с помощью инвентарных опор:

1 - верхняя траверса инвентарной опоры; 2 - верхняя связевая распорка галереи; 3 - усиливаемые фермы; 4 - нижняя связевая распорка галереи; 5 - нижняя траверса инвентарной опоры; 6 - площадка; 7 - навесные лестницы; 8 - инвентарные стойки; 9 - инвентарные связи; 10 - база; 11 - домкраты

5.23. После полного выключения элемента из работы следует выполнить его усиление (прикрепить дополнительные элементы) или полностью заменить.

5.24. При условии полной замены элементов нужно нарастить фасонки, просверлить в них отверстия и на монтажных болтах установить новые стяжки, окончательно закрепив их сваркой.

5.25. При включении в работу элементов сначала снижают давление в домкратах до величины, от которой начиналось поддомкрачивание узла, а затем снимают болты, крепящие связевую распорку к траверсе, и доводят давление в домкратах до нулевого значения. При этом зазор между конструкциями галерей и траверсой инвентарной опоры должен быть не менее 50 мм. После этого демонтируют инвентарную опору.

5.26. При выполнении работ по усилению ферм с введением новых опор в случае невозможности устройства специальных фундаментов под монтажные стойки рекомендуется применять специальное оборудование самоходного крана (рис. 13), используемого для целей усиления. При этом необходимо предусмотреть в ППР безопасную эксплуатацию монтажного механизма.

Рис. 13. Усиление и замена конструкций с помощью монтажной стойки на стреле крена:
1 - балочная конструкция; 2 - домкрат; 3 - вильчатая площадка; 4 - временная стойка; 5 - стреловой полиспаст; 6 - стрела крана; 7 - кран; 8 - опорная пластана; 9 - подкос; 10 -захват; 11 - опоры; 12 - грузовой полиспаст

Технологическая последовательность работ следующая:

на конце вильчатой площадки устанавливают грузовой полиспаст крана;

на стреле самоходного крана монтируют временную стойку с вильчатой площадкой, которую с одной стороны раскрепляют стреловым полиспастом, а с другой - упирают с помощью подкоса на опорную пластину;

ослабляют крепление ферм (балок, трубопроводов и т.п.) на опорах, и конструкции вынимают домкратом, установленным на стойке. При этом контроль величины усилий в домкратах ведут в соответствии с п. 5.22 до появления зазора;

выполняют строповку опоры захватом, подвешенным на грузовом полиспасте;

новую опору устанавливают в проектное положение, при этом компенсационный зазор должен быть не менее 50 мм;

опускают конструкцию в проектное положение после оформления нижнего опорного узла;

снижают давление в домкрате и оформляют верхний опорный узел (установка болтов, сварка монтажных швов);

убирают подкос, опускают стрелу и перемещают кран на следующую стоянку.

Усиление опорных узлов ферм

5.27. Усиление опорных узлов ферм рекомендуется производить в следующей технологической последовательности:

с помощью блоков и лебедки на мостовой кран подают конструкции подвесного рабочего настила и устраивают настил, используя мостовой кран;

выводят мостовой кран за пределы рабочей зоны и на подкрановых путях устанавливают временные тупики;

усиливаемые фермы освобождают от временных нагрузок и частично разбирают покрытие в местах установки путей для монтажного портала с электрической талью или крышевого крана;

в торце здания устанавливают монтажный портал (крышевой кран) для монтажа элементов усиления;

устанавливают элементы усиления ферм (кроме опорных стоек) и выполняют их проектные соединения;

с подкрановых балок устанавливают распределительные балки и опорные стойки с гидравлическими домкратами для временного опирания и поддомкрачивания стропильных ферм;

усиливаемые фермы раскрепляют распорками или расчалками за расположенные вблизи колонны или подстропильные фермы;

поддомкрачивают усиливаемые стропильные фермы и демонтируют опорные стойки и фасонки с опорными плитами;

устанавливают новые опорные фасонки с опорными плитами, новые опорные стойки и закрепляют по проекту все элементы опорных узлов;

демонтируют временные опорные стойки и распределительные балки, разбирают подвесной рабочий настил.

6. КОНТРОЛЬ КАЧЕСТВА РАБОТ

6.1. Контролировать качество работ необходимо на всех стадиях усиления металлических конструкций.

6.2. При приемке элементов и конструкций усиления следует проверить их линейные размеры, геометрические формы, диаметры отверстий. Отклонения не должны превышать значений, допускаемых СНиП III-18-75.

6.3. Необходимо проверять состояние поверхности элементов усиления и усиливаемых конструкций, подготовленных под сборку. Шероховатость поверхности после строжки, фрезерования и сверления должны быть не хуже третьего класса по ГОСТ 2789-73. Поверхности нужно тщательно очистить и просушить. Свариваемые кромки обработать до металлического блеска.

6.4. При монтаже элементов усиления следует проводить инструментальную проверку правильности установки конструкций. Перед окончательным закреплением элементов усиления нужно проверить качество сборки. Обушки парных уголков, лежащих в одной плоскости, не должны быть смещены один относительно другого более чем на 0,5 мм в пределах узлов и креплений и более чем на 1 мм на другие участках.

6.5. После постановки болтов необходимо проконтролировать качество их стяжки. При остукивании молотком болт не должен дрожать или перемещаться. Плотность стяжки проверяют щупом толщиной 0,3 мм. Контроль натяжения высокопрочных болтов следует выполнять по крутящему моменту или углу поворота гаек, при этом отклонение фактического крутящего момента от расчетного не должно превышать +20%. Если в соединении не более 5 высокопрочных болтов, то проверяются все болты, если от 6 до 20, то проверяется не менее 5 болтов, при большем количестве - не менее 25%.

6.6. Качество сварных швов проверяется внешним осмотром в соответствии с ГОСТ 3242-79, рекомендуется также применять и другие методы контроля: вскрытие шва высверливанием для контроля угловых швов (ГОСТ 3242-79), керосиновую пробу (при толщине металла до 10 мм) и метод химических реакций (при толщине металла до 16 мм) для контроля стыковых швов (ГОСТ 3242-79). Швы не должны иметь наплывов, трещин, пережогов и перерывов, резкого перехода к основному металлу. Дефекты швов не должны выходить за пределы, указанные в СНиП III-18-75.

6.7. Контроль напряжения конструкции следует осуществлять, на каждой ступени загружения двумя способами с использованием различных приборов и приспособлений. Относительная погрешность каждого из способов не должна превышать 2,5-3%, а наибольшие расхождения в определении усилия напряжения - 5-6%. Если расхождения измерений оказывается больше этой величины, необходимо натяжные работы прекратить, отыскать и устранить причини расхождения и только после этого возобновлять натяжные работы,

6.8. При усилении конструкции путем искусственного регулирования усилий необходимо в процессе усиления контролировать измерение усилий и напряжений в элементах усиливаемых конструкций. Контроль можно осуществлять измерением фибровых деформаций методом электротензометрирования, а также рычажными тензометрами.

6.9. После усиление конструкций следует производить контроль действующих (фактических) напряжений в их элементах. При этом могут применяться различные методы. Если есть возможность, местное напряжение может быть снято вырезанием образца из напряженной конструкции. Если вырезать образец из элемента металлической конструкции нельзя, действительные напряжения могут быть определены методом высверливания отверстия на элементе.

6.10. После окончания всех работ и приемочного контроля всех установленных элементов и конструкций усиления разрешается эксплуатация их под полной действующей нагрузкой.

7. ТРЕБОВАНИЯ БЕЗОПАСНОСТИ

7.1. При выполнении работ по усилению металлических конструкций должны соблюдаться общие требования безопасности согласно СНиП III-4-80. Кроме того, с учетом специфики выполняемых работ необходимо соблюдение ряда особых требований.

7.2. Все коммуникации (силовые и осветительные, водные и масляные и др.), находящиеся в зоне производства работ, необходимо переносить или тщательно ограждать. Троллеи мостовых кранов следует отключать. В случае использования мостового крана для производства работ по усилению конструкций его питание осуществляется с помощью временного кабеля.

7.3. Участки, на которых производят работы по усилению, необходимо ограждать и снабжать надписями, предупреждающими об опасности, запрещающими или ограничивающими передвижение в опасных зонах.

7.4. Производство сложных и особо опасных работ должно оформляться выдачей письменного допуска, прилагаемого к наряду. В допуске перечисляются необходимые мероприятия по технике безопасности. Степень опасности работ устанавливается главным инженером строительно-монтажной организации.

7.5. Навешивание люлек, подмостей, лестниц и монтажных блоков на конструкции при восстановлении их несущей способности может допускаться только после соответствующей расчетной проверки этих конструкций на восприятие дополнительных нагрузок. Усиливаемые конструкции на период производства работ долгим быть максимально разгружены.

7.6. При усилении металлоконструкций с помощью гидродомкратов длина шланга должна быть достаточной, при установке натяжного устройства шланг не должен быть натянут. При этом запрещается трогать руками и переметать шланг, находящийся под высоким давлением во время создания усилия. Маслостанцию не следует размещать под напрягаемыми элементами. Натяжное устройство навешивается с подмостей, размер которых должен обеспечивать возможность надежного контроля за установкой устройства с двух сторон конструкций. Операции по установке и разборке натяжного устройства должны выполняться не менее чем двумя рабочими. Достижение расчетной нагрузки должно осуществляться плавно, без резкого возрастания усилия в натяжном устройстве. Натяжные устройства нужно ограждать щитами или сетками. Осмотр затяжек в процессе напряжения следует вести в масках-сетках. Запрещается стоять под конструкцией в процессе создания в ней предварительного напряжения.

7.7. При производстве сварочных работ в условиях действующего предприятия должны быть приняты меры по обеспечению пожаро- и взрывобезопасности.

7.8. Индивидуальные средства защиты рабочих, занятых на усилении конструкций в действующем цехе, должны соответствовать индивидуальным средствам защиты рабочих основного производства.

7.9. При производстве работ в стесненных условиях действующего предприятия зоны перемещения рабочих органов монтажных механизмов должны быть ограничены специальными устройствами.

7.10. Нетиповые леса, подмости, люльки, лестницы и другие средства, применяемые для обеспечения безопасного производства работ и разрабатываемые в ППР, должны удовлетворять конструктивный и технологическим требованиям ГОСТ 12.2.012-75, ГОСТ 12.2.003-74, ГОСТ 24258-80.

8. ТЕХНИКО-экономическая ОЦЕНКА МЕТОДОВ УСИЛЕНИЯ

8.1. При выборе метода и конструктивного решения усиления необходимо руководствоваться ТЭП, определяемыми на стадии вариантного проектирования. Технико-экономические показатели металлических конструкций усиления следует определять по методике проф. Я.М. Лихтарникова.

8.2. Для определения технико-экономических показателей стальных конструкций усиления на стадии вариантного проектирования необходимо задаваться следующими исходными данными:

требуемой степенью увеличения несущей способности элемента или конструкции по сравнению с несущей способностью, до усиления (, где Nо - усилие, действующее до усиления, ΔN - дополнительное усилие, добавляемое к Nо после усиления);

геометрическими характеристиками и массой усиливаемых элементов и конструкций;

материалом элементов усиления;

дальностью транспортирования изготовленных конструкций;

монтажным механизмом, используемым при производстве работ по усилению;

профилем элемента усиления;

степенью разгрузки усиливаемого элемента (конструкции) на период усиления (, где N - усилие, при котором производятся работы по усилению);

вид монтажных соединений.

8.3. Основным оценочным показателем методов усиления считается стоимость конструкций усиления "в деле", определяемая по формуле

с = (сп + ст) кзс + ссб + суст + са + со.п + сз.у + н + п,                                          (1)

где Сп - заводская стоимость конструкции усиления (стоимость изготовления конструкции с учетом стоимости материалов), руб.;

Ст - стоимость транспортирования конструкций усиления к месту установки, руб.;

Кзс - коэффициент, учитывающий заготовительно-складские расходы, равный 1,0075;

ссб, суст, са - стоимость соответственно укрупнительной сборки, установки конструкций, антикоррозионной защиты, руб.;

Соп - затраты, связанные с остановочным периодом предприятия, руб.;

сз.у - дополнительные затраты при производстве работ в зимних условиях, руб.;

Н - накладные расхода организации, производящей усиление, руб.;

П - плановые, накопления организации, производящей усиление, руб.

8.4. Технико-экономические показатели метода усиления введением дополнительных ненапрягаемых элементов приведены в приложении (таблицы 1 и 2). При определении стоимости конструкций усиления "в деле" для этого метода стоимость остановочного периода была принята равной нулю.

По приведенным данным для конкретных условий усиления могут быть выбраны наиболее эффективные методы.

ПРИЛОЖЕНИЕ

ТЕХНИКО-ЭКОНОМИЧЕСКИЕ ПОКАЗАТЕЛИ МЕТОДА УСИЛЕНИЯ ВВЕДЕНИЕМ ДОПОЛНИТЕЛЬНЫХ НЕНАПРЯГАЕМЫХ ЭЛЕМЕНТОВ

Таблица 1

Стоимость конструкций "в деле" при усилении увеличением поперечного сечения элементов конструкций, руб.

Усиление элементов и конструкций

Профиль элементов усиления

Масса одной детали, кг

50

100

150

200

400÷1200

1400

Балочные конструкции в нижнем положении

Лист

435,45

337,90

307,10

228,72

274,22÷226,60

261,44

Уголок

361,75

295,28

275,84

262,25

254,60÷252,30

247,70

Труба

489,31

420,60

400,41

386,47

379,80÷376,70

371,82

Швеллер

370,05

303,53

283,70

270,32

263,40÷261,50

-

Балочные конструкции в потолочном положении

Лист

533,79

478,71

372,35

360,96

350,70÷343,30

331,15

Уголок

460,09

373,24

341,10

334,49

334,09÷329,00

317,43

Труба

587,65

498,56

465,66

459,11

456,20÷453,40

441,53

Швеллер

468,39

381,49

348,94

342,66

339,30÷338,22

-

Колонны

Лист

486,28

390,10

341,33

322,83

311,09÷307,37

293,00

Уголок

412,58

347,49

310,07

296,36

291,48÷287,38

279,28

Труба

540,14

472,80

434,64

422,62

416,62÷411,83

403,39

Швеллер

420,88

355,73

317,92

304,44

300,22÷288,74

-

Таблица 2

Технико-экономические показатели усиления ферм введением шпренгельных элементов

Наименование показателей

Суммарная геометрическая длина элементов усиления (на одну усиливаемую панель), м

1

2

3

4

5

6

7

8

9

10

Масса элементов усиления, кг

7,4

4,2

14,9

8,4

22,3

12,6

33,5

18,8

58,3

32,9

93,5

52,5

135,5

76,3

187,7

105,7

266,6

150,3

296,0

166,7

Трудоемкость изготовления, чел.-ч

4,14

2,38

4,14

2,38

4,14

2,38

4,21

2,41

4,36

2,5

4,36

2,5

4,54

2,56

4,68

2,63

4,75

2,66

4,88

2,72

Стоимость изготовления (с учетом стоимости материала), руб.

18,40

9,14

19,63

9,76

21,02

10,39

23,11

11,44

27,87

13,76

33,71

16,75

41,59

20,34

50,84

24,88

64,24

31,46

69,03

34,05

Трудоемкость монтажа, чел.-ч

2,71

1,07

2,76

1,10

2,80

1,15

2,89

1,21

3,11

1,36

3,34

1,49

3,47

1,73

3,54

2,17

4,0

3,0

4,14

3,24

Стоимость монтажа, руб.

4,67

1,85

4,76

1,90

4,84

1,99

5,0

2,09

5,4

2,35

5,82

2,59

6,05

3,02

6,20

3,82

7,03

5,29

7,29

5,72

Стоимость конструкции "в деле", руб.

26,60

12,66

28,11

13,43

29,75

14,27

32,36

15,61

38,84

19,74

45,54

22,22

54,92

26,96

65,71

33,09

82,16

42,37

88,02

45,73

Примечание. Над чертой приведены значения для элементов из спаренных углов, под чертой - для одиночных.

 

 




ГОСТЫ, СТРОИТЕЛЬНЫЕ и ТЕХНИЧЕСКИЕ НОРМАТИВЫ.
Некоммерческая онлайн система, содержащая все Российские Госты, национальные Стандарты и нормативы.
В Системе содержится более 150000 файлов нормативно-технической документации, действующей на территории РФ.
Система предназначена для широкого круга инженерно-технических специалистов.

Рейтинг@Mail.ru Яндекс цитирования

Copyright © www.gostrf.com, 2008 - 2026