Крупнейшая бесплатная информационно-справочная система онлайн доступа к полному собранию технических нормативно-правовых актов РФ. Огромная база технических нормативов (более 150 тысяч документов) и полное собрание национальных стандартов, аутентичное официальной базе Госстандарта. GOSTRF.com - это более 1 Терабайта бесплатной технической информации для всех пользователей интернета. Все электронные копии представленных здесь документов могут распространяться без каких-либо ограничений. Поощряется распространение информации с этого сайта на любых других ресурсах. Каждый человек имеет право на неограниченный доступ к этим документам! Каждый человек имеет право на знание требований, изложенных в данных нормативно-правовых актах!

  


 

ЭЛЕКТРОТЕХНИЧЕСКАЯ РАБОЧАЯ ДОКУМЕНТАЦИЯ

ОБЩИЕ ТРЕБОВАНИЯ И РЕКОМЕНДАЦИИ
ПО СОСТАВУ И ОФОРМЛЕНИЮ

(Взамен ВСН 381-85)

МОСКВА 1993

РАЗРАБОТАНЫ        Всероссийским научно-исследовательским, проектно-конструкторским институтом Тяжпромэлектропроект

ИСПОЛНИТЕЛИ       Л. Б. Годгельф (руководитель темы), Е. В. Добрынин (ответственный исполнитель)

УТВЕРЖДЕНЫ         Акционерной холдинговой компанией «Электромонтаж»

ВЗАМЕН                     Инструкции о составе и оформлении электротехнической рабочей документации для промышленного строительства ВСН 381-85, 1985 г.

ВВЕДЕНИЕ

Общие требования и рекомендации (ОТР) устанавливают состав и правила оформления электротехнической рабочей документации (ЭРД) индивидуальных проектов для строительства, расширения, реконструкции и технического перевооружения предприятий, зданий и сооружений различного назначения.

ОТР утверждены Акционерной холдинговой компанией "Электромонтаж" и заменяют "Инструкцию о составе и оформлении электротехнической рабочей документации для строительства" ВСН 381-85.

Требования ОТР обязательны для всех проектных организаций, выполняющих ЭРД для производства электромонтажных работ организациями АХК "Электромонтаж", если иные требования не оговорены в договоре на выполнение ЭРД или в техническом задании к договору. В других случаях выполнения ЭРД материалы ОТР являются рекомендуемыми.

ОТР учитывают требования нового стандарта Российской Федерации ГОСТ Р 21.1101 «СПДС. Основные требования к рабочей документации», введенного в действие с 1 января 1993 г., обширный опыт проектирования ВНИПИ Тяжпромэлектропроект, прогрессивную технологию электромонтажных работ АХК "Электромонтаж".

Содержащиеся в ОТР материалы рассмотрены ЦНИИпроект Госстроя РФ на соответствие действующим стандартам СПДС и ЕСКД.

Перечень стандартов СПДС и ЕСКД, требования которых учтены в ОТР, приведен в приложении 1.

1. ОБЩИЕ ПОЛОЖЕНИЯ

1.1. Электротехническая рабочая документация (ЭРД) предназначается для:

1) производства электромонтажных работ (далее именуемых монтажные работы);

2) изготовления электромонтажных конструкций в мастерских;

3) определения потребности в электрооборудовании, электромонтажных изделиях и материалах;

4) определения сметной стоимости электрооборудования, материалов и монтажных работ.

1.2. В соответствии со сложившейся в строительном проектировании практикой в ЭРД включается рабочая документация систем управления и автоматизации инженерным (цеховым) оборудованием, а в отдельных случаях и технологическим оборудованием (если разработка указанных систем не является частью создания оборудования и может быть выполнена в одну стадию). В связи с этим отдельные документы ЭРД, в дополнение к указанному в пункте 1.1, используются при наладке и эксплуатации электрооборудования и установок.

1.3. Разделы 2-5 ОТР определяют состав и правила оформления ЭРД на следующие виды работ:

1) подстанции и распределительные пункты 6 -220 кВ;

2) воздушные линии электропередачи напряжением до 35 кВ (воздушные линии электропередачи напряжением свыше 35 кВ выполняются в соответствии с нормативными документами Минтопэнерго);

3) кабельные линии электропередачи напряжением до 220 кВ;

4) молниезащита и заземление;

5) сети тяговые электрифицированного промышленного железнодорожного транспорта;

6) электрооборудование технологических механизмов и агрегатов;

7) централизованное управление электроснабжением и оборудованием. Система оперативного управления (СОУ).

1.4. В составе ЭРД выполняется рабочая документация для монтажа систем автоматизированного управления технологическим процессом (АСУ ТП) в части управления оборудованием, а также автоматизированных систем управления энергоснабжением (АСУЭ) и автоматизированных систем диспетчерского управления энергоснабжением (АСДУ).

Это связано с тем, что монтажные работы по указанным системам традиционно выполняются организациями АХК "Электромонтаж".

1.5. Разделы 2-5 ОТР не распространяются на ЭРД электрического освещения территорий промышленных предприятий и общественных зданий и сооружений, внутреннего электрического освещения, электроснабжения потребителей напряжением выше 1 кВ и силового электрооборудования, так как состав и правила оформления рабочих чертежей указанных видов работ определяется отдельными стандартами СПДС (ГОСТ 21.607; ГОСТ 21.608; проект ГОСТ 21.612 и ГОСТ 21.613), а текстовые документы (см. рис. 1) выполняются по отдельным нормативным документам и стандартам. Общие требования разделов 2-5 ОТР могут использоваться при разработке ЭРД электрического освещения, электроснабжения и силового электрооборудования только как пособие к применению вышеуказанных стандартов.

1.6. ОТР не распространяются:

1) на типовую электротехническую рабочую документацию на изделия и узлы;

2) на рабочую документацию для строительства электростанций;

3) на рабочую документацию электросвязи, радиосвязи, промышленного телевидения, СЦБ и КИП.

1.7. Наряду с ЭРД электротехническими проектными организациями (подразделениями) разрабатываются вне состава ЭРД задания смежным проектным организациям (подразделениям) на выполнение в архитектурно-строительных, сантехнических и др. рабочих чертежах сооружений и устройств для монтажа и эксплуатации электроустановок. Требования по выполнению строительных заданий приведены в приложении 2.

1.8. По отдельному договору выполняется проектная документация, не входящая в состав ЭРД:

1) корректировка строительных заданий по строительным рабочим чертежам;

2) ведомости объемов монтажных работ (при выполнении локальных смет);

3) справочник-путеводитель (для крупных и сложных объектов);

4) кабельные журналы с сортировкой кабелей на потоки или пучки. Эта документация выполняется с применением электронных вычислительных машин по специальным программам;

5) рабочая документация для временного электроснабжения электропотребителей на период строительства;

6) проектная документация, передаваемая заводам-изготовителям на изготовление низковольтных комплектных устройств (шкафов, щитов, ящиков, постов, пультов управления и т. п., далее именуемых НКУ);

7) конструкторская документация электроприводов оборудования единичного (индивидуального) производства (ранее именовавшегося нестандартазированным оборудованием);

8) рабочая документация на изготовление индивидуальных конструкций опорных и поддерживающих устройств электрифицированного транспорта и линий электропередачи;

9) конструкторская документация прокладки проводов и кабелей по технологическому оборудованию;

10) конструкторская документация на изготовление шкафов, ящиков с установкой в них электроаппаратуры (реле, кнопок, клеммников), как например, шкафов учета электроэнергии;

11) конструкторская документация на дополнительную установку, замену и удаление электроаппаратуры на комплектном электрооборудовании;

12) изготовление типовой проектной документации типовых конструкций, изделий и узлов (альбомов).

1.9. При выполнении чертежей и текстовых документов ЭРД с применением ЭВМ, оформление этих чертежей и документов следует производить с учетом требований ГОСТ 2.004 "Общие требования к выполнению конструкторских и технологических документов на печатающих и графических устройствах вывода ЭВМ".

1.10. Внесение изменений в ЭРД, выданную заказчику, и привязку типовых проектов и повторно применяемых рабочих чертежей следует выполнять в соответствии с ГОСТ Р 21.1101.

2. СОСТАВ ЭЛЕКТРОТЕХНИЧЕСКОЙ РАБОЧЕЙ ДОКУМЕНТАЦИИ

2.1. В состав ЭРД для строительства предприятий, зданий и сооружений в общем случае входят:

1) рабочие чертежи, объединенные в комплекты по видам работ (далее именуемые основные комплекты рабочих чертежей);

2) прилагаемые к основным комплектам рабочих чертежей документы.

2.2. В основной комплект рабочих чертежей входят:

1) общие данные;

2) чертежи, схемы, таблицы и т. п.

2.3. В прилагаемые документы входят:

1) повторно применяемые рабочие документы (чертежи, схемы, таблицы и т. п.);

2) рабочая документация на электромонтажные конструкции, подлежащие изготовлению в мастерских электромонтажных заготовок (рабочая документация задания МЭЗ);

 3) эскизные чертежи общего вида НКУ;

4) локальная смета;

5) ведомость потребности в материалах;

6) спецификация оборудования;

7) опросные листы на электрооборудование (при необходимости);

8) ведомость объемов монтажных и строительных работ. В случаях, когда локальная смета составлена по Единым районным расценкам на строительные конструкции и работы и расценкам на монтаж оборудования, ведомость объемов монтажных и строительных работ не выполняется (согласно ГОСТ 21.111, п. 7);

9) другие документы, направляемые заказчику в соответствии с договором (контрактом).

2.4. Основной комплект рабочих чертежей и прилагаемые документы без текстовых документов имеют название «рабочие чертежи».

2.5. На рис. 1 приведен в табличной форме состав ЭРД с делением на основной комплект рабочих чертежей и прилагаемые документы; на рабочие чертежи и текстовые документы (на примере ЭРД электрооборудования технологических механизмов, и агрегатов).

Рис. 1. Состав ЭРД электрооборудования технологических механизмов и агрегатов. Пример

2.6. Состав ЭРД в каждом конкретном случае может уточняться по договору заказчика с исполнителем работ.

2.7. Основным комплектам рабочих чертежей в зависимости от вида работ присваивают марки. Марки основных комплектов электротехнических рабочих чертежей приведены в приложении 3.

Состав рабочих чертежей и отдельные пояснения по их выполнению приведены в приложении 4.

2.8. Основной комплект рабочих чертежей какой-либо марки может быть расчленен на несколько основных комплектов по любым признакам (например, по очередям строительства, участкам здания, технологическим узлам и т. д.) с присвоением им той же марки и добавлением порядкового номера.

Например: ЭП1, ЭП2.

Для каждого из этих основных комплектов рабочей документации выполняют прилагаемые документы в полном объеме.

2.9. Основной комплект рабочих чертежей допускается оформлять отдельными документами с присвоением им марки основного комплекта и добавлением через точку порядкового номера документа, обозначенного арабскими цифрами (например, общие данные по рабочим чертежам ЭП1.1, схемы принципиальные ЭП1.2).

2.10. Основной комплект рабочих чертежей допускается в отдельных случаях при небольших объемах документации объединять с другими основными комплектами рабочих чертежей. Объединенному основному комплекту рабочих чертежей присваивают одну марку.

2.11. Общие данные по рабочим чертежам.

2.11.1. В состав общих данных основного комплекта рабочих чертежей каждой марки включают:

1) ведомость рабочих чертежей основного комплекта по форме 1 ГОСТ Р 21.1101;

2) ведомость ссылочных и прилагаемых документов по форме 2 ГОСТ Р 21.1101;

3) ведомость основных комплектов рабочих чертежей по форме 2 ГОСТ Р 21.1101;

4) общие указания;

5) условные обозначения, не установленные государственными стандартами и значения которых не указаны на других листах основного комплекта рабочих чертежей.

2.11.2. При оформлении основного комплекта рабочих чертежей отдельными документами в состав общих данных взамен ведомости рабочих чертежей основного комплекта включают ведомость документов основного комплекта рабочих чертежей. Эту ведомость выполняют по форме 2 ГОСТ Р 21.1101.

2.11.3. Ведомость ссылочных и прилагаемых документов составляют по разделам:

1) ссылочные документы;

2) прилагаемые документы.

В раздел "Ссылочные документы" включают чертежи типовых конструкций, изделий и узлов с указанием наименования серии и выпуска. Ссылочные документы проектная организация заказчику не выдает.

2.11.4. Ведомость основных комплектов рабочих чертежей приводят на листах общих данных основного комплекта ведущей марки, назначаемой генеральным проектировщиком.

2.11.5. Примеры выполнения ведомостей, включаемых в общие данные основного комплекта рабочих чертежей, приведены на рис. 2-5.

2.11.6. В общих указаниях приводят:

1) основание для разработки рабочих чертежей;

2) запись о результатах проверки на патентоспособность и патентную чистоту впервые применяемых или разработанных в проекте оборудования, приборов, конструкций, материалов и изделий, а также номера патентов, авторских свидетельств и заявок, по которым приняты решения о выдаче патентов авторских свидетельств. Проверку на патентную чистоту объектов капитального строительства проводят в соответствии с заданием генпроектировщиков по действующим нормативным документам;

3) запись о том, что технические решения, принятые в рабочих чертежах, соответствуют действующим нормам и правилам, а для зданий сооружений с взрывопожарной и пожарной опасностью, кроме того, обеспечивают безопасную эксплуатацию их при соблюдении предусмотренных рабочими чертежами мероприятий;

4) перечень видов работ, для которых необходимо составление актов освидетельствования скрытых работ;

5) другие необходимые указания.

В общих указаниях не допускается повторять технические требования, помещенные на других листах основного комплекта рабочих чертежей, и давать описание принятых в рабочих чертежах технических решений.

2.12. Прилагаемые документы.

2.12.1. Повторно применяемая рабочая документация привязывается к условиям строительства объекта и записывается в раздел "Прилагаемые документы" с обозначением, указанным в штампе привязки.

Правила привязки повторно применяемой рабочей документации приведены в ГОСТ Р 21.1101, раздел 6.

Допускается применять рабочие чертежи конструкций и деталей, выполненные проектной организацией и утвержденные ее руководством для повторного применения, без штампа привязки, если в указанные чертежи не вносят изменений. Эти рабочие чертежи записываются в ведомость прилагаемых документов без изменения обозначения.

2.12.2. В рабочую документацию задания МЭЗ включают:

1) ведомость электромонтажных конструкций;

2) ведомость материалов и изделий для изготовления электромонтажных конструкций;

3) чертежи электромонтажных конструкций (разработанные для проектируемого объекта и повторно применяемые);

4) трубозаготовительную ведомость.

В задание МЭЗ не должны включаться чертежи:

на изготовление шкафов с электроаппаратурой; на установку дополнительной электроаппаратуры (реле, кнопок, клеммников и т. д.) и прокладку проводов на комплектном электрооборудовании заводского изготовления.

2.12.3. Эскизные чертежи общего вида НКУ составляют на нетиповые комплектные устройства.

Допускается взамен эскизных чертежей общего вида НКУ включать в состав ЭРД общие виды НКУ, разработанные в составе проектной документации, передаваемой заводам-изготовителям НКУ, без изменения обозначения чертежа (без штампа привязки).

2.12.4. Локальные сметы составляют в соответствии с действующими Методическими рекомендациями по определению сметной стоимости и договорных цен в строительстве и капитальном ремонте на территории РФ.

2.12.5. Ведомость потребности в материалах и спецификацию оборудования выполняют в соответствии с требованиями ГОСТ 21.109 и ГОСТ 21.110. Рекомендации и примеры выполнения ведомостей потребности в материалах и спецификаций оборудования, входящих в ЭРД, приведены в работе ВНИПИ Тяжпромэлектропроект "Рекомендации и примеры выполнения спецификаций и ведомостей" (шифр М788-1075, 1990 г.).

2.12.6. Ведомость объемов монтажных и строительных работ, как правило, не выполняется, так как локальные сметы ЭРД составляются по Единым районным расценкам на строительные конструкции и работы и расценкам на монтаж оборудования (см. пункт 2.3.8 ОТР).

При необходимости составления ведомости объемов монтажных и строительных работ ее следует выполнять по ГОСТ 21.111.

2.12.7. Опросные листы на электрооборудование составляют на:

1) типовые комплектные устройства (КТП, КРУ, КСО);

2) силовые трансформаторы IV габарита и более;

3) тиристорные преобразовательные устройства;

4) распределительные панели, блоки резисторов, регуляторы возбуждения и другое электрооборудование, если это предусмотрено порядком оформления заказа.

Формы опросных листов применяются по согласованию с изготовителем оборудования.

3. ОБОЗНАЧЕНИЕ ЭРД

3.1. Основным комплектам рабочих чертежей, документам основных комплектов (при оформлении основных комплектов отдельными документами), чертежам и текстовым документам, прилагаемым к основным комплектам, присваивают самостоятельные обозначения.

3.2. В состав обозначения основного комплекта рабочих чертежей входит базовое обозначение и через дефис марка основного комплекта.

В базовое обозначение рекомендуется включать обозначение, присвоенное в проектной организации, и через дефис номер здания (сооружения) по генеральному плану.

Примеры: ХХХХ-XX-ЭТХ,

ХХХХ-XX-ЭП1,

ХХХХ-XX-ЭП2.

3.3. При оформлении основного комплекта рабочих чертежей отдельными документами обозначение каждого документа составляют из обозначения основного комплекта рабочих чертежей с добавлением через точку порядкового номера документа.

Примеры: ХХХХ-XX-ЭП1.1,

ХХХХ-XX-ЭП1.2.

3.4. Обозначения эскизных чертежей общего вида НКУ включают обозначение основного комплекта рабочих чертежей с добавлением через точку буквенно-цифровых индексов, состоящих из заглавной буквы "Н" и порядковых номеров чертежей.

Примеры: ХХХХ-XX-ЭП1.Н1,

ХХХХ-XX-ЭП1.Н2.

3.5. Обозначения чертежей конструкций и трубозаготовительной ведомости рабочей документации задания МЭЗ, разработанных для проектируемого объекта, включают обозначение основного комплекта рабочих чертежей с добавлением через точку буквенно-цифровых индексов, состоящих из заглавной буквы "И" и порядковых номеров чертежей.

Примеры: ХХХХ-XX-ЭП1.И1,

ХХХХ-XX-ЭП1.И2.

В обозначении сборочного чертежа конструкции рабочей документации задания МЭЗ дополнительно в конце обозначения за порядковым номером чертежа конструкции проставляют буквенный индекс из заглавных букв "СБ".

Пример:     ХХХХ-XX-ЭП1.ИЗСБ.

3.6. Обозначения ведомости электромонтажных конструкций и ведомости материалов и изделий для изготовления электромонтажных конструкций, входящих в рабочую документацию задания МЭЗ, включают обозначение основного комплекта рабочих чертежей с добавлением через точку буквенно-цифровых индексов, состоящих соответственно из заглавных букв "ИВК" и "ИВМ" и порядкового номера ведомости.

Примеры: ХХХХ-XX-ЭП1.ИВК1,

ХХХХ-XX-ЭП1.ИВК2,

ХХХХ-XX-ЭП1.ИВМ1,

ХХХХ-XX-ЭП1.ИВМ2.

3.7. Обозначения текстовых документов, входящих в прилагаемые документы к основному комплекту рабочих чертежей, включают обозначение основного комплекта рабочих чертежей с добавлением через точку буквенного индекса из заглавных букв.

Буквенные индексы применяют:

ЛС - для локальной сметы;

ВМ - для ведомости потребности в материалах;

СО - для спецификации оборудования;

ЛО - для опросного листа;

ВР - для ведомости объемов монтажных и строительных работ.

Примеры: ХХХХ-XX-ЭП.ЛС,

ХХХХ-XX-ЭП.СО.

При наличии в составе прилагаемых документов нескольких текстовых документов одного вида к буквенному индексу добавляется порядковый номер документа.

Примеры: ХХХХ-XX-ЭП.ВМ1,

ХХХХ-XX-ЭП.ВМ2.

3.8. Рабочим чертежам, разработанным как чертежи повторного применения, присваивают безобъектное обозначение.

4. ОБЩИЕ ПРАВИЛА ОФОРМЛЕНИЯ ЭРД

4.1. Каждый лист рабочего чертежа и текстового документа должен иметь основную надпись и дополнительные графы в соответствии с ГОСТ Р 21.1101 (см. рис. 6). Исключение представляют сметы и опросные листы. На этих документах наносятся только обозначения на свободных местах листов, предпочтительно в нижнем правом углу.

Основная надпись по форме 3 ГОСТ Р 21.1101 применяется:

1) для всех листов основного комплекта рабочих чертежей, за исключением последующих листов кабельного (кабельнотрубного) журнала;

2) для первых листов ведомости потребности в материалах, спецификации оборудования, ведомости объемов монтажных и строительных работ в тех случаях, когда не выполняют титульные листы (см. п. 4.4);

3) для первых листов ведомости электромонтажных конструкций, ведомости материалов и изделий для изготовления электромонтажных конструкций, трубозаготовительной ведомости, а также листов чертежей электромонтажных конструкций, разработанных для проектируемого объекта;

4) для эскизных чертежей общего вида НКУ (см. рис. 7).

Основная надпись по форме 5 ГОСТ Р 21.1101 применяется для листов чертежей электромонтажных конструкций, разработанных как чертежи повторного применения, и для первых листов текстовых документов, оформляемых с титульными листами (см. рис. 8).

Основная надпись по форме 6 ГОСТ Р 21.1101 применяется для последующих листов прилагаемых текстовых документов, а также последующих листов кабельных (кабельнотрубных) журналов (см. рис. 9).

Дополнительные графы наносятся на поле подшивки листа и заполняются в зависимости от порядка согласования и хранения документации, принятого в проектной организации.

4.2. Характер выполненной работы (разработал, проверил, нормоконтроль), должности лиц, ответственных за выпуск документации (главный специалист или начальник отдела, главный инженер проекта), их фамилии и подписи указываются в соответствующих графах основной надписи и записываются в ней снизу вверх, начиная с разработчика.

4.3. В основной надписи:

1) графу "Лист" на документах, состоящих из одного листа, не заполняют. В этом случае заполняют только графу "Листов";

2) графу "Листов" заполняют только на первом листе;

3) на первом листе текстового документа при двухсторонней печати в графе "Листов" указывают общее количество страниц;

4) все листы основных комплектов рабочих чертежей, документов основных комплектов (при оформлении основных комплектов отдельными документами), а также чертежей и текстовых документов нумеруются по порядку, начиная с единицы.

4.4. Первым листом ведомости потребности в материалах, спецификации оборудования, ведомости объемов монтажных и строительных работ является титульный лист.

При небольшом объеме указанных документов допускается титульный лист не выполнять. В этом случае на первых листах ведомости потребности в материалах, спецификации оборудования и ведомости объемов монтажных и строительных работ выполняют основную надпись по форме 3 ГОСТ Р 21.1101.

Примечание. Учитывая, что объем ведомостей и спецификаций ЭРД, как правило, небольшой и по существу нет необходимости в титульных листах, в ОТР не приведен пример оформления титульного листа.

4.5. Главный инженер проекта подписывает:

1) первый лист общих данных;

2) титульные листы ведомостей потребности в материалах, спецификаций оборудования, ведомостей монтажных и строительных работ. При отсутствии титульных листов ГИП подписывает первые листы ведомостей и спецификаций;

3) задание смежным проектным организациям (подразделениям);

4.6. Рабочую документацию рекомендуется выполнять на листах форматов А3 и А4 и листах дополнительных форматов А4.

5. ПРАВИЛА ВЫПОЛНЕНИЯ РАБОЧИХ ЧЕРТЕЖЕЙ

5.1. Принципиальные схемы, схемы подключения выполняют в соответствии с ГОСТ 2.702. Каждый элемент и (или) устройство, изображенный на принципиальной схеме и на схеме подключения должен иметь буквенно-цифровое обозначение в соответствии с требованиями ГОСТ 2.710. Взамен схем подключения допускается выполнять таблицы подключения.

В перечне элементов к принципиальной схеме наименование элементов, устанавливаемых на НКУ, изготавливаемых на предприятиях электротехнической промышленности, следует записывать в соответствии с требованиями нормативных документов; при этом допускается не записывать обозначения государственных стандартов, технических условий и т. п., на основании которых применены эти элементы.

В перечне элементов к принципиальной схеме допускается не записывать обозначения государственных стандартов, технических условий и т. п. для электрооборудования, поставляемого комплектно с механическим оборудованием.

5.2. Планы расположения электрооборудования, прокладки электрических сетей и сетей заземления (далее планы расположения).

5.2.1. Планы расположения в зданиях и сооружениях выполняются на подосновах, которыми служат планы зданий и сооружений. Планы расположения вне зданий и сооружений выполняют на подосновах, которыми служат разбивочные планы или геоподосновы. Рекомендуемые масштабы изображений на планах указаны в приложении 5.

5.2.2. На планах расположения в зданиях и сооружениях наносятся:

1) координационные оси здания или сооружения и расстояния между ними;

2) отметки чистых полов этажей и основных площадок;

3) строительные и технологические конструкции - в виде контурных очертаний;

4) технологическое и инженерное оборудование - в виде упрощенных контурных очертаний;

5) границы и классы взрыво- и пожароопасных зон, категории и группы взрывоопасных смесей по классификации Правил устройства электроустановок;

6) наименование отделений, участков цехов, помещений и т. п.;

7) наименования или обозначения электротехнических помещений, кабельных тоннелей и других электротехнических сооружений;

8) электрооборудование, электрические сети и сети заземления (зануления);

9) привязку электрооборудования, электрических сетей и сетей заземления (зануления);

10) места расположения фитингов и других разделительных уплотнений;

11) разрезы кабельных трасс с указанием расположения кабелей на полках при однослойной прокладке кабелей.

5.2.3. Контуры зданий, сооружений, элементов строительных и технологических конструкции выполняют на планах расположения сплошными тонкими линиями по ГОСТ 2.303.

5.2.4. Электрооборудование и электропроводки в зданиях и сооружениях наносятся на планы расположения условными графическими изображениями по ГОСТ 21.614. Размеры изображения шкафов, щитов, пультов, ящиков, электротехнических устройств и электрооборудования открытых распределительных устройств следует принимать по их фактическим размерам в масштабе чертежа.

Электропроводки вне зданий и сооружений наносят на планы расположения условными графическими изображениями и обозначают в соответствии с ГОСТ 21.108, раздел 6 "Условные графические изображения и обозначения инженерных сетей".

Обозначения электропомещений, электрооборудования и кабельных проводок (за исключением проводок вне зданий и сооружений) рекомендуется выполнять в соответствии с работой ВНИПИ Тяжпромэлектропроект "Указания по буквенно-цифровым обозначениям в электротехнической проектной и проектно-конструкторской документации" (шифр М788 -1077, 1991 г.).

5.2.5. Планы расположения электрооборудования, как правило, совмещают с планами прокладки электрических сетей и сетей заземления (зануления). При необходимости приводят разрезы, нетиповые узлы установки электрооборудования и прокладки электрических сетей, схемы расположения шинопроводов, а также монтажные проемы, въезды, автодороги для транспортировки крупногабаритного электрооборудования.

5.2.6. Электрооборудование (за исключением электроприемников, комплектных устройств, аппаратов и приборов, установленных непосредственно на технологическом оборудовании) и трассы электрических сетей должны иметь привязки и отметки на плане. Допускается не указывать привязку одиночных устройств (например, пускателей, кнопок и т. п.) и открыто проложенных кабелей, если места их установки или прокладки ясны без привязки.

5.2.7. Привязку электрооборудования и электрических сетей производят, как правило, к координационным осям зданий и сооружений или к осям технологического оборудования при условии, что это оборудование монтируется до прокладки труб электропроводки, а его оси увязаны со строительными осями.

При скрытой прокладке электрических сетей в трубах (в полах, в земле, в фундаментах) привязывают концы труб и указывают отметки заложения и выхода. В фундаментах сложного оборудования дают дополнительные привязки концов труб к ближайшим фундаментным болтам.

При открытой прокладке электрических сетей по технологическим установкам, сооружениям и строительным конструкциям (галереи, фермы, колонны) привязку электрических сетей выполняют к указанным установкам, сооружениям и конструкциям.

5.2.8. На планах расположения у электрооборудования (за исключением электрооборудования, устанавливаемого на технологическом оборудовании механомонтажными организациями и (или) поступающего в сборе с механизмами), конструкций и изделий проставляют номера позиций в соответствии со спецификацией и наносят их на полке линии-выноски. Для электрооборудования под полкой линии-выноски проставляют буквенно-цифровые обозначения по принципиальным схемам управления (таблицам электроприводов).

Например:  

У кабельных проводок и трубных прокладок проставляют буквенно-цифровые обозначения по кабельным и (или) кабельнотрубным журналам, а для труб проставляют также диаметр по стандарту.

5.2.9. На планах расположения приводят спецификации электрооборудования, изделий, конструкций, деталей и материалов, необходимых для производства монтажных работ по данным чертежам по форме 7 ГОСТ Р 21.1101. При выполнении чертежей групповым методом (например на группу технологических линий) составляют групповые спецификации по форме 8 ГОСТ Р 21.1101.

5.2.10. Спецификацию на чертеже помещают над основной надписью, как правило, в верхнем углу. Если чертеж выполнен на листе формата А4, спецификацию располагают ниже графического изображения.

Допускается спецификацию располагать на отдельных листах. При этом в основной надписи приводят наименование данной спецификации.

5.2.11. Спецификацию составляют по разделам в следующей последовательности:

1) электрооборудование (за исключением электрооборудования, устанавливаемого на технологическом оборудовании механомонтажными организациями и (или) поступающего в сборе с механизмами);

2) изделия заводов АХК "Электромонтаж";

3) конструкции;

4) детали (по чертежу, без чертежа);

5) стандартные изделия;

6) материалы.

При общем количестве позиций до 20 наименование разделов допускается не указывать.

Между разделами оставляют резервные строчки.

5.2.12. Запись электрооборудования в пределах первого раздела спецификации производят по группам одноименных элементов (в порядке возрастания типов, параметров, цифр, входящих в их обозначение) в следующей последовательности:

1) электрооборудование, на изготовление которого выдают опросные листы и задания заводам-изготовителям;

2) серийное электрооборудование.

5.2.13. Материалы в спецификации записываются в последовательности:

1) металлы черные (в том числе трубы);

2) металлы цветные;

3) материалы изоляционные.

5.2.14. В графах спецификации указывают:

1) в графе "Поз." - порядковый номер позиций, указанных на изображениях;

2) в графе "Обозначение" - обозначение соответствующих рабочих чертежей конструкций деталей как изготовляемых в МЭЗ, так и монтажной зоне.

Допускаются, при необходимости, ссылки на заводские чертежи и технические условия. Для деталей, не требующих чертежей ввиду простоты их изображения, в графе записывают: "без чертежа"; для материалов и стандартных изделий графу "Обозначение" не заполняют;

3) в графе "Наименование" - краткое наименование по каталогу (для электрооборудования), наименование по номенклатуре изделий (для изделий заводов АХК "Электромонтаж"), наименование конструкций и деталей, указанное в основной надписи соответствующего рабочего чертежа.

Для деталей, изготовляемых без чертежа, стандартных изделий и материалов записывают наименование и условное обозначение, указанные в соответствующих стандартах. После наименования в графе указывают тип, приводят краткие характеристики и обозначения стандартов;

4) в графе "Кол." - количество (штук) на чертеже.

Для материалов, специфицируемых в метрах, в графе "Примечание" проставляется буква "м";

5) в графе "Масса ед., кг" - массу единицы, детали (без чертежа), материала;

6) в графе "Примечание" - дополнительные сведения, относящиеся к записанным в спецификации элементам. Например, для конструкции, изготовляемой в МЭЗ, указывают номер позиции ведомости электромонтажных конструкций задания МЭЗ.

Примеры выполнения спецификации и групповой спецификации приведены на рис. 10 и рис. 11.

5.2.15. Расход материалов в спецификациях следует записывать с точностью, указанной в таблице приложения 6.

5.3. Кабельные журналы.

5.3.1. В зависимости от принятого вида и метода прокладки кабелей выполняют кабельный журнал для прокладки кабелей методом трасс, кабельнотрубный журнал или кабельный журнал.

5.3.2. В кабельном журнале для прокладки методом трасс предусматривают графу "Участок трассы кабеля, провода". В этой графе указывают обозначения и номера кабельных трасс и труб по плану расположения, а также номера полок кабельных конструкций, патрубков, лотков, коробов по всей длине трассы.

Пример выполнения кабельного журнала для прокладки кабелей методом трасс приведен на рис. 12. Форма кабельного журнала соответствует форме 7 ГОСТ 21.613.

При выполнении в рабочей документации задания МЭЗ трубозаготовительной ведомости в кабельнотрубном журнале графы "Диаметр по стандарту" и "Длина", относящиеся к трубам, не заполняют.

Пример выполнения кабельнотрубного журнала приведен на рис. 13. Форма кабельнотрубного журнала соответствует форме 6 ГОСТ 21.613.

Пример выполнения кабельного журнала приведен на рис. 14. Форма кабельного журнала соответствует форме 6 ГОСТ 21.608.

5.3.3. Силовые и контрольные кабели в кабельном журнале группируют, как правило, по приводам, роду тока, напряжению и т. п. и записывают в порядке возрастания номеров или буквенных кодов.

При подходе кабелей к щитам управления в графах "Начало" и "Конец" указывают обозначение щита управления и номер панели, к которой подходит кабель.

Длину кабелей, проводов, труб в графах "Длина" в кабельном и кабельнотрубном журналах записывают с учетом надбавки на изгибы, повороты и отходы с точностью, указанной в приложении 6.

Кабельный журнал не выполняют, если трасса и вся информация о кабелях (начало, конец, марка, сечение и длина) имеется на принципиальной схеме питающей или распределительной сети.

5.3.4. На последнем листе кабельного журнала приводят таблицу потребности кабелей, а в кабельнотрубном журнале, кроме того, приводят таблицу потребности труб.

При выполнении в задании МЭЗ трубозаготовительной ведомости таблицу потребности труб в кабельнотрубном журнале не приводят, а приводят ее в трубозаготовительной ведомости. Формы таблиц потребности кабелей и труб соответствуют формам 4 и 5 ГОСТ 21.613.

Примеры выполнения таблиц потребности кабелей и труб приведены соответственно на рис. 15 и рис. 16.

5.4. При прокладке в трубах по два и более кабелей следует составлять ведомость заполнения труб кабелями. В графе "Труба" указывают обозначение трубы и через дефис - диаметр трубы. Форма ведомости заполнения труб кабелями соответствует форме 6 ГОСТ 21.613.

Пример выполнения ведомости приведен на рис. 17.

5.5. Эскизные чертежи общего вида нетиповых низковольтных комплектных устройств (НКУ) должны содержать изображение конструкции - вид спереди, вид сверху, количество и порядок расположения панелей, габаритные размеры, текстовые указания и надписи, необходимые для общего представления об устройстве.

Пример выполнения эскизного чертежа общего вида НКУ приведен на рис. 18.

5.6. Рабочая документация задания МЭЗ.

5.6.1. Чертежи электромонтажных конструкций, предназначенных для изготовления в МЭЗ, выполняют в случаях отсутствия соответствующих изделий заводского изготовления, типовых чертежей электромонтажных конструкций и чертежей электромонтажных конструкций повторного применения.

Чертежи электромонтажных конструкций выполняют, как правило, в масштабе 1:5, 1:10 или 1:20.

На чертежах электромонтажных конструкций помещают спецификацию на одну конструкцию или групповую спецификацию на несколько исполнений конструкции по формам 7 и 8 ГОСТ Р 21.1101.

Примеры выполнения спецификации и групповой спецификации приведены на рис. 19 и рис. 20.

5.6.2. Все электромонтажные конструкции, подлежащие изготовлению в МЭЗ по типовым чертежам, чертежам повторного применения и вновь разработанный чертежам, включают в ведомость электромонтажных конструкций.

Форма ведомости соответствует форме 10 ГОСТ 21.613.

Пример выполнения ведомости приведен на рис. 21.

5.6.3. Все материалы и изделия, необходимые для изготовления электромонтажных конструкций в МЭЗ, включают в ведомость материалов и изделий.

Пример выполнения ведомости приведен на рис. 22.

5.7. Трубозаготовительная ведомость.

5.7.1. Трубозаготовительная ведомость предназначена для заготовки элементов труб в МЭЗ. Трубозаготовительную ведомость составляют как для металлических труб, так и для пластмассовых (полиэтиленовых, поливинилхлоридных) труб.

5.7.2. Трубозаготовительную ведомость выполняют в следующих случаях:

1) для электрических сетей, где преобладает прокладка кабелей и проводов в трубах и где объем трубных прокладок определяет целесообразность заготовки элементов труб в МЭЗ;

2) для электрических сетей, прокладываемых в трубах в фундаментах сложного оборудования.

5.7.3. При заполнении трубозаготовительной ведомости в графе "Участок трассы трубы" указывают:

1) длины участков труб между вершинами углов в метрах;

2) значения углов в градусах и радиусы изгиба в миллиметрах;

3) обозначения протяжных ящиков и трубных блоков;

4) обозначение чертежа, на котором дано продолжение трубы.

5.7.4. При изготовлении трубы из нормализованных элементов в графе "Участок трассы трубы" указывают:

1) длины нормализованных прямых отрезков труб, а в необходимых случаях - длину добавочного отрезка в метрах;

2) типы соединительных углов с указанием угла изгиба в градусах;

3) обозначения протяжных ящиков и трубных блоков;

4) обозначение чертежа, на котором дано продолжение трубы.

В графе "Примечание" при необходимости приводят эскиз трубы, а также другие дополнительные сведения.

5.7.5. На последнем листе трубозаготовительной ведомости приводят таблицу потребности труб (см. рис. 16).

5.7.6. При применении для электрических сетей только металлических труб трубозаготовительную ведомость выполняют по форме 8 ГОСТ 21.613. При применении как металлических, так и пластмассовых труб трубозаготовительную ведомость выполняют по форме рис. 23 ОТР.

6. РЕКОМЕНДАЦИИ ПО КОМПЛЕКТОВАНИЮ ЭРД

6.1. Как показал опыт, при большом объеме ЭРД проектируемых предприятий (зданий, сооружений) число папок (томов) может составлять десятки, а иногда сотни штук.

В этих случаях поиск отдельных рабочих чертежей и текстовых документов связан со значительными трудностями.

Для облегчения работы с папками (томами) при большом объеме ЭРД рекомендуется комплектование ЭРД выполнять в соответствии с нижеизложенным:

1) основными критериями при размещении ЭРД по папкам (томам) являются виды работ (марки) и назначение рабочих чертежей и текстовых документов (для выполнения монтажных работ, изготовления конструкций в МЭЗ, заказа оборудования и материалов, наладки и эксплуатации), а также оптимальные габариты папок (томов). Распределение ЭРД по папкам может выполняться по мере выполнения ЭРД с учетом фактического количества листов рабочих чертежей и текстовых документов;

2) каждой папке присваивается порядковый номер;

3) для ЭРД в целом составляется таблица комплектования, из которой видно размещение рабочих чертежей и текстовых документов по папкам.

Пример выполнения таблицы комплектования приведен на рис. 24;

4) в каждой папке приводят опись документов, в которую записывают все чертежи и текстовые документы, размещенные в папке, включая обложку папки (тома), опись документов и таблицу комплектования, если последняя включается в папку (том);

5) таблица комплектования, обложка папки (тома), опись документов не входят в состав ЭРД и в связи с этим в ведомость рабочих чертежей основных комплектов не включаются;

6) таблице комплектования присваивается обозначение, состоящее из базового обозначения, через дефис индекса XX и через точку индекса ТК.

Пример:     ХХХХ-XX-XX.ТК.

Обложке и описи документов присваиваются обозначения, состоящие из обозначения основного комплекта рабочих чертежей и через точку: для обложки - индекса ОБ, для описи документов - индекса ОП. К указанным индексам добавляется номер папки (тома).

Примеры: ХХХХ-XX-ЭТХ.ОБ1,

ХХХХ-XX-ЭТХ.ОП1;

7) таблица комплектования может помещаться в любые папки по усмотрению ГИПа.

На рис. 25 в табличной форме показано применение ведомостей в общих данных основного комплекта и описи документов, таблицы комплектования, обложки в папках (томах) на примере четырех вариантов выполнения ЭРД.

Примеры выполнения обложек и описи документов приведены соответственно на рис. 26-29 и рис. 30.

6.2. Рабочие чертежи передаются заказчику, как правило, в папках россыпью. Текстовые документы рабочей документации, за исключением спецификаций оборудования, рекомендуется брошюровать. Кабельные журналы брошюруются во всех случаях.

В отдельных случаях, по договоренности с заказчиком (особые условия к договору), часть экземпляров рабочей документации может выдаваться в виде переплетенных томов.

6.3. При внесении изменений в чертежи и текстовые документы данной папки на свободном поле обложки папки делают запись "Изменен" и проставляют дату внесения изменений. Рекомендуется тут же проставлять обозначения и номера листов, на которых произведены изменения.

При большом объеме информации об изменениях записи "Изменен" и другие могут быть приведены на отдельном листе.

ПРИЛОЖЕНИЕ 1

Справочное

ПЕРЕЧЕНЬ СТАНДАРТОВ СПДС И ЕСКД, ТРЕБОВАНИЯ КОТОРЫХ ПОДЛЕЖАТ УЧЕТУ ПРИ ВЫПОЛНЕНИИ ЭЛЕКТРОТЕХНИЧЕСКОЙ РАБОЧЕЙ ДОКУМЕНТАЦИИ

СТАНДАРТЫ СПДС

ГОСТ 21.001         Общие положения

ГОСТ 21.002         Нормоконтроль проектно-сметной документации

ГОСТ Р 21.1101    Основные требования к рабочей документации

ГОСТ 21.106         Условные обозначения трубопроводов санитарно-технических систем

ГОСТ 21.108         Условные графические изображения и обозначения на чертежах генеральных планов и транспорта

ГОСТ 21.109         Ведомость потребности в материалах

ГОСТ 21.110         Спецификация оборудования

ГОСТ 21.111         Ведомости объемов строительных и монтажных работ

ГОСТ 21.112         Подъемно-транспортное оборудование. Условные изображения

ГОСТ 21.113         Чертежи строительные. Обозначение характеристик точности

ГОСТ 21.501         Правила выполнения архитектурно-строительных чертежей

ГОСТ 21.203         Правила учета и хранения подлинников проектной документации

ГОСТ 21.403         Обозначения условные графические в схемах. Оборудование энергетическое

ГОСТ 21.404         Автоматизация технологических процессов. Условные обозначения приборов и средств автоматизации в схемах

ГОСТ 21.603         Связь и сигнализация. Рабочие чертежи

ГОСТ 21.607         Электрическое освещение территорий промышленных предприятий и общественных зданий и сооружений. Рабочие чертежи

ГОСТ 21.608         Внутренне электрическое освещение. Рабочие чертежи

ГОСТ 21.611         Централизованное управление энергоснабжением. Условные графические и буквенные обозначения вида и содержания информации

ГОСТ 21.612        Электроснабжение. Основные требования к рабочим чертежам

(проект)

ГОСТ 21.613         Силовое электрооборудование. Рабочие чертежи

ГОСТ 21.614         Изображения условные графические электрооборудования и проводок на планах

ГОСТ 21.901         Требования к оформлению проектной документации для строительства за границей

СТАНДАРТЫ ЕСКД

ГОСТ 2.004           Общие требования к выполнению конструкторских и технологических документов на печатающих и графических устройствах вывода ЭВМ

ГОСТ 2.105           Общие требования к текстовым документам

ГОСТ 2.108           Спецификации

ГОСТ 2.109           Основные требования к чертежам

ГОСТ 2.113           Групповые чертежи

ГОСТ 2.301           Форматы

ГОСТ 2.302           Масштабы

ГОСТ 2.303           Линии

ГОСТ 2.304           Шифры чертежные

ГОСТ 2.305           Изображения - виды, разрезы, сечение

ГОСТ 2.306           Обозначения графических материалов и правила их нанесения на чертежах

ГОСТ 2.307           Нанесение размеров и предельных отклонений

ГОСТ 2.308           Указание на чертежах допусков форм и расположения поверхностей

ГОСТ 2.313           Условные изображения и обозначения неразъемных соединений

ГОСТ 2.314           Указания на чертежах о маркировании и клеймении изделий

ГОСТ 2.316           Правила нанесения на чертежах надписей, технических требований и таблиц

ГОСТ 2.321           Обозначения буквенные

ГОСТ 2.410           Правила выполнения чертежей металлических конструкций

ГОСТ 2.701           Схемы. Виды и типы. Общие требования к выполнению

ГОСТ 2.702           Правила выполнения электрических схем

ГОСТ 2.708           Правила выполнения электрических схем цифровой вычислительной техники

ГОСТ 2.709           Обозначения условные проводов и контактных соединений электрических элементов, оборудования участков цепей в электрических схемах

ГОСТ 2.710           Обозначения буквенно-цифровые в электрических схемах

ГОСТ 2.721           Обозначения условные графические в схемах. Обозначения общего применения

ГОСТ 15.012         Патентный формуляр

Примечание. Стандарты ЕСКД применяются с учетом требований стандартов СПДС.

ПРИЛОЖЕНИЕ 2

Рекомендуемое

ТРЕБОВАНИЯ К ВЫПОЛНЕНИЮ СТРОИТЕЛЬНЫХ ЗАДАНИЙ

1. Строительные задания (чертежи и текстовые указания) содержат требования к строительным решениям. Как правило, в строительные задания на помещения, сооружения включают также требования к выполнению вентиляционных, сантехнических, противопожарных и др. устройств для этих помещений и сооружений.

2. Строительное задание выполняют на части здания (сооружения), соответствующее одному или нескольким, основным комплектам рабочих чертежей или на здание (сооружение) в целом, соответствующее всей электротехнической рабочей документации.

3. Строительное задание выдается на устройство электротехнических помещений, включая средства для транспортировки крупногабаритного электрооборудования (тележки, тали, краны подвесные однобалочные, краны мостовые), фундаменты под электрооборудование, закладные детали, отверстия, ниши, молниезащитные устройства и т. п.

4. Строительные задания должны содержать необходимые для разработки строительных рабочих чертежей данные, как то: габариты помещений, диаметры отверстий, размеры проемов, ниш, нагрузки на элементы сооружений от электрического оборудования и конструкций электрических сетей и т. д.

5. Допускается выдавать дополнительное строительное задание на закладные детали, проемы, отверстия (диаметром более 30 мм), которые выявились после выполнения электротехнических рабочих чертежей.

6. Строительные рабочие чертежи, содержащие решения по требованиям строительного задания, подлежат согласованию с разработчиком строительного задания.

7. Строительные задания и дополнительные строительные задания направляются главному инженеру проекта по объекту для реализации соответствующими проектными организациями (подразделениями). Строительные задания, могут также направляться электромонтажной организации по ее просьбе.

На экземплярах строительных заданий, передаваемых электромонтажной организации по ее просьбе, следует делать надпись:

"В чертежах не отражены изменения, произведенные при разработке строительных чертежей."

ПРИЛОЖЕНИЕ 3

Обязательное

ПЕРЕЧЕНЬ МАРОК ОСНОВНЫХ КОМПЛЕКТОВ ЭЛЕКТРОТЕХНИЧЕСКИХ РАБОЧИХ ЧЕРТЕЖЕЙ

Наименование основного комплекта рабочих чертежей

Марка

Примечание

1. Электроснабжение

ЭС

ГОСТ 21.612 (проект)

2. Электроснабжение. Подстанции

ЭП

 

3. Линии электропередачи воздушные

ЭВ

 

4. Линии электропередачи кабельные

ЭК

 

5. Защита электрохимическая

ЭХЗ

В ОТР не рассматривается. Документация разрабатывается специализированными организациями

6. Молниезащита и заземление

ЭГ

 

7. Сети тяговые электрифицированного промышленного железнодорожного транспорта

ЭТ

 

8. Силовое электрооборудование

ЭМ

ГОСТ 21.613

9. Электрооборудование технологических механизмов и агрегатов; системы автоматизированного управления технологическими процессами (АСУ ТП)

ЭТХ

АСУ ТП только в части управления оборудованием

10. Внутреннее электрическое освещение

ЭО

ГОСТ 21.608

11. Электрическое освещение территорий промышленных предприятий и общественных зданий и сооружений

ЭН

ГОСТ 21.607

12. Централизованное управление энергоснабжением и оборудованием; автоматизированная система управления энергоснабжением (АСУЭ); автоматизированная система диспетчерского управления энергоснабжением (АСДУ)

ЭУ

 

ПРИЛОЖЕНИЕ 4

Рекомендуемое

СОСТАВ РАБОЧИХ ЧЕРТЕЖЕЙ И ОТДЕЛЬНЫЕ ПОЯСНЕНИЯ ПО ИХ ВЫПОЛНЕНИЮ

1. ЭЛЕКТРОСНАБЖЕНИЕ. ПОДСТАНЦИИ - ЭП

1.1. Настоящий раздел определяет состав рабочих чертежей электрической подстанции или распределительного пункта 6 - 220 кВ.

1.2. В рабочие чертежи включают:

1) общие данные по рабочим чертежам;

2) принципиальную схему главных цепей;

3) принципиальные (полные) схемы релейной защиты, управления, измерения, сигнализации и т. д.;

4) планы расположения электрооборудования, ошиновки и прокладки сетей заземления;

5) планы прокладки электрических сетей;

6) схемы (таблицы) подключения;

7) кабельный журнал;

8) рабочую документацию задания МЭЗ;

9) эскизные чертежи общего вида НКУ.

1.3. В общие указания дополнительно к перечисленному в п. 2.11.6 включают:

1) сведения об уточнении проекта;

2) таблицу установок реле защиты и автоматики линий 6 - 220 кВ.

1.4. Схему главных цепей выполняют в однолинейном изображении.

На схеме указывают:

1) номинальное напряжение сборных шин;

2) типы, номинальные токи и сопротивление резисторов (при наличии их в схеме);

3) схемы соединений обмоток, тип, номинальные мощности и напряжение силовых трансформаторов;

4) схемы соединений обмоток, тип и номинальное напряжение трансформаторов напряжения;

5) тип и номинальные токи трансформаторов тока;

6) виды релейных защит, автоматики и измерительные приборы;

7) марки, сечения и количество проводников питающих и отходящих линий.

1.5. Принципиальные (полные) схемы релейной защиты, управления, измерения, сигнализации, АВР и др. приводят полностью в многолинейном изображении с указанием всех элементов комплектных устройств.

Электронные элементы, микропроцессорные устройства и т. п., имеющие собственные электрические схемы, изображаются на принципиальных схемах в виде прямоугольников или других условных графических изображений. В необходимых случаях эти электрические схемы могут быть включены в состав основного комплекта рабочих чертежей. В случаях, когда электрические схемы указанных элементов и устройств выполнены как чертежи повторного применения и имеют собственные обозначения, они помещаются в прилагаемые к основному комплекту рабочих чертежей документы.

1.6. В кабельном журнале учитывают все кабели электрической подстанции (распределительного пункта), включая отходящие, а в спецификации оборудования - только кабели, относящиеся к внутренним связям электрической подстанции (распределительного пункта).

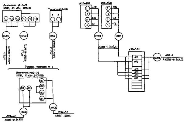
1.7. На рис. 31 приведен пример выполнения плана расположения шкафов КРУ, ошиновки и прокладки сети заземления в электротехническом помещении.

2. ЛИНИИ ЭЛЕКТРОПЕРЕДАЧИ ВОЗДУШНЫЕ - ЭВ

2.1. Настоящий раздел определяет состав рабочих чертежей линий электропередачи напряжением до 35 кВ. (Воздушные линии электропередачи напряжением свыше 35 кВ выполняются в соответствии с нормативными документами Минтопэнерго).

2.2. В рабочие чертежи воздушных линий электропередачи (ЛЭП) включают:

1) общие данные по рабочим чертежам;

2) паспорт ЛЭП;

3) схему ЛЭП;

4) обзорный план трасс;

5) профиль трассы с расстановкой опор (для 35 кВ);

6) таблицу монтажных стрел провеса проводов и троса (для 35 кВ);

7) детали переходов ЛЭП;

8) ведомость закрепления железобетонных опор;

9) ведомость опор и фундаментов;

10) ведомость заземляющих устройств;

11) ведомость гирлянд изоляторов;

12) ведомость установки гасителей вибрации (для 35 кВ);

13) ведомость отвода земли под опоры (для 35 кВ);

14) ведомость вырубки просеки;

15) установочные чертежи фундаментов (для 35 кВ).

2.3. В ведомости потребности в материалах для опор индивидуального изготовления следует предусматривать металл для изготовления этих опор.

3. ЛИНИИ ЭЛЕКТРОПЕРЕДАЧИ КАБЕЛЬНЫЕ - ЭК

3.1. В рабочие чертежи включают:

1) общие данные по рабочим чертежам;

2) планы расположения кабельных трасс;

3) продольные профили линий (участков линий);

4) чертежи установки кабельных конструкций и прокладки кабелей;

5) кабельный журнал.

3.2. В общих указаниях, дополнительно к перечисленному в п. 2.11.6, включают сведения об уточнении проекта.

3.3. На плане расположения кабельных трасс указывают привязки трасс, тип кабельной канализации при помощи условных графических изображений, обозначение кабелей, способ защиты кабелей от механических повреждений и т. п.

3.4. Чертежи продольного профиля линий (участков линий) выполняют при пересечении кабельных линий с магистральными дорогами, при сложных геологических условиях, сложном рельефе и т. п.

3.5. На чертежах установки кабельных конструкций и прокладки кабелей изображают установку конструкций в кабельных сооружениях с необходимыми разрезами и указаниями по раскладке кабелей на полках и лотках.

3.6. Для линий с маслонаполненными кабелями напряжением 110 - 220 кВ в составе основного комплекта рабочих чертежей разрабатывают чертежи маслоподпитывающей системы.

3.7. На рис. 32 приведен пример выполнения плана расположения кабельных трасс.

4. МОЛНИЕЗАЩИТА И ЗАЗЕМЛЕНИЕ - ЭГ

4.1. В рабочие чертежи включают:

1) общие данные по рабочим чертежам;

2) схемы размещения молниезащитных устройств (планы и разрезы);

3) схемы размещения наружных заземляющих устройств.

4.2. В общих указаниях, дополнительно к перечисленному в п. 2.11.6, включают:

1) сведения об уточнении проекта;

2) результаты проверочных расчетов молниезащиты и заземления, если имеются изменения после выполнения стадии "Проект" или получены экспериментальные данные о сопротивлении растеканию тока в земле;

3) сведения о заземлении специальных установок (лабораторных, электронных устройств и т. п.);

4) возможность использования железобетонных и металлических конструкций строительной части зданий и сооружений в качестве заземляющих проводников и естественных заземлителей.

4.3. Изготовление и сооружение молниезащитных устройств и устройств наружного заземления производят по архитектурно-строительным чертежам, разрабатываемым на основании строительных заданий, выдаваемых электротехническими проектными организациями (подразделениями).

4.4. Если молниезащита здания, сооружения не выполняется, то, как правило, не разрабатывается основной комплект рабочих чертежей марки ЭГ. В этом случае все схемы и текстовые документы по наружному заземляющему устройству включаются в из основных комплектов электротехнических рабочих чертежей марки ЭП, ЭМ, ЭТХ и т. д.

4.5. На рис. 33 приведен пример выполнения схемы размещения молниезащитного устройства и устройства наружного заземления.

5. СЕТИ ТЯГОВЫЕ ЭЛЕКТРИФИЦИРОВАННОГО ПРОМЫШЛЕННОГО ЖЕЛЕЗНОДОРОЖНОГО ТРАНСПОРТА - ЭТ

5.1. В рабочие чертежи включают:

1) общие данные по рабочим чертежам;

2) схемы питания и секционирования участков контактной сети;

3) планы контактной сети и усиливающих линий с привязкой опор;

4) планы воздушных питающих и отсасывающих линий с привязкой опор;

5) планы рельсовых и кабельных отсасывающих линий;

6) поперечные разрезы по трассам питающих и отсасывающих линий (в стесненных условиях);

7) журнал разбивки опор контактной сети и воздушных питающих линий;

8) план контактной сети в тоннелях (штольнях) с разбивкой мест подвесок, анкеровок и фиксации контактных проводов, подвесок секционных изоляторов и мест установки секционных разъединителей;

9) монтажные кривые натяжений и стрел провеса проводов контактной сети, питающих и отсасывающих линий;

10) принципиальные схемы предупреждающей сигнализации о подаче тягового напряжения в здания и сооружения;

11) чертежи установки опор;

12) чертежи установки поддерживающих конструкций, защитных и коммутирующих аппаратов;

13) чертежи подвесок и анкеровок контактной сети, питающих, усиливающих и воздушных отсасывающих линий;

14) чертежи устройства заземлений и рельсовых соединений;

15) чертежи прокладки шинных, рельсовых и кабельных отсасывающих линий;

16) ведомости опор контактной сети и питающих линий.

5.2. В общие указания, дополнительно к перечисленному в п. 2.11.6, включают сведения об уточнении проекта.

5.3. На рис. 34 приведен пример выполнения плана контактной сети, питающих и отсасывающих, линий электрифицированного промышленного железнодорожного транспорта.

6. ЭЛЕКТРООБОРУДОВАНИЕ ТЕХНОЛОГИЧЕСКИХ МЕХАНИЗМОВ И АГРЕГАТОВ; СИСТЕМЫ АВТОМАТИЗИРОВАННОГО УПРАВЛЕНИЯ ТЕХНОЛОГИЧЕСКИМИ ПРОЦЕССАМИ В ЧАСТИ УПРАВЛЕНИЯ ОБОРУДОВАНИЕМ - ЭТХ

6.1. В зависимости от комплектности поставки в строительство технологических механизмов и агрегатов и степени их автоматизации возможны различные варианты разработки рабочих чертежей:

1) технологические механизмы и агрегаты поставляются в комплекте с электрооборудованием приводов, системами автоматизации, с электротехнической рабочей документацией для строительства - рабочие чертежи, а также текстовые документы ЭРД не разрабатываются;

2) технологические механизмы и агрегаты поставляются на строительство в комплекте с электрооборудованием приводов, системами автоматизации, но без электротехнической рабочей документации для строительства - разрабатываются рабочие чертежи для электромонтажных работ и текстовые документы ЭРД;

3) технологические механизмы и агрегаты поставляются не полностью укомплектованными электрооборудованием приводов и (или) системами автоматизации и без электротехнической рабочей документации для строительства - разрабатываются рабочие чертежи для электромонтажных работ и текстовые документы ЭРД, а также рабочая документация систем управления и (или) систем автоматизации.

Примечание. Имеется в виду, что во всех трех вариантах технологические механизмы и агрегаты содержат выносное электрооборудование приводов и (или) выносные средства автоматизации.

6.2. В рабочие чертежи по варианту комплектности поставки технологических механизмов и агрегатов 3) пункта 6.1 включают:

1) общие данные;

2) ведомость приводов;

3) схемы расположения постов управления и электрооборудования на агрегате;

4) схемы структурные, функциональные, принципиальные;

5) схемы (таблицы) подключения;

6) кабельный (кабельнотрубный) журнал;

7) ведомость заполнения труб кабелями;

8) планы расположения электрооборудования, ошиновки и прокладки сетей заземления;

9) планы прокладки электрических сетей;

10) рабочую документацию задания МЭЗ;

11) эскизные чертежи общего вида НКУ.

При разработке систем управления приводами и систем автоматизации с применением программируемых контроллеров и других средств вычислительной техники состав документов, относящихся к этим системам, следует определять с учетом работы ВНИПИ Тяжпромэлектропроект "Стадии разработки и состав документации на электропривод и системы автоматизации" РТМ36.18.32.1-91.

6.3. В рабочие чертежи по варианту комплектности поставки технологических механизмов и агрегатов 2) пункта 6.1 включают указанное в подпунктах 1), 6) - 11) пункта 6.2.

6.4. На схеме расположения постов управления электрооборудования показывают:

1) расположение электроприводов, гидроприводов и пневмоприводов, участвующих в технологическом процессе и управляемых операторами-технологами;

2) расположение постов управления и рабочих мест с указанием стрелками или в таблицах - с какого поста (рабочего места) производится управление какими приводами.

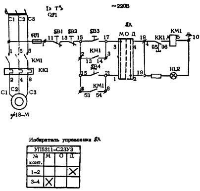
6.5. На рис. 35 приведен пример выполнения принципиальной схемы управления электроприводом; на рис. 36 приведен пример выполнения схемы подключения.

На рис. 37 приведен пример выполнения таблицы подключения.

7. ЦЕНТРАЛИЗОВАННОЕ УПРАВЛЕНИЕ ЭНЕРГОСНАБЖЕНИЕМ И ОБОРУДОВАНИЕМ; АВТОМАТИЗИРОВАННАЯ СИСТЕМА УПРАВЛЕНИЯ ЭНЕРГОСНАБЖЕНИЕМ (АСУЭ); АВТОМАТИЗИРОВАННАЯ СИСТЕМА ДИСПЕТЧЕРСКОГО УПРАВЛЕНИЯ ЭНЕРГОСНАБЖЕНИЕМ (АСДУ) - ЭУ

7.1. Управление энергоснабжением промышленного предприятия включает в себя управление системами электроснабжения, водоснабжения, газоснабжения, теплоснабжения, кислородо- и азотоснабжения, воздухоснабжения и т. п.

7.2. Под централизованным управлением оборудованием понимается централизованное управление инженерным оборудованием цехов, зданий (установками вентиляции, кондиционирования воздуха, отопления и т. п.) и другими подсобными устройствами (насосно-аккумуляторными станциями, установками маслосмазки и т. п.).

7.3. В состав рабочих чертежей включают:

1) общие данные по рабочим чертежам;

2) упрощенные структурные схемы контролируемых систем и объектов;

3) структурные схемы комплекса технических средств;

4) схемы подключения;

5) планы расположения электрооборудования и прокладки электрических сетей на пункте управления (ПУ);

6) кабельный журнал.

7.4. В общие указания, дополнительно к перечисленному в п. 2.11.6, включают:

1) сведения об уточнении проекта в части управления энергоснабжением и оборудованием;

2) описание сложных систем централизованного управления.

7.5. Упрощенные структурные схемы контролируемых систем и объектов подразделяются на:

1) упрощенные структурные схемы систем и объектов электроснабжения (электрические станции, подстанции, распределительные пункты);

2) упрощенные структурные схемы систем и объектов энергоснабжения (насосные станции, газораспределительные станции, компрессорные, бойлерные и т.п.);

3) упрощенные структурные схемы систем вентиляции, маслосмазки, насосно-аккумуляторных станций и т. п.

На этих схемах изображают оборудование, аппараты, линии связи и указывают параметры энергетических и других величин, необходимых для понимания принятого объема информации и охватываемые системой оперативного управления.

Для простых энергетических объектов (например, однотрансформаторных подстанций, отдельно стоящих вентиляторов и т. п.) упрощенные структурные схемы допускается не выполнять.

7.6. На упрощенной структурной схеме электроснабжения, как правило, изображают и указывают:

1) сборные шины и значение номинального напряжения;

2) вводы и отходящие линии с указанием номеров их ячеек и обозначений;

3) трансформаторы силовые, реакторы, комплектующие устройства и т. п., их основные параметры;

4) коммутирующие аппараты (выключатели, разъединители, отделители и т. п.);

5) объем принятой информации.

7.7. На упрощенной структурной схеме энергоснабжения, как правило, изображают и указывают:

1) технологическое оборудование контролируемых пунктов (КП) и функциональные связи;

2) вид привода технологического оборудования;

3) объем принятой информации.

7.8. На структурной схеме комплекса технических средств изображают и указывают виды и типы используемых в системе оперативного управления технических средств передачи, обработки и предоставления информации на ПУ и КП, связи между ними, объем и содержание представляемой информации.

7.9. Принципиальные схемы управления и контроля выполняют раздельно для управления объектами, для сигнализации о состоянии контролируемых объектов и для измерения электрических и неэлектрических параметров для каждого КП.

Принципиальные схемы питания оборудования систем оперативного управления выполняют для ПУ и КП.

Принципиальные схемы общей сигнализации выполняют для ПУ (если общая сигнализация не предусмотрена принятой системой телемеханики).

Принципиальные схемы управления и контроля могут быть выполнены в виде таблиц заполнения с типовыми элементами схем.

7.10. Расположение и установка электрооборудования, приборов и датчиков на КП (шкафов КП, дополнительных панелей, датчиков сигнализации, приборов и преобразователей измеряемых параметров), а также прокладка кабелей от КРУ, ЦСУн, щитов КНП, датчиков и т. п. до шкафов телемеханики КП и от них до телефонного распредустройства, как правило, показываются на рабочих чертежах других видов электромонтажных работ (на рабочих чертежах основных комплектов марок ЭП, ЭМ, ЭТХ).

7.11. Рабочие чертежи централизованного управления энергоснабжением и оборудованием рекомендуется расчленять на два и более основных комплекта с выделением в отдельные основные комплекты рабочих чертежей ПУ и КП.

ПРИЛОЖЕНИЕ 5

Рекомендуемое

МАСШТАБЫ ИЗОБРАЖЕНИЙ НА ПЛАНАХ

Наименование изображения

Масштаб

Расположение электроустановок и линий электропередачи напряжением выше 1 кВ

1:10000; 1:20000

ЛЭП 6-10 кВ и трансформаторные подстанции 6-10/0,4 кВ

1:50; 1:100

Трассы наружных кабельных сетей

1:500; 1:1000

Расположение электрооборудования и прокладка кабелей

1:100; 1:200

Прокладка труб, шин

1:20; 1:25; 1:50

Электромонтажные конструкции

1:5; 1:10; 1:20

Сети тяговые электрифицированного промышленного железнодорожного транспорта:

 

а) расположение воздушных, рельсовых, кабельных линий контактной сети

1:500; 1:1000; 1:2000

б) установка опор, конструкций, аппаратов

1:20; 1:25; 1:50; 1:100

ПРИЛОЖЕНИЕ 6

Справочное

ОКРУГЛЕНИЕ КОЛИЧЕСТВЕННЫХ ЗНАЧЕНИЙ МАТЕРИАЛОВ И КАБЕЛЕЙ И ЕДИНИЦЫ ИЗМЕРЕНИЯ (В СПЕЦИФИКАЦИЯХ НА ЧЕРТЕЖАХ, В РАБОЧЕЙ ДОКУМЕНТАЦИИ ЗАДАНИЙ МЭЗ, В КАБЕЛЬНЫХ ЖУРНАЛАХ)

Наименование

Степень точности

1. Прокат черных и цветных металлов в спецификации на чертеже:

 

при массе детали до 1 кг;

0,01 кг

при массе детали более 1 кг

0,1 кг

2. Прокат черных металлов в ведомости материалов и изделий задания МЭЗ

0,001 т

3. Прокат цветных металлов в ведомости материалов и изделий задания МЭЗ

1,0 кг

4. Трубы стальные:

 

в спецификации на чертеже

0,1 м
0,1 кг

в трубозаготовительной ведомости

0,1 м

0,1 кг

в таблице потребности труб

1,0 м

1,0 кг

в ведомости материалов и изделий задания МЭЗ

0,001 км

0,001 т

5. Кабели и провода:

 

в кабельном журнале при длине кабеля до 10 м;

0,1 м

в кабельном журнале при длине кабеля свыше 10 м;

1,0 м

в таблице потребности кабелей и проводов

1,0 м

Примечание. Округление количественных значений материалов и кабелей и единицы измерения в спецификации оборудования и в ведомости потребности в материалах приведено в работе ВНИПИ Тяжпромэлектропроект "Рекомендации и примеры выполнения спецификаций и ведомостей", М788-1075.

ВЕДОМОСТЬ РАБОЧИХ ЧЕРТЕЖЕЙ ОСНОВНОГО КОМПЛЕКТА

ЛИСТ

НАИМЕНОВАНИЕ

ПРИМЕЧАНИЕ

15

140

30

1-4

Общие данные

 

5

Ведомость приводов

 

6

Принципиальная схема управления электроприводом

 

7

Принципиальная схема распределительной сети щита управления

 

8

Схема подключения

 

9

План расположения электрооборудования

 

10

План прокладки электрических сетей

 

11-20

Кабельнотрубный журнал

 

21-22

Ведомость заполнения труб кабелями

 

Рис. 2. Пример выполнения ведомости рабочих чертежей основного комплекта

ВЕДОМОСТЬ ССЫЛОЧНЫХ И ПРИЛАГАЕМЫХ ДОКУМЕНТОВ

ОБОЗНАЧЕНИЕ

НАИМЕНОВАНИЕ

ПРИМЕЧАНИЕ

60

95

30

 

Ссылочные документы

 

1-3

Прокладка кабелей в тоннелях и каналах, проложенных в фундаментах прокатных станов

 

 

Прилагаемые документы

 

 

Рабочая документация задания МЭЗ:

 

Х-ХХ-ЭТХ.ИВК

Ведомость электромонтажных конструкций

 

Х-ХХ-ЭТХ.ИВК

Ведомость материалов и изделий для изготовления электромонтажных конструкций

 

Х-ХХ-ЭТХ.И1

Конструкция для установки выключателя

 

Х-ХХ-ЭТХ.Н1

Шкаф Ш1. Эскизный чертеж общего вида

 

Х-ХХ-ЭТХ.ЛС

Локальная смета

 

Х-ХХ-ЭТХ.ВМ

Ведомость потребности в материалах

 

Х-ХХ-ЭТХ.СО

Спецификация оборудования

 

Рис. 3. Пример выполнения ведомости ссылочных и прилагаемых документов

ВЕДОМОСТЬ ОСНОВНЫХ КОМПЛЕКТОВ РАБОЧИХ ЧЕРТЕЖЕЙ

ОБОЗНАЧЕНИЕ

НАИМЕНОВАНИЕ

ПРИМЕЧАНИЕ

60

95

30

 

Электроснабжение. Подстанции

 

ХХХ-ХХ-ЭП

Распределительный пункт 10 кВ

 

 

Силовое электрооборудование

 

ХХХ-ХХ-ЭМ1

Ремонтный цех. Трубопроводное отделение

 

ХХХ-ХХ-ЭМ2

Ремонтный цех. Доковое отделение

 

ХХХ-ХХ-ЭМ3

Лабораторный корпус

 

 

Электрическое освещение

 

ХХХ-ХХ-ЭО1

Ремонтный цех

 

ХХХ-ХХ-ЭО2

Лабораторный корпус

 

Рис. 4. Пример выполнения ведомости основных комплектов рабочих чертежей

ВЕДОМОСТЬ ДОКУМЕНТОВ ОСНОВНОГО КОМПЛЕКТА

ОБОЗНАЧЕНИЕ

НАИМЕНОВАНИЕ

ПРИМЕЧАНИЕ

60

95

30

ХХХХ-ХХ-ЭТХ.1

Общие данные. Ведомость приводов. Принципиальные схемы

 

ХХХХ-ХХ-ЭТХ.2

Схемы подключения. Кабельный журнал. Ведомость заполнения труб кабелями

 

ХХХХ-ХХ-ЭТХ.3

Планы расположения электрооборудования, ошиновки и прокладки сети заземления

 

ХХХХ-ХХ-ЭТХ.4

Планы прокладки электрических сетей

 

Рис. 5. Пример выполнения ведомости документов основного комплекта

Рис. 6. Расположение основной надписи, дополнительных граф к ней и размерных рамок на листах

 

 

 

 

 

 

ХХХХ-ХХ-ЭТХ1

 

 

 

 

 

 

 

 

 

 

 

 

Новолипецкий металлургический комбинат

Изм.

Кол. уч.

Лист

№ док

Подпись

Дата

 

 

 

 

Цех динамной стали. Прокатное отделение

 

 

 

 

 

 

 

Р

2

 

Гл. спец.

Фамилия

Подпись

Дата

Н. контр.

План расположения электрооборудования

ВНИПИ

Тяжпромэлектропроект

Москва

Пров.

Разраб.

Рис. 7. Пример выполнения основной надписи по форме 3 ГОСТ Р 21.1101

 

 

 

 

 

 

М788-1083

 

 

 

 

 

 

Изм.

Кол. уч.

Лист

№ док

Подпись

Дата

 

 

 

 

Кронштейн.
Сборочный чертеж

Стадия

Лист

Листов

Гл. спец.

Фамилия

Подпись

Дата

Р

1

3

Н. контр.

ВНИПИ Тяжпромэлектропроект

Москва

Пров.

Разраб.

Рис. 8. Пример выполнения основной надписи по форме 5 ГОСТ Р 21.1101

 

 

 

 

 

 

ХХХХ-ХХ-ЭП1.ВМ

 

 

 

 

 

 

 

5

Изм.

Кол. уч.

Лист

№ док

Подпись

Дата

Рис. 9. Пример выполнения основной надписи по форме 6 ГОСТ Р 21.1101

Поз.

Обозначение

Наименование

Кол.

Масса ед., кг

Примечание

15

60

65

10

15

20

 

 

Электрооборудование

 

 

 

1

ОЛХ.084.023

Шкаф управления ШУ5102-13В2В

2

 

 

 

 

Изделия заводов
АХК "Электромонтаж"

 

 

 

 

ТУ 36.18.29.01-11-87

Шинопровод ШМА4УЗ, 1600 А:

 

 

 

2

 

Секция прямая У3330МУЗ,

L=750

5

 

 

3

 

Секция угловая вертикальная У338МУЗ

1

 

 

 

 

Конструкции

 

 

 

4

ХХХХ-ХХ-ЭП.И2СБ

Подвес для крепления шинопровода к перекрытию

10

 

 

 

 

Детали

 

 

 

5

5.407-000.2.63

Скоба

5

 

 

6

Без чертежа

Подвеска из уголка В63х63х5 ГОСТ 8509-86

Ст 3 кп
L=500

12

2,4

 

 

 

Стандартные изделия

 

 

 

7

 

Контргайка 40 ГОСТ 8968-75

25

 

 

 

 

Материалы

 

 

 

8

 

Шина ШТМ 10,00х40,00 ГОСТ 434-78

40

8,9

М

9

 

Провод АПВ1х2,5-660 ГОСТ 6323-79

30

 

М

Рис. 10. Пример выполнения спецификации на плане расположения

Поз.

ОБОЗНАЧЕНИЕ

НАИМЕНОВАНИЕ

Кол. на магистраль

Масса ед., кг

Примечание

Всего

15

60

65

10

10

10

10

15

20

 

 

Электрооборудование

 

 

 

 

 

 

1

ТУ 16-536.589-78

Пункт распределительный ПР24Г-8208-21УЗ

 

 

 

1

 

 

 

 

Изделия заводов АХК
"Электромонтаж"

 

 

 

 

 

 

 

ТУ 36.18.29.01-12-87

Шинопровод ШРА4УЗ, 630 А:

 

 

 

 

 

 

2

 

Секция прямая У2060МУЗ, L=1000

1

2

2

5

 

 

3

 

Секция вводная У2076МУЗ

1

1

1

3

 

 

4

ТУ 36-2158-81

Короб угловой горизонтальный У1109УЗ

 

 

 

4

 

 

5

ТУ 36-251-81

Короб тройниковый У1110УЗ

 

 

 

2

 

 

Примечание. Число граф "Кол." не нормируется.

Рис. 11. Пример выполнения групповой спецификации на плане расположения

Обозначение кабеля, провода

Трасса

Участок трассы кабеля, провода

Кабель, провод

По проекту

Проложен

Начало

Конец

Марка

Количество, число и сечение жил

Длина, м

Марка

Количество, число и сечение жил

Длина, м

25

60

60

110

20

35

15

20

35

15

Н001

+ЕЕ1=АС1.1

18-М1

В001 Т001 1ЯП Т101

АВВГ

1(3×50+1×25)

25

 

 

 

Н002

+ЕЕ1=АС1.2

18-М2

В001 Т002 1ЯП Т102

АВВГ

1(3×50+1×25)

28

 

 

 

Н003

+ЕЕ1=АС1.3

18-М3

В001 Т003 1ЯП Т103

АВВГ

1(3×50+1×25)

33

 

 

 

Н004

+ЕЕ1=АС1.4

18-М4

В001 Т004 1ЯП Т104

АВВГ

1(3×50+1×25)

38

 

 

 

Рис. 12. Пример выполнения кабельного журнала для прокладки кабелей методом трасс

Обозначение

Трасса

Проход через

Кабель

трубу

Протяжной ящик, N

По проекту

Проложен

Начало

Конец

Обозначение

Диаметр по стандарту, мм

Длина, м

Марка

Количество, число и сечение жил

Длина, м

Марка

Количество, число и сечение жил

Длина, м

20

46

46

20

15

15

15

15

25

15

15

25

15

Н001

+ЕЕ1=АС1.1

18-М1

Т001

75

8

1ЯП

АВВГ

1(3×50+1×25)

25

 

 

 

Н002

+ЕЕ1=АС1.2

18-М2

Т002

75

10

1ЯП

АВВГ

1(3×50+1×25)

28

 

 

 

Н003

+ЕЕ1=АС1.3

18-М3

Т003

75

13

-

АВВГ

1(3×50+1×25)

33

 

 

 

Н004

+ЕЕ1=АС1.4

18-М4

Т004

75

17

-

АВВГ

1(3×50+1×25)

38

 

 

 

Рис. 13. Пример выполнения кабельнотрубного журнала

Обозначение

Трасса

Кабель

Начало

Конец

По проекту

Проложен

Марка

Количество кабелей, число и сечение жил, напряжение

Длина, м

Марка

Количество кабелей, число и сечение жил, напряжение

Длина, м

25

60

60

20

35

16

20

35

16

Н001

+ЕЕ1=АС1.1

18-М1

АВВГ

1(3×50+1×25)

25

 

 

 

Н002

+ЕЕ1=АС1.2

18-М2

АВВГ

1(3×50+1×25)

25

 

 

 

Н003

+ЕЕ1=АС1.3

18-М3

АВВГ

1(3×50+1×25)

25

 

 

 

Н004

+ЕЕ1=АС1.4

18-М4

АВВГ

1(3×50+1×25)

25

 

 

 

Рис. 14. Пример выполнения кабельного журнала

ПОТРЕБНОСТЬ КАБЕЛЕЙ И ПРОВОДОВ (Длина, м)

Число и сечение жил, напряжение

Марка

АПВ

АВВГ

АКВВГ

ПВЗ

 

 

47

 

 

nx20

 

 

 

1×2,5-0,66

123

 

 

 

 

 

3×50+1×25-0,66

 

57

 

 

 

 

5×2,5-0,66

 

 

69

 

 

 

1×1,5-0,66

 

 

 

24

 

 

Рис. 15. Пример выполнения таблицы потребности кабелей и проводов

ПОТРЕБНОСТЬ ТРУБ

Наименование
Обозначение по стандарту

Диаметр по стандарту, мм

Длина, м

45

30

20

Труба полиэтиленовая ГОСТ 18599-83

25

51

75

17

Рис. 16. Пример выполнения таблицы потребности труб

ОБОЗНАЧЕНИЕ

Трубы

Кабеля, провода

30

32

Т 001

Н001

Н002

Т 002

Н003

Н004

Рис. 17. Пример выполнения ведомости заполнения труб кабелями

Щит одностороннего обслуживания, открытый

Рис. 18. Пример выполнения эскизного чертежа общего вида НКУ

Поз.

Обозначение

Наименование

Кол.

Масса ед., кг

Примечание

15

60

65

10

15

20

1

ТУ 36-1496-85

Стойка К1151УЗ

1

 

 

2

ТУ 36-1496-85

Полка К1161УЗ

2

 

 

 

ТУ 36-1434-82

Профиль К240У2:

 

 

 

3

 

L=285

1

 

 

4

 

L=260

1

 

 

5

ТУ 36-2355-80

Шпилька УСЭК81-ЗУ1 L=350

1

 

 

6

 

Полоса 4×40 ГОСТ 103-76, L = 60

1

 

 

7

 

Гайка М12 ГОСТ 5915-70

2

 

 

8

 

Шайба М12 ГОСТ 11371-78

2

 

 

Рис. 19. Пример выполнения спецификации на чертеже конструкции задания МЭЗ

Поз.

Обозначение

Наименование

Кол. на исп.

Масса ед., кг

Примечание

1

2

3

Всего

15

60

65

10

10

10

10

15

20

1

ГОСТ 19797-85Е

Изолятор опорный ИО-10-750УЗ

4

5

2

11

 

 

2

ТУ 36-2220-79

Шинодержатель ШР-10-750У

4

5

2

1

 

 

 

 

Уголок 50×50×5 ГОСТ 8509-86:

 

 

 

 

 

 

3

 

L=250

4

4

4

12

 

 

4

 

L =1500

2

2

2

6

 

 

5

 

Болт М16×75 ГОСТ 7798-70

4

5

2

11

 

 

6

 

Шайба М16 ГОСТ 11371-78

4

5

2

11

 

 

Примечание. Число граф "Кол." не нормируется.

Рис. 20. Пример выполнения групповой спецификации на чертежах конструкций задания МЭЗ

Обозначение чертежа

Наименование

Кол.

Примеч.

55

95

15

20

ХХХ-ХХ-ЭП1.И1

Конструкция для установки электрооборудования:

 

 

 

исполнение 1

1

 

 

исполнение 2

3

 

ХХХ-ХХ-ЭП1.И2

Конструкция для установки ящиков управления типа Я5100

3

 

03-5317

Конструкция для крепления короба сечением 100х50

41

 

03-5383

Конструкция для установки ящиков управления:

 

 

 

исполнение 1

6

 

 

исполнение 2

22

 

.407-223-037

Кронштейн:

 

 

 

исполнение 2

1

 

.407-223-059

Стойка для прокладки короба

28

 

.407-49-В2

Конструкция для горизонтальной прокладки лотков:

 

 

 

исполнение 1

58

 

 

исполнение 2

42

 

Рис. 21. Пример выполнения ведомости электромонтажных конструкций, подлежащих изготовлению в МЭЗ (ИВК)

Поз.

Наименование и единица изделия

Кол.

Примечание

15

120

20

30

 

Изделия заводов АХК
"Электромонтаж"

 

 

 

Изделия для прокладки кабелей:

 

 

1

Стойка кабельная высотой 400 мм К1150УЗ, ТУ 36-1496-85

110

 

2

Полка кабельная К1160УЗ, ТУ 36-1496-85 L=160

65

 

3

Полка кабельная К1161УЗ, ТУ 36-1496-85 L=250

50

 

4

Стойка У2084 МУЗ, ТУ 36-18.29.01-3-86

30

 

5

Скоба У1078УЗ, ТУ 36-2158-81

5

 

6

Скоба У1059УЗ, ТУ 36-2158-81

150

 

 

Материалы

 

 

7

Прокат черных металлов:

 

 

 

Уголок равнополочный В63×63×5 ГОСТ 8509-86

 

 

 

Ст 3 кп, т

0,065

 

Рис. 22. Пример выполнения ведомости материалов и изделий для изготовления электромонтажных конструкций в МЭЗ (ИВМ)

Труба

Трасса

Участок трассы трубы

Примечание

Обозначение

Диаметр по стандарту, мм

Длина, м

Начало

Конец

Стальная

Пластмассовая

25

25

15

15

40

40

102

25

Т001

75

2,5

-

+ЕЕ1=АС1.1

18-М1

0,4-90º / 400-1,9-90º / 400-0,2

 

Т002

75

1,7

-

+ЕЕ1=АС1.2

18-М2

0,4-90º / 400-1,1-90º / 400-0,2

 

Т003

75

1,8

-

+ЕЕ1=АС1.3

18-М3

0,4-90º / 400-1,2-90º / 400-0,2

 

Т004

75

3,1

-

+ЕЕ1=АС1.4

18-М4

0,4-90º / 400-2,5-90º / 400-0,2

 

Рис. 23. Пример выполнения трубозаготовительной ведомости

Металлургический завод Сталеплавильный цех

Состав рабочей документации

Наименования основного комплекта

Электроснабжение Подстанция

Силовое электрооборудование

Электрооборудование печи № 1

Электрическое освещение Верхний свет

Молниезащита

Обозначение документа, лист, № папки

Основной комплект рабочих чертежей:

ХХХХ-ХХ

Общие данные

ЭП.1

п. № 1

ЭМ
л
. 1-12
п. № 11

ЭТХ.1 п. № 21

ЭО
л. 1-8
п. № 31

ЭГ
л. 1-7
п. № 40

Схемы принципиальные

Схемы подключения

ЭП.2 п. № 2

ЭТХ.2 п. № 22

Кабельный журнал

ЭП.3 п. № 3

ЭТХ.3 п. № 23

-

Планы расположения электрооборудования, прокладки кабелей, сети заземления

ЭП.4 п. № 4

ЭМ
л
. 13-40
п. № 12

ЭТХ.4 п. № 24

ЭО
л. 9 –13
п. № 32

Планы прокладки магистралей питающей, распределительной сети

-

-

Чертежи прокладки труб

-

ЭТХ.5 п. № 25

-

Планы прокладки троллейных линий

-

-

-

Прилагаемые документы:

 

Эскизные чертежи общих видов НКУ

ЭП.Н п. № 5

ЭМ.Н п. № 13

ЭТХ.Н п. № 26

-

-

Чертежи повторного применения

ЭП.П п. № 5

ЭМ.П п. № 13

ЭТХ.П п. № 26

-

-

Задание МЭЗ

ЭП.И п. № 6

ЭМ.И п. № 14

ЭТХ.И п. № 27

ЭО.И п. № 33

-

Локальные сметы

ЭП.ЛС п. № 7

ЭМ.ЛС п. № 15

ЭТХ.ЛС п. № 28

ЭО.ЛС п. № 34

-

Ведомости потребности в материалах

ЭП.ВМ п. № 7

ЭМ.ВМ п. №15

ЭТХ.ВМ п. № 28

ЭО.ВМ п. № 34

-

Спецификации оборудования

ЭП.СО п. № 7

ЭМ.СО п. №15

ЭТХ.СО п. № 28

ЭО.СО п. № 34

-

Опросные листы

ЭП.ЛО п. № 7

ЭМ.ЛО п. №15

ЭТХ.ЛО п. № 28

-

-

Рис. 24. Пример выполнения таблицы комплектования ЭРД


Варианты выполнения ЭРД

1

2

3

4

Примечание

Марка основного комплекта

ЭП

ЭП

ЭТХ

ЭП

ЭТХ

ЭП

ЭТХ

Ведущая марка

-

ЭП

ЭП

ЭП

Оформление основного комплекта

Без деления на док.

Без деления на документы

С делением на документы

-

Без деления на док.

С делением на документы

-

С делением на документы

-

Наименование документа

 

Наименование

-

-

Общие данные, схемы принципиальные

Планы расположения, кабельный журнал

Прилагаемые документы

-

Общие данные, схемы принципиальные

Планы расположения, кабельный журнал

Прилагаемые документы

Общие данные, схемы принципиальные

Планы расположения, кабельный журнал

Прилагаемые документы

ОБЩИЕ ДАННЫЕ ОСНОВНОГО КОМПЛЕКТА РАБОЧИХ ЧЕРТЕЖЕЙ

1. Ведомость рабочих чертежей основного комплекта

+

+

+

-

-

-

+

-

-

-

-

-

-

Обязательное

2. Ведомость ссылочных и прилагаемых документов

+

+

+

+

-

-

+

+

-

-

+

-

-

3. Ведомость документов основного комплекта рабочих чертежей

-

-

-

+

-

-

-

+

-

-

+

-

-

4. Ведомость основных комплектов рабочих чертежей

-

+

-

+

-

-

-

+

-

-

-

-

-

ПАПКИ ЭЛЕКТРОТЕХНИЧЕСКОЙ РАБОЧЕЙ ДОКУМЕНТАЦИИ

5. Опись документов

-

+

+

+

+

+

-

+

+

+

+

+

+

Рекомендуемое

6. Таблица комплектования

-

-

-

+

+

+

+

+

+

+

+

+

+

7. Обложка

+

+

+

+

+

+

+

+

+

+

+

+

+

Рис. 25. Применение ведомостей в общих данных основного комплекта и описи документов, таблицы комплектования, обложки в папках (томах) на примере четырех вариантов выполнения ЭРД


ВСЕРОССИЙСКИЙ НАУЧНО-ИССЛЕДОВАТЕЛЬСКИЙ,
ПРОЕКТНО-КОНСТРУКТОРСКИЙ ИНСТИТУТ

ТЯЖПРОМЭЛЕКТРОПРОЕКТ

ЗАКАЗЧИК - Гипромез                                                     ДОГОВОР № 5333

Новолипецкий металлургический комбинат

Цех динамной стали

ЭЛЕКТРОТЕХНИЧЕСКАЯ РАБОЧАЯ ДОКУМЕНТАЦИЯ

Электроснабжение. Подстанция

Основной комплект рабочих чертежей и прилагаемые документы

ХХХХ-ХХ-ЭП

Папка № 1

Москва 1992

Рис. 26. Пример оформления обложки к папке, в которую включена ЭРД подстанции в целом

ВСЕРОССИЙСКИЙ НАУЧНО-ИССЛЕДОВАТЕЛЬСКИЙ,
ПРОЕКТНО-КОНСТРУКТОРСКИЙ ИНСТИТУТ

ТЯЖПРОМЭЛЕКТРОПРОЕКТ

ЗАКАЗЧИК - Гипромез                                                        ДОГОВОР № 5333

Новолипецкий металлургический комбинат

Цех динамной стали

ЭЛЕКТРОТЕХНИЧЕСКАЯ РАБОЧАЯ ДОКУМЕНТАЦИЯ

Электроснабжение. Подстанция

Рабочая документация задания МЭЗ

ХХХХ-ХХ-ЭП.И

Папка № 6

Москва 1992

Рис. 27. Пример оформления обложки к папке, в которую включена рабочая документация задания МЭЗ

ВСЕРОССИЙСКИЙ НАУЧНО-ИССЛЕДОВАТЕЛЬСКИЙ,
ПРОЕКТНО-КОНСТРУКТОРСКИЙ ИНСТИТУТ

ТЯЖПРОМЭЛЕКТРОПРОЕКТ

ЗАКАЗЧИК - Гипромез                                                        ДОГОВОР № 5333

Новолипецкий металлургический комбинат

Цех динамной стали

ЭЛЕКТРОТЕХНИЧЕСКАЯ РАБОЧАЯ ДОКУМЕНТАЦИЯ

Электрооборудование дрессировочного стана

Кабельный журнал

ХХХХ-ХХ-ЭТХ1.3

Папка № 23

Москва 1992

Рис. 28. Пример оформления обложки к папке, в которую включен один документ основного комплекта рабочих чертежей марки ЭТХ1

ВСЕРОССИЙСКИЙ НАУЧНО-ИССЛЕДОВАТЕЛЬСКИЙ,
ПРОЕКТНО-КОНСТРУКТОРСКИЙ ИНСТИТУТ

ТЯЖПРОМЭЛЕКТРОПРОЕКТ

ЗАКАЗЧИК - Гипромез                                                        ДОГОВОР № 5333

Новолипецкий металлургический комбинат

Цех динамной стали

ЭЛЕКТРОТЕХНИЧЕСКАЯ РАБОЧАЯ ДОКУМЕНТАЦИЯ

Автоматизированная система управления энергоснабжением

Основной комплект рабочих чертежей

ХХХХ-ХХ-ЭУ

Папка № 51

Москва 1992

Рис. 29. Пример оформления обложки к папке, в которую включен основной комплект рабочих чертежей АСУЭ

ОБОЗНАЧЕНИЕ

ЛИСТ

НАИМЕНОВАНИЕ

ПРИМЕЧАНИЕ

50

15

90

30

ХХХХ-ХХ-ЭП1.ОБ1

1

Обложка папки № 1

 

ХХХХ-ХХ-ЭП1.ОП1

1

Опись документов папки № 1

 

ХХХХ-ХХ-ХХ.ТК

1

Таблица комплектования электротехнической рабочей документации

 

ХХХХ-ХХ-ЭП1

1-21

Основной комплект рабочих чертежей

 

ХХХХ-ХХ-ЭП1.Н1

1

Ш1. Эскизный чертеж общего вида

 

ХХХХ-ХХ-ЭП1.Н2

1

Ш2. Эскизный чертеж общего вида

 

ХХХХ-ХХ-ЭП1.ЛС

1-5

Локальная смета

 

ХХХХ-ХХ-ЭП1.ВМ

1-7

Ведомость потребности в материалах

 

ХХХХ-ХХ-ЭП1.СО

1-8

Спецификация оборудования

 

Рис. 30. Пример выполнения описи документов

Рис. 31. Пример выполнения плана расположения шкафов КРУ, ошиновки и прокладки сети заземления в электротехническом помещении

Рис. 32. Пример выполнения плана расположения кабельных трасс

Рис. 33. Пример выполнения схемы размещения молниезащитного устройства и устройства наружного заземления



Обозначение

Наименование

Кол.

Примечание

 

У механизма

 

 

18-M

Двигатель АИР90L4, 380 В, 50 Гц

1

2,2 кВт

 

Пост местного управления

 

1395 мин, 100 %ПВ

 

ПКУ 15-21-12154У2, ТУ16-526.333-83

 

 

SB3

№ 1-КЕ011, исп. 4 «Пуск», черн.

 

 

SB1

№ 2-КЕ031, исп. 5 «Стоп», красн.

 

 

 

Щит

 

 

QF1, КК1, КМ1

Блок Б5130-2В74ГУХЛ4

1

 

SА1

Переключатель УП5311-С23УЗ

1

 

 

 

 

 

 

Пост дистанционного управления

 

 

SB4

Выключатель кнопочный, КЕ011УЗ,

1

 

 

исп. 4 «Пуск», черн.

 

 

SВ2

Выключатель кнопочный, КЕ031УЗ

1

 

 

исп. 4 «Стоп», красн.

 

 

HLR

Арматура сигнальная АС12011У2

1

220 В

Схемой предусматривается управление:

- местное, кнопками SВ1, SВ3

- дистанционное с поста управления, кнопками SВ4, SВ2

Рис. 35. Пример выполнения принципиальной схемы управления электроприводом

Рис. 36. Пример выполнения схемы подключения

Комплектное устройство

(тип, обозначение, документ)

Щит АСТ, панель 4

Обозначение кабеля

Куда подключить

Маркировка жилы кабеля (генеральная)

Дополнительные данные

Направление кабеля

Марка кабеля

Примечание

Обозначение блока зажимов (аппарата)

№ зажима

Маркировка на зажиме

1

2

3

4

5

6

7

8

9

К004

XI

3

21

401

 

18-АХ1

АКВВГ 1(5×2,5)

 

5

23

402

 

 

 

 

7

25

403

 

 

 

 

8

27

405

 

 

 

 

К001

Х2

3

 

5

 

18-УВ

АВВГ 1(3×2,5)

 

5

 

6

 

 

 

 

Х1

11

13

 

 

перемкнуть

 

ПВ-1,5

 

Рис. 37. Пример выполнения таблицы подключения

СОДЕРЖАНИЕ

1. Общие положения. 1

2. Состав электротехнической рабочей документации. 3

3. Обозначение ЭРД.. 5

4. Общие правила оформления ЭРД.. 7

5. Правила выполнения рабочих чертежей. 8

6. Рекомендации по комплектованию ЭРД.. 12

Приложение 1 Перечень стандартов СПДС и ЕСКД, требования которых подлежат учету при выполнении электротехнической рабочей документации. 13

Приложение 2 Требования к выполнению строительных заданий. 14

Приложение 3 Перечень марок основных комплектов электротехнических рабочих чертежей. 15

Приложение 4 Состав рабочих чертежей и отдельные пояснения по их выполнению.. 15

Приложение 5 Масштабы изображений на планах. 20

Приложение 6 Округление количественных значений материалов и кабелей и единицы измерения. 20

Рис. 2. Пример выполнения ведомости рабочих чертежей основного комплекта. 20

Рис. 3. Пример выполнения ведомости ссылочных и прилагаемых документов. 21

Рис. 4. Пример выполнения ведомости основных комплектов рабочих чертежей. 21

Рис. 5. Пример выполнения ведомости документов основного комплекта. 21

Рис. 6. Расположение основной надписи, дополнительных граф к ней и размерных рамок на листах. 22

Рис. 7. Пример выполнения основной надписи по форме 3 ГОСТ Р 21.1101. 22

Рис. 8. Пример выполнения основной надписи по форме 5 ГОСТ Р 21.1101. 22

Рис. 9. Пример выполнения основной надписи по форме 6 ГОСТ Р 21.1101. 22

Рис. 10. Пример выполнения спецификации на плане расположения. 22

Рис. 11. Пример выполнения групповой спецификации на плане расположения. 23

Рис. 12. Пример выполнения кабельного журнала для прокладки кабелей методом трасс. 23

Рис. 13. Пример выполнения кабельнотрубного журнала. 23

Рис. 14. Пример выполнения кабельного журнала. 23

Рис. 15. Пример выполнения таблицы потребности кабелей и проводов. 24

Рис. 16. Пример выполнения таблицы потребности труб. 24

Рис. 17. Пример выполнения ведомости заполнения труб кабелями. 24

Рис. 19. Пример выполнения спецификации на чертеже конструкции задания МЭЗ. 24

Рис. 20. Пример выполнения групповой спецификации на чертежах конструкций задания МЭЗ. 25

Рис. 21. Пример выполнения ведомости электромонтажных конструкций, подлежащих изготовлению в МЭЗ (ИВК) 25

Рис. 22. Пример выполнения ведомости материалов и изделий для изготовления электромонтажных конструкций в МЭЗ (ИВМ) 25

Рис. 23. Пример выполнения трубозаготовительной ведомости. 25

Рис. 24. Пример выполнения таблицы комплектования ЭРД.. 26

Рис. 25. Применение ведомостей в общих данных основного комплекта и описи документов, таблицы комплектования, обложки в папках (томах) на примере четырех вариантов выполнения ЭРД.. 27

Рис. 26. Пример оформления обложки к папке, в которую включена ЭРД подстанции в целом.. 28

Рис. 27. Пример оформления обложки к папке, в которую включена рабочая документация задания МЭЗ. 28

Рис. 28. Пример оформления обложки к папке, в которую включен один документ основного комплекта рабочих чертежей марки ЭТХ1. 28

Рис. 29. Пример оформления обложки к папке, в которую включен основной комплект рабочих чертежей АСУЭ.. 29

Рис. 30. Пример выполнения описи документов. 29

Рис. 31. Пример выполнения плана расположения шкафов КРУ, ошиновки и прокладки сети заземления в электротехническом помещении. 29

Рис. 32. Пример выполнения плана расположения кабельных трасс. 30

Рис. 33. Пример выполнения схемы размещения молниезащитного устройства и устройства наружного заземления. 30

Рис. 34. Пример выполнения плана контактной сети питающих и отсасывающих линий электрифицированного промышленного железнодорожного транспорта. 31

Рис. 35. Пример выполнения принципиальной схемы управления электроприводом.. 32

Рис. 36. Пример выполнения схемы подключения. 33

Рис. 37. Пример выполнения таблицы подключения. 33

 

 




ГОСТЫ, СТРОИТЕЛЬНЫЕ и ТЕХНИЧЕСКИЕ НОРМАТИВЫ.
Некоммерческая онлайн система, содержащая все Российские Госты, национальные Стандарты и нормативы.
В Системе содержится более 150000 файлов нормативно-технической документации, действующей на территории РФ.
Система предназначена для широкого круга инженерно-технических специалистов.

Рейтинг@Mail.ru Яндекс цитирования

Copyright © www.gostrf.com, 2008 - 2026